Keck SP 12 Volt DC Submersible Sampling Pumps Instruction Manual
Keck_SP_12_Volt_DC_Submersible_Sampling_Pumps
User Manual: Pdf Keck SP 12 Volt DC Submersible Sampling Pumps
Open the PDF directly: View PDF
.
Page Count: 16

SP 12 Volt DC
Submersible Sampling
Pumps
Instruction Manual
Keck
SP
Reel
Sampling
Pump
Keck SP Back Pack Sampling
Pump
Geotech Environmental Equipment Inc.
8035 E. 40th Ave Denver, CO
80207
(303) 320-4764 (800) 833-7958 FAX (303)
322-7242
Email: sales@geotechenv.com website:
ww.geotechenv.com
In Michigan Call
Geotech Environmental Equipment Inc.
1099 W. Grand River Ave Williamston, MI
48895
(517) 655-5616 (800) 275-5325 FAX (517)
655-1157
REV 06/06/12
2
31
Table of Contents
Chapter 1: System Description
.............................................................
3
Function and Theory ................................................................................ 3
Model SPP (Formerly SP-81) ..................................................................... 4
Model SPR (Formerly SP-84) ..................................................................... 5
Model SPB (Formerly SP-87) ..................................................................... 6
Construction
............................................................................................
6
Initial
operation
......................................................................................
14
Operation
................................................................................................
16
Cleaning and
Maintenance
...................................................................
22
The
Warranty
..........................................................................................
28
30
3
Chapter 1: System Description
Function and Theory
Keck SP series Sampling Pumps have been constructed to provide reliable
and efficient ground water samples from a 2” monitoring well. The pumps
have a variable flow rate for continuous purging or sampling without agitation.
The pumps come in three models for maximum site adaptability and are
capable of operating at remote sites with a 12 VDC battery or directly from
any 12 VDC vehicle capable of sustaining 13 to 14 volts and 15 amps. For
maximum efficiency and performance for extended pumping periods, the
battery pack or auto/battery monitor can be connected directly to a 12 VDC
vehicle. The Keck SP can be connected to most high amp-hour marine
batteries for sampling monitor wells that are not accessible with a field
vehicle.

4
29
Model SPP (formerly SP-81)
The SPP was designed to provide a sampling system capable of operating at
remote sites.
Features
Pump with EPDM stator
Pump control monitor
Variable flow to 100 ml/minute
125 feet power cable (polyethylene jacket)
125 feet polyethylene discharge tubing Universal well sheave
Accessories
Aluminum cable storage reel with slip ring
Inflatable packer, 2-inch
Inflatable packer, 4-inch
FEP hose

28
5
The Warranty
For a period of one (1) year from date of first sale, product is warranted to be free
from defects in materials and workmanship. Geotech agrees to repair or replace,
at Geotech’s option, the portion proving defective, or at our option to refund the
purchase price thereof. Geotech will have no warranty obligation if the product is
subjected to abnormal operating conditions, accident, abuse, misuse,
unauthorized modification, alteration, repair, or replacement of wear parts. User
assumes all other risk, if any, including the risk of injury, loss, or damage, direct
or consequential, arising out of the use, misuse, or inability to use this product.
User agrees to use, maintain and install product in accordance with
recommendations and instructions. User is responsible for transportation
charges connected to the repair or replacement of product under this warranty.
Equipment Return Policy
A Return Material Authorization number (RMA #) is required prior to return of any
equipment to our facilities, please call our 800 number for appropriate location.
An RMA# will be issued upon receipt of your request to return equipment, which
should include reasons for the return. Your return shipment to us must have this
RMA # clearly marked on the outside of the package. Proof of date of purchase
is required for processing of all warranty requests.
This policy applies to both equipment sales and repair orders.
FOR A RETURN MATERIAL AUTHORIZATION, PLEASE CALL OUR
SERVICE DEPARTMENT AT 1-800-833-7958 OR 1-800-275-5325.
Model Number:
Serial Number:
Date:
Equipment Decontamination
Prior to return, all equipment must be thoroughly cleaned and decontaminated.
Please make note on RMA form, the use of equipment, contaminants equipment
was exposed to, and decontamination solutions/methods used.
Geotech reserves the right to refuse any equipment not properly
decontaminated. Geotech may also choose to decontaminate equipment for a
fee, which will be applied to the repair order invoice.
Model SPR (Formerly SP-84)
The reel mounted SPR is equipped with 150 feet of power cable and
discharge tubing on a storage reel with the auto/battery monitor enclosed in a
watertight case.
Features
Pump with EPDM stator
Cable reel with slip ring and pin-lock
Wheel kit
Pump monitor/control
Variable flow down to 100 ml/minute
150 feet power cable (polyethylene jacket)
150 feet polyethylene discharge tubing
Universal well sheave
Accessories
Inflatable packer, 2-inch
Inflatable packer, 4-inch
FEP hose

6
27
Model SPB (Formerly SP-87)
The SPB backpack system is light weight and features an internal power
supply with variable flow for continuous purging or sampling without agitation.
The system includes 60 feet of power cable and discharge hose with pump
controls mounted directly in the cable reel.
Features
Backpack frame with reel
Variable flow down to 100 ml/minute
60 feet power cable (polyethylene jacket)
60 feet polyethylene discharge tubing
Universal well sheave
Accessories
FEP hose
Construction

26
7
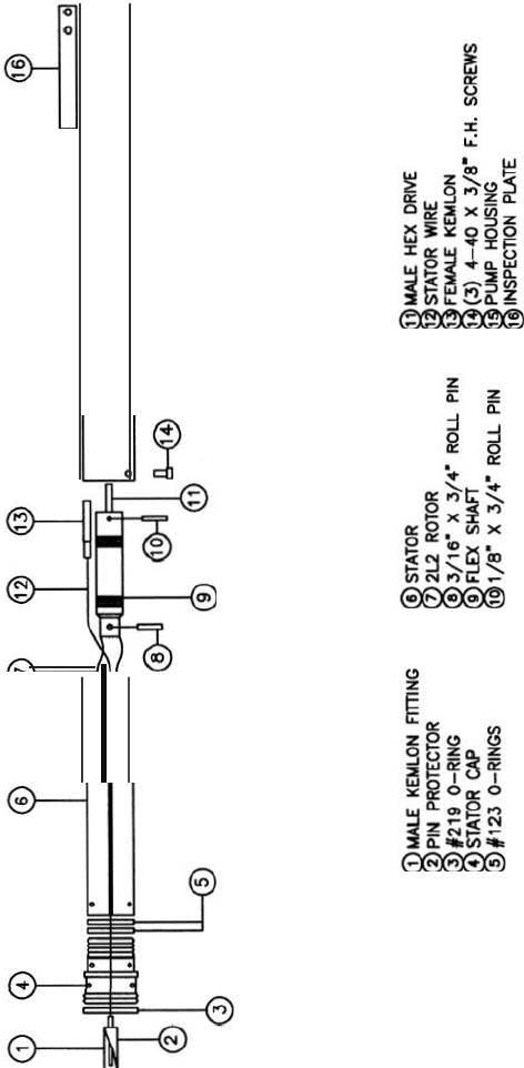
Each of the three modules is designed to detach from the adjacent module
by removing three to eight external screws. This design allows for easier
decontamination and field repair of the pump.
1. Electrical/Fluid Terminal Cap Module
The electrical/fluid terminal cap contains the terminations
for the power cable and discharge tubing. The power cable
has a strain relief attached inside of the cap and a tapered
PTFE insert that is compressed with the ferrule fitting on
the top of this module. The discharge tubing attaches to
the 304 stainless steel hose barb on the top and the fluid
path is completed through a transfer tube with O-rings on
each end inside of the module. Both the positive and
negative leads are soldered to the two ends of the 10-
gauge power cable. The positive electrical boot slips on the
pin connector attached to the top of the stator cap, and the
negative lead is attached to the top of the stator cap with a
grounding screw.
2. Pump Head Module
Pump housing, flexible shaft, rotor, stator, and stator cap.
The pump head module consists of the intake area with
inspection plate, flexible shaft, rotor, stator and stator cap.
The flexible shaft is designed for both forward and reverse
operation and is constructed of 304 stainless steel. The
rotor, or helical screw, is machined from 316 stainless steel.
The stator is constructed of 304 stainless tubing lined with a
EPDM elastomeric compound. The stator cap attaches to
the stator through the outer stainless steel shell and
contains the positive 12 VDC electrical wire with male and
female glass insulated connectors.
3. Motor Module
Motor housing, bottom cap, 12VDC motor, female hex drive
and shaft seal.
The motor module contains a 12 VDC gear motor specially designed for the
Keck SP-Series pump. The highly efficient monobloc design allows
continuous operation for mini-aquifer tests and evacuation of greater volumes
of ground water.
Elastomeric Stators

25
8
Reaction to certain
chemicals
w
i
ll
cause a swelling of the stator
an
d
subsequent increased friction or
d
i
fficulty
of operation which
w
i
ll
cause
the
pump to operate at a higher current
level,
or not at all. A decrease in
vol
ume
may
i
n
dicat
e
a worn stator which needs
replacement.
EPDM
0
0
1----{11')

24
9
Model SPP
1. Audio Amp Alarm
2. Voltage/Amps Select Switch
3. LCD Meter Display for monitoring volts and amps during pump operation
4. LCD On/Off Switch
5. Forward-Off-Reverse Pump Control Switch
6. Pump Output Connects to pump power cable
20 Amp Sloblo Fuse (variable flow control models only)
Circuit Breaker (10 amp, manual reset)
(Not shown -- located on rear panel)
Auto Battery Power Receptacle
(Not shown -- located on rear panel)

10
23
MODEL SPR
1. Voltage/Amps Select Switch
2. LCD Meter Display for monitoring volts and amps during pump operation
3. LCD On/Off Switch
4. Reverse-Off-Forward Pump Control Switch
5. 20 Amp Sloblo Fuse (variable flow control models only)
5. Dispose of all wash and rinse water in a properly marked and sealed
container for future disposal.
6. Inspect and re-tighten all 4-40 pump screws at the end of each day of
operation.
Tools and Materials Required for Cleaning and Maintenance
6. Audio Amp Alarm
1.
Open-end wrenches: 9/16", 5/8", and 11/16"
7. Audio Warning Signal Adjustment
2.
Allen wrenches: 1/8", and 1/4"
3.
Screw driver
4.
Roll Pin Punches: 1/8" and 3/16"
5.
Soldering iron
6.
Multimeter
7.
Heat shrink tubing
8.
Solder
9.
4-40 F.H. screws x 1/4" and 3/8" lg.
10.
18 Awg wire
Do not re-use screws

22
11
Cleaning and Maintenance
A thorough decontamination of the pump will increase the operating
efficiency of the system. The various techniques used to clean sampling
equipment generally depend on the critical nature of the type of sampling
required for each project. An effective method for cleaning the pump head
and transfer tubing is to pump cleaning solution through the pump and
reverse the pump to evacuate the tubing and flush the intake area. Any
procedure that uses a cleaning or chemical solution must be followed by
pumping clean water through the system.
The pump current should be monitored during the cleaning process to detect
any change in the operating condition. An increase in current may indicate
that either the cleaning agent reacted with the elastomer, causing it to swell,
or a residual film of the cleaning agent was not removed with the clean water
rinse. Conversely, a decrease in the current would indicate that foreign
material or contamination has been removed during the cleaning process.
Geotech recommends the following procedure for the SP-Series submersible
sampling pump:
1. Wash sampling equipment in a container with a solution of good quality
lab soap, such as micro soap or Liquinox. Completely brush the entire
exterior surface of the article. Wash interior wetted surfaces as required.
2. Rinse sampling equipment, except that used for samples intended for
volatiles in a container of a 10 percent solution of acetone and water.
Completely brush the entire exterior surface of the article. Rinse interior
wetted surfaces as required. If PCBs or pesticides are suspected to be
present, the final rinse should be carried out with a hexane solution.
Equipment used for samples intended for volatile organic analysis should
not have a solvent rinse. Technical or reagent grade solvents should be
used.
3. Rinse sampling equipment in a container of clean water. Completely
brush the entire exterior surface of the article. Rinse interior wetted
surfaces as required.
4. Rinse sampling equipment by pouring or spraying clean water over the
equipment surfaces. Lay equipment on clean plastic to air dry as much
as possible before reuse.
MODEL SPB
1. LCD Meter Display for monitoring volts and amps during pump operation
and charging
2. LCD On/Off Switch
3. External 12VDC Fuse (20 Amp)
4. External 12VDC Input
5. Battery Power Select Switch
6. Variable Flow Adjustment
7. Flow Rate Select Switch
8. Output Circuit Breaker
9. Forward-Off-Reverse Pump Control Switch
10. 12VDC Charging Input
11. Charging Circuit Fuse (4 Amp)
12. Voltage/Amps Select Switch

12
21
SPB Charging instructions
IMPORTANT!
If the battery pack will not be used for an extended period of time, it
should be periodically charged to maintain battery life.
110V AC CHARGING
1. Connect the charging cord to the D.C. CHARGE socket (#10 on page
11).
Do not use charger in +12V EXT. socket (# 4 on page
11). Damage to charger will result.
2. Position the BATTERY switch to the "INT" (internal battery) setting.
3. Plug charger into a 110V outlet. FAST CHARGE lamp will light. FAST
CHARGE lamp will extinguish and FLOAT lamp will light after battery
has charged 80% - 100% of capacity. Plan on a minimum of 16 hours
to fully charge the battery

20
13
IMPORTANT!
Step 12 Connect the female electrical boot from the bottom of the Inflatable
Packer Module to the glass insulated electrical terminal on top of
the pump by pushing the boot over the pin.
Step 13 Lubricate the lower end of the fluid transfer tube and the upper end
of the pump with water to prevent damage to the o-rings.
Step 14 Orient the Inflatable Packer Module so that the transfer tube will be
in alignment with the hole located on the top of the pump.
Step 15 Push the lower end of the Inflatable Packer Module onto the top of
the pump.
Step 16 Replace the three screws to secure the module to the pump.
Step 17 Connect the 1/8 inch air line to the air fitting at the top of the pump
by simply inserting the tube.
To remove the air line, push the collect in and pull on
the tubing.
DC CHARGING
1. Connect the 12VDC jumpers to the D.C. CHARGE socket (# 10 on
page 11). Connect the jumpers to the 12VDC power supply positive
(+) terminal [red] and to the negative (-) terminal [black].
2. Position the BATTERY switch to the "INT" (internal battery) setting.
3. Check the current level with the amp meter. When current drops
below 0.30 amps, battery is 80% - 100% charged.
Battery must be fully charged after field use.
The Inflatable Packer Module was NOT designed to support the extended
weight of the pump. When installing or removing the system, support the unit
by holding the solid pump body. Always store the complete assembly in a
container that will provide full support of the system and prevent any lateral
force from bending or damaging the module.
Use air line plug when air line is not in fitting.
Inspect and re-tighten all 4-40 pump screws at the end
of each day of operation.

14
19
Step 1 Remove the discharge tubing
from the hose barb at the top
of the pump.
Hose must be off! Most pumps
won't start "dry."
Step 2 Submerge the pump in clean,
cool water (55°F) so that the
unit is vertical and the water
level is above the hose barb.
Allow to set for at least five
minutes for temperature
equalization.
The pump should not be operated
"DRY" at any time. Operation of
the unit without water to lubricate
the moving parts will cause
damage and eventual malfunction
of the pump.
Step 3 Connect the power cable to the
12 VDC power supply; 13 to 14
VDC is required for the initial
starting of the pump. Positive
(+) terminal [red] and negative
(-) terminal [black].
Note: Do not reverse positive and
negative terminal or monitor damage
may occur.
Water must be cool: warm water
swells stator
Step 4 Turn the Voltage/Current Meter
to “ON - VOLTAGE”. If 13 to
14 volts are displayed, proceed
to the next step.
A constant 13 to 14VDC are
required to operate the unit at a
stable current level. Operation of
the pump with less than 12 volts
will cause excessive brush and
commutator wear and the
subsequent premature failure of
the motor. No LCD display --
check fuses and connections. Was
the battery tested under load?
Running vehicle may help.
Step 5 Turn the Voltage/Current Meter
to “AMPS”.
No change in display is no load;
check continuity.
Step 6 Turn the Pump Control Switch
to “FORWARD”, observing the
current level at the same time.
STOP immediately if the
current exceeds 10.0 amps or
the meter "blanks out," which is
greater than 20.0 amps
Initial operation
Follow Procedure column (shaded) for operation. Consult Troubleshooting
column for common problems at each step.
Procedure Troubleshooting
INSTRUCTIONS FOR ATTACHING 2" INFLATABLE PACKER
The SP Inflatable Packer is designed to attach to the upper portion of the
basic sampling pump. To install the packer, follow these simplified steps:
Step 1 Remove the three screws that secure the Electrical/Fluid Terminal
Cap.
Step 2 Pull the Electrical/Fluid Terminal Cap away from the remainder of
the pump without rotating.
IMPORTANT!
Care should be exercised to prevent damage to the glass-insulated
electrical terminal on the top of the pump.
Step 3 Remove the screw that secures the ground or negative wire lead.
Step 4 Disconnect the female electrical boot from the glass-insulated
electrical terminal by pulling the boot straight up.
Step 5 Remove the fluid transfer tube.
Step 6 Connect the female electrical boot from Electrical/Fluid Terminal
Cap to the glass insulated electrical terminal on the Inflatable
Packer Module by pushing the boot over the pin.
Step 7 Attach the ground or negative wire lead with the screw.
Step 8 Push the 1/8 inch air line onto the hose barb on the top of the
Inflatable Packer Module.
Step 9 Lubricate the transfer tube with water to prevent damage to the o-
rings and push securely into the hole located within the upper
portion of the Electrical/Fluid Terminal Cap, taking care not to pinch
the electric wire or air line.
Step 10 Push the Electrical/Fluid Terminal Cap onto the upper end of the
Inflatable Packer Module.
Step 11 Replace the three screws to secure the module to the
Electrical/Fluid Terminal Cap.

18
15
Step 7 Less than 10.0 amps:
Continue to operate the
pump until the current
stabilizes between 4 and 7
amps.
Fluctuates and will not stabilize:
needs repair.
Step 8 Greater than 10.0 amps:
Check to see that the top of
the pump is submerged and
be prepared to “rock” the
Pump Control Switch from
“REVERSE” to “FORWARD”.
Repeat if necessary, to
rotate the pumping
mechanism until the pump
head is lubricated with water
and the current stabilizes
between 4 and 7 amps.
High or increased current:
contaminated or swollen from
solvents; decontaminate with
proper cleaning agent and distilled
water. Amp meter “blanks out”:
decontaminate with proper
cleaning agent and distilled water.
Sand-locked; clean by washing
through hose barb.
Step 9 Connect the discharge tubing.
Step 10 Turn the Pump Control Switch
to “FORWARD”, observe the
current level, and operate
the pump until the current
stabilizes between 4 and 7
amps.
If more than 2 to 3 amps higher
than with hose off: kink in line,
collapsed liner, clogged with sand
or silt, or frozen: test without tubing
connected and correct.
Step 11 Turn the Pump Control
Switch to “REVERSE”,
observing the current level,
to evacuate the tubing of the
water while leaving the pump
submerged in water.
If pump will not operate in reverse
it needs repair.
Step12 Disconnect the discharge
tubing.
Stop 13 Turn the Pump Control
Switch to “FORWARD” for
about five seconds, or until
the current stabilizes
between 4 and 7 amps.
Step 14 The sampling pump is ready
for field operation.
Inflatable Packer
Technical personnel actively engaged
in ground water monitoring have
recently become more aware of the
importance of evacuating the
borehole volume to obtain a
representative sample. The standard
procedure presently used requires
that three to five times the volume of
water within the well should be
evacuated prior to collecting the
groundwater sample to be sent to the
laboratory for chemical analysis. The
use of some more recently developed
sampling pumps has reduced the
time required to evacuate and sample
each monitor well: however, the time
required varies due to the different
heights of the column of water within
each well. In addition, many projects
require that the evacuated water be
collected and disposed at a treatment
facility. Both of these factors increase
the cost of monitoring and sampling.
The use of an inflatable packer can
Procedure Troubleshooting
reduce the time, cost and effort when sampling monitoring
wells. The packer is mounted immediately above the top of
the screen with the pump placed within the screen. This
allows the pump to evacuate or draw water from only the
screened portion of the well. Assuming that an average
monitoring well has at least 5 feet of screen, the time to
sample each well would be the same with a minimal amount
of effort and effluent collected. The actual pumping time to
evacuate the screened portion (5 feet) three to five times
would be less than five minutes for a 2 inch well and about
16 minutes for a 4 inch well. This allows the pump to
evacuate or draw water from only the screened portion of the well.

16
17
Operation
Check NEW wells for plumbness and diameter, using a bailer of the same
dimensions as the Keck pump (1.75” OD x 25” long). Use a water level
sensing device to determine the water level to insure that the pump is totally
submerged when sampling.
IMPORTANT!
The pump should not be operated “DRY” at any time. Operation of the
unit without water to lubricate the moving parts will cause damage and
eventual malfunction of the pump.
When lowering the pump into the well, allow the weight of the unit to keep the
power cord taut. The pump can and will cock inside a 4 inch well and may
become lodged.
IMPORTANT!
A constant 13 to 14 VDC are required to operate the unit at a stale
current level. Operation of the pump with less than 12 volts will cause
excessive brush and commutator wear and the subsequent premature
failure of the motor.
Operation of the pump for extended periods requires a continuous 13 to 14
VDC power source rated for 15 amps. Amperage must be monitored while
the pump is operating. A sudden increase in the amps indirectly informs the
operator that conditions have changed, e.g., an increase in the percent of
solids in the flow stream, to rotor and stator are partially sand-locked, the
discharge tubing is blocked, frozen or kinked, or the voltage to the pump
motor is inadequate because of cuts in the power cable, poor electrical
connections, or an inadequate power supply. Continuing to operate the pup
in this condition may cause a malfunction of the pump as a result of
inadequate power reaching the 12 VDC motor.
The Pump Control Switch, “FORWARD-OFF-REVERSE”, not only turns the
pump ON, but allows the operator to reverse the pump rotation if the unit
should become clogged, or to evacuate the discharge tubing. NOTE:
ALWAYS operate the pump in the “FORWARD” position after reverse has
been engaged to reposition the “floating” rotor within the stator.
IMPORTANT!
It is important to decontaminate the pump after sampling and to drain
the transfer tubing prior to extended storage. (See Cleaning and
Maintenance section).
Using Variable Flow
Step 1 Basic operation of the pump should be performed as normal, as
indicated on page 14 -16 of this manual.
Step 2 “Purge” the well as required, using the standard controls on the
monitor and with the HIGH/VARIABLE switch in the “HIGH”
position.
Step 3 The MIN/MAX dial must be in the “MAX” position.
Step 4 Put the pump in the Variable Flow function by moving the
HIGH/VARIABLE switch to the “VARIABLE” position.
Step 5 Turn the MIN/MAX dial toward the “MIN” position until the desired
sample flow rate is achieved.
If the pump stalls prior to reaching the desired sample
flow rate, the pump must be restarted in “HIGH”, then
follow steps 3 through 5 above.
Step 6 After the sample is taken, both the MIN/MAX dial and the
HIGH/VARIABLE switch should be returned to their original
positions for normal operation of the pump.