MiniRAE 3000 PpbRAE Basic Operation Pocket Reference Mini RAE3000 Ppb V3
User Manual: Pdf MiniRAE3000 ppbRAE3000 Pocket Reference v3
Open the PDF directly: View PDF
.
Page Count: 40

MiniRAE 3000
ppbRAE 3000
Basic Operation
Pocket Reference
PN: 059-4030-000-D
Rev. B August 2010
For Sales & Service Contact
2650 E. 40th Ave. • Denver, CO 80205
Phone 303-320-4764 • Fax 303-322-7242
1-800-833-7958
www.geotechenv.com

MiniRAE 3000/ppbRAE 3000 Pocket Reference
1
Read Before Operating
This Pocket Reference is intended as a quick guide to basic
use and calibration of your instrument. It does not cover
advanced features. Information on advanced features and
other operation modes is included in the User’s Guide.
The User’s Guide must be carefully read by all individuals
who have or will have the responsibility of using, maintaining,
or servicing this product. The product will perform as
designed only if it is used, maintained, and serviced in
accordance with the manufacturer’s instructions. The user
should understand how to set the correct parameters and
interpret the obtained results.
CAUTION!
To reduce the risk of electric shock, turn the power off
before removing the instrument cover. Disconnect the
battery before removing sensor module for service.
Never operate the instrument when the cover is
removed. Remove instrument cover and sensor module
only in an area known to be non-hazardous.
MiniRAE 3000/ppbRAE 3000 Pocket Reference
2
WARNINGS
STATIC HAZARD: Clean only with damp cloth.
For safety reasons, this equipment must be operated and
serviced by qualified personnel only. Read and
understand the User’s Guide completely before
operating or servicing.
Use only RAE Systems battery packs, part numbers 059-
3051-000, 059-3052-000, and 059-3054-000. This
instrument has not been tested in an explosive gas/air
atmosphere having an oxygen concentration greater than
21%. Substitution of components may impair intrinsic
safety. Recharge batteries only in non-hazardous
locations.
Do not mix old and new batteries or batteries from
different manufacturers.
The calibration of all newly purchased RAE Systems
instruments should be tested by exposing the sensor(s) to
known concentration calibration gas before the
instrument is put into service.
MiniRAE 3000/ppbRAE 3000 Pocket Reference
3
For maximum safety, the accuracy of the instrument
should be checked by exposing it to a known
concentration calibration gas before each day’s use.
Do not use USB/PC communication in hazardous
locations.
Intrinsic Safety: US and Canada: Class I, Division 1,
Groups A,B, C, D
Europe: ATEX (0575 Ex II 2G Ex ia
IIC/IIB T4 Gb)
KEMA 07 ATEX 0127
Complies with EN60079-0:2009,
EN60079-11:2007
IECEx CSA 10.0005 Ex ia IIC/IIB T4 Gb
Complies with IEC 60079-0:2007,
IEC 60079-11:2006
(IIC: 059-3051-000 Li-ion bat pack or
059-3054-000 NiMH bat pack;
IIB: 059-3052-000 alkaline bat pack)

MiniRAE 3000/ppbRAE 3000 Pocket Reference
4
Special Notes
When the instrument is taken out of the
transport case and turned on for the first time,
there may be some residual organic or inorganic
vapor trapped inside the detector chamber. The
initial PID sensor reading may indicate a few
ppm. Enter an area known to be free of any
organic vapor and turn on the instrument. After
running for several minutes, the residual vapor
in the detector chamber will be cleared and the
reading should return to zero.
The battery of the instrument discharges slowly
even if it is turned off. If the instrument has not
been charged for 5 to 7 days, the battery voltage
will be low. Therefore, it is a good practice to
always charge the instrument before using it. It
is also recommended to fully charge the
instrument for at least 10 hours before first use.
Refer to the User Guide’s section on battery
charging for more information on battery
charging and replacement.
MiniRAE 3000/ppbRAE 3000 Pocket Reference
5
Contents
Charging The Battery ......................................................... 6
Charging A Spare Rechargeable Battery ............................ 8
Pump Status & Calibration Status .................................... 10
User Interface.................................................................... 12
Display .............................................................................. 15
Operating The Instrument ................................................. 16
Turning The Instrument On ........................................... 17
Turning The Instrument Off .......................................... 18
Operating The Built-In Flashlight ................................. 18
Basic User Mode/Hygiene Mode ..................................... 19
Entering Calibration .......................................................... 21
Standard Two-Point Calibration (Zero & Span) ............... 23
Zero (Fresh Air) Calibration .......................................... 25
Span Calibration ............................................................ 28
Exiting Two-Point Calibration ...................................... 32
Alarm Signal Summary .................................................... 33
Preset Alarm Limits & Calibration ................................... 35
Sampling Pump ................................................................. 36
Ordering Replacement Parts ............................................. 37
Special Servicing Note ..................................................... 38
Troubleshooting ................................................................ 38
Technical Support ............................................... Back cover

MiniRAE 3000/ppbRAE 3000 Pocket Reference
6
Charging The Battery
Always fully charge the battery before using the
instrument. The instrument’s Li-ion battery is charged
by placing the instrument in its cradle. Contacts on the
bottom of the instrument meet the cradle’s contacts,
transferring power without other connections.
Note: Before setting the instrument into its charging
cradle, visually inspect the contacts to make sure they
are clean. If they are not, wipe them with a soft cloth.
Do not use solvents or cleaners.
Follow this procedure to charge the instrument:
1. Plug the AC/DC adapter’s barrel connector into
the instrument’s cradle.

MiniRAE 3000/ppbRAE 3000 Pocket Reference
7
2. Plug the AC/DC adapter into the wall outlet.
3. Place the instrument into the cradle, press
down, and lean it back. It locks in place and
the LED in the cradle glow
The instrument begins charging automatically. The
“Primary” LED in the cradle blinks green to indicate
charging. During charging, the diagonal lines in the
battery icon on the instrument’s display are animated
and you see the message “Charging...”
When the instrument’s battery is fully
charged, the battery icon is no longer animated
and shows a full battery. The message “Fully
charged!” is shown. The cradle’s LED glows
continuously green.
Note: If you see the “Battery Charging Error”
icon (a battery outline with an exclamation
mark inside), check that the instrument or
rechargeable battery has been set into the
MiniRAE 3000/ppbRAE 3000 Pocket Reference
8
cradle properly. If you still receive the message, check
the Troubleshooting section of this guide.
Charging A Spare Rechargeable Battery
A rechargeable Li-ion battery can be charged when it is
not inside the monitor. The charging cradle is designed
to accommodate both types of charging. Contacts on the
bottom of the battery meet the contacts on the cradle,
transferring power without other connections, and a
spring-loaded capture holds the battery in place during
charging.
1. Plug the AC/DC adapter into the monitor’s
cradle.
2. Place the battery into the cradle, with the gold-
plated contacts on top of the six matching
charging pins.
3. Plug the AC/DC adapter into the wall outlet.
The battery begins charging automatically. During
charging, the Secondary LED in the cradle blinks green.
When charging is complete, it glows steady green.
MiniRAE 3000/ppbRAE 3000 Pocket Reference
9
Release the battery from the cradle by pulling it back
toward the rear of the cradle and tilting it out of its slot.
Note: If you need to replace the Li-ion battery pack,
replacements are available from RAE Systems. The part
number is 059-3051-000.
Note: An Alkaline Battery Adapter (part number 059-
3052-000), which uses four AA alkaline batteries
(Duracell MN1500), may be substituted for the Li-Ion
battery.
WARNING!
To reduce the risk of ignition of hazardous atmospheres,
recharge and replace batteries only in areas known to be
non-hazardous. Remove and replace batteries only in
areas known to be non-hazardous.

MiniRAE 3000/ppbRAE 3000 Pocket Reference
10
Low Voltage Warning
When the battery’s charge falls below a preset
voltage, the instrument warns you by beeping
once and flashing once every minute, and the
“empty battery” icon blinks on and off once per second.
Turn off the instrument within 10 minutes and either
recharge the battery by placing the instrument in its cradle,
or replace the battery with a fresh one with a full charge.
Pump Status
During operation, make sure the probe inlet and the gas
outlet are free of obstructions. Obstructions can cause
premature wear on the pump, false readings, or pump
stalling. During normal operation, the pump icon
alternately shows inflow and outflow as shown here:
During duty cycling (PID lamp cleaning), the
display shows these icons in alternation:

MiniRAE 3000/ppbRAE 3000 Pocket Reference
11
If there is a pump failure or obstruction that disrupts the
pump, you will see this icon blinking on and off:
If you see this blinking icon, consult the Trouble-
shooting section in the User’s Guide.
Calibration Status
The instrument displays this icon if it requires
calibration:
Calibration is required (and indicated by this icon) if:
• The lamp type has been changed (for
example, from 10.6 eV to 9.8 eV).
• The sensor has been replaced.
• It has been 30 days or more since the
instrument was last calibrated.
• If you have changed the calibration gas type
without recalibrating the instrument.
MiniRAE 3000/ppbRAE 3000 Pocket Reference
12
User Interface
The instrument’s user interface consists of the display,
LEDs, an alarm transducer, and four keys. The keys
are:
Y/+
MODE
N/-
Flashlight on/off
The LCD display provides visual feedback that includes
time, battery condition, and other functions.
In addition to their labeled functions, the keys labeled
Y/+, MODE, and N/- act as “soft keys” that control
different parameters and make different selections
within the instrument’s menus. From menu to menu,
each key controls a different parameter or makes a
different selection.

MiniRAE 3000/ppbRAE 3000 Pocket Reference
13
Display
Y/+ key
N/- key
MODE key
Flashlight
on/off key
LEDs and flashlight

MiniRAE 3000/ppbRAE 3000 Pocket Reference
14
Three panes along the bottom of the display are
“mapped” to the keys. These change as menus change,
but at all times the left pane corresponds to the [Y/+]
key, the center pane corresponds to the [MODE] key,
and the right pane corresponds to the [N/-] key. Here are
three examples of different menus with the relationships
of the keys clearly shown:

MiniRAE 3000/ppbRAE 3000 Pocket Reference
15
Display
The display shows the following information:
Graph Graphic representation of concentration
plotted over time
Gas info* Tells the Correction Factor and type of
calibration gas
Reading Concentration of gas as measured
Calibration Indicates that calibration should be
needed performed
Radio power Indicates whether radio connection is on or off
Radio signal Indicates signal strength in 5-bar bargraph
Battery Indicates battery level in 3 bars
Pump Indicates that pump is working
Datalog Indicates whether datalog is on or off
Y/+ Y/+ key’s function for this screen
MODE MODE key’s function for this screen
N/- N/- key’s function for this screen
MiniRAE 3000/ppbRAE 3000 Pocket Reference
16
Operating The Instrument
The instrument is designed as a broadband VOC gas
monitor and datalogger for work in hazardous
environments. It gives real-time measurements and
activates alarm signals whenever the exposure exceeds
preset limits. Prior to factory shipment, the instrument is
preset with default alarm limits and the sensor is pre-
calibrated with standard calibration gas. However, you
should test the instrument and verify the calibration
before the first use. After the instrument is fully charged
and calibrated, it is ready for immediate operation.

MiniRAE 3000/ppbRAE 3000 Pocket Reference
17
Turning The Instrument On
1. With the instrument turned off, press and hold
[MODE].
2. When the display turns on, release the [MODE] key.
The instrument is now operating and performs self tests.
If any tests (including sensor and memory tests fail),
refer to the Troubleshooting section of the User’s Guide.
Note: In Basic User/Hygiene Mode (the default setting),
the instrument stops after self-testing, and asks whether
to perform a zero air (fresh air) calibration. You can start
this calibration, quit, or abort the calibration while the
instrument is undergoing calibration. When the zero
calibration is done, you see screen telling you that the
zero calibration is complete, along with its value. After
calibration (or after you abort the calibration), the
instrument then shows a numerical reading screen with
icons. This indicates that the instrument is fully
functional and ready to use.
MiniRAE 3000/ppbRAE 3000 Pocket Reference
18
Turning The Instrument Off
1. Press and hold the Mode key for 3 seconds. A 5-
second countdown to shutoff begins.
2. Once the countdown stops, the instrument is off.
Release the Mode key.
3. When you see “Unit off...” release your finger from
the [MODE] key. The instrument is now off.
Note: You must hold your finger on the key for the
entire shutoff process. If you remove your finger from
the key during the countdown, the shutoff operation is
canceled and the instrument continues normal operation.
Operating The Built-In Flashlight
The instrument has a built-in flashlight that helps you
point the probe in dark places. Press the flashlight key to
turn it on. Press it again to turn it off.
Note: Using the flashlight for extended periods shortens
the battery’s operating time before it needs recharging.
MiniRAE 3000/ppbRAE 3000 Pocket Reference
19
Basic User Mode/Hygiene Mode
(Default Settings)
The instrument is programmed to operate in Basic User
Mode/Hygiene Mode as its default. This gives you the
most commonly needed features while requiring the
fewest parameter adjustments.
Pressing [N/-] steps you from one screen to the next, and
eventually return to the main display. If you do not press a
key within 60 seconds after entering a display, the
instrument reverts to its main display.
Note: While viewing any of these screens, you can shut
off your instrument by pressing [MODE].
Note: Whenever you see the alarm icon in the lower left
pane, you can press [Y/+] to test the alarms.

MiniRAE 3000/ppbRAE 3000 Pocket Reference
20

MiniRAE 3000/ppbRAE 3000 Pocket Reference
21
Entering Calibration
1. Press and hold [MODE] and [N/-] until you see
the Password screen.
2. In Basic User Mode, you do not need a
password to perform calibrations. Instead of
inputting a password, enter calibration by
pressing [MODE].
Note: If you inadvertently press [Y/+] and
change any of the numbers, simply press
[MODE] and you will be directed to the
calibration menu.

MiniRAE 3000/ppbRAE 3000 Pocket Reference
22
The Calibration screen is now visible with Zero
Calibration highlighted.
These are your options:
• Press [Y/+] to select the highlighted calibration
(Zero Calib or Span Calib).
• Press [MODE] to exit calibration and return to
the main display and resume measurement.
• Press [N/-] to toggle the highlighted calibration
type.
MiniRAE 3000/ppbRAE 3000 Pocket Reference
23
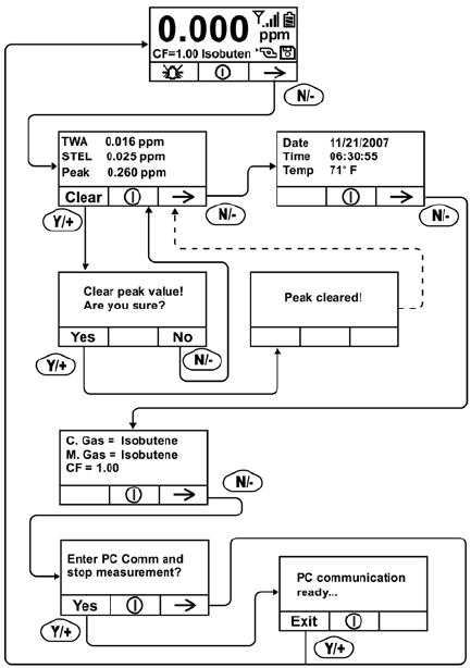
Standard Two-Point Calibration
(Zero & Span)
The following diagram shows the instrument’s
calibrations in Basic/Hygiene mode.
Note: In the diagram, a dashed line indicates automatic
change to another screen.

MiniRAE 3000/ppbRAE 3000 Pocket Reference
24
MiniRAE 3000/ppbRAE 3000 Pocket Reference
25
Zero (Fresh Air) Calibration
This procedure determines the zero point of the sensor
calibration curve. To perform a fresh air calibration, use
the calibration adapter to connect the instrument to a
“fresh” air source such as from a cylinder or Tedlar bag
(optional accessory). The “fresh” air is clean, dry air
without organic impurities and an oxygen value of
20.9%. If such an air cylinder is not available, any clean
ambient air without detectable contaminants or a
charcoal filter can be used.
At the Zero Calibration menu, you can proceed to
perform a Zero calibration or bypass Zero calibration
and perform a Span calibration. You may also go back
to the initial Calibration menu if you want to exit
calibration.
• Press [Y/+] to start calibration.
• Press [MODE] to quit and return to the main
calibration display.

MiniRAE 3000/ppbRAE 3000 Pocket Reference
26
If you have pressed [Y/+] to enter Zero calibration, then
you will see this message:
1. Turn on your Zero calibration gas.
2. Press [Y/+] to start calibration.
Note: At this point, you may press [MODE] if
you decide that you do not want to initiate
calibration. This will take you directly to the
Calibration menu, highlighted for Span
calibration.
3. Zero calibration starts and displays this
message:
Zeroing...
MiniRAE 3000/ppbRAE 3000 Pocket Reference
27
During the zeroing process, the instrument performs the
Zero calibration automatically and does not require any
actions on your part.
Note: To abort the zeroing process at any time and
proceed to Span calibration, press [N/-] at any time
while zeroing is being performed. You will see a
confirmation message that says “Zero is aborted!” and
then the Span calibration menu appears.
When Zero calibration is complete, you see this
message:
Zeroing is done!
Reading = 0.000 ppm
The instrument will then show the Calibration menu on
its display, with Span Calib hightlighted.
MiniRAE 3000/ppbRAE 3000 Pocket Reference
28
Span Calibration
This procedure determines the second point of the sensor
calibration curve for the sensor. A cylinder of standard
reference gas (span gas) fitted with a 500 cc/min. flow-
limiting regulator or a flow-matching regulator is the
simplest way to perform this procedure. Choose the 500
cc/min. regulator only if the flow rate matches or
slightly exceeds the flow rate of the instrument pump.
Alternatively, the span gas can first be filled into a
Tedlar bag or delivered through a demand-flow
regulator. Connect the calibration adapter to the inlet
port of the instrument, and connect the tubing to the
regulator or Tedlar bag.
Another alternative is to use a regulator with >500
cc/min flow but allow the excess flow to escape through
a T or an open tube. In the latter method, the span gas
flows out through an open tube slightly wider than the
probe, and the probe is inserted into the calibration tube.
At the Span Calibration menu, you perform a Span
calibration. You may also go back to the Zero
calibration menu or to the initial Calibration menu if you
want to exit calibration.

MiniRAE 3000/ppbRAE 3000 Pocket Reference
29
• Press [Y/+] to enter Span calibration.
• Press [N/-] to skip Span calibration and return
to Zero calibration.
• Press [MODE] to exit Span calibration and
return to the top calibration menu.
If you have pressed [Y/+] to enter Span calibration, then
you will see the name of your Span gas (the default is
isobutylene) and the span value in parts per million
(ppm). You will also see this message that prompts you:
1. Turn on your span calibration gas.
2. Press [Y/+] to initiate calibration.
Note: You may press [MODE] if you decide
MiniRAE 3000/ppbRAE 3000 Pocket Reference
30
that you do not want to initiate calibration. This
will abort the span calibration and take you
directly to the Calibration menu for Zero
calibration.
3. Span calibration starts and displays this
message:
Calibrating...
During the Span calibration process, there is a 30-second
countdown and the instrument performs the Span
calibration automatically. It requires no actions on your
part.
Note: If you want to abort the Span calibration process,
press [N/-] at any time during the process. You will see a
confirmation message that says “Span is aborted!” and
then the Zero calibration menu appears. You can then
proceed to perform a Zero calibration, perform a Span
calibration, or exit to the topmost Calibration menu.
MiniRAE 3000/ppbRAE 3000 Pocket Reference
31
When Span calibration is complete, you see this
message:
Span 1 is done!
Reading = 100.0 ppm
The instrument then exits Span calibration and shows
the Zero calibration menu on its display.
Note: The reading should be very close to the span gas
value.
MiniRAE 3000/ppbRAE 3000 Pocket Reference
32
Exiting Two-Point Calibration
When you are done performing calibrations, press
[MODE], which corresponds with “Back” on the
display. You will see the following message:
Updating settings…
The instrument updates its settings and then returns to
the main display. It begins or resumes monitoring.

MiniRAE 3000/ppbRAE 3000 Pocket Reference
33
Alarm Signal Summary
If the measured gas concentration exceeds any of the preset
limits, the buzzer and red flashing LED are activated
immediately to warn you of the alarm condition. The
instrument also alarms if one of the following conditions
occurs: battery voltage falls below a preset voltage level,
failure of the UV lamp, or pump stall.
Mess-
age
Condition
Alarm Signal
HIGH
Gas exceeds “High
Alarm” limit
3 beeps/flashes per
second*
OVR
Gas exceeds
measurement range
3 beeps/flashes per second
MAX
Gas exceeds electronics’
maximum range
3 beeps/flashes per second
LOW
Gas exceeds “Low
Alarm” limit
2 beeps/flashes per
second*
TWA
Gas exceeds “TWA”
limit
1 Beep/flash per second*

MiniRAE 3000/ppbRAE 3000 Pocket Reference
34
STEL
Gas exceeds “STEL”
limit
1 Beep/flash per second*
Pump
icon
flashes
Pump failure
3 beeps/flashes per second
Lamp
PID lamp failure
3 beeps/flashes per second
plus “Lamp” message on
display
Battery
icon
flashes
Low battery
1 flash per minute, 1 beep
per minute plus battery icon
flashes on display
CAL
Calibration failed, or
needs calibration
1 beep/flash per second
NEG
Gas reading measures
less than number stored
in calibration
1 beep/flash per second
* Hygiene mode only. In Search mode, the number of
beeps per second (1 to 7) depends upon the concen-
tration of the sampled gas.

MiniRAE 3000/ppbRAE 3000 Pocket Reference
35
Preset Alarm Limits & Calibration
The instrument is factory calibrated with standard calibration
gas, and is programmed with default alarm limits.
Cal Gas
(Isobu-
tylene)
Cal
Span
unit
Low
High
TWA
STEL
ppbRAE
3000
10
ppm
10
25
10
25
MiniRAE
3000
100
ppm
50
100
10
25
MiniRAE 3000/ppbRAE 3000 Pocket Reference
36
Sampling Pump
When approaching the end of the specified lifetime of
the pump, it will consume higher amount of energy and
reduce its sample draw capability significantly. When
this occurs, it is necessary to replace or rebuild the
pump. When checking the pump flow, make sure that
the inlet connector is tight and the inlet tubing is in good
condition. Connect a flow meter to the gas inlet probe.
The flow rate should be above 450 cc/min when there is
no air leakage.
If the pump is not working properly, refer the instrument
to qualified service personnel for further testing and, if
necessary, pump repair or replacement.
MiniRAE 3000/ppbRAE 3000 Pocket Reference
37
Ordering Replacement Parts
If you need replacement parts, contact your local RAE
Systems distributor. A list is available online:
http://www.raesystems.com
In the U.S., you can order sensors, replacement batteries,
and other accessories online at:
http://istore.raesystems.com/
MiniRAE 3000/ppbRAE 3000 Pocket Reference
38
Special Servicing Note
If the instrument needs to be serviced, contact either:
1. The RAE Systems distributor from whom the
instrument was purchased; they will return the
instrument on your behalf.
2. The RAE Systems Technical Service Department.
Before returning the instrument for service or repair,
obtain a Returned Material Authorization (RMA)
number for proper tracking of your equipment. This
number needs to be on all documentation and posted
on the outside of the box in which the instrument is
returned for service or upgrade. Packages without
RMA Numbers will be refused at the factory.
Troubleshooting
Refer to the User’s Guide for troubleshooting details.

RAE Systems by Honeywell
3775 N. First St.
San Jose, CA 95134-1708 USA
Web: www.raesystems.com
Technical Support
To contact RAE Systems Technical Support Team:
Monday through Friday, 7:00AM to 5:00PM Pacific
(US) Time
Phone (toll-free): +1 888-723-4800
Phone: +1 408-952-8461
Email: tech@raesystems.com
PN: 059-4030-000-D
Rev. B August 2010