PSI8.8L_PL PSI8.8L PL
User Manual: Pdf PSI8.8L_PL
Open the PDF directly: View PDF
.
Page Count: 41

8.8L ENGINE PARTS BOOK
Engine Model: PSI 8.8L, T, CAC
Engine Family: PSI, Industrial
Engine Spec N.: 39002094
Parts Book Revision: June, 2015

Page 2
ENGINE PARTS BOOK
Power Solutions International
201 Mittel Dr., Wood Dale, IL 60191 | Te. +10 630 350 9400 | Fax. +1 630 350 9588
Web: www.psiengines.com | email: parts@psiengines.com
TABLE OF CONTENTS
SECTION PAGE
CYLINDER HEAD ......................................................................................................................... 4
VALVE ACTUATION .................................................................................................................... 5
ENGINE COVER ........................................................................................................................... 6
WATER PUMP .............................................................................................................................. 7
COOLANT CROSSOVER ............................................................................................................. 8
INTAKE MANIFOLD ..................................................................................................................... 9
FLYWHEEL ................................................................................................................................. 10
SENSORS AND SPARK PLUGS ............................................................................................... 11
CYLINDER BLOCK .................................................................................................................... 12
CRANKSHAFT ........................................................................................................................... 13
CAMSHAFT ................................................................................................................................ 14
PISTON AND ROD ..................................................................................................................... 15
OIL PUMP ................................................................................................................................... 16
OIL PUMP DRIVE ....................................................................................................................... 17
CRANKSHAFT BALANCER ...................................................................................................... 18
FRONT COVER .......................................................................................................................... 19
OIL PAN ..................................................................................................................................... 20
SPEC N. : 39002094
REV. DATE : 23JUN15
PSI 8.8L

Page 3
ENGINE PARTS BOOK
Power Solutions International
201 Mittel Dr., Wood Dale, IL 60191 | Te. +10 630 350 9400 | Fax. +1 630 350 9588
Web: www.psiengines.com | email: parts@psiengines.com
TABLE OF CONTENTS
SECTION PAGE
DIPSTICK AND TUBE ................................................................................................................ 21
STARTER.................................................................................................................................... 22
ALTERNATOR ...................................................................................................................... 23-24
THROTTLE BODY ...................................................................................................................... 25
TURBOCHARGER ..................................................................................................................... 26
FUEL ........................................................................................................................................... 27
EPR AND MIZER ........................................................................................................................ 28
TURBO INLET ............................................................................................................................ 29
BREATHER ................................................................................................................................ 30
WIRING ....................................................................................................................................... 31
FLYWHEEL ADAPTER .............................................................................................................. 32
FLYWHEEL HOUSING ............................................................................................................... 33
STARTER ADAPTER ................................................................................................................. 34
FAN SPACER ............................................................................................................................. 35
FRONT MOUNT .......................................................................................................................... 36
LIFT EYE ..................................................................................................................................... 37
EXHAUST TUBES ...................................................................................................................... 38
TURBO EXHAUST ADAPTER ................................................................................................... 39
ENGINE COOLANT OUTLET .................................................................................................... 40
EXHAUST MANIFOLD ............................................................................................................... 41
SPEC N. : 39002094
REV. DATE : 23JUN15
PSI 8.8L

Page 4
ENGINE PARTS BOOK
Power Solutions International
201 Mittel Dr., Wood Dale, IL 60191 | Te. +10 630 350 9400 | Fax. +1 630 350 9588
Web: www.psiengines.com | email: parts@psiengines.com
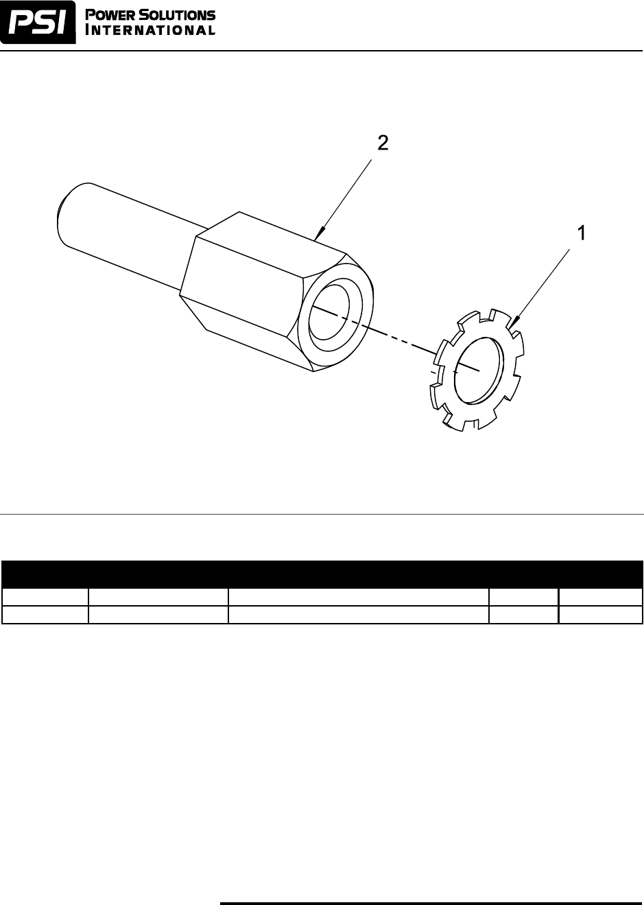
POS. PART NUMBER DESCRIPTION QTY NOTES
1 80000307 PLUG 2
2 80000041 VALVE SPRING 16
3 80000042 RETAINER 16
4 80000048 CORE PLUG 2
5 80000049 DOWEL 4
6 80000122 KEY 16
7 80000123 EXHAUST VALVE 8
8 80000124 INTAKE VALVE 8
9 80000141 GASKET 1
10 80000142 GASKET 1
11 80000159 SHIM 16
12 80000188 BOLT 8
13 80000189 BOLT 4
14 80000190 BOLT 24
15 88900012 CYLINDER HEAD 2
CYLINDER HEAD
88083505-01
PSI 8.8L
SPEC N. : 39002094
REV. DATE : 23JUN15

Page 5
ENGINE PARTS BOOK
Power Solutions International
201 Mittel Dr., Wood Dale, IL 60191 | Te. +10 630 350 9400 | Fax. +1 630 350 9588
Web: www.psiengines.com | email: parts@psiengines.com
POS. PART NUMBER DESCRIPTION QTY NOTES
1 80000053 LIFTER GUIDE 8
2 80000054 LIFTER TRAY 1
3 80000055 BOLT 4
4 80000058 BOLT 16
5 80000807 VALVE ROCKER 16
6 80000145 VALVE LIFTER 16
7 80000853 INTAKE VALVE ROD 8
8 80000854 EXHAUST VALVE ROD 8
VALVE ACTUATION
88084000-03
PSI 8.8L
SPEC N. : 39002094
REV. DATE : 23JUN15

Page 6
ENGINE PARTS BOOK
Power Solutions International
201 Mittel Dr., Wood Dale, IL 60191 | Te. +10 630 350 9400 | Fax. +1 630 350 9588
Web: www.psiengines.com | email: parts@psiengines.com
POS. PART NUMBER DESCRIPTION QTY NOTES
1 80000063 BOLT 14
2 80000064 SPARK PLUG WIRE 8
3 80000065 BOLT 16
4 80000069 BOLT 14
5 80000070 IGNITION COIL 8
6 80000770 COVER 1
7 80000082 GASKET 2
8 80000108 VALVE COVER 1
9 80000281 OIL CAP 1
10 80000608 VALLEY COVER 1
11 80000540 GASKET 2
12 80000541 GROMMET 14
ENGINE COVER
88085001-07
PSI 8.8L
SPEC N. : 39002094
REV. DATE : 23JUN15

Page 7
ENGINE PARTS BOOK
Power Solutions International
201 Mittel Dr., Wood Dale, IL 60191 | Te. +10 630 350 9400 | Fax. +1 630 350 9588
Web: www.psiengines.com | email: parts@psiengines.com
POS. PART NUMBER DESCRIPTION QTY NOTES
1 80000072 WATER PUMP WITH GASKET 1
2 80000074 FASTENER 3
3 80000157 BOLT 1
WATER PUMP
88085500-03
PSI 8.8L
SPEC N. : 39002094
REV. DATE : 23JUN15

Page 8
ENGINE PARTS BOOK
Power Solutions International
201 Mittel Dr., Wood Dale, IL 60191 | Te. +10 630 350 9400 | Fax. +1 630 350 9588
Web: www.psiengines.com | email: parts@psiengines.com
POS. PART NUMBER DESCRIPTION QTY NOTES
1 32001112 CLAMP 1
2 32501950 CLAMP 1
3 80000063 BOLT 1
4 80000079 PIPE FASTENER 3
5 80000307 PLUG 1
6 80000652 GASKET 2
7 80000773 CROSSOVER PIPE 1
8 80000788 BYPASS HOSE 1
9 80000789 FITTING 1
10 80000822 STUD 1
COOLANT CROSSOVER
38080659-01
PSI 8.8L
SPEC N. : 39002094
REV. DATE : 23JUN15
NO IMAGE AVAILABLE

Page 9
ENGINE PARTS BOOK
Power Solutions International
201 Mittel Dr., Wood Dale, IL 60191 | Te. +10 630 350 9400 | Fax. +1 630 350 9588
Web: www.psiengines.com | email: parts@psiengines.com
POS. PART NUMBER DESCRIPTION QTY NOTES
1 80000790 INTAKE MANIFOLD 1
2 80000351 BOLT 10
3 80000307 PLUG 2
4 80000352 WASHER 10 NOT SHOWN
INTAKE MANIFOLD
88086500-03
PSI 8.8L
SPEC N. : 39002094
REV. DATE : 23JUN15

Page 10
ENGINE PARTS BOOK
Power Solutions International
201 Mittel Dr., Wood Dale, IL 60191 | Te. +10 630 350 9400 | Fax. +1 630 350 9588
Web: www.psiengines.com | email: parts@psiengines.com
POS. PART NUMBER DESCRIPTION QTY NOTES
1 30600017 FLYWHEEL 1
2 80000099 BOLT 6
FLYWHEEL
88087500-01
PSI 8.8L
SPEC N. : 39002094
REV. DATE : 23JUN15

Page 11
ENGINE PARTS BOOK
Power Solutions International
201 Mittel Dr., Wood Dale, IL 60191 | Te. +10 630 350 9400 | Fax. +1 630 350 9588
Web: www.psiengines.com | email: parts@psiengines.com
POS. PART NUMBER DESCRIPTION QTY NOTES
1 30100345 OIL FILTER 1
2 80000311 SPARK PLUG 8
3 80000312 BOLT 1
4 80000103 CRANK SENSOR 1
SENSORS AND SPARK PLUGS
88087000-06
PSI 8.8L
SPEC N. : 39002094
REV. DATE : 23JUN15

Page 12
ENGINE PARTS BOOK
Power Solutions International
201 Mittel Dr., Wood Dale, IL 60191 | Te. +10 630 350 9400 | Fax. +1 630 350 9588
Web: www.psiengines.com | email: parts@psiengines.com
POS. PART NUMBER DESCRIPTION QTY NOTES
1 80000005 CORE PLUG 8
2 80000006 CAM PLUG 1
3 80000007 OIL PLUG 13
4 80000012 CHECK VALVE 2
5 80000083 BEARING SET 1
6 80000093 DOWEL 2
7 80000094 FILTER ADAPTER 1
8 80000007 OIL PLUG 1
9 80000307 STEEL PLUG 2
10 80000313 STEEL PLUG 3
11 88900016 CRANKCASE 1
12 80000170 ORIFICE 1 NOT SHOWN
13 80000185 JET 8 NOT SHOWN
CYLINDER BLOCK
89200001-01
PSI 8.8L
SPEC N. : 39002094
REV. DATE : 23JUN15

Page 13
ENGINE PARTS BOOK
Power Solutions International
201 Mittel Dr., Wood Dale, IL 60191 | Te. +10 630 350 9400 | Fax. +1 630 350 9588
Web: www.psiengines.com | email: parts@psiengines.com
POS. PART NUMBER DESCRIPTION QTY NOTES
1 80000014 CRANK SEAL 1
2 88900017 MAIN BEARING 1
3 80000778 CRANKSHAFT 1
4 80000013 RING 1
5 80000068 RING 1
6 80000045 BEARING SET 1 NOT SHOWN
CRANKSHAFT
PSI 8.8L
SPEC N. : 39002094
REV. DATE : 23JUN15
88080500-04

Page 14
ENGINE PARTS BOOK
Power Solutions International
201 Mittel Dr., Wood Dale, IL 60191 | Te. +10 630 350 9400 | Fax. +1 630 350 9588
Web: www.psiengines.com | email: parts@psiengines.com
POS. PART NUMBER DESCRIPTION QTY NOTES
1 80000015 CAMSHAFT 1
2 80000016 RETAINER 1
3 80000017 FASTENER 2
CAMSHAFT
88081000-02
PSI 8.8L
SPEC N. : 39002094
REV. DATE : 23JUN15

Page 15
ENGINE PARTS BOOK
Power Solutions International
201 Mittel Dr., Wood Dale, IL 60191 | Te. +10 630 350 9400 | Fax. +1 630 350 9588
Web: www.psiengines.com | email: parts@psiengines.com
POS. PART NUMBER DESCRIPTION QTY NOTES
1 80000004 ROD ASSEMBLY 8
2 80000154 PISTON 8
3 80000155 RING SET 1
4 80000156 PIN 8
5 80000174 ROD BEARING 8
6 80000783 COMPRESSION RING 8 NOT SHOWN
7 80000784 COMPRESSION RING 8 NOT SHOWN
8 80000785 RAIL 16 NOT SHOWN
9 80000786 EXPANDER 8 NOT SHOWN
PISTON AND ROD
88081502-02
PSI 8.8L
SPEC N. : 39002094
REV. DATE : 23JUN15

Page 16
ENGINE PARTS BOOK
Power Solutions International
201 Mittel Dr., Wood Dale, IL 60191 | Te. +10 630 350 9400 | Fax. +1 630 350 9588
Web: www.psiengines.com | email: parts@psiengines.com
POS. PART NUMBER DESCRIPTION QTY NOTES
1 80000021 BOLT 1
2 80000105 DOWEL PIN 2
3 80000150 TUBE 1
OIL PUMP
88082000-02
PSI 8.8L
SPEC N. : 39002094
REV. DATE : 23JUN15

Page 17
ENGINE PARTS BOOK
Power Solutions International
201 Mittel Dr., Wood Dale, IL 60191 | Te. +10 630 350 9400 | Fax. +1 630 350 9588
Web: www.psiengines.com | email: parts@psiengines.com
POS. PART NUMBER DESCRIPTION QTY NOTES
1 80000022 BOLT 1
2 80000060 PUMP DRIVE 1
3 80000850 SHAFT 1
4 80000851 RETAINER 1
OIL PUMP DRIVE
88084500-03
PSI 8.8L
SPEC N. : 39002094
REV. DATE : 23JUN15

Page 18
ENGINE PARTS BOOK
Power Solutions International
201 Mittel Dr., Wood Dale, IL 60191 | Te. +10 630 350 9400 | Fax. +1 630 350 9588
Web: www.psiengines.com | email: parts@psiengines.com
POS. PART NUMBER DESCRIPTION QTY NOTES
1 80000028 WASHER 1
2 80000029 BOLT 1
3 80000165 BALANCER 1
4 80000191 KEY 1
CRANKSHAFT BALANCER
88082501-03
PSI 8.8L
SPEC N. : 39002094
REV. DATE : 23JUN15

Page 19
ENGINE PARTS BOOK
Power Solutions International
201 Mittel Dr., Wood Dale, IL 60191 | Te. +10 630 350 9400 | Fax. +1 630 350 9588
Web: www.psiengines.com | email: parts@psiengines.com
POS. PART NUMBER DESCRIPTION QTY NOTES
1 80000022 BOLT 3
2 80000024 GASKET 1
3 80000025 SEAL 1
4 80000065 BOLT 6
5 80000084 TIMING SET 1
6 80000097 CAMSHAFT SENSOR 1
7 80000105 DOWEL PIN 2
8 80000106 FRONT COVER 1
9 80000312 BOLT 1
FRONT COVER
88082502-10
PSI 8.8L
SPEC N. : 39002094
REV. DATE : 23JUN15

Page 20
ENGINE PARTS BOOK
Power Solutions International
201 Mittel Dr., Wood Dale, IL 60191 | Te. +10 630 350 9400 | Fax. +1 630 350 9588
Web: www.psiengines.com | email: parts@psiengines.com
POS. PART NUMBER DESCRIPTION QTY NOTES
1 80000107 OIL PAN 1
2 80000032 SEAL 1
3 80000034 PLUG 2
4 80000037 BOLT 12
5 80000143 COPPER SEAL 2
OIL PAN
88083002-07
PSI 8.8L
SPEC N. : 39002094
REV. DATE : 23JUN15

Page 21
ENGINE PARTS BOOK
Power Solutions International
201 Mittel Dr., Wood Dale, IL 60191 | Te. +10 630 350 9400 | Fax. +1 630 350 9588
Web: www.psiengines.com | email: parts@psiengines.com
POS. PART NUMBER DESCRIPTION QTY NOTES
1 32501059 DIPSTICK AND TUBE ASSEMBLY 1
2 35000023 WASHER 1
3 35000024 WASHER 1
4 35000028 WASHER 1
5 35000189 BOLT 1
DIPSTICK AND TUBE
38010914-03
PSI 8.8L
SPEC N. : 39002094
REV. DATE : 23JUN15

Page 22
ENGINE PARTS BOOK
Power Solutions International
201 Mittel Dr., Wood Dale, IL 60191 | Te. +10 630 350 9400 | Fax. +1 630 350 9588
Web: www.psiengines.com | email: parts@psiengines.com
POS. PART NUMBER DESCRIPTION QTY NOTES
1 33000272 BOLT 2
2 33000939 BOLT 1
3 33001516 STARTER 1
4 33001573 BRACKET 1
5 35000001 NUT 1
6 35000002 WASHER 1
7 35000021 NUT 1
8 35000110 WASHER 2
9 35000111 WASHER 2
10 35000238 NUT 2
11 35000526 BOLT 1
STARTER
38080316-06
PSI 8.8L
SPEC N. : 39002094
REV. DATE : 23JUN15

Page 23
ENGINE PARTS BOOK
Power Solutions International
201 Mittel Dr., Wood Dale, IL 60191 | Te. +10 630 350 9400 | Fax. +1 630 350 9588
Web: www.psiengines.com | email: parts@psiengines.com
POS. PART NUMBER DESCRIPTION QTY NOTES
1 30100042 IDLER PULLEY 1
2 32001044 WATER PUMP PULLEY 1
3 33000105 IDLER PULLEY 1
4 33000116 SPACER 1
5 33000117 SPACER 1
6 33000118 SPACER 1
7 33000121 TENSIONER PULLEY 1
8 33000124 SPACER 1
9 33000131 BRACE 1
10 33000164 PLATE 1
38080318-01
PSI 8.8L
SPEC N. : 39002094
REV. DATE : 23JUN15
ALTERNATOR

Page 24
ENGINE PARTS BOOK
Power Solutions International
201 Mittel Dr., Wood Dale, IL 60191 | Te. +10 630 350 9400 | Fax. +1 630 350 9588
Web: www.psiengines.com | email: parts@psiengines.com
PSI 8.8L
POS. PART NUMBER DESCRIPTION QTY NOTES
11 33000165 WASHER 1
12 33000166 SPACER 1
13 33000167 SPACER 1
14 33001243 ALTERNATOR 1
15 33001317 BELT 1 NOT SHOWN
16 33001318 BRACKET 1
17 35000003 NUT 2
18 35000019 BOLT 1
19 35000021 NUT 1
20 35000024 WASHER 1
21 35000046 WASHER 5
22 35000151 BOLT 2
23 35000196 NUT 2
24 35000271 BOLT 1
25 35000278 BOLT 3
ALTERNATOR CONT.
SPEC N. : 39002094
REV. DATE : 23JUN15

Page 25
ENGINE PARTS BOOK
Power Solutions International
201 Mittel Dr., Wood Dale, IL 60191 | Te. +10 630 350 9400 | Fax. +1 630 350 9588
Web: www.psiengines.com | email: parts@psiengines.com
POS. PART NUMBER DESCRIPTION QTY NOTES
1 32500115 BUSHING 1
2 32500662 THROTTLE BODY 1
3 32500715 GASKET 1
4 32502123 ADAPTER 1
5 32502127 GASKET 1
6 33000376 COOLANT SENSOR 1
7 33000377 INLET AIR SENSOR 1
8 33001415 OIL PRESSURE SENSOR 1
9 35000285 WASHER 4
10 35000335 BOLT 4
11 35000696 BOLT 4
38080466-04
PSI 8.8L
SPEC N. : 39002094
REV. DATE : 23JUN15
THROTTLE BODY

Page 26
ENGINE PARTS BOOK
Power Solutions International
201 Mittel Dr., Wood Dale, IL 60191 | Te. +10 630 350 9400 | Fax. +1 630 350 9588
Web: www.psiengines.com | email: parts@psiengines.com
POS. PART NUMBER DESCRIPTION QTY NOTES
1 32500318 CLAMP 2
2 32500591 TURBOCHARGER 1
3 32500595 OIL DRAIN HOSE 2 IN
4 32500597 FITTING 1
5 32500600 MAP SENSOR 1
6 33500283 CLAMP 1
7 33500289 SEAL 1
8 33501002 TUBE 1
9 35000018 BOLT 2
10 35000024 WASHER 2
11 35000196 NUT 4
12 35000302 STUD 4
13 52500043 TEFLON HOSE 1
TURBOCHARGER
380804688-11
PSI 8.8L
SPEC N. : 39002094
REV. DATE : 23JUN15

Page 27
ENGINE PARTS BOOK
Power Solutions International
201 Mittel Dr., Wood Dale, IL 60191 | Te. +10 630 350 9400 | Fax. +1 630 350 9588
Web: www.psiengines.com | email: parts@psiengines.com
POS. PART NUMBER DESCRIPTION QTY NOTES
1 32500135 HOSE 35 IN
2 32500233 PLUG 1
3 32500235 ELBOW 1
4 32500622 CLAMP 2
5 32500659 FITTING 1
6 32500875 HOSE 1
7 32501134 CLAMP 2
8 32501969 BRACKET 1
9 35000006 WASHER 2
10 35000007 WASHER 2
11 35000010 BOLT 2
12 35000361 WASHER 4
13 35000544 BOLT 2
14 35000625 BOLT 4
15 38080463 EPR KIT 1
16 38080857 TURBO KIT 1
FUEL
38080469-02
PSI 8.8L
SPEC N. : 39002094
REV. DATE : 23JUN15

Page 28
ENGINE PARTS BOOK
Power Solutions International
201 Mittel Dr., Wood Dale, IL 60191 | Te. +10 630 350 9400 | Fax. +1 630 350 9588
Web: www.psiengines.com | email: parts@psiengines.com
POS. PART NUMBER DESCRIPTION QTY NOTES
1 32501671 EPR 1
2 32501690 MIXER * 1 SEE BELOW
3 32501779 ADAPTER 1
4 35000674 BOLT 4
5 35000680 STUD 4
6 35000681 NUT 4
* 106823 MIXER REPAIR KIT 1
EPR AND MIXER
38080463-01
PSI 8.8L
SPEC N. : 39002094
REV. DATE : 23JUN15

Page 29
ENGINE PARTS BOOK
Power Solutions International
201 Mittel Dr., Wood Dale, IL 60191 | Te. +10 630 350 9400 | Fax. +1 630 350 9588
Web: www.psiengines.com | email: parts@psiengines.com
POS. PART NUMBER DESCRIPTION QTY NOTES
1 32500342 PLUG 1
2 32502551 FITTING 1
3 38901319 ELBOW 1
38080857-01
PSI 8.8L
SPEC N. : 39002094
REV. DATE : 23JUN15
TURBO INLET

Page 30
ENGINE PARTS BOOK
Power Solutions International
201 Mittel Dr., Wood Dale, IL 60191 | Te. +10 630 350 9400 | Fax. +1 630 350 9588
Web: www.psiengines.com | email: parts@psiengines.com
POS. PART NUMBER DESCRIPTION QTY NOTES
1 32000148 CLAMP 2
2 32500555 CLAMP 2
3 32501647 HOSE 14 IN
4 32502452 INSULATION 17 IN
5 32502550 FITTING 1
6 33001562 ZIP TIE 4
7 33500843 BRACKET 1
8 33500844 HOSE 1
9 33500852 SEPERATOR 1
10 33501085 INSULATION 7 IN
11 35000191 WASHER 2
12 35000368 BOLT 2
13 53500047 COVER 1
BREATHER
38080708-05
PSI 8.8L
SPEC N. : 39002094
REV. DATE : 23JUN15

Page 31
ENGINE PARTS BOOK
Power Solutions International
201 Mittel Dr., Wood Dale, IL 60191 | Te. +10 630 350 9400 | Fax. +1 630 350 9588
Web: www.psiengines.com | email: parts@psiengines.com
POS. PART NUMBER DESCRIPTION QTY NOTES
1 32501267 O2 SENSOR 1
2 38901156 PROGRAMMED ECU 1
3 32502118 PLATE 1
4 33000354 ISOLATOR 2
5 33000355 BRACKET 1
6 33000841 T MAP SENSOR 1
7 33000954 KNOCK SENSOR 2
8 33000965 BRACKET 1
9 33000966 STUD 2
10 33000969 GUARD 2
11 33001155 HARNESS 1 NOT SHOWN
12 35000160 NUT 4
13 35000309 WASHER 1
14 35000339 WASHER 1
15 35000429 BOLT 5
17 35000634 BOLT 2
18 35000682 NUT 8
19 35000683 BOLT 4
20 35000694 BOLT 1
21 35000696 BOLT 4
WIRING
38081225-05
PSI 8.8L
SPEC N. : 39002094
REV. DATE : 23JUN15

Page 32
ENGINE PARTS BOOK
Power Solutions International
201 Mittel Dr., Wood Dale, IL 60191 | Te. +10 630 350 9400 | Fax. +1 630 350 9588
Web: www.psiengines.com | email: parts@psiengines.com
POS. PART NUMBER DESCRIPTION QTY NOTES
1 30500388 ADAPTER 1
2 35000492 BOLT 6
38000105-01
PSI 8.8L
SPEC N. : 39002094
REV. DATE : 23JUN15
FLYWHEEL ADAPTER

Page 33
ENGINE PARTS BOOK
Power Solutions International
201 Mittel Dr., Wood Dale, IL 60191 | Te. +10 630 350 9400 | Fax. +1 630 350 9588
Web: www.psiengines.com | email: parts@psiengines.com
POS. PART NUMBER DESCRIPTION QTY NOTES
1 30500008 PLATE 1
2 30500083 PLATE 1
3 30500387 FLYWHEEL HOUSING 1
4 35000249 BOLT 6
5 35000541 BOLT 8
FLYWHEEL HOUSING
38080204-04
PSI 8.8L
SPEC N. : 39002094
REV. DATE : 23JUN15

Page 34
ENGINE PARTS BOOK
Power Solutions International
201 Mittel Dr., Wood Dale, IL 60191 | Te. +10 630 350 9400 | Fax. +1 630 350 9588
Web: www.psiengines.com | email: parts@psiengines.com
POS. PART NUMBER DESCRIPTION QTY NOTES
1 35000909 WASHER 1
2 33000913 ADAPTER 1
STARTER ADAPTER
38080314-01
PSI 8.8L
SPEC N. : 39002094
REV. DATE : 23JUN15

Page 35
ENGINE PARTS BOOK
Power Solutions International
201 Mittel Dr., Wood Dale, IL 60191 | Te. +10 630 350 9400 | Fax. +1 630 350 9588
Web: www.psiengines.com | email: parts@psiengines.com
POS. PART NUMBER DESCRIPTION QTY NOTES
1 32000264 SPACER 1
2 35000156 BOLT 4
38080606-01
PSI 8.8L
SPEC N. : 39002094
REV. DATE : 23JUN15
FAN SPACER

Page 36
ENGINE PARTS BOOK
Power Solutions International
201 Mittel Dr., Wood Dale, IL 60191 | Te. +10 630 350 9400 | Fax. +1 630 350 9588
Web: www.psiengines.com | email: parts@psiengines.com
POS. PART NUMBER DESCRIPTION QTY NOTES
1 31000043 MOUNT 1
2 65000053 BOLT 4
38080901-02
PSI 8.8L
SPEC N. : 39002094
REV. DATE : 23JUN15
FRONT MOUNT

Page 37
ENGINE PARTS BOOK
Power Solutions International
201 Mittel Dr., Wood Dale, IL 60191 | Te. +10 630 350 9400 | Fax. +1 630 350 9588
Web: www.psiengines.com | email: parts@psiengines.com
POS. PART NUMBER DESCRIPTION QTY NOTES
1 30100003 LIFT EYE 1
2 35000847 BOLT 2
LIFT EYE
38080907-03
PSI 8.8L
SPEC N. : 39002094
REV. DATE : 23JUN15

Page 38
ENGINE PARTS BOOK
Power Solutions International
201 Mittel Dr., Wood Dale, IL 60191 | Te. +10 630 350 9400 | Fax. +1 630 350 9588
Web: www.psiengines.com | email: parts@psiengines.com
POS. PART NUMBER DESCRIPTION QTY NOTES
1 33500735 RIGHT TUBE 1
2 33500736 LEFT TUBE 1
3 33500841 CLAMP 4
EXHAUST TUBES
38080833-02
PSI 8.8L
SPEC N. : 39002094
REV. DATE : 23JUN15

Page 39
ENGINE PARTS BOOK
Power Solutions International
201 Mittel Dr., Wood Dale, IL 60191 | Te. +10 630 350 9400 | Fax. +1 630 350 9588
Web: www.psiengines.com | email: parts@psiengines.com
POS. PART NUMBER DESCRIPTION QTY NOTES
1 33500130 SPACER 2
2 33500734 ADAPTER 1
3 33500753 LIFT EYE BRACKET 1
4 33500754 EXHAUST BRACKET 1
5 35000369 WASHER 2
6 35000704 BOLT 2
7 35000705 NUT 2
8 35000847 BOLT 1
9 35000848 BOLT 1 NOT SHOWN
10 35000860 BOLT 1 NOT SHOWN
TURBO EXHAUST ADAPTER
38080838-04
PSI 8.8L
SPEC N. : 39002094
REV. DATE : 23JUN15

Page 40
ENGINE PARTS BOOK
Power Solutions International
201 Mittel Dr., Wood Dale, IL 60191 | Te. +10 630 350 9400 | Fax. +1 630 350 9588
Web: www.psiengines.com | email: parts@psiengines.com
POS. PART NUMBER DESCRIPTION QTY NOTES
1 32001247 COOLANT TUBE 1
2 35000821 BOLT 2
3 38901265 THARMOSTAT 1
4 35001086 NUT 2
5 32001260 P-CLAMP 1
6 32001261 BRACKET 1
88086009-01
PSI 8.8L
SPEC N. : 39002094
REV. DATE : 23JUN15
ENGINE COOLANT OUTLET

Page 41
ENGINE PARTS BOOK
Power Solutions International
201 Mittel Dr., Wood Dale, IL 60191 | Te. +10 630 350 9400 | Fax. +1 630 350 9588
Web: www.psiengines.com | email: parts@psiengines.com
POS. PART NUMBER DESCRIPTION QTY NOTES
1 33500014 GASKET 2
2 33500732 MANIFOLD 2
3 33000595 SHIELD 2
4 33001596 HEAT SHIELD 6
5 35001079 BOLT 16
6 35000355 BOLT 2
7 35000235 WASHER 16
EXHAUST MANIFOLD
38080859-01
PSI 8.8L
SPEC N. : 39002094
REV. DATE : 23JUN15