Prology_MCH 375U_A5_RUS Prology MCH 375U
2012-08-22
: Pdf Prology Mch-375U Prology_MCH-375U instruction upload
Open the PDF directly: View PDF
.
Page Count: 32

Модель MCH-375U
FM/УКВ CD/MP3
SD/USB-ресивер
Руководство пользователя
Saturn Marketing, Ltd Prology MCH-375U 3
Содержание
Назначение .................................................................................................................... 4
Функции устройства ...................................................................................................... 4
Комплект поставки......................................................................................................... 4
Для безопасного и эффективного использования устройства .................................. 5
Элементы управления и их функции ........................................................................... 7
Общие операции ........................................................................................................... 8
Управление радиоприемником ............................................................................... 9
Управление проигрывателем компакт-дисков..................................................... 11
Воспроизведение дисков в формате MP3 ........................................................... 12
Ограничения для файлов MP3 ............................................................................. 15
Использование карт памяти SD............................................................................ 16
Использование карт памяти с интерфейсом USB............................................... 17
Основные технические характеристики..................................................................... 18
Установка устройства ................................................................................................. 19
Процедура установки ............................................................................................ 19
Первый вариант установки устройства................................................................ 20
Удаление устройства............................................................................................. 21
Второй вариант установки устройства................................................................. 22
Съемная передняя панель устройства ................................................................ 23
Схема подключения проводов устройства .......................................................... 24
Обслуживание устройства .......................................................................................... 25
Эксплуатационные ограничения и текущий ремонт ................................................. 27
Хранение, транспортирование, ресурс, утилизация................................................. 29
Гарантии поставщика.................................................................................................. 29

Prology MCH-375U Saturn Marketing, Ltd 4
Руководство пользователя определяет порядок установки и эксплуатации
автомобильного FM/УКВ CD/MP3 SD/USB-ресивера (далее устройства) в
автомобиле с напряжением бортовой сети 12 В. Установку устройства
рекомендуется производить с привлечением специалиста по электро-
оборудованию автомобилей.
Самостоятельное вскрытие устройства или съемной панели, механические
повреждения и нарушение правил эксплуатации могут привести к неисправностям
устройства или подключенных к нему динамиков.
В связи с постоянной работой по совершенствованию устройства, повышающей
его надежность и улучшающей эксплуатационные характеристики, в конструкцию
и сервисные меню могут быть внесены изменения, не отраженные в настоящем
Руководстве.
Назначение
Устройство Prology MCH-375U предназначено для прослушивания радиостанций в
диапазонах FM и УКВ, для воспроизведения стереофонических звукозаписей на
аудиокомпакт-дисках (CD-DA), звуковых файлов в формате MP3 на записываемых
компакт-дисках CD-R/RW, картах памяти SD или на картах памяти с интерфейсом
USB, через внешние динамики.
Функции устройства
Полностью съемная передняя панель с футляром
Высокая выходная мощность (4 х 50 Вт)
Высокоскоростной цифровой PLL-тюнер
Память на 18 радиостанций
Слот для карт памяти SD
Поддержка карт памяти с интерфейсом USB
Индикация информации ID3 TAG
Электронная регулировка параметров
Линейный стереовход Mini-Jack на передней панели
Стереовыход RCA
Стандартный монтажный размер 1 DIN
Стандартный разъем ISO
Комплект поставки
Устройство Prology MCH-375U 1 шт.
Панель передняя съемная 1 шт.
Футляр панели передней съемной 1 шт.
Декоративная внешняя рамка 1 шт.
Монтажный комплект 1 шт.
Настоящее Руководство пользователя 1 шт.
Гарантийный талон 1 шт.
Индивидуальная потребительская тара 1 комплект

Saturn Marketing, Ltd Prology MCH-375U 5
Для безопасного и эффективного использования устройства
Данное изделие является технически сложным товаром и относится к
бытовой радиоэлектронной аппаратуре. По Общероссийскому
классификатору продукции и услуг устройство относится к группировке
3230115 “Устройства радиоприемные комбинированные прочие” (часть IV
ОКДП).
Монтаж и эксплуатация данного сложного электронного устройства должны
осуществляться в соответствии с настоящим Руководством. Монтаж
устройства осуществляется в штатное место в панели приборов автомобиля,
подключение и настройка изделия популярно изложены в данном Руководстве
и могут быть произведены потребителем в полном объёме самостоятельно.
Однако завод-изготовитель настоятельно рекомендует Вам поручить
проведение указанного комплекса работ сервисному центру,
сертифицированному по ГОСТ Р 51709-2001 (ОКУН 017613) – установка на
легковой автомобиль дополнительного электрооборудования, сигнализаций и
др. (далее – сертифицированный сервисный центр).
Завод-изготовитель не несет ответственность за проблемы, возникшие
вследствие самостоятельной установки устройства!
Для подачи питания на данное устройство может использоваться только
источник питания с напряжением +12В постоянного тока; отрицательная
клемма аккумуляторной батареи должна быть соединена с "массой".
Перед установкой устройства, пожалуйста, полностью прочитайте данное
Руководство. Установка устройства требует подключения ко многим штатным
системам автомобиля. Автомобили имеют низковольтные или мультиплексные
системы, которые могут быть повреждены при использовании низкоомных
проверочных приборов, например, проверочных ламп или логических
пробников (которые используются для тестирования компьютеров). Для
проверки всех штатных цепей автомобиля перед подключением
устанавливаемого устройства используйте только высококачественный
цифровой мультиметр.
Не пытайтесь в случае поломки открыть корпус устройства и отремонтировать
его самостоятельно. Если устройство не работает правильно, обратитесь к
соответствующему разделу данного Руководства. Ошибки, допущенные при
установке и эксплуатации устройства, могут быть иногда приняты за его
неисправность. Если неисправность не устранена, обратитесь в сервисный
центр.
При мойке автомобиля следите, чтобы внутрь устройства не попала вода, так
как это может привести к его повреждению. Недопустимо попадание жидкостей
в устройство при мойке панели приборов, внутренней части ветрового стекла
и/или при случайном пролитии жидкости на приборную панель, а также через
неплотности моторного щита при мойке моторного отсека, при подаче моющей
смеси под давлением, т.к. это может привести к выходу из строя устройства.
После эксплуатации автомобиля в летний период на открытом воздухе
необходимо пылесосить салон в целях сбора возможных трупов насекомых и
предотвращения попадания их внутрь устройства и его составных частей.
Попадание внутрь устройства и его составных частей насекомых недопустимо.
Prology MCH-375U Saturn Marketing, Ltd 6
Никогда не вставляйте внутрь дискового отсека устройства никаких
посторонних предметов, кроме дисков. Находящиеся внутри устройства узлы
могут быть повреждены любыми посторонними предметами.
Когда устройство не используется, вынимайте из него диск. Не оставляйте
удаленный диск в отверстии отсека устройства. Храните диски подальше от
прямых солнечных лучей.
Температура. Устройство может работать неправильно при экстремально
высоких или экстремально низких температурах. В таком случае прекратите
использовать устройство до тех пор, пока температура не станет нормальной.
Устройство оборудовано встроенной схемой защиты. Когда температура
внутри устройства повышается до определенной величины, схема защиты
автоматически останавливает воспроизведение. В этом случае дайте
устройству возможность охладиться, а затем снова включите
воспроизведение.
Конденсат. В дождливую погоду или в условиях повышенной влажности, а
также в холодное время года сразу же после того, как включен обогреватель
(отопитель) салона автомобиля, на оптическом устройстве считывания
сигнала, расположенном внутри устройства, может сконденсироваться влага. В
случае возникновения конденсации влаги устройство не сможет считывать
информацию с диска и, следовательно, будет работать неправильно. Для
устранения такой неисправности извлеките из устройства диск и подождите,
пока сконденсировавшаяся влага не испарится (около часа).
"Перескакивание" воспроизведения. Когда автомобиль двигается по
неровной дороге, по дороге с поврежденным покрытием или по бездорожью,
при воспроизведении аудиодисков могут появляться пропуски звучания и/или
воспроизводимого изображения. Рекомендуется снизить скорость и плавно
преодолевать препятствия для исключения перескакивания воспроизведения.
Частые поездки по дороге с поврежденным покрытием или по бездорожью
могут привести к механическим повреждениям (обрыву) резиновых
демпферов, расположенных внутри устройства.
Очистка. Не пытайтесь очищать устройство с помощью каких-либо химических
веществ, так как это может привести к ухудшению его внешнего вида. Для
очистки корпуса устройства используйте только чистую и сухую тряпку

Saturn Marketing, Ltd Prology MCH-375U 7
Элементы управления и их функции
1. Кнопка открывания передней панели
2. Вращающийся регулятор громкости / кнопка выбора настроек и параметров
звучания / подтверждение ввода названия или номера искомого файла
3. Кнопка включения и выключения питания
4. Кнопка выбора диапазона радиоприемника / управление режимом
тонкомпенсации / подтверждение ввода названия или номера искомого
файла BND/LOU/«Ввод»
5. Кнопка автоматического сохранения настройки на радиостанции в памяти
устройства и входа в режим поиска файлов AS/MENU
6. Кнопка выбора режима работы дисплея и индикации информации ID3 DIS/ID3
7. Кнопка выбора пресетов эквалайзера EQ
8. Кнопки настройки радиоприемника и управления воспроизведением /
9. Дисплей
10. Крышка отсека разъема линейного входа mini-Jack AUX и разъема для
подключения карт памяти USB
11. Кнопки предварительной настройки на радиостанции и управления режимами
воспроизведения:
– кнопка паузы и возобновления воспроизведения 1/PAU;
– кнопка включения режима сканирования треков на диске 2/SCN;
– кнопка управления режимом повторного воспроизведения 3/RPT;
– кнопка включения режима воспроизведения в произвольном порядке 4/SHF;
– кнопка перехода к предыдущей папке диска 5/DN;
– кнопка перехода к следующей папке диска 6/UP
12. Кнопка отключения звука
13. Кнопка выбора режима работы MOD
14. Кнопка включения моно/стерео в режиме радио MONO
15. Кнопка выбора местного/дальнего режима приема радиостанций LOС
16. Кнопка сканирования радиостанций SCAN

Prology MCH-375U Saturn Marketing, Ltd 8
Общие операции
Отсоединение и установка передней панели
Для снятия передней панели нажмите кнопку на передней панели. Также
смотрите пояснения на стр. 23.
Включение и выключение устройства
Нажимайте кнопку для включения/выключения устройства.
Выбор режима работы
Для выбора необходимого режима работы нажимайте кнопку MOD на передней
панели устройства. В случае, если в устройство загружен компакт-диск, при
каждом нажатии на кнопку MOD происходит переключение режимов в следующем
порядке:
TUNER (радиоприемник)
CDP (проигрыватель дисков)
USB* (карта памяти USB)
SD* (карта памяти SD)
AUX (линейный аудиовход)
…
* При условии, что в USB или SD-разъём устройства вставлена карта памяти.
Примечание. Запрещается извлечение карты памяти (USB, SD) из устройства во
время воспроизведения файлов, которые находятся на данных картах памяти.
Настройка звучания
Для выбора желаемого режима настройки звучания кратковременно нажимайте на
регулятор (2) на передней панели (стр. 7). Режимы выбираются в следующем
порядке:
VOL (громкость) BAS (низкие частоты) TRB (высокие частоты)
BAL (баланс левого – правого каналов) FAD (баланс переднего
– заднего каналов) ...
Для изменения выбранного параметра вращайте регулятор (2) (стр.7) по часовой
стрелке или против часовой стрелки.
Тонкомпенсация
При прослушивании на небольшой громкости нажимайте и удерживайте нажатой
не менее 2 секунд кнопку BND/LOU для увеличения уровня низких частот. На
дисплее появится надпись «LOUD ON». Для отключения режима тонкомпенсации
нажмите кнопку BND/LOU не менее чем на 2 секунды еще раз.
Управление режимом отображения дисплея
Последовательно нажимайте кнопку DIS/ID3 на передней панели устройства для
вывода на дисплей устройства текущего времени / частоты прослушиваемой
радиостанции / информации ID3 TAG о воспроизводимом MP3-файле. Через 5
секунд дисплей вернется к прежнему режиму индикации.
Выбор характеристики звучания
При помощи кнопки EQ на передней панели устройства можно выбрать наиболее
приятную для Вашего слуха настройку звучания. При каждом нажатии режимы
выбираются в следующем порядке:

Saturn Marketing, Ltd Prology MCH-375U 9
… FLAT (ровная) CLASSICS (классическая) POP M (поп-музыка)
ROCK M (рок-музыка) DSP OFF (коррекция отключена) FLAT …
Внимание! При изменении ручной настройки высоких или низких частот любая
выбранная предустановленная характеристика отключается и переходит в
состояние "DSP OFF".
Отключение звука
Для отключения звука устройства нажмите кнопку на передней панели. Для
включения звука нажмите данную кнопку еще раз.
Кнопка RESET
Снимите переднюю панель (стр. 23).
Кнопка RESET находится на корпусе устройства и для ее нажатия следует
воспользоваться шариковой ручкой или другим подобным предметом.
Кнопка утоплена внутрь корпуса устройства, что позволяет избежать ее
случайного нажатия. После нажатия и удержания данной кнопки в течение 2
секунд из памяти устройства будут стерты все запрограммированные радио-
станции. Данная кнопка должна быть нажата при появлении на дисплее
ошибочной индикации или при неверном функционировании.
Установите переднюю панель обратно (стр. 23).
Примечание. Если после нажатия кнопки RESET устройство продолжает работать
неправильно, полностью отключите питание устройства (отсоединив желтый и
красные провода), протрите смоченным в спирте ватным тампоном разъём,
находящийся позади панели управления. Подключите питание и проверьте
работоспособность устройства.
Управление радиоприемником
При необходимости переключения устройства в режим работы радиоприемника
нажимайте кнопку MOD. На дисплее появится обозначение диапазона и текущая
частота настройки радиоприемника.
Выбор диапазона радиоприемника
Для переключения диапазонов радиоприемника нажимайте кнопку BND на
передней панели. Диапазоны будут переключаться циклически: F1
F2
F3
(УКВ).

Prology MCH-375U Saturn Marketing, Ltd 10
Автоматическая настройка на радиостанцию
Нажмите кнопку для автоматического поиска радиостанции в направлении
увеличения частоты настройки.
Нажмите кнопку для автоматического поиска радиостанции в направлении
уменьшения частоты настройки.
Ручная настройка на радиостанцию
Для переключения в режим ручной настройки нажмите и удерживайте в течение
2 секунд кнопку или (на экране появится надпись «MANUAL»).
Для увеличения частоты настройки на 0.05 МГц кратковременно нажимайте
кнопку . Для уменьшения частоты настройки на 0.05 МГц кратковременно
нажмите кнопку .
Для быстрой смены частоты настройки удерживайте нажатой кнопку или
.
Выключение функции ручной настройки и переход к режиму автоматического
поиска произойдет автоматически, если не производить никаких действий по
ручной настройке в течение 3 секунд (на экране появится надпись «AUTO»).
Ручное сохранение настройки на радиостанцию в памяти устройства
Нажмите кнопку желаемой ячейки памяти предварительной настройки и
удерживайте ее в нажатом положении не менее 2 секунд. В память данной кнопки
будет запрограммирована радиостанция, на которую настроен радиоприемник.
Прослушивание радиостанции, настройка на которую сохранена в памяти
устройства
Нажмите на кнопку предварительной настройки (1 – 6), в памяти которой хранится
настройка на желаемую радиостанцию. Номер и частота сохраненной
радиостанции появится на дисплее устройства.
Автоматическая настройка на радиостанции с сохранением в памяти
устройства
Нажатие кнопки AS/MENU более чем на 2 секунды приведет к включению функции
автоматической настройки на радиостанции в выбранном диапазоне и сохранению
в памяти устройства шести радиостанций с наиболее сильным сигналом. После
этого включится режим сканирования предварительно настроенных радиостанций.
Для остановки сканирования нажмите одну из кнопок 1– 6.
Сканирование предварительно настроенных радиостанций
Для сканирования предварительно настроенных радиостанций кратковременно
нажмите кнопку AS/MENU. Во время сканирования радиоприемник будет
последовательно на пять секунд настраиваться на каждую радиостанцию,
хранящуюся в памяти устройства. Порядковый номер каждой радиостанции в
памяти устройства будет мигать на дисплее. Для остановки сканирования
нажмите еще раз кнопку AS/MENU или нажмите любую из цифровых кнопок 1– 6.

Saturn Marketing, Ltd Prology MCH-375U 11
Сканирование радиостанций
Нажмите кнопку SCAN для автоматической настройки и прослушивания в течение
нескольких секунд каждой из радиостанций с наиболее мощным сигналом в
выбранном диапазоне.
Стереофонический и монофонический режимы работы радиоприемника
Если прослушиваемая радиостанция работает в стереорежиме, на дисплее
загорается индикатор «ST». Для принудительного прослушивания радиостанции в
монорежиме нажмите кнопку MONO на передней панели устройства.
Выбор местного или дальнего режимов приема
Для переключения режимов нажмите кнопку LOС.
Изначально устройство работает в режиме дальнего приема (DX). При
переключении режимов на дисплее устройства на несколько секунд включается
надпись "LOCAL" или "-DX-". В режиме местного приема чувствительность
автопоиска немного снижена для наиболее точной настройки на радиостанции,
уровень передаваемого сигнала которых чрезмерно высок.
Управление проигрывателем компакт-дисков
Загрузка компакт-дисков
Откиньте переднюю панель нажатием кнопки в ее верхнем левом углу. Вставьте
компакт-диск в слот рабочей стороной вниз. Закройте переднюю панель. Через
непродолжительное время после загрузки компакт-диска автоматически начнется
его воспроизведение.
Извлечение компакт-дисков
Откиньте переднюю панель нажатием кнопки в ее верхнем левом углу. Для
извлечения компакт-диска нажмите кнопку в верхнем правом углу устройства
позади передней панели. Компакт-диск может быть извлечен из устройства даже
при выключенном зажигании. Если компакт-диск не будет удален из слота в
течение 10 секунд после нажатия на кнопку , то он автоматически будет
загружен обратно в устройство.
После извлечения компакт-диска устройство вернется в предыдущий режим
работы.
Выбор дорожек компакт-диска
Нажимайте кнопку или для перехода, соответственно, к началу
следующей дорожки записи или началу текущей дорожки записи компакт-диска.
Для перехода к началу предыдущей дорожки компакт-диска нажмите кнопку
два раза.
Ускоренное воспроизведение
Нажмите кнопку или и удерживайте ее нажатой не менее 2 секунд для
ускоренного воспроизведения в прямом или обратном направлении; для
восстановления нормальной скорости воспроизведения отпустите
соответствующую кнопку.
Примечание. Во время ускоренного воспроизведения громкость устройства
приглушается.

Prology MCH-375U Saturn Marketing, Ltd 12
Остановка воспроизведения
Для временной остановки воспроизведения компакт-диска нажмите кнопку 1/PAU
на передней панели; для возобновления воспроизведения компакт-диска нажмите
данную кнопку еще раз.
Сканирующее воспроизведение
Для последовательного воспроизведения первых 10 секунд каждой песни,
записанной на диске, нажмите кнопку 2/SCN на панели. На экране появится
надпись «S-SCN» и номер сканируемой дорожки.
Нажмите данную кнопку еще раз для остановки сканирования и продолжения
воспроизведения текущей выбранной дорожки.
Повторное воспроизведение
Для повторного воспроизведения текущей дорожки диска нажмите кнопку 3/RPT.
На экране появится надпись «S-RPT» и номер текущей дорожки.
Для отмены данного режима нажмите кнопку еще раз или извлеките компакт-диск
из устройства.
Воспроизведение компакт-диска в случайном порядке
Для воспроизведения дорожек компакт-диска в случайном порядке нажмите
кнопку 4/SHF на передней панели. На экране появится надпись «S-SHF» и номер
воспроизводимой дорожки.
Для выбора другой дорожки компакт-диска в случайном порядке нажмите кнопку
или .
Для отмены данного режима нажмите кнопку 4/SHF еще раз или извлеките
компакт-диск из устройства.
Воспроизведение дисков в формате MP3
Примечание:
Далее по тексту под термином «альбом» понимается каталог диска, а под
термином «трек» – MP3-файл.
Загрузка диска
Загрузите диск в устройство, как обычный аудиокомпакт-диск. Устройство
автоматически распознает MP3-диск, на дисплей будет выведено сообщение
«READING», затем надпись «MP3 T 01». После того, как закончится сканирование
диска, начнется его воспроизведение с первого трека из первого альбома.
Выбор дорожек компакт-диска
В режиме воспроизведения MP3 нажимайте кнопку или для перехода,
соответственно, к началу следующего трека или началу текущего трека компакт-
диска. Для перехода к началу предыдущего трека компакт-диска нажмите кнопку
два раза.
В режиме воспроизведения MP3 нажимайте кнопку 5/DN или 6/UP для перехода,
соответственно, к предыдущему или к следующему альбому на компакт-диске.
Остановка воспроизведения
Для временной остановки воспроизведения компакт-диска нажмите кнопку 1/
PAU на передней панели для возобновления воспроизведения компакт-диска
нажмите данную кнопку еще раз.

Saturn Marketing, Ltd Prology MCH-375U 13
Сканирующее воспроизведение компакт-диска или альбома
Для последовательного воспроизведения первых 10 секунд каждой песни,
записанной на диске, нажимайте кнопку 2/SCN на передней панели устройства.
Нажмите данную кнопку еще раз для остановки сканирования и начала
воспроизведения с текущей выбранной песни.
Для последовательного воспроизведения первых 10 секунд каждой песни
текущего альбома нажимайте и удерживайте нажатой не менее 3 секунд кнопку
2/SCN.
Нажмите кнопку 2/SCN еще раз для остановки сканирования и продолжения
воспроизведения текущей выбранной песни.
Повторное воспроизведение трека или альбома
Для повторного воспроизведения текущего альбома нажимайте и удерживайте
нажатой не менее 3 секунд кнопку 3/RPT.
Для отмены данного режима нажмите и удерживайте нажатой не менее 3 секунд
кнопку 3/RPT еще раз.
Воспроизведение компакт-диска или альбома в случайном порядке
Для воспроизведения дорожек компакт-диска в случайном порядке нажимайте
кнопку 4/SHF на передней панели. Для выбора другой дорожки компакт-диска в
случайном порядке нажимайте кнопку или . Для отмены данного режима
нажмите кнопку еще раз.
Для воспроизведения дорожек текущего альбома в случайном порядке нажимайте
и удерживайте нажатой не менее 3 секунд кнопку 4/SHF. Для выбора в случайном
порядке другой дорожки компакт-диска нажимайте кнопку или .
Для отмены данного режима нажмите и удерживайте нажатой не менее 3 секунд
кнопку 4/SHF еще раз.
Отображение информации ID3 TAG
Для отображения информации ID3 TAG на дисплее устройства во время
воспроизведения MP3 последовательно нажимайте кнопку DIS/ID3 на передней
панели устройства. Если информация ID3 TAG записана на диске, то на дисплей
будет выводиться информация в следующем порядке:
Song name → Artist name → Album Title → …
Внимание! Устройство поддерживает только латинские ID3 TAG, названия
папок, файлов и треков.
Если какая-то информация ID3 TAG отсутствует, то вместо нее будет подставлен
следующий текст:
UNKNOWN SONGNAME (неизвестное название песни) UNKNOWN ARTIST
(неизвестный исполнитель) NO ALBUM TITLE (неизвестный альбом) …
Если на диске нет информации ID3 TAG, то при нажатии на кнопку DISP появится
надпись "NO ID3 TAG". Во время воспроизведения MP3 на дисплей автоматически
циклически будет выводиться название файла и номер трека на диске.
Режимы поиска при воспроизведении дисков в формате MP3
В устройстве предусмотрено три способа поиска необходимого трека или
альбома.

Prology MCH-375U Saturn Marketing, Ltd 14
Поиск по порядковому номеру трека
1. В режиме воспроизведения MP3 нажмите кнопку AS/MENU на передней панели,
на дисплее появится индикация "MP3 T*".
2. Введите выбранный номер трека, затем нажмите регулятор (2) (стр. 7).
Для ввода цифр используйте следующие кнопки (таблица ниже) или вращайте
регулятор (2) (стр. 7):
Цифра 1 2 3 4 5 6 7 8 9 0
Кнопка 1 2 3 4 5 6 MOD DIS/ID3
Позиция на
рисунке
(стр.7)
11 11 11 11 11 11 13 8 8 6
Для подтверждения ввода нажмите кнопку BND на передней панели.
Поиск по имени альбома или трека
1. В режиме воспроизведения MP3 нажмите два раза подряд кнопку AS/MENU на
передней панели, на дисплее появится символ "*".
2. Введите фрагмент названия альбома или трека и нажмите регулятор.
Устройство найдет все треки и альбомы, в названии которых встречается искомая
последовательность символов.
Для ввода букв используйте следующие кнопки (таблица ниже) или вращайте
регулятор:
Буква A,B,C D,E,F G,H,I J,K,L M,N,O P,Q,R S,T,U
Кнопка 1 2 3 4 5 6 MOD
Позиция на
рисунке (стр.7) 11 11 11 11 11 11 13
Буква V,W,X Y,Z,
пробел _,-,+
выбор
следующего/
предыдущего
символа
пробел
Кнопка DIS вращение
регулятора (2)
нажатие на
регулятор (2)
Позиция на
рисунке стр.7) 8 8 6 2 2
Для подтверждения ввода нажмите кнопку BND на передней панели.
3. Для передвижения по сформированному списку используйте кнопки и
(сначала кнопку ) или вращающийся регулятор параметров (против часовой
стрелки).
4. Нажмите регулятор для выбора необходимого трека или альбома.
Если выбран трек, то включится воспроизведение выбранного трека.
Если выбран альбом, то появится индикация "\\".
5. Для перемещения по трекам альбома используйте кнопки и (сначала
кнопку ) или вращающийся регулятор параметров (против часовой стрелки).
6. Для выбора трека нажмите регулятор (2) (стр. 7). Включится режим
воспроизведения выбранного трека.

Saturn Marketing, Ltd Prology MCH-375U 15
Навигация по альбомам, начиная с корневого каталога диска
1. В режиме воспроизведения MP3 нажмите три раза подряд кнопку AS/MENU (5),
на дисплее появится имя первого альбома на диске.
2. Для перемещения по списку альбомов используйте кнопки и (сначала
кнопку ) или вращающийся регулятор параметров (против часовой стрелки).
3. Для выбора альбома нажимайте на регулятор (2) (стр. 7). После выбора
альбома на дисплее отобразится символ "\\".
4. Для перемещения по трекам выбранного альбома используйте кнопки
и (сначала кнопку ) или вращайте регулятор (2) (стр. 7) против часовой
стрелки.
5. Для выбора трека нажмите регулятор (2) (стр. 7). Включится режим
воспроизведения выбранного трека.
6. Для возврата в список альбомов нажмите регулятор (2) (стр. 7), когда на
дисплее отображается символ "\\".
Ограничения для файлов MP3
MPEG-1/2 Layer 2/3 Устройство поддерживает:
Версия WMA: 7/8/9
Частота дискретизации:
MPEG-1 32/44.1/48 кГц
MPEG-2 16/22.05/24 кГц
WMA 22/32/44/48 кГц
Cкорость потока данных MP3/WMA: 32 – 320 кбит/с, включая переменную
CD-ROM режим 1/2
ISO 9660 уровень 1 / 2 & Joliet (юникод)
Максимальное количество файлов/папок: 999/99
Максимальная глубина вложенности
папок:
8
Сортировка: метод ветвления
ID3 TAG: V1.0/1.1/2.0/2.3 (максимум – 32
символа), русский язык не
поддерживается
Максимальная длина названия файла: 28 символов
Максимальная длина названия папки: 16 символов
мультисессионные диски Поддерживаются:
диски CD, CD-R/RW
Не поддерживаются: диски, записанные с помощью
пакетной запиcи (UDF)

Prology MCH-375U Saturn Marketing, Ltd 16
Использование карт памяти SD
Подключение карт памяти
1. Нажмите кнопку снятия передней панели и отсоедините переднюю панель.
2. Вставьте карту SD в слот как показано на рисунке, соблюдая указанное
положение карточки.
3. Вставляйте карту до того момента, пока не услышите легкий щелчок.
4. Подключите обратно переднюю панель.
5. На экране устройства отобразится надпись «SD PLAY», что означает
правильность установки карты памяти и начало ее инициализации.
6. Вне зависимости он текущего режима работы сразу после подключения к
устройству карты памяти SD, оно переключится на воспроизведение с данной
карты памяти.
7. Все операции по навигации и управлению воспроизведением идентичны главе
«Воспроизведение дисков в формате MP3» (стр. 12).
Извлечение карты памяти SD
1. Перед извлечением карты памяти SD переключите устройство в другой режим
работы кнопкой MOD и только после этого извлекайте карту памяти. В
противном случае возможен выход из строя устройства или карты памяти SD.
2. Нажмите кнопку снятия передней панели и отсоедините переднюю панель.
3. Нажмите на карту памяти, и после того, как карта немного выдвинется, не
прилагая лишних усилий, извлеките её из слота и установите переднюю
панель обратно. Устройство вернется к предыдущему режиму работы
4. Нажимайте кнопку MOD на передней панели для переключения в другой режим
работы устройства при подключенной карте памяти SD.

Saturn Marketing, Ltd Prology MCH-375U 17
Меры предосторожности при работе с картами памяти SD
Убедитесь, что вы вставляете SD-карту, соблюдая ее положение, указанное на
рисунке ниже. Попытка вставить карточку неправильно может привести к
серьезному повреждению как слота устройства, так и самой карточки.
Убедитесь, что карта памяти вставлена до конца, лишь после этого установите
переднюю панель обратно.
Использование карт памяти с интерфейсом USB
Совместимость
В связи с постоянным совершенствованием как протокола передачи информации
USB, так и самих устройств USB, не гарантируется совместимость данного
устройства со всеми USB-устройствами, особенно с USB-устройствами, для
работы с которыми требуется предварительно устанавливать драйвер. Всегда для
работы с устройством выбирайте совместимые с ним карты памяти с
интерфейсом USB.
Поддерживаются карты объёмом: SD – 4 ГБ, USB – 8 ГБ;
Файловая система FAT16 / FAT32
USB 1.1/ USB 2.0 (Скорость USB 2.0 не поддерживается, только чтение со
скоростью USB 1.1).
Подключение карт памяти с интерфейсом USB
1. Разъем для подключения карт памяти с интерфейсом USB закрыт защитной
крышкой (10, стр. 7). Откройте ее, потянув на себя выступ в ее верхней части.
2. Подключите карту памяти с интерфейсом USB к разъему. На экране
устройства отобразится сообщение «USB PLAY», подтверждающее, что карта
памяти с интерфейсом USB подключена корректно и началась ее
инициализация.
Примечание.
В зависимости от типа карты памяти и от реализации в данном устройстве
протокола USB потребуется различное время для определения карты памяти и
начала загрузки информации.

Prology MCH-375U Saturn Marketing, Ltd 18
Вне зависимости он текущего режима работы, сразу после подключения к
устройству карты памяти с интерфейсом USB, оно переключится на
воспроизведение с данной карты памяти.
Все операции по навигации и управлению воспроизведением идентичны главе
«Воспроизведение дисков в формате MP3» (стр. 12).
Отключение карт памяти с интерфейсом USB
Перед извлечением карты памяти USB переключите устройство в другой режим
работы кнопкой MOD и только после этого извлекайте карту памяти. В противном
случае возможен выход из строя устройства или карты памяти USB.
Нажмите кнопку MOD для переключения устройства в другой режим работы при
подключенной карте памяти с интерфейсом USB.
Меры предосторожности при работе с картами памяти USB
Всегда аккуратно отсоединяйте карту памяти после окончания работы с ней.
Избегайте излишнего давления на карту памяти, когда она подключена к
устройству.
Основные технические характеристики
Радиоприемник
Диапазон частот УКВ, МГц 65–74
Диапазон частот FM, МГц 87.5–108
Промежуточная частота, МГц 10.7
Полезная чувствительность
(при отношении С/Ш 30 дБ), дБ (мкВ) 12
Отношение сигнал/шум, дБ 50
Глубина разделения стереоканалов (1 кГц), дБ 25
Проигрыватель CD
Размер дисков 5″ (12 см)
Каналы 2 канала, стерео
Частота дискретизации, кГц 44.1
Цифро-аналоговый преобразователь Сдвоенный 1-битный
Диапазон воспроизводимых частот, Гц 20–20000
Полный коэффициент гармоник (1 кГц), % 0.1
Отношение сигнал шум, дБ 70
Общие
Напряжение питания, предельные значения 11–14.4 В постоянного тока
Полярность источника питания Только системы с заземлением
отрицательного полюса батареи
Максимальная выходная мощность, Вт 4 х 50
Подходящее сопротивление динамиков 4 Ом
Размеры установочные (Ш х В х Г), мм 182 х 52 х 167

Saturn Marketing, Ltd Prology MCH-375U 19
Установка устройства
Для установки устройства выберите такое место, где оно не будет мешать
водителю нормально управлять автомобилем.
Перед началом установки удалите транспортировочные винты, расположенные
на верхней крышке устройства.
Перед окончательной установкой устройства временно подключите к нему все
провода и убедитесь, что все соединения сделаны правильно и система
работает нормально.
Используйте только прилагающиеся к устройству крепежные изделия. Только в
этом случае установка будет надежной и безопасной. Использование деталей,
не входящих в комплект устройства, может привести к нарушению его
нормальной работы.
Если установка устройства требует сверления отверстий или любого другого
изменения штатных деталей автомобиля, обязательно проконсультируйтесь у
ближайшего дилера Вашего автомобиля.
Устанавливайте устройство таким образом, чтобы оно не могло стать причиной
ранения водителя или пассажиров во время внезапной остановки или резкого
торможения.
При установке отклонение устройства от горизонтальной плоскости не должно
превышать 30°. В противном случае технические характеристики устройства
могут быть далеки от оптимальных.
Никогда не устанавливайте устройство там, где оно будет сильно нагреваться,
например, от воздействия прямых солнечных лучей или горячего воздуха,
поступающего от отопителя. Также избегайте мест, в которых устройство будет
подвергаться воздействию сильной вибрации или на него будет попадать пыль
или грязь.
Процедура установки
Существует два варианта установки устройства. При использовании первого
варианта устройство устанавливается в приборную панель автомобиля спереди, а
при использовании второго варианта устройство устанавливается сзади передней
панели (вместо штатного радиоприемника автомобиля, для закрепления
используются резьбовые отверстия на боковых панелях устройства). Более
подробно оба варианта установки устройства описываются в данном руководстве
ниже.

Prology MCH-375U Saturn Marketing, Ltd 20
Первый вариант установки устройства
1. Приборная панель автомобиля.
2. Кожух.
После установки кожуха устройства
в приборную панель автомобиля,
выберите на кожухе те
металлические язычки, которые
соответствуют толщине приборной
панели, и отогните их, чтобы
зафиксировать кожух на месте.
3. Винт.
1. Приборная панель автомобиля.
2. Гайка (5 мм).
3. Пружинная шайба.
4. Винт (4 х 12 мм).
5. Винт.
6. Металлическая планка.
Для закрепления задней части
устройства обязательно используйте
металлическую планку. Металлическая
планка может быть согнута под
необходимым углом.
7. Плоская шайба.
Перед установкой передней панели закрепите на корпусе устройства
декоративную рамку. Надпись «BOTTOM» на рамке должна находиться внизу:

Saturn Marketing, Ltd Prology MCH-375U 21
Удаление устройства
1. Декоративная рамка.
Подденьте рамку слева и справа отверткой или аналогичным предметом,
вставьте пальцы в выемки на передней стороне рамки и вытяните рамку на
себя. (При установке декоративной рамки надпись «BOTTOM» должна
находиться внизу).
2. Съемник.
Вставьте съемники, входящие в комплект устройства, в пазы на обеих
сторонах устройства, как показано на рисунке, до упора, чтобы освободить
защелки кожуха. Затем извлеките устройство из передней панели.

Prology MCH-375U Saturn Marketing, Ltd 22
Второй вариант установки устройства
Данный вариант установки предусматривает использование резьбовых отверстий,
которые находятся на боковых панелях устройства.
Закрепите устройство на крепежных кронштейнах штатного радиоприемника.
1. Выберите положение кронштейнов, при котором будут совмещены резьбовые
отверстия на кронштейнах и резьбовые соединения на корпусе устройства.
Закрепите кронштейны с обеих сторон устройства не менее чем в двух местах.
Для этого используйте либо крепежные винты (5 х 6 мм), либо винты с
потайной головкой (4 х 6 мм), в зависимости от типа резьбовых отверстий на
кронштейне.
2. Винт.
3. Крепежные кронштейны штатного радиоприемника.
4. Приборная панель или консоль автомобиля.
5. Скоба (необходимо удалить).
Примечание.
При установке устройства по второму методу кожух, декоративная внешняя рамка
и металлическая планка не используются.

Saturn Marketing, Ltd Prology MCH-375U 23
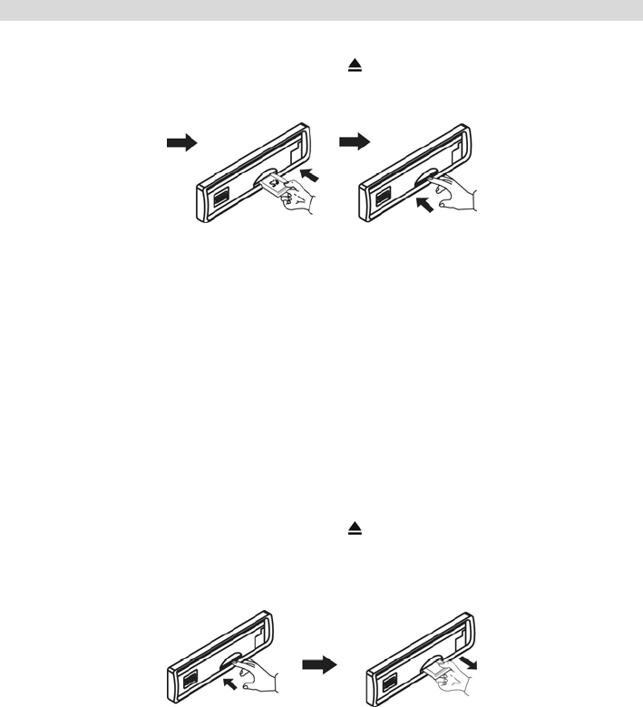
Съемная передняя панель устройства
Отсоединение передней панели
Нажмите кнопку , затем, удерживая панель в горизонтальном положении,
отсоедините ее, вначале освободив левую сторону панели:
Храните переднюю панель в прилагающемся к устройству футляре.
Установка передней панели на место
Расположите переднюю панель горизонтально и вставьте ее в правый упор на
корпусе устройства (1), затем совместите левый упор устройства и левый
пружинный фиксатор передней панели (2). Закройте переднюю панель (3). В
случае неправильной установки некоторые кнопки будут функционировать
неправильно, а на дисплее будет появляться ошибочная индикация
Осторожно!
1. Никогда не роняйте переднюю панель устройства.
2. Никогда не нажимайте на дисплей или кнопки при отсоединении или установке
передней панели.
3. Никогда не дотрагивайтесь до разъемов, находящихся на передней панели и
устройстве. Это может привести к загрязнению разъемов и плохому
электрическому контакту.
4. В случае загрязнения контактов их можно очистить сухой и чистой тканью.
5. Не подвергайте переднюю панель сильному нагреванию или длительному
воздействию прямых солнечных лучей.
6. Следите за тем, чтобы на переднюю панель устройства не попал бензин,
растворители или другие летучие жидкости.
7. Никогда не пытайтесь разобрать переднюю панель устройства.

Prology MCH-375U Saturn Marketing, Ltd 24
Схема подключения проводов устройства
Внимание!
Неверное подключение устройства может привести к его поломке и лишению
права на гарантийное обслуживание.
В данном устройстве используются усилители мощности, подключенные по
мостовой схеме. При подключении динамиков не допускается замыкание
проводов на массу автомобиля, на провод питания +12 В или друг с другом.
Красный провод устройства должен быть подключен к цепи зажигания во
избежание разряда аккумуляторной батареи автомобиля при продолжительной
стоянке.
Если после выключения зажигания сбрасываются настройки устройства и
сохраненные радиостанции, поменяйте местами подключение красного и желтого
проводов питания:

Saturn Marketing, Ltd Prology MCH-375U 25
[
Обслуживание устройства
Осторожно
1. Для подачи питания на устройство может использоваться только источник
питания напряжением 12 В постоянного тока (при условии заземления
отрицательного полюса аккумуляторной батареи). Ни в коем случае не
устанавливайте устройство на автомобили, у которых заземлен
положительный полюс аккумуляторной батареи.
2. Устройство имеет встроенный фильтр, позволяющий практически исключить
помехи по питанию. Однако на некоторых автомобилях (в частности, на старых
моделях) могут быть слышны щелчки или другие нежелательные помехи.
3. При замене предохранителей убедитесь, что новый предохранитель такого же
типа и номинала. Использование других предохранителей может вызвать
выход из строя ресивера. В данной модели используется предохранитель на
15 А, расположенный в корпусе устройства справа от разъема для
подключения электрической проводки.
Ниже приводятся рекомендации, которые позволят Вам успешно использовать
устройство многие годы.
1. Защищайте устройство от попадания влаги. В случае попадания влаги на
устройство немедленно вытрите его досуха. Жидкости, содержащие
минеральные вещества, могут привести к коррозии электронных схем.
2. Защищайте устройство от попадания на него пыли и грязи, которые могут
привести к преждевременному износу деталей.
3. При переноске устройства будьте предельно внимательны и аккуратны.
Падение устройства может привести к повреждению печатных плат и корпуса,
что, в свою очередь, может привести к тому, что устройство будет работать
неправильно или не будет работать совсем.
4. Время от времени протирайте устройство влажной тряпкой. Для очистки
устройства никогда не используйте едкие химические вещества, чистящие
жидкости или сильнодействующие моющие средства.
5. Используйте и храните устройство при температуре окружающего воздуха не
выше +40 °С. Высокая температура способствует сокращению срока службы
электронных устройств, а также деформации и повреждению пластиковых
деталей.

Prology MCH-375U Saturn Marketing, Ltd 26
Обращение с компакт-дисками
Грязь, пыль и царапины на поверхности компакт-диска, а также его деформация,
могут привести к "перескакиванию" звука во время воспроизведения и к
ухудшению качества звучания.
1. Кроме компакт-дисков, которые имеют указанную здесь
маркировку, устройство может воспроизводить записываемые
компакт-диски типа CD-R или CD-RW, однако некоторые из них
могут читаться с ошибками из-за особенностей записывающего
оборудования и настроек программного обеспечения при
записи дисков данного типа.
2. Если на рабочей поверхности компакт-диска (стороне,
на которой нанесена запись) имеются следы от
пальцев или пыль, аккуратно протрите диск мягкой
тряпкой. Для удаления пыли с поверхности компакт-
диска аккуратно протрите его мягкой тряпкой прямыми
движениями от центра к краям. Мелкие пылинки и
небольшие пятна не оказывают никакого влияния на
качество воспроизведения.
3. Никогда не используйте для очистки компакт-дисков
химические вещества, такие как аэрозоли для очистки
грампластинок, антистатические аэрозоли или жидкости, бензин или
растворители. Данные химические вещества могут сильно повредить
поверхность компакт-дисков.
4. После прослушивания следует убирать компакт-диски в предназначенные для
этого коробки. Это позволит избежать появления на поверхности компакт-
диска больших царапин, способных вызвать "перескакивание" звука.
5. Не подвергайте компакт-диски воздействию прямых солнечных лучей, высокой
влажности или высокой температуры в течение длительного времени.
Длительное воздействие высокой температуры может привести к короблению
компакт-диска.
6. Никогда не приклеивайте бумагу и не пишите на поверхности компакт-диска
шариковой ручкой.

Saturn Marketing, Ltd Prology MCH-375U 27
Эксплуатационные ограничения и текущий ремонт
Устройство предназначено для эксплуатации в салоне автомобилей с
напряжением бортовой сети 12 В. Не следует эксплуатировать устройство,
имеющее повреждения корпуса, съемной передней панели, соединительных
кабелей.
Ниже приводится таблица, в которой сведены методы проверки, способные
помочь Вам устранить большую часть проблем, возникающих при использовании
устройства.
При отсутствии видимых причин неисправности устройство следует
демонтировать, отсоединить соединительные провода и антенну, и обратиться в
сервисный центр или к ближайшему дилеру.
Осторожно!
Металлические детали устройства (особенно его задняя панель) во время работы
сильно нагреваются, поэтому не дотрагивайтесь до этих поверхностей руками
сразу же после того, как извлечете устройство из передней панели.
Перед тем, как перейти к методам проверки, описанным в данной таблице,
тщательно проверьте правильность подключения устройства.
Неисправность Вероятная причина Устранение
Ключ не повернут в
замке зажигания
автомобиля в положение
ON (зажигание)
Если в качестве источника питания
выбрана дополнительная цепь питания,
но двигатель не работает, поверните
ключ в замке зажигания в положение
"ACC" (дополнительное)
Нет питания
Перегорел
предохранитель Замените предохранитель питания
Устройство неправильно
подключено к источнику
питания
Перепроверьте правильность
подключения устройства к источнику
питания
Нет звука Соединительные кабели
подключены
неправильно
Проверьте правильность подключения
динамиков и других соединительных
проводов
В устройстве уже есть
компакт-диск
Выньте компакт-диск из устройства,
затем загрузите в него новый компакт-
диск
Внутри автомобиля
слишком высокая
температура
Подождите, пока температура внутри
автомобиля понизится, затем повторите
попытку
Компакт-диск не
загружается в
устройство или не
удаляется из
устройства
Конденсация влаги
В течение как минимум одного часа не
пользуйтесь устройством, затем
повторите попытку
Дефектный или сильно
загрязненный компакт-
диск
Попробуйте почистить компакт-диск
Попробуйте воспроизводить другой
компакт-диск
Плохое качество
звучания
Неверный угол установки
устройства
Убедитесь, что наклон устройства не
превышает 30

Prology MCH-375U Saturn Marketing, Ltd 28
Неисправность Вероятная причина Устранение
Радиоприемник
не работает
К устройству не
подключен кабель
антенны
Надежно подключите кабель антенны к
устройству
Не работает
функция
автоматической
настройки на
радиостанции
Радиостанции имеют
слишком слабый сигнал Настраивайтесь на станции вручную
Индикация
"ERROR 1" Ошибка CD-транспорта
Индикация
"ERROR 2"
Ошибка системы
фокусировки/трекинга
Нажмите кнопку сброса "Reset", которая
расположена на корпусе под передней
панелью. Если сообщение об ошибке
повторяется, обратитесь в сервисный
центр или к ближайшему дилеру.
Попробуйте воспроизводить другой
компакт-диск
Индикация "No
file"
Диск не содержит
файлов, с которыми
совместимо устройство
Попробуйте воспроизводить другой
компакт-диск
Дефектный или сильно
загрязненный компакт-
диск
Попробуйте воспроизводить другой
компакт-диск
Индикация "Disc
error" Некачественный диск или
при записи диска были
заданы неверные
параметры
Используйте качественный диск
Для безопасного управления автомобилем
Для безопасного использования функций устройства, пожалуйста, не
забывайте выполнять требования Правил дорожного движения Российской
Федерации. Помимо этого старайтесь соблюдать очевидные правила
обращения с Вашим автомобилем, как источником повышенной опасности.
Эти правила, в первую очередь, определяются риском наступления вреда для
жизни или здоровья третьих лиц, причинения вреда их имуществу, домашним
животным или окружающей среде.
После завершения управления автомобилем всегда ставьте автомобиль на
стояночный тормоз, который должен находиться в исправном состоянии и
исключать возможность движения автомобиля.
Всегда паркуйте автомобиль на открытой, хорошо проветриваемой площадке.
Поддерживайте относительно низкий уровень громкости, чтобы во время
движения иметь возможность слышать все, что происходит вокруг автомобиля
Не меняйте диски, не регулируйте громкость и не осуществляйте какие-либо
другие операции управления устройством, которые могут отвлечь Вас от
управления автомобилем.

Saturn Marketing, Ltd Prology MCH-375U 29
Хранение, транспортирование, ресурс, утилизация
Устройство рекомендуется хранить в складских или домашних условиях по группе
"Л" ГОСТ 15150 и при необходимости транспортировать любым видом
гражданского транспорта в имеющейся индивидуальной потребительской таре по
группе "Ж2" ГОСТ 15150 с учетом ГОСТ Р 50905 п.4.9.5. Место хранения
(транспортировки) должно быть недоступным для попадания влаги, прямого
солнечного света и должно исключать возможность механических повреждений.
Срок службы устройства – 2 года. Устройство не содержит вредных материалов и
безопасно при эксплуатации и утилизации (кроме сжигания в неприспособленных
условиях).
Гарантии поставщика
Устройство Prology MCH-375U соответствует утвержденному образцу.
Изготовитель гарантирует соответствие устройства требованиям ГОСТ 22505-97 и
ГОСТ 28279-89 в части 2.2.
Устройство имеет гарантийный срок эксплуатации – 12 месяцев с момента покупки
без учета времени пребывания в ремонте при соблюдении правил эксплуатации.
Право на гарантию дается при заполнении сведений прилагаемого гарантийного
талона.
Гарантийные обязательства не распространяются на перечисленные ниже
принадлежности изделия, если их замена предусмотрена конструкцией и не
связана с разборкой изделия: монтажные приспособления, документацию,
прилагаемую к изделию.

Импортер: ООО «КИРЕНА»
Юридический адрес: Россия, 127018
г. Москва, ул. Складочная, д. 1, стр. 15
Наименование: Пролоджи МЦХ-375У
Страна-производитель: Китай.
Изготовитель: Сатурн Хай Тек Груп ЛТД.
Основное предназначение товара:
FM/УКВ CD/MP3 SD/USB-ресивер
Юридический адрес изготовителя:
1A Кроун Лайн, Лондон, СВ16 3ДЖ, Великобритания.