FT 1000 TechnicalSupplement YAESU Service Manual
User Manual: Pdf YAESU--FT-1000-Service-manual
Open the PDF directly: View PDF
.
Page Count: 211 [warning: Documents this large are best viewed by clicking the View PDF Link!]
- 1.Packaging
- 2.Exploded View (Mechanical)
- 3.Case Disassembly
- 4.Alignment
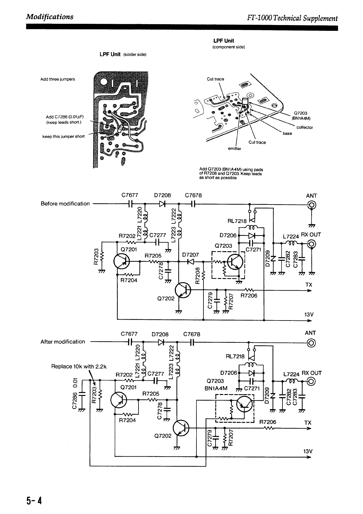
- 5.Modifications
- Elimination of Marker Spurious (RX-2 Unit)
- Sub Rx MCF Selectivity (RX-2 Unit)
- Sub Rx PLL Sub-Loop Unlock When Hot
- Semi Break-In CW Keyer Improvement
- Cross Spurious Around 14.2MHz
- Sub Rx Noise Blanker Performance
- Malfunction of Microprocessor Reset
- Improvement of Sub Rx Low Band S/N
- Suppression of Spurious from the AC Line
- Improving Sub Rx S/N (1)
- VOX Malfunction Caused by Mode Switching
- Preventing VOX Malfunction When Adjusting VOX Gain
- Preventing RX ANT Relay Failure (1)
- Antenna Tuner Performance Improvement
- Improving Sub Rx S/N (2)
- Main Receiver Noise Blanker Improvement
- VOX Delay Adjustment
- Notch Adjustment Improvement
- Power Meter Adjustment Improvement
- Improvement of SSB Modulation & Receiver Audio Characteristics
- Elimination of VOX Switching Noise on Transmissions
- Howling on SSB Transmission
- IF Gain Adjustment
- Elimination of Filter Ripple
- Elimination of Sub Rx Birdies
- 7.13-MHz Sub Rx Birdie Suppression
- Preventing Main Receiver Self-Oscillation
- Preventing RX ANT Relay Failure(2)
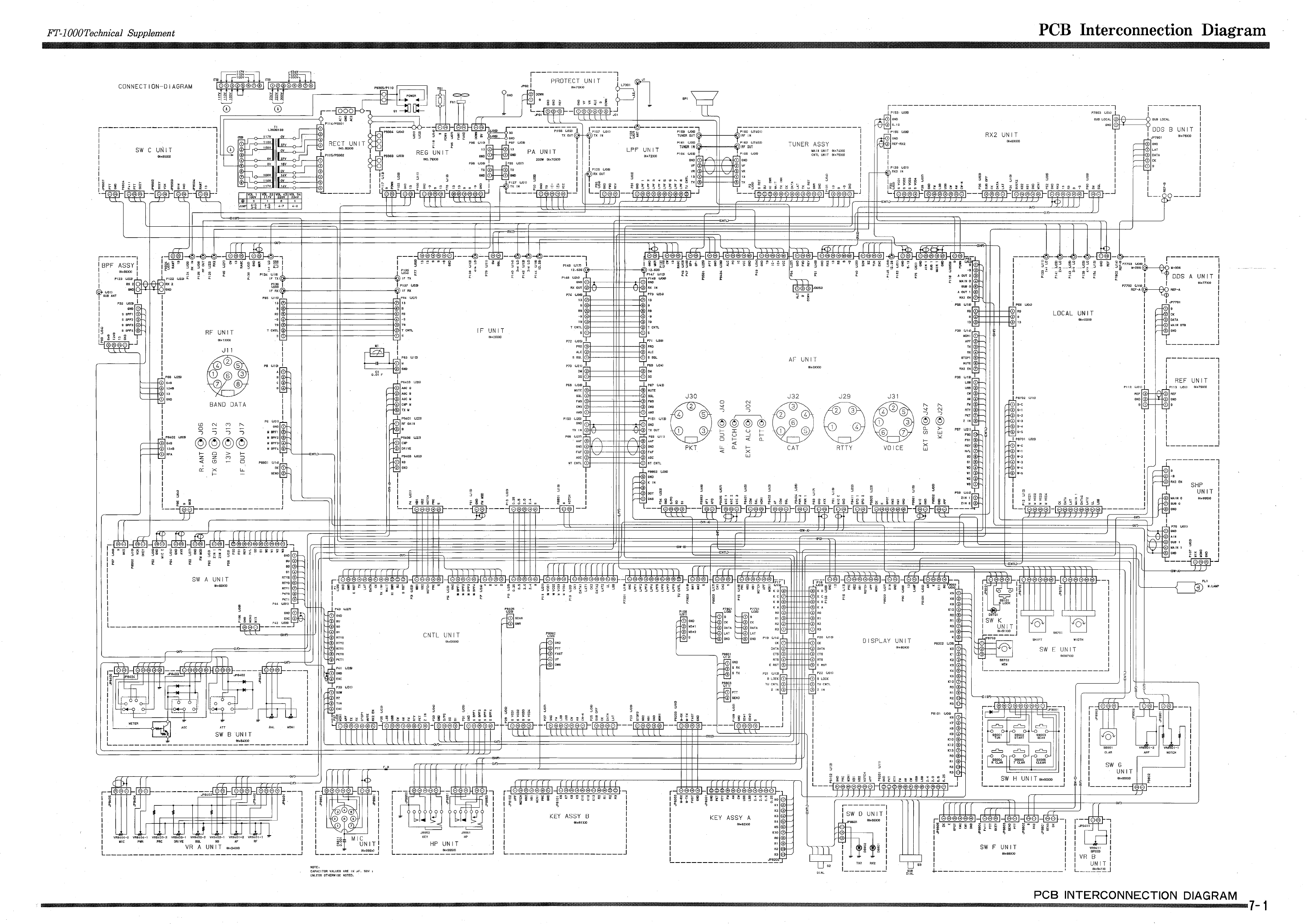
- 6.Block Diagrams
- 7.PCB Diagrams & Parts Lists
- PCB Interconnection Diagram
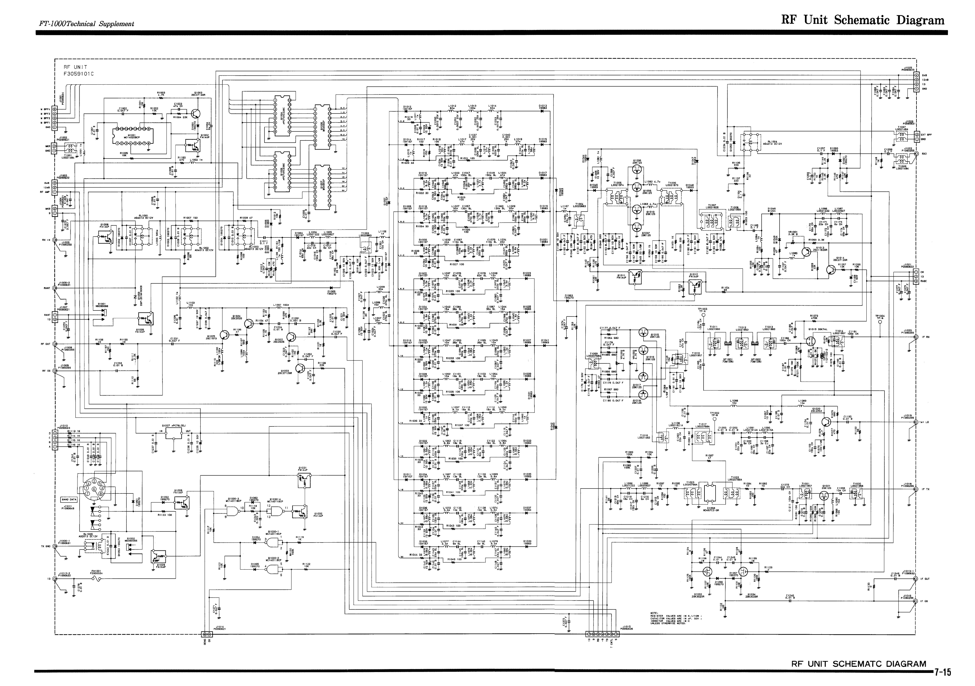
- RF Unit Parts List
- RF Unit Layout
- RF Unit Schematic Diagram
- IF Unit Parts List
- IF Unit Board Layout
- IF Unit Schematic Diagram
- AF Unit Parts List
- AF Unit Board Layout
- AF Unit Schematic Diagram
- Local Unit Parts List
- Local Unit Board Layout
- Local Unit Schematic Diagram
- Control Unit Parts List
- Control Unit Board Layout
- Control Unit Schematic Diagram
- RX2 Unit Parts List
- RX2 Unit Board Layout
- RX2 Unit Schematic Diagram
- PA Unit Parts List
- PA Unit Board Layout
- PA Unit Schematic Diagram
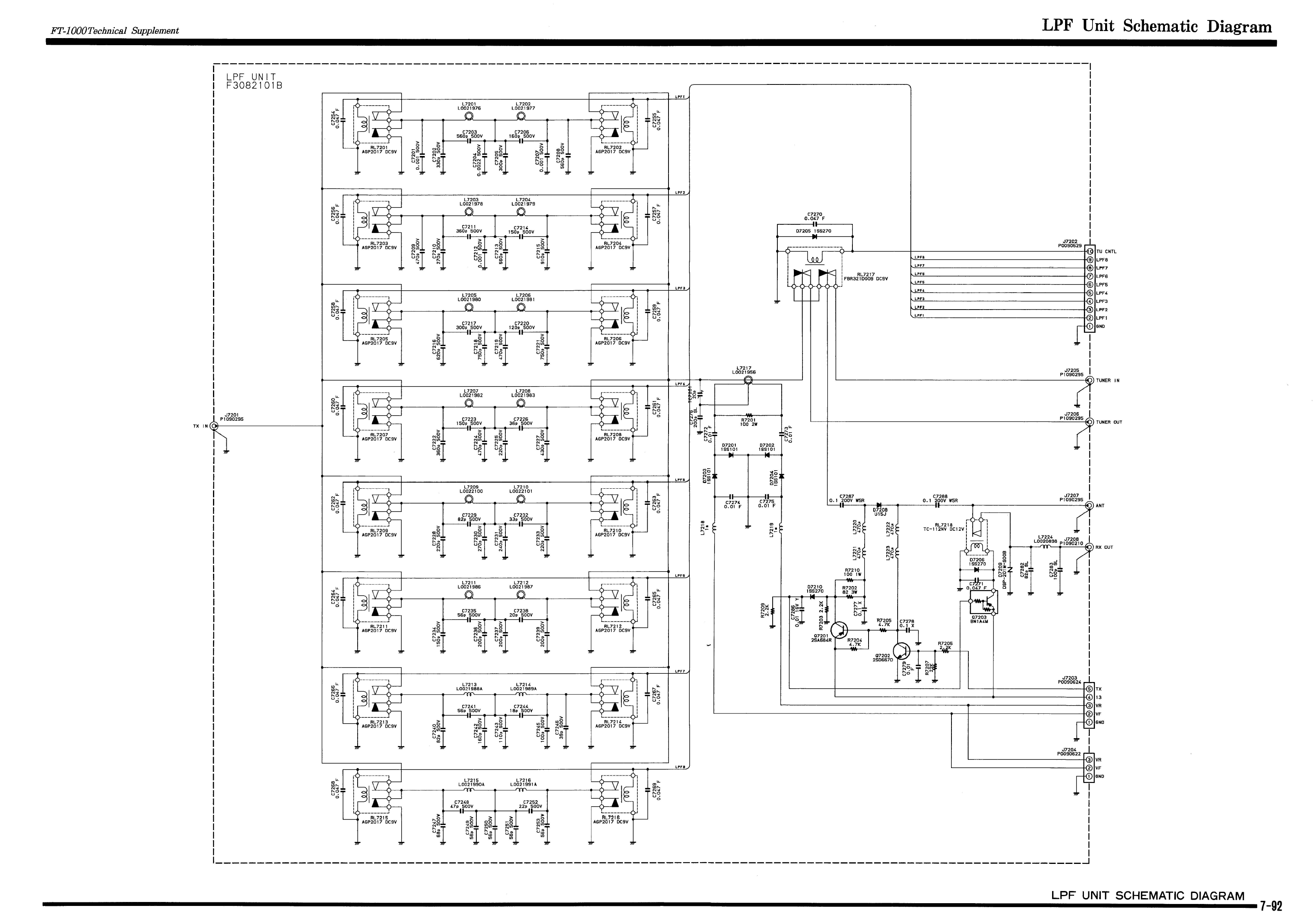
- LPF Unit Parts List
- LPF Unit Board Layout
- LPF Unit Schematic Diagram
- Protect Unit Parts List
- Protect Unit Layout & Schematic
- Tuner Main Unit Parts List
- Tuner Main Unit Board Layout
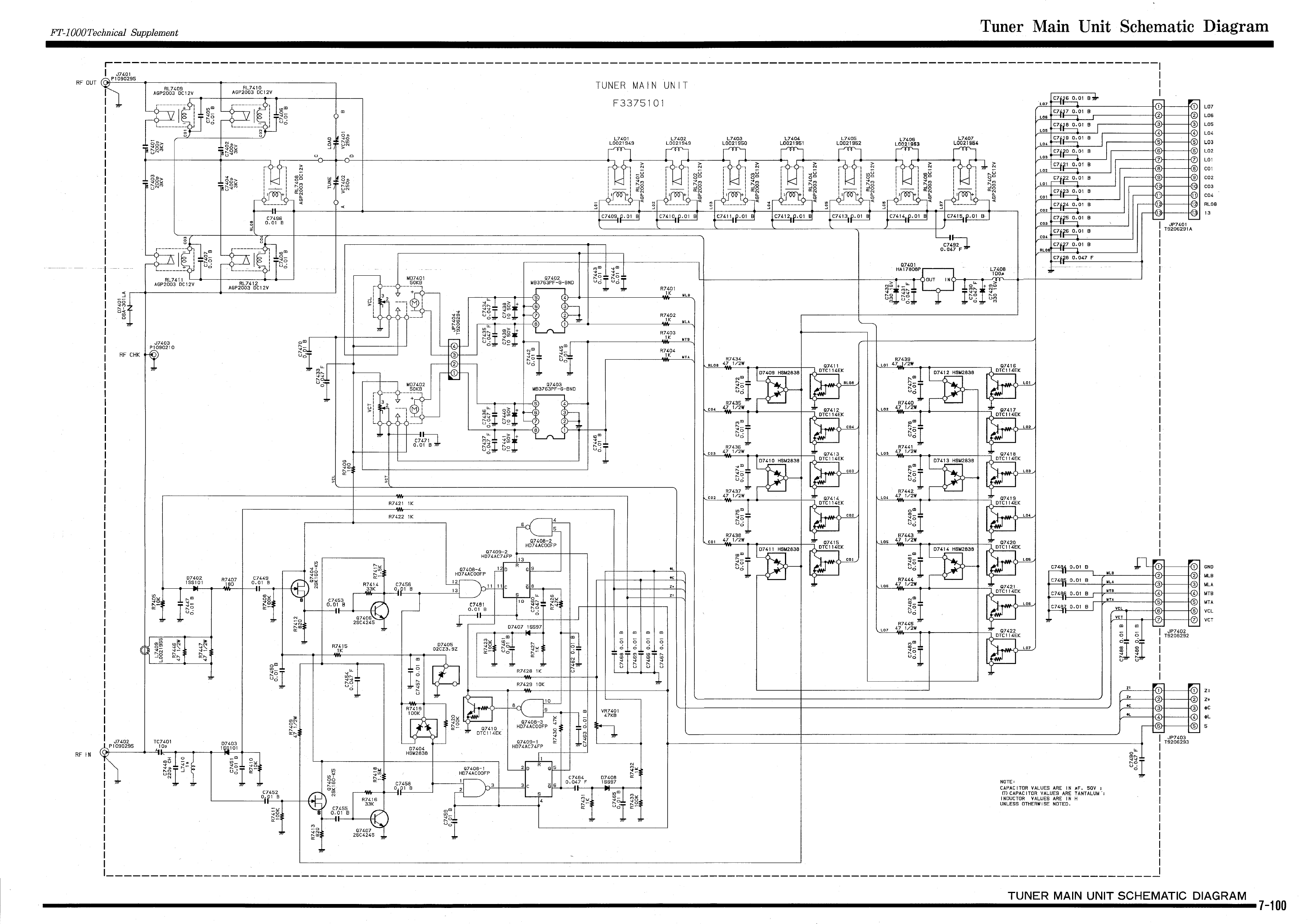
- Tuner Main Unit Schematic Diagram
- Tuner Control Unit Parts List
- Tuner Control Unit Board Layout
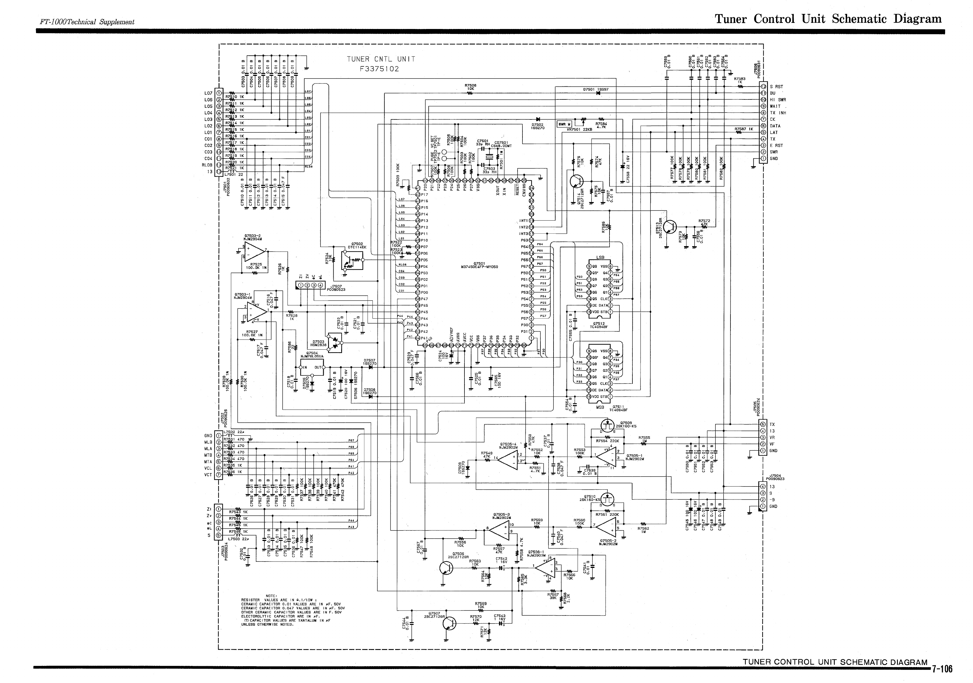
- Tuner Control Unit Schematic Diagram
- DDS A/B Unit Parts List
- DDS A/B Unit Layout & Schematic
- Width/Shift/Mode DDS Unit Parts List
- Width/Shift/Mode DDS Unit Layout & Schematic Diagram
- Reference (REF) Unit Parts List
- Reference Unit Layout & Schematic
- Display Unit Parts List
- Display Unit Board Layout
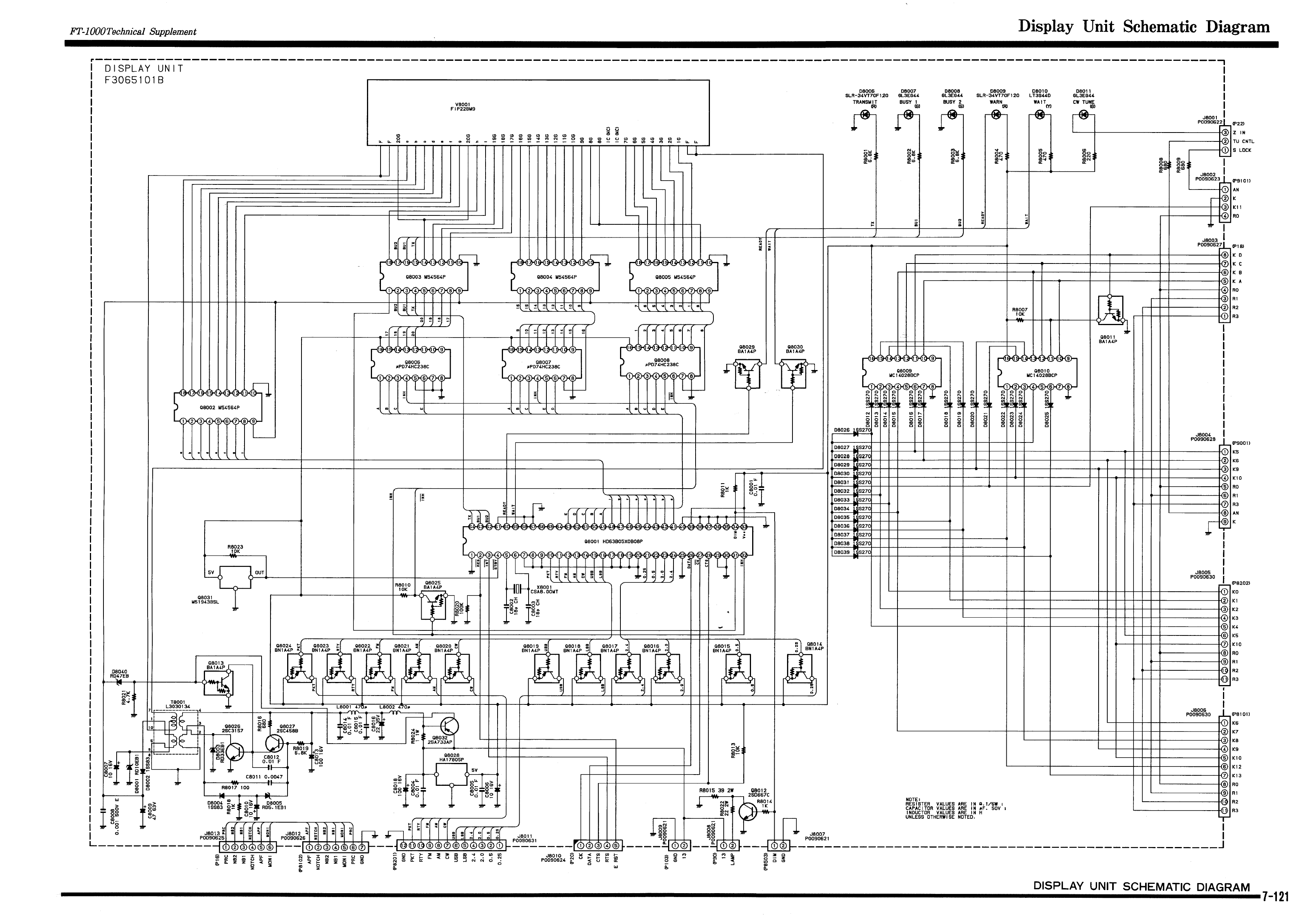
- Display Unit Schematic Diagram
- PS Unit Parts List
- PS Unit Board Layout
- PS Unit Schematic Diagram
- Rectifier (RECT) Unit Parts List
- Rectifier (RECT) Schematic Diagram
- Switch (SW) A Unit Parts List
- Switch A Unit Layout & Schematic
- Switch B & C Units Parts Lists
- Switch B & C Units Layouts & Schematic Diagrams
- Switch D, E & F Units Parts Lists
- Switch D, E & F Units Layouts & Schematic Diagrams
- Switch G, H & K Units Parts Lists
- Switch G, H & K Units Layouts & Schematic Diagrams
- VR A & B Units Parts Lists
- VR A & B Units Layouts & Schematics
- SHP Unit Parts List
- SHP Unit Layout & Schematic
- HP & Mic Units Parts Lists
- HP & Mic Units Layouts & Schematics
- XF-A & B Units Parts Lists
- XF-A & B Units Layouts & Schematics
- XF-C, D, E, F & G Units Parts Lists
- XF-C, D, E, F & G Units Layouts & Schematics Diagrams
- Key Ass'y A & B Parts Lists
- Key Ass'y A & B Layouts & Schematics Diagrams
- 8.Options


















































































































































































































