Pelco Universal Keyboard Kbd300A Users Manual C527M J
KBD300A to the manual 49ff6828-cc8b-479e-b885-f729d856a36e
2015-02-02
: Pelco Pelco-Universal-Keyboard-Kbd300A-Users-Manual-440755 pelco-universal-keyboard-kbd300a-users-manual-440755 pelco pdf
Open the PDF directly: View PDF
.
Page Count: 40

Pelco • 3500 Pelco Way • Clovis, CA 93612-5699 USA • www.pelco.com
In North America and Canada: Tel (800) 289-9100 or FAX (800) 289-9150
International Customers: Tel +1 (559) 292-1981 or FAX +1 (559) 348-1120
®
Installation/Operation
KBD300A
Universal Keyboard
C527M-L (3/04)
[ 2 ] Pelco Manual C527M-L (3/04)

Pelco Manual C527M-L (3/04) [ 3 ]
CONTENTS
Section Page
IMPORTANT SAFETY INSTRUCTIONS ........................................................................................................... 5
REGULATORY NOTICES .................................................................................................................................. 6
DESCRIPTION ................................................................................................................................................. 7
INSTALLATION – CM6700 MODE .................................................................................................................. 9
Connecting a Keyboard to the Local Keyboard Port ............................................................................. 9
Connecting Keyboards to the Remote Keyboard(s) Port ...................................................................... 9
INSTALLATION – CM6800 MODE ................................................................................................................ 11
Connecting KBD300A Direct-Powered Keyboards ............................................................................. 11
Connecting KBD300A Remote Keyboards .......................................................................................... 13
INSTALLATION – CM6700 ASCII MODE ...................................................................................................... 15
RS-232 Interface (CM6700) ................................................................................................................ 15
RS-422 Interface (CM6700) ................................................................................................................ 17
INSTALLATION – CM6800 ASCII MODE ...................................................................................................... 19
RS-232 Interface (CM6800) ................................................................................................................ 19
RS-485 Interface (CM6800) ................................................................................................................ 21
INSTALLATION – DIRECT MODE .................................................................................................................. 24
Connecting the Keyboard ................................................................................................................... 24
SWITCH SETTINGS ...................................................................................................................................... 26
PROGRAMMING AND OPERATION .............................................................................................................. 27
Scanning Functions ............................................................................................................................ 31
Programming Limit Stops ................................................................................................................... 32
Zones .................................................................................................................................................. 33
SPECIFICATIONS ........................................................................................................................................... 34
PRODUCT WARRANTY AND RETURN INFORMATION ................................................................................ 39

[ 4 ] Pelco Manual C527M-L (3/04)
List of Illustrations
Figure Page
1Wiring Diagram for Local/Remote Keyboards ................................................................................... 10
2Keyboard Cabling Diagram ................................................................................................................. 10
3Data Cables Plugged into COM 5 and 6 (CM6800-48X8 Shown) ...................................................... 12
4Connecting Remote Keyboards (CM6800-48X8 Shown) .................................................................... 14
5RS-232 Interface Connections (CM6700) ........................................................................................... 16
6RS-422 Interface Connections (CM6700) ........................................................................................... 18
7RS-232 Interface Connections (CM6800-48X8 Shown) ..................................................................... 20
8RS-485 Interface Connections (CM6800-48X8 Shown) ..................................................................... 22
9COM Port Connections and RJ-45 Connector Pin-Outs ..................................................................... 23
10 Direct Keyboard and Receiver Wiring ................................................................................................ 25
11 Keyboard Rear Panel .......................................................................................................................... 27
12 Keyboard Functions ............................................................................................................................ 30
List of Tables
Table Page
AKBD300A Operational Features ........................................................................................................... 8
BKeyboard Addresses ........................................................................................................................... 26
CKeyboard Modes ................................................................................................................................ 26
DKeyboard Functions ............................................................................................................................ 27
EKBD300A Button Functions ................................................................................................................ 30
FOperating Scan Functions with Various Receivers ............................................................................ 31
GLimit Set Codes .................................................................................................................................. 32
HZone Programming Procedure ............................................................................................................ 33
Pelco Manual C527M-L (3/04) [ 5 ]
IMPORTANT SAFETY INSTRUCTIONS
Read these instructions.
Keep these instructions.
Heed all warnings.
Follow all instructions.
Do not use this apparatus near water.
Clean only with dry cloth.
Do not block any ventilation openings. Install in accordance with the manufacturer’s instructions.
Do not install near any heat sources such as radiators, heat registers, stoves, or other apparatus
(including amplifiers) that produce heat.
Only use attachments/accessories specified by the manufacturer.
Refer all servicing to qualified service personnel. Servicing is required when the apparatus has been
damaged in any way, such as power-supply cord or plug is damaged, liquid has been spilled or objects
have fallen into the apparatus, the apparatus has been exposed to rain or moisture, does not operate
normally, or has been dropped.
Apparatus shall not be exposed to dripping or splashing and that no objects filled with liquids, such
as vases shall be placed on the apparatus.
WARNING: To reduce the risk of fire or electric shock, do not expose this apparatus to rain or
moisture.
Installation should be done only by qualified personnel and conform to all local codes.
Unless the unit is specifically marked as a NEMA Type 3, 3R, 3S, 4, 4X, 6, or 6P enclosure, it is
designed for indoor use only and it must not be installed where exposed to rain and moisture.
CAUTION: These servicing instructions are for use by qualified service personnel only. To reduce the risk
of electric shock do not perform any servicing other that contained in the operating instructions unless
you are qualified to do so.
Only use replacement parts recommended by Pelco.
[ 6 ] Pelco Manual C527M-L (3/04)
REGULATORY NOTICES
This device complies with part 15 of the FCC Rules. Operation is subject to the following two conditions:
(1) this device may not cause harmful interference, and (2) this device must accept any interference re-
ceived, including interference that may cause undesired operation.
RADIO AND TELEVISION INTERFERENCE
This equipment has been tested and found to comply with the limits of a Class B digital device, pursuant
to part 15 of the FCC rules. These limits are designed to provide reasonable protection against harmful
interference in a residential installation. This equipment generates, uses, and can radiate radio frequency
energy and, if not installed and used in accordance with the instructions, may cause harmful interference
to radio communications. However there is no guarantee that the interference will not occur in a particu-
lar installation. If this equipment does cause harmful interference to radio or television reception, which
can be determined by turning the equipment off and on, the user is encouraged to try to correct the inter-
ference by one or more of the following measures:
•Reorient or relocate the receiving antenna.
• Increase the separation between the equipment and the receiver.
• Connect the equipment into an outlet on a circuit different from that to which the receiver is
connected.
•Consult the dealer or an experienced radio/TV technician for help.
You may also find helpful the following booklet, prepared by the FCC: How to Identify and Resolve Radio-
TV Interference Problems. This booklet is available from the U.S. Government Printing Office, Washington
D.C. 20402.
Changes and Modifications not expressly approved by the manufacturer or registrant of this equipment
can void your authority to operate this equipment under Federal Communications Commissions rules.
Pelco Manual C527M-L (3/04) [ 7 ]
DESCRIPTION
The KBD300A Universal Keyboard has many operational features (refer to Table A) and can be used in nu-
merous operational modes:
CM6700 Mode: Program and operate the CM6700 Matrix Switcher/Controller Unit (SCU). Also control a
Genex® multiplexer from a CM6700. Multiple keyboards can be used in this mode.
CM6800 Mode: Program and operate the CM6800 Matrix Switcher/Controller Unit (SCU). Also control a
Genex multiplexer from a CM6800 SCU. Multiple keyboards can be used in this mode.
Direct P Mode: Control up to 16 receivers connected directly to the keyboard. A separate system, such
as an MS500 or VA6100 Switcher, is needed to route video to the monitor.
NOTE: The KBD300A keyboard can also be used in Direct Mode to program a CM9760-MDA
Master Distribution Amplifier. Refer to the CM9760-MDA manual for details.
NOTE: The KBD300A keyboard has an auto-centering joystick. Be certain the joystick remains in
the neutral (vertical) position as power is applied to the keyboard. Do not move or hold down the
joystick until after the red digit LEDs have finished flashing the firmware revision.
The latest firmware release (version 5.00) allows three additional modes:
CM6700 ASCII Mode: This mode supports the CM6700 matrix auxiliary commands. The F1, F2, and F3
keys control the CM6700-MXB relays that are on the matrix bay. To enable this mode, DIP switch 7 must
be ON and DIP switch 8 must be OFF.
CM6800 ASCII Mode: This mode supports the CM6800 GPI commands. The F1, F2, and F3 keys control
the relays on an REL2064 that is connected to a CM6800 switcher. To enable this mode, DIP switch 7
must be ON and DIP switch 8 must be ON.
Direct D Mode: This mode is similar to the Direct P Protocol, except that the same set of commands is
now sent in Direct D Protocol. To enable Direct D mode, DIP switches 5 and 7 must be ON.
NOTE: You must upgrade your KBD firmware to version 5.00 if the application requires you to
select two-digit monitor numbers.

[ 8 ] Pelco Manual C527M-L (3/04)
Table A. KBD300A Operational Features
CM6700/ Direct CM6700 CM6800 Direct
Function CM6800 P* ASCII** ASCII** D**
Automatically recognize the mode Yes Yes No No No
Select cameras (control only for Direct Mode) Yes Yes Yes No Yes
Select monitors Yes No Yes Yes No
Control lenses Yes Yes Yes Yes Yes
Set and call presets/patterns Yes Yes Yes Yes Yes
Create Zones Yes No Yes No Yes
Control latching receiver auxiliaries Yes Yes Yes Yes Yes
Control momentary receiver auxiliaries Yes Yes Yes Yes Yes
Control multiplexer Yes No Yes Yes No
(main monitor output for CM6700/6800 mode)
Control Matrix Switcher Yes No Yes Yes No
Program Matrix Switcher Yes No No No No
Sequencing Yes No Yes Yes No
Operate frame, auto, and random scans Yes Yes Yes Yes Yes
Program and operate patterns Yes Yes Yes Yes Yes
Control CM6700 auxiliaries Yes No Yes No No
Control CM6800 GPIs Yes No No Yes No
***Firmware version 2.00 and higher
***Firmware version 5.00 and higher
Pelco Manual C527M-L (3/04) [ 9 ]
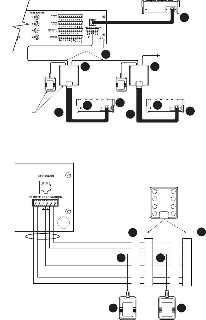
INSTALLATION – CM6700 MODE
There are two keyboard ports on the CM6700 SCU.
The LOCAL KEYBOARD port is for connecting a single keyboard within a distance of 25 feet (7.6 meters).
The REMOTE KEYBOARD(S) port is for connecting additional remote keyboards.
Connecting a Keyboard to the Local Keyboard Port
Use the data cable that is supplied with the keyboard. Plug one end of the cable into the RJ-45
connector on the rear of the keyboard and the other end into the LOCAL KEYBOARD port on the SCU
(refer to Figure 1). Set the keyboard switches according to the instructions in the
Switch Settings
sec-
tion. Go to step 2 to install remote keyboards, or go to step 10.
Connecting Keyboards to the Remote Keyboard(s) Port
NOTE:
A KBDKIT or KBDKIT-X is required for this application. The KBDKIT consists of two RJ-45
wall blocks and a 120 VAC to 12 VAC transformer. The KBDKIT-X is for 230 VAC. Use one KBDKIT
for each keyboard.
Refer to Figures 1 and 2 for the following steps.
Decide on a suitable location for each keyboard and wall block. Keyboards must be within 25 feet (7.6
meters) of the wall block. Wall blocks must be within 6 feet (1.8 m) of the nearest suitable electrical
outlet. Do not mount the wall block at this time.
Run wall block interconnect cable (user-supplied) from the SCU to the closest keyboard location, then
to the next nearest location, and the next, etc.
Communication to the keyboards is RS-485. Maximum cable distance for RS-485 communication over
24-gauge wire is 4,000 feet (1,219 m). Pelco recommends using shielded twisted pairs cable that meets
or exceeds the basic requirements for EIA RS-485 applications.
Remove the wall block cover and make cable connections at each wall block.
At each wall block, wire the transformer to pins 3 and 4. Polarity is unimportant.
Replace the cover on the wall block. Secure the wall block to a suitable surface. A double-sided sticky
pad is provided to mount the wall block.
Set the switches for each keyboard according to the instructions in the
Switch Settings
section.
Plug in all keyboard data cables.
Plug the KBDKIT or KBDKIT-X transformer into a suitable outlet.
To initialize the keyboard, wait five seconds after powering-up the CM6700, enter the number for the
monitor you are viewing (1-4), and press MON. The LED display shows the number entered.
NOTE: You must re-initialize whenever power is cycled.
Go to the
Programming and Operation
section and program and test for proper operation.

[ 10 ] Pelco Manual C527M-L (3/04)
Figure 1. Wiring Diagram for Local/Remote Keyboards
Figure 2. Keyboard Cabling Diagram
KBDKIT
25-FOOT KEYBOARD
DATA CABLE
KBD KBD
ADDITIONAL
KEYBOARDS
USER-SUPPLIED CABLE
25-FOOT KEYBOARD DATA CABLE
KBD
LOCAL
KEYBO ARD
LOCAL
KEYBOARD
REMOTE KEYBOARDS
88
22
3
1
CM6700
6
REPLACE
COVER
7
6
REPLACE
COVER
7
25-FOOT KEYBOARD
DATA CABLE
SET SWITCHES
01225
TERMINAL
1
2
3
4
5
6
7
8
TERMINAL
1
2
3
4
5
6
7
8
R+R-T-T+
LOCAL
RJ-45 WALL BLOCK TERMINALS
1
2
3
45
6
7
8
12 VAC 12 VAC
44
TX+
TX-
AC
AC
GND
RX-
RX+
55
9 9
USER-SUPPLIED CABLE
TX+
TX-
AC
AC
GND
RX-
RX+
01226

Pelco Manual C527M-L (3/04) [ 11 ]
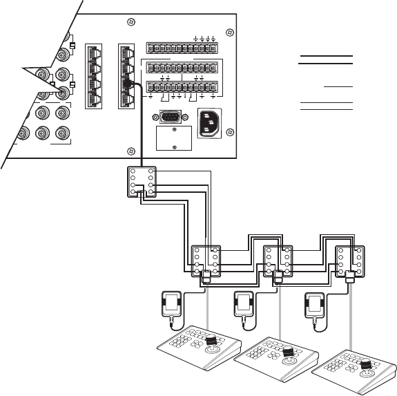
INSTALLATION – CM6800 MODE
You can connect up to eight KBD300A keyboards to any of the following ports:
For the CM6800-48X8:
COM 5 (one direct-powered keyboard or up to eight remotely connected keyboards)
COM 6 (same as COM 5)
COM 7 (up to eight remotely connected keyboards)
COM 8 (same as COM 7)
The total number of KBD300A Series keyboards connected to the CM680-48X8 cannot exceed 16.
For the CM6800-32X6:
COM 4 (up to eight remotely connected keyboards)
COM 5 (one direct-powered keyboard or up to eight remotely connected keyboards)
The total number of KBD300A Series keyboards connected to the CM6800-32X6 cannot exceed eight.
Connecting KBD300A Direct-Powered Keyboards
For direct-powered local keyboards, use COM 5 and 6 (serial ports 5 and 6) for the CM6800-48X8 and use
COM 5 (serial port 5) for the CM6800-32X6. Each port can power one KBD300A keyboard. A KBDKIT(-X) is
required if the distance between the CM6800 and the keyboard exceeds 25 feet (7.6 m).
Refer to Figure 3 (CM6800-48X8 shown).
Using the 25-foot (7.6 m) straight data cable supplied with the keyboard, plug one end into the RJ-45
connector on the rear of the keyboard. Plug the other end into either COM 5 or 6 on the CM6800-48X8
or COM 5 on the CM6800-32X6.
Set the keyboard switches according to the instructions in the
Switch Settings
section.
Go to the next section,
Connecting KBD300A Remote Keyboards
. Go to step 1 to install remote key-
boards, or go to step 9.

[ 12 ] Pelco Manual C527M-L (3/04)
Figure 3. Data Cables Plugged into COM 5 and 6 (CM6800-48X8 Shown)
COM 1
1
2
3
4
5
6
7
8
16
87
3231
43
VIDEO OUTPUTS 120/230~
50/60 HZ
25 WATTS
COM
ALAR M
123 45 678
CONTROL
PTZ
OUT
AT
+T
-R
+R
-T
+T
-R
+R
-B
12
3
MAXIMUM NUMBER OF KEYBOARDS POWERED BY COM 5 & 6: 1 PER PORT
NOTE: THE TOTAL NUMBER OF KBD300A SERIES
KEYBOARDS CONNECTED TO THE CM6800 CANNOT EXCEED 16.
KBDKIT(-X) REQUIRED WHEN WIRING MORE THAN 1 KEYBOARD TO A PORT.
KBD300A
RJ-45 PIN-OUTS
1 Tx+
2 Tx-
3 12V
4 12V
5 GROUND
6 NC
7 Rx-
8 Rx+
CM6800 COM 5 & 6
RJ-45 PIN-OUTS
1 Rx+
2 Rx-
3 KBD 12V
4 KBD GROUND
5 GROUND
6 NC
7 Tx-
8 Tx+
KBD300A
KBD300A
20108
Pelco Manual C527M-L (3/04) [ 13 ]
Connecting KBD300A Remote Keyboards
For remote keyboard connections, use COM 5, 6, 7, or 8 for the CM6800-48X8 and COM 4 and 5 for the
CM6800-32X6. Each port can support up to eight KBD300A keyboards. Do not exceed 16 total keyboards
for the CM6800-48X8 and eight total keyboards for the CM6800-32X6.
A KBDKIT or KBDKIT(-X) is required to connect remote keyboards. Each kit contains two RJ-45 wall blocks
and a transformer. Use one wall block for each keyboard.
Refer to Figure 4 (CM6800-48X8 shown).
Pick a suitable location for each keyboard and wall block. Wall blocks must be within 6 feet (1.8 m) of
a suitable electric outlet. Do not mount the wall blocks yet.
Connect each keyboard to a wall block, using the supplied keyboard data cable.
Remove the wall block covers and wire the connections between each wall block. Connect to a final
wall block (which will be connected to the CM6800).
Communication to the keyboards is RS-485. Maximum cable distance for RS-485 communication over
24-gauge wire is 4,000 feet (1,219 m). Pelco recommends using shielded twisted pair cable that
meets or exceeds the basic requirements for EIA RS-485 applications.
At each wall block, wire the KBDKIT or KBDKIT(-X) transformer to pins 3 and 4.
Replace the wall block cover. Secure the wall block to a suitable surface using the double-sided
sticky pad.
Set the address switches for each keyboard (refer to the
Switch Settings
section). (If using COM 7 or
8, the port settings on the CM6800 must be changed from the default settings. Refer to the CM6800
manual.)
Connect the final wall block to COM 5, 6, 7, or 8 on the CM6800-48X8 or COM 4 or 5 for the CM6800-
32X6 using a straight data cable (supplied with the CM6800).
Plug the KBDKIT or KBDKIT-X transformers into a suitable outlet.
To initialize the keyboard, wait five seconds after powering-up the CM6800, enter the number for the
monitor you are viewing, and press MON. The LED display shows the number entered.
NOTE: You must re-initialize whenever power is cycled.
Go to the
Programming and Operation
section and program and test for proper operation.

[ 14 ] Pelco Manual C527M-L (3/04)
Figure 4. Connecting Remote Keyboards (CM6800-48X8 Shown)
COM 1
1
2
3
4
5
6
7
8
16
87
3231
43
VIDE O OUTPUTS 120/230~
50/60 HZ
25 WATTS
COM
ALAR M
123 45 678
CONTROL
PTZ
OUT
AT
+T
-R
+R
-T
+T
-R
+R
-B
12
F
3
MAXIMUM NUMBER OF KEYBOARDS: 8 PER PORT
NOTE: THE TOTAL NUMBER OF KBD300A SERIES
KEYBOARDS CONNECTED TO THE CM6800 CANNOT EXCEED 16.
KBD300A
RJ-45 PIN-OUTS
1 Tx+
2 Tx-
3 NC
4 NC
5 GROUND
6 NC
7 Rx-
8 Rx+
CM6800 COM 7 & 8
RJ-45 PIN-OUTS
1 Rx+
2 Rx-
3 12V
4 12V
5 GROUND
6 NC
7 Tx-
8 Tx+
2
3
4 5
6
7
1 8
2
3
4 5
6
7
1 8
2
3
4 5
6
7
1 8
2
3
4 5
6
7
1 8
KBDKIT(-X)
1 REQUIRED
PER KEYBOARD
WALL
BLOCK
12V
TRANSFORMER
4-CONDUCTOR, SHIELDED,
24-GAUGE, SUCH AS BELDEN
9843 (USER-SUPPLIED)
KBD300A
KBD300A
KBD300A
Pelco Manual C527M-L (3/04) [ 15 ]
INSTALLATION – CM6700 ASCII MODE
One ASCII keyboard can be installed, using either an RS-232 or RS-422 interface. If additional local and
remote keyboards are used, you should install them according to the instructions in the
Installation –
CM6700 Mode and Installation – CM6800 Mode
sections before doing an ASCII installation.
For installation at a remote location that is served by an RS-232 communications facility (such as via dial-
up phone lines), use an RS-232 connection at both the KBD keyboard and the matrix switcher. (Refer to
the
RS-232 Interface
section below.)
For installation at a remote location that is served by an RS-422 communications facility (such as direct-wire
or fiber-optic terminals), use an RS-422 connection at both the KBD keyboard and the matrix switcher.
(Refer to the
RS-422 Interface
section.)
NOTE: A KBDKIT or KBDKIT-X is required to use the keyboard in ASCII Mode. The KBDKIT consists of
two RJ-45 wall blocks and a 120 VAC to 12 VAC transformer. The KBDKIT-X is for 230 VAC.
Use one wall block.
RS-232 Interface (CM6700)
An RS-232/RS-422 converter and power supply (Pelco part number PV130) are required. They are not in-
cluded and must be ordered separately.
Refer to Figure 5.
Remove the cover from the CM6700 SCU and verify that the DIP switches for COM 2 are set for RS-
232. Refer to the
COM 2 Port
section in the CM6700 Installation/Operation Manual for setting the
switches. Reinstall the cover.
Use an existing CM6700 keyboard to program the COM 2 communication port. (If there is no other
keyboard, use the one you are installing. Set all DIP switches OFF and plug the keyboard into the
Local Keyboard port on the back of the CM6700. Remove when programming is completed.) Refer to
the
Setting COM 2 Communication Parameters
section in the CM6700 Installation/Operation Manual
for programming instructions. Set COM 2 port parameters as follows:
Baud: 9600, Parity: Odd, Stop Bits: 1
At the CM6700 SCU, connect the COM 2 RS-232 port to the output of the RS-232 device at the SCU
side of the transmission link.
Decide on a suitable location for the keyboard and wall block. The keyboard must be within 25 feet
(7.6 m) of the wall block. The wall block must be within 6 feet (1.8 m) of the nearest suitable electri-
cal outlet. Do not mount the wall block at this time.
Remove the wall block cover and make connections between the wall block and the RS-232/RS-422
converter.
Wire the +12 VDC power supply to the converter.
Connect the RS-232 side of the converter to an RS-232 device that interfaces the transport network.
At the wall block wire the transformer to pins 3 and 4. Polarity is unimportant.
Replace the cover on the wall block. A double-sided sticky pad is provided to mount the wall block.
Secure the wall block to a suitable surface.

[ 16 ] Pelco Manual C527M-L (3/04)
Set the keyboard DIP switches for ASCII Mode according to the instructions in the Switch Settings
section.
Plug in the keyboard data cable.
Plug the +12 VDC power supply into a suitable outlet.
Plug the KBDKIT or KBDKIT-X transformer into a suitable outlet.
Apply power to the CM6700 SCU (if not already powered). To initialize the keyboard, wait five sec-
onds after power-up, enter the number for the monitor you are viewing (1-4), and press MON. The LED
display shows the number entered. You can now use the keyboard to perform all normal keyboard
functions except you cannot program the CM6700.
Go to the Programming and Operation section and program and test for proper operation.
LOCAL
KEYBOARD
1
2
3
4
5
6
7
8
12 VAC
KBDKIT
RJ-45 WALL BLOCK
TERMINALS
RS-232 RS-422
CM6700SCU
RS-232 DEVICE
RS-232 DEVICE
PV130
RS-232/RS-422
CONVERTER RD (B)
RD (A)
TD (A)
TD (B)
TX+
TX-
TERMINAL
RX-
RX+
POWER
SUPPLY
+12 VDC GND
9-PIN, MALE
CONNECTOR
ON CONVERTER
CUSTOMER SUPPLIED WIRING.
50 FEET MAXIMUM DISTANCE.
MAXIMUM DISTANCE
OF 4,000 FEET. USE
SHIELDED TWISTED
PA IRS SUCH AS BELDEN
9843 OR EQUIVALENT.
SCU COM 2
PIN
7 (TX+)
9 (GND)
12 (RX+)
12
6
7
13
58
RS-232 CUSTOMER SUPPLIED WIRING.
50 FEET MAXIMUM DISTANCE.
3
KBD300A
4
25-FOOT
KEYBOARD
DATA CABLE
101
WALL BLOCK
1
2
3
14
POWER UP
SCU
9
REPLACE
COVER
11
SET SWITCHES
DB9 PINS
3(TX+)
2(RX+)
5(GND)
ANY RS-232 NETWORK
TRANSPORT
NETWORK
1
2
3
45
6
7
8
NOTE: A SEPARATE PATH MUST BE PROVIDED
FOR VIDEO TO THE MONITOR.
Figure 5. RS-232 Interface Connections (CM6700)
Pelco Manual C527M-L (3/04) [ 17 ]
RS-422 Interface (CM6700)
Refer to Figure 6.
Remove the cover from the CM6700 SCU and verify that the DIP switches for COM 2 are set for
RS-422. Refer to the
COM 2 Port
section in the CM6700 Installation/Operation Manual for setting the
switches. Reinstall the cover.
Use an existing CM6700 keyboard to program the COM 2 communication port. (If there is no other
keyboard, use the one you are installing. Set all DIP switches OFF and plug the keyboard into the Lo-
cal Keyboard port on the back of the CM6700. Remove when programming is completed.) Refer to the
Setting COM 2 Communication Parameters
section in the CM6700 Installation/Operation Manual for
programming instructions. Set COM 2 port parameters as follows:
Baud: 9600, Parity: Odd, Stop Bits: 1
Decide on a suitable location for the keyboard and wall block. The keyboard must be within 25 feet
(7.6 meters) of the wall block. The wall block must be within 6 feet (1.8 m) of the nearest suitable
electrical outlet. Do not mount the wall block at this time.
Remove the wall block cover and make connections between the wall block and COM 2 of the
CM6700 SCU.
At the wall block wire the transformer to pins 3 and 4. Polarity is unimportant.
Replace the cover on the wall block. A double-sided sticky pad is provided to mount the wall block.
Secure the wall block to a suitable surface.
Set the keyboard DIP switches according to the instructions in the
Switch Settings
section.
Plug in the keyboard data cable.
Plug the KBDKIT or KBDKIT-X transformer into a suitable outlet.
Apply power to the CM6700 (if not already powered). To initialize the keyboard, wait five seconds
after power-up, enter the number for the monitor you are viewing (1-4), and press MON. The LED dis-
play shows the number entered.
Once you apply power to the keyboard and the CM6700 SCU, you can use the keyboard in the same
manner as a normal keyboard except that in ASCII Mode you cannot program the CM6700.
Go to the
Programming and Operation
section and program and test for proper operation.

[ 18 ] Pelco Manual C527M-L (3/04)
KBDKIT
RJ-45 WALL BLOCK
TERMINALS
POWER UP
SCU
REPLACE
COVER
SCU COM 2
PIN
12 (RX+)
11 (RX-)
8 (TX-)
7 (TX+)
WALL BLOCK
TERMINAL
1 (TX+)
2 (TX-)
7 (RX-)
8 (RX+)
TO
1
2
3
45
6
7
8
10
SET SWITCHES
LOCAL
KEYBOARD
1
2
3
4
5
6
7
8
12 VAC
CM6700SCU
TERMINAL
KBD300A
25-FOOT
KEYBOARD
DATA CABLE
1
2
4
3
5
7
4
9
6
8
NOTE: A SEPARATE PATH MUST BE PROVIDED
FOR VIDEO TO THE MONITOR.
MAXIMUM DISTANCE
OF 4,000 FEET. USE
SHIELDED TWISTED
PAIRS SUCH AS BELDEN
9843 OR EQUIVALENT.
Figure 6. RS-422 Interface Connections (CM6700)
Pelco Manual C527M-L (3/04) [ 19 ]
INSTALLATION – CM6800 ASCII MODE
RS-232 Interface (CM6800)
An RS-232/RS-422 converter and power supply (Pelco part number PV130) are required. They are not
included and must be ordered separately.
Refer to Figures 7 (CM6800-48X8 shown) and 9.
Use an existing CM6800 keyboard to program the COM 1, 2, 7, or 8 communication port for the
CM6800-48X8 or COM 1 or 2 communication port for the CM6800-32X6. (If there is no other key-
board, use the one you are installing. Set all DIP switches OFF and plug the keyboard into the Local
Keyboard port on the back of the CM6800. Remove when programming is complete.)
Do the following to program the COM port:
a. Press the PGM key. At the prompt, enter the password (default is 2899100). The CM6800 Main
Menu appears.
b. Select PORT. The Set Serial Port screen appears.
c. Select the number of the desired port.
d. Set COM port parameters as follows: Device: ASCII, Type: RS-232, Baud: 9600, Parity: Odd, Data
Bits: 8, Stop Bits: 1.
e. Select RETURN, and RETURN again.
At the CM6800, connect the COM 1, 2, 7, or 8 RS-232 port (CM6800-48X8) or COM 1 or 2 RS-232 port
(CM6800-32X6) to the output of the RS-232 device on the CM6800 side of the transmission link.
Decide on a suitable location for the keyboard and wall block. The keyboard must be within 25 feet
(7.6 m) of the wall block. The wall block must be within 6 feet (1.8 m) of the nearest suitable electri-
cal outlet. Do not mount the wall block yet.
Remove the wall block cover and make the connections between the wall block and the RS-232/
RS-422 converter.
Wire the +12 VDC power supply to the converter.
Connect the RS-232 side of the converter to an RS-232 device that interfaces the transport network.
At the wall block, wire the transformer to pins 3 and 4. Polarity is unimportant.
Replace the cover on the wall block. Use the double-sided sticky pad to mount the wall block to a
suitable surface.
Set the keyboard DIP switches according to the instructions in the Switch Settings section.
Plug in the keyboard data cable.
Plug the +12 VDC power supply into a suitable outlet.
Plug the KBDKIT or KBDKIT-X transformer into a suitable outlet.

[ 20 ] Pelco Manual C527M-L (3/04)
Apply power to the CM6800 (if not already powered). To initialize the keyboard, wait five seconds
after power-up, enter the number for the monitor you are viewing, and press MON. The LED display
shows the number entered. You can now use the keyboard to perform all normal keyboard functions,
except you cannot program the CM6800.
Go to the
Programming and Operation
section and program and test for proper operation.
1
2
3
4
5
6
7
8
12 VAC
KBDKIT
RJ-45 WALL BLOCK
TERMINALS
RS-232 RS-422
RS-232 DEVICE
RS-232 DEVICE
PV130
RS-232/RS-422
CONVERTER RD (B)
RD (A)
TD (A)
TD (B)
TX+
TX-
TERMINAL
RX-
RX+
POWER
SUPPLY
+12 VDC GND
9-PIN, MALE
CONNECTOR
ON CONVERTER
CUSTOMER -SUPPLIED WIRING.
50 FEET MAXIMUM DISTANCE.
TX
GND
RX
7
KBD300A
25-FOOT
KEYBOARD
DATA CABLE
WALL
BLOCK
REPLACE
COVER
SET
SWITCHES
DB9 PINS
3(TX+)
2(RX+)
5(GND)
ANY RS-232 NETWORK
TRANSPORT
NETWORK
1
2
3
45
6
7
8
6
12 13
58
4
11 10
9
3
MAXIMUM DISTANCE
OF 4,000 FEET. USE
SHIELDED TWISTED
PAIRS SUCH AS BELDEN
9843 OR EQUIVALENT.
CUSTOMER -SUPPLIED WIRING.
50 FEET MAXIMUM DISTANCE.
COM 1
1
2
3
4
5
6
7
8
16
87
3231
43
VIDEO OUTPUTS 120/230~
50/60 HZ
25 WATTS
COM
ALARM
123 45678
CONTROL
PTZ
OUT
AT
+T
-R
+R
-T
+T
-R
+R
-B
12
F
3
COM 1, 2, 7, OR 8
14
POWER UP SCU
NOTE: A SEPARATE PATH MUST BE PROVIDED
FOR VIDEO TO THE MONITOR.
1
NOTE: SEE FIGURE 11 FOR PIN-OUTS
PELCO SWITCHER
MODEL CM6800
MAIN MENU
1CAMERA
2LOGICAL CAMERA
3MONITOR
4ACCESS
5TIME & DATE
6PORT
7PRIORITY
8SEQUENCE
9MACRO
10 ALARM CONTACTS
11 EVENT TIMER
12 SET AUXILIARY MENU
13 SET PASSWORD
14 ABOUT CM6800
ENGLISH
RETURN
SET SERIAL PORT 05
2
CM6800
DEVICE:
TYPE:
BAUD RATE:
PARITY:
DATA BITS:
STOP BITS:
ASCII
RS232
9600
ODD
8
1
RETURN
RS-232
4
01235
Figure 7. RS-232 Interface Connections (CM6800-48X8 Shown)
Pelco Manual C527M-L (3/04) [ 21 ]
RS-485 Interface (CM6800)
Refer to Figures 8 (CM6800-48X8 shown) and 9.
Use an existing CM6800 keyboard to program the COM 4, 7, or 8 communication port (CM6800-48X8)
or COM 4 communications port (CM6800-32X6). (If there is no other keyboard, use the one you are
installing. Set all DIP switches OFF and plug the keyboard into the Local Keyboard port on the back of
the CM6800. Remove when programming is complete.)
Do the following to program the COM port:
a. Press the PGM key. At the prompt, enter the password (default is 2899100). The CM6800 Main
Menu appears.
b. Select PORT. The Set Serial Port screen appears.
c. Select the number of the desired port.
d. Set COM port parameters as follows: Device: ASCII, Type: RS-485, Baud: 9600, Parity: Odd, Data
Bits: 8, Stop Bits: 1.
e. Select RETURN, and RETURN again.
Decide on a suitable location for the keyboard and wall block. The keyboard must be within 25 feet
(7.6 m) of the wall block. The wall block must be within 6 feet (1.8 m) of the nearest suitable electrical
outlet. Do not mount the wall block yet.
Remove the wall block cover and make connections between the wall block and COM 4, 7, or 8 of the
CM6800-48X8 or COM 4 of the CM6800-32X6.
At the wall block, wire the transformer to pins 3 and 4. Polarity is unimportant.
Replace the cover on the wall block. Use the double-sided sticky pad to mount the wall block to a
suitable surface.
Set the keyboard DIP switches according to the instructions in the
Switch Settings
section.
Plug in the keyboard data cable.
Plug the KBDKIT or KBDKIT-X transformer into a suitable outlet.
Apply power to the CM6800 (if not already powered). To initialize the keyboard, wait five seconds
after power-up, enter the number for the monitor you are viewing (1-8), and press MON. The LED
display shows the number entered. Once you apply power to the keyboard and the CM6800, you can
use the keyboard in the same way as a normal keyboard except that in ASCII Mode you cannot
program the CM6800.
Go to the
Programming and Operation
section and program and test for proper operation.

[ 22 ] Pelco Manual C527M-L (3/04)
COM 1
1
2
3
4
5
6
7
8
16
87
3231
43
VIDEO OUTPUTS 120/230~
50/60 HZ
25 WATTS
COM
ALARM
123 45 6 78
CONTROL
PTZ
OUT
AT
+T
-R
+R
-T
+T
-R
+R
-B
12
F
3
COM 4, 7, OR 8
6
NOTE: A SEPARATE PATH MUST BE PROVIDED
FOR VIDEO TO THE MONITOR.
10
NOTE: SEE FIGURE 11
FOR PIN-OUTS
CM6800
1 (TX+)
2 (TX-)
7 (RX-)
8 (RX+)
1
2
3
45
6
7
8
1
2
3
4
5
6
7
8
12 VAC
KBD300A
MAXIMUM DISTANCE
OF 4,000 FEET. USE
SHIELDED TWISTED
PAIRS SUCH AS BELDEN
9843 OR EQUIVALENT.
WALL BLOCK
TERMINAL
TERMINAL
3
87
9
45
4
SET SWITCHES
25-FOOT
KEYBOARD
DATA CABLE
1
POWER UP
SCU
PELCO SWITCHER
MODEL CM6800
MAIN MENU
1CAMERA
2LOGICAL CAMERA
3MONITOR
4ACCESS
5TIME & DATE
6PORT
7PRIORITY
8SEQUENCE
9MACRO
10 ALARM CONTACTS
11 EVENT TIMER
12 SET AUXILIARY MENU
13 SET PASSWORD
14 ABOUT CM6800
ENGLISH
RETURN
SET SERIAL PORT 05
2
DEVICE:
TYPE:
BAUD RATE:
PARITY:
DATA BITS:
STOP BITS:
ASCII
RS485
9600
ODD
8
1
RETURN
KBDKIT
RJ-45 WALL BLOCK
TERMINALS
REPLACE
COVER
01231
Figure 8. RS-485 Interface Connections (CM6800-48X8 Shown)

Pelco Manual C527M-L (3/04) [ 23 ]
PIN 1
PIN 8
COM PORTS 1, 2
RS-232
PIN 1
PIN 8
COM PORT 3
M, RS-485
PIN 1
PIN 8
COM PORT 4
RS-485
PIN 1
PIN 8
COM PORTS 5, 6
RS-485
1-----Rx
2-----NC
3-----NC
4
5-----GROUND
6
7
8-----Tx
-----NC
-----NC
-----NC
1-----MRx+
2-----MRx-
3
4
5-----GROUND
6-----NC
7-----MTx-
8-----MTx+
-----NC
-----NC
1-----Rx+
2-----Rx-
3
4
5-----GROUND
6-----NC
7-----Tx-
8-----Tx+
-----NC
-----NC
PIN 1
PIN 8
COM PORTS 7, 8
RS-485 (PROGRAMMABLE
TO RS-232)
RS-232 FUNCTIONRS-485 FUNCTION
1-----Rx+
2-----Rx-
3
4
5-----GROUND
6-----NC
7-----Tx-
8-----Tx+
-----KBD 12V
-----KBD GROUND
1-----Rx+
2-----Rx-
3
4
5-----GROUND
6-----NC
7-----Tx-
8-----Tx+
-----NC
-----NC
1-----Rx
2
3
4
5-----GROUND
6-----NC
7-----NC
8-----Tx
-----NC
-----NC
-----NC
NC = NO CONNECTION
01232
Figure 9. COM Port Connections and RJ-45 Connector Pin-Outs
[ 24 ] Pelco Manual C527M-L (3/04)
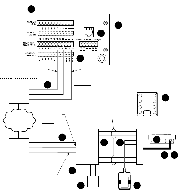
INSTALLATION – DIRECT MODE
The keyboard is wired directly to a maximum of 16 receivers. You can communicate using Pelco P Protocol
or Pelco D Protocol. Direct Mode installation/operation is not the same as CM6700 Mode or CM6800
Mode installation/operation. A separate system, such as an MS500 or VA6100 switcher, is required for
routing video to the monitor(s).
In Direct P and Direct D modes you can now change the zoom speed of a PTZ by entering a number from 1
to 4 followed by a zoom command. This causes the zoom speed command to be sent.
NOTE: A KBDKIT or KBDKIT-X is required to use the keyboard in Direct Mode. The KBDKIT consists of
two RJ-45 wall blocks and a 120 VAC to 12 VAC transformer. The KBDKIT-X is for 230 VAC. Only one wall
block is required for this application.
Connecting the Keyboard
Refer to Figure 10.
Make sure all receivers are configured to communicate using either Pelco P or Pelco D protocol and
that each receiver has a unique address. Refer to your receiver manual for switch settings.
Decide on a suitable location for the keyboard and wall block. The keyboard must be within 25 feet
(7.6 meters) of the wall block. The wall block must be within 6 feet (1.8 m) of the nearest suitable
electrical outlet. Do not mount the wall block at this time.
Remove the cover from the KBDKIT or KBDKIT-X wall block. Connect the transmission wires from the
receiver (Spectra/Esprit system) to the wall block. Refer to Figure 10 and do the following:
• Connect RX+ from receiver/driver to TX+ (terminal 1) on the wall block.
• Connect RX- from receiver/driver to TX- (terminal 2) on the wall block
NOTE: Communication to the keyboards is RS-422. Maximum cable distance for RS-422 communica-
tion over 24-gauge wire is 4,000 feet (1,219 m). Pelco recommends using shielded twisted pair cable
that meets or exceeds the basic requirements for EIA RS-422 applications.
At the wall block wire the transformer to pins 3 and 4. Polarity is unimportant.
Replace the cover on the wall block. A double-sided sticky pad is provided to mount the wall block.
Secure the wall block to a suitable surface.
Set the keyboard DIP switches according to the instructions in the
Switch Settings
section.
Plug in the keyboard data cable.
Plug the KBDKIT or KBDKIT-X transformer into a suitable outlet. The LED display shows number 1,
which is the default camera number.
Go to the
Programming and Operation
section and program and test for proper operation.
10

Pelco Manual C527M-L (3/04) [ 25 ]
Figure 10. Direct Keyboard and Receiver Wiring
6
REPLACE
COVER
2
3
45
6
7
18
KBD300A
25-FOOT KEYBOARD
DATA CABLE
TO RECEIVER(S)
RX-/RX+
TWISTED
PAIR
12 VA C
TX-
TX+
KBDKIT OR
KBDKIT-X
9
CONFIGURE RECEIVERS
6
SET SWITCHES
20110

[ 26 ] Pelco Manual C527M-L (3/04)
SWITCH SETTINGS
To set the switches on the keyboard (refer to Figure 11):
Remove the two screws and the DIP switch cover plate from the rear of the keyboard.
Set the switches:
•Address (Switches 1-4)
Position the switches according to Table B. Each keyboard in the system must have a different address,
including the local keyboard. To make programming easier, address keyboards in ascending order.
NOTE:
CM6700 accepts only eight addresses.
Table B. Keyboard Addresses
Keyboard Switch Settings
1234
1OFF OFF OFF OFF
2ONOFF OFF OFF
3OFF ON OFF OFF
4ONONOFF OFF
5OFF OFF ON OFF
6ONOFF ON OFF
7OFF ON ON OFF
8ONONONOFF
9OFF OFF OFF ON
10 ON OFF OFF ON
11 OFF ON OFF ON
12 ON ON OFF ON
13 OFF OFF ON ON
14 ON OFF ON ON
15 OFF ON ON ON
16 ON ON ON ON
•Mode (Switches 5, 7, 8)
Position the switches according to Table C. Switch 6 enables/disables turbo pan. It can be switched
while the keyboard is on.
Table C. Keyboard Modes
CM6700/CM6800** Direct P**
CM6700 ASCII***
CM6800 ASCII*** Direct D*** CM9760-MDA*
Switch 5 OFF ON OFF OFF ON ON
Switch 6 ON or OFF ON or OFF ON or OFF ON or OFF ON or OFF ON or OFF
Switch 7 OFF OFF ON ON ON OFF
Switch 8 OFF OFF OFF ON OFF ON
****Firmware version 4.00 and higher.
****Firmware version 4.20 and higher automatically recognizes CM6700/CM6800 and Direct P Mode.
****Firmware version 5.00 and higher.

Pelco Manual C527M-L (3/04) [ 27 ]
PROGRAMMING AND OPERATION
Table D. Keyboard Functions
Circled numbers refer to Figure 13.
Function Procedure
Select Monitor* LED display shows monitor number in run mode.
Enter monitor number and press MON to select.
Select Camera Enter camera number (1-16) and press CAM to select.
NOTE:
The CM6700 and CM6800 can be programmed to restrict some moni-
tors from viewing certain cameras. To display a camera’s view on your monitor,
be sure that your keyboard shows the number of the monitor you are viewing
and be sure that the CM6700 or CM6800 has not been programmed to restrict
viewing of that camera.
Pan/Tilt/Zoom Move the joystick until the camera reaches the desired position. To increase
the speed of movement, move the joystick further from center. Twist the joy-
stick clockwise to zoom in, counterclockwise to zoom out.
Lens Control Focus, iris - Press and hold the appropriate lens control key until the
desired effect is seen.
Presets Enter preset number (1-66) and press PRESET to put camera in preset
position.
To program, position camera, enter desired preset number (1-66) , and hold
down PRESET for two seconds.
In CM6700 and CM6800 modes, a label appears on the monitor. Use F1 and
F2 to edit the label, then select SET and press ACK or tap the joystick
to the right and release.
*This function is not used in Direct Mode. Continued on next page
Figure 11. Keyboard Rear Panel
ON
12345678
}
PIN 1
1 TX+ 5 GND
2 TX– 6
3 12 VAC/DC 7 RX–
4 NONPOLAR 8 RX+
KBD300 RJ-45
JACK PINOUTS
1
3
1
3
2
DOWN = ON
01227
Replace the cover plate.

[ 28 ] Pelco Manual C527M-L (3/04)
Table D. Keyboard Functions (continued)
Function Procedure
Patterns Programming and operation varies with the receiver type.
Spectra® domes (before version 3.0) can use one long (1 minute) or two
short (0.5 minute) patterns. Spectra domes (version 3.0), Spectra II™
domes and Esprit® Integrated Positioning Systems can use one long
(1.5, 3 or 6 minutes) or two short (0.75, 1.5 or 3 minutes) patterns. (Select pat-
tern lengths at the positioning system’s menu.) Spectra III™ can use four
patterns of varying length (all drawing from the same block of memory, which
is almost infinite).
To program Spectra and Esprit, select a camera (1-16) , select a long
pattern by holding down PATTERN for two seconds, or select short
pattern 1 or 2 by entering 1 or 2 and holding down PATTERN for two
seconds. The monitor will indicate the programming function is active. Move
the camera position as desired for the pattern and press ACK to close
the programming function.
To run a long pattern, press PATTERN . To run a short pattern, enter 1 or 2
and press PATTERN . Move the joystick or call a preset to stop.
Direct Mode is the same as above, except:
Do not program a pattern with turbo pan on (switch 6).
To program Spectra III, enter 95, and then hold down PRESET for about 5
seconds until the main menu appears. Use the joystick to position the cursor
beside Patterns and press IRIS OPEN . Position the cursor beside Pattern
Number and press IRIS OPEN . Position the cursor beside Program Pattern
and press IRIS OPEN . Follow the directions displayed on the monitor.
To run a Spectra III pattern, press the pattern number (1-4) and then
PATTERN . Move the joystick to stop.
Sequence* Sequence steps through all 16 cameras. Camera number, camera title,
sequence status, and time/date are shown on the monitor.
Press PREV 4A to step back one camera. Hold for two seconds for a back-
ward sequence. Monitor shows B. Press during sequence to speed up. Press
during a forward sequence to reverse.
Press NEXT 4B to step forward one camera. Hold for two seconds for a
forward sequence. Monitor shows F. Press during sequence to speed up.
Press during a backward sequence to go forward.
Press HOLD 4C to hold a sequence. Monitor shows H. Press HOLD to
resume.
Manually select a camera or press CAM to turn off a sequence. Monitor
shows O.
Macro Sequence* Enter 1 or 2 and press MACRO to start a group camera sequence. Monitor
shows M. Refer to your switcher manual for macro/sequence programming.
Multiplexer Displays*Press SHIFT . Shift key LED lights. The function keys F1 through F3 and
the auxilary keys can now be used to display the images from multiple cam-
eras on the monitor.
F1/LATCH: Zoom
F2/OFF: PIP display
F3/MOM: Quad display
AUX ON: 9-screen display
AUX OFF: 16-screen display

Pelco Manual C527M-L (3/04) [ 29 ]
Table D. Keyboard Functions (continued)
Function Procedure
Auxiliaries/ For the CM6700:
Relays F1 – F3 control only the auxiliaries built into the CM6700 SCU.
These outputs can be programmed for momentary, keyed, latched, or alarm op-
eration. Refer to the CM6700 manual for programming instructions.
F1/LATCH: Activate/deactivate auxiliary 1 relay.*
F2/OFF: Activate/deactivate switcher auxiliary 2 TTL output.*
F3/MOM: Activate/deactivate switcher auxiliary 3 TTL output.*
The AUX ON and AUX OFF keys control the auxiliaries in receivers.
Enter the auxiliary number and press the AUX ON key to turn on. Hold, and
then release for momentary functions.
Enter the auxiliary number and press the AUX OFF key to turn off.
For the CM6800:
F1-F3 can address auxiliary functions on the CM6800 and on the REL2064
(a separate auxiliary relay box) to provide additional auxiliary points.
F1/LATCH: Enter the auxiliary number and press and release F1 to turn on an
auxiliary (latching).
F2/OFF: Enter the auxiliary number and press and release F2 to turn off an
auxiliary (latching).
F3/MOM: Enter the auxiliary number and press and hold down F3 to turn on
an auxiliary (momentary). Release F3 to turn off the auxiliary.
Direct Mode:
In Direct Mode, F1- F3 have no function. LED shows receiver auxiliary
number for two seconds after the AUX ON or AUX OFF key is pressed.
Acknowledge Press ACK to acknowledge an alarm (or to halt pattern programming).
Alarm* Refer to the CM6700 or CM6800 manual for further information on alarms.
Program For the CM6700:
(CM6700) To program the CM6700 switcher, press PGM .
(CM6800) Follow the programming procedure in the CM6700 manual. LED display
shows P in program mode. To exit, navigate to the RETURN field and press ACK
or tap the joystick to the right and release.
For the CM6800:
To program the CM6800 switcher, press PGM .
Follow the programming procedure in the CM6800 manual. To exit, navigate to
the RETURN field and tap the joystick to the right and release. Or, press the
PGM key to return to the previous screen or menu.
LED LED shows monitor number (in CM6700 and CM6800 modes) or camera/
receiver number (in Direct Mode) and P (in Program Mode).
Firmware Version LED flashes for a few seconds to show firmware version on power up (not
functional on versions prior to 4.0).
Clear Press CLEAR to cancel a number that has been entered. (CM6700/
CM6800 modes only.) In Direct Mode, this key erases any numerical entries
entered and redisplays the current camera number selected.
Infrared Filter This function applies to Spectra® color/black-white model SD5BCBW only.
(IR Cut Filter) a. To turn on the filter; press 8, 8, PRESET .
b. To turn off the filter, press 8, 9, PRESET .
Shift* Press SHIFT to allow the keyboard to send multiplexer commands.
*This function is not used in Direct Mode.
9

[ 30 ] Pelco Manual C527M-L (3/04)
Figure 12. Keyboard Functions
Table E. KBD300A Button Functions
Reference Number Description
1LED display
2Shift key
3Shift key LED
4A-C Sequence keys: Previous, Next, Hold
5Function keys F1/Latch, F2/Off, F3/Mom control auxiliaries.
With Shift on they control multiplexer display.
6The AUX ON and AUX OFF keys control receiver auxiliaries.
With Shift on they control multiplexer display.
7Program key
8Macro sequence key
9Preset key
10 Pattern key
11 Joystick
12 Focus and iris keys (iris keys can be used to scroll through
menus on the CM6800 only)
13 Clear key
14 Camera selection key
15 Keypad (numbers 1 through 0)
16 Acknowledge key
17 Monitor selection key
13
14
15
16
17
12356
7
8
9
10
11
12
4A4B4C

Pelco Manual C527M-L (3/04) [ 31 ]
Table F. Operating Scan Functions with Various Receivers
Function
Receiver Controlling Auto Random Frame Preset Stop
Model Protocol Scan Scan Scan Scan
All 15-bit 97 97 96
Pelco (standard) Preset Preset N/A (2) Preset
Coaxitron®(1) (3) (1)
98 Preset
IRD2024 Extended or 97 N/A N/A 96
ERD2200 Coaxitron 99 Preset Preset Preset
(3)
All Spectra Ext. Coax., 99 97 98 96
All Esprit Serial Pelco Preset Preset Preset N/A Preset
P or D or PTZ
LRD41C Ext. Coax., 99 99 96
(before Serial Pelco Preset Preset N/A N/A Preset
ver. 2.98) P or D (1) (3) (1)
LRD41C Ext. Coax., 99 97 96
(ver 2.98 Serial Pelco Preset Preset N/A N/A Preset
and later) P or D (3)
ERD97P21-U Serial Pelco P N/A 97 Preset 98 Preset N/A 96 Preset
(1) First entry starts random scan, next entry changes to auto scan, etc.
(2) Enter dwell time (5-64 sec.) and press IRIS CLOSE.
(3) Changes to random scan after 30 minutes.
Scanning Functions
Operation of the scanning functions depends on the kind of receiver or pan/tilt mechanism you have and
the operating mode of your keyboard (CM6700, CM6800, or Direct Mode).
There are four types of scanning functions: auto (moves camera back and forth between stops), random
(moves camera in a random pattern), frame (moves camera back and forth in 10 degree steps), and preset (se-
quences camera through all programmed presets, pausing between each).
Operate scans according to Table F.

[ 32 ] Pelco Manual C527M-L (3/04)
Programming Limit Stops
Spectra and Esprit can be programmed for scan and manual limit stops.
Program left limit before programming right limit. Locate camera at desired limit. Enter the set code from
Table G. Hold the PRESET key for two seconds. In CM6700 and CM6800 modes, a label appears on the
monitor. Use F1 and F2 to edit the label, then select SET and press ACK or tap the joystick to the right and
release.
To cancel all limit stops, enter 95. Hold the preset key for two seconds. Move joystick up or down to move
the pointer to Other. Press IRIS OPEN. Move the pointer to Limit Stops. Press IRIS OPEN. Move joystick
right/left to change limit stops to off. Press IRIS OPEN. Move the pointer to EXIT. Press IRIS OPEN. Move
pointer to exit. Press IRIS OPEN.
Table G. Limit Set Codes
Direction Scan Limit Manual Limit
Left Limit 92 90
Right Limit 93 91

Pelco Manual C527M-L (3/04) [ 33 ]
Zones
The Zone function is available on Esprit and Spectra positioning systems when operated through a
CM6700 or CM6800 switch.* This function puts a label on the screen to identify the viewing area. Zones
can also be blanked to prevent viewing while the camera is positioned in the zone.
Up to eight pan (horizontal) zones can be defined (zones are not affected by tilt or zoom). Higher num-
bered zones take precedence so that if zones overlap, the one with the higher number is in effect. Zone
programming is outlined in Table H.
Table H. Zone Programming Procedure
Step Procedure
1. Set left zone limit. a. Use the joystick to position the camera at the start (left limit) of the
zone.
2. Access zone a. Press 8, followed by the zone number N (N = 1 through 8), and then
programming. the AUX ON key to display the zone menu.
3. Define a label. a. Use F1 and F2 to find the characters for each position in the label
HINT: To ease (26 upper case letters, 26 lower case letters and 10 numbers).
future title editing, b. Pan left/right to move between character positions. Continue
start each title with selecting characters until the title is completed (up to 20 charac-
ters).
Z(N), where c. Move down to the SET field and press ACK or tap the joystick to the
N = zone number. right and release.
4. Set right zone limit. a. Position camera at the right limit of the zone.
b. Press 8, followed by the zone number, and then the AUX OFF key.
c. To view zone titles go to step 6.
5. Clear zones. a. Press 8, followed by the zone number, and then the AUX ON key.
b. Move down to the SET field and Press ACK.
NOTE: DO NOT pan right.
c. Press 8, followed by the zone number, and then the AUX OFF key.
6. Turn on zone labeling. a. Press 9, 1, the AUX ON key.
7. Turn off zone labeling. a. Press 9, 2, the AUX ON key.
8. Blank zones. a. Press 9, 5 and hold Preset for about 2 seconds to display the Edit
Preset 95 menu.
b. Move down to the SET field and press ACK to display the Camera
menu.
c. Move down to the <Alarms, Zone Blank> field and press Iris Open to
display the Alarms, Zone Blank menu.
d. Move down to the <Zone Blank> field and press Iris Open to display
the Zone Blank menu.
e. Move down to the zone number you wish to blank and press Iris
Open to move the cursor arrow to the zone blanking status value.
f. Pan up to turn blanking on, pan down to turn blanking off.
g. Press Iris Open to accept new status; press Iris Close to cancel.
h. Repeat steps 8e through 8g for each zone you wish to change, and
then go to step 8i.
i. Move down to Exit and press Iris Open repeatedly to move up
through the menus and return to the normal display.
*Zones cannot be used in Direct P or Direct D mode.
[ 34 ] Pelco Manual C527M-L (3/04)
SPECIFICATIONS
GENERAL
Keyboard Keypad: Electromechanical
Joystick: 3-axis, vector-solving, with twisting, return-to-center head
Digital Display: Red LED, 7-segment, 2 cells
Shift Mode Indicator: Green LED
Ambient Operating
Temperature: 20° to 120°F (-7° to 49°C)
Humidity: 10–90% non-condensing
Dimensions: 9.50 (W) x 7.125 (D) x 2.25 (H) inches (24.13 x 18.1 x 5.72 cm)
Weight: 2.5 lb (1.12 kg)
Ratings: Meets NEMA Type 1 standards
Meets IP 30 standards
ELECTRICAL
Input Voltage: 12 VAC or ±12 VDC
Power Consumption: 5 watts
Connector Type: RJ-45, 8-pin, modular (female)
Keyboard Communication
CM6700/CM6800 Mode
Interface: RS-485
Protocol: Pelco ASCII
Baud: 9600
Communication
Parameters: 8 data bits, 1 stop bit, odd parity
CM6700 ASCII Mode
Interface: RS-422
Protocol: Pelco ASCII
Baud: 9600
Communication
Parameters: 8 data bits, 1 stop bit, odd parity

Pelco Manual C527M-L (3/04) [ 35 ]
CM6800 ASCII Mode
Interface: RS-485
Protocol: Pelco ASCII
Baud: 9600
Communication
Parameters: 8 data bits, 1 stop bit, odd parity
Direct P Mode
Interface: RS-485
Protocol: Pelco P
Baud: 4800
Communication
Parameters: 8 data bits, 1 stop bit, no parity
Direct D Mode
Interface: RS-485
Protocol: Pelco D
Baud: 2400
Communication
Parameters: 8 data bits, 1 stop bit, no parity
(Design and product specifications subject to change without notice.)
This equipment contains electrical or electronic components that must be recycled properly to comply
with Directive 2002/96/EC of the European Union regarding the disposal of waste electrical and
electronic equipment (WEEE). Contact your local dealer for procedures for recycling this equipment.
[ 36 ] Pelco Manual C527M-L (3/04)
Pelco Manual C527M-L (3/04) [ 37 ]
REVISION HISTORY
Manual # Date Comments
C527M 11/97 Original version.
C527M-A 1/98 Revised manual to include Direct Mode Installation/Operation instructions. Added CM6700
Operations instructions.
C527M-B 4/98 Revised installation instructions as a result of hardware changes to the rear panel of the
CM6700 SCU.
6/98 Added Section 1.2, Regulatory Notices, and Section 1.3, Certifications.
C527M-C 9/98 Revised manual to show new DIP switch and switch settings.
C527M-D 4/99 Added references to Service Bulletin 981014 for connection instructions. Revised material
in the sections on programming and operating a camera pattern. Revised manual to new
format.
6/99 Revised the sequence key definitions. Added material on programming Spectra® features to
the
Direct Mode Operation
section.
C527M-E 3/00 Added pattern programming and operation in
Direct Mode Operation
section to support
revision 4.0 firmware. Added CM9760-MDA mode.
C527M-F 7/00 Revised format.
C527M-G 10/01 Added information about the CM6800 Matrix Switcher and additional functionality of the
iris keys and joystick.
C527M-H 2/02 Changed to KBD300A. Revised keyboard drawings to reflect key labeling changes.
Several procedures revised because of the labeling change. Revised pattern programming
in Table D to include procedures for Spectra III. Stated that firmware versions 4.20 and
higher automatically recognize CM6700/6800 and Direct modes.
C527M-I 11/02 Added firmware version 5.00 information as per ECO 02-8447. Added three modes to the
Description
and
Installation
sections. Revised Tables A, C, and D. Updated
Specifications
.
C527M-J 12/02 Revised Tables A and D. Removed RS-232 from
Specifications
.
C527M-K 9/03 Added UL certification seal, changed power specification, and corrected zone information.
C527M-L 3/04 Revised directions for direct mode installation. Revised safety instructions. Changed FCC
notice. Removed references to use 18-gauge wire for EIA RS-485 communication.

Pelco, the Pelco logo, Camclosure, Esprit, Genex, Legacy, and Spectra are registered trademarks of Pelco.
Endura and ExSite are trademarks of Pelco.
© Copyright 2004, Pelco. All rights reserved.
PRODUCT WARRANTY AND RETURN INFORMATION
WARRANTY
Pelco will repair or replace, without charge, any merchandise proved defective in material or workmanship for a period of one
year after the date of shipment.
Exceptions to this warranty are as noted below:
•Five years on FT/FR8000 Series fiber optic products.
•Three years on Genex
®
Series products (multiplexers, server, and keyboard).
•Three years on Camclosure
®
and fixed camera models, except the CC3701H-2, CC3701H-2X, CC3751H-2, CC3651H-2X,
MC3651H-2, and MC3651H-2X camera models, which have a five-year warranty.
•Two years on standard motorized or fixed focal length lenses.
•Two years on Legacy
®
, CM6700/CM6800/CM9700 Series matrix, and DF5/DF8 Series fixed dome products.
•Two years on Spectra
®
, Esprit
®
, ExSite
™
, and PS20 scanners, including when used in continuous motion applications.
•Two years on Esprit
®
and WW5700 Series window wiper (excluding wiper blades).
•Eighteen months on DX Series digital video recorders, NVR300 Series network video recorders, and Endura
™
Series
distributed network-based video products.
•One year (except video heads) on video cassette recorders (VCRs). Video heads will be covered for a period of six months.
•Six months on all pan and tilts, scanners or preset lenses used in continuous motion applications (that is, preset scan, tour
and auto scan modes).
Pelco will warrant all replacement parts and repairs for 90 days from the date of Pelco shipment. All goods requiring warranty
repair shall be sent freight prepaid to Pelco, Clovis, California. Repairs made necessary by reason of misuse, alteration, normal
wear, or accident are not covered under this warranty.
Pelco assumes no risk and shall be subject to no liability for damages or loss resulting from the specific use or application made
of the Products. Pelco’s liability for any claim, whether based on breach of contract, negligence, infringement of any rights of
any party or product liability, relating to the Products shall not exceed the price paid by the Dealer to Pelco for such Products.
In no event will Pelco be liable for any special, incidental or consequential damages (including loss of use, loss of profit and
claims of third parties) however caused, whether by the negligence of Pelco or otherwise.
The above warranty provides the Dealer with specific legal rights. The Dealer may also have additional rights, which are subject
to variation from state to state.
If a warranty repair is required, the Dealer must contact Pelco at (800) 289-9100 or (559) 292-1981 to obtain a Repair
Authorization number (RA), and provide the following information:
1. Model and serial number
2. Date of shipment, P.O. number, Sales Order number, or Pelco invoice number
3. Details of the defect or problem
If there is a dispute regarding the warranty of a product which does not fall under the warranty conditions stated above, please
include a written explanation with the product when returned.
Method of return shipment shall be the same or equal to the method by which the item was received by Pelco.
RETURNS
In order to expedite parts returned to the factory for repair or credit, please call the factory at (800) 289-9100 or (559) 292-1981
to obtain an authorization number (CA number if returned for credit, and RA number if returned for repair).
All merchandise returned for credit may be subject to a 20% restocking and refurbishing charge.
Goods returned for repair or credit should be clearly identified with the assigned CA or RA number and freight should be prepaid.
Ship to the appropriate address below.
If you are located within the continental U.S., Alaska, Hawaii or Puerto Rico, send goods to:
Service Department
Pelco
3500 Pelco Way
Clovis, CA 93612-5699
If you are located outside the continental U.S., Alaska, Hawaii or Puerto Rico and are instructed to return goods to the USA, you
may do one of the following:
If the goods are to be sent by a COURIER SERVICE, send the goods to:
Pelco
3500 Pelco Way
Clovis, CA 93612-5699 USA
If the goods are to be sent by a FREIGHT FORWARDER, send the goods to:
Pelco c/o Expeditors
473 Eccles Avenue
South San Francisco, CA 94080 USA
Phone: 650-737-1700
Fax: 650-737-0933
[ 39 ] Pelco Manual C527M-L (3/04) Pelco Manual C527M-L (3/04) [ 39 ]

World Headquarters
3500 Pelco Way
Clovis, California 93612 USA
USA & Canada
Tel: 800/289-9100
Fax: 800/289-9150
International
Tel: 1-559/292-1981
Fax: 1-559/348-1120
www.pelco.com
ISO9001
®
United States
|
Canada
|
United Kingdom
|
The Netherlands
|
Singapore
|
Spain
|
Scandinavia
|
France
|
Middle East