Pentair Fiberworks Wide Angle Lens Users Manual 99293000_4 02
wideanglelens 648bae0c-15f6-4ea6-9f36-132ec3158a90 Pentair Camera Lens Wide Angle Lens User Guide |
2015-02-06
: Pentair Pentair-Fiberworks-Wide-Angle-Lens-Users-Manual-517907 pentair-fiberworks-wide-angle-lens-users-manual-517907 pentair pdf
Open the PDF directly: View PDF
.
Page Count: 2

FIBERworks® Lens Assembly Installation Instructions
STOP!
Read and follow all instructions!
We recommend that all FIBERworks lens assemblies be installed by trained and certified FIBERworks
dealers only.
If you have any questions please call our service hot line, Monday through Friday,
7:30 a.m. to 4:30 p.m., at (800) 831-7133
Installing the Lens Housing
• FIBERworks lens housings are installed the same way water return fittings are installed.
• Use only Pentair Pool Products’
FIBERworks lens housings. Other fittings
will not adequately seal conduit from pool
water.
• Cut the conduit back as shown in the
adjacent figure. Dimension “a” should be
one inch (1”) for a FIBERworks Standard
Gunite housing, and one and a half inches
(1½”) for a FIBERworks Invisible Gunite
housing.
Lens Selection for preOptifusedTM and Bulk Cable Assemblies
• Every lens assembly and preOptifused cable assembly now comes with a standard and wide angle
lens. See lens assembly drawing to identify different lens types. Use the table below to select the
appropriate lens for your application.
Lens PositionLens
Type Shallow End Deep End All Side Wall Shadow Filler Spa
Standard X
Wide Angle X X X X
• Positioning on the pool/spa wall is the same for both lens types. Follow the recommendations in
the Photon Generator Installation and Service Manual for proper lens positioning.
• DO NOT use any gel on the wide angle lens. This will inhibit the light dispersion capabilities of
the lens. PreOptifused cable assemblies come with the standard lens and Optifusion gel. Wipe
excess gel off of cable face with a clean cloth before installing the wide angle lens.
• A new lens tightening tool with longer pins (p/n 21006500) will be required to install the wide
angle lens.
CAUTION
DO NOT use excessive glue. Excess glue can overflow onto the o-ring sealing surface.
Gunite cutback - 1 ¼”
a
Plaster surface
Conduit
To Photon
Generator
Gunite
4 in.

4/04/02 Instruction P/N 99293000 Rev B
Pentair Pool Products
1620 Hawkins Ave., Sanford, NC 27330 ~ (919) 774-4151
10951 West Los Angeles Ave., Moorpark, CA 93021 ~ (805) 523-2400
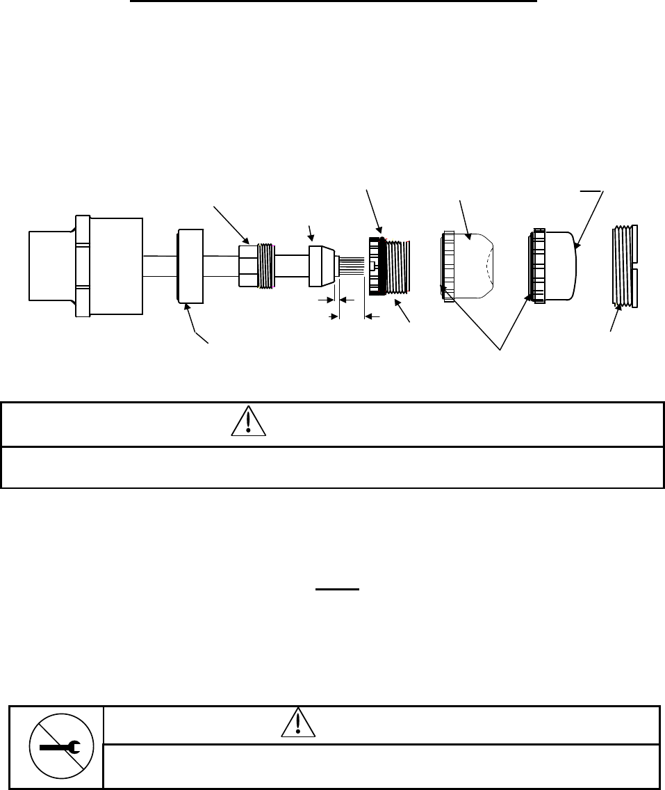
Installing the Cable and Lens Subassembly
(for preOptiFused and bulk cable applications)
• Feed the AmerGlow cable through the conduit leaving one foot of extra cable at each end.
• If using bulk cable, assemble the lens subassembly as shown in the figure below.
⇒ Terminate the cable using the OptiFusion process as described in the full instructions packed
with the Photon Generator or OptiFusion Termination Kit. Any other process may dramatically
reduce light output.
CAUTION
DO NOT use Optifusion gel on the wide angle lens. The gel will inhibit the light dispersion
capabilities of the lens and the lens will not perform as intended.
• Make sure the lens o-ring and spacer o-ring (if applicable) are in position and the o-ring sealing
surface on the inner flange of the lens housing is clean.
• Continue feeding the cable until the lens assembly is about ½” away from the seated position.
• Place the lens retaining nut onto the lens and PUSH the lens into place.
• Hand tighten the lens using the lens tightening tool until the o-ring is seated.
⇒ For Standard Gunite and Fiberglass lens housings (which do not use the spacer and spacer o-
ring), hand tighten the lens retaining nut ¼ turn past the seated o-ring position.
⇒ For Invisible Gunite and Vinyl Liner housings (which use the spacer and spacer o-ring) hand
tighten the lens retaining nut ½ turn past the seated o-ring position.
Save These Instructions
Lens retaining
nut
Standard
Lens
Lens o-ring
Seal nut
Seal nut o-ring
Compression nut
Grommet
Spacer with o-ring - use
with Invisible Gunite and
Vinyl Liner lens housings
FIBERworks lens housing
(Invisible Gunite shown)
1/16”
1”
Wide Angle
Lens
CAUTION
DO NOT over tighten lens retaining nut. Damage to lens assembly may result in
leakage of pool water into conduit.