Pisen Electronics LE105 Bluetooth headset User Manual LE105
GUANGDONG PISEN ELECTRONICS CO., LTD. Bluetooth headset LE105
15_LE105 UserMan

Welcome Guide
Bluetooth Headset
User Manual
EN DE RU ES FR IT
Thank you for purchasing the PISEN LE105 Bluetooth headset.
Wir bedanken uns für Uhren Kauf desPISEN LE105 Bluetooth drahtlosen Kopfhörers.
Благодарим вас за покупку беспроводных наушников PISEN LE105 с функцией Bluetooth.
Gracias por elegir los auriculares inalámbricos con Bluetooth de PISEN LE105.
Merci d'avoir acheté l’écouteur sans fil Bluetooth PISEN LE105.
Grazie per aver acquistato le cuffie wireless Bluetooth PISEN LE105.

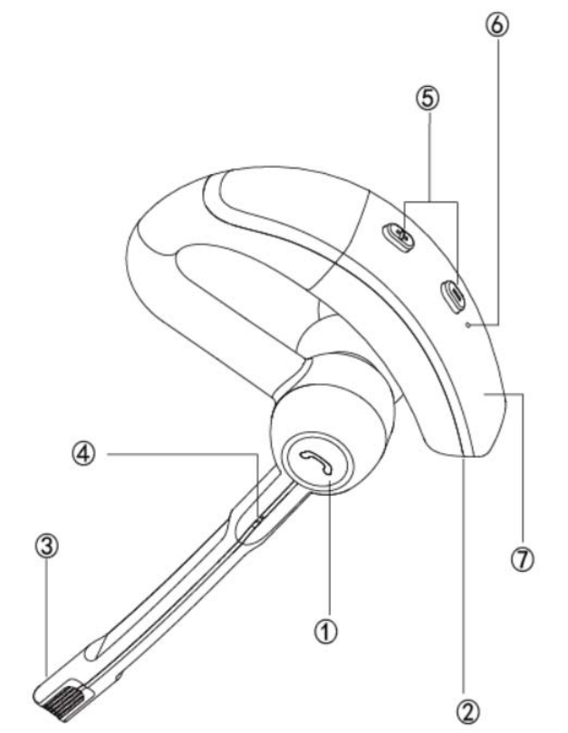
①Function Button(Power On/Off/Pause/Play)
Multifunktionstaste( Abspielen/Pause/EIN und AUS )
Многофункциональная кнопка( Включение/выключение/Воспроизведение/пауза)
botón multifunción( encendido / apagado / Reproducir / pausa)
Bouton multi-fonction (Play/Pause/Allumer et éteindre le produit)
Tasto multifunzione (Alimentazione on / off/Riproduzione/pausa)
② Charging Micro USB Port
Mikro-USB-Schnittstelle zum Aufladen
Micro USB интерфейс для заряда
Puerto Micro USB para cargar el dispositivo
Interface micro-USB pour recharge
Interfaccia Micro USB per la ricarica
③④ Microphone (Phone + Noise reduction)
Mikrofon
Микрофон
Micrófono
Microphone
Microfono

⑤Volume+/Volume-
Leiser Taste / Lauter Taste
Увеличение громкости / Уменьшение громкости
Botón para subir el volumen / Botón para bajar el volumen
Volume + / Volume -
Pulsante Volume su / Tasto di Volume giù
⑥ LED Indicator Lights
LED-Anzeige
Светодиодный индикатор
LED
Indicateur LED
Indicatore LED
⑦NFC
Charging the Battery
Batterie Aufladen | Зарядка батареи | Cómo cargar la batería | Charger la batterie | Ricarica della Batteria
Attention
·Store the earphone with power off and in a dry environment.
·Lagern Sie den Kopfhörer in ausgeschaltetem Zustand und an einem trockenen Ort.
·Храните наушники с отключенным питанием и в сухом месте.
·Guarde los auriculares apagados en un sitio sin humedad.
·Rangez le casque hors tension et dans un environnement sec.
·Riporre le Cuffie spente e in luogo asciutto.
·If you don’t use the earphone for a long period, charging the battery
every 2 months for 1-2 hours.
·Falls Sie den Kopfhörer für längere Zeit nicht benutzen, laden Sie die Batterie alle 2 Monate für
1-2 Stunden.
·Если вы не используете наушники в течение длительного периода, заряжайте аккумулятор
каждые 2 месяца в течение 1-2 часов.
·Si no va a utilizar los auriculares durante un periodo largo de tiempo, cargue la batería cada dos
meses entre 1 y 2 horas.
·Si vous n'utilisez pas le casque pendant une longue période, charger la batterie tous les 2 mois
pendant 1 à 2 heures.
·Se non si usano le cuffie per un lungo periodo di tempo, ricaricare la batteria ogni 2 mesi per 1-2
ore.
·Please don’t twist or bend the earphone. This may cause permanent
deformation.
·Bitte verdrehen oder biegen Sie den Kopfhörer nicht Dies kann ihn dauerhaft beschädigen.
·Пожалуйста, не сгибайте и не сдавливайте наушники.
·No retuerza ni doble los auriculares ya que puede dar lugar a una deformación irreparable.
·Veuillez ne pas tordre ou plier les écouteurs. Cela peut provoquer une déformation permanente.
·Non piegare o torcere le cuffie. La deformazione potrebbe risultare permanente.

Specifications
Control Instructions
Model LE105
Pairing Name PISEN-LE105
Bluetooth Version 4.0
Battery Type 75mAh High-density lithium batteries
Charging Port Micro USB 5V/1A
Support Profile HFP/A2DP/NFC
Weight 13.2g / 0.47oz
Transmission Range (Hz) 2.402GHz-2.48GHz
Charging Time About 2 hours
Running Time Up to 8 hours
Standby time 6-10 days
Operating Temperature -20˚C-60˚C
Storage Temperature -40˚C-70˚C
FCC ID 2AF56-LE105
Function Operation
Power on Press and hold the Multi-function button 1.5 seconds.
Power off Press and hold the Multi-function button 3-4 seconds.
Increase volume Press the volume up (+) button.
Decrease volume Press the volume down (-) button.
Answer a call Press the Multi-function button to answer the call.
End a call Press the function button during on-line call.
Play media Press the function button
Pause/restart media playback Press the function button
Skip to next track Long press next track (+) button.
Skip to previous track Long press previous track (-) button.
Pairing mode
Press and hold the function button to enter pairing mode after
sounding power on. (LED flashes blue and red alternately when
entering the pairing mode.)
After turn on the headset, find and connect the Bluetooth device
showing as “LE105”. If a PIN code is required, enter “0000”.
Multipoint Connection
Paired the first phone with the Bluetooth headset, then disable first
phone’s Bluetooth; paired the headset with second phone, then enable
the first phone’s Bluetooth, find out the connected Bluetooth headset
and finish 1-to-2 connection.
Pair via NFC
Touch the headset with the phone’s NFC area. (The NFC function of
the phone must be enabled and the screen be unlocked) The headset
auto boots and finishes connection. Touch again for 3 second, the
headset auto turns OFF.

C
u
Wa
r
Sin
c
Fr
e
Dur
i
this
Fre
e
1.
P
2.
D
3.
T
4.
T
-----
Pis
e
FC
C
This
d
must
a
Chan
g
NOT
E
p
rovi
d
This
e
radio
c
televi
s
meas
u
R
e
In
C
o
C
o
u
sto
m
r
ranty peri
o
c
e the purc
h
e
e service
i
ng warrant
y
warranty c
a
e
maintena
n
P
roduct labe
l
D
amages ca
u
T
he breakdo
w
T
he breakdo
w
---------------
-
e
n Electro
n
C
STATEM
E
d
evice complies w
i
a
ccept any interfe
r
g
es or modificatio
n
E
: This equipment
d
e reasonable prot
e
e
quipment generat
e
c
ommunications.
H
s
ion reception, w
h
u
res:
e
orient or relocate
crease the separat
i
o
nnect the equip
m
o
nsult the dealer o
For FA
Q
Pisen
G
Conta
c
Suppo
r
@pise
n
m
er Se
r
o
d
h
ase date, t
h
y
period,i
f
th
a
rd and pur
c
n
ce does n
o
l
damaged.
u
sed by sel
f
w
n and artif
w
n and the
d
-
--------------
-
n
ics Co., Li
m
E
NT
i
th Part 15 of the
F
r
ence received, in
c
n
s not expressly a
p
has been tested a
n
e
ction against har
m
e
s uses and can ra
d
H
owever, there is
h
ich can be determ
i
the receiving ant
e
i
on between the e
q
m
ent into an outlet
o
r an experienced
r
Q
s and mor
e
G
roup.com/s
u
c
t:
r
t@PisenGro
n
electronics
D
i
a
t
r
vice
h
is applianc
e
ere is any b
c
hase proof
o
t apply fo
r
f
-disassem
b
icial mecha
n
d
amage ca
u
-
---------------
-
m
ited |
F
CC rules. Operat
i
c
luding interferen
c
p
proved by the pa
r
n
d found to compl
y
m
ful interference
i
d
iate radio freque
n
no guarantee that
i
ned by turning th
e
e
nna.
q
uipment and rece
i
o
n a circuit differ
e
r
adio/TV technici
a
e
help inform
a
u
pport
up.com
i
scove
r
t
Pisen
G
e
's quality
w
reakdown c
to get free
m
r
the follow
b
ly.
n
ical dama
g
u
sed by the
-
--------------
-
Designed
i
on is subject to t
h
c
e that may cause
u
r
ty responsible fo
r
y
with the limits f
o
i
n a residential ins
t
n
cy energy and, if
interference will
n
e
equipment off a
n
i
ver.
e
nt from that to w
h
a
n for help.
a
tion, please
r
more
G
roup.
c
w
arranty per
i
aused due
t
m
aintenanc
e
ing circum
s
g
e caused b
y
force maje
u
-
---------------
by PISEN
h
e following two c
o
u
ndesired operati
o
r
compliance coul
d
o
r a Class B digit
a
t
allation.
not installed and
u
n
ot occur in a part
i
n
d on, the user is
e
h
ich the receiver i
s
visit:
essen
t
c
om
i
od is 12 m
o
t
o the produ
c
e
.
s
tances:
y
water or d
u
re.
---------------
-
Made in
C
o
nditions: 1) this
d
o
n.
d
void your author
i
a
l device, pursuant
u
sed in accordanc
e
cular installation.
e
ncouraged to try
t
s
connected.
t
ials
o
nths.
c
t quality, pl
e
ropping do
w
-
--------------
-
C
hina
d
evice may not ca
u
i
ty to operate the
e
to Part 15 of the
F
e
with the instruct
i
If this equipment
d
t
o correct the inter
f
e
ase conta
c
w
n.
-
---------------
u
se harmful interf
e
e
quipment.
F
CC Rules. These
i
ons, may cause h
a
does cause harmf
u
f
erence by one or
c
t the deale
r
---------------
-
e
rence, and 2) this
limits are designe
a
rmful interferenc
e
u
l interference to r
m
ore of the follo
w
r
with
-
-----
device
d to
e
to
adio or
w
ing