Pitco Frialator Pg14D Users Manual L20 294 I&O RS14D Built After 4 1995 Rev 0
RS14D to the manual 7f076983-513b-445d-8580-f9e64992fdbe
2015-02-06
: Pitco-Frialator Pitco-Frialator-Pg14D-Users-Manual-518795 pitco-frialator-pg14d-users-manual-518795 pitco-frialator pdf
Open the PDF directly: View PDF
.
Page Count: 28

Installation & Operation Manual
L20-294, rev. 0 (1/06)
IMPORTANT FOR FUTURE REFERENCE
Please complete this information and retain this manual
for the life of the equipment:
Model #: ___________________________
Serial #: ___________________________
Date Purchased: ____________________
ENGLISH
PG14D: Floor Model Gas Pasta Cooker
RS14D: Floor Model Rinse Station
Built after 4/1995
D
E
I
F
I
T
R
E
C
D
E
S
I
G
N
CIRET IFED

TO THE PURCHASER, OWNER AND STORE MANAGER
Please review these warnings prior to posting them in a prominent location for reference.
ii L20-294, rev. 0 (1/06)
TO THE PURCHASER
Post in a prominent location the instructions to be followed
in the event that an operator smells gas. Obtain this
information from your local gas supplier.
WARNING
DO NOT store or use gasoline or other flammable vapors and
liquids in the vicinity of this or any other appliance.
WARNING
Improper installation, alteration, service or maintenance can
cause property damage, injury or death. Read the
installation, operating and maintenance instructions
thoroughly before installing or servicing this appliance.
WARNING
Installation, maintenance and repairs should be performed
by a Pitco Authorized Service and Parts (ASAP) company
technician or other qualified personnel. Installation,
maintenance or repairs by an unauthorized and unqualified
personnel will void the warranty.
WARNING
Installation and all connections must be made according to
national and local regulations and codes in force.
WARNING
During the warranty period if a customer elects to use a non-
original part or modifies an original part purchased from
Pitco and/or its Authorized Service and Parts (ASAP)
companies, this warranty will be void. In addition, Pitco and
its affiliates will not be liable for any claims, damages or
expenses incurred by the customer which arises directly or
indirectly, in whole or in part, due to the installation of any
modified part and/or received from an unauthorized service
center.
WARNING
This appliance, when installed, must be electrically grounded
in accordance with local codes, or in the absence of local
codes, with the National Electrical Code, ANSI/NFPA 70, or
the Canadian Electrical Code, CSA C22.2, as applicable.
WARNING
Adequate means must be provided to LIMIT the movement or
this appliance without depending on the gas or electrical
cord connection. Single appliances equipped with legs must
be stabilized by installing anchor straps. All appliances
equipped with casters must be stabilized by installing
restraining chains.
WARNING
An appliance equipped with casters and a flexible gas line
must be connected to the gas supply with a quick disconnect
device. This quick disconnect must comply with ANSI Z24.41.
WARNING
DO NOT alter or remove structural material on the appliance
to accommodate placement under a ventilation hood.
WARNING
This appliance is intended for professional use only and
should be operated by fully trained and qualified personnel.
WARNING
If the appliance is equipped with a power cord and it is
damaged, it must be replaced by a Pitco Authorized Service
and Parts (ASAP) company technician, or a similarly
qualified person in order to avoid a hazard.
WARNING
The power supply must be disconnected before servicing,
maintaining or cleaning this appliance.
WARNING
The appliance is NOT jet stream approved. DO NOT clean
the appliance with a water jet.
WARNING
DO NOT attempt to move this appliance or transfer hot
liquids from one container to another when the unit is at
operating temperature or filled with hot liquids. Serious
personal injury could result if skin comes in contact with the
hot surfaces or liquids.
WARNING
DO NOT sit or stand on this appliance. The appliance’s front
panel, tank, splash back, tank cover, workshelf, drain board
is not a step. Serious injury could result from slipping,
falling or contact with hot liquids.
WARNING
NEVER use the appliance as a step for cleaning or accessing
the ventilation hood. Serious injury could result from slips,
trips or from contacting hot liquids.
WARNING
The water level should be maintained at the level line. DO
NOT turn the appliance on until the heat tubes are fully
covered with water at all times. Serious injury could result
from hot steam vapors off the heat tubes.
WARNING
If overflow drain is not equipped or if overflow drain stop is
used, do not leave appliance unattended while filling with
water. Over filling the appliance can cause serious injuries
and damage the equipment.
WARNING
Completely shut the appliance down when the water is being
drained from the appliance. This will prevent the appliance
from heating up during the draining and filling process.
Serious injury can occur.
WARNING
This appliance is intended for indoor use only.
WARNING
DO NOT operate appliance unless all panels and access
covers are attached correctly.
WARNING
It is recommended that this appliance be inspected by a
qualified service technician for proper performance and
operation on a yearly basis.
WARNING
There is an open flame inside this appliance. The unit may
get hot enough to set nearby materials on fire. Keep the area
around the appliance free from combustibles.
WARNING
DO NOT supply the appliance with a gas that is not indicated
on the data plate. If you need to convert the appliance to
another type of fuel, contact your dealer.
WARNING
DO NOT use an open flame to check for gas leaks!
WARNING
If gas flow to appliance is interrupted, or pilots extinguish,
wait 5 minutes before attempting to relight the pilot to allow
any residual gas in appliance to dissipate.
WARNING
Ensure that the appliance can get enough air to keep the
flame burning correctly. If the flame is starved for air, it can
give off a dangerous carbon monoxide gas. Carbon
monoxide is a clear odorless gas that can cause suffocation.
PG14D: Floor Model Gas Pasta Cooker TABLE OF CONTENTS
iii
1. INSTALLATION......................................................................................1
1.1. CHECKING YOUR NEW APPLIANCE.......................................................................................... 1
1.2. INSTALLATION CLEARANCES ................................................................................................... 2
1.3. LEG/CASTER INSTALLATION AND LEVELING ......................................................................... 3
1.4. PLUMBING CONNECTIONS......................................................................................................... 4
1.4.1. WATER INLET CONNECTIONS............................................................................................. 4
1.4.2. DRAIN CONNECTIONS.......................................................................................................... 4
1.5. GAS CONNECTION....................................................................................................................... 5
1.5.1. QUICK DISCONNECT CONNECTION................................................................................... 5
1.5.2. FUEL SUPPLY LINE LEAK AND PRESSURE TESTING ...................................................... 5
1.6. ELECTRICAL CONNECTIONS .....................................................................................................6
1.7. VENTILATION AND FIRE SAFETY SYSTEMS ............................................................................ 7
1.8. INSPECTION.................................................................................................................................. 8
1.9. INITIAL ADJUSTMENTS ............................................................................................................... 9
1.9.1. FILLING THE APPLIANCE .....................................................................................................9
1.9.2. LIGHTING INSTRUCTIONS ................................................................................................... 9
1.9.3. PILOT FLAME ADJUSTMENT.............................................................................................. 10
1.9.4. MAIN BURNER SYSTEM ADJUSTMENT ............................................................................ 11
1.10. INITIAL CLEANING.................................................................................................................. 13
2. OPERATION.........................................................................................14
2.1. OPERATIONAL FEATURES .......................................................................................................14
2.2. FILLING THE APPLIANCE.......................................................................................................... 16
2.2.1. FILLING THE COOKER TANK ............................................................................................. 16
2.2.2. FILLING THE RINSE TANK .................................................................................................. 16
2.3. APPLIANCE START UP.............................................................................................................. 16
2.4. COOKING..................................................................................................................................... 17
2.4.1. SIMMER MODE .................................................................................................................... 17
2.4.2. BOIL MODE........................................................................................................................... 17

TABLE OF CONTENTS
iv L20-294, rev. 0 (1/06)
2.4.3. TIMER OPERATION ............................................................................................................. 17
2.4.4. BASKET LIFT OPERATION.................................................................................................. 17
2.4.5. ADDITIONAL CONTROLLER FUNCTIONS ......................................................................... 17
2.4.6. COOKING TIPS..................................................................................................................... 18
2.5. APPLIANCE SHUTDOWN........................................................................................................... 18
2.5.1. STANDBY MODE.................................................................................................................. 18
2.5.2. COMPLETE SHUTDOWN .................................................................................................... 18
3. PREVENTATIVE MAINTENANCE.......................................................19
3.1. DAILY PREVENTATIVE MAINTENANCE .................................................................................. 19
3.1.1. APPLIANCE INSPECTION ................................................................................................... 19
3.1.2. CLEANING THE COOK TANK (RINSE TANK IF EQUIPPED) ............................................ 19
3.1.3. CLEANING THE CABINET ................................................................................................... 19
3.2. MONTHLY PREVENTATIVE MAINTENANCE ........................................................................... 20
3.2.1. DELIMING ............................................................................................................................. 20
3.3. ANNUAL/PERIODIC PREVENTATIVE MAINTENANCE AND INSPECTION............................ 20
3.3.1. TEMPERATURE PROBE & HIGH LIMIT PROBE ................................................................ 20
3.3.2. CONTROLLER...................................................................................................................... 20
3.3.3. CONTROL BOX & ELECTRICAL COMPONENTS............................................................... 20
3.3.4. TANK ..................................................................................................................................... 21
3.3.5. DRAIN SYSTEM ................................................................................................................... 21
3.3.6. GAS COMBUSTION SYSTEM.............................................................................................. 21
3.4. VENTILATION HOOD.................................................................................................................. 21
4. TROUBLESHOOTING .........................................................................22
4.1. POWER FAILURE........................................................................................................................ 22
4.2. HIGH TEMPERATURE LIMIT......................................................................................................22
4.3. DRAIN VALVE INTERLOCK .......................................................................................................22
4.4. TROUBLESHOOTING CHART ................................................................................................... 23
4.5. CONTROLLER WARNING DISPLAYS....................................................................................... 23

PG14D: Floor Model Gas Pasta Cooker INSTALLATION
1
Accessories
# Description PG14D RS14D
1 Basket Hanger Standard Standard
2 Tube Rack Standard N/A
3 Drain Cleanout Rod Standard
4 Small Bulk Pasta Basket Optional Optional
5 Large Bulk Pasta Basket Optional Optional
6 Small Round Pasta Basket Optional Optional
7 Large Round Pasta Basket Optional Optional
8 Oblong Pasta Basket Optional Optional
9 Portion Cups with Rack Optional Optional
1. INSTALLATION
1.1. CHECKING YOUR NEW APPLIANCE
Your new Pitco appliance has been carefully packed into one crate. Every effort has been made to
ensure that it is delivered to you in perfect condition. As you unpack your new appliance, inspect each
of the pieces for damage. If something is damaged, DO NOT sign the bill of lading. Contact the
shipper immediately; the shipper is only responsible for 15 days after delivery. Check the packing list
enclosed with your appliance to ensure that you have received all the parts to the appliance. If you
are missing any parts, contact the dealer from whom the appliance was purchased. As you unpack
the appliance and its accessories be careful to keep the weight of the appliance evenly distributed.
Refer to the table below to identify which accessories should be included with your appliance.
Locate your Pitco model number and serial number on the inner door of the appliance and the find
the date purchased. Write this information on the front cover of this manual for future reference.
If you have completed the above
steps that are applicable to the
appliance you purchased, the
appliance is now ready to be
installed. Although it may be possible
for you to install and set up your new
appliance, it is STRONGLY
recommended that you have this
done by qualified professionals. A
qualified professional will ensure that
the installation is safe and meets
local building and fire codes.

INSTALLATION
2 L20-294, rev. 0 (1/06)
1.2. INSTALLATION CLEARANCES
The clearances shown below are for combustible and non-combustible installations and will allow for
safe and proper operation of your appliance.
In addition to the above clearances there must also be at least 16 inches (40.64cm) of aisle space in
front of the unit.
Combustible Construction Non Combustible Construction
Inches (centimeters) Inches (centimeters)
Back 6.0" (15.24cm) 0.0" (0.0cm)
Sides 6.0" (15.24cm) 0.0" (0.0cm)
Counter 6.0" (15.24cm) 6.0" (15.24cm)
WARNING
DO NOT sit or stand on this appliance. The appliance’s front panel, tank,
splash back, tank cover, workshelf, drain board is not a step. Serious
injury could result from slipping, falling or contact with hot liquids.
WARNING
DO NOT install this appliance next to a deep fat fryer. A splash over of water into the hot oil may
cause a flash fire.
WARNING
DO NOT obstruct the flow of ventilation, or air openings around the appliance. Adequate
clearance around the appliance is necessary for servicing and proper component ventilation.
Ensure that you meet the minimum clearance requirements specified in this manual.
CAUTION
To prevent equipment damage and/or personal injury, do not tilt the appliance onto any two of its
casters or legs, or pull the appliance by the splash back.

PG14D: Floor Model Gas Pasta Cooker INSTALLATION
3
1.3. LEG/CASTER INSTALLATION AND LEVELING
When you receive your appliance it is completely assembled with the possible exception of the legs
(or casters). This appliance must be installed with legs or casters; it cannot be curb mounted. Curb
mounting will seriously inhibit this appliance’s ability to effect proper component ventilation. The
legs/casters must be installed before connecting the appliance to the gas supply. The legs provide
the necessary height to meet sanitation requirements and assure adequate air supply to the
combustion system. Use the following procedure
Required tools: 7/16 “ wrench and socket and a large pair of water pump pliers.
1. Lay the appliance on its back, being careful not to damage the splash back by pulling on it.
Protect the outside of the appliance with cardboard or a drop cloth when laying it down.
2. Attach each leg/caster with the hex head screws and nuts supplied. Each leg/caster requires
four ¼-20 x 5/8” hex head screws and nuts. Insure that all screws are tight.
3. Mount the screws from the inside of the appliance with the nut on the outside (bottom) of the
appliance. The nuts have lock washers attached to them, therefore it is not necessary to use
separate lock washers.
4. When all four legs/casters are securely mounted, stand the unit up, being careful not to put too
much weight on any one leg. Adjust the height and level the appliance by adjusting the leveling
devices (B) with water pump pliers. On casters, loosen 2 screws (A) before leveling, make your
height adjustments, then retighten.
WARNING
DO NOT install legs or casters, or perform leveling procedure when
appliance is in operation or full of hot liquids. Serious injury could result.
WARNING
This appliance must be installed with the legs or casters provided by the manufacturer.

INSTALLATION
4 L20-294, rev. 0 (1/06)
1.4. PLUMBING CONNECTIONS
The plumbing installation should be done by a licensed plumber and must comply with local and
national codes.
1.4.1. WATER INLET CONNECTIONS
If a faucet or water fill option is equipped on your appliance connections to a potable water supply
will be required. If a single water connection is required it is recommended that the appliance is
connected to hot water supply. This will greatly decrease the time it takes for the appliance to
reach operating temperature. Prior to installation, a water treatment specialist should inspect the
water supply. Water hardness should contain no more then 2.0 grains/gallon. The pH level
should be between 6.5 and 8.0. These conditions can be obtained with the use of a properly
maintained water softener. The incoming water pressure should be between 20 psi (1.38 bars) to
60 psi (4.14 bars). For higher water pressures, a high-pressure regulator must be installed to
inlet plumbing to avoid damage caused by water hammer. The maximum allowable incoming
water temperature is 180°F (82°C). Have your water tested and record the measured values
below.
1.4.2. DRAIN CONNECTIONS
Each tank has a drain that can be inserted into a drainage system. Each tank also has an
overflow line. The overflow connection is after the drain valve to provide an unobstructed
overflow path. The drain and overflow line for each tank is connected together to form a common
drain line.
Water Quality Checklist
Measured Range OK
Temperature 180°F (82°C) Max.
Hardness 2.0 Grains/Gal. Max.
pH 6.5 to 8.0
Pressure 20 psi to 60 psi
WARNING
When water is at a high temperature and high pressure, excessive splashing of hot water
may occur that could result in injury.

PG14D: Floor Model Gas Pasta Cooker INSTALLATION
5
1.5. GAS CONNECTION
Your appliance will give you peak performance when the gas supply line is of sufficient size to provide
the correct gas flow. The gas line must be installed to meet the local building codes or National Fuel
Gas Code ANS Z223.1 and NFPA 54 (latest editions). In Canada, install the appliance in accordance
with CSA B149.1 or .2 and local codes. Gas line sizing requirements can be determined by a qualified
installation professional, your local gas company or by referring to the National Gas Fuel Code,
Appendix C, Table C-4 (for natural gas) and Table C-16 (for propane). The gas line needs to be large
enough to supply the necessary amount of fuel to all appliances without losing pressure to any
appliance. A properly sized and installed gas line will deliver a supply pressure between 7.0” W.C.
(17.4mbars, 1.74kPa) and 10.0”W.C. (24.9mbars, 2.49kPa) natural gas or between 11.0”W.C.
(27.4mbars, 2.74kPa) and 13.0” W.C. (32.4mbars, 3.25kPa) propane to all appliances connected to
the supply line, operating simultaneously at full demand. The pressure at the gas valve shall not
exceed ½ PSI.
Each appliance is equipped to operate on one certain fuel type. The type of fuel with which the
appliance is intended to operate is stamped on the data plate, which is attached to the inside of the
door.
1.5.1. QUICK DISCONNECT CONNECTION
Gas appliances equipped with casters must be installed with connectors that comply with the
Standard for Movable Gas Appliances, ANSI Z21.69 • CSA 6.16 latest edition. This connection
should include a quick disconnect device that complies with the Standard for Quick Disconnect
Devices for Use With Gas Fuel, ANSI Z21.41 • CSA 6.9 latest edition. When installing a quick
disconnect you must also install adequate means for limiting the movement of the appliance
without depending on the connector and quick-disconnect device or it’s associated piping to limit
the movement of the appliance. The restraining device should be attached to the appliance on the
back panel.
1.5.2. FUEL SUPPLY LINE LEAK AND PRESSURE TESTING
The fuel supply system must be tested before the appliance is used. If the fuel line is going to be
tested at a pressure greater than ½ PISG (3.45 kPa), insure that that appliance is disconnected
from the fuel line. If the fuel line is to be tested at a pressure equal to or less than ½ PSIG (3.45
kPa), the appliance can be connected during the test, but the unit’s gas valve must be shut. Test
all gas line connections for leaks with a solution of soap and water when pressure is applied.
WARNING
NEVER supply the appliance with a gas other than the one that is indicated on the data
plate. Using the incorrect gas type will cause improper operation and could result in serious
injury or death. If you need to convert the appliance to another type of fuel, contact the
dealer
y
ou
p
urchased it from.
NOTICE
NEVER use an adapter to make a smaller gas supply line fit the appliance connection. This
may not allow proper gas flow for optimum burner operation, resulting in poor performance
and improper operation.

INSTALLATION
6 L20-294, rev. 0 (1/06)
1.6. ELECTRICAL CONNECTIONS
It is advised that this power supply be plugged into a wall receptacle that is controlled by the
ventilation control. This will prevent the appliance from being operated without the ventilator on. If
your appliance requires an electrical connection, the power requirements are listed below.
CAUTION
Connecting the appliance to the wrong power supply may damage the appliance and void
the warranty.
WARNING
This appliance must be connected to a power supply having the same voltage and phase as
specified on the data plate located on the inside of the appliance door.
WARNING
DO NOT attempt to connect the appliance to an electrical supply other then that indicated
on the data plate. Electrical connection should be performed by qualified personnel.
WARNING
The electrical connection used by this appliance must comply with local codes. If there are
no local codes that apply, refer to the National Electrical Code (NEC), ANSI/NFPA 70 for
installation in the US. In Canada, refer to CSA Standard C22.2 and local codes. In all other
cases
,
refer to local and national codes and re
g
ulations.
WARNING
The appliance must be grounded in accordance with local code; if there is no local code,
comply with the NEC and ANSI/NFPA No. 70 latest edition (for US and Canadian
installations). In all other cases, refer to local and national codes and regulations. To
comply with European requirements, European models are equipped with an equalization-
bonding clamp. An equalization bonding lead must be connected to this clamp to provide
sufficient protection against potential difference. This clamp, located on the rear of the
appliance is marked with the following universal symbol.
WARNING
A country approved all pole circuit breaker with a minimum open contact gap of 3mm must
be used for proper installation. (CE countries)
WARNING
This equipment must be installed so that the plug is accessible unless other means for
disconnection from the power supply (e.g. a circuit breaker) is provided.
WARNING
If this appliance is permanently connected to fixed wiring, it must be connected by means
of copper wires having a temperature rating of not less then 167°F (75°C).
WARNING
All copper wiring for this appliance must be made in accordance with the wiring diagram(s)
located on the appliance.
North America International
Input Voltage 120 VAC, 50/60 Hz 220, 230 or 240 VAC 50/60 Hz
Current per unit 1.0 Amp 0.5 Amps

PG14D: Floor Model Gas Pasta Cooker INSTALLATION
7
1.7. VENTILATION AND FIRE SAFETY SYSTEMS
Your new appliance must have proper ventilation to function safely and properly. Exhaust gas
temperatures can reach as high as 1100 °F (593 °C). Therefore, it is very important to install a fire
safety system. Your ventilation system should be designed to allow for easy cleaning. Frequent
cleaning and proper maintenance of the ventilation system and the appliance will reduce the chances
of fire. Ventilation and fire safety systems must comply to local and national codes. Refer to ANSI
83.11 for a list of reference documents that will provide guidance on ventilation and fire safety
systems. For installations in U.S. and Canada, additional information can be obtained from CSA
International, 8501 East Pleasant Valley Road, Cleveland, OH, 44131 or visit their website at
www.csa-international.org.
It is essential that the appliance be operated only when adequate ventilation is provided. Your
ventilation hood should be properly maintained. A qualified installation professional should ensure that
the hood is operating properly in conjunction with the appliance. Inadequate ventilation may not
properly evacuate appliance all emissions. Excessive or unbalanced ventilation may cause drafts,
which could interfere with proper operation of the pilot and burners. Leave at least 18 inches
(45.72cm) of open space between the flue of the appliance and the intake of the exhaust hood.
WARNING
If your appliance is uses line current, it is equipped with an oil proof, electrical supply cord
with a three-prong safety plug. This is to protect operators from electrical shock hazard in the
event of an equipment malfunction. DO NOT cut or remove the grounding (third) prong from
this
p
lu
g;
it should be
p
lu
gg
ed into a
p
ro
p
erl
y
g
rounded three-
p
ron
g
rece
p
tacle.
WARNING
Ensure that your ventilation system does not cause a down draft at the appliance’s flue
opening. A down draft will not allow the appliance to exhaust properly and will cause
overheating, which may cause permanent damage. Damage caused by down drafts will not
be covered by the warranty. NEVER allow anything to obstruct the flow of combustibles or
ventilation exiting the appliance. NEVER place anything on top of the flue area, or block the
flue in any way. Never place a hood grease condensating drip pan over the flue opening.
WARNING
NEVER connect the ventilation blower or hood directly to the flue of this appliance. The
resulting increased flow of air through the combustion system will cause improper
operation, poor temperature recovery, poor ignition and could extinguish the pilot.

INSTALLATION
8 L20-294, rev. 0 (1/06)
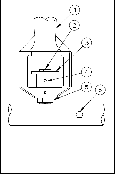
1) Probe
2) High Temperature Limit
1.8. INSPECTION
Before you begin filling and adjusting the appliance, perform the following visual checks:
9 After the appliance is in its permanent location, check the levelness. Any additional leveling that
is necessary can be performed as previously described.
9 Ensure that the probe and high temperature limit is in place and secure. Check the high limit
bulb mounting screws to ensure that they are tight.
9 Review the installation portion of this manual and ensure that all steps have been followed and
executed properly.

PG14D: Floor Model Gas Pasta Cooker INSTALLATION
9
DRAIN VALVE CLOSED
ON
O
T
L
OFF
I
P
ON
O
T
L
OFF
I
P
1.9. INITIAL ADJUSTMENTS
After your appliance has been properly installed as described in the installation section of this
manual, it will need to be adjusted to ensure that it will perform as designed. A qualified person must
perform these adjustments.
To perform these adjustments the following tools will be needed:
• Manometer • Digital Thermometer (Temperature Probe) • DC Voltmeter
1.9.1. FILLING THE APPLIANCE
Refer to the following procedure to fill the cook tank prior to
operation.
1. Ensure that the drain valve is closed.
2. Fill the tank with water until the water reaches the water level
line(s).
1.9.2. LIGHTING INSTRUCTIONS
Refer to the following instructions to light the appliance.
1. Open gas supply valves to the appliance.
2. Make sure that the appliance is turned OFF.
3. Turn the gas valve knob to the PILOT position and push in on the knob.
Hold the knob in for approximately one minute to purge the air out of the
line. Hold a flame to the pilot until the pilot ignites; this may take a little
while the first time you light the pilot because of the air in the lines. Once
lit, hold the knob in for approximately one minute and then release.
4. If the pilot goes out, wait 5 minutes and repeat step C. If after three tries the pilot will
not remain lit, refer to the operator troubleshooting section of this manual.
5. Once a pilot flame has been established, turn the gas valve knob
counterclockwise to the ON position.
6. The main burners will light and be controlled by the thermostat.
WARNING
Water must completely cover the heat tubes at all times while appliance is on.
CAUTION
This appliance is not designed for cooking with oil. Fill with potable water only.
WARNING
During operation there is an open flame inside this appliance. The unit may get hot enough to
set near by materials on fire. Keep the area around the appliance free from combustibles.
WARNING
If pilot extinguishes, wait 5 minutes before attempting
to relight the pilot to allow any built up gas to dissipate.

INSTALLATION
10 L20-294, rev. 0 (1/06)
ON
OFF
T
P
O
L
I
A) Pilot Adjustment (under cap screw)
B) Gas Pressure Adjustment (under cap screw)
1.9.3. PILOT FLAME ADJUSTMENT
Perform this procedure with the pilot lit. This procedure requires a DC voltmeter set to a
scale of 0-1000 mV. Using test leads with sharp probes will help in taking the required
readings.
1. Locate the thermopile wires coming from the thermostat/limit box going to the gas
valve. The wire size decreases near the gas valve connections.
2. Using the positive (+) test probe, connect the probe to the high limit wire terminal. On
particular systems, pierce the high limit wire insulation, with the tip of the test lead
probe, at the gas valve safety magnet connection.
3. Connect the negative (-) test probe to the pilot tubing.
4. Remove the cap screw located below the pilot tubing on the gas valve. The pilot flame
adjustment screw is recessed behind this. Turning the pilot flame adjustment screw
clockwise lowers the pilot flame and millivolt output. Turning the pilot flame
adjustment screw counter- clockwise increases the pilot flame size and millivolt
output.
5. Rotate the screw in the direction needed to achieve a reading between 600 and 750mV.
Note: Allow 3 to 5 minutes between flame adjustments to allow the reading to
stabilize.
6. Replace the cap screw.

PG14D: Floor Model Gas Pasta Cooker INSTALLATION
11
1) Burner
2) Burner Orifice
3) Air Collar
4) Set Screw
5) Burner Fitting
6) Gas Pressure Test Plug
1.9.4. MAIN BURNER SYSTEM ADJUSTMENT
For the main burners to operate the gas supply valve must be open and the thermostat must be
turned on. The main power switch must be on. The main burners receive gas from the main gas
supply through the thermostatically controlled valve. When the water temperature drops below
the preset temperature the gas control valve opens.
The main burners must be adjusted to deliver optimum flame. Refer to the following procedure to
adjust the main burners.
1. Ensure that the main gas valve is shut off, remove the manifold pressure tap plug and
connect an accurate pressure gauge (range of 0-16 “W.C. (39.85mbar, 3.98kPa) in 0.1”
(.25mbar, .02kPa) increments) or manometer.
2. Turn on this and all appliances connected to the gas supply line and light their main burners.
The pressure reading of the installed pressure gauge should not drop from the required
installation pressure. Any loss of pressure indicates inadequate supply line installation,
which will cause poor performance of all appliances during peak usage.
3. The installed pressure gauge should be the same, ±0.1” W.C. (.25mbar, .02kPa), as that
marked on the data plate on the inside door of the appliance. If the pressure is correct, go to
step 6, if it is not, adjust the pressure as outlined in step 4.
4. To adjust the pressure, remove the regulator adjustment screw cap and, with a flat head
screwdriver, adjust the regulator screw until the proper burner pressure is reached. Turning
the screw clockwise will increase the burner pressure. Turning the screw counterclockwise
will decrease the burner pressure.
5. When the pressure is correct, replace the regulator adjustment screw cover.
6. Turn off the ALL appliances, shut the main gas valve to your Pitco appliance and remove the
pressure gauge. Apply pipe joint compound to the manifold pressure tap plug and reinstall it.

INSTALLATION
12 L20-294, rev. 0 (1/06)
7. Now that the main burner pressure is set properly you may adjust the main burner flame.
Unlock the air collars by loosening the set screw on each collar. Open the main gas valve,
(light the pilot if the appliance has a manual pilot) and turn the thermostat to light the main
burners.
8. Adjust the shape and size of the main burner flame by raising or lowering the air collars to
achieve a soft blue flame with well-defined inner cones. Refer to burner flame diagram to
determine the ideal flame profile.
9. When the main burner flames have been properly adjusted, lock the air collars in place by
tightening the set screws.
A. INSUFFICIENT FLOW - The flame impinges on the tank front. Tubes and baffles are
carbonized. Check vent and adjust if necessary. Check heat tube and flue for blockage.
B. EXCESSIVE FLOW – The flame seems to lift off the burner face. To correct, adjust
main burner pressure as describe in this section.
C. INSUFFICIENT FLOW – Low burner or supply pressure. Adjust burner pressure or have
gas company check incoming pressure.
D. NORMAL FLOW – Burner and pressure are adjusted properly. A soft, steady blue flame
enter the heat tube without impinging on the tube rim or tank front.

PG14D: Floor Model Gas Pasta Cooker INSTALLATION
13
WARNING
Use a commercial grade cleaner formulated to effectively clean and sanitize food contact
surfaces. Read the directions and precautionary statements before use. Particular
attention must be paid to the concentration of cleaner and the length of time the cleaner
remains on the food contact surfaces.
1.10. INITIAL CLEANING
When your appliance is shipped, many of its parts are covered with a thin coat of oil for protection.
Before the appliance is ready for cooking it must be cleaned. This will remove the oil coating and any
foreign matter that may have accumulated during storage and shipment. Refer to the following
procedure to clean the appliance.
1. Read the “operation” section of this manual prior to filling or operating the appliance.
2. The following steps should be followed using a grease dissolving commercial cleaner.
3. Following the manufacturer’s directions, clean the tank interior and all other food contact
surfaces.
4. When cleaning is complete, rinse the inside of the tank thoroughly with cool water. Continue to
rinse the tank until the cleaner has been completely and thoroughly rinsed from the tank.
5. Using a clean dry cloth, wipe out all of the water.
6. Repeat the previous steps to clean the rinse station if equipped.
CAUTION
Be careful not to disturb the probe and high temperature limit during operation and cleaning
of this appliance.
WARNING
Wear protective gloves and clothing when cleaning and draining the appliance and when
disposing of water. The water is extremely hot and can cause severe injuries.
CAUTION
DO NOT leave the appliance unattended during cleaning. Never let the water level go below
the heat tubes.

OPERATION
14 L20-294, rev. 0 (1/06)
2. OPERATION
An operator’s manual for your appliance’s specific control type should be included with this manual.
Refer to that manual prior to operating this appliance.
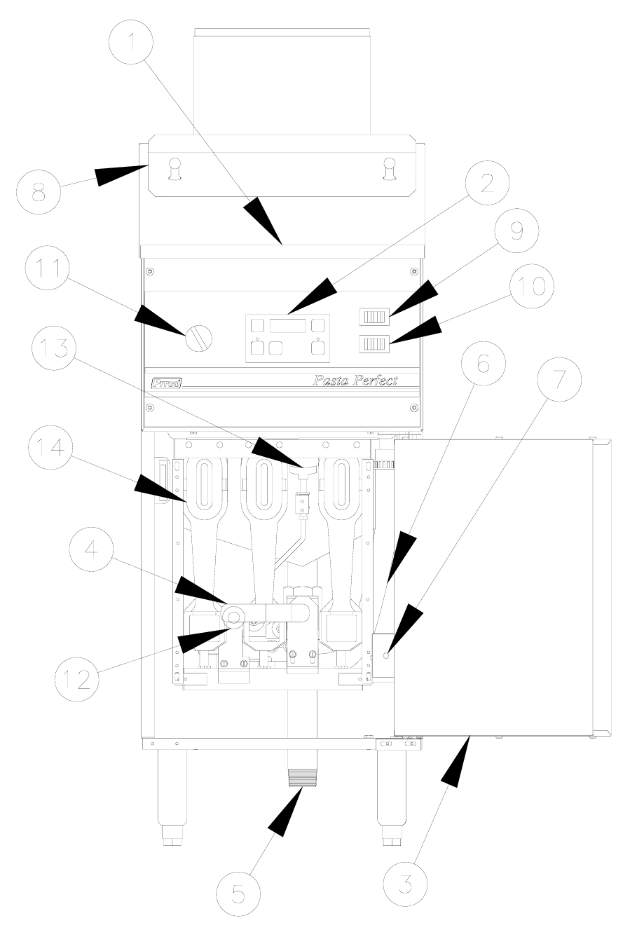
2.1. OPERATIONAL FEATURES
The diagram below outlines some of the key operational components of your appliance. Refer to the
following sections of this manual to learn more about these features.
1. Cook Tank
2. Controller (Not on all Models)
Controls the water temperature inside the cook tank.
Optional timers are located on the controller (if equipped).
Includes button to switch between boil mode and simmer mode (not on all models).
If the controller has an ON/OFF button, it will be used to turn ON the controller as well as other
features on the appliance.
3. Door (Shown Open)
Provides access to the drain valve handle, high temperature reset button and gas valve, pilot,
burners and shutoff valves.
4. Drain Valve Handle (Shown in the closed position)
Opens the drain valve so water can be drained from the cook tank.
If the drain valve interlock feature is equipped, the appliance will stop heating if the drain valve is
opened.
5. Drain Outlet
Water exits the cook tank through the drain outlet when draining or overflowing.
6. Overflow Line
When the cook tank water level reaches the overflow, water will flow unobstructed through the
overflow line and eventually exit the appliance through the drain outlet.
7. High Temperature Reset Button
This button may need to be pressed in the event that the high temperature limit has tripped.
8. Basket Hanger
For hanging and/or draining baskets when they are outside of the cook tank.
9. ON/OFF Switch
Turns the appliance ON and OFF. Some controllers require that they are turned ON by another
button after the ON/OFF switch is in the ON position.
10. Boil/Simmer Switch
Switches the appliance between boil and simmer mode.
11. Manual Water Fill Knob (Not on all Models)
Fills the cook tank with water. May be adjusted for the proper water flow into the cook tank.
12. Gas Valve Knob
The gas valve controls the flow of gas to the pilot and burners.
Turning the gas valve knob to the OFF position shuts off the gas supply to the pilot and burners.
13. Pilot
The pilot lights the burners when the water in the cook tank requires more heat.
14. Burners
Heats the water inside the cook tank.

PG14D: Floor Model Gas Pasta Cooker OPERATION
15

OPERATION
16 L20-294, rev. 0 (1/06)
Tank Capacity
Model Capacity
PG14D 12 Gal. (45.5 Liters)
2.2. FILLING THE APPLIANCE
2.2.1. FILLING THE COOKER TANK
It is recommended that the cooker tank is filled with hot water. This will greatly decrease the time
it takes for the appliance to reach operating temperature. Refer to the following procedure to fill
the cook tank prior to operation.
1. Ensure that the drain valve is closed.
2. Fill the tank with water until the water reaches the water level line(s).
2.2.2. FILLING THE RINSE TANK
Once pasta is cooked to the desired doneness it will continue to cook after
being removed from the cook tank until its internal temperature is lowered. Submerging the pasta
in cold water or rinsing it with cold water will lower the pasta’s internal temperature and stop the
cooking process. Rinsing or submerging will also prevent sticking and remove dissolved starch.
If the appliance is equipped with a rinse tank, it may be filled with cold (or ice) water for
submerging the pasta after it leaves the cook tank. Refer to the following procedure to fill the
cook tank prior to operation.
1. Ensure that the drain valve is closed.
2. Fill the tank with cold water (and ice if desired) until the water reaches the water level line(s).
If the rinse tank does not have level lines, fill the tank so that the water is 4 inches
(10.16cm) below the overflow. The tank can be filled up beyond the desired level but water
may be lost through the overflow once pasta is placed into the tank.
2.3. APPLIANCE START UP
Refer to the following procedure to start the appliance prior to operation.
1. Ensure that the drain valve is closed.
2. Fill the cook tank with water. (See section 2.1 “Filling the Appliance”)
3. Light the appliance. (See section 1.8.2 “Lighting Instructions”)
4. If the appliance is equipped with a I/0 (ON/OFF) switch, turn it to the I (ON) position.
5. If the appliance is equipped with a controller it may need to be turned on. Press the * button
to turn the controller on.
*The specified button may appear slightly different then shown. Refer to the operator’s
manual for your appliance’s specific control type to determine the exact appearance of each
button and display.
6. The appliance is now on and heating the water in the cook tank.
DRAIN VALVE
CLOSED
CAUTION
This appliance is not
designed for cooking with oil.
Fill with potable water only.
WARNING
Water must completely
cover the heat tubes at all
times while appliance is on.
WARNING
Water must completely
cover the heat tubes at all
times while appliance is on.
WARNING
NEVER operate the appliance with an empty cook tank. It may
void the warranty. Adding water after the heat tubes have been
heated may cause injuries from hot splattering liquids and steam.

PG14D: Floor Model Gas Pasta Cooker OPERATION
17
Typical Timer Buttons*
2.4. COOKING
It is important to keep the cook tank full of water to minimize the chance of boiling the appliance dry
and to keep the water at a level that will provide optimum cooking performance. To keep the water at
its normal operating temperature, it is best to add water in small amounts. If the appliance is
equipped with manual water fill, it is recommended that the fill knobs are set so that water enters the
tank slowly during cooking.
2.4.1. SIMMER MODE
Simmer mode maintains the water temperature to just below boiling. This mode can be used to
reheat pasta or as a “stand by” mode.
To enter simmer mode:
Models with electric thermostat: Press the boil/simmer switch to the simmer position.
All other Models: Press the * button until * is displayed.
If you are not ready to cook, enter simmer mode. This will conserve energy and keep water in the
tank longer then when in boil mode.
2.4.2. BOIL MODE
Boil mode consistently heats the water so that the water will boil. Once the water starts to boil the
appliance is ready to cook pasta.
To enter boil mode:
Models with electric thermostat: Press the boil/simmer switch to the boil position.
All other Models: Press the * button until * is displayed.
2.4.3. TIMER OPERATION
Not all control types include timers. Timers provide accurate cook times for multiple product
quantities and types. Refer to the operator’s manual for your appliance’s specific control type to
determine how to set the cook timers if equipped.
To start a timer: Press the appropriate timer button.
2.4.4. BASKET LIFT OPERATION
If the appliance is equipped with basket lifts, place the pasta basket onto the basket lift prior to
starting the timer(s). The basket(s) will be lowered into the cook tank when the timer cycle starts.
At the end of the preset cooking time, the basket lift will raise the basket out of the cook tank.
2.4.5. ADDITIONAL CONTROLLER FUNCTIONS
Some controllers have additional functions not described in this manual. If your appliance’s
controller has additional functions, refer to the controller’s operation manual to access these
functions.
*The specified buttons and/or displays may appear slightly different then shown. Refer to
the operator’s manual for your appliance’s specific control type to determine the exact
appearance of each button and display.
WARNING
Dry fired heat tubes are extremely hot, will shorten its service life and may void your warranty.

OPERATION
18 L20-294, rev. 0 (1/06)
P
I
L
T
O
ON
OFF
ON
O
T
L
OFF
I
P
Cooked Pasta Volumes
1lb. Dry =
Pasta Type Cooked
Spaghetti 10 cups
Angel Hair 8 cups
Fettuccine 7 cups
Ziti 9 cups
Shells 8 cups
Bow Ties 10 cups
This table is for reference only.
Please refer to the pasta
manufacturer’s specifications to
determine exact cooked quantity.
2.4.6. COOKING TIPS
9 Rinse pasta after cooking only if it is for cold dishes or if the pasta will NOT be served
immediately.
9 For best results when cooking dry pasta, use at
least 1 gallon of water for every 1 lb. of dry pasta.
9 Sticky cooked pasta can be avoided by increasing
the quantity of water per pound or use of the
manual fill option while cooking (if equipped). The
manual fill should be set to a trickle while cooking to
allow the water continue boiling.
9 When storing pasta, keep the sauce separate
because the pasta will continue to absorb liquids
after cooking.
9 Cooking oil can be added to cooked pasta prior to
storage to prevent sticking. 1-2 tsp. of oil per pound
(cooked) is typical.
2.5. APPLIANCE SHUTDOWN
There are two shutdown modes of appliance operation: STANBY and COMPLETE. The standby
mode removes the ability of the appliances main burners to operate. Complete shutdown turns off the
gas supply to the appliance. Refer to the following procedures to enter the appropriate shutdown
mode.
2.5.1. STANDBY MODE
1. If the appliance is equipped with a controller it should be turned OFF. If the controller has
an ON/OFF button, press and hold the button until the controller is off.
2. If the appliance is equipped with a I/0 (ON/OFF) switch, turn it to the 0 (OFF) position.
3. Turn the knob on the gas valve clockwise to the PILOT position.
2.5.2. COMPLETE SHUTDOWN
1. If the appliance is equipped with a controller it should be turned OFF. If the controller has
an ON/OFF button, press and hold the button until the controller is off.
2. If the appliance is equipped with a I/0 (ON/OFF) switch, turn it to the 0 (OFF) position.
3. Turn the ON/OFF knob on the gas valve clockwise to the OFF position.
4. The appliance is now completely shut down and can be cleaned if desired.
WARNING
NEVER leave the appliance in standby mode for prolonged periods or overnight.

PG14D: Floor Model Gas Pasta Cooker PREVENTATIVE MAINTENANCE
19
WARNING
Read the operation section of this manual prior to filling or operating the appliance.
3. PREVENTATIVE MAINTENANCE
3.1. DAILY PREVENTATIVE MAINTENANCE
Performing the preventative maintenance steps below on a daily basis will keep your equipment safe
and at peak performance. During the cooking process, starch build up will form on the temperature
probes, tank and heating element. If you are producing high quantities of pasta it may be necessary
to clean these components more then once a day.
3.1.1. APPLIANCE INSPECTION
9 Check that the high temperature limit and temperature probe are in the correct position and
secured in place.
9 Check that wires and cords are not frayed or loose in and out of the cabinet.
9 Check around the appliance for loose parts or accessories that need to be secured or other
foreign items (ex: Aerosol cans) that should be removed from the area.
9 Check for water leaks around the drain lines and water supply in and out of the cabinet and
around the appliance.
3.1.2. CLEANING THE COOK TANK (RINSE TANK IF EQUIPPED)
1. Turn the appliance off.
2. Scrub the tank, basket hanger, baskets and temperature probe using a Scotchbrite™ or other
abrasive pad with a commercial type cleaner specifically designed for cleaning and sanitizing
food contact surfaces. Follow the directions and familiarize yourself with the safe use of this
cleaner prior to using it to clean the appliance. Care must be taken to remove all the foreign
material on the tank and on components in the tank.
3. When cleaning is complete, rinse the inside of the tank and its components thoroughly with
cool water. Continue to rinse at least twice or until the cleaner has been completely and
thoroughly rinsed from the tank.
3.1.3. CLEANING THE CABINET
1. The inside of the cabinet should be cleaned with a clean dry cloth removing oil, dust, dirt and
cooking debris on all accessible surfaces and components.
2. The outside of the cabinet should be cleaned with a wetted cloth and mild detergent to
remove oil, dust, dirt and debris. Be careful not to introduce the detergent into the tank and
food zone regions of the appliance.
WARNING
The power supply must be disconnected before cleaning and servicing this appliance!
WARNING
Wear protective gloves and clothing when cleaning and draining the appliance and
when disposing of water. The water is extremely hot and can cause severe injuries.
WARNING
DO NOT leave the appliance unattended during cleaning.

PREVENTATIVE MAINTENANCE
20 L20-294, rev. 0 (1/06)
WARNING
The power supply must be disconnected before cleaning and servicing this appliance!
3.2. MONTHLY PREVENTATIVE MAINTENANCE
Water can leave mineral deposits inside the tank. Performing the monthly preventative maintenance
steps below will keep your equipment safe and at peak performance. If you are producing high
quantities of pasta or your water is heavily mineral based, then it may be necessary to clean these
components more then once a month.
3.2.1. DELIMING
1. Read the “operation” section of this manual prior to filling or operating the appliance.
2. Following the manufacturer’s deliming instructions, remove deposits from the tank’s interior.
3. When cleaning is complete, rinse the inside of the tank and its components thoroughly with
cool water. Continue to rinse at least twice or until the cleaner has been completely and
thoroughly rinsed from the tank.
4. Using a clean dry cloth, wipe out all of the water.
5. Repeat the previous steps to clean the rinse tank (if equipped).
3.3. ANNUAL/PERIODIC PREVENTATIVE MAINTENANCE AND INSPECTION
This section should ONLY be performed by a qualified service technician as part of a regular kitchen
maintenance program. This inspection should take place a minimum of once a year by an Authorized
Service Technician recommended by Pitco. It may be necessary perform this inspection more then
once a year.
3.3.1. TEMPERATURE PROBE & HIGH LIMIT PROBE
9 Verify probes are in good working condition. Check for damage and that the fasteners are
tightly secured to the tank.
9 Verify compression fittings are leak free.
9 Check wiring for loose electrical connections.
3.3.2. CONTROLLER
Perform the following inspection if the appliance is equipped with a temperature controller.
9 Verify that the controller is in good mechanical condition. Check all lights, displays and
switches to assure that they are working properly. Examine overlay for damage that could
allow moisture to enter.
9 Check for loose electrical connections.
9 Verify simmer temperature. Check temperature 1” above controller probe, if necessary check
probe resistance.
9 Check drain valve interlock (if provided) to ensure that the appliance stops heating when the
drain valve is open.
3.3.3. CONTROL BOX & ELECTRICAL COMPONENTS
9 Verify that all components (transformer, terminal block, relays, drain switches, etc…) are in
good condition. Verify that wires are tight and in good condition.
9 Verify enclosures are free of leaks. Check for water stains and wet surfaces.
9 Verify that the covers and panels are in tact and provide a safe condition. Check for loose
parts.
9 Verify power cord is in good condition. Check for frayed or exposed wires. Verify that the
insulation is in good condition and the attachment to the appliance is tight.
PG14D: Floor Model Gas Pasta Cooker PREVENTATIVE MAINTENANCE
21
3.3.4. TANK
9 Verify that the tank is in good condition. Check for scale build up and inspect for signs of
corrosion. Verify that tank is leak free. Check drain overflow (if equipped) for scale build up
and debris blockage.
3.3.5. DRAIN SYSTEM
9 Verify that drain valve is in good condition. Check for leaks in the seal area and fitting region.
9 Verify that drain lines are leak free, kink free and in good condition. Check for scale build up
and debris blockage. Verify that the clamps and connections are securely tightened.
3.3.6. GAS COMBUSTION SYSTEM
9 Check for gas leaks.
9 Check and clean vent tube on gas valve pressure regulator.
9 Check burners, clean debris and grease from pilot and pilot orifice tips.
9 Check and adjust burner manifold gas pressure to nameplate reading.
9 Check incoming gas pressure when all gas appliances are on.
9 Check ignition system and adjust pilot flame as required.
9 Check flame sensor reading.
9 Recheck for gas leaks after inspection.
3.4. VENTILATION HOOD
Proper ventilation hood operation is very important for the correct operation of this appliance and the
safety of personnel. The ventilation hood should be inspected at the time of installation of this
appliance to insure that it will operate properly in conjunction with the appliance. A regular schedule
of examination, in accordance with ANSI/NFPA 96 latest edition and/or local codes must be followed.

TROUBLESHOOTING
22 L20-294, rev. 0 (1/06)
High Temperature
Reset Button
4. TROUBLESHOOTING
4.1. POWER FAILURE
If electric power is removed for any reason, the appliance will shut down. Wait five minutes after the
power is restored before attempting to restart the appliance. This will allow time for any gas that may
have accumulated in the burner or tubes to dissipate. To restart the appliance, follow the appliance
start up procedure in section 2.2.
4.2. HIGH TEMPERATURE LIMIT
This appliance is equipped with a high temperature limit switch. The high temperature limit switch will
stop the appliance from functioning if the internal cook tank reaches an unsafe temperature. In the
event that the high temperature limit has tripped, Please refer to the following procedure to reset the
switch.
1. Turn the appliance off.
2. Allow the appliance ample time to cool to room temperature.
3. Add water to the cook tank as needed.
4. Press the high temperature reset button if equipped.
5. The high limit switch is now reset and the appliance is ready for start up.
4.3. DRAIN VALVE INTERLOCK
If your appliance is equipped with a drain valve interlock circuit, the appliance will stop heating if the
tank drain valve is opened. In some cases the appliance will turn off. Refer to the following
procedure to resume operation after the drain valve interlock is tripped.
1. Turn the appliance OFF (if not already OFF).
2. Close the tank drain valve and fill the tank with water.
3. Turn the appliance ON.
CAUTION
DO NOT attempt to operate this appliance during a power outage.
WARNING
DO NOT add water to the tank until it has been given ample time to cool down. Failure
to do so may result in damage to the appliance and/or injury to the operator.

PG14D: Floor Model Gas Pasta Cooker TROUBLESHOOTING
23
4.4. TROUBLESHOOTING CHART
4.5. CONTROLLER WARNING DISPLAYS
If your appliance is equipped with a temperature controller it may display the following warnings on its
display.
Problem Probable Causes Corrective Actions
No power to appliance. Check main building power supply.
Circuit Breaker tripped. Reset circuit breaker.
I/0 Switch in 0 position. Flip I/0 switch to I position and turn
on controller.
Controller not turned on. Turn on controller.
Controller does not
activate.
Power Cord loose or not connected. Connect power cord.
Controller displays
that it is heating but
water will not heat.
High temperature limit has tripped Allow appliance to cool and reset
High temperature limit.
Display Problem Action
Water temperature
is low.
Wait for appliance to heat up.
Incorrect probe
reading.
Contact Authorized Service Company.
Water level is low. Turn off appliance. Allow ample time for appliance to
cool before filling with water and turning on.
Incorrect probe
reading.
Contact Authorized Service Company.
Drain valve is open
while controller is
on.
Turn off appliance. Close drain valve before turning
appliance back on.

L20-294, rev. 0 (1/06)
In the event of problems with or
questions about your order, please
contact the Pitco Frialator factory at:
(800) 258-3708 US and Canada only or
(603) 225-6684 World Wide
Website Address: www.pitco.com
In the event of problems with or questions
about your equipment, please contact the
Pitco Frialator Authorized Service and Parts
representative (ASAP) covering your area, or
contact Pitco at the numbers listed to the left.
MAILING ADDRESS – P.O. BOX 501, CONCORD, NH 03302-0501
SHIPPING ADDRESS – 10 FERRY ST., CONCORD, NH 03301