Poulan Pro Pe12538Lt Users Manual
POULAN Lawn, Tractor Manual L0606002 POULAN Lawn, Tractor Owner's Manual, POULAN Lawn, Tractor installation guides
!! Poulan-62 Poulan Lawn Mower Manuals - Lawn Mower Manuals – The Best Lawn Mower Manuals Collection
2015-02-06
: Poulan-Pro Poulan-Pro-Pe12538Lt-Users-Manual-519942 poulan-pro-pe12538lt-users-manual-519942 poulan-pro pdf
Open the PDF directly: View PDF
.
Page Count: 44

|
OWNER'S MANUAL
MODEL NO. PE12538LT(96011019600)
12.5 HP 38 Inch
Lawn Tractor
Assembly
• Operation
•Maintenance
•Service and Adjustments
•Storage
•Troubleshooting
•Repair Parts
403391 Rev.1 05.24.06 TRNB
Printed in U.S.A.

SAFETY RULES &
Safe Operation Practices for Ride-On Mowers
DANGER: THIS CUTTINGMACHINEIS CAPABLEOF AMPUTATINGHANDSAND FEETAND THROWINGOBJECTS. FAILURE
TO OBSERVETHE FOLLOWINGSAFETY INSTRUCTIONSCOULD RESULTIN SERIOUS INJURYOR DEATH.
• Disengage blades when not mowing, Shut off engine
WARNING: In order to prevent ac-
cidental starting when setting up,
transporting, adjusting or making re-
pairs, always disconnect spark plug
wire and place wire where it cannot
contact spark plug.
I_ WARNING: Do not coast down a hill I
I
in neutral, you may lose control of the I
tractor.
&WARNING: Tow only the attachments
that are recommended by and com-
fply with specifications of the manu-
acturer of your tractor. Use common
sense when towing. Operate only at
the lowest possible speed when on a
slope. Too heavy of a load, while on
a slope, is dangerous. Tires can lose
traction with the ground and cause you
to lose control of your tractor.
I. GENERAL OPERATION
•Read, understand, and follow all instructions on the
machine and in the manual before starting,
• Do not put hands or feet near rotating parts or under
the machine, Keep clear of the discharge opening at
all times.
• Only allow responsible adults, who are familiar with the
instructions, to operate the machine,
• Clear the area ofobjects such as rocks, toys, wire, etc,,
which could be picked up and thrown by the blades.
• Be sure the area is clear of bystanders before operat-
ing. Stop machine if anyone enters the area,
• Never carry passengers,
• Do not mow in reverse unless absolutely necessary.
Always look down and behind before and while back-
ing,
• Never direct discharged material toward anyone, Avoid
discharging material against a wall or obstruction, Ma-
terial may ricochet back toward the operator, Stop the
blades when crossing gravel surfaces,
• Do not operate machine without the entire grass catcher,
discharge guard, or other safety devices in place and
working.
• Slow down before turning.
• Never leave a running machine unattended. Always
turn off blades, set parking brake, stop engine, and
remove keys before dismounting,
and wait for all parts to come to a complete stop before
cleaning the machine, removing the grass catcher, or
unclogging the discharge guard.
• Operate machine only in daylight or good artificial
light.
• Do not operate the machine while under the influence
of alcohol or drugs,
• Watch for traffic when operating near or crossing road-
ways.
• Use extra care when loading or unloading the machine
into a trailer or truck,
• Always wear eye protection when operating ma-
chine,
• Data indicates that operators, age 60 years and above,
are involved in a large percentage of riding mower-re-
lated injuries. These operators should evaluate their
ability to operate the riding mower safely enough to
protect themselves and others from serious injury,
• Follow the manufacturer's recommendation for wheel
weights or counterweights,
• Keep machine free of grass, leaves or other debris
build-up which can touch hot exhaust /engine parts
and burn, Do not allow the mower deck to plow leaves
or other debris which can cause build-up to occur,
Clean any oil or fuel spillage before operating or
storing the machine. Allow machine to cool before
storage,
II. SLOPE OPERATION
Slopes are a major factor related to loss of control and
tip-over accidents, which can result in severe injury or
death. Operation on all slopes requires extra caution, If
you cannot back up the slope or if you feel uneasy on it,
do not mow it,
• Mow up and down slopes, not across,
• Watch for holes, ruts, bumps, rocks, or other hidden
objects, Uneven terrain could overturn the machine.
Tall grass can hide obstacles.
• Choose a low ground speed so that you will not have
to stop or shift while on the slope,
• Do not mow on wet grass, Tires may lose traction,
Always keep the machine in gear when going down
slopes, Do not shift to neutral and coast downhill.
• Avoid starting, stopping, or turning on a slope. If the
tires lose traction, disengage the blades and proceed
slowly straight down the slope.
• Keep all movement on the slopes slow and gradual.
Do not make sudden changes in speed or direction,
which could cause the machine to roll over,
• Use extra care while operating machine with grass
catchers or other attachments; they can affect the
stability of the machine, Do no use on steep slopes,
• Do not try to stabilize the machine by putting your foot
on the ground,
• Do not mow near drop-offs, ditches, or embankments.
The machine could suddenly roll over if a wheel is over
the edge or if the edge caves in.
2

SAFETY RULES &
Safe Operation Practices for Ride-On Mowers
II1. CHILDREN
Tragic accidents can occur if the operator is not alert to
the presence of children. Children are often attracted to
the machine and the mowing activity. Never assume that
children will remain where you last saw them,
• Keep children out of the mowing area and inthe watchful
care of a responsible adult other than the operator.
• Be alert and turn machine off if a child enters the
area.
• Before and while backing, look behind and down for
small children.
• Never carry children, even with the blades shut off, They
may fall off and be seriously injured or interfere with
safe machine operation. Children who have been given
rides in the past may suddenly appear in the mowing
area for another ride and be run over or backed over
by the machine.
• Never allow children to operate the machine.
• Use extra care when approaching blind corners, shrubs,
trees, or other objects that may block your view of a
child,
IV. TOWING
• Tow only with a machine that has a hitch designed for
towing. Do not attach towed equipment except at the
hitch point,
• Follow the manufacturer's recommendation for weight
limits for towed equipment and towing on slopes.
• Never allow children or others in or on towed equip-
ment.
• On slopes, the weight of the towed equipment may
cause loss of traction and loss of control.
• Travel slowly and allow extra distance to stop,
V. SERVICE
SAFE HANDLING OF GASOLINE
To avoid personal injury or property damage, use extreme
care in handling gasoline, Gasoline is extremely flammable
and the vapors are explosive,
• Extinguish all cigarettes, cigars, pipes, and other
sources of ignition,
• Use only approved gasoline container,
• Never remove gas cap or add fuel with the engine run-
ning. Allow engine to cool before refueling,
• Never fuel the machine indoors.
• Never store the machine or fuel container where there
is an open flame, spark, or pilot light such as on a water
heater or other appliances,
• Never fill containers inside a vehicle or on a truck or
trailer bed with plastic liner, Always place containers
on the ground away from your vehicle when filling,
• Remove gas-powered equipment from the truck ortrailer
and refuel it on the ground, If this is not possible, then
refuel such equipment with a portable container, rather
than from a gasoline dispenser nozzle.
• Keep the nozzle in contact with the rim of the fuel tank
or container opening atall times until fueling is complete,
Do not use a nozzle lock-open device,
• If fuel is spilled on clothing, change clothing immedi-
ately.
• Never overfill fuel tank. Replace gas cap and tighten
securely.
GENERAL SERVICE
• Never operate machine in a closed are,
• Keep all nuts and bolts tight to be sure the equipment
is in safe working condition.
• Never tamper with safety devices, Check their proper
operation regularly,
• Keep machine free of grass, leaves, or other debris
build-up. Clean oil or fuel spillage and remove any fuel-
soaked debris, Allow machine to cool before storing.
• If you strike a foreign object, stop and inspect the
machine. Repair, if necessary, before restarting.
• Never make any adjustments or repairs with the engine
running.
• Check grass catcher components and the discharge
guard frequently and replace with manufacturer's rec-
ommended parts, when necessary,
• Mower blades are sharp, Wrap the blade or wear
gloves, and use extra caution when servicing them.
• Check brake operation frequently. Adjust and service
as required.
• Maintain or replace safety and instruction labels, as
necessary,
• Be sure the area is clear of bystanders before operat-
ing, Stop machine if anyone enters the area.
• Never carry passengers.
• Do not mow in reverse unless absolutely necessary,
Always look down and behind before and while back-
ing,
• Never carry children, even with the blades shut off, They
may fall off and be seriously injured or interfere with
safe machine operation. Children who have been given
rides in the past may suddenly appear in the mowing
area for another ride and be run over or backed over
by the machine,
• Keep children out of the mowing area and inthe watchful
care of a responsible adult other than the operator,
• Be alert and turn machine off if a child enters the
area,
• Before and while backing, look behind and down for
small children.
• Mow up and down slopes (15° Max), not across,
• Choose a low ground speed so that you will not have
to stop or shift while on the slope.
• Avoid starting, stopping, or turning on a slope. If the
tires lose traction, disengage the blades and proceed
slowly straight down the slope,
• If machine stops while going uphill, disengage blades,
shift into reverse and back down slowly.
• Do not turn on slopes unless necessary, and then, turn
slowly and gradually downhill, if possible.

PRODUCT SPECIFICATIONS
Gasoline Capacity 1.25 Gallons
and Type: Unleaded Regular
Oil Type (API-SG-SL): SAE 30 (above 32°F)
SAE 5W-30 (below 32°F)
Oil Capacity: 3.0 Pints
Spark Plug: Champion RC12YC
(Gap: .030")
Ground Speed (MPH): Forward:
1st 1.1
2nd 2.2
3rd 3.4
4th 4.3
5th 5.5
Reverse: 1.7
Charging System: 3 Amps Battery
5 Amps Headlights
Battery: AMP/FIR: 28
Min. CCA: 230
Case Size: U1R
Blade Torque: 45-55 FT. LBS.
CONGRATULATIONS on your purchase of a new tractor.
Ithas been designed, engineered and manufactured to give
you the best possible dependability and performance.
Should you experience any problem you cannot easily rem-
edy, please contact your nearest authorized service center/
department, We have competent, well-trained technicians
and the proper tools to service or repair this tractor.
Please read and retain this manual, The instructions will
enable you to assemble and maintain your tractor properly.
Always observe the "SAFETY RULES",
CUSTOMER RESPONSIBILITIES
•Read and observe the safety rules,
•Follow a regular schedule in maintaining, caring for
and using your tractor.
• Follow the instructions under "Maintenance" and "Stor-
age" sections of this owner's manual.
WARNING: This tractor is equipped with an internal com-
bustion engine and should not be used on or near any
unimproved forest-covered, brush-covered orgrass-covered
land unless the engine's exhaust system is equipped with
a spark arrester meeting applicable local or state laws (if
any), If a spark arrester is used, it should be maintained
in effective working order by the operator.
A spark arrester for the muffler is available through your
nearest authorized service center/department,
TABLE OF CONTENTS
SAFETY RULES ......................................................... 2-3
PRODUCT SPECIFICATIONS ....................................... 4
CUSTOMER RESPONSIBILITIES ................................. 4
ASSEMBLY ................................................................. 6-8
OPERATION ............................................................. 9-14
MAINTENANCE SCHEDULE ...................................... 15
MAINTENANCE ..................................................... 15-18
SERVICE AND ADJUSTMENTS ............................ 19-23
STORAGE .................................................................... 24
TROU BLESHOOTING ............................................ 25-26
REPAIR PARTS ...................................................... 28-43
4

CONTENTS OF HARDWARE PACK
Steering Wheel
Steering
Extension
Shaft
Steering
Wheel Insert
Steering
Boot Steering Wheel
Adapter ©
(1)5/16
Lock Washer
D
/Lar(_ g_Flat
(1) Hex Bolt 5/16-18 x 4
Battery
(2) Hex Bolts
1/4-20 x 3/4 @(2) Hex Nuts
1/4-20
Seat
(1) Washer (_)
17/32 x 1-3/16 x 12 Gauge
(1) Knob I_
(1) Oil Drain Tube
Key
Slope Sheet
(2) Keys

ASSEMBLY
Your new tractor has been assembled at the factory with exception of those parts left unassembled for shipping purposes,
To ensure safe and proper operation of your tractor all parts and hardware you assemble must be tightened securely, Use
the correct tools as necessary to insure proper tightness.
TOOLS REQUIRED FOR ASSEMBLY
A socket wrench set will make assembly easier. Standard
wrench sizes are listed.
(2) 7/16" wrench
(1) 1/2" wrench Utility knife
Tire pressure gauge
Pliers
When right or left hand is mentioned in this manual, it means
when you are in the operating position (seated behind the
steering wheel),
TO REMOVE TRACTOR FROM
CARTON
UNPACK CARTON
• Remove all accessible loose parts and parts cartons
from carton,
• Cut along dashed lines on all four panels of carton,
Remove end panels and lay side panels flat.
• Check for any additional loose parts or cartons and
remove,
BEFORE REMOVING TRACTOR FROM
SKID
ATTACH STEERING WHEEL (See Fig. 1)
ASSEMBLE EXTENSION SHAFT AND BOOT
• Slide extension shaft onto lower steering shaft.
• Place tabs of steering boot over tab slots in dash and
push down to secure,
INSTALL STEERING WHEEL
• Position front wheels of the tractor so they are pointing
straight forward.
• Remove steering wheel adapter from steering wheel
and slide adapter onto steering shaft extension.
• Position steering wheel so cross bars are horizontal
(left to right) and slide inside boot and onto adapter.
• Assemble large flat washer, 5/16 lock washer, 5/16 hex
bolt and tighten securely.
• Snap steering wheel insert into center of steering
wheel,
• Remove protective materials from tractor hood and
grill,
IMPORTANT: CHECK FOR AND REMOVE ANY STAPLES IN
SKID THAT MAY PUNCTURE TIRES WHERE TRACTOR IS TO
ROLLOFF SKID.
_INSERT
_z ......5/16 HEX BOLT
WASHER
LARGE FLAT
STEERING /WASHER
WHEEL "_ \
LOWER i
STEERING _. _
SHAFT
FIG. 1
INSTALL SEAT (See Fig. 2)
Adjust seat before tightening adjustment knob,
• Remove adjustment knob and flat washer securing
seat to cardboard packing and set aside for assembly
of seat to tractor,
• Pivot seat upward and remove from the cardboard pack-
ing, Remove the cardboard packing and discard,
• Place seat on seat pan so head of shoulder bolt is
positioned over large slotted hole in pan,
• Push down on seat to engage shoulder bolt in slot and
pull seat towards rear of tractor,
• Pivot seat and pan forward and assemble adjustment
knob and flat washer loosely, Do not tighten.
• Lower seat into operating position and sit on seat,
• Slide seat until a comfortable position is reached
which allows you to press clutch/brake pedal all the
way down,
• Get off seat without moving its adjusted position.
• Raise seat and tighten adjustment knob securely,
6

ASSEMBLY
SHOULDER
BOLT
FLAT WASHER
ADJUSTMENTKNOB
FIG. 2
CONNECT BATTERY (See Figs. 3 and 4)
CAUTION: Do not short battery termi-
nals by allowing a wrench or any other
object to contact both terminals at the
same time. Before connecting battery,
remove metal bracelets, wristwatch
bands, rings, etc.
Positive terminal must be connected
first to prevent sparking from accidental
grounding.
•Lift seat pan to raised position,
• Remove terminal protective caps and discard.
• If this battery is put into service after month and year
indicated on label (label located between terminals)
charge battery for minimum of one hour at 6-10 amps,
(See "BATTERY" in the Maintenance section of this
manual for charging instructions).
• First connect RED battery cable to positive (+) terminal
with hex bolt and keps nut as shown, Tighten securely,
Slide terminal cover over terminal,
• Connect BLACK grounding cable to negative (-) ter-
minal with remaining hex bolt and keps nut. Tighten
securely.
..--- DISCARD TERMINAL
PROTECTIVE CAPS
TERMINAL i
IHEX BOLT
POSITIVE(RED)
CABLE NEGATIVE(BLACK)
CABLE
FIG. 3
SEAT
LABEL
FIG. 4
NOTE: You may now roll or drive your tractor off the skid.
Follow the appropriate instruction below to remove the
tractor from the skid,
_&WARNING: Before starting, read, understand and follow
all instructions in the Operation section of this manual. Be
sure tractor is in a well-ventilated area, Be sure the area in
front of tractor is clear of other people and objects,
TO ROLL TRACTOR OFF SKID (See Op-
eration section for location and function of
controls)
• Press lift lever plunger and raise attachment lift lever
to its highest position,
•Release parking brake by depressing clutch/brake
pedal.
• Place gearshift lever in neutral (N) position,
• Roll tractor forward off skid,
•Remove banding holding deflector shield up against
tractor.
TO DRIVE TRACTOR OFF SKID (See Op-
eration section for location and function of
controls)
• Be sure all the above assembly steps have been com-
pleted.
• Check engine oil level and fill fuel tank with gasoline,
•Sit on seat in operating position, depress clutch/brake
pedal and set the parking brake,

ASSEMBLY
• Place gear shift lever in neutral (N) position,
• Press lift lever plunger and raise attachment lift lever
to its highest position.
• Remove key from bag and start the engine (see "TO
START" in the Operation section of this manual). After
engine has started, move throttle control to idle (slow)
position,
• Depress clutch/brake pedal into full "BRAKE" position
and hold, Move gearshift lever to 1st gear,
• Slowly release clutch/brake pedal and slowly drive
tractor off skid,
• Apply brake to stop tractor, set parking brake and place
gearshift lever in neutral position,
• Turn ignition key to "OFF" position,
Continue with the instructions that follow,
CHECK TIRE PRESSURE
The tires on your tractor were overinflated at the factory
for shipping purposes, Correct tire pressure is important
for best cutting performance.
• Reduce tire pressure to PSI shown on tires,
CHECK DECK LEVELNESS
For best cutting results, mower housing should be properly
leveled, See "TO LEVEL MOWER" in the Service and
Adjustments section of this manual,
CHECK FOR PROPER POSITION OF ALL
BELTS
See the figures that are shown for replacing motion and
mower blade drive belts in the Service and Adjustments
section of this manual, Verify that the belts are routed
correctly.
CHECK BRAKE SYSTEM
Afteryou learn how to operate your tractor, check to see that
the brake is operating properly, See "TO CHECK BRAKE"
in the Service and Adjustments section of this manual,
,/CHECKL IS T
BEFORE YOU OPERATE YOUR NEW TRACTOR, WE
WISH TO ASSU RE THAT YOU RECEIVE THE BEST PER-
FORMANCE AND SATISFACTION FROM THIS QUALITY
PRODUCT.
PLEASE REVIEW THE FOLLOWING CHECKLIST:
,/ All assembly instructions have been completed.
,/ No remaining loose parts in carton,
,/ Battery is properly prepared and charged,
,/ Seat is adjusted comfortably and tightened securely.
,/ All tires are properly inflated, (For shipping purposes,
the tires were overinflated at the factory),
,/ Be sure mower deck is properly leveled side-to-side/
front-to-rear for best cutting results, (Tires must be
properly inflated for leveling),
,/ Check mower and drive belts, Be sure they are routed
properly around pulleys and inside all belt keepers,
,/ Check wiring. See that all connections are still secure
and wires are properly clamped,
WHILE LEARNING HOWTO USEYOURTRACTOR, PAY
EXTRA ATTENTION TO THE FOLLOWING IMPORTANT
ITEMS:
,/ Engine oil is at proper level,
,/ Fuel tank is filled with fresh, clean, regular unleaded
gasoline,
,/ Become familiar with all controls, their location and
function, Operate them before you start the engine,
,/ Be sure brake system is in safe operating condition.
,/ Be sure Operator Presence System and Reverse Op-
eration System (ROS) are working properly (See the
Operation and Maintenance sections in this manual).
8

OPERATION
These symbols may appear on your tractor or in literature supplied with the product, Learn and understand their mean-
ing,
RHLI',,I
CHOKE FASTREVERSE NEUTRAL HIGH LOW SLOW
ENGINE OFF REVERSE ENGINE ON ENGINE START PARKING BRAKE MOWER HEIGHT
OPERATION
SYSTEM (ROS)
LIGHTS ON FUEL BATTERY CRUISE CONTROL
IGNITION SWITCH
MOWER LIFT
REVERSE FORWARD CLUTCH/BRAKE
PEDAL
m
ATTACHMENT
CLUTCH DISENGAGED
ATTACHMENT
CLUTCH ENGAGED
FREE WHEEL
(Automatic Models only)
DANGER, KEEP HANDS
AND FEET AWAY
®@@@@
KEEP AREA CLEAR SLOPE HAZARDS
(SEE SAFETY RULES SECTION)
&
Failure to follow instructions
could result in serious injury or
death. The safety alert symbol
is used to identify safety inform-
ation about hazards which can
result in death, serious injury
and/or property damage.
&
&
&
,JlJllfitINtlJ.
DANGER indicates a hazard which, if not avoided,
will result in death or serious injury.
WARNING indicates a hazard which, if not avoided,
could result in death or serious injury.
CAUTION indicates a hazard which, if not avoided,
might result in minor or moderate injury.
CAUTION when used without the alert symbol,
indicates a situation that could result in damage
to the tractor and/or engine.
HOT SURFACES indicates a hazard which,
if not avoided, could result in death, serious injury
and/or property damage.
FIRE indicates a hazard which, if not avoided,
could result in death, serious injury and/or
property damage.

OPERATION
KNOW YOUR TRACTOR
READ THIS OWNER'S MANUAL AND SAFETY RULES BEFORE OPERATING YOUR TRACTOR
Compare the illustrations with your tractor to familiarize yourself with the locations of various controls and adjustments.
Save this manual for future reference.
ATTACHMENT
CLUTCH LEVER IGNITION
SWITCH POSITION
THRq
CHOKE CONTROL ,- LIFT LEVER
/ /
PLUNGER
LIGHT ,_ ATTACHMENT
LIFT LEVER
CLUTCH/BRAKE o HEIGHT
PEDAL ADJUSTMENT
INDICATOR
PARKING
BRAKE
GEAR SHIFT
LEVER
Our tractors conform to the applicable safety standards of the American National Standards Institute.
ATTACHMENT CLUTCH LEVER - Used to engage the
mower blades, or other attachments mounted to your
tractor,
ATTACHMENT LIFT LEVER - Used to raise, lower, and
adjust the mower deck or other attachments mounted to
your tractor,
CHOKE CONTROL - Used when starting a cold engine,
CLUTCH/BRAKE PEDAL- Used for declutching and brak-
ing the tractor and starting the engine.
GEARSHIFT LEVER - Selects the speed and direction
of the tractor,
IGNITION SWITCH - Used for starting and stopping the
engine,
LIFT LEVER PLUNGER - Used to release attachment lift
lever when changing its position.
LIGHT SWITCH - Turns the headlights on and off.
PARKING BRAKE - Locks clutch/brake pedal into the
brake position.
REVERSE OPERATION SYSTEM (ROS) "ON" POSI-
TION - Allows operation of mower deck or other powered
attachment while in reverse,
THROTTLE CONTROL - Used to control engine speed.
10

OPERATION
The operation of any tractor can result in foreign objects thrown into the eyes, which can result
in severe eye damage. Always wear safety glasses or eye shields while operating your tractor or
performing any adjustments or repairs. We recommend awide vision safety mask over spectacles
or standard safety glasses.
HOW TO USE YOUR TRACTOR
TO SET PARKING BRAKE (See Fig. 6)
Your tractor is equipped with an operator presence sens-
ing switch, When engine is running, any attempt by the
operator to leave the seat without first setting the parking
brake will shut off the engine.
•Depress clutch/brake pedal into full "BRAKE" position
and hold,
• Place parking brake lever in "ENGAGED" position and
release pressure from clutch/brake pedal, Pedal should
remain in "BRAKE" position, Make sure parking brake
will hold tractor secure.
CHOKE
CONTROL
LEVER
THROTTLE
CONTROL
ATTACHMENT CLUTCH
LEVER"ENGAGED"
POSITION
IGNITION KEY
"DISENGAGED"
POSITION
iBRAKE
"BRAKE .... ENGAGED"
POSITION POSITION
CLUTCH/BRAKE PARKING BRAKE
PEDAL "DRIVE" "DISENGAGED"
POSITION POSITION
GEAR
LEVER
FIG. 6
STOPPING (See Fig. 6)
MOWER BLADES -
• To stop mower blades,move attachment clutch lever
to "DISENGAGED" position,
GROUND DRIVE -
• To stop ground drive, depress clutch/brake pedal into
full "BRAKE" position.
• Move gearshift lever to neutral (N) position.
ENGINE -
• Move throttle control between half and full speed (fast)
position.
NOTE: Failure to move throttle control between half and
full speed (fast) position, before stopping may cause engine
to "backfire",
• Turn ignition key to "OFF" position and remove key,
Always remove key when leaving tractor to prevent
unauthorized use.
• Never use choke to stop engine,
IMPORTANT: LEAVING THE IGNITION SWITCH IN ANY
POSITION OTHERTHAN "OFF" WILL CAUSETHE BATTERY
TO BE DISCHARGED, (DEAD).
NOTE: Under certain conditions when tractor is standing
idle with the engine running, hot engine exhaust gases may
cause "browning" of grass, To eliminate this possibility, al-
ways stop engine when stopping tractor on grass areas,
CAUTION: Always stop tractor com-
pletely, as described above, before leav-
ing the operator's position; to empty
grass catcher, etc.
11
TO USE THROTTLE CONTROL (See Fig. 6)
Always operate engine at full speed (fast).
• Operating engine at less than full speed (fast) reduces
engine's operating efficiency.
• Full speed (fast) offers the best mower performance.
TO USE CHOKE CONTROL (See Fig. 6)
Use choke control whenever you are starting a cold engine,
Do not use to start a warm engine,
• To engage choke control, pull knob out, Slowly push
knob in to disengage.
TO MOVE FORWARD AND BACKWARD
(See Fig. 6)
The direction and speed of movement is controlled by the
gearshift lever.
• Start tractor with clutch/brake pedal depressed and
gearshift lever in neutral (N) position.
• Move gearshift lever to desired position,
• Slowly release clutch/brake pedal to start move-
ment,
IMPORTANT: BRING TRACTOR TO A COMPLETE STOP
BEFORE SHIFTING OR CHANGING GEARS. FAILURE
TO DO SO WILL SHORTEN THE USEFUL LIFE OF YOUR
TRANSAXLE.
TO ADJUST MOWER CUTTING HEIGHT
(See Fig. 6)
The position of the attachment lift lever determines the
cutting height,
• Grasp lift lever.
• Press plunger with thumb and move lever to desired
position,
The cutting height range is approximately 1-1/2 to 4",
The heights are measured from the ground to the blade tip
with the engine not running, These heights are approximate
and may vary depending upon soil conditions, height of
grass and types of grass being mowed,
• The average lawn should be cut to approximately 2-1/2
inches during the cool season and to over 3 inches
during hot months, For healthier and better looking
lawns, mow often and after moderate growth,
• For best cutting performance, grass over 6 inches
in height should be mowed twice. Make the first cut
relatively high; the second to desired height,

OPERATION
TO OPERATE MOWER (See Fig. 7)
Your tractor is equipped with an operator presence sensing
switch, Any attempt by the operator to leave the seat with
the engine running and the attachment clutch engaged
will shut off the engine,You must remain fully and centrally
positioned in the seat to prevent the engine from hesitating
or cutting off when operating your equipment on rough,
rolling terrain or hills,
• Select desired height of cut,
• Start mower blades by engaging attachment clutch
control.
• TO STOP MOWER BLADES - disengage attachment
clutch control.
CAUTION: Do not operate the mower
without either the entire grass catcher,
on mowers so equipped, or the deflector
shield in place.
"ENGAGED" POSITION
_,HMENT
LIFT LEVER
HIGH POSITION
ATTACHMENT
CLUTCH LEVER "
"DISENGAGED"
POSITION -_
f-- -\\ i,
/ /
LOW
POSITION
SHIELD
FIG. 7
REVERSE OPERATION SYSTEM (ROS)
Your tractor is equipped with a Reverse Operation System
(ROS), Any attempt by the operator to travel in the reverse
direction with the attachment clutch engaged will shut off
the engine unless ignition key is placed in the ROS "ON"
position,
Aqh,WARNING: Backing up with the attachment clutch en-
gaged while mowing is strongly discouraged, Turning the
ROS "ON", to allow reverse operation with the attachment
clutch engaged, should only be done when the operator
decides it is necessary to reposition the machine with the
attachment engaged, Do not mow in reverse unless
absolutely necessary,
USING THE REVERSE OPERATION SYSTEM -
• Depress clutch/brake pedal all the way down and
hold,
• With engine running, turn ignition key counterclockwise
to ROS "ON" position,
• Look down and behind before backing,
Move gear shift lever to reverse (R) position and slowly
release clutch/brake pedal to start movement.
When use of the ROS is no longer needed, turn the
ignition key clockwise to engine "ON" position,
ROS "ON" POSITION ENGINE "ON" POSITION
(NORMAL OPERATING)
TO OPERATE ON HILLS
I _lb WARNING: Do not drive up or down
hills with slopes greater than 15°and
do not drive across any slope.
• Choose the slowest speed before starting up or down
hills.
•Avoid stopping or changing speed on hills.
• If stopping is absolutely necessary, push clutch/brake
pedal quickly to brake position and engage parking
brake,
• Move gearshift lever to 1st gear, Be sure you have
allowed room for tractor to roll slightly as you restart
movement,
• To restart movement, slowly release parking brake and
clutch/brake pedal,
• Make all turns slowly.
TO TRANSPORT
• Raise attachment lift to highest position with attachment
lift control,
• When pushing or towing your tractor, be sure gearshift
lever is in neutral (N) position.
•Do not push or tow tractor at more than five (5) MPH,
NOTE: To protect hood from damage when transporting
your tractor on a truck or a trailer, be sure hood is closed
and secured to tractor. Use an appropriate means of tying
hood to tractor (rope, cord, etc,).
TOWING CARTS AND OTHER ATTACH-
MENTS
Tow only the attachments that are recommended by and
comply with specifications of the manufacturer of your trac-
tor. Use common sense when towing. Too heavy of a load,
while on a slope, is dangerous,Tires can lose traction with
the ground and cause you to lose control of your tractor,
12

OPERATION
BEFORE STARTING THE ENGINE
CHECK ENGINE OIL LEVEL
The engine in your tractor has been shipped, from the
factory, already filled with summer weight oil.
•Check engine oil with tractor on level ground,
• Remove oil fill cap/dipstick and wipe clean, reinsert the
dipstick and screw cap tight, wait for a few seconds,
remove and read oil level, If necessary, add oil until
"FULl" mark on dipstick is reached. Do not overfill,
• For cold weather operation you should change oil for
easier starting (See "OIL VISCOSITY CHART" in the
Maintenance section of this manual).
•To change engine oil, see the Maintenance section in
this manual.
ADD GASOLINE
• Fill fuel tank to bottom of filler neck, Do not overfill,
Use fresh, clean, regular unleaded gasoline with a
minimum of 87 octane, (Use of leaded gasoline will
increase carbon and lead oxide deposits and reduce
valve life), Do not mix oil with gasoline, Purchase fuel
in quantities that can be used within 30 days to assure
fuel freshness,
I& CAUTION: Wipe off any spilled oil or I
fuel, Do not store, spill or use gasoline I
near an open flame.
IMPORTANT: WHEN OPERATING IN TEMPERATURES
BELOW32°F(0°C), USE FRESH, CLEAN WINTER GRADE
GASOLINE TO HELP INSURE GOOD COLD WEATHER
STARTING.
CAUTION: Alcohol blended fuels (called
gasohol or using ethanol or methanol) can at-
tract moisture which leads to separation and
formation of acids during storage. Acidic gas
can damage the fuel system of an engine while
in storage. To avoid engine problems, the fuel
system should be emptied before storage of
30 days or longer. Drain the gas tank, start
the engine and let it run until the fuel lines
and carburetor are empty. Use fresh fuel next
season. See Storage Instructions for additional
information. Never use engine or carburetor
cleaner products in the fuel tank or permanent
damage may occur.
TO START ENGINE (See Fig. 5)
When starting the engine for the first time or if the engine
has run out of fuel, it will take extra cranking time to move
fuel from the tank to the engine.
• Sit on seat in operating position, depress clutch/brake
pedal and set parking brake,
• Place gear shift lever in neutral (N) position,
• Move attachment clutch to "DISENGAGED" position.
• Move throttle control to choke (N) position.
NOTE: Before starting, read the warm and cold starting
procedures below,
• Insert key into ignition and turn keyclockwise to"START"
position and release key as soon as engine starts,
Do not run starter continuously for more than fifteen
seconds per minute. If the engine does not start after
several attempts, move throttle control to fast position,
wait a few minutes and try again, If engine still does
not start, move the throttle control back to the choke (
I\1) position and retry.
WARM WEATHER STARTING (50° F and above)
• When engine starts, move the throttle control to the
fast position,
• The attachments and ground drive can now be used, If
the engine does not accept the load, restart the engine
and allow it to warm up for one minute using the choke
as described above,
COLD WEATHER STARTING ( 50° F and below)
• When engine starts, allow engine to run with the throttle
control in the choke (1\1)position until the engine runs
roughly, then move throttle control to fast position. This
may require an engine warm-up period from several
seconds to several minutes, depending on the tem-
perature,
• The attachments can also be used during the engine
warm-up period.
NOTE: If at a high altitude (above 3000 feet) or in cold
temperatures (below 32 F) the carburetor fuel mixture may
need to be adjusted for best engine performance, See "TO
ADJUST CARBURETOR" in the Service and Adjustments
section of this manual.
13

OPERATION
MOWING TIPS
• Mower should be properly leveled for best mowing per-
formance, See "TO LEVEL MOWER HOUSING" in the
Service and Adjustments section of this manual,
• The left hand side of mower should be used for trim-
ming.
• Drive so that clippings are discharged onto the area
that has been cut, Have the cut area to the right of the
machine, This will result in a more even distribution of
clippings and more uniform cutting,
• When mowing large areas, start by turning to the right so
that clippings will discharge away from shrubs, fences,
driveways, etc. After one or two rounds, mow in the
opposite direction making left hand turns until finished
(See Fig. 8).
ff
(
FIG. 8
• If grass is extremely tall, it should be mowed twice to
reduce load and possible fire hazard from dried clip-
pings. Make first cut relatively high; the second to the
desired height.
• Do not mow grass when it is wet. Wet grass will plug
mower and leave undesirable clumps, Allow grass to
dry before mowing,
• Always operate engine at full throttle when mow-
ing to assure better mowing performance and proper
discharge of material, Regulate ground speed by se-
lecting a low enough gear to give the mower cutting
performance as well as the quality of cut desired,
• When operating attachments, select a ground speed
that will suit the terrain and give best performance of
the attachment being used,
14

MAINTENANCE
MAINTENANCE
SCHEDULE
Check Brake Operation
Check Tire Pressure
T
R Check Operator Presence & ROS Systems
ACheck for Loose Fasteners
C ChecWReplace Mower Blades
Lubrication Chart
0Check Battery Level
R Clean Battery and Terminals
Check Transaxle Cooling
Check Mower Levelness
Check V-Belts
Check Engine Oil Level
Change Engine Oil (with oil filter)
Change Engine Oil (without oil filter
_ Clean Air Filter
GClean Air Screen
[Inspect Muffler/Spark Arrester
N Replace Oil Filter (If equipped)
E Clean Engine Cooling Fins
Replace Spark Plug
Replace Air Filter Paper Cartridge
__ R.._lace Fuel Filter
m
BEFORE
EACH
USE
v'
m
EVERY
8
HOURS
r,
EVERY
25
HOURS
_lllf 1,2
EVERY
50
HOURS
v'
_11S1,2
EVERY
100
HOURS
v'
v'
EVERY
SEASON
BEFORE
STORAGE
v"
i,,"
V"
v'
1 - Change more often when operating under a heavy load or
in high ambient temperatures.
2 - Service more often when operating in dirty or dusty conditions.
3 - Replace blades more often when mowing in sandy soil.
4 - Not required if equipped with maintenance-free battery.
GENERAL RECOMMENDATIONS
The warranty on this tractor does not cover items that have
been subjected to operator abuse or negligence. To receive
full value from the warranty, operator must maintain tractor
as instructed in this manual.
Some adjustments will need to be made periodically to
properly maintain your tractor,
At least once a season, check to see if you should make
any of the adjustments described in the Service and
Adjustments section of this manual,
•At least once a year you should replace the spark plug,
clean or replace air filter, and check blades and belts
for wear, A new spark plug and clean air filter assure
proper air-fuel mixture and help your engine run better
and last longer,
BEFORE EACH USE
• Check engine oil level.
• Check brake operation.
• Check tire pressure.
• Check operator presence and
ROS systems for proper operation.
• Check for loose fasteners.
15
LUBRICATION CHART
@SPINDLE ZERK _ _ ,]
I 3¢
@FRONT WHEEL _._, ';-,_
BEARING ZERK 7 i_J
i t /
I I
I I
I !
I 1
I 1
I
_____ _____ @SPINDLE ZERK
............._-T1_ @FRONTWHEEL
..... _EARING ZERK
_ @GEARSHIFT
-_ _ PIVOTS
I
@SAE 30 OR 10W30 MOTOR OIL
@GENERAL PURPOSE GREASE
@REFER TO MAINTENANCE "ENGINE" SECTION
IMPORTANT: DO NOT OIL OR GREASE THE PIVOT POINTS WHICH
HAVE SPECIAL NYLON BEARINGS. VISCOUS LUBRICANTS WILL
ATTRACT DUST AND DIRT THAT WILL SHORTEN THE LIFE OF
THE SELF-LUBRICATING BEARINGS. IF YOU FEEL THEY MUST
BE LUBRICATED, USE ONLY A DRY, POWDERED GRAPHITE TYPE
LUBRICANT SPARINGLY.

MAINTENANCE
TRACTOR
Always observe safety rules when performing any main-
tenance,
BRAKE OPERATION
If tractor requires more than five (5) feet to stop at highest
speed in highest gear on a level, dry concrete or paved
surface, then brake must be checked and adjusted. (See
"TO ADJUST BRAKE" in the Service and Adjustments
section of this manual),
TIRES
•Maintain proper air pressure inall tires (See"PRODUCT
SPECIFICATIONS" section of this manual).
• Keep tires free of gasoline, oil, or insect control chemi-
cals which can harm rubber,
• Avoid stumps, stones, deep ruts, sharp objects and
other hazards that may cause tire damage.
NOTE: To seal tire punctures and prevent flat tires due to
slow leaks, tire sealant may be purchased from your local
parts dealer, Tire sealant also prevents tire dry rot and
corrosion.
OPERATOR PRESENCE SYSTEM AND REVERSE OP-
ERATION SYSTEM (ROS)
Be sure operator presence and reverse operation systems
are working properly. If your tractor does not function as
described, repair the problem immediately.
• The engine should not start unless the brake pedal is
fully depressed, and the attachment clutch control is
in the disengaged position.
CHECK OPERATOR PRESENCE SYSTEM
•When the engine is running, any attempt by the operator
to leave the seat without first setting the parking brake
should shut off the engine,
• When the engine is running and the attachment clutch
is engaged, any attempt by the operator to leave the
seat should shut off the engine,
• The attachment clutch should never operate unless
the operator is in the seat,
CHECK REVERSE OPERATION (ROS) SYSTEM
• When the engine is running with the ignition switch in
the engine "ON" position and the attachment clutch
engaged, any attempt by the operator to shift into
reverse should shut off the engine.
• When the engine is running with the ignition switch in
the ROS "ON" position and the attachment clutch en-
gaged, any attempt by the operator to shift into reverse
should NOT shut off the engine,
ROS "ON" POSITION ENGINE "ON" POSITION
(NORMAL OPERATING)
BLADE CARE
For best results mower blades must be kept sharp, Replace
bent or damaged blades.
CAUTION: Useonlya replacement blade
approved by the manufacturer of your
tractor. Using a blade not approved
by the manufacturer of your tractor is
hazardous, could damage your tractor
and void your warranty.
BLADE REMOVAL (See Fig. 9)
• Raise mower to highest position to allow access to
blades.
NOTE: PROTECTYOU R HANDSWlTH GLOVES AND/ORWRAP
BLADEWITH HEAVY CLOTH.
• Remove blade bolt by turning counterclockwise.
• Install new or resharpened blade with stamped "THIS
SIDE UP" facing deck and mandrel assembly.
IMPORTANT: TO ENSURE PROPER ASSEMBLY, CENTER
HOLE IN BLADE MUST ALIGN WITH STAR ON MANDREL
ASSEMBLY.
• Install and tighten blade bolt securely (45-55 Ft. Lbs.
torque),
IMPORTANT: SPECIAL BLADE BOLT IS HEAT TREATED.
BLADE
CENTER
HOLE
BLADE BOLT MANDREL
ASSEMBLY
(SPECIAL) STAR
16
FIG. 9
TO SHARPEN BLADE (See Fig. 10)
NOTE: WE DO NOT RECOMMEND SHARPENING BLADE- BUT
IFYOU DO, BE SURE THE BLADE IS BALANCED.
Care should be taken to keep the blade balanced, An un-
balanced blade will cause excessive vibration and eventual
damage to mower and engine.
• The blade can be sharpened with a file or on a grind-
ing wheel, Do not attempt to sharpen while on the
mowe r,
•To check blade balance, you will need a 5/8" diameter
steel bolt, pin, or a cone balancer. (When using a
cone balancer, follow the instructions supplied with
balancer.)
NOTE: DO NOT USE A NAIL FOR BALANCING BLADE.
THE LOBES OF THE CENTER HOLE MAY APPEAR TO BE
CENTERED, BUT ARE NOT.
• Slide blade on to an unthreaded portion ofthe steel bolt
or pin and hold the bolt or pin parallel with the ground,
If blade is balanced, it should remain in a horizontal
position. If either end of the blade moves downward,
sharpen the heavy end until the blade is balanced,

MAINTENANCE
• Slide blade on to an unthreaded portion of the steel bolt SAEVISCOSITYGRADES
or pin and hold the bolt or pin parallel with the ground,
If blade is balanced, it should remain in a horizontal
position, If either end of the blade moves downward,
sharpen the heavy end until the blade is balanced,
5/8" BOLT
OR PIN
CENTER HOLE
BLADE
FIG. 10
BATTERY
Yourt ractor has a battery charging system which is sufficient
for normal use. However, periodic charging of the battery
with an automotive charger will extend its life,
• Keep battery and terminals clean,
• Keep battery bolts tight,
• Keep small vent holes open.
• Recharge at 6-10 amperes for 1 hour,
NOTE: The original equipment battery on your tractor is
maintenance free, Do not attempt to open or remove caps
or covers. Adding or checking level of electrolyte is not
necessary,
TO CLEAN BATTERY AND TERMINALS
Corrosion and dirt on the battery and terminals can cause
the battery to "leak" power.
• Disconnect BLACK battery cable first then RED bat-
tery cable and remove battery from tractor,
• Rinse the battery with plain water and dry.
• Clean terminals and battery cable ends with wire brush
until bright,
• Coat terminals with grease or petroleum jelly.
• Reinstall battery (See "CONNECT BATTERY" in the
Assembly section of this manual),
V-BELTS
CheckV-belts for deterioration and wear after 100 hours and
replace if necessary. The belts are not adjustable. Replace
belts if they begin to slip from wear.
TRANSAXLE COOLING
Keep transaxle free from build-up of dirt and chaff which
can restrict cooling,
ENGINE
LUBRICATION
Only use high quality detergent oil rated with API service
classification SG-SL. Select the oil's SAE viscosity grade
according to your expected operating temperature.
F -20 0 30 32 40 60 80 100
c -_0 -20 -1; ; ;0 _0 10 4;
TEMPERATURE RANGE ANTICIPATED BEFORE NEXT OIL CHANGE
oilvEsc chart1 e
FIG. 11
NOTE: Although multi-viscosity oils (5W30, 10W30 etc,)
improve starting incold weather, they will result in increased
oil consumption when used above 32°E Checkyour engine
oil level more frequently to avoid possible engine damage
from running low on oil,
Change the oil after every 25 hours of operation or at least
once a year if the tractor is not used for 25 hours in one
year,
Check the crankcase oil level before starting the engine
and after each eight (8) hours of operation, Tighten oil fill
cap/dipstick securely each time you check the oil level,
TO CHANGE ENGINE OIL (See Figs, 11 and 12)
Determine temperature range expected before oil change,
All oil must meet API service classification SG-SL
• Be sure tractor is on level surface,
• Oil will drain more freely when warm,
• Catch oil in a suitable container.
• Remove oil fill cap/dipstick, Be careful not to allow dirt
to enter the engine when changing oil,
• Remove yellow cap from end of drain valve and install
the drain tube onto the fitting,
OIL DRAIN VALVE
17
FIG. 12
• Unlock drain valve by pushing inward and turning
counterclockwise,
• To open, pull out on the drain valve.
• After oil has drained completely, close and lock the
drain valve by pushing inward and turning clockwise
until the pin is in the locked position as shown.
• Remove the drain tube and replace the cap onto to the
bottom fitting of the drain valve.
• Refill engine with oil through oil fill dipstick tube. Pour
slowly. Do not overfill. For approximate capacity see
"PRODUCT SPECIFICATIONS" section of this man-
ual.
• Use gauge on oil fill cap/dipstick for checking level.
Be sure dipstick cap is tightened securely for accurate
reading. Keep oil at"FULl "line on dipstick.Tighten cap
onto the tube securely when finished.

MAINTENANCE
CLEAN AIR SCREEN
Air screen must be kept free of dirt and chaff to prevent
engine damage from overheating, Clean with a wire brush
or compressed air to remove dirt and stubborn dried gum
fibers,
AIR FILTER
Your engine will not run properly using a dirty air filter.
Service air cleaner more often under dusty conditions. See
Engine Manual.
ENGINE OIL FILTER
Replace the engine oil filter every season or every other
oil change if the tractor is used more than 100 hours in
one year,
MUFFLER
Inspect and replace corroded muffler and spark arrester
(if equipped) as it could create a fire hazard and/or dam-
age,
SPARK PLUGS
Replace spark plugs at the beginning of each mowing sea-
son or after every 100 hours of use, whichever comes first,
Spark plug type and gap setting is shown in "PRODUCT
SPECIFICATIONS" section of this manual,
IN-LINE FUEL FILTER (See Fig. 13)
The fuel filter should be replaced once each season. If fuel
filter becomes clogged, obstructing fuel flow to carburetor,
replacement is required.
• With engine cool, remove filter and plug fuel line sec-
tions,
• Place new fuel filter in position in fuel line with arrow
pointing towards carburetor,
• Be sure there are no fuel line leaks and clamps are
properly positioned.
• Immediately wipe up any spilled gasoline.
CLAMP CLAMP
FUEL
FILTER
FIG. 13
CLEANING
• Clean engine, battery, seat, finish, etc, of all foreign
matter,
• Keep finished surfaces and wheels free of all gasoline,
oil, etc,
• Protect painted surfaces with automotive type wax,
We do not recommend using a garden hose or pressure
washer to clean your tractor unless the engine and trans-
mission are covered to keep water out,Water in engine or
transmission will shorten the useful life of your tractor, Use
compressed air or a leaf blower to remove grass, leaves
and trash from tractor and mower,
18

SERVICE AND ADJUSTMENTS
i_ WARNING: TO AVOID SERIOUS INJURY, BEFORE PERFORMING ANY SERVICE OR ADJUST-
MENTS:
Depress clutch/brake pedal fully and set parking brake.
Place gearshift lever in neutral (N) position.
• Place attachment clutch in "DISENGAGED" position.
• Turn ignition key to "STOP" and remove key.
•Make sure the blades and all moving parts have completely stopped.
•Disconnect spark plug wire from spark plug and place wire where it cannot come in contact
with plug.
TRACTOR
TO REMOVE MOWER (See Fig. 14)
Mower will be easier to remove from the right side of trac-
tor,
• Place attachment clutch in "DISENGAGED" position.
• Move attachment lift lever forward to lower mower to
its lowest position,
• Roll belt off engine pulley.
• Remove small retainer spring, and remove clutch spring
off pulley bolt,
• Remove large retainer spring, slide collar off and push
housing guide out of bracket,
• Disconnect anti-sway bar from chassis bracket by re-
moving retainer spring.
• Disconnect suspension arms from rear deck brackets
by removing retainer springs,
• Disconnect front links from deck by removing retainer
springs.
• Raise lift lever to raise suspension arms. Slide mower
out from under tractor.
IMPORTANT: IF AN ATTACHMENT OTHERTHAN THE MOWER
DECK IS TO BE MOUNTED ON THE TRACTOR, REMOVE THE
FRONT LINKS AND HOOKTHE CLUTCH SPRING INTO SQUARE
HOLE IN FRAME.
TO INSTALL MOWER (See Fig. 15)
• Raise attachment lift lever to its highest position.
• Slide mower under tractor with deflector shield to right
side of tractor,
• Lower lift lever to its lowest position,
• Connect front links to mower deck and secure with
retainer springs,
• Connect suspension arms to rear deck brackets and
secure with retainer springs,
• Connect anti-sway bar to chassis bracket and secure
with retainer spring,
• Push clutch cable housing guide into bracket, slide col-
lar onto guide and secure with large retainer spring.
• Place flat washer and clutch spring on idler pulley bolt
and secure with small retainer spring.
• Make sure belt is inside the belt keeper at the idler and
on both sides of the wire belt keeper as shown,
SMALL RETAINER SPRING
FLAT WASHER-
CLUTC
CLUTCH
RETAINER
SPRING _
ANTI-SWAY
SUSPENSION ARMS
.-_: lINE
PULLEY
FRONT LINK
(BOTH SIDES)
HOUSING
GUIDE
LARGE RETAINER
SPRING
BRACKET
FIG. 14
19
DEFLECTOR SHIELD

SERVICE AND ADJUSTMENTS
• Install belt onto engine pulley,
IMPORTANT: CHECK BELT FOR PROPER ROUTING IN ALL
MOWER PULLEY GROOVES.
TO LEVEL MOWER HOUSING
Adjust the mower while tractor is parked on level ground
or driveway. Make sure tires are properly inflated (See
"PRODUCT SPECIFICATIONS" section of this manual), If
tires are over or underinflated, you will not properly adjust
your mower,
SIDE-TO-SIDE ADJUSTMENT (See Figs, 15 and 16)
• Raise mower to its highest position.
• At the midpoint of both sides of mower, measure height
from bottom edge of mower to ground, Distance "A"
on both sides of mower should be the same or within
1/4" of each other,
• If adjustment is necessary, make adjustment on one
side of mower only,
• To raise one side of mower, tighten lift link adjustment
nut on that side,
• To lower one side of mower, loosen lift link adjustment
nut on that side,
NOTE: Each full turn of adjustment nut will change mower
height about 1/8",
• Recheck measurements after adjusting.
BOTTOM EDGE BOTTOM EDGE
OF MOWER TO F _ OF MOWER TO
FIG. 15
SUSPENSION ARM
LIFT LINK
;TMENT NUT
FIG. 16
FRONT-TO-BACK ADJUSTMENT (See Figs. 17 and 18)
IMPORTANT: DECK MUST BE LEVEL SIDE-TO-SIDE. IF THE
FOLLOWING FRONT-TO-BACK ADJUSTMENT IS NECESSARY,
BE SURE TO ADJUST BOTH FRONT LINKS EQUALLY SO
MOWER WILL STAY LEVEL SIDE-TO-SIDE.
To obtain the best cutting results, the mower housing
should be adjusted so that the front is approximately 1/8"
to 1/2" lower than the rear when the mower is in its high-
est position,
Check adjustment on right side of tractor, Measure distance
"D" directly in front and behind the mandrel at bottom edge
of mower housing as shown,
• Before making any necessary adjustments, check that
both front links are equal in length,
• If links are not equal in length, adjust one link to same
length as other link.
• To lower front of mower loosen nut "E" on both front
links an equal number of turns,
• When distance "D" is 1/8" to 1/2" lower at front than
rear, tighten nuts "F" against trunnion on both front
links.
• To raise front of mower, loosen nut"F" from trunnion on
both front links. Tighten nut "E" on both front links an
equal number of turns, The two front links must remain
equal in length.
• Whendistance"D"isl/8"tol/2"loweratfrontthanrear,
tighten nut "F" against trunnion on both front links.
• Recheck side-to-side adjustment.
MANDREL
FIG. 17
BOTH FRONT LINKS MUST BE EQUALIN LENGTH
TRUNNION
NUT "E"
FRONT LINKS
FIG. 18
TO REPLACE MOWER BLADE DRIVE BELT
(See Fig. 19)
The mower blade drive belt may be replaced without tools,
Park the tractor on level surface. Engage parking brake.
BELT REMOVAL-
• Place attachment clutch in "DISENGAGED" position,
• Move attachment lift lever forward to lower mower to
its lowest position,
• Roll belt off engine pulley,
• Work belt off both mandrel pulleys and idler pulleys,
• Pull belt away from mower,
BELT INSTALLATION -
• Work new belt around both mandrel pulleys and idler
pulleys,
20

SERVICE AND ADJUSTMENTS
• Install new belt into engine pulley grove.
• Make sure belt is inside the belt keeper at the idler and
on both sides of the wire belt keeper as shown,
IMPORTANT: CHECK BELT FOR PROPER ROUTING IN ALL
MOWER PULLEY GROOVES.
BELT
KEEPER-..
MANDREL
BELT
IDLER
PULLEYS
ENGINE
PULLEY
MANDREL
PULLEY
FIG. 19
TO CHECK AND ADJUST BRAKE
(See Fig. 20)
Your tractor is equipped with an adjustable brake system
which is mounted on the right side of the transaxle.
If tractor requires more than five (5) feet to stop at highest
speed in highest gear on a level, dry concrete or paved
surface, then brake must be checked and adjusted,
TO CHECK BRAKE
• Park tractor on a level, dry concrete or paved surface,
depress clutch/brake pedal all the way down and en-
gage parking brake.
• Place gear shift lever in neutral (N) position,
The rear wheels must lock and skid when you try to manually
push the tractor forward, Ifthe rear wheels rotate, the brake
needs to be adjusted or the pads need to be replaced,
WITH PARKING BRAKE "ENGAGED"
FIG. 20
TO ADJUST BRAKE
• Depress clutch/brake pedal all the way down and en-
gage parking brake,
• Measure distance between brake operating arm and
nut "A" on brake rod,
• If distance is other than 1-1/2", loosen jam nut and turn
nut "A" until distance becomes 1-1/2", Retighten jam
nut against nut "A".
• Road test tractor for proper stopping distance as stated
above, Readjust if necessary, If stopping distance is
still greater than five (5) feet in highest gear, further
maintenance is necessary, Replace brake pads or
contact a qualified service center,
TO REPLACE MOTION DRIVE BELT
(See Fig. 21)
Park the tractor on level surface, Engage parking brake,
For assistance, there is a belt installation guide decal on
bottom side of left footrest,
BELT REMOVAL -
•Remove mower (See "TO REMOVE MOWER" in this
section of manual),
NOTE: Observe entire motion drive belt and position of all
belt guides and keepers,
• Remove belt from stationary idler and clutching idler.
• Remove belt downward from around engine pulley.
• Pull belt slack toward rear of tractor. Remove belt
upwards from transaxle pulley by deflecting belt keep-
ers.
• Remove belt from center span keeper and pull belt
away from tractor,
BELT INSTALLATION -
• Carefully work new belt down between transaxle belt
keepers and onto the input pulley,
• Slide belt into the center span keeper,
• Pull belt toward front of tractor and roll around the top
groove of engine pulley.
• Install belt through stationary idler and clutching
idler,
• Make sure belt is in all pulley grooves and inside all
belt guides and keepers.
• Install mower (See "TO INSTALL MOWER" in this sec-
tion of manual).
ENGINE
PU
CLUTCHING
IDLER
STATIONARY
IDLER
CENTER SPAN
KEEPER
TRANSAXLE
PULLEY
21 FIG. 21

SERVICE AND ADJUSTMENTS
TRANSAXLE GEAR SHIFT LEVER NEUTRAL-
ADJUSTMENT (See Fig. 22)
The transaxle should be in neutral when the gear shift
lever is in neutral (N) (lock gate) position. The adjustment
is preset at the factory; however if adjustment is needed,
proceed as follows:
• Make sure transaxle is in neutral (N),
NOTE: When the tractor rear wheels move freely, the
transaxle is in neutral,
• Loosen adjustment bolt in front of the right rear
wheel.
• Position the gear shift lever in the neutral (N) posi-
tion,
• Tighten adjustment bolt securely.
NOTE: Ifadditional clearance is needed to get to adjustment
bolt, move mower deck height to the lowest position,
GEARSHIFT LEVER
NEUTRAL
LOCKGATE
ADJUSTMENT
BOLT
FIG. 22
TO ADJUST STEERING WHEEL ALIGN-
MENT
If steering wheel crossbars are not horizontal (left to right)
when wheels are positioned straightforward, remove steer-
ing wheel and reassemble per instructions in the Assembly
section of this manual.
FRONT WHEEL TOE-IN/CAMBER
The front wheel toe-in and camber are not adjustable on
your tractor. Ifdamage has occurred to affect the front wheel
toe-in or camber, contact your nearest authorized service
center/department,
TO REMOVE WHEEL FOR REPAIRS
(See Fig. 23)
• Block up axle securely.
• Remove axle cover, retaining ring and washers to allow
wheel removal (rear wheel contains a square key - Do
not lose).
• Repair tire and reassemble.
• On rear wheels only: align grooves in rear wheel hub
and axle, Insert square key.
• Replace washers and snap retaining ring securely in
axle groove,
• Replace axle cover,
NOTE: To seal tire punctures and prevent flat tires due to
slow leaks, tire sealant may be purchased from your local
parts dealer. Tire sealant also prevents tire dry rot and
corrosion,
RETAINING WASHERS
RING
SQUARE KEY (REAR__ _'
WHEEL ONLY)
FIG. 23
TO START ENGINE WITH A WEAK BATTERY
(See Fig. 24)
I_WARNING: Lead-acid batteries gen-
erate explosive gases. Keep sparks,
flame and smoking materials away fro m
batteries. Always wear eye protection
when around batteries.
If your battery is too weak to start the engine, it should be
recharged, (See "BATTERY" in the Maintenance section
of this manual).
If "jumper cables" are used for emergency starting, follow
this procedure:
IMPORTANT:YOURTRACTORIS EQUIPPEDWITHA 12VOLT
SYSTEM.THE OTHER VEHICLE MUST ALSO BE A 12 VOLT
SYSTEM.DO NOTUSEYOURTRACTORBATTERYTO START
OTHERVEHICLES.
TO ATTACH JUMPER CABLES -
• Connect one end of the RED cable to the POSITIVE
(+) terminal of each battery(A-B), taking care not to
short against tractor chassis,
• Connect one end of the BLACK cable to the NEGATIVE
(-) terminal (C) of fully charged battery.
• Connect the other end of the BLACK cable (D) to good
chassis ground, away from fuel tank and battery.
TO REMOVE CABLES, REVERSE ORDER -
• BLACK cable first from chassis and then from the fully
charged battery,
• RED cable last from both batteries,
WEAK OR DEAD FULLY CHARGED
BATTERY BATTERY
FIG. 24
22

SERVICE AND ADJUSTMENTS
TO REPLACE HEADLIGHT BULB
• Raise hood,
• Pull bulb holder out of the hole in the backside of the
grill.
• Replace bulb in holder and push bulb holder securely
back into the hole in the backside of the grill,
• Close hood,
INTERLOCKS AND RELAYS
Loose or damaged wiring may cause your tractor to run
poorly, stop running, or prevent it from starting.
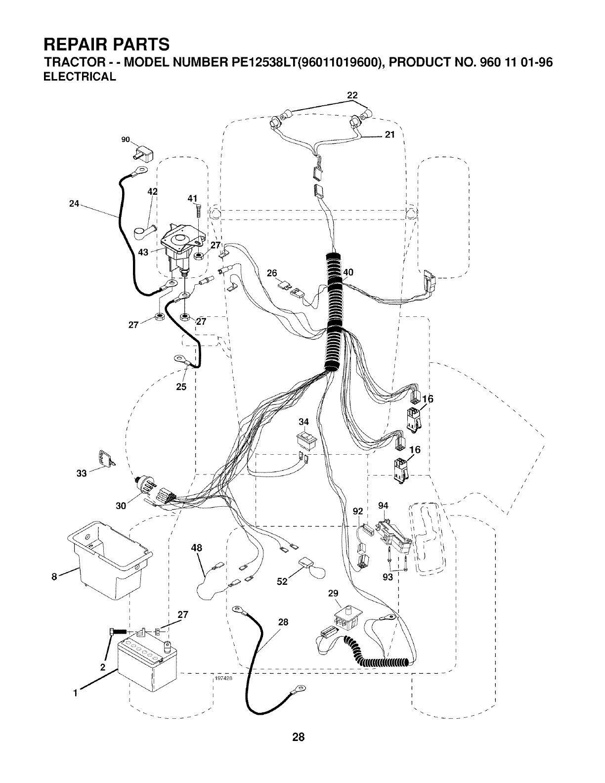
• Check wiring, See electrical wiring diagram in the
Repair Parts section.
TO REPLACE FUSE
Replace with 20 amp automotive-type plug-in fuse, The
fuse holder is located behind the dash.
TO REMOVE HOOD AND GRILL ASSEMBLY
(See Fig. 25)
• Raise hood.
• Unsnap headlight wire connector.
• Stand in front of tractor, Grasp hood at sides, tilt toward
engine and lift off of tractor.
• To replace, reverse above procedure,
FIG. 25
ENGINE
TO ADJUST THROTTLE CONTROL CABLE
The throttle control has been preset at the factory and
adjustment should not be necessary. If adjustment is nec-
essary, see engine manual.
TO ADJUST CHOKE CONTROL
The choke control has been preset at the factory and ad-
justment should not be necessary, If adjustment is neces-
sary, see engne manual.
TO ADJUST CARBURETOR
Your carburetor is not adjustable. If your engine does not
operate properly due to suspected carburetor problems,
take your tractor to an authorized service center for repair
and/or adjustment,
23

STORAGE
ENGINE
Immediately prepare your tractor for storage at the end
of the season or if the tractor will not be used for 30 days
or more.
WARNING: Never store the tractor with
gasoline in the tank inside a building
where fumes may reach an open flame
orspark. Allow the engine to cool before
storing in any enclosure.
TRACTOR
Remove mower from tractor for winter storage. When mower
isto be stored for a period of time, clean it thoroughly, remove
all dirt, grease, leaves, etc. Store in a clean, dry area,
• Clean entire tractor (See "CLEANING" in the Mainte-
nance section of this manual),
• Inspect and replace belts, if necessary (See belt re-
placement instructions in the Service and Adjustments
section of this manual),
• Lubricate as shown in the Maintenance section of this
manual.
• Be sure that all nuts, bolts and screws are securely
fastened, Inspect moving parts for damage, breakage
and wear, Replace if necessary.
• Touch up all rusted or chipped paint surfaces; sand
lightly before painting,
BATTERY
• Fully charge the battery for storage.
• After a period of time in storage, battery may require
recharging.
• To help prevent corrosion and power leakage during
long periods of storage, battery cables should be dis-
connected and battery cleaned thoroughly (see "TO
CLEAN BATTERY AND TERMINALS" in the Mainte-
nance section of this manual).
• After cleaning, leave cables disconnected and place
cables where they cannot come in contact with battery
terminals,
• If battery is removed from tractor for storage, do not
store battery directly on concrete or damp surfaces,
FUEL SYSTEM
IMPORTANT: IT IS IMPORTANTTO PREVENT GUM DEPOSITS
FROMFORMINGINESSENTIALFUELSYSTEMPARTSSUCH
AS CARBURETOR, FUEL FILTER, FUEL HOSE, OR TANK
DURING STORAGE. ALSO, EXPERIENCEINDICATESTHAT
ALCOHOLBLENDEDFUELS(CALLED GASOHOL OR USING
ETHANOLOR METHANOL)CANATTRACTMOISTUREWHICH
LEADSTOSEPARATIONANDFORMATIONOFACIDSDURING
STORAGE. ACIDIC GAS CAN DAMAGETHE FUEL SYSTEM
OF AN ENGINEWHILE IN STORAGE.
• Empty the fuel tank by starting the engine and let it run
until the fuel lines and carburetor are empty.
• Never use engine or carburetor cleaner products in the
fuel tank or permanent damage may occur,
• Use fresh fuel next season,
NOTE: Fuel stabilizer is an acceptable alternative in mini-
mizing the formation of fuel gum deposits during storage,
Add stabilizer to gasoline in fuel tank or storage container,
Always follow the mix ratio found on stabilizer container.
Run engine at least 10 minutes after adding stabilizer to
allow the stabilizer to reach the carburetor. Do not empty
the gas tank and carburetor if using fuel stabilizer,
ENGINE OIL
Drain oil (with engine warm) and replace with clean en-
gine oil, (See "ENGINE" in the Maintenance section of
this manual),
CYLINDER(S)
• Remove spark plug(s).
• Pour one ounce of oil through spark plug hole(s) into
cylinder(s),
• Turn ignition key to "START" position for a few seconds
to distribute oil,
• Replace with new spark plug(s),
OTHER
• Do not store gasoline from one season to another,
• Replace your gasoline can if your can starts to rust,
Rust and/or dirt in your gasoline will cause problems.
• If possible, store your tractor indoors and cover it to
give protection from dust and dirt.
• Cover your tractor with a suitable protective cover that
does not retain moisture. Do not use plastic, Plastic
cannot breathe which allows condensation to form and
will cause your tractor to rust.
IMPORTANT: NEVERCOVERTRACTORWHILEENGINEAND
EXHAUSTAREAS ARE STILL WARM.
24

TROUBLESHOOTING POINTS
CAUSE CORRECTIONPROBLEM
Will not start
Hard to start
Engine will not turn over
Engine clicks but will not
start
Loss of power
Excessive vibration
7.
8.
9.
10.
1. Out of fuel.
2. Engine not "CHOKED" properly.
3. Engine flooded.
4. Bad spark plug.
5. Dirty air filter.
6. Dirty fuel filter.
Water in fuel.
Loose or damaged wiring.
Carburetor out of adjustment.
Engine valves out of adjustment.
1. Dirty air filter.
2. Bad spark plug.
3. Weak or dead battery.
4. Dirty fuel filter.
5. Stale or dirty fuel.
6. Loose or damaged wiring.
7. Carburetor out of adjustment.
8. Engine valves out of adjustment.
1. Clutch/brake pedal not depressed.
2. Attachment clutch is engaged.
3. Weak or dead battery.
4. Blown fuse.
5. Corroded battery terminals.
6. Loose or damaged wiring.
7. Faulty ignition switch.
8. Faulty solenoid or starter.
9. Faulty operator presence switch(es).
1. Weak or dead battery.
2. Corroded battery terminals.
3. Loose or damaged wiring.
4. Faulty solenoid or starter.
1. Cutting too much grass/too fast.
2. Throttle in 'CHOKE" position.
1. Fill fuel tank.
2. See "TO START ENGINE" in Operation section.
3. Wait several minutes before attempting to start.
4. Replace spark plug.
5. Clean/replace air filter.
6. Replace fuel filter.
7. Empty fuel tank and carburetor, refill tank with fresh
gasoline and replace fuel filter.
8. Check all wiring.
9. See "To Adjust Carburetor" in Service Adjustments
section.
10. Contact an authorized service center/department.
1. Clean/replace air filter.
2. Replace spark plug.
3. Recharge or replace battery.
4. Replace fuel filter.
5. Empty fuel tank and refill tank with fresh, clean gasoline.
6. Check all wiring.
7. See "To Adjust Carburetor" in Service Adjustments
section.
8. Contact an authorized service center/department.
1. Depress clutch/brake pedal.
2. Disengage attachment clutch.
3. Recharge or replace battery.
4. Replace fuse.
5. Clean battery terminals.
6. Check all wiring.
7. ChecWreplace ignition switch.
8. ChecWreplace solenoid or starter.
9. Contact an authorized service center/department.
1. Recharge or replace battery.
2. Clean battery terminals.
3. Check all wiring.
4. ChecWreplace solenoid or starter.
1. Raise cutting height/reduce speed.
2. Adjust throttle control.
3.
4. Dirty air filter.
5. Low oil level/dirty oil.
6. Faulty spark plug.
7. Dirty fuel filter.
8. Stale or dirty fuel.
9. Water in fuel.
Build-up of grass, leaves and trash under mower.
10. Spark plug wire loose.
11. Dirty engine air screen/fins.
12. Dirty/clogged muffler.
13. Loose or damaged wiring.
3. Clean underside of mower housing.
4. Clean/replace air filter.
5. Check oil level/change oil.
6. Clean and regap or change spark plug.
7. Replace fuel filter.
8. Empty fuel tank and refill tank with fresh, clean gasoline.
9. Empty fuel tank and carburetor, refill tank with fresh
gasoline and replace fuel filter.
10. Connect and tighten spark plug wire.
11. Clean engine air screen/fins.
12. Clean/replace muffler.
13. Check allwiring.
14. Carburetor out of adjustment.
15. Engine valves out of adjustment.
1. Worn, bent or loose blade.
2. Bent blade mandrel.
3. Loose/damaged part(s).
14. See "To Adjust Carburetor" in Service Adjustments
section.
15. Contact an authorized service center/department.
1. Replace blade. Tighten blade bolt.
2. Replace blade mandrel.
3. Tighten loose part(s). Replace damaged parts.
25

TROUBLESHOOTING POINTS
PROBLEM CAUSE CORRECTION
Engine dies when
tractor is shifted
into reverse
Engine continues to run
when operator leaves seat
with attachment clutch
engaged
Poorcut-uneven
Mower blades will not
rotate
Poor grass discharge
Headlight(s) not working
(if so equipped)
Battery will not charge
Engine "backfires" when
turning engine "OFF"
1. Reverse operation system
(ROB) is not "ON" while
mower or other attachment
is engaged.
1. Turn ignition key to
ROS "ON" position.
See Operation section.
1. Faulty operator-safety presence control system.
1. Worn, bent or loose blade.
2. Mower deck not level.
3. Buildup of grass, leaves, and trash under mower.
4. Bent blade mandrel.
5. Clogged mower deck vent holes from buildup of
grass, leaves, and trash around mandrels.
1. Obstruction in clutch mechanism.
2. Worn/damaged mower drive belt.
3. Frozen idler pulley.
4. Frozen blade mandrel.
1. Engine speed too slow.
2. Travel speed too fast.
3. Wet grass.
4. Mower deck not level.
5. Low/uneven tire air pressure.
6. Worn, bent or loose blade.
7. Buildup of grass, leaves and trash under mower.
8. Mower drive belt worn.
9. Blades improperly installed.
10. Improper blades used.
1. Clogged mower deck vent holes from buildup of
grass, leaves, and trash around mandrels.
1. Light switch is "OFF".
2. Bulb(s) or lamp(s) burned out.
3. Faulty light switch.
4. Loose or damaged wiring.
5. Blown fuse.
1. Bad battery cell(s).
2. Poor cable connections.
3. Faulty regulator (if so equipped).
4. Faulty alternator.
Engine throttle control not set between half and
full speed (fast) position before stopping engine.
Check wiring, switches and connections. If not
corrected, contact an authorized service center/
department.
1. Replace blade. Tighten blade bolt.
2. Level mower deck.
3. Clean underside of mower housing.
4. Replace blade mandrel.
5. Clean around mandrels to open vent holes.
1. Remove obstruction.
2. Replace mower drive belt.
3. Replace idler pulley.
4. Replace blade mandrel.
1. Place throttle control in "FAST" position.
2. Shift to slower speed.
3. Allow grass to dry before mowing.
4. Level mower deck.
5. Check tires for proper air pressure.
6. Replace/sharpen blade. Tighten blade bolt.
7. Clean underside of mower housing.
8. Replace mower drive belt.
9. Reinstall blades sharp edge down.
10. Replace with blades listed in this manual.
11. Clean around mandrels to open vent holes.
1. Turn light switch "ON".
2. Replace bulb(s) or lamp(s).
3. Check/replace light switch.
4. Check wiring and connections.
5. Replace fuse.
1. Replace battery.
2. Check/clean all connections.
3. Replace regulator.
4. Replace alternator.
Move throttle control between half and full speed
(fast) position before stopping engine.
26

TRACTOR - - MODEL NUMBER PE12538LT(96011019600), PRODUCT NO. 960 11 01-96
SCHEMATIC
02836 193374/390
IGNITION SWITCH
POSITION CIRCUIT "MAKE"
OFF M+G+A1
_UNJOVERRIDE B+A1
RUN B+A1 L+A2
START B + S + A1
BATTERY
,,Ill m
°111110
......... O[ Iea'tlOaualt
ON TWIN CYL. ENGINES)
SOLENOID STARTER
(_ HOUR }_ B_CK
METER
(OPTIONAL)
P
P
D
P
P
P
BLUE CHARGING SYSTEM OUTPUT 23 VOLTS AC MIN. @ 3600 RPM
3 AMP DC @ 3600 RPM (CH_,RGING SYSTEM DISCONNECTED)
FUEL SHUT-OFF (__RED SOLENOID .,_1
, , LIGHTING SYSTEM 0 'U_ _')'_" _"j'_jl D
' _ ' 5 AMP AC @ 3600 RPM DIODE i ALTERNATOR I
LIGHT SWITCH I
I L u_nl _vll _ 14 VOLTSAC MIN. @ 3600 RPM (LIGHTS OFF)
NOTE HEADLIGHTS
YOUR TRACTOR IS _
EQUIPPED WITH A SPECIAL
ALTERNATOR SYSTEM.
THE LIGHTS ARE NOT
CONNECTED TO THE
BATTERY, BUT HAVE THEIR
OWN ELECTRICAL SOURCE.
BECAUSE OF THIS, THE
BRIGHTNESS OF THE LIGHTS
WILL CHANGE WITH ENGINE
SPEED. AT IDLE THE LIGHTS
WILL DIM. AS THE ENGINE IS
• 0
NON-REMOVABLE REMOVABLE
CONNECTIONS CONNECTIONS
WIRING INSULATED CLIPS
NOTE: IF WIRING INSULATED CLIPS
WERE REMOVED FOR SERVICING OF
SPEEDED UP, THE LIGHTS UNIT, THEY SHOULD BE REPLACED
WILL BECOME THEIR BRIGHTEST. TO PROPERLY SECURE YOUR WIRING.
02838
27

REPAIR PARTS
TRACTOR - - MODEL NUMBER PE12538LT(96011019600), PRODUCT NO. 960 11 01-96
ELECTRICAL
22
f
_25
/
/
/
/
/
/
/
I
\
\
48
26 40
34
52
29
\
\
\
16
/
/f
II / \1
'_/
\
\
\
\
\
//
/
/
/
/
/
I
I
I
\ f
28

REPAIR PARTS
TRACTOR - - MODEL NUMBER PE12538LT(96011019600), PRODUCT NO. 960 11 01-96
ELECTRICAL
KEY PART
NO. NO. DESCRIPTION
1 532 16 34-65 Battery
2 8747604-12 Bolt Hex Hd 1/4-20 unc x 3/4
8 532 17 66-89 Box Battery
16 532 17 61-38 Switch Interlock
21 532 17 56-88 Harness Asm Light W/4152j
22 532 00 41-52 Bulb Light #1156
24 532 12 47-80 Cable Battery 6 Ga. 11"red
25 532 14 61-47 Cable Battery
26 532 17 51-58 Fuse 20 AMP
27 873 51 04-00 Nut Keps Hex 1/4-20 unc
28 532 12 47-73 Cable Ground 6 Ga, 12"black
29 532 19 27-49 Switch
30 532 19 33-50 Switch Ign
33 5321404-01 Keylgn
34 532 11 07-12 Switch Light/Reset
40 532 19 74-28 Harness Ign
41 871 11 04-08 Bolt BIk Fin Hex 1/4-20
42 532 13 15-63 CoverTerminal Red
43 532 19 25-07 Solenoid
48 532 14 08-44 Adapter Ammeter
52 532 14 19-40 Protection Wire Loop
90 532 18 04-49 Cover Terminal Battery
92 532 19 66-15 Harness Pigtail
93 532 19 25-40 Screw Plastite 10-14 x 2.0
94 532 19 18-34 Module Reverse
NOTE: All component dimensions given in U. S,
inches 1 inch = 25,4 ram.
29

REPAIR PARTS
TRACTOR - - MODEL NUMBER PE12538LT(96011019600), PRODUCT NO. 960 11 01-96
CHASSIS AND ENCLOSURES
29
3O
26
208
209
25 _/5
26
9_
15_
209 209
_209
28
39
278
26
33 10
206 209
26
37
Chassis-Alpha LT 1
208
30

REPAIR PARTS
TRACTOR - - MODEL NUMBER PE12538LT(96011019600), PRODUCT NO. 960 11 01-96
CHASSIS AND ENCLOSURES
KEY PART
NO. NO.
1 532 17 46-20
2 532 17 65-54
5 532 15 52-72
6 532 18 44-19
8 532 12 64-71
9 532 19 46-88
10 872 14 06-08
11 532 17 49-96
13 532 18 17-19
15 874 18 05-12
16 87351 05-00
17 532 40 61-79
18 532 18 49-21
24 874 78 06-16
25 819 13 13-12
26 873 80 06-00
28 532 18 75-98
29 532 19 54-02
30 532 40 48-52
31 532 1366-19
33 532 18 25-07
34 532 18 25-08
35 872 11 06-06
37 817 49 05-08
38 532 17 57-10
39 532 18 75-68
145 532 15 65-24
205 817 49 06-08
206 532 17 01-65
208 81767 06-08
209 8170006-12
212 532 18 75-69
278 532 19 16-11
- - 532 00 54-79
DESCRIPTION
Chassis
Drawbar, Stretch
Bumper, Hood/Dash
Saddle
Clip
Dash
Bolt, Carriage 3/8-16 x 1
Panel Dash LH
Panel Slkscr Dash RH
Screw 5/16-18 x 3/4
Nut Keps 5/16-18
Hood
Bumper Hood
Bolt Fin Hex 3/8-16 unc x 1 Gr. 5
Washer 13/32 x 13/16 x 12 Ga.
Nut Lock Hex w/Ins 3/8-16 unc
Grille/Lens Asm (Include Key nos. 29 and 212)
Lens Grille Basic Bar
Fender
Bracket Fender Rep1109873X
Footrest Pnt LH
Footrest Pnt RH
Bolt Rdhd Sht Sqnk 3/8-16 x 3/4
Screw Thdrol 5/16-18 x 1/2 TYT
Bracket Asm. Pivot Mower
Bracket Pivot
Rod Pivot Chassis/Hood
Screw Thdrol 3/8-16 x 1/2
Bolt Shoulder 5/16-18
Screw Thdrol 3/8-16 x 1/2
Screw Hex Wsh Thdrol 3/8-16
Insert Lens Reflect
Screw 10 x 3/4 Single Lead-Hex
Plug Button BIk 359 Dia Choke
NOTE: All component dimensions given in U.S. inches
1 inch = 25.4 ram.
31

REPAIR PARTS
TRACTOR - - MODEL NUMBER PE12538LT(96011019600), PRODUCT NO. 960 11 01-96
DRIVE
57 268_ 263
o¢ -_'- > "
75' drive-fender 58
32

REPAIR PARTS
TRACTOR - - MODEL NUMBER PE12538LT(96011019600), PRODUCT NO. 960 11 01-96
DRIVE
KEY PART
NO. NO.
1
2 532 14 66-82
3 532 12 36-66
4 812 O0 00-28
5 532 12 15-20
6 817 O0 05-12
8 532 19 27-06
10 876 02 04-16
11 532 10 57-01
13 874 55 04-12
14 810 04 04-00
15 874 49 05-44
16 873 80 05-00
18 874 78 06-16
19 873 80 06-00
21 532 10 69-33
22 532 13 08-04
24 873 35 06-00
25 532 10 68-88
26 819 13 13-16
27 876 02 04-12
28 532 17 57-65
29 532 07 16-73
30 532 17 49-73
32 874 76 05-12
34 532 17 55-78
35 532 12 01-83
36 819 21 16-16
37 532 12 49-63
38 532 17 91-14
39 872 11 06-22
41 532 17 55-56
47 532 12 77-83
48 532 15 44-07
49 532 12 32-05
50 872 11 06-12
51 873 68 06-00
52 873 68 05-00
53 532 19 96-52
55 532 10 57-09
56 817 06 06-20
57 532 16 08-55
59 532 16 96-91
61 817 12 06-14
62 532 12 48-72
KEY PART
DESCRIPTION NO. NO.
Transaxle Dana D4360-139 63 532 17 54-10
(Order parts from transaxle manu- 64 532 17 39-37
facturer) 65 810 04 07-00
Spring Return Brake T/a Zinc 66 532 15 47-78
Pulley Transaxle 18" tires 69 532 14 24-32
Ring Retainer # 5100-62 70 532 13 46-83
Strap Torque 30 Degrees 74 532 10 95-02
Screw 5/16-18 x 3/4 75 532 12 17-49
Rod Shift Fender Adjust Lt 76 812 00 00-01
Pin Cotter 1/8 x 1 Cad 77 532 12 35-83
Washer Plate Shf 388 Sq Hole 78 532 12 17-48
Bolt 1/4-28 unf Gr. 8 W/Patch 79 532 12 50-96
Washer Lock HW Helical 80 532 13 14-88
Bolt Hex FLGHD 5/16-18 Gr. 5 81 532 16 55-94
Nut Lock Hex w/ins 5/16-18
Bolt, Fin Hex 3/8-16 uncx 1Gr. 5 82 5321657-11
Nut Lock 3/8-16 unc 83 819 17 12-16
Knob 84 532 16 62-29
Rod Brake BIk Zinc 26 840 85 532 15 03-60
Nut Hex Jam 3/8-16 unc 89 532 19 58-61
Spring Rod Brake 2 00 Zinc 96 532 12 47-88
Washer 13/32 x 13/16 x 16 Ga. 112 8190912-10
Pin Cotter 1/8 x 3/4 Cad 113 532 12 72-85
Rod Brake Parking LT/YT 116 872 14 06-08
Cap Brake Parking 120 873 90 06-00
Bracket Mtg Transaxle 150 532 17 54-56
Bolt Hex Hd 5/16-18 unc x 3/4 151 8191332-10
Shaft Asm Pedal Foot 156 532 16 60 02
Bearing Nylon BIk 629 Id 158 532 16 55-89
Washer 21/32 x 1 x 16 Ga. 159 532 18 39-00
Pin Roll 3/16 x 1" 161 872 14 04-06
Pulley Composite Flat 162 873 68 04-00
Bolt RDHD 3/8-16 unc x 2-3/4 Gr. 163 874 78 04-16
5 165 5321656-23
Keeper Belt Flat Idler 166 817 49 05-10
Pulley Idler V Groove Plastic 168 532 16 54-92
Bellcrank Asm 169 532 16 55-81
Retainer Belt Style Spring 170 532 18 74-14
Bolt Carr. Sh. 3/8-16 x 1-1/2 Gr. 5 197 5321696-13
Nut Crownlock 3/8-16 unc 198 532 16 98-45
Nut Crownlock 5/16-18 unc 202 872 11 06-14
Link Clutch 212 532 14 52-12
Spring Return Clutch 6 75 263 817 00 06-12
Screw 3/8-16 x 1-1/4 268 532 18 24-02
V-Belt Ground Drive 95 30
Keeper Belt Span Ctr
Screw 3/8-16 x .875
Cover Pedal BIk Round
DESCRIPTION
Engine Pulley
Bolt Hex
Washer Lock Hvy Hlcl Spr 7/16
Keeper Belt Engine Foolproof
Screw Hex wsh HiLo 1/4 x 1/2 unc
Guide Belt Mower Drive RH
Spacer Axle
Washer 25/32 x 1 1/4 x 16 Ga.
E-ring #5133-75
Key Square 2 0 x 1845/1865
Washer 25/32 x 1-5/8 x 16 Ga.
Key Woodruff #9 3/16 x 3/4
Arm Shift
Shaft Asm Cross Tapered PMST/
20
Spring Torsion T/a
Washer 17/32 x 3/4 x 16 Ga.
Link Transaxle Dana/18" Zinc
Nut Lock Center 1/4 - 28 FNTHD
Console Shift STLT
Retainer Spring 1"
Washer 9/32 x 3/4 x 10 Ga.
Strap Torque LT
Bolt Rdhd Sq Neck 3/8-16 x 1
Nut Lock Fig. 3/8-16 unc
Spacer Retainer
Washer 13/32 x 2 x 10
Washer Srrted 5/161D x 1.125
Bracket Shift Mount
Hub Tapered Flange Shift Lt
Bolt Rdhd Sqnk 1/4-20 x 3/4
Nut Crownlock 1/4-20 unc
Bolt Hex Fin 1/4-20 unc x 1 Gr. 5
Bracket Pivot Lever
Screw 5/16-18 x 5/8
Bolt Shoulder 5/16-18 x .561
Plate Fastening
Keeper Belt Transaxle Gear
Nyliner Snap-In
Washer Nyliner
Bolt RdHd 3/8-16 unc x 1-3/4 Gr. 5
Nut Hexflange Lock
Screw 3/8-16 x 3/4
Guard Muffler
275 819 13 16-14 Washer 13/32 x 1 x 14 Ga.
NOTE: All component dimensions given in U.S. inches
1 inch = 25.4 mm
33

REPAIR PARTS
TRACTOR - - MODEL NUMBER PE12538LT(96011019600), PRODUCT NO. 960 11 01-96
STEERING
\
/
/46
8_ 47
65
68 67 67
67
43
/f"_\ 43 95
/
34

REPAIR PARTS
TRACTOR - - MODEL NUMBER PE12538LT(96011019600), PRODUCT NO. 960 11 01-96
STEERING
KEY PART
NO. NO.
1 532 18 67-80
2 532 17 51-31
3 532 16 98-40
4 532 16 98-39
5 532 12 49-31
6 532 12 17-48
7 819 27 20-16
8 812 00 00-29
9 532 12 49-37
10 532 17 51-21
11 8100406-00
13 532 1365-18
15 532 14 52-12
17 532 19 07-53
26 532 12 68-47
28 819 13 14-16
29 8170006-12
30 876 02 04-12
32 532 19 27-57
34 810 04 05-00
36 532 15 50-99
37 532 15 29-27
38 532 19 29-16
39 819 11 38-12
40 873 54 06-00
41 532 18 67-37
42 532 16 96-33
43 532 12 17-49
44 532 19 07-52
46 532 12 12-32
47 532 18 32-26
65 532 16 03-67
67 872 11 06-18
68 532 16 98-27
71 532 17 51-46
82 532 19 99-78
88 532 17 51-18
91 532 17 55-53
95 532 18 89-67
97 874 78 05-64
DESCRIPTION
Wheel Steering
Axle Asm
Spindle Asm LH
Spindle Asm RH
Bearing Race Thrust Harden
Washer 25/32 x 1-5/8 x 16 Ga,
Washer 27/32 x 1-1/4 x 16 Ga,
Ring Klip #t5304-75
Bearing Col Strg BIk
Link Drag
Washer Lock Hvy Hlcl Spr 3/8
Spacer earing Axle Front
Hexflange Lock
Shaft Asm Strg
Bushing Link Drag BIk LR
Washer 13/32 x 7/8 x 16 Ga,
Screw 3/8-16 x 3/4
Pin Cotter 1/8 x 3/4 Cad
Rod Tie Wire Form 19 75 Mech
Washer Lock Hvy Hlcl Spr 5/16
Bushing Strg 5/8 Id Dash
Screw
Cap Wheel Steer Ayp
Washer 11/32 ID x 2-3/80D x 12 Ga,
Nut Crownlock 3/8-24
Adaptor Wheel Strg
Boot Dash Mtl Steering BIk
Washer 25/32 x 1 1/4 x 16 Ga.
Extension Steering
Cap Spindle Fr Top BIk
Fitting Grease
Spacer Brace Axle
Bolt RDHD SQNK 3/8-16 x 2-1/4
Brace Axle
Steering Asm,
Bracket Susp Chassis Front
Bolt Shoulder 7/16-20
Clip Steering
Washer Harden ,793 x 1,637 x 060
Bolt 5/16-18 unc x 4"L Hlcl Spr, 5/16
NOTE: All component dimensions given in U,S, inches
1 inch = 25,4 ram.
35

REPAIR PARTS
TRACTOR - - MODEL NUMBER PE12538LT(96011019600), PRODUCT NO. 960 11 01-96
ENGINE
25 81
72
62
13 4
78 I I
38
14
44
46
31
_33
40
37
29
\
OPTIONAL EQUIPMENT
Spark Arrester
23
engine-bs.lcyl 38
36

REPAIR PARTS
TRACTOR - - MODEL NUMBER PE12538LT(96011019600), PRODUCT NO. 960 11 01-96
ENGINE
KEY PART
NO. NO.
1 532 17 05-51
2 817 72 04-08
3
4 532 17 97-58
13 532 16 52-91
14 532 14 84-56
23 532 16 98-37
25 532 19 06-95
29 532 13 71-80
31 532 18 77-50
32 532 19 77-25
33 532 12 34-87
37 532 13 70-40
38 532 18 16-54
40 532 12 40-28
44 817 67 04-12
45 817 00 06-12
46 819 09 14-16
62 810 04 05-00
72 532 19 23-34
78 817 06 06-20
81 873 51 04-00
DESCRIPTION
Control Th/ch Flag
Screw Hex Thd Cut 1/4-20 x 1/2
Engine, B&S 219807
(Order parts from engine manufacturer)
Muffler Exhaust B&S
Gasket Eng 1 313 IdTin Plated
Tube Drain Oil Easy
Shield BRN/DBR Guard
Control Choke
Kit Spark Arrestor (Flat Scrn)
Tank Fuel Front
Cap Asm Fuel
Clamp Hose
Line Fuel 20"
Plug Drain Oil
Bushing Snap Nyl BIk Fuel Line
Screw Thdrol 1/4-20 x 3/4
Screw Hex Wsh Thdrol 3/8-16
Washer 9/32 x 7/8 x 16 Ga,
Washer Split
Screw Socket Hd 5/16-18 x ,75
Screw 3/8-16 x 1-1/4
Nut Keps Hex 1/4-20 unc
NOTE: All component dimensions given in U.S. inches
1 inch = 25,4 mm
37

REPAIR PARTS
TRACTOR - - MODEL NUMBER PE12538LT(96011019600), PRODUCT NO. 960 11 01-96
SEAT
\\
\\\
24
I
i
I
I
I
10
17 12
seat It.knob 13
11
KEY PART
NO. NO.
1 532 40 10-42
2 532 14 05-51
3 871 11 06-16
4 819 13 16-10
5 532 14 50-06
6 873 80 06-00
7 532 12 41-81
8 817 00 06-16
9 819 13 16-14
10 532 19 55-30
11 532 16 63-69
12 532 17 46-48
DESCRIPTION
Seat
Bracket Seat Pivot
Bolt Hex 3/8 - 16 x 1
Washer 13/32 x 1 xl0 Ga.
Clip Push-In Hinged
Nut Lock Hex w/Ins 3/8 - 16
Spring Seat Cprsn 2 250 BIk Zi
Screw 3/8-16 x 1.5
Washer 13/32 x 1 x 14 Ga.
Pan Asm. Seat
Knob
Bracket Pnt Mounting Switch
KEY PART
NO. NO.
13 532 12 12-48
14 872 05 04-12
15 532 13 43-00
16 532 12 12-50
17 532 12 39-76
21 532 17 18-52
22 873 80 05-00
24 819 17 19-12
25 532 12 70-18
DESCRIPTION
Bushing Snap BIk Nyl
Bolt Rdhd Sht Nk 1/4 - 20 x 1 -1/2
Spacer Split .28 x.96
Spring Cprsn
Nut Lock 1/4 Lge Fig
Bolt Shoulder 5/16-18 unc-2A
Nut Lock Hex w/Ins 5/16 - 18
Washer 17/32 x 1-3/16 x 12 Ga.
Bolt Shoulder 5/16-18 x .62
NOTE: All component dimensions given in U.S. inches
1 inch = 25.4 ram.
38

REPAIR PARTS
TRACTOR - - MODEL NUMBER PE12538LT(96011019600), PRODUCT NO. 960 11 01-96
DECALS
7\12 14 15
19
1
17
KEY PART KEY PART
NO. NO. DESCRIPTION NO. NO.
1 532 15 97-37 Decal, Clutch Brake 12 532 19 45-43
2 532 19 68-41 Decal, Warning Eng. Sym. 14 532 19 45-44
3 532 18 47-65 Decal, Engine HP 15 532 14 50-05
4 532 18 21-66 Decal Warning Cutfinger 17 532 19 43-02
5 532 40 31-46 Decal, SDPNL 18 532 15 97-36
6 532 19 63-56 Decal, Warning 19 532 14 08-37
7 532 18 97-05 Decal Ins StrWh - - 532 16 25-98
9 532 15 81-66 Decal Fender - - 532 13 83-11
10 532 40 03-89 Decal, Warning Sym CE - - 532 40 33-91
11 532 18 04-32 Decal, Fender DB/CE
KEY PART
WHEELS & TIRES NO. NO.
1 532 05 91-92
1 _ 2 532 06 51-39
2_a 5,8 3 532 12 41-57
4 532 05 99-04
4,10 5 532 18 33-37
7 6 532 12 49-57
7 532 12 49-59
3,9
/
_/11 85321833-38
6 _ _ 95321239_69
, 3 7 0_30
- - 532 14 43-34
wheel 1
DESCRIPTION
Decal. Hood RH
Decal. Hood LH
Decal. Caution, Battery
Decal. V-Belt Sch.
Decal. Hot Muffler
Decal. Brake Parking
Decal. Load Limit
Decal. Handle Lft Height Adj.
Manual, Owner's
DESCRIPTION
Cap, Ti re valve
Stem, Valve
Tire, Front
Tube, Front (Service item only)
Rim assembly, 6"front
Fitting, Grease (Front wheel only)
Bearing, Flange (Front wheel
only)
Rim assembly, 8" rear
Tire, Rear
Tube, Rear (Service item only)
Cap, Hub Axle
Sealant, Tire (10 oz. Tube)
NOTE: All component dimensions given in U.S. inches
1 inch = 25.4 mm
39

REPAIR PARTS
TRACTOR - - MODEL NUMBER PE12538LT(96011019600), PRODUCT NO. 960 11 01-96
MOWER LIFT
5
7
/' i,// / _
,, ,,, /_:,;,,,,,;_
;/ ! p"
/ / /
/ /
/
i /
I /
/ / ,/
I
/
i
i
I'
I'
I
/
/
I /
6 5
4
19
13
19
15
Iift-rh. 1piece 3
40

REPAIR PARTS
TRACTOR - - MODEL NUM BER PE12538LT(96011019600), PRODUCT NO. 960 11 01-96
MOWER LIFT
KEY PART
NO. NO.
1 532 15 94-60
2 532 15 94-71
3 532 10 57-67
4 812 00 00-02
5 81921 16-21
6 532 12 01-83
7 532 10 94-13
8 532 12 45-26
11 532 13 98-65
12 532 13 98-66
13 532 12 46-70
15 532 17 32-88
16 873 35 08-00
17 532 17 56-89
18 873 80 08-00
19 532 13 98-68
20 532 19 42-09
31 532 16 98-65
32 873 54 06-00
55 532 19 42-08
DESCRIPTION
Wire Asm Inner/Sprg w/plunger
Shaft Asm Lift RH
Pin Groove 1 500 Zinc
E Ring #5133-62
Washer 21/32 x 1 x 21 Ga,
Bearing Nylon BIk 629 Id
Grip Handle Bicycle Matte BIk
Button Plunger Black
Link Lift LH Fixed Length
Link Lift RH Fixed Length
Retainer Spring
Link Front
Nut Jam Hex 1/2-13 unc
Trunnion
Nut Lockw/Wsh 1/2-13 unc
Arm Suspension Rear
Pin Cotter 7/16 Bow Tie Lock
Bearing Pvt Lift
Nut Crownlock 3/8-24
Pin Cotter 5/16 Bow Tie Lock
NOTE: All component dimensions given in U,S. inches
1 inch = 25,4 ram.
41

REPAIR PARTS
TRACTOR - - MODEL NUMBER PE12538LT(96011019600), PRODUCT NO. 960 11 01-96
MOWER DECK
89
_188 144
68
i24
26
tl
38_deck-manual_4 @8
42

REPAIR PARTS
TRACTOR - - MODEL NUMBER PE12538LT(96011019600), PRODUCT NO. 960 11 01-96
MOWER DECK
KEY PART KEY PART
NO. NO. DESCRIPTION NO. NO. DESCRIPTION
1 532 19 25-56 Mower Housing Assembly 68 532 19 32-14
2 872 14 05-06 Bolt Carriage 5/16-18 x 3/4 72 532 19 32-16
3 532 13 80-17 Bracket Asm Fr, Sway Bar 89 819 13 13-11
4 532 19 25-68 Bracket Deck Sway Bar 38"/42" 107 532 13 35-02
5 532 12 46-70 Retainer Spring 108 532 13 35-03
6 532 17 80-24 Bar Sway Deck 122 532 19 25-75
8 5321930-03 Bolt 3/8-24x1.25Gr. 8 123 5321925-76
7 873 80 05-00 Nut Lock Hx W/Ins 5/16-18 unc 144 532 19 34-14
11 532 19 39-57 Blade Mower 148 532 16 90-22
13 532 19 28-72 Shaft Assembly, Mandrel, Vented 149 532 16 58-98
14 532 18 72-81 Housing, Mandrel, Vented 150 819 09 12-10
15 532 11 04-85 Bearing, Ball, Mandrel 152 532 19 32-35
18 872 14 05-05 Bolt Rdhd Sqnk 5/16-18 x 5/8 158 817 72 04-08
19 532 13 28-27 Bolt, Shoulder 185 532 18 82-34
20 532 40 00-95 Baffle Vortex Front 186 817 49 06-44
21 873 68 05-00 Nut
23 532 19 25-57 Bracket, Mower Deflector 187 532 19 34-12
24 532 10 53-04 Cap, Sleeve 188 532 16 58-91
25 532 19 70-26 Spring, Torsion, Deflector 189 532 19 25-59
26 532 11 04-52 Nut, Push 190 532 19 25-60
27 532 19 39-68 Shield, Deflector 191 532 19 25-61
29 532 13 14-91 Rod, Hinge 192 532 19 37-82
30 532 17 39-84 ScrewThdrol, 193 532 19 34-13
31 532 18 76-90 Washer, Spacer 194 532 19 41-05
32 532 15 35-32 Pulley, Mandrel 195 819 13 32-10
33 532 40 02-34 Nut, Toplock - - 532 19 25-58
36 532 13 14-94 Pulley, Idler, Flat
37 532 19 31-98 Pulley Idler Flat - - 532 19 28-70
40 873 68 06-00 Nut, Crownlock 3/8-16 unc
45 532 12 47-88 Retainer
55 532 13 38-40 Idler Arm Assembly - - 532 19 36-46
56 532 16 57-23 Spacer, Retainer
67 532 10 69-32 Knob
V-Belt
Spring Brake Return
Washer 13/32 x 13/16 x 11 Ga.
Spacer Retainer
Stiffener, Idler Arm
Rod, Brake LH
Rod, Brake RH
Keeper Belt Idler Tension
Spring Return Idler
Retainer Spring Yellow
Washer 9/32 x 3/4 x 10 Ga.
Clutch Cable 38"/46"
Screw Hex Thd Cut 1/4-20 x 1/2
Head Asm Cable Clutch
Screw Hex Wsh Thdrol
3/8-16 x 2-3/4
Keeper Belt
Bolt Carriage Idler
Stand, Brake
Arm, Brake
Spacer, Brake
Bolt/Washer Asm 5/16-18
Keeper Belt Rh Mandrel
Guard Brake
Washer
Brake Assembly (Includes Stand,
Arm and Guard Components)
Mandrel Assembly (Includes
Housing, Shaft and Shaft Hard-
ware Only - Pulley Not Included)
Replacement Mower, Complete
NOTE: All component dimensions given in U,S. inches
1 inch = 25,4 mm
43
