Proform 600 Le Elliptical Manual 820300 ManualsLib Makes It Easy To Find Manuals Online! User
2016-05-05
User Manual: Proform Proform-600-Le-Elliptical-Manual-820300
Open the PDF directly: View PDF  .
.
Page Count: 28

!"#$%&'
()*+"#'
,"-%&
!"#$%&'"(&)*+,-./01(-
2$345%&'"(&&&&&&&&&&&&&&&&&&&&&&&&&&&&&&&&&&
.#$/"'/0"'1"#$%&'2)*+"#'$2'/0"'
13%-"'%+45"'64#'#"6"#"2-"7
62+782&!9'69,
:::(;3"<"3=(>"=
&&&&?96@AB'
7$5#&5%%&;3$>5CD4"EF&5E#&4EFD3C>G
D4"EF&4E&DH4F&=5EC5%&I$<"3$&CF4EJ&
DH4F&$KC4;=$ED(&L$$;&DH4F&=5EC5%&
<"3&<CDC3$&3$<$3$E>$(
@"&3$J4FD$3&M"C3&;3"#C>D&5E#&
5>D4N5D$&M"C3&:5335EDM&D"#5MO&
J"&D"&:::(;3"<"3=F$3N4>$(>"=P
3$J4FD35D4"E(
*"3&F$3N4>$&5D&5EM&D4=$O&J"&D"&
:::(;3"<"3=F$3N4>$(>"=(
8#'-%&&'9:;;;:<==:9===
>427?@#$7'A'%7*7?A'37*7'>B
!%/7';'%7*7?C'37*7'>B
)%$5F$&#"&E"D&>"ED5>D&DH$&FD"3$(
9?@AQ9@+&RB67&
S9779'@R
?62@B!+7&?97+

1
S97'A'T&U+?9,&),9?+!+'@
@9V,+&B*&?B'@+'@2
DE8@8E>'$1'%'#"F$1/"#"G'/#%G"*%#H'46'IJ8('IDK'I2-7
B0$1'G#%L$2F'104L1'/0"'&4-%/$42M1N'46'/0"'L%#2$2F'G"-%&M1N7'
A<&5&#$>5%&4F&=4FF4EJ&"3&4%%$J4I%$O&F$$&DH$&<3"ED&>"N$3&
"<&DH4F&=5EC5%&5E#&3$KC$FD&5&<3$$&3$;%5>$=$ED&#$>5%(&
9;;%M&DH$&#$>5%&4E&DH$&%">5D4"E&FH":E(&(4/"O'B0"'
G"-%&M1N'*%P'24/'+"'104L2'%/'%-/)%&'1$Q"7
.RE(I(S',TJRU'DURJT>T(B 7'7'7'7'7'7'7'7'7'7'7'7'7'7'7'7'7'7'7'7'7'7'7'7'7'7'7'7'7'7'7'7'7'7'7'7'7'7'7'7'7'7'7'7'7'7'7'7'7'7'7'7'7'7'7'7'7'7'7'7'7'7'7V
I>D8EBR(B'DETJRWBI8(!'7'7'7'7'7'7'7'7'7'7'7'7'7'7'7'7'7'7'7'7'7'7'7'7'7'7'7'7'7'7'7'7'7'7'7'7'7'7'7'7'7'7'7'7'7'7'7'7'7'7'7'7'7'7'7'7'7'7'7'7'7'7'7'7'7'7=
XT@8ET'Y8W'XTSI(7'7'7'7'7'7'7'7'7'7'7'7'7'7'7'7'7'7'7'7'7'7'7'7'7'7'7'7'7'7'7'7'7'7'7'7'7'7'7'7'7'7'7'7'7'7'7'7'7'7'7'7'7'7'7'7'7'7'7'7'7'7'7'7'7'7'7'7'7'7'7'7<
DREB'I,T(BI@IJRBI8('JZREB7'7'7'7'7'7'7'7'7'7'7'7'7'7'7'7'7'7'7'7'7'7'7'7'7'7'7'7'7'7'7'7'7'7'7'7'7'7'7'7'7'7'7'7'7'7'7'7'7'7'7'7'7'7'7'7'7'7'7'7'7'7'7'7A
R!!T>XUY 7'7'7'7'7'7'7'7'7'7'7'7'7'7'7'7'7'7'7'7'7'7'7'7'7'7'7'7'7'7'7'7'7'7'7'7'7'7'7'7'7'7'7'7'7'7'7'7'7'7'7'7'7'7'7'7'7'7'7'7'7'7'7'7'7'7'7'7'7'7'7'7'7'7'7'7'7'7'7'7[
Z8.'B8'W!T'BZT'TUUIDBIJRU '7'7'7'7'7'7'7'7'7'7'7'7'7'7'7'7'7'7'7'7'7'7'7'7'7'7'7'7'7'7'7'7'7'7'7'7'7'7'7'7'7'7'7'7'7'7'7'7'7'7'7'7'7'7'7'7'7'7'7'7'7'79A
>RI(BT(R(JT'R(,'BE8WXUT!Z88BI(S''7'7'7'7'7'7'7'7'7'7'7'7'7'7'7'7'7'7'7'7'7'7'7'7'7'7'7'7'7'7'7'7'7'7'7'7'7'7'7'7'7'7'7'7'7'7'7'7'7'7'7'7VV
@JJ'I(@8E>RBI8( 7'7'7'7'7'7'7'7'7'7'7'7'7'7'7'7'7'7'7'7'7'7'7'7'7'7'7'7'7'7'7'7'7'7'7'7'7'7'7'7'7'7'7'7'7'7'7'7'7'7'7'7'7'7'7'7'7'7'7'7'7'7'7'7'7'7'7'7'7'7'7'7VV
T\TEJI!T'SWI,TUI(T!'7'7'7'7'7'7'7'7'7'7'7'7'7'7'7'7'7'7'7'7'7'7'7'7'7'7'7'7'7'7'7'7'7'7'7'7'7'7'7'7'7'7'7'7'7'7'7'7'7'7'7'7'7'7'7'7'7'7'7'7'7'7'7'7'7'7'7'7V=
DREB'UI!B7'7'7'7'7'7'7'7'7'7'7'7'7'7'7'7'7'7'7'7'7'7'7'7'7'7'7'7'7'7'7'7'7'7'7'7'7'7'7'7'7'7'7'7'7'7'7'7'7'7'7'7'7'7'7'7'7'7'7'7'7'7'7'7'7'7'7'7'7'7'7'7'7'7'7'7'7'7'7'7VC
T\DU8,T,',ER.I(S7'7'7'7'7'7'7'7'7'7'7'7'7'7'7'7'7'7'7'7'7'7'7'7'7'7'7'7'7'7'7'7'7'7'7'7'7'7'7'7'7'7'7'7'7'7'7'7'7'7'7'7'7'7'7'7'7'7'7'7'7'7'7'7'7'7'7'7'7'7VA
8E,TEI(S'ETDURJT>T(B'DREB! '7'7'7'7'7'7'7'7'7'7'7'7'7'7'7'7'7'7'7'7'7'7'7'7'7'7'7'7'7'7'7'7'7'7'7'7'7'7'7'7'7'7'7'7'7'7'7'7'7'7' X%-H'J45"#
UI>IBT,'.REER(BY7'7'7'7'7'7'7'7'7'7'7'7'7'7'7'7'7'7'7'7'7'7'7'7'7'7'7'7'7'7'7'7'7'7'7'7'7'7'7'7'7'7'7'7'7'7'7'7'7'7'7'7'7'7'7'7'7'7'7'7'7'7'7' X%-H'J45"#

W
A!)B7@9'@&)7+?96@AB'2
&&&&S97'A'TX&@"&3$#C>$&DH$&34FY&"<&F$34"CF&4EZC3MO&3$5#&5%%&4=;"3D5ED&;3$>5CD4"EF&5E#&
4EFD3C>D4"EF&4E&DH4F&=5EC5%&5E#&5%%&:53E4EJF&"E&M"C3&$%%4;D4>5%&I$<"3$&CF4EJ&M"C3&$%%4;D4>5%(&A?B'&
5FFC=$F&E"&3$F;"EF4I4%4DM&<"3&;$3F"E5%&4EZC3M&"3&;3";$3DM=5J$&FCFD54E$#&IM&"3&DH3"CJH&DH$&
CF$&"<&DH4F&;3"#C>D(
0(& V$<"3$&I$J4EE4EJ&5EM&$[$3>4F$&;3"J35=O&
>"EFC%D&M"C3&;HMF4>45E(&@H4F&4F&$F;$>45%%M&
4=;"3D5ED&<"3&;$3F"EF&"N$3&5J$&W\&"3&;$3G
F"EF&:4DH&;3$G$[4FD4EJ&H$5%DH&;3"I%$=F(
1(& 6F$&DH$&$%%4;D4>5%&"E%M&5F&#$F>34I$#&4E&DH4F&
=5EC5%(&
W(& AD&4F&DH$&3$F;"EF4I4%4DM&"<&DH$&":E$3&D"&$EFC3$&
DH5D&5%%&CF$3F&"<&DH$&$%%4;D4>5%&53$&5#$KC5D$%M&
4E<"3=$#&"<&5%%&;3$>5CD4"EF(
.(& @H$&$%%4;D4>5%&4F&4ED$E#$#&<"3&H"=$&CF$&"E%M(&
U"&E"D&CF$&DH$&$%%4;D4>5%&4E&5&>"==$3>45%O&
3$ED5%O&"3&4EFD4DCD4"E5%&F$DD4EJ(
\(& L$$;&DH$&$%%4;D4>5%&4E#""3FO&5:5M&<3"=&="4FG
DC3$&5E#&#CFD(&U"&E"D&;CD&DH$&$%%4;D4>5%&4E&5&
J535J$&"3&>"N$3$#&;5D4"O&"3&E$53&:5D$3(&
](& )%5>$&DH$&$%%4;D4>5%&"E&5&%$N$%&FC3<5>$O&:4DH&5D&
%$5FD&W&<D(&^-(/&=_&"<&>%$535E>$&4E&DH$&<3"ED&5E#&
3$53&"<&DH$&$%%4;D4>5%&5E#&1&<D(&^-(]&=_&"E&$5>H&
F4#$(&@"&;3"D$>D&DH$&<%""3&"3&>53;$D&<3"==G
5J$O&;%5>$&5&=5D&CE#$3&DH$&$%%4;D4>5%(
`(& AEF;$>D&5E#&;3";$3%M&D4JHD$E&5%%&;53DF&3$JCG
%53%M(&7$;%5>$&5EM&:"3E&;53DF&4==$#45D$%M(
a(& L$$;&>H4%#3$E&CE#$3&5J$&01&5E#&;$DF&5:5M&
<3"=&DH$&$%%4;D4>5%&5D&5%%&D4=$F(
/(& @H$&$%%4;D4>5%&FH"C%#&E"D&I$&CF$#&IM&;$3F"EF&
:$4JH4EJ&="3$&DH5E&1\-&%IF(&^00W&YJ_(
0-(&S$53&5;;3";345D$&>%"DH$F&:H4%$&$[$3>4F4EJb&
#"&E"D&:$53&%""F$&>%"DH$F&DH5D&>"C%#&I$>"=$&
>5CJHD&"E&DH$&$%%4;D4>5%(&9%:5MF&:$53&5DH%$D4>&
FH"$F&<"3&<""D&;3"D$>D4"E&:H4%$&$[$3>4F4EJ(
00(&c"%#&DH$&H5E#%$I53F&"3&DH$&C;;$3&I"#M&53=F&
:H$E&="CED4EJOF="CED4EJO&"3&CF4EJ&DH$&
$%%4;D4>5%(
01(&@H$&H$53D&35D$&="E4D"3&4F&E"D&5&=$#4>5%&
#$N4>$(&Q534"CF&<5>D"3F&=5M&5<<$>D&DH$&5>>CG
35>M&"<&H$53D&35D$&3$5#4EJF(&@H$&H$53D&35D$&
="E4D"3&4F&4ED$E#$#&"E%M&5F&5E&$[$3>4F$&54#&
4E&#$D$3=4E4EJ&H$53D&35D$&D3$E#F&4E&J$E$35%(
0W(&@H$&$%%4;D4>5%&#"$F&E"D&H5N$&5&<3$$:H$$%b&DH$&
;$#5%F&:4%%&>"ED4EC$&D"&="N$&CED4%&DH$&<%MG
:H$$%&FD";F(&7$#C>$&M"C3&;$#5%4EJ&F;$$#&4E&
5&>"ED3"%%$#&:5M(
0.(&L$$;&M"C3&I5>Y&FD354JHD&:H4%$&CF4EJ&DH$&$%%4;G
D4>5%b&#"&E"D&53>H&M"C3&I5>Y(
0\(&BN$3&$[$3>4F4EJ&=5M&3$FC%D&4E&F$34"CF&4EZC3M&
"3&#$5DH(&A<&M"C&<$$%&<54ED&"3&4<&M"C&$[;$34$E>$&
;54E&:H4%$&$[$3>4F4EJO&FD";&4==$#45D$%M&5E#&
>""%&#":E(

.
 all 
STANDARD SERVICE PLANS

\
Z"%#/'E%/"'>42$/4#
Z%2G&"+%#
W33"#'X4GP'R#*
J#%2H'R#*
.0""&
D"G%&'
J4214&"
.%/"#'X4//&"'Z4&G"#]
U"5"&$2F'@44/
Z%2G&"
!/4#%F"'U%/-0
!/4#%F"'>%F2"/
@%2
D"G%&'R#*'U%/-0'
].%/"#'+4//&"'$1'24/'$2-&)G"G
V+*B7+&RB6&V+TA'
B0%2H'P4)'64#'3)#-0%1$2F'/0"'DE8@8E>^'A__'UT'
"&&$3/$-%&7'B0"'A__'UT'"&&$3/$-%&'3#45$G"1'%2'%##%P'46'6"%:
/)#"1'G"1$F2"G'/4'*%H"'P4)#'L4#H4)/1'%/'04*"'*4#"'
"66"-/$5"'%2G'"2`4P%+&"7
*"3&M"C3&I$E$<4DO&3$5#&DH4F&=5EC5%&>53$<C%%M&I$<"3$&
M"C&CF$&DH$&$%%4;D4>5%('I6'P4)'0%5"'a)"1/$421'%6/"#'
#"%G$2F'/0$1'*%2)%&K'3&"%1"'1""'/0"'6#42/'-45"#'46'/0$1'
*%2)%&7'B4'0"&3')1'%11$1/'P4)K'24/"'/0"'3#4G)-/'*4G"&'
2)*+"#'%2G'1"#$%&'2)*+"#'+"64#"'-42/%-/$2F')17'B0"'
*4G"&'2)*+"#'%2G'/0"'&4-%/$42'46'/0"'1"#$%&'2)*+"#'
G"-%&'%#"'104L2'42'/0"'6#42/'-45"#'46'/0$1'*%2)%&7
X"64#"'#"%G$2F'6)#/0"#K'3&"%1"'6%*$&$%#$Q"'P4)#1"&6'L$/0'
/0"'3%#/1'/0%/'%#"'&%+"&"G'$2'/0"'G#%L$2F'+"&4L7
U"2F/0O' <'6/7'C'$27'M9A='-*N
.$G/0O' V'6/7'='$27'MAb'-*N

]
>9_'U4-H2)/'
M;9N?V
>;'c%*'()/'
M[bN?[
>;'.%10"#'
M;;N?A
.%5"'.%10"#'
M999N?V
>;'!3&$/'
.%10"#'
Mb_N?=
>C'd'9A**
E4)2G'Z"%G
!-#"L'M9_9N?9_
>C'd'=V**
E4)2G'Z"%G
!-#"L'M9_<N?A
>;'d'Ab**'X4&/'M;_N?9
>C'!3&$/'
.%10"#'
M99VN?;
>C'
.%10"#'
M9_VN?;
>C'd'<_**'!-#"L'
M9_;N?V
>C'd'9A**'
X&)2/'!-#"L'
M9_CN?;
>9_'d';_**'J%##$%F"'X4&/'
M;VN?V
Z)+'!-#"L'
M;[N?;
>;'d'V=**'!04)&G"#
!-#"L'M99<N?C
>;'d'V=**'
!-#"L'M;CN?C
>;'d'C9**'
X4&/'M[;N?C
>;'d';_**'X4&/'M99AN?V
>9_'d'9V[**'!-#"L'M;=N?V
&)97@&AU+'@A*A?9@AB'&?c97@
W1"'/0"'G#%L$2F1'+"&4L'/4'$G"2/$6P'/0"'1*%&&'3%#/1'2""G"G'64#'%11"*+&P7'B0"'2)*+"#'$2'3%#"2/0"1"1'+"&4L'"%-0'
G#%L$2F'$1'/0"'H"P'2)*+"#'46'/0"'3%#/K'6#4*'/0"'DREB'UI!B'2"%#'/0"'"2G'46'/0$1'*%2)%&7'B0"'2)*+"#'64&&4L$2F'/0"'
H"P'2)*+"#'$1'/0"'a)%2/$/P'2""G"G'64#'%11"*+&P7''"D$X&A<&5&;53D&4F&E"D&4E&DH$&H53#:53$&Y4DO&>H$>Y&D"&F$$&4<&4D&
H5F&I$$E&;3$5FF$=I%$#(&+[D35&;53DF&=5M&I$&4E>%C#$#(

`
V7' .0$&"'%'1"-42G'3"#142'&$6/1'/0"'X%1"'M9NK'%//%-0'
/0"'@#42/'!/%+$&$Q"#'MAN'/4'/0"'X%1"'L$/0'/L4'
>9_'d';_**'J%##$%F"'X4&/1'M;VN'%2G'/L4'>9_'
U4-H2)/1'M;9N7
A
;9
;9
;V
9
V
e' B4'0$#"'%2'%)/04#$Q"G'1"#5$-"'/"-02$-$%2'/4'
%11"*+&"'/0$1'3#4G)-/K'-%&&'9:;__:CC<:VC;_7
e' R11"*+&P'#"a)$#"1'/L4'3"#14217
e' D&%-"'%&&'3%#/1'$2'%'-&"%#"G'%#"%'%2G'#"*45"'/0"'
3%-H$2F'*%/"#$%&17',4'24/'G$1341"'46'/0"'3%-H$2F'
*%/"#$%&1')2/$&'P4)'-4*3&"/"'%&&'%11"*+&P'1/"317
e' U"6/'3%#/1'%#"'*%#H"G'fUg'4#'fU"6/g'%2G'#$F0/'3%#/1'
%#"'*%#H"G'fEg'4#'fE$F0/7g
e' B4'$G"2/$6P'1*%&&'3%#/1K'1""'3%F"'A7
e' I2'%GG$/$42'/4'/0"'$2-&)G"G'/44&M1NK'%11"*+&P'
#"a)$#"1'/0"'64&&4L$2F'/44&1O
42"'D0$&&$31'1-#"LG#$5"#'
42"'%G`)1/%+&"'L#"2-0'
42"'#)++"#'*%&&"/' '
R11"*+&P'*%P'+"'"%1$"#'$6'P4)'0%5"'%'1"/'46'
L#"2-0"17'B4'%54$G'G%*%F$2F'3%#/1K'G4'24/')1"'
34L"#'/44&17
922+!V,R
97' &T"&D"&:::(;3"<"3=F$3N4>$(>"=P3$J4FD35D4"E&
"E&M"C3&>"=;CD$3&5E#&3$J4FD$3&M"C3&;3"#C>D(
' e' '%-/$5%/"1'P4)#'L%##%2/P
' e' '1%5"1'P4)'/$*"'$6'P4)'"5"#'2""G'/4'-42/%-/'
J)1/4*"#'J%#"
' e' '%&&4L1')1'/4'24/$6P'P4)'46')3F#%G"1'%2G'466"#1
''(4/"O'I6'P4)'G4'24/'0%5"'I2/"#2"/'%--"11K'-%&&'
JW!B8>TE'JRET'M1""'/0"'6#42/'-45"#'46'/0$1'
*%2)%&N'%2G'#"F$1/"#'P4)#'3#4G)-/7
9

a
=7' E"*45"'/0"'$2G$-%/"G'1-#"L'%2G'/0"'10$33$2F'
+#%-H"/'6#4*'/0"'X%1"'M9N7',$1-%#G'/0"'1-#"L'
%2G'/0"'10$33$2F'+#%-H"/7'
' ("d/K'/$F0/"2'/0"'X%1"'@44/'MVAN'$2/4'/0"'
X%1"'M9N7
!0$33$2F'
X#%-H"/
VA
!-#"L
=
9
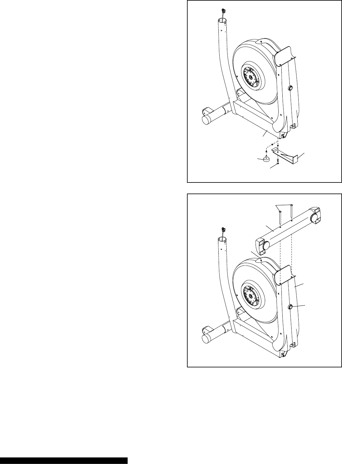
C7' R//%-0'/0"'E"%#'!/%+$&$Q"#'M[N'/4'/0"'@#%*"'MVN'
L$/0'/L4'>9_'d'9V[**'!-#"L1'M;=N7
' ("d/K'04&G'/0"'0%2G&"'42'/0"'@#%*"'MVNK'3#"11'
/0"'U%/-0'MA;NK'%2G'&4L"#'/0"'@#%*"')2/$&'/0"'
E"%#'!/%+$&$Q"#'M[N'#"1/1'42'/0"'6&44#7
C;=
[
Z%2G&"
V
A;

/
<7' Z4&G'%'Z)+'J45"#'M[<N'%2G'%'J#%2H'R#*'M=AN'
%F%$21/'/0"'J#%2H'MC<N7
' R&$F2'/0"'04&"1'$2'/0"'Z)+'J45"#'M[<N'%2G'/0"'
J#%2H'R#*'M=AN'L$/0'/0"')2)1"G'04&"1'$2'/0"'&"6/'
1$G"'46'/0"'J#%2H'MC<N7'
' I21"#/'64)#'Z)+'!-#"L1'M;[N'$2/4'/0"'Z)+'J45"#'
M[<N'%2G'/0"'J#%2H'R#*'M=ANK'%2G'6$2F"#'/$F0/"2'
/0"'Z)+'!-#"L1'$2/4'/0"'J#%2H'MC<N7'@4JHD$E&
"E$&cCI&2>3$:O&5E#&DH$E&D4JHD$E&DH$&cCI&
2>3$:&5>3"FF&<3"=&DH$&<43FD&cCI&2>3$:(&@H$EO&
D4JHD$E&DH$&3$=54E4EJ&D:"&cCI&2>3$:F(
& 7$;$5D&DH4F&FD$;&"E&DH$&34JHD&F4#$&"<&DH$&
$%%4;D4>5%(
& !5Y$&FC3$&DH5D&DH$&?35EY&93=F&^W]_&53$&"34G
$ED$#&:4DH&DH$&?35EY&VCFH4EJ&2%$$N$F&^.W_&4E&
DH$&;"F4D4"EF&FH":E('(4/"O'B0"#"'%#"'24'D)&&"P'
!-#"L1'Mb;N'42'/0"'#$F0/'1$G"7'
=A
C<
b;
[<
;[
;[
=A
C=
C=
A7' .0$&"'%'1"-42G'3"#142'04&G1'/0"'W3#$F0/'M=N'
2"%#'/0"'X%1"'M9NK'-422"-/'/0"'W33"#'.$#"'
Z%#2"11'MC;N'/4'/0"'U4L"#'.$#"'Z%#2"11'MCbN7'
& @4;X&9N"4#&;4E>H4EJ&DH$&:43$F('I21"#/'/0"'
W3#$F0/'M=N'$2/4'/0"'X%1"'M9N7'
' R//%-0'/0"'W3#$F0/'M=N'L$/0'%2'>;'d'Ab**'X4&/'
M;_NK'%2'>;'!3&$/'.%10"#'Mb_NK'%2G'%2'>;'c%*'
()/'M[bN7'U"&E"D&D4JHD$E&DH$&V"%D&M$Db&=5Y$&
FC3$&DH5D&DH$&d5=&'CD&4F&4E&DH$&H$[5J"E5%&
H"%$&4E&DH$&V5F$(&
&("d/K'6$2F"#'/$F0/"2'/L4'>;'d'V=**'!-#"L1'M;CN'
%2G'/L4'>;'!3&$/'.%10"#1'Mb_N'$2/4'/0"'X%1"'M9N7'
U"&E"D&D4JHD$E&DH$&2>3$:F&M$D('
' R//%-0'/0"'.%/"#'X4//&"'Z4&G"#'MVVN'/4'/0"'X%1"'
M9N'L$/0'/L4'>C'd'9A**'X&)2/'!-#"L1'M9_CN7
=
;_
C;
Cb
VV
;C
;C
b_
b_
b_
9_C
9N"4#&;4E>H4EJ&
DH$&:43$F
[b
9
A
<

0-
[7' IG"2/$6P'/0"'U"6/'W3#$F0/'J45"#'M9[N'%2G'04&G'$/'
%F%$21/'/0"'&"6/'1$G"'46'/0"'W3#$F0/'M=N7'
' R//%-0'/0"'U"6/'W3#$F0/'J45"#'M9[N'L$/0'/L4'>C'd'
9A**'E4)2G'Z"%G'!-#"L1'M9_9N7'
& 9DD5>H&DH$&74JHD&6;34JHD&?"N$3&^W/_&4E&DH$&
F5=$&:5M(
[
9[
=b
=
9_9
9_9
;7' IG"2/$6P'/0"'U"6/'%2G'E$F0/'Z%2G&"+%#1'M99bK'9V_N'
%2G'4#$"2/'/0"*'%1'104L27
& @4;X&9N"4#&;4E>H4EJ&DH$&)C%F$&S43$F&^00a_(&
R//%-0'/0"'U"6/'%2G'E$F0/'Z%2G&"+%#1'M99bK'9V_N'
/4'/0"'W3#$F0/'M=N'L$/0'/L4'>;'d';_**'X4&/1'
M99AN'%2G'/L4'>;'c%*'()/1'M[bN7
[b 99;
99;
9V_
99b
99A
99A
;
9N"4#&;4E>H4EJ&
DH$&:43$F
=

00
b7' I21"#/'/0"'D)&1"'.$#"1'M99;N')3L%#G'/0#4)F0'/0"'
W3#$F0/'M=N'%1'104L27 b
=
99;
99;
9_
9_7'.0$&"'%'1"-42G'3"#142'04&G1'/0"'J4214&"'M<N'
2"%#'/0"'W3#$F0/'M=NK'-422"-/'/0"'L$#"1'42'/0"'
J4214&"'/4'/0"'W33"#'.$#"'Z%#2"11'MC;N'%2G'/4'
/0"'D)&1"'.$#"1'M99;N7'
' I21"#/'/0"'"d-"11'L$#"'$2/4'/0"'W3#$F0/'M=N7'
& @4;X&9N"4#&;4E>H4EJ&DH$&:43$F(&R//%-0'/0"'
J4214&"'M<N'/4'/0"'W3#$F0/'M=N'L$/0'64)#'>C'd'
9A**'E4)2G'Z"%G'!-#"L1'M9_9N7
<
99;
C;
9_9
=
9N"4#&;4E>H4EJ&
DH$&:43$F
997'R//%-0'/0"'W3#$F0/'J%3'MCN'/4'/0"'J4214&"'M<N'
L$/0'/L4'>C'd'9A**'E4)2G'Z"%G'!-#"L1'M9_9N7 99 <
C
9_9

01
9V
99
;
b
9V
[;
[;
[b
[b
Z"d%F42%&'
Z4&"1
9V7'IG"2/$6P'/0"'U"6/'W33"#'X4GP'R#*'M;N'%2G'/0"'U"6/'
W33"#'X4GP'U"F'M99N'%2G'4#$"2/'/0"*'%1'104L27'
' I21"#/'/0"'U"6/'W33"#'X4GP'R#*'M;N'$2/4'/0"'U"6/'
W33"#'X4GP'U"F'M99N7'
' R//%-0'/0"'U"6/'W33"#'X4GP'R#*'M;N'L$/0'/L4'>;'
d'C9**'X4&/1'M[;N'%2G'/L4'>;'c%*'()/1'M[bN7'
!5Y$&FC3$&DH5D&DH$&d5=&'CDF&53$&4E&DH$&H$[G
5J"E5%&H"%$F&4E&DH$&,$<D&6;;$3&V"#M&,$J&^00_7'
& 9DD5>H&DH$&74JHD&6;;$3&V"#M&93=&^/_&D"&DH$&
74JHD&6;;$3&V"#M&,$J&^01_&4E&DH$&F5=$&:5M(
9=
9=7'W1$2F'%'1*%&&'3&%1/$-'+%F'/4'H""3'P4)#'6$2F"#1'
-&"%2K'%33&P'%'F"2"#4)1'%*4)2/'46'/0"'$2-&)G"G'
F#"%1"'/4'/0"'D$54/'Rd&"'M[CN'%2G'/4'/L4'.%5"'
.%10"#1'M999N7'
' I21"#/'/0"'D$54/'Rd&"'M[CN'$2/4'/0"'W3#$F0/'M=N'%2G'
-"2/"#'$/7
' !&$G"'%'.%5"'.%10"#'M999N'42/4'"%-0'"2G'46'/0"'
D$54/'Rd&"'M[CN7
' 8#$"2/'/0"'U"6/'W33"#'X4GP'U"F'M99N'%1'104L2K'
%2G'1&$G"'$/'42/4'/0"'&"6/'"2G'46'/0"'D$54/'Rd&"'
M[CN7'!&$G"'/0"'E$F0/'W33"#'X4GP'U"F'M9VN'42/4'
/0"'#$F0/'"2G'46'/0"'D$54/'Rd&"7
'9D&DH$&F5=$&D4=$O'/$F0/"2'%2'>;'d'V=**'!-#"L'
M;CN'L$/0'%2'>;'.%10"#'M;;N'$2/4'"%-0'"2G'46'/0"'
D$54/'Rd&"'M[CN7
;; ;C
999
;;
[C
=
;C
999
9V
99
S#"%1"

0W
9C
9C7'Z4&G'/0"'U"6/'@#42/'R#*'J45"#'M9;N'%2G'/0"'U"6/'
E"%#'R#*'J45"#'M9bN'%#4)2G'/0"'U"6/'W33"#'
X4GP'U"F'M99N7'
' R//%-0'/0"'R#*'J45"#1'M9;K'9bN'L$/0'/0#""'>C'd'
=V**'E4)2G'Z"%G'!-#"L1'M9_<N7
& 9DD5>H&DH$&74JHD&*3"ED&93=&?"N$3&^1-_&5E#&
DH$&74JHD&7$53&93=&?"N$3&^10_&4E&DH$&F5=$&
:5M(
V_
V9
9_<
9V
9b
9;
99
9<
9=
9C
9_C
9_C
99V
9_V
9_V
99V
9_;
9<7'IG"2/$6P'/0"'U"6/'D"G%&'M9=N'%2G'/0"'U"6/'D"G%&'
R#*'M9CN7'
' R//%-0'/0"'U"6/'D"G%&'M9=N'/4'/0"'U"6/'D"G%&'R#*'
M9CN'L$/0'%2'>C'd'<_**'!-#"L'M9_;NK'/0#""'
>C'd'9A**'X&)2/'!-#"L1'M9_CNK'64)#'>C'!3&$/'
.%10"#1'M99VNK'%2G'64)#'>C'.%10"#1'M9_VN7
& 9DD5>H&DH$&74JHD&)$#5%&^E"D&FH":E_&D"&DH$&
74JHD&)$#5%&93=&^E"D&FH":E_&4E&DH$&F5=$&
:5M(

0.
9A
9A7'R33&P'%'1*%&&'%*4)2/'46'F#"%1"'/4'42"'46'/0"'
D"G%&'R#*'Rd&"1'M=VN7'
' B$F0/"2'%2'>;'d'V=**'!04)&G"#'!-#"L'M99<N'
L$/0'%2'>;'.%10"#'M;;N'%2G'%'D"G%&'R#*'J45"#'
M=9N'%'6"L'/)#21'$2/4'/0"'D"G%&'R#*'Rd&"'M=VN7
' .0$&"'%'1"-42G'3"#142'04&G1'/0"'6#42/'"2G'46'
/0"'U"6/'D"G%&'R#*'M9CN'$21$G"'/0"'+#%-H"/'42'/0"'
U"6/'W33"#'X4GP'U"F'M99NK'$21"#/'/0"'D"G%&'R#*'
Rd&"'M=VN'$2/4'+4/0'3%#/17'
' ("d/K'/$F0/"2'%2'>;'d'V=**'!04)&G"#'!-#"L'
M99<N'L$/0'%2'>;'.%10"#'M;;N'%2G'%'D"G%&'R#*'
J45"#'M=9N'%'6"L'/)#21'$2/4'/0"'D"G%&'R#*'Rd&"'
M=VN7'@4JHD$E&I"DH&2H"C%#$3&2>3$:F&5D&DH$&
F5=$&D4=$b&D"&5N"4#=5J4EJ&DH$&)$#5%&93=&
?"N$3FO&#"&E"D&"N$3D4JHD$E&DH$&2H"C%#$3&
2>3$:F(
& 7$;$5D&DH4F&FD$;&D"&5DD5>H&DH$&74JHD&)$#5%&
93=&^E"D&FH":E_&D"&DH$&74JHD&6;;$3&V"#M&
,$J&^01_(
S#"%1"
99<
=V
;;
=9
9V
99
9C
=9
9[7'U$6/'/0"'&%/-0'42'/0"')2G"#1$G"'46'/0"'U"6/'D"G%&'
R#*'M9CNK'%2G'1"/'/0"'U"6/'D"G%&'R#*'42'/0"'&"6/'
J#%2H'X)10$2F'!&""5"'MC=N7'
' E"&"%1"'/0"'&"5"#K'%2G'*%H"'1)#"'/0%/'/0"'U"6/'
D"G%&'R#*'M9CN'$1'1"-)#"&P'-422"-/"G'/4'/0"'
J#%2H'X)10$2F'!&""5"'MC=N7
& ?"EE$>D&DH$&74JHD&)$#5%&93=&^E"D&FH":E_&4E&
DH$&F5=$&:5M(&
'2$$&FD$;&]('B$F0/"2'/0"'>;'d'Ab**'X4&/'M;_N'
%2G'/0"'/L4'>;'d'V=**'!-#"L1'M;CN7' U%/-0
C=
9C
99<
;;
9[

0\
<
<
A_
X%//"#P'
J45"#
X%//"#P'
J45"#
9;
'9;7'2$$&DH$&C;;$3#:4EJ('D&)F'/0"'D4L"#'
RG%3/"#'MA_N'$2/4'/0"'#"-"3/%-&"'4EF4#$'/0"'+%/:
/"#P'-4*3%#/*"2/'42'/0"'J4214&"'M<N7
&(4/"O'B4'3&)F'/0"'D4L"#'RG%3/"#'MA_N'$2/4'%2'
4)/&"/K'1""'Z8.'B8'DUWS'I('BZT'D8.TE'
R,RDBTE'42'3%F"'9A7
'2$$&DH$&%":$3#:4EJ('B0"'J4214&"'M<N'-%2'
%&14'+"'43"#%/"G'L$/0'64)#','+%//"#$"1'M24/'
$2-&)G"GNh'%&H%&$2"'+%//"#$"1'%#"'#"-4**"2G"G7'
,4'24/')1"'4&G'%2G'2"L'+%//"#$"1'/4F"/0"#'4#'
%&H%&$2"K'1/%2G%#GK'%2G'#"-0%#F"%+&"'+%//"#$"1'
/4F"/0"#7'
&E"*45"'/0"'1-#"L1K'#"*45"'/0"'+%//"#P'-45:
"#1'6#4*'/0"'+%-H'46'/0"'J4214&"'M<NK'%2G'$21"#/'
+%//"#$"1'$2/4'/0"'+%//"#P'-4*3%#/*"2/17'!5Y$&
FC3$&D"&"34$ED&DH$&I5DD$34$F&5F&FH":E&IM&DH$&
#45J35=F&4EF4#$&DH$&I5DD$3M&>"=;53D=$EDF('
B0"2K'#"%//%-0'/0"'+%//"#P'-45"#17
E"-"3/%-&"
9b7'!5Y$&FC3$&DH5D&5%%&;53DF&"<&DH$&$%%4;D4>5%&53$&;3";$3%M&D4JHD$E$#('(4/"O'!4*"'0%#GL%#"'*%P'+"'&"6/'45"#'
%6/"#'%11"*+&P'$1'-4*3&"/"G7'B4'3#4/"-/'/0"'6&44#'4#'-%#3"/'6#4*'G%*%F"K'3&%-"'%'*%/')2G"#'/0"'"&&$3/$-%&7
E"-"3/%-&"

0]
cBS&@B&62+&@c+&+,,A)@A?9,
&cBS&@B&),6T&A'&@c+&)BS+7&9U9)@+7
A!)B7@9'@X&A<&DH$&$%%4;D4>5%&H5F&I$$E&$[;"F$#&D"&
>"%#&D$=;$35DC3$FO&5%%":&4D&D"&:53=&D"&3""=&D$=G
;$35DC3$&I$<"3$&;%CJJ4EJ&4E&DH$&;":$3&5#5;D$3(&A<&
M"C&#"&E"D&#"&DH4FO&M"C&=5M=5J$&DH$&>"EF"%$&
#4F;%5MF&"3&"DH$3&$%$>D3"E4>&>"=;"E$EDF(
D&)F'/0"'34L"#'
%G%3/"#'$2/4'/0"'
#"-"3/%-&"'42'/0"'
-4214&"7'B0"2K'
3&)F'/0"'34L"#'
%G%3/"#'$2/4'%2'
%33#43#$%/"'4)/&"/'
/0%/'$1'3#43"#&P'
$21/%&&"G'$2'%--4#:
G%2-"'L$/0'%&&'
&4-%&'-4G"1'%2G'4#G$2%2-"17
cBS&@B&*B,U&9'U&6'*B,U&@c+&+,,A)@A?9,
.0"2'/0"'"&&$3/$-%&'$1'24/'$2')1"K'/0"'6#%*"'-%2'+"'
64&G"G'4)/'46'/0"'L%P7'@$#1/K'&$6/'/0"'&%/-0')2G"#'"%-0'
3"G%&'%#*K'%2G'&$6/'/0"'3"G%&'%#*1'466'/0"'1&""5"1'42'
/0"'-#%2H'%#*17'
("d/K'#%$1"'/0"'3"G%&'%#*1')2/$&'/0"P'/4)-0'/0"'*%F:
2"/1'42'/0"')33"#'+4GP'%#*1h'/0"'*%F2"/1'L$&&'04&G'/0"'
3"G%&'%#*1'$2'3&%-"7'B0"2K'04&G'/0"'0%2G&"'%2G'&$6/'/0"'
6#%*"')2/$&'$/'&4-H1'$2'%'5"#/$-%&'341$/$427
B4')1"'/0"'"&&$3/$-%&K'6$#1/'04&G'/0"'0%2G&"K'3#"11'/0"'
&%/-0'+)//42K'%2G'&4L"#'/0"'6#%*"7'
("d/K'3)&&'/0"'3"G%&'%#*1'466'/0"'*%F2"/1'42'/0"')33"#'
+4GP'%#*17'B0"2K'%4<D&DH$&%5D>H$F&CE#$3&DH$&;$#5%&
53=FO'%2G'1"/'/0"'3"G%&'%#*1'42'/0"'1&""5"1'42'/0"'
-#%2H'%#*17'E"&"%1"'/0"'&%/-0"1K'%2G'*%H"'1)#"'/0%/'
/0"'3"G%&'%#*1'%#"'1"-)#"&P'-422"-/"G'/4'/0"'-#%2H'
%#*17
cBS&@B&!BQ+&@c+&+,,A)@A?9,
B4'*45"'/0"'"&&$3/$-%&K'6$#1/'64&G'$/'%1'G"1-#$+"G'%/'
/0"'&"6/7'("d/K'1/%2G'$2'6#42/'46'/0"'"&&$3/$-%&K'04&G'/0"'
)3#$F0/K'%2G'3&%-"'42"'644/'%F%$21/'/0"'-"2/"#'46'/0"'
6#42/'1/%+$&$Q"#7'D)&&'/0"')3#$F0/')2/$&'/0"'"&&$3/$-%&'L$&&'#4&&'
42'/0"'6#42/'L0""&17'J%#"6)&&P'*45"'/0"'"&&$3/$-%&'/4'/0"'
G"1$#"G'341$/$42K'%2G'/0"2'&4L"#'$/7
U%/-0
!&""5"
D"G%&'R#*
J#%2H'
R#*
Z%2G&"
D&%-"'
P4)#'644/'
0"#"
>%F2"/
W3#$F0/
@#%*"
U%/-0'
X)//42
D"G%&'R#*
D4L"#'RG%3/"#

0`
cBS&@B&+e+7?A2+&B'&@c+&+,,A)@A?9,
B4'*4)2/'/0"'"&&$3/$-%&K'04&G'/0"')33"#'+4GP'%#*1'4#'/0"'
0%2G&"+%#1'%2G'1/"3'42/4'/0"'3"G%&'/0%/'$1'$2'/0"'&4L"1/'
341$/$427&("d/K'1/"3'42/4'/0"'4/0"#'3"G%&7'D)10'/0"'3"G:
%&1')2/$&'/0"P'+"F$2'/4'*45"'L$/0'%'-42/$2)4)1'*4/$427'
'"D$X&@H$&>35EY&53=F&>5E&DC3E&4E&$4DH$3+$>D4"E(&
AD&4F&3$>"==$E#$#&DH5D&M"C&DC3E&DH$&>35EY&53=F&
4E&DH$+$>D4"E&FH":E&IM&DH$&533":b&H":$N$3O&<"3&
N534$DMO&M"C&>5E&DC3E&DH$&>35EY&53=F&4E&DH$&";;"F4D$&
#43$>D4"E(
B4'G$1*4)2/'/0"'"&&$3/$-%&K'L%$/')2/$&'/0"'3"G%&1'-4*"'/4'
%'-4*3&"/"'1/437''"D$X&@H$&$%%4;D4>5%&#"$F&E"D&H5N$&
5&<3$$&:H$$%b&DH$&;$#5%F&:4%%&>"ED4EC$&D"&="N$&CED4%&
DH$&<%M:H$$%&FD";F(&.0"2'/0"'3"G%&1'%#"'1/%/$42%#PK'
1/"3'466'/0"'0$F0"1/'3"G%&'6$#1/7'B0"2K'1/"3'466'/0"'&4L"1/'
3"G%&7
cBS&@B&,+Q+,&@c+&+,,A)@A?9,
I6'/0"'"&&$3/$-%&'
#4-H1'1&$F0/&P'42'
P4)#'6&44#'G)#:
$2F')1"K'/)#2'
42"'4#'+4/0'46'
/0"'&"5"&$2F'6""/'
+"2"%/0'/0"'#"%#'
1/%+$&$Q"#')2/$&'/0"'
#4-H$2F'*4/$42'$1'
"&$*$2%/"G7
D"G%&1
J#%2H'R#*
Z%2G&"+%#1
W33"#'X4GP'R#*1
U"5"&$2F'
@""/

0a
*+9@67+2&B*&@c+&?B'2B,+
B0"'%G5%2-"G'-4214&"'466"#1'%2'%##%P'46'6"%/)#"1'
G"1$F2"G'/4'*%H"'P4)#'L4#H4)/1'*4#"'"66"-/$5"'%2G'
"2`4P%+&"7'
.0"2'P4)')1"'/0"'*%2)%&'*4G"'46'/0"'-4214&"K'P4)'
-%2'-0%2F"'/0"'#"1$1/%2-"'46'/0"'3"G%&1'L$/0'/0"'/4)-0'
46'%'+)//427'R1'P4)'"d"#-$1"K'/0"'-4214&"'L$&&'3#45$G"'
-42/$2)4)1'"d"#-$1"'6""G+%-H7'Y4)'-%2'"5"2'*"%1)#"'
P4)#'0"%#/'#%/"')1$2F'/0"'0%2GF#$3'0"%#/'#%/"'*42$/4#7
B0"'-4214&"'466"#1'1$d/""2'3#"1"/'L4#H4)/1i"$F0/'
L"$F0/'&411'%2G'"$F0/'3"#64#*%2-"'L4#H4)/17'T%-0'
3#"1"/'L4#H4)/'%)/4*%/$-%&&P'-0%2F"1'/0"'#"1$1/%2-"'
46'/0"'3"G%&1'%1'$/'F)$G"1'P4)'/0#4)F0'%2'"66"-/$5"'
L4#H4)/7
'B0"'-4214&"'%&14'6"%/)#"1'/0"'$@$/'$2/"#%-/$5"'L4#H4)/'
1P1/"*K'L0$-0'"2%+&"1'/0"'-4214&"'/4'%--"3/'$@$/'-%#G1'
-42/%$2$2F'L4#H4)/1'G"1$F2"G'/4'0"&3'P4)'%-0$"5"'
13"-$6$-'6$/2"11'F4%&17'
@4#'"d%*3&"K'&41"')2L%2/"G'34)2G1'L$/0'/0"';:L""H'
."$F0/'U411'L4#H4)/7'$@$/'L4#H4)/1'-42/#4&'/0"'#"1$1:
/%2-"'46'/0"'3"G%&1'L0$&"'/0"'54$-"'46'%'3"#142%&'/#%$2"#'
-4%-0"1'P4)'/0#4)F0'P4)#'L4#H4)/17'$@$/'-%#G1'%#"'
%5%$&%+&"'1"3%#%/"&P7'@"&;C3>H5F$&4*4D&>53#FO&J"&D"&
:::(4*4D(>"=&"3&>5%%&0GaaaG\WWG0WWW(&4*4D&>53#F&53$&
5%F"&5N54%5I%$&5D&F$%$>D&FD"3$F(
Y4)'-%2'"5"2'-422"-/'P4)#'>D='3&%P"#'4#'J,'3&%P"#'
/4'/0"'-4214&"'14)2G'1P1/"*'%2G'&$1/"2'/4'P4)#'6%54#$/"'
*)1$-'4#'%)G$4'+44H1'L0$&"'P4)'"d"#-$1"7
@"&CF$&DH$&=5EC5%&="#$O'1""'3%F"'9b7'@"&CF$&5&
;3$F$D&:"3Y"CDO'1""'3%F"'V_7'@"&CF$&5E&4*4D&,4N$&
:"3Y"CDO'1""'3%F"'V97'@"&CF$&DH$&F"CE#&FMFD$=O'
1""'3%F"'V97
(4/"O'I6'/0"#"'$1'%'10""/'46'3&%1/$-'42'/0"'G$13&%PK'
#"*45"'/0"'3&%1/$-7
?B'2B,+&UA9T79!

0/
&cBS&@B&62+&@c+&!9'69,&!BU+
0(& @C3E&"E&DH$&>"EF"%$(
''D#"11'%2P'+)//42'4#'+"F$2'3"G%&$2F'/4'/)#2'42'/0"'
-4214&"7'
''.0"2'P4)'/)#2'42'/0"'-4214&"K'/0"'G$13&%P'L$&&'/)#2'
427'R'/42"'L$&&'14)2G'%2G'/0"'-4214&"'L$&&'+"'#"%GP'
64#')1"7
1(& 2$%$>D&DH$&=5EC5%&="#$(
''.0"2'P4)'/)#2'42'/0"'-42:
14&"K'/0"'*%2)%&'*4G"'L$&&'
+"'1"&"-/"G'%)/4*%/$-%&&P7'
''I6'P4)'0%5"'1"&"-/"G'%'
L4#H4)/K'#"1"&"-/'/0"'*%2)%&'
*4G"'+P'3#"11$2F'/0"';'./7'
U411'.4#H4)/1'+)//42'4#'/0"'
;'D"#64#*7'.4#H4)/1'+)/:
/42'#"3"%/"G&P')2/$&'%'/#%-H'
%33"%#1'$2'/0"')33"#'G$13&%P7
W(& &V$J4E&;$#5%4EJ&5E#&>H5EJ$&DH$&3$F4FD5E>$&"<&
DH$&;$#5%F&5F&#$F43$#(
''R1'P4)'3"G%&K'-0%2F"'/0"'
#"1$1/%2-"'46'/0"'3"G%&1'+P'
3#"11$2F'/0"'E"1$1/%2-"'
$2-#"%1"'%2G'G"-#"%1"'
+)//4217'
''(4/"O'R6/"#'P4)'3#"11'/0"'
+)//421K'$/'L$&&'/%H"'%'*4*"2/'
64#'/0"'3"G%&1'/4'#"%-0'/0"'
1"&"-/"G'#"1$1/%2-"'&"5"&7'
&.(& *"%%":&M"C3&;3"J3$FF&:4DH&DH$F;%5M(
''B0"'G$13&%P'-%2'104L'/0"'64&&4L$2F'L4#H4)/'
$264#*%/$42O
'&?5%"34$FiB0$1'G$13&%P'*4G"'L$&&'104L'/0"'%33#4d:
$*%/"'2)*+"#'46'-%&4#$"1'P4)'0%5"'+)#2"G7
''U4FD5E>$iB0$1'G$13&%P'*4G"'L$&&'104L'/0"'G$1:
/%2-"'/0%/'P4)'0%5"'3"G%&"G'$2'#"54&)/$4217'
'')3"<4%$i.0"2'%'L4#H4)/'$1'1"&"-/"GK'/0$1'G$13&%P'
*4G"'L$&&'104L'%'3#46$&"'46'/0"'#"1$1/%2-"'1"//$2F1'
46'/0"'L4#H4)/7
'')C%F$iB0$1'G$13&%P'*4G"'L$&&'104L'P4)#'0"%#/'#%/"'
L0"2'P4)')1"'/0"'0%2GF#$3'0"%#/'#%/"'*42$/4#'M1""'
1/"3'<'42'3%F"'V_N7
''7$F4FD5E>$&^7$F_iB0$1'G$13&%P'*4G"'L$&&'104L'
/0"'#"1$1/%2-"'&"5"&'46'/0"'3"G%&1'64#'%'6"L'1"-42G1'
"%-0'/$*"'/0"'#"1$1/%2-"'&"5"&'-0%2F"17'
''2;$$#iB0$1'G$13&%P'*4G"'L$&&'104L'P4)#'3"G%&$2F'
13""G'$2'#"54&)/$421'3"#'*$2)/"7
''@4=$i.0"2'/0"'*%2)%&'*4G"'$1'1"&"-/"GK'/0$1'
G$13&%P'*4G"'L$&&'104L'/0"'"&%31"G'/$*"7'.0"2'%'
L4#H4)/'$1'1"&"-/"GK'/0$1'G$13&%P'*4G"'L$&&'104L'/0"'
/$*"'#"*%$2$2F'$2'/0"'L4#H4)/7
''@35>Yi.0"2'/0"'*%2)%&'*4G"'$1'1"&"-/"GK'/0$1'
G$13&%P'*4G"'L$&&'104L'%'/#%-H'#"3#"1"2/$2F'9jC'
*$&"'MC__'*N7'R1'P4)'"d"#-$1"K'$2G$-%/4#1'L$&&'
%33"%#'$2'1)--"11$42'%#4)2G'/0"'/#%-H')2/$&'/0"'
"2/$#"'/#%-H'%33"%#17'B0"'/#%-H'L$&&'/0"2'G$1%33"%#'
%2G'/0"'$2G$-%/4#1'L$&&'%F%$2'+"F$2'/4'%33"%#'$2'
1)--"11$427'
''D#"11'/0"',$13&%P'>4G"'
+)//42'#"3"%/"G&P'/4'5$"L'/0"'
G"1$#"G'L4#H4)/'$264#*%/$427'
''B4'#"1"/'/0"'G$13&%P'/4'Q"#4K'
3#"11'/0"'82jE"1"/'+)//427
''J0%2F"'/0"'54&)*"'&"5"&'46'/0"'
-4214&"'+P'3#"11$2F'/0"'k4&)*"'
$2-#"%1"'%2G'G"-#"%1"'+)//4217

1-
&\(& !$5FC3$&M"C3&H$53D&35D$&4<&#$F43$#(&
''A<&DH$3$&53$&FH$$DF&"<&
;%5FD4>&"E&DH$&=$D5%&
>"ED5>DF&"E&DH$&
H5E#J34;&H$53D&35D$&
="E4D"3O&3$="N$&DH$&
;%5FD4>(&AE&5##4D4"EO&
=5Y$&FC3$&DH5D&M"C3&
H5E#F&53$&>%$5E('B4'
*"%1)#"'P4)#'0"%#/'
#%/"K'04&G'/0"'0%2GF#$3'
0"%#/'#%/"'*42$/4#'L$/0'P4)#'3%&*1'#"1/$2F'%F%$21/'
/0"'-42/%-/17'9N"4#&="N4EJ&M"C3&H5E#F&"3&J34;G
;4EJ&DH$&>"ED5>DF&D4JHD%M('
''.0"2'P4)#'3)&1"'$1'G"/"-/"GK'%'0"%#/:10%3"G'
1P*+4&'L$&&'6&%10'$2'/0"'G$13&%P'%2G'/0"2'P4)#'0"%#/'
#%/"'L$&&'+"'104L27'@4#'/0"'*41/'%--)#%/"'0"%#/'#%/"'
#"%G$2FK'04&G'/0"'-42/%-/1'64#'%/'&"%1/'9<'1"-42G17'
''I6'P4)#'0"%#/'#%/"'$1'24/'104L2K'*%H"'1)#"'/0%/'P4)#'
0%2G1'%#"'341$/$42"G'%1'G"1-#$+"G7'X"'-%#"6)&'24/'
/4'*45"'P4)#'0%2G1'"d-"11$5"&P'4#'/4'1a)""Q"'/0"'
-42/%-/1'/$F0/&P7'@4#'43/$*%&'3"#64#*%2-"K'-&"%2'
/0"'-42/%-/1')1$2F'%'146/'-&4/0h'E$N$3&CF$&5%>"H"%O&
5I35F4N$FO&"3&>H$=4>5%F&D"&>%$5E&DH$&>"ED5>DF(
&](& @C3E&"E&DH$&<5E&4<&#$F43$#(
''B0"'6%2'0%1'0$F0'%2G'&4L'13""G'
1"//$2F17'D#"11'/0"'@%2'$2-#"%1"'
%2G'G"-#"%1"'+)//421'#"3"%/"G&P'
/4'1"&"-/'%'6%2'13""G'4#'/4'/)#2'466'
/0"'6%27'
''(4/"O'I6'/0"'3"G%&1'G4'24/'*45"'64#'%+4)/'/0$#/P'
1"-42G1K'/0"'6%2'L$&&'/)#2'466'%)/4*%/$-%&&P7
&`(& &SH$E&M"C&53$&<4E4FH$#&$[$3>4F4EJO&DH$&>"EF"%$&
:4%%&DC3E&"<<&5CD"=5D4>5%%M(
''I6'/0"'3"G%&1'G4'24/'*45"'64#'1"5"#%&'1"-42G1K'%'
1"#$"1'46'/42"1'L$&&'14)2GK'/0"'-4214&"'L$&&'3%)1"K'
%2G'/0"'/$*"'L$&&'6&%10'$2'/0"'G$13&%P7
''I6'/0"'3"G%&1'G4'24/'*45"'64#'1"5"#%&'*$2)/"1K'/0"'
-4214&"'L$&&'/)#2'466'%2G'/0"'G$13&%P'L$&&'+"'#"1"/7
&
&cBS&@B&62+&9&)7+2+@&SB7LB6@
0(& @C3E&"E&DH$&>"EF"%$(
''D#"11'%2P'+)//42'4#'+"F$2'3"G%&$2F'/4'/)#2'42'/0"'
-4214&"7'
''.0"2'P4)'/)#2'42'/0"'-4214&"K'/0"'G$13&%P'L$&&'/)#2'
427'R'/42"'L$&&'14)2G'%2G'/0"'-4214&"'L$&&'+"'#"%GP'
64#')1"7
1(& 2$%$>D&5&;3$F$D&:"3Y"CD(
''B4'1"&"-/'%'3#"1"/'L4#H:
4)/K'3#"11'/0"';'./7'U411'
.4#H4)/1'+)//42'4#'/0"';'
D"#64#*7'.4#H4)/1'+)//42'
#"3"%/"G&P')2/$&'/0"'2)*:
+"#'46'/0"'G"1$#"G'L4#H4)/'
%33"%#1'$2'/0"'&4L"#'G$13&%P7'
''.0"2'P4)'1"&"-/'%'3#"1"/'L4#H4)/K'%'3#46$&"'46'/0"'
#"1$1/%2-"'&"5"&1'46'/0"'L4#H4)/'L$&&'1-#4&&'%-#411'
/0"')33"#'G$13&%PK'/0"'G)#%/$42'46'/0"'L4#H4)/'L$&&'
%33"%#'$2'/0"'-"2/"#'G$13&%PK'%2G'/0"'2)*+"#'46'/0"'
L4#H4)/'L$&&'%33"%#'$2'/0"'&4L"#'G$13&%P7
&W(& V$J4E&;$#5%4EJ&D"&FD53D&DH$&:"3Y"CD(
''T%-0'L4#H4)/'$1'G$5$G"G'$2/4'1"5"#%&'42":*$2)/"'
1"F*"2/17'82"'#"1$1/%2-"'&"5"&'$1'3#4F#%**"G'64#'
"%-0'1"F*"2/7'(4/"O'B0"'1%*"'#"1$1/%2-"'&"5"&'
*%P'+"'3#4F#%**"G'64#'-421"-)/$5"'1"F*"2/17
'',)#$2F'/0"'L4#H4)/K'/0"'L4#H4)/'3#46$&"'L$&&'104L'
P4)#'3#4F#"11'M1""'/0"'G#%L$2F'%+45"N7'B0"'6&%10:
$2F'1"F*"2/'46'/0"'3#46$&"'#"3#"1"2/1'/0"'-)##"2/'
1"F*"2/'46'/0"'L4#H4)/7'B0"'0"$F0/'46'/0"'6&%10$2F'
1"F*"2/'$2G$-%/"1'/0"'#"1$1/%2-"'&"5"&'64#'/0"'-)#:
#"2/'1"F*"2/7'
''R/'/0"'"2G'46'"%-0'1"F*"2/'46'/0"'L4#H4)/K'%'
1"#$"1'46'/42"1'L$&&'14)2G'%2G'/0"'2"d/'1"F*"2/'46'
/0"'3#46$&"'L$&&'+"F$2'/4'6&%107'I6'%'G$66"#"2/'#"1$1:
/%2-"'&"5"&'$1'3#4F#%**"G'64#'/0"'2"d/'1"F*"2/K'
/0"'#"1$1/%2-"'&"5"&'L$&&'6&%10'$2'/0"'G$13&%P'64#'%'
6"L'1"-42G1'/4'%&"#/'P4)7'B0"'#"1$1/%2-"'46'/0"'
3"G%&1'L$&&'/0"2'-0%2F"7
D#46$&"
J42/%-/1

10
''I6'/0"'#"1$1/%2-"'&"5"&'64#'/0"'-)##"2/'1"F*"2/'$1'/44'
0$F0'4#'/44'&4LK'P4)'-%2'*%2)%&&P'45"##$G"'/0"'1"/:
/$2F'+P'3#"11$2F'/0"'E"1$1/%2-"'+)//4217'Z4L"5"#K'
L0"2'/0"'-)##"2/'1"F*"2/'"2G1K'/0"'3"G%&1'L$&&'
%)/4*%/$-%&&P'%G`)1/'/4'/0"'#"1$1/%2-"'&"5"&'64#'/0"'
2"d/'1"F*"2/7
''I6'P4)'1/43'3"G%&$2F'64#'1"5"#%&'1"-42G1K'%'1"#$"1'46'
/42"1'L$&&'14)2G'%2G'/0"'L4#H4)/'L$&&'3%)1"7'
''B4'#"1)*"'/0"'L4#H4)/K'1$*3&P'#"1)*"'3"G%&$2F7'
B0"'L4#H4)/'L$&&'-42/$2)"')2/$&'/0"'&%1/'1"F*"2/'
46'/0"'3#46$&"'6&%10"1'%2G'/0"'&%1/'1"F*"2/'46'/0"'
L4#H4)/'"2G17'
.(& *"%%":&M"C3&;3"J3$FF&:4DH&DH$F;%5M(
' !""'1/"3'C'42'3%F"'9b7
\(& !$5FC3$&M"C3&H$53D&35D$&4<&#$F43$#(
' !""'1/"3'<'42'3%F"'V_7
](& @C3E&"E&DH$&<5E&4<&#$F43$#(
' !""'1/"3'A'42'3%F"'V_7
`(& &SH$E&M"C&53$&<4E4FH$#&$[$3>4F4EJO&DH$&>"EF"%$&
:4%%&DC3E&"<<&5CD"=5D4>5%%M(
' !""'1/"3'['42'3%F"'V_7
&cBS&@B&62+&9'&A*A@&SB7LB6@
$@$/'-%#G1'%#"'%5%$&%+&"'1"3%#%/"&P7'B4'3)#-0%1"'$@$/'
-%#G1K'F4'/4'LLL7$@$/7-4*'4#'-%&&'9:;;;:<==:9===7'$@$/'
-%#G1'%#"'%&14'%5%$&%+&"'%/'1"&"-/'1/4#"17
0(& @C3E&"E&DH$&>"EF"%$(
''D#"11'%2P'+)//42'4#'+"F$2'3"G%&$2F'/4'/)#2'42'/0"'
-4214&"7'
''.0"2'P4)'/)#2'42'/0"'-4214&"K'/0"'G$13&%P'L$&&'/)#2'
427'R'/42"'L$&&'14)2G'%2G'/0"'-4214&"'L$&&'+"'#"%GP'
64#')1"7
1(& AEF$3D&5E&4*4D&>53#&5E#&F$%$>D&5&:"3Y"CD(
''B4')1"'%2'$@$/'L4#H4)/K'$21"#/'%2'$@$/'-%#G'$2/4'/0"'
$@$/'1&4/h'*%H"'1)#"'/0%/'/0"'$@$/'-%#G'$1'4#$"2/"G'14'
/0%/'/0"'*"/%&'-42/%-/1'%#"'6%-"'G4L2'%2G'%#"'6%-:
$2F'/0"'1&4/7'.0"2'/0"'$@$/'-%#G'$1'3#43"#&P'$21"#/"GK'
/0"'$2G$-%/4#'2"d/'/4'/0"'1&4/'L$&&'/)#2'427'
''("d/K'1"&"-/'/0"'G"1$#"G'L4#H4)/'42'/0"'$@$/'-%#G'+P'
3#"11$2F'/0"'$2-#"%1"'%2G'G"-#"%1"'+)//421'2"d/'/4'
/0"'$@$/'1&4/7
''R'3#46$&"'46'/0"'#"1$1/%2-"'&"5"&1'46'/0"'L4#H4)/'
L$&&'1-#4&&'%-#411'/0"')33"#'G$13&%PK'/0"'G)#%/$42'46'
/0"'L4#H4)/'L$&&'%33"%#'$2'/0"'-"2/"#'G$13&%PK'%2G'
/0"'2)*+"#'46'/0"'L4#H4)/'L$&&'%33"%#'$2'/0"'&4L"#'
G$13&%P7
''R'*4*"2/'%6/"#'P4)'1"&"-/'%'L4#H4)/K'/0"'54$-"'46'%'
3"#142%&'/#%$2"#'L$&&'+"F$2'F)$G$2F'P4)'/0#4)F0'P4)#'
L4#H4)/7'$@$/'L4#H4)/1'6)2-/$42'$2'/0"'1%*"'L%P'%1'
3#"1"/'L4#H4)/17'B4')1"'/0"'L4#H4)/K'1""'1/"31'='/4'
A'1/%#/$2F'42'3%F"'V_7
W(& &SH$E&M"C&53$&<4E4FH$#&$[$3>4F4EJO&3$="N$&DH$&
4*4D&>53#(&
''E"*45"'/0"'$@$/'-%#G'L0"2'P4)'%#"'6$2$10"G'"d"#:
-$1$2F7'!/4#"'/0"'$@$/'-%#G'$2'%'1"-)#"'3&%-"7
&cBS&@B&62+&@c+&2B6'U&2R2@+!
B4'3&%P'*)1$-'4#'%)G$4'+44H1'/0#4)F0'/0"'-4214&"'
14)2G'1P1/"*'L0$&"'P4)'"d"#-$1"K'3&)F'P4)#'%)G$4'
-%+&"'$2/4'/0"'`%-H'42'/0"'-4214&"'%2G'$2/4'%'`%-H'42'
P4)#'>D='3&%P"#'4#'J,'3&%P"#h'=5Y$&FC3$&DH5D&M"C3&
5C#4"&>5I%$&4F&<C%%M&;%CJJ$#&4E('
("d/K'3#"11'/0"'3&%P'+)//42'42'P4)#'
>D='3&%P"#'4#'J,'3&%P"#7'RG`)1/'
/0"'54&)*"'&"5"&')1$2F'/0"'k4&)*"'
$2-#"%1"'%2G'G"-#"%1"'+)//421'42'/0"'
-4214&"'4#'/0"'54&)*"'-42/#4&'42'P4)#'
>D='3&%P"#'4#'J,'3&%P"#7'
$@$/'!&4/
$@$/'J%#G

11
I213"-/'%2G'/$F0/"2'%&&'3%#/1'46'/0"'"&&$3/$-%&'#"F)&%#&P7'
E"3&%-"'%2P'L4#2'3%#/1'$**"G$%/"&P7'
B4'-&"%2'/0"'"&&$3/$-%&K')1"'%'G%*3'-&4/0'%2G'%'1*%&&'
%*4)2/'46'*$&G'14%37'A!)B7@9'@X&@"&5N"4#=5J$&
D"&DH$&>"EF"%$O&Y$$;&%4KC4#F&5:5M&<3"=&DH$&>"EF"%$&
5E#&Y$$;&DH$&>"EF"%$&"CD&"<+$>D&FCE%4JHD(
?B'2B,+&@7B6V,+2cBB@A'T
I6'/0"'-4214&"'G4"1'24/'/)#2'42K'*%H"'1)#"'/0%/'/0"'
34L"#'%G%3/"#'$1'6)&&P'3&)FF"G'$27
I6'/0"'-4214&"'G$13&%P1'+"-4*"'G$*'L0"2'+%//"#$"1'%#"'
$21/%&&"G'$2'/0"'-4214&"K'#"3&%-"'%&&'/0"'+%//"#$"1'%/'/0"'
1%*"'/$*"h'*41/'-4214&"'3#4+&"*1'%#"'/0"'#"1)&/'46'
&4L'+%//"#$"17'!""'%11"*+&P'1/"3'9;'42'3%F"'9<'64#'
#"3&%-"*"2/'$21/#)-/$4217
I6'/0"'0%2GF#$3'0"%#/'#%/"'*42$/4#'G4"1'24/'6)2-/$42'
3#43"#&PK'1""'1/"3'<'42'3%F"'V_7
cBS&@B&,+Q+,&@c+&+,,A)@A?9,
I6'/0"'"&&$3/$-%&'#4-H1'1&$F0/&P'42'P4)#'6&44#'G)#$2F')1"K'
/)#2'42"'4#'+4/0'46'/0"'&"5"&$2F'6""/'+"2"%/0'/0"'#"%#'
1/%+$&$Q"#')2/$&'/0"'#4-H$2F'*4/$42'$1'"&$*$2%/"G7
cBS&@B&+,A!A'9@+&*,+eA'T&A'&@c+&?+'@+7&B*&
@c+&+,,A)@A?9,
I6'/0"'"&&$3/$-%&'6&"d"1'$2'/0"'-"2/"#'G)#$2F')1"K'/)#2'/0"'
+%1"'644/'M1""'/0"'G#%L$2F'%+45"N')2/$&'/0"'6&"d$2F'$1'
"&$*$2%/"G7
!9A'@+'9'?+&9'U&@7B6V,+2cBB@A'T&
U"5"&$2F'
@""/
X%1"'
@44/
*??&A'*B7!9@AB'
B0$1'"a)$3*"2/'0%1'+""2'/"1/"G'%2G'64)2G'/4'-4*3&P'L$/0'/0"'&$*$/1'64#'%'J&%11'X'G$F$/%&'G"5$-"K'3)#1)%2/'/4'3%#/'
9<'46'/0"'@JJ'E)&"17'B0"1"'&$*$/1'%#"'G"1$F2"G'/4'3#45$G"'#"%142%+&"'3#4/"-/$42'%F%$21/'0%#*6)&'$2/"#6"#"2-"'
$2'%'#"1$G"2/$%&'$21/%&&%/$427'B0$1'"a)$3*"2/'F"2"#%/"1K')1"1K'%2G'-%2'#%G$%/"'#%G$4'6#"a)"2-P'"2"#FP'%2GK'$6'24/'
$21/%&&"G'%2G')1"G'$2'%--4#G%2-"'L$/0'/0"'$21/#)-/$421K'*%P'-%)1"'0%#*6)&'$2/"#6"#"2-"'/4'#%G$4'-4**)2$-%/$4217'
Z4L"5"#K'/0"#"'$1'24'F)%#%2/""'/0%/'$2/"#6"#"2-"'L$&&'24/'4--)#'$2'%'3%#/$-)&%#'$21/%&&%/$427'I6'/0$1'"a)$3*"2/'G4"1'
-%)1"'0%#*6)&'$2/"#6"#"2-"'/4'#%G$4'4#'/"&"5$1$42'#"-"3/$42K'L0$-0'-%2'+"'G"/"#*$2"G'+P'/)#2$2F'/0"'"a)$3*"2/'466'
%2G'42K'/#P'/4'-4##"-/'/0"'$2/"#6"#"2-"'+P'42"'4#'*4#"'46'/0"'64&&4L$2F'*"%1)#"1O'
e' E"4#$"2/'4#'#"&4-%/"'/0"'#"-"$5$2F'%2/"22%7
e' I2-#"%1"'/0"'1"3%#%/$42'+"/L""2'/0"'"a)$3*"2/'%2G'/0"'#"-"$5"#7
e' J422"-/'/0"'"a)$3*"2/'$2/4'%2'4)/&"/'42'%'-$#-)$/'G$66"#"2/'6#4*'/0%/'/4'L0$-0'/0"'#"-"$5"#'$1'-422"-/"G7'
e' J421)&/'/0"'G"%&"#'4#'%2'"d3"#$"2-"G'#%G$4jBk'/"-02$-$%2'64#'0"&37'
*??&?96@AB'X&@"&5FFC3$&>"ED4EC$#&>"=;%45E>$O&CF$&"E%M&FH4$%#$#&4ED$3<5>$&>5I%$F&:H$E&>"EE$>D4EJ&D"&
>"=;CD$3&"3&;$34;H$35%&#$N4>$F(&?H5EJ$F&"3&="#4<4>5D4"EF&E"D&$[;3$FF%M&5;;3"N$#&IM&DH$&;53DM&3$F;"EG
F4I%$&<"3&>"=;%45E>$&>"C%#&N"4#&DH$&CF$38F&5CDH"34DM&D"&";$35D$&DH4F&$KC4;=$ED(

1W
+e+7?A2+&T6AU+,A'+2
B0"1"'F)$G"&$2"1'L$&&'0"&3'P4)'/4'3&%2'P4)#'"d"#-$1"'
3#4F#%*7'@4#'G"/%$&"G'"d"#-$1"'$264#*%/$42K'4+/%$2'%'
#"3)/%+&"'+44H'4#'-421)&/'P4)#'30P1$-$%27'E"*"*+"#K'
3#43"#'2)/#$/$42'%2G'%G"a)%/"'#"1/'%#"'"11"2/$%&'64#'
1)--"116)&'#"1)&/17'
+e+7?A2+&A'@+'2A@R
.0"/0"#'P4)#'F4%&'$1'/4'+)#2'6%/'4#'/4'1/#"2F/0"2'P4)#'
-%#G$45%1-)&%#'1P1/"*K'"d"#-$1$2F'%/'/0"'3#43"#'$2/"2:
1$/P'$1'/0"'H"P'/4'%-0$"5$2F'#"1)&/17'Y4)'-%2')1"'P4)#'
0"%#/'#%/"'%1'%'F)$G"'/4'6$2G'/0"'3#43"#'$2/"21$/P'&"5"&7'
B0"'-0%#/'+"&4L'104L1'#"-4**"2G"G'0"%#/'#%/"1'64#'
6%/'+)#2$2F'%2G'%"#4+$-'"d"#-$1"7
B4'6$2G'/0"'3#43"#'$2/"21$/P'&"5"&K'6$2G'P4)#'%F"'%/'/0"'
+4//4*'46'/0"'-0%#/'M%F"1'%#"'#4)2G"G'466'/4'/0"'2"%#:
"1/'/"2'P"%#1N7'B0"'/0#""'2)*+"#1'&$1/"G'%+45"'P4)#'
%F"'G"6$2"'P4)#'f/#%$2$2F'Q42"7g'B0"'&4L"1/'2)*+"#'$1'
/0"'0"%#/'#%/"'64#'6%/'+)#2$2FK'/0"'*$GG&"'2)*+"#'$1'/0"'
0"%#/'#%/"'64#'*%d$*)*'6%/'+)#2$2FK'%2G'/0"'0$F0"1/'
2)*+"#'$1'/0"'0"%#/'#%/"'64#'%"#4+$-'"d"#-$1"7
VC3E4EJ&*5DiB4'+)#2'6%/'"66"-/$5"&PK'P4)'*)1/'"d"#:
-$1"'%/'%'&4L'$2/"21$/P'&"5"&'64#'%'1)1/%$2"G'3"#$4G'46'
/$*"7',)#$2F'/0"'6$#1/'6"L'*$2)/"1'46'"d"#-$1"K'P4)#'
+4GP')1"1'-%#+40PG#%/"'-%&4#$"1'64#'"2"#FP7'82&P'%6/"#'
/0"'6$#1/'6"L'*$2)/"1'46'"d"#-$1"'G4"1'P4)#'+4GP'+"F$2'
/4')1"'1/4#"G'6%/'-%&4#$"1'64#'"2"#FP7'I6'P4)#'F4%&'$1'/4'
+)#2'6%/K'%G`)1/'/0"'$2/"21$/P'46'P4)#'"d"#-$1"')2/$&'P4)#'
0"%#/'#%/"'$1'2"%#'/0"'&4L"1/'2)*+"#'$2'P4)#'/#%$2$2F'
Q42"7'@4#'*%d$*)*'6%/'+)#2$2FK'"d"#-$1"'L$/0'P4)#'
0"%#/'#%/"'2"%#'/0"'*$GG&"'2)*+"#'$2'P4)#'/#%$2$2F'
Q42"7
9$3"I4>&+[$3>4F$iI6'P4)#'F4%&'$1'/4'1/#"2F/0"2'P4)#'
-%#G$45%1-)&%#'1P1/"*K'P4)'*)1/'3"#64#*'%"#4+$-'
"d"#-$1"K'L0$-0'$1'%-/$5$/P'/0%/'#"a)$#"1'&%#F"'%*4)2/1'
46'4dPF"2'64#'3#4&42F"G'3"#$4G1'46'/$*"7'@4#'%"#4+$-'
"d"#-$1"K'%G`)1/'/0"'$2/"21$/P'46'P4)#'"d"#-$1"')2/$&'P4)#'
0"%#/'#%/"'$1'2"%#'/0"'0$F0"1/'2)*+"#'$2'P4)#'/#%$2$2F'
Q42"7'
SB7LB6@&T6AU+,A'+2
S53=4EJ&6;i!/%#/'L$/0'<'/4'9_'*$2)/"1'46'1/#"/-0:
$2F'%2G'&$F0/'"d"#-$1"7'R'L%#*:)3'$2-#"%1"1'P4)#'+4GP'
/"*3"#%/)#"K'0"%#/'#%/"K'%2G'-$#-)&%/$42'$2'3#"3%#%/$42'
64#'"d"#-$1"7'
@354E4EJ&f"E$&+[$3>4F$iTd"#-$1"'64#'V_'/4'=_'*$2:
)/"1'L$/0'P4)#'0"%#/'#%/"'$2'P4)#'/#%$2$2F'Q42"7'M,)#$2F'
/0"'6$#1/'6"L'L""H1'46'P4)#'"d"#-$1"'3#4F#%*K'G4'24/'
H""3'P4)#'0"%#/'#%/"'$2'P4)#'/#%$2$2F'Q42"'64#'&42F"#'
/0%2'V_'*$2)/"17N'X#"%/0"'#"F)&%#&P'%2G'G""3&P'%1'P4)'
"d"#-$1"'h'2"5"#'04&G'P4)#'+#"%/07'
?""%4EJ&U":Ei@$2$10'L$/0'<'/4'9_'*$2)/"1'46'1/#"/-0:
$2F7'!/#"/-0$2F'$2-#"%1"1'/0"'6&"d$+$&$/P'46'P4)#'*)1-&"1'
%2G'0"&31'/4'3#"5"2/'341/:"d"#-$1"'3#4+&"*17
+e+7?A2+&*7+g6+'?R
B4'*%$2/%$2'4#'$*3#45"'P4)#'-42G$/$42K'-4*3&"/"'/0#""'
L4#H4)/1'"%-0'L""HK'L$/0'%/'&"%1/'42"'G%P'46'#"1/'
+"/L""2'L4#H4)/17'R6/"#'%'6"L'*42/01'46'#"F)&%#'"d"#:
-$1"K'P4)'*%P'-4*3&"/"')3'/4'6$5"'L4#H4)/1'"%-0'L""HK'
$6'G"1$#"G7'E"*"*+"#K'/0"'H"P'/4'1)--"11'$1'/4'*%H"'
"d"#-$1"'%'#"F)&%#'%2G'"2`4P%+&"'3%#/'46'P4)#'"5"#PG%P'
&$6"7
&&&&S97'A'TX&V$<"3$&I$J4EE4EJ&DH4F&
"3&5EM&$[$3>4F$&;3"J35=O&>"EFC%D&M"C3&;HMF4G
>45E(&@H4F&4F&$F;$>45%%M&4=;"3D5ED&<"3&;$3F"EF&
"N$3&5J$&W\&"3&;$3F"EF&:4DH&;3$G$[4FD4EJ&
H$5%DH&;3"I%$=F(
@H$&H$53D&35D$&="E4D"3&4F&E"D&5&=$#4>5%&#$N4>$(&
Q534"CF&<5>D"3F&=5M&5<<$>D&DH$&5>>C35>M&"<&
H$53D&35D$&3$5#4EJF(&@H$&H$53D&35D$&="E4D"3&4F&
4ED$E#$#&"E%M&5F&5E&$[$3>4F$&54#&4E&#$D$3=4EG
4EJ&H$53D&35D$&D3$E#F&4E&J$E$35%(

1.
' 9' 9' X%1"
' V' 9' @#%*"
' =' 9' W3#$F0/
' C' 9' W3#$F0/'J%3
' <' 9' J4214&"
' A' 9' @#42/'!/%+$&$Q"#
' [' 9' E"%#'!/%+$&$Q"#
' ;' 9' U"6/'W33"#'X4GP'R#*
' b' 9' E$F0/'W33"#'X4GP'R#*
' 9_' V' R#*'J%3
' 99' 9' U"6/'W33"#'X4GP'U"F
' 9V' 9' E$F0/'W33"#'X4GP'U"F
' 9=' 9' U"6/'D"G%&
' 9C' 9' U"6/'D"G%&'R#*
' 9<' 9' E$F0/'D"G%&
' 9A' 9' E$F0/'D"G%&'R#*
' 9[' 9' U"6/'W3#$F0/'J45"#
' 9;' 9' U"6/'@#42/'R#*'J45"#
' 9b' 9' U"6/'E"%#'R#*'J45"#
' V_' 9' E$F0/'@#42/'R#*'J45"#
' V9' 9' E$F0/'E"%#'R#*'J45"#
' VV' 9' .%/"#'X4//&"'Z4&G"#
' V=' V' @#42/'!/%+$&$Q"#'J%3
' VC' V' E"%#'!/%+$&$Q"#'J%3
' V<' V' .0""&
' VA' 9' X%1"'@44/
' V[' V' U"5"&$2F'@44/
' V;' 9' U"6/'!0$"&G
' Vb' 9' E$F0/'!0$"&G
' =_' A' W33"#'X4GP'X)10$2F
' =9' C' D"G%&'R#*'J45"#
' =V' V' D"G%&'R#*'Rd&"
' ==' C' D"G%&'R#*'X)10$2F
' =C' 9' X%1"'Rd&"
' =<' V' X%1"'X)10$2F
' =A' V' J#%2H'R#*
' =[' V' I22"#'J#%2H'J45"#
' =;' 9' J#%2H'Z)+
' =b' 9' E$F0/'W3#$F0/'J45"#
' C_' 9' D)&&"P
' C9' V' J#%2H'X)10$2F'J45"#
' CV' C' J#%2H'X)10$2F
' C=' V' J#%2H'X)10$2F'!&""5"
' CC' V' J#%2H'X"%#$2F'!"/
' C<' 9' J#%2H
' CA' 9' J#%2H'!3%-"#
' C[' V' J#%2H'!2%3'E$2F
' C;' 9' W33"#'.$#"'Z%#2"11
' Cb' 9' U4L"#'.$#"'Z%#2"11
' <_' 9' E""G'!L$/-0j.$#"
' <9' 9' ,#$5"'X"&/
' <V' 9' @&PL0""&
' <=' 9' J:*%F2"/
' <C' 9' D$&&4L'X&4-H
' <<' V' >%F2"/
' <A' 9' !3#$2F
' <[' 9' IG&"#
' <;' 9' IG&"#'X#%-H"/
' <b' 9' J&%*3
' A_' 9' D4L"#'RG%3/"#
' A9' 9' X%1"'D$2
' AV' V' U%/-0'X#%-H"/'!3%-"#
' A=' V' Z%$#3$2'J4//"#'D$2
' AC' 9' U%/-0'X#%-H"/
' A<' 9' D$54/'X#%-H"/
' AA' V' D$54/'X#%-H"/'!3%-"#
' A[' 9' @#%*"'D$2
' A;' 9' U%/-0'X)//42
' Ab' 9' E4&&'D$2
' [_' 9' >4/4#
'[9' 9' E"1$1/%2-"'J%+&"'D)&&"P
' [V' 9' E"1$1/%2-"'J%+&"'!"/
' [=' V' @4%*'S#$3
' [C' 9' D$54/'Rd&"
' [<' V' Z)+'J45"#
' [A' V' 8)/"#'J#%2H'J45"#
' [[' V' @&PL0""&'X#%-H"/
' [;' C' >;'d'C9**'X4&/
' [b' b' >;'c%*'()/
' ;_' 9' >;'d'Ab**'X4&/
' ;9' C' >9_'U4-H2)/
' ;V' V' >9_'d';_**'J%##$%F"'X4&/
' ;=' V' >9_'d'9V[**'!-#"L
' ;C' A' >;'d'V=**'!-#"L
' ;<' 9' >A'd'9_**'!-#"L
' ;A' 9' J#%2H'!-#"L
' ;[' ;' Z)+'!-#"L
' ;;' 9_' >;'.%10"#
' ;b' V' >9_'d'A_**'!-#"L
' b_' =' >;'!3&$/'.%10"#
' b9' 9' @&PL0""&'!3%-"#
' bV' 9' @&PL0""&'.%10"#
' b=' 9' @&PL0""&'!2%3'E$2F
' bC' C' D$&&4L'X&4-H'!-#"L
' b<' 9' !/43'!-#"L
' bA' 9' >;'d'=<**'!-#"L
' b[' 9' T:-&$3
' b;' C' D)&&"P'!-#"L
' bb' V' J#%2H'.%10"#
' 9__' V' >C'd'V<**'!-#"L
' 9_9' 9_' >C'd'9A**'E4)2G'Z"%G'!-#"L
' 9_V' 9V' >C'.%10"#
&L $ M & ' " ( & g D M ( & U $ F > 3 4 ; D 4 " E &L $ M & ' " ( & g D M ( & U $ F > 3 4 ; D 4 " E
)97@&,A2@ >4G"&'(47'D@TU_Cb9V7_'E_99=R

1\
' 9_=' VA' >C'd'9A**'!-#"L
' 9_C' ;' >C'd'9A**'X&)2/'!-#"L
' 9_<' A' >C'd'=V**'E4)2G'Z"%G'!-#"L
' 9_A' V' >;'d'=9**'!04)&G"#'!-#"L
' 9_[' C' >C'd'9V**'!-#"L
' 9_;' V' >C'd'<_**'!-#"L
' 9_b' V' U%#F"'.%5"'.%10"#
' 99_' V' >;'!*%&&'.%10"#
' 999' V' .%5"'.%10"#
' 99V' ;' >C'!3&$/'.%10"#
' 99=' 9' >9_'.%10"#
' 99C' 9' >A'()/
' 99<' C' >;'d'V=**'!04)&G"#'!-#"L
' 99A' V' >;'d';_**'X4&/
' 99[' V' D)&1"'S#$3
' 99;' V' D)&1"'.$#"
' 99b' 9' U"6/'Z%2G&"+%#
' 9V_' 9' E$F0/'Z%2G&"+%#
' ]' ?' W1"#l1'>%2)%&
' ]' ?' R11"*+&P'B44&
' ]' ?' S#"%1"'D%-H"/
&L $ M & ' " ( & g D M ( & U $ F > 3 4 ; D 4 " E &L $ M & ' " ( & g D M ( & U $ F > 3 4 ; D 4 " E
(4/"O'!3"-$6$-%/$421'%#"'1)+`"-/'/4'-0%2F"'L$/04)/'24/$-"7&@4#'$264#*%/$42'%+4)/'4#G"#$2F'#"3&%-"*"2/'3%#/1K'1""'
/0"'+%-H'-45"#'46'/0$1'*%2)%&7']B0"1"'3%#/1'%#"'24/'$&&)1/#%/"G7'

1]
9
A
;
b
9_
9_
99
9V
9=
9C
9<
9A
9[ =b
9;
9b
V_
V9
VV
V=
V=
V<
V<
VA
=_
=_
=_
=_
=_
=_
=9
=9
=V ==
==
=9
=V
==
=9
=C
=<
=<
;_
[;
9_9
9_9
[b
9_<
;;
;C
[b
;C
9_9
9_9
[C
9_<
[b
[;
;; ;C
9_C
99<
99<
;;
;C
99<
99<
;C
;;
;b
;V
;9
;9
;9
;b
C;
Cb
;C
[=
[=
;;
;;
;;
;;
b_
b_
b_
999
999
C
=
9_9
99V
9_C
9_C
9_;
99V
9_V
9_C
9_C
9_;
99V
99V
9_V
9_V
9_<
99;
9_9
[b
99b
99[
99[
9V_
99A
99A
9_9
<
+e),BU+U&U79SA'T&9 >4G"&'(47'D@TU_Cb9V7_'E_99=R

1`
AA
V
[
VC
VC
V[
V[
V;
Vb
[<
[A
=A
bb
;[
9_A
=[
C_
C9
CV
C=
9_=
9_=
9_[
9_[
9_=
=;
C=
CV
CV
C9 9_A
=A
[<
=[
;=
;[
;[
[A
9_=
9_=
9_=
9_=
;A
bb
CC
b;
b;
CC
CA
C[
C[
9_=
9__
9_=
<9
<_
<V
<=
<C
<A
bC
bC
bC
[b
bV
b=
b9
<[
<;
<b
9_=
;< bA
A9
AV
AV
A= AC
A= A<
AA
A[
A;
Ab
99=
b[
[_
b<
9_=
[b
[9
[V
9__
9_=
9_=
9_V
9_V
9_[
;;
;;
9_b
9_b
99C
9_=
99_
99_
[[
[[
<<
<<
C<
A_
+e),BU+U&U79SA'T&V >4G"&'(47'D@TU_Cb9V7_'E_99=R

D%#/'(47'==[;=['E_99=R' D#$2/"G'$2'J0$2%'m'V_9V'IJ8('IDK'I2-7
B4'4#G"#'#"3&%-"*"2/'3%#/1K'3&"%1"'1""'/0"'6#42/'-45"#'46'/0$1'*%2)%&7'B4'0"&3')1'%11$1/'P4)K'+"'3#"3%#"G'/4'
3#45$G"'/0"'64&&4L$2F'$264#*%/$42'L0"2'-42/%-/$2F')1O
e''/0"'*4G"&'2)*+"#'%2G'1"#$%&'2)*+"#'46'/0"'3#4G)-/'M1""'/0"'6#42/'-45"#'46'/0$1'*%2)%&N
e''/0"'2%*"'46'/0"'3#4G)-/'M1""'/0"'6#42/'-45"#'46'/0$1'*%2)%&N
e'''/0"'H"P'2)*+"#'%2G'G"1-#$3/$42'46'/0"'#"3&%-"*"2/'3%#/M1N'M1""'/0"'DREB'UI!B'%2G'/0"'T\DU8,T,'
,ER.I(S'2"%#'/0"'"2G'46'/0$1'*%2)%&N
B7U+7A'T&7+),9?+!+'@&)97@2
IJ8('Z"%&/0'n'@$/2"11K'I2-7'MIJ8(N'L%##%2/1'/0$1'3#4G)-/' /4'+"'6#""'6#4*'G"6"-/1'$2'L4#H*%210$3'%2G'
*%/"#$%&K')2G"#'24#*%&')1"'%2G'1"#5$-"'-42G$/$4217'B0"'6#%*"'$1'L%##%2/"G'64#''5"'M<N'P"%#1'6#4*'/0"'G%/"'
46'3)#-0%1"7'D%#/1'%2G'&%+4#'%#"'L%##%2/"G'64#'2$2"/P'Mb_N'G%P1'6#4*'/0"'G%/"'46'3)#-0%1"7'
B0$1'L%##%2/P'"d/"2G1'42&P'/4'/0"'4#$F$2%&'3)#-0%1"#'M-)1/4*"#N7'IJ8(l1'4+&$F%/$42')2G"#'/0$1'L%##%2/P'$1'
&$*$/"G'/4'#"3%$#$2F'4#'#"3&%-$2FK'%/'IJ8(l1'43/$42K'/0"'3#4G)-/'/0#4)F0'42"'46'$/1'%)/04#$Q"G'1"#5$-"'-"2/"#17'
R&&'#"3%$#1'64#'L0$-0'L%##%2/P'-&%$*1'%#"'*%G"'*)1/'+"'3#"%)/04#$Q"G'+P'IJ8(7'I6'/0"'3#4G)-/'$1'10$33"G'
/4'%'1"#5$-"'-"2/"#K'6#"$F0/'-0%#F"1'/4'%2G'6#4*'/0"'1"#5$-"'-"2/"#'L$&&'+"'/0"'-)1/4*"#l1'#"13421$+$&$/P7'I6'
#"3&%-"*"2/'3%#/1'%#"'10$33"G'L0$&"'/0"'3#4G)-/'$1')2G"#'L%##%2/PK'/0"'-)1/4*"#'L$&&'+"'#"13421$+&"'64#'%'
*$2$*%&'0%2G&$2F'-0%#F"7'@4#'$2:04*"'1"#5$-"K'/0"'-)1/4*"#'L$&&'+"'#"13421$+&"'64#'%'*$2$*%&'/#$3'-0%#F"7'
B0$1'L%##%2/P'G4"1'24/'"d/"2G'/4'6#"$F0/'G%*%F"'/4'/0"'3#4G)-/7'B0$1'L%##%2/P'L$&&'%)/4*%/$-%&&P'+"'54$G"G'
$6'/0"'3#4G)-/'$1')1"G'%1'%'1/4#"'G$13&%P'*4G"&K'$6'/0"'3#4G)-/'$1'3)#-0%1"G'4#'/#%2134#/"G'4)/1$G"'/0"'W!RK'
$6'%&&'$21/#)-/$421'$2'/0$1'*%2)%&'%#"'24/'64&&4L"GK'$6'/0"'3#4G)-/'$1'%+)1"G'4#'$*3#43"#&P'4#'%+24#*%&&P')1"GK'
4#'$6'/0"'3#4G)-/'$1')1"G'64#'-4**"#-$%&'4#'#"2/%&'3)#341"17'(4'4/0"#'L%##%2/P'+"P42G'/0%/'13"-$'-%&&P'1"/'
64#/0'%+45"'$1'%)/04#$Q"G'+P'IJ8(7
IJ8('$1'24/'#"13421$+&"'4#'&$%+&"'64#'$2G$#"-/K'13"-$%&K'4#'-421"a)"2/$%&'G%*%F"1'%#$1$2F'4)/'46'4#'$2'-42:
2"-/$42'L$/0'/0"')1"'4#'3"#64#*%2-"'46'/0"'3#4G)-/h'G%*%F"1'L$/0'#"13"-/'/4'%2P'"-424*$-'&411K'&411'46'
3#43"#/PK'&411'46'#"5"2)"1'4#'3#4'/1K'&411'46'"2`4P*"2/'4#')1"K'4#'-41/1'46'#"*45%&'4#'$21/%&&%/$42h'4#'4/0"#'
-421"a)"2/$%&'G%*%F"1'46'%2P'H$2G7'!4*"'1/%/"1'G4'24/'%&&4L'/0"'"d-&)1$42'4#'&$*$/%/$42'46'$2-$G"2/%&'4#'
-421"a)"2/$%&'G%*%F"17'R--4#G$2F&PK'/0"'%+45"'&$*$/%/$42'*%P'24/'%33&P'/4'/0"'-)1/4*"#7
B0"'L%##%2/P'"d/"2G"G'0"#")2G"#'$1'$2'&$")'46'%2P'%2G'%&&'4/0"#'L%##%2/$"1K'%2G'%2P'$*3&$"G'L%##%2/$"1'46'
*"#-0%2/%+$&$/P'4#''/2"11'64#'%'3%#/$-)&%#'3)#341"'%#"'&$*$/"G'$2'/0"$#'1-43"'%2G'G)#%/$42'/4'/0"'/"#*1'1"/'
64#/0'0"#"$27'!4*"'1/%/"1'G4'24/'%&&4L'&$*$/%/$421'42'04L'&42F'%2'$*3&$"G'L%##%2/P'&%1/17'R--4#G$2F&PK'/0"'
%+45"'&$*$/%/$42'*%P'24/'%33&P'/4'/0"'-)1/4*"#7
B0$1'L%##%2/P'3#45$G"1'13"-$'-'&"F%&'#$F0/1h'/0"'-)1/4*"#'*%P'0%5"'4/0"#'#$F0/1'/0%/'5%#P'6#4*'1/%/"'/4'1/%/"7
A?B'&c$5%DH&h&*4DE$FFO&AE>(O&0\--&2(&0---&S(O&,"J5EO&6@&a.W10G/a0W
,A!A@+U&S9779'@R
A!)B7@9'@X&@"&;3"D$>D&M"C3&<4DE$FF&$KC4;=$ED&:4DH&5E&$[D$E#$#&F$3N4>$&;%5EO&F$$&;5J$&.(