Proform Pfbe15060 Fusion 1 7X Bench Users Manual PFEL39031 208048

Proform-Pfbe15060-Owner-S-Manual proform-pfbe15060-owner-s-manual

2015-04-13

: Proform Proform-Pfbe15060-Fusion-1-7X-Bench-Users-Manual-699598 proform-pfbe15060-fusion-1-7x-bench-users-manual-699598 proform pdf

Open the PDF directly: View PDF PDF.
Page Count: 12

Model No. PFBE1506.0
Serial No.
Write the serial number in the
space above for future reference.
QUESTIONS?
As a manufacturer, we are com-
mitted to providing complete
customer satisfaction. If you
have questions, or if a part is
damaged or missing, PLEASE
CONTACT OUR CUSTOMER
SERVICE DEPARTMENT
DIRECTLY.
CALL TOLL-FREE:
1-888-533-1333
Mon.–Fri., 6 a.m.–6 p.m. MST
ON THE WEB:
www.proformservice.com
USERʼS MANUAL
CAUTION
Read all precautions and instruc-
tions in this manual before using
this equipment. Save this manual
for future reference.
Serial Number Decal (Under Seat)
Visit our website at
www.proform.com
new products, prizes,
fitness tips, and much more!
V
2
IMPORTANTPRECAUTIONS ................................................................3
BEFOREYOUBEGIN ......................................................................4
PARTIDENTIFICATIONCHART ..............................................................5
ASSEMBLY ..............................................................................5
ADJUSTMENTS...........................................................................8
EXERCISEGUIDELINES ....................................................................9
PARTLIST ..............................................................................10
EXPLODEDDRAWING.....................................................................11
ORDERINGREPLACEMENTPARTS ..................................................BackCover
LIMITEDWARRANTY..............................................................BackCover
TABLE OF CONTENTS
PROFORM is a registered trademark of ICON IP, Inc.
3
1. Read all instructions in this manual and all
warnings on the dumbbell bench before
using the dumbbell bench. Use the dumbbell
bench only as described in this manual.
2. It is the responsibility of the owner to ensure
that all users of the dumbbell bench are ade-
quately informed of all precautions.
3. The dumbbell bench is intended for home
use only. Do not use the dumbbell bench in a
commercial, rental, or institutional setting.
4. Keep the dumbbell bench indoors, away from
moisture and dust. Place the dumbbell bench
on a level surface, with a mat beneath it to
protect the floor or carpet.
5. Make sure that there is enough clearance
around the dumbbell bench to mount, dis-
mount, and use it.
6. Inspect and properly tighten all parts regular-
ly. Replace any worn parts immediately.
7. Keep hands and feet away from moving parts.
8. Keep children under 12 and pets away from
the dumbbell bench at all times.
9. Always wear athletic shoes for foot protec-
tion while exercising.
10. The dumbbell bench is designed to support a
maximum user weight of 300 pounds and a
maximum total weight of 410 pounds. Do not
use the dumbbell bench with more than 110
pounds of weight.
11. If you feel pain or dizziness while exercising,
stop immediately and begin cooling down.
12. The decals shown below have been placed
on the dumbbell bench. If a decal is missing
or illegible, call the toll-free telephone num-
ber on the front cover of this manual and
request a free replacement decal. Apply the
decal in the location shown.
WARNING: Before beginning this or any exercise program, consult your physician. This
is especially important for persons over the age of 35 or persons with pre-existing health problems.
Read all instructions before using. ICON assumes no responsibility for personal injury or property
damage sustained by or through the use of this product.
IMPORTANT PRECAUTIONS
WARNING: To reduce the risk of serious injury, read the following important precautions
before using the dumbbell bench.
4
Backrest
Deck
Adjustable-weight Dumbbell
Selector Pin
Backrest Knob
Backrest Bracket
Seat
Thank you for selecting the versatile PROFORM®
Fusion 1.7X dumbbell bench. The dumbbell bench is
designed to help you develop the major muscles of the
upper body. Whether your goal is to tone your body,
build dramatic muscle size and strength, or improve
your cardiovascular system, the dumbbell bench will
help you to achieve the specific results you want.
For your benefit, read this manual carefully before
using the dumbbell bench. If you have questions
after reading this manual, please see the front cover of
this manual. To help us assist you, please note the
product model number and serial number before call-
ing. The model number is PFBE1506.0. The serial
number can be found on a decal attached to the
dumbbell bench (see the front cover of this manual).
To avoid a registration fee for any service needed
under warranty, you must register the dumbbell
bench at www.proformservice.com/registration.
Before reading further, please review the drawing
below and familiarize yourself with the parts that are
labeled.
ASSEMBLED
DIMENSIONS:
Height: 44 in. (112 cm)
Width: 25 in. (64 cm)
Depth: 48 in. (122 cm)
BEFORE YOU BEGIN
5
M10 Nylon
Locknut (24)
M6 Washer (22)
M10 Washer (23)
M10 x 25mm
Bolt (17)
M6 x 60mm Screw (16)
M10 x 90mm Bolt (18)
M10 x 65mm Screw (20)
M10 x 15mm
Screw (21)
M10 x 193mm Bolt (19)
PART IDENTIFICATION CHART
See the drawings below to identify small parts used in assembly. The number in parentheses by each drawing is
the key number of the part, from the PART LIST on page 10. Note: Some small parts may have been pre-
assembled. If a part is not in the parts bag, check to see if it has been preassembled.
To hire an authorized service technician to
assemble the dumbbell bench, call toll-free
1-800-445-2480.
Before beginning assembly, carefully read the
following information and instructions:
Assembly requires two persons.
Place all parts in a cleared area and remove the
packing materials. Do not dispose of the packing
materials until assembly is completed.
Tighten all parts as you assemble them, unless
instructed to do otherwise.
As you assemble the dumbbell bench, make sure
that all parts are oriented as shown in the draw-
ings.
For help identifying small parts, use the PART
IDENTIFICATION CHART.
In addition to the included hex key and grease
packet, assembly may require the following
tools (not included):
one standard screwdriver
one Phillips screwdriver
one adjustable wrench
one rubber mallet
ASSEMBLY
6
1.
Attach the Small Stabilizer (2) to the Frame (1)
with two M10 x 90mm Bolts (18), two M10
Washers (23), and two M10 Nylon
Locknuts (24).
1
Before beginning assembly, make sure
that you understand all the information
on page 5.
24
24
18
1
2
23
23
2. Orient the Large Stabilizer (3) so that the high
side of the mounting bracket is on the side
shown. Attach the Large Stabilizer to the Frame
(1) with two M10 x 15mm Screws (21) and two
M10 Washers (23).
21
1
3
High side of
mounting bracket
2
3. Orient the Deck (4) as shown, and press it onto
the Frame (1).
Next, attach the Seat Frame (5) to the Frame
(1) with two M10 x 65mm Screws (20) and two
M10 Washers (23).
Hand tighten the Backrest Knob (11) into the
Seat Frame (5). Next, pull the Backrest Knob
and use an adjustable wrench to fully tighten
the shaft of the Backrest Knob into the Seat
Frame. Then, release the Backrest Knob.
4. See the inset drawing. Locate the bracket weld-
ed to the back of the Backrest Frame (6).
Attach the Backrest Bracket (7) to the bracket
on the Backrest Frame (6) with two M10 x
25mm Bolts (17), two M10 Washers (23), and
two M10 Nylon Locknuts (24).
3
1
5
20
11
4
17
7
6
23
23
23
24
23
4
Bracket
6
7
5. Attach the Backrest (9) and the Backrest Plate
(25) to the Backrest Frame (6) with four M6 x
60mm Screws (16) and four M6 Washers (22).
5
6. Pull the Backrest Knob (11), insert the Backrest
Bracket (7) into the slot in the Seat Frame (5),
and then slowly release the Backrest Knob.
Make sure that the Backrest Knob is engaged
in one of the holes in the Backrest Bracket.
Apply a portion of the included grease to an
M10 x 193mm Bolt (19). Insert the Bolt through
the Backrest Frame (6) and the Seat Frame
(5). Then, tighten an M10 Nylon Locknut (24)
and an M10 Washer (23) onto each end of the
Bolt. Do not overtighten the Nylon Locknuts;
the Backrest Frame must pivot freely.
6
19
Grease
23
23
11
24
5
7
24
22
16
4
14
8
26
7
8. Make sure that all parts are properly tight-
ened before you use the dumbbell bench.
Place a mat under the dumbbell bench to
protect the floor or carpet.
6
5
7. Attach the Seat (8) and the Seat Plate (26) to
the Seat Frame (5) with two M6 x 60mm
Screws (16) and two M6 Washers (22).
Place the twenty weight plates from the two
Adjustable-weight Dumbbells (14) in the slots in
the rear of the Deck (4). Next, lift the selector
pins on the handles, and slide the selector pins
to the positions closest to the centers of the
handles. Then, insert the handles into the
weight plates.
Handle
Weight
Plates
Selector Pin
16
22
22
16
22
22
9
25
6
8
This section explains how to adjust the dumbbell bench. See the accompanying exercise guide to see the correct
form for several exercises. Make sure that all parts are properly tightened each time you use the dumbbell bench.
Replace any worn parts immediately. The dumbbell bench can be cleaned with a damp cloth and a mild, non-abra-
sive detergent; do not use solvents to clean the dumbbell bench.
HOW TO ADJUST THE ANGLE OF THE
BACKREST
To adjust the angle of the backrest, pull the back-
rest knob, raise or lower the backrest, and slowly
release the backrest knob. Make sure that the
backrest knob is engaged in one of the holes in
the backrest bracket.
Backrest
ADJUSTMENT
HOW TO USE THE ADJUSTABLE-WEIGHT
DUMBBELLS
Each handle can be used with two, four, six, eight,
or ten weight plates; each handle can also be used
without weight plates.
To select the desired number of weight plates, first
set a dumbbell on the deck as shown. Next, lift one
of the selector pins, slide the selector pin to one of
the adjustment holes, and then release the selector
pin. Rock the selector pin from side to side to make
sure that it is fully inserted into one of the adjust-
ment holes. Adjust the other selector pin on the
dumbbell in the same way. Always attach the
same number of weight plates to both sides of
each handle.
To use the dumbbell, lift it straight up off the deck,
making sure that the unattached weight plates
remain on the deck.
Handle
Weight
Plates
Selector
Pin
Deck
Backrest Knob
Backrest Bracket
9
EXERCISE GUIDELINES
THE FOUR BASIC TYPES OF WORKOUTS
Muscle Building
To increase the size and strength of your muscles,
push them close to their maximum capacity. Your mus-
cles will adapt and grow as you progressively increase
the intensity of your exercise. You can adjust the inten-
sity level of an individual exercise in two ways:
• by changing the amount of weight used
• by changing the numbers of repetitions and sets per-
formed. (A “repetition” is one complete cycle of an
exercise, such as one sit-up. A “set” is a series of
repetitions.)
The proper amount of weight for each exercise
depends upon the individual user. You must gauge
your limits and select the amount of weight that is right
for you. Begin with 3 sets of 8 repetitions for each
exercise that you perform. Rest for 3 minutes after
each set. When you can complete 3 sets of 12 repeti-
tions without difficulty, increase the amount of weight.
Toning
You can tone your muscles by pushing them to a mod-
erate percentage of their capacity. Select a moderate
amount of weight, and increase the number of repeti-
tions in each set. Complete as many sets of 15 to 20
repetitions as possible without discomfort. Rest for 1
minute after each set. Work your muscles by complet-
ing more sets rather than by using high amounts of
weight.
Weight Loss
To lose weight, use a low amount of weight and
increase the number of repetitions in each set.
Exercise for 20 to 30 minutes, resting for a maximum
of 30 seconds between sets.
Cross Training
Cross training is an efficient way to get a complete and
well-balanced fitness program. An example of a bal-
anced program follows:
• Plan strength training workouts on Monday,
Wednesday, and Friday.
• Plan 20 to 30 minutes of aerobic exercise, such as
running on a treadmill or riding on an exercise cycle
or an elliptical exerciser, on Tuesday and Thursday.
• Rest from both strength training and aerobic exercise
for at least one full day each week to give your body
time to regenerate.
The combination of strength training and aerobic exer-
cise will reshape and strengthen your body and devel-
op your heart and lungs.
PERSONALIZING YOUR EXERCISE PROGRAM
Determining the appropriate length of time for each
workout, and the numbers of repetitions or sets to
complete, is an individual matter. It is important to
avoid overdoing it during the first few months of your
exercise program. Progress at your own pace and be
sensitive to your bodyʼs signals. If you experience pain
or dizziness at any time while exercising, stop immedi-
ately and begin cooling down. Find out what is wrong
before continuing. Remember that adequate rest and a
proper diet are important factors in any exercise pro-
gram.
WARMING UP
Begin each workout with 5 to 10 minutes of stretching
and light exercise to warm up. Warming up prepares
your body for more strenuous exercise by increasing
circulation, raising your body temperature, and deliver-
ing more oxygen to your muscles.
WORKING OUT
Each workout should include 6 to 10 different exercis-
es. Select exercises for every major muscle group,
emphasizing areas that you want to develop the most.
To give balance and variety to your workouts, vary the
exercises from workout to workout.
Schedule your workouts for the time of day when your
energy level is the highest. Each workout should be
followed by at least one day of rest. Once you find the
schedule that is right for you, stick with it.
EXERCISE FORM
Maintaining proper form is an essential part of an
effective exercise program. This requires moving
through the full range of motion for each exercise, and
moving only the appropriate parts of the body.
Exercising in an uncontrolled manner will leave you
feeling exhausted. On the exercise guide accompany-
ing this manual you will find photographs showing the
correct form for several exercises.
The repetitions in each set should be performed
smoothly and without pausing. The exertion stage of
each repetition should last about half as long as the
return stage. Proper breathing is important. Exhale
during the exertion stage of each repetition and inhale
during the return stroke; never hold your breath.
10
Rest for a short period of time after each set. The
ideal resting periods follow:
• Rest for three minutes after each set for a muscle-
building workout.
• Rest for one minute after each set for a toning work-
out.
• Rest for 30 seconds after each set for a weight loss
workout.
Plan to spend the first couple of weeks familiarizing
yourself with the equipment and learning the proper
form for each exercise.
COOLING DOWN
Finish each workout with 5 to 10 minutes of stretch-
ing. Include stretches for both your arms and legs.
Move slowly as you stretch—do not bounce. Ease
into each stretch gradually and go only as far as you
can without strain. Stretching at the end of each work-
out is an effective way to increase flexibility.
STAYING MOTIVATED
For motivation, keep a record of each workout. List the
date, the exercises performed, the resistance used,
and the numbers of sets and repetitions completed.
Record your weight and key body measurements at
the end of every month. Remember, the key to achiev-
ing the greatest results is to make exercise a regular
and enjoyable part of your everyday life.
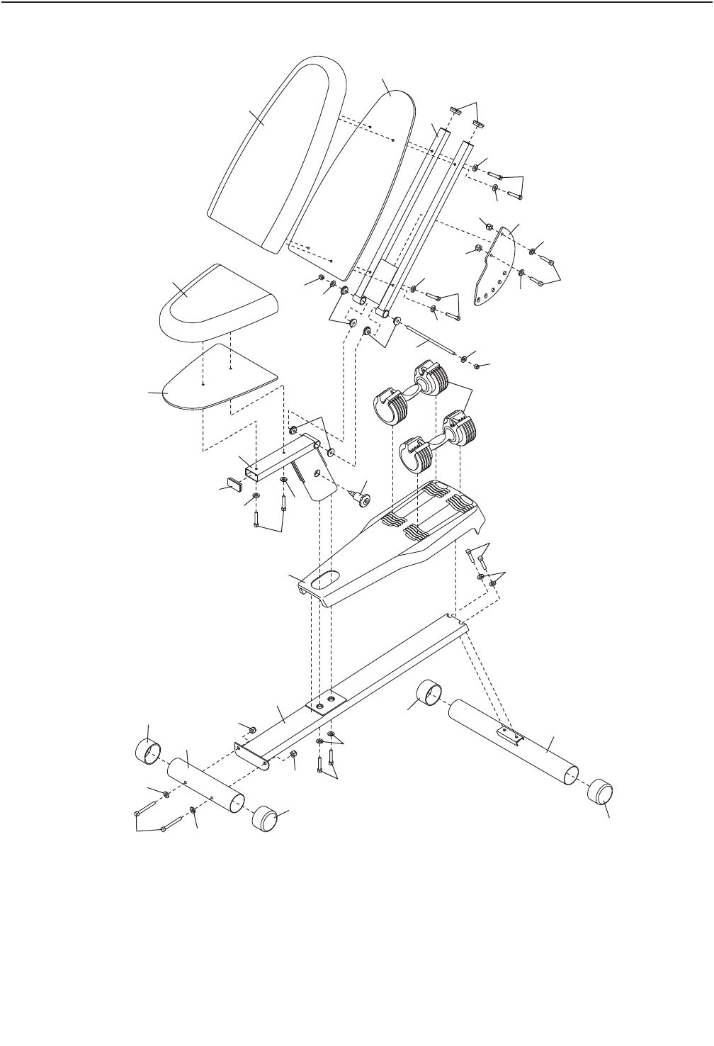
Key No. Qty. Description Key No. Qty. Description
11 Frame
21 Small Stabilizer
31 Large Stabilizer
41 Deck
51 Seat Frame
61 Backrest Frame
71 Backrest Bracket
81 Seat
91 Backrest
10 4 Stabilizer Cap
11 1 Backrest Knob
12 1 30mm x 60mm Inner Cap
13 2 32mm Square Inner Cap
14 2 Adjustable-weight Dumbbell
15 6 Bushing
16 6 M6 x 60mm Screw
17 2 M10 x 25mm Bolt
18 2 M10 x 90mm Bolt
19 1 M10 x 193mm Bolt
20 2 M10 x 65mm Screw
21 2 M10 x 15mm Screw
22 6 M6 Washer
23 10 M10 Washer
24 6 M10 Nylon Locknut
25 1 Backrest Plate
26 1 Seat Plate
#- Userʼs Manual
#- Hex Key
#- Grease Packet
#- Exercise Guide
PART LIST—Model No. PFBE1506.0 R1106A
Note: “#” indicates a non-illustrated part. Specifications are subject to change without notice. See the back cover
of this manual for information about ordering replacement parts.
11
EXPLODED DRAWING—Model No. PFBE1506.0 R1106A
1
23
4
5
7
6
8
9
10
10
10
11
12
13
14
15
15
15
16
16
16
17
18
19
20
21
22
22
22
22
22 22
23
23
23
23
23
23
23
24
24
24
24
24
24
23
26
25
10
LIMITED WARRANTY
Part No. 247769 R1106A Printed in China © 2006 ICON IP, Inc.
To order replacement parts, please see the front cover of this manual. To help us assist you, be prepared to
provide the following information:
the MODEL NUMBER of the product (PFBE1506.0)
the NAME of the product (PROFORM Fusion 1.7X dumbbell bench)
the SERIAL NUMBER of the product (see the front cover of this manual)
the KEY NUMBER and DESCRIPTION of the part(s) (see the PART LIST and the EXPLODED DRAWING on
pages 10 and 11)
ORDERING REPLACEMENT PARTS
ICON Health & Fitness, Inc. (ICON) warrants this product to be free from defects in workmanship and mate-
rial, under normal use and service conditions, for a period of ninety (90) days from the date of purchase. This
warranty extends only to the original purchaser. ICON's obligation under this warranty is limited to replacing
or repairing, at ICON's option, the product through one of its authorized service centers. All repairs for which
warranty claims are made must be pre-authorized by ICON. If the product is shipped to a service center,
freight charges to and from the service center will be the customerʼs responsibility. For in-home service, the
customer will be responsible for a minimal trip charge. This warranty does not extend to any product or dam-
age to a product caused by or attributable to freight damage, abuse, misuse, improper or abnormal usage or
repairs not provided by an ICON authorized service center; products used for commercial or rental purposes;
or products used as store display models. No other warranty beyond that specifically set forth above is author-
ized by ICON.
ICON is not responsible or liable for indirect, special or consequential damages arising out of or in connection
with the use or performance of the product or damages with respect to any economic loss, loss of property,
loss of revenues or profits, loss of enjoyment or use, costs of removal or installation or other consequential
damages of whatsoever nature. Some states do not allow the exclusion or limitation of incidental or conse-
quential damages. Accordingly, the above limitation may not apply to you.
The warranty extended hereunder is in lieu of any and all other warranties and any implied warranties of mer-
chantability or fitness for a particular purpose is limited in its scope and duration to the terms set forth herein.
Some states do not allow limitations on how long an implied warranty lasts. Accordingly, the above limitation
may not apply to you.
This warranty gives you specific legal rights. You may also have other rights which vary from state to state.
ICON HEALTH & FITNESS, INC., 1500 S. 1000 W., LOGAN, UT 84321-9813

Navigation menu