Proform Pfel049120 600 Le Elliptical Users Manual
2015-04-13
: Proform Proform-Pfel049120-600-Le-Elliptical-Users-Manual-699840 proform-pfel049120-600-le-elliptical-users-manual-699840 proform pdf
Open the PDF directly: View PDF
.
Page Count: 32

Calcomanía
con el Número
de Serie
Nº de Modelo PFEL04912
Nº de Version 0
Nº de Serie
Escriba el número de serie en el
espacio de arriba para referencia.
MANUAL DEL USUARIO
www.proform.com
PRECAUCIÓN
Antes de usar el equipo, lea
cuidadosamente todas las adver-
tencias e instrucciones de este
manual. Guarde el manual para
futuras referencias.
¿PREGUNTAS?
Para Servicio Técnico:
Tel. 01-800-681-9542
servicio@iconfitness.com
Tecnoservicio
Tenayuca 55 “A” Mez. 1
Col. Letran Valle
Del. Benito Juarez
México DF C.P. 03650
Importador:
Pro Italy Mark S.A. de C.V.
Insurgentes sur No. 552
Col. Roma sur
México D.F. México C.P. 06760
RFC: PIM8212089C7
Especificaciones eléctricas
Entrada: 100-240 Vca 1.6 A 50-60 Hz
Salida: 6 Vcc 2 A

2
CONTENIDO
PROFORM es una marca registrada de ICON IP, Inc.
PRECAUCIONES IMPORTANTES ..............................................................3
COLOCACIÓN DE LAS CALCOMANÍAS DE ADVERTENCIA. . . . . . . . . . . . . . . . . . . . . . . . . . . . . . . . . . . . . . . . .4
ANTES DE COMENZAR ......................................................................5
TABLA DE IDENTIFICACIÓN DE PIEZAS ........................................................6
MONTAJE .................................................................................7
CÓMO USAR EL ENTRENADOR ELÍPTICO .....................................................16
MANTENIMIENTO Y PROBLEMAS ............................................................23
GUÍA DE EJERCICIOS . . . . . . . . . . . . . . . . . . . . . . . . . . . . . . . . . . . . . . . . . . . . . . . . . . . . . . . . . . . . . . . . . . . . . .24
LISTA DE LAS PIEZAS . . . . . . . . . . . . . . . . . . . . . . . . . . . . . . . . . . . . . . . . . . . . . . . . . . . . . . . . . . . . . . . . . . . . . .28
DIBUJO DE LAS PIEZAS ....................................................................30
CÓMO ORDENAR PIEZAS DE REPUESTO ...........................................Contraportada
GARANTÍA LIMITADA . . . . . . . . . . . . . . . . . . . . . . . . . . . . . . . . . . . . . . . . . . . . . . . . . . . . . . . . . . . . . Contraportada

3
1. Es responsabilidad del propietario el ase-
gurarse de que todos los usuarios del
entrenador elíptico estén adecuadamente
informados sobre todas las precauciones.
2. Antes de comenzar éste o cualquier pro-
grama de ejercicios, consulte a su médico.
Esto es particularmente importante para
individuos mayores de 35 años o individuos
con problemas de salud preexistentes.
3. Use el entrenador elíptico solamente como
se describe en este manual.
4. El entrenador elíptico está diseñado sola-
mente para uso doméstico. No use el
entrenador elíptico en un entorno comercial,
de alquiler, o institucional.
5. Mantenga el entrenador elíptico bajo techo,
alejado de la humedad y el polvo. No guarde
el entrenador elíptico en el garaje ni en un
patio cubierto ni cerca de agua.
6. Coloque el entrenador elíptico en una super-
ficie plana, con por lo menos 3 pies (0,9 m)
de espacio libre delante y detrás de éste y
2 pies (0,6 m) de espacio libre de cada lado.
Para proteger el suelo o la alfombra contra
cualquier daño, coloque un tapete debajo del
entrenador elíptico.
7. Inspeccione y ajuste adecuadamente todas
las piezas regularmente. Cambie inmediata-
mente cualquier pieza desgastada.
8. Mantenga a los niños menores de 12 años y
a las mascotas alejados del entrenador elíp-
tico a todo momento.
9. El entrenador elíptico no debe ser usado por
personas que pesen más de 250 libras (113
kg).
10. Use ropa adecuada mientras hace ejercicios;
no use ropa suelta que pueda engancharse
en el entrenador elíptico. Use siempre cal-
zado deportivo para protegerse los pies al
hacer ejercicios.
11. Sujete las barandas o los brazos al montar,
desmontar o usar su entrenador elíptico.
12. El monitor de ritmo cardíaco no es un dis-
positivo médico. Varios factores pueden
afectar la exactitud de las lecturas de su
ritmo cardíaco. El monitor de ritmo cardíaco
está diseñado únicamente como ayuda para
el ejercicio, determinando las tendencias del
ritmo cardíaco en general.
13. El entrenador elíptico no tiene una rueda
libre; los pedales continuarán moviéndose
hasta que se detenga el volante. Reduzca la
velocidad de pedaleo de forma controlada.
14. Mantenga la espalda recta al usar el entrena-
dor elíptico y no la arquee.
15. El ejercitar demasiado puede causar lesiones
serias o incluso la muerte. Si experimenta
mareos o siente dolor mientras hace ejerci-
cios, deténgase inmediatamente y descanse.
PRECAUCIONES IMPORTANTES
ADVERTENCIA: Para reducir el riesgo de lesiones graves, lea todas las precau-
ciones e instrucciones importantes de este manual y todas los advertencias que se observan en su
entrenador elíptico antes de utilizarlo. ICON no asume ninguna responsabilidad por lesiones person-
ales o daños a la propiedad que ocurran por el uso de este producto o a través del mismo.

4
COLOCACIÓN DE LAS CALCOMANÍAS DE ADVERTENCIA
166909 218557
218556
!
250085
• Not for therapeutic
use.
• Nicht für thera-
peutisch Gebrauch.
151249
259345
258865
258868 258869 258870 258871 258872
255569 258724 203572
166909 218557
218556
!
250085
• Not for therapeutic
use.
• Nicht für thera-
peutisch Gebrauch.
151249
259345
258865
258868 258869 258870 258871 258872
255569 258724 203572
Este dibujo muestra las ubicaciones de las calcomanías
de advertencia. Si falta una calcomanía o ésta es ilegi-
ble, vea la portada de este manual y solicite una nueva
calcomanía de reemplazo gratuita. Péguela en el lugar
indicado. Nota: Las calcomanías pueden no mostrarse en
su tamaño real.

5
Monitor del
Ritmo Cardíaco
Baranda
Brazo
Brazo de la Manivela
Rueda
Pedal
Consola
Portabotella*
Pata de Nivelación
Manubrio
Pasador de Almacenamiento
Imán de Almacenamiento
Ventilador
Pasador del Brazo del Pedal
*No se incluye la botella de agua
Gracias por seleccionar el revolucionario entrenador
elíptico PROFORM® 600 LE. El entrenador elíptico 600
LE ofrece una selección de funciones diseñadas para
hacer sus entrenamientos en el hogar más efectivos y
agradables.
Para su beneficio, lea el manual cuidadosamente
antes de usar el entrenador elíptico. Si tiene pre-
guntas después de leer este manual, por favor vea la
portada de este manual. Para ayudarnos a asistirlos,
anote el número de modelo y el número de serie del
producto antes de contactarnos. El número del modelo
y la ubicación del número de serie se muestran en la
portada de éste manual.
Antes de seguir leyendo, por favor estudie el dibujo de
abajo y familiarícese con las piezas y sus nombres.
ANTES DE COMENZAR
Largura: 5'4" (163 cm)
Anchura: 2'3" (69 cm)

6
Arandela
Dividida
M4 (112)–8
Arandela
M4
(102)–8
Arandela
Dividida
M8 (90)–3
Arandela
Ondulatoria
(111)–2
Arandela M8
(88)–6
Tuerca
de Bloqueo
M8 (79)–7
Contratuerca
M10 (81)–2
Tornillo Romo
M4 x 16mm
(104)–8
Tornillo de Cabeza
Redonda M4 x 16mm
(101)–10
Tornillo de Cabeza
Redonda M4 x 32mm
(105)–6
Tornillo M4 x 50mm
(108)–2
Tornillo con Collar
M8 x 23mm (115)–4
Perno M8 x 80mm (116) –2
Tornillo M10 x 127mm (83)–2
Perno de Porte M10 x 80mm (82)–2
Perno M8 x 69mm (80)–1
Perno M8 x 41mm
(78)–4
Tornillo del Cubo
(87)–8
Tornillo
M8 x 23mm (84)–4
TABLA DE IDENTIFICACIÓN DE PIEZAS
Consulte los dibujos que aparecen abajo para identificar las piezas pequeñas en el montaje. El número entre
paréntesis que hay cerca de cada dibujo es el número de la pieza en la LISTA DE LAS PIEZAS hacia el final de
este manual. El número que aparece después del paréntesis es la cantidad necesaria para el montaje. Nota: Si
no encuentra alguna de las piezas en la bolsa de piezas, compruebe si ha sido previamente conectada.
Pueden incluirse piezas adicionales.

7
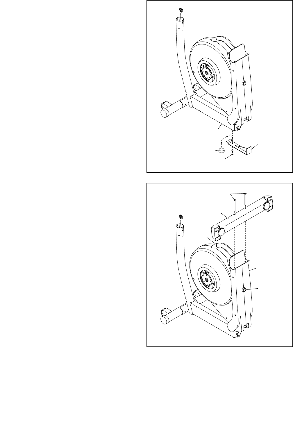
2. Mientras otra persona levanta la Base (1),
conecte el Estabilizador Delantero (6) a la Base
con dos Pernos de Porte M10 x 80mm (82) y
dos Contratuercas M10 (81).
6
81
81
82
1
2
• Para contratar un técnico autorizado para ensam-
blar este producto, llame al 01-800-681-9542.
• El montaje requiere dos personas.
• Coloque todas las piezas en un área despejada
y quite el material de empaque. No descarte el
materialdeempaquehastaquehayanalizado
con los pasos del montaje.
• Las partes del lado izquierdo están marcadas con
“L” o “Left” y las partes del lado derecho están
marcadas con “R” o “Right.”
• Paraidenticarlaspiezaspequeñas,veala
página 6.
• Además de la(s) herramienta(s) incluida(s),
para el montaje se necesitan las siguientes
herramientas:
un destornillador estrella
una llave ajustable
un mazo de goma
El montaje puede ser más fácil si tiene un juego
de llaves. Para evitar dañar las piezas, no utilice
herramientas eléctricas.
1. Visite la web www.workoutwarehouse.com/
registration en su computadora y registre su
producto.
•activasugarantía
•leahorratiemposialgunaveznecesitacontac-
tar al Tecnoservicio
•nospermiteavisarlesihaynuevasactualiza-
ciones y ofertas
Nota: Si no dispone de acceso a Internet, llame
al Tecnoservicio (vea la portada de este manual)
para registrar su producto.
1
MONTAJE

8
3. Retire de la Base (1) el tornillo indicado y el
soporte de transporte. Deseche el tornillo y el
soporte de transporte.
Seguidamente apriete el Pata de la Base (26) en
la Base (1).
Soporte de
Transporte
26
Tornillo
3
1
4. Conecte el Estabilizador Trasero (7) a la
Armadura (2) con dos Tornillos M10 x 127mm
(83).
Luego sujete el manubrio situado en la
Armadura (2), presione el Botón del Pasador
(68) y baje la Armadura hasta que el
Estabilizador Trasero (7) quede apoyado en el
suelo.
483
7
Manubrio
2
68

9
5. Sujete una Cubierta del Cubo (75) y un Brazo de
la Manivela (36) contra la Manivela (45).
Alinee los orificios de la Cubierta del Cubo (75) y
del Brazo de la Manivela (36) con los orificios no
utilizados del lado izquierdo de la Manivela (45).
Inserte cuatro Tornillos del Cubo (87) en la
Cubierta del Cubo (75) y en el Brazo de la
Manivela (36), y apriete con las manos los
Tornillos del Cubo en la Manivela (45). Apriete
un Tornillo del Cubo y luego apriete el
Tornillo del Cubo que está frente al primer
tornillo del Cubo. Luego apriete los siguien-
tes dos Tornillos del Cubo.
Repita este paso en el lado derecho del
entrenador elíptico.
Asegúrese de que los Brazos de la Manivela
(36) estén orientados con las Mangas del
Buje de la Manivela (43) en la posiciones que
se indican. Nota: No hay Tornillos de la Polea
(98) en el lado derecho.
36
45
98
75
87
87
36
43
43
6. Mientras que otra persona sostenga el Montante
Vertical (3) cerca de la Base (1), conecte el
Cableado Eléctrico Superior (48) al Cableado
Eléctrico Inferior (49).
Clave: Evite pellizcar los cables Inserte el
Montante Vertical (3) dentro de la Base (1).
Conecte el Montante Vertical (3) con un Perno
M8 x 69mm (80), una Arandela Dividida M8 (90)
y una Tuerca de Bloqueo M8 (79). No apriete
el Perno todavía; asegúrese de que la Tuerca
de Bloqueo esté en el orificio hexagonal de la
Base.
Luego apriete manualmente dos Tornillos M8 x
23mm (84) y dos Arandelas Divididas M8 (90) en
la Base (1). No apriete aún los Tornillos.
Conecte el Porta Botella de Agua (22) a la Base
(1) con dos Tornillos Romos M4 x 16mm (104).
3
80
48
49
22
84
84
90
90
90
104
Evite pellizcar
los cables
79
1
6
5

10
7. Identifique la Cubierta Izquierda del Montante
Vertical (17), sujétela contra el lado izquierdo del
Montante Vertical (3).
Conecte la Cubierta Izquierda del Montante
Vertical (17) con dos Tornillos de Cabeza
Redonda M4 x 16mm (101).
Conecte la Cubierta Derecha del Montante
Vertical (39) de la misma manera.
7
17
39
3
101
101
8. Identifique las Barandas Izquierda y Derecha
(119, 120) y oriéntelas como se muestra.
Clave: Evite pellizcar los Cables de Pulso
(118). Conecte las Barandas Izquierda y
Derecha (119, 120) al Montante Vertical (3) con
dos Pernos M8 x 80mm (116) y dos Tuercas de
Bloqueo M8 (79).
79 118
118
120
119
116
116
8
Evite pellizcar
los cables
3

11
9. Inserte los Cables de Pulso (118) hacia arriba
por el Montante Vertical (3), como se muestra. 9
3
118
118
10
10. Mientras que otra persona sostiene la Consola
(5) cerca del Montante Vertical (3), conecte
los cables de la Consola al Cableado Eléctrico
Superior (48) y a los Cables de Pulso (118).
Inserte el cable sobrante dentro del Montante
Vertical (3).
Clave: Evite pellizcar los cables. Conecte la
Consola (5) al Montante Vertical (3) con cuatro
Tornillos de Cabeza Redonda M4 x 16mm (101).
5
118
48
101
3
Evite pellizcar
los cables
11. Conecte la Tapa del Montante Vertical (4) a
la Consola (5) con dos Tornillos de Cabeza
Redonda M4 x 16mm (101).
11 5
4
101

12
12
11
8
9
12
78
78
79
79
Orificios
Hexagonales
12. Identifique el Brazo Izquierdo (8) y la Pata
Izquierda (11) y oriéntelos como se muestra.
Inserte el Brazo Izquierdo (8) dentro de la Pata
Izquierda (11).
Conecte el Brazo Izquierdo (8) con dos Pernos
M8 x 41mm (78) y dos Tuercas de Bloqueo
M8 (79). Asegúrese de que las Tuercas de
Bloqueo estén en los orificios hexagonales
de la Pata Izquierda (11).
Conecte el Brazo Derecho (9) a la Pata
Derecha (12) de la misma manera.
13
13. Utilizando una bolsa de plástico pequeña para
mantener sus dedos limpios, aplique una capa
de la grasa incluida al Eje de Pivote (74) y a dos
Arandelas Ondulatorias (111).
Inserte el Eje de Pivote (74) por el Montante
Vertical (3) y céntrelo.
Deslice una Arandela Ondulatoria (111) por cada
extremo del Eje de Pivote (74).
Oriente la Pata Izquierda (11) como se muestra
y deslícela por el extremo izquierdo del Eje de
Pivote (74). Deslice la Pata Derecha (12) por el
extremo derecho del Aje de Pivote.
Al mismo tiempo, apriete un Tornillo M8 x
23mm (84) y una Arandela M8 (88) en cada
extremo del Eje de Pivote (74).
88 84
111
88
74
3
84
111
12
11
Grasa

13
14
14. Sujete la Cubierta Delantera del Brazo Izquierdo
(18) y la Cubierta Trasera del Brazo Izquierdo
(19) alrededor de la Pata Izquierda (11).
Conecte las Cubiertas del Brazo (18, 19) con
tres Tornillos de Cabeza Redonda M4 x 32mm
(105).
Conecte la Cubierta Delantera del Brazo
Derecho (20) a la Cubierta Trasera del Brazo
Derecho (21) de la misma manera.
20
21
105
12
19
18
11
15
13
14
104
104
112
102
102
112
108
15. Identifique el Pedal Izquierdo (13) y el Brazo del
Pedal Izquierdo (14).
Conecte el Pedal Izquierdo (13) al Brazo del
Pedal Izquierdo (14) con un Tornillo M4 x 50mm
(108), tres Tornillos Romos M4 x 16mm (104),
cuatro Arandelas Divididas M4 (112), y cuatro
Arandelas M4 (102).
Conecte el Pedal Derecho (no se muestra) al
Brazo del Pedal Derecho (no se muestra) de
la misma manera.

14
16
16. Aplique una pequeña cantidad de grasa a uno
de los Ejes del Brazo del Pedal (32).
Dando solo unas vueltas, apriete un Tornillo con
Collar M8 x 23mm (115) con una Arandela M8
(88) y una Cubierta del Brazo del Pedal (31) en
el Eje del Brazo del Pedal (32).
Mientras que otra persona sostiene el extremo
delantero del Brazo del Pedal Izquierdo (14)
dentro del soporte de la Pata Izquierda (11),
inserte el Eje del Brazo del Pedal (32) en ambas
piezas.
Luego, dando solo unas vueltas, apriete un
Tornillo con Collar M8 x 23mm (115) con una
Arandela M8 (88) y una Cubierta del Brazo del
Pedal (31) en el Eje del Brazo del Pedal (32).
Apriete ambos Tornillos con Collar al mismo
tiempo; para evitar dañar las Cubiertas
del Brazo del Pedal, no apriete demasiado
dichos Tornillos.
Repita este paso para fijar el Brazo del Pedal
Derecho (no se muestra) a la Pata Derecha
(12).
Grasa
115
32
88
31
12
11
14
31
17. Levante el pasador de la parte de abajo del
Brazo del Pedal Izquierdo (14), y coloque el
Brazo del Pedal Izquierdo en la Manga del Buje
de la Manivela (43).
Libere la palanca y asegúrese de que el Brazo
del Pedal Izquierdo (14) esté firmemente conec-
tado a la Manga del Buje de la Manivela (43).
Conecte el Brazo del Pedal Derecho (no se
muestra aquí) de la misma manera.
Vea el paso 6. Apriete el Perno M8 x 69mm (80)
y los dos Tornillos M8 x 23mm (84).
Pasador
43
14
115
88
17

15
5
5
60
Cubierta
de las Pilas
Cubierta de
las Pilas
18
18. Vea el diagrama de arriba. Enchufe el
Adaptador Eléctrico (60) dentro del comparti-
mento de pilas en la Consola (5).
Nota: Para enchufar el Adaptador Eléctrico (60)
a un tomacorriente, vea CÓMO CONECTAR EL
ADAPTADOR ELÉCTRICO en la página 16.
Vea el diagrama de abajo. La Consola (5) se
puede alimentar también con cuatro pilas D (no
se incluyen); se recomienda utilizar pilas alcali-
nas. No use pilas nuevas junto con pilas viejas,
ni use pilas alcalinas junto con pilas estándar y
recargables.
Retire los tornillos y la cubierta de las pilas de
la parte trasera de la Consola (5) e inserte las
pilas en el compartimento correspondiente.
Asegúrese de orientar las pilas como se
muestra en los diagramas dentro de los com-
partimentos de pilas. Luego, vuelva a colocar
la cubierta de las pilas.
Toma
19. Asegúrese de que todos los componentes del entrenador elíptico estén ajustados apropiadamente.
Nota: Algunas piezas pueden sobrar después de terminado el montaje. Para proteger el suelo o la alfombra
contra cualquier daño, coloque un tapete debajo del entrenador elíptico.
Toma

16
CÓMO CONECTAR EL ADAPTADOR ELÉCTRICO
IMPORTANTE: Si el entrenador elíptico ha sido
expuesto a temperaturas frías, permita que éste
llegue a temperatura ambiente antes de conectar el
adaptador eléctrico. Si no lo hace, las pantallas de
la consola u otros componentes eléctricos pueden
sufrir daños.
Enchufe el
adaptador eléc-
trico dentro del
receptáculo en la
consola. A conti-
nuación, conecte
el adaptador
eléctrico a una
toma eléctrica
adecuadamente
instalada que cumpla con todas las normas y ordenan-
zas locales.
CÓMO PLEGAR Y DESPLEGAR EL ENTRENADOR
ELÍPTICO
Cuando el entrenador elíptico no esté en uso, la arma-
dura puede plegarse para apartarla. Primero, levante
el pasador situado debajo de cada brazo de pedal y
levante los brazos de pedal separándolos de las man-
gas de las manivelas.
Luego, eleve los brazos de pedal hasta que toquen los
imanes de los brazos; los imanes sostendrán los bra-
zos de pedal en su lugar. Luego, sostenga el manubrio
y levante la armadura hasta que ésta se bloquee en
posición vertical.
Para usar el entrenador elíptico, primero sostenga
el manubrio, presione el botón del pasador y baje la
armadura.
A continuación tire de los brazos del pedal separán-
dolos de los imanes de los brazos. Seguidamente,
levante los pasadores de los brazos de pedal y
sitúe los brazos de pedal en las mangas de las mani-
velas. Libere los pasadores y asegúrese de que los
brazos de pedal estén firmemente conectados a las
manivelas.
CÓMO MOVER EL ENTRENADOR ELÍPTICO
Para mover el entrenador elíptico, pliéguelo primero
tal y como se indica en la imagen de la izquierda. A
continuación, párese en frente del entrenador elíptico,
sostenga el montante vertical y coloque un pie contra
el centro del estabilizador delantero. Tire del montante
vertical hasta que el entrenador elíptico se deslice
sobre las ruedas delanteras. Desplace con cuidado el
entrenador elíptico hacia la ubicación deseada y luego
bájelo.
Pasador
Manga
Brazo del Pedal
Brazo de la
Manivela
Manubrio
Coloque
el pie
aquí
Imán
Montante
Vertical
Armadura
Botón del
Pasador
Brazo del
Pedal
Adaptador Eléctrico
CÓMO USAR EL ENTRENADOR ELÍPTICO

17
CÓMO EJERCITAR EN EL ENTRENADOR ELÍPTICO
Para subirse a la máquina elíptica, agárrese de los
brazos superiores o de las barandas y ponga el pie
en el pedal que esté en la posición más baja. A conti-
nuación, coloque el otro pie en el otro pedal. Empuje
los pedales hasta que éstos empiecen a moverse
continuamente.
Nota: Los brazos de manivela pueden girar en
ambas direcciones. Se recomienda que haga rotar
los brazos de la manivela en la dirección que
muestra la flecha; sin embargo, también puede
girarlos en la dirección opuesta.
Para bajarse del entrenador elíptico, espere hasta que
los pedales se detengan por completo. Nota: El entre-
nador elíptico no tiene una rueda libre; los pedales
continuarán moviéndose hasta que se detenga
el volante. Cuando los pedales estén estacionarios,
bájese del pedal más alto primero. Luego, bájese reti-
rando el pie del pedal más bajo.
CÓMO NIVELAR EL ENTRENADOR ELÍPTICO
Si el entrenador
elíptico se mece
ligeramente
sobre el suelo
durante su uso,
gire una o las
dos patas de
nivelación que
se encuentran
ubicadas debajo
del estabilizador
trasero hasta que
consiga eliminar
el movimiento de vaivén.
Pedales
Brazo de la
Manivela
Barandas
Brazos
Patas de
Nivelación

18
CARACTERÍSTICAS DE LA CONSOLA
La consola avanzada ofrece una serie de funciones
diseñadas para hacer sus entrenamientos más efecti-
vos y agradables.
Cuando use la función manual de la consola, podrá
ajustar la resistencia de los pedales al sólo tocar un
botón. A medida que ejercita, la consola proporcio-
nará información continua del ejercicio. Usted también
puede medir su ritmo cardíaco usando el monitor del
ritmo cardíaco del mango.
Pierda kilos no deseados con el programa progresivo
para perder peso de 8 semanas. Cada entrenamiento
en el programa controla la resistencia de los pedales
mientras que lo guía por un entrenamiento efectivo
diseñado para ayudarle a alcanzar los resultados que
usted desea.
La consola ofrece dieciocho entrenamientos preajusta-
dos (nueve entrenamientos para perder peso y nueve
entrenamientos de desempeño). Cada entrenamiento
preajustado cambia automáticamente la resistencia de
los pedales a medida que lo guía en un entrenamiento
efectivo.
También puede conectar su reproductor de MP3 o de
CD al sistema de sonido de la consola, y escuchar su
música favorita o sus audiolibros mientras ejercita.
Para usar la función manual, vea la página 19.
Para usar el sistema de sonido, vea la página 20.
Para utilizar un entrenamiento para perder peso
de 8 semanas, vea la página 21. Para utilizar un
entrenamiento con fijación de meta, vea la página
22.
Nota: Retire cualquier lámina de plástico que pueda
quedar sobre la pantalla.
Sulfur
ELPF04912
PFEL04912.0
DIAGRAMA DE LA CONSOLA

19
COMO USAR LA FUNCIÓN MANUAL
1. Encienda la consola.
Pulse cualquier botón o comience a pedalear para
encender la consola.
Cada vez que encienda la consola, se encenderá
la pantalla. Se escuchará un tono sonoro indicán-
dole que la consola está lista para el uso.
2. Seleccione la función manual.
Cada vez que se enciende
la consola, se seleccio-
nará la función manual
automáticamente.
Si ha seleccionado un
entrenamiento, vuelva
a seleccionar la función
manual pulsando repetida-
mente el botón de 9 Wt. Loss
Workouts (9 entrenamien-
tos para pérdida de Peso) o el botón 9 Perform.
Workouts (9 entrenamientos de rendimiento) hasta
que se muestre una pista en la pantalla superior.
3. Comience a pedalear y cambie la resistencia de
los pedales como lo desee.
A medida que pedalea,
cambie el nivel de resisten-
cia de los pedales pulsando
los botones para aumen-
tar y disminuir Resistance
(resistencia).
Nota: Tras pulsar los boto-
nes, pasará cierto tiempo
antes de que los pedales
alcancen el nivel de resis-
tencia seleccionado.
4. Siga su progreso a través de la pantalla.
La pantalla puede mostrar la siguiente información
del entrenamiento:
Calories (calorías): Esta pantalla mostrará el
número aproximado de calorías que usted ha
quemado.
Distance (distancia): Esta pantalla mostrará la
distancia que ha pedaleado, en revoluciones.
Profile (perfil): Cuando se selecciona un entrena-
miento, esta función de pantalla mostrará un perfil
del ajuste de resistencia del entrenamiento.
Pulse (pulso): Esta pantalla mostrará su ritmo
cardíaco cuando use el monitor de ritmo cardíaco
(vea el paso 5 en la página 20).
Res (resistencia): Esta pantalla mostrará el
nivel de resistencia de los pedales durante algu-
nos segundos cada vez que cambie el nivel de
resistencia.
Speed (Velocidad): Esta función de pantalla mos-
trará su velocidad de pedaleo en revoluciones por
minuto.
Time (tiempo): Cuando se selecciona la función
manual, esta función de pantalla mostrará el
tiempo que ha transcurrido. Cuando se selecciona
un entrenamiento, esta función de pantalla mos-
trará el tiempo restante del entrenamiento.
Track (pista): Cuando la función manual se selec-
ciona, esta función de pantalla mostrará una pista
que representa 1/4 de milla (400 m). A medida que
ejercita, unos indicadores aparecerán sucesiva-
mente alrededor de la pista hasta que aparezca la
pista entera. A continuación, la pista desaparecerá
y los indicadores comenzarán nuevamente a apa-
recer sucesivamente.
Pulse repetidamente el
botón Display Mode (fun-
ción de pantalla) para ver
la información deseada del
entrenamiento.
Cuando aparezca la palabra
SCAN en la pantalla, esta
función de pantalla mos-
trará la función de calorías,
distancia, velocidad y tiempo
de la pantalla en un ciclo repetido.
Para reiniciar la pantalla, pulse el botón On/Reset
(encendido/reajustar).
Cambie el volumen de la consola
pulsando los botones de aumento
o disminución del volumen.

20
5. Si lo desea, mida su ritmo cardíaco.
Si hay láminas de
plástico en los con-
tactos metálicos del
monitor del ritmo
cardíaco del mango,
retírelas. Además,
asegúrese de que
sus manos estén
limpias. Para medir
su ritmo cardíaco,
sostenga el monitor del ritmo cardíaco del mango,
con las palmas de las manos apoyadas sobre
los contactos. Evite mover las manos o apretar
demasiado los contactos.
Cuando se detecte su pulso, un símbolo en forma
de corazón destellará en la pantalla y se mostrará
su ritmo cardíaco. Para una lectura más precisa
del ritmo cardíaco, sostenga los contactos durante
al menos 15 segundos.
Si su ritmo cardiaco no aparece, asegúrese de
que sus manos están en la posición que se des-
cribe. Tenga cuidado de no mover las manos
excesivamente o apretar los contactos metáli-
cos demasiado fuerte. Para un funcionamiento
óptimo, limpie los contactos metálicos usando un
paño suave; nunca use alcohol, abrasivos o
químicos.
6. Si lo desea, puede encender el ventilador.
El ventilador tiene ajustes de
velocidades altas y bajas. Pulse
los botones de incremento y
disminución de ventilación repe-
tidamente para seleccionar una
velocidad en particular o para
apagar el ventilador.
Nota: Si los pedales no se mueven durante aproxi-
madamente treinta segundos, el ventilador se
apagará automáticamente.
7. Cuando termine de hacer ejercicios, la consola
automáticamente se apagará.
Si los pedales no se mueven durante varios segun-
dos, se escuchará una serie de tonos sonoros, la
consola hará una pausa y el tiempo destellará en
la pantalla.
Si no mueve los pedales durante varios minutos, la
consola se apagará y la pantalla se reinicializará.
CÓMO USAR EL SISTEMA DE SONIDO
Para reproducir música o audiolibros con el sistema
de sonido de la consola mientras hace ejercicios,
conecte el cable de audio incluido en la toma de la
consola y en la toma de su reproductor de MP3 o de
CD. Compruebe que ha conectado bien el cable de
audio.
A continuación, pulse el botón de
reproducción de su reproductor de
MP3 o de CD. Ajuste el nivel de
volumen utilizando los botones de
aumento o disminución del volumen
en la consola o el control de volumen
de un reproductor de MP3 o de CD.
Contactos

21
CÓMO USAR UN ENTRENAMIENTO PARA PERDER
PESO DE 8 SEMANAS
1. Encienda la consola.
Pulse cualquier botón o comience a pedalear para
encender la consola.
Cada vez que encienda la consola, se encenderá
la pantalla. Se escuchará un tono sonoro indicán-
dole que la consola está lista para el uso.
2. Seleccione la semana del programa que desea.
Para seleccionar
un entrenamiento
preajustado,
pulse el botón
de Select Week
(Seleccione
Semana) repe-
tidamente hasta
que el número del
entrenamiento
deseado apa-
rezca en la pantalla.
3. Seleccione el día del programa que desea.
Hay tres días de
entrenamien-
tos para cada
semana del
programa. Para
seleccionar el día
deseado del pro-
grama, pulse el
botón de Select
Day (seleccione
el día) repeti-
damente hasta que el número del día deseado
aparezca en la pantalla.
4. Empiece el entrenamiento.
Pulse el botón Go (comenzar) o comience a peda-
lear para iniciar el entrenamiento.
Cada entrenamiento está dividido en varios
segmentos de un minuto. Cada segmento está
programado con un nivel de resistencia específico.
Nota: Para segmentos consecutivos se podrá pro-
gramar el mismo nivel de resistencia específico.
Durante el entrenamiento, el perfil del entrena-
miento en la pantalla mostrará su progreso. El
segmento del perfil que se ilumina intermiten-
temente corresponde al segmento actual del
entrenamiento. La altura del segmento intermitente
indica el nivel de resistencia para el segmento
actual.
Al final de cada segmento del entrenamiento se
escuchará una serie de tonos sonoros y el próximo
segmento del perfil comenzará a destellar inter-
mitentemente. Si se ha programado un nivel de
resistencia diferente para el siguiente segmento,
el nivel de resistencia destellará en la pantalla
durante algunos segundos para informarle. A
continuación, el nivel de resistencia de los pedales
cambiará.
IMPORTANTE: Si el nivel de resistencia para
el segmento actual es demasiado alto o bajo,
usted podrá modificar manualmente el ajuste
pulsando los botones Resistance (resistencia).
Sin embargo, al finalizar el segmento actual, los
pedales se ajustarán automáticamente al nivel
de resistencia correspondiente al segmento
siguiente.
A medida que ejercita, mantenga la velocidad de
pedaleo cerca de la velocidad objetiva para el seg-
mento actual.
IMPORTANTE: La meta de velocidad sirve
simplemente para motivarle. Puede que la velo-
cidad de su pedaleo real sea inferior a la meta
de velocidad. Asegúrese de pedalear a una
velocidad que le sea cómoda.
Si deja de pedalear durante varios segundos, se
escuchará una serie de tonos y el entrenamiento
hará una pausa.
Para reiniciar el entrenamiento, simplemente
comience a pedalear. El entrenamiento continuará
hasta que el último segmento del perfil destelle
intermitentemente en la pantalla y el último seg-
mento finalice.
5. Siga su progreso a través de la pantalla.
Vea el paso 4 en página 19.
6. Si lo desea, mida su ritmo cardíaco.
Vea el paso 5 en página 20.
7. Si lo desea, puede encender el ventilador.
Vea el paso 6 en página 20.
8. Cuando termine de hacer ejercicios, la consola
automáticamente se apagará.
Vea el paso 7 en página 20.
Perfil
Perfil
Número
de la
Semana
Día
Número

22
CÓMO USAR UN ENTRENAMIENTO
PREAJUSTADO
1. Encienda la consola.
Pulse cualquier botón o comience a pedalear para
encender la consola.
Cada vez que encienda la consola, se encenderá
la pantalla. Se escuchará un tono sonoro indicán-
dole que la consola está lista para el uso.
2. Seleccione un entrenamiento preajustado.
Para seleccionar un entrena-
miento preajustado, pulse el
botón 9 Wt. Loss Workouts
(9 Entrenamientos para
pérdida de peso) o el botón
9 Perform. Workouts (9
entrenamientos de rendi-
miento) hasta que el número
del entrenamiento deseado
se muestre en la pantalla
inferior.
Cuando seleccione un entrenamiento preajustado,
un perfil de niveles de resistencia del entrena-
miento se desplazará por la pantalla superior,
se mostrará la duración del entrenamiento en la
pantalla central y se mostrará el número del entre-
namiento en la pantalla inferior.
3. Comience a pedalear para iniciar el
entrenamiento.
Cada entrenamiento está dividido en varios
segmentos de un minuto. Cada segmento está
programado con un nivel de resistencia específico.
Nota: Para segmentos consecutivos se podrá pro-
gramar el mismo nivel de resistencia específico.
Durante el entrenamiento, el perfil de entrena-
miento mostrará su progreso (ver el dibujo de
arriba). El segmento del perfil que se ilumina inter-
mitentemente corresponde al segmento actual del
entrenamiento. La altura del segmento intermitente
indica el nivel de resistencia para el segmento
actual.
Al final de cada segmento del entrenamiento se
escuchará una serie de tonos sonoros y el próximo
segmento del perfil comenzará a destellar inter-
mitentemente. Si se ha programado un nivel de
resistencia diferente para el siguiente segmento,
el nivel de resistencia destellará en la pantalla
durante algunos segundos para informarle. A
continuación, el nivel de resistencia de los pedales
cambiará.
IMPORTANTE: Si el nivel de resistencia para
el segmento actual es demasiado alto o bajo,
usted la podrá modificar manualmente pul-
sando los botones Resistance (resistencia). Sin
embargo, al finalizar el segmento actual, los
pedales se ajustarán automáticamente al nivel
de resistencia correspondiente al segmento
siguiente.
Si deja de pedalear durante varios segundos, se
escuchará una serie de tonos y el entrenamiento
hará una pausa.
Para reiniciar el entrenamiento, simplemente
comience a pedalear. El entrenamiento continuará
hasta que el último segmento del perfil destelle
intermitentemente en la pantalla y el último seg-
mento finalice.
4. Siga su progreso a través de la pantalla.
Vea el paso 4 en página 19.
5. Si lo desea, mida su ritmo cardíaco.
Vea el paso 5 en página 20.
6. Si lo desea, puede encender el ventilador.
Vea el paso 6 en página 20.
7. Cuando termine de hacer ejercicios, la consola
se apagará automáticamente.
Vea el paso 7 en página 20.
Perfil

23
Inspeccione y apriete regularmente todas las piezas
del entrenador elíptico. Cambie inmediatamente cual-
quier pieza desgastada.
Para limpiar el entrenador elíptico, use un paño
húmedo y una pequeña cantidad de jabón suave.
IMPORTANTE: Para evitar daños a la consola,
mantenga los líquidos lejos de ésta y evite que la
consola permanezca bajo la luz solar directa.
SOLUCIÓN DE PROBLEMAS DE LA CONSOLA
Si la consola no se enciende, compruebe que el cable
eléctrico se ha enchufado correctamente a la toma.
Si las pantallas de la consola se opacan cuando se
instalan las pilas, cambie todas las pilas a la misma
vez; la mayoría de los problemas de la consola son
producto de pilas con poca carga. Vea el paso 18 en
la página 15 del montaje para instrucciones sobre
cómo reemplazarlas.
Si el monitor del ritmo cardíaco del mango no funciona
adecuadamente, consulte el paso 5 en la página 20.
CÓMO NIVELAR EL ENTRENADOR ELÍPTICO
Si el entrenador elíptico se balancea ligeramente sobre
el suelo durante su uso, gire una o las dos patas de
nivelación que se encuentran ubicadas debajo del
estabilizador trasero hasta que consiga eliminar el
movimiento de vaivén.
CÓMO ELIMINAR LA FLEXIÓN EN EL CENTRO DEL
ENTRENADOR ELÍPTICO
Si el entrenador elíptico se flexiona en el centro
durante su uso, gire el pie de la base (vea el dibujo de
arriba) hasta eliminar la flexión.
Patas de
Nivelación
Pata de
la Base
MANTENIMIENTO Y PROBLEMAS

24
Estas indicaciones le ayudarán a planificar su pro-
grama de ejercicios. Para información detallada sobre
los ejercicios consiga un libro acreditado o consulte
con su médico. Recuerde que una nutrición y un
descanso adecuados son esenciales para obtener
resultados satisfactorios.
INTENSIDAD DE LOS EJERCICIOS
Lo mismo si su objetivo es quemar grasa que si lo
es fortalecer su sistema cardiovascular, la clave para
alcanzar los resultados es hacer ejercicios con la
intensidad adecuada. Usted puede basarse en su
ritmo cardíaco para encontrar el nivel de intensidad
adecuado. El esquema que se presenta más abajo
muestra los ritmos cardíacos recomendados para que-
mar grasa y hacer ejercicios aeróbicos.
Para encontrar el nivel de intensidad adecuado,
busque su edad en la parte inferior del esquema (las
edades se redondean al múltiplo de 10 más cercano).
Los tres números que se listan encima de su edad
definen su “zona de entrenamiento.” El número más
pequeño es el ritmo cardíaco cuando se queme grasa,
el número intermedio es el ritmo cardíaco cuando se
quema la máxima cantidad de grasa y el número más
grande es el ritmo cardíaco cuando se realizan ejerci-
cios aeróbicos.
Quemar Grasa—Para quemar grasa eficientemente,
debe hacer ejercicios a un nivel de intensidad bajo
durante un periodo de tiempo mantenido. Durante
los primeros minutos de ejercicio su cuerpo utiliza las
calorías de los carbohidratos para obtener energía.
Sólo tras los primeros minutos de ejercicio su cuerpo
comienza a utilizar las calorías de grasa almacenada
para obtener energía. Si su objetivo es quemar grasa,
ajuste la intensidad de sus ejercicios hasta que el
ritmo cardíaco esté próximo al número más bajo de
su zona de entrenamiento. Para quemar la máxima
cantidad de grasa, realice los ejercicios con su ritmo
cardíaco cerca del número intermedio de su zona de
entrenamiento.
Ejercicios Aeróbicos—Si su objetivo es fortalecer su
sistema cardiovascular, debe realizar ejercicios aeróbi-
cos, una actividad que requiere grandes cantidades de
oxígeno durante periodos de tiempo prolongados. Para
realizar ejercicios aeróbicos ajuste la intensidad de sus
ejercicios hasta que su ritmo cardíaco esté próximo al
número más alto de su zona de entrenamiento.
GUÍAS DE ENTRENAMIENTO
Calentamiento—Comience estirando y ejercitando
ligeramente los músculos entre 5 y 10 minutos. El
calentamiento aumenta su temperatura corporal, su
frecuencia cardiaca y su circulación, preparándole
para los ejercicios.
Ejercicio en la Zona de Entrenamiento—Realice
ejercicios durante 20 a 30 minutos con su ritmo
cardíaco en su zona de entrenamiento. (Durante
las primeras semanas de su programa de ejerci-
cios no mantenga su ritmo cardíaco en su zona de
entrenamiento durante más de 20 minutos.) Respire
regularmente y profundamente mientras hace ejerci-
cios; nunca contenga la respiración.
Relajación—Termine con estiramientos entre 5 y 10
minutos. El estiramiento aumenta la flexibilidad de sus
músculos y le ayuda a evitar problemas posteriores al
ejercicio.
FRECUENCIA DE EJERCICIOS
Para mantener o mejorar su forma física, complete
tres sesiones de entrenamiento cada semana, con al
menos un día de descanso entre sesiones. Tras algu-
nos meses de ejercicio regular, puede completar hasta
cinco sesiones de entrenamiento cada semana si lo
desea. Recuerde, la clave para el éxito es hacer de los
ejercicios una parte regular y agradable de su vida
diaria.
GUÍA DE EJERCICIOS
PRECAUCIÓN: Antes de ini-
ciar éste o cualquier programa de ejercicios
consulte con su médico. Esto es especial-
mente importante para personas de edades
superiores a 35 años, o para aquellos que
hayan presentado problemas de salud.
El sensor de pulso no es un dispositivo
médico. Varios factores pueden afectar la
precisión de las lecturas del ritmo cardíaco.
El sensor de pulso está previsto sólo como
ayuda para los ejercicios, determinando las
tendencias generales de su ritmo cardíaco.

25
ESTIRAMIENTOS RECOMENDADOS
La forma correcta de realizar algunos estiramientos básicos se muestra en el dibujo de la derecha. Muévase
lentamente cuando se estire—nunca se mesa.
1. Estiramiento Tocando la Punta de los Pies
Párese flexionando ligeramente sus rodillas y flexione el tronco
lentamente hacia delante. Deje que su espalda y sus hombros se
relajen a medida que se dobla lo más que pueda hacia la punta de
los pies. Cuente hasta 15 y relájese. Repita 3 veces. Estiramientos:
Parte posterior del muslo, parte posterior de las rodillas y espalda.
2. Estiramiento de la Parte Posterior del Muslo
Siéntese con una pierna extendida. Dirija la planta del otro pie
hacia usted y apóyela contra la parte interna del muslo de su pierna
extendida. Flexione el tronco hacia delante lo más que pueda
tratando de tocar la punta de los pies. Cuente hasta 15 y relájese.
Repita 3 veces para cada pierna. Estiramientos: Parte posterior del
muslo, región lumbar e ingle.
3. Estiramiento de los Pantorillas/Tendón de Aquiles
Con una pierna delante y otra detrás, flexione el cuerpo hacia
delante y apoye sus manos sobre una pared. Mantenga derecha la
pierna que queda detrás y el pie de dicha pierna apoyado completa-
mente en el piso. Flexione la pierna que queda delante y mueva sus
caderas hacia la pared. Cuente hasta 15 y relájese. Repita 3 veces
para cada pierna. Para estirar más los tendones de Aquiles, flex-
ione también la pierna que queda detrás. Estiramientos: Pantorillas,
tendones de Aquiles y tobillos.
4. Estiramiento de los Cuadriceps
Con una mano apoyada sobre la pared, para mantener el equilibrio,
flexione el cuerpo hacia atrás y agarre un pie con su otra mano.
Lleve su talón lo más cerca posible de sus glúteos. Cuente hasta
15 y relájese. Repita 3 veces para cada pierna. Estiramientos:
Cuadriceps y músculos de la cadera.
5. Estiramiento de la Parte Interna del Muslo
Sentado con las plantas de los pies unidas y las rodillas hacia
afuera. Tire de sus pies lo más que pueda hacia el área de su
ingle. Cuente hasta 15 y relájese. Repita 3 veces. Estiramientos:
Cuadriceps y músculos de la cadera.
1
2
3
4
5

26
NOTAS

27
NOTAS

28
1 1 Base
2 1 Armadura
3 1 Montante Vertical
4 1 Tapa del Montante Vertical
5 1 Consola
6 1 Estabilizador Delantero
7 1 Estabilizador Trasero
8 1 Brazo Izquierdo
9 1 Brazo Derecho
10 2 Tapa del Brazo
11 1 Pata Izquierda
12 1 Pata Derecha
13 1 Pedal Izquierdo
14 1 Brazo del Pedal Izquierdo
15 1 Pedal Derecho
16 1 Brazo del Pedal Derecho
17 1 Cubierta Izquierda del Montante
Vertical
18 1 Cubierta Delantera del Brazo
Izquierdo
19 1 Cubierta Trasera del Brazo
Izquierdo
20 1 Cubierta Delantera del Brazo
Derecho
21 1 Cubierta Trasera del Brazo Derecho
22 1 Porta Botella de Agua
23 2 Tapa del Estabilizador Delantero
24 2 Tapa del Estabilizador Trasero
25 2 Rueda
26 1 Pata de la Base
27 2 Pata de Nivelación
28 1 Protector Izquierdo
29 1 Protector Derecho
30 6 Buje del Brazo
31 4 Cubierta del Brazo del Pedal
32 2 Eje del Brazo del Pedal
33 4 Buje del Brazo del Pedal
34 1 Eje de la Base
35 2 Buje de la Base
36 2 Brazo de la Manivela
37 2 Cubierta Interna de la Manivela
38 1 Cubo de la Manivela
39 1 Cubierta Derecha del Montante
Vertical
40 1 Polea
41 2 Cubierta del Buje de la Manivela
42 4 Buje de la Manivela
43 2 Manga del Buje de la Manivela
44 2 Juego de Cojinetes de la Manivela
45 1 Manivela
46 1 Espaciador de la Manivela
47 2 Anillo de Retención de la Manivela
48 1 Cableado Eléctrico Superior
49 1 Cableado Eléctrico Inferior
50 1 Interruptor de Lengüeta/Cable
51 1 Correa de Manejo
52 1 Volante
53 1 Imán en C
54 1 Copa con Bujes
55 2 Imán
56 1 Resorte
57 1 Brazo Estable
58 1 Soporte del Brazo Estable
59 1 Abrazadera
60 1 Adaptador Eléctrico
61 1 Perno de la Base
62 2 Espaciador del Soporte del Pasador
63 2 Perno de la Chaveta
64 1 Soporte del Pasador
65 1 Soporte de Pivote
66 2 Espaciador del Soporte de Pivote
67 1 Pasador de la Armadura
68 1 Botón del Pasador
69 1 Clavija con Gancho
70 1 Motor
71 1 Polea del Cable de Resistencia
72 1 Juego de Cables de Resistencia
73 2 Mango de Espuma
74 1 Eje de Pivote
75 2 Cubierta del Cubo
76 2 Cubierta Externa de la Manivela
77 2 Soporte del Volante
78 4 Perno M8 x 41mm
79 9 Tuerca de Bloqueo M8
80 1 Perno M8 x 69mm
81 4 Contratuerca M10
82 2 Perno de Porte M10 x 80mm
83 2 Tornillo M10 x 127mm
84 6 Tornillo M8 x 23mm
85 1 Tornillo M6 x 10mm
86 1 Tornillo de la Manivela
87 8 Tornillo del Cubo
88 10 Arandela M8
89 2 Tornillo M10 x 60mm
90 3 Arandela Dividida M8
91 1 Espaciador del Volante
92 1 Arandela del Volante
93 1 Anillo de Retención del Volante
94 4 Tornillo de la Copa de Bujes
95 1 Tornillo del Atajador
96 1 Tornillo M8 x 35mm
97 1 Gancho E
N° Ctd. Descripción N° Ctd. Descripción
LISTA DE LAS PIEZAS Nº de Modelo PFEL04912.0 R1213A

29
98 4 Tornillo de la Polea
99 2 Arandela de la Manivela
100 2 Tornillo M4 x 25mm
101 10 Tornillo de Cabeza Redonda
M4 x 16mm
102 12 Arandela M4
103 26 Tornillo M4 x 16mm
104 8 Tornillo Romo M4 x 16mm
105 6 Tornillo de Cabeza Redonda
M4 x 32mm
106 2 Tornillo con Collar M8 x 31mm
107 4 Tornillo M4 x 12mm
108 2 Tornillo M4 x 50mm
109 2 Arandela Ondulatoria Grande
110 2 Arandela Pequeña M8
111 2 Arandela Ondulatoria
112 8 Arandela Dividida M4
113 1 Arandela M10
114 1 Tuerca M6
115 4 Tornillo con Collar M8 x 23mm
116 2 Perno M8 x 80mm
117 2 Mango de Pulso
118 2 Cable de Pulso
119 1 Baranda Izquierda
120 1 Baranda Derecha
* – Manual del Usuario
* – Herramienta del Montaje
* – Paquete de Grasa
N° Ctd. Descripción N° Ctd. Descripción
Nota: Las especificaciones están sujetas a cambios sin previo aviso. Para información de cómo solicitar piezas
de repuesto, vea la contraportada de este manual. *Estas piezas no están ilustradas.

30
DIBUJO DE LAS PIEZAS A Nº de Modelo PFEL04912.0 R1213A
1
6
8
9
10
10
11
12
13
14
15
16
17 39
18
19
20
21
22
23
23
25
25
26
30
30
30
30
30
30
31
31
32 33
33
31
32
33
31
34
35
35
80
78
101
101
79
105
88
84
79
84
101
101 74
105
79
78
88 84
104
115
115
88
84
115
115
84
88
89
82
81
81
81
89
48
49
84
73
73
88
88
88
88
90
90
90
111
111
4
3
101
112 104
104
108
112
102
104
104
108
112
112
102
102
105
118
101
79
119
117
117
120
116
116
101
5

31
DIBUJO DE LAS PIEZAS B Nº de Modelo PFEL04912.0 R1213A
66
2
7
24
24
27
27
28
29
75
76
36
99
87
106
37
40
41
42
43
103
103
107
107
103
38
43
42
42
41 106
36
75
37
83
87
87
76
103
103
103
103
86
99
44
98
98
44
46
47
47
103
100
103
51
50
52
53
54
56
94
94
94
79
92
93
91
57
58
59
103
85 96
61
62
62
63 64
63 65
66
67
68
69
113
97
70
95
103
79
71
72
100
103
103
102
102
107
88
88
109
109
114
103
110
110
77
77
55
55
45
60

Nº de Pieza 354169 R1213A Impreso en China © 2013 ICON IP, Inc.
Para ordenar piezas de repuesto, por favor vea la portada de este manual. Para ayudarnos a proporcionarle asis-
tencia, por favor esté listo para proporcionar la siguiente información cuando nos contacte:
•elnúmerodemodeloyelnúmerodeseriedelproducto(vealaportadadeestemanual)
•elnombredelproducto(vealaportadadeestemanual)
•elnúmerodelapiezaydescripcióndela(delas)pieza(s)dereemplazo(vealaLISTADELASPIEZASyel
DIBUJO DE LAS PIEZAS hacia el final de este manual)
CÓMO ORDENAR PIEZAS DE REPUESTO
ICON Health & Fitness, Inc. (ICON) garantiza que este producto esté libre de defectos en fabricación y
material, bajo el uso normal y condiciones normales de servicio. Se garantizan las piezas y la mano de
obra por un (1) año de la fecha de compra.
Esta garantía se extiende solo al comprador original. La obligación de ICON bajo esta garantía se limita
a la reparación y el reemplazo, que será la opción de ICON, del producto por medio de uno de los
centros de servicio autorizados. Todas las reparaciones por las cuales se hacen reclamos de garantía,
deben ser pre-autorizadas por ICON. Si el producto se envía a un centro de servicio, los cargos de envío
desde y hacia el centro de servicio serán la responsabilidad del cliente. El cliente será responsable de
pagar un cargo mínimo de envío por piezas de reemplazo enviadas mientras este producto está bajo la
garantía. El cliente será responsable por un cargo mínimo de viaje por servicios dados dentro del domi-
cilio. Esta garantía no se extiende a cualquier daño al producto causado durante el envió. Esta garantía
será automáticamente anulada si el producto se usa como modelo de demostración en una tienda, si no
se siguen todas las instrucciones en este manual, si se abusa el producto o si se usa inapropiadamente
o abnormalmente, o si se usa el producto con el propósito de comercio o renta. ICON no autoriza alguna
otragarantía,másalládelaquesepresentaespecícamenteaquí.
ICON no es responsable o está obligado por daños indirectos, especiales, o como consecuencia que sur-
jan por o en conexión con el uso o el desempeño del producto; daños con respecto a pérdida económica,
pérdidadepropiedad,pérdidaderéditosobenecios,pérdidadepoderdisfrutarousar,ocostosderetiro
o instalación; u otros daños consecuentes de cualquier naturaleza.
La garantía que se extiende aquí reemplaza cualquier o todas las otras garantías, y cualquier garantía
insinuada por la promoción del producto para la venta o el bienestar físico para un propósito particular son
limitados en su alcance y duración de los términos que se exponen en ésta. Esta garantía le da derechos
legalesespecícos.
GARANTÍA LIMITADA
IMPORTANTE: Debe registrar este producto dentro de 30 días de la fecha de compra para evitar
cargos adicionales por servicio rendido bajo la garantía. Comuníquese al 01-800-681-9542 o ser-
vicio@iconfitness.com, o vaya a la página de internet www.workoutwarehouse.com/registration.