Proform Pfevel749120 420 Zle Elliptical Users Manual
2015-04-14
: Proform Proform-Pfevel749120-420-Zle-Elliptical-Users-Manual-700537 proform-pfevel749120-420-zle-elliptical-users-manual-700537 proform pdf
Open the PDF directly: View PDF
.
Page Count: 28

!"#$%&"'(")$%')*#)
+,&*-%).*)/*-0*
Nº de Modelo PFEVEL74912.0
Nº de Serie
12$-03")*#)',&*-%).*)2*-0*)*')*#)
*24"$0%).*)"--03")4"-")-*5*-*'$0"6 MANUAL DEL USUARIO
www.iconeurope.com
PRECAUCIÓN
Antes de usar el equipo, lea
cuidadosamente todas las adver-
tencias e instrucciones de este
manual. Guarde el manual para
futuras referencias.
¿PREGUNTAS?
/0)70*'*)"#89'")4-*89'7":)%)20)5"#7"')
40*;"2)%)*27<')."="."2:)4%-)5">%-)
##"&*)"#?
900 460 410
correo electrónico:
serviciotecnico@imagefitness.es
página de internet:
www.iconsupport.eu

2
COLOCACIÓN DE LAS CALCOMANÍAS DE ADVERTENCIA
CONTENIDO
@ABCBAD)*2)9'")&"-$")-*8027-".").*)E!B+)E@:)E'$6
F"2)$"#$%&"'("2).*)".>*-7*'$0")G9*)2*)&9*27-"')"G9()
*27<')0'$#90."2)$%')*27*)4-%.9$7%6)H4#0G9*)#"2)$"#$%&"'("2)
.*)".>*-7*'$0")2%3-*)#"2)".>*-7*'$0"2)*')E'8#I2)*')#%2)
#98"-*2)G9*)2*)&9*27-"'6)127*).039J%)&9*27-")#"2)930$"K
$0%'*2).*)#"2)$"#$%&"'("2).*)".>*-7*'$0"6)Si falta una
calcomanía o ésta es ilegible, vea la portada de este
manual y solicite una nueva calcomanía de reemplazo
gratuita. Péguela en el lugar indicado.)+%7"?)F"2)$"#$%K
&"'("2)49*.*')'%)&%27-"-2*)*')29)7"&"=%)-*"#6
!BFB!H!EL+)M1)FH/)!HF!BDH+NH/)M1)HMO1AP1+!EH6)6)6)6)6)6)6)6)6)6)6)6)6)6)6)6)6)6)6)6)6)6)6)6)6)6)6)6)6)6)6)6)6)6)6)6)6)6)6)6)6Q
@A1!HR!EB+1/)ED@BAPH+P1/)6)6)6)6)6)6)6)6)6)6)6)6)6)6)6)6)6)6)6)6)6)6)6)6)6)6)6)6)6)6)6)6)6)6)6)6)6)6)6)6)6)6)6)6)6)6)6)6)6)6)6)6)6)6)6)6)6)6)6)6)6)6S
H+P1/)M1)!BD1+THA)6)6)6)6)6)6)6)6)6)6)6)6)6)6)6)6)6)6)6)6)6)6)6)6)6)6)6)6)6)6)6)6)6)6)6)6)6)6)6)6)6)6)6)6)6)6)6)6)6)6)6)6)6)6)6)6)6)6)6)6)6)6)6)6)6)6)6)6)6)6U
PHVFH)M1)EM1+PECE!H!EL+)M1)@E1TH/)6)6)6)6)6)6)6)6)6)6)6)6)6)6)6)6)6)6)6)6)6)6)6)6)6)6)6)6)6)6)6)6)6)6)6)6)6)6)6)6)6)6)6)6)6)6)6)6)6)6)6)6)6)6)6)6W
DB+PHX1 6)6)6)6)6)6)6)6)6)6)6)6)6)6)6)6)6)6)6)6)6)6)6)6)6)6)6)6)6)6)6)6)6)6)6)6)6)6)6)6)6)6)6)6)6)6)6)6)6)6)6)6)6)6)6)6)6)6)6)6)6)6)6)6)6)6)6)6)6)6)6)6)6)6)6)6)6)6)6)6)6Y
!LDB)R/HA)1F)1+PA1+HMBA)1FN@PE!B)6)6)6)6)6)6)6)6)6)6)6)6)6)6)6)6)6)6)6)6)6)6)6)6)6)6)6)6)6)6)6)6)6)6)6)6)6)6)6)6)6)6)6)6)6)6)6)6)6)6)6)6)6ZW
DH+P1+EDE1+PB)[)@ABVF1DH/)6)6)6)6)6)6)6)6)6)6)6)6)6)6)6)6)6)6)6)6)6)6)6)6)6)6)6)6)6)6)6)6)6)6)6)6)6)6)6)6)6)6)6)6)6)6)6)6)6)6)6)6)6)6)6)6)6)6)6)6QQ
\RNH)M1)1X1A!E!EB/ 6)6)6)6)6)6)6)6)6)6)6)6)6)6)6)6)6)6)6)6)6)6)6)6)6)6)6)6)6)6)6)6)6)6)6)6)6)6)6)6)6)6)6)6)6)6)6)6)6)6)6)6)6)6)6)6)6)6)6)6)6)6)6)6)6)6)6)6)6)6QS
FE/PH)M1)FH/)@E1TH/6)6)6)6)6)6)6)6)6)6)6)6)6)6)6)6)6)6)6)6)6)6)6)6)6)6)6)6)6)6)6)6)6)6)6)6)6)6)6)6)6)6)6)6)6)6)6)6)6)6)6)6)6)6)6)6)6)6)6)6)6)6)6)6)6)6)6)6)6)6QU
MEVRXB)M1)FH/)@E1TH/)6)6)6)6)6)6)6)6)6)6)6)6)6)6)6)6)6)6)6)6)6)6)6)6)6)6)6)6)6)6)6)6)6)6)6)6)6)6)6)6)6)6)6)6)6)6)6)6)6)6)6)6)6)6)6)6)6)6)6)6)6)6)6)6)6)6)6)6QY
!LDB)BAM1+HA)@E1TH/)M1)A1@R1/PB)6)6)6)6)6)6)6)6)6)6)6)6)6)6)6)6)6)6)6)6)6)6)6)6)6)6)6)6)6)6)6)6)6)6)6)6)6)6)6)6)6)6)6)!%'7-"4%-7"."
E+CBADH!EL+)/BVA1)1F)A1!E!FHX1 6)6)6)6)6)6)6)6)6)6)6)6)6)6)6)6)6)6)6)6)6)6)6)6)6)6)6)6)6)6)6)6)6)6)6)6)6)6)6)6)6)6)6)6)6)6)!%'7-"4%-7"."

3
PRECAUCIONES IMPORTANTES
ADVERTENCIA: Para reducir el riesgo de lesiones graves, lea todas las precau-
ciones e instrucciones importantes de este manual y todas los advertencias que se observan en su
entrenador elíptico antes de utilizarlo. ICON no asume ninguna responsabilidad por lesiones person-
ales o daños a la propiedad que ocurran por el uso de este producto o a través del mismo.
1. Antes de comenzar cualquier programa de
ejercicios, consulte con su médico. Esto es
particularmente importante para individuos
mayores de 35 años o individuos con condi-
ciones de salud preexistentes.
2. Use el entrenador elíptico solamente como
se describe en este manual.
3. Es responsabilidad del propietario el ase-
gurarse de que todos los usuarios del
entrenador elíptico estén adecuadamente
informados sobre todas las precauciones.
4. El entrenador elíptico está diseñado
solamente para uso doméstico. No use el
entrenador elíptico en un entorno comercial,
de alquiler, o institucional.
5. Mantenga el entrenador elíptico bajo techo,
lejos de la humedad y el polvo. No guarde el
entrenador elíptico en el garaje ni en un patio
cubierto ni cerca de agua.
6. Coloque el entrenador elíptico en una
superficie plana, con por lo menos 0,9 m de
espacio libre delante y detrás de éste y 0,6 m
de espacio libre de cada lado. Para proteger
el suelo o la alfombra contra cualquier daño,
coloque un tapete debajo del entrenador
elíptico.
7. Inspeccione y ajuste adecuadamente todas
las piezas de manera regular. Reemplace
inmediatamente cualquier pieza gastada.
8. Mantenga a los niños menores de 12 años y
a las mascotas lejos del entrenador elíptico
en todo momento.
9. El entrenador elíptico no debe ser usado por
personas que pesen más de 120 kg.
10. Use ropa adecuada mientras hace ejercicios;
no use ropa suelta que pueda engancharse
en el entrenador elíptico. Siempre lleve
puesto calzado atlético para proteger los
pies cuando ejercite.
11. Sujete las barandas o los brazos al montar,
desmontar o usar su entrenador elíptico.
12. El monitor de ritmo cardíaco no es un dis-
positivo médico. Varios factores pueden
afectar la exactitud de las lecturas de su
ritmo cardíaco. El monitor de ritmo cardíaco
está diseñado únicamente como ayuda para
el ejercicio, determinando las tendencias del
ritmo cardíaco en general.
13. El entrenador elíptico no tiene una rueda
libre; los pedales continuarán moviéndose
hasta que se detenga el volante. Reduzca la
velocidad de pedaleo de forma controlada.
14. Mantenga la espalda recta al usar el entrena-
dor elíptico y no la arquee.
15. El ejercitar de más puede causar lesiones
serias o incluso la muerte. Si experimenta
mareos o siente dolor mientras hace ejerci-
cios, deténgase inmediatamente y descanse.

4
D%'07%-).*#)
A07&%)!"-.("$%
V"-"'."
V-";%
D"'0>*#"
A9*."
@*."#)
!%'2%#"
@%-7"3%7*##"]
@"7").*)+0>*#"$0^'
D"'93-0%
@"2".%-).*)H#&"$*'"&0*'7%
E&<').*)H#&"$*'"&0*'7%
O*'70#".%-
@"2".%-).*#)V-";%).*#)@*."#
]+%)2*)0'$#9_*)#")3%7*##").*)"89"
ANTES DE COMENZAR
\-"$0"2)4%-)2*#*$$0%'"-)*#)-*>%#9$0%'"-0%)*'7-*'".%-)
*#(470$%)@ABCBAD`)UQa)TF16)1#)*'7-*'".%-)*#(470$%)
UQa)TF1)%5-*$*)9'")2*#*$$0^').*)59'$0%'*2).02*="."2)
4"-")b"$*-)292)*'7-*'"&0*'7%2)*')*#)b%8"-)&<2)*5*$70K
>%2)_)"8-"."3#*26
Para su beneficio, lea el manual cuidadosamente
antes de usar el entrenador elíptico.)/0)70*'*)4-*K
89'7"2).*249I2).*)#**-)*27*)&"'9"#:)4%-)5">%-)>*")#")
4%-7".").*)*27*)&"'9"#6)@"-")"_9."-'%2)")"20270-#%2:)
"'%7*)*#)',&*-%).*)&%.*#%)_)*#)',&*-%).*)2*-0*).*#)
4-%.9$7%)"'7*2).*)$%'7"$7"-'%26)1#)',&*-%).*#)&%.*#%)
_)#")930$"$0^').*#)',&*-%).*)2*-0*)2*)&9*27-"')*')#")
4%-7".").*)I27*)&"'9"#6)
H'7*2).*)2*890-)#*_*'.%:)4%-)5">%-)*279.0*)*#).039J%).*)
"3"J%)_)5"&0#0"-($*2*)$%')#"2)40*;"2)_)292)'%&3-*26
F"-8%?) ZYS)$&
H'$b%?) Yc)$&
@*2%?)) WY)d8

5
!%'7-"79*-$")
DZa)efZghQ
P9*-$").*)
V#%G9*%)Df)
eicghi
H-"'.*#")Df)
effghY
H-"'.*#")
B'.9#"7%-0")
eZZZghQ
H-"'.*#")
M0>0.0.")
Df)ecaghS
P%-'0##%).*)!"3*;")
A*.%'.")DU)j)ZY&&)
eZaZghZa
P%-'0##%).*)!"3*;")
A*.%'.")DU)j)SQ&&)
eZaWghY
@*-'%)Df)j)Yc&&)efaghZ
H-"'.*#")
M0>0.0.")
DU)eZZQghf
H-"'.*#")
DU)
eZaQghf
P%-'0##%)DU)j)Wa&&)
eZafghQ
P%-'0##%)A%&%)
DU)j)ZY&&)
eZaUghf
@*-'%).*)@%-7*)DZa)j)fa&&)
efQghQ
P%-'0##%).*#)
!93%)efighf
P%-'0##%)$%')!%##"-)
Df)j)QS&&)eZZWghU
P%-'0##%)
Df)j)QS&&
efUghU
@*-'%)Df)j)UZ&&)
eifghU
@*-'%)Df)j)fa&&)eZZYghQ
P%-'0##%)DZa)j)ZQi&&)efSghQ
TABLA DE IDENTIFICACIÓN DE PIEZAS
!%'29#7*)#%2).039J%2)G9*)"4"-*$*')"3"J%)4"-")0.*'7050$"-)#"2)40*;"2)4*G9*="2)*')*#)&%'7"J*6)1#)',&*-%)*'7-*)
4"-I'7*202)G9*)b"_)$*-$").*)$".").039J%)*2)*#)',&*-%).*)#")40*;")*')#")FE/PH)M1)FH/)@E1TH/)b"$0")*#)50'"#).*)
*27*)&"'9"#6)1#)',&*-%)G9*)"4"-*$*).*249I2).*#)4"-I'7*202)*2)#")$"'70.".)'*$*2"-0")4"-")*#)&%'7"J*6)Nota: Si
no encuentra alguna de las piezas en la bolsa de piezas, compruebe si ha sido previamente conectada.)
Pueden incluirse piezas adicionales.

6
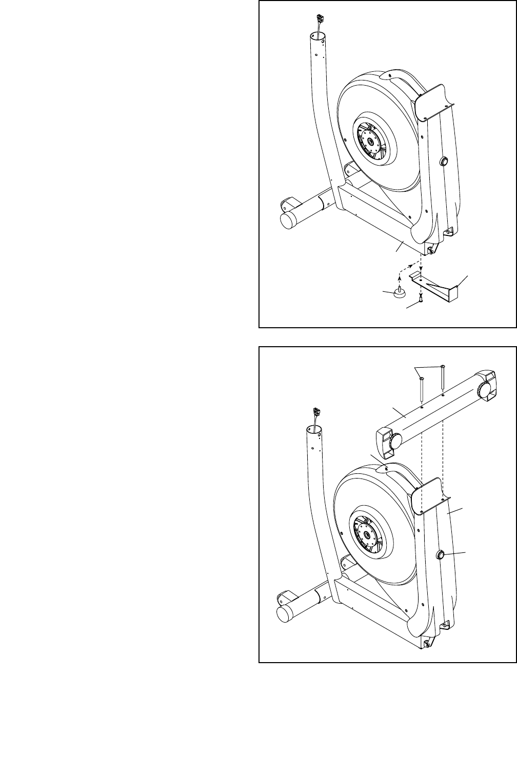
Z6) D0*'7-"2)%7-")4*-2%'")#*>"'7")#")V"2*)eZg:)
$%'*$7*)*#)127"30#0;".%-)M*#"'7*-%)eYg)")#")V"2*)
$%').%2)@*-'%2).*)@%-7*)DZa)j)fa&&)efQg)_)
.%2)!%'7-"79*-$"2)DZa)efZg6
Y
fZ
fZ
fQ
Z
Z
k) /*)'*$*207"').%2)4*-2%'"2)4"-")*#)&%'7"J*6
k) !%#%G9*)7%."2)#"2)40*;"2)*')9'")<-*").*24*K
J".")_)-*70-*)#%2)&"7*-0"#*2).*)*&3"#"J*6)+%)2*)
.*2b"8").*)#%2)&"7*-0"#*2).*)*&3"#"J*)b"27")
b"3*-)7*-&0'".%)*#)&%'7"J*6)
k) @"-")0.*'70)$"-)#"2)40*;"2)4*G9*="2:)>*")#")
4<80'")W6
k) H.*&<2).*)#"2)b*--"&0*'7"2)0'$#90."2:)*#)&%'7"J*)
-*G90*-*)#"2)20890*'7*2)b*--"&0*'7"2?
9').*27%-'0##".%-)*27-*##")
9'")##">*)"J927"3#*) )
9')&";%).*)8%&") )
)1#)&%'7"J*)49*.*)2*-)&<2)5<$0#)20)70*'*)29)4-%4-0%))
J9*8%).*)##">*26)+%)92*)b*--"&0*'7"2)*#I$7-0$"2)
4"-")*>07"-)G9*)2*)."=*')#"2)40*;"26
MONTAJE

7
Q6) A*70-*).*)#")V"2*)eZg)*#)7%-'0##%)0'.0$".%)_)*#)
2%4%-7*).*)7-"'24%-7*6)M*2*$b*)*#)7%-'0##%)_)*#)
2%4%-7*).*)7-"'24%-7*6)
) /*890."&*'7*)"4-0*7*)*#)@0*).*)#")V"2*)eQYg)*')
#")V"2*)eZg6
/%4%-7*).*)
P-"'24%-7*
QY
P%-'0##%
Q
Z
S6) C0J*)*#)127"30#0;".%-)P-"2*-%)eig)")#")H-&".9-")
eQg)$%').%2)P%-'0##%2)DZa)j)ZQi&&)efSg6
) F9*8%)29J*7*)*#)&"'93-0%)2079".%)*')#")
H-&".9-")eQg:)4-*20%'*)*#)@"2".%-)eYfg)_)3"J*)#")
H-&".9-")b"27")G9*)*#)127"30#0;".%-)P-"2*-%)eig)
G9*.*)"4%_".%)*')*#)29*#%6
SfS
i
D"'93-0%
Q
Yf

8
U6) /9J*7*)9'")!930*-7").*#)!93%)eiWg)_)9')V-";%).*)
#")D"'0>*#")eSYg)$%'7-")#")D"'0>*#")eUWg6
) H#0'**)#%2)%-050$0%2).*)#")!930*-7").*#)!93%)eiWg)_)
.*#)V-";%).*)#")D"'0>*#")eSYg)$%')#%2)%-050$0%2)'%)
970#0;".%2).*#)#".%)0;G90*-.%).*)#")D"'0>*#")eUWg6)
) E'7-%.9;$")$9"7-%)P%-'0##%2).*#)!93%)efig)*')
#")!930*-7").*#)!93%)eiWg)_)*')*#)V-";%).*)#")
D"'0>*#")eSYg:)_)"4-0*7*)$%')#"2)&"'%2)#%2)
P%-'0##%2).*#)!93%)*')#")D"'0>*#")eUWg6)Apriete
un Tornillo del Cubo y luego apriete el
Tornillo del Cubo que está frente al primer
tornillo. Luego apriete los siguientes dos
Tornillos del Cubo.
Repita este paso en el lado derecho del
entrenador elíptico.
Asegúrese de que los Brazos de la Manivela
(36) estén orientados con las Mangas del
Buje de la Manivela (43) en las posiciones
que se indican.)+%7"?)+%)b"_)P%-'0##%2).*)#")
@%#*")ecfg)*')*#)#".%).*-*$b%6
SY
UW
cf
iW
fi
fi
SY
US
US
W6) D0*'7-"2)%7-")4*-2%'")2%270*'*)*#)D%'7"'7*)
O*-70$"#)eSg)$*-$").*)#")V"2*)eZg:)$%'*$7*)*#)
!"3#*".%)1#I$7-0$%)/94*-0%-)eUfg)"#)!"3#*".%)
1#I$7-0$%)E'5*-0%-)eUcg6)
)Clave: Tenga cuidado de no pellizcar los
cables.)E'7-%.9;$")*#)D%'7"'7*)O*-70$"#)eSg)*')#")
V"2*)eZg6)
) C0J*)*#)D%'7"'7*)O*-70$"#)eSg)$%')9')@*-'%)Df)
j)Yc&&)efag:)9'")H-"'.*#")M0>0.0.")Df)ecag)_)
9'")P9*-$").*)V#%G9*%)Df)eicg6)No apriete el
Perno todavía; asegúrese de que la Tuerca
de Bloqueo esté en el orificio hexagonal de la
Base.
) F9*8%)"4-0*7*)&"'9"#&*'7*).%2)P%-'0##%2)Df)j)
QS&&)efUg)_).%2)H-"'.*#"2)M0>0.0."2)Df)ecag)*')
#")V"2*)eZg6)No apriete aún los Tornillos.
) !%'*$7*)*#)@%-7"3%7*##")eQQg)")#")V"2*)eZg)$%')
.%2)P%-'0##%2)A%&%2)DU)j)ZY&&)eZaUg6
S
fa
Uf
Uc
QQ
fU
fU
ca
ca
ca
ZaU
Evite pellizcar
los cables
ic
Z
W
U

9
Y6) E.*'7050G9*)#")!930*-7")E;G90*-.").*#)D%'7"'7*)
O*-70$"#)eZig:)G9*)*27<)&"-$".")$%')9'")4*8"K
70'")lF*57m)eL)%)Left)0'.0$")0;G90*-."n)R)%)Right)
0'.0$").*-*$b"g)_)29JI7*#")$%'7-")*#)#".%)0;G90K
*-.%).*#)D%'7"'7*)O*-70$"#)eSg6
) C0J*)#")!930*-7")E;G90*-.").*#)D%'7"'7*)O*-70$"#)
eZig)$%').%2)P%-'0##%2).*)!"3*;")A*.%'.")DU)j)
ZY&&)eZaZg6
Fije la Cubierta Derecha del Montante Vertical
(39) de la misma manera.
Y
Zi
Sc
S
ZaZ
ZaZ
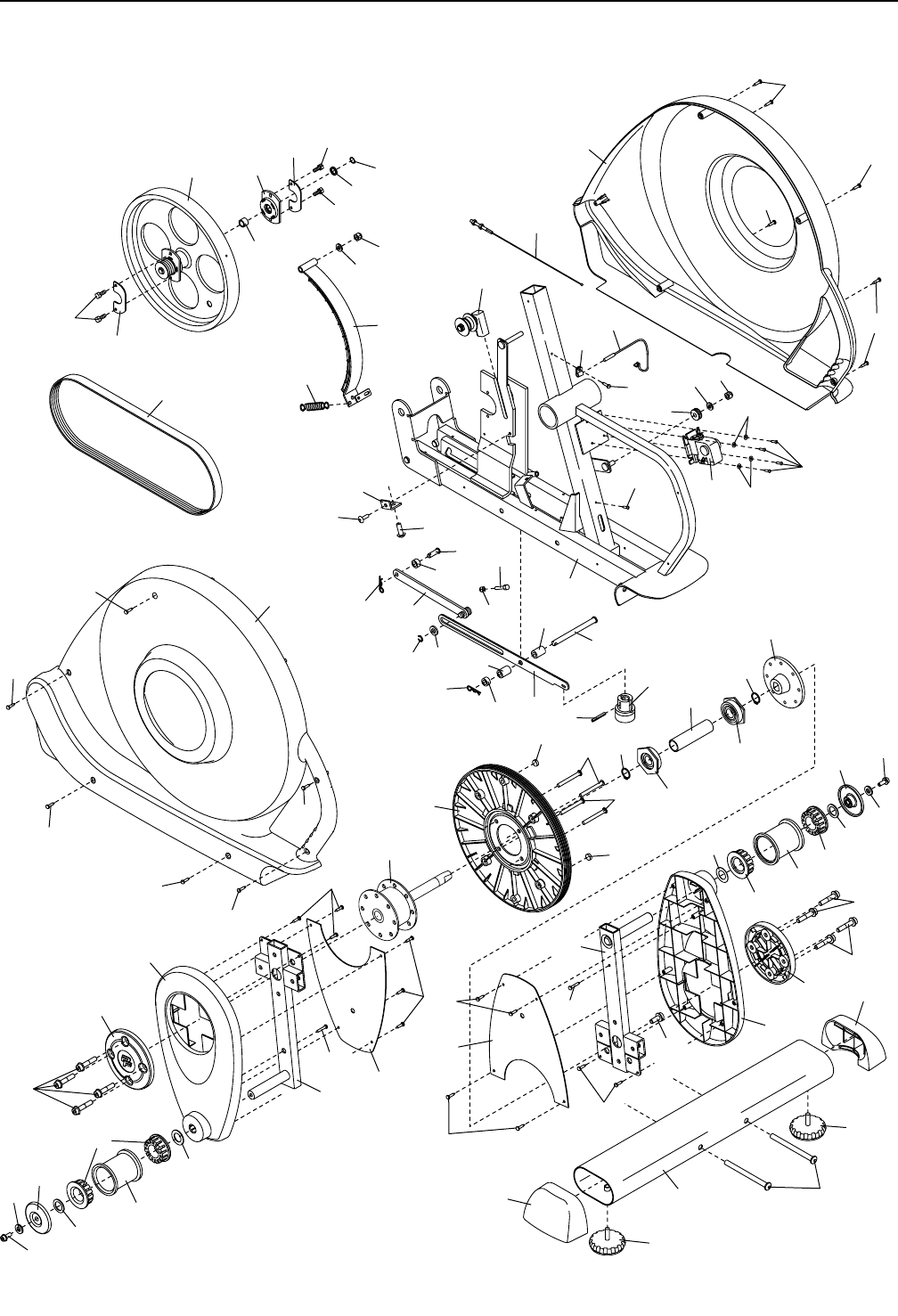
i6) E.*'7050G9*)#"2)V"-"'."2)M*-*$b")*)E;G90*-.")
eYa:)ZZcg:)#"2)$9"#*2)2*)*'$9*'7-"')&"-$"."2)
$%')*70G9*7"2)".b*20>"2)lA08b7m)_)lF*57m)eL)%)Left)
0'.0$")0;G90*-."n)R)%)Right)0'.0$").*-*$b"g)_)
%-0I'7*#"2)$%&%)2*)&9*27-"6
)Clave: Evite pellizcar los Cables de Pulso
(118).)C0J*)#"2)V"-"'."2)E;G90*-.")_)M*-*$b")
eYa:)ZZcg)"#)D%'7"'7*)O*-70$"#)eSg)$%').%2)@*-'%2)
Df)j)fa&&)eZZYg)_).%2)P9*-$"2).*)V#%G9*%)Df)
eicg6
ic ZZf
ZZf
Ya
ZZc
ZZY
ZZY
i
Evite pellizcar
los cables
S

10
f6) E'7-%.9;$")#%2)!"3#*2).*)@9#2%)eZZfg)")7-">I2)
.*#)D%'7"'7*)O*-70$"#)eSg)b"$0")"--03":)$%&%)2*)
&9*27-"6
f
S
ZZf
ZZf
W
!930*-7")
.*)#"2)@0#"2
!930*-7")
.*)#"2)@0#"2
c
P%&"
c6) F")!%'2%#")eWg)*27<)"#0&*'7".")4%-)$9"7-%)40#"2)
.*)704%)M)e'%)0'$#90."2gn)2*)-*$%&0*'.")970#0;"-)
40#"2)"#$"#0'"26)+%)92*)40#"2)'9*>"2)J9'7%)$%')
40#"2)>0*J"2:)'0)92*)40#"2)"#$"#0'"2)J9'7%)$%')40#"2)
*27<'."-)_)-*$"-8"3#*26)IMPORTANTE: Si la
Consola ha estado expuesta a bajas tem-
peraturas, deje que alcance la temperatura
ambiente antes de introducir las pilas. De lo
contrario, las pantallas de la consola u otros
componentes electrónicos podrían sufrir
daños.)1j7-"08")#%2)7%-'0##%2:)-*70-*)#"2)$930*-7"2)
.*)#"2)40#"2)*)0'7-%.9;$")#"2)40#"2)*')#%2)$%&K
4"-70&*'7%2)$%--*24%'.0*'7*26)Asegúrese de
orientar las pilas como se muestra en los
diagramas dentro de los compartimentos de
pilas. F9*8%)>9*#>")")$%#%$"-)#")$930*-7").*)#"2)
40#"26))
)Para comprar un adaptador de corriente
opcional, llame al número telefónico ubicado
en la portada de este manual. Para evitar que
la consola resulte dañada, use solamente
un adaptador de corriente suministrado por
el fabricante.)E'2*-7*)9')*j7-*&%).*#)"."47"K
.%-).*)$%--0*'7*)*')#")7%&").*)#")!%'2%#")eWg)_)
$%'*$7*)*#)%7-%)*j7-*&%)")9'")7%&").*)$%--0*'7*)
0'27"#".")$%'5%-&*)")#"2)'%-&"2)_)%-.*'"';"2)
#%$"#*26

11
Za
Za6)D0*'7-"2)%7-")4*-2%'")2%270*'*)#")!%'2%#")eWg)
$*-$").*#)D%'7"'7*)O*-70$"#)eSg:)$%'*$7*)#%2)
$"3#*2).*)#")!%'2%#")"#)!"3#*".%)1#I$7-0$%)
/94*-0%-)eUfg)_)")#%2)!"3#*2).*)@9#2%)eZZfg6)
) E'2*-7*)*#)*j$*2%).*)$"3#*2).*'7-%).*#)D%'7"'7*)
O*-70$"#)eSg)%).*'7-%).*)#")!%'2%#")eWg6)
Clave: Tenga cuidado de no pellizcar los
cables. !%'*$7*)#")!%'2%#")eWg)"#)D%'7"'7*)
O*-70$"#)eSg)$%')$9"7-%)P%-'0##%2).*)!"3*;")
A*.%'.")DU)j)ZY&&)eZaZg6
W
ZZf
Uf
ZaZ
S
Evite
pellizcar los
cables
ZZ6)!%'*$7*)#")P"4").*#)D%'7"'7*)O*-70$"#)eUg)")
#")!%'2%#")eWg)$%').%2)P%-'0##%2).*)!"3*;")
A*.%'.")DU)j)ZY&&)eZaZg6
ZZ
W
U
ZaZ

12
ZQ
ZZ
f
c
ZQ
if
if
ic
ic
B-050$0%2)
o*j"8%'"#*2
ZQ6)E.*'7050G9*)*#)V-";%)E;G90*-.%)efg)_)#")@"7").*#)
V-";%)E;G90*-.%)eZZg:)G9*)*27<')&"-$".%2)$%')
4*8"70'"2)lF*57m)eL)%)Left)0'.0$")0;G90*-."n)R)
%)Right)0'.0$").*-*$b"g:)_)%-0I'7*#%2)$%&%)2*)
0'.0$"6)
) E'7-%.9;$")*#)V-";%)E;G90*-.%)efg).*'7-%).*)#")
@"7").*#)V-";%)E;G90*-.%)eZZg6)
) C0J*)*#)V-";%)E;G90*-.%)efg)$%').%2)@*-'%2)Df)j)
UZ&&)eifg)_).%2)P9*-$"2).*)V#%G9*%)Df)eicg6)
Asegúrese de que las Tuercas de Bloqueo
estén en los orificios hexagonales de la Pata
del Brazo Izquierdo (11).
Conecte el Brazo Derecho (9) a la Pata del
Brazo Derecho (12) de la misma manera.
ZS
ZS6)R70#0;"'.%)9'")3%#2").*)4#<270$%)4*G9*=")4"-")
&"'7*'*-)292).*.%2)#0&40%2:)"4#0G9*)9'")$"4")
.*)#")8-"2")29&0'027-".")"#)1J*).*)@0>%7*)eiUg)_)
").%2)H-"'.*#"2)B'.9#"7%-0"2)eZZZg6)
) E'2*-7*)*#)1J*).*)@0>%7*)eiUg)")7-">I2).*#)
D%'7"'7*)O*-70$"#)eSg)_)$I'7-*#%6
) M*2#0$*)9'")H-"'.*#")B'.9#"7%-0")eZZZg)4%-)$".")
*j7-*&%).*#)1J*).*)@0>%7*)eiUg6
) B-0*'7*)#")@"7").*#)V-";%)E;G90*-.%)eZZg)$%&%)
2*)&9*27-")_).*2#($*#")4%-)*#)*j7-*&%)0;G90*-.%)
.*#)1J*).*)@0>%7*)eiUg6)M*2#0$*)#")@"7").*#)V-";%)
M*-*$b%)eZQg)4%-)*#)*j7-*&%).*-*$b%).*#)HJ*).*)
@0>%7*6
)Al mismo tiempo,)"4-0*7*)9')P%-'0##%)Df)j)
QS&&)efUg)_)9'")H-"'.*#")Df)effg)*')$".")
*j7-*&%).*#)1J*).*)@0>%7*)eiUg6
ff fU
ZZZ
ff
iU
S
fU
ZZZ ZQ
ZZ
\-"2"

13
ZU
ZU6)/9J*7*)#")!930*-7")M*#"'7*-").*#)V-";%)E;G90*-.%)
eZfg)_)#")!930*-7")P-"2*-").*#)V-";%)E;G90*-.%)
eZcg)"#-*.*.%-).*)#")@"7").*#)V-";%)E;G90*-.%)
eZZg6)
) C0J*)#"2)!930*-7"2).*#)V-";%)eZf:)Zcg)$%')7-*2)
P%-'0##%2).*)!"3*;")A*.%'.")DU)j)SQ&&)eZaWg6
Conecte la Cubierta Delantera del Brazo
Derecho (20) a la Cubierta Trasera del Brazo
Derecho (21) de la misma manera.
Qa
QZ
ZaW
ZQ
Zc
Zf
ZZ
ZW
ZS
ZU
ZaU
ZaU
ZZQ
ZaQ
ZaQ
ZZQ
Zaf
ZW6)E.*'7050G9*)*#)@*."#)E;G90*-.%)eZSg)_)*#)V-";%).*#)
@*."#)E;G90*-.%)eZUg:)G9*)*27<')&"-$".%2)$%')
4*8"70'"2)0;G90*-."2)lF*57m)eL)%)Left)0'.0$")0;G90K
*-."n)R)%)Right)0'.0$").*-*$b"g6)
) C0J*)*#)@*."#)E;G90*-.%)eZSg)"#)V-";%).*#)@*."#)
E;G90*-.%)eZUg)$%')9')P%-'0##%)DU)j)Wa&&)
eZafg:)7-*2)P%-'0##%2)A%&%2)DU)j)ZY&&)eZaUg:)
$9"7-%)H-"'.*#"2)M0>0.0."2)DU)eZZQg:)_)$9"7-%)
H-"'.*#"2)DU)eZaQg6
Fije el Pedal Derecho (no se muestra) al
Brazo del Pedal Derecho (no se muestra) de
la misma forma.

14
ZY
ZY6)H4#0G9*)9'")4*G9*=")$"'70.".).*)8-"2")")9'%)
.*)#%2)1J*2).*#)V-";%).*#)@*."#)eSQg6)
) M"'.%)2%#%)9'"2)>9*#7"2:)"4-0*7*)9')P%-'0##%)$%')
!%##"-)Df)j)QS&&)eZZWg)$%')9'")H-"'.*#")Df)
effg)_)9'")!930*-7").*#)V-";%).*#)@*."#)eSZg)*')
*#)1J*).*#)V-";%).*#)@*."#)eSQg6
) D0*'7-"2)%7-")4*-2%'")2%270*'*)*#)*j7-*&%).*#K
"'7*-%).*#)V-";%).*#)@*."#)E;G90*-.%)eZUg).*'7-%)
.*#)2%4%-7*).*)#")@"7").*#)V-";%)E;G90*-.%)eZZg:)
0'7-%.9;$")*#)1J*).*#)V-";%).*#)@*."#)eSQg)*')
"&3"2)40*;"26)
) F9*8%:)."'.%)2%#%)9'"2)>9*#7"2:)"4-0*7*)9')
P%-'0##%)$%')!%##"-)Df)j)QS&&)eZZWg)$%')9'")
H-"'.*#")Df)effg)_)9'")!930*-7").*#)V-";%).*#)
@*."#)eSZg)*')*#)1J*).*#)V-";%).*#)@*."#)eSQg6)
Apriete ambos Tornillos con Collar al mismo
tiempo; para evitar dañar las Cubiertas
del Brazo del Pedal, no apriete demasiado
dichos Tornillos.
Repita este paso para fijar el Brazo del Pedal
Derecho (no se muestra) a la Pata del Brazo
Derecho (12).
\-"2"
ZZW SQ
ff SZ
ZQ
ZZ
ZU
SZ
Zi6)F*>"'7*)*#)4"2".%-).*)#")4"-7*).*)"3"J%).*#)
V-";%).*#)@*."#)E;G90*-.%)eZUg:)_)$%#%G9*)*#)
V-";%).*#)@*."#)E;G90*-.%)*')#")D"'8").*#)V9J*)
.*)#")D"'0>*#")eUSg6)
) F03*-*)#")4"#"'$")_)$*-$0^-*2*).*)G9*)*#)V-";%)
.*#)@*."#)E;G90*-.%)eZUg)*27I)50-&*&*'7*)
$%'*$7".%)")#")D"'8").*#)V9J*).*)#")D"'0>*#")
eUSg6
Conecte el Brazo del Pedal Derecho (no se
muestra aquí) de la misma manera.
Vea el paso 5.)H4-0*7*)*#)@*-'%)Df)j)Yc&&)efag)
_)#%2).%2)P%-'0##%2)Df)j)QS&&)efUg)
@"2".%-
US
ZU
ff
ZZW
Zf6)Asegúrese de que todos los componentes del entrenador elíptico estén ajustados apropiadamente.)
+%7"?)H#89'"2)40*;"2)49*.*')2%3-"-).*249I2).*)7*-&0'".%)*#)&%'7"J*6)@"-")4-%7*8*-)*#)29*#%)%)#")"#5%&3-")
$%'7-")$9"#G90*-)."=%:)$%#%G9*)9')7"4*7*).*3"J%).*#)*'7-*'".%-)*#(470$%6
Zi

15
CÓMO USAR EL ENTRENADOR ELÍPTICO
CÓMO PLEGAR Y DESPLEGAR EL ENTRENADOR
ELÍPTICO
!9"'.%)*#)*'7-*'".%-)*#(470$%)'%)*27I)*')92%:)#")
"-&".9-")49*.*)4#*8"-2*)4"-")"4"-7"-#"6)@-0&*-%:)
#*>"'7*)*#)4"2".%-)2079".%).*3"J%).*)$".")3-";%).*)
4*."#)_)#*>"'7*)#%2)3-";%2).*)4*."#)2*4"-<'.%#%2).*)
#"2)&"'8"2).*)#"2)&"'0>*#"26)
F9*8%:)*#*>*)#%2)3-";%2).*)4*."#)b"27")G9*)7%G9*')#%2)
0&"'*2).*)#%2)3-";%2n)#%2)0&"'*2)2%27*'.-<')#%2)3-"K
;%2).*)4*."#)*')29)#98"-6)F9*8%:)2%27*'8")*#)&"'93-0%)
_)#*>"'7*)#")"-&".9-")b"27")G9*)I27")2*)3#%G9**)*')
4%20$0^')>*-70$"#6
@"-")92"-)*#)*'7-*'".%-)*#(470$%:)4-0&*-%)2%27*'8")
*#)&"'93-0%:)4-*20%'*)*#)3%7^').*#)4"2".%-)_)3"J*)#")
"-&".9-"6)
H)$%'70'9"$0^')70-*).*)#%2)3-";%2).*#)4*."#)2*4"-<'K
.%#%2).*)#%2)0&"'*2).*)#%2)3-";%26)/*890."&*'7*:)
levante los pasadores de los brazos de pedal)
_)207,*)#%2)3-";%2).*)4*."#)*')#"2)&"'8"2).*)#"2)
&"'0>*#"26)F03*-*)#%2)4"2".%-*2)_)$*-$0^-*2*).*)G9*)
#%2)3-";%2).*)4*."#)*27I')50-&*&*'7*)$%'*$7".%2)")#"2)
&"'0>*#"26
CÓMO MOVER EL ENTRENADOR ELÍPTICO
@"-")&%>*-)*#)*'7-*'".%-)*#(470$%:)4#0I89*#%)4-0&*-%)
7"#)_)$%&%)2*)0'.0$")*')#")0&"8*').*)#")0;G90*-."6)H)
$%'70'9"$0^':)4<-*2*)*')5-*'7*).*#)*'7-*'".%-)*#(470$%:)
2%27*'8")*#)&%'7"'7*)>*-70$"#)_)$%#%G9*)9')40*)$%'7-")
*#)$*'7-%).*#)*27"30#0;".%-).*#"'7*-%6)P0-*).*#)&%'7"'7*)
>*-70$"#)b"27")G9*)*#)*'7-*'".%-)*#(470$%)2*).*2#0$*)
2%3-*)#"2)-9*."2).*#"'7*-"26)M*24#"$*)$%')$90.".%)*#)
*'7-*'".%-)*#(470$%)b"$0")#")930$"$0^').*2*".")_)#9*8%)
3<J*#%6
@"2".%-
D"'8"
V-";%).*#)@*."#
D"'0>*#"
D"'93-0% !%#%G9*)
*#)40*)
"G9(
E&<'
D%'7"'7*)
O*-70$"#
H-&".9-"
V%7^').*#)
@"2".%-
V-";%)
.*#)@*."#

16
CÓMO EJERCITAR EN EL ENTRENADOR ELÍPTICO
@"-")2930-2*)"#)*'7-*'".%-)*#(470$%:)"8<--*2*)")#%2)
3-";%2)294*-0%-*2)%)")#"2)3"-"'."2)_)4%'8")*#)40*)*')
*#)4*."#)G9*)*27I)*')#")4%20$0^')&<2)3"J"6)H)$%'70'9K
"$0^':)$%#%G9*)*#)%7-%)40*)*')*#)%7-%)4*."#6)1&49J*)
#%2)4*."#*2)b"27")G9*)I27%2)*&40*$*')")&%>*-2*).*)
&"'*-")$%'70'9"6)
)
Nota: Las manivelas pueden girar en ambas
direcciones. Se recomienda que haga rotar las
manivelas en la dirección que muestra la flecha;
sin embargo, también se puede hacer rotar las
manivelas en la dirección opuesta.
@"-")3"J"-2*).*#)*'7-*'".%-)*#(470$%:)*24*-*)b"27")G9*)
#%2)4*."#*2)2*).*7*'8"')4%-)$%&4#*7%6)Nota: El entre-
nador elíptico no tiene una rueda libre; los pedales
continuarán moviéndose hasta que se detenga
el volante.)!9"'.%)#%2)4*."#*2)*27I')*27"$0%'"-0%2:)
3<J*2*).*#)4*."#)&<2)"#7%)4-0&*-%6)F9*8%)3<J*2*)G907"K
'.%)*#)40*).*#)4*."#)&<2)3"J%6
CÓMO NIVELAR EL ENTRENADOR ELÍPTICO
/0)*#)*'7-*'"K
.%-)*#(470$%)2*)
3"#"'$*")#08*-"K
&*'7*)2%3-*)*#)
29*#%).9-"'7*)29)
92%:)80-*)9'")%)
#"2).%2)4"7"2).*)
'0>*#"$0^')G9*)
2*)*'$9*'7-"')
930$"."2).*3"J%)
.*#)*27"30#0;".%-)
7-"2*-%)b"27")G9*)
$%'208")*#0&0'"-)
*#)&%>0&0*'7%).*)>"0>I'6
@*."#*2
D"'0>*#"
V"-"'."2
V-";%2
@"7"2).*)
+0>*#"$0^'

17
CARACTERÍSTICAS DE LA CONSOLA
F")$%'2%#")">"';".")%5-*$*)9'")2*-0*).*)59'$0%'*2)
.02*="."2)4"-")b"$*-)292)*'7-*'"&0*'7%2)&<2)*5*$70K
>%2)_)"8-"."3#*26)
!9"'.%)92*))#")59'$0^')&"'9"#).*)#")$%'2%#":)4%.-<)
"J927"-)#")-*2027*'$0").*)#%2)4*."#*2)$%')2^#%)7%$"-)9')
3%7^'6)H)&*.0.")G9*)*J*-$07":)#")$%'2%#")4-%4%-$0%K
'"-<)0'5%-&"$0^')$%'70'9").*#)*J*-$0$0%6)@%.-<)0'$#92%)
&*.0-)29)-07&%)$"-.("$%)")7-">I2).*#)&%'07%-).*)-07&%)
$"-.("$%).*#)&"'8%6
F")$%'2%#")%5-*$*).0*$02I02)*'7-*'"&0*'7%2)4-*"J927"K
.%2)e%$b%)*'7-*'"&0*'7%2)4"-")4*-.*-)4*2%)_)%$b%)
*'7-*'"&0*'7%2).*).*2*&4*=%g6)!".")*'7-*'"&0*'7%)
4-*"J927".%)$"&30")"97%&<70$"&*'7*)#")-*2027*'$0").*)
#%2)4*."#*2)")&*.0.")G9*)#%)89(")*')9')*'7-*'"&0*'7%)
*5*$70>%6
F")$%'2%#")7"&30I')%5-*$*)*#)2027*&").*)*'7-*K
'"&0*'7%)0'7*-"$70>%)0C07:)*#)$9"#)4*-&07*)")#")$%'2%#")
"$*47"-)7"-J*7"2)0C07)G9*)$%'70*'*')*24*$050$"$0%'*2).*)
*'7-*'"&0*'7%2).02*=".%2)4"-")"_9."-#*)")#%8-"-)292)
&*7"2)*24*$(50$"26)
)
@%-)*J*&4#%:)49*.*)4*-.*-)*2%2)d0#%2)'%).*2*".%2)
$%')*#)*'7-*'"&0*'7%)4"-")4*-.*-)4*2%)*')f)2*&"'"26)
F%2)*'7-*'"&0*'7%2)0C07)$%'7-%#"')#")-*2027*'$0").*)#%2)
4*."#*2)&0*'7-"2)#")>%;).*)9')*'7-*'".%-)4*-2%'"#)#*)
"2*2%-"6)Las tarjetas iFit se venden por separado.
Para comprar tarjetas iFit, visite la web
www.iFit.com o consulte la portada de este man-
ual. Las tarjetas iFit también se venden en diversos
establecimientos selectos.
P"&30I')49*.*)$%'*$7"-)29)-*4-%.9$7%-).*)D@S)%).*)
!M)"#)2027*&").*)2%'0.%).*)#")$%'2%#":)_)*2$9$b"-)29)
&,20$")5">%-07")%)292)"9.0%#03-%2)&0*'7-"2)*J*-$07"6
Para usar la función manual,)>*")#")4<80'")Zf6)Para
utilizar un entrenamiento preajustado,)>*")#")4<80'")
Zc6)Para usar un entrenamiento iFit Live,)>*")#")
4<80'")QZ6)Para usar el sistema de sonido,)>*")#")
4<80'")QZ6
+%7"?)p907*)$9"#G90*-)#<&0'").*)4#<270$%)G9*)49*.")
G9*."-)2%3-*)#")4"'7"##"6
DIAGRAMA DE LA CONSOLA

18
CÓMO USAR LA FUNCIÓN MANUAL
1. Encienda la consola.
))@9#2*)$9"#G90*-)3%7^')%)$%&0*'$*)")4*."#*"-)4"-")
*'$*'.*-)#")$%'2%#"6)
))!".")>*;)G9*)*'$0*'.")#")$%'2%#":)2*)*'$*'.*-<)
#")4"'7"##"6)/*)*2$9$b"-<)9')7%'%)2%'%-%)0'.0$<'K
.%#*)G9*)#")$%'2%#")*27<)#027")4"-")*#)92%6
2. Seleccione la función manual.
))!".")>*;)G9*)2*)*'$0K
*'.*)#")$%'2%#":)2*)
2*#*$$0%'")#")59'$0^')&"'9"#)
"97%&<70$"&*'7*6)
))/0)b")2*#*$$0%'".%)9')
*'7-*'"&0*'7%:)>9*#>")")
2*#*$$0%'"-)#")59'$0^')&"'K
9"#)49#2"'.%)-*4*70."&*'7*)
*#)3%7^').*)f)1'7-*'"&0*'7%2)
4"-")@I-.0.").*)@*2%)qf)rP6)
FB//)rBAsBRP/t)%)*#)3%7^')f)1'7-*'"&0*'7%2)
.*)A*'.0&0*'7%)qf)@1ACBAD6)rBAsBRP/t)
b"27")G9*)2*)&9*27-*)9'")4027")*')#")4"'7"##")
294*-0%-6
3. Comience a pedalear y cambie la resistencia de
los pedales como lo desee.
))H)&*.0.")G9*)4*."#*":)
$"&30*)*#)'0>*#).*)-*2027*'K
$0").*)#%2)4*."#*2)49#2"'.%)
#%2)3%7%'*2)4"-")"9&*'7"-)
_).02&0'90-)#")A*2027*'$0")
qA1/E/PH+!1t6)
))+%7"?)P-"2)49#2"-)#%2)
3%7%'*2:)4"2"-<)$0*-7%)
70*&4%)"'7*2).*)G9*)#%2)
4*."#*2)"#$"'$*')*#)'0>*#).*)
-*2027*'$0")2*#*$$0%'".%6)
4. Siga su progreso a través de la pantalla.
))F")4"'7"##")49*.*)&%27-"-)#")20890*'7*)0'5%-&"$0^')
.*#)*'7-*'"&0*'7%?
Calorías [CALORIES]u&9*27-")*#)',&*-%)"4-%j0K
&".%).*)$"#%-("2)G9*)927*.)b")G9*&".%6
))Distancia [DISTANCE]u&9*27-")#").027"'$0")G9*)
b")4*."#*".%:)*')-*>%#9$0%'*26)
)
) Perfilu!9"'.%)2*)2*#*$$0%'")9')*'7-*'"&0*'7%:)
*27*)&%.%).*)4"'7"##")&%27-"-<)9')4*-50#).*)#")$%'K
5089-"$0^').*)-*2027*'$0").*#)*'7-*'"&0*'7%6
) Pulsou&%27-"-<)29)-07&%)$"-.("$%)$9"'.%)92*)
*#)&%'07%-).*)-07&%)$"-.("$%)e>*")*#)4"2%)W)*')#")
4<80'")Zcg6
))Resistencia [RES]u&9*27-")*#)'0>*#).*)-*2027*'K
$0").*)#%2)4*."#*2).9-"'7*)"#89'%2)2*89'.%2)$".")
>*;)G9*)$"&30")*#)'0>*#).*)-*2027*'$0"6)
))Velocidad [SPEED]u&%27-"-<)29)>*#%$0.".).*)
4*."#*%)*')-*>%#9$0%'*2)4%-)&0'97%6
) Tiempo [TIME]u!9"'.%)2*)2*#*$$0%'")#")59'K
$0^')&"'9"#:)*27")4"'7"##")&9*27-")*#)70*&4%)
G9*)b")7-"'2$9--0.%6)!9"'.%)2*)2*#*$$0%'")9')
*'7-*'"&0*'7%:)*27*)&%.%).*)4"'7"##")&%27-"-<)*#)
70*&4%)-*27"'7*).*#)*'7-*'"&0*'7%6
) Pista u$9"'.%)#")59'$0^')&"'9"#)*27<)2*#*$$0%K
'".":)*27*)&%.%).*)4"'7"##")&9*27-")9'")4027")G9*)
-*4-*2*'7")ZvU).*)&0##")eUaa)&g6)H)&*.0.")G9*)*J*-K
$07":)9'%2)0'.0$".%-*2)"4"-*$*-<')29$*20>"&*'7*)
"#-*.*.%-).*)#")4027")b"27")G9*)"4"-*;$")#")4027")
*'7*-"6)H)$%'70'9"$0^':)#")4027").*2"4"-*$*-<)_)#%2)
0'.0$".%-*2)$%&*';"-<')'9*>"&*'7*)")"4"-*$*-)
.*)&"'*-")29$*20>"6)
))@9#2*)-*4*70."&*'7*)*#)
3%7^')D%.%).*)@"'7"##")
qME/@FH[)DBM1t)4"-")>*-)
#")0'5%-&"$0^').*2*".").*#)
*'7-*'"&0*'7%6)
))@"-")-*0'0$0"-)#")4"'7"##":)
49#2*)*#)3%7^').*)1'$*'.0.%v
A*"J927"-)qB+vA1/1Pt6
))!"&30*)*#)>%#9&*').*)#")$%'2%#")
49#2"'.%)#%2)3%7%'*2).*)"9&*'7%)
%).02&0'9$0^').*#)>%#9&*'6

19
5. Si lo desea, mida su ritmo cardíaco.
Si hay láminas de
plástico en los con-
tactos metálicos del
monitor del ritmo
cardíaco del mango,
quítelas. Además,
asegúrese de que
sus manos estén
limpias.)@"-")&*.0-)
29)-07&%)$"-.("$%:)
2%27*'8")*#)&%'07%-).*#)-07&%)$"-.("$%).*#)&"'8%:)
$%')#"2)4"#&"2).*)#"2)&"'%2)"4%_"."2)2%3-*)
#%2)$%'7"$7%26)Evite mover las manos o apretar
demasiado los contactos.
))!9"'.%)2*).*7*$7*)29)49#2%:)9')2(&3%#%)*')5%-&")
.*)$%-";^').*27*##"-<)*')#")4"'7"##")_)2*)&%27-"-<)
29)-07&%)$"-.("$%6)@"-")9'")#*$79-")&<2)4-*$02")
.*#)-07&%)$"-.("$%:)2%27*'8")#%2)$%'7"$7%2).9-"'7*)
"#)&*'%2)ZW)2*89'.%26)
))/0)29)-07&%)$"-.("$%)'%)"4"-*$*:)"2*8,-*2*).*)G9*)
#"2)&"'%2)*27I')*')#")4%20$0^')G9*)2*).*2$-03*6)
P*'8")$90.".%).*)'%)&%>*-)#"2)&"'%2)*')5%-&")
*j$*20>")%)"4-*7"-)#%2)$%'7"$7%2)&*7<#0$%2).*&"K
20".%)59*-7*6)@"-")9')59'$0%'"&0*'7%)^470&%:)#0&40*)
#%2)$%'7"$7%2)&*7<#0$%2)92"'.%)9')4"=%)29">*n)
nunca use alcohol, abrasivos o químicos.
6. Si lo desea, encienda el ventilador.
))1#)>*'70#".%-)70*'*)"J927*2).*)
>*#%$0.".*2)"#7"2)_)3"J"26)@9#2*)
#%2)3%7%'*2).*)0'$-*&*'7%)_)
.02&0'9$0^').*)>*'70#"$0^').*)
&"'*-")-*4*70.")4"-")2*#*$$0%'"-)
9'")>*#%$0.".)*')4"-70$9#"-)%)4"-")
"4"8"-)*#)>*'70#".%-6)
))+%7"?)/0)#%2)4*."#*2)'%)2*)&9*>*').9-"'7*)"4-%j0K
&"."&*'7*)7-*0'7")2*89'.%2:)*#)>*'70#".%-)2*)
"4"8"-<)"97%&<70$"&*'7*6
7. Cuando termine de hacer ejercicios, la consola
se apagará automáticamente.
))/0)#%2)4*."#*2)'%)2*)&9*>*').9-"'7*)>"-0%2)2*89'K
.%2:)2*)*2$9$b"-<)9'")2*-0*).*)7%'%2)2%'%-%2:)#")
$%'2%#")b"-<)9'")4"92")_)*#)70*&4%).*27*##"-<)*')
#")4"'7"##"6
))/0)'%)&9*>*)#%2)4*."#*2).9-"'7*)>"-0%2)&0'97%2:)#")
$%'2%#")2*)"4"8"-<)_)#")4"'7"##")2*)-*0'0$0"#0;"-<6
CÓMO USAR UN ENTRENAMIENTO
PREAJUSTADO
1. Encienda la consola.
))@9#2*)$9"#G90*-)3%7^')%)$%&0*'$*)")4*."#*"-)4"-")
*'$*'.*-)#")$%'2%#"6)
))!".")>*;)G9*)*'$0*'.")#")$%'2%#":)2*)*'$*'.*-<)
#")4"'7"##"6)/*)*2$9$b"-<)9')7%'%)2%'%-%)0'.0$<'K
.%#*)G9*)#")$%'2%#")*27<)#027")4"-")*#)92%6
2. Seleccione un entrenamiento preajustado.
))@"-")2*#*$$0%'"-)9')*'7-*K
'"&0*'7%)4-*"J927".%:)49#2*)
-*4*70."&*'7*)*#)3%7^')
f)1'7-*'"&0*'7%2)4"-")
@I-.0.").*)@*2%)qf)rP6)
FB//)rBAsBRP/t)%)*#)
3%7^')f)1'7-*'"&0*'7%2).*)
A*'.0&0*'7%)qf)@1ACBAD6)
rBAsBRP/t)b"27")G9*)*#)
',&*-%).*#)*'7-*'"&0*'7%)
.*2*".%)2*)&9*27-*)*')#")
4"'7"##"6)
))!9"'.%)2*#*$$0%'*)9')*'7-*'"&0*'7%)4-*"J927".%:)
9')4*-50#).*)'0>*#*2).*)-*2027*'$0").*#)*'7-*'"K
&0*'7%)2*).*24#";"-<)4%-)#")4"'7"##")294*-0%-:)
2*)&%27-"-<)#").9-"$0^').*#)*'7-*'"&0*'7%)*')#")
4"'7"##")$*'7-"#)_)2*)&%27-"-<)*#)',&*-%).*#)*'7-*K
'"&0*'7%)*')#")4"'7"##")0'5*-0%-6
3. Comience a pedalear para iniciar el
entrenamiento.
))!".")*'7-*'"&0*'7%)*27<).0>0.0.%)*')>"-0%2)
2*8&*'7%2).*)9')&0'97%6)!".")2*8&*'7%)*27<)
4-%8-"&".%)$%')9')'0>*#).*)-*2027*'$0")*24*$(50$%6)
+%7"?)@"-")2*8&*'7%2)$%'2*$970>%2)2*)4%.-<)4-%K
8-"&"-)*#)&02&%)'0>*#).*)-*2027*'$0")*24*$(50$%6
))M9-"'7*)*#)*'7-*'"&0*'7%:)#").*2$-04$0^').*#)*'7-*K
'"&0*'7%)&%27-"-<)29)4-%8-*2%)e>*")*#).0"8-"&")
.*)"--03"g6)1#)2*8&*'7%).*#)4*-50#)G9*)2*)0#9&0'")
0'7*-&07*'7*&*'7*)$%--*24%'.*)"#)2*8&*'7%)"$79"#)
.*#)*'7-*'"&0*'7%6)F")"#79-").*#)2*8&*'7%)0'7*-K
&07*'7*)0'.0$")*#)'0>*#).*)-*2027*'$0")4"-").0$b%)
2*8&*'7%6
@*-50#
!%'7"$7%2

20
))H#)50'"#).*)$".")2*8&*'7%).*#)*'7-*'"&0*'7%)2*)
*2$9$b"-<)9'")2*-0*).*)7%'%2)2%'%-%2)_)*#)4-^j0&%)
2*8&*'7%).*#)4*-50#)$%&*';"-<)").*27*##"-)0'7*-K
&07*'7*&*'7*6)/0)2*)b")4-%8-"&".%)9')'0>*#).*)
-*2027*'$0").05*-*'7*)4"-")*#)20890*'7*)2*8&*'7%:)
*#)'0>*#).*)-*2027*'$0").*27*##"-<)*')#")4"'7"##")
.9-"'7*)"#89'%2)2*89'.%2)4"-")0'5%-&"-#*6)H)
$%'70'9"$0^':)*#)'0>*#).*)-*2027*'$0").*)#%2)4*."#*2)
$"&30"-<6
))/0)*#)'0>*#).*)-*2027*'$0")4"-")*#)2*8&*'7%)"$79"#)
*2).*&"20".%)"#7%)%)3"J%:)927*.)4%.-<)&%.050K
$"-)&"'9"#&*'7*)#")$%'5089-"$0^')49#2"'.%)#%2)
3%7%'*2).*)A*2027*'$0")qA1/E/PH+!1t6)/0')
*&3"-8%:)"#)50'"#0;"-)*#)2*8&*'7%)"$79"#:)#%2)
4*."#*2)2*)"J927"-<')"97%&<70$"&*'7*)"#)'0>*#).*)
-*2027*'$0")$%--*24%'.0*'7*)"#)2*8&*'7%)20890*'7*6
))/0).*J").*)4*."#*"-)4%-)>"-0%2)2*89'.%2:)2*)
*2$9$b"-<)9'")2*-0*).*)7%'%2)2%'%-%2)_)*#)*'7-*K
'"&0*'7%)G9*."-<)*')4"92"6)
))@"-")-*0'0$0"-)*#)*'7-*'"&0*'7%:)20&4#*&*'7*)
$%&0*'$*)")4*."#*"-6)1#)*'7-*'"&0*'7%)$%'70'9"-<)
b"27")G9*)*#),#70&%)2*8&*'7%).*#)4*-50#).*27*##*)
0'7*-&07*'7*&*'7*)*')#")4"'7"##")_)*#),#70&%)2*8K
&*'7%)50'"#0$*6)
4. Siga su progreso a través de la pantalla.
) O*")*#)4"2%)U)*')*#)4<80'")Zf6
5. Si lo desea, mida su ritmo cardíaco.
) O*")*#)4"2%)W)*')*#)4<80'")Zc6
6. Si lo desea, encienda el ventilador.
) O*")*#)4"2%)Y)*')*#)4<80'")Zc6
7. Cuando termine de hacer ejercicios, la consola
se apagará automáticamente.
) O*")*#)4"2%)i)*')*#)4<80'")Zc6

21
CÓMO USAR UN ENTRENAMIENTO IFIT LIVE
F"2)7"-J*7"2)0C07)2*)>*'.*')4%-)2*4"-".%6)@"-")$%&4-"-)
7"-J*7"2)0C07:)>0207*)#")w*3)www60C076$%&)%)$%'29#7*)#")
4%-7".").*)*27*)&"'9"#6)F"2)7"-J*7"2)0C07)7"&30I')2*)
>*'.*')*').0>*-2%2)*27"3#*$0&0*'7%2)2*#*$7%26
1. Encienda la consola.
))@9#2*)$9"#G90*-)3%7^')%)$%&0*'$*)")4*."#*"-)4"-")
*'$*'.*-)#")$%'2%#"6)
))!".")>*;)G9*)*'$0*'.")#")$%'2%#":)2*)*'$*'.*-<)
#")4"'7"##"6)/*)*2$9$b"-<)9')7%'%)2%'%-%)0'.0$<'K
.%#*)G9*)#")$%'2%#")*27<)#027")4"-")*#)92%6
2. Inserte una tarjeta iFit y seleccione un
entrenamiento.
))@"-")92"-)9')*'7-*'"&0*'7%)0C07:)0'2*-7*)9'")7"-J*7")
0C07)*')#")-"'9-")0C07n)"2*8,-*2*).*)G9*)#")7"-J*7")
0C07)*27I)%-0*'7".").*)&%.%)G9*)#%2)$%'7"$7%2)
.*)&*7"#)G9*.*')b"$0")"3"J%)_)2*)0'2*-7*')*')#")
-"'9-")0C076)!9"'.%)#")7"-J*7")0C07)*27<)$%--*$7"K
&*'7*)0'7-%.9$0.":)*#)0'.0$".%-)G9*)*27<)J9'7%)")#")
-"'9-")2*)0#9&0'"-<6)
))H)$%'70'9"$0^':)2*#*$$0%'*)*#)*'7-*'"&0*'7%)
G9*).*2*")-*"#0;"-)*')#")7"-J*7")0C07)49#2"'.%)#%2)
3%7%'*2)4"-")"9&*'7"-)%).02&0'90-)2079".%2)"#)#".%)
.*)#")-"'9-")0C076
))R')4*-50#).*)'0>*#*2).*)-*2027*'$0").*#)*'7-*K
'"&0*'7%)2*).*24#";"-<)4%-)#")4"'7"##")294*-0%-:)
2*)&%27-"-<)#").9-"$0^').*#)*'7-*'"&0*'7%)*')#")
4"'7"##")$*'7-"#)_)2*)&%27-"-<)*#)',&*-%).*#)*'7-*K
'"&0*'7%)*')#")4"'7"##")0'5*-0%-6
))R')0'27"'7*).*249I2).*)G9*)b"_")2*#*$$0%'".%)
9')4-%8-"&":)#")>%;).*)9')*'7-*'".%-)4*-2%'"#)
$%&*';"-<)")890"-#%)")7-">I2).*#)*'7-*'"&0*'7%6)
0C07)59'$0%'").*)#")&02&")&"'*-")G9*)#%2)4-%K
8-"&"2).*)*'7-*'"&0*'7%)4-*"J927".%26)@"-")92"-)
*#)*'7-*'"&0*'7%:)$%'29#7*)#%2)4"2%2).*#)S)"#)Y)*')
#")4<80'")Zc6
3. Cuando haya terminado de hacer ejercicio,
extraiga la tarjeta iFit.
))1j7-"08")#")7"-J*7")0C07)$9"'.%)b"_")7*-&0'".%).*)
b"$*-)*J*-$0$0%6)\9"-.*)#")7"-J*7")0C07)*')9')#98"-)
2*89-%6
CÓMO USAR EL SISTEMA DE SONIDO
@"-")-*4-%.9$0-)&,20$")%)#03-%2).*)"9.0%)$%')*#)
2027*&").*)2%'0.%).*)#")$%'2%#")&0*'7-"2)2*)*J*-$07":)
$%'*$7*)9')*j7-*&%).*)29)$"3#*).*)"9.0%)*')#")7%&")
.*)#")$%'2%#"6)!%'*$7*)*#)%7-%)*j7-*&%)*')9'")7%&").*)
29)-*4-%.9$7%-).*)D@S)%).*)!Mn)asegúrese de que
su cable de audio esté completamente enchufado.
H)$%'70'9"$0^':)49#2*)*#)3%7^').*)
-*4-%.9$$0^').*)29)-*4-%.9$7%-).*)
D@S)%).*)!M6)HJ927*)*#)'0>*#).*)
>%#9&*')970#0;"'.%)#%2)3%7%'*2).*)
"9&*'7%)%).02&0'9$0^').*#)>%#9&*')
*')#")$%'2%#")%)*#)$%'7-%#).*)>%#9&*')
.*)9')-*4-%.9$7%-).*)D@S)%).*)!M6
A"'9-")
0C07
P"-J*7")
0C07

22
E'24*$$0%'*)_)"4-0*7*)-*89#"-&*'7*)7%."2)#"2)40*;"2)
.*#)*'7-*'".%-)*#(470$%6)A**&4#"$*)0'&*.0"7"&*'7*)
$9"#G90*-)40*;")8"27"."6)
@"-")#0&40"-)*#)*'7-*'".%-)*#(470$%:)92*)9')4"=%)
b,&*.%)_)9'")4*G9*=")$"'70.".).*)J"3^')29">*6)
IMPORTANTE: Para evitar daños a la consola,
mantenga los líquidos lejos de ésta y evite que la
consola permanezca bajo la luz solar directa.
SOLUCIÓN DE PROBLEMAS DE LA CONSOLA
/0)#"2)4"'7"##"2).*)#")$%'2%#")2*)%4"$"')$9"'.%)2*)
0'27"#"')#"2)40#"2:)$"&30*)#"2)40#"2n)#")&"_%-(").*)#%2)
4-%3#*&"2).*)#")$%'2%#")2%')4-%.9$7%).*)40#"2)$%')
4%$")$"-8"6)O*")*#)4"2%).*)&%'7"J*)c)*')#")4<80'")Za)
4"-")0'27-9$$0%'*2)2%3-*)$^&%)-**&4#";"-#"26
/0)*#)&%'07%-).*#)-07&%)$"-.("$%).*#)&"'8%)'%)59'$0%'")
".*$9"."&*'7*:)$%'29#7*)*#)4"2%)W)*')#")4<80'")Zc6
CÓMO NIVELAR EL ENTRENADOR ELÍPTICO
/0)*#)*'7-*'".%-)*#(470$%)2*)3"#"'$*")#08*-"&*'7*)2%3-*)
*#)29*#%).9-"'7*)29)92%:)80-*)9'")%)#"2).%2)4"7"2).*)
'0>*#"$0^')G9*)2*)*'$9*'7-"')930$"."2).*3"J%).*#)
*27"30#0;".%-)7-"2*-%)b"27")G9*)$%'208")*#0&0'"-)*#)
&%>0&0*'7%).*)>"0>I'6
CÓMO ELIMINAR LA FLEXIÓN EN EL CENTRO DEL
ENTRENADOR ELÍPTICO
/0)*#)*'7-*'".%-)*#(470$%)2*)5#*j0%'")*')*#)$*'7-%)
.9-"'7*)29)92%:)80-*)*#)40*).*)#")3"2*)e>*")*#).039J%).*)
"--03"g)b"27")*#0&0'"-)#")5#*j0^'6
MANTENIMIENTO Y PROBLEMAS
@"7"2).*)
+0>*#"$0^'
@"7").*)
#")V"2*

23
127"2)0'.0$"$0%'*2)#*)"_9."-<')")4#"'050$"-)29)4-%K
8-"&").*)*J*-$0$0%26)@"-")0'5%-&"$0^').*7"##".")2%3-*)
#%2)*J*-$0$0%2)$%'208")9')#03-%)"$-*.07".%)%)$%'29#7*)
$%')29)&I.0$%6)A*$9*-.*)G9*)9'")'97-0$0^')_)9')
.*2$"'2%)".*$9".%2)2%')*2*'$0"#*2)4"-")%37*'*-)
-*29#7".%2)2"7025"$7%-0%26)
INTENSIDAD DE LOS EJERCICIOS
F%)&02&%)20)29)%3J*70>%)*2)G9*&"-)8-"2")G9*)20)#%)
*2)5%-7"#*$*-)29)2027*&")$"-.0%>"2$9#"-:)#")$#">*)4"-")
"#$"';"-)#%2)-*29#7".%2)*2)b"$*-)*J*-$0$0%2)$%')#")0'7*'K
20.".)".*$9"."6)R27*.)49*.*)3"2"-2*)*')29)-07&%)
$"-.("$%)4"-")*'$%'7-"-)*#)'0>*#).*)0'7*'20.".)".*$K
9".%6)1#)*2G9*&")G9*)2*)4-*2*'7")&<2)"3"J%)&9*27-")
#%2)-07&%2)$"-.("$%2)-*$%&*'.".%2)4"-")G9*&"-)8-"2")
_)b"$*-)*J*-$0$0%2)"*-^30$%26
@"-")*'$%'7-"-)*#)'0>*#).*)0'7*'20.".)".*$9".%:)
392G9*)29)*.".)*')#")4"-7*)0'5*-0%-).*#)*2G9*&")e#"2)
*.".*2)2*)-*.%'.*"')"#)&,#704#%).*)Za)&<2)$*-$"'%g6)
F%2)7-*2)',&*-%2)G9*)2*)#027"')*'$0&").*)29)*.".)
.*50'*')29)l;%'").*)*'7-*'"&0*'7%6m)1#)',&*-%)&<2)
4*G9*=%)*2)*#)-07&%)$"-.("$%)$9"'.%)2*)G9*&*)8-"2":)
*#)',&*-%)0'7*-&*.0%)*2)*#)-07&%)$"-.("$%)$9"'.%)2*)
G9*&")#")&<j0&")$"'70.".).*)8-"2")_)*#)',&*-%)&<2)
8-"'.*)*2)*#)-07&%)$"-.("$%)$9"'.%)2*)-*"#0;"')*J*-$0K
$0%2)"*-^30$%26
Quemar Grasau@"-")G9*&"-)8-"2")*50$0*'7*&*'7*:)
.*3*)b"$*-)*J*-$0$0%2)")9')'0>*#).*)0'7*'20.".)3"J%)
.9-"'7*)9')4*-0%.%).*)70*&4%)&"'7*'0.%6)M9-"'7*)
#%2)4-0&*-%2)&0'97%2).*)*J*-$0$0%)29)$9*-4%)970#0;")#"2)
calorías de los carbohidratos)4"-")%37*'*-)*'*-8("6)
/^#%)7-"2)#%2)4-0&*-%2)&0'97%2).*)*J*-$0$0%)29)$9*-4%)
$%&0*';")")970#0;"-)#"2)calorías de grasa "#&"$*'".")
4"-")%37*'*-)*'*-8("6)/0)29)%3J*70>%)*2)G9*&"-)8-"2":)
"J927*)#")0'7*'20.".).*)292)*J*-$0$0%2)b"27")G9*)*#)
-07&%)$"-.("$%)*27I)4-^j0&%)"#)',&*-%)&<2)3"J%).*)
29);%'").*)*'7-*'"&0*'7%6)@"-")G9*&"-)#")&<j0&")
$"'70.".).*)8-"2":)-*"#0$*)#%2)*J*-$0$0%2)$%')29)-07&%)
$"-.("$%)$*-$").*#)',&*-%)0'7*-&*.0%).*)29);%'").*)
*'7-*'"&0*'7%6
Ejercicios Aeróbicosu/0)29)%3J*70>%)*2)5%-7"#*$*-)29)
2027*&")$"-.0%>"2$9#"-:).*3*)-*"#0;"-)*J*-$0$0%2)"*-^30K
$%2:)9'")"$70>0.".)G9*)-*G90*-*)8-"'.*2)$"'70.".*2).*)
%j(8*'%).9-"'7*)4*-0%.%2).*)70*&4%)4-%#%'8".%26)@"-")
-*"#0;"-)*J*-$0$0%2)"*-^30$%2)"J927*)#")0'7*'20.".).*)292)
*J*-$0$0%2)b"27")G9*)29)-07&%)$"-.("$%)*27I)4-^j0&%)"#)
',&*-%)&<2)"#7%).*)29);%'").*)*'7-*'"&0*'7%6)
GUÍAS DE ENTRENAMIENTO
Calentamientou!%&0*'$*)*270-"'.%)_)*J*-$07"'.%)
#08*-"&*'7*)#%2)&,2$9#%2)*'7-*)W)_)Za)&0'97%26)1#)
$"#*'7"&0*'7%)"9&*'7")29)7*&4*-"79-")$%-4%-"#:)29)
5-*$9*'$0")$"-.0"$")_)29)$0-$9#"$0^':)4-*4"-<'.%#*)
4"-")#%2)*J*-$0$0%26)
Ejercicio en la Zona de EntrenamientouA*"#0$*)
*J*-$0$0%2).9-"'7*)Qa)")Sa)&0'97%2)$%')29)-07&%)
$"-.("$%)*')29);%'").*)*'7-*'"&0*'7%6)eM9-"'7*)
#"2)4-0&*-"2)2*&"'"2).*)29)4-%8-"&").*)*J*-$0K
$0%2)'%)&"'7*'8")29)-07&%)$"-.("$%)*')29);%'").*)
*'7-*'"&0*'7%).9-"'7*)&<2).*)Qa)&0'97%26g)A*240-*)
-*89#"-&*'7*)_)4-%59'."&*'7*)&0*'7-"2)b"$*)*J*-$0K
$0%2h'9'$")$%'7*'8")#")-*240-"$0^'6)
RelajaciónuP*-&0'*)$%')*270-"&0*'7%2)*'7-*)W)_)Za)
&0'97%26)1#)*270-"&0*'7%)"9&*'7")#")5#*j030#0.".).*)292)
&,2$9#%2)_)#*)"_9.")")*>07"-)4-%3#*&"2)4%27*-0%-*2)"#)
*J*-$0$0%6
FRECUENCIA DE EJERCICIOS
@"-")&"'7*'*-)%)&*J%-"-)29)5%-&")5(20$":)$%&4#*7*)
7-*2)2*20%'*2).*)*'7-*'"&0*'7%)$".")2*&"'":)$%')"#)
&*'%2)9').(").*).*2$"'2%)*'7-*)2*20%'*26)P-"2)"#89K
'%2)&*2*2).*)*J*-$0$0%)-*89#"-:)49*.*)$%&4#*7"-)b"27")
$0'$%)2*20%'*2).*)*'7-*'"&0*'7%)$".")2*&"'")20)#%)
.*2*"6)A*$9*-.*:)#")$#">*)4"-")*#)Ij07%)*2)b"$*-).*)#%2)
*J*-$0$0%2)9'")4"-7*)-*89#"-)_)"8-"."3#*).*)29)>0.")
.0"-0"6
GUÍA DE EJERCICIOS
PRECAUCIÓN: Antes de ini-
ciar éste o cualquier programa de ejercicios
consulte con su médico. Esto es especial-
mente importante para personas de edades
superiores a 35 años, o para aquellos que
hayan presentado problemas de salud.
El sensor de pulso no es un dispositivo
médico. Varios factores pueden afectar la
precisión de las lecturas del ritmo cardíaco.
El sensor de pulso está previsto sólo como
ayuda para los ejercicios, determinando las
tendencias generales de su ritmo cardíaco.

24
) Z) Z) V"2*
) Q) Z) H-&".9-"
) S) Z) D%'7"'7*)O*-70$"#
) U) Z) P"4").*#)D%'7"'7*)O*-70$"#
) W) Z) !%'2%#"
) Y) Z) 127"30#0;".%-)M*#"'7*-%
) i) Z) 127"30#0;".%-)P-"2*-%
) f) Z) V-";%)E;G90*-.%
) c) Z) V-";%)M*-*$b%
) Za) Q) P"4").*#)V-";%
) ZZ) Z) @"7").*#)V-";%)E;G90*-.%
) ZQ) Z) @"7").*#)V-";%)M*-*$b%
) ZS) Z) @*."#)E;G90*-.%
) ZU) Z) V-";%).*#)@*."#)E;G90*-.%
) ZW) Z) @*."#)M*-*$b%
) ZY) Z) V-";%).*#)@*."#)M*-*$b%
) Zi) Z) )!930*-7")E;G90*-.").*#)D%'7"'7*)
O*-70$"#
) Zf) Z) )!930*-7")M*#"'7*-").*#)V-";%)
E;G90*-.%
) Zc) Z) )!930*-7")P-"2*-").*#)V-";%)
E;G90*-.%
) Qa) Z) )!930*-7")M*#"'7*-").*#)V-";%)
M*-*$b%
) QZ) Z) !930*-7")P-"2*-").*#)V-";%)M*-*$b%
) QQ) Z) @%-7"3%7*##"
) QS) Q) P"4").*#)127"30#0;".%-)M*#"'7*-%
) QU) Q) P"4").*#)127"30#0;".%-)P-"2*-%
) QW) Q) A9*."
) QY) Z) @0*).*)#")V"2*
) Qi) Q) @"7").*)+0>*#"$0^'
) Qf) Z) @-%7*$7%-)E;G90*-.%
) Qc) Z) @-%7*$7%-)M*-*$b%
) Sa) Y) V9J*).*#)V-";%
) SZ) U) !930*-7").*#)V-";%).*#)@*."#
) SQ) Q) 1J*).*#)V-";%).*#)@*."#
) SS) U) V9J*).*#)V-";%).*#)@*."#
) SU) Z) 1J*).*)#")V"2*
) SW) Q) V9J*).*)#")V"2*
) SY) Q) V-";%).*)#")D"'0>*#"
) Si) Q) !930*-7").*)#")D"'0>*#")E;G90*-."
) Sf) Z) !93%).*)#")D"'0>*#"
) Sc) Z) )!930*-7")M*-*$b").*#)D%'7"'7*)
O*-70$"#
) Ua) Z) @%#*"
) UZ) Q) !930*-7").*#)V9J*).*)#")D"'0>*#"
) UQ) U) V9J*).*)#")D"'0>*#"
) US) Q) D"'8").*#)V9J*).*)#")D"'0>*#"
) UU) Q) X9*8%).*)!%J0'*7*2).*)#")D"'0>*#"
) UW) Z) D"'0>*#"
) UY) Z) 124"$0".%-).*)#")D"'0>*#"
) Ui) Q) H'0##%).*)A*7*'$0^').*)#")D"'0>*#"
) Uf) Z) !"3#*".%)1#I$7-0$%)/94*-0%-
) Uc) Z) !"3#*".%)1#I$7-0$%)E'5*-0%-
) Wa) Z) E'7*--947%-).*)F*'8x*7"v!"3#*
) WZ) Z) !%--*").*)D"'*J%
) WQ) Z) O%#"'7*
) WS) Z) E&<')*')!
) WU) Z) !%4")$%')V9J*2
) WW) Q) E&<'
) WY) Z) A*2%-7*
) Wi) Z) V-";%)127"3#*
) Wf) Z) /%4%-7*).*#)V-";%)127"3#*
) Wc) Z) H3-";".*-"
) Ya) Z) V"-"'.")M*-*$b"
) YZ) Z) @*-'%).*)#")V"2*
) YQ) Q) 124"$0".%-).*#)/%4%-7*).*#)@"2".%-
) YS) Q) @*-'%).*)#")!b">*7"
) YU) Z) /%4%-7*).*#)@"2".%-
) YW) Z) /%4%-7*).*)@0>%7*
) YY) Q) 124"$0".%-).*#)/%4%-7*).*)@0>%7*
) Yi) Z) @"2".%-).*)#")H-&".9-"
) Yf) Z) V%7^').*#)@"2".%-
) Yc) Z) !#">0J")$%')\"'$b%
) ia) Z) )D%7%-
) iZ) Z) @%#*").*#)!"3#*).*)A*2027*'$0"
) iQ) Z) X9*8%).*)!"3#*2).*)A*2027*'$0"
) iS) Q) D"'8%).*)1249&"
) iU) Z) 1J*).*)@0>%7*
) iW) Q) !930*-7").*#)!93%
) iY) Q) !930*-7").*)#")D"'0>*#")1j7*-'"
) ii) Q) /%4%-7*).*#)O%#"'7*
) if) U) @*-'%)Df)j)UZ&&
) ic) c) P9*-$").*)V#%G9*%)Df
) fa) Z) @*-'%)Df)j)Yc&&
) fZ) U) !%'7-"79*-$")DZa
) fQ) Q) @*-'%).*)@%-7*)DZa)j)fa&&
) fS) Q) P%-'0##%)DZa)j)ZQi&&
) fU) Y) P%-'0##%)Df)j)QS&&
) fW) Z) P%-'0##%)DY)j)Za&&
) fY) Z) P%-'0##%).*)#")D"'0>*#"
) fi) f) P%-'0##%).*#)!93%
) ff) Za) H-"'.*#")Df
) fc) Q) P%-'0##%)DZa)j)Ya&&
) ca) S) H-"'.*#")M0>0.0.")Df
) cZ) Z) 124"$0".%-).*#)O%#"'7*
) cQ) Z) H-"'.*#").*#)O%#"'7*
) cS) Z) H'0##%).*)A*7*'$0^').*#)O%#"'7*
) cU) U) P%-'0##%).*)#")!%4").*)V9J*2
) cW) Z) P%-'0##%).*#)H7"J".%-
) cY) Z) P%-'0##%)Df)j)SW&&
) ci) Z) \"'$b%)1
N° Ctd. Descripción N° Ctd. Descripción
LISTA DE LAS PIEZAS +y).*)D%.*#%)@C1O1FiUcZQ6a)AZaZQH

25
) cf) U) P%-'0##%).*)#")@%#*"
) cc) Q) H-"'.*#").*)#")D"'0>*#"
) Zaa) Q) P%-'0##%)DU)j)QW&&
) ZaZ) Za) )P%-'0##%).*)!"3*;")A*.%'.")
DU)j)ZY&&
) ZaQ) ZQ) H-"'.*#")DU
) ZaS) QY) P%-'0##%)DU)j)ZY&&
) ZaU) f) P%-'0##%)A%&%)DU)j)ZY&&
) ZaW) Y) )P%-'0##%).*)!"3*;")A*.%'."
DU)j)SQ&&
) ZaY) Q) P%-'0##%)$%')!%##"-)Df)j)SZ&&
) Zai) U) P%-'0##%)DU)j)ZQ&&
) Zaf) Q) P%-'0##%)DU)j)Wa&&
) Zac) Q) H-"'.*#")B'.9#"7%-0")\-"'.*
) ZZa) Q) H-"'.*#")@*G9*=")Df
) ZZZ) Q) H-"'.*#")B'.9#"7%-0"
) ZZQ) f) H-"'.*#")M0>0.0.")DU
) ZZS) Z) H-"'.*#")DZa
) ZZU) Z) P9*-$")DY
) ZZW) U) P%-'0##%)$%')!%##"-)Df)j)QS&&
) ZZY) Q) @*-'%)Df)j)fa&&
) ZZi) Q) D"'8%).*)@9#2%
) ZZf) Q) !"3#*).*)@9#2%
) ZZc) Z) V"-"'.")E;G90*-."
) ]) h) D"'9"#).*#)R29"-0%
) ]) h) o*--"&0*'7").*#)D%'7"J*
) ]) h) @"G9*7*).*)\-"2"
N° Ctd. Descripción N° Ctd. Descripción
+%7"?)F"2)*24*$050$"$0%'*2)*27<')29J*7"2)")$"&30%2)20')4-*>0%)">02%6)@"-")0'5%-&"$0^').*)$^&%)2%#0$07"-)40*;"2)
.*)-*49*27%:)>*")#")$%'7-"4%-7".").*)*27*)&"'9"#6)]127"2)40*;"2)'%)*27<')0#927-"."26

26
Z
Y
f
c
Za
Za
ZZ
ZQ
ZS
ZU
ZW
ZY
Zi Sc
Zf
Zc
Qa
QZ
QQ
QS
QS
QW
QW
QY
Sa
Sa
Sa
Sa
Sa
Sa
SZ
SZ
SQ SS
SS
SZ
SQ
SS
SZ
SU
SW
SW
fa
if
ZaZ
ZaZ
ic
ZaW
ff
fU
ic
fU
ZaZ
ZaZ iU
ZaW
ic
if
ff fU
ZaU
ZZW
ZZW
ff
fU
ZZW
ZZW
fU
ff
fc
fQ
fZ
fZ
fZ
fc
Uf
Uc
fU
iS
iS
ff
ff
ff
ff
ca
ca
ca
ZZZ
ZZZ
U
S
ZaZ
ZZQ ZaU
ZaU
Zaf
ZZQ
ZaQ
ZaU
ZaU
Zaf
ZZQ
ZZQ
ZaQ
ZaQ
ZaW
ZZf
ZaZ
ic
ZZc
ZZi
ZZi
Ya
ZZY
ZZY
ZaZ
W
DIBUJO DE LAS PIEZAS A +y).*)D%.*#%)@C1O1FiUcZQ6a)AZaZQH

27
YY
Q
i
QU
QU
Qi
Qi
Qf
Qc
iW
iY
SY
cc
fi
ZaY
Si
Ua
UZ
UQ
US
ZaS
ZaS
Zai
Zai
ZaS
Sf
US
UQ
UQ
UZ ZaY
SY
iW
Si
fS
fi
fi
iY
ZaS
ZaS
ZaS
ZaS
fY
cc
UU
cf
cf
UU
UY
Ui
Ui
ZaS
Zaa
ZaS
WZ
Wa
WQ
WS
WU
WY
cU
cU
cU
ic
cQ
cS
cZ
Wi
Wf
Wc
ZaS
fW cY
YZ
YQ
YQ
YS YU
YS YW
YY
Yi
Yf
Yc
ZZS
ci
ia
cW
ZaS
ic
iZ
iQ
Zaa
ZaS
ZaS
ZaQ
ZaQ
Zai
ff
ff
Zac
Zac
ZZU
ZaS
ZZa
ZZa
ii
ii
WW
WW
UW
DIBUJO DE LAS PIEZAS B +y).*)D%.*#%)@C1O1FiUcZQ6a)AZaZQH

+y).*)@0*;")SQYWQU)AZaZQH) E&4-*2%)*')!b0'")z)QaZQ)E!B+)E@:)E'$6
Este producto electrónico no deberá arrojarse en ningún caso a los cubos de
basura municipales. Con el n de preservar el medio ambiente, este producto
deberá reciclarse, una vez concluida su vida útil, según lo estipulado en la
legislación vigente.
@%-)5">%-)970#0$*)#"2)0'27"#"$0%'*2).*)-*$0$#"J*)"97%-0;"."2)4"-")-*$%40#"-)*27*)704%)
.*)-*20.9%2)*')29);%'"6)H#)b"$*-#%:)*27"-<)"_9."'.%)")$%'2*->"-)#%2)-*$9-2%2)
'"79-"#*2)_)")&*J%-"-)#%2)*27<'."-*2)*9-%4*%2).*)4-%7*$$0^')&*.0%"&30*'7"#6)/0)
.*2*")%37*'*-)&<2)0'5%-&"$0^')2%3-*)&I7%.%2)2*89-%2)_)$%--*$7%2)4"-").*2b"K
$*-2*).*)*27*)704%).*)4-%.9$7%2:)4^'8"2*)*')$%'7"$7%)$%')#")%)$0'")&9'0$04"#)%)
$%')*#)*27"3#*$0&0*'7%)*')*#)G9*)".G90-0^)*27*)4-%.9$7%6
INFORMACIÓN SOBRE EL RECICLAJE
@"-")%-.*'"-)40*;"2).*)-*49*27%:)4%-)5">%-)>*")#")4%-7".").*)*27*)&"'9"#6)@"-")"_9."-'%2)")4-%4%-$0%'"-#*)"202K
7*'$0":)4%-)5">%-)*27I)#027%)4"-")4-%4%-$0%'"-)#")20890*'7*)0'5%-&"$0^')$9"'.%)'%2)$%'7"$7*?
k))*#)',&*-%).*)&%.*#%)_)*#)',&*-%).*)2*-0*).*#)4-%.9$7%)e>*")#")4%-7".").*)*27*)&"'9"#g
k))*#)'%&3-*).*#)4-%.9$7%)e>*")#")4%-7".").*)*27*)&"'9"#g
)
k))))*#)',&*-%).*)#")40*;")_).*2$-04$0^').*)#")e.*)#"2g)40*;"e2g).*)-**&4#";%)e>*")#")FE/PH)M1)FH/)@E1TH/)_)*#)
MEVRXB)M1)FH/)@E1TH/)b"$0")*#)50'"#).*)*27*)&"'9"#g
CÓMO ORDENAR PIEZAS DE REPUESTO