Proform Pfevel749120 420 Zle Elliptical Users Manual
2015-04-14
: Proform Proform-Pfevel749120-420-Zle-Elliptical-Users-Manual-700538 proform-pfevel749120-420-zle-elliptical-users-manual-700538 proform pdf
Open the PDF directly: View PDF
.
Page Count: 28

!"#$%$&&'(#)*")
+",-.$)*/)0-.1/
!"#$%&$'(%)*+$,-./.012345#6
!"#$%+$789:+$$$$$$$$$$$$$$$$$$$$$$$$$$$$$$$$$$
2%.13/4)&/)(",-.$)*/)5-.1/)5".)&')
&16(/)%17*/55"5)8$".).-9-./(%/:
';!<.0$=.$0><?@0@7;?.<A
BBB#:C(D+&9(E+#C(F
$$$$$;??.!?@G!
0:H+I$J(&J+H$*+H$E98CK&J:(DH$+J$*+H$
:DHJ9&CJ:(DH$C(DJ+D&+H$%KDH$C+$
FKD&+*$KLKDJ$%>&J:*:H+9$C+J$KEEK9M
+:*#$NK9%+I$C+$FKD&+*$E(&9$L(&H$O$
98P89+9$&*J89:+&9+F+DJ#
Q<.7?@G!7$R
01)3$"5)'3/4)*/5);"/5#1$(5)$")51)*/5)
81<%/5)5$(#),'(;"'(#/5=)3/"1&&/4)
($"5)%$(#'%#/.)'")>
STTU$6V46$454$426
%&$*&D%:$K&$W+&%:X$%+$3Y66$Z$4TY66$
+J$%+$42Y66$Z$4VY66X$+J$*+$L+D%9+%:$
%+$42Y66$Z$41Y66$SZ$*>+[C+EJ:(D$
%+H$W(&9H$P89:8HU
\(&99:+*$]$
HKL#P9^:C(D+&9(E+#C(F
7:J+$:DJ+9D+J$]$
BBB#:C(DH&EE(9J#+&

5
.',0;\.'.!?$=.7$;<?G\G00;!?7$=>;/.A?@77.'.!?
?;_0.$=.7$';?@`A.7
?@ABA@C)/5#)"(/),'.;"/)/(./615#.-/)*/)DEA+)D?=)D(%:
F/5)'"#$%$&&'(#5)*G'3/.#155/,/(#)1&&"5#.-5)%17%$(#./)
5$(#)1(%&"5)'3/%)%/#)'88'./1&:)E$&&/4)&/5)'"#$%$&&'(#5)
*G'3/.#155/,/(#)5".)&/5)'3/.#155/,/(#5)/()'(6&'15)'"H)
/(*.$1#5)1(*1;"-5:E/)5%I-,')1(*1;"/)&G/,8&'%/,/(#)
*/5)'"#$%$&&'(#5)*G'3/.#155/,/(#:)7:$&D$K&J(C(**KDJ$
+HJ$FKDa&KDJ$(&$:**:H:b*+X$98P89+IML(&H$Z$*K$EKc+$
%+$C(&L+9J&9+$%+$C+$FKD&+*$E(&9$C(FFKD%+9$
&D$D(&L+*$K&J(C(**KDJ$c9KJ&:J#$,*KC+I$*+$D(&L+*$
K&J(C(**KDJ$Z$*>+D%9(:J$:D%:a&8#$@/,'.;"/)>)&/5)
'"#$%$&&'(#5)(/)5$(#)8/"#7J#./)8'5)1&&"5#.-5)K)&G-%I/&&/:
LC?F!ELCL+M)NL0)!OMAEAFF!+M0)NG!PL@MD00LCL+M:):):):):):):):):):):):):):):):):):):):):):):):):):):):):):):):):):):):):):):):Q
?@2E!OMDA+0)DC?A@M!+ML0):):):):):):):):):):):):):):):):):):):):):):):):):):):):):):):):):):):):):):):):):):):):):):):):):):):):):):):):):):):):):):):R
!P!+M)NL)EACCL+EL@ ):):):):):):):):):):):):):):):):):):):):):):):):):):):):):):):):):):):):):):):):):):):):):):):):):):):):):):):):):):):):):):):):):):):):S
M!TFL!O)NGDNL+MDBDE!MDA+)NL0)?DUEL0):):):):):):):):):):):):):):):):):):):):):):):):):):):):):):):):):):):):):):):):):):):):):):):):):):):):):):V
!00LCTF!WL):):):):):):):):):):):):):):):):):):):):):):):):):):):):):):):):):):):):):):):):):):):):):):):):):):):):):):):):):):):):):):):):):):):):):):):):):):):):):X
EACCL+M)OMDFD0L@)FGLFFD?MDYOL ):):):):):):):):):):):):):):):):):):):):):):):):):):):):):):):):):):):):):):):):):):):):):):):):):):):):):):):):):):ZV
L+M@LMDL+)LM)?@ATFUCL0) ):):):):):):):):):):):):):):):):):):):):):):):):):):):):):):):):):):):):):):):):):):):):):):):):):):):):):):):):):):):):):):):QQ
EA+0LDF0)?AO@)FGL[L@EDEL:):):):):):):):):):):):):):):):):):):):):):):):):):):):):):):):):):):):):):):):):):):):):):):):):):):):):):):):):):):):):):):QR
FD0ML)NL0)?DUEL0):):):):):):):):):):):):):):):):):):):):):):):):):):):):):):):):):):):):):):):):):):):):):):):):):):):):):):):):):):):):):):):):):):):):):):):):QS
0E\2C!)N2M!DFF2 :):):):):):):):):):):):):):):):):):):):):):):):):):):):):):):):):):):):):):):):):):):):):):):):):):):):):):):):):):):):):):):):):):):):):):):):QX
?AO@)EACC!+NL@)NL0)?DUEL0)NL)@LE\!+WL :):):):):):):):):):):):):):):):):):):):):):):):):):):):):):):):):):):):)N/.(1<./)?'6/
D+BA@C!MDA+)?AO@)FL)@LE]EF!WL):):):):):):):):):):):):):):):):):):):):):):):):):):):):):):):):):):):):):):):):):):):):):):)N/.(1<./)?'6/

T
,Ad\;<?@G!7$@',GA?;!?.7
$$$$$$$;/.A?@77.'.!?$]$E(&9$98%&:9+$*+H$9:Ha&+H$%+$b*+HH&9+H$c9KL+HX$*:H+I$J(&J+H$*+H$
E98CK&J:(DH$:FE(9JKDJ+H$+J$*+H$:DHJ9&CJ:(DH$C(DJ+D&+H$%KDH$C+$FKD&+*X$K:DH:$a&+$*+H$KL+9J:HH+F+DJH$
H+$J9(&LKDJ$H&9$*>KEEK9+:*X$KLKDJ$%>&J:*:H+9$L(J9+$+**:EJ:a&+#$@\G!$D+$E+&J$eJ9+$J+D&$9+HE(DHKb*+$%+$
J(&J+$b*+HH&9+$(&$J(&J$%8cfJ$FKJ89:+*$98H&*JKDJ$%:9+CJ+F+DJ$(&$:D%:9+CJ+F+DJ$%+$*>&J:*:HKJ:(D$%+$C+J$
KEEK9+:*#
4#$ \(DH&*J+I$L(J9+$F8%+C:D$KLKDJ$%+$C(FM
F+DC+9$J(&J$E9(c9KFF+$%>+[+9C:C+H#$\+C:$
+HJ$EK9J:C&*:)9+F+DJ$:FE(9JKDJ$E(&9$*+H$
E+9H(DD+H$fc8+H$%+$E*&H$%+$Tg$KDH$+J$*+H$
E+9H(DD+H$KOKDJ$+&$%+H$E9(b*)F+H$%+$HKDJ8#
5#$ !>&J:*:H+I$*>+**:EJ:a&+$a&+$%+$*K$FKD:)9+$
%8C9:J+$%KDH$C+$FKD&+*#$
T#$ @*$:DC(Fb+$K&$E9(E9:8JK:9+$%+$L+:**+9$Z$C+$J(&H$
*+H$&J:*:HKJ+&9H$%+$*>+**:EJ:a&+$H(:+DJ$C(99+CJ+M
F+DJ$:DP(9F8H$%+$J(&J+H$*+H$E98CK&J:(DH#
2#$ 0>+**:EJ:a&+$+HJ$C(Dh&$E(&9$*>&J:*:HKJ:(D$Z$
%(F:C:*+$H+&*+F+DJ#$!>&J:*:H+I$EKH$*>KEEK9+:*$
Z$%+H$P:DH$C(FF+9C:K*+HX$*(CKJ:L+H$(&$
:DHJ:J&J:(DD+**+H#
g#$ <J:*:H+I$+J$cK9%+I$*>+**:EJ:a&+$Z$*>:DJ89:+&9X$Z$
*>Kb9:$%+$*>Y&F:%:J8$+J$%+$*K$E(&HH:)9+#$!+$
*>:DHJK**+I$EKH$%KDH$&D$cK9Kc+X$D:$H&9$&D+$J+9M
9KHH+$C(&L+9J+$(&$E9)H$%+$*>+K&#$
i#$ @DHJK**+I$*>+**:EJ:a&+$H&9$&D+$H&9PKC+$Z$D:L+K&X$
KL+C$K&$F(:DH$6X3$F$%>+HEKC+$Z$*>KLKDJ$+J$
*>K99:)9+$%+$*>KEEK9+:*X$+J$6Xi$F$%+$CYKa&+$
CjJ8#$,(&9$E9(J8c+9$*+$9+LeJ+F+DJ$%&$H(*X$
E*KC+I$&D$E+J:J$JKE:H$H(&H$*>+**:EJ:a&+#
1#$ @DHE+CJ+I$98c&*:)9+F+DJ$+J$H+99+I$C(9M
9+CJ+F+DJ$J(&J+H$*+H$E:)C+H#$A+FE*KC+I$
:FF8%:KJ+F+DJ$J(&J+$E:)C+$&H8+#
V#$ NK9%+I$*+H$+DPKDJH$%+$F(:DH$%+$45$KDH$+J$*+H$
KD:FK&[$%(F+HJ:a&+H$Z$*>8CK9J$%+$*>+**:EJ:a&+$
+D$J(&J$J+FEH#
3#$ 0>+**:EJ:a&+$D+$%+L9K:J$EKH$eJ9+$&J:*:H8$EK9$*+H$
E+9H(DD+H$%(DJ$*+$E(:%H$%8EKHH+$456$kc#
46#$,(9J+I$%+H$LeJ+F+DJH$KEE9(E9:8H$*(9H$%+$
*>+[+9C:C+$l$D+$E(9J+I$EKH$%+H$LeJ+F+DJH$
KFE*+H$a&:$E(&99K:+DJ$H+$C(:DC+9$%KDH$
*>+**:EJ:a&+#$,(9J+I$J(&W(&9H$%+H$CYK&HH&9+H$
%+$HE(9J$E(&9$E9(J8c+9$L(H$E:+%H$*(9H$%+$
*>+[+9C:C+#
44#$?+D+I$*+H$c&:%(DH$(&$*+H$b9KH$E(&9$*K$EK9M
J:+$H&E89:+&9+$%&$C(9EH$S,7\U$*(9Ha&+$L(&H$
F(DJ+I$H&9$*>+**:EJ:a&+X$+J$E(&9$+D$%+HC+D%9+$
(&$*>&J:*:H+9#
45#$0K$H(D%+$%+$P98a&+DC+$CK9%:Ka&+$D>+HJ$EKH$
&D$%:HE(H:J:P$F8%:CK*#$=+$D(Fb9+&[$PKCJ+&9HX$
J+*H$a&+$*+H$F(&L+F+DJH$%+$*>&J:*:HKJ+&9$E+DM
%KDJ$*>+[+9C:C+X$E+&L+DJ$9+D%9+$*K$*+CJ&9+$%+$
*K$P98a&+DC+$CK9%:Ka&+$F(:DH$Hm9+#$0K$H(D%+$
D+$H+9J$a&>Z$%(DD+9$&D+$KEE9([:FKJ:(D$%+H$
P*&CJ&KJ:(DH$%+$*K$P98a&+DC+$CK9%:Ka&+$*(9H$
%+$*>+[+9C:C+#
4T#$0>+**:EJ:a&+$D+$C(FE(9J+$EKH$%+$9(&+$*:b9+$l$
*+H$E8%K*+H$C(DJ:D&+9(DJ$Z$H>K9J:C&*+9$W&Ha&>Z$
*>:FF(b:*:HKJ:(D$%&$L(*KDJ#$=:F:D&+I$c9K%&+*M
*+F+DJ$L(J9+$L:J+HH+$%+$E8%K*Kc+#
42#$NK9%+I$J(&W(&9H$*+$%(H$%9(:J$*(9H$%+$
*>&J:*:HKJ:(D$%+$*>+**:EJ:a&+$l$D>K9a&+I$EKH$*+$
%(H#
4g#$0>+[+9C:C+$H&9F+D8$E+&J$+DJ9KnD+9$%+$c9KL+H$
b*+HH&9+H$(&$*K$F(9J#$\+HH+I$:FF8%:KJ+F+DJ$
L(H$+[+9C:C+H$H:$L(&H$9+HH+DJ+I$&D+$%(&*+&9$
(&$%+H$8J(&9%:HH+F+DJHX$+J$9+J(&9D+I$Z$*K$
D(9FK*+#

2
0$(*/)*/)B.-;"/(%/)
E'.*1';"/
W"1*$(
T.'5)?0E
T.'5)*")?-*'&1/.
@$"/
?-*'&/)
E$(5$&/
?$.#/7T$"#/1&&/^
?1/*)*/)+13/&/,/(#
?$16(-/
F$;"/#)*/)@'(6/,/(#
!1,'(#)*/)@'(6/,/(#
P/(#1&'#/".
F$;"/#)*")T.'5)*/)&')?-*'&/
^F')_$"#/1&&/)(G/5#)8'5)1(%&"5/
;/;!?$=.$\G''.!\.A
C/.%1)*G'3$1.)%I$151)&G/&&18#1;"/)?@ABA@C`)SQa)bFL:)
FG/&&18#1;"/)SQa)bFL)$99./)"(/)3'5#/)6',,/)*/)%'.7
'%#-.15#1;"/5)%$(c"/5)8$".)./(*./)3$5)/(#.'d(/,/(#5)
8&"5)/991%'%/5)/#)'6.-'_&/5:
!(&H$L(&H$C(DH+:**(DH$%+$*:9+$KJJ+DJ:L+F+DJ$C+$
FKD&+*$KLKDJ$%>&J:*:H+9$*>+**:EJ:a&+#)01)3$"5)'3/4)*/5)
;"/5#1$(5)'8.<5)'3$1.)&")%/),'("/&=)3/"1&&/4)3$"5).-9-7
./.)K)&')8'6/)*/)%$"3/.#"./)*/)%/),'("/&)8$".)($"5)
%$(#'%#/.:)?$".)($"5)8/.,/##./)*/),1/"H)3$"5)'5515#/.=)
($#/4)&/)(",-.$)*"),$*<&/)/#)&/)(",-.$)*/)5-.1/)*/)
&G'88'./1&)'3'(#)*/)($"5)'88/&/.:)F/)(",-.$)*"),$*<&/)
/#)&G/,8&'%/,/(#)*/)&G'"#$%$&&'(#)*")(",-.$)*/)5-.1/)
5$(#)1(*1;"-5)5".)&')8'6/)*/)%$"3/.#"./)*/)%/),'("/&:
B',1&1'.15/473$"5)'3/%)&/5)81<%/5)5".)&/)5%I-,')%17
*/55$"5)'3'(#)*/)%$(#1("/.)&')&/%#"./)*/)%/),'("/&:
F$(6"/".)>) ZXR)%,
F'.6/".)>) Xe)%,
?$1*5)>))) VX)f6

g
2%.$")*/)T&$%'6/)
CZa)ghZijQ
E$(#./72%.$")
Ch)gkeijk
@$(*/&&/)Ch)
ghhijX
@$(*/&&/)
A(*"&-/)gZZZijQ
@$(*/&&/)
B/(*"/)Ch)
geaijR
P15)K)MJ#/)@$(*/)
CS)H)ZX,,)
gZaZijZa
P15)K)MJ#/)@$(*/)
CS)H)RQ,,)
gZaVijX
T$"&$()Ch)H)Xe,,)ghaijZ
@$(*/&&/)
B/(*"/)CS)
gZZQijh
@$(*/&&/)
CS)
gZaQijh
P15)CS)H)Va,,)
gZahijQ
P15)2,$"55-/)
CS)H)ZX,,)
gZaSijh
T$"&$()*/)E'..$55/.1/
CZa)H)ha,,)ghQijQ
P15)*")C$l/")
ghkijh
P15)K)28'"&/,/(#
Ch)H)QR,,)gZZVijS P15)Ch)H)QR,,)
ghSijS T$"&$()Ch)H)SZ,,)
gkhijS
T$"&$()Ch)H)ha,,)gZZXijQ
P15)CZa)H)ZQk,,)ghRijQ
?;_0.;<$=>@=.!?@-@\;?@G!$=.7$,@`\.7
@-9-./473$"5)'"H)5%I-,'5)%17*/55$"5)8$".)1*/(#191/.)&/5)8/#1#/5)81<%/5)"#1&15-/5)&$.5)*/)&G'55/,_&'6/:)F/)($,_./)
/(#./)8'./(#I<5/5)K)%m#-)*/)%I';"/)5%I-,')9'1#).-9-./(%/)'")(",-.$)*/)&')81<%/)5".)&')FD0ML)NL0)?DUEL0=)3/.5)
&')91()*/)%/),'("/&:)F/)($,_./)'8.<5)&/5)8'./(#I<5/5)/5#)&');"'(#1#-)(-%/55'1./)K)&G'55/,_&'6/:)A+FK9a&+$]$H:$&D+$
E:)C+$D>+HJ$EKH$%KDH$*+$HKC$%+H$E:)C+HX$L89:P:+I$a&>+**+$D>+HJ$EKH$E98MKHH+Fb*8+#$=+H$E:)C+H$%+$9+CYKDc+$
E+&L+DJ$eJ9+$:DC*&H+H#

i
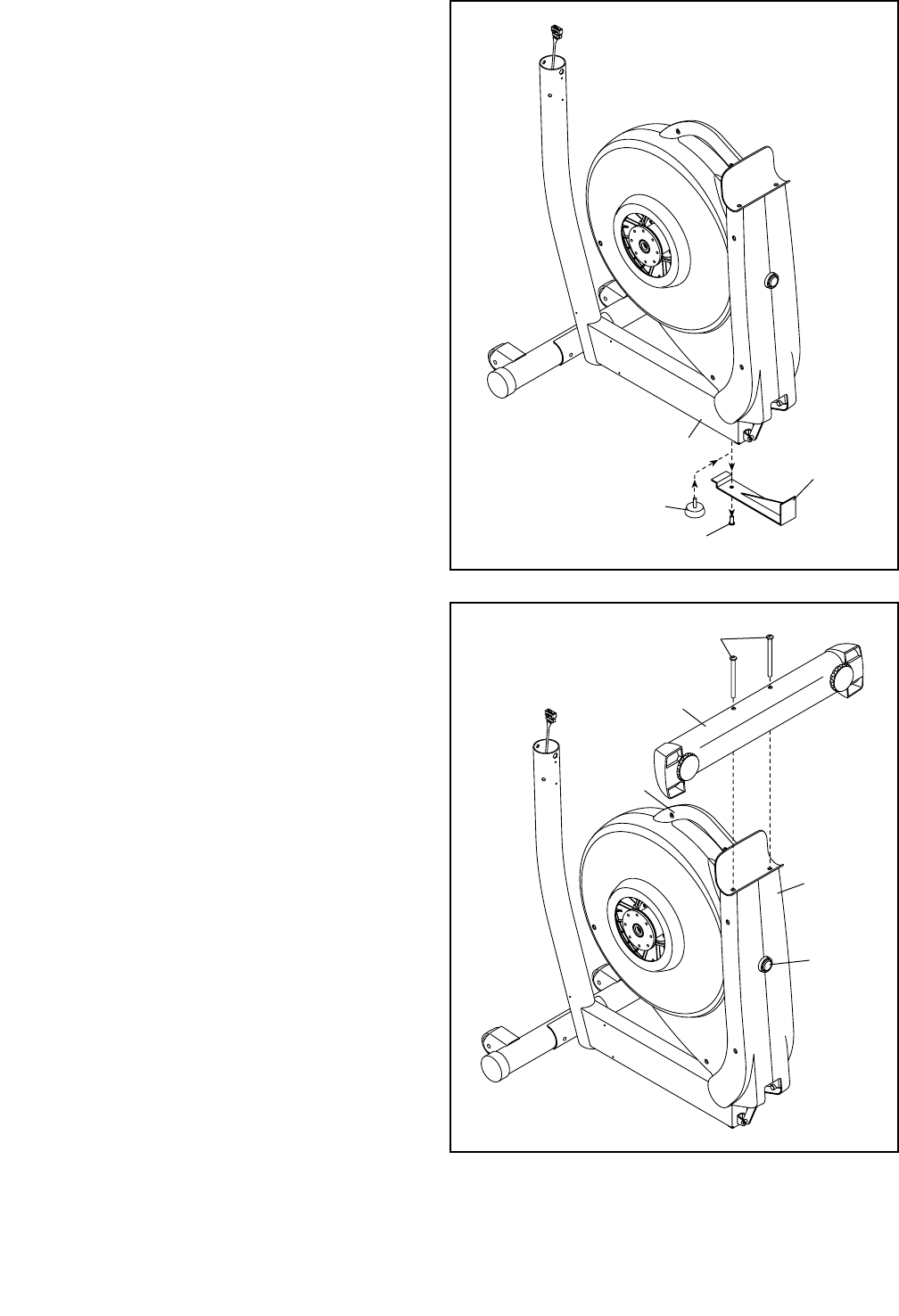
Z:) ?/(*'(#);"G"(/)'"#./)8/.5$((/)5$"&<3/)&')T'5/)
gZi=))H/4)&/)0#'_1&15'#/".)!3'(#)gXi)K)&')T'5/)K)
&G'1*/)*/)*/"H)T$"&$(5)*/)E'..$55/.1/)CZa)H)
ha,,)ghQi)/#)*/"H)2%.$"5)*/)T&$%'6/)CZa)ghZi:
X
hZ
hZ
hQ
Z
Z
n) FG'55/,_&'6/)./;"1/.#)*/"H)8/.5$((/5:
n) )?&'%/4)#$"#/5)&/5)81<%/5)5".)"(/)'1./)*-6'6-/)
/#)/(&/3/4)#$"5)&/5)/,_'&&'6/5:)+/)o/#/4)8'5)&/5)
/,_'&&'6/5)'3'(#)&'))()*/)&G'55/,_&'6/:)
n) )))?$".)3$"5)'1*/.)K)1*/(#1)/.)&/5)8/#1#/5)81<%/5=)
.-9-./473$"5)K)&')8'6/)V:
n) L()8&"5)*/5)$"#1&5)1(%&"5=)&G'55/,_&'6/)./;"1/.#)&/5)
$"#1&5)5"13'(#5>
"()#$".(/315)%."%19$.,/)
"(/)%&-)K),$&/##/) )
"(),'1&&/#)/()%'$"#%I$"%)
)FG'55/,_&'6/)8/"#)J#./)8&"5)9'%1&/)51)3$"5)'3/4)
3$#./)8.$8./)o/")*/)%&-5:)?$".)-31#/.)*G/(*$,,'7
6/.)&/5)81<%/5=)(G"#1&15/4)8'5)*G$"#1&5)-&/%#.1;"/5:
;77.'_0;N.

1
Q:) @/#1./4)&')315)1(*1;"-/)/#)&/)5"88$.#)*/)#.'(57
8$.#)*/)&')T'5/)gZi:)p/#/4)&')315)/#)&/)5"88$.#)*/)
#.'(58$.#:)
) L(5"1#/=)3155/4)&/)?1/*)*/)&')T'5/)gQXi)*'(5)&')
T'5/)gZi:
0"88$.#)*/)
M.'(58$.#
QX
P15
Q
Z
R:) B1H/4)&/)0#'_1&15'#/".)!..1<./)gki)'")&/)E'*./)gQi)
K)&G'1*/)*/)*/"H)P15)CZa)H)ZQk,,)ghRi:
) L(5"1#/=)#/(/4)&')8$16(-/)*")E'*./)gQi=)'88"l/4)
5".)&/)F$;"/#)gXhi=)8"15)_'155/4)&/)0#'_1&15'#/".)
!..1<./)gki)o"5;"GK)&/)8$5/.)'")5$&:
RhR
k
?$16(-/
Q
Xh

V
S:) M/(/4)"()E$"3./7C$l/")gkVi)/#)"()T.'5)*")
?-*'&1/.)gRXi)%$(#./)&/)?-*'&1/.)gSVi:
) !&16(/4)&/5)$.191%/5)*")E$"3./7C$l/")gkVi)/#)*")
T.'5)*")?-*'&1/.)gRXi)5".)&/5)$.191%/5)1("#1&15-5)'")
%m#-)6'"%I/)*")?-*'&1/.)gSVi:)
) D(#.$*"15/4);"'#./)P15)*")C$l/")ghki)*'(5)&/)
E$"3./7C$l/")gkVi)/#)&/)T.'5)*")?-*'&1/.)gRXi=)
8"15)3155/4)K)&G'1*/)*/5)*$16#5)&/5)P15)*")C$l/")
*'(5)&/)?-*'&1/.)gSVi:)7+99+I$&D+$/:H$%&$'(O+&$
+J$H+99+I$+DH&:J+$*K$/:H$%&$'(O+&$(EE(H8+$Z$
*K$E9+F:)9+#$.DH&:J+X$H+99+I$*+H$%+&[$K&J9+H$
/:H$%&$'(O+&#
$ A8E8J+I$C+JJ+$8JKE+$%&$CjJ8$%9(:J$%+$
*>+**:EJ:a&+#
$ /+:**+I$Z$(9:+DJ+9$*+$_9KH$%&$,8%K*:+9$STiU$+D$
H:J&KDJ$*+H$'KDCY(DH$%+$*K$_Kc&+$%&$,8%K*:+9$
S2TU$%KDH$*+H$E(H:J:(DH$:D%:a&8+H#)@/,'.;"/)>)
&/)%m#-)*.$1#)(/)%$,8$.#/)'"%"(/)P15)*/)&')?$"&1/)
gehi:
RX
SV
eh
kV
hk
hk
RX
SR
SR
V:) ?/(*'(#);"G"(/)'"#./)8/.5$((/)#1/(#)&/)C$(#'(#)
gRi)8.<5)*/)&')T'5/)gZi=)./&1/4)&/)W.$"8/,/(#)
*/)B1&5)0"8-.1/".)gShi)'")W.$"8/,/(#)*/)B1&5)
D(9-.1/".)gSei:
)\(DH+:*$]$8L:J+I$%+$C(:DC+9$*+H$P:*H#)L(9$(%/4)
&/)C$(#'(#)gRi)*'(5)&')T'5/)gZi:
) B1H/4)&/)C$(#'(#)gRi)K)&G'1*/)*G"()T$"&$()Ch)
H)Xe,,)ghai=)*G"(/)@$(*/&&/)B/(*"/)Ch)geai)
/#)*G"()E$(#./72%.$")Ch)gkei:)!+$H+99+I$EKH$
*+$_(&*(D$Z$C+$F(F+DJ$l$L+:**+I$Z$C+$a&+$*+$
\(DJ9+MdC9(&$*(c+$%KDH$*>(9:P:C+$%+$*K$_KH+#
) L(5"1#/=)3155/4)K)&G'1*/)*/5)*$16#5)*/"H)P15)Ch)
H)QR,,)ghSi)'3/%)*/"H)@$(*/&&/5)B/(*"/5)Ch)
geai)*'(5)&')T'5/)gZi:)!+$H+99+I$EKH$*+H$/:H$Z$
C+$F(F+DJ#
) B1H/4)&/)?$.#/7T$"#/1&&/)gQQi)K)&')T'5/)gZi)K)&G'1*/)
*/)*/"H)P15)2,$"55-/5)CS)H)ZX,,)gZaSi:
R
ha
Sh
Se
QQ
hS
hS
ea
ea
ea
ZaS
dL:J+9$%+$C(:DC+9$
*+H$P:*H
ke
Z
V
S

3
X:) @/8-./4)&/)E$"3./7C$(#'(#)W'"%I/)gZki=);"1)/5#)
,'.;"-)*G"()'"#$%$&&'(#)1(*1;"'(#)q)F/9#)r)gL)$")
Left)1(*1;"/)6'"%I/)s)R)$")Right)1(*1;"/)*.$1#/i=)
/#)#/(/47&/)%$(#./)&/)%m#-)6'"%I/)*")C$(#'(#)gRi:)
) B1H/4)&/)E$"3./7C$(#'(#)W'"%I/)gZki)K)&G'1*/)*/)
*/"H)P15)K)MJ#/)@$(*/)CS)H)ZX,,)gZaZi:)
$ -:[+I$*+$\(&L9+M'(DJKDJ$=9(:J$ST3U$%+$*K$
FeF+$FKD:)9+#
X
Zk
Re
R
ZaZ
ZaZ
k:) @/8-./4)&/5)W"1*$(5)N.$1#)/#)W'"%I/)gXa=)ZZei=)
;"1)5$(#)./58/%#13/,/(#),'.;"-5)*G'"#$%$&&'(#5)
1(*1;"'(#)q)@16I#)r)/#)q)F/9#)r)gL)$")Left)1(*1;"/)
6'"%I/)s)R)$")Right)1(*1;"/)*.$1#/i=)/#)$.1/(#/47
&/5)#/&);"G1&)/5#)1(*1;"-:
)\(DH+:*$]$8L:J+I$%+$C(:DC+9$*+H$-:*H$%&$
\KEJ+&9$\K9%:Ka&+$S44VU#)B1H/4)&/5)W"1*$(5)
W'"%I/)/#)N.$1#)gXa=)ZZei)*'(5)&/)C$(#'(#)gRi)
'3/%)*/"H)T$"&$(5)Ch)H)ha,,)gZZXi)/#)*/"H)
E$(#./72%.$"5)Ch)gkei:
ke ZZh
ZZh
Xa
ZZe
ZZX
ZZX
k
dL:J+9$%+$C(:DC+9$
*+H$P:*H
R

46
h:) L(9$(%/4)3/.5)&/)I'"#)&/5)B1&5)*")E'8#/".)
E'.*1';"/)gZZhi)K)#.'3/.5)&/)C$(#'(#)gRi)#/&)
;"G1(*1;"-:
h
R
ZZh
ZZh
V
E$"3/.%&/)
*/5)?1&/5
E$"3/.%&/)
*/5)?1&/5
e
?.15/
e:) F')E$(5$&/)gVi)8/"#)9$(%#1$((/.)K)&G'1*/)*/)
;"'#./)81&/5)*/)#l8/)N)g($()%$,8.15/5i)s)&/5)81&/5)
'&%'&1(/5)5$(#)./%$,,'(*-/5:)+/)%$,_1(/4)
8'5)/(5/,_&/)*/5)81&/5)'(%1/((/5)/#)($"3/&&/5=)
($()8&"5);"/)*/5)81&/5)'&%'&1(/5=)$.*1('1./5)$")
./%I'.6/'_&/5)/(#./)/&&/5:)@',GA?;!?$]$7:$*K$
C(DH(*+$K$8J8$+[E(H8+$Z$%+H$J+FE89KJ&9+H$
P9(:%+HX$E98L(O+I$&D+$E89:(%+$%+$98CYK&PM
P+F+DJ$%+$*K$C(DH(*+$KLKDJ$%>O$:DHJK**+9$%+H$
E:*+H#$7KDH$C+JJ+$E98CK&J:(DX$*+H$8C9KDH$(&$
%>K&J9+H$C(FE(HKDJ+H$8*+CJ9(D:a&+H$%+$*K$
C(DH(*+$9:Ha&+DJ$%>eJ9+$+D%(FFKc8H#)@/#1./4)
&/5)315)/#)&/5)%$"3/.%&/5)*/5)%$,8'.#1,/(#5)
*/5)81&/5=)8"15)1(5#'&&/47l)*/5)81&/5:);HH&9+IM
L(&H$a&+$*+H$E:*+H$H(DJ$(9:+DJ8+H$H+*(D$*+H$
HCY8FKH$Z$*>:DJ89:+&9$%+H$C(FEK9J:F+DJH$%+H$
E:*+H#$L(5"1#/=).-1(5#'&&/4)&/5)%$"3/.%&/5)*/5)
81&/5:))
),(&9$KCY+J+9$&D$b*(C$%>K*:F+DJKJ:(D$(EJ:(DM
D+*X$C(FE(H+I$*+$D&F89($%+$J8*8EY(D+$
:D%:a&8$H&9$*K$C(&L+9J&9+$%&$FKD&+*#$,(&9$
8L:J+9$%>+D%(FFKc+9$*K$C(DH(*+X$D>&J:*:H+I$
a&>&D$b*(C$%>K*:F+DJKJ:(D$E9(L+DKDJ$%&$
PKb9:CKDJ#)T.'(%I/4)&G"(/)*/5)/H#.-,1#-5)*")_&$%)
*G'&1,/(#'#1$()*'(5)&')8.15/)*/)&')E$(5$&/)gVi)s)
_.'(%I/4)&G'"#./)/H#.-,1#-)*'(5)"(/)8.15/),".'&/)
%$(9$.,/)'"H)%$*/5)/#).<6&/,/(#5)&$%'"H:

44
Za
Za:)?/(*'(#);"G"(/)'"#./)8/.5$((/)#1/(#)&')E$(5$&/)
gVi)8.<5)*")C$(#'(#)gRi=)./&1/4)&/5)91&5)*/)&')%$(7
5$&/)'")W.$"8/,/(#)*/)B1&5)0"8-.1/".)gShi)/#)
'"H)B1&5)*")E'8#/".)E'.*1';"/)gZZhi:)
) D(#.$*"15/4)&G/H%-*/(#)*")91&)*'(5)&/)C$(#'(#)gRi)
$")*'(5)&')E$(5$&/)gVi:)
)\(DH+:*$]$8L:J+I$%+$C(:DC+9$*+H$P:*H#)B1H/4)&')
E$(5$&/)gVi)'")C$(#'(#)gRi)K)&G'1*/)*/);"'#./)P15)
K)MJ#/)@$(*/)CS)H)ZX,,)gZaZi:
V
ZZh
Sh
ZaZ
R
dL:J+9$%+$
C(:DC+9$
*+H$P:*H
ZZ:)B1H/4)&GL,_$"#)*")C$(#'(#)gSi)K)&')E$(5$&/)gVi)
K)&G'1*/)*/)*/"H)P15)K)MJ#./)@$(*/)CS)H)ZX,,)
gZaZi:
ZZ
V
S
ZaZ

45
ZQ
ZZ
h
e
ZQ
kh
kh
ke
ke
A.191%/5)
\/H'6$('"H
ZQ:)D*/(#191/4)&/)T.'5)?0E)W'"%I/)ghi)/#)&')
p',_/)?0E)W'"%I/)gZZi=);"1)5$(#),'.;"-5)
*G'"#$%$&&'(#5)1(*1;"'(#)q)F/9#)r)gL)$")Left)
1(*1;"/)6'"%I/)s)R)$")Right)1(*1;"/)*.$1#/i=)/#)
$.1/(#/47&/5)#/&);"G1&)/5#)1(*1;"-:)
) D(#.$*"15/4)&/)T.'5)?0E)W'"%I/)ghi)K)&G1(#-.1/".)
*/)&')p',_/)?0E)W'"%I/)gZZi:)
) B1H/4)&/)T.'5)?0E)W'"%I/)ghi)K)&G'1*/)*/)*/"H)
T$"&$(5)Ch)H)SZ,,)gkhi)/#)*/"H)E$(#./72%.$"5)
Ch)gkei:)/+:**+I$Z$C+$a&+$*+H$\(DJ9+MdC9(&H$
*(c+DJ$%KDH$*+H$(9:P:C+H$Y+[Kc(DK&[$%+$*K$
oKFb+$,7\$NK&CY+$S44U#$
$ -:[+I$*+$_9KH$,7\$=9(:J$S3U$Z$*K$oKFb+$,7\$
=9(:J+$S45U$%+$*K$FeF+$FKD:)9+#
ZR
ZR:)L()"#1&15'(#)"()8/#1#)5'%)/()8&'5#1;"/)8$".)-31#/.)
*/)5'&1.)3$5)*$16#5=)'88&1;"/4)"(/)6-(-./"5/)
;"'(#1#-)*/)&')6.'155/)1(%&"5/)5".)&G!H/)*/)?13$#)
gkSi)/#)5".)*/"H)@$(*/&&/5)A(*"&-/5)gZZZi:)
) D(#.$*"15/4)&G!H/)*/)?13$#)gkSi)*'(5)&/)C$(#'(#)
gRi)/#)%/(#./47&/:
) W155/4)"(/)@$(*/&&/)A(*"&-/)gZZZi)5".)%I';"/)
/H#.-,1#-)*/)&G!H/)*/)?13$#)gkSi:
) A.1/(#/4)&')p',_/)?0E)W'"%I/)gZZi)%$,,/)
1&)/5#)1(*1;"-=)8"15)6&155/47&')5".)&G/H#.-,1#-)
6'"%I/)*/)&G!H/)*/)?13$#)gkSi:)W&155/4)&')p',_/)
?0E)N.$1#/)gZQi)5".)&G/H#.-,1#-)*.$1#/)*/)&G!H/)*/)
?13$#:
).D$FeF+$J+FEHX)3155/4)"(/)P15)Ch)H)QR,,)
ghSi)'%%$,8'6(-/)*G"(/)@$(*/&&/)Ch)ghhi)*'(5)
%I'%"(/)*/5)/H#.-,1#-5)*/)&G!H/)*/)?13$#)gkSi:
hh hS
ZZZ
hh
kS
R
hS
ZZZ ZQ
ZZ
W.'155/.

4T
ZS
ZS:)M/(/4)&/)E$"3./7T.'5)!3'(#)W'"%I/)gZhi)/#)&/)
E$"3./7T.'5)!..1<./)W'"%I/)gZei)'"#$".)*/)&')
p',_/)?0E)W'"%I/)gZZi:)
) B1H/4)&/5)E$"3./7T.'5)gZh=)Zei)K)&G'1*/)*/)#.$15)
P15)K)MJ#/)@$(*/)CS)H)RQ,,)gZaVi:
$ -:[+I$*+$\(&L9+M_9KH$;LKDJ$=9(:J$S56U$+J$*+$
\(&L9+M_9KH$;99:)9+$=9(:J$S54U$%+$*K$FeF+$
FKD:)9+#
Qa
QZ
ZaV
ZQ
Ze
Zh
ZZ
ZV
ZR
ZS
ZaS
ZaS
ZZQ
ZaQ
ZaQ
ZZQ
Zah
ZV:)@/8-./4)&')?-*'&/)W'"%I/)gZRi)/#)&/)T.'5)
*/)&')?-*'&/)W'"%I/)gZSi=);"1)5$(#),'.;"-5)
*G'"#$%$&&'(#5)1(*1;"'(#)q)F/9#)r)gL)$")Left)
1(*1;"/)6'"%I/)s)R)$")Right)1(*1;"/)*.$1#/i:)
) B1H/4)&')?-*'&/)W'"%I/)gZRi)'")T.'5)*/)&')
?-*'&/)W'"%I/)gZSi)K)&G'1*/)*G"(/)P15)CS)H)
Va,,)gZahi=)*/)#.$15)P15)2,$"55-/5)CS)H)
ZX,,)gZaSi=)*/);"'#./)@$(*/&&/5)B/(*"/5)CS)
gZZQi)/#)*/);"'#./)@$(*/&&/5)CS)gZaQi:
$ -:[+I$*K$,8%K*+$=9(:J+$SD(D$:**&HJ98+U$K&$_9KH$
%+$*K$,8%K*+$=9(:J+$SD(D$:**&HJ98U$%+$*K$FeF+$
FKD:)9+#

42
ZX
ZX:)!88&1;"/4)"(/)8/#1#/);"'(#1#-)*/)6.'155/)K)&G"()
*/5)!H/5)*")T.'5)*/)&')?-*'&/)gRQi:)
) P155/4)"(/)P15)K)28'"&/,/(#)Ch)H)QR,,)gZZVi)
'3/%)"(/)@$(*/&&/)Ch)ghhi)/#)"()E$"3./7T.'5)
*/)&')?-*'&/)gRZi)5".);"/&;"/5)#$".5)*'(5)&G!H/)
*")T.'5)*/)&')?-*'&/)gRQi:
) ?/(*'(#);"G"(/)'"#./)8/.5$((/)#1/(#)&G/H#.-,1#-)
'3'(#)*")T.'5)*/)&')?-*'&/)W'"%I/)gZSi)K)
&G1(#-.1/".)*")5"88$.#)*/)&')p',_&/)?0E)W'"%I/)
gZZi=)/(9$(%/4)&G!H/)*")T.'5)*/)&')?-*'&/)gRQi)K)
#.'3/.5)&/5)*/"H)81<%/5:)
) L(5"1#/=)3155/4)"(/)P15)K)28'"&/,/(#)Ch)H)
QR,,)gZZVi)'3/%)"(/)@$(*/&&/)Ch)ghhi)/#)"()
E$"3./7T.'5)*/)&')?-*'&/)gRZi)5".);"/&;"/5)
#$".5)*'(5)&G!H/)*")T.'5)*/)&')?-*'&/)gRQi:)
/:HH+I$*+H$%+&[$/:H$Z$dEK&*+F+DJ$K&$FeF+$
F(F+DJ$l$E(&9$8L:J+9$%>KbnF+9$*+H$\(&L9+M
_9KH$%+$*K$,8%K*+X$D+$H+99+I$EKH$Z$*>+[C)H$*+H$
/:H$Z$dEK&*+F+DJ#
$ A8E8J+I$C+JJ+$8JKE+$E(&9$P:[+9$*+$_9KH$%+$*K$
,8%K*+$=9(:J+$SD(D$:**&HJ98U$Z$*K$oKFb+$,7\$
=9(:J+$S45U#
W.'155/.
ZZV RQ
hh RZ
ZQ
ZZ
ZS
RZ
Zk:)0$"&/3/4)&/)&$;"/#)51#"-)5$"5)&/)T.'5)*/)&')
?-*'&/)W'"%I/)gZSi)/#)1(5#'&&/4)&/)T.'5)*/)&')
?-*'&/)W'"%I/)5".)&/)C'(%I$()*/)&')T'6"/)*")
?-*'&1/.)gSRi)6'"%I/:)
) @/&t%I/4)&/)&/31/.)/#)3/1&&/4)K)%/);"/)&/)T.'5)*/)
&')?-*'&/)W'"%I/)./&1/)9/.,/,/(#)&/)C'(%I$()
*/)&')T'6"/)*")?-*'&1/.)gSRi:
$ A+*:+I$*+$_9KH$%+$*K$,8%K*+$=9(:J+$SD(D$:**&HM
J98U$%+$*K$FeF+$FKD:)9+#$
$ A+E(9J+IML(&H$Z$*>8JKE+$g#)0/../4)&/)T$"&$()Ch)
H)Xe,,)ghai)/#)&/5)*/"H)&')P15)Ch)H)QR,,)ghSi: F$;"/#
SR
ZS
hh
ZZV
Zh:)/+:**+I$Z$C+$a&+$J(&J+H$*+H$E:)C+H$%+$*>+**:EJ:a&+$H(:+DJ$C(99+CJ+F+DJ$H+998+H#$@/,'.;"/)>)1&)/5#)8$57
51_&/);"G1&)./5#/)*/5)81<%/5)/H%-*/(#'1./5)"(/)9$15)&G'55/,_&'6/)#/.,1(-:)?$".)8.$#-6/.)&/)./3J#/,/(#)*")5$&=)
8&'%/4)"()8/#1#)#'815)5$"5)&G/&&18#1;"/:
Zk

4g
\G''.!?$<?@0@7.A$0>.00@,?@Q<.
\G''.!?$,0@.A$.?$=d,0@.A$0>.00@,?@Q<.
F$.5;"/)&G/&&18#1;"/)/5#)1("#1&15-=)1&)/5#)8$551_&/)*/)8&1/.)
&/)%'*./)8$".).'(6/.)&G'88'./1&:)0$"&/3/4)*G'_$.*)&/)
&$;"/#)51#"-)5$"5)%I';"/)_.'5)*/)8-*'&/)/#)*-6'6/4)
&/5)_.'5)*/)8-*'&/)*/5),'(%I$(5)*/5)_.'5)*")8-*'&1/.:)
0$"&/3/4)/(5"1#/)&/5)_.'5)*/)8-*'&/)o"5;"GK)&/5)
'88"l/.)%$(#./)&/5)'1,'(#5)*/5)_.'5)8$".)&')8'.#1/)
5"8-.1/"./)*")%$.85)g?0Ei)s)&/5)'1,'(#5)./#1/(*.$(#)
&/5)_.'5)*/)8-*'&/)/()8&'%/:)L(5"1#/=)#/(/4)&')8$16(-/)
/#)5$"&/3/4)&/)%'*./)o"5;"GK)&/)_&$;"/.)/()8$51#1$()
3/.#1%'&/:
?$".)*-8&1/.)&G/&&18#1;"/=)#/(/4)*G'_$.*)&')8$16(-/=)8"15)
8./55/4)&/)_$"#$()*")&$;"/#)/#)'_'155/4)&/)%'*./:)
)
L(5"1#/=)-%'.#/4)&/5)_.'5)*/)8-*'&/)*/5)'1,'(#5)*/5)
_.'5)?0E:)7(&*+L+I$+DH&:J+$*+H$*(a&+JH$H:J&8H$H(&H$
*+H$b9KH$%+$E8%K*+$+J$E(H+I$*+H$b9KH$%+$E8%K*+$H&9$
*+H$FKDCY(DH$%+H$b9KH$%&$E8%K*:+9#)@/&t%I/4)&/5)
&$;"/#5)/#)3/1&&/4)K)%/);"/)&/5)_.'5)*/)8-*'&/)./&1/(#)
9/.,/,/(#)&/5)_.'5)*")8-*'&1/.:
\G''.!?$=d,0;\.A$0>.00@,?@Q<.
?$".)*-8&'%/.)&G/&&18#1;"/=)8&1/4)*G'_$.*)&G'88'./1&)
%$,,/)1&)/5#)*-%.1#)K)6'"%I/:)L(5"1#/=)#/(/473$"5)
*/3'(#)&G/&&18#1;"/=)5'15155/4)&/),$(#'(#)/#)8&'%/4)"()
81/*)%$(#./)&/)%/(#./)*")5#'_1&15'#/".)'3'(#:)M1./4)&/)
,$(#'(#)o"5;"GK)%/);"/)&G/&&18#1;"/)8"155/).$"&/.)5".)&/5)
.$"/5)'3'(#:)N-8&'%/4)'3/%)8.-%'"#1$()&G/&&18#1;"/)3/.5)
&G/(*.$1#)3$"&"=)8"15)'_'155/47&/:
F$;"/#
C'(%I$(
T.'5)*/)
&')?-*'&/
T.'5)*")
?-*'&1/.
?$16(-/
?&'%/.)
&/)81/*)
1%1
!1,'(#
C$(#'(#
E'*./
T$"#$()
*")F$;"/#
T.'5)*/)
&')?-*'&/

4i
\G''.!?$7>.!?A;p!.A$7<A$0>.00@,?@Q<.
?$".),$(#/.)5".)&G/&&18#1;"/=)#/(/4)&/5)_.'5)8$".)&')
8'.#1/)5"8-.1/"./)*")%$.85)g?0Ei)/#)8$5/4)"()81/*)5".)
&')8-*'&/)51#"-/)&/)8&"5)_'5:)L(5"1#/=)8$5/4)&G'"#./)81/*)
5".)&G'"#./)8-*'&/:)!88"l/4)5".)&/5)8-*'&/5)o"5;"GK)%/)
;"G/&&/5)5G'.#1%"&/(#)/()"(),$"3/,/(#)%$(#1(":)
)
A+FK9a&+$]$*+H$b9KH$%&$E8%K*:+9$E+&L+DJ$J(&9D+9$
%KDH$*+H$%+&[$H+DH#$@*$+HJ$9+C(FFKD%8$%+$J(&9D+9$
*+H$b9KH$%&$E8%K*:+9$%KDH$*K$%:9+CJ:(D$:D%:a&8+$EK9$
*K$P*)CY+$l$C+E+D%KDJX$E(&9$LK9:+9$L(H$+[+9C:C+HX$
L(&H$E(&L+I$CY(:H:9$%+$*+H$J(&9D+9$%KDH$*K$%:9+CM
J:(D$(EE(H8+#
?$".)*/5%/(*./)*/)&G/&&18#1;"/=)'##/(*/4);"/)
&/5)8-*'&/5)5$1/(#)%$,8&<#/,/(#)1,,$_1&15-/5:)
A+FK9a&+$]$*>+**:EJ:a&+$D+$C(FE(9J+$EKH$%+$9(&+$
*:b9+$l$*+H$E8%K*+H$C(DJ:D&+9(DJ$Z$H>K9J:C&*+9$W&Ha&>Z$
*>:FF(b:*:HKJ:(D$%&$L(*KDJ#)F$.5;"/)&/5)8-*'&/5)5$(#)
1,,$_1&/5=)./#1./4)*G'_$.*)&/)81/*)8$5-)5".)&')8-*'&/)
&')8&"5)-&/3-/:)L(5"1#/=)./#1./4)3$#./)81/*)*/)&')8-*'&/)
51#"-/)&/)8&"5)_'5:
\G''.!?$!@/.0.A$0>.00@,?@Q<.
01)&G/&&18#1;"/)
/5#)&-6<./,/(#)
_'(%'&)*".'(#)
&G"#1&15'#1$(=)
#$".(/4)&G"()*/5)
81/*5)$")&/5)*/"H)
81/*5)*/)(13/&7
&/,/(#)51#"-5)
5$"5)&/)5#'_1&7
15'#/".)'..1<./)
o"5;"GK)5#'_1&15/.)
&G'88'./1&:
?-*'&/5
T.'5)*")
?-*'&1/.
W"1*$(5
T.'5)?0E
?1/*5)*/)
+13/&&/,/(#

41
\;A;\?dA@7?@Q<.7$=.$0;$\G!7G0.
E/##/)%$(5$&/)*/)8$1(#/)$99./)"(/)6',,/)*/)9$(%#1$(5)
%$(c"/5)8$".)./(*./)3$5)/(#.'d(/,/(#5)8&"5)'6.-'_&/5)
/#)8&"5)/991%'%/5:)
F$.5;"/)3$"5)"#1&15/4)&/),$*/),'("/&)*/)&')%$(5$&/=)
3$"5)8$"3/4)%I'(6/.)&').-515#'(%/)*/5)8-*'&/5)/()
'88"l'(#)5".)"(/)#$"%I/:)?/(*'(#)&G/H/.%1%/=)&')
%$(5$&/)'991%I/)/()%$(#1(")*/5)*$((-/5)5".)&G/H/.%1%/:)
P$"5)8$"3/4)-6'&/,/(#),/5"./.)3$#./)9.-;"/(%/)
%'.*1';"/)K)&G'1*/)*/)&')5$(*/),'("/&&/)*/)9.-;"/(%/)
%'.*1';"/:
F')%$(5$&/)%$,8$.#/)5/14/)/(#.'d(/,/(#5)8.-*-91(15)>)
I"1#)/(#.'d(/,/(#5)*/)8/.#/)*/)8$1*5)/#)I"1#)/(#.'d(/7
,/(#5)*/)8/.9$.,'(%/:)EI';"/)/(#.'d(/,/(#)8.-*-91(1)
%$,,'(*/)'"#$,'#1;"/,/(#)&').-515#'(%/)*/5)8-*'&/5)
/()3$"5)6"1*'(#)'")&$(6)*G"()/(#.'d(/,/(#)/991%'%/:
F')%$(5$&/)8.$8$5/)-6'&/,/(#)&/)5l5#<,/)*G/(#.'d(/7
,/(#)1(#/.'%#19)1B1#);"1)&"1)8/.,/#)*/)&1./)&/5)%'.#/5)1B1#)
8.$8$5'(#)*/5)/(#.'d(/,/(#5)%$(c"5)8$".)3$"5)'1*/.)K)
'##/1(*./)*/5)$_o/%#195)8.-%15)*/),15/)/()9$.,/:)
?'.)/H/,8&/=)8/.*/4)3$5)f1&$5)/()#.$8)'3/%)&G/(#.'d7
(/,/(#)*/)8/.#/)*/)8$1*5)5".)I"1#)5/,'1(/5:)F/5)
/(#.'d(/,/(#5)1B1#)%$,,'(*/(#)&').-515#'(%/)*/5)
8-*'&/5)'&$.5);"/)&')3$1H)*G"()/(#.'d(/".)8/.5$((/&)
3$"5)6"1*/)'")&$(6)*/)3$5)/H/.%1%/5:)F/5)%'.#/5)1B1#)
5$(#)3/(*"/5)5-8'.-,/(#:),(&9$KCY+J+9$%+H$CK9J+H$
:-:JX$L:H:J+I$*+$BBB#:-:J#C(F$(&$9+E(9J+IML(&H$Z$*K$
C(&L+9J&9+$KLKDJ$%&$FKD&+*#$0+H$CK9J+H$:-:J$H(DJ$
8cK*+F+DJ$(PP+9J+H$CY+I$C+9JK:DH$FK9CYKD%H#
P$"5)8$"3/4)'"551)_.'(%I/.)3$#./)&/%#/".)C?R)$")
EN)5".)&')%I'd(/)'"*1$)*/)&')%$(5$&/)/#)'1(51)-%$"7
#/.)3$5),"51;"/5)$")&13./5)'"*1$)8.-9-.-5)8/(*'(#)
&G/(#.'d(/,/(#:
,(&9$&J:*:H+9$*+$F(%+$FKD&+*X$3$1.)&')8'6/)Zh:),(&9$
+PP+CJ&+9$&D$+DJ9KnD+F+DJ$E98%8P:D:X)3$1.)&')8'6/)
Ze:),(&9$+PP+CJ&+9$&D$+DJ9KnD+F+DJ$:-:J$0:L+X)3$1.)&')
8'6/)QZ:),(&9$&J:*:H+9$*K$CYKnD+$K&%:(X)3$1.)&')8'6/)
QZ:
@/,'.;"/)>)51)"(/)8/&&1%"&/)/()8&'5#1;"/)./%$"3./)
&G-%.'(=)./#1./47&':
7\qd';$=.$0;$\G!7G0.

4V
\G''.!?$<?@0@7.A$0.$'G=.$';!<.0
4#$ ;CJ:L+I$*K$C(DH(*+#
))!88"l/4)5".)(G1,8$.#/);"/&&/)#$"%I/)$")%$,7
,/(%/4)K)8-*'&/.)8$".)'%#13/.)&')%$(5$&/:)
))F$.5;"/)&')%$(5$&/)/5#)'%#13-/=)&G-%.'()/5#),15)/()
9$(%#1$(:)O(/)#$('&1#-)./#/(#1.')/#)&')%$(5$&/)5/.')
8.J#/)K)&G/,8&$1:
5#$ 78*+CJ:(DD+I$*+$F(%+$FKD&+*#
))FG'%#13'#1$()*/)&')%$(5$&/)
5-&/%#1$((/)'"#$,'#1;"/,/(#)
&/),$*/),'("/&:)
))01)"()'"#./)/(#.'d(/,/(#)')
-#-)5-&/%#1$((-=)5-&/%#1$((/4)
*/)($"3/'")&/),$*/),'("/&)
/()'88"l'(#)K).-8-#1#1$()5".)
&')#$"%I/)h)L(#.'d(/,/(#5)
*/)?/.#/)*/)?$1*5)uh)vM:)
FA00)vA@wAOM0x)$")h)
L(#.'d(/,/(#5)*/)?/.9$.,'(%/)uh)?L@BA@C:)
vA@wAOM0x)o"5;"GK)'991%I/.)"(/)815#/)K)&G-%.'()
5"8-.1/".:
T#$ $\(FF+DC+I$Z$E8%K*+9$+J$CYKDc+I$*K$98H:HJKDC+$
%+H$E8%K*+HX$K&$b+H(:D#
))?/(*'(#);"/)3$"5)8-*'&/4=)
%I'(6/4)&').-515#'(%/)
*/5)8-*'&/5)/()'88"l7
'(#)5".)&/5)#$"%I/5)
@-515#'(%/)u@L0D0M!+ELx)
*G'"6,/(#'#1$()$")*/)
*1,1("#1$(:)
))@/,'.;"/)>)'8.<5)&G'88"1)
5".)&/5)#$"%I/5=)&/5)8-*'&/5)
,/##.$(#);"/&;"/5)1(5#'(#5)
K)'##/1(*./)&').-515#'(%/)%$../58$(*'(#)'")*/6.-)
5-&/%#1$((-:)
2#$ 7&:L+I$L(J9+$E9(c9+HH:(D$Z$*>8C9KD#
))FG-%.'()8/"#)'991%I/.)&/5)*$((-/5)*G/(#.'d(/,/(#)
5"13'(#/5)>
))\K*(9:+H$r\;0GA@.7syE/),$*/)*G'991%I'6/)
1(*1;"/)&');"'(#1#-)'88.$H1,'#13/)*/)%'&$.1/5);"/)
3$"5)'3/4)_.z&-/5:
))=:HJKDC+$r=@7?;!\.syE/),$*/)*G'991%I'6/)
1(*1;"/)/()($,_./)*/)#$".5)&')*15#'(%/)8'.%$"."/)
/()8-*'&'(#:)
))N9KEY:a&+yF$.5;"G"()/(#.'d(/,/(#)/5#)5-&/%7
#1$((-=)%/),$*/)*G'991%I'6/)1(*1;"/)"()6.'8I1;"/)
*/5)*/6.-5)*/).-515#'(%/)*/)&G/(#.'d(/,/(#:
)$,&*H+$S-98a&+DC+$\K9%:Ka&+UyE/),$*/)
*G'991%I'6/)1(*1;"/)3$#./)9.-;"/(%/)%'.*1';"/)
&$.5;"/)&')5$(*/),'("/&&/)*/)9.-;"/(%/)%'.*1';"/)
/5#)"#1&15-/)g3$1.)&G-#'8/)V)K)&')8'6/)Zei:
))A8H:HJKDC+$rA.7stE/),$*/)*G'991%I'6/)1(*1;"/)
&/)*/6.-)*/).-515#'(%/)*/5)8-*'&/5)8/(*'(#)
;"/&;"/5)5/%$(*/5)&$.5)*/)%I';"/)%I'(6/,/(#)*")
*/6.-)*/).-515#'(%/:)
$$/:J+HH+$r7,..=syE/),$*/)*G'991%I'6/)1(*1;"/)
3$#./)31#/55/)*/)8-*'&'6/)/()#$".5)8'.),1("#/:
))?+FEH$r?@'.syF$.5;"/)&/),$*/),'("/&)/5#)
5-&/%#1$((-=)%/#)-%.'()1(*1;"/)&/)#/,85)-%$"&-:)
F$.5;"G"()/(#.'d(/,/(#)/5#)5-&/%#1$((-=)&/)
,$*/)*G'991%I'6/)1(*1;"/)&/)#/,85)./5#'(#)*/)
&G/(#.'d(/,/(#:
)),:HJ+yF$.5;"/)&/),$*/),'("/&)/5#)5-&/%#1$((-=)
%/),$*/)*G'991%I'6/)1(*1;"/)"(/)815#/)./8.-5/(#7
'(#)Saa),<#./5)gZ{S)*/),1&/i:)!&$.5);"/)3$"5)3$"5)
/(#.'d(/4=)*/5)1(*1%'#/".5)'88'.'155/(#)5"%%/57
513/,/(#)'"#$".)*/)&')815#/)o"5;"GK)&G'991%I'6/)
%$,8&/#)*/)%/&&/7%1:)F')815#/)*158'.'d#.')K)%/)
,$,/(#)/#)&/5)1(*1%'#/".5)./%$,,/(%/.$(#)K)
5G'991%I/.)"()K)"(:)
))!88"l/4)K).-8-#1#1$()5".)&')
#$"%I/)C$*/)*G!991%I'6/)
uND0?F!])CANLx)8$".)315"7
'&15/.)&/5)*$((-/5)3$"&"/5)
5".)&G/(#.'d(/,/(#:)
))?$".).-1(1#1'&15/.)&G-%.'()
K)4-.$=)'88"l/4)5".)&')
#$"%I/)C15/)/()C'.%I/{
@-1(1#1'&15'#1$()uA+{@L0LMx:
))?$".).-6&/.)&G1(#/(51#-)5$($./)*/)
&')%$(5$&/=)'88"l/4)5".)&')#$"%I/)
*G'"6,/(#'#1$()$")*/)*1,1("#1$()
*/)&G1(#/(51#-)5$($./:

43
g#$ '+H&9+I$L(J9+$P98a&+DC+$CK9%:Ka&+X$K&$b+H(:D#$
$$7:$%+H$E+**:C&*+H$+D$
E*KHJ:a&+$J9KDHEK9+DJ$
9+C(&L9+DJ$*+H$E*KM
a&+JJ+H$F8JK**:a&+H$
%+$*K$H(D%+$FKD&M
+**+$%+$P98a&+DC+$
CK9%:Ka&+X$9+J:9+I$
*+H$E+**:C&*+H#$=+$
E*&HX$KHH&9+IML(&H$
a&+$L(H$FK:DH$H(DJ$
E9(E9+H#$?$".),/5"./.)3$#./)9.-;"/(%/)%'.*1';"/=)
#/(/4)&')5$(*/),'("/&&/)*/)9.-;"/(%/)%'.*1';"/)
/()'88"l'(#)&/5)8'",/5)*/5),'1(5)%$(#./)&/5)
8&';"/##/5:)dL:J+I$%+$%8E*KC+9$L(H$FK:DH$(&$%+$
J9(E$H+99+9$*+H$E*Ka&+JJ+H#$
))F$.5;"/)3$#./)8$"&5)/5#)%'8#-=)"()5l,_$&/)/()
9$.,/)*/)%|".)%&16($#/=)5"131)*/)&G'991%I'6/)*/)
3$#./)9.-;"/(%/)%'.*1';"/:)?$".)"(/)&/%#"./)8&"5)
8.-%15/)*/)3$#./)9.-;"/(%/)%'.*1';"/=)#/(/4)&/5)
8&';"/##/5)8/(*'(#)'"),$1(5)ZV)5/%$(*/5:)
))01)3$#./)9.-;"/(%/)%'.*1';"/)(/)5G'991%I/)8'5=)
'55"./473$"5);"/)3$5),'1(5)5$(#)8&'%-/5)%$,,/)
1&)/5#)*-%.1#:)?./(/4)5$1()K)(/)8'5)*-8&'%/.)3$5)
,'1(5)/#)K)(/)8'5)#.$8)5/../.)&/5)8&';"/##/5:)
?$".)$_#/(1.)&/5),/1&&/".5).-5"&#'#5=)(/##$l/4)
&/5)8&';"/##/5)K)&G'1*/)*G"()&1(6/)*$"H)s)D+$D+JM
J(O+I$WKFK:H$*+H$E*Ka&+JJ+H$Z$*>K:%+$%>K*C((*X$
%>Kb9KH:PH$(&$%+$E9(%&:JH$CY:F:a&+H#
i#$ $;CJ:L+I$*+$L+DJ:*KJ+&9X$K&$b+H(:D#
))F/)3/(#1&'#/".)9$(%#1$((/)5/&$()
*/"H).-61,/5:)!88"l/4)K).-8-7
#1#1$()5".)&/5)#$"%I/5)*/)I'"55/)
$")*/)_'155/)*")P/(#1&'#/".)uB!+x)
8$".)%I$151.)"().-61,/)*")3/(#1&'7
#/".)$")*-5'%#13/.)%/)*/.(1/.:)
))@/,'.;"/)>)&$.5;"/)&/5)8-*'&/5)*/,/"./(#)
1,,$_1&/5)8/(*'(#)/(31.$()#./(#/)5/%$(*/5=)&/)
3/(#1&'#/".)5/)*-5'%#13/)'"#$,'#1;"/,/(#:
1#$ $0(9Ha&+$L(&H$F+JJ+I$P:D$Z$*>+[+9C:C+X$*K$C(DH(*+$
H>8J+:DJ$%>+**+MFeF+#
))01)&/5)8-*'&/5)*/,/"./(#)1,,$_1&/5)8/(*'(#)
8&"51/".5)5/%$(*/5=)"(/)5"1#/)*/)#$('&1#-5)./#/(#1#=)
&')%$(5$&/)/(#./)/()8'"5/)/#)&/)#/,85)%&16($#/)K)
&G-%.'(:
))01)&/5)8-*'&/5)*/,/"./(#)1,,$_1&/5)8/(*'(#)
8&"51/".5),1("#/5=)&')%$(5$&/)5G-#/1(#)/#)&G-%.'()5/)
.-1(1#1'&15/:
$
\G''.!?$.--.\?<.A$<!$.!?A;p!.'.!?$
,Ad=d-@!@
4#$ ;CJ:L+I$*K$C(DH(*+#
))!88"l/4)5".)(G1,8$.#/);"/&&/)#$"%I/)$")%$,7
,/(%/4)K)8-*'&/.)8$".)'%#13/.)&')%$(5$&/:)
))F$.5;"/)&')%$(5$&/)/5#)'%#13-/=)&G-%.'()/5#),15)/()
9$(%#1$(:)O(/)#$('&1#-)./#/(#1.')/#)&')%$(5$&/)5/.')
8.J#/)K)&G/,8&$1:
5#$ 78*+CJ:(DD+I$&D$+DJ9KnD+F+DJ$E98%8P:D:#
))?$".)5-&/%#1$((/.)"()
/(#.'d(/,/(#)8.-*-91(1=)
'88"l/4)K).-8-#1#1$()5".)
&')#$"%I/)h)L(#.'d(/,/(#5)
*/)?/.#/)*/)?$1*5)uh)vM:)
FA00)vA@wAOM0x)
$")h)L(#.'d(/,/(#5)*/)
?/.9$.,'(%/)uh)?L@BA@C:)
vA@wAOM0x)o"5;"GK)
'991%I/.)&G/(#.'d(/,/(#)3$"&")
K)&G-%.'()1(9-.1/".:)
))F$.5;"G"()/(#.'d(/,/(#)8.-*-91(1)/5#)5-&/%7
#1$((-=)"()6.'8I1;"/)*/5)*/6.-5)*/).-515#'(%/)
*/)&G/(#.'d(/,/(#)*-91&/)K)&G-%.'()5"8-.1/".=)&')
*".-/)*/)&G/(#.'d(/,/(#)5G'991%I/)K)&G-%.'()%/(#.'&)
/#)&/)(",-.$)*/)&G/(#.'d(/,/(#)'88'.'d#)K)&G-%.'()
1(9-.1/".:
T#$ $\(FF+DC+I$Z$E8%K*+9$E(&9$*KDC+9$
*>+DJ9KnD+F+DJ#
))EI';"/)/(#.'d(/,/(#)/5#)*1315-)/()Ra)5/6,/(#5)
*G"(/),1("#/)%I'%"(:)O()*/6.-)*/).-515#'(%/)/5#)
8.$6.',,-)8$".)%I';"/)5/6,/(#:)@/,'.;"/)>)"()
,J,/)*/6.-)*/).-515#'(%/)8/"#)J#./)8.$6.',,-)
8$".)*/5)5/6,/(#5)%$(5-%"#195:
))?/(*'(#)&G/(#.'d(/,/(#=)&/)6.'8I1;"/)*/)
&G/(#.'d(/,/(#)./8.-5/(#/.')3$#./)8.$6./551$()
g./8$.#/473$"5)'")5%I-,')%17*/55"5i:)F/)5/6,/(#)
*/)6.'8I1;"/)%&16($#'(#)%$../58$(*)'")5/6,/(#)/()
%$".5)*/)&G/(#.'d(/,/(#:)F')I'"#/".)*")5/6,/(#)
%&16($#'(#)1(*1;"/)&/)*/6.-)*/).-515#'(%/)*")5/67
,/(#)/()%$".5:
W.'8I1;"/
?&';"/##/5

56
))})&')91()*/)%I';"/)5/6,/(#)*/)&G/(#.'d(/,/(#=)"(/)
5"1#/)*/)#$('&1#-5)./#/(#1.')/#)&/)5/6,/(#)5"13'(#)*")
6.'8I1;"/)%$,,/(%/.')K)%&16($#/.:)01)&/)5/6,/(#)
5"13'(#)%$,8$.#/)"()*/6.-)*/).-515#'(%/)*199-./(#=)
%/)*/.(1/.)%&16($#/.')K)&G-%.'()8/(*'(#);"/&;"/5)
5/%$(*/5)8$".)3$"5)/()'3/.#1.:)F').-515#'(%/)
$99/.#/)8'.)&/5)8-*'&/5)%I'(6/.')K)%/),$,/(#:
))01)&/)*/6.-)*/).-515#'(%/)*")5/6,/(#)/()%$".5)/5#)
#.$8)-&/3-)$")#.$8)_'5=)3$"5)8$"3/4)'(("&/.),'("7
/&&/,/(#)&/).-6&'6/)/()'88"l'(#)5".)&/5)#$"%I/5)
@-515#'(%/)u@L0D0M!+ELx:)E/8/(*'(#=)K)&')91()
*")5/6,/(#)/()%$".5=)&/5)8-*'&/5)5/).-6&/.$(#)
'"#$,'#1;"/,/(#)5".)&').-515#'(%/)8.$6.',,-/)
8$".)&/)5/6,/(#)5"13'(#:
))01)3$"5)%/55/4)*/)8-*'&/.)8/(*'(#)8&"51/".5)5/%7
$(*/5=)"(/)5"1#/)*/)#$('&1#-5)./#/(#1.')8$".)516('&/.)
&G/(#.-/)/()8'"5/)*G/(#.'d(/,/(#:)
))?$".)./8./(*./)&G/(#.'d(/,/(#=)./%$,,/(%/4)
51,8&/,/(#)K)8-*'&/.:)FG/(#.'d(/,/(#)%$(7
#1("/.')o"5;"GK)%/);"/)&/)*/.(1/.)5/6,/(#)*")
6.'8I1;"/)%&16($#/)/#);"/)&/)*/.(1/.)5/6,/(#)*/)
&G/(#.'d(/,/(#)8./((/)91(:)
)
2#$ 7&:L+I$L(J9+$E9(c9+HH:(D$Z$*>8C9KD#
) P$1.)&G-#'8/)S)K)&')8'6/)Zh:
g#$ '+H&9+I$L(J9+$P98a&+DC+$CK9%:Ka&+X$K&$b+H(:D#
) P$1.)&G-#'8/)V)K)&')8'6/)Ze:
i#$ ;CJ:L+I$*+$L+DJ:*KJ+&9X$K&$b+H(:D#
) P$1.)&G-#'8/)X)K)&')8'6/)Ze:
1#$ $0(9Ha&+$L(&H$F+JJ+I$P:D$Z$*>+[+9C:C+X$*K$C(DH(*+$
H>8J+:DJ$%>+**+MFeF+#
) P$1.)&G-#'8/)k)K)&')8'6/)Ze:

54
\G''.!?$.--.\?<.A$<!$.!?A;p!.'.!?$@-@?
F/5)%'.#/5)1B1#)5$(#)3/(*"/5)5-8'.-,/(#:)?$".)'%I/#/.)
*/5)%'.#/5)1B1#=)3151#/4)&/)~~~:1B1#:%$,)$")./8$.#/47
3$"5)K)&')%$"3/.#"./)'3'(#)*"),'("/&:)F/5)%'.#/5)1B1#)
5$(#)-6'&/,/(#)$99/.#/5)%I/4)%/.#'1(5),'.%I'(*5:
4#$ ;CJ:L+I$*K$C(DH(*+#
))!88"l/4)5".)(G1,8$.#/);"/&&/)#$"%I/)$")%$,7
,/(%/4)K)8-*'&/.)8$".)'%#13/.)&')%$(5$&/:)
))F$.5;"/)&')%$(5$&/)/5#)'%#13-/=)&G-%.'()/5#),15)/()
9$(%#1$(:)O(/)#$('&1#-)./#/(#1.')/#)&')%$(5$&/)5/.')
8.J#/)K)&G/,8&$1:
5#$ $@DH89+I$&D+$CK9J+$:-:J$+J$H8*+CJ:(DD+I$&D$
+DJ9KnD+F+DJ#
))?$".)/99/%#"/.)"()/(#.'d(/,/(#)1B1#=)1(#.$*"15/4)
"(/)%'.#/)1B1#)*'(5)&')9/(#/)1B1#s)'55"./473$"5);"/)
&')%'.#/)1B1#)/5#)$.1/(#-/)*/),'(1<./);"/)&/5)8&'7
;"/##/5),-#'&&1;"/5)9$(#)9'%/)'")5$&)/#)K)&')9/(#/:)
F$.5;"/)&')%'.#/)1B1#)/5#)_1/()1(#.$*"1#/=)&G1(*1%'#/".)
51#"-)8.<5)*/)&')9/(#/)5G1&&",1(/:)
))L(5"1#/=)5-&/%#1$((/4)&G/(#.'d(/,/(#)3$"&")
*/)&')%'.#/)1B1#)/()'88"l'(#)5".)&/5)#$"%I/5)
*G'"6,/(#'#1$()/#)*/)*1,1("#1$()51#"-/5)8.<5)*/)&')
9/(#/)1B1#:
))O()6.'8I1;"/)*/5)*/6.-5)*/).-515#'(%/)*/)
&G/(#.'d(/,/(#)*-91&/.')K)&G-%.'()5"8-.1/".=)&')*".-/)
*/)&G/(#.'d(/,/(#)5G'991%I/.')K)&G-%.'()%/(#.'&)/#)
&/)(",-.$)*/)&G/(#.'d(/,/(#)'88'.'d#.')K)&G-%.'()
1(9-.1/".:
))Y"/&;"/5),1("#/5)'8.<5)'3$1.)5-&/%#1$((-)"()
/(#.'d(/,/(#=)&')3$1H)*G"()/(#.'d(/".)8/.5$((/&)
%$,,/(%/)K)3$"5)*$((/.)*/5)1(9$.,'#1$(5)"#1&/5)
8$".)3$#./)/(#.'d(/,/(#:)F/5)/(#.'d(/,/(#5)1B1#)
9$(%#1$((/(#)*/)&'),J,/),'(1<./);"/)&/5)/(#.'d(/7
,/(#5)8.-*-91(15:)?$".)/99/%#"/.)&G/(#.'d(/,/(#=)
./8$.#/473$"5)'"H)-#'8/5)R)K)X)%$,,/(c'(#)K)&')
8'6/)Ze:
T#$ $0(9Ha&+$L(&H$KL+I$J+9F:D8$L(J9+$+DJ9KnD+F+DJX$
9+J:9+I$*K$CK9J+$:-:J#$
))@/#1./4)&')%'.#/)1B1#)&$.5;"/)3$"5),/##/4)91()'"H)
/H/.%1%/5:)@'(6/4)&')%'.#/)1B1#)/()&1/")5z.:
\G''.!?$<?@0@7.A$0;$\q;p!.$;<=@G
?$".)-%$"#/.)*/)&'),"51;"/)$")*/5)&13./5)5$($./5)
8'.)&/)_1'15)*/)&')%I'd(/)'"*1$)*/)&')%$(5$&/)8/(*'(#)
&G/H/.%1%/=)1(#.$*"15/4)&G"(/)*/5)/H#.-,1#-5)*/)3$#./)
%t_&/)'"*1$)*'(5)&')8.15/)*/)&')%$(5$&/:)T.'(%I/4)
&G'"#./)/H#.-,1#-)*'(5)&')8.15/)*/)3$#./)&/%#/".)C?R)
$")&/%#/".)EN)s)L+:**+I$C+$a&+$*+$Cfb*+$K&%:($H(:J$
:DJ9(%&:J$Z$P(D%#
L(5"1#/=)'88"l/4)5".)&')#$"%I/)*/)&/%7
#"./)*/)3$#./)&/%#/".)C?R)$")&/%#/".)
EN:)@-6&/4)&G1(#/(51#-)5$($./)K)&G'1*/)
*/5)#$"%I/5)*G'"6,/(#'#1$()/#)*/)
*1,1("#1$()*/)&G1(#/(51#-)*/)&')%$(5$&/)
$")*/)&')%$,,'(*/)*G1(#/(51#-)5$($./)
*/)3$#./)&/%#/".)C?R)$")EN:
B/(#/)1B1#
E'.#/)1B1#

55
D(58/%#/4)/#)5/../4).-6"&1<./,/(#)#$"#/5)&/5)81<%/5)
*/)&G/&&18#1;"/:)@/,8&'%/4)1,,-*1'#/,/(#)#$"#/)81<%/)
"5-/:)
?$".)(/##$l/.)&G/&&18#1;"/=)"#1&15/4)"()&1(6/)I",1*/)/#)
"()8/")*/)5'3$()*$"H:)@',GA?;!?$]$,(&9$8L:J+9$
%>+D%(FFKc+9$*K$C(DH(*+X$cK9%+IM*K$Z$*>8CK9J$%+$
J(&J$*:a&:%+$+J$%+$*>+DH(*+:**+F+DJ$%:9+CJ#
0G\;0@7;?@G!$=><!$,AG_0`'.$=.$\G!7G0.
01)&/5)-%.'(5)*/)&')%$(5$&/)5G/5#$,8/(#)&$.5;"/)
*/5)81&/5)5$(#)1(5#'&&-/5)*'(5)&')%$(5$&/=)./,8&'%/4)
&/5)81&/5)s)&')8&"8'.#)*/5)8.$_&<,/5)*/)%$(5$&/)5$(#)
'##.1_"'_&/5)K)&G-8"15/,/(#)*/5)81&/5:)@/8$.#/473$"5)K)
&G-#'8/)e)*/)&')8'6/)Za)8$".)*/5)*1./%#13/5)*/)./,7
8&'%/,/(#)*/5)81&/5:
01)&')5$(*/),'("/&&/)*/)9.-;"/(%/)%'.*1';"/)(/)9$(%7
#1$((/)8'5)%$../%#/,/(#=)./8$.#/473$"5)K)&G-#'8/)V)*/)
&')8'6/)Ze:
\G''.!?$!@/.0.A$0>.00@,?@Q<.
01)&G/&&18#1;"/)/5#)&-6<./,/(#)_'(%'&)*".'(#)&G"#1&15'#1$(=)
#$".(/4)&G"()*/5)81/*5)$")&/5)*/"H)81/*5)*/)(13/&7
&/,/(#)51#"-5)5$"5)&/)5#'_1&15'#/".)'..1<./)o"5;"GK)
5#'_1&15/.)&G'88'./1&:
\G''.!?$d0@'@!.A$0;$-0.u@G!$;<$\.!?A.$=.$
0>.00@,?@Q<.
01)&G/H/.%15/".)/&&18#1;"/)9&-%I1#)'")%/(#./)*".'(#)
&G"#1&15'#1$(=)#$".(/4)&/)81/*)*/)&')_'5/)g3$1.)&/)5%I-,')
%17*/55"5i)o"5;"GK)-&1,1(/.)&/),$"3/,/(#:
.!?A.?@.!$.?$,AG_0`'.7$
?1/*5)*/)
+13/&&/,/(#
?1/*)*/)
&')T'5/

5T
E/5)%$(5/1&5)8$".)&G/H/.%1%/)3$"5)'1*/.$(#)K)8&'(1)/.)
3$#./)8.$6.',,/)*G/H/.%1%/:)?$".)8&"5)*/)*-#'1&5)5".)
&G/H/.%1%/=)8.$%"./473$"5)"()&13./).-8"#-)5".)&/)5"o/#)
$")%$(5"&#/4)3$#./),-*/%1(:)W'.*/4)/()#J#/);"G"(/)
'&1,/(#'#1$()-;"1&1_.-/)/#)"()./8$5)'*-;"'#)5$(#)
/55/(#1/&5)8$".)*/)_$(5).-5"&#'#5:
@!?.!7@?d$=.$0>.u.A\@\.
Y"/)3$#./)_"#)5$1#)*/)_.z&/.)*/)&')6.'155/)$")*/)9$.#1)/.)
3$#./)5l5#<,/)%'.*1$73'5%"&'1./=)&')%&-)8$".)$_#/(1.)
*/5).-5"&#'#5)/5#)*/)5G/(#.'d(/.)K)&')_$((/)1(#/(51#-:)
P$"5)8$"3/4)"#1&15/.)3$#./).l#I,/)%'.*1';"/)%$,,/)
./8<./)8$".)#.$"3/.)&/)(13/'")*G1(#/(51#-)'*'8#-)K)3$5)
$_o/%#195:)F/)#'_&/'")%17*/55$"5)1(*1;"/)&/5).l#I,/5)
%'.*1';"/5)./%$,,'(*-5)8$".)_.z&/.)*/)&')6.'155/)/#)
8$".)*/5)/H/.%1%/5)'-.$_1%5:
?$".)#.$"3/.)&/)(13/'")*G1(#/(51#-)%$../%#=)#.$"3/4)
3$#./)t6/)/()_'5)*")#'_&/'")g&/5)t6/5)5$(#)'..$(*15)
K)&')*14'1(/i:)F/5)#.$15)($,_./5)&15#-5)'"7*/55"5)*/)
3$#./)t6/)*-)(155/(#)3$#./)q)4$(/)*G/(#.'d(/,/(#)r:)
F/)($,_./)&/)8&"5)_'5)/5#)&/).l#I,/)%'.*1';"/)8$".)
_.z&/.)*/)&')6.'155/=)&/)($,_./)*"),1&1/")/5#)&/).l#I,/)
%'.*1';"/)8$".)_.z&/.)"(),'H1,",)*/)6.'155/=)/#)&/)
($,_./)&/)8&"5)I'"#)/5#)&/).l#I,/)%'.*1';"/)8$".)*/5)
/H/.%1%/5)'-.$_1%5:
_9m*+9$%+$*K$N9K:HH+y?$".)_.z&/.)/9)%'%/,/(#)*/)
&')6.'155/=)3$"5)*/3/4)3$"5)/(#.'d(/.)K)"(/)1(#/(51#-)
9'1_&/)8/(*'(#)"(/)&$(6"/)8-.1$*/)*/)#/,85:)N".'(#)
&/5)8./,1<./5),1("#/5)*G/H/.%1%/=)3$#./)%$.85)"#1&15/)
*/5)calories de glucide)%$,,/)%'._".'(#:)P$#./)%$.85)
(/)%$,,/(%/)K)8"15/.)*'(5)5/5)réserves de graisse
;"G'8.<5)8&"51/".5),1("#/5)*G/99$.#:)01)3$#./)_"#)/5#)*/)
_.z&/.)*/)&')6.'155/=).-6&/4)&G1(#/(51#-)*/)3$#./)/H/.%1%/)
o"5;"GK)%/);"/)3$#./).l#I,/)%'.*1';"/)5$1#)8.$%I/)*")
($,_./)&/)8&"5)_'5)*/)3$#./)4$(/)*G/(#.'d(/,/(#:)?$".)
_.z&/.)"(),'H1,",)*/)6.'155/=)/(#.'d(/473$"5)'3/%)
3$#./).l#I,/)%'.*1';"/)8.$%I/)*")($,_./)*"),1&1/")*/)
3$#./)4$(/)*G/(#.'d(/,/(#:
.[+9C:C+H$;89(b:CHy01)3$#./)_"#)/5#)*/)./(9$.%/.)
3$#./)5l5#<,/)%'.*1$73'5%"&'1./=)3$"5)*/3/4)9'1./)*/5)
/H/.%1%/5)'-.$_1%5=)%/);"1)3/"#)*1./)*/)&G/H/.%1%/);"1)
./;"1/.#)*/)6.'(*/5);"'(#1#-5)*G$Hl6<(/)8/(*'(#)"(/)
8-.1$*/)*/)#/,85)8.$&$(6-/:)?$".)*/5)/H/.%1%/5)'-.$7
_1%5=).-6&/4)3$#./)1(#/(51#-)o"5;"GK)%/);"/)3$#./).l#I,/)
%'.*1';"/)5$1#)8.$%I/)*")($,_./)&/)8&"5)I'"#)*'(5)
3$#./)4$(/)*G/(#.'d(/,/(#:
\G!7.@07$,G<A$0>.!?A;p!.'.!?
dCYK&PP+F+DJyE$,,/(%/4)'3/%)V)K)Za),1("#/5)
*G-#1./,/(#5)/#)*G/H/.%1%/5)&-6/.5:)FG-%I'"99/,/(#)9'1#)
,$(#/.)&')#/,8-.'#"./)*/)3$#./)%$.85=)'"6,/(#/)&/5)
_'##/,/(#5)*/)3$#./)%|".=)/#)'%%-&<./)3$#./)%1.%"&'#1$()
8$".)3$"5)8.-8'./.)K)&G/99$.#:
.[+9C:C+H$%KDH$*K$v(D+$%>.DJ9KnD+F+DJyL(#.'d(/47
3$"5)8/(*'(#)Qa)K)Ra),1("#/5)'3/%)3$#./).l#I,/)
%'.*1';"/)*'(5)3$#./)4$(/)*G/(#.'d(/,/(#:)gN".'(#)&/5)
8./,1<./5)5/,'1(/5)*/)3$#./)8.$6.',,/)*G/H/.%1%/=)
(/),'1(#/(/4)8'5)3$#./).l#I,/)%'.*1';"/)*'(5)3$#./)
4$(/)*G/(#.'d(/,/(#)8/(*'(#)8&"5)*/)Qa),1("#/5:i)
@/581./4)8.$9$(*-,/(#)/#)*/),'(1<./).-6"&1<./);"'(*)
3$"5)3$"5)/(#.'d(/4y(/)./#/(/4)o','15)3$#./)5$"9)/:
A+J(&9$Z$*K$!(9FK*+yB1(155/4)'3/%)V)K)Za),1("#/5)
*G-#1./,/(#5:)F/5)-#1./,/(#5)./(*/(#)3$5),"5%&/5)8&"5)
)/H1_&/5)/#)'1*/(#)K)8.-3/(1.)&/5)8.$_&<,/5);"1)5".7
31/((/(#)'8.<5)&G/(#.'d(/,/(#:
-AdQ<.!\.$=.$0>.u.A\@\.
?$".),'1(#/(1.)$")',-&1$./.)3$#./)9$.,/)8Il51;"/=)
/99/%#"/4)#.$15)/(#.'d(/,/(#5)8'.)5/,'1(/=)'3/%)'")
,$1(5)"()o$".)*/)./8$5)/(#./)%I';"/)/(#.'d(/,/(#:)
!8.<5);"/&;"/5),$15)*G/H/.%1%/).-6"&1/.=)3$"5)8$"3/4)
/99/%#"/.)o"5;"GK)%1(;)/(#.'d(/,/(#5)8'.)5/,'1(/=)51)
*-51.-:)W'.*/4)K)&G/58.1#);"/)&')%&-)*")5"%%<5)/5#)*/)
9'1./)*/)3$5)/(#.'d(/,/(#5)"()-&-,/(#)'6.-'_&/)/#)
.-6"&1/.)*/)3$#./)31/)*/)#$"5)&/5)o$".5:
\G!7.@07$,G<A$0>.u.A\@\.
$$$$;/.A?@77.'.!?$]$KLKDJ$
%+$C(FF+DC+9$C+$E9(c9KFF+$%>+[+9C:C+$
(&$J(&J$K&J9+$E9(c9KFF+X$C(DH&*J+I$L(J9+$
F8%+C:D#$\+C:$+HJ$EK9J:C&*:)9+F+DJ$:FE(9JKDJ$
E(&9$*+H$E+9H(DD+H$%+$E*&H$%+$Tg$KDH$(&$*+H$
E+9H(DD+H$KOKDJ$%+H$E9(b*)F+H$%+$HKDJ8#
0+$%8J+CJ+&9$CK9%:Ka&+$D>+HJ$EKH$&D$KEEKM
9+:*$F8%:CK*#$=+$D(Fb9+&[$PKCJ+&9H$E+&L+DJ$
KPP+CJ+9$*K$*+CJ&9+$%&$9OJYF+$CK9%:Ka&+#$0+$
%8J+CJ+&9$CK9%:Ka&+$+HJ$&D:a&+F+DJ$&D$(&J:*$
E(&9$*>+[+9C:C+$E(&9$%8J+9F:D+9$*+H$$&CJ&KM
J:(DH$c8D89K*+H$%&$9OJYF+$CK9%:Ka&+#

52
) Z) Z) T'5/
) Q) Z) E'*./
) R) Z) C$(#'(#
) S) Z) L,_$"#)*")C$(#'(#
) V) Z) E$(5$&/
) X) Z) 0#'_1&15'#/".)!3'(#
) k) Z) 0#'_1&15'#/".)!..1<./
) h) Z) T.'5)?0E)W'"%I/
) e) Z) T.'5)?0E)N.$1#
) Za) Q) L,_$"#)*")T.'5
) ZZ) Z) p',_/)?0E)W'"%I/
) ZQ) Z) p',_/)?0E)N.$1#/
) ZR) Z) ?-*'&/)W'"%I/
) ZS) Z) T.'5)*/)&')?-*'&/)W'"%I/
) ZV) Z) ?-*'&/)N.$1#/
) ZX) Z) T.'5)*/)&')?-*'&/)N.$1#/
) Zk) Z) E$"3./7C$(#'(#)W'"%I/
) Zh) Z) E$"3./7T.'5)!3'(#)W'"%I/
) Ze) Z) E$"3./7T.'5)!..1<./)W'"%I/
) Qa) Z) E$"3./7T.'5)!3'(#)N.$1#
) QZ) Z) E$"3./7T.'5)!..1<./)N.$1#
) QQ) Z) ?$.#/7T$"#/1&&/
) QR) Q) L,_$"#)*")0#'_1&15'#/".)!3'(#
) QS) Q) L,_$"#)*")0#'_1&15'#/".)!..1<./
) QV) Q) @$"&/##/
) QX) Z) ?1/*)*/)&')T'5/
) Qk) Q) ?1/*)*/)+13/&/,/(#
) Qh) Z) E'8$#)W'"%I/
) Qe) Z) E'8$#)N.$1#
) Ra) X) T'6"/)?0E
) RZ) S) E$"3./7T.'5)*/)&')?-*'&/
) RQ) Q) !H/)*")T.'5)*/)&')?-*'&/
) RR) S) T'6"/)*")T.'5)*/)&')?-*'&/
) RS) Z) !H/)*/)&')T'5/
) RV) Q) T'6"/)*/)&')T'5/
) RX) Q) T.'5)*")?-*'&1/.
) Rk) Q) E$"3./7?-*'&1/.)D(#/.(/
) Rh) Z) C$l/")*")?-*'&1/.
) Re) Z) E$"3./7C$(#'(#)N.$1#
) Sa) Z) ?$"&1/
) SZ) Q) E$"3./7T'6"/)*")?-*'&1/.
) SQ) S) T'6"/)*")?-*'&1/.
) SR) Q) C'(%I$()*/)&')T'6"/)*")?-*'&1/.
) SS) Q) T"#-/)*")?'&1/.)*")?-*'&1/.
) SV) Z) ?-*'&1/.
) SX) Z) T'6"/)*GL58'%/,/(#)*")?-*'&1/.
) Sk) Q) T'6"/)K)@/55$.#)*")?-*'&1/.
) Sh) Z) W.$"8/,/(#)*/)B1&5)0"8-.1/".
) Se) Z) W.$"8/,/(#)*/)B1&5)D(9-.1/".
) Va) Z) E'8#/".)C'6(-#1;"/{B1&
) VZ) Z) E$"..$1/)*/)M.'%#1$(
) VQ) Z) P$&'(#
) VR) Z) !1,'(#)/()E
) VS) Z) ?'&1/.)K)EI'8/'"
) VV) Q) !1,'(#
) VX) Z) @/55$.#
) Vk) Z) M/(*/".
) Vh) Z) 0"88$.#)*")M/(*/".
) Ve) Z) T.1*/
) Xa) Z) W"1*$()N.$1#
) XZ) Z) W$"81&&/)*/)&')T'5/
) XQ) Q) )T'6"/)*GL58'%/,/(#)*")0"88$.#)*")
F$;"/#
) XR) Q) W$"81&&/)B/(*"/
) XS) Z) 0"88$.#)*/)F$;"/#
) XV) Z) 0"88$.#)*")?13$#
) XX) Q) )T'6"/)*GL58'%/,/(#)*")0"88$.#)*")
?13$#
) Xk) Z) W$"81&&/)*")E'*./
) Xh) Z) T$"#$()*")F$;"/#
) Xe) Z) W$"81&&/)El&1(*.1;"/
) ka) Z) C$#/".
) kZ) Z) ?$"&1/)*")Et_&/)*/)@-515#'(%/
) kQ) Z) T"#-/)*")Et_&/)*/)@-515#'(%/
) kR) Q) ?.15/)C$"55/
) kS) Z) !H/)*/)?13$#
) kV) Q) E$"3./7C$l/"
) kX) Q) E$"3./7?-*'&1/.)LH#/.(/
) kk) Q) 0"88$.#)*")P$&'(#
) kh) S) T$"&$()Ch)H)SZ,,
) ke) e) E$(#./72%.$")Ch
) ha) Z) T$"&$()Ch)H)Xe,,
) hZ) S) 2%.$")*/)T&$%'6/)CZa
) hQ) Q) )T$"&$()*/)E'..$55/.1/)CZa)H)ha,,
) hR) Q) P15)CZa)H)ZQk,,
) hS) X) P15)Ch)H)QR,,
) hV) Z) P15)CX)H)Za,,
) hX) Z) P15)*")?-*'&1/.
) hk) h) P15)*")C$l/"
) hh) Za) @$(*/&&/)Ch
) he) Q) P15)CZa)H)Xa,,
) ea) R) @$(*/&&/)B/(*"/)Ch
) eZ) Z) T'6"/)*GL58'%/,/(#)*")P$&'(#
) eQ) Z) @$(*/&&/)*")P$&'(#
) eR) Z) T'6"/)K)@/55$.#)*")P$&'(#
) eS) S) P15)*")?'&1/.)K)EI'8/'"
) eV) Z) P15)*/)T&$%'6/
) eX) Z) P15)Ch)H)RV,,
) ek) Z) !6.'9/)/()L
) eh) S) P15)*/)&')?$"&1/
) ee) Q) @$(*/&&/)*")?-*'&1/.
) Zaa) Q) P15)CS)H)QV,,
$!w#$ QJ8#$ =+HC9:EJ:(D $!w#$ QJ8#$ =+HC9:EJ:(D
0@7?.$=.7$,@`\.7 +•:)*")C$*<&/)?BLPLFkSeZQ:a)@ZaZQ!

5g
) ZaZ) Za) P15)K)MJ#/)@$(*/)CS)H)ZX,,
) ZaQ) ZQ) @$(*/&&/)CS
) ZaR) QX) P15)CS)H)ZX,,
) ZaS) h) P15)2,$"55-/)CS)H)ZX,,
) ZaV) X) P15)K)MJ#/)@$(*/)CS)H)RQ,,
) ZaX) Q) P15)K)28'"&/,/(#)Ch)H)RZ,,
) Zak) S) P15)CS)H)ZQ,,
) Zah) Q) P15)CS)H)Va,,
) Zae) Q) W.'(*/)@$(*/&&/)A(*"&-/
) ZZa) Q) ?/#1#/)@$(*/&&/)Ch
) ZZZ) Q) @$(*/&&/)A(*"&-/
) ZZQ) h) @$(*/&&/)B/(*"/)CS
) ZZR) Z) @$(*/&&/)CZa
) ZZS) Z) 2%.$")CX
) ZZV) S) P15)K)28'"&/,/(#)Ch)H)QR,,
) ZZX) Q) T$"&$()Ch)H)ha,,
) ZZk) Q) ?.15/)*")E'8#/".)E'.*1';"/
) ZZh) Q) B1&)*")E'8#/".)E'.*1';"/
) ZZe) Z) W"1*$()W'"%I/
) ^) j) C'("/&)*/)&GO#1&15'#/".
) ^) j) A"#1&)*G!55/,_&'6/
) ^) j) 0'%I/#)*/)W.'155/
$!w#$ QJ8#$ =+HC9:EJ:(D $!w#$ QJ8#$ =+HC9:EJ:(D
@/,'.;"/)>)&/5)58-%191%'#1$(5)5$(#)5"o/##/5)K)*/5)%I'(6/,/(#5)5'(5)($#191%'#1$(:)@-9-./473$"5)'")*$5)*/)%/)
,'("/&)8$".)%$,,'(*/.)*/5)81<%/5)*/)./%I'(6/:)^D(*1;"/);"G"(/)81<%/)(G/5#)8'5)1&&"5#.-/:

5i
Z
X
h
e
Za
Za
ZZ
ZQ
ZR
ZS
ZV
ZX
Zk Re
Zh
Ze
Qa
QZ
QQ
QR
QR
QV
QV
QX
Ra
Ra
Ra
Ra
Ra
Ra
RZ
RZ
RQ RR
RR
RZ
RQ
RR
RZ
RS
RV
RV
ha
kh
ZaZ
ZaZ
ke
ZaV
hh
hS
ke
hS
ZaZ
ZaZ kS
ZaV
ke
kh
hh hS
ZaS
ZZV
ZZV
hh
hS
ZZV
ZZV
hS
hh
he
hQ
hZ
hZ
hZ
he
Sh
Se
hS
kR
kR
hh
hh
hh
hh
ea
ea
ea
ZZZ
ZZZ
S
R
ZaZ
ZZQ ZaS
ZaS
Zah
ZZQ
ZaQ
ZaS
ZaS
Zah
ZZQ
ZZQ
ZaQ
ZaQ
ZaV
ZZh
ZaZ
ke
ZZe
ZZk
ZZk
Xa
ZZX
ZZX
ZaZ
V
7\qd';$=d?;@00d$; +•:)*")C$*<&/)?BLPLFkSeZQ:a)@ZaZQ!

51
XX
Q
k
QS
QS
Qk
Qk
Qh
Qe
kV
kX
RX
ee
hk
ZaX
Rk
Sa
SZ
SQ
SR
ZaR
ZaR
Zak
Zak
ZaR
Rh
SR
SQ
SQ
SZ ZaX
RX
kV
Rk
hR
hk
hk
kX
ZaR
ZaR
ZaR
ZaR
hX
ee
SS
eh
eh
SS
SX
Sk
Sk
ZaR
Zaa
ZaR
VZ
Va
VQ
VR
VS
VX
eS
eS
eS
ke
eQ
eR
eZ
Vk
Vh
Ve
ZaR
hV eX
XZ
XQ
XQ
XR XS
XR XV
XX
Xk
Xh
Xe
ZZR
ek
ka
eV
ZaR
ke
kZ
kQ
Zaa
ZaR
ZaR
ZaQ
ZaQ
Zak
hh
hh
Zae
Zae
ZZS
ZaR
ZZa
ZZa
kk
kk
VV
VV
SV
7\qd';$=d?;@00d$_ +•:)*")C$*<&/)?BLPLFkSeZQ:a)@ZaZQ!

+€:)*/)?1<%/)RQXVQV)@ZaZQ!) D,8.1,-)/()EI1(/)•)QaZQ)DEA+)D?=)D(%:
?$".)%$,,'(*/.)*/5)81<%/5)*/)./%I'(6/=).-9-./473$"5)K)&')8'6/)*/)%$"3/.#"./)*/)%/),'("/&:)?$".);"/)($"5)
8"1551$(5),1/"H)3$"5)'5515#/.=),/.%1)*/)8.-8'./.)&/5)1(9$.,'#1$(5)5"13'(#/5)'3'(#)*/)($"5)'88/&/.)>)
n))&/)(",-.$)*"),$*<&/)/#)&/)(",-.$)*/)5-.1/)*/)&G'88'./1&)g3$1.)&')8'6/)*/)%$"3/.#"./)*/)%/),'("/&i
n))&/)($,)*/)&G'88'./1&)g3$1.)&')8'6/)*/)%$"3/.#"./)*/)%/),'("/&i
)
n)))&/)(",-.$)*/)&')81<%/)/#)&')*/5%.18#1$()*/)&'{*/5)81<%/g5i)*/)./,8&'%/,/(#)g3$1.)&')FD0ML)NL0)?DUEL0)/#)&/)
0E\2C!)N2M!DFF2)3/.5)&'))()*/)%/),'("/&i
,G<A$\G'';!=.A$=.7$,@`\.7$=.$A.\q;!N.
\+J$KEEK9+:*$8*+CJ9(D:a&+$D+$%(:J$EKH$eJ9+$8*:F:D8$KL+C$*+H$%8CY+JH$F8DKM
c+9H#$;$D$%+$E98H+9L+9$*>+DL:9(DD+F+DJX$C+J$KEEK9+:*$%(:J$eJ9+$9+COC*8$K&$
J+9F+$%+$HK$%&98+$%+$L:+$&J:*+$C(FF+$*>+[:c+$*K$*(:#$
P/"1&&/4)"#1&15/.)*/5)1(5#'&&'#1$(5)*/)./%l%&'6/)'"#$.15-/5)K)%$&&/%#/.)%/)#l8/)
*/)*-%I/#5)*'(5)3$#./).-61$(:)L()'6155'(#)'1(51=)3$"5)'1*/./4)K)8.-5/.3/.)&/5)
./55$".%/5)('#"./&&/5)/#)K)',-&1$./.)&/5)($.,/5)/".$8-/((/5)/(),'#1<./)*/)8.$7
#/%#1$()*/)&G/(31.$((/,/(#:)01)3$"5)'3/4)_/5$1()*/)8&"5)*G1(9$.,'#1$(5)%$(%/.('(#)
&/5),-#I$*/5)%$../%#/5)/#)5z./5)*G-&1,1('#1$()*/5)*-%I/#5)-&/%#.$(1;"/5=)%$(#'%#/4)
&/5)5/.31%/5)*G/(&<3/,/(#)*/5)*-%I/#5)*/)3$#./)%$,,"(/)$")&G-#'_&155/,/(#)$‚)
3$"5)'3/4)'%I/#-)%/)8.$*"1#:
@!-GA';?@G!$,G<A$0.$A.\x\0;N.