Proform Pftl131130 Pro 2000 Treadmill Users Manual
2015-04-14
: Proform Proform-Pftl131130-Pro-2000-Treadmill-Users-Manual-701489 proform-pftl131130-pro-2000-treadmill-users-manual-701489 proform pdf
Open the PDF directly: View PDF
.
Page Count: 36
- PRECAUCIONES IMPORTANTES
- COLOCACIÓN DE LAS CALCOMANÍAS DE ADVERTENCIA
- ANTES DE COMENZAR
- TABLA DE IDENTIFICACIÓN DE PIEZAS
- MONTAJE
- EL MONITOR DE FRECUENCIA CARDÍACA
- FUNCIONAMIENTO Y AJUSTES
- CÓMO PLEGAR Y MOVER LA MÁQUINA PARA CORRER
- MANTENIMIENTO Y SOLUCIÓN DE PROBLEMAS
- GUÍA DE EJERCICIOS
- LISTA DE LAS PIEZAS
- DIBUJO DE LAS PIEZAS A
- CÓMO ORDENAR PIEZAS DE REPUESTO
- GARANTÍA LIMITADA

Calcomanía con el
Número de Serie
Nº de Modelo PFTL13113
Nº de Versión 0
Nº de Serie
Escriba el número de serie en el
espacio de arriba para referencia.
PRECAUCIÓN
Antes de usar el aparato, lea
cuidadosamente todas las adver-
tencias e instrucciones de este
manual. Guarde el manual para
futuras referencias.
www.proform.com
MANUAL DEL USUARIO
¿PREGUNTAS?
Para Servicio Técnico:
Tel. 01-800-681-9542
servicio@iconfitness.com
Tecnoservicio
Calle #4 No. 36
Col. San Pedro de los Pinos
Del. Álvaro Obregón
México D.F. C.P. 01180
Importador:
Sears Operadora México
S.A. de C.V.
Lago Zurich 245 ED. Presa
Falcón Piso 7
Col. Granada Ampliación,
Del. Miguel Hidalgo
México D.F. C.P. 11529
R.F.C.: SOM101125UEA
Especificaciones eléctricas:
120V~ 60 Hz 13 A

2
PRECAUCIONES IMPORTANTES ..............................................................3
COLOCACIÓN DE LAS CALCOMANÍAS DE ADVERTENCIA. . . . . . . . . . . . . . . . . . . . . . . . . . . . . . . . . . . . . . . . .5
ANTES DE COMENZAR ......................................................................7
TABLA DE IDENTIFICACIÓN DE PIEZAS ........................................................8
MONTAJE .................................................................................9
EL MONITOR DE FRECUENCIA CARDÍACA .....................................................16
FUNCIONAMIENTO Y AJUSTES ..............................................................17
CÓMO PLEGAR Y MOVER LA MÁQUINA PARA CORRER. . . . . . . . . . . . . . . . . . . . . . . . . . . . . . . . . . . . . . . . . .26
MANTENIMIENTO Y SOLUCIÓN DE PROBLEMAS ...............................................27
GUÍA DE EJERCICIOS . . . . . . . . . . . . . . . . . . . . . . . . . . . . . . . . . . . . . . . . . . . . . . . . . . . . . . . . . . . . . . . . . . . . . .30
LISTA DE LAS PIEZAS. . . . . . . . . . . . . . . . . . . . . . . . . . . . . . . . . . . . . . . . . . . . . . . . . . . . . . . . . . . . . . . . . . . . . .31
DIBUJO DE LAS PIEZAS ....................................................................32
CÓMO ORDENAR PIEZAS DE REPUESTO ...........................................Contraportada
GARANTÍA LIMITADA. . . . . . . . . . . . . . . . . . . . . . . . . . . . . . . . . . . . . . . . . . . . . . . . . . . . . . . . . . . . . Contraportada
PROFORM es una marca registrada de ICON Health & Fitness, Inc.
CONTENIDO

3
1. Es responsabilidad del propietario ase-
gurarse de que todos los usuarios de la
máquina para correr estén adecuada-
mente informados sobre todos los avisos y
precauciones.
2. Antes de comenzar cualquier programa de
ejercicios, consulte con su médico. Esto es
particularmente importante para individuos
mayores de 35 años o individuos con proble-
mas de salud preexistentes.
3. Use la máquina para correr solamente como
se describe en este manual.
4. La máquina para correr está diseñada única-
mente para uso dentro del hogar. No use esta
máquina para correr en ningún lugar comer-
cial, de alquiler o institucional.
5. Guarde la máquina para correr en un lugar
cerrado, lejos del polvo y la humedad. No
guarde la máquina para correr en el garaje ni
en un patio cubierto o cerca de agua.
6. Coloque la máquina para correr en una
superficie plana, con al menos 2,4 m de
espacio libre en la parte trasera y 0,6 m de
espacio libre en cada lado. No coloque la
máquina para correr sobre una superficie
que pueda bloquear cualquier entrada de
aire. Para proteger el suelo o la alfombra de
algún daño, coloque un tapete debajo de la
máquina para correr.
7. No utilice la máquina para correr en lugares
donde se usen aerosoles o donde se admi-
nistre oxígeno.
8. Mantenga a los niños menores de 12 años y
animales domésticos alejados de la máquina
para correr en todo momento.
9. La máquina para correr sólo deben utilizarla
personas que pesen 159 kg o menos.
10. Nunca permita que más de una persona use
la máquina para correr al mismo tiempo.
11. Vista ropa deportiva apropiada cuando use
la máquina para correr. No use ropa suelta
que pueda engancharse en la máquina
para correr. Se recomienda ropa deportiva
ajustada para hombres y mujeres. Utilice
siempre calzado deportivo. Nunca use la
máquina para correr descalzo, en calcetines
o sandalias.
12. Enchufe el cable eléctrico en un protec-
tor contra sobretensiones (no incluido), y
enchufe dicho protector en un tomacorriente
adecuado (vea la página 17). Para evitar la
sobrecarga del circuito, no enchufe otros
dispositivos eléctricos, excepto dispositivos
de baja potencia, tales como cargadores
de teléfonos móviles, en el protector contra
sobretensiones ni en un tomacorriente del
mismo circuito.
13. Utilice únicamente un protector contra
sobretensiones que cumpla con todas las
especificaciones descritas en la página 17.
14. Si no usa un protector contra sobretensiones
que funcione correctamente podría provocar
daños en el sistema de control de la máquina
para correr. Si el sistema de control se daña,
la banda para caminar puede reducir su
velocidad, acelerarse o detenerse de manera
inesperada, lo que puede ocasionar caídas y
lesiones graves.
15. Mantenga el cable eléctrico y el protector
contra sobretensiones alejado de las superfi-
cies calientes.
PRECAUCIONES IMPORTANTES
ADVERTENCIA: Para reducir el riesgo de lesiones, quemaduras, incendio o des-
carga eléctrica, lea todas las precauciones e instrucciones importantes de este manual y todas las
advertencias que se observan en su máquina para correr, antes de utilizarla. ICON no asume nin-
guna responsabilidad por lesiones personales o daños a la propiedad que ocurran por el uso de
este producto o a través del mismo.

4
16. Nunca mueva la banda para caminar mien-
tras el aparato esté apagado. No ponga a
funcionar su máquina para correr si el cable
eléctrico o el enchufe están dañados o si la
máquina para correr no está funcionando
correctamente. (Vea MANTENIMIENTO Y
SOLUCIÓN DE PROBLEMAS en la página
27 si la máquina para correr no está funcio-
nando correctamente.)
17. Lea, entienda y pruebe el procedimiento
de parada de emergencia antes de usar la
máquina para correr (vea CÓMO ENCENDER
LA CORRIENTE en la página 19).
18. Nunca ponga en funcionamiento la máquina
para correr mientras esté parado en la banda
para caminar. Sujétese siempre a las baran-
das cuando haga ejercicios en la máquina
para correr.
19. La máquina para correr es capaz de alcanzar
altas velocidades. Ajuste la velocidad gra-
dualmente para evitar cambios repentinos de
velocidad.
20. El monitor de ritmo cardíaco no es un dis-
positivo médico. Existen varios factores,
incluido el propio movimiento de la persona
al hacer ejercicios, que pueden influir en la
precisión de las lecturas del ritmo cardíaco.
El monitor de ritmo cardíaco está diseñado
únicamente como ayuda para los ejercicios,
determinando las tendencias del ritmo car-
díaco en general.
21. Nunca deje la máquina para correr desa-
tendida mientras esté en funcionamiento.
Siempre retire la llave, coloque el interruptor
en la posición de Off (apagado) (vea el dibujo
de la página 7 para la ubicación del interrup-
tor) y desenchufe el cable eléctrico cuando la
máquina para correr no esté en uso.
22. No intente mover la máquina para correr
hasta que esté correctamente ensamblada.
(Vea MONTAJE en la página 9, y CÓMO
PLEGAR Y MOVER LA MÁQUINA PARA
CORRER en la página 26.) Usted debe poder
levantar cómodamente 20 kg para mover la
máquina para correr.
23. Cuando pliegue o mueva la máquina para
correr, asegúrese de que el pasador de
almacenamiento esté sosteniendo la arma-
dura con seguridad en la posición de
almacenamiento.
24. No cambie la inclinación de la máquina para
correr colocando objetos debajo de ésta.
25. Nunca inserte ningún objeto dentro de nin-
guna abertura en la máquina para correr.
26. Inspeccione y apriete bien todas las piezas
de la máquina para correr regularmente.
27. PELIGRO: Desconecte siempre el
cable eléctrico después de usar, antes de
limpiar la máquina para correr, y antes de
realizar las operaciones de mantenimiento y
ajuste descritos en este manual. Nunca retire
la cubierta del motor a menos que sea bajo
la dirección de un representante de servicio
autorizado. Cualquier procedimiento de ser-
vicio distinto de los incluidos en este manual
debe ser realizado solamente por un repre-
sentante de servicio técnico autorizado.
28. El hacer ejercicios en exceso puede cau-
sar lesiones graves o incluso la muerte. Si
experimenta mareos o siente dolor mientras
hace ejercicios, deténgase inmediatamente y
descanse.
GUARDE ESTAS INSTRUCCIONES

5
Este dibujo muestra las ubicaciones de las
calcomanías de advertencia. Si falta una cal-
comanía o ésta es ilegible, vea la portada de
este manual y solicite una nueva calcomanía
de reemplazo gratuita. Péguela en el lugar
indicado. Nota: Puede ser que no se muestren
las calcomanías en su tamaño real.
COLOCACIÓN DE LAS CALCOMANÍAS DE ADVERTENCIA
305284

6
IFIT.COM
VISITE LA WEB
O LLAME AL
877-236-1009
Felicitaciones por la compra de su nuevo equipo de
ejercicios compatible con iFit®. Solo le falta un clic para
convertir sus metas de estado físico en realidad.
CONVIERTA SUS METAS DE
ESTADO FÍSICO EN
REALIDAD
ENTRENAMIENTO
PERSONALIZADO
PARA EVENTOS
Los entrenamientos de 5k, 10k, media
maratón o maratón completo le
ayudarán a prepararse para su evento.
COMPITA CON OTROS
Extienda sus límites con carreras
virtuales en tiempo real.
DISFRUTE DE SU MOVILIDAD
Siga su entrenamiento donde quiera que
vaya con las aplicaciones móviles iFit®.
COMPARTA SU PROGRESO
Inspire a otros, automotívese y comparta
sus rutas, entrenamientos y más.
PIERDA PESO
Mantenga el rumbo y la motivación
con programas de pérdida de peso
progresiva y con la ayuda de
entrenadores como Jillian Michaels.
MÁS QUE UN SIMPLE ENTRENAMIENTO
iFit® es la herramienta de entrenamiento más potente disponible para ayudarle a alcanzar sus
metas de estado físico. Desde programas de entrenamiento para perder peso y de rendimiento
hasta entrenamientos personalizados, iFit® es la clave para sacarle el máximo a todo lo que hace.
Algunas características requieren una suscripción de pago.
TRACE SU RUTA
Con Google Maps™, su equipo de
ejercicios simulará el contorno de la
tierra mientras muestra la vista de
calles durante su entrenamiento.
VISITE LA WEB IFIT.COM PARA COMENZAR

7
Gracias por seleccionar la revolucionaria máquina para
correr PROFORM® PRO 2000. La máquina para correr
PRO 2000 ofrece una variedad impresionante de
funciones diseñadas para hacer sus entrenamientos en
su hogar más agradables y eficaces. Además, cuando
deje de hacer ejercicios, esta máquina para correr
única puede plegarse hacia arriba y requiere menos de
la mitad del espacio que otras máquinas para correr.
Para su beneficio, lea el manual cuidadosamente
antes de usar la máquina para correr. Si tiene
preguntas después de leer este manual, por favor vea
la portada de este manual. Para ayudarnos a asistirle,
anote el número de modelo y el número de serie del
producto antes de contactarnos. El número del modelo
y la ubicación del número de serie se muestran en la
portada de éste manual.
Antes de seguir leyendo, por favor estudie el dibujo de
abajo y familiarícese con las piezas y sus nombres.
Baranda
Charola
Largo: 203 cm
Ancho: 102 cm
Montante Vertical
Charola
Llave/Soporte
Interruptor
Banda para Caminar
Amortiguador de Plataforma
Riel para los Pies
Cable
Eléctrico
Rodillo Estable
Tornillos de Ajuste
Consola
Monitor del
Ritmo Cardíaco
ANTES DE COMENZAR

8
Tornillo #8 x 3/4"
(5)–8
Tuerca 5/16"
(9)–2
Arandela Estrella
5/16" (8)–8
Tornillo #10 x 3/4"
(6)–2
Perno 5/16" x 1 3/4"
(3)–1
Tornillo 5/16" x 2"
(2)–4
Tornillo 5/16" x
3/4" (1)–8
Perno 5/16" x 2 1/4"
(4)–1
Tornillo de Cabeza
Segmentada
#8 x 3/4" (24)–8
TABLA DE IDENTIFICACIÓN DE PIEZAS
Consulte los dibujos que aparecen abajo para identificar las piezas pequeñas en el montaje. El número entre
paréntesis debajo de cada dibujo es el número de la pieza en la LISTA DE LAS PIEZAS hacia el final de este
manual. El número que aparece después del paréntesis es la cantidad necesaria para el montaje. Nota: Si no
encuentra alguna de las piezas en la bolsa de piezas, compruebe si ha sido previamente conectada.
Pueden incluirse piezas adicionales.

9
• El montaje requiere dos personas.
• Coloque todas las piezas en un área despejada y
quite los materiales de empaque. No se deshaga
de los materiales de empaque hasta haber termi-
nado todos los pasos de montaje.
• Tras el envío, podría haber una sustancia acei-
tosa en el exterior de la máquina para correr. Se
trata de algo normal. Si observa una sustancia
aceitosa en la máquina para correr, límpiela con
un paño suave y un limpiador leve no abrasivo.
• Las partes del lado izquierdo están marcadas con
“L” o “Left” y las partes del lado derecho están
marcadas con “R” o “Right”.
• Para identicar las piezas pequeñas, vea la
página 8.
• El montaje requerirá las siguientes herramientas:
la llave hexagonal incluida
una llave inglesa
un destornillador estrella
Para evitar dañar las piezas, no utilice herramien-
tas eléctricas.
1
2. Asegúrese de que el cable eléctrico esté des-
enchufado.
Identique la Pata de Extensión Derecha
(91). Conecte la Pata de Extensión Derecha
al Montante Vertical (84) derecho con dos
Tornillos 5/16" x 3/4" (1). Apriete parcialmente
ambos Tornillos y, a continuación, apriételos
completamente.
Conecte la Pata de Extensión Izquierda (no
mostrada) al Montante Vertical (84) izquierdo
de la misma manera.
84
84
2
1
91
MONTAJE
1. Visite la web www.proformservice.com/
registration en su computadora y registre su
producto.
• activa su garantía
• le ahorra tiempo si alguna vez necesita con-
tactar al Tecnoservicio
• nos permite avisarle si hay nuevas actualiza-
ciones y ofertas
Nota: Si no dispone de acceso a Internet, llame
al Tecnoservicio (vea la portada de este manual)
para registrar su producto.

10
3. Identifique las Cubiertas de los Montantes
Verticales Izquierdo y Derecho (89, 90).
Deslice la Cubierta del Montante Vertical (84)
Izquierdo (89) sobre el Montante Vertical
Izquierdo y deslice la Cubierta del Montante
Vertical Derecho (90) sobre el Montante Vertical
Derecho. A continuación, presione las Cubiertas
de los Montantes Verticales hacia abajo hasta
que encajen en su lugar.
Retire y conserve los cuatro Tornillos 5/16" x
2" (2) indicados.
89
90
84
3
2
2
4. Conecte las dos Barandas (74) a los Montantes
Verticales (84) con dos de los Tornillos 5/16" x
2" (2) que retiró en el paso 3 y dos Arandelas
Estrella 5/16" (8). No apriete aún completa-
mente los Tornillos. Tenga cuidado de no
pellizcar el Cable del Montante Vertical (83)
en el lado derecho.
A continuación, retire y deseche los dos tornillos
indicados (A).
A
A
84
83
74
74
8
8
4
2
2

11
5. Coloque el montaje de la consola (B) boca abajo
sobre una superficie blanda para que no sufra
arañazos.
Retire y deseche los cuatro tornillos indicados
(C). A continuación, retire la Barra Cruzada de
Pulso (80).
B
80
C
5
C
80
6
8
8
2
2
2
2
6
6
6. IMPORTANTE: Para no dañar la Barra
Cruzada de Pulso (80), no utilice herra-
mientas eléctricas ni apriete en exceso los
Tornillos #10 x 3/4" (6) ni los Tornillos 5/16" x
2" (2).
Oriente la Barra Cruzada de Pulso (80) como
se muestra. Conecte la Barra Cruzada de Pulso
con dos de los Tornillos 5/16" x 2" (2) que retiró
en el paso 3, dos Arandelas Estrella 5/16" (8)
y dos Tornillos #10 x 3/4" (6). Apriete parcial-
mente los cuatro Tornillos y luego apriete
completamente cada uno de ellos.
A continuación, apriete los otros dos
Tornillos 5/16" x 2" (2).

12
7. Con la ayuda de otra persona, sostenga el mon-
taje de consola (B) cerca de las Barandas (74).
Vea el diagrama incluido. Conecte el Cable
del Montante Vertical (83) al cable de la consola
(D). Los conectores deben deslizarse jun-
tos fácilmente y encajar en su lugar. Si no lo
hacen, gire un conector y vuelva a intentarlo. SI
NO CONECTA LOS CONECTORES ADECUA-
DAMENTE, LA CONSOLA PUEDE DAÑARSE
CUANDO ENCIENDA EL APARATO. A conti-
nuación, retire cualquier atadura de cables del
Cable del Montante Vertical.
83
B
D
7
83
D
8
2
8
74
8Cables
74
B
2
8. Conecte el montaje de consola (B) a las
Barandas (74) con cuatro Tornillos 5/16" x 2" (2)
y cuatro Arandelas Estrella 5/16" (8). Apriete
parcialmente los cuatro Tornillos y luego
apriete completamente cada uno de ellos.
Tenga cuidado de no pinzar los cables.
Inserte los cables hacia arriba en el
montaje de la consola (B).
74

13
9
5
5
80
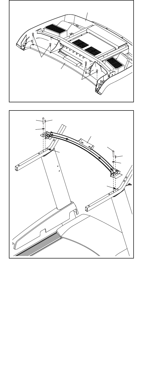
9. Identifique los Tornillos #8 x 3/4" (5).
IMPORTANTE: No confunda los Tornillos #8 x
3/4" con los Tornillos de Cabeza Segmentada
#8 x 3/4" (24). Los Tornillos de Cabeza
Segmentada presentan cabezas más grandes
y planas.
Apriete parcialmente cuatro Tornillos #8 x 3/4"
(5) en la Barra Cruzada de Pulso (80) y luego
apriételos completamente. Tenga cuidado de
no apretar demasiado los Tornillos.
10. Coloque la Cubierta Superior de la Baranda
Izquierda (73) sobre la Baranda (74) izquierda.
Apriete parcialmente cuatro Tornillos de Cabeza
Segmentada #8 x 3/4" (24) en la Cubierta
Inferior de la Baranda Izquierda (75), la Baranda
Izquierda y la Cubierta Superior de la Baranda
Izquierda. A continuación, deslice las Cubiertas
Inferior y Superior de la Baranda Izquierda hacia
delante contra el montaje de la consola (B)
como se muestra. A continuación, apriete los
cuatro Tornillos. IMPORTANTE: No confunda
los Tornillos de Cabeza Segmentada #8 x 3/4"
con los Tornillos #8 x 3/4" (5). Los Tornillos
de Cabeza Segmentada presentan cabezas
más grandes y planas.
Conecte las Cubiertas Inferior y Superior de la
Baranda Derecha (81, 82) a la Baranda (74)
Derecha de la forma descrita arriba.
24
10
82
74
75
74 81
73
B
24
24 24

14
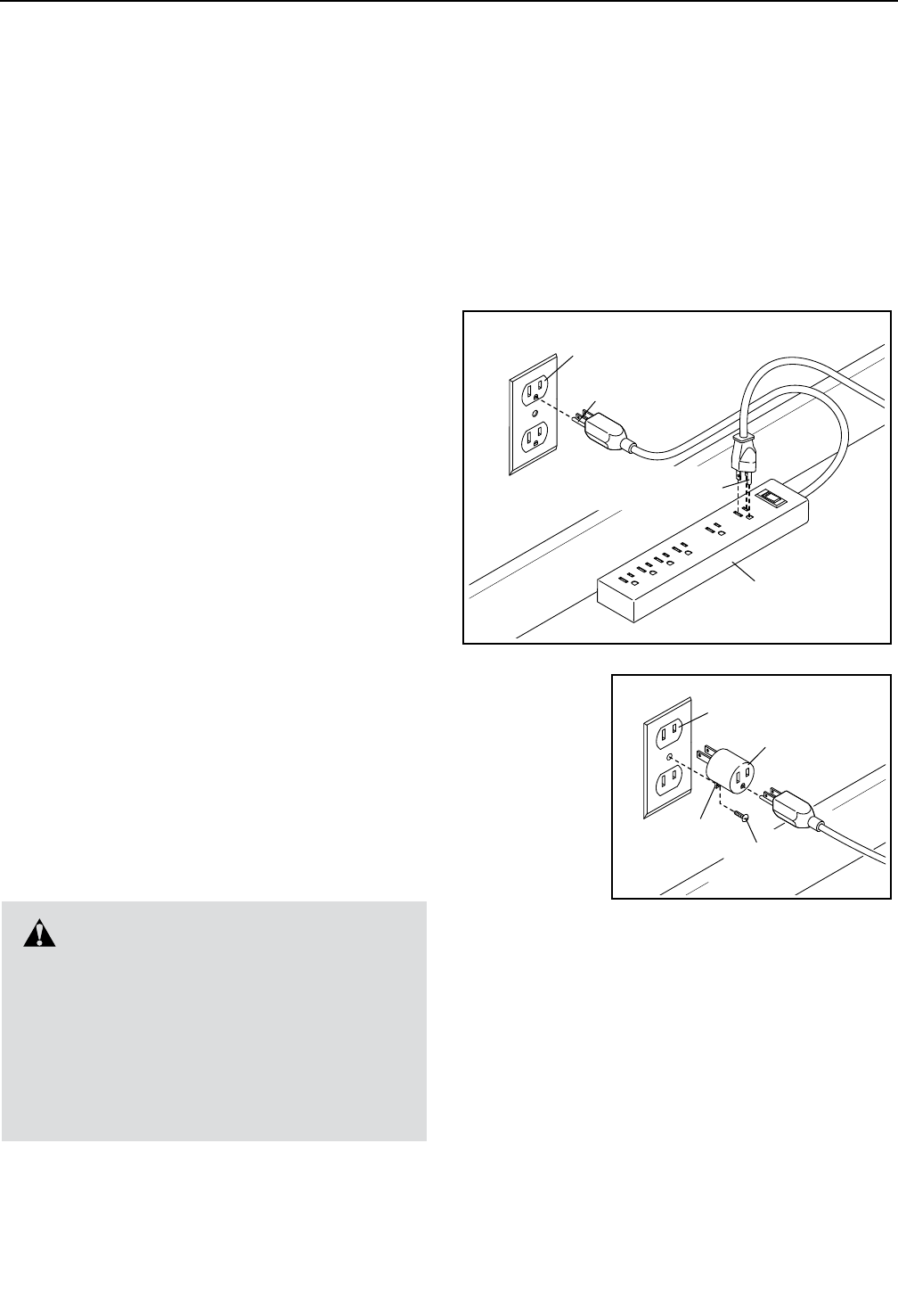
12. Deslice con cuidado la Barra Cruzada de los
Montantes Verticales (76) entre los Montantes
Verticales (84). Conecte la Barra Cruzada de los
Montantes Verticales con cuatro Tornillos 5/16"
x 3/4" (1). Apriete parcialmente los cuatro
Tornillos y luego apriete completamente cada
uno de ellos.
12
84
1
76
84
1
11. Retire y deseche los cuatro tornillos indicados
(E). Retire la Bandeja (97) de la Barra Cruzada
de los Montantes Verticales (76).
11
76
E
E
97
13. Conecte la Bandeja (97) a la Barra Cruzada
de los Montantes Verticales (76) con cuatro
Tornillos #8 x 3/4" (5). Apriete parcialmente los
cuatro Tornillos y luego apriete completa-
mente cada uno de ellos.
13
576 5
97

15
14. Eleve la Armadura (52) hasta la posición mos-
trada. Pida a otra persona que sostenga la
Armadura hasta completar el paso 15.
Oriente el Pasador de Almacenamiento (56) de
modo que la calcomanía quede orientada hacia
el lado contrario de la máquina para correr,
como se muestra.
Conecte el extremo inferior del Pasador de
Almacenamiento (56) al soporte del Montante
Vertical (84) con un Perno 5/16" x 1 3/4" (3) y
una Tuerca 5/16" (9).
Eleve el Pasador de Almacenamiento (56) hasta
la posición vertical. A continuación, retire y des-
eche la atadura (F).
84
56
3
52
Calcomanía
9
F
14
15. Alinee el extremo superior del Pasador de
Almacenamiento (56) con el soporte de la
Armadura (52). Inserte un Perno 5/16" x 2 1/4"
(4) a través del soporte. Al hacerlo, se debería
expulsar un espaciador (G) por el otro extremo.
Deseche el espaciador.
Conecte el Pasador de Almacenamiento (56)
con el Perno 5/16" x 2 1/4" (4) y una Tuerca
5/16" (9).
Baje la Armadura (52) (consulte CÓMO BAJAR
LA MÁQUINA PARA CORRER PARA EL USO en
la página 26).
52 4
9
56
15
16. Asegúrese que todas las piezas estén apropiadamente apretadas antes de utilizar la máquina para
correr. Si quedan láminas de plástico sobre las calcomanías de la máquina para correr, retire el plástico.
Para proteger el piso o alfombra, coloque un tapete debajo de la máquina para correr. Para evitar daños a la
consola, guarde su máquina para correr protegida de la luz directa del sol. Guarde en un lugar seguro las lla-
ves hexagonales suministradas; una de las llaves hexagonales se utiliza para ajustar la banda para caminar
(vea las páginas 28 y 29). Nota: Pueden incluirse componentes adicionales.
G

16
CÓMO COLOCARSE EL MONITOR DE
FRECUENCIA CARDÍACA
El monitor de fre-
cuencia cardíaca
consiste del tirante
para el pecho y
el sensor. Inserte
la lengüeta en un
extremo del tirante
para el pecho dentro
de un extremo de
la unidad, como se
muestra. Luego,
presione el extremo
del sensor debajo de
la hebilla del tirante
para el pecho. La
lengüeta debe estar
nivelada con el
frente del sensor.
El monitor de fre-
cuencia cardiaca se
debe colocar debajo
de su ropa, apre-
tadamente contra
su piel. Envuelva el
monitor de frecuen-
cia cardíaca alrededor de su pecho en el lugar que
se muestra. Asegúrese de que el logotipo en el sen-
sor esté mirando hacia arriba. Luego, conecte el otro
extremo del tirante para el pecho al sensor. Ajuste lo
largo del tirante para el pecho, si es necesario.
Jale el sensor algunas centímetros de su cuerpo y
localice las dos áreas electrónicas que están cubiertas
con ranuras poco hondas. Usando una solución salina
como saliva o solución para los lentes de contacto,
moje las dos áreas electrónicas. Regrese el sensor a
una posición contra su pecho.
CUIDADO Y MANTENIMIENTO
• Seque el sensor completamente con una toalla
suave después de cada uso. La humedad puede
mantener el sensor activado, acortando la vida de la
pila.
• Guarde el monitor de frecuencia cardíaca en un
lugar tibio y seco. No guarde el monitor de frecuen-
cia cardíaca en una bolsa plástica o en ningún otro
lugar que pueda guardar humedad.
• No exponga el monitor de frecuencia cardíaca a los
rayos directos del sol por períodos de tiempo exten-
didos; no lo exponga a temperaturas arriba de 50° C
o bajo -10° C.
• No doble o estire excesivamente el sensor cuando
use o guarde el monitor de frecuencia cardíaca.
• Para limpiar el sensor, use una toalla mojada y una
cantidad pequeña de agua jabonosa. Luego, limpie
el sensor con una toalla humeda y séquelo comple-
tamente con una toalla suave. Nunca use alcohol,
abrasivos, o quimicos para limpiar el sensor. Lave y
seque el tirante para el pecho a mano.
SOLUCIÓN DE PROBLEMAS
Si el monitor de frecuencia cardíaca no funciona apro-
piadamente, intente los pasos de abajo.
• Asegúrese que usted esté portando el monitor de
frecuencia cardíaca como se describe a la izquierda.
Si el monitor de frecuencia cardíaca no funciona
cuando se coloca como se describe, muévalo un
poco más abajo o más arriba en su pecho.
• Si las lecturas de frecuencia cardíaca no se mues-
tran hasta que usted comience a sudar, vuelva a
mojar las áreas electrónicas.
• Para que la consola muestre las lecturas de frecuen-
cia cardíaca, usted debe estar a distancia de brazos
extendidos de la consola.
• Si el sensor tiene una cubierta de pilas en la parte
de atrás, reemplazca la pila con una pila nueva del
mismo tipo.
• El monitor de frecuencia cardíaca está diseñado
para personas que tienen ritmos normales del cora-
zón. Las condiciones médicas como contracciones
ventriculares prematuras (cvps), arritmia, y taquicar-
dia le pueden causar problemas a la lectura de la
frecuencia cardíaca.
• La interferencia magnética, causada por cables de
alto voltage u otras fuentes, puede afectar la ope-
ración del monitor de frecuencia cardíaca. Si se
sospecha que esto sea un problema, trate de reloca-
lizar la máquina.
EL MONITOR DE FRECUENCIA CARDÍACA
Lengüeta
Sensor Hebilla
Tirante
Lengüetas
Sensor

17
FUNCIONAMIENTO Y AJUSTES
CÓMO ENCHUFAR EL CABLE ELÉCTRICO
Utilice un Protector Contra Sobretensiones
La máquina para correr, como cualquier otro equipo
electrónico, puede dañarse por cambios repentinos de
tensión en el hogar. Pueden ocurrir sobretensiones,
picos de tensión e interferencias de ruido al encender
o apagar otros equipos eléctricos. Para reducir el
riesgo de daños a la máquina para correr, utilícela
siempre con un protector contra sobretensiones.
Para comprar un protector contra sobretensiones,
vea el paso 13 en la página 3.
Use solamente un protector contra sobretensiones tipo
UL 1449 como protector de sobretensiones transito-
rio (TVSS). El protector contra sobretensiones debe
presentar supresión UL de tensión de 400 voltios o
menos y una disipación de sobretensión mínima de
450 joules. El protector contra sobretensiones debe
ser para 120 voltios CA y 15 amperes. El protector
contra sobretensiones debe tener una luz de control
que indique si está funcionando adecuadamente. Si
no usa un protector contra sobretensiones que
funcione correctamente podría provocar daños en
el sistema de control de la máquina para correr y
lesiones graves a los usuarios.
Enchufe el Cable Eléctrico
La máquina para correr debe estar conectada a
tierra. En caso de funcionamiento defectuoso o avería,
la conexión a tierra proporciona una ruta con el menor
grado de resistencia para la corriente eléctrica, redu-
ciendo así el riesgo de electrocución. El enchufe del
cable eléctrico de la máquina para correr tiene una
clavija de conexión a tierra (ver el dibujo 1 de esta
página).
Conecte el cable eléctrico a un protector contra sobre-
tensiones y conecte dicho protector a un tomacorriente
que esté adecuadamente instalado y conectado a tie-
rra de acuerdo con los códigos y ordenanzas locales.
El tomacorriente debe estar en un circuito nomi-
nal de 120 voltios capaz de conducir 15 amperes
o más. Para evitar la sobrecarga del circuito no
enchufe otros dispositivos eléctricos, excepto los
dispositivos de baja potencia, tales como carga-
dores de teléfonos móviles, en el protector contra
sobretensiones ni en un tomacorriente del mismo
circuito. IMPORTANTE: La máquina para correr no
es compatible con tomacorrientes eléctricos equi-
pados con RCD.
Si no hay un
tomacorriente
adecuada-
mente conec-
tado a tierra
disponible, se
puede utilizar
un adapta-
dor temporal
para enchufar
el protector
contra sobre-
tensiones a un receptáculo bipolar.
El enchufe o el cable que se extiende desde el adap-
tador debe conectarse con un tornillo de metal a una
tierra permanente, como por ejemplo una cubierta de
caja de tomacorriente adecuadamente conectada a
tierra. Algunas cubiertas de receptáculos eléctricos
bipolares no vienen conectadas a tierra. Antes de
usar un adaptador, contacte con un electricista
calificado para determinar si la cubierta de la caja
eléctrica se encuentra conectada a tierra. El adap-
tador temporal se deberá usar solamente hasta
que un tomacorriente adecuadamente conectado
a tierra haya sido instalado por un electricista
calificado.
PELIGRO: La conexión inadec-
uada del cable eléctrico aumenta el riesgo
de electrocución. No modifique el enchufe
(si es que no encaja en el tomacorriente,
haga instalar un nuevo tomacorriente por
un electricista calificado). Si no está seguro
de si la máquina para correr está adecuada-
mente conectada a tierra, contacte con un
electricista calificado.
1
Protector Contra
Sobretensiones
Clavija de
Conexión a Tierra
Tomacorriente
Conectado a Tierra
2
Adaptador
Receptáculo Bipolar
Orejeta
Clavija de Conexión a Tierra
Tornillo de
Metal

18
ETSF13513
(SFTL13513)
ETSF13513
DIAGRAMA DE
LA CONSOLA
CARACTERÍSTICAS DE LA CONSOLA
La consola de la máquina para correr ofrece un impre-
sionante conjunto de características diseñadas para
hacer sus entrenamientos más efectivos y agradables.
Cuando se utilice la función manual se podrá cambiar
la velocidad y la inclinación de la máquina para correr
con sólo tocar un botón. Mientras hace ejercicios, la
consola proveerá información continua de los ejerci-
cios. Usted también puede medir su ritmo cardíaco
usando el monitor de ritmo cardíaco del mango o el
monitor de ritmo cardíaco para el pecho.
Además, la consola presenta una selección de entre-
namientos a bordo. Cada entrenamiento controla
automáticamente la velocidad y la inclinación de la
máquina para correr a medida que le guía a través de
una efectiva sesión de ejercicios.
La consola también presenta una función iFit que per-
mite a la máquina para correr comunicarse con su red
inalámbrica a través de un módulo iFit opcional. Con
la función iFit, usted puede descargar entrenamientos
personalizados, crear sus propios entrenamientos,
controlar el resultado de su entrenamiento, competir
contra otros usuarios de iFit y tener acceso a otras
muchas funciones. Para comprar un módulo iFit en
cualquier momento, vaya a www.iFit.com o llame al
número de teléfono que aparece en la portada de
este manual.
Usted puede incluso escuchar su música favorita de
entrenamiento o audiolibros con el sistema de sonido
de la consola, mientras hace ejercicios.
Para encender la corriente, vea la página 19. Para
utilizar la función manual, vea la página 19. Para
utilizar un entrenamiento a bordo, vea la página 21.
Para utilizar un entrenamiento con fijación de meta,
vea la página 22. Para utilizar un entrenamiento
de iFit, vea la página 23. Para usar el sistema de
sonido, vea la página 24. Para utilizar la función de
ajustes, vea la página 24.
Nota: La consola puede mostrar la velocidad y la
distancia en millas o kilómetros. Para ver qué unidad
de medida está seleccionada, vea LA FUNCIÓN DE
AJUSTES en la página 24.Para simplificar, todas las
instrucciones de esta sección se refieren a kilómetros.
IMPORTANTE: Si quedan láminas de plástico sobre
la consola, retírelas. Para evitar que se produzcan
daños en la plataforma para caminar, póngase
calzado deportivo limpio al usar la máquina para
correr. La primera vez que use la máquina para
correr, observe la alineación de la banda para cami-
nar y céntrela en caso necesario (vea la página 28).

19
CÓMO ENCENDER LA CORRIENTE
IMPORTANTE: Si la máquina para correr ha sido
expuesta a bajas temperaturas, deje que alcance la
temperatura ambiente antes de encenderla. De lo
contrario las pantallas de la consola u otros com-
ponentes eléctricos pueden resultar dañados.
Enchufe el cable eléc-
trico (vea la página 17). A
continuación, localice el
interruptor en la armadura
de la máquina para correr,
cerca del cable eléctrico.
Pulse el interruptor para
colocarlo en la posición de Reset (reiniciar).
IMPORTANTE: La consola presenta una función de
demostración en pantalla diseñada para ser usada
si la máquina para correr está siendo exhibida
en algún establecimiento comercial. Si los moni-
tores se iluminan cuando usted enchufa el cable
eléctrico y coloca el interruptor en la posición de
reiniciar, se activa la función de demostración.
Para apagar la función de demostración, mantenga
pulsado el botón Stop (parar) durante algunos
segundos. Si los monitores permanecen encendi-
dos, vea LA FUNCIÓN DE AJUSTES en la página 24
para desactivar la función de demostración.
A continuación, párese
en los rieles para los
pies de la máquina
para correr. Identifique
el soporte conectado
a la llave y deslícelo
por el cinturón de su
ropa. Luego, inserte la
llave en la consola. Tras unos instantes, las pantallas
se encenderán. IMPORTANTE: En caso de emer-
gencia, es posible sacar la llave de la consola, lo
que provoca que la banda para caminar disminuya
la velocidad hasta detenerse. Pruebe el gancho
cuidadosamente dando unos pasos hacia atrás; si
la llave no sale de la consola, ajuste la posición del
gancho.
CÓMO USAR LA FUNCIÓN MANUAL
1. Inserte la llave en la consola.
Vea CÓMO ENCENDER LA CORRIENTE, arriba
izquierda.
2. Seleccione la función manual.
Si la función manual no está seleccionada, pulse el
botón Manual de la consola.
3. Ponga en marcha la banda para caminar.
Para que la banda para caminar comience a des-
lizarse, pulse el botón Start (comenzar), el botón
Speed (velocidad) para aumentar la velocidad o
uno de los botones de velocidad numerados del 1
al 12.
Si pulsa el botón Start o el botón Speed para
aumentar la velocidad, la banda para caminar
comenzará a moverse a 1 mph. Mientras hace
ejercicios, cambie la velocidad de la banda para
caminar, según lo desee, pulsando los botones
Speed para aumentar o disminuir la velocidad.
Cada vez que pulse uno de los botones, el nivel
de velocidad cambiará en 0,1 mph; si mantiene
pulsado el botón, el nivel de velocidad cambiará
en incrementos de 0,5 mph. Nota: Tras pulsar el
botón, puede que la banda para caminar tarde
un tiempo en alcanzar el ajuste de velocidad
seleccionado.
Si pulsa uno de los botones de velocidad numera-
dos, la banda para caminar cambiará gradualmente
su velocidad hasta alcanzar el ajuste de veloci-
dad seleccionado. Para seleccionar un ajuste de
velocidad que contenga un decimal—por ejemplo
3,5 mph—pulse dos botones numerados uno tras
otro. Por ejemplo, para seleccionar un ajuste de
velocidad de 3,5 mph, pulse el botón 3 e, inme-
diatamente después, pulse el botón 5. Nota: Esta
posibilidad no funcionará si la consola está ajus-
tada a unidades métricas.
Para detener la banda para caminar, pulse el botón
Stop (parar). La hora comenzará a destellar inter-
mitentemente en la pantalla. Para reiniciar la banda
para caminar, pulse el botón Start o el botón Speed
para aumentar la velocidad.
4. Cambie la inclinación de la máquina para correr
como lo desee.
Para cambiar la inclinación de la máquina para
correr, pulse los botones Incline (inclinación)
para aumentar y disminuir la inclinación o uno
de los botones Incline numerados.Cada vez que
pulsa uno de los botones, la máquina para correr
se ajusta gradualmente al ajuste de inclinación
seleccionado.
Reiniciar
ETS069913
24976
Llave
Soporte

20
5. Siga su progreso en las pantallas.
Mientras camina o corre en la máquina para correr,
la pantalla puede mostrar la siguiente información
de entrenamientos:
• El tiempo transcurrido
• La distancia que ha recorrido caminando o
corriendo
• La barra de intensidad de entrenamiento
• El número aproximado de calorías quemadas
• El nivel de inclinación de la máquina para correr
• El número de pies verticales que escaló
• La velocidad de la banda para caminar
• Su ritmo cardíaco (vea el paso 6)
• La matriz
La matriz ofrece varias pestañas de visualización.
Pulse el botón Display (pantalla) o los botones de
aumento o disminución situados junto al botón
Enter (intro) hasta mostrar la pestaña deseada.
La pestaña Incline (inclinación) muestra un perfil de
los ajustes de inclinación del entrenamiento. Al final
de cada minuto se muestra un nuevo segmento. La
pestaña Speed (velocidad) muestra un perfil con
los ajustes de velocidad del entrenamiento.
La pestaña My Trail (mi ruta) muestra una pista
que representa 1/4 de milla (400 m). Mientras hace
ejercicios, el rectángulo parpadeante mostrará sus
progresos.La pestaña My Trail también muestra el
número de vueltas completadas.
La pestaña Calorie (calorías) mostrará también la
cantidad aproximada de calorías que ha quemado.
La altura de cada segmento representa el número
de calorías quemadas durante ese segmento.
Al seleccionar la pestaña Calorie, la pantalla de
calorías muestra el número aproximado de calorías
quemadas por hora.
Mientras hace ejercicios, la barra de nivel de
intensidad del entrenamiento indicará el nivel de
intensidad aproximado de su entrenamiento.
Pulse el botón Home (inicio) para regresar al
menú predeterminado (véase LA FUNCIÓN DE
AJUSTES en la página 24 para ajustar el menú
predeterminado). En caso necesario, pulse de
nuevo el botón Home.
Si tiene un módulo iFit conec-
tado, el símbolo inalámbrico
de la parte superior de la
pantalla mostrará la intensi-
dad de su señal inalámbrica.
La intensidad de señal com-
pleta se indica con cuatro arcos.
Para reiniciar las pantallas, pulse el botón Stop,
extraiga la llave y vuelva a introducirla.
6. Si lo desea, mida su ritmo cardíaco.
Nota: Si utiliza el monitor de ritmo cardíaco del
mango y el monitor de ritmo cardíaco para el
pecho al mismo tiempo, la consola no mostrará
su ritmo cardíaco de forma exacta. Para obtener
más información sobre el monitor de ritmo cardíaco
para el pecho, vea la page 16.
Antes de usar el
monitor de ritmo
cardíaco del
mango, saque
las láminas de
plástico trans-
parente de los
contactos metá-
licos. Además,
asegúrese de que
sus manos estén
limpias.
Para medir su ritmo cardíaco, párese sobre los
rieles para los pies y sujete los contactos con las
palmas de las manos durante aproximadamente
diez segundos. No mueva las manos. Cuando se
detecte su pulso, se mostrará su ritmo cardíaco.
Para lograr una lectura de su ritmo cardíaco lo
más precisa posible, continúe sujetando los
contactos durante unos 15 segundos.
ETS069913
24976
Contactos

21
7. Encienda el ventilador si lo desea.
El ventilador presenta múltiples
ajustes de velocidad.
Pulse repetidamente los botones
del ventilador para seleccionar
una velocidad de ventilador o
para desactivar el ventilador.
8. Cuando termine de hacer ejercicios, retire la
llave de la consola.
Párese en los rieles para los pies, pulse el botón
Stop y ajuste la inclinación de la máquina para
correr a cero por cien. El nivel de inclinación
deberá estar en cero para evitar que la máquina
para correr sufra daños cuando se pliegue en
la posición de almacenamiento. A continuación,
extraiga la llave de la consola y guarde la llave en
un lugar seguro.
Cuando termine de utilizar la máquina para correr,
coloque el interruptor en posición de apagado y
desenchufe el cable eléctrico. IMPORTANTE: Si
no lo hace, los componentes eléctricos de la
máquina para correr pueden desgastarse antes
de tiempo.
CÓMO USAR UN ENTRENAMIENTO A BORDO
1. Inserte la llave en la consola.
Vea CÓMO ENCENDER LA CORRIENTE en la
página 19.
2. Seleccione un entrenamiento a bordo.
Para seleccionar un entrenamiento a bordo, pulse
repetidamente el botón Calorie (calorías), el botón
Speed (velocidad), el botón Incline (inclinación) o
el botón Random (aleatorio) hasta que se muestre
el entrenamiento deseado en la pantalla.
Cuando seleccione un entrenamiento a bordo, la
pantalla mostrará la duración del entrenamiento y
el nombre del entrenamiento. Además, la matriz
mostrará un perfil de los ajustes de velocidad del
entrenamiento. Si selecciona un entrenamiento de
calorías, el nombre del entrenamiento mostrará el
número aproximado de calorías que quemará.
3. Comience el entrenamiento.
Para comenzar el entrenamiento, pulse el botón
Start (comenzar) o el botón Speed (velocidad) para
aumentar la velocidad. Un momento después de
pulsar el botón, la máquina para correr se ajustará
automáticamente a los ajustes de la primera veloci-
dad e inclinación del entrenamiento. Sujétese a las
barandas y comience a caminar.
Cada entrenamiento está dividido en varios
segmentos. Cada segmento viene programado
con un ajuste de velocidad y un ajuste de incli-
nación. Nota: Para segmentos consecutivos se
podrá programar el mismo ajuste de velocidad y/o
inclinación.
Durante el
entrenamiento,
los perfiles de
las pestañas
de velocidad
e inclinación
mostrarán sus
progresos.
El segmento parpadeante del perfil representa el
segmento actual del entrenamiento. La altura del
segmento parpadeante indica el ajuste de veloci-
dad o inclinación del segmento actual. Al final de
cada segmento se emite una serie de tonos y el
siguiente segmento del perfil comienza a parpa-
dear. Si se programa otro ajuste de velocidad y/o
inclinación para el siguiente segmento, el ajuste de
velocidad y/o inclinación parpadeará en la pantalla
para alertarle y la máquina para correr se ajustará
automáticamente al nuevo ajuste de velocidad y/o
inclinación.
Segmento Actual
ETSF13513
(SFTL13513)
ETSF13513

22
El entrenamiento continuará de esta manera hasta
que el último segmento del perfil parpadee en
la pantalla y finalice el último segmento. En ese
momento, la banda para caminar se ralentiza hasta
detenerse.
Nota: La meta calórica es una estimación del
número de calorías que quemará durante el
entrenamiento. El número real de calorías que
quemará dependerá de varios factores, tales
como su peso. Además, si cambia manual-
mente la velocidad o la inclinación de la
máquina para correr durante el entrenamiento,
el número de calorías que quemará se verá
afectado.
Si el ajuste de velocidad o inclinación es dema-
siado alto o demasiado bajo en algún momento
del entrenamiento, usted puede anularlo manual-
mente pulsando los botones Speed (velocidad)
o Incline (inclinación); sin embargo, cuando se
inicie el siguiente segmento del entrenamiento,
la máquina para correr se ajustará automática-
mente a los ajustes de velocidad e inclinación
correspondientes a ese segmento.
Para parar el entrenamiento en cualquier momento,
oprima el botón Stop (parar). La hora comenzará
a destellar intermitentemente en la pantalla. Para
comenzar nuevamente el entrenamiento, pulse
el botón Start o el botón Speed para aumentar la
velocidad. La banda para caminar comenzará a
moverse a 1 mph. Al comenzar el siguiente seg-
mento del entrenamiento, la máquina para correr
se ajustará automáticamente a la velocidad e incli-
nación del próximo segmento.
4. Siga su progreso en las pantallas.
Vea el paso 5 en la página 20. Si selecciona un
entrenamiento a bordo, la pantalla muestra el
tiempo restante en lugar del tiempo transcurrido.
5. Si lo desea, mida su ritmo cardíaco.
Vea el paso 6 en la página 20.
6. Encienda el ventilador si lo desea.
Vea el paso 7 en la página 21.
7. Cuando termine de hacer ejercicios, retire la
llave de la consola.
Vea el paso 8 en la página 21.
CÓMO USAR UN ENTRENAMIENTO CON FIJACIÓN
DE META
1. Inserte la llave en la consola.
Vea CÓMO ENCENDER LA CORRIENTE en la
página 19.
2. Ajuste un objetivo de calorías, distancia o
tiempo.
Para seleccionar un entrenamiento con fijación de
meta, pulse el botón Set A Goal (fijar una meta).
Utilice los botones de aumento y disminución
situados junto al botón Enter (intro) para ajustar un
objetivo de calorías, tiempo o distancia y, a conti-
nuación, pulse el botón Enter. A continuación, pulse
los botones de aumento y disminución situados
junto al botón Enter para seleccionar un objetivo.
Pulse los botones Speed (velocidad) e Incline
(inclinación) para seleccionar la velocidad y la
inclinación para el entrenamiento. La pantalla mos-
trará la duración y la distancia del entrenamiento,
y el número aproximado de calorías que quemará
durante el mismo.
3. Comience el entrenamiento.
Pulse el botón Start (comenzar) para comenzar el
entrenamiento. Un momento después de pulsar el
botón, la banda para caminar comienza a moverse.
Sujétese a las barandas y comience a caminar.
El entrenamiento funcionará de la misma forma
que en la función manual (vea la página 19).
El entrenamiento continuará hasta que alcance la
meta que haya jado. En ese momento, la banda
para caminar se ralentiza hasta detenerse.
Nota: La meta calórica es una estimación del
número de calorías que quemará durante el
entrenamiento. El número real de calorías que
quemará dependerá de varios factores, tales
como su peso.
4. Siga su progreso en las pantallas.
Vea el paso 5 en la page 20.
5. Si lo desea, mida su ritmo cardíaco.
Vea el paso 6 en la page 20.
6. Encienda el ventilador si lo desea.
Vea el paso 7 en la page 21.
7. Cuando termine de hacer ejercicios, retire la
llave de la consola.
Vea el paso 8 en la page 21.

23
CÓMO USAR UN ENTRENAMIENTO IFIT
Nota: Para usar un entrenamiento iFit, debe tener un
módulo iFit opcional. Para comprar un módulo iFit en
cualquier momento, vaya a www.iFit.com o llame al
número de teléfono que aparece en la portada de
este manual. También debe tener acceso a una com-
putadora que tenga un puerto USB y una conexión a
Internet.Además, debe tener acceso a una red inalám-
brica que tenga un router 802.11b/g/n con la difusión
de SSID activada (no se admiten las redes ocultas).
También se requiere una membresía de iFit.com.
1. Inserte la llave en la consola.
Vea CÓMO ENCENDER LA CORRIENTE en la
página 19.
2. Inserte el módulo iFit en la consola.
Para insertar el módulo iFit, consulte las instruccio-
nes incluidas con el módulo iFit.
IMPORTANTE: Para satisfacer los requisitos de
cumplimiento normativo acerca de la exposi-
ción, la antena y el transmisor del módulo iFit
deben estar al menos a 20 cm de cualquier per-
sona y no deben estar cerca de ninguna antena
o transmisor ni conectado a tales elementos.
3. Seleccione un usuario.
Si hay más de un usuario registrado, puede cam-
biar de usuario en la pantalla principal de iFit. Pulse
los botones de aumento y disminución situados
junto al botón Enter (intro) para seleccionar un
usuario.
4. Seleccione un entrenamiento iFit.
Para descargar un entrenamiento iFit en su
programa, pulse el botón Map (mapa), Train
(entrenar), Lose Wt. (perder peso) para descargar
en su programa el siguiente entrenamiento del tipo
correspondiente.
Para competir en una carrera que ha programado
previamente, pulse el botón Compete (competir).
Para repetir un entrenamiento de iFit reciente de
su programa, pulse primero el botón Track (segui-
miento). A continuación, pulse los botones de
aumento y disminución para seleccionar el entre-
namiento deseado. A continuación, pulse el botón
Enter para comenzar el entrenamiento.
Para obtener más información sobre los entre-
namientos iFit, visite la web www.iFit.com.
Cuando selecciona un entrenamiento iFit, la pan-
talla muestra el nombre, la duración, el ajuste de
velocidad máxima y la distancia del entrenamiento.
Además, la pantalla muestra el número aproximado
de calorías que quemará durante el entrena-
miento y un perfil con los ajustes de velocidad del
entrenamiento.
Si selecciona un entrenamiento de competición, es
posible que la pantalla realice una cuenta regresiva
hasta el comienzo de la carrera.
Nota: Cada botón iFit también puede ejecutar dos
entrenamientos de demostración. Para usar los
entrenamientos de demostración, retire el módulo
iFit de la consola y pulse uno de los botones iFit.
5. Comience el entrenamiento.
Vea el paso 3 en la página 21.
Durante algunos entrenamientos se ofrece una
asesoría de audio. Puede seleccionar un ajuste
para su asesoría de audio (vea LA FUNCIÓN DE
AJUSTES en la página 24).
Para parar el entrenamiento en cualquier momento,
oprima el botón Stop (parar). La hora comen-
zará a destellar intermitentemente en la pantalla.
Para comenzar nuevamente el entrenamiento,
pulse el botón Start (comenzar) o el botón Speed
(velocidad) para aumentar la velocidad. La banda
para caminar comienza a moverse a la velocidad
ajustada para el primer segmento del entrena-
miento. Al comenzar el siguiente segmento del
entrenamiento, la máquina para correr se ajustará
automáticamente a la velocidad e inclinación del
próximo segmento.
6. Siga su progreso en las pantallas.
Vea el paso 5 en la página 20.
La pestaña My Trail (mi ruta) muestra un mapa
de la ruta por la que está caminando o corriendo,
o bien mostrará una pista y el número de vueltas
completadas.
Durante un entrenamiento de competición, la
pestaña Competition (competición) mostrará su
progreso en la carrera. A medida que participa en
la carrera, la línea superior de la matriz indica qué
parte de la carrera ha completado. Las otras líneas
le muestran a sus cuatro principales competidores.
El final de la matriz representa el final de la carrera.

24
7. Si lo desea, mida su ritmo cardíaco.
Vea el paso 6 en la página 20.
8. Encienda el ventilador si lo desea.
Vea el paso 7 en la página 21.
9. Cuando termine de hacer ejercicios, retire la
llave de la consola.
Vea el paso 8 en la página 21.
Para más información acerca de la función iFit,
visite www.iFit.com.
CÓMO USAR EL SISTEMA DE SONIDO
Para reproducir música o audiolibros a través del
sistema de sonido de la consola, mientras hace ejerci-
cios, enchufe un cable de audio con ambos extremos
machos de 3,5 mm (no incluido), en la toma de la con-
sola y en una toma de su reproductor MP3, reproductor
de CD u otro reproductor personal de audio; asegú-
rese de que el cable de audio esté bien conectado.
Nota: Para comprar un cable de audio, visite la
tienda de electrónica de su localidad.
A continuación, pulse el botón de
reproducción de su reproductor
personal de audio. Ajuste el volumen
utilizando los botones para aumentar
y disminuir el volumen de la consola
o el control correspondiente de su
reproductor personal de audio.
Si está usando un lector personal de CD y el CD se
salta, ponga el lector de CD en el piso u otra supercie
plana en lugar de en la consola.
LA FUNCIÓN DE AJUSTES
La consola presenta una función de ajustes que
controla la información de la máquina para correr y le
permite personalizar los ajustes de la consola.
1. Seleccione la función de ajustes.
Para seleccionar la función de ajustes, pulse el
botón Settings (ajustes). Cuando se selecciona
la función de ajustes, se muestra la siguiente
información:
La pantalla de tiempo muestra el número total de
horas que se ha usado la máquina para correr.
La pantalla de distancia muestra el número total de
millas (o kilómetros) recorridos por la banda para
caminar.
La sección inferior de la pantalla muestra el estado
de un módulo iFit. Si tiene conectado un módulo
iFit, la pantalla muestra las palabras WIFI MODULE
(módulo Wi-Fi). Si tiene conectado un módulo USB,
la pantalla muestra las palabras USB/SD MODULE
(módulo USB/SD). Si no tiene conectado ningún
módulo iFit, la pantalla muestra las palabras NO
IFIT MODULE (ningún módulo iFit).
2. Seleccione las pantallas opcionales.
Cuando se selecciona la función de ajustes, la
matriz muestra diversas pantallas opcionales.
Pulse el botón de disminución situado junto al
botón Home (inicio) para seleccionar cada una de
las siguientes pantallas:
UNITS (unidades): Para cambiar la unidad de
medida, pulse el botón Enter (intro). Para ver la dis-
tancia en millas, seleccione ENGLISH (inglesas).
Para ver la distancia en kilómetros, seleccione
METRIC (métricas).
ETSF13513
(SFTL13513)
ETSF13513

25
DEMO (demostración): La consola presenta una
función de demostración en pantalla diseñada para
ser usada si la máquina para correr está siendo
exhibida en algún establecimiento comercial.
Cuando la función de demostración está activada,
la consola funciona de la forma normal al enchufar
el cable eléctrico, colocar el interruptor de encen-
dido en la posición de reiniciar e insertar la llave
en la consola. Sin embargo, al retirar la llave, las
pantallas permanecen encendidas pero los boto-
nes no funcionarán. Si la función de demostración
está activada, la pantalla muestra la palabra ON
(activada). Para activar o desactivar la función de
demostración, pulse el botón Enter.
CONTRAST LVL (nivel de contraste): Pulse los
botones de aumento y disminución para ajustar el
nivel de contraste de la pantalla.
Si hay un módulo conectado, también puede
seleccionar la siguiente pantalla:
TRAINER VOICE (voz de entrenador): Para
activar o desactivar la asesoría de audio, pulse el
botón Enter.
Si hay un módulo iFit conectado, también
puede seleccionar las siguientes pantallas:
DEFAULT MENU (menú predeterminado): El
menú predeterminado aparece al insertar la llave
en la consola o al pulsar el botón Home. Pulse
el botón Enter repetidamente para seleccionar la
pantalla principal manual o la pantalla de iFit como
menú predeterminado.
CHECK WIFI STATUS (comprobar estado de
Wi-Fi): Pulse el botón Enter para comprobar
el estado de su módulo iFit. La pantalla inferior
muestra el número de versión del software, la SSID
de red, el tipo de encriptación de red, el estado de
la conexión, la intensidad de la señal inalámbrica,
la dirección IP del módulo, el número de usuarios
registrados y sus nombres, el resultado de la con-
sulta de DNS y el estado del servidor de iFit.
SEND/RECEIVE DATA (enviar/recibir datos):
Para enviar y recibir entrenamientos, registros de
entrenamiento y actualizaciones, pulse el botón
Enter. Una vez nalizado el proceso, la pantalla
muestra las palabras TRANSFERS DONE (transfe-
rencias realizadas).
3. Salga de la función de ajustes.
Para salir de la función de ajustes, pulse el botón
Settings.

26
CÓMO PLEGAR Y MOVER LA MÁQUINA PARA CORRER
CÓMO PLEGAR LA MÁQUINA PARA CORRER
Para evitar que se dañe la máquina para correr,
ajuste el porcentaje de inclinación a cero antes de
plegarla. A continuación, extraiga la llave y desen-
chufe el cable eléctrico. PRECAUCIÓN: Usted debe
poder levantar cómodamente 20 kg para elevar,
bajar o mover la máquina para correr.
1. Sostenga la armadura de metal firmemente en
el sitio que se muestra con la flecha hacia abajo.
PRECAUCIÓN: No sujete la armadura por los
rieles plásticos para los pies. Doble las rodillas
y mantenga derecha la espalda.
2. Eleve la armadura hasta que el pasador de alma-
cenamiento quede encajado en la posición de
almacenamiento. PRECAUCIÓN: Asegúrese de
que el pasador quede bloqueado.
Para proteger el piso o alfombra, coloque un
tapete debajo de la máquina para correr. Guarde
su máquina para correr protegida de la luz directa
del sol. No deje su máquina para correr en la posi-
ción de almacenamiento a temperaturas de más
de 30° C (85° F).
CÓMO MOVER LA MÁQUINA PARA CORRER
Antes de mover la máquina para correr, pliéguela
como se describe a la izquierda. PRECAUCIÓN:
Asegúrese de que el pasador de almacenamiento
quede bloqueado en la posición de almacena-
miento. Para mover la máquina para correr puede
que se necesiten dos personas.
1. Sujete las barandas con ambas manos y empuje
con cuidado la máquina para correr hasta el lugar
deseado. PRECAUCIÓN: No tire de la armadura
ni mueva la máquina para correr sobre una
superficie irregular.
CÓMO BAJAR LA MÁQUINA PARA CORRER PARA
EL USO
1. Presione con las
manos el extremo
superior de la
armadura de la
máquina para
correr, presione el
pasador de alma-
cenamiento con
el pie en la posi-
ción mostrada y,
a continuación,
deje que la arma-
dura descienda
hasta el piso.
Baranda
Rueda Rueda
Armadura
11
Pasador
2Armadura
Pasador
de
Almacen-
amiento
1

27
MANTENIMIENTO Y SOLUCIÓN DE PROBLEMAS
MANTENIMIENTO
Limpie periódicamente la máquina para correr y
mantenga limpia y seca la banda para caminar. En
primer lugar, coloque el interruptor en posición de
apagado y desenchufe el cable eléctrico. Limpie
las partes exteriores de la máquina para correr con un
paño húmedo y una pequeña cantidad de jabón suave.
IMPORTANTE: No pulverice ningún líquido direc-
tamente sobre la máquina para correr. Para evitar
daños a la consola, manténgala alejada de cualquier
líquido. A continuación, seque meticulosamente la
máquina para correr con una toallita suave.
SOLUCIÓN DE PROBLEMAS
La mayoría de los problemas de la máquina para
correr pueden resolverse siguiendo los sencillos
pasos que se indican a continuación. Busque el
síntoma observado y siga los pasos indicados. Si
necesita más ayuda, vea la portada de este manual.
SÍNTOMA: La corriente no se enciende
a. Asegúrese de que el cable eléctrico esté enchu-
fado a un protector contra sobretensiones y que
dicho protector esté conectado a un tomaco-
rriente correctamente conectado a tierra (vea la
página 17). Utilice únicamente un protector contra
sobretensiones que cumpla con todas las especi-
caciones descritas en la página 17. IMPORTANTE:
La máquina para correr quizá no sea compa-
tible con los tomacorrientes equipados con
AFCI.
b. Una vez enchufado el cable eléctrico, asegúrese
de que la llave esté insertada en la consola.
c. Compruebe el interruptor de la máquina para
correr, cerca del cable eléctrico. Si el interruptor
sobresale como se muestra, quiere decir que se ha
disparado. Para restablecer el interruptor, espere
cinco minutos y, a continuación, vuelva a presionar
el interruptor hacia dentro.
SÍNTOMA: La corriente se apaga durante el uso
a. Compruebe el interruptor (vea el diagrama c de
la izquierda). Si el interruptor saltó, espere cinco
minutos y, a continuación, vuelva a presionar el
interruptor hacia dentro.
b. Asegúrese de que el cable eléctrico esté enchu-
fado. Si el cable eléctrico está enchufado,
desenchúfelo, espere cinco minutos y, a continua-
ción, conéctelo de nuevo.
c. Extraiga la llave de la consola y, a continuación,
reinsértela.
d. Si la máquina para correr sigue sin funcionar, vea
la portada de este manual.
SÍNTOMA: La pantalla de la consola permanece
encendida al retirar la llave de la consola
a. La consola presenta una función de demostración
en pantalla diseñada para ser usada si la máquina
para correr está siendo exhibida en algún estable-
cimiento comercial. Si las pantallas permanecen
encendidas al retirar la llave, quiere decir que la
función de demostración está activada. Para apa-
gar la función de demostración, mantenga pulsado
el botón Stop (parar) durante algunos segundos. Si
las pantallas siguen encendidas, vea LA FUNCIÓN
DE AJUSTES en la página 24 para desactivar la
función de demostración.
SÍNTOMA: Las pantallas de la consola no funcio-
nan correctamente
a. Extraiga la llave de la consola y DESENCHUFE EL
CABLE ELÉCTRICO. Retire los cinco Tornillos #8
x 3/4" (5). Pivote con cuidado la Cubierta del Motor
(62) para retirarla.
Reiniciar
Disparado
c
62 5
a
5
5

28
Localice el Interruptor de Lengüeta (47) y el Imán
(45) del lado izquierdo de la Polea (51). Gire la
Polea hasta que el Imán quede alineado con
el Interruptor de Lengüeta. Asegúrese de que
el espacio entre el Imán y el Interruptor de
Lengüeta sea de aproximadamente 1/8" (3 mm).
En caso necesario, afloje el Tornillo Punta Broca
#8 x 3/4" (10), mueva levemente el Interruptor de
Lengüeta y, a continuación, vuelva a apretar
el Tornillo. Vuelva a colocar la Cubierta del Motor
(no se muestra) con los Tornillos #8 x 3/4" y haga
funcionar la máquina para correr durante unos
minutos para verificar que la lectura de velocidad
sea correcta.
SÍNTOMA: La banda para caminar disminuye de
velocidad cuando se camina sobre ella
a. Utilice únicamente un protector contra sobreten-
siones que cumpla con todas las especificaciones
descritas en la página 17.
b. Si la banda para caminar está demasiado tensa,
el buen funcionamiento de su máquina para correr
puede disminuir y la banda para caminar puede
quedar dañada. Extraiga la llave y DESENCHUFE
EL CABLE ELÉCTRICO. Usando la llave hexa-
gonal, gire los dos tornillos de ajuste del rodillo
estable en sentido contrario a las agujas del reloj,
dando 1/4 de vuelta. Cuando la banda para cami-
nar esté tensada correctamente, deberá poder
levantar cada lado de ésta entre 2–3" (5–7 cm)
de la plataforma para caminar. Mantenga siempre
centrada la banda para caminar. Luego enchufe el
cable eléctrico, inserte la llave y ponga en funcio-
namiento la máquina para correr durante algunos
minutos. Repita esta operación hasta que la banda
para caminar esté debidamente tensada.
c. Su máquina para correr presenta una banda para
caminar cubierta con lubricante de alto rendi-
miento. IMPORTANTE: Nunca aplique aerosol
de silicona ni otras sustancias a la banda
para caminar ni a la plataforma para caminar
a menos que un representante de servicio
autorizado se lo indique. Esto puede deterio-
rar la banda para caminar y causar desgaste
excesivo. Si sospecha que la banda para caminar
necesita más lubricante, consulte la portada de
este manual.
d. Si la banda para caminar continúa perdiendo velo-
cidad cuando se camina sobre ella, por favor vea la
portada de este manual.
SÍNTOMA: La banda para caminar está descentrada
o patina cuando se camina sobre ella
a. Si la banda para caminar no está centrada, en
primer lugar extraiga la llave, y DESENCHUFE EL
CABLE ELÉCTRICO. Si la banda para caminar
se ha movido a la izquierda, use la llave hexa-
gonal para girar el tornillo izquierdo del rodillo
estable 1/2 vuelta en sentido horario. Si la banda
para caminar se ha movido a la derecha, gire
el tornillo del rodillo estable izquierdo en sentido
antihorario 1/2 vuelta. Tenga cuidado de no tensar
en exceso la banda para caminar. Luego enchufe
el cable eléctrico, inserte la llave y ponga en funcio-
namiento la máquina para correr durante algunos
minutos. Repita esta operación hasta que la banda
para caminar esté centrada.
Tornillos del Rodillo Estable
5–7 cm
b
45
10
47
3 mm
51
Vista
superior
a

29
b. Si la banda para caminar resbala cuando se
esté caminando en ella, primero retire la llave y
DESENCHUFE EL CABLE ELÉCTRICO. Usando
la llave hexagonal, gire 1/4 de vuelta ambos torni-
llos del rodillo estable en sentido horario. Cuando
la banda para caminar esté apretada correcta-
mente, usted debe poder levantar cada lado de la
banda para caminar de 5 a 7 cm de la plataforma
para caminar. Mantenga siempre centrada la banda
para caminar. A continuación, enchufe el cable
eléctrico, inserte la llave y camine con cuidado
sobre la máquina para correr durante algunos
minutos. Repita esta operación hasta que la banda
para caminar esté debidamente tensada.
SÍNTOMA: La inclinación de la máquina para correr
no cambia correctamente
a. Pulse el botón Stop (parar) y el botón Speed (velo-
cidad) para aumentar la velocidad, inserte la llave
en la consola, y luego suelte ambos botones. A
continuación, pulse el botón Stop y luego el botón
Incline (inclinación) para aumentar o disminuir la
inclinación. La máquina para correr subirá automá-
ticamente al nivel de inclinación máximo y luego
regresará al nivel mínimo. Esto calibrará el sistema
de inclinación. Si el sistema de inclinación no se
calibra, pulse el botón Stop y luego vuelva a pulsar
el botón para aumentar o disminuir la inclinación.
Tras calibrar el sistema de inclinación, extraiga la
llave de la consola.
b

30
Estas indicaciones le ayudarán a planificar su pro-
grama de ejercicios. Para información detallada sobre
los ejercicios consiga un libro acreditado o consulte
con su médico. Recuerde que una nutrición y un
descanso adecuados son esenciales para obtener
resultados satisfactorios.
INTENSIDAD DE LOS EJERCICIOS
Lo mismo si su objetivo es quemar grasa que si lo
es fortalecer su sistema cardiovascular, la clave para
alcanzar los resultados es hacer ejercicios con la
intensidad adecuada. Usted puede basarse en su
ritmo cardíaco para encontrar el nivel de intensidad
adecuado. El esquema que se presenta más abajo
muestra los ritmos cardíacos recomendados para que-
mar grasa y hacer ejercicios aeróbicos.
Para encontrar el nivel de intensidad adecuado,
busque su edad en la parte inferior del esquema (las
edades se redondean al múltiplo de 10 más cercano).
Los tres números que se listan encima de su edad
definen su “zona de entrenamiento.” El número más
pequeño es el ritmo cardíaco cuando se queme grasa,
el número intermedio es el ritmo cardíaco cuando se
quema la máxima cantidad de grasa y el número más
grande es el ritmo cardíaco cuando se realizan ejerci-
cios aeróbicos.
Quemar Grasa—Para quemar grasa eficientemente,
debe hacer ejercicios a un nivel de intensidad bajo
durante un periodo de tiempo mantenido. Durante
los primeros minutos de ejercicio su cuerpo utiliza las
calorías de los carbohidratos para obtener energía.
Sólo tras los primeros minutos de ejercicio su cuerpo
comienza a utilizar las calorías de grasa almacenada
para obtener energía. Si su objetivo es quemar grasa,
ajuste la intensidad de sus ejercicios hasta que el
ritmo cardíaco esté próximo al número más bajo de
su zona de entrenamiento. Para quemar la máxima
cantidad de grasa, realice los ejercicios con su ritmo
cardíaco cerca del número intermedio de su zona de
entrenamiento.
Ejercicios Aeróbicos—Si su objetivo es fortalecer su
sistema cardiovascular, debe realizar ejercicios aeróbi-
cos, una actividad que requiere grandes cantidades de
oxígeno durante periodos de tiempo prolongados. Para
realizar ejercicios aeróbicos ajuste la intensidad de sus
ejercicios hasta que su ritmo cardíaco esté próximo al
número más alto de su zona de entrenamiento.
GUÍAS DE ENTRENAMIENTO
Calentamiento—Comience estirando y ejercitando
ligeramente los músculos entre 5 y 10 minutos. El
calentamiento aumenta su temperatura corporal, su
frecuencia cardiaca y su circulación, preparándole
para los ejercicios.
Ejercicio en la Zona de Entrenamiento—Realice
ejercicios durante 20 a 30 minutos con su ritmo
cardíaco en su zona de entrenamiento. (Durante
las primeras semanas de su programa de ejerci-
cios no mantenga su ritmo cardíaco en su zona de
entrenamiento durante más de 20 minutos.) Respire
regularmente y profundamente mientras hace ejerci-
cios; nunca contenga la respiración.
Relajación—Termine con estiramientos entre 5 y 10
minutos. El estiramiento aumenta la flexibilidad de sus
músculos y le ayuda a evitar problemas posteriores al
ejercicio.
FRECUENCIA DE EJERCICIOS
Para mantener o mejorar su forma física, complete
tres sesiones de entrenamiento cada semana, con al
menos un día de descanso entre sesiones. Tras algu-
nos meses de ejercicio regular, puede completar hasta
cinco sesiones de entrenamiento cada semana si lo
desea. Recuerde, la clave para el éxito es hacer de los
ejercicios una parte regular y agradable de su vida
diaria.
GUÍA DE EJERCICIOS
PRECAUCIÓN: Antes de ini-
ciar éste o cualquier programa de ejercicios
consulte con su médico. Esto es especial-
mente importante para personas de edades
superiores a 35 años, o para aquellos que
hayan presentado problemas de salud.
El sensor de pulso no es un dispositivo
médico. Varios factores pueden afectar la
precisión de las lecturas del ritmo cardíaco.
El sensor de pulso está previsto sólo como
ayuda para los ejercicios, determinando las
tendencias generales de su ritmo cardíaco.

31
N° Ctd. Descripción
1 8 Tornillo 5/16" x 3/4"
2 8 Tornillo 5/16" x 2"
3 1 Perno 5/16" x 1 3/4"
4 1 Perno 5/16" x 2 1/4"
5 57 Tornillo #8 x 3/4"
6 2 Tornillo #10 x 3/4"
7 1 Tornillo Plateado #8 x 1/2"
8 8 Arandela Estrella 5/16"
9 6 Tuerca 5/16"
10 5 Tornillo Punta Broca #8 x 3/4"
11 24 Tornillo #8 x 1/2"
12 2 Tornillo 1/4" x 2 1/2"
13 4 Tornillo para Máquina #8 x 1/2"
14 1 Perno 3/8" x 1 1/2"
15 1 Perno 3/8" x 2"
16 8 Tornillo de Cabeza de Arandela
#8 x 3/4"
17 2 Tornillo #8 x 1 3/4"
18 4 Tornillo de la Guía de la Banda #8
19 2 Perno del Motor 5/16"
20 4 Tornillo 5/16" x 1 3/4"
21 1 Tornillo 1/4" x 1 3/4"
22 2 Perno 3/8" x 1 3/4"
23 2 Tornillo 3/8" x 2 1/2"
24 8 Tornillo de Cabeza Segmentada
#8 x 3/4"
25 4 Atadura de Cables
26 2 Perno 1/2" x 2"
27 4 Amortiguador de Goma
28 2 Tornillo 3/8" x 1"
29 8 Tornillo #6 x 1/2"
30 1 Arandela Estrella 1/4"
31 4 Arandela Plana 5/16"
32 1 Charola Derecha
33 1 Armadura de la Consola
34 2 Tuerca 1/2"
35 6 Tuerca 3/8"
36 5 Gancho de la Cubierta
37 4 Amortiguador
38 1 Calcomanía de Advertencia
39 1 Plataforma para Caminar
40 1 Banda para Caminar
41 1 Riel de la Pata Izquierda
42 1 Riel de la Pata Derecha
43 2 Guía de la Banda
44 1 Cubierta de la Armadura Izquierda
45 1 Imán
46 1 Soporte
47 1 Interruptor de Lengüeta
48 1 Controlador
49 2 Arandela Estrella #8
50 1 Soporte del Controlador
51 1 Polea/Rodillo de Manejo
52 1 Armadura
53 4 Atadura
54 1 Motor de Manejo
55 1 Correa del Motor
56 1 Pasador de Almacenamiento
57 1 Cubierta de la Armadura Derecha
58 2 Pata Trasera
59 1 Rodillo Estable
60 1 Tapa Trasera Izquierda
61 1 Tapa Trasera Derecha
62 1 Cubierta del Motor
63 2 Espaciador de Armadura de Inclinación
64 2 Espaciador de la Armadura
65 1 Armadura de Inclinación
66 1 Motor de Inclinación
67 2 Espaciador del Motor de Inclinación
68 2 Montura de la Cubierta
69 1 Cable Eléctrico
70 1 Ojal Reforzado del Cable Eléctrico
71 1 Interruptor
72 1 Charola Ventral
73 1 Cubierta Superior de Baranda Izquierda
74 2 Baranda
75 1 Cubierta Inferior de Baranda Izquierda
76 1 Barra Cruzada de los Montantes
Verticales
77 2 Tapa de la Baranda
78 2 Tapa de Armadura de la Consola
79 1 Llave/Soporte
80 1 Barra Cruzada de Pulso
81 1 Cubierta Superior de Baranda Derecha
82 1 Cubierta Inferior de Baranda Derecha
83 1 Cable del Montante Vertical
84 1 Montante Vertical
85 3 Calcomanía de Precaución
86 1 Ojal Reforzado del Montante Vertical
87 2 Rueda Delantera
88 2 Espaciador de la Rueda
89 1 Cubierta del Montante Vertical
Izquierdo
90 1 Cubierta del Montante Vertical Derecho
91 1 Pata de Extensión Derecha
92 2 Rueda Trasera
93 1 Pata de Extensión Izquierda
94 1 Charola Izquierda
95 2 Ventilador
96 1 Consola
97 1 Bandeja
98 1 Base de la Consola
99 2 Altavoz
100 2 Almohadilla de la Base
101 1 Correa de Pulso
102 1 Sensor
* – Manual del Usuario
LISTA DE LAS PIEZAS Nº de Modelo PFTL13113.0 R0514A
Nota: Las especificaciones están sujetas a cambios sin previo aviso. Para información de cómo solicitar piezas de
repuesto, vea la contraportada de este manual. *Estas piezas no están ilustradas.

32
16
16
16
16
16
16
16
16
11
37
11
37
11
37
53
55
54
56
94
9
3
46 45
20
47
10
26
43
30
21
57
43
9
31
27 26
5
5
5
5
5
5
58
9
31
27
61
42
41
40
39
59
60 12
12
20
38
44
5
5
5
5
5
5
51 52
17
17
50
48
5
5
5
5
18
18
13
5
13
49
19
5
5
20
20
58
9
31
27
DIBUJO DE LAS PIEZAS A Nº de Modelo PFTL13113.0 R0514A

33
62
36
5
5
5
36
36
36
36
5
5
66
65
67
34
35
14 63
15
34
63
64
28
64
35
28
5
5
5
5
5
5
72
71
70
69
68
68
5
5
5
5
DIBUJO DE LAS PIEZAS B Nº de Modelo PFTL13113.0 R0514A

34
1
5
76
1
1
5
91
22
92 35
35
92
35
22
93
1
88
87
90
85 7
87
88
86
1
23
35
85
83
8
23
82
74
89
85
84
75 24
24
74
81
77
2
8
5
5
5
5
6
8
2
280
73
77
8
24
24
2
6
97
10
100
10
100
DIBUJO DE LAS PIEZAS C Nº de Modelo PFTL13113.0 R0514A

35
101
102
11
11
11
25
5
33
78
5
5
5
5
5
78
99
99
29
29
79
11 32
11
11
98
96
29
29
29
11
94
11
11
95
95
11
11
29
11
11
25
11
DIBUJO DE LAS PIEZAS D Nº de Modelo PFTL13113.0 R0514A

Para ordenar piezas de repuesto, por favor vea la portada de este manual. Para ayudarnos a proporcionarle asis-
tencia, por favor esté listo para proporcionar la siguiente información cuando nos contacte:
• el número de modelo y el número de serie del producto (vea la portada de este manual)
• el nombre del producto (vea la portada de este manual)
• el número de la pieza y descripción de la (de las) pieza(s) de reemplazo (vea la LISTA DE LAS PIEZAS y el
DIBUJO DE LAS PIEZAS hacia el final de este manual)
CÓMO ORDENAR PIEZAS DE REPUESTO
ICON Health & Fitness, Inc. (ICON) garantiza que este producto esté libre de defectos en fabricación y
material, bajo el uso normal y condiciones normales de servicio. Se garantizan las piezas y la mano de
obra por un (1) año de la fecha de compra.
Esta garantía se extiende solo al comprador original. La obligación de ICON bajo esta garantía se limita
a la reparación y el reemplazo, que será la opción de ICON, del producto por medio de uno de los
centros de servicio autorizados. Todas las reparaciones por las cuales se hacen reclamos de garantía,
deben ser pre-autorizadas por ICON. Si el producto se envía a un centro de servicio, los cargos de envío
desde y hacia el centro de servicio serán la responsabilidad del cliente. El cliente será responsable de
pagar un cargo mínimo de envío por piezas de reemplazo enviadas mientras este producto está bajo la
garantía. El cliente será responsable por un cargo mínimo de viaje por servicios dados dentro del domi-
cilio. Esta garantía no se extiende a cualquier daño al producto causado durante el envió. Esta garantía
será automáticamente anulada si el producto se usa como modelo de demostración en una tienda, si no
se siguen todas las instrucciones en este manual, si se abusa el producto o si se usa inapropiadamente
o abnormalmente, o si se usa el producto con el propósito de comercio o renta. ICON no autoriza alguna
otra garantía, más allá de la que se presenta especícamente aquí.
ICON no es responsable o está obligado por daños indirectos, especiales, o como consecuencia que sur-
jan por o en conexión con el uso o el desempeño del producto; daños con respecto a pérdida económica,
pérdida de propiedad, pérdida de réditos o benecios, pérdida de poder disfrutar o usar, o costos de retiro
o instalación; u otros daños consecuentes de cualquier naturaleza.
La garantía que se extiende aquí reemplaza cualquier o todas las otras garantías, y cualquier garantía
insinuada por la promoción del producto para la venta o el bienestar físico para un propósito particular son
limitados en su alcance y duración de los términos que se exponen en ésta. Esta garantía le da derechos
legales especícos.
GARANTÍA LIMITADA
IMPORTANTE: Debe registrar este producto dentro de 30 días de la fecha de compra para evitar
cargos adicionales por servicio rendido bajo la garantía. Comuníquese al 01-800-681-9542 o ser-
vicio@iconfitness.com, o vaya a la página de internet www.workoutwarehouse.com/registration.
Nº de Pieza 361617 R0514A Impreso en EE.UU. © 2014 ICON Health & Fitness, Inc.