Proform Pftl496130 Performance 400 S Treadmill Users Manual
Proform-Pftl496130-Owner-S-Manual proform-pftl496130-owner-s-manual
2015-04-14
: Proform Proform-Pftl496130-Performance-400-S-Treadmill-Users-Manual-701762 proform-pftl496130-performance-400-s-treadmill-users-manual-701762 proform pdf
Open the PDF directly: View PDF
.
Page Count: 36

Autocollant du
Numéro de Série
Nº. du Modèle PFTL49613.0
Nº. de Série
Écrivez le numéro de série sur la
ligne ci-dessus pour référence.
ATTENTION
Lisez toutes les précautions et
les instructions contenues dans
ce manuel avant d’utiliser cet
appareil. Gardez ce manuel pour
vous y référer ultérieurement.
MANUEL DE L’UTILlSATEUR
www.proform.com
Pour enregistrer votre appareil et
activer votre garantie aujourd’hui,
contactez le Service à la Clientèle.
Appelez gratuitement le
1-888-936-4266
du lundi au vendredi de 7h30 à
16h30 HNE (sauf jours fériés)
ou par courriel
customerservice@iconcanada.ca
Merci de ne pas contacter le
magasin.
ACTIVEZ VOTRE
GARANTIE
SERVICE À LA
CLIENTÈLE

2
Les autocollants d’avertissement illustrés ci-
contre sont inclus avec cet appareil. Collez les
autocollants d’avertissement sur les avertisse-
ments en anglais aux endroits indiqués. Ce
schéma indique l’emplacement des autocollants
d’avertissement. Si un autocollant est man-
quant ou illisible, référez-vous à la page de
couverture de ce manuel pour commander un
nouvel autocollant gratuit. Placez le nouvel
autocollant à l’endroit indiqué. Remarque :
les autocollants ne sont peut-être pas illustrés à
l’échelle.
EMPLACEMENT DES AUTOCOLLANTS D’AVERTISSEMENT
TABLE DES MATIÈRES
PROFORM est une marque enregistrée de ICON IP, Inc.
EMPLACEMENT DES AUTOCOLLANTS D’AVERTISSEMENT. . . . . . . . . . . . . . . . . . . . . . . . . . . . . . . . . . . . . . . .2
PRÉCAUTIONS IMPORTANTES ...............................................................3
AVANT DE COMMENCER ....................................................................7
TABLEAU D’IDENTIFICATION DES PIÈCES ......................................................8
ASSEMBLAGE .............................................................................9
FONCTIONNEMENT ET RÉGLAGES ..........................................................17
COMMENT PLIER ET DÉPLACER LE TAPIS DE COURSE .........................................25
LOCALISATION D’UN PROBLÈME ............................................................26
CONSEILS POUR L’EXERCICE. . . . . . . . . . . . . . . . . . . . . . . . . . . . . . . . . . . . . . . . . . . . . . . . . . . . . . . . . . . . . . .29
LISTE DES PIÈCES ........................................................................30
SCHÉMA DÉTAILLÉ ........................................................................32
POUR COMMANDER DES PIÈCES DE RECHANGE . . . . . . . . . . . . . . . . . . . . . . . . . . . . . . . . . . . . Dernière Page
GARANTIE LIMITÉE . . . . . . . . . . . . . . . . . . . . . . . . . . . . . . . . . . . . . . . . . . . . . . . . . . . . . . . . . . . . . . Dernière Page

3
1. Il incombe au propriétaire de veiller à ce que
tous les utilisateurs du tapis de course soient
correctement informés de tous les avertisse-
ments et toutes les précautions.
2. Consultez votre médecin avant de commen-
cer tout programme d'exercices. Ceci est
particulièrement important pour les per-
sonnes âgées de plus de 35 ans et celles
ayant eu des problèmes de santé.
3. Il incombe au propriétaire de veiller à ce que
tous les utilisateurs du tapis de course soient
correctement informés de tous les avertisse-
ments et toutes les précautions.
4. N'utilisez le tapis de course que de la
manière décrite.
5. Gardez le tapis de course à l’intérieur, à l’abri
de l’humidité et de la poussière. N’installez
pas le tapis de course dans un garage, ni sur
une terrasse couverte ou près de l’eau.
6. Installez le tapis de course sur une surface
nivelée, avec au moins 8 pi (2,4 m) d’espace à
l’arrière et 2 pi (0,6 m) de chaque côté de l'ap-
pareil. N'installez pas le tapis de course sur
une surface qui obstrue les évents. Placez
un petit tapis sous l'appareil pour protéger le
revêtement du sol.
7. Ne faites pas fonctionner le tapis de course
là où des produits aérosol sont utilisés ou de
l’oxygène est administré.
8. Gardez les enfants de moins de 12 ans et les
animaux de compagnie à l'écart du tapis de
course en tout temps.
9. Le tapis de course ne doit pas être utilisé par
les personnes dont le poids excède 300 lbs.
(136 kg).
10. Ne laissez jamais plus d’une personne à la
fois utiliser le tapis de course.
11. Portez des vêtements sport appropriés lors
de l'utilisation du tapis de course. Ne portez
pas des vêtements amples qui pourraient
se coincer dans le tapis de course. Des
vêtements de soutien athlétique sont recom-
mandés à la fois pour les hommes et pour
les femmes. Portez toujours des chaussures
sport. N'utilisez jamais le tapis de course en
ayant les pieds nus ou en ne portant que des
chaussettes seules ou des sandales.
12. Branchez le cordon d'alimentation sur un
limiteur de surtension (non compris) et
branchez ce dernier sur une prise de cou-
rant appropriée (voir la page 17). Pour éviter
de surcharger le circuit, ne branchez aucun
autre appareil électrique, excepté des dis-
positifs à faible consommation comme les
chargeurs de téléphone cellulaire, sur le
limiteur de surtension ou sur une prise de
courant du même circuit.
13. N'utilisez qu'un limiteur de surtension
conforme à toutes les spécifications indi-
quées à la page 17. Pour vous procurer un
limiteur de surtension, voyez le détaillant
PROFORM le plus près, composez le numéro
de téléphone indiqué sur la couverture avant
du manuel ou voyez un marchand local de
fournitures électroniques.
14. L'utilisation d'un limiteur de surtension
dont le fonctionnement est inapproprié peut
endommager le système de commande du
tapis de course. Si le système de commande
est endommagé, la courroie mobile peut
ralentir, accélérer ou s’arrêter subitement, ce
qui pourrait entraîner une chute et de graves
blessures.
15. Gardez le cordon d’alimentation et le limiteur
de surtension à l'écart des surfaces chauf-
fantes.
PRÉCAUTIONS IMPORTANTES
AVERTISSEMENT : pour réduire les risques de blessures graves, lisez toutes les
précautions importantes et les instructions contenues dans ce manuel, ainsi que les avertissements
se trouvant sur l’appareil, avant d’utiliser votre tapis de course. ICON ne peut être tenu responsable
de toute blessure ou tout dégât matériel résultant directement ou indirectement de l’utilisation de cet
appareil.

4
GARDEZ CES INSTRUCTIONS
16. N'actionnez jamais la courroie mobile lorsque
l’appareil est hors fonction. Ne faites pas
fonctionner le tapis de course si le cordon
d'alimentation ou la fiche sont endommagés,
ou si l'appareil ne fonctionne pas correcte-
ment. (Voir la section LOCALISATION D’UN
PROBLÈME à la page 26, si le tapis de course
ne fonctionne pas correctement.)
17. Veuillez lire attentivement et comprendre les
procédures d’arrêt d’urgence et en effectuer
l'essai avant d’utiliser le tapis de course
(voir COMMENT ALLUMER L'APPAREIL à la
page 19).
18. Ne mettez jamais le tapis de course en
marche en ayant les pieds posés sur la cour-
roie mobile. Tenez toujours les rampes lors
de l’utilisation du tapis de course.
19. Le tapis de course peut atteindre des
vitesses élevées. Changez la vitesse progres-
sivement pour éviter les changements de
vitesse brusques.
20. Le détecteur du rythme cardiaque n'est pas
un dispositif médical. Divers facteurs, tels
que le mouvement de l'utilisateur, peuvent
avoir un impact quant à l'exactitude des
lectures de la fréquence cardiaque. Le détec-
teur du rythme cardiaque n'est destiné qu'à
donner une approximation des tendances de
la fréquence cardiaque lors de l’exercice.
21. Ne laissez pas le tapis de course en marche
sans surveillance. Retirez la clé, débranchez
le cordon d'alimentation et poussez l'inter-
rupteur à la position d'arrêt (off) chaque fois
que le tapis de course est inutilisé. (Voir le
schéma de la page 7 pour connaître l'empla-
cement de l'interrupteur.)
22. Ne tentez pas d'élever, d'abaisser ou de
déplacer le tapis de course avant qu'il soit
correctement assemblé. (Voir ASSEMBLAGE
à la page 9 et COMMENT PLIER ET
DÉPLACER LE TAPIS DE COURSE à la
page 25.) Vous devez être en mesure de sou-
lever sans risque un poids de 45 lbs (20 kg)
pour élever, abaisser ou déplacer le tapis de
course.
23. Lorsque vous pliez ou déplacez le tapis de
course, assurez-vous que le loquet de range-
ment retient fermement le cadre en position
de rangement.
24. N’introduisez aucun objet dans les ouver-
tures du tapis de course.
25. Vérifiez et serrez correctement toutes les
pièces du tapis de course régulièrement.
26. DANGER : débranchez toujours le
cordon d’alimentation immédiatement après
l'utilisation, avant de nettoyer le tapis de
course et avant d'effectuer les procédures
d’entretien et de réglage décrites dans ce
manuel. N’enlevez jamais le capot du moteur
autrement qu'à la demande d'un représentant
de service autorisé. Les réglages autres que
ceux décrits dans ce manuel ne doivent être
effectués que par un représentant de service
autorisé.
27. Ce tapis de course est destiné à l'usage à
domicile seulement. N'utilisez pas le tapis de
course à des fins commerciales, locatives ou
institutionnelles.
28. L'exercice surmené peut entraîner de graves
blessures ou la mort. Si vous vous sentez
mal ou vous éprouvez de la douleur, cessez
immédiatement l'exercice et détendez-vous.

5

6
Votre nouvel équipement de tness représente un investissement
important pour votre santé. Protégez maintenant cet investissement
contre les soucis mécaniques et électriques imprévisibles jusqu’à cinq ans.
• Une protection de un à cinq ans
• Un réseau de plus de 100 centres de réparations
• Des techniciens hautement qualiés
• Une ligne d’appel nationale gratuite
• Une procédure simple pour les réparations
• Pas de déclaration à remplir
• Une inscription facile
• Des réparations rapides et ecaces partout au Canada
• Frais de réparation à domicile couverts
• Pièces et la main-d’œuvre incluses
• Pannes mécaniques et électriques incluses
Pour protéger votre équipement aujourd’hui,
appelez le Service à la Clientèle au
1-888-936-4266
Ou envoyez-nous un courriel au
customerservice@iconcanada.ca
™
CARACTÉRISTIQUES DE L’EXTENSION

7
Merci d’avoir choisi le tapis de course révolutionnaire
PROFORM® PERFORMANCE 400 S. Le tapis de
course PERFORMANCE 400 S offre une gamme de
caractéristiques destinées à rendre vos exercices à
domicile plus agréables et efcaces. De plus, lorsque
vous ne vous exercez pas, ce tapis de course unique
peut être replié de façon à occuper moins de la moi-
tié de l'espace au sol qu'occupent d'autres tapis de
course.
Nous vous conseillons de lire attentivement ce
manuel avant d’utiliser le tapis de course. Si vous
avez des questions après avoir lu ce manuel, veuillez
vous référer à la page de couverture de ce manuel
pour nous contacter. Pour nous permettre de mieux
vous assister, notez le numéro du modèle et le numéro
de série de l’appareil avant de nous appeler. Le
numéro du modèle et l’emplacement de l’autocollant
du numéro de série sont indiqués sur la page de
couverture de ce manuel.
Familiarisez-vous avec les pièces sur le schéma ci-
dessous avant de continuer la lecture de ce manuel.
Rampe
Montant
Plateau
Clé/Pince
Interrupteur
Courroie Mobile
Amortisseur de la
Plateforme
Repose-Pied
Cordon
d'Alimentation
Boulons de Réglage
du Rouleau-Guide
Console
Détecteur du
Rythme Cardiaque
Longueur : 6' (183 cm)
Largeur : 2' 11" (89 cm)
AVANT DE COMMENCER

8
#8 x 1/2" Ground
Screw (3)–1
Bague d'Espacement
du Pied de la Base
(94)–2
Vis #8 x 3/4"
(1)–6
Rondelle
Étoilée 3/8"
(11)–6
1/4" Star
Washer (14)–2
#8 x 1/2" Screw
(2)–6
Vis Autoperçante #8 x 1"
(5)–4
Écrou 3/8"
(10)–5
Rondelle Étoilée
5/16" (13)–6
Vis #10 x 3/4"
(2)–4
Vis 3/8" x 4 1/4" (7)–4
Vis 5/16" x 1"
(4)–6
1/4" x 1"
Bolt (9)–4
3/8" x 1 3/4" Bolt (6)–1
Boulon 3/8" x 2" (8)–5
5/16" x 1" Flat Head
Bolt (3)–4
Vis 3/8" x 1 1/2" (14)–2
#10 Star
Washer (12)–4
Vis 1/4" x 1/2"
(9)–4
Rondelle
Étoilée 1/4"
(12)–8
TABLEAU D’IDENTIFICATION DES PIÈCES
Référez-vous aux schémas ci-dessous pour identifier les petites pièces utilisées lors de l’assemblage. Le nombre
entre parenthèses à côté de chaque schéma fait référence au numéro de la pièce sur la LISTE DES PIÈCES, vers
la fin de ce manuel. Le nombre après les parenthèses est la quantité nécessaire à l’assemblage. Remarque : si une
pièce n’est pas dans le sac des pièces, vérifiez qu’elle n’est pas pré-assemblée. Des pièces de rechange
peuvent être incluses.

9
• Pour retenir les services d'un technicien autorisé
pour l'assemblage de votre appareil d'exercice,
composez le 1-800-445-2480.
• L’assemblage requiert la participation de deux
personnes.
• Disposez toutes les pièces dans un espace
dégagé et retirez tout le matériel d'emballage. Ne
jetez pas le matériel d'emballage avant d'avoir
terminé toutes les étapes d'assemblage.
• Après l'expédition, il est possible qu'une subs-
tance graisseuse apparaisse à la surface du tapis
de course. Ceci est normal. S’il y a présence de
substance graisseuse sur le tapis de course, délo-
gez-la à l'aide d'un linge doux et d'un nettoyant
léger non abrasif.
• Les pièces côté gauche portent l'indication « L »
ou « Left », et les pièces côté droit l'indication
« R » ou « Right ».
• Pour l'illustration des petites pièces, voir la
page 8.
• L'assemblage requiert les outils suivants :
la clé hexagonale incluse
une clé à molette
un tournevis à pointe cruciforme
Pour éviter d'endommager des pièces, n'utilisez
aucun outil à commande mécanique.
ASSEMBLAGE
1. Appelez ou envoyez un courriel au Service à
la Clientèle (voir la couverture de ce manuel)
aujourd’hui et enregistrez votre appareil.
• activez votre garantie
• gagnez du temps si vous avez besoin de
contacter le Service à la Clientèle plus tard
• pour nous permettre de vous informer des
mises à jours et des offres
1

10
3. Reportez-vous au schéma encadré. Coupez
l'attache en plastique près du Fil du Montant (87).
Attachez une Roue (96) à la Base (95) à l'aide
d'un Boulon 3/8" x 2" (8) et d'un Écrou 3/8" (10).
Ne serrez pas l’Écrou à l'excès ; la Roue doit
pouvoir tourner librement.
Enfoncez un Embout de la Base (89) sur la Base
(95).
95
8
10
3
96
89
2. Assurez-vous que le cordon d’alimentation
est débranché.
Avec l’aide d’une autre personne, faites basculer
avec précaution le tapis de course sur son côté
gauche. Pliez en partie la Cadre (55) de façon à
stabiliser davantage le tapis de course ; ne pliez
pas complètement le Cadre à ce moment.
S'il y a une attache d'expédition reliant le Fil du
Montant (87) à la Base (95), coupez l'attache.
Repérez ensuite une attache en plastique dans
l’orice indiqué de la Base et utilisez-la pour reti-
rer le Fil du Montant hors de l’orice.
Attachez deux Pieds de la Base (90) à la Base
(95) aux endroits indiqués à l'aide de deux Vis
Autoperçantes #8 x 1" (5) et deux Bagues d'Es-
pacement du Pied de la Base (94).
Ensuite, attachez les deux autres Pieds de la
Base (90) à l'aide de deux Vis Autoperçantes #8
x 1" (5).
2
95
5
55
90
90
5
5
5
90
94
90
87
Orifice
94
Attache en Plastique
Couper
87
87

11
5. Tenez le Montant Droit (85) contre la Base
(95). Prenez soin de ne pas coincer le Fil du
Montant (87). Introduisez deux Vis 3/8" x 4 1/4"
(7) avec deux Rondelles Étoilées 3/8" (11) et
une Vis 3/8" x 1 1/2" (14) avec une Rondelle
Étoilée 3/8" dans le Montant Droit.
Vissez partiellement les Vis 3/8" x 4 1/4" (7) au
point où les têtes des Vis entrent en contact
avec le Montant Droit (85) ; ne serrez pas
complètement les Vis à ce moment. Vissez
partiellement la Vis 3/8" x 1 1/2" (14). 95
85
87
11
11
14
7
5
4. Identiez le Montant Droit (85). Tenez le Montant
Droit près de la Base (95) tel qu'illustré.
Reportez-vous au schéma encadré. Attachez
fermement l'attache de l à l'intérieur du Montant
Droit (85) autour de l’extrémité du Fil du Montant
(87). Ensuite, tirez l'autre extrémité de l'attache
de l pour acheminer le Fil du Montant complè-
tement hors du Montant Droit.
Attache de Fil
87
85
95
87
4
Attache
de Fil
85
87

12
7. Tenez le Montant Gauche (84) contre la Base
(95). Introduisez deux Vis 3/8" x 4 1/4" (7) avec
deux Rondelles Étoilées 3/8" (11) et une Vis 3/8"
x 1 1/2" (14) avec une Rondelle Étoilée 3/8" (11)
dans le Montant Gauche.
Vissez partiellement les Vis 3/8" x 4 1/4" (7) au
point où les têtes des Vis entrent en contact
avec le Montant Gauche (84) ; ne serrez pas
complètement les Vis à ce moment. Vissez
partiellement la Vis 3/8" x 1 1/2" (14).
Avec l’aide d’une autre personne, faites basculer
le tapis de course de manière à poser la Base
(95) à plat sur le sol.
7
84
7
95
11
11
14
6. Avec l’aide d’une autre personne, faites basculer
avec précaution le tapis de course sur son côté
droit. Pliez en partie la Cadre (55) de façon à
stabiliser davantage le tapis de course ; ne pliez
pas complètement le Cadre à ce moment.
Attachez une Roue (96) à la Base (95) à l'aide
d'un Boulon 3/8" x 2" (8) et d'un Écrou 3/8" (10).
Ne serrez pas l’Écrou à l'excès ; la Roue doit
pouvoir tourner librement.
Enfoncez un Embout de la Base (89) sur la Base
(95).
6
8
55
10
95
89
96

13
8. Indentifiez le Boîtier Droit de la Base (91) et le
Boîtier Gauche de la Base (88). Enfoncez le
Boîtier Droit de la Base sur le Montant Droit (85).
Enfoncez le Boîtier Gauche de la Base sur le
Montant Gauche (84).
91
85
84
88
8
9. Tenez la Rampe Droite (83) près du Montant
Droit (85). Placez le Fil du Montant (87) sur la
Rampe Droite tel qu'illustré.
Installez la Rampe Droite (83) sur le Montant
Droit (85). Reportez-vous au schéma enca-
dré. Veillez à ce que le Fil du Montant (87)
soit placé tel qu'illustré et qu'il ne soit pas
coincé.
Attachez la Rampe Droite (83) au Montant Droit
(85) à l'aide de trois Vis 5/16" x 1" (4) et trois
Rondelles Étoilées 5/16" (13) tel qu'illustré. Ne
serrez pas les Vis à ce moment.
Attachez le Guidon Gauche (non illustré) de
la même manière. Remarque : le côté gauche
ne comporte aucun l.
83 4
413
85
87
9
87
85
13

14
11. IMPORTANT : pour éviter d'abîmer la Barre
Transversale (79), n'utilisez aucun outil à
commande mécanique et ne serrez pas à
l'excès les Vis #10 x 3/4" (2).
Orientez la Barre Transversale (79) tel qu'illus-
tré. Attachez la Barre Transversale aux Rampes
(82, 83) à l'aide de quatre Vis #10 x 3/4" (2) et
quatre Rondelles Étoilées 1/4" (12). Engagez
les quatre Vis avant de les serrer.
11
79
2
83
82
12
12
2
10. Déposez l'assemblage de la console face contre
terre sur une surface douce an d'éviter de rayer
l'assemblage. Retirez les deux Vis #8 x 3/4" (1).
Ensuite, enlevez la Barre Transversale (79) en la
soulevant.
10
79
Assemblage
de
la Console
1

15
13. Posez l'assemblage de la console sur la Rampe
Gauche (82) et la Rampe Droite (83). Veillez à
ne coincer aucun des ls. Enfoncez l’excédent
du Fil du Montant (87) à l'intérieur du Montant
Droit (85).
Attachez l'assemblage de la console à l'aide de
six Vis #8 x 3/4" (1) et quatre Vis 1/4" x 1/2" (9)
accompagnées de quatre Rondelles Étoilées
1/4" (12). Engagez les dix Vis avant de les
serrer.
Reportez-vous aux étapes 5 et 7. Vissez com-
plètement les quatre Vis 3/8" x 4 1/4" (7) et les
deux Vis 3/8" x 1 1/2" (14).
Reportez-vous à l'étape 9. Vissez complète-
ment les six Vis 5/16" x 1" (4).
12 82
1
13 Assemblage
de la
Console
1
83
85
12
87
91
9
12. À l’aide d’une autre personne, tenez l’assem-
blage de la console près de la Rampe Droite
(83).
Reliez le Fil du Montant (87) au fil de la console.
Reportez-vous au schéma encadré. Les
connecteurs doivent glisser aisément l’un
dans l’autre de façon à s’emboîter. Si tel n'est
pas le cas, retournez l'un des connecteurs et
ressayez. SI LES CONNECTEURS NE SONT
PAS RELIÉS DE FAÇON APPROPRIÉE, LA
CONSOLE RISQUE D'ÊTRE ENDOMMAGÉE
LORS DE LA MISE EN MARCHE. Ensuite,
retirez l'attache de fil du Fil du Montant.
Assemblage
de la
Console
12
Fil de la
Console
Attache
de Fil
87
83
Fil de la
Console
87

16
15. Assurez-vous que toutes les pièces sont correctement serrées avant d’utiliser le tapis de course. Si
des pellicules en plastique recouvrent les autocollants du tapis de course, retirez les pellicules. Placez un
petit tapis sous l'appareil pour protéger le revêtement du sol. Remarque : il peut y avoir des pièces de visserie
excédentaires. Conservez les clés hexagonales incluses dans un endroit sûr ; l'une de ces clés est destinée
au réglage de la courroie mobile (voir les pages 27 et 28).
14. Élevez le Cadre (55) jusqu'à la position indiquée.
Demandez à une autre personne de tenir le
Cadre jusqu'à la n de cette étape.
Orientez le Loquet de Rangement (51) de sorte
à diriger le gros cylindre et le bouton du loquet
dans le sens illustré.
Attachez le Support du Loquet (6) et le Loquet
de Rangement (51) à la Base (95) à l’aide de
deux Boulons 3/8" x 2" (8) et deux Écrous 3/8"
(10).
Attachez l'extrémité supérieure du Loquet de
Rangement (51) au support du Cadre (55) à
l’aide d’un Boulon 3/8" x 2" (8) et d’un Écrou 3/8"
(10). Remarque : il peut s'avérer nécessaire de
mouvoir le Cadre en va-et-vient an d’aligner le
Loquet de Rangement sur le support.
Abaissez le Cadre (55) (voir COMMENT
ABAISSER LE TAPIS DE COURSE POUR
L'UTILISATION à la page 25).
14
51
95
10
Gros
Cylindre
8
55
10
6
8
Bouton
du
Loquet

17
FONCTIONNEMENT ET RÉGLAGES
COMMENT BRANCHER LE CORDON
D’ALIMENTATION
Utilisez un Suppresseur de Surtension
Votre tapis de course, comme tout autre appareil élec-
tronique, peut être endommagé par des changements
soudains de tension dans l’alimentation électrique de
votre maison. Des surtensions de voltage, crêtes de
tension et interférences sonores peuvent résulter des
conditions climatiques ou être causées par d’autres
appareils qui sont allumés ou éteints. Pour réduire
le risque d’endommager le tapis de course, utili-
sez toujours un suppresseur de surtension avec
le tapis de course. Pour acheter un suppresseur
de surtension, référez-vous à la précaution 13 à la
page 3.
Utilisez uniquement un suppresseur de surtension de
type UL 1449 comme suppresseur de pointe de ten-
sion transitoire (TVSS). Le suppresseur de surtension
doit avoir une tension nominale inférieure ou égale à
400 volts et une dissipation minimale de 450 joules.
Le suppresseur de surtension doit aussi avoir une
tension nominale de 120 volts CA et 15 ampères. Le
suppresseur de surtension doit être équipé d’un voyant
lumineux indiquant que le suppresseur fonctionne
correctement. Si vous n’utilisez pas un suppresseur
de surtension qui fonctionne correctement, vous
pourriez endommager le système de commande du
tapis de course et entraîner des blessures graves
chez les utilisateurs.
Branchez le Cordon d’Alimentation
Le tapis de course doit être relié à la terre. S’il
venait à mal fonctionner ou tombait en panne, la mise
à la terre fournit un chemin de moindre résistance au
courant électrique, ce qui réduit les risques de chocs
électriques. Le cordon d’alimentation du tapis de
course est équipé d’une prise avec une broche de terre
(voir le schéma 1 sur cette page).
Branchez le cordon d’alimentation dans un suppresseur
de surtension et branchez le suppresseur de surtension
dans une prise murale correctement installée et reliée
à la terre selon les codes locaux. La prise murale doit
être sur un circuit nominal de 120 volts, capable de
soutenir 15 ampères ou plus. Pour ne pas surchar-
ger le circuit, ne branchez aucun autre appareil
électrique, sauf des appareils à faible puissance
comme les chargeurs de téléphone portable, dans
le suppresseur de surtension ou dans la prise sur
le même circuit. IMPORTANT : le tapis de course
n’est pas compatible avec les prises GFCI et n’est
peut-être pas compatible avec l’équipement AFCI.
Un adaptateur
temporaire
peut être
utilisé pour
brancher le
suppresseur
de surtension
dans une prise
murale à deux
fiches si une
prise correcte-
ment reliée à
la terre n’est pas disponible.
La patte rigide de couleur verte qui dépasse de l’adap-
tateur doit être attachée sur un support mis à la terre
tel que le boîtier d’une prise murale correctement relié
à la terre. Certains boîtiers de prise murale à deux
fiches ne sont pas reliés à la terre. Avant d’utiliser
un adaptateur, contactez un électricien qualifié
pour déterminer si le boîtier de la prise murale est
relié à la terre. L’adaptateur temporaire doit être
utilisé uniquement jusqu’à ce qu’une prise murale
correctement reliée à la terre puisse être installée
par un électricien qualifié.
DANGER : un mauvais bran-
chement de l’équipement peut augmenter
des risques de chocs électriques. Demandez
conseil à un électricien ou un réparateur
qualifié pour vous assurer que l’appareil est
correctement relié à la terre. Ne modifiez
d’aucune manière la fiche ; si elle ne peut être
insérée dans la prise murale, faites installer
une prise murale conforme par un électricien
qualifié.
1
Suppresseur
de Surtension
Fiche de Terre
Prise Reliée à la Terre
2
Adaptateur
Boîtier à deux Fiches
Patte
Fiche de Terre
Vis en
Métal

18
COLLER L’AUTOCOLLANT D’AVERTISSEMENT
Localisez les messages d’avertissement en anglais sur
la console. Les mêmes avertissements en d’autres lan-
gues se trouvent sur la feuille des autocollants incluse.
Collez l’autocollant d’avertissement en français sur la
console.
CARACTÉRISTIQUES DE LA CONSOLE
La console du tapis de course offre une vaste gamme
de caractéristiques destinées à rendre vos entraî-
nements plus efcaces et plus agréables. En mode
manuel, il est possible de changer la vitesse et l'incli-
naison du tapis de course par simple pression d'une
touche. Pendant que vous vous exercez, la console
afche des données instantanées sur l'exercice. Vous
pouvez également mesurer votre fréquence cardiaque
à l'aide du détecteur de rythme cardiaque de la
poignée.
De plus, la console comporte une sélection d'entraî-
nements intégrés. Chaque entraînement commande
automatiquement la vitesse et l’inclinaison du tapis de
course en vous guidant au long d'une séance d'entraî-
nement efcace.
La console comporte également un mode iFit qui
permet au tapis de course de communiquer sur votre
réseau sans l par le biais d'un module iFit en option.
Le mode iFit permet de télécharger des entraînements
personnalisés, de créer vos propres entraînements, de
suivre les résultats de votre entraînement, d'affronter
d’autres utilisateurs iFit et d'accéder à bien d’autres
fonctions. Pour acheter un module iFit en tout
temps, accédez au www.iFit.com ou composez le
numéro de téléphone indiqué sur la couverture
avant du manuel.
Vous pouvez même écouter votre musique ou vos
livres sonores préférés durant l'entraînement grâce à la
chaîne audio de la console.
Pour mettre en marche l'appareil, voir la page 19.
Pour utiliser le mode manuel, voir la page 19. Pour
effectuer un entraînement intégré, voir la page 21.
Pour effectuer un entraînement à objectif person-
nalisable, voir la page 22. Pour utiliser la chaîne
audio, voir la page 22. Pour effectuer un entraîne-
ment iFit, voir la page 23. Pour utiliser le mode d'in-
formation, voir la page 24.
Remarque : la console peut afcher la vitesse et la
distance en miles ou en kilomètres. Pour savoir quelle
unité de mesure est sélectionnée, voir la section LE
MODE D'INFORMATION à la page 24. Par souci de
clarté, toutes les instructions dans ce manuel renvoient
aux miles.
IMPORTANT : si des pellicules en plastique re-
couvrent la console, retirez-les. An d’éviter
d'abîmer la plateforme de marche, portez des
chaussures sport propres lorsque vous utilisez
le tapis de course. Lors de l'utilisation initiale du
tapis de course, observez la courroie mobile an
d'en vérier l’alignement, et centrez-la au besoin
(reportez-vous à la page 28).
ETPF049613
(PFTL49613)
SCHÉMA
DE LA
CONSOLE

19
COMMENT ALLUMER L'APPAREIL
IMPORTANT : si le tapis de course a été exposé
à de basses températures, prévoyez une période
de réchauffement de l'appareil à température
ambiante avant la mise en marche. Sans cette pré-
caution, vous risquez d'endommager les écrans de
la console ou d'autres composantes électriques.
Branchez le cordon d’ali-
mentation (voir la page 17).
Ensuite, localisez l'interrup-
teur du tapis de course situé
près du cordon d'alimenta-
tion. Poussez l'interrupteur à
la position de réinitialisation.
IMPORTANT : la console comporte un mode
d'afchage démo destiné à l'exposition du tapis
de course chez les marchands. Si les écrans
s'activent dès que le cordon d'alimentation est
branché et que l'interrupteur est poussé en posi-
tion de réinitialisation, cela signie que le mode
démo est activé. Pour désactiver le mode démo,
maintenez la touche Stop (arrêter) enfoncée pen-
dant quelques secondes. Si les écrans demeurent
en fonction, reportez-vous à la section LE MODE
D'INFORMATION à la page 24 pour désactiver le
mode démo.
Ensuite, tenez-
vous debout sur
les repose-pieds
du tapis de course.
Repérez la pince
reliée à la clé, et
glissez-la sur la taille
de votre vêtement.
Ensuite, introdui-
sez la clé dans la
console. Les écrans s'activeront peu de temps après.
IMPORTANT : en cas d’urgence, la clé peut être
retirée de la console, ce qui forcera la courroie
mobile à ralentir jusqu’à l’arrêt. Effectuez un essai
à l'aide de la pince en reculant de quelques pas
avec précaution ; si la clé ne quitte pas la console,
réglez la position de la pince.
COMMENT UTILISER LE MODE MANUEL
1. Introduisez la clé dans la console.
Reportez-vous à COMMENT ALLUMER
L'APPAREIL à gauche.
2. Sélectionnez le mode manuel.
Pressez la touche Manual (manuel) de la console.
Si vous n'êtes pas connecté sur iFit, le mode
manuel est sélectionné automatiquement.
3. Lancez la courroie mobile.
Pour lancer la courroie mobile, pressez la touche
Start (démarrer), la touche d'augmentation Speed
(vitesse) ou l'une des touches Speed numérotées
de 1 à 10.
Une fois pressée la touche Start ou d'augmenta-
tion Speed, la courroie mobile commence à se
déplacer à 1 m/h. Pendant l'exercice, pressez les
touches d’augmentation et de diminution Speed
pour changer la vitesse de la courroie, au besoin.
Chaque fois qu’une touche est pressée, la vitesse
varie de l'ordre de 0,1 m/h ; lorsque la touche est
maintenue enfoncée, la vitesse varie par tranches
de 0,5 m/h. Remarque : après l'appui sur la
touche, il est possible que la courroie mobile n’at-
teigne la vitesse du réglage sélectionné qu’après
un certain temps.
Après l'appui sur l'une des touches de vitesse
numérotées, la vitesse de la courroie mobile varie
graduellement jusqu'à atteindre la vitesse du
réglage sélectionné. Pour sélectionner un réglage
de vitesse comportant une décimale — tel que
3,5 m/h — pressez successivement deux touches
numérotées. Par exemple, pour sélectionner une
vitesse de 3,5 m/h, pressez la touche 3, puis immé-
diatement la touche 5. Remarque : cette fonction
est inopérante lorsque la console fonctionne en
réglage d'unités métriques.
Pour immobiliser la courroie mobile, pressez la
touche Stop (arrêter). Le temps commencera à cli-
gnoter à l'écran. Pour relancer la courroie mobile,
pressez la touche Start ou la touche d'augmenta-
tion Speed.
Réinitialisé
ETPF049613
(PFTL49613)
Clé
Pince

20
4. Changez l’inclinaison du tapis de course, au
besoin.
Pour changer l’inclinaison du tapis de course,
pressez la touche d’augmentation ou de diminution
Incline (inclinaison) ou l’une des touches d'incli-
naison numérotées de 0 à 10. Une fois pressée
l'une des touches, le tapis de course s'inclinera
graduellement selon le réglage sélectionné.
5. Suivez votre progression aux écrans.
La matrice — Sur
sélection du mode
manuel, la matrice
afche une piste repré-
sentant 400 mètres
(1/4 de mile). Alors que
vous vous entraînez, les indicateurs entourant la
piste s'afchent à tour de rôle jusqu'à ce que la
piste entière apparaisse. La piste disparaîtra par la
suite et les indicateurs recommenceront à s’af-
cher à tour de rôle.
L'écran Incline/
Calories (inclinaison/
calories) — Cet écran
afche le nombre
approximatif de calo-
ries que vous aurez
brûlées. L'écran afche également l'inclinaison du
tapis de course pendant quelques secondes lors
de chaque changement du degré d'inclinaison du
tapis.
L'écran Time (temps)
— Cet écran afche le
temps écoulé. L'écran
indiquera également
votre fréquence car-
diaque lorsque vous
utilisez le détecteur du rythme cardiaque de la poi-
gnée (voir l'étape 6).
L'écran Distance/
Speed (distance/
vitesse — Cet écran
peut afcher la distance
parcourue en marchant
ou en courant. L'écran
afche également la
vitesse de la courroie mobile pendant quelques se-
condes lors de chaque changement de vitesse.
L'écran central — Cet écran afche les directives
d'entraînement.
Pressez la touche Home (accueil) pour revenir au
menu de départ (voir LE MODE D'INFORMATION
à la page 24 pour établir le menu de départ).
Pressez de nouveau la touche Home, au besoin.
Lorsqu'un module iFit
est connecté sur le
www.iFit.com, le sym-
bole iFit situé près du
haut de l'écran
s'illumine.
Pour réinitialiser les écrans, pressez la touche Stop
(arrêter), retirez la clé, puis réintroduisez la clé.
6. Mesurez votre fréquence cardiaque, au besoin.
Avant d’utiliser
le détecteur
du rythme
cardiaque de
la poignée,
retirez les
pellicules en
plastique des
plaques mé-
talliques de la
barre du détec-
teur de rythme
cardiaque. De plus, assurez-vous que vos mains
sont propres.
Pour mesurer votre fréquence cardiaque, te-
nez-vous debout sur les repose-pieds et saisis-
sez la barre du détecteur de rythme cardiaque en
appuyant vos paumes contre les plaques métal-
liques ; évitez de déplacer vos mains. Lorsque
votre pouls est capté, plusieurs tirets apparaîtront,
suivis de l'afchage de votre fréquence cardiaque.
Pour la lecture la plus exacte de la fréquence
cardiaque, maintenez les plaques pendant envi-
ron 15 secondes.
7. Lorsque vous mettez n à l'exercice, retirez la
clé de la console.
Montez sur les repose-pieds, pressez la touche
Stop et sélectionnez le réglage d'inclinaison
zéro du tapis de course. L'inclinaison doit être
xée à zéro, sans quoi le tapis de course peut
être endommagé lors du pliage en position de
rangement. Ensuite, retirez la clé de la console et
rangez-la dans un endroit sûr.
Lorsque vous cessez d'utiliser le tapis de
course, poussez l'interrupteur à la position d'ar-
rêt (off) et débranchez le cordon d'alimentation.
IMPORTANT : sans cette précaution, les
composantes électriques du tapis de course
peuvent s’user prématurément.
Plaques

21
COMMENT EFFECTUER UN ENTRAÎNEMENT
INTÉGRÉ
1. Introduisez la clé dans la console.
Voir COMMENT ALLUMER L'APPAREIL à la
page 19.
2. Sélectionnez un entraînement intégré.
Pour sélectionner un entraînement intégré, pressez
à répétition la touche Calorie, Timed (minuté) ou
Distance jusqu’à afcher à l'écran l’entraînement
voulu.
Sur sélection d'un entraînement intégré, les écrans
afchent l'inclinaison maximale, la durée, la vitesse
maximale et le nom de l'entraînement. De plus, un
graphique des réglages de vitesse de l'entraîne-
ment apparaîtra à la matrice. Si vous sélectionnez
un entraînement de calories, le nombre approxima-
tif de calories que vous brûlerez s’afchera dans le
nom de l’entraînement.
3. Commencez l’entraînement.
Pressez la touche Start (démarrer) ou la touche
d'augmentation Speed (vitesse) pour commen-
cer l'entraînement. Un instant après l'appui sur
la touche, le tapis de course adoptera automa-
tiquement les réglages initiaux de vitesse et
d'inclinaison de l'entraînement. Tenez les rampes
et commencez à marcher. Remarque : si vous
sélectionnez un entraînement de distance, la
séance d'exercice commencera par un segment de
réchauffement de trois minutes avant le début de
l'entraînement.
Chaque entraînement est divisé en segments. Un
réglage de vitesse et un réglage d'inclinaison sont
programmés pour chaque segment. Remarque :
un même réglage de vitesse ou (et) d'inclinaison
peut être programmé pour des segments
consécutifs.
Durant l'entraînement,
le graphique repré-
sentera votre progres-
sion. Le segment de
graphique clignotant
correspond au segment
en cours de l'entraînement. La hauteur du segment
clignotant indique le réglage de la vitesse du seg-
ment en cours. À la n de chaque segment, une
série de tonalités retentira et le segment suivant
du graphique commencera à clignoter. Si un nou-
veau réglage de vitesse ou (et) d'inclinaison est
programmé pour le segment suivant, ce réglage
apparaîtra aux écrans pendant quelques secondes,
puis le tapis de course adoptera automatiquement
ce réglage de vitesse ou (et) d'inclinaison.
L'entraînement se poursuivra ainsi jusqu'à ce que
le dernier segment du graphique commence à
clignoter et que le segment prenne n. La cour-
roie mobile ralentira ensuite jusqu'à s'arrêter.
Remarque : si vous sélectionnez un entraînement
de distance, l’entraînement se terminera par un
segment de trois minutes de détente.
Remarque : l’objectif calorique est une estima-
tion du nombre des calories que vous aurez
brûlées durant l'entraînement. Le nombre réel
des calories que vous brûlerez dépendra de
divers facteurs, dont votre poids. De plus, le
réglage manuel de la vitesse ou de l’inclinaison
du tapis de course durant l'entraînement modi-
era le nombre de calories brûlées.
Si le réglage de la vitesse ou de l’inclinaison est
trop élevé ou trop bas durant l’entraînement, vous
pouvez l'annuler en pressant les touches Speed
(vitesse) ou Incline (inclinaison) ; toutefois, au
début du segment suivant de l’entraînement,
le tapis de course adoptera automatiquement
les réglages de la vitesse et de l’inclinaison du
segment suivant.
Pour interrompre l'entraînement en tout temps,
pressez la touche Stop (arrêter). Le temps com-
mencera à clignoter à l'écran. Pour reprendre l'en-
traînement, pressez la touche Start (démarrer) ou
d’augmentation Speed. La courroie mobile s'enga-
gera à raison de 2 m/h. Au début du segment sui-
vant de l'entraînement, le tapis de course adoptera
automatiquement la vitesse et l’inclinaison réglées
pour ce segment.
4. Suivez votre progression aux écrans.
Voir l'étape 5 à la page 20. L’écran Time/Pulse
(temps/fréquence cardiaque) afche le temps res-
tant plutôt que le temps écoulé.
5. Mesurez votre fréquence cardiaque, au besoin.
Voir l'étape 6 à la page 20.
6. Lorsque vous mettez n à l'exercice, retirez la
clé de la console.
Voir l'étape 7 à la page 20.
Segment en Cours

22
COMMENT EFFECTUER UN ENTRAÎNEMENT À
OBJECTIF PERSONNALISABLE
1. Introduisez la clé dans la console.
Voir COMMENT ALLUMER L'APPAREIL à la page
19.
2. Sélectionnez un entraînement à objectif
personnalisable.
Pour sélectionner un entraînement de calories, de
temps ou de distance à objectif personnalisable,
pressez la touche Set A Goal (établir un objectif) de
la console.
Utilisez les touches d'augmentation et de diminu-
tion près de la touche Enter (entrée) pour établir
un objectif de calories, de temps ou de distance, et
pressez ensuite la touche Enter. Pressez ensuite
la touche d'augmentation ou de diminution située
près de la touche Enter pour sélectionner un objec-
tif. Pressez les touches Speed (vitesse) et Incline
(inclinaison) pour établir la vitesse et l'inclinaison
de l'entraînement. L'écran affichera la durée et la
distance de l'entraînement, ainsi que le nombre
approximatif des calories que vous brûlerez durant
l'entraînement.
3. Commencez l’entraînement.
Pressez la touche Start (démarrer) pour commen-
cer l'entraînement. Peu de temps après l'appui sur
la touche, la courroie mobile se mettra en marche.
Tenez les rampes et commencez à marcher.
L'entraînement se déroulera comme dans le mode
manuel (voir les pages 19 et 20).
L'entraînement continuera jusqu'à ce que vous
atteigniez l'objectif établi. La courroie mobile ralen-
tira ensuite jusqu'à s'arrêter.
Remarque : l’objectif calorique est une estima-
tion du nombre des calories que vous aurez
brûlées durant l'entraînement. Le nombre réel
des calories que vous brûlerez dépendra de
divers facteurs, dont votre poids.
4. Suivez votre progression aux écrans.
Voir l'étape 5 à la page 20.
5. Mesurez votre fréquence cardiaque, au besoin.
Voir l'étape 6 à la page 20.
6. Lorsque vous mettez fin à l'exercice, retirez la
clé de la console.
Voir l'étape 7 à la page 20.
COMMENT UTILISER LA CHAÎNE AUDIO
Pour vous exercer en écoutant de la musique ou
des livres sonores par l’entremise de la chaîne audio
stéréophonique de la console, reliez à l’aide d’un câble
audio à deux fiches mâles de 3,5 mm (non inclus) la
prise de la console à une prise de votre lecteur MP3
ou lecteur CD ; veillez à ce que le câble audio soit
complètement introduit. Pour acheter un câble
audio, voyez un marchand local de fournitures
électroniques.
Ensuite, pressez la touche
de lecture de votre lecteur
audio portable. Réglez
l'intensité sonore à l'aide
des touches de hausse
ou de baisse de l'intensité
sonore de la console ou de
la commande d'intensité sonore de votre lecteur audio
portable.
Si vous utilisez un lecteur CD portable et que la lecture
est erratique, posez le lecteur au sol ou sur une autre
surface plane.

23
COMMENT EFFECTUER UN ENTRAÎNEMENT IFIT
1. Introduisez la clé dans la console.
Voir COMMENT ALLUMER L'APPAREIL à la
page 19.
2. Introduisez le module iFit dans la console.
Pour effectuer un entraînement iFit, introduisez le
module iFit optionnel dans le logement du module
au haut de la console. Pour acheter un module
iFit en tout temps, accédez au www.iFit.com ou
composez le numéro de téléphone indiqué sur la
couverture avant du manuel. Vous devez avoir un
module iFit pour effectuer un entraînement iFit.
Remarque : pour utiliser un module iFit, vous
devez avoir accès à un ordinateur relié à Internet
et muni d'un port USB. Il faut également être inscrit
sur iFit.com. Pour utiliser un module iFit, vous
devez aussi posséder votre propre réseau sans
l comprenant un routeur 802.11b/g/n compatible
avec la diffusion SSID (les réseaux masqués ne
sont pas pris en charge).
3. Sélectionnez un utilisateur.
Si plus d'un utilisateur est inscrit, vous pouvez
changer d'utilisateur dans l’écran iFit principal.
Pressez la touche d'augmentation ou de diminution
située près de la touche Enter (entrée) pour sélec-
tionner un utilisateur.
4. Sélectionnez un entraînement iFit.
Pour sélectionner un entraînement iFit, pressez
l’une des touches iFit. Pour être en mesure de télé-
charger un entraînement, vous devez ajouter l'en-
traînement à votre liste d'attente sur www.iFit.com.
Pressez la touche Map (plan), Train (s'entraîner)
ou Lose Weight (perdre du poids) pour télécharger
l'entraînement suivant du type correspondant de
votre liste d'attente. Pressez la touche Compete
(compétitionner) pour participer à une course que
vous aurez préalablement programmée. Pressez la
touche Track (piste) pour afcher votre historique
d'entraînement. Pour plus d'informations à pro-
pos des entraînements iFit, veuillez accéder au
www.iFit.com. Remarque : si votre liste d’attente
ne comporte aucun entraînement du type sélec-
tionné, l'entraînement suivant de la liste sera télé-
chargé.
Lorsque vous sélectionnez un entraînement iFit
Live, les écrans afchent la durée de l’entraîne-
ment, la distance que vous parcourrez en marchant
ou en courant, ainsi que le nom de l'entraînement.
Si vous choisissez un entraînement de compétition,
l’écran effectuera un décompte de départ.
5. Commencez l’entraînement.
Voir l'étape 3 à la page 21.
Pendant certains entraînements, la voix d'un guide
audio vous accompagnera durant l’entraînement.
Le guide audio comporte une sélection de réglages
(voir LE MODE D'INFORMATION à la page 24).
Pour interrompre l'entraînement en tout temps,
pressez la touche Stop (arrêter). Le temps com-
mencera à clignoter à l'écran. Pour reprendre
l'entraînement, pressez la touche Start (démarrer)
ou d’augmentation Speed. La courroie mobile
commencera à se déplacer à la vitesse réglée pour
le premier segment de l'entraînement. Au début
du segment suivant de l'entraînement, le tapis de
course adoptera automatiquement la vitesse et l’in-
clinaison réglées pour ce segment.
6. Suivez votre progression aux écrans.
Voir l'étape 5 à la page 20.
7. Mesurez votre fréquence cardiaque, au besoin.
Voir l'étape 6 à la page 20.
8. Lorsque vous mettez n à l'exercice, retirez la
clé de la console.
Voir l'étape 7 à la page 20.
Pour plus d'informations sur le mode iFit, accédez
au www.iFit.com.

24
LE MODE D'INFORMATION
La console comporte un mode d'information qui enre-
gistre les données du tapis de course et vous permet
de sélectionner une unité de mesure.
Pour sélectionner le mode d'information, maintenez
enfoncée la touche Stop (arrêter) en introduisant la clé
dans la console, et relâchez ensuite la touche. Lorsque
le mode d'information est sélectionné, les données
suivantes s'afchent :
L’écran Time/Pulse (temps/
fréquence cardiaque)
indiquera le nombre total
d’heures d’utilisation du
tapis de course.
L'écran Distance/Speed
(distance/vitesse) indiquera
le nombre total de miles ou
kilomètres parcourus par la
courroie mobile.
L'écran central afchera
l'unité de mesure sélec-
tionnée. Pour changer
d'unité de mesure, pressez
la touche Enter (entrée)
ou d'augmentation Speed.
Pour afcher la distance en miles, sélectionnez
ENGLISH. Pour afcher la distance en kilomètres,
sélectionnez METRIC.
Pressez la touche de diminution située près de la
touche Enter pour afcher l'écran suivant. La console
comporte un mode d'afchage démo destiné à l'expo-
sition du tapis de course chez les marchands. Pendant
que le mode démo est activé, la console fonction-
nera normalement lorsque le cordon d'alimentation
est branché, l'interrupteur d'alimentation, placé à la
position de réinitialisation et la clé, introduite dans la
console. Cependant, lors du retrait de la clé, les écrans
demeureront activés, mais les touches seront désac-
tivées. Lorsque le mode démo est activé, l'indication
ON (activé) apparaît à l'écran central. Pour activer ou
désactiver le mode démo, pressez la touche Enter ou
de diminution Speed.
Pressez la touche de diminution située près de la
touche Enter pour afcher l'écran suivant. L’écran
afchera le degré de contraste des écrans. Pressez
la touche d'augmentation ou de diminution Incline (in-
clinaison) pour régler le contraste. Ensuite, pressez la
touche Enter.
Lorsqu'un module iFit est raccordé, le mode d'in-
formation afchera également les écrans suivants :
Pressez la touche de diminution pour afcher l'état du
module. L'écran afchera l'indication WIFI.
Pressez la touche de diminution pour afcher l'état du
guide audio. Pour activer ou désactiver le guide audio,
pressez la touche Enter.
Pressez la touche de diminution pour afcher les op-
tions du mode de départ. Le menu de départ apparaît
lorsque la clé est introduite dans la console ou la
touche Home (accueil) est pressée. Pressez à répéti-
tion la touche Enter pour sélectionner le mode manuel
ou le mode iFit en tant que mode de départ.
Pressez la touche de diminution pour vérier les sta-
tistiques du sans-l. Pressez la touche Enter. L'écran
central afchera le numéro de version logicielle, le
SSID du réseau, le type de cryptage, la force du signal
sans l, l'adresse IP du module, le nombre d'utilisa-
teurs inscrits ainsi que leurs noms et les résultats de
détection DNS.
Pressez la touche de diminution pour transférer les
données. Pour envoyer et recevoir des entraînements,
des registres d’entraînement et des mises à jour, pres-
sez la touche Enter. À la n du processus, l'indication
TRANSFERS DONE (transferts terminés) apparaîtra à
l’écran.
Pour quitter le mode d'information, retirez la clé de la
console.

25
COMMENT PLIER LE TAPIS DE COURSE
Pour éviter d'endommager le tapis de course,
réglez l'inclinaison à zéro avant de plier l'appareil.
Ensuite, retirez la clé de la console et débranchez
le cordon d'alimentation. ATTENTION : vous devez
être en mesure de soulever sans risque un poids
de 45 lbs. (20 kg) pour élever, abaisser ou déplacer
le tapis de course.
1. Tenez le cadre métallique fermement à l'endroit
indiqué par la èche ci-dessous. ATTENTION :
Ne tenez pas le cadre en saisissant les repose-
pieds en plastique. Pliez les jambes et gardez le
dos droit.
2. Élevez le cadre jusqu’à ce que le bouton du
loquet soit verrouillé en position de rangement.
ATTENTION : assurez-vous que le bouton du
loquet est verrouillé.
Placez un petit tapis sous l'appareil pour protéger le
revêtement du sol. N’exposez pas le tapis de course
directement aux rayons du soleil. Ne gardez pas
le tapis de course en position de rangement à des
températures supérieures à 30° C (85° F).
COMMENT DÉPLACER LE TAPIS DE COURSE
Avant de déplacer le tapis de course, pliez-le comme
il est décrit à gauche. ATTENTION : assurez-vous
que le bouton du loquet est verrouillé à la position
de rangement. Le déplacement du tapis de course
peut requérir la participation de deux personnes.
1. Tenez le cadre et l'une des rampes, puis placez
votre pied contre une roue.
2. Faites basculer la rampe vers l'arrière jusqu'à
ce que le tapis de course repose sur les roues,
puis déplacez l'appareil jusqu'à l'emplacement
voulu. ATTENTION : ne déplacez pas le tapis de
course sans l'avoir fait basculer vers l'arrière,
ne tirez pas sur le cadre et ne déplacez pas
l'appareil sur une surface irrégulière.
3. Placez un pied contre une roue et abaissez avec
précaution le tapis de course.
COMMENT ABAISSER LE TAPIS DE COURSE
POUR L'UTILISATION
1. Voir le schéma 2. Tenez l’extrémité supérieure du
cadre du tapis de course de la main droite. Tirez le
bouton du loquet vers la gauche ; au besoin, pous-
sez le cadre légèrement vers l'avant. Faites pivoter
le cadre vers le bas sur quelques centimètres et
relâchez le bouton du loquet.
2. Reportez-vous au schéma 1 à gauche. Tenez
le tapis de course fermement des deux mains et
abaissez-le au sol. ATTENTION : ne tenez pas le
cadre par les repose-pieds en plastique et ne
laissez pas chuter le cadre. Pliez les jambes et
gardez le dos droit.
Rampe
Cadre
Roue
Cadre
1
1
Bouton du
Loquet
2
Cadre
COMMENT PLIER ET DÉPLACER LE TAPIS DE COURSE

26
La plupart des problèmes de tapis de course
peuvent être résolus en suivant les étapes simples
ci-dessous. Identifiez le symptôme correspondant
et suivez les étapes indiquées. Si vous avez besoin
d'aide supplémentaire, reportez-vous à la couver-
ture avant du manuel.
SYMPTÔME : l'appareil ne peut être mis en marche
a. Assurez-vous que le cordon d’alimentation est
branché sur un limiteur de surtension et que
le limiteur est lui-même branché sur une prise
correctement mise à la terre (voir la page 17).
N'utilisez qu'un limiteur de surtension conforme à
toutes les spécifications indiquées à la page 17.
IMPORTANT : le tapis de course n’est pas
compatible avec les prises de courant à GFCI
et peut ne pas être compatible avec les prises à
AFCI.
b. Une fois le cordon d’alimentation branché, assu-
rez-vous que la clé est complètement introduite
dans la console.
c. Vérifiez l'interrupteur du tapis de course situé près
du cordon d'alimentation. Si le disjoncteur émerge
de l'appareil tel qu'illustré, l'interrupteur a disjoncté.
Pour réinitialiser l'interrupteur, attendez cinq
minutes, puis renfoncez-le.
SYMPTÔME : le tapis de course se met hors
fonction pendant l'utilisation
a. Vérifiez l'interrupteur (voir le schéma ci-dessus).
Si l'interrupteur a disjoncté, attendez cinq minutes,
puis renfoncez-le.
b. Assurez-vous que le cordon d'alimentation est
branché. Si le cordon d'alimentation est bran-
ché, débranchez-le, attendez cinq minutes, puis
rebranchez-le.
c. Retirez la clé de la console, puis réintroduisez-la.
d. Si le tapis de course ne fonctionne toujours pas,
reportez-vous à la page couverture avant de ce
manuel.
SYMPTÔME : l'écran de la console demeure activé
lorsque la clé est retirée de la console
a. La console comporte un mode d'afchage démo
destiné à l'exposition du tapis de course chez les
marchands. Si les écrans demeurent en fonction
lorsque la clé est retirée, cela signie que le mode
démo est activé. Pour désactiver le mode démo,
maintenez la touche Stop (arrêter) enfoncée
pendant quelques secondes. Si les écrans sont
toujours en fonction, voyez la rubrique LE MODE
D'INFORMATION de la page 24 pour désactiver le
mode démo.
SYMPTÔME : l’inclinaison du tapis de course ne
change pas correctement
a. Pendant que la clé est introduite dans la console,
appuyez sur l'une des touches Incline (inclinaison).
Pendant que l’inclinaison change, retirez la clé.
Après quelques secondes, réintroduisez la clé. Le
tapis de course atteindra automatiquement le degré
maximum d’inclinaison, puis reviendra au degré
minimum. Ceci permettra de réétalonner le méca-
nisme d’inclinaison.
SYMPTÔME : les écrans de la console ne
fonctionnent pas correctement
a. Retirez la clé de la console et DÉBRANCHEZ LE
CORDON D’ALIMENTATION. Avec l’aide d’une
autre personne, faites basculer avec précaution les
Montants (84, 85) vers le bas. Il est possible que
trois Vis #8 x 2" (16) xent la partie inférieure du
Panneau Ventral (75). Si tel est le cas, retirez-les.
Remarque : un tournevis à pointe cruciforme doté
d'une tige d'au moins 5" (13 cm) est requis.
Ensuite, élevez les Montants (84, 85).
16
16
84
75
85
a
Réinitialisé
Disjoncté
c
LOCALISATION D’UN PROBLÈME

27
Retirez les trois Vis #8 x 3/4" (1), puis retirez avec
précaution le Capot du Moteur (62) en le faisant
pivoter.
Localisez le Capteur Magnétique (73) et l’Aimant
(47) du côté gauche de la Poulie (48). Tournez
la Poulie jusqu’à aligner l’Aimant et le Capteur
Magnétique. Assurez-vous que l'espace entre
l'Aimant et le Capteur Magnétique est d'en-
viron 1/8" (3 mm). Au besoin, dévissez la Vis à
Tête Bombée #8 x 3/4" (18), déplacez légèrement
le Capteur Magnétique, puis resserrez la Vis.
Réinstallez le Capot du Moteur (non illustré) à l'aide
des Vis #8 x 3/4" (non illustrées). Le cas échéant,
réinstallez les Vis #8 x 2" (non illustrées). Faites
fonctionner le tapis de course pendant quelques
minutes pour vérier l'exactitude de la lecture de la
vitesse.
SYMPTÔME : la courroie mobile ralentit lors de la
marche sur l'appareil
a. N'utilisez qu'un limiteur de surtension conforme à
toutes les spécifications indiquées à la page 17.
b. La surtension de la courroie mobile peut com-
promettre le rendement du tapis de course
et endommager la courroie. Retirez la clé de
la console et DÉBRANCHEZ LE CORDON
D’ALIMENTATION. À l'aide de la clé hexagonale,
tournez les deux vis de réglage du rouleau-guide
dans le sens antihoraire sur 1/4 de tour. Lorsque
la courroie est correctement tendue, chacun des
bords de la courroie peut être soulevé de façon à
s'écarter de 2" à 3" (5 à 7 cm) de la plateforme de
marche. Prenez soin de garder la courroie bien
centrée. Ensuite, branchez le cordon d’alimenta-
tion, introduisez la clé et faites fonctionner le tapis
de course pendant quelques minutes. Répétez le
processus jusqu’à ce que la courroie soit correcte-
ment tendue.
c. Votre tapis de course comporte une courroie
mobile enduite d'un lubrifiant haute performance.
IMPORTANT : ne vaporisez jamais de silicone
ou d'autres substances sur la courroie mobile
ou sur la plateforme de marche autrement
qu'à la demande d'un représentant de service
autorisé. De telles substances peuvent endom-
mager la courroie mobile et hâter l'usure. Si
vous soupçonnez que la courroie mobile requiert
plus de lubrifiant, reportez-vous à la couverture
avant du manuel.
d. Si la courroie mobile ralentit toujours lorsqu'on y
accède, reportez-vous à la couverture avant du
manuel.
Vue du
Haut
47
18
73
48
3 mm
62
1
Boulons du Rouleau-Guide
2" à 3"
(5 à 7 cm)
b

28
SYMPTÔME : la courroie n’est pas centrée ou
dérape lorsqu'on y accède
a. Si la courroie mobile est décentrée, retiriez
d'abord la clé et DÉBRANCHEZ LE CORDON
D'ALIMENTATION. Si la courroie mobile est
décalée sur la gauche, utilisez la clé hexago-
nale pour tourner la vis du rouleau-guide gauche
dans le sens horaire sur 1/2 tour ; si la courroie
mobile est décalée sur la droite, tournez la vis
du rouleau-guide gauche dans le sens antihoraire
sur 1/2 tour. Prenez soin de ne pas tendre la cour-
roie mobile à l'excès. Ensuite, branchez le cordon
d’alimentation, introduisez la clé et faites fonction-
ner le tapis de course pendant quelques minutes.
Répétez le processus jusqu’à ce que la courroie
mobile soit centrée.
b. Si la courroie mobile dérape lorsqu'on marche
dessus, retirez d’abord la clé et DÉBRANCHEZ
LE CORDON D’ALIMENTATION. À l'aide de la clé
hexagonale, tournez les deux vis du rouleau-guide
dans le sens horaire sur 1/4 de tour. Lorsque la
courroie est correctement tendue, chacun des
bords de la courroie peut être soulevé de façon à
s'écarter de 5 à 7 cm (2 à 3") de la plateforme de
marche. Prenez soin de garder la courroie bien
centrée. Ensuite, branchez le cordon d’alimenta-
tion, introduisez la clé et faites fonctionner le tapis
de course pendant quelques minutes. Répétez le
processus jusqu’à ce que la courroie soit correcte-
ment tendue.
a
b

29
Ces conseils pour l’exercice vous aideront à planifier
votre programme d’exercice. Pour plus de détails sur
l’exercice, procurez-vous un livre réputé sur le sujet
ou consultez votre médecin. Gardez en tête qu’une
alimentation équilibrée et un repos adéquat sont
essentiels pour de bons résultats.
INTENSITÉ DE L’EXERCICE
Que votre but soit de brûler de la graisse ou de fortifier
votre système cardio-vasculaire, la clé pour obtenir
des résultats est de s’entraîner à la bonne intensité.
Vous pouvez utiliser votre rythme cardiaque comme
repère pour trouver le niveau d’intensité adapté à vos
objectifs. Le tableau ci-dessous indique les rythmes
cardiaques recommandés pour brûler de la graisse et
pour des exercices aérobics.
Pour trouver le niveau d’intensité correct, trouvez
votre âge en bas du tableau (les âges sont arrondis
à la dizaine). Les trois nombres listés au-dessus de
votre âge définissent votre « zone d’entraînement ».
Le nombre le plus bas est le rythme cardiaque pour
brûler de la graisse, le nombre du milieu est le rythme
cardiaque pour brûler un maximum de graisse, et le
nombre le plus haut est le rythme cardiaque pour des
exercices aérobics.
Brûler de la Graisse — Pour brûler efficacement de
la graisse, vous devez vous entraîner à une intensité
faible pendant une longue période de temps. Durant
les premières minutes d’exercice, votre corps utilise
des calories de glucide comme carburant. Votre corps
ne commence à puiser dans ses réserves de graisse
qu’après plusieurs minutes d’effort. Si votre but est de
brûler de la graisse, réglez l’intensité de votre exercice
jusqu’à ce que votre rythme cardiaque soit proche du
nombre le plus bas de votre zone d’entraînement. Pour
brûler un maximum de graisse, entraînez-vous avec
votre rythme cardiaque proche du nombre du milieu de
votre zone d’entraînement.
Exercices Aérobics — Si votre but est de renforcer
votre système cardio-vasculaire, vous devez faire des
exercices aérobics, ce qui veut dire de l’exercice qui
requiert de grandes quantités d’oxygène pendant une
période de temps prolongée. Pour des exercices aéro-
bics, réglez votre intensité jusqu’à ce que votre rythme
cardiaque soit proche du nombre le plus haut dans
votre zone d’entraînement.
CONSEILS POUR L’ENTRAÎNEMENT
Échauffement — Commencez avec 5 à 10 minutes
d’étirements et d’exercices légers. L’échauffement fait
monter la température de votre corps, augmente les
battements de votre cœur, et accélère votre circulation
pour vous préparer à l’effort.
Exercices dans la Zone d’Entraînement — Entraînez-
vous pendant 20 à 30 minutes avec votre rythme
cardiaque dans votre zone d’entraînement. (Durant les
premières semaines de votre programme d’exercice,
ne maintenez pas votre rythme cardiaque dans votre
zone d’entraînement pendant plus de 20 minutes.)
Respirez profondément et de manière régulière quand
vous vous entraînez; ne retenez jamais votre souffle.
Retour à la Normale — Finissez avec 5 à 10 minutes
d’étirements. Les étirements rendent vos muscles plus
flexibles et aident à prévenir les problèmes qui sur-
viennent après l’entraînement.
FRÉQUENCE DE L’EXERCICE
Pour maintenir ou améliorer votre forme physique,
effectuez trois entraînements par semaine, avec au
moins un jour de repos entre chaque entraînement.
Après quelques mois d’exercice régulier, vous pouvez
effectuer jusqu’à cinq entraînements par semaine, si
désiré. Gardez à l’esprit que la clé du succès est de
faire de vos entraînements un élément agréable et
régulier de votre vie de tous les jours.
CONSEILS POUR L’EXERCICE
AVERTISSEMENT : avant
de commencer ce programme d’exercice
ou tout autre programme, consultez votre
médecin. Ceci est particulièrement important
pour les personnes de plus de 35 ans ou les
personnes ayant des problèmes de santé.
Le détecteur cardiaque n’est pas un appa-
reil médical. De nombreux facteurs peuvent
affecter la lecture du rythme cardiaque. Le
détecteur cardiaque est uniquement un outil
pour l’exercice pour déterminer les fluctua-
tions générales du rythme cardiaque.

30
1 21 Vis #8 x 3/4"
2 4 Vis #10 x 3/4"
3 4 Amortisseur Interne
4 6 Vis 5/16" x 1"
5 4 Vis Autoperçante #8 x 1"
6 1 Support du Loquet
7 4 Vis 3/8" x 4 1/4"
8 6 Boulon 3/8" x 2"
9 4 Vis 1/4" x 1/2"
10 6 Écrou 3/8"
11 6 Rondelle Étoilée 3/8"
12 8 Rondelle Étoilée 1/4"
13 6 Rondelle Étoilée 5/16"
14 2 Vis 3/8" x 1 1/2"
15 9 Vis Autoperçante #8 x 3/4"
16 3 Vis #8 x 2"
17 4 Vis à Tête Cylindrique #8 x 1/2"
18 5 Vis à Tête Bombée #8 x 3/4"
19 2 Vis #8 x 1 1/2"
20 2 Boulon 5/16 x 1 1/2"
21 2 Boulon 5/16 x 3 5/8"
22 2 Boulon 3/8" x 1"
23 1 Boulon 1/4" x 1"
24 2 Boulon du Rouleau-Guide
25 1 Boulon 3/8" x 1 3/4"
26 1 Boulon à Tête Hexagonale
3/8" x 1 1/2"
27 2 Boulon 3/8" x 3/4"
28 7 Vis Brillante #8 x 1/2"
29 1 Vis de Mise à la Terre #8 x 1/2"
30 8 Vis #12 x 1 1/4"
31 2 Boulon du Moteur 1/4"
32 4 Vis du Guide de Courroie #8
33 2 Rondelle Étoilée 1/4"
34 1 Console
35 4 Contre-Écrou 3/8"
36 4 Écrou à Collerette 5/16"
37 3 Pince du Capot
38 2 Attache de Câble
39 2 Vis à Tête Bombée #8 x 3/4"
40 1 Repose-Pied Gauche
41 1 Autocollant d'Avertissement du
Loquet
42 4 Amortisseur de la Plateforme
43 2 Guide de la Courroie
44 1 Plateforme de Marche
45 2 Embout du Cadre
46 2 Bague d'Espacement du Cadre
47 1 Aimant
48 1 Rouleau Avant/Poulie
49 1 Courroie Mobile
50 1 Cadre de la Console
51 1 Loquet de Rangement
52 1 Fil de Mise à la Terre de la Console
53 4 Vis #8 x 1"
54 1 Repose-Pied Droit
55 1 Cadre
56 2 Support du Rouleau
57 1 Fil de Mise à la Terre du Rouleau
58 1 Pied Arrière Droit
59 1 Pied Arrière Gauche
60 1 Rouleau-Guide
61 1 Plateau Gauche
62 1 Capot du Moteur
63 1 Garniture du Capot
64 1 Cadre d'Élévation
65 1 Fil de Mise à la Terre du Cadre
d'Élévation
66 1 Courroie du Moteur de Traction
67 1 Moteur de Traction
68 1 Fil de Mise à la Terre du Contrôleur
69 1 Cordon d'Alimentation
70 1 Passe-Fil
71 1 Interrupteur
72 1 Contrôleur
73 1 Capteur Magnétique
74 1 Pince du Capteur Magnétique
75 1 Panneau Ventral
76 3 Attache de Fil
77 2 Pince de la Console
78 1 Base de la Console
79 1 Barre Transversale
80 4 Plaque de l'Amortisseur
81 2 Embout de la Rampe
82 1 Rampe Gauche
83 1 Rampe Droite
84 1 Montant Gauche
85 1 Montant Droit
86 1 Plateau Droit
87 1 Fil du Montant
88 1 Boîtier Gauche de la Base
89 2 Embout de la Base
90 4 Pied de la Base
91 1 Boîtier Droit de la Base
92 2 Autocollant d'Avertissement
93 1 Fil d'Inclinaison
94 2 Bague d'Espacement du Pied de la
Base
95 1 Base
96 2 Roue
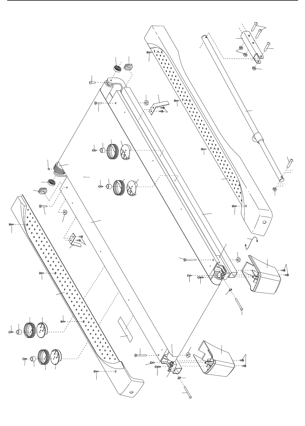
N°. Qté. Description N°. Qté. Description
LISTE DES PIÈCES N°. du Modèle PFTL49613.0 R0114A

31
97 1 Moteur d'Inclinaison
98 1 Bague d'Espacement du Moteur
d'Inclinason
99 1 Clé/Pince
* – Manuel de l’Utilisateur
Remarque : les spécifications sont sujettes à des changements sans notification. Référez-vous au dos de ce
manuel pour commander des pièces de rechange. *Indique qu’une pièce n’est pas illustrée.
N°. Qté. Description N°. Qté. Description

32
8
51
20
21
21
33
33
28
32
32
43
43
30
45
30
30
40
36
36
36
47
45
46
36
44
41
49
48
54
60
55
56
56
46
58
59
57
18
10
24
23
18
19
19
20
24
30
30
30
30
28
30
15
42
80
15
80
42
15
3
42
80
15
42
80
8
10
10
8
6
3
3
3
SCHÉMA DÉTAILLÉ A N°. du Modèle PFTL49613.0 R0114A

33
15
15
15
15
74
18
73
37
37
37
1
1
1
17
22
22
28
28
69
70
71
68
62
64
76
75
72
65
16
28
28
31
67
66
16
16
63
39
39
SCHÉMA DÉTAILLÉ B N°. du Modèle PFTL49613.0 R0114A

34
85
83
82
4
4
13
84
4
7
11
14
11
88
81
90
5
90
5
90
5
96
96
8
27
35
89
89
95
92
92
94
90
5
94 25
26
35
35
97
98
87
10
10
8
93
27
35
91
7
11
11
14
4
13
13
87
81
9
12
9
12
2
79
1
2
1
1
1
11
12
12
13
SCHÉMA DÉTAILLÉ C N°. du Modèle PFTL49613.0 R0114A

35
61
34
78
1
1
1
38
17
99
53
53
77
77
50
52
29
1
1
86
1
1
1
1
1
1
SCHÉMA DÉTAILLÉ D N°. du Modèle PFTL49613.0 R0114A

GARANTIE LIMITÉE
ICON of Canada, Inc. (ICON) garantit que cet équipement est exempt de tout vice de matériau et de fabri-
cation dans les conditions normales d’utilisation et d’entretien. La garantie du cadre est valable tant que
l’acheteur d’origine est propriétaire de l’appareil. Le moteur d’entraînement est garanti pendant vingt-cinq
(25) ans à compter de la date d’achat. Les pièces et la main d’œuvre sont garanties pendant un (1) an à
compter de la date d’achat.
La présente garantie s’applique uniquement à l’acheteur initial (client). L’obligation d’ICON, en vertu des
clauses de la présente garantie, est limitée, à sa discrétion, au remplacement ou à la réparation de
l’équipement dans l’un de ses centres de réparation agréés. Toutes les réparations, pour lesquelles sont
présentées des réclamations au titre de la garantie, doivent préalablement être autorisées par ICON. Si
l’appareil est envoyé à un centre de réparation, les frais de transport aller-retour seront à la charge du
client. Si des pièces de rechange sont expédiées durant la période de garantie du produit, le client sera
facturé un montant minimum de frais de manutention. Pour les réparations à domicile, le client sera facturé
des frais minimums de déplacement. La présente garantie ne couvre pas les dommages subis durant le
transport de l’appareil. La présente garantie sera automatiquement annulée si l’appareil est utilisé comme
un modèle exposé dans un magasin, si les instructions du présent manuel ne sont pas respectées, si l’ap-
pareil est malmené, mal utilisé ou utilisé anormalement, ou si l’appareil est utilisé à des ns commerciales
ou de location. ICON n’autorise aucune autre garantie que celle expressément énoncée ci-dessus.
ICON n’est pas responsable et ne peut être tenu responsable des dommages indirects, particuliers ou
consécutifs survenant ou en relation avec l’utilisation ou le fonctionnement de l’équipement ; ou des dom-
mages résultant de pertes économiques, de pertes de propriétés, de pertes de revenues ou de prots,
de perte de jouissance ou d’utilisation ou de coûts de retrait, d’installation ; ou de tout autre dommage
indirect de quelque nature que ce soit. Certains provinces n’autorisent pas l’exclusion ou la limitation des
dommages accessoires ou indirects. Par conséquent, les limitations mentionnées ci-dessus peuvent ne
pas vous concerner.
La garantie fournie à la présente remplace toute autre garantie, et toute garantie implicite de commercia-
lité ou de qualité pour un usage particulier est limitée dans sa portée et sa durée aux conditions énoncées
dans le présent document. Certains provinces n’autorisent pas de limitations sur la durée d’une garantie
implicite. Par conséquent, les limitations mentionnées ci-dessus peuvent ne pas vous concerner.
La présente garantie vous accorde des droits spéciques reconnus par la loi. Vous pouvez également
avoir d’autres droits qui varient d’une province à l’autre.
ICON of Canada, Inc., 900 de l’Industrie, St. Jérôme, QC J7Y 4B8
Nº. de Pièce 358008 R0114A Imprimé au Canada © 2014 ICON IP, Inc.
Pour commander des pièces de rechange, référez-vous à la page de couverture de ce manuel. Pour que nous
puissions mieux vous assister, merci de préparer les informations suivantes avant de nous appeler :
• le numéro du modèle et le numéro de série de l’appareil (voir la page de couverture de ce manuel)
• le nom de l’appareil (voir la page de couverture de ce manuel)
• le numéro de la pièce et la description de la/des pièce(s) de remplacement (voir la LISTE DES PIÈCES et le
SCHÉMA DÉTAILLÉ vers la fin de ce manuel)
POUR COMMANDER DES PIÈCES DE RECHANGE