Proform Pftl700112 Cardio Smart Treadmill Users Manual
2015-04-14
: Proform Proform-Pftl700112-Cardio-Smart-Treadmill-Users-Manual-702022 proform-pftl700112-cardio-smart-treadmill-users-manual-702022 proform pdf
Open the PDF directly: View PDF
.
Page Count: 36

USER’S MANUAL
www.proform.com
Model No. PFTL70011.2
Serial No.
Write the serial number in the space
above for reference.
CAUTION
Read all precautions and instruc-
tions in this manual before using
this equipment. Save this manual
for future reference.
ACTIVATE YOUR
WARRANTY
To register your product and
activate your warranty today,
go to www.proformservice.com/
registration.
CUSTOMER CARE
For service at any time, go to
www.proformservice.com.
Or call 1-888-533-1333
Mon.–Fri. 6 a.m.–6 p.m. MT
Sat. 8 a.m.–12 p.m. MT
Please do not contact the store.
Serial Number
Decal

2
WARNING DECAL PLACEMENT . . . . . . . . . . . . . . . . . . . . . . . . . . . . . . . . . . . . . . . . . . . . . . . . . . . . . . . . . . . . . . .2
IMPORTANT PRECAUTIONS ..................................................................3
BEFORE YOU BEGIN. . . . . . . . . . . . . . . . . . . . . . . . . . . . . . . . . . . . . . . . . . . . . . . . . . . . . . . . . . . . . . . . . . . . . . . .7
PART IDENTIFICATION CHART. . . . . . . . . . . . . . . . . . . . . . . . . . . . . . . . . . . . . . . . . . . . . . . . . . . . . . . . . . . . . . . .8
ASSEMBLY . . . . . . . . . . . . . . . . . . . . . . . . . . . . . . . . . . . . . . . . . . . . . . . . . . . . . . . . . . . . . . . . . . . . . . . . . . . . . . . .9
HOW TO USE THE TREADMILL ..............................................................17
HOW TO FOLD AND MOVE THE TREADMILL ...................................................25
MAINTENANCE AND TROUBLESHOOTING .....................................................26
EXERCISE GUIDELINES ....................................................................29
PART LIST. . . . . . . . . . . . . . . . . . . . . . . . . . . . . . . . . . . . . . . . . . . . . . . . . . . . . . . . . . . . . . . . . . . . . . . . . . . . . . . .31
EXPLODED DRAWING. . . . . . . . . . . . . . . . . . . . . . . . . . . . . . . . . . . . . . . . . . . . . . . . . . . . . . . . . . . . . . . . . . . . . .32
ORDERING REPLACEMENT PARTS. . . . . . . . . . . . . . . . . . . . . . . . . . . . . . . . . . . . . . . . . . . . . . . . . . . Back Cover
LIMITED WARRANTY. . . . . . . . . . . . . . . . . . . . . . . . . . . . . . . . . . . . . . . . . . . . . . . . . . . . . . . . . . . . . . . Back Cover
This drawing shows the locations of the warning
decals. If a decal is missing or illegible, call
the telephone number on the front cover of
this manual and request a free replacement
decal. Apply the decal in the location shown.
Note: The decals may not be shown at actual
size.
WARNING DECAL PLACEMENT
256836
PROFORM is a registered trademark of ICON Health & Fitness, Inc.
TABLE OF CONTENTS

3
1. It is the responsibility of the owner to ensure
that all users of this treadmill are adequately
informed of all warnings and precautions.
2. Before beginning any exercise program,
consult your physician. This is especially
important for persons over age 35 or persons
with pre-existing health problems.
3. Use the treadmill only as described in this
manual.
4. The treadmill is intended for home use only.
Do not use the treadmill in any commercial,
rental, or institutional setting.
5. Keep the treadmill indoors, away from mois-
ture and dust. Do not put the treadmill in a
garage or covered patio, or near water.
6. Place the treadmill on a level surface, with
at least 8 ft. (2.4 m) of clearance behind it
and 2 ft. (0.6 m) on each side. Do not place
the treadmill on any surface that blocks air
openings. To protect the floor or carpet from
damage, place a mat under the treadmill.
7. Do not operate the treadmill where aerosol
products are used or where oxygen is being
administered.
8. Keep children under age 12 and pets away
from the treadmill at all times.
9. The treadmill should be used only by per-
sons weighing 300 lbs. (136 kg) or less.
10. Never allow more than one person on the
treadmill at a time.
11. Wear appropriate exercise clothes while
using the treadmill. Do not wear loose
clothes that could become caught in the
treadmill. Athletic support clothes are recom-
mended for both men and women. Always
wear athletic shoes. Never use the treadmill
with bare feet, wearing only stockings, or in
sandals.
12. Plug the power cord into a surge suppressor
(not included), and plug the surge suppres-
sor into an appropriate outlet (see page 17).
To avoid overloading the circuit, do not plug
other electrical devices, except for low-power
devices such as cell phone chargers, into
the surge suppressor or into an outlet on the
same circuit.
13. Use only a surge suppressor that meets all of
the specifications described on page 17. To
purchase a surge suppressor, see your local
PROFORM dealer, call the telephone number
on the front cover of this manual, or see your
local electronics store.
14. Failure to use a properly functioning surge
suppressor could result in damage to the
control system of the treadmill. If the control
system is damaged, the walking belt may
slow, accelerate, or stop unexpectedly, which
may result in a fall and serious injury.
15. Keep the power cord and the surge suppres-
sor away from heated surfaces.
16. Never move the walking belt while the power
is turned off. Do not operate the treadmill
if the power cord or plug is damaged, or if
the treadmill is not working properly. (See
MAINTENANCE AND TROUBLESHOOTING
on page 26 if the treadmill is not working
properly.)
17. Read, understand, and test the emergency
stop procedure before using the treadmill
(see HOW TO TURN ON THE POWER on
page 19). Always wear the clip while using the
treadmill.
18. Always stand on the foot rails when starting
or stopping the walking belt. Always hold the
handrails while using the treadmill.
19. Keep fingers, hair, and clothing away from
the moving walking belt.
WARNING: To reduce the risk of burns, fire, electric shock, or injury to persons, read
all important precautions and instructions in this manual and all warnings on your treadmill before
using your treadmill. ICON assumes no responsibility for personal injury or property damage sus-
tained by or through the use of this product.
IMPORTANT PRECAUTIONS

4
20. The treadmill is capable of high speeds.
Adjust the speed in small increments to
avoid sudden jumps in speed.
21. The heart rate monitor is not a medical
device. Various factors, including the user’s
movement, may affect the accuracy of heart
rate readings. The heart rate monitor is
intended only as an exercise aid in determin-
ing heart rate trends in general.
22. Never leave the treadmill unattended while
it is running. Always remove the key, press
the power switch into the off position (see
the drawing on page 7 for the location of the
power switch), and unplug the power cord
when the treadmill is not in use.
23. Do not attempt to move the treadmill until
it is properly assembled. (See ASSEMBLY
on page 9 and HOW TO FOLD AND MOVE
THE TREADMILL on page 25.) You must be
able to safely lift 45 lbs. (20 kg) to move the
treadmill.
24. When folding or moving the treadmill, make
sure that the storage latch is holding the
frame securely in the storage position.
25. Do not change the incline of the treadmill by
placing objects under the treadmill.
26. Never insert any object into any opening on
the treadmill.
27. Inspect and properly tighten all parts of the
treadmill regularly.
28. DANGER: Always unplug the power
cord immediately after use, before clean-
ing the treadmill, and before performing the
maintenance and adjustment procedures
described in this manual. Never remove the
motor hood unless instructed to do so by an
authorized service representative. Servicing
other than the procedures in this manual
should be performed by an authorized ser-
vice representative only.
29. Over exercising may result in serious injury
or death. If you feel faint, if you become short
of breath, or if you experience pain while
exercising, stop immediately and cool down.
SAVE THESE INSTRUCTIONS

5

6
all
STANDARD SERVICE PLANS

7
Thank you for selecting the new PROFORM® CARDIO
SMART treadmill. The CARDIO SMART treadmill
provides an impressive selection of features designed
to make your workouts at home more effective and
enjoyable.
For your benefit, read this manual carefully before
you use the treadmill. If you have questions after
reading this manual, please see the front cover of this
manual. To help us assist you, note the product model
number and serial number before contacting us. The
model number and the location of the serial number
decal are shown on the front cover of this manual.
Before reading further, please familiarize yourself with
the parts that are labeled in the drawing below.
BEFORE YOU BEGIN
Length: 5 ft. 10 in. (178 cm)
Width: 2 ft. 10 in. (86 cm)
Handrail
Console
Key/Clip
Power Switch
Power Cord
Walking Belt
Motor Hood
Wheel
Foot Rail
Idler Roller
Adjustment Screws
Platform Cushion
Heart Rate Monitor

8
PART IDENTIFICATION CHART
Use the drawings below to identify small parts used for assembly. The number in parentheses below each draw-
ing is the key number of the part, from the PART LIST near the end of this manual. The number following the key
number is the quantity used for assembly. Note: If a part is not in the hardware kit, check to see whether it is
preattached. Extra parts may be included.
3/8" x 2" Bolt (12)–2
#10 Star
Washer (11)–4
3/8" x 2 1/2" Bolt (2)–2
3/8" x 4" Screw (4)–6
5/16" x 2 3/4" Screw (10)–4
5/16" Star
Washer (8)–4 3/8" Star
Washer (5)–6
3/8" Nut (3)–4
#8 x 1/2" Screw
(9)–14
#10 x 3/4" Screw
(13)–4

9
• To hire an authorized service technician
to assemble your exercise equipment, call
1-800-445-2480.
• Assembly requires two persons.
• Place all parts in a cleared area and remove the
packing materials. Do not dispose of the packing
materials until you nish all assembly steps.
• After shipping, there may be an oily substance
on the exterior of the treadmill. This is normal. If
there is an oily substance on the treadmill, wipe
it off with a soft cloth and a mild, non-abrasive
cleaner.
• Left parts are marked “L” or “Left” and right parts
are marked “R” or “Right.”
• To identify small parts, see page 8.
• Assembly requires the following tools:
the included hex keys
one adjustable wrench
one Phillips screwdriver
scissors
needlenose pliers
To avoid damaging parts, do not use power tools.
ASSEMBLY
1. Go to www.proformservice.com/registration
on your computer and register your product.
• activates your warranty
• saves you time if you ever need to contact
Customer Care
• allows us to notify you of upgrades and offers
Note: If you do not have Internet access, call
Customer Care (see the front cover of this
manual) and register your product.
1

10
2. Make sure that the power cord is unplugged.
Locate the Upright Wire (70) bundled around the
front of the Base (80). Cut the plastic tie securing
the Upright Wire. Then, route the Upright Wire
into the Base and out of the indicated hole.
Press a Base Cap (77) into each side of the
Base (80) (only one side is shown).
See the inset drawing. Cut the plastic tie near
the Upright Wire (70). Be careful not to damage
the Upright Wire.
70
80
Hole
Cut
70
Tie
Cut
77
2
3. Identify the Left Upright (75). Have a second
person hold the Left Upright near the Base (80).
See the inset drawing. Tie the wire tie in the
Left Upright (75) securely around the end of the
Upright Wire (70). Then, insert the Upright Wire
into the lower end of the Left Upright as you pull
the other end of the wire tie out of the upper end
of the Left Upright.
3
70
75
75
Wire
Tie 70
Wire
Tie
80

11
4. Hold the Left Upright (75) against the Base (80).
Be careful not to pinch the wires. Partially
tighten three 3/8" x 4" Screws (4) with three 3/8"
Star Washers (5) into the Left Upright and the
Base. Do not fully tighten the Screws yet.
Attach the Right Upright (not shown) in the
same way. Note: There are no wires on the right
side.
75
4
5
4
80
Wires
5. Identify the Left and Right Base Covers (73, 74).
Slide the Left and Right Base Covers onto the
Left and Right Uprights (75, 76) as shown.
Remove the tie from the Upright Wire (70).
74
76
75
70
Wire
Tie
73 80
5

12
6. Identify the left handrail assembly (A). If there is
a wire in the Left Handrail, remove and discard it.
Hold the left handrail assembly (A) near the Left
Upright (75). Insert the wire tie on the Upright
Wire (70) into the bottom of the left handrail
assembly and out of the end as shown. Then,
pull the Upright Wire through the left handrail
assembly.
Attach the left handrail assembly (A) to the Left
Upright (75) with two 5/16" x 2 3/4" Screws (10)
and two 5/16" Star Washers (8). Make sure not
to pinch the Upright Wire (70). Do not tighten
the Screws yet.
Remove and discard the two indicated screws
(B).
Attach the right handrail assembly (not
shown) to the Right Upright (not shown) as
described above. Note: There are no wires in
the Right Upright.
10
8
A
75
Wire
Tie
70
6
B
83
31
7
7
C
7
7. Set the Console Base (83) face down on a soft
surface to avoid scratching the Console Base.
Remove and discard the four indicated screws
(C). Next, remove the Pulse Crossbar (31).
Then, remove and save the four 5/16" x 5/8"
Screws (7) from the Console Frame (87).
87
C

13
83
35
92
87
99
8
8. Identify the Left and Right Trays (92, 35).
Attach the Trays (92, 35) to the Console Base
(83) with eight #8 x 1/2" Screws (9). Note: It may
be easier to start the two inside Screws and then
slide the Trays into place before starting the
other six Screws.
Note: It may be necessary to rotate the Console
Frame (87) upward when attaching the Trays
(92, 35).
9
9
9
9. IMPORTANT: To avoid damaging the Pulse
Crossbar (31), do not use power tools and do
not overtighten the #10 x 3/4" Screws (13).
Orient the Pulse Crossbar (31) as shown. Attach
the Pulse Crossbar to the left and right Handrails
(71) with four #10 x 3/4" Screws (13) and four
#10 Star Washers (11). Start all four Screws,
and then tighten them.
Make sure that the Upright Wire (70) is not
pinched. Firmly tighten the four 5/16" x 2 3/4"
Screws (10).
913
13
11
11
10
10
71
31
71
70

14
10. With the help of a second person, hold the con-
sole assembly near the left Handrail (71) and the
right Handrail (not shown).
Connect the ground wire from the console
assembly to the Console Ground Wire (89) on
the Pulse Crossbar (31).
See the inset drawing. Connect the Upright
Wire (70) to the console wire. The connectors
should slide together easily and snap into
place. If they do not, turn one connector and try
again. IF YOU DO NOT CONNECT THE CON-
NECTORS PROPERLY, THE CONSOLE MAY
BECOME DAMAGED WHEN YOU TURN ON
THE POWER. Then, remove the wire tie from
the Upright Wire.
10
Console
Assembly
70
70
Wire
Tie
Console
Wire
Console
Wire
71
89
Ground
Wire
31
11. Set the console assembly on the left and right
Handrails (71). Make sure that no wires are
pinched. Insert the excess Upright Wire (70)
behind the Console Frame (87).
Attach the console assembly to the brackets
on the Handrails (71) with the four 5/16" x 5/8"
Screws (7) that you removed in step 7. Do not
tighten the Screws yet.
11
71
Console
Assembly
7
7
70
71
87

15
12. Attach the Pulse Crossbar (31) to the console
assembly with six #8 x 1/2" Screws (9). Start all
six Screws, and then tighten them.
Firmly tighten the four 5/16" x 5/8" Screws (7).
13. Firmly tighten all six 3/8" x 4" Screws (4). Then,
slide the Left and Right Base Covers (73, 74)
down.
12
13
31
Console
Assembly
7
4
4
7
9
73
74
9
9

16
15
81
81
80
2
3
15. Attach a Wheel (81) to the Base (80) with a 3/8"
x 2 1/2" Bolt (2) and a 3/8" Nut (3). Do not over-
tighten the Nut; the Wheel must turn freely.
Attach the other Wheel (81) to the other side
of the Base (80) in the same way.
Lower the Frame (not shown) (see HOW TO
LOWER THE TREADMILL FOR USE on
page 25).
14
49
80
51
312
Latch
Knob
14. Raise the Frame (49) to the position shown.
Have a second person hold the Frame until
this step is completed.
Orient the Storage Latch (51) so that the large
barrel and the latch knob are oriented as shown.
Attach the lower end of the Storage Latch (51) to
the Base (80) with a 3/8" x 2" Bolt (12) and a 3/8"
Nut (3).
Attach the upper end of the Storage Latch (51)
to the Frame (49) with a 3/8" x 2" Bolt (12) and a
3/8" Nut (3).
16. Make sure that all parts are properly tightened before you use the treadmill. If there are sheets of plastic
on the treadmill decals, remove the plastic. To protect the floor or carpet, place a mat under the treadmill. To
avoid damage to the console, keep the treadmill out of direct sunlight. Keep the included hex key in a secure
place; the hex key is used to adjust the walking belt (see pages 27 and 28). Note: Extra hardware may be
included.
312
Large
Barrel

17
HOW TO USE THE TREADMILL
HOW TO CONNECT THE POWER CORD
Use a Surge Suppressor
Your treadmill, like other electronic equipment, can be
damaged by sudden voltage changes in your home’s
power. Voltage surges, spikes, and noise interfer-
ence can result from weather conditions or from other
appliances being turned on or off. To decrease the
risk of damaging the treadmill, always use a surge
suppressor with the treadmill. To purchase a surge
suppressor, see precaution 13 on page 3.
Use only a surge suppressor that is UL 1449 listed as a
transient voltage surge suppressor (TVSS). The surge
suppressor must have a UL suppressed voltage rating
of 400 volts or less and a minimum surge dissipation of
450 joules. The surge suppressor must also be electri-
cally rated for 120 volts AC and 15 amps. There must
be a monitoring light on the surge suppressor to indi-
cate whether it is functioning properly. Failure to use a
properly functioning surge suppressor could result
in damage to the control system of the treadmill
and serious injury to users.
Plug in the Power Cord
The treadmill must be grounded. If it should malfunc-
tion or break down, grounding provides a path of least
resistance for electric current to reduce the risk of elec-
tric shock. The treadmill power cord has a plug with a
grounding pin (see drawing 1 on this page).
Plug the power cord into a surge suppressor, and plug
the surge suppressor into an appropriate outlet that is
properly installed and grounded in accordance with all
local codes and ordinances. The outlet must be on a
nominal 120-volt circuit capable of carrying 15 or
more amps. To avoid overloading the circuit, do
not plug other electrical devices, except for low-
power devices such as cell phone chargers, into
the surge suppressor or into an outlet on the same
circuit. IMPORTANT: The treadmill may not be com-
patible with AFCI-equipped outlets.
A temporary
adapter may
be used to
connect the
surge sup-
pressor to
a 2-pole
receptacle
if a properly
grounded
outlet is not
available.
The lug or wire extending from the adapter must
be connected with a metal screw to a permanent
ground such as a properly grounded outlet box cover.
Some 2-pole receptacle outlet box covers are not
grounded. Before using an adapter, contact a quali-
fied electrician to determine whether the outlet box
cover is grounded. The temporary adapter should
be used only until a properly grounded outlet can
be installed by a qualified electrician.
DANGER: Improper connection
of the power cord increases the risk of elec-
tric shock. Do not modify the plug—if it will
not fit an outlet, have a proper outlet installed
by a qualified electrician. If you are unsure
whether the treadmill is properly grounded,
contact a qualified electrician.
1
Surge
Suppressor
Grounding Pin
Grounded Outlet
2
Adapter
2-pole Receptacle
Lug
Grounding Pin
Metal
Screw

18
ETPF70011
(PFTL70011)
FEATURES OF THE CONSOLE
The treadmill console offers an impressive array of
features designed to make your workouts more effec-
tive and enjoyable. When you use the manual mode,
you can change the speed and incline of the treadmill
with the touch of a button. As you exercise, the console
will display instant exercise feedback. You can even
measure your heart rate using the handgrip heart rate
monitor.
In addition, the console features the weight loss center
and sixteen onboard workouts—five timed workouts,
seven calorie workouts, and four distance workouts.
Each workout automatically controls the speed and
incline of the treadmill as it guides you through an
effective exercise session.
The console also features the iFit interactive work-
out system. The iFit system accepts iFit cards with
workouts that help you achieve specific fitness goals.
For example, lose unwanted pounds with the 8-week
Weight Loss workout. iFit cards are available sepa-
rately. To purchase iFit cards at any time, go to
www.iFit.com or call the telephone number on the
front cover of this manual. iFit cards are also avail-
able at select stores.
You can even listen to your favorite workout music or
audio books with the console’s sound system while you
exercise.
To turn on the power, see page 19. To use the man-
ual mode, see page 19. To use an onboard workout,
see page 21. To use the weight loss center, see
page 22. To use an iFit workout, see page 23. To
use the information mode, see page 24. To use the
sound system, see page 24.
Note: The console can display speed and distance
in either miles or kilometers. To find which unit of
measurement is selected, see THE INFORMATION
MODE on page 24. For simplicity, all instructions in this
manual refer to miles.
IMPORTANT: If there are sheets of plastic on the
console, remove the plastic. To prevent damage
to the walking platform, wear clean athletic shoes
while using the treadmill. The first time you use
the treadmill, observe the alignment of the walking
belt, and center the walking belt if necessary (see
page 28).
CONSOLE DIAGRAM

19
HOW TO TURN ON THE POWER
IMPORTANT: If the treadmill has been exposed to
cold temperatures, allow it to warm to room tem-
perature before you turn on the power. If you do
not do this, you may damage the console displays
or other electrical components.
Plug in the power cord
(see page 17). Next, locate
the power switch on the
treadmill frame near the
power cord. Press the
power switch into the reset
position.
IMPORTANT: The console features a display demo
mode, designed to be used if the treadmill is dis-
played in a store. If the displays light as soon as
you plug in the power cord and press the power
switch into the reset position, the demo mode is
turned on. To turn off the demo mode, hold down
the Stop button for a few seconds. If the displays
remain lit, see THE INFORMATION MODE on page
24 to turn off the demo mode.
Next, stand on the
foot rails of the
treadmill. Find the
clip attached to the
key, and slide the clip
onto the waistband of
your clothes. Then,
insert the key into
the console. After
a moment, the displays will light. IMPORTANT: In an
emergency, the key can be pulled from the console,
causing the walking belt to slow to a stop. Test the
clip by carefully taking a few steps backward; if the
key is not pulled from the console, adjust the posi-
tion of the clip.
IMPORTANT: Before you use the treadmill, take the
following steps to ensure that the console shows
the correct incline level of the treadmill: First,
press the Incline increase button once. Next, press
either the Incline decrease button or the lowest
numbered Incline button to set the treadmill to its
lowest setting. When the frame stops moving, the
treadmill is ready for use.
HOW TO USE THE MANUAL MODE
1. Insert the key into the console.
See HOW TO TURN ON THE POWER at the left.
2. Select the manual mode.
Press the Manual Control button on the console to
select the manual mode.
3. Start the walking belt.
To start the walking belt, press the Start button, the
Speed increase button, or one of the Speed but-
tons numbered 1 through 10.
If you press the Start button or the Speed increase
button, the walking belt will begin to move at 1
mph. As you exercise, change the speed of the
walking belt as desired by pressing the Speed
increase and decrease buttons. Each time you
press one of the buttons, the speed setting will
change by 0.1 mph; if you hold down the button,
the speed setting will change in increments of 0.5
mph. Note: After you press the button, it may take
a moment for the walking belt to reach the selected
speed setting.
If you press one of the Speed buttons numbered 1
through 10, the walking belt will gradually change
speed until it reaches the selected speed setting.
To stop the walking belt, press the Stop button. The
time will begin to flash in the display. To restart the
walking belt, press the Start button or the Speed
increase button.
4. Change the incline of the treadmill as desired.
To change the incline of the treadmill, press the
Incline increase or decrease button or one of the
Incline buttons numbered 0 through 10. Each time
you press one of the buttons, the treadmill will
gradually adjust to the selected incline setting.
Reset
ETPF70011
(PFTL70011)
Key
Clip

20
5. Follow your progress with the displays.
The matrix—When
you select the manual
mode, the matrix will
display a track that rep-
resents 1/4 mile (400
m). As you exercise,
the indicators around the track will appear in suc-
cession until the entire track appears. The track will
then disappear and the indicators will again begin
to appear in succession.
The left display—The
left display will show
the elapsed time, the
incline of treadmill,
and the approximate
number of calories you
have burned for a few seconds each. Note: When
some workouts are selected, the display will show
the time remaining in the workout instead of the
elapsed time.
The right display—
The right display will
show the distance that
you have walked or
run and the speed of
the walking belt for a
few seconds each. The display will also show your
heart rate when you use the handgrip heart rate
monitor (see step 6).
To reset the console, press the Stop button,
remove the key, and then reinsert the key.
6. Measure your heart rate if desired.
Before using the handgrip heart rate monitor,
remove the sheets of plastic from the metal con-
tacts on the pulse bar. In addition, make sure that
your hands are clean.
To measure
your heart
rate, stand on
the foot rails
and hold the
pulse bar with
your palms on
the contacts;
avoid moving
your hands.
When your
pulse is detected, several dashes will appear and
then your heart rate will be shown. For the most
accurate heart rate reading, continue to hold
the contacts for about 15 seconds.
7. Turn on the fan if desired.
The fan features mul-
tiple speed settings.
Press the Fan increase
or decrease button to
select a fan speed or to
turn off the fan. Note: If
the fan is on when the walking belt is stopped, the
fan will turn off automatically after a few minutes.
8. When you are finished exercising, remove the
key from the console.
Step onto the foot rails, press the Stop button, and
adjust the incline of the treadmill to zero. The
incline must be at zero or you may damage the
treadmill when you fold it to the storage posi-
tion. Next, remove the key from the console and
put it in a secure place.
When you are finished using the treadmill, press
the power switch into the off position and unplug
the power cord. IMPORTANT: If you do not do
this, the treadmill’s electrical components may
wear prematurely.
Contacts

21
HOW TO USE AN ONBOARD WORKOUT
1. Insert the key into the console.
See HOW TO TURN ON THE POWER on page 19.
2. Select an onboard workout.
To select an onboard workout, press the Timed
button, the Calories button, or the Distance button
repeatedly until the desired workout appears in the
display.
When you select an onboard workout, the displays
will show the maximum incline, the maximum
speed, and the duration of the workout. In addition,
a profile of the speed settings of the workout will
appear in the matrix. If you select a distance work-
out, the distance will appear instead of the profile.
3. Start the workout.
Press the Start button or the Speed increase button
to start the workout. A moment after you press the
button, the treadmill will automatically adjust to the
first speed and incline settings of the workout. Hold
the handrails and begin walking.
Each workout is divided into segments. One speed
setting and one incline setting are programmed for
each segment. Note: The same speed setting and/
or incline setting may be programmed for consecu-
tive segments.
During a timed workout
or a calorie workout,
the profile will show
your progress. The
flashing segment of
the profile represents
the current segment
of the workout. The height of the flashing segment
indicates the speed setting for the current segment.
At the end of each segment, a series of tones will
sound. If a new speed and/or incline setting is
programmed for the next segment, the new speed
and/or incline setting will flash in the displays for a
few seconds. The treadmill will automatically adjust
to the new speed and/or incline setting.
The workout will continue in this way until the last
segment of the profile flashes in the display and the
last segment ends. The walking belt will then slow
to a stop.
If the speed or incline setting is too high or too low
at any time during the workout, you can manu-
ally override the setting by pressing the Speed or
Incline buttons; however, when the next seg-
ment of the workout begins, the treadmill will
automatically adjust to the speed and incline
settings for the next segment.
To stop the workout at any time, press the Stop
button. The time will begin to flash in the display.
To resume the workout, press the Start button or
the Speed increase button. The walking belt will
begin to move at 1 mph. When the next segment of
the workout begins, the treadmill will automatically
adjust to the speed and incline settings for the next
segment.
4. Follow your progress with the displays.
See step 5 on page 20.
5. Measure your heart rate if desired.
See step 6 on page 20.
6. Turn on the fan if desired.
See step 7 on page 20.
7. When you are finished exercising, remove the
key from the console.
See step 8 on page 20.
Current Segment

22
HOW TO USE THE WEIGHT LOSS CENTER
1. Insert the key into the console.
See HOW TO TURN ON THE POWER on page 19.
2. Select a weight loss workout.
To select a weight loss workout, press the 200 Cals
button, the 300 Cals button, the 400 Cals button,
or the 500 Cals button. When you select a weight
loss workout, the displays will show the maximum
incline and speed of the workout and the approxi-
mate number of calories you will burn during the
workout.
If you have not entered your weight, press the Wt
increase and decrease buttons repeatedly to enter
your weight.
Each weight loss workout is divided into segments.
One speed setting and one incline setting are
programmed for each segment. Note: The same
speed and/or incline setting may be programmed
for consecutive segments.
3. Start the walking belt.
The weight loss workout will function in the same
way as a distance workout (see step 3 on page
21).
4. Follow your progress with the displays.
See step 5 on page 20.
Note: The calorie goal is an estimate of the
number of calories that you will burn during
the workout. The actual number of calories
that you burn will depend on various factors
such as your weight. In addition, if you manu-
ally change the speed or incline of the treadmill
during the workout, the number of calories you
burn will be affected.
5. Measure your heart rate if desired.
See step 6 on page 20.
6. Turn on the fan if desired.
See step 7 on page 20.
7. When you are finished exercising, remove the
key from the console.
See step 8 on page 20.

23
HOW TO USE AN IFIT WORKOUT
To purchase iFit cards at any time, go to www.iFit.com
or call the telephone number on the front cover of this
manual. iFit cards are also available at select stores.
1. Insert the key into the console.
See HOW TO TURN ON THE POWER on page 19.
2. Insert an iFit card and select a workout.
To use an iFit workout, insert an iFit card into the
iFit slot; make sure that the iFit card is oriented
so that the metal contacts are face-down and are
inserted into the iFit slot. When the iFit card is cor-
rectly inserted, the iFit logo will light up.
Next, select an iFit workout by pressing the iFit
increase and decrease buttons next to the iFit slot.
When you select an iFit workout, the displays will
show the maximum incline and speed settings of
the workout and the approximate number of calo-
ries that you will burn during the workout.
Each iFit workout is divided into several segments.
One speed setting and one incline setting are
programmed for each segment. Note: The same
speed and/or incline setting may be programmed
for consecutive segments.
3. Start the walking belt.
Press the Start button or the Speed increase but-
ton to start the workout. A moment after you press
the button, the treadmill will automatically adjust to
the first speed and incline settings of the workout.
Hold the handrails and begin walking.
During the workout, the voice of a personal trainer
will guide you through the workout.
If the speed or incline setting for the current
segment is too high or too low, you can manu-
ally override the setting by pressing the Speed or
Incline buttons; however, when the next segment
begins, the treadmill will automatically adjust
to the speed and incline settings for the next
segment.
To stop the workout at any time, press the Stop
button. To restart the workout, press the Start
button or the Speed increase button. The walking
belt will begin to move at 1 mph. When the next
segment of the workout begins, the treadmill will
automatically adjust to the speed and incline set-
tings for the next segment.
4. Follow your progress with the displays.
See step 5 on page 20.
5. Measure your heart rate if desired.
See step 6 on page 20.
6. Turn on the fan if desired.
See step 7 on page 20.
7. When you are finished exercising, remove the
key from the console.
See step 8 on page 20.
CAUTION: Always remove iFit cards from the
iFit slot when you are not using them.
iFit Slot
iFit Card
iFit Logo

24
THE INFORMATION MODE
The console features an information mode that keeps
track of the total distance that the walking belt has
moved and the total number of hours that the treadmill
has been used. The information mode also allows you
to select miles or kilometers to measure distance, and
to turn on and turn off the display demo mode.
To select the information mode, hold down the Stop
button while inserting the key into the console, and then
release the Stop button. When the information mode is
selected, the following information will be shown:
The left display will show
the total number of hours
the treadmill has been
used.
The right display will show
the total number of miles or
kilometers that the walking
belt has moved.
Press the Stop button again to view the following
information:
The console features a dis-
play demo mode, designed
to be used if the treadmill
is displayed in a store.
While the demo mode is
turned on, the console will
function normally when
you plug in the power cord, press the power switch into
the reset position, and insert the key into the console.
However, when you remove the key, the displays will
remain lit, although the buttons will not function. If the
demo mode is turned on, a “d” will appear in the left
display while the information mode is selected. To
turn on or turn off the demo mode, press the Speed
decrease button.
An “E” for English miles or
an “M” for metric kilome-
ters will appear in the right
display. Press the Speed
increase button to change
the unit of measurement if
desired.
To exit the information mode, remove the key from the
console.
HOW TO USE THE SOUND SYSTEM
To play music or audio books through the console
sound system while you exercise, plug a 3.5 mm male
to 3.5 mm male audio cable (not included) into the jack
on the console and into a jack on your MP3 player,
CD player, or other personal audio player; make sure
that the audio cable is fully plugged in. Note: To
purchase an audio cable, see your local electronics
store.
Next, press the play but-
ton on your personal audio
player. Adjust the volume
level using the volume
increase and decrease but-
tons on the console or the
volume control on your personal audio player.
If you are using a personal CD player and the CD
skips, set the CD player on the floor or another flat
surface instead of on the console.

25
HOW TO FOLD THE TREADMILL
To avoid damaging the treadmill, adjust the incline
to zero before you fold the treadmill. Then, remove
the key and unplug the power cord. CAUTION: You
must be able to safely lift 45 lbs. (20 kg) to raise,
lower, or move the treadmill.
1. Hold the metal frame firmly in the location shown
by the arrow below. CAUTION: Do not hold the
frame by the plastic foot rails. Bend your legs
and keep your back straight.
2. Raise the frame until the latch knob locks in the
storage position. CAUTION: Make sure that the
latch knob locks.
To protect the floor or carpet, place a mat under the
treadmill. Keep the treadmill out of direct sunlight. Do
not leave the treadmill in the storage position in tem-
peratures above 85° F (30° C).
HOW TO MOVE THE TREADMILL
Before moving the treadmill, fold it as described at the
left. CAUTION: Make sure that the latch knob is
locked in the storage position. Moving the treadmill
may require two people.
1. Hold the frame and one of the handrails, and place
one foot against a wheel.
2. Pull back on the handrail until the treadmill will roll
on the wheels, and carefully move it to the desired
location. CAUTION: Do not move the tread-
mill without tipping it back, do not pull on the
frame, and do not move the treadmill over an
uneven surface.
3. Place one foot against a wheel, and carefully lower
the treadmill.
HOW TO LOWER THE TREADMILL FOR USE
1. See drawing 2. Hold the upper end of the treadmill
with your right hand. Then, pull the latch knob to
the left and hold it. IMPORTANT: Do not turn the
latch knob. If necessary, push the frame forward
slightly. Pivot the frame downward a few inches,
and release the latch knob.
2. See drawing 1 at the left. Hold the metal frame
firmly with both hands, and lower it to the floor.
CAUTION: Do not hold the frame by the plastic
foot rails, and do not drop the frame. Bend your
legs and keep your back straight.
HOW TO FOLD AND MOVE THE TREADMILL
Latch
Knob
2
Frame
Frame
1
Handrail
Frame
Wheel
1

26
MAINTENANCE
Regularly clean the treadmill and keep the walking
belt clean and dry. First, press the power switch into
the off position and unplug the power cord. Wipe
exterior parts of the treadmill with a damp cloth and
a small amount of mild soap. IMPORTANT: Do not
spray liquids directly onto the treadmill. To avoid
damage to the console, keep liquids away from the
console. Then, thoroughly dry the treadmill with a soft
towel.
TROUBLESHOOTING
Most treadmill problems can be solved by follow-
ing the simple steps below. Find the symptom that
applies, and follow the steps listed. If further assis-
tance is needed, see the front cover of this manual.
SYMPTOM: The power does not turn on
a. Make sure that the power cord is plugged into a
surge suppressor and that the surge suppressor
is plugged into a properly grounded outlet (see
page 17). Use only a surge suppressor that meets
all of the specifications described on page 17.
IMPORTANT: The treadmill may not be compat-
ible with AFCI-equipped outlets.
b. After the power cord has been plugged in, make
sure that the key is inserted into the console.
c. Check the power switch located on the treadmill
frame near the power cord. If the switch protrudes
as shown, the switch has tripped. To reset the
power switch, wait for five minutes and then press
the switch back in.
SYMPTOM: The power turns off during use
a. Check the power switch (see drawing c at the left).
If the switch has tripped, wait for five minutes and
then press the switch back in.
b. Make sure that the power cord is plugged in. If the
power cord is plugged in, unplug it, wait for five
minutes, and then plug it back in.
c. Remove the key from the console, and then
reinsert it.
d. If the treadmill still will not run, please see the front
cover of this manual.
SYMPTOM: The console displays remain lit when
you remove the key from the console
a. The console features a display demo mode,
designed to be used if the treadmill is displayed in
a store. If the displays remain lit when you remove
the key, the demo mode is turned on. To turn off
the demo mode, hold down the Stop button for a
few seconds. If the displays are still lit, see THE
INFORMATION MODE on page 24 to turn off the
demo mode.
SYMPTOM: The displays of the console do not
function properly
a. Remove the key from the console and UNPLUG
THE POWER CORD. Next, place the treadmill
in the storage position (see HOW TO FOLD THE
TREADMILL on page 25). Then, remove the two
indicated #8 x 3/4" Screws (6).
MAINTENANCE AND TROUBLESHOOTING
Reset
Tripped
c
66
a

27
Lower the treadmill. Next, remove the indicated #8
x 3/4" Screws (6). Carefully slide the Motor Hood
(57) off.
Locate the Reed Switch (54) and the Magnet (44)
on the left side of the Pulley (43). Turn the Pulley
until the Magnet is aligned with the Reed Switch.
Make sure that the gap between the Magnet
and the Reed Switch is about 1/8 in. (3 mm).
If necessary, loosen the #8 x 3/4" Truss Head
Screw (19), move the Reed Switch slightly, and
then retighten the Truss Head Screw. Reattach
the Motor Hood (not shown) with the five #8 x 3/4"
Screws (not shown) and run the treadmill for a few
minutes to check for a correct speed reading.
SYMPTOM: The incline of the treadmill does not
change correctly
a. Hold down the Stop button and the Speed increase
button, insert the key into the console, and then
release the Stop button and the Speed increase
button. Press the Stop button and then press the
Incline increase or decrease button. The tread-
mill will automatically rise to the maximum incline
level and then return to the minimum level. This will
recalibrate the incline system. If the incline does not
begin calibrating, press the Stop button again, and
then press the Incline increase or decrease button
again. When the incline is calibrated, remove the
key from the console.
SYMPTOM: The walking belt slows when walked on
a. Use only a surge suppressor that meets all of the
specifications described on page 17.
b. If the walking belt is overtightened, treadmill per-
formance may decrease and the walking belt may
become damaged. Remove the key and UNPLUG
THE POWER CORD. Using the hex key, turn both
idler roller screws counterclockwise, 1/4 of a turn.
When the walking belt is properly tightened, you
should be able to lift each edge of the walking belt
2 to 3 in. (5 to 7 cm) off the walking platform. Be
careful to keep the walking belt centered. Then,
plug in the power cord, insert the key, and run the
treadmill for a few minutes. Repeat until the walk-
ing belt is properly tightened.
c. Your treadmill features a walking belt coated with
high-performance lubricant. IMPORTANT: Never
apply silicone spray or other substances to
the walking belt or the walking platform unless
instructed to do so by an authorized service
representative. Such substances may deterio-
rate the walking belt and cause excessive wear.
If you suspect that the walking belt needs more
lubricant, see the front cover of this manual.
d. If the walking belt still slows when walked on, see
the front cover of this manual.
Idler Roller Screws
2–3 in.
b
Front
View
54
1/8 in.
19
44
43
57
6
6
6
6

28
SYMPTOM: The walking belt is off-center or slips
when walked on
a. If the walking belt is off-center, first remove the
key and UNPLUG THE POWER CORD. If the
walking belt has shifted to the left, use the hex
key to turn the left idler roller screw clockwise 1/2
of a turn; if the walking belt has shifted to the
right, turn the left idler roller screw counterclock-
wise 1/2 of a turn. Be careful not to overtighten the
walking belt. Then, plug in the power cord, insert
the key, and run the treadmill for a few minutes.
Repeat until the walking belt is centered.
b. If the walking belt slips when walked on, first
remove the key and UNPLUG THE POWER
CORD. Using the hex key, turn both idler roller
screws clockwise, 1/4 of a turn. When the walk-
ing belt is correctly tightened, you should be able
to lift each edge of the walking belt 2 to 3 in. (5 to
7 cm) off the walking platform. Be careful to keep
the walking belt centered. Then, plug in the power
cord, insert the key, and carefully walk on the
treadmill for a few minutes. Repeat until the walk-
ing belt is properly tightened.
a
b

29
EXERCISE GUIDELINES
These guidelines will help you to plan your exercise
program. For detailed exercise information, obtain a
reputable book or consult your physician. Remember,
proper nutrition and adequate rest are essential for
successful results.
EXERCISE INTENSITY
Whether your goal is to burn fat or to strengthen your
cardiovascular system, exercising at the proper inten-
sity is the key to achieving results. You can use your
heart rate as a guide to find the proper intensity level.
The chart below shows recommended heart rates for
fat burning and aerobic exercise.
To find the proper intensity level, find your age at the
bottom of the chart (ages are rounded off to the near-
est ten years). The three numbers listed above your
age define your “training zone.” The lowest number is
the heart rate for fat burning, the middle number is the
heart rate for maximum fat burning, and the highest
number is the heart rate for aerobic exercise.
Burning Fat—To burn fat effectively, you must exer-
cise at a low intensity level for a sustained period of
time. During the first few minutes of exercise, your
body uses carbohydrate calories for energy. Only after
the first few minutes of exercise does your body begin
to use stored fat calories for energy. If your goal is to
burn fat, adjust the intensity of your exercise until your
heart rate is near the lowest number in your training
zone. For maximum fat burning, exercise with your
heart rate near the middle number in your training
zone.
Aerobic Exercise—If your goal is to strengthen your
cardiovascular system, you must perform aerobic
exercise, which is activity that requires large amounts
of oxygen for prolonged periods of time. For aerobic
exercise, adjust the intensity of your exercise until your
heart rate is near the highest number in your training
zone.
WORKOUT GUIDELINES
Warming Up—Start with 5 to 10 minutes of stretch-
ing and light exercise. A warm-up increases your body
temperature, heart rate, and circulation in preparation
for exercise.
Training Zone Exercise—Exercise for 20 to 30 min-
utes with your heart rate in your training zone. (During
the first few weeks of your exercise program, do not
keep your heart rate in your training zone for longer
than 20 minutes.) Breathe regularly and deeply as you
exercise; never hold your breath.
Cooling Down—Finish with 5 to 10 minutes of stretch-
ing. Stretching increases the flexibility of your muscles
and helps to prevent post-exercise problems.
EXERCISE FREQUENCY
To maintain or improve your condition, complete three
workouts each week, with at least one day of rest
between workouts. After a few months of regular exer-
cise, you may complete up to five workouts each week,
if desired. Remember, the key to success is to make
exercise a regular and enjoyable part of your everyday
life.
WARNING: Before beginning this
or any exercise program, consult your physi-
cian. This is especially important for persons
over age 35 or persons with pre-existing
health problems.
The heart rate monitor is not a medical device.
Various factors may affect the accuracy of
heart rate readings. The heart rate monitor is
intended only as an exercise aid in determin-
ing heart rate trends in general.

30
SUGGESTED STRETCHES
The correct form for several basic stretches is shown at the right. Move slowly as you stretch —never bounce.
1. Toe Touch Stretch
Stand with your knees bent slightly and slowly bend forward from your
hips. Allow your back and shoulders to relax as you reach down toward
your toes as far as possible. Hold for 15 counts, then relax. Repeat 3
times. Stretches: Hamstrings, back of knees and back.
2. Hamstring Stretch
Sit with one leg extended. Bring the sole of the opposite foot toward
you and rest it against the inner thigh of your extended leg. Reach
toward your toes as far as possible. Hold for 15 counts, then relax.
Repeat 3 times for each leg. Stretches: Hamstrings, lower back and
groin.
3. Calf/Achilles Stretch
With one leg in front of the other, reach forward and place your hands
against a wall. Keep your back leg straight and your back foot flat on
the floor. Bend your front leg, lean forward and move your hips toward
the wall. Hold for 15 counts, then relax. Repeat 3 times for each leg. To
cause further stretching of the achilles tendons, bend your back leg as
well. Stretches: Calves, achilles tendons and ankles.
4. Quadriceps Stretch
With one hand against a wall for balance, reach back and grasp one
foot with your other hand. Bring your heel as close to your buttocks as
possible. Hold for 15 counts, then relax. Repeat 3 times for each leg.
Stretches: Quadriceps and hip muscles.
5. Inner Thigh Stretch
Sit with the soles of your feet together and your knees outward. Pull
your feet toward your groin area as far as possible. Hold for 15 counts,
then relax. Repeat 3 times. Stretches: Quadriceps and hip muscles.
1
2
3
4
5

31
Key No. Qty. Description Key No. Qty. Description
1 4 #8 x 1/2" Ground Screw
2 2 3/8" x 2 1/2" Bolt
3 4 3/8" Nut
4 6 3/8" x 4" Screw
5 6 3/8" Star Washer
6 30 #8 x 3/4" Screw
7 4 5/16" x 5/8" Screw
8 4 5/16" Star Washer
9 16 #8 x 1/2" Screw
10 4 5/16" x 2 3/4" Screw
11 4 #10 Star Washer
12 2 3/8" x 2" Bolt
13 4 #10 x 3/4" Screw
14 2 1/4" x 2 1/2" Screw
15 2 3/8" x 3/4" Bolt
16 2 1/2" x 2 1/4" Bolt
17 2 1/2" Nut
18 5 Hood Clip
19 13 #8 x 3/4" Truss Head Screw
20 2 3/8" x 1 1/2" Bolt
21 4 3/8" Locknut
22 2 Incline Motor Spacer
23 2 1/4" x 3/8" Screw
24 4 Belt Guide Screw
25 2 5/16" x 1 1/4" Bolt
26 4 5/16" Nut
27 2 5/16" x 1 3/4" Bolt
28 2 5/16" Washer
29 1 #8 x 1/2" Ground Wire Screw
30 10 #8 x 5/8" Screw
31 1 Pulse Crossbar
32 4 Cushion Plate
33 8 #8 x 1" Tek Screw
34 4 #8 x 1" Screw
35 1 Right Tray
36 4 Platform Cushion
37 1 Left Foot Rail
38 1 Latch Warning Decal
39 1 Walking Platform
40 1 Walking Belt
41 2 Belt Guide
42 2 Rubber Spacer
43 1 Drive Roller/Pulley
44 1 Magnet
45 1 Reed Switch Clamp
46 1 Drive Motor Belt
47 1 Drive Motor
48 2 Frame Spacer
49 1 Frame
50 1 Right Foot Rail
51 1 Storage Latch
52 1 Right Rear Foot
53 1 Left Rear Foot
54 1 Reed Switch
55 2 Grommet
56 1 Idler Roller
57 1 Motor Hood
58 2 Incline Frame Spacer
59 1 Incline Frame
60 1 Incline Motor
61 1 Controller Ground Wire
62 1 Controller
63 3 Wire Tie
64 1 Belly Pan Plate
65 1 Power Switch
66 1 Power Cord
67 1 Power Cord Grommet
68 1 Belly Pan
69 1 Left Handrail Cover
70 1 Upright Wire
71 2 Handrail
72 2 Base Pad Spacer
73 1 Left Base Cover
74 1 Right Base Cover
75 1 Left Upright
76 1 Right Upright
77 4 Base Cap
78 2 Caution Decal
79 4 Base Pad
80 1 Base
81 2 Wheel
82 1 Key/Clip
83 1 Console Base
84 1 Left Handrail Insert
85 1 Right Handrail Cover
86 1 Console
87 1 Console Frame
88 1 Right Handrail Insert
89 1 Console Ground Wire
90 2 Console Clamp
91 1 Console Wire Tie
92 1 Left Tray
93 4 1/4" x 1 1/4" Screw
94 8 M5 Flat Washer
* – User’s Manual
Note: Specifications are subject to change without notice. For information about ordering replacement parts, see
the back cover of this manual. *These parts are not illustrated.
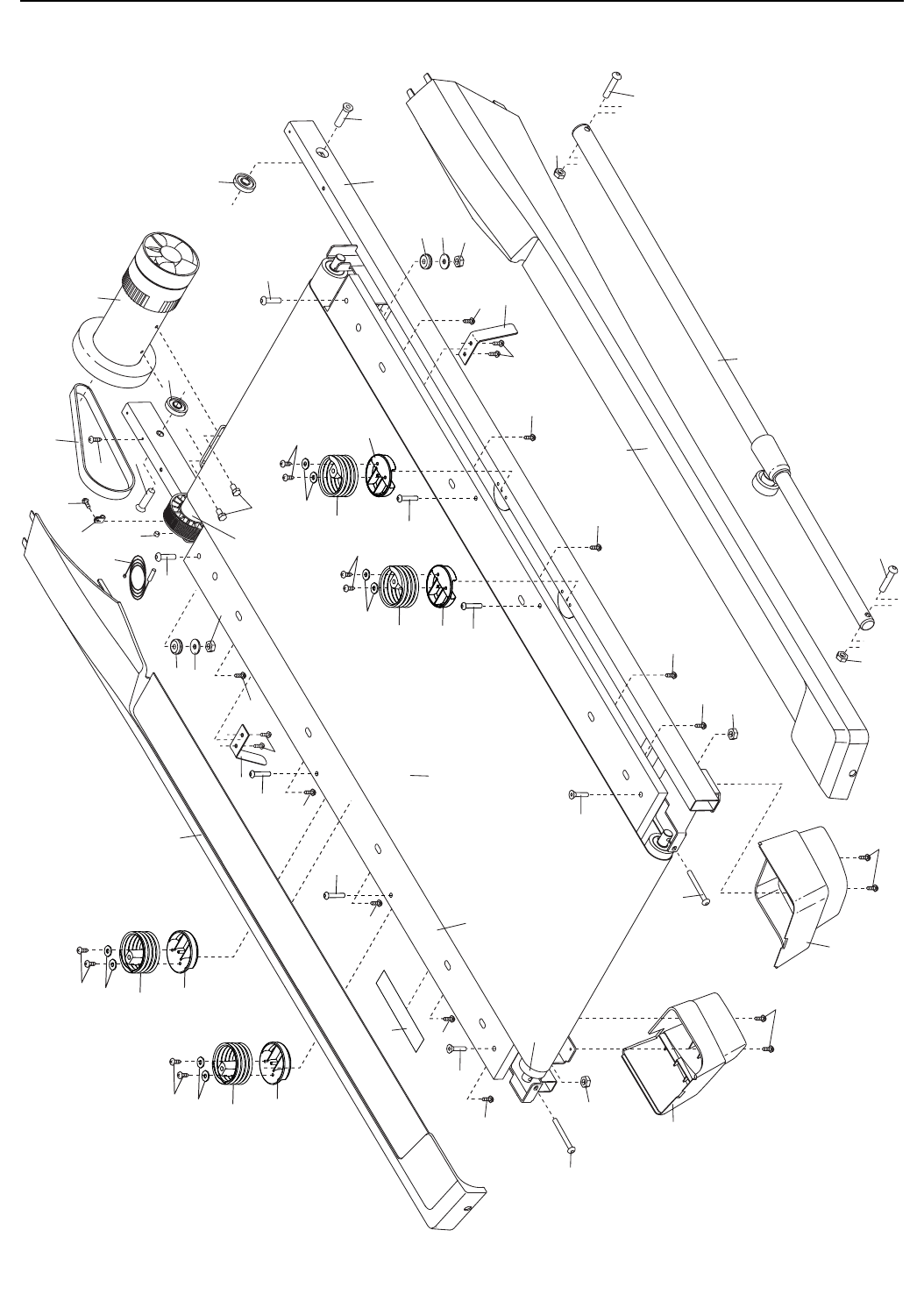
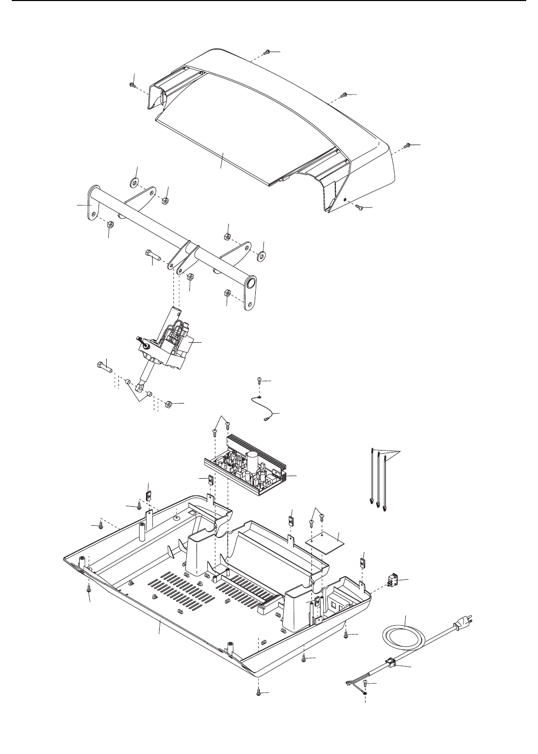
PART LIST Model No. PFTL70011.2 R0614A

32
51
27
25
24
24
41
42
38
39
50
49
14
37 27
23
47
26
42
28
26
28
14
26
3
25
40
43
44
12
46
48
48
19
45
30
30
30
30
30
12
1
16
16
56
54
26
19
52
53
19
3
30
30
30
30
30
41
93
93
93
93
32
36
32
36
32
36
19
94 32
36
19
94
19
94
19
94
EXPLODED DRAWING A Model No. PFTL70011.2 R0614A

33
9
1
67
65
61
63
62
1
58
59
58
18
20
21
60
22
6
57
6
64
21
21
17
17
20
21
18
6
6
6
6
6
68
6
6
66
18
6
6
6
18
18
EXPLODED DRAWING B Model No. PFTL70011.2 R0614A

34
80 78
15
77
15
78
77
2
81
3
33
3
2
81
33
55
1
79
79
77
77
33
79
72
33
79
72
70
73
4
5
76
5
4
4
5
85
88
71
69
84
71
13
13
11
11
10
7
8
10
8
74
29 89
31
9
9
9
9
6
6
75
7
EXPLODED DRAWING C Model No. PFTL70011.2 R0614A

35
34
34
90
6
91
90
83
9
9
9
92
9
9
9
6
6
6
6
6
635
87
86
6
6
82
6
6
6
EXPLODED DRAWING D Model No. PFTL70011.2 R0614A

Part No. 359683 R0614A Printed in USA © 2014 ICON Health & Fitness, Inc.
ICON Health & Fitness, Inc. (ICON) warrants this product to be free from defects in workmanship and
material, under normal use and service conditions. The drive motor is warranted for twenty-ve (25) years
from the date of purchase. Parts and labor are warranted for one (1) year from the date of purchase.
This warranty extends only to the original purchaser (customer). ICON’s obligation under this warranty is
limited to repairing or replacing, at ICON’s option, the product through one of its authorized service centers.
All repairs for which warranty claims are made must be preauthorized by ICON. If the product is shipped
to a service center, freight charges to and from the service center will be the customer’s responsibility. If
replacement parts are shipped while the product is under warranty, the customer will be responsible for a
minimal handling charge. For in-home service, the customer will be responsible for a minimal trip charge.
This warranty does not extend to freight damage to the product. This warranty will automatically be voided
if the product is used as a store display model, if the product is purchased or transported outside the USA,
if all instructions in this manual are not followed, if the product is abused or improperly or abnormally used,
or if the product is used for commercial or rental purposes. No other warranty beyond that specically set
forth above is authorized by ICON.
ICON is not responsible or liable for indirect, special, or consequential damages arising out of or in con-
nection with the use or performance of the product; damages with respect to any economic loss, loss of
property, loss of revenues or prots, loss of enjoyment or use, or costs of removal or installation; or other
consequential damages of any kind. Some states do not allow the exclusion or limitation of incidental or
consequential damages. Accordingly, the above limitation may not apply to the customer.
The warranty extended hereunder is in lieu of any and all other warranties, and any implied warranties of
merchantability or tness for a particular purpose are limited in their scope and duration to the terms set
forth herein. Some states do not allow limitations on how long an implied warranty lasts. Accordingly, the
above limitation may not apply to the customer.
This warranty provides specic legal rights; the customer may have other rights that vary from state to state.
ICON Health & Fitness, Inc., 1500 S. 1000 W., Logan, UT 84321-9813
LIMITED WARRANTY
IMPORTANT: To protect your fitness equipment with an extended service plan, see page 6.
To order replacement parts, please see the front cover of this manual. To help us assist you, be prepared to
provide the following information when contacting us:
• the model number and serial number of the product (see the front cover of this manual)
• the name of the product (see the front cover of this manual)
• the key number and description of the replacement part(s) (see the PART LIST and the EXPLODED DRAWING
near the end of this manual)
ORDERING REPLACEMENT PARTS