Promise Technology Vtrak 15110 Users Manual VTrak15110_User_1.0
15110 to the manual aee9aa7b-4b79-4beb-a3bd-24212d9d00db
2015-02-06
: Promise-Technology Promise-Technology-Vtrak-15110-Users-Manual-520907 promise-technology-vtrak-15110-users-manual-520907 promise-technology pdf
Open the PDF directly: View PDF
.
Page Count: 264 [warning: Documents this large are best viewed by clicking the View PDF Link!]
- VTrak User Manual
- Contents
- Chapter 1: Introduction
- Chapter 2: Installation
- Unpack the VTrak
- Mount VTrak 15110 in a Rack
- Install Disk Drives
- Verify the SCSI HBA Card
- Connect the SCSI Cables
- SCSI Terminator
- Configuration 1: One VTrak, one Host PC, one SCSI HBA card
- Configuration 2: One VTrak, one Host PC, two SCSI HBA cards
- Configuration 3: One VTrak, two Host PCs, one SCSI HBA card in each
- Configuration 4: Two VTraks, one Host PC, one SCSI HBA card (daisy chain)
- Configuration 5: Two VTraks, one Host PC, two SCSI HBA cards
- Connect the Management Cables
- Connect the Power
- Set-up Management Connections
- Set Up Telnet Connection
- Install WebPAM PRO Software
- Chapter 3: Setup
- Chapter 4: Management with WebPAM PRO
- VTrak Status Indicators
- Drive Status Indicators
- Audible Alarm
- Log-in/Log-out
- Subsystem Management
- User Management
- Software Management
- Subsystem Management
- VTrak Management
- SCSI Management
- Network Management
- Service Management
- Controllers
- Enclosures
- Disk Arrays
- Spare Drives
- Logical Drive Summary
- Chapter 5: Management with the CLU
- Chapter 6: Maintenance
- Chapter 7: Technology Background
- Chapter 8: Troubleshooting
- Chapter 9: Support
- Appendix A: Serial Connector Pinout
- Index

VT
RAK
15110
U
SER
M
ANUAL
Version 1.1 / SR5
PROMISE
VTrak 15200

VTrak 15110 User Manual
ii
Copyright
© 2005 Promise Technology, Inc. All Rights Reserved.
Copyright by Promise Technology, Inc. (Promise Technology). No part of this
manual may be reproduced or transmitted in any form without the expressed,
written permission of Promise Technology.
Trademarks
Promise, and the Promise logo are registered in U.S. Patent and Trademark
Office. All other product names mentioned herein may be trademarks or
registered trademarks of their respective companies.
Important data protection information
You should back up all data before installing any drive controller or storage
peripheral. Promise Technology is not responsible for any loss of data resulting
from the use, disuse or misuse of this or any other Promise Technology product.
Notice
Although Promise Technology has attempted to ensure the accuracy of the
content of this manual, it is possible that this document may contain technical
inaccuracies, typographical, or other errors. Promise Technology assumes no
liability for any error in this publication, and for damages, whether direct, indirect,
incidental, consequential or otherwise, that may result from such error, including,
but not limited to loss of data or profits.
Promise Technology provides this publication “as is” without warranty of any kind,
either express or implied, including, but not limited to implied warranties of
merchantability or fitness for a particular purpose.
The published information in the manual is subject to change without notice.
Promise Technology reserves the right to make changes in the product design,
layout, and driver revisions without notification to its users.
This version of the User Manual supersedes all previous versions.
Recommendations
In the manual, the appearance of products made by other companies, including,
but not limited to software, servers and disk drives, is for the purpose of
illustration and explanation only. Promise Technology does not recommend,
endorse, prefer or support any product made by another manufacturer.

iii
Contents
Chapter 1: Introduction . . . . . . . . . . . . . . . . . . . . . . . . . . . . . . . . . . . . .1
About This Manual . . . . . . . . . . . . . . . . . . . . . . . . . . . . . . . . . . . . . . .1
Overview . . . . . . . . . . . . . . . . . . . . . . . . . . . . . . . . . . . . . . . . . . . . . .2
Architectural Description . . . . . . . . . . . . . . . . . . . . . . . . . . . . . . . . . .3
Specifications . . . . . . . . . . . . . . . . . . . . . . . . . . . . . . . . . . . . . . . . . .5
Chapter 2: Installation . . . . . . . . . . . . . . . . . . . . . . . . . . . . . . . . . . . . . .7
Unpack the VTrak . . . . . . . . . . . . . . . . . . . . . . . . . . . . . . . . . . . . . . .7
Mount VTrak 15110 in a Rack . . . . . . . . . . . . . . . . . . . . . . . . . . . . . .8
Install Disk Drives . . . . . . . . . . . . . . . . . . . . . . . . . . . . . . . . . . . . . . .9
Serial ATA Disk Drives . . . . . . . . . . . . . . . . . . . . . . . . . . . . . . .12
Parallel ATA Disk Drives . . . . . . . . . . . . . . . . . . . . . . . . . . . . . .13
Drive Numbering . . . . . . . . . . . . . . . . . . . . . . . . . . . . . . . . . . . .14
Verify the SCSI HBA Card . . . . . . . . . . . . . . . . . . . . . . . . . . . . . . . .15
Connect the SCSI Cables . . . . . . . . . . . . . . . . . . . . . . . . . . . . . . . .16
SCSI Terminator . . . . . . . . . . . . . . . . . . . . . . . . . . . . . . . . . . . .17
Connect the Management Cables . . . . . . . . . . . . . . . . . . . . . . . . . .22
Management Port Connection . . . . . . . . . . . . . . . . . . . . . . . . .22
RS-232 Serial Connection . . . . . . . . . . . . . . . . . . . . . . . . . . . .22
Macintosh Users . . . . . . . . . . . . . . . . . . . . . . . . . . . . . . . . . . . .23
Connect the Power . . . . . . . . . . . . . . . . . . . . . . . . . . . . . . . . . . . . .23
Set-up Management Connections . . . . . . . . . . . . . . . . . . . . . . . . . .25
Terminal Emulation . . . . . . . . . . . . . . . . . . . . . . . . . . . . . . . . . .25
Set IP Addresses and Subnet Mask . . . . . . . . . . . . . . . . . . . . .26
Set Up Telnet Connection . . . . . . . . . . . . . . . . . . . . . . . . . . . . . . . .29
Enable Telnet on VTrak . . . . . . . . . . . . . . . . . . . . . . . . . . . . . .29
Make a Telnet Connection . . . . . . . . . . . . . . . . . . . . . . . . . . . .30
Install WebPAM PRO Software . . . . . . . . . . . . . . . . . . . . . . . . . . . .33
Utility Server Installation Locations . . . . . . . . . . . . . . . . . . . . . .33
CIMOM Agent . . . . . . . . . . . . . . . . . . . . . . . . . . . . . . . . . . . . . .34
Internet Browser . . . . . . . . . . . . . . . . . . . . . . . . . . . . . . . . . . . .35
Before you start… . . . . . . . . . . . . . . . . . . . . . . . . . . . . . . . . . . .35
Install WebPAM PRO . . . . . . . . . . . . . . . . . . . . . . . . . . . . . . . .35
Chapter 3: Setup . . . . . . . . . . . . . . . . . . . . . . . . . . . . . . . . . . . . . . . . .43
VTrak Setup with WebPAM PRO . . . . . . . . . . . . . . . . . . . . . . . . . .43
Log-in to WebPAM PRO . . . . . . . . . . . . . . . . . . . . . . . . . . . . . .43
Add a Subsystem (VTrak) . . . . . . . . . . . . . . . . . . . . . . . . . . . . .46
Access a Subsystem (VTrak) . . . . . . . . . . . . . . . . . . . . . . . . . .46
Create a Disk Array . . . . . . . . . . . . . . . . . . . . . . . . . . . . . . . . . .48

VTrak 15100 User Manual
iv
Create a Logical Drive . . . . . . . . . . . . . . . . . . . . . . . . . . . . . . .54
Assign a SCSI Target ID . . . . . . . . . . . . . . . . . . . . . . . . . . . . . .55
Log-out of WebPAM PRO . . . . . . . . . . . . . . . . . . . . . . . . . . . . .56
Internet Connection using WebPAM PRO . . . . . . . . . . . . . . . .56
VTrak Setup with the CLU . . . . . . . . . . . . . . . . . . . . . . . . . . . . . . . .57
CLU Connection . . . . . . . . . . . . . . . . . . . . . . . . . . . . . . . . . . . .57
Create a Disk Array . . . . . . . . . . . . . . . . . . . . . . . . . . . . . . . . . .58
Create a Logical Drive . . . . . . . . . . . . . . . . . . . . . . . . . . . . . . .62
Assign a SCSI Target ID . . . . . . . . . . . . . . . . . . . . . . . . . . . . . .63
Exit the CLU . . . . . . . . . . . . . . . . . . . . . . . . . . . . . . . . . . . . . . .64
Chapter 4: Management with WebPAM PRO . . . . . . . . . . . . . . . . . . .65
VTrak Status Indicators . . . . . . . . . . . . . . . . . . . . . . . . . . . . . . . . . .65
Drive Status Indicators . . . . . . . . . . . . . . . . . . . . . . . . . . . . . . . . . .66
Audible Alarm . . . . . . . . . . . . . . . . . . . . . . . . . . . . . . . . . . . . . . . . .67
Log-in/Log-out . . . . . . . . . . . . . . . . . . . . . . . . . . . . . . . . . . . . . . . . .68
Log-in to WebPAM PRO . . . . . . . . . . . . . . . . . . . . . . . . . . . . . .68
Log-out of WebPAM PRO . . . . . . . . . . . . . . . . . . . . . . . . . . . . .70
Subsystem Management . . . . . . . . . . . . . . . . . . . . . . . . . . . . . . . . .71
Add a Subsystem (VTrak) . . . . . . . . . . . . . . . . . . . . . . . . . . . . .71
Subsystem User Rights . . . . . . . . . . . . . . . . . . . . . . . . . . . . . .71
Access a Subsystem (VTrak) . . . . . . . . . . . . . . . . . . . . . . . . . .73
Subsystem Management Window . . . . . . . . . . . . . . . . . . . . . .74
View Event Log . . . . . . . . . . . . . . . . . . . . . . . . . . . . . . . . . . . . .74
Delete a Subsystem . . . . . . . . . . . . . . . . . . . . . . . . . . . . . . . . .76
User Management . . . . . . . . . . . . . . . . . . . . . . . . . . . . . . . . . . . . . .77
Add a User . . . . . . . . . . . . . . . . . . . . . . . . . . . . . . . . . . . . . . . .77
Delete a User . . . . . . . . . . . . . . . . . . . . . . . . . . . . . . . . . . . . . .83
Manage User Rights . . . . . . . . . . . . . . . . . . . . . . . . . . . . . . . . .83
Change Password . . . . . . . . . . . . . . . . . . . . . . . . . . . . . . . . . . .85
Setup Email Alert Notification . . . . . . . . . . . . . . . . . . . . . . . . . .86
Software Management . . . . . . . . . . . . . . . . . . . . . . . . . . . . . . . . . .87
Web Server . . . . . . . . . . . . . . . . . . . . . . . . . . . . . . . . . . . . . . . .87
Email . . . . . . . . . . . . . . . . . . . . . . . . . . . . . . . . . . . . . . . . . . . . .88
Firmware Update . . . . . . . . . . . . . . . . . . . . . . . . . . . . . . . . . . .89
TFTP Server . . . . . . . . . . . . . . . . . . . . . . . . . . . . . . . . . . . . . . .90
Refresh Time . . . . . . . . . . . . . . . . . . . . . . . . . . . . . . . . . . . . . .91
Restart Tomcat Service (Windows) . . . . . . . . . . . . . . . . . . . . .91
Security . . . . . . . . . . . . . . . . . . . . . . . . . . . . . . . . . . . . . . . . . . .91
Subsystem Management . . . . . . . . . . . . . . . . . . . . . . . . . . . . . . . . .92
Events . . . . . . . . . . . . . . . . . . . . . . . . . . . . . . . . . . . . . . . . . . . .92

Contents
v
Connection Status . . . . . . . . . . . . . . . . . . . . . . . . . . . . . . . . . . .94
User Rights . . . . . . . . . . . . . . . . . . . . . . . . . . . . . . . . . . . . . . . .94
VTrak Management . . . . . . . . . . . . . . . . . . . . . . . . . . . . . . . . . . . . .95
Lock Operations . . . . . . . . . . . . . . . . . . . . . . . . . . . . . . . . . . . .95
Subsystem Health . . . . . . . . . . . . . . . . . . . . . . . . . . . . . . . . . . .95
MP/PDM Settings . . . . . . . . . . . . . . . . . . . . . . . . . . . . . . . . . . .96
SCSI Management . . . . . . . . . . . . . . . . . . . . . . . . . . . . . . . . . . . . .97
LUN Settings . . . . . . . . . . . . . . . . . . . . . . . . . . . . . . . . . . . . . . .97
TID Settings . . . . . . . . . . . . . . . . . . . . . . . . . . . . . . . . . . . . . . .98
Statistics . . . . . . . . . . . . . . . . . . . . . . . . . . . . . . . . . . . . . . . . . .99
Network Management . . . . . . . . . . . . . . . . . . . . . . . . . . . . . . . . . . .99
Ethernet . . . . . . . . . . . . . . . . . . . . . . . . . . . . . . . . . . . . . . . . . .99
Settings . . . . . . . . . . . . . . . . . . . . . . . . . . . . . . . . . . . . . . . . . .100
Service Management . . . . . . . . . . . . . . . . . . . . . . . . . . . . . . . . . . .100
Service . . . . . . . . . . . . . . . . . . . . . . . . . . . . . . . . . . . . . . . . . .100
SNMP . . . . . . . . . . . . . . . . . . . . . . . . . . . . . . . . . . . . . . . . . . .101
Telnet . . . . . . . . . . . . . . . . . . . . . . . . . . . . . . . . . . . . . . . . . . .102
Controllers . . . . . . . . . . . . . . . . . . . . . . . . . . . . . . . . . . . . . . . . . . .102
Controller List . . . . . . . . . . . . . . . . . . . . . . . . . . . . . . . . . . . . .102
Controller . . . . . . . . . . . . . . . . . . . . . . . . . . . . . . . . . . . . . . . .102
Settings . . . . . . . . . . . . . . . . . . . . . . . . . . . . . . . . . . . . . . . . . .103
Enclosures . . . . . . . . . . . . . . . . . . . . . . . . . . . . . . . . . . . . . . . . . . .104
Enclosure List . . . . . . . . . . . . . . . . . . . . . . . . . . . . . . . . . . . . .104
Enclosure . . . . . . . . . . . . . . . . . . . . . . . . . . . . . . . . . . . . . . . .105
FRU VPD . . . . . . . . . . . . . . . . . . . . . . . . . . . . . . . . . . . . . . . .105
Battery . . . . . . . . . . . . . . . . . . . . . . . . . . . . . . . . . . . . . . . . . . .106
Buzzer . . . . . . . . . . . . . . . . . . . . . . . . . . . . . . . . . . . . . . . . . . .106
Physical Drive List . . . . . . . . . . . . . . . . . . . . . . . . . . . . . . . . . .107
Physical Drive . . . . . . . . . . . . . . . . . . . . . . . . . . . . . . . . . . . . .108
Disk Arrays . . . . . . . . . . . . . . . . . . . . . . . . . . . . . . . . . . . . . . . . . .110
Disk Array List . . . . . . . . . . . . . . . . . . . . . . . . . . . . . . . . . . . . .110
Create a Disk Array . . . . . . . . . . . . . . . . . . . . . . . . . . . . . . . . .111
Delete Disk Array . . . . . . . . . . . . . . . . . . . . . . . . . . . . . . . . . .116
Disk Array Information . . . . . . . . . . . . . . . . . . . . . . . . . . . . . .117
Disk Array Settings . . . . . . . . . . . . . . . . . . . . . . . . . . . . . . . . .119
Create Logical Drive . . . . . . . . . . . . . . . . . . . . . . . . . . . . . . . .120
Delete Logical Drive . . . . . . . . . . . . . . . . . . . . . . . . . . . . . . . .121
Background Activity . . . . . . . . . . . . . . . . . . . . . . . . . . . . . . . .121
Scheduler . . . . . . . . . . . . . . . . . . . . . . . . . . . . . . . . . . . . . . . .122
Logical Drive List . . . . . . . . . . . . . . . . . . . . . . . . . . . . . . . . . . .123
Logical Drive . . . . . . . . . . . . . . . . . . . . . . . . . . . . . . . . . . . . . .124

VTrak 15100 User Manual
vi
Logical Drive LUN Settings . . . . . . . . . . . . . . . . . . . . . . . . . . .126
Logical Drive Alias . . . . . . . . . . . . . . . . . . . . . . . . . . . . . . . . .127
Physical Drives . . . . . . . . . . . . . . . . . . . . . . . . . . . . . . . . . . . .127
Spare Drives . . . . . . . . . . . . . . . . . . . . . . . . . . . . . . . . . . . . . . . . .127
Spare Drive List . . . . . . . . . . . . . . . . . . . . . . . . . . . . . . . . . . .128
Create a Spare Drive . . . . . . . . . . . . . . . . . . . . . . . . . . . . . . .128
Delete a Spare Drive . . . . . . . . . . . . . . . . . . . . . . . . . . . . . . . .129
Logical Drive Summary . . . . . . . . . . . . . . . . . . . . . . . . . . . . . . . . .130
Logical Drive List . . . . . . . . . . . . . . . . . . . . . . . . . . . . . . . . . . .130
Logical Drive . . . . . . . . . . . . . . . . . . . . . . . . . . . . . . . . . . . . . .131
Chapter 5: Management with the CLU . . . . . . . . . . . . . . . . . . . . . . .133
VTrak Status Indicators . . . . . . . . . . . . . . . . . . . . . . . . . . . . . . . . .133
Drive Status Indicators . . . . . . . . . . . . . . . . . . . . . . . . . . . . . . . . .134
Audible Alarm . . . . . . . . . . . . . . . . . . . . . . . . . . . . . . . . . . . .136
Alarm Settings . . . . . . . . . . . . . . . . . . . . . . . . . . . . . . . . . . . . .136
CLU Connection . . . . . . . . . . . . . . . . . . . . . . . . . . . . . . . . . . . . . .137
Serial Connection . . . . . . . . . . . . . . . . . . . . . . . . . . . . . . . . . .137
Telnet Connection . . . . . . . . . . . . . . . . . . . . . . . . . . . . . . . . . .137
Exit the CLU . . . . . . . . . . . . . . . . . . . . . . . . . . . . . . . . . . . . . .139
How to use the CLU . . . . . . . . . . . . . . . . . . . . . . . . . . . . . . . . . . .140
CLU Function Map . . . . . . . . . . . . . . . . . . . . . . . . . . . . . . . . . . . . .142
Controller Management . . . . . . . . . . . . . . . . . . . . . . . . . . . . . . . . .148
View Controller Information . . . . . . . . . . . . . . . . . . . . . . . . . . .148
Modify Controller Parameters . . . . . . . . . . . . . . . . . . . . . . . . .148
Firmware Update . . . . . . . . . . . . . . . . . . . . . . . . . . . . . . . . . .149
VPD . . . . . . . . . . . . . . . . . . . . . . . . . . . . . . . . . . . . . . . . . . . . .149
Reboot . . . . . . . . . . . . . . . . . . . . . . . . . . . . . . . . . . . . . . . . . .149
Enclosure Management . . . . . . . . . . . . . . . . . . . . . . . . . . . . . . . . .151
Fan Speed . . . . . . . . . . . . . . . . . . . . . . . . . . . . . . . . . . . . . . .151
Buzzer . . . . . . . . . . . . . . . . . . . . . . . . . . . . . . . . . . . . . . . . . . .151
Temperature . . . . . . . . . . . . . . . . . . . . . . . . . . . . . . . . . . . . . .152
Voltage . . . . . . . . . . . . . . . . . . . . . . . . . . . . . . . . . . . . . . . . . .152
Battery . . . . . . . . . . . . . . . . . . . . . . . . . . . . . . . . . . . . . . . . . . .152
Physical Drive Management . . . . . . . . . . . . . . . . . . . . . . . . . . . . .154
View Parameters . . . . . . . . . . . . . . . . . . . . . . . . . . . . . . . . . . .155
Enable/Disable Write Cache . . . . . . . . . . . . . . . . . . . . . . . . . .155
Wipe Out Boot Sector . . . . . . . . . . . . . . . . . . . . . . . . . . . . . . .156
Wipe Out Reserve Sector . . . . . . . . . . . . . . . . . . . . . . . . . . . .156
Blink LED . . . . . . . . . . . . . . . . . . . . . . . . . . . . . . . . . . . . . . . .157
Diagnostics . . . . . . . . . . . . . . . . . . . . . . . . . . . . . . . . . . . . . . .157

Contents
vii
I/O Statistics . . . . . . . . . . . . . . . . . . . . . . . . . . . . . . . . . . . . . .158
Disk Array Management . . . . . . . . . . . . . . . . . . . . . . . . . . . . . . . .160
Disk Array Auto Creation . . . . . . . . . . . . . . . . . . . . . . . . . . . .161
Create New Disk Array . . . . . . . . . . . . . . . . . . . . . . . . . . . . . .162
Delete Disk Array . . . . . . . . . . . . . . . . . . . . . . . . . . . . . . . . . .164
Disk Array Properties . . . . . . . . . . . . . . . . . . . . . . . . . . . . . . .164
PDM Auto Start . . . . . . . . . . . . . . . . . . . . . . . . . . . . . . . . . . . .169
Logical Drive Management . . . . . . . . . . . . . . . . . . . . . . . . . . . . . .172
Network Management . . . . . . . . . . . . . . . . . . . . . . . . . . . . . . . . . .173
Management Port . . . . . . . . . . . . . . . . . . . . . . . . . . . . . . . . . .173
Telnet . . . . . . . . . . . . . . . . . . . . . . . . . . . . . . . . . . . . . . . . . . .174
TFTP Server . . . . . . . . . . . . . . . . . . . . . . . . . . . . . . . . . . . . . .176
SNMP . . . . . . . . . . . . . . . . . . . . . . . . . . . . . . . . . . . . . . . . . . .176
Ping . . . . . . . . . . . . . . . . . . . . . . . . . . . . . . . . . . . . . . . . . . . . .178
SCSI Management . . . . . . . . . . . . . . . . . . . . . . . . . . . . . . . . . . . .180
Channel TID . . . . . . . . . . . . . . . . . . . . . . . . . . . . . . . . . . . . . .180
RAID Console LUN . . . . . . . . . . . . . . . . . . . . . . . . . . . . . . . . .181
Maintenance Menu (Disk Array Operations) . . . . . . . . . . . . . . . . .182
Maintenance Activity Monitor . . . . . . . . . . . . . . . . . . . . . . . . .183
Migrate Disk Array . . . . . . . . . . . . . . . . . . . . . . . . . . . . . . . . .183
Manual Rebuild . . . . . . . . . . . . . . . . . . . . . . . . . . . . . . . . . . . .184
Event Viewer . . . . . . . . . . . . . . . . . . . . . . . . . . . . . . . . . . . . . . . . .188
Chapter 6: Maintenance . . . . . . . . . . . . . . . . . . . . . . . . . . . . . . . . . .189
Firmware Update – WebPAM . . . . . . . . . . . . . . . . . . . . . . . . . . . .190
Preparation . . . . . . . . . . . . . . . . . . . . . . . . . . . . . . . . . . . . . . .190
Firmware Update . . . . . . . . . . . . . . . . . . . . . . . . . . . . . . . . . .191
Firmware Update – CLU . . . . . . . . . . . . . . . . . . . . . . . . . . . . . . . .192
Preparation . . . . . . . . . . . . . . . . . . . . . . . . . . . . . . . . . . . . . . .192
Firmware Update . . . . . . . . . . . . . . . . . . . . . . . . . . . . . . . . . .192
Firmware Update – Serial Port . . . . . . . . . . . . . . . . . . . . . . . . . . .194
Firmware Image File . . . . . . . . . . . . . . . . . . . . . . . . . . . . . . . .194
Firmware Update . . . . . . . . . . . . . . . . . . . . . . . . . . . . . . . . . .194
Replace Power Supply . . . . . . . . . . . . . . . . . . . . . . . . . . . . . . . . .196
Replace Cooling Unit Fan . . . . . . . . . . . . . . . . . . . . . . . . . . . . . . .197
Replace Cache Battery . . . . . . . . . . . . . . . . . . . . . . . . . . . . . . . . .202
Replace SEP . . . . . . . . . . . . . . . . . . . . . . . . . . . . . . . . . . . . . . . . .204
Replace RAID Controller . . . . . . . . . . . . . . . . . . . . . . . . . . . . . . . .205

VTrak 15100 User Manual
viii
Chapter 7: Technology Background . . . . . . . . . . . . . . . . . . . . . . . .207
Introduction to RAID . . . . . . . . . . . . . . . . . . . . . . . . . . . . . . . . . . .207
Choosing a RAID Level . . . . . . . . . . . . . . . . . . . . . . . . . . . . . . . . .214
Choosing Stripe Block Size . . . . . . . . . . . . . . . . . . . . . . . . . . . . . .217
Gigabyte Boundary . . . . . . . . . . . . . . . . . . . . . . . . . . . . . . . . . . . .217
Initialization . . . . . . . . . . . . . . . . . . . . . . . . . . . . . . . . . . . . . . . . . .217
Hot Spare Drive(s) . . . . . . . . . . . . . . . . . . . . . . . . . . . . . . . . . . . . .218
Partition and Format the Logical Drive . . . . . . . . . . . . . . . . . . . . .218
Cache Settings . . . . . . . . . . . . . . . . . . . . . . . . . . . . . . . . . . . . . . .219
RAID Level Migration . . . . . . . . . . . . . . . . . . . . . . . . . . . . . . . . . . .219
Chapter 8: Troubleshooting . . . . . . . . . . . . . . . . . . . . . . . . . . . . . . .223
VTrak is Beeping . . . . . . . . . . . . . . . . . . . . . . . . . . . . . . . . . . . . . .223
CLU Reports a Problem . . . . . . . . . . . . . . . . . . . . . . . . . . . . . . . .223
WebPAM PRO Reports a Problem . . . . . . . . . . . . . . . . . . . . . . . .224
LEDs Display Amber or Red . . . . . . . . . . . . . . . . . . . . . . . . . . . . .226
Front Panel . . . . . . . . . . . . . . . . . . . . . . . . . . . . . . . . . . . . . . .226
Drive Status Indicators . . . . . . . . . . . . . . . . . . . . . . . . . . . . . .228
Back of Enclosure . . . . . . . . . . . . . . . . . . . . . . . . . . . . . . . . . .229
Event Notification Response . . . . . . . . . . . . . . . . . . . . . . . . . . . . .230
Critical & Offline Disk Arrays . . . . . . . . . . . . . . . . . . . . . . . . . . . . .234
Enclosure Problems . . . . . . . . . . . . . . . . . . . . . . . . . . . . . . . . . . .235
Connection Problems . . . . . . . . . . . . . . . . . . . . . . . . . . . . . . . . . .239
Chapter 9: Support . . . . . . . . . . . . . . . . . . . . . . . . . . . . . . . . . . . . . .241
Frequently Asked Questions . . . . . . . . . . . . . . . . . . . . . . . . . . . . .241
Contacting Technical Support . . . . . . . . . . . . . . . . . . . . . . . . . . . .245
Limited Warranty . . . . . . . . . . . . . . . . . . . . . . . . . . . . . . . . . . . . . .248
Returning Product For Repair . . . . . . . . . . . . . . . . . . . . . . . . . . . .249
Appendix A: Serial Connector Pinout . . . . . . . . . . . . . . . . . . . . . . .251
Index. . . . . . . . . . . . . . . . . . . . . . . . . . . . . . . . . . . . . . . . . . . . . . . . . . .253

1
Chapter 1: Introduction
• About This Manual, page 1
• Overview, page 2
• Architectural Description, page 3
• Features and Benefits, page 3
Thank you for purchasing Promise Technology’s VTrak external disk array
subsystem.
About This Manual
This User Manual describes how to setup, use and maintain the VTrak 15110
external disk array subsystem. It also describes how to use the built-in command-
line utility (CLU) and Web-based Promise Array Management—Professional
(WebPAM PRO) software.
This manual includes a full table of contents, index, chapter task lists and
numerous cross-references to help you find the specific information you are
looking for.
Also included are four levels of notices:
Note
A Note provides helpful information such as hints or alternative
ways of doing a task.
Important
An Important calls attention to an essential step or point required
to complete a task. Important items include things often missed.
Caution
A Caution informs you of possible equipment damage or loss of
data and how to avoid them.
Warning
A Warning notifies you of probable equipment damage or loss of
data, or the possibility of physical injury, and how to avoid them.

VTrak 15110 User Manual
2
Overview
VTrak provides data storage solutions for applications where high performance
and data protection are required. The failure of any single drive will not affect data
integrity or accessibility of the data in a RAID protected logical drive.
Figure 1. VTrak 15110 front view
A defective drive may be replaced without interruption of data availability to the
host computer. If so configured, a hot spare drive will automatically replace a
failed drive, securing the fault-tolerant integrity of the logical drive. The self-
contained hardware-based RAID logical drive provides maximum performance in
a compact external chassis.
Figure 2. VTrak 15110 rear view
The VTrak 15110 is an external disk array subsystem with a capacity of fifteen
individual Serial ATA or (parallel) ATA disk drives.
PROMISE VTrak 15300
Drive Carrier LEDs
Power and Status LEDs Drive Carriers
Storage Enclosure
Processor (SEP) RAID Controller
Power Supply Cooling Unit
with Battery Power SupplyCooling Unit

Chapter 1: Introduction
3
The two standard LVD SCSI interface provides compatibility with any system that
uses a SCSI interface. No vendor unique commands are required for the
operation of the VTrak subsystem.
Architectural Description
The VTrak 15110 is a Direct Attached Storage (DAS) subsystem that can also
function in a Storage Area Network (SAN). It consists of 15 disk drive bays, a 3U
enclosure with mid-plane, RAID controller, power and cooling units, and
enclosure processor all in one cable-less chassis design. Multiple fans and
power supplies provide redundancy to ensure continued usage during
component failure. The RAID controller is hardware based and controls all logical
drive functions transparently to the host system. VTrak appears to the computer’s
operating system as a standard SCSI drive or drives.
Features and Benefits
Feature Benefit
3U 19-inch wide enclosure Installs easily in any standard rackmount.
Supports RAID levels 0, 1, 3, 5, 10
and 50
Allows system to be tuned for maximum
performance.
Supports online logical drive
(array) expansion
Lets you add disk drives to an existing
logical drive without interrupting data
accessibility
Supports online RAID migration Allows you to convert a logical drive from
one RAID level to another without
interrupting data accessibility
Supports Parallel ATA drives (with
a Promise adapter card)
Allows you to use existing ATA disk drives.
Supports logical drive migration
from other Promise RAID products
Allow you to seamlessly move your existing
logical drives to VTrak without recreating
them.
S.M.A.R.T. monitoring Warns of disk drive degradation and
potential failure.
Dual-channel standard SCSI-3
(Ultra 160) drive to host
Compatible with all SCSI-3 or SCSI-2/LVD
host adapters. No special OS drivers used.
Up to 20K IOPS (over two iSCSI
ports)
High processing rate.

VTrak 15110 User Manual
4
Up to 200 MB/sec sustained
bandwidth (over two iSCSI ports)
High data thoughput.
Hardware-assisted XOR engine High-speed parity calculation for parity type
logical drives.
Supports out-of-band management
through RS232 and 10/100 BaseT
Ethernet connections
Allows you to manage the RAID subsystem
while maximizing bandwidth on the iSCSI
network.
Supports SNMP (v1) CIM and
WBEM standards
API-ready for enterprise management
integration.
Tagged command queuing up to
256 commands
Maximum performance in Multi-Threaded
Operating Systems.
Supports SATA II Native Command
Queuing
High performance and efficiency through
efficient command re-ordering.
Hot-swap feature for drive carriers,
power supplies, fans and battery
Allows a defective component to be
replaced without interrupting data
accessibility to the host system.
Tool-less field-replaceable units
(FRUs)
All FRUs can be replaced without tools,
saving time and effort for support personnel.
Hot-spare drives Maintains full fault tolerant integrity by
automatically rebuilding the data from a
failed drive to an installed hot spare drive.
Supports multiple, designated and global
spares.
Automatic background data
reconstruction when a drive is
replaced
Logical drive is quickly back on-line with
minimal user intervention.
Redundant, hot-swappable cooling
units
Load sharing and full operation even with
multiple failed fans.
N+1 Redundant, hot-swappable
power supplies
Load sharing and full operation even with a
failed power supply.
Redundant SCSI ports Load sharing and full operation even with a
failed SCSI port.
Feature Benefit

Chapter 1: Introduction
5
Specifications
Drive Capacity: 15 SATA and PATA disk drives (3.5" x 1" form factor only)
External I/O Ports: Dual Ultra 160 SCSI with 68-pin VHDCI connections
Sustained Throughput: Up to 200 MBps (over two iSCSI ports)
Sustained I/Os: Up to 20,000 I/Os per second
Data Cache: Up to 512MB predictive data cache with automatic write cache
destaging and 72-hour battery backup protection (256 MB, standard)
Supported RAID Levels:
Any combination of these RAID levels can exist at once on separate logical
drives. See page 207 for more information on RAID.
RAID Flexibility: Configurable RAID stripe size – 4,8,16,32 or 64 sectors per disk.
Rebuild priority tuning: Adjustment of minimum I/O reserved for server use during
rebuild.
Hot-spares: Multiple global and designated hot spares.
Maximum Disks & LUNs: 15 in any combination of RAID levels and drive types.
Supported Disk Interfaces: Serial ATA (SATA), Parallel ATA (with optional
Promise adapter).
Cluster support Supports two-node server clusters for
performance and availability.
Complete cable-less design All components easily plug directly into
boards. No cables to complicate setup or
maintenance.
Cache battery backup 72-hour backup for controller cache to retain
data in case of power failure.
Command-line and Graphic-user
interfaces
Choice of control and monitoring methods
for greater flexibility.
•RAID 0•RAID 1•RAID 3
•RAID 5 •RAID 10 •RAID 50
Feature Benefit

VTrak 15110 User Manual
6
Supported Operating Systems:
Current: 8 A @ 100 VAC; 4 A @ 200 VAC (max. rating with two power cords)
Power Consumption: 440 watts
Power Supply: Dual 500W, 100–240 VAC auto-ranging, 50–60 Hz, dual hot swap
and redundant with PFC, N+1 design
Thermal Output: 1590 BTU/hour (max current)
Operating Temperature: 41° to 104°F (5° to 40°C)
Non-operational Temperature: -40° to 140°F (-40° to 60°C)
Relative Humidity: Maximum 90%
Vibration: Random, 0.21 grms, 5 to 500Hz, 30Mins, X, Y, Z axis
Management Tools: WebPAM Professional, Command Line Utility
Management Interfaces: Ethernet, RS232 (Serial)
Management Protocols: SNMP, SSL, WBEM, Telnet
Notification: Email, audible, and visible alarms
Dimensions: Height, 5.0 in (12.7 cm); Width, 17.6 in (44.8 cm); Depth, 26.0 in
(66.0 cm)
Weight: 66 lbs (30 Kg) without drives; Approximately 84 lbs (38 Kg) with 15 drives
installed
Safety Certifications: CE, FCC Class A, BSMI, VCCi, cUL, TUV, MIC
Limited Warranty: 3 Years (See page 248 for details)
FCC Statement
This device complies with Part 15 of the FCC Rules. Operation is subject to the
following two conditions: (1) this device may not cause harmful interference, and
(2) this device must accept any interference received, including interference that
may cause undesired operation.
• Windows 2000
• Windows XP Professional
• Windows 2003
•Mac OS X
• RedHat Linux
• SuSE Linux

7
Chapter 2: Installation
• Unpack the VTrak storage subsystem (below)
• Mount VTrak 15110 in a Rack (page 8)
• Install Disk Drives (page 9)
• Verify the SCSI HBA Card (page 15)
• Connect the SCSI Cables (page 16)
• Connect the Management Cables (page 22)
• Connect the Power (page 23)
• Set-up Management Connections (page 25)
• Set Up Telnet Connection (page 29)
• Install WebPAM PRO Software (page 33)
Unpack the VTrak
The VTrak box contains the following items:
•VTrak Unit
• Quick Start Guide
• Null Modem Cable
• SCSI Terminators (2)
• Left and right mounting rails
• 1.0m External VHDCI SCSI cables (2)
• Screws for disk drives
(64 plus 4 spares)
• 1.5m (4.9 ft) Power cords (2)
• CD with WebPAM PRO Software,
User Manual and Quick Start Guide
Warning
The electronic components within the VTrak disk array are
sensitive to damage from Electro-Static Discharge (ESD).
Observe appropriate precautions at all times when handling the
VTrak or its subassemblies.
Important
In order to work with VTrak, the SCSI Host Bus Adapter (HBA)
card you select for the Host PC must meet requirements. See
page 15.

VTrak 15110 User Manual
8
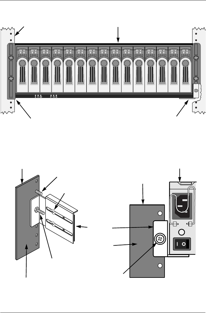
Mount VTrak 15110 in a Rack
Figure 1. Rackmounted VTrak 15110
The VTrak 15110 installs directly to the rack with or without using the supplied
mounting rails.
Figure 2. Mounting rail installation
PROMISE
VTrak 15200
Vertical Rack Post
Direct attach to post Mounting Rail
(included)
VTrak 15110
VTrak attaching screw
Back side of post
Rack front post
Rail attaching screw
(not included)
Rail adjustment screw
Mounting
Rail
Rail attaching screw
(not included)
Back side
of post
Rack rear post
VTrak subsystem

Chapter 2: Installation
9
If you plan to use the mounting rails, follow this procedure to install them:
1. Attach one end of the rail to the back side of the rack’s front post.
2. Reposition the adjusting screws as needed to fit the rail to the rack properly.
3. Attach the other end of the rail to the back side of the rack’s rear post.
4. Repeat steps 1 through 3 to attach the other rail.
5. Square the rails in the rack and tighten the attaching screws.
6. Set the VTrak onto the rails.
7. Attach the VTrak to the rack’s front posts with the screws provided.
Install Disk Drives
Before using the VTrak you must first populate it with Serial ATA (SATA) disk
drives. You can also use Parallel ATA (PATA) disk drives with the optional SATA-
to-PATA adapters available from Promise Technology. The VTrak 15110 can
support up to fifteen disk drives and provide the RAID configurations listed below.
See Chapter 7, page 207 for a complete explanation of RAID on VTrak.
Caution
Do not pull or push the handles on the Power Supplies or the
Controller units in order to move the VTrak. Hold the VTrak by the
housing only.
RAID Configuration Number of disk drives
Minimum Maximum
RAID 0 1 15
RAID 1 2 2*
RAID 3 3 15
RAID 5 3 15
RAID 10 4 14
RAID 50 6 14
* RAID 1 logical drives work in matched pairs. VTrak
supports up to seven (7) RAID 1 logical drives.

VTrak 15110 User Manual
10
Figure 3. VTrak 15110 Disk Drive access
Important
Before installing a Parallel ATA disk drive, be sure the jumpers on
the disk drive are set for master operation. Never set a drive for
slave operation.
Note
You can use disk drives of different manufacturers and sizes. In
logical drives with different drive sizes, the drives are forced to
equal the capacity of the smallest physical drive.
VTrak ChassisDrive Carrier Latch Handle

Chapter 2: Installation
11
To remove a Drive Carrier from the VTrak, pull the Drive Carrier Latch Handle
and remove an unused Drive Carrier (see Figure 3).
Figure 4. Drive Carrier mounting holes
Note that the Drive Carrier has several mounting holes (above). Those marked
with a triangle are for disk drives.
Caution
Be sure to install the counter-sink screws supplied with the VTrak.
Use of other types of screws can damage the adjacent drives.
PATA-to-SATA
Adapter
SATA Drive Mounting Holes
PATA Drive
Mounting Holes

VTrak 15110 User Manual
12
Serial ATA Disk Drives
Figure 5. SATA Disk Drives mount at the front of the carrier
1. Carefully lay the drive into the drive carrier at the front, so that the screw
holes on the bottom line up.
2. Insert the screws through the holes in the Drive Carrier and into the bottom
of the disk drive (see Figure 4).
• Install only the screws supplied with the VTrak.
• Install four screws per drive.
• Snug each screw. Be careful not to over tighten.
3. Reinstall the drive carrier into the VTrak chassis.
4. Repeat these steps until all of your disk drives are installed.
Serial ATA Disk Drive

Chapter 2: Installation
13
Parallel ATA Disk Drives
In order to use Parallel ATA disk drives in VTrak, you must first install a PATA-to-
SATA adapter available from Promise Technology.
Figure 6. PATA Disk Drives require a PATA-to-SATA adapter
1. Obtain the needed quantity of PATA-to-SATA adapters from your Promise
distributor.
2. Carefully lay the converter into the drive carrier, with the SATA connection
facing forward (see Figure 5), so that the screw holes on the bottom line up
(see Figure 3).
3. Install the four screws that came with the adapter.
4. Lay the carrier on a flat surface. Hold a disk drive in one hand and connect
the power and data cables with the other.
5. Carefully lay the drive into the carrier so that the screw holes on the bottom
line up (see Figure 4).
6. Insert Promise-supplied screws through the holes in the drive carrier and
into the bottom of the disk drive.
7. Slide the assembled drive carrier back into the chassis and press the handle
forward to secure the Drive Carrier.
8. Repeat these steps until all of your disk drives are installed.
Parallel ATA
Disk Drive
PATA-to-SATA
Adapter

VTrak 15110 User Manual
14
Drive Numbering
Each disk drive in VTrak is identified by a number used for creating and
managing logical drives. VTrak numbers disk drives from left to right. Numbers a
stamped above each drive bay for easy indentification.
Figure 7. VTrak disk drives are numbered left to right
Caution
If you plan to operate your VTrak with fewer than 15 disk drives,
install all 15 Drive Carriers into the enclosure, to ensure proper
airflow for cooling.
Important
Be sure each drive is securely fastened to its carrier. Proper
installation ensures adequate grounding and minimizes vibration.
Do not install drives with fewer than four screws.
Note
Previous array enclosures from Promise required you to latch the
drive carrier handle in order to power the drive. VTrak uses the
handle only to lock the carrier in place.
Drive 1 Drive 15

Chapter 2: Installation
15
Verify the SCSI HBA Card
Data travels between the Host PC and the VTrak storage system through a SCSI
connection. Therefore, the SCSI HBA card is an essential part of the Host PC
and VTrak system.
The table below lists the minimum and preferred specifications for a SCSI HBA
card.
Refer to your system and/or SCSI HBA manual for these specifications.
VTrak has a peak sustained thoughput of more than 100 MB/s per channel.
Using an 80 MB/s SCSI card will result in a performance bottleneck under certain
conditions.
Minimum Preferred
Data Transfer Rate 80 MB/s 160 MB/s
PCI Bus 32-bit 64-bit
PCI-X Bus no yes
External Connector 68-pin HD* 68-pin VHDCI
Cable Interface LVD LVD
Supports LUNs yes yes
* Requires use of a 68-pin HD to 68-pin VHDCI SCSI cable
(available from Promise Technology).
Notes
For applications where two SCSI HBA cards are required, you can
use a dual-channel SCSI HBA card.
Many single-channel SCSI HBA cards have multiple connectors.
Be sure your card really is dual-channel.
If you connect two SCSI channels to a single-channel SCSI HBA
card, only one channel will function.

VTrak 15110 User Manual
16
Connect the SCSI Cables
Installation of the VTrak is very similar to a standard SCSI drive. The SCSI
connector accepts the Very High Density Connector Interface (VHDCI), 68-pin,
Low Voltage Differential (LVD) SCSI cable used on many SCSI devices.
Figure 8. VTrak 15110 SCSI connections
When you attach the SCSI cables, you can use either the upper or lower
connector for each channel. The connectors are non-directional, there is no SCSI
in / SCSI out.
Caution
To prevent possible damage to the VTrak or your Host PC, ensure
that the power to both units is OFF before connecting the SCSI
cables.
Important
VTrak has two SCSI channels. When you attach a SCSI cable to
the connector of one channel, be sure to attach a terminator to the
other connector of the same channel. See Figure 8, above.
SCSI Channel 1 SCSI Channel 2

Chapter 2: Installation
17
The VTrak has four 68-pin, VHDCI SCSI connectors and two separate SCSI
channels. These connectors are used in one of five ways:
• Configuration 1: One VTrak, one Host PC, one SCSI HBA card
• Configuration 2: One VTrak, one Host PC, two SCSI HBA cards
• Configuration 3: One VTrak, two Host PCs, one SCSI HBA card in each
• Configuration 4: Two (or more) VTraks, one Host PC, one SCSI HBA card
(daisy chain)
• Configuration 5: Two VTraks, one Host PC, two SCSI HBA cards
VTrak makes use of SCSI Target IDs (TIDs) and Logical Unit Numbers (LUNs) to
enable multiple VTrak arrays managed by a single Host PC. How to set TIDs and
LUNs is explained on page 97. At this point, proceed with the connection of SCSI
cables following industry standard guidelines and the illustrations on the following
pages.
SCSI Terminator
When the VTrak is the last SCSI device in the chain you must install the Promise-
supplied (or equivalent) external SCSI terminator on both SCSI Connectors (see
below). The SCSI cable or terminator can attach to either SCSI connector. If you
use a SCSI channel, you must attach a SCSI Terminator to it.
Figure 9. If you use a SCSI channel, attach a terminator to it
Caution
Proper termination and SCSI-3 compliant cables are required for
the system to operate correctly. Two external SCSI terminators
and a SCSI-3 compliant cables are included with the VTrak 15110.
VTrak Controller
SCSI
Terminat or
Attach SCSI cable
or Terminator to
either connector
SCSI
Terminat or
SCSI
Channel 1 SCSI
Channel 2

VTrak 15110 User Manual
18
Configuration 1: One VTrak, one Host PC, one SCSI HBA
card
Attach the SCSI cable to either of VTrak’s SCSI channels.
Configuration 2: One VTrak, one Host PC, two SCSI HBA
cards
You can use a dual-channel SCSI HBA card for this application.
SCSI Terminator
SCSI Cable
SCSI HBA
Card
Host PC
VTrak
Connect to either channel 1 or 2
Host PC
VTrak
SCSI HBA
cards
SCSI Cables
SCSI Terminators

Chapter 2: Installation
19
Configuration 3: One VTrak, two Host PCs, one SCSI HBA
card in each
This arrangement allows you to manage the same VTrak from two different Host
PCs.
Host PC 1 Host PC 2
SCSI HBA Cards
SCSI Cables
SCSI Terminators
VTrak

VTrak 15110 User Manual
20
Configuration 4: Two VTraks, one Host PC, one SCSI HBA
card (daisy chain)
Do the following when daisy-chaining VTraks:
1. Use a 68-pin VHDCI cable to attach each VTrak array to the SCSI chain.
You can connect up to eight (8) VTraks on the same SCSI chain.
2. Set a different SCSI Target ID for each VTrak.
For example, a daisy chain of six VTraks could have these assignments:
VTrak 1 . . . .Target ID 1
VTrak 2 . . . .Target ID 2
VTrak 3 . . . .Target ID 3
VTrak 4 . . . .Target ID 4
VTrak 5 . . . .Target ID 5
VTrak 6 . . . .Target ID 6
See page 98 (WebPAM PRO) or page 180 (CLU) for instructions how to set
SCSI Target IDs.
3. Install a SCSI terminator on the last VTrak in the chain.
Host PC
SCSI Cable
SCSI
Terminator
VTrak 1
VTrak 2
SCSI HBA Card

Chapter 2: Installation
21
Configuration 5: Two VTraks, one Host PC, two SCSI HBA
cards
A Host PC manages two VTraks through separate SCSI connections. An an
alternative to daisy chaining, it can provide increased I/O performance.
You can use a dual-channel SCSI HBA card for this application.
With one to eight VTraks connected to each SCSI HBA card, you can use as
many SCSI HBA cards as your PC will support.
Host PC
VTrak 1
SCSI HBA
cards
SCSI Terminators
VTrak 2
SCSI Cable

VTrak 15110 User Manual
22
Connect the Management Cables
VTrak 15110 has two types of Management connections:
• Management Port connection – Enables you to monitor the VTrak over your
network using the WebPAM PRO Software. VTrak supports Ethernet and
Telnet protocols.
• RS-232 Serial connection – Enables the Command Line Utility (CLU) on
your PC to monitor and control VTrak.
Figure 4. VTrak 15110 serial and network connections
Management Port Connection
The Network connection is for using WebPAM PRO over the network and also for
using the CLU through a Telnet connection.
1. Arrange with your Network Administrator to provide a network connection for
the VTrak.
2. Attach the network cable to the network connector on the VTrak..
RS-232 Serial Connection
The serial connection uses the null modem cable provided with the VTrak.
1. Attach the null modem cable to the RS-232 serial port on your PC.
2. Attach the other end of the null modem cable to the serial port on the VTrak.
Caution
Do not attempt to connect an Ethernet cable, regular or cross-
over, directly between the VTrak and your PC. This is a network
connection and requires a hub or switch.
Mgmt
IOIOI
Management
Port Connector
RS-232 Serial
Connector

Chapter 2: Installation
23
Macintosh Users
If your Host PC is an Apple Macintosh, you do not have the RS-232 serial port
needed to set-up a Management connection.
Promise has developed a Telnet utility for the Macintosh that establishes a Telnet
connection between the Macintosh PC and the VTrak without an initial setup
though an RS-232 serial connection. See Mac OS X on page 29 for more
information.
As an alternative, obtain the following items to make a serial connection:
• A USB to DB-9 serial converter
• Terminal emulation software
Several manufacturers offer USB to DB-9 serial converters and cables. For
terminal emulation software, go to:
http://homepage.mac.com/dalverson/zterm/
Download and install the ZTerm software onto your system.
Connect the Power
VTrak systems will operate on either 115 volts AC or 230 volts AC. The VTrak
15110 includes two replaceable power supply modules with autosense voltage
selection and Power Factor Correction (PFC).
Figure 11. Power Connections and Switch
Warning
Power supplies can contain over 240 volts. This high voltage, if
mishandled, can cause serious injury or death.
Do not touch or handle a power cable or power supply unless you
have been trained and prepared to perform this task.
Retaining
Bail
Cooling
Fan
Power
Switch
Power
Connection

VTrak 15110 User Manual
24
Plug the power cords into the power connections on both power supplies. Use
the retaining bails to hold the power cords in place and prevent an accidental
disconnection.
Turn both power supplies on.
When the power is switched on, the LEDs on the front of the VTrak will light up.
Figure 12.VTrak 15110 Displays
When boot-up is finished and the VTrak is functioning normally:
• Controller LED blinks green once per second for five seconds, goes dark for
five seconds, then blinks green once per second for five seconds again.
• Power, FRU and Logical Drive LEDs display green continuously.
• SCSI LEDs flash green if there is activity on that channel.
There are two LEDs on each Drive Carrier. They report the presence of power
and a disk drive, and the current condition of the drive.
Figure 13.VTrak 15110 Disk Carrier LEDs
Power SCSI-2
Activity
FRU
Status Disk Array
Status SCSI-1
Activity Controller
Heartbeat
Disk Status
Power/
Activity

Chapter 2: Installation
25
After a few moments the Power/Activity and Disk Status LEDs should display
green.
If there is no disk drive in the carrier, the Disk Status LED will display green while
the Power/Activity LED will remain dark.
Set-up Management Connections
As explained earlier, VTrak 15110 has two types of Management connections:
• Network – Supports the CLU and WebPAM PRO
• RS-232 Serial – Supports the CLU
The physical (cable) connections for these are described in an earlier section. If
you have not made these connections, do so before continuing.
Use the following procedures to enable Management connections for VTrak.
Terminal Emulation is required in all cases. The others are required depending on
the Management connections you choose.
Terminal Emulation
Terminal emulation is the means of communication over an RS-232 serial
connection. In the following procedure, you will establish a Terminal Emulation
link between the Host PC and the VTrak.
Regardless of your choice of management connection, you must first establish a
Terminal Emulation connection.
If you are using a Macintosh PC and have no provision for a RS-232 connection,
see the instructions under Mac OS X on page 29.
1. Change your PC’s COM Port settings to agree with the following:
• Bits per second: 115200
• Data bits: 8
• Parity: None
• Stop bits: 1
• Flow control: none
2. Start your PC’s terminal emulation program.
3. Press Enter once to launch the CLU.
The CLU Main Menu appears (below) and is ready to use.

VTrak 15110 User Manual
26
For a full list of CLU capabilities and functions, see Chapter 5 on page 133.
Set IP Addresses and Subnet Mask
This procedure is required for a network connection to the VTrak. In order for the
network connection to work, you must set the IP addresses of the Management
Port and Gateway, and set the Subnet Mask.
If you do not plan to use a network connection, you can skip to the next
procedure.
To enable DHCP:
1. From the Network Management menu, press 1 and Enter to access the
Management Port menu.
2. Press 1 and Enter to access DHCP.
3. Press Y and Enter to enable DHCP on VTrak.
4. Press Enter again to return to the Management Port menu.
To make settings manually:
1. From the Network Management menu, press 1 and Enter to access the
Management Port menu.
Caution
Use of the DHCP feature on VTrak can result in losing network
connection to the VTrak after a shutdown or power failure. For this
reason, Promise recommends a static IP address.

Chapter 2: Installation
27
The Management Port settings display.
--------------------------------------------------------------------------
Management Port IP Address: 10.0.0.2
Subnet Mask: 255.0.0.0
Gateway IP Address: 0.0.0.0
Telnet: disabled
TFTP Server IP Address: 0.0.0.0
SNMP Name: Sonoma
SNMP Location: Promise
-------------------------------------------------------------------------
Network Management
1. Management Port
2. Telnet
3. TFTP Server
4. SNMP
5. Ping
R. Return to previous menu
Please enter your menu choice>1
2. Press 1 and Enter to select Management Port.
--------------------------------------------------------------------------
Management Port IP Address: 10.0.0.2
Subnet Mask: 255.0.0.0
Gateway IP Address: 0.0.0.0
-------------------------------------------------------------------------
Management Port
1. DHCP
2. Management Port IP
3. Subnet Mask
4. Gateway
R. Return to Previous Menu
Please enter your menu choice>1
3. Press 1 and Enter to change the management port IP address.
--------Configure Management Port IP address--------
Current management port IP Address: 10.0.0.2
Modify management port IP address(y/n)?>y
New management port IP address>192.168.1.56 (an example only)
New management port IP address: 192.168.1.56
Press Enter key to return
4. Press Y and Enter to modify the management port IP address.

VTrak 15110 User Manual
28
5. Type the new IP address and press Enter.
The CLU confirms the new management port IP address.
6. Press Enter to return to the Management Port menu.
7. Repeat steps 3 though 6 to set the Subnet mask and Gateway IP address
8. Restart the VTrak.
Important
All three settings must be correct in order for WebPAM PRO to
connect to the VTrak.

Chapter 2: Installation
29
Set Up Telnet Connection
A Telnet connection allows you to access VTrak’s CLU over the network. This
allows RAID management over a greater distance from the VTrak itself.
This procedure is required for a Host PC that does not have an available RS-232
serial port.
The CLU screen looks and works exactly the same over a Telnet connection as it
does over a serial connection.
Enable Telnet on VTrak
Telnet is the means of using the CLU over a network connection. VTrak’s Telnet
service is disabled by default. Follow these instructions to enable Telnet.
Windows and Linux
1. Connect the RS-232 cable between the Host PC and VTrak.
Refer to Step 7 on page 25 for the RS-232 settings and setup.
2. Launch HyperTerminal or Minicom.
3. In the CLU Main Menu, select Network Management > Telnet and choose
Enable/disable Telnet.
This action enables the Telnet support.
Mac OS X
Since the Macintosh has no RS-232 port, you will enable the Telnet service
through the network using a Telnet utility.
1. Download the Promise Telnet utility for Mac, file name telnetenable.bin and
copy it to a convenient folder.
2. Open a Terminal window.
3. Change the file mode of telnetenable.bin to executable (example: chmod
777 telnetenable).
4. Ping the VTrak box over the network to be sure it is connected (example:
ping 10.0.0.2).
VTrak’s default Management port IP address is 10.0.0.2.
If the VTrak does not respond, take the necessary action to establish a
network connection.
5. Launch the Telnet utility, and run telnetenable [IP address of the VTrak].
6. When you see “Telnet port enabled”, run telnet IP-address 2300.
Use ./telnetenable IP-address to enable the telnet port and ./telnetenable
IP-address 0 to disable it.

VTrak 15110 User Manual
30
Make a Telnet Connection
The Telnet feature on VTrak must be enabled. See “Enable Telnet on VTrak” on
page 29.
HyperTerminal (Windows) or Minicom (Linux)
1. Launch the HyperTerminal or Minicom application.
2. Open a terminal window,type a name and click OK (above, left).
3. In the Connect using dropdown menu, select TCP/IP (Winsock) (above,
right).
4. In the Host address field, type the VTrak’s IP address.
5. In the Port number field, type 2300.
6. Click OK.
The Telnet login window opens.
7. In the Telnet Login, type a user name (administrator is the default) and press
Enter.

Chapter 2: Installation
31
8. Type a password (password is the default) and press Enter.
The CLU screen opens. See Chapter 5 (page 133) for information about how
to use the CLU.
Command Line (Windows) or Terminal Icon (Linux)
1. Go to the Windows command line or click the Linux terminal icon.
2. Type telnet and press Enter.

VTrak 15110 User Manual
32
3. Type a lower-case letter O, space, the VTrak’s IP address, space, 2300.
Example: o 192.168.10.48 2300
4. Press Enter.
The telnet login screen appears.
5. In the Telnet Login, type a user name (administrator is the default) and press
Enter.
6. Type a password (password is the default) and press Enter.
The CLU screen opens. See Chapter 5 (page 133) for information about how
to use the CLU.

Chapter 2: Installation
33
Install WebPAM PRO Software
Web-Based Promise Array Management—Professional (WebPAM PRO)
software provides a browser-based graphic user interface used to monitor and
manage VTrak and its logical drives. Because it works over your network, it can
monitor and control multiple VTraks. WebPAM PRO consists of two components:
• Utility Server – WebPAM PRO software you install
• CIMOM Agent – WebPAM PRO component preinstalled on the VTrak
Utility Server Installation Locations
When you install WebPAM PRO, you are installing the Utility Server. Where you
install WebPAM PRO depends on your management connection. If you plan to
use the VTrak Management (network) port, there are three possible locations.
• A networked PC
• A network file server
•The Host PC
Installation Guidelines
When you install WebPAM PRO on a network, follow these rules.
• Install the Utility Server only on a PC or Server that is permanently
connected to your network.
• Install only one instance of the Utility Server on your network.
Operating System Support
On the PC or server where you install WebPAM PRO, Promise Technology
recommends:
• Windows 2000
• Windows XP Professional
• Windows 2003
• RedHat Linux
• SuSE Linux
•Mac OS X
•Solaris 9
The Utility Server supports these operating systems. Choose one of them to take
full advantage of all the features of WebPAM PRO.

VTrak 15110 User Manual
34
CIMOM Agent
VTrak ships from the factory with a CIMOM agent installed..
Figure 7. WebPAM PRO on a network
Desktop PC
with Internet
browser
Laptop PC
with Internet
browser
The
Internet
Networked PC
with Internet browser Networked PC
with Utility Server
Router & Firewall
Rackmounted VTrak
Subsystems
Host PC
with a single
VTrak Subsystem

Chapter 2: Installation
35
Internet Browser
Typically an Internet browser comes with your operating system. WebPAM PRO
does not include a browser. For computers that will remotely monitor and
manage the RAID, the Internet Browser is the only software required.
Your Internet Browser provides the means for you to monitor and configure your
Promise RAID products using WebPAM PRO. You can use the most recent
versions of either Internet Explorer or Netscape Navigator.
Before you start…
1. Obtain the IP addresses of these devices:
• The PC or server where you plan to install WebPAM PRO
• The VTrak(s) you plan to monitor
2. If you are planning to use other applications that rely on JRE or JDK, always
install them first before you install WebPAM PRO. WebPAM PRO will use the
existing JRE rather than installing a second one.
WebPAM PRO will install JRE 1.4 on your system unless you already have
JRE or JDK versions 1.3.0 or 1.4.
Install WebPAM PRO
Windows
Follow these steps to install WebPAM PRO on your Windows-based PC or
Server.
1. Boot up the PC/server and launch Windows.
If the computer is already running, exit all programs.
2. Insert the software CD into your CD-ROM drive.
3. Double-click on the Install CD's icon to open it.
4. Double-click on the Installer icon to launch it (right).
The first WebPAM PRO installation dialog box appears, as
shown on page 37.
Linux
Follow these steps to install WebPAM PRO on your Linux-based PC or Server.
1. Boot up the PC/server and launch the Linux GUI.
If the computer is already running, exit all programs.

VTrak 15110 User Manual
36
2. Insert the software CD into your CD-ROM drive.
3. In the CD window, double-click on the webpam...bin icon to
begin installation (right).
4. When the Run or Display? dialog box appears, click Run in
Terminal.
After several moments, the Terminal window closes and the first WebPAM
PRO installation dialog box appears, as shown on the next page.
Mac OS X
Follow these steps to install WebPAM PRO on your Mac OS X-based PC or
Server.
1. Boot up the PC/server and launch Mac OS X.
If the computer is already running, exit all programs.
2. Insert the software CD into your CD-ROM drive.
3. Double-click on the Install CD's icon to open it.
4. Double-click on the Installer icon to launch it (right).
The first WebPAM PRO installation dialog box appears, as
shown on the next page.
Solaris
Follow these steps to install WebPAM PRO on your Solaris-based PC or Server.
1. Boot up the PC/server and launch Solaris.
If the computer is already running, exit all programs.
2. Insert the software CD into your CD-ROM drive.
3. Open a Terminal Console (window).
4. Navigate to the Solaris folder on the CD.
5. Type ls and press Enter to verify the name of WebPAM installer file.
6. Type sh webpam...bin (use the actual file name) and press Enter to begin
installation.
The first WebPAM PRO installation dialog box appears, as shown on the
next page.

Chapter 2: Installation
37
Installation Under All Supported Operating Systems, continued
In the following examples, the Windows install screens are shown. Linux and
Mac OS X install screens have a slightly different appearance but the
information, choices and actions required are exactly the same.
1. When the Introduction screen appears (above), click the Next button.
2. When the License Agreement appears (above), click the “I accept the
terms...” radio button, then click the Next button.
If you do not accept the terms of the Agreement, the installation will stop.

VTrak 15110 User Manual
38
3. When the SSL Security Options screen appears (above), you can check
External Security. An explanation follows.
External SSL Security – Applies security to all connections involving the
Internet or outside your company firewall.
Security options are invisible to authorized users.
Promise Technology provides a default certificate for the server as well as for
internal data communication. However, in some cases it is always better to
install and verify your own certificate for the webserver. And if possible, verify
certificate by certificate authority like Verisign or Thwate. See your MIS
Administrator for guidance.
Click the Next button when you have made your choice.

Chapter 2: Installation
39
4. When the Utility Server Information screen appears (below), type the
requested network addresses.
You must type the correct information for Email Server and Email Sender or
the installation will not proceed.
Email Server – Type in the name of your company's email server.
Email Sender – Type in the email address of the person responsible for
maintaining the RAID. This address will be the return address on all email
notifications sent from the Utility Server to all recipients.
Click the Next button when you are finished.

VTrak 15110 User Manual
40
5. When the Choose Install Folder screen appears (below), make your
selection of a folder for the WebPAM PRO applications you are installing.
The default folder is C:\WebPAM. If you want a different folder, type its
location and click the Choose... button.
If you change your mind and want the default location, click on the Restore
Default Folder button.
Click the Next button when you are finished.
6. When the WebPAM PRO Installation Configuration screen appears (above),
take a moment to review your choice of install folder and the available disk
space on the target hard drive.

Chapter 2: Installation
41
• If you need to make changes, click the Previous button to return to the
Install Folder screen.
• If you are satisfied with the proposed installation, click the Install button.
7. When the Install Complete screen appears (above), the installation process
is finished. Click the Finish button to go to the Promise Registration website.
This completes the WebPAM PRO installation.
Important
Registration of your VTrak and WebPAM PRO provides useful
information that helps Promise Technologies to offer better
products and support. Please take a few minutes to register.
Thanks!

VTrak 15110 User Manual
42

43
Chapter 3: Setup
• VTrak Setup with WebPAM PRO (below)
• VTrak Setup with the CLU (page 57)
After installation, the next step is to configure VTrak. You can do this with
WebPAM PRO or the Command Line Utility (CLU), whichever you prefer.
This Chapter only deals with basic functions needed to setup a new VTrak. For a
full discussion of VTrak functions,refer to WebPAM PRO on page 65 and the CLU
on page 133.
VTrak Setup with WebPAM PRO
Set up with WebPAM PRO consists of the following steps:
1. Log-in to WebPAM PRO (below)
2. Add a Subsystem (VTrak) (page 46)
3. Access a Subsystem (VTrak) (page 46)
4. Create a Disk Array (page 48)
5. Create a Logical Drive (page 54)
6. Assign a SCSI Target ID (page 55)
7. Log-out of WebPAM PRO (page 56)
Log-in to WebPAM PRO
1. Launch your Browser.
2. In the Browser address field, type in the IP address of the PC/Server where
you installed WebPAM PRO, as explained below. Do not type the VTrak’s IP
address.
If you did not choose the External Security option during WebPAM PRO
installation, use the Regular connection.
If you chose the External Security option during WebPAM PRO installation,
use the Secure connection.
Regular Connection
• WebPAM PRO uses an HTTP connection. . . . . . . . . . . . . . . . .http://
• Enter the PC/Server’s IP address . . . . . . . . . . . . . . . 192.168.10.46
• Enter the Port number . . . . . . . . . . . . . . . . . . . . . . . . . . . . . . . :8080
• Add to launch WebPAM PRO . . . . . . . . . . . . . . . . . . . . . . . /promise
Together, your entry looks like this:
http://192.168.10.46:8080/promise

VTrak 15110 User Manual
44
Secure Connection
• WebPAM PRO uses a secure HTTP connection. . . . . . . . . . .https://
• Enter the PC/Server’s IP address . . . . . . . . . . . . . . . 192.168.10.46
• Enter the Port number . . . . . . . . . . . . . . . . . . . . . . . . . . . . . . . :8443
• Add to launch WebPAM PRO . . . . . . . . . . . . . . . . . . . . . . . /promise
Together, your entry looks like this:
https://192.168.10.46:8443/promise
Note that the IP address shown above is only an example. The IP address you
type into your browser will be different.
3. When the opening screen appears, log in as administrator and type in the
default password, which is password. The login and password are case
sensitive.
4. Click the Sign in button.
Important
Immediately after installation, change the Administrator's
password. Make the change under User Management. Each user
you create will have his/her own login ID and password.

Chapter 3: Setup
45
After sign-in, the WebPAM PRO opening screen appears.
The first time you log in to WebPAM PRO, there will be no Subsystems (VTraks)
or Users in the system. Promise recommends that you create the Subsystem(s)
first, then add the User(s).
Note
Make a Bookmark (Netscape Navigator) or set a Favorite (Internet
Explorer) of the Login Screen so you can access it easily next
time.

VTrak 15110 User Manual
46
Add a Subsystem (VTrak)
1. Click on Administrator Tools icon to display the menu.
2. Click on the Subsystem Management icon.
3. Click the Add Subsystem tab (above).
4. In the IP Address field, type in the VTrak’s Management Port IP address.
Do not type the PC/Server’s IP address.
5. When you are done, click the Submit button.
The new Subsystem is added to Subsystem Management and also appears in
the Information tab.
Access a Subsystem (VTrak)
The WebPAM PRO CIMOM Agent resides on the VTrak and sends the
monitoring data to the Utility Server and on to the Browser. In Tree View, a newly
created Subsystem looks like this:
Each Subsystem (VTrak) is identified by an icon and its IP Address. Below it,
the VTrak Subsystem icon appears. A Subsystem is made up of:
SCSI Management – SCSI TIDs
Network Management – Management port connection

Chapter 3: Setup
47
Service Management – SNMP, Telnet and CIM services
Controllers – RAID Management on VTrak
Enclosures – Power supplies, cooling, cache battery, circuit cards
Disk Arrays – Creation and management of disk arrays and logical drives
Spare Drives – Physical drives assigned as global or dedicated hot spares
Logical Drive Summary – A list of all logical drives in this enclosure,
regardless of the disk array to which they belong
If you do not see these details in the Tree View, it means your network connection
to VTrak is not working. Restore your connection before proceeding.
If you do not see anything, lower your browser’s security settings.

VTrak 15110 User Manual
48
Create a Disk Array
A disk array is a collection of physical drives in a RAID. Logical drives are made
from disk arrays. To access the Disk Array tab:
1. Click on the Subsystem icon in Tree View.
2. Click on the VTrak icon.
3. Click on the Disk Arrays icon.
4. Click on the Create tab.
There are three ways to create a new disk array:
•Automatic – Creates a new disk array following a default set of parameters.
Makes one logical drive automatically
•Express – You choose the parameters for a new disk array by specifiying
the characteristics you want. You can create multiple logical drives at the
same time, however they will all be identical
•Advanced – You directly specify all parameters for a new disk array. Makes
one logical drive automatically. You can create additional logical drives at a
later time
Click the radio button of the method you want then click the Next button.
Or select one of these methods from the dropdown menu in the Create tab.

Chapter 3: Setup
49
Automatic Option
The Disk Array Automatic Creation option enables you to create a new disk array
following a default set of parameters. One logical drive will be made automatically
when you create the disk array.
When you choose the Automatic option, the following parameters display:
•Disk Arrays – The number of physical drives in the disk array, their ID
numbers, configurable capacity and the number of logical drives to be
created
•Logical Drives – The ID number of the logical drive(s), their RAID level,
capacity and stripe size
•Spare Drives – The physical drive ID number of the dedicated hot spare
assigned to this disk array
1. Review the parameters. If you accept them, proceed to the next step.
If you do NOT accept these parameters, use the Express or Advanced
option to create your disk array.
2. When you are done, click the Submit button.
The new disk array appears in the Disk Array List on the Information tab.
Proceed to logical drive creation (page 48).
Express Option
The Disk Array Express Creation option enables you to choose the parameters
for a new disk array by specifiying the characteristics you want. With this method,
you can create multiple logical drives at the same time you create your disk array.
However, all of the logical drives will be the same.

VTrak 15110 User Manual
50
To create a new disk array:
1. Check the boxes to select any one or combination of the following:
• Redundancy – The array will remain available if a physical drive fails
• Capacity – The greatest possible amount of data capacity
• Performance – The highest possible read/write speed
• Spare Drive – A hot spare drive
2. In the Number of Logical Drives field, enter the number of logical drives you
want to make from this disk array.
The maximum possible number of logical drives appears to the right of this
field.
3. From the Application Type menu, select an application that best describes
your intended use for this disk array: File Server
• Video Stream
• Transaction Data
• Transaction Log

Chapter 3: Setup
51
•Other
4. Click the Update button.
Or check the Automatic Update box and updates will occur automatically.
The following parameters display:
• Disk Arrays – The number of physical drives in the disk array, their ID
numbers, configurable capacity and the number of logical drives to be
created
• Logical Drives – The ID number of the logical drive(s), their RAID level,
capacity and stripe size
• Spare Drives – The physical drive ID number of the dedicated hot spare
assigned to this disk array
5. If you accept these parameters, proceed to the next step.
If you do NOT accept these parameters, review and modify your selections
in the previous steps.
6. When you are done, click the Submit button.
The new disk array appears in the Disk Array List on the Information tab.
Proceed to logical drive creation (page 48).
Advanced Option
The Disk Array Advanced Creation option enables you to directly specify all
parameters for a new disk array. One logical drive will be made automatically
when you create the disk array. If you select less than the total available capacity,
you can use the remaining space to create additional logical drives at a later time.
To create a new disk array:

VTrak 15110 User Manual
52
1. Enter a name for the disk array in the field provided.
2. Check the box to enable initialization, if desired.
If you checked the initialization box, select the type of initialization from the
dropdown menu.
•Quick – Erases the reserve sectors of the physical drives being added
to the disk array.
•Full – Erases all sectors of the physical drives being added to the disk
array.
3. Highlight physical drives you want in the disk array from the Available list and
press the >> button to move them to the Selected list.
You can also double-click them to move them.
4. When you are done, click the Next button.
5. Choose a RAID level from the dropdown menu.
The choice of RAID levels depends on the number of physical drives you
selected.
6. Specify a Capacity and the unit of measure (MB, GB, TB).
This value will be the data capacity of the first logical drive in your new disk
array. If you specify less than disk array's maximum capacity, the remainder
will be available for additional logical drives which you can create later.
7. Specify a Stripe size from the dropdown menu.
4, 8, 16, 32 and 64 KB are available, 64 KB is the default.
8. Click the Next button.
The Creation Summary lists the disk array information you specified.

Chapter 3: Setup
53
9. If you accept these parameters, proceed to the next step.
If you do NOT accept these parameters, review and modify your selections
in the previous steps.
10. When you are done, click the Submit button.
The new disk array appears in the Disk Array List on the Information tab.
Proceed to logical drive creation (next page).

VTrak 15110 User Manual
54
Create a Logical Drive
When you create a disk array (see page 48), you automatically create one logical
drive also. If the initial logical drive used less than the full capacity of the disk
array, you can create additional logical drives from the same disk array.
To access the Disk Array – Create LD tab:
1. Click on the Subsystem icon in Tree View.
2. Click on the VTrak icon.
3. Click on the Disk Arrays icon.
4. Click on the Disk Array icon.
5. Click on the Create LD tab.
To create a logical drive:
1. Enter an alias (name) in the field.
2. Select a RAID level from the dropdown menu.
3. Enter a capacity and select unit of measure (MB, GB, TB).
The default value is the available capacity of the disk array. You can use this
value or any lesser amount.
4. Select stripe block size from the dropdown menu.
5. Select (cache) Read Policy from the dropdown menu.
6. Select (cache) Write Policy from the dropdown menu.
7. Click the Update button when you are done.
The new logical drive appears in the list.
8. Click the Next button.
9. Verify your settings then click the Submit button.
The new logical drive appears in the Logical Drive List on the Information tab.

Chapter 3: Setup
55
In order to use this logical drive to read and write data, you must partition and
format it using the Host PC’s operating system.
Assign a SCSI Target ID
The term Target ID refers to the SCSI address of the two channels on the RAID
subsystem. A SCSI bus has an Initiator, such as the SCSI card inside the Host
PC, and at least one Target, such as the Controller and Logical Drives inside the
RAID subsystem. Each target must have its own address or Target ID number.
Target IDs can be divided into Logical Unit Numbers (LUNs) to extend the
number of available addresses. The default TID settings for both SCSI channels
is 0. This setting is adequate for most WebPAM and RAID subsystem
configurations. If an address conflict occurs, you might have to change the TID
setting.
You must have Creation Rights to access this function.
To access SCSI Target ID settings:
1. Click on the Subsystem icon in Tree View.
2. Click on the VTrak icon.
3. Click on the SCSI Management icon.
4. Click on the TID Settings tab.
To make settings:
1. Select the SCSI Target IDs you want to use on SCSI Channel 1.
2. Select the SCSI Target IDs you want to use on SCSI Channel 2.
3. Click the Submit button when you are done.

VTrak 15110 User Manual
56
Log-out of WebPAM PRO
There are two ways to log out of WebPAM PRO:
• Close your browser window
• Click Logout on the WebPAM PRO banner (below)
After logging out, you must enter your username and password to log in again.
Clicking Logout brings you back to the Login Screen.
Internet Connection using WebPAM PRO
The above instructions cover connections between VTrak and WebPAM PRO
over your company network. It is also possible to connect to a VTrak from the
Internet.
Your MIS Administrator can tell you how to access your network from outside the
firewall. Once you are logged onto the network, you can access the VTrak using
its IP address.
Please note that only the PC with the SCSI connection can read and write data to
the logical drives on the VTrak. However, other PCs can monitor the VTrak from
virtually any location.
Caution
Conflicting ID numbers can prevent WebPAM from connecting to
the RAID subsystem and/or cause the SCSI HBA BIOS not to
recognize the Logical Drives. Promise offers a sufficient quantity
of TIDs and LUNs to avoid any conflict problems.
Note
The quantity and ID number of Target IDs you select depends in
part upon how many logical drives you plan to create, how your
Host PC and RAID subsystem are connected, and how many
addresses are on the SCSI bus.

Chapter 3: Setup
57
VTrak Setup with the CLU
Set up with the CLU consists of the following steps:
1. CLU Connection (below).
2. Create a Logical Drive
• Automatically (page 58)
• Manually (page 59)
3. Assign a SCSI Target ID (page 63).
4. Exit the CLU (page 64).
CLU Connection
Before you begin, be sure the null modem cable is connected between the Host
PC and VTrak, and that both machines are booted and running.
1. Start your PC’s terminal emulation program.
2. Press Enter once to launch the CLU.
Notes
• If you worked though the Setup procedure above using
WebPAM PRO, your VTrak setup is complete. There is no
need to repeat the Setup with the CLU.
• See Chapter 5 for a full explanation of the CLU functions.

VTrak 15110 User Manual
58
Create a Disk Array
The following procedures provide the basic steps needed to create a disk array
and a logical drive to get your VTrak running quickly.
You can create your disk array automatically or manually. You might prefer to let
VTrak to create the disk array automatically if you are new to RAID technology or
you are satisfied with VTrak’s default settings.
Create a Disk Array Automatically
Use this feature to quickly build a disk array using all available disk drives. You
specify the RAID level. The other options are chosen automatically. See Chapter
7, page 214 for a discussion of RAID Levels and the number of drives each
supports.
1. From the Main menu, press 3 and Enter to access Disk Array Management.
2. Press 1 and Enter to access the Disk Array Auto Creation.
*************Logical Drive Auto Creation************
Total --6-- free Physical Drives
RAID Mode Options:
0 - RAID 0 (Striping)
1 - RAID 1 (Mirroring)
3 - RAID 3 (Parity)
5 - RAID 5 (Parity Distributed)
10 - RAID 10 (Striping/Mirroring)
50 - RAID 50
Please enter RAID mode(0,1,3,5,10,50)>50
The Auto Creation tells you how many disk (physical) drives are free and
which RAID modes (levels) are possible.
3. Type the RAID mode you want and press Enter.
The proposed specifications for the new logical drive appear
Logical Drive Auto Creation Information:
Name: LogicalDrive
Number of Physical Drives: 6
RAID mode: RAID 50
Stripe block size: 64KB
Note
When VTrak creates a disk array automatically, it will use all
available physical drives. If you want to create multiple disk arrays,
use the manual creation function.

Chapter 3: Setup
59
SMART check: enabled
Initialization: full
Create Logical Drive now(y/n)?>y
4. If you agree with the specifications, press Y and Enter.
If you disagree, press N and Enter. Then select Create New Disk Array
(below) and input your own settings.
This completes disk array creation. Go on to logical drive creation.
Create a Disk Array Manually
Use this feature to manually build a logical drive to meet your own requirements
or to use less than the full number of available disk drives. See page 214 for a
discussion of RAID Levels, the number of drives each supports and an
explanation of the available options.
1. From the Main menu, press 3 and Enter to access Disk Array Management.
2. Press 2 and Enter to access the Create New Disk Array.
**************Define New Logical Drive**************
Total 8 Physical Drives
*********Physical Drives Selection*********
ID Name Capacity
----------------------------------------------------------
1 Maxtor 5A250J0 251 GB
3 WDC WD2000JB-00FUA0 200 GB
4 WDC WD2000JB-00FUA0 200 GB
7 ST380013AS 80 GB
9 WDC WD1200JD-00FYB0 120 GB
11 ST380013AS 80 GB
12 WDC WD1200JD-00FYB0 120 GB
15 Maxtor 6Y080M0 82 GB
Enter Physical Drive IDs and/or ID ranges
separated by commas. For example: 1,5,8-15.
Press R to continue after you have finished
selecting Physical Drives.
Your input?>1,3,4,5,9
3. Choose the physical drives for your logical drive and press Enter.
*********Physical Drives Selection*********
ID Name Capacity
----------------------------------------------------------

VTrak 15110 User Manual
60
*1 Maxtor 5A250J0 251 GB
*3 WDC WD2000JB-00FUA0 200 GB
*4 WDC WD2000JB-00FUA0 200 GB
*7 ST380013AS 80 GB
*9 WDC WD1200JD-00FYB0 120 GB
11 ST380013AS 80 GB
12 WDC WD1200JD-00FYB0 120 GB
15 Maxtor 6Y080M0 82 GB
4 Physical Drives have been selected.
Enter Physical Drive ids and/or id ranges
separated by commas. For example: 1,5,8-15.
Press R to continue after you have finished
selecting Physical Drives.
Your input?>r
4. When you have selected all the physical drives, press R and Enter.
RAID Mode Options:
0 - RAID 0 (Striping)
1 - RAID 1 (Mirroring)
3 - RAID 3 (Parity)
5 - RAID 5 (Parity Distributed)
10 - RAID 10 (Striping/Mirroring)
50 - RAID 50
Please enter RAID mode(0,1,3,5,10)>5
The prompt displays available RAID modes.
5. Type the RAID mode (level) for your logical drive and press Enter.
Stripe Block Size (4, 8, 16, 32, 64, 128) in KB?>64
Enter the Disk Array name>Daves Array
Enable initialization(y/n)?>y
Full or quick initialization(f/q)?>q
Quick initialization enabled
6. Type the stripe block size, logical drive name, whether you want initialization
and if so, quick or full. Press Enter after each input.
If you chose RAID 1, you will not see a stripe block size. After the last item, a
list of your logical drive specifications displays.
Logical Drive creation information:
Name: Daves Array
Number of Physical Drives: 4
RAID mode: RAID 5
Stripe block size: 64KB
SMART check: enabled

Chapter 3: Setup
61
Create Disk Array now(y/n)?>y
7. Review the list. If you agree with the list, press Y and Enter. If you disagree
with the list, press N and Enter, then select Create New Disk Array again.
If you clicked Y, the new disk array appears.
ID Name RAID SBS CAP Member PDs Status
--------------------------------------------------------------------------------------
1 Daves Array 5 64K 357GB 1,3-4,9 Functional
-------------------------------------------------------------------------------------------
This completes disk array creation. Go on to logical drive creation.

VTrak 15110 User Manual
62
Create a Logical Drive
A logical drive is an entity made from a disk array that your PC’s operating
system recognizes as a single disk drive.
1. From the Disk Array Management menu, press 4 and Enter to access the
Disk Array Properties.
2. Press 1 and Enter to access Create Logical Drive
Mapping for Disk Array 1:
-------------
| #1 |
| 357 GB |
-------------
Maximum allowable capacity is 357 GB.
Press Enter key to use the maximum capacity
Or specify capacity in GB for the LD to be created.
Example 1: 12, this will create a 12 GB Logical Drive.
Example 2: 5Gx6, this will create 6 LDs, each LD's capacity is 5 GB.
Note in the Mapping for Disk Array 1 that one logical drive has already been
created and that 453 GB is available for additional logical drives.
Your input?>100
Enter the Logical Drive name>FirstLD
Enable quick initialization(y/n)?>y
3. Type the size of your first logical drive in Gigabytes and press Enter.
Or, to create multiple logical drives of the same size, type the size and
number of drives as described and press Enter.
4. To enable quick initialization, click Y and press Enter.
If not, click N and press Enter.
5. The logical drive mapping information appears(below), followed by the Disk
Array Properties menu.
Disk Array #1 Mapping:
------------------------
| LD #1 | Free |
| 100 GB | 257 GB |
-------------------------
6. Press R and Enter twice to return to the Main menu.
In order to use this logical drive to read and write data, you must partition and
format it using the Host PC’s operating system.

Chapter 3: Setup
63
Assign a SCSI Target ID
The term Ta rget ID refers to the SCSI address of the two channels on the RAID
subsystem. A SCSI bus has an Initiator, such as the SCSI card inside the Host
PC, and at least one Target, such as the Controller and Logical Drives inside the
RAID subsystem. Each target must have its own address or Target ID number.
Target IDs can be divided into Logical Unit Numbers (LUNs) to extend the
number of available addresses. The default TID settings for both SCSI channels
is 0. This setting is adequate for most WebPAM and RAID subsystem
configurations. If an address conflict occurs, you might have to change the TID
setting.
1. From the Main menu, press 6 and Enter to access SCSI Management.
2. Press 1 and Enter to access the Channel TID.
****Modify SCSI Channel TID****
SCSI Channel # TIDs
--------------------------------------
10
-------------------------------------
20
Select the SCSI channel(1-2)
Press R to return after finished>1
3. Type the number of the SCSI channel you want to select and press Enter.
Modify TIDs for SCSI channel 1(y/n)?>y
Enter the new TIDs>1,2,3
4. Press Y and Enter to confirm the change.
5. Type the new TID numbers for this channel and press Enter.
Separate non-consecutive numbers with a comma. For consecutive
numbers, type the first and last separated by a dash.
Note that your new selection overrides the previous setting. If you want to
keep an existing TID, be sure to type it as well.
TIDs for SCSI channel 1 changed
Press Enter key to return
6. Press Enter to see the new settings.
****Modify SCSI Channel TID****
SCSI Channel # TIDs
--------------------------------------
10
1
2
3

VTrak 15110 User Manual
64
-------------------------------------
20
Select the SCSI channel(1-2)
Press R to return after finished>
Exit the CLU
Close the terminal emulation window to exit the CLU.

65
Chapter 4: Management with WebPAM PRO
This chapter describes using WebPAM to monitor and manage your RAID
system. This chapter is divided into sections for major WebPAM components as
shown above.
VTrak Status Indicators
Even though WebPAM PRO offers comprehensive monitoring of VTrak, the LED
indicators on the VTrak unit provide important status information.
When the power is switched on, the LEDs on the front of the VTrak will light up.
Figure 1. VTrak 15110 Front Panel LEDs
When boot-up is finished and the VTrak is functioning normally:
• Controller LED blinks green once per second for five seconds, goes dark for
five seconds, then blinks green once per second for five seconds again.
• Power, FRU and Disk Array LEDs display green continuously.
• SCSI LEDs flash green if there is activity on that channel.
See the table below.
• VTrak Status Indicators (below)
• Drive Status Indicators (page 66)
• Audible Alarm (page 67)
• Log-in/Log-out (page 68)
• Subsystem Management (page 71)
• User Management (page 77)
• Software Management (page 87)
• Subsystem Management (page 92)
• VTrak Management (page 95)
• SCSI Management (page 97)
• Network Management (page 99)
• Service Management (page 100)
• Controllers (page 102)
• Enclosures (page 104)
• Disk Arrays (page 110)
• Spare Drives (page 127)
• Logical Drive Summary (page 130)
Power FRU
Status Disk Array
Status SCSI-1
Activity SCSI-2
Activity Controller
Heartbeat

VTrak 15110 User Manual
66
See page 189 for more information about field-replaceable components.
See page 234 for a discussion of critical and offline logical drives.
Drive Status Indicators
There are two LEDs on each Drive Carrier. They report the presence of power
and a disk drive, and the current condition of the drive.
Figure 2. VTrak Drive Carrier LEDs
LEDs
State
Dark Steady
Green
Flashing
Green Amber Red
Power System Off Normal n/a n/a n/a
FRU* System Off Normal n/a
Fan or
Battery
Problem
Fan or
Battery
Failed
Logical
Drive System Off Normal n/a
Logical
Drive Critical
Logical
Drive Offline
SCSI-1
SCSI-2 No Activity n/a Activity n/a n/a
Controller System Off n/a Normal** n/a n/a
* Field Replacement Unit. “n/a” means this state does not apply to this LED.
** Blinks five times in five seconds, five seconds dark, blinks five times again.
Drive Status
Power/
Activity

Chapter 4: Management with WebPAM PRO
67
The VTrak spins up the disk drives sequentially in order to equalize power draw
during start-up. After a few moments the Power/Activity and Disk Status LEDs
should display green.
See for a discussion of rebuilding and failed disk drives.
Audible Alarm
VTrak’s audible alarm has four sound patterns:
• Beep. Beep. Beep. – Indicates that a logical drive is rebuilding
• Beep-beep, beep-beep, beep-beep. – Indicates that a logical drive is critical
• Beep-beep-beep. Beep-beep-beep. – Indicates a problem with a field
replaceable unit (FRU)
• 10 second continuous beep – Indicates that a logical drive is offline
See for more information about field-replaceable components.
See for a discussion of critical and offline logical drives.
LEDs
State
Dark Steady
Green
Flashing
Green Amber Red
Power/
Activity No Drive Drive
Present Activity n/a n/a
Status No Power/
No Drive Drive OK n/a Drive
Rebuilding
Drive
Error
“n/a” means this state does not apply to this LED.

VTrak 15110 User Manual
68
Log-in/Log-out
Log-in to WebPAM PRO
1. Launch your Browser.
2. In the Browser address field, type in the IP address of the PC or Server
where you installed WebPAM PRO, as explained below. Do not type the
VTrak’s IP address.
Note that the IP address shown below is only an example. The IP address
you type into your browser will be different.
If you did not choose the External Security option during WebPAM PRO
installation, use the Regular connection.
If you chose the External Security option during WebPAM PRO installation,
use the Secure connection.
Regular Connection
• WebPAM PRO uses an HTTP connection. . . . . . . . . . . . . . . . .http://
• Enter the Utility Server’s IP address . . . . . . . . . . . . . . 192.168.1.46
(Where you installed WebPAM)
• Enter the Port number . . . . . . . . . . . . . . . . . . . . . . . . . . . . . . . :8080
• Add to launch WebPAM PRO . . . . . . . . . . . . . . . . . . . . . . . /promise
Together, your entry looks like this:
http://192.168.1.46:8080/promise
Secure Connection
• WebPAM PRO uses a secure HTTP connection. . . . . . . . . . .https://
• Enter the Utility Server’s IP address . . . . . . . . . . . . . . 192.168.1.46
(Where you installed WebPAM)
• Enter the Port number . . . . . . . . . . . . . . . . . . . . . . . . . . . . . . . :8443
• Add to launch WebPAM PRO . . . . . . . . . . . . . . . . . . . . . . . /promise
Together, your entry looks like this:
https://192.168.1.46:8443/promise

Chapter 4: Management with WebPAM PRO
69
3. When the opening screen appears, type your username in the Login ID field
and your password in the Password field. The login and password are case
sensitive.
If this is the first time you are running WebPAM PRO, log in as
administrator and type in the default password, which is password. The
login and password are case sensitive.
4. Click the Sign in button.
Important
Immediately after installation, change the Administrator's
password. Make the change under User Management. Each user
you create will have his/her own login ID and password.

VTrak 15110 User Manual
70
After sign-in, the WebPAM PRO opening screen appears.
Figure 3. WebPAM PRO Opening Screen
If you setup your VTrak using WebPAM PRO (see Chapter 3) you will have one
Subsystem, the Administrator as the only User and one logical drive.
If this is the first time you are logging in to WebPAM, there will be no Subsystems
(VTraks) or Users in the system. Promise recommends that you add the
Subsystem(s) first, then add the User(s).
Log-out of WebPAM PRO
There are two ways to log out of WebPAM:
• Close your browser window
• Click Logout on the WebPAM banner (below)
After logging out, you must type your username and password to log in again.
Clicking Logout brings you back to the Login Screen.

Chapter 4: Management with WebPAM PRO
71
Subsystem Management
Add a Subsystem (VTrak)
1. Click on Administrator Tools icon to display the menu.
2. Click on the Subsystem Management icon.
3. Click the Add Subsystem tab (above).
4. In the IP Address field, type in the VTrak’s Management Port IP address.
Do not type the PC/Server’s IP address.
5. When you are done, click the Submit button.
The new Subsystem is added to Subsystem Management and also appears in
the Information tab.
WebPAM PRO allows you to add a Subsystem to the list even though it cannot
make a connection to the VTrak. If this happens, refer to Troubleshooting on
page 223.
Subsystem User Rights
• Add a Subsystem (below)
• Subsystem User Rights (page 71)
• Access a Subsystem (VTrak)
(page 73)
• Subsystem Management Window
(page 74)
• View Event Log (page 74)
• Delete a Subsystem (page 76)

VTrak 15110 User Manual
72
1. Click the Subsystem Management icon under Administration Tools. This
window displays a list of Subsystems (VTraks) configured to this WebPAM
installation.
2. Click on the hypertext link to see an individual Subsystem.
This window provides access information on an individual Subsystem and
editing user permissions.
3. Check the permissions this User will have.
4. When you are done, click the Submit button.
The Subsystem Management window appears again. Your changes take
effect immediately.
Right Meaning
Creation Permission to create, convert and expand a logical drive;
and make Controller settings
Deletion Permission to delete a logical drive
Maintenance Permission to rebuild and synchronize a logical drive
Notification Permission to receive notification of events affecting the
logical drive

Chapter 4: Management with WebPAM PRO
73
Access a Subsystem (VTrak)
The WebPAM PRO CIMOM Agent resides on the VTrak and sends the
monitoring data to the Utility Server and on to the Browser. In Tree View, a newly
created Subsystem looks like this:
Each Subsystem (VTrak) is identified by an icon and its IP Address. Below it,
the VTrak Subsystem icon appears. A Subsystem is made up of:
SCSI Management – SCSI TIDs
Service Management – SNMP, Telnet and CIM services
Controllers – RAID Management on VTrak
Enclosures – Power supplies, cooling, cache battery, circuit cards
Disk Arrays – Creation and management of disk arrays and logical drives
Spare Drives – Physical drives assigned as global or dedicated hot spares
Logical Drive Summary – A list of all logical drives in this enclosure,
regardless of the disk array to which they belong
If you do not see these details in the Tree View, it means your network connection
to VTrak is not working. Restore your connection before proceeding.
If you do not see anything, lower your browser’s security settings.

VTrak 15110 User Manual
74
Subsystem Management Window
To access the Management Window for an individual Subsystem (VTrak), click
on the Subsystem icon in Tree View. The result is a different window than
clicking the Subsystem Management icon described above.
From this point, you can:
• View the Logfile
• Access Host User Rights (Administrator only)
View Event Log
1. In Tree View, click on the Subsystem icon for the VTrak whose log you
want to see.
2. In the Management Window, click on the Events tab.
3. The LogFile window appears (below).
In the LogFile window, you can view all events pertaining to an individual
Subsystem (VTrak). Click the Previous Events and Next Events buttons to see
the entire contents. The LogFile is saved automatically.
You must log in as the Administrator in order to save or delete the Logfile.

Chapter 4: Management with WebPAM PRO
75
To save the Log File:
1. From on the Events tab dropdown menu, select Save Logfile.
2. In the Save Event box, type a file name for the Logfile.
The name can contain up to 40 characters, letter and numbers only, no
spaces.
3. Click the Submit button.
4. In the confirmation box, click the Close button.
The Log file is saved as a text file and placed in the log directory of the PC/
Server running the Utility Server software.
• For Windows, the log directory is: C:\WINDOWS\system32
• For Linux, Mac OS X and Solaris, the log directory is: WebPAM\tomcat
To delete the Log File:
1. From on the Events tab dropdown menu, select Delete Logfile.
2. In the Save Log Before Delete box:
•Click Yes to save the file
•Click No to delete without saving
•Click Cancel exit without deleting
If you chose to save the Logfile:
3. In the Save Event box, type a file name for the Logfile.
The name can contain up to 40 characters, letter and numbers only, no
spaces.
4. Click the Submit button.
5. In the confirmation box, click the Close button.
The Log file is saved as a text file and placed in the log directory of the PC/
Server running the Utility Server software.
• For Windows, the log directory is: C:\WINDOWS\system32
• For Linux, Mac OS X and Solaris, the log directory is: WebPAM\tomcat

VTrak 15110 User Manual
76
Delete a Subsystem
1. Click the Subsystem Management icon under Administrative Tools. The
Host List appears.
2. Click on the Delete Subsystem tab.
3. Click the Select for Deletion box of the Subsystem you want to delete.
4. Click the Delete Selection button.
A confirmation message appears..
5. Click OK to confirm Subsystem deletion.
The deleted Subsystem no longer appears in Tree View.
Notes
• WebPAM PRO will remove the link from the VTrak to your
local browser. This action does not change or delete the RAID
itself.
• If you delete a Subsystem with users assigned to it, the user
rights are also deleted.

Chapter 4: Management with WebPAM PRO
77
User Management
Add a User
1. Log into WebPAM as the Administrator.
2. In Tree View, click on User Management.
In the right frame, you will see a list of the current Users.
3. Click the Create tab.
4. Enter the new User Name, Password, Verify Password (same password).
5. If you want to assign Email notification types for this User, check the Assign
Email Notification box.
6. Check the boxes to select Management Rights for this User on each
Subsystem.
• Add a User (below)
• Delete a User (page 83)
• Manage User Rights (page 83)
• Change Password (page 85)
• Setup User Alert Notification (page 86)

VTrak 15110 User Manual
78
7. When you are finished making your selections, click the Submit button.
• If you checked the Assign Email Notification box, you will be transferred
to the Select Events page (see Event Notification, below).
• If you did NOT check the Assign Email Notification box, you will be
transferred to User Management page, where you can see the newly
added User.
Event Notification
If you check the Assign Email Notification box while adding a user, you will be
transferred to the Select Events page (below). Here you will type an email
address and assign the Email Notifications for this user.
Right Meaning
Creation Permission to create, convert and expand a logical drive;
and make Controller settings
Deletion Permission to delete a logical drive
Maintenance Permission to rebuild and synchronize a logical drive
Notification Permission to receive notification of events affecting the
logical drive
Notes
• If no Subsystems (VTraks) have been created yet, no
machines will appear in the permissions list. You can add a
Subsystem now and specify the permissions later.
• The User can change his/her User Name, Password, email
address at any time.
• A User cannot change his/her own Rights.
• The Administrator can change a User’s Rights, as well as
create and delete Users.

Chapter 4: Management with WebPAM PRO
79
The image above was shortened to fit into the available space.
To save time and effort, check Critical Events, All Events, or the component-
specific boxes. The table below lists all events and their meanings. Critical events
are marked with an asterisk (*)
Item Meaning
Critical Events* Events of major importance.
All Events All monitored events are reported.
Controller Event
Notification
All events related to the Controller are reported.
Controller Unknown Error Unspecified problem with the Controller.
Data Parity Error Detected possible iSCSI data parity error.
Command Parity Error Detected possible iSCSI command parity error.
Bus Reset The Initiator sent a command to reset the iSCSI bus.
Unrecoverable Error VTrak must restart to recover from an error.
Abort Task A task was aborted.
Clear ACA Clear an auto contingent alliance condition.
LUN Reset A LUN was reset.
Initiator Error Detected possible error on the SCSI/FC initiator.

VTrak 15110 User Manual
80
Illegal Secondary Identify A target received a second Identify message with a
different LUN.
Message Parity Error Detected possible parity error in message between
initiator and target.
Bus Reboot The VTrak system has rebooted.
Connection Event
Notification
All events related to the Host PC-to-UltraTrak
connection.
UltraTrak Connection
Connected
Connection between Host PC and UltraTrak was
successful
UltraTrak Connection Lost Connection between Host PC and UltraTrak has
failed
Disk Event Notification All events related to the disk drives.
Disk Down* A disk drive has been set down due to some kind of
error.
Disk Plugged In A disk drive has been plugged into the logical drive.
Disk Access Retry The Controller repeats an attempt to access a disk
drive.
Disk CRC Error A CRC error has occurred on a disk drive.
Disk SMART Failed* A SMART error has been reported on a disk drive.
Disk ECC Error A ECC error has occurred on a disk drive.
Disk Bad Sector* A bad sector has been identified on a disk drive.
Disk Reserve Sector Error A error has occurred on the reserve sector of a disk
drive.
Disk Time Out A disk drive has timed out.
Logical Drive Event
Notification
All events related to logical drives.
Create Logical Drive A logical drive has been created.
Delete Logical Drive A logical drive has been deleted.
Logical Drive Critical* Malfunctioning disk drive, fault tolerance lost.
Logical Drive Offline* Two malfunctioning disk drives, data access lost.
Logical Drive Migration
Started
A logical drive began expansion and/or change of
RAID level.
Item Meaning

Chapter 4: Management with WebPAM PRO
81
Logical Drive Migration
Completed
A logical drive finished expansion and/or change of
RAID level
Logical Drive Migration
Stopped
A logical drive expansion and/or change of RAID
level halted before completion.
Logical Drive Rebuild
Start
A logical drive began a rebuild.
Logical Drive Rebuild
Completed
A logical drive finished a rebuild.
Logical Drive Rebuild
Stopped
A logical drive rebuild halted before completion.
Logical Drive
Synchronization Start
A logical drive began synchronizing.
Logical Drive
Synchronization
Completed
A logical drive finished synchronizing.
Logical Drive
Synchronization Stopped
A logical drive stopped synchronizing before
completion.
Logical Drive
Synchronization
Comparison Error*
A comparison error was detected during
synchronization.
Logical Drive
Synchronization Internal
Error*
An internal error was detected during
synchronization.
Logical Drive Full
Initialization Start
Full initialization has begun on a logical drive.
Logical Drive Full
Initialization Completed
Full initialization finished on a logical drive.
Logical Drive Full
Initialization Stopped
Full initialization on a logical drive halted before
completion.
Logical Drive Quick
Initialization Start
Quick initialization has begun on a logical drive.
Logical Drive Quick
Initialization Completed
Quick initialization finished on a logical drive.
Logical Drive Quick
Initialization Stopped
Quick initialization on a logical drive halted before
completion.
Item Meaning

VTrak 15110 User Manual
82
See Chapter 7: Troubleshooting for instructions on what to do when any of these
messages appears.
Logical Drive Percent
Completed
A progress report on logical drive operations taking
place.
Enclosure Event
Notification
All events related to the enclosure.
Enclosure Power Down* Power to the enclosure is OFF.
Enclosure Power Up Power to the enclosure is ON.
Enclosure Unknown
Error*
Unspecified problem with the Enclosure.
Enclosure Over
Temperature*
Enclosure is running too hot.
Enclosure Fan Stop* One of the fans has stopped working.
Enclosure 3 Volt out of
Range
3 Volt (actually 3.3 volt) power is out of specification.
Enclosure 5 Volt Out of
Range*
5 Volt power is out of specification.
Enclosure 12 Volt Out of
Range*
12 Volt power is out of specification.
Battery Temperature Rise Battery is heating up. Battery ceases to charge above
45°C or discharge above 60°C.
Battery Temperature
Dropped
Battery is cooling down.
Battery Capacity below
threshold
Battery is too weak to function.
Battery Capacity Normal Battery is ready for use.
Battery Discharging Battery is leaking power.
Battery Charging Battery is recharging.
Battery Maintenance
Mode
Discharge and recharge to test battery condition.
Happens automatically once every two months.
Battery life ended Battery is dead. Replace it.
Item Meaning

Chapter 4: Management with WebPAM PRO
83
Delete a User
1. Log into WebPAM as the Administrator.
2. Click the User Management icon under Administrator Tools.
3. Click the Delete tab.
4. Click the box of the User you want to delete.
5. Click the Delete User(s) button.
Manage User Rights
The Administrator uses this page to modify individual user information, such as
access rights, email address and email notification. To modify User information:
1. Click the User Management icon under Administrator Tools.
A list of Users appears.
2. Select the name link for the User whose setting you want to change and click
on it.
Note
You cannot delete the Administrator.

VTrak 15110 User Manual
84
The Modify/View User screen appears (below).
3. In the Modify/View User screen, specify your Subsystem Management
Rights, Email address and Event Notification.
See the Permissions table below.
You can also set these permissions from the Subsystem User Rights screen.
4. When you are done, click the Submit button. The Settings tab for this User
appears again. Your changes take effect immediately.
Right Meaning
Creation Permission to create, convert and expand a logical drive;
and make Controller settings
Deletion Permission to delete a logical drive
Maintenance Permission to rebuild and synchronize a logical drive
Notification Permission to receive notification of events affecting the
logical drive
Notes
• Under Personal Information, a user can change his/her own
password. If he has Notification rights, he can change his own
Event Notifications.
• For an Administrator to change a username or password, you
must delete the User and add a new one.

Chapter 4: Management with WebPAM PRO
85
Change Password
Each User can change his/her password. If the User has email alert notification,
he/she can also change the email address and selection of events.
1. Log into WebPAM under your User Name.
2. Click the Personal Information icon under Administration Tools.
3. Enter a new password.
4. Re-Enter the new password to confirm.
5. When you are done, click the Submit button.
Note
If a User forgets his/her password, the Administrator must delete
the user account and create a new one.

VTrak 15110 User Manual
86
Setup Email Alert Notification
WebPAM can alert you to the problems and processes happening to your RAID
through email messages. You setup Email Notification for each Subsystem
(VTrak) and each User individually. A Subsystem must exist before you can set-
up Email Notification for it.
These steps describe how to setup the email function.
1. Click the User Management icon under Administrator Tools.
A list of Users appears.
2. Click on the hypertext link in the Edit User column for the User you want to
manage.
The Modify/View User screen appears with the Settings tab displayed.
If you have not yet typed an email address for this user, type it into the Email
Address field.
3. Click on the Event Selection tab.
The image above was shortened to fit into the available space.

Chapter 4: Management with WebPAM PRO
87
4. Select the alert events you want reported via email. To save time and effort,
check Critical Events, All Events, or the component-specific boxes.
See page 79 for a list of events and their meanings.
5. When you are done, click the Submit button.
The User list appears again. Your changes take effect immediately.
Software Management
Click the Software Management icon under Administration Tools. The
Software Management screen appears with the Sevices tab displayed.
Web Server
1. Click the Software Management icon under Administration Tools.
2. Click the Web server link or tab.
• Web Server (below)
• Email (page 88)
• Firmware Update (page 89)
• TFTP Server (page 90)
• Refresh Time (page 91)
• Restart Tomcat Service (Windows)
(page 91)
• Security (page 91)

VTrak 15110 User Manual
88
3. Set the Web server parameters:
4. Click the Submit button when you are done.
If you change the WebPAM PRO security settings, restart the Tomcat service for
the new parameters to take effect. See Restart Tomcat Service (Windows)
(page 91).
Email
1. Click the Software Management icon under Administration Tools.
2. Click the Email link or tab.
HTTP Port The port number for unsecure connections. 8080 is
the default.
Session Timeout Timeout interval for HTTP session.
Enable SSL Enables the Secure Sockets Layer function required
for a secure connection.
HTTPS Port The port number for secure connections. 8443 is the
default.

Chapter 4: Management with WebPAM PRO
89
3. Set the Email parameters:
4. Click the Submit button when you are done.
Firmware Update
This tab is used to update the firmware on VTrak subsystems. See Firmware
Update on page 190 for instructions on how to update VTrak’s firmware.
1. Click the Software Management icon under Administration Tools.
2. Click the Firmware Update tab.
ESMTP Enable Check the box to enable eSMTP.
ESMTP User Name Enter a user name for yourself.
ESMTP Password Enter a password for yourself.
Email Server Specifies the name of the email server on your
network.
Email Subject Specifies the “subject line” on email event notification
messages.
Event Frame
Refresh Time
Specifies the time interval between refreshes of the
Event Frame.

VTrak 15110 User Manual
90
3. Enter the name of the firmware upgrade *.img file in the Select Firmware
field.
4. Check the boxes beside the subsystems whose firmware you want to
update.
5. Click the Submit button.
TFTP Server
The TFTP Server tab enables you to designate a TFTP directory and port
number on the server where the WebPAM PRO Utility Server is running.
The WebPAM PRO firmware update function goes to the TFTP directory to
retrieve the firmware update file.
1. Click the Software Management icon under Administration Tools.
2. Click the TFTP Server link or tab.
3. Enter a TFTP directory name.
4. Enter at TFTP Port number.
5. Click the Submit button when you are done.

Chapter 4: Management with WebPAM PRO
91
Refresh Time
This tab sets the refresh interval for the Event Frame.
1. Click the Software Management icon under Administration Tools.
2. Click the Refresh Time tab.
3. Enter the refresh interval in seconds.
4. Click the Submit button when you are done.
Restart Tomcat Service (Windows)
When you make changes to the WebPAM PRO Security settings, you must
restart the Tomcat service—on the the PC or fileserver where the Utility Server is
installed—for your changes to take effect.
1. Right-click on the My Computer icon and select Manage from the popup
menu. The Computer Management window opens.
2. Click on the + beside Services and Applications to expand the tree.
3. Click on Services. The Services window displays to the right.
4. In the Services window, right-click on Tomcat and select Restart from the
popup menu.
5. Close the Computer Management window.
Security
Security features use the Secure Sockets Layer (SSL) method of encryption. SSL
is a well-proven method of securing transactions used extensively for e-
commerce and confidential transactions on the Internet. With security installed,
you log in using Hypertext Transfer Protocol Secure (HTTPS).
External SSL Security – Applies security to all connections involving the
Internet or outside your company firewall.
Security options are invisible to authorized users. At the same time, they ensure
that information about your RAID remains confidential, and commands and data
traveling over the network are not altered in any way.

VTrak 15110 User Manual
92
Promise Technology provides a default certificate for the server as well as for
internal data communication. However, it is always better to install your own
certificate for the web server. And, if possible, verify certificate by certificate
authority like Verisign or Thwate.
Security options were originally set during installation. They can be changed by
modifying certain configuration files, discussed below.
1. Go to directory C:\WebPAM\tomcat\conf\ (this is the default directory) on the
webserver host and open file server.xml.
2. Modify the file so that it agrees with the example above. This configuration
activates the 8080 (non-secure) and 8443 (secure) ports.
3. Save the file.
4. Restart the Tomcat service for the new parameters to take effect. See
page 91.
Subsystem Management
Events
The Subsystem–Events tab lists the content of the Log File. The Log file records
all actions on this subsystem for use in management and troubleshooting.
You can set the number of events to display per page from the dropdown menu.
A smaller number of events will take up less room on the screen.
Click on the Previous Events and Next Events buttons at the bottom of the
page to navigate though the events.
• Events (below)
• Connection Status (page 94)
• User Rights (page 94)

Chapter 4: Management with WebPAM PRO
93
To save the Log File:
1. Log in as the Administrator.
2. Click on the Subsystem icon.
3. Click on the Events tab.
4. From on the Events tab dropdown menu, select Save Logfile.
5. In the Save Event box, type a file name for the Logfile.
The name can contain up to 40 characters, letter and numbers only, no
spaces.
6. Click the Submit button.
7. In the confirmation box, click the Close button.
The Log file is saved as a text file and placed in the log directory of the PC/
Server running the Utility Server software.
For Windows, the log directory is: C:\WINDOWS\system32.
For Linux, Mac OS X and Solaris, the log directory is: WebPAM\tomcat.
To delete the Log File:
1. Log in as the Administrator.
2. Subsystem icon.
3. Click on the Events tab.
4. From on the Events tab dropdown menu, select Delete Logfile.
5. In the Save Log Before Delete box:
•Click Yes to save the file.
•Click No to delete without saving.
•Click Cancel exit without deleting.
If you chose to save the Logfile:
6. In the Save Event box, type a file name for the Logfile.
The name can contain up to 40 characters, letter and numbers only, no
spaces.
7. Click the Submit button.
8. In the confirmation box, click the Close button.
The Log file is saved as a text file and placed in the log directory of the PC/
Server running the Utility Server software.
For Windows, the log directory is: C:\WINDOWS\system32.
For Linux, Mac OS X and Solaris, the log directory is: WebPAM\tomcat.

VTrak 15110 User Manual
94
Connection Status
The Subsystem–Connection Status tab verifies the network connection between
the server running the WebPAM PRO Utility Server and the VTrak subsystem.
There are two conditions cited under Connection Info:
• Connection is present and functional – WebPAM PRO is connected and
ready.
• No Connection or Connection Failed – Establish or reestablish the
connection before proceeding.
If the tab shows No Connection, check the network connections to the VTrak's
management port and be sure the VTrak is running. It is possible that somebody
changed the VTrak's Management Port IP address. Use the CLU to verify the
current IP address. If it has changed, add a Subsystem in WebPAM PRO using
the new IP address.
User Rights
The Subsystem–User Rights tab enables you to check and modify the rights of
the users on this subsystem. The following table explains User Rights.
To modify User Rights:
1. Log in as the Administrator.
2. Subsystem icon.
3. Click on theUser Rights tab.
4. Check the boxes to add rights.
5. Uncheck the boxes to delete rights.
6. Click the Submit button when you are done.
The settings shown here for each user also appear under Modify/View User (see
page 83).
To add users to, or delete users from the User Rights list, go to the User
Management function under Administration Tools.
Right Meaning
Creation Permission to create, convert and expand a logical drive;
and make Controller settings
Deletion Permission to delete a logical drive
Maintenance Permission to rebuild and synchronize a logical drive
Notification Permission to receive notification of events affecting the
logical drive

Chapter 4: Management with WebPAM PRO
95
VTrak Management
Lock Operations
The VTrak–Lock Operations tab displays lock status and enables you to lock or
unlock a subsystem controller. The locking mechanism isolates the controller
during maintenance operations and other periods when you want to avoid
interruption from other users trying to access the disk arrays or logical drives
under this controller.
1. Click the Subsystem icon.
2. Click on the VTrak icon.
3. Click on the Lock Operations tab.
There are three items in the Lock Operations tab dropdown menu:
• Set Lock – Sets the lock on the controller.
• Release Lock – Releases the lock on the controller.
• Release All Locks – Administrator only. Releases the locks on all controllers.
When the lock is set, the Lock Status reports, for example, "Willie:lock exists".
Other users see the message, "Willie has lock on this controller". If you move
your cursor over Set Lock from the Lock Operations tab dropdown menu, a
popup message reports the same. In these examples, it means that the user
"Willie" has locked the controller and other users cannot access the controller
while the lock is set.
Be sure to unlock the controller when you finish your maintenance procedure, so
other users are not locked out.
Subsystem Health
The VTrak–Subsystem Health tab displays a functional overview of logical drives,
physical drives and the enclosure. This tab applies to VTrak only.
1. Click the Subsystem icon.
2. Click on the VTrak icon.
3. Click on the Subsystem Health tab.
There are three items in the Subsystem Health tab:
• Lock Operations (below)
• Subsystem Health (page 95)
• MP/PDM Settings (page 96)

VTrak 15110 User Manual
96
• Logical Drive Health – Logical drives under this controller.
• Physical Drive Health – Physical drives under this controller.
• Enclosure Health – Temperature, voltage, battery condition.
Functional indicates normal operation. Problems are described in red type.
Click on the Logical Drive Summary icon, Physical Drive icon or
Enclosure icon for more specific information about any problems.
MP/PDM Settings
Media Patrol is a routine maintenance procedure that checks the magnetic media
on each disk drive. Media Patrol checks physical drives assigned to non-
redundant (RAID 0) disk arrays, spare and unassigned drives.
Unlike Synchronization and Redundancy Check, Media Patrol is concerned with
the condition of the media itself, not the data recorded on the media. If Media
Patrol encounters a critical error, it triggers PDM if PDM is enabled.
Predictive Data Migration (PDM) is the migration of data from the suspect disk
drive to a spare disk drive, similar to Rebuilding a Logical Drive. But unlike
Rebuilding, PDM constantly monitors your disk drives and automatically copies
your data to a spare disk drive BEFORE the disk drive fails and your Logical
Drive goes Critical.
The VTrak–MP/PDM Settings tab enables you to make settings on Media Patrol
and PDM. These features apply to VTrak only.
To enable Media Patrol or PDM:
1. Click the Subsystem icon.
2. Click on the VTrak icon.
3. Click on the MP/PDM Settings tab.
4. Check the Enable Media Patrol checkbox to enable Media Patrol.
Uncheck the box to disable.
5. Check the Enable PDM checkbox to enable PDM.
Uncheck the box to disable.
6. Click the Submit button when you are done.

Chapter 4: Management with WebPAM PRO
97
You can also perform a PDM manually under Disk Array Background Activity.
SCSI Management
The SCSI Management–Information tab lists the SCSI Channels for this
subsystem. SCSI Management applies to VTrak 8100, 12100 and 15110.
LUN Settings
The SCSI Management–Console LUN Settings tab enables you make RAID
Console and TID LUN settings. This feature applies to VTrak 8100, 12100 and
15110.
The SCSI RAID Console enables in-band SCSI managment of the VTrak
subsystem. Neither WebPAM PRO nor the Command Line Utility (CLU) provided
with VTrak use in-band SCSI technology. This feature is for future use. For
now, leave it DISABLED.
The RAID Console LUN is the Controller's SCSI address. LUN stands for Logical
Unit Number. Essentially it is a subdivision of a SCSI Target ID. The default
setting for the RAID Console is TID 0, LUN 7. This setting is adequate for most
WebPAM and RAID subsystem most configurations. If an address conflict occurs,
you might have to change the Console LUN setting.
You must have Creation Rights to access this function.
To make settings:
1. Click the Subsystem icon.
2. Click on the VTrak icon.
3. Click on the SCSI Management icon.
4. Click on the Console LUN Settings tab.
5. Check the Enable LUN Settings box to enable the SCSI RAID Console.
6. For SCSI Channel 1, in the center column, select the SCSI Target ID number
under which you want to set the Console LUN.
Note
You must enable Media Patrol and PDM on each disk array.
• LUN Settings (below)
• TID Settings (page 98)
• Statistics (page 99)

VTrak 15110 User Manual
98
You can specify additional SCSI TIDs as needed.
7. In the right column, select the LUN for the Console.
8. Repeat steps 1 and 2 for SCSI Channel 2.
9. Click the Submit button when you are done.
TID Settings
The SCSI Management–TID Settings tab enables you add SCSI Target IDs. This
feature applies to VTrak 8100, 12100 and 15110. The term "Target ID" refers to
the SCSI address of the two channels on the RAID subsystem. A SCSI bus has
an Initiator, such as the SCSI card inside the Host PC, and at least one Target,
such as the Controller and Logical Drives inside the RAID subsystem. Each
target must have its own address or Target ID number.
Target IDs can be divided into Logical Unit Numbers (LUNs) to extend the
number of available addresses. The default TID settings for both SCSI channels
is 0. This setting is adequate for most WebPAM and RAID subsystem
configurations. If an address conflict occurs, you might have to change the TID
setting.
You must have Creation Rights to access this function.
To make settings:
1. Click the Subsystem icon.
2. Click on the VTrak icon.
3. Click on the SCSI Management icon.
4. Click on the TID Settings tab.
5. Select the SCSI Target IDs you want to use on SCSI Channel 1.
6. Select the SCSI Target IDs you want to use on SCSI Channel 2.
7. Click the Submit button when you are done.
Caution
Conflicting ID numbers can prevent WebPAM from connecting to
the RAID subsystem and/or cause the SCSI HBA BIOS not to
recognize the Logical Drives. Promise offers a sufficient quantity
of TIDs and LUNs to avoid any conflict problems.

Chapter 4: Management with WebPAM PRO
99
Statistics
The SCSI Management–Statistics tab displays a tally of Input/Output operations
and amount of data transactions. These figures are for informational purposes
only.
1. Click the Subsystem icon.
2. Click on the VTrak icon.
3. Click on the SCSI Management icon.
4. Click on the Statistics tab.
The statistics are displayed in this order:
• Count (number) of Read input/output operations
• Count (number) of Write input/output operations
• Data volume of Read transactions in Megabytes
• Data volume of Write transactions in Megabytes
Network Management
Ethernet
The Network Management–Ethernet tab displays the current Network settings.
These settings pertain to VTrak's Management Port.
To make settings, click on the Port1 link or the Settings tab.
To access the Network Management–Ethernet tab:
1. Click the Subsystem icon.
2. Click on the VTrak icon.
3. Click on the Network Management icon.
Note
The quantity and ID number of Target IDs you select depends in
part upon how many logical drives you plan to create, how your
Host PC and RAID subsystem are connected, and how many
addresses are on the SCSI bus.
• Ethernet (below) • Settings (page 100)

VTrak 15110 User Manual
100
4. Click on the Port1 link or the Settings tab.
Settings
The Network Management–Settings tab enables you to make network settings
for VTrak's Management Port.
To make settings:
1. Click the Subsystem icon.
2. Click on the VTrak icon.
3. Click on the Network Management icon.
4. Click on the Port1 link or the Settings tab.
5. Enter the Management Port IP address.
6. Enter the TFTP Server IP address.
7. Enter the Subnet Mask.
8. Enter the Gateway IP address.
9. Click the Submit button when you are done.
Service Management
Service
The Service Management–Service tab displays the services running with
WebPAM PRO and their startup types and current status.
1. Click the Subsystem icon.
Notes
• For WebPAM PRO to work, you must have the correct
Managment Port IP address and Subnet Mask.
• The TFTP Server is used to update VTrak's firmware under
Software Management.
• The Gateway IP address is required if your WebPAM PRO
network connection includes a gateway.
• Service (below)
•SNMP (page101)
• Telnet (page 102)

Chapter 4: Management with WebPAM PRO
101
2. Click on the VTrak icon.
3. Click on the Service Management icon.
4. To access SNMP settings, click the SNMP tab or SNMP link.
5. To access Telnet settings, click the Telnet tab or Telnet link.
There are no user settings for CIM.
SNMP
The Service Management–SNMP tab enables you to specify SNMP settings.
Simple Network Management Protocol (SNMP) is a set of protocols for managing
complex networks. SNMP works by sending messages to different parts of a
network. SNMP-compliant devices called "agents" store data about themselves
in Management Information Bases (MIB) and return this data to the SNMP
requesters. Event notifications called "traps" are sent to a destination or "trap
sink" specified by an IP address.
To enable SNMP:
1. Click the Subsystem icon.
2. Click on the VTrak icon.
3. Click on the Service Management icon.
4. Click on the SNMP tab.
5. Enter a System Name.
6. Enter a System Location.
7. Enter a System Contact.
8. Enter a name for the Read Community.
9. Enter a name for the Trap Community.
10. Enter a Trap Sink IP address.
11. Click the Update button.
The new trap sink will appear in the list.
12. Click the Submit button when you are done.
To delete a trap sink:
1. In the Trap Sinks list, check the Delete box for the trap sink you want to
delete.
2. Click the Delete button.
3. Click the Submit button when you are done.

VTrak 15110 User Manual
102
Telnet
The Service Management–Telnet tab lets you enable and disable Telnet service.
You can use Telnet to run the VTrak Command Line Utility over a network
connection.
To enable Telnet:
1. Click the Subsystem icon.
2. Click on the VTrak icon.
3. Click on the Service Management icon.
4. Click on the Telnet tab.
5. Check the Enable Telnet box.
6. Click the Submit button when you are done.
To disable Telnet, follow the above procedure but uncheckthe Enable Telnet box.
Controllers
Controller List
The Controllers–Information tab lists the controllers for this subsystem. A
Controller is the device that makes your Promise RAID system work. This
information is primarily for reference by Technical Support.
There are no user settings for this tab.
To access the Controllers–Information tab:
1. Click the Subsystem icon.
2. Click on the VTrak icon.
3. Click on the Controllers icon.
Controller
The Controller–Information tab lists the information for a specific controller in this
subsystem. A Controller is the device that makes your Promise RAID system
work. The information listed here is primarily for reference by Technical Support.
There are no user settings on this tab.
• Controller List (below)
• Controller (page 102)
• Settings (page 103)

Chapter 4: Management with WebPAM PRO
103
To set an alias for this controller or to set VTrak's date and time, click the Settings
tab.
To access the Controller–Information tab:
1. Click the Subsystem icon.
2. Click on the VTrak icon.
3. Click on the Controllers icon.
4. Click on the Controller icon.
Controller Parameters
•Controller ID – (typically 1).
•Alias – A user-specified name given to this controller.
•Vendor – Promise Technology, Inc.
•Model – Model number of this VTrak.
•Serial Number – Serial number of this VTrak
•Memory Size – Size of VTrak's cache memory in MB.
•Flash Size – Size of VTrak's flash memory in MB.
•NVRAM Size – Size of VTrak's non-volatile RAM memory in MB.
•SEP Hardware Version – Hardware version number of the Storage
Enclosure Processor (SEP) card.
•Hardware Version – Hardware version number of the Controller card.
•Firmware Version – Revision number of the currently installed VTrak
firmware.
•Firmware Build Date – Date and time setting of the VTrak subsystem.
• Maximum supported numbers:
•Disk Arrays – Organized collections of physical drives.
•Logical Drives – Entity based on a disk array that the PC's operating
system recognizes as a single disk drive.
•Physical Drives – Hard disk drives.
•Dedicated Spares – A hot spare drive available only to a specified disk
array.
Settings
The Controller–Settings tab enables you to specify an alias (name) for this
controller and set the VTrak subsystem's date and time.
To set an alias for this controller:

VTrak 15110 User Manual
104
1. Click the Subsystem icon.
2. Click on the VTrak icon.
3. Click on the Controllers icon.
4. Click on the Controller icon.
5. Click on the Settings tab.
6. Enter an alias in the field.
7. Click the Submit button when you are done.
To set date and time on the VTrak subsystem:
1. Follow steps 1 through 5 above to access the Controller’s Settings tab.
2. Select the month from the dropdown menu.
3. Select the day from the dropdown menu.
4. Select the year from the dropdown menu.
5. Enter the hour of the day (24-hour clock) in the left field.
6. Enter the minutes in the right field.
7. Click the Submit button when you are done.
Enclosures
Enclosure List
The Enclosures–Information tab lists the information about the enclosures under
this subsystem. The Status field reports Functional when operation is normal or it
cites a problem in red.
If the Status field reports a problem, click on the Enclosure icon (under the
Enclosures icon in Tree View) for more information.
To access the Enclosures–Information tab:
1. Click the Subsystem icon.
2. Click on the VTrak icon.
• Enclosure List (below)
• Enclosure (page 105)
• FRU VPD (page 105)
• Battery (page 106)
• Buzzer (page 106)
• Physical Drive List (page 107)
• Physical Drive (page 108)

Chapter 4: Management with WebPAM PRO
105
3. Click on the Enclosures icon.
Enclosure
The Enclosure–Information tab lists detailed information on the status of the
enclosure for this subsystem. In the diagram, the icons of functional components
are shown in green. The icons of out-of-specification components are also shown
in yellow or red. In the tables below the diagram, out-of-specification values are
shown in red.
To access the Enclosure–Information tab:
1. Click the Subsystem icon.
2. Click on the VTrak icon.
3. Click on the Enclosures icon.
4. Click on the Enclosure icon.
• For more information about Field Replaceable Units, click the FRU VPD tab.
• To check Battery condition, click the Battery tab.
• To check the Buzzer setting, click the Buzzer tab.
• To change the Buzzer setting, click the dropdown menu on the Buzzer tab
and select Settings.
FRU VPD
The Enclosure–FRU VPD tab lists Vital Product Data (VPD) or each Field
Replaceable Unit (FRU) in this enclosure. This information is primarily for
reference by Technical Support.
There are no user settings for this tab. See Chapter 6 for instructions how to
replace a FRU.
To access the Enclosure–Information tab:
1. Click the Subsystem icon.
Notes
• See Chapter 6 for instructions how to replace a battery or
FRU.
• To see information on the physical drives in this enclosure,
click the Physical Drives icon under the Enclosure icon.

VTrak 15110 User Manual
106
2. Click on the VTrak icon.
3. Click on the Enclosures icon.
4. Click on the Enclosure icon.
5. Click on the FRU VPD tab.
Battery
The Enclosure–Battery tab reports on the condition of VTrak's cache backup
battery. Battery Information displays battery temperature, capacity and voltage.
The Advanced Battery Information lists Vital Product Data (VPD), which is
primarily for reference by Technical Support.
There are no user settings for this tab. See Chapter 6 for instructions how to
replace a battery.
To access the Enclosure–Information tab:
1. Click the Subsystem icon.
2. Click on the VTrak icon.
3. Click on the Enclosures icon.
4. Click on the Enclosure icon.
5. Click on the Battery tab.
Buzzer
The Enclosure–Buzzer tab reports on the audible alarm setting. VTrak's audible
alarm has four signals:
• Beep-beep, beep-beep, beep-beep: Indicates that one or more Logical
Drives is Critical.
• Beep. Beep. Beep: Indicates that one or more Logical Drives is Rebuilding.
• Beep-beep-beep, beep-beep-beep: Indicates a problem with an FRU.
• 10 second continuous beep: Indicates that one or more Logical Drives is
Offline.
The audible alarm has a Silence function which stops it from sounding for the
current event only. If another event happens, the buzzer will sound again.
To change audible alarm setting:
1. Click the Subsystem icon.

Chapter 4: Management with WebPAM PRO
107
2. Click on the VTrak icon.
3. Click on the Enclosures icon.
4. Click on the Enclosure icon.
5. Click on the Buzzer tab.
6. Click the dropdown menu on the Buzzer tab and select Settings.
The buzzer settings tab appears.
• Check the Enable box to enable the buzzer. Uncheck the box to disable.
• Check the Silence box in to stop the Buzzer for the current event only.
7. Click the Submit button when you are done.
Physical Drive List
The Physical Drives–Information tab gives a description and reports the status of
the hard disk drives in this enclosure. To access the physical drives list:
1. Click the Subsystem icon.
2. Click on the VTrak icon.
3. Click on the Enclosures icon.
4. Click on the Enclosure icon.
5. Click on the Physical Drives icon.
Enclosure Front View
The Enclosure Front View shows the enclosure locations of the physical drives.
Move your cursor over the physical drive in the list and the location is highlighted
in the diagram.

VTrak 15110 User Manual
108
Physical Drive Information
•Slot No – This is the Controller channel ID number to which this physical
drive is attached. If you have a drive on a channel but it does not appear in
WebPAM, there is a bad connection.
•Physical Drive Model – The drive manufacturer's identification.
•Physical Drive Capacity – The effective data storage capacity in gigabytes.
This is total capacity, not available capacity.
•Physical Drive Status – The functional status of an individual disk drive.
• Functional means normal.
• Disk is being rebuilt means this drive is the Target Drive of the rebuild
operation that is in progress.
• Disk Offline means this drive is not available for use due to an error. See
Rebuild Logical Drive.
•Status – Refers to assignable status of an individual disk drive.
• Free means available for use in a Disk Array.
• Assigned means that it currently belongs to the Disk Array shown.
• Spare means it has been designated as a Hot Spare.
• Error means not available due to a problem with this physical drive.
•S.M.A.R.T. Status – This refers to Self-Monitoring Analysis and Reporting
Technology, a form of predictive failure analysis that examines disk drive
behavior for indications of a coming failure.
• Healthy means there are no indications of trouble.
• Alert means there have been indications that the disk drive could fail
soon. If you see an alert, back up your data, then remove and test the
disk drive.
• Disabled means the SMART has been disabled or is not a feature of this
disk drive. You must enable SMART function for each Logical Drive.
To see more information about a specific disk drive, click on its icon.
Physical Drive
The Physical Drive–Information tab gives a description and reports the status of
the hard disk drives (physical drives) in the enclosure. To access a physical drive:
1. Click the Subsystem icon.
2. Click on the VTrak icon.
3. Click on the Enclosures icon.
4. Click on the Enclosure icon.

Chapter 4: Management with WebPAM PRO
109
5. Click on the Physical Drives icon.
6. Click on the Physical Drive icon.
Enclosure Front View
The Enclosure Front View shows the enclosure location of the physical drive.
Physical Drive Information
•Physical Drive Model – The drive manufacturer's identification.
•Physical Drive Status – The functional status of this drive.
• Functional means normal.
• Disk is being rebuilt menas this drive is the Target Drive of the rebuild
operation that is in progress.
• Disk Offline means this drive is not available for use due to an error. See
Rebuild Disk Array.
•Physical Drive Size – The effective data storage capacity in gigabytes. This
is total capacity, not available capacity.
•Mode Setting – The performance level (data transfer speed) at which the
physical drive is running. This statistic applies to Parallel ATA disk drives
only. If a mode setting is reported for a Serial ATA drive, disregard it.
•Assignment – Refers to assignable status of an individual disk drive.
• Free means available for use in a Disk Array.
• Assigned means this drive currently belongs to a Disk Array.
• Spare means this drive is designated as a Hot Spare.
• Error means this drive is not available due to a problem.
•ID – The Controller channel ID number to which this physical drive is
attached. If you have a drive on a channel but it does not appear in
WebPAM, there is a bad connection.
•S.M.A.R.T. Status – Refers to Self-Monitoring Analysis and Reporting
Technology, a form of predictive failure analysis that examines disk drive
behavior for indications of a coming failure.
• Healthy means there are no indications of trouble.
• Alert means there have been indications that the disk drive could fail
soon. If you see an alert, back up your data, then remove and test the
disk drive.
• Disabled means the SMART has been disabled or is not a feature of this
disk drive. You must enable SMART function for each Logical Drive.
•Firmware Version – This refers to the version of the firmware on the disk
drive.

VTrak 15110 User Manual
110
•Serial Number – This is the manufacturer's serial number for this disk drive.
This feature allows you to obtain the number for warranty or support
purposes without removing it from the enclosure.
•Read / Write Counts – A record of the number of input/output transactions.
•Read / Write Transactions – A record of the volume of data in Megabytes.
Disk Arrays
Disk Array List
The Disk Array Group–Information tab displays a list of disk arrays along with
their status and capacity. A disk array is a collection of physical drives in a RAID.
Logical drives are made from disk arrays.
To access the Disk Array list:
1. Click on the Subsystem icon in Tree View.
2. Click on the VTrak icon.
Click on the Disk Arrays icon.
Disk Array Parameters
•Device ID – This is the ID number assigned by WebPAM PRO for an
individual disk array.
•Alias – A user-specified name for the disk array.
•Status – This refers to functional status of this disk array.
•Configurable Capacity – This is the data storage capacity available for new
and existing logical drives.
•Free Capacity – This is the data storage capacity available for new logical
drives.
• Disk Array List (below)
• Create a Disk Array (page 111)
• Delete Disk Array (page 116)
• Disk Array Information (page 117)
• Disk Array Settings (page 119)
• Create Logical Drive (page 120)
• Delete Logical Drive (page 121)
• Background Activity (page 121)
• Scheduler (page 122)
• Logical Drive List (page 123)
• Logical Drive (page 124)
• Logical Drive LUN Settings (page 126)
• Logical Drive Alias (page 127)
• Physical Drives (page 127)

Chapter 4: Management with WebPAM PRO
111
Create a Disk Array
A disk array is a collection of physical drives in a RAID. Logical drives are made
from disk arrays. To access the Disk Array tab:
1. Click on the Subsystem icon in Tree View.
2. Click on the VTrak icon.
3. Click on the Disk Arrays icon.
4. Click on the Create tab.
There are three ways to create a new disk array:
•Automatic – Creates a new disk array following a default set of parameters.
Makes one logical drive automatically
•Express – You choose the parameters for a new disk array by specifiying
the characteristics you want. You can create multiple logical drives at the
same time, however they will all be identical
•Advanced – You directly specify all parameters for a new disk array. Makes
one logical drive automatically. You can create additional logical drives at a
later time
Click the radio button of the method you want then click the Next button.
Or select one of these methods from the dropdown menu in the Create tab.

VTrak 15110 User Manual
112
Automatic Option
The Disk Array Automatic Creation option enables you to create a new disk array
following a default set of parameters. One logical drive will be made automatically
when you create the disk array.
When you choose the Automatic option, the following parameters display:
•Disk Arrays – The number of physical drives in the disk array, their ID
numbers, configurable capacity and the number of logical drives to be
created
•Logical Drives – The ID number of the logical drive(s), their RAID level,
capacity and stripe size
•Spare Drives – The physical drive ID number of the dedicated hot spare
assigned to this disk array
1. Review the parameters. If you accept them, proceed to the next step.
If you do NOT accept these parameters, use the Express or Advanced
option to create your disk array.
2. When you are done, click the Submit button.
The new disk array appears in the Disk Array List on the Information tab.
Proceed to Create Logical Drive (page 120).
Express Option
The Disk Array Express Creation option enables you to choose the parameters
for a new disk array by specifiying the characteristics you want. With this method,
you can create multiple logical drives at the same time you create your disk array.
However, all of the logical drives will be the same.

Chapter 4: Management with WebPAM PRO
113
To create a new disk array:
1. Check the boxes to select any one or combination of the following:
•Redundancy – The array will remain available if a physical drive fails
•Capacity – The greatest possible amount of data capacity
•Performance – The highest possible read/write speed
•Spare Drive – A hot spare drive
2. In the Number of Logical Drives field, type the number of logical drives you
want to make from this disk array.
The maximum possible number of logical drives appears to the right of this
field.
3. From the Application Type menu, select an application that best describes
your intended use for this disk array: File Server
• Video Stream
• Transaction Data
• Transaction Log

VTrak 15110 User Manual
114
•Other
4. Click the Update button.
Or check the Automatic Update box and updates will occur automatically.
The following parameters display:
•Disk Arrays – The number of physical drives in the disk array, their ID
numbers, configurable capacity and the number of logical drives to be
created
•Logical Drives – The ID number of the logical drive(s), their RAID level,
capacity and stripe size
•Spare Drives – The physical drive ID number of the dedicated hot spare
assigned to this disk array
5. If you accept these parameters, proceed to the next step.
If you do NOT accept these parameters, review and modify your selections
in the previous steps.
6. When you are done, click the Submit button.
The new disk array appears in the Disk Array List on the Information tab.
Proceed to Create Logical Drive (page 120).
Advanced Option
The Disk Array Advanced Creation option enables you to directly specify all
parameters for a new disk array. One logical drive will be made automatically
when you create the disk array. If you select less than the total available capacity,
you can use the remaining space to create additional logical drives at a later time.

Chapter 4: Management with WebPAM PRO
115
To create a new disk array:
1. Enter a name for the disk array in the field provided.
2. Check the box to enable initialization, if desired.
If you checked the initialization box, select the type of initialization from the
dropdown menu.
•Quick – Erases the reserve sectors of the physical drives being added
to the disk array.
•Full – Erases all sectors of the physical drives being added to the disk
array.
3. Highlight physical drives you want in the disk array from the Available list and
press the >> button to move them to the Selected list.
You can also double-click them to move them.
4. When you are done, click the Next button.
5. Choose a RAID level from the dropdown menu.
The choice of RAID levels depends on the number of physical drives you
selected.
6. Specify a Capacity and the unit of measure (MB, GB, TB).
This value will be the data capacity of the first logical drive in your new disk
array. If you specify less than disk array's maximum capacity, the remainder
will be available for additional logical drives which you can create later.
7. Specify a Stripe size from the dropdown menu.
4, 8, 16, 32 and 64 KB are available, 64 KB is the default.
8. Click the Next button.
The Creation Summary lists the disk array information you specified.

VTrak 15110 User Manual
116
9. If you accept these parameters, proceed to the next step.
If you do NOT accept these parameters, review and modify your selections
in the previous steps.
10. When you are done, click the Submit button.
The new disk array appears in the Disk Array List on the Information tab.
Proceed to Create Logical Drive (page 120).
Delete Disk Array
To delete a disk array, do the following:
1. Click on the Subsystem icon in Tree View.
2. Click on the VTrak icon.
3. Click on the Disk Arrays icon.
4. Click on the Delete tab.
5. Check the box to the left of the disk array you want to delete.
6. Click the Submit button.
7. Click the OK in the confirmation box.
Caution
When you delete a disk array, you delete all the logical drives and
the data they contain. Back up all important data before deleting a
disk array.

Chapter 4: Management with WebPAM PRO
117
The selected disk array disappears from the Disk Array List on the Information
tab.
Disk Array Information
The Disk Array–Information tab gives a description and reports the status of the
physical drives and logical drives that belong to this disk array. A disk array is a
collection of physical drives in a RAID. Logical drives are made from disk arrays.
To access a disk array:
1. Click on the Subsystem icon in Tree View.
2. Click on the VTrak icon.
3. Click on the Disk Arrays icon.
4. Click on the Disk Array icon.
If you have used previous versions of WebPAM PRO, you may be unfamiliar with
the term "disk array". In earlier versions of WebPAM PRO, disk arrays ad logical
drives were created and managed as a single entity called “logical drive”.
In the latest version of WebPAM PRO, disk arrays and logical drives are created
separately. This change offers much greater flexibility in logical drive
management. As a result of the change, many of the features previously
associated with logical drives, such as RAID level, migration, synchronization
and rebuilding are now managed under disk arrays. They are the same functions
as before.
Enclosure Front View
The Enclosure Front View shows the enclosure location of the physical drives
that belong to this disk array.
Disk Array Information
•Disk Array ID – This is the ID number assigned by WebPAM PRO for this
disk array.
•Alias – A user-specified name for the disk array.
•Operational Status – Functional, Synchronizing, Rebuilding, Critical, or
Offline (see definitions below).
•Configurable Capacity – This is the data storage capacity available for new
and existing logical drives.
•Free Capacity – This is the data storage capacity available for new logical
drives.
•Number of Physical Drives – The number of physical drives that belong to
this disk array.

VTrak 15110 User Manual
118
•Number of Logical Drives – The number of logical drives that belong to this
disk array.
•Supported RAID Level – The RAID level of this disk array.
• Physical Drives in the Disk Array
•Slot No. – This is the slot number of a physical drive that belongs to this
disk array.
•Model – The physical drive's model name from the manufacturer.
•Type – Serial ATA (SATA) or Parallel ATA (PATA).
•Configurable Capacity – This is the available data storage capacity of
this physical drive.
•Status – This refers to functional status of this physical drive.
• Functional means normal.
• Disk is being rebuilt means this drive is the Target Drive of the
rebuild operation that is in progress.
• Disk Offline means this drive is not available for use due to an error.
See Rebuild Disk Array.
• Logical Drives in the Disk Array
•Device ID – This is the ID number of a logical drive that belongs to this
disk array.
•Alias – A user-specified name for this logical drive.
•RAID Level – This is the RAID level of this logical drive.
•Capacity – This is the available data storage capacity of this physical
drive.
•Status – Functional, Synchronizing, Rebuilding, Critical, or Offline (see
definitions below).
Disk Array and Logical Drive Status Definitions
•Functional – This is the normal state of a logical drive. When a logical drive
is Functional, it is ready for immediate use. For RAID Levels other than RAID
0 (Striping), the logical drive has full redundancy.
•Synchronizing – This condition is temporary. Synchronizing is a
maintenance function that verifies the integrity of data and redundancy in the
logical drive. When an logical drive is Synchronizing, it will function and your
data is available. However, access will be slower due to the synchronizing
operation.
•Rebuilding – This condition is temporary. When a physical drive has been
replaced, the logical drive automatically begins rebuilding in order to restore
redundancy (fault tolerance). When a logical drive is rebuilding, it will
function and your data is available. However, access will be slower due to
the rebuilding operation.

Chapter 4: Management with WebPAM PRO
119
•Critical – This condition arises as the result of a physical drive failure. A
Critical logical drive will still function and your data is still available. However,
the logical drive has lost redundancy (fault tolerance). You must determine
the cause of the problem and correct it.
•Offline – This condition arises as the result of a second physical drive
failure. An Offline logical drive is not accessable but some or all of your data
may remain intact. You must determine the cause of the problem and correct
it.
Disk Array Settings
The Disk Array–Settings tab enables you to make settings for an individual disk
array. This tab applies to VTrak models only.
To access a disk array settings:
1. Click on the Subsystem icon in Tree View.
2. Click on the VTrak icon.
3. Click on the Disk Arrays icon.
4. Click on the Disk Array icon.
5. Click the Settings tab.
6. Enter an alias in the field.
7. Check the box to enable Auto Rebuild.
8. Check the box to enable SMART check on the hard disk drives.
9. Check the box to enable the hard disk drives' write caches.
10. Check the box to set the VTrak's cache to Write Back operation.
11. Uncheck to set the cache to Write Through operation.
12. From the popup menu, select High or Low for Rebuild priority.
13. From the popup menu, select High or Low for Synchronize priority.
14. From the popup menu, select High or Low for Migration priority.
• A High priority allocates more subsystem resources to this function and
less for regular read/write operation.
• A Low setting allocates more resources to read/write operations but can
cause the function to take longer to complete.
15. Check the box to enable PDM Auto Start.
16. Click the Submit button when you are done.

VTrak 15110 User Manual
120
Create Logical Drive
When you create a disk array, you automatically create one logical drive also. If
the initial logical drive used less than the full capacity of the disk array, you can
create additional logical drives from the same disk array.
To create a logical drive:
1. Click on the Subsystem icon in Tree View.
2. Click on the VTrak icon.
3. Click on the Disk Arrays icon.
4. Click on the Disk Array icon.
5. Click on the Create LD tab.
6. Enter an alias (name) in the field.
7. Enter a capacity and select unit of measure (MB, GB, TB).
The default value is the available capacity of the disk array. You can use this
value or any lesser amount.
8. Click the Submit button when you are finished.
The new logical drive appears in the Logical Drive List on the Information tab.
In order to use this logical drive to read and write data, you must partition and
format it using the Host PC’s operating system.
Important
You must enable Media Patrol and PDM on the VTrak in order for
them to work on your disk array.

Chapter 4: Management with WebPAM PRO
121
Delete Logical Drive
The Disk Array–Delete LD tab enables you to delete a logical drive under this
disk array.
To delete a logical drive:
1. Click on the Subsystem icon in Tree View.
2. Click on the VTrak icon.
3. Click on the Disk Arrays icon.
4. Click on the Disk Array icon.
5. Click on the Delete LD tab.
6. Check the box to the left of the logical drive you want to delete.
7. Click the Submit button.
8. Click OK in the confirmation box.
The selected logical disappears from the Logical Drive List on the Information
tab.
Background Activity
The Disk Array–Backgound Activity tab reports the background activies currently
running. Normally, you will not be aware that these processes are running
because the subsystem continues to function. To access background activity:
1. Click on the Subsystem icon in Tree View.
2. Click on the VTrak icon.
3. Click on the Disk Arrays icon.
4. Click on the Disk Array icon.
5. Click on the Background Activity tab.
The Background activities include:
•Migration – To migrate a disk array is to change its RAID level. In some
cases, it is necessary to increase the number of physical drives in the array
in order to achieve the target RAID level. The action of adding disk drives to
Caution
When you delete a logical drive, all the data it contains is also
deleted. Back up all important data before deleting a logical drive.

VTrak 15110 User Manual
122
an array is called "expansion". Because migration and expansion are closely
related, the Migration feature handles both. Note that the available target
RAID levels depend on the number physical drives in the current array and
the number of free physical drives.
•Manual Rebuild – When you rebuild a fault-tolerant disk array, you are
actually rebuilding the data on one disk drive. Normally, a disk array would
rebuild itself after going Critical. However, if the Auto Rebuild function is
disabled, you must initiate the procedure.
•Synchronization – Synchronization is a routine maintenance procedure for
fault-tolerant disk arrays (those with redundancy) that ensures all the data
matches exactly. You can initiate this procedure automatically through the
Synchronization Schedule. See Scheduler, below.
•Redundancy Check – Redundancy Check is a routine maintenance
procedure for fault-tolerant disk arrays(those with redundancy) that ensures
all the data matches exactly. Unlike Synchronization, Redundancy Check
only checks and reports, it does not correct inconsistencies.
•PDM – Predictive Data Migration (PDM) is the migration of data from the
suspect disk drive to a spare disk drive, similar to Rebuilding a fault-tolerant
disk array. Unlike Rebuilding a Logical Drive, PDM copies your data to a
spare disk drive before the original disk drive fails and your Logical Drive
goes Critical. You can configure PDM to run automatically.
Fault-tolerant disk arrays include RAID 1, 3, 5, 10 and 50. RAID 0 and JBOD are
not fault-tolerant. For more information, see Chapter 7.
Scheduler
The Disk Array–Scheduler tab enables you to schedule synchronization for an
individual disk array. Synchronization is a routine maintenance procedure for
fault-tolerant disk arrays (those with redundancy) that ensures all the data
matches exactly. You can also initiate synchronization manually. See
Background Activity, above.
To set the scheduler:
1. Click on the Subsystem icon in Tree View.
2. Click on the VTrak icon.
3. Click on the Disk Arrays icon.
4. Click on the Disk Array icon.
5. Click on the Scheduler tab.
6. From the dropdown menu on the Scheduler tab, select Array
Synchronization.

Chapter 4: Management with WebPAM PRO
123
The Scheduler Information window appears.
7. Click the radio button to select the time interval (minute, hour, day, week,
month).
8. Make your settings.
• For minute and hour intervals, specify the time period (30 to 59 minutes,
1 to 23 hours).
• For day, week and month intervals, specify the start time (using a 24-
hour clock).
• For week intervals, specify a day of the week from the dropdown menu.
• For month intervals, specify a day of the month from the dropdown
menu.
9. Click the Submit button when you are done.
The new scheduler settings will appear in the Scheduler tab.
To turn off the scheduler and disable scheduled synchronization:
1. Repeat steps 1 through 5 above.
2. Click on the Disable Logical Drive Synchronization Schedule radio button.
3. Click the Submit button.
Logical Drive List
The Logical Drives–Information tab gives a description and reports the status of
the logical drives that belong to this disk array. A disk array is a collection of
physical drives in a RAID. Logical drives are made from disk arrays. The PC's
operating system recognizes the logical drive as if it were a single physical drive.
You can write data to and read data from a logical drive in the VTrak enclosure as
if it were a physical drive inside the PC.
To see the logical drives under a disk array:
1. Click on the Subsystem icon in Tree View.
2. Click on the VTrak icon.
3. Click on the Disk Arrays icon.
4. Click on the Disk Array icon.
Click on the Logical Drives icon.
Logical Drive Parameters
•Device ID – The unique ID number for each logical drive.

VTrak 15110 User Manual
124
•Alias – A user-specified name for the logical drive. If the logical drive was
created at the same time as its disk array, it will have the same alias.
•RAID Level – The RAID of the logical drive. If the logical drive was created
at the same time as its disk array, it will have the same RAID level
•Disk Array ID – The disk array ID number to which this logical drive belongs.
•Stripe – The stipe block size of this logical drive specified at its creation.
•Status – The operating condition of a logical drive.
•OK / Functional – This is the normal state of a logical drive. When a
logical drive is OK / Functional, it is ready for immediate use. For RAID
Levels other than RAID 0 (Striping), the logical drive has full
redundancy.
•Synchronizing – This condition is temporary. Synchronizing is a
maintenance function that verifies the integrity of data and redundancy
in the logical drive. When an logical drive is Synchronizing, it will
function and your data is available. However, access will be slower due
to the synchronizing operation.
•Rebuilding – This condition is temporary. When a physical drive has
been replaced, the logical drive automatically begins rebuilding in order
to restore redundancy (fault tolerance). When a logical drive is
rebuilding, it will function and your data is available. However, access
will be slower due to the rebuilding operation.
•Critical – This condition arises as the result of a physical drive failure. A
Critical logical drive will still function and your data is still available.
However, the logical drive has lost redundancy (fault tolerance). You
must determine the cause of the problem and correct it.
•Offline – This condition arises as the result of a second physical drive
failure. An Offline logical drive is not accessable but some or all of your
data may remain intact. You must determine the cause of the problem
and correct it.
To see more information about a specific logical drive, click on its number in the
Device ID list.
Logical Drive
The Logical Drive–Information tab gives a description and reports the status of
the selected logical drive. A logical drive is a portion of a disk array. The PC's
operating system recognizes the logical drive as if it were a single phyical drive.
You can write data to and read data from a logical drive in the VTrak enclosure as
if it were a physical drive inside the PC.
To see the logical drives under a disk array:
1. Click on the Subsystem icon in Tree View.

Chapter 4: Management with WebPAM PRO
125
2. Click on the VTrak icon.
3. Click on the Disk Arrays icon.
4. Click on the Disk Array icon.
5. Click on the Logical Drives icon.
6. Click on a Logical Drive icon.
From this tab, you can access the Settings tab to set an alias or the LUN Settings
tab to specify a SCSI TID and LUN for this logical drive.
Enclosure Front View
The Enclosure Front View shows the enclosure location of the logical drives that
belong to this disk array.
Logical Drive Information
•Logical Drive ID – The ID number assigned by WebPAM PRO for this
logical drive.
•Alias – A user-specified name for the logical drive.
•RAID Level – The RAID of the logical drive. If the logical drive was created
at the same time as its disk array, it will have the same RAID level
•Operational Status – The operating condition of a logical drive.
•OK / Functional – This is the normal state of a logical drive. When a
logical drive is OK / Functional, it is ready for immediate use. For RAID
Levels other than RAID 0 (Striping), the logical drive has full
redundancy.
•Synchronizing – This condition is temporary. Synchronizing is a
maintenance function that verifies the integrity of data and redundancy
in the logical drive. When an logical drive is Synchronizing, it will
function and your data is available. However, access will be slower due
to the synchronizing operation.
•Rebuilding – This condition is temporary. When a physical drive has
been replaced, the logical drive automatically begins rebuilding in order
to restore redundancy (fault tolerance). When a logical drive is
rebuilding, it will function and your data is available. However, access
will be slower due to the rebuilding operation.
•Critical – This condition arises as the result of a physical drive failure. A
Critical logical drive will still function and your data is still available.
However, the logical drive has lost redundancy (fault tolerance). You
must determine the cause of the problem and correct it.

VTrak 15110 User Manual
126
•Offline – This condition arises as the result of a second physical drive
failure. An Offline logical drive is not accessable but some or all of your
data may remain intact. You must determine the cause of the problem
and correct it.
•Capacity – The data storage capacity of this logical drive.
•Number of Used Physical Drives – The number of physical drives used by
this logical drive.
•Stripe Size – The stipe block size of this logical drive specified at its
creation.
•Disk Array ID – The disk array ID number to which this logical drive belongs.
•SCSI Channel 1 TIDs – The Target IDs assigned to SCSI channel 1.
•SCSI Channel 2 TIDs – The Target IDs assigned to SCSI channel 2.
Logical Drive LUN Settings
The Logical Drive–LUN Settings tab enables you to make SCSI Target ID (TID)
and Logical Unit Number (LUN) settings for an individual logical drive. VTrak has
two data channels which use the SCSI protocol. You can select multiple TIDs
each channel and select multiple LUNs for each TID.
To make Logical Drive LUN settings:
1. Click on the Subsystem icon in Tree View.
2. Click on the VTrak icon.
3. Click on the Disk Arrays icon.
4. Click on the Disk Array icon.
5. Click on the Logical Drives icon.
6. Click on a Logical Drive icon.
7. Select a TID for channel 1.
8. Select a LUN for the channel 1 TID.
9. Select a TID for channel 2.
10. Select a LUN for the channel 2 TID.
11. Click the Submit button when you are done.
Click the Information tab to see the TIDs and LUNs applied to this logical drive.
There are separate TID and LUN settings for the RAID Console. See “LUN
Settings” on page 97 and “TID Settings” on page 98.

Chapter 4: Management with WebPAM PRO
127
Logical Drive Alias
The Logical Drive–Settings tab enables you to specify an alias for an individual
logical drive.
To specify an alias:
1. Click on the Subsystem icon in Tree View.
2. Click on the VTrak icon.
3. Click on the Disk Arrays icon.
4. Click on the Disk Array icon.
5. Click on the Logical Drives icon.
6. Click on a Logical Drive icon.
7. Click on the Settings tab.
8. Enter an alias in the Alias field.
9. Click the Submit button when you are done.
Physical Drives
Physical drives under a disk array are the same as those listed under the
Enclosure except that this list is limited to those physical drives that are used in
the disk array. See Physical Drive List (page 107) and Physical Drive (page 108).
Spare Drives
In WebPAM PRO, there are two types of hot spare drives:
•Global – Any unassigned physical drive of adequate size can be used as a
hot spare drive for any disk array
•Dedicated – A specific unassigned physical drive of adequate size can only
be used as the hot spare drive for a specific disk array
The Global hot spare drive option becomes active when you enable Auto
Rebuild. See Disk Array Settings (page 119) for this setting. There must also be
an unassigned disk drive of adequate capacity to replace the failed drive in the
disk array. This means that the hot spare drive must be equal to or larger than the
failed drive it replaces.
• Spare Drive List (page 128)
• Create a Spare Drive (page 128)
• Delete a Spare Drive (page 129)

VTrak 15110 User Manual
128
The Dedicated hot spare drive option requires you to designate an unassigned
disk drive as the hot spare for a specific disk array. This action is described under
Create, below.
Spare Drive List
To see a list of the current dedicated hot spare drives:
1. Click on the Subsystem icon in Tree View.
2. Click on the VTrak icon.
3. Click on the Spare Drives icon.
A list of spare drives displays the following information.
•# – This is the individual number of a spare drive.
•Physical Drive ID – This is the slot number of a physical drive that has
been designated as a spare drive.
•Capacity – This is the available data storage capacity of this physical
drive.
•Spare Type – All spare drives under this function are Dedicated spares.
•Dedicated Disk Arrays – The specific disk array to which this spare
drive is dedicated.
Create a Spare Drive
Make these two checks before proceding:
• Click on the Settings tab under the Disk Array icon and verify that Auto
Rebuild is enabled (checked).
• Click on the Physical Drives icon under the Disk Array icon and verify
the size of the physical drives in the disk array. You will need this information
to select a physical drive of adequate capacity.
To create a new dedicated hot spare drive:
1. Click on the Subsystem icon in Tree View.
2. Click on the VTrak icon.
3. Click on the Spare Drives icon.
4. Click on the Create tab.

Chapter 4: Management with WebPAM PRO
129
The Create Spare Drives page displays.
5. From the first dropdown menu, select the disk array to which the spare drive
will be assigned.
6. From the second dropdown menu, select an unassigned physical drive as
the spare drive.
Be sure the spare drive is of equal or greater capacity than the largest
physical drive in the disk array.
7. Click the Submit button when you are done.
The new dedicated hot spare drive appears in the list and in the Tree.
If you did not sucessfully create a spare drive, verify that the selected physical
drive was lof equal or greater capacity than the largest physical drive in the disk
array.
Delete a Spare Drive
To delete an existing spare drive is to remove the physical drive from service as a
dedicated hot spare. This action is required if you want to use this physical drive
in a disk array, for example.
1. Click on the Subsystem icon in Tree View.
2. Click on the VTrak icon.
3. Click on the Spare Drives icon.
4. Click on the Delete tab.
The spare drive list displays.
5. Check the delete box beside the physical drive you want to remove from
service as a hot spare.
6. Click the Submit button when you are done.

VTrak 15110 User Manual
130
Logical Drive Summary
Logical Drive List
The Logical Drive Summary is a list of all logical drives in the VTrak enclosure.
This function lists all of the logical drives together, without the need to navigate
through multiple disk arrays. The information here is exactly the same as shown
under the disk arrays.
To see the logical drives under a Logical Drive Summary:
1. Click on the Subsystem icon in Tree View.
2. Click on the VTrak icon.
3. Click on the Logical Drive Summary icon.
Logical Drive Parameters
•Device ID – The unique ID number for each logical drive.
•Alias – A user-specified name for the logical drive. If the logical drive was
created at the same time as its disk array, it will have the same alias.
•RAID Level – The RAID of the logical drive. If the logical drive was created
at the same time as its disk array, it will have the same RAID level
•Disk Array ID – The disk array ID number to which this logical drive belongs.
•Stripe – The stipe block size of this logical drive specified at its creation.
•Status – The operating condition of a logical drive.
•OK / Functional – This is the normal state of a logical drive. When a
logical drive is OK / Functional, it is ready for immediate use. For RAID
Levels other than RAID 0 (Striping), the logical drive has full
redundancy.
•Synchronizing – This condition is temporary. Synchronizing is a
maintenance function that verifies the integrity of data and redundancy
in the logical drive. When an logical drive is Synchronizing, it will
function and your data is available. However, access will be slower due
to the synchronizing operation.
•Rebuilding – This condition is temporary. When a physical drive has
been replaced, the logical drive automatically begins rebuilding in order
to restore redundancy (fault tolerance). When a logical drive is
rebuilding, it will function and your data is available. However, access
will be slower due to the rebuilding operation.
• Logical Drive List (below) • Logical Drive (page 131)

Chapter 4: Management with WebPAM PRO
131
•Critical – This condition arises as the result of a physical drive failure. A
Critical logical drive will still function and your data is still available.
However, the logical drive has lost redundancy (fault tolerance). You
must determine the cause of the problem and correct it.
•Offline – This condition arises as the result of a second physical drive
failure. An Offline logical drive is not accessable but some or all of your
data may remain intact. You must determine the cause of the problem
and correct it.
To see more information about a specific logical drive, click on its number in the
Device ID list.
Logical Drive
The Logical Drive–Information tab gives a description and reports the status of
the selected logical drive. A logical drive is a portion of a disk array. The PC's
operating system recognizes the logical drive as if it were a single phyical drive.
You can write data to and read data from a logical drive in the VTrak enclosure as
if it were a physical drive inside the PC.
To see the logical drives under a disk array:
1. Click on the Subsystem icon in Tree View.
2. Click on the VTrak icon.
3. Click on the Disk Arrays icon.
4. Click on the Disk Array icon.
5. Click on the Logical Drives icon.
6. Click on a Logical Drive icon.
From this tab, you can access the Settings tab to set an alias or the LUN Settings
tab to specify a SCSI TID and LUN for this logical drive.
Enclosure Front View
The Enclosure Front View shows the enclosure location of the logical drives that
belong to this disk array.
Logical Drive Information
•Logical Drive ID – The ID number assigned by WebPAM PRO for this
logical drive.
•Alias – A user-specified name for the logical drive.
•RAID Level – The RAID of the logical drive. If the logical drive was created
at the same time as its disk array, it will have the same RAID level

VTrak 15110 User Manual
132
•Operational Status – The operating condition of a logical drive.
•OK / Functional – This is the normal state of a logical drive. When a
logical drive is OK / Functional, it is ready for immediate use. For RAID
Levels other than RAID 0 (Striping), the logical drive has full
redundancy.
•Synchronizing – This condition is temporary. Synchronizing is a
maintenance function that verifies the integrity of data and redundancy
in the logical drive. When an logical drive is Synchronizing, it will
function and your data is available. However, access will be slower due
to the synchronizing operation.
•Rebuilding – This condition is temporary. When a physical drive has
been replaced, the logical drive automatically begins rebuilding in order
to restore redundancy (fault tolerance). When a logical drive is
rebuilding, it will function and your data is available. However, access
will be slower due to the rebuilding operation.
•Critical – This condition arises as the result of a physical drive failure. A
Critical logical drive will still function and your data is still available.
However, the logical drive has lost redundancy (fault tolerance). You
must determine the cause of the problem and correct it.
•Offline – This condition arises as the result of a second physical drive
failure. An Offline logical drive is not accessable but some or all of your
data may remain intact. You must determine the cause of the problem
and correct it.
•Capacity – The data storage capacity of this logical drive.
•Number of Used Physical Drives – The number of physical drives used by
this logical drive.
•Stripe Size – The stipe block size of this logical drive specified at its
creation.
•Disk Array ID – The disk array ID number to which this logical drive belongs.
•SCSI Channel 1 TIDs – The Target IDs assigned to SCSI channel 1.
•SCSI Channel 2 TIDs – The Target IDs assigned to SCSI channel 2.

133
Chapter 5: Management with the CLU
VTrak Status Indicators
Even though the Command Line Utility offers comprehensive monitoring of
VTrak, the LED indicators on the VTrak unit provide important status information.
When the power is switched on, the LEDs on the front of the VTrak will light up.
Figure 1. VTrak 15110 Front Panel LEDs
When boot-up is finished and the VTrak is functioning normally:
• Controller LED blinks green once per second for five seconds, goes dark for
five seconds, then blinks green once per second for five seconds again.
• Power, FRU and Disk Array LEDs display green continuously.
• SCSI LEDs flash green if there is activity on that channel.
See the table below.
• VTrak Status Indicators (below)
• Drive Status Indicators (page 134)
• Audible Alarm (page 136)
• CLU Connection (page 137)
• How to use the CLU (page 140)
• CLU Function Map (page 142)
• Controller Management (page 148)
• Enclosure Management
(page 151)
• Physical Drive Management (page 154)
• Disk Array Management (page 160)
• Logical Drive Management (page 172)
• Network Management (page 173)
• SCSI Management (page 180)
• Maintenance Menu (Disk Array
Operations) (page 182)
• Event Viewer (page 188)
Power FRU
Status Disk Array
Status SCSI-1
Activity SCSI-2
Activity Controller
Heartbeat

VTrak 15110 User Manual
134
.
See page 189for more information about field-replaceable components.
See page 234 for a discussion of critical and offline logical drives.
Drive Status Indicators
There are two LEDs on each Drive Carrier. They report the presence of power
and a disk drive, and the current condition of the drive.
Figure 2. VTrak Drive Carrier LEDs
LEDs
State
Dark Steady
Green
Flashing
Green Amber Red
Power System Off Normal n/a n/a n/a
FRU* System Off Normal n/a
Fan or
Battery
Problem
Fan or
Battery
Failed
Logical
Drive System Off Normal n/a
Logical
Drive Critical
Logical
Drive Offline
SCSI-1
SCSI-2 No Activity n/a Activity n/a n/a
Controller System Off n/a Normal** n/a n/a
* Field Replacement Unit. “n/a” means this state does not apply to this LED.
** Blinks five times in five seconds, five seconds dark, blinks five times again.
Drive Status
Power/
Activity

Chapter 5: Management with the CLU
135
The VTrak spins up the disk drives sequentially in order to equalize power draw
during start-up. After a few moments the LEDs will display as described in the
table below.
See page 234 for a discussion of rebuilding and failed disk drives.
LEDs
State
Dark Steady
Green
Flashing
Green Amber Red
Power/
Activity No Drive Drive
Present Activity n/a n/a
Status No Power Drive OK n/a Drive
Rebuilding
Drive
Error
“n/a” means this state does not apply to this LED.

VTrak 15110 User Manual
136
Audible Alarm
VTrak’s audible alarm (buzzer) has three sound patterns:
• Beep. Beep. Beep. – Indicates that a logical drive is rebuilding
• Beep-beep, beep-beep, beep-beep. – Indicates that a logical drive is critical
• Beep-beep-beep. Beep-beep-beep. – Indicates a problem with a field
replaceable unit (FRU)
• 10 second continuous beep – Indicates that a logical drive is offline
See page 189 for more information about field-replaceable components.
See page 234 for a discussion of critical and offline logical drives.
Alarm Settings
• Enable – Sounds for all conditons listed above.
• Disable – Does not sound for any condition.
• Silence – Stops the alarm from sounding for the current event. If another
event happens, the alarm will sound again.
To change Audible alarm settings:
1. From the CLU Main menu, press 9.
The buzzer options appear.
----------------------------------------------------
Buzzer
1. Silence Buzzer
2. Disable Buzzer
R. Return to Previous Menu
Please enter your menu choice>
2. Do one of the following:
• To silence the buzzer (for the current event only), press 1 and Enter.
• To disable the buzzer (off until enabled again), press 2 and Enter.
Silence/Disable/Enable buzzer(y/n)?>
3. Press Y and Enter to confirm your choice.
If you disabled the buzzer, repeat the same procedure enable it again.

Chapter 5: Management with the CLU
137
CLU Connection
There are two connections methods for the CLU:
• Serial – Requires a null modem cable (included with VTrak) to connect the
serial ports on the Host PC and VTrak
• Telnet – Requires a network connection between the Host PC and VTrak’s
Management Port.
Serial Connection
Before you begin, be sure the null modem cable is connected between the Host
PC and VTrak, and that both machines are booted and running.
1. Start your PC’s terminal emulation program.
2. Press Enter once to launch the CLU.
Telnet Connection
If your Telnet connection has not been setup, refer to Chapter 2.
To start the telnet program,
1. Go to the command line prompt (Windows) or click the terminal icon (Linux),
then run:
telnet 192.168.1.56 2300
The IP address above is only an example. Use your VTrak's Management
port IP address. 2300 is the Telnet port for the VTrak.
The telnet login screen appears:
Telnet Login
Please enter your user name>administrator
Please enter the password for user administrator>*******
2. Type the user name and password.
The default user name is administrator. The default password is password.
The CLU Main Menu appears.

VTrak 15110 User Manual
138
There are nine functional groups in the CLU:
Subsystem Management – Allows you view controller information, change
parameters, monitor the enclosure, update the firmware and reboot the VTrak.
Physical Drive Management – Enables you to view disk drive assignments and
parameters, wipe boot and reserve sectors, change disk drive settings and
perform diagnostics.
Disk Array Management – Allows you to view disk array information, create and
delete disk arrays and logical drives, cache policy, hot spare policy, retry count,
SMART settings; rebuilding, synchronization and migration priorities.
Logical Drive Management – Allows you to view logical drive information, name
logical drives and change LUN settings.
Network Management – Make Management Port, Telnet, and SNMP settings,
set IP address for management port, TFTP server and gateway; and set subnet
mask.
SCSI Management – Set channel TIDs and Console LUN.

Chapter 5: Management with the CLU
139
Maintenance – Enable or disable the Maintenance Activity Monitor and Media
Patrol; migrate Logical Drives; manually rebuild, synchronize, run PDM and
Redundancy Check on Logical Drives.
Event Viewer – View the event log.
Buzzer – Enable, disable or silence the buzzer (audible alarm).
Exit the CLU
1. From the Main Menu, press E and Enter to exit.
2. Press Y and Enter to confirm.
3. Close the terminal emulation, Telnet or terminal window.

VTrak 15110 User Manual
140
How to use the CLU
All directions begin at the CLU Main Menu. From that point, the keystrokes are
listed to take you to the appropriate submenu. Depending on your VTrak model,
some functions require you to specify a Port, Disk Array or Logical Drive by its ID
number.
For example:
Hot Spare Policy - Main Menu, 3 Enter, 4 Enter
1. Start at the Main Menu.
2. Press 3 and Enter. The Disk Array Management submenu appears.
PDM Auto Start option: Enabled
ID Name RAID SBS CAP Member PDs Status
--------------------------------------------------------------------------------
1 Daniels Array 5 64K 240GB 1,3-4,7 Functional
2 Kirts Array 5 64K 270GB 2,5-6,8 Functional
--------------------------------------------------------------------------------
Disk Array Management
1. Disk Array Auto Creation
2. Create New Disk Array
3. Delete Disk Array
4. Disk Array Properties
5. PDM Auto Start Option
R. Return to Previous Menu
Please enter your menu choice>4
3. Press 4 and Enter. Because there is more that one Disk Array, the CLU asks
to specify the one you want by ID number.
Enter the Disk Array ID>1
4. Press 1 and Enter to select Disk Array ID 1.
The Disk Array Properties submenu displays.
Stripe Block Size: 64K
Disk Array #1 Mapping: GB
-----------------------------------
| 100 GB | 100 GB | 39 GB |
-----------------------------------
--------------------------------------------------------------------------
Name: Daniels Array
RAID Level: 5 Member LDs: 1-2
Stripe Block Size: 64K Capacity: 240 GB
Member PDs: 1,3-4,7 SMART Check: On
Cache Policy: Write Through Retry Count: 2

Chapter 5: Management with the CLU
141
Auto Rebuilding: On Hot Spare Policy: Global
Priority: High(RBLD), High(SYNC), High(Migration), High(RC), High(PDM)
--------------------------------------------------------------------------
Disk Array 1 Properties
1. Create Logical Drive
2. Delete Logical Drive
3. Cache Policy
4. Retry Count
5. Enable/Disable SMART
6. Name
7. Priority
8. Hot Spare
9. Auto Rebuilding
R. Return to Previous Menu
Please enter your menu choice>8
5. From this submenu, press 8 and Enter to access the Hot Spare Policy
function.
Current hot spare policy:
Global
Change to Dedicated hot spare policy for LD 1(y/n)?>y
6. Press Y and Enter to change the Hot Spare Policy to Dedicated.
The physical drives selection appears.
*********Physical Drives Selection*********
ID Name Capacity
-------------------------------------------------------
9 WDC WD1200JD-00FYB0 120 GB
11 ST380013AS 80 GB
12 WDC WD1200JD-00FYB0 120 GB
Enter Physical Drive ID to select.
Press R to continue after you have finished
selecting Physical Drive.
Your input?>9
7. From this submenu, press 9 and Enter to select the disk drive ID 9.
The previous screen reappears with disk drive ID 9 selected.
*********Physical Drives Selection*********
ID Name Capacity
--------------------------------------------------------
* 9 WDC WD1200JD-00FYB0 120 GB

VTrak 15110 User Manual
142
11 ST380013AS 80 GB
12 WDC WD1200JD-00FYB0 120 GB
Enter Physical Drive ID to select.
Press R to continue after you have finished
selecting Physical Drive.
Your input?>r
8. Press R to finish your selection and press Enter.
The Disk Array Properties submenu displays. Note that Hot Spare Policy has
changed to Dedicated with the physical drive 9 (PD9) as the hot spare.
Stripe Block Size: 64K
Disk Array #1 Mapping: GB
-----------------------------------
| 100 GB | 100 GB | 39 GB |
-----------------------------------
--------------------------------------------------------------------------
Name: Daniels Array
RAID Level: 5 Member LDs: 1-2
Stripe Block Size: 64K Capacity: 240 GB
Member PDs: 1,3-4,7 SMART Check: On
Cache Policy: Write Through Retry Count: 2
Auto Rebuilding: On Hot Spare Policy: Dedicated(PD9)
Priority: High(RBLD), High(SYNC), High(Migration), High(RC), High(PDM)
--------------------------------------------------------------------------
Disk Array 1 Properties
1. Create Logical Drive
2. Delete Logical Drive
3. Cache Policy
4. Retry Count
5. Enable/Disable SMART
6. Name
7. Priority
8. Hot Spare
9. Auto Rebuilding
R. Return to Previous Menu
Please enter your menu choice>
This concludes the example.
CLU Function Map
The map below is designed to help you navigate to the submenu where each
function is located. The paths in this map do not activate the functions.

Chapter 5: Management with the CLU
143
A
Auto Rebuilding, Disk Array – Main Menu, 3 Enter, 4 Enter
Auto Start, PDM – Main Menu, 3 Enter
B
Back Plane Box – Main Menu, 1 Enter, 1 Enter, 4 Enter
Battery – Main Menu, 1 Enter, 2 Enter
Battery Board – Main Menu, 1 Enter, 1 Enter, 4 Enter
Boot Sector, Wipe – Main Menu, 2 Enter
Buzzer/Beeper – Main Menu
C
Cache Policy, Disk Array – Main Menu, 3 Enter, 4 Enter
Channel TID, SCSI – Main Menu, 4 Enter
Circuit Boards, VTrak – Main Menu, 1 Enter, 1 Enter, 4 Enter
Contact Person, SNMP – Main Menu, 6 Enter, 4 Enter
Console LUN – Main Menu, 6 Enter
Controller
Information, View – Main Menu, 1 Enter, 1 Enter
Label – Main Menu, 1 Enter, 1 Enter, 2 Enter
Management – Main Menu, 1 Enter
Parameters, Modify – Main Menu, 1 Enter, 1 Enter
Create
Disk Array – Main Menu, 3 Enter
Logical Drive – Main Menu, 3 Enter, 4 Enter
D
Date and Time – Main Menu, 1 Enter, 1 Enter, 2 Enter
Daughter Board – Main Menu, 1 Enter, 1 Enter, 4 Enter
Default Settings
Telnet - Main Menu, 5 Enter, 2 Enter
Delete
Disk Array – Main Menu, 3 Enter
Logical Drive – Main Menu, 3 Enter, 4 Enter
DHCP, Management Port – Main Menu, 5 Enter, 1 Enter
Diagnostics, Physical Drive – Main Menu, 2 Enter
Disk Array
Auto Rebuilding – Main Menu, 3 Enter, 4 Enter
Cache Policy – Main Menu, 3 Enter, 4 Enter
Create – Main Menu, 3 Enter
Delete – Main Menu, 3 Enter
Hot Spare – Main Menu, 3 Enter, 4 Enter
Media Patrol – Main Menu, 7 Enter
Migrate – Main Menu, 7 Enter

VTrak 15110 User Manual
144
Name – Main Menu, 3 Enter, 4 Enter
Properties, Modify – Main Menu, 3 Enter, 4 Enter
PDM Auto Start – Main Menu, 3 Enter
PDM, manual – Main Menu, 7 Enter
Priority – Main Menu, 3 Enter, 4 Enter
Rebuild, manual – Main Menu, 7 Enter
Redundancy Check – Main Menu, 7 Enter
Retry Count – Main Menu, 3 Enter, 4 Enter
SMART – Main Menu, 3 Enter, 4 Enter
Synchronize – Main Menu, 7 Enter
Display (List)
Logical Drives – Main Menu, 4 Enter
Physical Drives – Main Menu, 2 Enter
E
Enclosure Management – Main Menu, 1 Enter
Event Viewer – Main Menu
Exit – Main Menu
F
Fan Box – Main Menu, 1 Enter, 1 Enter, 4 Enter
Fan Speed – Main Menu, 1 Enter, 2 Enter
Firmware Update – Main Menu, 1 Enter, 1 Enter
G
Gateway, Management Port – Main Menu, 5 Enter, 1 Enter
H
Hot Spare Drive – Main Menu, 3 Enter, 4 Enter
I
Information, Controller – Main Menu, 1 Enter, 1 Enter
I/O Statistics, Physical Drive – Main Menu, 2 Enter
IP Address
Management Port – Main Menu, 5 Enter, 1 Enter
TFTP Server – Main Menu, 5 Enter
Trap Sinks, SNMP – Main Menu, 5 Enter, 4 Enter, 6 Enter
L
Label, Controller – Main Menu, 1 Enter, 1 Enter, 2 Enter
LED, Physical Drive, Blink – Main Menu, 2 Enter, 5 Enter
Location, SNMP – Main Menu, 5 Enter, 4 Enter
Logical Drive
Create – Main Menu, 3 Enter, 4 Enter
Delete – Main Menu, 3 Enter, 4 Enter

Chapter 5: Management with the CLU
145
Name – Main Menu, 4 Enter
SCSI LUN – Main Menu, 4 Enter
Logical Drives, Display – Main Menu, 4 Enter
LUN
RAID Console – Main Menu, 6 Enter
Logical Drive – Main Menu, 4 Enter
M
Management, Controller – Main Menu, 1 Enter
Management Port – Main Menu, 5 Enter
DHCP – Main Menu, 5 Enter, 1 Enter
Gateway – Main Menu, 5 Enter, 1 Enter
IP Address – Main Menu, 5 Enter, 1 Enter
Ping – Main Menu, 5 Enter
Subnet Mask – Main Menu, 5 Enter, 1 Enter
Main Board – Main Menu, 1 Enter, 1 Enter, 4 Enter
Maintenance Activity Monitor – Main Menu, 7 Enter
Maintenance Management – Main Menu
Media Patrol, Disk Array – Main Menu, 7 Enter
Migrate Disk Array – Main Menu, 7 Enter
Modify Controller Parameters – Main Menu, 1 Enter, 1 Enter
N
Name
Disk Array– Main Menu, 3 Enter, 4 Enter
Logical Drive– Main Menu, 4 Enter
SNMP – Main Menu, 5 Enter, 4 Enter
Network Management – Main Menu
P
Parameters
Controller – Main Menu, 1 Enter, 1 Enter
Physical Drive – Main Menu, 2 Enter
Password, Telnet – Main Menu, 5 Enter, 2 Enter
PDM Auto Start – Main Menu, 3 Enter
PDM, manual – Main Menu, 7 Enter
Physical Drive
Boot Sector, Wipe – Main Menu, 2 Enter
Diagnostics – Main Menu, 2 Enter
I/O Statistics – Main Menu, 2 Enter
LED Blink – Main Menu, 2 Enter
Management – Main Menu
Parameters, View – Main Menu, 2 Enter
Remapping Table – Main Menu, 2 Enter, 6 Enter
Reserve Sector, Wipe – Main Menu, 2 Enter

VTrak 15110 User Manual
146
Write Cache – Main Menu, 2 Enter
Physical Drives, Display – Main Menu, 2 Enter
Ping, Management Port – Main Menu, 5 Enter
Power Supply – Main Menu, 1 Enter, 1 Enter, 4 Enter
Priority, Disk Array – Main Menu, 3 Enter, 4 Enter
Properties, Disk Array – Main Menu, 3 Enter
R
RAID Console LUN – Main Menu, 6 Enter
Read Only Community, SNMP – Main Menu, 5 Enter, 4 Enter
Reboot VTrak – Main Menu, 1 Enter, 1 Enter
Rebuild Disk Array
automatic – Main Menu, 3 Enter, 4 Enter
manual – Main Menu, 7 Enter
Redundancy Check, Disk Array – Main Menu, 7 Enter
Remapping Table – Main Menu, 2 Enter, 6 Enter
Report of Self Test – Main Menu, 2 Enter, 6 Enter
Reserve Sector, Wipe – Main Menu, 2 Enter
Restore Defaults
Telnet - Main Menu, 5 Enter, 2 Enter
Retry Count, Disk Array – Main Menu, 3 Enter, 4 Enter
S
SCSI
Channel TID – Main Menu, 4 Enter
LUN, Logical Drive – Main Menu, 4 Enter
Management – Main Menu
SEP Board – Main Menu, 1 Enter, 1 Enter, 4 Enter
Self Test, Report – Main Menu, 2 Enter, 6 Enter
Long – Main Menu, 2 Enter, 6 Enter
Short – Main Menu, 2 Enter, 6 Enter
Stop – Main Menu, 2 Enter, 6 Enter
SFP, Fibre Channel – Main Menu, 7 Enter
SMART Enable/Disable – Main Menu, 3 Enter, 4 Enter
SNMP – Main Menu, 5 Enter
Contact Person – Main Menu, 5 Enter, 4 Enter
Location – Main Menu, 5 Enter, 4 Enter
Name – Main Menu, 5 Enter, 4 Enter
Read Only Community – Main Menu, 5 Enter, 4 Enter
Trap Only Community – Main Menu, 5 Enter, 4 Enter
Trap Sinks – Main Menu, 5 Enter, 4 Enter
Trap Sinks, IP Address – Main Menu, 5 Enter, 4 Enter, 6 Enter
Spare Drives – Main Menu, 3 Enter, 4 Enter
Subnet Mask, Management Port – Main Menu, 5 Enter, 1 Enter

Chapter 5: Management with the CLU
147
Subsystem Management – Main Menu
Synchronize Disk Array – Main Menu, 7 Enter
T
Telnet – Main Menu, 5 Enter
Password – Main Menu, 5 Enter, 2 Enter
Enable/Disable – Main Menu, 5 Enter, 2 Enter
Timeout – Main Menu, 5 Enter, 2 Enter
User Name – Main Menu, 5 Enter, 2 Enter
Temperature – Main Menu, 1 Enter, 2 Enter
TFTP Server – Main Menu, 5 Enter
IP Address – Main Menu, 5 Enter, 3 Enter
Time and Date – Main Menu, 1 Enter, 1 Enter, 2 Enter
Timeout, Telnet – Main Menu, 5 Enter, 2 Enter
Trap Only Community, SNMP – Main Menu, 5 Enter, 4 Enter
Trap Sinks, SNMP – Main Menu, 5 Enter, 4 Enter
U
User Name, Telnet – Main Menu, 5 Enter, 2 Enter
V
Voltage – Main Menu, 1 Enter, 2 Enter
VPD Display – Main Menu, 1 Enter, 1 Enter
VTrak
Circuit Boards – Main Menu, 1 Enter, 1 Enter, 4 Enter
Reboot – Main Menu, 1 Enter, 1Enter
W
Wipe Boot/Reserve Sector – Main Menu, 2 Enter
Write Cache, Enable/Disable – Main Menu, 2 Enter
This is the end of the CLU Index.

VTrak 15110 User Manual
148
Controller Management
1. From the Main menu, press 1 and Enter, then 1 and Enter again to access
Controller Management.
2. Press the number of the option you want plus Enter to move to the next
submenu.
•View Controller Information – Serial and revision numbers, IP
addresses, cache size
•Modify Controller Parameters – Modify the Controller Label (name)
and change the date and time
•Firmware Update – Update VTrak’s firmware. See page 190 for more
information
•VPD – Displays information from these circuit boards: Storage
Enclosure Processor, Main Controller, Controller Daughter Card,
Battery, Fans, Power Supplies, Backplane, Backplane Daughter Card
•Reboot – Reboot the VTrak subsystem
View Controller Information
From the Controller Management menu, press 1 and Enter to view controller
information.
---------------Controller Information---------------
Product: VTrak 15110
Controller Serial Number: kehhoh
Controller Label: alias
Firmware Revision: 02.02.0000.93
Hardware Revision: 0.1.0.2
SEP Revision: 2.05
Telnet: enabled
DHCP: Enabled
TFTP Server IP Address: 192.168.10.5
Date: 1-17-2005
Time: 1:12:56
DDR (ECC) Size: 256MB
SCSI Channel 1 TIDs: 3 4 5
SCSI Channel 2 TIDs: 6 7 8
Press Enter key to return
Modify Controller Parameters
From the Controller Management menu, press 2 and Enter to assign a controller
label or change the date and time on the VTrak subsysem.

Chapter 5: Management with the CLU
149
Controller Label: alias
Date: 1-17-2005
Time: 1:15:04
--------------------------------------------------------------------------
Modify Controller Parameters
1. Controller Label
2. Date and Time
R. Return to Previous Menu
Please enter your menu choice>
Press 1 and Enter to assign a new alias to the VTrak.
Press 2 and Enter to change the date and time.
Firmware Update
See “Firmware Update – CLU” on page 192.
VPD
1. From the Controller Management menu, press 4 and Enter to access the
Vital Product Data (VPD) function
----------------------------------------------------
VPD Information
1. SEP Board
2. Main Board
3. Daughter Board
4. Battery Board
5. Cooling Unit 1
6. Cooling Unit 2
7. Power Supply 1
8. Power Supply 2
9. Back Plane
A. Display All
R. Return to Previous Menu
Please enter your menu choice>
2. Press the number of the component whose information you want to see then
press Enter.
3. Press Enter to return to the VPD Information menu.
Reboot
1. From the Controller Management menu, press 5 and Enter to reboot the
VTrak.

VTrak 15110 User Manual
150
WARNING
Reboot VTrak 15110 now(y/n)?>y
Please confirm again, reboot VTrak 15110 now(y/n)?>y
2. Press Y and Enter to confirm.
3. Press Y and Enter to confirm again.
The VTrak will reboot. You can watch the progress in the Terminal window.

Chapter 5: Management with the CLU
151
Enclosure Management
From the Main menu, press 1 and Enter then 2 and Enter to access Enclosure
Management. Select the component whose performance you want to check.
Fan Speed
From the Enclosure Management menu, press 1 and Enter to access Fan
Speed.
****************Fan Speed***************
Fan # RPM Normal Operational Range
------------------------------------------------------------
1 4753 3750-5250
2 0 3750-5250
3 1917 1350-2850
4 1928 1350-2850
5 1804 1350-2850
6 1804 1350-2850
In this example, Fan 2 is not turning. This condition can cause overheating of the
VTrak subsystem. A broken fan requires replacement, even if the VTrak
temperature readings are currently normal.
Fans 1 and 2 are located on the Power Supplies. As a result, Power Supply 2
requires replacement even if the power output levels are OK.
For information on fan replacement, see .page 197.
Buzzer
From the Enclosure Management menu, press 2 and Enter to access the Buzzer
(Beeper). You can also access the Buzzer from the Main menu.
The buzzer options appear.
----------------------------------------------------
Buzzer
1. Silence Buzzer
2. Disable Buzzer
R. Return to Previous Menu
Please enter your menu choice>
4. Do one of the following:
• To silence the buzzer (for the current event only), press 1 and Enter.
• To disable the buzzer (off until enabled again), press 2 and Enter.
Silence/Disable/Enable buzzer(y/n)?>

VTrak 15110 User Manual
152
5. Press Y and Enter to confirm your choice.
If you disabled the buzzer, repeat the same procedure enable it again.
Temperature
From the Enclosure Management menu, press 3 and Enter to access
Temperature.
*********************Temperature********************
Temperature # Celsius Fahrenheit Normal Operational Range
-------------------------------------------------------------------------------
1 27 80 <= 45 Celsius
2 27 80 <= 45 Celsius
3 24 75 <= 45 Celsius
4 23 73 <= 45 Celsius
5 24 75 <= 45 Celsius
6 38 100 <= 55 Celsius
Press Enter key to return
Look for a temperature measurement above the Normal Operational Range. An
elevated temperature can be the result of a failed fan or blocked cooling
passages. Temperature #6 has a higher range because it is located directly
above the main controller board.
Voltage
From the Enclosure Management menu, press 4 and Enter to access Voltage.
******************Voltage*****************
# Voltage(volts Normal Operational Range
----------------------------------------------------------------------
1 3.39 2.96-3.63
2 5.16 4.48-5.51
3 12.09 0.76-13.19
Press Enter key to return
VTrak has three power buses, 3.3V, 5V and 12V. If a voltage is out of normal
operational range, there could be problem with the power supply(ies). Note that
bus voltage is the combined output of both power supplies. Therefore do not
condemn a power supply based on this voltage reading alone.
For information on power supply replacement, see page 196.
Battery
From the Enclosure Management menu, press 5 and Enter to access Battery.

Chapter 5: Management with the CLU
153
***************Battery**************
Battery Information:
Voltage: 4.13 volts
Capacity: 3841 mAH
Temperature: 29 Celsius (84 Fahrenheit)
Press Enter key to return
A battery is supplied with VTrak to power the cache in the event of a power
failure. When fully charged, the battery can supply power up to 72 hours.
For information on battery replacement, see page 201.
For more information on Troubleshooting, see page 221.

VTrak 15110 User Manual
154
Physical Drive Management
The term Physical Drive refers to a Hard Disk Drive, as compared to a Logical
Drive that is made up of one or more physical or disk drives. This manual uses
the terms physical drive and disk drive interchangeably.
From the Main Menu, press 2 and Enter to access Physical Drive Management.
**********Physical Drive (PD) Assignment**********
ID Name Capacity Write Cache Status
-----------------------------------------------------------------------------------
1 ST3160023AS 159 GB Enabled Assigned(LD 1)
2 WDC WD1200JD 119 GB Enabled Error
3 WDC WD1200JD 119 GB Enabled Assigned(LD 1)
4 WDC WD1200JD 119 GB Enabled Assigned(LD 1)
5 Maxtor 6Y080M0 81 GB Disabled Free
7 ST3160023AS 159 GB Enabled Dedicated(LD 1)
------------------------------------------------------------------------------------
Physical Drive Management
1. View Parameters
2. Enable/Disable Write Cache
3. Wipe Out Boot Sector
4. Wipe Out Reserved Sector
5. Blink Led
6. Diagnostics
7. IO Statistics
R. Return to Previous Menu
Please enter your menu choice>
The physical drive assignment lists all disk drives by their placement in the VTrak
chassis, from left to right, 1 to 15, along with make, model, capacity, write cache
status and assignment status.
Status is reported for each disk drive as follows:
•Free – Not assigned to any logical drive
•Assigned(LD 1) – Assigned to logical drive 1
•Dedicated(LD 1) – Assigned as a dedicated hot spare for logical drive 1
•Error – This drive is present but offline. You cannot use this drive
•No ID number – There is no drive in this channel or VTrak does not
recognize the drive
To create a logical drive, see page 165.
To specify a hot spare drive, see page 168.

Chapter 5: Management with the CLU
155
If you know a disk drive is good but VTrak shows an Error, wipe the drive’s
reserve sector. From the Physical Drive Management menu, press 7 and Enter.
If VTrak does not recognize a disk drive, check for proper installation into the
drive carrier and verify that the carrier is properly inserted into the slot.
View Parameters
1. Press 1 and Enter to view the parameters of the selected disk drive.
2. Type the ID number of the disk drive you want to see and press Enter.
------Physical Drive 1 Parameters------
Name: ST3160023AS
Serial Number: 3JS0SZ8Y
Firmware Version: CQ14
Maximum LBA: 312319601
Capacity: 159 GB
Mode Setting: UDMA 5
Write Cache Status: disabled
SMART Status: OK
Press Enter key to return
3. Press Enter to return to the Physical Drive Management menu.
Enable/Disable Write Cache
All disk drive write caches are disabled by default. You must enable them
individually using this function.
1. Press 2 and Enter to enable or disable the write cache in the selected disk
drives.
Enter PD IDs and/or ID ranges>2
Changing write cache option for PD 2 ...
Press Enter key to return
2. Type the ID numbers of the physical drives for which you want to change the
Write Cache option and press Enter.
This function simply reverses the current setting of the selected drives. For
example, it will enable the write caches in all selected drives only if they are
all currently disabled.
3. Press Enter to return to the Physical Drive Management menu.

VTrak 15110 User Manual
156
Wipe Out Boot Sector
When a disk drive is bootable, it contains a boot sector. In some cases, a boot
sector is undesireable when the disk drive is used in a logical drive. This feature
erases the boot sector from the disk drive.
1. Press 3 and Enter to wipe the boot sector from the selected disk drives.
Enter PD IDs and/or ID ranges>5
Total 1 PD has been selected.
Wipe out boot sector for PD 5(y/n)?>y
Wiping out boot sector for PD 5 ...
Press Enter key to return
2. Type the ID numbers of the physical drives for which you want to cerase the
boot sector and press Enter.
3. Press Enter to return to the Physical Drive Management menu.
Wipe Out Reserve Sector
When a disk drive belongs to a logical drive, information about that arrangement
is stored in the Reserve sector. In some cases, the RAID controller will not use a
disk drive that has information in its Reserve sector.
For example, a disk drive that is part of a logical drive fails. If you replace the
failed drive with a drive that was previously used in a logical drive, VTrak will not
use it to rebuild the present logical drive. You must erase the Reserve sector on
the replacement drive first.
1. Press 4 and Enter to wipe the Reserve sector from the selected disk drives.
Enter PD IDs and/or ID ranges>6
Total 1 PD has been selected.
Wipe out boot sector for PD 6(y/n)?>y
Wiping out boot sector for PD 6 ...
Press Enter key to return
2. Type the ID numbers of the physical drives for which you want to cerase the
Reserve sector and press Enter.
3. Press Enter to return to the Physical Drive Management menu.

Chapter 5: Management with the CLU
157
Blink LED
This function causes the Disk Status LED for the specified
disk drive to blink (right). This action helps you quickly identify
the disk drive you are working on.
1. Press 5 and Enter to access Blink LED.
2. Type the ID number of the disk drive whose LED you
want to blink and press Enter.
3. Press Enter to return to the Physical Drive Management
menu.
Diagnostics
This function runs the disk drive manufacturer’s internal diagnostic program and
reports on remapping due to bad sectors on a free disk drive (not assigned to a
logical drive). A high level of bad sector remapping signals drive problems.
1. Press 6 and Enter to access Diagnostics.
Brief testing status for free Physical Drives:
ID Self Test Remapping
-------------------------------------------------------------------------
3 N/A total 32, used 0
5 N/A total 32, used 0
6 N/A total 32, used 0
-------------------------------------------------------------------------
Diagnostics
1. Short Self Test
2. Long Self Test
3. Detail Report
4. Remapping Table
5. Stop Self Test
R. Return to Previous Menu
Please enter your menu choice>1
Enter Physical Drive ID>3
2. Type the Diagnostic operation you want and press Enter.
The Short Self Test takes up to 60 seconds. The Long Self Test takes up to
60 minutes.
3. Type the ID number of the disk drive you want to test and press Enter.
Note: this test might take up to 60 seconds to complete
Check results later on using Report menu
Press Enter key to return
Disk Status LED
blinks green

VTrak 15110 User Manual
158
4. Press Enter to return to the Physical Drive Management menu.
5. Press 6 and Enter to again access Diagnostics.
The results of the test are displayed.
Brief testing status for free Physical Drives:
ID Self Test Remapping
-------------------------------------------------------------------------
3 self test completed total 32, used 0
5 N/A total 32, used 0
6 N/A total 32, used 0
-------------------------------------------------------------------------
Diagnostics
1. Short Self Test
2. Long Self Test
3. Detail Report
4. Remapping Table
5. Stop Self Test
R. Return to Previous Menu
Please enter your menu choice>3
Enter Physical Drive ID>3
6. Press 3 and Enter for a detailed report.
7. Type the ID number of the disk drive you want reported and press Enter.
Drive Name: Maxtor 6Y080M0
Drive Ser#: Y3K88AWE
Self Test Status:
The previous self-test completed without any error.
Press Enter key to return
8. Press Enter to return to the Physical Drive Management menu.
If there is a problem with a disk drive, please contact the Technical Support of the
disk drive manufacturer. Promise is not authorized to support the disk drives
themselves.
I/O Statistics
This function keeps count statistics on the total of read and write input/outputs
and transactions the disk drives have performed. These figures are for
information only.
1. Press 7 and Enter to access I/O Statistics.
Physical Drives IO Statistics:

Chapter 5: Management with the CLU
159
ID Name Read Count Read TRANS Write Count Write TRANS
-----------------------------------------------------------------------------------------------------
1 ST3160023AS 524434 2516 KB 1048576 1066 KB
2 WDC WD1200JD 625306 3146 KB 3497525 2443 KB
3 Maxtor 6Y080M0 321986 1743 KB 2752876 1395 KB
--------------------------------------------------------------------------------------------------
Press Enter key to return
Read and Write Counts record the number of input/output transactions.
Read and Write Transactions record the volume of data in Kilobytes.
2. Press Enter to return to the Physical Drive Management menu.

VTrak 15110 User Manual
160
Disk Array Management
From the Main Menu, press 3 and Enter to access Disk Array Management. This
are deals with disk arrays and logical drives that you create, in contrast to
physical drives which are covered under a separate menu.
PDM Auto Start option: Enabled
ID Name RAID SBS CAP Member PDs Status
----------------------------------------------------------------------------------
1 LogDrv1 5 64K 239GB 1-2,4 Functional
2 LogDrv2 5 64K 265GB 3,5,7 SYNC 50%
----------------------------------------------------------------------------------
Logical Drive Management
1. Logical Drive Auto Creation
2. Create New Logical Drive
3. Delete Logical Drive
4. Modify Logical Drive Parameters
5. PDM Auto Start Option
R. Return to Previous Menu
Please enter your menu choice>
The Logical Drive Magement submenu lists all logical drives in the order of their
creation, along with name, RAID level, Stripe Block Size, Capacity, physical
drives used and its status.
Status is reported for each logical drive as follows:
•Functional – Normal operation
•Critical – A physical drive has failed, the logical drive is available but fault
tolerance has been lost
•Offline – The logical drive is offline and unavailable
•INIT x% – Initialization, done at logical drive creation. The logical drive is
clearing old, unusuable data from the disk drives.
•RBLD x% – Rebuild, a repair operation. The logical drive is rebuilding data
or parity to a replacement drive. The target disk drive is cited by ID number.
The logical drive is available
•SYNC x% – Synchronization, a maintenance operation. The logical drive
checks the data and parity and corrects inconsistencies. The logical drive is
available
•PDM x% – Predictive Data Migration, a maintenance operation. The logical
drive moves data from a suspect disk drive to a replacement. The target disk
drive is cited by ID number. This action anticipates and prevents a disk drive
failure and resulting Critical Status. A replacement disk drive is required. The
logical drive is available

Chapter 5: Management with the CLU
161
•RC x% – Redundancy Check. The logical drive is checking data to verify that
redundancy or parity match. Unlike Synchronizing, no corrections are made.
The logical drive is available
•MP x% – Media Patrol. The logical drive is checking disk drives to verify the
condition of the magnetic media. Unlike Synchronizing, no corrections are
made. The logical drive is available
To create a logical drive, see page 165.
To specify a hot spare drive, see page 168.
If you know a disk drive is good but VTrak shows an Error, wipe the drive’s
reserve sector. See page 156.
Disk Array Auto Creation
Use this feature to quickly build a disk array using all available disk drives. You
specify the RAID level. The other options are chosen automatically. See
page 205 for a discussion of RAID Levels and the number of drives each
supports.
1. From the Main menu, press 3 and Enter to access Disk Array Management.
2. Press 1 and Enter to access the Disk Array Auto Creation.
*************Logical Drive Auto Creation************
Total --6-- free Physical Drives
RAID Mode Options:
0 - RAID 0 (Striping)
1 - RAID 1 (Mirroring)
3 - RAID 3 (Parity)
5 - RAID 5 (Parity Distributed)
10 - RAID 10 (Striping/Mirroring)
50 - RAID 50
Please enter RAID mode(0,1,3,5,10,50)>50
The Auto Creation tells you how many disk (physical) drives are free and
which RAID modes (levels) are possible.
3. Type the RAID mode you want and press Enter.
The proposed specifications for the new logical drive appear
Logical Drive Auto Creation Information:
Name: LogicalDrive
Number of Physical Drives: 6
RAID mode: RAID 50
Stripe block size: 64KB

VTrak 15110 User Manual
162
SMART check: enabled
Initialization: full
Create Logical Drive now(y/n)?>y
4. If you agree with the specifications, press Y and Enter.
If you disagree, press N and Enter. Then select Create New Disk Array
(below) and input your own settings.
This completes disk array creation. Go to Disk Array Properties and select Create
Logical Drive.
Create New Disk Array
Use this feature to manually build a logical drive to meet your own requirements
or to use less than the full number of available disk drives. See page 212 for a
discussion of RAID Levels, the number of drives each supports and an
explanation of the available options.
1. From the Main menu, press 3 and Enter to access Disk Array Management.
2. Press 2 and Enter to access the Create New Disk Array.
**************Define New Logical Drive**************
Total 8 Physical Drives
*********Physical Drives Selection*********
ID Name Capacity
----------------------------------------------------------
1 Maxtor 5A250J0 251 GB
3 WDC WD2000JB-00FUA0 200 GB
4 WDC WD2000JB-00FUA0 200 GB
7 ST380013AS 80 GB
9 WDC WD1200JD-00FYB0 120 GB
11 ST380013AS 80 GB
12 WDC WD1200JD-00FYB0 120 GB
Enter Physical Drive IDs and/or ID ranges
separated by commas. For example: 1,5,8-15.
Press R to continue after you have finished
selecting Physical Drives.
Your input?>1,3,4,5,9
3. Choose the physical drives for your logical drive and press Enter.
*********Physical Drives Selection*********
ID Name Capacity
----------------------------------------------------------
*1 Maxtor 5A250J0 251 GB

Chapter 5: Management with the CLU
163
*3 WDC WD2000JB-00FUA0 200 GB
*4 WDC WD2000JB-00FUA0 200 GB
*7 ST380013AS 80 GB
*9 WDC WD1200JD-00FYB0 120 GB
11 ST380013AS 80 GB
12 WDC WD1200JD-00FYB0 120 GB
4 Physical Drives have been selected.
Enter Physical Drive ids and/or id ranges
separated by commas. For example: 1,5,8-15.
Press R to continue after you have finished
selecting Physical Drives.
Your input?>r
4. When you have selected all the physical drives, press R and Enter.
RAID Mode Options:
0 - RAID 0 (Striping)
1 - RAID 1 (Mirroring)
3 - RAID 3 (Parity)
5 - RAID 5 (Parity Distributed)
10 - RAID 10 (Striping/Mirroring)
50 - RAID 50
Please enter RAID mode(0,1,3,5,10)>5
The prompt displays available RAID modes.
5. Type the RAID mode (level) for your logical drive and press Enter.
Stripe Block Size (4, 8, 16, 32, 64, 128) in KB?>64
Enter the Disk Array name>Daves Array
Enable initialization(y/n)?>y
Full or quick initialization(f/q)?>q
Quick initialization enabled
6. Type the stripe block size, logical drive name, whether you want initialization
and if so, quick or full. Press Enter after each input.
If you chose RAID 1, you will not see a stripe block size. After the last item, a
list of your logical drive specifications displays.
Logical Drive creation information:
Name: Daves Array
Number of Physical Drives: 4
RAID mode: RAID 5
Stripe block size: 64KB
SMART check: enabled
Create Disk Array now(y/n)?>y

VTrak 15110 User Manual
164
7. Review the list. If you agree with the list, press Y and Enter. If you disagree
with the list, press N and Enter, then select Create New Disk Array again.
If you clicked Y, the new disk array appears.
ID Name RAID SBS CAP Member PDs Status
--------------------------------------------------------------------------------------
1 Daves Array 5 64K 357GB 1,3-4,9 Functional
-------------------------------------------------------------------------------------------
This completes disk array creation. Go to Disk Array Properties and select Create
Logical Drive (page 165).
Delete Disk Array
Use this feature to delete an existing disk array. Be careful when deleting disk
arrays. Be sure the disk array you delete is the one you intended to delete.
1. Press 3 and Enter to select Delete Disk Array.
Select the Disk Array ID to delete>2
Delete Disk Array 2(y/n)?>y
2. Type the ID number of the disk array you wish to delete and press Enter.
3. To confirm deletion, press Y and Enter. To cancel, press N and Enter.
Disk Array Properties
Press 4 and Enter to access the Disk Array Properties menu. If you have more
than one logical drive, specify the one you want by its ID number and press
Enter. Above the menu is a table of the current settings for this logical drive.
Stripe Block Size: 64K
Disk Array #1 Mapping: GB
-----------------------------------
| 100 GB | 100 GB | 39 GB |
-----------------------------------
--------------------------------------------------------------------------
Name: Daniels Array
RAID Level: 5 Member LDs: 1-2
Stripe Block Size: 64K Capacity: 240 GB
Member PDs: 1,3-4,7 SMART Check: On
Cache Policy: Write Through Retry Count: 2
Auto Rebuilding: On Hot Spare Policy: Global
Priority: High(RBLD), High(SYNC), High(Migration), High(RC), High(PDM)
--------------------------------------------------------------------------
Disk Array 1 Properties
1. Create Logical Drive

Chapter 5: Management with the CLU
165
2. Delete Logical Drive
3. Cache Policy
4. Retry Count
5. Enable/Disable SMART
6. Name
7. Priority
8. Hot Spare
9. Auto Rebuilding
R. Return to Previous Menu
Please enter your menu choice>8
Create Logical Drive
A logical drive is an entity made from a disk array that your PC’s operating
system recognizes as a single disk drive.
1. From the Disk Array Management menu, press 4 and Enter to access the
Disk Array Properties.
2. Press 1 and Enter to access Create Logical Drive
Mapping for Disk Array 1:
-------------
| #1 |
| 357 GB |
-------------
Maximum allowable capacity is 357 GB.
Press Enter key to use the maximum capacity
Or specify capacity in GB for the LD to be created.
Example 1: 12, this will create a 12 GB Logical Drive.
Example 2: 5Gx6, this will create 6 LDs, each LD's capacity is 5 GB.
Note in the Mapping for Disk Array 1 that one logical drive has already been
created and that 453 GB is available for additional logical drives.
Your input?>100
Enter the Logical Drive name>FirstLD
Enable quick initialization(y/n)?>y
3. Type the size of your first logical drive in Gigabytes and press Enter.
Or, to create multiple logical drives of the same size, type the size and
number of drives as described and press Enter.
4. To enable quick initialization, press Y and Enter.
If not, press N and Enter.
5. The logical drive mapping information appears(below), followed by the Disk
Array Properties menu.

VTrak 15110 User Manual
166
Disk Array #1 Mapping:
------------------------
| LD #1 | Free |
| 100 GB | 257 GB |
-------------------------
6. Press R and Enter twice to return to the Main menu.
In order to use this logical drive to read and write data, you must partition and
format it using the Host PC’s operating system.
Delete Logical Drive
Use this feature to delete logical drives from a disk array. When you delete a
logical drive, you also delete all the data it contains.
1. From the Disk Array Management menu, press 4 and Enter to access the
Disk Array Properties.
2. Press 2 and Enter to access Delete Logical Drive.
The logical drives on this disk array are shown in the disk array map at the
top of the screen.
Disk Array #1 Mapping:
----------------------------------------------
| LD #1 | LD #2 | LD #3 | Free |
| 100 GB | 100 GB | 100 GB | 57 GB |
------------------------------------------------
If you have more than one logical drive, the CLU asks which one you want to
delete.
LDs to delete(1, 2, 3)>3
Press the ID number of the logical drive you want to delete, then press
Enter. The CLU asks for confirmation.
Delete LDs(3) now(y/n)?>y
3. Press Y and Enter to confirm deletion of the selected logical drive.
LD deletion finished
Press Enter key to return
4. Press Enter to return to the Disk Array Properties menu.
Cache Policy
Use this feature to switch the logical drive cache policy between Write Through
and Write Back. Write Through is more secure but Write Back provides better
performance. Write Back temporarily stores data in the cache where VTrak’s
battery protects the data in the event of a power failure.

Chapter 5: Management with the CLU
167
1. From the Disk Array Management menu, press 4 and Enter to access the
Disk Array Properties.
2. Press 3 and Enter to access Cache Policy.
3. Press Y and Enter to confirm. The new policy displays.
4. Press Enter to return to the Disk Array Properties menu.
Retry Count
Use this feature to adjust the number of retries the RAID controller allows a disk
array before it takes the disk array offline.
1. From the Disk Array Management menu, press 4 and Enter to access the
Disk Array Properties.
2. Press 4 and Enter to access Retry Count.
3. Press Y and Enter to confirm.
4. Type the new retry count and press Enter.
5. Press Enter to return to the Disk Array Properties menu.
Enable/Disable SMART
Use this feature to enable or disable the SMART check on this disk array.
1. From the Disk Array Management menu, press 4 and Enter to access the
Disk Array Properties.
2. Press 5 and Enter to access Enable/Disable SMART.
3. Press Y and Enter to confirm The new setting displays.
4. Press Enter to return to the Disk Array Properties menu.
Disk Array Name
User this feature to assign a name to this disk array.
1. From the Disk Array Management menu, press 4 and Enter to access the
Disk Array Properties.
2. Press 6 and Enter to accessName.
3. Press Y and Enter to confirm.
4. Type the disk array name, up to 22 characters, and press Enter.
5. Press Enter to return to the Disk Array Properties menu.
Priority
Use this feature to set the logical drive priorities for:
• Rebuilding
• Synchronization
•Migration

VTrak 15110 User Manual
168
• Redundancy Check
•PDM
A high priority means more system resources are allocated to the Rebuild,
Synchronize, Migrate, Redundancy Check and PDM function and less to routine
read/write activity. As a result, the function in progress goes faster but the disk
array takes longer for reads and writes. A low priority has the opposite result.
1. Type 7 and Enter to access Priority.
The CLU takes you through the list of functions one-by-one.
Current rebuilding priority: High
Current synchronization priority: High
Current migration priority: High
Current redundant check priority: High
Current PDM priority: High
Change to low RBLD priority for LD 2(y/n)?>y
2. Press Y and Enter to change Rebuilding priority. Press N and Enter to leave
it unchanged.
3. Repeat the same procedure for the other functions.
After the last function, the Screen returns to the Disk Array Properties menu.
Hot Spare Policy
A Hot Spare is a disk drive not assigned to a disk array but available to replace a
failing disk drive that belongs to a disk array. This function enables you to
designate physical drives as hot spares and to specify the hot spare policy.
Hot spare policy is either Global or Dedicated. A Global spare can be used by
any disk array that needs it. A Dedicated spare can only be used by a specific
disk array.
1. Press 8 and Enter to access the Hot Spare Policy.
Current hot spare policy:
Global
Change to Dedicated hot spare policy for LD 1(y/n)?>y
2. Press Y and Enter to change hot spare policy. Press N and Enter to leave it
unchanged.
If you changed the policy to Dedicated, the Physical Drives Selection screen
appears. You must select one drive as the hot spare for this disk array.
*********Physical Drives Selection*********
ID Name Capacity
------------------------------------------------------------
9 WDC WD1200JD-00FYB0 120 GB

Chapter 5: Management with the CLU
169
11 ST380013AS 80 GB
12 WDC WD1200JD-00FYB0 120 GB
Enter Physical Drive ID to select.
Press R to continue after you have finished
selecting Physical Drive.
Your input?>9
3. If you change to a Dedicated hot spare drive, type the ID number of one
available physical drive and press Enter.
*********Physical Drives Selection*********
ID Name Capacity
------------------------------------------------------------
*9 WDC WD1200JD-00FYB0 120 GB
11 ST380013AS 80 GB
12 WDC WD1200JD-00FYB0 120 GB
Enter Physical Drive ID to select.
Press R to continue after you have finished
selecting Physical Drive.
Your input?>r
4. Press R and Enter to confirm the hot spare drive policy change.
The Screen returns to the Disk Array Properties menu.
Note: Be sure Auto Rebuilding is enabled (below).
Auto Rebuilding
Use this feature to enable the automatic rebuilding of a disk array that has gone
critical. This function must be enabled in order for a hot spare drive to work. See
Hot Spare Policy, above. To rebuild a disk array manually, see .
1. Press 9 and Enter to access the Auto Rebuilding Option.
Enable auto rebuilding for Disk Array 1(y/n)?>y
2. Press Y and Enter to enable Auto Rebuilding. Press N and Enter to leave
the setting unchanged.
The Screen returns to the Disk Array Properties menu.
PDM Auto Start
PDM (Predictive Data Migration) is a maintenance operation. VTrak checks
the bad block remapping table and keeps a count of disk drive errors. When
these reach the user-specified limits, PDM will migrate the data from the
suspect disk drive to a replacement.

VTrak 15110 User Manual
170
This action anticipates and prevents a disk drive failure and resulting Critical
Status. The logical drive is available at all times. To perform PDM manually,
see page 185.
1. Press 5 and Enter to access the PDM Auto Start Option.
PDM Auto Start: Disabled
Enable PDM Auto start(y/n)?>y
2. Press Y and Enter to enable PDM.
Current PDM Threshold:
Remap percentage threshold: 0%
Error count threshold: 0
----------------------------------------------------
PDM Threshold
1. Remap Percentage
2. Error Count
R. Return to Previous Menu
Please enter your menu choice>1
3. Press 1 and Enter to specify remap percentage.
Current remap percentage threshold: 0%
Change the threshold(y/n)?>y
Enter the new threshold(0~100)>50
Current remap percentage threshold: 50%
Press Enter key to return
4. Press Y and Enter to confirm a Threshold change.
Remap percentage refers to the disk drive’s bad sector remapping table. The
table holds 32 bad sector remaps. The percentage indicates how full the
table must be to trigger PDM.
5. Type a number between 0 and 100 for remap percentage and press Enter.
6. Press Enter to return to the PDM Threshold submenu.
7. Press 2 and Enter to specify Error Count.
Current error count threshold: 0
Change the threshold(y/n)?>y
Enter the new threshold>5
Current error count threshold: 5
Press Enter key to return
8. Press Y and Enter to confirm a Threshold change.
Error count indictes the number of disk drive errors needed to trigger PDM.

Chapter 5: Management with the CLU
171
9. Type an error number and press Enter.
10. Press Enter to return to the PDM Threshold submenu.

VTrak 15110 User Manual
172
Logical Drive Management
Logical drives are created under the Disk Array Managment, Disk Array
Properties function. This function enables you can specify names and make
SCSI assignments to existing logical drives.
Name
1. From the Main menu, press 4 and Enter, then press 1 and Enter to access
Logical Drive Name.
Please enter your menu choice>1
Enter Logical Drive ID(1, 2)>
If you have multiple logical drives, specify the one you want by its ID number.
Current LD 1 Name: LogDrv1
Enter the new name>Logical Drive A
Name changed to Logical Drive A for LD 1
Press Enter key to return
2. Type a name for the logical drive and press Enter.
3. Press Enter again to return to the Logical Drive Management menu.
SCSI Assignment
Use this feature to change the SCSI LUN assignments for a logical drive. You can
change the Target ID of the logical drive and specify LUNs for each SCSI
channel.
1. From the Main menu, press 4 and Enter, then press 2 and Enter to access
SCSI Assignment for channel 1.
Modify TID and LUN for SCSI channel 1, LD 1(y/n)?>y
2. Type Y and Enter to confirm.
Enter the new TID (1,2,3)>3
3. Type the new TID for iSCSI channel 1 and press Enter.
Enter the new LUN (0,1,2,3,4,5,6,7,8,9,10,11,12,13,14,15)>5
4. Type the new LUN for iSCSI channel 1 and press Enter.
LUN is set to 5 for SCSI channel 1 LD 1
Press Enter key to return
5. Press Enter to move to access SCSI Assignment for channel 1
Modify LUN for SCSI channel 2, LD 1(y/n)?>
6. To make a change, press Y and Enter.
Make the LUN settings for Channel 2 as needed.
7. Press Enter to return to the Logical Drive Management menu.

Chapter 5: Management with the CLU
173
Network Management
From the Main Menu, press 5 and Enter to access Network Management.
The Network Management menu displays with the factory default settings shown
above it.
Network Parameters:
DHCP: Enabled
Telnet: Enabled
TFTP Server IP Address: 192.168.10.5
SNMP Name: priti
SNMP Location: usa
---------------------------------------------------------------
Network Management
1. Management Port
2. Telnet
3. TFTP Server
4. SNMP
5. Ping
R. Return to Previous Menu
Please enter your menu choice>
Management Port
Use this feature to change the IP addresses for VTrak’s Management port and
Gateway plus the Subnet Mask. You can make these settings manually. If your
network has a DHCP server, you can enable DHCP on VTrak and the
Management Port settings will be handled automatically.
To enable DHCP:
1. From the Network Management menu, press 1 and Enter to access the
Management Port menu.
2. Press 1 and Enter to access DHCP.
3. Press Y and Enter to enable DHCP on VTrak.
4. Press Enter again to return to the Management Port menu.
To make settings manually:
1. From the Network Management menu, press 1 and Enter to access the
Management Port menu.
The Management Port settings display.
--------------------------------------------------------------------------
Management Port IP Address: 10.0.0.2
Subnet Mask: 255.0.0.0

VTrak 15110 User Manual
174
Gateway IP Address: 10.0.0.3
-------------------------------------------------------------------------
Management Port
1. DHCP
2. Management Port IP
3. Subnet Mask
4. Gateway
R. Return to Previous Menu
Please enter your menu choice>1
2. Press 2 and Enter to select Management Port IP.
--------Configure Management Port IP address--------
Current management port IP Address: 10.0.0.2
Modify management port IP address(y/n)?>y
New management port IP address>192.168.1.56 (an example only)
New management port IP address: 192.168.1.56
Press Enter key to return
3. Press Y and Enter to modify the management port IP address.
4. Type the new IP address and press Enter.
VTrak confirms the new address.
5. Press Enter to return to the Network Management menu.
6. Repeat steps 2 through 5 to set the Subnet Mask and Gateway IP address
7. Reboot the VTrak for these changes to take effect.
Telnet
Telnet allows you to use the CLU to manage VTrak over a network. The Telnet
screen looks the same as the CLU screen, except that you have to log in. You
must enable Telnet on VTrak before you can establish a Telnet connection.
Enable/Disable Telnet
1. Press 2 and Enter to access the Telnet settings.
Current Telnet settings:
Telnet: enabled
Timeout: 600 seconds
Port: 2300
User Name: administrator
---------------------------------------------------
Telnet Settings
1. Enable/disable Telnet

Chapter 5: Management with the CLU
175
2. Timeout
3. Change User Name
4. Change Password
5. Reset to Default Settings
R. Return to Previous Menu
2. Press 1 and Enter to access enable/disable Telnet.
Enable Telnet(y/n)?>y
3. Type Y and Enter confirm.
You return to the Telnet Settings menu.
Timeout
1. Press 2 and Enter to access the Timeout setting.
The timeout range and current setting display.
Note: 31536000 seconds equal one year.
Telnet timeout range in seconds: 60 - 31536000
Current Telnet timeout: 600 seconds
Enter the new Telnet timeout in seconds>500
2. Type the new value and press Enter.
You return to the Telnet Settings menu.
Change User Name
1. Press 3 and Enter to access the user name setting.
The minimum and maximum name lengths display.
Minimum user name length is 2
Maximum user name length is 30
Enter the new user name>RAIDmaster
2. Type the new name and press Enter.
You return to the Telnet Settings menu.
Change Password
1. Press 4 and Enter to access the password setting.
The minimum and maximum password lengths display.
Minimum password length is 2
Maximum password length is 16
Enter the new password>******
To confirm, renter the new password>******

VTrak 15110 User Manual
176
2. Type the new password and press Enter.
3. Type the new password and press Enter again to confirm.
Password changed successfully
Press Enter key to return
4. Press Enter to return to the Telnet Settings menu.
Reset to Default Settings
This action will delete any Telnet settings changes you previously made.
1. Press 5 and Enter to reset the Telnet settings to the default.
Reset to default Telnet settings(y/n)?>y
2. Type the new name and press Enter.
You return to the Telnet Settings menu.
TFTP Server
VTrak uses a Trivial File Transfer Protocol (TFTP) server to download and install
firmware upgrades. Use this feature to specify an IP address for your TFTP
Server.
1. Press 3 and Enter to access the TFTP Server.
----------Configure TFTP Server IP address----------
Current TFTP server IP Address: 10.0.0.12
Modify TFTP server IP address(y/n)?>y
New TFTP server IP address>192.168.1.122
2. Type Y and Enter to modify the TFTP server IP address.
3. Type the new IP address and press Enter.
VTrak confirms the new address.
New management port IP address: 192.168.1.122
Press Enter key to return
4. Press Enter to return to the Network Management menu.
For more information on using a TFTP Server and updating Firmware, see
page 190.
SNMP
VTrak supports Simple Network Management Protocol (SNMP). Use this feature
to check your SNMP settings and view the SNMP Settings menu.
Press 4 and Enter to access SNMP.

Chapter 5: Management with the CLU
177
Current SNMP System Information:
Name: Sonoma
Location: Promise
Contact person: sales
Read only community: public
IP addresses of trap sinks:
#1: 192.168.1.22
------------------------------------
SNMP Settings
1. Name
2. Location
3. Contact Person
4. Read only Community
5. Trap only Community
6. Trap Sinks
R. Return to Previous Menu
Name
1. Press 1 and Enter to access the SNMP name setting.
Enter the name>Irvine
2. Type the new name and press Enter.
You return to the SNMP Settings menu.
Location
1. Press 2 and Enter to access the SNMP location setting.
Enter the location>My Firm
2. Type the new location and press Enter.
You return to the SNMP Settings menu.
Contact Person
1. Press 3 and Enter to access the SNMP name setting.
Enter the contact person>A. Smith
2. Type the new contact person and press Enter.
You return to the SNMP Settings menu.
Read only Community
1. Press 4 and Enter to access the SNMP read only community setting.
Enter the read only community>Sales
2. Type the new read only community and press Enter.
You return to the SNMP Settings menu.

VTrak 15110 User Manual
178
Trap Only Community
1. Press 5 and Enter to access the SNMP trap only community setting.
Enter the trap only community>Engineering
2. Type the new trap only community and press Enter.
You return to the SNMP Settings menu.
Trap Sinks
1. Press 6 and Enter to access the SNMP trap sink IP addresses.
IP addresses of trap sinks:
-------------------------
IP Addresses of Trap Sinks
1. Edit
2. Add
3. Delete
R. Return to Previous Menu
Please enter your menu choice>2
2. To add a trap sink, press 2 and Enter.
Enter the new IP address>192.168.1.88
3. Type the new IP address and press Enter.
The new address displays in the list.
IP addresses of trap sinks:
#1: 192.168.1.88
-------------------------
IP Addresses of Trap Sinks
1. Edit
2. Add
3. Delete
R. Return to Previous Menu
Please enter your menu choice>r
4. Press R and Enter to return to the SNMP Settings menu.
Ping
Use the Ping function to verify a network connection.
1. Press 5 and Enter to access Ping.
Ping Test
Enter the IP address to ping>192.168.10.239

Chapter 5: Management with the CLU
179
2. Type the IP address of the network node you which to contact and press
Enter.
Number of ping packets(1-30)?>5
3. Type the number of ping packets you with to send and press Enter.
--- 192.168.10.239 ping statistics ---
5 packets transmitted, 5 received, 0% loss, time 4008ms
rtt min/avg/max/mdev = 0.426/0.466/0.529/0.040 ms
Press Enter key to return
If all the packets return, your Ping Test was successful and you know the
network connection is good.
4. Press Enter to return to the Network Management menu.

VTrak 15110 User Manual
180
SCSI Management
• Channel TID (below)
• RAID Console LUN (page 181)
From the Main Menu, press 6 and Enter to access SCSI Management.
SCSI Channel 1, Initiator 7, TID 0 Transfer Speed: 160 Mb/s
Channel 1 IO Statistics: read count 524434, read transaction 240 Mb
Channel 1 IO Statistics: write count 524288, write transaction 0 Mb
Channel 2 IO Statistics: read count 524434, read transaction 240 Mb
Channel 2 IO Statistics: write count 524288, write transaction 0 Mb
SCSI Channel 1 TIDs: 0
SCSI Channel 2 TIDs: 0
RAID Console: disabled
-------------------------------------------------------------------------
SCSI Management
1. Channel TID
2. RAID Console LUN
R. Return to Previous Menu
Please enter your menu choice>
Channel TID
Use this feature to change or add Target IDs. The TIDs you enter will overwrite
your previous selection.
1. Press 1 and Enter to access the SCSI Channel TID settings.
***************Modify SCSI Channel TID**************
SCSI Channel # TIDs
------------------------------------
10
------------------------------------
20
Please select the SCSI channel(1-2)
Press R to return after finished>1
Want to modify TIDs for SCSI channel 1(y/n)?>y
Please enter the new TIDs>1,3,5,7,9,11
2. Type the Channel number and press Enter.
Press Y and Enter to confirm.
3. Type the new TIDs and press Enter.
Remember to type any pre-existing TIDs you still want to use.

Chapter 5: Management with the CLU
181
TIDs for SCSI channel 1 changed
Press Enter key to return
***************Modify SCSI Channel TID**************
SCSI Channel # TIDs
------------------------------------
11
3
5
7
9
11
------------------------------------
20
Please select the SCSI channel(1-2)
Press R to return after finished>
4. Press R and Enter to return to the SCSI Management menu.
Rather than creating multiple Target IDs, use one Target ID and assign a LUN to
each logical drive. See page 164.
RAID Console LUN
VTrak’s RAID Console is required in order to use In-Band SCSI. The RAID
Console is disabled by default. This feature is for future use. For now, leave it
disabled.

VTrak 15110 User Manual
182
Maintenance Menu (Disk Array Operations)
From the Main Menu, press 6 and Enter to access the Maintenance menu:
Maintenance activity Monitor: Running
ID Name RAID SBS CAP Operation Progress
-------------------------------------------------------------------------
1 LogDrv1 5 64K 239GB RBLD 27% on 9
2 LogDrv2 3 64K 265GB None N/A
-------------------------------------------------------------------------
Maintenance
1. Maintenance Activity Monitor
2. Migrate Disk Array
3. Manual Rebuild
4. Manual PDM)
5. Synchronization
6. Redundancy Check
7. Media Patrol
R. Return to Previous Menu
The current Operation is reported for each disk array as follows:
•INIT – Initialization, done at logical drive creation. The logical drive is
clearing old, unusuable data from the disk drives.
•RBLD – Rebuild, a repair operation. The disk array is rebuilding data or
parity to a replacement drive. The target disk drive is cited by ID number.
The disk array is available
•SYNC – Synchronization, a maintenance operation. The disk array checks
the data and parity and corrects inconsistencies. The disk array is available
•PDM – Predictive Data Migration, a maintenance operation. The disk array
moves data from a suspect disk drive to a replacement. The target disk drive
is cited by ID number. This action anticipates and prevents a disk drive
failure and resulting Critical Status. A replacement disk drive is required. The
disk array is available
•RC – Redundancy Check. The disk array is checking data to verify that
redundancy or parity match. Unlike Synchronizing, no corrections are made.
The disk array is available
•MP – Media Patrol. The disk array is checking disk drives to verify the
condition of the magnetic media. Unlike Synchronizing, no corrections are
made. The disk array is available

Chapter 5: Management with the CLU
183
Maintenance Activity Monitor
The Maintenance Activity Monitor displays the progress of various disk array
operations on the CLU screen approximately every 15 seconds, as shown below.
Daniels Array(DA #1) PDM(4->11) 10%
Daniels Array(DA #1) PDM(4->11) 11%
Daniels Array(DA #1) PDM(4->11) 12%
1. Press 1 and Enter to access the Maintenance Activity Monitor.
Maintenance activity monitor is currently running.
When any maintenance activity occurs e.g. rebuilding,
the maintenance monitor will display notification
message on screen.
Stop maintenance activity monitor(y/n)?>y
Maintenance activity monitor stopped now
Press Enter key to return
2. Press Y and Enter to toggle the monitor between start and stop.
3. Press Enter to return to the Maintenance menu.
Migrate Disk Array
Use this feature to change the RAID mode (level) or a disk array or to add more
physical drives.
1. Type 2 and Enter to access Migrate Logical Drive.
2. Type the ID number for the disk array and press Enter.
*******Physical Drives Selection*******
Id Name Capacity
----------------------------------------
7 ST3160023AS 159 GB
8 ST3160023AS 159 GB
9 ST3160023AS 159 GB
Enter Physical Drive ids and/or id ranges
separated by commas. For example: 1,5,8-15.
Press R to continue after you have finished
selecting Physical Drives.
Your input?>7,9
3. Type the ID number(s) for the disk drive(s) you want to add and press Enter.
*******Physical Drives Selection*******
Id Name Capacity
----------------------------------------
*7 ST3160023AS159 GB

VTrak 15110 User Manual
184
8 ST3160023AS159 GB
*9 ST3160023AS159 GB
2 Physical Drives have been selected.
Enter Physical Drive ids and/or id ranges
separated by commas. For example: 1,5,8-15.
Press R to continue after you have finished
selecting Physical Drives.
Your input?>r
4. Press R and Enter when you are finished adding disk drives.
Destination RAID mode selection for LD migration
RAID Mode Options:
0 - RAID 0 (Striping)
1 - RAID 1 (Mirroring)
3 - RAID 3 (Parity)
5 - RAID 5 (Parity Distributed)
10 - RAID 10 (Striping/Mirroring)
50 - RAID 50
Please enter RAID mode(0,1,3,5)>5
5. Type the new RAID level you want for the logical drive.
A list of possible levels appears in parentheses beside the prompt.
Migrate Disk Array 1 now(y/n)?>y
6. Press Y and Enter to confirm disk array migration.
Press N and Enter to cancel the operation.
The Screen returns to the Maintenance menu.
If the Maintenance Activity Monitor is enabled, you can watch the Migration
progress on your monitor.
Manual Rebuild
Use this feature to rebuild a disk array manually. Your system must meet the
following conditions:
• Auto Rebuilding Option is disabled. See page 169.
• The disk array is Critical
• A free disk drive of equal or larger size is available
With the above conditions met, proceed with the manal rebuild.
1. Press 3 and Enter to rebuild a disk array manually.
2. Choose the ID number of the disk array you want to rebuild and press Enter.
A list of available, qualified disk drive appears.

Chapter 5: Management with the CLU
185
Available free Physical Drive(s):
1
2
7
Choose the free Physical Drive for rebuilding>2
Rebuild Disk Array 1 on Physical Drive 2 now(y/n)?>y
3. Choose the ID number of a free physical drive to rebuild your logical drive
and press Enter.
Press Y and Enter to confirm.
The Screen returns to the Maintenance menu.
If the Maintenance Activity Monitor is enabled, you can watch the Rebuild
progress on your monitor.
Manual PDM
Preventive Data Migration (PDM) refers to a feature that monitors disk drives and
replaces an unhealthy disk drive before the logical drive goes critical. PDM can
run automatically. See page 169.
PDM for Logical Drive allows you to replace a suspect disk drive manually, while
keeping the disk array functional and available.
1. Press 4 and Enter to use PDM on a disk array.
**************PDM for Disk Array**************
Id Disk Array Name Mode Size
---------------------------------------------------------------
1 Daniels RAID5 237 GB
2 Kirts RAID3 107 GB
Select the LD Logical Drive ID for PDM
Press R to return after finished>2
2. Choose the ID number of the logical drive for PDM and press Enter.
A list of disk array member disks appears beside the prompt.
Enter the unhealthy PD ID(1,5,6)>6
Enter the spare PD ID(2,3,7)>7
Start PDM for Logical Drive 1 (y/n)?>y
3. Choose the ID number of the unhealthy disk (physical) and press Enter.
A list of available spare disks appears beside the prompt.
4. Choose the ID number of the spare disk (physical drive) and press Enter.
5. Press Y and Enter to confirm.

VTrak 15110 User Manual
186
**************PDM for Disk Array**************
Id Disk Array Name Mode Size
---------------------------------------------------------------
1 Daniels RAID5 237 GB
PDM for Logical Drive started
Press Enter key to return
6. Press Enter to return to the Maintenance menu.
If the Maintenance Activity Monitor is enabled, you can watch the PDM
progress on your monitor.
Synchronize Logical Drive
Use this function to verify the integrity of your data across the physical drives that
make up your logical drive.
1. Press 5 and Enter to access Synchronization.
Enter the Logical Drive ID>1
Start SYNC for LD 1(y/n)?>y
2. Type the ID number for the logical drive you want to synchronize and press
Enter.
Logical Drive SYNC Started
Press Enter key to return
3. Press Enter to return to the Maintenance menu.
If the logical drive was Functional when Synchronization began, you can
pause and resume the Synchronization process with this same function.
If the Maintenance Activity Monitor is enabled, you can watch
Synchronization progress on your monitor.
Redundancy Check
Use this function to verify the integrity of your data across the physical drives that
make up your logical drive.
1. Press 6 and Enter to access Redundancy Check.
Enter the Logical Drive ID>1
Start RC for LD 1(y/n)?>y
2. Type the ID number for the logical drive on which you want to run a
Redundancy Check and press Enter.
Logical Drive RC Started
Press Enter key to return
3. Press Enter to return to the Maintenance menu.

Chapter 5: Management with the CLU
187
If the logical drive was Functional when the Redundancy Check began, you
can pause and resume the Redundancy Check process with this same
function.
If the Maintenance Activity Monitor is enabled, you can watch the
Redundancy Check progress on your monitor.
Media Patrol
Use this function to verify the integrity of the magnetic media on the physical
drives that make up your logical drive.
1. Press 7 and Enter to access Media Patrol.
Current MP Information:
MP: disabled
Percentage: 0%
---------------------------------------------------
Media Patrol(MP)
1. Enable/Disable MP
2. Pause
R. Return to Previous Menu
Please enter your menu choice>1
Enable MP(y/n)?>y
2. Do one of the following:
•Press 1 and Enter to enable/disable Media Patrol. Then press Y and
Enter to confirm.
•Press 2 and Enter to pause/resume Media Patrol. Then press Y and
Enter to confirm.
3. When you are done, press R and Enter to return to the Maintenance menu.
If the Maintenance Activity Monitor is enabled, you can watch the Media
Patrol progress on your monitor.

VTrak 15110 User Manual
188
Event Viewer
Use this function to review all events in the event queue. This information is
especially helpful for troubleshooting. The most recent 1024 events will display.
There is no delete event function.
1. From the Main menu, press 8 and Enter to access the Event Viewer.
VTrak 15110 Event Information:
Timestamp Description Severity ID
--------------------------------------------------------------------------------------
10/29/2004 8:59:35 LD 3 deleted. INFO 46
10/29/2004 8:59:36 LD 4 deleted. INFO 47
10/29/2004 9:05:25 Created DA Array2. INFO 48
10/29/2004 9:05:25 Quick INIT started on DA 2. INFO 49
10/29/2004 9:05:25 Quick INIT done on DA 2. INFO 50
10/29/2004 9:05:28 LD 17 created on DA 2. INFO 51
10/29/2004 9:05:28 Quick Init started on LD 17. INFO 52
10/29/2004 9:05:28 Quick Init completed on LD 17. INFO 53
10/29/2004 9:07:29 Deleted DA Array2. INFO 54
10/29/2004 15:58:48 PDM started on DA Array2: 4->11. INFO 55
Enter the ID to view event details.
q: quit, +/k: forward, -/j: backward
s: start of event queue, e: end of event queue
c: clear all events
Your input?>
2. To move forward in the queue, press + or K.
To move backward in the queue, press - or J.
To move to the beginning of the queue, press S.
To move to the end of the queue, press E.
To repeat the most recent entry, press Enter.
To clear all events, press C.
3. Press Q and Enter to return to the Main Menu.

189
Chapter 6: Maintenance
• Firmware Update (page 190)
• Replace Power Supply (page 196)
• Replace Cooling Unit Fan (page 197)
• Replace Cache Battery (page 202)
• Replace SEP (page 204)
• Replace RAID Controller (page 205)
This Chapter covers the maintenance procedures for VTrak.
The power supplies, cooling unit fans and the cache battery are hot-swappable
field-replaceable components.
The Storage Enclosure Processor (SEP) and RAID Controller are field-
replaceable but they require you to power down the VTrak.
Figure 1. Field Replaceable Units (FRUs) on VTrak
The primary means to identify and diagnose problems on VTrak is to observe and
interpret LED colors. A discussion of this process is found on the next two pages.
All hot-swappable components can be fully diagnosed with LEDs, although the
Command Line Utility (CLU) and WebPAM each offer you additional help to make
and confirm your diagnosis. See page 223 additional information.
Storage Enclosure
Processor (SEP) RAID Controller
Power Supply 1 Cooling Unit 1
with Battery Power Supply 2Cooling Unit 2

VTrak 15110 User Manual
190
Firmware Update – WebPAM
This is the preferred firmware update method for most applications. This
procedure takes about ten minutes. There are alternative methods based on the
CLU (page 192) and a serial port connection (page 194).
Preparation
In order for the firmware update to work, three things are required:
• TFTP server IP address
• TFTP server directory name
• A firmware image file
The WebPAM PRO Utility Server incorporates a TFTP server. No additional
software is required.
TFTP Server IP Address
You must tell WebPAM PRO the IP address of the TFTP server so it can upload
the firmware file from that location.
1. Click on the Subsystem icon in Tree View.
2. Click on the VTrak icon.
3. Click on the Network Management icon.
4. Click on the Settings tab.
5. Enter the TFTP Server IP address.
6. Click the Submit button when you are done.
TFTP Server Directory Name
You must tell WebPAM PRO which directory on the TFTP server has the firmware
file. Use this function to verify or set a directory name. The default directory is
TFTP-Root.
1. Click on the Administration Tools icon in Tree View.
2. Click on the Software Management icon.
3. Click on the TFTP Server tab.
4. Enter a TFTP directory name.
5. Click Submit when you are done.

Chapter 6: Maintenance
191
Firmware Image File
You must obtain the latest firmware update file from the Promise Techology
website and save it to the directory on the TFTP server you specified above.
1. Point your browser to the Promise website (www.promise.com).
2. Click on the Support menu and select Download.
3. From the popup menus, select your VTrak model and Firmware.
4. Click the Go button.
5. Select the most recent firmware file and click on its link to download it.
6. In the File Download box, click Save.
7. Unzip the file and place it in the specified directory on the TFTP server.
Firmware Update
Use this function to update the firmware on your VTrak subsystems.
1. Click on the Administration Tools icon in Tree View.
2. Click on the Software Management icon.
3. Click on the Firmware Update tab.
4. Select the firmware file in the Select Firmware dropdown menu.
The files that appear in this menu are saved in the TFTP directory on the
server running WebPAM PRO.
5. Check the boxes of the subsystems whose firmware you want to update with
the selected firmware file.
6. Click Submit when you are done.
The firmware for all of the selected VTrak subsystems is automatically
updated. The firmware update takes about 10 minutes. Each subsystem will
reboot itself after the update is finished.

VTrak 15110 User Manual
192
Firmware Update – CLU
Use this firmware update method over a Telnet connection. This procedure takes
about 10 minutes.
See also the preferred method based on WebPAM PRO (page 190) and the
alternative method that uses a serial port connection (page 194).
Preparation
In order for the firmware update to work, two things are required:
• A TFTP server
• A firmware image file
TFTP Server
The WebPAM PRO Utility Server incorporates a TFTP server. If you have
installed WebPAM PRO on a network server, no additional software is required.
Firmware Image File
You must obtain the latest firmware update file from the Promise Techology
website and save it to the TFTP-Root directory on the TFTP server.
1. Point your browser to the Promise website (www.promise.com).
2. Click on the Support menu and select Download.
3. From the popup menus, select your VTrak model and Firmware.
4. Click the Go button.
5. Select the most recent firmware file and click on its link to download it.
6. In the File Download box, click Save.
7. Unzip the file and place it in the TFTP-Root directory on the TFTP server.
Firmware Update
1. Press 3 and Enter to access the Firmware Update feature.
Current TFTP Server IP Address: 192.168.10.5
Modify TFTP Server IP address(y/n)?>n
Enter the firmware file name on TFTP server>VTrak-01.01.000.54.img
Current TFTP Server IP Address: 192.168.10.5
Update firmware for VTrak now(y/n)?>y
2. Check the current IP address of the TFTP server.
If it requires a change, press Y and Enter. Then type the new address and
press Enter.

Chapter 6: Maintenance
193
3. Type the file name of the firmware image file and press Enter.
The CLU displays the TFTP server IP address.
4. Press Y and Enter to proceed with the firmware update.
TFTP Server: 192.168.10.5, updating started, please wait...
ImgHeader read: Success
PTIF: Success
Please note that the new firmware will take effect
only after VTrak is rebooted.
The firmware update takes about 10 minutes. After the firmware update,
VTrak will automatically reboot.

VTrak 15110 User Manual
194
Firmware Update – Serial Port
Use this firmware update method only when your Management Port has no
network connection or the RS-232 connection is required. This procedure takes
about 30 minutes and applies to all VTrak models.
See also the preferred method based on WebPAM PRO (page 190) and an
alternative method based on the CLU (page 192)..
Firmware Image File
You must obtain the latest firmware update file from the Promise Techology
website and save it to the Host PC.
1. Point your browser to the Promise website (www.promise.com).
2. Click on the Support menu and select Download.
3. From the popup menus, select your VTrak model and Firmware.
4. Click the Go button.
5. Select the most recent firmware file and click on its link to download it.
6. In the File Download box, click Save.
7. Unzip the file.
Firmware Update
1. Be sure the VTrak and Host PC are running, the null modem cable is
properly connected and you have the correct COM Port settings. See
Chapter 2 for these settings.
2. Start your PC’s terminal emulation program.
3. Press Enter once to launch the CLU.
4. Reboot the VTrak. Use either method:
• From the Main Menu, press 1 and Enter twice to access the Controller
Management menu. Then press 5 and Enter to select Reboot. At each
of two prompts, press Y and Enter to confirm the Reboot.
• Turn the VTrak’s power switches off and then on again.
Warning
Do not allow the firmware update process to be interrupted for any
reason. An interrupted update will incapacitate controller.
Then you must return the controller to Promise for repair.

Chapter 6: Maintenance
195
5. Watch the terminal screen for the following:
Scrub DDR, waiting
Platform Init Done.
+
6. At the +, press the Ctrl and F keys at the same time.
The prompt changes to >BSP.
7. At BSP> type load -r -v -b 0x01008000 -m y.
Double-check your entry. Then press Enter.
This command readies VTrak to receive a file transfer via Y-modem protocol.
You have approximately 90 seconds to initiate the file transfer before the
load operation times out.
8. Start the file transfer. For example, if you are using HyperTerminal:
• Go to Transfer > Send File
• Click on the firmware image file to select it.
Example: VTrak-01.03.000.54.img
• Select Y-modem protocol
•Click Send
The file transfer takes about 20 minutes. When complete, the BSP> prompt
will reappear.
9. At BSP> type ptiflash -b 0x01008000.
Double-check your entry. Then press Enter.
This command validates the firmware upgrade file then writes the binary
image to VTrak’s flash ROM. These actions take about 8 minutes. When
complete, the BSP> prompt will reappear.
10. Type reset and press Enter to restart the VTrak.
This completes the firmware update operation.

VTrak 15110 User Manual
196
Replace Power Supply
The power supply and its fan are replaced as one unit. There are no individually
serviceable parts. No tools are required for this procedure.
To remove the power supply, do the following:
1. Verify that the power supply LED is amber or red.
2. Switch off the power.
3. Unplug the power cord.
4. Press the release button and pull the handle downward as shown (above,
left).
5. Pull the power supply out of the VTrak enclosure (above, center).
To install the power supply, do the following:
1. Carefully slide the power supply into the enclosure.
2. Gently press the handle in and upward until it locks (above, right).
3. Plug in the power cord.
4. Switch on the power supply.
5. Verify that the new power supply LED is green.
This completes the power supply replacement procedure.

Chapter 6: Maintenance
197
Replace Cooling Unit Fan
The blowers (scroll fans) in the cooling units are replaced as individual parts.
There are two fans in each cooling unit. No tools are required for this procedure.
To replace a fan, do the following:
1. Verify that the Fan LED is amber or red and note whether it is Fan 1 or 2
(above).
2. Press the release button and pull the handle downward as shown above.
Caution
If the cooling unit you plan to remove contains the cache backup
battery, your system will be vulnerable to a power failure.
Temporarily set your cache policy to write-through before starting
this procedure. See page 166.
Fan 2 LEDFan 1 LED

VTrak 15110 User Manual
198
3. Pull the cooling unit out of the VTrak enclosure. An example of a VTrak
cooling unit appears below.
To open the cooling unit, do the following:
4. If there is a battery on the cooling unit, disconnect the battery connector
(above).
Disconnect
the battery
(if present)
Loosen the
thumbscrew

Chapter 6: Maintenance
199
5. Loosen the thumbscrew (above). A retainer keeps the thumbscrew in place.
6. Grasp the top and bottom sections of the cooling unit with your hands as
shown above.
7. Hold the lower section and pull the upper section to the right.

VTrak 15110 User Manual
200
8. Separate the cooling unit section to access the blowers.
The upper fan is Fan 1, the lower fan is Fan 2. From the LEDs on the cooling unit
(see the diagram on page 197), you know which fan to replace.
9. Lift the fan off the mounting pins and detach the electrical connector.
10. Attach the electrical connector of the new fan and set it in place.
Fan 1
Fan 2

Chapter 6: Maintenance
201
Be sure you set the fan on the mounting pins, as shown above.
Be sure the fans point outward, towards the handle (above).
11. Place the top section of the cooling unit onto the bottom section and slide the
top lock it in place.
12. Tighten the thumbscrew.
13. If there is a battery on the cooling unit, reattach the battery connector.
14. Carefully slide the cooling unit into the enclosure.
15. Gently press the handle in and upward until it locks.
16. Verify that the Fan LEDs are green.
This completes the fan replacement procedure.

VTrak 15110 User Manual
202
Replace Cache Battery
The cache battery is located in the Cooling Unit 1 (the left one). The battery is
replaced as an individual part. No tools are required for this procedure.
Note that the Battery LED on Cooling Unit 2 is always dark.
To replace a cache battery, do the following:.
1. Verify that the battery LED is amber or red (above).
2. Press the release button and pull the handle downward as shown above.
Cautions
• There is a risk of explosion if the battery is replaced by the
incorrect type.
• Dispose of used batteries according to the instructions that
accompany the battery.
• While the battery is removed, your system will be vulnerable
to a power failure. Temporarily set your cache policy to write-
through before starting this procedure. See page 119
(WebPAM PRO) or page 166 (CLU).
Battery LED

Chapter 6: Maintenance
203
3. Pull the cooling unit out of the VTrak enclosure.
4. Detach the connector and lift the battery out of the bracket (above).
5. Place a new battery into the bracket and attach the connector.
6. Carefully slide the cooling unit into the enclosure.
7. Gently press the handle in and upward until it locks (above).
8. Verify that the battery LED is green.
This completes the battery replacement procedure.
Detach the
connector
Lift the battery out
of the bracket

VTrak 15110 User Manual
204
Replace SEP
The Storage Enclosure Processor (SEP) manages the fans, audible alarm and
battery, and monitors system voltages and cooling functions. No tools are
required for this procedure.
To remove and replace the SEP, do the following:
1. Power down the VTrak.
2. Grasp the handle and pull it toward you (above, left).
3. Holding the handle, pull the SEP out of the enclosure (above, center).
4. Gently slide the new SEP into the enclosure.
5. Press on the screen to seat the SEP (above, right). The handle will swing in
as the SEP is properly seated.
6. Power up the VTrak.
This completes the Storage Enclosure Processor replacement procedure.
Caution
The SEP is NOT a hot-swappable device. Power-down the VTrak
before removing it.
Important
Do not replace the SEP based on LED colors alone. Only replace
the SEP when directed to do so by Promise Technical Support.
See page 245.

Chapter 6: Maintenance
205
Replace RAID Controller
The RAID Controller monitors and manages the logical drives. When this
controller is replaced, all of your logical drive data and configurations remain
intact because this logical drive information is stored on the disk drives.
To remove and replace the RAID Controller, do the following:
1. Power down the VTrak.
2. Remove the network, SCSI and null modem cables.
3. Grasp the handle and pull it toward you (above, left).
4. Grasp the Controller and pull it out of the enclosure (above, center).
5. Gently slide the new Controller into the enclosure.
6. Press on the front to seat the Controller (above, right). The handle will swing
in as the Controller is properly seated.
7. Attach the network, SCSI and null modem cables.
8. Power up the VTrak.
This completes the RAID Controller replacement procedure.
Caution
The RAID Controller is NOT a hot-swappable device. Power-down
the VTrak before removing it.
Important
Do not replace the RAID Controller based on LED colors alone.
Only replace the RAID Controller when directed to do so by
Promise Technical Support. See page 245.

VTrak 15110 User Manual
206

207
Chapter 7: Technology Background
• Introduction to RAID (below)
• Choosing a RAID Level (page 214)
• Choosing Stripe Block Size (page 217)
• Gigabyte Boundary (page 217)
• Initialization (page 217)
• Hot Spare Drive(s) (page 218)
• Partition and Format the Logical Drive (page 218)
• Cache Settings (page 219)
• RAID Level Migration (page 219)
Introduction to RAID
RAID (Redundant Array of Independent Disks) allows multiple hard drives to be
combined together in a disk array. Then all or a portion of the disk array is formed
into a logical drive. The operating system sees the logical drive as a single
storage device, and treats it as such. The RAID software and/or controller handle
all of the individual drives on its own. The benefits of a RAID can include:
• Higher data transfer rates for increased server performance
• Increased overall storage capacity for a single drive designation (such as, C,
D, E, etc.)
• Data redundancy/fault tolerance for ensuring continuous system operation in
the event of a hard drive failure
Different types of disk arrays use different organizational models and have
varying benefits. Also see Choosing RAID Level on page 214. The following
outline breaks down the properties for each type of RAID disk array:

VTrak 15110 User Manual
208
RAID 0 – Striping
When a disk array is striped, the read and write blocks of data are interleaved
between the sectors of multiple disk drives. Performance is increased, since the
workload is balanced between drives or “members” that form the disk array.
Identical drives are recommended for performance as well as data storage
efficiency. The disk array's data capacity is equal to the number of drive members
multiplied by the smallest disk array member's capacity.
Figure 1. RAID 0 Striping interleaves data across multiple drives
For example, one 100GB and three 120GB drives will form a 400GB (4 x 100GB)
disk array instead of 460 GB.
RAID 0 disk arrays on VTrak consist of one or more disk drives.
Data
Stripe
Disk Drives

Chapter 7: Technology Background
209
RAID 1 – Mirroring
When a disk array is mirrored, identical data is written to a pair of disk drives,
while reads are performed in parallel. The reads are performed using elevator
seek and load balancing techniques where the workload is distributed in the most
efficient manner. Whichever drive is not busy and is positioned closer to the data
will be accessed first.
With RAID 1, if one disk drive fails or has errors, the other mirrored disk drive
continues to function. This is called Fault Tolerance. Moreover, if a spare disk
drive is present, the spare drive will be used as the replacement drive and data
will begin to be mirrored to it from the remaining good drive.
Figure 2. RAID 1 Mirrors identical data to two drives
Due to the data redundancy of mirroring, the capacity of the disk array is only the
size of the smallest disk drive. For example, two 100GB disk drives which have a
combined capacity of 200GB instead would have 100GB of usable storage when
set up in a mirrored disk array. Similar to RAID 0 striping, if disk drives of different
capacities are used, there will also be unused capacity on the larger drive.
RAID 1 disk arrays on VTrak consist of two disk drives.
1
2
3
4
1
2
3
4
Data Mirror
Disk Drives

VTrak 15110 User Manual
210
RAID 3 – Block Striping with Dedicated Parity
RAID level 3 organizes data across the disk drives of the disk array, and stores
parity information on to a disk drive dedicated to this purpose. This organization
allows increased performance by accessing multiple disk drives simultaneously
for each operation, as well as fault tolerance by providing parity data. In the event
of a disk drive failure, data can be re-calculated by the RAID system based on the
remaining data and the parity information.
The adjustable block size of the RAID 3 disk array allows for performance tuning
based on the typical I/O request sizes for your system. The block size must be
set at the time the disk array is created and cannot be adjusted dynamically.
Generally, RAID Level 3 tends to exhibit lower random write performance due to
the heavy workload going to the dedicated parity drive for parity recalculation for
each I/O.
Figure 3. RAID 3 Stripes data and adds a dedicated Parity Drive
The capacity of a RAID 3 disk array is the smallest drive size multiplied by the
number of disk drives less one. Hence, a RAID 3 disk array with (4) 100 GB disk
drives will have a capacity of 300GB. A disk array with (2) 120GB disk drives and
(1) 100GB disk drive will have a capacity of 200GB.
RAID 3 disk arrays on VTrak consist of 3 to 15 disk drives.
Data Stripes
Data Drives Parity Drive

Chapter 7: Technology Background
211
RAID 5 – Block Striping with Distributed Parity
RAID 5 is similar to RAID 3 as described above except that the parity data is
distributed across the disk drives along with the data blocks. In each case, the
parity data is stored on a different disk than its corresponding data block.
RAID 5 makes efficient use of hard drives and is the most versatile RAID Level. It
works well for file, database, application and web servers.
Figure 4. RAID 5 Stripes all drives with data and parity information
The capacity of a RAID 5 disk array is the smallest disk drive size multiplied by
the number of disk drives, less one. Hence, a RAID 5 disk array with four 100 GB
disk drives will have a capacity of 300 GB. A disk array with two 120 GB disk
drives and one 100 GB disk drive will have a capacity of 200 GB.
RAID 5 disk arrays on VTrak consist of 3 to 15 disk drives.
Data
Blocks
Distributed Parity
Disk Drives

VTrak 15110 User Manual
212
RAID 10 – Mirroring / Striping
Mirroring/Striping combines both of the RAID 0 and RAID 1 disk array types. It
can increase performance by reading and writing data in parallel while protecting
data with duplication. At least four disk drives are needed for RAID 10 to be
installed. With a four-disk-drive disk array, one drive pair is mirrored together then
striped over a second drive pair.
Figure 5. RAID 10 takes a data mirror on one drive pair and stripes it over
two drive pairs
The data capacity is similar to a RAID 1 disk array, with half of the total storage
capacity dedicated for redundancy. An added plus for using RAID 10 is that, in
many situations, such a disk array offers double fault tolerance. Double fault
tolerance may allow your disk array to continue to operate depending on which
two disk drives fail.
RAID 10 disk arrays on VTrak consist of 4 to 14 disk drives.
Data Stripe
Data
Mirror
Disk Drives

Chapter 7: Technology Background
213
RAID 50 – Striping of Distributed Parity
RAID 50 combines both RAID 5 and RAID 0 features. Data is striped across
disks as in RAID 0, and it uses distributed parity as in RAID 5. RAID 50 provides
data reliability, good overall performance and supports larger volume sizes. RAID
50 also provides high reliability because data is still available even if two disk
drives fail (one in each data stripe).
Figure 6. RAID 50 Striping of Distributed Parity disk arrays
RAID 50 disk arrays on VTrak consist of 6 to 15 disk drives.
Data
Stripe
Distributed Parity
Disk Drives

VTrak 15110 User Manual
214
Choosing a RAID Level
There are several issues to consider when choosing the RAID Level for your
VTrak disk array. The following discussion summarizes some advantages,
disadvantages and applications for each choice.
RAID 0
Recommended Applications for RAID 0
•Image Editing
• Pre-Press Applications
• Any application requiring high bandwidth
RAID 1
Recommended Applications for RAID 1
• Accounting
•Payroll
•Financial
• Any application requiring very high availability
Advantages Disadvantages
Implements a striped disk disk array,
the data is broken down into blocks and
each block is written to a separate disk
drive
I/O performance is greatly improved by
spreading the I/O load across many
channels and drives
No parity calculation overhead is
involved
Not a true RAID because it is not fault-
tolerant
The failure of just one drive will result in
all data in an disk array being lost
Should not be used in mission critical
environments
Advantages Disadvantages
Simplest RAID storage subsystem
design
Can increase read performance by
processing data requests in parallel
since the same data resides on two
different drives
Very high disk overhead - uses only
50% of total capacity

Chapter 7: Technology Background
215
RAID 3
Recommended Applications for RAID 3
• Image Editing
• Prepress Applications
• Any application requiring high throughput
RAID 5
Recommended Applications for RAID 5
RAID 10
Recommended Applications for RAID 10
• Imaging applications
• Database servers
• General fileserver
Advantages Disadvantages
High Read data transfer rate
Disk failure has an insignificant impact
on throughput
Parity drive can become bottleneck if a
lot of data is being written to the disk
array
Advantages Disadvantages
High Read data transaction rate
Medium Write data transaction rate
Good aggregate transfer rate
Disk failure has a medium impact on
throughput
• File and Application servers
• WWW, E-mail, and News servers
• Intranet servers
• Most versatile RAID level
Advantages Disadvantages
Implemented as a mirrored disk array
whose segments are RAID 0 disk
arrays
High I/O rates are achieved thanks to
multiple stripe segments
Very high disk overhead - uses only
50% of total capacity

VTrak 15110 User Manual
216
RAID 50
Recommended Applications for RAID 50
• File and Application servers
• Transaction processing
• Office application with many users accessing small files
Advantages Disadvantages
High Read data transaction rate
Medium Write data transaction rate
Good aggregate transfer rate
High reliability
Supports large volume sizes
Higher disk overhead than RAID 5

Chapter 7: Technology Background
217
Choosing Stripe Block Size
The stripe block size value can be set to 4KB, 8KB, 16KB, 32KB, and 64KB.
64 KB is the default. This selection will directly affect performance. There are two
issues to consider when selecting the stripe block size.
• Choose a stripe block size equal to or smaller than the smallest cache buffer
found on any disk drive in your disk array. A larger value slows the disk array
down because disk drives with smaller cache buffers need more time for
multiple accesses to fill their buffers.
• If your data retrieval consists of fixed-size data blocks, such as some
database and video applications, choose that data block size as your stripe
block size.
Generally speaking, email, POS and webservers prefer smaller stripe block
sizes. Video and database applications prefer larger stripe block sizes.
Gigabyte Boundary
The Gigabyte Boundary feature is designed for disk arrays in which a drive has
failed and the user cannot replace the drive with the same capacity or larger.
Instead, the Gigabyte Boundary feature permits the installation of a replacement
drive that is slightly smaller (within 1 gigabyte) than the remaining working drive
(for example, an 80.5GB drive would be rounded down to 80GB). This can be
helpful in the event that a drive fails and an exact replacement model is no longer
available. With VTrak, this feature is always enabled.
Initialization
Initialization is the process of setting all of the data bits on all of the disk drives to
zero. This has the effect of erasing any existing data from the drives. This action
is especially helpful in creating accurate parity in disk arrays with more than four
drives.
Initialization applies to RAID 1, 3, 5, 10 and 50. If you create one of these disk
arrays automatically, the disk array is always initialized. If you create the disk
array manually, you can choose whether to initialize.
The initialization process begins immediately after the disk array is created and
may take some time to finish, depending on the size of the disk drives in your disk
array. Your disk array is available while initialization is in progress.

VTrak 15110 User Manual
218
Hot Spare Drive(s)
A hot spare is a disk drive that is connected to the disk array system but is not
assigned as a member of the disk array. In the event of the failure of a drive
within a functioning fault tolerant disk array, the hot spare is activated as a
member of the disk array to replace a drive that has failed.
VTrak will replace a failing disk drive in a disk array with an unassigned drive, if
one is available. The unassigned drive is not part of any disk array. Such a drive
is called a hot spare drive. There are two types:
•Global – An unassigned disk drive available to any disk array on the VTrak.
•Dedicated – An unassigned disk drive that can only be used by a specified
disk array.
The hot spare policy function lets you select whether a disk array will access any
unassigned disk drive or a designated drive in the event of disk drive failure. See
page 127 (WebPAM PRO) or page 168 (CLU) for information on how to make
this setting.
The spare drive effectively takes the place of the failed drive and the RAID
system immediately begins to rebuild data onto the drive. When the rebuild is
complete, the disk array is returned to fault tolerant status.
Once the failed drive is replaced, the new drive is automatically recognized as a
hot spare and will be activated in the event of a subsequent drive fault.
Maintaining a hot spare drive is a good precaution to protect your disk array
integrity in the event of drive failure.
Partition and Format the Logical Drive
Like any other type of fixed disk media in your system, a RAID logical drive must
also be partitioned and formatted before use. Use the same method of
partitioning and formatting on an logical drive as you would any other fixed disk.
Depending on the operating system you use, there may or may not be various
capacity limitations applicable for the different types of partitions.

Chapter 7: Technology Background
219
Cache Settings
There is a data cache on the VTrak controller and another one on each Physical
disk drive. A cache holds data in volatile memory during RAID management and
data transfer activity. The right combination of cache settings for your needs can
improve VTrak’s efficiency and performance.
Physical Drive Write Cache – Activates the write cache on the disk drive.
Write Back Cache – Activates write-back feature of VTrak’s controller cache. A
write back cache holds data after an I/O operation and tells the controller the data
has been written. The data is written as soon as the disk drive is no longer busy.
This action increases availability of the disk array. If the power fails before the
data is written to the disk drive, the data will be lost.
VTrak’s controller cache is equipped with a backup battery to power the cache
and retain uncommitted cache data in it until regular power can be restored.
Battery condition is reported by WebPAM PRO on page 106 and the CLU on
page 152.
The alternative is a write-through cache policy, which reports that the data has
been written to the disk only when it actually has.
Where to Make Settings
In WebPAM PRO, these functions are under:
• Click on the Disk Array icon, then click on the Settings tab. See page 119
In the CLU, these functions are under:
• Drive Write Cache – From the Main Menu, press 2 Enter, 2 Enter. See
page 155
• VTrak’s Cache Policy – From the Main Menu, press 3 Enter, 4 Enter, 3
Enter. See page 166
RAID Level Migration
To migrate a disk array is to do one or both of the following:
• Change its RAID level
• Increase the number of disk drives (sometimes called Expansion)
Migration takes place on an existing Functional disk array without disturbing the
existing data. While the disk array is migrating, you can access the data as
before. When migration is complete, your disk array will have a different RAID
level and/or a larger capacity.

VTrak 15110 User Manual
220
Different types of disk arrays use different organizational models and have
varying benefits. The following outline breaks down the properties for each type
of RAID supported by Promise products.
From To
Increase Redundancy
Capacity Performance Add Lose
RAID 50 RAID 10 •
RAID 3/5 •
RAID 0 • • •
RAID 10 RAID 50 •
RAID 3/5 •
RAID 0 • • •
RAID 3/5 RAID 50 •*
RAID 10 •
RAID 0 • • •
RAID 1 RAID 50 • •
RAID 10 • •
RAID 3/5 • •
RAID 0 • • •
RAID 0 RAID 50 • • •
RAID 10 • • •
RAID 3/5 • • •
RAID 1 •
* Increases the existing redundancy

Chapter 7: Technology Background
221
.
Ranges of Disk Array Expansion
There are limitations to how large you can expand a disk array, depending on the
size of your current disk array.
The current SCSI and Fibre Channel HBA cards and PC Operating Systems
support a 10-byte LBA format. This means that a disk array can have up to 4
billion address blocks or sectors.
Multiply the number of blocks by the sector size to find the capacity of a disk
array:
4,000,000,000 blocks x 512 bytes per sector = 2,048,000,000,000 bytes
of data for a 2TB drive.
Note that you cannot change the size of the sectors nor can you increase the
number of address blocks above 4 billiion.
As a result, there are range limits imposed upon disk array expansion as shown
in the table above. For example:
• You can expand a 2.5 TB disk array up to 4 TB
• You can only expand a 1.9 TB disk array up to 2 TB
See the chart on the next page.
Important
• The Target disk array may require more disk drives than the
Source disk array
• If the Target disk array requires an EVEN number of disk
drives but the Source disk array has an ODD number, ADD a
disk drive as part of the migration process
• You cannot reduce the number of disk drives in your disk
array, even if the Target disk array requires fewer disk drives
than the Source disk array
• RAID 1 (mirroring) works with two drives only. Only a single-
drive RAID 0 disk array or a single-drive JBOD can migrate to
RAID 1. Other RAID Levels use too many drives to migrate
• You cannot migrate a disk array when it is Critical or
performing activities such as Synchronizing, Rebuilding and
PDM

VTrak 15110 User Manual
222
You can direct WebPAM PRO or the CLU to expand a disk array beyond the
maximum expansion size. However, when expansion is finished, your disk array
will be the maximum size listed in the table.
If you require a disk array larger than the maximum expansion size:
1. Backup the data from the current disk array.
2. Delete the current disk array.
3. Create a new disk array with the desired capacity.
4. Restore the data to the new disk array.
Current LD Size Maximum LD
Expansion Size Sector Size
8 to 16 TB 16 TB 4096 bytes
4 to 8 TB 8 TB 2048 bytes
2 to 4 TB 4 TB 1024 bytes
0 to 2 TB 2 TB 512 bytes

223
Chapter 8: Troubleshooting
• VTrak is Beeping (below)
• CLU Reports a Problem (below)
• WebPAM PRO Reports a Problem (page 224)
• LEDs Display Amber or Red (page 226)
• Event Notification Response (page 230)
• Critical & Offline Disk Arrays (page 234)
• Enclosure Problems (page 235)
• Connection Problems (page 239)
This Chapter covers troubleshooting procedures for VTrak.
VTrak is Beeping
VTrak’s audible alarm has four sound patterns:
• Beep. Beep. Beep. – Indicates that a disk array is rebuilding
• Beep-beep, beep-beep, beep-beep. – Indicates that a disk array is critical
• Beep-beep-beep. Beep-beep-beep. – Indicates a problem with a field
replaceable unit (FRU)
• 10 second continuous beep – Indicates that a disk array is offline
See “Critical & Offline Disk Arrays” on page 234.
See “Back of Enclosure” on page 229 for more information on FRUs.
CLU Reports a Problem
The CLU can report a variety of problems with the VTrak. In order to see them,
the CLU must be open. Some conditions are only indicated when you select the
corresponding function.
In this example, let us check disk array status.
1. Open the CLU.
2. Press 3 and Enter to select Disk Array Management.
3. Observe the status of your disk arrays.
ID Name RAID SBS CAP Member PDs Status
-----------------------------------------------------------------------------
1 Array1 5 64K 239GB 1-2,4 Functional
2 Array2 1 64K 35GB 3,5 Critical
------------------------------------------------------------------------------------

VTrak 15110 User Manual
224
In the example above, disk array “Array2” is critical. See “Critical & Offline Disk
Arrays” on page 234.
WebPAM PRO Reports a Problem
WebPAM aids in troubleshooting your logical drives and enclosure by continuous
monitoring and reporting to the User in the following ways:
• Displays red circles in Tree View (above)
• Sends email messages, per your configuration
• Displays popup messages, per your configuration (above)
• Keeps a record in the Event Log (above)

Chapter 8: Troubleshooting
225
• Displays full information on the selected component the Management
Window (above)
Click these links to see specific troubleshooting topics:
• “Event Notification Response” on page 230
• “Critical & Offline Disk Arrays” on page 234
• “Frequently Asked Questions” on page 241

VTrak 15110 User Manual
226
LEDs Display Amber or Red
Front Panel
When the power is switched on, the LEDs on the front of the VTrak will light up.
Figure 4. VTrak 15110 Front Panel LEDs
When boot-up is finished and the VTrak is functioning normally:
• Controller LED blinks green once per second for five seconds, goes dark for
five seconds, then blinks green once per second for five seconds again.
• Power, FRU and Disk Array LEDs display green continuously.
• SCSI LEDs flash green if there is activity on that channel.
See the tableon the next page.
Power FRU
Status Disk Array
Status SCSI-1
Activity SCSI-2
Activity Controller
Heartbeat

Chapter 8: Troubleshooting
227
See page 189 for more information about field-replaceable components.
See page 234 for a discussion of critical and offline logical drives.
LEDs
State
Dark Steady
Green
Flashing
Green Amber Red
Power System Off Normal n/a n/a n/a
FRU* System Off Normal n/a
Fan or
Battery
Problem
Fan or
Battery
Failed
Logical
Drive System Off Normal n/a
Logical
Drive Critical
Logical
Drive Offline
SCSI-1
SCSI-2
No
Connection n/a Activity n/a n/a
Controller System Off n/a Normal** n/a n/a
* Field Replacement Unit. “n/a” means this state does not apply to this LED.
** Five green blinks, one per second; dark 10 seconds; five green blinks.

VTrak 15110 User Manual
228
Drive Status Indicators
There are two LEDs on each Drive Carrier. They report the presence of power
and a disk drive, and the current condition of the drive.
Figure 5. VTrak Drive Carrier LEDs.
Under normal conditions, the Power/Activity and Disk Status LEDs should display
green.
See “Critical & Offline Disk Arrays” on page 234.
LEDs
State
Dark Steady
Green
Flashing
Green Amber Red
Power/
Activity No Drive Drive
Present Activity n/a n/a
Status No Power Drive OK n/a Drive
Rebuilding
Drive
Error
“n/a” means this state does not apply to this LED.
Drive Status
Power/
Activity

Chapter 8: Troubleshooting
229
Back of Enclosure
When the FRU Status LED on VTrak’s front panel shows Amber or Red, check
the LEDs on the back of VTrak. These LEDs give the status of the field
replaceable units.
Figure 6. LEDs on the back of VTrak
Under normal conditions, the power supply, battery and fan LEDs should display
green. Note that on the VTrak 15000 series, the left cooling unit houses a cache-
backup battery but the right unit does not.
LEDs State
Dark Green Amber Red
Power supply Not detected OK Fan failed Failed
Battery Not detected OK Too hot or
Low capacity
Failed
Fan 1 or 2 Not detected OK Wrong speed Failed
FC 1 FC 2 Mgmt
IOIOI
Controller
12
Power Supply
LED
Storage Enclosure
Processor (SEP) RAID
Controller
Power
Supply 1 Cooling Unit 1
with Battery
Power
Supply 2
Cooling
Unit 2
Fan 1
LED
Battery
LED Fan 2
LED

VTrak 15110 User Manual
230
To check a component’s installation, follow the same procedure as replacing the
component, except that you reinstall the original component rather than a new
one. In most cases, this action fixes a bad connection and allows VTrak to detect
the component. If this action does not correct the problem, replace the unit. See
page 189 for instructions.
Event Notification Response
When you select Event Notification, WebPAM PRO sends popup and/or email
messages regarding its status. The messages you see depend on your
notification selection (see page 78) and what is currently happening in the VTrak.
The chart below gives the suggested action when the corresponding message is
displayed.
Event Action
Controller Notification
Controller Unknown Error Unspecified problem with the Controller.*
Data Parity Error SCSI data parity error.*
Command Parity Error SCSI command parity error.*
Bus Reset The Initiator sent a command to reset the SCSI bus,
to correct a problem.*
Unrecoverable Error Restart the Promise Product to clear the problem.*
Abort Task A normal event. Result of user action.
Clear ACA Cleared an auto contingent alliance condition.*
LUN Reset A normal event. Result of user action.
Initiator Error SCSI/FC initiator error.*
Illegal Secondary Identify A target received a second Identify message with a
different LUN.*
Message Parity Error SCSI/FC message parity error.*
Bus Reboot The VTrak rebooted itself.*
* An occasional incident of one of these messages
does not necessarily indicate a problem. However,
if any of these messages appears repeatedly,
contact Technical Support.
Connection Notification
Connection Made Normal result of logging in.
Connection
Notification, cont.

Chapter 8: Troubleshooting
231
Connection Lost Normal result of logging out. Also a result of poor
SCSI/FC cable or network connection.
Disk Notification
Disk Down Identify the disk drive involved. Power down the
system, remove and test the drive. Replace the drive
as needed.
Disk Plugged In A disk drive has been plugged into the enclosure.
Normal.
Disk Access Retry Watch this disk drive. If problems persist, power down
the system, remove and test the drive. Replace the
drive as needed.
Disk CRC Error Identify the disk drive involved. Power down the
system, remove and test the drive. Replace the drive
as needed.
Disk SMART Failed
Identify the disk drive involved. Power down the
system, remove and test the drive. Replace the drive
as needed.
Disk ECC Error
Disk Bad Sector
Disk Reserve Sector Error
Disk Time Out
Logical Drive
Notification
Create Logical Drive A new logical drive was created. Normal.
Delete Logical Drive A logical drive was deleted. Normal.
Logical Drive Critical If hot-spare is enabled, logical drive will rebuild
automatically with a new disk drive. Identify and
replace the failed drive.
Without a hot spare, the logical drive will attempt to
rebuild the failed drive. If this action repeats, remove
the drive for test and repair or replacement.
Logical Drive Offline Go to the Promise website and download a document
called Array Recovery Procedures or contact
Technical Support.
Logical Drive Migration
Started
Expansion or RAID level change of logical drive
begun. Normal.
Logical Drive
Notification, cont.
Event Action

VTrak 15110 User Manual
232
Logical Drive Migration
Completed
Expansion or RAID level change of logical drive
finished. Normal.
Logical Drive Migration
Stopped
User aborted expansion or RAID level change.
Normal.
Logical Drive Rebuild
Start
Rebuild begun. This can happen automatically
depending on Controller settings. Normal.
Logical Drive Rebuild
Completed
Rebuild finished. Normal.
Logical Drive Rebuild
Stopped
User aborted Rebuild. Normal.
Logical Drive
Synchronization Start
Synchronization begun. This can happen
automatically depending on Controller settings.
Normal.
Logical Drive
Synchronization
Completed
Synchronization finished. Normal.
Logical Drive
Synchronization Stopped
User aborted Synchronization. Normal.
Logical Drive
Synchronization
Comparison Error
Data discrepancy found and corrected. If this
message appears frequently, contact Technical
Support.
Logical Drive
Synchronization Internal
Error
Data discrepancy found but not corrected. Contact
Technical Support.
Logical Drive Full
Initialization Start
Full Initialization started. Normal.
Logical Drive Full
Initialization Completed
Full Initialization finished. Normal.
Logical Drive Full
Initialization Stopped
User aborted logical drive Full Initialization. Normal.
Logical Drive Quick
Initialization Start
Quick Initialization started. Normal.
Logical Drive Quick
Initialization Completed
Quick Initialization finished. Normal.
Logical Drive
Notification, cont.
Event Action

Chapter 8: Troubleshooting
233
Logical Drive Quick
Initialization Stopped
User aborted Quick Initialization. Normal.
Logical Drive Percent
Completed
Progress in percent of synchronizing or rebuilding a
logical drive. Normal
Enclosure Notification
Enclosure Power Down Power switched OFF. Turn power ON.
Enclosure Power Up Power is ON. Normal.
Enclosure Unknown Error Unspecified problem with the Controller. If this
message appears frequently, note any malfunctions
and contact Technical Support.
Enclosure Over
Temperature
Click on Enclosure1 in WebPAM to identify location of
overheat condition. Verify that there is ample space
around the enclosure. Check that all fans are running
and airflow is not obstructed. Correct any problems.
Enclosure Fan Stop Click on Enclosure1 in WebPAM to identify failed fan.
Replace as needed.
Enclosure 3.3 Volt Range Go to Controller management > Enclosure
management > Voltage in CLU.
Or click on Enclosure1 in WebPAM to check power
supply status. Replace as needed.
Enclosure 5 Volt Range
Enclosure 12 Volt Range
Battery Temperature Rise Click on Enclosure1 in WebPAM to check for
overheat condition. Correct any problems.
Battery Temperature
Dropped
Normal.
Battery Capacity below
threshold
Replace Battery.
Battery Capacity Normal Normal.
Battery Discharging Could be a SEP problem. If this message appears
repeatedly, contact Technical Support.
Battery Maintenance
Mode
Normal.
Battery life ended Replace Battery.
Event Action

VTrak 15110 User Manual
234
Critical & Offline Disk Arrays
A fault-tolerant disk array—RAID 1, 3, 5, 10 and 50—goes critical when a drive is
removed or fails. Due to the fault tolerance of the disk array, the data is still
available and online. However, once the disk array goes critical, the disk array
has lost its fault tolerance, and performance may be adversely affected.
If the fault was caused by a failed drive that was removed, the drive must be
replaced by another drive, either identical or larger, in order for the RAID system
to rebuild and restore optimal configuration.
If your fault-tolerant disk array goes offline, go to the Promise website
(www.promise.com) and download a document called Array Recovery
Procedure.
A non-fault tolerant disk array—RAID 0—goes offline when a drive is removed or
fails. Since the disk array is not fault tolerant, the data stored in the disk array is
no longer accessible.
If one disk drive fails, all of the data on the disk array is lost. You must replace the
failed drive. Then, if the disk array had more than one disk drive, delete the disk
array and re-create it. Restore the data from a backup source.
When a Disk Drive Fails
VTrak provides both audible and visual indicators to alert you of a disk drive
failure. The following will occur when a disk drive fails or goes offline:
• The Disk Array LED changes from green to amber
• The Disk Carrier Status LED changes from green to red
• The audible alarm repeatedly sounds two short beeps
• WebPAM PRO and the CLU report the condition
Rebuild
Normally, the disk array will begin rebuilding automatically. You can access your
disk array during this time but read/write performance might be slower than
normal.
• If a hot spare drive is provided and enabled, the controller will activate the
hot spare and rebuild disk array information and data to it.
• If there is no hot spare drive available, the controller will wait until a
replacement disk drive is installed. The disk array will remain Critical.

Chapter 8: Troubleshooting
235
With a Hot Spare Drive
After the disk array rebuilds itself using the hot spare:
1. Replace the failed drive.
2. Check the automatic rebuild and hot spare policy to be sure your disk
array(s) recognize(s) the new drive as a hot spare.
Without a Hot Spare Drive
If no hot spare drive is available, the VTrak will not rebuild the disk array and it
will remain Critical.
When you install a replacement disk drive into the enclosure, the disk array will
automatically rebuild the information and data on the newly installed disk drive if
Automatic Rebuild option is enabled.
To enable Automatic Rebuild and set Hot Spare Policy, see page 119 (WebPAM)
or page 168 (CLU).
Enclosure Problems
WebPAM displays red circles in Tree View to identify components that need
attention.
Important
If your replacement disk drive was formerly part of a different disk
array, use the CLU to wipe the reserve sector on the replacement
disk drive. See page 156.

VTrak 15110 User Manual
236
When a red circle appears over a Host in Tree View, click on the Enclosure
icon. The Enclosure screen will display (below).
In this example, a power supply fan has stopped turning, indicating a failure. The
Enclosure Diagram displays color and motion changes to identify a failed fan. In
this case, you must replace the power supply.

Chapter 8: Troubleshooting
237
Overheating
Overheating is a potentially serious condition
because the excessively high temperatures can lead
to disk drive failure and controller malfunction.
Overheating usually results from:
• Fan failure
• Poor air circulation around the enclosure
WebPAM reports failed fans along with elevated
temperature. On VTrak, there are two kinds of fans:
• Power supply, 1 fan each, 2 fans total
• Cooling units, 2 fans each, 4 fans total
If a power supply fan fails, you must replace the
power supply. If a cooling unit fan fails, you can
remove the cooling unit and replace only the fan
itself.
No tools are required for either procedure. See
page 197 for instructions on replacing the fans.
Air circulation around the VTrak enclosure may be a
more complex problem. Use the thermometer icons
to help you locate the specific hot spot. Check for
these conditions:
• Accumulated dust or objects blocking the fans
• Less than a minimum of 5 inches (13 cm) space
between the back of the VTrak and the wall or
other object
• Ambient temperature above 95°F (35°C) where
the VTrak is operating
To cool down a VTrak, do the following:
• Correct any problems identified above
• Power it down and let it sit for an hour or longer

VTrak 15110 User Manual
238
Power Supplies
VTraks are equipped with redundant power supplies. The
advantage of dual power supplies is that, should one fail, the
other will continue powering the subsystem until the faulty one
can be replaced. VTrak is capable of operating on a single power
supply. As a result, if one power supply fails you must watch the
front panel LEDs or WebPAM in order to become aware of the
condition.
The power supplies are hot-swappable, meaning you can leave
the VTrak running when you replace the bad one. Be careful,
however, to remove the faulty power supply and not the good
one, or VTrak will come to an immediate stop and your data will
be unavailable until the system is powered and booted again.
As noted above, if a power supply fan fails, you must replace the
power supply. Without the fan to cool it, the power supply will
overheat and eventually fail anyway.
No tools are required for the procedure. See your page 196 for
instructions on replacing a power supply.
Battery
VTrak uses a battery as backup power for the cache. Should a
power failure occur, the battery enables the cache to hold data up
to 72 hours. The battery recharges during normal VTrak
operation.
In most cases, installing a replacement battery will correct a
marginal or failed condition. The battery is located on the left
cooling unit. Remove the cooling unit for access. The battery is
hot-swappable.
No tools are required for the procedure. See page 202 for
instructions on replacing the battery.

Chapter 8: Troubleshooting
239
Connection Problems
When you install your Promise product following the instructions in the Quick
Start Guide and User Manual, you should have little trouble getting your
equipment to work the first time. But connection problems can arise that are not
the User's or Installer's fault. Every conceivable problem cannot be covered in
the documentation but some guidelines could be helpful.
Connection problems cause a majority of failures in almost any electrical system.
While the installation of the cables and components was correct, they don't
function properly, or at all, because:
• A connector is dirty or corroded
• A connector is loose or damaged
• A cable looks OK outside but has an open circuit inside
• The wrong cable was used
VTraks ship with a full set of new cables and terminators, as required for each
specific model. Be sure to use these components because: 1.) They are the
proper ones for your RAID subsystem, 2.) They are in brand-new condition, and
3.) You paid for them with the purchase of your VTrak.
SCSI Connections
VTrak 15110 uses a network connection to pass command and management
information. Data is transmitted via the SCSI bus.
SCSI connections are both physical (outside) and electrical (inside). You can see
a physical connection, you can clean it or try a different cable on it. Electrical
connections are made by firmware and software, such as when you set the SCSI
IDs or addresses. SCSI chains are completely intolerant of ID conflicts. If you
have a conflict, the devices on your SCSI chain will not work correctly until it is
resolved. Check your VTrak Quick Start Guide (printed) or VTrak User Manual
(on the software CD) plus the Console LUN Settings, Target ID Settings,
Statistics and SCSI Information topics.
The VTrak RAID subsystem is sensitive to the presence of other devices on the
SCSI chain. Do not connect other devices to the SCSI chain with a VTrak, except
for an other VTrak.
Serial Connections
VTrak uses a serial connection for a command line utility (CLU). Normally, users
prefer WebPAM because of its graphic user interface. But the CLU can do the
same jobs. And it will work when your network connection is down.

VTrak 15110 User Manual
240
For VTrak, you must use the CLU to set the Management Port IP address in
order for WebPAM to connect with it. This issue is discussed further under
Network Connections (below). See the VTrak Quick Start Guide or Chapter 2 of
the User Manual for more information on setup and connections.
The CLU controls and manages but it does not move data. It communicates
through a null-modem cable, supplied with the VTrak. A straight-through serial
cable will not work for this purpose. You probably will not use the CLU often and
want to disconnect and store the cable. Consider leaving it connected, to be sure
it will be there when you need it.
Network Connections
VTrak has an RJ-45 Management Port connector on the back of its cabinet. This
is a Gigabit Ethernet connector designed to connect to your network. The VTrak
becomes a node on your network like any other PC, server or other component
with an IP address. VTrak ships from the factory an IP address of 10.0.0.2. You
must change this address to one that will work with your network. You make the
initial IP address setting using the CLU, as mentioned above. You can make
subsequent IP address changes using WebPAM.
Note that VTrak Management Port can accept IP address assignments from a
DHCP server. Use VTrak's Command Line Utility (CLU) to enable this feature. If
you have not activated DHCP support but there is a DHCP server on your
network, there is a chance that it will inadvertently assign the VTrak's
Management Port IP address to another node. You might see a warning to this
effect on your PC's monitor. If this happens, WebPAM may not be able to
connect. See your network administrator to work out a suitable arrangement.
Connectivity LED Activity LED

241
Chapter 9: Support
• Frequently Asked Questions (below)
• How to contact Technical Support (page 245)
• Limited Warranty (page 248)
• Returning product for repair (page 249)
Frequently Asked Questions
What kind of disk drives can I use with VTrak?
VTrak was designed to use Serial ATA disk drives. You can also use Ultra
ATA 133/100/66 disk drives with the optional PATA-to-SATA Adapter
available from Promise Technology.
Can I take the disk drives from my UltraTrak, put them into the VTrak and
keep my logical drive (array) intact?
Yes. VTrak uses the same logical drive format as UltraTrak. Contact Promise
Technology to purchase PATA-to-SATA Adapter for your existing PATA
drives.
Can I use my existing SCSI card with VTrak?
If the SCSI card has at least a 160 MB/s data transfer rate, supports LUNs
and has a 68-pin VHDCI external connection, you can use it with VTrak.
If your SCSI card has a 68-pin HD external connector, you can purchase an
optional 68-pin HDCI to 68-pin VHDCI SCSI cable from Promise Technology.
Will I get maximum performance using my current 80 MB/s SCSI card? Do I
have to buy a 160 MB/s SCSI card?
The VTrak has a measured peak sustained throughput of more than 100 MB/
s per channel. Using a 80 MB/s SCSI card will result in a performance
bottleneck under certain conditions. You must estimate how frequently those
conditions happen and how serious they are. Then you can decide whether
to upgrade to the faster SCSI card.
How many VTrak subsystems can I connect to one SCSI chain?
You can connect up to eight (8) VTraks on a single SCSI chain.
Can I connect two SCSI cards to the same VTrak?
Yes. VTrak has two SCSI channels, which allows you to connect it to two
SCSI cards, whether those cards are in the same PC or two different PCs.
For more information, see page 16.

VTrak 15110 User Manual
242
Can I connect my VTrak on the same SCSI chain with other devices?
No. Do not connect other devices to the SCSI chain with a VTrak. If you want
to monitor your VTrak and run other SCSI devices from the same PC, add
another SCSI card to the PC.
Can I connect my VTrak on the same SCSI chain as my Promise UltraTrak?
No. Do not connect other Promise products to the SCSI chain with a VTrak.
If you want to monitor your VTrak and UltraTrak from the same PC, add
another SCSI card to the PC.
How can I tell when the VTrak has fully booted?
When the VTrak is fully booted up, the Power, FRU and Disk Array LEDs will
light up green. The Controller LED blinks five times, once per second; goes
dark for five seconds; then blinks five times again.
How do I learn more about configuring and using my VTrak?
Read this VTrak 15110 User Manual. It contains detailed information
regarding configuration, troubleshooting and maintenance of your VTrak.
Why does VTrak come with a Command Line Utility?
First, to assign your VTrak a Management Port IP address in order for the
WebPAM PRO management software to connect to it. Second, in the event
of a network failure, you can still access the VTrak.
The serial cable is connected, VTrak is running and I used the specified
settings but the serial connection does not work. What should I do now?
Access your PC BIOS settings and enable the serial port.
I tried to log into WebPAM PRO but my browser showed the message
“cannot be displayed.” What is the problem?
The browser decided prematurely that WebPAM was not responding. Click
the Refresh button. This action usually brings up the login screen.
I created a Subystem on WebPAM PRO but when I click on it, nothing
happens. What is the problem?
There is a broken network connection between your PC and the VTrak, or
the VTrak is powered off. Locate and fix the connection or power on the
VTrak, as required.
Can WebPAM PRO connect through VTrak’s Serial (RS-232) port?
No. The VTrak Serial port is only for a HyperTerminal connection.

Chapter 9: Support
243
I can access the VTrak over my company’s intranet. But I can’t access it
from an outside Internet connection. How do I make the Internet connection
work?
This condition is not related to VTrak, but is due to your firewall and network
connection protocol. Contact your MIS Administrator.
With other Promise products, such as UltraTrak, I used the Host PC’s IP
address in WebPAM PRO to connect with the RAID subsystem. Why is
VTrak different?
UltraTrak uses In-Band SCSI technology to connect with the Host PC. VTrak
connects to the Host PC through a network connection. Therefore, it requires
its own IP address. VTrak’s iSCSI connection is used only to move data.
Why can a RAID 1 disk array on VTrak consist of only two disk drives?
On VTrak, RAID 1 disk arrays work in matched pairs. But you are not limited
to just one RAID 1 disk array. VTrak supports up to 7 RAID 1 disk arrays,
using up to 14 disk drives. Or you can create a single RAID 10 disk array
with data mirroring and up to 14 physical drives.
See page 207 for more information on the number of disk drives you can use
for each RAID level.
Are disk arrays on VTrak limited to 2.199 terabytes?
No. The 2.199 TB disk array size limit does not apply to VTrak. Check
whether your operating system supports disk arrays over 2.199 TB.
If disk arrays can exceed 2.199 TB on VTrak, why can’t I expand my disk
array beyond 2.199 TB?
The problem is a limitation of the Operating System and the number and size
of LBA sectors it can manage. See page 221 for more information and your
options for disk array expansion.
The CLU, WebPAM PRO and VTrak documentation use the term “logical
drive” or “disk array” where earlier Promise products use the term “array.”
Why did this change happen?
A disk array is an organized collection of physical disk drives. Logical drives
are made from disk arrays. A logical drive is the entity that your operating
system recognizes as a single volume (as if it were a single disk drive).
Promise separated the disk array and logical drive functions in order to
provide more RAID management options.
I have two UltraTraks and use WebPAM to monitor them. Can I use my
existing WebPAM setup to monitor the VTraks also?
No. Install WebPAM PRO from the VTrak Software CD.

VTrak 15110 User Manual
244
The VTrak has no LCD panel. How can I set it up and create disk arrays?
There are two ways to set up VTrak and create disk arrays, using WebPAM
PRO, on page 111 or the Command Line Utility, on page 161.
Why do the Rebuild, Synchronize, Expand and Migrate operations take so
long compared to moving data?
When data is moved, the operation consists of reading, writing and checking
one or more files. Rebuild, Synchronize, Expand and Migrate involve
reading, writing and checking all the logical block addresses or individual
data blocks on each disk drive. Plus, your disk array remains available while
these operations take place. These added requirements increase complexity
and take more time.
How can I be sure everything is working OK on the VTrak?
VTrak has several LEDs on the front to monitor the status of power, field
replaceable units (FRUs) and disk arrays. When these are green, VTrak is
functioning normally.
What happens if a disk array goes critical?
On the front of VTrak, the disk array LED turns amber and an audible alarm
sounds. This condition is described in Chapter 4 of the VTrak User Manual
on the Software CD.
Can VTrak run using just one power supply?
Yes, it is possible to run VTrak on a single power supply. There are two
power supplies so that VTrak will continue running if one of the power supply
fails. But deliberately leaving one power supply off negates this advantage.
Always switch on both power supplies.

Chapter 9: Support
245
Contacting Technical Support
Promise Technical Support provides several support options for Promise users to
access information and updates. We encourage you to use one of our electronic
services, which provide product information updates for the most efficient service
and support.
If you decide to contact us, please have the following information available:
• Product model and serial number
• BIOS and driver version numbers
• A description of the problem / situation
• System configuration information, including: motherboard and CPU type,
hard drive model(s), SATA/ATA/ATAPI drives & devices, and other
controllers.
Technical Support Services
North & South America
Promise Online™ Web Site http://www.promise.com
(technical documents, drivers, utilities, etc.)
E-mail Support support@promise.com
Fax Technical Support (408) 228-1097
Attention: Technical Support
Phone Technical Support (408) 228-1400 option 4
7:30-5:30pm M-F Pacific Standard Time
If you wish to write us for
support:
Promise Technology, Inc.
Attn: Technical Support
580 Cottonwood Drive
Milpitas, CA 95035, USA

VTrak 15110 User Manual
246
Europe, Africa, Middle East
Pacific Rim
E-mail Support support@promise.nl
Fax Technical Support +31 (0) 40 256 9463
Attention: Technical Support
Phone Technical Support +31 (0) 40 235 2600
8:30-5:00pm The Netherlands Time
If you wish to write us for
support:
Promise Technology Europe B.V.
Attn: Technical Support
Luchthavenweg 81-125
5657 EA Eindhoven, The Netherlands
E-mail Support support-de@promise-emea.com
Fax Technical Support +49 (0) 2 31 56 76 48 - 29
Attention: Technical Support
Phone Technical Support +49 (0) 2 31 56 76 48 - 0
8:30-5:00pm Germany Time
If you wish to write us for
support:
Promise Technology Germany
Attn: Technical Support
Europaplatz 9
Dortmund, Germany
E-mail Support support@promise.com.tw
Fax Technical Support +886 3 564 53 13
Attention: Technical Support
Phone Technical Support +886 3 578 23 95 (ext. 8873)
9:00-5:30pm Taiwan Time
If you wish to write us for
support:
Promise Technology, Inc.
Attn: Technical Support
2F, No. 30, Industry E. Rd. IX
Science-based Industrial Park
Hsinchu, Taiwan, R.O.C.

Chapter 9: Support
247
China
E-mail Support support-china@promise.com
Fax Technical Support +86-10-8857-8015
Attention: Technical Support
Phone Technical Support +86-10-8857-8085/8095
9:00-6:00pm China Time
If you wish to write us for
support:
Promise Technology China
Attn: Technical Support
Room 1205, Tower 3
Webok Time Center, No.17
South Zhong Guan Cun Street
Hai Dian District, Beijing 100081, P.R. China

VTrak 15110 User Manual
248
Limited Warranty
Promise Technology, Inc. (“Promise”) warrants that for three (3) years from the
time of the delivery of the product to the original end user:
a) the product will conform to Promise’s specifications;
b) the product will be free from defects in material and workmanship under
normal use and service.
This warranty:
a) applies only to products which are new and in cartons on the date of
purchase;
b) is not transferable;
c) is valid only when accompanied by a copy of the original purchase
invoice.
d) Is not valid on spare parts, fans, and power supplies
This warranty shall not apply to defects resulting from:
a) improper or inadequate maintenance, or unauthorized modification(s),
performed by the end user;
b) operation outside the environmental specifications for the product;
c) accident, misuse, negligence, misapplication, abuse, natural or
personal disaster, or maintenance by anyone other than a Promise or a
Promise-authorized service center.
Disclaimer of other warranties
This warranty covers only parts and labor, and excludes coverage on software
items as expressly set above.
Except as expressly set forth above, Promise DISCLAIMS any warranties,
expressed or implied, by statute or otherwise, regarding the product, including,
without limitation, any warranties for fitness for any purpose, quality,
merchantability, non-infringement, or otherwise. Promise makes no warranty or
representation concerning the suitability of any product for use with any other
item. You assume full responsibility for selecting products and for ensuring that
the products selected are compatible and appropriate for use with other goods
with which they will be used.
Promise DOES NOT WARRANT that any product is free from errors or that it will
interface without problems with your computer system. It is your responsibility to
back up or otherwise save important data before installing any product and
continue to back up your important data regularly.

Chapter 9: Support
249
No other document, statement or representation may be relied on to vary the
terms of this limited warranty.
Promise’s sole responsibility with respect to any product is to do one of the
following:
a) replace the product with a conforming unit of the same or superior
product;
b) repair the product.
Promise shall not be liable for the cost of procuring substitute goods, services,
lost profits, unrealized savings, equipment damage, costs of recovering,
reprogramming, or reproducing of programs or data stored in or used with the
products, or for any other general, special, consequential, indirect, incidental, or
punitive damages, whether in contract, tort, or otherwise, notwithstanding the
failure of the essential purpose of the foregoing remedy and regardless of
whether Promise has been advised of the possibility of such damages. Promise
is not an insurer. If you desire insurance against such damage, you must obtain
insurance from another party.
Some states do not allow the exclusion or limitation of incidental or consequential
damages for consumer products, so the above limitation may not apply to you.
This warranty gives specific legal rights, and you may also have other rights that
vary from state to state. This limited warranty is governed by the State of
California.
Your Responsibilities
You are responsible for determining whether the product is appropriate for your
use and will interface with your equipment without malfunction or damage. You
are also responsible for backing up your data before installing any product and
for regularly backing up your data after installing the product. Promise is not liable
for any damage to equipment or data loss resulting from the use of any product.
Returning Product For Repair
If you suspect a product is not working properly, or if you have any questions
about your product, contact our Technical Support Staff through one of our
Technical Services, making sure to provide the following information:
• Product model and serial number (required)
• Return shipping address
• Daytime phone number
• Description of the problem
• Copy of the original purchase invoice

VTrak 15110 User Manual
250
The technician will assist you in determining whether the product requires repair.
If the product needs repair, the Technical Support Department will issue an RMA
(Return Merchandise Authorization) number.
Return ONLY the specific product covered by the warranty (do not ship cables,
manuals, diskettes, etc.), with a copy of your proof of purchase to:
You must follow the packaging guidelines for returning products:
• Use the original shipping carton and packaging
• Include a summary of the product’s problem(s)
• Write an attention line on the box with the RMA number
• Include a copy of proof of purchase
You are responsible for the cost of insurance and shipment of the product to
Promise. Note that damage incurred due to improper transport or packaging is
not covered under the Limited Warranty.
When repairing returned product(s), Promise may replace defective parts with
new or reconditioned parts, or replace the entire unit with a new or reconditioned
unit. In the event of a replacement, the replacement unit will be under warranty
for the remainder of the original warranty term from purchase date, or 30 days,
whichever is longer.
Promise will pay for standard return shipping charges only. You will be required to
pay for any additional shipping options (such as express shipping).
USA and Canada: Promise Technology, Inc.
Customer Service Dept.
Attn.: RMA # ______
1745 McCandless Drive
Milpitas, CA 95035
Other Countries: Return the product to your dealer
or retailer.
Contact them for instructions
before shipping the product.

251
Appendix A: Serial Connector Pinout
Below is the pinout diagram for the DB-9 serial connector on all VTraks.
The diagrams represent the connector as you see it looking at the back of the
VTrak.
Pin Signal
1—
2RXD
3TXD
4—
5GND
6—
7—
8—
9—
1 2 3 4 5
6789

VTrak 15110 User Manual
252

253
Index
A
About This Manual 1
Architectural Description of VTrak 3
Audible alarm 67, 136, 223
B
Beeper 67
Boot Sector, wipe 156
Buzzer 136
C
Cache settings 219
Certifications 6
Choose
cache setting 219
CIMOM Agent 34
CLU
Auto Rebuild Option 169
Battery 152
Blink LED 157
Buzzer 151
connection 57
Controller Management 148
Diagnostics, disk drive 157
disk array auto creation 161
Disk Array Management 160
disk array, create automatically
58
disk array, create manually 59
Enclosure Management 151
Event viewer 188
exit 64, 139
Fan Speed 151
firmware update 190
I/O Statistics, disk drives 158
Network Management 173
PDM auto start 169
Physical Drive Management
154
priority settings 167
Problem reporting 223
reports problem 223
SCSI management 180
SCSI target ID 180
Temperature 152
Voltage 152
Connection
Management port 22
Power 23
SCSI 18, 19, 20, 21
Telnet 29
Connection problems and solutions
239
Controller LED 24, 65, 133, 226
D
Dimensions 6
Disk array
auto creation 161
create manually 162
Critical status 234
delete 164
Migrate 183
Properties 164
Status LED 65, 133, 226
Disk Array Management 160
Disk drive
carrier 11
failure and recovery 234
install 9
LEDs 24
move from UltraTrak 241
numbering 14
PATA, set jumpers 10
PATA-to-SATA Adapter 241
rebuild 234

VTrak 15110 User Manual
254
Status LED 25
usable in VTrak 241
View parameters 155
Write cache 155
Disk Status LED 25
E
Email Alert Notification, set up 86
Enclosure
Problem reporting 235
Environmental 6
Event Log 74
Events and meanings 79
F
Firmware Update 190
Firmware update
Serial port 194
Frequently Asked Questions 241
FRU LED 24, 65, 133, 226
G
Gigabyte Boundary 217
H
Hot Spare drive 235
Hot Spare policy 168
I
Initialization, choices 217
Internet Browser 35
Internet connection 243
IP Address
Management port 173
J
JBOD 217
JRE/JDK and WebPAM PRO 35
L
LEDs
back of enclosure 229
disk status 67
Drive carrier 228
drive carrier 24, 66, 134
field replaceable units 189
front panel 24, 65, 226
power/activity 67
Log into WebPAM PRO 68
Log out of WebPAM PRO 56, 70
Logical drive
Cache policy 166
cache settings 219
create 54
Hot Spare drive 218
initialization 217
LUN setting 172
Maintenance Activity monitor
183
Media Patrol 187
Operations under 182
partition and format 218
PDM 185
Rebuild manually 184
Redundancy Check 186
Retry count 167
SMART 167
Status LED 24
synchronize 186
Logical drive vs. Array 243
M
Macintosh
Serial connection 23
Telnet connection 29
Management port connection 22
Management port IP address 26
Management port settings 173

Index
255
N
Network connections, problems
240
O
Operating Systems, supported 6
OS support for WebPAM PRO 33
Overview 2
Overview of VTrak 2
P
Password, change 85
PATA disk drive
install 13
set jumpers 10
PATA-to-SATA Adapter 13
Ping test, Management port 178
popup messages, meaning 230
Power connection 23
Power LED 24, 65, 133, 226
Power requirements 6
Power supply, replace 196
Power/Activity LED 25
R
Rackmount 8
RAID
Console LUN 181
Level, choices 214
Migration 219
RAID 0 208, 214
RAID 1 209, 214
RAID 10 212, 215
RAID 1E 215
RAID 3 210, 215
RAID 5 211, 215
RAID 50 213, 216
RAID, introduction to 207
Redundant Array of Independent
Disks 207
Replace
cache battery 202
fans 197
RAID controller 205
SEP 204
Reserve Sector, wipe 156
RS-232 connector, pinout 251
RS-232 Serial Connection 22
S
SATA disk drive, install 12
screws, counter-sink 11
SCSI
Activity LEDs 24, 65, 133, 226
cables 16
Channel TID 180
Connection problems 239
daisy chain 20
existing HBA card 241
HBA card, dual channel 15
HBA card, specifications 15
HBA cards, two 18, 21, 241
in-band 181
management 180
multiple VTraks on chain 241
other devices on chain 242
Target ID 20
terminator 17
VTrak, PC, HBA card 18, 19,
20, 21
Serial connection problems 239
SNMP settings 176
Specifications 5
Status Indicators 65, 133
Stripe Block Size, choices 217
Subsystem Management 148
T
Target ID, assign 180
Technical Support 245

VTrak 15110 User Manual
256
Telnet
Enable 29
Make connection 30
Telnet settings 174
Terminal Emulation 25
Terminator, SCSI 17
TFTP Server settings 176
Troubleshooting 223
U
Unpack VTrak 7
User
Add 77
delete 83
Rights 83
Utility Server 33
V
VTrak
beeping 223
Maintenance procedures 189
returning for repair 249
subsystems on SCSI chain
241
unpack 7
VTrak Setup
CLU 57
WebPAM PRO 43
W
Warning
Electro-Static Discharge 7
Power supplies 23
Warranty 248
WebPAM PRO
change password 85
create logical drive 54
delete user 83
event log 74
install 33
Internet connection 56
login 43, 68
logout 56, 70
Problem reporting 224
Regular Connection 43, 68
Secure Connection 44, 68
Security Option 38
setup email alert notification 86
user rights 83
username and password 44
WebPAM PRO and JRE/JDK 35
WebPAM vs. WebPAM PRO 243