145 2 Liberty Sj10 Instructions User Manual
146 2 Liberty Sj10A Instructions 146_2_Liberty SJ10A Instructions 146_2_Liberty SJ10A Instructions pdf pumpproducts
User Manual: Pump 145 2 Liberty Sj10 Instructions
Open the PDF directly: View PDF
.
Page Count: 30

©Copyright 2012 Liberty Pumps Inc. All rights reserved 1
IMPORTANT:
Prior to installation, record Model, Serial Number, and
Code Number from pump nameplate for future
reference.
MODEL ________________________
SERIAL ______________________
CODE ______________________
INSTALLATION
DATE _______________________
Installation Manual
5824000F
SumpJet® - Water Powered Backup System
MODEL SJ10
No Alarm
7000 Apple Tree Avenue
Bergen, NY 14416
Phone: (800) 543-2550
Fax: (585) 494-1839
www.libertypumps.com
MODEL SJ10A
With Alarm

©Copyright 2012 Liberty Pumps Inc. All rights reserved 2
TABLE OF CONTENTS
SECTION 1 GENERAL INFORMATION------------------------------------------------------------------------------ 3
SECTION 2 INTRODUCTION-------------------------------------------------------------------------------------------- 4
SECTION 3 MECHANICAL INSTALLATION ----------------------------------------------------------------------- 5-7
SECTION 4 WARRANTY STATEMENT------------------------------------------------------------------------------ 7
SECTION 5 TEMPLATE ------------------------------------------------------------------------------------------------ 9

©Copyright 2012 Liberty Pumps Inc. All rights reserved 3
Before installation, read the following instructions carefully. Each Liberty Pump is individually factory tested to ensure proper
performance. Closely following these instructions will eliminate potential operating problems, assuring years of trouble-free service.
NOTE: As per the Uniform Plumbing Code and per the Plumbing Codes of some states, including the State of Michigan,
installation of this product requires the use of an RPZ backflow protection device. Contact your local plumbing or water
authority for more information regarding the requirements for your specific area.
Risk of electric shock. When installing the SumpJet®, Always disconnect any electric pumps from the power
source before handling or making adjustments.
The SumpJet® is designed for use with municipal water supply, and is intended to be used as an emergency
backup to your existing pump system.
The SumpJet® comes with a foot valve installed and therefore does not require a check valve on the discharge.
The foot valve has a removable poppet. Where freezing discharge pipes are a problem, simply unscrew the
strainer screen, remove the poppet and spring, and replace the strainer. The SumpJet® will now allow water to
flow back into the pit, eliminating discharge pipe freezing.
Maximum water pressure = 100 psi with the valve closed.
Minimum water pressure = 30 psi with the valve open. (less pressure may not eject water from your basement)
This unit must have a shut-off valve installed on the water supply line. (Refer to figure 1)
For nominal backflow protection SumpJet® is pre-equipped with an internal check valve certified to ASME
A112.18.3-2002 and ASME A112.18.1/CSA B125.1.2005.
Additional backflow protection must be provided by the installer to meet the requirements of the local
plumbing code or the requirements of the local water authority. As per the Uniform Plumbing Code and per
the Plumbing Codes of some states, including the State of Michigan, installation of this product requires the use of
an RPZ backflow protection device. Contact your local plumbing or water authority for more information regarding
the requirements for your specific area.
The discharge of the water-powered sump pump should not to be connected to the primary sump pump. Also, the
discharge of the water-powered sump pump is not to be directly connected to the municipal drain. An air gap with a
minimum 1” gap should be used, or the discharge should be directed onto the yard.
The inlet of the SumpJet® is pre-equipped with a push-type pipe connector, SharkBite®, and can be used with
PEX, CPVC, or copper pipe.
Do not use pipe dope on inlet threads, and do not sweat copper fittings within 18” of SumpJet® body. Use PTFE
(Teflon®) sealing tape only when assembling threaded fittings into SumpJet® inlet. Do not over tighten threaded
inlet fitting, and do not hold onto float plunger shroud when tightening.
Purge water line prior to connection to SumpJet® to insure debris does not enter unit and clog the operating valve.
The SumpJet® utilizes a quick acting valve which, per UPC, requires the use of an approved water pressure
absorbing device to prevent water hammer.
DO NOT use SumpJet® in hot water.
The SumpJet® is designed for use in clear water only. It is not designed to remove waste water, sewage, effluent,
or water with debris in it.
WATER PRESSURE AT
INLET OF SumpJet® WITH
VALVE OPEN AND WATER
FLOWING
SUMP WATER REMOVAL AT VARIOUS HEADS.
( STATIC HEAD IN 1-1/2 PIPE OR LARGER)
LIFT
4FT
1.21 M
8FT
2.4 M
12 FT
3.6 M
15 FT
4.5 M
PSI
KPA
GPM
GPH
M 3 / HR
GPM
GPH
M 3 / HR
GPM
GPH
M 3 / HR
GPM
GPH
M 3 / HR
20
138
11.0
660
2.5
5.8
348
1.3
30
207
12.8
765
2.9
9
540
2.0
5.5
330
1.2
40
276
15.4
924
3.5
12.5
750
2.8
9.3
558
2.1
7.2
432
1.6
50
345
17.2
1032
3.9
14.5
870
3.3
12
720
2.7
10
600
2.3
60
414
19.8
1185
4.5
17
1020
3.9
15.2
912
3.5
13.5
810
3.1
Note: For optimal performance minimum recommended operating pressure is 30 psi. Use of an RPZ may lower operating pressure.
1
.
General Information

©Copyright 2012 Liberty Pumps Inc. All rights reserved 4
2-1 INTRODUCTION
This manual was prepared to assist you in the correct installation, operation, and maintenance of your Liberty Pumps
SumpJet®. Please read it completely before installing the pump. Make certain that you are familiar with the contents, and the
chapters on installation and operation are fully understood before running the pump.
Liberty products are designed for minimal maintenance. However, regular checks will ensure longer life and greater operating
reliability.
WARRANTY: No repair work should be carried out during the warranty period without prior factory approval. To do so may
render the warranty void.
SERIAL #: In all correspondence and reports, make certain that the pump serial number is given.
2-2 DESIGN OF PUMP
The Liberty SumpJet® is designed for emergency backup to your existing pump system. It uses the municipal water supply to
evacuate water from the sump. It is not intended to be used as the main sump water removal pump. It is intended to remove
clear sump water only. Liberty Pumps recommends the use of an audible high water alarm. The model SJ10A features an
alarm system to warn when the SumpJet® is activated. If you purchased the model SJ10 (without alarm) and wish to add the
alarm feature, order part number ALM-P1 from you local distributor or contact the factory for more information. Prolonged use of
the SumpJet® will result in increased municipal water consumption. The SumpJet® will use approximately 1 gallon of water
to remove 2 gallons of sump water, depending on elevation.
2-3 INSPECTION UPON RECEIPT
The shipping container should be immediately inspected for damage that may have occurred in shipment. Exercise care in
opening the shipping container to avoid damage to the pump. Remove any blocking and cushioning from within the container.
Check all cushioning for spare parts before discarding. Visually check the pump and any spare parts for damage. Report any
damage or shortage of parts.
2-4 STORAGE BEFORE USE
Liberty pumps are shipped from the factory ready for installation and use. They should be held in storage if the pump station is
not complete. If storage is necessary, the pump should remain in its shipping container. It should be stored in a warehouse or
storage shed that has a clean, dry temperature-stable area where the pump and its container should be covered to protect it
from water, dirt, dust, etc.
AT NO TIME SHOULD THE PUMP BE STORED WITHIN AN INCOMPLETE WET PIT. THE PUMP SHOULD
NOT BE PLACED INTO THE PIT UNTIL IT CAN BE FULLY OPERATED.
2-5 LONG TERM STORAGE
If it is necessary to store a pump for a long period of time, it should be stored indoors in a clean, dry temperature-stable
environment. The pump should be covered to protect it from dust, dirt and water.
Do not allow the pump to freeze.
2-6 MAINTENANCE
Installed pumps which are idle for long periods of time should be manually operated once a month to ensure proper
operation. Check for proper operation of the float and clean any debris that may be on the float or the suction screen. Make
sure that the float operates freely without any restrictions.
2-7 OPTIONAL ALARM
The SJ10A pump comes supplied with a pre-mounted alarm probe. If you would like to add an alarm to the SJ10 system,
Liberty Pumps offers a model, ALM-P1, which is suitable for this installation.
2
.
Introduction

©Copyright 2012 Liberty Pumps Inc. All rights reserved 5
Figure 1 Typical installation
Note- The SumpJet® comes fully assembled. Only placement and connection is required.
3-1 For nominal backflow protection SumpJet® is pre-equipped with an internal check valve certified to ASME A112.18.3-2002 and
ASME A112.18.1/CSA B125.1.2005. Additional backflow protection must be provided by the installer to meet the requirements
of the local plumbing code or the requirements of the local water authority. As per the Uniform Plumbing Code and per the
Plumbing Codes of some states, including the State of Michigan, installation of this product requires the use of an RPZ backflow
protection device. Contact your local plumbing or water authority for more information regarding the requirements for your
specific area. The discharge of the water-powered sump pump should not to be connected to the primary sump pump. Also,
the discharge of the water-powered sump pump is not to be directly connected to the municipal drain. An air gap with a
minimum 1” gap should be used, or the discharge should be directed onto the yard.
3-2
Disconnect the existing sump pump from the electrical supply before installation of the SumpJet®.
3-3 DO NOT USE A GARDEN HOSE. Garden hose is not designed to hold municipal pressure indefinitely. It could
leak or burst and cause flooding. The SumpJet® requires permanent piping methods such as copper, PEX, or CPVC, or any
other permanent plumbing method, be used for installation. To achieve maximum performance from the SumpJet® it is
recommended that the unit is plumbed with 3/4” pipe.
3
.
Mechanical Installation

©Copyright 2012 Liberty Pumps Inc. All rights reserved 6
3-4 The inlet of the SumpJet® is factory equipped with a SharkBite® push-type fitting. This fitting can be used with various
approved 3/4-inch potable water tubing and pipe, such as PEX tubing (ASTM F876, CSA B137.5), copper pipe (ASTM B 88), or
Copper Tube Size (CTS) CPVC pipe (ASTM D 2846, CSA B137.6). Follow the instructions below for connecting the municipal
water line to the SharkBite®. For more details on using the SharkBite® go to www.cashacme.com.
3-5 Using the Hose clamps provided, mount the SumpJet® to the
existing discharge pipe. Place the unit so that the float level will
operate a few inches above the turn on level of the existing sump
pump. (Refer to figure 2). Tighten hose clamps on discharge
pipe. NOTE: If this type of installation will not work refer to
alternate installation 3-17.
3-6 After mounting the SumpJet®, you are ready to hook into the
existing municipal water supply line. Shut off the municipal water
supply, and plumb the tubing or piping into the municipal water
supply line. Use the appropriate backflow prevention for your
jurisdiction.
3-7 Prior to connecting water line to the SumpJet® purge the water
line to insure it is free from debris, solder, pie sealant, etc.
3-8 To connect the water line to the SharkBite® cut the pipe or
tubing end square. Ensure that there are no burrs or scratches
1” from the cut end. Mark the pipe or tubing 1” from the cut end
to indicate proper insertion depth. If using PEX tubing the tube
liner in the end of the SharkBite® must be used. For copper and
CPVC piping the tube liner must be removed by using your
fingers or pliers. Insert the tubing or pipe into the SharkBite®
through the release collar to rest against the grab ring. Then
push the tube or pipe firmly until it reaches the tube stop. To
insure the tube or pipe is correctly inserted, check that the depth
mark is up to the end of the release collar.
3-9 If the Shark fitting is removed for connection to other types of
3/4” NPT threaded fittings, make sure all sealing tape is removed
from the threaded inlet of the SumpJet®. Use a small pick-
type tool if necessary. Do not allow any debris to enter the valve
body.
3-10 If reconnecting the SharkBite® or other
threaded fitting use PTFE (Teflon®) sealing tape only when
assembling threaded fittings into SumpJet® inlet.
3-11 Do not over tighten threaded inlet fitting, and
do not hold onto float plunger shroud when tightening.
3-12 DO NOT SWEAT PIPES OR FITTINGS
DIRECTLY CONNECTED TO THE SumpJet® . HEAT
TRANSFERRED FROM THE COPPER WILL DAMAGE
PLASTIC PARTS!
3-13 Determine the length of discharge pipe required to the discharge
exit point. Using schedule 40 PVC pipe, glue the discharge pipe
into the socket elbow of the SumpJet®. Complete all
discharge piping. Discharge piping should be routed to the yard
outside the building.
NOTE: The SumpJet® comes complete with a foot valve. There is no
need to install a check valve on the discharge pipe.
NOTE: If the discharge is emptying to a municipal drain then this unit
must be used in conjunction with an "air gap". The "air gap" must
be at least 1".
Figure 2
The bottom of the
grey pump housing
should be
approximately 12”
above the water
level at which the
normal sump pump
turns on.

©Copyright 2012 Liberty Pumps Inc. All rights reserved 7
NOTE: The foot valve has a removable poppet. Where freezing
discharge pipes are a problem, simply unscrew the strainer
screen, remove the poppet and spring, and replace the strainer.
The SumpJet® will now allow water to flow back into the pit,
eliminating discharge pipe freezing.
3-14 Turn the municipal water supply back on and open the shutoff
valve. Check for leaks. Test the SumpJet® to ensure that it is
operational. You will need to fill the sump pit with water by garden
hose or bucket.
3-15 Re-connect primary electric sump pump to power supply.
3-16 If you want to replace the sump cover it will be necessary to add
additional holes and slots to make access for the SumpJet® suction
pipe and float rod. Refer to template provided in Figure (4) at the end of
the manual.
3-17 If you cannot mount the SumpJet® to the pump discharge pipe you
may use a piece of wood to mount the SumpJet®. Cut holes as per
figure (4) at the end of the manual. There are 4 screw holes that you
can use to fasten the SumpJet® to the wood. Use #8x2.5" long wood
screws. Refer to Figure ( 3 )
NOTE: Liberty Pumps, Inc. assumes no responsibility for damage or injury due to disassembly in the field. Disassembly, other than at
Liberty Pumps or its authorized service centers, automatically voids warranty.
Liberty Pumps, Inc. warrants that pumps of its manufacture are free from all factory defects in material and workmanship for a period of 3
years from the date of purchase. The date of purchase shall be determined by a dated sales receipt noting the model and serial number
of the pump. The dated sales receipt must accompany the returned pump if the date of return is more than 3 years from the "CODE"
(date of manufacture) number noted on the pump nameplate.
The manufacturer's obligation under this Warranty shall be limited to the repair or replacement of any parts found by the manufacturer to
be defective, provided the part or assembly is returned freight prepaid to the manufacturer or its authorized service center, and provided
that none of the following warranty-voiding characteristics are evident.
The manufacturer shall not be liable under this Warranty if the product has not been properly installed; if it has been disassembled,
modified, abused or tampered with; if the electrical cord has been cut, damaged or spliced; if the pump discharge has been reduced in
size; if the pump has been used in water temperatures above the advertised rating, or water containing sand, lime, cement, gravel or
other abrasives; if the product has been used to pump chemicals or hydrocarbons; if a non-submersible motor has been subjected to
excessive moisture; or if the label bearing the serial, model and code number has been removed. Liberty Pumps, Inc. shall not be liable
for any loss, damage or expenses resulting from installation or use of its products, or for consequential damages, including costs of
removal, reinstallation or transportation.
There is no other express warranty. All implied warranties, including those of merchantability and fitness for a particular purpose, are
limited to three years from the date of purchase.
This Warranty contains the exclusive remedy of the purchaser, and, where permitted, liability for consequential or incidental damages
under any and all warranties are excluded.
Figure 3
4
.
Warranty
©Copyright 2012 Liberty Pumps Inc. All rights reserved 8

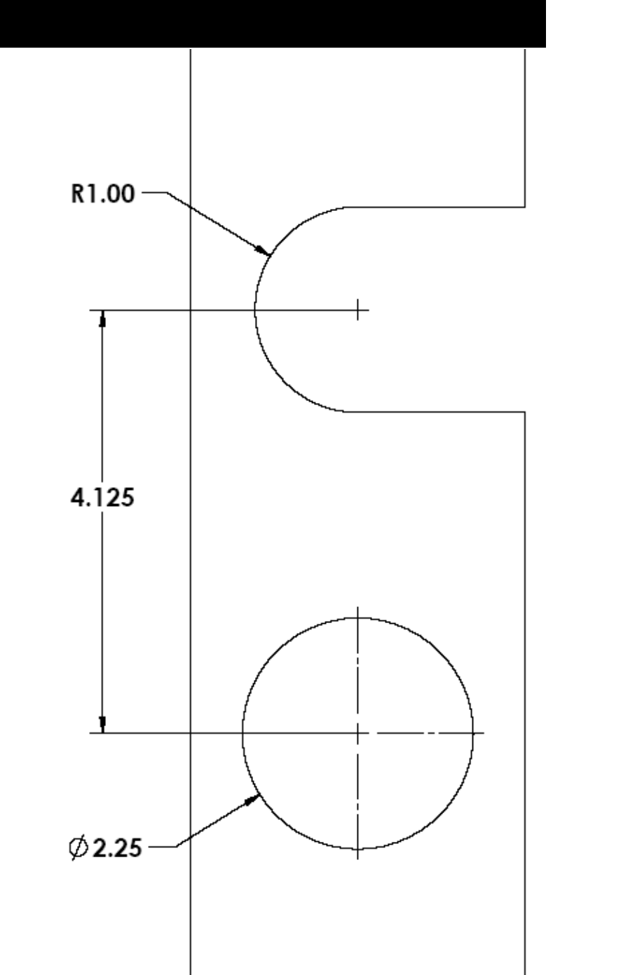
©Copyright 2012 Liberty Pumps Inc. All rights reserved 9
Figure 7
5
.
Hole Template

©Copyright 2012 Liberty Pumps Inc. All rights reserved 10
7000 Apple Tree Avenue
Bergen, NY 14416
Phone: (800) 543-2550
Fax: (585) 494-1839
www.libertypumps.com

©Copyright 2012 Liberty Pumps Inc. Todos los derechos reservados
1
IMPORTANTE:
Apunte el modelo, el número de serie y el código que
aparecen en la placa de la bomba antes de instalarla para
que le sirvan de referencia en el futuro.
MODELO _______________________
SERIE ______________________
CÓDIGO _____________________
FECHA DE
INSTALACIÓN____________________
Manual de instalación
5824000F
SumpJet® - Sistema de respaldo hidroeléctrico
MODELO SJ10
Sin Alarma
7000 Apple Tree Avenue, Bergen, NY 14416
Teléfono: (800) 543-2550
liberty@libertypumps.com
página Web: www.libertypumps.com
MODELO SJ10A
Con Alarma

©Copyright 2012 Liberty Pumps Inc. Todos los derechos reservados
2
CONTENIDO
SECCIÓN 1 INFORMACIÓN GENERAL------------------------------------------------------------------------------ 3
SECCIÓN 2 INTRODUCCIÓN-------------------------------------------------------------------------------------------- 4
SECCIÓN 3 INSTALACIÓN MECÁNICA ----------------------------------------------------------------------------- 5-7
SECCIÓN 4 GARANTÍA---------------------------------------------------------------------------------------------------- 7
SECCIÓN 5 PLANTILLA -------------------------------------------------------------------------------------------------- 9

©Copyright 2012 Liberty Pumps Inc. Todos los derechos reservados
3
Lea con atención estas instrucciones antes de instalar la bomba. Todas las bombas de Liberty se someten a pruebas en fábrica como
garantía de su funcionamiento adecuado. Siga estas instrucciones al pie de la letra para prevenir problemas de funcionamiento y
asegurar años de servicio satisfactorio.
NOTA: De acuerdo con el Código Uniforme de Plomería y los Códigos de Plomería de algunos estados, incluido el estado de
Michigan, la instalación de este producto requiere el uso de un dispositivo de protección para contraflujos RPZ. Si desea más
información acerca de los requisitos para su área específica, comuníquese con la autoridad local de plomería o agua.
Riesgo de descargas eléctricas. Cuando vaya a instalar la bomba de chorro SUMP Jet®, desconecte las bombas eléctricas antes
de moverlas o realizar algún ajuste.
La SUMP Jet® ha sido diseñada para su uso con el suministro de agua municipal y su función es servir de sistema de respaldo
para la bomba existente.
La SUMP Jet® viene con una válvula de aspiración instalada, y por lo tanto no necesita una válvula de retención en el desagüe. La
válvula de aspiración lleva su propia válvula de retención desmontable. En los lugares donde las tuberías de desagüe se puedan
congelar, desenrosque el filtro colador de aspiración, desmonte la válvula de retención y el resorte, y vuelva a instalar el colador. La
SUMP Jet® no dejará que el agua regrese al sumidero, lo que evitará que las tuberías de desagüe se congelen.
Presión hidráulica máxima = 690 kPa (100 psi) con la válvula cerrada.
Presión hidráulica mínima = 207 kPa (30 psi) con la válvula abierta. (Con menos presión el sistema podría no tener la capacidad
necesaria para expulsar el agua del sótano.)
Para usar esta unidad, tendrá que instalar una válvula de cierre en la tubería de abastecimiento de agua. (Consulte la figura 1)
Para dar protección nominal de contraflujos, la SumpJet® viene pre-equipada con una válvula de retención interna con certificación
ASME A112.18.3-2002 y ASME A112.18.1/CSA B125.1.2005.
La protección adicional de contraflujos deberá ser suministrada por el instalador para cumplir con los requerimientos de los
códigos de plomería locales o los requerimientos de la autoridad local de agua y drenaje. De acuerdo con el Código Uniforme
de Plomería y los Códigos de Plomería de algunos estados, incluido el estado de Michigan, la instalación de este producto requiere el
uso de un dispositivo de protección para contraflujos RPZ. Si desea más información acerca de los requisitos para su área específica,
comuníquese con la autoridad local de plomería o agua.
El desagüe de la bomba de drenaje impulsada por agua no se debe conectar a la bomba de drenaje principal. Asimismo, el desagüe
de la bomba de drenaje impulsada por agua no debe conectarse directamente al drenaje municipal. Se deberá usar un espacio vacío
de 2.5 cm (1 pulg.) mínimo, o el desagüe deberá drenar directamente al terreno.
La entrada de la SumpJet® viene pre-equipada con un conector de tubería a presión, SharkBite®, y se puede usar con tuberías de
PEX, CPVC o de cobre.
No use lubricante de tubería en la rosca de entrada y no suelde las conexiones de cobre a menos de 45 cm (18 pulg.) del cuerpo de
la SumpJet®. Use cinta selladora PTFE (Teflon®) solamente cuando ensamble uniones roscadas a la entrada de la SumpJet®. No
apriete de más la conexión roscada de entrada y no use el flotador como punto de apoyo al apretar.
Purgue la línea de agua antes de conectar la SumpJet® para asegurarse de que no ingresen residuos en la unidad que puedan
obstruir la válvula en funcionamiento.
La SumpJet® utiliza una válvula de reacción rápida la cual, de acuerdo con UPC, requiere del uso de un dispositivo de absorción de
presión de agua para prevenir el efecto de martillo de agua.
NO use la SumpJet® con agua caliente.
La Sump Jet® ha sido diseñada para usarse solamente con agua limpia. No sirve para eliminar aguas residuales, aguas negras,
aguas efluentes ni agua con algún otro tipo de residuo.
PRESIÓN DE AGUA EN LA
ENTRADA DE LA SumpJet®
CON LA VÁLVULA ABIERTA
Y EL AGUA FLUYENDO
EXTRACCIÓN DE AGUA DE SUMIDERO A DISTINTAS ALTURAS.
(ALTURA ESTÁTICA EN TUBERÍA DE 1 1/2 O MÁS)
ELEVACIÓN
4 PIES
1.21 M
8 PIES
2.4 M
12 PIES
3.6 M
15 PIES
4.5 M
PSI
KPA
GPM
GPH
M 3 / HR
GPM
GPH
M 3 / HR
GPM
GPH
M 3 / HR
GPM
GPH
M 3 / HR
20
138
11.0
660
2.5
5.8
348
1.3
30
207
12.8
765
2.9
9
540
2.0
5.5
330
1.2
40
276
15.4
924
3.5
12.5
750
2.8
9.3
558
2.1
7.2
432
1.6
50
345
17.2
1032
3.9
14.5
870
3.3
12
720
2.7
10
600
2.3
60
414
19.8
1185
4.5
17
1020
3.9
15.2
912
3.5
13.5
810
3.1
Nota: Para el funcionamiento óptimo, la mínima presión de funcionamiento recomendada es 30 psi. El uso de una RPZ (zona de presión
reducida) puede disminuir la presión de funcionamiento
1
.
Información general

©Copyright 2012 Liberty Pumps Inc. Todos los derechos reservados
4
2-1 INTRODUCCIÓN
Este manual está diseñado para ayudarle a instalar, operar y mantener la bomba Liberty SumpJet®. Léalo totalmente antes de
instalar el sistema. Antes de poner la bomba en operación, asegúrese de entender todo el contenido, incluidos los capítulos
sobre instalación y operación.
Los productos Liberty requieren un mantenimiento mínimo. Sin embargo, para que duren el mayor tiempo posible y funcionen
sin problemas es importante revisarlos con regularidad.
GARANTÍA: Durante el período de garantía no se podrá llevar a cabo ninguna reparación sin la aprobación de la fábrica. De lo
contrario, la garantía podría resultar nula.
NÚM. SERIE: Incluya el número de serie de la bomba en los informes y demás correspondencia.
2-2 DISEÑO DE LA BOMBA
La Liberty SumpJet® es un sistema que funciona como respaldo de emergencia de una bomba existente. La unidad utiliza el
abastecimiento de agua municipal para evacuar agua del sumidero. No se puede usar como la bomba principal de drenaje de
agua. Sólo se debe usar para extraer agua limpia. Liberty Pumps recomienda el uso de una alarma sonora. El Modelo
SJ10A ofrece un sistema para advertir cuando La SumpJet® está activita. Si usted compró el modelo SJ10 (sin alarma) y
desea agregar la función de alarma, hago un pedido por una piesa modelo ALM-P1 de usted distribuidor local o pongase en
contacto con la fábrica para obtener más información. Si se usa la SumpJet® por un tiempo prolongado, aumentará el
consumo de agua municipal. La SumpJet® consume más o menos 3.8 litros (1 galón) de agua para eliminar 7 litros y medio (2
galones) de agua de sumidero, dependiendo de la elevación.
2-3 INSPECCIÓN INICIAL
Inspeccione inmediatamente la caja para comprobar si se ha producido algún daño durante el transporte. Tenga cuidado al
abrir la caja para no dañar la bomba. Saque todo el embalaje de protección del interior de la caja.
Revise bien este embalaje antes de desecharlo para asegurarse de que no haya ninguna pieza de repuesto en él. Haga una
inspección visual de la bomba y de las piezas de repuesto. Informe de cualquier daño que pueda haberse producido y si falta
alguna pieza.
2-4 ALMACENAMIENTO ANTES DEL USO
Las bombas Liberty ya vienen de fábrica listas para su instalación y uso. Si la estación de bombeo no está terminada, tendrá
que almacenar la bomba. Pero si necesita almacenarla, no la saque de la caja. Guárdela en un almacén o caseta, que tenga un
área limpia y seca a temperatura estable, y cubra la caja para protegerla contra el agua, la suciedad, el polvo, etc.
LA BOMBA NUNCA SE DEBERÁ ALMACENAR EN UNA FOSA INUNDADA SIN TERMINAR. SÓLO SE
DEBERÁ COLOCAR EN LA FOSA CUANDO SE PUEDA OPERAR CORRECTAMENTE.
2-5 ALMACENAMIENTO A LARGO PLAZO
Si hiciera falta almacenar la bomba durante un período prolongado, hágalo en un recinto cerrado limpio y seco a temperatura
estable. Cubra la bomba para protegerla del polvo, la suciedad y el agua.
No deje que la unidad se congele.
2-6 MANTENIMIENTO
Si la bomba está instalada y permanece inactiva durante un período de tiempo prolongado, se deberá poner en marcha
manualmente una vez al mes para comprobar que funcione correctamente. Compruebe que el flotador funcione
debidamente y limpie la suciedad que pueda haber en el flotador y en el filtro. El flotador deberá moverse libremente sin
impedimentos.
2-7 ALARMA OPTIONAL
La bomba SJ10 viene eqipada con una preba alarm pre-montados. Si desea agregar una alarm a la SJ10 sistema, Liberty
Pumps ofrece un modelo, ALM-P1, que es apropriado para esta instalación.
2
.
Introducción

©Copyright 2012 Liberty Pumps Inc. Todos los derechos reservados
5
Figura 1 - Instalación típica
Nota: La SumpJet® viene completamente ensamblada. Sólo hace falta colocarla en su sitio y conectarla.
3-1 Para protección nominal de contraflujos, la SumpJet® viene equipada con válvula de retención interna con certificación ASME
A112.18.3-2002 y ASME A112.18.1/CSA B125.1.2005. La protección adicional de contraflujos deberá ser suministrada por el instalador
de tal manera que cumpla con los requerimientos de los códigos de plomería locales o los requerimientos de la autoridad local de agua y
drenaje. De acuerdo con el Código Uniforme de Plomería y los Códigos de Plomería de algunos estados, incluido el estado de
Michigan, la instalación de este producto requiere el uso de un dispositivo de protección para contraflujos RPZ. Si desea más
información acerca de los requisitos para su área específica, comuníquese con la autoridad local de plomería o agua. El desagüe de la
bomba de drenaje impulsada por agua no se debe conectar a la bomba de drenaje principal. Asimismo, el desagüe de la bomba de
drenaje impulsada por agua no debe conectarse directamente al drenaje municipal. Se deberá usar un espacio vacío de 2.5 cm (1 pulg.)
mínimo, o el desagüe deberá drenar directamente al terreno.
3-2
Desconecte la bomba de drenaje existente de la alimentación eléctrica antes de instalar la SumpJet®.
3-3
NO USE UNA MANGUERA DE JARDÍN. Este tipo de manguera no ha sido diseñado para aguantar la
presión del suministro municipal de manera indefinida. Podría desarrollar fugas o estallar y provocar inundaciones. La
SumpJet® requiere para su instalación el uso de materiales de tubería permanentes tales como cobre, PEX o CPVC o
cualquier otro tipo de material de tubería permanente. Para lograr el más alto rendimiento de la SumpJet® se recomienda usar
tubos de 3/4 pulg. para la unidad.
3
.
Instalación mecánica
Tubería de abastecimiento
de agua (3/4 pulg.)
Abrazaderas para
manguera
Tubería de desagüe
de la SumpJet
Dispositivo aprobado de
prevención de contraflujo
Válvula de cierre (3/4 pulg.)
Desagüe de la válvula de
alivio si es necesario
Flotador de la SumpJet
* Asegurarse de que no
haya impedimentos
Bomba de drenaje existente
* Asegurarse de que no haya
impedimentos
Válvula de aspiración
con filtro

©Copyright 2012 Liberty Pumps Inc. Todos los derechos reservados
6
3-4 La entrada de la SumpJet® viene equipada de fábrica con una conexión a presión SharkBite®. Esta conexión se puede usar
con varios tipos de tuberías de 3/4 pulg. aprobadas para agua potable, tales como tuberías PEX (ASTM F876, CSA B137.5),
tuberías de cobre (ASTM B 88) o de Tamaño del Tubo de Cobre (CTS) CPVC (ASTM D 2846, CSA B137.6). Siga las
instrucciones a continuación para conectar la línea de abastecimiento municipal de agua a la SharkBite®. Para más detalles
sobre el uso de conexiones SharkBite® vaya a www.cashacme.com.
3-5 Con las abrazaderas para mangueras que se incluyen, monte la
SumpJet® en la tubería de desagüe existente. Instale la unidad
de forma que el nivel del flotador opere varios centímetros por
encima del nivel de encendido de la bomba de drenaje existente.
(Consulte la figura 2.) Apriete las abrazaderas contra la tubería
de desagüe. NOTA: Si no le sirve este tipo de instalación,
consulte el método alternativo en 3-17.
3-6 Después de montar la SumpJet®, podrá conectarla al
abastecimiento de agua municipal. Cierre el suministro de agua
y conecte el sistema de tubería al abastecimiento municipal. Use
el dispositivo de prevención de contraflujos apropiado para su
jurisdicción.
3-7 Antes de conectar la línea de agua a la SumpJet®, purgue la
línea de agua para asegurarse de que esté libre de sedimentos,
restos de soldadura, restos de sellador, etc.
3-8 Para conectar la línea de agua a la SharkBite®, corte
transversalmente el extremo del tubo o sistema de tubería.
Asegúrese de que no haya rayaduras o melladuras a 2.5 cm del
extremo cortado. Marque el tubo o sistema de tubería a 2.5 cm
del extremo cortado para indicar la profundidad de inserción
adecuada. Si utiliza tuberías PEX, deberá utilizar revestimiento
en el extremo del SharkBite®. Para tuberías de cobre o CPVC,
deberá retirar el revestimiento usando los dedos o un alicate.
Inserte el tubo o sistema de tubería en la SharkBite® a través
del anillo de desahogo para que descanse sobre el asa. Luego
empuje el tubo o sistema de tubería firmemente hasta que tope.
Para asegurarse de que el tubo o sistema de tubería esté
correctamente insertado, verifique que la marca de profundidad
haya llegado al extremo del anillo de desahogo.
3-9 Si la SharkBite® se quita para conectarse a otros tipos de
conexiones roscadas de 3/4 pulg. NPT, asegúrese de que se haya
quitado toda la cinta selladora de la entrada roscada a la
SumpJet®. De ser necesario, utilice algún tipo de herramienta
puntiaguda pequeña. No permita que ingresen residuos al
cuerpo de la válvula.
3-10 Si reconecta la SharkBite® u otra conexión
roscada, use cinta selladora PTFE (Teflon®) solamente cuando
ensamble uniones roscadas a la entrada de la SumpJet®.
3-11 No apriete de más la unión roscada de entrada
y no use el flotador como punto de apoyo mientras apriete.
3-12 NO SUELDE LAS TUBERÍAS NI LAS
UNIONES QUE ESTÉN CONECTADAS DIRECTAMENTE A LA
SumpJet®. ¡EL CALOR QUE EMITIRÁ EL COBRE DAÑARÁ
LAS PIEZAS DE PLÁSTICO!
3-13 Determine la longitud de tubería de desagüe que se necesita
hasta el punto de salida. Con una tubería de PVC 40, pegue la
tubería de desagüe al codo de la SumpJet®. Complete toda la
longitud de la tubería de desagüe. La tubería de desagüe se
deberá dirigir hacia el terreno ubicado fuera del edificio.
EL NIVEL DEL
FLOTADOR OPERA
POR ENCIMA DEL
FLOTADOR DE LA
BOMBA.
* DEBE OPERAR
SIN IMPEDIMENTOS
Figura 2
APRETAR
ABRAZADERAS

©Copyright 2012 Liberty Pumps Inc. Todos los derechos reservados
7
NOTA: La SumpJet® lleva una válvula de aspiración. No hace falta
instalar una válvula de retención en la tubería de desagüe.
NOTA: Si el desagüe se vierte en una tubería municipal, entonces use la
unidad con un espacio vacío. El espacio vacío tiene que tener un
tamaño mínimo de 2.5 cm (1 pulg.).
NOTA: La válvula de aspiración lleva su propia válvula de retención
desmontable. En los lugares en los que las tuberías de desagüe
se pueden congelar, desenrosque el filtro colador de aspiración,
desmonte la válvula de retención y el resorte, y vuelva a instalar el
colador. La SumpJet® no dejará que el agua regrese al sumidero,
lo que evitará que las tuberías de desagüe se congelen.
3-14 Vuelva a abrir el suministro de agua y abra la válvula de cierre.
Compruebe que no haya fugas. Compruebe que la SumpJet®
funcione correctamente Llene el sumidero de agua con una
manguera de jardín o una cubeta.
3-15 Conecte otra vez la bomba eléctrica de drenaje principal a la
alimentación eléctrica.
3-16 Si desea volver a instalar la cubierta del sumidero, tendrá que abrir
más orificios y ranuras para dejar pasar la tubería de succión y la
barra del flotador de la SumpJet®. Consulte el modelo de la figura 4
al final de este manual.
3-17 Si tiene problemas para instalar la SumpJet® a la tubería de
desagüe de la bomba, puede hacerlo en un trozo de madera.
Corte los agujeros que se indican en la figura 4. Hay 4 agujeros
para tornillos que servirán para sujetar la SumpJet® a la
madera. Use tornillos para madera #8x2.5 pulg. Consulte la
figura 3.
Garantía limitada Liberty Pumps, Inc. garantiza que las bombas que fabrica están libres de defectos de material y mano de obra por un período
de 3 años desde la fecha de compra. La fecha de compra se determinará con el recibo de compra fechado que incluye el modelo y el número de serie de
la bomba. Este recibo deberá acompañar a la bomba si la fecha de devolución ocurre más de 3 años después de la fecha de fabricación (código-CODE)
indicada en la placa de la unidad. Las obligaciones del fabricante bajo esta garantía se limitarán a la reparación o reemplazo de las piezas que el
fabricante determine que son defectuosas, siempre que la pieza o el ensamblaje de piezas se devuelva con el porte pagado al fabricante o a uno de sus
centros de servicio autorizados, y que no sea evidente ninguna de las siguientes características, lo que supondría la anulación de la garantía: el
fabricante no tendrá obligación alguna bajo esta garantía si el producto no ha sido instalado correctamente; si ha sido desmontado, modificado, abusado
o manipulado indebidamente; si el cordón eléctrico está dañado o tiene un empalme inapropiado; si se redujo el tamaño del desagüe de la bomba; si la
bomba se usó con agua caliente o agua con arena, cal, cemento, grava u otros elementos abrasivos; si se utilizó la bomba para bombear productos
químicos o hidrocarburos; si un motor no sumergible fue sometido a un exceso de humedad; o si se retiró la etiqueta con el número de serie y de
código. Liberty Pumps, Inc. no se hace responsable de pérdidas, daños o gastos que resulten por la instalación o uso de sus productos, o por daños
consecuentes, como pueden ser los gastos de desmontar, reinstalar o transportar la unidad, entre otros. No se ofrece ninguna otra garantía expresa.
Todas las garantías implícitas, incluidas las de comerciabilidad y adecuación para un propósito determinado, están limitadas a un plazo de
tres años desde la fecha de compra. Esta garantía representa el único remedio del comprador y, siempre que se permita, se excluye toda
responsabilidad por daños consecuentes y fortuitos bajo cualquier otra garantía.
4
.
Garantía
Figura 3
TORNILLOS
PARA MADERA
#8x2.5 PULG.
TABLA DE
MADERA 2X4
©Copyright 2012 Liberty Pumps Inc. Todos los derechos reservados
8

©Copyright 2012 Liberty Pumps Inc. Todos los derechos reservados
9
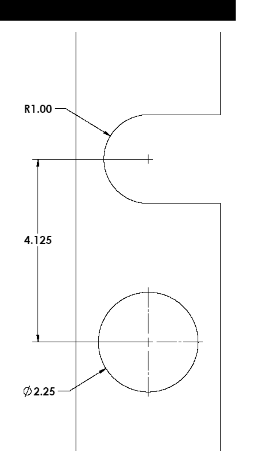
Figura 4
5
.
Plantilla para los agujeros

©Copyright 2012 Liberty Pumps Inc. Tous droits réservés
1
IMPORTANT :
Avant l’installation, noter les numéros de modèle, de série
et de code qui figurent sur la plaque signalétique pour
éventuellement s’y référer.
MODÈLE _____________________
SÉRIE _______________________
CODE ______________________
DATE
D'INSTALLATION _____________
Manuel d'installation
5824000F
SumpJet® : système de secours alimenté à l'eau
MODÈLE SJ10
Sans Alarme
7000 Apple Tree Avenue
Bergen, NY 14416
Phone: (800) 543-2550
Fax: (585) 494-1839
www.libertypumps.com
MODÈLE SJ10A
Avec Alarme

©Copyright 2012 Liberty Pumps Inc. Tous droits réservés
2
TABLE DES MATIÈRES
SECTION 1 RENSEIGNEMENTS GÉNÉRAUX--------------------------------------------------------------------- 3
SECTION 2 INTRODUCTION-------------------------------------------------------------------------------------------- 4
SECTION 3 INSTALLATION MÉCANIQUE--------------------------------------------------------------------------- 5-7
SECTION 4 GARANTIE---------------------------------------------------------------------------------------------------- 7
SECTION 5 GABARIT ------------------------------------------------------------------------------------------------------ 9

©Copyright 2012 Liberty Pumps Inc. Tous droits réservés
3
Lire attentivement les directives avant d’effectuer l’installation. Chaque pompe de marque Liberty est testée individuellement en usine
pour assurer un bon fonctionnement. Le fait de suivre ces directives à la lettre éliminera les risques de dysfonctionnement et assurera
des années de fonctionnement sans soucis.
REMARQUE : Conformément au Uniform Plumbing Code (Code de plomberie universel) et aux codes de plomberie de certains
états, y compris l’état de Michigan, l’installation de ce produit exige l’utilisation d’un dispositif antirefoulement RPZ. Contactez
les autorités réglementaires locales responsables de la plomberie et de l’eau pour plus d’informations concernant les
exigences en vigueur dans votre région.
Danger d’électrocution. Lors de l'installation de la pompe SumpJet®, toujours débrancher toute pompe électrique de sa source
d'alimentation avant de la manipuler ou d'effectuer des réglages.
La pompe SumpJet® est conçue pour fonctionner sur le réseau d'acqueduc municipal et servir de pompe de secours au
système de pompage existant.
La pompe SumpJet® est équipée d'un clapet de pied et ne nécessite donc pas la pose d'un clapet antiretour sur la conduite
d'évacuation. Le clapet de pied comporte un obturateur amovible. Aux endroits où le gel des tuyaux d'évacuation est possible, il
suffit de dévisser le filtre à tamis, de déposer l'obturateur et le ressort et de reposer le filtre. La pompe SumpJet® permet alors le
retour de l'eau vers le puisard, éliminant le risque de gel dans la conduite d'évacuation.
Pression d'eau maximale = 690 kPa (100 psi) soupape fermée.
Pression d'eau minimale = 207 kPa (30 psi), soupape ouverte (une pression moindre peut ne pas suffire à refouler l'eau à évacuer).
Prévoir la pose d'une vanne d'arrêt sur la conduite d'arrivée d'eau (voir Figure 1).
La protection antirefoulement de base de la pompe SumpJet® est assurée par un clapet antiretour interne installé en usine et certifié
conforme aux normes ASME A112.18,3-2002 et ASME A112.18,1/CSA B125.1,2005.
Il est nécessaire qu'un dispositif de protection antirefoulement supplémentaire soit mis en place lors de l'installation, afin de
respecter les exigences du code de plomberie local ou les exigences des autorités réglementaires locales responsables de
l'eau. Conformément au Uniform Plumbing Code (Code de plomberie universel) et aux codes de plomberie de certains états, y
compris l’état de Michigan, l’installation de ce produit exige l’utilisation d’un dispositif antirefoulement RPZ. Contactez les autorités
réglementaires locales responsables de la plomberie et de l’eau pour plus d’informations concernant les exigences en vigueur dans
votre région.
Le tuyau d’évacuation de la pompe de secours alimentée à l’eau ne doit pas être raccordé à la pompe d’assèchement principale. De
plus, l’évacuation de la pompe de secours alimentée à l’eau ne doit pas se faire directement dans la conduite d’égout municipale. Il
faut prévoir un intervalle antiretour d’au moins 25 mm (1 po), ou encore diriger la conduite d’évacuation vers l’extérieur.
L'entrée de la pompe SumpJet® est déjà pourvue d'un raccordement à poussoir SharkBite® convenant aux tuyaux de polyéthylène
réticulé (PEX), CPVC ou cuivre.
Ne pas utiliser de pâte à joint sur le filetage de l'entrée et ne pas souder les raccordements de cuivre à moins de 46 cm (18 po) du
boîtier de la pompe SumpJet®. Utiliser uniquement du ruban d'étanchéité de PTFE (Teflon®) pour réunir les raccordements filetés à
l'entrée de la pompe SumpJet®. Ne pas trop serrer les raccordements filetés de l'entrée et ne pas tenir le protecteur du flotteur en
resserrant.
Purger la canalisation d'eau avant de la raccorder à la pompe SumpJet® afin de s'assurer qu'aucun débris ne pénètre dans l'appareil
et vienne nuire au fonctionnement de la soupape.
La SumpJet® fonctionne avec une soupape à réaction rapide qui, selon UPC, nécessite l'installation d'un dispositif approuvé
d'absorption de la pression de l'eau, afin de prévenir les coups de bélier.
NE PAS utiliser la pompe SumpJet® dans de l'eau chaude.
La SumpJet® est conçue pour être utilisée dans de l'eau claire seulement. Elle n'est pas destinée au pompage d'eaux usées,
résiduaires, d'effIuents ou d'eau contenant des débris.
PRESSION D'EAU À
L'ENTRÉE DE LA
POMPE SumpJet®
AVEC SOUPAPE
OUVERTE ET
ÉCOULEMENT D'EAU
EXTRACTION D'EAU DE PUISARD À DIVERSES ÉLÉVATIONS
(ÉLÉVATION STATIQUE DANS TUYAU DE 38 MM [1½ PO] OU PLUS)
HAUTEUR
D’ASPIRATION
4 PI
1,21 M
8 PI
2,4 M
12 PI
3,6 M
15 PI
4,5 M
PSI
kPa
Gal/min
Gal/h
M 3/h
Gal/min
Gal/h
M 3/h
Gal/min
Gal/h
M 3/h
Gal/min
Gal/h
M 3/h
20
138
11,0
660
2,5
5,8
348
1,3
30
207
12,8
765
2,9
9
540
2,0
5,5
330
1,2
40
276
15,4
924
3,5
12,5
750
2,8
9,3
558
2,1
7,2
432
1,6
50
345
17,2
1032
3,9
14,5
870
3,3
12
720
2,7
10
600
2,3
60
414
19,8
1185
4,5
17
1020
3,9
15,2
912
3,5
13,5
810
3,1
Remarque : la pression de fonctionnement minimale conseillée pour un rendement optimal est de 207 kPa (30 psi). L'utilisation d'un
dispositif RPZ peut réduire la pression nominale.
1
.
Renseignements généraux

©Copyright 2012 Liberty Pumps Inc. Tous droits réservés
4
2-1 INTRODUCTION
Ce manuel est destiné fournir les renseignements nécessaires à l’installation, l’utilisation et l’entretien de la pompe SumpJet®
de Liberty Pumps. Il est recommandé de lire entièrement les directives avant d'installer la pompe. S’assurer d’être familier avec
le contenu et de bien comprendre les chapitres relatifs à l’installation et l’utilisation de la pompe avant de la faire fonctionner.
Les produits Liberty sont conçus pour ne nécessiter qu’un entretien minimal. Toutefois, des vérifications régulières assureront
une plus grande durabilité et une meilleure fiabilité d’utilisation.
GARANTIE : Aucun travail de réparation ne devrait être effectué au cours de la période de garantie avant d'avoir obtenu
l'autorisation préalable du fabricant. Une telle situation annulerait la garantie.
Nº DE SÉRIE : S’assurer que le numéro de série de la pompe figure dans toute la correspondance et les rapports.
2-2 CONCEPTION DE LA POMPE
La pompe SumpJet® Liberty est conçue pour servir de pompe de secours au système de pompage existant. Elle utilise l'eau
du réseau de l'acqueduc municipal pour aspirer l'eau du puisard. Elle n'est pas destinée à servir de pompe d'assèchement
principale. Elle est conçue pour aspirer uniquement de l'eau de puisard claire. Liberty Pumps recommande d'installer une
alarme sonore de dépassement de niveau. Le modèle SJ10A dispose d’un système d’alarme pour avertir lorsque le
SumpJet® es activé. Si vous avez acheté le modèle SJ10 (sans alarme) et que vous souhaitez ajouter la fonctionnalité
d’alarme commander modèle ALM-P1 à partir de votre distributeur local ou contacter l’usine pour plus d’information. L'utilisation
prolongée de la pompe SumpJet® résulte en une consommation élevée d'eau de l'aqueduc. La pompe SumpJet® consomme
en moyenne 1 litre d'eau pour aspirer 2 litres d'eau de puisard, selon l'élévation.
2-3 INSPECTION SUR RÉCEPTION
Le contenant d’expédition devrait être inspecté immédiatement afin de s’assurer qu’aucun dommage ne s'est produit au cours
de l’expédition. Faire attention lors de l’ouverture du contenant d’expédition afin d'éviter d'endommager la pompe. Retirer tout
matériel de bourrage et de calage du contenant.
Avant de jeter le matériel de bourrage, vérifier s’il ne s’y trouve pas de petites pièces. Inspecter visuellement la pompe et toute
pièce de rechange afin de s’assurer que celles-ci ne comportent aucun dommage. Signaler tout dommage ou toute pièce
manquante.
2-4 ENTREPOSAGE AVANT UTILISATION
Les pompes Liberty sont expédiées de l’usine prêtes à être installées et utilisées. Elles devraient être entreposées si la station
de pompage n’est pas complète. S'il est nécessaire d'entreposer la pompe, celle-ci devrait demeurer dans son contenant
d'expédition. Elle devrait être conservée dans un entrepôt ou une remise, dans un endroit propre, sec et dont la température est
stable. Il faut couvrir la pompe et son contenant pour les protéger de l’eau, de la saleté, de la poussière, etc.
LA POMPE NE DEVRAIT JAMAIS ÊTRE ENTREPOSÉE DANS UN PUISARD NON ACHEVÉ. LA POMPE
NE DOIT PAS ÊTRE DÉPOSÉE DANS LE PUISARD TANT QU'ELLE N'EST PAS COMPLÈTEMENT OPÉRATIONNELLE.
2-5 ENTREPOSAGE PROLONGÉ
S'il est nécessaire d'entreposer une pompe pour une période prolongée, elle devrait être conservée à l'intérieur dans un
environnement propre, sec et dont la température est stable. La pompe devrait être recouverte afin de la protéger de la
poussière, de la saleté et de l'eau.
Ne pas laisser la pompe geler.
2-6 ENTRETIEN
Si une pompe installée reste inutilisée durant des périodes prolongées, il convient de l'actionner manuellement une fois par
mois pour assurer son bon fonctionnement. Contrôler le bon fonctionnement du flotteur et nettoyer le flotteur et le filtre
d'aspiration de tous débris éventuels. Vérifier que le flotteur fonctionne librement sans restriction.
2-7 ALARME OPTIONNEL
Le pompe SJ10A est livré avec une sond d'alarme pré-montée. Si vous souhaitez ajouter une alarme pour le système SJ10,
Liberty Pumps offre un modèle, ALM-P1, ce qui est approprié pour cetta installation.
2
.
Introduction

©Copyright 2012 Liberty Pumps Inc. Tous droits réservés
5
Figure 1 Installation type
Remarque : la pompe SumpJet® est fournie entièrement assemblée. Seuls sa mise en place et son
raccordement sont nécessaires.
3-1 La protection antirefoulement de base de la pompe SumpJet® est assurée par un clapet antiretour interne installé en usine et
certifié conforme aux normes ASME A112.18,3-2002 et ASME A112.18,1/CSA B125.1,2005. Il est nécessaire qu'un dispositif de
protection antirefoulement supplémentaire soit mis en place lors de l'installation, afin de respecter les exigences du code de plomberie
local ou les exigences des autorités réglementaires locales responsables de l'eau. Conformément au Uniform Plumbing Code (Code de
plomberie universel) et aux codes de plomberie de certains états, y compris l’état de Michigan, l’installation de ce produit exige
l’utilisation d’un dispositif antirefoulement RPZ. Contactez les autorités réglementaires locales responsables de la plomberie et de l’eau
pour plus d’informations concernant les exigences en vigueur dans votre région. Le tuyau d’évacuation de la pompe de secours
alimentée à l’eau ne doit pas être raccordé à la pompe d’assèchement principale. De plus, l’évacuation de la pompe de secours
alimentée à l’eau ne doit pas se faire directement dans la conduite d’égout municipale. Il faut prévoir un intervalle antiretour d’au moins
25 mm (1 po), ou encore diriger la conduite d’évacuation vers l’extérieur.
3-2
Débrancher la pompe d'assèchement principale de l'alimentation électrique avant l'installation de la SumpJet®.
3-3 NE PAS UTILISER DE TUYAU D'ARROSAGE DE JARDIN. Les tuyaux de jardin ne sont pas conçus pour
résister indéfiniment à la pression du réseau d'acqueduc municipal. Ils peuvent fuir ou éclater et provoquer une inondation. La
SumpJet® nécessite l'installation de conduites permanentes adéquates faites de cuivre, polyéthylène réticulé (PEX) ou de
CPVC ou de toute autre installation de plomberie permanente. Pour obtenir un rendement optimal de la pompe SumpJet®, il
est recommandé de raccorder l'appareil à un tuyau de 3/4 po.
3
.
Installation mécanique
Conduite d'arrivée d'eau de
3/4 po en cuivre
Dispositif antirefoulement
approuvé
Robinet d'arrêt de
3/4 po en cuivre
Soupape de sûreté
au besoin
Flotteur de la SumpJet
* Vérifier qu'il bouge
librement
Pompe d'assèchement existante
* Vérifier qu'il bouge librement
Colliers de serrage
Évacuation de la SumpJet
Clapet de pied avec
filtre d'aspiration

©Copyright 2012 Liberty Pumps Inc. Tous droits réservés
6
Figure 2
3-4 L'entrée de la pompe SumpJet® est pourvue, en usine, d'un raccordement à poussoir SharkBite®. Ce raccordement peut être
utilisé avec divers types de tuyaux à eau potable de ¾ po, comme le tuyau de polyéthylène réticulé (PEX) (ASTM F876, CSA
B137.5), de cuivre (ASTM B 88) ou Taille de Tube de Cuivre (CTS) CPVC (ASTM D 2846, CSA B137.6). Suivre les directives ci-
dessous pour raccorder la canalisation municipale au raccordement SharkBite®. Pour plus de détails sur l'utilisation du
SharkBite®, consulter : www.cashacme.com.
3-5 À l'aide des colliers de serrage fournis, monter la pompe
SumpJet® sur le tuyau d'évacuation existant. Poser la pompe de
manière à ce que le niveau d'actionnement du flotteur soit à
quelques centimètres au-dessus de celui du flotteur de la pompe
d'assèchement existante (voir Figure 4). Serrer les colliers sur le
tuyau d'évacuation. REMARQUE : Si ce type d'installation ne
fonctionne pas, se reporter à la configuration de pose de la section
3-17.
3-6 Une fois la pompe SumpJetMP installée, elle est prête à être
raccordée au réseau d'aqueduc municipal. Couper l'alimentation en
eau de l'aqueduc et raccorder le tuyau ou la canalisation sur la
conduite d'alimentation. Utiliser le dispositif antirefoulement
recommandé par les autorités réglementaires.
3-7 Avant de raccorder la canalisation d'alimentation de la pompe
SumpJet®, purger la canalisation afin de s'assurer qu'elle ne
contient pas de débris, résidus de soudure, agent d'étanchéité, etc.
3-8 Pour raccorder la canalisation d'alimentation au raccordement
SharkBite®, couper perpendiculairement le tuyau. S’assurer qu’il
n’y a aucune bavure ni égratignure à 25 mm (1 po) de l'extrémité
coupée. Marquer le tuyau à 25 mm (1 po) de l'extrémité coupée
pour indiquer la profondeur à insérer. S'il s'agit d'un tuyau de
polyéthylène réticulé (PEX), il est nécessaire d'utiliser la doublure à
tuyau située à l'extrémité du raccordement SharkBite®. Cette
doublure doit être retirée en utilisant les doigts ou une pince s'il
s'agit d'un tuyau de cuivre ou de CPVC. Insérer le tuyau dans le
SharkBite® par le collier de dégagement afin qu'il s'appuie contre
l'anneau de prise. Pousser ensuite le tuyau fermement jusqu'à ce
qu'il atteigne le buttoir. Afin d'assurer que le tuyau est correctement
inséré, vérifier que la marque de profondeur est bien entrée jusqu'à
l'extrémité de collier de dégagement.
3-9 Si le raccordement Shark doit être retiré pour le raccorder à
d'autres types ce raccordement filetés de 3/4 po NPT, s'assurer
que tout le ruban d'étanchéité a bien été retiré de l'entrée fileté de
la pompe SumpJet®. Utiliser au besoin un petit outil pointu. Ne
pas permettre aux débris de pénétrer dans le corps de la soupape.
3-10 Pour raccorder le SharkBite® ou un autre type de
raccordement fileté, utiliser uniquement du ruban d'étanchéité
PTFE (Teflon®) pour réunir les raccordements filetés à l'entrée de
la pompe SumpJet®.
3-11 Ne pas trop serrer les raccordements filetés de
l'entrée et ne pas tenir le protecteur du flotteur en resserrant.
3-12 NE PAS SOUDER LES TUYAUX OU
RACCORDS DIRECTEMENT RACCORDÉS À LA POMPE
SumpJet®. LA CHALEUR TRANSMISE À TRAVERS LE CUIVRE
ENDOMMAGERAIT LES PIÈCES EN PLASTIQUE!
3-13 Déterminer la longueur de tuyau d'évacuation nécessaire jusqu'au
point de sortie d'évacuation. En utilisant un tuyau en PVC de
nomenclature 40, coller la conduite d'évacuation dans le coude
femelle de la pompe SumpJet®. Achever l'ensemble de la
conduite d'évacuation. Le conduit d'évacuation doit être dirigé vers
la cour, à l'extérieur de l'immeuble.
SERRER LES
COLLIERS
NIVEAU DE
FONCTIONNEMENT
DU FLOTTEUR AU-
DESSUS DU
FLOTTEUR DE
POMPE.
* DOIT BOUGER
LIBREMENT

©Copyright 2012 Liberty Pumps Inc. Tous droits réservés
7
REMARQUE : La SumpJet® est fournie équipée d'un clapet de pied.
Il n'est pas nécessaire de poser un clapet antiretour sur la
conduite d'évacuation.
REMARQUE : Si l'évacuation se fait vers une conduite d'égout,
l'appareil doit être utilisé en conjonction avec un « intervalle
antiretour ». L'intervalle antiretour doit être d'au moins 25 mm (1 po).
REMARQUE : Le clapet de pied comporte un obturateur amovible. Aux
endroits où le gel des tuyaux d'évacuation est possible, il suffit de
dévisser le filtre à tamis, de déposer l'obturateur et le ressort et de
reposer le filtre. La pompe SumpJet® permet alors le retour de l'eau
vers le puisard, éliminant le risque de gel dans la conduite
d'évacuation.
3-14 Rétablir l'arrivée d'eau de l'aqueduc et ouvrir le robinet d'arrêt. Vérifier
l'absence de fuites. Vérifier le bon fonctionnement de la pompe
SumpJet®. Pour cela, remplir le puisard d'eau à l'aide d'un seau ou
d'un boyau d'arrosage.
3-15 Rebrancher la pompe électrique principale à l'alimentation électrique.
3-16 Pour pouvoir remettre le couvercle de puisard en place, des trous et
dégagements supplémentaires doivent être découpés pour le passage
du tuyau d'aspiration et de la tige de flotteur de la pompe SumpJet®.
Utiliser le gabarit fourni de la Figure (4) à la fin de ce manuel.
3-17 Si la pompe de secours SumpJet® ne peut pas être montée sur
le tuyau d'évacuation de la pompe d'assèchement, il est possible
de poser SumpJet® sur un support en bois. Découper des
trous, tel qu' indiqué à la figure (4) à la fin du manuel. La
SumpJet® comporte 4 trous de vis pouvant être utilisés pour la
fixer sur le bois. Utiliser des vis à bois n° 8 de 6,4 cm (2,5 po) de
long. Voir Figure 3.
Garantie limitée de 3 ans Liberty Pumps, Inc. garantit que les pompes sortant de son usine sont libres de tout défaut de matériau et de
fabrication pour une période de 3 ans à partir de la date d’achat. La date d'achat sera établie par une facture d’achat datée indiquant les numéros de
modèle et de série de la pompe. La pompe retournée doit être accompagnée de la facture d’achat datée si la date de retour se situe à plus de 3 ans du
numéro de « CODE » (date de fabrication) indiqué sur la plaque signalétique de la pompe. L’obligation de garantie du fabricant se limite à la réparation
ou au remplacement de toute pièce jugée défectueuse par le fabricant, à condition que la pièce ou l’appareil soient retournés franco de port au fabricant
ou à son centre de service autorisé et à condition qu’il n’y ait aucune preuve que les critères suivants annulant la garantie sont en cause. Le fabricant ne
peut en aucun cas être tenu responsable, selon les dispositions de cette garantie, si le produit n’a pas été correctement installé; s’il a été démonté,
modifié, soumis à un usage abusif ou endommagé; si le cordon électrique a été endommagé ou incorrectement ligaturé; si la taille du tuyau
d’évacuation de la pompe a été réduite; si la pompe a été utilisée dans de l’eau chaude ou de l’eau contenant du sable, de la chaux, du ciment, du
gravier ou autres matières abrasives; si le produit a été utilisé pour pomper des produits chimiques ou des hydrocarbures; si un moteur non submersible
a été exposé à de l’humidité excessive; ou si l’étiquette portant le numéro de série et le numéro de code a été retirée. Liberty Pumps, Inc. ne pourra être
tenue responsable des pertes, dommages, frais attribuables à l’installation ou l’utilisation de ses produits ni pour les dommages accessoires ou
consécutifs, y compris les coûts de retrait, de réinstallation ou de transport. Il n’y a aucune autre garantie expresse. Toute garantie implicite, y
compris celles de qualité marchande et d'aptitude à une fin particulière est limitée à trois ans à partir de la date d’achat. Cette garantie contient
le recours exclusif de l’acheteur et exclut, lorsque permis par la loi, toute responsabilité pour dommages consécutifs ou accessoires en vertu de toutes
autres garanties.
4
.
Garantie
Figure 3
VIS À BOIS N° 8
DE 6,4 CM
(2,5 PO) DE LONG
MADRIER « 2 X
4 » (38 × 89 mm)
©Copyright 2012 Liberty Pumps Inc. Tous droits réservés
8

©Copyright 2012 Liberty Pumps Inc. Tous droits réservés
9
Figure 4
5
.
Gabarit de découpage
R1,00 PO
4,125 PO
2,25

©Copyright 2012 Liberty Pumps Inc. Tous droits réservés
10
7000 Apple Tree Avenue
Bergen, NY 14416
Phone: (800) 543-2550
Fax: (585) 494-1839
www.libertypumps.com
