1745 2 Liberty P383Xleh102 Instructions User Manual
User Manual: Pump 1745 2 Liberty P383Xleh102 Instructions
Open the PDF directly: View PDF
.
Page Count: 30

©Copyright 2012 Liberty Pumps Inc. All rights reserved
IMPORTANT:
Prior to installation, record Model, Serial Number, and
Code Number from pump nameplate for future reference.
MODEL ________________________
SERIAL ______________________
CODE ______________________
INSTALLATION
DATE _______________________
7000 Apple Tree Avenue
Bergen, NY 14416
Phone: (800) 543-2550
Fax: (585) 494-1839
www.libertypumps.com
Contents
1.) General Information
2.) The Basin
3.) Installation and Connections
4.) QuickTree® and Access Cover
5.) Electrical Service and Operation
6.) Maintenance and Troubleshooting
Installation Manual 7225000E
Pro-Series Sewage Systems
Models
Pro370-Series
21” x 30” System
41 Gallons
Pro380-Series
24” x 24” System
41 Gallons

©Copyright 2012 Liberty Pumps Inc. All rights reserved 2
Before installation, read the following instructions carefully. Each Liberty pump is individually factory tested to insure proper
performance. Closely following these instructions will eliminate potential operating problems, assuring years of trouble-free service.
Risk of electric shock. To reduce risk of electric shock, always disconnect pump from power source before handling.
The electrical connections and wiring for a pump installation should only be made by qualified personnel.
This pump is supplied with a grounding conductor or a grounding-type attachment plug. To reduce the risk of electric shock,
be certain that the grounding conductor is connected only to a properly grounded control panel or, if equipped with a
grounding-type plug, that it is connected to a properly grounded, grounding-type receptacle.
Do not bypass grounding wires or remove ground prong from attachment plugs.
Do not remove cord and strain relief, and do not connect conduit to pump.
Do not use an extension cord.
This pump requires separate, properly fused and grounded branch circuit. Make sure the power source is properly sized for
the voltage and amperage requirements of the motor, as noted on the pump nameplate.
The electrical outlet or panel shall be within the length limitations of the pump power cord, and at least 4 feet above floor level
to minimize possible hazards from flood conditions.
These pumps are not to be installed in locations classified as hazardous in accordance with the National Electric Code,
ANSI/NFPA 70.
The installation must be in accordance with the National Electric Code and all applicable local codes and ordinances.
Do not use these pumps in water over 140 F.
The Uniform Plumbing Code (UPC) states that sewage systems shall have an audio and visual alarm that signals a
malfunction of the system, to reduce the potential for property damage.
Pro-Series System: The Pro-Series 370 and 380 systems are shipped from the factory fully assembled with a wide range of possible
pumps. The following chart lists the pumps available in the Pro370 and Pro380. Your specific pump is identified by the model number
on the nameplate attached to the Pro-Series cover.
Systems ordered with alarm option have an “/A” suffix designating the alarm. “/A2” …ALM-2, “/A2W” …ALM-2W, “/A3” …ALM-3.
MODEL SPECIFICATIONS
System Model
Pump
Model
HP
Volts
Phase
Full Load
Amps
Solids
Handling
FNPT
Discharge
Shut-off
Head (no-flow)
P372LE41, P382LE41
P373LE41, P383LE41
LE41M
LE41M
4/10
4/10
115
115
1
1
12
12
2”
2”
2”
3”
17’
17’
P372LE51, P382LE51
P373LE51, P383LE51
LE51M
LE51M
1/2
1/2
115
115
1
1
12
12
2”
2”
2”
3”
25’
25’
P372LE52, P382LE52
P373LE52, P383LE52
LE52M
LE52M
1/2
1/2
208-230
208-230
1
1
6.8
6.8
2”
2”
2”
3”
25’
25’
P372LE71, P382LE71
P373LE71, P383LE71
LE71M
LE71M
3/4
3/4
115
115
1
1
12
12
2”
2”
2”
3”
28’
28’
P372LE72, P382LE72
P373LE72, P383LE72
LE72M
LE72M
3/4
3/4
208-230
208-230
1
1
6
6
2”
2”
2”
3”
28’
28’
P372LE102, P382LE102
P373LE102, P383LE102
LE102M
LE102M
1
1
208-230
208-230
1
7
7
2”
2”
2”
3”
36’
36’
NOTE: LEH-Series High-Head pumps require a minimum application of 15’ head.
P372LEH102, P382LEH102
P373LEH102, P373LEH102
LEH102M
LEH102M
1
1
208-230
208-230
1
1
12
12
2”
2”
2”
3”
53’
53’
1. General Information

©Copyright 2012 Liberty Pumps Inc. All rights reserved 3
Pump and Alarm floats are pre-set on the QuickTree® system at proper operating levels. Do not adjust floats.
Was your system sized by a professional? Minimum fluid flows are required in sewage applications. Consult Factory for proper pump
sizing prior to installation.
QuickTree® Technology: The Pro-Series by Liberty Pumps features new QuickTree® float system technology. The QuickTree®
system is located under a separate access cover for ease of maintenance and service. Floats for both pump activation and alarm (if
equipped) are mounted on a stainless steel tree (rod), separate from the pump. There is no need to disconnect plumbing or remove the
pump to inspect service or replace floats. QuickTree® floats are preset at the factory for optimum operating levels and should not be
adjusted.
The Pro-Series Systems features a clear disposable construction cover designed to protect the system during rough-in and masonry
work. The protective cover should remain in place until finish plumbing; however, can be removed and reinstalled if required. The
cover is snapped into the threaded ports of the discharge and vent. To remove the clear cover, simply pull upward disengaging it from
the discharge and vent holes.
In Ground Installation of Pro-Series Basins
A. Excavation: Excavate the hole as small as possible, with a minimum recommended 8" diametrical clearance around the tank.
Never place the basin directly in contact with rocks or other sharp objects. Place only fine, 1/8" to 3/4" pea gravel or 1/8" to 1/2"
washed, crushed stone as bedding between the basin and the hole walls. Do not use sand or native soil as backfill. Properly
compact underneath the basin to provide a solid, level base that can support the weight of the filled basin. It is recommended that
the top lip of the basin be level with the finished floor.
B. Initial Backfill: Only fine, 1/8" to 3/4" pea gravel or 1/8" to 1/2" washed, crushed stone should be used around the bottom of the
basin to hold it in place. Do not use sand or native soil as backfill. Make the inlet connection as required for your basin.
C. Inlet Connection: The Liberty P370 and P380 series basins have a 4" inlet molded to the side of the tank. This inlet is sized to
accept a 4" no-hub type coupling. Connect the gravity drainage line from the fixtures to this hub.
D. Final Backfill: Large rocks, clods, and foreign objects should be kept out of the backfill material. Only fine, 1/4" to 3/4" pea
gravel, or 1/8" to 1/2" washed, crushed stone is recommended. Do not use sand or native soil as backfill. Mound the backfill
slightly and allow for natural settling. Provide access to the basin cover for maintenance and service.
Do not exert heavy pressure or run heavy equipment on the backfill material as this could cause the
tank to collapse.
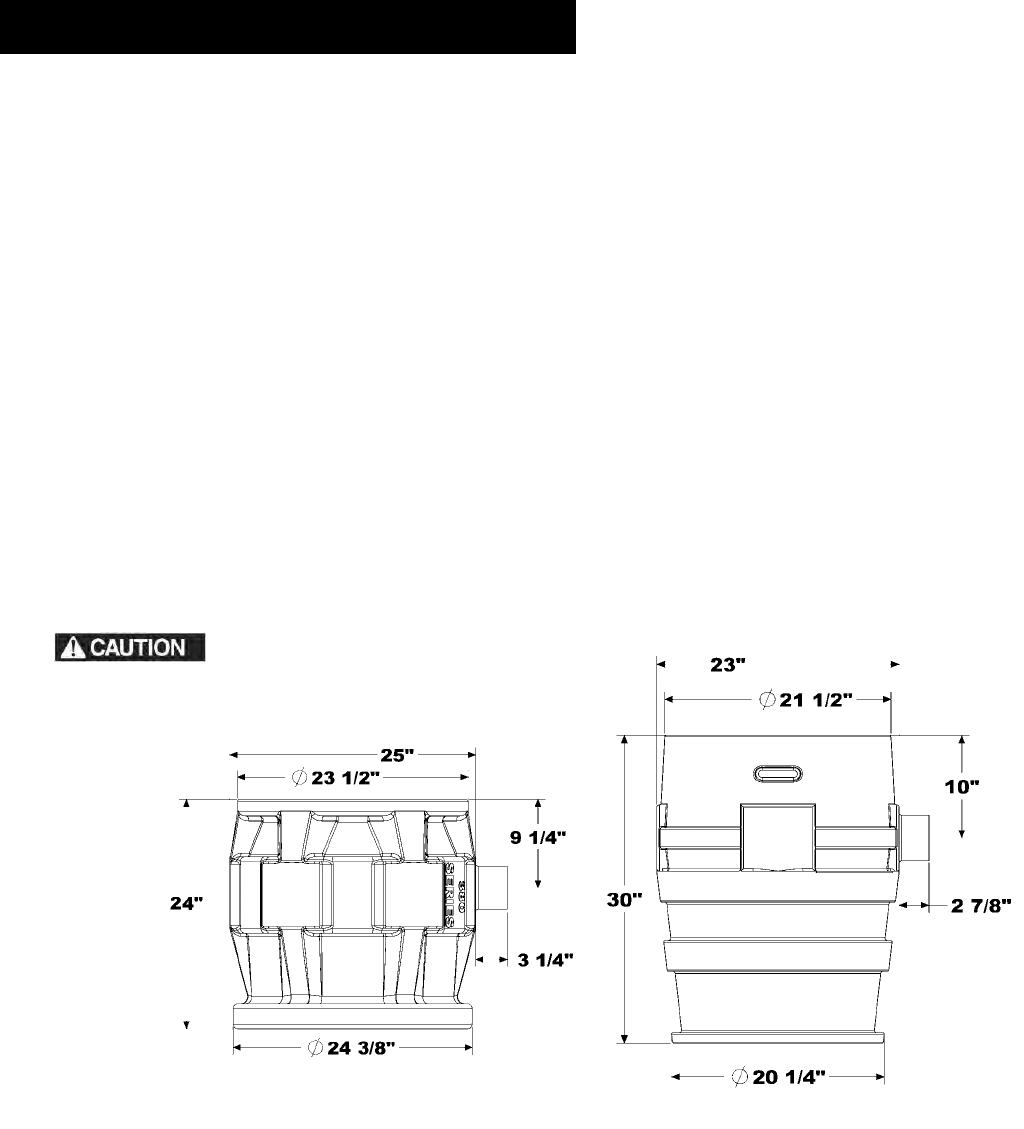
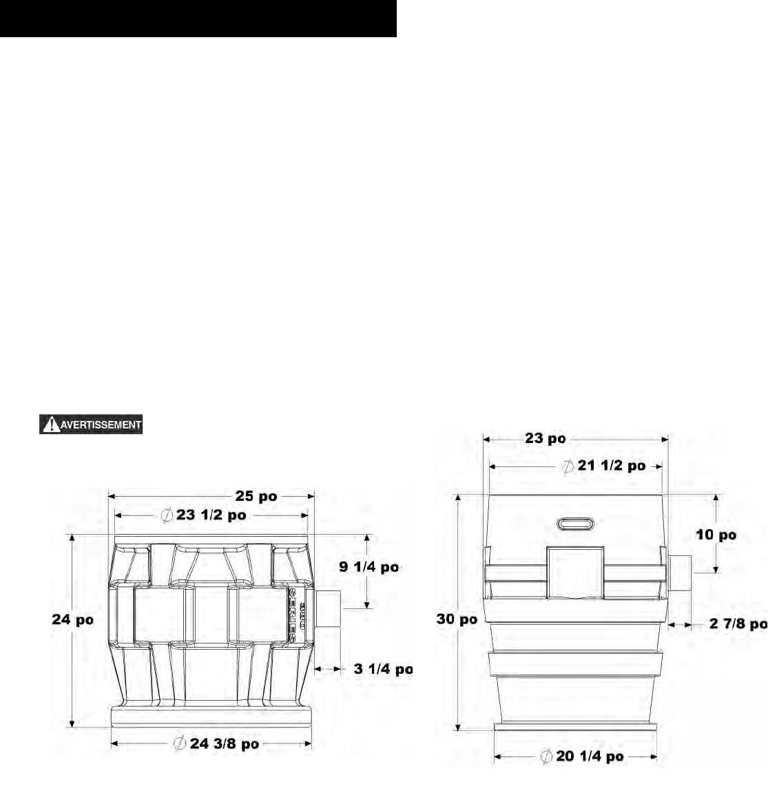
Dimensional Data
2. The Basin
Pro370-Series
Pro380-Series

©Copyright 2012 Liberty Pumps Inc. All rights reserved 4
Typical Installation
This is a recommended installation only. Variations may apply.
A. Discharge: Using an adapter, connect the discharge
pipe to the threaded 2” or 3” port provided on the cover.
IMPORTANT: Do not reduce the discharge pipe size
below that which is provided on the pump. Sewage
pumps should not be smaller than 2". In some
applications, it may be necessary to increase the pipe
size to reduce friction losses. Contact Liberty Pumps if
you have questions regarding proper pipe sizes and
flow rates.
Install the remaining discharge line. A union should be
installed just above the cover to facilitate pump removal
if necessary. A check valve is recommended after the
union to prevent the backflow of liquid after each
pumping cycle. A gate or ball valve should follow the
check valve to allow periodic cleaning of the check
valve or removal of the pump. The remainder of the
discharge line should be as short as possible with a minimum number of turns, to minimize friction head loss. Do not restrict the
discharge below 2" in sewage applications. Larger pipe sizes may be required to eliminate friction head loss over long runs.
Contact Liberty Pumps or other qualified person if there are questions regarding proper pipe size and flow rates.
B. Vent: A threaded 2” or 3” connection is provided on top of the cover which must be piped to the existing building vent, or extended
outside on its own standpipe. The vent size should be in accordance with applicable codes, but not less than the discharge size.
Note: Pro-Series systems shipped with steel pipe option have a rubber grommet seal on the discharge instead of female NPT
connections.
3. Installation and Connections

©Copyright 2012 Liberty Pumps Inc. All rights reserved 5
Pro-Series P370 and P380 systems feature new QuickTree® technology. The QuickTree® float system uses a stainless steel
mounting rod (tree) and specially designed cord clamping brackets to affix the pump float and (optional) alarm float in the system. All
floats are pre-set at the factory at optimum levels and do not require adjustment. NOTE: Field adjusting floats may cause
improper activation or turn-off of the pump and optional alarm.
QuickTree® removal and float inspection: The QuickTree® system is located under the separate access cover to help ease
inspection, service and replacement of a float. To inspect the float(s), simply unbolt the access cover and lift out the QuickTree®
assembly from its holder. There is no need to disconnect plumbing or remove the pump. Pro-Series systems feature a manual LE-
series pump (with no switch attached directly to the pump). Operation of the pump is accomplished by the QuickTree® system.
Re-inserting the QuickTree® : After service or inspection of the floats, re-insert the QuickTree® into its holder. Cords from the
pump, float switch and optional alarm need to be properly sealed as described below in the Integrated Cord Seal System.
Integrated Cord Seal System: It is important that cords from the pump motor, float switch and optional alarm float are sealed in the
specially designed rubber sealing channels under the access cover. Proper sealing is required to keep sewer gas from leaking from the
system. Place the cords securely in the rubber channels as shown in FIGURE B. being careful to remove excessive cord “slack” from
inside the system. IMPORTANT: Three cord channels are provided. For systems without the alarm option, only two channels will be
used and the third must be “plugged” with an attached rubber plug seal. SEE FIGURE C. If the alarm cord is present, all three
channels will be used. All rubber cover gaskets are permanently attached and do not require replacement.
IMPORTANT: Proper cord sealing – behind QuickTree® rod
RUBBER PLUG SEAL
4. QuickTree® and Access Cover

©Copyright 2012 Liberty Pumps Inc. All rights reserved 6
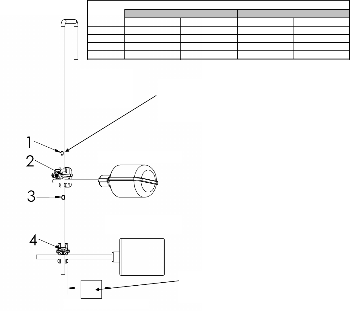
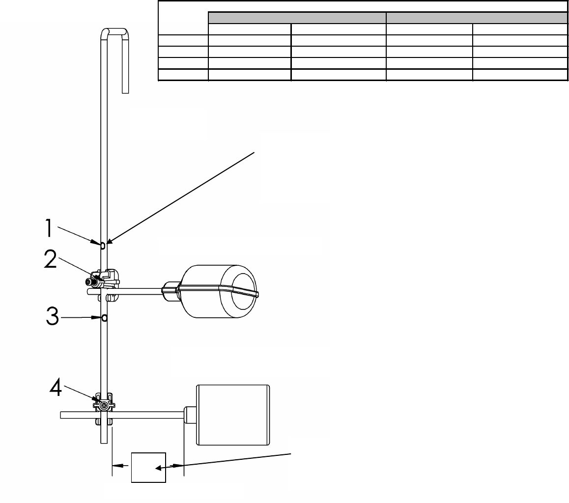
QuickTree® settings for PRO370 and PRO380 Systems:
When servicing the QuickTree® place the switch cord into the trough or channel then slip the stainless steel rod through the clamp and
tighten the screw with a Philips screw driver do not over tighten. Flats have been formed on the rod to designate float positioning the
screw should be tightened onto the flat. The tether length is the amount of cord between the clamp and float.
TETHER LENGTH (SWITCH TO CLAMP)
ROD
POSITION Alarm Float Control Float Alarm Float Control Float
1 3.5"
2 3.5"
3 3.0"
4 3.5"
P370
P380
Float positions 1, 2, 3 and 4
are identified by a “flat”
stamped into the stainless
steel rod. 1 is highest, 4 is
lowest.
P370 and P380 systems have different tether
lengths. See above chart for proper tether length
and correct rod position.

©Copyright 2012 Liberty Pumps Inc. All rights reserved 7
Fig. 5 – Direct Wiring of 115V or 208-230V,
Single Phase, Automatic Pumps
TEMPORARY
MANUAL
OPERATION
DO!
DON’T!
Fig. 4 Piggyback plug installation.
Risk of electric shock. Always disconnect the pump from the power source before handling or making adjustments.
The electrical connections and wiring for a pump installation should only be made by qualified personnel.
This pump is supplied with a grounding conductor or a grounding-type attachment plug. To reduce the risk of electric shock, be
certain that the grounding conductor is connected only to a properly grounded control panel or, if equipped with a grounding-type
plug, that it is connected to a properly grounded, grounding-type receptacle.
Do not bypass grounding wires or remove ground prong from attachment plugs.
Do not remove cord and strain relief, and do not connect conduit to pump.
Do not use an extension cord.
This pump requires separate, properly fused and grounded branch circuit. Make sure the power source is properly sized for the
voltage and amperage requirements of the motor, as noted on the pump nameplate.
The electrical outlet or panel shall be within the length limitations of the pump power cord, and at least 4 feet above floor level to
minimize possible hazards from flood conditions.
The installation must be in accordance with the National Electric Code and all applicable local codes and ordinances.
All P370 and P380 models come factory-equipped with the float switch mounted on the QuickTree® assembly. These models come
with two cords - one to the float switch and the other to the pump motor. The switch cord has a series (piggyback) plug enabling the
pump (motor) cord to be plugged into the back of it (See Fig.4). The purpose of this design is to allow manual operation of the pump.
For automatic operation the two cords should be interconnected and plugged into a separately fused, grounded outlet of proper amp
capacity for your selected pump model. (See Section 1, General Information, or the pump nameplate for electrical specifications of
your model.) Both cords are equipped with 3-prong plugs and must be plugged into a properly grounded 3-wire receptacle. DO NOT
REMOVE THE GROUND PRONGS.
For manual operation, or in the event of switch failure, the
pump cord can be separated and plugged into the electrical
outlet, directly bypassing the switch. 208-230V single phase
pumps should only be operated without the float switch by
using the circuit breaker or panel disconnect. Do not let the
pump run dry for extended periods.
If the pump is to be wired directly into a control device or
junction box, and it is necessary to remove the plugs, have a
certified electrician do the wiring in accordance with the
National Electric Code and applicable local codes. See Fig. 5
for direct wire installation of single phase, automatic pumps.
In 208-230V installations, one side on
the line going to the pump is always
“hot”, whether the float switch is on or
off. To avoid hazards, install a double
pole disconnect near the pump
installation.
5. Electrical Service and Operation
Figure C – Direct wiring of 115V or 208-230V, single
phase, automatic pumps.

©Copyright 2012 Liberty Pumps Inc. All rights reserved 8
Risk of electric shock. Always disconnect the pump from the power source before handling or making
adjustments.
NOTE: Liberty Pumps, Inc. assumes no responsibility for damage or injury due to disassembly in the field. Disassembly, other than at
Liberty Pumps or its authorized service centers, automatically voids warranty.
Problem
Cause
Correction
Pump will not run.
Blown fuse or other interruption of
power; improper voltage.
Check that the unit is securely plugged in.
Have an electrician check all wiring for proper
connections and adequate voltage and
capacity.
Switch is unable to move to the
“turn on” position due to
interference with the side of basin
or other obstruction
Position the pump or switch so that it has
adequate clearance for free operation.
Insufficient liquid level.
Make sure the liquid level is allowed to rise
enough to activate switch(s).
Defective switch.
Remove and replace switch.
Pump will not turn
off.
Switch(s) unable to move to the
“turn off” position due to
interference with the side of basin
or other obstacle.
Position the pump or switch so that it has
adequate clearance for free operation.
Defective switch.
Remove and replace switch.
Pump runs or hums,
but does not pump.
Discharge is blocked or restricted.
Check the discharge line for foreign material,
including ice if the discharge line passes
through or into cold areas.
Check valve is stuck closed or
installed backwards.
Remove check valve(s) and examine for
freedom of operation and proper installation.
Gate or ball valve is closed.
Open gate or ball valve.
Total lift is beyond pump's
capability.
Try to route piping to a lower level. If not
possible, a larger pump may be required.
Consult the factory.
Pump impeller is jammed or volute
casing is plugged.
Remove the pump from the basin. Detach the
pump base and clean the area around the
impeller. Reassemble and reinstall.
Pump runs
periodically when
fixtures are not in
use.
Check valve was not installed, is
stuck open or is leaking.
Remove check valve(s) and examine for
freedom of operation and proper installation.
Fixtures are leaking.
Repair fixtures as required to eliminate leakage.
Pump operates
noisily.
Foreign objects in the impeller
cavity.
Remove the pump from the basin. Detach the
pump base and clean the area around the
impeller. Reassemble and reinstall.
Broken impeller.
Consult the factory for information regarding
replacement of impeller.
Worn bearings.
Return pump to the factory or authorized repair
station for repair.
Piping attachments to building are
too rigid.
Replace a portion of the discharge line with
rubber hose or connector.
6. Maintenance and Troubleshooting

©Copyright 2012 Liberty Pumps Inc. All rights reserved 9
Supplemental Installation Instructions
370XL/380XL Series 10’ stack test basins
XL Series sewage ejector basins are designed to withstand the 10’ stack test required by some municipalities. Proper
installation of the specified cover flange is essential to ensure that the test is met. Strict adherence to these instructions is
required. Under no circumstances should the cover be installed in a manner inconsistent with these instructions.
Types of Systems:
XL Series Basins are available as Fully Assembled Systems complete with pump and discharge piping, as Basin and
Cover Assembly Kits with no pump or plumbing, and as Basins only. Please follow the instructions below as required to
correspond to the type of system you have.
Basin Installation:
1. For all systems refer to the primary instructions as supplied with this Ejector System or Basin for excavating the pit,
plumbing connections, and backfilling.
2. If the top of the 370XL or 380XL Series basin is below grade, an access riser model ARC18 is required. The
maximum burial depth of 18" with respect to the top of the basin. Consult Liberty Pumps or your distributor for more
information on ARC Series Access Risers. 1-800-543-2550.
Installing the pump in the XL Series Basin or XL Basin and Cover Assembly Kit:
1. Liberty Pumps XL Series Basins as purchased separately will require the appropriate 16-bolt Pro-Series cover
assembly to make an effectively sealed ejector system. Contact the factory for the proper cover for your application.
2. Size the length of the discharge piping to reach from the discharge of the pump to be within the discharge pipe socket
with integral lip seal on the underside of the Pro-Series cover. Liberty Pumps sewage pumps will use threaded-one-
end (TOE) nipples of 23.75" length for 370XL Series Basins, or 17.50" long for 380XL Series Basins. Install the pipe
into the threaded discharge of the pump.
3. Lower the pump into the basin, fitting the pump legs into the Torque Stops.
4. Insert power cord for the pump -- and the piggyback switch cord, if so equipped -- through the underside of the
inspection cover hole and position cover over pipe nipple while aligning the bolt holes. Use sixteen 1/4 - 20 UNC bolts
and washers to secure cover to the basin. Tighten bolts to 40 inch-pounds. WARNING: Do not over tighten bolts.
The soft, integral gasket will conform to the top of the tank. The bolts may be re-torqued up to 60 inch-pounds to seal
any leaks that may occur during a 10' stack test. Additionally, a small amount of RTV silicone sealant may be used
should the gasket or inserts be damaged.
5. Liberty Pumps recommends the use of manual type pumps and the appropriate Liberty QuickTree® Switch Kit for
mounting of pump control and alarm floats. Contact the factory for ordering information. Install the QuickTree® Kit per
the instructions included. Liberty Pumps automatic type pumps with piggyback float switches may also be used. Lay
the power cable and switch cable in the grooves in the inspection cover recess as is shown in the primary instructions
as included with this system. Attach the inspection cover to the main cover using six 1/4 - 20 UNC bolts and washers.
Tighten the bolts furthest away from the power cord grooves first, torqueing to 40 inch-pounds. WARNING: Do not
over tighten bolts. The soft, integral gasket will conform to the top of the cover and power cords. The bolts may be
re-torqued up to 60 inch-pounds to seal any leaks that may occur during a 10' stack test. Additionally, a small amount
of RTV silicone sealant may be used should the gasket or inserts be damaged.
370XL and 380XL Series Basins IAPMO listed, # 4361

©Copyright 2012 Liberty Pumps Inc. All rights reserved 10
NOTE: Liberty Pumps, Inc. assumes no responsibility for damage or injury due to disassembly in the field. Disassembly,
other than at Liberty Pumps or its authorized service centers, automatically voids warranty.
Liberty Pumps, Inc. warrants that pumps of its manufacture are free from all factory defects in material and workmanship
for a period of 3 years from the date of purchase. The date of purchase shall be determined by a dated sales receipt
noting the model and serial number of the pump. The dated sales receipt must accompany the returned pump if the date
of return is more than 3 years from the "CODE" (date of manufacture) number noted on the pump nameplate.
The manufacturer's obligation under this Warranty shall be limited to the repair or replacement of any parts found by the
manufacturer to be defective, provided the part or assembly is returned freight prepaid to the manufacturer or its
authorized service center, and provided that none of the following warranty-voiding characteristics are evident.
The manufacturer shall not be liable under this Warranty if the product has not been properly installed; if it has been
disassembled, modified, abused or tampered with; if the electrical cord has been cut, damaged or spliced; if the pump
discharge has been reduced in size; if the pump has been used in water temperatures above the advertised rating, or
water containing sand, lime, cement, gravel or other abrasives; if the product has been used to pump chemicals or
hydrocarbons; if a non-submersible motor has been subjected to excessive moisture; or if the label bearing the serial,
model and code number has been removed. Liberty Pumps, Inc. shall not be liable for any loss, damage or expenses
resulting from installation or use of its products, or for consequential damages, including costs of removal, reinstallation or
transportation.
There is no other express warranty. All implied warranties, including those of merchantability and fitness for a particular
purpose, are limited to three years from the date of purchase.
This Warranty contains the exclusive remedy of the purchaser, and, where permitted, liability for consequential or
incidental damages under any and all warranties are excluded.
3 Year Limited Warranty
7000 Apple Tree Avenue
Bergen, NY 14416
Phone: (800) 543-2550
Fax: (585) 494-1839
www.libertypumps.com

©Copyright 2012 Liberty Pumps Inc. Todos los derechos reservados
Modelos
IMPORTANTE:
Apunte el modelo, el número de serie y el código que
aparecen en la placa de la bomba antes de instalarla para
que le sirvan de referencia en el futuro.
MODELO _______________________
SERIE ______________________
CÓDIGO _____________________
FECHA DE
INSTALACIÓN____________________
7000 Apple Tree Avenue
Bergen, NY 14416 EUA
Teléfono: (800) 543-2550
Fax: (585) 494-1839
www.libertypumps.com
Contenido
1.) Información general
2.) La cubeta
3.) Instalación y conexiones
4.) Tapa de acceso y QuickTree®
5.) Servicio eléctrico y operación
6.) Mantenimiento y diagnóstico de problemas
Manual de instalación 7225000E
Sistemas de saneamiento serie profesional
Serie Pro370
Sistema de 53.34 cm x 76.20 cm
(21 x 30 plg)
41 galones
Serie Pro380
Sistema de 60.96 cm x 60.96 cm
(24 x 24 plg)
41 galones

©Copyright 2012 Liberty Pumps Inc. Todos los derechos reservados 2
Lea con atención estas instrucciones antes de instalar la bomba. Todas las bombas de Liberty se someten a prueba en fábrica como
garantía de su funcionamiento. Siga estas instrucciones al pie de la letra para prevenir problemas de funcionamiento y conseguir
muchos años de servicio satisfactorio.
Riesgo de electrocución. Desenchufe la bomba siempre que vaya a moverla o a realizar algún ajuste para evitar una
posible electrocución.
Sólo personal calificado podrá encargarse de instalar las conexiones y cables eléctricos necesarios para montar la bomba.
Esta unidad lleva un conector a tierra y un enchufe tomacorriente con conexión a tierra. Para reducir el riesgo de
electrocución, el conector de puesta a tierra tiene que estar conectado a un panel de control a tierra o si lleva un enchufe a
tierra tendrá que enchufarse a un tomacorrientes conectado a tierra.
No derive los cables de puesta a tierra ni retire las espigas a tierra de los enchufes.
No quite el cable ni la protección contra tirones, y no conecte un canal para cables a la bomba.
No use cables prolongadores.
Con esta bomba hay que utilizar un circuito derivado independiente conectado a tierra y fusibleado. La fuente de potencia
tendrá que tener suficiente capacidad para cumplir los requisitos de tensión e intensidad del motor, indicados en la placa de la
bomba.
El tomacorrientes o panel deberá encontrarse al alcance del cable de potencia de la bomba y a 1.22 metros (4 pies) como
mínimo por encima del piso para evitar problemas en caso de inundación.
La bomba no se deberá instalar en un lugar clasificado como peligroso por el código eléctrico nacional (NEC) de Estados
Unidos, ANSI/NFPA 70.
Se deberá instalar la unidad según las disposiciones del código eléctrico nacional (NEC) de Estados Unidos y todos los
códigos y regulaciones locales que correspondan.
La bomba no se debe utilizar con agua por encima de los 60 °C (140 F).
El código uniformado de fontanería (UPC) de Estados Unidos exige que todos los sistemas de saneamiento dispongan de
una alarma visual y sonora que indique averías del sistema con el fin de evitar daños a la propiedad.
Sistema serie profesional: los sistemas de la serie Pro370 y Pro380 vienen completamente ensamblados de la fábrica con una
amplia variedad de bombas. En el cuadro a continuación se incluye una lista de las bombas disponibles para sistemas Pro370 y
Pro380. El número del modelo se puede encontrar en la placa que viene sobre la tapa de los sistemas serie Pro.
ESPECIFICACIONES DEL MODELO
Modelo del sistema
Bomba
Modelo
HP
Volts
Fase
Carga
total
Amps
Tratamiento de
sólidos
FNPT
Desagüe
Altura práctica
con válvula
cerrada (sin
caudal)
P372LE41, P382LE41
P373LE41, P383LE41
LE41M
LE41M
4/10
4/10
115
115
1
1
12
12
5.08 cm (2 plg.)
5.08 cm (2 plg.)
5.08 cm (2 plg.)
7.62 cm (3 plg.)
5.18 cm (17 pies)
5.18 cm (17 pies)
P372LE51, P382LE51
P373LE51, P383LE51
LE51M
LE51M
1/2
1/2
115
115
1
1
12
12
5.08 cm (2 plg.)
5.08 cm (2 plg.)
5.08 cm (2 plg.)
7.62 cm (3 plg.)
7.62 m (25 pies)
7.62 m (25 pies)
P372LE52, P382LE52
P373LE52, P383LE52
LE52M
LE52M
1/2
1/2
208-230
208-230
1
1
6.8
6.8
5.08 cm (2 plg.)
5.08 cm (2 plg.)
5.08 cm (2 plg.)
7.62 cm (3 plg.)
7.62 m (25 pies)
7.62 m (25 pies)
P372LE71, P382LE71
P373LE71, P383LE71
LE71M
LE71M
3/4
3/4
115
115
1
1
12
12
5.08 cm (2 plg.)
5.08 cm (2 plg.)
5.08 cm (2 plg.)
7.62 cm (3 plg.)
8.53 m (28 pies)
8.53 m (28 pies)
P372LE72, P382LE72
P373LE72, P383LE72
LE72M
LE72M
3/4
3/4
208-230
208-230
1
1
6
6
5.08 cm (2 plg.)
5.08 cm (2 plg.)
5.08 cm (2 plg.)
7.62 cm (3 plg.)
8.53 m (28 pies)
8.53 m (28 pies)
P372LE102,
P382LE102
P373LE102
P383LE102,
LE102M
LE102M
1
1
208-230
208-230
1
1
7
7
5.08 cm (2 plg.)
5.08 cm (2 plg.)
5.08 cm (2 plg.)
7.62 cm (3 plg.)
10.97 m (36 pies)
10.97 m (36 pies)
NOTA: las bombas de elevación Serie LEH requieren una altura mínima de 4.57 m (15 pies).
P372LEH102,
P382LEH102
P373LEH102,
P373LEH102
LEH102M
LEH102M
1
1
208-230
208-230
1
1
12
12
5.08 cm (2 plg.)
5.08 cm (2 plg.)
5.08 cm (2 plg.)
7.62 cm (3 plg.)
16.15 m (53 pies)
16.15 m (53 pies)
1. Información general

©Copyright 2012 Liberty Pumps Inc. Todos los derechos reservados 3
Los sistemas que vienen con la opción de alarma tienen el sufijo “/A” que indica el tipo de alarma. “/A2” …ALM-2, “/A2W” …ALM-2W,
“/A3” …ALM-3.
Los flotadores de alarma y de la bomba del sistema QuickTree® vienen configurados de fábrica en los niveles de operación
correctos. No ajuste los flotadores.
¿Hizo medir su sistema por un profesional? En las aplicaciones de saneamiento se requiere un caudal de fluido mínimo. Comuníquese
con la fábrica para que le den el tamaño adecuado de bomba para su caso antes de la instalación.
Tecnología QuickTree®: la serie profesional de Liberty Pumps cuenta con una nueva tecnología QuickTree® para sistemas de
flotación. El sistema QuickTree® está ubicado debajo de una tapa de acceso aparte para facilitar su mantenimiento y servicio. Los
flotadores de activación de la bomba y de la alarma (si vienen instalados) se deben montar en una barra vertical de acero inoxidable
aparte de la bomba. No es necesario que desconecte la tubería ni que quite la bomba cuando vaya a inspeccionar o a reemplazar los
flotadores. Los flotadores QuickTree® vienen configurados de la fábrica con los parámetros de operación óptimos y no deben ser
modificados.
Los sistemas de la serie profesional vienen con una tapa desechable transparente que sirve para proteger el sistema durante la
preparación del terreno y los trabajos de albañilería. La tapa de protección debe dejarse puesta hasta terminar los trabajos de
fontanería; sin embargo, si es necesario, puede quitarse y reemplazarse. La tapa se sujeta de los puertos roscados del desagüe y
respiradero. Para quitar la tapa, tire de ella para que se suelte de los orificios del desagüe y del respiradero.
Instalación en tierra de las cubetas de la serie profesional
A. Excavación: excave un hoyo tan pequeño como sea posible, dejando un espacio libre de alrededor de 20.32 cm (8 plg.) como
mínimo alrededor del tanque. No coloque la cubeta en contacto directo con rocas ni objetos cortantes. Instale gravilla fina de
0.33-1.90 cm (1/8-3/4 plg.) o piedra pulverizada fina y lavada de 0.33-1.27 cm (1/8-1/2 plg.) entre la cubeta y las paredes del
hoyo. No utilice arena ni tierra del suelo como relleno. Compacte la superficie sobre la que se asentará la cubeta para que quede
sólida y nivelada y pueda soportar el peso de la misma. Se recomienda que el borde superior de la cubeta esté nivelado con
respecto al piso.
B. Relleno inicial: instale gravilla fina de 0.33-1.90 cm (1/8-3/4 plg) o piedra pulverizada fina y lavada de 0.33-1.27 cm (1/8-1/2 plg)
alrededor del fondo de la cubeta para sujetarla en su sitio. No utilice arena ni tierra del suelo como relleno. Instale las tuberías de
admisión que necesite su modelo de cubeta.
C. Conexión de admisión: las cubetas de la serie Liberty P370 y P380 tienen una conexión de admisión de 10.16 cm (4 plg.)
moldeada sobre el costado del tanque. Está hecha para conectar un manguito (no para bocas de admisión) de 10.16 cm.
Conecte la línea de drenaje por gravedad de los accesorios a esta boca.
D. Relleno final: el relleno no debe contener rocas, terrones y otros objetos foráneos. Sólo se recomienda usar gravilla fina de 0.33-
1.90 cm (1/4-3/4 plg) o piedra pulverizada fina y lavada de 0.33-1.27 (1/8-1/2 plg). No utilice arena ni tierra del suelo como
relleno. Forme un ligero montículo con el relleno y deje que se asiente naturalmente. Deberá dejarse acceso a la tapa para
tareas de mantenimiento y servicio.
No ejerza una presión excesiva ni trabaje con equipo pesado encima del material de relleno, ya que
esto podría hacer colapsar el tanque.
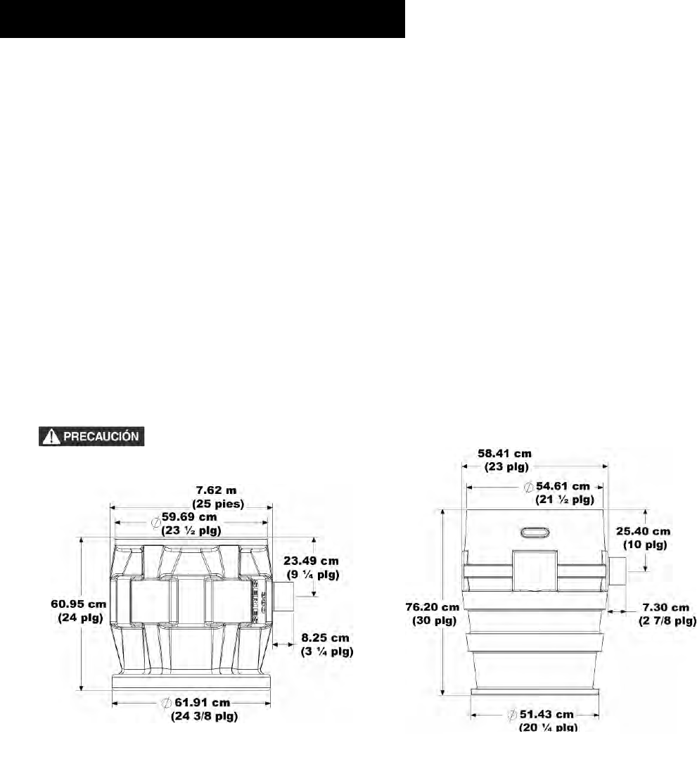
Dimensiones
2. La cubeta
Serie Pro380
Serie Pro370

©Copyright 2012 Liberty Pumps Inc. Todos los derechos reservados 4
A. Desagüe: conecte mediante un adaptador el tubo de
desagüe al puerto roscado de 5.08 cm (2 plg.) o de 7.61
cm (3 plg.) que viene en la tapa. IMPORTANTE: no
reduzca el tamaño de la tubería de desagüe por
debajo del tamaño de la salida de la bomba. En las
bombas de saneamiento no debe ser inferior a 5.08 cm
(2 plg.). En ciertos casos hará falta aumentar el tamaño
de la tubería para reducir las pérdidas por fricción.
Comuníquese con Liberty Pumps si tiene alguna
pregunta sobre el tamaño de la tubería y el caudal.
Instale el resto de la línea de desagüe. La junta se
deberá ubicar encima de la tapa para facilitar el
desmontaje de la bomba si fuera necesario. Se
recomienda instalar una válvula de retención después
de la junta para evitar contraflujos después de un ciclo
de bombeo. A continuación de la válvula de retención
se deberá instalar una válvula de compuerta para poder
limpiar periódicamente la de retención y desmontar la bomba. El resto del desagüe deberá ser tan corto como sea posible con el
mínimo número de giros para evitar la pérdida de carga por rozamiento. El desagüe no se deberá restringir por debajo de los 5.08
cm (2 plg.) en aplicaciones de saneamiento. En algunos casos se requerirán tuberías más anchas para evitar las pérdidas de
carga por rozamiento en trayectos largos. Comuníquese con Liberty Pumps o con una persona calificada si tiene alguna pregunta
sobre el tamaño de la tubería y el caudal.
B. Ventilación: en la parte superior de la tapa hay una conexión roscada de 5.08 cm (2 plg) o de 7.61 cm (3 plg) que se debe
conectar con una tubería al sistema de ventilación del edificio o extenderse al exterior con su propia tubería. El tamaño de la
tubería de ventilación deberá cumplir los códigos locales, pero nunca podrá ser inferior al tamaño del desagüe.
Nota: el desagüe de los sistemas de la serie profesional que vienen con el tubo de acero opcional tiene una arandela obturadora
de goma en vez de conexiones NPT hembra.
3. Instalación y conexiones
Admisión
PLACA
Modelo y número de serie
Respiradero
Desagüe
Tapa de acceso/inspección
Alarma (opcional) viene en
la parte superior del sistema
Instalación típica
Esta es sólo la instalación recomendada. Pueden presentarse variaciones.
VÁLVULA DE RETENCIÓN
VÁLVULA DE RETENCIÓN
JUNTA
ALARMA (OPCIONAL)
RESPIRADERO
DESAGÜE
USE UN TUBO CONECTOR
DE ADMISIÓN DE 10.16 CM
(4 PLG) (NO PARA BOCA
DE ADMISIÓN)

©Copyright 2012 Liberty Pumps Inc. Todos los derechos reservados 5
Los sistemas de la serie profesional P370 y P380 cuentan con la nueva tecnología QuickTree®. El sistema QuickTree® usa una
barra de montaje de acero inoxidable y abrazaderas especialmente diseñadas para amarrar el flotador de la bomba y el de alarma
(opcional) al sistema. Todos los flotadores vienen configurados de la fábrica con los parámetros de operación óptimos y no
deben ser modificados. NOTA: el ajuste en campo de los flotadores podría provocar la activación o desactivación inesperada
de la bomba y alarma opcional.
Inspección de los flotadores y desmontaje de QuickTree®: el sistema QuickTree® está colocado debajo de una tapa de acceso
aparte para facilitar la inspección, servicio y reemplazo de los flotadores. Para inspeccionar los flotadores, desatornille la tapa de
acceso y saque el sistema QuickTree®. No es necesario que desconecte la tubería ni que quite la bomba. Los sistemas de la serie
Pro vienen con una bomba manual de la serie LE (sin un interruptor directamente conectado a la bomba). El sistema QuickTree® se
encarga de operar la bomba.
Reinserción del sistema QuickTree®: después de prestar servicio o inspeccionar los flotadores vuelva a poner el sistema
QuickTree® en su sitio. Los cables de la bomba, los cables del interruptor de flotadores y los cables de la alarma opcional deben
obturarse como se describe a continuación en Sistema de obturación de cables integrado.
Sistema de obturación de cables integrado: es importante que los cables provenientes del motor de la bomba, del interruptor de los
flotadores y de la alarma opcional estén protegidos en los canales obturadores de goma especialmente diseñados debajo de la tapa de
acceso. Se debe contar con una buena obturación para que no haya fugas de gases de alcantarilla en el sistema. Ponga los cables
dentro de los canales de goma como se muestra en la FIGURA B. Tire de los cables para eliminar holgura excesiva dentro del
sistema. IMPORTANTE: los sistemas cuentan con tres canales para cables. En los sistemas sin la opción de alarma solo se usarán
dos de los canales, el tercero se deberá tapar con un tapón hermético de goma incluido. VEA LA FIGURA C. Si se tiene el cable de
alarma, se usarán los tres canales. Todas las juntas obturadoras de goma de la tapa son permanentes y no necesitan ser
reemplazadas.
IMPORTANTE: la obturación de los cables detrás de la barra del sistema QuickTree® debe ser correcta
TAPÓN HERMÉTICO DE GOMA
4. Tapa de acceso y QuickTree®

©Copyright 2012 Liberty Pumps Inc. Todos los derechos reservados 6
Configuración de QuickTree® para los sistemas PRO370 y PRO380:
Cuando preste servicio al sistema QuickTree® meta el cable del interruptor por el canal y pase la barra de acero inoxidable por la
brida; apriete el tornillo con un destornillador de estrella pero no lo apriete demasiado. La barra viene marcada con los puntos de
ubicación de los flotadores; el tornillo debe estar apretado sobre la marca estampada. La longitud del amarre será igual a la extensión
de cable requerida entre el flotador y la abrazadera.
Los amarres de los sistemas P370 y P380 tienen
distintas longitudes. Consulte la tabla anterior
para ver la longitud de amarre adecuada y la
correcta posición de la barra.
LONGITUD DE AMARRE (DESDE EL INTERRUPTOR HASTA LA BRIDA)
Flotador de alarma Flotador de control Flotador de alarma Flotador de control
1 8.89 cm (3.5 plg.)
2 8.89 cm (3.5 plg.)
3 7.62 cm (3 plg.)
4 8.89 cm (3.5 plg.)
P370
P380
POSICIÓN
DE LA
BARRA
Los puntos 1, 2, 3 y 4 de los
flotadores están estampados
en la barra de acero
inoxidable. 1 es el nivel más
alto y 4 el más bajo.
Flotador de alarma
Flotador de control
de la bomba
Longitud de amarre
Ilustración de
un sistema
serie P370

©Copyright 2012 Liberty Pumps Inc. Todos los derechos reservados 7
Figura 5 – Cableado directo de bombas unifase
automáticas de 115V o 208-230V
OPERACIÓN
MANUAL
TEMPORAL
¡SÍ!
¡NO!
Fig. 4 Enchufe en cascada.
Riesgo de electrocución. Desenchufe la bomba siempre que vaya a moverla o a realizar algún ajuste.
Sólo personal calificado podrá encargarse de instalar las conexiones y cables eléctricos necesarios para montar la bomba.
Esta unidad lleva un conector a tierra y un enchufe tomacorriente con conexión a tierra. Para reducir el riesgo de electrocución, el
conector de puesta a tierra tiene que estar conectado a un panel de control a tierra o si lleva un enchufe a tierra tendrá que
enchufarse a un tomacorrientes conectado a tierra.
No derive los cables de puesta a tierra ni retire las espigas a tierra de los enchufes.
No quite el cable ni la protección contra tirones, y no conecte el canal para cables a la bomba.
No use cables prolongadores.
Con esta bomba hay que utilizar un circuito derivado independiente conectado a tierra y fusibleado. La fuente de potencia tendrá
que tener suficiente capacidad para cumplir los requisitos de tensión e intensidad del motor, indicados en la placa de la bomba.
El tomacorrientes o panel deberá encontrarse al alcance del cable de potencia de la bomba y a 1.22 metros (4 pies) como mínimo
por encima del piso para evitar problemas en caso de inundación.
Se deberá instalar la unidad según las disposiciones del código eléctrico nacional (NEC) de Estados Unidos y todos los códigos y
regulaciones locales que correspondan.
Todos los modelos P370 y P380 vienen equipados con un interruptor de flotador montado en el sistema QuickTree®. Estos modelos
llevan dos cables: uno al interruptor de flotador y el otro al motor. El cable del interruptor lleva un enchufe en serie, o cascada, en el
que se puede enchufar el cable de la bomba (motor) (vea la figura 4). Esto permite la operación manual de la bomba.
Si se quiere activar la operación automática se deberán interconectar los dos cables y enchufarse a un tomacorrientes con toma a
tierra y fusibleado independiente y con el amperaje apropiado para su modelo. (Consulte la Sección 1, Información general, o la placa
de la bomba para informarse de las especificaciones eléctricas de su modelo.) Ambos cables llevan enchufes de 3 espigas y se deben
enchufar en un tomacorrientes trifilar con toma a tierra. NO DESMONTE LAS ESPIGAS A TIERRA.
Si se prefiere la operación manual, o falla el interruptor, el cable
de la bomba se puede separar y enchufar en un tomacorrientes,
evitando de esta manera el interruptor. Las bombas unifase de
208-230V sólo se deben operar sin el flotador con un disyuntor
o panel de desconexión. No deje que la bomba funcione en
seco por períodos prolongados.
Si la bomba va a estar cableada directamente a un dispositivo
de control o caja de conexión y es necesario retirar los
enchufes, la labor la deberá llevar a cabo un electricista
certificado según el código eléctrico nacional de Estados
Unidos y los códigos locales. Vea la figura 5 para informarse
del cableado directo de bombas unifase automáticas.
En instalaciones de 208-230V, uno de
los extremos de la línea que va a la
bomba está siempre activo mientras
que el flotador se encenderá y se
apagará. Instale un desconectador
bipolar cerca de la bomba para no
correr riesgos.
5. Servicio eléctrico y operación
Figura C – Cableado directo de bombas unifase de
115V o 208-230V
Alimen-
tación
Tierra
Verde
Verde
Blanco
Blanco
Negro
Negro
Negro
Blanco
Caja de conexión
Bomba
Interrupto
r de
flotador

©Copyright 2012 Liberty Pumps Inc. Todos los derechos reservados 8
Riesgo de electrocución. Desenchufe la bomba siempre que vaya a moverla o a realizar algún ajuste.
NOTA: Liberty Pumps, Inc. no asume ninguna responsabilidad por desperfectos o lesiones resultantes del desmontaje de la bomba
sobre el terreno. Si el desmontaje de la bomba no lo lleva a cabo Liberty Pumps o uno de sus centros de servicio autorizados, la
garantía quedará anulada.
Problema
Causa
Solución
La bomba no
funciona.
Se ha fundido un fusible o el flujo
eléctrico se ha visto interrumpido
de algún otro modo; tensión
incorrecta.
Compruebe que la bomba esté enchufada.
Haga que un electricista compruebe que todos
los cables estén correctamente conectados y
la capacidad sea la necesaria.
El interruptor no puede cambiar a la
posición de encendido por culpa de
una interferencia con el lateral del
tanque u otra obstrucción.
Coloque la bomba o el interruptor de forma que
pueda funcionar libremente.
Líquido insuficiente.
El líquido debe subir lo suficiente como para
activar el interruptor.
Interruptor defectuoso.
Reemplace el interruptor.
La bomba no se
apaga.
El interruptor no puede cambiar a la
posición de apagado por culpa de
una interferencia con el lateral del
tanque u otra obstrucción.
Coloque la bomba o el interruptor de forma que
pueda funcionar libremente.
Interruptor defectuoso.
Reemplace el interruptor.
La bomba funciona
o zumba pero no
bombea.
El desagüe está atascado.
Compruebe que no haya atascos en la línea de
desagüe, como puede ser hielo si la línea pasa
por áreas frías.
Compruebe que la válvula no se
haya quedado cerrada o esté
instalada al revés.
Saque la válvula de retención y asegúrese de
que funciona sin impedimentos y fue instalada
correctamente.
La válvula de compuerta/bola
está cerrada.
Abra la válvula de compuerta o de bola.
La elevación total es superior a la
capacidad de la bomba.
Dirija las tuberías a una altura inferior. Si esto
no es posible, necesitará adquirir otra bomba
de mayor capacidad. Consulte con la fábrica.
El rotor de la bomba está
atascado o la cubierta de voluta
está taponada.
Saque la bomba de la cubeta. Separe la base
de la bomba y limpie la zona que rodea al
rotor. Monte la bomba y vuélvala a instalar.
La bomba se pone a
funcionar cuando la
maquinaria no está
en uso.
No hay instalada una válvula de
retención, se queda abierta o tiene
una fuga.
Saque la válvula de retención y asegúrese de
que funciona sin impedimentos y fue instalada
correctamente.
Las piezas gotean.
Repare las piezas para eliminar las fugas.
La bomba hace
demasiado ruido.
Material foráneo en la cavidad del
rotor.
Saque la bomba de la cubeta. Separe la base
de la bomba y limpie la zona que rodea al
rotor. Monte la bomba y vuélvala a instalar.
Rotor roto.
La fábrica le puede informar sobre cómo
reemplazar el rotor.
Cojinetes desgastados.
Envíe la bomba a reparar a la fábrica o a un
centro de reparación autorizado.
Las conexiones de las tuberías al
edificio son demasiado rígidas.
Cambie una parte de la línea de desagüe con
una manguera o conector de caucho.
6. Mantenimiento y diagnóstico de problemas

©Copyright 2012 Liberty Pumps Inc. Todos los derechos reservados 9
Instrucciones complementarias para la instalación
Cubetas de prueba de bajante de 10 pies (3 m) Serie 370XL/380XL
Las cubetas para eyectores de aguas residuales Serie XL están diseñadas para resistir la prueba de bajante de 10 pies (3 m) que
requieren algunos municipios. La instalación adecuada del collarín de la tapa especificada es vital para asegurar que se cumpla con la
prueba. Se requiere seguir estrictamente estas instrucciones. Bajo ninguna circunstancia debe instalarse la tapa sin seguir estas
instrucciones al pie de la letra.
Tipos de sistemas:
Las cubetas de la Serie XL están disponibles como sistemas totalmente armados, completos con bomba y tubería de descarga, como
juegos para armar la cubeta y la tapa sin bomba o plomería, y únicamente como cubetas. Siga las instrucciones a continuación tal
como corresponda con el tipo de sistema que tenga.
Instalación de la cubeta:
1. Para todos los sistemas consulte las instrucciones principales tal como se incluyen con este sistema eyector o cubeta para
excavar el sumidero, conectar la tubería y rellenar.
2. Si la parte superior de la cubeta Serie 370XL o 380XL se encuentra por debajo del nivel rasante, se requiere un tubo ascendente
de acceso modelo ARC18. La profundidad máxima para enterrar es de 18 pulg. (46 cm) con respecto a la parte superior de la
cubeta. Si desea más información sobre los tubos ascendentes de acceso Serie ARC, consulte a Liberty Pumps o a su
distribuidor. 1-800-543-2550.
Instalación de la bomba en la cubeta Serie XL o la cubeta XL y juego para armar la tapa:
1. Las cubetas Serie XL de Liberty Pumps que se compren por separado requieren el juego adecuado de la tapa Serie Pro de 16
pernos, para crear un sistema eyector adecuadamente sellado. Para más datos sobre la tapa adecuada para su aplicación,
comuníquese con la fábrica.
2. Mida la longitud de la tubería de desagüe para que llegue desde el desagüe de la bomba y para que quede dentro de la toma del
tubo de desagüe con sello de borde integral, por el lado inferior de la tapa Serie Pro. Las bombas de saneamiento Liberty Pumps
usarán boquillas roscadas (TOE) de 23.75 pulg. (60.3 cm) de largo para las cubetas Serie 370XL o de 17.50 pulg. (44.4 cm) para
las cubetas Serie 380XL. Instale el tubo en la salida roscada de la bomba.
3. Baje la bomba a la cubeta, acoplando las patas de la bomba en los topes de torsión.
4. Inserte el cable eléctrico de la bomba (y el cable del interruptor en cascada, si cuenta con él) a través de la parte inferior del
orificio de la tapa de inspección, y coloque la tapa sobre la entrada del tubo mientras alinea los orificios de los pernos. Utilice
dieciséis pernos de ¼ - 20 UNC y arandelas para asegurar la tapa a la cubeta. Apriete los pernos a 40 pulgadas-libra.
ADVERTENCIA: No apriete de más los pernos. La junta integrada suave se adecuará a la parte superior del tanque. Los pernos
pueden apretarse nuevamente hasta a 60 pulgadas-libra para sellar cualquier fuga que pueda producirse durante una prueba de
bajantes de 10 pies (3 m). Además, se puede usar una pequeña cantidad de sellador con silicona RTV en caso de que se dañe la
junta o las inserciones.
5. Liberty Pumps recomienda usar bombas manuales y el juego de interruptores Liberty QuickTree® correspondiente para montar el
control de la bomba y los flotadores de alarma. Para obtener la información de pedidos, llame a la fábrica. Instale el juego
QuickTree® siguiendo las instrucciones incluidas. También puede usar bombas automáticas Liberty Pumps con interruptores de
flotador en cascada. Coloque el cable eléctrico y el cable del interruptor en las ranuras de los huecos de la tapa de inspección,
como se muestra en las instrucciones principales incluidas con este sistema. Fije la tapa de inspección a la tapa principal usando
seis pernos 1/4 - 20 UNC y arandelas. Apriete primero los pernos más alejados de las ranuras del cable eléctrico a 40 pulgadas-
libra. ADVERTENCIA: No apriete de más los pernos. La junta integrada suave se adecuará a la parte superior de la tapa y los
cables eléctricos. Los pernos pueden apretarse nuevamente hasta a 60 pulgadas-libra para sellar cualquier fuga que pueda
producirse durante una prueba de bajantes de 10 pies (3 m). Además, se puede usar una pequeña cantidad de sellador con
silicona RTV en caso de que se dañe la junta o las inserciones.
Las cubetas Serie 370XL y 380XL cumplen con IAPMO, # 4361

©Copyright 2012 Liberty Pumps Inc. Todos los derechos reservados 10
NOTA: Liberty Pumps, Inc. no asume ninguna responsabilidad por desperfectos o lesiones resultantes del desmontaje
de la bomba en el campo. Si el desmontaje de la bomba no lo lleva a cabo Liberty Pumps o uno de sus centros de
servicio autorizados, la garantía quedará anulada.
Liberty Pumps, Inc. garantiza que las bombas que fabrica están libres de defectos en los materiales y la mano de obra
por un período de 3 años a partir de la fecha de compra. La fecha de compra se determinará con el recibo de compra
fechado, que incluya el modelo y el número de serie de la bomba. Este recibo deberá acompañar a la bomba si la fecha
de devolución ocurre más de 3 años después de la fecha de fabricación (código-CODE) indicada en la placa de la
unidad.
Las obligaciones del fabricante bajo esta garantía se limitarán a la reparación o el reemplazo de las piezas que el
fabricante determine que son defectuosas, siempre que la pieza o el ensamblaje se devuelva con el porte pagado al
fabricante o a uno de sus centros de servicio autorizados y que no se evidencie ninguna de las siguientes características,
lo que supondría la anulación de la garantía.
El fabricante no tendrá obligación alguna bajo esta garantía si el producto no ha sido instalado correctamente; si ha sido
desmontado, modificado, abusado o forzado; si el cordón eléctrico se ha cortado, dañado o empalmado; si se redujo el
tamaño de la descarga de la bomba; si la bomba se usó con agua más caliente de la temperatura nominal, o agua con
arena, cal, cemento, grava u otros elementos abrasivos; si se utilizó para bombear productos químicos o hidrocarburos;
si un motor no sumergible fue sometido a exceso de humedad; o si se retiró la etiqueta con el número de serie, modelo y
código. Liberty Pumps, Inc. no se hace responsable de pérdidas, daños o gastos que resulten por la instalación o uso de
sus productos, o por daños emergentes, incluidos los costos de desmontar, reinstalar o transportar la unidad.
No se ofrece ninguna otra garantía expresa. Todas las garantías implícitas, incluidas las de comerciabilidad y adecuación
para un propósito determinado, están limitadas a un plazo de tres años a partir la fecha de compra.
Esta garantía representa el único remedio del comprador y, siempre que se permita, se excluye toda responsabilidad por
daños emergentes y fortuitos bajo toda otra garantía.
Garantía limitada de 3 años
7000 Apple Tree Avenue
Bergen, NY 14416
Teléfono: (800) 543-2550
Fax: (585) 494-1839
www.libertypumps.com

©Copyright 2012 Liberty Pumps Inc. Tous droits réservés
IMPORTANT :
Avant l’installation, noter les numéros de modèle, de série
et de code qui figurent sur la plaque signalétique pour
éventuellement s’y référer.
MODÈLE _____________________
SÉRIE _______________________
CODE ______________________
DATE
D'INSTALLATION _____________
7000, avenue Apple Tree
Bergen (NY) 14416
Téléphone : (800) 543-2550
Télécopieur : (585) 494-1839
www.libertypumps.com
Table des matières
1.) Renseignements généraux
2.) Le bassin
3.) Installation et raccordements
4.) QuickTree™ et couvercle d’accès
5.) Alimentation électrique et fonctionnement
6.) Entretien et dépannage
Modèles
Séries Pro 370
Système 53 cm x 76 cm
(21 po x 30 po)
155 l (41 gallons É.-U.)
Série Pro380
Système de 61 cm x 61 cm
(24 po x 24 po)
155 l (41 gallons É.-U.)
Manuel d’installation 7225000E
Systèmes d'égoût de la série Pro

©Copyright 2012 Liberty Pumps Inc. Tous droits réservés 2
Lire attentivement les directives avant d’effectuer l’installation. Chaque pompe de marque Liberty est testée individuellement en usine
pour assurer un bon fonctionnement. Le fait de suivre ces directives à la lettre éliminera les risques de problèmes de fonctionnement et
assurera des années de service sans soucis.
Danger d’électrocution. Afin de réduire les dangers d’électrocution, toujours débrancher la pompe de sa source
d’alimentation électrique avant de la manipuler.
Les raccords électriques et le câblage pour l’installation de la pompe ne devraient être effectués que par des professionnels qualifiés.
Cette pompe est fournie avec un conducteur de mise à la terre et une fiche de branchement de type mise à la terre. Afin de
réduire les dangers d’électrocution, s’assurer que le conducteur de mise à la terre est raccordé seulement à un panneau de
commande correctement mis à la terre, ou, s’il est muni d’une fiche avec mise à la terre, qu’elle est correctement mise à la
terre.
Ne pas dévier les fils de mise à la terre ou retirer la broche de mise à la terre des fiches de branchement.
Ne pas retirer le cordon ni le réducteur de tension et ne pas raccorder la canalisation électrique à la pompe.
Ne pas utiliser de rallonge.
Cette pompe nécessite un circuit de dérivation à part correctement protégé par un fusible et mis à la terre. S’assurer que la
source d’alimentation électrique est suffisante pour répondre aux exigences de tension et d’intensité du courant électrique de
la pompe, tel qu’indiqué sur la plaque signalétique de la pompe.
La prise électrique ou le panneau doit se trouver à la portée du cordon d’alimentation de la pompe et à au moins 1,2 m (4 pi)
au-dessus du niveau du plancher pour minimiser les dangers possibles pouvant être causés par une inondation.
Cette pompe ne doit pas être installée dans un endroit classé dangereux selon la norme ANSI/NFPA 70 du NEC.
L’installation doit être faite en respectant le code national de l’électricité et tous les codes locaux et règlements en vigueur.
Ne pas utiliser ces pompes dans de l’eau dont la température est supérieure à 60 °C (140 F)
Le Uniform Plumbing Code (UPC, Code de plomberie universel) indique que les systèmes d’égout doivent être munis d’une
d’alarme sonore et visuelle qui signale tout mauvais fonctionnement du système, afin de réduire les risques de dommages à
la propriété.
Système de la série Pro : Les systèmes 370 et 380 de la série Pro sont expédiés de l’usine entièrement montés et avec une vaste gamme
de pompes compatibles. Le tableau suivant énumère la liste des pompes offertes avec les modèles Pro370 et Pro380. Votre modèle de
pompe est identifié par le numéro de modèle figurant sur la plaque signalétique fixée sur le couvercle des systèmes de la série Pro.
CARACTÉRISTIQUES DU MODÈLE
Nº de modèle
du système
Pompe
Modèle
HP
Volts
Phase
Intensité
maximale
Tolérance
des solides
FNPT
d’évacuation
Hauteur de
chute d’arrêt
(aucun débit)
P372LE41, P382LE41
P373LE41, P383LE41
LE41M
LE41M
4/10
4/10
115
115
1
1
12
12
51 mm (2 po)
51 mm (2 po)
51 mm (2 po)
76 mm (6 po)
5,2 m (17 pi)
5,2 m (17 pi)
P372LE51, P382LE51
P373LE51, P383LE51
LE51M
LE51M
1/2
1/2
115
115
1
1
12
12
51 mm (2 po)
51 mm (2 po)
51 mm (2 po)
76 mm (6 po)
7,6 m (25 pi)
7,6 m (25 pi)
P372LE52, P382LE52
P373LE52, P383LE52
LE52M
LE52M
1/2
1/2
208-230
208-230
1
1
6,8
6,8
51 mm (2 po)
51 mm (2 po)
51 mm (2 po)
76 mm (6 po)
7,6 m (25 pi)
7,6 m (25 pi)
P372LE71, P382LE71
P373LE71, P383LE71
LE71M
LE71M
19 mm (3/4 po)
19 mm (3/4 po)
115
115
1
1
12
12
51 mm (2 po)
51 mm (2 po)
51 mm (2 po)
76 mm (6 po)
8,5 m (28 pi)
8,5 m (28 pi)
P372LE72, P382LE72
P373LE72, P383LE72
LE72M
LE72M
19 mm (3/4 po)
19 mm (3/4 po)
208-230
208-230
1
1
6
6
51 mm (2 po)
51 mm (2 po)
51 mm (2 po)
76 mm (6 po)
8,5 m (28 pi)
8,5 m (28 pi)
P372LE102, P382LE102
P373LE102, P383LE102
LE102M
LE102M
1
1
208-230
208-230
1
7
7
51 mm (2 po)
51 mm (2 po)
51 mm (2 po)
76 mm (6 po)
11 m (36 pi)
11 m (36 pi)
REMARQUE : Les pompes de grande hauteur de la gamme LEH requièrent une application avec hauteur d’élévation minimum
de 4,6 m (15 pi).
P372LEH102,
P382LEH102
P373LEH102,
P373LEH102
LEH102M
LEH102M
1
1
208-230
208-230
1
1
12
12
51 mm (2 po)
51 mm (2 po)
51 mm (2 po)
76 mm (6 po)
16,2 m (53 pi)
16,2 m (53 pi)
1. Renseignements généraux

©Copyright 2012 Liberty Pumps Inc. Tous droits réservés 3
Les systèmes commandés avec l’alarme facultative ont un suffixe « /A » qui désigne l’alarme. « /A2 »… ALM-2, « /A2W »… ALM-2W,
« /A3 »… ALM-3. Les flotteurs de la pompe et de l’alarme du système QuickTree® sont réglés en usine au bon niveau de
fonctionnement. Ne pas ajuster les flotteurs.
Les dimensions de votre système ont-elles été déterminées par un spécialiste ? Un débit minimum de liquide est nécessaire dans les
systèmes d’égout. Consulter le fabricant pour déterminer la taille de la pompe avant l’installation.
Technologie QuickTree® : La gamme Pro de Liberty Pumps est munie d’un système de flotteur à technologie QuickTree®. Le
système QuickTree® est situé sous un couvercle d’accès séparé pour faciliter l’entretien et les réparations. Les flotteurs pour actionner
la pompe et l’alarme (le cas échéant) sont fixés sur un arbre d’acier inoxydable (tige), indépendant de la pompe. Il n’est pas nécessaire
de défaire les raccords de plomberie ou de retirer la pompe pour examiner, entretenir ou remplacer les flotteurs. Les flotteurs
QuickTree® sont réglés en usine pour un fonctionnement optimal et ne doivent pas être ajustés.
Les systèmes de la gamme Pro comportent un couvercle transparent de construction jetable conçu pour protéger le système durant les
travaux d’installation et de maçonnerie. Le couvercle protecteur doit demeurer en place jusqu’à ce que les travaux de plomberie soient
complétés; cependant, il peut être démonté et réinstallé au besoin. Le couvercle est enclenché sur les orifices filetés des conduits d’évacuation
et d’évent. Pour retirer le couvercle transparent, le soulever tout simplement des orifices filetés des conduits d’évacuation et d’évent.
Installation dans le sol des bassins de la gamme Pro
A. Excavation : Creuser le trou le plus petit possible, avec un dégagement minimum recommandé de 20,32 cm (8 po) tout autour
du réservoir. Ne jamais placer le bassin directement en contact avec des roches ou d’autres objets contondants. Placer
uniquement du concassé fin lavé de 3 à 19 mm (1/8 à ¾ po) ou 3 à 13 mm (1/8 à ½ po) comme matériau de remplissage entre le
bassin et les parois du trou. Ne pas utiliser de sable ni de terre d’origine pour remplir le trou. Compacter convenablement sous le
bassin afin de fournir une base solide et bien au niveau capable de supporter le poids du bassin, une fois rempli. Il est
recommandé de placer la bride supérieure du bassin au même niveau que le plancher fini.
B. Remplissage initial : Utiliser uniquement du concassé fin lavé de 3 à 19 mm (1/8 à ¾ po) ou 3 à 13 mm (1/8 à ½ po) entre le
fond du trou et le bassin pour le maintenir en place. Ne pas utiliser de sable ni de terre d’origine pour remplir le trou. Raccorder
l’arrivée des eaux usées au bassin selon les besoins.
C. Raccord d’admission : Les bassins de la série Liberty P370 et P380 sont munis d’une ouverture d’admission de 4 po moulée
dans le côté du réservoir. La dimension de cette entrée est faite pour convenir à un raccordement de 4 po sans emboîtement.
Raccorder la canalisation d’écoulement provenant des accessoires à ce raccord.
D. Remplissage final : Les grosses roches, les mottes et autres corps étrangers ne doivent pas être laissés dans le matériau de
remplissage. Seul le concassé fin lavé de 3 à 19 mm (1/8 à ¾ po) ou 3 à 13 mm (1/8 à ½ po) est recommandé comme matériau de
remplissage. Ne pas utiliser de sable ni de terre d’origine pour remplir le trou. Faire un petit monticule avec le matériau de remplissage,
afin de le laisser se tasser naturellement. Prévoir un accès au couvercle du bassin pour les travaux d’entretien et de réparation.
Ne pas exercer de pression importante ni utiliser de matériau lourd sur le matériau de remplissage,
car cela pourrait causer l’affaissement du réservoir.
Données sur les dimensions
2. Le bassin
Série Pro380
Série Pro370

©Copyright 2012 Liberty Pumps Inc. Tous droits réservés 4
Installation type
Il s’agit d’une forme d’installation recommandée fournie à titre d’exemple.
Les installations particulières peuvent varier.
A. Évacuation : Raccorder le tuyau d’évacuation à l’orifice
fileté de 2 po ou 3 po fourni sur le couvercle à l’aide d’un
adaptateur. IMPORTANT : Ne pas réduire la taille du tuyau
d’évacuation plus que ce qui est prévu à la pompe. La
dimension des pompes du système d’égout ne doit pas être
inférieure à 51 mm (2 po). Pour certaines applications, il
peut être nécessaire d’augmenter la dimension du tuyau afin
de réduire les pertes dues à la friction. Communiquer avec
Liberty Pumps pour toute question au sujet des dimensions
de tuyaux et débits adéquats.
Installer le tuyau d’évacuation qui reste. Il est conseillé
d’installer un raccord union juste au-dessus du couvercle,
pour faciliter le retrait de la pompe si nécessaire. On
recommande l’installation d’un clapet antiretour après le
raccord union afin de prévenir le refoulement du liquide après chaque cycle de la pompe. Un robinet-vanne ou clapet à bille doit suivre
le clapet antiretour afin de permettre le nettoyage périodique du clapet antiretour ou le retrait de la pompe. Le reste de la canalisation
d’évacuation devrait être le plus court possible et comporter un nombre minimum de virages, afin de réduire la perte de puissance due
à la friction. Ne pas installer de tuyau d’évacuation d’une dimension inférieure à 5 cm (2 po) pour les systèmes d’égout. Des tuyaux
plus grands peuvent être nécessaires pour éliminer la perte de puissance due à la friction sur les longs parcours. Communiquer avec
Liberty Pumps ou un autre spécialiste pour toute question au sujet des dimensions des tuyaux et débits adéquats.
B. Évent : Un raccordement fileté de 2 po ou 3 po est fourni au sommet du couvercle et il doit être relié à la colonne de ventilation
secondaire du bâtiment, ou dirigé vers l’extérieur par sa propre colonne montante. La dimension de l’évent doit respecter les codes
en vigueur, mais jamais être inférieure à celle du tuyau d’évacuation.
Remarque : Les systèmes de la gamme Pro qui sont expédiés avec un tuyau d’acier facultatif sont munis d’un œillet d’étanchéité
en caoutchouc plutôt que d’un raccord femelle NPT.
3. Installation et raccordements
Entrée
PLAQUE SIGNALÉTIQUE
Modèle et numéro de série
Évent
Évacuation
Couvercle
d’inspection/d’accès
Alarme (facultative)
expédiée sur le système
CLAPET ANTIRETOUR
CLAPET À BILLE
UNION
ALARME (FACULTATIVE)
ÉVENT
ÉVACUATIO
N
UTILISER UN RACCORD DE
CANALISATION D’ALIMENTATION
DE TYPE NO-HUB

©Copyright 2012 Liberty Pumps Inc. Tous droits réservés 5
Les systèmes de la gamme Pro P370 et P380 offrent la nouvelle technologie QuickTree®. Le système de flotteur QuickTree®
comprend une tige de fixation en acier inoxydable (arbre) et des pinces de support à cordon conçues pour fixer le flotteur de la pompe
et le flotteur de l’alarme (facultative) du système. Tous les flotteurs sont réglés en usine pour un fonctionnement optimal et ne
nécessitent aucun ajustement. REMARQUE : Tout réglage des flotteurs effectué sur le terrain risque de causer le mauvais
fonctionnement de la pompe et de l’alarme facultative.
Retrait du QuickTree® et inspection du flotteur : Le système QuickTree® est situé sous un couvercle d’accès séparé pour faciliter
l’inspection, l’entretien et la réparation des flotteurs. Déboulonner tout simplement le couvercle d’accès et soulever le module
QuickTree® de son support pour inspecter le(s) flotteur(s). Il n’est pas nécessaire de défaire les raccords de plomberie ni de retirer la
pompe. Les systèmes de la gamme Pro sont munis d’une pompe manuelle de la gamme LE (sans interrupteur raccordé directement à
la pompe). Le fonctionnement de la pompe est assuré par le système QuickTree®.
Remise en place du QuickTree® : Après les travaux d’entretien ou d’inspection des flotteurs, remettre le QuickTree® en place sur
son support. Il est important d’assurer adéquatement l’étanchéité des cordons de la pompe, de l’interrupteur du flotteur et de l’alarme
facultative, tel que décrit ci-dessous dans le paragraphe sur le système intégré d’étanchéité des cordons.
Système intégré d’étanchéité des cordons : Il est important d’assurer adéquatement l’étanchéité des cordons du moteur de la
pompe, de l’interrupteur à flotteur et de l’alarme facultative dans les tuyaux d’étanchéité spécialement conçus situés sous le couvercle
d’accès. Une bonne étanchéité est nécessaire pour que les émanations d’égout ne s’échappent pas du système Placer les cordons
solidement en place dans les tuyaux de caoutchouc, tel qu’illustré à la FIGURE B, en faisant attention d’éviter que les cordons n’aient
trop de jeu dans le système. IMPORTANT : Trois tuyaux à cordons sont fournis. Dans le cas des systèmes sans alarme facultative,
seuls deux canaux seront utilisés et le troisième doit être bouché à l’aide d’un bouchon d’étanchéité de caoutchouc fourni. VOIR
FIGURE C. S’il y a un cordon d’alarme, les trois canaux serviront. Tous les joints d’étanchéité en caoutchouc du couvercle sont fixés de
manière permanente et n’ont pas besoin d’être remplacés.
IMPORTANT : Bien assurer l’étanchéité des cordons, derrière la tige QuickTree®.
BOUCHON D’ÉTANCHÉITÉ
DE CAOUTCHOUC
4. Couvercle d’accès et QuickTree™

©Copyright 2012 Liberty Pumps Inc. Tous droits réservés 6
Réglage QuickTree® pour les systèmes PRO370 et PRO380 :
Pour effectuer l’entretien du QuickTree®, placer le cordon de l’interrupteur dans le canal ou tuyau, puis faire glisser la tige d’acier
inoxydable à travers la pince et visser la vis à l’aide d’un tournevis cruciforme Philips; ne pas trop serrer. La tige a été aplatie pour
désigner l’emplacement du flotteur. Il faut resserrer la vis pour qu’elle s’appuie sur la marque plate. La longueur de la sangle représente
la longueur de cordon entre la pince et le flotteur.
Les systèmes P370 et P380 ont différentes
longueurs de sangle. Voir le tableau ci-dessus
pour connaître la bonne longueur de sangle et la
bonne position de tige.
LONGUEUR DE LA SANGLE (INTERRUPTEUR VERS LA PINCE)
Flotteur de l’alarme Flotteur de commande Flotteur de l’alarme Flotteur de commande
1 3.5 po
2 3.5 po
3 3.0 po
4 3.5 po
P370
P380
POSITION
DE TIGE
Les positions de flotteur 1, 2, 3 et 4 sont
identifiées par une marque plate
estampée dans la tige d’acier inoxydable.
1 est le niveau le plus haut, 4 le plus bas.
Flotteur de l’alarme
Flotteur de commande
de la pompe
Longueur de la sangle
Série P370
illustrée

©Copyright 2012 Liberty Pumps Inc. Tous droits réservés 7
Fig. 5 – Câblage direct de pompes 115 V ou 208-230 V,
monophasées, automatiques.
MANUEL
OUI !
NON !
Fig. 1 Installation de prises siamoises.
FONCTIONNEMENT
TEMPORAIRE
Danger d’électrocution. Toujours débrancher la pompe de l’alimentation électrique avant de la manipuler ou d’y effectuer des réglages.
Les raccords électriques et le câblage pour l’installation de la pompe ne devraient être effectués que par des professionnels qualifiés.
Cette pompe est fournie avec un conducteur de mise à la terre et une fiche de branchement de type mise à la terre. Afin de réduire
les dangers d’électrocution, s’assurer que le conducteur de mise à la terre est raccordé seulement à un panneau de commande
correctement mis à la terre, ou, s’il est muni d’une fiche avec mise à la terre, qu’elle est correctement mise à la terre.
Ne pas dévier les fils de mise à la terre ou retirer la broche de mise à la terre des fiches de branchement.
Ne pas retirer le cordon ni le réducteur de tension, et ne pas raccorder la canalisation électrique à la pompe.
Ne pas utiliser de rallonge.
Cette pompe nécessite un circuit de dérivation à part correctement protégé par un fusible et mis à la terre. S’assurer que la source
d’alimentation électrique est suffisante pour répondre aux exigences de tension et d’intensité du courant électrique du moteur, tel
qu’indiqué sur la plaque signalétique de la pompe.
La prise électrique ou le panneau doivent se trouver à la portée du cordon d’alimentation de la pompe et à au moins 1,2 m
(4 pieds) au-dessus du niveau du plancher pour minimiser les dangers possibles pouvant être causés par une inondation.
L’installation doit être faite en respectant le code national de l’électricité et tous les codes locaux et règlements en vigueur.
Tous les modèles P370 et P380 sont munis d’un flotteur en usine et l’interrupteur à flotteur est fixé sur le module QuickTree®. Ces
modèles sont munis de deux cordons : l’un relié à l’interrupteur à flotteur et l’autre au moteur de la pompe. Le cordon de l’interrupteur
est muni d’un connecteur en série (siamois) permettant de brancher le cordon de la pompe (moteur) sur son dos (voir Fig.4). Ce
système a pour but de permettre le fonctionnement manuel de la pompe.
Pour un fonctionnement automatique, les deux cordons doivent être interconnectés et branchés dans une prise d’une intensité en
ampères suffisante pour le modèle de pompe choisi, avec fusibles indépendants et mise à la terre. (Voir section 1, Renseignements
généraux, ou la plaque signalétique de la pompe pour connaître les caractéristiques électriques du modèle.) Les deux cordons sont
munis de fiches à trois broches et doivent être branchés dans une prise à trois ouvertures avec mise à la terre adéquate. NE PAS
RETIRER LA BROCHE DE MISE À LA TERRE.
Pour permettre le fonctionnement manuel, ou en cas de
défaillance de l’interrupteur, le cordon de la pompe peut être
séparé et branché dans la prise électrique, en contournant
directement l’interrupteur. On doit uniquement faire fonctionner
les pompes 208-230 V monophasées sans l’interrupteur à
flotteur en utilisant le disjoncteur ou l’interrupteur du panneau.
Ne pas laisser la pompe fonctionner à sec pendant de longues
périodes.
Si la pompe doit être branchée directement dans un dispositif
de commande ou une boîte de connexion, et qu’il est
nécessaire de retirer les fiches, faire raccorder le câblage par un
électricien autorisé en respectant les normes du code national de
l’électricité et des codes locaux en vigueur. Voir fig. 5 pour les
installations de pompes monophasées automatiques.
Dans les installations 208-230 V, un côté
du câble allant vers la pompe est toujours
sous tension, que l’interrupteur du flotteur
soit en position de marche ou d’arrêt. Pour
éviter les risques d’électrocution, installer
un interrupteur bipolaire près de
l’installation de la pompe.
5. Entretien et fonctionnement des composants électriques
Figure C – Câblage direct de pompes 115 V ou 208-
230 V, monophasées, automatiques.
Alimen-
tation
électriqu
e
Mise à la
terre
Vert
Vert
Blanc
Noir
Noir
Noir
Blanc
Boîte de
connexion
Pompe
Interrup
-teur à
flotteur
Blanc

©Copyright 2012 Liberty Pumps Inc. Tous droits réservés 8
Danger d’électrocution. Toujours débrancher la pompe de l’alimentation électrique avant de la manipuler ou d’y
effectuer des réglages.
REMARQUE : Liberty Pumps, Inc. n’est pas responsable des dommages ou blessures résultant d’un démontage sur le terrain. Le
démontage effectué ailleurs que chez Liberty Pumps ou à l’un de ces centres de services autorisés annule automatiquement la garantie.
Problème
Cause
Mesure correctrice
La pompe ne
fonctionne pas.
Fusible brûlé ou autre interruption
d’alimentation, tension inadéquate.
S’assurer que le branchement de l’appareil est
sécuritaire. Demander à un électricien de vérifier
tous les câbles au niveau des branchements et
de s’assurer que la capacité et l’intensité sont
adéquates.
* L’interrupteur ne peut se mettre en
position de marche en raison de
l’interférence du côté du bassin ou
d’un autre type d’obstacle.
Placer la pompe ou l’interrupteur de manière à
ce que le dégagement soit suffisant pour bien
fonctionner.
Niveau de liquide insuffisant.
S’assurer que le niveau de liquide peut s’élever
suffisamment pour activer le(s) interrupteur(s).
Interrupteur défectueux.
Remplacer l’interrupteur s’il est défectueux.
La pompe refuse de
s’éteindre.
* Le(s) interrupteur(s) ne peu(ven)t se
mettre en position d’arrêt en raison de
l’interférence du côté du bassin ou
d’un autre type d’obstacle.
Placer la pompe ou l’interrupteur de manière à
ce que le dégagement soit suffisant pour bien
fonctionner.
Interrupteur défectueux.
Remplacer l’interrupteur s’il est défectueux.
La pompe tourne ou
gronde, mais ne
pompe pas.
Conduits d’évacuation bloqués
ou restreints.
Vérifier dans la canalisation d’évacuation qu’il n’y
ait pas de corps étrangers, y compris de
formation de glace si la canalisation d’évacuation
se trouve dans des zones froides ou les
traverse.
Clapet antiretour bloqué en position
fermée ou incorrectement installé.
Retirer tout clapet antiretour et vérifier qu’il
fonctionne librement et est bien installé.
Robinet vanne ou clapet à bille fermé.
Ouvrir le robinet-vanne ou le clapet à bille.
La charge ascensionnelle totale
dépasse la capacité de la pompe.
Essayer de rediriger le tuyau à un niveau
inférieur. Si c’est impossible, il faut probablement
se procurer une pompe plus puissante.
Consulter le fabricant.
Le rotor de la pompe est bloqué ou le
corps de pompe en spirale est bouché.
Retirer la pompe du bassin. Détacher la base de
la pompe et nettoyer la zone entourant le rotor.
Remonter et réinstaller.
La pompe tourne
périodiquement
lorsque les
accessoires ne sont
pas utilisés.
Clapet antiretour non installé, bloqué
en position ouverte, ou qui fuit.
Retirer tout clapet antiretour et vérifier qu’il
fonctionne librement et qu’il est bien installé.
Les accessoires coulent.
Réparer les accessoires au besoin pour éliminer
les fuites.
La pompe fait du
bruit.
Corps étrangers dans les cavités du
rotor.
Retirer la pompe du bassin. Détacher la base
de la pompe et nettoyer la zone entourant le
rotor. Remonter et réinstaller.
Rotor brisé.
Consulter le fabricant pour obtenir de
l’information au sujet du remplacement du rotor.
Coussinets usés.
Retourner la pompe au fabricant ou la faire
réparer par un réparateur autorisé.
Raccordements des tuyaux à la
structure de la maison trop rigides.
Remplacer une partie du tuyau d’évacuation par
un boyau ou un raccord en caoutchouc.
6. Entretien et dépannage

©Copyright 2012 Liberty Pumps Inc. Tous droits réservés 9
Instructions d'installation complémentaires
Bassins de test de colonne de 10 pi - série 370XL/380XL
Les bassins d'évacuation de la série XL sont conçus pour supporter les tests de colonne de 10 pi exigés par certaines municipalités.
La bride de couvercle doit être adéquatement installée pour assurer le respect des critères de test. Il est essentiel de respecter
rigoureusement ces instructions. En aucun cas l'installation du couvercle ne doit différer de ces instructions.
Types de systèmes :
Plusieurs modèles de bassins de la série XL sont disponibles : système entièrement préassemblé avec pompe et conduite
d'évacuation, système avec bassin et couvercle sans pompe ni tuyauterie, et bassin uniquement. Veuillez suivre les instructions ci-
dessous selon le type de système que vous possédez.
Installation du bassin :
1. Indépendamment du système que vous possédez, vous devez en premier lieu vous référer aux instructions de base fournies avec
le système d'évacuation complet ou le bassin pour tous les renseignements concernant l'excavation du puits, les raccords de
tuyauterie et le remplissage.
2. Si le dessus du bassin de la série 370XL ou 380XL est enfoui sous le niveau du sol, un tuyau d’élévation d’accès (modèle ARC 18)
est nécessaire. Le dessus du bassin doit se trouver à une profondeur maximale de 46 cm (18 po) sous le sol. Veuillez
communiquer avec Liberty Pumps ou avec le distributeur de votre région pour obtenir plus de renseignements sur les tuyaux
d’élévation d’accès de la série ARC. 1-800-543-2550
Installation de la pompe dans le bassin de série XL ou de série XL avec système de couvercle :
1. Les bassins de la série XL de Liberty Pumps achetés séparément devront être utilisés conjointement avec l'assemblage de
couvercle de la série Pro (16 boulons) afin d'offrir un système d'évacuation parfaitement hermétique. Communiquez avec le
fabricant afin de trouver le couvercle adéquat pour votre application.
2. Assurez-vous que la conduite d'évacuation est de longueur suffisante pour être raccordée à la douille d'évacuation à étanchéité
incorporée de la pompe, située sur la face intérieure du couvercle de la série Pro. Les pompes de relèvement Liberty Pumps
utilisent des embouts filetés d'une longueur de 23,75 po pour les bassins de la série 370XL et de 17,50 po pour les bassins de la
série 380XL. Raccordez le tuyau à la sortie filetée de la pompe.
3. Descendez la pompe dans le bassin en vous assurant d'insérer les pattes de la pompe dans les butées de torsion.
4. Glissez le cordon d'alimentation de la pompe (ainsi que le cordon de l’interrupteur siamois, le cas échéant) par la partie inférieure
de l'orifice du couvercle d'inspection et placez le couvercle sur le mamelon tout en alignant les orifices des boulons. Utilisez 16
boulons et rondelles 20 UNC ¼ po pour fixer le couvercle au bassin. Serrez les boulons à 40 pouces-livres. MISE EN GARDE :
Ne serrez pas trop les boulons. Le joint souple intégré s'ajustera sur la paroi supérieure du réservoir. Vous pouvez resserrer les
boulons à 60 pouces-livres pour colmater les fuites qui peuvent survenir lors d'un test de colonne de 10 pi. Vous pouvez
également utiliser une petite quantité de silicone (à vulcanisation à la température de la pièce) si le joint est endommagé.
5. Liberty Pumps recommande d'utiliser des pompes de type manuel avec une trousse Liberty QuickTree® adaptée pour assembler la
commande de la pompe et les flotteurs d'alarme. Communiquez avec le fabricant pour obtenir de l'information pertinente.
Installez la trousse QuickTree® selon les instructions fournies. Il est également possible d'utiliser les pompes Liberty Pumps de
type automatique avec interrupteur à flotteur « siamois ». Placez le câble d'alimentation et le câble de l'interrupteur dans les
rainures de l'orifice du couvercle d'inspection, tel qu'il est illustré dans les instructions de base fournies avec ce système. Fixez le
couvercle d'inspection au couvercle principal en utilisant six boulons et rondelles 20 UNC ¼ po. Serrez d'abord les boulons les
plus éloignés des rainures du câble d'alimentation à 40 pouces-livres. MISE EN GARDE : Ne serrez pas trop les boulons. Le joint
souple intégré s'ajustera sur la paroi supérieure du couvercle et des cordons d'alimentation. Vous pouvez resserrer les boulons à
60 pouces-livres pour colmater les fuites qui peuvent survenir lors d'un test de colonne de 10 pi. Vous pouvez également utiliser
une petite quantité de silicone (à vulcanisation à la température de la pièce) si le joint est endommagé.
Bassins de la série 370XL et 380XL conformes à IAPMO, nº 4361.

©Copyright 2012 Liberty Pumps Inc. Tous droits réservés 10
REMARQUE : Liberty Pumps, Inc. n’est pas responsable des dommages ou blessures résultant d’un démontage sur le
terrain. Le démontage effectué ailleurs que chez Liberty Pumps à l’un de ces centres de services autorisés annule
automatiquement la garantie.
Liberty Pumps, Inc. garantit que les pompes sortant de son usine sont exemptes de tout défaut de matériau et de
fabrication pour une période de 3 ans à partir de la date d’achat. La date d'achat sera établie par une facture d’achat
datée indiquant les numéros de modèle et de série de la pompe. La pompe retournée doit être accompagnée de la
facture d’achat datée si la date de retour se situe à plus de 3 ans du numéro de « CODE » (date de fabrication) indiqué
sur la plaque signalétique de la pompe.
L’obligation de garantie du fabricant se limite à la réparation ou au remplacement de toute pièce jugée défectueuse par le
fabricant, à condition que la pièce ou l’appareil soient retournés franco de port au fabricant ou à son centre d'entretien
autorisé et à condition qu’il n’y ait aucune preuve que les critères suivants annulant la garantie sont en cause.
Le fabricant ne peut en aucun cas être tenu responsable, selon les dispositions de cette garantie, si le produit n’a pas été
correctement installé; s’il a été démonté, modifié, soumis à un usage abusif ou endommagé; si le cordon électrique a été
coupé, endommagé ou ligaturé; si la taille du tuyau d’évacuation de la pompe a été réduite; si la pompe a été utilisée pour
pomper de l’eau d'une température supérieure aux recommandations ci-dessus ou de l’eau contenant du sable, de la
chaux, du ciment, du gravier ou autres matières abrasives; si le produit a été utilisé pour pomper des produits chimiques
ou des hydrocarbures; si un moteur non submersible a été exposé à de l’humidité excessive; ou si l’étiquette portant le
numéro de série, de modèle et de code a été retirée. Liberty Pumps, Inc. ne pourra être tenue responsable des pertes,
dommages, frais attribuables à l’installation ou l’utilisation de ses produits ni pour les dommages accessoires ou
consécutifs, y compris les coûts de retrait, de réinstallation ou de transport.
Il n’y a aucune autre garantie expresse. Toute garantie implicite, y compris celles de qualité marchande et d'aptitude
à une fin particulière est limitée à trois ans à partir de la date d’achat.
Cette garantie contient le recours exclusif de l’acheteur et exclut, lorsque permis par la loi, toute responsabilité pour
dommages consécutifs ou accessoires en vertu de toutes autres garanties.
Garantie limitée de 3 ans
7000, avenue Apple Tree
Bergen (NY) 14416
Téléphone : (800) 543-2550
Télécopieur : (585) 494-1839
www.libertypumps.com