539620 2 Sta Rite DS2 Series Centrifugal Pump Owners Manual
539621 2 Sta-Rite Ds2 Series Centrifugal Pump Owners Manual 539621_2_Sta-Rite DS2 Series Centrifugal Pump Owners Manual
539622 2 Sta-Rite Ds2 Series Centrifugal Pump Owners Manual 539622_2_Sta-Rite DS2 Series Centrifugal Pump Owners Manual
557426 1 Sta-Rite Ds2 Series Centrifugal Pump Owners Manual 557426_1_Sta-Rite DS2 Series Centrifugal Pump Owners Manual 557426_1_Sta-Rite DS2 Series Centrifugal Pump Owners Manual pdf pumpproducts 3:
: Pump 539620 2 Sta-Rite Ds2 Series Centrifugal Pump Owners Manual 539620_2_Sta-Rite DS2 Series Centrifugal Pump Owners Manual pdf
Open the PDF directly: View PDF
.
Page Count: 12

1 HP 1-1/2 HP 2 HP 2-1/2 HP
DS2HE-191PL DS2HF-192PL DS2HG-102L DS2HHG-53L
DS2HE3-191P DS2HF3-192P DS2HG3-102 DS2HHG3-53
OWNER’S MANUAL
DS2 Series 60 Cycle
Self-Priming Centrifugal Pump
MODELS
© 2012 Pentair, Inc. All Rights Reserved. S30 (10/31/12)
293 WRIGHT STREET, DELAVAN, WI 53115 WWW.STA-RITE.COM
PH: 888-782-7483

2
READ AND FOLLOW
SAFETY INSTRUCTIONS!
This is the safety alert symbol. When you see
this symbol on your pump or in this manual, look for
one of the following signal words and be alert to the
potential for personal injury:
warns about hazards that will cause seri-
ous personal injury, death or major property damage if
ignored.
warns about hazards that can cause seri-
ous personal injury, death or major property damage if
ignored.
warns about hazards that will or can
cause minor personal injury or property damage if
ignored.
The label NOTICE indicates special instructions which
are important but not related to hazards.
Carefully read and follow all safety instructions in
this manual and on pump.
Keep safety labels in good condition.
Replace missing or damaged safety labels.
California Proposition 65 Warning
This product and related accessories
contain chemicals known to the State of California to
cause cancer, birth defects or other reproductive harm.
Electrical Safety
Wire motor for correct
voltage. See
“ELECTRICAL” section of
this manual and motor
name plate.
Ground motor before
connecting to power
supply.
Meet National Elec-
trical Code, Canadian
Electrical Code, and local
codes for all wiring.
Follow wiring instruc-
tions in this manual
when connecting motor to
power lines.
Make workshops childproof; use padlocks and master
switches; remove starter keys.
Do not touch an operating motor.
Modern motors are designed to operate at high
temperatures. To avoid burns when servicing pump,
allow it to cool for 20 minutes after shut-down before
handling.
General Safety
Pump is designed as a lawn sprinkler only. To avoid
heat built-up, over pressure hazard and possible injury,
do not use in a pressure tank (domestic water) system.
Do not use as a booster pump; pressurized suction
may cause pump body to explode.
Do not allow pump or piping system to freeze. Freezing
can damage pump and pipe, may lead to injury from
equipment failure and will void warranty.
Pump water only with this pump.
Periodically inspect pump and system components.
Wear safety glasses at all times when working on or
around pumps.
Keep work area clean, uncluttered and properly lighted;
store properly all unused tools and equipment.
Keep visitors at a safe distance from the work areas.
Before You Install Your Pump
NOTICE: Well must not be more than 20’ depth to
water.
1. Long runs and many fittings increase friction and
reduce flow. Locate pump as close to well as
possible: use as few elbows and fittings as possible.
2. Be sure well is clear of sand. Sand will plug the
pump and void the warranty.
3. Protect pump and all piping from freezing. Freezing
will split pipe, damage pump and void the warranty.
Check locally for frost protection requirements
(usually pipe must be 12” below frost line and pump
must be insulated).
4. Be sure all pipes and foot valve are clean and in
good shape.
5. No air pockets in suction pipe.
6. No leaks in suction pipe. Use PTFE pipe thread
sealant tape to seal pipe joints.
7. Unions installed near pump and well will aid in
servicing. Leave room use wrenches.
8. Pump body may explode if used
as a booster pump. DO NOT use in a booster
appli cation.
WARNING
Hazardous voltage.
Can shock, burn, or
cause death.
Ground pump before
connecting to power
supply.
WARNING
Hazardous pressure!
Do not run pump
against closed discharge.
Release all pressure on
system before working on
any component.

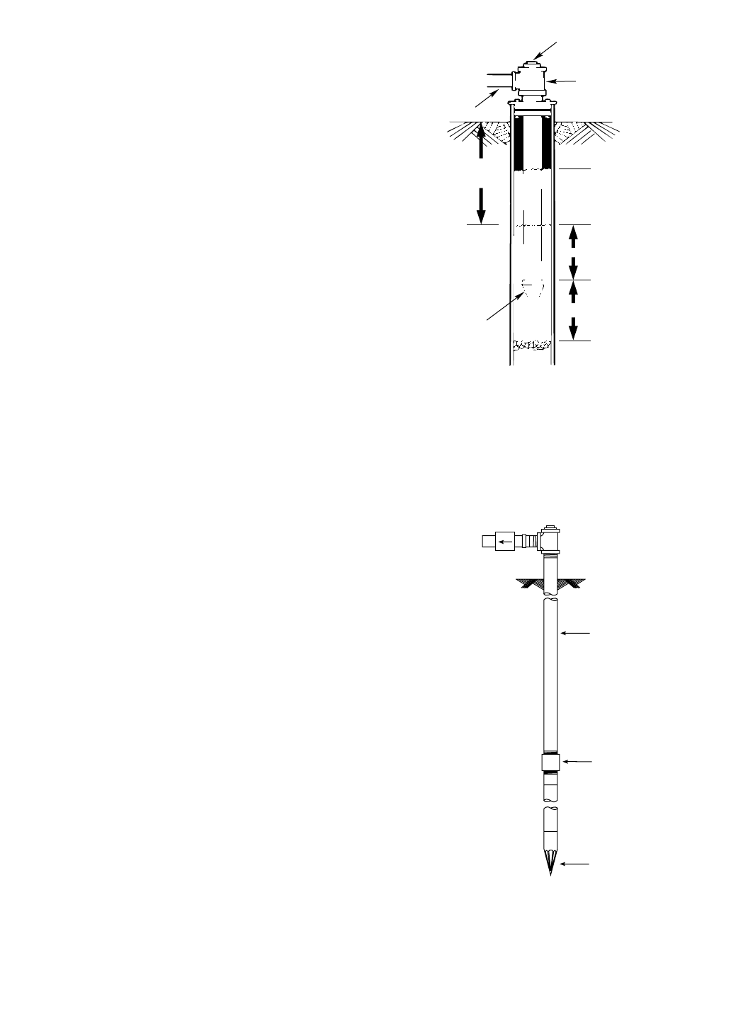
Well Pipe Installation
NOTICE: Use the installation method below which
matches your well type.
CASED WELL INSTALLATION
1. Inspect foot valve to be sure it works freely. Inspect
strainer to be sure it is clean.
2. Connect foot valve and strainer to the first length of
suction pipe and lower pipe into well. Add sections
of pipe as needed, using PTFE pipe thread sealant
tape on male threads. Be sure that all suction pipe
is leakproof or pump will lose prime and fail to pump.
Install foot valve 10 to 20 feet below the lowest level
to which water will drop while pump is operating
(pumping water level). Your well driller can furnish
this in formation.
3. To prevent sand and sediment from entering the
pumping system, the foot valve/strainer should be at
least 5 feet above the bottom of the well.
4. When the proper depth is reached, install a sanitary
well seal over the pipe and in the well casing.
Tighten the bolts to seal the casing.
5. When using a foot valve, a priming tee and plug as
shown in Figure 1 are recommended.
DUG WELL INSTALLATION
Same as cased well installation.
DRIVEN POINT INSTALLATION
1. Connect the suction pipe to the drive point as
illustrated in Figure 2. Keep horizontal pipe run as
short as possible. Use PTFE pipe thread sealant
tape on male pipe threads. Multiple well points may
be necessary to provide sufficient water to pump.
2. Install a check valve in horizontal pipe. Flow arrow
on check valve must point toward pump.
HORIZONTAL PIPING FROM WELL TO PUMP
1. Never install a suction pipe that is smaller than the
suction port of the pump.
2. To aid priming on well point installations, install
a line check valve as shown in Figure 2. Be sure
check valve flow arrow points toward pump.
DISCHARGE PIPE SIZES
1. If increasing discharge pipe size, install reducer in
pump discharge port. Do not increase pipe size by
stages.
2. When the pump is set away from the points of water
use, the discharge pipe size should be increased to
reduce pressure losses caused by friction.
•Upto100’run:Samesizeaspumpdischargeport.
•100’to300’run:Increaseonepipesize.
•300’to600’run:Increasetwopipesizes.
3
Suction
pipe
Foot
Valve
Priming plug
Priming tee
Standing water
level (pump off)
Drawdown water
level (pump on)
10-20' (3-6 m)
20' (6 m) max.
At least 5 feet (1.5 m)
828 0993
Figure 1 – Cased/Dug Well Installation
Check valve
Steel drive pipe
Drive coupling
Driven point
745 0993
Figure 2 – Driven Point Installation

LAWN SPRINKLING APPLICATION
This pump is designed for lawn sprinkling. It is
de signed to deliver plenty of water at full sprinkler pres-
sure. It can pump from a pond, cistern or well points.
Pump discharge can be divided to supply two (2) or
more sprinkler systems. A suggested multiple dis-
charge to service is shown in Figure 3.
Do not use in a pressure tank or booster pump
application.
Pump/Piping Installation
PUMP INSTALLATION
NOTICE: Use only PTFE pipe thread sealant tape
for making all threaded connections to the pump
itself. Do not use pipe joint compounds on plastic
pumps: they can react with the plastic in the pump
components. Make sure that all pipe joints in the
suction pipe are air tight as well as water tight. If the
suction pipe can suck air, the pump will not be able to
pull water from the well.
1. Bolt pump to solid, level foundation.
2. Support all piping connected to the pump.
3. Wrap 1-1/2 to two layers of PTFE pipe thread
sealant tape clockwise (as you face end of pipe) on
all male threads being attached to pump.
4. Tighten joints hand tight plus 1-1/2 turns. Do not
overtighten.
4
20 100
80
60
40
1909 0997
Figure 3 – Multiple Discharge
Figure 4 – Bolt Pump Down
3023 0997
Figure 5 – Independently Support All Piping Attached
to Pump
20 100
80
60
40
3024 0997
748 0993
Don’t Hit
Thread Stops
Don’t
Overtighten
From
Well
Pump
Body
Hand Tight Plus 1-1/2 Tu rns With Wrench.
Figure 7 – Don’t overtighten.
1102 0697
No Air Leaks
in Suction Pipe.
Pipe Joint
Compound Will
Damage Plastic.
If Air Flows
Water Won’t
Use PTFE Tape
Figure 6 – Use PTFE pipe thread sealant tape on pipe
joints and connections to pump.

NOTICE: Install pump as close to well head as poss-
ible. Long piping runs and many fittings create friction
and reduce flow.
NOTICE: For long horizontal pipe runs, install a
priming tee between check valve and well head as
shown in Figure 1. For driven point installations, install
a check valve as shown in Figure 2. Be sure check
valve flow arrow points toward pump.
Use schedule 80 or iron pipe. See “Well Pipe In stalla-
tion” for more information.
Electrical Installation
Hazardous voltage. Can shock, burn,
or cause death. Disconnect power to motor before
working on pump or motor. Ground motor before
connecting to power supply.
WIRING
Ground motor before connecting to electrical
power supply. Failure to ground motor can
cause severe or fatal electrical shock hazard.
Do not ground to a gas supply line.
To avoid dangerous or fatal electrical shock,
turn OFF power to motor before working on
electrical connections.
Supply voltage must be within ±10% of
nameplate voltage. Incorrect voltage can
cause fire or damage motor and voids warranty. If
in doubt consult a licensed electrician.
Use wire size specified in WIRING CHART,
page 6. If possible, connect pump to a
separate branch circuit with no other appliances.
Wire motor according to diagram on motor
nameplate. If nameplate diagram differs from
diagrams above, follow nameplate diagram.
1. Install, ground, wire and maintain this pump
in accordance with electrical code requirements.
Consult your local building inspector for information
about codes.
2. Provide a correctly fused disconnect switch for
protection while working on motor. Consult local or
national electrical codes for switch requirements.
3. Disconnect power before servicing motor or pump.
If the disconnect switch is out of sight of pump,
lock it open and tag it to prevent unexpected power
application.
4. Ground the pump permanently using a wire of the
same size as that specified in WIRING CHART,
page 6. Make ground connection to green grounding
terminal under motor canopy marked GRD. or .
5. Connect ground wire to a grounded lead in the
service panel or to a metal underground water pipe
or well casing at least 10 feet long. Do not connect
to plastic pipe or insulated fittings.
6. Protect current carrying and grounding conductors
from cuts, grease, heat, oil, and chemicals.
7. Connect current carrying conductors to terminals L1
and L2 under motor canopy. When replacing motor,
check wiring diagram on motor nameplate against
Figure 8, below. If the motor wiring diagram does not
match either diagram in Figure 8, follow the diagram
on the motor.
IMPORTANT: 115/230 Volt single phase models are
shipped from factory with motor wired for 230 volts.
If power supply is 115 volts, remove motor canopy
and reconnect motor as shown in Figure 8. Do not
try to run motor as received on 115 volt current.
8. Motor has automatic internal thermal overload
protection. If motor has stopped for unknown
reasons, thermal overload may restart it
unexpectedly, which could cause injury or property
damage. Disconnect power before servicing motor.
9. If this procedure or the wiring diagrams are
confusing, consult a licensed electrician.
Connection diagram for dual voltage, single-phase
motors. Your dual-voltage motor’s terminal board
(under the motor end cover) will match one of the
diagrams below. Follow that diagram if necesary to
convert motor to 115 Volt power.
Connect power supply wires to L1 and L2. For 3-phase
motors, or if motor does not match these pictures,
follow the connection diagram on the motor nameplate.
THE MOTOR IS SET FOR 230 VOLTS
WHEN SHIPPED.
To change the motor to use 115 volts:
1. Turn off power
2. Remove the back motor cover.
3. Use a screwdriver or 1/2” wrench and turn the
voltage selector dial counterclockwise until 115
shows in the dial opening.
4. Reinstall the motor cover.
5

Operation
PRIMING THE PUMP
NOTICE: ‘Priming’ refers to the pump expelling all air
in the system and beginning to move water from its
source out into the system. It does not refer only to
pouring water into the pump (although pouring water in
is usually the first step).
NOTICE: NEVER run pump dry. Running pump with-
out water in it will damage seals and can melt impeller
and diffuser. To prevent damage, fill pump with water
before starting.
1. Remove priming plug (Figure 10).
2. Make sure suction and discharge valves and any
hoses on discharge side of pump are open.
3. Fill pump and suction pipe with water.
4. Replace priming plug, using PTFE pipe thread
sealant tape on thread; tighten plug.
NOTICE: If a priming tee and plug have been provided
for a long horizontal run, be sure to fill suction pipe
through this tee and replace plug. (Don’t forget to tape
the plug.)
6
20 100
80
60
40
3025 0997
Figure 10 – Remove Priming Plug and Fill Pump
Before Starting
WIRING CHART
Recommended Wire and Fuse Sizes
Branch DISTANCE IN FEET FROM MOTOR TO METER
Max. Fuse* 0’ - 50’ 51’ - 100’ 101’ - 200’ 201’ - 300’
Pump Load Rating*
Model HP Amps Volts/Hz/Ph Amps WIRE SIZE (AWG)
DS2HE-191PL 1 14.8/7.4 115/230/60/1 20/15 12/14 12/14 8/14 6/14
DS2HE3-191P 1 3.6/1.8 230/460/60/3 15/15 14/14 14/14 14/14 14/14
DS2HF-192PL 1-1/2 19.2/9.6 115/230/60/1 25/15 10/14 10/14 8/14 6/12
DS2HF3-192P 1-1/2 4.7/2.35 230/460/60/3 15/15 14/14 14/14 14/14 14/14
DS2HG-102L 2 24.0/12.0 115/230/60/1 30/15 12/14 10/14 6/14 6/12
DS2HG3-102 2 5.8/2.9 230/460/60/3 15/15 14/14 14/14 14/14 14/14
DS2HHG-53L 2-1/2 26.0/12.0 115/230/60/1 30/15 12/14 10/14 6/14 4/12
DS2HGH33-53 2-1/2 6.9/3.45 230/460/60/3 15/15 14/14 14/14 14/14 14/14
(*) Dual element or Fusetron time delay fuses recommended for all motor circuits.
Figure 8 – Changing the Voltage Setting
Figure 9 – Motor Set for 115 Volt Operation

5. Start pump: water should be produced in 10 mins.
or less, the time depending on depth to water (not
more than 20’) and length of horizontal run (10’ of
horizontal suction pipe = 1’ of vertical lift due to
friction losses in the pipe).
If no water is produced within 10 mins., stop pump,
release all pressure, remove priming plug, refill and
try again.
Hazardous pressure and risk of ex plo -
sion and scalding. If pump is run con ti nu ously at
no flow (that is, with discharge shut off or without
priming), water may boil in pump and piping
system. Under steam pressure, pipes may rupture,
blow off of fittings or blow out of pump ports and
scald anyone near.
To prevent explosion, do the following:
A. Be sure discharge (valve, pistol grip hose nozzle,
etc.) is open whenever pump is running.
B. If pump fails to produce water when attempting to
prime, release all pressure, drain pump and refill
with cold water after every two attempts.
C. When priming, monitor pump and piping tempera-
ture. If pump or piping begin to feel warm to the
touch, shut off pump and allow system to cool off.
Release all pressure in system and refill pump and
piping with cold water.
Maintenance
Pump and piping need not be disconnected to repair
or replace motor or seal (see Figure 14). If motor is
replaced, replace the shaft seal (Key No. 7, Page 12).
Keep one on hand for future use.
Be sure to prime pump before starting.
NOTICE: Check motor label for lubrication instructions.
The mechanical shaft seal in the pump is water
lubricated and self-adjusting.
NOTICE: Drain pump when disconnecting from service
or when it might freeze.
PUMP DISASSEMBLY
1. Disconnect power to motor.
NOTICE: Mark wires for correct assembly.
2. Remove capscrews holding seal plate to pump
body. Motor assembly and seal plate can now be
pulled away from pump body (Figure 14). CARE-
FULLY remove gasket.
CLEANING/REPLACING IMPELLER
NOTICE: First, follow instructions under “Pump Dis-
assembly”.
1. Remove screws fastening diffuser to seal plate;
re move diffuser (see Figure 15). Exposed impeller
can now be cleaned.
7
750 0993
Figure 11 – Run Ten Minutes or Less
20 100
80
60
40
3026 0997
Figure 12 – Do Not Run Pump with Discharge
Shut-off.
ON
OFF
1060B 0997
Figure 13 – Disconnect Power
3027 0997
Figure 14 – Slide Motor Back

2. If impeller must be replaced, loosen two machine
screws and remove motor canopy (see Figure 16).
3. Capacitor voltage may be hazardous.
To discharge capacitor, hold insulated handle
screwdriver BY THE HANDLE and short capacitor
terminals together (see Figure 16). Do not touch
metal screwdriver blade or capacitor terminals. If in
doubt, consult a qualified electrician.
4. Unscrew capacitor clamp and remove capacitor. Do
not disconnect capacitor wires to motor.
5. Slide 7/16” open end wrench in behind spring
loaded switch on motor end of shaft; hold motor
shaft with wrench on shaft flats and unscrew
impeller screw (if used) by turning clockwise (left
hand thread) when looking into eye of impeller.
6. Unscrew impeller while holding shaft by turning
counterclockwise while looking into eye of impeller.
7. To reinstall, reverse steps 1 through 6.
8. See directions under “Pump Reassembly,” Page 9.
REMOVING OLD SEAL
1. Follow instructions under “Pump Disassembly”.
2. Follow steps 2 through 5 under “Cleaning/Replacing
Impeller”.
3. Remove rotating half of seal by placing two screw-
drivers under seal ring and carefully prying up
(Figure 17).
4. Remove nuts from studs holding seal plate to motor.
Carefully slide seal plate off of shaft.
NOTICE: Be sure you do not scratch or mar shaft;
if shaft is marred, it must be dressed smooth with
fine emery or crocus cloth before installing new seal.
DO NOT reduce shaft diameter!
5. Place seal plate half face down on flat surface and
tap out stationary half of seal (see Figure 18).
INSTALLING NEW SEAL
1. Clean seal cavity in seal plate.
2. Wet outer edge of Rubber Cup on ceramic seat
with liquid soap. Use sparingly!
3. Put clean cardboard washer on seal face. With
thumb pressure, press ceramic seal half firmly and
squarely into seal cavity (See Figure 19). Polished
face of ceramic seat is up. If seal will not seat
correctly, remove, placing seal face up on bench.
Reclean cavity. Seal should now seat correctly.
4. If seal does not seat correctly after recleaning
cavity, place a cardboard washer over polished
seal face and carefully press into place using a
piece of standard 3/4” pipe as a press.
NOTICE: Be sure you do not scratch seal face.
8
3029 0997
Figure 17 – Remove Seal plate
3030 0997
Figure 18 – Tap Out Seal
3028 0997
Figure 15 – Remove Diffuser
739 0993
Figure 16 – Hold Shaft
To avoid electrical
shock hazard, use
insulated-handle
screwdriver to short
capacitor terminals
as shown.

5. Dispose of cardboard washer and recheck seal
face to be sure it is free of dirt, foreign particles,
scratches and grease.
6. Inspect shaft to be sure it is free of nicks and
scratches.
7. Reassemble pump body half to motor flange.
BE SURE it is right side up.
8. Apply liquid soap sparingly (one drop is sufficient)
to inside diameter of rotating seal member.
9. Slide rotating seal member (carbon face first) onto
shaft until rubber drive ring hits shaft shoulder.
NOTICE: Be sure not to nick or scratch carbon face of
seal when passing it over threaded shaft end or shaft
shoulder. The carbon surface must remain clean or
short seal life will result.
10. Hold motor shaft with 7/16” open end wrench on
shaft flats and screw impeller onto shaft. Be sure
you do not touch capacitor terminals with
body or any metal object. Tightening impeller will
automatically locate seal in correct position.
11. Replace impeller screw (if used) by turning
counterclockwise (left-hand thread) into end of
shaft.
12. Remount diffuser on seal plate with two screws.
13. Follow instructions under “Pump Reassembly”.
PUMP REASSEMBLY
1. Clean gasket surfaces on pump body and seal plate;
install new gasket.
2. Slide motor/seal plate assembly into pump body.
Secure with capscrews.
3. Replace base mounting bolts.
4. Replace motor wiring; close draincock.
5. Prime pump according to instructions.
See “Opera tion.”
6. Check for leaks.
9
3031 0997
Figure 19 – Press in New Seal
1072 0697
Ceramic
Face Carbon
Face
Be Careful That
Motor Shaft Shoulder...
...Does Not Damage
Seal Face
Figure 20 – Protect Seal Faces
739 0993
Figure 21 – Hold Shaft
To avoid electrical
shock hazard, use
insulated-handle
screwdriver to short
capacitor terminals
as shown.
3027 0997
Figure 22 – Assemble Pump

10
Troubleshooting Chart
SYMPTOM POSSIBLE CAUSE(S) CORRECTIVE ACTION
Motor will not run Disconnect switch is off Be sure switch is on
Fuse is blown Replace fuse
Starting switch is defective Replace starting switch
Wires at motor are loose, Refer to instructions on wiring. Check and tighten all wiring.
disconnected, or wired incorrectly
Capacitor voltage may be hazardous. To discharge
capacitor, hold insulated handle screwdriver BY THE HANDLE and
short capacitor terminals together. Do not touch metal screwdriver
blade or capacitor terminals. If in doubt, consult a qualified
electrician.
Motor runs hot and Motor is wired incorrectly Refer to instructions on wiring
overload kicks off Voltage is too low Check with power company. Install heavier wiring if wire size is too small
(See Electrical, Page 5)
Motor runs but no *Pump in new installation did In new installation:
water is delivered not pick up prime through:
1. Improper priming 1. Re-prime according to instructions
2. Air leaks 2. Check all connections on suction line
3. Leaking foot valve 3. Replace foot valve
*Pump has lost prime through: In installation already in use:
1. Air leaks 1. Check all connections on suction line and shaft seal
2. Water level below suction of pump 2. Lower suction line into water and re-prime. If receding water level
in well exceeds suction lift, a deep well pump is needed
Impeller is plugged Clean impeller; see Maintenance
Check valve or foot valve is stuck Replace check valve or foot valve
in closed position
Pipes are frozen Thaw pipes. Bury pipes below frost line. Heat pit or pump house.
Foot valve and/or strainer are Raise foot valve and/or strainer above well bottom
buried in sand or mud
Pump does not Water level in well is lower than A deep well jet pump may be needed (over 20 ft. to water)
deliver water to full estimated
capacity (Also Steel piping (if used) is corroded or Replace with plastic pipe where possible, otherwise with new steel pipe
check point 3 limed, causing excess friction
immediately above) Offset piping is too small in size Use larger offset piping
*(Notice: Check
prime before
looking for other
causes. Unscrew
priming plug and
see if there is
water in priming
hole.)

MODEL NUMBER
DS2HE-191PL DS2HF-192PL DS2HG-102L DS2HHG-53L
Key Part DS2HE3-191P DS2HF3-192P DS2HG3-102 DS2HHG3-53
No. Description 1 HP 1-1/2 HP 2 HP 2-1/2 HP
1 Motor, 115/230V, 1 Phase A100ELL A100FLL — —
1 Motor, 230V, 1 Phase — — A100GSLL AE100G5LL
1 Motor, 230/460V, 3 Phase AP100EL AP100FL AP100GL AP100G5L
2 Water Slinger 17351-0009 17351-0009 17351-0009 17351-0009
3 Seal Plate C3-155 C3-155 C3-117 C3-117
4 Gasket - Seal Plate C20-86 C20-86 C20-87 C20-87
5 Shaft Seal U109-6A U109-6A U109-6A U109-6A
6 Impeller C105-92PKB C105-92PCB C105-214PDA C105-214PA
6A Impeller Screw (1 Phase) — — C30-14SS C30-14SS
6A Impeller Screw (3 Phase) C30-14SS C30-14SS C30-14SS C30-14SS
7 Diffuser C101-276P C101-276P C101-182 C101-182
7B Screw 1/4-20 x1” Lg.(2) U30-696SS U30-696SS — —
7B Machine screw 8-32x7/8” Lg. (2) — — U30-53SS U30-53SS
8 Diffuser Ring C21-10 C21-10 C21-2 C21-2
9 Pump Body Assembly C176-49B C176-49B C76-50 C76-50
10 Base U4-5 U4-5 U4-5 U4-5
11 Pipe Plug 3/4” NPT - Sq. Hd. U78-60ZPS U78-60ZPS U78-60ZPS U78-60ZPS
12 Plug 1/4” NPT Hex. Hd. U78-941ZPV U78-941ZPV U78-941ZPV U78-941ZPV
13 Capscrew 3/8-16x3/4” Lg (6) U30-72ZP U30-72ZP — —
13 Capscrew 5/16-18x3/4” Lg.(8) — — U30-60ZP U30-60ZP
14 3/8-16x1” Capscrew (4) U30-74ZP U30-74ZP U30-74ZP U30-74ZP**
• Lockwasher3/8”(4) U43-12ZP U43-12ZP — —
• Lockwasher-3/8”(2) U43-12ZP U43-12ZP U43-12ZP U43-12ZP
• Capscrew3/8-16x5/8”Lg(2) U30-71ZP U30-71ZP U30-71ZP U30-71ZP
•Notillustrated
** Model DSHHG-53L uses U30-99S.
NOTE: Quantity is one unless otherwise noted ( ).
2419A 0605
1
2
3
14
13 7A
7B
10
12
11
5
6
7
8
6A
4
9
11

12
Limited Warranty
STA-RITE warrants to the original consumer purchaser (“Purchaser” or “You”) of the products listed below, that they will be free
from defects in material and workmanship for the Warranty Period shown below.
Product Warranty Period
Water Systems Products — jet pumps, small centrifugal pumps,
submersible pumps and related accessories
whichever occurs first:
12 months from date of original installation,
or 18 months from date of manufacture
Pro-Source™ Composite Tanks 5 years from date of original installation
Pro-Source™ Steel Pressure Tanks 5 years from date of original installation
Pro-Source™ Epoxy-Lined Tanks 3 years from date of original installation
Sump/Sewage/Effluent Products 12 months from date of original installation, or
18 months from date of manufacture
Our warranty will not apply to any product that, in our sole judgement, has been subject to negligence, misapplication,
improper installation, or improper maintenance. Without limiting the foregoing, operating a three phase motor with single phase
power through a phase converter will void the warranty. Note also that three phase motors must be protected by three-leg,
ambient compensated, extra-quick trip overload relays of the recommended size or the warranty is void.
Your only remedy, and STA-RITE’s only duty, is that STA-RITE repair or replace defective products (at STA-RITE’s choice). You
must pay all labor and shipping charges associated with this warranty and must request warranty service through the installing
dealer as soon as a problem is discovered. No request for service will be accepted if received after the Warranty Period has
expired. This warranty is not transferable.
STA-RITE SHALL NOT BE LIABLE FOR ANY CONSEQUENTIAL, INCIDENTAL, OR CONTINGENT DAMAGES WHATSOEVER.
THE FOREGOING WARRANTIES ARE EXCLUSIVE AND IN LIEU OF ALL OTHER EXPRESS AND IMPLIED WARRANTIES,
INCLUDING BUT NOT LIMITED TO THE IMPLIED WARRANTIES OF MERCHANTABILITY AND FITNESS FOR A PARTICULAR
PURPOSE. THE FOREGOING WARRANTIES SHALL NOT EXTEND BEYOND THE DURATION EXPRESSLY PROVIDED HEREIN.
Some states do not allow the exclusion or limitation of incidental or consequential damages or limitations on the duration of an
implied warranty, so the above limitations or exclusions may not apply to You. This warranty gives You specific legal rights and
You may also have other rights which vary from state to state.
This Limited Warranty is effective June 1, 2011 and replaces all undated warranties and warranties dated before June 1, 2011.
STA-RITE INDUSTRIES
293 Wright Street • Delavan, WI U.S.A. 53115
Phone: 1-888-782-7483 • Fax: 1-800-426-9446 • Web Site: sta-rite.com