548391 2 Liberty Pro380 Series Installation Instructions
548393 2 Liberty Pro680 Series Installation Instructions 548393_2_Liberty Pro680 Series Installation Instructions
548394 2 Liberty Pro680 Series Installation Instructions 548394_2_Liberty Pro680 Series Installation Instructions 548394_2_Liberty Pro680 Series Installation Instructions pdf pumpproducts
548391 2 Liberty Pro680 Series Installation Instructions 548391_2_Liberty Pro680 Series Installation Instructions 548391_2_Liberty Pro680 Series Installation Instructions pdf pumpproducts
548392 2 Liberty Pro680 Series Installation Instructions 548392_2_Liberty Pro680 Series Installation Instructions 548392_2_Liberty Pro680 Series Installation Instructions pdf pumpproducts
: Pump 548391 2 Liberty Pro380 Series Installation Instructions 548391_2_Liberty Pro380 Series Installation Instructions pdf
Open the PDF directly: View PDF
.
Page Count: 36

©Copyright 2015 Liberty Pumps Inc. All Rights Reserved.
IMPORTANT:
Prior to installation, record Model, Serial Number,
and Code Number from pump nameplate for future
reference.
MODEL ________________________
SERIAL ________________________
CODE ________________________
INSTALLATION
DATE ________________________
Pumps
7000 Apple Tree Avenue
Bergen, NY 14416
Phone: (800) 543-2550
Fax: (585) 494-1839
www.libertypumps.com
Contents
1.) General Information
2.) The Basin
3.) Installation and Connections
4.) QuickTree® and Access Cover
5.) Electrical Service and Operation
6.) Maintenance and Troubleshooting
Installation Manual 7225000G
Pro-Series Sewage Systems
Models
Pro370-Series
21” x 30” System
41 Gallons
Pro380-Series
24” x 24” System
41 Gallons
Pro680-Series
28” x 24” System
46 Gallons

2
Before installation, read the following instructions carefully. Each Liberty pump is individually factory tested to ensure proper
performance. Closely following these instructions will eliminate potential operating problems, assuring years of trouble-free service.
Risk of electric shock. To reduce risk of electric shock, always disconnect pump from power source before handling.
The electrical connections and wiring for a pump installation should only be made by qualified personnel.
This pump is supplied with a grounding conductor or a grounding-type attachment plug. To reduce the risk of electric shock,
be certain that the grounding conductor is connected only to a properly grounded control panel or, if equipped with a
grounding-type plug, that it is connected to a properly grounded, grounding-type receptacle.
Do not bypass grounding wires or remove ground prong from attachment plugs.
Do not remove cord and strain relief, and do not connect conduit to pump.
Do not use an extension cord.
This pump requires separate, properly fused and grounded branch circuit. Make sure the power source is properly sized for
the voltage and amperage requirements of the motor, as noted on the pump nameplate.
The electrical outlet or panel shall be within the length limitations of the pump power cord, and at least 4 feet above floor level
to minimize possible hazards from flood conditions.
These pumps are not to be installed in locations classified as hazardous in accordance with the National Electric Code,
ANSI/NFPA 70.
The installation must be in accordance with the National Electric Code and all applicable local codes and ordinances.
Do not use these pumps in water over 140F.
The Uniform Plumbing Code (UPC) states that sewage systems shall have an audio and visual alarm that signals a
malfunction of the system, to reduce the potential for property damage.
Pro-Series System: The Pro-Series 370, 380, and 680 systems are shipped from the factory fully assembled with a wide range of
possible pumps. The following chart lists the pumps available in the Pro370, Pro380, and Pro680. Your specific pump is identified by
the model number on the nameplate attached to the Pro-Series cover.
Systems ordered with alarm option have an “/A” suffix designating the alarm. “/A2” …ALM-2, “/A2W” …ALM-2W, “/A3” …ALM-3
Side discharge systems will have SD attached to the pump model. “P382LE41SD-2, P382LE51SD-2/A2W, …”
MODEL SPECIFICATIONS
System Model
Pump
Model
HP
Volts
Phase
Full Load
Amps
Solids
Handling
Discharge
Shut-off
Head (no-flow)
P372LE41, P382LE41(V)
P382LE41SD
P373LE41, P383LE41
P682XLE41
LE41M
LE41A
LE41M
LE41M
4/10
4/10
4/10
4/10
115
115
115
115
1
1
1
1
12
12
12
12*
2”
2”
2”
2”
2” FNPT
2” PVC NIPPLE
3” FNPT
2” FNPT
17’
17’
17’
17’
P372LE51, P382LE51(V)
P382LE51SD
P373LE51, P383LE51
P682XLE51
LE51M
LE51A
LE51M
LE51M
1/2
1/2
1/2
1/2
115
115
115
115
1
1
1
1
12
12
12
12*
2”
2”
2”
2”
2” FNPT
2” PVC NIPPLE
3” FNPT
2” FNPT
25’
25’
25’
25’
P372LE52, P382LE52
P373LE52, P383LE52
P682XLE52
LE52M
LE52M
LE52M
1/2
1/2
1/2
208-230
208-230
208-230
1
1
1
6.8
6.8
6.8*
2”
2”
2”
2” FNPT
3” FNPT
2” FNPT
25’
25’
25’
P372LE71, P382LE71
P373LE71, P383LE71
LE71M
LE71M
3/4
3/4
115
115
1
1
12
12
2”
2”
2” FNPT
3” FNPT
28’
28’
P372LE72, P382LE72
P373LE72, P383LE72
LE72M
LE72M
3/4
3/4
208-230
208-230
1
1
6
6
2”
2”
2” FNPT
3” FNPT
28’
28’
P372LE102, P382LE102
P373LE102, P383LE102
LE102M
LE102M
1
1
208-230
208-230
1
1
7
7
2”
2”
2” FNPT
3” FNPT
36’
36’
NOTE: LEH-Series High-Head pumps require a minimum application of 15’ head.
P372LEH102, P382LEH102
P373LEH102, P373LEH102
LEH102M
LEH102M
1
1
208-230
208-230
1
1
12
12
2”
2”
2” FNPT
3” FNPT
53’
53’
1. General Information
Note: (V) denotes that the system is available with a vertical float.
*Amperage values are shown per pump. In a duplex system (P680), electrical service should be sized to accommodate both pumps.

3
In most systems, pump and alarm floats are pre-set on the QuickTree® system at proper operating levels. Do not adjust floats.
Was your system sized by a professional? Minimum fluid flows are required in sewage applications. Consult Factory for proper pump
sizing prior to installation.
QuickTree® Technology: The Pro-Series basins by Liberty Pumps (excluding side discharge models) feature new QuickTree® float
system technology. The QuickTree® system is located under a separate access cover for ease of maintenance and service. Floats for
both pump activation and alarm (if equipped) are mounted on a stainless steel tree (rod), separate from the pump. There is no need to
disconnect plumbing or remove the pump to inspect service or replace floats. QuickTree® floats are preset at the factory for optimum
operating levels and should not be adjusted.
The Pro-Series Systems features a clear disposable construction cover designed to protect the system during rough-in and masonry
work. The protective cover should remain in place until finish plumbing; however, can be removed and reinstalled if required. The
cover is snapped into the threaded ports of the discharge and vent. To remove the clear cover, simply pull upward disengaging it from
the discharge and vent holes.
In Ground Installation of Pro-Series Basins
A. Excavation: Excavate the hole as small as possible, with a minimum recommended 8" diametrical clearance around the tank.
Never place the basin directly in contact with rocks or other sharp objects. Place only fine, 1/8" to 3/4" pea gravel or 1/8" to 1/2"
washed, crushed stone as bedding between the basin and the hole walls. Do not use sand or native soil as backfill. Properly
compact underneath the basin to provide a solid, level base that can support the weight of the filled basin. It is recommended that
the top lip of the basin be level with the finished floor.
B. Initial Backfill: Only fine, 1/8" to 3/4" pea gravel or 1/8" to 1/2" washed, crushed stone should be used around the bottom of the
basin to hold it in place. Do not use sand or native soil as backfill. Make the inlet connection as required for your basin.
C. Inlet Connection: The Liberty Pro-Series basins have a 4" inlet molded to the side of the tank. This inlet is sized to accept a 4"
no-hub type coupling. Connect the gravity drainage line from the fixtures to this hub.
D. Final Backfill: Large rocks, clods, and foreign objects should be kept out of the backfill material. Only fine, 1/4" to 3/4" pea
gravel, or 1/8" to 1/2" washed, crushed stone is recommended. Do not use sand or native soil as backfill. Mound the backfill
slightly and allow for natural settling. Provide access to the basin cover for maintenance and service.
Do not exert heavy pressure or run heavy equipment on the backfill material as this could cause the
tank to collapse.
Dimensional Data
2. The Basin
Pro370
Pro380
Pro380 Side Discharge
Pro680

4
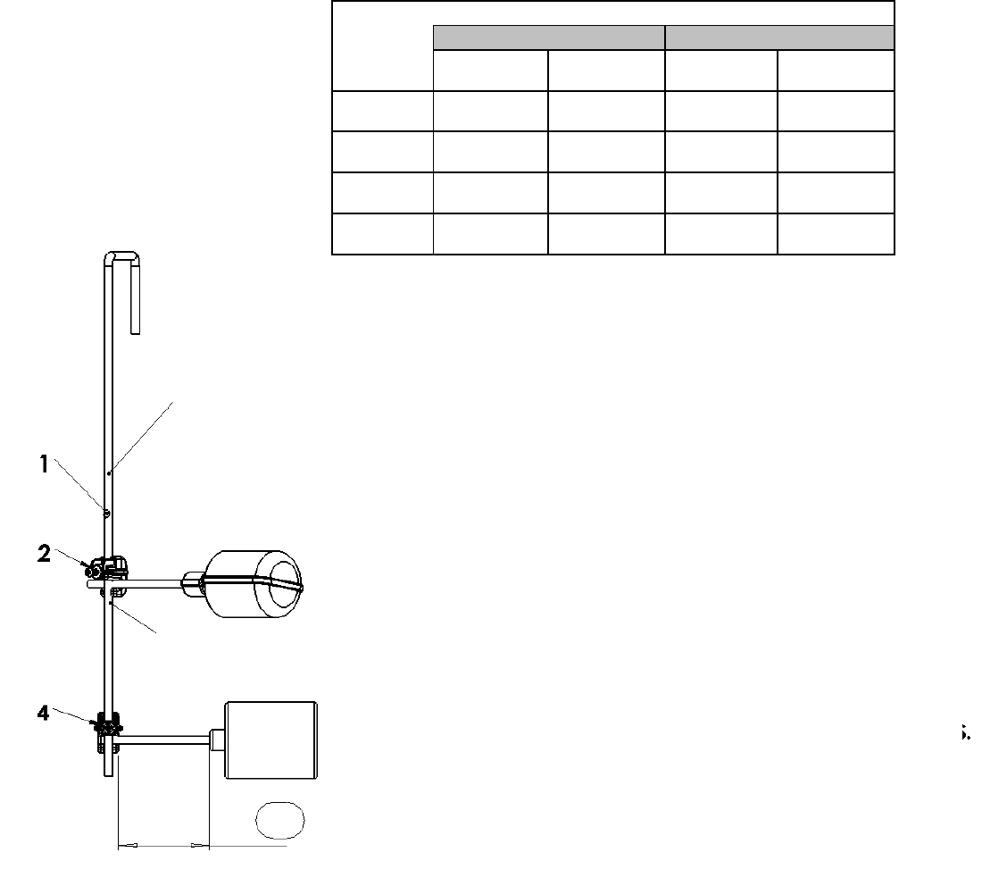
A. Discharge: Using an adapter, connect the discharge pipe to the threaded
2” or 3” port provided on the cover (or the 2” PVC nipple used on side
discharge models). IMPORTANT: Do not reduce the discharge pipe
size below that which is provided on the pump. Sewage pumps should
not be smaller than 2". In some applications, it may be necessary to
increase the pipe size to reduce friction losses. Contact Liberty Pumps if
you have questions regarding proper pipe sizes and flow rates. Install the
remaining discharge line. In vertical discharge applications, a union should
be installed just above the cover to facilitate pump removal if necessary
(side discharge applications are equipped with an in-basin union).
In both vertical and side discharge models, a check valve is recommended after the union to prevent the backflow of liquid after
each pumping cycle. A gate or ball valve should follow the check valve to allow periodic cleaning of the check valve or removal of
the pump. The remainder of the discharge line should be as short as possible with a minimum number of turns, to minimize friction
head loss. Do not restrict the discharge below 2" in sewage applications. Larger pipe sizes may be required to eliminate friction
head loss over long runs. Contact Liberty Pumps or other qualified person if there are questions regarding proper pipe size and
flow rates.
B. Vent: On vertical discharge P370 and P380 models, a threaded 2” or 3” connection is provided on top of the cover. On P680
models a 2” or 3” slip type Uni-Seal is provided. The vent must be piped to the existing building vent, or extended outside on its
own standpipe. On both side and vertical discharge systems, the vent size should be in accordance with applicable codes, but not
less than the discharge size.
Note: Pro-Series systems shipped with steel pipe option have a rubber grommet seal on the discharge instead of female NPT
connections.
Vertical Discharge P380
3. Installation and Connections
Side Discharge P380
P680
(Vertical Discharge only)

5
Typical Installation
This is a recommended vertical discharge installation only. Variations may apply.

6
Vertical discharge Pro-Series P370, P380 and P680 systems feature QuickTree® technology. The QuickTree® float system uses a
stainless steel mounting rod (tree) and specially designed cord clamping brackets to affix the pump float and (optional) alarm float in the
system. All floats are pre-set at the factory at optimum levels and do not require adjustment. NOTE: Field adjusting floats
may cause improper activation or turn-off of the pump and optional alarm.
QuickTree® removal and float inspection: The QuickTree® system is located under the separate access cover to help ease
inspection, service, and replacement of a float. To inspect the float(s), simply unbolt the access cover and lift out the QuickTree®
assembly from its holder. There is no need to disconnect plumbing or remove the pump. Vertical discharge Pro-Series systems
feature a manual LE-series pump (with no switch attached directly to the pump). Operation of the pump is accomplished by the
QuickTree® system. Note: Side discharge Pro-Series systems are equipped with an automatic LE-series pump.
Re-inserting the QuickTree®: After service or inspection of the floats, re-insert the QuickTree® into its holder. Cords from the pump,
float switch and optional alarm need to be properly sealed as described below in the Integrated Cord Seal System.
Integrated Cord Seal System: It is important that cords from the pump motor, float switch and optional alarm float are sealed in the
specially designed rubber sealing channels under the access cover. Proper sealing is required to keep sewer gas from leaking from the
system. Place the cords securely in the rubber channels as shown in FIGURE B. being careful to remove excessive cord “slack” from
inside the system. IMPORTANT: Three cord channels are provided. For systems without the alarm option, only two channels will be
used and the third must be “plugged” with an attached rubber plug seal. SEE FIGURE C. If the alarm cord is present, all three
channels will be used. All rubber cover gaskets are permanently attached and do not require replacement.
IMPORTANT: Proper cord sealing – behind QuickTree® rod
RUBBER PLUG SEAL
4. QuickTree® and Access Cover

7
QuickTree® settings for Vertical Discharge Pro370 and Pro380 Systems:
When servicing the QuickTree®, place the switch cord into the trough or channel and then slip the stainless steel rod through the
clamp. Tighten the screw with a Phillips screw driver, being sure not to over tighten. Flats have been stamped on the rod to designate
float position, and the screw should be tightened onto the flat. The tether length is the amount of cord between the clamp and float.
TETHER LENGTH (SWITCH TO CLAMP)
ROD
POSITION Alarm Float Control Float Alarm Float Control Float
1 3.5"
2 3.5"
3 3.0"
4 3.5"
Pro370
Pro380 and Pro680

8
Fig. 5 – Direct Wiring of 115V or 208-230V,
Single Phase, Automatic Pumps
TEMPORARY
MANUAL
OPERATION
DO!
DON’T!
Fig. 4 Piggyback plug installation.
Risk of electric shock. Always disconnect the pump from the power source before handling or making adjustments.
The electrical connections and wiring for a pump installation should only be made by qualified personnel.
This pump is supplied with a grounding conductor or a grounding-type attachment plug. To reduce the risk of electric shock, be
certain that the grounding conductor is connected only to a properly grounded control panel or, if equipped with a grounding-type
plug, that it is connected to a properly grounded, grounding-type receptacle.
Do not bypass grounding wires or remove ground prong from attachment plugs.
Do not remove cord and strain relief, and do not connect conduit to pump.
Do not use an extension cord.
This pump requires separate, properly fused and grounded branch circuit. Make sure the power source is properly sized for the
voltage and amperage requirements of the motor, as noted on the pump nameplate.
The electrical outlet or panel shall be within the length limitations of the pump power cord, and at least 4 feet above floor level to
minimize possible hazards from flood conditions.
The installation must be in accordance with the National Electric Code and all applicable local codes and ordinances.
All P370 and vertical discharge P380 & P680 models come factory-equipped with the float switch mounted on the QuickTree®
assembly. These models come with two cords - one to the float switch and the other to the pump motor. The switch cord has a series
(piggyback) plug enabling the pump (motor) cord to be plugged into the back of it (See Fig.4). The purpose of this design is to allow
manual operation of the pump.
For automatic operation the two cords should be interconnected and plugged into a separately fused, grounded outlet of proper amp
capacity for your selected pump model. (See Section 1, General Information, or the pump nameplate for electrical specifications of
your model.) Both cords are equipped with 3-prong plugs and must be plugged into a properly grounded 3-wire receptacle. DO NOT
REMOVE THE GROUND PRONGS.
For manual operation, or in the event of switch failure, the
pump cord can be separated and plugged into the electrical
outlet, directly bypassing the switch. 208-230V single phase
pumps should only be operated without the float switch by
using the circuit breaker or panel disconnect. Do not let the
pump run dry for extended periods.
If the pump is to be wired directly into a control device or
junction box, and it is necessary to remove the plugs, have a
certified electrician do the wiring in accordance with the
National Electric Code and applicable local codes. See Fig. 5
for direct wire installation of single phase, automatic pumps.
In 208-230V installations, one side on
the line going to the pump is always
“hot”, whether the float switch is on or
off. To avoid hazards, install a double
pole disconnect near the pump
installation.
5. Electrical Service and Operation

9
P680 duplex systems are connected to a controller that monitors the operation of the pumps. The controller will automatically alternate
the two pumps each cycle to maintain equal wear. It will also monitor for high water conditions and alarms if necessary. The controller
has visual indicators that show the operation of the sump as well as operator controls to test functionality. The controller will also
identify a non-functioning component. For complete operation please reference the user manual for the controller.
Liberty offers both an indoor and outdoor version of the controller. Note, the cord ends must be removed in order to wire the outdoor
version.
MODELS:
PDC-115
PDC-230
(INDOOR)
MODELS:
PDCW-115
PDCW-230
(OUTDOOR)

10
Risk of electric shock. Always disconnect the pump from the power source before handling or making
adjustments.
NOTE: Liberty Pumps, Inc. assumes no responsibility for damage or injury due to disassembly in the field. Disassembly, other than at
Liberty Pumps or its authorized service centers, automatically voids warranty.
Problem
Cause
Correction
Pump will not run.
Blown fuse or other interruption of
power; improper voltage.
Check that the unit is securely plugged in.
Have an electrician check all wiring for proper
connections and adequate voltage and
capacity.
Switch is unable to move to the
“turn on” position due to
interference with the side of basin
or other obstruction
Position the pump or switch so that it has
adequate clearance for free operation.
Insufficient liquid level.
Make sure the liquid level is allowed to rise
enough to activate switch(s).
Defective switch.
Remove and replace switch.
Pump will not turn
off.
Switch(s) unable to move to the
“turn off” position due to
interference with the side of basin
or other obstacle.
Position the pump or switch so that it has
adequate clearance for free operation.
Defective switch.
Remove and replace switch.
Pump runs or hums,
but does not pump.
Discharge is blocked or restricted.
Check the discharge line for foreign material,
including ice if the discharge line passes
through or into cold areas.
Check valve is stuck closed or
installed backwards.
Remove check valve(s) and examine for
freedom of operation and proper installation.
Gate or ball valve is closed.
Open gate or ball valve.
Total lift is beyond pump's
capability.
Try to route piping to a lower level. If not
possible, a larger pump may be required.
Consult the factory.
Pump impeller is jammed or volute
casing is plugged.
Remove the pump from the basin. Detach the
pump base and clean the area around the
impeller. Reassemble and reinstall.
Pump runs
periodically when
fixtures are not in
use.
Check valve was not installed, is
stuck open or is leaking.
Remove check valve(s) and examine for
freedom of operation and proper installation.
Fixtures are leaking.
Repair fixtures as required to eliminate leakage.
Pump operates
noisily.
Foreign objects in the impeller
cavity.
Remove the pump from the basin. Detach the
pump base and clean the area around the
impeller. Reassemble and reinstall.
Broken impeller.
Consult the factory for information regarding
replacement of impeller.
Worn bearings.
Return pump to the factory or authorized repair
station for repair.
Piping attachments to building are
too rigid.
Replace a portion of the discharge line with
rubber hose or connector.
6. Maintenance and Troubleshooting

11
Supplemental Installation Instructions
PRO 370XL/380XL/680XL Series 10’ stack test basins
XL Series sewage ejector basins are designed to withstand the 10’ stack test required by some municipalities. Proper installation of the
specified cover flange is essential to ensure that the test is met. Strict adherence to these instructions is required. Under no
circumstances should the cover be installed in a manner inconsistent with these instructions.
Types of Systems:
XL Series Basins are available as Fully Assembled Systems complete with pump and discharge piping, as Basin and Cover Assembly
Kits with no pump or plumbing, and as Basins only. Please follow the instructions below as required to correspond to the type of
system you have.
Basin Installation:
1. For all systems refer to the primary instructions as supplied with this Ejector System or Basin for excavating the pit, plumbing
connections, and backfilling.
2. If the top of the 370XL, 380XL, 680XL Series basin is below grade, an access riser model ARC18 is required. The maximum
burial depth of 18" with respect to the top of the basin. Consult Liberty Pumps or your distributor for more information on ARC
Series Access Risers. 1-800-543-2550.
Installing the pump in the XL Series Basin or XL Basin and Cover Assembly Kit:
1. Liberty Pumps XL Series Basins as purchased separately will require the appropriate 16-bolt Pro-Series cover assembly to make
an effectively sealed ejector system. Contact the factory for the proper cover for your application.
2. Size the length of the discharge piping to reach from the discharge of the pump to be within the discharge pipe socket with integral
lip seal on the underside of the Pro-Series cover. Liberty Pumps sewage pumps will use threaded-one-end (TOE) nipples of
23.75" length for 370XL Series Basins, or 17.50" long for 380XL and 680XL Series Basins. Install the pipe into the threaded
discharge of the pump.
3. Lower the pump into the basin, fitting the pump legs into the Torque Stops.
4. Insert power cord for the pump -- and the piggyback switch cord, if so equipped -- through the underside of the inspection cover
hole and position cover over pipe nipple while aligning the bolt holes. Use sixteen 1/4 - 20 UNC bolts and washers to secure cover
to the basin. Tighten bolts to 40 inch-pounds. WARNING: Do not over tighten bolts. The soft, integral gasket will conform to the
top of the tank. The bolts may be re-torqued up to 60 inch-pounds to seal any leaks that may occur during a 10' stack test.
Additionally, a small amount of RTV silicone sealant may be used should the gasket or inserts be damaged.
5. Liberty Pumps recommends the use of manual type pumps and the appropriate Liberty QuickTree® Switch Kit for mounting of
pump control and alarm floats. Contact the factory for ordering information. Install the QuickTree® Kit per the instructions included.
Liberty Pumps automatic type pumps with piggyback float switches may also be used. Lay the power cable and switch cable in the
grooves in the inspection cover recess as is shown in the primary instructions as included with this system. Attach the inspection
cover to the main cover using six 1/4 - 20 UNC bolts and washers. Tighten the bolts furthest away from the power cord grooves
first, torqueing to 40 inch-pounds. WARNING: Do not over tighten bolts. The soft, integral gasket will conform to the top of the
cover and power cords. The bolts may be re-torqued up to 60 inch-pounds to seal any leaks that may occur during a 10' stack test.
Additionally, a small amount of RTV silicone sealant may be used should the gasket or inserts be damaged.
370XL and 380XL Series Basins IAPMO listed, # 4361

12
NOTE: Liberty Pumps, Inc. assumes no responsibility for damage or injury due to disassembly in the field. Disassembly,
other than at Liberty Pumps or its authorized service centers, automatically voids warranty.
Liberty Pumps, Inc. warrants that pumps of its manufacture are free from all factory defects in material and workmanship
for a period of 3 years from the date of purchase. The date of purchase shall be determined by a dated sales receipt
noting the model and serial number of the pump. The dated sales receipt must accompany the returned pump if the date
of return is more than 3 years from the "CODE" (date of manufacture) number noted on the pump nameplate.
The manufacturer's obligation under this Warranty shall be limited to the repair or replacement of any parts found by the
manufacturer to be defective, provided the part or assembly is returned freight prepaid to the manufacturer or its
authorized service center, and provided that none of the following warranty-voiding characteristics are evident.
The manufacturer shall not be liable under this Warranty if the product has not been properly installed; if it has been
disassembled, modified, abused or tampered with; if the electrical cord has been cut, damaged or spliced; if the pump
discharge has been reduced in size; if the pump has been used in water temperatures above the advertised rating, or
water containing sand, lime, cement, gravel or other abrasives; if the product has been used to pump chemicals or
hydrocarbons; if a non-submersible motor has been subjected to excessive moisture; or if the label bearing the serial,
model and code number has been removed. Liberty Pumps, Inc. shall not be liable for any loss, damage or expenses
resulting from installation or use of its products, or for consequential damages, including costs of removal, reinstallation or
transportation.
There is no other express warranty. All implied warranties, including those of merchantability and fitness for a particular
purpose, are limited to three years from the date of purchase.
This Warranty contains the exclusive remedy of the purchaser, and, where permitted, liability for consequential or
incidental damages under any and all warranties are excluded.
3 Year Limited Warranty
7000 Apple Tree Avenue
Bergen, NY 14416
Phone: (800) 543-2550
Fax: (585) 494-1839
www.libertypumps.com

©Copyright 2016 Liberty Pumps Inc. Todos los derechos reservados.
IMPORTANTE:
Antes de instalar la bomba, apunte el modelo, el
número de serie y el código que aparecen en la placa
de identificación de la bomba para que le sirvan de
referencia en el futuro.
MODELO ______________________________
NÚMERO DE SERIE ____________________
CÓDIGO ______________________________
FECHA DE
INSTALACIÓN __________________________
Bombas
7000 Apple Tree Avenue
Bergen, NY 14416
Teléfono: (800) 543-2550
Fax: (585) 494-1839
www.libertypumps.com
Índice
1.) Información general
2.) La cubeta
3.) Instalación y conexiones
4.) QuickTree® y tapa de acceso
5.) Servicio eléctrico y operación
6.) Mantenimiento y diagnóstico de
problemas
Manual de instalación 7225000G
Sistemas de aguas residuales serie profesional
Modelos
Serie Pro370
Sistema de 53.34 cm x 76.20 cm
(21 x 30 pulg.)
41 galones
Serie Pro380
Sistema de 60.96 cm x
60.96 cm (24 x 24 pulg.)
41 galones
Serie Pro680
Sistema de 76.20 cm x
60.96 cm (30 x 24 pulg.)
46 galones

©Copyright 2016 Liberty Pumps Inc. Todos los derechos reservados. 2
Lea con atención estas instrucciones antes de instalar la unidad. Todas las bombas de Liberty se someten individualmente a pruebas
en fábrica para garantizar un funcionamiento adecuado. Siga estas instrucciones al pie de la letra para prevenir problemas de
funcionamiento y asegurar años de servicio satisfactorio.
Riesgo de descarga eléctrica. Desenchufe la bomba siempre que vaya a moverla o a realizar algún ajuste, para evitar una
posible electrocución.
Solo personal cualificado deberá encargarse de instalar las conexiones y cables eléctricos necesarios para montar la bomba.
Esta unidad lleva un conector a tierra y un enchufe tomacorriente con conexión a tierra. Para reducir el riesgo de descargas
eléctricas, el conector de puesta a tierra tiene que estar conectado a un panel de control a tierra o si lleva un enchufe a tierra
tendrá que enchufarse a un tomacorriente conectado a tierra.
No derive los cables de puesta a tierra ni retire las espigas a tierra de los enchufes.
No quite el cable ni la protección contra tirones, y no conecte canal para cables a la bomba.
No use cables de extensión.
Con esta bomba, hay que utilizar un circuito derivado independiente conectado a tierra y con fusibles. La fuente de
alimentación tendrá que tener suficiente capacidad para cumplir los requisitos de voltaje y amperaje del motor, indicados en la
placa de la bomba.
El tomacorriente o panel deberá encontrarse al alcance del cable de alimentación de la bomba y a 1.22 metros (4 pies) como
mínimo por encima del piso para evitar problemas en caso de inundación.
Estas bombas no se deberán instalar en un lugar clasificado como peligroso según el Código eléctrico nacional de Estados
Unidos, ANSI/NFPA 70.
Se deberá instalar la unidad según las disposiciones del Código eléctrico nacional de Estados Unidos y todos los códigos y
reglamentos locales que correspondan.
La bomba no se debe utilizar con agua por encima de los 60 C (140 ° F).
El Código uniforme de plomería (UPC) de Estados Unidos exige que todos los sistemas de aguas residuales dispongan de
una alarma visual y sonora que indique averías del sistema con el fin de evitar daños a la propiedad.
Sistema serie profesional: los sistemas de la serie Pro370, Pro380 y Pro680 vienen completamente ensamblados de la fábrica con
una amplia variedad de bombas. En el cuadro a continuación se incluye una lista de las bombas disponibles para sistemas Pro370 y
Pro380. El número del modelo se puede encontrar en la placa que viene sobre la tapa de los sistemas serie profesional.
Los sistemas que vienen con la opción de alarma tienen el sufijo “/A” que indica el tipo de alarma. “/A2” …ALM-2, “/A2W” …ALM-2W,
“/A3” …ALM-3
Los sistemas de desagüe lateral tendrán marcado “SD” donde se encuentra el modelo de la bomba. “P382LE41SD-2, P382LE51SD-
2/A2W, …”
Nota: La (V) indica que el sistema está disponible con un flotador vertical.
ESPECIFICACIONES DEL MODELO
Modelo del sistema
Modelo de
bomba
HP
Voltios
Fase
Carga
total
Amperios
Tratamiento
de sólidos
Desagüe
Altura práctica con
válvula cerrada
(sin caudal)
P372LE41, P382LE41(V)
P382LE41SD
P373LE41, P383LE41
P682XLE41
LE41M
LE41A
LE41M
LE41M
4/10
4/10
4/10
4/10
115
115
115
115
1
1
1
1
12
12
12
12
5.08 cm (2 pulg.)
5.08 cm (2 pulg.)
5.08 cm (2 pulg.)
5.08 cm (2 pulg.)
5.08 cm (2 pulg.) FNPT
BOQUILLA, 5.08 cm
(2 pulg.) PVC
7.62 cm (3 pulg.) FNPT
5.08 cm (2 pulg.) FNPT
5.18 m (17 pies)
5.18 m (17 pies)
5.18 m (17 pies)
5.18 m (17 pies)
P372LE51, P382LE51(V)
P382LE51SD
P373LE51, P383LE51
P682XLE51
LE51M
LE51A
LE51M
LE51M
1/2
1/2
1/2
1/2
115
115
115
115
1
1
1
1
12
12
12
12
5.08 cm (2 pulg.)
5.08 cm (2 pulg.)
5.08 cm (2 pulg.)
5.08 cm (2 pulg.)
5.08 cm (2 pulg.) FNPT
BOQUILLA, 5.08 cm
(2 pulg.) PVC
7.62 cm (3 pulg.) FNPT
5.08 cm (2 pulg.) FNPT
7.62 m (25 pies)
7.62 m (25 pies)
7.62 m (25 pies)
7.62 m (25 pies)
P372LE52, P382LE52
P373LE52, P383LE52
P682XLE52
LE52M
LE52M
LE52M
1/2
1/2
1/2
208-230
208-230
208-230
1
1
1
6.8
6.8
6.8
5.08 cm (2 pulg.)
5.08 cm (2 pulg.)
5.08 cm (2 pulg.)
5.08 cm (2 pulg.) FNPT
7.62 cm (3 pulg.) FNPT
5.08 cm (2 pulg.) FNPT
7.62 m (25 pies)
7.62 m (25 pies)
7.62 m (25 pies)
P372LE71, P382LE71
P373LE71, P383LE71
LE71M
LE71M
3/4
3/4
115
115
1
1
12
12
5.08 cm (2 pulg.)
5.08 cm (2 pulg.)
5.08 cm (2 pulg.) FNPT
7.62 cm (3 pulg.) FNPT
8.53 m (28 pies)
8.53 m (28 pies)
P372LE72, P382LE72
P373LE72, P383LE72
LE72M
LE72M
3/4
3/4
208-230
208-230
1
1
6
6
5.08 cm (2 pulg.)
5.08 cm (2 pulg.)
5.08 cm (2 pulg.) FNPT
7.62 cm (3 pulg.) FNPT
8.53 m (28 pies)
8.53 m (28 pies)
P372LE102, P382LE102
P373LE102, P383LE102
LE102M
LE102M
1
1
208-230
208-230
1
1
7
7
5.08 cm (2 pulg.)
5.08 cm (2 pulg.)
5.08 CM (2 PULG.) FNPT
7.62 cm (3 pulg.) FNPT
10.97 m (36 pies)
10.97 m (36 pies)
NOTA: las bombas de elevación Serie LEH requieren una altura mínima de 4.57 m (15 pies).
P372LEH102, P382LEH102
P373LEH102, P373LEH102
LEH102M
LEH102M
1
1
208-230
208-230
1
1
12
12
5.08 cm (2 pulg.)
5.08 cm (2 pulg.)
5.08 cm (2 pulg.) FNPT
7.62 cm (3 pulg.) FNPT
16.15 m (53 pies)
16.15 m (53 pies)
1. Información general

©Copyright 2016 Liberty Pumps Inc. Todos los derechos reservados. 3
Pro380
Desagüe lateral Pro380
Pro370
Pro680
En la mayoría de los casos, los flotadores de alarma y de la bomba del sistema QuickTree® vienen de fábrica en los niveles de
operación correctos. No ajuste los flotadores.
¿Hizo medir su sistema por un profesional? En las aplicaciones de saneamiento se requiere un caudal de fluido mínimo. Comuníquese
con la fábrica para que le den el tamaño adecuado de bomba para su caso antes de la instalación.
Tecnología QuickTree®: Las cubetas de la serie profesional de Liberty Pumps (excepto los modelos de desagüe lateral) cuentan con
la tecnología del sistema de flotadores QuickTree®. El sistema QuickTree® está ubicado debajo de una tapa de acceso aparte para
facilitar su mantenimiento y servicio. Los flotadores de activación de la bomba y de la alarma (si vienen instalados) se deben montar en
una barra vertical de acero inoxidable aparte de la bomba. No es necesario que desconecte la tubería ni que quite la bomba cuando
vaya a inspeccionar o a reemplazar los flotadores. Los flotadores QuickTree® vienen configurados de la fábrica con los parámetros de
operación óptimos y no deben ser modificados.
Los sistemas de la serie profesional vienen con una tapa desechable transparente que sirve para proteger el sistema durante la
preparación del terreno y los trabajos de albañilería. La tapa de protección debe dejarse puesta hasta terminar los trabajos de
fontanería; sin embargo, si es necesario, puede quitarse y reemplazarse. La tapa se sujeta de los puertos roscados del desagüe y
respiradero. Para quitar la tapa, tire de ella para que se suelte de los orificios del desagüe y de la ventilación.
Instalación en tierra de las cubetas de la serie profesional
A. Excavación: excave un hoyo tan pequeño como sea posible, dejando un espacio libre de alrededor de 20.32 cm (8 pulg.) como
mínimo alrededor del tanque. No coloque la cubeta en contacto directo con rocas ni objetos cortantes. Instale gravilla fina de 0.31-1.90
cm (1/8-3/4 pulg.) o piedra pulverizada fina y lavada de 0.31-1.27 cm (1/8-1/2 pulg.) entre la cubeta y las paredes del hoyo. No utilice
arena ni tierra del suelo como relleno. Compacte la superficie sobre la que se asentará la cubeta para que quede sólida y nivelada y
pueda soportar el peso de la misma. Se recomienda que el borde superior de la cubeta esté nivelado con respecto al piso.
B. Relleno inicial: instale gravilla fina de 0.33-1.90 cm (1/8-3/4 pulg.) o piedra pulverizada fina y lavada de 0.33-1.27 cm
(1/8-1/2 pulg.) alrededor del fondo de la cubeta para sujetarla en su sitio. No utilice arena ni tierra del suelo como relleno. Instale
las tuberías de admisión que necesite su modelo de cubeta.
C. Conexión de admisión: las cubetas de la serie Liberty P370, P380, y P680 tienen una conexión de admisión de 10.16 cm (4
pulg.) moldeada sobre el costado del tanque. Está hecha para conectar un manguito (no para bocas de admisión) de 10.16 cm (4
pulg.). Conecte la línea de drenaje por gravedad de los accesorios a esta boca.
D. Relleno final: el relleno no debe contener rocas, terrones y otros objetos foráneos grandes. Sólo se recomienda usar gravilla fina
de 0.63-1.90 cm (1/4-3/4 pulg.) o piedra pulverizada fina y lavada de 0.31-1.27 (1/8-1/2 pulg.). No utilice arena ni tierra del suelo
como relleno. Forme un ligero montículo con el relleno y deje que se asiente naturalmente. Deberá dejarse acceso a la tapa para
tareas de mantenimiento y servicio.
No ejerza una presión excesiva ni trabaje con equipo pesado encima del material de relleno, ya
que esto podría hacer colapsar el tanque.
Dimensiones
2. La cubeta
DESAGÜE
DE PVC DE
5.08 CM
(2 PULG.)
SALIDA DEL CABLE
BOCA DE PVC DE
5.08 CM (2 PULG.)

©Copyright 2016 Liberty Pumps Inc. Todos los derechos reservados. 4
Desagüe vertical P380
ADMISIÓN
PLACA DEL NOMBRE
MODELO Y
NÚMERO DE SERIE
DESAGÜE
VENTILACIÓN
TAPA DE ACCESO/INSPECCIÓN
ALARMA (OPCIONAL,
VIENE EN LA PARTE
SUPERIOR DEL SISTEMA)
Desagüe lateral P380
PLACA DEL NOMBRE
Modelo y número de serie
Desagüe: Junta de PVC de
5.08 cm (2 pulg.)
Inspección /
Tapa de acceso
ADMISIÓN
Boca de salida del cable de
PVC de 5.08 cm (2 pulg.)
Desagüe P680
A. Desagüe: Conecte mediante un adaptador el tubo de desagüe al puerto roscado
de 5.08 cm (2 pulg.) a 7.62 cm (3 pulg.) que viene en la tapa (o en la boquilla de
5.08 cm (2 pulg.) de los modelos de desagüe lateral). IMPORTANTE: no
reduzca el tamaño de la tubería de desagüe por debajo del tamaño de la
salida de la bomba. En las bombas de aguas residuales no debe ser inferior a
5.08 cm (2 pulg.). En ciertos casos hará falta aumentar el tamaño de la tubería
para reducir las pérdidas por fricción. Comuníquese con Liberty Pumps si tiene
alguna pregunta sobre el tamaño de la tubería y el caudal.
Instale el resto de la línea de desagüe. En las aplicaciones de desagüe vertical, se debe instalar una junta justo encima de la tapa
para facilitar el desmontaje de la bomba si fuera necesario (las aplicaciones con desagüe lateral están equipadas con una junta en
la cubeta). En los modelos de desagüe vertical y desagüe lateral, se recomienda instalar una válvula de retención después de la
junta para evitar contraflujos después de un ciclo de bombeo. A continuación de la válvula de retención se deberá instalar una
válvula de compuerta para poder limpiar periódicamente la de retención y desmontar la bomba. El resto de la línea de desagüe
deberá ser tan corto como sea posible con el mínimo número de giros para evitar la pérdida de carga por rozamiento. El desagüe
no se deberá restringir por debajo de los 5.08 cm (2 pulg.) en aplicaciones de aguas residuales. En algunos casos se requerirán
tuberías más anchas para evitar las pérdidas de carga por rozamiento en trayectos largos. Comuníquese con Liberty Pumps o con
una persona calificada si tiene alguna pregunta sobre el tamaño de la tubería y el caudal.
B. Ventilación: En los modelos P370 y P380 con descarga vertical, se proporciona una conexión de rosca de 2 "o 3" en la parte superior de
la cubierta. En los modelos P680 se proporciona un Uni-Seal tipo deslizamiento de 2 "o 3". El respiradero debe ser conducido hacia el
respiradero ya existente en el edificio, o extenderlo hacia afuera en su propia tubería vertical. En ambos sistemas con descarga
horizontal y vertical, el tamaño del respiradero debe ser de acuerdo con los códigos aplicables, pero no menor al tamaño de la descarga.
NOTA: el desagüe de los sistemas de la serie profesional que vienen con el tubo de acero opcional tiene una arandela obturadora
de goma en vez de conexiones NPT hembra.
3. Instalación y conexiones
ADMISIÓN
VENTILACIÓN
ADMISIÓN OPCIONAL
PLACA DEL NOMBRE
Modelo y numero de serie
DESAGUE: 5.08 cm
(2 pulg.) NPT
INSPECCIÓN /
TAPA DE ACCESO

©Copyright 2016 Liberty Pumps Inc. Todos los derechos reservados. 5
Instalación típica
Esta es solo la instalación recomendada para aplicaciones de desagüe vertical. Pueden presentarse variaciones.
ALARMA (OPCIONAL)
VENTILACIÓN
JUNTA
VÁLVULA DE
RETENCIÓN
VÁLVULA DE BOLA
DESAGÜE
USE UN ESTILO SIN BOCA
CONECTOR
TUBERÍA DE ADMISIÓN
DE 10.16 CM (4 PULG.)
SISTEMA DE CONTROL
DOBLE PROVORE
USE UN CONECTOR DE
ESTILO SIN BOCA
TUBERÍA DE ADMISIÓN
DE 10.16 cm (4 pulg.)
VÁLVULA DE BOLA
VÁLVULA DE
RETENCIÓN
VENTILACIÓN
JUNTA
DESAGÜE

©Copyright 2016 Liberty Pumps Inc. Todos los derechos reservados. 6
Los sistemas de desagüe vertical de la serie profesional P370, P380, y P680 cuentan con la nueva tecnología QuickTree®. El sistema
de flotación QuickTree® usa una barra de montaje de acero inoxidable (árbol) y abrazaderas especialmente diseñadas para amarrar el
flotador de la bomba y el de alarma (opcional) al sistema. Todos los flotadores vienen configurados de la fábrica con los
parámetros de operación óptimos y no deben ser modificados. NOTA: el ajuste en campo de los flotadores podría provocar la
activación o desactivación inesperada de la bomba y alarma opcional.
Inspección de los flotadores y desmontaje de QuickTree®: el sistema QuickTree® está colocado debajo de una tapa de acceso
aparte para facilitar la inspección, servicio y reemplazo de los flotadores. Para inspeccionar los flotadores, desatornille la tapa de
acceso y saque el sistema QuickTree® de su sujetador. No es necesario que desconecte la tubería ni que quite la bomba. Los
sistemas de desagüe vertical de la serie profesional vienen con una bomba manual de la serie LE (sin un interruptor directamente
conectado a la bomba). El sistema QuickTree® se encarga de operar la bomba. Nota: Los sistemas de desagüe lateral de la serie
profesional están equipados con una bomba automática de la serie LE.
Reinserción del sistema QuickTree®: después de prestar servicio o inspeccionar los flotadores vuelva a poner el sistema
QuickTree®en su sitio. Los cables de la bomba, los cables del interruptor de flotadores y los cables de la alarma opcional deben
obturarse como se describe a continuación en el Sistema de obturación de cables integrado.
Sistema de obturación de cables integrado: es importante que los cables provenientes del motor de la bomba, del interruptor de los
flotadores y de la alarma opcional estén protegidos en los canales obturadores de goma especialmente diseñados debajo de la tapa de
acceso. Se debe contar con una buena obturación para que no haya fugas de gases de alcantarilla en el sistema. Coloque los cables
firmemente en los canales de goma como se muestra en la FIGURA B. asegurándose de eliminar la "holgura" excesiva de los cables
del interior del sistema. IMPORTANTE: los sistemas cuentan con tres canales para cables. En los sistemas sin la opción de alarma
solo se usarán dos de los canales, el tercero se deberá tapar con un tapón hermético de goma incluido. VEA LA FIGURA C. Si se tiene
el cable de alarma, se usarán los tres canales. Todas las juntas obturadoras de goma de la tapa son permanentes y no necesitan ser
reemplazadas.
IMPORTANTE: la obturación de los cables detrás de la barra del sistema QuickTree® debe ser correcta
4. QuickTree® y tapa de acceso
TAPÓN HERMÉTICO DE GOMA

©Copyright 2016 Liberty Pumps Inc. Todos los derechos reservados. 7
Configuración de QuickTree® para los sistemas de desagüe vertical Pro370 y Pro380:
Cuando le haga mantenimiento al sistema QuickTree® meta el cable del interruptor por el canal y pase la barra de acero inoxidable por la
brida; apriete el tornillo con un destornillador de estrella pero no lo apriete demasiado. Apriete el tornillo con un destornillador de estrella
pero no lo apriete demasiado. La barra viene estampada con los puntos de ubicación de los flotadores y el tornillo debe estar apretado
sobre la marca estampada. La longitud del amarre será igual a la extensión de cable requerida entre el flotador y la abrazadera.
SE MUESTRA LA SERIE P370
LAS POSICIONES 1, 2, 3 Y 4 DE LOS FLOTADORES
ESTÁN IDENTIFICADAS POR UN ESTAMPADO EN
LA BARRA DE ACERO INOXIDABLE.
FLOTADOR DE ALARMA
3 (EN EL LADO OPUESTO)
FLOTADOR DE CONTROL DE LA BOMBA
LOS AMARRES DE LOS SISTEMAS P370 Y P380 TIENEN
DISTINTAS LONGITUDES. CONSULTE LA TABLA ANTERIOR
PARA VER LA LONGITUD DE AMARRE ADECUADA Y LA
CORRECTA POSICIÓN DE LA BARRA.
LONGITUD DE AMARRE
LONGITUD DE AMARRE (INTERRUPTOR A ABRAZADERA)
POSICIÓN
DE LA
VARILLA
Pro370
Pro380 y Pro680
Flotador
de alarma
Flotador
de control
Flotador
de alarma
Flotador
de control
1
8.89 cm
(3.5 pulg.)
2
8.89 cm
(3.5 pulg.)
3
7.62 cm
(3.0 pulg.)
4
8.89 cm
(3.5 pulg.)

©Copyright 2016 Liberty Pumps Inc. Todos los derechos reservados. 8
Fig. 5 – Cableado directo de bombas automáticas
monofásicas de 115 V o 208-230 V
Riesgo de descarga eléctrica. Desconecte la bomba de la fuente de alimentación siempre que vaya a manipularla o a realizar
algún ajuste.
Solo personal cualificado deberá encargarse de instalar las conexiones y cables eléctricos necesarios para montar la bomba.
Esta unidad lleva un conector a tierra y un enchufe tomacorriente con conexión a tierra. Para reducir el riesgo de descargas
eléctricas, el conector de puesta a tierra tiene que estar conectado a un panel de control a tierra o si lleva un enchufe a tierra
tendrá que enchufarse a un tomacorriente conectado a tierra.
No derive los cables de puesta a tierra ni retire las espigas a tierra de los enchufes.
No quite el cable ni la protección contra tirones, y no conecte canal para cables a la bomba.
No use cables de extensión.
Con esta bomba, hay que utilizar un circuito derivado independiente conectado a tierra y con fusibles. La fuente de alimentación
tendrá que tener suficiente capacidad para cumplir los requisitos de voltaje y amperaje del motor, indicados en la placa de la bomba.
El tomacorriente o panel deberá encontrarse al alcance del cable de alimentación de la bomba y a 1.22 metros (4 pies) como
mínimo por encima del piso para evitar problemas en caso de inundación.
Se deberá instalar la unidad según las disposiciones del Código eléctrico nacional de Estados Unidos y todos los códigos y
reglamentos locales que correspondan.
Todos los modelos P370 y de desagüe vertical vienen equipados con un interruptor de flotador montado en el ensamblaje
QuickTree®. Estos modelos vienen con dos cables: uno al interruptor de flotador y el otro al motor. El cable del interruptor lleva un
enchufe en serie, o cascada, en el que se puede enchufar el cable de la bomba (motor) (vea la Figura 4) Esto permite la operación
manual de la bomba.
Si se quiere activar la operación automática se deberán interconectar los dos cables y enchufarse a un tomacorrientes con toma a
tierra y fusibleado independiente y con el amperaje apropiado para su modelo. (Consulte la Sección 1, Información general, o la placa
de la bomba para informarse de las especificaciones eléctricas de su modelo.) Ambos cables llevan enchufes de 3 espigas y se deben
enchufar en un tomacorrientes trifilar con toma a tierra. NO DESMONTE LAS PATAS A TIERRA.
Si se prefiere la operación manual, o falla el interruptor, el
cable de la bomba se puede separar y enchufar en un
tomacorriente, evitando de esta manera el interruptor. Las
bombas monofásicas de 208-230 V se deben operar solamente
sin el interruptor de flotador por medio de un disyuntor o panel de
desconexión. No deje que la bomba funcione en seco por
períodos prolongados.
Si la bomba va a estar cableada directamente a un dispositivo de
control o caja de conexión y es necesario retirar los enchufes, la
labor la deberá llevar a cabo un electricista certificado según el
Código eléctrico nacional de Estados Unidos y los códigos
locales. Vea la Fig. 5 sobre instrucciones acerca de cómo
cablear directamente una bomba automáticamonofásica.
En instalaciones de 208-230 V, uno de
los extremos de la línea que va a la
bomba está siempre activo mientras que
el flotador se encenderá y se apagará.
Instale un desconectador bipolar cerca
de la bomba para no correr riesgos.
5. Servicio eléctrico y operación
FUNCIONAMIENTO
MANUAL
TEMPORAL
¡NO!
¡SÍ!
Fig. 4 Instalación del enchufe en cascada.
Fuente de
alimentación
Tierra
Verde
Verde
Blanco
Blanco
Negro
Negro
Negro
Blanco
Caja de conexión
Bomba
Interruptor
del flotador

©Copyright 2016 Liberty Pumps Inc. Todos los derechos reservados. 9
Los sistemas P680 dobles están conectados a un controlador que monitorea la operación de las bombas. El controlador alternará
automáticamente las dos bombas en cada ciclo para mantener un desgaste equitativo. De ser necesario, también vigilará las
condiciones de alto nivel de agua y las alarmas. El controlador tiene indicadores visuales que muestran la operación del drenaje y los
controles del operador, para probar la funcionalidad. También identificará a un componente que no funcione. Para ver la operación
completa, consulte el manual del usuario del controlador.
Liberty ofrece la versión tanto interior como exterior del controlador. Tome en cuenta que debe quitar los extremos del cable para
poder cablear la versión exterior.
MODELOS:
PDCW-115
PDCW-230
(EXTERIORES)
Interruptor para silenciar alarma
Pestillo asegurable
Batería de 9 V
Alarma
Sirena
Faro de alarma ROJO
Botones de la interfaz del usuario
Indicadores LED
Conectores estancos
20 Amp (115 V)
15 Amp (230 V)
disyuntores de restablecimiento
MODELOS:
PDC-115
PDC-230
(INTERIORES)
desconexión del interruptor
Botones de la interfaz del usuario
Respaldo de batería de
9 voltios
Cable de alimentación
PDC-115: 115 V 20 A
PDC-230: 230 V 15 A
Indicadores LED
receptáculos
bombas 1 y 2
20 amp (115 V)
15 amp (230 V)
disyuntores de restablecimiento

©Copyright 2016 Liberty Pumps Inc. Todos los derechos reservados. 10
Riesgo de descarga eléctrica. Desconecte la bomba de la fuente de alimentación siempre que vaya a
manipularla o a realizar algún ajuste.
Problema
Causa
Solución
La bomba no
funciona.
Se ha fundido un fusible o el flujo
eléctrico se ha interrumpido de algún
otro modo; voltaje incorrecto.
Compruebe que la unidad esté bien conectada.
Pida a un electricista que compruebe las
conexiones adecuadas del cableado, y la
capacidad y el voltaje adecuados.
El interruptor no puede cambiar a la
posición de encendido debido a una
interferencia con el lateral del tanque
u otra obstrucción.
Coloque la bomba o el interruptor de forma que
cuente con suficiente espacio para funcionar
libremente.
Líquido insuficiente.
El líquido debe subir lo suficiente como para
activar el interruptor.
Interruptor defectuoso.
Extraiga y reemplace el interruptor.
La bomba no se
apaga.
El interruptor no puede cambiar a la
posición de apagado debido a una
interferencia con el lateral del tanque
u otra obstrucción.
Coloque la bomba o el interruptor de forma que
cuente con suficiente espacio para funcionar
libremente.
Interruptor defectuoso.
Extraiga y reemplace el interruptor.
La bomba funciona
o zumba pero no
bombea.
El desagüe está atascado o
restringido.
Compruebe que no haya atascos en la línea de
desagüe, como puede ser hielo si la línea pasa
por áreas frías.
La válvula de retención está cerrada o
esté instalada al revés.
Saque las válvulas de retención y asegúrese de
que funcionan sin impedimentos y que hayan
sido instaladas correctamente.
La válvula de compuerta o la de bola
está cerrada.
Abra la válvula de compuerta o la de bola.
La elevación total es superior a la
capacidad de la bomba.
Dirija las tuberías a una altura inferior. Si esto no
es posible, necesitará adquirir otra bomba de
mayor capacidad. Consulte a la fábrica.
El rotor de la bomba está atascado o
la cubierta de voluta está taponada.
Saque la bomba de la cubeta. Separe la base
de la bomba y limpie la zona que rodea al rotor.
Monte la bomba y vuélvala a instalar.
La bomba se activa
periódicamente
cuando la
maquinaria no está
en uso.
No hay instalada una válvula de
retención, se queda abierta o tiene
una fuga.
Saque las válvulas de retención y asegúrese de
que funcionan sin impedimentos y que hayan
sido instaladas correctamente.
Las piezas gotean.
Repare las piezas para eliminar las fugas.
La bomba hace
demasiado ruido.
Material foráneo en la cavidad del
rotor.
Saque la bomba de la cubeta. Separe la base
de la bomba y limpie la zona que rodea al rotor.
Monte la bomba y vuélvala a instalar.
Rotor roto.
La fábrica le puede informar sobre cómo
reemplazar el rotor.
Cojinetes desgastados.
Envíe la bomba a reparar a la fábrica o a un
centro de reparación autorizado.
Las conexiones de las tuberías al
edificio son demasiado rígidas.
Cambie una parte de la línea de desagüe con
una manguera o conector de caucho.
6. Mantenimiento y diagnóstico de problemas

©Copyright 2016 Liberty Pumps Inc. Todos los derechos reservados. 11
NOTA: Liberty Pumps, Inc. no asume ninguna responsabilidad por desperfectos o lesiones resultantes del desmontaje de la bomba
en el campo. Si el desmontaje de la bomba no lo lleva a cabo Liberty Pumps o uno de sus centros de servicio autorizados, la garantía
quedará anulada.
Instrucciones complementarias para la instalación
Cubetas de prueba de bajante de 10 pies (3 m) Serie
370XL/380XL
Las cubetas para eyectores de aguas residuales Serie XL están diseñadas para resistir la prueba de bajante de 10 pies (3 m) que
requieren algunos municipios. La instalación adecuada del collarín de la tapa especificada es vital para asegurar que se cumpla con la
prueba. Se requiere seguir estrictamente estas instrucciones. Bajo ninguna circunstancia debe instalarse la tapa sin seguir estas
instrucciones al pie de la letra.
Tipos de sistemas:
Las cubetas de la Serie XL están disponibles como sistemas totalmente armados, completos con bomba y tubería de desagüe, como
juegos para armar la cubeta y la tapa sin bomba o plomería, y únicamente como cubetas. Siga las instrucciones a continuación tal
como corresponda con el tipo de sistema que tenga.
Instalación de la cubeta:
1. Para todos los sistemas consulte las instrucciones principales tal como se incluyen con este Sistema eyector o cubeta para
excavar el sumidero, conectar la tubería y rellenar.
2. Si la parte superior de la cubeta Serie 370XL o 380XL se encuentra por debajo del nivel rasante, se requiere un tubo ascendente
de acceso modelo ARC18. La profundidad máxima para enterrar es de 45.72 cm (18 pulg.) con respecto a la parte superior de la
cubeta. Si desea más información sobre los tubos ascendentes de acceso Serie ARC, consulte a Liberty Pumps o a su
distribuidor. 1-800-543-2550.
Instalación de la bomba en la cubeta Serie XL o la cubeta XL y juego para armar la tapa:
1. Las cubetas Serie XL de Liberty Pumps que se compren por separado requieren el juego adecuado de la tapa serie profesional de
16 pernos, para crear un sistema eyector adecuadamente sellado. Para más datos sobre la tapa adecuada para su aplicación,
comuníquese con la fábrica.
2. Mida la longitud de la tubería de desagüe para que llegue desde el desagüe de la bomba y para que quede dentro de la toma del
tubo de desagüe con sello de borde integral, por el lado inferior de la tapa de la serie profesional. Las bombas de aguas residuales
Liberty Pumps usarán boquillas roscadas (TOE) de 60.3 cm (23.75 pulg.) de largo para las cubetas Serie 370XL o de 44.4 cm
(17.50 pulg.) para las cubetas Serie 380XL. Instale el tubo en la salida roscada de la bomba.
3. Baje la bomba a la cubeta, acoplando las patas de la bomba en los topes de torsión.
4. Inserte el cable eléctrico de la bomba (y el cable del interruptor en cascada, si cuenta con él) a través de la parte inferior del orificio de
la tapa de inspección, y coloque la tapa sobre la entrada del tubo mientras alinea los orificios de los pernos. Utilice dieciséis pernos de
¼ - 20 UNC y arandelas para asegurar la tapa a la cubeta. Apriete los pernos a 40 pulgadas-libra. ADVERTENCIA: No apriete de
más los pernos. La junta integrada suave se adecuará a la parte superior del tanque. Los pernos pueden apretarse nuevamente
hasta a 60 pulgadas-libra para sellar cualquier fuga que pueda producirse durante una prueba de bajantes de 3 m (10 pies).
Además, se puede usar una pequeña cantidad de sellador con silicona RTV en caso de que se dañe la junta o las inserciones.
5. Liberty Pumps recomienda usar bombas manuales y el juego de interruptores Liberty QuickTree® correspondiente para montar el
control de la bomba y los flotadores de alarma. Para obtener la información de pedidos, llame a la fábrica. Instale el juego
QuickTree® siguiendo las instrucciones incluidas. También puede usar bombas automáticas Liberty Pumps con interruptores de
flotador en cascada. Coloque el cable eléctrico y el cable del interruptor en las ranuras de los huecos de la tapa de inspección,
como se muestra en las instrucciones principales incluidas con este sistema. Fije la tapa de inspección a la tapa principal usando
seis pernos 1/4 - 20 UNC y arandelas. Apriete primero los pernos más alejados de las ranuras del cable eléctrico a 40 pulgadas-
libra. ADVERTENCIA: No apriete de más los pernos. La junta integrada suave se adecuará a la parte superior de la tapa y los
cables eléctricos. Los pernos pueden apretarse nuevamente hasta a 60 pulgadas-libra para sellar cualquier fuga que pueda
producirse durante una prueba de bajantes de 3 m (10 pies). Además, se puede usar una pequeña cantidad de sellador con
silicona RTV en caso de que se dañe la junta o las inserciones.
Las cubetas Serie 370XL y 380XL cumplen con IAPMO, # 4361

©Copyright 2016 Liberty Pumps Inc. Todos los derechos reservados. 12
NOTA: Liberty Pumps, Inc. no asume ninguna responsabilidad por desperfectos o lesiones resultantes del desmontaje
de la bomba en el campo. Si el desmontaje de la bomba no lo lleva a cabo Liberty Pumps o uno de sus centros de
servicio autorizados, la garantía quedará anulada.
Liberty Pumps, Inc. garantiza que las bombas que fabrica están libres de defectos en los materiales y la mano de obra
por un período de 3 años a partir de la fecha de compra. La fecha de compra se determinará con el recibo de compra
fechado, que incluya el modelo y el número de serie de la bomba. Este recibo deberá acompañar a la bomba si la fecha
de devolución ocurre más de 3 años después de la fecha de fabricación (código-CODE) indicada en la placa de
identificación de la unidad.
Las obligaciones del fabricante bajo esta garantía se limitan a la reparación o el reemplazo de las piezas que el
fabricante determine defectuosas, siempre que la pieza o el ensamblaje se devuelva al fabricante o a uno de sus centros
de servicio autorizados con el porte pagado y que no se evidencie ninguna de las siguientes características, lo que
supondría la anulación de la garantía.
El fabricante no tendrá obligación alguna bajo esta garantía si el producto no ha sido instalado correctamente; si ha sido
desmontado, modificado, abusado o forzado; si el cable eléctrico se ha cortado, dañado o empalmado; si se redujo el
tamaño del desagüe de la bomba; si la bomba se usó con agua más caliente de la temperatura nominal, o agua con
arena, cal, cemento, grava u otros elementos abrasivos; si la bomba ha sido utilizada para bombear químicos o
hidrocarburos; si un motor no sumergible ha sido sometido a un exceso de humedad; o si se ha retirado la etiqueta con el
número de serie y de código. Liberty Pumps, Inc. no se hace responsable de pérdidas, daños o gastos causados por la
instalación o uso de sus productos, o por daños consiguientes, incluidos los costos de desmontaje, reinstalación o
transporte de la unidad.
No se ofrece ninguna otra garantía expresa. Todas las garantías implícitas, incluidas las de comerciabilidad y adecuación
para un propósito determinado, están limitadas a un plazo de tres años a partir de la fecha de compra.
Esta garantía contiene el resarcimiento exclusivo del comprador y, donde sea permitido, se excluye toda responsabilidad
por daños secundarios y consiguientes bajo cualquier otra garantía.
Garantía limitada por 3 años
7000 Apple Tree Avenue
Bergen, NY 14416
Teléfono: (800) 543-2550
Fax: (585) 494-1839
www.libertypumps.com

© Liberty Pumps Inc., 2016. Tous droits réservés.
IMPORTANT :
Avant l’installation, noter les numéros de modèle, de
série et de code qui figurent sur la plaque
signalétique pour éventuellement s’y référer.
MODÈLE _________________________________
SÉRIE ___________________________________
CODE __________________________________
DATE
D’INSTALLATION ________________________
Pompes
7000 Apple Tree Avenue
Bergen (NY) 14416
Téléphone : 800 543-2550
Télécopieur : 585 494-1839
www.libertypumps.com
Table des matières
1.) Renseignements généraux
2.) Le bassin
3.) Installation et raccordements
4.) QuickTreeᴹᴰ et couvercle d’accès
5.) Entretien et fonctionnement des
composants électriques
6.) Entretien et dépannage
Manuel d’installation 7225000G
Systèmes d’égout de la série Pro
Modèles
Série Pro370
Système 53 cm x 76 cm
(21 po x 30 po)
155 L (41 gallons É.-U.)
Série Pro380
Système de 61 cm x
61 cm (24 po x 24 po)
155 L (41 gallons É.-U.)
Série Pro680
Système de 76 cm x
61 cm (30 po x 24 po)
155 L (46 gallons É.-U.)

© Liberty Pumps Inc., 2016. Tous droits réservés. 2
Lire attentivement les directives avant d’effectuer l’installation. Chaque pompe de marque Liberty est testée individuellement en usine
pour assurer un bon fonctionnement. Le fait de suivre ces directives à la lettre éliminera les risques de dysfonctionnement et assurera
des années de fonctionnement sans soucis.
Danger d’électrocution. Afin de réduire les dangers d’électrocution, toujours débrancher la pompe de sa source
d’alimentation électrique avant de la manipuler.
Les raccords électriques et le câblage pour l’installation de la pompe ne devraient être effectués que par des professionnels qualifiés.
Cette pompe est fournie avec un conducteur de mise à la terre et une fiche de branchement de type mise à la terre. Afin de
réduire les dangers d’électrocution, s’assurer que le conducteur de mise à la terre est raccordé seulement à un panneau de
commande correctement mis à la terre, ou, s’il est muni d’une fiche avec mise à la terre, qu’elle est correctement mise à la terre.
Ne pas dévier les fils de mise à la terre ou retirer la broche de mise à la terre des fiches de branchement.
Ne pas retirer le cordon ni le réducteur de tension, et ne pas raccorder la canalisation électrique à la pompe.
Ne pas utiliser de rallonge.
Cette pompe nécessite un circuit de dérivation à part correctement protégé par un fusible et mis à la terre. S’assurer que la
source d’alimentation électrique est suffisante pour répondre aux exigences de tension et d’intensité du courant électrique du
moteur, tel qu’indiqué sur la plaque signalétique de la pompe.
La prise électrique ou le panneau doivent se trouver à la portée du cordon d’alimentation de la pompe et à au moins 1,2 m
(4 pieds) au-dessus du niveau du plancher pour minimiser les dangers possibles pouvant être causés par une inondation.
Cette pompe ne doit pas être installée dans un endroit classé dangereux selon la norme ANSI/NFPA 70 du NEC (code
national de l’électricité).
L’installation doit être faite en respectant le code national de l’électricité et tous les codes locaux et règlements en vigueur.
Ne pas utiliser ces pompes dans de l’eau dont la température est supérieure à 60 °C (140 °F).
Le Uniform Plumbing Code (UPC, Code de plomberie universel) indique que les systèmes d’égout doivent être munis d’une d’alarme
sonore et visuelle qui signale tout mauvais fonctionnement du système, afin de réduire les risques de dommages à la propriété.
Système de la série Pro : Les systèmes 370, 380, et 680 de la série Pro sont expédiés de l’usine entièrement montés et avec une vaste
gamme de pompes compatibles. Le tableau suivant énumère la liste des pompes disponibles avec les modèles Pro370, Pro380, et Pro680.
Votre modèle de pompe est identifié par le numéro de modèle figurant sur la plaque signalétique fixée sur le couvercle des systèmes de la
série Pro.
Les systèmes commandés avec l’alarme facultative ont un suffixe « /A » qui désigne l’alarme. « /A2 » …ALM-2, « /A2W » …ALM-2W,
« /A3 » …ALM-3
Le numéro de modèle des systèmes à évacuation latérale contient SD. « P382LE41SD-2, P382LE51SD-2/A2W, … »
Remarque : Le (V) optionnel signifie qu’un système est disponible avec un flotteur vertical.
CARACTÉRISTIQUES DU MODÈLE
Nº de modèle du
système
Pompe
Modèle
HP
Volts
Phase
Intensité
maximale
Tolérance
des solides
Évacuation
Hauteur de chute
D’arrêt (aucun débit)
P372LE41, P382LE41(V)
P382LE41SD
P373LE41, P383LE41
P682XLE41
LE41M
LE41A
LE41M
LE41M
4/10
4/10
4/10
4/10
115
115
115
115
1
1
1
1
12
12
12
12
5 cm (2 po)
5 cm (2 po)
5 cm (2 po)
5 cm (2 po)
5 cm (2 po) FNPT
MAMELON 5 CM (2 PO) EN PVC
7,6 cm (3 po) FNPT
5 cm (2 po) FNPT
5,2 m (17 pi)
5,2 m (17 pi)
5,2 m (17 pi)
5,2 m (17 pi)
P372LE51, P382LE51(V)
P382LE51SD
P373LE51, P383LE51
P682XLE51
LE51M
LE51A
LE51M
LE51M
½
½
½
½
115
115
115
115
1
1
1
1
12
12
12
12
5 cm (2 po)
5 cm (2 po)
5 cm (2 po)
5 cm (2 po)
5 cm (2 po) FNPT
MAMELON 5 CM (2 PO) EN PVC
7,6 cm (3 po) FNPT
5 cm (2 po) FNPT
7,6 m (25 pi)
7,6 m (25 pi)
7,6 m (25 pi)
7,6 m (25 pi)
P372LE52, P382LE52
P373LE52, P383LE52
P682XLE52
LE52M
LE52M
LE52M
½
½
½
208-230
208-230
208-230
1
1
1
6,8
6,8
6,8
5 cm (2 po)
5 cm (2 po)
5 cm (2 po)
5 cm (2 po) FNPT
7,6 cm (3 po) FNPT
5 cm (2 po) FNPT
7,6 m (25 pi)
7,6 m (25 pi)
7,6 m (25 pi)
P372LE71, P382LE71
P373LE71, P383LE71
LE71M
LE71M
¾
¾
115
115
1
1
12
12
5 cm (2 po)
5 cm (2 po)
5 cm (2 po) FNPT
7,6 cm (3 po) FNPT
8,5 m (28 pi)
8,5 m (28 pi)
P372LE72, P382LE72
P373LE72, P383LE72
LE72M
LE72M
¾
¾
208-230
208-230
1
1
6
6
5 cm (2 po)
5 cm (2 po)
5 cm (2 po) FNPT
7,6 cm (3 po) FNPT
8,5 m (28 pi)
8,5 m (28 pi)
P372LE102, P382LE102
P373LE102, P383LE102
LE102M
LE102M
1
1
208-230
208-230
1
1
7
7
5 cm (2 po)
5 cm (2 po)
5 CM (2 PO) FNPT
7,6 cm (3 po) FNPT
11 m (36 pi)
11 m (36 pi)
REMARQUE : Les pompes de grande hauteur de la gamme LEH requièrent une application avec hauteur d’élévation minimum de 4,6 m (15 pi).
P372LEH102, P382LEH102
P373LEH102, P373LEH102
LEH102M
LEH102M
1
1
208-230
208-230
1
1
12
12
5 cm (2 po)
5 cm (2 po)
5 cm (2 po) FNPT
7,6 cm (3 po) FNPT
16,2 m (53 pi)
16,2 m (53 pi)
1. Renseignements
généraux

© Liberty Pumps Inc., 2016. Tous droits réservés. 3
Dans la plupart des systèmes, les flotteurs de la pompe et de l’alarme du système QuickTreeᴹᴰ sont réglés en usine au bon niveau de
fonctionnement. Ne pas ajuster les flotteurs.
Les dimensions de votre système ont-elles été déterminées par un spécialiste? Un débit minimum de liquide est nécessaire dans les
systèmes d’égout. Consulter le fabricant pour déterminer la taille de la pompe avant l’installation.
Technologie QuickTreeᴹᴰ : Les bassins de la série Pro de Liberty Pumps (sauf les modèles à évacuation latérale) comprennent la nouvelle
technologie de système de flotteur QuickTreeᴹᴰ. Le système QuickTreeᴹᴰ est situé sous un couvercle d’accès séparé pour faciliter l’entretien
et les réparations. Les flotteurs pour actionner la pompe et l’alarme (le cas échéant) sont fixés sur un arbre d’acier inoxydable (tige),
indépendant de la pompe. Il n’est pas nécessaire de défaire les raccords de plomberie ou de retirer la pompe pour examiner, entretenir ou
remplacer les flotteurs. Les flotteurs QuickTreeᴹᴰ sont réglés en usine pour un fonctionnement optimal et ne doivent pas être ajustés.
Les systèmes de la gamme Pro comportent un couvercle transparent de construction jetable conçu pour protéger le système durant les
travaux d’installation et de maçonnerie. Le couvercle protecteur doit demeurer en place jusqu’à ce que les travaux de plomberie soient
exécutés; cependant, il peut être démonté et réinstallé au besoin. Le couvercle est enclenché sur les orifices filetés des conduits d’évacuation
et d’évent. Pour retirer le couvercle transparent, le soulever tout simplement des orifices filetés des conduits d’évacuation et d’évent.
Installation dans le sol des bassins de la gamme Pro
A. Excavation : Creuser le trou le plus petit possible, avec un dégagement minimum recommandé de 20,32 cm (8 po) tout autour
du réservoir. Ne jamais placer le bassin directement en contact avec des roches ou d’autres objets contondants. Placer
uniquement du concassé fin lavé de 3 à 19 mm (1/8 à ¾ po) ou 3 à 13 mm (1/8 à ½ po) comme matériau de remplissage entre le
bassin et les parois du trou. Ne pas utiliser de sable ni de terre d’origine pour remplir le trou. Compacter convenablement sous le
bassin afin de fournir une base solide et bien au niveau capable de supporter le poids du bassin, une fois rempli. Il est
recommandé de placer la bride supérieure du bassin au même niveau que le plancher fini.
B. Remplissage initial : Utiliser uniquement du concassé fin lavé de 3 à 19 mm (de 1/8 à ¾ po) ou de 3 à 13 mm (de 1/8 à ½ po)
entre le fond du trou et le bassin pour le maintenir en place. Ne pas utiliser de sable ni de terre d’origine pour remplir le trou.
Raccorder l’arrivée des eaux usées au bassin selon les besoins.
C. Raccord d’admission : Les bassins de la série Liberty P370, P380, et P680 sont munis d’une ouverture d’admission de 10,2 cm
(4 po) moulée dans le côté du réservoir. La dimension de cette entrée est faite pour convenir à un raccordement de 10,2 cm
(4 po) sans emboîtement. Raccorder la canalisation d’écoulement provenant des accessoires à ce raccord.
D. Remplissage final : Les grosses roches, les mottes et autres corps étrangers ne doivent pas être laissés dans le matériau de
remplissage. Seul le concassé fin lavé de 3 à 19 mm (1/8 à ¾ po) ou 3 à 13 mm (1/8 à ½ po) est recommandé comme matériau de
remplissage. Ne pas utiliser de sable ni de terre d’origine pour remplir le trou. Faire un petit monticule avec le matériau de remplissage,
afin de le laisser se tasser naturellement. Prévoir un accès au couvercle du bassin pour les travaux d’entretien et de réparation.
Ne pas exercer de pression importante ni utiliser de matériel lourd sur le matériau de remplissage,
car cela pourrait causer l’affaissement du réservoir.
Données sur les dimensions
2. Le bassin
Évacuation
latérale Pro380
SORTIE DU CORDON
EMBOÎTEMENT DE 5 CM
(2 PO) EN PVC
ÉVACUATION DE
5 CM (2 PO)
Pro380
Pro370
Pro680

© Liberty Pumps Inc., 2016. Tous droits réservés. 4
A. Évacuation : Raccorder le tuyau d’évacuation à l’orifice fileté de 5 cm (2 po)
ou 7,6 cm (3 po) fourni sur le couvercle à l’aide d’un adaptateur (ou au
mamelon de 5 cm en PVC utilisé sur les modèles à évacuation latérale).
IMPORTANT : Ne pas installer de tuyau d’évacuation d’une dimension
inférieure à la sortie de la pompe. La dimension des pompes du système
d’égout ne doit pas être inférieure à 51 mm (2 po). Pour certaines
applications, il peut être nécessaire d’augmenter la dimension du tuyau afin
de réduire les pertes dues à la friction. Communiquer avec Liberty Pumps
pour toute question au sujet des dimensions de tuyaux et débits adéquats.
Installer le tuyau d’évacuation qui reste. Dans les applications à évacuation verticale, il est conseillé d’installer un raccord union
juste au-dessus du couvercle, pour faciliter le retrait de la pompe si nécessaire (les applications à évacuation latérale sont
équipées d’un raccord union dans le bassin). Dans les applications tant verticales qu’à évacuation latérale, on recommande
l’installation d’un clapet antiretour après le raccord union afin de prévenir le refoulement du liquide après chaque cycle de la
pompe. Un robinet-vanne ou clapet à bille doit suivre le clapet antiretour afin de permettre le nettoyage périodique du clapet
antiretour ou le retrait de la pompe. Le reste de la canalisation d’évacuation devrait être le plus court possible et comporter un
nombre minimum de coudes, afin de réduire la perte de puissance due à la friction. Ne pas installer de tuyau d’évacuation d’une
dimension inférieure à 5 cm (2 po) pour les systèmes d’égout. Des tuyaux plus grands peuvent être nécessaires pour éliminer la
perte de puissance due à la friction sur les longs parcours. Communiquer avec Liberty Pumps ou un autre spécialiste pour toute
question au sujet des dimensions des tuyaux et débits adéquats.
B. Évent : Sur les modèles P370 et P380 de décharge verticales, 2 "ou 3" raccord fileté est prévu sur le dessus du couvercle. Sur les
modèles P680 2 "ou 3" Type de glissement Uni-Seal est fourni. L'évent doit être relié à la colonne de ventilation secondaire du
bâtiment, ou dirigé vers l’extérieur par sa propre colonne montante. Dans les systèmes à évacuation latérale et verticale, la
dimension de l’évent doit respecter les codes en vigueur, mais jamais être inférieure à celle du tuyau d’évacuation.
Remarque : Les systèmes de la gamme Pro qui sont expédiés avec un tuyau d’acier facultatif sont munis d’un œillet d’étanchéité
en caoutchouc plutôt que d’un raccord femelle NPT.
Évacuation verticale P380
3. Installation et raccordements
Évacuation latérale P380
ENTRÉE
PLAQUE SIGNALÉTIQUE
MODÈLE ET NUMÉRO DE SÉRIE
ÉVACUATION
ÉVENT
COUVERCLE D’INSPECTION/D’ACCÈS
ALARME (FACULTATIVE), EXPÉDIÉE
SUR LE SYSTÈME
PLAQUE SIGNALÉTIQUE
Modèle et numéro de série
Évacuation – Tige de 5 cm (2 po) en PVC
Couvercle d’inspection/
d’accès
ENTRÉE
Sortie du cordon d’emboîtement
de 5 cm (2 po) en PVC
P680
(Évacuation latérale)
COUVERCLE
D’INSPECTION/D’ACCÈS
TUYAU
D’ÉVACUATIO
N DE 2 PO NPT
ÉVENT
ENTRÉE
PLAQUE
SIGNALÉTIQUE
Modèle et numéro
de série
TUYAU
D’ÉVACUATIO
N DE 2 PO NPT

© Liberty Pumps Inc., 2016. Tous droits réservés. 5
Installation type
Il s’agit d’une forme d’installation à évacuation verticale recommandée fournie à titre d’exemple. Les installations particulières peuvent varier.
ALARME
(FACULTATIVE)
ÉVENT
CLAPET ANTIRETOUR
CLAPET À
BILLE
ÉVACUATION
UTILISER UN RACCORD
SANS EMBOÎTEMENT
TUYAU D’ALIMENTATION
DE 10,2 CM (4 PO)
UTILISER UN RACCORD
SANS EMBOÎTEMENT
TUYAU D’ALIMENTATION
DE 10,2 CM (4 PO)
ÉVACUATION
SYSTÈME DE COMMANDE
PROVORE DOUBLE
CLAPET À BILLE
CLAPET
ANTIRETOUR
ÉVENT

© Liberty Pumps Inc., 2016. Tous droits réservés. 6
Les systèmes à évacuation verticale des gammes Pro P370, P380, et P680 offrent la nouvelle technologie QuickTreeᴹᴰ. Le système de
flotteur QuickTreeᴹᴰ comprend une tige de fixation en acier inoxydable (arbre) et des pinces de support à cordon conçues pour fixer le
flotteur de la pompe et le flotteur de l’alarme (facultative) du système. Tous les flotteurs sont réglés en usine pour un
fonctionnement optimal et ne nécessitent aucun ajustement. REMARQUE : Tout réglage des flotteurs effectué sur le terrain
risque de causer le mauvais fonctionnement de la pompe et de l’alarme facultative.
Retrait du QuickTreeᴹᴰ et inspection du flotteur : Le système QuickTreeᴹᴰ est situé sous un couvercle d’accès séparé pour faciliter
l’inspection, l’entretien et la réparation des flotteurs. Déboulonner tout simplement le couvercle d’accès et soulever le module
QuickTreeᴹᴰ de son support pour inspecter le ou les flotteurs. Il n’est pas nécessaire de défaire les raccords de plomberie ni de retirer
la pompe. Les systèmes à évacuation verticale de la gamme Pro sont munis d’une pompe manuelle de la gamme LE (sans interrupteur
raccordé directement à la pompe). Le fonctionnement de la pompe est assuré par le système QuickTreeᴹᴰ. Remarque : Les
systèmes à évacuation latérale de la série Pro sont équipés d’une pompe automatique de la série LE.
Remise en place du QuickTreeᴹᴰ : Après les travaux d’entretien ou d’inspection des flotteurs, remettre le QuickTreeᴹᴰ en place sur
son support. Il est important d’assurer adéquatement l’étanchéité des cordons de la pompe, de l’interrupteur à flotteur et de l’alarme
facultative, tel que décrit ci-dessous dans le paragraphe sur le système intégré d’étanchéité des cordons.
Système intégré d’étanchéité des cordons : Il est important d’assurer adéquatement l’étanchéité des cordons du moteur de la
pompe, de l’interrupteur à flotteur et de l’alarme facultative dans les tuyaux d’étanchéité spécialement conçus situés sous le couvercle
d’accès. Une bonne étanchéité est nécessaire pour que les émanations d’égout ne s’échappent pas du système. Placer les cordons
solidement en place dans les tuyaux de caoutchouc, tel qu’illustré à la FIGURE B en prenant soin d’éviter que les cordons n’aient trop
de jeu dans le système. IMPORTANT : Trois tuyaux à cordons sont fournis. Dans le cas des systèmes sans alarme facultative, seuls
deux canaux seront utilisés et le troisième doit être bouché à l’aide d’un bouchon d’étanchéité de caoutchouc fourni. VOIR FIGURE C.
S’il y a un cordon d’alarme, les trois canaux serviront. Tous les joints d’étanchéité en caoutchouc du couvercle sont fixés de manière
permanente et n’ont pas besoin d’être remplacés.
IMPORTANT : Bien assurer l’étanchéité des cordons, derrière la tige QuickTreeᴹᴰ.
4. QuickTreeᴹᴰ et couvercle d’accès
BOUCHON
D’ÉTANCHÉITÉ DE
CAOUTCHOUC

© Liberty Pumps Inc., 2016. Tous droits réservés. 7
Paramètres QuickTreeᴹᴰ pour les systèmes à évacuation verticale Pro370, Pro380, et Pro680 :
Pour effectuer l’entretien du QuickTreeᴹᴰ, placer le cordon de l’interrupteur dans le canal ou tuyau, puis faire glisser la tige d’acier
inoxydable à travers la pince. Serrez la vis avec un tournevis cruciforme, mais pas trop. La tige a été aplatie pour désigner
l’emplacement du flotteur. Il faut resserrer la vis pour qu’elle s’appuie sur la marque plate. La longueur de la sangle représente la
longueur de cordon entre la pince et le flotteur.
SÉRIE P370 ILLUSTRÉE
LES POSITIONS DE FLOTTEUR 1, 2, 3 ET 4 SONT
IDENTIFIÉES PAR UNE MARQUE PLATE ESTAMPÉE
DANS LA TIGE D’ACIER INOXYDABLE.
FLOTTEUR DE L’ALARME
2 (SUR LE CÔTÉ OPPOSÉ)
FLOTTEUR DE COMMANDE DE LA POMPE
LES SYSTÈMES P370 ET P380 ONT DIFFÉRENTES LONGUEURS
DE SANGLE. VOIR LE TABLEAU CI-DESSUS POUR CONNAÎTRE
LA BONNE LONGUEUR DE SANGLE ET POSITION DE TIGE.
LONGUEUR DE LA SANGLE
TIGE
POSITION
LONGUEUR DE LA SANGLE (DE
L’INTERRUPTEUR À LA BRIDE)
Pro370
Pro380 et Pro680
Flotteur de
l’alarme
Commande à
flotteur
Flotteur de
l’alarme
Commande à
flotteur
1
8,9 cm
(3,5 po)
2
8,9 cm
(3,5 po)
3
7,6 cm
(3,0 po)
4
8,9 cm
(3,5 po)

© Liberty Pumps Inc., 2016. Tous droits réservés. 8
Fig. 5 – Câblage direct de pompes
monophasées, automatiques 115 V ou 208-230 V.
Danger d’électrocution. Toujours débrancher la pompe de l’alimentation électrique avant de la manipuler ou d’y effectuer des réglages.
Les raccords électriques et le câblage pour l’installation de la pompe ne devraient être effectués que par des professionnels qualifiés.
Cette pompe est fournie avec un conducteur de mise à la terre et une fiche de branchement de type mise à la terre. Afin de réduire
les dangers d’électrocution, s’assurer que le conducteur de mise à la terre est raccordé seulement à un panneau de commande
correctement mis à la terre, ou, s’il est muni d’une fiche avec mise à la terre, qu’elle est correctement mise à la terre.
Ne pas dévier les fils de mise à la terre ou retirer la broche de mise à la terre des fiches de branchement.
Ne pas retirer le cordon ni le réducteur de tension, et ne pas raccorder la canalisation électrique à la pompe.
Ne pas utiliser de rallonge.
Cette pompe nécessite un circuit de dérivation à part correctement protégé par un fusible et mis à la terre. S’assurer que la source
d’alimentation électrique est suffisante pour répondre aux exigences de tension et d’intensité du courant électrique du moteur, tel
qu’indiqué sur la plaque signalétique de la pompe.
La prise électrique ou le panneau doivent se trouver à la portée du cordon d’alimentation de la pompe et à au moins 1,2 m
(4 pieds) au-dessus du niveau du plancher pour minimiser les dangers possibles pouvant être causés par une inondation.
L’installation doit être faite en respectant le code national de l’électricité et tous les codes locaux et règlements en vigueur.
Tous les modèles P370 et P380 à évacuation verticale sont munis d’un flotteur en usine et l’interrupteur à flotteur est fixé sur le
module QuickTreeᴹᴰ. Ces modèles sont munis de deux cordons : l’un relié à l’interrupteur à flotteur et l’autre au moteur de la pompe.
Le cordon de l’interrupteur est muni d’un connecteur en série (siamois) permettant de brancher le cordon de la pompe (moteur) sur son
dos (voir Fig.4). Ce système a pour but de permettre le fonctionnement manuel de la pompe.
Pour un fonctionnement automatique, les deux cordons doivent être interconnectés et branchés dans une prise d’une intensité en
ampères suffisante pour le modèle de pompe choisi, avec fusibles
indépendants et mise à la terre. (Voir section 1, Renseignements
généraux, ou la plaque signalétique de la pompe pour connaître
les caractéristiques électriques du modèle.) Les deux cordons
sont munis de fiches à trois broches et doivent être branchés dans
une prise à trois broches avec mise à la terre adéquate. NE PAS
RETIRER LA BROCHE DE MISE À LA TERRE.
Pour permettre le fonctionnement manuel, ou en cas de
défaillance de l’interrupteur, le cordon de la pompe peut être
séparé et branché dans la prise électrique, en contournant
directement l’interrupteur. On doit uniquement faire fonctionner les
pompes 208-230 V monophasées sans l’interrupteur à flotteur en
utilisant le disjoncteur ou l’interrupteur du panneau. Ne pas laisser la pompe fonctionner à sec pendant de longues périodes.
Si la pompe doit être branchée directement dans un dispositif
de commande ou une boîte de connexion, et qu’il est
nécessaire de retirer les fiches, faire raccorder le câblage par
un électricien autorisé en respectant les normes du code
national de l’électricité et des codes locaux en vigueur. Voir fig. 5
pour installation directe de pompes unipolaires automatiques.
Dans les installations 208-230 V, un côté du
câble allant vers la pompe est toujours sous
tension, que l’interrupteur du flotteur soit en
position de marche ou d’arrêt. Pour éviter les
risques d’électrocution, installer un
interrupteur bipolaire près de l’installation de
la pompe.
5. Entretien et fonctionnement des composants électriques
FONCTIONNEMENT
MANUEL TEMPORAIRE
NON!
OUI!
Figure 4 Installation de prises
siamoises.
Alimentation
électrique
Mise à la terre
Vert
Vert
Blanc
Blanc
Noir
Noir
Blanc
Boîte de jonction
Pompe
Noir
Interrupteur
à flotteur

© Liberty Pumps Inc., 2016. Tous droits réservés. 9
Les systèmes P680 doubles sont reliés à un régulateur qui surveille le fonctionnement des pompes. Le régulateur activera
automatiquement les deux pompes en alternance à chaque cycle afin de répartir l’usure uniformément. Il surveillera également les
situations de niveau d’eau élevé et les alarmes si nécessaire. Le régulateur dispose d’indicateurs visuels qui montrent le fonctionnement
du puisard ainsi que de commandes de l’opérateur pour tester les fonctionnalités. Le régulateur identifie également les composants qui ne
fonctionnent pas. Pour bien comprendre le fonctionnement du régulateur, veuillez consulter le manuel de l’utilisateur.
Liberty offre une version intérieure et extérieure du régulateur. Il est à noter qu’il est nécessaire de retirer l’extrémité du cordon afin de
raccorder la version extérieure.
MODÈLES :
PDC-115
PDC-230
(INTÉRIEUR)
MODÈLES :
PDCW-115
PDCW-230
(EXTÉRIEUR)
boutons d’interface utilisateur
9 volts
batterie de secours
Indicateurs à DEL
Cordon d’alimentation
PDC-115 : 115 V 20 A
PDC-230 : 230 V 15 A
sectionneur-interrupteur
prises
pompes 1 et 2
20 A (115 V)
15 A (230 V)
disjoncteurs réarmables
Interrupteur de l’alarme sonore
Loquet verrouillable
Pile de 9 V
Alarme
Sonnerie
Voyant ROUGE de l’alarme
Boutons d’interface utilisateur
Indicateurs à DEL
Connecteurs étanches
20 A (115 V)
15 A (230 V)
Disjoncteurs réarmables

© Liberty Pumps Inc., 2016. Tous droits réservés. 10
Danger d’électrocution. Toujours débrancher la pompe de l’alimentation électrique avant de la manipuler ou d’y
effectuer des réglages.
* REMARQUE : Liberty Pumps, Inc. n’est pas responsable des dommages ou blessures résultant d’un démontage sur le terrain.
Le démontage effectué ailleurs que chez Liberty Pumps ou à l’un de ses centres de services autorisés annule automatiquement la garantie.
Problème
Cause
Mesure correctrice
La pompe ne
fonctionne pas.
Fusible brûlé ou autre interruption
d’alimentation, tension inadéquate.
S’assurer que le branchement de l’appareil est
sécuritaire. Demander à un électricien de
vérifier tous les câbles au niveau des
branchements et de s’assurer que la capacité et
l’intensité sont adéquates.
* L’interrupteur ne peut se mettre en
position de marche en raison de
l’interférence du côté du bassin ou
d’un autre type d’obstacle.
Placer la pompe ou l’interrupteur de manière à
ce que le dégagement soit suffisant pour bien
fonctionner.
Niveau de liquide insuffisant.
S’assurer que le niveau de liquide peut s’élever
suffisamment pour activer le ou les interrupteurs.
Interrupteur défectueux.
Remplacer l’interrupteur s’il est défectueux.
La pompe refuse de
s’éteindre.
Les interrupteurs ne peuvent se
mettre en position d’arrêt en raison de
l’interférence du côté du bassin ou
d’un autre type d’obstacle.
Placer la pompe ou l’interrupteur de manière à
ce que le dégagement soit suffisant pour bien
fonctionner.
Interrupteur défectueux.
Remplacer l’interrupteur s’il est défectueux.
La pompe tourne ou
gronde, mais ne
pompe pas.
Conduits d’évacuation bloqués
ou restreints.
Vérifier dans la canalisation d’évacuation qu’il n’y
ait pas de corps étrangers, y compris de
formation de glace si la canalisation d’évacuation
se trouve dans des zones froides ou les traverse.
Clapet antiretour bloqué en position
fermée ou incorrectement installé.
Retirer tout clapet antiretour et vérifier qu’il
fonctionne librement et est bien installé.
Robinet-vanne ou clapet à bille fermé.
Ouvrir le robinet-vanne ou le clapet à bille.
La charge ascensionnelle totale
dépasse la capacité de la pompe.
Essayer de rediriger le tuyau à un niveau
inférieur. Si c’est impossible, il faut
probablement se procurer une pompe plus
puissante. Consulter le fabricant.
Le rotor de la pompe est bloqué ou le
corps de pompe en spirale est bouché.
* Retirer la pompe du bassin. Détacher la base
de la pompe et nettoyer la zone entourant le
rotor. Remonter et réinstaller.
La pompe tourne
périodiquement lorsque
les accessoires ne sont
pas utilisés.
Clapet antiretour non installé, bloqué
en position ouverte ou qui fuit.
Retirer tout clapet antiretour et vérifier qu’il
fonctionne librement et est bien installé.
Les accessoires coulent.
Réparer les accessoires au besoin pour
éliminer les fuites.
La pompe fait du
bruit.
Corps étrangers dans les cavités
du rotor.
* Retirer la pompe du bassin. Détacher la base
de la pompe et nettoyer la zone entourant le
rotor. Remonter et réinstaller.
Rotor brisé.
Consulter le fabricant pour obtenir de
l’information au sujet du remplacement du rotor.
Coussinets usés.
Retourner la pompe au fabricant ou la faire
réparer par un réparateur autorisé.
Raccordements des tuyaux à la
structure de la maison trop rigides.
Remplacer une partie du tuyau d’évacuation par
un boyau ou un raccord en caoutchouc.
6. Entretien et dépannage

© Liberty Pumps Inc., 2016. Tous droits réservés. 11
Instructions d’installation complémentaires
Bassins de test de colonne de 10 pi - série 370XL/380XL/680XL
Les bassins d’évacuation de la série XL sont conçus pour supporter les tests de colonne de 10 pi exigés par certaines municipalités.
La bride de couvercle doit être adéquatement installée pour assurer le respect des critères de test. Il est essentiel de respecter
rigoureusement ces instructions. En aucun cas l’installation du couvercle ne doit différer de ces instructions.
Types de systèmes :
Plusieurs modèles de bassins de la série XL sont disponibles : système entièrement préassemblé avec pompe et conduite
d’évacuation, système avec bassin et couvercle sans pompe ni tuyauterie, et bassin uniquement. Veuillez suivre les instructions ci-
dessous selon le type de système que vous possédez.
Installation du bassin :
1. Indépendamment du système que vous possédez, vous devez en premier lieu vous référer aux instructions de base fournies avec
le système d’évacuation complet ou le bassin pour tous les renseignements concernant l’excavation du puits, les raccords de
tuyauterie et le remplissage.
2. Si le dessus du bassin de la série 370XL, 380XL, ou 680XL est enfoui sous le niveau du sol, un tuyau d’élévation d’accès (modèle
ARC 18) est nécessaire. Le dessus du bassin doit se trouver à une profondeur maximale de 46 cm (18 po) sous le sol. Veuillez
communiquer avec Liberty Pumps ou avec le distributeur de votre région pour obtenir plus de renseignements sur les tuyaux
d’élévation d’accès de la série ARC. 1-800-543-2550.
Installation de la pompe dans le bassin de série XL ou de série XL avec système de couvercle :
1. Les bassins de la série XL de Liberty Pumps achetés séparément devront être utilisés conjointement avec l’assemblage de
couvercle de la série Pro (16 boulons) afin d’offrir un système d’évacuation parfaitement hermétique. Communiquez avec le
fabricant afin de trouver le couvercle adéquat pour votre application.
2. Assurez-vous que la conduite d’évacuation est de longueur suffisante pour être raccordée à la douille d’évacuation à étanchéité
incorporée de la pompe, située sur la face intérieure du couvercle de la série Pro. Les pompes de relèvement Liberty Pumps
utilisent des embouts filetés d’une longueur de 23,75 po pour les bassins de la série 370XL et de 17,50 po pour les bassins de la
série 380XL. Raccordez le tuyau à la sortie filetée de la pompe.
3. Descendez la pompe dans le bassin en vous assurant d’insérer les pattes de la pompe dans les butées de torsion.
4. Glissez le cordon d’alimentation de la pompe (ainsi que le cordon de l’interrupteur siamois, le cas échéant) par la partie inférieure
de l’orifice du couvercle d’inspection et placez le couvercle sur le mamelon tout en alignant les orifices des boulons. Utilisez 16
boulons et rondelles 20 UNC ¼ po pour fixer le couvercle au bassin. Serrez les boulons à 40 pouces-livres. MISE EN GARDE :
Ne serrez pas trop les boulons. Le joint souple intégré s’ajustera sur la paroi supérieure du réservoir. Vous pouvez resserrer les
boulons à 60 pouces-livres pour colmater les fuites qui peuvent survenir lors d’un test de colonne de 10 pi. Vous pouvez
également utiliser une petite quantité de silicone (à vulcanisation à la température de la pièce) si le joint est endommagé.
5. Liberty Pumps recommande d’utiliser des pompes de type manuel avec une trousse Liberty QuickTreeᴹᴰ adaptée pour assembler
la commande de la pompe et les flotteurs d’alarme. Communiquez avec le fabricant pour obtenir de l’information pertinente.
Installez la trousse QuickTreeᴹᴰ selon les instructions fournies. Il est également possible d’utiliser les pompes Liberty Pumps de
type automatique avec interrupteur à flotteur « siamois ». Placez le câble d’alimentation et le câble de l’interrupteur dans les
rainures de l’orifice du couvercle d’inspection, tel qu’il est illustré dans les instructions de base fournies avec ce système. Fixez le
couvercle d’inspection au couvercle principal en utilisant six boulons et rondelles 20 UNC ¼ po. Serrez d’abord les boulons les
plus éloignés des rainures du câble d’alimentation à 40 pouces-livres. MISE EN GARDE : Ne serrez pas trop les boulons. Le joint
souple intégré s’ajustera sur la paroi supérieure du couvercle et des cordons d’alimentation. Vous pouvez resserrer les boulons à
60 pouces-livres pour colmater les fuites qui peuvent survenir lors d’un test de colonne de 10 pi. Vous pouvez également utiliser
une petite quantité de silicone (à vulcanisation à la température de la pièce) si le joint est endommagé.
Bassins de la série 370XL et 380XL conformes à IAPMO, nº 4361.

© Liberty Pumps Inc., 2016. Tous droits réservés. 12
* REMARQUE : Liberty Pumps, Inc. n’est pas responsable des dommages ou blessures résultant d’un démontage sur le
terrain. Le démontage effectué ailleurs que chez Liberty Pumps ou à l’un de ses centres de services autorisés annule
automatiquement la garantie.
Liberty Pumps, Inc. garantit que les pompes sortant de son usine sont exemptes de tout défaut de matériau et de
fabrication pour une période de trois ans à partir de la date d’achat. La date d’achat sera établie par une facture d’achat
datée indiquant les numéros de modèle et de série de la pompe. La pompe retournée doit être accompagnée de la
facture d’achat datée si la date de retour se situe à plus de trois ans du numéro de « CODE » (date de fabrication) indiqué
sur la plaque signalétique de la pompe.
L’obligation de garantie du fabricant se limite à la réparation ou au remplacement de toute pièce jugée défectueuse par le
fabricant, à condition que la pièce ou l’appareil soit retourné franco de port au fabricant ou à son centre de service
autorisé et à condition qu’il n’y ait aucune preuve que les critères suivants annulant la garantie sont en cause.
Le fabricant ne peut en aucun cas être tenu responsable, selon les dispositions de cette garantie, si le produit n’a pas été
correctement installé; s’il a été démonté, modifié, soumis à un usage abusif ou endommagé; si le cordon électrique a été
coupé, endommagé ou ligaturé; si la taille du tuyau d’évacuation de la pompe a été réduite; si la pompe a été utilisée pour
pomper de l’eau d’une température supérieure aux recommandations ci-dessus ou de l’eau contenant du sable, de la
chaux, du ciment, du gravier ou autres matières abrasives; si le produit a été utilisé pour pomper des produits chimiques
ou des hydrocarbures; si un moteur non submersible a été exposé à de l’humidité excessive; ou si l’étiquette portant le
numéro de série, de modèle et de code a été retirée. Liberty Pumps, Inc. ne pourra être tenue responsable des pertes,
dommages, frais attribuables à l’installation ou l’utilisation de ses produits ni pour les dommages accessoires ou
consécutifs, y compris les coûts de retrait, de réinstallation ou de transport.
Il n’y a aucune autre garantie expresse. Toute garantie implicite, y compris celles de qualité marchande et d’aptitude à
une fin particulière est limitée à trois ans à partir de la date d’achat.
Cette garantie contient le recours exclusif de l’acheteur et exclut, lorsque permis par la loi, toute responsabilité pour
dommages consécutifs ou accessoires en vertu de toutes autres garanties.
Garantie limitée de trois ans
7000 Apple Tree Avenue
Bergen (NY) 14416
Téléphone : 800 543-2550
Télécopieur : 585 494-1839
www.libertypumps.com