Pycom GPY01R GPy User Manual

Pycom Ltd GPy

User Manual

DatasheetVersion 1.0GPy
02Version 1.01.0 Overview  032.0 Features  033.0 Specications 043.1 043.2 043.3 043.4 043.5 043.6 043.7 043.8CPUMemoryWiFiBluetoothLTECAT–M1RTCSecurityHash/encryption 044.0 BlockDiagram 045.0 Pinout 056.0 PinDetails 066.1 RemappingPins 077.0 ESP32Peripherals 087.1 RTC  088.0 Programmingthedevice 098.1 UART 098.2 Wi–Fi 098.2.1 Telnet 098.2.2 FTP 099.0 Bootmodes 099.1 Bootloadermode 099.2 Safeboot 0910.0 Power 1010.1 Currentconsumptionbypower modes/featuresmeasuredat5V 1011.0 MemoryMap 1111.1 Flash 1111. 2 R A M  1111.3 ROMandeFuses 1112.0 WiFi  1212.1 Supportedfeatures 1212.2 Specications 1213.0 Bluetooth 1313.1 Supportedfeatures 1313.2 Specication 1313.2.1 Receiver–BasicDataRate 1313.2.2 Receiver–EnhancedDataRate 1413.2.3 Receiver–BluetoothLE 1513.2.4 Transmitter–BasicDataRate 1613.2.5 Transmitter–EnhancedDataRate 1713.2.6 Transmitter–BluetoothLE 1814.0 LTECAT–M1 1914.1 Supportedfeatures 1914.2 Specications 1914.2.1 SupportedLTEbands 1914.3 SIMCardrequirements 1914.4 Certiedcarriers 1915.0 ElectricalCharacteristics 2015.1 Absolutemaximumratings 2015.2 Input/Outputcharacteristics 2016.0 MinimumRecommendedCircuit 2117.0 MechanicalSpecications 2218.0 RecommendedLandPatterns 2219.0 SolderingProle 2320.0 OrderingInformation 2321.0 Packaging 23 GPy
03Version 1.01.0 Over view With WiFi, BLE and cellular LTE–CAT M1, the GPy is the latest Pycom triple–bearer MicroPython enabled micro controller on the market today – the perfect enterprise grade IoT platform for your connected Things. Create and connect your things everywhere, fast.2.0 Features – Powerful CPU, BLE and state of the art WiFi radio.  –MicroPython enabled – Fits in a standard breadboard (with headers) – Ultra–low power usage: a fraction compared to other connected micro controllers – World ready, one product covers all LTE–M bands    ESP32 Dual Core Microcontroller and  WiFi/Bluetooth 4.2 radioExternal LTE   antenna portWS2812  RGB LED3V3 Ultra–Low–Noise switching regulator8MB  ash  memoryReset switchRF switch WiFi  and Bluetooth AntennaGPy
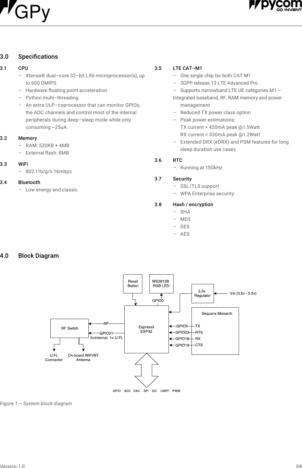
04Version 1.03.0 Specications3.1 C PU – Xtensa® dual–core 32–bit LX6 microprocessor(s), up to 600 DMIPS – Hardware oating point acceleration – Python multi–threading – An extra ULP–coprocessor that can monitor GPIOs, the ADC channels and control most of the internal peripherals during deep–sleep mode while only consuming ~25uA.3.2 Memory – RAM: 520KB + 4MB – External ash: 8MB3.3 WiFi – 802.11b/g/n 16mbps3.4 Bluetooth – Low energy and classic3.5 LTECAT–M1–  One single chip for both CAT M1–  3GPP release 13 LTE Advanced Pro –  Supports narrowband LTE UE categories M1 – Integrated baseband, RF, RAM memory and power management  – Reduced TX power class option  – Peak power estimations:  TX current = 420mA peak @1.5Watt RX current = 330mA peak @1.2Watt – Extended DRX (eDRX) and PSM features for long sleep duration use cases3.6 RTC – Running at 150kHz3.7 Security – SSL/TLS support – WPA Enterprise security3.8 Hash/encryption – SHA – MD5 – DES – AES4.0 BlockDiagramFigure 1 – System block diagramGPy
05Version 1.05.0 PinoutFigure 2 – Module pinout diagramNote: The ESP32 supports remapping its peripherals to alternative pins. See below for a detailed list.Reset BuonWS2812 LEDNano SIM card socketWiFi / Bluetooth External Antenna ConnectorLTE CAT M1  External Antenna ConnectorPinout diagramGND3V3409412324213416382218203942171415131210118765P0P1P2P3P4P8P9P10RX0TX0TX1RX1PROGRAMPortSDASCLP11P12CLKMOSI MISOP23P22P21P20P19P18P17LTE_RXLTE_WAKELTE_CTSP16P15P14P13ADC2_6ADC2_8ADC2_9ADC1_5ADC1_4ADC1_6ADC1_7ADC1_3ADC1_2ADC1_1ADC1_0ADCPAADCPAEMACTXD2U0TXDU0CTSU0RTSVSPIWPVSPIHDMTCKMTDIVSPIQVSPICS0MTD0HSPICS0HSPIWPHSPIQHSPIIDSDDATA2SDDATA3HS2DATA2HS2DATA3HSPIHDSDCMDSDDATA1HS2CMDHS1DATA6HS2DATA1CLKOUT1RGB_LEDCLKOUT3CLKOUT2U0RXDEMACRXD0EMACRXD1EMACTXCLKEMACRXD2EMACTXEREMACRXD3EMACRXCLKEMACRXDVEMACTXD0EMACTXD3EMACRXEREMACTXD1EMACTXENADC2_1ADC2_0ADC2_3ADC2_7ADC2_2ADC2_5ADC2_4RTCIO16RTCIO6RTCIO7RTCIO8RTCIO9RTCIO4RTCIO5RTCIO3RTCIO2RTCIO1RTCIO0RTCIO11RTCIO10RTCIO13RTCIO17RTCIO12RTCIO15RTCIO14Touch1Touch0Touch3Touch6MTMSHSPICLKSDCLKHS2CLKDAC_1DAC_2Touch8Touch9Touch7Touch2Touch5Touch4ChipPURSTGPIO3GPIO1GPIO0GPIO4GPIO15GPIO5GPIO27GPIO19GPIO2GPIO12GPIO13GPIO22GPIO21GPIO14GPIO25GPIO26GPIO33GPIO32GPIO34GPIO35GPIO39GPIO38GPIO37GPIO36XTAL32XTAL32VDET1VDET2SensVNSensCNSensCPSensVP!Only Input pins!No pullup/pulldown internal resistance!Absolute MAX per pin 12mArecommended 6mA!PowerGNDSerial PinAnalog PinControlPhysical PinPort PinTouch PinDAC PinPWM PinDistributed and manufactured by Pycom Ltd. Registered office:High Point, 9 Sydenham Road, Guildford, Surrey GU1 3RX, UKCopyright © 2017 by Pycom Ltd. All rights reserved. No part of this document may be reproduced, distributed, or transmied in any form or by any means, including photocopying, recording, or otherelectronic or mechanical methods, without the prior wrien permission of Pycom Ltd, except in the case of brief quotaons embodied in crical reviews and certain other noncommercial uses permied by copyright law.To order contact sales@pycom.ioLow Level BootloaderP2 +GNDBoot modes and safe bootP12 +3V31-3 sec Safe boot, latest firmware is selected4-6 sec Safe boot, previous user update selected7-9 sec Safe boot, the factory firmware is selectedHack your GPyConnect to a 10nF capacitor to enable Touch Pin funconConnected to the LTE radio!SDDATA0Vin (3.5-5.5V)Up to 1.2-A Maximum Load Capability. Output ONLY.WiFi external / internal antenna selection control pin22/03/18
06Version 1.06.0 PinDetailsTable 1 – Module pinoutModule PinESP32 GPIOPinName DefaultFunction ADC PWM RTC† Notes1 – – Reset Active Low, connected to on–board button2 3 P0 RX0 (Programming)Used by the bootloader and to program the module3 1 P1 TX0 (Programming)Used by the bootloader and to program the module4 0 P2 2*If tied to GND during boot the device will enter bootloader mode, connected to the on–board RGB LED5 4 P3 TX1 2*615 P4 RX1 2* JTAG TDO, SD card CMD7 5 – Sequans modem RXNot recommended for external use, 921600 Baud827 –Sequans modem Interrupt 2* Not recommended for external use919 –Sequans modem CTS Not recommended for external use10 2P8 2* SD card DAT011 12 P9 SDA 2* JTAG TDI12 13 P10 SCL (I2C) / CLK (SPI) 2* JTAG TCK13 22 P11 MOSI14 21 P12If tied to 3.3V during boot the device enters safe boot mode, JTAG MISO, External WiFi/BT antenna switch, Low = on–board, High = U.FL15 36 P13 1Input only16 37 P14 MISO 1Input only17 38 P15 1Input only18 39 P16 1Input onlyGPy
07Version 1.06.0 PinDetailsTable 1 – Module pinoutModule PinESP32 GPIOPinName DefaultFunction ADC PWM RTC† Notes19 35 P17 1Input only20 34 P18 1Input only21 32 P19 122 33 P20 123 26 P21 2* DAC24 25 P22 2* DAC25 14 P23 2* JTAG TMS, SD SCLK26 – – Regulated 3.3V supplyOutput only, do not feed 3.3V into this pin or you can damage the regulator27 – – Ground28 – – Voltage Input Accepts a voltage between 3.5V and 5.5V–23 –Sequans modem TX 921600 Baud–18 –Sequans modem RTS† The pins on the RTC power domain can be used during deep sleep, specically GPIO pins will maintain their state while in deep sleep.* ADC2 is currently not supported in the micropython rmware6.1 RemappingPins The ESP32 features comprehensive pin remapping functionality. This allows peripherals to be mapped onto almost any available GPIO pins. The above table merely shows the default assignments. For example, the default mapping has the SPI and I2C clocks overlapping, meaning both cannot be used simultaneously without remapping one to a different pin. For a detailed guide of what peripheral can be assigned to what pins please read “Appendix A – ESP32 Pin Lists” of the ESP32 datasheet.GPy
08Version 1.07.0 ESP32PeripheralsTable 2 – PeripheralsFigure 2 – External RTC crystal circuits* Requires an external CAN bus transceiver, we recommend the SN65HVD230 from Texas Instruments. For a more detailed description of the ESP32 peripherals along with peripherals not currently supported by our rmware, please check the ESP32 datasheet.7.1 R TC Our modules by default all use the internal RC oscillator at 150kHz for the RTC. If you require better accuracy/stability you can connect a 32.768 kHz crystal (or TCXO) externally on pins P19 and P20 (or P19 for a TXCO)Peripheral Count PinsUART 3Remappable to any GPIO.  Note: P13–18 can only be mapped to RX or CTS since they are input only.I2C 2 Remappable to any GPIO except P13–18 since they are input only and I2C is bi–directional.SPI 3Remappable to any GPIO.  Note: P13–18 can only be mapped to MISO since they are input only.CAN* 1Remappable to any GPIO.  Note: P13–18 can only be mapped to RX since they are input only.JTAG 1 TDO = P4, TDI = P9, TCK = P10, TMS = P24PWM 1 All GPIO except P13–18 which are input onlyADC 18 Fixed mapping, see Table 1, Only ADC 1 is supported in our micropython rmware.DAC 2 Only available on P21 and P22SD 1 DAT0 = P8, SCLK = P23, CMD = P4GPy
09Version 1.08.0 Programmingthedevice8.1 UA R T By default, the modules run an interactive python REPL on UART0 which is connected to P0 (RX) and P1 (TX) running at 115200 baud. The easiest way to connect to the GPy is via our expansion board, but any USB UART adapter will suce. Code can be run via this interactive REPL or you can use our PyMakr plugin for Atom or  Visual Studio Code to upload code to the board.8.2 Wi–FiBy default, the GPy also acts as a Wi–Fi access point. SSID: gpy–wlan–XXXXPassword: www.pycom.io Once connected to the GPy’s Wi–Fi network you can access it in two ways.8.2.1 Telnet Running on port 23 is a telnet server. This acts in a very similar way to the UART. It presents you with an interactive REPL and can also be used to upload code via PyMakr.8.2.2 FTP The GPy also runs a FTP server that allows you to copy les to and from the device, include an SD card if one is connected. To connect to this FTP server, you need to use plain FTP (un–encrypted) with the following credentials  User:  micro Password: python9.0 Bootmodes9.1 Bootloadermode In order to update the rmware of the GPy device, it  needs to be placed into bootloader mode. In order to do this, P2 needs to be connected to ground when the device reboots. Once in bootloader mode you can use the Pycom rmware update tool to update to the latest ocial rmware. If you are developing your own rmware based on our open–source rmware, a ashing script is provided with the source code.9.2 Safeboot The micropython rmware features a safe boot feature that skips the boot.py and main.py scripts and goes straight to the REPL. This is useful if the device is programmed with code that causes the device to crash or become inaccessible. To access this mode, you need to connect P12 to 3.3V and reset the device. Upon entering safe boot mode, the on–board LED will begin to blink orange. Depending on the duration the pin is held at 3.3V, a different rmware will be run.Table 3 – Boot modes0–3Seconds 3–6SecondsCurrent rmware without running  boot.py or main.pyPrevious rmware if the rmware was uploaded via OTA  (without running boot.py and main.py)GPy
10Version 1.010.1   Current consumption by power modes/features measured at 3.3V10.0  Power The GPy features an on–board voltage regulator that takes 3.5V – 5.5V from the VIN pin and regulates it to 3.3V. It is important to only use the 3.3V as an output  and not try to feed 3.3V into this pin as this could  damage the regulator.Table 4 – Power consumption by featureMode Min Avg. Max UnitsIdle (no radios) – 60 – mALTE Transmit – 173 285 mALTE Attached – 74.5 – mAWiFi AP – 123 – mAWiFi client – 134 – mABluetooth – 114 – mADeep sleep – 24.0 – µAGPy
11Version 1.011.0 MemoryMap11.1 Flash11. 2 R A M11.3 ROMandeFusesTable 5 – Flash memory mapTable 6 – RAM memory mapTable 7 – Miscellaneous memoryName Description SizeOn–chip SRAM Internal RAM memory used by the 2 xtensa CPUs 520KBFast RTC RAM Fast RAM area accessible by the xtensa cores during boot and sleep modes 8KBSlow RTC RAM Slow RAM area accessible by the Ultra–Low Power Coprocessor during deep sleep 8KBExternal pSRAM External QSPI RAM memory clocked @ 40MHz 4MBName Description SizeOn–chip ROM Contains core functions and boot code. 448KBeFuse256 bits are used for the system (MAC address and chip conguration) and the remaining 768 bits are reserved for customer applications, including Flash–Encryption and Chip–ID1kbitName Description Startaddress SizeNVS Non–volatile RAM area. Used by the NVS API 0x9000 0x7000Firmware Slot 0 First rmware slot. Factory rmware is ashed here 0x10000 0x180000OTA info Information about the current active rmware 0x190000 0x1000Firmware Slot 1 Second rmware slot 0x1A0000 0x180000File system 504KB le system on devices with 4MB ash 0x380000 0x7F000Cong Cong area for LoRa, Sigfox and LTE 0x3FF000 0x1000File system (2) 4MB le system on devices with 8MB ash 0x400000 0x400000GPy
12Version 1.012.0 WiFi12.1 Supportedfeatures–  802.11 b/g/n–  802.11 n (2.4 GHz), up to 150 Mbps –  802.11 e: QoS for wireless multimedia technology –  WMM–PS, UAPSD –  A–MPDU and A–MSDU aggregation –  Block ACK –  Fragmentation and defragmentation – Automatic Beacon monitoring/scanning  –Wi–Fi Protected Access (WPA)/WPA2/WPA2–Enterprise/Wi–Fi Protected Setup (WPS)  –Infrastructure BSS Station mode/SoftAP mode  –Wi–Fi Direct (P2P), P2P Discovery, P2P Group Owner mode and P2P Power Management12.2 SpecicationsTable 8 – WiFi specicationsDescription Min Typ. Max UnitInput Frequency 2412 –2462 MHzOutput power of PA for 11b mode 20 21.5 23 dBmSensitivityDSSS, 1Mbps – – -98 dBmCCK, 11 Mbps – – -91 dBmOFDM, 6 Mbps – – -93 dBmOFDM, 54 Mbps – – -75 dBmHT20, MCS0 – – -93 dBmHT20, MCS7 – – -73 dBmHT40, MCS0 – – -90 dBmHT40, MCS7 – – -70 dBmAdjacent channel rejectionOFDM, 6 Mbps – 37 –dBOFDM, 54 Mbps – 21 –dBHT20, MCS0 – 37 –dBHT20, MCS7 – 20 –dBGPy
13Version 1.013.0 Bluetooth13.1 Supportedfeatures – Compliant with Bluetooth v4.2 BR/EDR and BLE specification –  class–2  transmitter without external power amplier–  Enhanced power control –  NZIF receiver with –97 dBm sensitivity – Adaptive Frequency Hopping (AFH) –  Standard HCI based on SDIO/SPI/UART –  High–speed UART HCI, up to 4 Mbps – BT 4.2 controller and host stack  – Service Discover Protocol (SDP)  – General Access Prole (GAP)  – Security Manage Protocol (SMP)  – ATT/GATT  – HID – All GATT–based prole supported  – SPP–like GATT–based prole – BLE Beacon  – A2DP/AVRCP/SPP, HSP/HFP, RFCOMM  – CVSD and SBC for audio codec  – Bluetooth Piconet and Scatternet13.2 Specication13.2.1 Receiver–BasicDataRateTable 9 – Receiver (basic data rate) specicationsParameter Min Typ. Max UnitSensitivity @0.1% BER – –94 –dBmMaximum received signal @0.1% BER  0 – – dBmCo–channel C/I  – +7 –dBAdjacent channel selectivity C/IF = F0 + 1 MHz – – –6 dBF = F0 – 1 MHz  – – –6 dBF = F0 + 2 MHz – – –25 dBF = F0 – 2 MHz – – –33 dBF = F0 + 3 MHz – – –25 dBF = F0 – 3 MHz – – –45 dBOut–of–band blocking performance30Mhz ~ 2000MHz –10 – – dBm2000MHz ~ 2400MHz –27 – – dBm2500MHz ~ 3000MHz –27 – – dBm3000MHz ~ 12.5GHz –10 – – dBmIntermodulation –36 – – dBmGPy
14Version 1.0Table 10 – Receiver (basic data rate) specications13.2.2 Receiver–EnhancedDataRateParameter Min Typ. Max Unitπ/4 DQPSKSensitivity @0.1% BER – –90 –dBmMaximum received signal @0.1% BER  – 0 – dBmCo–channel C/I  – 11 –dBAdjacent channel selectivity C/IF = F0 + 1 MHz – –7 –dBF = F0 – 1 MHz  – –7 –dBF = F0 + 2 MHz – –25 –dBF = F0 – 2 MHz – –35 –dBF = F0 + 3 MHz – –25 –dBF = F0 – 3 MHz – –45 –dB8DPSKSensitivity @0.1% BER––84 –dBmMaximum received signal @0.1% BER  – –5 –dBmC/I c–channel –18 –dBAdjacent channel selectivity C/IF = F0 + 1 MHz – 2 – dBF = F0 – 1 MHz  – 2 – dBF = F0 + 2 MHz – –25 –dBF = F0 – 2 MHz – –25 –dBF = F0 + 3 MHz – –25 –dBF = F0 – 3 MHz – –38 –dBGPy
15Version 1.0Table 11 – Receiver (BLE) specications13.2.3 Receiver–BluetoothLEParameter Min Typ. Max UnitSensitivity @30.8% PER – –97 –dBmMaximum received signal @30.8% PER 0 – – dBmCo–channel C/I –+10 –dBAdjacent channel selectivity C/IF = F0 + 1MHz – –5 –dBF = F0 – 1MHz – –5 –dBF = F0 + 2MHz – –25 –dBF = F0 – 2MHz – –35 –dBF = F0 + 3MHz – –35 –dBF = F0 – 3MHz – –45 –dBOut–of–band blocking performance30MHz ~ 2000MHz –10 – – dB2000MHz ~ 2400MHz –27 – – dBm2500MHz ~ 3000MHz –27 – – dBm3000MHz ~ 12.5GHZ –10 – – dBmIntermodulation –36 – – dBmGPy
16Version 1.0Table 12 – Transmitter (basic data rate) specications13.2.4 Transmitter–BasicDataRateParameter Min Typ. Max UnitRF transmit power – 3.14 –dBmRF power control range 1–4dBm+20 dB bandwidth – 0.9 –MHzAdjacent channel transmit powerF = F0 + 1 MHz – –24 –dBmF = F0 – 1 MHz – –16.1 –dBmF = F0 + 2 MHz – –40.8 –dBmF = F0 – 2 MHz – –35.6 –dBmF = F0 + 3 MHz – –45.7 –dBmF = F0 – 3 MHz – –40.2 –dBmF = F0 + >3 MHz – 45.6 –dBmF = F0 – >3 MHz – 44.6 –dBmΔf1avg – – 155 KHzΔf2max 133.7 KHzΔf2avg/Δf1avg –0.92 – –ICFT ––7 –KHzDrift rate – 0.7 –KHz/50μsDrift (1 slot packet) – 6 – KHzDrift (5 slot packet) – 6 – KHzGPy
17Version 1.0Table 13 – Transmitter (enhanced data rate) specications13.2.5 Transmitter–EnhancedDataRateParameter Min Typ. Max UnitRF transmit power – – dBmGain control step – -–dBmRF power control range dBmπ/4 DQPSK max w0 ––0.72 –KHzπ/4 DQPSK max wi ––6 –KHzπ/4 DQPSK max |wi + w0| ––7.42 –KHz8DPSK max w0 – 0.7 –KHz8DPSK max wi – –9.6 –KHz8DPSK max |wi + w0| –10 KHzπ/4 DQPSK modulation accuracyRMS DEVM – 4.28 – %99% DEVM – – 30 %Peak DEVM – 13.3 – %8 DPSK modulation accuracyRMS DEVM – 5.8 – %99% DEVM – 20 %Peak DEVM – 14 – %In–band spurious emissionsF = F0 + 1MHz – –34 –dBmF = F0 – 1MHz – –40.2 –dBmF = F0 + 2MHz – –34 –dBmF = F0 – 2MHz – –36 –dBmF = F0 + 3MHz – –38 –dBmF = F0 – 3MHz – –40.3 –dBmF = F0 ± >3MHz – – –41.5 dBmEDR differential phase coding – 100 – %3–6.55GPy
18Version 1.0Table 14 – Transmitter (BLE) specications13.2.6 Transmitter–BluetoothLEParameter Min Typ. Max UnitRF transmit power – – dBmGain control step –  - –dBmRF power control range 3–5dBmAdjacent channel transmit powerF = F0 + 1MHz – –14.6 –dBmF = F0 – 1MHz – –12.7 –dBmF = F0 + 2MHz – –44.3 –dBmF = F0 – 2MHz – –38.7 –dBmF = F0 + 3MHz – –49.2 –dBmF = F0 – 3MHz – –44.7 –dBmF = F0 + >3MHz – –50 –dBmF = F0 –  >3MHz – –50 –dBmΔf1avg – – 265 KHzΔf2max247 – – KHzΔf2avg/Δf1avg ––0.92 – –ICFT ––10 –KHzDrift rate – 0.7 –KHz/50μsDrift – 2 – KHz4.52GPy
19Version 1.014.0 LTECAT–M114.1 Supportedfeatures  – 3GPP release 13 LTE Advanced Pro  – Supports narrowband LTE UE categories M1 – Integrated baseband, RF, RAM memory and power management  – Reduced TX power class option  – Extended DRX (eDRX) and PSM features for long sleep duration use casesTable 15 – Supported LTE modes14.2 SpecicationsParameter Min Typ. Max UnitData rateLTE Cat M1 in 1.4 Mhz, HD–FDD – DL –300 –kbpsLTE Cat M1 in 1.4 Mhz, HD–FDD – UP–375 –kbpsTable 16 – Supported LTE bandsTable 17 – SIM card speciciationsTable 18 – Certied carriers14.2.1 SupportedLTEbands14.3 SIMCardrequirements14.4 CertiedcarriersBands TXFrequenciesParameter Min Typ. Max UnitForm factor –Nano–SIM – –Variant –USIM – –Supply Voltage –1.8 – vCarrier Country NetworkVerizon US United States LTE CAT–M1 Bands 4,  12, 13 LTE BAND 4:1710-1755MHz(TX);2110-2155(RX)LTE BAND 12:699-716MHz(TX);729-746(RX)LTE BAND 13:777-787MHz(TX);746-756(RX)GPy
20Version 1.015.0 ElectricalCharacteristics15.1 Absolutemaximumratings15.2 Input/OutputcharacteristicsTable 19 – Absolute maximum ratingsTable 20 – Input/Output characteristicsParameter Symbol Min Typ. Max UnitSupply Input Voltage VIN 3.5 –5.5 VSupply Output Current IOUT – – 1.2 ASupply Output Voltage V3V3 –3.3 – VStorage Temperature TSTR –––°COperating Temperature TOPR –40 –85 °CMoisture Sensitivity Level MSL – 1 – –Parameter Symbol Min Typ. Max UnitInput low voltage VIL –0.3 –0.25×V3V3 VInput high voltage VIH 0.75×V3V3 – V3V3+0.3 VMax Input sink current ISINK – 6 12 mAInput leakage current IIL – – 50 nAInput pin capacitance Cpin – – 2 pFOutput low voltage VOL 0.1×V3V3 – – VOutput high voltage VOH 0.8×V3V3 – – VMax Output source current ISOURCE – 6 12 mAGPy
21Version 1.016.0 MinimumRecommendedCircuitFigure 4 – Minimum required circuitGPy
22Version 1.017.0 MechanicalSpecications18.0 RecommendedLandPatternsFigure 5 – Mechanical drawing (top down view) ) – Units: mmFigure 6 – Mechanical drawing (side view) – Units: mmFigure 7– Recommended land pattern (through hole) – Units: mmP13P14P15P16P17P18P19P20P21P22P233V3GNDVINP12P11P10P9P8MISOMOSI552.54 51021.0217.789.722012.25CLKP4P3P2P1P0RST554.135.36.59.91.2AntennaKEEP OUT5517.789.72 12.252.5421.0217.7851020GPy
23Version 1.019.0 SolderingProle This device is not recommended for reow soldering. The plastic of the pin headers will melt, instead please hand solder the module or use sockets.21.0 Packaging20.0 OrderingInformationTable 21 – Ordering informationFigure 8 – Mechanical drawing of packaging – Units: mmThe module will come inside a reusable anti–static bag. If the module has headers it will also be inserted into anti–static foam. Total weight inc. packaging: 31gFor more product accessories like expansion board or cases visit our website: http://www.pycom.ioProductEAN Description0700461242703 GPy 1.00700461341703 LTE–M Antenna0700461341680 External WiFi Antenna0700461341697 IP67 Antenna PigtailBundle ContentsGPy Multi–Pack1x GPy 1x Expansion Board or  Pysense or Pytrack 1x LTE–M antennaAvailable in quantities of 1, 2 or 5GPy
;7;u-Ѵollmb1-ঞomollbvvbomm|;u=;u;m1;Statement$_bv7;b1;1olrѴb;vb|_-u|ƐƔo=|_;!Ѵ;vĺr;u-ঞombv v0f;1||o|_;=oѴѴobm]|o1om7bঞomvĹ ŐƐő$_bv7;b1;l-mo|1-v;_-ul=Ѵbm|;u=;u;m1;ĺ(2) This device must accept any interference received, including bm|;u=;u;m1;|_-|l-1-v;m7;vbu;7or;u-ঞomĺ &$Ĺ_-m];voulo7bC1-ঞomvmo|;ru;vvѴ-rruo;70|_; party responsible for compliance could void the user's authority to or;u-|;|_;;tbrl;m|ĺNOTE: This equipment has been tested and found to comply with the limits for a Class B digital device, pursuant to Part 15 of |_;!Ѵ;vĺ$_;v;Ѵblb|v-u;7;vb]m;7|oruob7;u;-vom-0Ѵ; ruo|;1ঞom-]-bmv|_-ul=Ѵbm|;u=;u;1;bm-u;vb7;mঞ-Ѵbmv|-ѴѴ-ঞomĺ This equipment generates uses and can radiate radio frequency energy and, if not installed and used in accordance with |_;bmv|u1ঞomvķl-1-v;_-ul=Ѵbm|;u=;u;m1;|ou-7bo 1ollmb1-ঞomvĺo;;uķ|_;u;bvmo]-u-m|;;|_-|bm|;u=;u;m1; bѴѴmo|o11ubm-r-uঞ1Ѵ-ubmv|-ѴѴ-ঞomĺ=|_bv;tbrl;m|7o;v 1-v;_-ul=Ѵbm|;u=;u;m1;|ou-7boou|;Ѵ;bvbomu;1;rঞomķ_b1_ 1-m0;7;|;ulbm;70|umbm]|_;;tbrl;m|o@-m7omķ|_;v;ubv encouraged to try to correct the interference by one or more of the following me asures:Ŋ!;oub;m|ouu;Ѵo1-|; |_;u;1;bbm]-m|;mm-ĺ Ŋm1u;-v;|_;v;r-u-ঞom0;|;;m|_;;tbrl;m|-m7u;1;b;uĺ Ŋomm;1||_;;tbrl;m|bm|o-mo|Ѵ;|om-1bu1b|7b@;u;m|=uol |_-||o_b1_|_;u;1;b;ubv1omm;1|;7ĺŊomvѴ||_;7;-Ѵ;uou-m;r;ub;m1;7u-7boņ$(|;1_mb1b-m=ou_;ѴrĺRF Warning StatementThis device is intended only for OEM integrators m7;u|_;=oѴѴobm]1om7bঞomvĹ1) The antenna must be installed such that 20 cm is maintainedbetween the antenna and users, andƑő $_;|u-mvlb;ulo7Ѵ;l-mo|0;1oŊѴo1-|;7b|_-mo|_;u|u-mvlb;uou-m|;mm-ĺvѴom]-v|o1om7bঞomv-0o;-u;l;|ķ=u|_;u|u-mvlb;u|;v|bѴѴmo|0;u;tbu;7ĺo;;uķ|_;bm|;]u-|oubvvঞѴѴu;vromvb0Ѵ;=ou|;vঞm]|_;bu;m7Ŋruo71|=ou-m-77bঞom-Ѵ1olrѴb-m1;u;tbu;l;m|vu;tbu;7b|_|_bvlo7Ѵ;bmv|-ѴѴ;7ĺ$o;mvu;1olrѴb-m1;b|_-ѴѴmomŊ|u-mvlb;u=m1ঞomv|_;_ov|manufacturer is responsible for ensuring compliance with the lo7Ѵ;Ővőbmv|-ѴѴ;7-m7=ѴѴor;u-ঞom-Ѵĺou;-lrѴ;ķb=-_ov|-vru;bovѴ-|_oub;7-v-mmbm|;mঞom-Ѵu-7b-|oum7;u|_;;1Ѵ-u-ঞomo=om=oulb|ruo1;7u;b|_o|-|u-mvlb;u1;uঞC;7module and a module is added, the host manufacturer is responsible =ou;mvubm]|_-||_;-[;u|_;lo7Ѵ;bvbmv|-ѴѴ;7-m7or;u-ঞom-Ѵ|_;_ov|1omঞm;v|o0;1olrѴb-m|b|_|_;-u|ƐƔmbm|;mঞom-Ѵu-7b-|ouu;tbu;l;m|vĺ$_;lo7Ѵ;bvѴblb|;7|obmv|-ѴѴ-ঞom+ĺ$_;lo7Ѵ;bvѴblb|;7|obmv|-ѴѴ-ঞombmlo0bѴ;ouC;7-rrѴb1-ঞomĺWe hereby acknowledge our responsibility to provide guidance to the host manufacturer in the event that they require assistance for ;mvubm]1olrѴb-m1;b|_|_;-u|ƐƔ"0r-u|u;tbu;l;m|vĺ!$$$Ĺm|_;;;m||_-||_;v;1om7bঞomv1-mmo|0;l;|Ő=ou;-lrѴ;1;u|-bmѴ-r|or1omC]u-ঞomvou1oŊѴo1-ঞomb|_-mo|_;u|u-mvlb;uőķ|_;m|_;-|_oub-ঞombvmolonger considered valid and the FCC ID cannot be used on the Cm-Ѵruo71|ĺm|_;v;1bu1lv|-m1;vķ|_;bm|;]u-|oubѴѴ0;u;vromvb0Ѵ;=ouu;;-Ѵ-ঞm]|_;;m7ruo71|Őbm1Ѵ7bm]|_;|u-mvlb;uő-m7o0|-bmbm]-v;r-u-|;-|_oub-ঞomĺEnd Product Labeling-m-Ѵm=oul-ঞom|o|_;m7&v;u$_;bm|;]u-|ou_-v|o0;--u;mo||oruob7;bm=oul-ঞom|o|_;;m7v;uu;]-u7bm]_o|obmv|-ѴѴouu;lo;|_bv!lo7Ѵ;bm|_;v;uĽvl-m-Ѵo=|_;;m7ruo71|_b1_bm|;]u-|;v|_bvlo7Ѵ;ĺIn the user manual of the end product, the end user has to be informed that the equipment complies with FCC radio-frequency ;rovu;]b7;Ѵbm;vv;|=ou|_=ou-mm1om|uoѴѴ;7;mbuoml;m|ĺThe end user has to also be informed that any changes or lo7bC1-ঞomvmo|;ru;vvѴ-rruo;70|_;l-m=-1|u;u1oѴ7ob7|_;v;uŝv-|_oub||oor;u-|;|_bv;tbrl;m|ĺThe end user manual shall include all required regulatory bm=oul-ঞomņ-umbm]-vv_obm|_bvl-m-ѴĺThis equipment complies with FCC radiation exposure limits set forth for an uncontrolled environment .This equipment should be installed and operated withminimum distance 20cm between the radiator& your body.The outside of final products that contains this module device must display a label referring to theenclosed module. This exterior label can use wording such as: "Contains Transmitter Module FCC ID:2AJMTGPY01R,&GPY01R or “Contains FCC ID:2AJMTGPY01R,&GPY01R , Any similar wording that expresses the same meaning may be used.6LQJOH0RGXODU$SSURYDO2XWSXWSRZHULVFRQGXFWHG7KLVGHYLFHLVWREHXVHGLQPRELOHRUIL[HGIRUWKHSXUSRVHRIVDWLVI\LQJWKHUHTXLUHPHQWVRI&)57KHDQWHQQDVXVHGIRUWKLVWUDQVPLWWHUPXVWEHLQVWDOOHGWRSURYLGHDVHSDUDWLRQGLVWDQFHRIDWOHDVWFPIURPDOOSHUVRQVDQGPXVWQRWEHFRORFDWHGRURSHUDWHGLQFRQMXQFWLRQZLWKDQ\DQWHQQDRUWUDQVPLWWHUH[FHSWLQDFFRUGDQFHZLWK)&&PXOWLWUDQVPLWWHUHYDOXDWLRQSURFHGXUH&RPSOLDQFHRIWKLVGHYLFHLQDOOILQDOSURGXFWFRQILJXUDWLRQVLVWKHUHVSRQVLELOLW\RIWKH*UDQWHH,QVWDOODWLRQRIWKLVGHYLFHLQWRVSHFLILFILQDOSURGXFWVPD\UHTXLUHWKHVXEPLVVLRQRID&ODVV,,SHUPLVVLYHFKDQJHDSSOLFDWLRQFRQWDLQLQJGDWDSHUWLQHQWWR5)([SRVXUHVSXULRXVHPLVVLRQV(53(,53DQGKRVWPRGXOHDXWKHQWLFDWLRQRUQHZDSSOLFDWLRQLIDSSURSULDWHDSSOLFDWLRQVRQO\$QWHQQDJDLQLQFOXGLQJFDEOHORVVPXVWQRWH[FHHG7G%L @ FDD (Band 4),10.01 @ FDD (Band 12) and 10.94 @ FDD (Band 13)For IC , to meet RF exposure & ERP/ERIP, the maximum net gain of antennas allowed are 5.96 dBi @ FDD (Band 4), 6.64 @ FDD (Band 12) and 7.46 @ FDD (Band 13). The antenna(s) used for this transmitter must be installed to provide a separation distance of at least 20 cm from all persons and must not be co-located or operating in conjunction with any other antenna or transmitter.

Navigation menu