Quadra Fire Qv32B A Users Manual 2014 900 A, QV36B A.pmd
QV36B-A to the manual 059a5b25-85f6-4405-937e-0b075dc6de7b
2015-02-05
: Quadra-Fire Quadra-Fire-Qv32B-A-Users-Manual-492715 quadra-fire-qv32b-a-users-manual-492715 quadra-fire pdf
Open the PDF directly: View PDF
.
Page Count: 43

1Quadra-fire • QV32B-A, QV36B-A • 2014-900 Rev. F • 9/06
- Do not store or use gasoline or other flam-
mable vapors and liquids in the vicinity of this
or any other appliance.
-What to do if you smell gas
• Do not try to light any appliance.
• Do not touch any electrical switch.
• Do not use any phone in your building.
• Immediately call your gas supplier from a
neighbor's phone. Follow the gas supplier's
instructions.
• If you cannot reach your gas supplier, call
the fire department.
- Installation and service must be performed by a
qualified installer, service agency, or the gas
supplier.
Models:
QV32B-A
QV36B-A
Installers Guide
WARNING: IMPROPER INSTALLA-
TION, ADJUSTMENT, ALTERATION,
SERVICE OR MAINTENANCE CAN
CAUSE INJURY OR PROPERTY DAM-
AGE. REFER TO THIS MANUAL. FOR
ASSISTANCE OR ADDITIONAL INFOR-
MATION CONSULT A QUALIFIED IN-
STALLER, SERVICE AGENCY, OR THE
GAS SUPPLIER.
Underwriters
Laboratories Listed
READ THIS MANUAL BEFORE INSTALLING OR
OPERATING THIS APPLIANCE. THIS INSTALLERS
GUIDE MUST BE LEFT WITH APPLIANCE FOR
FUTURE REFERENCE.
1. This appliance may be installed in an af-
termarket, permanently located, manufac-
tured (mobile) home, where not prohibited
by local codes.
2. This appliance is only for use with the type
of gas indicated on the rating plate. This
appliance is not convertible for use with
other gases, unless a certified kit is used.
Please contact your Quadra-Fire dealer
with any questions or concerns. For the
number of your nearest Quadra-Fire
dealer, please visit www.quadrafire.com.
Printed in U.S.A. Copyright 2006
WARNING: IF THE INFORMATION
IN THESE INSTRUCTIONS IS NOT
FOLLOWED EXACTLY, A FIRE OR
EXPLOSION MAY RESULT CAUS-
ING PROPERTY DAMAGE, PER-
SONAL INJURY, OR DEATH.
Quadra-Fire, a brand of Hearth & Home Technologies
1445 North Highway, Colville, WA 99114
This product may be covered by one or more of the following patents: (United States) 4593510, 4686807, 4766876, 4793322, 4811534, 5000162, 5016609, 5076254, 5113843, 5191877, 5218953, 5263471,
5328356, 5341794, 5347983, 5429495, 5452708, 5542407, 5601073, 5613487, 5647340, 5688568, 5762062, 5775408, 5890485, 5931661, 5941237, 5947112, 5996575, 6006743, 6019099, 6048195, 6053165,
6145502, 6170481, 6237588, 6296474, 6374822, 6413079, 6439226, 6484712, 6543698, 6550687, 6601579, 6672860, 6688302B2, 6715724B2, 6729551, 6736133, 6748940, 6748942, 6769426, 6774802,
6796302, 6840261, 6848441, 6863064, 6866205, 6869278, 6875012, 6880275, 6908039, 6919884, D320652, D445174, D462436; (Canada) 1297749, 2195264, 2225408, 2313972; (Australia) 780250,
780403, 1418504 or other U.S. and foreign patents pending.
In the Commonwealth of Massachusetts:
• installation must be performed by a licensed
plumber or gas fitter;
See Table of Contents for location of additional
Commonwealth of Massachusetts requirements.

2Quadra-fire • QV32B-A, QV36B-A • 2014-900 Rev. F • 9/06
These units MUST use one of the vent systems
described in the Installing the Fireplace section of
the Installers Guide. NO OTHER vent systems or
components MAY BE USED.
This gas fireplace and vent assembly MUST be
vented directly to the outside and MUST NEVER be
attached to a chimney serving a separate solid fuel
burning appliance. Each gas appliance MUST USE
a separate vent system. Common vent systems are
PROHIBITED.
INSPECT the external vent cap on a regular basis to
make sure that no debris is interfering with the air
flow.
The glass door assembly MUST be in place and
sealed, and the trim door assembly MUST be in
place on the fireplace before the unit can be placed
into safe operation.
DO NOT OPERATE this appliance with the glass
door removed, cracked, or broken. Replacement of
the glass door should be performed by a licensed
or qualified service person. DO NOT strike or slam
the glass door.
The glass door assembly SHALL ONLY be
replaced as a complete unit, as supplied by the gas
fireplace manufacturer. NO SUBSTITUTE material
may be used.
DO NOT USE abrasive cleaners on the glass door
assembly. DO NOT ATTEMPT to clean the glass
door when it is hot.
Turn off the gas before servicing this appliance. It is
recommended that a qualified service technician
perform an appliance check-up at the beginning of
each heating season.
Any safety screen or guard removed for servicing
must be replaced before operating this appliance.
DO NOT place furniture or any other combustible
household objects within 36 inches of the fireplace
front.
READ and UNDERSTAND all instructions carefully
before starting the installation. FAILURE TO
FOLLOW these installation instructions may result
in a possible fire hazard and will void the warranty.
Prior to the first firing of the fireplace, READ the
Using Your Fireplace section of the Owners Guide.
DO NOT USE this appliance if any part has been
under water. Immediately CALL a qualified service
technician to inspect the unit and to replace any part
of the control system and any gas control which has
been under water.
THIS UNIT IS NOT FOR USE WITH SOLID FUEL.
Installation and repair should be PERFORMED by a
qualified service person. The appliance and venting
system should be INSPECTED before initial use
and at least annually by a professional service
person. More frequent cleaning may be required
due to excessive lint from carpeting, bedding
material, etc. It is IMPERATIVE that the unit’s
control compartment, burners, and circulating air
passageways BE KEPT CLEAN to provide for
adequate combustion and ventilation air.
Always KEEP the appliance clear and free from
combustible materials, gasoline, and other
flammable vapors and liquids.
NEVER OBSTRUCT the flow of combustion and
ventilation air. Keep the front of the appliance
CLEAR of all obstacles and materials for servicing
and proper operations.
Due to the high temperature, the appliance should
be LOCATED out of traffic areas and away from
furniture and draperies. Clothing or flammable
material SHOULD NOT BE PLACED on or near the
appliance.
Children and adults should be ALERTED to the
hazards of high surface temperature and should
STAY AWAY to avoid burns or clothing ignition.
Young children should be CAREFULLY SUPERVISED
when they are in the same room as the appliance.
!
!
!
!
!
!
!
!!
!
!
!
!
!
!
!
!
SAFETY AND WARNING INFORMATION
!
!
3Quadra-fire • QV32B-A, QV36B-A • 2014-900 Rev. F • 9/06
TABLE OF CONTENTS
Safety and Warning Information ......................................................... 2
Service Parts Lists ................................................................................. 4
Section 1: Approvals and Codes .......................................................... 9
Appliance Certification ............................................................................. 9
Installation Codes .................................................................................... 9
High Altitude Installations ........................................................................ 9
Requirements for the Commonwealth of Massachusetts........................ 10
Section 2: Getting Started .................................................................. 11
Introducing the Village Collection Gas Fireplaces .................................. 11
Pre-installation Preparation .................................................................... 11
Section 3: Installing the Fireplace..................................................... 14
Constructing the Fireplace Chase .......................................................... 14
Step 1 Locating the Fireplace ........................................................... 14
Step 2 Framing the Fireplace ........................................................... 15
Step 3 Installing the Vent System .................................................... 18
A. Vent System Approvals ................................................... 18
B. Installing Vent Components ............................................. 28
C. Vent Termination .............................................................. 31
Step 4 Positioning, Leveling, and
Securing the Fireplace .......................................................... 34
Step 5 The Gas Control Systems ..................................................... 34
Step 6 The Gas Supply Line............................................................. 35
Step 7 Gas Pressure Requirements ................................................. 35
Step 8 Wiring the Fireplace .............................................................. 36
Step 9 Finishing ............................................................................... 37
Step 10 Installing Trim, Logs, and Ember Material ............................. 37
Shutter Settings .................................................................... 37
Placing the Ember Material................................................... 38
Step 11 Before Lighting the Fireplace................................................. 38
Step 12 Lighting the Appliance ........................................................... 39
After the Installation ............................................................................... 39
Section 4: Maintaining and Servicing Your Fireplace .................... 40
Section 5: Troubleshooting ............................................................... 41
Limited Lifetime Warranty ...................................................................... 43
Î = Contains updated information.
Î
Í

4Quadra-fire • QV32B-A, QV36B-A • 2014-900 Rev. F • 9/06
Part number list on following page.
4
3
5
2
7
1
6
(NG, LP) Exploded Parts Diagram
Service Parts QV32B-A
Beginning Manufacturing Date: 6-03
Ending Manufacturing Date: ______
8 Log Set Assembly
12
11 10
9
13
Î

5Quadra-fire • QV32B-A, QV36B-A • 2014-900 Rev. F • 9/06
AVAILABLE
TO SHIP IN
24 HOURS
ITEM STANDING PILOT IGNITION SERIAL # PART NUMBER
Burner Orifice NG (#38C) 582-838 Y
Burner Orifice LP (1.55mmC) 582-8155 Y
1 Andirons, Cast 80784
2 Burner Pre 10-06
Post 10-06 2014-004
2014-014 Y
3 Glass Door Assembly GLA-550TRS Y
4 Log Grate 2014-001
5 Base Pan NG, LP 2014-100
6 Refractory Kit (Sold as set only) BRICK-293-2
7 Junction Box 100-250A Y
8 Log Set Assembly LOGS-2014 Y
9Log 1 SRV2014-701
10 Log 2 SRV2014-703
11 Log 3 SRV2014-702
12 Log 4 SRV780-707
13 Log 5 SRV2014-704
Pilot Orifice NG Pre 10-06
Post 10-06 446-505
2103-116 Y
Pilot Orifice LP Pre 10-06
Post 10-06 446-517
2103-117 Y
Thermocouple Pre 10-06
Post 10-06 446-511
2103-511 Y
Thermopile Pre 10-06
Post 10-06 060-512
2103-512 Y
Lava Rock 060-721
Mineral Wool 050-721
Exhaust Restrictor 530-299
Glass Latch Assembly 386-122A Y
Regulator NG Pre 10-06
Post 10-06 060-518
230-1570
Y
Y
Regulator LP Pre 10-06
Post 10-06 060-519
230-1520
Y
Y
ACCESSORIES
Fan Kit GFK-160A
Wall Switch Kit, Off-white WSK-21-HTI
Wall Switch Kit, White WSK-21-W-HTI
Conversion Kit NG Pre 10-06
Post 10-06 NGK-2014
NGKS-2014 Y
Conversion Kit LP Pre 10-06
Post 10-06 LPK-2014
LPKS-2014 Y
Door Front - Remington Ave. DF-32RA-BK
Door Front - Remington Ave. DF-32RA-HP
Door Front - Sun Prairie Operable DF-32SPO-BK
Door Front - Sun Prairie Operable DF-32SPO-HP
Door Front - Sun Prairie Operable DF-32SPO-VC
Door Front - Town Square DF-32TS-BK
Door Front - Town Square DF-32TS-HP
Door Front - Harmony Hall DF-32HH-BK
Hood, Black SRV550-175
Hood, Hammered Pewter SRV550-175-HP
Hood, Hammered Pewter SRV550-175-HP
(NG, LP) Service Parts List
IMPORTANT: THIS IS DATED INFORMATION. The most current information is located on your
dealers VIP site. When ordering, supply serial and model numbers to ensure correct service parts.
QV32B-A
Î
Í

6Quadra-fire • QV32B-A, QV36B-A • 2014-900 Rev. F • 9/06
9
11
12
13
1
2
34
5
7
6
8 Log Set Assembly
10
(NG, LP) Exploded Parts Diagram
Service Parts QV36B-A
Beginning Manufacturing Date: 6-03
Ending Manufacturing Date: ______
Î

7Quadra-fire • QV32B-A, QV36B-A • 2014-900 Rev. F • 9/06
(NG, LP) Service Parts List
IMPORTANT: THIS IS DATED INFORMATION. The most current information is located on your
dealers VIP site. When ordering, supply serial and model numbers to ensure correct service parts.
QV36B-A
AVAILABLE
TO SHIP IN
24 HOURS
ITEM STANDING PILOT IGNITION SERIAL # PART NUMBER
Burner Orifice NG (#38C) 582-838 Y
Burner Orifice LP (1.55mmC) 582-8155 Y
1 Andirons, Cast 80784
2Burner Pre 10-06
Post 10-06 2014-004
2014-014 Y
3 Glass Door Assembly GLA-550TRS Y
4 Log Grate 2014-001
5 Base Pan NG, LP 2014-100
6 Refractory Kit (Sold as set only) BRICK-293-2
7 Junction Box 100-250A Y
8 Log Set Assembly LOGS-2014 Y
9 Log 1 SRV2014-701
10 Log 2 SRV2014-703
11 Log 3 SRV2014-702
12 Log 4 SRV780-707
13 Log 5 SRV2014-704
Pilot Orifice NG Pre 10-06
Post 10-06 446-505
2103-116 Y
Pilot Orifice LP Pre 10-06
Post 10-06 446-517
2103-117 Y
Thermocouple Pre 10-06
Post 10-06 446-511
2103-511 Y
Thermopile Pre 10-06
Post 10-06 060-512
2103-512 Y
Lava Rock 060-721
Mineral Wool 050-721
Exhaust Restrictor 530-299
Glass Latch Assembly 386-122A Y
Regulator NG Pre 10-06
Post 10-06 060-518
230-1570
Y
Y
Regulator LP Pre 10-06
Post 10-06 060-519
230-1520
Y
Y
ACCESSORIES
Fan Kit GFK-160A
Wall Switch Kit, Off-white WSK-21-HTI
Wall Switch Kit, White WSK-21-W-HTI
Conversion Kit NG Pre 10-06
Post 10-06 NGK-2014
NGKS-2014 Y
Conversion Kit LP Pre 10-06
Post 10-06 LPK-2014
LPKS-2014 Y
Door Front - Remington Ave. DF-32RA-BK
Door Front - Remington Ave. DF-32RA-HP
Door Front - Sun Prairie Operable DF-32SPO-BK
Door Front - Sun Prairie Operable DF-32SPO-HP
Door Front - Sun Prairie Operable DF-32SPO-VC
Door Front - Town Square DF-32TS-BK
Door Front - Town Square DF-32TS-HP
Door Front - Harmony Hall DF-32HH-BK
Hood, Black SRV550-175
Hood, Hammered Pewter SRV550-175-HP
Hood, Hammered Pewter SRV550-175-HP
Î
Í

8Quadra-fire • QV32B-A, QV36B-A • 2014-900 Rev. F • 9/06
(NG, LP) Exploded Parts Diagram
Service Parts QV32B-A, QV36B-A
Beginning Manufacturing Date: 6-03
Ending Manufacturing Date: ______
AVAILABLE
TO SHIP IN
24 HOURS
ITEM DESCRIPTION SERIAL # PART NUMBER
1ON/OFF Rocker Switch 060-521A Y
2Valve NG PRE 10-06
POST 10-06 060-522
230-0710 Y
2 Valve LP PRE 10-06
POST 10-06 060-523
230-0720 Y
3 Flexible Gas Connector 530-302A Y
4 Valve Plate Gasket 530-431
5Burner Neck Gasket 2046-407
6Pilot Assembly NG PRE 10-06
POST 10-06 530-510A
2103-010 Y
6 Pilot Assembly LP PRE 10-06
POST 10-06 530-511A
2103-011 Y
7Wire Assembly 049-552a
8 Valve Bracket PRE 10-06
POST 10-06 2025-101
2025-101, 2044-155
9 Flex Ball Valve Assembly 302-320A Y
10 Piezo Ignitor 291-513 Y
11 Pilot Control Knob PRE 10-06
POST 10-06 291-530
571-531
12 Flame Control Knob PRE 10-06
POST 10-06 291-531
571-534
13 Control Panel PRE 10-06
POST 10-06 291-119
291-125
14 Shutter Bracket Assembly 2026-017 Y
Pilot Bracket PRE 10-06
POST 10-06 2065-117
N/A
Shutter Sleeve 2026-130
Standing Pilot Ignition
Valve Assembly
13 4
2
9
10
8
56
3
1
Î
11
12 7

9Quadra-fire • QV32B-A, QV36B-A • 2014-900 Rev. F • 9/06
1Approvals and
Codes
NOTE: THESE MODELS ARE UL LISTED TO UL307B,
THE STANDARD FOR GAS-BURNING HEATING APPLI-
ANCES FOR MANUFACTURED HOMES AND RECRE-
ATIONAL VEHICLES.
Installation Codes
The fireplace installation must conform to local codes. Before
installing the fireplace, consult the local building code
agency to ensure that you are in compliance with all
applicable codes, including permits and inspections.
In the absence of local codes, the fireplace installation must
conform to the National Fuel Gas Code ANSI Z223.1 (in
the United States) or the CAN/CGA-B149 Installation Codes
(in Canada). The appliance must be electrically grounded
in accordance with local codes or, in the absence of local
codes with the National Electric Code ANSI/NFPA No. 70
(in the United States), or to the CSA C22.1 Canadian Electric
Code (in Canada).
These models may be installed in a bedroom or bed-sitting
room in the U.S.A. and Canada.
Appliance Certification
The Village Collection fireplace models discussed in this
Installers Guide have been tested to certification standards
and listed by the applicable laboratories.
Certification
MODELS: QV32B-A, QV36B-A
LABORATORY: Underwriters Laboratories
TYPE: Vented Gas Fireplace Heater
STANDARD: ANSI Z21.88•CSA2.33•UL307B
High Altitude Installations
U.L. Listed gas appliances are tested and approved without
requiring changes for elevations from 0 to 2,000 feet in the
U. S. A. and in Canada.
When installing this appliance at an elevation above 2,000
feet, it may be necessary to decrease the input rating by
changing the existing burner orifice to a smaller size. Input
rate should be reduced by 4% for each 1000 feet above a
2000 foot elevation in the U.S.A. or 10% for elevations
between 2000 and 4500 feet in Canada. If the heating value
of the gas has been reduced, these rules do not apply. To
identify the proper orifice size, check with the local gas
utility.
If installing this appliance at an elevation above 4,500 feet
(in Canada), check with local authorities.

10 Quadra-fire • QV32B-A, QV36B-A • 2014-900 Rev. F • 9/06
For all side wall horizontally vented gas fueled equipment
installed in every dwelling, building or structure used in
whole or in part for residential purposes, including those
owned or operated by the Commonwealth and where the
side wall exhaust vent termination is less than seven (7)
feet above finished grade in the area of the venting, includ-
ing but not limited to decks and porches, the following re-
quirements shall be satisfied:
Installation of Carbon Monoxide Detectors
At the time of installation of the side wall horizontal vented
gas fueled equipment, the installing plumber or gasfitter
shall observe that a hard wired carbon monoxide detector
with an alarm and battery back-up is installed on the floor
level where the gas equipment is to be installed. In addi-
tion, the installing plumber or gasfitter shall observe that a
battery operated or hard wired carbon monoxide detector
with an alarm is installed on each additional level of the
dwelling, building or structure served by the side wall hori-
zontal vented gas fueled equipment. It shall be the respon-
sibility of the property owner to secure the services of qual-
ified licensed professionals for the installation of hard wired
carbon monoxide detectors.
In the event that the side wall horizontally vented gas fu-
eled equipment is installed in a crawl space or an attic, the
hard wired carbon monoxide detector with alarm and bat-
tery back-up may be installed on the next adjacent floor
level.
In the event that the requirements of this subdivision can
not be met at the time of completion of installation, the
owner shall have a period of thirty (30) days to comply with
the above requirements; provided, however, that during said
thirty (30) day period, a battery operated carbon monoxide
detector with an alarm shall be installed.
Approved Carbon Monoxide Detectors
Each carbon monoxide detector as required in accordance
with the above provisions shall comply with NFPA 720 and
be ANSI/UL 2034 listed and IAS certified.
Signage
A metal or plastic identification plate shall be permanently
mounted to the exterior of the building at a minimum height
of eight (8) feet above grade directly in line with the ex-
haust vent terminal for the horizontally vented gas fueled
heating appliance or equipment. The sign shall read, in
print size no less than one-half (1/2) inch in size, “GAS
VENT DIRECTLY BELOW. KEEP CLEAR OF ALL OB-
STRUCTIONS”.
Inspection
The state or local gas inspector of the side wall horizontally
vented gas fueled equipment shall not approve the installa-
tion unless, upon inspection, the inspector observes carbon
monoxide detectors and signage installed in accordance with
the provisions of 248 CMR 5.08(2)(a)1 through 4.
Exemptions
The following equipment is exempt from 248 CMR 5.08(2)(a)1
through 4:
• The equipment listed in Chapter 10 entitled “Equipment
Not Required To Be Vented” in the most current edition
of NFPA 54 as adopted by the Board; and
• Product Approved side wall horizontally vented gas fu-
eled equipment installed in a room or structure sepa-
rate from the dwelling, building or structure used in whole
or in part for residential purposes.
MANUFACTURER REQUIREMENTS
Gas Equipment Venting System Provided
When the manufacturer of Product Approved side wall hor-
izontally vented gas equipment provides a venting system
design or venting system components with the equipment,
the instructions provided by the manufacturer for installa-
tion of the equipment and the venting system shall include:
• Detailed instructions for the installation of the venting
system design or the venting system components; and
• A complete parts list for the venting system design or
venting system.
Gas Equipment Venting System NOT Provided
When the manufacturer of a Product Approved side wall
horizontally vented gas fueled equipment does not provide
the parts for venting the flue gases, but identifies “special
venting systems”, the following requirements shall be sat-
isfied by the manufacturer:
• The referenced “special venting system” instructions shall
be included with the appliance or equipment installation
instructions; and
• The “special venting systems” shall be Product Approved
by the Board, and the instructions for that system shall
include a parts list and detailed installation instructions.
A copy of all installation instructions for all Product Ap-
proved side wall horizontally vented gas fueled equipment,
all venting instructions, all parts lists for venting instruc-
tions, and/or all venting design instructions shall remain
with the appliance or equipment at the completion of the
installation.
See Gas Connection section for additional Common-
wealth of Massachusetts requirements.
NOTE: The following requirements reference various
Massachusetts and national codes not contained in
this document.
Requirements for the Commonwealth of
Massachusetts

11Quadra-fire • QV32B-A, QV36B-A • 2014-900 Rev. F • 9/06
2Getting Started
Introducing the Village Collection
Gas Fireplaces
The Village Collection direct vent gas fireplaces are designed
to operate with all combustion air siphoned from outside of
the building and all exhaust gases expelled to the outside.
The information contained in this Installers Guide, unless
noted otherwise, applies to all models and gas control
systems. Gas fireplace diagrams, including the dimensions,
are shown in this section.
Pre-install Preparation
This gas fireplace and its components are tested and safe
when installed in accordance with this Installers Guide.
Report to your dealer any parts damaged in shipment,
particularly the condition of the glass. Do not install any
unit with damaged, incomplete, or substitute parts.
The vent system components and trim doors are shipped
in separate packages. The gas logs are packaged
separately and must be field installed.
Read all of the instructions before starting the
installation. Follow these instructions carefully during
the installation to ensure maximum safety and benefit.
Failure to follow these instructions will void the
owner’s warranty and may present a fire hazard.
The Quadra-Fire Warranty will be voided by, and Hearth &
Home Technologies disclaims any responsibility for, the
following actions:
• Installation of any damaged fireplace or vent system
component.
• Modification of the fireplace or direct vent system.
• Installation other than as instructed by Hearth & Home
Technologies .
• Improper positioning of the gas logs or the glass door.
• Installation and/or use of any component part not manu-
factured and approved by Hearth & Home Technologies,
not withstanding any independent testing laboratory or
other party approval of such component part or acces-
sory.
ANY SUCH ACTION MAY POSSIBLY CAUSE A FIRE
HAZARD.
When planning a fireplace installation, it’s necessary to
determine:
•Where the unit is to be installed.
•The vent system configuration to be used.
•Gas supply piping.
•Electrical wiring.
•Framing and finishing details.
•Whether optional accessories—devices such as a fan,
wall switch, or remote control—are desired.
If the fireplace is to be installed on carpeting or tile, or on
any combustible material other than wood flooring, the
fireplace should be installed on a metal or wood panel that
extends the full width and depth of the fireplace.

12 Quadra-fire • QV32B-A, QV36B-A • 2014-900 Rev. F • 9/06
Figure 1. Diagram of the QV36B-A
30-11/16
(779mm) 1/2
(13mm)
15-5/16
(389mm)
16-3/8
(414mm)
8-3/4
(223mm)
Ø 6-5/8
(168mm)
15-7/8
(402mm)
37-3/4
(960mm)
ELECTRICAL
ACCESS
3-9/16
(90mm)
6-7/8
(174mm)
40-15/16
(1040mm)
36-1/8
(917mm)
35-5/8
(905mm)
25
(635mm)
40
(1016mm)
GAS LINE
ACCESS
2-1/8
(55mm)
5-1/16
(129mm)
Ø 8
(203mm)
TOP
STANDOFFS
GAS
CONTROLS ELECTRICAL
ACCESS
GAS
ACCESS RATING PLATE/
LABELS

13Quadra-fire • QV32B-A, QV36B-A • 2014-900 Rev. F • 9/06
Figure 2. Diagram of the QV32B-A
TOP
STANDOFFS
GAS
CONTROLS ELECTRICAL
ACCESS
GAS
ACCESS RATING PLATE/
LABELS
Ø6-5/8
(168mm)
25-11/16
(653mm)
12-7/8
(326mm)
1/2
(13mm)
16-3/8
(414mm)
8-13/16
(223mm)
15-7/8
(402mm)
3-1/3
(90mm)
32-9/16
(828mm)
Ø8
(203mm)
21-7/16
(545mm)
6-7/8
(174mm)
ELECTRICAL
ACCESS
32-1/8
(815mm)
31-1/8
(790mm)
36
(913mm)
2-1/8
(55mm)
35-7/16
(901mm)
GAS LINE
ACCESS 5-1/16
(129mm)

14 Quadra-fire • QV32B-A, QV36B-A • 2014-900 Rev. F • 9/06
3Installing the Fireplace
Step 1. Locating the Fireplace
The following diagram shows space and clearance require-
ments for locating a fireplace within a room.
Minimum Clearances
from the Fireplace to Combustible Materials
Inches mm
Glass Front...................................... 36 ........ 914
Floor .................................................0........... 0
Rear ................................................ 1/2 ........ 13
Sides .............................................. 1/2 ........ 13
Top (QV36B-A) ............................. 3 1/4 ....... 83
(QV32B-A) ............................. 1 1/2 ....... 38
Ceiling* ............................................ 31 ........ 787
Clearance Requirements
The top and back of the fireplace are defined by stand-offs.
The minimum clearance to a perpendicular wall extending
past the face of the fireplace is 3 inches (76mm). The back
of the fireplace may be recessed 16 1/4 inches (413mm)
into combustible construction.
For minimum clearances, see the direct vent termination
clearance in Figures 30 and 31.
Minimum Clearances
from the Vent Pipe to Combustible Materials
Inches mm
Vertical Sections. ............. 1 ................ 25
Horizontal Sections
Top ..................................... 3 ................ 75
Bottom ............................... 1 ................ 25
Sides ................................. 1 ................ 25
At Wall Firestops
Top ..................................... 3 ................ 75
Bottom ............................... 1 ................ 25
Sides ................................. 1 ................ 25
* The clearance to the ceiling is measured from the top
of the unit, excluding the standoffs (see Figure 37).
The distance from the unit to combustible construction is to
be measured from the unit outer wrap surface to the com-
bustible construction, NOT from the screw heads that se-
cure the unit together.
ABC*D*E*
QV36B-A 42” 16 1/4” 31 7/8” 45” 63 3/4”
QV32B-A 37” 16 1/4” 29 3/8” 41 1/2” 58 3/4”
1/2 “ MIN. (13mm)
C
3” MIN. (76mm)
A
B
D
E
Figure 4. Fireplace Dimensions, Locations,
and Space Requirements
Constructing the Fireplace Chase
A chase is a vertical box-like structure built to enclose the
gas fireplace and/or its vent system. Vertical vents that run
on the outside of a building may be, but are not required to
be, installed inside a chase.
CAUTION: TREATMENT OF FIRESTOP SPACERS AND
CONSTRUCTION OF THE CHASE MAY VARY WITH THE
TYPE OF BUILDING. THESE INSTRUCTIONS ARE NOT
SUBSTITUTES FOR THE REQUIREMENTS OF LOCAL
BUILDING CODES. THEREFORE, YOUR LOCAL BUILD-
ING CODES MUST BE CHECKED TO DETERMINE THE
REQUIREMENTS FOR THESE STEPS.
Factory-built fireplace chases should be constructed in the
manner of all outside walls of the home to prevent cold air
drafting problems. The chase should not break the outside
building envelope in any manner.
This means that the walls, ceiling, base plate and cantilever
floor of the chase should be insulated. Vapor and air infiltra-
tion barriers should be installed in the chase as per regional
codes for the rest of the home. Additionally, the inside sur-
faces may be sheetrocked and taped for maximum air tight-
ness.
To further prevent drafts, the firestops should be caulked to
seal gaps. Gas line holes and other openings should be
caulked or stuffed with insulation. If the unit is being in-
stalled on a cement slab, a layer of plywood may be placed
underneath to prevent conducting cold up into the room. Be
sure to include spark arrestors for woodburning units if they
are required.
THE CHASE SHOULD BE CONSTRUCTED SO THAT ALL
CLEARANCES TO THE FIREPLACE ARE MAINTAINED
AS SPECIFIED WITHIN THIS INSTALLERS GUIDE.
*If venting with (2) 900 elbows off rear of unit
the dimensions C, D and E will change.

15Quadra-fire • QV32B-A, QV36B-A • 2014-900 Rev. F • 9/06
Figure 5. Framing Dimensions
Framing should be
constructed of 2 X 4
lumber or heavier.
WARNING:
To ensure proper clearances the front
framing header must be installed on its
narrow edge and to the front of the frame.
The framing headers may rest
on the fireplace stand-offs.
VENT
FRAMING
HOLE
ED
Model A B C D E *
QV36B-A 42” 38-1/4” 16-1/4” 41” 27-7/8”
QV32B-A 37” 33” 16-1/4” 36-1/2” 24-3/8”
A
B
C
Step 2. Framing the Fireplace
Fireplace framing can be built before or after the fireplace
is set in place. Framing should be positioned to accommo-
date wall coverings and fireplace facing material. The dia-
gram below shows framing reference dimensions.
CAUTION: MEASURE FIREPLACE DIMENSIONS AND
VERIFY FRAMING METHODS AND WALL COVERING
DETAILS BEFORE FRAMING.
*The center of the framing hole is one (1)
inch (25.4mm) above the center of the
horizontal vent pipe.
WALL STUD
NON-COMBUSTIBLE ZON
E
IS DEFINED BY 3” ABOVE THE
ELBOW FOR THE ENTIRE
WIDTH AND DEPTH (BEHIND THE
FRONT HEADER) OF THE FIREBOX.
3 1/2”
3
”

16 Quadra-fire • QV32B-A, QV36B-A • 2014-900 Rev. F • 9/06
NOTE: PIPES OVERLAP 1-1/4 INCHES
(34.93mm) AT EACH JOINT.
Figure 6. DVP-Series Direct Vent Component Specifications (5-inch inner pipe / 8-inch outer pipe)
DVP90ST
12-9/16
11-1/4
7-1/4
1-1/4 TYP
1/2 TYP
8-9/16
DVP36
DVP48
48
24
36
4
6
DVP4
DVP6
12
DVP12
2
MIN.
DVP12A
12-3/16
MAX.
DVP24
9-7/8
45.0
O
10-1/4
DVP45
14-1/4

17Quadra-fire • QV32B-A, QV36B-A • 2014-900 Rev. F • 9/06
NOTE: PIPES OVERLAP 1-3/8 INCHES
(34.93mm) AT EACH JOINT.
Figure 7. SL D-Series Direct Vent Component Specifications (4-inch inner pipe / 6 5/8-inch outer pipe)
120”
(3048mm)
24”
(610mm)
36”
(914mm)
60”
(1524mm)
9 1/4
6 5/8
6 1/2 6 3/8
6 1/2 9 5/8
9 5/8
6 5/8
6 3/8
8 3/4
SL-09D
12-17
SL-12/17D (SL12-17D) SL-24D SL-36D SL-48D
47 3/4
35 3/4
23 3/4
SL-45D
SL-90D
SL-17/24D
(SL17-24D)
17-24
SL-06D
SL-12D
5 3/4
6 5/8
6 1/2
11 3/4
SL-FLEX-2
SL-FLEX-10
SL-FLEX-5
SL-FLEX-3

18 Quadra-fire • QV32B-A, QV36B-A • 2014-900 Rev. F • 9/06
!
Figure 8. Vent System Components and Termination Kits
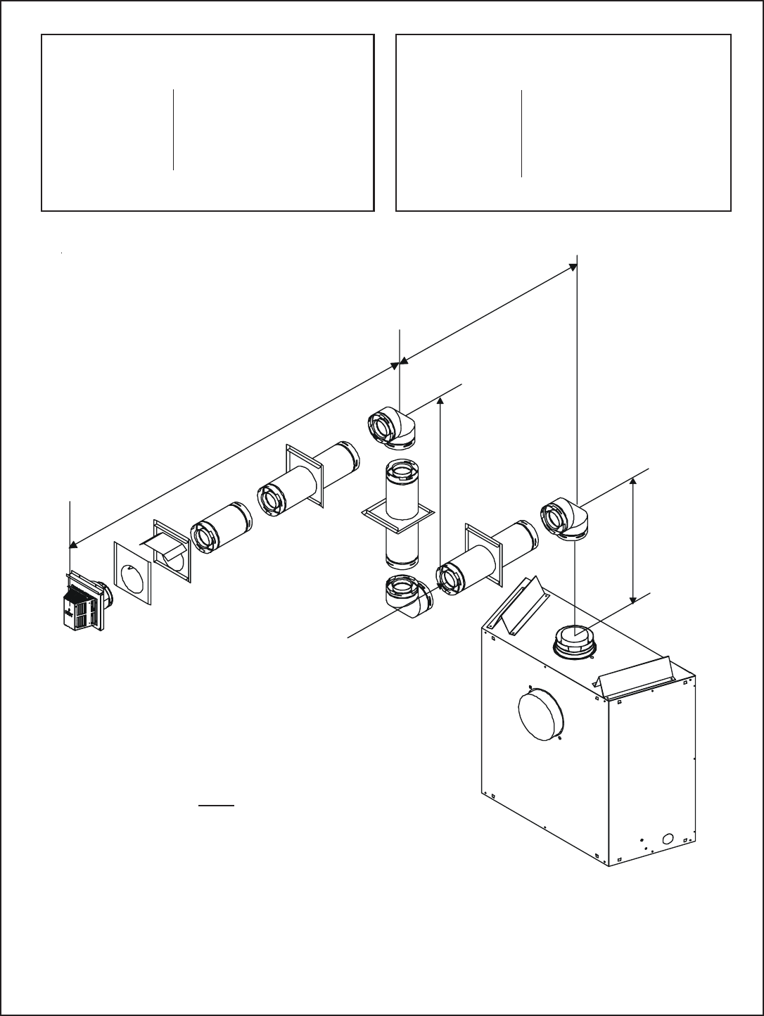
Step 3. Installing the Vent System
A. Vent System Approvals
These models have vent starting collars on both the top
and the back of the unit. Depending upon the installation,
decide which ONE set of starting collars will be used to
attach the vent system. The starting collar sealing cap must
remain on the starting collar NOT used.
These models use SL-D-series, direct vent components
when using the TOP vent collars. This pipe is tested and
listed as an approved component of the fireplace. The pipe
is tested to be run inside an enclosed wall. There is no
requirement for inspection openings at each joint within the
wall. There is no required pitch for horizontal vent runs.
These models also use DVP-series direct vent components
when using the REAR vent collars.
The flame and ember appearance may vary based on the
type of fuel burned and the venting configuration used.
Vent System Termination Kits Vent System Components
WARNING: YOU MUST NOT MIX DVP-SERIES
AND SL D-SERIES COMPONENTS IN ANY VENT
SYSTEM CONFIGURATION.
Identifying Vent Components
Approved vent system components are labeled for identifi-
cation. NO OTHER VENTING SYSTEMS OR COMPO-
NENTS MAY BE USED. Detailed installation instructions
are included with each vent termination kit and should be
used in conjunction with this Installers Guide. Figure 8
shows vent system components and terminations.
The vent systems installed on this gas fireplace may in-
clude one, two, or three 90° elbow assemblies. The rela-
tionships of vertical rise to horizontal run in vent configura-
tions using 90° elbows MUST BE strictly adhered to. The
rise to run relationships are shown in the venting drawings
and tables. Refer to the diagrams on the next several pages.
NOTE: Two 45° elbows may be used in place of one
90° elbow. Maximum and minimum rise to run ratios
must always be maintained in the vent system when
using 45° elbows.
* For use with flex vent only.
*
**
(Required
to have a
minimum of 3
feet of vertical
in the vent
system)
(There MUST be a 25%
reduction in total H
when using the snorkel
cap except when using
the simple up and out
installation (see Fig. 9)
(For use with both DVP
and SL-D venting)
HORIZONTAL
TERMINATION
WALL
FIRESTOP
90 DEGREE
ELBOW
VERTICAL
TERMINATION
STORM COLLAR
ROOF FLASHING
HORIZONTAL PIPE
SUPPORT
PIPE LENGTH
WALL BRACKET
CEILING
FIRESTOP
SLK-991DA
SLK-01TRD
SLK-01TRF
DVP-TVHW
SL D-SERIES
DVP-SERIES
SL-FLEX2-01TRF
(SL-Series)
(SL-Series)
DVP-TRAP
DVP-TB1
DVP-TV
PVK-80
SLK-SNKD

19Quadra-fire • QV32B-A, QV36B-A • 2014-900 Rev. F • 9/06
STRAIGHT UP
VERTICAL VENTING
V (FT.)
45' MAX.
Figure 10.
Straight up Vertical Venting
Use SL D-Series
components only.
NOTE: For vertical venting
over 20 feet a restrictor
plate is recommended for
improved flame appearance.
STRAIGHT OUT HORIZONTAL VENTING
H
Max. Run
36" (914 mm)
Use DVP-Series
components only.
Figure 11. Straight Out Horizontal Venting
H
90-DEGREE
ELBOWS
Use two 900 elbows for corner installations.
The use of two 900 elbows in a corner installa-
tion will affect space requirements (see Fig. 4)
Figure 9.
Flex Vent
The flex vent must be supported with the spacing between
support intervals not exceeding 4 feet, with no more than ½
inch sag between supports.
A support is required at each change in venting direction,
and in any location where it is necessary to maintain the
necessary clearance to combustibles. A simple “up and out”
installation (Figure 9) requires only enough support to main-
tain the necessary clearance to combustibles. However, the
vent attachment point and the firestop location are consid-
ered to be supports.
3” CLEARANCE TERMINATION
CAP
FLEX-VENT
1”
CLEARANCE
V
CAP

20 Quadra-fire • QV32B-A, QV36B-A • 2014-900 Rev. F • 9/06
V H
1' MIN. (305mm) 2' MAX. (610mm)
2' MIN. (610mm) 4' MAX. (1.22m)
3' MIN. (914mm) 6' MAX. (1.86m)
4' MIN. (1.22m) 8' MAX. (2.4m)
V+H=40' MAX. (12.4m)
H = 8' MAX. (2.4m)
Figure 12. Venting with One 90° Elbow
Figure 13. Venting with One 90° Elbow
Use SL D-Series
components only.
Use DVP-Series
components only.
V
H
H
V
NOTE: There MUST be a 25%
reduction in total H when using
flex vent except when using
the simple up and out installa-
tion (see Figure 9).
V (MIN.)
90o Elbow on Top
1 FT (305mm)
2 FT (610mm)
3 FT (914mm)
4 FT (1.22m)
5 FT (1.52m)
VENTING WITH ONE (1) 90o ELBOW NATURAL GAS
H MAX. = 16 FT (4.8m) V + H MAX. = 40 FT (12.2m)
H (MAX.)
2 FT (610mm)
3 FT (914mm)
4 FT (1.22m)
6 FT (1.86m)
8 FT (2.48m)
16 FT (4.8m)
VENTING WITH ONE (1) 90o ELBOW PROPANE
V (MIN.) H (MAX.)
90o Elbow on Top NOT ALLOWED
1 FT (305mm) 2 FT (610mm)
2 FT (610mm) 4 FT (1.22m)
3 FT (914mm) 6 FT (1.86m)
4 FT (1.22m) 8 FT (2.48m)
5 FT (1.52m) 16 FT (4.8m)
H MAX. = 16 FT (4.8m) V + H MAX. = 40 FT (12.2m)

21Quadra-fire • QV32B-A, QV36B-A • 2014-900 Rev. F • 9/06
V H H + H1
1' MIN. (305 mm) 2' MAX. (610 mm) 4' MAX. (1.22m)
2' MIN. (610 mm) 4' MAX. (1.22 m) 8' MAX. (2.4m)
3' MIN. (914 mm) 6' MAX. (1.86 m) 12' MAX. (3.6m)
4' MIN. (1.22 m) 8' MAX. (2.48 m) 16' MAX. (4.8m)
V+H+H
1
= 40' MAX. (12.4 m) H = 8' MAX. (2.48 m) H+H
1
= 16' MAX. (4.8m)
Figure 14. Venting with Two 90° Elbows
V (FT) H + H1 (FT)
1' MIN. (305 mm) 2' MAX. (610 mm)
2' MIN. (610 mm) 4' MAX. (1.22 m)
3' MIN. (914 mm) 6' MAX. (1.86 m)
4' MIN. (1.22 m) 8' MAX. (2.48 m)
H + H1= 8' MAX. (2.48 m)
V + H + H1= 40' (12.2m) MAX.
Use DVP-Series
components only.
V
H
H
1
H
1
V
H

22 Quadra-fire • QV32B-A, QV36B-A • 2014-900 Rev. F • 9/06
Figure 15. Venting with Two 90° Elbows
V
H
H
1
NOTE: There MUST be a 25% reduction
in total H when using flex vent except
when using the simple up and out
installation (see Figure 9).
Use SL D-Series
components only.
VENTING WITH TWO (2) 90o ELBOWS NATURAL GAS
H + H1 MAX. = 16 FT (4.8m) V + H + H1 MAX. = 40 FT (12.2m)
H + H1 (MAX.)
2 FT (610mm)
3 FT (914mm)
4 FT (1.22m)
6 FT (1.86m)
8 FT (2.48m)
16 FT (4.8m)
VENTING WITH TWO (2) 90o ELBOWS PROPANE
H + H1 MAX. = 16 FT (4.8m) V + H + H1 MAX. = 40 FT (12.2m)
V (MIN.) H + H1 (MAX.)
90o Elbow on Top NOT ALLOWED
1 FT (305mm) 2 FT (610mm)
2 FT (610mm) 4 FT (1.22m)
3 FT (914mm) 6 FT (1.86m)
4 FT (1.22m) 8 FT (2.48m)
5 FT (1.52m) 16 FT (4.8m)
V (MIN.)
90o Elbow on Top
1 FT (305mm)
2 FT (610mm)
3 FT (914mm)
4 FT (1.22m)
5 FT (1.52m)

23Quadra-fire • QV32B-A, QV36B-A • 2014-900 Rev. F • 9/06
Figure 16. Venting with Two 90° Elbows
Use SL D-Series components only.
H
V
V
1
NOTE: There MUST be a 25%
reduction in total H when using
flex vent except when using
the simple up and out installa-
tion (see Figure 9).
VENTING WITH TWO (2) 90o ELBOWS NATURAL GAS
H MAX. = 16 FT (4.8m) V + V1 + H MAX. = 40 FT (12.2m)
H (MAX.)
2 FT (610mm)
3 FT (914mm)
4 FT (1.22m)
6 FT (1.86m)
8 FT (2.48m)
16 FT (4.8m)
VENTING WITH TWO (2) 90o ELBOWS PROPANE
H MAX. = 16 FT (4.8m) V + V1 + H MAX. = 40 FT (12.2m)
V (MIN.) H (MAX.)
90o Elbow on Top NOT ALLOWED
1 FT (305mm) 2 FT (610mm)
2 FT (610mm) 4 FT (1.22m)
3 FT (914mm) 6 FT (1.86m)
4 FT (1.22m) 8 FT (2.48m)
5 FT (1.52m) 16 FT (4.8m)
V (MIN.)
90o Elbow on Top
1 FT (305mm)
2 FT (610mm)
3 FT (914mm)
4 FT (1.22m)
5 FT (1.52m)

24 Quadra-fire • QV32B-A, QV36B-A • 2014-900 Rev. F • 9/06
Figure 17. Venting with Three 90° elbows
1' MIN. (305 mm) 2' MAX. (610mm) 4' MAX. (1.22m)
2' MIN. (610 mm) 4' MAX. (1.22m) 8' MAX. (2.48m)
3' MIN. (914 mm) 6' MAX. (1.86m) 12' MAX. (3.72m)
4' MIN. (1.22 m) 8' MAX. (2.48m) 16' MAX. (4.8m)
V1+V+H+H1 = 40' MAX. (12.4m)
H = 8' MAX. (2.48m) H+H1 =16' MAX. (4.8m)
V H H + H1
1' MIN. (305 mm) 2' MAX. (610 mm) 4' MAX. (1.22m)
2' MIN. (610 mm) 4' MAX. (1.22 m) 8' MAX. (2.48m)
3' MIN. (914 mm) 6' MAX. (1.86 m) 12' MAX. (3.72m)
4' MIN. (1.22 m) 8' MAX. (2.48 m) 16' MAX. (4.8m)
V+H+H1+H2 = 40' MAX. (12.4 m)
H = 8' MAX. (2.48m) H + H1 + H2 = 16' MAX. (4.8m)
V H H + H1 + H2
Use DVP-Series
components only.
H
H
1
H
2
V
H
V
H
1
V
1

25Quadra-fire • QV32B-A, QV36B-A • 2014-900 Rev. F • 9/06
Figure 18. Venting with three 90° elbows
Use SL D-Series
components only.
H
1
H
V
1
V
NOTE: There MUST be a 25% reduction in total H when
using flex vent except when using the simple up and
out installation (see Figure 9).
VENTING WITH THREE (3) 90o ELBOWS
NATURAL GAS VENTING WITH THREE (3) 90o ELBOWS
PROPANE
V + H + V1 + H1 MAX. = 40 FT (12.2m) V + H + V1 + H1 MAX. = 40 FT (12.2m)
V (MIN.) H (MAX.) H + H
1
(MAX.)
90
o
Elbow on Top 2 FT (610mm) 4 FT (1.22m)
1 FT (305mm) 3 FT (914mm) 6 FT (1.86m)
2 FT (610mm) 4 FT (1.22m) 8 FT (2.48m)
3 FT (914mm) 6 FT (1.86m) 12 FT (3.72m)
4 FT (1.22m) 8 FT (2.48m) 16 FT (4.8m)
5 FT (1.52m) 16 FT (4.8m) 16 FT (4.8m)
V (MIN.) H (MAX.) H + H
1
(MAX.)
90
o
Elbow on Top NOT ALLOWED NOT ALLOWED
1 FT (305mm) 2 FT (610mm) 4 FT (1.22m)
2 FT (610mm) 4 FT (1.22m) 8 FT (2.48m)
3 FT (914mm) 6 FT (1.86m) 12 FT (3.72m)
4 FT (1.22m) 8 FT (2.48m) 16 FT (4.8m)
5 FT (1.52m) 16 FT (4.8m) 16 FT (4.8m)

26 Quadra-fire • QV32B-A, QV36B-A • 2014-900 Rev. F • 9/06
Use SL D-Series
components only.
Figure 19. Venting with three 90° elbows
V
1
H
1
H
V
NOTE: There MUST be a 25% reduction in
total H when using flex vent except when
using the simple up and out installation
(see Figure 9).
VENTING WITH THREE (3) 90o ELBOWS NATURAL GAS
H + H1 MAX. = 16 FT (4.8m) V + V1 + H + H1 MAX. = 40 FT (12.2m)
Model: QV36B-A
H + H1 (MAX.)
2 FT (610mm)
3 FT (914mm)
4 FT (1.22m)
6 FT (1.86m)
8 FT (2.48m)
16 FT (4.8m)
VENTING WITH THREE (3) 90o ELBOWS PROPANE
H + H1 MAX. = 16 FT (4.8m) V + V1 + H + H1 MAX. = 40 FT (12.2m)
V (MIN.) H + H1 (MAX.)
90o Elbow on Top NOT ALLOWED
1 FT (305mm) 2 FT (610mm)
2 FT (610mm) 4 FT (1.22m)
3 FT (914mm) 6 FT (1.86m)
4 FT (1.22m) 8 FT (2.48m)
5 FT (1.52m) 16 FT (4.8m)
Model: QV32B-A
V (MIN.) H + H1 (MAX.)
90o Elbow on Top 2 FT (610mm)
1 FT (305mm) 3 FT (914mm)
2 FT (610mm) 4 FT (1.22m)
3 FT (914mm) 6 FT (1.86m)
4 FT (1.22m) 8 FT (2.48m)
5 FT (1.52m) 16 FT (4.8m)

27Quadra-fire • QV32B-A, QV36B-A • 2014-900 Rev. F • 9/06
Figure 20. Venting with Four 90° elbows
VENTING WITH FOUR (4) 90° ELBOWS
NATURAL AND PROPANE GAS
V (MIN.) H (MAX.)
2' (609mm) 5' (1.52m) V1 (MIN.) H1 (MAX.) V2 (MIN.)
5' (1.52m) 5' (1.52m) 4.5' (1.37m)
V + V1 + V2 + H + H1 MAX. = 40' (12.2m)
V
H
V
2
V
1
H
1
NOTE: There MUST be a 25%
reduction in total H when using
flex vent except when using
the simple up and out installa-
tion (see Figure 9).
Use SL D-Series
components only.

28 Quadra-fire • QV32B-A, QV36B-A • 2014-900 Rev. F • 9/06
!
Figure 21.
Insert screwdriver
or similar object
here to remove cap.
CUT HERE
Venting
Out Rear Venting
Out Top
!
WARNING: THE REAR VENT COLLAR SEAL
CAP MUST REMAIN ATTACHED TO THE REAR
VENT COLLARS IF THE VENT SYSTEM IS ATTACHED
TO THE TOP STARTING COLLARS. SEE FIGURE 21.
!
WARNING: FAILURE TO REMOVE INSULATION
IN THE SET OF COLLARS YOU ARE USING
COULD NEGATIVELY AFFECT FIREPLACE
PERFORMANCE.
!
WARNING: YOU MUST LEAVE THE INSULA-
TION IN PLACE IN THE SET OF COLLARS YOU
ARE NOT USING. FAILURE TO DO THIS COULD
CAUSE A FIRE.
HEAT
SHIELD
DISCARD
INSULATION
SEAL
CAP
SEAL
CAP
HEAT
SHIELD
INSULATION,
DISCARD
BOTH
PIECES
DVP Series Venting Only:
1. Attaching the Venting to the Fireplace
Refer to Cinch Pipe and Termination Cap installation in-
structions.
!
WARNING: ENSURE THAT THE FIBERGLASS
GASKET SUPPLIED WITH THE FIREPLACE SEALS
BETWEEN THE FIRST VENT COMPONENT AND
THE OUTER FIREPLACE WRAP.
If the installation is for a termination cap attached directly
to the fireplace, skip to the sections, Install Firestops and
Vent Termination.
2. Continue Adding Vent Components
Refer to Cinch Pipe and Termination Cap installation in-
structions.
• Continue adding vent components, locking each succeed-
ing component into place.
• Ensure that each succeeding vent component is secure-
ly fitted and locked into the preceding component in the
vent system.
• 90° elbows may be installed and rotated to any point
around the preceding component’s vertical axis. If an el-
bow does not end up in a locked position with the pre-
ceding component, attach with a minimum of two (2)
sheet metal screws.
3. Install Support Brackets
Refer to Cinch Pipe and Termination Cap installation in-
structions.
Go to Step 4 Install Firestops.
Venting Out the Rear Vent (See Figure 21)
Remove the installed rear seal cap from the rear starting collars
by cutting the strap at each end. Remove the insulation inside
the 5” collar. Follow the vent configuration tables accordingly.
Remove the 5” diameter heat shield from the 5” diameter collar
by sliding it out.
WARNING: THE TOP HEAT SHIELD (INSIDE
THE FIREBOX) MUST REMAIN ATTACHED IF
THE VENT SYSTEM IS ATTACHED TO THE
REAR STARTING COLLARS. SEE FIGURE 21.
Venting Out the Top Vent
Remove the top vent collar seal cap by cutting the strap at
each end. Remove the insulation inside BOTH the 4”
diameter and 6 5/8” diameter collars. (See Figure 21).
Remove the 4” diameter heat shield from the 4” diameter
collar by sliding it out.
You have to take the glass off for positioning the logs when the
unit is finally installed in place and finished around it. Attach
vent system to the top starting collars.
B. Installing Vent Components
After determining which set of starting collars will be used
(top or rear), follow venting instructions accordingly.

29Quadra-fire • QV32B-A, QV36B-A • 2014-900 Rev. F • 9/06
For Vertical Runs - The vent system must be supported
every eight (8) feet (2.4m) above the fireplace flue outlet by
wall brackets. To install support brackets for vertical runs:
• Attach wall brackets to the vent pipe and secure the wall
bracket to the framing members with nails or screws.
Figure 23. Installing Support Brackets
2. Continue Adding Vent Components
• Continue adding vent components, locking each succeed-
ing component into place.
• Ensure that each succeeding vent component is secure-
ly fitted and locked into the preceding component.
• 90° elbows may be installed and rotated to any point
around the preceding component’s vertical axis. If an el-
bow does not end up in a locked position with the pre-
ceding component, attach with a minimum of two (2)
sheet metal screws.
Figure 22. Adding Venting Components
3. Install Support Brackets
For Horizontal Runs - The vent system must be supported
every five (5) feet of horizontal run by a horizontal pipe support.
To install support brackets for horizontal runs:
• Place the pipe supports around the vent pipe.
• Nail the pipe supports to the framing members.
WALL BRACKET
WALL STUD
1 INCH MIN.
(25.4mm)
8 FT. (2.4m)
FLUE
OUTLET
If the installation is for a termination cap attached directly
to the fireplace, skip to the sections, Install Firestops and
Vent Termination.
SL-D and SL-Flex Series Venting Only:
1. Attach the First Vent Component to the
Starting Collars
To attach the first vent component to the starting collars
of the fireplace:
• Lock the vent components into place by sliding the con-
centric pipe sections with four (4) equally spaced interior
beads into the fireplace collar or previously installed com-
ponent end with four (4) equally spaced indented sections.
• When the internal beads of each outer pipe line up, ro-
tate the pipe section clockwise about one-quarter (1/4)
turn. The vent pipe is now locked together.
• Slide the ceramic fiber pad over the first vent section and
place it flush to the fireplace (see Figure 1). This will
prevent cold air infiltration. High temp caulk may be used
to hold the part in place. Continue to add vent compo-
nents.
Go to Step 4 Install Firestops.

30 Quadra-fire • QV32B-A, QV36B-A • 2014-900 Rev. F • 9/06
For Vertical Runs - One ceiling firestop is REQUIRED at
the hole in each ceiling through which the vent passes.
To install firestops for vertical runs that pass through ceilings:
• Position a plumb bob directly over the center of the verti-
cal vent component.
• Mark the ceiling to establish the centerpoint of the vent.
• Drill a hole or drive a nail through this centerpoint.
• Check the floor above for any obstructions, such as wir-
ing or plumbing runs.
• Reposition the fireplace and vent system, if necessary,
to accommodate the ceiling joists and/or obstructions.
• Cut a 10-inch X 10-inch (254mm X 254mm) hole through
the ceiling, using the centerpoint previously marked.
• Frame the hole with framing lumber the same size as the
ceiling joists.
NOTE: There must be NO INSULATION or other
combustibles inside the framed firestop opening.
Figure 26. Hole & New Framing Members
CEILING
NEW
FRAMING
MEMBERS
EXISTING CEILING
JOISTS
CHIMNEY
HOLE
10" (254mm)
10" (254mm)
• Position the firestops on both sides of the hole previ-
ously cut and secure the firestops with nails or screws.
• The heat shields of the firestops MUST BE placed to-
wards the top of the hole.
• Continue the vent run through the firestops.
Figure 24. Hole and Vent Pipe
Figure 25. Heat Shield, Interior & Exterior Firestops
TRIM HEAT
SHIELD IF TOO
LONG, ADD TO
SHIELD IF TOO
SHORT
EXTERIOR
FIRESTOP
INTERIOR
FIRESTOP
HEAT SHIELD
DVP, SL-D and SL-Flex Series Venting:
STEP 4. Install Firestops
For Horizontal Runs - Firestops are REQUIRED on both
sides of a combustible wall through which the vent passes.
NOTE: Model DVP-TRAP or SLK-01TRD does not need
an exterior firestop on an exterior combustible wall.
To install firestops for horizontal runs that pass through
either interior or exterior walls:
Cut a 12” x 10“ (305mm x 25mm) hole through the wall for
DVP-series or a 10” x 10” (254mm x 254mm) hole for SL-D-
series pipe. The center of the framing hole is one (1) inch
(25.4mm) above the center of the horizontal vent pipe.
V
ENT PIPE
1" (25.4 mm)
12"(DVP) or 10" (SL)
(305mm or 254mm)
10"
(254mm)
NOTE: There must be NO INSULATION or other
combustibles inside the framed firestop opening.

31Quadra-fire • QV32B-A, QV36B-A • 2014-900 Rev. F • 9/06
C. Vent Termination
SL-Series Venting Only:
For Horizontal Terminations - To attach and secure the
termination to the last section of horizontal vent:
• Rotate and interlock the ends as described at the begin-
ning of the Installing Vent Components section.
• The termination kit should pass through the wall firestops
from the exterior of the building.
• Adjust the termination cap to its final exterior position on
the building.
For trapezoidal cap termination kits:
• Using screws secure the cap to the exterior wall through
the flanges in the cap.
For DVP Venting Only:
Refer to Cinch Pipe and Termination Cap installation in-
structions.
Figure 29. Trapezoid Termination Cap
7 1/4"
(184mm)
!
WARNING: THE TERMINATION CAP MUST BE
POSITIONED SO THAT THE ARROW IS POINT-
ING UP.
!
WARNING: VENTING TERMINALS SHALL
NOT BE RECESSED INTO A WALL OR SID-
ING. VENT TERMINATION CLEARANCES MUST
BE FOLLOWED TO AVOID FIRE DANGER. SEE
VENT TERMINATION MINIMUM CLEARANCES DI-
AGRAM ON FOLLOWING PAGE.
For All Venting:
Figure 27. Ceiling Firestop (Ceiling Side)
If the area above the ceiling is NOT an attic, position and
secure the ceiling firestop on the ceiling side of the previously
cut and framed hole.
If the area above the ceiling IS an attic, position and secure
the firestop on top of the previously framed hole.
NOTE: Keep insulation away from the vent pipe at least
1 inch (25mm).
Figure 28. Attic Firestop
JOIST
CEILING FIRESTOP
CEILING
NAILS (4 REQUIRED)
NAILS (3 REQUIRED)
CEILING CEILING FIRESTOP
RAFTER
NAILS (3 REQUIRED)

32 Quadra-fire • QV32B-A, QV36B-A • 2014-900 Rev. F • 9/06
V= VENT TERMINAL X= AIR SUPPLY INLET = AREA WHERE TERMINAL IS NOT PERMITTED
Figure 30. Vent Termination Minimum Clearances
A = 12" ....................... clearances above grade, veran-
da, porch, deck or balcony
B = 12" ....................... clearances to window or door
that may be opened, or to per-
manently closed window.
D* = 18" ....................... vertical clearance to unventilat-
ed soffit or to ventilated soffit lo-
cated above the terminal
*30” min. .............. for vinyl clad soffits and below
electrical service
F = 9" ........................ clearance to outside corner
G = 6" ......................... clearance to inside corner
H = 3 ft. (Canada) ...... not to be installed above a gas
meter/regulator assembly within
3 feet (90cm) horizontally from the
center-line of the regulator
I = 3 ft. (U.S.A.)
6 ft. (Canada) ...... clearance to gas service regu-
lator vent outlet
J = 9" (U.S.A.)
12" (Canada) ........ clearance to non-mechanical air
supply inlet to building or the
combustion air inlet to any other
appliance
K = 3 ft. (U.S.A.)
6 ft. (Canada) ......... clearance to a mechanical
air supply inlet
L** = 7 ft. ......................... clearance above paved
sidewalk or a paved driveway
located on public property
M*** = 18" ......................... clearance under veranda,
porch, deck or balcony
N = 6” ........................... non-vinyl sidewalls
12” ......................... vinyl sidewalls
O = 18” ......................... non-vinyl soffit and overhang
42” ......................... vinyl soffit and overhang
P = 8 ft.
CAUTION: IF EXTERIOR WALLS ARE FINISHED WITH VINYL SIDING, IT IS SUGGESTED THAT A VINYL PROTECTOR KIT BE
INSTALLED.
** a vent shall not terminate directly above a sidewalk or paved
driveway which is located between two single family dwellings
and serves both dwellings.
*** only permitted if veranda, porch, deck or balcony is fully open on
a minimum of 2 sides beneath the floor.
NOTE 1: On private property where termination is less than 7 feet
above a sidewalk, driveway, deck, porch, veranda or balcony, use of
a listed cap shield is suggested.
NOTE 2: Termination in an alcove space (spaces open only on one side
and with an overhang) are permitted with the dimensions specified for
vinyl or non-vinyl siding and soffits. 1. There must be 3 feet minimum
between termination caps. 2. All mechanical air intakes within 10 feet
of a termination cap must be a minimum of 3 feet below the termination
cap. 3. All gravity air intakes within 3 feet of a termination cap must be
a minimum of 1 foot below the termination cap.
O
N
P
R
Q
(See Note 1)
(See Note 1)
(See Note 2)
S = 6" MIN................... clearance from sides of elec-
trical service
T = 12" MIN. ................ clearance above electrical
service
______________________________________________________________________
______________________________________________________________________
______________________________________________________________________
______________________________________________________________________
QMIN RMAX
1 cap 3 feet 2 x Q ACTUAL
2 caps 6 feet 1 x Q ACTUAL
3 caps 9 feet 2/3 x Q ACTUAL
4 caps 12 feet 1/2 x Q ACTUAL
QMIN = # termination caps x 3 RMAX = (2 / # termination caps) x QACTUAL
(See Note 5)
(See Note 5)
Electrical
Service
V
S
VS
V
T
D*
V
NOTE 3: Local codes or regulations may require different
clearances.
NOTE 4: Termination caps may be hot. Consider their proximity to
doors or other traffic areas.
NOTE 5: Location of the vent termination must not interfere with
access to the electrical service.
WARNING: In the U.S: Vent system termination is NOT permitted
in screened porches. You must follow side wall, overhang and
ground clearances as stated in the instructions.
In Canada: Vent system termination is NOT permitted in screened
porches. Vent system termination is permitted in porch areas
with two or more sides open. You must follow all side walls,
overhang and ground clearances as stated in the instructions.
Heat-N-Glo assumes no responsibility for the improper perfor-
mance of the fireplace when the venting system does not meet
these requirements.
D
E
B
L
v
v
v
v
v
v
v
v
BB
AH
M
X
J or K
I
A
G
F
U.S.
(3 FT)
B

33Quadra-fire • QV32B-A, QV36B-A • 2014-900 Rev. F • 9/06
For Vertical Terminations - To locate the vent and install
the vent sections:
• Locate and mark the vent centerpoint on the underside
of the roof, and drive a nail through the centerpoint.
• Make the outline of the roof hole around the centerpoint
nail.
• The size of the roof hole framing dimensions depend on the
pitch of the roof. There MUST BE a 1-inch (25.4mm) clear-
ance from the vertical vent pipe to combustible materials.
• Mark the roof hole accordingly.
• Cover the opening of the installed vent pipes.
• Cut and frame the roof hole.
• Use framing lumber the same size as the roof rafters
and install the frame securely. Flashing anchored to the
frame must withstand heavy winds.
• Continue to install concentric vent sections up through
the roof hole and up past the roof line until you reach the
appropriate distance above the roof.
WARNING: MAJOR U.S. BUILDING CODES
SPECIFY MINIMUM CHIMNEY AND/OR
VENT HEIGHT ABOVE THE ROOF TOP. THESE MIN-
IMUM HEIGHTS ARE NECESSARY IN THE INTER-
EST OF SAFETY. SEE THE FOLLOWING DIAGRAM
FOR MINIMUM HEIGHTS, PROVIDED THE TERMI-
NATION CAP IS AT LEAST TWO (2) FEET (20 INCH-
ES FOR DVP PIPE) FROM A VERTICAL WALL AND
2-FEET BELOW A HORIZONTAL OVERHANG.
NOTE: This also pertains to vertical vent systems in-
stalled on the outside of the building.
!
Roof Pitch H (min.) ft.
flat to 6/12 1.0
6/12 to 7/12 1.25
over 7/12 to 8/12 1.5
over 8/12 to 9/12 2.0
over 9/12 to 10/12 2.5
over 10/12 to 11/12 3.25
over 11/12 to 12/12 4.0
over 12/12 to 14/12 5.0
over 14/12 to 16/12 6.0
over 16/12 to 18/12 7.0
over 18/12 to 20/12 7.5
over 20/12 to 21/12 8.0
Figure 31. Minimum Height from Roof to
Lowest Discharge Opening
To seal the roof hole, and to divert rain and snow from the
vent system:
• Attach a flashing to the roof using nails, and use a non-
hardening mastic around the edges of the flashing base
where it meets the roof.
• Attach a storm collar over the flashing joint to form a
water-tight seal. Place non-hardening mastic around the
joint, between the storm collar and the vertical pipe.
• Slide the termination cap over the end of the vent pipe
and snap into place.
HORIZONTAL
OVERHANG
V
ERTICAL
WALL
TERMINATION
CAP
12
X
ROOF PITCH
IS X/ 12
LOWEST
DISCHARGE
OPENING
H (MIN.) - MINIMUM HEIGHT FROM ROOF
TO LOWEST DISCHARGE OPENING
2 FT.
MIN.
2 FT. MIN.
20” MIN.
(DVP PIPE)

34 Quadra-fire • QV32B-A, QV36B-A • 2014-900 Rev. F • 9/06
Step 4. Positioning, Leveling, and
Securing the Fireplace
• Place the fireplace into position.
• Level the fireplace from side to side and from front to
back.
• Shim the fireplace with non-combustible material, such
as sheet metal, as necessary.
• Secure the fireplace to the framing using nails or screws
through the nailing tabs.
!
!
The diagram below shows how to properly position, level,
and secure the fireplace.
Figure 32. Proper Positioning, Leveling, and
Securing of a Fireplace
Figure 33. Gas Control System
STANDING PILOT
Step 5. The Gas Control System
WARNING: THIS UNIT IS NOT FOR USE WITH
SOLID FUEL.
The type of gas control system used with this model is
Standing Pilot Ignition.
Standing Pilot Ignition System
This system includes millivolt control valve, standing pilot,
thermopile/thermocouple flame sensor, and piezo ignitor.
WARNING: 110-120 VAC MUST NEVER BE
CONNECTED TO A CONTROL VALVE IN A
MILLIVOLT SYSTEM.
WARNING:
To ensure proper clearances
the front framing header
must be installed on its
narrow edge and to the
front of the frame.
NAILING TABS
(BOTH SIDES)

35Quadra-fire • QV32B-A, QV36B-A • 2014-900 Rev. F • 9/06
Figure 34. Gas Supply Line
• Insert insulation from the outside of the fireplace and
pack the insulation tightly to totally seal between the
pipe and the outer casing.
• At the gas line access hole the gap between the supply
piping and gas access hole can be plugged with non-
combustible insulation to prevent cold air infiltration.
Step 6. The Gas Supply Line
NOTE: Have the gas supply line installed in accordance
with local building codes by a qualified installer
approved and/or licensed as required by the locality.
(In the Commonwealth of Massachusetts installation
must be performed by a licensed plumber).
NOTE: Before the first firing of the fireplace, the gas
supply line should be purged of any trapped air.
NOTE: Consult local building codes to properly size
the gas supply line leading to the 1/2 inch (13mm)
hook-up at the unit.
This gas fireplace is designed to accept a 1/2 inch (13mm)
gas supply line. To install the gas supply line:
• A listed (and Commonwealth of Massachusetts approved)
1/2 inch (13mm) tee-handle manual shut-off valve and a
listed flexible gas connector are connected to the 1/2
inch (13mm) inlet of the control valve. NOTE: If substi-
tuting for these components, please consult local codes
for compliance.
• Locate the gas line access hole in the outer casing of
the fireplace.
• The gas line may be run from either side of the fireplace
provided the hole in the outer wrap does not exceed 2” in
diameter and it does not penetrate the actual firebox.
• Open the fireplace lower grille, insert the gas supply line
through the gas line hole, and connect it to the shut-off valve.
• When attaching the pipe, support the control so that the
lines are not bent or torn.
• After the gas line installation is complete, use a soap
solution to carefully check all gas connections for leaks.
WARNING: DO NOT USE AN OPEN FLAME
TO CHECK FOR GAS LEAKS.
!
Step 7. Gas Pressure Requirements
Pressure requirements for these gas fireplaces are shown
in the table below.
Pressure Natural Gas Propane
Minimum 5.0 inches 11.0 inches
Inlet Pressure w.c. w.c.
Maximum Inlet 14.0 inches 14.0 inches
Gas Pressure w.c. w.c.
Manifold 3.5 inches 10.0 inches
Pressure w.c. w.c.
A one-eighth (1/8) inch (3 mm) N.P.T. plugged tapping is
provided on the inlet and outlet side of the gas control for a
test gauge connection to measure the manifold pressure.
Use a small flat blade screwdriver to crack open the screw
in the center of the tap. Position a rubber hose over the tap
to obtain the pressure reading.
The fireplace and its individual shut-off valve must be
disconnected from the gas supply piping system during
any pressure testing of the system at test pressures in
excess of one-half (1/2) psig (3.5 kPa).
The fireplace must be isolated from the gas supply piping
system by closing its individual shut-off valve during any
pressure testing of the gas supply piping system at test
pressures equal to or less than one-half (1/2) psig (3.5 kPa).
USE WRENCH ON SHUT-OFF
V
ALVE WHEN TIGHTENING GAS LINE
GAS VALVE
FLEX CONNECTOR
MANUAL
SHUT-OFF VALVE

36 Quadra-fire • QV32B-A, QV36B-A • 2014-900 Rev. F • 9/06
Step 8. Wiring the Fireplace
NOTE: Electrical wiring must be installed by a licensed
electrician.
CAUTION: DISCONNECT REMOTE CONTROLS IF AB-
SENT FOR EXTENDED TIME PERIODS. THIS WILL PRE-
VENT ACCIDENTAL FIREPLACE OPERATION.
For Standing Pilot Ignition Wiring
Appliance Requirements
• This appliance DOES NOT require 110-120 VAC to operate.
WARNING: DO NOT CONNECT 110-120 VAC TO
THE GAS CONTROL VALVE OR WALL SWITCH
OR THE APPLIANCE WILL MALFUNCTION
AND THE VALVE WILL BE DESTROYED.
!
Figure 35. Standing Pilot Ignition Wiring Diagram
Figure 36. Fan Wiring Diagram
Optional Accessories
Optional fan and remote control kits require that 110-120
VAC be wired to the factory installed junction box before
the fireplace is permanently installed.
Wall Switch
Position the wall switch in the desired position on a wall.
Run a maximum of 25 feet (7.8 m) or less length of 18
A.W.G. minimum wire and connect it to the fireplace ON/
OFF switch pigtails.
CAUTION: LABEL ALL WIRES PRIOR TO DISCONNEC-
TION WHEN SERVICING CONTROLS. WIRING ERRORS
CAN CAUSE IMPROPER AND DANGEROUS OPERATION.
VERIFY PROPER OPERATION AFTER SERVICING.
W
H
T
WHT
B
L
K
B
L
K
GRN WIRE
INSIDE BOX
COPPER
GROUND ATTACHED
TO GRN SCREW WITH
GRN WIRE
14/2WG
COVER PLATE
OUTSIDE FIREBOX
ROMEX
CONNECTOR
BLOWER SENSOR
SWITCH
FAN
RECEPTACLE SPEED
CONTROL
ON
OFF
ON/OFF
SWITCH
REMOTE SWITCH
PIGTAIL
OPTIONAL WALL SWITCH,
THERMOSTAT OR REMOTE
PILOT
STANDING
WHT
RED
VALVE
Î
Î

37Quadra-fire • QV32B-A, QV36B-A • 2014-900 Rev. F • 9/06
Step 9. Finishing
Figure 37 shows the minimum vertical and corresponding
maximum horizontal dimensions of fireplace mantels or other
combustible projections above the top front edge of the
fireplace. See Figures 3 and 4 for other fireplace clearances.
Only non-combustible materials may be used to cover the
black fireplace front.
WARNING: WHEN FINISHING THE FIREPLACE,
NEVER OBSTRUCT OR MODIFY THE AIR IN-
LET/OUTLET GRILLES IN ANY MANNER.
!
Figure 37.
Minimum Vertical and Maximum Horizontal
Dimensions of Combustibles above Fireplace
CAUTION: IF JOINTS BETWEEN THE FINISHED WALLS
AND THE FIREPLACE SURROUND (TOP AND SIDES)
ARE SEALED, A 300° F. MINIMUM SEALANT MATE-
RIAL MUST BE USED. THESE JOINTS ARE NOT RE-
QUIRED TO BE SEALED. ONLY NON-COMBUSTIBLE
MATERIAL (USING 300° F. MINIMUM ADHESIVE, IF
NEEDED) CAN BE APPLIED AS FACING TO THE FIRE-
PLACE SURROUND (SEE FIGURE 38).
Hearth Extensions
A hearth extension may be desirable for aesthetic reasons.
However, ANSI or CAN/CGA testing standards do not require
hearth extensions for gas fireplace appliances.
Figure 38. Sealant Material
2” 4" 5” 6” 7” 8” 9”
2" 3" 4"
5"
12"
11"
10"
9"
8"
7"
6"
TOP FRONT EDGE
OF FIREPLACE
3”
11”12”
10”
31”
CEILING
1”
1”
TOP SEAL
JOINT
SIDE SEAL
JOINT
0”
0”
FINISH MATERIAL
MAY BE COMBUSTIBLE
- TOP AND SIDES
OF UNIT
Installing the Trim
Combustible materials may be brought up to the specified
clearances on the side and top front edges of the fireplace,
but MUST NEVER overlap onto the front face. The joints
between the finished wall and the fireplace top and sides
can only be sealed with a 300° F. (149° C) minimum sealant.
WARNING: WHEN FINISHING THE FIREPLACE,
NEVER OBSTRUCT OR MODIFY THE AIR INLET/
OUTLET GRILLES IN ANY MANNER.
Install optional marble and brass trim surround kits as
desired. Marble, brass, brick, tile, or other non-combustible
materials can be used to cover up the gap between the
sheet rock and the fireplace.
Do not obstruct or modify the air inlet/outlet grilles. When
overlapping on both sides, leave enough space so that the
bottom grille can be opened and the trim door removed.
!
Step 10. Installing Trim, Logs and
Ember Material
Positioning the Logs
If the gas logs have been factory installed they should not
need to be positioned. If the logs have been packaged
separately, refer to the instructions that accompany the
logs. Save the log instructions with this manual.
If sooting occurs, the logs might need to be repositioned
slightly to avoid excessive flame impingement.
___________________________________________
___________________________________________
Shutter Settings
Model NG LP
QV32B-A 1/16” 3/8”
QV36B-A 1/16” 3/8”

38 Quadra-fire • QV32B-A, QV36B-A • 2014-900 Rev. F • 9/06
WARNING: PLEASE REFER TO THE USER’S
MANUAL FOR ALL CAUTIONS, SAFETY, AND
WARNING INFORMATION PERTAINING TO THE
LIGHTING AND OPERATION OF THE FIREPLACE.
Placing the Ember Material
Ember material is shipped with this gas fireplace. The bag
labeled Glowing Embers (050-721) is standard glowing
ember material. To place the ember material:
• Remove the door by lifting it up and away from the unit.
• Unlatch the latches at the top and bottom of the glass.
• Remove the glass from the unit (see Figure 44).
• Place dime size pieces of ember material about 1/2 inch
apart near port holes in burner top. Do NOT press em-
bers into burner ports. Cover the top of the burner with a
single layer of ember material. For best performance do
NOT place embers on the ports at the rear of the burner
(see Figure 45).
• Save the remaining ember materials for use during fire-
place servicing. The bag of embers provided is sufficient
for 3 to 5 applications.
• Reinstall and latch the glass and door on the unit.
Figure 45. Placement of the Ember Material
Figure 44. Glass Assembly
GLASS SPECIFICATIONS:
QV32B-A and QV36B-A CERAMIC
LATCHES
(BOTH TOP
AND BOTTOM)
GLASS
ASSEMBLY
CAUTION: THE GLASS MUST BE SECURELY LATCHED
BEFORE OPERATING THE UNIT.
Step 11. Before Lighting the Fireplace
Before lighting the fireplace, be sure to do the following:
Remove all paperwork from underneath the fireplace.
Review safety warnings and cautions
• Read the Safety and Warning Information section at
the beginning of this Installers Guide.
Double-check for gas leaks
• Before lighting the fireplace, double-check the unit for
possible gas leaks.
Double-check vent terminations and front grilles for
obstructions.
• Before lighting the fireplace, double-check the unit for
possible obstructions that could be blocking the vent ter-
minations or the front grilles.
Double-check for faulty components
• Any component that is found to be faulty MUST BE re-
placed with an approved component. Tampering with the
fireplace components is DANGEROUS and voids all war-
ranties.
A small amount of air will be in the gas supply lines. When
first lighting the fireplace, it will take a few minutes for the
lines to purge themselves of this air. Once the purging is
complete, the fireplace will light and will operate normally.
Subsequent lightings of the fireplace will not require this
purging of air from the gas supply lines, unless the gas
valve has been turned to the OFF position, in which
case the air would have to be purged.
NOTE: The fireplace should be run for 3 to 4 hours on the
initial start-up. Turn it off and let it cool completely. Remove
and clean the glass. Replace the glass and run the fireplace
for an additional 8 hours. This will help to cure the products
used in the paint and logs.
!
During this break-in period it is recommended that some
windows in the house be opened for air circulation. This will
help avoid setting off smoke detectors, and help eliminate
any odors associated with the fireplace’s initial burning.

39Quadra-fire • QV32B-A, QV36B-A • 2014-900 Rev. F • 9/06
Step 12. Lighting the Appliance
STANDING PILOT IGNITION
A. This appliance (standing pilot version) has a pilot
that must be lighted by hand. When lighting the
pilot, follow these instructions exactly.
B. BEFORE LIGHTING smell all around the appli-
ance area for gas. Be sure to smell next to the
floor because some gas is heavier than air and
will settle to the floor.
WHAT TO DO IF YOU SMELL GAS
• Do not try to light any appliance.
• Do not touch any electric switch; do not use any
phone in your building.
• Immediately call your gas supplier from a neigh-
bor’s phone. Follow the gas supplier’s instruc-
tions.
• If you cannot reach your gas supplier, call the fire
department.
C. Use only your hand to push in or turn the gas
control knob. Never use tools. If the knob will not
push in or turn by hand, don’t try to repair it, call
a qualified service technician. Force or attempt-
ed repair may result in a fire or explosion.
D. Do not use this appliance if any part has been
under water. Immediately call a qualified service
technician to inspect the appliance and to replace
any part of the control system and any gas con-
trol which has been under water.
FOR YOUR SAFETY
READ BEFORE LIGHTING
WARNING: IF YOU DO NOT FOLLOW THESE
INSTRUCTIONS EXACTLY, A FIRE OR
EXPLOSION MAY RESULT CAUSING
PROPERTY DAMAGE, PERSONAL INJURY, OR
LOSS OF LIFE.
1. To access controls, open the lower grille.
2. Turn the gas control valve knob to the OFF position. To do this, you
must turn the knob clockwise to the PILOT position, and then
press in and continue turning clockwise to the OFF position.
NOTE: Knob cannot be turned from “PILOT” to “OFF” unless knob is
pushed in slightly. Do not force.
3. WAIT AT LEAST FIVE (5) MINUTES TO CLEAR OUT ANY GAS. If
you have unsuccessfully tried to light the fireplace, wait longer, espe-
cially if you are using LP gas. Then smell for gas, including near the
floor. If you then smell gas, STOP! Follow "B" in the safety informa-
tion on previous page. If you don't smell gas, go to the next step.
4. The pilot should not require accessing for lighting
purposes. The pilot is located inside the combustion
chamber. If it is necessary to access the pilot, re-
move the trim door and glass door.
THERMOCOUPLE PILOT THERMOPILE
5. To put the control in the PILOT position, turn the control knob counter-
clockwise to the PILOT position.
6. To light the pilot press the control knob and then press the red or black
piezo button once every second. The piezo makes a clicking sound. It
may be necessary to repeat this step. If the pilot does not light after
10 seconds, go back to step 2. The control knob should be held down
for a MINUTE after pilot ignition.
• If the control knob does not pop out when released, STOP! Shut off
the gas supply to the fireplace control valve, and IMMEDIATELY call
your service technician or gas supplier.
• If the pilot will not stay lit after two tries, turn the control knob to the
“OFF” position and call your service technician or gas supplier.
7. After the pilot has been lit, the burner can be turned on by turning the
knob counter-clockwise to the “ON” position.
8. Set the ON/OFF switch to the “ON” position.
9. Close the lower grille.
LIGHTING INSTRUCTIONS
STANDING PILOT CONTROLS
TO TURN OFF
GAS APPLIANCE
1. Open the lower grille.
2. Set ON/OFF switch to “OFF”.
3. Turn the valve control knob clockwise to the “Pilot” position,
then depress knob and continue turning to “OFF” position.
4. Close the lower grille.
When you light your fireplace, you may notice:
This gas appliance produces heat which does have an associ-
ated odor or smell. If you feel this odor is excessive it may
require the initial 3-4 hour continuous burn on high followed by
a second burn up to 12 hours to fully drive off any odor from
paint and lubricants used in the manufacturing process.
You’ve reviewed all safety warnings, you’ve checked the
appliance for gas leaks, you know the vent system is unobstructed, and you’ve checked for faulty components.
Now you’re ready to light the appliance.
!
After the Installation
LEAVE THIS INSTALLATION MANUAL WITH THE
APPLIANCE FOR FUTURE REFERENCE.
Noise caused by metal expanding and contracting as it heats
up and cools down, similar to the sound produced by a furnace
or heating duct. This noise does not affect the operation or
longevity of your fireplace.
During this break-in period it is recommended that some
windows in the house be opened for air circulation. This will
help avoid setting off smoke detectors, and help eliminate
any odors associated with the fireplace’s initial burning.
Additionally, for the first few minutes after each lighting, vapor
may condense and fog the glass and flames may be blue.
After a few minutes this moisture will disappear and within
15-30 minutes the flames should become yellow.

40 Quadra-fire • QV32B-A, QV36B-A • 2014-900 Rev. F • 9/06
4Maintaining and Servicing Your Fireplace
Fireplace Maintenance
Although the frequency of your fireplace servicing and main-
tenance will depend on use and the type of installation, you
should have a qualified service technician perform an appli-
ance check-up at the beginning of each heating season.
See the table below for specific guidelines regarding each
fireplace maintenance task.
IMPORTANT: TURN OFF THE GAS BEFORE SERVICING
YOUR FIREPLACE.
Replacing old ember material
Frequency: Once annually, during the checkup.
By: Qualified service technician.
Task: Brush away loose ember material near the burner.
Replace old ember material with pieces of Mystic Ember
following the directions in Placing Ember Material. New
ember material should be placed on top of the burner. Save
the remaining ember material and repeat this procedure at
your next servicing. For more information, see Placing
Ember Material.
Cleaning Burner and Controls
Frequency: Once annually.
By: Qualified service technician.
Task: Brush or vacuum the control compartment, fireplace
logs and burner areas surrounding the logs.
Checking Flame Patterns, Flame Height
Frequency: Periodically.
By: Qualified service technician/Home owner.
Task: Make a visual check of your fireplace’s flame patterns.
Make sure the flames are steady - not lifting or floating.
See Figure 46. The thermopile/thermocouple tips should
be covered with flame. See Figure 33.
Figure 46. Burner Flame Patterns
MAKE SURE THE FLAMES
ARE STEADY—NOT
LIFTING OR FLOATING.
Checking Vent System
Frequency: Before initial use and at least annually
thereafter, more frequently if possible.
By: Qualified service technician/Home owner.
Task: Inspect the external vent cap on a regular basis to
ensure that no debris is interfering with the flow of air. Inspect
entire vent system for proper function.
Cleaning Glass
Frequency: After the first 3 to 4 hours of use. As necessary
after initial cleaning.
By: Home owner.
Task: Remove and clean glass after the first 3 to 4 hours of
use. After the initial cleaning, clean as necessary, particularly
after adding new ember (flame colorant) material. Film
deposits on the inside of the glass should be cleaned off
using a household glass cleaner. NOTE: DO NOT handle
or attempt to clean the glass when it is hot and DO NOT
use abrasive cleaners.

41Quadra-fire • QV32B-A, QV36B-A • 2014-900 Rev. F • 9/06
Troubleshooting
With proper installation, operation, and maintenance your gas fireplace will
provide years of trouble-free service. If you do experience a problem, this
troubleshooting guide will assist a qualified service person in the diagnosis
of a problem and the corrective action to be taken. This troubleshooting
guide can only be used by a qualified service technician.
Symptom Possible Cause Corrective Action
1. After repeated
triggering of the red
or black piezo button,
the spark ignitor will
not light the pilot.
a. Defective ignitor. Check the spark at the electrode and pilot. If no spark and electrode wire is
properly connected, replace the ignitor.
b. Defective pilot or
misaligned electrode
(spark at electrode).
Using match, light the pilot. If the pilot lights, turn off the pilot and trigger the red or
black piezo button again. If the pilot lights, an improper gas/air mixture caused the
bad lighting and a longer purge period is recommended. If the pilot will not light,
ensure the the gap at the electrode and pilot is one-eighth (1/8) inch to have a
strong spark. If the gap is OK, replace the pilot.
c. No gas or low gas
pressure. Check the remote shut-off valvess from the fireplace. Usually, there is a valve near
the gas main. There can be more than one (1) valve between the fireplace and the
main.
d. No LP in tank. Check the LP (propane) tank. You may be out of fuel.
2. The pilot will not
stay lit after carefully
following the lighting
instructions.
a. Defective
thermocouple. Check that the pilot flame impinges on the thermocouple. Clean and/or adjust the
pilot for maximum flame impingement.
Ensure that the thermocouple connection at the gas valve is fully inserted and tight
(hand tighten plus 1/4 turn).
Disconnect the thermocouple from the valve, place one millivolt meter lead wire on
the tip of the thermcouple and the other meter lead wire on the thermocouple
copper lead. Start the pilot and hold the valve knob in. If the millivolt reading is less
than 15mV, replace the thermocouple.
b. Defective valve. If the thermocouple is producing more than 15 millivolts, replace faulty valve.
3. The pilot is
burning, there is no
gas burner, the valve
knob is in the ON
position, and the
ON/OFF switch is in
the ON position.
a. ON/OFF switch or
wires defective. Check the ON/OFF switch and wires for proper connections. Place the jumper
wires across the terminals at the switch. If the burner comes on, replace the
defective switch. If the switch is OK, place the jumper wires across the switch wires
at the gas valve. If the burner comes on, the wires are faulty or connections are
bad.
b. Thermopile may
not be generating
sufficient millivoltage.
If the pilot flame is not close enough physically to the thermopile, adjust the pilot
flame.
Be sure the wire connections from the thermopile at the gas valve terminals are
tight and that the thermopile is fully inserted into the pilot bracket.
Check the thermopile with a millvolt meter. Take the reading at TH-TP&TP
terminals of the gas valve. The meter should read 325 millivolts minimum, while
holding the valve knob depressed in the pilot position, with the pilot lit, and the
ON/OFF switch in the OFF position. Replace the faulty thermopile if the reading is
below the specified minimum.
With the pilot in the ON position, disconnect the thermopile leads from the valve.
Take a reading at the thermopile leads. The reading should be 325 millivolts
minimum. Replace the thermopile if the reading is below the minimum.
c. Defective valve. Turn the valve knob to the ON position. Place the ON/OFF switch in the ON
position. Check the millivolt meter a the thermopile terminals. The millivolt meter
should read greater than 125mV. If the reading is acceptable, and if the burner
does not come on, replace the gas valve.
d. Plugged burner
orifice. Check the burner orifice for stoppage. Remove stoppage.
e. Wall switch or
wires are defective. Follow the corrective action in Symptom and Possible Cause 1.a above. Check
the switch and wiring. Replace where defective.
5

42 Quadra-fire • QV32B-A, QV36B-A • 2014-900 Rev. F • 9/06
Symptom Possible Cause Corrective Action
3. (Continued) f. High limit switch is defective or
has reached its maximum
temperature.
Allow the unit to cool. If the burner remains lit after the fireplace warms
up, the switch is good.
4. Frequent pilot
outage problem. a. Pilot flame may be too high or
too low, or blowing (high),
causing pilot safety to drop out.
Clean and adjust the pilot flame for maximum flame impingement on
thermocouple. Follow lighting instructions carefully.
5. The pilot and main
burner extinguish
while in operation.
a. No LP in tank. Check the LP (propane) tank. Refill the fuel tank.
b. Inner vent pipe leaking exhaust
gases back into the system. Check for gas leaks.
c. Horizontal vent improperly
pitched. The horizontal vent cap should slope down only enough to prevent any
water from entering the unit. The maximum downwards lope is 1/4 inch.
d. Glass too loose and air tight
packet leaks in corners after
usage.
Tighten the corner.
e. Bad thermopile or
thermocouple. Replace if necessary.
f. Improper vent cap installation. Check for proper installation and freedom from debris or blockage.
6. Glass soots. a. Flame impingement. Adjust the log set so that the flame does not excessively impinge on it.
b. Improper venturi setting. Adjust the air shutter at the base of the burner.
c. Debris around venturi. Inspect the opening at the base of the burner. NO MATERIAL SHOULD
BE PLACED IN THIS OPENING.
7. Flame burns blue
and lifts off burner. a. Insufficient oxygen being
supplied. Ensure that the vent cap is installed properly and free of debris. Ensure
that the vent system joints are tight and have no leaks.
Ensure that no debris has been placed at the base of, or in the area of
the air holes in the center of the base pan beneath the burner.
Ensure that the glass is tightened properly on the unit, particularly on top
corners.
Troubleshooting (continued)

43Quadra-fire • QV32B-A, QV36B-A • 2014-900 Rev. F • 9/06
Lifetime Warranty
LIMITED LIFETIME WARRANTY
The Hearth & Home Technologies limited Lifetime Warranty guarantees that the following components will work as
designed for the lifetime of the stove or Hearth & Home Technologies will repair or replace them. These items
include but are not limited to steel and cast iron components, all gas burners, gas logs, combustion chambers,
heat exchanger systems, stainless steel firebox components, plating, doors, glass damaged by thermal breakage,
steel baffle supports, steel and ceramic baffles and manifold tubes. Labor is for the first five years.
THREE YEAR WARRANTY
Our EZ Clean firepots are covered under Hearth & Home Technologies three-year warranty program. Labor is for
3 years.
TWO YEAR WARRANTY
All electrical components such as but not limited to blowers, wiring, vacuum switches, speed controls, control
boxes, thermodisc switches, igniters, pilot assembly, gas valves, thermostats and remotes are covered under
Hearth & Home Technologies two-year warranty program. Effective April, 2005 igniters are also covered under the
two year warranty. Labor is for two years.
ONE YEAR WARRANTY
Porcelain and powdercoat finishes are warranted against manufacturer defects for one year. Labor to repair or
replace these parts is covered for one year, reimbursed per our warranty service fee schedule.
CONDITIONS
This warranty is nontransferable and is made to the original retail purchaser only provided that the purchase was
made through an authorized dealer of Hearth & Home Technologies. It must be installed and operated at all times
in accordance with the Installation and Operating Instructions furnished with this product, as well as any applicable
local and national codes. Any alteration, willful abuse, accident, or misuse of the product shall nullify this warranty.
Labor to repair or replace items covered under the limited Lifetime Warranty will be covered for the first five years per
our warranty service fee reimbursement schedule. Parts covered under the limited Lifetime Warranty will be covered
for the lifetime of the appliance up to a maximum of ten (10) years after Hearth & Home Technologies discontinues
the model and two
(2) years for optional accessories. Adjustments, regular maintenance, cleaning and temporary repairs do not
qualify for a service call fee and will not be covered. The replacement of consumer replaceable items and installation
of upgraded component parts do not quality for a service call fee, and will not be covered.
This limited Lifetime Warranty does not extend to or include surface finish on the appliance, door gasketing, glass
gasketing, glass, firebrick, pellet logs, kaowool or other ceramic insulating materials. It does not cover installation
or operational-related problems such as overfiring, use of corrosive driftwood, downdrafts or spillage caused by
environmental conditions, nearby trees, buildings, hilltops, mountains, inadequate venting or ventilation, excessive
offsets, or negative air pressures caused by mechanical systems such as furnaces, fans, clothes dryers, etc.
Any installation, construction, transportation, or other related costs or expenses arising from defective part(s),
repair, replacement, etc., will not be covered by this warranty, nor will Hearth & Home Technologies assume
responsibility for them. Further, Hearth & Home Technologies will not be responsible for any incidental, indirect, or
consequential damages, except as results in damage to the interior or exterior of the building in which this appliance
is installed. This limited Lifetime Warranty does not apply to the venting components, hearth components or other
accessories used in conjunction with the installation of this product not manufactured by Hearth & Home
Technologies
This warranty is void if the stove has been overfired or operated in atmospheres contaminated by chlorine, fluorine,
or other damaging chemicals, the stove is subjected to prolonged periods of dampness or condensation, or there
is any damage to the stove or other components due to water or weather damage which is the result of, but not
limited to, improper chimney or venting installation. Hearth & Home Technologies may, at its discretion, fully
discharge all obligations with respect to this warranty by either repairing or replacing the unit, or refunding the
wholesale price of the defective part(s).
This limited Lifetime Warranty is effective on all appliances sold after May 1, 2002 and supersedes any and all
warranties currently in existence.
250-8620J 12/05