RCI 4 Series Installation Instructions IS47A R0814 1
User Manual: RCI 4 Series Installation Instructions Installation Instructions
Open the PDF directly: View PDF
.
Page Count: 4

© 2014 RutheRfoRd ContRols Int’l | A doRMA GRoup CoMpAny
www.rutherfordcontrols.com • Phone: 1.800.265.6630 • fax: 1.800.482.9795 • e-mail: sales@rutherfordcontrols.com
C
7104, 7304 Aluminum Frames, 1-1/2” D
4104, 4304 Aluminum Frames, 1-1/2” D
Any modular A41, A43, A71 or A73
with B4704 faceplate
MEASUREMENT
FRACTIONAL
INCHES
DECIMAL
INCHES
METRIC
mm
A 1-1/4 1.250 31.75
B 4-7/8 4.875 123.83
C 3-3/8 3.375 85.73
D 7/8 .875 22.23
E 3/8 .375 9.53
F 1/8* .125* 3.18*
G 1-11/16 1.688 42.86
Vertical Vertical Vertical
X C/L C/L C/L
Door Door Door
R 5/32 .156 3.97
K 4-1/8 4.125 104.78
M 12-24 — —
Vertical Centerline
of Door**
INSTALLATION
Electric Strikes
4/7 Series
7105, 7305 Aluminum & Wood Frames, 1-1/2” D
4105, 4305 Aluminum & Wood Frames, 1-1/2” D
Any modular A41, A43, A71 or A73
with B4705 faceplate
is47a PCN14014
R08/14TG-1
MEASUREMENT
FRACTIONAL
INCHES
DECIMAL
INCHES
METRIC
mm
A 1-1/8 1.125 28.58
B 5-7/8 5.875 149.23
C 3-3/8 3.375 85.73
D 7/8 .875 22.23
E 1/4 .250 6.35
F 1/8* .125* 3.18*
G 1-11/16 1.687 42.86
Vertical Vertical Vertical
X C/L C/L C/L
Door Door Door
R 5/32 .156 3.97
K 5-3/8 5.375 136.53
M 12-24† — —
Vertical Centerline
of Door**
1. Determine the vertical centerline of the door lock face and
the horizontal centerline of the latch.
IMPORTANT: When determining the horizontal centerline
observe the following:
FOR MORTISE LOCKS: Align the angled ramps of the lip
bracket with the deadlock trigger of the mortise latch.
FOR CYLINDRICAL LOCKS: Align the center of the latch with
the center of the strike opening.**
2. Transfer both the horizontal and vertical centerlines to the
doorframe.**
3. Prepare the doorframe for cutting as per the appropriate
drawing.
4. If required, install “no weld” mounting brackets as per the
instructions on page 3.
5. Attach the strike insert (coil unit or “motor”) to the
lip bracket with the small machine screws provided.
(M4 x 9.5mm)
6. Attach the strike faceplate to the lip bracket with machine
screws (M4 x 9.5mm) provided. (It may be desirable to leave
these screws slightly loose to facilitate insertion into the
doorframe.)
7. Connect the incoming wiring from the power supply to the
terminal screws on the strike insert. RCI door strikes are
not polarity sensitive although be certain to observe proper
polarity if a suppression diode is required for access control
applications.
8. Install the door strike in the doorframe using the screws
provided.
Instructions
NOTE: Specifications subject to change without notice.
* Dimension F is measured from face of mounting tab to face of frame.
** Dimension X on the drawing is determined by the vertical centerline of the door. If the latch incorporates a deadlocking pin additional steps will be
necessary to ensure proper operation of the deadlocking pin. Measure the thickness of the deadlocking pin and add this thickness to Dimension X to
relocate the vertical centerline an appropriate distance on the frame.
† For wood frame door installations, substitute #12 wood screws for dimension M.
©2010 RutheRfoRd ContRols Int’l CoRp. www.RutheRfoRdContRols.CoM
usa: 2697 international Parkway, Pkwy 5, virginia beach, va 23452 • canada: 210 shearson crescent, cambridge, on n1t 1j6
Phone • 1.800.265.6630 • 519.621.7651 • fax: 1.800.482.9795 • 519.621.7939 • e-mail: sales@rutherfordcontrols.com

C
7107, 7307 Aluminum & Wood Frames, 1-1/2” D
4107, 4307 Aluminum Frames, 1-1/2” D
Any modular A41, A43, A71 or A73 with B4707 faceplate
7108, 7308 Aluminum & Wood Frames, 1-1/2” D
4108, 4308 Aluminum & Wood Frames, 1-1/2” D
Any modular A41, A43, A71 or A73 with B4708 faceplate
C
7114, 7314 Hollow Metal Frames, 1-1/2” D
4114, 4314 Hollow Metal Frames, 1-1/2” D
Any modular A41, A43, A71 or A73 with B4714 faceplate
C
G
G
K
B
A
D
X
E
C
L
C
7119, 7319 Hollow Metal & Wood Frames, 1-1/2” D
4119, 4319 Hollow Metal & Wood Frames, 1-1/2” D
Not available in modular program
MEASUREMENT
FRACTIONAL
INCHES
DECIMAL
INCHES
METRIC
mm
A 1-3/8 1.375 34.93
B 9 9.0 228.60
C 3-3/4 3.75 95.25
D 1-1/2 1.50 38.10
E 5/16 .312 7.94
F 1/8* .125* 3.18*
G 1-7/8 1.875 47.63
X
K 8-3/8 8.375 212.73
M 12-24† — —
Vertical Centerline
of Door**
A 1-1/4 1.250 31.75
B 6-7/8 6.875 174.64
C 3-3/8 3.375 85.73
D 7/8 .875 22.23
E 3/8 .375 9.53
F 1/8* .125* 3.18*
G 1-11/16 1.687 42.86
Vertical Vertical Vertical
X C/L C/L C/L
Door Door Door
R 5/32 .156 3.97
K 6-1/8 6.125 155.58
M 12-24† — —
MEASUREMENT
FRACTIONAL
INCHES
DECIMAL
INCHES
METRIC
mm
MEASUREMENT
FRACTIONAL
INCHES
DECIMAL
INCHES
METRIC
mm
A 1-1/4 1.250 31.75
B 4-7/8 4.875 123.83
C 3-3/8 3.375 85.73
D 7/8 .875 22.23
E 3/8 .375 9.53
F 1/8* .125* 3.18*
G 1-11/16 1.687 42.86
Vertical Vertical Vertical
X C/L C/L C/L
Door Door Door
K 4-1/8 4.125 104.78
M 12-24 — —
Vertical Centerline
of Door**
Vertical Centerline
of Door**
MEASUREMENT
FRACTIONAL
INCHES
DECIMAL
INCHES
METRIC
mm
A 1-7/16 1.438 36.51
B 7-15/16 7.938 201.61
C 3-3/8 3.375 85.73
D 7/8 .875 22.23
E 1/4 .250 6.35
F 1/8* .125* 3.18*
G 1-11/16 1.687 42.86
Vertical Vertical Vertical
X C/L C/L C/L
Door Door Door
R 5/32 .156 3.97
K 7-7/16 7.438 188.91
M 12-24† — —
Vertical Centerline
of Door**
© 2014 RutheRfoRd ContRols Int’l | A doRMA GRoup CoMpAny
www.rutherfordcontrols.com • Phone: 1.800.265.6630 • fax: 1.800.482.9795 • e-mail: sales@rutherfordcontrols.com
4 & 7 Series Installation Instructions (Continued)
NOTE: Specifications subject to change without notice.
* Dimension F is measured from face of mounting tab to face of frame.
** Dimension X on the drawing is determined by the vertical centerline of the door. If the latch incorporates a deadlocking pin additional steps will be
necessary to ensure proper operation of the deadlocking pin. Measure the thickness of the deadlocking pin and add this thickness to Dimension X to
relocate the vertical centerline an appropriate distance on the frame.
† For wood frame door installations, substitute #12 wood screws for dimension M.
When installing an electric strike on an inactive door of a set of double doors, it can be treated the same as a frame installation in most situations.
For more information contact the Technical Service Department.

4 & 7 Series Installation Instructions (Continued)
Frame
Self-Adhesive
Mounting Shim (8
incl.)
Mounting Tab
(2 incl.)
12-24 Machine
Screws (2 each to
keep tab straight)
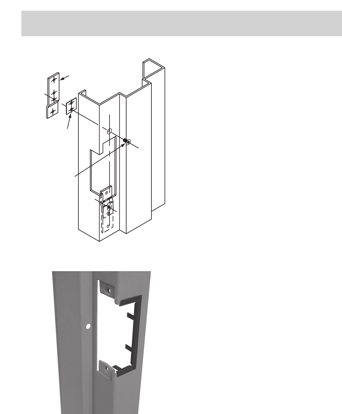
Mounting Tab Kit Instructions
The mounting tab kit is for use with aluminum and steel frames
that do not have factory installed mounting tabs for electric
strike installation.
1. Prepare the frame as shown in the approximate drawing.
Fasten the mounting tab to the faceplate of the strike,
selecting the appropriate shims for the installation.
2. Using the assembled strike and tabs as a template, place
against the frame and mark the mounting hole locations that
suit best. Remove and drill two 3/16” holes in frame for each
mounting tab and countersink the frame.
3. Remove the tabs from the faceplate and install in the frame
using the 12-24 x 3/8” machine screws supplied. Tabs are
zinc plated and drilled and tapped for this purpose.
4. Make final electrical connections per wiring instructions
and mount strike to the tabs with the 12-24 x 3/8” machine
screws.
© 2014 RutheRfoRd ContRols Int’l | A doRMA GRoup CoMpAny
www.rutherfordcontrols.com • Phone: 1.800.265.6630 • fax: 1.800.482.9795 • e-mail: sales@rutherfordcontrols.com
Trim Plate Instructions
1. Position the Trim Plate on the frame cut-out to verify fit and
coverage.
2. Adjust cut-out if required.
3. Bend the four tabs to hold the Trim Plate onto the frame.
4. For a tighter fit, pre-bend the two long flange tabs before
sliding onto the frame where space allows.
5. Secure the strike to the frame as per strike installation
instructions.

4 & 7 Series Troubleshooting
SolutionPossible CausesProblem
Strike will not lock or
unlock properly
No power to the strike Using a multimeter, confirm that you have the correct output
voltage at the power supply.
Using a multimeter, confirm that you have the correct input
voltage at the strike.
Confirm that all connections are tight and secure.
Incorrect voltage used Confirm that the insert and power supply are the proper voltage.
Strike is binding Confirm that the strike keeper functions when the door is open. If
the strike operates correctly, adjust door or strike to eliminate any
backpressure.
Confirm that the strike cavity depth is compatible with the lock
set.
Strike releases but
won’t buzz
Improper power supply Replace the power supply with a correct voltage AC power supply.
If this cannot be done, a DC piezo buzzer can be installed.
Strike makes a buzzing
sound
Improper power supply Replace the power supply with a correct voltage DC power supply.
Strike has a burnt smell Improper voltage Confirm that you have the correct output voltage at the power supply.
Improper application A strike connected to an AC power supply will buzz unless a
rectifier is installed.
Improper installation Confirm that all connections are tight and secure.
Mortise lock not dead
latching
Improper installation Check alignment of dead latch and lip bracket ramp.
Door has sagged Adjust door alignment.
Cylindrical dead latching
not working
Improper installation /
Door has warped
Adjust the strike horizontal adjustment. (See Installation
Instructions).
Door won’t latch Door has warped or sagged
creating excessive back
pressure
Re-align door in frame or replace.
1.
2.
3.
4.
5.
6.
7.
© 2014 RutheRfoRd ContRols Int’l | A doRMA GRoup CoMpAny
www.rutherfordcontrols.com • Phone: 1.800.265.6630 • fax: 1.800.482.9795 • e-mail: sales@rutherfordcontrols.com