Radio Shack 1901208 Business Band Transceiver User Manual users manual
RadioShack Corporation Business Band Transceiver users manual
users manual
1
OWNER’S MANUAL
19-1208
INTRODUCTION
Your Radio Shack 19-1208 Business band transceiver is a portable, easy-to-use, two-way
radio that you can carry almost anywhere. It is approved with commercial-grade standards
to give you clear, reliable communication. This transceiver consists of 8 Business channels.
Your 19-1208 provides for personal communications with family members or other licenses.
You can use the 19-1208 for recreational communications while you hike, ski, or fish. You
can even use the 19-1208 to coordinates your personal or business activities with other
family members. When you get a license to operate the radio, you can let other members
of your family living in the same household operate the radio.
Your transceiver has the following features:
PLL-Controlled Circuitry ---- provides accurate and stable channel selection.
Adjustable Squelch ---- helps eliminate noise between transmissions.
38 CTCSS (Continuous Tone Control Squelch System) ---- helps reduce interference
from other systems in the area operating on the same frequency.
Built-in Modulation Limiter Circuit ---- automatically adjusts for a wide variety of voice
levels to ensure an understandable transmission.
High/Low Power ---- lets you save power by selecting a suitable transmitting power for
long or short distances.
Battery Low and Transmit Indicator ---- shows the battery pack’s condition and lights
when you transmit or receive.
Removable and Rechargeable Battery Pack ---- lets you use one battery pack while you
charge another (additional packs available).
Supplied Battery Charger ---- conveniently recharges your transceiver’s battery pack.
Flexible Antenna with BNC Connector ---- provides excellent reception. The BNC
connector is designed so you can easily attach and remove the supplied antenna or an
optional one.
Earphone Jack and External Microphone Jack ---- let you use an earphone or external
microphone to help ensure understandable communications in noisy areas.
Belt Clip ---- lets you attach the transceiver to your belt or waistband.
JIS level 4 ---- provides excellent waterproof capability.
RADIOSHACK
CORP
.
FCC ID : AAO1901208
JOB # : 578ZA1
EXHIBIT # : 6
2
We recommend you record your transceiver’s serial number here. This number is on the
transceiver’s back panel.
Serial Number_______________________
FCC Information
FCC License required
This Transceiver is intended for use in the operation of commercial activities, in educational,
philanthropic, or ecclesiastical institutions, and hospitals, clinics, or medical associations.
The Federal Communications commission (FCC)requires you to be licensed before you
operate this transceiver. Unless you are already licensed to operate on one of the preset
frequencies, you must apply for a frequency through the PCIA (Personal Communication
Industry Association), a non-profit organization that assigns frequencies nationwide to help
prevent conflicts between different businesses using transceivers in the same area. For
more information about getting a license, contact the PCIA at 800-759-0300, extension 3068
(in Virginia 703-739-0300, extension 3068)
For other questions concerning the license application, contact the FCC at 717-337-1212, or
wirte:
FCC
P.O.Box 1040
Gettysburg, PA 17325
For the latest FCC application form and instructions, call the FCC’s fax-on-demand service
at 1-202-418-0177 from a fax machine and request one or more of the following documents:
All forms and instructions ……………………000600
Form 600 instructions only……………………006001
Main Form 600 only……………………………006002
Form 600 schedules only………………………006003
If you do not have a fax machine, you can call the Government Forms Distribution Center at
1-800-418-FORM and request that the form and instructions be mailed to you.
FCC Part 90 Rules
You must be familiar with Part 90 of FCC Rules before you operate your transceiver. The
3
operation instructions in this manual conform to Part 90, but do not cover all items in Part
90.
Overall, Part 90 states that:
! You must have a valid license before you use the transceiver.
! As licensee, you are responsible for proper operation of all transceivers operating under
your license’s authority.
! You can let unlicensed persons operate transmitter, as long as you take precautions to
prevent unauthorized transmissions.
! You must use this transceiver only for commercial use of your business, and only when
other commercial channels (such as the telephone) are either not available or not
practical.
! You must always yield the operating frequency to communications that involve the
safety of life or property.
! You must take reasonable precautions to prevent harmful interference to other services
operating on the same frequency.
! You must not transmit program material of any kind used in connection with commercial
broadcasting.
! You must not provide a service that is normally handles by telephone or telegraph
unless such broadcasts involve the safety of life and property or in emergencies such
as an earthquake, hurricane, flood or a similar disaster where normal communications
channels are disrupted.
! During each transmissions or exchange of transmissions, you must identify your station
with the call sign issued to you by the FCC, or once each 15 minutes during periods of
continuous operation.
! You must keep a written record of any maintenance or modifications made to the
transceiver, and you must make this record available for inspection upon demand by
the FCC.
Violating any of the provisions of Part 90 can result in fines and/or confiscation of
equipment.
Your transceiver might cause TV or Radio interference even when it is operating properly.
To determine whether your transceiver is causing the interference, turn off your transceiver.
If the interference goes away, your transceiver us causing it. Try to eliminate the
interference by:
! Moving your transceiver away from the receiver
! Contacting your local RadioShack store for help

4
If you cannot eliminate the interference, the FCC requires that you stop using your
transceiver.
ADDITIONAL FCC REGULATIONS
The Business Radio Service is under the jurisdiction of the FCC. Any adjustments or
alterations that would alter the performance of the transceiver so it no longer meets the
original FCC type acceptance or would change the frequency-determining method are
strictly prohibited.
Replacement or substitution of crystals, transistors, ICS, regulator diodes, or any other
component that is of a unique nature with components other than those recommended can
violate the technical regulations of the FCC rules or violate type acceptance requirement of
the rules.
Before you operate the transceiver, you must obtain your license. It is illegal to transmit
without the appropriate license, which you can get by submitting a completed FCC Form
600 to the FCC (or through the PCIA). Furthermore, your are required to understand Part 90
of the FCC Rules and Regulations prior to operating your transceiver. It is the user’s
responsibility to see that this unit is operating at all times in accordance with the FCC Rules
and Regulations.
USING THE RADIO
A. DISPLAY
Your radio comes with a multifunctional backlight display. By pressing any button except
the PTT, the backlight will illuminate for 5 seconds. The liquid crystal display has been
enlarged to show all of the operating modes.

5
1. Shows the selected channel number.
2. Shows the selected privacy code number.
3. “FUNC”: Displays when the secondary function is enabled.
4. “SCAN”: Displays when the scan mode is activated.
5. “TX”: Displays when your radio is transmitting.
6. “BUSY”: Displays when a call is being received.
7. “LOCK”: Displays when the keypad lock is activated.
8. “QUIET”: Displays when the QUIET mode is enabled.
9. “C-TONE”: Displays when the Roger Beep function is activated.
10. “HI LO”: Displays when the Hi/Lo transmit power is toggled.
11. “ ”: Indicates the batteries are low. Replace the batteries when it appears
12. “ ”: Displays when the working channel is set to be skipped.
13. “ ”: Displays when the key tone function is activated.

6
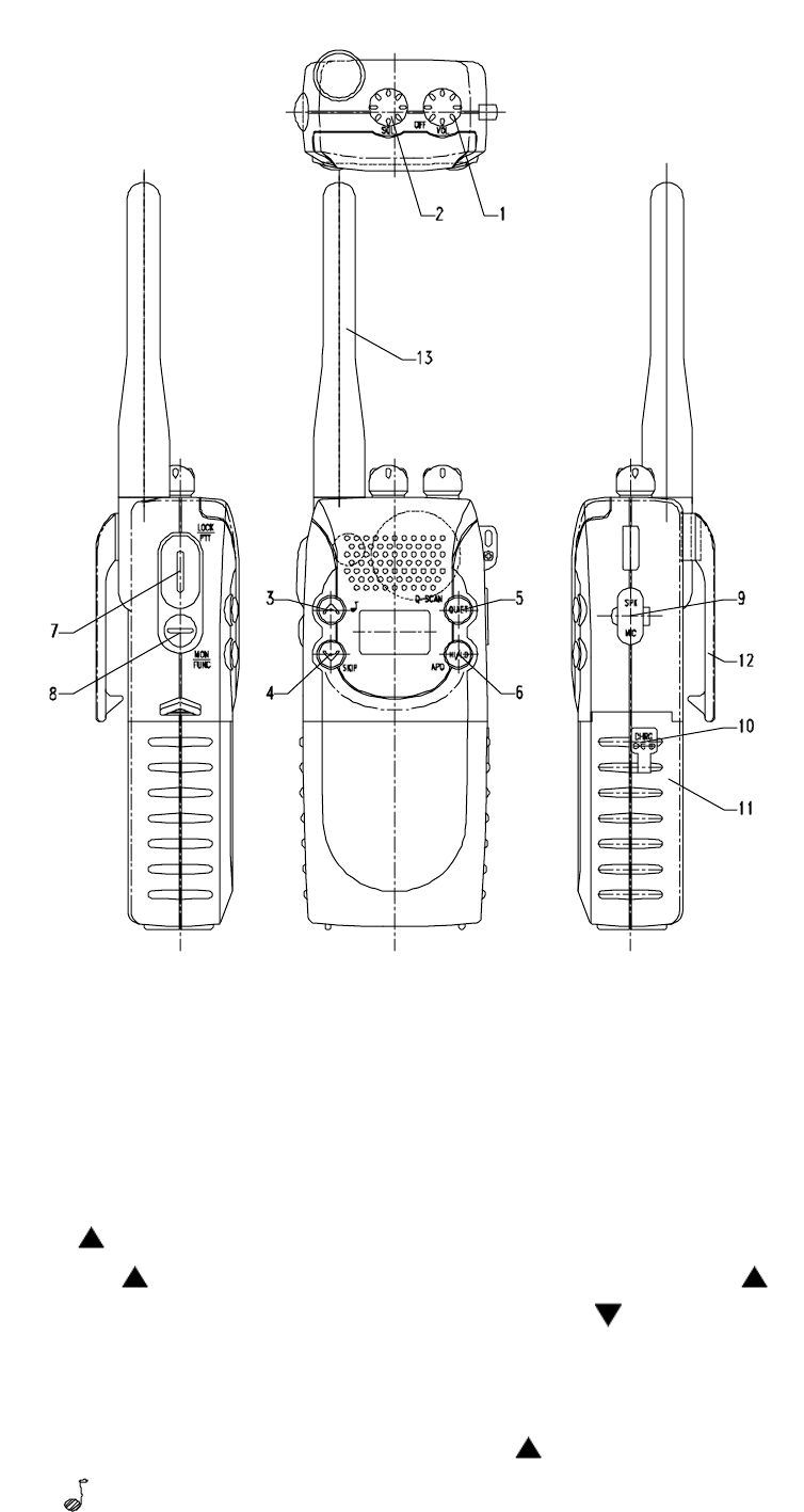
B. FUNCTION AND LOCATION OF THE CONTROLS
1. “ON/OFF” Volume Control.
In “OFF” position, your transceiver is off. Rotate this control clockwise to turn on your radio
and adjusts the volume, until you get a comfortable listening level.
2. SQL Knob
You can turn VOL/SW Knob to obtain the squelch sensitivity at threshold.
3. CH /Key Tone Button
Press CH to move one channel higher. Press and hold CH for more than 1.5sec to
enter into the scan upwardly mode. Press CH will change the scanning direction
downwardly. During the scanning, press any key will exit the scanning mode.
Key Tone
Press and hold FUNC key, then press CH key to activate or deactivate the Key Tone

7
function. Icon “ ” will be shown if activated.
4. CH / Skip
Press CH to move one channel down. Press and hold CH for more than 1.5sec to
enter into the scan downwardly mode. Press CH will change the scanning direction
upwardly. During the scanning, press any key will exit the scanning mode.
Skip
User can choose a desired channel from being scanned. Press CH or to go to the
desired channel. Press and hold FUNC key for, then press CH key to skip this channel
from scanning. Icon “ ” is on to indicate this working channel is set to be skipped. Repeat
the above steps will cancel the skip function of the channel.
Automatic Power Off Button
Press and hold FUNC/MON button, then press HI/LO button to enable or disable the auto
power off function. The display will show “AP ON” or “AP OF” for one second, when the timer
is activated/deactivated. The timer automatically turns off the unit when it is idle for 2 hours.
5. QUIET /QUIET Scan Button/Reset
Press QUIET button to enable or disable the QUIET privacy mode operation.
a) Hold down
QUIET button for 1.5 seconds until QUIET is displayed and the quiet code
flashes.
b) Repeatedly press (or hold down) CH or CH until you see the code number you
want to use.
c) Press
QUIET button to store the code.
6. Hi/Lo / Automatic Power Off Button
Press this button to toggle the high or low RF power.
Automatic Power Off Button
Press and hold FUNC/MON button, then press HI/LO button to enable or disable the auto
power off function. The display will show “AP ON” or “AP OF” for one second, when the
timer is activated/deactivated. The timer automatically turns off the unit when it is idle for 2
hours.
To turn on the quiet feature, press QUIET, QUIET icon appears. To turn off the feature,
press QUIET until QUIET disappears.
Note: We recommend that you select a quiet code from the range 7-30. If you select a
code below or above that range, you must wait 1 to 2 seconds after holding down PUSH-
TO-TALK before you start talking.
QUIET Scanning (Only available under QUIET mode)
Press and hold FUNC key, and follow by QUIET key to enter into the QUIET Scan mode,
and icons of “SCAN” and “QUIET” will be lightened on LCD. When received the same
QUIET code, the scanning stops and will keep scanning after the signal disappears. Press

8
any key will exit and return to the normal working channel.
Reset
To reset the unit, press and hold the QUIET key and turn on the unit. Reset operation will
clean all the set channels and restore the current channel to CH2 with QUIET off. Power is
toggled to low mode, key tone and C-tone function are activated.
6. Push-To-Talk button / Keylock /C-Tone
To talk, hold down the Push-To-Talk. Speak into the microphone in a normal tone of voice
when the TX icon is displayed. When you finish speaking, release the Push-To-Talk
button.
Your can also lock your radio setting to avoid accidental pressing of keys by activating the
keypad lock. Press and hold the FUNC button, then press the PTT button to activate or
deactivate the keypad lock.
Press and hold the Push-To-Talk while turning on the radio will enable or disable the
courtesy tone (C-Tone) function.
7. MON/FUNC Button
To hear everything happening on a channel, including weak transmission, hold down
MON/FUNC button for more than 1.5 sec. Re lease the MON/FUNC button to turn the
auto-squelch back on.
8. External Mic/Spk Jack
Connect an optional speaker/microphone or earphone in this jack.
9. Charger Jack
You can recharge battery pack using the supplied battery charger. Plug the charger’s
barrel plug into the CHRG jack on the side of the unit, then connect the charger to a
standard AC outlet.
10. Rechargeable Battery Pack
You can recharge the battery pack using supplied the battery charger.
11. Belt Clip
To attach the belt clip, place it over the locking pin and align the screw hole. Tighten the
screw.
12. Antenna
Provides excellent reception.

9
C. Major Channel Set Up
The user can set up total of 8 channel (Refer to UHF Business Band Frequency Table)
1. If the unit is on, turn the unit off. Press Hi/Lo and QUIET key together and hold while
turn on the unit, the channel number then will flash. The radio enters channel setup
mode. The icon ON or OFF on the top right corner indicates the channel is selected or
not.
2. Use or key to select a channel.
3. When a channel is selected, press PTT key to confirm the selected channel. Channel
number stop flashing and at the display the top right icon is changed from OF to ON.
PTT
4. Press and hold the QUIET key for 1.5sec to enter CTCSS channel setting-up mode.
The working QUIET channel number is flashing.
5. Use or key to select the desired QUIET channel.

10
6. When the
QUIET channel is selected, press QUIET key to confirm and exit the QUIET
setting mode.
7. Repeat step 1 to 6 to set up other channel, total of 8 channels can be set up.
8. When all channels are selected, press FUNC key or no key entry for 5 seconds to
confirm and exit the channel set-up mode.
Note:
1. When setting the channels, the user may omit the steps of 4-6, and the channels are
set without QUIET codes.
2. When total 8 channels are already set up, user should OF one channel before setting
another channel. Otherwise, press PTT to select the desired channel will not succeed
and a beep sound will be heard.
To reset the unit, press and hold the QUIET key and turn on the unit. Reset operation will
clean all the set channels and restore the current channel to CH2 without QUIET code.
C. OPERATION
1. Please charge the battery pack with the supplied charger.
Ni-Cd batteries must be charged for a minimum of 10 hours before initial use.
2. Turn VOL control knob to the unit “on”. Turn the SQL knob counterclockwise to the end,
and adjust the volume to a normal listening level.
3. Turn SQL knob clockwise until background noise is just quieted.
4. Select the desired channel and/or QUIET privacy code.
5. Press Push-To-Talk button to transmit.
6. To receive, simply release Push-To-Talk button.
Note: You can only communicate with another radio that is using the same channel and/or
the same QUIET privacy code as your radio.
TECHNICAL SPECIFICATIONS
11
Frequency Range Business……………....…...................….……….. 464.5000~467.9250 MHz
Power supply..........................…. ……...............……………………………….………………8.4V
Sensitivity at 12dB Sinad.............................................…….......………….....………….......0.5µV
Adjacent Channel Rejection.................................................………………..........................45dB
Audio Distortion .............................................................………….……..................................7%
RF Output Power...................................................….….………………….... 1W/5W @ 8.4VDC
Harmonic Emissions..............................................………………................... 55dB Hi, 48dB Lo
Dimensions (HWD).................................…..………….……………..........…....….135*54*33 mm
Weight (without batteries).......................................……….....………..………...… approx. 150g
SAFETY INFORMATION
Your wireless hand-held portable transceiver contains a low power transmitter. When the
Push-to-Talk button is pushed it sends our radio frequency (RF) signals. The device is
authorized to operate at a duty factor not to exceed 50%. In August 1996, the Federal
Communications Commissions (FCC) adopted RF exposure guidelines with safety levels for
hand-held wireless devices.
CAUTION:
To maintain compliance with the FCC’s RF exposure guidelines hold the transmitter and
antenna at least 2 inch (5 centimeters) from your face and speak in a normal voice, with the
antenna pointed up and away from the face. If you wear the handset on your body while
using the headset accessory, use only the supplied belt clip for this product and when
transmitting, take it out of the belt to ensure that the antenna is at least 1 inch (2.5
centimeters) from your body.
Use only the supplied antenna. Unauthorized antennas, modifications, attachments could
damage the transmitter and may violate FCC regulations.

12
Attachment
UHF Business Band Frequency Table
Frequency
Number Frequenc
y
MHz
Frequenc
y
Color
TX Power
Hi/Lo
1 464.5000 Brown
2 464.5500 Yellow 5W/1W
3 467.7625 J
4 467.8125 K
5 467.8500 Silver star
6 467.8750 Gold star
7 467.9000 Red star
8 467.9250 Blue star
2W/1W
QUIET Privacy Codes Frequency: Hz
01=67.0 11=97.4 21=136.5 31=192.8
02=71.9 12=100.0 22=141.3 32=203.5
03=74.4 13=103.5 23=146.2 33=210.7
04=77.0 14=107.2 24=151.4 34=218.1
05=79.7 15=110.9 25=156.7 35=225.7
06=82.5 16=114.8 26=162.2 36=233.6
07=85.4 17=118.8 27=167.9 37=241.8
08=88.5 18=123.0 28=173.8 38=250.3
09=91.5 19=127.3 29=179.9
10=94.8 20=131.8 30=186.2

13
Expanded Business Band Frequency Table
LCD
Display
Channel
Frequency
MHz Power
Hi/Lo
LCD
Display
Channel
Frequency
MHz Power
Hi/Lo
LCD
Display
Channel
Frequency
MHz Power
Hi/Lo
9 461.0375 2W/1W 26 462.8375 2W/1W 43 466.2625 2W/1W
10 461.0625 2W/1W 27 462.8625 2W/1W 44 466.2875 2W/1W
11 461.0875 2W/1W 28 462.8875 2W/1W 45 466.3125 2W/1W
12 461.1125 2W/1W 29 462.9125 2W/1W 46 466.3375 2W/1W
13 461.1375 2W/1W 30 464.4875 2W/1W 47 466.3625 2W/1W
14 461.1625 2W/1W 31 464.5125 2W/1W 48 467.7625 2W/1W
15 461.1875 2W/1W 32 464.5375 2W/1W 49 467.7875 2W/1W
16 461.2125 2W/1W 33 464.5625 2W/1W 50 467.8125 2W/1W
17 461.2375 2W/1W 34 466.0375 2W/1W 51 467.8375 2W/1W
18 461.2625 2W/1W 35 466.0625 2W/1W 52 467.8625 2W/1W
19 461.2875 2W/1W 36 466.0875 2W/1W 53 467.8875 2W/1W
20 461.3125 2W/1W 37 466.1125 2W/1W 54 467.9125 2W/1W
21 461.3375 2W/1W 38 466.1375 2W/1W 55 469.4875 2W/1W
22 461.3625 2W/1W 39 466.1625 2W/1W 56 469.5125 2W/1W
23 462.7625 2W/1W 40 466.1875 2W/1W 57 469.5375 2W/1W
24 462.7875 2W/1W 41 466.2125 2W/1W 58 469.5625 2W/1W
25 462.8125 2W/1W 42 466.2375 2W/1W