Rheem Professional Classic Series Direct Vent For Manufactured Housing Use And Care Manual
2015-04-02
: Rheem Rheem-Professional-Classic-Series-Direct-Vent-For-Manufactured-Housing-Use-And-Care-Manual-683504 rheem-professional-classic-series-direct-vent-for-manufactured-housing-use-and-care-manual-683504 rheem pdf
Open the PDF directly: View PDF  .
.
Page Count: 28

AP14561-2 (12/09)
!  FOR YOUR SAFETY!
— Do not store or use gasoline or other flammable 
vapors or liquids or other combustible materials 
in the vicinity of this or any other appliance. To 
do so may result in an explosion or fire.
—WHAT TO DO IF YOU SMELL GAS
 ● Do not try to light any appliance.
 ●  Do  not  touch  any  electrical  switch;  do  not 
use any phone in your building.
 ●  Immediately  call  your  gas  supplier  from  a 
neighbor’s phone. Follow the gas supplier’s 
instructions.
●  If  you  cannot  reach  your  gas  supplier,
call the fire department.
●  Do  not  return  to  your  home  until  authorized 
by the gas supplier or fire department.
—  Improper installation, adjustment, alteration, 
service or maintenance can cause injury, 
property damage or death. Refer to this  
manual. Installation and service must be  
performed by a qualified installer, service  
agency or the gas supplier.
 WARNING:  If  the  information  in  these  instructions  is  not  followed  exactly, 
a fire or explosion may result causing property damage, personal injury or death.
!
Use & Care Manual
With Installation Instructions for the Installer
Printed in USA
Water Heaters
Side Inlet - Direct Vent Gas
For Manufactured Housing
®
LISTED
984U
Gas-Fired Water Heater
    for Mobile Homes
The purpose of this manual is twofold: one, to provide the installer with the basic directions and 
recommendations for the proper installation and adjustment of the water heater; and two, for the owner–
operator, to explain the features, operation, safety precautions, maintenance and troubleshooting of the 
water heater. This manual also includes a parts list.
It is very important that all persons who are expected to install, operate or adjust this water heater 
read the instructions carefully so they may understand how to perform these operations. If you do not 
understand these instructions or any terms within it, seek professional assistance.
Any questions regarding the operation, maintenance, service or warranty of this water heater should 
be directed to the seller from whom it was purchased. If additional information is required, refer to the 
section on “If you need service.”
 Do not destroy this manual. Please read carefully and keep in a safe place for future reference.
Recognize this symbol as an indication of Important Safety Information!
 California Proposition 65 Warning: This product contains chemicals known to the State of 
California to cause cancer, birth defects or other reproductive harm.
!
!

Safety Information
Safety Precautions . . . . . . .  3–6
LP Gas Models  . . . . . . . . . . .  5
Installation Instructions
Location ................. 7
Installation Methods . . . .  8-10
Water Connections  . . . . . . .  11
Gas Supply . . . . . . . . . . . . . .  13
Installation Checklist . . . . . . .14
Operating Instructions
Lighting Instructions . . . . . .  15
Water Temperature  . . . . 16, 17
Care and Cleaning
Draining ................ 18
Maintenance . . . . . . . . . . . . .  18
Burner Inspection  . . . . . . . .  19
Extended Shut-Down . . . . .  19
Troubleshooting Tips
Before You Call 
For Service . . . . . . . . . . .  20, 21
Customer Service
Parts List . . . . . . . . . . . . . . . .  22
Conversion  
Instructions . . . . . . . . . . . .23-26
If You Need Service  . . . . . .  28
2
FOR YOUR RECORDS
Write the model and serial numbers here:
#
#
You can find them on a label on the appliance.
Staple sales slip or cancelled check here. 
Proof of the original purchase date is needed to obtain service under 
the warranty.
Inside you will find many helpful hints on how to use and maintain 
your water heater properly. A little preventive care on your part can 
save you time and money over the life of your water heater.
You’ll find many answers to common problems in the 
Troubleshooting Guide. If you review the chart of Troubleshooting 
Tips first, you may not need to call for service.
READ THIS MANUAL
Your safety and the safety of others are very important.  There 
are many important safety messages in this manual and on your 
appliance.  Always read and obey all safety messages.
This is the safety alert symbol. Recognize this symbol as an 
indication of Important Safety Information!
This symbol alerts you to potential hazards that can kill or hurt 
you and others.
All safety messages will follow the safety alert symbol and 
either the word “DANGER”, “WARNING”, “CAUTION” or 
“NOTICE”.
These words mean:
!DANGER An imminently hazardous situation  
      that will result in death or serious  
      injury.
!WARNING  A potentially hazardous situation that  
      could result in death or serious injury   
      and/or damage to property.
!CAUTION A potentially hazardous situation that  
      may result in minor or moderate   
      injury.
Notice:    Attention is called to observe a    
      specified procedure or maintain    
      a specific condition.
READ THE SAFETY INFORMATION
!

Be sure to read and understand the entire Use and Care Manual before attempting to install or operate 
this water heater. It may save you time and cost. Pay particular attention to the Safety Instructions. 
Failure to follow these warnings could result in serious bodily injury or death. Should you have 
problems understanding the instructions in this manual, or have any questions, STOP, and get help 
from a qualified service technician, or the local gas utility.
IMPORTANT SAFETY INFORMATION.
READ ALL INSTRUCTIONS BEFORE USING.
3
Failure to install the vent system and properly vent the water heater to the outdoors as  
outlined in the Venting Section of the Installation Instructions in this manual can result in 
unsafe operation of the water heater. To avoid the risk of fire, explosion, or asphyxiation 
from carbon monoxide, never operate this water heater unless it is properly vented and 
has an adequate air supply for proper operation. Be sure to inspect the vent system 
for proper installation at initial start-up; and at least annually thereafter. Refer to the 
Care and Cleaning section of this manual for more information regarding vent system 
inspection.
!
DANGER!
INSTALL THE VENT SYSTEM AND PROPERLY VENT THE 
WATER HEATER…
Gasoline, as well as other flammable materials and liquids (which include but not limited 
to adhesives, solvents, paint thinners etc.), and the vapors they produce are extremely 
dangerous. DO NOT handle, use or store gasoline or other flammable or combustible 
materials anywhere near or in the vicinity of a water heater or any other appliance. Be 
sure to read and follow the warning label pictured below and other labels on the water 
heater, as well as the warnings printed in this manual. Failure to do so can result in 
property damage, bodily injury or death.
!
WARNING!
!
DANGER
!
FLAMMABLES
Flammable Vapors
      Vapors from flammable
liquids will explode and
catch fire causing death or
severe burns
Do not use or store flammable
products such as gasoline,
solvents or adhesives in the
same room or area near the
water heater.
Keep flammable products:
1. far away from heater,
2. in approved containers,
3. tightly closed and
4. out of children's reach. 
Water heater has a main
burner and pilot flame.
The pilot flame:
1. is on all the time and
2. will ignite flammable 
vapors.
Vapors:
1. cannot be seen,
2. are heavier than air,
3. go a long way on the 
floor and
4. can be carried from 
other rooms to the pilot
    flame by air currents.
Installation:
Do not install water heater
where flammable products will
be stored or used unless the
main burner and pilot flames
are at least 18" above the
floor. This will reduce, but not
eliminate, the risk of vapors
being ignited by the main
burner or pilot flame.
Read and follow water heater warnings and instructions. If owners
manual is missing, contact the retailer or manufacturer.

IMPORTANT SAFETY INFORMATION.
READ ALL INSTRUCTIONS BEFORE USING.
4
The chart shown above may be used as a guide  
in determining the proper water temperature for your 
home.
!
DANGER: Households with small children, disabled, or 
elderly persons may require a 120°F. or lower thermostat 
setting to prevent contact with “HOT” water.
Maximum water temperatures occur just after 
burner has shut off. To find water temperature being 
delivered, turn on a hot water faucet and place 
a thermometer in the water stream and read the 
thermometer.
The temperature of the water in the heater can 
be regulated by setting the temperature dial on the 
front of the gas control (thermostat). To comply with  
safety regulations the thermostat was set at its lowest 
setting before the water heater was shipped from the 
factory. 
The illustration at 
the left details the 
approximate water 
temperature  
for each mark on 
the Gas Control 
(Thermostat) 
Temperature Dial.
DANGER: Hotter water increases the potential for 
Hot Water SCALDS.
DANGER
!
HOT
Water temperature over 125°F can
cause severe burns instantly or
death from scalds.
Children, disabled and elderly are
at highest risk of being scalded.
See instruction manual before
setting temperature at water
heater.
Feel water before bathing or
showering.
Temperature limiting valves are
available, see manual.
BURN
!
DANGER!
WATER TEMPERATURE SETTING
Safety and energy conservation are factors to be considered when selecting the water 
temperature setting of water heater’s thermostat. Water temperatures above 125°F. 
can cause severe burns or death from scalding. Be sure to read and follow the warnings 
outlined on the label pictured below. This label is also located on the water heater.
Notice:  Mixing valves are available for reducing point 
of use water temperature by mixing hot and cold water 
in branch water lines . Contact a licensed plumber or the 
local plumbing authority for further information.
Time/Temperature Relationship in Scalds
   Water Temperature  Time To Produce a Serious Burn
  120°F  More than 5 minutes
  125°F  11/2 to 2 minutes
  130°F  About 30 seconds
  135°F  About 10 seconds
  140°F  Less than 5 seconds
  145°F  Less than 3 seconds
  150°F  About 11/2 seconds
  155°F  About 1 second
Table courtesy of Shriners Burn Institute
!
155°F
150°F
140°F
110°F
80°F
Temperatures are approximate
90°F
100°F 130°F
120°F
45°F

5
LP and natural gas have an odorant added to aid in detecting a gas leak. Some  
people may not physically be able to smell or recognize this odorant. If you are unsure or 
unfamiliar with the smell of LP or natural gas, ask the gas supplier. Other conditions, such 
as “odorant fade”, which causes the odorant to diminish in intensity, can also hide or  
camouflage a gas leak.
!
DANGER!
LIQUEFIED PETROLEUM  (LP - PROPANE OR BUTANE) 
AND NATURAL GAS MODELS
●  This water heater is supplied with a 
thermostatic gas valve that is convertible 
to LP from natural gas. Be sure to read 
and carefully follow the Conversion 
Instructions included in this manual  
when converting the valve from one  
type of gas to another.
●  After conversion, be certain that the gas 
supplied to the heater is the type that 
the valve has been converted for (LP for 
heaters converted to LP use, and natural 
gas for heaters converted to natural gas 
use). This water heater will not operate 
safely if connected to a fuel type other 
than the one the gas valve is converted 
for.
●  LP gas must be used with great caution. 
It is heavier than air and will collect first 
in lower areas making it hard to detect at 
nose level.
●  Before attempting to light the water 
heater, make sure to look and smell for 
gas leaks. Use a soapy solution to check 
all gas fittings and connections. Bubbling 
at a connection indicates a leak that must 
be corrected. When smelling to detect an 
LP leak, be sure to sniff near the floor 
also.
●  Gas detectors are recommended in LP 
and natural gas applications and their 
installation should be in accordance with 
the manufacturer’s recommendations 
and/or local laws, rules, regulations or 
customs.
●  It is recommended that more than one 
method, such as soapy solution, gas 
detectors, be used to detect leaks in LP 
gas applications.
!
DANGER: If a gas leak is present or 
suspected:
●  Do not attempt to find the cause
yourself.
●  Do not try to light any appliance.
●  Do not touch any electrical switch.
●  Do not use any phone in your building.
●  Leave the house immediately and make 
sure your family and pets leave also.
●  Leave the doors open for ventilation 
and contact the gas supplier, a qualified 
service agency or the fire department.
●  Stay away from the house (or building) 
until the service call has been made, the 
leak is corrected and a qualified agency 
has determined the area to be safe.

6
●  Read this manual entirely before installing 
or operating the water heater.
●  Use this appliance only for its intended 
purpose as described in this Use and Care 
Manual.
●  Be sure your appliance is properly installed 
by a qualified technician in accordance 
with the provided installation instructions. 
●  Do not attempt to repair or replace any part 
of your water heater unless it is specifically 
recommended in this manual. All other 
servicing should be referred to a qualified 
technician.
Have the installer show you the location of the gas shut-off valve and how to shut it off 
if necessary. Turn off the manual shut-off valve if the water heater has been subjected to 
overheating, fire, flood, physical damage or if the gas supply fails to shut off.
SAFETY PRECAUTIONS
IMPORTANT SAFETY INFORMATION.
READ ALL INSTRUCTIONS BEFORE USING.
!
WARNING!
For your safety, the information in this manual must be followed to minimize the risk of 
fire or explosion, electric shock, or to prevent property damage, personal injury, or loss of 
life.
FOR INSTALLATIONS IN THE STATE OF CALIFORNIA
California Law requires that residential water heaters must be braced, anchored or 
strapped to resist falling or horizontal displacement due to earthquake motions. For 
residential water heaters up to 52 gallon capacity, a brochure with generic earthquake 
bracing instructions can be obtained from: Office of the State Architect, 400 P Street, 
Sacramento, CA 95814 or you may call 916-324-5315 or ask a water heater dealer. 
However, applicable local codes shall govern installation. For residential water heaters  
of a capacity greater than 52 gallons, consult the local building jurisdiction for acceptable 
bracing procedures.
READ AND FOLLOW THIS SAFETY INFORMATION CAREFULLY.
SAVE THESE INSTRUCTIONS

Installing the water heater.
The installation of this water heater must be in accordance with the Manufactured Home Construction 
and Safety Standard (Title 24, CFR; Part 3280) and the following instructions; supplied with the roof 
jack assembly, local codes, and utility company requirements governing the installation of water heaters 
in manufactured homes (mobile homes) and/or in the absence of local codes, the latest edition of The 
National Fuel Gas Code, ANSI Z223.1.
Location
This water heater must be installed within 
an enclosure so as to separate the water 
heater’s combustion and venting system 
from the interior atmosphere of the 
manufactured home. 
All air for combustion must be obtained 
from the outside atmosphere, and the 
products of combustion (flue gases) must 
be discharged directly to the outside 
atmosphere through the gas vent roof jack 
assembly. 
Refer to installation illustration as shown 
on the next page of this manual.
The water heater should not be located in 
an area where leakage from the tank or 
connections will result in damage to the 
area adjacent to the heater.
When such areas cannot be avoided it is 
recommended that a suitable catch pan, 
adequately drained, must be installed 
under the water heater. 
Catch pan kits are available from the store 
where the water heater was purchased, or 
any water heater distributor.  Follow the 
instructions provided with the catch pan 
kit for proper installation.
Make certain that the floor underneath the 
water heater is strong enough to support 
the weight of the water heater once it is 
filled with water.
A gas fired water heater or any other 
appliance should not be installed  
in a space where liquids which give off 
flammable vapors are to be used or stored.  
Such liquids include gasoline, LP gas 
(butane or propane), paint or adhesives 
and their thinners, solvents or removers.
●  Long hot water lines should be insulated 
to conserve water and energy. 
●  The water heater and water lines should 
be protected from exposure to freezing 
temperatures.
●  Minimum clearance from combustible 
construction: 
If the clearances stated on the Instruction/
Warning Label, located on the front of 
the heater differ, install the water heater 
according to the clearances stated on the 
label.
The water heater may be installed on 
combustible flooring, but not directly on 
carpeting.
If the water heater must be installed on 
carpeting, place a wood or metal panel 
beneath the water heater extending beyond 
its full width and depth at least 3” in all 
directions.  If the water heater is installed 
in an alcove or closet, the entire floor 
must be covered by the panel.  
CAUTION: Provisions should be made 
so that in the event the water heater or one 
of its fittings were to leak, the resulting 
flow of water will not cause damage to the 
manufactured home.
CAUTION: DO NOT subject the 
water heater to any water distribution 
system air pressure test. The water 
heater should either be isolated with 
valves at the inlet and outlet water 
connections or disconnected during the 
test. Failure to properly isolate the 
water heater during an air pressure test 
presents a hazard to life and property. 
With a water pressure test the water 
heater need not be isolated.
7
!WARNING: Combustible 
construction refers to 
adjacent walls and ceilings 
and should not be confused 
with combustible or 
flammable products and 
materials. Combustible and/
or flammable products and 
materials should never be 
stored in the vicinity of this 
or any gas appliance.
Location Front of 
Control Sides Rear Ceiling
Closet 4” 0” 0” 24”

8
Installing the water heater.
Installation Methods
   Inspect shipment. 
— 
Inspect the water 
heater for possible shipping damage.
   Placement of water heater. 
—  
Locate 
the water heater as desired, make 
certain the minimum clearances 
outlined in this manual are observed.
   Combustion and ventilation air. 
— 
Air 
for combustion and ventilation must 
not be supplied from occupied spaces 
of the mobile home.   The air inlet 
must not be obstructed under any 
circumstances. Outside air is 
necessary for proper and safe 
operation of the water heater.
   Openings for air inlet and gas vent roof 
jack assemblies. 
—
(Refer to 
illustrations to the left.) Cut a 7
1
/
4
 in. 
diameter hole in the ceiling and roof 
directly above the flue of the water 
heater. Remove the water heater and 
drop a plumb line from the center of the 
hole in the roof to the floor. Mark this 
water heater center point on the floor. 
Mark a "new point" on the floor 4
3
/
4
 in. 
toward the front from the water heater 
center point for a 30 gallon model, or 
5
3
/
4
 in. toward the front from the water 
heater center point  for a 40 gallon 
model. For a 50 gallon model, mark a 
"new point" 4
3
/
4 
in. to the right and 4
3
/
4 
in. toward the front from the water 
heater center point. Cut a 4
3
/
4
 in. 
diameter hole in the floor and underside 
sheathing using the "new point" as the 
hole center.
AIR INLET ASSEMBLY — (Refer to 
illustrations to the left.) 
         NOTICE — Installation of this Direct 
Vent water heater with the Air Inlet 
Assembly taking it’s combustion 
air from a basement atmosphere is 
a violation of UL 307b, Section 4.3 
(c). For installation over a basement 
structure or unvented crawl space, 
provisions must be made to provide 
fresh combustion air from outside the 
dwelling.  A factory manufactured Side 
Air Inlet Kit (Part No. AP12191) may be 
purchased from the factory and installed 
according to the instructions supplied 
with the kit.
To accommodate variations of 
installation configurations, an 
adjustable Air Inlet Assembly is 
available (Purchased separately). To 
adjust it, measure the distance from the 
4
3
/
4
 in. diameter hole in the floor (refer 
to number 4) and the approximate mid-
point of the space between the bottom 
sheathing and the ground, and record 
the dimension. Adjust the telescopic 
lower tube of the inlet assembly until 
the distance between the bottom of the 
floor flange to the bottom of the 
telescopic tube is equal to the 
dimension below the floor recorded 
earlier. With the tube adjusted to the 
correct length, secure the lower 
telescopic tube in place with the screws 
provided.  A silicone rubber sealing 
band is provided with the inlet 
assembly, and must be pulled up over 
the joint between the tubes to ensure  
leak proof seal.
Now drop the Air Inlet Assembly into 
the 4
3
/
4
 in. diameter hole in the floor 
and fasten in place at this time with the 
screws provided.
Relocate the water heater so the air 
inlet collar, that extends below the 
water heater bottom pan, aligns with 
the Air Inlet Assembly tube projecting 
through the floor. Close off the opening 
between the top of the Air Inlet 
Assembly tube and the water heater air 
inlet collar with the clamp provided
Align the water heater flue with the 
opening previously cut in the ceiling 
and roof. The opening around the Air 
Inlet Assembly and the bottom sheathing 
must be sealed to prevent the entrance of 
rodents. When the mobile home is tightly 
skirted, an air inlet opening in the skirt 
must be provided. The opening must have 
a minimum free area of at least 9 square 
inches. If the opening is screened or 
covered with a  louver, the total free area 
must be at least 9 square inches.
Center Line of 7¼"
Diameter Hole in Roof
and Ceiling
Center Point
of Heater
4¾" for 30 Gallon Heater
5¾" for 40 Gallon Heater
4¾" Diameter Holes
Through Floor and
Sheathing
FRONT OF HEATER
For 30 & 40 Gallon Heaters ONLY!!
Center Point
of Heater
4¾" Diameter Holes
Through Floor and
Sheathing
FRONT OF HEATER
For 50 Gallon Heater ONLY!!
4¾" to the right of the center line
of heater and
4¾" towards front of heater

Roof Jack Sizing Table
 *     Adjustable Length Roof Jacks
▲    Fixed Length Roof Jacks
   Roof Jack Kits contain specied Roof Jack AND Air 
Inlet Assembly.
§  These Part No.’s are for Roof Jack ONLY.
NOTICE: 24” Minimum distance from the top of the water 
heater to the ceiling.
NOTICE  -  A  Roof  Jack  Extension  Kit  (Part  Number 
AP12021)  is  recommended  for  roof  pitches  of  5½  -12  or 
greater,  or  for  installations  where  local  codes  require  the 
Roof Jack to be installed above the peak of the roof. Instal-
lation instructions are provided with the kit.
Access Door (Right or Left)
No Openings Required
Roof Jack
(Purchased Separately) Roof Flange
Roof
Ceiling
Floor
Bottom 
Sheathing
Clamp (AE28924)
Supplied with Heater
Clamp (AE28924) and Gasket 
(AP12014)
Supplied with Heater
Telescopic Vent Connector Pipe
(Supplied with Roof Jack)
Silicone Rubber Seal
(Supplied with Roof Jack)
Silicone Rubber Seal
(Supplied with Air Inlet Assembly )
Ground Level
Secure Strapping (AP11154) 
to Water Heater Top Pan and 
Enclosure  Sides  with  S.M. 
Screws provided
S.M. Screw (2 Supplied) 
to Secure Legs to Floor
S.M. Screws to Secure Flashing to 
Floor
NOTICE: Opening of Air Inlet Assembly must 
be below bottom sheathing and unobstructed to 
provide adequate combustion air supply to heater.
Air Inlet Assembly 
2" ª
6" Min.
"X" Dimension
(See Table Below)
Roof Jack
Adjustment Range
Legend
•  6" Minimum distance between bottom edge 
of the roof jack outer pipe and the top of the 
water heater.
ª    2” is minimum distance between ceiling and 
"Must be installed below ceiling" line on Roof 
Jack.
Roof Jack Kit 
Part No.
Roof Jack ONLY 
Part No. §  
"X" Dimension (See 
Illustration)
Roof Jack Adjustment 
Range (See 
Illustration)
AP12032B* AP12118B* 98" Min./126" Max. 16" Min./ 32" Max.
AP12032C* AP12118C* 112" Min./154" Max. 30" Min./60" Max.
AP12032D* AP12118D* 130" Min./ 189" Max. 48" Min./95" Max.
AP12032E▲AP12119B* 94" Min./ 106" Max. 12"
This appliance must be installed in accordance with the 
Manufactured Home Construction and Safety Standard (Title 
24, CFR; Part 3280), the following instructions, local codes 
and utility company requirements governing the installation 
of water heaters in manufactured homes (mobile homes), 
and/or in the absence of local codes, the latest edition of The 
National Fuel Gas Code, ANSI Z223.1.
This water heater complies with Section 3280.707(d) (2) of 
H.U.D. Mobile Home Construction and Safety Standards.
NOTICE  -  All  sizes  of  Roof  Jacks  have  an  adjustable  tilt  Roof 
Flange to  accommodate  installation  on  a pitched  roof.  Maximum 
roof pitch is 5½ - 12.  For roof pitches greater than 5½ - 12, the use 
of a ”wedge” under the roof ange is acceptable provided it is sealed 
and secured.
25° Max.
(5
1
/
2 
-12  Pitch)
Adjustable Tilt 
Roof Flange
9

10
Installing the water heater.
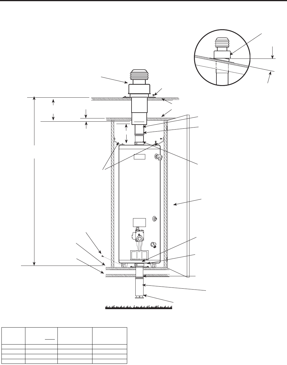
   Gas vent roof jack. 
— 
The roof jack is 
not supplied with the water heater as 
a component part. The roof jack must 
be one of the models listed in this 
manual, and marked as approved by 
Underwriters Laboratories, Inc. for 
use on manufactured homes (mobile 
homes). The installation instructions 
supplied with each roof jack must be 
observed to obtain the proper roof 
jack installation.
(See Illustration on page 9) The Gas 
Vent Roof Jack Assembly (purchased 
separately) has a multi piece telescopic 
vent connector pipe consisting of an 
upper, center and lower section that 
must be pre-adjusted according to 
the following directions prior to final 
installation of the roof jack.
      From the water heater location, measure 
the distance from the highest point on 
roof opening to the floor.  Select correct 
size Roof Jack and Air Inlet Assembly 
from Roof Jack Sizing Guide on Page 
9, Dimension X. Remove the Roof Jack 
from its carton, and extend the center 
section of the inner most pipe to its 
maximum length by grasping the pipe 
and sliding the center section of pipe 
downward. Then extend the lower section 
of the inner pipe in the same manner to 
its full extension.  Silicone rubber sealing 
bands are provided and must be pulled 
down over the joints between the tubes to 
ensure a leak proof seal. 
       Apply a non-hardening mastic on the 
roof around the previously cut hole to 
form a weather tight seal with the roof 
flange of the Roof Jack Assembly. Insert 
the roof jack through the opening in roof 
from above, and fasten the flashing to 
the roof using the pre-punched holes in 
the flashing. (The roof flange adjusts to 
accommodate installation on a pitched 
roof, maximum allowable pitch is  
5
1
/
2
-12. For roof pitches greater that 
5
1
/
2
-12, the use of a ”wedge” under the 
roof flange is acceptable provided it is 
sealed and secured.) Apply additional 
non-hardening mastic as required to 
complete the weather seal.
  With Roof Jack in place and secured to 
the roof, insure that the line on the larger, 
outer tube of the Roof Jack, which is 
marked “INSTALL WITH THIS LINE 
BELOW CEILING” is located no less 
than 2” below  the ceiling line and no less 
than six inches above the water heater.  
Refer to page 9. 
  Now extend the lower section of the 
vent connector pipe by grasping the 
center section of pipe, ensuring that the 
silicone rubber seal remains in position 
over the joint, and sliding the lower 
section of pipe downward, over the flue 
pipe protruding above the water heater’s 
top pan. Be sure to leave approximately 
1/16” to 1/8” of flue pipe exposed below 
the lower section of the vent connector 
pipe to ensure a good sealing surface for 
the gasket. To complete the Roof Jack 
Assembly installation, position the gasket 
material (white fiberglass like material 
with self adhesive tab, supplied in plastic 
bag on heater) and clamp (supplied in 
carton with water heater) around the 
intersection of the flue pipe and the lower 
section of the vent connector pipe, and 
tighten the clamp as required to provide a 
good seal at the joint.
   Securing the water heater. 
— 
Secure 
the two front legs of the water heater to 
the floor using the 2 long screws 
furnished. Attach the bracket (AP11154) 
to the top pan of the water heater and 
fasten the bracket to the adjacent 
walls on each side.

11
Thermal Expansion
Determine if a check valve exists in the inlet water 
line. Check with your local water utility company.  
It may have been installed in the cold water line 
as a separate back flow preventer, or it may be 
part of a pressure reducing valve, water meter or 
water softener. A check valve located in the cold 
water inlet line can cause what is referred to as a 
“closed water system”. A cold water inlet line with 
no check valve or back flow prevention device is 
referred to as an “open” water system.
As water is heated, it expands in volume and 
creates an increase in the pressure within the water 
system. This action is referred to as “thermal 
expansion”. In an “open” water system, expanding 
water which exceeds the capacity of the water 
heater flows back into the city main where the 
pressure is easily dissipated.
A “closed water system”, however, prevents the 
expanding water from flowing back into the main 
supply line, and the result of “thermal expansion” 
can create a rapid and dangerous pressure increase 
in the water heater and system piping. This rapid 
pressure increase can quickly reach the safety 
setting of the relief valve, causing it to operate 
during each heating cycle. Thermal expansion, 
and the resulting rapid, and repeated expansion 
and contraction of components in the water heater 
and piping system can cause premature failure 
of the relief valve, and possibly the heater itself. 
Replacing the relief valve will not correct the 
problem!
The suggested method of controlling thermal 
expansion is to install an expansion tank in the 
cold water line between the water heater and 
the check valve. The expansion tank is designed 
with an air cushion built in that compresses as 
the system pressure increases, thereby relieving 
the over pressure condition and eliminating the 
repeated operation of the relief valve. Other 
methods of controlling thermal expansion are also 
available. Contact your installing contractor, water 
supplier or plumbing inspector for additional 
information regarding this subject.
Water Supply Connections
Refer to the illustration below for suggested 
typical installation. The installation of unions or 
flexible copper connectors is recommended on the 
hot and cold water connections so that the water 
heater may be easily disconnected for servicing if 
necessary. The HOT and COLD water connections 
are clearly marked and are 3/4” NPT on all 
models. Install a shut-off valve in the cold water 
line near the water heater.
IMPORTANT: Do 
not apply heat to the 
HOT or COLD water 
connections. If sweat 
connections are used, 
sweat tubing to adapter 
before fitting adapter 
to the cold water 
connections on heater. 
Any heat applied to 
the cold water supply 
fittings will permanently 
damage the dip tube.
Alternate sediment  
trap location
To gas supply
To gas supply
To cold water supply
Relief valve discharge line 
to suitable drain
Sediment trap
Drain valve
Manual gas shut-off
Sediment trap
Ground joint union or ANSI design 
certified semi-rigid or flexible gas 
appliance connector
Thermostat
Jacket door
Anode
Temperature and 
pressure relief valve
Flue baffle 
(underneath)
Roof jack
Hot water outlet to fixtures
Typical Installation
NOTICE: The National 
Fuel Gas Code (NFGC) 
mandates a manual gas 
shut-off valve: See (NFGC) 
for complete instructions.  
Local codes or plumbing 
authority requirements may 
vary from the instructions 
or diagrams provided and 
take precedent over these 
instructions.
Vacuum Relief Valve 
(Not Supplied) 
If required, install per local codes 
and valve manufacturer’s 
instructions. 

12
Installing the water heater.
Condensation
Condensation can form on the tank when it  
is first filled with water. Condensation might 
also occur with a heavy water draw and very 
cold inlet water temperatures. 
Drops of water falling on the burner can 
produce a sizzling or pinging sound, and the 
water may also be seen beneath the water 
heater. 
This condition is not unusual, and will 
disappear after the water becomes heated. If, 
however, the condensation continues, examine 
the piping and fittings for possible leaks.
Additional information on this subject may 
be found at www.rheem.com, under Rheem 
Water Heating, "Support", scroll down to 
the Technical Service Bulletins 1400 Series 
Section and choose Bulletin #1402.
!
WARNING: The tank 
must be full of water 
before heater is turned 
on. The water heater 
warranty does not cover 
damage or failure 
resulting from operation 
with an empty or 
partially empty tank.
To Fill the Water Heater
Make certain that drain valve is closed, then 
open the shut-off valve in the cold water 
supply line.
Open each hot water faucet slowly to allow 
the air to vent from the water heater and 
piping. 
A steady flow of water from the hot water 
faucet(s) indicates a full water heater.
A new combination temperature and pressure relief valve, complying with the Standard for Relief Valves 
and Automatic Gas Shut-Off Devices for Hot Water Supply Systems, ANSI Z21.22, is supplied and must 
remain in the opening provided and marked for the purpose on the water heater. No valve of any type 
should be installed between the relief valve and the tank. Local codes shall govern the installation of 
relief valves.
Relief Valve
The pressure rating of the relief valve must 
not exceed 150 PSI, the maximum working 
pressure of the water heater as marked on the 
rating plate. 
The BTUH rating of the relief valve must 
equal or exceed the BTUH input of the water 
heater as marked on its rating plate.
Position the outlet of the relief valve above 
a suitable open drain to eliminate potential 
water damage. Piping used should be of a 
type approved for hot water distribution. 
The discharge line must be no smaller 
than the outlet of the valve and must pitch 
downward from the valve to allow complete 
drainage (by gravity) of the relief valve and 
discharge line. 
The end of the discharge line should not  
be threaded or concealed and should be 
protected from freezing. No valve of any 
type, restriction or reducer coupling should 
be installed in the discharge line.

13
!
WARNING: Never 
use an open flame to 
test for gas leaks, as 
bodily injury, property 
damage or death could 
result.
Leak Testing
The water heater and its gas connections must 
be leak tested at normal operating pressures 
before it is placed in operation.
   Turn on the manual gas shut-off valve 
near the water heater.
   Use a soapy water solution to test for 
leaks at all connections and fittings. 
Bubbles indicate a gas leak that must be 
corrected. 
The factory connections to the thermostat 
should also be leak tested after the water 
heater is placed in operation.
Pressure Testing the Gas Supply System
The water heater and its manual gas shut-
off valve must be disconnected from the 
gas supply piping system during any high 
pressure testing of that system at pressures in 
excess of 1/2 psi (14″ w.c.).
The water heater must be isolated from the 
gas piping system by closing the manual gas 
shut-off valve during any pressure testing of 
the gas supply piping at pressures equal to or 
less than 1/2 psi (14″ w.c.).
Gas Supply
Check the markings on the water heater’s 
rating plate to be certain the type of gas 
being furnished corresponds to that for which 
the water heater is built. The water heater 
can be converted from natural gas to LP or 
vice versa. See the Conversion Instructions 
section of this manual.
The branch gas supply line to the water 
heater should be clean 1/2″ black steel pipe 
or other approved gas piping material.
A ground joint union or ANSI design 
certified semi-rigid or flexible gas appliance 
connector should be installed in the gas 
line close to the water heater.  The HUD 
code should be followed for installation and 
location of a manual shutoff valve.
Compound used on the threaded joints of the 
gas piping must be of the type resistant to the 
action of LP gas. Use compound sparingly on 
male threads only. 
Where a sediment trap is not incorporated as 
part of the appliance, a sediment trap shall 
be installed downstream of the equipment 
shutoff valve as close to the inlet of the 
appliance as practical at the time of the 
appliance installation. The sediment trap shall 
be either a tee fitting with a capped nipple in 
the bottom outlet or other device recognized 
as an effective sediment trap.
Do not use excessive force (over 31.5 ft lbs.) 
in tightening the pipe joint at the thermostat 
inlet, particularly if teflon pipe compound is 
used, as the valve body may be damaged.
The inlet gas pressure to the water heater 
must not exceed 14″ w.c. for natural or LP 
gas. For purposes of input adjustment, the 
minimum inlet gas pressure (with main 
burner on) is shown on the water heater 
rating plate. If high or low gas pressures  
are present, contact your gas supplier  
for correction.

14
Installation Checklist
A. Water Heater Location
B. Water Supply
C.  Gas Supply
  ❑ Water heater securely anchored.
 ❑ Indoors and protected from freezing    
   temperatures.
 ❑ Proper clearance from combustible surfaces  
   observed and water heater not installed on   
   carpeted floor.
 ❑ Sufficient fresh air supply for proper    
   operation of water heater.
 ❑ Air supply free of corrosive elements and   
   flammable vapors.
 ❑ Provisions made to protect area from water  
   damage.
 ❑ Sufficient room to service heater.
 ❑  Combustible  materials,  such  as  clothing, 
cleaning materials, rags, etc. clear of the base 
of the heater.
  ❑ Water heater completely filled with water.
 ❑ Air purged from water heater and piping.
 ❑ Water connections tight and free of leaks.
  ❑  Gas line equipped with shut-off valve, union 
and sediment trap.
 ❑ Approved pipe joint compound used.
 ❑  Soap  and  water  solution  used  to  check  all 
connections and fittings for possible gas leak.
 ❑  Gas  Company  inspected  installation  (if 
required).
 ❑  
After  conversion,  be  certain  the  gas 
supplied  to  the  heater  is  the  type  the 
valve  has  been  converted  for  (LP  for 
heaters converted to LP use, and natural 
gas for heaters converted to natural gas 
use)
.
D.  Relief Valve
  ❑  Temperature and Pressure Relief Valve 
properly installed and discharge line run 
beneath mobile home.
  ❑ Discharge line protected from freezing.
E.  Venting
  ❑  Flue  baffle  properly hung  in  top  of  heater’s 
flue.
 ❑ Gas Vent Roof Jack properly installed.

Lighting the water heater.
Before operating this water heater, be sure to read and follow the instructions on the label pictured 
below and all other labels on the water heater, as well as the warnings printed in this manual. Failure to 
do so can result in unsafe operation of the water heater resulting in property damage, bodily injury, or 
death. Should you have any problems reading or following the instructions in this manual, STOP, and 
get help from a qualified person.
FOR YOUR SAFETY READ BEFORE OPERATING
This appliance has a pilot which is lit by a piezo-
electric spark gas ignition system. Do NOT open 
the inner door of this appliance and try to light 
the pilot by hand! 
If you cannot reach your gas supplier,  call
the fire department.
Use  only your hand to turn the gas control knob.
Never use tools.  If the knob will not turn by hand,
don't  try  to  repair  it,   call  a  qualified  service
technician.   Force  or  attempted  repair  may  result
in
Do not use this appliance if any part has been
under water. Immediately call a qualied installer
or service agency to replace a ooded water 
heater. Do not attempt to repair the unit! It must
be replaced!
LIGHTING INSTRUCTION
TO TURN GAS OFF TO THE APPLIANCE
A.
a re or explosion.
C.
D.
10.
11.
instructions.
B.
Do not try to light any appliance.
Do not touch any electric switch;  do not use
any phone in your building.
Immediately call your gas supplier from a
neighbor's phone. Follow the gas supplier's
BEFORE  LIGHTING smell  all  around the appli-
ance area  for gas.  Be sure to smell  next to the
oor because some gas is heavier than air and
will settle on the oor.
WHAT TO DO IF YOU SMELL GAS
Depress and hold the gas control knob all the way
down. Immediately depress the piezo-electric 
spark generator button several times until the 
pilot is lit. The pilot ame can only be seen through
the sight glass window located on the inner door.
Continue to hold down the gas control knob for 
about one (1) minute after the pilot is lit. If it goes
out repeat steps 3 to 9.
If the gas control knob does not pop up when 
released, stop and immediately call your service
technician or gas supplier.
If the pilot will not stay lit after several tries, turn the 
gas control knob clockwise       to “OFF” and call 
your service technician or gas supplier.
Once the pilot ame is established replace the outer
door.
Turn the gas control knob counter-clockwise        to 
the “ON” position. Warning do not use gas control
knob to regulate gas ow to burner.
12.
Set the thermostat dial to desired setting by turning 
dial counter-clockwise. The preferred starting point
for temperature setting is to align the two triangular
pointers on the dial and control face.
WARNING: If you do not follow these instructions and the Use & Manual instructions 
exactly, a re or explosion may result causing property damage, personal injury or 
loss of life. 
1. 2.
Set the thermostat dial to the lowest setting 
by turning the thermostat dial clockwise       
until it stops. DO NOT FORCE.
Slightly depress the gas control knob and turn 
clockwise       to “OFF POSITION”.  Note: Knob cannot
be turned from ”PILOT” position unless pushed down 
slightly. Do not use force.
5.
7.
Remove the outer door from the water
heater.  Do not attempt to remove the 
inner door. 
6. Locate the piezo-electric spark generator
which is located on top of the combi-
nation gas control. 
PILOT 
ASSEMBLY
Turn the gas control knob counter-
clockwise        to the “PILOT” position.
9.
8.
STOP! Read safety information above on this
label.
Set the thermostat dial to the lowest 
setting by turning the thermostat 
dial clockwise        until it stops. 
DO NOT FORCE.
Slightly depress the gas control knob
and turn clockwise        to “OFF” 
position. Note:  Knob cannot be turned 
from “PILOT” position unless pushed 
down slightly.  Do not use force. 
1.
4.
3.
2.
THERMOSTAT 
DIAL
GAS
 CONTROL
KNOB
Wait ve (5) minutes to clear out any
gas. If you smell any gas, STOP! follow
“B” in the safety information above on
this label. If you do not smell gas, 
go to  the next step. 
PIEZO-
ELECTRIC
SPARK
GENERATOR
15

16
Safety Precautions
   Do turn off manual gas shut-off valve 
if water heater has been 
subjected to overheating, fire,  
flood, physical damage or if the  
gas supply fails to shut off.
   Do Not turn on water heater unless it 
is filled with water.
   Do Not turn on water heater if cold 
water supply shut-off valve  
is closed.
   Do Not allow combustible materials 
such as newspaper, rags or mops to 
accumulate near water heater.
   Do Not store or use gasoline or other 
flammable vapors and liquids, such 
as adhesives or paint thinner, in 
vicinity of this or any other  
appliance. If such flammables must 
be used, open doors and windows for 
ventilation, and all gas burning 
appliances in the vicinity should be 
shut off including their pilot lights, to 
avoid vapors lighting.
NOTICE: Flammable vapors may be drawn 
by air currents from surrounding areas to 
the water heater.
   If there is any difficulty in 
understanding or following the 
Operating Instructions or the  
Care and Cleaning section, it is  
recommended that a qualified person 
or serviceman perform the work.
Operating the water heater.
!
CAUTION: Hydrogen gas can be produced in a hot water system served by this water heater that has not been used for a 
long period of time (generally two weeks or more). HYDROGEN GAS IS EXTREMELY FLAMMABLE!! To dissipate such 
gas and to reduce risk of injury, it is recommended that the hot water faucet be opened for several minutes at the kitchen sink 
before using any electrical appliance connected to the hot water system. If hydrogen is present, there will be an unusual sound 
such as air escaping through the pipe as the water begins to flow. Do not smoke or use an open flame near the faucet at the 
time it is open.
DANGER: There is a hot 
water scald potential if the 
thermostat is set too high. 
Households with small children, 
disabled, or elderly persons 
may require a 120°F. or lower 
thermostat setting to prevent 
contact with HOT water.
Water Temperature Setting
The temperature of the water in the 
water heater can be regulated by setting 
the temperature dial on the front of the 
thermostat.
Safety and energy conservation are  
factors to be considered when selecting 
the water temperature setting of the water 
heater’s gas control (thermostat). The 
lower the temperature setting, the greater 
the savings in energy and operating costs.
To comply with safety regulations the gas 
control (thermostat) was factory set at 
120°F. or less where local codes require. 
This is the recommended starting point.
Water temperatures above 125°F. can 
cause severe burns or death from scalding. 
Be sure to read and follow the warnings 
outlined in this manual and on the label 
on the water heater. This label is located 
on the water heater near the gas control 
(thermostat) access panel.
Mixing valves for reducing point of use 
water temperature by mixing hot and cold 
water in branch water lines are available. 
Contact a licensed plumber or the local 
plumbing authority for further information.
The chart on the next page may be used 
as a guide in determining the proper water 
temperature for your home.

Operating the water heater.
Time/Temperature Relationship in Scalds
  Water Temperature  Time To Produce a Serious Burn
  120°F  More than 5 minutes
  125°F  11/2 to 2 minutes
  130°F  About 30 seconds
  135°F  About 10 seconds
  140°F  Less than 5 seconds
  145°F  Less than 3 seconds
  150°F  About 11/2 seconds
  155°F  About 1 second
Table courtesy of Shriners Burn Institute
Water Temperature Setting…
Maximum water temperatures occur just 
after the burner has shut off. To determine 
the water temperature, turn on a hot water 
faucet and place a thermometer in the 
water stream.
The reference mark p on the rim of 
the temperature dial, represents an 
approximate water temperature of 120°F.
The reference   A
      or  ①  mark represents 
an approximate water temperature of 
130°F. 
Each reference mark above or below these 
points indicates an approximate change of 
10°F.
To adjust the temperature, turn the 
temperature dial to an initial setting of 
120°F.
A condition known as “stacking” or 
“layering” can occur when a series of 
short and frequent hot water draws are 
taken.
The hottest temperature water will be at 
the top of the tank, closest to the outlet 
pipe delivering hot water to the home.
Stacking can cause this top layer of water 
to be hotter than the water toward the 
bottom of the tank near the gas control 
(thermostat). 
Therefore, always remember to test the 
water temperature with your hand before 
use and remember that hotter water 
increases the risk of scald injury.  
Also, always supervise young children or 
others who are incapacitated.
The gas control (thermostat) is constructed 
with a built in safety shut-off device 
designed to shut off the gas supply to the 
burner if the pilot flame is extinguished 
for any reason.
The gas control (thermostat) is also 
equipped with a single use gas shut off 
device that will shut off the gas supply 
to the burner if the water heater exceeds 
normal operating temperatures. Refer to 
the (Before You Call For Service) section 
of this manual, or contact your dealer.
!WARNING: Should overheating occur or 
the gas supply fail to shut off, turn off the 
manual gas control valve to the appliance.
If the water heater has been subjected to 
fire, flood or physical damage, turn off 
the manual gas control (shut-off) valve, 
and do not operate the water heater again 
until it has been checked by qualified 
personnel.
NOTICE: Replace any part of the gas control 
system which has been under water..
17
Temperature dial
(Temperatures are approximate)
155°F
150°F
140°F
110°F
80°F
90°F
100°F 130°F
120°F
45°F

Care and cleaning of the water heater.
Draining the Water Heater
CAUTION: Shut off gas to the water 
heater at the gas control (thermostat) 
gas cock or manual shut-off valve 
before draining water.
DANGER: Before manually operating 
the relief valve, make certain no one 
will be exposed to the hot water released 
by the valve. The water drained from the 
tank may be hot enough to present a 
scald hazard and should be directed to 
a suitable drain to prevent injury or 
damage.
In order to drain the water heater, turn off 
the cold water supply. Open a hot water 
faucet or lift the handle on the relief valve 
to admit air to the tank. 
Attach a garden hose to the drain  
valve on the water heater and direct  
the stream of water to a drain. Open  
the valve.
Housekeeping
To insure sufficient ventilation and 
combustion air supply, proper clearances 
must be maintained. 
Routine Preventative Maintenance
Properly maintained, your water  
heater will provide years of dependable 
trouble-free service.
It is recommended that a periodic 
inspection of the gas control (thermostat), 
burner, relief valve, internal flue-way and 
venting system should be made by service 
personnel qualified in gas  
appliance repair.
It is suggested that a routine  
preventative maintenance program be 
established and followed by the user. 
At least once a year, lift and release the 
lever handle on the temperature pressure 
relief valve, located near the top of the 
water heater, to make certain the valve 
operates freely. Allow several gallons to 
flush through the discharge line to an open 
drain.
NOTICE: If the temperature and 
pressure relief valve on the hot water 
heater discharges periodically, this may be 
due to thermal expansion in a closed water 
system. Contact the water 
supplier or your plumbing contractor on 
how to correct this. Do not plug the relief 
valve outlet.
A water heater’s tank can act as a  
setting basin for solids suspended in the 
water. It is therefore not uncommon for 
hard water deposits to accumulate in the 
bottom of the tank. It is suggested that a 
few quarts of water be drained from the 
water heater’s tank every month to clean 
the tank of these deposits.
Rapid closing of faucets or solenoid 
valves in automatic water using appliances 
can cause a banging noise heard in a 
water pipe. Strategically located risers in 
the water pipe system or water hammer 
arresting devices can be used to minimize 
the problem.
The anode rod should be removed from 
the water heater’s tank annually for 
inspection and replaced when more than 
6″ of core wire is exposed at either end of 
the rod. 
Make sure the cold water supply is turned 
off before removing anode rod.
Inspect air inlet assembly (beneath mobile 
home) to make certain flow of air to the 
water heater for adequate combustion 
(proper burner operation) and ventilation 
is not obstructed.
DANGER: Before 
manually operating the 
relief valve, make certain 
no one will be exposed to 
the danger of coming in 
contact with the hot water 
released by the valve. The 
water may be hot enough to 
create a scald hazard. The 
water should be released 
into a suitable drain to 
prevent injury or property 
damage. 
DANGER:  Failure to 
perform the recommended 
Routine Preventative 
Maintenance can harm the 
proper operation of this 
water heater, which can 
cause carbon monoxide 
dangers, excessive 
hot water temperatures and 
other potentially hazardous 
conditions.
!
DANGER: Hotter water 
increases the potential for 
Hot Water Scalds.
DANGER: Combustible 
materials, such as clothing, 
cleaning materials, or 
flammable liquids, etc., 
must not be placed against 
or next to the water heater.
18

Venting System Inspection
It is recommended the water heater’s 
internal flue be inspected annually to be 
certain it is clean by removing the roof 
jack vent and flue baffle.
When reinstalling the flue baffle make 
certain it is hung securely by its hanger at 
the top of the flue way.
Remove any scale that may have fallen on 
the burner or floor shield and  
reinstall the roof jack vent.
Make certain the vent clamp and 
gasket for the roof jack vent is properly 
positioned and securely attached.
If after inspection of the vent system  
you found sooting or deterioration  
call the local gas utility to correct the 
problem and clean or replace the flue 
baffle and venting before resuming 
operation of the water heater.
Burner Inspection
Visually inspect the burners annually.
Inspect the main burner while firing  
and pilot burner flame with the main 
burner off.
If any unusual burner operation is noted, 
the water heater should be shut off 
until qualified service assistance can be 
obtained.
For cleaning, remove the burner from the 
water heater. A vacuum cleaner can be 
used on the burner and floor shield inside 
the water heater. The burner can also be 
cleaned by scrubbing with mild detergent.
CAUTION: For your safety, cleaning of 
the main burner should be performed only 
by qualified service personnel.
Proper burner and pilot flame 
pattern.
Care and cleaning of the water heater.
Vacation and Extended Shut-Down
If the water heater is to remain idle for an 
extended period of time, the power and 
water to the appliance should be turned off 
to conserve energy and prevent a build-up 
of dangerous hydrogen gas.
The water heater and piping should be 
drained if they might be subjected to 
freezing temperatures.
After a long shut-down period, the water 
heater’s operation and controls should be 
checked by qualified service personnel.  
Make certain the water heater is 
completely filled again before placing 
it in operation.
NOTICE: Refer to the 
Hydrogen Gas Caution in the 
Operating Instructions.
Anode Rod
This water heater is equipped with an 
anode rod designed to prolong the life  
of the glass lined tank. The anode rod  
is slowly consumed cathodically, thereby 
eliminating or minimizing corrosion of the 
glass-lined tank. 
Water sometimes contains a high 
sulfate and/or mineral content and together 
with cathodic protection process can 
produce a hydrogen sulfide, or rotten egg 
odor in the heated water. Chlorination 
of the water supply should minimize the 
problem.
NOTICE: Do not remove the 
anode rod from the water 
heater’s tank, except for 
inspection and/or replacement, 
as operation with the anode 
rod removed will greatly 
shorten the life of the glass 
lined tank and will exclude 
warranty coverage.
19

20
Before You Call For Service…
Troubleshooting Tips 
Save time and money! Review the charts on the following pages first and you may not need to call for service.
Problem  Possible Causes    What To Do
Condensation  This usually happens when    ● This is normal. After the water in the tank warms 
  a new water heater is     up the condensation will disappear. If, however, the  
  filled for the first time.     condition persists, examine the piping and fittings  
      for possible leaks.
  Moisture from the products  ● This is normal and will disappear in time. Excessive 
  of combustion condensing     condensation can cause pilot outage. 
  on the tank surface.
  An undersized water   ● Use a water heater size that meets the requirements 
  heater will cause     of your needs. 
  condensation. 
Yellow flame   Scale on top of the burner.  ● Shut off the water heater and remove scale.
or sooting  Combustion air inlets or  ● Remove lint or debris and inspect air inlet opening 
  flue-way restricted.     for restriction. 
  Not enough combustion or  ● Proper operation of the water heater requires air for 
  ventilation air supplied to    combustion and ventilation. See the Combustion and 
  the water heater location.    Ventilation Air information in the Locating the water  
      heater section of this manual.
  Improper fuel or  ● Check fuel type and Contact a qualified service    
  fuel conversion    technician to specify fuel type.
Unable to light   Gas Cock Knob not  ● See the Lighting the water heater section of this 
the pilot  correctly positioned.    manual. 
  Pilot orifice clogged.  ● The pilot should be cleaned or replaced by a qualified 
      service technician.
  Pilot tube pinched or   ● The pilot should be cleaned, repaired or replaced by a 
  clogged.    qualified service technician.
  Air in gas line.  ● Contact a qualified service technician to purge the air
      from the gas line.
Pilot does not stay lit  Loose thermocouple.  ● The connection at the thermostat should be tightened 
when the gas control      by a qualified service technician.
knob is released  Thermocouple breakdown.  ● The thermocouple should be replaced by a qualified 
      service technician.
  Safety magnet breakdown.  ● The gas control (thermostat) should be replaced by   
      qualified service technician.
  Gas control (thermostat) single   ● The gas control (thermostat) should be replaced by a 
  use gas shut-off device     qualified service technician. 
  has opened.
CAUTION: For your safety DO NOT attempt repair of gas piping, gas control (thermostat), burners, 
vent connectors or other safety devices. Refer repairs to qualified service personnel.

21
Before You Call For Service…
Problem Possible Causes    What To Do
Rumbling noise  Scale and sediment  -  Clean tank.
  in tank.
Relief valve  Pressure build up   -  This is an unacceptable condition and must be 
producing popping  caused by thermal     corrected. Contact the water supplier or plumbing 
noise or draining  expansion to a     contractor on how to correct this. Do not plug the
 closed system.    relief valve outlet. 
Not enough or  Water usage may have    -  Wait for the water heater to recover after an    
no hot water   exceeded the capacity    abnormal demand.
 of the water heater.
 Low gas pressure.  -  Check gas supply pressure and manifold pressure.
  The pilot burner may be out.  -  Check the pilot burner. If necessary, relight using the 
      instructions in the “Lighting The Water Heater”    
      section of this manual.
  The gas control (thermostat)   -  See the “Water Temperature Setting” of The Water   
  may be set too low.    Heater section of this manual. 
 Leaking or open hot   -  Make sure all faucets are closed.
  water faucets.
  Cold water inlet   ● This is normal. The colder inlet water takes longer 
  temperature may be     to heat. 
  colder during the  
  winter months.
Water is too hot  The gas control (thermostat)   ● See the “Water Temperature Setting” of The Water   
  is set too high.    Heater section of this manual.
 Gas Control (Thermostat)  ● Contact a qualified service technician to replace the  
  Defective.    gas control (thermostat).
 CAUTION: For your safety DO NOT attempt repair of gas piping, gas control (thermostat), burners, vent 
connectors or other safety devices. Refer repairs to qualified service personnel.

Replacement Parts.
Instructions For Placing a Parts Order
Address parts orders to the distributor 
or store from where the heater was 
purchased.
All parts orders should include:
   The model and serial number of the 
water heater from the rating plate.
   Specify type of gas (natural or LP) as 
marked on the rating plate. 
   Part description (as noted below) and 
number of parts desired.
!
CAUTION: For your safety DO NOT 
attempt repair of gas piping, thermostat, 
burners, vent connectors or other safety devices. 
Refer repairs to qualified  
service personnel.
Anode Rod
T&P Relief Valve
Drain Valve
Shroud
Drain Valve
Mounting
Bracket
Piezo Ignitor
Striker
Inner Door Jacket Door
Burner
Gas Control
(Thermostat)
Pilot Assembly
Thermocouple
Burner Supply
Tube
Burner
Orice
Flue Bae
and
Hanger
Roof Jack
and
Air Inlet Assembly
Cold Inlet
Nipple
22

!
WARNING: This conversion kit must be installed by a 
qualified installer or service technician in accordance with 
these instructions. Installation must conform with local codes, 
or in their absence, with the latest edition of the National Fuel 
Gas Code, ANSI Z223.1. Failure to follow instructions could 
result in serious injury or property damage. The qualified 
agency performing this work assumes responsibility for this 
conversion.
!CAUTION: The water heater is factory set to burn natural 
gas, but can be converted to burn LP gas. Before placing the 
water heater into operation, verify that the type of gas 
supplied to your water heater and the type of gas your water 
heater is set to burn are the same. If they are not, refer to 
these instructions.
NOTICE: The parts required to make this conversion are supplied 
in a bag attached to the water heater. Should your heater not have 
this bag attached to the water heater, a replacement can be obtained. 
Simply contact the manufacturer at the address below and request a 
replacement conversion kit.
Customer Service Department
2600 Gunter Park Drive, East
Montgomery, AL 36109-1413
Phone: 1-800-432-8373
Tools Required:
#2 Phillips Screwdriver
3/4" Wrench
7/16" Wrench
3/8" Wrench
5/16" Wrench
   Turn manual gas shut off valve to the OFF position to shutoff gas 
to the thermostat.
   Set the thermostat dial to the lowest setting by 
turning the thermostat dial clockwise    until 
it stops.  DO NOT FORCE.
   Slightly depress the gas control knob and turn 
clockwise   to "OFF" position.  Note:  Knob 
cannot be turned from "PILOT" position 
unless pushed down slightly.  DO NOT USE FORCE.
   Change gas regulators setting by removing cover from the gas 
selector screw; then remove and reinstall the selector screw with 
the red washer and LP arrow mark pointing inward toward the 
heater. Tighten to 4-8 in-lb.  Replace cover.
   Remove outer jacket door.
  Remove the six phillips screws on the inner door using a phillips 
screwdriver. Disconnect burner supply tube using the 3/4" wrench, 
pilot tube using the 7/16" wrench, and thermocouple using the 3/8" 
wrench from the thermostat.  Disconnect the piezo wire from piezo 
ignitor striker connection.  Remove the entire burner assembly 
along with the inner door.Remove the phillips head screw that holds 
the pilot burner assembly in place.
   Remove the phillips head screw that holds the pilot burner 
assembly in place.  Remove the pilot burner assembly from the 
burner bracket. Remove the two #6 x 3/8" long Philips head screws 
from the burner bracket and remove the burner from inner door 
assembly to expose main burner orifice.
Conversion instructions—Natural Gas to LP Gas
If your gas supply is LP gas, your water heater can be converted to burn LP gas as follows:
Natural Gas to Liquefied Petroleum (LP or Propane) Gas
23
Inner Door
Assembly
Outer Jacket Door
Phillips Head
Screws
Gas Selector Screw
(Without cover.)
Thermostat Dial
Gas Thermostat
Front View of Gas Thermostat
Piezo Wire Connection
Thermocouple 
(Copper Tube)
Pilot Tube
(1/8" Aluminum Tube)
Burner Supply Tube
Piezo Igniter Striker
Burner Supply 
Tube
Pilot
Burner
Thermocouple
Pilot Burner
Piezo Wire
LP Gas Position
Natural Gas Position
Gas Selector Screw Settings
Blue Washer Red Washer

24
Conversion Instructions—Natural Gas to LP Gas
     Remove main burner orifice.  Replace main burner 
natural gas orifice with the Red colored main 
burner orifice (stamped LP)  supplied in the bag. 
   Remove the compression nut from the pilot burner 
assembly using the 3/8" and 5/16" wrench to expose 
pilot burner orifice.  Remove natural gas pilot burner 
orifice and replace with Yellow marked LP pilot 
burner orifice supplied in the package. Replace the 
compression nut on pilot burner assembly and tighten the 
nut.
   Reinstall the main burner with the two #6 x 3/8" long 
Phillips head screws. Screw the pilot burner assembly 
to the burner bracket using the Phillips head screw 
removed on step 7.
   Clean the metal surfaces to assure proper sealing 
of gasket.  Reinstall entire inner door assembly to 
the heater.  Align screwholes of gasket with holes 
on inner door and then attach inner door loosely 
to the heater using all six Phillips head screws.  
Reconnect and tighten burner supply, pilot tube 
and thermocouple at the thermostat.  Handle tubes 
carefully to avoid damaging them.  DO NOT over-
tighten or cross-thread the connections.  Now tighten 
all the phillips head screws to secure the inner door 
firmly to the heater.  Reconnect the piezo wire to the 
piezo ignitor striker connection.
   Attach green CAUTION label from the bag to the 
outside of the water heater near the gas control. Label 
should be signed by qualified installer or service 
organization
   Return the unused parts to the bag for possible future 
conversions. Return the bag and this Use and Care 
manual to the plastic bag attached to the water heater.
Install outer jacket door to heater.
   Turn manual gas shut off valve to the ON position  
to start gas flow to the thermostat. Leak test all 
gas connections and caps with soap/water solution. 
Bubbles indicate a leak. Make certain all leaks have 
been repaired, and the outer jacket door has been 
replaced.
   Follow lighting instructions on page 15 of the manual 
to start the water heater.
Pilot Screw
#6 x 3/8" long 
screws
Burner
Bracket
Pilot
Bottom View of Inner Door Assembly
Clip
Exploded View of Pilot Burner Assembly
Pilot Burner Assembly
Pilot Burner Orice
Compression Nut
Jacket door
Burner supply 
tube
Thermocouple
Pilot tube
Pilot Burner 
Assembly
Pilot burner orifice
Yellow mark 
indicates LP gas 
orifice
Main Burner 
orifice
Burner supply 
tube
Burner
Main burner orifice 
(stamped LP) 
Red color indicates 
LP gas orifice

Conversion instructions—LP Gas to Natural Gas
Your water heater was factory pre-set to burn natural gas but may have been converted to burn LP gas.  If your water heater 
has been converted to burn LP Gas, and your gas supply is now natural gas, your water heater can be converted to burn 
natural gas as follows:
WARNING: This conversion kit must be installed by a 
qualified installer or service technician in accordance with 
these instructions. Installation must conform with local 
codes, or in their absence, with the latest edition of the 
National Fuel Gas Code, ANSI Z223.1. Failure to follow 
instructions could result in serious injury or property 
damage. The qualified agency performing this work assumes 
responsibility for this conversion.
CAUTION: The water heater is factory set to burn 
natural gas, but can be converted to burn LP gas. Before 
placing the water heater into operation, verify that the type 
of gas supplied to your water heater and the type of gas your 
water heater is set to burn are the same. If they are not, refer 
to these instructions.
NOTICE: The parts required to make this conversion are supplied 
in a bag attached to the water heater. Should your heater not 
have this bag attached to the water heater, a replacement can be 
obtained. Simply contact the manufacturer at the address below 
and request a replacement conversion kit.
Customer Service Department 
2600 Gunter Park Drive, East 
Montgomery, AL 36109-1413 
Phone: 1-800-432-8373
Tools Required: 
#2 Phillips Screwdriver 
3/4" Wrench 
7/16" Wrench 
3/8" Wrench 
5/16" Wrench
   Turn manual gas shut off valve to the OFF position to shutoff gas 
to the thermostat.
   Set the thermostat dial to the lowest setting 
by turning the thermostat dial clockwise  
 until it stops.  DO NOT FORCE.
   Slightly depress the gas control knob and 
turn clockwise   to "OFF" position.  Note:  
Knob cannot be turned from "PILOT" 
position unless pushed down slightly.  DO NOT USE FORCE.
   Change gas regulator setting by removing cover from the gas 
selector screw; then remove and reinstall the selector screw with 
the blue washer and NAT arrow mark pointing inward toward the 
heater. Tighten to 4-8 in lb.  Replace cover. 
   Remove outer jacket door.
   Remove the six phillips head screws on the inner door using the 
phillips screwdriver. Disconnect burner supply tube using the 3/4" 
wrench, pilot tube using the 7/16" wrench, and thermocouple 
using the 3/8" wrench from the thermostat.  Disconnect the piezo 
wire from piezo ignitor striker connection.  Remove the entire 
burner assembly along with the inner door.
   Remove the philips head screw that holds the pilot burner 
assembly in place. Remove the pilot burner assembly from the 
burner bracket. Remove the two #6 x 3/8" long philips head 
screws from the burner bracket and remove the burner from inner 
door assembly to expose main burner orifice.
Liquefied Petroleum (LP or Propane) to Gas Natural Gas
Gas Selector Screw
(Without cover.)
Thermostat Dial
Gas Thermostat
Piezo Wire Connection
Thermocouple 
(Copper Tube)
Pilot Tube
(1/8" Aluminum Tube)
Burner Supply Tube
Piezo Igniter Striker
Front View of Gas Thermostat
Inner Door
Assembly
Outer Jacket Door
Phillips Head
Screws
Burner Supply 
Tube
Pilot
Burner
Thermocouple
Pilot Burner
Piezo Wire
25
LP Gas Position
Natural Gas Position
Gas Selector Screw Settings
Blue Washer Red Washer

26
Conversion instructions—LP Gas to Natural Gas
  Remove LP burner orifice. Replace Red marked LP gas 
burner orifice with the main burner orifice stamped NG 
supplied in the bag.
   Remove the compression nut from the pilot burner assembly 
using the 3/8” and 5/16” wrench to expose pilot burner 
orifice. Remove the yellow marked LP gas pilot burner 
orifice and replace with natural gas pilot burner orifice 
supplied in the package. Replace the compression nut on 
pilot burner assembly and tighten the nut.
  Reinstall the main burner with the two #6 x 3/8" long 
phillips head screws. Screw the pilot burner assembly to the 
burner bracket using the Phillips head screw removed on 
step 7.
    Clean the metal surfaces to assure proper sealing of gasket.  
Reinstall entire inner door assembly to the heater.  Align 
screwholes of gasket with holes on inner door and then 
attach inner door loosely to the heater using all six Phillips 
head screws.  Reconnect and tighten burner supply, pilot 
tube and thermocouple at the thermostat.  Handle tubes 
carefully to avoid damaging them.  DO NOT over-tighten 
or cross-thread the connections.  Now tighten all the 
phillips head screws to secure the inner door firmly to the 
heater.  Reconnect the piezo wire to the piezo ignitor striker 
connection.
  Attach green CAUTION label from the bag to the outside of 
the water heater near the gas control. Label should be signed 
by qualified installer or service organization.
  Return the unused parts to the bag for possible future 
conversions. Return the bag and this Use and Care manual to 
the plastic bag attached to the water heater.
  Install outer jacket door to heater.
  Turn manual gas shut off valve to the ON position  to start 
gas flow to the thermostat. Leak test all gas connections and 
caps with soap/water solution. Bubbles indicate a leak. Make 
certain all leaks have been repaired, and the outer jacket 
door has been replaced.
  Follow lighting instructions on page 15 of the manual to start 
the heater.
Pilot Burner Assembly
Pilot Burner Orice
Compression Nut
Pilot
#6 x 3/8" long 
screws
Burner
Bracket
Pilot Screw
Bottom View of Inner Door Assembly
Clip
Burner orifice
Burner supply 
tube
Burner Main burner orifice 
(stamped NG)
Pilot tube
Burner supply 
tube
Thermocouple
Pilot Burner 
Assembly
Exploded View of Pilot Burner Assembly
Jacket door
Natural Gas Pilot 
burner orifice

27
Notes:

28
IF YOU NEED SERVICE
1.  Should you have any questions about your new water heater, or if it requires 
adjustment, repair, or routine maintenance, it is suggested that you first contact 
your installer, plumbing contractor or previously agreed upon service agency. In 
the event the firm has moved, or is unavailable, refer to the telephone directory, 
commercial listings or local utility for qualified service assistance.
2.  Should your problem not be  solved to  your complete  satisfaction,  you should 
then contact the Manufacturer’s National  Service Department at the following 
address: 
         2600 Gunter Park Drive
         Montgomery, Alabama 36109-1413
         Phone: 1-800-432-8373. 
  When contacting the manufacturer, the following information will be requested:
a.  Model and serial number of the water heater as shown on the rating plate attached 
to the front panel of the heater.
b.  Address where the water heater is located and physical location.
c.  Name and address of installer and any service agency who performed service on 
the water heater.
d.  Date of original installation and dates any service work was performed.
e.  Details of the problem as you can best describe them.
f.  List of people, with dates, who have been contacted regarding your problem.