Robotron G9E G3 SERIES, SOFTWARE-DEFINED DDC-BASED RADIO RECEIVER User Manual
Robotron Pty Ltd G3 SERIES, SOFTWARE-DEFINED DDC-BASED RADIO RECEIVER Users Manual
Robotron >
Users Manual
WiNRADiO®
by RADIXON
®
WR-G39DDC
EXCELSIOR
TM
Software-Defined Communications Receiver
User’s Guide
Ver. 1.02

WiNRADiO G39DDC User’s Guide
2
Published by
WiNRADiO Communications
PO Box 6118, St. Kilda Road Central, Melbourne 8008, Australia
© 2011 WiNRADiO Communications, Melbourne
All rights reserved. No part of this book may be reproduced or transmitted in any form or by any
means without the written permission of the publisher.
Trademarks
WiNRADiO, G3, G39DDC and Excelsior are trademarks of WiNRADiO Communications
All other brand and product names are trademarks of their respective owners.
Patents
WiNRADiO technology is protected by US Pat. No. 6,289,207 and other pending US and
international patent applications.
Published in Australia

WiNRADiO G39DDC User’s Guide
3
FCC Notice
The WiNRADiO WR-G39DDC receiver has been tested and found to comply with the limits for a
Class B digital device, pursuant to Part 15 of the FCC Rules. These limits are designed to provide
reasonable protection against harmful interference in a residential installation. This equipment
generates, uses and can radiate radio frequency energy and, if not installed and used in
accordance with the instructions, may cause harmful interference to radio communications.
However, there is no guarantee that interference will not occur in a particular installation. If this
equipment does cause harmful interference to radio or television reception, which can be
determined by turning the equipment off and on, the user is encouraged to try to correct the
interference by one or more of the following measures:
• Reorient or relocate the receiving antenna
• Increase the separation between the equipment and the receiver
• Connect the computer into a different outlet so that the two devices are on different branch
circuits
• Consult an authorised dealer or an experienced radio/TV technician for help
Caution
To comply with the limits for the Class B digital device, pursuant to Part 15 of the FCC rules, the
WiNRADiO receiver must be attached to a computer certified to comply with the Class B limits.
Only peripherals certified to comply with the Class B limits may be attached to the computer
containing the WiNRADiO receiver. All cables used to connect the computer and peripherals must
be shielded and grounded. Operation with non-certified peripherals may result in interference to
radio and TV reception.
Modifications
Any changes or modifications to the WiNRADiO receiver not expressly approved in this book could
void the user's authority to operate this equipment.
Limitation of Liability and Remedies
The information published in this book has been compiled from several sources. While every
effort has been made to ensure its accuracy, neither the authors nor the publisher can guarantee
that all information is entirely correct or up-to-date. Furthermore, neither the authors nor the
publisher can take any responsibility for the use of this information or any consequences arising
therefrom. WiNRADiO Communications shall have no liability for any damages due to lost profits,
loss of use or anticipated benefits, or other incidental, special or punitive damages arising from the
use of, or the inability to use, the WiNRADiO receiver, whether arising out of contract, negligence,
tort or under any warranty, even if WiNRADiO Communications has been advised of the possibility
of such damages. In no event shall WiNRADiO Communications' liability for damages exceed the
amount paid for this product. WiNRADiO Communications neither assumes nor authorises anyone
to assume for it any other liabilities.
Warning
In certain countries or states it may be illegal to monitor certain frequencies. We cannot accept
any responsibility for the consequences of your non-compliance with government regulations. If
you are in doubt about the regulations in your country or state, please contact your nearest radio
communications regulatory authority.

WiNRADiO G39DDC User’s Guide
4
Table of Contents
Introduction .................................................................................................. 6
The Hardware ................................................................................................ 7
WR-G39DDCe External (USB) Receiver Models ....................................... 7
WR-G39DDCi Internal (PCI Express) Receiver Models ............................. 8
Installation .................................................................................................... 9
Minimum System Requirements ................................................................. 9
Software and Hardware Installation .......................................................... 10
Setting up the Sound Card ....................................................................... 13
Connecting the Antenna ........................................................................... 14
Grounding ................................................................................................. 15
Getting Started ........................................................................................... 17
Achieving Best Selectivity ......................................................................... 20
Avoiding Front-End Overload ................................................................... 21
Inside the Excelsior .................................................................................... 21
Resizing the Application Window ............................................................. 27
Drop-Down Menu Controls ........................................................................ 28
Tuning the Excelsior .................................................................................. 29
Manual Frequency Entry ........................................................................... 29
Tuning Knob ............................................................................................. 31
Keyboard Tuning ...................................................................................... 31
Dual Receiver Operation .......................................................................... 32
Point-and-Click Tuning ............................................................................. 33
Dragging the Passband ............................................................................ 33
IF Shift and Passband Tuning .................................................................. 35
Frequency Stepping .................................................................................. 36
Frequency Display Offset ......................................................................... 37
Receiver Selection ..................................................................................... 38
Mode Selection ........................................................................................... 38
AMS Mode ................................................................................................ 39
ISB and DSB Modes ................................................................................. 41
DRM Mode ................................................................................................ 41
FSK Mode ................................................................................................. 44
UDM Mode ................................................................................................ 44
Function Tabs ............................................................................................. 44
Tuning Tab ................................................................................................ 45
Audio Tab ................................................................................................. 48
Memory Tab .............................................................................................. 54
Notch ......................................................................................................... 59
Squelch ..................................................................................................... 61
Gain .......................................................................................................... 63

WiNRADiO G39DDC User’s Guide
5
Noise Blanker ........................................................................................... 66
Pause ........................................................................................................ 67
Spectrum Scopes ....................................................................................... 69
Zoom Spectrum ........................................................................................ 71
Save Spectrum ......................................................................................... 71
Resolution Bandwidth ............................................................................... 71
Spectrum Averaging ................................................................................. 72
Waterfall Spectrum ................................................................................... 72
Spectrum Markers .................................................................................... 74
Information Buttons .................................................................................. 75
Baseline Level .......................................................................................... 76
Peak Hold ................................................................................................. 76
Audio Spectrum ........................................................................................ 76
Sweeper .................................................................................................... 78
Activity Search .......................................................................................... 80
Recording Functions ................................................................................. 81
Attenuator ................................................................................................... 85
Preamplifier ................................................................................................. 86
S-meter ........................................................................................................ 86
Top Menu Bar ............................................................................................. 87
File ............................................................................................................ 87
Options ..................................................................................................... 90
Memory ................................................................................................... 102
Scheduler ................................................................................................ 102
Scanner .................................................................................................. 104
Logger ..................................................................................................... 105
Plugins .................................................................................................... 106
Power Switch ............................................................................................ 107
Date and Time Display ............................................................................. 107
Appendix A – SDR and DDC Primer ....................................................... 108
Appendix B – Troubleshooting ............................................................... 113
Appendix C – USB Interface Diagnostics .............................................. 117
Appendix D – Dealing with Interference ................................................ 118
Appendix E – G39DDCi PCIe Card Connections ................................... 120
Appendix F – Waterfall Spectrum Palettes ............................................ 121
Appendix G – Recording File Formats ................................................... 122
Appendix H – Compliance Declarations ................................................ 124
Appendix I – Safety Disposal .................................................................. 125

WiNRADiO G39DDC User’s Guide
6
Introduction
Welcome to the WiNRADiO G39DDC receiver, the Excelsior.
This receiver is a rather unusual product. One might perhaps wonder, is this a
receiver with a spectrum analyzer - or a spectrum analyzer with a receiver?
This is the first time that a piece of equipment of such advanced specifications
and uniquely and closely integrated combination of features has been offered
to the general marketplace.
Installed on any modern computer via the USB or PCI Express interface, the
Excelsior transforms it into a remarkable surveillance, monitoring and testing
station suited for the most demanding applications, and yet still remaining
user-friendly, convenient and remarkably cost-effective.
The word Excelsior means “ever higher” in Latin and old English; a superlative
of achievement, bravery and never-ending quest for excellence and perfection.
We believe that this name is well-justified. We hope you will find that the
Excelsior will become your “game-changing” tool that will take you far beyond
what has been possible to achieve with conventional technology.
Meticulously crafted with utmost attention to detail, the Excelsior pushes the
accepted technology limits and opens up new possibilities. We are enormously
proud to present this remarkable instrument to you and wish you much
success and many hours of enjoyment in putting your WiNRADiO Excelsior to
a good use.
One of the great benefits and advantages of software-defined radio is its
flexibility and potential for further improvement. By continuously improving the
software, we continue increasing our customers’ return on their investment
long after the receiver purchase. However, this makes producing printed user
manuals impractical, because a printed version may become already obsolete
by the time the manual gets printed and bound. This is why we supply a
complete user’s guide for this receiver in a soft form only. Saving paper is, of
course, yet another side benefit. The user’s guide in a PDF format, will be
installed on your computer as part of the installation process, with a shortcut
placed on the desktop.
Please don’t forget to register as a WiNRADiO user to receive news about new
products, accessories and software upgrades for your Excelsior receiver. Use
our on-line registration form at www.winradio.com/register to take advantage
of this free service.

WiNRADiO G39DDC User’s Guide
7
The Hardware
The WiNRADiO G39DDC receiver is available in two versions: The external
USB-interfaced WR-G39DDCe model and the internal WR-G39DDCi PCI
Express card.
There are no differences in RF performance between these models; however,
with the external WR-G39DDCe model, the DDC bandwidth of the secondary
receiver is limited to 2 MHz (rather than 4 MHz), due to the limitations of the
USB interface. The internal WR-G39DDCi models also offer a greater number
of standard hardware options, such as external reference input or output, IF
output, etc. (However, some of these options, may be available also for the
WR-G39DDCe model, on a customer-specific basis.)
WR-G39DDCe External (USB) Receiver Models
The advantage of the external models is in their portability which provides
them with extra flexibility of use. The WR-G39DDCe hardware is contained in
a small metal box, encapsulated with transparent plastic.
The front of the enclosure contains a power switch and an indicator LED. The
LED also serves for diagnostic purposes and installation trouble-shooting (see
Appendix C – USB Interface Diagnostics). During normal operation, its
flashing can be disabled by a setting in the application software, should it
appear disturbing.

WiNRADiO G39DDC User’s Guide
8
The power input socket requires 12 V DC with a tolerance of ± 1 V. The power
adapter must be rated for a minimum of 2 A.
CAUTION: For best performance and safety, we recommend using only
the power adapter supplied by WiNRADiO, which comes included with
your receiver.
The antenna input is an SMA-type connector with 50 ohm impedance. The
USB interface is compatible with the USB 2.0 standard and serves to connect
the receiver to a desktop or a laptop computer.
WR-G39DDCi Internal (PCI Express) Receiver Models
The WR-G39DDCi model is particularly suited for compact desktop monitoring
stations and for multi-channel applications. The advantage of this model is in
that it comfortably “hides” inside a desktop PC, requiring no additional desk
space, no interface wiring and no power supply – it relies on power supplied by
the PC.
For details of the available connections on the PCI Express card, please refer
to Appendix E – G39DDCi PCIe Card Connections.

WiNRADiO G39DDC User’s Guide
9
Installation
The complete WiNRADiO G39DDC receiver package contains the following
items:
• WiNRADiO G39DDCe or G39DDCi receiver
• Application software, User’s and Installation Guide on a CD ROM
• Installation Guide in printed form
• Warranty information
• AC/DC adapter with power cord (G39DDCe only)
• USB interface cable (G39DDCe only)
In order for the WiNRADiO G39DDC receiver to function properly, your
computer must meet the minimum system requirements specified below.
Minimum System Requirements
CPU
2 GHz Quad Core
RAM
2 GB RAM
Display
SVGA
HD free space
20 MB
Sound card
Any standard Windows-supported sound-card
Interface
USB 2.00 port (G39DDCe) or
PCI Express slot (G39DDCi)
OS
Windows XP, Vista, 7
The CPU speed directly influences the maximum selectivity and DDC
bandwidth that can be achieved with this receiver. The receiver may be still
usable on slower computers, but with some compromises, for example using
only one of the two receiver channels and/or reduced maximum achievable
selectivity and DDC bandwidth. Other background processes and programs
running simultaneously on the computer may also adversely affect the
receiver’s performance.
Do you have any suggestions about how we could further improve our product, or do
you wish to tell us of your experiences using this receiver in your application? Please
do not hesitate to leave your comments on www.winradio.com/feedback. We always
love hearing from you.

WiNRADiO G39DDC User’s Guide
10
Software and Hardware Installation
External (USB) Models
1. Leave the receiver disconnected from the PC and insert the
installation CD ROM. The installer should start automatically. If the
installation program does not start automatically, choose the Run
command from the Windows Start menu and type D:\INSTALL (if the
CD ROM is the D: drive on your PC).
2. Connect the receiver to the USB port.
3. Connect the supplied power adapter to the power outlet on one side
and the power lead to the receiver on the other side.
4. Turn the receiver on using the power switch at the front of the
receiver. The blue LED will flash to indicate that the receiver is ready.
Internal (PCI Express) Models
1. Put the receiver card aside for now, turn on the PC and insert the
installation CD ROM. The installer should start automatically. If the
installation program does not start automatically, choose the Run
command from the Windows Start menu and type D:\INSTALL (if the
CD ROM is the D: drive on your PC).
2. Turn the computer off and disconnect the power cord. Remove the
computer case. Choose an empty PCI Express slot, as far as possible
from the power supply and from other cards. First touch the computer
metalwork with your hand to drain any static charge, then carefully
insert the card into the vacant slot and push down until it is firmly
seated. Screw the metal bracket at the end of the card to the
computer case. (This must be done to provide proper grounding
for the card).
3. Replace the computer case, reconnect the power cord and turn the
PC on again.
Windows should now detect your new receiver and automatically start
the driver installation process:

WiNRADiO G39DDC User’s Guide
11
Select “Install the software automatically” and click on Next.
Click on Finish to complete the installation.

WiNRADiO G39DDC User’s Guide
12
After all the files have been installed to your hard disk, run the WiNRADiO
G39DDC application by clicking on the new icon that has been installed on
your desktop. Note also a shortcut to the user’s manual file (G39DDC
User’s Guide.pdf) that will also appear on your desktop.
Finally, connect your antenna to the antenna connector (SMA-type) at the
rear of the receiver. Having a good antenna is most important; see more
details in the chapter Connecting the Antenna.
For a complete user’s manual containing a Quick Start as well as detailed
description of all the receiver’s functions and facilities, please refer to the
G39DDC User’s Guide.pdf file to which a shortcut has been placed on
your desktop.
Something to consider?
WiNRADiO also manufactures numerous antennas
and antenna accessories. For example, the (pictured)
WR-LWA-0130 adapter can be used to match the
impedance of a long wire HF antenna to the 50 ohm
input impedance of a WiNRADiO receiver, as well as
provide a convenient grounding point.
This usually results in a significant signal strength
increase (up to 17 dB in some cases, and approximately 5 dB on average), compared
to a long-wire antenna connected directly to the antenna input of the receiver.
To ensure best performance, we recommend using this long-wire balun for all long-wire
antenna installations.

WiNRADiO G39DDC User’s Guide
13
Setting up the Sound Card
As the digitally down-converted signal from the receiver is transferred to the
PC over either the USB or PCI Express interface, no external connection to
the PC sound card input is necessary. The sound card is only used for the
demodulated audio output.
On Windows 7, the audio volume can be adjusted using the WR-G39DDC
volume slider inside the Applications section and the master volume inside
the Device section. Both controls need to be unmuted.
Click on the speaker icon and then click on the Mixer link to bring up the
sound card control panel (different Windows versions may use a different
method of bringing up this control panel):

WiNRADiO G39DDC User’s Guide
14
On Windows XP simply adjust the Wave mixer:
To get started, make sure the volume is set approximately as shown above. If
you find that the maximum volume as set on the receiver application panel is
not sufficient, you may then wish to increase the sound card volume later.
Connecting the Antenna
As the old saying goes, “a good antenna is the best amplifier”. No matter how
good a radio receiver is, the performance limit of a radio receiving system is
always determined by the first element of the receiving chain – the antenna.
To make the most out of your WiNRADiO receiver, you should install a good
antenna, preferably located outdoors, as far away as possible from
interference sources. If you are looking for a new antenna, please also check
out the WiNRADiO antenna product range at www.winradio.com/antennas.
The specifics of a computer-based receiver may often require careful
consideration with respect to the antenna connection and installation, to make
sure that computer-generated noise does not enter the receiver’s antenna
input.

WiNRADiO G39DDC User’s Guide
15
Grounding
Grounding requirements and the following related comments do not
typically apply to antennas which do not require ground as a
counterpoise to the “live” terminal. For example, typical VHF/UHF
antennas such as discones or HF magnetic field loop antennas do not
require grounding of the receiver. In general, antennas with two output
terminals do not usually require that the receiver be grounded. However,
some of these antennas, such as dipoles or inverted "V" antennas, have
balanced outputs, and will require impedance matching to the WiNRADiO
receiver’s unbalanced 50 ohm input.
In all other cases, to obtain the maximum possible performance from your
receiver, you may also like to experiment with grounding. In some situations,
signal reception may be significantly enhanced with improved grounding.
Unfortunately, results are not always predictable due to variations in individual
installations, so some trial and error experiments may be required in the
search for the ultimate in performance.
With long-wire antennas, good grounding is absolutely essential. If you don't
apply any external additional grounding with the receiver, then you are relying
on grounding provided via the power supply or via the computer’s USB
interface. Such grounding may not be optimum as it may introduce noise to the
receiver’s input due to “ground loops”, where the useful signal is sharing the
ground path with undesirable interference.
A "good" ground for a receiver is one that provides a low impedance path to
ground for radio signals in the frequency range of interest. A metal cold water
pipe located in close proximity to a possible ground connection point could
provide good results. If no such point exists, a copper stake hammered into
the ground may be required. Copper earth stakes can be obtained from
electrical supply outlets.
Assuming a typical installation where the coaxial cable to the receiver enters
the building at some point, an opportunity may exist to make a connection
between the outer shield of the coaxial cable and the suitable ground point. In
order for the grounding to be effective, the connection between the ground
point and the coaxial cable outer should preferably be no more than a few
meters in length. A low impedance connection (such as braid removed from a
section of coaxial cable) should be used to make the connection.

WiNRADiO G39DDC User’s Guide
16
In an ideal situation, the length of coaxial cable to the receiver would be no
more than a few meters in order to provide low RF ground impedance at the
receiver.
To make a connection to the coaxial cable, there are a number of options.
These include using WiNRADiO antenna accessories such as the
WR-CMC-30 Common Mode Choke (see www.winradio.com/cmc30) or the
WR-LWA-0130 Long Wire Adapter (sometimes referred to as a “long wire
balun”; see www.winradio.com/lwa) which, along with their other intended
purpose, also provide a convenient ground connection stud that will allow the
connection to be made.
With any outdoor antennas, be sure to install a lightning arrestor and
disconnect the antenna (and ground it if possible) during thunderstorms.
To prevent receiver damage from static charge build-up, always ground
your antenna momentarily before connecting it to the receiver.
If it is too difficult to make ground connections near the building, it may still be
well worthwhile experimenting at a point where connections can be made
more easily. The WR-CMC-30 Common Mode Choke makes it possible to
provide several grounding points along the entire length of the antenna
feedline, in those locations where good quality grounding is available.
Where small physical size is important, magnetic field loop antennas usually
perform best on HF bands. For indoor applications, WiNRADiO also offers the
miniature AX-17C antenna (see www.winradio.com/ax17c) which does not
require grounding.
Antennas designed for VHF/UHF/SHF bands generally do not require
grounding at all. You might inspect and consider the entire range of
WiNRADiO antennas at www.winradio.com/antennas for various types of
applications and frequency range.
Two to one?
The WR-ACD-1800 Dual Antenna Combiner serves to connect
two separate HF and VHF/UHF antennas to a single antenna
input.
For more details on this, and other handy WiNRADiO antenna
accessories, go to www.winradio.com/acc.

WiNRADiO G39DDC User’s Guide
17
Getting Started
The following quick-start introduction is intended to make it possible for you to
enjoy your new receiver as quickly as possible. Detailed operation is described
in the subsequent chapters. We do hope you will return to these chapters as
the WiNRADiO Excelsior receiver has many unique and innovative features
the usage of which may not be immediately obvious and which would be a
shame to miss.
Start the WiNRADiO Excelsior receiver application (by double clicking on the
program icon). The receiver’s “virtual control panel” will appear:
The control panel has some basic elements similar to conventional receivers
and many new ones as well. For example, you will note the wideband
spectrum analyzer at the bottom that (if the Spectrum button is engaged)
shows the real-time activity of a 16 MHz wide spectrum, making the
WiNRADiO Excelsior a true panoramic receiver.
The quickest way to get started with this receiver is to check its operation on
your local stations.

WiNRADiO G39DDC User’s Guide
18
Using the keyboard, type in the frequency of one your local AM stations: For
example, for 774 kHz, type in 7 7 4, then k for kHz, then press Enter. The
typed-in frequency will appear on the digital frequency display.
When you start the receiver the first time, the AM mode is selected by default.
Otherwise you can set the demodulation mode by clicking on the appropriate
mode selection button at top-right:
When tuned, you should be able to see the station peak in both real-time
spectrum scopes in the upper section of the application window: The spectrum
scope on the left shows the output of the primary Digital Down-Converter
(DDC1) and the one on the right is that of the secondary DDC (DDC2), which
refines the observed spectrum further.
You can adjust the receiver’s selectivity bandwidth for optimum reception
using the row of numbered buttons at the bottom of the Tuning tab, the
leftmost tab located just under the AM mode selection button. The numbers on
the buttons represent the bandwidth in kHz.
To adjust the bandwidth continuously, use the DEM BW control located at the
top of the demodulator spectrum scope:
At this point, you should be also able to hear the station. The volume is
adjustable under the Audio tab, located just next to the tuning tab. You can
use either the slider, or select the value next to the Volume edit box, next to
the Mute button.
An alternative and fast way to adjust the volume is by using the left/right arrow
keys of the computer keyboard.

WiNRADiO G39DDC User’s Guide
19
Manual tuning can be done in several ways. Let’s start with the tuning knob:
Place the mouse cursor onto the upper half of the tuning knob, at which point
you will see the cursor change to a curved double ended arrow.
Hold down the right or left mouse buttons to increase or decrease the
frequency, and the knob will rotate clockwise or anti-clockwise, respectively.
If you place your cursor onto the bottom half of the tuning knob, the direction of
the rotation will reverse. (You don’t need to move the cursor up or down to
change the rotation of the knob, simply press either the left or right mouse
button.)
The rotation increment of the tuning knob is 1 kHz. This can be changed easily
using the Alt, Shift or Ctrl keys: If you press the Alt key while tuning, the
increment will decrease ten times (to 100 Hz). Pressing Shift will decrease the
increment a hundred times (10 Hz). And if you use the Ctrl key, the increment
becomes a thousand times smaller: 1 Hz.
Another way of tuning is to use the up and down arrow keys on the PC
keyboard. The Alt, Shift and Ctrl keys can be used to a similar effect as with
the tuning knob, to modify the frequency increment step.
If your mouse has a wheel (as we would recommend), you can also use this;
you might find it somewhat similar to using the tuning knob of a conventional
receiver. And again, the Alt, Shift and Ctrl keys, when used together with the
mouse wheel, modify the tuning step accordingly.
If you press the Shift key while hovering with your mouse cursor over the
individual digits of the main frequency display, the display enters a different
mode and you can change the digits using the mouse wheel – another
convenient way of quickly tuning to the frequency you want.

WiNRADiO G39DDC User’s Guide
20
Achieving Best Selectivity
In any software-defined receiver, the maximum achievable selectivity is a
function of the processing power of the host computer: The greater the CPU
power, the “longer” (and therefore sharper) can the digital filters be made.
The selectivity of your receiver can be adjusted using the function Filter
length under the top bar menu Options. The greater the Demodulator filter
length parameter, the better the selectivity:
This function also makes it possible to observe the CPU load, which will
depend on this setting. It may not be advisable to select a value resulting in
more than say 30% CPU load as the computer may then become sluggish.
Should the computer become sluggish or even “freeze” as a result of this
adjustment, please reduce the demodulator filter length to a lower value.
Note also that the CPU load can be lowered (while keeping selectivity
high) by reducing the DDC1 and/or DDC2 bandwidths (DDC1 and DDC2
values shown above the two respective spectrum displays). For example,
HF signals can be demodulated with 20 kHz DDC1 and DDC2 bandwidths
without a decrease in the demodulation quality. Wider DDC bandwidths
affect display and recording, while increasing the CPU load
considerably.

WiNRADiO G39DDC User’s Guide
21
Avoiding Front-End Overload
If you are tuned to the HF bands and the S-meter shows the words ADC CLP,
the analog-to-digital converter (ADC) is overloaded (i.e. clipping the signal). In
such case, use the Attenuator to reduce the level of the signal entering the
ADC. You can use the Auto button which reduces the signal automatically to
the optimum level. The attenuator is only applicable for frequencies up to 50
MHz.
If you experience any installation problems or are unable to tune to any radio
stations at this point, please refer to Appendix B - Troubleshooting.
Should you encounter interference-related problems with your receiver,
effective remedies do exist; please peruse Appendix D – Dealing with
Interference.
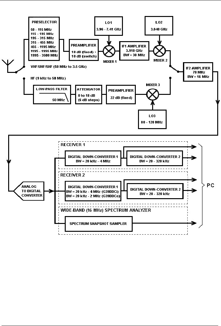
Inside the Excelsior
Let’s have a look at what’s inside this receiver and how it relates to the
graphical user interface of the control application. Here is a simplified
functional block diagram of the hardware portion of the receiver:
Did you know?
Excelsior (“ever higher” in Latin) is the official motto of the
State of New York, and is featured in its Coat of Arms and
the State Seal.
Liberty and Justice support the shield and the American
eagle spreads its wings above on a world globe. Justice is
blindfolded and holds a sword in one hand and a scale in the
other, symbolizing impartiality and fairness.

WiNRADiO G39DDC User’s Guide
22
You will note that this is a “dual” receiver in more respects than just one:
Immediately after the antenna and its associated protective and impedance-
matching circuitry, the RF path splits into separate VHF/UHF/SHF and HF
sections, to achieve optimum performance over the entire received spectrum
of 9 kHz to 3.5 GHz. The HF path includes a single frequency up-conversion
process, while the VHF/UHF/SHF path represents a dual conversion super-
heterodyne, both resulting in a final intermediate frequency 70 MHz, which is
then processed digitally.

WiNRADiO G39DDC User’s Guide
23
The Preselector of the VHF/UHF/SHF section contains a bank of fixed filters
that improve the image response of the receiver and reduce the possibility of
overloading and intermodulation distortion. The signal then passes through a
low-noise and low-distortion two-stage amplifier whose first stage can be
enabled or disabled by the user. When enabled, this adds approximately
10 dB of amplification, making it possible to achieve higher sensitivity (at the
expense of strong signal handling capability).
The HF section includes an input Attenuator. The attenuator is adjustable
from zero to 18 dB in 6 dB increments and serves to reduce signal levels in the
proximity of strong stations and can be operated either manually or left to the
receiver to determine its optimum level automatically to avoid overloading.
Following the last intermediate frequency (70 MHz) amplifier is an anti-
aliasing filter (not shown) necessary for the digitization, and then the 16 MHz
wide signal is fed into a 16-bit analog-to-digital converter which samples the
signal at 100 MSPS (megasamples per second), producing a steady stream of
digital data for the digital down-conversion, performed in the receivers FPGA
(Field Programmable Gate Array).
There are two digital down-conversion paths, corresponding to two separate
“virtual receiver” channels. These channels can be tuned anywhere within the
16 MHz intermediate frequency bandwidth and can operate entirely
independently, just like two separate receivers.
Each channel includes two digital down-converters, the first of which is able to
output a digitized signal of up to 4 MHz bandwidth, while the second one has a
maximum bandwidth of 320 kHz. The digital data then proceeds via the USB
or PCIe interface to the computer which provides all the additional processing,
filtering, demodulation, signal strength measurement, squelch, noise blanking,
notch, audio filtering and other functions.
The DDC may be a new concept for newcomers to software-defined radio, so
it perhaps deserves a little more explanation:
In conventional superheterodyne receivers, the incoming signal is first
converted to a fixed intermediate frequency (IF) by mixing it with a variable
frequency signal produced by an internal local oscillator, and then further
processed by hardware amplification, filtration and demodulation.

WiNRADiO G39DDC User’s Guide
24
In the particular class of software-defined receivers that the WiNRADiO
Excelsior represents, much of the hardware processing is replaced by
software. A large chunk of the received spectrum is digitized as a whole, and
out of this digitized spectrum data, a smaller chunk is selected by a process
called decimation and down-converted digitally, using a hardware component
called a Field-Programmable Gate Array (FPGA). The particular type of
FPGA used in the Excelsior contains 24,624 logic elements, 66 memory
blocks, 608,256 bits of RAM, 66 multipliers, 4 phase-lock loops and 215
programmable inputs or outputs.
The DDC is in fact a functional equivalent of the mixer, local oscillator and filter
- but rather than outputting an analog intermediate frequency signal, its output
is in a digital form. This digitally down-converted signal then arrives in the
computer via the USB or PCIe interface where it is filtered and demodulated
entirely in software, using purely computational digital signal processing
methods – there are no coils or crystals in the filters, and no diodes or
capacitors in the demodulator.
In the WiNRADiO Excelsior receiver, there are two separate DDC paths
corresponding to two independent, simultaneously operating receiver
channels. Each path consists of a primary DDC (DDC1) and secondary DDC
(DDC2).
You can control these two receiver channels using the two tabs (RX1 and
RX2) above the main frequency display. There are some important tuning
ramifications resulting from the fact that both of these two channels must
reside within the current 16 MHz wide IF spectrum (also commonly referred to
as “instantaneous” or “stare” spectrum) - this will be discussed in a greater
detail in a later chapter, Tuning the Excelsior.
For both RX channels, the primary DDC can digitize a large chunk of spectrum
anywhere within the 16 MHz IF spectrum. This chunk of spectrum can be
recorded and played back by the PC, making it possible to “re-receive” signals
located anywhere within that chunk. The maximum width of the DDC1 chunk
(DDC1 bandwidth) is 4 MHz for both receiver channels, except in the WR-
G39DDCe models, where it remains 4 MHz for the first receiver channel but is
limited to 2 MHz for the second receiver channel. This limitation exists due to
throughput constraints of the USB interface.
The larger the DDC bandwidth, the more CPU processing power is required by
the computer. On slower computers, using the maximum DDC bandwidth may

WiNRADiO G39DDC User’s Guide
25
not be possible as the computer may then become sluggish and the
application may “freeze”.
The chunk of the IF spectrum as seen and processed by the primary
downconverter (DDC1) is shown at top-left; this is called the DDC1 spectrum.
Its bandwidth is determined by the DDC1 control at the top of the DDC1
spectrum:
Anywhere within the primary downconverter spectrum, you can place the
secondary downconverter (DDC2) to further refine and narrow-down the
portion of spectrum you wish to work with. The maximum DDC2 bandwidth is
320 kHz. The DDC1 bandwidth must be always greater than (or equal to)
DDC2 bandwidth, and the bandwidths will adjust themselves automatically to
comply with this rule, if one of them is changed.
The spectrum display at top right of the application window shows the
spectrum as seen and acted upon by the secondary downconverter (DDC2).
This spectrum represents the output of the final decimation process
(performed inside the actual receiver, i.e. inside its FPGA) and is available for
final filtering and demodulation that is performed entirely outside of the
receiver hardware, by the PC application.

WiNRADiO G39DDC User’s Guide
26
The dark blue rectangular area inside DDC1 spectrum corresponds to the
DDC2 bandwidth, while the grey area inside both the DDC1 and DDC2
spectrum relates to the demodulator filter bandwidth. This bandwidth
represents the selectivity bandwidth of the entire receiver and, for the best
signal-to-noise ratio of the received signal, you might wish to adjust this
bandwidth to very closely embrace the visible spectrum of the received signal.
You can do this either using the DEM BW control, or by dragging the edges of
the grey area in the DDC2 spectrum.
You can also drag these areas sideways, by clicking and dragging at their
centre or anywhere inside them, in both the DDC1 and DDC2 spectrum. This
is equivalent to the IF Shift function in conventional receivers.
Clicking on any of the spectrum scopes will cause the receiver to tune to the
corresponding frequency. But as the WiNRADiO Excelsior consists of two
receivers in one, this does have some ramifications which will be further
explained in the following chapters.
If you are a newcomer to software-defined receivers and need a little more
detailed background information on software-defined receivers and digital
down-conversion, please read our SDR and DDC Primer in Appendix A.

WiNRADiO G39DDC User’s Guide
27
Resizing the Application Window
The WiNRADiO Excelsior application is fully resizable, which means you can
drag its edges, corners and some internal boundaries to maximize the
available screen space.
The application panel also supports being resized over two or more monitors:
You can literally surround yourself with a complete panorama of radio
spectrum. To adjust the size of the application panel and the proportion of the
three spectrum scopes, simply drag the edges or corners, or the internal
boundaries separating the three spectrum scopes.
Below is an example of how the application window can be resized. This was
achieved by first dragging the right-hand edge of the application panel to
extend the panel horizontally, then making more room for the DDC2 spectrum
at the expense of the DDC1 spectrum by dragging the vertical line separating
them to the right, and, finally, by vertically enlarging the DDC1 and DDC2
spectrum scopes at the expense of the height of the wideband spectrum, by
dragging the dividing horizontal line down:

WiNRADiO G39DDC User’s Guide
28
Drop-Down Menu Controls
The WiNRADiO Excelsior receiver employs an innovative type of drop-down
menu controls that work slightly differently from standard Windows controls.
To illustrate this, let’s try, for example, the DEM BW (demodulator filter
bandwidth) control located just above the DDC2 spectrum:
Clicking on the arrow button opens a drop-down menu showing a list of values
to select from, as you would expect. Spinning the mouse wheel will move the
list up and down with a little bit of inertia; the faster you spin, the faster the
imaginary “wheel” will turn. Clicking on an item will select it; double-clicking will
select it and also close the list.
If you don’t have a mouse wheel (for example using a laptop with a touch
pad instead of a mouse), you can also use the keyboard up/down cursor
keys to navigate inside the list.
There is also another difference with this control: On a long list, you can “click
and drag” the list, and the mouse cursor wraps from the top to the bottom of
the screen and vice versa. This does not select the item you clicked on, but
moves the whole list up and down underneath the selection. This works
particularly well with a trackpad on a notebook.

WiNRADiO G39DDC User’s Guide
29
Tuning the Excelsior
Manual Frequency Entry
To change frequency, simply type the new frequency into the keyboard. As
soon as you press a number or decimal point, the frequency display will
activate, waiting for a frequency to be typed. You can also click on the display
to type in a new frequency in a highlighted field, or after clicking on the display,
it is possible to use the mouse wheel to increment/decrement a particular digit,
depending on the current cursor position. After typing the new frequency,
press Enter and the receiver will instantly retune. To abort, press Escape. To
enter units, kHz, MHz or Hz, simply press k for kHz, m for MHz or h for Hz,
after entering the digits. The tuned frequency will be then displayed in those
units. Any invalid keystrokes are ignored.
The same principle of changing the displayed frequency units is applied
anywhere in the Excelsior application where frequency is to be entered –
if you prefer to display or enter the frequency in different units simply
terminate the entry with “h” for Hz, “k” for kHz, “m” for MHz and “g” for
GHz.
Frequencies outside the receiver’s limits will not be accepted and the display
will revert to the previous frequency.
The actually tuned frequency of the currently selected receiver is shown in the
main frequency display:
If you press the Shift key and hover with the mouse cursor over the main
frequency display, the display enters a special mode where you can use the
mouse wheel to quickly step up or down the frequency in the corresponding
digit positions.

WiNRADiO G39DDC User’s Guide
30
Release the Shift key to exit this mode.
Under the main frequency display there is a Band description window:
This window shows the band allocation of the currently tuned frequency. While
the displayed band descriptions are specific to the North American standard
band allocation, they are based on international treaties and therefore are
generally applicable worldwide with minor differences, and can be easily
edited by the user.
The displayed band descriptions can be overridden with a call sign or a user-
defined description of a particular frequency stored in memory. This overrides
the band description for that particular tuned frequency only.
It is also possible to change the naming and frequency allocations for entire
frequency bands.
This can be done by editing the file called bands.csv in the program
installation folder (usually C:/Program Files/WiNRADiO/G39DDC/Defs).
This is a standard comma-separated-value format file which can be edited
using a spreadsheet application, such as Microsoft Excel. Please note that
with newer Windows versions, you will need administrator privileges to be
able to edit this file.

WiNRADiO G39DDC User’s Guide
31
Tuning Knob
The Tuning knob makes it possible to adjust the frequency in fixed 1 kHz,
100 Hz, 10 Hz or 1 Hz steps.
To use the tuning knob, position the mouse cursor over the knob (the cursor
will turn into a curved double ended arrow) and click using either the left or
right mouse button. If the cursor is on the top half of the knob, the left button
will decrease the frequency, and the right button will increase the frequency. If
the cursor is in the lower half, the opposite will occur (and the cursor will invert
its shape).
You don’t need to move up or down with the cursor to change the
rotation of the knob. Simply press either the right or left mouse button.
As the knob rotates, the frequency will change in 1 kHz steps. Holding the
mouse button down will accelerate the tuning.
The step size can be changed to 100 Hz, 10 Hz or 1 Hz by pressing the Alt,
Shift or Ctrl keys, respectively, while clicking the tuning knob with mouse
button.
The tuning knob can also be conveniently rotated using a wheel of a wheel-
equipped mouse, or any other standard Windows-supported pointing device.
The tuning steps can be also modified using the Alt, Shift or Ctrl keys.
Keyboard Tuning
The receiver frequency can also be adjusted using the keyboard cursor control
keys (the arrow keys): Using the up/down arrow keys, the frequency changes
in 1 kHz steps. Similarly to using the tuning knob or the mouse wheel, the step
size can be again changed to 100 Hz, 10 Hz or 1 Hz using the Alt, Shift or
Ctrl keys, respectively, while pressing the up/down arrow keys.

WiNRADiO G39DDC User’s Guide
32
Dual Receiver Operation
With the WiNRADiO Excelsior you can tune to two stations at once, listening to
one (or both of them mixed together) and recording the other (or both at the
same time, into separate files).
The only condition is that both of these frequencies must fit inside the 16 MHz
IF bandwidth, as displayed in the wide-band spectrum at the bottom of the
application window (while the Spectrum button is activated).
You can select one of the two receivers by clicking on the associated tab
above the main frequency display:
The same tuning procedure applies for both receivers. For example, you can
type the frequency directly into the keyboard, use the tuning knob, etc. If the
new frequency is such that the existing IF bandwidth cannot accommodate this
new frequency as well as keep the other receiver tuned to its existing
frequency, the software will “dump” (disable) the other receiver, giving priority
to the currently selected one, except if the other receiver is currently recording
or its frequency is “locked” by the user. In such case, the new frequency will
not be accepted and the recording or lock indicators inside the other receiver’s
tab will flash to indicate this situation. You will either need to manually stop the
recording or unlock the locked receiver.
A receiver can be locked using the Lock button located above the DDC1
spectrum.
If a receiver is locked, a “lock” symbol will appear in the bottom-left corner of
its associated tab:
If you are currently recording the DDC1 spectrum using the DDC1 recorder,
and the Lock when recording option has been enabled in the recorder, this
will make it impossible to tune any of the receivers to any frequency outside of
the currently recorded DDC1 spectrum.

WiNRADiO G39DDC User’s Guide
33
Any such attempt will be ignored and the recording button above the DDC
spectrum will flash to indicate the reason why this operation failed. You would
need to stop the recording first, or unlock the receiver in the recorder “toolbox”
settings.
If tuning to a new frequency causes the second receiver to be disabled, this
disabled receiver’s audio will be muted, and the tuned frequency shown in the
corresponding receiver tab will turn red to indicate that this receiver is currently
non-active. Clicking on a disabled receiver’s tab will re-activate the receiver,
which may in turn disable the other previously active receiver.
By clicking on the receiver tabs you can quickly alternate between receivers in
a similar way in which you would use the VFO function in a conventional
receiver, but with the additional benefit of being able to change complete
receiver settings including demodulation mode, bandwidth, notch filter, audio
filter, etc.
Point-and-Click Tuning
Pointing and clicking anywhere inside the three spectrum scopes will tune the
currently selected receiver to the corresponding frequency. Also when clicking
on the spectrum, the Shift or Ctrl keys can be held down, which will round the
tuned frequency to the nearest kHz or 100 Hz, respectively. However, there
are some ramifications depending on which one of the three spectrum scopes
you click:
Clicking inside the Wideband Spectrum Scope at the bottom of the
application window (when the Spectrum button is engaged) will center the
DDC1 passband of the selected receiver to the new frequency. In turn, clicking
on the DDC1 passband will center the DDC2 passband to the new frequency.
Dragging the Passband
The dark blue rectangular area inside the wideband spectrum scope
represents the DDC1 bandwidth; similarly-colored area in the DDC1 spectrum
represents the DDC2 bandwidth, while, finally, the grey area inside both the
DDC1 and DDC2 spectrum represents the demodulator filter passband. You
can drag all these areas and this will result in a corresponding change of the
tuned frequency. As with point-and-click tuning, there are again some

WiNRADiO G39DDC User’s Guide
34
differences in behavior depending on which particular spectrum window the
highlighted passband is being dragged in.
Dragging the grey area in the wideband spectrum will relocate the DDC1
passband to a new frequency. However, it is not possible to drag beyond the
current spectrum boundaries; you will need to stay within the 16 MHz IF filter
passband.
Internally, the receiver’s hardware is actually tuned in multiples of 10 MHz; the
much finer tuning with 1 Hz resolution is accomplished by software processing.
This is why the center frequency of the wide-band spectrum scope is always a
multiple of 10 MHz (except at the very start of the receiver frequency range).
So, to move beyond the displayed boundaries of the wide-band spectrum
scope, you can either retune the receiver to the new frequency using any of
the standard methods, or you can move the wide-band spectrum “window” by
a multiple of 10 MHz. This “sideways” spectrum movement can be done using
these two buttons:
Inside the DDC1 and DDC2 spectra, it is actually possible to drag the
respective DDC or demodulator filter passbands beyond the existing
boundaries, in both directions. In such case, the receiver will tune
automatically and the wide-band spectrum will be updated in 10 MHz steps as
required.
Except for LSB and USB modes, dragging either one of the edges of the
greyed-out area inside the demodulator spectrum will result in continuously
changing the filter bandwidth. (This function is not available in the DDC2
spectrum so as to prevent unwanted dragging of the entire passband when the
shaded area becomes too narrow with larger DDC2 bandwidths.)

WiNRADiO G39DDC User’s Guide
35
For LSB mode, dragging the right-hand edge of the greyed-out filter passband
results in tuning, dragging the left-hand edge results in adjusting the filter
bandwidth. For USB mode, the opposite applies. The edge that is used for
tuning is highlighted for operator convenience.
IF Shift and Passband Tuning
Dragging the greyed-out demodulator filter passband in the DDC2 spectrum
will result in tuning the receiver in a manner somewhat similar to the IF Shift
function in conventional receivers. The passband will move inside the
displayed spectrum and the tuned frequency will change accordingly.
In a DDC-based receiver, “IF Shift” is in fact a misnomer because there is no
“intermediate frequency”, but as this is a time-honored and commonly used
term for this function, we will still use it here for convenience.
IF shift makes it possible to tune the receiver by positioning the demodulator
filter precisely over the spectrum of the received signal, while keeping the DDC
passband located exactly where it is.
This makes it possible to quickly and visually tune to another station
represented by a signal peak in the spectrum. However, it is not very suitable
for the AMS, USB, LSB, ISB, DSB and CW modes if you only wish to adjust
the filter passband position slightly for the station you are currently receiving
(for example in order to avoid interference from an adjacent channel). If you do
this, and you are, for example, tuned to an AM station using the AMS mode, or
an SSB station using the USB or LSB modes, then moving away from the

WiNRADiO G39DDC User’s Guide
36
exact carrier frequency will result in a whistle being heard, its pitch being
directly proportional to the IF shift displacement. This is because while you
have changed the tuned frequency, you have not changed the “BFO” (or rather
the digital equivalent of it) simultaneously.
To make it possible to move the filter but still remain tuned to the same
frequency, there is also an associated Passband tuning function: This is
invoked simply by dragging the filter passband with the right mouse button
instead of the left one. This makes it possible to finely adjust the filter position
in the AMS, LSB, USB, ISB, DSB and CW modes without the whistle effect,
because the internal “digital BFO” will be tuned alongside the passband
movement.
When the demodulator passband is being dragged using the right mouse
button, a red PBT indicator will appear next to the cursor to indicate you are in
the PBT mode, and showing the tuning offset at the same time:
To revert to the IF shift mode, simply use the left mouse button again.
Frequency Stepping
To make the chapter on tuning complete, we need to fast forward a bit: There
is one more tuning facility located on the right under the Tuning tab (all the
function tabs will be described in more detail in one of the following
chapters):

WiNRADiO G39DDC User’s Guide
37
The Step control selects the stepping size. The following convenient step
sizes are available: 1 Hz, 10 Hz, 100 Hz, 1 kHz, 3.125 kHz, 5 kHz, 6.25 kHz,
10 kHz, 12.5 kHz, 25 kHz, 50 kHz, 100 kHz. The left and right arrow
buttons perform the actual stepping.
Frequency Display Offset
It is possible to connect the Excelsior to a down-converter to receive
frequencies that are normally beyond the Excelsior’s frequency range. When
this is done, it is convenient to see the actual received frequency rather than
having to manually transpose the displayed frequency to the down-converter’s
input signal.
For this purpose, there is an option to add a user-defined offset to the
displayed frequency. This option is called Display offset and is located under
the Options top menu bar:
As usual, you can enter the display offset in Hz, kHz or MHz by terminating the
entered value with either h, k or m, respectively, should you need to change
the displayed frequency unit.
An option to invert the spectrum is provided for situations where the spectrum
is inverted by the down-converter.
Did you know?
The USS Excelsior (NX-2000) was a starship of the Star Trek science-fiction series. It
was the first starship of her class, implementing the breakthrough technology of
transwarp propulsion – to boldly go where no man has gone before.

WiNRADiO G39DDC User’s Guide
38
Receiver Selection
Clicking on one of the two Receiver tabs located above the main frequency
display selects that particular virtual receiver. The other receiver continues
operating provided its frequency fits within the current IF spectrum bandwidth.
The tuned frequency of each receiver is displayed inside their associated tabs.
If the frequency of one of the other receivers does not fit into the current IF
spectrum bandwidth, that receiver becomes disabled and the frequency in the
tab turns red to indicate the disabled condition.
The position of both virtual receivers (or rather their DDC1 bandwidths) is
shown as dark blue areas inside the wideband spectrum scope, with the
currently selected receiver highlighted.
If a receiver is tuned away from the current IF spectrum bandwidth (and
therefore disabled), it will not be shown in the wideband spectrum.
By clicking on the receiver tabs, you can quickly alternate between receivers in
a similar way in which you would use the VFO function in a conventional
receiver, but with the additional benefit of being able to change complete
receiver settings including demodulation mode, bandwidth, notch filter, audio
filter, etc.
Mode Selection
The Mode selection buttons are located at top right of the receiver control
panel.
The individual buttons correspond to the following modes:

WiNRADiO G39DDC User’s Guide
39
AM
Amplitude Modulation
AMS
Amplitude Modulation (Synchronous Demodulation)
LSB
Lower Side Band
USB
Upper Side Band
ISB
Independent Side Bands
DSB
Dual Side Bands
CW
Continuous Wave (Morse Code)
FM
Narrow-Band Frequency Modulation
FMW
Wide-Band Frequency Modulation
DRM
“Digital Radio Mondiale” (HF Digital Radio)
FSK
Frequency Shift Keying
UDM
User Definable Mode
In addition to the standard AM, LSB, USB, CW and FM modes, the Excelsior
receiver is equipped with several special modes, AMS, ISB, DSB, DRM, FSK
and UDM:
AMS Mode
The AMS mode is used to improve reception quality of amplitude-modulated
signals, especially those affected by selective fading which occurs over a large
distance.
When the AMS mode is selected, special controls appear under the tuning tab,
making it possible to select one (or both) of the signal’s sidebands to achieve
optimum reception:

WiNRADiO G39DDC User’s Guide
40
In the AMS mode, there is a certain "capture range", a frequency range within
which the receiver will "capture" the signal and achieve synchronization. If you
are tuning to a new signal, this initial capture (“Tune capture range”) is initially
quite wide, within plus or minus 1.5 kHz (default value) from the actual signal
frequency, to enable easy tuning by pointing and clicking near the peak in the
DDC spectrum, or dragging the filter passband area in the demodulator
spectrum.
Once locked to a signal, the capture range automatically reduces (“Sync. lock
range”) to plus or minus 50 Hz (default value) from the signal frequency. The
reason for such reduction is to avoid “kidnapping" of the synchronization
frequency by a nearby strong signal if the carrier signal fades, as may happen
especially with long-distance reception, due to ionospheric effects.
Both the Tune capture range and the Sync. lock range values are user-
definable, under the Options | AMS capture range menu:
When the signal is locked in synchronization, this is indicated using a "lock"
symbol located in the top left corner of the frequency display:

WiNRADiO G39DDC User’s Guide
41
ISB and DSB Modes
ISB (independent sideband) is quite similar to the AMS mode and makes it
possible to receive independent information in the two sidebands of an AM-
modulated signal with suppressed, or partially suppressed, carrier.
The desired audio output can be selected between the lower and upper side
bands using two selector USB and LSB buttons accessible under the Tuning
tab:
Note: Both channels of an ISB transmission can be recorded
simultaneously using the recording facility of the G39DDC receiver. For
this purpose, allocate the two receivers to the same signal, select LSB
on one and USB on the other, and record the signals separately.
In the DSB (dual sideband) mode, both side-bands carry the same information,
but the carrier is either entirely or partially suppressed. The controls and
operation are similar to the AMS mode.
DRM Mode
The DRM mode is a new broadcasting system designed to introduce digital
broadcasting to medium and short waves. This is achieved by introducing
sophisticated state-of-the-art digital signal coding and compression, together
with extending channel bandwidth. This results in a dramatic improvement in
broadcast quality. For more information about this mode, refer to
www.winradio.com/drm.
Activating this mode requires purchasing a license from the DRM consortium.
Selecting the DRM mode will provide details how to acquire the license.

WiNRADiO G39DDC User’s Guide
42
After acquiring the license, when the DRM mode is selected, the contents of
the audio tab change to accommodate the special requirements of this mode:
When a DRM station is successfully received, on top of the DDC2 spectrum,
there will be a text display that shows a continuously running “ticker” text which
is usually transmitted by the station along with the audio, and which typically
contains the station ID and program information associated with the broadcast.
At left, there is also a description of “services” that are available. Up to four
services are available in a DRM broadcast, and these are selectable by the
services selector in the Audio tab:

WiNRADiO G39DDC User’s Guide
43
On the right-hand side, there is also an indicator of progress of the DRM signal
capture (Sync detected will have to appear before Audio decoded and then
the Signal-to-Noise Ratio (SNR) indicator will appear to show the quality of
the received signal. For reliable audio output, the SNR needs to be above a
certain threshold, typically 15 dB. Until this threshold is reached, the audio is
entirely muted (no noise at all coming from the speaker), as the decoded
signal would not render any useable audio.
The Excelsior’s DRM decoder can also decode multimedia content, which is
audiovisual information that may be broadcast by some DRM stations. If such
multimedia content is detected in the incoming signal, a special browser
program is launched to display this information.
To receive a DRM station, simply tune to the frequency and select the DRM
mode. If the signal is of sufficient strength and quality, it will be decoded. A
DRM station is easily recognizable thanks to its characteristic flat spectrum:
DRM broadcaster schedule information is available at www.drm-dx.de and also at
www.drm.org/index.php?p=broadcast_schedule.
Did you know?
WiNRADiO became involved in DRM technology shortly after its inception. Our
laboratory in Melbourne, Australia, was used to conduct long-range reception tests and
our G3-series receivers were developed to ensure optimum DRM performance.

WiNRADiO G39DDC User’s Guide
44
FSK Mode
The FSK (Frequency Shift Keying) mode performs in a similar manner to the
CW mode, in that all of the parameters associated with CW are also available
with FSK, but each with its own independent setting. Of particular note is the
tone frequency: With CW, or Morse transmission, this is typically set to 800 Hz
to provide a comfortable sound for the listener. However, with FSK
transmissions, because of the need to make the frequency readout of the main
receiver display correspond to the published frequency allocation tables, the
tone frequency must be different. The FSK tone frequency is traditionally set to
1.9 kHz due to the typical characteristics of modems relying on transmitters
operating in a suppressed carrier mode. However, any offset may be used,
and the values are automatically saved.
UDM Mode
The UDM (User Definable Mode) makes it possible to define any set of
parameters for a special application. All settings, including the actual
demodulation mode, may be selected and saved. For instance a user may
wish to have a special USB mode with a very wide demodulation bandwidth,
and unusual audio filter settings, and these may all be catered for, saved, and
be available for quick and easy recall.
Note that as there are two receivers in the Excelsior, each receiver can
have its mode set independently. The current mode setting for each
receiver will be remembered upon the program exit.
Function Tabs
The Function tabs are located under the mode buttons:
The function tabs contain numerous essential and ancillary functions
dedicated to various aspects of the receiver’s operation.

WiNRADiO G39DDC User’s Guide
45
Tuning Tab
The Tuning tab contains controls for Passband tuning, BW presets,
demodulator spectrum Centering, AFC (Automatic Frequency Control),
TTP (Tune to Peak) and Stepping controls. For the AMS, ISB and DSB
modes, it also contains lower or upper sideband selection, and for the UDM
mode there is also a mode selection.
Passband tuning
The passband tuning control duplicates the function of dragging the
demodulator passband using the right mouse button. These two methods are
interchangeable. The advantage of this control is that the actual tuning offset is
visible and can be precisely adjusted.
Passband tuning makes it possible to finely adjust the demodulator filter
position in the AMS, LSB, USB and CW modes without a whistle effect due to
a misaligned BFO, making it possible to avoid interference and finely tune the
receiver for optimum reception.
Pressing the Reset button sets the passband tuning offset to zero.
Demodulator Bandwidth Presets
The Demodulator filter bandwidth (which represents the overall selectivity of
the receiver) can be set in two ways: The quickest way is to use the preset
values represented by the row of 15 buttons at the bottom of the Tuning tab:

WiNRADiO G39DDC User’s Guide
46
The numbers on the buttons represent the bandwidth in kHz. These preset
bandwidths change depending on the selected mode, offering an optimum
choice of typical values applicable to that mode.
To change the demodulator bandwidth continuously, you can use the
DEM BW control located above the demodulator spectrum scope:
There are two ways you can use this control: Either click on the box and
highlight all digits, then type the bandwidth directly into the edit box (you can
terminate the entry with h for Hz or k for kHz, or select the required bandwidth
value using the drop-down list).
Another very convenient method of adjusting the demodulator filter bandwidth
is a graphical one, by dragging the edges of the shaded area representing the
filter passband in the demodulator spectrum:
Continuous adjustment of the demodulator filter bandwidth makes it possible
to adjust the bandwidth to exactly fit the actual spectrum of the received signal,
to obtain the best signal-to-noise ratio and minimize interference from adjacent
channels.
For USB/LSB modes, dragging one edge of the shaded area adjusts the
tuning position, dragging the other adjusts the filter bandwidth. The “tuning
edge” is highlighted for easy orientation. The same applies to AMS, ISB and
DSB modes if only one sideband is selected.

WiNRADiO G39DDC User’s Guide
47
Frequency Stepping
Another facility available under the tuning tab is Frequency stepping:
The Step control selects the stepping size. The
following convenient step sizes are available: 1 Hz,
10 Hz, 100 Hz, 1 kHz, 3.125 kHz, 5 kHz, 6.25 kHz, 10
kHz, 12.5 kHz, 25 kHz, 50 kHz, 100 kHz. The left and right arrow
buttons perform the actual stepping.
Spectrum Centering
The Center button , next to the stepping controls, centers the
demodulator passband.
Use this button if you have tuned to a station by dragging the filter passband
over its spectrum, and you would like to see this station relocated to the center
of the demodulator spectrum.
AFC (Automatic Frequency Control)
The AFC button , when engaged, forces the receiver to automatically
adjust its tuning to follow the frequency drift of the received transmission.
While this function is active, the receiver will periodically check the received
signal and correct the frequency in approximately five-second intervals.
This facility is not recommended for LSB and USB modes with voice
modulation.
TTP (Tune to Peak Control)
The Tune to Peak function can be invoked by pressing the TTP button .
The receiver will tune to the signal peak (provided the peak falls inside the
selected IF bandwidth – the highlighted area of the real-time frequency
spectrum).
Depending on the location of the peak and type of signal, it may take several
seconds for the receiver to tune in accurately, by a successive approximation
process.

WiNRADiO G39DDC User’s Guide
48
In LSB and USB modes, the success of this facility will depend on the
type of modulation signal. It may be useful for certain types of data
modulation (fax), but is not usually recommended for voice modulation.
Band Selection
In the AMS, ISB and DSB modes, the tuning tab also includes Band selection
controls:
These make it possible to choose which of the sidebands is to be listened to,
either the lower sideband, upper sideband, or both. This is useful in situations
where one of the sidebands is damaged by interference.
UDM Mode Selection
If the UDM mode is selected, the AMS band selection controls are replaced
with the Mode selector for the user-defined mode:
The UDM mode can utilize the AM, USB, LSB, CW or FM modes.
Audio Tab
The Audio tab contains functions specific to the parameters of the output
sound, for example volume and audio filtering.

WiNRADiO G39DDC User’s Guide
49
Audio Filter
The Filter button turns on the Audio filter. The audio filter is a bandpass filter
with continuously adjustable lower and upper cut-off frequencies:
When the audio filter is enabled, its low and high cut-off frequencies can be
adjusted using the Low and High controls. The De-em control is used to
adjust de-emphasis, relating to the filter’s slope from the highest frequency to
the lowest, which is particularly important for FM signals (a typical de-
emphasis value for narrow-band FM-modulated signals is 6.0 dB/oct).
However, it can be also useful for AM signals: Gently sloping the filter
passband can sometimes make the signal easier on ears and avoid operator
fatigue.
For wide FM modulation (broadcast FM), there are two standard de-emphasis
values to choose from, 50 and 75 microseconds:
In North America, 75 microseconds is the standard value, while most of the
rest of the world uses 50 microseconds.
The audio filter passband is shown as a shaded area inside the Audio
spectrum, which is accessible by pressing the Audio button:

WiNRADiO G39DDC User’s Guide
50
The filter can be also adjusted graphically, by dragging either edge of the
audio filter passband:
In the Audio spectrum, the ASR (Audio Sampling Rate) control makes it
possible to adjust the sampling rate of the output audio and so influence the
audio bandwidth (i.e. the audio bandwidth will be almost half of the selected
sampling rate):
Clicking the RF button while the audio spectrum is displayed will return the
spectrum scope to the default spectrum mode.

WiNRADiO G39DDC User’s Guide
51
Volume Control
The Volume control is also located under the Audio tab.
The volume can range from 0 (no sound) to 31 (full
volume). To enter a value directly, click on the display and
type in the new volume level. The volume can also be increased or decreased
by selecting the desired value from the drop-down list.
An alternative way of changing the volume is by using the Volume slider.
Place the mouse cursor on the slider and drag it either left or right to change
the volume.
Finally, another convenient way of changing the volume is using the left and
right cursor keys on the keyboard. This can be done anytime, no matter
which of the function tabs is selected.
Next to the volume control is the Mute button, which makes it possible to
disable the audio output. It is faster and more practical to use than setting the
volume to zero, with the added benefit of not changing the set volume level. To
use the mute control, simply click on this button. Click again to release.
Audio Mixer
The WiNRADiO Excelsior includes an audio mixer, which makes it possible to
combine audio outputs from the two receiver channels in various ways. For
example, you could simply listen to the two signals mixed together. Or, you
might be recording with one receiver while listening to it with your left ear and
the second one with your right ear. There are many possible combinations.
The mixer buttons are located at the bottom left of the audio tab:

WiNRADiO G39DDC User’s Guide
52
By pressing either (or both) of the Left or Right buttons, you can channel the
currently selected receiver’s audio to either the left or right (or both) audio
stereo channels.
Note however, that in order to be able to simultaneously listen to a receiver
that is not currently “in focus” (i.e. it is not selected by its associated tab), you
will need to disable the “Auto-mute RX not in focus” option under the
Options top bar menu.
Virtual Sound Card
The Excelsior receiver is equipped with an interface to the WiNRADiO Digital
Bridge™ Virtual Sound Card.
The Virtual Sound Card (VSC) is a software option designed to transfer
digitized audio signal streams from WiNRADiO receivers directly to other
applications. It does so by creating a Windows multimedia driver which will
make the WiNRADiO receiver appear to the system as another sound card.
Third party software applications which would normally rely on a sound card
input as the signal source (such as various data decoders), can access
digitized data (either undemodulated IF signal or demodulated audio) directly
from the WiNRADiO receiver, eliminating unnecessary conversions between
the digital and analog domains, reducing distortion and improving signal
quality. For more information about the VSC, please refer to the webpage
www.winradio.com/vsc.

WiNRADiO G39DDC User’s Guide
53
The VSC control buttons become available once the VSC is installed:
Engaging the VSC button connects the selected receiver to the virtual sound
card. Using the IF button, you can select the entire contents of the
demodulator spectrum to the VSC; the Audio button only sends the filtered
and demodulated audio.
The VSC IF signal is sent in I/Q (in-phase and quadrature) form, 16 bit, stereo.
The I/Q outputs are at baseband (zero frequency) and the target application
must be able to accept these parameters. Any demodulation mode may be
selected for the IF output - this setting is not relevant as the VSC IF output
sends a raw spectrum without any filtering or demodulation.
The sampling rates for both the VSC audio and IF outputs can be set
independently, using the VSC Set-up function under the Options top
menu bar.
To use the VSC for audio output, select the required demodulation mode and
engage the VSC Audio button. This will connect the receiver’s demodulator to
the VSC stream. The demodulated audio will be affected by all the various
settings normally available for the demodulation, such as bandwidth, audio
filter, etc.
You can have the VSC installed and running in five minutes!
The Digital Bridge™ Virtual Sound Card and many other software accessories are
available via direct download at WiNRADiO online software shop
www.winradio.com/directdownload.

WiNRADiO G39DDC User’s Guide
54
Memory Tab
The Memory tab contains functions related to the frequency memory available
in the Excelsior. This user-defined memory makes it possible to store and
recall arbitrary frequencies, and group them together in a tree-like structure.
The number of frequencies that can be stored in Excelsior memories is limited
only by the size of your computer’s hard disk.
Storing a Frequency into Memory
With each frequency, you can store several additional attributes: mode,
callsign, description, bandwidth, squelch parameters, audio filter parameters
and a hotkey.
To store a frequency into memory, the receiver must first be tuned to that
frequency. Next click on the Store button:
A Store frequency window will pop up:

WiNRADiO G39DDC User’s Guide
55
At the top of the window is the Callsign edit box. That’s where you would store
a callsign or a name of the station whose frequency you are storing. The next
line contains a Description where you can type your comments regarding the
station. Below is the Frequency you are storing and the demodulator
Bandwidth.
The mode buttons (AM, AMS, LSB, etc.) make it possible to store the
demodulation mode. If you do not wish to store a particular demodulation
mode with a frequency, simply leave the Mode button disengaged – in such
case, the frequency will be recalled with the currently selected demodulation
mode unchanged.
The squelch settings can be also stored optionally. If enabled using the
Squelch button, the specified squelch settings will be applied automatically
when the frequency is recalled, otherwise the current receiver settings will be
preserved. Note that while the Level squelch can be applied at all times, the
Noise, Voice, CTCSS and DCS squelch buttons are mutually exclusive.

WiNRADiO G39DDC User’s Guide
56
The same applies to the audio Filter, Attenuator, Preamp and DDC settings.
If enabled, their settings will be stored together with the frequency and the
specified values will be applied when the memory is recalled.
Hotkey
For quick tuning to your favorite stations, you can also assign a Hotkey
(function keys F2 to F12) to up to eleven different frequencies. If you then
press this hotkey, the associated frequency will be instantly recalled. Hotkeys
which are already assigned will be shown in the drop-down list preceded with
an asterisk. However you can overwrite the previous assignment with a new
one if you wish.
Memory scan lockout
This setting relates to the Scanner facility. If this checkbox is ticked, this will
cause this frequency to be skipped while scanning.
Recalling a Frequency from Memory
There are several ways to recall a frequency from memory:
• Using the Recall button
• Using the Memory step buttons
• Using a hotkey
• Selecting the frequency directly from the memory tree structure
To recall a frequency, click on the Recall button. A dialog box will pop up
showing a list of all memory frequencies:

WiNRADiO G39DDC User’s Guide
57
To select a frequency, double-click on an item in the list on the right, and the
frequency will be tuned. Then close the window.
Editing Memory
To change the settings for a particular frequency, click on the Edit button, or
select Edit from the right-click menu:
A window will open showing the current settings. All settings can be edited.
After the entry has been edited, click on OK.
Deleting a Frequency
To remove a frequency, click on the Recall button first. Select the frequency
you wish to delete, and click on the Delete button at bottom right (alternatively,
select Delete from the right-click menu). You will be asked to confirm that you
wish to delete this frequency from memory.
To delete all frequencies in a particular folder, click on the Delete button at
bottom left (under the folders). You will be asked to confirm that you want to
clear all the frequencies in the folder.
Viewing User Memory
To see the entire user memory structure, you can use either the Recall button,
or the equivalent function Show user memory under the Memory top bar
menu. The User memory window will open.

WiNRADiO G39DDC User’s Guide
58
In the left-hand portion of the window, you can set up a tree-like structure
made of folders and subfolders:
All these folders and subfolders are user-definable and can be nested
indefinitely, i.e. a subfolder can contain another subfolder, etc. These folders
and subfolders represent memory Groups. You can group frequencies
together using your own arbitrary criteria. To create a new group, use the New
group button at bottom left. If you do this after you have clicked on a particular
subfolder, another subfolder will be created in it.
Inside each subfolder (i.e. group), you can store as many frequencies as you
wish, limited only by your hard drive capacity. You can create a new frequency
by clicking the New frequency button or you can do this using the Store
button under the memory tab (in such case the new frequency will be stored in
the currently selected group, as displayed under the memory tab).
Memory Stepping
Memory stepping makes it possible to step through frequencies stored in the
current user memory file.
To step through groups or the individual memory frequencies, use the left or
right arrow buttons located under the memory tab next to Group or Item drop-
down list controls:

WiNRADiO G39DDC User’s Guide
59
When the receiver is tuned to a frequency that is equal to a frequency stored
in the memory, the stored callsign will be shown in the band indicator under
the main frequency display. If there is no callsign stored with the frequency,
the content of the description field will be shown instead.
The user memory will first be searched for a matching frequency for the
currently selected group. If no matching frequency is found there, then the
whole memory structure will be searched and the first one found will be
displayed.
Saving User Memory File
You can have more than one user memory file; the number of such files is
limited only by the capacity of your hard drive. You can save a user memory
file under an arbitrary name, and then load it back, making it possible to have
different memory files for different situations. To save the current memory file,
simply select Save user memory as from the top bar File menu. A dialog box
will pop up allowing you to specify the file name.
When you exit the WiNRADiO Excelsior application, all memory changes are
automatically saved; there is no need to use the Save command before exit.
Note: The default user memory file is called Memory.r7m and resides in the
following folder: My Documents/Winradio/G39DDC.
Opening User Memory File
When the WiNRADiO Excelsior receiver application starts up, the most
recently used memory file will be opened automatically.
To open a different memory file, select Load user memory from the File
menu. A dialog box will pop up allowing you to choose a memory file to load.
Notch
The Notch tab contains controls dedicated to the Notch filter function. There
are two notch filters which can be operated simultaneously:

WiNRADiO G39DDC User’s Guide
60
The notch filter is a band-stop filter which can be used to minimize the effects
of interference falling inside or near a received station’s spectrum. Each filter is
activated by pressing the associated Enable button. The center frequency and
the width can be adjusted using the appropriately named controls.
For both notch controls, the same usage rules apply as with the demodulator
bandwidth setting, i.e. the values can be changed by direct manual entry, or
selected from the drop-down list.
Another way of changing the notch filter parameters is by dragging the
stopband of the filter (a blue shaded area) with the mouse. The stopband
width can be adjusted by dragging the edges, while the centre frequency can
be changed by dragging the centre line, which makes it possible to
conveniently position the filter stopband over the interfering signal.
The Center button serves to relocate the notch filter stopband to the center of
the demodulator filter passband. This can be useful in situations when the
notch filter is hidden beyond the currently visible demodulator spectrum limits,
in particular when the spectrum is zoomed in.
The following picture shows a signal with strong interference in the passband
(the large peak right of center, at the cursor position).
In the resulting audio, typically there would be a strong buzzing sound. After
applying the notch filter, adjusting its center and bandwidth (by dragging the

WiNRADiO G39DDC User’s Guide
61
blue area center and edges) to fall exactly over the interfering signal, the
situation will look like this:
This results in significantly reduced interference and a much more pleasing
sound.
Squelch
The Squelch tab contains squelch-related controls:
The squelch control can be used to automatically mute the receiver when no
signal is being received. Without a signal, all you will usually hear is noise, so
squelch is provided to cut out the noise until a useful signal is received,
making the receiver more comfortable to use.
The WiNRADiO Excelsior has five different types of squelch, suited for
different types of scenarios:
Level squelch refers to the received signal strength, as indicated by the
S-meter. If the signal strength is lower than the specified threshold, the
squelch will mute the receiver. For operator’s convenience, the current signal
strength level is shown next to the threshold setting (copied from the S-meter).

WiNRADiO G39DDC User’s Guide
62
Noise squelch determines the level of noise in the received demodulated
audio above which the squelch will mute the receiver. This is particularly useful
for the FM mode, where there is a considerable level of noise in the absence
of a useful signal. The current Noise content value is also shown next to the
corresponding control.
Voice squelch determines the contents of voice frequencies in the spectrum of
the demodulated audio. If lower than the preset threshold, the receiver will be
muted. The voice frequencies content of the currently received signal is also
shown next to the corresponding control.
CTCSS (Continuous Tone Coded Squelch System) defines a particular
CTCSS code which, when received, will open the squelch. The currently
received CTCSS code is shown in the demodulator spectrum display. A
question mark is shown if there is no known CTCSS code currently received.
DCS (Digital Control Squelch, also known as Continuous Digital Controlled
Squelch System or CDCSS) specifies a particular DCS code which will open
the squelch. The R button serves to indicate a reverse code, to comply with
systems which transmit the DCS code in reverse. A question mark is shown if
there is no known DCS code currently received.
The Level squelch can operate simultaneously with any of other types of
squelch. If the Level squelch is selected together with any other then both
selected conditions must be satisfied at the same time for the squelch to open
("and" condition).
The Noise, Voice, CTCSS and DCS squelch modes are mutually exclusive –
only one can be active at a time.
To adjust the level squelch control, first tune to an unoccupied frequency that
produces only noise. Increase the squelch until the receiver is muted. You will
see the red-colored segment of the S-meter growing until it gets higher than
the current S-meter value. At that moment the receiver will be muted and the
word “squelched” will be displayed on the S-meter. Add a few dB extra to
allow a margin for background noise fluctuation on the band. Now when you
tune to an occupied frequency, if its signal strength is higher than the squelch
level, the receiver will be unmuted.
To adjust the noise squelch control, first tune to an unoccupied frequency that
produces only noise. Note the Noise content value indicated next to the
associated control. Then tune to an occupied frequency where there is a
useful signal, and note the noise content value again. Then set the noise

WiNRADiO G39DDC User’s Guide
63
threshold somewhere between these extreme values. Note that the noise
squelch is particularly effective in the FM mode and its values also depend on
the demodulator bandwidth setting.
The adjustment procedure for the voice squelch is similar: Tune to an
unoccupied channel first, then to an active voice channel, note the
corresponding Voice content values, and set the voice threshold between
these two extremes.
To enable the squelch action, click the Enable button. Clicking it again
disables it.
It is easy to forget that squelch is active. If the receiver doesn’t seem to
be operational (no sound from the speaker), check the squelch and mute
settings first.
Gain
The Gain tab contains several controls to adjust various gain-related settings
of the receiver. The gain is a software parameter, and can be set separately
for each of the two virtual receivers.
AGC
The Automatic Gain Control (AGC) acts upon the digitally down-converted
and filtered demodulator passband, in order to keep the signal coming to the
demodulator at a constant level.
This is in fact functionally similar to AGC typically implemented in conventional
receivers, which also works on the IF signal prior to demodulation. The
difference is that in a conventional receiver this is implemented in hardware,
while in the Excelsior it is a software function.

WiNRADiO G39DDC User’s Guide
64
The AGC has six speed settings: Slow, Medium, Fast, User 1, User 2 and
User 3. These make it possible to select the speed with which the AGC reacts.
Typically, the AGC would be in the medium position.
For most practical applications, the medium setting is recommended. Slow
setting would be used especially with Morse code (CW mode), while fast AGC
speed might be appropriate for very noisy signals, where noise bursts might
temporarily desensitize the receiver if a slower AGC was employed.
While the timing of the slow, medium or fast speed settings is fixed, the
remaining three settings are user-definable, making it possible to specify the
Attack and Decay times:
The attack time is the speed with which the AGC reacts to a rising signal level,
while the decay time is the speed with which it reacts to a falling signal level.
These settings are recommended only for advanced users.
When enabled, the AGC tries to maintain the audio output at a constant level,
the AGC reference level. This level is also user adjustable under the gain tab,
using the Ref. level control:
The higher the AGC reference level, the stronger will be the signal at the input
of the demodulator. If this level is too high and the input signal too strong,
distortion may appear. On the other hand, decreasing the AGC reference level
will generally result in lower audio levels.
While in the automatic gain mode, the actual momentary gain will be shown in
the Gain window:

WiNRADiO G39DDC User’s Guide
65
Using the Max. gain control it is possible to limit the maximum gain that the
AGC has at its disposal, and so prevent excessive “pumping noise” between
transmissions. This is especially useful with SSB signals or when monitoring
point-to-point transmissions where the transmitter is switched on intermittently.
In such cases, if the maximum gain was not limited, the AGC might tend to
increase the maximum gain too much, which could result in unpleasant noise
bursts between transmissions. By limiting the maximum gain, such noise
bursts can be reduced or eliminated.
Manual Gain
The Manual gain mode can be enabled using the Manual button, which is
mutually exclusive with the AGC button. In this mode, the gain can be adjusted
manually to the desired value using the Gain control:
Useful notes about AGC to remember:
1. In AM, AMS, LSB, USB, ISB, DSB and CW modes, the gain setting affects
loudness. If the receiver volume appears too low (and yet the volume control is
all the way up), make sure that AGC is enabled

WiNRADiO G39DDC User’s Guide
66
2. If the AGC is enabled and the sound is distorted despite the volume being
turned down, make sure that the AGC reference level is not set too high. If the
volume is too low, try to increase the AGC reference level.
3. If the AGC is disabled and the sound is too weak despite the volume control
being all the way up, try to increase the manual gain.
4. In LSB, USB, ISB, DSB and CW modes, manual gain is often preferable to
automatic gain because there is no “carrier” the AGC would act upon and
maintain at a constant level. If AGC is used, then the slow setting is
preferable.
Noise Blanker
The Noise Blanker can be used for removal of random high-level noise-spikes
resulting from atmospheric effects and man-made interference.
There are two types of noise blankers available, one using the Short Time
DDC Averaging method and another one using the ADC Input Threshold
method.
The Short Time DDC Averaging method is based on comparing the
instantaneous signal level at the DDC output (demodulator input) to a short-
time exponential average. If the instantaneous level exceeds the short-time
average, these samples will be replaced with zeros.
With the ADC Input Threshold method, the blanking effect occurs much
earlier in the signal processing chain: The signal samples arriving from the
ADC are compared to a threshold value, and, if greater, then these samples
are zeroed.

WiNRADiO G39DDC User’s Guide
67
The Short Time DDC Averaging method is preferable and will yield
improvement in most cases of atmospheric or man-made interference. It is
activated by pressing the Enable DDC Averaging button located under the
Noise Blanker tab. If the instantaneous signal level at the input of the
demodulator exceeds the short-time average level by a user-adjustable
percentage amount, these signal samples will be replaced by zero values.
The Sample Excess setting should be adjusted as a compromise between the
noise blanking effect and the minimum acceptable distortion of the wanted
signal. The current value of the signal excess above the short-time average is
indicated in the associated display, to assist with the adjustment.
The ADC Input Threshold method is activated by pressing the Enable ADC
Threshold button. If the input at the ADC exceeds that defined by the ADC
Threshold control, the ADC input will be blanked. The current ADC level is
shown in the adjacent display to help with this adjustment. The maximum level
(100%) corresponds to the entire input range of the ADC.
Pause
The Pause facility makes it possible to temporarily stop the audio and resume
it at any time – a useful function if one needs to get away from the receiver for
a while. This is a rather unique feature, specific to the Excelsior, the world’s
first in professional wideband receivers. While the receiver is pausing, the
entire incoming down-converted pre-demodulation signal (DDC2 output) is
being stored in a temporary buffer, so that other demodulation-related
functions, such as the audio filter or notch, can be still applied on the resumed
signal.
l
The Max. buffer time setting determines the amount of disk space to be
allocated for the pause buffer, i.e. the maximum length of the pause. Any
signal that is older than the maximum buffer time allows will be discarded.
Pressing the Pause button activates this function. The audio will be muted and
the DDC2 spectrum will freeze. The DDC2 signal stream will be saved into the

WiNRADiO G39DDC User’s Guide
68
buffer instead of going through the usual demodulation process. In this state,
the Current delay display will show the increasing amount of saved signal in
terms of the time delay, while the Pause time display will show the time when
the pausing started. If the paused data length exceeds the Maximum buffer
time, then Pause time will show the oldest buffered data that remains
available for playback.
If there is some data in the pause buffer, the Resume button becomes
available. When activated, it will start playback of the saved signal stream,
while the incoming real-time signal will continue to be saved in the buffer.
The Orig. time display shows the time when the currently played signal was
originally received. Data that have been already played back are automatically
removed from the buffer to make room for the incoming signal, so that
simultaneous buffering and playback can run for unlimited time, effectively
making it possible to listen to the signal with an adjustable delay.
In pause mode, the Progress bar is greyed out and only shows the increasing
amount of data in the buffer. In resume mode, the Progress bar becomes
enabled, making it possible for the user to move its slider and so skip a portion
of the buffered data.
The Skip button discards the entire buffer contents and terminates the pause
mode. The Pause button then becomes enabled again, making it possible to
start another pause session.
During playback of the paused signal, the S-meter, the DDC2 spectrum and all
demodulator controls will relate to the currently played back (buffered) signal.
However, the wideband and DDC1 spectrum displays, and the main frequency
read-out, will all relate to the currently received signal.

WiNRADiO G39DDC User’s Guide
69
Spectrum Scopes
We have already touched on the spectrum scopes in some of the preceding
paragraphs, but there is much more to the WiNRADiO Excelsior spectrum
scopes than just the ability to “point-and-click” tune or drag the demodulator
filter passband.
There are three spectrum scopes that can be effectively considered to be
subsets of one another.
At the bottom of the application window, if the Spectrum button is engaged,
there is the Wideband spectrum scope:
The Wideband spectrum scope displays, in real time, the RF spectrum
contents of what is commonly referred to as the “instantaneous” or “stare”
bandwidth of the receiver. It is always 16 MHz wide, reflecting the bandwidth
of the last intermediate frequency amplifier of the analog front-end of the
receiver. It is also always centered at multiples of 10 MHz (except at the low-
end of the receiver frequency range), because, internally, the receiver
hardware is tuned in multiples of 10 MHz (while the fine-resolution 1 Hz tuning
is then performed digitally inside these 10 MHz wide “chunks”).
A zoomed-in portion of the wideband spectrum is the DCC1 spectrum, whose
width can vary from 20 kHz to 4 MHz in 24 steps (selectable using the DDC1
control).
The DDC2 spectrum is a subset of the DDC1 spectrum, making it possible to
inspect the signal with the highest resolution, and its width can vary from
20 kHz to 320 kHz in 13 steps (selectable using the DDC2 control).

WiNRADiO G39DDC User’s Guide
70
DDC2 bandwidth always needs to be smaller or equal to that of DDC1, so if an
attempt is made to set DDC1 bandwidth to a lower value than that of DDC2,
then the DDC2 value will automatically adjust to that lower value.
The grey shaded area in the wideband spectrum represents the DDC1
bandwidth. Both receiver channels are visible, with the one in focus (i.e. with
the associated RX tab selected) being highlighted. Similarly, the grey shaded
area in the DDC1 spectrum represents the DDC2 bandwidth.
Finally, the demodulator filter bandwidth is represented by a shaded area in
the DDC2 spectrum, and is also visible as a darker area inside the shaded
area of the DDC1 spectrum that represents the DDC2 bandwidth.
Even though their functionality is different, all these three spectrum scopes
utilize some common controls. Let us examine these common controls first,
and leave the specific features of each spectrum scope till last.
The controls of the DDC spectrum scopes are made visible by pressing the
“toolbox” button , while in the wideband spectrum scope these are visible at
all times.
Pressing the button in either of the DDC spectrum displays will reveal a
“toolbox worth” of controls on the right-hand side:

WiNRADiO G39DDC User’s Guide
71
Zoom Spectrum
Each spectrum scope includes Zoom buttons .
Use the two zoom buttons to zoom in and out of the spectrum – this is a useful
feature for observing frequency peaks in close detail, for example where
stations are very close to one another. When the spectrum window is zoomed,
you can use the bottom slider to conveniently navigate to a portion of the
spectrum that you wish to inspect.
To restore the original scale and reset the zoom, use the 1:1 button .
The Spectrum centering button , when used in the DDC1 and DDC2
spectrum scopes, shifts the spectrum so that the demodulated frequency is in
the center of the spectrum display (or as close as possible). In the wideband
spectrum, this button shifts the spectrum so that the DDC1passband will be as
close to the wideband display center as possible.
Save Spectrum
The Save button makes it possible to save the displayed spectrum as an
image file. The BMP image file type is used.
Resolution Bandwidth
The RBW control alters the Resolution bandwidth of the spectrum scopes; in
other words it specifies the amount of detail that will be visible in the spectrum.
A low RBW value provides a greater detail, a higher value results in a
smoother trace. The resolution bandwidth control is similar in functionality to
that available in high-performance spectrum analyzers.
Please note that average CPU load may rise with finer RBW settings. The
saved waterfall spectrum files (which are also of the BMP image type) are also
significantly larger with finer RBW values.

WiNRADiO G39DDC User’s Guide
72
Note that the best achievable accuracy of the various point-and-click
operations inside the displayed spectra will be limited by the width of the
displayed spectrum (remember that the width of any of the spectrum
scope windows is adjustable and can be extended over two or more
monitors) and the respective RBW limit of the particular spectrum scope,
which is dependent on the currently selected DDC bandwidth.
Spectrum Averaging
The AVG control employs time averaging to smooth the spectrum trace. The
trace is averaged over the selected time period, variable from 0 to 2 seconds.
This makes the viewing of the spectrum easier on the eyes, reducing the noise
floor fluctuations while leaving the useful signal clean and steady.
The and buttons make it possible to reveal minimum and maximum
signal values (respectively) received during the averaging period. These
buttons are enabled only if the averaging period is non-zero.
Waterfall Spectrum
The DDC and wideband spectrum scopes are both equipped with the
Waterfall function. Clicking on the Waterfall button transforms the standard
spectrum scope into a waterfall-type one, where the vertical-axis represents
time and signal strength is represented by a palette of colors:

WiNRADiO G39DDC User’s Guide
73
The palette can be selected using the Palette control, from a set of several
factory defined color palettes:
To invoke the palette menu simply click on the dBm scale on the left. This will
reveal three selectable parameters, using which the waterfall can be made
more informative.
The palette Top and Bottom parameters can be understood as optical limits,
or baselines. They define the highest and lowest signal level values which will
correspond to the lightest and darkest palette colours. All signal levels above
and below these limit values will be drawn in the lightest or darkest colour also.
This makes it possible to shrink or stretch the palette to match the desired
signal strength range.
The palette Gravity can be used to highlight a given signal level of special
interest with enhanced colours. If for example the palette gravity has been
selected at -80 dBm then the monitored signal will be shown with additional
colors around that signal level, thereby improving the contrast of this section
within the overall waterfall display.
The check box inside the Gravity control activates the gravity settings, or
when unchecked, restores the palette default state.
It is also possible for users to create their own color palettes. For details
please see Appendix F: Waterfall Spectrum Palettes.
The waterfall displays have its own set of additional controls: The Reset button
clears the current waterfall display and starts a new one. The Direction
control button alters the direction of the waterfall, while the Pause button
temporarily pauses (and also restarts) the waterfall spectrum.
An interesting button is the Passband reveal . When activated in the
wideband spectrum scope, it will show the DDC1 passband inside the
waterfall. When activated in the DDC1 spectrum scope, it will show the DDC2
passband.

WiNRADiO G39DDC User’s Guide
74
Spectrum Markers
This facility exists in the wideband, DDC and audio spectrum scopes, making it
possible to mark frequencies of interest, set reference points and calculate
differential frequencies.
Right-clicking on the spectrum reveals a menu with the following functions:
Tune to nearest peak – this will tune the receiver to a peak that is nearest to
the cursor. The capture area is 15 pixels either side of the cursor (the actual
frequency range will vary depending on the current zoom status).
Place marker – this will place a marker to the current cursor position.
If a marker exists next to the cursor, additional functions become available:
Set marker reference – this will set this particular marker as a reference from
which frequency differences will be calculated and displayed for the other
markers. The reference marker will be marked with an R next to its displayed
frequency. The differential value with respect to the reference marker will be
displayed next to the other markers:

WiNRADiO G39DDC User’s Guide
75
Cancel marker reference – this will remove the marker’s referential status
and the differential frequencies will not be displayed for the other markers.
Remove marker at xx.xxx MHz – this will remove the indicated marker.
Remove marker at xx.xxx MHz – by selecting this function, this marker will
be deleted.
Tune to marker at xx.xxx MHz – this will tune the receiver to the marker
frequency.
Clear all markers – this function removes all markers from the spectrum.
Information Buttons
The information button in the spectrum scope “toolbox” conveniently
duplicate the functions Show measurements and Show data rates under
Options. When activated in the DDC1 spectrum, the internal receiver and PC
data rates are shown, which is useful particularly for installation and research
purposes.
In the DDC2 spectrum, this function reveals particulars about the received
signal, such as frequency error, modulation depth, SINAD, THD, etc.

WiNRADiO G39DDC User’s Guide
76
Baseline Level
The wideband spectrum scope makes it possible to adjust the baseline level
using the Min. Level control. This adjusts the minimum displayed signal
strength level, and serves to maximize the useful display space in situations
where the noise floor would occupy too large proportion of the displayed
spectrum (for example in noisy environments or with large antennas):
Peak Hold
This feature is only available in the wideband spectrum scope, making it
possible to observe a spectrum for a long time and indicate any signal peaks
that may have occurred in the past but have since disappeared. In other
words, when this value is set, the spectrum scope will record and display the
signal maximum values and hold it for a user-defined period of time, specified
in hours, minutes and seconds:
Audio Spectrum
Pressing the Audio button above the DDC2 spectrum will reveal the Audio
spectrum scope, showing the real-time audio spectrum of the demodulated
signal.

WiNRADiO G39DDC User’s Guide
77
Markers (right click on spectrum) are also available in the Audio Spectrum
display mode.
When the Audio filter is enabled (using the Filter button under the Audio
tab), its passband will be shown as a gray area superimposed over the audio
spectrum. The low and high cut-off frequencies of the filter can be graphically
adjusted by dragging the left and right edges of the displayed passband. The
input audio signal to the filter is shown in a darker color while the filtered
output is shown in a lighter color.
The ASR (Audio Sampling Rate) control of the Audio spectrum scope
alters the sampling rate of the output audio, making it possible to achieve a
wider demodulated bandwidth. The available values are 32, 48, 64, 96 and
128 kHz. The audio spectrum window also changes according to the sampling
rate, showing a spectrum width of approximately half of the sampling rate.
Finally, clicking the RF button while the audio spectrum is displayed will quite
the audio spectrum mode and return to the RF spectrum mode, showing the
DDC2 output.

WiNRADiO G39DDC User’s Guide
78
Sweeper
If the Sweeper button is engaged, this changes the wide-band spectrum into a
“swept” spectrum scope.
Rather than showing the intermediate frequency 16 MHz wide spectrum in
real-time (which happens when the Spectrum button is engaged), the
sweeper draws the spectrum by quickly tuning the receiver in 10 MHz chunks,
and “gluing” these 10 MHz chunks of spectra together, to produce a
continuous spectrum. This is still done extremely fast, for the Excelsior to be
able to sweep its entire 3.5 GHz frequency range in approximately 3 seconds.
The sweeper makes it possible to set the resolution bandwidth of the sweeping
(smaller RBW resulting in a finer detail) and the start and end frequencies (in
multiples of 10 MHz).

WiNRADiO G39DDC User’s Guide
79
The arrow button starts the sweeping, the stop button stops is, the
pause button pauses it, and the loop button selects between a single
shot and continuous sweeping.
At top-right, there are additional spectrum control buttons, similar to those of
the real-time spectrum scopes:
Three zoom function buttons make it possible to zoom in and out, and
reset the zoom, the min and max buttons revealing the minimum and
maximum values obtained since the start of the sweep, and the reset
button that clears these values for a fresh sweep.
The activity search results can be saved in a special proprietary format
(extension “.g39ddcswp”) and then loaded back to be viewed by the Excelsior
application. This is accomplished using the file Save and Load buttons,
respectively:
A row of special control buttons determines what is actually visible in the swept
spectrum:
The first two Max and Min buttons are already familiar from the other
spectrum displays, and cause minimum and maximum values to be
remembered for the duration of the sweep and shown in the resulting
spectrum. These values can be reset using the Reset button .
The Real-time button disables and enables real-time display of the actual
swept spectrum (when disabled, it does not affect the display of the computed
minimum, maximum and average spectra).
The Average button enables or disables the display of averaged spectrum
(averaged for the duration of the sweep).
The Follow button is applicable only when the spectrum is zoomed in, and
causes the display to follow the current sweeping position. If disabled, the
display then remains stationary.

WiNRADiO G39DDC User’s Guide
80
Activity Search
If the Activity button is engaged, this will put the receiver into the Activity
search mode:
In this mode, the wide-band display does not show a contiguous spectrum, but
rather “hits” on discreet frequency channels. In other words, the receiver will
operate like a conventional scanner.
To prepare for the activity search, you need to first set the Start and End
frequencies of the range, and the Step size:
The step size and the starting frequency must be determined so that they fall
on the actual channel frequencies inside the searched band.
The next value to set up is the Threshold:
When started, the activity search will look for signals that exceed this threshold
value. In the activity graph, these signals will appear as highlighted peaks,
crossing the horizontal line that represents the predefined threshold.
Starting, stopping and pausing is controlled by a trio of the usual self-
explanatory buttons:

WiNRADiO G39DDC User’s Guide
81
In addition to the visual activity search, on the right-hand side of the spectrum,
the search result will be also presented in a textual form, where the currently
active frequencies will be highlighted:
The Hit column will show the percentage of the time (since the start of the
search) that the found frequencies were on air.
Similarly to the Sweeper, the activity search results can be saved in a special
proprietary format (extension “.g39ddcact”) and then loaded back to be
viewed by the Excelsior application. This is accomplished using the file Save
and Load buttons, respectively:
Recording Functions
At the top of the DDC1 and DDC2 spectrum scopes there are Recorder
buttons that serve to reveal their respective recording facilities.

WiNRADiO G39DDC User’s Guide
82
Pressing this button will reduce the height of the spectrum scope at the bottom
and utilize the extra space for the recorder controls.
The recording controls of the DDC1 and DDC2 spectrum scopes appear
identical. However, their functions differ: The recording controls of the DDC1
spectrum scope relates to the DDC recorder, making it possible to record the
entire DDC1 bandwidth (up to 4 MHz wide), while the Audio recorder in the
DDC2 panel serves to record the demodulated audio.
As each of the two virtual receivers has its own DDC and demodulator, each of
the two receivers can record either (or both) the DDC stream and demodulated
audio independently and simultaneously, and so create four separate files at
the same time: Two DDC files and two audio files.
The DDC recorder can be very useful in situations where there the spectrum is
to be searched for interesting stations, or even when just a single signal is of
such significance where it needs to be repeatedly analysed with various
receiver settings. A weak or interference-obscured signal can thus be “re-
received” many times with different demodulator filter bandwidths, notch filter
or audio filter settings, etc., to arrive at the best possible demodulated audio.
Recording starts when the Recording button is engaged, and stops when
the Stop button is pressed. A Pause button is also available, to
temporarily pause both the recording and playback.
Playback is done by pressing the Play button . The Loop button makes
it possible to keep playing a recorded file in an infinite loop.

WiNRADiO G39DDC User’s Guide
83
The DDC recorder can record files with the extension “.ddc” or “.rxw”. The
Audio recorder will record in the standard Windows wave format (extension
“.wav”) or in the “.wwv” format. The actual format can be chosen in the
Browse file dialog or just by typing the file extension in the file name edit box.
For more details regarding the recording formats, please see Appendix G -
Recording File Formats.
The recorded file name can be set up using the usual Windows file edit box.
Pressing the File button reveals the Windows standard directory browsing
facility that can be used to advantage, instead of typing the path and file
names.
If the “toolbox” button next to the file name is activated, this will reveal a set
of useful controls specific to the recorders:
The Prebuffer control sets the time for pre-buffering, which means that the
recorder will include the specified number of seconds of recording before you
press the recording start button. This is in order not to miss the start of an
interesting transmission. The pre-buffering interval can be set from zero to 10
seconds.
If a recording file is specified which already exists in the destination path, there
are three buttons located next to the If file exists condition, which tell the
recorder how to deal with this situation. The user then has the following
options to select from:

WiNRADiO G39DDC User’s Guide
84
Ask for overwrite – a dialog box will ask you if you wish to overwrite the file.
Increment its name - each time the record button is pressed, a “counter” will
be inserted in the file name and prefixed with the “$” symbol. If there is no
initial number then “001” is automatically used first, and then incremented
each time a new file is created. For example, the file name may look like this:
rec-$001.wav
Overwrite - the file will be overwritten with the new data.
Append record – the new data will be appended to the end of the existing file.
(Note that this function is available only for the RXW format; as this file format
allows appending wave data of different formats, such as sampling rate. Other
supported file formats do not allow this.)
The Split button, when engaged, prevents the size of the recorded files from
exceeding 2 GB (larger files may be inconvenient to handle). If the file size
reaches 2 GB, the file will be automatically closed and named (for example)
rec-12.345678MHz-^001.ddc, where the “^” symbol denotes a split section.
Recording will then automatically continue into a file called
rec-12.345678MHz-^002.ddc. When the file is played back, the recorder will
automatically assemble the related split sections and play them back
seamlessly.
The split option should be used especially if the hard drive is using FAT32
rather than NTFS partitioning, as FAT32 has a maximum file size of 4 GB.
The File format selection makes it possible to choose between RXW or DDC
formats for the DDC recorder and WAV or WWV formats for the Audio
recorder.
The RXW and WWV formats are WiNRADiO proprietary. The advantage of
these formats is in their ability to store date/time stamps as well as other
parameters with the recordings. For more details see Appendix G –
Recording File Formats.
When recording, a receiver can be “locked” to prevent being “dumped” if a
user tunes the second receiver outside of the current 16 MHz wide IF
bandwidth (for more details how this can happen please refer to the chapter
Dual Receiver Operation). This is done by activating the Lock when
recording checkbox.

WiNRADiO G39DDC User’s Guide
85
Audio recordings can be controlled by the squelch condition. Should the
recording pause if the receiver is squelched, this can be set up by checking
the Pause recording if squelched checkbox. (This function is not applicable
to DDC recordings.)
The Insert frequency and date/time facility serves to insert the current local
time and the currently tuned frequency into the file name (with DDC files this
will be the current center frequency of the DDC bandwidth). As a result, the file
name may for example look like this: rec-12.345678MHz_11-07-
04_15’34’57.ddc (for DDC files) or rec-12.345678MHz_11-07-
04_15’34’57.wav (for audio files. This is very useful especially with DDC files:
If DDC files are played back with a frequency inserted in the file name in this
way, it will be assumed that this frequency is the DDC center frequency. It will
then be possible to tune to frequencies within the DDC passband as if the
recorded signal was a real-time transmission.
Attenuator
For the HF section of the receiver (9 kHz to 50 MHz), the Attenuator makes it
possible to reduce the signal coming to the ADC and therefore the receiver’s
sensitivity. This is useful in situations where strong signals cause overload.
Overload is indicated by the words “ADC CLP” appearing in the S-meter:
The attenuator is variable from zero to 18 dB, in 6 dB steps. It can be engaged
by pressing the Attenuator button, which will also enable manual selection of
the attenuation value.
Pressing the Auto button will adjust the attenuator automatically by increasing
the attenuation to the point when overload stops. (However, it does not
automatically decrease the attenuation if the original strong signal disappears;
this needs to be done manually.)

WiNRADiO G39DDC User’s Guide
86
If HF sensitivity appears poor, please first ensure that the attenuator is
disabled.
Preamplifier
For the VHF/UHF/SHF section of the receiver, the Preamp button engages a
low noise preamplifier, which adds approx 10 dB of amplification to the front-
end, and so increases sensitivity.
Please note that the actions of both the attenuator and preamplifier are
compensated for by the S-meter. This means that the S-meter always
displays the actual signal strength at the antenna input, within the
available measurement range.
S-meter
The WiNRADiO Excelsior receiver is equipped with a very sensitive and
selective Signal Strength Meter (S-meter) which makes it possible to
measure peak or RMS signal level in dBm, µV or S-units, within the
demodulator filter passband. The measurement units are selected by
appropriately marked buttons at the bottom of the display.
The S-meter also shows the currently selected value of the squelch (the red
section at the bottom side of the scale) when the squelch is enabled. When the
signal strength falls under the squelch level (i.e. the needle falls in the red
region and turns red also), the receiver audio will be muted and the word
“Squelched” will appear inside the S-meter.
The squelch value is always indicated in dBm (even if the signal strength is
displayed in S-units or microvolts).

WiNRADiO G39DDC User’s Guide
87
The Peak and RMS buttons select between peak and RMS values. The AVG
button applies a floating average with a one second time interval to smooth the
S-meter movement.
The S-meter is very selective, and acts only upon signals within the selected
demodulator bandwidth (gray-shaded area in the demodulator spectrum
display).
Please note that the actions of both the attenuator and preamplifier are
compensated for by the S-meter. This means that the S-meter always
displays the true value of the signal strength at the antenna input, within
the available measurement range. If the range is exceeded, either
Overrange or Underrange indicators are displayed in the S-meter.
Top Menu Bar
The top menu bar contains numerous ancillary functions of the Excelsior:
File
The File menu includes functions associated with file operations.
Did you know?
The word "file" was used publicly in the context of computer storage as early as
February, 1950. In an RCA (Radio Corporation of America) advertisement in Popular
Science describing a new "memory" vacuum tube it had developed, RCA stated: "...the
results of countless computations can be kept ‘on file’ and taken out again. Such a ‘file’
now exists in a ‘memory’ tube developed at RCA Laboratories. Electronically it retains
figures fed into calculating machines, holds them in storage while it memorizes new
ones - speeds intelligent solutions through mazes of mathematics."

WiNRADiO G39DDC User’s Guide
88
User memory files are of a special format with the extension “.r7m”. Scheduler
files have the extension “.r7s”. Sweeper data (refer to the Sweeper chapter)
have the extension “.g39ddcswp”.
Spectra are all saved as images, using the standard BMP format.
Memory Export and Import
The Save user memory as and Load user memory functions can save or
load the user memory in the CSV format (comma separated values), making it
possible to export frequencies in this commonly used format, as well as import
frequencies from third party sources.
Each line of CSV file contains the following information, in this particular order:
“Folder”, “Callsign”, “Description”, “Frequency”, “Mode”, “Bandwidth”, “Level
squelch”, “Noise squelch”, “Voice squelch”, “CTCSS squelch “, ”DCS squelch”,
“Audio filter low”, “Audio filter high”, “Audio filter de-emphasis”

WiNRADiO G39DDC User’s Guide
89
Folder can also include subfolders (groups), which are separated by slash
signs “/”, for example as follows:
"Memory/SW stations/Australia"
Frequency, Bandwidth and the audio filter parameters are specified including
the frequency unit, for example:
"21.525MHz"
To save or load the CSV file, simply specify this as a file type in the respective
window, for example:

WiNRADiO G39DDC User’s Guide
90
Options
The Options menu contains a number of user settings making it possible to
customize the receiver’s look and behaviour, adjust its numerous operational
parameters, activate various test and measurement displays, calibrate the
receiver, as well as restore factory defaults for user-definable parameters.
Auto-mute RX not in focus
By default, if you bring a receiver in focus by clicking on its associated tab, its
audio will be enabled, and the second receiver’s audio will be disabled. If you
deselect this check box, this will no longer apply. Please also refer to the
section Audio Mixer (under Audio Tab), which also relates to this feature.

WiNRADiO G39DDC User’s Guide
91
Enable second RX
By default, the second receiver is enabled. If disabled, then only the RX1 tab
remains active and it will not be possible to activate the RX2 tab. This feature
is useful with computers of insufficient processing power to run both receivers
with satisfactory DDC bandwidth and filter selectivity. By deactivating RX2, the
CPU load will be reduced and this additional power will become available for
RX1 which will then be able to achieve a wider DDC bandwidth and/or greater
selectivity.
Filter Length
This facility makes it possible to adjust the digital filter “length” (which directly
translates into selectivity) for three types of filters used in the Excelsior:
The Demodulator filter length has a direct influence upon the overall
receiver selectivity. Greater length gives better selectivity.
The maximum achievable selectivity is limited by the processing power of your
computer: The greater the CPU power, the “longer” (and therefore sharper)
can the filter be made.
This function also makes it possible to observe the CPU load, which will
depend on this setting. It may not be advisable to select a value resulting in
more than say 30% CPU load, as the computer may then become sluggish.

WiNRADiO G39DDC User’s Guide
92
The Notch and Audio filter lengths can also be adjusted using this facility,
resulting in sharper (or shallower) notch and audio filtering, tailored to specific
customer requirements.
Should the computer become sluggish or even “freeze” as a result of this
adjustment, please reduce the respective filter length to a lower value.
Note also that the CPU load can be lowered (while keeping selectivity high) by
reducing the DDC1 bandwidth. For example standard HF and narrow-band FM
signals can be demodulated with 20 kHz DDC1 bandwidth without decrease in
demodulation quality. Wider DDC bandwidths affect display and recording,
while increasing the CPU load considerably.
Front Panel LED
This function is only applicable to the WR-G39DDCe (USB interfaced) model.
Normally, its front panel blue LED flashes with various different patterns which
are useful for installing the receiver and debugging possible interface problems
(see Appendix C).
However, as the flashing LED may be disturbing, the behavior of this LED in
its normal "receiver ready" state can be controlled by the user, making it
possible to keep the LED continuously on or off, to suit the user's preference:

WiNRADiO G39DDC User’s Guide
93
Display Offset
This feature makes it possible to introduce a fixed offset to the displayed
frequency. It is particularly useful if an external frequency down-converter is
being used with the receiver:
Enter the required offset value in the Display offset edit box, click OK, and this
value will be added to the displayed frequency.
Optionally, you can also invert the displayed spectrum using the Invert
spectrum checkbox, which may be useful for example if a spectrum-inverting
down-converter is used at the input.
Time
The time information displayed in the top menu bar can be either the local time
(as provided by the PC) or UTC (Co-ordinated Universal Time). This can be
selected by the user using this option.
It is also possible to select 12 or 24 hour time display format, or the default
format determined by the Windows “locale” settings.
We are open 24/7!
With despatch centers located in the US, UK, EU and Australia, no matter what the
time of the day is, the WiNRADiO direct online one-stop-shop for receivers, software,
antennas and accessories never closes. Check this out at www.winradio.com/shop.

WiNRADiO G39DDC User’s Guide
94
Note the format in which the date is displayed depends on the locale settings
of your computer. You can change this in your Windows control panel under
Regional and Language Options. (Exact wording will depend on your
Windows version.)
Keyboard Shortcuts
Keyboard shortcuts make it possible to use keyboard keys instead of the
mouse to select most common functions. The keyboard shortcuts are also very
useful for blind and visually impaired radio operators as a preferred alternative
to a graphical user interface.

WiNRADiO G39DDC User’s Guide
95
All shortcuts can be user defined. If there is a conflict in the definition table (the
same keystrokes are specified for more than one function), this will be
highlighted in red. The Default button restores the factory defaults and the
Enable button can be used to enable or disable all shortcuts.
VSC Set-up
The Virtual Sound Card (VSC) is a software option designed to transfer
digitized audio signal streams from WiNRADiO receivers directly to other
applications. For more detailed description please refer to the chapter Virtual
Sound Card (under Function Tabs, the Audio tab).
This function makes it possible to set sampling rates for both the VSC audio
and IF outputs independently, to match the requirements of the target
application.
The VSC audio data is always 16 bit mono, the IF data is 16 bit stereo (each of
the I and Q components uses its own channel). The buffer size can be
adjusted to control latency, while the buffers count should be set to an
optimum value to avoid drop outs in data due to unequal sampling rates
between the applications.
Audio Buffering
The audio signal resulting from the receiver filtering and demodulation process
is sent to Windows multimedia output device, i.e. in most cases the PC sound
card. Prior to this, the audio data are buffered in order to avoid potential drop-
outs due to other background processes taking place on the PC, which may
cause irregular data rate.

WiNRADiO G39DDC User’s Guide
96
While the buffering removes drop-outs, on the other hand it introduces a
certain delay (latency) to the output audio.
The Min. buffer size and Max. buffer size parameters can be adjusted to
minimize the latency for a particular computer system.
The Min. buffer size parameter can be adjusted to the minimum acceptable
value before significant distortion or drop-outs develop. On the other hand, the
Max. buffer size parameter determines the maximum allowable latency.
AMS Capture Range
In the AMS mode, there is a certain "capture range", a frequency range within
which the receiver will capture the signal and lock to synchronization. If you
are tuning to a new signal, this Tune capture range is initially quite wide,
within ±1.5 kHz (factory default value) from the actual signal frequency, to
enable easy tuning by pointing and clicking near the peak in the DDC
spectrum, or dragging the filter passband area in the demodulator spectrum.
You can adjust the Tune capture range to a different width for tuning
convenience.

WiNRADiO G39DDC User’s Guide
97
Once locked to a signal, the capture range automatically reduces to ± 50 Hz
(factory default value) from the signal frequency. The reason for such
reduction is to avoid "kidnapping" of the synchronization frequency by a
nearby strong signal if the carrier signal fades, as may happen especially with
long-distance reception due to ionospheric effects.
You can adjust the Sync. lock range as a compromise value – if it is too
small, then you may lose sync in case the transmitter frequency drifts (modern
day transmitters have much better frequency stability than those of
yesteryear). On the other hand, if the Sync. lock range is too wide, then there
is an increased possibility of losing sync due to a nearby strong signal.
When the signal is locked in synchronization, this is indicated using a "lock"
symbol located in the top left corner of the frequency display
Audio Output
The audio output function makes it possible to allocate the audio output of the
receiver to different Wave out audio devices available on your computer. This
may be handy in special applications where you might wish to use one
receiver for audio output only, another one for data decoding (via a virtual
sound card), etc.

WiNRADiO G39DDC User’s Guide
98
It is also possible to channel the audio output to an ASIO (Audio Stream
Input/Output) device, if it is available in your system. This feature makes it
possible for an ASIO device to bypass the Windows audio processing layers
and access the receiver’s audio output directly, with the lowest possible
latency and eliminating any artifacts introduced by the computer’s operating
system.
Show Measurements
The Test and Measurement functions of the Excelsior receiver make it
possible to indicate the ADC input level (in percentage of the entire ADC
range), Frequency error of the received signal (assuming the receiver is
tuned to the correct frequency), AM modulation depth (for AM-modulated
signals), Frequency deviation (for FM-modulated signals), SINAD (signal-
plus-noise-plus-distortion to noise-plus-distortion ratio) and THD (total
harmonic distortion):
For SINAD and THD, the test frequency is assumed to be 1 kHz.
Note that this function is also conveniently duplicated by the information
button in the DDC2 spectrum scope “toolbox”.
Show Data Rates
The Show Data Rates display shows the various internal data rates of the
entire G39DDC receiver system. This may be useful especially for debugging
of installation problems:

WiNRADiO G39DDC User’s Guide
99
Of particular interest to many users will be the CPU load (excessive CPU load
may cause sluggish behaviour or freezing of the computer), and Audio
latency. Apart from DDC bandwidth, CPU load may be minimized by
reducing the Demodulator filter length (thus sacrificing selectivity) and audio
latency may be minimized by reducing the Audio buffering (while inviting the
possibility of audio drop-outs or distortion). Both these controls are available
under Options.
Note that this function is also conveniently duplicated by the information
button in the DDC1 spectrum scope “toolbox”.
Measuring your Excelsior’s sensitivity using your Excelsior
Using the SINAD measurement facility, you can measure the sensitivity of the
WiNRADiO Excelsior receiver very easily. All you need is a calibrated signal
generator. For example, to measure AM sensitivity, connect the signal
generator to the antenna input and turn on AM modulation (the modulation
depth is usually set to 30%, although some manufacturers prefer to quote
sensitivity figures at higher modulation depths, for example 60 or 80%). Set
the Test frequency equal to the modulating frequency (typically 1 kHz). Adjust
the IF bandwidth for the maximum SINAD. Then gradually keep reducing the
generator output level to the point when SINAD drops to 10 dB. The receiver
sensitivity is then equal to the generator level at this point.
Measuring AM sensitivity using SINAD rather than the conventionally used
S+N/N is quite appropriate as SINAD also includes distortion, which is as
much an impediment to intelligible reception as noise, and therefore provides a
more practical result. Even though in theory using SINAD should result in the
sensitivity figures being somewhat worse than if S+N/N is used, in practice,
with a good receiver such as the Excelsior, there is no noticeable difference.
Note: When measuring sensitivity using SINAD, it is very important that the
Audio Filter is enabled and the cut-off frequencies (and for FM measurements,
also the de-emphasis) are set according to the specified test conditions. Proper
audio filtering makes a substantial difference to the SINAD results.

WiNRADiO G39DDC User’s Guide
100
Show Waterfall Timestamps
Invoking this option makes the waterfall spectrum display show time stamps,
making it possible to relate spectrum events to absolute time:
Calibration
Since the Excelsior uses an accurate and stable temperature compensated
crystal oscillator with 0.5 ppm (parts per million) tuning stability, there is no real
need for calibration for most practical purposes. However, for the most
demanding user, a calibration facility still remains available:
Such calibration can be done either manually, by entering a correction factor
for the reference oscillator directly, or using automatic calibration against a
known reference signal.
To calibrate to a peak, simply tune the receiver to a known reference
frequency (presuming a reasonably strong and steady signal). The frequency
difference between the peak and the receiver’s tuned frequency will be shown
as Peak offset.
To calibrate the receiver to the peak frequency, click on Calibrate to peak. If
successful, the peak offset will show as zero. Press OK to complete the
process.

WiNRADiO G39DDC User’s Guide
101
Hand-Off Receiver
The Excelsior receiver software includes a useful function which allows users
to utilize a WiNRADiO G315 receiver (either the external WR-G315e or the
internal WR-G315i model) as a hand-off or recording receiver. The
WiNRADiO G315 receiver is a high-performance software-defined narrow-
band receiver with superior quality crystal filters, low phase noise, and a
significant reserve in sensitivity, and so able to provide a better signal-to-noise
ratio than the Excelsior on very weak signals.
When the G315 receiver is connected, selecting the Hand off receiver option
under the Options top menu bar allows the Excelsior to pass the tuned
frequency, mode and bandwidth information directly to the G315 receiver. For
the G315 receiver to become available to the Excelsior, it must be fully
connected, and the G315 application software running.
This feature may be useful if a frequency of interest is found and you wish to
record or monitor it, and then tune the Excelsior to a frequency outside the
currently tuned IF bandwidth.
Audio from the G315 receiver will normally be presented to the stereo mixer
system, although with the WR-G315i model (internal PCI-card version), it may
be more convenient to use a separate speaker connected directly to the audio
output available on the PCI card.
Color scheme
The entire color scheme of the Excelsior can be changed. If the dark blue of
the default “skin” does not suit, there are more to choose from to suit the
user’s personal preference.
Restore factory defaults
If you get lost by too much experimenting, help is always at hand: The
Restore factory defaults function resets all the variables to the factory default
values.

WiNRADiO G39DDC User’s Guide
102
Memory
The memory functions are described in great detail in the chapter Memory tab
(under Function tabs). Selecting this top bar menu function is equivalent to
pressing the Recall button under the memory tab.
Scheduler
The Scheduler is used to schedule automatic audio recording of stations at
predefined dates and times:
When the Scheduler function is selected, the following Task list is shown:
You can add new recording tasks by pressing the Add button at bottom left.
This opens the Add task window.
At the top of the window, you can add the task description or name in the
Description edit box which will then appear in the task list.
The next item to specify is the Frequency for the receiver to be tuned to.

WiNRADiO G39DDC User’s Guide
103
The next items are Start time and Start date. This is when the task shall be
executed, for example a recording will commence.
After this, you will need to specify whether you wish for this task to run only
once (select Run once), or whether this is to be a repetitive task (select
Repeat). If this is to be a repetitive task, you can select the repeat period in
terms of days, hours and minutes, and the ending date (using the Until
control).
If the task is to be performed only on particular days of week, you can select
those days of week on which the task is to be performed. (By default, initially
all days are selected, so you will have to deselect the unwanted days.)
Then there are three choices for the type of action for the Scheduler to
perform: You can either run a special-purpose plug-in, an external application
program, or make a recording. The last option, Record, selected by default, is
the one that is most commonly used. The file name edit box allows to chose
the recorded file name and the actual recording file format (for more
information about recording formats, please refer to Appendix G).
If the recording action is selected, you can then select whether the recording
should be of the demodulated Audio or DDC. DDC recordings have the
advantage of containing much more information, making it possible to “re-
receive” many stations in the recorded spectrum that can be up to 4 MHz wide.
If Audio recording type is selected, you have also a choice of the demodulator
filter bandwidth (DEM BW) – an identical control to the one in the demodulator
window. For DDC recording type, this control can be used to select the DDC
recorded bandwidth.
For Audio recordings, the Mode, Squelch and Audio filter controls also
become enabled, making it possible to set these parameters, similarly as they
are set under their respective tabs during normal receiver operation. If squelch
is enabled, the recording will be paused while the signal is below the squelch
level.
Using the Stop recording controls, you can force a recording to stop if one (or
more) of three conditions apply: The recording time exceeds a certain length,
the recorded file exceeds a certain size, or the signal becomes squelched for a
longer than specified period.

WiNRADiO G39DDC User’s Guide
104
Finally, you can decide whether you wish to delete a task from the task list if
ended, or wish to keep it for later editing and re-use.
All added tasks will be included in the task list. Right-clicking on an item in the
task list will show a pop-up menu which makes it possible to enable or disable
a task without deleting it, tune to the station specified in the task, edit or delete
a task (these last two functions serve for convenience and duplicate the Add
and Edit buttons).
By default, the recorded audio files are saved in the
My Documents/WiNRADiO/G39DDC folder, but you can change this using
the file browser function when entering the recorded file name.
Scanner
The Scanner facility of the Excelsior receiver makes it possible to scan
through stored memory channels and find occupied frequencies.

WiNRADiO G39DDC User’s Guide
105
The user needs to select a memory group within which the scan will be
performed (note that particular frequencies in the group can be “locked out” –
refer to the chapter Memory under Function tabs). The scan can be
performed in either direction using either the left or right arrow
buttons. The scan can be stopped using the Stop button or paused
using the Pause button.
Using the Options button, one can specify the scanners behavior when a
signal is found: The scanner can either pause for a predetermined amount of
time (waiting for a signal to reappear) or simply stop scanning.
Additional conditions are available to choose from, that define when the
scanner should resume scanning, such as when the signal disappears, after a
certain delay time, etc.
Logger
The Excelsior receiver is equipped with a simple logging function that makes it
possible to log signal strength on up to two frequencies at the same time.
These are specified by simply tuning one or both of the two receivers (RX1 or
RX2) to the desired frequencies.

WiNRADiO G39DDC User’s Guide
106
A simple dialog box makes it then possible to specify the file path and name
into which the logging will be made (in the CSV format) and the logging period.
While the Logger is running, normal operation of the receiver is not possible.
Elapsed time is shown in the Logger window and this is also where the logging
task can be stopped. Once logging is stopped and the Logger window closed,
the receiver operation returns back to normal.
Plugins
The last item (except Help) in the top bar menu is Plugins. Like many
WiNRADiO products, the Excelsior has the capability to integrate with
WiNRADiO’s XRS (Extensible Radio Specification) plug-ins that can extend
the receiver’s capability in many respects.
These can include various general-purpose enhancements related to particular
user-interface functions, as well as additional demodulators and other signal
processing facilities. It is also possible for users to write their own special
application plug-ins.
For more information about XRS plug-ins, please refer to
www.winradio.com/xrs.

WiNRADiO G39DDC User’s Guide
107
Power Switch
The Power switch, located at the bottom-right corner of the application
window, controls the receiver power. When it is off, the receiver circuitry will be
powered down.
When you exit and restart the WiNRADiO G39DDC application, the power
on/off status will be remembered.
Date and Time Display
The top menu bar clock display indicates the current time and date.
Using the function UTC time under Options top menu bar, you can set the
display to be in local time or UTC time.
If in the UTC time mode, the clock will show Universal Coordinated Time,
formerly called GMT (Greenwich Mean Time), which is the standard time used
around the world. This is provided because most shortwave stations announce
their broadcast times in UTC. Both time modes derive their information from
the PC clock. The time difference is determined by a setting in your Windows
Control Panel (Date and Time setting, Time Zone tab).
Did you know?
Coordinated Universal Time is abbreviated “UTC”. The International
Telecommunication Union wanted Coordinated Universal Time to have a single
abbreviation for all languages. English speakers and French speakers each wanted the
initials of their respective language's terms to be used internationally: "CUT" for
"coordinated universal time" and "TUC" for "temps universel coordonné". This resulted
in the final compromise of using "UTC".

WiNRADiO G39DDC User’s Guide
108
Appendix A – SDR and DDC Primer
This note is intended to help “traditional” radio enthusiasts understand the
technology differences between old style analog receivers and the new
generation of Software Defined Radio (SDR), especially with reference to the
WiNRADiO Excelsior.
Analog Receivers
Prior to the era of computer-interfaced radio receivers, a block diagram of a
typical HF receiver would look similar to that below. Incoming radio signals are
down-converted via one or more conversion processes, all using analog
components, tuned circuits, and various amplifiers, mixers and oscillators.
Following the final down-conversion, the resulting signal is applied to a
demodulator, and then to the audio output circuits:
These receivers depend only on hardware for their performance and
functionality. In the currently prevailing nomenclature of the SDR industry, they
are formally referred to as SDR Tier Zero receivers, meaning that there is no
involvement of software at all.
First Generation SDR
With the proliferation of personal computers into every aspect of our life, some
manufacturers realized that the world of radio had essentially remained
unaffected by computers and the radio receivers of the day would benefit from
some degree of computerization. WiNRADiO led that movement with the
introduction of the world’s first consumer PC-based communications receiver
in 1995, the award-winning WR-1000i model – a fully-fledged general-
coverage receiver on a PC card. A serial-interfaced (RS-232) external model

WiNRADiO G39DDC User’s Guide
109
WR-1000e shortly followed suit. These receivers were little more than software
controlled (rather than software defined): Their functionality, especially those
critical filtering and demodulation functions, was still very much defined by and
dependent on hardware. The software portion of these products was limited to
only two basic functions: To provide a convenient graphical user interface and
to process the audio via a computer sound card.
However, even with this limited added functionality, it was already obvious that
the “marriage” of a radio and computer was inevitable and could produce
some very interesting results: A software-based user interface can be
considerably more powerful than a hardware panel of a conventional receiver,
and computer-based audio processing can provide ancillary functions such as
audio filtering and recording with ease and at little additional cost.
Radio receivers that implement such software control, yet still retain most of
their other functionality defined by hardware, are often classified as SDR Tier
One, or Software-Controlled Radio.
Second Generation SDR
The second generation SDR receivers bring the radio-computer integration a
step further, by including an analog-to-digital converter (ADC) into the
essential functionality of the receiver. This came about primarily as a result of
performance improvement in PC sound cards, as well as increased CPU
power of personal computers that started to rival that of dedicated digital signal
processors (DSPs).
With the second generation of SDR receivers, the output of the final IF stage is
applied to an ADC (either a PC sound card, or included in the receiver), and
the resulting digitized IF signal is then processed further by the host computer
using mathematical digital signal processing (DSP) principles. Such
processing would include filtering and demodulation.
DSP-based filtering has brought two major benefits: A DSP filter can be made
much sharper than a traditional one, resulting in improved selectivity. At the
same time, the filter bandwidth can be made continuously variable, making it
possible to match the filter passband to the actual signal bandwidth and so
maximize the signal-to-noise ratio.

WiNRADiO G39DDC User’s Guide
110
DSP-based demodulation provides a receiver with great flexibility, where
additional modes can be easily added by a simple software change, while the
hardware remains the same. Plus of course, there is a benefit of performance
consistency: With the same input, a software routine will always produce the
same result, not depending in variations and aging of components such as
diodes, resistors and capacitors.
Another advantage of this concept is in the ability to present the IF signal in a
real-time spectrum display. Being able to “see” a signal and its neighborhood,
in addition to merely hear it, has brought about a major paradigm change and
increased a radio operator’s expectation as to what to expect from a radio
receiver.

WiNRADiO G39DDC User’s Guide
111
The preceding spectrum display is that of the WiNRADiO G313 receiver, a
typical representative of this type of SDR receivers, belonging to a class of
receivers also referred to as SDR Tier Two or Software-Reconfigurable
Radio. In SDR Tier Two radios, software is used to control and redefine a
variety of modulation techniques, spectrum bandwidth, and other essential
parameters and functionality of a radio receiver.
DDC-Based Receivers – The Excelsior
The arrival of the digital down-converter (DDC) has moved the hardware-
software dividing line of SDR Tier Two category receivers closer to the
antenna, and introduced additional benefits.
Advances in digital electronics, especially the introduction of fast ADCs and
field-programmable gate arrays (FPGA) made it possible to eliminate some, if
not all, hardware-based heterodyne processes and introduce the concept of
digital down-conversion, where the local oscillator and a mixer can be replaced
with a single software-reconfigurable hardware component.
Modern ADCs can achieve a sampling rate of 100 MHz and beyond. The
Nyquist theorem says that the maximum frequency that can be sampled
needs to be smaller than half of the sampling rate (see
www.wikipedia.org/wiki/Nyquist_frequency). So, we have the potential to
sample almost 50 MHz of spectrum at once.
However, one ADC does not yet make an SDR, and more software processes
are involved. Because of the very high amount of data, and issues related to
analog down-conversions that (still) need to take place to be able to achieve a
receiving frequency range in the order of GHz, it is necessary to reduce the
instantaneous spectrum bandwidth to a more manageable value.
In the Excelsior, we have chosen this to be 16 MHz as a very good
compromise – still much wider than that of most contemporary receivers.

WiNRADiO G39DDC User’s Guide
112
While this 16 MHz wide band is narrow enough to be digitized by today’s latest
and fast analog-to-digital converters, it is still too wide to be then processed in
real time by most contemporary PCs, and needs to be reduced further. The
most common process for such a reduction is digital down-conversion (DDC)
which typically relies on a special hardware component known as a field
programmable gate array (FPGA).
The process of reducing real time data and thus the usable bandwidth is
known as decimation, and in the Excelsior this first decimation results in a
DDC bandwidth of 4 MHz. There is enough processing power in most modern
computers to allow the user to place two 4 MHz wide windows (independent
receiver channels) anywhere within the 16 MHz IF bandwidth of the Excelsior.
(However, in the USB-based WR-G39DDCe model, the second receiver’s
DDC bandwidth is limited to only 2 MHz due to USB interface data throughput
constraints).
It is interesting (but not recommended to the faint-hearted) to note the
decimation description at
www.wikipedia.org/wiki/Decimation_(Roman_army).
In fact, it is easy to imagine this decimation process to be similar to the mixing
and IF stages of a conventional superheterodyne receiver, with each filtering
stage progressively refining the output of the process.
The Excelsior has two stages of decimation: firstly, from the 16 MHz analog
spectrum to the DDC1 (primary DDC) spectrum, and secondly, from DDC1 to
DDC2 (secondary DDC). The output of the decimation process is sent from the
receiver to the PC, either via the USB (WR-G39DDCe) or the PCI Express
(WR-G39DDCi) interface.
If the USB interface is used, it is important to note that the practical limit of 350
Mbit/s applies to a USB controller that may drive more than one USB port. All
devices connected to it may share the bandwidth and none may achieve the
theoretical 350 Mbit/s.
As the whole DDC spectrum is sent to the PC for processing, it is necessary to
use a ‘modern’ PC, typically with at least a dual core CPU. With slower CPUs,
it may not be possible to achieve the entire potential of the Excelsior, in
particular the ability of processing the entire 4 MHz wide DDC bandwidth.
Once the DDC data is efficiently transferred to the PC, the receiver application
software then continues to processes the data by digital filtering and
demodulation, in two independent receiver channels.

WiNRADiO G39DDC User’s Guide
113
Appendix B – Troubleshooting
Problem Solution
Upon installation,
the software says
that the receiver is
not found and
offers to run in
demo mode only.
WR-G39DDCe (USB models):
Check that receiver is turned on using the switch
located at the front of the device. The blue LED should
flash.
Compare the LED flashing pattern with the table
shown in Appendix C. If the flashing pattern is “5”
(meaning USB connected, driver not installed), please
reinstall the driver: Disconnect the receiver from the
USB port first and reinstall the software from the
supplied CD ROM. Then reconnect the receiver.
Windows should detect this and start the usual “new
hardware found” routine.
WR-G39DDCi (PCIe models):
Check that the PCI card is properly seated in the PCI
slot.
There may not be enough power available on the
PCIe bus, auxiliary power may be needed. This is
provided on a standard 6-way PCIe connector at the
rear of the card. This additional power supply is
particularly necessary for multi-channel installations,
where more than one WR-G39DDCi card is installed
in a single PC.

WiNRADiO G39DDC User’s Guide
114
Problem Solution
The receiver
application runs
OK, but there is
no sound coming
from the speaker.
When you tune to a known station, you should be able
to see a peak on the demodulator spectrum scope. If
you can’t see any peak, make sure your antenna is
properly connected. If you can see a peak but there is
no sound coming from the speaker, please check the
following:
The Mute button under the Audio tab is disengaged
and the volume is set to a medium level (say 15).
AGC under the Gain tab is enabled and set to
medium speed.
The squelch is disabled (the Enable button under the
Squelch tab is disengaged).
The sound card output is properly connected to
speakers or headphones and both the Wave and
Master volume controls are unmuted in the sound
card control panel and the levels adjusted
approximately as shown in the following picture:

WiNRADiO G39DDC User’s Guide
115
Problem Solution
I can hear the
audio and tune the
receiver, but the
sound is distorted.
Make sure that AGC under the Gain tab is enabled
and set to medium speed. Try to adjust the Gain
parameter under the Audio tab (excessive audio gain
can cause distortion).
If the S-meter shows the ADC CLP message, try to
reduce the signal level using the Attenuator (this is
only applicable on HF bands).
I can hear the
audio and tune the
receiver, but the
volume is too low,
even if I adjust the
volume control to
maximum.
Presuming the volume is already set to the maximum
level under the Audio tab, try to adjust the Wave and
Master volume also in the sound card control panel,
or on the amplified speakers you are using.
Make sure that AGC under the Gain tab is enabled.
Try to adjust the Gain parameter under the Audio tab
(excessive audio gain can cause distortion).
I can hear the
audio and tune the
receiver, but the
software is very
sluggish,
sometimes it may
even freeze.
Close all other programs to reduce the CPU load.
Go to Options top bar menu and select Filter Length.
This function shows the CPU load. This value should
not go over 30%. If it does, this may indicate
insufficient PC resources. You might need to decrease
the demodulator filter length (although values under
200 may not provide adequate selectivity) and/or limit
the maximum DDC1 bandwidth you can use (the wider
the DDC1 bandwidth the greater burden on the CPU
resources). You can also disable the secondary
receiver (uncheck Enable second RX under Options
menu), which should more than halve the CPU load.
For best performance, modern PCs should be used,
preferably with quad core or higher.

WiNRADiO G39DDC User’s Guide
116
Problem Solution
I can hear the
audio and tune the
receiver, but the
audio is very
noisy.
Make sure the Attenuator is disabled (on HF bands)
and the Preamplifier is engaged (on VHF/UHF/SHF
bands). Check that your antenna is properly
connected, the connector is not loose and that the
antenna cable is not damaged. Does the noise floor
drop significantly if you disconnect the antenna? If so,
then perhaps the antenna is picking up too much
ambient noise. Try to improve the antenna, or move it
further away from the PC. An outdoor antenna is
preferable. Watch for ground loop problems (for
details, see the chapter Connecting the Antenna).
Reception is
obscured with a
buzzing
interference or
periodic RF peaks.
Check for the sources of interference in your
surroundings: it could be fluorescent lights, a lamp
dimmer, or other household appliances. Your PC
could be the culprit. Unless you are able to suppress
the interference at the source, the only solution is to
install a better antenna, preferably an outdoor one.
Computer networks are especially noisy and if your
PC is connected to one, you will almost certainly need
an outdoor antenna. If the interference level varies
periodically with peaks about 30-100 kHz apart, the
most likely culprit is the monitor or the video card.
Modern LCD monitors generate much lower levels of
interference than old CRT ones. A noisy laptop may
also create “comb-like” spectra with peaks several
MHz apart. Switch the monitor off - if the interference
disappears then the cause is the monitor. Move the
antenna away from the computer and observe if the
interference reduces as a result. (See also Appendix
D – Dealing With Interference.)

WiNRADiO G39DDC User’s Guide
117
Appendix C – USB Interface Diagnostics
The flashing pattern of the blue LED on the WR-G39DDCe receiver’s front
panel has a diagnostics meaning. Normally, when the receiver is powered up
and the application running, the blue LED should flash in a dih-dah pattern (i.e.
a short flash followed by a long one).
A complete list of the flashing patterns and their meaning is as follows:
No.
Pattern
Description
Mode
1
Off
No power
2
Long flash,
equal gap
No connection to computer
3 Two short
flashes
USB connected, radio off
4
One short
flash
followed by
a long one
USB connected, radio on, ready
5
Two short
flashes
followed by
a long one
USB connected, driver not
installed
6
Three short
flashes
USB connected, driver installed,
application not running
For the normal Ready state as indicated by pattern 4 (one short flash followed
by a long one), the front panel LED can be controlled by the user, under the
Options | Front panel LED top bar menu. Depending on these settings, the
LED can be made to either indicate the diagnostic patterns, or be continuously
on or off (while the application is running).
This is useful in situations when a flashing LED might appear disturbing and a
steady state is preferable.

WiNRADiO G39DDC User’s Guide
118
Appendix D – Dealing with Interference
Electromagnetic Interference (EMI) is what prevents us from receiving a
clear signal, even when the receiver should be sensitive enough to receive it.
There are many types of interference you can experience with radio receivers,
emanating from both natural and man-made sources.
Natural interference is produced by atmospheric phenomena such as storms
and sun activity.
Not so surprisingly, man-made interference is often worse. Sources include
electric motors, power lines, passing cars, electrical welding equipment,
fluorescent lights, domestic appliances, computer networks, etc. Receiving
antennas should always be as far away from sources of electromagnetic
interference as possible.
One significant source of man-made electromagnetic interference is the
personal computer. Since the WiNRADiO Excelsior receiver requires a
personal computer to operate, this creates a potential paradox. The receiver
itself is designed to be substantially immune to computer-generated
interference. However, any receiver needs to be connected to an antenna, and
antennas can’t discriminate between useful signals and interference. The
interference from your computer can either radiate directly to the antenna, or it
can be conducted to it along the outer conductor of the lead-in cable. Even in
professional radio receiving stations, a lot of care and effort is always needed,
if this type of self-interference is to be avoided.
Some computers are worse than others in terms of generated electromagnetic
interference. The specifics of a computer-based software-defined receiver
require a careful consideration with respect to computer-generated noise. Over
the past decade or so, computers have become considerably quieter in terms
of radiated radio frequency interference (RFI). Replacing CRT monitors with
modern LCD types has substantially contributed to this, as have strict FCC
and CE requirements with respect to allowable levels of RFI for consumer
products.
To check this, tune to some of the interfering signals, then switch off the
monitor and see if the signal disappears. If it does then you could continue
using the WiNRADiO receiver, and live with the fact that some useful
frequencies will be obscured by your monitor’s interference, or you can replace

WiNRADiO G39DDC User’s Guide
119
your monitor with a ‘quieter’ one, or you can try to relocate your antenna
further away from your computer.
While the WiNRADiO Excelsior receiver has been designed to minimize
interference-related problems, switched-mode computer power supplies
sometimes still present a challenge. This type of interference would usually
enter the receiver as common-mode noise, which means that the noise is in
the same phase on both the active and shielding conductors of the antenna
lead.
A good remedy to try is to wind five to ten turns of the antenna lead-in cable
through a large ferrite core (the doughnut shaped toroid type), near the PC
end of the cable. This suppresses the common-mode interference, which is
a typical but curable problem with PC-controlled receivers.
A most effective remedy is the WiNRADiO WR-CMC-30 Common-Mode
Choke (see www.winradio.com/cmc30), which is well proven to cure most
common-mode interference problems. In extreme cases, two or more chokes
can be used, placed strategically along the antenna lead where suitable
grounding points exist.
Long wire antennas, while most commonly used, also appear to be most
susceptible to problems related to ground loops. If you encounter such
problems, we would also suggest experimenting with magnetic loop antennas
which do not require grounding at all.
Another type of interference which you may encounter is intermodulation
interference. This is usually caused by strong local stations, whose
frequencies combine to create ‘ghost’ signals on frequencies which are
arithmetic combinations of the stations’ frequencies. These ‘ghost’ signals can
sometimes coincide with useful frequencies, rendering them partially or
completely unusable. They will usually disappear when you enable the
Attenuator. In some cases, intermodulation interference in the shortwave
band is caused by a strong local MW station and the most effective remedy
would be to install an external MW filter.

WiNRADiO G39DDC User’s Guide
120
Appendix E – G39DDCi PCIe Card Connections
At the front, the WiNRADiO G39DDCi card has the SMA antenna input
connector, plus several additional optional inputs that may or may not be
installed, depending on the customer requirement:
At the rear of the card, there is a standard 6-pin connector for auxiliary power
as well as, optionally, an SMA connector for IF output (70 MHz):
The Auxiliary Power connector is useful if more than one card is installed in
the computer and there is not enough power provided by the PCI Express bus.
For more detailed technical information about these connections please refer
to the particular product’s technical specifications.

WiNRADiO G39DDC User’s Guide
121
Appendix F – Waterfall Spectrum Palettes
The Waterfall spectrum uses color palettes, selectable using the Palette
control:
The color palettes reside in ordinary text files with an extension “.pal”, located
in the application installation folder, i.e. typically
C:/Program files/WiNRADiO/G39DDC/Defs.
The existing files are named Default.pal, Blue.pal, DeepBlue.pal, Gray.pal,
Magenta.pal, Rainbow.pal, Sepia.pal and Yellow.pal.
You can create your own additional palettes quite easily.
A palette file consists of 256 lines. The top line corresponds to the maximum
signal strength (max_SS) displayed by the waterfall, the bottom line
corresponds to the minimum signal strength (min_SS).
Each line contains a set of decimal RGB values separated by spaces (0 0 0
represents black; 255 255 255 is white). The incoming signal strength values
are mapped to this color space as follows:
If the attenuator is off, the minimum signal level is -150 dBm, the maximum
level is 0 dBm. If the attenuator is on, the attenuation value is added to these
figures (for example, for 10 dB attenuation, the minimum displayed signal level
will be -140 dBm and the maximum level will be +10 dBm).
The Color index, i.e. the sequential number of the corresponding line in the
palette related to a particular input signal strength (SS) will be calculated using
a linear interpolation formula:
Color_index = 255 * (SS - min_SS) / (max_SS - min_SS)
(All signal strength values are in dBm.)

WiNRADiO G39DDC User’s Guide
122
Appendix G – Recording File Formats
The DDC recorder can record the DDC stream in a standard WAV file format,
but saves the files with an extension “.ddc” in order to avoid confusion with
audio wave files. The proprietary WiNRADiO RXW file format (extension
“.rxw”) is often a better choice, because it also contains additional data such
as the current DDC center frequency, date, time and internal compensation
data, which makes it possible to simulate original conditions during the
playback. When replaying an RXW recording, the recorder panel shows the
original time of the played back signal and the DDC spectrum scope shows the
original DDC frequency. If “Waterfall timestamps” option is enabled, the DDC
waterfall also shows the original time in its vertical axis.
All DDC files are stereo (as they are stored in the I/Q form) and 32 bit, except
for 3.2, and 4 MHz DDC bandwidth which are 16 bit (due to limited USB
transfer rate). The recording sampling rate varies according to the selected
DDC bandwidth, shown in the following table:
DDC Bandwidth
(kHz)
DDC Recording
Sampling Rate (kHz)
20
25
24
32
32
40
40
50
50
62.5
64
80
80
100
100
125
125
160
160
200
200
250
250
312.5
320
400
400
500
500
625
640
800
800
1000
1000
1250
1250
1666.67
1600
2000

WiNRADiO G39DDC User’s Guide
123
DDC Bandwidth
(kHz)
DDC Recording
Sampling Rate (kHz)
2000
2500
2500
3333.3
3200
4000
4000
5000
Note: The Nyquist sampling theorem is satisfied because there are two
values (I and Q) for each sample (stored as two stereo channels), so the
effective sampling rate is twice of that shown.
The Audio recorder can record standard Windows “.wav” files with 16 bit
word length, sampled at 32, 48, 64, 96 or 128 kHz (according to the ASR –
Audio Sampling Rate setting), in mono, or in WINRADiO proprietary WWV
(extension “.wwv”) file format, which also stores the actual time, frequency,
mode and the RMS signal strength. These additional data can be viewed in
special WWV players, such as the WiNRADiO WAARP.
The following standard naming conventions apply to files created by the DDC
and audio recorders:
If the Insert Frequency and Date/Time checkbox is checked in the recorder
“toolbox” a file with a name such as rec-12.345678MHz_11-07-
04_15’34’57.ddc is created. The center frequency of the DDC spectrum,
together with the current local time, are saved as a part of the file name, to be
able to position the spectrum accurately during playback. With audio
recordings, the actual tuned frequency and the local time are inserted. (This
information serves merely for the user’s convenience, i.e. the receiver is not
tuned to this frequency when such file is played back.)
If you select Increment its name for the If file exists condition and start
recording, this will create a file named for example rec-12.345678MHz-
$001.ddc. The file name includes a “counter” prefixed by the “$” sign. With
each new created file, this counter will be incremented.
If you engage the Split button and the file size reaches 2 GB, the existing file
will be automatically closed and named rec-12.345678MHz-$001-^001.ddc,
where the “^” sign denotes these split sections, and recording will
automatically continue into a file named rec-12.345678MHz-$001-^002.ddc. If
you manually stop and restart the recording, it will continue to a file named
rec-12.345678MHz-$002.ddc, etc.

WiNRADiO G39DDC User’s Guide
124
Appendix H – Compliance Declarations
CE Conformity
Radixon Group Pty.Ltd. declares that the WiNRADiO G39DDC Excelsior
receiver complies with the following EC standards:
EN 55013:2002 + A1:2004 + A2:2006 clause 4.2, 4.3 and 4.6
EN 55020:2007
EN 61000-4-2:2009
EN 61000-4-3:2006 + A1:2007
EN 61000-4-4:2004
FCC Compliance
This device, trade name WiNRADiO Communications Receiver, model
number WR-G39DDC complies with Part 15 of the FCC Rules. Operation is
subject to the following conditions: (1) This device may not cause harmful
interference, and (2) this device must accept any interference received,
including interference that may cause undesired operation.
We have determined and warrant that the above described device has been
shown to comply with the requirements of the FCC Part 15, by having a device
tested at an accredited testing laboratory. Each unit marked is identical to the
device as tested. Compliance assumes no unauthorized changes will be made
to the equipment and it will be maintained and operated properly. A test report
has been generated. A technical file containing the test report will be
maintained for a period of at least 2 years after manufacturing ceases. It is
also understood that characteristics of this equipment will require retesting.
Please direct all communication regarding this matter to:
Compliance Manager
Radixon Group Pty.Ltd.
15 Stamford Road
Oakleigh, Victoria 3166
Australia
Tel: +61 3 9568 2568
Fax: +61 3 9568 1377

WiNRADiO G39DDC User’s Guide
125
Appendix I – Safety Disposal
1. When this crossed-out bin symbol is attached to a product it means that the
product is covered by the European Community directive 2002/96/EC.
2. All electrical and electronic products should be disposed of separately from
the municipal waste stream via designated collection facilities appointed by the
government or by the local authorities.
3. The correct disposal of your old appliance will help prevent potential
negative consequences for the environment and the human health.
4. For more detailed information about the disposal of your old appliance,
please consult your city office, waste disposal service or the shop where you
purchased the product.
WiNRADiO®
COMMUNICATIONS
www.winradio.com