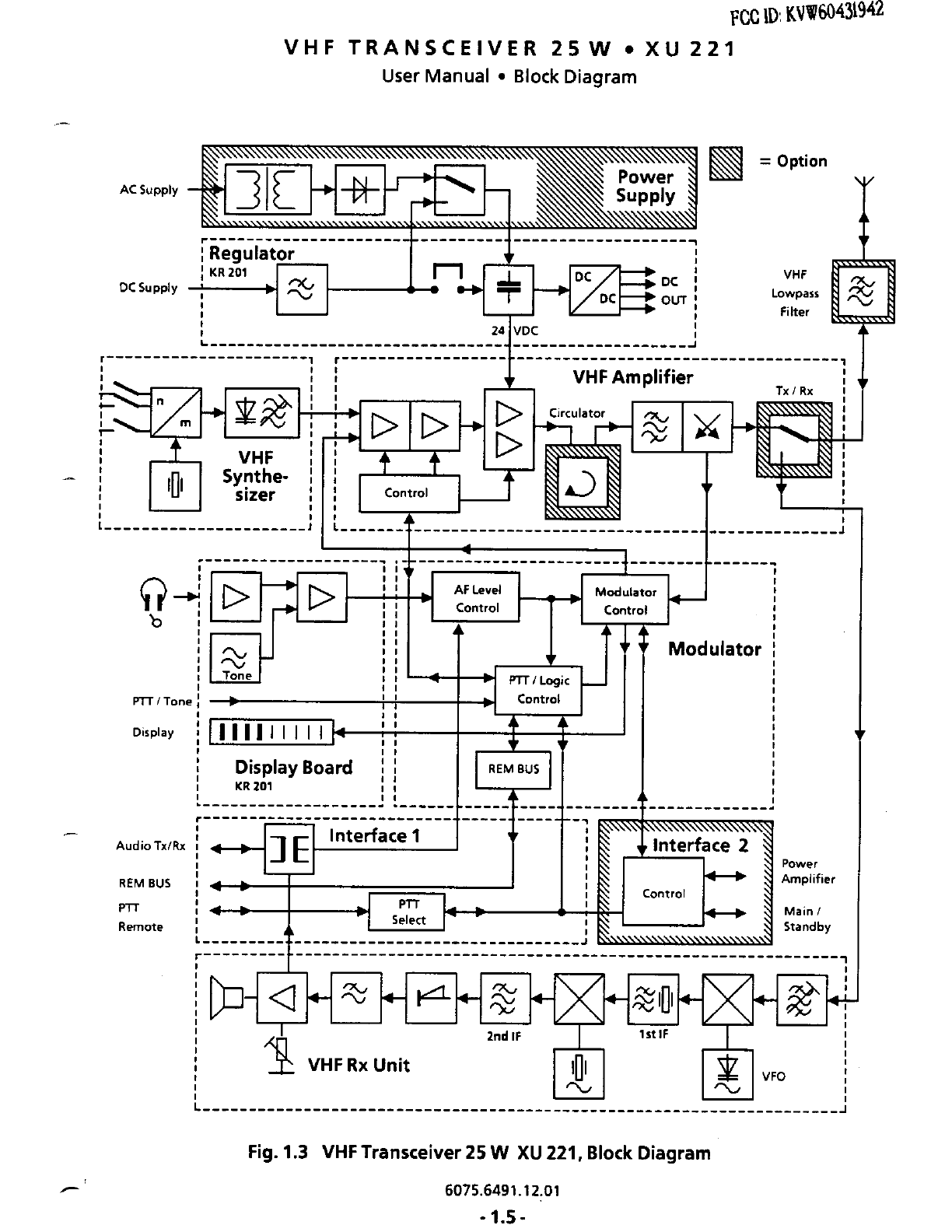
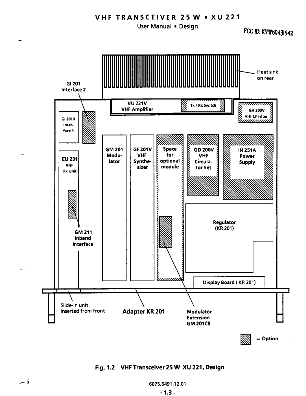
Rohde and Schwarz and Co KG 60431942 User Manual 8
Rohde & Schwarz GmbH & Co KG 8
UserManual.wiki
>
Rohde and Schwarz and Co KG
>
60431942 User Manual HTML Version
8
Navigation menu
Upload a User Manual
Namespaces
Wiki Guide
HTML
PDF
Info
Views
User Manual
Discussion / Help
Navigation