Ruckus Brocade ICX 6650 Hardware Installation Guide Campus Switch HW Icx6650 Installguide
Brocade ICX 6650 Campus Switch HW Installation Guide icx6650-installguide
2017-06-15
User Manual: Ruckus Brocade ICX 6650 Campus Switch HW Installation Guide
Open the PDF directly: View PDF
.
Page Count: 83
- Brocade ICX 6650 Hardware Installation Guide
- Preface
- About This Document
- Brocade ICX 6650 Overview
- Installing the Brocade ICX 6650
- Configuring the Brocade ICX 6650
- Brocade ICX 6650 Operation
- Managing the Brocade ICX 6650
- Brocade ICX 6650 Switch Technical Specifications
- System specifications
- Ethernet
- LEDs
- Other
- Weight and physical dimensions
- Environmental requirements
- Power supply specifications (per PSU)
- Power consumption (typical configuration)
- Power consumption (maximum configuration)
- Data port specifications (Ethernet)
- Serial port specifications (pinout mini-USB)
- Serial port specifications (protocol)
- Memory specifications
- Regulatory compliance (EMC)
- Regulatory compliance (safety)
- Regulatory compliance (environmental)
- Brocade ICX 6650 Regulatory Statements
- Brocade ICX 6650 Cautions and Danger Notices

HARDWARE INSTALLATION GUIDE
Brocade ICX 6650
Hardware Installation Guide
Part Number: 53-1003621-04
Publication Date: 15 June 2017
© 2017, Brocade Communications Systems, Inc. All Rights Reserved.
Brocade, the B-wing symbol, and MyBrocade are registered trademarks of Brocade Communications Systems, Inc., in the United States and in other
countries. Other brands, product names, or service names mentioned of Brocade Communications Systems, Inc. are listed at www.brocade.com/en/legal/
brocade-Legal-intellectual-property/brocade-legal-trademarks.html. Other marks may belong to third parties.
Notice: This document is for informational purposes only and does not set forth any warranty, expressed or implied, concerning any equipment,
equipment feature, or service oered or to be oered by Brocade. Brocade reserves the right to make changes to this document at any time, without
notice, and assumes no responsibility for its use. This informational document describes features that may not be currently available. Contact a Brocade
sales oce for information on feature and product availability. Export of technical data contained in this document may require an export license from the
United States government.
The authors and Brocade Communications Systems, Inc. assume no liability or responsibility to any person or entity with respect to the accuracy of this
document or any loss, cost, liability, or damages arising from the information contained herein or the computer programs that accompany it.
The product described by this document may contain open source software covered by the GNU General Public License or other open source license
agreements. To nd out which open source software is included in Brocade products, view the licensing terms applicable to the open source software, and
obtain a copy of the programming source code, please visit http://www.brocade.com/support/oscd.
Brocade ICX 6650 Hardware Installation Guide
2 Part Number: 53-1003621-04

Contents
Preface...................................................................................................................................................................................................................................7
Document conventions............................................................................................................................................................................................................................7
Notes, cautions, and warnings.....................................................................................................................................................................................................7
Text formatting conventions.........................................................................................................................................................................................................7
Command syntax conventions....................................................................................................................................................................................................8
Brocade resources.....................................................................................................................................................................................................................................8
Document feedback..................................................................................................................................................................................................................................8
Contacting Brocade Technical Support............................................................................................................................................................................................ 9
Brocade customers..........................................................................................................................................................................................................................9
Brocade OEM customers............................................................................................................................................................................................................. 9
About This Document..................................................................................................................................................................................................... 11
What’s new in this document............................................................................................................................................................................................................. 11
Supported Software............................................................................................................................................................................................................................... 11
Brocade ICX 6650 Overview.........................................................................................................................................................................................13
Brocade ICX 6650 features...............................................................................................................................................................................................................13
Brocade ICX 6650 orderable models........................................................................................................................................................................................... 13
Brocade ICX 6650 customizable models....................................................................................................................................................................................14
Views of the Brocade ICX 6650 switch........................................................................................................................................................................................15
Ports on Demand licensing................................................................................................................................................................................................................ 16
Brocade ICX 6650 slot and Ethernet port numbering........................................................................................................................................................... 17
Supported transceivers and cables................................................................................................................................................................................................. 18
Breakout cables....................................................................................................................................................................................................................................... 19
Cooling system and fans......................................................................................................................................................................................................................19
Installing the Brocade ICX 6650...................................................................................................................................................................................23
Unpacking the device............................................................................................................................................................................................................................23
Package contents (ICX6650-32-E-ADV, ICX6650-48-E-ADV, and ICX6650-56-E-ADV)................................................................... 23
Package contents (ICX6650-32-ADV)...............................................................................................................................................................................23
Installation and safety considerations.............................................................................................................................................................................................24
Electrical considerations............................................................................................................................................................................................................. 24
Environmental considerations.................................................................................................................................................................................................. 24
Location considerations..............................................................................................................................................................................................................24
Cabinet considerations................................................................................................................................................................................................................25
Recommendations for cable management........................................................................................................................................................................ 25
Installation tasks.......................................................................................................................................................................................................................................25
Installation precautions......................................................................................................................................................................................................................... 26
General precautions......................................................................................................................................................................................................................26
Lifting precautions.........................................................................................................................................................................................................................27
Power precautions.........................................................................................................................................................................................................................27
Installing the device in a rack or cabinet........................................................................................................................................................................................ 27
2-post rack mount installation................................................................................................................................................................................................. 28
4-post rack mount installation................................................................................................................................................................................................. 30
Attaching a PC or terminal.................................................................................................................................................................................................................. 33
Powering on the system.......................................................................................................................................................................................................................34
Power supplies.........................................................................................................................................................................................................................................34
Installing and replacing a power supply unit.......................................................................................................................................................................35
Brocade ICX 6650 Hardware Installation Guide
Part Number: 53-1003621-04 3
Installing an AC power supply.................................................................................................................................................................................................. 35
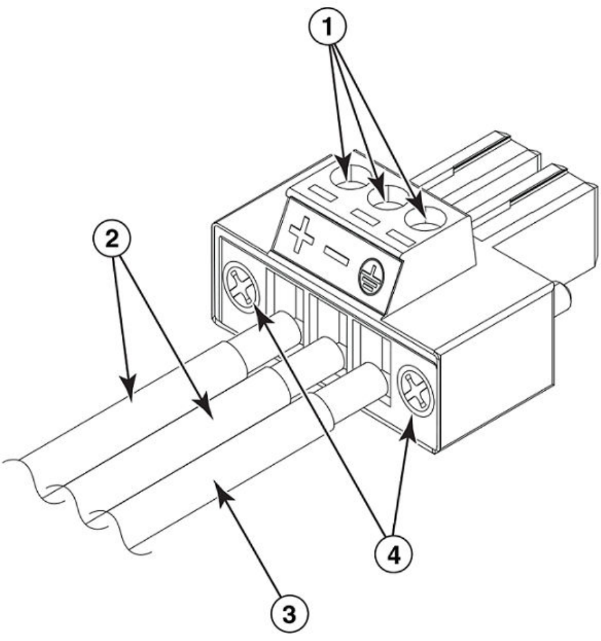
Installing a DC power supply.................................................................................................................................................................................................... 37
Installing an SFP+ transceiver............................................................................................................................................................................................................40
Conguring the Brocade ICX 6650............................................................................................................................................................................. 43
Assigning permanent passwords.....................................................................................................................................................................................................43
Setting passwords......................................................................................................................................................................................................................... 43
Recovering from a lost password............................................................................................................................................................................................44
Conguring IP addresses.................................................................................................................................................................................................................... 44
Devices running Layer 2 software..........................................................................................................................................................................................44
Devices running Layer 3 software..........................................................................................................................................................................................45
Connecting network devices.............................................................................................................................................................................................................. 48
Connectors....................................................................................................................................................................................................................................... 48
Connecting a network device to a ber port.......................................................................................................................................................................48
Testing connectivity................................................................................................................................................................................................................................49
Pinging an IP address..................................................................................................................................................................................................................49
Tracing a route.................................................................................................................................................................................................................................49
Troubleshooting network connections........................................................................................................................................................................................... 49
Brocade ICX 6650 Operation........................................................................................................................................................................................51
LED activity interpretation................................................................................................................................................................................................................... 51
Brocade ICX 6650 front panel LEDs.............................................................................................................................................................................................51
Brocade ICX 6650 rear panel LEDs.............................................................................................................................................................................................. 52
LED patterns.............................................................................................................................................................................................................................................53
PSU 1 and PSU2..........................................................................................................................................................................................................................53
DIAG LED.........................................................................................................................................................................................................................................54
Management port status LED..................................................................................................................................................................................................54
1/10 GbE SFP+ port LEDs......................................................................................................................................................................................................54
40 GbE QSFP+ rear port LEDs on front panel................................................................................................................................................................ 54
4x10 GbE QSFP+ rear port LEDs on front panel...........................................................................................................................................................55
Brocade ICX 6650 maintenance.....................................................................................................................................................................................................55
Diagnostic tests and monitoring.......................................................................................................................................................................................................55
Managing the Brocade ICX 6650.................................................................................................................................................................................57
Managing temperature settings........................................................................................................................................................................................................ 57
Displaying the temperature........................................................................................................................................................................................................57
Displaying syslog messages for temperature....................................................................................................................................................................58
Changing the temperature warning level ............................................................................................................................................................................58
Changing the temperature poll time...................................................................................................................................................................................... 58
Removing MAC address entries.......................................................................................................................................................................................................59
Displaying Brocade ICX 6650 CPU usage.................................................................................................................................................................................59
Hardware maintenance schedule..................................................................................................................................................................................................... 59
Replacing a copper or ber-optic module....................................................................................................................................................................................60
Removing a copper or ber-optic module..........................................................................................................................................................................60
Cabling a ber-optic module.................................................................................................................................................................................................... 62
Cleaning the ber-optic connectors.......................................................................................................................................................................................62
FRU removal and replacement procedures.................................................................................................................................................................................62
Replacing a power supply unit...........................................................................................................................................................................................................63
Determining the need to replace a power supply.............................................................................................................................................................63
Time and items required.............................................................................................................................................................................................................64
Replacing a power supply.......................................................................................................................................................................................................... 64
Replacing fan trays................................................................................................................................................................................................................................. 65
Brocade ICX 6650 Hardware Installation Guide
4 Part Number: 53-1003621-04
Determining the need to replace a fan assembly.............................................................................................................................................................65
Time and items required.............................................................................................................................................................................................................65
Installing or replacing the fan assembly............................................................................................................................................................................... 65
Brocade ICX 6650 Switch Technical Specications................................................................................................................................................ 67
System specications............................................................................................................................................................................................................................67
Ethernet.......................................................................................................................................................................................................................................................67
LEDs.............................................................................................................................................................................................................................................................67
Other............................................................................................................................................................................................................................................................ 68
Weight and physical dimensions...................................................................................................................................................................................................... 68
Environmental requirements.............................................................................................................................................................................................................. 68
Power supply specications (per PSU)..........................................................................................................................................................................................68
Power consumption (typical conguration).................................................................................................................................................................................. 69
Power consumption (maximum conguration)...........................................................................................................................................................................69
Data port specications (Ethernet)...................................................................................................................................................................................................69
Serial port specications (pinout mini-USB)................................................................................................................................................................................69
Serial port specications (protocol)..................................................................................................................................................................................................69
Memory specications..........................................................................................................................................................................................................................70
Regulatory compliance (EMC)...........................................................................................................................................................................................................70
Regulatory compliance (safety)..........................................................................................................................................................................................................70
Regulatory compliance (environmental).........................................................................................................................................................................................70
Brocade ICX 6650 Regulatory Statements................................................................................................................................................................73
BSMI statement (Taiwan).....................................................................................................................................................................................................................73
Canadian requirements.........................................................................................................................................................................................................................73
China CC statement...............................................................................................................................................................................................................................74
China ROHS............................................................................................................................................................................................................................................. 74
Europe and Australia (CISPR 22 Class A Warning)..................................................................................................................................................................74
FCC warning (US only)..........................................................................................................................................................................................................................75
Germany..................................................................................................................................................................................................................................................... 75
KCC statement (Republic of Korea)................................................................................................................................................................................................. 75
VCCI statement........................................................................................................................................................................................................................................75
Brocade ICX 6650 Cautions and Danger Notices ................................................................................................................................................... 77
Cautions......................................................................................................................................................................................................................................................77
General cautions.............................................................................................................................................................................................................................77
Electrical cautions..........................................................................................................................................................................................................................79
Danger Notices........................................................................................................................................................................................................................................ 80
General dangers.............................................................................................................................................................................................................................81
Electrical dangers...........................................................................................................................................................................................................................81
Dangers related to equipment weight................................................................................................................................................................................... 83
Laser dangers..................................................................................................................................................................................................................................83
Brocade ICX 6650 Hardware Installation Guide
Part Number: 53-1003621-04 5
Brocade ICX 6650 Hardware Installation Guide
6 Part Number: 53-1003621-04

Preface
• Document conventions...................................................................................................................................................................................... 7
• Brocade resources............................................................................................................................................................................................... 8
• Document feedback............................................................................................................................................................................................8
• Contacting Brocade Technical Support.......................................................................................................................................................9
Document conventions
The document conventions describe text formatting conventions, command syntax conventions, and important notice formats used in
Brocade technical documentation.
Notes, cautions, and warnings
Notes, cautions, and warning statements may be used in this document. They are listed in the order of increasing severity of potential
hazards.
NOTE
A Note provides a tip, guidance, or advice, emphasizes important information, or provides a reference to related information.
ATTENTION
An Attention statement indicates a stronger note, for example, to alert you when trac might be interrupted or the device might
reboot.
CAUTION
A Caution statement alerts you to situations that can be potentially hazardous to you or cause damage to hardware,
rmware, software, or data.
DANGER
A Danger statement indicates conditions or situations that can be potentially lethal or extremely hazardous to you. Safety
labels are also attached directly to products to warn of these conditions or situations.
Text formatting conventions
Text formatting conventions such as boldface, italic, or Courier font may be used to highlight specic words or phrases.
Format Description
bold text Identies command names.
Identies keywords and operands.
Identies the names of GUI elements.
Identies text to enter in the GUI.
italic text Identies emphasis.
Identies variables.
Identies document titles.
Courier font Identies CLI output.
Brocade ICX 6650 Hardware Installation Guide
Part Number: 53-1003621-04 7
Format Description
Identies command syntax examples.
Command syntax conventions
Bold and italic text identify command syntax components. Delimiters and operators dene groupings of parameters and their logical
relationships.
Convention Description
bold text Identies command names, keywords, and command options.
italic text Identies a variable.
value In Fibre Channel products, a xed value provided as input to a command option is printed in plain text, for
example, --show WWN.
[ ] Syntax components displayed within square brackets are optional.
Default responses to system prompts are enclosed in square brackets.
{ x | y | z } A choice of required parameters is enclosed in curly brackets separated by vertical bars. You must select
one of the options.
In Fibre Channel products, square brackets may be used instead for this purpose.
x | yA vertical bar separates mutually exclusive elements.
< > Nonprinting characters, for example, passwords, are enclosed in angle brackets.
... Repeat the previous element, for example, member[member...].
\ Indicates a “soft” line break in command examples. If a backslash separates two lines of a command
input, enter the entire command at the prompt without the backslash.
Brocade resources
Visit the Brocade website to locate related documentation for your product and additional Brocade resources.
White papers, data sheets, and the most recent versions of Brocade software and hardware manuals are available at www.brocade.com.
Product documentation for all supported releases is available to registered users at MyBrocade.
Click the Support tab and select Document Library to access product documentation on MyBrocade or www.brocade.com. You can
locate documentation by product or by operating system.
Release notes are bundled with software downloads on MyBrocade. Links to software downloads are available on the MyBrocade landing
page and in the Document Library.
Document feedback
Quality is our rst concern at Brocade, and we have made every eort to ensure the accuracy and completeness of this document.
However, if you nd an error or an omission, or you think that a topic needs further development, we want to hear from you. You can
provide feedback in two ways:
• Through the online feedback form in the HTML documents posted on www.brocade.com
• By sending your feedback to documentation@brocade.com
Provide the publication title, part number, and as much detail as possible, including the topic heading and page number if applicable, as
well as your suggestions for improvement.
Brocade resources
Brocade ICX 6650 Hardware Installation Guide
8 Part Number: 53-1003621-04

Contacting Brocade Technical Support
As a Brocade customer, you can contact Brocade Technical Support 24x7 online or by telephone. Brocade OEM customers should
contact their OEM/solution provider.
Brocade customers
For product support information and the latest information on contacting the Technical Assistance Center, go to www.brocade.com and
select Support.
If you have purchased Brocade product support directly from Brocade, use one of the following methods to contact the Brocade
Technical Assistance Center 24x7.
Online Telephone
Preferred method of contact for non-urgent issues:
• Case management through the MyBrocade portal.
• Quick Access links to Knowledge Base, Community, Document
Library, Software Downloads and Licensing tools
Required for Sev 1-Critical and Sev 2-High issues:
• Continental US: 1-800-752-8061
• Europe, Middle East, Africa, and Asia Pacic: +800-AT FIBREE
(+800 28 34 27 33)
•Toll-free numbers are available in many countries.
• For areas unable to access a toll-free number:
+1-408-333-6061
Brocade OEM customers
If you have purchased Brocade product support from a Brocade OEM/solution provider, contact your OEM/solution provider for all of
your product support needs.
• OEM/solution providers are trained and certied by Brocade to support Brocade® products.
• Brocade provides backline support for issues that cannot be resolved by the OEM/solution provider.
• Brocade Supplemental Support augments your existing OEM support contract, providing direct access to Brocade expertise.
For more information, contact Brocade or your OEM.
• For questions regarding service levels and response times, contact your OEM/solution provider.
Contacting Brocade Technical Support
Brocade ICX 6650 Hardware Installation Guide
Part Number: 53-1003621-04 9
Brocade ICX 6650 Hardware Installation Guide
10 Part Number: 53-1003621-04

About This Document
• What’s new in this document........................................................................................................................................................................11
• Supported Software..........................................................................................................................................................................................11
What’s new in this document
There are no enhancements in this edition.
Supported Software
For information about the features supported on a hardware platform, refer to the appropriate Features and Standards Support Matrix
document.
Brocade ICX 6650 Hardware Installation Guide
Part Number: 53-1003621-04 11
Brocade ICX 6650 Hardware Installation Guide
12 Part Number: 53-1003621-04

Brocade ICX 6650 Overview
• Brocade ICX 6650 features..........................................................................................................................................................................13
• Brocade ICX 6650 orderable models......................................................................................................................................................13
• Brocade ICX 6650 customizable models..............................................................................................................................................14
• Views of the Brocade ICX 6650 switch...................................................................................................................................................15
• Ports on Demand licensing...........................................................................................................................................................................16
• Brocade ICX 6650 slot and Ethernet port numbering......................................................................................................................17
• Supported transceivers and cables............................................................................................................................................................18
• Breakout cables..................................................................................................................................................................................................19
• Cooling system and fans................................................................................................................................................................................19
Brocade ICX 6650 features
The Brocade ICX 6650 is an Ethernet switch for campus LAN aggregation and classic Ethernet data center Top of Rack (ToR)
environments.
The Brocade ICX 6650 is a high-density aggregation switch that oers both 1/10 and 10/40 Gigabit Ethernet (GbE) line rates, low
latency cut-through switching, and 1600 Gbps switching capacity for campus LAN and classic Ethernet data center environments.
The Brocade ICX 6650 features:
• Comprehensive support for a range of 10GbE and 40GbE optics (refer to the Brocade Ethernet Optics Family datasheet on
the Brocade website).
• Dual redundant, hot-swappable 250 W AC or 510 W DC power supplies available with intake or exhaust airow.
• Dual redundant, hot-swappable fan units available with intake or exhaust airow.
• One Gigabit Ethernet port (RJ-45) and one serial management port to congure and manage the switch through the CLI.
Brocade ICX 6650 orderable models
The Brocade ICX 6650 switches consists of these orderable models.
TABLE 1 Brocade ICX 6650 orderable switch models
Model Description
ICX6650-32-ADV Brocade ICX 6650 with 32 10 GbE SFP+ ports enabled. No power supplies or fan units (need to be ordered
separately). Advanced software. Optional Ports on Demand (PoD) licenses to enable up to 56 10 GbE SFP+ ports
and 6 QSFP+ ports can be ordered separately. No optics.
ICX6650-32-E-ADV Brocade ICX 6650 with 32 10 GbE SFP+ ports enabled. Includes two 250 W AC power supplies and two fan
units, power-supply-side exhaust (port-side intake) airow. Advanced software. No optics.
ICX6650-48-E-ADV Brocade ICX 6650 with 48 10 GbE SFP+ ports enabled. Includes two 250 W AC power supplies and two fan
units, power-supply-side exhaust (port-side intake) airow. Advanced software. No optics.
ICX6650-56-E-ADV Brocade ICX 6650 with 56 10 GbE SFP+ ports enabled. Includes two 250 W AC power supplies and two fan
units, power-supply-side exhaust (port-side intake) airow. Advanced software. No optics.
Brocade ICX 6650 Hardware Installation Guide
Part Number: 53-1003621-04 13

Brocade ICX 6650 customizable models
After March 2014, you will no longer be able to order the following SKUs:
• ICX6650-32-I-ADV
• ICX6650-40-E-ADV
• ICX6650-40-I-ADV
• ICX6650-48-I-ADV
• ICX6650-56-I-ADV
• ICX6650-80-E-ADV
• ICX6650-80-I-ADV
However, you can build your own equivalent models by combining the ICX6650-32-ADV SKU with PoD license, power supply, and fan
SKUs. The following table lists the models you can build by combining these components:
TABLE 2 Brocade ICX 6650 custom models
Model Description License, power supply, and
fan SKUs needed
Quantity
ICX6650-32-I-ADV Brocade ICX 6650 with 32 10-GbE SFP+ ports
enabled. Includes two 250 W AC power supplies
and two fan units, intake airow. Advanced
software. No optics.
RPS15-I 2
XICX6650-FAN-I 2
ICX6650-40-E-ADV Brocade ICX 6650 with 40 10-GbE SFP+ ports
enabled. Includes two 250 W AC power supplies
and two fan units, exhaust airow. Advanced
software. No optics.
ICX6650-8P10G-LIC-POD 1
RPS15-E 2
XICX6650-FAN-E 2
ICX6650-40-I-ADV Brocade ICX 6650 with 40 10-GbE SFP+ ports
enabled. Includes two 250 W AC power supplies
and two fan units, intake airow. Advanced
software. No optics.
ICX6650-8P10G-LIC-POD 1
RPS15-I 2
XICX6650-FAN-I 2
ICX6650-48-I-ADV Brocade ICX 6650 with 48 10-GbE SFP+ ports
enabled. Includes two 250 W AC power supplies
and two fan units, intake airow. Advanced
software. No optics.
ICX6650-8P10G-LIC-POD 2
RPS15-I 2
XICX6650-FAN-I 2
ICX6650-56-I-ADV Brocade ICX 6650 with 56 10-GbE SFP+ ports
enabled. Includes two 250 W AC power supplies
and two fan units, intake airow. Advanced
software. No optics.
ICX6650-8P10G-LIC-POD 3
RPS15-I 2
XICX6650-FAN-I 2
ICX6650-80-E-ADV Brocade ICX 6650 with 56 10-GbE SFP+ and 6
40-GbE ports enabled. Includes two 250 W AC
power supplies and two fan units, exhaust airow.
Advanced software. No optics.
ICX6650-8P10G-LIC-POD 3
ICX6650-2P40G-LIC-POD 3
RPS15-E 2
XICX6650-FAN-E 2
ICX6650-80-I-ADV Brocade ICX 6650 with 56 10-GbE SFP+ and 6
40-GbE ports enabled. Includes two 250 W AC
power supplies and two fan units, intake airow.
Advanced software. No optics.
ICX6650-8P10G-LIC-POD 3
ICX6650-2P40G-LIC-POD 2
RPS15-I 2
XICX6650-FAN-I 2
In addition to the models listed in the previous table, you can create other custom models by making dierent SKU combinations as
described in the following table.
Brocade ICX 6650 customizable models
Brocade ICX 6650 Hardware Installation Guide
14 Part Number: 53-1003621-04

TABLE 3 SKUs for creating custom Brocade ICX 6650 switch models
SKU Description
ICX6650-8P10G-LIC-POD Ports on Demand license for Brocade ICX 6650, for 8×10 GbE SFP+
ports.
ICX6650-2P40G-LIC-POD Ports on Demand license for Brocade ICX 6650, for two QSFP+ (40 GbE
or 4×10 GbE) ports.
RPS15-E 250 W AC power supply; port-side exhaust airow.
RPS15-I 250 W AC power supply; port-side intake airow.
RPS16DC-E 510 W DC power supply; power-supply-side exhaust (port-side intake)
airow.
RPS16DC-I 510 W DC power supply; power-supply-side intake (port-side exhaust)
airow.
XICX6650-FAN-E Brocade ICX 6650 fan unit, exhaust airow.
XICX6650-FAN-I Brocade ICX 6650 fan unit, intake airow.
Views of the Brocade ICX 6650 switch
FIGURE 1 Front view of the Brocade ICX 6650
1. Push button reset
2. PSU1 and PSU2 status LEDs
3. DIAG and MS status LEDs
4. 40 GbE QSFP rear port status/activity LEDs
5. 10 GbE QSFP-to-SFP breakout port status/activity LED
6. Air intake/exhaust
7. Ports 1/1 through 1/32
8. Ports 1/33 through 1/40
9. Ports 1/41 through 1/48
10. Ports 1/49 through 1/56
Views of the Brocade ICX 6650 switch
Brocade ICX 6650 Hardware Installation Guide
Part Number: 53-1003621-04 15

FIGURE 2 Rear view of the Brocade ICX 6650
1. Fan unit
2. Mini-USB serial console port
3. Ports 2/1 through 2/2
4. Port 2/3
5. Fan unit
6. Power supply
7. Ethernet management port
8. Port 2/4
9. Ports 3/1 through 3/8
10. Power supply
Ports on Demand licensing
The Brocade ICX 6650 features Ports on Demand licensing. With Ports on Demand licensing, software features do not require licenses
and you can add port licenses as needed.
A fully populated device supports 56 front-panel, dual-speed 1/10 GbE SFP+ ports, 4 rear-panel 40 GbE QSFP+ ports, and 2 rear-
panel 4x10 GbE QSFP+ breakout ports.
You can purchase and install Ports on Demand licenses in blocks of eight dual-speed 1/10 GbE SFP+ on the front-panel ports. These
ports are grouped sequentially, enabling ports 33 through 40, 41 through 48, and 49 through 56. To enable the additional front-panel
ports, you must purchase and install an ICX6650-8P10G-LIC-POD license.
FIGURE 3 Brocade ICX 6650 front-panel ports
1. Base (32x10 GbE)
2. 8x10 GbE (33-40)
3. 8x10 GbE (41-48)
4. 8x10 GbE (49-56)
5. Blocks of 8x10 GbE SFP+ ports
Ports on Demand licensing
Brocade ICX 6650 Hardware Installation Guide
16 Part Number: 53-1003621-04

You can purchase and install up to three ICX6650-2P40G-LIC-POD licenses to enable pairs of 40 GbE ports or 4x10 GbE breakout
ports on the rear panel. An ICX6650-2P40G-LIC-POD license can be applied to any of the following pairs of 40 GbE rear-panel ports
or 4x10 GbE breakout ports:
• 2/1 and 2/2 40 GbE rear-panel ports
• 2/3 and 2/4 40 GbE rear-panel ports
• 3/1-4 and 3/5-8 4x10 GbE rear-panel breakout ports
NOTE
You can add an ICX6650-2P40G-LIC-POD license to any
conguration.
FIGURE 4 Brocade ICX 6650 rear-panel ports
1. 2/1-2: Any pair of QSFP+ ports—2x40 GbE ports (2/1-2, 2/3-4), 2
4x10 GbE ports (3/1-4,3/5-8)
2. 2/4
3. 3/1-8: 4x10 GbE breakout ports (3/1-4, 3/5-8)
The breakout ports support one of the following options:
• Direct-attached QSPF+ to 4 SFP+ copper breakout cables (Part number 40G-QSFP-4SFP-C-/0101/0301/0501)
• Breakout-capable SR4 QSPF+ optical transceiver (Part number 40G-QSFP-SR4-INT)
No trial licenses are available with Ports on Demand licensing.
Brocade ICX 6650 slot and Ethernet port numbering
Many CLI commands require users to enter port numbers as part of the command syntax, and many show command outputs display
port numbers. The port numbers are entered and displayed in stack-unit/slot number/port number format. In all Brocade ICX 6650
inputs and outputs, the stack-unit number is always 1.
The Brocade ICX 6650 contains the following slots and Ethernet ports:
• Slot 1 is located on the front of the Brocade ICX 6650 switch and contains ports 1 through 56, which are 1/10 GbE SFP+
ports. Refer to the following gure.
Brocade ICX 6650 slot and Ethernet port numbering
Brocade ICX 6650 Hardware Installation Guide
Part Number: 53-1003621-04 17

FIGURE 5 Brocade ICX 6650 front-panel ports
1. Slot 1
• Slot 2 is located on the rear of the Brocade ICX 6650 switch and contains ports 1 through 3 on the top row and port 4 on the
bottom row. These ports are 40 GbE QSFP+ ports. Refer to the following gure.
NOTE
The QSFP+ 40 GbE LR4 optical transceiver is supported in ports 1 and 2 only. When the module is inserted into a stack-unit/
slot number/port number combination that is not 1/2/1 or 1/2/2, the following error message displays: “QSFP LR-4 optics
not supported on port port-number.”
FIGURE 6 Brocade ICX 6650 rear-panel ports
1. Slot 2
2. Slot 2
3. Slot 3
• Slot 3 is located on the rear of the Brocade ICX 6650 switch and contains ports 1 through 8. These ports are 4x10 GbE
breakout ports and require the use of a breakout cable. Refer to the previous gure.
Supported transceivers and cables
The Brocade ICX 6650 supports the following transceivers and cables:
• 1 GbE
– SX
– LX
– Copper
• 10 GbE
– SFP+: USR, Short Reach, Long Reach
– Active twinaxial copper (1 meter, 3 meter, and 5 meter)
– 10 GbE ER SFP+
• 40 GbE
– Standard 40 GbE (SR4) transceiver without breakout
Supported transceivers and cables
Brocade ICX 6650 Hardware Installation Guide
18 Part Number: 53-1003621-04

– 40 GbE (SR4) QSFP+ transceiver with breakout to 4x10 GbE up to 100 meters on OM3 ber
– 40 GbE direct attach (DAC) copper breakout (1 meter, 3 meter, and 5 meter)
– 40 GbE QSFP to QSFP active twinaxial (1 meter, 3 meter, and 5 meter)
– 40 GbE (LR4) QSFP+ transceiver up to 10 km
NOTE
Non-branded active twinaxial cables can be used, but Brocade does not support them.
Breakout cables
The rear panel of the Brocade ICX 6650 contains two 4 x 10 GbE ports which support QSFP+ to 4 SFP+ (4 x 10 GbE) direct-attach
copper breakout cables. These cables are terminated with optical connectors and are available in 1m, 3m, 5m, and greater lengths. No
additional connectors or cabling are required for these ports.
We do not support 40G passive (optical) cables.
FIGURE 7 QSFP+ to 4 SFP+ (4 x 10 GbE) direct-attach copper breakout cable
Cooling system and fans
The fans cool the CPU, main memory, and voltage regulators. For Brocade ICX 6650 switches, the fans use either:
• An exhaust airow which moves air from front to back. Refer to the rst gure below. Devices with exhaust airow are labeled
with a green arrow with an “E.”
• An intake airow which moves air from back to front. Refer to the third gure below. Devices with intake airow are labeled with
an orange arrow with an “I.”
CAUTION
Ensure that the airow direction of the power supply unit matches that of the installed fan tray. The power supplies and fan
trays are clearly labeled with either a green arrow with an "E", or an orange arrow with an "I."
Cooling system and fans
Brocade ICX 6650 Hardware Installation Guide
Part Number: 53-1003621-04 19

FIGURE 8 Brocade ICX 6650 airow—front to back (with E-labeled power supply and fan tray)
1. Intake
2. Exhaust
FIGURE 9 Exhaust airow label
Cooling system and fans
Brocade ICX 6650 Hardware Installation Guide
20 Part Number: 53-1003621-04

FIGURE 10 Brocade ICX 6650 airow—back to front (with I-labeled power supply and fan tray)
1. Intake
2. Exhaust
FIGURE 11 Intake airow label
Cooling system and fans
Brocade ICX 6650 Hardware Installation Guide
Part Number: 53-1003621-04 21
Brocade ICX 6650 Hardware Installation Guide
22 Part Number: 53-1003621-04

Installing the Brocade ICX 6650
• Unpacking the device.......................................................................................................................................................................................23
• Installation and safety considerations........................................................................................................................................................24
• Installation tasks................................................................................................................................................................................................. 25
• Installation precautions....................................................................................................................................................................................26
• Installing the device in a rack or cabinet...................................................................................................................................................27
• Attaching a PC or terminal.............................................................................................................................................................................33
• Powering on the system................................................................................................................................................................................. 34
• Power supplies....................................................................................................................................................................................................34
• Installing an SFP+ transceiver...................................................................................................................................................................... 40
Unpacking the device
The Brocade ICX 6650 ships with all of the items listed below. Verify the contents of your shipping container. If any items are missing,
contact the place of purchase.
Package contents (ICX6650-32-E-ADV, ICX6650-48-E-ADV, and
ICX6650-56-E-ADV)
The following items are included in your shipping carton:
• A Brocade ICX 6650 device
• One accessory kit, containing the following items:
– Two power cords
– One RJ-45 to DB9F adapter
– One RJ-45 crossover cable
– One mini-USB (M)-DB9(F) cable
– Two mounting ears and screws
– Grounding terminal screw
Package contents (ICX6650-32-ADV)
The following items are included in your shipping carton:
• A Brocade ICX 6650 device
• One accessory kit, containing the following items:
– One RJ-45 to DB9F adapter
– One RJ-45 crossover cable
– One mini-USB (M)-DB9(F) cable
– Two mounting ears and screws
– Grounding terminal screw
• Installed ller panels for the right power supply unit (PSU1) slot and left fan slot.
Brocade ICX 6650 Hardware Installation Guide
Part Number: 53-1003621-04 23

CAUTION
If you do not install a module or a power supply in a slot, you must keep the slot ller panel in place. If you run the chassis
with an uncovered slot, the system will overheat.
Installation and safety considerations
You can install the Brocade ICX 6650 in the following ways:
• As a standalone unit on a at surface.
• In an EIA cabinet using a xed-rail rack mount kit. The optional xed-rail rack mount kit can be ordered from your switch retailer.
Both the 24"-28" rack depth kit and the 28"-32" rack depth kit will work with the Brocade ICX 6650.
• In a 2-post Telco rack using a ush mount rack kit. The optional ush mount rack kit for switches can be ordered from your
switch retailer.
• In a 2-post Telco rack using a mid-mount rack kit. The optional mid-mount rack kit for switches can be ordered from your
switch retailer.
Electrical considerations
To install and operate the switch successfully, ensure compliance with the following requirements:
• The primary outlet is correctly wired, protected by a circuit breaker, and grounded in accordance with local electrical codes.
• The supply circuit, line fusing, and wire size are adequate, as specied by the electrical rating on the switch nameplate.
• The power supply standards are met.
Environmental considerations
For successful installation and operation of the switch, ensure that the following environmental requirements are met:
• Because the Brocade ICX 6650 can be ordered with fans that move air either front to back or back to front, be sure to orient
your switch with the airow pattern of any other devices in the rack. All equipment in the rack should force air in the same
direction to avoid intake of exhaust air.
• The ambient air temperature does not exceed 40° C (104° F) while the switch is operating.
• Some combinations of intake and exhaust airows may not be compatible with your environment. Consult your fan and power
supply module FRU kit to determine the correct conguration.
Location considerations
Before installing the device, plan its location and orientation relative to other devices and equipment. Devices can be mounted in a
standard 19-inch equipment rack or on a at surface.
The site should meet the following requirements:
• Maintain the operating environment as specied in Environmental considerations on page 24.
• Allow a minimum of 3 in. of space between the front and the back of the device and walls or other obstructions for proper
airow.
• Allow at least 3 in. of space at the front and back of the device for the twisted-pair, ber-optic, and power cabling.
• Be accessible for installing, cabling, and maintaining the devices.
Installation and safety considerations
Brocade ICX 6650 Hardware Installation Guide
24 Part Number: 53-1003621-04

• Allow the status LEDs to be clearly visible.
• Allow for twisted-pair cables to be routed away from power lines, uorescent lighting xtures, and other sources of electrical
interference, such as radios and transmitters.
• Allow for the unit to be connected to a separate grounded power outlet that provides 100 to 240 VAC, 50 to 60 Hz, is within 2
m (6.6 ft) of each device, and is powered from an independent circuit breaker. As with any equipment, a lter or surge
suppressor is recommended.
Cabinet considerations
For successful installation and operation of the switch in a cabinet, ensure the following cabinet requirements are met:
• The cabinet must be a standard EIA cabinet.
• The equipment in the cabinet is grounded through a reliable branch circuit connection and maintains ground at all times. Do not
rely on a secondary connection to a branch circuit, such as a power strip.
•Airow and temperature requirements are met on an ongoing basis, particularly if the switch is installed in a closed or
multicabinet assembly.
• The additional weight of the switch does not exceed the cabinet’s weight limits or unbalance the cabinet in any way.
• The cabinet is secured to ensure stability in case of unexpected movement, such as an earthquake.
Recommendations for cable management
Cables can be organized and managed in a variety of ways; for example, use cable channels on the sides of the cabinet or patch panels
to reduce the potential for tangling the cables. The following list provides some recommendations for cable management:
CAUTION
Before plugging a cable into to any port, be sure to discharge the voltage stored on the cable by touching the electrical
contacts to ground surface.
NOTE
You should not use tie wraps with optical cables because they are easily overtightened and can damage the optic bers. Velcro-
like wraps are recommended.
• Plan for the rack space required for cable management before installing the switch.
• Leave at least 1 m (3.28 ft) of slack for each port cable. This provides room to remove and replace the switch, allows for
inadvertent movement of the rack, and helps prevent the cables from being bent to less than the minimum bend radius.
• For easier maintenance, label the cables and record the devices to which they are connected.
• Keep LEDs visible by routing port cables and other cables away from the LEDs.
Installation tasks
Perform the following steps to install your device. Details for each of these steps are provided on the pages indicated.
TABLE 4 Installation tasks
Task number Task Where to nd more information
1 Ensure that the physical environment that will
host the device has the proper cabling and
ventilation.
Environmental considerations on page 24
Installation tasks
Brocade ICX 6650 Hardware Installation Guide
Part Number: 53-1003621-04 25

TABLE 4 Installation tasks (continued)
Task number Task Where to nd more information
2 If customizing the ICX6650-32-ADV baseline
chassis:
1. Install at least one power supply unit.
2. Install at least one fan.
3. Obtain and install a PoD license, as
described in the FastIron Ethernet
Switch Administration Guide.
Installing and replacing a power supply unit on
page 35
Installing or replacing the fan assembly on page
65
3 Install the device in an equipment rack. Installing the device in a rack or cabinet on page
27
4 Attach a terminal or PC to the device. This will
enable you to congure the device through the
command line interface (CLI).
Attaching a PC or terminal on page 33
5 Plug the device into a nearby power source that
adheres to the regulatory requirements outlined
in this manual.
Powering on the system on page 34
6 Assign a password for additional access security.
No default password is assigned to the CLI.
Assigning permanent passwords on page 43
7 Before attaching equipment to the device, you
must congure an interface IP address to the
subnet on which the device will be located. Initial
IP address conguration is performed using the
CLI with a direct serial connection. Subsequent
IP address conguration can be performed
using the Web management interface.
Conguring IP addresses on page 44
8 Test IP connectivity to other devices by pinging
them and tracing routes.
Testing connectivity on page 49
9 Continue conguring the device using the CLI or
the Web management interface.
FastIron Ethernet Switch Administration Guide
10 Secure access to the device. FastIron Ethernet Switch Administration Guide
Installation precautions
Follow all precautions when installing a device.
General precautions
DANGER
Laser Radiation. Do Not View Directly with Optical Instruments. Class 1M Laser Products.
DANGER
All ber-optic interfaces use Class 1 lasers.
CAUTION
Do not install the device in an environment where the operating ambient temperature might exceed 40°C (104°F).
Installation precautions
Brocade ICX 6650 Hardware Installation Guide
26 Part Number: 53-1003621-04

CAUTION
Make sure the airow around the front, sides, and back of the device is not
restricted.
CAUTION
Never leave tools inside the chassis.
Lifting precautions
DANGER
Make sure the rack housing the device is adequately secured to prevent it from becoming unstable or falling over.
Power precautions
CAUTION
Use a separate branch circuit for each power cord, which provides redundancy in case one of the circuits fails.
DANGER
To avoid high voltage shock, do not open the device while the power is on.
CAUTION
Ensure that the device does not overload the power circuits, wiring, and over-current protection. To determine the
possibility of overloading the supply circuits, add the ampere (amp) ratings of all devices installed on the same circuit as the
device. Compare this total with the rating limit for the circuit. The maximum ampere ratings are usually printed on the
devices near the input power connectors.
DANGER
Disconnect the power cord from all power sources to completely remove power from the device.
CAUTION
Before plugging a cable into to any port, be sure to discharge the voltage stored on the cable by touching the electrical
contacts to ground surface.
DANGER
If the installation requires a dierent power cord than the one supplied with the device, make sure you use a power cord
displaying the mark of the safety agency that denes the regulations for power cords in your country. The mark is your
assurance that the power cord can be used safely with the device.
Installing the device in a rack or cabinet
DANGER
Make sure the rack housing the device is adequately secured to prevent it from becoming unstable or falling over.
NOTE
You need a #2 Phillips screwdriver for installation.
Installing the device in a rack or cabinet
Brocade ICX 6650 Hardware Installation Guide
Part Number: 53-1003621-04 27

Before mounting the switch in a rack, pay particular attention to the following factors:
• Temperature: Because the temperature within a rack assembly may be higher than the ambient room temperature, check that
the rack-environment temperature is within the specied operating temperature range.
• Mechanical loading: Do not place any equipment on top of a rack-mounted unit.
• Circuit overloading: Be sure that the supply circuit to the rack assembly is not overloaded.
• Grounding: Rack-mounted equipment should be properly grounded. Particular attention should be given to supply connections
other than direct connections to the mains.
2-post rack mount installation
NOTE
The Brocade ICX 6650 is shipped with a 2-post rack mount kit to mount the switch into 2-post Telco style racks only. If the
Brocade ICX 6650 is to be installed into a standard 4-post rack, make sure that you use the correct rack mount kit.
Use the following procedure when installing the Brocade ICX 6650 in a 2-post rack. For 4-post racks, follow the procedures in 4-post
rack mount installation on page 30.
1. Remove the rack mount kit from the shipping carton. The kit contains the following:
• Two L-shaped mounting brackets.
• Sixteen 8-32 x 5/16 in., panhead Phillips screws with patchlocks.
• Four 10-32 x 5/8 in., panhead Phillips screws (torque to 25 in-lb, 29 cm-kg). Refer to item 1 in the following gure.
• Eight 32-10 retainer nuts (for square-hole rack rails). Refer to item 2 in the following gure.
• Eight 32-10 retainer nuts (for round-hole rack rails). Refer to item 3 in the following gure.
FIGURE 12 2-post screws and retainer nuts
Installing the device in a rack or cabinet
Brocade ICX 6650 Hardware Installation Guide
28 Part Number: 53-1003621-04

2. Attach the mounting brackets to the sides of the device using the 8-32 x 5/16 in. screws.
FIGURE 13 Attaching the mounting brackets for a Brocade ICX 6650
3. Position the device in the cabinet, providing temporary support under the switch until the rail kit is secured to the cabinet.
Installing the device in a rack or cabinet
Brocade ICX 6650 Hardware Installation Guide
Part Number: 53-1003621-04 29

4. Attach the front right bracket to the rail rack using two 10-32 x 5/8 in. screws and the appropriate round-hole or square-hole
retainer nuts. Refer to the following gure.
FIGURE 14 Installing the Brocade ICX 6650 in a 2-post rack
5. Repeat step 3 to attach the left front bracket to the left front rack rail and tighten all 10-32 x 5/8 in. screws to a torque of 25 in-
lb (29 cm-kg).
Proceed to Attaching a PC or terminal on page 33.
4-post rack mount installation
Kits for 4-post rack mounting are not included in the shipping carton and must be ordered separately.
NOTE
Use the following procedure when installing the Brocade ICX 6650 in a 4-post rack cabinet. For 2-post cabinets, follow the
procedures in 2-post rack mount installation on page 28.
Installing the device in a rack or cabinet
Brocade ICX 6650 Hardware Installation Guide
30 Part Number: 53-1003621-04

Use the following steps to mount the Brocade ICX 6650 in a 4-post rack.
1. Remove the rack mount kit from the shipping carton. The kit contains the following:
• Two L-shaped mounting brackets.
• Four rack mount rails: two for side attach and two for rear attach racks.
• Thirty-two 8-32 x 5/16 in., panhead Phillips screws with patchlocks.
• Eight 10-32 x 5/8 in., panhead Phillips screws (torque to 25 in-lb, 29 cm-kg). Refer to item 1 in the following gure.
• Eight 32-10 retainer nuts (for square-hole rack rails). Refer to item 2 in the following gure.
• Eight 32-10 retainer nuts (for round-hole rack rails). Refer to item 3 in the following gure.
FIGURE 15 4-post screws and retainer nuts
NOTE
Do not use the hardware supplied in a 2-post rack mounting kit to mount a Brocade ICX 6650 in a 4-post rack.
Mounting the device in a 4-post rack requires additional hardware to prevent drooping from possible exing and
distortion of the 4-post rack when a device is not properly installed.
2. Attach the mounting brackets to the sides of the device as illustrated in 2-post rack mount installation on page 28 using the
8-32 x 5/16 in. screws.
Installing the device in a rack or cabinet
Brocade ICX 6650 Hardware Installation Guide
Part Number: 53-1003621-04 31

3. Attach the appropriate rails: either side attach or rear attach as determined by the type of rack in which you are installing the
device.
The following gures show exploded views of the optional 4-post rack mount kit.
FIGURE 16 Optional 4-post rack mount kit, rear attachment
Installing the device in a rack or cabinet
Brocade ICX 6650 Hardware Installation Guide
32 Part Number: 53-1003621-04

FIGURE 17 Optional 4-post rack mount kit, side attachment
4. Position the switch in the cabinet, providing temporary support under the switch until the rail kit is secured to the cabinet.
5. Attach the front right bracket to the rail rack using two 10-32 x 5/8 in. screws and the appropriate round-hole or square-hole
retainer nuts.
6. Repeat step 5 to attach the left front bracket to the left front rack rail and tighten all 10-32 x 5/8 in. screws to a torque of 25 in-
lb (29 cm-kg).
7. Attach the rear right bracket to the rail rack using two 10-32 x 5/8 in. screws and the appropriate round-hole or square-hole
retainer nuts.
8. Repeat step 7 to attach the rear left bracket to the rail rack and tighten all 10-32 x 5/8 in. screws to a torque of 25 in-lb (29
cm-kg).
Proceed to Attaching a PC or terminal on page 33.
Attaching a PC or terminal
To assign an IP address, you must have access to the command line interface (CLI). The CLI is a text-based interface that can be
accessed through a direct serial connection to the device and through Telnet connections. The CLI is described in detail in the FastIron
Ethernet Switch Administration Guide.
Access the CLI by connecting to the console port. After you assign an IP address, you can access the system through Telnet, the Web
management interface, or Brocade Network Advisor.
Attaching a PC or terminal
Brocade ICX 6650 Hardware Installation Guide
Part Number: 53-1003621-04 33
Use the following steps to attach a management station to the console port.
1. Connect a PC or terminal to the console management port on the rear of the Brocade ICX 6650 using the mini-USB serial
console port cable (Part number 50-1000059-01).
For port pinout information for the mini-USB serial console port, refer to the "Serial port specications (pinout mini-USB)"
section.
NOTE
You must run a terminal emulation program on the PC.
2. Launch the terminal emulation program and set the following session parameters:
• Baud: 9600 bps
• Data bits: 8
• Parity: None
• Stop bits: 1
• Flow control: None
The console serial communication port serves as a connection point for management by a PC.
Powering on the system
After you complete the physical installation, you can power on the system.
1. Remove the power cable from the shipping package container.
2. Attach the AC power cable to the AC connector on the rear panel.
3. Insert the power cable plug into a 100V-240V outlet.
NOTE
To turn the system o, simply unplug the power cable or
cables.
NOTE
The socket should be installed near the equipment and should be easily accessible.
Power supplies
Each Brocade ICX 6650 comes with two alternating-current (AC) power supplies. The Brocade ICX 6650 device also supports direct-
current (DC) power supplies. The Brocade ICX 6650 is capable of running on one power supply and one fan. The second set provide
redundancy.
If the second power supply and fan slots are unused, you must cover them with ller panels.
NOTE
When running two power supplies, they must be of the same type: either two alternating-current (AC) power supplies or two
direct-current (DC) power supplies. AC and DC units cannot be mixed in a device.
Powering on the system
Brocade ICX 6650 Hardware Installation Guide
34 Part Number: 53-1003621-04

Installing and replacing a power supply unit
When installing or replacing a power supply unit, keep in mind the following:
• Power supplies can be swapped in or out while the device is running. The remaining power supply provides enough power for
the device.
• The airow direction of the power supply must match that of the installed fan tray. All must be either exhaust or intake.
CAUTION
Remove the power cord from a power supply before you install it in or remove it from the device. Otherwise, the power
supply or the device could be damaged as a result. (The device can be running while a power supply is being installed or
removed, but the power supply itself should not be connected to a power source.)
CAUTION
Ensure that the airow direction of the power supply unit matches that of the installed fan tray. The power supplies and fan
trays are clearly labeled with either a green arrow with an "E", or an orange arrow with an "I."
Installing an AC power supply
You need a #2 Phillips screwdriver and a at-head screwdriver for installation.
Brocade recommends using an ESD wrist strap during installation.
FIGURE 18 Installing an AC power supply unit
Use the following steps to install an AC power supply in the switch.
1. If replacing a power supply, remove the previously installed power supply from the appropriate slot by removing the two screws
with a at-head screwdriver.
Power supplies
Brocade ICX 6650 Hardware Installation Guide
Part Number: 53-1003621-04 35
2. If installing a new power supply into a slot covered with a ller panel:
a) Using a Phillips screwdriver, unscrew the screws on the ller panel.
b) Remove the ller panel.
3. Before opening the package that contains the power supply, touch the bag to the switch casing to discharge any potential static
electricity.
4. Remove the power supply from the anti-static shielded bag.
5. Holding the power supply level, guide it into the carrier rails on each side and gently push it all the way into the slot, ensuring
that it rmly engages with the connector.
6. When you are sure the power supply has properly engaged the connector, tighten the retainer screws to secure the power
supply in the slot.
When the device is powered on, the AC or DC LEDs on the power supply back panel should light green to conrm that the power supply
is correctly installed and supplying power.
You can also verify correct installation by running the show chassis command, as shown in this example:
Device#show chassis
The stack unit 1 chassis info:
Power supply 1 (AC - Regular) present, status ok
Model Number: 23-0000144-01
Serial Number: 028
Firmware Ver: A
Power supply 1 Fan Air Flow Direction: Front to Back
Power supply 2 not present
Fan 1 ok, speed (auto): [[1]]<->2
Fan 2 ok, speed (auto): [[1]]<->2
Fan controlled temperature: 37.5 deg-C
Fan speed switching temperature thresholds:
Speed 1: NM<----->70 deg-C
Speed 2: 65<-----> 85 deg-C (shutdown)
Fan 1 Air Flow Direction: Front to Back
Fan 2 Air Flow Direction: Front to Back
MAC-Back Temperature Readings:
Current temperature : 37.5 deg-C
MAC-Left Temperature Readings:
Current temperature : 34.0 deg-C
MAC-Right Temperature Readings:
Current temperature : 33.0 deg-C
MAC-Front Temperature Readings:
Current temperature : 33.0 deg-C
CPU Temperature Readings:
Current temperature : 37.5 deg-C
Center Temperature Readings:
Current temperature : 30.5 deg-C
sensor A Temperature Readings:
Current temperature : 37.5 deg-C
sensor B Temperature Readings:
Current temperature : 31.0 deg-C
sensor C Temperature Readings:
Current temperature : 34.5 deg-C
sensor D Temperature Readings:
Current temperature : 30.5 deg-C
Warning level.......: 45.0 deg-C
Shutdown level......: 85.0 deg-C
Boot Prom MAC : 748e.f893.eabe
Management MAC: 748e.f893.eabe
Power supplies
Brocade ICX 6650 Hardware Installation Guide
36 Part Number: 53-1003621-04

CAUTION
If you do not install a module or a power supply in a slot, you must keep the slot ller panel in place. If you run the chassis
with an uncovered slot, the system will overheat.
Installing a DC power supply
CAUTION
For the DC input circuit to the system, make sure there is a 20 Amp circuit breaker, minimum 60 VDC, double pole, on the
input terminal block to the power supply. The input wiring for connection to the product should be copper wire, 12 AWG,
marked VW-1, and rated minimum 90°C.
CAUTION
For a DC system, use grounding wire of at least 12 American Wire Gauge (AWG). The grounding wire should be attached to
the DC input connector the other end connects to the building ground.
NOTE
AC and DC power supplies cannot be installed and used in the same device. Mismatched power supplies in the same device
cause continual reboot on power up.
FIGURE 19 DC power supply unit
You need a #2 Phillips screwdriver and a at-head screwdriver for installation.
Power supplies
Brocade ICX 6650 Hardware Installation Guide
Part Number: 53-1003621-04 37

Brocade recommends using an ESD wrist strap during installation.
DANGER
For safety reasons, the ESD wrist strap should contain a series 1 megaohm resistor.
1. Ensure the power on the DC power supply is switched o.
2. Remove the previously installed power supply from the appropriate slot by removing the chassis attachment screws located in
the upper right and lower left of the power supply unit using a at-head screwdriver.
FIGURE 20 DC power supply screws
1 Chassis attachment screws
2 Assembly screws
3. Before opening the package that contains the DC power supply, touch the bag to the switch casing to discharge any potential
static electricity.
4. Remove the DC power supply from the anti-static shielded bag.
Power supplies
Brocade ICX 6650 Hardware Installation Guide
38 Part Number: 53-1003621-04

5. Insert the DC power supply source wires into the DC wiring assembly, matching the terminals.
FIGURE 21 DC power supply wiring assembly
1 Wire tightening screws
2 DC power source wires
3 Earth ground wire
4 Assembly screws
6. Use the wire tightening screws to secure the wires.
Power supplies
Brocade ICX 6650 Hardware Installation Guide
Part Number: 53-1003621-04 39

7. Insert the earth ground wire into the ground terminal on the DC wiring assembly.
NOTE
This equipment installation must meet NEC/CEC Code requirements. Consult local authorities for regulations.
8. Insert the DC power supply wiring assembly with the wires connected into the power supply and tighten the assembly screws.
9. Using the handle on the power supply, hold the power supply level and guide it into the carrier rails on each side of the power
supply slot. Gently push the power supply all the way into the slot, ensuring that it rmly engages with the connector.
FIGURE 22 Installing a DC power supply unit
10. When you are sure the power supply has properly engaged the connector, tighten the chassis attachment screws to secure the
power supply in the slot.
When the device is powered on, the power LED on the device should turn green to conrm that the power supply is correctly installed
and supplying power.
CAUTION
If you do not install a module or a power supply in a slot, you must keep the slot ller panel in place. If you run the chassis
with an uncovered slot, the system will overheat.
Installing an SFP+ transceiver
To monitor the transceivers, the show media command output shows the transceiver information for all interfaces on the switch. Third-
party transceivers are allowed. Brocade provides support for third-party transceivers, but may require a Brocade transceiver be used for
troubleshooting.
Support will not be provided if there is an issue with the third-party transceiver.
Complete the following steps to install an SFP+ transceiver.
1. Remove any protector plugs from the transceivers and the ports.
2. Making sure that the bail (wire handle) is in the unlocked position, place the SFP+ transceiver in the correctly oriented position on
the port.
NOTE
The QSFP+ 40 GbE LR4 optical transceiver is supported in ports 1 and 2 only. When the module is inserted into a
stack-unit/slot number/port number combination that is not 1/2/1 or 1/2/2, the following error message displays:
“QSFP LR-4 optics not supported on port port-number.”
Installing an SFP+ transceiver
Brocade ICX 6650 Hardware Installation Guide
40 Part Number: 53-1003621-04

3. Slide the SFP+ transceiver into the port until you feel it click into place; then close the bail.
NOTE
Each SFP+ transceiver has a 10-pad gold-plated edge connector on the bottom. The correct position to insert an
SFP+ transceiver in the upper row of ports is with the gold-plated edge down. The correct position to insert an SFP+
transceiver in the lower row of ports is with the gold-plated edge up.
FIGURE 23 Installing an SFP+ transceiver in a port slot
Installing an SFP+ transceiver
Brocade ICX 6650 Hardware Installation Guide
Part Number: 53-1003621-04 41
Brocade ICX 6650 Hardware Installation Guide
42 Part Number: 53-1003621-04

Conguring the Brocade ICX 6650
• Assigning permanent passwords................................................................................................................................................................43
•Conguring IP addresses...............................................................................................................................................................................44
• Connecting network devices.........................................................................................................................................................................48
• Testing connectivity.......................................................................................................................................................................................... 49
• Troubleshooting network connections......................................................................................................................................................49
Assigning permanent passwords
By default, the CLI is not protected by passwords. To secure CLI access, Brocade strongly recommends assigning passwords. Refer to
the FastIron Ethernet Switch Administration Guide.
You can set the following levels of Enable passwords:
• Super User - Allows complete read-and-write access to the system. This is generally for system administrators and is the only
password level that allows you to congure passwords.
NOTE
You must set a Super User password before you can set other types of passwords.
• Port Conguration - Allows read-and-write access for specic ports but not for global (system-wide) parameters.
• Read Only - Allows access to the Privileged EXEC mode and CONFIG mode but only with read access.
Setting passwords
1. At the opening CLI prompt, enter the following command to change to the Privileged EXEC mode:
device> enable
2. Access the CONFIG level of the CLI by entering the following command:
device# configure terminal
device(config)#
3. Enter the following command to set the Super User password:
device(config)# enable super-user-password text
NOTE
You must set the Super User password before you can set other types of passwords.
Brocade ICX 6650 Hardware Installation Guide
Part Number: 53-1003621-04 43
4. Enter the following commands to set the port conguration and read-only passwords:
device(config)# enable port-config-password text
device(config)# enable read-only-password text
NOTE
If you forget your Super User password, refer to Recovering from a lost password on page 44.
Syntax: enable { super-user-password | read-only-password | port-cong-password } text
Passwords can be up to 32 characters long.
Recovering from a lost password
By default, the CLI does not require passwords. However, if a password has been congured for the device but the password has been
lost, you can regain Super User access to the device using the following procedure.
NOTE
Recovery from a lost password requires direct access to the serial port and a system reset.
1. Start a CLI session over the serial interface to the Brocade device.
2. Reboot the device.
3. While the system is booting, before the initial system prompt appears, enter b to enter the boot monitor mode.
4. Enter no password. (You cannot abbreviate this command.)
After the console prompt reappears, assign a new password.
Conguring IP addresses
You must congure at least one IP address using the serial connection to the CLI before you can manage the system using the other
management interfaces.
Brocade devices support both classical IP network masks (Class A, B, and C subnet masks, and so on) and Classless Interdomain
Routing (CIDR) network prex masks.
• To enter a classical IP network mask, enter the mask in IP address format. For example, enter "209.157.22.99
255.255.255.0" for an IP address with a Class C subnet mask.
• To enter a prex number for a network mask, enter a forward slash ( / ) and the number of bits in the mask immediately after the
IP address. For example, enter "209.157.22.99/24" for an IP address that has a network mask with 24 signicant ("mask")
bits.
By default, the CLI displays network masks in classical IP address format (for example, 255.255.255.0). You can change the display to
the prex format. Refer to the FastIron Ethernet Switch Administration Guide.
Devices running Layer 2 software
Use the following procedure to congure an IP address on a device running Layer 2 software.
1. At the opening CLI prompt, enter enable.
device> enable
Conguring IP addresses
Brocade ICX 6650 Hardware Installation Guide
44 Part Number: 53-1003621-04

2. Enter the following command at the Privileged EXEC level prompt, then press Enter. This command erases the factory test
conguration if still present.
device# erase startup-config
CAUTION
Use the erase startup-cong command only for new systems. If you enter this command on a system you have
already congured, the command erases the conguration. If you accidentally do erase the conguration on a
congured system, enter the write memory command to save the running conguration to the startup-cong le.
3. Access the conguration level of the CLI by entering the following command:
device# configure terminal
device(config)#
4. Congure the IP addresses and mask for the switch.
device(config)# ip address 192.168.0.0 255.255.255.0
5. Set a default gateway address for the switch.
device(config)# ip default-gateway 192.168.0.0
NOTE
You do not need to assign a default gateway address for single subnet networks.
Devices running Layer 3 software
Before attaching equipment to a Brocade ICX 6650, you must assign an interface IP address to the subnet on which the router
connected to the switch will be located. You must use the serial connection to assign the rst IP address. For subsequent addresses, you
also can use the CLI through Telnet or the Web management interface.
By default, you can congure up to 24 IP addresses on each port, virtual interface, and loopback interface. You can increase this amount
to up to 64 IP subnet addresses per port by increasing the size of the subnet-per-interface table.
The following procedure shows how to add an IP address and mask to a router port.
1. At the opening CLI prompt, enter enable.
device> enable
2. Enter the following command at the Privileged EXEC level prompt, and then press Enter. This command erases the factory test
conguration if still present.
device# erase startup-config
CAUTION
Use the erase startup-cong command only for new systems. If you enter this command on a system you have
already congured, the command erases the conguration. If you accidentally do erase the conguration on a
congured system, enter the write memory command to save the running conguration to the startup-cong le.
3. Access the conguration level of the CLI by entering the following command.
device# configure terminal
device(config)#
Conguring IP addresses
Brocade ICX 6650 Hardware Installation Guide
Part Number: 53-1003621-04 45
4. Congure the IP addresses and mask addresses for the interfaces on the router.
device(config)# interface e 1/1/1
device(config)# ip address 192.168.0.0 255.255.255.0
NOTE
You can use the ip address ip-addr /mask-bits command if you know the subnet mask length. In the example in step
4, you could enter ip address 192.168.0.0/24.
Use the secondary parameter if you have already congured an IP address within the same subnet on the interface.
Conguring IP parameters for devices running Layer 3 software
This section describes how to congure IP parameters for devices running Layer 3 software.
Conguring IP addresses
You can congure an IP address on the following types of Layer 3 switch interfaces:
• Ethernet port
• Virtual routing interface (also called a Virtual Ethernet or "VE")
• Loopback interface
By default, you can have up to 24 IP addresses on each interface, but you can increase this number to 128 IP addresses.
NOTE
Once you congure a virtual routing interface on a VLAN, you cannot congure Layer 3 interface parameters on individual
ports in the VLAN. Instead, you must congure the parameters on the virtual routing interface itself.
Brocade devices support both classical IP network masks (Class A, B, and C subnet masks, and so on) and Classless Interdomain
Routing (CIDR) network prex masks.
• To enter a classical IP network mask, enter the mask in IP address format. For example, enter "209.157.22.99
255.255.255.0" for an IP address with a Class C subnet mask.
• To enter a prex network mask, enter a forward slash ( / ) and the number of bits in the mask immediately after the IP address.
For example, enter "209.157.22.99/24" for an IP address that has a network mask with 24 signicant bits (ones).
By default, the CLI displays network masks in classical IP address format (for example, 255.255.255.0). You can change the display to
prex format.
Assigning an IP address to an Ethernet port
Enter the following commands to assign an IP address to port 1/1/1.
device(config)# interface ethernet 1/1/1
device(config-if-1/1/1)# ip address 192.168.0.0 255.255.255.0
You also can enter the IP address and mask in CIDR format, as follows:
device(config-if-1/1/1)# ip address 192.168.0.0/24
Syntax: [no] ip address ip-addr ip-mask
or
Syntax: [no] ip address ip-addr/mask-bits
Conguring IP addresses
Brocade ICX 6650 Hardware Installation Guide
46 Part Number: 53-1003621-04
Assigning an IP address to a loopback interface
Loopback interfaces are always up, regardless of the states of physical interfaces. They can add stability to the network because they are
not subject to route ap problems that can occur due to unstable links between a Layer 3 switch and other devices. You can congure up
to four loopback interfaces on a Layer 3 switch.
You can add up to 24 IP addresses to each loopback interface.
To add a loopback interface, enter commands such as those shown in the following example:
device(config)# interface loopback 1
device(config-lbif-1)# ip address 192.168.0.0/24
Syntax: interface loopback num
The num parameter species the virtual interface number. You can specify from 1 through the maximum number of virtual interfaces
supported on the device. To display the maximum number of virtual interfaces supported on the device, enter the show default values
command.
Assigning an IP address to a virtual routing interface
A virtual interface is a logical port associated with a Layer 3 Virtual LAN (VLAN) congured on a Layer 3 switch. You can congure
routing parameters on the virtual interface to enable the Layer 3 switch to route protocol trac from one Layer 3 VLAN to the other,
without using an external router.
NOTE
The switch uses the lowest MAC address on the device (the MAC address of port 1 or 1/1/1) as the MAC address for all ports
within all virtual interfaces you congure on the device.
Enter commands similar to the following to add a virtual interface to a VLAN and congure an IP address on the interface.
device(config)# vlan 2 name IP-Subnet_1.1.2.1/24
device(config-vlan-2)# untag 1/1/1 to 1/1/4
device(config-vlan-2)# router-interface ve1
device(config-vlan-2)# interface ve1
device(config-vif-1)# ip address 1.1.2.1/24
The rst two commands in this example create a Layer 3 protocol-based VLAN named "IP-Subnet_1.1.2.1/24" and add a range of
untagged ports to the VLAN. The router-interface command creates virtual interface 1 as the routing interface for the VLAN. The last
two commands change to the interface conguration level for the virtual interface and assign an IP address to the interface.
Syntax: router-interface venum
Syntax: interface venum
Deleting an IP address
Enter a command similar to the following to delete an IP address.
device(config-if-1/1/1)# no ip address 1.1.2.1
This command deletes IP address 1.1.2.1. You do not need to enter the subnet mask.
To delete all IP addresses from an interface, enter the following command.
device(config-if-1/1/1)# no ip address *
Syntax: no ip address ip-addr | *
Conguring IP addresses
Brocade ICX 6650 Hardware Installation Guide
Part Number: 53-1003621-04 47

Connecting network devices
Brocade devices support connections to other vendors’ routers, switches, and hubs, as well other Brocade devices.
Connectors
For port pinouts, refer to the "Serial port specications (pinout mini-USB)" section.
Connecting a network device to a ber port
For direct attachment from the device to a Gigabit NIC, switch, or router, using a ber-optic transceiver, you need ber cabling with an LC
connector.
For information about transceivers supported on the Brocade ICX 6650, refer to the following Brocade website:
http://www.myBrocade.com/downloads/documents/data_sheets/product_data_sheets/Optics_DS.pdf
To connect the device to another network device using a ber port, you must perform the following tasks:
• Install a ber-optic transceiver (SFP or SFP+).
• Cable the ber-optic transceiver.
Installing a transceiver
You can install a new transceiver in an SFP+ slot while the device is powered on and running.
While installing a transceiver, wear an ESD wrist strap with a plug for connection to a metal surface.
DANGER
For safety reasons, the ESD wrist strap should contain a series 1 megaohm resistor.
DANGER
All ber-optic interfaces use Class 1 lasers.
Use the following steps to install a transceiver:
1. Put on the ESD wrist strap and ground yourself by attaching the clip end to a metal surface (such as an equipment rack) to act
as ground.
2. Remove the new transceiver from the protective packaging.
3. Gently insert the transceiver into the slot until it clicks into place. Transceivers are keyed to prevent incorrect insertion.
Cabling a ber-optic transceiver
Perform the following steps to cable a ber-optic transceiver.
1. Remove the protective covering from the ber-optic port connectors and store the covering for future use.
NOTE
Before cabling a ber-optic transceiver, Brocade strongly recommends cleaning the cable connectors and the port
connectors. For more information, refer to Cleaning the ber-optic connectors on page 62.
Connecting network devices
Brocade ICX 6650 Hardware Installation Guide
48 Part Number: 53-1003621-04
2. Gently insert the cable connector (a tab on each connector should face upward) into the transceiver connector until the tabs lock
into place.
3. Observe the link and active LEDs to determine if the network connections are functioning properly. For more information about
the LED indicators, refer to LED activity interpretation on page 51.
Cleaning the ber-optic connectors
To avoid problems with the connection between the ber-optic transceiver (SFP, SFP+, or QSFP+) and the ber cable connectors,
Brocade strongly recommends cleaning both connectors each time you disconnect and reconnect them. Dust can accumulate in the
connectors and cause problems, such as reducing the optic launch power.
To clean the ber cable connectors, Brocade recommends using a ber-optic reel-type cleaner. When not using an SFP connector, make
sure to keep the protective covering in place.
Testing connectivity
Test for connectivity by observing the LEDs related to network connection.
Pinging an IP address
To verify that a Brocade ICX 6650 can reach another device through the network, enter a command similar to the following at any level
of the CLI.
device# ping 192.168.0.0
Syntax: ping ip_addr [ source ip_addr ] [ count num ] [ timeout msec ] [ ttl num ] [ verify ] [ no-fragment ] [ quiet ] [ data 1-to-4 byte
hex#, e.g. abcdef00 ] [ numeric ] [ size byte ] [ brief [ max-print-per-sec num 0-2047 ] ]
NOTE
If you address the ping to the IP broadcast address, the device lists the rst four
responses.
If a problem persists after taking these actions, contact Brocade Technical Support.
Tracing a route
To determine the path through which a Brocade device can reach another device, enter a command similar to the following at any level of
the CLI.
Brocade# traceroute 192.168.0.0
Syntax: traceroute host-ip-addr [ maxttl value ] [ minttl value ] [ numeric ] [ timeout value ] [ source-ip ipaddr ]
The CLI displays trace route information for each hop as soon as the information is received. Traceroute requests display all responses to
a given TTL. In addition, if there are multiple equal-cost routes to the destination, the Brocade device displays up to two responses by
default.
Troubleshooting network connections
• For the indicated port, verify that both ends of the cabling (at the device and the connected device) are snug.
Troubleshooting network connections
Brocade ICX 6650 Hardware Installation Guide
Part Number: 53-1003621-04 49
• Verify that the device and the connected device are both powered on and operating correctly.
• Verify that you have used the correct cable type for the connection:
– For twisted-pair connections to an end node, use straight-through cabling.
– For ber-optic connections, verify that the transmit port on the device is connected to the receive port on the connected
device, and that the receive port on the device is connected to the transmit port on the connected device.
• Use the CLI to verify that the port has not been disabled through a conguration change. If you have congured an IP address
on the device, you also can use the Web management interface or Brocade Network Advisor.
• If the other procedures do not resolve the problem, try using a dierent port or a dierent cable.
Troubleshooting network connections
Brocade ICX 6650 Hardware Installation Guide
50 Part Number: 53-1003621-04

Brocade ICX 6650 Operation
• LED activity interpretation..............................................................................................................................................................................51
• Brocade ICX 6650 front panel LEDs.......................................................................................................................................................51
• Brocade ICX 6650 rear panel LEDs.........................................................................................................................................................52
• LED patterns........................................................................................................................................................................................................53
• Brocade ICX 6650 maintenance................................................................................................................................................................55
• Diagnostic tests and monitoring..................................................................................................................................................................55
LED activity interpretation
System activity and status can be determined through the activity of the LEDs on the switch.
There are three possible LED states: o (no light), a steady light, and a ashing light. Flashing lights may be slow, fast, or ickering. The
LED colors are blue, green, or amber.
Sometimes, the LEDs ash either of the colors during boot, POST, or other diagnostic tests. This is normal; it does not indicate a
problem unless the LEDs do not indicate a healthy state after all boot processes and diagnostic tests are complete.
Brocade ICX 6650 front panel LEDs
The Brocade ICX 6650 has the following LEDs on the front panel:
• Two power supply unit (PSU) bicolor status LEDs (green and amber) labeled PSU1 and PSU2
• One DIAG status LED (green and amber)
• One MS status LED (green and amber)
• Four 1x40 GbE QSFP port status and activity LEDs (blue) which indicate the status of the 40 GbE ports located on the rear
panel
• Eight 4x10 GbE QSFP-to-SFP breakout port status and activity LEDs (green) which indicate the status of the 4x10 GbE
breakout ports located on the rear panel
• 56 10 GbE bicolor status LEDs (green for 10 GbE and amber for 1 GbE) which indicate the mode of operation
In the following gure, the up-arrow port status LEDs for the 1/10 GbE ports correspond to the upper, odd-numbered ports; the down-
arrow port status LEDs correspond to the lower, even-numbered ports.
Brocade ICX 6650 Hardware Installation Guide
Part Number: 53-1003621-04 51

FIGURE 24 Brocade ICX 6650 front panel LEDs and port numbering
1. Push button reset
2. PSU1 and PSU2 status LEDs
3. DIAG and MS status LEDs
4. 40 GbE QSFP rear port status/activity LEDs
5. 4x10 GbE QSFP-to-SFP breakout port status/activity LEDs
6. 1/10 GbE port status LEDs
7. Port numbering (odd-numbered port at top, even-numbered port at bottom)
Brocade ICX 6650 rear panel LEDs
The Brocade ICX 6650 has the following LEDs on the rear panel:
• Six 40 GbE QSFP+ port status LEDs (green)
• One DIAG LED bicolor status LED (green and amber)
• Two Management port status LEDs
Brocade ICX 6650 rear panel LEDs
Brocade ICX 6650 Hardware Installation Guide
52 Part Number: 53-1003621-04

FIGURE 25 Brocade ICX 6650 rear panel LEDs and ports
1. Mini-USB connector console port
2. Management port status LEDs
3. 40 GbE ports
4. Ethernet management port
5. 40 GbE port status LEDs
LED patterns
This section describes the Brocade ICX 6650 LED patterns.
PSU 1 and PSU2
TABLE 5 PSU 1 and PSU2
LED State Status of hardware Recommended action
O (no light) System is o or there is no power. Verify the system is on and has completed
booting.
Steady green PSU is on and functioning properly. No action required.
Steady amber PSU is in faulty state or missing power. Replace power supply.
LED patterns
Brocade ICX 6650 Hardware Installation Guide
Part Number: 53-1003621-04 53

DIAG LED
TABLE 6 DIAG LED
LED State Status of hardware Recommended action
O (no light) Diagnostic is o. No action required.
Blinking green System self-diagnostic test is in progress. No action required.
Steady green System self-diagnostic test is successfully
completed. Device reboots and clears back to
o.
No action required.
Steady amber System self-diagnostic test has detected a fault. Contact support.
Management port status LED
TABLE 7 Management port status LED
LED State Status of hardware Recommended action
O (no light) Not cabled. No action required
Blinking There is trac and packets are being transmitted
or received.
No action required.
Steady No trac being transmitted, but link is up. No action required.
1/10 GbE SFP+ port LEDs
TABLE 8 1/10 GbE SFP+ port LEDs
LED State Status of hardware Recommended action
Green Link is up in 10 GbE mode. No action required.
Blinking green There is 10 GbE activity (trac) and packets are
being transmitted or received.
No action required.
Amber Link is up in 1 GbE mode. No action required.
Blinking amber There is 1 GbE activity (trac) and packets are
being transmitted or received.
No action required.
40 GbE QSFP+ rear port LEDs on front panel
TABLE 9 40 GbE QSFP+ rear port LEDs on front panel
LED State Status of hardware Recommended action
O (no light) Not enabled. No action required.
Blue Link is up in 40 GbE mode. No action required.
Blinking blue Indicates activity, and packets are being
transmitted or received.
No action required.
LED patterns
Brocade ICX 6650 Hardware Installation Guide
54 Part Number: 53-1003621-04

4x10 GbE QSFP+ rear port LEDs on front panel
TABLE 10 4x10 GbE QSFP+ rear port LEDs on front panel
LED State Status of hardware Recommended action
O (no light) Not enabled. No action required.
Green Link is up in 10 GbE mode. No action required.
Blinking green Indicates activity, and packets are being
transmitted or received.
No action required.
Brocade ICX 6650 maintenance
The Brocade ICX 6650 is designed for high availability and low failure; it does not require any regular physical maintenance. Supported
transceivers and diagnostic tests are described in the following sections.
Diagnostic tests and monitoring
Brocade FastIron software includes diagnostic tests to help you troubleshoot the hardware. System diagnostic software is designed to
fulll the purpose of oine diagnostics. In oine diagnostics, you must turn on or o the diagnostic ags to execute diagnostic tests
during the next bootup.
The CLI commands for system diagnostic tests are dm diag and dm alt-diag. These diagnostic tests verify all available hardware
components including:
• I2C devices
• EEPROMS
• CPU packet
• Test MAC alignment
• Line rate
During system diagnostic testing, the system is completely under the control of the diagnostic software. All hardware components are
veried, and results are displayed on the console. In cases where a failure is detected, results and corrective actions will be displayed.
After the system diagnostic testing is complete, the system exits from the diagnostic mode and reloads the system for normal operation.
System diagnostic testing runs at link speeds 10 Gbps and 40 Gbps (QSFP ports) depending on the speed of the link being tested and
the type of port.
Diagnostic tests and monitoring
Brocade ICX 6650 Hardware Installation Guide
Part Number: 53-1003621-04 55
Brocade ICX 6650 Hardware Installation Guide
56 Part Number: 53-1003621-04

Managing the Brocade ICX 6650
• Managing temperature settings...................................................................................................................................................................57
• Removing MAC address entries..................................................................................................................................................................59
• Displaying Brocade ICX 6650 CPU usage............................................................................................................................................59
• Hardware maintenance schedule................................................................................................................................................................59
• Replacing a copper or ber-optic module.............................................................................................................................................. 60
• FRU removal and replacement procedures............................................................................................................................................62
• Replacing a power supply unit..................................................................................................................................................................... 63
• Replacing fan trays............................................................................................................................................................................................65
Managing temperature settings
The device contains temperature sensors that the software reads based on a congurable device poll time. To protect the device from
overheating, the following temperature threshold levels exist:
• The warning level is the temperature at which the device generates a syslog message and SNMP trap. It is congurable.
• The shutdown level is the temperature at which the device reboots. It is set by the device and is not congurable.
The fan speed settings are set by the device, and are not congurable.
Displaying the temperature
To display the temperature of a device, enter the show chassis command at any level of the CLI.
NOTE
The temperature displayed by the show chassis command reects the temperature of the board inside the
device.
device#show chassis
The stack unit 1 chassis info:
Power supply 1 (NA - AC - Regular) present, status ok
Power supply 1 Fan Air Flow Direction: Back to Front
Power supply 2 (NA - AC - Regular) present, status ok
Power supply 2 Fan Air Flow Direction: Back to Front
Fan 1 ok, speed (auto): [[1]]<->2
Fan 2 ok, speed (auto): [[1]]<->2
Fan controlled temperature: 47.5 deg-C
Fan speed switching temperature thresholds:
Speed 1: NM<----->68 deg-C
Speed 2: 63<-----> 85 deg-C (shutdown)
Fan 1 Air Flow Direction: Back to Front
Fan 2 Air Flow Direction: Back to Front
MAC-Back Temperature Readings:
Current temperature : 41.5 deg-C
MAC-Left Temperature Readings:
Current temperature : 42.0 deg-C
MAC-Right Temperature Readings:
Current temperature : 42.5 deg-C
MAC-Front Temperature Readings:
Current temperature : 44.5 deg-C
CPU Temperature Readings:
Brocade ICX 6650 Hardware Installation Guide
Part Number: 53-1003621-04 57
Current temperature : 41.0 deg-C
Center Temperature Readings:
Current temperature : 26.0 deg-C
sensor A Temperature Readings:
Current temperature : 34.5 deg-C
sensor B Temperature Readings:
Current temperature : 35.5 deg-C
sensor C Temperature Readings:
Current temperature : 47.5 deg-C
sensor D Temperature Readings:
Current temperature : 39.5 deg-C
Warning level.......: 68.0 deg-C
Shutdown level......: 85.0 deg-C
Boot Prom MAC : 00.00.00
Management MAC: 00-00-00
Syntax: show chassis
Displaying syslog messages for temperature
The software sends a syslog message and an SNMP trap if the temperature crosses the warning or shutdown thresholds. The following
method describes how to view the system log on the device. If you have congured the device to use a syslog server or SNMP trap
receiver, refer to the documentation for the server or receiver.
To display the system log, enter the show log command at any CLI level.
device# show log
Syslog logging: enabled (0 messages dropped, 0 flushes, 0 overruns)
Buffer logging: level ACDMEINW, 8 messages logged
level code: A=alert C=critical D=debugging M=emergency E=error
I=informational N=notification W=warning
Static Log Buffer:
Dynamic Log Buffer (50 entries):
at 0 days 0 hours 2 minutes 0 seconds, level alert
Temperature 48.0 C degrees, warning level 45.0 C degrees, shutdown level 55.0 C degrees
at 0 days 0 hours 1 minutes 0 seconds, level alert
Temperature 40.0 C degrees, warning level 35.0 C degrees, shutdown level 45.0 C degrees
Changing the temperature warning level
To change the temperature at which the device sends a syslog message and an SNMP trap, enter a command similar to the following at
the Privileged EXEC level of the CLI.
device# temperature warn 85
Syntax: temperature warn value
The value variable is the temperature warning level, in Celsius. The maximum value of the temperature warning level is 5 degrees below
the shutdown level, which is automatically set by the device.
If you change the device hardware conguration (for example, by adding a fan tray), the device may change the temperature shutdown
level the next time it boots. This can result in the temperature warning level being higher than the temperature shutdown level. If this
happens, a warning message is displayed during bootup.
Changing the temperature poll time
By default, the software polls the temperature sensor every 60 seconds to get the current temperature. This poll rate is controlled by the
device poll time, which also controls how often the software polls other system components.
Managing temperature settings
Brocade ICX 6650 Hardware Installation Guide
58 Part Number: 53-1003621-04
To change the poll time, enter a command similar to the following at the global CONFIG level.
device(config)# chassis poll-time 200
Syntax: chassis poll-time value
The value variable can be from 0 through 65535.
Removing MAC address entries
You can remove the following types of learned MAC address entries from the system MAC address table:
• All MAC address entries
• All MAC address entries for a specied Ethernet port
• All MAC address entries for a specied VLAN
• A specied MAC address entry in all VLANs
For example, to remove entries for the MAC address 00.00.00 in all VLANs, enter the following command at the Privileged EXEC level
of the CLI.
device# clear mac-address 00.00.00
Syntax: clear mac-address [mac-address | ethernet port-num | vlan number]
If you enter the clear mac-address command without any parameters, the software removes all MAC entries.
Use the mac-address parameter to remove a specied MAC address from all VLANs. Specify the MAC address in the following format:
HHHH.HHHH.HHHH.
Use the ethernet port-num parameter to remove all MAC addresses for a specied Ethernet port.
Use the vlan number parameter to remove all MAC addresses for a specied VLAN.
Displaying Brocade ICX 6650 CPU usage
You can display the amount of the CPU in use. To do so, enter the show cpu command at any level of the CLI.
device# show cpu
31 percent busy, from 3248 sec ago
1 sec avg: 10 percent busy
5 sec avg: 10 percent busy
60 sec avg: 10 percent busy
300 sec avg: 10 percent busy
Syntax: show cpu
Hardware maintenance schedule
Brocade ICX 6650 switch hardware components require minimal maintenance. Brocade recommends cleaning the ber-optic
connectors on a ber-optic port and the connected ber cable each time you disconnect the cable.
Hardware maintenance schedule
Brocade ICX 6650 Hardware Installation Guide
Part Number: 53-1003621-04 59

Replacing a copper or ber-optic module
You can remove an SFP+ or QSFP+ transceiver from a slot and replace it with a new one while the Brocade ICX 6650 is powered on
and running.
This section provides information about the following tasks:
• Removing a copper or ber-optic module
• Cabling a ber-optic module
• Cleaning the ber-optic connectors
Removing a copper or ber-optic module
You can remove a copper or ber SFP+ or QSFP+ transceiver from a slot while the Brocade ICX 6650 is powered on and running.
While removing a copper or ber-optic module, be sure to wear an ESD wrist strap with a plug that can be inserted in the ESD connector
on the Brocade ICX 6650.
DANGER
For safety reasons, the ESD wrist strap should contain a series 1 megaohm resistor.
To remove a copper or ber-optic module from an SFP slot, do the following.
1. Put on the ESD wrist strap and ground yourself by attaching the clip end to a metal surface (such as an equipment rack).
2. Disconnect the copper or ber cable connector from the port connector.
Replacing a copper or ber-optic module
Brocade ICX 6650 Hardware Installation Guide
60 Part Number: 53-1003621-04

3. Unlock the copper or ber-optic module by pulling the bail latch forward, away from the front panel of the module, as shown in
the following gure.
NOTE
On 1000Base-SX ports, the bail latch is enclosed in a black sleeve, and on 1000Base-LX ports, the bail latch is
enclosed in a blue sleeve.
FIGURE 26 Unlocking the bail latch
1. Bail Latch
NOTE
The bail latch may be attached to either the top or the bottom of the SFP+ or QSFP+ transceiver.
4. Grasp the bail latch and pull the copper or ber-optic module out of the port, as shown in the following gure.
FIGURE 27 Removing the ber-optic module
5. Store the copper or ber-optic module in a safe, static-free place or in an anti-static bag.
6. Install a new copper or ber-optic module in the port.
Replacing a copper or ber-optic module
Brocade ICX 6650 Hardware Installation Guide
Part Number: 53-1003621-04 61

Cabling a ber-optic module
For instructions on cabling a ber-optic module, refer to Cabling a ber-optic transceiver on page 48.
Cleaning the ber-optic connectors
For instructions on cleaning a ber-optic module, refer to Cleaning the ber-optic connectors on page 49.
FRU removal and replacement procedures
The eld-replaceable units (FRUs) in the Brocade ICX 6650 can be removed and replaced without special tools. The switches can
continue operating during the FRU replacement if the conditions specied in these procedures are followed. This covers both the power
supply unit (PSU) FRUs and fan FRUs.
NOTE
This document describes how to change FRUs for units with either an air intake or air exhaust. You must replace a failed FRU
with a FRU of the same type. This applies to both power supplies and fans. A new FRU must have the same part number (P/N)
as the FRU being replaced. The manufacturing P/N is located on the top of the FRU.
If a mismatched power source or fan assembly is installed by mistake, a warning is sent to the console. The warning messages will be
similar to the following:
• For a fan mismatch: WARNING, Brocade ICX 6650, MISMATCH in Fan Air Flow direction. Replace FRU with fan air ows in
the same direction.
• For a power supply: WARNING, Brocade ICX 6650, MISMATCH in PSU Air Flow direction. Replace PSU with air ows in the
same direction
You can use external labels as a guide. The power supplies and fan assemblies are labeled with an airow symbol on the faceplate to
indicate whether the assembly takes in or exhausts air. The symbol also appears on the top of the FRU. All FRUs in a chassis must have
the same label axed so that airow direction is consistent.
FIGURE 28 Examples of airow symbols
FRU removal and replacement procedures
Brocade ICX 6650 Hardware Installation Guide
62 Part Number: 53-1003621-04

The green E symbol indicates an exhaust FRU. This unit pulls air in from the front of the switch and exhausts it out the rear side. This is
called front-to-back airow or forward airow.
The orange I symbol indicates an intake FRU. This unit pulls air in from the rear side of the switch and exhausts it out the front side. This
is called back-to-front airow or reverse airow.
CAUTION
Ensure that the airow direction of the power supply unit matches that of the installed fan tray. The power supplies and fan
trays are clearly labeled with either a green arrow with an "E", or an orange arrow with an "I."
The show chassis command displays a device’s airow direction: Front-to-Back or Back-to-Front.
Replacing a power supply unit
CAUTION
Remove the power cord from a power supply before you install it in or remove it from the device. Otherwise, the power
supply or the device could be damaged as a result. (The device can be running while a power supply is being installed or
removed, but the power supply itself should not be connected to a power source.)
CAUTION
Ensure that the airow direction of the power supply unit matches that of the installed fan tray. The power supplies and fan
trays are clearly labeled with either a green arrow with an "E", or an orange arrow with an "I."
NOTE
Maintain all power supply and fan assemblies in operational condition to provide redundancy.
CAUTION
If you do not install a module or a power supply in a slot, you must keep the slot ller panel in place. If you run the chassis
with an uncovered slot, the system will overheat.
CAUTION
Changes or modications made to this device that are not expressly approved by the party responsible for compliance
could void the user's authority to operate the equipment.
The following table describes the Brocade ICX 6650 power supply status LED colors, behaviors, and actions required, if any.
TABLE 11 Power supply status LED behavior, description, and required actions
LED color and behavior Description Action required
O (no light) Power supply is not receiving power. Verify that the power supply is on and seated
and the power cord is connected to a functioning
power source.
Steady green Power supply is operating normally. No action is required.
Steady amber Power supply cable is disconnected or the
power supply has failed.
Check the power cable connection.
Replace the power supply
Determining the need to replace a power supply
Use one of the following methods to determine the status of the power supplies:
• Check the power supply status LED (refer to Replacing a power supply unit on page 63).
Replacing a power supply unit
Brocade ICX 6650 Hardware Installation Guide
Part Number: 53-1003621-04 63

• Enter the show chassis command at the prompt to display power supply status.
Time and items required
Replacing a power supply in the Brocade ICX 6650 should take less than two minutes to complete.
You need the following items to replace a power supply in a Brocade ICX 6650:
• A new power supply (must have the same part number and the same airow label as the power supply being replaced)
• A #1 Phillips screwdriver
Replacing a power supply
Complete the following steps to replace a power supply in a Brocade ICX 6650.
NOTE
To display power supply status, you can enter the show chassis command at the command line prompt.
1. To leave the Brocade ICX 6650 in service while replacing a power supply, verify that the other power supply (the one not being
replaced) has been powered on for at least four seconds and has a steady green status LED.
2. Before opening the package that contains the power supply, touch the bag to the switch casing to discharge any potential static
electricity. Brocade recommends using an ESD wrist strap during installation.
3. Remove the power supply from the anti-static shielded bag.
4. Ensure that the replacement power supply has the same part number and airow label as the power supply being replaced.
5. Unplug the power cord from the power supply that is being replaced.
6. Using the Phillips screwdriver, unscrew the two captive screws on the power supply.
7. Remove the power supply from the chassis by pulling the handle on the power supply out and away from the chassis.
8. Holding the power supply level, guide it into the carrier rails on each side and gently push it all the way into the slot, ensuring
that it rmly engages with the connector.
CAUTION
Carefully follow the mechanical guides on each side of the power supply slot and make sure the power supply is
properly inserted in the guides. Never insert the power supply upside down.
9. When you are sure the power supply has properly engaged the connector, tighten the retainer screws to secure the power
supply in the slot.
10. Plug the power cord into the power supply to power on the unit.
The power supply will immediately attempt to power up.
11. Verify that the LED on the new power supply displays steady green while the Brocade ICX 6650 is operating (refer to Replacing
a power supply unit on page 63). If the LED is not steady green, ensure that the power supply is securely installed and seated
properly.
Replacing a power supply unit
Brocade ICX 6650 Hardware Installation Guide
64 Part Number: 53-1003621-04

Replacing fan trays
CAUTION
Ensure that the airow direction of the power supply unit matches that of the installed fan tray. The power supplies and fan
trays are clearly labeled with either a green arrow with an "E", or an orange arrow with an "I."
Orderable Brocade ICX 6650 models include two redundant, hot-swappable fan units. However, it can run on one power supply and one
fan. In that case, the empty power supply and fan slots must be covered using the ller panels.
NOTE
Maintain all power supply and fan assemblies in operational condition to provide redundancy.
CAUTION
If you do not install a module or a power supply in a slot, you must keep the slot ller panel in place. If you run the chassis
with an uncovered slot, the system will overheat.
CAUTION
Changes or modications made to this device that are not expressly approved by the party responsible for compliance
could void the user's authority to operate the equipment.
Determining the need to replace a fan assembly
Enter the show chassis command in the command line interface to display fan status.
Time and items required
Replacing a fan assembly in the Brocade ICX 6650 should take less than two minutes to complete.
You need the following items to replace a fan assembly in the Brocade ICX 6650 switch:
• A new fan assembly (must have the same part number and the same airow label as the fan assembly being replaced; refer to
FRU removal and replacement procedures on page 62 for the location of the airow label)
• A #1 Phillips screwdriver
Installing or replacing the fan assembly
Complete the following steps to install or replace a fan assembly in a Brocade ICX 6650.
1. If replacing a fan assembly:
a) Using a Phillips screwdriver, unscrew the captive screw on the fan assembly.
b) Remove the fan assembly from the chassis by pulling the handle on the fan assembly out and away from the chassis.
c) Ensure that the replacement fan assembly has the same part number and airow label as the fan assembly being replaced.
2. If installing a new fan assembly into a slot covered with a ller panel:
a) Using a Phillips screwdriver, unscrew the captive screw on the ller panel.
b) Remove the ller panel.
3. Before opening the package that contains the new fan tray, touch the bag to the switch casing to discharge any potential static
electricity. It is recommended that you wear an ESD wrist strap during installation.
Replacing fan trays
Brocade ICX 6650 Hardware Installation Guide
Part Number: 53-1003621-04 65

4. Remove the fan tray from the anti-static shielded bag.
CAUTION
Do not force the installation. If the fan assembly does not slide in easily, ensure that it is correctly oriented before
continuing.
5. Holding the fan tray level, guide it into the carrier rails on each side and gently push it all the way into the slot, ensuring that it
rmly engages with the connector.
6. When you are sure the fan tray has properly engaged the connector, tighten the captive screw to secure the fan tray in the slot.
NOTE
The fans are controlled automatically by the device .
7. Verify correct installation by running the show chassis command, as shown in the following example:
device#show chassis
The stack unit 1 chassis info:
Power supply 1 (AC - Regular) present, status ok
Model Number: 23-0000144-01
Serial Number: 028
Firmware Ver: A
Power supply 1 Fan Air Flow Direction: Front to Back
Power supply 2 not present
Fan 1 ok, speed (auto): [[1]]<->2
Fan 2 ok, speed (auto): [[1]]<->2
Fan controlled temperature: 37.5 deg-C
Fan speed switching temperature thresholds:
Speed 1: NM<----->70 deg-C
Speed 2: 65<-----> 85 deg-C (shutdown)
Fan 1 Air Flow Direction: Front to Back
Fan 2 Air Flow Direction: Front to Back
MAC-Back Temperature Readings:
Current temperature : 37.5 deg-C
MAC-Left Temperature Readings:
Current temperature : 34.0 deg-C
MAC-Right Temperature Readings:
Current temperature : 33.0 deg-C
MAC-Front Temperature Readings:
Current temperature : 33.0 deg-C
CPU Temperature Readings:
Current temperature : 37.5 deg-C
Center Temperature Readings:
Current temperature : 30.5 deg-C
sensor A Temperature Readings:
Current temperature : 37.5 deg-C
sensor B Temperature Readings:
Current temperature : 31.0 deg-C
sensor C Temperature Readings:
Current temperature : 34.5 deg-C
sensor D Temperature Readings:
Current temperature : 30.5 deg-C
Warning level.......: 45.0 deg-C
Shutdown level......: 85.0 deg-C
Boot Prom MAC : 748e.f893.eabe
Management MAC: 748e.f893.eabe
CAUTION
If you do not install a module or a power supply in a slot, you must keep the slot ller panel in place. If you run the
chassis with an uncovered slot, the system will overheat.
Replacing fan trays
Brocade ICX 6650 Hardware Installation Guide
66 Part Number: 53-1003621-04

Brocade ICX 6650 Switch Technical
Specications
This document highlights the features and specications for the Brocade ICX 6650 switch.
System specications
System component Description
Enclosure 1U EIA-compliant; power from non-port side; reversible airow
Power inlet C14
Power supplies Two internal, redundant, load-sharing, and hot-swappable power supplies
Fans Two
Cooling An exhaust airow which moves air from front to back
An intake airow which moves air from back to front
System architecture Nonblocking shared memory
System processors 800 MHz PowerPC
Switch bandwidth 1600 Gbps
Forwarding bandwidth (data rate,
full duplex)
1190 Mbps
Ethernet
System component Description
SFP GbE ports 56 ports 10GBASE-X SFP+ (dual-speed 1/10 GbE)
2-ports 4×10GBASE-X QSFP+ (10 GbE)
4-ports 40GBASE-X QSFP+ (40 GbE)
Ethernet management port One Gigabit Ethernet port (RJ-45)
LEDs
System component Description
Power Tri-color LEDs (blue, green, or amber) indicating the status and healthiness of the system power supplies.
Diag Bi-color LEDs (green or amber) indicating indicating the status of the system diagnostic testing.
Management port A single LED indicating the status of the link connectivity and trac.
1/10 GbE SFP+ port Bi-color LEDs (green or amber) indicating the 1 GbE or 10 GbE link status and port activity.
40 GbE QSFP+ rear port A single LED (blue) indicating the 40 GbE link status and port activity.
4x10 GbE QSFP+ rear port A single LED (green) indicating the 4x10 GbE link status and port activity.
Brocade ICX 6650 Hardware Installation Guide
Part Number: 53-1003621-04 67

Other
System component Description
RJ-45 to DB9 adapter 1
RJ-45 crossover cable 1
Mini-USB(M)-DB9(F) cable 1
Weight and physical dimensions
Fully loaded includes all power supplies and fan assemblies, and no transceivers.
Model Height Width Depth Fully loaded weight
ICX 6650 4.4 cm
1.73 inches
42.9 cm
16.88 inches
40.64 cm
16 inches
8.41 kg
18.5 lb
Environmental requirements
Condition Operational Non-operational
Ambient temperature 0ºC to 40ºC (32ºF to 104ºF) -25ºC to 70ºC (-23ºF to 158ºF)
Relative humidity (non-
condensing)
10% to 95% at 40ºC (104ºF) 5% to 80% at 70ºC (158ºF)
Altitude (above sea level) 0 to 3000 m (10,000 feet) 0 to 12000 m (39,000 feet)
Shock 20 G, 6 ms, half-sine wave 33 G, 11 ms, half-sine wave, 3/eg Axis
Vibration 0.5 G sine, 0.4 gms random, 5-500 Hz 2.0 G sine, 1.1 gms random, 5-500 Hz
Airow Maximum - 90.1 cmh (53 cfm)
Nominal - 59.5 cmh (35 cfm)
N/A
Heat dissipation 478 BTU/hr N/A
Operating noise 46.7 dB N/A
Power supply specications (per PSU)
Power supply
model
Maximum output
power rating (DC)
Input voltage Input line
frequency
Maximum input
current
Input line
protection
Maximum inrush
current
RPS15-E 250 W 100-240 VAC 50-60 Hz 4.0 A Line & Neutral
Fused
35 A
RPS15-I 250 W 100-240 VAC 50-60 Hz 4.0 A Line & Neutral
Fused
35 A
RPS16DC-E 510 W 40-60 VDC N/A 15.5 A Positive Input
Fused
40 A
RPS16DC-I 510 W 40-60 VDC N/A 15.5 A Positive Input
Fused
40 A
Other
Brocade ICX 6650 Hardware Installation Guide
68 Part Number: 53-1003621-04

Power consumption (typical conguration)
56 10-BbE ports, 4 40-GbE ports, and 4 4x10 GbE ports linked and up. 10% trac with 64-byte packets. Fans at normal speed.
Model name 100 - 240 VAC input Minimum number of power
supplies
Notes
ICX 6650 154.6 W
527.66 BTU/hr
1
Power consumption (maximum conguration)
All ports connected with optics to draw maximum power per MSA Optics Specication. Trac at full rate or 100% throughput. Fans at
full speed.
Model name 100 - 240 VAC input Minimum number of power
supplies
Notes
ICX 6650 230 W
785.01 BTU/hr
2
Data port specications (Ethernet)
Model Port type Number of ports Description
ICX 6650 1/10 GbE Ports 1 through 56 SFP+ ports in slot 1 located on the front of the switch.
40 GbE Ports 1 through 3
(top row)
Port 4 (bottom
row)
QSFP+ ports in slot 2 located on the rear of the switch. The QSFP+ 40 GbE LR4
optical transceiver is supported in ports 1 and 2 only.
Serial port specications (pinout mini-USB)
Pin Signal Description
1 +5V Not used
2 UART0_TX Debug port
3 UART0_RX Console port
4 IN Not used
5 GND Ground
Serial port specications (protocol)
Parameter Value
Baud 9600 bps
Serial port specications (protocol)
Brocade ICX 6650 Hardware Installation Guide
Part Number: 53-1003621-04 69

Parameter Value
Data bits 8
Parity None
Stop bits 1
Flow control None
Memory specications
Memory Type Size
Boot Flash NOR ash 64 MB
Compact Flash DDR2-400 SDRAM with ECC (RDIMM) 1 GB
Regulatory compliance (EMC)
• FCC Part 15, Subpart B (Class A)
• EN 55022 (CE mark) (Class A)
• EN 55024 (CE mark) (Immunity) for Information Technology Equipment
• ICES-003 (Canada) (Class A)
• AS/NZ 55022 (Australia) (Class A)
• VCCI (Japan) (Class A)
• EN 61000-3-2
• EN 61000-3-3
• EN 61000-6-1
Regulatory compliance (safety)
• CAN/CSA-C22.2 No. 60950-1-07/UL60950-1 - Safety of Information Technology Equipment
• EN 60825-1 Safety of Laser Products - Part 1: Equipment Classication, Requirements and User's Guide
• EN 60825-2 Safety of Laser Products - Part 2: Safety of Optical Fibre Communications Systems
• EN 60950-1, IEC 60950-1 Safety of Information Technology Equipment
Regulatory compliance (environmental)
• 2011/65/EU – Restriction of the use of certain hazardous substance in electrical and electronic equipment (EU RoHS)
• 2012/19/EU – Waste electrical and electronic equipment (EU WEEE)
• 94/62/EC – packaging and packaging waste (EU)
• 2006/66/EC – batteries and accumulators and waste batteries and accumulators (EU battery directive)
• 1907/2006 of the European Parliament and of the Council of 18 December 2006 concerning the Registration, Evaluation,
Authorisation and Restriction of Chemicals (EU REACH)
Memory specications
Brocade ICX 6650 Hardware Installation Guide
70 Part Number: 53-1003621-04
• Section 1502 of the Dodd-Frank Wall Street Reform and Consumer Protection Act of 2010 – U.S. Conict Minerals.
• 30/2011/TT-BCT – Vietnam circular
• SJ/T 11363-2006 Requirements for Concentration Limits for Certain Hazardous Substances in EIPs (China)
• SJ/T 11364-2006 Marking for the Control of Pollution Caused by EIPs (China)
Regulatory compliance (environmental)
Brocade ICX 6650 Hardware Installation Guide
Part Number: 53-1003621-04 71
Brocade ICX 6650 Hardware Installation Guide
72 Part Number: 53-1003621-04

Brocade ICX 6650 Regulatory Statements
• BSMI statement (Taiwan)................................................................................................................................................................................73
• Canadian requirements................................................................................................................................................................................... 73
• China CC statement..........................................................................................................................................................................................74
• China ROHS........................................................................................................................................................................................................74
• Europe and Australia (CISPR 22 Class A Warning)............................................................................................................................ 74
• FCC warning (US only)....................................................................................................................................................................................75
• Germany................................................................................................................................................................................................................75
• KCC statement (Republic of Korea)............................................................................................................................................................75
• VCCI statement.................................................................................................................................................................................................. 75
BSMI statement (Taiwan)
Warning:
This is Class A product. In a domestic environment this product may cause radio interference in which case the user may be required to
take adequate measures.
Canadian requirements
This Class A digital apparatus meets all requirements of the Canadian Interference-Causing Equipment Regulations, ICES-003 Class A.
Cet appareil numérique de la classe A est conforme à la norme NMB-003 du Canada.
Brocade ICX 6650 Hardware Installation Guide
Part Number: 53-1003621-04 73

China CC statement
China ROHS
Refer to the latest revision of the China ROHS document (P/N 53‐1000428‐xx) which ships with the product.
Europe and Australia (CISPR 22 Class A Warning)
This is a Class A product. In a domestic environment this product may cause radio interference in which case the user may be required to
take adequate measures.
China CC statement
Brocade ICX 6650 Hardware Installation Guide
74 Part Number: 53-1003621-04

FCC warning (US only)
This equipment has been tested and complies with the limits for a Class A computing device pursuant to Part 15 of the FCC Rules.
These limits are designed to provide reasonable protection against harmful interference when the equipment is operated in a commercial
environment.
This equipment generates, uses, and can radiate radio frequency energy, and if not installed and used in accordance with the instruction
manual, might cause harmful interference to radio communications. Operation of this equipment in a residential area is likely to cause
harmful interference, in which case the user will be required to correct the interference at the user’s own expense.
Germany
Machine noise information regulation - 3. GPSGV, the highest sound pressure level value is 53.0 dB(A) in accordance with EN ISO
7779.
Maschinenlärminformations-Verordnung - 3. GPSGV, der höchste Schalldruckpegel beträgt 53.0 dB(A) gemäss EN ISO 7779.
KCC statement (Republic of Korea)
Class A device (Broadcasting Communication Device for Oce Use): This device obtained EMC registration for oce use (Class A), and
may be used in places other than home. Sellers and/or users need to take note of this.
VCCI statement
This is a Class A product based on the standard of the Voluntary Control Council for Interference by Information Technology Equipment
(VCCI). If this equipment is used in a domestic environment, radio disturbance might arise. When such trouble occurs, the user might be
required to take corrective actions.
VCCI statement
Brocade ICX 6650 Hardware Installation Guide
Part Number: 53-1003621-04 75
Brocade ICX 6650 Hardware Installation Guide
76 Part Number: 53-1003621-04

Brocade ICX 6650 Cautions and Danger
Notices
• Cautions.................................................................................................................................................................................................................77
• Danger Notices...................................................................................................................................................................................................80
Cautions
A Caution statement alerts you to situations that can be potentially hazardous to you or cause damage to hardware, rmware, software, or
data.
Ein Vorsichthinweis warnt Sie vor potenziellen Personengefahren oder Beschädigung der Hardware, Firmware, Software oder auch vor
einem möglichen Datenverlust
Un message de mise en garde vous alerte sur des situations pouvant présenter un risque potentiel de dommages corporels ou de
dommages matériels, logiciels ou de perte de données.
Un mensaje de precaución le alerta de situaciones que pueden resultar peligrosas para usted o causar daños en el hardware, el rmware,
el software o los datos.
General cautions
CAUTION
Do not install the device in an environment where the operating ambient temperature might exceed 40°C (104°F).
VORSICHT Das Gerät darf nicht in einer Umgebung mit einer Umgebungsbetriebstemperatur von über 40°C (104°F) installiert werden.
MISE EN GARDE N'installez pas le dispositif dans un environnement où la température d'exploitation ambiante risque de dépasser 40°C
(104°F).
PRECAUCIÓN No instale el instrumento en un entorno en el que la temperatura ambiente de operación pueda exceder los 40°C (104°F).
CAUTION
Make sure the airow around the front, sides, and back of the device is not
restricted.
VORSICHT Stellen Sie sicher, dass an der Vorderseite, den Seiten und an der Rückseite der Luftstrom nicht behindert wird.
MISE EN GARDE Vériez que rien ne restreint la circulation d'air devant, derrière et sur les côtés du dispositif et qu'elle peut se faire librement.
PRECAUCIÓN Asegúrese de que el ujo de aire en las inmediaciones de las partes anterior, laterales y posterior del instrumento no esté
restringido.
CAUTION
Never leave tools inside the chassis.
VORSICHT Lassen Sie keine Werkzeuge im Chassis zurück.
MISE EN GARDE Ne laissez jamais d'outils à l'intérieur du châssis
PRECAUCIÓN No deje nunca herramientas en el interior del chasis.
Brocade ICX 6650 Hardware Installation Guide
Part Number: 53-1003621-04 77

CAUTION
Changes or modications made to this device that are not expressly approved by the party responsible for compliance
could void the user's authority to operate the equipment.
VORSICHT Falls dieses Gerät verändert oder modiziert wird, ohne die ausdrückliche Genehmigung der für die Einhaltung der
Anforderungen verantwortlichen Partei einzuholen, kann dem Benutzer der weitere Betrieb des Gerätes untersagt werden.
MISE EN GARDE Les éventuelles modications apportées à cet équipement sans avoir été expressément approuvées par la partie responsable
d'en évaluer la conformité sont susceptibles d'annuler le droit de l'utilisateur à utiliser cet équipement.
PRECAUCIÓN Si se realizan cambios o modicaciones en este dispositivo sin la autorización expresa de la parte responsable del
cumplimiento de las normas, la licencia del usuario para operar este equipo puede quedar anulada.
CAUTION
Ensure that adequate ventilation is provided for the system. A 3 cm clearance is recommended above the device and 8 cm
clearance is recommended on each side.
VORSICHT Stellen Sie sicher, dass das System ausreichend belüftet wird. Über dem Gerät wird 3 cm Freiraum, auf beiden Seiten jeweils
8 cm Freiraum empfohlen.
MISE EN GARDE Assurez-vous que le circuit est correctement ventilé. Il est recommandé de conserver un espace de 3 cm au-dessus du
dispositif, et de 8 cm sur chaque côté.
PRECAUCIÓN Asegúrese de proporcionar una ventilación adecuada al sistema. Se recomienda dejar 3 cm de espacio libre por encima del
dispositivo y 8 cm a cada lado.
CAUTION
Ensure that the airow direction of the power supply unit matches that of the installed fan tray. The power supplies and fan
trays are clearly labeled with either a green arrow with an "E", or an orange arrow with an "I."
VORSICHT Vergewissern Sie sich, dass die Luftstromrichtung des Netzteils der eingebauten Lüftereinheit entspricht. Die Netzteile und
Lüftereinheiten sind eindeutig mit einem grünen Pfeil und dem Buchstaben "E" oder einem orangefarbenen Pfeil mit dem
Buchstaben "I" gekennzeichnet.
MISE EN GARDE Veillez à ce que le sens de circulation de l'air du bloc d'alimentation corresponde à celui du tiroir de ventilation installé. Les
blocs d'alimentation et les tiroirs de ventilation sont étiquetés d'une èche verte avec un "E " ou d'une èche orange avec un "
I ".
PRECAUCIÓN Asegúrese de que la dirección del ujo de aire de la unidad de alimentación se corresponda con la de la bandeja del ventilador
instalada. Los dispositivos de alimentación y las bandejas del ventilador están etiquetadas claramente con una echa verde y
una "E" o con una echa naranja y una "I".
CAUTION
Use the erase startup-cong command only for new systems. If you enter this command on a system you have already
congured, the command erases the conguration. If you accidentally do erase the conguration on a congured system,
enter the write memory command to save the running conguration to the startup-cong le.
VORSICHT Verwenden Sie den Befehl Erase startup-cong (Löschen Startup-Kong) nur für neue Systeme. Wenn Sie diesen Befehl in
ein bereits konguriertes System eingeben, löscht der Befehl die Konguration. Falls Sie aus Versehen die Konguration eines
bereits kongurierten Systems löschen, geben Sie den BefehlWrite Memory (Speicher schreiben) ein, um die laufende
Konguration in der Startup-Kong-Datei zu speichern.
MISE EN GARDE N'utilisez la commande erase startup-cong que pour les nouveaux systèmes. Si vous entrez cette commande sur un
système que vous avez déjà conguré, elle eace la conguration. Si vous eacez la conguration par accident sur un
système conguré, entrez la commande write memory pour enregistrer la conguration actuelle dans le chier startup-cong.
PRECAUCIÓN Use el comando erase startup-cong (borrar conguración de inicio) para sistemas nuevos solamente. Si usted introduce
este comando en un sistema que ya ha congurado, el comando borrará la conguración. Si usted borra accidentalmente la
conguración en un sistema ya congurado, introduzca el comando write memory (escribir memoria) para guardar la
conguración en ejecución en el archivo startup-cong.
Cautions
Brocade ICX 6650 Hardware Installation Guide
78 Part Number: 53-1003621-04

Electrical cautions
CAUTION
Use a separate branch circuit for each power cord, which provides redundancy in case one of the circuits fails.
VORSICHT Es empehlt sich die Installation eines separaten Stromkreiszweiges für jede Elektroschnur als Redundanz im Fall des Ausfalls
eines Stromkreises.
MISE EN GARDE Utilisez un circuit de dérivation diérent pour chaque cordon d’alimentation ainsi, il y aura un circuit redondant en cas de
panne d’un des circuits.
PRECAUCIÓN Use un circuito derivado separado para cada cordón de alimentación, con lo que se proporcionará redundancia en caso de
que uno de los circuitos falle.
CAUTION
Ensure that the device does not overload the power circuits, wiring, and over-current protection. To determine the
possibility of overloading the supply circuits, add the ampere (amp) ratings of all devices installed on the same circuit as the
device. Compare this total with the rating limit for the circuit. The maximum ampere ratings are usually printed on the
devices near the input power connectors.
VORSICHT Stromkreise, Verdrahtung und Überlastschutz dürfen nicht durch das Gerät überbelastet werden. Addieren Sie die
Nennstromleistung (in Ampere) aller Geräte, die am selben Stromkreis wie das Gerät installiert sind. Somit können Sie
feststellen, ob die Gefahr einer Überbelastung der Versorgungsstromkreise vorliegt. Vergleichen Sie diese Summe mit der
Nennstromgrenze des Stromkreises. Die Höchstnennströme (in Ampere) stehen normalerweise auf der Geräterückseite
neben den Eingangsstromanschlüssen.
MISE EN GARDE Assurez-vous que le dispositif ne risque pas de surcharger les circuits d'alimentation, le câblage et la protection de
surintensité. Pour déterminer le risque de surcharge des circuits d'alimentation, additionnez l'intensité nominale (ampères) de
tous les dispositifs installés sur le même circuit que le dispositif en question. Comparez alors ce total avec la limite de charge
du circuit. L'intensité nominale maximum en ampères est généralement imprimée sur chaque dispositif près des connecteurs
d'entrée d'alimentation.
PRECAUCIÓN Verique que el instrumento no sobrecargue los circuitos de corriente, el cableado y la protección para sobrecargas. Para
determinar la posibilidad de sobrecarga en los circuitos de suministros, añada las capacidades nominales de corriente (amp)
de todos los instrumentos instalados en el mismo circuito que el instrumento. Compare esta suma con el límite nominal para
el circuito. Las capacidades nominales de corriente máximas están generalmente impresas en los instrumentos, cerca de los
conectores de corriente de entrada.
CAUTION
Before plugging a cable into to any port, be sure to discharge the voltage stored on the cable by touching the electrical
contacts to ground surface.
VORSICHT Bevor Sie ein Kabel in einen Anschluss einstecken, entladen Sie jegliche im Kabel vorhandene elektrische Spannung, indem
Sie mit den elektrischen Kontakten eine geerdete Oberäche berühren.
MISE EN GARDE Avant de brancher un câble à un port, assurez-vous de décharger la tension du câble en reliant les contacts électriques à la
terre.
PRECAUCIÓN Antes de conectar un cable en cualquier puerto, asegúrese de descargar la tensión acumulada en el cable tocando la
supercie de conexión a tierra con los contactos eléctricos.
CAUTION
If you do not install a module or a power supply in a slot, you must keep the slot ller panel in place. If you run the chassis
with an uncovered slot, the system will overheat.
VORSICHT Falls kein Modul oder Netzteil im Steckplatz installiert wird, muss die Steckplatztafel angebracht werden. Wenn ein Steckplatz
nicht abgedeckt wird, läuft das System heiß.
MISE EN GARDE Si vous n’installez pas de module ou de bloc d'alimentation dans un slot, vous devez laisser le panneau du slot en place. Si
vous faites fonctionner le châssis avec un slot découvert, le système surchauera.
Cautions
Brocade ICX 6650 Hardware Installation Guide
Part Number: 53-1003621-04 79

PRECAUCIÓN Si no instala un módulo o un fuente de alimentación en la ranura, deberá mantener el panel de ranuras en su lugar. Si pone en
funcionamiento el chasis con una ranura descubierta, el sistema sufrirá sobrecalentamiento.
CAUTION
For the DC input circuit to the system, make sure there is a 20 Amp circuit breaker, minimum 60 VDC, double pole, on the
input terminal block to the power supply. The input wiring for connection to the product should be copper wire, 12 AWG,
marked VW-1, and rated minimum 90°C.
VORSICHT Für den Eingangs-Gleichstromkreis zum System ist ein 20 A maximum -60 V DC, doppelpoliger Stromkreisunterbrecher am
Eingang zur Reihenklemme zu installieren. Bei der Eingangsverdrahtung zum Anschluss des Produkts sollte es sich um einen
12 AWG-Kupferdraht (VW-1) und einer Mindestnenntemperatur von 90° C handeln.
MISE EN GARDE Pour le circuit d'alimentation C.C du système, assurez-vous de la présence d'un disjoncteur de 20 ampères, maximum -60 V
C.C., double coupure, sur l'entrée vers le bloc d'alimentation. Les câbles d'alimentation pour le produit doivent être en ls de
cuivre, 12 AWG (American Wire Gauge), marqués VW-1 et classés 90 degrés Celsius.
PRECAUCIÓN Para el circuito de entrada de CC al sistema, verique que existe un cortacircuitos catalogado de 20 amperios, como máximo,
-60 VCC, bipolar, en la entrada al bloque terminal. El cableado de entrada para la conexión al producto deberá ser de cable
de cobre catalogado, 12 AWG, marcado con VW-1, y tener una capacidad nominal mínima para 90 grados centígrados.
CAUTION
Carefully follow the mechanical guides on each side of the power supply slot and make sure the power supply is properly
inserted in the guides. Never insert the power supply upside down.
VORSICHT Beachten Sie mechanischen Führungen an jeder Seite des Netzteils, das ordnungegemäß in die Führungen gesteckt werden
muss. Das Netzteil darf niemals umgedreht eingesteckt werden.
MISE EN GARDE Suivez attentivement les repères mécaniques de chaque côté du slot du bloc d'alimentation et assurez-vous que le bloc
d'alimentation est bien inséré dans les repères. N'insérez jamais le bloc d'alimentation à l'envers.
PRECAUCIÓN Siga cuidadosamente las guías mecánicas de cada lado de la ranura del suministro de energía y verique que el suministro de
energía está insertado correctamente en las guías. No inserte nunca el suministro de energía de manera invertida.
CAUTION
Remove the power cord from a power supply before you install it in or remove it from the device. Otherwise, the power
supply or the device could be damaged as a result. (The device can be running while a power supply is being installed or
removed, but the power supply itself should not be connected to a power source.)
VORSICHT Nehmen Sie vor dem Anschließen oder Abtrennen des Geräts das Stromkabel vom Netzteil ab. Ansonsten könnten das
Netzteil oder das Gerät beschädigt werden. (Das Gerät kann während des Anschließens oder Annehmens des Netzteils
laufen. Nur das Netzteil sollte nicht an eine Stromquelle angeschlossen sein.)
MISE EN GARDE Enlevez le cordon d'alimentation d'un bloc d'alimentation avant de l'installer ou de l'enlever du dispositif. Sinon, le bloc
d'alimentation ou le dispositif risque d'être endommagé. (Le dispositive peut être en train de fonctionner lorsque vous installez
ou enlevez un bloc d'alimentation, mais le bloc d'alimentation lui-même ne doit pas être connecté à une source
d'alimentation.)
PRECAUCIÓN Retire el cordón de corriente del suministro de corriente antes de instalarlo o retírarlo del instrumento. De no hacerse así, el
suministro de corriente o el instrumento podrían resultar dañados. (El instrumento puede estar encendido mientras se instala
o retira un suministro de corriente, pero el suministro de corriente en sí no deberá conectado a la corriente).
Danger Notices
A Danger statement indicates conditions or situations that can be potentially lethal or extremely hazardous to you. Safety labels are also
attached directly to products to warn of these conditions or situations.
Ein Gefahrenhinweis warnt vor Bedingungen oder Situationen die tödlich sein können oder Sie extrem gefährden können.
Sicherheitsetiketten sind direkt auf den jeweiligen Produkten angebracht um vor diesen Bedingungen und Situationen zu warnen.
Danger Notices
Brocade ICX 6650 Hardware Installation Guide
80 Part Number: 53-1003621-04

Un paragraphe Danger indique des conditions ou des situations potentiellement mortelles ou extrêmement dangereuses. Des labels de
sécurité sont posés directement sur le produit et vous avertissent de ces conditions ou situations
Una advertencia de peligro indica condiciones o situaciones que pueden resultar potencialmente letales o extremadamente peligrosas.
También habrá etiquetas de seguridad pegadas directamente sobre los productos para advertir de estas condiciones o situaciones.
General dangers
DANGER
The procedures in this manual are for qualied service personnel.
GEFAHR Die Vorgehensweisen in diesem Handbuch sind für qualiziertes Servicepersonal bestimmt.
DANGER Les procédures décrites dans ce manuel doivent être eectuées par un personnel de maintenance qualié.
PELIGRO Los procedimientos de este manual deben llevarlos a cabo técnicos cualicados.
DANGER
Be careful not to accidently insert your ngers into the fan tray while removing it from the chassis. The fan may still be
spinning at a high speed.
GEFAHR Die Finger dürfen nicht versehentlich in das Ventilatorblech gesteckt werden, wenn dieses vom Gehäuse abgenommen wird.
Der Ventilator kann sich unter Umständen noch mit hoher Geschwindigkeit drehen.
DANGER Faites attention de ne pas accidentellement insérer vos doigts dans le boîtier du ventilateur lorsque vous l'enlevez du châssis.
Il est possible que le ventilateur tourne encore à grande vitesse
PELIGRO Procure no insertar los dedos accidentalmente en la bandeja del ventilador cuando esté desmontando el chasis. El ventilador
podría estar girando a gran velocidad.
Electrical dangers
DANGER
Before beginning the installation, see the precautions in “Power precautions.”
GEFAHR Vor der Installation siehe Vorsichtsmaßnahmen unter “Power Precautions” (Vorsichtsmaßnahmen in Bezug auf elektrische
Ablagen).
DANGER Avant de commencer l'installation, consultez les précautions décrites dans “Power Precautions” (Précautions quant à
l'alimentation).
PELIGRO Antes de comenzar la instalación, consulte las precauciones en la sección “Power Precautions” (Precauciones sobre corriente).
DANGER
Disconnect the power cord from all power sources to completely remove power from the device.
GEFAHR Ziehen Sie das Stromkabel aus allen Stromquellen, um sicherzustellen, dass dem Gerät kein Strom zugeführt wird.
DANGER Débranchez le cordon d'alimentation de toutes les sources d'alimentation pour couper complètement l'alimentation du
dispositif.
PELIGRO Para desconectar completamente la corriente del instrumento, desconecte el cordón de corriente de todas las fuentes de
corriente.
Danger Notices
Brocade ICX 6650 Hardware Installation Guide
Part Number: 53-1003621-04 81

DANGER
If the installation requires a dierent power cord than the one supplied with the device, make sure you use a power cord
displaying the mark of the safety agency that denes the regulations for power cords in your country. The mark is your
assurance that the power cord can be used safely with the device.
GEFAHR Falls für die Installation ein anderes Stromkabel erforderlich ist (wenn das mit dem Gerät gelieferte Kabel nicht passt), müssen
Sie sicherstellen, dass Sie ein Stromkabel mit dem Siegel einer Sicherheitsbehörde verwenden, die für die Zertizierung von
Stromkabeln in Ihrem Land zuständig ist. Das Siegel ist Ihre Garantie, dass das Stromkabel sicher mit Ihrem Gerät verwendet
werden kann.
DANGER Si l'installation nécessite un cordon d'alimentation autre que celui fourni avec le dispositif, assurez-vous d'utiliser un cordon
d'alimentation portant la marque de l'organisation responsable de la sécurité qui dénit les normes et régulations pour les
cordons d'alimentation dans votre pays. Cette marque vous assure que vous pouvez utiliser le cordon d'alimentation avec le
dispositif en toute sécurité.
PELIGRO Si la instalación requiere un cordón de corriente distinto al que se ha suministrado con el instrumento, verique que usa un
cordón de corriente que venga con la marca de la agencia de seguridad que dena las regulaciones para cordones de
corriente en su país. Esta marca será su garantía de que el cordón de corriente puede ser utilizado con seguridad con el
instrumento.
DANGER
For safety reasons, the ESD wrist strap should contain a series 1 megaohm resistor.
GEFAHR Aus Sicherheitsgründen sollte ein EGB-Armband zum Schutz von elektronischen gefährdeten Bauelementen mit einem 1
Megaohm-Reihenwiderstand ausgestattet sein.
DANGER Pour des raisons de sécurité, la dragonne ESD doit contenir une résistance de série 1 méga ohm.
PELIGRO Por razones de seguridad, la correa de muñeca ESD deberá contener un resistor en serie de 1 mega ohmio.
DANGER
Risk of explosion if battery is replaced by an incorrect type. Dispose of used batteries according to the instructions.
GEFAHR Es besteht Explosionsgefahr, wenn ein unzulässiger Batterietyp eingesetzt wird.
Verbrauchte Batterien sind entsprechend den geltenden Vorschriften zu entsorgen.
DANGER Risque d'explosion en cas de remplacement de la pile par un modèle incorrect.
Débarrassez-vous des piles usagées conformément aux instructions.
PELIGRO Riesgo de explosión si se sustituye la batería por una de tipo incorrecto.
Deshágase de las baterías usadas de acuerdo con las instrucciones.
DANGER
To avoid high voltage shock, do not open the device while the power is on.
GEFAHR Das eingeschaltete Gerät darf nicht geönet werden, da andernfalls das Risiko eines Stromschlags mit Hochspannung
besteht.
DANGER An d'éviter tout choc électrique, n'ouvrez pas l'appareil lorsqu'il est sous tension.
PELIGRO Para evitar una descarga de alto voltaje, no abra el dispositivo mientras esté encendido.
Danger Notices
Brocade ICX 6650 Hardware Installation Guide
82 Part Number: 53-1003621-04

Dangers related to equipment weight
DANGER
Make sure the rack housing the device is adequately secured to prevent it from becoming unstable or falling over.
GEFAHR Stellen Sie sicher, dass das Gestell für die Unterbringung des Geräts auf angemessene Weise gesichert ist, so dass das
Gestell oder der Schrank nicht wackeln oder umfallen kann.
DANGER Vériez que le bâti abritant le dispositif est bien xé an qu'il ne devienne pas instable ou qu'il ne risque pas de tomber.
PELIGRO Verique que el bastidor que alberga el instrumento está asegurado correctamente para evitar que pueda hacerse inestable o
que caiga.
DANGER
Mount the devices you install in a rack as low as possible. Place the heaviest device at the bottom and progressively place
lighter devices above.
GEFAHR Montieren Sie die Geräte im Gestell so tief wie möglich. Platzieren Sie das schwerste Gerät ganz unten, während leichtere
Geräte je nach Gewicht (je schwerer desto tiefer) darüber untergebracht werden.
DANGER Montez les dispositifs que vous installez dans un bâti aussi bas que possible. Placez le dispositif le plus lourd en bas et le plus
léger en haut, en plaçant tous les dispositifs progressivement de bas en haut du plus lourd au plus léger.
PELIGRO Monte los instrumentos que instale en un bastidor lo más bajos posible. Ponga el instrumento más pesado en la parte inferior
y los instrumentos progresivamente más livianos más arriba.
Laser dangers
DANGER
Laser Radiation. Do Not View Directly with Optical Instruments. Class 1M Laser Products.
GEFAHR Laserstrahlung! Schauen Sie nicht direkt mit optischen Instrumenten in den Laserstrahl herein. Klasse 1M Laserprodukte.
DANGER Rayonnement de laser. Ne regardez pas directement avec les instruments optiques. Produits de laser de la classe 1M.
PELIGRO Radiacion de Laser. No vea directamente con Instrumentos Opticos. Clase 1M de Productos de Laser.
警告 レーザ放射 光学器具で直接ビームを見ないこと クラス1 M レーザ製品
DANGER
All ber-optic interfaces use Class 1 lasers.
GEFAHR Alle Glasfaser-Schnittstellen verwenden Laser der Klasse 1.
DANGER Toutes les interfaces en bres optiques utilisent des lasers de classe 1.
PELIGRO Todas las interfaces de bra óptica utilizan láser de clase 1.
Danger Notices
Brocade ICX 6650 Hardware Installation Guide
Part Number: 53-1003621-04 83