Runcom Communications PICO251WDC OUTDOOR PICO BASE STATION 2.5 GHz User Manual
Runcom Technologies Ltd. OUTDOOR PICO BASE STATION 2.5 GHz Users Manual
Users Manual

CONFIDENTIAL
WiMAX
PicoPlus Base Station
User Manual
Doc No.: PPBS_UM
6
-
JAN
-
10
REV-02

Preface Material PicoPlus Base Station User Manual
II CONFIDENTIAL Runcom Technologies Ltd.
About this Guide
This User Manual describes the procedures for commissioning, mounting, installing and managing the PicoPlus Base
Station.
Notice
This document contains proprietary and confidential material of Runcom Ltd. Any unauthorized reproduction, use or
disclosure of this material, or any part thereof, is strictly prohibited. This document is solely for the use of Runcom
Ltd. employees and authorized Runcom Ltd. customers.
The material furnished in this document is believed to be accurate and reliable. However, no responsibility is
assumed by Runcom Ltd. for the use of this material. Runcom Ltd. reserves the right to make changes to the
material at any time and without notice.
All other trademarks are the property of their respective owners. Other company and brand products and service
names are trademarks or registered trademarks of their respective holders.
Revision History
Date Author Description Revision
AUG 2009 tothepoint Initial A0
Safety Precautions
To avoid injury and to prevent equipment damage, observe the safety precautions below.
• Outdoor installation procedures should be performed by quality professionals following
all safety and the other requirements and acting in accordance with standard practices
and procedures. Failure to meet safety requirements and/or non-standard practices and
procedures could result in personal injury and/or damage to equipment.
• Always observe standard safety precautions during installation, operation and
maintenance of this product.
• This equipment must be installed according to country national electrical codes.
• Any changes and modifications to the device and the accessories must be approved by
Runcom.
• All equipment and accessories must be installed in a restricted access area.
• Observe all the labels on the equipment, providing operation details and warnings.
• Read and follow the installation instructions provided in this manual.
• In case of using cables that are not provided with the equipment package, ensure these
cables comply with the regulatory inspection authorities and are the responsibility of the
customer.
• Do not move or ship equipment unless it is properly packed in its original wrapping and
shipping containers.
Electrical Shock Prevention
• When connecting equipment to the AC and DC voltage supplies, ensure proper polarity.
• Disconnect the power source before installing or maintaining the power wiring.

PicoPlus Base Station User Manual Preface Material
Runcom Technologies Ltd. CONFIDENTIAL III
• Do not operate the equipment if there is any failure or damage to electrical
components.
• Do not touch exposed connections, components or wiring when power is on.
• Install the equipment and the grounded DC supply circuits in adjacent cabinets.
• Protect the DC power source with an adjacent circuit breaker.
• The equipment must be properly grounded before attempting to operate or perform any
repairs.
RF Exposure
To avoid RF exposure - Installation of antennas must comply with the FCC RF exposure
requirements.
Radio Interference
This equipment generates and radiates radio frequency energy and if not installed and used
in accordance with the instruction manual, may cause interference to radio communications.
To avoid interferences:
• Avoid conjunction with any other antenna or transmitter.
• In case of Radio Interference: Relocate the antenna and Increase separation between
the equipment and the receiver (e.g. connect to a separate circuit or outlet).
FCC
General: This equipment has been tested and found to comply with the limits for a Class
B digital device, pursuant to Part 15 of the FCC rules. These limits are designed to
provide reasonable protection against harmful interference in a residential installation.
This equipment generates uses and can radiate radio frequency energy and, if not
installed and used in accordance with the instructions, may cause harmful interference to
radio communications. However, there is no guarantee that interference will not occur in
a particular installation. If this equipment does cause harmful interference to radio or
television reception, which can be determined by turning the equipment off and on, the
user is encouraged to try to correct the interference by one or more of the following
measures:
a) Reorient or relocate the receiving antenna.
b) Increase the separation between the equipment and receiver.
c) Connect the equipment to an outlet on a circuit different from that to which
the receiver is connected.
d) Consult the dealer or an experienced radio/TV technician.
Warning: Modifications not expressly approved by the manufacturer could void the user
authority to operate the equipment under FCC Rules

Preface Material PicoPlus Base Station User Manual
IV CONFIDENTIAL Runcom Technologies Ltd.
Installation Rules:
1. Unit is intended for installation in Restricted Access Location only.
2. Unit shall be installed on/above concrete or other non combustible surface only.
3. The minimum distance between the BS antennas and the public zone is at least 1
meter
4. The unit shall be installed at least 5 meters above the ground level
5. When unit is installed outdoors length of exposed outdoor wiring shall not exceed
130ft (46meters)
6. Unit earthing screw terminal shall be permanently connected to protective earth in
building installation in accordance with applicable national code and regulations.
7. The screen of the coaxial cables (connections to outdoor antennas) shall be
permanently connected to protective earth in building installation.
8. In Finland, Norway and Sweden unit shall be installed in a Restricted Access
Location where equipotential bonding has been applied (e.g. telecommunication
center).
9. Unit power line 48VDC shall be protected by 2-pole circuit breaker, suitably certified
in accordance with applicable national code and regulations, and rated not more
than 2A.
10. Unit shall be installed only by qualified service person.

PicoPlus Base Station User Manual Table of Contents
Runcom Technologies Ltd. CONFIDENTIAL V
Table of Contents
1 Introducing the PicoPlus BS ............................................................................................ 1
1.1 PicoPlus Interfaces and Accessories ..............................................................................................2
1.1.1 GPS, Power and Communication Interfaces ..........................................................................2
1.1.2 BS RF Antenna Interfaces ...................................................................................................3
1.2 Supported Antennas.....................................................................................................................3
1.2.1 RF Antennas ......................................................................................................................3
1.2.2 GPS Antenna ......................................................................................................................4
1.3 Optional Accessories ....................................................................................................................4
1.4 Installation Procedure – Workflow.................................................................................................4
2 Commissioning Procedure ............................................................................................... 5
2.1 Connecting the Power to the BS....................................................................................................7
2.2 Installing and Running RCMS-BS Management Application..............................................................7
2.2.1 Installing the AcriveTCL Interpreter .....................................................................................8
2.2.2 Install and Run the RCMS BS Application .............................................................................8
2.2.3 Importing the MIB File ........................................................................................................9
2.3 Opening a Session to the BS.......................................................................................................10
2.3.1 Physical Connection between BS and Computer..................................................................10
2.3.2 Configuring the Computer's IP Address and Disabling Firewall.............................................10
2.3.3 Enabling the BS to Communicate with the Computer ..........................................................14
2.3.4 What Next? ......................................................................................................................14
2.4 Setting Basic Parameters for Remote Management and for Traffic Transfer ...................................15
2.4.1 Setting BS Minimum Parameters........................................................................................15
2.4.1.1 Setting BS Minimum Parameters via RCMS.............................................................15
2.4.1.2 Setting BS Minimum Parameters via a Standard MIB Browser..................................16
3 Installing the PicoPlus BS .............................................................................................. 17
3.1 Mounting the Base Station..........................................................................................................17
3.1.1 BS Installation Location.....................................................................................................17
3.1.2 Mounting Bracket Description............................................................................................18
3.1.3 Mounting On a Pole ..........................................................................................................20
3.1.4 Mounting On a Wall ..........................................................................................................22
3.2 Mounting the Antennas ..............................................................................................................24
3.2.1 Mounting the RF Antenna .................................................................................................24
3.2.1.1 RF Antenna Location Criteria .................................................................................24

Table of Contents PicoPlus Base Station User Manual
VI CONFIDENTIAL Runcom Technologies Ltd.
3.2.1.2 RF Antenna Mounting ...........................................................................................24
3.2.2 Mounting the GPS Antenna ...............................................................................................25
3.3 Connecting the Base Station Cables ............................................................................................25
3.4 End-to-End Traffic Test ..............................................................................................................27
3.4.1 Performing a PING Test ....................................................................................................28
3.5 What Next? ...............................................................................................................................28
4 RCMS Application............................................................................................................29
4.1 Navigating the RCMS Application.................................................................................................29
4.1.1 RCMS Menu Options .........................................................................................................30
4.2 Settings Tab ..............................................................................................................................31
4.2.1 BS Settings ......................................................................................................................31
4.2.2 ARP Table Entries Setup....................................................................................................32
4.3 System Status Tab (Monitoring) ..................................................................................................33
4.3.1 Base Station Status...........................................................................................................34
4.3.2 Sector Features Status ......................................................................................................34
4.3.3 UT Info Status..................................................................................................................35
4.3.3.1 CPE Information Fields..........................................................................................35
4.3.3.2 CPE Control Buttons .............................................................................................36
4.3.3.3 CPE Polling Interval ..............................................................................................36
4.3.4 SW and FPGA Version Status.............................................................................................36
5 Administrative Operations ..............................................................................................37
5.1 Configuration File Management...................................................................................................37
5.2 Upgrading the BS SW and FPGA Versions ....................................................................................38
5.3 Using the RCMS MIB Browser (RCMS Viewer Tab)........................................................................40
5.4 Additional Configuration Options .................................................................................................41
5.4.1 Builder .............................................................................................................................41
5.4.2 Help ................................................................................................................................41
6 Appendix A: Technical Specifications............................................................................42
6.1 PicoPlus BS Specifications...........................................................................................................42
6.2 Dual-Slant RF Antennas Specifications.........................................................................................44
6.2.1 Dual-Slant Antenna (2.3-2.7 GHz; 17 dBi) ..........................................................................44
6.2.2 Dual-Slant BTS Antenna (3.3-3.8 GHz; 17 dBi) ...................................................................45

PicoPlus Base Station User Manual Introducing the PicoPlus BS
Runcom Technologies Ltd. CONFIDENTIAL 1
1 Introducing the PicoPlus BS
Runcom's PicoPlus fully integrated outdoor WiMAX BS provides flexible, cost-effective
WiMAX network deployment solutions where increased capacity and coverage is required.
‘All-in-one’ architecture combined with simple, single-handed installation and fast rollout
make these BSs an ideal solution for operators that want to get in on the ground floor of
WiMAX deployment at significant CAPEX reductions and maximum return on their network
deployment.
The PicoPlus is a uni-sector base station that operates with omni or sectorized antennas,
and provides 99.995% availability and carrier grade service.
Based on Runcom’s RNx2000 chip set architecture, PicoPlus BSs provide adaptable
solutions, allowing interoperability with other MSS devices as well as ASN-GW vendors.
The commissioning and installation procedure is fast and simple:
• Use a provided RCMS GUI application to configure the basic parameters.
• Use the same provided bracket to mount on a wall or pole.
• Connect the power, antennas and Ethernet connection.
• Verify connection and set additional parameters via the RCMS GUI application.
• Remote management via Runcom's NMS or any standard MIB browser.
Features
• All-in-one integrated packaging of RF and Baseband components
• Full compliance with IEEE802.16e-2005
• Frequency Bands (model dependant): 2.3GHz, 2.5GHz, 3.5GHz - other bands are
optional
• Small footprint, single-handed quick installation and simple provisioning
• Fast roll-out for service providers
• Seamless and cost-effective integration with a Backhaul network
• Optional integrated backhaul link via WiMAX R1 interface
• Supports up to four antennas (model dependent) for advanced beam-forming
techniques
• High performance with Quality of Service (QoS) settings
• Support for the latest R6 interface and GRE tunneling to ASN-GW.
• Remote NMS management via Runcom’s NMS application

Introducing the PicoPlus BS PicoPlus Base Station User Manual
2 CONFIDENTIAL Runcom Technologies Ltd.
1.1 PicoPlus Interfaces and Accessories
The interfaces of the PicoPlus BS are distributed over two panels. Each of these panels is
referred to according to the corresponding interfaces.
NOTE: Install the BS so the power, GPS and communication interfaces face DOWN.
1.1.1 GPS, Power and Communication Interfaces
NOTE: Install the BS on the wall or pole with this panel facing DOWN.
Connector Description
GPS Connects to an external (optional) GPS antenna. The GPS antenna is ordered
separately. Connector Type: ITT CANNON APD DIN 72585
ETH1 Primary Fast Ethernet connector. Used for initial setup (and standalone tests),
and for connection to the backhaul network (in normal installations).
Connector Type: RJ-45 TYCO part no 1546907-1
ETH2 Second Ethernet port for local and out-of-band management.
In future versions, you will be able to daisy-chain this port to ETH1 in an
adjacent Base Station (located in the same BS site) in order to allow a single
Ethernet connection to the Backhaul.
ETH2 port can also function as a serial port (connection through the cable
supplied in the kit). This function is useful if the unit is not accessible via an IP
address connection.
PPS PPS In and PPS Out can be used for synchronization of multiple sectors, where
the PPS Out of one sector is connected to the PPS In of the next BS (daisy
chained). This is relevant only for adjacent sectors at the same BS site.
Connector Type: SMA sealed Industrial
-48VDC Power connector. External DC power connector (-48VDC) for outdoor
deployment. Connector Type: RJ-45
GND Ground blind hole connector. In normal installations, connect to the pole on
which the unit is mounted. (The BS unit does not include a lightning arrester.)
VDC
Ground
Eth ports
GPS
PPS (In/Out)

PicoPlus Base Station User Manual Introducing the PicoPlus BS
Runcom Technologies Ltd. CONFIDENTIAL 3
1.1.2 BS RF Antenna Interfaces
NOTE: Connect the two antenna cables via a splitter.
Connector Description
ANT1 External RF connector for the Main external antenna.
Connector Type: RJ-45 TYCO part no 1546907 1
ANT2 External RF connector for the Diversity external antenna.
Connector Type: RJ-45 TYCO part no 1546907 1
1.2 Supported Antennas
1.2.1 RF Antennas
Two external antennas are supported for diversity.
NOTE 1: Specs for dual-slant antennas described in section
6.2
NOTE 2: Future options will support an integrated antenna array
You may use any other antenna type or model, keeping in mind that the antenna type or
model should be based on the RF planning that was performed in preparation for
deployment at the specific site and is dependent upon the coverage and throughput
requirements of the site.
Antenna port 2
Antenna port 1

Introducing the PicoPlus BS PicoPlus Base Station User Manual
4 CONFIDENTIAL Runcom Technologies Ltd.
1.2.2 GPS Antenna
A GPS antenna is provided with PicoPlus BS. The antenna is connected to the PicoPlus BS
via a coax cable (maximum distance of 10 meters) and it can be mounted on a pole.
NOTE: The Holdover time (duration that BS synchronization is retained – from the point in
time in which the GPS antenna is disconnected) is determined by the internal GPS. Currently
– approximately 8 hours.
1.3 Optional Accessories
The following accessories are not provided with the basic kit, and can be ordered as an
option.
Element Description
Power Supply 110-220v AC/DC converter for -48VDC power supply
RF Antenna External directional antenna with pole mounting kit
1.4 Installation Procedure – Workflow
The PicoPlus installation procedure consists of the following phases:
1. Commissioning the BS (see Chapter 2 ) – Initial power connections and configuring
the basic parameters required for BS communication and remote management.
2. Mounting and Installing the BS and BS-Accessories (see Chapter 3 ) –
Connecting all relevant accessories and cables and mounting the BS on either a pole or
wall.

PicoPlus Base Station User Manual Commissioning Procedure
Runcom Technologies Ltd. CONFIDENTIAL 5
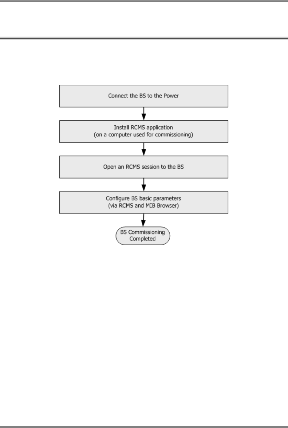
2 Commissioning Procedure
Before mounting the PicoPlus BS on a pole or wall, the BS should be commissioned, by
configuring the basic parameters required for communication and remote management.
The BS commissioning procedure consists of the following steps
• Connect the power to the BS.
• Install and run the RCMS application (provided on the Setup CD) on a computer used
for commissioning.
• Open an RCMS session to the BS.
• Set the BS basic parameters to allow future remote management connection and basic
traffic (some of these parameters are configured using RCMS and others using a
standard MIB Browser).

Commissioning Procedure PicoPlus Base Station User Manual
6 CONFIDENTIAL Runcom Technologies Ltd.
The Commissioning Setup is shown in the following figure:
BS Commissioning Setup

PicoPlus Base Station User Manual Commissioning Procedure
Runcom Technologies Ltd. CONFIDENTIAL 7
2.1 Connecting the Power to the BS
To connect the BS Power
Use the provided (BS) power cable to connect the BS VDC Power connector to an indoor -
48 VDC power supply.
2.2 Installing and Running RCMS-BS Management
Application
The RCMS-BS is a management application used for initial setup. Install the RCMS-BS
application on a computer used for the BS setup.
NOTE: The RCMS application and all the corresponding files are available on the Setup CD
provided with the BS.
To install and run the RCMS-BS application:
•
Before
installing the RCMS application - install the ActiveTcl Interpreter.
• Install the RCMS application.
• Import the updated (BS) MIB File (identified by *.my extension) into the RCMS
application.
VDC

Commissioning Procedure PicoPlus Base Station User Manual
8 CONFIDENTIAL Runcom Technologies Ltd.
2.2.1 Installing the AcriveTCL Interpreter
Install ActiveTcl Interpreter version 8.4.13.0 on your PC.
This is provided by Runcom with the RCMS-BS installation package. It is also available as a
freeware download from ActiveState.
Note: The RCMS-BS application is only compatible with ActiveTcl Interpreter version
8.4.13.0. and higher.
2.2.2 Install and Run the RCMS BS Application
1. Access RcmsbsSetup.exe file (either from the Setup CD or download from the
Runcom server).
2. Double click the RcmsSetup.exe file to install the RCMS-BS.
3. Follow the prompts.
NOTE: Upon completion, it is recommended to create the RCMS-BS application
shortcut on your desktop.
4. Double-click the RCMS-BS icon on your desktop:
Or
Click your windows Start button and select: Programs
RCMS
RCMS-BS.
5. The RCMS-BS window appears.

PicoPlus Base Station User Manual Commissioning Procedure
Runcom Technologies Ltd. CONFIDENTIAL 9
2.2.3 Importing the MIB File
NOTE Be sure to import the latest (BS) MIB. Repeat this procedure with each version
change in the BS MIBs.
To load the MIB file to the RCMS-BS:
1. From the RCMS-BS Config menu, select Install New MIB File.
2. From the displayed file selection window, choose the relevant MIB file (*.my extension)
and click Open to import into the RCMS-BS database.

Commissioning Procedure PicoPlus Base Station User Manual
10 CONFIDENTIAL Runcom Technologies Ltd.
2.3 Opening a Session to the BS
This section describes the steps required for opening a session to the BS.
The procedure consists of the following steps:
• Physically connecting a computer to the BS.
• Configuring the computer to communicate with the BS.
• (Via the RCMS-BS), configuring the BS to communicate with the computer.
2.3.1 Physical Connection between BS and Computer
Physical connection: Connect the Ethernet port of the computer running the RCMS-BS
application to the BS ETH-1 port using an Ethernet cross-cable.
NOTE: Some computers may have the cross-cable function built in, in which case a standard Ethernet
cable may be used.
2.3.2 Configuring the Computer's IP Address and Disabling Firewall
1. Set the computer IP address fields to match the BS's subnet:
NOTE: The procedure may vary depending on your specific OS.
• In the Network Connections pane, right-click on the Local Area Connection
corresponding to the BS connection.
• Select Properties.
ETH
-
1

PicoPlus Base Station User Manual Commissioning Procedure
Runcom Technologies Ltd. CONFIDENTIAL 11
The following window appears.
• In the General tab, select Internet Protocol (TCP/IP) and click the Properties button.
The following dialog appears.
Click
Sel
ect

Commissioning Procedure PicoPlus Base Station User Manual
12 CONFIDENTIAL Runcom Technologies Ltd.
• Assign the computer a Static IP address as follows:
• Select Use the following IP address.
• In the IP address assign an IP address other than the BS IP address (Default
BS IP Address: 192.168.0.20).
• In the Subnet mask – set the subnet to the same subnet as the BS (Default BS
Subnet: 255.255.255.0).
(It is not required to define the Default Gateway).
• Click OK. The following dialog appears.
2. Disable the Firewall as follows:
• Click the Advanced tab. The following tab appears.

PicoPlus Base Station User Manual Commissioning Procedure
Runcom Technologies Ltd. CONFIDENTIAL 13
• Click the Settings button. The following tab appears.
• Select the Off option to turn OFF the Firewall and click OK.
Click

Commissioning Procedure PicoPlus Base Station User Manual
14 CONFIDENTIAL Runcom Technologies Ltd.
2.3.3 Enabling the BS to Communicate with the Computer
Configure the RCMS-BS application with the computer's IP, to allow the BS to
recognize it:
• (If not already running) run the RCMS-BS application.
• From the Config menu, select the Board IP option.
• The Board IP window appears.
• Enter the IP Address parameters of the computer connected to the BS
• Click OK.
NOTE: If there is a problem connecting to the base station, the following message appears at the
bottom of the window: No response from Base!
To fix the connection, recheck the cable connection between the PC and the base station and the
connection fields described above.
2.3.4 What Next?
Configure the BS basic parameters according to the following section.
From Config
menu, select
Board IP
Set to the computer's IP
Address

PicoPlus Base Station User Manual Commissioning Procedure
Runcom Technologies Ltd. CONFIDENTIAL 15
2.4 Setting Basic Parameters for Remote Management
and for Traffic Transfer
This section describes how to set the basic parameters required for remote management
and for traffic transfer over the link.
Some of the parameters are set using the RCMS application and others are set using the
MIB Browser (or any other standard MIB Browser applications).
NOTE: Chapter
4 fully describes all the options available on the RCMS.
2.4.1 Setting BS Minimum Parameters
The following minimum BS parameters are defined via the RCMS:
• Base Station IP (if desired)
• Center Frequency
The following parameters are updated via the (RCMS) MIB browser.
• ASN-Gateway IP
• R6_mode
• Null_Authentication or Authentication_EAP_TTLS
2.4.1.1 Setting BS Minimum Parameters via RCMS
To set BS Minimum Parameters
1. It is assumed that a session is already opened to the BS.
2. In the RCMS-BS window, click the Settings tab.
BS basic
parameters
Click to save
changes

Commissioning Procedure PicoPlus Base Station User Manual
16 CONFIDENTIAL Runcom Technologies Ltd.
3. In the BS Settings area, define the following:
• Sector Frequency [KHz] – central frequency between the upper and lower cutoff
frequencies.
• The default IP Address of the BS is 192.168.0.20. To change the address, click the
Board IP Change button.
• Click the (Update) BS Settings button to save the changes on to the BS.
2.4.1.2 Setting BS Minimum Parameters via a Standard MIB Browser
Configure additional parameters for communication with the ASN-GW
Use a standard MIB browser to configure the following ASN-GW and Security parameters:
• ASN-Gateway IP Address
• R6_mode (disable/enable)
GdbNvAirLink.R6Mode 0x00000002
GdbNvAirLink.OperationMode 0x00000000
GdbNvAirLink.SectorProfile.MacProfile.m_CsAssocMode 0x00000002
# router IP parameter at the ASN-GW in Hex (10.0.1.101 = 0x0A000165)
GdbNvAirLink.SectorProfile.R6Profile.m_AsnGwIp 0x0A000165
# GRE port at the ASN-GW connect to the BS in Hex (10.220.0.101 = 0x0ADC0065)
GdbNvAirLink.SectorProfile.R6Profile.m_AuthenticatorIp 0x0ADC0065
# Setting for R6
GdbNvAirLink.BootMode 1
GdbNvMngmnt.Logger.fLogEnable 1
GdbNvMngmnt.Logger.LevelFilter 0
GdbNvMngmnt.Logger.severityFilter 0
• Null_Authentication
#GdbNvAirLink.SectorProfile.UtCapabilitiesProfile.SecurityProfile.m_EapInitialNetworkSu
pport 0
#GdbNvAirLink.SectorProfile.UtCapabilitiesProfile.SecurityProfile.m_EapReEntrySupport
0
#GdbNvAirLink.SectorProfile.UtCapabilitiesProfile.SecurityProfile.m_CMACSupport 0
• Authentication_EAP_TTLS
GdbNvAirLink.SectorProfile.UtCapabilitiesProfile.SecurityProfile.m_EapInitialNetworkSupp
ort 1
GdbNvAirLink.SectorProfile.UtCapabilitiesProfile.SecurityProfile.m_EapReEntrySupport 1
GdbNvAirLink.SectorProfile.UtCapabilitiesProfile.SecurityProfile.m_CMACSupport 1
• Standalone_mode
GdbNvAirLink.BootMode 1

PicoPlus Base Station User Manual Installing the PicoPlus BS
Runcom Technologies Ltd. CONFIDENTIAL 17
3 Installing the PicoPlus BS
After commissioning the PicoPlus BS, the unit is ready for installation.
The procedure consists of the following steps:
• Choosing the installation location and mounting the BS on a pole or on a wall
• Mounting the RF and GPS antennas in the appropriate locations
• Connecting the RF and GPS antennas to the BS
• Connecting Ground, Power and ETH cables to the BS
• Performing an End-to-End traffic test
3.1 Mounting the Base Station
The PicoPlus BS is provided with a mounting kit which includes all the mounting elements
(e.g. mounting-bracket, torques, screws etc.). The BS can be mounted either on a pole or
on a wall.
NOTE: The same mounting bracket is used for the wall and the pole installation.
When mounting the BS, note the following
• The PicoPlus BS is typically installed in an upright vertically aligned position with the
power, Ethernet and GPS connectors facing DOWN.
• The PicoPlus BS should be installed on the rear side of the RF antenna to prevent self-
reflections.
3.1.1 BS Installation Location
This section describes the criteria that should be considered when selecting the PicoPlus BS
installation location. The BS can be mounted on either a pole or a wall.
To choose BS Installation location
• Verify that the pole/wall location corresponds to the site plan and takes into account
local regulations and maintenance access.
• The unit should be mounted in the highest possible point. Reception will increase
according to the height of the antennas.
• The diameter of the pole on which the base station and antenna are to be mounted is
either:
• 1.00-1.75” or
• 1.75-3.00”
• Verify that the pole is properly grounded.
• Verify that the pole has lightening protection.

Installing the PicoPlus BS PicoPlus Base Station User Manual
18 CONFIDENTIAL Runcom Technologies Ltd.
• Verify that there is safe access to the pole, free of any obstacles or other danger for
installers of the PicoPlus BS.
• Verify that there are no power lines near the pole.
3.1.2 Mounting Bracket Description
The figure below shows the BS mounting bracket.
NOTE: The same mounting bracket is used for the wall and the pole installation.
The Bracket elements are described in the following table.
Element Description
BRACKET BASE.
This part is connected to the BS.
BRACKET ARM.
This part provides the tilt ability, and connects between the
Bracket BASE and MAIN SUPPORT.
BASE
WALL/POLE RACKET
CLAMPING BRACKET
Use for securing
bracket to pole
ARM

PicoPlus Base Station User Manual Installing the PicoPlus BS
Runcom Technologies Ltd. CONFIDENTIAL 19
Element Description
WALL/POLE BRACKET
Used for connecting the bracket to the wall.
CLAMPING BRACKET
Used for securing the bracket to the pole.
Provided screws, nuts and washers:
A. 4x flat washer M5
B. 4x nut M5
C. 4x spring washer M5 (seems as flat washers)
D. 4x bolt M8x50
E. 4x washer spring M8
F. 4x washer flat M8
G. 2x nut M8
H. 2x bolt M8x70
I. 4x bolt M5x16 - missing
A
B
C
D
E
F
G
H

Installing the PicoPlus BS PicoPlus Base Station User Manual
20 CONFIDENTIAL Runcom Technologies Ltd.
3.1.3 Mounting On a Pole
Note: When installing on a pole, leave at least 40cm space between the BS and the top of
the pole for lightning protection.
To install the BS on a pole
1. Secure the Bracket Base to the BS underside:
• Secure the Bracket Base to the underside of the BS, using the provided screws, as
shown below:
• Verify that the orientation of the hole in the BASE is aligned with the elevation axis.
• Use a tightening torque of 5.7N/m to tighten.
Secure to BS
Underside
BASE

PicoPlus Base Station User Manual Installing the PicoPlus BS
Runcom Technologies Ltd. CONFIDENTIAL 21
2. Assemble the bracket elements:
• Secure the WALL/POLE BRACKET to the Bracket Arm and then to the Bracket
Base using the provided screws, as shown below:
Note: The bolt head should be positioned in the socket on the Bracket BASE.
• Use a tightening torque of 24 N/m to tighten.
3. Mount the BS on the pole, where the procedure varies slightly according to the pole
diameter:
For poles with a diameter of 1.75-3.00”:
• Mount the BS on the pole using the bracket Pole Support as shown above.
Assemble the bracket CONVEX as shown.
• Tighten the bracket using the provided screws, according to the pole diameter.
• Use a tightening torque of 14N/m to tighten.
BASE - connect
to BS
ARM
WALL/POLE BRACKET
POLE SUPPORT
Assembled CONVEX on the pole
Ridges to
ridges
Washers and bolt

Installing the PicoPlus BS PicoPlus Base Station User Manual
22 CONFIDENTIAL Runcom Technologies Ltd.
For poles with a diameter of 1.00-1.75”:
• Mount the BS on the pole using the Clamping Bracket as shown above. Assemble
the bracket CONCAVE as shown.
• Tighten the bracket using the provided screws.
• Use a tightening torque of 14N/m to tighten.
3.1.4 Mounting On a Wall
1. Secure the Bracket Base to the BS underside:
• Secure Bracket Base to the underside of the BS, using the provided screws, as
shown below:
• Verify that the orientation of the hole in the BASE is aligned with the elevation axis.
• Use a tightening torque of 5.7N/m to tighten.
CLAMPING BRACKET
Assembled CONCAVE
on the pole
Secure to BS
Underside
BASE

PicoPlus Base Station User Manual Installing the PicoPlus BS
Runcom Technologies Ltd. CONFIDENTIAL 23
2. Assemble the bracket elements:
• Secure the Bracket Arm to the Bracket Base using the provided screws, as
shown below:
Note: The bolt head should be positioned in the socket on the Bracket BASE.
3. Mount the BS on the wall:
• Mount the WALL/POLE BRACKET on the wall in the appropriate position. Note
the azimuth orientation when doing so.
BASE
Assemble to
BS
i ARM
WALL/POLE BRACKET
Secure to a wall
Secure to wall
Ridges to
ridges
Washers and bolt

Installing the PicoPlus BS PicoPlus Base Station User Manual
24 CONFIDENTIAL Runcom Technologies Ltd.
• Attach the Bracket Arm to the WALL/POLE BRACKET using the provided
screws.
Note: The bolt head should be positioned in the ARM socket.
• Use a tightening torque of 24 N/m to the azimuth and elevation hardware.
3.2 Mounting the Antennas
After mounting the base station on a pole or wall, mount the RF and GPS Antennas in the
selected locations according to the instructions given in this section.
3.2.1 Mounting the RF Antenna
3.2.1.1 RF Antenna Location Criteria
• To avoid frequency reuse problems caused by unwanted reflections, the main part of
the antenna must be clear of any metal objects for a range of parameter to 20 meters.
• Make sure that there are no obstacles located in front of the RF antenna, such s poles,
transmission equipment from other vendors or another Runcom RF antenna.
3.2.1.2 RF Antenna Mounting
NOTE: The antenna is mounted and adjusted using the provided antenna mounting kit.
To mount the RF Antennas:
• Use the supplied RF antenna (pole) mounting kit to attach the antenna to the pole.
• Connect the antenna’s ANT connector to the BS ANT-1 and ANT-2 RF connector using
the provided 0.5 -1 meter coax cable.
• Tilt the antenna as required. The antenna’s mounting kit enables the antenna to be
tilted along two axes.
• The antenna position can be fine-tuned at a later stage.
ARM
WALL/POLE BRACKET

PicoPlus Base Station User Manual Installing the PicoPlus BS
Runcom Technologies Ltd. CONFIDENTIAL 25
3.2.2 Mounting the GPS Antenna
The GPS antenna is assembled onto the pole. It connects to the BS via a coax cable towards
the GPS RF connector.
Criteria for selecting the GPS antenna location
• The whole antenna area is exposed to the sky.
• GPS antenna should not be more than 10 meters from the PicoPlus (excessive cable
length may cause interference).
3.3 Connecting the Base Station Cables
This section describes the BS antenna, power and Ethernet cables.
To connect the antennas to the BS
• RF Antennas: Connect coax cables from each RF antenna to the BS ANT1 and ANT2.
• GPS Antenna: Connect a coax cable (10 meters max) from the GPS antenna to the
BS GPS connector.
• Ground: Use the provided grounding cable to ground the BS to the pole (if pole is
grounded), or to a grounding point.
• Power: Run the 5-10 meter power cable from the BS Power connector down the pole,
to the provided -48 V power converter that is located indoors (i.e. in a building or in a
caravan).
Note: It is recommended to connect a battery (for backup) to the -48VDC power supply.
• Ethernet: Run the 5-10 meter Ethernet cable of the base station from the ETH
connector at the bottom of the base station down the pole and connect it to an indoor
Ethernet connector, such as in a building or in a caravan

Installing the PicoPlus BS PicoPlus Base Station User Manual
26 CONFIDENTIAL Runcom Technologies Ltd.
If necessary, secure the cables to the pole so that it is not loose using plastic strips.

PicoPlus Base Station User Manual Installing the PicoPlus BS
Runcom Technologies Ltd. CONFIDENTIAL 27
3.4 End-to-End Traffic Test
After the system is installed, it is recommended to perform an End to End (E2E) test to test
communication and traffic transference over the link.
In this test, a computer connected to a CPE (that is configured to operate with the BS)
sends a ping message towards the NOC (Network Operations Center) and AAA
(Authentication, Authorization and Accounting center). Receiving an answer from the
NOC/AAA side by the CPE's PC assures that the system is configured and operating
properly.
The following figure shows the end-to-end test elements.
To perform the test
1. Ensure that the BS is configured with the:
• Center frequency
• ASN-GW IP address and security parameters (see 2.4.1)
2. Connect the BS to a CPE configured with the:
• Center Frequency
3. Connect a computer configured to communicate with the CPE (see section 2.3.2 – using
the CPE IP address subnet) to the CPE Ethernet port using a cross-cable.
4. Use Telnet to send a ping command from the CPE computer to the NOC IP Address.

Installing the PicoPlus BS PicoPlus Base Station User Manual
28 CONFIDENTIAL Runcom Technologies Ltd.
3.4.1 Performing a PING Test
To verify connectivity
1. Open a Command Prompt window from the computer connected to the CPE
2. Select Start Run and enter cmd.
3. Enter a Ping command that pings the NOC.
The following shows a Ping command:
4. Verify that the link has been established properly according to the reply received from
the NOC.
5. If no 'ping' reply is received, check connections and required configuration parameters.
3.5 What Next?
Your installation has now been completed. You can now use the RCMS application or any
standard MIB Browser to manage the BS and perform any additional configuration,
monitoring and maintenance operations.

PicoPlus Base Station User Manual RCMS Application
Runcom Technologies Ltd. CONFIDENTIAL 29
4 RCMS Application
The RCMS application is used to configure and to monitor the most common BS parameters,
and to perform SW updates. In addition, the RCMS provides access to a MIB Browser and
an Events definition tool.
The RCMS application Basic Operations are described in this chapter. For RCMS
Administrative options see chapter 5
4.1 Navigating the RCMS Application
The RCMS-BS application consists of two tabs that are always displayed:
• Settings tab – used for configuration and upgrade operations (see 4.2)
• System Status tab – used for viewing configured parameters and monitoring status (see
4.3)
Additional capabilities are provided by the RCMS Menu Options (see 4.1.1).
Monitoring tab
Settings tab
RCMS Menu Options

RCMS Application PicoPlus Base Station User Manual
30 CONFIDENTIAL Runcom Technologies Ltd.
4.1.1 RCMS Menu Options
The RCMS menu options are described in the table below.
Menu Options Description
Used to perform configuration file management options
(see 5.1).
Used to configure and setup the RCMS application (see
2.2.3, 2.3.3).
Used to manage the BS Events.
Allows building and running custom Tcl scripts (see
5.4.1)
MIB Viewer tool (see 5.3)
RCMS Version information.

PicoPlus Base Station User Manual RCMS Application
Runcom Technologies Ltd. CONFIDENTIAL 31
4.2 Settings Tab
The Settings tab includes the following areas:
• BS Settings – used to configure BS parameters and sector features
• ARP Table Entries – used to define the MAC addresses of the connected CPEs
• SW download – used to update BS SW and FPGAs (described in Chapter 5.2)
This section describes the parameters provided in each area.
4.2.1 BS Settings
The following table describes the parameters provided in BS Settings area.
Note: Click the (Update) BS Settings button to save the changes on to the BS.
Parameter Description
Sector Frequency [KHz] Center frequency
Boot Mode Specifies the MAC layer Boot Mode. Values:
o 2 – Waiting for Access Control Router (ACR)
activation; All parameters are retrieved from the ACR.
o 1 – Activation is done immediately upon power up
(not waiting for ACR); Parameters are taken from the
GDB memory.
o 0 – Waits for ACR activation. Parameters are taken
from the GDB memory.
BS Settings
Area: basic
parameters
Enter MAC
address of
every
CPE
Click to save
changes
SW Download
Area

RCMS Application PicoPlus Base Station User Manual
32 CONFIDENTIAL Runcom Technologies Ltd.
Parameter Description
GW MAC Address MAC address of the gateway used by the BS.
Sector Features BS Sector Features:
o CS – Convergence Sub Layer
o PHS – Payload Header Separation
o ARQ – Automatically Repeat Requests
o HARQ – Hybrid Automatically Repeat Requests
o MIMO – Multiple Input Multiple Output
o SEC – Security
o R6 – R6 protocol
4.2.2 ARP Table Entries Setup
The ARP Table Entries area is used to view the automatically detected IP address of the
CPE and the
MAC addresses
of the host beyond the CPE.
NOTE: To sort the ARP table entries in a different order, check mark the Edit
field, and re-
organize the entries.
To configure the CPE IP addresses
• Click the IP-Address field of the table entry to be updated.
• Enter the IP address corresponding to the MAC address of every detected CPE.
• Click the (update) ARP Table button to update the ARP table.
MAC Address of
the host beyond
the CPE
Click to sort IP
addresses
Click to update
CPE
IP address
(can be modified)

PicoPlus Base Station User Manual RCMS Application
Runcom Technologies Ltd. CONFIDENTIAL 33
4.3 System Status Tab (Monitoring)
The System Status tab displays the status and the parameters of the BS grouped in areas,
as described in the following table.
Area Description
Base Stations Status Shows BS configured parameters (for setup details
see 4.2.1).
Sector Features Status Applied features (for setup details see 4.2.1).
UT Info Status Status and information of the connected CPEs (for
setup details 4.2.2 )
SW and FPGA Version Status Currently loaded and running versions (for setup
details see 5.2).
This section describes the monitored parameters provided in each area.
NOTE: Use the Refresh button to update the displayed information.
BS basic
parameters
Connected
CPEs
SW and FPGA
Versions

RCMS Application PicoPlus Base Station User Manual
34 CONFIDENTIAL Runcom Technologies Ltd.
4.3.1 Base Station Status
The following BS Basic parameters are provided:
Parameter Description
Sector Frequency [KHz] Center frequency
Boot Mode Specifies the MAC layer Boot Mode. Values:
o 2 – Waiting for Access Control Router (ACR)
activation; All parameters are retrieved from the ACR.
o 1 – Activation is done immediately upon power up
(not waiting for ACR); Parameters are taken from the
GDB memory.
o 0 – Waits for ACR activation. Parameters are taken
from the GDB memory.
GW MAC Address MAC address of the gateway used by the BS.
4.3.2 Sector Features Status
This following Sector Features' status is displayed:
Sector Features Description
CS Convergence Sub Layer
PHS Payload Header Separation
ARQ Automatically Repeat Requests
HARQ Hybrid Automatically Repeat Requests
MIMO Multiple Input Multiple Output
SEC Security
R6 R6 protocol

PicoPlus Base Station User Manual RCMS Application
Runcom Technologies Ltd. CONFIDENTIAL 35
4.3.3 UT Info Status
The UT Info area displays a table of the connected CPEs (referred to as User Terminals in
the tab).
Each connected UT is shown in a separate row, showing the Link status and Quality.
Operation buttons are used to control individual (per row) or all CPE operations.
You may also configure the polling intervals (default: 1sec).
The available CPE information and control options are described below.
4.3.3.1 CPE Information Fields
For each listed CPE, the following information is provided:
Parameter Description
MAC Address CPE MAC address (automatically identified).
UL Number of uplink connections for this CPE (0 indicates no
connection).
DL Number of downlink connections for this CPE (0 indicates no
connection).
UCinr Uplink Cinr (Carrier to Interference-plus-Noise Ratio) of this CPE
connection.
DCinr Downlink Cinr (Carrier to Interference-plus-Noise Ratio) of this
CPE connection.
HRoom Headroom – remaining dynamic range for CPE operation.

RCMS Application PicoPlus Base Station User Manual
36 CONFIDENTIAL Runcom Technologies Ltd.
4.3.3.2 CPE Control Buttons
The following CPE control buttons are available:
Per…. Control Button Description
Connect Retry to establish a connection to this CPE
(when no connection exists).
Reset Reset the connection between this CPE and the
BS.
CPE
More Specify the connection settings for this CPE
(useful just before using the Connect button).
Connect All Retry to establish a connection to all CPEs Global
Reset All Resets the connection between all of the CPEs
and the BS.
Note: After performing Reset or Reset All, click the Refresh button to display the updated
data.
4.3.3.3 CPE Polling Interval
To set or modify the polling interval
Check mark the Poll Every field and specify the time interval (in seconds) in which polling
will be performed.
4.3.4 SW and FPGA Version Status
The SW and FPGA Version area provides information on the currently running and stored
FPGA and software versions.
• The bank storing the currently running version is marked as Running.
• The bank used for temporary storage is marked as Idle.
• Use the Skip button to switch between the banks.
Two additional operation buttons are provided:
• Defaults – revert to default SW and FPGA versions.
• BS Reset – reboots the BS and loads the relevant BANK, according to user
specifications.

PicoPlus Base Station User Manual Administrative Operations
Runcom Technologies Ltd. CONFIDENTIAL 37
5 Administrative Operations
This chapter describes the following RCMS application administrative capabilities:
• Configuration file management
• Managing SW and FPGAs versions
• The embedded MIB Browser tool
• Event monitoring and management
5.1 Configuration File Management
The RCMS application provides options for viewing and saving the current configuration file
loaded onto the BS.
To save the configuration settings
• From the RCMS application
File
menu, select Save.
To open this RCMS configuration file
• From the RCMS application
File
menu, select Open.
The following shows an example of the configuration file that is saved.
Note: Editing the configuration file is not recommended.

Administrative Operations PicoPlus Base Station User Manual
38 CONFIDENTIAL Runcom Technologies Ltd.
5.2 Upgrading the BS SW and FPGA Versions
The BS SW and FPGA versions can be updated and downloaded to the BS via the RCMS
Settings tab, SW Download area:
To perform SW or FPGA version upgrades
1. In the RCMS-BS window, click the Settings tab.
2. In the SW Download area, TFTP Server IP Address, enter the address of the FTP
server from which the SW or FPGA version will be downloaded.
3. Under File to burn on the flash, click the Browse button
to browse for the directory where the SW or FPGA firmware version to be downloaded is
located.
4. Under Items to burn, select the type of file to be downloaded: Software, FPGA
F0/F1/F2.
Note: Each FPGA (F0, F1, F2) handles a different part of the BS PHY Layer firmware.
5. Click the Burn button to burn the specified item on the BS.

PicoPlus Base Station User Manual Administrative Operations
Runcom Technologies Ltd. CONFIDENTIAL 39
The RCMS System Status tab SW and FPGA Version area provides information on the
currently running and stored FPGA and software versions, and allows switching between the
versions.
• The bank storing the currently running version is marked as Running.
• The bank used for temporary storage is marked as Idle.
To switch between the running and stored versions
• Click the Skip button to switch between the banks.
Two additional operation buttons are provided:
• Defaults – revert to default SW and FPGA versions.
• BS Reset – reboots the BS and loads the relevant BANK, according to user
specifications.

Administrative Operations PicoPlus Base Station User Manual
40 CONFIDENTIAL Runcom Technologies Ltd.
5.3 Using the RCMS MIB Browser (RCMS Viewer Tab)
To display the Viewer tab, from the Viewer menu, select New MIBS View.
The Viewer tab enables you to view the base station parameters in the same way as they
can be viewed in a standard MIB Browser, as shown below:

PicoPlus Base Station User Manual Administrative Operations
Runcom Technologies Ltd. CONFIDENTIAL 41
5.4 Additional Configuration Options
5.4.1 Builder
The Builder tab is used for building and running custom Tcl scripts.
5.4.2 Help
The Help tab provides information about the current RCMS Version:

Appendix A: Technical Specifications PicoPlus Base Station User Manual
42 CONFIDENTIAL Runcom Technologies Ltd.
6 Appendix A: Technical
Specifications
The PicoPlus BS installation procedure involves the following accessories:
• RF Antennas
• GPS Antenna (Optional)
• Mounting kit
This section details the specifications for the PicoPlus BS and accessories.
6.1 PicoPlus BS Specifications
Radio
Number of sectors Single sector unit
Frequency 2.3-2.7GHz, 3.3-3.8GHz (other frequencies are optional)
FFT 512, 1024, 2048
FEC Convolution Code and Turbo Code
Channel bandwidth 3.5 MHz, 5 MHz, 7 MHz, 8.75 MHz, 10 MHz, optional 20 MHz
Duplex method TDD, optional FDD/HFDD
Central frequency resolution 125 KHz
Maximum output power (without Antenna) 30 dBm per antenna
Antennas:
Type Integrated Sectorized 11dbi (120°) / 15dbi (90°) OR External
dual slant antenna
Number 2 dual slant
Connectors 2x N-Type, 50 ohm, lightning protected
Modulation and coding rates DL/UL: QPSK (1/2, 3/4) , 16 QAM (1/2, 3/4), 64 QAM (2/3 , 3/4,
5/6 )
(64 QAM is optional for UL)
Diversity Supported MIMO A/B , STC, SISO
GPS Integrated
Synchronization Integrated GPS module with on board synchronization unit
IEEE1588 and Backhauling self synchronization are optional
Management
Network Management SNMPv2/v3, standard and proprietary MIB
System Configuration SNMP, FTP, CLI
Software Upgrade Remote TFTP upgrade of firmware and programming

PicoPlus Base Station User Manual Appendix A: Technical Specifications
Runcom Technologies Ltd. CONFIDENTIAL 43
Interfaces
Network Interfaces 2x10/100 BaseT, Optional 1xGE and optical interface SX/LX
Northbound Interface Profile C, R6 per SF GRE tunnel, Profile B is optional
Connectors 2xN-Type for external antenna 50 ohm, External
synchronization option, external GPS antenna option, power
connector, 2xRJ-45
Electrical Characteristics
Power Source -36 to -72 VDC < 60Watt
Physical and Environmental
Dimensions 39cm (L) x 24cm (W) x 12cm (H)
Weight 5000 grams / not including mounting kit
Operating external temperature Industrial -40°C to 55° C
Operating humidity 95% non-condensing
Standards Compliance*
Safety EN 60950-1, EN 60950-22
Environmental IEC 60529-1, IP66
Radio FCC Part 27 , Part 90; EN302 623 , EN302 544
EMC FCC part 15, class B ; ETSI EN 301489-1
(*) Standardizations and FCC are preliminary
Mode 5Mhz channel 7Mhz channel 10Mhz channel
QPSK 1/2 3.7 Mbps 4 Mbps 7.5 Mbps
QPSK 3/4 5.4 Mbps 7 Mbps 11Mbps
16QAM 1/2 7.1 Mbps 9 Mbps 14 Mbps
16QAM 3/4 10 Mbps 12 Mbps 21 Mbps
64QAM 2/3 14 Mbps 16 Mbps 29 Mbps
64QAM 3/4 17 Mbps 19 Mbps 35 Mbps
(*) preliminary results

Appendix A: Technical Specifications PicoPlus Base Station User Manual
44 CONFIDENTIAL Runcom Technologies Ltd.
6.2 Dual-Slant RF Antennas Specifications
6.2.1 Dual-Slant Antenna (2.3-2.7 GHz; 17 dBi)
Dual-Slant Antenna (2.3-2.7 GHz; 17 dBi; 65° (MT-364040/ND) )
Gain 16 dBi (min) @ 2.3 - 2.5 GHz
17.5±0.5 dBi @ 2.5 - 2.7 GHz
VSWR 1.5:1 (typ), 1.7 :1(max)
Azimuth Beamwidth @ 13.5dBi 65º (typ)
Elevation Beamwidth @ -3 dB 7º (typ)
Polarization Dual Linear, ± 45º
Cross-polarization -20 dB (max) @ 2.3 - 2.5 GHz
-17 dB (max) @ 2.5 - 2.7 GHz
Side Lobes Level Azimuth and Elevation Meets ETSI EN 302 326- V1.1.2 (2006-03)
Side Lobes Level for Azimuth in the range
(± 100 to ± 180 from Boresight)
-20 dB (max) @ 2.3 - 2.5 GHz
-25 dB (max) @ 2.5 - 2.7 GHz
Front-to-Back Ratio -30 dB (max)
Port-to-Port Isolation 23 dB (min), 30 dB (typ)
Input Impedance 50 (ohm)
Input Power 20 W (CW), 250 W (peak)
Lightning Protection DC grounded

PicoPlus Base Station User Manual Appendix A: Technical Specifications
Runcom Technologies Ltd. CONFIDENTIAL 45
6.2.2 Dual-Slant BTS Antenna (3.3-3.8 GHz; 17 dBi)
Dual-Slant BTS Antenna (3.3-3.8 GHz; 17 dBi; 65° (MT-404067/ND) )
Electrical
Gain 16 dBi (min) @ 3.3-3.4 GHz
17.5 ±0.5 dBi @ 3.5-3.8 GHz
VSWR 1.5 : 1 (typ) 1.8:1 (max)
Azimuth Beamwidth @ 13.5dBi 65º (typ)
Elevation Beamwidth @ -3 dB 7.5º (typ)
Polarization Dual Linear, ± 45º
Cross-polarization ETSI EN 302 326 V.1.1.2 (2006-03)
Side Lobes Level Azimuth and Elevation Meets ETSI EN 302 326- V1.1.2 (2006-03)
Side Lobes Level for Azimuth in the range
(± 100 to ± 180 from Boresight)
-25dB (max) @ 3.3-3.5 GHz
-30dB (max) @ 3.5-3.8 GHz
Front-to-Back Ratio
EN 302 326 V.1.1.2 (2006-03)
-30 dB (max)
Port-to-Port Isolation 25 dB (min) @ 3.3-3.7 GHz
20 dB (min) @ 3.7-3.8 GHz
Input Impedance 50 (ohm)
Input Power 20 W (CW), 250 W (peak)
Lightning Protection DC grounded