Ryobi Bts12S Owner S Manual
2014-07-06
: Ryobi Ryobi-Bts12S-Owner-S-Manual ryobi-bts12s-owner-s-manual ryobi pdf
Open the PDF directly: View PDF
.
Page Count: 34

OPERATOR’S MANUAL
10 in. TABLE SAW
BTS12S
SAVE THIS MANUAL FOR FUTURE REFERENCE
Your table saw has been engineered and manufactured to our high standard for dependability, ease of operation, and
operator safety. When properly cared for, it will give you years of rugged, trouble-free performance.
WARNING: To reduce the risk of injury, the user must read and understand the operator's manual before using
this product.
Thank you for your purchase.

2
TABLE OF CONTENTS
Introduction ..................................................................................................................................................................... 2
Warranty .......................................................................................................................................................................... 2
General Safety Rules .................................................................................................................................................... 3-4
Specific Safety Rules ....................................................................................................................................................... 5
Symbols ........................................................................................................................................................................ 6-7
Electrical .......................................................................................................................................................................... 8
Glossary of Terms ............................................................................................................................................................ 9
Features .................................................................................................................................................................... 10-12
Tools Needed ................................................................................................................................................................. 13
Loose Parts .............................................................................................................................................................. 14-15
Assembly .................................................................................................................................................................. 16-19
Operation ..................................................................................................................................................................20-29
Adjustments ..............................................................................................................................................................30-31
Maintenance .................................................................................................................................................................. 32
Troubleshooting ............................................................................................................................................................. 33
Parts Ordering / Service ................................................................................................................................... Back page
INTRODUCTION
This tool has many features for making its use more pleasant and enjoyable. Safety, performance, and dependability have
been given top priority in the design of this product making it easy to maintain and operate.
WARRANTY
RYOBI® POWER TOOL - LIMITED TWO YEAR WARRANTY AND 30 DAY EXCHANGE POLICY
One World Technologies, Inc., warrants its RYOBI® power tools with the following conditions:
30-DAY EXCHANGE POLICY: During the first 30 days after date of purchase, you may either request service under this
warranty or you may exchange any RYOBI® power tool which does not work properly due to defective workmanship or
materials by returning the power tool to the dealer from which it was purchased. To receive a replacement power tool
or requested warranty service, you must present proof of purchase and return all original equipment packaged with the
original product. The replacement power tool will be covered by the limited warranty for the balance of the two year period
from the date of the original purchase.
WHAT THIS WARRANTY COVERS: This warranty covers all defects in workmanship or materials in your RYOBI® power
tool for a period of two years from the date of purchase. With the exception of batteries, power tool accessories are
warranted for ninety (90) days. Batteries are warranted for two years.
HOW TO GET SERVICE: Just return the power tool, properly packaged and postage prepaid, to an Authorized Service
Center. You can obtain the location of the Service Center nearest you by contacting a service representative at One
World Technologies, Inc., P.O. Box 1207, Anderson, SC 29622-1207, by calling 1-800-525-2579 or by logging on to www.
ryobitools.com. When you request warranty service, you must also present proof of purchase documentation, which
includes the date of purchase (for example, a bill of sale). We will repair any faulty workmanship, and either repair or replace
any defective part, at our option. We will do so without any charge to you. We will complete the work in a reasonable time,
but, in any case, within ninety (90) days or less.
WHAT’S NOT COVERED: This warranty applies only to the original purchaser at retail and may not be transferred. This
warranty only covers defects arising under normal usage and does not cover any malfunction, failure or defects resulting
from misuse, abuse, neglect, alteration, modification or repairs by other than Authorized Service Centers. One World
Technologies, Inc. makes no warranties, representations or promises as to the quality or performance of its power tools
other than those specifically stated in this warranty.
ADDITIONAL LIMITATIONS: Any implied warranties granted under state law, including warranties of merchantability or
fitness for a particular purpose, are limited to two years from the date of purchase. One World Technologies, Inc. is not
responsible for direct, indirect, or incidental damages, so the above limitations and exclusions may not apply to you. This
warranty gives you specific legal rights, and you may also have other rights which vary from state to state.

3
WARNING:
Read and understand all instructions. Failure to follow
all instructions listed below, may result in electric shock,
fire and/or serious personal injury.
READ ALL INSTRUCTIONS
KNOW YOUR POWER TOOL. Read the operator’s
manual carefully. Learn the saw’s applications and
limitations as well as the specific potential hazards related
to this tool.
GUARD AGAINST ELECTRICAL SHOCK BY PREVENT-
ING BODY CONTACT WITH GROUNDED SURFACES.
For example, pipes, radiators, ranges, refrigerator enclo-
sures.
KEEP GUARDS IN PLACE and in good working order.
REMOVE ADJUSTING KEYS AND WRENCHES. Form
habit of checking to see that keys and adjusting wrenches
are removed from tool before turning it on.
KEEP WORK AREA CLEAN. Cluttered areas and benches
invite accidents. DO NOT leave tools or pieces of wood
on the saw while it is in operation.
DO NOT USE IN DANGEROUS ENVIRONMENTS. Do
not use power tools in damp or wet locations or expose
to rain. Keep the work area well lit.
KEEP CHILDREN AND VISITORS AWAY. All visi-
tors should wear safety glasses and be kept a safe
distance from work area. Do not let visitors contact
tool or extension cord while operating.
MAKE WORKSHOP CHILDPROOF with padlocks and
master switches, or by removing starter keys.
DON’T FORCE TOOL. It will do the job better and safer
at the feed rate for which it was designed.
USE RIGHT TOOL. Don’t force the tool or attachment to
do a job it was not designed for. Don’t use it for a purpose
not intended.
USE THE PROPER EXTENSION CORD. Make sure your
extension cord is in good condition. Use only a cord heavy
enough to carry the current your product will draw. An
undersized cord will cause a drop in line voltage result-
ing in loss of power and overheating. A wire gauge size
(A.W.G.) of at least 14 is recommended for an extension
cord 25 feet or less in length. If in doubt, use the next
heavier gauge. The smaller the gauge number, the heavier
the cord.
DRESS PROPERLY. Do not wear loose clothing, gloves,
neckties, or jewelry. They can get caught and draw you
into moving parts. Rubber gloves and nonskid footwear
are recommended when working outdoors. Also wear
protective hair covering to contain long hair.
ALWAYS WEAR SAFETY GLASSES WITH SIDE
SHIELDS. Everyday eyeglasses have only impact-
resistant lenses, they are NOT safety glasses.
SECURE WORK. Use a featherboard to hold work when
practical. It’s safer than using your hand and frees both
hands to operate tool.
DON’T OVERREACH. Keep proper footing and
balance at all times.
MAINTAIN TOOLS WITH CARE. Keep tools sharp
and clean for better and safer performance. Follow instruc-
tions for lubricating and changing accessories.
DISCONNECT TOOLS. When not in use, before
servicing, or when changing attachments, blades, bits,
cutters, etc., all tools should be disconnected.
AVOID ACCIDENTAL STARTING. Be sure switch is off
when plugging in any tool.
USE RECOMMENDED ACCESSORIES. Consult the
operator’s manual for recommended accessories. The
use of improper accessories may risk injury.
NEVER STAND ON TOOL. Serious injury could occur if
the tool is tipped or if the cutting tool is unintentionally
contacted.
CHECK DAMAGED PARTS. Before further use of the
tool, a guard or other part that is damaged should be
carefully checked to determine that it will operate properly
and perform its intended function. Check for alignment
of moving parts, binding of moving parts, breakage of
parts, mounting and any other conditions that may affect
its operation. A guard or other part that is damaged must
be properly repaired or replaced by an authorized service
center to avoid risk of personal injury.
USE THE RIGHT DIRECTION OF FEED. Feed work into
a blade or cutter against the direction of rotation of blade
or cutter only.
NEVER LEAVE TOOL RUNNING UNATTENDED. TURN
THE POWER OFF. Don’t leave tool until it comes to a
complete stop.
PROTECT YOUR LUNGS. Wear a face or dust mask if
the cutting operation is dusty.
PROTECT YOUR HEARING. Wear hearing protection
during extended periods of operation.
DO NOT ABUSE CORD. Never yank cord to disconnect
from receptacle. Keep cord away from heat, oil, and sharp
edges.
WHEN OPERATING A POWER TOOL OUTSIDE, USE
AN OUTDOOR EXTENSION CORD MARKED “W-A” OR
“W”. These cords are rated for outdoor use and reduce
the risk of electric shock.
ALWAYS KEEP THE BLADE GUARD AND SPREADER
(SPLITTER) IN PLACE and in working order.
GENERAL SAFETY RULES

4
GENERAL SAFETY RULES
KEEP BLADES CLEAN, SHARP, AND WITH
SUFFICIENT SET. Sharp blades minimize stalling
and kickback.
KEEP HANDS AWAY FROM CUTTING AREA. Keep
hands away from blades. Do not reach underneath work
or around or over the blade while blade is rotating. Do not
attempt to remove cut material when blade is moving.
BLADE COASTS AFTER BEING TURNED OFF.
NEVER USE IN AN EXPLOSIVE ATMOSPHERE.
Normal sparking of the motor could ignite fumes.
INSPECT TOOL CORDS PERIODICALLY. If damaged,
have repaired by a qualified service technician at an
authorized service facility. The conductor with insulation
having an outer surface that is green with or without yellow
stripes is the equipment-grounding conductor. If repair
or replacement of the electric cord or plug is necessary,
do not connect the equipment-grounding conductor to a
live terminal. Repair or replace a damaged or worn cord
immediately. Stay constantly aware of cord location and
keep it well away from the rotating blade.
INSPECT EXTENSION CORDS PERIODICALLY and
replace if damaged.
GROUND ALL TOOLS. If tool is equipped with three-
prong plug, it should be plugged into a three-hole
electrical receptacle.
CHECK WITH A QUALIFIED ELECTRICIAN or service
personnel if the grounding instructions are not completely
understood or if in doubt as to whether the tool is properly
grounded.
USE ONLY CORRECT ELECTRICAL DEVICES: 3-wire
extension cords that have 3-prong grounding plugs and
3-pole receptacles that accept the tool's plug.
DO NOT MODIFY the plug provided. If it will not fit the
outlet, have the proper outlet installed by a qualified
electrician.
KEEP TOOL DRY, CLEAN, AND FREE FROM OIL AND
GREASE. Always use a clean cloth when cleaning. Never
use brake fluids, gasoline, petroleum-based products, or
any solvents to clean tool.
STAY ALERT AND EXERCISE CONTROL. Watch what
you are doing and use common sense. Do not operate
tool when you are tired. Do not rush.
DO NOT USE TOOL IF SWITCH DOES NOT TURN IT
ON AND OFF. Have defective switches replaced by an
authorized service center.
USE ONLY CORRECT BLADES. Do not use blades with
incorrect size holes. Never use blade washers or blade
bolts that are defective or incorrect. The maximum blade
capacity of your saw is 10 in.
BEFORE MAKING A CUT, BE SURE ALL ADJUST-
MENTS ARE SECURE.
BE SURE BLADE PATH IS FREE OF NAILS. Inspect for
and remove all nails from lumber before cutting.
NEVER TOUCH BLADE or other moving parts during
use.
NEVER START A TOOL WHEN ANY ROTATING COM-
PONENT IS IN CONTACT WITH THE WORKPIECE.
DO NOT OPERATE A TOOL WHILE UNDER THE
INFLUENCE OF DRUGS, ALCOHOL, OR ANY
MEDICATION.
WHEN SERVICING use only identical replacement parts.
Use of any other parts may create a hazard or cause
product damage.
USE ONLY RECOMMENDED ACCESSORIES listed
in this manual or addendums. Use of accessories that
are not listed may cause the risk of personal injury.
Instructions for safe use of accessories are included
with the accessory.
DOUBLE CHECK ALL SETUPS. Make sure blade is
tight and not making contact with saw or workpiece
before connecting to power supply.

5
SPECIFIC SAFETY RULES
FIRMLY BOLT THE SAW TO A WORK BENCH OR LEG
STAND at approximately hip height.
NEVER OPERATE THE SAW ON THE FLOOR.
GUARD AGAINST KICKBACK. Kickback occurs when
the blade stalls rapidly and workpiece is driven back
towards the operator. It can pull your hand into the blade
resulting in serious personal injury. Stay out of blade path
and turn switch off immediately if blade binds or stalls.
USE RIP FENCE. Always use a fence or straight edge
guide when ripping.
SUPPORT LARGE PANELS. To minimize risk of blade
pinching and kickback, always support large panels.
REMOVE ALL FENCES AND AUXILIARY TABLES
before transporting saw. Failure to do so can result in an
accident causing possible serious personal injury.
ALWAYS USE BLADE GUARD, SPREADER, AND ANTI-
KICKBACK PAWLS on all “through-sawing” operations.
Through-sawing operations are those in which the blade
cuts completely through the workpiece as in ripping or
cross cutting. Keep the blade guard down, the anti-kick-
back pawls down, and the spreader in place over the
blade.
ALWAYS SECURE WORK firmly against the rip fence or
miter gauge. NEVER use the rip fence during the same
operation as the miter gauge.
ALWAYS USE A PUSH STICK FOR RIPPING
NARROW STOCK. A push stick is a device used to push
a workpiece through the blade instead of using your
hands. Size and shape can vary but the push stick must
always be narrower than the workpiece to prevent the
push stick from contacting the saw blade. When ripping
narrow stock, always use a push stick, so your hand does
not come close to the saw blade. Use a featherboard and
push blocks for non-through cuts.
NEVER perform any operation “freehand” which means
using only your hands to support or guide the workpiece.
Always use either the rip fence or miter fence to position
and guide the work.
NEVER stand or have any part of your body in line with
the path of the saw blade.
NEVER reach behind, over, or within three inches of the
blade or cutter with either hand for any reason.
MOVE THE RIP FENCE out of the way when cross cut-
ting.
DO NOT USE THE MITER GAUGE AND RIP FENCE
during the same operation.
NEVER use rip fence as cutoff gauge when cross
cutting.
NEVER attempt to free a stalled saw blade without first
turning the saw OFF and disconnecting the saw from the
power source.
PROVIDE ADEQUATE SUPPORT to the rear and sides
of the saw table for wide or long work pieces.
AVOID KICKBACKS (work thrown back toward you)
by:
a) Keeping blade sharp.
b) Keeping rip fence parallel to the saw blade.
c) Keeping spreader, anti-kickback pawls, and
blade guard in place and operating.
d) Not releasing the work before it is pushed all the
way past the saw blade using a push stick.
e) Not ripping work that is twisted or warped or
does not have a straight edge to guide along the
fence.
IF THE POWER SUPPLY CORD IS DAMAGED, it must
be replaced only by the manufacturer or by an authorized
service center to avoid risk.
AVOID AWKWARD OPERATIONS AND HAND
POSITIONS where a sudden slip could cause your hand
to move into the cutting tool.
USE ONLY RECOMMENDED ACCESSORIES listed in
this manual or addendums. Use of accessories that are
not listed may cause the risk of personal injury. Instruc-
tions for safe use of accessories are included with the
accessory.
MAKE SURE THE WORK AREA HAS AMPLE LIGHTING
to see the work and that no obstructions will interfere with
safe operation BEFORE performing any work using the
table saw.
ALWAYS TURN OFF SAW before disconnecting it, to
avoid accidental starting when reconnecting to power
supply.
THIS TOOL should have the following markings:
a) Wear eye protection.
b) Use saw blade guard and spreader/riving knife for
every operation for which it can be used, including
all through sawing.
c) Keep hands out of the line of saw blade.
d) Use a push stick when required.
e) Pay particular attention to instructions on reducing
risk of kickback.
f) Do not perform any operation freehand.
g) Never reach around or over the saw blade.
SAVE THESE INSTRUCTIONS. Refer to them
frequently and use to instruct other users. If you loan
someone this tool, loan them these instructions also.

6
SYMBOLS
Some of the following symbols may be used on this tool. Please study them and learn their meaning. Proper
interpretation of these symbols will allow you to operate the tool better and safer.
Read The Operator’s Manual
Safety Alert
No Hands Symbol
SYMBOL NAME DESIGNATION/EXPLANATION
Voltage
Current
Frequency (cycles per second)
Power
Time
Type of current
Type or a characteristic of current
Rotational speed, at no load
Double-insulated construction
Revolutions, strokes, surface speed, orbits etc., per minute
Do not expose to rain or use in damp locations.
To reduce the risk of injury, user must read and understand
operator’s manual before using this product.
Eye Protection
Precautions that involve your safety.
Failure to keep your hands away from the blade will result in
serious personal injury.
Wet Conditions Alert
.../min Per Minute
Class II Construction
n
o
No Load Speed
Direct Current
Alternating Current
min Minutes
W Watt
Hz Hertz
A Amperes
V Volts
Hot Surface To reduce the risk of injury or damage, avoid contact with any
hot surface.
Always wear safety goggles or safety glasses with side shields and,
as necessary, a full face shield when operating this product.

7
SYMBOLS
The following signal words and meanings are intended to explain the levels of risk associated with this product.
DANGER: Indicates an imminently hazardous situation, which, if not avoided, will result
in death or serious injury.
WARNING: Indicates a potentially hazardous situation, which, if not avoided, could result
in death or serious injury.
CAUTION: Indicates a potentially hazardous situation, which, if not avoided, may result in
minor or moderate injury.
CAUTION: (Without Safety Alert Symbol) Indicates a situation that may result in property
damage.
SERVICE
Servicing requires extreme care and knowledge and should
be performed only by a qualified service technician. For
service we suggest you return the product to the nearest
AUTHORIZED SERVICE CENTER for repair. When servic-
ing, use only identical replacement parts.
WARNING:
To avoid serious personal injury, do not attempt to use this
product until you read thoroughly and understand com-
pletely the operator’s manual. If you do not understand
the warnings and instructions in the operator’s manual,
do not use this product. Call Ryobi customer service for
assistance.
WARNING:
SAVE THESE INSTRUCTIONS
The operation of any power tool can result in foreign objects being thrown into your eyes, which can
result in severe eye damage. Before beginning power tool operation, always wear safety goggles or safety
glasses with side shields and, when needed, a full face shield. We recommend Wide Vision Safety Mask
for use over eyeglasses or standard safety glasses with side shields. Always use eye protection which
is marked to comply with ANSI Z87.1.
SYMBOL SIGNAL MEANING

8
ELECTRICAL
load or with lower voltage. For voltage, the wiring in a
shop is as important as the motor’s horsepower rating. A
line intended only for lights cannot properly carry a power
tool motor. Wire that is heavy enough for a short distance
will be too light for a greater distance. A line that can
support one power tool may not be able to support two
or three tools.
GROUNDING INSTRUCTIONS
This product must be grounded. In the event of a malfunction or
breakdown, grounding provides a path of least resistance for
electric current to reduce the risk of electric shock. This tool is
equipped with an electric cord having an equipment-grounding
conductor and a grounding plug. The plug must be plugged
into a matching outlet that is properly installed and grounded
in accordance with all local codes and ordinances.
Do not modify the plug provided. If it will not fit the outlet,
have the proper outlet installed by a qualified electrician.
WARNING:
Improper installation of the grounding plug is able to
result in a risk of electric shock. When repair or
replacement of the cord is required, do not connect the
grounding wire to either flat blade terminal. The wire with
insulation having an outer surface that is green with or
without yellow stripes is the grounding wire.
Check with a qualified electrician or service personnel if the
grounding instructions are not completely understood, or if
in doubt as to whether the tool is properly grounded.
Repair or replace a damaged or worn cord immediately.
This product is for use on a nominal 120 volt circuit and
has a grounding plug similar to the plug illustrated in fig-
ure 1. Only connect the product to an outlet having the same
configuration as the plug. Do not use an adapter with this
product.
Fig. 1
EXTENSION CORDS
Use only 3-wire extension cords that have 3-prong ground-
ing plugs and 3-pole receptacles that accept the tool’s plug.
When using a power tool at a considerable distance from the
power source, use an extension cord heavy enough to carry
the current that the tool will draw. An undersized extension
cord will cause a drop in line voltage, resulting in a loss of
power and causing the motor to overheat. Use the chart
provided below to determine the minimum wire size required
in an extension cord. Only round jacketed cords listed by
Underwriter’s Laboratories (UL) should be used.
**Ampere rating (on tool data plate)
0-2.0 2.1-3.4 3.5-5.0 5.1-7.0 7.1-12.0 12.1-16.0
Cord Length Wire Size (A.W.G.)
25' 16 16 16 16 14 14
50' 16 16 16 14 14 12
100' 16 16 14 12 10 —
**Used on 12 gauge - 20 amp circuit.
NOTE: AWG = American Wire Gauge
When working with the tool outdoors, use an extension cord
that is designed for outside use. This is indicated by the
letters “W-A” or “W” on the cord’s jacket.
Before using an extension cord, inspect it for loose or
exposed wires and cut or worn insulation.
WARNING:
Keep the extension cord clear of the working area.
Position the cord so that it will not get caught on lumber,
tools or other obstructions while you are working with a
power tool. Failure to do so can result in serious personal
injury.
WARNING:
Check extension cords before each use. If damaged
replace immediately. Never use tool with a damaged cord
since touching the damaged area could cause electrical
shock resulting in serious injury.
ELECTRICAL CONNECTION
This tool is powered by a precision built electric motor. It
should be connected to a power supply that is 120 V, AC
only (normal household current), 60 Hz. Do not operate
this tool on direct current (DC). A substantial voltage drop
will cause a loss of power and the motor will overheat. If the
saw does not operate when plugged into an outlet, double
check the power supply.
SPEED AND WIRING
The no-load speed of this tool is approximately 4,800
rpm. This speed is not constant and decreases under a
GROUNDING
PIN 120V GROUNDED OUTLET

9
GLOSSARY OF TERMS
Non-Through Cuts
Any cutting operation where the blade does not extend
completely through the thickness of the workpiece.
Pilot Hole (drill presses)
A small hole drilled in a workpiece that serves as a guide for
drilling large holes accurately.
Push Blocks (for jointer planers)
Device used to feed the workpiece over the jointer planer
cutterhead during any operation. This aid helps keep the
operator's hands well away from the cutterhead.
Push Blocks and Push Sticks (for table saws)
Devices used to feed the workpiece through the saw blade
during cutting operations. A push stick (not a push block)
should be used for narrow ripping operations. These aids
help keep the operator's hands well away from the blade.
Resaw
A cutting operation to reduce the thickness of the workpiece
to make thinner pieces.
Resin
A sticky, sap-based substance that has hardened.
Revolutions Per Minute (RPM)
The number of turns completed by a spinning object in one
minute.
Ripping or Rip Cut
A cutting operation along the length of the workpiece.
Riving Knife/Spreader/Splitter (table saws)
A metal piece, slightly thinner than the blade, which helps
keep the kerf open and also helps to prevent kickback.
Saw Blade Path
The area over, under, behind, or in front of the blade. As it
applies to the workpiece, that area which will be or has been
cut by the blade.
Set
The distance that the tip of the saw blade tooth is bent (or
set) outward from the face of the blade.
Snipe (planers)
Depression made at either end of a workpiece by cutter
blades when the workpiece is not properly supported.
Through Sawing
Any cutting operation where the blade extends completely
through the thickness of the workpiece.
Throw-Back
The throwing back of a workpiece usually caused by the
workpiece being dropped into the blade or being placed
inadvertently in contact with the blade.
Workpiece or Material
The item on which the operation is being done.
Worktable
Surface where the workpiece rests while performing a
cutting, drilling, planing, or sanding operation.
Anti-Kickback Pawls (radial arm and table saws)
A device which, when properly installed and maintained,
is designed to stop the workpiece from being kicked back
toward the front of the saw during a ripping operation.
Arbor
The shaft on which a blade or cutting tool is mounted.
Bevel Cut
A cutting operation made with the blade at any angle other
than 90° to the table surface.
Chamfer
A cut removing a wedge from a block so the end (or part of
the end) is angled rather than at 90°.
Compound Cut
A cross cut made with both a miter and a bevel angle.
Cross Cut
A cutting or shaping operation made across the grain or the
width of the workpiece.
Cutter Head (planers and jointer planers)
A rotating cutterhead with adjustable blades or knives. The
blades or knives remove material from the workpiece.
Dado Cut
A non-through cut which produces a square-sided notch or
trough in the workpiece (requires a special blade).
Featherboard
A device used to help control the workpiece by guiding
it securely against the table or fence during any ripping
operation.
FPM or SPM
Feet per minute (or strokes per minute), used in reference
to blade movement.
Freehand
Performing a cut without the workpiece being guided by a
fence, miter gauge, or other aids.
Gum
A sticky, sap-based residue from wood products.
Heel
Alignment of the blade to the fence.
Kerf
The material removed by the blade in a through cut or the
slot produced by the blade in a non-through or partial cut.
Kickback
A hazard that can occur when the blade binds or stalls,
throwing the workpiece back toward operator.
Leading End
The end of the workpiece pushed into the tool first.
Miter Cut
A cutting operation made with the workpiece at any angle
to the blade other than 90°.

10
FEATURES
Fig. 2
Table Size ...............................................25-3/4 in. x 16 in.
Input ........................................120 V, AC only, 60 Hz, 13 A
No Load Speed .....................................4,800 r/min. (RPM)
PRODUCT SPECIFICATIONS
Blade Diameter ...........................................................10 in.
Blade Arbor .............................................................. 5/8 in.
Cutting Depth at 0° .......................................................3 in.
Cutting Depth at 45° .............................................. 2-5/8 in.
ANTI-KICKBACK
PAWLS
MITER
GAUGE
BLADE RIP
FENCE
LOCKING
LEVER
BEVEL
LOCKING
LEVER
BLADE
ADJUSTING
HANDLE
BEVEL
INDICATOR
SWITCH
ASSEMBLY
FRONT
RAIL
SPREADER
BLADE GUARD
ASSEMBLY
TRIGGER
LOCK

11
KNOW YOUR TABLE SAW
See Figure 2.
The safe use of this product requires an understanding of
the information on the tool and in this operator’s manual as
well as a knowledge of the project you are attempting. Before
use of this product, familiarize yourself with all operating
features and safety rules.
OVERVIEW
The upper portion of the blade projects up through the table,
surrounded by an insert called the throat plate. The height
of the blade is set with a blade adjusting handle on the front
of the cabinet. To cut wood at a bevel, the blade must be
tilted using the blade adjusting handle, the bevel lock lever,
and the bevel indicator found on the front of the cabinet.
Detailed instructions are provided in the Operation section
of this manual for the basic cuts: rip cuts, cross cuts, miter
cuts, bevel cuts, and compound cuts.
This saw includes a rip fence and miter gauge. The rip fence
is used to position work that will be cut lengthwise (rip cuts).
Push smaller pieces with a push block or push stick. A scale
on the front of the saw table shows the distance between
the rip fence and the blade. For cuts with the blade straight
up and cutting across the grain (cross cuts or miter cuts),
use the miter gauge to set the angle and push the wood
into the blade.
Use the miter gauge for a bevel cross cut (compound cut)
and the rip fence for a bevel rip cut.
The blade guard assembly includes a spreader which is a
metal device directly behind and above the blade. It is used
to help keep the cut wood from binding together and causing
possible kickback. It is very important to use the spreader
for all through-sawing operations. The anti-kickback pawls
(also a part of the blade guard assembly) are toothed plates
mounted on the spreader. Their teeth point away from the
work in case the work should be thrown or pulled back
toward the operator. Then the teeth dig into the wood to help
prevent or reduce the possibility of kickback.
ANTI-KICKBACK PAWLS - Kickback is a hazard in which the
workpiece is thrown back toward the operator. The toothed
pawls are designed to snag the workpiece to prevent or
reduce injury should kickback occur.
BEVEL SCALE - The easy-to-read scale on the front of the
cabinet shows the exact blade angle.
FEATURES
BLADE - This saw comes with a 10 in, 24-tooth blade. The
blade is adjusted with the blade adjusting handle on the front
of the cabinet. Bevel angles are locked with a bevel locking
lever below the front rail.
WARNING:
Do not use blades rated less than the speed of this tool.
Failure to heed this warning could result in personal
injury.
BLADE ADJUSTING HANDLE - Use this handle to set the
angle of the blade for bevel cuts and to lower or raise the
blade for adjustments. This handle is located on the front
of the cabinet.
BLADE GUARD - Always keep the guard down over the
blade for through-sawing cuts.
BEVEL LOCKING LEVER - This lever, placed just under
the worktable surface on the front of the cabinet, locks the
angle setting of the blade. Be sure the lever is unlocked
before tilting the blade. If it is not unlocked, it may jam and
bend the locking bolt.
MITER GAUGE - This miter gauge aligns the wood for
a cross cut. The easy-to-read indicator shows the exact
angle for a miter cut.
MITER GAUGE GROOVES - The miter gauge rides in these
grooves on either side of the blade.
RIP FENCE - A metal fence guides the workpiece and is
secured with a locking lever. When the locking lever is in
the locked position, it cannot be unlocked until the trigger
lock is pulled.
SCALE - Found on the front of the saw table, the easy-to-
read scale provides precise measurements in rip cuts.
SPREADER - A metal piece, slightly thinner than the saw
blade, which helps keep the kerf open and prevent kick-
back.
SWITCH ASSEMBLY - The saw has an easy access power
switch located below the front rail. The switch key must be
inserted into the switch before the saw can be operated. To
lock the switch in the OFF position, remove the switch key
from the switch. Place the key in a location that is inaccessible
to children and others not qualified to use the tool.

12
FEATURES
BLADES
For maximum performance, it is recommended that you use
the 10 in., 24-tooth blade provided with your saw. Additional
blade styles of the same high quality are available for specific
operations such as ripping. Your local dealer can provide
you with complete information.
WARNING:
Do not use blades rated less than the speed of this tool.
Failure to heed this warning could result in personal
injury.
WARNING:
To prevent possible electrical hazards, have a qualified
electrician check the line if you are not certain that it is
properly wired.
POWER SWITCH
See Figure 3.
Your table saw is equipped with a power switch that has a
built-in locking feature. This feature is intended to prevent
unauthorized and possible hazardous use by children and
others.
TO TURN YOUR SAW ON:
With the switch key inserted into the switch, lift the switch
button to turn ON.
TO TURN YOUR SAW OFF:
Press the switch button down to turn OFF.
TO LOCK YOUR SAW:
With the saw turned OFF, pull the switch key from the
switch and store in a safe, secure location.
WARNING:
In the event of a power failure or when the tool is not in
use, turn the switch OFF and remove the switch key. This
action will prevent the tool from accidentally starting
when power returns.
SWITCH
OFF
SWITCH
ON
Fig. 3
WARNING:
ALWAYS make sure your workpiece is not in contact with
the blade before operating the switch to start the tool.
Failure to heed this warning may cause the workpiece to
be kicked back toward the operator and result in serious
personal injury.
WARNING:
To reduce the risk of accidental starting, ALWAYS make
sure the switch is in the OFF position before plugging
tool into the power source or resetting the overload reset
button.
SWITCH
KEY
REMOVED

13
Fig. 4
TOOLS NEEDED
WRENCH (2)
10 mm, 12 mm
PHILLIPS
SCREWDRIVER
FRAMING SQUARE
The following tools (not included or drawn to scale) are needed for assembly and making adjustments:
FLATHEAD
SCREWDRIVER

14
Fig. 5
LOOSE PARTS LIST
1 Blade Guard Assembly ......................................................................................................................................1
2 Lock Nut ............................................................................................................................................................1
3 Blade Adjusting Handle .....................................................................................................................................1
4 Shoulder Bolt .....................................................................................................................................................1
5 Rip Fence .........................................................................................................................................................1
6 Flat Washer ........................................................................................................................................................1
7 Miter Gauge ......................................................................................................................................................1
8 Small Wrench ....................................................................................................................................................1
9 Large Wrench ....................................................................................................................................................1
10 Hex Key (5 mm) .................................................................................................................................................1
11 Flat Washer (1/4 in.) ...........................................................................................................................................1
12 Internal Tooth Lock Washer (1/4 in.) ..................................................................................................................1
13 Socket Head Bolt (1/4 - 20 x 2-1/4 in.)..............................................................................................................1
14 Flat Washer ........................................................................................................................................................3
15 Mounting Bracket ..............................................................................................................................................1
16 Socket Head Cap Screw ...................................................................................................................................2
17 External Tooth Lock Washer (1/4 in.) .................................................................................................................2
18 Tapping Screw ...................................................................................................................................................1
19 Locking Handle .................................................................................................................................................1
20 Operator's Manual (Not Shown)
1
26
3
4
5
17
14
16
13
12
11 14
15
7
8
9
10
19
18

15
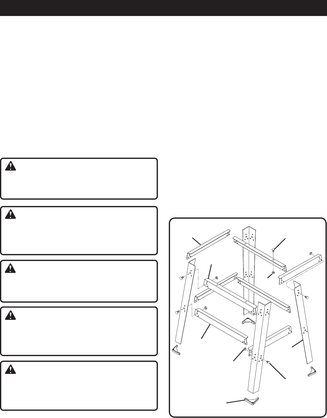
The following items are included with the table saw leg stand:
Fig. 3
A. Upper Side Brace ........................................................2
B. Upper Brace ................................................................2
C. Leg ...............................................................................4
D. Lower Side Brace ........................................................2
E. Hex Nut ......................................................................16
F. Carriage Bolt (5/16-18 x 5/8 in.) ................................16
G. Carriage Bolt (1/4-20 x 1-5/8 in.) .................................4
H. Hex Nut ........................................................................4
I. Foot .............................................................................4
J. Lower Brace ................................................................2
LOOSE PARTS LIST
A
A
B
B
C
C
C
C
D
D
E
E
E
E
F
F
F
G
H
I
I
I
I
J
J

16
ASSEMBLY
TO ASSEMBLE THE LEG STAND
See Figure 6.
Assembly is best done in the area where the saw will be used.
If you are unsure about the description of any part, refer to
the drawing. If any parts are missing, delay assembling until
you have obtained the missing part(s).
Take the following from a small hardware pack:
16 - 5/16 in. 18-UNC 5/8 in. bolts
16 - 5/16 in. hex nuts
Take 4 legs and 8 braces from loose parts.
Place an upper brace inside two of the legs, with the
legs wide end up. (Upper braces have two large holes in
each end.) Make sure the dimples on the leg align with
the small holes on the brace.
Align the large holes on the brace and the legs. Insert
the bolts. Add hex nuts and hand tighten. Repeat for the
other upper brace. These are the front and back sets.
For the side sets, install an upper side brace on two legs.
Add hardware and finger tighten.
Use the same steps to install the lower braces. Tighten
all hex nuts with a wrench.
Install a foot to the bottom of each leg.
Move the leg set to desired location.
UNPACKING
This product requires assembly.
Carefully remove the tool and any accessories from the
box. Place it on a level work surface.
Inspect the tool carefully to make sure no breakage or
damage occurred during shipping.
Do not discard the packing material until you have
carefully inspected the tool, identified all loose parts, and
satisfactorily operated the tool.
NOTE: Remove the foam block from between the saw’s
housing and the motor.
The saw is factory set for accurate cutting. After
assembling it, check for accuracy. If shipping has
influenced the settings, refer to specific procedures
explained in this manual.
If any parts are damaged or missing, please call 1-800-
525-2579 for assistance.
WARNING:
If any parts are damaged or missing do not operate this
tool until the parts are replaced. Failure to heed this warn-
ing could result in serious personal injury.
WARNING:
Do not attempt to modify this tool or create accessories
not recommended for use with this tool. Any such altera-
tion or modification is misuse and could result in a hazard-
ous condition leading to possible serious personal injury.
WARNING:
Do not connect to power supply until assembly is
complete. Failure to comply could result in accidental
starting and possible serious personal injury.
WARNING:
Never stand directly in line with the blade or allow hands
to come closer than 3 in. to the blade. Do not reach over
or across the blade. Failure to heed this warning can
result in serious personal injury.
WARNING:
To avoid serious personal injury, always make sure the
table saw is securely mounted to a workbench or an
approved leg stand. NEVER operate the saw on the
floor.
Fig. 6
CARRIAGE
BOLT
UPPER
SIDE BRACE
UPPER
BRACE
HEX
NUT
LEG
CARRIAGE
BOLT
FOOT
HEX
NUT
LOWER
BRACE

17
ASSEMBLY
SHOULDER
BOLT
LOCK NUT
BLADE
ADJUSTING
HANDLE
WASHER
MOUNTING THE LEG STAND ON THE TABLE
SAW BASE
See Figure 7.
Do not lift the saw without help. The saw base weighs ap-
proximately 42 lbs. Hold it close to your body. Keep your
knees bent and lift with your legs, not your back. Ignoring
these precautions can result in back injury.
Take the following from a small hardware pack:
4 carriage bolts (1/4-20 x 1-5/8 in.)
4 hex nuts (1/4-20)
NOTE: This hardware was in the pack with hardware for
assembling the leg stand and leveling feet.
Place the leg stand on the table saw base. Align the holes
in the table with the holes in the end braces.
Place a bolt in each hole. Secure with a hex nut. Hand
tighten.
Repeat for three remaining holes. Tighten all hardware
securely.
MOUNTING HOLES
The table saw must be mounted to a firm supporting surface
such as a workbench or leg stand. Four bolt holes have
been provided in the saw’s base for this purpose. Each of
the four mounting holes should be bolted securely using
3/8 in. machine bolts, lock washers, and hex nuts. Bolts
should be of sufficient length to accommodate the saw base,
lock washers, hex nuts, and the thickness of the workbench.
Tighten all four bolts securely.
Carefully check the workbench after mounting to make sure
that no movement can occur during use. If any tipping, slid-
ing, or walking is noted, secure the workbench to the floor
before operating.
TO INSTALL THE BLADE ADJUSTING
HANDLE
See Figure 8.
The blade adjusting handle mounts to the height adjusting
handwheel with a shoulder bolt, washer, and lock nut.
Insert the shoulder bolt in the center of the blade adjusting
handle. Place the washer over the bolt and insert into the
hole in the blade adjusting handle.
Place the lock nut behind the blade adjusting handle, and
thread the shoulder bolt into the lock nut.
Holding the nut in place, tighten with a screwdriver.
TO INSTALL THE LOCKING HANDLE
See Figure 9.
Slide the locking handle over the exposed end of the
rip fence making certain the handle is inserted as far as
possible.
Align the hole in the rip fence and the hole in the handle.
Secure using the screw.
Fig. 8
Fig. 7
Fig. 9
SCREW
RIP FENCE
LOCKING
HANDLE

18
ASSEMBLY
Fig. 10
THROAT
PLATE
Fig. 11
SCREW
Fig. 12
LARGE
WRENCH
SMALL
WRENCH
SMALL
WRENCH
LARGE
WRENCH
HEX
NUT
INNER BLADE
WASHER
TO
TIGHTEN
ARBOR
TO
LOOSEN
TO REMOVE/REPLACE THE THROAT PLATE
See Figure 10.
Lower the blade by turning the blade adjusting handle
clockwise.
Loosen the screws in the throat plate.
Lift the throat plate and spacers from the saw.
To reinstall the throat plate, place the spacers of the holes
and align the holes in the throat plate with the holes in
the saw housing.
Retighten the screws, being careful not to overtighten,
which can cause the throat plate to bow or bend.
TO CHECK SAW BLADE INSTALLATION
See Figures 11 - 12.
To check the saw blade:
Lower the blade by turning the blade adjusting handle
clockwise.
Remove the throat plate.
Push the bevel lock lever to the right to lock the blade
angle in place.
NOTE: If the bevel lock lever needs to be tightened further,
pull the spring-loaded lever out and rotate it back to the
left. Release the lever allowing it to seat itself then push
it to the right until it is tightened securely.
To loosen the blade:
Raise the blade to its full height by turning the blade
adjusting handle counterclockwise.
To keep blade arbor from rotating, place the open ended
wrench on flats located on the left side of the blade.
Place the second wrench over the arbor nut located on
the right side of the blade. Turn nut counterclockwise to
loosen.
To tighten the blade:
Raise the blade to its full height by turning the blade
adjusting handle counterclockwise.
To keep blade arbor from rotating, place the open ended
wrench on flats located on the left side of the blade.
Place the second wrench over the arbor nut located on the
right side of the blade. Turn nut clockwise to loosen.
NOTE: Arbor shaft has right-hand threads.
Check all clearances for free blade rotation.
Lower the blade by turning the blade adjusting handle
clockwise.
Reinstall the throat plate.
REMOVING THE THROAT PLATE
HEX
NUT
SPACER
SPACER

19
ASSEMBLY
Fig. 14
Reposition the blade guard assembly left or right as
needed to align the spreader with the saw blade.
Once properly aligned, securely retighten the screws.
Fig. 13
WARNING:
It is important to install and adjust the blade guard
assembly correctly. Poor alignment could cause kickback
and throw the workpiece at the operator.
WARNING:
Do not loosen the screws holding the spreader to the
blade guard assembly. Unsecured pawls or spreader
could cause personal injury while making adjustments.
TO INSTALL BLADE GUARD ASSEMBLY
See Figure 13.
Lower the blade by turning the blade adjusting handle
clockwise.
Feed an external tooth lock washer, flat washer, and
internal tooth lock washer on the socket head bolt then
slide the bolt and washers into the hole in the mounting
bracket.
Slide the mounting bracket into the back of the saw over
the rod and tighten the socket head bolt using the hex
key provided.
NOTE: Before tightening the bolt, be sure there is at least
1/8 in. between the blade and the spreader.
Securely tighten the bolt using the hex key provided.
Attach the blade guard assembly to the mounting bracket
using the socket head cap screws, flat washers, and
external tooth lock washers as shown in figure 13.
The blade guard assembly must be aligned with the saw
blade. See the following section for instructions.
TO CHECK AND ALIGN THE SAW BLADE AND
BLADE GUARD ASSEMBLY
See Figure 14.
This saw has been adjusted at the factory and, unless
damaged in shipping, should not require adjustments during
assembly. After extensive use, it may need to be checked. If
the blade guard assembly is out of alignment with the saw
blade, adjust the alignment of the blade guard assembly.
The spreader must be aligned with the saw blade.
To check alignment of the spreader:
Raise the saw blade by turning the blade adjusting handle
counterclockwise.
Place a framing square or straight edge beside the saw
blade on the left.
If the spreader and saw blade are not in alignment,
adjustment is needed. To adjust:
Unplug the saw then raise the blade guard assembly.
Loosen the socket head cap screws holding the blade
guard assembly to the mounting bracket.
EXTERNAL
TOOTH LOCK
WASHER
FLAT
WASHER
SOCKET
HEAD BOLT
MOUNTING
BRACKET BLADE
GUARD
ASSEMBLY
EXTERNAL
TOOTH LOCK
WASHER
INTERNAL TOOTH
LOCK WASHER
FLAT
WASHER
SOCKET
HEAD CAP
SCREWS
FRAMING
SQUARE
BLADE
ADJUSTING
HANDLE

20
OPERATION
WARNING:
Do not allow familiarity with tools to make you careless.
Remember that a careless fraction of a second is suf-
ficient to inflict serious injury.
WARNING:
Always wear safety goggles or safety glasses with side
shields when operating power tools. Failure to do so
could result in objects being thrown into your eyes result-
ing in possible serious injury.
WARNING:
Do not use any attachments or accessories not recom-
mended by the manufacturer of this tool. The use of at-
tachments or accessories not recommended can result
in serious personal injury.
APPLICATIONS
You may use this tool for the purposes listed below:
Straight line cutting operations such as cross cutting,
ripping, mitering, beveling, and compound cutting.
Cabinet making and woodworking.
NOTE: This table saw is designed to cut wood and wood
composition products only.
BASIC OPERATION OF THE TABLE SAW
The 3-prong plug must be plugged into a matching outlet
that is properly installed and grounded according to all local
codes and ordinances. Improper connection of the equip-
ment can result in electric shock. Do not modify the plug if
it will not fit the outlet. Have the correct outlet installed by
a qualified electrician. Refer to the Electrical section of this
manual.
CAUSES OF KICKBACK
Kickback can occur when the blade stalls or binds, kicking
the workpiece back toward you with great force and speed. If
your hands are near the saw blade, they may be jerked loose
from the workpiece and may contact the blade. Obviously,
kickback can cause serious injury, and it is well worth using
precautions to avoid the risks.
Kickback can be caused by any action that pinches the blade
in the wood, such as the following:
Making a cut with incorrect blade depth
Sawing into knots or nails in the workpiece
Twisting the wood while making a cut
Failing to support work
Forcing a cut
Cutting warped or wet lumber
Using the wrong blade for the type of cut
Not following correct operating procedures
Misusing the saw
Failing to use the anti-kickback pawls
Cutting with a dull, gummed-up, or improperly set
blade
AVOIDING KICKBACK
Always use the correct blade depth setting. The top of
the blade teeth should clear the workpiece by 1/8 in. to
1/4 in.
Inspect the work for knots or nails before beginning a
cut. Knock out any loose knots with a hammer. Never
saw into a loose knot or nail.
Always use the rip fence when rip cutting and the miter
gauge when cross cutting. This helps prevent twisting the
wood in the cut. Never use both for the same operation.
Always use clean, sharp, and properly-set blades. Never
make cuts with dull blades.
To avoid pinching the blade, support the work properly
before beginning a cut.
When making a cut, use steady, even pressure. Never
force cuts.
Do not cut wet or warped lumber.
Always hold your workpiece firmly with both hands or with
push sticks. Keep your body in a balanced position to
be ready to resist kickback should it occur. Never stand
directly in line with the blade.
Use the right type of blade for the cut being made.
CUTTING AIDS
See Figure 15.
Push sticks are devices used for safely pushing a workpiece
through the blade instead of using your hands. They can be
made in various sizes and shapes from scrap wood to use
in a specific project. The stick must be narrower than the
workpiece, with a 90° notch in one end and shaping for a
grip on the other end.
A push block has a handle fastened by recessed screws
from the underside. Use it on non-through cuts.
PUSH BLOCKS
PUSH STICKS
Fig. 15

21
OPERATION
BEVEL RIP CUT
RIP CUT
CROSS CUT
MITER CUT
COMPOUND (BEVEL) MITER CUT
BEVEL CROSS CUT
1
TYPES OF CUTS
See Figure 16.
There are six basic cuts: 1) the cross cut, 2) the rip cut, 3) the
miter cut, 4) the bevel cross cut, 5) the bevel rip cut, and 6)
the compound (bevel) miter cut. All other cuts are combina-
tions of these basic six. Operating procedures for making
each kind of cut are given later in this section.
WARNING:
Always make sure the blade guard and anti-kickback
pawls are in place and working properly when making
these cuts to avoid possible injury.
Cross cuts are straight 90° cuts made across the grain of
the workpiece. The wood is fed into the cut at a 90° angle
to the blade, and the blade is vertical.
Rip cuts are made with the grain of the wood. To avoid
kickback while making a rip cut, make sure one side of the
wood rides firmly against the rip fence.
Miter cuts are made with the wood at any angle to the
blade other than 90°. The blade is vertical. Miter cuts tend
to “creep” during cutting. This can be controlled by holding
the workpiece securely against the miter gauge.
WARNING:
Always use a push stick with small pieces of wood, and
also to finish the cut when ripping a long narrow piece
of wood, to prevent your hands from getting close to
the blade.
Bevel cuts are made with an angled blade. Bevel cross cuts
are across the wood grain, and bevel rip cuts are with the
grain. The rip fence must always be on the right side of the
blade for bevel rip cuts.
Compound (or bevel) miter cuts are made with an angled
blade on wood that is angled to the blade. Be thoroughly
familiar with making cross cuts, rip cuts, bevel cuts, and
miter cuts before trying a compound miter cut.
CUTTING TIPS
Rabbet cuts are non-through cuts which can be either rip
cuts or cross cuts. Carefully read and understand all sections
of this operator’s manual before attempting any operation.
WARNING:
Do not use blades rated less than the speed of this tool.
Failure to heed this warning could result in personal
injury.
The kerf (the cut made by the blade in the wood) will be
wider than the blade to avoid overheating or binding.
Make allowance for the kerf when measuring wood.
2
6
4
5
3
Make sure the kerf is made on the waste side of the
measuring line.
Cut the wood with the finish side up.
Knock out any loose knots with a hammer before making
the cut.
Always provide proper support for the wood as it comes
out of the saw.
Fig. 16

22
Fig. 18
OPERATION
Fig. 17
FEATHERBOARD
A featherboard is a device used to help control the
workpiece by guiding it securely against the table or rip
fence. Featherboards are especially useful when ripping
small workpieces and for completing non-through cuts. The
end is angled, with a number of short kerfs to give a friction
hold on the workpiece. Lock it in place on the table with a
C-clamp. Test that it can resist kickback by restricting the
forward motion of the workpiece.
WARNING:
Place the featherboard against the uncut portion of the
workpiece, to avoid kickback that could cause serious
personal injury.
HOW TO MAKE A FEATHERBOARD
See Figure 17.
The featherboard is an excellent project for this saw. Select
a solid, knot-free piece of lumber approximately 3/4 in. thick,
3-5/8 in. wide and 18 in. long. Mark the center of the width
on one end of the stock. Miter one-half of the width to 30°
and miter the other half of the same end to 45°. See page
26 for information on miter cuts. Mark the board from the
point at 6 in. Prepare the saw for ripping as discussed on
page 26. Set the rip fence to allow approximately a 1/4 in.
“finger” to be cut in the stock. Feed the stock only to the
mark previously made at 6 in. Turn the saw OFF and al-
low the blade to completely stop rotating before removing
the stock. Reset the rip fence and cut spaced rips into the
workpiece to allow approximately 1/4 in. fingers and 1/8 in.
spaces between the fingers.
HOW TO MOUNT A FEATHERBOARD
See Figure 18.
Completely lower the saw blade. Position the rip fence to the
desired adjustment for the cut to be performed and lock the
rip fence. Place the workpiece against the fence and over the
saw blade area. Adjust the featherboard to apply resistance
to the workpiece just forward of the blade. Attach a C-clamp
to secure the featherboard to the edge of the saw table.
WARNING:
Do not locate the featherboard to the rear of the blade.
Kickback can result from the featherboard pinching the
workpiece and binding the blade in the saw kerf if posi-
tioned improperly. Failure to heed this warning can result
in serious personal injury.
1/8 in.
1/4 in.
3/4 in.
3-5/8 in.
1-13/16 in.
30°
45°
18 in.
6 in.
PUSH
BLOCK
FEATHERBOARD
PUSH STICK
BEVEL
LOCKING
LEVER
“C” CLAMPS

23
OPERATION
SCREW-
DRIVER
Fig. 19
Fig. 20
GULLET
TO CHANGE THE BLADE DEPTH
See Figure 19.
The blade depth should be set so that the outer tips of
the blade are higher than the workpiece by approximately
1/8 in. to 1/4 in. but the lowest points (gullets) are below the
top surface. Raise the blade by turning the blade adjusting
handle counterclockwise or lower it by turning the handle
clockwise.
TO CHANGE BEVEL ANGLE
See Figure 20.
A 90° cut has a 0° bevel and a 45° cut has a 45° bevel.
Unplug the saw.
Loosen bevel control by turning bevel lock lever all the
way to the left. If it needs to be further loosened, pull
spring-loaded bevel lock lever out and rotate it back to
the right. Release bevel locking lever and allow it to seat
(lock) in its original position. Turn it to the left again until
loose.
Adjust the bevel angle by sliding the blade adjusting
handle left or right to the desired angle.
Tighten bevel control by turning bevel lock lever to the
right. If it needs to be tightened more, pull the spring-
loaded bevel lock lever out and rotate it to the left. Then
release bevel lock lever and allow it to return to its original
position. Rotate to the right again. Repeat this process
until bevel lock lever is securely tightened.
NOTE: Prior to making cuts, the bevel lock lever must be
in the locked position as shown in figure 20.
TO ADJUST THE BEVEL INDICATOR
See Figure 21.
If the bevel indicator is not at zero when the saw blade is at
90°, adjust the indicator by loosening the screw and setting
it at 0° on the bevel scale. Retighten the screw.
Fig. 21
TO LOCK
TO UNLOCK
BEVEL LOCK
LEVER
BEVEL
INDICATOR SCREW

24
OPERATION
WARNING:
To reduce the risk of injury, always make sure the rip fence
is parallel to the blade before beginning any operation.
TO INSTALL THE RIP FENCE
See Figure 22.
Place the rear lip on the rear of the saw table and pull
slightly toward the front of the unit.
Lower the front end of the rip fence onto the guide
surfaces on top of the front rail.
Push the rip fence lever down to automatically align and
secure the fence. The trigger lock must engage.
Check for a smooth gliding action. If adjustments are needed,
see To Check the Alignment of the Rip Fence to the Blade
in the Adjustment section of this manual.
TO SET THE RIP FENCE SCALE INDICATOR
TO THE BLADE
See Figure 23.
Beginning with the blade at a 0° angle (straight up), use the
following steps to set the rip fence scale indicator to the
blade:
Unplug the saw.
Loosen the rip fence by depressing the trigger lock and
lifting the locking handle.
Using a framing square, set the rip fence 2 in. from the
blade tip edge.
Loosen the screw for the scale indicator and align with
the 2 in. mark as shown.
Retighten the screw.
TO USE THE MITER GAUGE
See Figure 24.
The miter gauge provides greater accuracy in angled cuts.
For very close tolerances, test cuts are recommended.
There are two miter gauge channels, one on either side of
the blade. When making a 90° cross cut, you can use either
miter gauge channel. When making a beveled cross cut (the
blade tilted in relation to the table) the miter gauge should
be located in the slot on the right so that the blade is tilted
away from the miter gauge and your hands.
The miter gauge can be turned 60° to the right or left.
Loosen the lock knob.
With the miter gauge in the miter gauge slot, rotate the
gauge until the desired angle is reached on the scale.
Retighten the lock knob.
FRONT
RAIL
LOCKING
HANDLE
BLADE
RIP
FENCE
2 in.
MARK
SCALE
SCALE
INDICATOR
2 in.
Fig. 22
Fig. 23
REAR LIP
RIP FENCE
RIP FENCE
LEVER
SAW TABLE
Fig. 24
LOCK
KNOB
MITER
GAUGE

25
OPERATION
MAKING CUTS
The blade provided with the saw is a high-quality combi-
nation blade suitable for ripping and cross cut operations.
Carefully check all setups and rotate the blade one full
revolution to assure proper clearance before connecting to
a power source.
WARNING:
Do not use blades rated less than the speed of this tool.
Failure to heed this warning could result in personal
injury.
Use the miter gauge when making cross, miter, bevel, and
compound miter cuts. To secure the angle, lock the miter
gauge in place by twisting the lock knob clockwise. Always
tighten the lock knob securely in place before use.
NOTE: It is recommended that you place the piece to be
saved on the left side of the blade and that you make a test
cut on scrap wood first.
TO MAKE A CROSS CUT
See Figures 25 - 26.
WARNING:
Using the rip fence as a cutoff gauge when cross cutting
will result in kickback which can cause serious personal
injury. Never use the rip fence for any purpose when
cross cutting.
WARNING:
Make sure the blade guard assembly is installed and
working properly to avoid serious personal injury.
Remove the rip fence by depressing the trigger lock and
lifting the locking handle.
Turn the blade adjusting handle until the blade is set to
the correct depth for the workpiece.
Set the miter gauge to 0° and tighten the lock knob.
Place a support (the same height as saw table) behind
the saw for the cut work.
Make sure the wood is clear of the blade before turning
on the saw.
Turn the saw ON by lifting the switch button.
Let the blade build up to full speed before moving the
workpiece into the blade.
Hold the workpiece firmly against the miter gauge and
feed the workpiece into the blade. Keep the workpiece
flush against the miter gauge. Stand slightly to the side of
the wood as it contacts the blade to reduce the chance
of injury should kickback occur. Keep the miter gauge
firmly against the saw table as the workpiece is fed into
the blade.
Fig. 25
Fig. 26
CROSS CUT
NOTE: The hand closest to the blade should be placed
on the miter gauge lock knob and the hand farthest from
the blade should be placed on the miter gauge and the
workpiece.
When the cut is made, turn the saw OFF. Wait for the
blade to come to a complete stop before removing any
part of the workpiece.
SWITCH
OFF
SWITCH
ON
SWITCH
KEY
REMOVED

26
OPERATION
Fig. 28
RIP CUT
MITER CUT
TO MAKE A MITER CUT
See Figure 27.
WARNING:
Make sure the blade guard assembly is installed and
working properly to avoid serious personal injury.
Remove the rip fence by depressing the lock and lifting
the locking handle.
Turn the blade adjusting handle until the blade is set to
the correct depth for the workpiece.
Set the miter gauge to the desired angle and tighten the
miter gauge lock knob.
Place a support (the same height as saw table) behind
the saw for the cut work.
Make sure the wood is clear of the blade before turning
on the saw.
Turn the saw ON by lifting the switch button.
Let the blade build up to full speed before moving the
workpiece into the blade.
Hold the workpiece firmly with both hands on the miter
gauge and feed the workpiece into the blade. Keep the
workpiece flush against the miter gauge. Stand slightly
to the side of the wood as it contacts the blade to reduce
the chance of injury should kickback occur.
NOTE: The hand closest to the blade should be placed
on the miter gauge lock knob and the hand farthest from
the blade should be placed on the workpiece.
When the cut is made, turn the saw OFF. Wait for the
blade to come to a complete stop before removing any
part of the workpiece.
TO MAKE A RIP CUT
See Figure 28.
WARNING:
Make sure the blade guard assembly is installed and
working properly to avoid serious personal injury.
Remove the miter gauge by sliding it out of the miter
gauge groove.
Turn the blade adjusting handle until the blade is set to
the correct depth for the workpiece.
Position the rip fence the desired distance from the blade
for the cut and securely lock the handle.
Set the blade to 0°.
Place a support (the same height as the saw table) behind
the table saw for the cut work.
Make sure the wood is clear of the blade before turning
on the table saw.
Turn the saw ON.
Let the blade build up to full speed before feeding the
workpiece into the blade.
Use a push block or push stick to move the wood through
the cut past the blade. Never push a small piece of wood
into the blade with your hand, always use a push stick.
The use of push blocks, push sticks, and featherboards
are necessary when making non-through cuts.
Stand to the side of the wood as it contacts the blade to
reduce the chance of injury should kickback occur. Never
stand directly in the line of cut.
When the cut is made, turn the saw OFF. Wait for the
blade to come to a complete stop before removing any
part of the workpiece.
Fig. 27

27
OPERATION
Fig. 30
BEVEL CROSS CUT
BEVEL RIP CUT
TO MAKE A BEVEL CROSS CUT
See Figure 29.
WARNING:
Make sure the blade guard assembly is installed and
working properly to avoid serious personal injury.
Remove the rip fence by depressing the lock and lifting
the locking handle.
Turn the bevel locking lever to the left to unlock it. Turn
the blade adjusting handle until the bevel indicator is at
the desired angle.
Set the blade to the correct depth for the workpiece and
retighten the bevel locking lever.
Set the miter gauge at 90° and tighten the miter gauge
lock knob.
Place a support (the same height as saw table) behind
the saw for the cut work.
Make sure the wood is clear of the blade before turning
on the saw.
Turn the saw ON.
Let the saw blade build up to full speed before moving
the workpiece into the blade.
Hold the workpiece firmly with both hands on the miter
gauge and feed the workpiece into the blade. Keep the
workpiece flush against the miter gauge. Stand slightly
to the side of the wood as it contacts the blade to reduce
the chance of injury should kickback occur.
NOTE: The hand closest to the blade should be placed
on the miter gauge lock knob and the hand farthest from
the blade should be placed on the workpiece.
When the cut is made, turn the saw OFF. Wait for the
blade to come to a complete stop before removing any
part of the workpiece.
TO MAKE A BEVEL RIP CUT
See Figure 30.
WARNING:
When making a bevel rip cut, the rip fence must be on
the right side of the blade to avoid trapping the wood and
causing kickback. Placement of the rip fence to the left
of the blade will result in kickback and the risk of serious
personal injury.
WARNING:
Make sure the blade guard assembly is installed and
working properly to avoid serious personal injury.
Remove the miter gauge by sliding it out of the miter
gauge groove.
Turn the bevel locking lever to the left to unlock. Turn the
blade adjusting handle until the bevel indicator is at the
desired angle.
Set the blade to the correct depth for the workpiece and
push the bevel locking lever to the right to relock it.
Fig. 29

28
OPERATION
Position the rip fence the desired distance from the right
side of the blade and lock down the lever.
Place a support the same height as the table surface
behind the saw for the cut work.
Make sure the wood is clear of the blade before turning
on the saw.
Turn the saw ON.
Position the workpiece flat on the table with the edge
flush against the rip fence. Let the blade build up to full
speed before feeding the workpiece into the blade.
Using a push stick and/or push blocks, slowly feed the
workpiece toward the blade. Stand slightly to the side of
the wood as it contacts the blade to reduce the chance
of injury should kickback occur.
Once the blade has made contact with the workpiece,
use the hand closest to the rip fence to guide it. Make
sure the edge of the workpiece remains in solid contact
with both the rip fence and the surface of the table. If rip-
ping a narrow piece, use a push stick to move the piece
through the cut and past the blade.
When the cut is made, turn the saw OFF. Wait for the
blade to come to a complete stop before removing any
part of the workpiece.
After the blade has stopped completely, remove the cutoff
stock.
Grasp the workpiece from the lead end (the end fed
into the blade first) and carefully remove it from the saw
table.
TO MAKE A COMPOUND (BEVEL) MITER
CUT
See Figure 31.
WARNING:
Make sure the blade guard assembly is installed and
working properly to avoid serious personal injury.
Remove the rip fence by depressing the lock and lifting
the locking handle.
Turn the bevel locking lever to the left to unlock it. Turn
the blade adjusting handle until the bevel indicator is at
the desired angle.
Retighten the bevel locking lever and set the blade to the
correct depth for the workpiece.
Set the miter gauge to desired angle and tighten the miter
gauge lock knob.
Make sure the wood is clear of the blade before turning
on the saw.
Turn the saw ON.
Hold the workpiece firmly with both hands on the miter
gauge and feed the workpiece into the blade.
NOTE: The hand closest to the blade should be placed
on the miter gauge lock knob and the hand farthest
from the blade should be placed on the miter gauge and
workpiece.
Keep the workpiece flush against the miter gauge. Stand
slightly to the side of the wood as it contacts the blade
to reduce the chance of injury should kickback occur.
When the cut is made, turn the saw OFF. Wait for the
blade to come to a complete stop before removing any
part of the workpiece.
After the blade has stopped completely, remove the cutoff
stock.
COMPOUND MITER CUT
Fig. 31

29
OPERATION
NON-THROUGH CUT
BLADE
GUARD
REMOVED
TO MAKE A NON-THROUGH CUT
See Figure 32.
Non-through cuts can be made with the grain (ripping) or
across the grain (cross cut). The use of a non-through cut
is essential to cutting grooves. DO NOT perform bevel non-
through cuts on this machine.
NOTE: This is the only type of cut that is made without the
blade guard assembly installed. Make sure the blade guard
assembly is reinstalled upon completion of this type of cut.
DO NOT install dado blades on this machine.
Read the appropriate section which describes the type
of cut in addition to this section on non-through cuts. For
example, if your non-through cut is a straight cross cut, read
and understand the section on straight cross cuts before
proceeding.
WARNING:
When making a non-through cut, the cutter is covered
by the workpiece during most of the cut. Be alert to the
exposed cutter at the start and finish of every cut to avoid
the risk of serious personal injury.
WARNING:
Never feed wood with your hands when making any non-
through cut such as rabbets. To avoid personal injury, al-
ways use push blocks, push sticks, and featherboards.
Unplug the saw.
Remove the blade guard assembly by removing the two
socket head cap screws, lock washers, and flat washers.
Set the blade to 0º.
Set the blade to the correct depth for the workpiece.
Plug the saw into the power source.
Turn the saw ON.
Feed the workpiece into the blade.
NOTE: Always use push blocks, push sticks, and
featherboards when making non-through cuts to avoid
the risk of serious injury.
When the cut is made, turn the saw OFF. Wait for the
blade to come to a complete stop before removing any
part of the workpiece.
Once all non-through cuts are complete:
Unplug the saw.
Lower the blade and reinstall the blade guard assembly
using the two socket head cap screws, lock washers,
and flat washers.
Fig. 32
PUSH
STICK

30
ADJUSTMENTS
LOCKING
HANDLE
CLAMP
SCREW
RIP FENCE
SAW
BLADE
Fig. 33
WARNING:
Before performing any adjustment, make sure the tool is
unplugged from the power supply and the switch is in the
OFF position. Failure to heed this warning could result in
serious personal injury.
To avoid unnecessary setups and adjustments, a good prac-
tice is to check your setups carefully with a framing square
and make practice cuts in scrap wood before making finish
cuts in good workpieces. Do not start any adjustments until
you have checked with a square and made test cuts to be
sure adjustments are needed.
TO CHECK THE ALIGNMENT OF THE RIP
FENCE TO THE BLADE
See Figure 33.
WARNING:
To reduce the risk of injury, always make sure the rip fence
is parallel to the blade before beginning any operation.
Unplug the saw then remove the blade guard
assembly.
Unlock the rip fence by depressing the trigger lock and
lifting the locking handle.
Place a framing square beside the blade and move the
rip fence up to the square. Take the dimension on the rip
scale.
Move the rip fence back and turn the framing square 180°
to check the other side.
If the two dimensions are not the same, loosen the two
screws on the fence and align it.
Retighten the two screws.
Make two or three test cuts on scrap wood. If the cuts
are not true, repeat the process.
NOTE: The rip fence must be secure when the locking
handle is engaged. The clamp screw on the rear of the
rip fence is tightened by turning clockwise to increase
tightness of the rear of the rip fence.
RIP
FENCE
SCREWS

31
ADJUSTMENTS
TO SET THE 90° POSITIVE STOP
See Figure 34.
Make sure the saw is unplugged from the power source.
Raise the blade to the maximum height by turning the
blade adjusting handle counterclockwise. Unlock the bevel
locking lever.
If the blade angle is less than 90°, turn the 90° positive stop
adjustment screw counterclockwise one turn. Rotate blade
adjusting handle counterclockwise until it stops. Recheck
the blade position. Continue this process until the blade is
at 90°. Relock the bevel locking lever.
If the blade angle is greater than 90°, use the framing
square to position the blade to 90°. Turn the 90° positive
stop adjustment screw clockwise until it stops. Relock the
bevel locking lever.
Reset the bevel indicator to 0° by loosening the screw
holding the indicator. Line up the red line on the indicator
with the 0° mark on the bevel scale.
TO SET THE 45° POSITIVE STOP
See Figure 35.
Make sure the saw is unplugged from the power source.
Raise the blade to the maximum height by turning the blade
adjusting handle counterclockwise. Turn the bevel locking
lever to the left to loosen the bevel.
If the blade angle is greater than 45°, turn the 45° positive
stop adjustment screw counterclockwise 1 turn and rotate
the bevel adjusting handle counterclockwise until it stops.
Recheck the blade position. Continue this process until the
blade is at 45°. Tighten the bevel locking lever.
If the blade angle is less than 45°, use the combination
square or triangle to position the blade at 45°. Turn the 45°
positive stop adjustment screw clockwise until it stops.
Tighten the bevel locking lever.
Reset the bevel indicator to 45° by loosening the screw
holding the indicator. Line up the red line on the indicator
with the 45° mark on the bevel scale.
90° POSITIVE
STOP
ADJUSTMENT
SCREW
Fig. 35
45° POSITIVE
STOP
ADJUSTMENT
SCREW
Fig. 34

32
WARNING:
When servicing, use only identical Ryobi replacement
parts. Use of any other parts may create a hazard or
cause product damage.
WARNING:
Always wear safety goggles or safety glasses with side
shields during power tool operation or when blowing
dust. If operation is dusty, also wear a dust mask.
GENERAL MAINTENANCE
Avoid using solvents when cleaning plastic parts. Most
plastics are susceptible to damage from various types of
commercial solvents and may be damaged by their use. Use
clean cloths to remove dirt, dust, oil, grease, etc.
WARNING:
Do not at any time let brake fluids, gasoline, petroleum-
based products, penetrating oils, etc., come in contact
with plastic parts. Chemicals can damage, weaken, or
destroy plastic which may result in serious personal
injury.
Periodically check all clamps, nuts, bolts, and screws for
tightness and condition. Make sure the throat plate is in
good condition and in position.
Check the blade guard assembly.
To maintain the table surfaces, fence, and rails, periodi-
cally apply paste wax to them and buff to provide smooth
functioning.
Protect the blade by cleaning out sawdust from underneath
the table and in the blade teeth. Use a resin solvent on
the blade teeth.
Clean plastic parts only with a soft damp cloth. DO
NOT use any aerosol or petroleum solvents.
LUBRICATION
All of the bearings in this tool are lubricated with a sufficient
amount of high grade lubricant for the life of the unit under
normal operating conditions. Therefore, no further lubrica-
tion is required.
MAINTENANCE
Fig. 36
TO REMOVE OR CHANGE THE BLADE
See Figure 36.
Unplug the saw.
Remove the screws holding the throat plate in place then
remove the throat plate.
Raise the blade to the maximum height.
To keep blade arbor from rotating, place the open ended
wrench on flats located on the left side of the blade.
Place the second wrench over the arbor nut located on
the right side of the blade. Turn nut counterclockwise to
loosen.
Remove arbor nut, outer blade washer, and blade.
Position new blade on the arbor, making sure the teeth
are pointing down toward the front of the table.
Attach outer blade washer and arbor nut.
Tighten arbor nut, making sure to hold the blade stationary
with the open ended wrench.
Replace throat plate, making sure that the side with the
rolled edge underneath is closest to the blade.
Securely attach throat plate with screws.
ARBOR NUT

33
TROUBLESHOOTING
Problem Possible Cause Solution
Excess Vibration.
Rip fence does not operate
smoothly.
Cutting binds or burns work.
Wood edges away from rip
fence when ripping.
Saw does not make accurate
90° or 45° bevel cuts.
Saw does not make accurate
90° or 45° miter cuts.
Blade makes poor cuts.
Blade does not lower when
turning blade control handle.
Motor labors in rip cut.
1. Blade is out of balance.
2. Blade is warped or damaged.
3. Saw is not mounted securely to a
level work surface.
1. Rip fence not mounted correctly.
2. Rails are dirty or sticky.
3. Adjustment nut needs adjusting.
1. Blade is dull.
2. Work is fed too fast.
3. Rip fence is misaligned.
4. Wood is warped.
5. Blade is heeling.
1. Rip fence is misaligned.
2. Blade not properly sharpened.
1. Positive stops need adjusting.
1. Miter gauge is misaligned.
1. Blade is dull or dirty.
2. Blade is wrong type for cut.
3. Blade is mounted backwards.
1. Saw dust build up underneath
saw.
1. Incorrect blade for rip cut.
1. Remount and recheck blade.
Replace if necessary.
2. Replace blade immediately.
3. Reposition on a level surface and
tighten all mounting hardware
securely.
1. Remount the rip fence.
2. Clean underneath front bar of rip
fence and front rail.
3. Adjust nut counterclockwise.
1. Replace or have blade sharpened.
2. Slow the feed rate.
3. Align the rip fence.
4. Replace wood.
5. Call Ryobi Technical Service at
1-800-525-2579.
1. Check and adjust the rip fence.
2. Have blade resharpened.
1. Adjust positive stops.
1. Recheck setting on miter scale.
1. Clean blade or have blade
sharpened.
2. Replace with correct type.
3. Remount blade.
1. Clean underside of saw.
1. Change blade to Ryobi 4650301,
or similar 24-tooth, carbide rip
blade.

OPERATOR’S MANUAL
10 in. TABLE SAW
BTS12S
BTS12S
ONE WORLD TECHNOLOGIES, INC.
1428 Pearman Dairy Road, Anderson, SC 29625
Tel.:1-800-525-2579
www.ryobitools.com
• SERVICE
Now that you have purchased your tool, should a need ever exist for repair parts or service, simply
contact your nearest Authorized Service Center. Be sure to provide all pertinent facts when you
call or visit. Please call 1-800-525-2579 for your nearest Authorized Service Center. You can also
check our web site at www.ryobitools.com for a complete list of Authorized Service Centers.
• MODEL NO. AND SERIAL NO.
The model number of this tool will be found on a plate attached to the motor housing.
Please record the model number and serial number in the space provided below.
• HOW TO ORDER REPAIR PARTS
When ordering repair parts, always give the following information:
• MODEL NUMBER
• SERIAL NUMBER
RYOBI® is a registered trademark of Ryobi Limited used under license.
WARNING:
Some dust created by power sanding, sawing, grinding, drilling, and other construction activities contains
chemicals known to cause cancer, birth defects or other reproductive harm. Some examples of these
chemicals are:
• lead from lead-based paints,
• crystalline silica from bricks and cement and other masonry products, and
• arsenic and chromium from chemically-treated lumber.
Your risk from these exposures varies, depending on how often you do this type of work. To reduce your
exposure to these chemicals: work in a well ventilated area, and work with approved safety equipment, such
as those dust masks that are specially designed to filter out microscopic particles.
987000-372
7-16-08 (REV:01)