Ryobi P540 Users Manual
Ryobi-P540-P540A-P540B-Owner-S-Manual ryobi-p540-p540a-p540b-owner-s-manual
P540 to the manual 1d1a5116-b0fd-4171-ba74-d4531139fa61
2015-03-12
: Ryobi Ryobi-P540-Users-Manual-658398 ryobi-p540-users-manual-658398 ryobi pdf
Open the PDF directly: View PDF
.
Page Count: 28

Your chain saw has been engineered and manufactured to our high standard for dependability, ease of operation, and
operator safety. When properly cared for, it will give you years of rugged, trouble-free performance.
WARNING: To reduce the risk of injury, the user must read and understand the operator's manual before using
this product.
Thank you for your purchase.
OPERATOR’S MANUAL
18 VOLT CHAIN SAW
P540
P540A
P540B
SAVE THIS MANUAL FOR FUTURE REFERENCE
ACCEPTS ALL ONE+
BATTERY PACKS
BATTERIES AND CHARGERS
SOLD SEPARATELY

2
Introduction .......................................................................................................................................................................2
General Safety Rules ..................................................................................................................................................... 3-5
Specific Safety Rules .........................................................................................................................................................6
Symbols .........................................................................................................................................................................7-8
Features .............................................................................................................................................................................9
Assembly .........................................................................................................................................................................10
Operation ...................................................................................................................................................................10-18
Maintenance .............................................................................................................................................................. 19-25
Troubleshooting ...............................................................................................................................................................26
Warranty ..........................................................................................................................................................................27
Parts Ordering / Service ....................................................................................................................................Back Page
TABLE OF CONTENTS
INTRODUCTION
This product has many features for making its use more pleasant and enjoyable. Safety, performance, and dependability
have been given top priority in the design of this product making it easy to maintain and operate.

3
GENERAL SAFETY RULES
READ ALL INSTRUCTIONS
BASIC SAFETY PRECAUTIONS
Do not operate a chain saw with one hand! Use a firm grip
with thumbs and fingers encircling the chain saw handles.
Serious injury to the operator, helpers, bystanders, or any
combination of these persons may result from one-handed
operation. A chain saw is intended for two-handed use.
Always be aware of what you are doing when using the
chain saw. Use common sense. Do not operate the chain
saw when you are tired, ill, or under the influence of al-
cohol, drugs, or medication.
Stay alert and pay attention to what you are doing. Use
common sense when using this unit.
Keep all parts of your body away from the saw chain
when the unit is running.
Always carry the chain saw by the front handle with the
unit stopped and the guide bar and saw chain positioned
to the rear. When transporting your chain saw, use the
appropriate guide bar scabbard.
Never let anyone use your chain saw who has not received
adequate instructions in its proper use. This applies to
rentals as well as privately owned saws.
Before you start the unit, make sure the saw chain is not
contacting any object.
Stop the chain saw before setting it down. Do not leave
the unit running unattended.
To avoid accidental starting, never carry the unit with your
finger on the trigger.
Maintain the unit with care. Keep the cutting edge sharp
and clean for best performance and to reduce the risk
of injury. Follow instructions for lubricating and changing
accessories. Inspect the battery charger cord periodi-
cally, and if damaged, have it replaced or repaired by an
authorized service dealer.
WARNING:
Do not attempt to operate this unit until you have read
thoroughly and understand completely all instructions,
safety information, etc. contained in this manual. Failure
to comply can result in accidents involving fire, electric
shock, or serious personal injury.
Keep handles dry, clean, and free of oil and grease.
Do not operate a chain saw that is damaged, improperly
adjusted, or not completely and securely assembled. Chain
should stop turning when the trigger is released. If the
chain turns after the trigger has been released, have the
unit serviced by your nearest Ryobi service dealer.
Check for damaged parts. Any part or guard that has been
damaged should be carefully checked to determine that
it will operate properly and perform its intended function.
Check for alignment of moving parts, binding of moving
parts, breakage of parts, mounting, and any other condi-
tions that may affect its operation. A guard or other part
that is damaged should be properly repaired or replaced
by an authorized service dealer unless otherwise indicated
elsewhere in this manual.
All chain saw service, other than the items listed in the
operation and maintenance sections, should be performed
by your nearest Ryobi service dealer.
Do not use in the rain, snow or wet conditions.
Always maintain a proper stance. Do not overreach.
Do not adapt your powerhead to a bow guide or use it
to power any attachments or devices not listed for the
saw.
Do not cut vines and/or small underbrush.
SAFETY APPAREL
Wear snug fitting clothing. Always wear heavy, long pants,
overalls, jeans or chaps made of cut resistant material or
ones that contain cut resistant inserts. Wear non-slip safety
footwear. Wear non-slip heavy duty gloves to improve
your grip and to protect your hands. Do not wear jewelry,
short pants, sandals, or go barefoot. Do not wear loose
fitting clothing, which could be drawn into the motor or
catch the chain or underbrush. Secure hair so it is above
shoulder level.
Wear eye protection which is marked to comply with ANSI
Z87.1 as well as hearing and head protection when oper-
ating this equipment.

4
GENERAL SAFETY RULES
KICKBACK
See Figures 1 - 2.
WARNING: Kickback may occur when the moving chain
contacts an object at the upper portion of the tip of the
guide bar or when the wood closes in and pinches the
saw chain in the cut. Contact at the upper portion of the
tip of the guide bar can cause the chain to dig into the
object and stop the chain for an instant. The result is
a lightning fast, reverse reaction which kicks the guide
bar up and back toward the operator. If the saw chain
is pinched along the top of the guide bar, the guide bar
can be driven rapidly back toward the operator. Either of
these reactions can cause loss of saw control which can
result in serious injury. Do not rely exclusively upon the
safety devices built into the saw. As a chain saw user,
you should take several steps to keep your cutting jobs
free from accident or injury.
The following precautions should be followed to mini-
mize kickback:
1. Always grip the saw firmly with both hands. Hold the
saw firmly with both hands when the unit is running.
Place your right hand on the rear handle and your left
hand on the front handle with your thumbs and fingers
encircling the chain saw handles. A firm grip together
with a stiff left arm will help you maintain control of
the saw if kickback occurs.
2. Make sure that the area in which you are cutting is free
from obstructions. Do not let the nose of the guide bar
contact a log, branch, fence, or any other obstruction
that could be hit while you are operating the saw.
3. Always cut with the unit running at full speed. Fully
squeeze the throttle trigger and maintain a steady
cutting speed.
4. Use replacement parts such as low kickback chain,
SAFE-T-TIP® anti-kickback nose guards, chain brakes
and special guide bars that reduce the risks associated
with rotational kickback.
Use only the replacement guide bars and low kickback
chains specified by the manufacturer for the saw.
With a basic understanding of kickback, you can reduce
or eliminate the element of surprise. Sudden surprise
contributes to accidents.
Keep proper footing and balance at all times.
Do not cut above shoulder height or overreach when cutting.
Keep the SAFE-T-TIP® anti-kickback nose guard properly
mounted on the guide bar to prevent rotational kickback.
Follow the sharpening and maintenance instructions for
the saw chain.
Push and Pull - This reaction force is always opposite to
the direction the chain is moving where wood contact is
made. Thus, the operator must be ready to control the
PULL when cutting on the bottom edge of the bar, and
PUSH when cutting along the top edge. See Figure 3.
KICKBACK
DANGER ZONE
Fig. 2
ROTATIONAL
KICKBACK
BAR shOwN wIThOuT sAfE-T-TIp® NOsE GuARD fOR
ILLusTRATION puRpOsEs ONLy.
Fig. 1
push Fig. 3
puLL

5
GENERAL SAFETY RULES
IN THE CUTTING/WORK AREA
Do not operate a chain saw in a tree, on a ladder, or scaf-
fold; this is extremely dangerous.
Keep ALL children, bystanders, visitors, and animals out
of the work area while starting or cutting with the chain
saw.
NOTE: The size of the work area depends on the job
being performed as well as the size tree or work piece
involved. For example, felling a tree requires a larger work
area than making bucking cuts.
Never start cutting until you have a clear work area, secure
footing, and a planned retreat path from the falling tree.
Cluttered area invite injuries.
Do not expose the chain saw to rain.
Do not use the chain saw in damp or wet locations.
Do not use the chain saw near flammable liquids, gases,
or in any type of explosive atmosphere.
Use extreme caution when cutting small size brush and
saplings, because slender material may catch the saw
chain and be whipped toward you or pull you off bal-
ance.
When cutting a limb that is under tension, be alert for
spring back so that you will not be struck when the ten-
sion in the wood fibers is released.
Do not force the chain saw. The job can be performed
better and safer at the rate for which it was intended.
Always use the right product for your application. The
chain saw should be used for cutting wood only. Never
use the chain saw to cut plastic, masonry or non-wood
building materials.
Do not use the chain saw for purposes not intended.
Store idle chain saw when not in use. Chain saw should
be stored in a dry and high or locked area out of the reach
of children. When storing chain saw, remove battery and
place the scabbard on the bar and chain or store the chain
saw in a carry case.
Remove the battery pack from the chain saw before
cleaning, servicing, storing, removing material from the
unit, changing accessories such as the bar and chain, or
when not in use.
sAfE-T-TIp®
Fig. 4
UNDERSTANDING YOUR CHAIN SAW SAFETY
DEVICES
See Figure 4.
SAFE-T-TIP® Anti-Kickback Nose Guard
The SAFE-T-TIP® prevents kickback from happening, be-
cause it covers the tip of the bar where kickback is gener-
ated. Never attempt any kind of cutting where the SAFE-T-
TIP® would have to be removed from the bar tip.
LOW KICKBACK SAW CHAIN
The rakers (depth gauges) ahead of each cutter can minimize
the force of a kickback reaction by preventing the cutters
from digging in too deeply at the kickback zone. Only use
replacement chain that is equivalent to original chain or has
been certified as low kickback chain per ANSI B175.1.
Low kickback saw chain is chain that has met the kickback
performance requirements of ANSI B175.1 - 1991 (Amer-
ican National Standard for Power Tools - Gasoline-Powered
Chain Saws-Safety Requirements) when tested on the rep-
resentative sample of chain saws below 3.8 c.i.d. specified
in ANSI B175.1 - 1991.
As saw chains are sharpened during their useful life, they
lose some of the low kickback qualities and extra caution
should be used.
GUIDE BARS
Generally, guide bars with small radius tips have somewhat
lower kickback potentials.
When making a replacement, be sure to order one of the
Ryobi bars listed for the saw in this operator's manual. The
proper size SAFE-T-TIP® nose guard comes installed on the
bar. Use only guide bars that have a provision for mounting
the SAFE-T-TIP®.

6
BATTERY SAFETY
Battery operated units do not have to be plugged into an
electrical outlet; therefore, they are always in operating
condition. Be aware of possible hazards even when unit
is not operating.
Remove the battery pack from the chain saw before
cleaning, servicing, storing, removing material from the
unit, changing accessories such as the bar and chain, or
when not in use.
A battery pack must be recharged only with the speci-
fied charger for the battery pack. A charger that may be
suitable for one type of battery pack may create a risk
of fire when used with another battery pack. Use battery
pack only with charger listed.
To reduce the risk of explosion and possible injury, Do not
place battery units or their batteries near fire or heat.
Do not open or mutilate the battery pack. Released elec-
trolyte is corrosive and may cause damage to the eyes
or skin. It may be toxic if swallowed.
Do not crush, drop or damage battery pack. Do not
use a battery pack or charger that has been dropped or
received a sharp blow. A damaged battery is subject to
SPECIFIC SAFETY RULES
explosion. Properly dispose of a dropped or damaged
battery immediately.
Batteries can explode in the presence of a source of ig-
nition, such as a pilot light. To reduce the risk of serious
personal injury, never use any cordless product in the
presence of open flame. An exploded battery pack can
propel debris and chemicals. If exposed, flush with water
immediately.
Do not charge unit in a damp or wet location. Following
this rule will reduce the risk of electric shock.
For best results, your battery unit should be charged in
a location where the temperature is more than 50°F but
less than 100°F. Do not store outside or in vehicles.
Under extreme usage or temperature conditions, battery
pack leakage may occur. If liquid comes in contact with
your skin, wash immediately with soap and water, then
neutralize with lemon juice or vinegar. If liquid gets into
your eyes, flush them with clean water for at least 10
minutes, then seek immediate medical attention.
Do not dispose of batteries in a fire. The cell may explode.
Batteries should be recycled, consult your local waste
authority for information regarding available recycling
and/or disposal options.
When battery pack is not in use, keep it away from other
metal objects like: paper clips, coins, keys, nails, screws,
or other small metal objects that can make a connection
from one terminal to another. Shorting the battery pack
terminals together may cause sparks, burns, or a fire.
MODEL BATTERY PACK CHARGER (P113)
P540
P540A
P540B
(P104 Li-ion)
130429001, 130429002
130155001
(P100 Ni-Cd)
130255004, 130224028
140501001
140501005
BATTERY PACK CHARGER (P110)
(P100 Ni-Cd)
130255004, 130224028
1423701, 140237021,
140237023

7
SYMBOLS
Some of the following symbols may be used on this product. Please study them and learn their meaning. Proper
interpretation of these symbols will allow you to operate the product better and safer.
SYMBOL NAME DESIGNATION/EXPLANATION
V Volts Voltage
A Amperes Current
Hz Hertz Frequency (cycles per second)
W Watt Power
min Minutes Time
Alternating Current Type of current
Direct Current Type or a characteristic of current
n
o
No Load Speed Rotational speed, at no load
Class II Construction Double-insulated construction
.../min Per Minute Revolutions, strokes, surface speed, orbits etc., per minute
Wet Conditions Alert Do not expose to rain or use in damp locations.
Read The Operator’s Manual To reduce the risk of injury, user must read and understand
operator’s manual before using this product.
Wear Eye, Hearing, and
Head Protection
Wear eye protection which is marked to comply with ANSI Z87.1
as well as hearing and head protection when operating this
equipment.
Safety Alert Precautions that involve your safety.
SAFE-T-TIP Nose Guard The SAFE-T-TIP nose guard on the guide bar helps prevent
kickback.
Operate With Two Hands Hold and operate the saw properly with both hands.
One Handed Do not operate the saw using only one hand.
Kickback DANGER! Beware of kickback.
Bar Nose Contact Avoid bar nose contact.
Wear Gloves Wear non-slip, heavy-duty protective gloves when handling the
chain saw.
Wear Safety Footwear Wear non-slip safety footwear when using this equipment.
Keep Bystanders Away Keep all bystanders and animals at least 50 ft. away.

8
SYMBOLS
SERVICE
Servicing requires extreme care and knowledge and should
be performed only by a qualified service technician. For
service we suggest you return the product to your nearest
AUTHORIZED SERVICE CENTER for repair. When servic-
ing, use only identical replacement parts.
WARNING:
SAVE THESE INSTRUCTIONS
The following signal words and meanings are intended to explain the levels of risk associated with this product.
SYMBOL SIGNAL MEANING
DANGER: Indicates an imminently hazardous situation, which, if not avoided, will
result in death or serious injury.
WARNING: Indicates a potentially hazardous situation, which, if not avoided, could
result in death or serious injury.
CAUTION: Indicates a potentially hazardous situation, which, if not avoided, may
result in minor or moderate injury.
CAUTION: (Without Safety Alert Symbol) Indicates a situation that may result in
property damage.
WARNING:
To avoid serious personal injury, do not attempt to use this
product until you read thoroughly and understand com-
pletely the operator’s manual. If you do not understand
the warnings and instructions in the operator’s manual,
do not use this product. Call Ryobi customer service for
assistance.
The operation of any power tool can result in foreign objects being thrown into your eyes, which can
result in severe eye damage. Before beginning power tool operation, always wear safety goggles,
safety glasses with side shields, or a full face shield when needed. We recommend Wide Vision Safety
Mask for use over eyeglasses or standard safety glasses with side shields. Always use eye protection
which is marked to comply with ANSI Z87.1.

9
FEATURES
PRODUCT SPECIFICATIONS
Motor ......................................................................................................................................................................18 Volt DC
Bar Length ......................................................................................................................................................................10 in.
Replacement Bar Part Number ......................................................................................................671256002 or 671834007
Replacement Chain Part Number ......................................................................................................6958301 or 690583002
NOTE: This saw was designed for occasional light duty use and has some limitations as to what it can cut.
Fig. 5
ChAIN OIL
TANK CAp
REAR
hANDLE
fRONT hANDLE
BAR
ChAIN
sAfE-T-TIp®
BATTERy pACK
(NOT INCLuDED)
hEX KEy hEX KEy
sTORAGE AREA
hAND GuARD
TRIGGER
sCABBARD
BATTERy pACK
(NOT INCLuDED)
TRIGGER RELEAsE
BuTTON

10
ASSEMBLY
UNPACKING
This product has been shipped completely assembled.
Carefully remove the product and any accessories from
the box. Make sure that all items listed in the packing list
are included.
Inspect the product carefully to make sure no breakage
or damage occurred during shipping.
Do not discard the packing material until you have care-
fully inspected and satisfactorily operated the product.
If any parts are damaged or missing, please call
1-800-860-5040 for assistance.
PACKING LIST
Chain Saw with Scabbard
Wrench
Bar and Chain Lubricant
Operator’s Manual
WARNING:
If any parts are damaged or missing do not operate this
product until the parts are replaced. Failure to heed this
warning could result in serious personal injury.
WARNING:
Do not attempt to modify this product or create acces-
sories not recommended for use with this product. Any
such alteration or modification is misuse and could result
in a hazardous condition leading to possible serious
personal injury.
WARNING:
To prevent accidental starting that could cause serious
personal injury, always remove the battery pack from the
product when assembling parts.
OPERATION
WARNING:
Do not use any attachments or accessories not recom-
mended by the manufacturer of this product. The use of
attachments or accessories not recommended can result
in serious personal injury.
APPLICATIONS
You may use this product for the following purposes:
Limbing and pruning branches from trees
Felling small trees up to 5 in. diameter
Bucking the fallen tree into shorter lengths
WARNING:
Do not allow familiarity with this product to make you
careless. Remember that a careless fraction of a second is
sufficient to inflict serious injury.
WARNING:
Always wear safety goggles or safety glasses with side
shields when operating power tools. Failure to do so
could result in objects being thrown into your eyes result-
ing in possible serious injury.

11
This product will accept Ryobi One+ 18 V lithium-ion
battery packs and Ryobi One+ 18 V nickel-cadmium battery
packs.
For complete charging instructions, refer to the Operator’s
Manual for the battery packs and chargers listed in the
General Safety Rules.
TO INSTALL BATTERY PACK
See Figure 6.
Place the battery pack in your chain saw. Align raised
rib on battery pack with groove in chain saw’s battery
port.
Make sure the latches on each side of the battery pack
snap in place and that battery pack is secured in chain
saw before beginning operation.
TO REMOVE BATTERY PACK
See Figure 6.
Locate latches on side of battery pack and depress both
sides to release the battery pack from the chain saw.
OPERATION
CAUTION:
When placing battery pack in your chain saw, be sure
raised rib on battery pack aligns with groove in chain
saw's battery port and latches snap in place properly.
Improper assembly of battery pack can cause damage
to internal components.
CAUTION:
Remove battery pack from unit. Fill oil tank with Ryobi
Bar and Chain Lubricant before starting the chain saw.
Failure to lubricate the chain will cause damage to the
bar and chain.
CHAIN OIL SYSTEM
See Figure 7.
Use Ryobi Bar and Chain Lubricant. It is formulated to
perform over a wide temperature range with no dilution
required.
NOTE: Do not use dirty, used or otherwise contaminated
oils. Damage may occur to the bar or chain.
Carefully pour the bar and chain oil into the tank.
Check and fill the oil tank when battery is recharged, or
as needed.
Depress the oil tank cap several times to pump the oil to
the chain before starting the saw.
Depress the oil tank cap every 20-30 seconds while cut-
ting to keep the chain lubricated.
NOTE: It is normal for oil to seep from the saw when not
in use. To prevent seepage, empty the oil tank after each
use. When storing the unit for a long period of time (three
months or longer) be sure the chain is lightly lubricated; this
will prevent rust on the chain and bar sprocket.
Fig. 7
Fig. 6
BATTERy
pACK
LATChEs
BATTERy
pORT

12
Fig. 8
TRIGGER RELEAsE
BuTTON
TRIGGER
WARNING:
Keep body to the left of the chain line. Never straddle
the saw or chain, or lean over past the chain line.
Starting the chain saw:
Place the chain saw on a flat bare surface and make sure
no objects or obstructions are in immediate vicinity which
could come in contact with the bar and chain.
Press and hold the trigger release button. This makes the
trigger operational.
Press and hold the trigger, release the trigger release
button and continue to squeeze the trigger for continued
operation.
Stopping the chain saw:
Release the trigger to stop the chain saw.
Upon release of the trigger, the trigger release button will
be automatically reset to the lock position.
This cordless chain saw is not designed for cutting trees
larger than 5 in. in diameter.
This cordless chain saw is designed for limbing and pruning
type cutting, as well as cutting trees up to 5 in. in diameter
only.
Do not attempt to make any cut that would require removal
of the SAFE-T-TIP®.
PREPARATION FOR CUTTING
PROPER GRIP ON HANDLES
See Figures 9 - 11.
Refer to IMPORTANT SAFETY INSTRUCTIONS earlier in
this manual for appropriate safety equipment.
Wear non-slip gloves for maximum grip and protection.
Hold the saw firmly with both hands. Always keep your
left hand on the front handle and your right hand on the
rear handle so that your body is to the left of the chain
line.
STARTING AND STOPPING THE CHAIN SAW
See Figure 8.
TRIGGER RELEAsE
BuTTON
OPERATION
TRIGGER

13
Maintain a proper grip on the saw whenever the unit is
running. The fingers should encircle the handle and the
thumb is wrapped under the handlebar. This grip is least
likely to be broken (by a kickback or other sudden reaction
of the saw). Any grip in which the thumb and fingers are
on the same side of the handle, is dangerous because a
slight kick of the saw can cause loss of control.
WARNING:
Never use a left-handed (cross-handed) grip, or any
stance which would place your body or arm across the
chain line.
WARNING:
Do not operate the throttle trigger with your left hand
and hold the front handle with your right hand. Never
allow any part of your body to be in the chain line while
operating a saw.
ChAIN LINE
Fig. 11
Fig. 10
OPERATION
Fig. 9

14
Fig. 12
PROPER CUTTING STANCE
See Figure 12.
Weight should be balanced with both feet on solid
ground.
Keep left arm with elbow locked in a "straight arm" posi-
tion to withstand any kickback force.
Your body should always be to the left of the chain line.
Thumb should be on underside of handlebar.
BASIC CUTTING PROCEDURE
Practice cutting a few small logs using the following tech-
nique to get the "feel" of using the saw before you begin a
major sawing operation.
Take the proper stance in front of the wood with the saw
off.
Squeeze the trigger and let the chain accelerate to full
speed before entering the cut.
Begin cutting with the saw against the log.
Keep the unit running the entire time you are cutting,
maintain a steady speed.
Allow the chain to cut for you; exert only light downward
pressure. If you force the cut, damage to the bar, chain,
or unit can result.
Release the trigger as soon as the cut is completed, al-
lowing the chain to stop. If you run the saw without a
cutting load, unnecessary wear can occur to the chain,
bar, and unit.
Do not put pressure on the saw at the end of the cut.
WORK AREA PRECAUTIONS
Cut only wood or materials made from wood, no sheet
metal, no plastics, no masonry, no non-wood building
materials.
Never allow children to operate the saw. Allow no person
to use this chain saw who has not read this Operator's
Manual or received adequate instructions for the safe
and proper use of this chain saw.
When felling a tree, keep everyone - helpers, bystanders,
children, and animals - a safe distance from the cutting
area. During felling operations, the safe distance should
be a least twice the height of the largest trees in the felling
area. During bucking operations, keep a minimum distance
of 15 feet (4.5 m) between workers.Trees should not be
felled in a manner that would endanger any person, strike
any utility line or cause any property damage. If the tree
does make contact with any utility line, the utility company
should be notified immediately.
sTRAIGhT ARM
pOsITION
ChAIN LINE
Always cut with both feet on solid ground to prevent be-
ing pulled off balance.
Do not cut above chest height, as a saw held higher is
difficult to control against kickback forces.
Do not fell trees near electrical wires or buildings. Leave
this operation for professionals.
Cut only when visibility and light are adequate for you to
see clearly.
TREE FELLING
Unusual Hazardous Tree Felling Conditions
Do not fell trees during periods of high wind or heavy precipi-
tation. Wait to do your cutting until the hazard has ended.
WARNING:
Do not cut down trees having an extreme lean or large
trees that have rotten limbs, loose bark, or hollow trunks.
Have these trees pushed or dragged down with heavy
equipment, then cut them up.
WARNING:
Do not cut trees near electrical wires or buildings.
WARNING:
Check the tree for damaged or dead branches that could
fall and hit you during felling.
OPERATION

15
WARNING:
If the tree starts to fall in the wrong direction, or if the
saw gets caught or hung up during the fall, leave the saw
and save yourself!
Felling a tree - When bucking and felling operations are
being performed by two or more persons, at the same
time, the felling operation should be separated from the
bucking operation by a distance of at least twice the
height of the tree being felled. Trees should not be felled
in a manner that would endanger any person, strike any
utility line or cause any property damage. If the tree does
make contact with any utility line, the utility company
should be notified immediately.
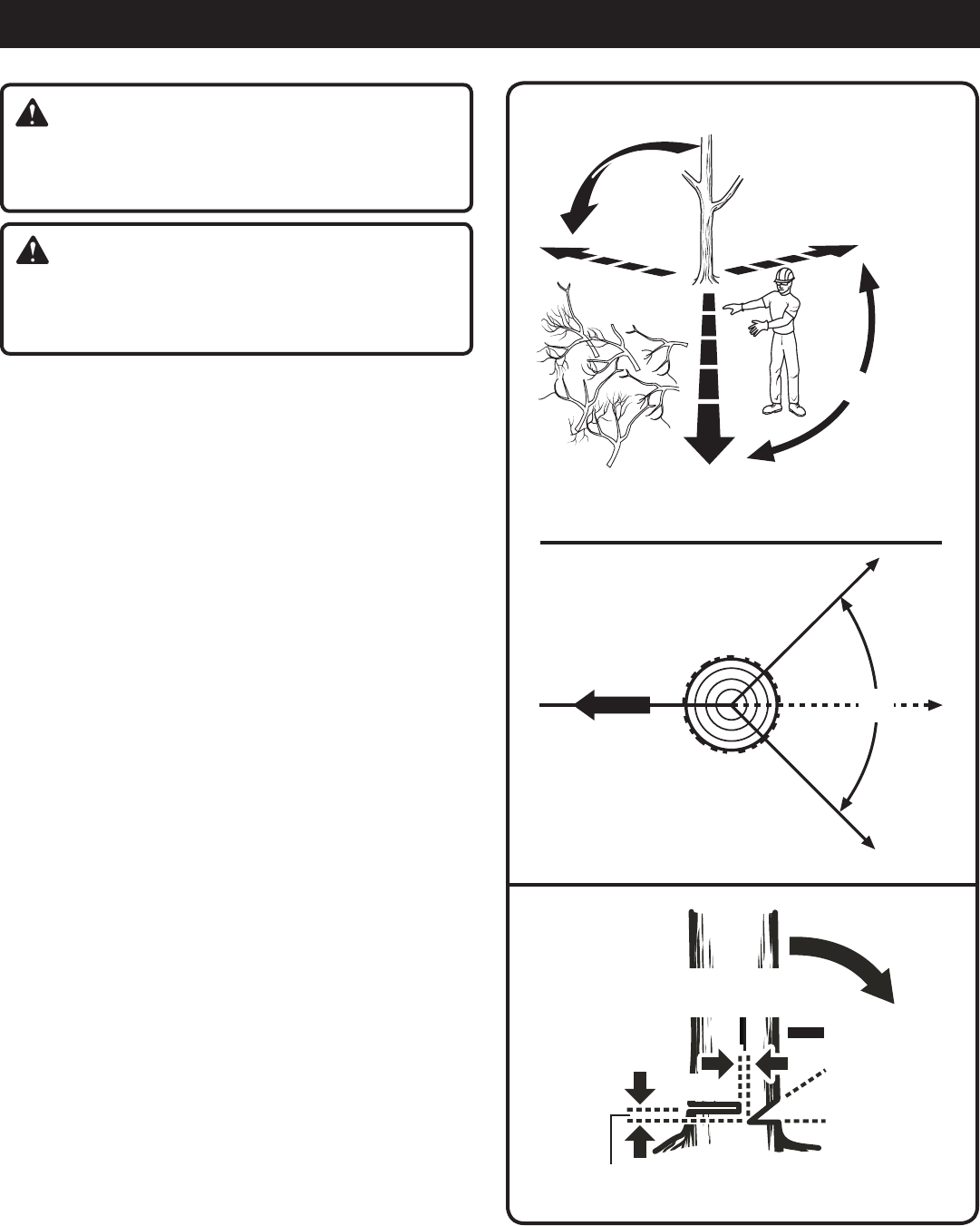
Before any cuts are started, pick your escape route (or
routes in case the intended route is blocked); clear the
immediate area around the tree and make sure there are
no obstructions in your planned path of retreat. Clear path
of safe retreat approximately 135° from planned line of
fall. The retreat path should extend back and diagonally
to the rear of the expected line of fall. See Figure 13.
Before felling is started, consider the force and direction
of the wind, the lean and balance of the tree, and the lo-
cation of large limbs. These things influence the direction
in which the tree will fall. Do not try to fell a tree along a
line different from its natural line of fall.
The chain saw operator should keep on the uphill side
of the terrain as the tree is likely to roll or slide downhill
after it is felled.
Remove dirt, stones, loose bark, nails, staples, and wire
from the tree where felling cuts are to be made.
Notched Undercut. Cut a notch about 1/3 the diameter
of the tree, perpendicular to the direction of fall. Make the
cuts of the notch so they intersect at a right angle to the
line of fall. This notch should be cleaned out to leave a
straight line. To keep the weight of the wood off the saw,
always make the lower cut of the notch before the upper
cut. See Figure 14.
WARNING:
Periodically glance at the top of the tree during the
backcut to assure the tree is going to fall in the desired
direction.
hINGE
2 in. OR 1/10 DIA
NOTCh -
AppROX. 1/3
DIAMETER Of
TRuNK
BACK CuT
2 in. Fig. 14
pLANNED pATh Of sAfE RETREAT 135° fROM pLANNED LINE
Of fALL
pLANNED
LINE Of fALL
Fig. 13
sAfE
RETREAT
ZONE
pLANNED LINE Of fALL
45°
45°
90°
135°
135° sAfE
RETREAT
ZONE
sAfE
RETREAT
ZONE
90°
OPERATION

16
Felling Backcut. The backcut is always made level and
horizontal, and at a minimum of 2 in. above the horizontal
cut of the notch. See Figures 14 - 15.
Never cut through to the notch. Always leave a band of
wood between the notch and backcut (approximately
2 in. or 1/10 the diameter of the tree). This is called
"hinge" or “hingewood.” It controls the fall of the tree
and prevents slipping or twisting or shoot-back of the
tree off the stump. See Figures 14 - 15.
On large diameter trees, stop the back cut before it is
deep enough for the tree to either fall or settle back on
the stump. Then insert soft wooden or plastic wedges
into the cut so they do not touch the chain. The wedges
can be driven in, little by little, to help jack the tree over.
See Figure 16.
NOTE: When bucking or felling with a wedge, it may
be necessary to remove the SAFE-T-TIP® anti-kickback
device to allow the bar to be drawn through the cut.
After the cut is complete, the tip should be reinstalled
immediately.
As tree starts to fall, stop the chain saw and put it down
immediately. Retreat along the cleared path, but watch
the action in case something falls your way. Be alert for
overhead limbs or branches that may fall and watch your
footing.
WARNING:
Never cut through to the notch when making a backcut.
The hinge controls the fall of the tree, this is the section
of wood between the notch and backcut.
NOTCh
BACK CuT
Fig. 16
Fig. 15
KICKBACK
Fig. 17
hINGE
wEDGE
OPERATION
BUCKING
See Figures 17 - 20.
Bucking is the term used for cutting a fallen tree to the de-
sired log length.
Always make sure your footing is secure and your weight
is distributed evenly on both feet.
Cut only one log at a time.
Support small logs on a saw horse or another log while
bucking.
Keep a clear cutting area. Make sure that no objects can
contact the guide bar nose and chain during cutting, this
can cause kickback. To avoid the danger, keep the SAFE-
T-TIP® anti-kickback device attached while cutting. Refer to
Precautions Against Kickback earlier in this manual.
When bucking on a slope, always stand on the uphill side
of the log. To maintain complete control of the chain saw
when cutting through the log, release the cutting pressure
near the end of the cut without relaxing your grip on the
chain saw handles. Do not let the chain contact the ground.
After completing the cut, wait for the saw chain to stop
before you move the chain saw. Always stop the motor
before moving from tree to tree.
Sometimes it is impossible to avoid pinching (with just
standard cutting techniques) or difficult to predict which
way a log will settle when cut. To avoid pinching while
cutting, rotate or move the log so that the pinch is elimi-
nated.
Fig. 18

17
BUCKING LOGS UNDER STRESS
See Figures 19 - 20.
When the log is supported along its entire length, it should
be cut from the top or overbucking.
When the log is supported on one end, cut 1/3 the diameter
from the underside or underbucking. Then make the finishing
cut by overbucking to meet the first cut.
As the log is being cut, it will tend to bend. The saw can
become pinched or hung in the log if you make the first cut
deeper than 1/3 of the diameter of the log.
Give special attention to logs under stress to prevent the
bar and chain from pinching.
When bucking on a slope, always stand on the uphill side
of the log as shown in figure 18. When “cutting through,”
to maintain complete control of the chain saw, release the
cutting pressure near the end of the cut without relaxing your
grip on the chain saw handles. Do not let the chain contact
the ground. After completing the cut, wait for the saw chain
to stop before you move the chain saw. Always stop the
motor before moving from tree to tree.
TYPES OF CUTTING USED
See Figure 20.
OVERBUCKING
Begin on the top side of the log with the bottom of the saw
against the log; exert light pressure downward. Note that
the saw will tend to pull away from you.
UNDERBUCKING
Begin on the under side of the log with the top of the saw
against the log; exert light pressure upward. During under-
bucking, the saw will tend to push back at you. Be pre-
pared for this reaction and hold the saw firmly to maintain
control.
LOAD
fINIshING CuT
1sT CuT
1/3 DIA
LOG suppORTED AT ONE END:
LOG suppORTED AT BOTh ENDs:
fINIshING CuT
1sT CuT 1/3 DIA
LOAD
Fig. 19
OPERATION
WARNING:
Never climb into a tree to limb or prune. Do not stand on
ladders, platforms, a log, or in any position which can
cause you to lose your balance or control of the saw.
OvERBuCKING
uNDERBuCKING
Fig. 20

18
LIMBING
See Figure 21.
Limbing is removing branches from a fallen tree.
Work slowly, keeping both hands on the chain saw with
a firm grip. Always make sure your footing is secure and
your weight is distributed evenly on both feet.
Leave the larger support limbs under the tree to keep the
tree off the ground while cutting.
Limbs should be cut one at a time. Remove the cut limbs
from the work area often to help keep the work area clean
and safe.
Branches under tension should be cut from the bottom
up to avoid binding the chain saw.
Keep the tree between you and the chain saw while limb-
ing. Cut from the side of the tree opposite the branch you
are cutting.
PRUNING
See Figure 22.
Pruning is trimming limbs from a live tree.
Work slowly, keeping both hands on the chain saw with
a firm grip. Always make sure your footing is secure and
your weight is distributed evenly on both feet.
Do not cut from a ladder, this is extremely dangerous.
Leave this operation for professionals.
Do not cut above chest height as a saw held higher is
difficult to control against kickback.
When pruning trees it is important not to make the finishing
cut next to the main limb or trunk until you have cut off
the limb further out to reduce the weight. This prevents
stripping the bark from the main member.
Underbuck the branch 1/3 through for your first cut.
Your second cut should overbuck to drop the branch
off.
Now make your finishing cut smoothly and neatly against
the main member so the bark will grow back to seal the
wound.
fINIshING CuT
WARNING:
If the limbs to be pruned are above chest height, hire a
professional to perform the pruning.
fIRsT CuT
1/3 DIAMETER
sECOND CuT
LOAD
Fig. 22
SPRINGPOLES
See Figure 23.
A springpole is any log, branch, rooted stump, or sapling
which is bent under tension by other wood so that it springs
back if the wood holding it is cut or removed. On a fallen
tree, a rooted stump has a high potential of springing back
to the upright position during the bucking cut to separate
the log from the stump. Watch out for springpoles, they
are dangerous.
WARNING:
Springpoles are dangerous and could strike the operator,
causing the operator to lose control of the chain saw. This
could result in severe or fatal injury to the operator.
spRINGpOLE
Fig. 23
OPERATION
Fig. 21
CuT LIMBs ONE AT A TIME AND LEAvE suppORT LIMBs
uNDER TREE uNTIL LOG Is CuT
2
4
1
3

19
MAINTENANCE
BATTERY PACK REMOVAL AND PREPARATION
FOR RECYCLING
To preserve natural resources, please
recycle or dispose of batteries
properly.
This product uses nickel-cadmium and
lithium-ion batteries. Local, state or
federal laws may prohibit disposal of
batteries in ordinary trash.
Consult your local waste authority for
information regarding available recycling
and/or disposal options.
WARNING:
Upon removal, cover the battery pack’s terminals with
heavy-duty adhesive tape. Do not attempt to destroy or
disassemble battery pack or remove any of its compo-
nents. Lithium-ion and nickel-cadmium batteries must
be recycled or disposed of properly. Also, never touch
both terminals with metal objects and/or body parts as
short circuit may result. Keep away from children. Failure
to comply with these warnings could result in fire and/or
serious injury.
Li - Ion
BATTERIES
This product will accept 18 V lithium-ion batteries or 18 V
nickel-cadmium batteries. Length of service from each
charging will depend on the type of work you are doing.
The batteries for this product have been designed to provide
maximum trouble-free life. However, like all batteries, they
will eventually wear out. Do not disassemble battery pack
and attempt to replace the batteries. Handling of these
batteries, especially when wearing rings and jewelry, could
result in a serious burn.
To obtain the longest possible battery life, we suggest the
following:
For lithium-ion batteries:
Remove the battery pack from the charger once it is fully
charged and ready for use.
For battery pack storage longer than 30 days:
Store the battery pack where the temperature is below
80°F and away from moisture.
Store battery packs in a 30%-50% charged condition.
Every six months of storage, charge the pack as
normal.
For nickel-cadmium batteries:
Remove the battery pack from the charger once it is fully
charged and ready for use.
For battery pack storage longer than 30 days:
Store the battery pack where the temperature is below
80°F.
Store battery packs in a “discharged” condition.
WARNING:
When servicing, use only identical replacement parts.
Use of any other parts may create a hazard or cause
product damage.
WARNING:
Always wear safety goggles or safety glasses with side
shields during power product operation or when blowing
dust. If operation is dusty, also wear a dust mask.
WARNING:
To avoid serious personal injury, always remove the
battery pack from the product when cleaning or
performing any maintenance.
GENERAL MAINTENANCE
Avoid using solvents when cleaning plastic parts. Most
plastics are susceptible to damage from various types of
commercial solvents and may be damaged by their use. Use
clean cloths to remove dirt, dust, oil, grease, etc.
WARNING:
Do not at any time let brake fluids, gasoline, petroleum-
based products, penetrating oils, etc., come in contact
with plastic parts. Chemicals can damage, weaken or
destroy plastic which may result in serious personal
injury.
Only the parts shown on the parts list are intended to be
repaired or replaced by the customer. All other parts should
be replaced at an Authorized Service Center.

20
REPLACING BAR AND CHAIN
See Figures 24 - 28.
WARNING:
The safety instructions in this section are to protect the
user from serious personal injury.
WARNING:
Remove the battery pack from the chain saw and make
sure the chain has stopped before you do any work on
the saw. Failure to do so may result in accidental starting
and possible serious injury
CAUTION:
Always wear gloves when handling the bar and chain;
these components are sharp and may contain burrs.
Remove the battery pack before you do any work on the
chain saw.
Remove the hex key from the storage area and use it to
remove the chain cover screw, washer and chain cover
from the chain saw.
Remove the bar and chain from the mounting surface.
Remove the old chain from the bar.
Lay out the new saw chain in a loop and straighten any
kinks. The cutters should face in the direction of chain
rotation. If they face the opposite direction, turn the loop
over.
Place the chain drive links into the bar groove. Position
the chain so there is a loop at the back of the bar. Hold
the chain in position on the bar and place the loop around
the sprocket of the chain saw. Fit the bar flush against
the mounting surface so that the bar stud is in the long
slot of the bar.
NOTE: When placing the bar on the bar stud, assure that
the adjusting pin is in the chain tension pin hole.
Fig. 24
BAR
ChAIN
ChAIN
COvER
sCREw
wAshER
ChAIN
COvER
spROCKET ADjusTING
pIN
ChAIN TENsION
pIN hOLE
BAR
GROOvE
ChAIN DRIvE
LINKs
Fig. 25
WARNING:
Never touch or adjust the chain while the motor is running.
The saw chain is very sharp; always wear protective
gloves when performing maintenance to the chain to
avoid possible serious lacerations.
MAINTENANCE
Fig. 26
ChAIN
TENsIONING
sCREw
RECOMMENDED BAR AND CHAIN
COMBINATIONS
Bar Part Number - 10 in.
671256002 or 671834007
Chain Part Number
6958301 or 690583002

21
Replace the chain cover, washer and chain cover screw.
Tighten the chain cover screw finger tight only. The bar
must be free to move for tension adjustment.
Remove all the slack from the chain by turning the chain
tensioning screw clockwise until the chain seats snugly
against the bar with the drive links in the bar groove.
Lift the tip of the guide bar up to check for sag. Release
the tip of the guide bar and turn the chain tensioning
screw 1/2 turn clockwise. Repeat this process until sag
does not exist.
Hold the tip of the guide bar up and tighten the bar mount-
ing screw securely.
Chain is correctly tensioned when there is no sag on the
underside of the guide bar, the chain is snug, but it can
be turned by hand without binding.
NOTE: If chain is too tight, it will not rotate. Loosen the
chain cover screw slightly and turn tension adjuster 1/4
turn counterclockwise. Lift the tip of the guide bar up
and retighten chain cover screw securely. Assure that
the chain will rotate without binding.
Place the hex key back into the storage area.
Fig. 27
Fig. 28
hEX KEy
LIfT ThE TIp Of
ThE GuIDE BAR
up TO ChECK fOR
sAG
MAINTENANCE
CHAIN TENSION
See Figures 29 - 30.
Stop the engine before setting the chain tension. Make
sure the guide bar screw is loosened to finger tight, turn
the chain tensioner clockwise to tension the chain. Refer
to Replacing Bar and Chain earlier in this manual for
additional information.
A cold chain is correctly tensioned when there is no slack
on the underside of the guide bar, the chain is snug, but
it can be turned by hand without binding.
Chain must be re-tensioned whenever the flats on the
drive links hang out of the bar groove.
During normal saw operation, the temperature of the
chain will increase. The drive links of a correctly tensioned
warm chain will hang approximately .050 in. out of the
bar groove.
NOTE: New chain tends to stretch, check chain tension
frequently and tension as required.
CAUTION:
Chain tensioned while warm, may be too tight upon
cooling. Check the “cold tension” before next use.
AppROX. .050 in.
Fig. 30
fLATs
Fig. 29

22
CHAIN MAINTENANCE
See Figures 31 - 32.
Fig. 33
Fig. 32
ChECK fOR wEAR
OR DAMAGE
Use only low-kickback chain on this saw. This fast-cutting
chain will provide kickback reduction when properly main-
tained.
For smooth and fast cutting, chain needs to be maintained
properly. The chain requires sharpening when the wood chips
are small and powdery, the chain must be forced through the
wood during cutting, or the chain cuts to one side. During
maintenance of your chain, consider the following:
Improper filing angle of the side plate can increase the
risk of a severe kickback.
Raker (depth gauge) clearance.
Too low increases the potential for kickback.
Not low enough decreases cutting ability.
If cutter teeth have hit hard objects such as nails and
stones, or have been abraded by mud or sand on the
wood, have service dealer sharpen chain.
NOTE: Inspect the drive sprocket for wear or damage when
replacing the chain. If signs of wear or damage are present
in the areas indicated, have the drive sprocket replaced by
a Ryobi Service dealer.
HOW TO SHARPEN THE CUTTERS
See Figures 33 - 34.
Be careful to file all cutters to the specified angles and to
the same length, as fast cutting can be obtained only when
all cutters are uniform.
Wear gloves for protection. Properly tension the chain prior
to sharpening. Refer to Chain Tension Section earlier in
this manual. Do all of your filing at the mid-point of the
bar.
Use a 5/32 in. diameter round file and holder.
Keep the file level with the top plate of the tooth. Do not
let the file dip or rock.
Using light but firm pressure, stroke towards the front
corner of the tooth.
Lift file away from the steel on each return stroke.
Put a few firm strokes on every tooth. File all left hand
cutters in one direction. Then move to the other side and
file the right hand cutters in the opposite direction. Oc-
casionally remove filings from the file with a wire brush.
CAUTION:
Remove the battery pack and make sure the chain has
stopped before you do any work on the saw.
Fig. 31
CuTTING
CORNER
sIDE pLATE
DEpTh GAuGE
TOE
GuLLET
hEEL
RIvET hOLE
TOp pLATE
MAINTENANCE
LEfT hAND
CuTTERs
RIGhT hAND
CuTTERs Fig. 34

23
WARNING:
Improper chain sharpening increases the potential of
kickback.
TOP PLATE FILING ANGLE
See Figure 35.
CORRECT 30° - File holders are marked with guide marks
to align file properly to produce correct top plate angle.
LESS THAN 30° - For Cross Cutting.
MORE THAN 30° - Feathered Edge Dulls Quickly.
SIDE PLATE ANGLE
See Figure 36.
CORRECT - 80o Produced automatically if correct diam-
eter file is used in file holder.
HOOK - “Grabs” and dulls quickly. Increases potential
of KICKBACK.
Results from using a file with diameter too small, or file
held too low.
BACKWARD SLOPE - Needs too much feed pressure,
causes excessive wear to bar and chain.
Results from using a file with diameter too large, or file
held too high.
DEPTH GAUGE CLEARANCE
See Figure 37 - 39.
The depth gauge should be maintained at a clearance of
.025 in. Use a depth gauge tool for checking the depth
gauge clearances.
Every time the chain is filed, check the depth gauge clear-
ance.
INCORRECT TOp pLATE fILING
ANGLE
MORE
ThAN 30°
LEss
ThAN 30°
Fig. 35
30°
CORRECT TOp pLATE
fILING ANGLE
INCORRECT sIDE pLATE
fILING ANGLE
BACKwARD
sLOpE
hOOK
Fig. 36
80°
CORRECT sIDE
pLATE fILING
ANGLE
WARNING:
Failure to replace or repair damaged chain can cause
serious injury.
WARNING:
The saw chain is very sharp, always wear protective gloves
when performing maintenance to the chain.
RAKER CLEARANCE
.025 in.
Fig. 37
MAINTENANCE

24
Use a Flat File and a Depth Gauge Jointer to lower all gauges
uniformly. Depth gauge jointers are available in .020 in. to
.035 in. Use a .025 in. depth gauge jointer. After lowering
each depth gauge, restore original shape by rounding the
front. Be careful not to damage adjoining drive links with
the edge of the file.
Depth gauges must be adjusted with the flat file in the same
direction the adjoining cutter was filed with the round file.
Use care not to contact cutter face with flat file when ad-
justing depth gauges.
GUIDE BAR MAINTENANCE
See Figure 40.
When the guide bar shows signs of wear, reverse it on the
saw to distribute the wear for maximum bar life. The bar
should be cleaned every day of use and checked for wear
and damage.
Feathering or burring of the bar rails is a normal process
of bar wear. Such faults should be smoothed with a file as
soon as they occur.
A bar with any of the following faults should be replaced.
Wear inside the bar rails which permits the chain to lay
over sideways.
Bent guide bar.
Cracked or broken rails.
Spread rails.
In addition, guide bars with a sprocket at their tip must be
lubricated weekly with a grease syringe to extend the guide
bar life. Using a grease syringe, lubricate weekly in the lu-
bricating hole.
Turn the guide bar and check that the lubrication holes and
chain groove are free from impurities.
REVERSING THE GUIDE BAR
See Figures 40 - 42.
Remove the SAFE-T-TIP® mounting screw.
Remove the SAFE-T-TIP® from the bar.
Remove the chain from the bar and turn the bar over.
NOTE: Bottom of bar should not be on top.
Replace the chain on the bar. Refer to Assembling the
Bar and Chain earlier in this manual for specific infor-
mation.
REsTORE ORIGINAL
shApE By ROuNDING
ThE fRONT
fLAT fILE
DEpTh GAuGE jOINTER
Fig. 38
Fig. 40
LuBRICATING hOLE
Fig. 39
MAINTENANCE
Replace the SAFE-T-TIP® on the bar nose.
NOTE: The locking tab fits in the recessed hole in the
bar.
Tighten the screw with your finger.
From the finger-tight position, tighten the screw an ad-
ditional 3/4 of a turn using a wrench.

25
SAFE-T-TIP® NOSE GUARD MAINTENANCE
See Figures 41 - 42.
Tighten the mounting screw of the nose guard as instructed
below. These are specially hardened screws. If the screw
cannot be installed tightly, replace both the screw and the
SAFE-T-TIP® before further operation. Do not replace with
an ordinary screw.
In addition to preventing chain contact with solid objects at
the nose of the bar, the SAFE-T-TIP® also helps keep the
chain away from abrasive surfaces such as the ground. Keep
it on the right hand side of the bar, where it will be between
the chain and the ground during flush with ground cutting.
The mounting screw requires a 5/16 in. wrench (or adjust-
able wrench) to achieve the recommended tightness of 35
to 45 in. lb. (4-5 Nm). A tightness within this range can be
achieved by the following method.
Tighten the screw with your finger.
From the finger-tight position, tighten the screw an ad-
ditional 3/4 of a turn using a wrench.
MOUNTING SAFE-T-TIP® NOSE GUARD
See Figures 41 - 42.
Mount the SAFE-T-TIP® on the bar nose.
NOTE: The tab fits in the recessed hole in the bar.
Tighten the screw with your finger.
From the finger-tight position, tighten the screw an ad-
ditional 3/4 of a turn using a wrench.
TRANSPORTING AND STORING
See Figure 43.
Do not store or transport the chain saw when it is running.
The chain saw should always be idle before storing or
transporting.
Always place the guide bar scabbard on the bar and chain
before storing or transporting the chain saw. Use caution
to avoid the sharp teeth of the chain.
Clean the chain saw thoroughly before storing. Store the
chain saw indoors, in a dry place that is locked and/or
inaccessible to children.
Keep away from corrosive agents such as garden chem-
icals and de-icing salts.
WARNING:
Although the guide bar comes with a SAFE-T-TIP® anti-
kickback device already installed, you need to check the
tightness of the mounting screw before each use.
TIGhTEN 3/4
Of A TuRN
MOuNTING sCREw
sAfE-T-TIp®
LOCKING RIvET
WARNING:
Remove the battery pack and make sure the chain has
stopped before you do any work on the saw.
Fig. 41
Fig. 42
MAINTENANCE
Fig. 43

26
PROBLEM CAUSE SOLUTION
Bar and chain running hot
and smoking.
Motor runs, but chain is not
rotating.
1. Check chain tension for over
tight condition
2. Chain oil tank empty.
1. Chain tension too tight.
2. Check guide bar and chain
assembly.
3. Check guide bar and chain
for damage.
1. Tension chain. Refer to Chain Tension
earlier in this manual.
2. Check oil tank.
1. Retension chain, Refer to Chain Tension
earlier in this manual.
2. Refer to Assembling the Bar and Chain
earlier in this manual.
3. Inspect guide bar and chain for
damage.
TROUBLESHOOTING
CALL
1-800-860-4050
www.ryobitools.com
CALL us fIRsT
For any questions about operating or maintaining your product,
call the Ryobi® Help Line!
Your product has been fully tested prior to shipment to ensure
your complete satisfaction.

27
LIMITED WARRANTY STATEMENT
Techtronic Industries North America, Inc., warrants to the
original retail purchaser that this RYOBI® brand outdoor
product is free from defect in material and workmanship
and agrees to repair or replace, at Techtronic Industries
North America, Inc.’s, discretion, any defective product
free of charge within these time periods from the date of
purchase.
Two years if the product is used for personal, family or
household use;
90 days, if used for any other purpose, such as
commercial or rental.
This warranty extends to the original retail purchaser
only and commences on the date of the original retail
purchase.
Any part of this product found in the reasonable judgment
of Techtronic Industries North America, Inc. to be defective
in material or workmanship will be repaired or replaced
without charge for parts and labor by an authorized service
center for RYOBI® brand outdoor products (Authorized
Ryobi Service Center).
The product, including any defective part, must be returned
to an authorized Ryobi service center within the warranty
period. The expense of delivering the product to the service
center for warranty work and the expense of returning it
back to the owner after repair or replacement will be paid
by the owner. Techtronic Industries North America, Inc.’s,
responsibility in respect to claims is limited to making the
required repairs or replacements and no claim of breach of
warranty shall be cause for cancellation or rescission of the
contract of sale of any RYOBI® brand outdoor product. Proof
of purchase will be required by the dealer to substantiate
any warranty claim. All warranty work must be performed
by an authorized service dealer.
This warranty is limited to ninety (90) days from the date
of original retail purchase for any RYOBI® brand outdoor
product that is used for rental or commercial purposes, or
any other income-producing purpose.
This warranty does not cover any product that has been
subject to misuse, neglect, negligence, or accident, or that
has been operated in any way contrary to the operating
instructions as specified in this operator’s manual. This
warranty does not apply to any damage to the product that
is the result of improper maintenance or to any product
that has been altered or modified. The warranty does not
extend to repairs made necessary by normal wear or by the
use of parts or accessories which are either incompatible
with the RYOBI® brand outdoor product or adversely affect
its operation, performance, or durability. In addition, this
warranty does not cover:
A. Tune-ups – Spark Plugs, Carburetor, Carburetor
Adjustments, Ignition, Filters
B. Wear items – Bump Knobs, Outer Spools, Cutting
Lines, Inner Reels, Starter Pulleys, Starter Ropes, Drive
Belts, Tines, Felt Washers, Hitch Pins, Mulching Blades,
Blower Fans, Blower and Vacuum Tubes, Vacuum Bag
and Straps, Guide Bars, Saw Chains
Techtronic Industries North America, Inc., reserves the
right to change or improve the design of any RYOBI® brand
outdoor product without assuming any obligation to modify
any product previously manufactured.
ALL IMPLIED WARRANTIES ARE LIMITED IN DURATION
TO THE STATED WARRANTY PERIOD. ACCORDINGLY,
ANY SUCH IMPLIED WARRANTIES INCLUDING
MERCHANTABILITY, FITNESS FOR A PARTICULAR
PURPOSE, OR OTHERWISE, ARE DISCLAIMED IN
THEIR ENTIRETY AFTER THE EXPIRATION OF THE
APPROPRIATE TWO-YEAR, ONE-YEAR, OR NINETY-
DAY WARRANTY PERIOD. TECHTRONIC INDUSTRIES
NORTH AMERICA, INC.’S, OBLIGATION UNDER THIS
WARRANTY IS STRICTLY AND EXCLUSIVELY LIMITED TO
THE REPAIR OR REPLACEMENT OF DEFECTIVE PARTS
AND TECHTRONIC INDUSTRIES NORTH AMERICA,
INC., DOES NOT ASSUME OR AUTHORIZE ANYONE
TO ASSUME FOR THEM ANY OTHER OBLIGATION.
SOME STATES DO NOT ALLOW LIMITATIONS ON HOW
LONG AN IMPLIED WARRANTY LASTS, SO THE ABOVE
LIMITATION MAY NOT APPLY TO YOU. TECHTRONIC
INDUSTRIES NORTH AMERICA, INC., ASSUMES NO
RESPONSIBILITY FOR INCIDENTAL, CONSEQUENTIAL,
OR OTHER DAMAGES INCLUDING, BUT NOT LIMITED
TO, EXPENSE OF RETURNING THE PRODUCT TO AN
AUTHORIZED RYOBI SERVICE CENTER AND EXPENSE
OF DELIVERING IT BACK TO THE OWNER, MECHANIC’S
TRAVEL TIME, TELEPHONE OR TELEGRAM CHARGES,
RENTAL OF A LIKE PRODUCT DURING THE TIME
WARRANTY SERVICE IS BEING PERFORMED, TRAVEL,
LOSS OR DAMAGE TO PERSONAL PROPERTY, LOSS
OF REVENUE, LOSS OF USE OF THE PRODUCT,
LOSS OF TIME, OR INCONVENIENCE. SOME STATES
DO NOT ALLOW THE EXCLUSION OR LIMITATION OF
INCIDENTAL OR CONSEQUENTIAL DAMAGES, SO THE
ABOVE LIMITATION OR EXCLUSION MAY NOT APPLY
TO YOU.
This warranty gives you specific legal rights, and you may
also have other rights which vary from state to state.
This warranty applies to all RYOBI® brand outdoor products
manufactured by or for Techtronic Industries North America,
Inc., and sold in the United States and Canada.
To locate your nearest Authorized Ryobi Service Center,
dial 1-800-860-4050.
WARRANTY

983000-538
4-15-08 (REV:06)
OPERATOR’S MANUAL
18 VOLT CHAIN SAW
P540
P540A
P540B
TECHTRONIC INDUSTRIES NORTH AMERICA, INC.
1428 Pearman Dairy Road, Anderson, SC 29625
Phone 1-800-860-4050
www.ryobitools.com
RYOBI® is a registered trademark of Ryobi Limited used under license.
• PARTS AND SERVICE
Prior to requesting service or purchasing replacement parts, please obtain your model
and serial number from the product data plate.
• MODEL NUMBER
• SERIAL NUMBER
• HOW TO OBTAIN REPLACEMENT PARTS:
Replacement parts can be purchased online at www.ryobitools.com or by calling
1-800-860-4050. Replacement parts can also be obtained at one of our Authorized
Service Centers.
• HOW TO LOCATE AN AUTHORIZED SERVICE CENTER:
Authorized Service Centers can be located online at www.ryobitools.com or by calling
1-800-860-4050.
• HOW TO OBTAIN CUSTOMER OR TECHNICAL SUPPORT:
To obtain Customer or Technical Support please contact us at 1-800-860-4050.
P540/P540A/P540B