Ryobi Ry10518 Users Manual
Ryobi-Ry10518-Ry10520-Owner-S-Manual ryobi-ry10518-ry10520-owner-s-manual
RY10518 to the manual 67b2b16f-0bc8-45bd-b86d-febfe0e34d7a
2015-03-12
: Ryobi Ryobi-Ry10518-Users-Manual-658404 ryobi-ry10518-users-manual-658404 ryobi pdf
Open the PDF directly: View PDF
.
Page Count: 118 [warning: Documents this large are best viewed by clicking the View PDF Link!]

Your chain saw has been engineered and manufactured to Ryobi’s high standard for dependability, ease of operation, and
operator safety. When properly cared for, it will give you years of rugged, trouble-free performance.
WARNING: To reduce the risk of injury, the user must read and understand the operator’s manual before using
this product.
Thank you for buying a Ryobi product.
Cette scie à chaîne a été conçue et fabriquée conformément aux
strictes normes de fiabilité, simplicité d’emploi et sécurité d’utilisation
de Ryobi. Correctement entretenue, elle vous donnera des années
de fonctionnement robuste et sans problème.
AVERTISSEMENT : Pour réduire les risques de
blessures, l’utilisateur doit lire et veiller à bien comprendre le
manuel d’utilisation avant d’employer ce produit.
Merci d’avoir acheté un produit Ryobi.
Su motosierra ha sido diseñada y fabricada de conformidad con las
estrictas normas de Ryobi para brindar fiabilidad, facilidad de uso
y seguridad para el operador. Con el debido cuidado, le brindará
muchos años de sólido y eficiente funcionamiento.
ADVERTENCIA: Para reducir el riesgo de lesiones,
el usuario debe leer y comprender el manual del operador antes
de usar este producto.
Le agradecemos la compra de un producto Ryobi.
OPERATOR’S MANUAL
MANUEL D’UTILISATION
MANUAL DEL OPERADOR
RY10520 / 20 in. 46cc Chain Saw
Scie à chaîne de 46 cc de 508 mm (20 po)
Motosierra de 508 mm (20 pulg.), 46 cc
RY10518 / 18 in. 46cc Chain Saw
Scie à chaîne de 46 cc de 457 mm (18 po)
Motosierra de 457 mm (18 pulg.), 46 cc
(ALL VERSIONS)
(TOUTES LES VERSIONS)
(TODAS LAS VERSIONES)
ENGINE/EVAP. FAMILY: *HCPS.0464AC
FAMILLE DE MOTEUR/ÉVAPORATEUR : *HCPS.0464AC
FAMILIA DE MOTOR/EVAPORADOR: *HCPS.0464AC
CONSERVER CE MANUEL POUR
FUTURE RÉFÉRENCE GUARDE ESTE MANUAL PARA
FUTURAS CONSULTAS
SAVE THIS MANUAL FOR FUTURE REFERENCE

Page 2
Introduction .......................................................................................................................................2
Introduction / Introducción
General Safety Rules ..................................................................................................................... 3-4
Règles de sécurité générales / Reglas de seguridad generales
Specific Safety Rules .................................................................................................................... 4-5
Règles de sécurité particulières / Reglas de seguridad específicas
Symbols ........................................................................................................................................ 6-7
Symboles / Símbolos
Glossary of Terms ..............................................................................................................................8
Glossaire / Glosario de términos
Features ....................................................................................................................................... 9-10
Caractéristiques / Características
Assembly ......................................................................................................................................... 11
Assemblage / Armado
Operation ................................................................................................................................... 11-24
Utilisation / Funcionamiento
Maintenance .............................................................................................................................. 25-37
Entretien / Mantenimiento
Bar and Chain Combinations ..........................................................................................................38
Vue éclatée et liste des pièces / Vista desarrollada y lista de piezas
Troubleshooting ......................................................................................................................... 38-39
Dépannage / Corrección de problemas
Warranty .................................................................................................................................... 40-41
Garantie / Garantía
Parts Ordering and Service ............................................................................................... Back Page
Commande de pièces et réparation / Pedidos de piezas y servicio ......................................................... Page arrière / Pág. posterior
This product has many features for making its use more pleasant and enjoyable. Safety, performance,
and dependability have been given top priority in the design of this product making it easy to maintain
and operate.
* * *
Ce produit offre de nombreuses fonctions destinées à rendre son utilisation plus plaisante et satisfai-
sante. Lors de la conception de ce produit, l’accent a été mis sur la sécurité, les performances et la
fiabilité, afin d’en faire un outil facile à utiliser et à entretenir.
* * *
Este producto ofrece numerosas características para hacer más agradable y placentero su uso. En el
diseño de este producto se ha conferido prioridad a la seguridad, el desempeño y la fiabilidad, por lo
cual se facilita su manejo y mantenimiento.
TABLE OF CONTENTS
TABLE DES MATIÈRES / ÍNDICE DE CONTENIDO
INTRODUCTION
INTRODUCTION / INTRODUCCIÓN

Page 3 — English
WARNING:
Read and understand all instructions. Failure
to follow all instructions listed below, may result
in electric shock, fire and/or serious personal
injury.
READ ALL INSTRUCTIONS
Know your tool. Read the operator’s manual
carefully. Learn the saw’s applications and
limitations as well as the specific potential
hazards related to this tool.
Kickback may occur when the nose or tip of
the guide bar touches an object, or when the
wood closes in and pinches the saw chain in
the cut. Tip contact in some cases may cause a
lightning-fast reverse reaction, kicking the guide
bar up and back toward the operator. Pinching
the saw chain along the top of the guide bar
may push the guide bar rapidly back toward the
operator. Either of these reactions may cause
you to lose control of the saw, which could result
in serious personal injury. Do not rely exclusively
upon the safety devices built into the saw. As a
chain saw user, you should take several steps
to keep your cutting jobs free from accident or
injury.
• With a basic understanding of kickback,
you can reduce or eliminate the element
of surprise. Sudden surprise contributes to
accidents.
• Keepagoodfirmgriponthesawwithboth
hands when the engine is running. Place
your right hand on the rear handle and
your left hand on the front handle with your
thumbs and fingers encircling the chain saw
handles. A firm grip together with a stiff left
arm will help you maintain control of the saw
if kickback occurs.
• Make surethattheareain which youare
cutting is free from obstructions. DO NOT
let the nose of the guide bar contact a log,
branch, fence, or any other obstruction that
could be hit while you are operating the
saw.
• Cut at high engine speeds. Always cut
with the engine running at full speed. Fully
squeeze the throttle trigger and maintain a
steady cutting speed.
• Donotoverreachorcutabovechestheight.
• Follow the manufacturer’s sharpening and
maintenance instructions for the saw chain.
• Only use replacementbars and chains
specified by the manufacturer or the
equivalent.
Do not operate a chain saw with one
hand. Serious injury to the operator, helpers,
bystanders, or any combination of these
persons may result from one-handed operation.
A chain saw is intended for two-handed use.
Do not operate a chain saw when you are
fatigued. Fatigue causes carelessness. Be more
cautious before rest periods and towards the
end of your shift. Never operate a chain saw
when you are tired or under the influence of
medication, drugs, or alcohol.
Use safety footwear. Wear snug-fitting
clothing, protective gloves, and eye, hearing,
and head protection devices.
Heavy protective clothing may increase
operator fatigue, which could lead to
heat stroke. During weather that is hot and
humid, heavy work should be scheduled for
early morning or late afternoon hours when
temperatures are cooler.
Do not stand on any unstable surface while
using the chain saw, that includes ladders,
scaffolds, trees, etc.
Use caution when handling fuel. Move the
chain saw at least 30 feet from the fueling point
before starting the engine.
Do not allow other persons to be near the
chain saw when starting or cutting with the
chain saw.Keepbystandersandanimalsout
of the work area.
Do not start cutting until you have a clear
work area, secure footing, and a planned
retreat path from the falling tree.
Keep all parts of your body away from the
saw chain when the engine is running.
Always carry the chain saw with the engine
stopped and the chain brake engaged, the
GENERAL SAFETY RULES

Page 4 — English
WARNING:
The warnings, labels, and instructions found
in this section of the operator’s manual are for
your safety. Failure to follow all instructions may
result in serious personal injury.
Do not cut vines and/or small underbrush (a
diameter of less than 3 in.).
Muffler surfaces are very hot during and after
operation of the chain saw; keep all body parts
guide bar and saw chain to the rear, and the
muffler away from your body. When transporting
the chain saw, use the appropriate guide bar
scabbard.
Do not operate a chain saw that is damaged,
improperly adjusted, or not completely and
securely assembled. Be sure that the saw chain
stops moving when the throttle control trigger
is released.
Shut off the engine before setting the chain
saw down. Do not leave the engine running
unattended. As an additional safety precaution,
apply the chain brake prior to setting down the
saw.
Use extreme caution when cutting small-size
brush and saplings because slender material
may catch the saw chain and be whipped
toward you or pull you off balance.
When cutting a limb that is under tension,
be alert for springback so that you will not be
struck when the tension in the wood fibers is
released.
Keep the handles dry, clean, and free of oil or
fuel mixture.
Beware of carbon monoxide poisoning.
Operate the chain saw only in well-ventilated
areas.
Do not operate a chain saw in a tree unless
you have been specifically trained to do so.
Do not cut from a ladder; this is extremely
dangerous.
All chain saw service, other than the items listed
in the instruction manual and all maintenance,
should be performed by competent chain saw
service personnel. (For example, if improper
tools are used to remove the flywheel or if an
improper tool is used to hold the flywheel in
order to remove the clutch, structural damage
to the flywheel could occur and subsequently
could cause the flywheel to burst.)
Always have a fire extinguisher available
when using chain saw.
Use only the replacement guide bars and low
kickback chains specified for the saw.
Do not adapt the powerhead to a bow guide
or use it to power any attachments or devices
not listed for the saw.
The gas powered saw (or electrically
powered saw) is classified by CSA as a
Class 1C (or Class 2C) saw. It is intended for
infrequent use by homeowners, cottagers, and
campers, and for such general applications as
clearing, pruning, cutting firewood, etc. It is not
intended for prolonged use. Prolonged periods
of operation can cause circulatory problems in
the user’s hands due to vibration. For such use,
it may be appropriate to use a saw having an
anti-vibration feature.
Save these instructions. Refer to them
frequently and use to instruct other users. If you
loan someone this product, loan them these
instructions also.
away from the muffler. Serious burns may occur
if contact is made with the muffler.
Always hold the chain saw with both hands
when the engine is running. Use a firm grip
with thumbs and fingers encircling the chain
saw handles.
Never let anyone use the chain saw who
has not received adequate instructions in its
proper use. This applies to rentals as well as
privately owned saws.
GENERAL SAFETY RULES
SPECIFIC SAFETY RULES

Page 5 — English
Refer to Adjusting the Carburetor in the
Maintenance section of this manual. If the saw
chain still moves at idle speed after adjustment
has been made, contact an authorized service
center for adjustment and discontinue use until
the repair is made.
REFUELING (DO NOT SMOKE!)
To reduce the risk of fire and burn injury,
handle fuel with care. It is highly flammable.
Mix and store fuel in a container approved for
gasoline.
Mix fuel outdoors where there are no sparks
or flames.
Select bare ground, stop the engine, and
allow it to cool before refueling.
Loosen the fuel cap slowly to release pres-
sure and to keep fuel from escaping around the
cap.
Tighten the fuel cap securely after refueling.
Wipe spilled fuel from the unit. Move 30
feet away from refueling site before starting
engine.
Never attempt to burn off spilled fuel under
any circumstances.
KICKBACK
Kickback is a dangerous reaction that can
lead to serious injury. Do not rely only on the
safety devices provided with the saw. As a
chain saw user, you must take special safety
precautions to help keep your cutting jobs free
from accident or injury. See the General Safety
Rules and Operation sections of this manual
for added information on kickback and how to
avoid serious personal injury.
Before you start the engine, make sure the
saw chain is not contacting any object.
Wear snug-fitting clothing. Always wear
heavy, long pants, boots, and gloves. Do not
wear jewelry, short pants, sandals, or go bare-
foot. Do not wear loose fitting clothing, which
could be drawn into the engine or catch the
chain or underbrush. Wear overalls, jeans, or
chaps made of cut-resistant material or ones
that contain cut-resistant inserts. Secure hair
so that it is above shoulder level.
Wear non-slip safety footwear and heavy-
duty gloves to improve your grip and to protect
your hands.
Wear eye protection which is marked to
comply with ANSI Z87.1, as well as hearing
and head protection, when operating this
equipment.
Keep bystanders and animals out of the work
area. Do not allow other persons to be nearby
during starting or cutting with the chain saw.
NOTE: The size of the work area depends on the
job being performed as well as the size tree or
workpiece involved. For example, felling a tree
requires a larger work area than making other
cuts (i.e., bucking cuts, etc.).
Keep SAFE-T-TIP® anti-kickback nose guard
properly mounted on the guide bar to prevent
rotational kickback.
Follow the sharpening and maintenance
instructions for the saw chain.
Never operate a chain saw that is damaged,
improperly adjusted, or is not completely
and securely assembled. Be sure that the saw
chain stops moving when the throttle control
trigger is released. If the saw chain moves at
idle speed, the carburetor may need adjusting.
SPECIFIC SAFETY RULES

Page 6 — English
Some of the following symbols may be used on this product. Please study them and learn their mean-
ing. Proper interpretation of these symbols will allow you to operate the product better and safer.
SYMBOL NAME DESIGNATION/EXPLANATION
Safety Alert Indicates a potential personal injury hazard.
Read Operator’s Manual To reduce the risk of injury, user must read and understand
operator’s manual before using this product.
Wear Eye, Hearing, and
Head Protection
Wear eye protection with side shields marked to comply
with ANSI Z87.1 as well as hearing and head protection
when operating this equipment.
SAFE-T-TIP® Nose Guard The SAFE-T-TIP® nose guard on the guide bar helps prevent
kickback.
No Smoking No smoking, sparks, or open flame.
Operate With Two Hands Hold and operate the saw properly with both hands.
One Handed Do not operate the saw using only one hand.
Carbon Monoxide Engines produce carbon monoxide which is an odorless,
deadly poison. Do not operate in an enclosed area.
Kickback DANGER! Beware of kickback.
Bar Nose Contact Avoid bar nose contact.
Wear Gloves Wear non-slip, heavy-duty protective gloves when handling
the chain saw.
Gasoline and
Lubricant
Use unleaded gasoline intended for motor vehicle use with
an octane rating of 87 [(R + M)/2] or higher. This product
is powered by a 2-cycle engine and requires pre-mixing
gasoline and 2-cycle lubricant.
KeepBystandersAway Keepallbystandersandanimalsatleast50ft.away.
SYMBOLS

Page 7 — English
SERVICE
Servicing requires extreme care and knowledge and
should be performed only by a qualified service
technician. For service we suggest you return the
product to your nearest AUTHORIZED SERVICE
CENTER for repair. When servicing, use only
identical replacement parts.
WARNING:
SAVE THESE INSTRUCTIONS
WARNING:
To avoid serious personal injury, do not attempt
to use this product until you read thoroughly and
understand completely the operator’s manual.
If you do not understand the warnings and
instructions in the operator’s manual, do not
use this product. Call Ryobi customer service
for assistance.
The operation of any power tool can result in foreign objects being thrown into your
eyes, which can result in severe eye damage. Before beginning power tool operation,
always wear safety goggles, safety glasses with side shields, or a full face shield
when needed. We recommend Wide Vision Safety Mask for use over eyeglasses or
standard safety glasses with side shields. Always use eye protection which is marked
to comply with ANSI Z87.1.
The following signal words and meanings are intended to explain the levels of risk associated with
this product.
SYMBOL SIGNAL MEANING
DANGER: Indicates an imminently hazardous situation, which, if not
avoided, will result in death or serious injury.
WARNING: Indicates a potentially hazardous situation, which, if not avoided,
could result in death or serious injury.
CAUTION: Indicates a potentially hazardous situation, which, if not avoided,
may result in minor or moderate injury.
CAUTION: (Without Safety Alert Symbol) Indicates a situation that may
result in property damage.
SYMBOLS

Page 8 — English
Bucking
The process of cross cutting a felled tree or log
into lengths.
Chain Brake
A device used to stop the saw chain.
Chain Saw Power Head
A chain saw without the saw chain and guide
bar.
Clutch
A mechanism for connecting and disconnecting
a driven member to and from a rotating source of
power.
Drive Sprocket or Sprocket
The toothed part that drives the saw chain.
Felling
The process of cutting down a tree.
Felling Back Cut
The final cut in a tree felling operation made on
the opposite side of the tree from the notching
undercut.
Front Hand Guard
A structural barrier between the front handle of
a chain saw and the guide bar, typically located
close to the hand position on the front handle, and
sometimes employed as an activating lever for a
chain brake.
Front Handle
The support handle located at or toward the front
of the chain saw. This handle is for the left hand.
Guide Bar
A solid railed structure that supports and guides
the saw chain.
Kickback
The backward or upward motion, or both, of the
guide bar occurring when the saw chain near the
nose of the top area of the guide bar contacts any
object such as a log or branch, or when the wood
closes in and pinches the saw chain in the cut.
Kickback (Pinch)
The rapid pushback of the saw which can occur when
the wood closes in and pinches the moving saw
chain in the cut along the top of the guide bar.
Kickback (Rotational)
The rapid upward and backward motion of the
saw which can occur when the moving saw chain
near the upper portion of the tip of the guide bar
contacts an object, such as a log or branch.
Low-Kickback Chain
A chain that complies with the kickback perfor-
mance requirements of ANSI B175.1 when tested
on a representative sample of chain saws.
Normal Cutting Position
Those positions assumed in performing the bucking
and felling cuts.
Notching Undercut
A notch cut in a tree that directs the tree’s fall.
Rear Handle
The support handle located at or toward the rear
of the saw. It normally contains the throttle. This
handle is for the right hand.
Reduced Kickback Guide Bar
A guide bar which has been demonstrated to
reduce kickback significantly.
Replacement Saw Chain
A chain that complies with the kickback perfor-
mance requirements of ANSI B175.1 when tested
with specific chain saws. It may not meet the ANSI
performance requirements when used with other
saws.
SAFE-T-TIP® Nose Guard
An attachment that may be provided on the end
of the guide bar to prevent the chain at the end of
the guide bar from contacting the wood.
Saw Chain
A loop of chain having cutting teeth that cut the
wood, and that is driven by the motor and is sup-
ported by the guide bar.
Springpole
A small tree (sapling) or limb that is bent or trapped
under tension. It may “spring back” rapidly when
cut, causing a dangerous situation.
GLOSSARY OF TERMS

Page 9 — English
PRODUCT SPECIFICATIONS
Bar length:
RY10520 ................................................. 20 in.
RY10518 ................................................. 18 in.
Chain pitch ............................................. .325 in.
Chain gauge ........................................... .050 in.
Chain type ............................................ Standard
Drive sprocket ......................................... 7-tooth
Engine displacement ................................... 46cc
Engine power ................................... 2.5 HP min.
Idle engine speed ........2,600-3,400 r/min. (RPM)
Fuel tank capacity .................................. 19.4 oz.
Chain lubricant tank capacity ................. 11.8 oz.
Weight - No bar, chain, fuel or lubricant ... 10 lbs.
Fig. 1a
FRONT HAND GUARD/
CHAIN BRAKE
FRONT
HANDLE
CYLINDER
COVER
TRIGGER
RELEASE
CHAIN OIL
CAP
SAFE-T-TIP®
PRIMER
BULB
CHOKE
LEVER
FEATURES
BAR
MOUNTING
NUTS

Page 10 — English
KNOW YOUR CHAIN SAW
See Figures 1a - 1b.
The safe use of this product requires an
understanding of the information on the product
and in this operator’s manual as well as a
knowledge of the project you are attempting.
Before use of this product, familiarize yourself
with all operating features and safety rules.
CHOKE LEVER
The choke lever opens and closes the choke valve
in the carburetor. Positions available include FULL
CHOKEandRUN.
FRONT HAND GUARD / CHAIN BRAKE
The chain brake is designed to quickly stop the
chain from rotating. When the front hand guard/
chain brake is pushed toward the bar, the chain
should stop immediately. The chain brake does
not prevent kickback.
GUIDE BAR
The factory-equipped guide bar has a small
radius tip that offers a somewhat lower kickback
potential.
LOW KICKBACK SAW CHAIN
The low kickback saw chain helps minimize the
force of a kickback reaction by preventing the
cutters from digging in too deeply at the kickback
zone.
PRIMER BULB
The primer bulb pumps fuel from the fuel tank to
the car buretor.
SAFE-T-TIP® ANTI-KICKBACK NOSE
GUARD
The SAFE-T-TIP® Anti-Kickback Nose Guard is
an attachment provided on the end of the guide
bar to prevent the chain on the end of the guide
bar from contacting the wood.
THROTTLE TRIGGER
The throttle trigger is used for controlling chain
rotation.
Fig. 1b
REAR
HANDLE
THROTTLE
TRIGGER
IGNITION
SWITCH
FUEL CAP
STARTER/FAN
HOUSING
STARTER
GRIP
FEATURES

Page 11 — English
WARNING:
Do not allow familiarity with this product to
make you careless. Remember that a careless
fraction of a second is sufficient to inflict seri-
ous injury.
WARNING:
Always wear eye protection with side shields
marked to comply with ANSI Z87.1, along with
hearing and head protection. Failure to do so
could result in objects being thrown into your
eyes and other possible serious injuries.
PACKING LIST
Chain Saw
Scabbard
Combination Wrench
2-Cycle Engine Lubricant
Case
Operator’s Manual
WARNING:
If any parts are damaged or missing do not
operate this product until the parts are replaced.
Use of this product with damaged or missing
parts could result in serious personal injury.
WARNING:
Do not attempt to modify this product or cre-
ate accessories not recommended for use with
this product. Any such alteration or modifica-
tion is misuse and could result in a hazardous
condition leading to possible serious personal
injury.
NOTE: The chain saw has been fully factory tested.
It is normal to find some slight lubricant residue
on the saw. Read and remove all hang tags and
store with the Operator’s Manual.
UNPACKING
This product has been shipped completely as-
sembled.
Carefully remove the product and any acces-
sories from the box. Make sure that all items
listed in the packing list are included.
WARNING:
Do not use this product if it is not completely
assembled or if any parts appear to be missing
or damaged. Use of a product that is not prop-
erly and completely assembled could result in
serious personal injury.
Inspect the product carefully to make sure no
breakage or damage occurred during ship-
ping.
Do not discard the packing material until you
have carefully inspected and satisfactorily oper-
ated the product.
If any parts are damaged or missing, please call
1-800-860-4050 for assistance.
WARNING:
Do not use any attachments or accessories
not recommended by the manufacturer of this
product. The use of attachments or accessories
not recommended can result in serious personal
injury.
APPLICATIONS
You may use this product for the purposes listed
below:
Basic limbing, felling, and bucking
Removing buttress roots
ASSEMBLY
OPERATION

Page 12 — English
WARNING:
Always shut off engine before fueling. Never add
fuel to a machine with a running or hot engine.
Move at least 30 ft. from refueling site before
startingtheengine.DONOTSMOKE!Stayaway
from open flames or sparks. Failure to heed this
warning could result in serious personal injury.
FUEL AND REFUELING
HANDLING THE FUEL SAFELY
WARNING:
Check for fuel leaks. If any are found, correct
them before using the saw to prevent fire or
burn injury.
Always handle fuel with care; it is highly flam-
mable.
Always refuel outdoors and do not inhale fuel
vapors.
Do not let gasoline or lubricant come in contact
with skin.
Keepgasolineandlubricantawayfromtheeyes.
If gasoline or lubricant comes in contact with
the eyes, wash them immediately with clean
water. If irritation is still present, see a doctor
immediately.
Clean up spilled fuel immediately.
Refer to Refueling in the Specific Safety Rules
section of this manual for additional safety infor-
mation.
MIXING THE FUEL
This product is powered by a 2-cycle engine and
requires pre-mixing gasoline and 2-cycle lubri-
cant. Pre-mix unleaded gasoline and 2-cycle
engine lubricant in a clean container approved
for gasoline.
This engine is certified to operate on unleaded
gasoline intended for automotive use with an
octane rating of 87 [(R + M) / 2] or higher.
PREMIUM EXACT MIX™ (50:1)
GASOLINE LUBRICANT
1 Gallon (US) 2.6 oz.
1 Liter 20 cc (20 ml)
Do not use any type of pre-mixed gasoline/lubri-
cant from fuel service stations, this includes the
pre-mixed gasoline/lubricant intended for use
in mopeds, motorcycles, etc.
Use a high quality 2-cycle self-mixing lubricant
for air-cooled engines. Do not use automotive
lubricant or 2-cycle outboard lubricant.
Mix 2% lubricant into the gasoline. This is a 50:1
ratio.
Mix the fuel thoroughly and each time before
fueling.
Mix in small quantities. Do not mix quantities
larger than usable in a 30-day period. A 2-cycle
lubricant containing a fuel stabilizer is recom-
mended.
OXYGENATED FUELS
DO NOT USE E85 FUEL. IT WILL VOID YOUR
WARRANTY.
NOTE: Fuel system damage or performance
problems resulting from the use of an oxygenated
fuel containing more than the percentages of
oxygenates stated below are not covered under
warranty.
Ethanol. Gasoline containing up to 10% ethanol
by volume (commonly referred to as E10) or 15%
ethanol by volume (commonly referred to as E15)
are acceptable. E85 is not.
OPERATION

Page 13 — English
FILLING THE FUEL TANK
See Figure 2.
Clean the surface around the fuel cap to prevent
contamination.
Loosen the fuel cap slowly.
Carefully pour the fuel mixture into the tank.
Avoid spillage.
Prior to replacing the fuel cap, clean and inspect the
o-ring.
Immediately replace the fuel cap and hand
tighten. Wipe up any fuel spillage.
NOTE: It is normal for the engine to emit smoke
during and after the first use.
Fig. 2
ADDING BAR AND CHAIN LUBRICANT
See Figure 3.
Use RYOBI Bar and Chain Lubricant. It is designed
for chains and chain oilers, and is formulated to
perform over a wide temperature range with no dilu-
tion required. Chain saw should use approximately
one tank of lubricant per tank of fuel.
NOTE: Do not use dirty, used, or otherwise con-
taminated lubricants. Damage may occur to the
oil pump, bar, or chain.
Carefully pour the bar and chain lubricant into
the oil tank.
Fill the oil tank every time you fuel the engine.
Fig. 3
OPERATION

Page 14 — English
OPERATING THE CHAIN BRAKE
See Figures 4 - 5.
Check the operating condition of the chain brake
prior to each use.
Engage the chain brake by rotating your left
hand around the front handle, allowing the back
of your hand to push the chain brake lever/hand
guard toward the bar while the chain is rotating
rapidly. Be sure to maintain both hands on the
saw handles at all times.
Reset the chain brake back into the RUN posi-
tion by grasping the top of the chain brake
lever/hand guard and pulling toward the front
handle until you hear a click.
WARNING:
If the chain brake does not stop the chain
immediately, or if the chain brake will not stay
in the run position without assistance, take the
saw to an authorized service center for repair
prior to use.
STARTING THE ENGINE
See Figures 6 - 11.
Starting the product differs depending on whether
the engine is cold or warm.
WARNING:
Keep your body to the left of the chain line.
Never straddle the saw or chain, or lean over
past the chain line.
Place the chain saw on level ground and ensure
that no objects or obstructions are in the imme-
diate vicinity that could come in contact with the
bar and chain.
Hold the front handle firmly with your left hand
and put your right foot onto the base of the rear
handle.
To start a cold engine:
Set the ignition switch to the RUN ( I ) posi-
tion.
Make sure the chain brake is in the run position
by pulling back on the lever/hand guard.
Fully press and release the primer bulb 7 times.
Fig. 4
Fig. 5
BRAKE
POSITION
Fig. 6
STARTER
GRIP
RUN
POSITION
Fig. 7
IGNITION
SWITCH IN THE
RUN POSITION
Pull choke lever all the way out to FULL CHOKE
position.
When the temperature is above 50°F, pull the
starter grip until the engine attempts to start, but
no more than 3 times. When the temperature is
OPERATION

Page 15 — English
below 50°F, pull the starter grip until the engine
attempts to start, but no more than 5 times.
Push choke lever to RUN position.
Pull starter grip until engine runs.
NOTE: Allow the saw to run in this position
15-30 seconds, depending upon the tempera-
ture.
Depress the trigger release and squeeze and
release the throttle trigger to return the engine
to idle after a total run time of at least 30 sec-
onds.
CAUTION:
Failure to release partial throttle when chain
brake lever is in the brake position will result in
serious damage to the unit. Never squeeze and
hold the throttle trigger while the chain brake is
in the brake position.
To Start a Warm Engine:
Set the ignition switch to the RUN ( I ) position.
Make sure the chain brake is in the run position
by pulling back on the lever/hand guard.
Pull choke lever out to FULL CHOKE position
then push immediately back to RUN position to
set fast idle.
Pull starter grip until engine runs, but no more
than 5 times. If engine does not start after 5
pulls, use cold engine starting procedure.
Squeeze and release the throttle trigger to return
the engine to idle.
RUN
POSITION
Fig. 9
Fig. 10
Fig. 8
CHOKE
LEVER
PRIMER BULB
Fig. 11
THROTTLE
TRIGGER
TRIGGER
RELEASE
OPERATION

Page 16 — English
STOPPING THE ENGINE
See Figures 12 - 13.
Release the throttle trigger and let the engine return
to idle. To stop the engine, move the ignition switch
to the STOP ( O ) position. Do not put the chain
saw on the ground when the chain is still moving.
For additional safety, set the chain brake when the
saw is not in use.
In the event that the ignition switch will not stop the
saw, pull the choke lever out to the fully extended
position (FULL CHOKE ) and engage chain brake
to stop the engine. If the ignition switch will not
stop the saw when set to the STOP position, have
the ignition switch repaired before using the chain
saw again to prevent unsafe conditions or serious
injury.
NOTE: When you are finished using the saw,
always relieve tank pressure by loosening, then
retightening, the chain oil and fuel caps. Allow the
engine to cool before storing.
ADJUSTING IDLE SPEED
See Figure 14.
If the engine starts, runs, and accelerates,
but will not idle, turn the idle speed screw “T”
clockwise to increase idle speed.
If the chain turns at idle, turn the idle speed
screw “T” counterclockwise to reduce the
idle RPM and stop the chain movement. If the
saw chain still moves at idle speed, contact an
authorized service center for adjustment and
discontinue use until the repair is made.
BRAKE
POSITION
Fig. 13
Fig. 14
IGNITION
SWITCH IN THE
STOP POSITION
IDLE SPEED
SCREW “T”
Fig. 12
OPERATION

Page 17 — English
WARNING:
THE SAW CHAIN SHOULD NEVER TURN AT
IDLE. Turn the idle speed screw “T” counter-
clockwise to reduce the idle RPM and stop the
chain, or contact an authorized service center
for adjustment and discontinue use until the
repair is made. Serious personal injury may
result from the saw chain turning at idle.
PULL AND PUSH
See Figure 15.
The reaction force of the saw is always opposite to
the direction the chain is moving. Thus, the operator
must be ready to control the PULL when cutting
on the bottom edge of the bar and the PUSH when
cutting along the top edge.
NOTE: The chain saw has been fully factory
tested. It is normal to find some slight oil residue
on the saw.
WARNING:
KICKBACK occurs when the moving chain
contacts an object at the upper portion of the
tip of the guide bar or when the wood closes in
and pinches the saw chain in the cut. Contact
at the upper portion of the tip of the guide bar
can cause the chain to dig into the object and
stop the chain for an instant. The result is a
lightning-fast reverse reaction which kicks the
guide bar up and back toward the operator. If
the saw chain is pinched along the top of the
guide bar, the guide bar can be driven rapidly
back toward the operator. Either of these reac-
tions can cause loss of saw control, which can
result in serious injury.
Do not rely exclusively upon the safety devices
built into the saw. As a chain saw user, you
should take steps to keep your cutting jobs
free from accident or injury. See General Safety
Rules for more details.
Fig. 15
PULL
PUSH
OPERATION

Page 18 — English
KICKBACK PRECAUTIONS
See Figures 16 - 17.
Rotational kickback occurs when the moving chain
contactsanobjectattheKickbackDangerZoneof
the guide bar. The result is a lightning-fast reverse
reaction, which kicks the guide bar up and back
towards the operator. This reaction can cause loss
of control, which can result in serious injury.
PREPARING FOR CUTTING
PROPER GRIP ON HANDLES
See Figure 18.
See General Safety Rules for appropriate safety
equipment.
Wear non-slip gloves for maximum grip and
protection.
Hold the saw firmly with both hands. Always
keep your left hand on the front handle and your
right hand on the rear handle so that your body
is to the left of the chain line.
WARNING:
Never use a left-handed (cross-handed) grip or
any stance that would place your body or arm
across the chain line.
Maintain a proper grip on the saw whenever the
engine is running. The fingers should encircle
the handle and the thumb is wrapped under the
handlebar. This grip is least likely to be broken
by a kickback or other sudden reaction of the
saw. Any grip in which the thumb and fingers
are on the same side of the handle is dangerous
because a slight kick of the saw can cause loss
of control.
ROTATIONAL
KICKBACK
Fig. 17
KICKBACK
DANGER ZONE
Fig. 16
PROPER GRIP IMPROPER GRIP
WARNING:
DO NOT operate the throttle
trigger with your left hand
and hold the front handle
with your right hand. Never
allow any part of your body
to be in the chain line while
operating a saw.
CHAIN
LINE
PROPER HAND GRIP
POSITION
Fig. 18
OPERATION

Page 19 — English
Fig. 19
Fig. 20
PROPER CUTTING STANCE
See Figure 19.
WARNING:
Alway use the proper cutting stance described
in this section. Never kneel when using the
chain saw except when felling a tree as shown
infigure24.Kneelingcouldresultinlossofsta-
bility and control of the saw resulting in serious
personal injury.
Balance your weight with both feet on solid
ground.
Keepleftarmwithelbowlockedina“straight
arm” position to withstand any kickback force.
Keepyourbodytotheleftofthechainline.
Keepyourthumbonundersideofhandlebar.
WORK AREA PRECAUTIONS
See Figure 20.
Cut only wood or materials made from wood;
no sheet metal, no plastics, no masonry, no
non-wood building materials.
Never allow children to operate the saw. Allow
no person to use this chain saw who has
not read this operator’s manual or received
adequate instructions for the safe and proper
use of this chain saw.
Keepeveryone–helpers,bystanders,children,
and animals, a SAFE DISTANCE from the cut-
ting area. During felling operations, the safe
distance should be a least twice the height of the
largest trees in the felling area. During bucking
operations, keep a minimum distance of 15 feet
between workers.
Always cut with both feet on solid ground to
prevent being pulled off balance.
Do not cut above chest height as a saw held
higher is difficult to control against kickback
forces.
Do not fell trees near electrical wires or build-
ings. Leave this operation for professionals.
Cut only when visibility and light are adequate
for you to see clearly.
BASIC OPERATING/CUTTING
PROCEDURES
Practice cutting a few small logs using the following
technique to get the “feel” of using the saw before
you begin a major sawing operation.
Take the proper stance in front of the wood with
the saw idling.
Accelerate the engine to full throttle just before
entering the cut by squeezing the throttle trig-
ger.
Begin cutting with the saw against the log.
Keeptheengineatfullthrottletheentiretime
you are cutting.
Allow the chain to cut for you; exert only light
downward pressure. Forcing the cut could result
in damage to the bar, chain, or engine.
Release the throttle trigger as soon as the cut is
completed allowing the engine to idle. Running
STRAIGHT
ARM
CHAIN LINE
THUMB ON
UNDERSIDE OF
HANDLE BAR
OPERATION

Page 20 — English
the saw at full throttle without a cutting load can
result in unnecessary wear to the chain, bar, and
engine.
Do not put pressure on the saw at the end of
the cut.
FELLING TREES
HAZARDOUS CONDITIONS
WARNING:
Do not fell trees during periods of high wind or
heavy precipitation. Wait until the hazardous
weather has ended.
When felling a tree, it is important that you heed
the following warnings to prevent possible serious
injury.
Do not cut down trees having an extreme lean
or large trees with rotten limbs, loose bark,
or hollow trunks. Have these trees pushed or
dragged down with heavy equipment, then cut
them up.
Do not cut trees near electrical wires or buildings.
Check the tree for damaged or dead branches
that could fall and hit you during felling.
Periodically glance at the top of the tree during
the backcut to assure the tree is going to fall in
the desired direction.
If the tree starts to fall in the wrong direction,
or if the saw gets caught or hung up during the
fall, leave the saw and save yourself!
PROPER PROCEDURE FOR TREE
FELLING
See Figures 21 - 24.
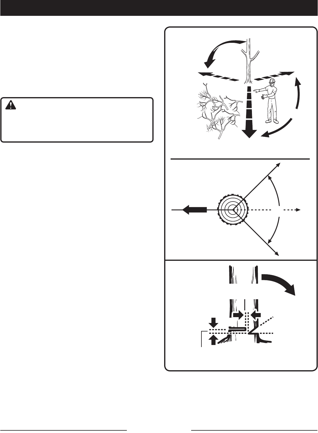
Pick your escape route (or routes in case the
intended route is blocked). Clear the immediate
area around the tree and make sure there are
no obstructions in your planned path of retreat.
Clear the path of safe retreat approximately 135°
from the planned line of fall.
Consider the force and direction of the wind, the
lean and balance of the tree, and the location of
large limbs. These things influence the direction
in which the tree will fall. Do not try to fell a tree
along a line different from its natural line of fall.
Fig. 21
45°
45°
90°
135°
135°
90°
135° FROM
PLANNED
LINE OF FALL PATH OF
SAFE RETREAT
PLANNED LINE
OF FALL
PLANNED
LINE OF
FALL
PATH
OF SAFE
RETREAT
HINGE
2 in. OR 1/10 DIA
NOTCH -
APPROX. 1/3
DIAMETER OF
TRUNK
BACK CUT
2 in. Fig. 22
OPERATION

Page 21 — English
WEDGE Fig. 24
HORIZONTAL
CUT
VERTICAL
CUT
LOOSE
SECTION
Fig. 25
Cut a notch about 1/3 the diameter of the trunk
in the side of the tree. Make the notch cuts so
they intersect at a right angle to the line of fall.
This notch should be cleaned out to leave a
straight line. To keep the weight of the wood
off the saw, always make the lower cut of the
notch before the upper cut.
Make the backcut level and horizontal, and at
a minimum of 2 in. above the horizontal cut of
the notch.
NOTE: Never cut through to the notch. Always
leave a band of wood between the notch
and back cut (approximately 2 in. or 1/10 the
diameter of the tree). This is called “hinge” or
“hingewood.” It controls the fall of the tree and
prevents slipping or twisting or shootback of
the tree off the stump.
On large diameter trees, stop the back cut
before it is deep enough for the tree to either
fall or settle back on the stump. Then insert soft
wooden or plastic wedges into the cut so they
do not touch the chain. Drive wedges in, little
by little, to help jack the tree over.
NOTE: When bucking or felling with a wedge, it
may be necessary to remove the SAFE-T-TIP®
anti-kickback device to allow the bar to be
drawn through the cut. After you complete the
cut, reinstall the tip immediately.
As tree starts to fall, stop the chain saw and put
it down immediately. Retreat along the cleared
path, but watch the action in case something
falls your way.
WARNING:
Never cut through to the notch when making a
back cut. The hinge controls the fall of the tree,
this is the section of wood between the notch
and backcut.
REMOVING BUTTRESS ROOTS
See Figure 25.
A buttress root is a large root extending from the
trunk of the tree above the ground. Remove large
buttress roots prior to felling. Make the horizontal
cut into the buttress first, followed by the vertical
cut. Remove the resulting loose section from the
HINGE
BACK CUT
Fig. 23
OPERATION

Page 22 — English
work area. Follow the correct tree felling procedure
as stated in Proper Procedure For Tree Felling
after you have removed the large buttress roots.
BUCKING
See Figure 26.
Bucking is the term used for cutting a fallen tree
to the desired log length.
Cut only one log at a time.
Support small logs on a saw horse or another
log while bucking.
Keepaclearcuttingarea.Makesurethatno
objects can contact the guide bar nose and
chain during cutting, this can cause kickback.
To avoid the danger, keep the SAFE-T-TIP®
anti-kickback device attached while cutting.
Refer to Kickback in the Specific Safety Rules
section of this manual for more information.
During bucking operations, stand on the uphill
side so that the cut-off section of the log cannot
roll over you.
Sometimes it is impossible to avoid pinching
(with just standard cutting techniques) or dif-
ficult to predict which way a log will settle when
cut.
BUCKING WITH A WEDGE
See Figure 27.
If the wood diameter is large enough for you to
insert a soft bucking wedge without touching the
chain, you should use the wedge to hold the cut
open to prevent pinching.
NOTE: When bucking or felling with a wedge, you
may need to remove the SAFE-T-TIP® anti-kickback
device to allow the bar to be drawn through the
cut. After you complete the cut, reinstall the tip.
WEDGE
Fig. 27
KICKBACK
Fig. 26
OPERATION

Page 23 — English
LOAD
FINISHING CUT
1ST CUT 1/3 DIA
LOG SUPPORTED AT ONE END
LOG SUPPORTED AT BOTH ENDS
FINISHING CUT
1ST CUT 1/3 DIA
LOAD
Fig. 28
OVERBUCKING
BUCKING LOGS UNDER STRESS
See Figure 28.
Make the first bucking cut 1/3 of the way through
the log and finish with a 2/3 cut on the opposite
side. As you cut the log, it will tend to bend. The
saw can become pinched or hung in the log if you
make the first cut deeper than 1/3 of the diameter
of the log.
Give special attention to logs under stress to
prevent the bar and chain from pinching.
OVERBUCKING
See Figure 29.
Begin on the top side of the log with the bottom
of the saw against the log; exert light pressure
downward. Note that the saw will tend to pull
away from you.
UNDERBUCKING
See Figure 30.
Begin on the under side of the log with the top
of the saw against the log; exert light pressure
upward. During underbucking, the saw will tend
to push back at you. Be prepared for this reaction
and hold the saw firmly to maintain control.
Fig. 29
Fig. 30
UNDERBUCKING
OPERATION

Page 24 — English
LIMBING AND PRUNING
See Figures 31 - 32.
Work slowly, keeping both hands on the saw
with a firm grip. Maintain secure footing and
balance.
Keepthetreebetweenyouandthechainwhile
limbing.
Do not cut from a ladder. This is extremely dan-
gerous. Leave this operation for professionals.
Do not cut above chest height. A saw held
higher than chest height is difficult to control
against kickback.
WARNING:
Never climb into a tree to limb or prune. Do
not stand on ladders, platforms, a log, or in
any position which can cause you to lose your
balance or control of the saw.
When pruning trees it is important not to make
the flush cut next to the main limb or trunk until
you have cut off the limb further out to reduce
the weight. This prevents stripping the bark from
the main member.
• Underbuckthebranch1/3throughforyour
first cut.
•Overbuckthebranchtodropit.
• Finishbycuttingsmoothlyandneatlyagainst
the main member so the bark will grow back
to seal the wound.
WARNING:
If the limbs to be pruned are above chest height,
hire a professional to perform the pruning.
CUTTING SPRINGPOLES
See Figure 33.
A springpole is any log, branch, rooted stump, or
sapling which is bent under tension by other wood
so that it springs back if the wood holding it is cut
or removed. On a fallen tree, a rooted stump has
a high potential of springing back to the upright
position during the bucking cut to separate the log
from the stump. Watch out for springpoles — they
are dangerous.
FINISHING CUT
FIRST CUT
1/3 DIAMETER
SECOND CUT
LOAD
Fig. 31
SPRINGPOLE Fig. 33
Fig. 32
CUT LIMBS ONE AT A TIME AND LEAVE SUPPORT
LIMBS UNDER TREE UNTIL LOG IS CUT
WARNING:
Springpoles are dangerous and could strike the
operator, causing the operator to lose control
of the chain saw. This could result in severe or
fatal injury to the operator.
OPERATION

Page 25 — English
WARNING:
When servicing, use only identical replacement
parts. Use of any other parts may create a haz-
ard or cause product damage.
WARNING:
Always wear eye protection with side shields
marked to comply with ANSI Z87.1, along with
hearing and head protection. Failure to do so
could result in objects being thrown into your
eyes and other possible serious injuries.
GENERAL MAINTENANCE
Avoid using solvents when cleaning plastic parts.
Most plastics are susceptible to damage from
various types of commercial solvents and may be
damaged by their use. Use clean cloths to remove
dirt, dust, lubricant, grease, etc.
WARNING:
Do not at any time let brake fluids, gasoline,
petroleum-based products, penetrating oils,
etc., come in contact with plastic parts. Chemi-
cals can damage, weaken or destroy plastic
which may result in serious personal injury.
LUBRICATION
All of the bearings in this product are lubricated with
a sufficient amount of high grade lubricant for the
life of the unit under normal operating conditions.
Therefore, no further lubrication is required.
REPLACING THE GUIDE BAR AND
CHAIN
See Figures 34 - 43.
DANGER:
Never start the engine before installing the
guide bar, chain, clutch cover, and clutch drum.
Without all these parts in place, the clutch can
fly off or explode, exposing the user to possible
serious injury.
Fig. 34
Fig. 35
Fig. 36
WARNING:
To avoid serious personal injury, read and
understand all the safety instructions in this
section.
RUN
POSITION
MAINTENANCE
BAR MOUNTING
NUTS
COMBINATION
WRENCH
CLUTCH
COVER
GUIDE BAR
PLATE
BAR MOUNTING
NUTS

Page 26 — English
BAR
GROOVE
CHAIN DRIVE
LINKS Fig. 38
CUTTERS CHAIN ROTATION
CHAIN DRIVE LINKS
Fig. 37
Always place the switch in the STOP “ O ” posi-
tion before you work on the saw.
Make sure the chain brake is not set by pulling
the chain brake lever/hand guard towards the
front handle to the run position.
NOTE: When replacing the guide bar and chain,
always use the specified bar and chain listed in
the Bar and Chain Combinations section later
in this manual.
Wear gloves when handling the chain and bar.
These components are sharp and may contain
burrs.
Remove the bar mounting nuts using the com-
bination wrench provided.
Remove the clutch cover and the outer guide
bar plate.
Remove the bar and chain from the mounting
surface.
Remove the old chain from the bar.
Lay out the new saw chain in a loop and
straighten any kinks. The cutters should face
in the direction of chain rotation. If they face
backwards, turn the loop over.
Place the chain drive links into the bar groove
as shown.
Position the chain so there is a loop at the back
of the bar.
Hold the chain in position on the bar and place
the loop around the sprocket.
Fit the bar flush against the mounting surface
so that the bar studs are in the long slot of the
bar.
NOTE: When placing the bar on the bar studs,
ensure that the adjusting pin is in the chain ten-
sion pin hole.
Replace the outer guide bar plate ensuring that
the bar pin groove is at the bottom with the
upper and lower edges angled away from the
guide bar.
MAINTENANCE

Page 27 — English
Replace the clutch cover and bar mounting nuts.
Fingertighten the bar mounting nuts. The bar
must be free to move for tension adjustment.
Remove all slack from the chain by turning the
chain tensioning screw clockwise until the chain
seats snugly against the bar with the drive links
in the bar groove.
Lift the tip of the guide bar up to check for sag.
Release the tip of the guide bar and turn the
chain tensioning screw 1/2 turn clockwise.
Repeat this process until sag does not exist.
Hold the tip of the guide bar up and tighten the
bar mounting nuts securely.
The chain is correctly tensioned when there is no
sag on the underside of the guide bar, the chain is
snug, but it can be turned by hand without binding.
Ensure that the chain brake is not set.
NOTE: If chain is too tight, it will not rotate. Loosen
the bar nuts slightly and turn the tension adjuster
1/4 turn counterclockwise. Lift the tip of the guide
bar up and retighten the bar nuts securely. Ensure
that the chain will rotate without binding.
MAINTENANCE
Fig. 40
Fig. 39
ADJUSTING
PIN
BAR STUDS
GUIDE BAR
PLATE
CLUTCH
COVER
SPROCKET
BAR
MOUNTING
NUTS
CHAIN
TENSIONING
SCREW

Page 28 — English
MAINTENANCE
FLATS ON DRIVE LINKS
ADJUSTING THE CHAIN TENSION
See Figures 44 - 46.
WARNING:
Never touch or adjust the chain while the engine
is running. The saw chain is very sharp. Always
wear protective gloves when performing main-
tenance on the chain.
Stop the engine before setting the chain tension.
Make sure the bar mounting nuts are loosened
to finger tight.
Turn the chain tensioning screw clockwise to
tension the chain.
NOTE: A cold chain is correctly tensioned when
there is no slack on the underside of the guide
bar, the chain is snug, and it can be turned by
hand without binding.
Retension the chain whenever the flats on the
drive links hang out of the bar groove.
NOTE: During normal saw operation, the tem-
perature of the chain increases. The drive links
of a correctly tensioned warm chain will hang
approximately .050 in. out of the bar groove.
The tip of the combination wrench can be used
as a guide to help determine the correct warm
chain tension.
NOTE: New chains tend to stretch; check
the chain tension frequently and tension as
required.
CAUTION:
A chain tensioned while warm may be too tight
upon cooling. Check the “cold tension” before
next use.
Fig. 41
Fig. 42
Fig. 43
Fig. 44

Page 29 — English
CHAIN MAINTENANCE
See Figures 47 - 48.
CAUTION:
Check that the switch is in the STOP “ O ” posi-
tion before you work on the saw.
Use only a low-kickback chain on this saw. This
fast- cutting chain provides kickback reduction
when properly maintained.
For smooth and fast cutting, maintain the chain
properly.
The chain requires sharpening when the wood
chips are small and powdery, the chain must be
forced through the wood during cutting, or the
chain cuts to one side. During maintenance of the
chain, consider the following:
Improper filing angle of the side plate can
increase the risk of severe kickback.
Raker (depth gauge) clearance.
• Too lowincreases the potential for kick-
back.
• Notlowenoughdecreasescuttingability.
If the cutter teeth hit hard objects such as nails
and stones, or are abraded by mud or sand on
the wood, have an authorized service center
sharpen the chain.
NOTE: Inspect the drive sprocket for wear or
damage when replacing the chain. If signs of
wear or damage are present in the areas indi-
cated, have the drive sprocket replaced by an
authorized service center.
NOTE: If you do not fully understand the correct
procedure for sharpening the chain after reading the
instructions that follow, have the saw chain sharp-
ened by an authorized service center or replace
with a recommended low-kickback chain.
Fig. 47
RAKER (DEPTH GAUGE) CLEARANCE
≈ .050 in.
Fig. 46
Fig. 45
Fig. 48
.025 in.
≈ .050 in.
INSPECT
DRIVE
SPROCKET
MAINTENANCE

Page 30 — English
CUTTING
CORNER
SIDE PLATE
DEPTH GAUGE
TOE
GULLET
HEEL
RIVET HOLE
TOP PLATE
Fig. 49
Fig. 50
Fig. 51
LEFT HAND
CUTTERS
RIGHT HAND
CUTTERS Fig. 52
MAINTENANCE
SHARPENING THE CUTTERS
See Figures 49 - 52.
Be careful to file all cutters to the specified angles
and to the same length, as fast cutting can only be
obtained when all cutters are uniform.
WARNING:
The saw chain is very sharp. Always wear pro-
tective gloves when performing maintenance to
the chain to prevent serious personal injury.
Tension the chain prior to sharpening. Refer to
Adjusting The Chain Tension.
Use a 3/16 in. diameter round file and holder.
Do all of your filing at the midpoint of the bar.
Keepthefilelevelwiththetopplateofthetooth.
Do not let the file dip or rock.
Using light but firm pressure. Stroke towards
the front corner of the tooth.
Lift the file away from the steel on each return
stroke.
Put a few firm strokes on every tooth. File all left
hand cutters in one direction. Then move to the
other side and file the right hand cutters in the
opposite direction.
Remove filings from the file with a wire brush.
CAUTION:
A dull or improperly sharpened chain can cause
excessive engine speed during cutting, which
may result in severe engine damage.
WARNING:
Improper chain sharpening increases the poten-
tial of kickback.
WARNING:
Failure to replace or repair a damaged chain
can cause serious injury.

Page 31 — English
TOP PLATE FILING ANGLE
See Figure 53.
CORRECT30°–fileholdersaremarkedwith
guide marks to align file properly to produce
correct top plate angle.
LESSTHAN30°–forcrosscutting.
MORETHAN30°–featherededgedullsquickly.
SIDE PLATE ANGLE
See Figure 54.
CORRECT80°–Producedautomaticallyifyou
use the correct diameter file in the file holder.
HOOK–“Grabs”anddullsquickly;increasesthe
potentialofKICKBACK.Resultsfromusingafile
with a diameter too small or a file held too low.
BACKWARDSLOPE– Needstoomuch feed
pressure; causes excessive wear to the bar and
INCORRECT
MORE THAN 30°
TOP PLATE FILING ANGLE
LESS THAN 30°
Fig. 53
30°
CORRECT
INCORRECT
BACKWARD SLOPE
SIDE PLATE FILING ANGLE
Fig. 54
80°
CORRECT
HOOK
FLAT FILE
DEPTH GAUGE JOINTER
Fig. 56
RESTORE ORIGINAL
SHAPE BY ROUNDING
THE FRONT
Fig. 57
Fig. 55
RAKER (DEPTH GAUGE) CLEARANCE
.025 in.
MAINTENANCE
chain. Results from using a file with a diameter
too large or file held too high.
MAINTAINING DEPTH GAUGE
CLEARANCE
See Figure 55 - 57.
Maintain the depth gauge at a clearance of .025
in. Use a depth gauge tool for checking the
depth gauge clearances.
Every time the chain is filed, check the depth
gauge clearance.
Use a flat file and a depth gauge jointer to lower
all gauges uniformly. Use a .025 in. depth gauge
jointer. After lowering each depth gauge, restore
original shape by rounding the front. Be careful
not to damage adjoining drive links with the
edge of the file.
Depth gauges must be adjusted with the flat file in
the same direction the adjoining cutter was filed
with the round file. Use care not to contact cutter
face with flat file when adjusting depth gauges.

Page 32 — English
MAINTAINING THE SAFE-T-TIP® NOSE
GUARD
See Figures 59 - 60.
CAUTION:
Make sure the chain has stopped before you
do any work on the saw.
WARNING:
Although the guide bar comes with a SAFE-
T-TIP® antikickback device already installed,
check the tightness of the mounting screw
before each use.
Fig. 58
LUBRICATING HOLE
MOUNTING
SCREW
SAFE-T-TIP®
Fig. 59
TIGHTEN 3/4
OF A TURN
Fig. 60
MAINTENANCE
MAINTAINING THE GUIDE BAR
See Figure 58.
CAUTION:
Make sure the chain has stopped before you
do any work on the saw.
Every week of use, reverse the guide bar on the
saw to distribute the wear for maximum bar life.
The bar should be cleaned every day of use and
checked for wear and damage.
Feathering or burring of the bar rails is a normal pro-
cess of bar wear. Such faults should be smoothed
with a file as soon as they occur.
A bar with any of the following faults should be
replaced:
Wear inside the bar rails that permits the chain
to lay over sideways
Bent guide bar
Cracked or broken rails
Spread rails
Lubricate guide bars with a sprocket at their tip
weekly. Using a grease syringe, lubricate weekly in
the lubricating hole. Turn the guide bar and check
that the lubrication holes and chain groove are free
from impurities.
MOUNTING THE SAFE-T-TIP® NOSE
GUARD
See Figures 59 - 60.
Stop the engine and disconnect the spark plug
wire.
Mount the SAFE-T-TIP® on the bar nose.
Fit the locking tab in the recessed slot in the
guide bar.
Tighten the mounting screw with wrench until
snug.
From the snug position, tighten the mount-
ing screw an additional 3/4 of a turn using a
wrench.

Page 33 — English
Use the following instructions to tighten the mount-
ing screw of the nose guard. These are specially
hardened screws. If you cannot install the screw
tightly, replace both the screw and the SAFE-T-TIP®
before further operation.
NOTE: Do not replace the screw with an ordinary
screw. Use only identical replacement parts from
the manufacturer when replacing parts.
In addition to preventing chain contact with solid
objects at the nose of the bar, the SAFE-T-TIP® also
helps keep the chain away from abrasive surfaces,
suchastheground.Keepitontherighthandside
of the bar where it will be between the chain and
the ground during flush with ground cutting.
The mounting screw requires a 5/16 in. wrench (or
adjustable wrench) to achieve the recommended
torque of 35 to 45 in.lb. A torque within this range
can be achieved by using the following method.
Tighten the screw with wrench until snug.
From the snug position, tighten the screw an
additional 3/4 of a turn using a wrench.
CLEANING THE AIR FILTER
See Figures 61 - 64.
For access to the air filter and carburetor area,
loosen the three screws holding the cylinder
cover.
Activate chain brake.
Lift the front of the cylinder cover past chain
brake lever.
Lift the back of the cylinder cover past handle.
Before removing the air filter from the carbure-
tor, blow or brush as much loose dirt and saw-
dust from around the carburetor and chamber
as possible.
NOTE: Make sure to pull the choke rod out to
keep the carburetor from being contaminated.
Remove the screw securing the air filter.
Position a flat screwdriver between the tabs and
twist to release from the air filter base.
Lift the air filter off the air filter base.
Choose one of the following cleaning options:
To lightly clean, tap the filter against a smooth,
flat surface to dislodge most saw dust and dirt
particles.
Fig. 62
Fig. 61
Fig. 63
SCREW
AIR FILTER
RETAINING
SCREW
AIR FILTER
CYLINDER
COVER
PRE-FILTER
STARTER ASSEMBLY
FAN
HOUSING
BAFFLE
SCREWS
MAINTENANCE
After every 5 hours of operation, clean in warm
soapy water, rinse, and let dry completely.
Replace with a new filter after every 25 hours
of use.
NOTE: An alternate method is to clean the filter
with compressed air. Always wear eye protec-
tion to avoid eye injury.
Reinstall air filter, making sure that tabs on air
filter are located in channels on air filter bottom
before tightening filter retaining screws.

Page 34 — English
Clean the pre-filter every 5 hours of use or
sooner, if required. Remove the cylinder cover,
starter assembly, and the fan housing baffle for
access to the pre-filter in the engine housing.
NOTE: If you use an air hose for drying, blow
through both sides of filter.
CAUTION:
Make sure the air filter is correctly placed in the
air filter cover before reassembly. Never run the
engine without the air filter, serious damage
could result.
CLEANING THE STARTER UNIT
See Figure 65.
Use a brush or compressed air to keep the cool-
ing vents of the starter assembly free and clean
of debris.
ADJUSTING THE CARBURETOR
See Figure 65 - 66.
Before adjusting the carburetor:
Use a brush or compressed air to clean the
starter cover vents.
Clean the air filter. Refer to Cleaning the Air Fil-
ter in the Maintenance section of this manual.
Allow the engine to warm up prior to adjustment
of engine idle speed.
WARNING:
Weather conditions and altitude may affect
carburetion. Do not allow bystanders close to
the chain saw while adjusting the carburetor.
Idle Speed Adjustment —The idle speed adjust-
ment controls how much the throttle valve stays
open when the throttle trigger is released. To
adjust:
Turn idle speed screw “T” clockwise to increase
idle speed.
Turn idle speed screw “T” counterclockwise to
decrease idle speed.
Fig. 66
Fig. 65
Fig. 64
AIR FILTER
STARTER COVER
VENTS
IDLE SPEED
SCREW “T”
MAINTENANCE
WARNING:
THE SAW CHAIN SHOULD NEVER TURN AT
IDLE. Serious personal injury may result from
the saw chain turning at idle.

Page 35 — English
Fig. 69
Fig. 70
Fig. 67
CLEAN
CYLINDER
FINS
CLEAN
FLYWHEEL FINS
FUEL FILTER
MAINTENANCE
CLEANING THE ENGINE
See Figures 67 - 68.
Clean the cylinder fins and flywheel fins with
compressed air or a brush periodically. Danger-
ous overheating of the engine may occur due to
impurities on the cylinder.
WARNING
Never run the saw without all the parts, including
the clutch cover and starter housing, securely
in place.
Because parts can fracture and pose a danger
of thrown objects, leave repairs of the flywheel
and clutch to factory trained authorized service
center personnel.
NOTE: If you notice a power loss with the gas-
powered tool, the exhaust port and muffler may
be blocked with carbon deposits. These deposits
may need to be removed to restore performance.
We highly recommend that only qualified service
technicians perform this service.
CHECKING THE FUEL FILTER
See Figure 69.
Check the fuel filter periodically. If contaminated or
damaged, have fuel filter replaced by an authorized
service center.
REPLACING THE SPARK PLUG
See Figure 70.
This engine uses a Champion RCJ6Y with .025 in.
electrode gap. Use an exact replacement and
replace every 50 hours or more frequently, if
necessary.
Loosen the spark plug by turning it counter-
clockwise with a wrench.
Remove the spark plug.
Hand thread the new spark plug, turning it
clockwise. Tighten securely with wrench.
NOTE: Be careful not to cross-thread the spark
plug. Cross-threading will seriously damage the
cylinder.
Fig. 68

Page 36 — English
Fig. 72
Fig. 71
BRAKE BAND
CLEAN THE CHAIN BRAKE
LUBRICATE THE CHAIN
BRAKE LINKAGE
CHAIN CATCHER
CLUTCH
COVER
MAINTENANCE
SPARK ARRESTOR
The spark arrestor must be cleaned or replaced
every 50 hours or yearly to ensure proper per-
formance of your product. Spark arrestors may
be in different locations depending on the model
purchased. Please contact your nearest service
dealer for the location of the spark arrestor for
your model.
INSPECTING AND CLEANING CHAIN
BRAKE
See Figures 71 - 72.
Remove the clutch cover and clean the chain
brake components. Check wear on the brake
band and replace if worn or deformed. The band
thickness should not be less than 0.024 in., or
worn halfway through.
Always keep the chain brake mechanism clean
and lightly brush the linkage.
Always test the chain brake performance after
cleaning. Refer to Operating Chain Brake for
additional information.
Check the chain catcher and replace if
damaged.
WARNING:
Even with daily cleaning of the mechanism, the
dependability of a chain brake to perform under
fieldconditionscannotbecertified.Keepthe
SAFE-T-TIP® nose guard on the saw’s guide bar
and use proper cutting techniques.
STORING THE PRODUCT
Clean all foreign material from the product. Store
it in a well-ventilated place that is inaccessible
tochildren.Keepawayfromcorrosiveagents
such as garden chemicals and de-icing salts.
Abide by all Federal and local regulations for
the safe storage and handling of gasoline.
When storing 1 month or longer:
Drain all fuel from tank into a container approved
for gasoline.
Run the engine until it stops. This will remove
all fuel-lubricant mix that could become stale
and leave varnish and gum in the fuel system.
Squeeze primer bulb several times to purge fuel
from carburetor.
Drain all bar and chain lubricant from tank into
a container approved for oil.
Always place the scabbard over the guide bar
and chain before transporting or storing the unit.

Page 37 — English
EMISSIONS MAINTENANCE SCHEDULE
Emissions Parts Inspect Clean Replace Clean Every Replace
Before Every Every 25 Hours 25 Hours Every
Each Use 5 Hours or Yearly or Yearly 50 Hours
AIR FILTER ASSY
includes:
Filter Screen ......................................................X ............................X
CARBURETOR ASSY
includes:
Heat Dam
Gaskets
FUEL TANK ASSY
includes:
Fuel Lines ............................ X
Fuel Cap .............................. X
Fuel Filter
IGNITION ASSY
includes:
Spark Plug ........................................................................................................................................................X
CALL US FIRST
For any questions about operating or maintaining your product,
call the Ryobi® Help Line!
Your product has been fully tested prior to shipment to ensure
your complete satisfaction.
MAINTENANCE

Page 38 — English
Problem Possible Cause Solution
Engine will not
start. [Make sure
ignition switch is in
the RUN ( l ) posi-
tion.]
No spark.
Engine is flooded.
Clean or replace spark plug. Reset spark plug gap. Refer
to Spark Plug Replacement earlier in this manual.
With the ignition switch OFF, remove spark plug. Move
choke lever to RUN position (pushed in completely) and
pull starter cord 15 to 20 times. This will clear excess
fuel from engine. Clean and reinstall spark plug. Set igni-
tion switch to RUN ( l ) position. Push and fully release
primer bulb 7 times. Pull starter three times with choke
lever at RUN. If engine does not start, move choke lever
to FULL CHOKE and repeat normal starting procedure.
If engine still fails to start, repeat procedure with a new
spark plug.
Engine starts but
will not accelerate
properly.
Carburetor requires
“L” (Low Jet)
adjustment.
Contact an authorized service center for carburetor
adjustment.
Engine starts, then
dies.
Carburetor requires
“L” (Low Jet)
adjustment.
Contact an authorized service center for carburetor
adjustment.
Engine starts but
will not run proper-
ly at high speed.
Carburetor requires
“H” (High Jet)
adjustment.
Contact an authorized service center for carburetor
adjustment.
Engine does not
reach full speed
and/or emits ex-
cessive smoke.
Lubricant/fuel
mixture incorrect.
Air filter is dirty.
Spark arrestor
screen is dirty.
Carburetor requires
“H” (High Jet)
adjustment.
Use fresh fuel and the correct 2-cycle lubricant mix
ratio.
Clean air filter. Refer to Cleaning the Air Filter in the
Maintenance section of this manual.
Clean spark arrestor screen. Refer to Inspecting/Clean-
ing the Spark Arrestor Screen in the Maintenance sec-
tion of this manual.
Contact an authorized service center for carburetor
adjustment.
Chain specifications: 0.0325 pitch, .05 in. chain gauge
Length of Bar Guide Bar Part Number Chain Part Number Drive Links
20 in. 310629001 900920027 78 link
18 in. 310628001 901430001 72 link
TROUBLESHOOTING
BAR AND CHAIN COMBINATIONS

Page 39 — English
Problem Possible Cause Solution
Engine starts, runs,
and accelerates
but will not idle.
Chain turns at
idle.
Carburetor requires
adjustment to idle
speed.
Carburetor requires
adjustment to idle
speed.
Air leak in the intake
system.
Turn idle speed screw “T” clockwise to increase idle
speed. Refer to Adjusting the Carburetor in the
Maintenance section of this manual.
Turn idle speed screw “T” counterclockwise to de-
crease speed. Refer to Adjusting the Carburetor in
the Maintenance section of this manual.
Contact an authorized service center for a rebuild kit.
Bar and chain
running hot and
smoking.
Chain oil tank empty.
Chain tension is too
tight.
Oiler is not
functioning.
Oil tank should be filled every time fuel tank is filled.
Tension chain per instructions in Adjusting the Chain
Tension in the Maintenance section of this manual.
Run at half throttle 30 to 45 seconds. Stop saw and
check for lubricant dripping from SAFE-T-TIP® and guide
bar. If lubricant is present, the chain may be dull or bar
may be damaged. If no lubricant is on the SAFE-T-TIP®,
contact an authorized service center.
Engine starts and
runs, but chain is
not rotating.
Chain brake is
engaged.
Chain tension is too
tight.
Guide bar and
chain assembled
incorrectly.
Guide bar and/or
chain are damaged.
Drive sprocket teeth
damaged
Release chain brake. Refer to Operating the Chain
Brake in the Operation section of this manual.
Tension chain per instructions in Adjusting the Chain
Tension in the Maintenance section of this manual.
Refer to Replacing the Guide Bar and Chain in the
Maintenance section of this manual.
Inspect guide bar and chain for damage.
Contact an authorized service center for drive sprocket
replacement.
Chain tensioning
dial is difficult to
turn.
Tip of guide bar is
not raised.
Clutch cover lock
knob is too tight.
Raise tip of guide bar while rotating tension adjustment
dial.
Press in the clutch cover lock knob and rotate coun-
terclockwise to slightly loosen the clutch cover before
attempting to adjust chain tension.
TROUBLESHOOTING

Page 40 — English
WARRANTY
LIMITED WARRANTY STATEMENT
Techtronic Industries North America, Inc., warrants to the
original retail purchaser that this RYOBI® brand outdoor
product is free from defect in material and workmanship
and agrees to repair or replace, at Techtronic Industries
North America, Inc.’s, discretion, any defective product
free of charge within these time periods from the date of
purchase.
Three years if the product is used for personal, family
or household use;
90 days, if used for any other purpose, such as
commercial or rental.
This warranty extends to the original retail purchaser only
and commences on the date of the original retail purchase.
Any part of this product found in the reasonable judgment
of Techtronic Industries North America, Inc. to be defective
in material or workmanship will be repaired or replaced
without charge for parts and labor by an authorized service
center for RYOBI® brand outdoor products (Authorized
Ryobi Service Center).
The product, including any defective part, must be returned
to an authorized Ryobi service center within the warranty
period. The expense of delivering the product to the service
center for warranty work and the expense of returning it
back to the owner after repair or replacement will be paid
by the owner. Techtronic Industries North America, Inc.’s,
responsibility in respect to claims is limited to making the
required repairs or replacements and no claim of breach of
warranty shall be cause for cancellation or rescission of the
contract of sale of any RYOBI® brand outdoor product. Proof
of purchase will be required by the dealer to substantiate
any warranty claim. All warranty work must be performed
by an authorized service dealer.
This warranty is limited to ninety (90) days from the date
of original retail purchase for any RYOBI® brand outdoor
product that is used for rental or commercial purposes, or
any other income-producing purpose.
This warranty does not cover any product that has been
subject to misuse, neglect, negligence, or accident, or that
has been operated in any way contrary to the operating
instructions as specified in this operator’s manual. This
warranty does not apply to any damage to the product that
is the result of improper maintenance or to any product
that has been altered or modified. The warranty does not
extend to repairs made necessary by normal wear or by the
use of parts or accessories which are either incompatible
with the RYOBI® brand outdoor product or adversely affect
its operation, performance, or durability. In addition, this
warranty does not cover:
A.Tune-ups–SparkPlugs,Carburetor,CarburetorAdjust-
ments, Ignition, Filters
B.Wear items – Bump Knobs, Outer Spools, Cutting
Strings, Inner Reels, Starter Pulleys, Starter Ropes, Drive
Belts, Tines, Felt Washers, Hitch Pins, Mulching Blades,
Blower Fans, Blower and Vacuum Tubes, Vacuum Bag
and Straps, Guide Bars, Saw Chains
Techtronic Industries North America, Inc., reserves the
right to change or improve the design of any RYOBI® brand
outdoor product without assuming any obligation to modify
any product previously manufactured.
ALL IMPLIED WARRANTIES ARE LIMITED IN DURATION
TO THE STATED WARRANTY PERIOD. ACCORDINGLY,
ANY SUCH IMPLIED WARRANTIES INCLUDING
MERCHANTABILITY, FITNESS FOR A PARTICULAR
PURPOSE, OR OTHERWISE, ARE DISCLAIMED IN
THEIR ENTIRETY AFTER THE EXPIRATION OF THE
APPROPRIATE TWO-YEAR, ONE-YEAR, OR NINETY-
DAY WARRANTY PERIOD. TECHTRONIC INDUSTRIES
NORTH AMERICA, INC.’S, OBLIGATION UNDER THIS
WARRANTY IS STRICTLY AND EXCLUSIVELY LIMITED TO
THE REPAIR OR REPLACEMENT OF DEFECTIVE PARTS
AND TECHTRONIC INDUSTRIES NORTH AMERICA,
INC., DOES NOT ASSUME OR AUTHORIZE ANYONE
TO ASSUME FOR THEM ANY OTHER OBLIGATION.
SOME STATES DO NOT ALLOW LIMITATIONS ON HOW
LONG AN IMPLIED WARRANTY LASTS, SO THE ABOVE
LIMITATION MAY NOT APPLY TO YOU. TECHTRONIC
INDUSTRIES NORTH AMERICA, INC., ASSUMES NO
RESPONSIBILITY FOR INCIDENTAL, CONSEQUENTIAL,
OR OTHER DAMAGES INCLUDING, BUT NOT LIMITED
TO, EXPENSE OF RETURNING THE PRODUCT TO AN
AUTHORIZED RYOBI SERVICE CENTER AND EXPENSE
OFDELIVERINGITBACKTOTHEOWNER,MECHANIC’S
TRAVEL TIME, TELEPHONE OR TELEGRAM CHARGES,
RENTAL OF A LIKE PRODUCT DURING THE TIME
WARRANTY SERVICE IS BEING PERFORMED, TRAVEL,
LOSS OR DAMAGE TO PERSONAL PROPERTY, LOSS
OF REVENUE, LOSS OF USE OF THE PRODUCT, LOSS
OF TIME, OR INCONVENIENCE. SOME STATES DO NOT
ALLOW THE EXCLUSION OR LIMITATION OF INCIDENTAL
OR CONSEQUENTIAL DAMAGES, SO THE ABOVE
LIMITATION OR EXCLUSION MAY NOT APPLY TO YOU.
This warranty gives you specific legal rights, and you may
also have other rights which vary from state to state.
This warranty applies to all RYOBI® brand outdoor products
manufactured by or for Techtronic Industries North America,
Inc., and sold in the United States and Canada.
To locate your nearest Authorized Ryobi Service
Center, dial 1-800-860-4050.

Page 41 — English
WARRANTY
THE FOLLOWING CALIFORNIA AIR RESOURCES BOARD (CARB) STATEMENT ONLY APPLIES TO MODEL
NUMBERS REQUIRED TO MEET THE CARB REQUIREMENTS.
The U.S. Environmental Protection Agency (EPA), the California Air Resources Board
(CARB), and Techtronic Industries North America, Inc., are pleased to explain the
Emissions Control System Warranty on your 2010 model year non-road or small off-
road engine. In California, new equipment that uses small off-road engines must be
designed, built, and equipped to meet the state’s stringent anti-smog standards. In
other states, new 2000 and later model year non-road engines must be designed,
built, and equipped at the time of sale to meet the U.S. EPA regulations for small
non-road engines. The non-road engine must be free from defects in materials and
workmanship which cause it to fail to conform with U.S. EPA standards for the first
three years of engine use from the date of sale to the ultimate purchaser. Techtronic
Industries North America, Inc., must warrant the emission control system on your
non-road or small off-road engine for the period of time listed above provided there
has been no abuse, neglect, or improper maintenance of your non-road or small
off-road engine.
Your emission control system may include parts such as the carburetor or fuel injection
system, the ignition system, catalytic converters, fuel tanks, valves, filters, clamps,
connectors, and other associated components. Also included may be hoses, belts
and connectors, and other emission-related assemblies.
Where a warrantable condition exists, Techtronic Industries North America, Inc., will
repair your non-road or small off-road engine at no cost to you, including diagno-
sis, parts, and labor performed at an authorized service center for RYOBI® brand
outdoor products.
MANUFACTURER’S WARRANTY COVERAGE:
This product’s emissions control system is warranted for three years. If any emission-
related part on your engine is defective, the part will be repaired or replaced by
Techtronic Industries North America, Inc., free of charge.
OWNER’S WARRANTY RESPONSIBILITIES
(a) As the non-road or small off-road engine owner, you are responsible for
the performance of the required maintenance listed in your operator’s manual.
Techtronic Industries North America, Inc., recommends that you retain all re-
ceipts covering maintenance on your non-road or small off-road engine, but
Techtronic Industries North America, Inc., cannot deny warranty solely for the
lack of receipts or for your failure to ensure the performance of all scheduled
maintenance. Any replacement part or service that is equivalent in performance
and durability may be used in non-warranty maintenance or repairs, and shall
not reduce the warranty obligations of Techtronic Industries North America, Inc.
(b) As the non-road or small off-road engine owner, you should be aware, however,
that Techtronic Industries North America, Inc., may deny you warranty coverage if
your non-road or small off-road engine or a part has failed due to abuse, neglect,
improper maintenance, or unapproved modifications.
(c) You are responsible for presenting your non-road or small off-road engine to an
authorized service dealer as soon as a problem exists. The warranty repairs should
be completed in a reasonable amount of time, not to exceed 30 days.
If you have any questions regarding your warranty rights and responsibilities, you
should contact a Techtronic Industries North America, Inc., Customer Representa-
tive at 1-800-860-4050.
DEFECT WARRANTY COVERAGE REQUIREMENTS:
(a) The warranty period begins on the date the engine or equipment is delivered to
an ultimate purchaser.
(b) General Emissions Warranty Coverage. Techtronic Industries North America,
Inc., warrants to the ultimate purchaser and each subsequent purchaser that your
non-road or small off-road engine is designed, built, and equipped at the time of sale
to conform with all applicable regulations adopted by the California Air Resources
Board or the United States Environmental Protection Agency; and that it is free from
defects in materials and workmanship which cause the engine to fail to conform with
applicable regulations for a period of three years from the date the non-road or small
off-road engine is purchased by the initial purchaser.
(c) The warranty on emissions-related parts will be interpreted as follows: Any
warranted part that is not scheduled for replacement as required in the Emissions
Maintenance Schedule and Warranty Parts List set forth below is warranted for three
years. If any such part (including any part that is scheduled only for regular inspection)
fails during the period of warranty coverage, it will be repaired or replaced at any
RYOBI® Authorized Service Center at no charge. Any such part repaired or replaced
under warranty will be warranted for the remaining warranty period. A statement to
the effect of “repair or replace as necessary” would not reduce the period of war-
ranty coverage. Any warranted part that is scheduled for replacement as required
maintenance in the Emissions Maintenance Schedule and Warranty Parts List is
warranted for the period of time prior to the first scheduled replacement point for
that part. Any such part repaired or replaced under warranty is warranted for the
remainder of the period prior to the first scheduled replacement point, and will be
repaired or replaced at any RYOBI® Authorized Service Center for no charge until
that replacement point is reached.
Techtronic Industries North America, Inc., shall remedy warranty defects at any
authorized RYOBI® Authorized Service Center, including any distribution center
that may be franchised to service the subject engines. Any diagnostic work done
at a RYOBI® Authorized Service Center shall be free of charge to the owner if such
work determines that a warranted part is defective. Any manufacturer-approved or
equivalent replacement part may be used for any warranty maintenance or repairs
on emission-related parts, and must be provided free of charge to the owner if the
part is still under warranty. Techtronic Industries North America, Inc., is liable for
damages to other engine components caused by the failure of a warranted part
still under warranty.
Add-on or modified parts that are not exempted by the California Air Resource Board
may not be used. The use of any non-exempted add-on or modified parts will be
grounds for disallowing a warranty claim. Techtronic Industries North America, Inc.,
will not be liable to warrant failures of warranted parts caused by the use of a non-
exempted add-on or modified part.
The California Air Resources Board’s Emission Warranty Parts List specifically defines
the emission-related warranted parts. (EPA’s regulations do not include a parts list,
but the EPA considers emission-related warranted parts to include all the parts listed
below.) Techtronic Industries North America, Inc., will provide any documents that
describe its warranty procedures or policies within five days upon request by the
California Air Resources Board.
EMISSIONS PARTS LIST
Emissions parts vary from product to product. Your emissions control system warranty
applies to any of the following components that may be included on your product:
(1) Fuel Metering System
(i) Carburetor and internal parts (and/or pressure regulator or fuel injection
system).
(ii) Air/fuel ratio feedback and control system.
(iii) Cold start enrichment system.
(iv) Fuel Tank.
(2) Air Induction System
(i) Controlled hot air intake system.
(ii) Intake manifold.
(iii) Air filter.
(3) Ignition System
(i) Spark Plugs.
(ii) Magneto or electronic ignition system.
(iii) Spark advance/retard system.
(4) Exhaust Gas Recirculation (EGR) System
(i) EGR valve body and carburetor spacer, if applicable.
(ii) EGR rate feedback and control system.
(5) Air Injection System
(i) Air pump or pulse valve.
(ii) Valves affecting distribution of flow.
(iii) Distribution manifold.
(6) Catalyst or Thermal Reactor System
(i) Catalytic converter.
(ii) Thermal reactor.
(iii) Exhaust manifold.
(7) Particulate Controls
(i) Traps, filters, precipitators, and any other device used to capture particulate
emissions.
(8) Miscellaneous Items Used in Above Systems
(i) Electronic controls.
(ii) Vacuum, temperature, and time sensitive valves and switches.
(iii) Hoses, belts, connectors, and assemblies.
Techtronic Industries North America, Inc., will furnish with each new engine written
instructions for its maintenance and use by the owner.
The Emissions Compliance Period referred to on the Emissions Compliance label
indicates the number of operating hours for which the engine has been shown to
meet Federal emission requirements. Category C=50 hours, B=125 hours, and
A=300 hours.
TECHTRONIC INDUSTRIES NORTH AMERICA, INC., LIMITED WARRANTY STATEMENT FOR FEDERAL
AND CALIFORNIA EMISSION CONTROL SYSTEMS NON-ROAD AND SMALL OFF-ROAD ENGINES
YOUR WARRANTY RIGHTS AND OBLIGATIONS

Page 3 — Français
AVERTISSEMENT :
Lire et veiller à bien comprendre toutes les
instructions. Le non-respect des instructions
ci-dessous peut entraîner un choc électrique,
un incendie et des blessures graves.
LIRE TOUTES LES INSTRUCTIONS
Apprendre à connaître l’outil. Lire attentivement
le manuel d’utilisation. Apprendre les applications
et les limites de la scie, ainsi que les risques
spécifiques relatifs à son utilisation.
■ Un rebond peut se produire lorsque l’extrémité
du guide de chaîne touche un objet ou lorsque
le bois se referme sur la lame et la pince dans
l’entaille. Dans certains cas, le contact de la
pointe de la lame avec un objet peut causer
une réaction fulgurante, projetant le guide vers
le haut et l’arrière, en direction de l’opérateur.
Le pincement de la chaîne sur le haut du guide
peut causer une projection violente de la lame
en arrière, en direction de l’utilisateur. Ces deux
réactions peuvent entraîner la perte de contrôle
de la scie, et causer des blessures graves. Ne
pas compter exclusivement sur les dispositifs
de sécurité intégrés à la scie. L’utilisateur doit
prendre un certain nombre de précautions pour
éviter les accidents et blessures.
• Unecompréhensionélémentairedurebond
peut permettre de réduire ou éliminer l’élément
de surprise. Les surprises sont propices aux
accidents.
•Tenirfermementlascieà deux mains lorsque
le moteur tourne. Placer la main droite sur
la poignée arrière et la main gauche sur la
poignée avant, le pouce et les autres doigts
solidement refermés sur les deux poignées.
Unepriseferme,brasgauchetendufacilitele
contrôle de la scie en cas de rebond.
•S’assurerquel’endroitoulascieestutilisée
estdépourvudetoutobstacle.NEPASlaisser
l’extrémité du guide entrer en contact avec
une bille, une branche, une palissade ou tout
autre obstacle risquant d’être heurté pendant
le sciage.
•Couperaveclemoteurtournantàhautrégime.
Toujours couper avec le moteur tournant
àsa vitesse maximum.Serrer la gâchette
d’accélérateur à fond et maintenir une vitesse
de coupe constante.
•Ne pastravailler hors deportée nicouper
au-dessus de la hauteur de la poitrine.
•Suivrelesinstructionsd’affûtageetd’entretien
fournies par le fabricant de la scie à chaîne.
•Utiliserexclusivementlesguidesetchaînes
spécifiés par le fabricant ou leur équivalent.
Ne pas utiliser la scie en la tenant d’une seule
main. Ceci exposerait l’utilisateur, les autres
travailleurs et toutes les personnes présentes
à des risques de blessures graves. Les scies à
chaîne sont conçues pour être utilisées à deux
mains.
Ne pas utiliser la scie à chaîne en état de
fatigue. La fatigue entraîne le manque de
prudence. Redoubler de prudence avant les
périodes de repos et vers la fin de la journée
de travail. Ne jamais utiliser cette scie en état
de fatigue ou sous l’influence de l’alcool, de
drogues ou de médicaments.
Porter des chaussures de sécurité. Porter
des vêtements ajustés, des gants de protection,
une protection oculaire, une protection auditive
et un casque.
Le port d’un vêtement de protection lourd
peut accroître la fatigue chez l’utilisateur et
lui occasionner un coup de chaleur. Par temps
chaud et humide, les travaux exigeants devraient
être planifiés en début de matinée ou à la fin de
la journée, lorsque le temps est plus frais.
Ne pas se tenir sur une surface instable, telle
qu’une échelle, un échafaudage, un arbre, etc.,
lors de l’utilisation de la scie.
Manipuler le carburant avec précaution.
Éloigner la scie à chaîne d’au moins 9 m (30 pi) du
point de ravitaillement avant de lancer le moteur.
Ne laisser personne approcher de la scie
pendant le démarrage ou le sciage. Éloigner
les badauds et animaux domestiques de la zone
de travail.
Ne pas commencer à couper sans avoir
déblayé la zone de travail, se tenir bien campé
et avoir prévu une trajectoire pour échapper à
l’arbre en train de s’abattre.
RÈGLES DE SÉCURITÉ GÉNÉRALES

Page 4 — Français
AVERTISSEMENT :
Les avertissements, autocollants et instructions
contenus dans cette section du manuel
concernent la sécurité. Le non-respect de
toutes les instructions peut entraîner des
blessures graves.
Garder toutes les parties du corps à l’écart
de la scie à chaîne lorsque le moteur tourne.
Toujours transporter la scie à chaîne avec le
moteur arrêté et le frein de chaîne engagé,
le guide et la chaîne dirigés vers l’arrière et
l’échappement à l’opposé du corps. Lors du
transport de la scie, utiliser le fourreau de guide
approprié.
Ne jamais utiliser une scie à chaîne
endommagée, incorrectement réglée ou
pas complètement et solidement assemblée.
S’assurerquelachaînes’immobiliselorsquela
gâchetted’accélérateurestrelâchée.
■Arrêter le moteur avant de poser la scie. Ne
pas laisser le moteur en marche sans surveillance.
Par mesure de sécurité supplémentaire, engager
le frein avant de poser la scie.
■Faire preuve de la plus extrême prudence
lors de la coupe de petits buissons et de
jeunes arbres, car les branchettes fines
peuvent se prendre dans la chaîne et fouetter
l’utilisateur ou le déséquilibrer.
■Lors de la coupe d’une branche sous tension,
toujours rester vigilant, car la branche risque de
fouetter lorsque la tension dans les fibres de
boisestrelâchée.
■Garder les poignées sèches, propres et
exemptes d’huile ou de mélange de carburant.
Être conscient du risque d’empoisonnement
par oxyde de carbone. N’utiliser la scie à
chaîne que dans des endroits bien aérés.
■
Ne pas utiliser la scie en se tenant dans un arbre
à moins d’avoir reçu la formation nécessaire.
Ne pas utiliser la scie en se tenant sur une
échelle, ce qui est extrêmement dangereux.
Tous les entretiens et réparations, autres
que ceux décrits dans le manuel d’utilisation,
doivent être confiés à un personnel dûment
qualifié et spécialisé dans les réparations des
scies à chaîne. (Par exemple, si des outils
inadéquats sont utilisés pour enlever le volant-
moteur ou le soutenir lors du démontage
de l’embrayage, ce volant moteur risque de
subir des dommages structurels, causant
ultérieurement son éclatement).
Toujours garder un extincteur à portée de
la main lors de l’utilisation de scie à chaîne.
Utiliser exclusivement les guides et chaînes
à faible risque de rebond spécifiés pour
l’outil.
■Ne pas adapter le bloc-moteur à un guide
à archet, ni l’utiliser pour entraîner des
accessoires non spécifiés pour la scie.
■La scie à moteur à essence (ou électrique)
a reçu la classification CSA pour scies de
classe 1C (ou 2C). Elle est conçue pour être
utilisée infréquemment par les propriétaires
de maison ou chalet et les campeurs pour
des applications d’ordre général, telles que la
coupe de bois de chauffage, etc. Elle n’est pas
conçue pour un usage prolongé. Les périodes
d’utilisation prolongée peuvent entraîner des
problèmes circulatoires dans les mains de
l’opérateur, causés par les vibrations. Pour ce
type d’application, il peut être bon d’utiliser une
scie équipée d’un dispositif anti-vibrations.
Conserver ces instructions. Les consulter
fréquemment et les utiliser pour instruire les
autresutilisateurs. Si cetproduitest prêté, il
doit être accompagné de ces instructions.
Ne pas couper de lianes ni de broussailles
de petite taille [moins de 76 mm (3 po) de
diamètre].
Les surfaces de l’échappement sont brûlantes
pendant et après l’utilisation de la scie.
Garder toutes les parties du corps à l’écart de
l’échappement.Toutcontactavecl’échappement
peutcauserdesbrûluresgraves.
RÈGLES DE SÉCURITÉ GÉNÉRALES
RÈGLES DE SÉCURITÉ PARTICULIÈRES

Page 5 — Français
■Toujours maintenir la scie à deux mains
lorsque le moteur tourne. La tenir fermement,
les doigts et pouces encerclant les poignées.
■Ne jamais laisser quiconque n’ayant pas reçu
des instructions d’utilisation appropriées
utiliser la scie. Cette règle s’applique aux scies
de location aussi bien qu’à celles appartenant
à des particuliers.
■Avant de lancer le moteur, s’assurer que la
chaîne n’est en contact avec aucun objet.
Porter des vêtements bien ajustés. Toujours
porter des pantalons longs, des bottes et des
gants épais. Ne pas porter de bijoux, shorts,
sandales et ne pas travailler pieds nus. Ne pas
porter des vêtements amples qui pourraient
être happés dans le moteur ou se prendre
dans la chaîne ou les broussailles. Porter une
combinaison, des jeans, des jambières en
matériau résistant aux coupures ou dotés de
pièces résistantes aux coupures. Attacher les
cheveux longs pour les maintenir au-dessus des
épaules.
■Porter des chaussures de sécurité à semelles
antidérapantes et des gants épais pour assurer
une bonne prise et protéger les mains.
■Porter une protection oculaire certifiée
conforme à la norme ANSI Z87.1, ainsi qu’une
protection auditive et un casque lors de
l’utilisation de cet outil.
Éloigner les badauds et animaux domestiques
de la zone de travail. Ne laisser personne
approcher de la scie pendant le démarrage ou
le sciage.
NOTE : L’étendue de la zone de travail dépend
du type de sciage effectué ainsi que de la taille
de l’arbre ou de la pièce à débiter. Par exemple,
l’abattage d’un arbre exige une zone de travail
plus grande que d’autres travaux de coupe
(tronçonnage de branches, etc.).
Garder la protection antirebond SAFE-T-TIP®
correctement installée sur le guide pour éviter
le rebond rotatif.
Suivre les instructions d’affûtage et d’entretien
fournies par le fabricant de la scie à chaîne.
Ne jamais utiliser une scie à chaîne
endommagée, incorrectement réglée ou
pas complètement et solidement assemblée.
S’assurer que la chaîne s’immobilise lorsque
lagâchette d’accélérateurest relâchée.Si la
chaîne continue de tourner lorsque le moteur
est au ralenti, il peut être nécessaire de régler
le carburateur. Voir Réglage du carburateur à
la section Entretiendecemanuel.Silachaîne
continue de tourner au ralenti après avoir
effectué le réglage, la confier à un centre de
réparations agréé et ne plus l’utiliser tant que
les réparations n’ont pas été effectuées.
APPROVISIONNEMENT EN CARBURANT
(NE PAS FUMER !)
■Manipuler le carburant avec précaution pour
réduirelesrisquesd’incendiesetdebrûlures.
Le carburant est extrêmement inflammable.
■Mélanger et conserver le carburant dans un
bidon ou jerrycan approuvé pour l’essence.
■Mélanger le carburant à l’extérieur, loin de
toute flamme ou source d’étincelles.
■Poser l’outil sur un sol nu, couper le moteur
et le laisser refroidir avant de faire le plein.
■Desserrer lentement le bouchon du réservoir
de carburantpourrelâcherlapressionetéviter
que le carburant ne s’échappe.
■Une fois le réservoir plein, remettre le
bouchon en place et le serrer fermement.
■Essuyer tout le carburant éventuellement
répandu sur l’outil.S’éloignerde9m(30pi)
du point d’approvisionnement avant de lancer
le moteur.
N’essayer en aucun cas de brûler le carburant
répandu.
REBOND
Le rebond est une réaction dangereuse
pouvant causer des blessures graves. Ne
pas compter exclusivement sur les dispositifs
de sécurité fournis avec la scie. L’utilisateur
doit prendre un certain nombre de précautions
particulières pour éviter les accidents et
blessures au cours de son travail. Voir les
sections Règles de sécurité générales et
Utilisation de ce manuel pour des informations
supplémentaires concernant le rebond et les
moyens d’éviter des blessures graves.
RÈGLES DE SÉCURITÉ PARTICULIÈRES

Page 6 — Français
Certains des symboles ci-dessous peuvent être utilisés sur ce produit. Veiller à les étudier et à apprendre
leursignification.Uneinterprétationcorrectedecessymbolespermettrad’utiliserceproduitplus
efficacement et de réduire les risques.
SYMBOLE NOM DÉSIGNATION / EXPLICATION
Symboled’alertede
sécurité Indique un risque de blessure potentiel.
Lire le manuel
d’utilisation
Pour réduire les risques de blessures, l’utilisateur doit lire
et veiller à bien comprendre le manuel d’utilisation avant
d’utiliser ce produit.
Protections oculaire,
auditive et casque
Porter une protection oculaire avec écrans latéraux certifiée
conformeàlanormeANSIZ87.1,ainsiqu’uneprotection
auditive et un casque lors de l’utilisation de cet outil.
ProtectiondenezSAFE-
T-TIP®
LaprotectiondenezSAFE-T-TIP® du guide-chaîne permet
d’éviter le rebond.
Ne pas fumer Ne pas fumer, ne pas approcher de flammes vives ou
étincelles.
Tenirlascieàdeuxmains Tenirlascieàdeuxmainsetl’utilisercorrectement.
Unemain Ne pas tenir la scie d’une seule main.
Monoxyde de carbone
Les moteurs à combustion produisent du monoxyde de
carbone, un gaz toxique inodore et mortel. Ne pas utiliser la
scie dans un espace clos.
Rebond DANGER ! Attention aux rebonds.
Contact avec l’extrémité
du guide Éviter tout contact avec l’extrémité du guide.
Gants Porter des gants épais antidérapants lors de l’utilisation de
la scie à chaîne.
Essence et huile
Utiliserdel’essencesansplombpourautomobiles,présentant
unindiced’octanede87([R+M]/2)ouplus.Cetoutilutilise
unmoteur2tempsquinécessiteunmélanged’essenceet
delubrifiant2temps.
Ne laisser personne
s’approcher
Garder les badauds et animaux domestiques à une distance
de15m(50pi)minimum.
SYMBOLES

Page 7 — Français
DÉPANNAGE
Le dépannage exigeant des précautions extrêmes
et la connaissance du système, il ne doit être confié
qu’à un technicien de service qualifié. En ce qui
concerne les réparations, nous recommandons
de confier l’outil au CENTRE DE RÉPARATIONS
AGRÉÉ le plus proche. Utiliser exclusivement
des pièces identiques à celles d’origine pour les
réparations.
AVERTISSEMENT :
CONSERVER CES INSTRUCTIONS
AVERTISSEMENT :
Pour éviter des blessures graves, ne pas essayer
d’utiliser ce produit avant d’avoir lu entièrement
et bien compris toutes les instructions
contenuesdanslemanueld’utilisation.Sitous
les avertissements et toutes les consignes de
sécurités et instructions du manuel d’utilisation
ne sont pas bien compris, ne pas utiliser ce
produit. Appeler le service après-vente Ryobi.
L’utilisation de tout outil motorisé peut entraîner la projection d’objets dans les yeux
et causer des lésions oculaires graves. Lors de l’utilisation d’outils motorisés, toujours
porter des lunettes de sécurité étanches ou à coques latérales ou, si nécessaire, un
masque facial intégral. Nous recommandons d’utiliser un masque facial à champ
de vision élargi, plutôt que des lunettes de vue ou des lunettes de sécurité munies
d’écrans latéraux. Toujours porter une protection oculaire certifiée conforme à la
normeANSIZ87.1.
Les termes de mise en garde suivants et leur signification ont pour but d’expliquer le degré de risques
associé à l’utilisation de ce produit.
SYMBOLE SIGNAL SIGNIFICATION
DANGER : Indique une situation extrêmement dangereuse qui, si elle
n’est pas évitée, aura pour conséquences des blessures
graves ou mortelles.
AVERTISSEMENT : Indique une situation potentiellement dangereuse qui, si elle
n’est pas évitée, pourrait entraîner des blessures graves
ou mortelles.
ATTENTION : Indique une situation potentiellement dangereuse qui, si elle
n’est pas évitée, pourrait entraîner des blessures légères
ou de gravité modérée.
ATTENTION : (Sanssymboles’alertedesécurité)Indiqueunesituation
pouvant entraîner des dommages matériels.
SYMBOLES

Page 8 — Français
Tronçonnage
Coupe transversale d’un arbre abattu ou d’une
bille de bois pour le débiter en tronçons.
Frein de chaîne
Dispositif permettant d’arrêter la scie à chaîne.
Bloc moteur de scie à chaîne
Scieàchaînesanslachaîneetleguide.
Embrayage
Mécanisme pour connecter et déconnecter un
élément entraîné de la source d’entraînement
rotatif.
Pignon d’entraînement
Roue dentée entraînant la chaîne.
Abattage
Opération de coupe d’un arbre pour le faire tomber.
Entaille d’abattage
Entaille finale d’une opération d’abattage, pratiquée
à l’opposé de l’entaille de dessous.
Garde avant de main
Barrière structurelle placée entre la poignée
avant et le guide de chaîne de la scie, se trouvant
généralement près de la position de la main sur
la poignée avant et parfois utilisée comme levier
de commande du frein de chaîne.
Poignée avant
Poignée de maintien placée à l’avant de la scie à
chaîne. Cette poignée est pour la main gauche.
Guide de chaîne
Structure rigide, dotée d’un rail de support et
guidage de la chaîne.
Rebond
Mouvement du guide vers le haut ou vers l’arrière
se produisant lorsque la chaîne heurte un objet,
tel qu’une bille de bois ou une branche, dans la
partie supérieure de l’extrémité du guide, ou lorsque
l’entaille se referme et pince la chaîne dans le bois.
Rebond (pincement)
Recul brutal de la scie se produisant lorsque le bois
de l’entaille se referme, sur la chaîne en rotation
dans la partie supérieure du guide.
Rebond (rotatif)
Mouvement brutal de la scie vers le haut et l’arrière
pouvant se produire lorsque la chaîne en rotation
heurte un objet, tel qu’une bille de bois ou une
branche, dans la partie supérieure de l’extrémité
du guide.
Chaîne à rebond réduit
Chaîne conforme aux normes antirebond ANSI
B175.1lorsqu’elleesttestéesurdeséchantillons
représentatifs de scies à chaîne.
Position de coupe normale
Positions utilisées pour le tronçonnage et l’abattage.
Sifflet d’abattage
Entaille permettant de diriger le sens de chute de
l’arbre.
Poignée arrière
Poignée de maintien placée à l’arrière de la scie.
Elle comporte généralement l’accélérateur. Cette
poignée est pour la main droite.
Guide de chaîne à rebond réduit
Guide ayant été prouvé réduire considérablement
le rebond.
Chaîne de rechange
Chaîne conforme aux normes antirebond ANSI
B175.1 lorsque testée sur certaines scies. Une
telle chaîne peut ne pas répondre aux exigences
deperformancesANSIlorsqu’elleestutiliséesur
d’autres scies.
Garde SAFE-T-TIP®
Accessoire pouvant être monté à l’extrémité du
guide pour empêcher que la chaîne ne contacte
le bois à cet endroit.
Chaîne
Unechaîneenboucledotéededentspourlacoupe
du bois, entraînée par le moteur et supportée par
le guide.
Fouet
Arbuste ou branche fléchie ou bloquée sous
tension. Cette pièce peut se détendre brusquement
lorsqu’elle est coupée, créant une situation
dangereuse.
GLOSSAIRE

Page 9 — Français
SPÉCIFICATIONS
Longueur du guide :
RY10520 .................................508mm(20po)
RY10518 .................................457mm(18po)
Pas de la chaîne ..................... 8,3mm(0,325po)
Épaisseur de la chaîne .........1,27mm(0,050po)
Typedechaîne ..................................... Standard
Pignon d’entraînement ............................ 7 dents
Cylindrée .................................................... 46 cc
PROTECTION DE
POIGNÉE AVANT/
FREIN DE CHAÎNE
POIGNÉE
AVANT
COUVERCLE DU
CYLINDRE
DÉVERROUILLAGE
DE GÂCHETTE
BOUCHON DU
RÉSERVOIR D’HUILE DE
CHAÎNE
POIRE
D’AMORÇAGE
LEVIER DE
VOLET DE
DÉPART
Puissance du moteur ........................ 2,5HPmin
Régime de ralenti .........2600-3400r/min(RPM)
Contenance du réservoir de carburant .... 575ml
(19,4oz)
Volume du réservoir d’huile de chaîne ..... 350ml
(11,8oz)
Poids, sans guide, chaîne,
carburant ou huile .......................... 4,5kg(10lb)
CARACTÉRISTIQUES
ÉCROUS DE
MONTAGE DU GUIDE
Fig.1a
SAFE-T-TIP®

Page 10 — Français
POUR SE FAMILIARISER AVEC LA SCIE
À CHAÎNE
Voir les figures 1a et 1b.
L’utilisation sûre de ce produit exige une
comprehension des renseignements figurant sur
le produit et contenus dans le manuel d’utilisation,
ainsi qu’une bonne connaissance du projet
entrepris. Avant d’utiliser ce produit, se familiariser
avec toutes ses caractéristiques et règles de
sécurité.
LEVIER DE VOLET DE DÉPART
Le levier de volet de départ ouvre et ferme
l’étrangleur dans le carburateur. Les positions
disponibles comprennent VOLET DE DÉPART
OUVERTetMARCHE.
PROTECTION DE POIGNÉE AVANT /
FREIN DE CHAÎNE
Ce frein est conçu pour arrêter rapidement la
rotation de la chaîne. Lorsque le levier de frein de
chaîne/protectiondepoignéeestpousséversle
guide, la chaîne doit s’immobiliser immédiatement.
Le frein de chaîne n’empêche pas le rebond.
GUIDE
La tête du guide installé en usine est de faible rayon,
ce qui offre une moindre tendance au rebond.
CHAÎNE À REBOND RÉDUIT
La chaîne à rebond réduit aide à limiter la force
de réaction du rebond en empêchant les dents de
mordre trop profondément dans la zone de rebond.
POIRE D’AMORÇAGE
La poire d’amorçage pompe le carburant du
réservoir de carburant vers le carburateur.
PROTECTION ANTIREBOND SAFE-T-
TIP®
La protection antirebond SAFE-T-TIP® est un
accessoire monté sur l’extrémité du guide,
empêchant que la chaîne à cet endroit touche le
bois.
GÂCHETTE D’ACCÉLÉRATEUR
La gâchette d’accélérateur est utilisée pour
contrôler la rotation de chaîne.
Fig.1b
POIGNÉE
ARRIÈRE
GÂCHETTE
D’ACCÉLÉRATEUR
COMMUTATEUR
D’ALLUMAGE
BOUCHON DU
RÉSERVOIR
BOÎTIER DE
DÉMARREUR/
VENTILATEUR
POIGNÉE DU
LANCEUR
CARACTÉRISTIQUES

Page 11 — Français
AVERTISSEMENT :
Ne pas laisser la familiarité avec ce produit
faire oublier la prudence. Ne pas oublier qu’une
fraction de seconde d’inattention peut entraîner
des blessures graves.
AVERTISSEMENT :
Toujours porter une protection oculaire avec
écrans latéraux certifiée conforme à la norme
ANSI Z87.1, avec protection auditive et un
casque.Sicetteprécautionn’estpasprise,des
objets peuvent être projetés dans les yeux et
d’autres lésions graves.
LISTE DE CONTRÔLE D’EXPÉDITION (continu)
Lubrifiant2temps
Coffret
Manuel d’utilisation
AVERTISSEMENT :
Sidespiècesmanquentousontendommagées,
ne pas utiliser ce produit avant qu’elles aient été
remplacées. Le fait d’utiliser ce produit même
s’il contient des pièces endommagées ou
s’il lui manque des pièces peut entraîner des
blessures graves.
AVERTISSEMENT :
Ne pas essayer de modifier ce produit ou de
créer des accessoires non recommandés pour
ce produit. De telles altérations ou modifications
sont considérées comme un usage abusif et
peuvent créer des conditions dangereuses,
risquant d’entraîner des blessures graves.
NOTE : Cette scie à chaîne a été soumise à des
essais complets en usine. Il est donc normal qu’elle
présente des traces de lubrifiant. Lire toutes les
étiquettes avant de les retirer et de les ranger avec
le manuel d’utilisation.
DÉBALLAGE
Ce produit a été expédié complètement assemblé.
Avec précaution, sortir le produit et les accessoires
dela boîte. S’assurerquetoutes les pièces
figurant sur la liste de contrôle sont incluses.
AVERTISSEMENT :
Ne pas utiliser le produit s’il n’est pas
complètement assemblé ou si des pièces
semblent manquantes ou endommagées. Le
fait d’utiliser un produit assemblé de façon
inadéquate ou incomplète peut entraîner des
blessures graves.
Examiner soigneusement le produit pour
s’assurer que rien n’a été brisé ou endommagé
en cours de transport.
Ne pas jeter les matériaux d’emballage avant
d’avoir soigneusement examiné le produit et
avoir vérifié qu’il fonctionne correctement.
Si des pièces sont manquantes ou
endommagées,appelerle1-800-860-4050.
LISTE DE CONTRÔLE D’EXPÉDITION
Scieàchaîne
Fourreau
Clé mixte
AVERTISSEMENT :
Ne pas utiliser d’outils ou accessoires non
recommandés pour ce produit. L’utilisation de
pièces et accessoires non recommandés peut
entraîner des blessures graves.
APPLICATIONS
Ce produit peut être utilisé pour les applications
ci-dessous :
Ébranchage, abattage et débitage
Élimination des racines échasses
ASSEMBLAGE
UTILISATION

Page 12 — Français
AVERTISSEMENT :
Toujours arrêter le moteur avant
l’approvisionnement en carburant. Ne jamais
remplir le réservoir d’une machine lorsque le
moteur tourne ou est chaud. S’éloigner d’au
moins 9 m (30 pi) du point d’approvisionnement
avant de lancer le moteur. NE PAS FUMER!
Rester à l’écart des flammes vives et des
étincelles. Ne pas prendre cette précaution
pourrait entraîner des blessures graves.
CARBURANT ET APPROVISIONNEMENT
SÉCURITÉ DE MANIPULATION DU
CARBURANT
AVERTISSEMENT :
S’assurerdel’absencedefuitesdecarburant.
Le cas échéant, effectuer les réparations
nécessaires pour éviter un incendie ou des
brûlures.
Le carburant étant extrêmement inflammable,
il doit toujours être manipulé avec précaution.
Toujoursfairele plein àl’extérieur et ne pas
inhaler les vapeurs de carburant.
Ne pas laisser l’essence ou le lubrifiant entrer
en contact avec la peau.
Garder le lubrifiant et l’essence à l’écart des
yeux. En cas d’éclaboussure de lubrifiant ou de
carburant dans les yeux, les rincer immédiatement
àl’eauclaire.Sil’irritationpersiste,consulter
immédiatement un médecin.
Nettoyer immédiatement tout carburant
répandu.
Pour plus de détails, voir Approvisionnement
en carburant à la section Règles de sécurité
particulières de ce manuel.
MÉLANGE DU CARBURANT
Cetoutilutiliseunmoteur2tempsquinécessite
unmélanged’essenceetdelubrifiant2temps.
Mélanger de l’essence sans plomb et de le
lubrifiant moteur 2 temps dans un récipient
propre homologué pour l’essence.
■Ce moteur est certifié pour fonctionner avec de
l’essence sans plomb pour automobiles, avec
unindiced’octanede87[(R+M)/2]ouplus.
■Ne pas utiliser de mélanges tout préparés des
stations services, tels que ceux utilisés dans les
motos, vélomoteurs, etc.
■Utiliserunehuile2tempsautomélangeusede
haute qualité pour moteurs refroidis par air. Ne
pas utiliser de lubrifiant automobile ou pour
moteurhors-bord2temps.
■Ajouter2 % delubrifiant à l’essence. Ceci
permetd’obtenirunmélangeà50/1.
Mélanger le carburant soigneusement avant
chaque approvisionnement.
■Mélanger en petites quantités. Ne pas mélanger
plus de carburant qu’il ne sera utilisé dans une
période de 30 jours. Il est recommandé d’utiliser
unehuile2tempscontenantunstabilisateurde
carburant.
MÉLANGE PREMIUM EXACT™ (50:1)
ESSENCE LUBRIFIANT
1gallon(US) 2,6oz
1litre 20cc(20ml)
CARBURANTS OXYGÉNÉS
NE PAS UTILISER LE CARBURANT E85. LE NON-
RESPECT DE CETTE DIRECTIVE ENTRAÎNE
L’ANNULATION DE LA GARANTIE.
NOTE : Les dommages au circuit de carburant
et les problèmes de performance résultant de
l’utilisation de carburant oxygéné contenant des
pourcentages de composants oxygénés supérieurs
à ceux indiqués ci-dessous ne sont pas couverts
par la garantie.
Éthanol. L’essence contenant jusqu’à 10 %
d’éthanol par volume (généralement désignée
E10)ou15%d’éthanolparvolume(généralement
désignéeE15)estacceptable.L’essencedésignée
E85nel’estpas.
UTILISATION

Page 13 — Français
REMPLISSAGE DU RÉSERVOIR DE
CARBURANT
Voir la figure 2.
Nettoyer le pourtour du bouchon de remplissage
pour éviter la contamination du carburant.
Desserrer lentement le bouchon du réservoir de
carburant.
Verser soigneusement le mélange de carburant
dans le réservoir. Éviter de répandre du
carburant.
Avant de remettre le bouchon en place, nettoyer
et inspecter son joint torique.
Remettre immédiatement le bouchon en place
et le serrer à la main. Essuyer tout carburant
répandu.
NOTE : Il est normal qu’un moteur neuf dégage de
la fumée pendant et après la première utilisation.
APPOINT DE LUBRIFIANT POUR GUIDE
ET CHAÎNE
Voir la figure 3.
UtiliserdelubrifiantRYOBI pour guide et chaîne.
Cette huile, conçue pour les chaînes et huileurs
de chaîne, est formulée pour fonctionner dans une
vaste plage de températures et n’a pas besoin
d’être diluée. Cette scie à chaîne doit consommer
approximativement un réservoir de lubrifiant par
réservoir de carburant.
NOTE : Ne pas utiliser de lubrifiant sale, usagée ou
autrement contaminée. Cela pourrait endommager
la pompe à huile, le guide ou la chaîne.
Verser soigneusement le lubrifiant pour guide
et chaîne dans le réservoir.
Remplir le réservoir d’huile lors de chaque
approvisionnement en carburant du moteur.
UTILISATION
Fig.2
Fig.3

Page 14 — Français
UTILISATION DU FREIN DE CHAÎNE
Voir les figures 4 et 5.
Le fonctionnement du frein de chaîne doit être
vérifié avant chaque utilisation.
Engager le frein de chaîne en faisant pivoter la
main gauche autour de la poignée avant. Cela
permet de pousser du revers de la main le levier
du frein de chaîne et protège-main vers le guide-
chaîne, alors que la chaîne tourne rapidement.
S’assurer que les deux mains demeurent en
contact avec les poignées de la scie en tout
temps.
RemettrelefreinenpositiondeMARCHEen
saisissantlehautdulevierdefrein/protège-
main en direction de la poignée avant, jusqu’à
ce qu’un déclic se produise.
AVERTISSEMENT :
Silefreinn’arrêtepaslachaîneimmédiatement
confier la scie à un centre de réparations
agréé pour la faire réparer avant de l’utiliser de
nouveau.
DÉMARRAGE DU MOTEUR
Voir les figures 6 à 11.
La méthode de démarrage n’est pas la même,
selon que le moteur est chaud ou froid.
AVERTISSEMENT :
Garder le corps à gauche de la ligne de chaîne.
Ne jamais chevaucher la scie ou la chaîne ou se
pencher au-delà de la ligne de chaîne.
Placer la scie sur un sol plan et veiller à ce
qu’aucun objet ou obstacle risquant d’être
heurté par le guide ou la chaîne, ne se trouve à
proximité.
Tenirfermement lapoignée avantde lamain
gauche et placer le pied droit sur la base de la
poignée arrière.
Démarrage du moteur froid :
Mettre le commutateur en position de MARCHE
( I ).
S’assurerquelefreindechaîneestenposition
demarcheentirantlelevier/protège-mainen
arrière.
POSITION
DE
MARCHE
FREIN
ENGAGÉ
POIGNÉE DU
LANCEUR
COMMUTATEUR
D’ALLUMAGE EN
POSITION MARCHE
Appuyer à fond sur la poire d’amorçage et la
relâcher,7fois.
Tirerlelevier de volet de départ, en position
COMPLÈTEMENT OUVERTE.
UTILISATION
Fig.4
Fig.5
Fig.6
Fig.7

Page 15 — Français
Lorsquelatempératureestsupérieureà10°C
(50°F),tirersurlecordonlanceurjusqu’àceque
le moteur essaie de démarrer. Ne pas tirer plus
de 3 fois. Lorsque la température est inférieure à
10°C(50°F),tirersurlecordonlanceurjusqu’à
ce que le moteur essaie de démarrer. Ne pas
tirerplusde5fois.
Pousser le volet de départ en position
MARCHE.
Tirer sur le cordon lanceur jusqu’à ce que le
moteur tourne.
NOTE : Laisser la scie tourner avec le volet de
départdans cette position pendant 15 à 30
secondes, suivant la température.
Appuyersur la gâchette et appuyer sur la
gâchetteetlarelâcherlaisserlemoteurretourner
au ralenti après une durée totale d’environ 30
secondes.
ATTENTION :
Nepasrelâcherl’accélérationpartiellelorsque
le frein de chaîne est engagé endommagerait
gravement l’outil. Ne jamais appuyer sur la
gâchetteetlamaintenirappuyéelorsquelefrein
de chaîne est engagé.
Démarrage du moteur chaud :
Mettre le commutateur en position de MARCHE
( I ).
S’assurerquelefreindechaîneestenposition
demarcheentirantlelevier/protège-mainen
arrière.
Mettre le levier d’étrangleur en position
COMPLÈTEMENT OUVERT, puis le remettre
immédiatement en position MARCHE pour
fonctionner au régime de ralenti accéléré.
Tirer sur le cordon lanceur jusqu’à ce que le
moteur tourne, cinq foisau maximum. Sile
moteur ne démarre pas après cinq tentatives,
utiliser la procédure de démarrage à froid.
Appuyer sur la gâchette d’accélérateur et la
rêlacher, puis laisser le moteur retourner au
ralenti.
POSITION
DE MARCHE
LEVIER DE VOLET
DE DÉPART
POIRE
D’AMORÇAGE
GÂCHETTE
D’ACCÉLÉRATEUR
DÉVERROUILLAGE
DE GÂCHETTE
UTILISATION
Fig.9
Fig.10
Fig.8
Fig.11

Page 16 — Français
ARRÊT DU MOTEUR
Voir les figures 12 et 13.
Relâcherlagâchetted’accélérateuretlaisserle
moteur retourner au ralenti. Pour couper le moteur,
mettre le commutateur d’allumage en position
D’ARRÊT ( O ). Ne pas poser la scie à chaîne sur
le sol si la chaîne est encore en mouvement. À
titre de sécurité supplémentaire, engager le frein
lorsque la scie n’est pas en usage.
Silemoteurnepeutpasêtrearrêtéaumoyendu
commutateur d’allumage, tirer à fond sur le levier
de volet de départ (position COMPLÈTEMENT
OUVERTE ) et engager le frein de chaîne pour
arrêterlemoteur.Silascienes’arrêtepaslorsque
le commutateur d’allumage est mis en position
D’ARRÊT, faire réparer le commutateur avant
d’utiliser de nouveau la scie, afin d’éviter des
situations dangereuses pouvant entraîner des
blessures graves.
NOTE : Après avoir fini d’utiliser la scie, desserrer
les bouchons des réservoirs d’huile de chaîne et
demélangedecarburantpourrelâcherlapression
dans les réservoirs. Laisser le moteur refroidir avant
de remiser la scie.
RÉGLAGE DURALENTI
Voir la figure 14.
Silemoteurdémarre,tourneetaccélère,mais
ne tient pas le ralenti, tourner la vis de ralenti
« T » vers la droite pour augmenter le régime.
Si la chaîne tourne lorsque le moteur est au
ralenti tourner la vis de ralenti « T » vers la
gauche pour réduire le régime et arrêter la
rotationdelachaîne.Silachaînecontinuede
tourner au ralenti après avoir effectué le réglage,
confier la scie à un centre de réparations agréé,
et ne plus l’utiliser tant que les réparations n’ont
pas été effectuées.
COMMUTATEUR
D’ALLUMAGE EN
POSITION D’ARRÊT
FREIN
ENGAGÉ
VIS DE RALENTI
EN « T »
UTILISATION
Fig.13
Fig.14
Fig.12

Page 17 — Français
AVERTISSEMENT :
LA CHAÎNE NE DOIT JAMAIS TOURNER
LORSQUE LE MOTEUR EST AU RALENTI.
Tourner la vis de ralenti «T » vers la gauche
pour réduire le régime de ralenti et immobiliser
la chaîne ou confier la scie à un centre de
réparations agréé, et ne plus l’utiliser tant que
les réparations n’ont pas été effectuées. La
rotation de la chaîne au ralenti peut causer des
blessures graves.
POUSSÉE ET TRACTION
Voir la figure 15.
La force de réaction s’exerce toujours dans le
sens opposé au mouvement de la chaîne. Par
conséquent, l’opérateur doit être prêt à contrôler
laTRACTIONlorsquelacoupeesteffectuéeavec
lapartieinférieureduguideetlaPOUSSÉElorsque
la coupe est effectuée avec la partie supérieure
du guide.
NOTE : Cette scie à chaîne a été soumise à des
essais complets en usine. Il est donc normal qu’elle
présente des traces d’huile.
AVERTISSEMENT :
Le REBOND se produit lorsque la chaîne en
rotation heurte un objet dans la partie supérieure
de l’extrémité du guide ou lorsque l’entaille
se referme et pince la chaîne dans le bois. Le
contact de la partie supérieure de l’extrémité du
guide peut faire plonger la chaîne dans le bois
et la bloquer pendant un instant. Il en résulte
une réaction fulgurante, projetant le guide vers
le haut et l’arrière, en direction de l’utilisateur.
Le pincement de la chaîne sur le haut du guide
peut causer une projection violente de la lame
en arrière, en direction de l’utilisateur. Ces
réactions peuvent faire perdre le contrôle de la
scie et entraîner des blessures graves.
Ne pas compter exclusivement sur les dispositifs
de sécurité intégrés à la scie. L’utilisateur doit
prendre un certain nombre de précautions pour
éviter les accidents et blessures. Voir les Règles
de sécurité générales pour plus de détails.
TRACTION
POUSSÉE
UTILISATION
Fig.15

Page 18 — Français
LIGNE
DE
CHAÎNE
PRÉCAUTIONS À PRENDRE POUR
ÉVITER LE REBOND
Voir les figures 16 et 17.
Le rebond rotatif se produit lorsque la portion de la
chaîne en mouvement se trouvant dans la zone de
danger de rebond du guide heurte un objet. Il en
résulte une réaction fulgurante, projetant le guide
vers le haut et l’arrière, en direction de l’utilisateur.
Cette réaction peut faire perdre le contrôle de la
scie et entraîner des blessures graves.
PRÉPARATION POUR LA COUPE
TENUE CORRECTE DES POIGNÉES
Voir la figure 18.
Voir Règles de sécurité générales pour des inform-
ations au sujet de l’équipement de sécurité approprié.
Porter des gants antidérapants pour assurer
une prise et une protection maximum.
Tenirlasciefermement,àdeuxmains.Toujours
garder la main gauche sur la poignée avant et
la main droite sur la poignée arrière, de façon à
ce que le corps se trouve à gauche de la ligne
de chaîne.
AVERTISSEMENT :
Ne jamais utiliser une prise gauchère (mains
inversées) ou une position qui placerait le bras
ou le corps en travers de la ligne de chaîne.
Toujoursmaintenircorrectementlascielorsque
le moteur tourne. Les doigts doivent entourer la
poignée, le pouce étant passé au-dessous. Avec
cette prise, la scie risque moins d’échapper à
l’opérateur sous l’effet d’un rebond ou d’une autre
réaction soudaine de la scie. Il est dangereux
de tenir la scie avec les doigts et le pouce
du même côté de la poignée, car le moindre
à-coup peut faire perdre le contrôle de la scie.
REBOND
ROTATIF
ZONE DE
DANGER DE
REBOND
PRISE CORRECTE TENUE INCORRECTE
TENUE CORRECTE
DES POIGNÉES
UTILISATION
AVERTISSEMENT :
NEPASactionnerlagâchette
d’accélérateur avec la main
gauche en tenant la poignée
avant avec la main droite.
Ne jamais laisser une partie
du corps quelconque se
trouver dans la ligne de chaîne
pendant l’utilisation de la scie.
Fig.17
Fig.16
Fig.18

Page 19 — Français
BRAS
TENDU
POUCE AU-
DESSOUS DE LA
POIGNÉE
POSITION DE COUPE CORRECTE
Voir la figure 19.
AVERTISSEMENT :
Toujoursutiliserlapositiondecoupecorrecte
décrite dans cette section. Ne jamais à genoux
lorsque vous utilisez la scie à chaîne, excepté
si l’abattage d’un arbre comme le montre la
figure24.Genouxpourraitentraînerlapertede
la stabilité et le contrôle de la scie et causer des
blessures graves.
■Setenirbiencampéetenéquilibresurlesdeux
pieds, sur un sol ferme.
Garder le bras gauche tendu afin de pouvoir
résister à la force d’un éventuel rebond.
Garder le corps à gauche de la ligne de chaîne.
Garder le pouce au-dessous de la poignée.
PRÉCAUTIONS À PRENDRE SUR LE
LIEU DE TRAVAIL
Voir la figure 20.
Ne couper que du bois ou des matériaux dérivés
du bois. Ne jamais couper de la tôle, des
matières plastiques, du béton ou des matériaux
de construction autres que le bois.
■Ne jamais laisser un enfant utiliser la scie. Ne
jamais laisser quiconque utiliser la scie n’ayant
pas lu le manuel d’utilisation ou reçu des
instructions appropriées concernant la sécurité
et l’utilisation correcte de la scie.
■Tenirlesautrestravailleurs,badaudsetanimaux
domestiques à DISTANCE SÉCURITAIRE de
la zone de travail. Pour l’abattage, la distance
sécuritaire doit être au moins deux fois la taille
de l’arbre le plus grand se trouvant dans la zone
de coupe. Pendant les opérations de coupe,
maintenirunedistanced’aumoins4,6m(15pi)
entre les travailleurs.
■Toujourscouperaveclesdeuxpiedsposéssur
un sol ferme pour éviter toute perte d’équilibre.
■Ne pas couper au-dessus du niveau de la
poitrine, car il est difficile de contrôler une scie
maintenue plus haut en cas de rebond.
■Ne pas abattre d’arbres se trouvant à proximité
delignesélectriquesoudebâtiments.Cetype
de travail doit être confié à des professionnels.
■Ne couper que lorsque la visibilité et la lumière
permettent de voir clairement.
MÉTHODES D’UTILISATION / COUPE
ÉLÉMENTAIRES
S’exercerencoupantquelquespetitesbranches
avec la technique décrite ci-après, pour se
familiariser avec la scie avant d’entreprendre un
travail de coupe important.
Semettreenpositioncorrecte,faceàlapièce
à couper, avec la scie au ralenti.
Appuyeràfondsurlagâchettepouraccélérerau
maximum juste avant de commencer l’entaille.
Commencer la coupe avec la scie appuyée
contre la bille.
Maintenir le moteur à plein régime pendant toute
la durée de la coupe.
Laisser la scie effectuer le travail, ne la pousser
quelégèrementverslebas.Uneforceexcessive
pourrait endommager la chaîne, le guide ou le
moteur.
LIGNE DE
CHAÎNE
UTILISATION
Fig.19
Fig.20

Page 20 — Français Page 21 — Français
COIN
n Tenir compte de la force et de la direction du
vent, de l’inclinaison et de l’équilibre de l’arbre
et de la position des grosses branches. Tous ces
facteurs influencent la direction dans laquelle
l’arbre tombera. Ne pas faire levier pour abattre
un arbre dans une direction autre que la ligne
de chute naturelle.
n Pratiquer un sifflet d’environ 1/3 du diamètre
du tronc, dans le côté de l’arbre. Veiller à ce
que les entailles du sifflet se coupent à angle
droit par rapport à la ligne de chute. Le sifflet
d’abattage doit être taillé de façon à présenter
une ligne droite. Pour empêcher le pincement de
la scie sous le poids du bois, toujours effectuer
l’entaille inférieure du sifflet en premier.
n L’entaille arrière doit toujours être de niveau
et horizontale, et effectuée à au moins 51 mm
(2 po) au-dessus de l’entaille horizontale du
sifflet.
NOTE : Ne jamais couper jusqu’au sifflet.
Toujours laisser une épaisseur de bois [environ
51 mm (2 po), soit 1/10ème du diamètre du
tronc] entre l’entaille d’abattage et le sifflet.
Ceci s’appelle une « charnière ». Cette charnière
contrôle la chute de l’arbre et empêche le tronc
de glisser, de pivoter ou de basculer sur la
souche.
n Sur les arbres de grand diamètre, arrêter
l’entaille d’abattage avant qu’elle soit assez
profonde pour causer la chute de l’arbre ou
son affaissement sur la souche. Ensuite, insérer
des coins en bois ou en plastique dans le trait,
de façon à ce qu’ils ne touchent pas la chaîne.
Enfoncer les coins petit à petit pour faire levier
sur l’arbre.
NOTE : Lorsque des coins sont utilisés pour
tronçonner ou abattre un arbre, il peut être
nécessaire de retirer la garde antirebond SAFE-
T-TIP® afin de pouvoir tirer la lame au travers de
l’entaille. Une fois la coupe effectuée, remettre
immédiatement la garde en place.
nDès que l’arbre commence à tomber, arrêter
la scie et la poser immédiatement à terre.
S’échapper par le chemin dégagé tout en
prenant garde que rien ne tombe vers soi.
CHARNIÈRE
TRAIT
D’ABATTAGE
n Relâcher la gâchette dès que la coupe a été
effectuée et laisser le moteur retourner au
ralenti. Un fonctionnement à plein régime sans
charge de coupe peut inutilement causer une
usure excessive de la chaîne, du guide et du
moteur.
n Ne pas appuyer sur la scie en fin de coupe.
ABATTAGE D’ARBRES
SITUATIONS DANGEREUSES
AVERTISSEMENT :
Ne pas effectuer d’abattage par grand vent ou
en cas de fortes précipitations. Attendre que le
temps se calme.
Lors de l’abattage d’un arbre il est impératif de
respecter les avertissements ci-dessous pour éviter
des risques de blessure grave.
■nNe pas couper d’arbres extrêmement inclinés ou
de gros arbres aux branches pourries, à l’écorce
décollée ou au tronc creux. Ces arbres doivent
être poussés ou tirés à terre par un engin de
chantier lourd avant d’être débités.
■nNe pas abattre d’arbres se trouvant à proximité
de lignes électriques ou de bâtiments.
■nRegarder si l’arbre comporte des branches
mortes ou endommagées, risquant de tomber
et de heurter l’utilisateur pendant l’abattage.
■nPendant la coupe du trait d’abattage, observer
de temps à autre la cime de l’arbre pour s’assurer
qu’il tombera dans la direction souhaitée.
nSi l’arbre commence à tomber dans le mauvais
sens ou si la scie est pincée ou bloquée pendant
la chute, l’abandonner et s’échapper !
MÉTHODE CORRECTE D’ABATTAGE
Voir les figures 21 à 24.
n Prévoir un chemin de repli (ou plusieurs, en cas
où le chemin prévu serait bloqué). Déblayer
les alentours immédiats de l’arbre et s’assurer
qu’aucun obstacle n’encombre le chemin de
repli prévu. Déblayer le chemin de repli sans
danger sur environ 135º par rapport à la ligne
de chute prévue.
135º PAR
RAPPORT À LA
LIGNE DE CHUTE
PRÉVUE
CHEMIN
D’ÉCHAPPEMENT
LIGNE DE
CHUTE PRÉVUE
LIGNE DE CHUTE
PRÉVUE
SIFFLET
– ENVIRON 1/3
DU DIAMÈTRE
DU TRONC
ENTAILLE ARRIÈRE
DE 51 mm (2 po)
UTILISATION UTILISATION
COUPE
HORIZONTALE
COUPE
VERTICALE
SECTION
COUPÉE
Fig. 21
45°
45°
90°
135°
135°
90°
Fig. 22
CHARNIÈRE DE 51 mm (2 po)
OU 1/10ÈME DU DIAMÈTRE
CHEMIN
D’ÉCHAPPEMENT
Fig. 24
Fig. 25
Fig. 23

Page 22 — Français Page 23 — Français
CHARGE
COUPE DE FINITION
1ÈRE COUPE 1/3 DIAM
BILLE SOUTENUE À UNE EXTRÉMITÉ
BILLE SOUTENUE AUX DEUX EXTRÉMITÉS
COUPE DE FINITION
1ÈRE COUPE 1/3 DIAMÈTRE
CHARGE
pour maintenir l’entaille ouverte et empêcher le
pincement de la chaîne.
NOTE : Lorsque des coins sont utilisés pour
l’entaille ou l’abattage, il peut être nécessaire
de retirer la garde antirebond SAFE-T-TIP® afin
de pouvoir tirer la lame au travers de la section.
Une fois la coupe effectuée, remettre la garde en
place.
DÉBITAGE DE BILLES SOUS
CONTRAINTE
Voir la figure 28.
Pratiquer la première entaille à 1/3 du diamètre de
la pièce et finir la coupe des 2/3 restant depuis le
côté opposé. À mesure qu’elle est coupée, la bille
a tendance à ployer. Si la première coupe dépasse
le tiers du diamètre de la bille, la lame risque d’être
pincée ou bloquée dans l’entaille.
Prêter une attention particulière aux billes sous
contrainte pour éviter que le guide et la chaîne ne
soient pincés.
COUPE PAR LE DESSUS
Voir la figure 29.
Commencer sur le haut de la bille, le bas de la scie
appuyé contre le bois et exercer une légère pression
vers le bas. Noter que la scie aura tendance à tirer
vers l’avant.
COUPE PAR LE DESSOUS
Voir la figure 30.
Commencer sur le bas de la bille, le haut de la
scie appuyé contre le bois et exercer une légère
pression vers le haut. Noter que la scie aura
tendance à pousser vers l’utilisateur. Être préparé à
cette réaction et maintenir la scie fermement pour
garder le contrôle.
COUPE PAR LE DESSOUS
AVERTISSEMENT :
Ne jamais couper l’entaille d’abattage jusqu’au
sifflet. La charnière, qui est la section de bois
laissée intacte entre le trait d’abattage et le
sifflet contrôle la chute de l’arbre.
ÉLIMINATION DES RACINES ÉCHASSES
Voir la figure 25.
Une racine échasse est une grosse racine qui
s’étend à partir du tronc au-dessus du sol. Retirer
les grosses racines échasses avant d’abattre
l’arbre. Pratiquer d’abord l’entaille horizontale dans
la racine échasse, puis l’entaille verticale. Éloigner
la section coupée de la zone de travail. Une fois
que les grandes racines échasses sont éliminées,
suivre la procédure d’abattage correcte.
DÉBITAGE
Voir la figure 26.
Débitage est le terme utilisé pour la coupe d’un
arbre abattu en billes de la taille désirée.
nNe couper qu’une bille à la fois.
nSoutenir les petites billes avec un chevalet ou
une autre bille.
nGarder le lieu de travail propre et déblayé.
S’assurer que rien ne risque d’entrer en contact
avec l’extrémité du guide et la chaîne, car cela
pourrait causer un rebond. Pour éviter ce risque,
laisser la garde anti-rebond SAFE-T-TIP® en
place pendant la coupe. Pour plus de détails,
voir Rebond, à la section Règles de sécurité
particulières de ce manuel.
■nPendant le tronçonnage, toujours se tenir en
amont de la bille afin que la partie coupée ne
roule pas vers soi.
■nIl est parfois impossible d’éviter le pincement (en
employant seulement les techniques de coupe
standard) ou difficile de prévoir dans quel sens
la bille va ployer lorsqu’elle est coupée.
TRONÇONNAGE AVEC COINS
Voir la figure 27.
Si le diamètre de la pièce est assez grand pour
permettre l’insertion d’un coin en bois tendre
sans que celui-ci touche la chaîne, utiliser le coin
COIN
REBOND
UTILISATION UTILISATION
Fig. 27
Fig. 26
Fig. 28
Fig. 29
Fig. 30
COUPE PAR LE DESSUS

Page 24 — Français
ÉBRANCHAGE ET ÉMONDAGE
Voir les figures 31 et 32.
Travaillerlentementettenirlasciefermement
àdeux mains. Setenir bien campé et en
équilibre.
■
Garder le tronc entre le corps et la scie pendant
la coupe.
Ne pas utiliser la scie en se tenant sur une échelle.
Cela est extrêmement dangereux. Ce type de
travail doit être confié à des professionnels.
■ Ne pas couper au-dessus de la hauteur de la
poitrine. Il est difficile de contrôler une scie
maintenue plus haut en cas de rebond.
AVERTISSEMENT :
Ne jamais grimper dans un arbre pour
l’ébrancher ou l’émonder. Ne pas travailler en se
tenant sur une échelle, une plate-forme ou une
bille, ni se tenir dans une position risquant de
faire perdre l’équilibre ou le contrôle de la scie.
■Lors de l’émondage il est important de ne
pas couper au ras d’une branche maîtresse
ou du tronc, avant d’avoir coupé la branche à
distance pour en réduire le poids. Ceci évite
d’endommager l’écorce.
•La première entaille doit être effectuée par
le dessous, jusqu’au tiers du diamètre de la
branche.
•Pratiquer l’entaille par le dessus pour faire
tomber la branche.
•Effectuerla coupe finalesans à-coupet
nettement, au ras du tronc ou de la branche
maîtresse, de façon à ce que l’écorce puisse
repousser pour sceller la plaie.
AVERTISSEMENT :
Silesbranchesàcoupersetrouventau-dessus
du niveau de la poitrine, confier le travail à un
professionnel.
COUPE DE FOUETS
Voir la figure 33.
Unfouetestunebille,unebranche,unesouche
déracinée ou un arbrisseau fléchi sous tension par
COUPE DE
FINITION
PREMIÈRE
COUPE 1/3
DU DIAMÈTRE
DEUXIÈME COUPE
CHARGE
FOUET
COUPER LES BRANCHES UNE À UNE ET LAISSER
CELLES SOUTENANT LE TRONC JUSQU’À CE QU
CELUI-CI SOIT DÉBITÉ
une autre pièce de bois qui se détendra une fois
que cette pièce est coupée ou enlevée. La souche
déracinée d’un arbre abattu risque fortement de se
remettre à la verticale lorsque la coupe destinée
àséparerletroncdelasoucheesteffectuée.Se
méfier des fouets, ils sont dangereux.
AVERTISSEMENT :
Les fouets sont dangereux et peuvent heurter
l’opérateur, lui faisant perdre le contrôle de la
scie. Ceci peut entraîner des blessures graves
ou mortelles.
UTILISATION
Fig.31
Fig.33
Fig.32

Page 25 — Français
AVERTISSEMENT :
Utiliserexclusivementdespiècesidentiquesà
celles d’origine pour les réparations. L’usage
de toute autre pièce pourrait créer une situation
dangereuse ou endommager l’outil.
AVERTISSEMENT :
Toujours porter une protection oculaire avec
écrans latéraux certifiée conforme à la norme
ANSI Z87.1, avec protection auditive et un
casque.Sicetteprécautionn’estpasprise,des
objets peuvent être projetés dans les yeux et
d’autres lésions graves.
ENTRETIEN GÉNÉRAL
Éviter d’utiliser des solvants pour le nettoyage
des pièces en plastique. La plupart des matières
plastiques peuvent être endommagées par divers
typesdesolvantsducommerce.Utiliserunchiffon
propre pour éliminer la saleté, la poussière, l’huile,
la graisse, etc.
AVERTISSEMENT :
Ne jamais laisser de liquides tels que le fluide de
freins, l’essence, les produits à base de pétrole,
les huiles pénétrantes, etc., entrer en contact
avec les pièces en plastique. Les produits
chimiques peuvent endommager, affaiblir ou
détruire le plastique, ce qui peut entraîner des
blessures graves.
LUBRIFICATION
Touslesroulementsdecetoutilsontenduitsd’une
quantité suffisante de lubrifiant de haute qualité
pour la durée de vie de l’outil, dans des conditions
d’utilisation normales. Aucune autre lubrification
n’est donc nécessaire.
REMPLACEMENT DU GUIDE ET DE LA
CHAÎNE
Voir les figures 34 à 43.
DANGER :
Ne jamais mettre le moteur en marche sans que
le guide, la chaîne, le couvercle de l’embrayage
et le tambour d’embrayage soient en place.
Si toutes ces pièces ne sont pas en place,
l’embrayage peut être éjecté ou éclater et
infliger des blessures graves.
POSITION
DE MARCHE
ENTRETIEN
ÉCROUS DE MONTAGE
DU GUIDE
CLÉ MIXTE
COUVERCLE DE
L’EMBRAYAGE
PLAQUE
DE GUIDE
ÉCROUS DE
MONTAGE DU GUIDE
Fig.34
Fig.35
Fig.36

Page 26 — Français
RAINURE
DU GUIDE
MAILLONS
D’ENTRAÎNEMENT
DENTS
MAILLONS D’ENTRAÎNEMENT
AVERTISSEMENT :
Pour éviter des blessures graves, lire et veiller
à bien comprendre toutes les instructions de
sécurité contenues dans cette section.
Toujoursmettrele commutateur en position
D’ARRÊT, « » avant de travailler sur la scie.
S’assurer que le frein de chaîne n’est pas
engagé, en tirant le levier de commande /
protection de poignée avant en direction de la
poignée avant, en position de marche.
NOTE : Lors du remplacement du guide et de la
chaîne, toujours utiliser les pièces indiquées à la
section Combinaisons de guide et chaîne, plus
loin dans ce manuel.
Toujoursporterdesgantslorsdelamanipulation
du guide et de la chaîne. Ces pièces sont
affûtéesetpeuventprésenterdesébarbures.
Retirer les écrous de montage du guide à l’aide
d’une clé mixte fournie.
Retirer le couvercle de l’embrayage et la plaque
du guide.
Retirer le guide et la barre de leur support.
Retirer la chaîne usée du guide.
Formeruneboucleaveclanouvellechaîneet
éliminer les entortillements. Les gouges doivent
être orientées dans le sens de rotation de la
chaîne.Si elles sontorientées dans le sens
contraire, retourner la boucle.
Engager les maillons d’entraînement de la
chaîne dans la rainure du guide conformément
à l’illustration.
Positionner la chaîne de façon à obtenir une
boucle à l’arrière du guide.
Maintenir la chaîne en place sur le guide et
engager la boucle sur le pignon.
Ajuster le guide au ras de la surface de montage,
de manière à ce que ses goujons s’engagent
dans la fente longue du guide.
NOTE : Lors de l’engagement de la barre sur
les goujons veiller à ce que l’axe de réglage de
tension de la chaîne soit inséré dans son trou.
ENTRETIEN
Fig.38
Fig.37
ROTATION DE LA
CHAÎNE

Page 27 — Français
Remettre la plaque extérieure du guide en place,
en veillant à ce que la rainure d’axe du guide soit
en bas et que ses bords supérieur et inférieur
soient orientés à l’opposé du guide.
Remettre le couvercle de l’embrayage et les
écrous de montage du guide en place.
Serrer les écrous du guide à la main. Le
mouvement du guide est nécessaire pour le
réglage de la tension.
Éliminer complètement le mou de la chaîne en
tournant la vis de réglage de tension de la chaîne
vers la droite jusqu’à ce que la chaîne soit bien
ajustée sur le guide, les maillons d’entraînement
étant engagés dans la rainure du guide.
Relever l’extrémité du guide pour vérifier le mou.
Lâcherl’extrémitéduguideettournerlavisde
tensiondelachaînede1/2tourversladroite.
Répéter l’opération jusqu’à ce que le mou soit
complètement éliminé.
Maintenir l’extrémité du guide et serrer
fermement les écrous de montage du guide.
Unechaîneestcorrectementtenduelorsqu’elle
ne présente pas de mou au dessous du guide et
qu’elle est bien serrée, mais peut cependant être
tournéeàlamainsanssegripper.S’assurerque
le frein de chaîne est désengagé.
NOTE : Silachaîneesttroptendue,ellenepeut
pas tourner. Desserrer légèrement les écrous du
guideettournerlavisdetensionde1/4detour
vers la gauche. Relever l’extrémité du guide et
serrer fermement les écrous de montage du guide.
Vérifier que la chaîne peut tourner sans se gripper.
ENTRETIEN
AXE DE
RÉGLAGE
GOUJONS DU
GUIDE
PLAQUE
DU GUIDE
COUVERCLE
DE
L’EMBRAYAGE
PIGNON
ÉCROUS
DE MONTAGE
DU GUIDE
VIS DE TENSION
DE LA CHAÎNE
Fig.40
Fig.39

Page 28 — Français
RÉGLAGE DE LA TENSION DE CHAÎNE
Voir les figures 44 à 46.
AVERTISSEMENT :
Ne jamais toucher ou régler la chaîne lorsque
le moteur tourne. La chaîne est extrêmement
tranchante.Toujoursporterdesgantslorsde
l’entretien de la chaîne.
Couper le moteur avant de régler la tension de
la chaîne.
Desserrer très légèrement les écrous de
montage du guide.
Tourner la vis detension vers la droite pour
tendre la chaîne.
NOTE : Une chaîne froide est correctement
tendue lorsqu’elle ne présente pas de mou au
dessous du guide et qu’elle est bien serrée mais
peut cependant être tournée à la main sans se
gripper.
La chaîne doit être retendue lorsque les méplats
des maillons d’entraînement sortent de la
rainure du guide.
NOTE : Pendant l’utilisation normale de la scie,
la température de la chaîne augmente. Les
maillons d’entraînement d’une chaîne chaude
correctementtendue pendent àenviron1,27
mm(0,050 po) au-dessous dela rainuredu
guide. La pointe d’une clé mixte peut être
utilisée comme guide pour déterminer la tension
correcte d’une chaîne chaude.
NOTE : Les chaînes neuves ont tendance à
s’étirer. Il convient donc de vérifier fréquemment
leur tension et de la corriger le cas échéant.
ATTENTION :
Unechaînerégléeàchaudpeutprésenterune
tension excessive une fois refroidie. Vérifier la
«tensionàfroid»avantl’utilisationsuivante.
MÉPLATS DES MAILLONS
D’ENTRAÎNEMENT
ENTRETIEN
Fig.41
Fig.42
Fig.43
Fig.44

Page 29 — Français
JEU DU LIMITEUR DE PROFONDEUR
≈ 1,27 mm (0,050 po)
ENTRETIEN DE LA CHAÎNE
Voir les figures 47 et 48.
ATTENTION :
Toujours vérifier que le commutateur est en
position STOP «O» avant de travailler sur la
scie.
Utiliser exclusivement des chaînes à rebond
réduit sur cette scie. Correctement entretenue,
cette chaîne à coupe rapide réduira les risques
de rebond.
Pour couper rapidement et nettement, la chaîne
doit être correctement entretenue.
Lachaînedoitêtreaffûtéelorsquelescopeauxde
bois sont petits et poudreux, lorsqu’il est nécessaire
de forcer sur la scie pour couper ou lorsque la
chaîne ne coupe que d’un côté. Lors de l’entretien
de la chaîne, tenir compte des points suivants :
■Unangle d’affûtageincorrectde la plaque
latérale peut accroître les risques de rebond
puissant.
Jeudulimiteurdeprofondeur
• Unréglagetropprofondaccroîtlerisquede
rebond.
• Unréglage pas assez profondréduit la
capacité de coupe.
Silesdentsdelachaîneheurtentdesobjets
durs tels que des clous ou des pierres, ou sont
abrasées par du sable ou de la boue se trouvant
surlebois,lafaireaffûterdansuncentrede
réparations agréé.
NOTE : Lors du remplacement de la chaîne,
s’assurer que le pignon d’entraînement n’est ni
usé, ni endommagé. En cas de signes d’usure
ou de dommages aux endroits indiqués,
faire remplacer le pignon dans un centre de
réparation agréé.
NOTE : Silesinstructionsd’affûtagedelachaîne
ne sont pas bien comprises confier l’affûtage
de la chaîne à un centre de réparations agréé
ou la remplacer par une chaîne à rebond réduit
recommandée.
0,6 mm
(0,025 po)
≈ 1,27 mm (0,050 po)
INSPECTER
LE PIGNON
D’ENTRAÎNEMENT
ENTRETIEN
Fig.47
Fig.46
Fig.45
Fig.48

Page 30 — Français
AFFÛTAGE DES DENTS
Voir les figures 49 à 52.
Veiller à limer toutes les dents aux angles spécifiés
et à la même longueur, car une coupe rapide ne
peut être obtenue qu’avec des dents uniformes.
AVERTISSEMENT :
Lachaîneestextrêmementtranchante.Toujours
porter des gants protecteurs lors de l’entretien
de la chaîne, afin d’éviter des blessures graves.
Tendrelachaînecorrectementavantdel’affûter.
Voir Réglage de la tension de chaîne.
Utiliserunelimerondede4,0mm(3/16po),et
unporte-lime.Toutlelimagedoitêtreeffectué
au point central du guide.
Garder la lime de niveau avec la plaque
supérieure de la dent. Ne pas incliner la lime
ou utiliser un mouvement de bascule.
Exercer une pression légère mais ferme. Limer
en direction du coin avant de la dent.
Souleverlalimedel’acieràchaqueretour.
Effectuer quelques passes fermes sur chaque
dent. Limer toutes les gouges de gauche dans
un sens. Ensuite, passer à l’autre côté et limer
toutes les gouges de droite dans l’autre sens.
Éliminer la limaille de la lime au moyen d’une
brosse métallique.
ATTENTION :
Une chaîne émoussée ou incorrectement
affûtée peut causer un régime excessif du
moteur pendant la coupe et l’endommager
gravement.
AVERTISSEMENT :
Un affûtage incorrect de la chaîne accroît le
risque de rebond.
AVERTISSEMENT :
L’utilisation d’une chaîne endommagée peut
causer des blessures graves.
COUPE DU
COIN PLAQUE
LATÉRALE
LIMITEUR DE
PROFONDEUR
SABOT
CREUX
TALONNAGE
TROU DE
RIVET
PLAQUETTE
SUPÉRIEURE
DENTS DE
GAUCHE
DENTS DE
DROITE
ENTRETIEN
Fig.49
Fig.50
Fig.51
Fig.52

Page 31 — Français
PLUS DE 30°
ANGLE D’AFFÛTAGE
DE LA PLAQUE
SUPÉRIEURE
MOINS DE 30°
ANGLE ARRIÈRE
ANGLE D’AFFÛTAGE DE LA PLAQUE LATÉRALE
CROCHET
LIME PLATE
COUPLEUR DE LIMITEUR DE PROFONDEUR
RENDRE LA FORME
D’ORIGINE EN
ARRONDISSANT
L’AVANT
ANGLE D’AFFÛTAGE DE LA PLAQUE
SUPÉRIEURE
Voir la figure 53.
CORRECT 30° − Les porte-limes sont dotés
de repères permettant d’aligner la lime
correctement, de façon à obtenir un angle de
plaque supérieure satisfaisant.
MOINSDE30°−Pourletronçonnage
PLUSDE30°−Tranchantaminci,s’émousse
rapidement.
ANGLE DE PLAQUE LATÉRALE
Voir la figure 54.
CORRECT80°–Obtenuautomatiquementsi
une lime de diamètre approprié est placée dans
le porte-limes.
CROCHET–«Accroche»leboisets’émousse
rapidement, ce qui accroît le risque de REBOND.
JEU DU LIMITEUR DE PROFONDEUR
0,6 mm
(0,025 po)
Résulte de l’emploi d’une lime de trop petit
diamètre ou d’une lime tenue trop bas.
ANGLE ARRIÈRE – Nécessite une pression
d’attaque excessive, causant l’usure prématurée
du guide et de la chaîne. Résulte de l’emploi
d’une lime de trop grand diamètre ou d’une lime
tenue trop haut.
MAINTIEN DU JEU DU LIMITEUR DE
PROFONDEUR
Voir les figures 55 à 57.
Le jeu du limiteur de profondeur doit être
maintenuà0,6mm(0,025po).Utiliserunejauge
de profondeur pour vérifier le jeu du limiteur.
Vérifier le jeu du limiteur de profondeur lors de
chaqueaffûtagedelachaîne.
■Utiliserunelimeplateetuncoupleurpourlimer
tous les limiteurs de profondeur uniformément.
Utiliser un coupleur de limiteur de 0,6 mm
(0,025po).Aprèsavoirabaisséchaquelimiteur
de profondeur, lui rendre sa forme d’origine
ENTRETIEN
INCORRECT Fig.53
30°
CORRECT
INCORRECT Fig.54
80°
CORRECT Fig.56
Fig.57
Fig.55

Page 32 — Français
en arrondissant l’avant. Veiller à ne pas
endommager les maillons d’entraînement
adjacents avec le bord de la lime.
■Les limiteurs de profondeur doivent être ajustés
avec la lime plate, dans le sens dans lequel les
dentsadjacentesontétéaffûtéesaveclalime
ronde. Veiller à ne pas toucher la face de la
gouge avec la lime plate lors de l’ajustement
des limiteurs de profondeur.
ENTRETIEN DU GUIDE
Voir la figure 58.
ATTENTION :
S’assurerquelachaînes’estimmobiliséeavant
d’entreprendre tout travail sur la scie.
Après chaque semaine d’utilisation, inverser le guide
sur la chaîne, afin de répartir l’usure et d’obtenir
une vie utile maximum du guide. Le guide doit
être nettoyé après chaque journée d’utilisation et
inspecté en vue d’usure ou de dommage.
Les amincissements et ébarbures sur les rails du
guide font partie de l’usure normale. Ces défauts
doivent être limés dès qu’ils apparaissent.
Unguideprésentantl’unouplusieursdesdéfauts
ci-dessous doit être remplacé.
Usurede l’intérieur desrails permettantà la
chaîne de se coucher sur le côté
Guide tordu
Rails fêlés ou brisés
Rails écartés
En outre lubrifier les barres du guide doté d’un
pignon d’extrémité chaque semaine. Injecter la
graisse dans le trou de lubrification, à l’aide d’une
seringue, une fois par semaine. Retourner le guide
et s’assurer que les trous de lubrification et la
rainure de chaîne sont propres.
INSTALLATION DE LA GARDE
SAFE-T-TIP®
Voir les figures 59 et 60.
Arrêter le moteur et débrancher le fil de la
bougie.
InstallerlagardeSAFE-T-TIP® sur l’extrémité du
guide.
TROU DE
LUBRIFICATION
VIS DE
MONTAGE
SERRER DE
3/4 DE TOUR
Engager le tenon de verrouillage dans le fente
à évidement du guide.
Serrerlavisdemontageaveclacléjusqu’àce
que sa tête fasse contact.
Unefoisquelatêteestencontact,donner3/4
de tour supplémentaire.
ENTRETIEN DE LA GARDE
SAFE-T-TIP®
Voir les figures 59 et 60.
ATTENTION :
S’assurerquelachaînes’estimmobiliséeavant
d’entreprendre tout travail sur la scie.
ENTRETIEN
Fig.58
SAFE-T-TIP®
Fig.59
Fig.60

Page 33 — Français
AVERTISSEMENT :
BienqueledispositifantirebondSAFE-T-TIP®
ait été installé en usine, vérifier le serrage de sa
vis de montage avant chaque utilisation.
Suivrelesinstructionsci-dessouspourserrerla
vis de montage sur la garde. La vis est en acier
spécialementtrempé.Silavisnepeut pasêtre
installée correctement, la remplacer, ainsi que le
dispositifSAFE-T-TIP® avant d’utiliser la scie.
NOTE : Nepasutiliserunevisordinaire.Utiliser
exclusivement des pièces identiques à celles
d’origine pour les réparations.
NonseulementledispositifSAFE-T-TIP® empêche
l’extrémité du guide de heurter des objets durs, il
protège la chaîne des matériaux abrasifs tels que
la terre. Le garder du côté droit du guide, afin que
la chaîne soit protégée lors des travaux de coupe
au ras du sol.
La vis de fixation doit être serrée au moyen d’une
cléde7,9mm(5/16po)(oud’unecléàmolette),
aucouple recommandéde 4 à5 N∙■m(35 à 45
lb∙pi). Ce couple peut être obtenu de la manière
suivante.
Serrerlavisaveclacléjusqu’àcequesatête
fasse contact.
Unefoisquelatêteestencontact,donner3/4
de tour supplémentaire.
NETTOYAGE DU FILTRE À AIR
Voir les figures 61 à 64.
Desserrer les trois vis de fixation de la culasse
afin de pouvoir accéder au filtre à air et au
carburateur.
Engager le frein de chaîne
Souleverl’avantdelaculasseau-delàdulevier
de frein de chaîne.
Souleverl’arrièrede la culasse au-delà de la
poignée.
Avant de retirer le filtre à air du carburateur,
éliminer le plus possible de saleté et de sciure
du pourtour du carburateur et de la chambre de
combustion au moyen d’une brosse ou d’un jet
d’air comprimé.
VIS
VIS DE
FIXATION DU
FILTRE À AIR
FILTRE À AIR
COUVERCLE
DU CYLINDRE
PRÉFILTRE
LANCEUR
ENVELOPPE DU
VENTILATEUR
VIS
NOTE : S’assurer que la tige d’enrichisseur
est tirée, afin d’empêcher la contamination du
carburateur.
Retirer les deux vis de fixation du filtre à air.
Placer un tournevis à lame plate entre les
languettes et utiliser un mouvement de torsion,
pour libérer le filtre de sa base.
Séparerlefiltreàairdesabase.
ENTRETIEN
Fig.62
Fig.61
Fig.63

Page 34 — Français
Choisir l’une des options de nettoyage
suivantes :
Pour nettoyer légèrement le filtre, le tapoter sur
une surface plane et lisse, pour déloger la plus
grande partie de la poussière et de la sciure.
Toutesle5heuresdefonctionnement,laverle
filtre à l’eau savonneuse chaude, le rincer et le
laisser sécher complètement. Remplacer le filtre
toutesles25heuresd’utilisation.
NOTE : Le filtre peut également être nettoyé au
moyend’unjetd’aircomprimé.Toujoursporter
une protection oculaire.
Réinstaller le filtre à air, en veillant à ce que
ses languettes s’engagent dans les rainures
de la base du filtre avant de serrer les vis de
fixation.
Lepréfiltredoitêtrenettoyétoutesles5heures
d’utilisation, ou plus fréquemment si nécessaire.
Retirer la culasse, le démarreur et la chicane
du ventilateur pour accéder au préfiltre du
compartiment moteur.
NOTE : Siunjetd’aircompriméestutilisépour
le séchage, souffler les deux côtés du filtre.
ATTENTION :
S’assurer que le filtre à air est correctement
placé dans le couvercle avant de remonter
l’ensemble. Ne jamais faire tourner le moteur
sans filtre à air, car il pourrait être sérieusement
endommagé.
NETTOYAGE DU LANCEUR
Voir la figure 65.
Nettoyer les grilles de refroidissement du lanceur
avec un pinceau ou de l’air comprimé.
RÉGLAGE DU CARBURATEUR
Voir le figure 65 et 66.
Avant de régler le carburateur :
Nettoyer les ouïes d’aération du couvercle du
lanceur avec une brosse ou de l’air comprimé.
Nettoyer le filtre à air. Voir Nettoyage du filtre
à air, à la section Entretien de ce manuel.
Laisser le moteur se réchauffer avant
d’entreprendre le réglage du ralenti.
FILTRE À AIR
OUVERTURES DU
CAPOT DU STARTER
VIS DE RALENTI
EN « T »
AVERTISSEMENT :
Les conditions climatiques et l’altidude peuvent
affecter la carburation. Ne permettre à personne
de s’approcher de la scie pendant le réglage du
carburateur.
Réglage de la vitesse de ralenti –Lavisderalenti
contrôle le degré d’ouverture du papillon lorsque la
gâchetted’accélérateurestrelâchée.Réglage:
Tournerlavisderalenti« T » vers la droite, pour
augmenter le régime de ralenti.
ENTRETIEN
Fig.66
Fig.65
Fig.64

Page 35 — Français
Tournerlavisderalenti « T » vers la gauche,
pour réduire le régime de ralenti.
AVERTISSEMENT :
LA CHAÎNE NE DOIT JAMAIS TOURNER
LORSQUELEMOTEURESTAURALENTI.La
rotation de la chaîne au ralenti peut causer des
blessures graves.
NETTOYAGE DU MOTEUR
Voir les figures 67 à 68.
Nettoyer périodiquement les ailettes du cylindre
et du volant-moteur au moyen d’un pinceau ou
d’unjetd’aircomprimé.Uncylindreencrassépeut
causer une surchauffe dangereuse du moteur.
AVERTISSEMENT
Ne jamais utiliser la scie sans que toutes les
pièces, y compris le capot du moteur et le
boîtier du lanceur soient solidement installées.
Les pièces pouvant se briser et être projetées,
confier les réparations du volant moteur et de
l’embrayage à un centre de réparation agréé.
NOTE :Siunoutilmotorisé semble avoirperdu
de la puissance, l’orifice d’échappement et le
silencieux peuvent être obstrués par de la calamine.
Cette calamine doit être éliminer pour restaurer le
fonctionnement correct. Il est vivement recommandé
de confier ce travail à un technicien qualifié.
VÉRIFICATION DU FILTRE À CARBURANT
Voir la figure 69.
Vérifier le filtre à carburant régulièrement. Le
remplacement du filtre à carburant doit être
confié à un centre de réparations agréé en cas de
contamination ou de dommages.
REMPLACEMENT DE LA BOUGIE
Voir la figure 70.
CemoteurutiliseunebougieChampionRCJ6Y
avec un écartement d’électrode de 0,64 mm
(0,025 po). Remplacer la bougie toutes les 50
heures de fonctionnement ou plus fréquemment si
nécessaires. Remplacer par une bougie identique.
Desserrer la bougie en la tournant vers la
gauche, à l’aide d’une clé.
NETTOYER
LES AILETTES
DU CYLINDRE
NETTOYER
LES AILETTES
DU VOLANT
MOTEUR
FILTRE À
CARBURANT
ENTRETIEN
Fig.69
Fig.70
Fig.67
Fig.68

Page 36 — Français
Retirer la bougie.
Visser la nouvelle bougie à la main en la tournant
versladroite.Serrerfermementavecunecléà
bougie.
NOTE : Veiller à ne pas fausser le filetage de la
bougie. Ceci endommagerait sérieusement le
cylindre.
PARE-ÉTINCELLES
Le pare-étincelles doit être nettoyé ou remplacé
toutesles50heuresdefonctionnementoutous
les ans pour assurer le fonctionnement correct de
l’outil. L’emplacement du pare-étincelles diffère
suivant le modèle. Contacter le concessionnaire
le plus proche pour connaître l’emplacement du
pare-étincelles sur le modèle utilisé.
INSPECTION ET NETTOYAGE DU FREIN
DE CHAÎNE
Voir les figures 71 et 72.
Retirer le couvercle de l’embrayage et nettoyer
les composants du frein de chaîne. Vérifier
l’usure de la bande de frein et la remplacer si
elle est usée ou déformée. La bande ne doit pas
êtreuséeau-delàde0,61mm(0,024po),c’est
à dire la moitié de son épaisseur.
Toujoursgarderlemécanismedufreindechaîne
propre et pinceau légèrement son articulation.
Toujours vérifier le fonctionnement du frein
après le nettoyage. Voir Utilisation du frein de
chaîne, pour des informations plus détaillées.
Inspecter l’attrape-chaîne et le remplacer s’il
est endommagé.
AVERTISSEMENT :
Même si le mécanisme est nettoyé
quotidiennement, la fiabilité du frein de chaîne
dans des conditions de chantier ne peut pas
être assurée. Laisser la garde SAFE-T-TIP®
en place sur le guide de chaîne et utiliser les
techniques de coupe appropriées.
REMISAGE LE PRODUIT
Nettoyer soigneusement le produit. La remiser
dans un endroit bien aéré, inaccessible aux
enfants. La tenir à l’écart de produits corrosifs,
BANDE
DE FREIN
NETTOYER LE FREIN
DE CHAÎNE
LUBRIFIER
LA COMMANDE
DU FREIN DE CHAÎNE
ATTRAPE-CHAÎNE
COUVERCLE DE
L’EMBRAYAGE
tels que les produits chimiques de jardinage et
le sel de dégivrage.
Se conformerà toutes les réglementations
locales et gouvernementales concernant la
sécurité de la manipulation et de l’entreposage
de l’essence.
Remisage 1 mois ou plus :
Vider complètement le réservoir de carburant
dans un bidon ou jerrycan approuvé pour
l’essence.
Laisser le moteur tourner jusqu’à ce qu’il cale.
Cecibrûle tout le mélangeessence / huile
qui pourrait, en vieillissant, laisser un résidu
gommeux dans le circuit de carburant.
Appuyer plusieurs fois sur la poire d’amorçage
pour purger le carburant du carburateur.
Vider complètement le réservoir d’huile de
chaîne et de guide dans un bidon ou jerrycan
approuvé pour l’huile.
Toujoursplacerlefourreausurleguidechaîne
et la chaîne lors du transport ou du remisage.
ENTRETIEN
Fig.72
Fig.71

Page 37 — Français
PROGRAMME D’ENTRETIEN DU SYSTÈME D’ÉMISSIONS
Pièces du système Inspecter avant Nettoyer toutes Remplacer toutes Nettoyer toutes Remplacer toutes
chaque utilisation le 5 heures de les 25 heures ou les 25 heures ou les 50 heures
fonctionnement chaque année chaque année
FILTRE À AIR
Inclut :
Écran filtrant .......................................................... X ............................X
CARBURATEUR
Inclut :
Écran thermique
Joints
RÉSERVOIR DE CARBURANT
Inclut :
Conduites de carburant ...... X
Bouchon de carburant ........ X
Filtreàcarburant
ALLUMAGE
Inclut :
Bougie ..............................................................................................................................................................X
NOUS APPELER D’ABORD
Pour toute question concernant l’utilisation ou l’entretien
utiliser ce produit , appeler le service d’assistance
téléphonique Ryobi®!
Le taille-bordures à été entièrement testé avant
expédition pour assurer la complète satisfaction de
l’utilisateur.
1-800-860-4050
BESOIN D’AIDE?
ENTRETIEN

Page 38 — Français
Problème Cause possible Solution
Le moteur ne démarre
pas [S’assurer que
le commutateur
d’allumage est en
position de MARCHE
( l ) position.]
Pas d’étincelle.
Moteur noyé.
Nettoyer ou remplacer la bougie. Régler l’écartement de
l’électrode. Voir Remplacement de la bougie plus haut dans
ce manuel.
Le contact étant COUPÉ, retirer la bougie. Mettre le levier
de volet de départ en position de MARCHE (complètement
enfoncé)et tirer 15à20fois sur le cordondu lanceur.Ceci
chasse l’excédent de carburant du moteur. Nettoyer la bougie
et la remettre en place. Mettre le commutateur en position de
MARCHE ( l )position.Enfonceretrelâcherlapoired’amorçage
7 fois. Le levier de volet de départ étant en position de MARCHE,
tirertroisfoissurlecordonlanceur.Silemoteurnedémarrepas,
mettre le levier de volet de départ en position COMPLÈTEMENT
OUVERTE et répéter la procédure normale de démarrage. Le
moteur ne démarre toujours pas, répéter la procédure avec une
nouvelle bougie.
Le moteur démarre,
mais n’accélère pas
correctement :
Le carburateur nécessite
un réglage de bas régime
« L ».
Contacter un centre de réparation agréé pour le réglage du
carburateur.
Le moteur démarre,
puis cale. Le carburateur nécessite
un réglage de bas régime
« L ».
Contacter un centre de réparation agréé pour le réglage du
carburateur.
Le moteur démarre,
mais ne tourne pas
régulièrement à haut
régime.
Le pointeau de haut
régime « H » nécessite
un réglage.
Contacter un centre de réparation agréé pour le réglage du
carburateur.
Le moteur ne parv-
ient pas au régime
maximum et/ou
dégage trop de
fumée.
Mélange incorrect de
carburant et de lubri-
fiant.
Filtreàairencrassé.
Écran pare-étincelles
encrassé
Le pointeau de haut
régime « H » nécessite
un réglage.
Utiliser du carburant frais et le bon mélange de lubrifiant 2
temps.
Nettoyer le filtre à air voir Nettoyage du filtre à air dans la
section Entretien de ce manuel.
Nettoyer l’écran pare-étincelles voir Inspection et nettoyage
du pare-étincelles dans la section Entretien de ce manuel.
Contacter un centre de réparation agréé pour le réglage du
carburateur.
Caractéristiques de la chaîne :pasde8,3mm(0,325po),calibrede1,3mm(0,05po)
Longueur N° de référence N° de référence Maillons
du guide du guide de la chaîne d’entraînement
50cm(20pulg.) 310629001 900920027 78
45cm(18pulg.) 310628001 901430001 72
DÉPANNAGE
COMBINAISONS DE GUIDE ET CHAÎNE

Page 39 — Français
Problème Cause possible Solution
Le moteur démarre,
tourne et accélère
correctement, mais
ne tient pas le
ralenti.
La chaîne tourne
lorsque le moteur est
au ralenti.
Le carburateur nécessite
un réglage de ralenti.
Le carburateur nécessite
un réglage de ralenti.
Fuite d’air dans le
système d’admission.
Tournerlavisderalenti«T»versladroite,pouraugmenterle
régime de ralenti. Voir Réglage du carburateur à la section
Entretien de ce manuel.
Tournerla visderalenti «T» verslagauchepourréduirele
régime de ralenti. Voir Réglage du carburateur à la section
Entretien de ce manuel.
Contacteruncentrederéparationagréépourobtenirunkitde
remise à neuf.
Le guide et la chaîne
chauffent et fument. Réservoir d’huile vide.
Tension de la chaîne
excessive.
Le graisseur ne fonctionne
pas.
Le réservoir d’huile doit être rempli à chaque approvisionnement
en carburant.
Pour la tension de chaîne suivre les instructions dans Ajuster la
tension de chaîne dans la section Entretien de ce manuel.
Laisserlemoteurtourneràmi-régimependant30à45secondes.
Arrêter la scie et regarder si de le lubrifiant s’égoutte de la garde
SAFE-T-TIP® et du guide. La présence d’huile peut signifier que
la chaîne est émoussée ou que le guide est endommagé. En
l’absencedetoutetracedelubrifiantàlagardeSAFE-T-TIP®,
contacter un centre de réparation agréé.
Le moteur démarre
et tourne, mais la
chaîne ne se met pas
en rotation.
Freindechaîneengagé.
Tension de la chaîne
excessive.
Assemblage incorrect
de l’ensemble guide et
chaîne.
Ensemble guide et chaîne
endommagé.
Dents du pignon
d’entraînement
endommagées.
Desserrer le frein de chaîne. Voir Utilisation du frein de chaîne,
à la section Utilisation de ce manuel.
Tendre la chaîne conformémentauxinstructionsdu chapitre
Réglage de la tension de chaîne de la section Entretien de
ce manuel.
Voir Changement du guide de chaîne et de la chaîne dans la
section Entretien de ce manuel
S’assurer que l’ensemble guide et chaîne n’est pas
endommagé.
Contacter un centre de réparation agréé pour le remplacement
du pignon.
Le cadran de tension
de la chaîne est
difficile à tourner.
L’extrémité du guide-
chaîne n’est pas
surélevée.
Le bouton de verrouillage
du couvercle de
l’embrayage est trop
serré.
La punta de la barra guía no está levantada.
La perilla de ajuste de la cubierta del embrague está demasiado
apretada.
DÉPANNAGE

Page 40 — Français
GARANTIE
ÉNONCÉ DE LA GARANTIE LIMITÉE
TechtronicIndustriesNorthAmerica,Inc.,garantitàl’acheteur
original que ce produit RYOBI® est exempt de tous vices de
matériaux ou de fabrication et s’engage à réparer ou remplacer
gratuitement, à son choix, tout produit s’avérant défectueux
au cours des périodes indiquées ci-dessous, à compter de
la date d’achat.
Troisanssurlesproduitsutiliséspardesparticuliers;
90 jours sur les produits utilisés à toutes autres fins, telles
que les travaux commerciaux et la location.
Cette garantie n’est offerte qu’à l’acheteur original et entre
en vigueur à la date de l’achat original.
Toutepiècedeceproduitjugée,aprèsévaluationraisonnable
par Techtronic Industries North America, Inc., comme
présentant des vices de matériaux ou de fabrication, sera
réparée ou remplacée, sans facturation pour pièces ou main
d’oeuvre par un centre de réparations agréé pour produits
d’extérieur de marque RYOBI® (centre de réparations Ryobi
agréé).
Le produit, y compris toutes les pièces défectueuses devront
être retournés à un centre de réparations Ryobi agréé, avant
expiration de la période de garantie. Les frais d’expédition
au centre de réparations pour les travaux sous garantie et
de retour au propriétaire du produit seront assumés par le
propriétaire. En ce qui concerne les réclamations en garantie,
laresponsabilitéTechtronicIndustriesNorthAmerica,Inc.,
se limitera à la réparation ou au remplacement des produits
défectueux et aucune revendication de rupture de garantie
ne pourra causer l’annulation ou la résiliation du contrat de
vente d’un produit d’extérieur RYOBI®quelqu’ilsoit.Une
preuve d’achat sera exigée par le centre de réparation, afin
devalidertouteréclamationautitredelagarantie.Toutes
les réparations sous garantie devront être effectuées par un
centre de réparations agréé.
La garantie sur tout produit d’extérieur RYOBI® utilisé pour
la location, des travaux commerciaux ou tout autre usage
lucratif, sera limitée à quatre-vingt-dix (90) jours, à compter
de la date d’achat au détail original.
Cette garantie ne couvre pas les produits ayant fait l’objet d’un
usage abusif ou négligent, d’un manque d’entretien, ayant été
impliqués dans un accident ou employé de façon contraire
aux instructions du manuel d’utilisation. Cette garantie ne
couvre ni les dommages aux produits résultant d’un manque
d’entretien, ni les produits qui ont été altérés ou modifiés. La
garantie exclut les réparations rendues nécessaires par l’usure
normale ou l’utilisation de pièces et accessoires incompatibles
avec le produit d’extérieur RYOBI® ou nuisibles à son bon
fonctionnement, ses performances ou sa durabilité. En outre,
cette garanti exclut :
A.Les réglages – Bougies, carburateur, réglages du
carburateur, allumage, filtres
B.Lesarticlesconsommables–Boutonsd’avanceparchoc,
bobines externes, lignes de coupe, bobines internes,
poulies et cordons de lanceur, courroies d’entraînement,
dents, rondelles en feutre, axes d’attelage, lames de
paillage, ventilateur de soufflante, tubes de soufflage et
d’aspiration, sacs à débris, guides, chaînes de scie
TechtronicIndustriesNorthAmerica,Inc.,seréserveledroit
d’apporter des modifications ou améliorations à tout produit
extérieur RYOBI®, sans obligation de modifier les produits
fabriqués antérieurement.
LADURÉEDETOUTESLESGARANTIESIMPLICITESNE
SAURAIT EN AUCUN CAS EXCÉDER LA PÉRIODE DE
GARANTIEDÉCLARÉE.PARCONSÉQUENT,TOUTESLES
GARANTIES IMPLICITES, Y COMPRIS LES GARANTIES
DE VALEUR MARCHANDE OU D’ADÉQUATION À UN
USAGEPARTICULIEROUAUTRESSERONTINVALIDÉESÀ
L’EXPIRATIONDELAPÉRIODEDEGARANTIEAPPROPRIÉE
DEDEUXANS,UNANOUQUATRE-VINGT-DIXJOURS.
LESOBLIGATIONSDETECHTRONICINDUSTRIESNORTH
AMERICA,INC.,DANSLECADREDECETTEGARANTIE
SE LIMITENT EXCLUSIVEMENT À LA RÉPARATION OU
AU REMPLACEMENT DES PIÈCES DÉFECTUEUSES
ET TECHTRONIC INDUSTRIES NORTH AMERICA, INC.
N’ASSUMEOUN’AUTORISEQUICONQUEÀASSUMER
QUELQUEAUTREOBLIGATIONQUECESOIT.CERTAINS
ÉTATS ET PROVINCES NE PERMETTANT PAS DE
LIMITATION DE DURÉE DES GARANTIES IMPLICITES,
LES RESTRICTIONS CI-DESSOUS PEUVENT NE PAS
ÊTREAPPLICABLES.TECHTRONICINDUSTRIESNORTH
AMERICA, INC., DÉCLINE TOUTE RESPONSABILITÉ
EN CE QUI CONCERNE LES DOMMAGES DIRECTS,
INDIRECTS OU AUTRES, Y COMPRIS, MAIS SANS S’Y
LIMITER, LES FRAIS DE RETOUR DE PRODUITS À UN
CENTREDERÉPARATIONRYOBIAGRÉÉETDERENVOI
AUPROPRIÉTAIRE,DEDÉPLACEMENTD’UNTECHNICIEN,
DE TÉLÉPHONE OU TÉLÉGRAMME, DE LOCATION
D’UN PRODUIT SIMILAIRE PENDANT LA DURÉE DES
RÉPARATIONSSOUSGARANTIE,DEDÉPLACEMENT,DE
PERTESOUDOMMAGESÀDESBIENSPERSONNELS,DE
MANQUEÀGAGNER,DEPERTED’USAGEDUPRODUIT,
DEPERTEDETEMPSOUDEDÉRANGEMENT.CERTAINS
ÉTATSETPROVINCESNEPERMETTANTL’EXCLUSIONOU
LALIMITATIONDESDOMMAGESDIRECTSOUINDIRECTS,
LESRESTRICTIONSCI-DESSOUSPEUVENTNEPASÊTRE
APPLICABLES.
Cette garantie donne au consommateur des droits
spécifiques, et celui-ci peut bénéficier d’autres droits, qui
varient selon les états ou provinces.
Cette garantie couvre tous les produits d’extérieur RYOBI®
fabriqués par Techtronic Industries North America, Inc.,
vendusauxÉtats-UnisetauCanada.
Pour obtenir l’adresse du centre de réparations Ryobi agréé
leplusproche,appelerle1-800-860-4050.

Page 41 — Français
GARANTIE
L’ÉNONCÉ DE CALIFORNIA AIR RESOURCES BOARD (CARB) QUI SUIT, S’APPLIQUE SEULEMENT AUX
NUMÉROS DE MODÈLES QUI DOIVENT SE CONFORMER AUX EXIGENCES DE CARB.
L’U.S. EnvironmentalProtectionAgency(EPA),le CaliforniaAir ResourcesBoard
(CARB)etTechtronicIndustriesNorthAmerica,Inc.sefontunplaisirdevousexpli-
quer la garantie de conformité du système antipollution de votre petit moteur non
routierouhors-route,modèle2010.EnCalifornie,l’équipementneufquiutiliseles
moteurs non routiers ou hors-route, doit être conçu, construit et équipé conformément
aux strictes réglementations sur l’antipollution de cet État. Dans d’autres États, les
moteursnonroutiersmodèles2000etultérieursdoiventêtreconçus,construitset
équipés au moment de la vente de façon à être conformes aux réglementations sur
l’antipollution issues par l’EPA (agence de protection de l’environnement américaine)
pour les petits moteurs non routiers. Le moteur non routier doit être exempt sur les
vices de matériaux et de fabrication entraînant la non conformité aux réglementations
de l’EPA, pendant les trois premières années d’utilisation, à compter de la date de
venteàl’acheteurd’origine.TechtronicIndustriesNorthAmerica,Inc.doitgarantirle
système de contrôle des émissions de vos petits moteurs non routiers ou hors-route
pour la période indiquée ci-dessus, à condition que ceux-ci n’aient pas fait l’objet
d’un usage abusif ou d’un manque d’entretien.
Votre système de contrôle des émissions peut inclure des pièces telles que le carbu-
rateur ou le système d’injection de carburant, le système d’allumage, les convertis-
seurs catalytiques, les réservoirs de carburant, les valves, les filtres, les fixations, les
connecteurs et d’autres composants connexes. Il peut également inclure les tuyaux,
les courroies, les connecteurs et d’autres articles relatifs au système d’émissions.
Dansl’éventualitéd’unproblèmecouvertparlagarantie,TechtronicIndustriesNorth
America, Inc. s’engage à réparer gratuitement votre moteur non routier ou hors-route,
ce qui comprend le diagnostique, les pièces et la main-d’oeuvre, dans un centre de
réparations agréé pour les produits de marque RYOBI®.
DURÉE DE LA GARANTIE DU FABRICANT
Lesystèmedecontrôled’émissionspourceproduitestgarantipourtroisans.Siune
pièce relative au système de contrôle d’émissions de votre moteur est défectueuse,
elleseraréparéeouremplacéesansfraisparTechtronicIndustriesNorthAmerica,Inc.
RESPONSABILITÉS DU PROPRIÉTAIRE DANS LE CADRE DE LA
GARANTIE
(a) En tant que propriétaire de ce petit moteur non routier ou hors-route, vous êtes tenu
d’effectuerlesentretiensindiquésdanslemanueld’utilisation.TechtronicIndustries
North America, Inc. recommande de conserver tous les reçus relatifs à l’entretien du
petitmoteurnonroutierouhors-route,maisTechtronicIndustriesNorthAmerica,
Inc. ne peut par refuser la couverture de la garantie pour l’unique raison du manque
de reçus ou parce que vous avez omis d’effectuer tous les entretiens prévus. Des
pièces et services assurant des performances et une durabilité équivalente peuvent
être utilisées pour les entretiens et réparations non couverts par la garantie, sans que
celanechangelesobligationsdegarantiedeTechtronicIndustriesNorthAmerica,Inc.
(b)Toutefois,entantquepropriétairedupetitmoteurnonroutierouhors-route,vous
devez être averti que les réparations couvertes par la garantie peuvent être refusées
parTechtronicIndustriesNorthAmerica,Inc.siladéfaillancedecemoteuroud’une
de ses pièces est due à un usage abusif, la négligence, un manque d’entretien ou
des modifications non approuvées.
(c) Vous êtes tenu de confier votre petit moteur non routier ou hors-route à un centre
de réparations agréé dès qu’un problème se présente. Les réparations sous garantie
seront effectuées dans un délai raisonnable, ne dépassant pas 30 jours.
Sivousavezdesquestionsconcernantvosdroitsetresponsabilitésdanslecadre
delagarantie,contactezunreprésentantdeTechtronicIndustriesNorthAmerica,
Inc.au1-800-860-4050.
COUVERTURE
(a) La période de la couverture commence à la date de livraison du moteur ou
d’équipement à l’acheteur.
(b)Couverturegénéraledegarantieantipollution.TechtronicIndustriesNorthAmerica,
Inc. garantit à l’acheteur d’origine, ainsi qu’à tous les propriétaires ultérieurs, que son
petit moteur non routier ou hors-route est conçu, construit et équipé conformément
àtouteslesréglementationsdeCaliforniaAirResourcesBoardouUnitedStates
Environmental Protection Agency en vigueur au moment de la vente et que son petit
moteur non routier ou hors-route sera exempt de tous défauts de matériaux ou de
fabrication causant une non conformité aux réglementations en vigueur, pour une
période de trois ans après l’acquisition du moteur par l’acheteur d’origine.
(c) La garantie sur les pièces se rapportant au système de contrôle d’émissions sera
interprétéecommesuit:Toutepiècecouverteparlagarantiequinedoitpasêtre
remplacée selon le Calendrier d’entretien du système de contrôle d’émissions et
selon la Liste de pièces garanties, lesquels sont conformément stipulés ci-dessous,
estgarantiepourlapériodedetroisans.Siunetellepièce(ycomprislespièces
qui doivent seulement être inspectées régulièrement) s’avère défectueuse, elle sera
réparée ou remplacée gratuitement dans un centre de réparations agréé RYOBI®.
Toutepièceréparéeouremplacéedanslecadrececettegarantieseragarantiepour
lerestedeladuréedelagarantie.Unénoncéstipulant« réparez ou remplacez au
besoin »neréduiraitpaslapériodedecouverturedelagarantie.Toutepiècequi
doit être remplacée conformément au Calendrier d’entretien du système de contrôle
d’émissions et la Liste de pièces garanties est garantie pour la période de temps
précédantlepremierremplacementprévupourcettepièce.Toutepiècedecegenre
réparée ou remplacée dans le cadre de cette garantie est garantie pour le restant de
la période qui précède la première échéance de remplacement, et elle sera réparée
ou remplacée gratuitement dans un centre de réparations agréé RYOBI® jusqu’au
moment ou elle doit être remplacée.
TechtronicIndustriesNorthAmerica,Inc.effectueralesréparationssousgarantie
dans un centre de réparations RYOBI® agréé ou chez un concessionnaire. Tout
diagnostique effectué dans un centre de réparations RYOBI® agréé sera gratuit si le
diagnostique aide a déterminer qu’une pièce couverte par la garantie est défectueuse.
Des pièces approuvées par le fabricant ou équivalentes peuvent être utilisées pour
tout entretien ou réparation sous garantie des pièces relatives au système de contrôle
des émissions et doivent être fournies gratuitement au propriétaire si la pièce est
toujourssousgarantie.TechtronicIndustriesNorthAmerica,Inc.estresponsable
des dommages au moteur causés par une pièce toujours couverte par la garantie.
Des ajouts ou des pièces modifiées qui ne sont pas exemptées par California Air Re-
source Board ne peuvent pas être utilisées. L’utilisation de toute pièce non-exemptée
oumodifiéepeutjustifierlerefusd’uneréclamationautitredelagarantie.Techtronic
Industries North America, Inc. ne sera pas responsable pour des dommages aux
pièces sous garantie causés par l’utilisation d’une pièce non-exemptée ou modifiée.
Le California Air Resources Board a publié une liste de toutes les pièces de systèmes
d’émissions couvertes par une garantie. (Bien que les réglementations de l’EPA
n’incluent pas de liste, les pièces qu’elle considère comme devant être garanties
sontindiquéesci-dessous.)TechtronicIndustriesNorthAmerica,Inc.,fourniratous
les documents relatifs aux procédures et politiques se rapportant à sa garantie dans
les cinq jours suivant une demande de California Air Resources Board.
LISTE DE PIÈCES DU SYSTÈME DE CONTRÔLE D’ÉMISSIONS
Les pièces du système de contrôle d’émissions varient dépendamment du produit.
Votre garantie du système de contrôle d’émissions s’applique à tous les composants
suivants qui peuvent faire partie de votre produit:
(1) Systèmedecontrôled’alimentationencarburant
(i) Carburateuretlescomposantsinternes(et/ourégulateurde pressionou
système d’alimentation par injection).
(ii) Systèmedecontrôlederapportair/carburant.
(iii) Systèmed’enrichissementpourdémarrageàfroid.
(iv) Réservoir de carburant.
(2) Systèmed’admissiond’air
(i) Systèmed’admissioncontrôléed’airchaud.
(ii) Tubulured’admission.
(iii) Filtreàair.
(3) Systèmed’allumage
(i) Bougies d’allumage.
(ii) Systèmed’allumagemagnéto-électrique.
(iii) Systèmed’avance/retardàl’allumage.
(4) Systèmederecirculationdesgazd’échappement(RGE)
(i) Corps de vanne et l’espaceur du carburateur de RGE, si applicable.
(ii) SystèmedecontrôledutauxdeRGE.
(5) Systèmed’injectiond’air
(i) Pompe à air ou valve à impulsion.
(ii) Valves qui affectent la distribution d’écoulement.
(iii) Distributeur.
(6) Catalyseur ou système de réacteur thermique
(i) Convertisseur catalytique.
(ii) Réacteur thermique.
(iii) Tubulured’échappement.
(7) Contrôles de particules
(i) Pièges, filtres, électrofiltres et tout autre dispositif utilisé pour capturer les
émissions de particules.
(8) Piècesdiversesutiliséesdanslessystèmesénumérésci-dessus
(i) Commandes électroniques.
(ii) Valves et interrupteurs sensibles au vide, à la température et au temps.
(iii) Tuyaux,courroies,connecteursetmodules.
TechtronicIndustriesNorthAmerica,Inc.fourniraaupropriétairedesinstructions
d’entretien et d’utilisation écrites avec chaque nouveau moteur.
La période de conformité aux réglementations antipollution de l’autocollant de
conformité d’émissions indique le nombre nominal d’heures de fonctionnement du
moteur conformément aux réglementations du gouvernement fédéral américain.
CatégorieC=50heures,B=125heures,A=300heures.
TECHTRONIC INDUSTRIES NORTH AMERICA, INC. DÉCLARATION DE GARANTIE LIMITÉE SYSTÈMES DE CONTRÔLE
DES ÉMISSIONS POUR LES ÉTATS-UNIS ET LA CALIFORNIE. PETITS MOTEURS NON ROUTIERS ET HORS ROUTE
VOS DROITS ET RESPONSABILITÉS EN VERTU DE CETTE GARANTIE

Página 3 — Español
ADVERTENCIA:
Lea y comprenda todas las instrucciones. El
incumplimiento de las instrucciones señaladas
abajo puede causar descargas eléctricas, incendios
y lesiones serias.
LEA TODAS LAS INSTRUCCIONES
Familiarícese con la herramienta. Lea
cuidadosamente el manual del operador. Aprenda
los usos y limitaciones de la sierra, así como los
posibles peligros específicos de esta herramienta.
■ Puede ocurrir un contragolpe cuando la punta
de la barra guía toca un objeto, o cuando la
madera entra y pellizca la cadena de la sierra en el
punto de corte. En algunos casos, el contacto de la
pieza de trabajo con la punta de la barra guía puede
causar una reacción súbita en dirección inversa, la
cual lanza la barra guía hacia arriba y hacia atrás,
en la dirección donde se encuentra el operador. El
pellizcamiento de la cadena de la sierra en el corte,
a lo largo de la parte superior de la barra guía, puede
causar un rápido empuje de dicha barra hacia atrás,
en la dirección donde se encuentra el operador.
Cualquiera de estas dos reacciones puede causar
la pérdida de control de la sierra, lo cual a su vez
puede producir lesiones corporales serias. No
dependa exclusivamente de los dispositivos de
seguridad incorporados en la sierra. Como usuario
de una motosierra, debe tomar varias medidas para
evitar accidentes y lesiones en todos sus trabajos
de corte.
•Con un conocimiento básico del contragolpe
de la sierra, puede reducir o incluso eliminar las
sorpresas. La sorpresa súbita contribuye a los
accidentes.
•Mantengasujetaconfirmezalasierraconambas
manos cuando esté funcionando el motor.
Coloque la mano derecha en el mango trasero
y la izquierda en el mango delantero, rodeando
ambos con los pulgares y los dedos restantes.
Una sujeción firme con el brazo izquierdo rígido
le ayuda a mantener el control de la sierra si ésta
llega a dar un contragolpe.
•Asegúrese de que no hayaobstrucciones en
el área donde esté cortando. NO permita que
la punta de la barra guía entre en contacto con
ningún tronco, rama, cerca o cualquier otra
obstrucción a la que le pueda pegar al estar
operando la sierra.
• Corte a velocidades altas del motor. Siempre
corte con el motor funcionando a plena velocidad.
Oprima completamente el gatillo del acelerador
y mantenga una velocidad de corte estable.
•Nose estire ni cortearriba dela altura del
pecho.
• Sigalasinstruccionesdeafiladoymantenimiento
del fabricante correspondientes a la cadena de
la sierra.
•Sóloutilice barrasycadenasde repuesto
especificadas por el fabricante, o su equivalente.
No maneje la motosierra con una sola mano.Si
se maneja con una sola mano la unidad, pueden
resultar lesionados el operador, los ayudantes y
demás personas presentes. La motosierra está
hecha para ser manejada con las dos manos.
No maneje la motosierra cuando esté cansado.
Lafatigacausadescuido.Seamásprecavidoantes
de los períodos de descanso y hacia el final de
su turno. Nunca utilice la motosierra cuando esté
cansado, enfermo o se encuentre bajo los efectos
de alguna droga, alcohol o medicamento.
Use calzado de seguridad. Póngase ropa ajustada
y guantes protectores, así como dispositivos de
protección para los ojos, los oídos y la cabeza.
La ropa protectora pesada puede aumentar la
fatiga del operador, lo cual puede originar un
golpe de calor. En climas cálidos y húmedos, el
trabajo pesado debe programarse para las primeras
horas de la mañana o las últimas horas de la tarde,
cuando las temperaturas son más bajas.
No se pare sobre ninguna superficie inestable
mientras utiliza la motosierra, como las escaleras,
andamios, árboles, etc.
Tenga precaución al manejar combustible. Aleje
la motosierra por lo menos 9 metros (30 pies) del
lugar de reabastecimiento de combustible antes de
arrancar el motor.
No permita que otras personas estén cerca de
la motosierra al arrancar o accionar la misma
para cortar.Mantengaaloscircunstantesyalos
animales alejados del área de trabajo.
No comience a cortar hasta que tenga despejada
el área de trabajo, una postura firme y una trayectoria
de retirada planeada de la caída del árbol.
Mantenga todas las partes del cuerpo alejadas
de la cadena de la sierra cuando esté funcionando
el motor.
REGLAS DE SEGURIDAD GENERALES

Página 4 — Español
Siempre traslade la motosierra con el motor
apagado y el freno de la cadena puesto, la
barra guía y la cadena de la sierra hacia atrás y
el silenciador alejado del cuerpo. Al transportar la
motosierra, use la funda correspondiente de la barra
guía.
No utilice la motosierra si está dañada, mal
ajustada o no está armada completamente y de
forma segura. Asegúrese de que la cadena de la
sierra deje de moverse cuando se suelte el gatillo
de control del acelerador.
■Apague el motor antes de poner en reposo la
sierra. No deje el motor funcionando desatendido.
Como medida de precaución adicional, aplique el
freno de la cadena antes de poner en reposo la
sierra.
■Tenga extrema precaución al cortar broza
pequeña y árboles jóvenes, ya que el material
delgado puede atraparse en la cadena de la sierra
y puede latiguear hacia usted o desequilibrarlo.
■Al cortar una rama que esté bajo tensión, esté
alerta al impulso de regreso de la misma, de manera
que no le pegue cuando se libere la tensión presente
en las fibras de la madera.
■Mantenga los mangos secos, limpios y sin aceite
ni mezcla de combustible.
Puede sufrir intoxicación por monóxido de
carbono.Sóloutilicelamotosierraenáreasbien
ventiladas.
No utilice la sierra subido en un árbol, a menos
que haya recibido capacitación específica para
hacerlo.
No realice tareas de corte subido en una
escalera, es extremadamente peligroso.
Todas las tareas de servicio de la motosierra,
aparte de los puntos indicados en el manual de
instrucciones y todo el mantenimiento, deben
ser efectuadas por técnicos de servicio de
motosierras competentes. (Por ejemplo, si se
utilizan herramientas inadecuadas para desmontar
el volante o para sostenerlo con el fin de retirar
el embrague, puede causarse daño estructural al
volante, lo cual a su vez puede originar el estallido
del mismo.)
Siempre tenga un extintor de incendios al usar
una motosierra.
Sólo use las barras guía y las cadenas de
contragolpe moderado de repuesto especificadas
para la sierra.
■No adapte la cabeza motriz de la sierra a ningún
arco de sierra de mano ni la use para accionar
ningún accesorio o dispositivo no especificado para
la sierra.
■La sierra de gasolina está clasificada por CSA
como sierra de Clase 1C (y la eléctrica como
sierra de Clase 2C). Es para uso infrecuente
por propietarios de casas, quienes gustan de
vacacionar en cabañas y excursionistas, así como
para uso general como desmonte, poda, corte de
leña, etc. No es para uso prolongado. Los períodos
prolongados de manejo de la unidad pueden causar
problemas circulatorios en las manos del operador
debido a la vibración. Para tal uso puede convenir
utilizar una sierra dotada de características de
antivibración.
Guarde estas instrucciones. Consúltelas con
frecuencia y empléelas para instruir a otros usuarios.
Siprestaaalguienestaproducto,facilíteletambién
las instrucciones.
ADVERTENCIA:
Los avisos de advertencia, las etiquetas y las
instrucciones encontrados en esta sección del
manual del operador son para su propia seguridad.
El incumplimiento de cualquiera de las instrucciones
puede causar lesiones serias.
No corte enredaderas ni broza pequeña [de menos
de 76 mm (3 pulg.) de diámetro].
Las superficies del silenciador están muy
calientes durante y después del funcionamiento
de la motosierra; mantenga todas las partes
del cuerpo alejadas de aquél. Puede causarse
quemaduras serias si llega a tocar el silenciador.
■Siempre sujete la sierra con ambas manos cuando
esté funcionando el motor.Sujetefirmementelos
mangos de la motosierra, rodeándolos con los
pulgares y los dedos restantes.
REGLAS DE SEGURIDAD GENERALES
REGLAS DE SEGURIDAD ESPECÍFICAS

Página 5 — Español
■Nunca permita utilizar la sierra a quien no haya
recibido instrucciones adecuadas sobre la forma
correcta de emplear la unidad. Esto se aplica tanto
a las sierras alquiladas como a las propias.
■Antes de arrancar el motor, asegúrese de que no
esté tocando ningún objeto la cadena de la sierra.
Póngase ropa ajustada. Siempre póngase
pantalones largos gruesos, botas y guantes. No
se ponga joyas, pantalones cortos o sandalias, ni
ande descalzo. No se ponga ropa holgada, ya que
puede ser atraída hacia adentro del motor o puede
quedar atrapada en la cadena o en la maleza misma.
Póngase overoles, pantalones vaqueros o zahones
(chaparreras) hechos de material resistente a los
cortes o que contengan partes incorporadas de
tal material. Recójase el cabello de manera que le
quede arriba del nivel de los hombros.
■Póngase calzado de seguridad antideslizante y
guantes para trabajo pesado con el fin de mejorar
su capacidad de sujeción, y para protegerse las
manos.
■Al utilizar esta herramienta, póngase protección
para los ojos con la marca de cumplimiento de
la norma ANSI Z87.1, así como protección para
los oídos y la cabeza.
Mantenga a los circunstantes y a los animales
alejados del área de trabajo. No permita acercarse
a otras personas al arrancar la motosierra o al cortar
con la misma.
NOTA: El tamaño del área de trabajo depende de la
tarea, así como del tamaño del árbol o de la pieza
de trabajo. Por ejemplo, talar un árbol requiere un
área de trabajo más grande que otros tipos de cortes
(como cortes de tronzado, etc.).
Mantenga la protección anticontragolpe SAFE-
T-TIP® de la punta de la barra guía debidamente
montada en ésta para evitar un contragolpe
rotatorio.
Siga las instrucciones de afilado y mantenimiento
correspondientes a la cadena de la sierra.
Nunca utilice la motosierra si está dañada, mal
ajustada o no está armada completamente y de
manera que funcione de forma segura. Asegúrese
de que la cadena de la sierra deje de moverse
cuando se suelte el gatillo de control del acelerador.
Silacadenasemueveestandoelmotorenmarcha
lenta, posiblemente necesita ajuste el carburador.
Consulte el apartado Ajuste del carburador de la
sección Mantenimientodeestemanual.Silacadena
de la sierra aún se mueve al estar el motor en marcha
lenta después de haberse efectuado un ajuste,
lleve la unidad a un centro de servicio autorizado y
suspenda el uso de la misma hasta que se efectúe
la reparación.
REABASTECIMIENTO DE COMBUSTIBLE
(¡NO FUME!)
■Para reducir el riesgo de incendio o de lesiones
por quemadura, maneje con cuidado el combustible.
Es sumamente inflamable.
■Mezcle y guarde el combustible en un recipiente
aprobado para gasolina.
■Mezcle el combustible al aire libre, donde no haya
chispas ni llamas.
■Busque suelo raso para depositar la unidad,
apague el motor y permita que se enfríe antes
de reabastecerlo de combustible.
■Afloje lentamente la tapa del tanque de
combustible para aliviar la presión y para evitar
que se escape combustible por la tapa.
■Después de reabastecer de combustible la
unidad ponga la tapa y apriétela firmemente.
■Limpie todo el combustible que se haya
derramado de la unidad. Aléjese por lo menos 9
metros (30 pies) del sitio de reabastecimiento de
combustible antes de encender el motor.
Nunca intente eliminar el combustible derramado
quemándolo en ninguna circunstancia.
CONTRAGOLPE
El contragolpe es una reacción peligrosa que
puede ocasionar lesiones serias. No dependa
únicamente de los dispositivos de seguridad
suministrados con la sierra. Como usuario de una
motosierra, debe tomar medidas de precaución
especiales para evitar accidentes y lesiones en
todos sus trabajos de corte. Vea las secciones
Reglas de seguridad generales y Funcionamiento de
este manual, donde encontrará información sobre
el contragolpe y sobre la forma de evitar lesiones
corporales serias.
REGLAS DE SEGURIDAD ESPECÍFICAS

Página 6 — Español
Es posible que se empleen en este producto algunos de los siguientes símbolos. Le suplicamos
estudiarlos y aprender su significado. Una correcta interpretación de estos símbolos le permitirá
utilizar mejor y de manera más segura la producto.
SÍMBOLO NOMBRE DENOMINACIÓN / EXPLICACIÓN
Alerta de seguridad Indica un peligro posible de lesiones personales.
Lea el manual del
operador
Para reducir el riesgo de lesiones, el usuario debe leer y
comprender el manual del operador antes de usar este
producto.
Póngase protección para
los ojos, los oídos y la
cabeza
Al utilizar este equipo, póngase protección para los ojos
con protección lateral con la marca de cumplimiento de la
normaANSIZ87.1,asícomoprotecciónparalosoídosyla
cabeza.
ProtecciónSAFE-T-TIP®
de la punta
LaprotecciónSAFE-T-TIP® de la punta de la barra guía ayuda
a evitar un contragolpe de la sierra.
Seprohíbefumar Seprohíbefumar,causarchispasytenerllamasabiertas.
Use las dos manos Sujeteyoperelasierradebidamenteconambasmanos.
Con una mano No maneje la motosierra con una sola mano.
Monóxidodecarbono
Los motores generan monóxido de carbono, el cual es un
gas inodoro tóxico y mortal. No los ponga a funcionar en
espacios encerrados.
Contragolpe ¡PELIGRO! Esté alerta de un posible contragolpe.
Contacto de la punta de
la barra con el material Evite el contacto del material con la punta de la barra.
Póngase guantes Al manejar la motosierra póngase guantes protectores
antideslizantes de uso pesado.
Gasolina y lubricante
Use gasolina sin plomo para vehículos con un octanaje
mínimode87[(R+M)/2].Esteproductoestáimpulsadopor
un motor de dos tiempos y utiliza una mezcla de gasolina y
lubricante para motor de dos tiempos.
Mantengaalejadasalas
personas presentes
Mantengaatodosloscircunstantesyanimalesaunadistancia
mínimade15metros(50pies).
SÍMBOLOS

Página 7 — Español
SERVICIO
El servicio de la herramienta requiere extremo
cuidado y conocimientos técnicos, por lo cual
sólo debe ser efectuado por un técnico de servicio
calificado. Para dar servicio a la herramienta, le
sugerimos llevarla al CENTRO DE SERVICIO
AUTORIZADO de su preferencia para que la
reparen. Al dar servicio a la unidad, sólo utilice
piezas de repuesto idénticas.
ADVERTENCIA:
GUARDE ESTAS INSTRUCCIONES
ADVERTENCIA:
Para evitar lesiones corporales serias, no
intente utilizar este producto sin haber leído
y comprendido totalmente el manual del
operador. Si no comprende los avisos de
advertencia y las instrucciones del manual del
operador, no utilice este producto. Llame al
departamento de atención al consumidor de
Ryobi, y le brindaremos asistencia.
Cualquier herramienta eléctrica en funcionamiento puede lanzar objetos hacia los
ojos, lo cual puede causar serios daños a los mismos. Antes de comenzar a utilizar
una herramienta eléctrica, póngase siempre gafas de seguridad, anteojos protectores
con protección lateral o careta completa cuando sea necesario. Recomendamos la
careta protectora de visión amplia encima de los anteojos normales, o los anteojos
protectoresestándarconprotecciónlateral.Siemprepóngaseprotecciónocularcon
lamarcadecumplimientodelanormaANSIZ87.1.
Las siguientes palabras de señalización y sus significados tienen el objeto de explicar los niveles de
riesgo relacionados con este producto.
SÍMBOLO SEÑAL SIGNIFICADO
PELIGRO: Indica una situación peligrosa inminente, la cual, si no se evita,
causará la muerte o lesiones serias.
ADVERTENCIA: Indica una situación peligrosa posible, la cual, si no se evita,
podría causar la muerte o lesiones serias.
PRECAUCIÓN: Indica una situación peligrosa posible, la cual, si no se evita,
podría causar lesiones menores o leves.
PRECAUCIÓN: (Sinelsímbolodealertadeseguridad.)Indicaunasituación
que puede producir daños materiales.
SÍMBOLOS

Página 8 — Español
Tronzado
Es el proceso de cortar transversalmente un árbol o
tronco talado en tramos.
Freno de la cadena
Es un dispositivo empleado para detener la cadena
de la sierra.
Cabeza motriz de la motosierra
Es la motosierra sin la cadena de aserrar ni la barra
guía.
Embrague
Es un mecanismo para conectar y desconectar del
mecanismo impulsor el mecanismo impulsado.
Rueda dentada de impulsión
Es la pieza dentada que impulsa la cadena de la sierra.
Tala
Es el proceso de cortar un árbol para derribarlo.
Corte trasero de tala
Es el corte final de la operación de tala de un árbol,
el cual se efectúa en el lado opuesto al del corte de
muescado.
Protector delantero de la mano
Es una barrera protectora estructural situada entre
el mango delantero de una motosierra y la barra
guía, normalmente localizada cerca de la posición
de la mano en el mango delantero, y algunas veces
se emplea como palanca de activación del freno de
la cadena.
Mango delantero
Es el mango de soporte situado en la parte frontal
de la motosierra, o en esa dirección. Este mango es
para la mano izquierda.
Barra guía
Es una estructura sólida con un riel, la cual sirve para
sostener y guiar la cadena de la sierra.
Contragolpe
Es el movimiento de la barra guía hacia atrás o hacia
arriba, o ambos, el cual ocurre cuando la cadena de
aserrar, cerca de la parte superior de la punta de la
barra guía, toca cualquier objeto como un tronco
o rama, o cuando la madera se cierra y pellizca la
cadena en la abertura del corte.
Contragolpe por pellizco
Es el rápido empuje de la sierra hacia atrás, el cual
puede ocurrir cuando la madera se cierra y pellizca
la cadena en movimiento en el corte a lo largo de la
parte superior de la barra guía.
Contragolpe rotatorio
Es el movimiento rápido de la sierra hacia arriba y
hacia atrás, el cual puede ocurrir cuando la cadena
en movimiento, cerca de la parte superior de la punta
de la barra guía, toca un objeto como un tronco o
una rama.
Cadena de contragolpe moderado
Es una cadena que cumple con los requisitos relativos
alniveldecontragolpeestipuladosenlanormaANSI
B175.1alprobarseenunamuestrarepresentativa
de las sierras de cadena.
Posición normal de corte
Sonaquellasposicionesadoptadasparaefectuar
los cortes de tronzado y de tala de árboles.
Corte de muescado
Es un corte en forma de muesca efectuado para
dirigir la caída del árbol.
Mango trasero
Es el mango de soporte situado en la parte trasera
de la motosierra, o en esa dirección. Es donde
normalmente está alojado el acelerador. Este mango
es para la mano derecha.
Barra guía de contragolpe reducido
Es una barra guía la cual se ha demostrado que
reduce el contragolpe de manera notable.
Cadena de repuesto de la sierra
Es una cadena que cumple con los requisitos
relativos al nivel de contragolpe estipulados en la
normaANSIB175.1alprobarseconciertassierras
de cadena en particular. Es posible que no cumpla
conlosrequisitosdedesempeñodelanormaANSI
al emplearse con otras sierras.
Protección SAFE-T-TIP® de la punta
Es un accesorio que puede suministrarse montado
en el extremo de la barra guía, y cuyo objetivo es
evitar que la cadena toque la madera en el extremo
de la barra guía.
Cadena de aserrado
Es una cadena en forma de collar, con dientes de
corte para cortar madera, la cual es impulsada por
un motor y está soportada por la barra guía.
Pértiga
Es un árbol pequeño (un árbol joven) o rama que
está doblado o atrapado bajo tensión. Puede saltar
hacia atrás rápidamente al cortarse, causando así
una situación peligrosa.
GLOSARIO DE TÉRMINOS

Página 9 — Español
ESPECIFICACIONES DEL PRODUCTO
Longitud de la barra:
RY10520 ............................. 508mm(20pulg.)
RY10518 ............................. 457mm(18pulg.)
Paso de la cadena .............. 8,3mm(0,325pulg.)
Calibre de la cadena.........1,27mm(0,050pulg.)
Tipodecadena ......................................Estándar
Rueda dentada de impulsión ..........De 7 dientes
Cilindrada del motor ................................... 46 cc
Potencia del motor ........................... 2,5HPmín.
Marchalenta
del motor ................ De2600-3400r/min(RPM)
Capacidad del tanque
de combustible .......................... 575ml(19,4oz.)
Capacidad del tanque
de aceite de la cadena ..............350ml(11,8oz.)
Peso-Sinbarra,cadena,
combustible ni lubricante .............. 4,5kg(10lb.)
Fig.1a
PROTECCIÓN DELANTERA
DE LA MANO / FRENO DE
LA CADENA
MANGO
DELANTERO
TAPA DEL
CILINDRO
TAPA DEL ACEITE
DE LA CADENA
BOMBA DE
CEBADO
PALANCA DEL
ANEGADOR
CARACTERÍSTICAS
TUERCAS DE MONTAJE
DE LA BARRA
LIBERADOR
DEL GATILLO
SAFE-T-TIP®

Página 10 — Español
FAMILIARÍCESE CON LA MOTOSIERRA
Vea las figuras 1a y 1b.
Para usar este producto con la debida seguridad
se debe comprender la información indicada en
la producto misma y en este manual, y se debe
comprender también el trabajo que intenta realizar.
Antes de usar este producto, familiarícese con
todas las características de funcionamiento y
normas de seguridad del mismo.
PALANCA DEL ANEGADOR
La palanca del anegador abre y cierra la válvula
de anegación situada dentro del carburador. Las
posicionesposiblesson:ANEGACIÓNMÁXIMAy
FUNCIONAMIENTO.
PROTECCIÓN DELANTERA DE LA
MANO / FRENO DE LA CADENA
El freno de la cadena tiene el objeto de detener con
rapidez el desplazamiento de la cadena. Cuando
la palanca del freno de la cadena (la protección
de la mano) se empuja hacia la barra, la cadena
se detiene de inmediato. El freno de la cadena no
evita contragolpes.
BARRA GUÍA
La barra guía instalada en la fábrica dispone de
una punta de radio pequeño, la cual ofrece una
capacidad de disminución del contragolpe un
poco menor.
CADENA DE SIERRA DE CONTRAGOLPE
MODERADO
La cadena de contragolpe moderado de la sierra
reduce al mínimo la fuerza de la reacción de
contragolpe al evitar que los dientes de corte se
introduzcan demasiado profundamente en la zona
de contragolpe.
BOMBA DE CEBADO
La bomba de cebado sirve para bombear
combustible del tanque al carburador.
PROTECCIÓN ANTICONTRAGOLPE
SAFE-T-TIP® DE LA PUNTA
La punta anticontragolpe SAFE-T-TIP® de la punta
es un aditamento montado en el extremo de la
barra guía cuyo objeto es evitar que la parte de
la cadena situada en el extremo de la barra guía
toque la madera.
GATILLO DEL ACELERADOR
El gatillo del acelerador sirve para controlar la
rapidez de desplazamiento de la cadena.
Fig.1b
MANGO
TRASERO
GATILLO DEL
ACELERADOR
INTERRUPTOR
DE ENCENDIDO
TAPA DEL
TANQUE DE
COMBUSTIBLE
ALOJAMIENTO DEL
ARRANCADOR Y DEL
VENTILADOR
MANGO DEL
ARRANCADOR
CARACTERÍSTICAS

Página 11 — Español
ADVERTENCIA:
No permita que su familarización con este
productolovuelvadescuidado.Tengapresente
que un descuido de un instante es suficiente
para causar una lesión grave.
ADVERTENCIA:
Siempre póngase protección ocular con la
marcadecumplimientodelanormaANSIZ87.1
junto con protección para los oídos y la cabeza.
La inobservancia de esta advertencia puede
permitir que los objetos lanzados hacia los ojos
y otros provocarle lesiones graves.
LISTA DE EMPAQUETADO (continuado)
Llave de combinación
Lubricante para motor de dos tiempos
Estuche
Manualdeloperador
ADVERTENCIA:
Sifaltaoestádañadaalgunapieza,noutilice
este producto sin haber reemplazado la pieza.
Usar este producto con partes dañadas o
faltantes puede causar lesiones serias al
operador.
ADVERTENCIA:
No intente modificar este producto ni hacer
accesorios no recomendados para la misma.
Cualquier alteración o modificación constituye
maltrato el cual puede causar una condición
peligrosa, y como consecuencia posibles
lesiones corporales serias.
NOTA: La motosierra ha sido probada
completamente en la fábrica. Es normal encontrar
algún leve residuo de aceite en la sierra. Lea
y desprenda todas las etiquetas colgadas y
guárdelas con el manual del operador.
DESEMPAQUETADO
Embarcamos este producto completamente
armado.
Extraiga cuidadosamente de la caja la producto
y los accesorios. Asegúrese de que estén
presentes todos los artículos enumerados en
la lista de empaque.
ADVERTENCIA:
No use este producto si no está totalmente
ensamblado o si alguna pieza falta o está
dañada. Si utiliza un producto que no se
encuentra ensamblado de forma correcta y
completa, puede sufrir lesiones graves.
Inspeccione cuidadosamente la producto para
asegurarse de que no haya sufrido ninguna
rotura o daño durante el transporte.
No deseche el material de empaque hasta que
haya inspeccionado cuidadosamente la producto
y la haya utilizado satisfactoriamente.
Sihaypiezasdañadasofaltantes,lesuplicamos
llamaral1-800-860-4050,dondelebrindaremos
asistencia.
LISTA DE EMPAQUETADO
Motosierra
Funda
ADVERTENCIA:
No utilice ningún aditamento o accesorio
no recomendado por el fabricante de este
producto. El empleo de aditamentos o
accesorios no recomendandos podría causar
lesiones serias.
APLICACIONES
Este producto puede emplearse para los fines
enumerados abajo:
Operaciones básicas de desramado, tala y
tronzado
Eliminación de raíces zancas
ARMADO
ARMADO

Página 12 — Español
ADVERTENCIA:
Siempreapagueelmotorantesdeabastecer
el combustible. Nunca reabastezca de
combustible ninguna máquina con el motor
en marcha o caliente. Aléjese por lo menos 9
metros (30 pies) del sitio de reabastecimiento
de combustible antes de encender el motor.
¡NO FUME! Manténgase alejado de llamas
abiertas o de chispas. La inobservancia de esta
advertencia puede causar lesiones serias.
COMBUSTIBLE Y REABASTECIMIENTO
DEL MISMO
FORMA SEGURA DE MANEJAR EL
COMBUSTIBLE
ADVERTENCIA:
Revise la herramienta para ver si tiene fugas
decombustible.Silashay,corríjalasantes de
usar la sierra, para evitar incendios o lesiones
por quemadura.
Siempremanejeconcuidadoelcombustible,
ya que es sumamente inflamable.
Siemprereabastezcalaunidadalairelibreyno
inhale los vapores del combustible.
No permita que la gasolina ni el lubricante le
toquen la piel.
Mantengalagasolinayellubricantelejosdelos
ojos.Silagasolinaoellubricanteletocanlos
ojos, láveselos de inmediato con agua limpia.
Si persiste la irritación, vea a un doctor de
inmediato.
Limpie de inmediato todo combustible
derramado.
Consulte el apartado Reabastecimiento de
combustible de la sección Reglas de seguridad
específicas de este manual, donde encontrará
información de seguridad adicional.
MEZCLADO DEL COMBUSTIBLE
Este producto está impulsado por un motor
de2 tiempos, elcual requiereuna mezcla
de gasolina y lubricante para motor de dos
tiempos. Premezcle gasolina sin plomo y
lubricante para motor de dos tiempos en un
recipiente aprobado para gasolina.
■Este motor está certificado para funcionar
con gasolina sin plomo para vehículos con un
octanajede87[(R+M)/2]omás.
■No use ningún tipo de gasolina premezclada con
lubricante adquirida en las gasolineras, como la
destinada a las bicimotos, motocicletas, etc.
■Use un lubricante automezclante de alta calidad
para motor de dos tiempos enfriado por aire. No
use lubricante para vehículos o para motores
fueradebordade2tiempos.
■Mezcle2%delubricanteenlagasolina.Esuna
proporciónde50:1.
Mezclebienelcombustiblecadavezantesde
verterlo en el tanque del motor.
■Hagalamezclaenpequeñascantidades.No
mezcle cantidades mayores de las que vaya a
usarenunperíodode30días.Serecomiendael
uso de un lubricante para motor de dos tiempos
con estabilizador de combustible.
PREMIUM EXACT MIX™ (50:1)
GASOLINA LUBRICANTE
1galón(EU) 2,6onz.
1litro 20cc(20ml)
COMBUSTIBLES OXIGENADOS
NO USE COMBUSTIBLE E85. ANULARÁ SU
GARANTÍA.
NOTA: No están cubiertos en la garantía los
problemas de desempeño o daños al sistema
de combustible producidos por el uso de un
combustible oxigenado con un contenido superior
a los porcentajes de alcohol o compuesto de éter
señalados abajo.
Etanol. Lasgasolinasconuncontenidode10%de
etanol por volumen (comunmente conocida como
E10)o15%deetanolporvolumen(comunmente
conocidacomoE15)sonaceptables.LaE85no
lo es.
ARMADO

Página 13 — Español
LLENADO DEL TANQUE
Vea la figura 2.
Limpie la superficie situada alrededor de la tapa
del combustible para evitar la contaminación
del mismo.
Afloje lentamente la tapa del tanque de
combustible.
Cuidadosamente vierta en el tanque la mezcla
de combustible. Evite los derrames.
Antes de volver a colocar la tapa del tanque de
combustible, limpie e inspeccione la junta.
Vuelva a colocar inmediatamente la tapa del
tanque de combustible y apriételo con la mano.
Limpie todo derrame de combustible.
NOTA: Es normal la emisión de humo en los
motores nuevos durante y después de la primera
vez que se usan.
Fig.2
ABASTECIMIENTO DE LUBRICANTE
PARA LA BARRA Y LA CADENA
Vea la figura 3.
Use lubricante RYOBI para barra y cadena. Está
diseñado para las cadenas y los sistemas de
lubricación de las mismas, y está formulado para
desempeñarse en una amplia gama de temperaturas
sin requerir ninguna dilución. La motosierra debe
gastar aproximadamente un tanque de lubricante
por cada tanque de combustible.
NOTA: No use lubricante sucio, usado o
contaminado de ninguna forma. Puede dañarse
la bomba de aceite, la barra o la cadena.
Cuidadosamente vierta el lubricante para la barra
y la cadena en el tanque correspondiente.
Llene el taque de aceite cada vez que reabastezca
de combusible el motor.
Fig.3
ARMADO

Página 14 — Español
FUNCIONAMIENTO DEL FRENO DE LA
CADENA
Vea las figuras 4 y 5.
Verifique las condiciones de funcionamiento del
freno de la cadena cada vez antes de usar la
unidad.
Accione el freno de la cadena rotando su mano
izquierda alrededor del mango frontal, de
manera tal que permita que la parte posterior
de la mano empuje la palanca del freno de la
cadena o la protección de la mano hacia la barra
mientras la cadena gira rápidamente. Asegúrese
de mantener en todo momento las manos en
los mangos de la sierra.
Vuelva a poner el freno de la cadena en la posición
de FUNCIONAMIENTO; para ello sujete la parte
superior de la palanca (la protección de la mano)
de dicho freno y tire de la misma hacia el mango
delantero hasta que se oiga un chasquido.
ADVERTENCIA:
Sielfrenonodetienelacadenadeinmediato,
o si el mismo no permanece en la posición de
funcionamiento sin asistencia, lleve la sierra a un
centro de servicio autorizado para su reparación
antes de volver a usarla.
ARRANQUE DEL MOTOR
Vea las figuras 6 a 11.
El arranque de la herramienta difiere según si el
motor está frío o caliente.
ADVERTENCIA:
Mantengaelcuerpoalaizquierdadelplanode
la cadena. Nunca se coloque a horcajadas por
encima de la sierra o de la cadena, ni incline el
cuerpo a través del plano de la cadena.
Coloque la motosierra en suelo nivelado,
y asegúrese de que no haya objetos ni
obstrucciones en la cercanía inmediata que
puedan tocar la barra y la cadena.
Sostengafirmementeelmangodelanterocon
la mano izquierda y coloque el pie derecho en
la base del mango trasero.
POSICIÓN DE
FUNCIONAMIENTO
POSICIÓN DE
FRENADO
MANGO DEL
ARRANCADOR
Para arrancar con el motor frío:
Coloque el interruptor de encendido en la
posición de FUNCIONAMIENTO ( I ).
INTERRUPTOR DE
ENCENDIDO EN
LA POSICIÓN DE
FUNCIONAMIENTO
ARMADO
Fig.4
Fig.5
Fig.6
Fig.7

Página 15 — Español
Asegúrese de que el freno de la cadena esté
en la posición de funcionamiento; para ello, tire
de la palanca (la protección de la mano) hacia
atrás.
Oprima hasta el fondo y suelte la bomba de
cebado siete veces.
Tiredelapalancadelanegadordelcarburador
completamente hacia afuera, a la posición de
ANEGACIÓN MÁXIMA.
Cuandola temperatura estéarriba de 10 °C
(50°F),tiredelmangodelarrancadorhastaque
el motor intente arrancar, pero no más de tres
veces. Cuando la temperatura esté abajo de
10°C (50 °F),tiredel mango del arrancador
hasta que el motor intente arrancar, pero no
más de cinco veces.
Empuje la palanca del anegador a la posición
de FUNCIONAMIENTO.
Tire del mango del arrancador hasta que
empiece a funcionar el motor.
NOTA: Permita que la sierra funcione en esta
posiciónde 15 a30 segundos,segúnsea la
temperatura.
Presione el liberador del gatillo y oprima y suelte
el gatillo del acelerador para permitir que vuelva
a funcionar en marcha lenta el motor después
de un tiempo total de funcionamiento de 30
segundos por lo menos.
PRECAUCIÓN:
Sinosesueltalaaceleraciónparcialcuando
la palanca del freno de la cadena está en la
posición de frenado, puede resultar seriamente
dañada la unidad. Nunca oprima sin dejar de
soltar el gatillo del acelerador mientras el freno
de la cadena esté en la posición de frenado.
Para arrancar con el motor caliente:
Coloque el interruptor de encendido en la
posición de FUNCIONAMIENTO ( I ).
Asegúrese de que el freno de la cadena esté
en la posición de funcionamiento; para ello, tire
de la palanca (la protección de la mano) hacia
atrás.
Tirede la palancadel anegador hacia fuera,
a la posición ANEGACIÓN MÁXIMA e
POSICIÓN DE
FUNCIONAMIENTO
PALANCA DEL
ANEGADOR
BOMBA DE
CEBADO
GATILLO DEL ACELERADOR
LIBERADOR
DEL GATILLO
ARMADO
Fig.9
Fig.10
Fig.8
Fig.11

Página 16 — Español
inmediatamente después, empújela a la
posición FUNCIONAMIENTO para un arranque
en frío.
Tire del mango del arrancador hasta que
empiece a funcionar el motor, pero no lo haga
másde5veces.Sielmotornoarrancaluegode
5intentos,recurraalprocedimientodearranque
con el motor frío.
Oprima y suelte el gatillo del acelerador para
permitir que vuelva a funcionar en marcha lenta
el motor.
APAGADO DEL MOTOR
Vea las figuras 12 y 13.
Suelteelgatillodelaceleradorypermitaqueel
motor funcione en marcha lenta. Para apagar el
motor coloque el interruptor de encendido en la
posición de APAGADO ( O ). No deposite la sierra en
el suelo mientras aún esté moviéndose la cadena.
Para tener un grado adicional de seguridad, ponga
el freno de la cadena cuando no esté usándose
la sierra.
En el caso de que el interruptor de encendido
no detenga la cadena, tire de la palanca del
anegador completamente a la posición extendida
(ANEGACIÓN MÁXIMA ) y accione el freno de la
cadenaparaapagarelmotor.Sielinterruptorde
encendido no detiene la sierra estando puesto en
la posición de APAGADO, permita que reparen el
interruptor de encendido antes de usar nuevamente
la motosierra para evitar condiciones inseguras y
posibles lesiones serias.
NOTA: Una vez que termine de utilizar la sierra,
siempre alivie la presión de los tanques; para ello,
afloje y vuelva a apretar la tapa del aceite de la
cadena y la de la mezcla de combustible. Deje
enfriar el motor antes de guardar la unidad.
AJUSTE DE LA MARCHA LENTA
Vea la figura 14.
Siel motor arranca, funciona y acelera, pero
no funciona en marcha lenta, gire el tornillo de
marcha lenta “T” hacia la derecha para aumentar
la velocidad de dicha marcha.
POSICIÓN
DE FRENADO
INTERRUPTOR DE
ENCENDIDO EN
LA POSICIÓN DE
FUNCIONAMIENTO
TORNILLO DE
MARCHA LENTA
“T”
Silacadenaavanzaalestarelmotorenmarcha
lenta, gire el tornillo de marcha lenta “T” hacia
la izquierda para reducir la velocidad de dicha
marcha y detener el movimiento de la cadena.
Silacadenadelasierraaúnsemuevealestar
el motor en marcha lenta, lleve la unidad a un
centro de servicio autorizado para que la ajusten
y suspenda el uso de la misma en tanto no se
efectúe la reparación.
ARMADO
Fig.13
Fig.14
Fig.12

Página 17 — Español
ADVERTENCIA:
LA CADENA DE LA SIERRA NUNCA DEBE
AVANZARALESTARELMOTORENMARCHA
LENTA. Gire el tornillo de marcha lenta “T”
hacia la izquierda para reducir dicha marcha y
así detener la cadena, lleve la unidad un centro
de servicio autorizado para que la ajusten y
suspenda el uso de la misma en tanto no se
efectúelareparación.Silacadenasemueveal
estar el motor en marcha lenta, pueden ocurrir
lesiones corporales serias.
EMPUJÓN Y TIRÓN
Vea la figura 15.
La fuerza de reacción de la sierra es siempre
opuesta a la dirección en que está moviéndose
la cadena. Así, el operador debe estar preparado
para controlar el TIRÓN al cortar por el borde
inferiordelabarraguía,yelEMPUJÓNalcortar
por el borde superior de dicha barra.
TIRÓN
EMPUJÓN
NOTA: La motosierra ha sido probada
completamente en la fábrica. Es normal encontrar
algún leve residuo de aceite en la sierra.
ADVERTENCIA:
El CONTRAGOLPE ocurre cuando la cadena
en movimiento hace contacto con un objeto
en la parte superior de la punta de la barra, o
cuando la madera entra y pellizca la cadena de
la sierra en el punto de corte. El contacto de
la parte superior de la punta de la barra con la
madera puede causar que la cadena se clave
en el material y se detenga instantáneamente.
El resultado es una reacción súbita en dirección
inversa, la cual lanza la barra guía hacia arriba y
hacia atrás, en la dirección donde se encuentra
eloperador.Silacadenadelasierrasepellizca
en el corte, a lo largo de la parte superior de la
barra guía, puede causarse un rápido empuje de
dicha barra hacia atrás, en la dirección donde
se encuentra el operador. Cualquiera de estas
dos reacciones puede originar una pérdida de
control, la cual a su vez podría ser causa de
lesiones serias.
No dependa exclusivamente de los dispositivos
de seguridad incorporados en la sierra. Como
usuario de una motosierra, debe tomar las
medidas necesarias para evitar accidentes y
lesiones en todos sus trabajos de corte. Consulte
el apartado Reglas de seguridad generales,
donde encontrará más información.
ARMADO
Fig.15

Página 18 — Español
PRECAUCIONES RELACIONADAS CON
EL CONTRAGOLPE
Vea las figuras 16 y 17.
El contragolpe rotatorio ocurre cuando la cadena
en movimiento hace contacto con un objeto en la
zona de peligro de contragolpe de la barra guía.
El resultado es una reacción súbita en dirección
inversa, la cual lanza la barra guía hacia arriba y
hacia atrás, en la dirección donde se encuentra el
operador. Esta reacción súbita puede originar una
pérdida de control, la cual a su vez podría ser causa
de lesiones serias.
PREPARACIÓN PARA EL CORTE
SUJECIÓN CORRECTA DE LOS MANGOS
Vea la figura 18.
Consulte el apartado Reglas de seguridad
generales, donde encontrará información sobre
el equipo de seguridad adecuado.
Póngase guantes antideslizantes para lograr una
capacidad de sujeción y protección máximas.
Sujetelasierrafirmementeconambasmanos.
Siempremantenga la mano izquierdaen el
mango delantero y la mano derecha en el mango
trasero, de manera que su cuerpo quede a la
izquierda del plano de la cadena.
ADVERTENCIA:
Nunca sujete la unidad con la posición de las
manos intercambiada, ni con el cuerpo en
ninguna postura que pueda colocar el mismo o
el brazo a través del plano de la cadena.
Mantengaunasujeciónadecuadadelasierra
siempre que esté funcionando el motor. Los
dedos deben rodear el mango, con el pulgar
doblado bajo la barra del mismo. Esta forma
de sujeción es la que tiene menor probabilidad
de fallar por un contragolpe o cualquier otra
reacción súbita de la sierra. Cualquier forma
de sujeción en la cual el pulgar y los dedos
restantes están en el mismo lado del mango es
peligrosa, debido a que incluso un contragolpe
leve de la sierra puede originar la pérdida del
control.
CONTRAGOLPE
ROTATORIO
ZONA DE
PELIGRO DE
CONTRAGOLPE
FORMA CORRECTA DE
SUJECIÓN FORMA INCORRECTA
DE SUJECIÓN
POSICIÓN CORRECTA
DE LAS MANOS EN
LOS MANGOS
ARMADO
Fig.17
Fig.16
Fig.18

Página 19 — Español
EL BRAZO
RECTO
EL PULGAR BAJO
LA BARRA DEL
MANGO
PLANO DE
LA CADENA
ADVERTENCIA:
NO accione el gatillo del
acelerador con la mano
izquierda, sujetando el
mango delantero con la
mano derecha. Nunca
permita que ninguna parte
del cuerpo cruce el plano
de la cadena mientras esté
funcionando la sierra.
PLANO
DE LA
CADENA
POSTURA CORRECTA PARA EL CORTE
Vea la figura 19.
ADVERTENCIA:
Siempreuselaposturacorrectaparaelcorte
descritos en esta sección. Nunca de rodillas
cuando se utiliza la motosierra, excepto cuando
se tala de árbol, como se muestra en la figura
24. Rodillas podría ocasionar la pérdida de
estabilidad y control de la sierra y provocar
lesiones personales graves.
■Su peso debe quedar distribuido de forma
equilibrada con ambos pies en suelo firme.
Mantengaelbrazoizquierdoconelcodorígido
en posición de “brazo recto” para poder tolerar
la fuerza de cualquier contragolpe.
Mantengaelcuerpoalaizquierdadelplanode
la cadena.
Mantengaelpulgarbajolabarradelmango.
PRECAUCIONES RELACIONADAS CON
EL ÁREA DE TRABAJO
Vea la figura 20.
Sólo corte madera o materiales hechos de
madera; no corte lámina metálica, plásticos,
mampostería, ni materiales de construcción que
no sean de madera.
■Nunca permita utilizar la sierra a ningún niño.
No permita utilizar la sierra a ninguna persona
que no haya leído este manual del operador o
no haya recibido instrucciones adecuadas sobre
la forma correcta de emplear esta motosierra.
■Mantengaa todas laspersonas, ayudantes,
circunstantes, niños y animales a una
DISTANCIA SEGURA del área de corte.
Durante las operaciones de tala de árboles,
una distancia segura es por lo menos el doble
de la altura de los árboles más altos presentes
en el área de la tala. Durante las tareas de
tronzado (corte en tramos más pequeños), debe
mantenerse una distancia mínima de 4,6 metros
(15pies)entrelostrabajadores.
■Siemprecorteconambospiesbienapoyados
en suelo sólido para evitar perder el equilibrio.
■No corte arriba de la altura del pecho, ya que
si se tiene la sierra más arriba de esa altura, es
difícil de controlar bajo la fuerza del contragolpe.
■No tale árboles cerca de cables eléctricos o de
edificios. Deje tal operación a los profesionales.
■Corte solamente cuando la visibilidad y la luz
sean adecuadas para ver claramente.
PROCEDIMIENTOS BÁSICOS DE
FUNCIONAMIENTO Y CORTE
Practique cortando unos pocos troncos pequeños
aplicando la siguiente técnica para acostumbrarse
ARMADO
Fig.19
Fig.20

Página 20 — Español
al manejo de la sierra antes de comenzar una tarea
de corte de mayores proporciones.
Adopte una postura correcta del cuerpo frente
a la madera, con la sierra en marcha lenta.
Acelere el motor hasta el punto máximo justo
antes de comenzar el corte; para ello, oprima
el gatillo del acelerador.
Inicie el corte poniendo la sierra contra el tronco.
Mantenga el motor a la máxima aceleración
todo el tiempo que esté cortando.
Permita que la cadena efectúe el corte; sólo
apliqueunalevepresiónhaciaabajo.Sifuerzael
corte, puede dañarse la barra, la cadena o el motor.
Suelteel gatillo delacelerador tan pronto
como se termine el corte, permitiendo al motor
funcionarenmarchalenta.Sihacefuncionarla
sierra a la aceleración máxima sin estar cortando
nada, puede ocurrir un desgaste innecesario de
la cadena, de la barra y del motor.
No aplique presión en la sierra al final del corte.
TALA DE ÁRBOLES
CONDICIONES PELIGROSAS
ADVERTENCIA:
No tale árboles durante períodos de viento o
lluvia intensos. Espere hasta que cese el tiempo
peligroso.
Al talar un árbol, es importante prestar atención a
las siguientes advertencias para evitar toda posible
lesión seria.
■No corte árboles extremadamente delgados ni
árboles grandes con ramas podridas, corteza
suelta o troncos huecos. Permita que expertos
derriben estos árboles con equipo pesado de
empuje o arrastre, y después recórtelos.
■No corte árboles cerca de cables eléctricos o
de edificios.
■Revise cada árbol para ver si tiene ramas muertas
que pudiesen caer y golpearlo al talar aquél.
■Periódicamente eche un vistazo a la copa del
árbol durante el corte trasero, para asegurarse
de que caiga en la dirección deseada.
Sielárbolcomienzaacaerenunadirección
equivocada, o si la sierra se pellizca o queda
colgada en el tronco durante la caída del árbol,
¡deje la sierra y sálvese!
135º DE
LA LÍNEA
PLANEADA
DE CAÍDA TRAYECTORIA DE
RETIRADA SEGURA
LÍNEA
PLANEADA DE
CAÍDA
LÍNEA
PLANEADA
DE CAÍDA
TRAYECTORIA
DE RETIRADA
SEGURA
MUESCA -
APROX. 1/3 DEL
DIÁMETRO DEL
TRONCO
CORTE TRASERO
51 mm (2 pulg.)
PROCEDIMIENTO CORRECTO PARA
TALAR ÁRBOLES
Vea las figuras 21 a 24.
Planifique su ruta de escape (o rutas, en caso de
que esté bloqueada la ruta planeada). Despeje
el área inmediata al árbol, y asegúrese de que
no haya obstrucciones en la ruta planeada
ARMADO
Fig.21
45°
45°
90°
135°
135°
90°
Fig.22
BISAGRA 51 mm (2 pulg.)
O 1/10 DEL DIÁM.

Página 21 — Español
CUÑA
CORTE
HORIZONTAL
CORTE
VERTICAL
PARTE
SUELTA
de retirada. Despeje la trayectoria de retirada
seguraaproximadamentea 135º de lalínea
planeada de caída del árbol.
Considere la fuerza y dirección del viento, la
inclinación y equilibrio del árbol, y por último, la
ubicación de las ramas más grandes del mismo.
Estos aspectos influyen en la dirección de caída
del árbol. No trate de talar ningún árbol a lo
largo de una línea diferente de su línea natural
de caída.
Corte una muesca de aproximadamente 1/3
del diámetro del tronco en el costado del árbol.
Efectúe los cortes de la muesca de manera
que queden cruzando en ángulo recto el plano
de caída. Esta muesca debe limpiarse para
dejar una línea recta. Para mantener el peso de
la madera fuera de la sierra, siempre efectúe
el corte inferior de la muesca antes del corte
superior.
Efectúe el corte trasero nivelado y horizontal, a
unadistanciamínimade51mm(2pulg.)arriba
del corte horizontal de la muesca.
NOTA:Nuncacortehastalamuesca.Siempre
deje una franja de madera entre la muesca y
elcortetrasero[aprox.51mm(2pulg.)ó1/10
del diámetro del árbol]. Esto se llama “bisagra”
o “madera de bisagra”. Controla la caída del
árbol y evita el deslizamiento, el torcimiento o
la separación violenta del árbol de su cepa.
Con los árboles de diámetro grande, detenga el
corte trasero antes de llegar a una profundidad
tal, que el árbol pudiese caer o asentarse en la
cepa. Después introduzca cuñas de madera
o plástico suaves en el corte, de manera que
no toquen la cadena. Encaje las cuñas poco a
poco, como ayuda para derribar el árbol.
NOTA: Al tronzar o talar un árbol con una cuña,
puede ser necesario desmontar la protección
anticontragolpeSAFE-T-TIP® de la punta para
permitir tirar de la barra por todo el corte.
Después de terminar el corte, debe volver a
montar de inmediato la protección de la punta.
A medida que comience a caer el árbol, apague
la motosierra y deposítela en el suelo de
inmediato. Retírese por la trayectoria despejada,
pero observe lo que sucede por si algo llega a
caer en su camino.
BISAGRA
CORTE
TRASERO
ARMADO
ADVERTENCIA:
Nunca corte hasta la muesca al efectuar el corte
trasero. La bisagra, que es la parte de madera
existente entre la muesca y el corte trasero,
controla la caída del árbol.
ELIMINACIÓN DE RAÍCES ZANCAS
Vea la figura 25.
Una raíz zanca es una raíz larga que se extiende
desde el tronco del árbol, por encima de la tierra.
Antes de talar el árbol, elimine las raíces zancas
grandes. Primero efectúe el corte horizontal en la
Fig.24
Fig.25
Fig.23

Página 22 — Español
CUÑA
CONTRAGOLPE
ARMADO
raíz zanca, seguido del corte vertical. Retire del
área de trabajo la parte suelta resultante. Una vez
habiendo eliminado las raíces zancas grandes de la
forma señalada en Procedimiento correcto para
talar árboles, aplique el procedimiento adecuado
para talar el árbol.
TRONZADO
Vea la figura 26.
Tronzadoeseltérminoaplicadoalcortedeltronco
de un árbol derribado, en tramos de la longitud
deseada.
Solamentecorteuntroncoalavez.
Apoye los troncos pequeños en un caballete de
aserrar o en otro tronco mientras los tronza.
Mantengadespejadaeláreadelcorte.Asegúrese
de que ningún objeto pueda tocar la punta de la
barra guía ni la cadena durante el corte, ya que
puede originarse un contragolpe. Para evitar
tal peligro, mantenga montada la protección
anticontragolpeSAFE-T-TIP® mientras efectúa
el corte. Consulte el apartado Contragolpe de
la sección Reglas de seguridad específicas de
este manual, donde encontrará información de
seguridad adicional.
■
Durante las operaciones de tronzado párese
en el lado cuesta arriba de manera que la parte
recortada del tronco no ruede encima de usted.
■Algunas veces es imposible evitar el
pellizcamiento (sólo con las técnicas de corte
estándar) o es difícil predecir en qué dirección
irá a asentarse un tronco al cortarse.
TRONZADO CON CUÑA
Vea la figura 27.
Si el diámetro del tronco es suficientemente
grande para introducir una cuña de tronzar suave
sin tocar la cadena, debe utilizar la cuña para
mantener abierto el corte y de esta manera evitar
el pellizcamiento.
NOTA: Al tronzar o cortar un árbol con una cuña,
puede ser necesario desmontar la protección
anticontragolpe SAFE-T-TIP® de la punta para
permitir tirar de la barra por todo el corte. Después
de terminar el corte, debe volver a montar la
protección de la punta.
Fig.27
Fig.26

Página 23 — Español
TRONZADO POR ARRIBA
CARGA
CORTE FINAL
PRIMER CORTE, 1/3 DEL DIÁM.
TRONCO APOYADO POR UN EXTREMO
TRONCO APOYADO POR AMBOS EXTREMOS
CORTE FINAL
PRIMER CORTE, 1/3 DEL DIÁM.
CARGA
ARMADO
TRONZADO POR ABAJO
TRONZADO DE TRONCOS BAJO
TENSIÓN
Vea la figura 28.
Efectúe el primer corte de tronzado a 1/3 del
espesordeltroncoytermineconuncortede2/3
por el lado opuesto. A medida que corta el tronco,
éste tenderá a doblarse. La sierra puede resultar
pellizcada o quedar colgada en el tronco si efectúa
elprimercorteaunaprofundidadmayorde1/3
del diámetro del tronco.
Preste atención en especial a los troncos sujetos
a tensión para evitar el pellizcamiento de la barra
y de la cadena en la madera.
TRONZADO POR ARRIBA
Vea la figura 29.
Comience por el lado superior del tronco, con la
parte inferior de la sierra puesta contra el tronco;
ejerza una presión leve hacia abajo. Observe que
la sierra tenderá a alejarse de usted.
TRONZADO POR ABAJO
Vea la figura 30.
Comience por el lado inferior del tronco, con la
parte superior de la sierra puesta contra el tronco;
ejerza una presión leve hacia arriba. Durante el
tronzado por abajo, la sierra tenderá a venirse
hacia usted. Esté preparado para esta reacción
y sujete firmemente la sierra para conservar el
control de la misma.
Fig.28
Fig.29
Fig.30

Página 24 — Español
CORTE FINAL
SEGUNDO CORTE
CARGA
PÉRTIGA
CORTE UNA RAMA A LA VEZ Y DEJE RAMAS
DE SOPORTE BAJO EL ÁRBOL HASTA QUE
ESTÉ CORTADO EL TRONCO
ARMADO
DESRAMADO Y PODA
Vea las figuras 31 y 32.
Trabajelentamente,manteniendoambasmanosen
lasierra,sujetándolafirmemente.Mantengabien
apoyados los pies y bien equilibrado el cuerpo.
■Mantenga el árbol entre usted y la cadena
mientras realice el desramado.
No realice tareas de corte subido en una
escalera. Es extremadamente peligroso. Deje
tal operación a los profesionales.
■Nocortearribadelaalturadelpecho.Sisostiene
la sierra arriba de la altura del pecho, es difícil
controlarla bajo la fuerza del contragolpe.
ADVERTENCIA:
Nunca se suba a un árbol para desramarlo o
podarlo. No se pare en escaleras, plataformas
o troncos, ni en ninguna posición que pueda
causarle la pérdida del equilibrio o del control
de la sierra.
■Al podar árboles es importante no realizar el
corte a nivel de una rama, junto a la rama o
tronco de donde sale, hasta que haya recortado
la primera para reducir el peso de la misma. De
esta manera se evita desprender la corteza del
miembro progenitor.
•Paraelprimercortedetronzado,cortepor
abajolarama1/3deldiámetrodelamisma.
•Tronceporarribalaramaparadesprenderla.
•Termineconuncortelisoybienhechocontra
el miembro progenitor, de manera que se
forme la corteza para sellar el corte.
ADVERTENCIA:
Silasramasporpodarestánarribadelaaltura
del pecho, contrate a un experto para que
efectúe la poda.
CORTE DE PÉRTIGAS
Vea la figura 33.
Una pértiga es cualquier tronco, rama, cepa
enraizada o árbol joven que ha sido doblado por la
presión de otro árbol o rama, de manera que azota
si se corta o se elimina el elemento que lo detiene.
Con la cepa enraizada de un árbol caído hay un
gran peligro de que la misma vuelva súbitamente
a la posición vertical durante el corte de tronzado
paraseparareltroncodelacepa.Tengacuidado
con las pértigas; son peligrosas.
ADVERTENCIA:
Las pértigas son peligrosas y podrían golpear
al operador, obligándole a perder el control de
la motosierra. Esto podría causarle lesiones
mortales o serias al operador.
Fig.31
Fig.33
Fig.32
PRIMER CORTE
1/3 DEL
DIÁMETRO

Página 25 — Español
POSICIÓN DE
FUNCIONAMIENTO
MANTENIMIENTO
TUERCAS DE MONTAJE DE
LA BARRA
LLAVE
COMBINACIÓN
TAPA DEL
EMBRAGUE
PLACA DE LA
BARRA GUÍA
TUERCAS DE MONTAJE
DE LA BARRA
ADVERTENCIA:
Al dar servicio a la unidad, sólo utilice piezas
de repuesto idénticas. El empleo de piezas
diferentes puede ser peligroso o dañar el
producto.
ADVERTENCIA:
Siempre póngase protección ocular con la
marcadecumplimientodelanormaANSIZ87.1
junto con protección para los oídos y la cabeza.
La inobservancia de esta advertencia puede
permitir que los objetos lanzados hacia los ojos
y otros provocarle lesiones graves.
MANTENIMIENTO GENERAL
Evite el empleo de solventes al limpiar piezas
de plástico. La mayoría de los plásticos son
susceptibles a diferentes tipos de solventes
comerciales y pueden resultar dañados. Utilice
paños limpios para eliminar la suciedad, el polvo,
el aceite, la grasa, etc.
ADVERTENCIA:
No permita en ningún momento que fluidos
para frenos, gasolina, productos a base de
petróleo, aceites penetrantes, etc., lleguen a
tocar las piezas de plástico. Las sustancias
químicas pueden dañar, debilitar o destruir
el plástico, lo cual a su vez puede producir
lesiones corporales serias.
LUBRICACIÓN
Todos los cojinetes de esta herramienta están
lubricados con suficiente cantidad de aceite de
alta calidad para toda la vida útil de la unidad en
condiciones normales de funcionamiento. Por lo
tanto, no se necesita lubricación adicional.
CÓMO REEMPLAZAR LA BARRA GUÍA
Y LA CADENA
Vea las figuras 34 a 43.
PELIGRO:
Nunca arranque el motor sin haber instalado la
barra guía, la cadena, la tapa del embrague y el
tambordelembrague.Sintodasestaspiezasen
su lugar, el embrague puede salir disparado o
estallar, exponiendo de esta manera al operador
a una posible lesión seria.
Fig.34
Fig.35
Fig.36

Página 26 — Español
RANURA DE
LA BARRA
ESLABONES DE IMPULSIÓN
DE LA CADENA
MANTENIMIENTO
ADVERTENCIA:
Para evitar lesiones corporales serias, lea
y comprenda todas las instrucciones de
seguridad indicadas en esta sección.
Siemprecoloqueel interruptor en la posición
de APAGADO () antes de realizar cualquier
tarea en la sierra.
Asegúrese de que el freno de la cadena no
esté puesto; para ello, tire de la palanca del
mismo (protección de la mano) hacia el mango
delantero, a la posición de funcionamiento.
NOTA: Al reemplazar la barra guía y la cadena,
siempre utilice la barra y la cadena especificadas
en la sección Combinaciones de barra y cadena,
más adelante en este manual.
Póngase guantes al manipular la cadena y la
barra. Estos componentes están afilados y
pueden contener rebabas.
Retire las tuercas de montaje de la barra con la
llave de combinación suministrada.
Retire la tapa del embrague y la placa de la barra
guía.
Retire la barra y la cadena de la superficie de
montaje.
Retire la cadena vieja de la barra.
Extienda la nueva cadena de la sierra en un
círculo y enderece todo retorcimiento presente
en la misma. Los dientes de corte deben estar
orientados en la dirección de desplazamiento
delacadena.Siestánorientadosenladirección
opuesta, invierta la posición de la cadena.
Coloque los eslabones de impulsión de la
cadena en la ranura de la barra.
Acomode la cadena de tal manera que haya
una holgura en la parte posterior de la barra.
Mantengalacadenaensuposiciónenlabarra
y coloque la holgura alrededor de la rueda
dentada.
Acomode la barra contra la superficie de
montaje de manera que los pernos de la barra
queden en la ranura larga de la misma.
NOTA: Al colocar la barra en los pernos,
asegúrese de que el pasador de ajuste esté en
el orificio del pasador de tensado de la cadena.
Fig.38
Fig.37
ESLABONES DE IMPULSIÓN
DE LA CADENA
AVANCE DE LA
CADENA
DIENTES DE
CORTE

Página 27 — Español
MANTENIMIENTO
PASADOR
DE AJUSTE
PERNOS DE MONTAJE
DE LA BARRA
PLACA DE LA
BARRA GUÍA
TAPA DEL
EMBRAGUE
RUEDA
DENTADA
TUERCAS
DE MONTAJE
DE LA BARRA
TORNILLO
DE TENSADO
DE LA CADENA
Vuelva a montar la placa exterior de la barra guía,
asegurándose de que la ranura del pasador de
ésta quede en la parte inferior, con los bordes
superior e inferior en ángulo con respecto a la
barra.
Vuelva a montar la tapa del embrague y las
tuercas de montaje de la barra.
Apriete las tuercas de montaje de la barra con
los dedos. La barra debe quedar libre para
moverse para el ajuste de la tensión.
Elimine toda la holgura de la cadena; para ello,
gire hacia la derecha el tornillo de tensado de la
cadena hasta que ésta se siente ajustadamente
en la barra, con los eslabones de impulsión
dentro de la ranura de la misma.
Levante la punta de la barra guía para revisar
la holgura de la cadena.
Sueltela punta dela barra guíay gire1/2
vuelta hacia la derecha el tornillo de tensado
de la cadena. Repita este proceso hasta que
desaparezca toda holgura presente.
Mantengalevantadalapuntadelabarraguía
y apriete firmemente las tuercas de montaje de
dicha barra.
La cadena está bien tensada cuando no hay holgura
de la misma en la parte inferior de la barra guía, la
cadena se siente bien ajustada en la barra, y puede
avanzarse con la mano sin ningún atoramiento de
aquélla. Asegúrese de que no esté puesto el freno
de la cadena.
NOTA: Siquedademasiadoajustadalacadena,
no podrá desplazarse. Afloje levemente las tuercas
demontajedelabarraygire1/4devueltahacia
la izquierda el tornillo de ajuste de la tensión.
Levante la punta de la barra guía y vuelva a apretar
firmemente las tuercas de montaje de dicha barra.
Asegúrese de que la cadena se desplace sin
atorarse.
Fig.40
Fig.39

Página 28 — Español
MANTENIMIENTO
PARTES PLANAS DE LOS
ESLABONES DE IMPULSIÓN
AJUSTE DE LA TENSIÓN DE LA
CADENA
Vea las figuras 44 a 46.
ADVERTENCIA:
Nunca toque ni ajuste la cadena mientras esté
funcionando el motor. La cadena de la sierra
estásumamenteafilada.Siemprellevepuestos
guantes protectores al efectuar labores de
mantenimiento de la cadena.
Apague el motor antes de ajustar la tensión de
la cadena.
Asegúrese de que las tuercas de montaje de
la barra estén flojas al punto de apriete con los
dedos.
Gire a la derecha el tornillo de tensado de la
cadena para tensar ésta.
NOTA: La cadena, estando fría, está bien
tensada cuando no hay holgura de la misma
en la parte inferior de la barra guía, la cadena
se siente bien ajustada en la barra, y puede
avanzarse con la mano sin ningún atoramiento.
Vuelva a tensar la cadena cada vez que las
partes planas de los eslabones de impulsión
sobresalen suspendidos de la ranura de la barra.
NOTA: Durante el funcionamiento normal de la
sierra,aumentalatemperaturadelasierra.Sila
cadena está bien tensada, estando caliente los
eslabones de impulsión sobresalen suspendidos
delaranuradelabarraaproximadamente1,27
mm(0,050pulg.).Comoayudaparadeterminar
la tensión adecuada de la cadena caliente,
puede emplearse la llave de combinación como
guía.
NOTA: Las cadenas nuevas tienden a estirarse;
revise frecuentemente la tensión de la cadena
y tense ésta según se requiera.
PRECAUCIÓN:
Si se tensa la cadena estando ésta caliente,
puede quedar demasiado apretada al enfriarse.
Revise la “tensión en frío” de la cadena, antes
de usar la sierra.
Fig.41
Fig.42
Fig.43
Fig.44

Página 29 — Español
MANTENIMIENTO
≈ 1,27 mm (0,050 pulg.)
0,6 mm
(0,025 pulg.)
≈ 1,27 mm (0,050 pulg.)
INSPECCIONE
LA RUEDA
DENTADA DE
IMPULSIÓN
ESPACIO LIBRE DE LOS DIENTES LIMPIADORES
(CALIBRES DE PROFUNDIDAD)
MANTENIMIENTO DE LA CADENA
Vea las figuras 47 y 48.
PRECAUCIÓN:
Verifique que el interruptor esté en la posición
de APAGADO “ O ” antes de realizar cualquier
tarea en la sierra.
Sóloutiliceunacadenadecontragolpemoderado
con esta sierra. Esta cadena de corte rápido
proporciona reducción del contragolpe si se le da
debido mantenimiento.
Para poder dar un corte liso y rápido, es necesario
dar un mantenimiento adecuado a la cadena.
La cadena requiere afilarse cuando las virutas de
madera salen pequeñas y polvorientas, cuando
es necesario forzar la cadena a pasar a través de
la madera durante el corte, o cuando la cadena
corta hacia un lado. Durante el mantenimiento de
la sierra considere lo siguiente:
■Un ángulo incorrecto de limado de la placa lateral
puede aumentar el riesgo de un contragolpe
violento.
Espacio libre de los dientes limpiadores (calibres
de profundidad).
• Demasiado bajo aumenta el peligro de
contragolpe.
• Sinoestálosuficientementebajodisminuye
la capacidad de corte.
Silosdientesdecortehantocadoobjetosduros
como clavos y piedras, o han sido desgastados
por el lodo o la arena presentes en la madera,
permita que afilen la cadena en un centro de
servicio autorizado.
NOTA: Al cambiar la cadena, inspeccione la
rueda dentada de impulsión para ver si tiene
desgasteodaños.Sihayseñalesdedesgaste
o daños presentes en las áreas indicadas, lleve
la sierra a un centro de servicio autorizado para
que cambien la rueda dentada.
NOTA: Si no comprende completamente el
procedimiento correcto de afilado de la cadena
después de leer las instrucciones siguientes, lleve
la sierra a afilar a un centro de servicio autorizado
o reemplácela con una cadena de contragolpe
moderado recomendada.
Fig.47
Fig.46
Fig.45
Fig.48

Página 30 — Español
MANTENIMIENTO
ESQUINA
DE CORTE PLACA
LATERAL
CALIBRE DE
PROFUNDIDAD
PUNTERA
GARGANTA
TALÓN
ORIFICIO DEL
REMACHE
PLACA
SUPERIOR
DIENTES DE CORTE
IZQUIERDOS
DIENTES
DE CORTE
DERECHOS
AFILADO DE LOS DIENTES DE CORTE
Vea las figuras 49 a 52.
Tengacuidadodeafilartodoslosdientesdecorte
a los ángulos especificados y a la misma longitud,
ya que sólo puede lograrse un corte rápido cuando
están uniformes todos los dientes de corte.
ADVERTENCIA:
La cadena de la sierra está sumamente afilada.
Para evitar sufrir lesiones serias, siempre lleve
puestos guantes protectores al efectuar labores
de mantenimiento de la cadena.
Tenselacadenaantesdeafilarla.Consulteel
apartado Ajuste de la tensión de la cadena.
Useunalimaredondadex4,0mm(5/32pulg.)
de diámetro con mango. Efectúe toda la
limadura en el punto medio de la barra.
Mantengalalimaalniveldelaplacasuperior
de los dientes de corte. No permita que la lima
se incline ni se balancee.
Aplique una presión leve pero firme. Efectúe el
movimiento hacia la parte frontal del diente.
Levante la lima para separarla del acero en cada
movimiento de regreso.
Dé unas pocas pasadas firmes a cada diente de
corte. Lime todos los dientes de corte izquierdos
en una dirección. Después lleve la lima al otro
lado y lime los dientes de corte derechos en la
dirección opuesta.
Con un cepillo de alambre limpie las limaduras
producidas por la lima.
PRECAUCIÓN:
Si la cadena está desafilada o mal afilada,
durante el corte puede causar una velocidad
excesiva del motor, lo cual puede dañarlo.
ADVERTENCIA:
Un afilado inadecuado de la cadena aumenta
el peligro de contragolpe.
ADVERTENCIA:
Sinosecambiaosereparalacadenacuando
está dañada, puede causar lesiones serias.
Fig.49
Fig.50
Fig.51
Fig.52

Página 31 — Español
FORMA INCORRECTA
MÁS DE 30°
ÁNGULO DE LIMADURA DE LA PLACA SUPERIOR
MENOS DE 30°
FORMA CORRECTA
FORMA INCORRECTA
PENDIENTE HACIA ATRÁS
ÁNGULO DE LIMADURA DE LA PLACA LATERAL
FORMA CORRECTA
GANCHO
LIMA PLANA
IGUALADOR DE CALIBRES
DE PROFUNDIDAD
RESTABLEZCA LA
FORMA ORIGINAL
REDONDEANDO LA
PARTE FRONTAL
ESPACIO LIBRE DE LOS DIENTES LIMPIADORES
(CALIBRES DE PROFUNDIDAD)
0,6 mm
(0,025 pulg.)
MANTENIMIENTO
ÁNGULO DE LIMADURA DE LA PLACA
SUPERIOR
Vea la figura 53.
ÁNGULOCORRECTO:30º−Losmangosde
las limas están marcados con marcas guía
para alinear correctamente la lima con el fin de
generar el ángulo correcto de la placa superior.
MENOSDE30º−Paracortetransversal.
MÁS DE 30º − El canto en bisel se desafila
rápidamente.
ÁNGULO DE LA PLACA LATERAL
Vea la figura 54.
ÁNGULO CORRECTO: 80° – Se genera
automáticamente si se pone una lima de
diámetro correcto en el mango.
EN FORMA DE GARFIO – “Agarra”, se
desafila rápidamente y aumenta el peligro de
unCONTRAGOLPE. Resulta deesta forma
por usarse una lima de diámetro demasiado
pequeño, o por sostenerse ésta muy abajo.
PENDIENTEHACIA ATRÁS– Se necesita
demasiada presión para avanzar el corte, causa
desgaste excesivo en la barra y la cadena.
Resulta de esta forma por usarse una lima de
diámetro demasiado grande, o por sostenerse
ésta muy alto.
MANTENIMIENTO DEL ESPACIO LIBRE
DEL CALIBRE DE PROFUNDIDAD
Vea las figuras 55 a 57.
Mantengalos calibresde profundidada un
espaciolibrede0,6mm(0,025pulg.).Utilice
un igualador de calibres de profundidad para
verificar los espacios libres de los mismos.
Cada vez que se lima la cadena verifique el
espacio libre de los calibres de profundidad.
■Con una lima plana y un igualador de calibres
de profundidad, baje de manera uniforme todos
los calibres. Use un igualador de calibres x 0,6
mm(0,025pulg.)Despuésdebajarcadacalibre
Fig.53
30°
Fig.54
80°
Fig.56
Fig.57
Fig.55

Página 32 — Español
ORIFICIO DE
LUBRICACIÓN
TORNILLO DE
MONTAJE
APRIÉTELO
3/4 DE
VUELTA
MANTENIMIENTO
de profundidad, devuélvales su forma original
redondeando la parte frontal de los mismos.
Tengacuidadodenodañarloseslabonesde
impulsión adyacentes con el borde de la lima.
■Cada calibre de profundidad debe ajustarse
con la lima plana, en la misma dirección en que
se limó con la lima redonda el diente de corte
adyacente.Tengacuidadodenotocarlacara
del diente de corte adyacente con la lima plana
al ajustar los calibres de profundidad.
MANTENIMIENTO DE LA BARRA GUÍA
Vea la figura 58.
PRECAUCIÓN:
Asegúrese de que se haya detenido la cadena
antes de ponerse a trabajar con la cadena.
Cada semana de uso invierta la barra guía en la
sierra para distribuir el desgaste y prolongar al
máximo la vida de servicio de aquélla. La barra
debe limpiarse cada día de uso y debe revisarse
para ver el desgaste y los posibles daños.
La formación de minúsculos surcos y protuberancias
en los rieles de la barra es un proceso normal de
desgastedelamisma.Talesfallasdebenalisarse
con una lima tan pronto como aparezcan.
Debe cambiarse toda barra que presente cualquiera
de las siguientes fallas:
Desgaste dentro de los rieles de la barra
que permite a la cadena descansar sobre su
costado.
Barra guía doblada.
Rieles agrietados o rotos.
Rieles ensanchados.
Lubrique semanalmente las barras guía dotadas
de rueda dentada en la punta. Con una jeringa
de grasa lubrique semanalmente el orificio de
lubricación. Gire la barra guía y verifique que no
tengan impurezas los orificios de lubricación y la
ranura de la cadena.
MONTAJE DE LA PROTECCIÓN SAFE-
T-TIP® DE LA PUNTA
Vea las figuras 59 y 60.
Apague el motor y desconecte el cable de la
bujía.
MontelaprotecciónSAFE-T-TIP® en la punta
de la barra.
Acomode la orejeta de inmovilización en el
ranura en hueco de la barra guía.
Apriete el tornillo de montaje con la llave hasta
dejarlo ajustado.
De donde quedó ajustado, con una llave
apriételo3/4devueltamás.
MANTENIMIENTO DE LA PROTECCIÓN
SAFE-T-TIP® DE LA PUNTA
Vea las figuras 59 y 60.
PRECAUCIÓN:
Asegúrese de que se haya detenido la cadena
antes de ponerse a trabajar con la cadena.
Fig.58
SAFE-T-TIP®
Fig.59
Fig.60

Página 33 — Español
TORNILLO
TORNILLO DE
RETENCIÓN DEL
FILTRO DE AIRE
FILTRO DE
AIRE
TAPA DEL
CILINDRO
PREFILTRO
UNIDAD DEL
ARRANCADOR
DEFLECTOR DEL
ALOJAMIENTO DEL
VENTILADOR
TORNILLOS
MANTENIMIENTO
ADVERTENCIA:
Aunque la barra guía viene con una protección
anticontragolpe SAFE-T-TIP® ya montada,
verifique el apriete del tornillo de montaje cada
vez antes de usar la sierra.
Para apretar el tornillo de montaje de la protección
de la punta, siga las instrucciones explicadas
a continuación. Estos son tornillos especiales
endurecidos. Si no puede apretarse el tornillo,
cambietantoéstecomolaprotecciónSAFE-T-TIP®
antes de utilizar la unidad.
NOTA: No sustituya el tornillo con uno ordinario. Al
reemplazar piezas sólo utilice piezas de repuesto
idénticas del fabricante.
Además de evitar el contacto de la cadena con
objetos sólidos en la punta de la barra, la protección
SAFE-T-TIP® también ayuda a mantener la cadena
alejada de superficies abrasivas, como la tierra.
Manténgalaenelladoderechodelabarra,entrela
cadena y el suelo, durante el corte a nivel con el suelo.
El tornillo de montaje requiere una llave de tuercas
dex7,9mm(5/16pulg.)(ounallaveajustable)
paralograrfuerzadetorsiónde4a5N■∙m(35a45
lb∙■pulg.).Puedelograrsefuerzadetorsióndentro
de este intervalo mediante el siguiente método.
Apriete el tornillo con la llave hasta dejarlo
ajustado.
De donde quedó ajustado, con una llave
apriételo3/4devueltamás.
LIMPIEZA DEL FILTRO DE AIRE
Vea las figuras 61 a 64.
Para tener acceso al área del filtro de aire y del
carburador, afloje los tres tornillos encargados
de fijar la tapa del cilindro.
Accione el freno de la cadena.
Levante la parte delantera de la tapa del cilindro,
por encima de la palanca del freno de la cadena.
Levante la parte trasera de la tapa del cilindro
más allá del mango.
Antes de retirar el filtro de aire del carburador,
elimine con aire comprimido o con cepillo tanta
tierra y aserrín como sea posible del área del
carburador y de la cámara de combustión.
NOTA: Asegúrese de que la barra del anegador
esté salida para evitar la contaminación del
carburador.
Retire los dos tornillos encargados de fijar el
filtro de aire.
Acomode un destornillador de punta plana entre
las orejetas y gírelo para soltarlas de la base del
filtro.
Levante el filtro de aire de su base.
Escoja una de los siguientes métodos optativos
de limpieza:
Para dar una limpieza leve al filtro, golpéelo
ligeramente contra una superficie lisa y plana
para desalojar la mayoría del aserrín y de las
partículas de polvo.
Fig.62
Fig.61
Fig.63

Página 34 — Español
FILTRO DE AIRE
RESPIRADEROS
DE LA TAPA DEL
ARRANCADOR
TORNILLO DE
MARCHA LENTA
“T”
MANTENIMIENTO
ADVERTENCIA:
Las condiciones del tiempo y la altitud pueden
afectar la carburación. No permita la presencia
de personas cerca de la motosierra mientras
ajusta el carburador.
Ajuste de marcha lenta — El ajuste de marcha
lenta sirve para controlar qué tan abierta permanece
la válvula del acelerador cuando se suelta el gatillo
del mismo. Para ajustar:
Gire a la derecha el tornillo de marcha lenta “T”
si desea aumentar la misma.
Después de cada cinco horas de funcionamiento
limpie el filtro en agua jabonosa tibia, enjuáguelo
y déjelo secar por completo. Reemplace el filtro
conunonuevodespuésdecada25horasdeuso.
NOTA: Un método alternativo es limpiar el
filtrocon airecomprimido. Siemprepóngase
protección para los ojos para evitar lesiones
oculares.
Vuelva a instalar el filtro de aire, asegurándose
de que las orejetas del filtro de aire queden en
los canales de la parte inferior del filtro antes
de apretar los tornillos de retención del filtro.
Limpieelprefiltrocada5horasdeuso,ocon
mayor frecuencia, según sea necesario. Retire
la tapa del cilindro, la unidad del arrancador y el
deflector del alojamiento del ventilador, para tener
acceso al prefiltro, en el alojamiento del motor.
NOTA: Si utiliza una manguera de airepara
secar el filtro, sople con la misma a través de
ambos lados del filtro.
PRECAUCIÓN:
Asegúrese de que el filtro de aire esté colocado
correctamente en la tapa correspondiente
antes de volver a montarlos en la sierra. Nunca
accione el motor sin el filtro de aire, ya que
puede resultar dañado seriamente el motor.
LIMPIEZA DE LA UNIDAD DEL
ARRANCADOR
Vea la figura 65.
Con un cepillo o con aire comprimido, mantenga
los respiraderos de enfriamiento de la unidad del
arrancador despejados y libres de basura.
AJUSTE DEL CARBURADOR
Vea la figura 65 y 66.
Antes de ajustar el carburador:
Con un cepillo o aire comprimido limpie
las aberturas de ventilación de la tapa del
arrancador.
Limpie el filtro de aire. Consulte el apartado
Limpieza del filtro de aire de la sección
Mantenimiento de este manual.
Permita que se caliente el motor antes de ajustar
la velocidad de marcha lenta.
Fig.66
Fig.65
Fig.64

Página 35 — Español
LIMPIE LAS
ALETAS DEL
CILINDRO
LIMPIE LAS ALETAS
DEL VOLANTE
FILTRO DE
COMBUSTIBLE
MANTENIMIENTO
Gire a la izquierda el tornillo de marcha lenta
“T” si desea disminuir la misma.
ADVERTENCIA:
LA CADENA DE LA SIERRA NUNCA DEBE
AVANZARALESTARELMOTORENMARCHA
LENTA.Silacadenasemuevealestarelmotor
en marcha lenta, pueden resultar lesiones
corporales serias.
LIMPIEZA DEL MOTOR
Vea las figuras 67 a 68.
Limpie periódicamente con aire comprimido
las aletas del cilindro y las del volante. Puede
causarse un recalentamiento peligroso debido a
las impurezas presentes en el cilindro.
ADVERTENCIA
Nunca accione la sierra sin estar todas las partes
de la misma montadas firmemente, incluida la
tapa de la unidad de impulsión y el alojamiento
del arrancador.
Debido a que algunas piezas pueden fracturarse
y presentar el peligro de salir disparadas, deje
toda reparación del volante y del embrague a
los técnicos de un centro de servicio autorizado
capacitados en la fábrica.
NOTA:Siobservaalgunapérdidadepotenciaen
la herramienta con motor de gasolina, la abertura
de escape y el silenciador pueden estar obstruidos
con depósitos de carbono. Puede ser necesario
eliminar estos depósitos para restablecer el
desempeño original de la unidad. Recomendamos
enfáticamente que este servicio lo realicen
únicamente técnicos de servicio calificados.
REVISIÓN DEL FILTRO DE COMBUSTIBLE
Vea la figura 69.
Reviseperiódicamenteelfiltrodecombustible.Siel
filtro de combustible se contamina o se daña, solicite
su reemplazo en un centro de servicio autorizado.
CAMBIO DE LA BUJÍA
Vea la figura 70.
En este motor se emplea una bujía Champion
RCJ6Y con una separación interelectródica de
0,64mm(0,025pulg.).Cada50horas,oconmayor
frecuencia si es necesario, ponga una bujía nueva
exactamente igual a la original.
Afloje la bujía; para ello, gírela hacia la izquierda
con una llave.
Retire la bujía.
Fig.69
Fig.70
Fig.67
Fig.68

Página 36 — Español
BANDA DEL
FRENO
LIMPIE EL FRENO
DE LA CADENA
LUBRIQUE LA
ARTICULACIÓN DEL
FRENO DE LA CADENA
SOSTÉN DE LA
CADENA
TAPA DEL
EMBRAGUE
MANTENIMIENTO
Enrosque la nueva bujía con la mano, girándola
hacia la derecha. Apriétela firmemente con una
llave.
NOTA: Tengacuidadodenoestropearlarosca
delabujía.Siseestropealaroscadelabujía,
resultará seriamente dañado el cilindro.
PARACHISPAS
Es necesario limpiar o reemplazar el parachispas
cada 50 horas o anualmente para asegurarse
del buen funcionamiento de la unidad. Los
parachispas pueden estar instalados en diferentes
posiciones dependiendo del modelo del cual se
trate. Comuníquese con el establecimiento de
servicio más cercano para confirmar la ubicación
del parachispas para su modelo específico.
INSPECCIÓN Y LIMPIEZA DEL FRENO
DE LA CADENA
Vea las figuras 71 y 72.
Retire la tapa del embrague y limpie los
componentes del freno de la cadena. Revise
el desgaste de la banda del freno y cámbiela si
está desgastada o deforme. El espesor mínimo
delabandadebeser0,61mm(0,024pulg.),o
un desgaste máximo hasta la mitad del espesor
original.
Siempre mantengael mecanismodel freno
de la cadena limpio, y cepillo ligeramente la
articulación.
Siempre pruebeel frenodela cadena antes
de efectuar cualquier tarea de limpieza de la
unidad. Consulte el apartado Funcionamiento
del freno de la cadena, donde encontrará
información adicional.
Revise el sostén de la cadena y cámbielo si está
dañado.
ADVERTENCIA:
Incluso con la limpieza diaria del mecanismo,
no puede certificarse la seguridad del freno
de la cadena en las condiciones de uso en el
campo.MantengalaprotecciónSAFE-T-TIP®
de la punta puesta en la barra guía y aplique
técnicas de corte adecuadas.
ALMACENAMIENTO DE LA PRODUCTO
Limpie todo material extraño de la producto.
Almacene la unidad en un espacio bien ventilado
inaccesible a los niños. Evite que la unidad entre
en contacto con agentes corrosivos como las
sustancias químicas para el jardín y las sales
para derretir el hielo.
Cumpla todos los reglamentos federales y
municipales para el almacenamiento y manejo
seguro de la gasolina.
Al almacenar 1 mes o más:
Drene todo el combustible del tanque en un
recipiente de uso aprobado para gasolina.
Ponga a funcionar el motor hasta que se apague
por sí mismo. De esta manera se elimina toda la
mezcla de combustible y lubricante que pudiera
deteriorarse, para luego dejar barniz y goma en
el sistema de combustible.
Oprima varias veces la bomba de cebado para
purgar el combustible del carburador.
Drene todo el lubricante de la barra y la cadena
en un recipiente aprobado para aceite.
Nunca olvide colocar la funda sobre la barra
guía y la cadena antes de transportar o guardar
la unidad.
Fig.72
Fig.71

Página 37 — Español
MANTENIMIENTO
PROGRAMA DE MANTENIMIENTO PARA EL CONTROL DE EMISIONES
Piezas para el Inspeccionar cada vez Limpiar cada Reemplazar cada Limpiar cada Reemplazar cada
control de antes de usar la unidad 5 horas de uso 25 horas de uso 25 horas de uso 50 Horas
emisiones o cada año o cada año
CONJUNTO DEL FILTRO DE AIRE
incluye:
Filtropantalla ...........................................................X ......................... X
CONJUNTO DEL CARBURADOR
incluye:
Represa térmica
Juntas
CONJUNTO DEL TANQUE DE COMBUSTIBLE
incluye:
Conductos de combustible . X
Tapadelcombustible .......... X
Filtrodecombustible
CONJUNTO DEL ENCENDIDO
incluye:
Bujía .................................................................................................................................................................X
LLÁMENOS PRIMERO
Sitienepreguntassobreelfuncionamientooelmantenimientoeste
producto,llame al teléfono de atención al consumidor de Ryobi®!
La recortadora ha sido probada enteramente antes de embarcarse para
asegurar la satisfacción del consumidor.
1-800-860-4050
¿NECESITA AYUDA?

Página 38 — Español
Problema Causa posible Solución
El motor no arranca.
[Asegúrese de que el
interruptor de encendido
esté en la posición de
FUNCIONAMIENTO
( l ).]
No hay chispa.
Está ahogado el motor.
Limpie o reemplace la bujía, según sea necesario. Reajuste
la separación interelectródica de la bujía. Consulte la sección
Reemplazo de la bujía más arriba en este manual.
TeniendoAPAGADO el interruptor de encendido, retire la
bujía. Coloque la palanca del anegador en la posición de
MARCHA (hasta el fondo y tire de la cuerda de arranque
de15a20veces.Deestamaneraseeliminaelexcesode
combustible del motor. Limpie la bujía y vuelva a instalarla.
Coloque el interruptor de encendido en la posición de
FUNCIONAMIENTO ( l ). Oprima y suelte totalmente
siete veces la bomba de cebado. Tire delarrancador
tres veces con la palanca del anegador en la posición de
FUNCIONAMIENTO. Si no arranca el motor, ponga la
palanca del anegador en ANEGACIÓN MÁXIMA y repita
elprocedimientonormaldearranque.Siaúnnoarrancael
motor, repita el procedimiento con una bujía nueva.
El motor arranca,
pero no acelera
adecuadamente.
La aguja “L” (inyección
moderada) del carburador
necesita un ajuste.
Lleve la unidad a un centro de servicio autorizado para darle
un ajuste al carburador.
El motor arranca y luego
se apaga. La aguja “L” (inyección
moderada) del carburador
necesita un ajuste.
Lleve la unidad a un centro de servicio autorizado para darle
un ajuste al carburador.
El motor arranca, pero no
funciona adecuadamente
a alta velocidad.
La aguja “H” (inyección
intensa) del carburador
necesita un ajuste.
Lleve la unidad a un centro de servicio autorizado para darle
un ajuste al carburador.
El motor no alcanza la
máxima velocidad y/
o despide demasiado
humo.
Está incorrecta la
mezcla de lubricante y
combustible.
Está sucio el filtro de
aire.
Está sucia la pantalla
parachispas.
Laaguja“H” (inyección
intensa) del carburador
necesita un ajuste.
Use combustible nuevo y la proporción correcta de mezcla
con lubricante para motor de dos tiempos.
Limpie el filtro de aire. Consulte el apartado Limpieza del filtro
deaireenlasecciónMantenimientodeestemanual.
Limpie la pantalla parachispas. Consulte el apartado
Inspección y limpieza de la pantalla parachispas en la sección
Mantenimientodeestemanual.
Lleve la unidad a un centro de servicio autorizado para darle
un ajuste al carburador.
Especificaciones de la cadena:8,3mm(0,325pulg.)depaso,1,3mm(0,05pulg.)decalibre
Longitud Núm. pieza Núm. pieza Eslabones
barra barra guía cadena de impulsión
508mm(20pulg.) 310629001 900920027 78
457mm(18pulg.) 310628001 901430001 72
SOLUCIÓN DE PROBLEMAS
COMBINACIONES DE BARRA Y CADENA

Página 39 — Español
Problema Causa posible Solución
El motor arranca,
funciona y acelera, pero
no puede ponerse en
marcha lenta.
La cadena avanza
estando el motor en
marcha lenta.
Es necesario ajustar
la marcha lenta en el
carburador.
Es necesario ajustar
la marcha lenta en el
carburador.
Hayunafugadeaireenel
sistema de admisión.
Girehacialaderechaeltornillodemarchalenta“T”para
aumentar la misma. Consulte el apartado Ajuste del
carburador de la sección Mantenimiento de este manual.
Gire hacia la izquierda el tornillo de marcha lenta “T”
para disminuir la misma. Consulte el apartado Ajuste del
carburador de la sección Mantenimiento de este manual.
Comuníquese con un centro de servicio autorizado para ver
la posibilidad de instalar un carburador reconstruido.
La barra y la cadena
están muy calientes y
despiden humo.
Está vacío el tanque de
aceite de la cadena.
Demasiada tensión en la
cadena.
No está funcionando el
lubricador.
El tanque de aceite debe llenarse cada vez que se llena el
de combustible.
Tense la cadena según las instrucciones indicadas en el
apartado Ajuste de la tensión de la cadena en la sección
Mantenimiento de este manual.
Accioneelmotoramediaaceleraciónde30a45segundos.
Detenga la sierra y revise para ver si hay señales de goteo de
aceiteporlaprotecciónSAFE-T-TIP®yporlabarraguía.Si
hay aceite presente, es posible que esté desafilada la cadena
oqueestédañadalabarra.Sinohaylubricantepresente
enlaprotecciónSAFE-T-TIP®, comuníquese con un centro
de servicio autorizado.
El motor arranca y
funciona, pero la cadena
no avanza.
Está puesto el freno de la
cadena.
Demasiada tensión en la
cadena.
No están bien
ensambladas la barra
guía y la cadena.
Están dañadas la barra
guíay/olacadena.
Está dañada la rueda
dentada de impulsión.
Suelte el freno de la cadena. Consulte el apartado
Funcionamiento del freno de la cadena en la sección
Mantenimiento de este manual.
Tense la cadena según las instrucciones indicadas en el
apartado Ajuste de la tensión de la cadena en la sección
Mantenimiento de este manual.
Consulte el apartado Reemplazo de la barra guía y la
cadena en la sección Mantenimiento de este manual.
Inspeccione la barra guía y la cadena para ver si están
dañadas.
Lleve la unidad a un centro de servicio autorizado para
reemplazar la rueda dentada.
Es difícil girar el dial de
tensado de la cadena. La punta de la barra guía
no está levantada.
La perilla de ajuste de la
cubierta del embrague
está demasiado
apretada.
Levante la punta de la barra guía mientras gira el dial de
ajuste de tensión.
Presione la perilla de ajuste de la cubierta del embrague y
gírela hacia la izquierda para aflojar levemente la cubierta
del embrague antes de intentar ajustar la tensión de la
cadena.
SOLUCIÓN DE PROBLEMAS

Página 40 — Español
GARANTÍA
DECLARACIÓN DE LA GARANTÍA LIMITADA
Techtronic Industries North America, Inc. garantiza al
comprador original al menudeo que este producto de la marca
RYOBI® carece de defectos en los materiales y en la mano de
obra, y acuerda reparar o remplazar, a la sola discreción de
TechtronicIndustriesNorthAmerica,Inc.,cualquierproducto
defectuoso, sin cargo alguno al comprador, dentro de los
siguientes períodos de tiempo a partir de la fecha de compra.
Tres años si los productos se emplean para uso personal,
familiar o casero;
90 días si el producto se emplea para cualquier otro
propósito, como el uso comercial o el de alquiler.
Esta garantía se otorga solamente al comprador original al
menudeo, y comienza en la fecha de la compra original al
menudeo.
Cualquier parte de este producto Techtronic Industries
North America, Inc. que, a juicio razonable de la compañía,
tenga defectos en los materiales o en la mano de obra, será
reparado o reemplazado por un centro de servicio autorizado
de herramientas para uso en el exterior de la marca RYOBI®,
sin cargo alguno al comprador por concepto de piezas y mano
deobra(CentrodeServicioAutorizadoRyobi).
El producto, incluida toda pieza defectuosa, debe enviarse a
un centro de servicio autorizado Ryobi dentro del período de
la garantía. El gasto de enviar el producto al centro de servicio
para cualquier trabajo cubierto por la garantía, así como el
gasto de devolverlo al propietario después de la reparación,
correrán por cuenta del propietario. La responsabilidad de
Techtronic Industries North America, Inc. con respecto a
todo reclamo se limita a las reparaciones o remplazo del
producto, y ningún reclamo de incumplimiento de la garantía
será causante de la cancelación o rescisión del contrato de
venta de ninguna herramienta de uso en el exterior de la
marca RYOBI®. En el establecimiento se requerirá el recibo
de compra para respaldar cualquier reclamo al amparo de
la garantía. Todo trabajo cubierto en la garantía debe ser
realizado por un concesionario de servicio autorizado.
Esta garantía se limita a noventa (90) días a partir de la fecha
original de la compra de cualquier herramienta de uso en
el exterior de la marca RYOBI® empleada para propósitos
comerciales o de alquiler, o cualquier otro propósito generador
de ingresos.
Esta garantía no cubre ningún producto que haya sido
sujeto a un uso indebido, maltrato, negligencia o accidente,
o que haya sido utilizado de cualquier forma contraria a las
instrucciones de manejo especificadas en el manual del
operador del producto. Esta garantía no aplica a ningún daño
en el producto que resulte de un mantenimiento indebido
ni a ningún producto que haya sido alterado o modificado.
La garantía no cubre ninguna reparación necesaria por el
uso normal ni por el uso de piezas o accesorios que sean
incompatibles con la herramienta para uso exterior de la marca
RYOBI®, o afecten de forma desfavorable su funcionamiento,
desempeño o durabilidad.
Además, esta garantía no cubre:
A. Afinación – Bujías, carburador, ajustes del carburador,
encendido, filtros
B.Artículossujetosadesgaste–Perillasdetope,carretes
exteriores, hilos de corte, carretes interiores, poleas
del arrancador, cuerdas del arrancador, correas de
transmisión, aspas, arandelas de fieltro y pasadores de
enganche, hojas de triturar, ventiladores de sopladoras,
tubos de sopladoras y de aspiradoras, sacos y correas
de aspiradoras, barras guía y cadenas de sierras
Techtronic Industries North America, Inc. se reserva
el derecho a cambiar o mejorar el diseño de cualquier
herramienta para uso en el exterior de la marca RYOBI® sin
asumir ninguna obligación de modificar ningún producto
fabricado previamente.
TODASLASGARANTÍASIMPLÍCITASESTÁNLIMITADAS
EN DURACIÓN SEGÚN EL PERÍODO DE GARANTÍA
DECLARADA.PORCONSIGUIENTE,CUALQUIERGARANTÍA
IMPLÍCITA, INCLUSO LAS DE COMERCIABILIDAD,
IDONEIDAD PARA UN PROPÓSITO EN PARTICULAR,
O DE CUALQUIER TIPO, PIERDEN TOTALMENTE SU
VALIDEZ DESPUÉS DEL VENCIMIENTO DEL PERÍODO
DE GARANTÍA CORRESPONDIENTE DE DOS AÑOS,
UN AÑO O NOVENTA DÍAS. DE CONFORMIDAD CON
ESTA GARANTÍA, LA OBLIGACIÓN DE TECHTRONIC
INDUSTRIESNORTHAMERICA,INC.SELIMITAESTRICTA
YEXCLUSIVAMENTEALAREPARACIÓNOREMPLAZODE
LASPIEZASDEFECTUOSAS,YTECHTRONICINDUSTRIES
NORTH AMERICA, INC. NO ASUME NINGUNA OTRA
OBLIGACIÓN, NI AUTORIZA A NADIE ASUMIRLA A
NOMBREDEDICHACOMPAÑÍA.ALGUNOSESTADOSNO
PERMITENLIMITACIONESENCUANTOALADURACIÓN
DEUNAGARANTÍAIMPLÍCITA,PORLOCUALESPOSIBLE
QUELALIMITACIÓNANTERIORNOSEAPLIQUEENEL
CASO DE USTED. TECHTRONIC INDUSTRIES NORTH
AMERICA,INC.NOASUMENINGUNARESPONSABILIDAD
PORDAÑOSDIRECTOS,INDIRECTOSODENINGÚNOTRO
TIPO,COMOELGASTODEENVIARELPRODUCTOAUN
CENTRODESERVICIOAUTORIZADORYOBIYELGASTO
DE ENVIARLO DE ALLÍ AL PROPIETARIO, EL TIEMPO
DE VIAJE DEL MECÁNICO, CARGOS TELEFÓNICOS
O TELEGRÁFICOS, ALQUILER DE UN PRODUCTO
SUSTITUTODURANTEELTIEMPODEREALIZACIÓNDEL
SERVICIODELAGARANTÍA,VIAJES,PÉRDIDAODAÑOS
A OBJETOS DE PROPIEDAD PERSONAL, PÉRDIDA DE
INGRESOS,PÉRDIDADELUSODELPRODUCTO,PÉRDIDA
DETIEMPOOINCONVENIENTES.ENALGUNOSESTADOS
NOSEPERMITELAEXCLUSIÓNOLIMITACIÓNDEDAÑOS
DIRECTOSOINDIRECTOS,PORLOCUALESPOSIBLE
QUELALIMITACIÓN O EXCLUSIÓN DESCRITAARRIBA
NOSEAPLIQUEENSUCASO.
Esta garantía le confiere derechos legales específicos, y
es posible que usted goce de otros derechos, los cuales
pueden variar de estado a estado.
Esta garantía se aplica a todas las herramientas para uso
en el exterior de la marca RYOBI®fabricadasporTechtronic
Industries North America, Inc. y vendidos en Estados Unidos
y Canadá.
Para encontrar el centro de servicio autorizado Ryobi más
cercanoausted,llameal1-800-860-4050.

Página 41 — Español
GARANTÍA
LA SIGUIENTE DECLARACIÓN DE LA OFICINA DE RECURSOS ATMOSFÉRICOS DE CALIFORNIA (CARB) SE APLICA SÓLO A LOS
MODELOS OBLIGADOS A CUMPLIR CON LOS REQUISITOS DE DICHO ORGANISMO.
La Dirección de Protección Ambiental (EPA) de EE.UU., la Oficina de Recursos Atmosféricos
deCalifornia(CARB)yTechtronicIndustriesNorthAmerica,Inc.tienenelplacerdeexplicar
laGarantíadelSistemadeControldeEmisionesdesumotornovehicularomotorpequeño
parausofueradecarreterasmodelo2010.EnCalifornia,losequiposnuevosqueusen
motores pequeños para uso fuera de carreteras deben diseñarse, fabricarse y equiparse
de manera que cumplan con las rigurosas normas estatales contra la contaminación del
aire.Enotrosestados,losmotoresnuevosnovehicularesfabricadosenelaño2000yen
años posteriores deben estar diseñados, fabricados y equipados, al momento de la venta,
para cumplir las normas de la EPA de EE.UU. para motores pequeños para uso fuera de
carreteras. El motor no vehicular debe carecer de defectos en los materiales y en la mano
de obra que puedan causar el incumplimiento de las normas de la EPA de EE.UU. durante
los primeros tres años de uso del motor a partir de la fecha de venta al comprador final.
TechtronicIndustriesNorthAmerica,Inc.debegarantizarelsistemadecontroldeemisiones
de su motor no vehicular o motor pequeño para uso fuera de carreteras por el período
señaladoarriba,siempreycuandodichomotornohayasidosujetoausoindebido,ne-
gligencia o mantenimiento inadecuado.
Es posible que el sistema de control de emisiones incluya piezas como el carburador o el
sistema de inyección de combustible, el sistema de encendido, convertidores catalíticos,
tanques de combustible, válvulas, filtros, abrazaderas, conectores y otros componentes
relacionados.Tambiénpuedeincluirmangueras,correasyconectores,ademásdeotros
ensambles relacionados con el control de emisiones.
Dondeexistaunacondiciónamparableenlagarantía,TechtronicIndustriesNorthAmerica,
Inc. reparará su motor no vehicular o motor pequeño para uso fuera de carreteras sin
ningún cargo a usted, incluyendo el diagnóstico, las piezas de repuesto y la mano de obra
si el trabajo se efectúa en un centro de servicio autorizado de productos para uso en el
exterior de la marca RYOBI®.
COBERTURA DE LA GARANTÍA DEL FABRICANTE:
Elsistemadecontroldeemisionesdeesteproductoestágarantizadoportresaños.Siestá
defectuosacualquierpiezadelmotorrelacionadaconelcontroldeemisiones,Techtronic
Industries North America, Inc. la reparará o la remplazará, sin cargo al consumidor.
RESPONSABILIDADES DEL PROPIETARIO EN RELACIÓN CON LA
GARANTÍA
(a)Comopropietariodelmotornovehicularomotorpequeñoparausofueradecarre-
teras, usted es responsable de la realización del mantenimiento necesario indicado en el
manualdeloperador.TechtronicIndustriesNorthAmerica,Inc.lerecomiendaconservar
todos los recibos de mantenimiento de su motor no vehicular o motor pequeño para uso
fueradecarreteras;noobstante,TechtronicIndustriesNorthAmerica,Inc.nopuedenegar
la cobertura de la garantía únicamente por la carencia de recibos o por no asegurarse
elpropietariodelarealizacióndetodoelmantenimientoprogramado.Sepuedenusar
piezas de repuesto o servicios equivalentes en rendimiento y durabilidad en las tareas
de mantenimiento o reparación no amparadas por la garantía, sin que se reduzcan las
obligacionesdeTechtronicIndustriesNorthAmerica,Inc.amparadasporestagarantía.
(b)Sinembargo,comopropietariodeunmotornovehicularomotorpequeñoparauso
fueradecarreteras,usteddebesaberqueTechtronicIndustriesNorthAmerica,Inc.puede
negarle la cobertura de la garantía si dicho motor o una parte del mismo ha fallado debido
a uso indebido, negligencia, mantenimiento inadecuado o modificaciones no autorizadas.
(c) Usted es responsable de presentar su motor no vehicular o motor pequeño para uso
fuera de carreteras en un establecimiento de servicio autorizado tan pronto como surja
el problema. Las reparaciones amparadas por la garantía deben realizarse en un plazo
razonable menor de 30 días.
Sitienealgunapreguntaconrespectoasusderechosyresponsabilidadesenrelaciónconla
garantía, le recomendamos comunicarse con un representante del departamento de servicio
alconsumidordeTechtronicIndustriesNorthAmerica,Inc.llamandoal1-800-860-4050.
REQUISITOS DE COBERTURA DE DEFECTOS ESTABLECIDOS EN
LA GARANTÍA:
(a) El período de garantía se inicia el día en que el motor o equipo es entregado a un
comprador final.
(b)CoberturadeGarantíaGeneralporEmisiones.TechtronicIndustriesNorthAmerica,Inc.
garantiza al comprador final y a cada uno de los compradores subsiguientes que su motor
no vehicular o motor para uso fuera de carreteras está diseñado, fabricado y equipado,
al momento de la venta, para cumplir todas las normas correspondientes adoptadas por
la Oficina de Recursos Atmosféricos de California (CARB) o la Dirección de Protección
Ambiental (EPA) de EE.UU.; que carece de defectos en los materiales y en la mano de obra
que puedan causar el incumplimiento de las normas correspondientes por parte del motor
durante un período de dos tres a partir de la fecha de compra del motor no vehicular o
motor pequeño para uso fuera de carreteras por el comprador inicial.
(c) La garantía sobre las piezas relacionadas con el control de emisiones se interpretará
comosigue:Todapiezagarantizadacuyocambionoestéprogramadosegúnlorequerido
en el Programa de mantenimiento para el control de emisiones y lista de piezas con garantía,
incluidoacontinuación,estágarantizadaportresaños.Sialgunadedichaspiezas(incluida
cualquier pieza para la que se programen únicamente inspecciones regulares) falla durante
el período de cobertura de la garantía, será reparada o reemplazada sin cargo en cualquier
CentrodeServicioAutorizadodeRYOBI®. Cualquier pieza reparada o reemplazada en virtud
de la garantía quedará garantizada por el resto del período de la garantía. Una declaración
que indique “reparar o reemplazar según sea necesario” no reduciría el período de cobertura
delagarantía.Todapiezagarantizadacuyocambioestéprogramadosegúnlorequeridoen
el Programa de mantenimiento para el control de emisiones y lista de piezas con garantía
está garantizada por el período previo al momento del primer cambio programado para
dichapieza.Todapiezareparadaoreemplazadaenvirtuddelagarantíaquedagarantizada
por el resto del período previo al momento del primer cambio programado, y será reparada
oreemplazadaencualquierCentrodeServicioAutorizadodeRYOBI® sin cargo hasta que
llegue el momento de dicho cambio.
TechtronicIndustriesNorthAmerica,Inc.repararátododefectoamparadoporlagarantíaen
cualquierCentrodeServicioAutorizadodeRYOBI®, incluido cualquier centro de distribu-
ciónautorizadoarealizarelserviciodelosmotoresobjetodelapresente.Todotrabajode
diagnósticoqueserealiceenunCentrodeServicioAutorizadodeRYOBI® será sin cargo
para el propietario si mediante dicho trabajo se determina que una pieza garantizada está
defectuosa.Sepuedenutilizarpiezasderepuestoaprobadasporelfabricante,oequiva-
lentes, para cualquier mantenimiento o reparación amparado por la garantía en las piezas
relacionadas con el control de emisiones, y deben proporcionarse sin ningún cargo para
elpropietariosidichaspiezasaúnestánprotegidasporlagarantía.TechtronicIndustries
North America, Inc. es responsable de daños a otros componentes del motor causados
por la falla de una pieza garantizada cuya garantía aún esté vigente.
No está permitido utilizar piezas agregadas o modificadas que no estén exentas por la
Oficina de Recursos Atmosféricos de California. El uso de cualquier pieza agregada o
modificada que no esté exenta constituirá causal para rechazar un reclamo en virtud de
lagarantía.TechtronicIndustriesNorthAmerica,Inc.noseráresponsabledegarantizar
fallas de piezas garantizadas causadas por el uso de una pieza agregada o modificada
que no esté exenta.
La Lista de Piezas con Garantía de Emisiones de la Oficina de Recursos Atmosféricos de
California define específicamente las piezas garantizadas relacionadas con el control de
emisiones. (Las normas de la EPA no incluyen una lista de piezas, pero la EPA considera que
las piezas garantizadas y relacionadas con el control de emisiones incluyen todas las piezas
queseindicanacontinuación).TechtronicIndustriesNorthAmerica,Inc.proporcionará
cualquier documento que describa sus procedimientos o políticas de garantía dentro de los
cinco días de haber sido requerido por la Oficina de Recursos Atmosféricos de California.
LISTA DE PIEZAS PARA EL CONTROL DE EMISIONES
Laspiezasparael controldeemisiones varían deun productoaotro.Sugarantíadel
sistema de control de emisiones se aplica a cualquiera de los siguientes componentes
que pueda estar incluido en su producto:
(1) Sistemadeadministracióndecombustible
(i) Carburadorypiezasinternas(y/oreguladordepresiónosistemadeinyecciónde
combustible).
(ii) Sistemaderetroalimentaciónycontroldelamezcladeaireycombustible.
(iii) Sistemadeenriquecimientodelamezclaparaarranqueenfrío.
(iv) Tanquedecombustible.
(2) Sistemadeinduccióndeaire
(i) Sistemacontomadeairecalientecontrolada.
(ii) Múltipledeadmisión.
(iii) Filtrodeaire.
(3) Sistemadeencendido
(i) Bujías.
(ii) Sistemadeigniciónmagnéticooelectrónico.
(iii) Sistemadeavance/retardodechispa.
(4) Sistemaderecirculacióndegasesdeescape(ExhaustGasRecirculation,EGR)
(i) Cuerpo de válvula y separador del carburador del EGR, si corresponde.
(ii) SistemaderetroalimentaciónderégimenycontroldelEGR.
(5) Sistemadeinyeccióndeaire
(i) Bomba de aire o válvula de impulsos.
(ii) Válvulas que afecten la distribución del flujo.
(iii) Múltiplededistribución.
(6) Catalizador o sistema de reactor térmico
(i) Convertidor catalítico.
(ii) Reactor térmico.
(iii) Múltipledeescape.
(7) Controles de partículas
(i) Trampas,filtros,precipitadoresycualquierotrodispositivoutilizadoparacaptar
emisiones de partículas.
(8) Elementosvariosutilizadosenlossistemasantesmencionados
(i) Controles electrónicos.
(ii) Válvulas e interruptores sensibles al vacío, la temperatura y el tiempo.
(iii) Mangueras,correas,conectoresyconjuntos.
Concadanuevomotor,TechtronicIndustriesNorthAmerica,Inc.proveeráinstrucciones
escritas para su mantenimiento y uso por parte del propietario.
El período de cumplimiento con los reglamentos de control de emisiones señalado en la
etiqueta de cumplimiento de dichos reglamentos indica el número de horas de funciona-
miento para las cuales se ha demostrado que el motor cumple los requisitos de control de
emisionesdelosreglamentosfederales.CategoríaC=50horas,B=125horasyA=300horas.
DECLARACIÓN DE GARANTÍA LIMITADA DE TECHTRONIC INDUSTRIES NORTH AMERICA, INC. Y REGULACIONES FEDERALES
Y DEL ESTADO DE CALIFORNIA EN RELACIÓN CON LOS SISTEMAS DE CONTROL DE EMISIONES DE MOTORES NO
VEHICULARES Y DE MOTORES PEQUEÑOS PARA USO FUERA DE CARRETERAS
DERECHOS Y OBLIGACIONES DEL CONSUMIDOR SEGÚN LA GARANTÍA

RY10520 / 20 in. 46cc Chain Saw
Scie à chaîne de 46 cc de 508 mm (20 po)
Motosierra de 508 mm (20 pulg.), 46 cc
RY10518 / 18 in. 46cc Chain Saw
Scie à chaîne de 46 cc de 457 mm (18 po)
Motosierra de 457 mm (18 pulg.), 46 cc
(ALL VERSIONS)
(TOUTES LES VERSIONS)
(TODAS LAS VERSIONES)
OPERATOR’S MANUAL
MANUEL D’UTILISATION
MANUAL DEL OPERADOR
988000-300
8-31-10 (REV:01)
TECHTRONIC INDUSTRIES NORTH AMERICA, INC.
1428 Pearman Dairy Road, Anderson, SC 29625 USA
1-800-860-4050•www.ryobitools.com
• PARTS AND SERVICE
Prior to requesting service or purchasing replacement parts, please obtain your model
and serial number from the product data plate.
•MODEL NO. ______________________SERIAL NO. __________________________
• HOW TO OBTAIN REPLACEMENT PARTS:
Replacement parts can be purchased online at www.ryobitools.com or by calling
1-800-860-4050. Replacement parts can also be obtained at one of our Authorized
Service Centers.
• HOW TO LOCATE AN AUTHORIZED SERVICE CENTER:
Authorized Service Centers can be located online at www.ryobitools.com or by call-
ing 1-800-860-4050.
• HOW TO OBTAIN CUSTOMER OR TECHNICAL SUPPORT:
To obtain Customer or Technical Support please contact us at 1-800-860-4050.
• PIÈCES ET SERVICE
Avant de faire la demande de service ou l’achat de pièces de remplacement, veuillez
obtenir le numéro de série du modèle à partir de la plaque de données du produit.
• NUMÉRO DE MODÈLE ____________NUMÉRO DE SÉRIE ___________________
• COMMENT OBTENIR LES PIÈCES DE REMPLACEMENT :
Les pièces de remplacement peuvent être achetées en ligne sur le site
www.ryobitools.com ou par téléphone au 1-800-860-4050. Les pièces de remplacement
peuvent être obtenues à un de nos centres de service autorisés.
• COMMENT TROUVER UN CENTRE DE SERVICE AUTORISÉ :
Les centres de service autorisés peuvent être localisés en ligne au www.ryobitools.
com ou en téléphonant au 1-800-860-4050.
• COMMENT OBTENIR DE L’AIDE EN CONTACTANT LE SERVICE À LA CLIENTÈLE :
Pour contacter le service à la clientèle pour une question technique ou pour tout autre
renseignement, veuillez nous téléphoner au 1-800-860-4050.
•PIEZAS DE REPUESTO Y SERVICIO
Antes de solicitar servicio técnico o comprar piezas de repuesto, obtenga su modelo
y número de serie de la placa de datos del producto.
• NÚMERO DE MODELO ____________NÚMERO DE SERIE ___________________
•CÓMO OBTENER PIEZAS DE REPUESTO:
Las piezas de repuesto se pueden comprar en nuestro sitio en la red mundial, en la
dirección www.ryobitools.com o llamando al 1-800-860-4050. Las piezas de repuesto
también se pueden obtener en uno de nuestros Centros de Servicio Autorizados.
•CÓMO LOCALIZAR UN CENTRO DE SERVICIO AUTORIZADO:
Puede encontrar los Centros de Servicio Autorizados visitando nuestro sitio en la red
mundial, en la dirección www.ryobitools.com or by calling 1-800-860-4050.
• CÓMO OBTENER SERVICIO O ASISTENCIA TÉCNICA AL CONSUMIDOR:
Para obtener Servicio o Asistencia Técnica al Consumidor, sírvase comunicarse con
nosotros llamando al 1-800-860-4050.
WARNING:
The engine exhaust from this prod-
uct contains chemicals known to the
State of California to cause cancer,
birth defects, or other reproductive
harm.
CALIFORNIA PROPOSITION 65
Ryobi® is a registered trademark of Ryobi
Limited used under license.
Ryobi® est une marque déposée de Ryobi
Limited utilisée sous licence.
Ryobi® es una marca comercial registrada
de Ryobi Limited y es empleada mediante
autorización.
AVERTISSEMENT :
Les gaz d’échappement de ce produit
contiennent des produits chimiques
identifiés par l’état de Californie
comme causes de cancer, de mal-
formations congénitales et d’autres
troubles de l’appareil reproducteur.
PROPOSITION 65 DE L’ÉTAT DE
CALIFORNIE
ADVERTENCIA:
Las emanaciones provenientes del
escape del motor de este producto
contienen sustancias químicas
reconocidas por el estado de Cali-
fornia como causantes de cáncer,
defectos congénitos y otras afec-
ciones del aparato reproductor.
CALIFORNIA - PROPUESTA DE LEY
NÚM. 65