Samsung Electronics Co 04THETA2 DIGITAL CAMCORDER User Manual 00000 SCD303 SEA 01 27
Samsung Electronics Co Ltd DIGITAL CAMCORDER 00000 SCD303 SEA 01 27
Contents
- 1. User Manual Part 1
- 2. User Manual Part 2
User Manual Part 1

ENGLISH
Digital Video Camcorder
Owner’s Instruction Book
Before operating the unit, please read this
instruction book thoroughly, and retain it for
future reference.
AF Auto Focus
CCD Charge Coupled Device
LCD Liquid Crystal Display
SCD303/D305/D307
ELECTRONICS
START/
STOP
SELF
TIMER
A.DUB
ZERO
MEMORY
PHOTODISPLAY
X2
SLOW
F.ADV
PHOTO
SEARCH
DATE/
TIME
00000? SCD303 SEA (01~27) 1/12/04 9:10 AM Page 101

ENGLISH
Notices and Safety Instructions
Safety Instructions
RISK OF ELECTRIC
SHOCK
DO NOT OPEN
CAUTION:
TO REDUCE THE RISK OF ELECTRIC SHOCK, DO NOT
REMOVE COVER(OR BACK). NO USER SERVICEABLE
PARTS INSIDE, REFER SERVICING TO QUALIFIED
SERVICE PERSONNEL.
This symbol is intended to alert the user to the presence of uninsulated
dangerous voltage within the product’s enclosure that may be of
sufficient magnitude to constitute a risk of fire or electric shock.
This symbol is intended to alert the user to the presence of important
operating and maintenance instructions in the literature accompanying
this product.
To prevent electric shock, match wide blade of plug
to wide slot and fully insert.
1. READ INSTRUCTIONS:
All the safety and operating instructions should be read
before the CAMCORDER is operated.
2. RETAIN INSTRUCTIONS:
The safety and operating instructions should be retained for
future reference.
3. HEED WARNINGS:
All warnings on the CAMCORDER and in the operating instructions
should be adhered to.
4. FOLLOW INSTRUCTIONS:
All operating and maintenance instructions should be followed.
5. CLEANING:
Unplug this CAMCORDER from the wall outlet before cleaning.
Do not use liquid or aerosol cleaners.
Use a dry cloth used for dusting cabinets.
6. ATTACHMENTS:
Do not use attachments not recommended by the CAMCORDER
product manufacturer as they may be hazardous.
7. WATER AND MOISTURE:
Do not use this CAMCORDER near water;
for example, near a bathtub, wash bowl, kitchen sink, laundry
tub, in a wet basement, near a swimming pool or lake.
8. ACCESSORIES:
Do not place this CAMCORDER on an unstable cart, stand, tripod,
bracket or table. The CAMCORDER may fall, causing serious injury
to a child or adult, and serious damage to the unit.
Use only with a cart, stand, tripod, bracket, or table recommended
by the manufacturer or sold with the CAMCORDER. Any mounting
of the unit should follow the manufacturer’s instructions and should
use a mounting accessory recommended by the manufacturer.
A. An appliance and cart combination should be moved with care.
Quick stops, excessive force and uneven surfaces may cause
the appliance and cart combination to overturn.
PORTABLE CART WARNING
(Symbol provided by RETAC)
CAUTION
00000? SCD303 SEA-SAFETY 1/12/04 9:12 AM Page 100

ENGLISH
Notices and Safety Instructions
9. VENTILATION:
Slots and openings in the cabinet are provided for ventilation to
ensure reliable operation of the CAMCORDER and to protect it
from overheating. These openings must not be blocked or
covered. Never place your CAMCORDER on a bed, sofa, rug,
or other similar surface: on or near a radiator or heat register.
This CAMCORDER should not be placed in a built-in installation
such as a bookcase or rack unless proper ventilation is provided
or the manufacturer’s instructions have been adhered to.
10. POWER SOURCES:
The CAMCORDER should be operated only from the type of
power source indicated on the label.
If you are not sure of the type of power supply at your home,
consult your appliance dealer or local power company.
A CAMCORDER is intended to be operated from battery power,
or other sources, refer to the operating instructions.
11. GROUNDING OR POLARIZATION:
This CAMCORDER may be equipped with either a polarized
2-wire AC line plug (a plug having one blade wider than the other)
or a 3-wire grounding type plug, a plug having a third (grounding)
pin.
If you are unable to insert the plug fully into the outlet, try reversing
the plug. If the plug still fails to fit, contact your electrician to
replace your outlet. Do not defeat the safety purpose of the
polarized plug.
12. POWER-CORD PROTECTION:
Power-supply cords should be routed so that they are not likely to
be walked on or pinched by items placed upon or against them,
paying particular attention to cords or plugs, convenient
receptacles, and the point where they exit from the unit.
13. OUTDOOR ANTENNA GROUNDING:
If an outside antenna or cable system is connected to the
CAMCORDER, be sure the antenna or cable system is grounded
to provide some protection against voltage surges and built-up
static charges, Section 810 of the National Electrical Code,
ANSI/NFPA No. 70-1984, provides information with respect to
proper grounding of the mast and supporting structure, grounding
of the lead-in wire and supporting structure, grounding of the mast
and supporting structure, grounding of the lead-in wire to an
antenna discharge unit, size of grounding to conductors, location
of antenna-discharge unit, connection to grounding electrodes
and requirements for the grounding electrode.
See figure below.
GROUNDING CONDUCTORS
(NEC SECTION 810-21)
GROUND CLAMPS
POWER SERVICE GROUNDING
ELECTRODE SYSTEM
(NEC ART 250, PART H)
NEC NATIONAL ELECTRICAL CODE
ELECTRIC
SERVICE
EQUIPMENT
GROUND
CLAMP
ANTENNA
LEAD IN
WIRE
ANTENNA
DISCHARGE UNIT
(NEC SECTION 810-20)
00000? SCD303 SEA-SAFETY 1/12/04 9:12 AM Page 101

ENGLISH
Notices and Safety Instructions
14. LIGHTNING:
For added protection of this CAMCORDER during a lightning
storm o when it is left unattended and unused for long periods of
time, unplug it from the wall outlet and disconnect the antenna or
cable system.
This will prevent damage to the CAMCORDER due to lightning
and power-line surges.
15. POWER LINES:
An outside antenna system should not be located in the vicinity of
overhead power lines or other electric light or power circuits where
it can fall into such power lines or circuits. When installing an
outside antenna system, extreme care should be taken to keep
from touching such power lines or circuits as contact with them
might be fatal.
16. OVERLOADING:
Do not overload wall outlets and extension cords as this can result
in a risk of fire or electric shock.
17. OBJECTS AND LIQUIDS:
Never push objects of any kind into this CAMCORDER through
openings as they may touch dangerous voltage points or short out
a part that could result in a fire or electric shock.
Never spill liquids of any kind onto the CAMCORDER. Should
spillage occur, unplug unit and have it checked by a technician
before use.
18. SERVICING:
Do not attempt to service this CAMCORDER yourself. Opening or
removing covers may expose you to dangerous voltage or other
hazards.
Refer all servicing to qualified service personnel.
19. DAMAGE REQUIRING SERVICE:
Unplug this CAMCORDER from the wall outlet and refer servicing
to qualified service personnel under the following conditions:
a. When the power-supply cord or plug is damaged.
b. If any liquid has been spilled onto, or objects have fallen into
the CAMCORDER.
c. If the CAMCORDER has been exposed to rain or water.
d. If the CAMCORDER does not operate normally by following the
operating instructions, adjust only those controls that are
covered by the operating instructions. Improper adjustment of
other controls may result in damage and will
often require extensive work by a qualified technician to restore
the CAMCORDER to its normal operation.
e. If the CAMCORDER has been dropped or the cabinet has been
damaged.
f. When the CAMCORDER exhibits a distinct change in
performance, this indicates a need for service.
20. REPLACEMENT PARTS:
When replacement parts are required, be sure the service
technician has used replacement parts specified by the
manufacturer and having the same characteristics as the original
part.
Unauthorized substitutions may result in fire, electric shock or
other hazards.
21. SAFETY CHECK:
Upon completion of any service or repairs to this CAMCORDER,
ask the service technician to perform safety checks to determine
that the CAMCORDER is in safe operating order.
00000? SCD303 SEA-SAFETY 1/12/04 9:12 AM Page 102

ENGLISH
Notices and Safety Instructions
22. To prevent damage which may result in fire or shock hazard,
do not expose this appliance to rain or moisture.
23. If this power supply is used at 240V ac, a suitable plug adapter
should be use.
NOTE TO CATV SYSTEM INSTALLER:
This reminder is provided to call the CATV system installer’s attention
to Article 820-40 of the NEC that provides guidelines for proper
grounding and, in particular, specifies that the cable ground shall be
connected to the grounding system of the building as close to the point
of cable entry as practical.
USER INSTALLER CAUTION:
Your authority to operate this FCC certified equipment could be voided
if you make changes or modifications not expressly approved by this
party responsible for compliance to part 15 FCC rules.
NOTE:
“Hg LAMP(S) INSIDE THIS PRODUCT CONTAIN
MERCURY AND MUST BE RECYCLED OR
DISPOSED OF ACCORDING TO LOCAL, STATE OR
FEDERAL LAWS”
NOTE: This equipment has been tested and found to comply with
the limits for a Class B digital device, pursuant to part 15 of the
FCC Rules. These limits are designed to provide reasonable
protection against harmful interference in a residential installation.
This equipment generates, uses and can radiate radio frequency
energy and, if not installed and used in accordance with the
instructions, may cause harmful interference to radio
communications. However, there is no guarantee that interference
will not occur in a particular installation. If this equipment does
cause harmful interference to radio or television reception, which
can be determined by turning the equipment off and on, the user is
encouraged to try to correct the interference by one or more of the
following measures:
- Reorient or relocate the receiving antenna.
- Increase the separation between the equipment and receiver.
- Connect the equipment into an outlet on a circuit different from
that to which the receiver is connected.
- Consult the dealer or an experienced radio/TV technician for help
and for additional suggestions.
The user may find the following booklet prepared by the Federal
Communications Commission helpful : “How to Identify and
Resolve Radio-TV Interference Problems.”
This Booklet is available from the U.S. Government Printing
Office, Washington, D.C. 20402, Stock No. 004-000-00345-4.
FCC Warning
The user is cautioned that changes or modifications not expressly
approved by the manufacturer could void the user’s authority to
operate the equipment.
FCC ID : A3L04DELTA2
This device complies with Part 15 of FCC Rules.
Operation is subject to the following two conditions;
(1) This device may not cause harmful interference, and
(2) This device must accept any interference received,
including interference that may cause undesired operation.
00000? SCD303 SEA-SAFETY 1/12/04 9:12 AM Page 103

ENGLISH
Contents
22
Features ................................................................................................................................................................................................................................................ 11
Accessories Supplied with camcorder ..................................................................................................................................................................................................12
Front & Left View ...................................................................................................................................................................................................................................13
Left side View ........................................................................................................................................................................................................................................14
Right & Top View ...................................................................................................................................................................................................................................15
Rear & Bottom View ..............................................................................................................................................................................................................................16
Remote control (SCD305/D307 only) ..................................................................................................................................................................................................17
OSD (On Screen Display in CAM and PLAY modes) ..........................................................................................................................................................................18
OSD (On Screen Display in M.REC and M.PLAY modes)...................................................................................................................................................................19
Turning the OSD on/off (On Screen Display) ................................................................................................................................................................................19
How to use the Remote Control (SCD305/D307 only).........................................................................................................................................................................20
Battery Installation for the Remote Control ....................................................................................................................................................................................20
Self Record using the Remote Control ..........................................................................................................................................................................................20
Lithium Battery Installation .....................................................................................................................................................................................................................21
Adjusting the Hand Strap .....................................................................................................................................................................................................................22
Hand strap........................................................................................................................................................................................................................................22
Shoulder Strap .................................................................................................................................................................................................................................22
Attaching the Lens Cover ................................................................................................................................................................................................................22
Connecting a Power Source .................................................................................................................................................................................................................23
To use the AC Power adapter and DC Cable ...............................................................................................................................................................................23
To select the CAMCORDER mode .................................................................................................................................................................................................23
Using the Lithium Ion Battery Pack .....................................................................................................................................................................................................24
Charging the Lithium Ion Battery Pack ..........................................................................................................................................................................................24
Table of continuous recording time based on model and battery type .........................................................................................................................................25
Battery level display ........................................................................................................................................................................................................................26
Inserting and Ejecting a Cassette ........................................................................................................................................................................................................27
Making your First Recording .................................................................................................................................................................................................................28
Selecting the OSD LANGUAGE ...........................................................................................................................................................................................................29
Record Search (REC SEARCH) ...................................................................................................................................................................................................30
Hints for Stable Image Recording ........................................................................................................................................................................................................31
Recording with the LCD monitor ....................................................................................................................................................................................................31
Recording with the Viewfinder .......................................................................................................................................................................................................31
Adjusting the LCD ................................................................................................................................................................................................................................32
Using the VIEWFINDER ......................................................................................................................................................................................................................33
Adjusting the Focus ........................................................................................................................................................................................................................33
Playing back a tape you have recorded on the LCD ...........................................................................................................................................................................34
Adjusting the LCD during PLAY .....................................................................................................................................................................................................35
Controlling Sound from the Speaker ...................................................................................................................................................................................................35
BASIC Recording ................................................................................................................................................. 28
Preparation .......................................................................................................................................................... 20
Notes and Safety Instructions ................................................................................................................................ 6
Getting to Know Your Camcorder ........................................................................................................................11
00000? SCD303 SEA (01~27) 1/12/04 9:10 AM Page 2

ENGLISH
Contents
33
Use of various Functions ......................................................................................................................................................................................................................36
Setting menu items .........................................................................................................................................................................................................................36
Set the camcorder to CAM or PLAY mode and M.REC or M.PLAY mode ..................................................................................................................................37
Availability of functions in each mode ............................................................................................................................................................................................38
CLOCK SET ...................................................................................................................................................................................................................................39
WL. REMOTE (SCD305/D307 only) .............................................................................................................................................................................................40
DEMONSTRATION .......................................................................................................................................................................................................................41
PROGRAM AE ...............................................................................................................................................................................................................................42
Setting the PROGRAM AE .............................................................................................................................................................................................................43
WHT. BALANCE (WHITE BALANCE) ...........................................................................................................................................................................................44
Zooming In and Out ........................................................................................................................................................................................................................45
Tele MACRO ...................................................................................................................................................................................................................................45
Digital Zoom ...................................................................................................................................................................................................................................46
DIS (Digital Image Stabilizer) .........................................................................................................................................................................................................47
DSE (Digital Special Effects) SELECT ..........................................................................................................................................................................................48
Selecting an effect ...........................................................................................................................................................................................................................49
REC MODE ....................................................................................................................................................................................................................................50
AUDIO MODE ................................................................................................................................................................................................................................51
WIND CUT .....................................................................................................................................................................................................................................52
DATE/TIME ....................................................................................................................................................................................................................................53
TV DISPLAY ...................................................................................................................................................................................................................................54
Using Quick Menu ................................................................................................................................................................................................................................55
Setting the Quick menu ..................................................................................................................................................................................................................56
SHUTTER SPEED & EXPOSURE ...............................................................................................................................................................................................57
SLOW SHUTTER(Low Shutter Speed) ..............................................................................................................................................................................................58
EASY Mode (for Beginners) .................................................................................................................................................................................................................59
AF/MF (Auto Focus/Manual Focus) .....................................................................................................................................................................................................60
Auto Focusing .................................................................................................................................................................................................................................60
Manual Focusing .............................................................................................................................................................................................................................60
BLC (Back Light Compensation) ..........................................................................................................................................................................................................61
Fade In and Out ....................................................................................................................................................................................................................................62
To Start Recording ..........................................................................................................................................................................................................................62
To Stop Recording (use FADE IN / FADE OUT) ...........................................................................................................................................................................62
Audio dubbing (SCD305/D307 only) ...................................................................................................................................................................................................63
Dubbing sound. ................................................................................................................................................................................................................................63
Dubbed Audio Playback .................................................................................................................................................................................................................64
PHOTO Image Recording .....................................................................................................................................................................................................................65
Searching for a PHOTO picture .....................................................................................................................................................................................................65
NITE PIX (0 lux recording) ....................................................................................................................................................................................................................66
POWER NITE PIX ................................................................................................................................................................................................................................67
Various Recording Techniques .............................................................................................................................................................................................................68
Advanced Recording ........................................................................................................................................... 36
00000? SCD303 SEA (01~27) 1/12/04 9:10 AM Page 3

ENGLISH
44
Tape Playback ...................................................................................................................................................................................................................................... 69
Playback on the LCD ..................................................................................................................................................................................................................... 69
Playback on a TV monitor ............................................................................................................................................................................................................. 69
Connecting to a TV which has Audio/Video input jacks ............................................................................................................................................................... 69
Connecting to a TV which has no Audio and Video input jacks .................................................................................................................................................. 70
Playback ......................................................................................................................................................................................................................................... 70
Various Functions while in PLAY mode ............................................................................................................................................................................................... 71
Playback pause .............................................................................................................................................................................................................................. 71
Picture search (Forward/Reverse) ................................................................................................................................................................................................. 71
Slow playback (Forward/Reverse) (SCD305D307 only) .............................................................................................................................................................. 71
Frame advance (To play back frame by frame) (SCD305/D307 only) ....................................................................................................................................... 72
X2 Playback (Forward/Reverse ) (SCD305/D307 only) ............................................................................................................................................................... 72
Reverse playback (SCD305/D307 only) ....................................................................................................................................................................................... 72
ZERO MEMORY (SCD305/D307 only) ............................................................................................................................................................................................. 73
PB DSE (Playback Digital Special Effects) ........................................................................................................................................................................................ 74
PB ZOOM ............................................................................................................................................................................................................................................ 75
Transferring IEEE1394 (i.LINK)-DV standard data connections ........................................................................................................................................................ 76
Connecting to a DV device ............................................................................................................................................................................................................ 76
Connecting to a PC ....................................................................................................................................................................................................................... 76
System requirements ..................................................................................................................................................................................................................... 77
Recording with a DV connection cable ......................................................................................................................................................................................... 77
Transferring a Digital Image through a USB Connection ................................................................................................................................................................... 78
System Requirements .......................................................................................................................................................................................................................... 78
Installing DVC Media 5.1 Program ....................................................................................................................................................................................................... 79
Using the “PC camera” function................................................................................................................................................................................................... 79
Using the “removable Disk” function ............................................................................................................................................................................................ 80
Using the “USB streaming” function............................................................................................................................................................................................. 80
Connecting to a PC .............................................................................................................................................................................................................................. 80
MEMORY STICK (Optional Accessory) ............................................................................................................................................................................................... 81
Memory Stick Functions ................................................................................................................................................................................................................. 81
Inserting and ejecting the Memory Card ....................................................................................................................................................................................... 82
Structure of folders and files on the Memory Card ...................................................................................................................................................................... 83
Image Format ................................................................................................................................................................................................................................. 83
Playback .............................................................................................................................................................. 69
IEEE 1394 Data Transfer ...................................................................................................................................... 76
USB interface ...................................................................................................................................................... 78
Digital Still Cam mode
............................................................................................................................................ 81
00000? SCD303 SEA (01~27) 1/12/04 9:10 AM Page 4

Selecting the CAMCORDER mode.......................................................................................................................................................................................................83
MEMORY FILE NUMBER ................................................................................................................................................................................................................... 84
Selecting the image quality .................................................................................................................................................................................................................. 85
Select the image quality ............................................................................................................................................................................................................... 85
Number of images on the Memory Card ...................................................................................................................................................................................... 85
Recording Still images to a Memory Card in M.REC Mode ............................................................................................................................................................... 86
Recording images to a Memory Card ............................................................................................................................................................................................86
Recording an image from a cassette as a still image ................................................................................................................................................................. 87
Viewing Still images ............................................................................................................................................................................................................................. 88
To view a Single image................................................................................................................................................................................................................... 88
To view a slide show ....................................................................................................................................................................................................................... 88
To view the Multi Display ................................................................................................................................................................................................................ 89
Copying still images from a cassette to Memory Card........................................................................................................................................................................ 90
Marking images for printing ................................................................................................................................................................................................................. 91
Protection from accidental erasure....................................................................................................................................................................................................... 92
Deleting Still images ............................................................................................................................................................................................................................. 93
Formatting the Memory Card ............................................................................................................................................................................................................... 94
Attention ......................................................................................................................................................................................................................................... 94
MPEG RECORDING .............................................................................................................................................................................................................................95
Selecting the moving picture sizes ...................................................................................................................................................................................................... 96
MPEG Playback ................................................................................................................................................................................................................................... 97
After finishing a recording .................................................................................................................................................................................................................... 98
Cleaning and Maintaining the Camcorder............................................................................................................................................................................................ 99
Cleaning the Video Heads ............................................................................................................................................................................................................. 99
Using Your Camcorder Abroad .......................................................................................................................................................................................................... 100
Power sources ............................................................................................................................................................................................................................. 100
Color system ................................................................................................................................................................................................................................ 100
Troubleshooting .................................................................................................................................................................................................................................. 101
Self Diagnosis Display ................................................................................................................................................................................................................. 101
Moisture Condensation ................................................................................................................................................................................................................ 101
Self Diagnosis Display in M.REC, M.PLAY mode ...................................................................................................................................................................... 102
ENGLISH
Contents
55
Maintenance......................................................................................................................................................... 98
Troubleshooting.................................................................................................................................................. 101
Specifications ......................................................................................................................................................104
INDEX ................................................................................................................................................................ 105
00000? SCD303 SEA (01~27) 1/12/04 9:10 AM Page 5

Please rotate the LCD screen carefully as illustrated.
Over rotation may cause damage to the inside of the hinge that connects the LCD screen to the Camcorder.
1. LCD screen closed.
2. Standard recording using the LCD screen.
■Open the LCD screen with your finger.
3. Recording when looking at the LCD screen from the top.
4. Recording when looking at the LCD screen from the front.
5. Recording with the LCD screen closed.
ENGLISH
Notes and Safety Instructions
66
Notes regarding the rotation of the LCD screen
1
2
3
4
5
LCD open
knob
00000? SCD303 SEA (01~27) 1/12/04 9:10 AM Page 6

ENGLISH
Television programs, video tapes, DVD titles, films, and other program materials may be copyrighted.
Unauthorized copying of copyrighted material may be against the law.
1. A sudden rise in atmospheric temperature may cause condensation to form inside the camcorder.
for example:
- When you move the camcorder from a cold location to a warm location (e.g. from outside to inside during winter.)
- When you move the camcorder from a cool location to a hot location (e.g. from inside to outside during the summer.)
2. If the (DEW) protection feature is activated, leave the camcorder for at least two hours in a dry, warm room with the
cassette compartment opened and the battery pack removed.
1. Do not leave the camcorder exposed to high temperature (above 60°C or 140°F).
For example, in a parked car in the sun or exposed to direct sunlight.
2. Do not let the camcorder get wet.
Keep the camcorder away from rain, sea water, and any other form of moisture.
If the camcorder gets wet, it may get damaged.
Sometimes a malfunction due to exposure to liquids cannot be repaired.
Notes and Safety Instructions
77
Notes regarding CAMCORDER
Notices regarding COPYRIGHT
Notes regarding moisture condensation
00000? SCD303 SEA (01~27) 1/12/04 9:10 AM Page 7

ENGLISH
Notes and Safety Instructions
88
Notes regarding the battery pack
- Make sure that the battery pack is fully charged before starting to record.
- To preserve battery power, keep your camcorder turned off when you are not
operating it.
- If your camcorder is in CAM mode, and it is left in STBY mode without being
operated for more than 5 minutes with a tape inserted, it will automatically turn
itself off to protect against unnecessary battery discharge.
- Make sure that the battery pack is fitted firmly into place.
Dropping the battery pack may damage it.
- A brand new battery pack is not charged.
Before using the battery pack, you need to charge it completely.
- It is a good idea to use the viewfinder rather than the LCD when making a long
recording, because the LCD uses up more battery power.
* When the battery reaches the end of its life, please contact your
local dealer. The batteries have to be dealt with as chemical waste.
- To ensure normal recording and a clear picture, clean the video heads regularly. If a square block-shape distorts playback,
or only a blue screen is displayed, the video heads may be dirty.
If this happens, clean the video heads with a dry type cleaning cassette.
- Do not use a wet-type cleaning cassette. It may damage the video heads.
Notes regarding the Video Head Cleaning
00000? SCD303 SEA (01~27) 1/12/04 9:10 AM Page 8

ENGLISH
Notes and Safety Instructions
99
- Do not film with the camera lens pointing directly at the sun.
Direct sunlight can damage the CCD(Charge Coupled Device).
1. Do not position the camcorder such that the viewfinder is pointing towards the sun.
Direct sunlight can damage the inside of the viewfinder. Be careful when placing the camcorder under sunlight or near a
window exposed to sunlight.
1. The LCD display has been manufactured using high precision
technology. However, there may be tiny dots
(red, blue or green in color) that appear on the LCD display.
These dots are normal and do not affect the recorded picture
in any way.
2. When you use the LCD display under direct sunlight or outdoors,
it maybe difficult to see the picture clearly.
If this occurs, we recommend using the viewfinder.
3. Direct sunlight can damage the LCD monitor.
- To ensure a steady picture while filming, check that the hand strap is properly adjusted.
- Do not force your hand into the hand strap as you could damage it.
Note regarding the LENS
Notes regarding electronic viewfinder
Notes regarding ‘Record’ or ‘Playback’ using the LCD
Notes regarding the hand strap
00000? SCD303 SEA (01~27) 1/12/04 9:10 AM Page 9

ENGLISH
Notes and Safety Instructions
1010
Precautions regarding the Lithium battery
1. The lithium battery maintains the clock function and user settings; even if the battery pack or AC adapter is removed.
2. The lithium battery for the camcorder lasts about 6 months under normal operation from time of installation.
3. When the lithium battery becomes weak or dead, the date/time indicator will display “---” when you set the DATE/TIME to ON.
When this occurs, replace the lithium battery with a new one(type CR2025).
4. There is a danger of explosion if battery is incorrectly replaced.
Replace only with the same or equivalent type.
Warning: Keep the LITHIUM BATTERY out of reach of children.
Should a battery be swallowed, consult a doctor immediately.
00000? SCD303 SEA (01~27) 1/12/04 9:10 AM Page 10

ENGLISH
Getting to Know Your Camcorder
1111
Features
•MULTI OSD LANGUAGE
You can select the desired OSD Language among English, French, Spanish, Portuguese, German and Italian.
•Digital data transfer function with IEEE1394
By incorporating the IEEE 1394 (i.LINK™ : i.LINK is a serial data transfer protocol and interconnectivity system,
used to transmit DV data) high speed data transport port, both moving and still images can be transferred to a PC,
making it possible to produce or edit various images.
•USB interface for digital image data transfer
You can transfer images to a PC using the USB interface without an add-on card.
•PHOTO
The PHOTO function lets you capture an object as a still along with sound, while in Camera mode.
•800x Digital zoom
Allows you to magnify an image up to 800 times its original size.
•Color TFT LCD
A high-resolution color TFT LCD gives you clean, sharp images as well as the ability to review your recordings immediately.
•Digital Image Stabilizer (DIS)
The DIS compensates for any handshake, reducing unstable images particularly at high magnification.
•Various digital effects
The DSE (Digital Special Effects) allows you to give your films a special look by adding various special effects.
•Back Light Compensation (BLC)
The BLC function compensates for the bright background behind a subject you're recording.
•Program AE
The Program AE enables you to alter the shutter speed and aperture to suit the type of scene/action to be filmed.
•NITE PIX
The NITE PIX function enables you to record a subject in a dark place.
•Digital Still Camera function
■
Using Memory Card, you can easily record and playback standard still images.
■
You can transfer standard still images on the Memory Card to your PC using the USB interface.
•MPEG Recording
MPEG recording makes it possible to record video onto a Memory Card.
•MULTI MEMORY CARD SLOT (SCD305/D307 only)
Multi Memory Card Slot is able to use the Memory Stick, the MMC and the SD.
00000? SCD303 SEA (01~27) 1/12/04 9:10 AM Page 11

ENGLISH
Make sure that the following basic accessories are supplied with your digital video camera.
Basic Accessories
1. Lithium Ion Battery pack
2. AC Power Adapter
(AA-E8 TYPE)
3. AC Cord
4. AUDIO/VIDEO Cable
5. Instruction Book
6. Lithium battery for
Remote Control or Clock.
(TYPE: CR2025)
7. Remote Control
(SCD305/D307 only)
8. USB cable
9. Software CD
10.Lens Cover
11.Shoulder strap
Optional Accessories
12.S-VIDEO Cable
13.Memory Stick
Getting to Know Your Camcorder
1212
Accessories Supplied with camcorder
1. Lithium Ion Battery pack
4. AUDIO/VIDEO Cable
7. Remote Control
(SCD305/D307 only)
10. Lens Cover
3. AC cord
6. Lithium battery
(CR2025)
11. Shoulder strap
9. Software CD
2. AC Power Adapter
(AA-E8 TYPE)
8. USB cable
5. Instruction Book
12. S-VIDEO Cable 13. Memory Stick
00000? SCD303 SEA (01~27) 1/12/04 9:10 AM Page 12

ENGLISH
Getting to Know Your Camcorder
1313
Front & Left View
1. Lens
2. IR(Infrared) Light
3. Remote sensor (SCD305/D307 only)
4. Internal MIC
5. Viewfinder
(see page 33)
6. EASY Q button
(see page 59)
7. TFT LCD monitor
2. IR(Infrared) Light
4. Internal MIC
3. Remote sensor
(SCD305/D307 only)
1. Lens
5. Viewfinder
7. TFT LCD monitor
6. EASY Q button
00000? SCD303 SEA (01~27) 1/12/04 9:10 AM Page 13

ENGLISH
Getting to Know Your Camcorder
1414
Left Side View
1. Function buttons
2. Speaker
3. PB ZOOM/MACRO
4. DISPLAY
5. Mode switch (MEMORY CARD/TAPE)
6. S-VIDEO jack
7. MENU button
8. MENU Selector (MENU/VOLUME/MF)
9. External MIC in
10. Audio/Video jack
11. DC jack
PLAY CAM M.PLAY
- EASY -
: (REW) REC SEARCH – REV
: (FF) REC SEARCH + FWD
: (PLAY/STILL) FADE S.SHOW
: (STOP) BLC MULTI DISP.
1. Function buttons
2. Speaker
3. PB ZOOM/MACRO
4. DISPLAY
5. Mode switch
7. MENU button
8. MENU Selector
(MENU/VOLUME/MF)
9. External MIC in
10. Audio/Video jack
6. S-VIDEO jack
REC SEARCH FADE BLC
REV FWD S.SHOW
EASY
MULTI DISP.
11. DC jack
00000? SCD303 SEA (01~27) 1/12/04 9:10 AM Page 14

ENGLISH
Getting to Know Your Camcorder
1515
Right & Top View
1. Zoom lever
2. PHOTO button
(see page 65)
3. Focus adjustment knob
4. START/STOP button
5. Power switch (CAM or PLAY)
6. NITE PIX switch
7. Slow shutter
8. DV jack
9. USB jack
10. Hook for handstrap
8. DV jack
9. USB jack
10. Hook for handstrap
6. NITE PIX switch
7. Slow shutter
1. Zoom lever
2. PHOTO button
4. START/STOP button
5. Power switch
3. Focus adjustment knob
00000? SCD303 SEA (01~27) 1/12/04 9:10 AM Page 15

ENGLISH
Getting to Know Your Camcorder
1616
Rear & Bottom View
1. LITHIUM Battery Holder
2. Charging indicator
3. Memory Card slot
4. Battery Release
5. Tripod receptacle
6. TAPE EJECT
6. TAPE EJECT5. Tripod receptacle
3. Memory Card slot
1. LITHIUM Battery Holder
4. Battery Release
2. Charging indicator
Memory Card slot
SCD303
Memory Stick
SCD305/D307
Memory Stick
SD/MMC
(Usable MEMORY CARD)
00000? SCD303 SEA (01~27) 1/12/04 9:10 AM Page 16

ENGLISH
Getting to Know Your Camcorder
1717
1. PHOTO
2. START/STOP
3. SELF TIMER (see page 20)
4. ZERO MEMORY (see page 73)
5. PHOTO Search
6. A.DUB (see page 63)
7. (FF)
8. (REW)
9. (PLAY)
10. Direction ( , ) (see page 71)
11. F. ADV (see page 72)
12. (STOP)
13. (STILL)
14. (SLOW)
15. DATE/TIME
16. X2 (see page 72)
17. Zoom
18. Display
Remote control (SCD305/D307 only)
1. PHOTO
2. START/STOP
3. SELF TIMER
4. ZERO MEMORY
5. PHOTO SEARCH
6. A.DUB
7. (FF)
8. (REW)
9. (PLAY)
10. Direction
18. DISPLAY
17. Zoom
16. X2
15. DATE/TIME
14. (SLOW)
13. (STILL)
11. F. ADV
12. (STOP)
00000? SCD303 SEA (01~27) 1/12/04 9:10 AM Page 17

ENGLISH
Getting to Know Your Camcorder
1818
OSD (On Screen Display in CAM and PLAY modes)
1. Battery level (see page 26)
2. Easy mode (see pages 59)
3. DSE (Digital Special Effects) mode (see page 48)
4. Program AE (see page 42)
5. White Balance mode (see page 44)
6. BLC (Back Light Compensation) (see page 61)
7. Manual focus (see page 60)
8. Shutter speed and EXPOSURE (see page 57)
9. Zoom position (see page 45)
10. NITE PIX (see page 66)
11. DATE/TIME (see page 53)
12. USB
13. WL. REMOTE (SCD305/D307 only)
14. WIND CUT (see page 52)
15. Audio recording mode (see page 51)
16. Zero memory indicator (SCD305/D307 only) (see page 73)
17. Remaining Tape (measured in minutes)
18. Tape Counter
19. Operating mode
20. Record speed mode
21. PHOTO mode
22. Self recording and waiting timer (SCD305/D307 only) (see page 20)
23. DIS (see page 47)
24. Volume control (see page 35)
25. Audio playback channel
26. DV IN(DV data transfer mode) (see page 77)
27. DEW (see page 7)
28. Message Line
29. PB DSE (see page 74)
30. PB ZOOM/ENTER (see page 75)
31. POWER NITE PIX (see page 67)
32. Tele MACRO (see page 45)
OSD in CAM mode
TAPE !
NITE PIXMF
MIRROR
SHUTTER P
ZOOM
EXPOSURE
EASY M - 0 : 0 0 : 0 0
5 5 min
1 6 bit
1 2 : 0 0 A M
JAN . 10 , 2 0 0 4
REC
EXPOSURE
SHUTTER
BLC
1
2
3
6
4
5
7
31
9
8
23 2232 21 20 19
16
15
14
13
12
11
10
28
OSD in PLAY mode
. . . C
SOUND [ 2 ]
MIRROR
ENTER :
PB ZOOM
1.2x
M - 0 : 0 0 : 0 0
5 5 min
1 6 bit
VOL. [ 1 1 ]
DV
1 2 : 0 0 A M
J A N . 1 0 , 2 0 0 4
25
30
29
30
28
27
21 20 19
26
24 11
18
17
00000? SCD303 SEA (01~27) 1/12/04 9:11 AM Page 18

ENGLISH
Getting to Know Your Camcorder
1919
A. Folder number-file number (see page 83)
B. Image counter
- Current still image/Total number of recordable still images.
C. CARD (MEMORY CARD) indicator
D. Image recording and loading indicator
E. Quality
F. ERASE PROTECTION indicator (see page 92)
G. Print Mark (see page 91)
H. SLIDE SHOW
I. MPEG4 SCREEN SIZE
Turning the OSD on/off (On Screen Display)
●Turning OSD on/off
Press the DISPLAY button on the left side panel.
- Each press of the button toggles the OSD function on and off.
- When you turn the OSD off,
In CAM mode: The STBY, REC, EASY.Q modes are always displayed on the OSD,
even when the OSD is turned OFF and the key input is displayed for 3 seconds
then turned off.
In PLAY mode: When you press any Function button, the function is displayed
on the OSD for 3 seconds before it turns off.
●Turning the DATE/TIME on/off
- The DATE/TIME is not affected when the OSD function is switched ON or OFF.
- To turn the DATE/TIME on or off, access the menu and change the DATE/TIME mode. (see page 53)
- You may also use the Quick Menu to turn the DATE/TIME ON or OFF. (see page 55) (only in CAM/M.REC mode)
OSD (On Screen Display in M.REC/M.PLAY modes)
OSD in M.REC mode
OSD in M.PLAY mode
MEMORY CARD !
SLIDE
1 0 0 - 0 0 0 1
2 2 / 2 4 0
0 0 1
1 2 : 0 0 A M
J A N . 1 0 , 2 0 0 4
F
H
A
G
2 2 / 2 4 0
3 5 2 2 min
SF
1 2 : 0 0 A M
J A N . 1 0 , 2 0 0 4
E
B
D C
I
00000? SCD303 SEA (01~27) 1/12/04 9:11 AM Page 19

ENGLISH
Battery Installation for the Remote Control
✤You need to insert or replace the lithium battery when :
- You purchase the camcorder.
- The remote control doesn’t work.
✤Ensure that you insert the lithium battery correctly, following the + and - markings.
✤Be careful not to reverse the polarity of the battery.
Self Record using the Remote Control
When you use the Self Timer function on the remote control, the recording begins
automatically in 10 seconds.
1. Set the camcorder to CAM mode.
2. Press the SELF TIMER button until the appropriate indicator is displayed in the LCD.
3. Press the START/STOP button to start the timer.
- Self Timer starts counting down from 10 with a beep sound.
- In the last one second of the countdown, the beep sound gets faster, then recording starts automatically.
- If you want to cancel the Self Timer function before recording, press the SELF TIMER button.
4. Press START/STOP again when you wish to stop recording.
Preparation
2020
How to use the Remote Control (SCD305/D307 only)
START/
STOP
SELF
TIMER
A.DUB
ZERO
MEMORY
PHOTO DISPLAY
X2
SLOW
F.ADV
PHOTO
SEARCH
DATE/
TIME
Self
Timer
00000? SCD303 SEA (01~27) 1/12/04 9:11 AM Page 20

ENGLISH
Preparation
2121
✤The lithium battery maintains the clock function and preset contents of the memory; even if the battery pack or AC power
adapter is removed.
✤The lithium battery for the camcorder lasts about 6 months under normal operation from the time of installation.
✤When the lithium battery becomes weak or dead, the date/time indicator will display “---” when you set the DATE/TIME
to ON.
When this occurs, replace the lithium battery with CR2025 type.
1. Open the lithium battery cover from the camcorder.
2. Position the Lithium cell in the holder, with the positive ( ) terminal face outward.
3. Close the lithium battery cover.
Note The lithium battery must be inserted in the correct direction.
Warning: Keep the LITHIUM BATTERY out of the reach of the children.
Should any battery be swallowed, consult a doctor immediately.
Lithium Battery Installation
00000? SCD303 SEA (01~27) 1/12/04 9:11 AM Page 21

ENGLISH
Preparation
2222
Adjusting the Hand Strap
It is very important to ensure that the Hand strap has been correctly adjusted before you begin your recording.
The hand strap enables you to :
- Hold the camcorder in a stable, comfortable position.
- Press the Zoom and START/STOP button without having to change the position of your hand.
Hand strap
a. Pull open the Hand Strap cover
and to release the Hand Strap.
b. Adjust its length and stick it back
onto the Hand Strap cover.
c. Close the Hand Strap cover
again.
Shoulder Strap
The Shoulder Strap enables you to carry your camcorder
around in complete safety.
1. Insert the end of strap into the Shoulder Strap hook
on the camcorder.
Insert the other end of strap into ring inside
hand strap.
2. Thread each end into the buckle, adjust the length
of the strap and then pull it tight in the buckle.
Attaching the Lens Cover
1234
a b c
1 2
00000? SCD303 SEA (01~27) 1/12/04 9:11 AM Page 22

ENGLISH
Preparation
2323
Connecting a Power Source
There are two types of power source that can be connected to your camcorder.
- The AC Power Adapter and AC cord : used for indoor recording.
- The Battery Pack : used for outdoor recording.
To use the AC Power adapter and DC Cable
1. Connect the AC Power adapter to the AC cord.
2. Connect the AC cord to a wall socket.
Notes
■
You must use the AC Power adapter of AA-E8 TYPE.
■
The plug and wall socket type may differ according to
your resident country.
3. Connect the DC cable to the DC jack socket of the
camcorder.
(When the battery is attached on the set, you should keep
outside the projection of the DC cable.)
4. Set the camcorder to each mode by holding down the tab
on the power switch and turning it to the CAM or PLAY mode.
To select the CAMCORDER mode
✤If you want to use this unit as a camcorder, set the mode switch to TAPE position.
✤If you want to use this unit as a DSC (Digital Still Camera), set the mode switch to
MEMORY CARD position.
Power Switch
00000? SCD303 SEA (01~27) 1/12/04 9:11 AM Page 23

ENGLISH
Preparation
2424
Using the Lithium Ion Battery Pack
✤
The amount of continuous recording time available depends on
- The type and capacity of the battery pack you are using.
- How often the Zoom function is used.
It is recommended that you have several batteries available.
Charging the Lithium Ion Battery Pack
1.
Attach the battery pack to the camcorder.
2. Connect the AC Power adapter to an AC cord and connect the AC cord to a
wall socket.
3. Connect the DC cable to the DC jack socket on the camcorder.
4. Turn the power switch to off, and the charging indicator will start to flash,
showing that the battery is charging.
5. When the battery is fully charged, disconnect the battery pack and the AC Power adapter from the
camcorder.
■
Even with the power switched off, the battery pack will still discharge if it is left connected to the
camcorder.
Notes
■
The battery pack may be charged a little at the time of purchase.
■
To prevent reduction in the life and capacity of the battery pack, always remove it from the camcorder after it is fully charged.
5
Blinking time Charging rate
Once per second Less than 50%
Twice per second 50% ~ 75%
Three times per second 75% ~ 90%
Blinking stops and stays on 90 ~ 100%
On for a second and Error - Reset the battery pack and
off for a second the DC cable
Power Switch
00000? SCD303 SEA (01~27) 1/12/04 9:11 AM Page 24

ENGLISH
Preparation
2525
Using the Lithium Ion Battery Pack
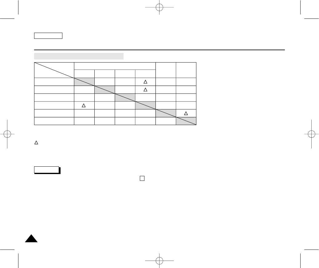
Table of continuous recording time based on model and battery type.
✤If you close the LCD screen, it switches off and the viewfinder switches on automatically.
✤The continuous recording time given in the table below are approximations.
Actual recording time depends on usage.
Notes
■
The battery pack should be recharged in an environment of between 32°F (0°C) and 104°F (40°C).
■
The battery pack should never be charged in a room temperature that is below 32°F (0°C).
■
The life and capacity of the battery pack will be reduced if it is used in temperatures below 32°F (0°C) or left in temperatures
above 104°F (40°C) for a long period, even when it is fully recharged.
■
Do not put the battery pack near any heat sources (fire or flames, for example).
■
Do not disassemble, process, press, or heat the Battery Pack.
■
Do not allow the + and - terminals of the battery pack to be short-circuited. It may cause leakage, heat generation, induce
fire and overheating.
Battery
SB-LS110
SB-LS220
Charging
time
Approx.
2hr
Approx.
3hr 30min
LCD ON VIEWFINDER ON
Continuous recording time
Time
Approx.
1hr 30min
Approx.
3hr 10min
Approx.
2hr
Approx.
4hr 10min
00000? SCD303 SEA (01~27) 1/12/04 9:11 AM Page 25

ENGLISH
Preparation
2626
Battery level display
•The battery level display indicates the amount of power remaining in the battery pack.
a. Fully charged
b. 20~40% used
c. 40~80% used
d. 80~95% used
e. Completely used (flickers)
(The camcorder will turn off soon, change the battery as soon as possible)
✤Please refer to the table on page 25 for approximate continuous recording time.
✤The recording time is affected by environmental temperature and conditions.
The recording time becomes very short in a cold environment.
The continuous recording time in the operating instructions are measured using a fully charged battery pack at 77°F(25°C).
As the environmental temperature and conditions may differ when you actually use the camcorder, the remaining battery
time may not be the same as the approximate continuous recording time given in these instructions.
Tips for Battery Identification
A charge mark is provided on the battery pack to help you remember whether it has been
charged or not.
Two colors are provided (red and grey)-you may choose which one indicates charged and
which indicates discharged.
Note
■
The charge mark setting does not affect the battery's charge status.
a
b
c
d
e
00000? SCD303 SEA (01~27) 1/12/04 9:11 AM Page 26

ENGLISH
Preparation
2727
Inserting and Ejecting a Cassette
✤When inserting a tape or closing a cassette holder, do not apply excessive force.
This may cause a malfunction.
✤Do not use any tapes other than Mini DV cassettes.
1. Connect a power source and slide the TAPE EJECT switch and open the
cassette door.
- The cassette holding mechanism rises automatically.
2. Insert a tape into the cassette holder with the tape window facing outward
and the protection tab bottom.
3. Press the area marked PUSH on the cassette holding mechanism until
it clicks into place.
- The cassette is loaded automatically.
4. Close the cassette door.
- Close the door completely until you hear a “click”.
Note
When you have recorded something that you wish to keep, you can protect it so that it will
not be accidentally erased.
a. Protecting a tape :
Push the safety tab on the cassette so that the hole is uncovered.
b. Removing the tape protection :
If you no longer wish to keep the recording on the cassette, push the safety tab back so
that it covers the hole.
•How to store a tape
a. Avoid places with magnets or magnetic interference.
b. Avoid humidity and dust prone places.
c. Keep the tape in an upright position and avoid storing it in direct sunlight.
d. Avoid dropping or knocking your tapes.
a. SAVE
b. REC
1
3
2
4
push
00000? SCD303 SEA (01~27) 1/12/04 9:11 AM Page 27

Basic Recording
2828
ENGLISH
Making your First Recording
1. Connect a Power source to the camcorder. (see page 23)
(A battery pack or a AC power adapter)
■Insert a cassette. (see page 27)
2. Remove the LENS CAP.
3. Set the power switch to the CAM position.
■Open the LCD monitor.
■Set the mode switch to the TAPE position.
Make sure that STBY is displayed.
■If the protection tab of the cassette is open, STOP and
PROTECTION! will be displayed.
■Make sure the image you want to record appears on the
LCD monitor or viewfinder.
■Make sure the battery level indicates that there is enough
remaining power for your expected recording time.
4. To start recording, press the START/STOP button.
■REC is displayed on the LCD.
To stop recording, press the START/STOP button again.
■STBY is displayed on the LCD.
4
1
3
2
00000? SCD303 SEA (28~59) 1/12/04 9:11 AM Page 28

2929
ENGLISH
Basic Recording
Selecting the OSD LANGUAGE
✤Select the appropriate OSD Language among English, French, Spanish, Portuguese, German and Italian.
✤The Language Function works in CAM, PLAY, M.REC, M.PLAY modes.
1. Press the MENU button.
■
The menu list will appear.
2. Move the MENU SELECTOR to highlight INITIAL and push the MENU SELECTOR.
3. Select LANGUAGE from the sub-menu and push the MENU SELECTOR.
4. Using the MENU SELECTOR, select the LANGUAGE and push the MENU SELECTOR.
■
Push the MENU SELECTOR button to confirm the OSD LANGUAGE.
5. To exit, press the MENU button.
■
The OSD changes to the selected language.
Notes
■
OSD Language is initialized to the English when Lithium battery is exhausted or changed.
■
“LANGUAGE” and “LANGUAGE SELECT” are always indicated in ENGLISH.
CAM MODE
INITIAL CLOCK SET
WL. REMOTE
LANGUAGE
DEMO
CAMERA
A/V
MEMORY
VIEWER
CAM MODE
LANGUAGE SELECT
INITIAL SET
ENGLISH
CAM MODE
INITIAL SET
CLOCK SET
WL.REMOTE
LANGUAGE
DEMONSTRATION
ENGLISH
00000? SCD303 SEA (28~59) 1/12/04 9:11 AM Page 29

3030
ENGLISH
Basic Recording
When a cassette is loaded and the camcorder is left in the STBY mode for more than 5 minutes without being used,
it will switch off automatically.
To use it again, push the START/STOP button or set the Power switch to OFF and then back to CAM.
This Auto Power off feature is designed to save battery power.
Record Search (REC SEARCH)
✤You can view a recording using the REC SEARCH +, -- function in STBY mode.
REC SEARCH -- enables you to play the recording backwards and
REC SEARCH + enables you to play it forwards, for as long as you keep each
button pressed down.
✤If you press the REC SEARCH -- button in STBY mode, your camcorder will play
in reverse for 3 seconds and return to the original position automatically.
Note
Mosaic shaped distortion may appear on the screen while in Record Search mode.
REC SEARCH
REC SEARCH
00000? SCD303 SEA (28~59) 1/12/04 9:11 AM Page 30

3131
ENGLISH
Basic Recording
■
While recording, it is very important to hold the camcorder correctly.
■
Fix the LENS cap firmly by clipping it to the hand strap.
(see page 22)
Recording with the LCD monitor
1. Hold the camcorder firmly using the hand strap.
2. Place your right elbow against your side.
3. Place your left hand under or beside the LCD to support and adjust it.
Do not touch the built-in microphone.
4. Choose a comfortable, stable position for the shots that you are taking.
You can lean against a wall or on a table for greater stability.
Do not forget to breathe gently.
5. Use the LCD frame as a guide to determine the horizontal plane.
6. Whenever possible, use a tripod.
Recording with the Viewfinder
1. Hold the camcorder firmly using the hand strap.
2. Place your right elbow against your side.
3. Place your left hand under the camcorder to support it.
Be sure not to touch the built-in microphone.
4. Choose a comfortable, stable position for the shots that you are taking.
You can lean against a wall or on a table for greater stability.
5. Place your eye firmly against the viewfinder eyecup.
6. Use the viewfinder frame as a guide to determine the horizontal plane.
7. Whenever possible, use a tripod.
Hints for Stable Image Recording
00000? SCD303 SEA (28~59) 1/12/04 9:11 AM Page 31

3232
ENGLISH
Basic Recording
Adjusting the LCD
✤Your camcorder is equipped with a 2.5 inch color Liquid Crystal Display(LCD) screen, which enables you to view what you
are recording or playing back directly.
✤Depending on the conditions under where you are using the camcorder (indoors or outdoors for example), you can adjust ;
■
BRIGHT SELECT
■
BRIGHT ADJUST
■
COLOR ADJUST
1. Set the POWER switch to CAM position.
■
In the PLAY mode, you may only setup the LCD while the tape is playing.
2. Open the LCD screen, and the LCD switches on.
3. Press the MENU button.
4. Move the MENU SELECTOR so that VIEWER is highlighted and
then push the MENU SELECTOR.
5. Move the MENU SELECTOR so that LCD ADJUST is highlighted.
6. Push the MENU SELECTOR to enter the sub-menu.
7. Move the MENU SELECTOR so that it highlights the menu item you want to adjust
(BRIGHT SELECT, BRIGHT ADJUST, COLOR ADJUST).
CAM MODE
VIEWER SET
LCD ADJUST
DATE / TIME
TV DISPLAY
CAM MODE
INITIAL
LCD ADJUST
DATE/TIME
TV DISPLAY
CAMERA
A/V
MEMORY
VIEWER
CAM MODE
LCD ADJUST
VIEWER SET
BRIGHT SELECT . . . . NORMAL
BRIGHT ADJUST . . . . . .[ 1 8 ]
COLOR ADJUST . . . . . . [ 1 8 ]
00000? SCD303 SEA (28~59) 1/12/04 9:11 AM Page 32

3333
ENGLISH
Basic Recording
8. Push the MENU SELECTOR again.
■
You may select NORMAL or SUPER in the BRIGHT SELECT feature and push the MENU SELECTOR to save the
setting.
■
Use the MENU SELECTOR to adjust the value of BRIGHT ADJUST and COLOR ADJUST.
■
You can set values for BRIGHT ADJUST between 00 ~ 35 and COLOR ADJUST between 00 ~ 35.
9. Press the MENU button to finish the setting.
✤In the PLAY mode, the VIEWFINDER will work when the LCD is closed.
✤In the CAM mode, the VIEWFINDER will work when the LCD is closed or rotated counterclockwise 180°.
Adjusting the Focus
Use the focus adjustment knob of the VIEWFINDER to focus the picture.
(refer to figure )
Using the VIEWFINDER
00000? SCD303 SEA (28~59) 1/12/04 9:11 AM Page 33

3434
ENGLISH
Basic Recording
✤You can monitor the playback picture on the LCD monitor.
✤Make sure that the battery pack is in place.
1. Hold down the power switch tab and turn it to the PLAY position.
2. Insert the tape you wish to view. (see page 27)
3. Open the LCD screen.
Adjust the angle of the LCD screen and set the brightness or color if necessary.
4. Press the (REW) button to rewind the tape to the starting point.
■
To stop rewinding, press the (STOP) button.
■
The camcorder stops automatically after rewinding is complete.
5. Press the (PLAY/STILL) button to start playback.
■
You can view the picture you recorded on the LCD.
■
To stop the PLAY operation, press the (STOP) button.
Notes
■
You can also view the picture on a TV screen, after connecting the camcorder to a TV or VCR. (see page 69)
■
Various functions are available in PLAY mode. (see page 71)
Playing back a tape you have recorded on the LCD
1
2
4
00000? SCD303 SEA (28~59) 1/12/04 9:11 AM Page 34

3535
ENGLISH
Adjusting the LCD during PLAY
✤ You can adjust the LCD during playback.
✤ The adjustment method is the same procedure as used in CAM mode. (see page 32)
The Speaker works in PLAY mode only.
■When you use the LCD screen for playback, you can hear recorded sound from the built-in
Speaker.
- Follow the instructions below to decrease or mute speaker volume in the PLAY mode.
- Take the following steps to lower the volume or mute the sound while playing a tape
on the camcorder.
1. Set the power switch to PLAY mode.
2. Press (PLAY/STILL) to play the tape.
3. When you hear sounds once the tape is in play, use the MENU SELECTOR to adjust the
volume.
■A volume level display will appear on the LCD.
Levels may be adjusted from anywhere between 00 to 19 and you will not hear any
sound when the volume is set on 00.
■If you close the LCD while playing, you will not hear sound from the speaker.
Notes
■When the cable is connected to the Audio/Video jack, you cannot hear sound from the speaker
and cannot adjust the volume.
■You can hear sound from speaker by removing the connected cable from the Audio/Video jack.
Basic Recording
Controlling Sound from the Speaker
0 : 2 3 : 4 7
5 5 min
1 2 : 0 0 A M
J A N . 1 0 , 2 0 0 4
VOL. [ 1 1 ]
<3-2>
2
3-1
00000? SCD303 SEA (28~59) 1/12/04 9:11 AM Page 35

3636
ENGLISH
Advanced Recording
●
Setting menu items
Use of various Functions
MENU SUB MENU FUNCTIONS Page
M.PLAY
M.REC
PLAYER
CAMERA
INITIAL
CLOCK SET
Setting the time 39
WL. REMOTE (
✩
)
Using the Remote Control 40
LANGUAGE SELECT
Selecting the OSD language 29
CAMERA
AV
D. ZOOM Selecting Digital Zoom 46
DIS
DSE SELECT
Selecting the Digital Image
Stabilizing 47
Setting the Digital special effect 48
REC MODE Selecting the recording speed 50
PHOTO SEARCH Searching pictures recorded in
TAPE 65
PHOTO COPY Copying pictures from TAPE onto
the Memory Card 90
AUDIO MODE Selecting Sound Quality for
recording 51
AUDIO SELECT Selecting the Audio playback
channel 64
WIND CUT Minimizing wind noise 52
DEMO Demonstration 41
PROGRAM AE Selecting the PROGRAM AE
Function 42
WHT. BALANCE Setting White Balance 44
PB DSE Selecting Digital Special Effect
during the playback 74
✔
✔
✔
✔
✔
✔
✔
✔
✔
✔
✔
✔
✔
✔
✔
✔
✔
✔
✔
✔
✔
✔
✔
✔
✔
✔
✔
✔
Available mode
( ✩) : This Function works on model SCD305/D307 only.
00000? SCD303 SEA (28~59) 1/12/04 9:11 AM Page 36

3737
ENGLISH
Advanced Recording
( ✩) : This Function works on model SCD305/D307 only.
●
Set the camcorder to CAM or PLAY mode and M.REC or M.PLAY mode
1. Press the MENU button.
The MENU OSD is displayed. The cursor ( HIGHLIGHT ) indicates the feature you are currently adjusting.
2. Use the MENU SELECTOR and push the MENU SELECTOR on the left side panel to select and activate the item.
3. You can exit the menu mode by pressing the MENU button.
MENU SUB MENU FUNCTIONS Page
M. PLAY
M. REC
PLAYER
CAMERA
MEMORY
M. PLAY SELECT Selecting Storage Media (MPEG4,
PHOTO) to playback 97
PHOTO QUALITY Selecting Image Quality 85
MPEG4 SIZE Selecting Image Resolution 96
VIEWER
PRINT MARK Print images recorded on a Memory Card 91
FORMAT Formatting the Memory Card 94
LCD ADJUST
DATE/TIME
Setting the Brightness and colour Tones
of the LCD 32
Setting the Date and Time 53
TV DISPLAY Selecting OSD on/off of TV 54
PROTECT Preventing Accidental Erasure 92
FILE NO. File Naming Options 84
DELETE Deleting Files 93
✔
✔
✔
✔
✔
✔
✔
✔
✔
✔
✔
✔
✔
✔
✔
✔
✔
✔
✔
✔
✔
✔
✔
Available mode
00000? SCD303 SEA (28~59) 1/12/04 9:11 AM Page 37

3838
ENGLISH
Advanced Recording
O : The requested mode will work in this operating mode.
✕: You can not change the requested mode.
: The operating mode will be released and the requested mode will work.
* : The operating mode will be released and the requested mode will work.
(operating mode data will be backed up)
Notes
■
When a menu item on the LCD is marked with an , that item cannot be activated.
■
When you select an item that cannot be changed, an error message will be displayed.
●
Availability of functions in each mode
X
DIS
D.ZOOM
PHOTO
SLOW SHUTTER
Digital Special Effects
NITE PIX
Digital functions
Requested
Mode
Operating
Mode
DIS
OO
OO
✕✕
✕O
D.ZOOM PHOTO
(TAPE) SLOW
SHUTTER
Digital
special
effects
NITE PIX
O
O
O
O
O
OO✕
OO
O
O
O
✕O
O
O
✕
*
00000? SCD303 SEA (28~59) 1/12/04 9:11 AM Page 38

3939
ENGLISH
Advanced Recording
●
CLOCK SET
✤CLOCK setup works in CAM, PLAY, M.REC and M.PLAY modes.
✤The DATE/TIME is automatically recorded onto a tape.
Before recording, please set the DATE/TIME.
1. Press the MENU button.
■
The menu list will appear.
2. Move the MENU SELECTOR to highlight INITIAL and push the MENU SELECTOR.
3. Use the MENU SELECTOR to select CLOCK SET from the submenu.
4. Push the MENU SELECTOR to enter SETTING mode.
■
A blinking item indicates the item to be changed. The year will blink first.
5. Using the MENU SELECTOR, change the year setting.
6. Push the MENU SELECTOR.
■
The month will blink.
7. Using the MENU SELECTOR, change the month setting.
8. Push the MENU SELECTOR.
■
The day will blink.
9. You can set the day, hour and minute following the same procedure for setting the year
and month.
10.Push the MENU SELECTOR after setting the minutes.
■
The word COMPLETE! will appear, and a few seconds later, the menu screen will
automatically return to the sub menu.
11.To exit, press the MENU button.
CAM MODE
INITIAL CLOCK SET
WL. REMOTE
LANGUAGE
DEMO
CAMERA
A/V
MEMORY
VIEWER
CAM MODE
INITIAL SET
CLOCK SET
WL.REMOTE
DEMONSTRATION
SET TIME!
LANGUAGE ENGLISH
CAM MODE
INITIAL SET
CLOCK SET
1 2 : 0 0 AM
J A N. 1 0 , 2 0 0 4
00000? SCD303 SEA (28~59) 1/12/04 9:11 AM Page 39

4040
ENGLISH
Advanced Recording
●
WL. REMOTE (SCD305/D307 only)
✤The WL. REMOTE function works in CAM, PLAY, M.REC, M.PLAY modes.
✤The WL. REMOTE option allows you to enable or disable the remote control for use with the camcorder.
1. Press the MENU button.
■
The menu list will appear.
2. Move the MENU SELECTOR to highlight INITIAL and push the MENU SELECTOR.
3. Use the MENU SELECTOR to select WL.REMOTE from the submenu.
4. Push the MENU SELECTOR to enable or disable the remote control.
The setting switches between ON/OFF each time you push the MENU SELECTOR.
5. To exit, press the MENU button.
■
If you set the remote to OFF in the menu and try to use it, the remote control icon will blink
for 3 seconds and disappear on the LCD.
CAM MODE
INITIAL CLOCK SET
WL. REMOTE
LANGUAGE
DEMO
CAMERA
A/V
MEMORY
VIEWER
CAM MODE
INITIAL SET
CLOCK SET
DEMONSTRATION
WL.REMOTE
LANGUAGE ENGLISH
00000? SCD303 SEA (28~59) 1/12/04 9:11 AM Page 40

4141
ENGLISH
Advanced Recording
●
DEMONSTRATION
✤Demonstration automatically shows you the major functions that are included with your camcorder so that you may use
them more easily.
✤The DEMONSTRATION function may only be used in the CAM mode without a tape inserted in the camcorder.
✤The demonstration operates repeatedly until the DEMONSTRATION mode switched OFF.
1. Set the camcorder to CAM mode.
2. Press the MENU button.
■
The menu list will appear.
3. Move the MENU SELECTOR to highlight INITIAL and push the MENU SELECTOR.
4. Select DEMONSTRATION from the submenu and push the MENU SELECTOR.
5. To activate the DEMONSTRATION, set DEMONSTRATION ON.
■
Press the MENU button to quit the menu.
■
The demonstration will begin.
6. To end the DEMONSTRATION, set the DEMONSTRATION to OFF.
Notes
■
The DEMONSTRATION function only works without a TAPE inserted.
■
The DEMONSTRATION mode is automatically activated when the camcorder is left idle for more than 10 minutes after
switching to the CAM mode (no tape is inserted in the camcorder).
■
If you press other buttons (FADE, BLC, PHOTO, EASY) during the DEMONSTRATION mode, the DEMONSTRATION
stops temporarily and resumes 10 minutes later if you do not operate any other functions.
■
While setting the NITE PIX to ON, the DEMONSTRATION function does not work.
CAM MODE
INITIAL CLOCK SET
WL. REMOTE
LANGUAGE
DEMO
CAMERA
A/V
MEMORY
VIEWER
CAM MODE
INITIAL SET
CLOCK SET
WL.REMOTE
DEMONSTRATION
LANGUAGE ENGLISH
00000? SCD303 SEA (28~59) 1/12/04 9:11 AM Page 41

4242
ENGLISH
Advanced Recording
●
PROGRAM AE
✤The PROGRAM AE function works in CAM mode only.
✤The PROGRAM AE mode allows you to adjust shutter speeds and apertures to suit different recording conditions.
✤They give you creative control over the depth of field.
■
AUTO mode
- Auto balance between the subject and the background.
- To be used in normal conditions.
- The shutter speed automatically varies from 1/60 to 1/250 per second, depending on the scene.
■
SPORTS mode ( )
- For recording people or objects moving quickly.
■
PORTRAIT mode ( )
- For focusing on the background of the subject, when the background is out of focus.
- The PORTRAIT mode is most effective when used outdoors.
- The shutter speed automatically varies from 1/60 to 1/1000 per second.
■
SPOTLIGHT mode ( )
- For recording correctly when there is only light on the subject and not the rest of the picture.
■
SAND/SNOW mode ( )
- For recording when people or objects are darker than the background because of reflected light from sand or snow.
■
High S. SPEED(High Shutter Speed) mode ( )
- For recording fast-moving subjects such as players in golf or tennis games.
00000? SCD303 SEA (28~59) 1/12/04 9:11 AM Page 42

4343
ENGLISH
Advanced Recording
Setting the PROGRAM AE
1. Press the MENU button in CAM mode.
■
The menu list will appear.
2. Move the MENU SELECTOR to highlight CAM and
push the MENU SELECTOR.
3. Select PROGRAM AE from the submenu.
4. Push the MENU SELECTOR to enter the submenu.
5. Using the MENU SELECTOR, select the PROGRAM AE mode.
■
Push the MENU SELECTOR to confirm the PROGRAM AE
mode.
6. To exit, press the MENU button.
Notes
■
While setting the NITE PIX to ON, the PROGRAM AE function does not work.
■
The PROGRAM AE function will not operate in EASY mode.
CAM MODE
PROGRAM AE
AUTO
SPORTS
PORTRAIT
SPOTLIGHT
SAND / SNOW
HIGH S. SPEED
CAMERA SET
CAM MODE
PROGRAM AE
WHT. BALANCE
D.ZOOM
DIS
DSE SELECT
CAMERA SET
CAM MODE
INITIAL
PROGRAM AE
WHT. BALANCE
D.ZOOM
DIS
DSE SELECT
CAMERA
A/V
MEMORY
VIEWER
00000? SCD303 SEA (28~59) 1/12/04 9:11 AM Page 43

4444
ENGLISH
Advanced Recording
●WHT. BALANCE (WHITE BALANCE)
✤The WHITE BALANCE function works in CAM or M.REC mode only.
✤The WHITE BALANCE is a recording function that preserves the unique image color of the object in any recording
condition.
✤You may select the appropriate WHITE BALANCE mode to obtain good quality color of the image.
■AUTO ( ): This mode is generally used to control the WHITE BALANCE automatically.
■HOLD ( ):This fixes the current WHITE BALANCE value.
■INDOOR ( ): This controls the WHITE BALANCE according to the indoor ambience.
- Under halogen or studio/video lighting
- Subject is of one dominant color
- Close up
■OUTDOOR ( ) : This controls the WHITE BALANCE according to the outdoor ambience.
- In daylight, especially for close up and where the subject is of one dominant color.
1. Set the camcorder to CAM mode.
2. Press the MENU button.
■The menu list will appear.
3. Move the MENU SELECTOR to highlight CAM and push the MENU SELECTOR.
4. Select WHT.BALANCE from the submenu.
5. Push the MENU SELECTOR to enter the sub-menu.
6. Using the MENU SELECTOR, select the WHITE BALANCE mode.
■Push the MENU SELECTOR to confirm the WHITE BALANCE mode.
7. To exit, press the MENU button.
Notes
■When NITE PIX is set to ON, the WHT.BALANCE function does not work.
■The WHT.BALANCE function will not operate in EASY mode.
■Turn the digital zoom off (if necessary) to set a more accurate white balance.
■Reset the white balance if lighting conditions change.
■During normal outdoor recording, setting to AUTO may provide better results.
CAM MODE
PROGRAM AE
WHT. BALANCE
D.ZOOM
DIS
DSE SELECT
CAMERA SET
CAM MODE
INITIAL
PROGRAM AE
WHT. BALANCE
D.ZOOM
DIS
DSE SELECT
CAMERA
A/V
MEMORY
VIEWER
CAM MODE
AUTO
HOLD
WHT. BALANCE
INDOOR
OUTDOOR
CAMERA SET
00000? SCD303 SEA (28~59) 1/12/04 9:11 AM Page 44

4545
ENGLISH
Advanced Recording
Zooming In and Out
✤Zooming is a recording technique that lets you change the size of the subject in a scene.
For more professional looking recordings, do not use the zoom function too often.
✤You can zoom using variable zoom speeds.
✤Use these features for different shots. Please note that over-use of the zoom feature can lead to unprofessional looking
results and a reduction of battery usage time.
1. Move the zoom lever slightly for a gradual zoom, move it further for a
high-speed zoom.
Your zooming is monitored on the OSD.
2. T(Telephoto) side:
Subject appears closer.
3. W(Wide angle) side: Subject appears farther away.
■You can record a subject that is about 10mm (about 0.5 inch)
away from the lens surface in the WIDE position.
Tele MACRO
✤Tele Macro Function works in both CAM and M.REC mode.
✤Effective focal distance in TELE MACRO mode is 50 Cm (19.7 inches) ~ 100 Cm (39.4
inches).
1. Press the MACRO button.
MACRO Icon ( ) will be displayed.
2. If you want to cancel the Tele Macro function, press the MACRO button again.
Notes
■When recording in TELE MACRO Mode, the FOCUS speed may be slow.
■When you operate the ZOOM function in the TELE MACRO mode, then the recording subject
maybe out of focus.
■Use a tripod to prevent hand shake in the TELE MACRO mode.
■Avoid shadows when recording in the TELE MACRO mode.
■As the distance to the subject decreases, focusing area narrows.
■When you can not get proper focus, use the Zoom Lever.
MACRO
PB ZOOM
0 : 2 3 : 4 7
STBY
TELE
WIDE
1-1 1-2
00000? SCD303 SEA (28~59) 1/12/04 9:11 AM Page 45

4646
ENGLISH
Advanced Recording
Zooming In and Out with DIGITAL ZOOM
✤Zoom works in CAM mode only.
Digital Zoom
✤Zooming more than 18x is achieved digitally.
✤The picture quality may deteriorate depending on how much you zoom in on the subject.
✤We recommend that you use the DIS feature with DIGITAL ZOOM for picture stability. (see page 47)
1. Set the camcorder to CAM mode.
2. Press the MENU button.
■The menu list will appear.
3. Move the MENU SELECTOR to CAMERA and push the MENU SELECTOR.
4. Select D.ZOOM from the submenu.
5. Push the MENU SELECTOR to setup the 100x, 200x, 400x, 900x digital zoom function or
to turn the feature OFF.
6. To exit, press the MENU button.
CAM MODE
PROGRAM AE
WHT. BALANCE
D.ZOOM
DIS
DSE SELECT
CAMERA SET
CAM MODE
D . ZOOM
OFF
100x
200x
400x
900x
CAMERA SET
CAM MODE
INITIAL
PROGRAM AE
WHT. BALANCE
D.ZOOM
DIS
DSE SELECT
CAMERA
A/V
MEMORY
VIEWER
00000? SCD303 SEA (28~59) 1/12/04 9:11 AM Page 46

4747
ENGLISH
Advanced Recording
● DIS (Digital Image Stabilizer)
✤The DIS function works in CAM mode only.
✤DIS (Digital Image Stabilizer) is a function that compensates for any shaking or hand movement while holding
the camcorder (within reasonable limits).
✤It provides more stable pictures when:
■Recording with the zoom
■Recording a small object close-up
■Recording and walking at the same time
■Recording through the window of a vehicle
1. Set the camcorder to CAM mode.
2. Press the MENU button.
■The menu list will appear.
3. Move the MENU SELECTOR highlight to CAMERA and push the MENU SELECTOR.
■The sub menu list will appear.
4. Move the MENU SELECTOR to activate the DIS function, push the MENU SELECTOR.
■The DIS menu is changed to ON.
■If you do not want to use the DIS function, set the DIS menu to OFF.
5. To exit, press the MENU button.
Notes
■It is recommended that you deactivate the DIS function when using a tripod.
■If you use the DIS function, the picture quality may deteriorate.
CAM MODE
INITIAL
PROGRAM AE
WHT. BALANCE
D.ZOOM
DIS
DSE SELECT
CAMERA
A/V
MEMORY
VIEWER
CAM MODE
PROGRAM AE
WHT. BALANCE
D.ZOOM
DIS
DSE SELECT
CAMERA SET
00000? SCD303 SEA (28~59) 1/12/04 9:11 AM Page 47

4848
ENGLISH
Advanced Recording
●DSE(Digital Special Effects) SELECT
✤The DSE function works in CAM mode only.
✤The digital effects enable you to give a creative look to your recording by adding various special effects.
✤Select the appropriate digital effect for the type of picture that you wish to record and the effect you wish to create.
✤There are 9 DSE modes.
a. ART mode
This mode gives the images a coarse effect.
b. MOSAIC mode
This mode gives the images a mosaic effect.
c. SEPIA mode
This mode gives the images a reddish-brown pigment.
d. NEGA mode
This mode reverses the colors, of the images, creating a negative image.
e. MIRROR mode
This mode cuts the picture in half, using a mirror effect.
f. BLK & WHT mode
This mode changes the images to black and white.
g. EMBOSS mode
This mode creates a 3D effect (embossing).
h. CINEMA mode
This mode covers the upper/lower portions of the screen to give a cinematic effect.
i. MAKE - UP mode
This mode allows the images to be selected in red, green, blue or yellow.
b
dc
e f
h
g
i
a
00000? SCD303 SEA (28~59) 1/12/04 9:11 AM Page 48

4949
ENGLISH
Advanced Recording
Selecting an effect
1. Set the camcorder to CAM mode.
2. Press the MENU button.
■The menu list will appear.
3. Move the MENU SELECTOR to highlight CAMERA and push the MENU SELECTOR.
4. Select DSE SELECT from the submenu.
5. Push the MENU SELECTOR to enter the submenu.
6. Using MENU SELECTOR, select the DSE mode.
■Push the MENU SELECTOR to confirm the DSE mode.
7. To exit, press the MENU button.
Notes
■While setting the NITE PIX to ON, the DSE function does not work.
■The DSE function will not operate in EASY mode.
CAM MODE
PROGRAM AE
WHT. BALANCE
D.ZOOM
DIS
DSE SELECT
CAMERA SET
CAM MODE
INITIAL
PROGRAM AE
WHT. BALANCE
D.ZOOM
DIS
DSE SELECT
CAMERA
A/V
MEMORY
VIEWER
CAM MODE
DSE SELECT
OFF
ART
MOSAIC
SEPIA
CAMERA SET
NEGA
MIRROR
BLK&WHT
CAM MODE
DSE SELECT
CINEMA
EMBOSS
CAMERA SET
MAKE-UP
GREEN
BLUE
YELLOW
RED
00000? SCD303 SEA (28~59) 1/12/04 9:11 AM Page 49

5050
ENGLISH
Advanced Recording
●REC MODE
✤The REC MODE function works in CAM mode.
✤This camcorder records and plays back in SP (standard play) mode and in LP (long play) mode.
■SP (standard play): This mode permits 60 minutes of recording time with a DVM60 tape.
■LP (long play): This mode permits 90 minutes of recording time with a DVM60 tape.
1. Set the camcorder to CAM mode.
2. Press the MENU button.
■The menu list will appear.
3. Move the MENU SELECTOR to highlight A/V and push the MENU SELECTOR.
4. Select REC MODE from the submenu and push the MENU SELECTOR.
■The REC MODE toggles between SP and LP with each press.
5. To exit, press the MENU button.
Notes
■We recommend that you use this camcorder to play back any tapes recorded on this camcorder.
Playing back a tape recorded in other equipment may produce mosaic shaped distortion.
■When you record a tape in SP and LP modes, or LP mode only, the playback picture may be distorted or the time code
may not be written properly between scenes.
■Record using SP mode for best picture and sound quality.
CAM MODE
INITIAL
WIND CUT
PB DSE
REC MODE
PHOTO SEARCH
COPY
AUDIO MODE 12
AUDIO SELECT
CAMERA
A/V
MEMORY
VIEWER
CAM MODE
REC MODE
PHOTO SEARCH
PHOTO COPY
AUDIO MODE 12
SOUND[1]
AUDIO SELECT
WIND CUT
A / V SET
PB DSE
00000? SCD303 SEA (28~59) 1/12/04 9:11 AM Page 50

5151
ENGLISH
Advanced Recording
●AUDIO MODE
✤The AUDIO MODE function works in CAM mode.
✤This camcorder records sound in two ways. (12bit, 16bit)
■12bit : You can record two 12bit stereo sound tracks.
The original stereo sound can be recorded onto the MAIN (SOUND1) track.
Additional stereo sound can be dubbed onto the SUB (SOUND2) track.
■16bit :You can record one high quality stereo sound using the 16bit recording mode.
Audio dubbing is not possible when using this mode.
1. Set the camcorder to CAM mode.
2. Press the MENU button.
■The menu list will appear.
3. Move the MENU SELECTOR to highlight A/V and push the MENU SELECTOR.
4. Select the AUDIO MODE from the menu and push the MENU SELECTOR.
■The AUDIO MODE toggles between 12bit-16bit with each push.
5. To exit, press the MENU button.
CAM MODE
REC MODE
PHOTO SEARCH
PHOTO COPY
AUDIO MODE 12
SOUND[1]
AUDIO SELECT
WIND CUT
A / V SET
PB DSE
CAM MODE
INITIAL
WIND CUT
PB DSE
REC MODE
PHOTO SEARCH
COPY
AUDIO MODE 12
AUDIO SELECT
CAMERA
A/V
MEMORY
VIEWER
00000? SCD303 SEA (28~59) 1/12/04 9:11 AM Page 51

5252
ENGLISH
Advanced Recording
●WIND CUT
✤The WIND CUT function works in CAM and PLAY modes.
✤The WIND CUT function minimizes wind noise or other noise while recording.
- When the wind cut is on, some low sounds are eliminated along with the sound of the wind.
1. Set the camcorder to CAM mode.
2. Press the MENU button.
■The menu list will appear.
3. Move the MENU SELECTOR to highlight A/V and push the MENU SELECTOR.
4. Select WIND CUT from submenu.
5. This feature toggles ON/OFF each time you push the MENU SELECTOR.
■is shown in the display when you turn the WIND CUT on.
6. To exit, press the MENU button.
Notes
■Make sure WIND CUT is set to off when you want the microphone to be as sensitive as possible.
■Use the WIND CUT when recording in windy places such as the beach or near buildings.
CAM MODE
REC MODE
PHOTO SEARCH
PHOTO COPY
AUDIO MODE 12
SOUND[1]
AUDIO SELECT
WIND CUT
A / V SET
PB DSE
CAM MODE
INITIAL
WIND CUT
PB DSE
REC MODE
PHOTO SEARCH
COPY
AUDIO MODE 12
AUDIO SELECT
CAMERA
A/V
MEMORY
VIEWER
00000? SCD303 SEA (28~59) 1/12/04 9:11 AM Page 52

5353
ENGLISH
Advanced Recording
●DATE/TIME
✤The DATE/TIME function works in CAM, PLAY, M.REC and M.PLAY modes.
✤The date and time are automatically recorded on a special data area of the tape.
1. Press the MENU button.
■The menu list will appear.
2. Move the MENU SELECTOR to highlight VIEWER and push the MENU SELECTOR.
3. Move the MENU SELECTOR to highlight DATE/TIME.
4. Push the MENU SELECTOR to select the sub-menu.
5. Using the MENU SELECTOR, select the DATE/TIME mode.
■You can choose to display - the OFF, DATE, TIME, DATE/TIME
- OFF
- DATE only
- TIME only
- DATE & TIME
■To return to the previous menu, highlight the DATE/TIME in the middle of OSD
and push the MENU SELECTOR.
6. To exit, press the MENU button.
Notes
■The DATE/TIME is not affected by the OSD ON/OFF (DISPLAY) button.
■The DATE/TIME will read “- - -” in the following conditions.
- During playback of a blank section of a tape.
- If the tape was recorded before setting the DATE/TIME in the Camera’s memory.
- When the lithium battery becomes weak or dead.
■Before you use the DATE/TIME function, you must set the Clock. See CLOCK SET on page 39.
CAM MODE
VIEWER SET
LCD ADJUST
DATE / TIME
TV DISPLAY
CAM MODE
INITIAL
LCD ADJUST
DATE / TIME
TV DISPLAY
CAMERA
A/V
MEMORY
VIEWER
CAM MODE
DATE / TIME
VIEWER SET
DATE
TIME
DATE&TIME
00000? SCD303 SEA (28~59) 1/12/04 9:11 AM Page 53

5454
ENGLISH
Advanced Recording
●TV DISPLAY
✤The TV DISPLAY function works in CAM, PLAY, M.REC and M.PLAY modes.
✤You can select the output path of the OSD (On Screen Display).
■OFF: The OSD appears in the LCD screen only.
■ON: The OSD appears in the LCD screen, View Finder and TV.
■Use the DISPLAY button located at the left side of the camcorder to turn the OSD ON/OFF displayed on the
LCD/View Finder/TV.
1. Set the camcorder to CAM, PLAY, M.REC and M.PLAY mode.
2. Press the MENU button.
■The menu list will appear.
3. Move the MENU SELECTOR to highlight VIEWER and push the MENU SELECTOR.
4. Select TV DISPLAY and push the MENU SELECTOR.
■The DISPLAY mode switches between ON/OFF with each push.
5. To exit, press the MENU button.
CAM MODE
VIEWER SET
LCD ADJUST
DATE / TIME
TV DISPLAY
CAM MODE
INITIAL
LCD ADJUST
DATE / TIME
TV DISPLAY
CAMERA
A/V
MEMORY
VIEWER
00000? SCD303 SEA (28~59) 1/12/04 9:11 AM Page 54

5555
ENGLISH
Advanced Recording
✤Quick menu is available only in CAM and M.REC mode.
✤Quick menu is used to adjust camera functions by using the MENU SELECTOR.
This feature is useful for when you want to make simple adjustments without having to access the menus and submenus.
■DATE/TIME (see page 53)
- Each time you select DATE/TIME and push the MENU SELECTOR, it will be displayed in the
order of DATE - TIME - DATE/TIME - OFF.
■WL.REMOTE ( ) (SCD305/D307 only)
- Each time you select WL.REMOTE and push the MENU SELECTOR, the WL.REMOTE is
switched to either enabled ( ) or disabled ( ).
■DIS ( )
- Each time you select DIS and push the MENU SELECTOR, the DIS icon is displayed or set to OFF.
■DSE (Digital Special Effect) (see page 48)
- Each time you select DSE and push the MENU SELECTOR, the DSE preset values are applied or set to OFF.
DSE values will not switch between On and Off if they have not been preset in the menu.
■PROGRAM AE (see page 42)
- Each time you select PROGRAM AE and push the MENU SELECTOR, you can choose between the preset PROGRAM
AE values and AUTO. You can’t choose between Auto and the PROGRAM AE values if the values have not been preset
in the regular menu.
Using Quick Menu(Navigation Menu)
1 2 : 0 0 A M
J A N . 10 , 2 0 0 4
MIRROR
00000? SCD303 SEA (28~59) 1/12/04 9:11 AM Page 55

5656
ENGLISH
Advanced Recording
■WHT. BALANCE (see page 44)
- Each time you select WHT. BALANCE and push the MENU SELECTOR, you can choose between preset
WHT.BALANCE values and AUTO. As in PROGRAM AE, you can't choose between Auto and WHT.BALANCE values it
they have not been preset.
■FOCUS (Auto Focus/Manual Focus) (see page 60)
- Each time you select FOCUS and push the MENU SELECTOR, the FOCUS is switched to either Manual Focus (MF) or
Auto Focus ( ).
■SHUTTER SPEED & EXPOSURE
- You can set values for SHUTTER SPEED and EXPOSURE by selecting ( ) icon and pushing the MENU SELECTOR.
For more information, see the next page.
Setting the Quick menu
1. Set the camcorder to CAM mode.
2. Move the MENU SELECTOR to select a function you want and
then push the MENU SELECTOR to change the values.
Notes
■Quick menu function will not operate in EASY mode.
■If you are using the M.FOCUS(MF) function,
you cannot use the Quick menu.
If you want to use the Quick menu
function, release the M.FOCUS(MF) mode.
SHUTTER
EXPOSURE
0 : 0 0 : 0 0
STBY
MIRROR
1 2 : 0 0 A M
J A N . 1 0 , 2 0 0 4
WL.REMOTE
(SCD305/D307 only)
DSE
PROGRAM AE
WHT. BALANCE
FOCUS
SHUTTTER
EXPOSURE
DIS
DATE/TIME
00000? SCD303 SEA (28~59) 1/12/04 9:11 AM Page 56

5757
ENGLISH
Advanced Recording
SHUTTER SPEED & EXPOSURE
✤You can set SHUTTER SPEED only in CAM mode.
✤The EXPOSURE function works in both CAM and M.REC modes.
✤SHUTTER SPEED and EXPOSURE values can only be set in the Quick Menu.
✤SHUTTER SPEED and EXPOSURE are automatically switched and/or deactivated.
1. Set the power switch to CAM mode.
2. Move the MENU SELECTOR until you see the ( ) icon, and then push the MENU SELECTOR.
■You see a screen on which you can select SHUTTER SPEED and EXPOSURE.
■Move the MENU SELECTOR to select the item you want and then push the MENU SELECTOR.
■SHUTTER SPEED can be set to 1/60, 1/100, 1/250, 1/500, 1/1000, 1/2000, 1/4000 or 1/10000.
■EXPOSURE can be set between 00 and 29.
3. To exit from the setting screen, select the icon ( ) and push the MENU SELECTOR.
Recommended Shutter speeds when recording
✤Outdoor sports such as golf or tennis : 1/2000 or 1/4000.
✤Moving cars or trains or other rapidly moving vehicles such as roller coasters : 1/1000, 1/500 or 1/250
✤Indoor sports such as basketball : 1/100
Notes
■If you want to use the selected shutter speed and exposure value, you should begin the recording with the shutter speed and
the exposure adjustment screens displayed on the LCD.
■If you manually change the shutter speed and the exposure value when Auto-exposure option is selected, manual changes
are applied first.
■The image may not seem as smooth when a high shutter speed is set.
■The camcorder returns to the auto shutter setting and auto exposure setting when you set the NITE PIX to ON, or change to
the EASY, SLOW SHUTTER modes.
■When recording with a SHUTTER SPEED of 1/1000 or higher, make sure the sun is not shining into the lens.
00000? SCD303 SEA (28~59) 1/12/04 9:11 AM Page 57

5858
ENGLISH
Advanced Recording
✤The SLOW SHUTTER function works in CAM mode only.
✤The shutter speed can be controlled, allowing you to record slow moving objects.
1. Set the power switch to CAM mode.
2. Press the SLOW SHUTTER button.
3. Each time you press the SLOW SHUTTER button, SHUTTER SPEED is changed to 1/30,
1/15, 1/8, off.
4. To exit, press the SLOW SHUTTER button.
Notes
■When using "SLOW SHUTTER" the image takes on a slow motion like effect.
■The SLOW SHUTTER function will not operate in EASY mode.
SLOW SHUTTER (Low Shutter Speed)
SLOW SHUTTER
00000? SCD303 SEA (28~59) 1/12/04 9:11 AM Page 58

5959
ENGLISH
Advanced Recording
✤The EASY mode allows a beginner to easily make good recordings.
■The EASY mode only operates in CAM mode.
1. Set the power switch to CAM mode.
2. By pressing the EASY button, all functions on the camera will be set to off and the recording
settings will be set to the following basic modes:
■Battery level, recording mode, counter, DATE/TIME, and DIS ( ) will be displayed.
■The word “EASY.Q” will appear on the LCD at the same time.
However, the DATE/TIME will only be seen if it has been previously set. (see page 53)
3. Press START/STOP to start recording.
■Recording will begin using the basic automatic settings.
4. Press the EASY button again in the STBY mode and then turn the EASY mode off.
■The EASY function will not turn off while you are recording.
■The camera will return to the settings that were set prior to activating EASY mode.
Notes
■In EASY mode, certain functions are not available, such as MENU, BLC, AF/MF.
- If you want to use these functions, you must first switch the EASY mode off.
■The EASY mode settings are deleted when the battery pack is uninstalled from the camcorder and therefore,
they must be reset when a battery pack has been replaced.
EASY Mode (for Beginners)
0 : 0 0 : 0 0
STBY
EASY
5 5 min
1 2 : 0 0 A M
J A N . 1 0 , 2 0 0 4
EASY
00000? SCD303 SEA (28~59) 1/12/04 9:11 AM Page 59