Samsung Electronics Co SMP905 Multi-Band GSM/EDGE/WCDMA/LTE Tablet with WLAN, Bluetooth and ANT+ User Manual P905 QSG EU Eng indb
Samsung Electronics Co Ltd Multi-Band GSM/EDGE/WCDMA/LTE Tablet with WLAN, Bluetooth and ANT+ P905 QSG EU Eng indb
Users Manual

SM-P905
You can access the full user manual for more
information. To learn to access the user manual, see
“Viewing the user manual” in this quick start guide.
Quick Start Guide
www.samsung.com
Draft Version /
2013-08-28

4
Instructional icons
Warning: situations that could cause
injury to yourself or others
Caution: situations that could cause
damage to your device or other
equipment
Note: notes, usage tips, or additional
information
5
Copyright
Copyright © 2013 Samsung Electronics
This guide is protected under international
copyright laws.
No part of this guide may be reproduced,
distributed, translated, or transmitted
in any form or by any means, electronic
or mechanical, including photocopying,
recording, or storing in any information
storage and retrieval system, without
the prior written permission of Samsung
Electronics.
6
Trademarks
• SAMSUNG and the SAMSUNG logo
are registered trademarks of Samsung
Electronics.
• Bluetooth
®
is a registered trademark of
Bluetooth SIG, Inc. worldwide.
• Wi-Fi
®
, Wi-Fi Protected Setup
™
, Wi-Fi
Direct
™
, Wi-Fi CERTIFIED
™
, and the Wi-Fi
logo are registered trademarks of the Wi-Fi
Alliance.
Your device uses a non-harmonised
frequency and is intended for use in all
European countries. The WLAN can be
operated in the EU without restriction
indoors, but cannot be operated outdoors.
• All other trademarks and copyrights are
the property of their respective owners.

7
Getting started
Device layout
Back button
Menu button
Home button
IrLED
Touch screen
Front camera
Speaker
Light sensor
Multipurpose
jack
Memory card
slot
SIM card slot
Volume
button
Power button

8
Getting started
Microphone
Headset jack
Rear camera
Flash
GPS antenna
Speaker
S Pen
Do not cover the antenna area with
your hands or other objects. This may
cause connectivity problems or drain
the battery.

9
Getting started
Installing the SIM or USIM card
Insert the SIM or USIM card provided by the
mobile telephone service provider.
• Only microSIM cards work with the
device.
• Some LTE services may not be
available depending on the service
provider. For details about service
availability, contact your service
provider.
1
Open the cover of the SIM card slot.
2
Insert the SIM or USIM card with the gold-
coloured contacts facing downwards.

10
Getting started
3
Push the SIM or USIM card into the slot
until it locks in place.
4
Close the cover of the SIM card slot.
Charging the battery
Before using the device for the first time
or when the battery has been unused for
extended periods, you must charge the
battery.
Use only Samsung-approved
chargers, batteries, and cables.
Unapproved chargers or cables can
cause the battery to explode or
damage the device.
The USB 3.0 cable can be used to
charge the device, but it may not be
supplied with the device depending
on the region or service provider.

11
Getting started
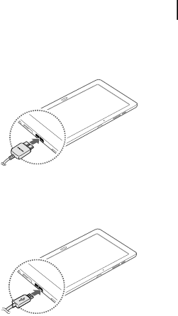
Connect the USB cable to the USB power
adaptor and then plug the end of the USB
cable into the multipurpose jack.
When using a USB 2.0 cable, plug the USB
cable into the right side of the multipurpose
jack as shown in the image below.

12
Getting started
Connecting the charger improperly
may cause serious damage to
the device. Any damage caused
by misuse is not covered by the
warranty.
After fully charging, disconnect the device
from the charger. First unplug the charger
from the device, and then unplug it from the
electric socket.
To save energy, unplug the charger
when not in use. The charger does
not have a power switch, so you must
unplug the charger from the electric
socket when not in use to avoid
wasting power. The charger should
remain close to the electric socket
and easily accessible while charging.

13
Getting started
Checking the battery charge
status
When you charge the battery while the
device is off, the following icons will show
the current battery charge status:
Charging Fully charged
Turning the device on and off
When turning on the device for the first
time, follow the on-screen instructions to set
up your device.

14
Getting started
Press and hold the Power button for a few
seconds to turn the device on and off.
Viewing the user manual
The user manual provides complete
information about operating your device.
You may incur additional charges
for accessing the Internet or
downloading media files. For details,
contact your service provider.

15
Getting started
From your device
1
Open the Internet application.
2
Tap to open the bookmarks list.
3
Select the bookmark for the user manual.
To access the user manual more easily, place
a shortcut or widget for the user manual on
the Home screen.
The user manual may not be available
depending on the web browser or
service provider.
From your computer
Access
www.samsung.com
and then search
for the user manual by the model name of
your device.

16
Safety information
This safety information contains content for mobile
devices. Some content may be not applicable to
your device. To prevent injury to yourself and
others or damage to your device, read the safety
information about your device before using the
device.
Warning
Failure to comply with safety warnings
and regulations can cause serious injury
or death
Do not use damaged power cords or plugs, or loose
electrical sockets
Unsecured connections can cause electric shock or fire.
Do not touch the power cord with wet hands or
disconnect the charger by pulling the cord
Doing so may result in electrocution.
Do not bend or damage the power cord
Doing so may cause electric shock or fire.

17
Safety information
Do not use your device while it is charging or touch
your device with wet hands
Doing so may cause electric shock.
Do not short-circuit the charger or the device
Doing so may cause electric shock or fire, or the battery
may malfunction or explode.
Do not use your device outdoor during a
thunderstorm
Doing so may result in electric shock or device
malfunction.
Use manufacturer-approved batteries, chargers,
accessories, and supplies
• Using generic batteries or chargers may shorten the
life of your device or cause the device to malfunction.
They may also cause a fire or cause the battery to
explode.
• Use only Samsung-approved battery and charger
specifically designed for your device. Incompatible
battery and charger can cause serious injuries or
damage to your device.
• Samsung cannot be responsible for the user’s safety
when using accessories or supplies that are not
approved by Samsung.

18
Safety information
Do not drop or cause an impact to the charger or
the device
Handle and dispose of the device and charger with
care
• Never dispose of the battery or device in a fire. Never
place the battery or device on or in heating devices,
such as microwave ovens, stoves, or radiators. The
device may explode when overheated. Follow all local
regulations when disposing of used battery or device.
• Never crush or puncture the device.
• Avoid exposing the device to high external pressure,
which can lead to an internal short circuit and
overheating.
Protect the device, battery and charger from
damage
• Avoid exposing your device and battery to very cold
or very hot temperatures.
• Extreme temperatures can damage the device and
reduce the charging capacity and life of your device
and battery.
• Prevent the battery from coming into contact
with metal objects, as this can create a connection
between the + and – terminals of your battery and
lead to temporary or permanent battery damage.
• Never use a damaged charger or battery.

19
Safety information
Do not store your device near or in heaters,
microwaves, hot cooking equipment, or high
pressure containers
• The battery may leak.
• Your device may overheat and cause a fire.
Do not use or store your device in areas with high
concentrations of dust or airborne materials
Dust or foreign materials can cause your device to
malfunction and may result in fire or electric shock.
Prevent the multipurpose jack and the small end of
the charger from contact with conductive materials,
such as liquids, dust, metal powders, and pencil
leads
Conductive materials may cause a short circuit or
corrosion of the terminals, which may result in an
explosion or fire.
Do not bite or suck the device or the battery
• Doing so may damage the device or result in an
explosion or fire.
• Children or animals can choke on small parts.
• If children use the device, make sure that they use the
device properly.

20
Safety information
Do not insert the device or supplied accessories into
the eyes, ears, or mouth
Doing so may cause suffocation or serious injuries.
Do not handle a damaged or leaking Lithium Ion
(Li-Ion) battery
For safe disposal of your Li-Ion battery, contact your
nearest authorised service centre.
Caution
Failure to comply with safety cautions
and regulations can cause injury or
property damage
Do not use your device near other electronic devices
• Most electronic devices use radio frequency signals.
Your device may interfere with other electronic
devices.
• Using an LTE data connection may cause interference
with other devices, such as audio equipment and
telephones.

21
Safety information
Do not use your device in a hospital, on an aircraft,
or in an automotive equipment that can be
interfered with by radio frequency
• Avoid using your device within a 15 cm range of a
pacemaker, if possible, as your device can interfere
with the pacemaker.
• To minimise possible interference with a pacemaker,
use your device only on the side of your body that is
opposite the pacemaker.
• If you use medical equipment, contact the equipment
manufacturer before using your device to determine
whether or not the equipment will be affected by
radio frequencies emitted by the device.
• On an aircraft, using electronic devices can interfere
with the aircraft’s electronic navigational instruments.
Make sure the device is turned off during takeoff and
landing. After takeoff, you can use the device in flight
mode if allowed by aircraft personnel.
• Electronic devices in your car may malfunction, due
to radio interference from your device. Contact the
manufacturer for more information.
Do not expose the device to heavy smoke or fumes
Doing so may damage the outside of the device or
cause it to malfunction.

22
Safety information
If you use a hearing aid, contact the manufacturer
for information about radio interference
The radio frequency emitted by your device may
interfere with some hearing aids. Before using your
device, contact the manufacturer to determine whether
or not your hearing aid will be affected by radio
frequencies emitted by the device.
Do not use your device near devices or apparatuses
that emit radio frequencies, such as sound systems
or radio towers
Radio frequencies may cause your device to
malfunction.
Turn off the device in potentially explosive
environments
• Turn off your device in potentially explosive
environments instead of removing the battery.
• Always comply with regulations, instructions and
signs in potentially explosive environments.
• Do not use your device at refuelling points (petrol
stations), near fuels or chemicals, or in blasting areas.
• Do not store or carry flammable liquids, gases, or
explosive materials in the same compartment as the
device, its parts, or accessories.

23
Safety information
If you notice strange smells or sounds coming from
your device or the battery, or if you see smoke or
liquids leaking from the device or battery, stop
using the device immediately and take it to a
Samsung Service Centre
Failure to do so may result in fire or explosion.
Comply with all safety warnings and regulations
regarding mobile device usage while operating a
vehicle
While driving, safely operating the vehicle is your first
responsibility. Never use your mobile device while
driving, if it is prohibited by law. For your safety and
the safety of others, use your common sense and
remember the following tips:
• Get to know your device and its convenience
features, such as speed dial and redial. These features
help you reduce the time needed to place or receive
calls on your mobile device.
• Position your device within easy reach. Make sure
you can access your wireless device without taking
your eyes off the road. If you receive an incoming call
at an inconvenient time, let your voicemail answer
it for you.
• Suspend calls in heavy traffic or hazardous weather
conditions. Rain, sleet, snow, ice, and heavy traffic can
be hazardous.

24
Safety information
• Do not take notes or look up phone numbers.
Jotting down a “to do” list or flipping through your
address book takes attention away from your primary
responsibility of driving safely.
• Dial sensibly and assess the traffic. Place calls when
you are not moving or before pulling into traffic. Try
to plan calls when your car will be stationary.
• Do not engage in stressful or emotional
conversations that may be distracting. Make the
person you are talking to aware that you are driving
and suspend conversations that could potentially
divert your attention from the road.
Care and use your mobile device properly
Keep your device dry
• Humidity and liquids may damage the parts or
electronic circuits in your device.
• Do not turn on your device if it is wet. If your device
is already on, turn it off and remove the battery
immediately (if the device will not turn off or you
cannot remove the battery, leave it as-is). Then, dry
the device with a towel and take it to a service centre.
• Liquids will change the colour of the label that
indicates water damage inside the device. Water
damage to your device can void your manufacturer’s
warranty.

25
Safety information
Store your device only on flat surfaces
If your device falls, it may be damaged.
Do not store your device in very hot or very cold
areas. It is recommended to use your device at
temperatures from 5 °C to 35 °C
• Do not store your device in very hot areas such as
inside a car in the summertime. Doing so may cause
the screen to malfunction, result in damage to the
device, or cause the battery to explode.
• Do not expose your device to direct sunlight for
extended periods of time (on the dashboard of a car,
for example).
• Store the battery at temperatures from 0 °C to 45 °C.
Do not store your device with metal objects, such as
coins, keys, and necklaces
• Your device may be scratched or may malfunction.
• If the battery terminals come into contact with metal
objects, this may cause a fire.
Do not store your device near magnetic fields
• Your device may malfunction or the battery may
discharge from exposure to magnetic fields.
• Magnetic stripe cards, including credit cards, phone
cards, passbooks, and boarding passes, may be
damaged by magnetic fields.

26
Safety information
Do not use your device or applications for a while if
the device is overheated
Prolonged exposure of your skin to an overheated
device may cause low temperature burn symptoms,
such as red spots and pigmentation.
Do not use your device with the back cover removed
The battery may fall out of the device, which may result
in damage or malfunction.
If your device has a camera flash or light, do not use
it close to the eyes of people or pets
Using a flash close to the eyes may cause temporary
loss of vision or damage to the eyes.
Use caution when exposed to flashing lights
• While using your device, leave some lights on in the
room and do not hold the screen too close to your
eyes.
• Seizures or blackouts can occur when you are
exposed to flashing lights while watching videos or
playing Flash-based games for extended periods.
If you feel any discomfort, stop using the device
immediately.
• If anyone related to you has experienced seizures
or blackouts while using a similar device, consult a
physician before using the device.

27
Safety information
• If you feel discomfort, such as a muscle spasm, or
disoriented, stop using the device immediately and
consult a physician.
• To prevent eye strain, take frequent breaks while
using the device.
Reduce the risk of repetitive motion injuries
When you repetitively perform actions, such as pressing
keys, drawing characters on a touch screen with
your fingers, or playing games, you may experience
occasional discomfort in your hands, neck, shoulders,
or other parts of your body. When using your device for
extended periods, hold the device with a relaxed grip,
press the keys lightly, and take frequent breaks. If you
continue to have discomfort during or after such use,
stop using the device and consult a physician.
Protect your hearing and ears when using a headset
• Excessive exposure to loud sounds can
cause hearing damage.
• Exposure to loud sounds while walking
may distract your attention and cause an
accident.
• Always turn the volume down before plugging the
earphones into an audio source and use only the
minimum volume setting necessary to hear your
conversation or music.

28
Safety information
• In dry environments, static electricity can build
up in the headset. Avoid using headsets in dry
environments or touch a metal object to discharge
static electricity before connecting a headset to the
device.
• Do not use a headset while driving or riding. Doing so
may distract your attention and cause an accident, or
may be illegal depending on your region.
Use caution when using the device while walking
or moving
• Always be aware of your surroundings to avoid injury
to yourself or others.
• Make sure the headset cable does not become
entangled in your arms or on nearby objects.
Do not carry your device in your back pockets or
around your waist
You could be injured or damage the device if you fall.
Do not paint or put stickers on your device
• Paint and stickers can clog moving parts and prevent
proper operation.
• If you are allergic to paint or metal parts of the device,
you may experience itching, eczema, or swelling of
the skin. When this happens, stop using the device
and consult your physician.

29
Safety information
Do not use the device if it is cracked or broken
Broken glass or acrylic could cause injury to your hands
and face. Take the device to a Samsung Service Centre
to have it repaired.
Install mobile devices and equipment with caution
• Ensure that any mobile devices or related equipment
installed in your vehicle are securely mounted.
• Avoid placing your device and accessories near or
in an airbag deployment area. Improperly installed
wireless equipment can cause serious injury when
airbags inflate rapidly.
Do not drop your device or cause impacts to your
device
• Your device may be damaged or may malfunction.
• If bent or deformed, your device may be damaged or
parts may malfunction.
Ensure maximum battery and charger life
• Avoid charging your device for more than a week, as
overcharging may shorten battery life.
• Over time, unused device will discharge and must be
recharged before use.
• Disconnect the charger from power sources when
not in use.
• Use the battery only for their intended purposes.

30
Safety information
• Leaving batteries unused over time may reduce
their lifespan and performance. It may also cause the
batteries to malfunction or explode, or cause a fire.
• Follow all instructions in this manual to ensure
the longest lifespan of your device and battery.
Damages or poor performance caused by failure
to follow warnings and instructions can void your
manufacturer’s warranty.
• Your device may wear out over time. Some parts and
repairs are covered by the warranty within the validity
period, but damages or deterioration caused by using
unapproved accessories are not.
When using the device, mind the following
• Hold the device upright, as you would with a
traditional phone.
• Speak directly into the microphone.
Do not disassemble, modify, or repair your device
• Any changes or modifications to your device can void
your manufacturer’s warranty. If your device needs
servicing, take your device to a Samsung Service
Centre.
• Do not disassemble or puncture the battery, as this
can cause explosion or fire.
• Turn off the device before removing the battery. If
you remove the battery with the device turned on, it
may cause the device to malfunction.

31
Safety information
When cleaning your device, mind the following
• Wipe your device or charger with a towel or an eraser.
• Clean the battery terminals with a cotton ball or a
towel.
• Do not use chemicals or detergents. Doing so may
discolour or corrode the outside the device or may
result in electric shock or fire.
Do not use the device for anything other than its
intended use
Your device may malfunction.
Avoid disturbing others when using the device in
public
Allow only qualified personnel to service your
device
Allowing unqualified personnel to service your device
may result in damage to your device and will void your
manufacturer’s warranty.
Handle SIM cards, memory cards, or cables with care
• When inserting a card or connecting a cable to your
device, make sure that the card is inserted or the
cable is connected to the proper side.
• Do not remove a card while the device is transferring
or accessing information, as this could result in loss of
data and/or damage to the card or device.

32
Safety information
• Protect cards from strong shocks, static electricity,
and electrical noise from other devices.
• Do not touch gold-coloured contacts or terminals
with your fingers or metal objects. If dirty, wipe the
card with a soft cloth.
• Inserting a card or connecting a cable by force or
improperly may result in damage to the multipurpose
jack or other parts of the device.
Ensure access to emergency services
Emergency calls from your device may not be possible
in some areas or circumstances. Before travelling in
remote or undeveloped areas, plan an alternative
method of contacting emergency services personnel.
Protect your personal data and prevent leakage or
misuse of sensitive information
• While using your device, be sure to back up
important data. Samsung is not responsible for the
loss of any data.
• When disposing of your device, back up all data and
then reset your device to prevent misuse of your
personal information.
• Carefully read the permissions screen when
downloading applications. Be particularly cautious
with applications that have access to many
functions or to a significant amount of your personal
information.

33
Safety information
• Check your accounts regularly for unapproved or
suspicious use. If you find any sign of misuse of your
personal information, contact your service provider
to delete or change your account information.
• In the event your device is lost or stolen, change the
passwords on your accounts to protect your personal
information.
• Avoid using applications from unknown sources and
lock your device with a pattern, password, or PIN.
Do not distribute copyright-protected material
Do not distribute copyright-protected material without
the permission of the content owners. Doing this may
violate copyright laws. The manufacturer is not liable
for any legal issues caused by the user’s illegal use of
copyrighted material.
Malware and viruses
To protect your device from malware and viruses,
follow these usage tips. Failure to do so may result
in damages or loss of data that may not be covered
by the warranty service
• Do not download unknown applications.
• Do not visit untrusted websites.
• Delete suspicious messages or email from unknown
senders.

36
Safety information
Correct disposal of this product
(Waste Electrical & Electronic Equipment)
(Applicable in countries with separate
collection systems)
This marking on the product, accessories or
literature indicates that the product and its
electronic accessories (e.g. charger, headset, USB cable)
should not be disposed of with other household waste.
To prevent possible harm to the environment or
human health from uncontrolled waste disposal, please
separate these items from other types of waste and
recycle them responsibly to promote the sustainable
reuse of material resources.
Household users should contact either the retailer
where they purchased this product, or their local
government office, for details of where and how they
can take these items for environmentally safe recycling.
Business users should contact their supplier and check
the terms and conditions of the purchase contract. This
product and its electronic accessories should not be
mixed with other commercial wastes for disposal.
This EEE is compliant with RoHS.

37
Safety information
Correct disposal of batteries in this
product
(Applicable in countries with separate
collection systems)
The marking on the battery, manual or
packaging indicates that the battery in
this product should not be disposed of with other
household waste. Where marked, the chemical symbols
Hg, Cd or Pb indicate that the battery contains mercury,
cadmium or lead above the reference levels in EC
Directive 2006/66.
The battery incorporated in this product is not user
replaceable. For information on its replacement,
please contact your service provider. Do not attempt
to remove the battery or dispose it in a fire. Do not
disassemble, crush, or puncture the battery. If you
intend to discard the product, the waste collection site
will take the appropriate measures for the recycling and
treatment of the product, including the battery.

38
Safety information
Disclaimer
Some content and services accessible through this
device belong to third parties and are protected by
copyright, patent, trademark and/or other intellectual
property laws. Such content and services are provided
solely for your personal non-commercial use. You
may not use any content or services in a manner
that has not been authorised by the content owner
or service provider. Without limiting the foregoing,
unless expressly authorised by the applicable content
owner or service provider, you may not modify, copy,
republish, upload, post, transmit, translate, sell, create
derivative works, exploit, or distribute in any manner
or medium any content or services displayed through
this device.
“THIRD PARTY CONTENT AND SERVICES ARE PROVIDED
“AS IS.” SAMSUNG DOES NOT WARRANT CONTENT
OR SERVICES SO PROVIDED, EITHER EXPRESSLY OR
IMPLIEDLY, FOR ANY PURPOSE. SAMSUNG EXPRESSLY
DISCLAIMS ANY IMPLIED WARRANTIES, INCLUDING BUT
NOT LIMITED TO, WARRANTIES OF MERCHANTABILITY
OR FITNESS FOR A PARTICULAR PURPOSE. SAMSUNG
DOES NOT GUARANTEE THE ACCURACY, VALIDITY,
TIMELINESS, LEGALITY, OR COMPLETENESS OF ANY
CONTENT OR SERVICE MADE AVAILABLE THROUGH
THIS DEVICE AND UNDER NO CIRCUMSTANCES,
INCLUDING NEGLIGENCE, SHALL SAMSUNG BE LIABLE,
WHETHER IN CONTRACT OR TORT, FOR ANY DIRECT,
INDIRECT, INCIDENTAL, SPECIAL OR CONSEQUENTIAL
DAMAGES, ATTORNEY FEES, EXPENSES, OR ANY OTHER

39
Safety information
DAMAGES ARISING OUT OF, OR IN CONNECTION WITH,
ANY INFORMATION CONTAINED IN, OR AS A RESULT OF
THE USE OF ANY CONTENT OR SERVICE BY YOU OR ANY
THIRD PARTY, EVEN IF ADVISED OF THE POSSIBILITY OF
SUCH DAMAGES.”
Third party services may be terminated or interrupted
at any time, and Samsung makes no representation
or warranty that any content or service will remain
available for any period of time. Content and services
are transmitted by third parties by means of networks
and transmission facilities over which Samsung
has no control. Without limiting the generality of
this disclaimer, Samsung expressly disclaims any
responsibility or liability for any interruption or
suspension of any content or service made available
through this device.
Samsung is neither responsible nor liable for customer
service related to the content and services. Any
question or request for service relating to the content
or services should be made directly to the respective
content and service providers.

FCC Notice and Cautions
FCC Notice
This device complies with Part 15 of the FCC Rules. Operation is
subject to the following two conditions: (1) this device may not cause
harmful interference, and (2) this device must accept any interference
received, including interference that may cause undesired operation.
This equipment has been tested and found to comply with the
limits for a Class B digital device, pursuant to part 15 of the FCC
Rules. These limits are designed to provide reasonable protection
against harmful interference in a residential installation. This
equipment generates, uses and can radiate radio frequency energy
and, if not installed and used in accordance with the instructions,
may cause harmful interference to radio communications. However,
there is no guarantee that interference will not occur in a particular
installation. If this equipment does cause harmful interference to
radio or television reception, which can be determined by turning
the equipment off and on, the user is encouraged to try to correct
the interference by one or more of the following measures:
-Reorient or relocate the receiving antenna.
-Increase the separation between the equipment and receiver.
-Connect the equipment into an outlet on a circuit different from that to
which the receiver is connected.
-Consult the dealer or an experienced radio/TV technician for help.
The tablet may cause TV or radio interference if used in close proximity
to receiving equipment. The FCC can require you to stop using the tablet
if such interference cannot be eliminated.
Vehicles using liquefied petroleum gas (such as propane or butane) must
comply with the National Fire Protection Standard (NFPA-58). For a copy
of this standard, contact the National Fire Protection Association, One
Battery march Park, Quincy, MA 02269, Attn: Publication Sales Division.
Cautions
Changes or modifications made in the radio Tablet, not expressly
approved by Samsung, will void the user’s authority to operate the
equipment.
The use of any unauthorized accessories may be dangerous and void the
tablet warranty if said accessories cause damage or a defect to the tablet.
Although your tablet is quite sturdy, it is a complex piece of equipment
and can be broken. Avoid dropping, hitting, bending or sitting on it.
This device is capable of operating in 802.11a/n/ac mode. For 802.11a/n/
ac devices operating in the frequency range of 5.15 - 5.25 GHz, they are
restricted for indoor operations to reduce any potential harmful
interference for Mobile Satellite Services (MSS) in the US. WIFI Access
Points that are capable of allowing your device to operate in 802.11a/n/ac
mode (5.15 - 5.25 GHz band) are optimized for indoor use only. If your
WIFI network is capable of operating in this mode, please restrict your
WIFI use indoors to not violate federal regulations to protect Mobile
Satellite Services.
Do not short-circuit the battery. Accidental short- circuiting can
occur when a metallic object (coin, clip or pen) causes a direct
connection between the + and - terminals of the battery (metal
strips on the battery), for example when you carry a spare battery
in a pocket or bag. Short-circuiting the terminals may damage the
battery or the object causing the short-circuiting.
Dispose of used batteries in accordance with local regulations. In
some areas, the disposal of batteries in household or business
trash may be prohibited. For safe disposal options for Li-Ion
batteries, contact your nearest Samsung authorized service center.
Always recycle. Do not dispose of batteries in a fire.

Care and Maintenance
Your tablet is a product of superior design and craftsmanship and should
be treated with care. The suggestions below will help you fulfill any
warranty obligations and allow you to enjoy this product for many years.
Keep the tablet and all its parts and accessories out of the reach of
small children.
Keep the tablet dry. Precipitation, humidity and liquids contain
minerals that will corrode electronic circuits.
Do not use the tablet with a wet hand. Doing so may cause an
electric shock to you or damage to the tablet.
Do not use or store the tablet in dusty, dirty areas, as its moving
parts may be damaged.
Do not store the tablet in hot areas. High temperatures can
shorten the life of electronic devices, damage batteries, and warp
or melt certain plastics.
Do not store the tablet in cold areas. When the tablet warms up to
its normal operating temperature, moisture can form inside the tablet
, which may damage the tablet's electronic circuit boards.
Do not drop, knock or shake the tablet. Rough handling can break
internal circuit boards.
Do not use harsh chemicals, cleaning solvents or strong detergents
to clean. Wipe it with a soft cloth slightly dampened in a
mild soap-and-water solution.
Do not paint the tablet. Paint can clog the device's moving parts
and prevent proper operation.
Do not put the tablet in or on heating devices, such as a
microwave oven, a stove or a radiator. The tablet may explode
when overheated.
When the tablet or battery gets wet, the label indicating water
damage inside the tablet changes color. In this case, tablet repairs
are no longer guaranteed by the manufacturer's warranty, even if
the warranty for your tablet has not expired.
If your tablet has a flash or light, do not use it too close to the
eyes of people or animals. This may cause damage to their eyes.
Use only the supplied or an approved replacement antenna.
Unauthorized antennas or modified accessories may damage the
Tablet and violate regulations governing radio devices.
If the tablet, battery, charger or any accessory is not working
properly, take it to your nearest qualified service facility. The
personnel there will assist you, and if necessary, arrange for
service.

Correct disposal of this product
(Waste Electrical & Electronic Equipment)
(Applicable in the European Union and other European countries with separate
collection systems)
This marking shown on the product or its literature, indicates that it should not be
disposed with other household wastes at the end of its working life. To prevent
possible harm to the environment or human health from uncontrolled waste disposal,
please separate this from other types of wastes and recycle it responsibly to promote
the sustainable reuse of material resources.
Household users should contact either the retailer where they purchased this product,
or their local government office, for details of where and how they can take this item
for environmentally safe recycling.
Business users should contact their supplier and check the terms and conditions of
the purchase contract. This product should not be mixed with other commercial
wastes for disposal.
Correct disposal of batteries in this product
(Applicable in the European Union and other European countries with separate
battery return systems)
This marking on the battery, manual or packaging indicates that the batteries in this
product should not be disposed of with other household waste at the end of their
working life. Where marked, the chemical symbols Hg, Cd or Pb indicate that the
battery contains mercury, cadmium or lead above the reference levels in EC
Directive 2006/66. If batteries are not properly disposed of, these substances can
cause harm to human health or the environment.
To protect natural resources and to promote material reuse, please separate
batteries from other types of waste and recycle them through your local, free battery
return system.

Exposure to Radio Frequency (RF) Signals
Your wireless device is a radio transmitter and receiver.
It is designed and manufactured not to exceed the
exposure limits for radio frequency (RF) energy set by
the Federal Communications Commission (FCC) of the
U.S. government. These FCC exposure limits are derived
from the recommendations of two expert organizations,
the National Counsel on Radiation Protection and
Measurement (NCRP) and the Institute of Electrical
and Electronics Engineers (IEEE). In both cases, the
engineering experts drawn from industry, government,
The exposure limit set by the FCC for wireless mobile
devices employs a unit of measurement known as the
the rate of absorption of RF energy by the human body
expressed in units of watts per kilogram (W/kg). T he FCC
requires wireless devices to comply with a safety limit
of 1.6 watts per kilogram (1.6 W/kg). The FCC exposure
limit incorporates a substantial margin of safety to give
additional protection to the public and to account for
any variations in measurements.
SAR tests are conducted using recommended operating
positions accepted by the FCC with the device
tested frequency bands. Although the SAR is determined
of the device while operating can be well below the
maximum value. This is because the device is designed
to operate at multiple power levels so as to use only the
power required to reach the network. In general, the
closer you are to a wireless base station antenna, the
lower the power output.
Before a new model device is available for sale to the
it does not exceed the exposure limit established by
the FCC. Tests for each model are performed in
positions and locations (e.g. near the body) as required
by the FCC.
Health and safety information
For typical operations, this model has been
tested and meets the FCC exposure guidelines.
SAR information on this and other models can
be viewed on-line at http://www. fcc.gov/oet/ ea/
fccid/. This site uses the FCC ID number A3LSMP905.
You can check the FCC ID on the rear case.
Once you have the FCC ID number for a particular device,
follow the instructions on the website and it should
provide values for typical or maximum SAR for
a particular device
SAR information can also be obtained at www.fcc.gov/
cgb/sar.
Operating Environment
Remember to follow any special regulations in force in
any area and always switch your device
forbidden to use it, or when it may cause interference or
danger. When connecting the device or any accessory to
another device, read its user’s guide for detailed safety
instructions. Do not connect incompatible products.