Samsung Electronics Co THETA Digital Video Camcorder User Manual
Samsung Electronics Co Ltd Digital Video Camcorder Users Manual
Users Manual

ENGLISH
ELECTRONICS
*Samsung Electronics’ Internet Home Page
http://www.samsungusa.com AD68-00654B
THIS CAMCORDER IS MANUFACTURED BY:
SERVICE DIVISION
400 Valley Road, Suite 201, Mt. Arlington N.J. 07856
Tel: 1-800-SAMSUNG
(1-800-726-7864)
00654B SCD30-SEA (01~27) 4/5/03 10:47 AM Page 100

ENGLISH
Digital Video Camcorder
Owner’s Instruction Book
Before operating the unit, please read this
instruction book thoroughly, and retain it for
future reference.
AF Auto Focus
CCD Charge Coupled Device
LCD Liquid Crystal Display
SCD33/D34/D39
ELECTRONICS
START/
STOP
SELF
TIMER
A.DUB
ZERO
MEMORY
PHOTO DISPLAY
X2
SLOW
F.ADV
PHOTO
SEARCH
DATE/
TIME
US PATENT 4415844
00654B SCD30-SEA (01~27) 4/5/03 10:47 AM Page 101

ENGLISH
Notices and Safety Instructions
Safety Instructions
RISK OF ELECTRIC
SHOCK
DO NOT OPEN
CAUTION:
TO REDUCE THE RISK OF ELECTRIC SHOCK, DO NOT
REMOVE COVER(OR BACK). NO USER SERVICEABLE
PARTS INSIDE, REFER SERVICING TO QUALIFIED
SERVICE PERSONNEL.
This symbol is intended to alert the user to the presence of uninsulated
dangerous voltage within the product’s enclosure that may be of
sufficient magnitude to constitute a risk of fire or electric shock.
This symbol is intended to alert the user to the presence of important
operating and maintenance instructions in the literature accompanying
this product.
To prevent electric shock, match wide blade of plug
to wide slot and fully insert.
1. READ INSTRUCTIONS:
All the safety and operating instructions should be read
before the CAMCORDER is operated.
2. RETAIN INSTRUCTIONS:
The safety and operating instructions should be retained for
future reference.
3. HEED WARNINGS:
All warnings on the CAMCORDER and in the operatinginstructions
should be adhered to.
4. FOLLOW INSTRUCTIONS:
All operating and maintenance instructions should be followed.
5. CLEANING:
Unplug this CAMCORDER from the wall outlet before cleaning.
Do not use liquid or aerosol cleaners.
Use a dry cloth used for dusting cabinets.
6. ATTACHMENTS:
Do not use attachments not recommended by the CAMCORDER
product manufacturer as they may be hazardous.
7. WATER AND MOISTURE:
Do not use this CAMCORDER near water;
for example, near a bathtub, wash bowl, kitchen sink, laundry
tub, in a wet basement, near a swimming pool or lake.
8. ACCESSORIES:
Do not place this CAMCORDER on an unstable cart, stand, tripod,
bracket or table. The CAMCORDER may fall, causing serious injury
to a child or adult, and serious damage to the unit.
Use only with a cart, stand, tripod, bracket, or table recommended
by the manufacturer or sold with the CAMCORDER. Any mounting
of the unit should follow the manufacturer’s instructions and should
use a mounting accessory recommended by the manufacturer.
A. An appliance and cart combination should be moved with care.
Quick stops, excessive force and uneven surfaces may cause
the appliance and cart combination to overturn.
PORTABLE CART WARNING
(Symbol provided by RETAC)
CAUTION
00654B SCD30-SAFETY 4/5/03 10:49 AM Page 100

ENGLISH
Notices and Safety Instructions
9. VENTILATION:
Slots and openings in the cabinet are provided for ventilation to
ensure reliable operation of the CAMCORDER and to protect it
from overheating. These openings must not be blocked or
covered. Never place your CAMCORDER on a bed, sofa, rug,
or other similar surface: on or near a radiator or heat register.
This CAMCORDER should not be placed in a built-in installation
such as a bookcase or rack unless proper ventilation is provided
or the manufacturer’s instructions have been adhered to.
10. POWER SOURCES:
The CAMCORDER should be operated only from the type of
power source indicated on the label.
If you are not sure of the type of power supply at your home,
consult your appliance dealer or local power company.
A CAMCORDER is intended to be operated from battery power,
or other sources, refer to the operating instructions.
11. GROUNDING OR POLARIZATION:
This CAMCORDER may be equipped with either a polarized
2-wire AC line plug (a plug having one blade wider than the other)
or a 3-wire grounding type plug, a plug having a third (grounding)
pin.
If you are unable to insert the plug fully into the outlet, try reversing
the plug. If the plug still fails to fit, contact your electrician to
replace your outlet. Do not defeat the safety purpose of the
polarized plug.
12. POWER-CORD PROTECTION:
Power-supply cords should be routed so that they are not likely to
be walked on or pinched by items placed upon or against them,
paying particular attention to cords or plugs, convenient
receptacles, and the point where they exit from the unit.
13. OUTDOOR ANTENNA GROUNDING:
If an outside antenna or cable system is connected to the
CAMCORDER, be sure the antenna or cable system is grounded
to provide some protection against voltage surges and built-up
static charges, Section 810 of the National Electrical Code,
ANSI/NFPA No. 70-1984, provides information with respect to
proper grounding of the mast and supporting structure, grounding
of the lead-in wire and supporting structure, grounding of the mast
and supporting structure, grounding of the lead-in wire to an
antenna discharge unit, size of grounding to conductors, location
of antenna-discharge unit, connection to grounding electrodes
and requirements for the grounding electrode.
See figure below.
00654B SCD30-SAFETY 4/5/03 10:49 AM Page 101

ENGLISH
Notices and Safety Instructions
14. LIGHTNING:
For added protection of this CAMCORDER during a lightning
storm o when it is left unattended and unused for long periods of
time, unplug it from the wall outlet and disconnect the antenna or
cable system.
This will prevent damage to the CAMCORDER due to lightning
and power-line surges.
15. POWER LINES:
An outside antenna system should not be located in the vicinity of
overhead power lines or other electric light or power circuits where
it can fall into such power lines or circuits. When installing an
outside antenna system, extreme care should be taken to keep
from touching such power lines or circuits as contact with them
might be fatal.
16. OVERLOADING:
Do not overload wall outlets and extension cords as this can result
in a risk of fire or electric shock.
17. OBJECTS AND LIQUIDS:
Never push objects of any kind into this CAMCORDER through
openings as they may touch dangerous voltage points or short out
a part that could result in a fire or electric shock.
Never spill liquids of any kind onto the CAMCORDER. Should
spillage occur, unplug unit and have it checked by a technician
before use.
18. SERVICING:
Do not attempt to service this CAMCORDER yourself. Opening or
removing covers may expose you to dangerous voltage or other
hazards.
Refer all servicing to qualified service personnel.
19. DAMAGE REQUIRING SERVICE:
Unplug this CAMCORDER from the wall outlet and refer servicing
to qualified service personnel under the following conditions:
a. When the power-supply cord or plug is damaged.
b. If any liquid has been spilled onto, or objects have fallen into
the CAMCORDER.
c. If the CAMCORDER has been exposed to rain or water.
d. If the CAMCORDER does not operate normally by following the
operating instructions, adjust only those controls that are
covered by the operating instructions. Improper adjustment of
other controls may result in damage and will
often require extensive work by a qualified technician to restore
the CAMCORDER to its normal operation.
e. If the CAMCORDER has been dropped or the cabinet has been
damaged.
f. When the CAMCORDER exhibits a distinct change in
performance, this indicates a need for service.
20. REPLACEMENT PARTS:
When replacement parts are required, be sure the service
technician has used replacement parts specified by the
manufacturer and having the same characteristics as the original
part.
Unauthorized substitutions may result in fire, electric shock or
other hazards.
21. SAFETY CHECK:
Upon completion of any service or repairs to this CAMCORDER,
ask the service technician to perform safety checks to determine
that the CAMCORDER is in safe operating order.
00654B SCD30-SAFETY 4/5/03 10:49 AM Page 102

ENGLISH
Notices and Safety Instructions
22. To prevent damage which may result in fire or shock hazard,
do not expose this appliance to rain or moisture.
23. If this power supply is used at 240V ac, a suitable plug adapter
should be use.
NOTE TO CATV SYSTEM INSTALLER:
This reminder is provided to call the CATV system installer’s attention
to Article 820-40 of the NEC that provides guidelines for proper
grounding and, in particular, specifies that the cable ground shall be
connected to the grounding system of the building as close to the point
of cable entry as practical.
USER INSTALLER CAUTION:
Your authority to operate this FCC certified equipment could be voided
if you make changes or modifications not expressly approved by this
party responsible for compliance to part 15 FCC rules.
NOTE: This equipment has been tested and found to comply with
the limits for a Class B digital device, pursuant to part 15 of the
FCC Rules. These limits are designed to provide reasonable
protection against harmful interference in a residential installation.
This equipment generates, uses and can radiate radio frequency
energy and, if not installed and used in accordance with the
instructions, may cause harmful interference to radio
communications. However, there is no guarantee that interference
will not occur in a particular installation. If this equipment does
cause harmful interference to radio or television reception, which
can be determined by turning the equipment off and on, the user is
encouraged to try to correct the interference by one or more of the
following measures:
- Reorient or relocate the receiving antenna.
- Increase the separation between the equipment and receiver.
- Connect the equipment into an outlet on a circuit different from
that to which the receiver is connected.
- Consult the dealer or an experienced radio/TV technician for help.
00654B SCD30-SAFETY 4/5/03 10:49 AM Page 103

ENGLISH
Contents
22
Features ..................................................................................................................................................................................................................................... 11
Accessories Supplied with camcorder ...................................................................................................................................................................................... 12
Front & Left View ....................................................................................................................................................................................................................... 13
Left side View ............................................................................................................................................................................................................................. 14
Right & Top View ....................................................................................................................................................................................................................... 15
Rear & Bottom View .................................................................................................................................................................................................................. 16
Remote control ........................................................................................................................................................................................................................... 17
OSD (On Screen Display in CAM and PLAYER modes) .......................................................................................................................................................... 18
OSD (On Screen Display in M.REC and M.PLAY modes) ....................................................................................................................................................... 19
Turning the OSD on/off (On Screen Display) ...................................................................................................................................................................... 19
How to use the Remote Control ............................................................................................................................................................................................... 20
Battery Installation for the Remote Control ......................................................................................................................................................................... 20
Self Record using the Remote Control ............................................................................................................................................................................... 20
Lithium Battery Installation...........................................................................................................................................................................................................21
Adjusting the Hand Strap ......................................................................................................................................................................................................... 22
Hand strap ........................................................................................................................................................................................................................... 22
Shoulder strap........................................................................................................................................................................................................................ 22
Connecting a Power Source ...................................................................................................................................................................................................... 23
To use the AC Power adapter and DC Cable .................................................................................................................................................................... 23
To select the CAMCORDER mode .......................................................................................................................................................................................23
Using the Lithium Ion Battery Pack .......................................................................................................................................................................................... 24
Charging the Lithium Ion Battery Pack ............................................................................................................................................................................... 24
Table of continuous recording time based on model and battery type ............................................................................................................................. 25
Battery level display ............................................................................................................................................................................................................. 26
Inserting and Ejecting a Cassette ............................................................................................................................................................................................ 27
Making your First Recording ..................................................................................................................................................................................................... 28
Record Search (REC SEARCH) ........................................................................................................................................................................................ 29
Hints for Stable Image Recording ............................................................................................................................................................................................. 30
Recording with the LCD monitor ......................................................................................................................................................................................... 30
Recording with the Viewfinder ............................................................................................................................................................................................ 30
Adjusting the LCD ..................................................................................................................................................................................................................... 31
Using the VIEWFINDER ........................................................................................................................................................................................................... 32
Adjusting the Focus ............................................................................................................................................................................................................. 32
Playing back a tape you have recorded on the LCD ................................................................................................................................................................ 33
Adjusting the LCD during PLAY .......................................................................................................................................................................................... 34
BASIC Recording 28
Preparation 20
Notes and Safety Instructions 6
Getting to Know Your Camcorder 11
00654B SCD30-SEA (01~27) 4/5/03 10:47 AM Page 2

ENGLISH
Contents
33
Controlling Sound from the Speaker ........................................................................................................................................................................................ 34
Use of various Functions ........................................................................................................................................................................................................... 35
Setting menu items .............................................................................................................................................................................................................. 35
Set the camcorder to CAM or PLAYER mode and M.REC or M.PLAY mode.................................................................................................................... 35
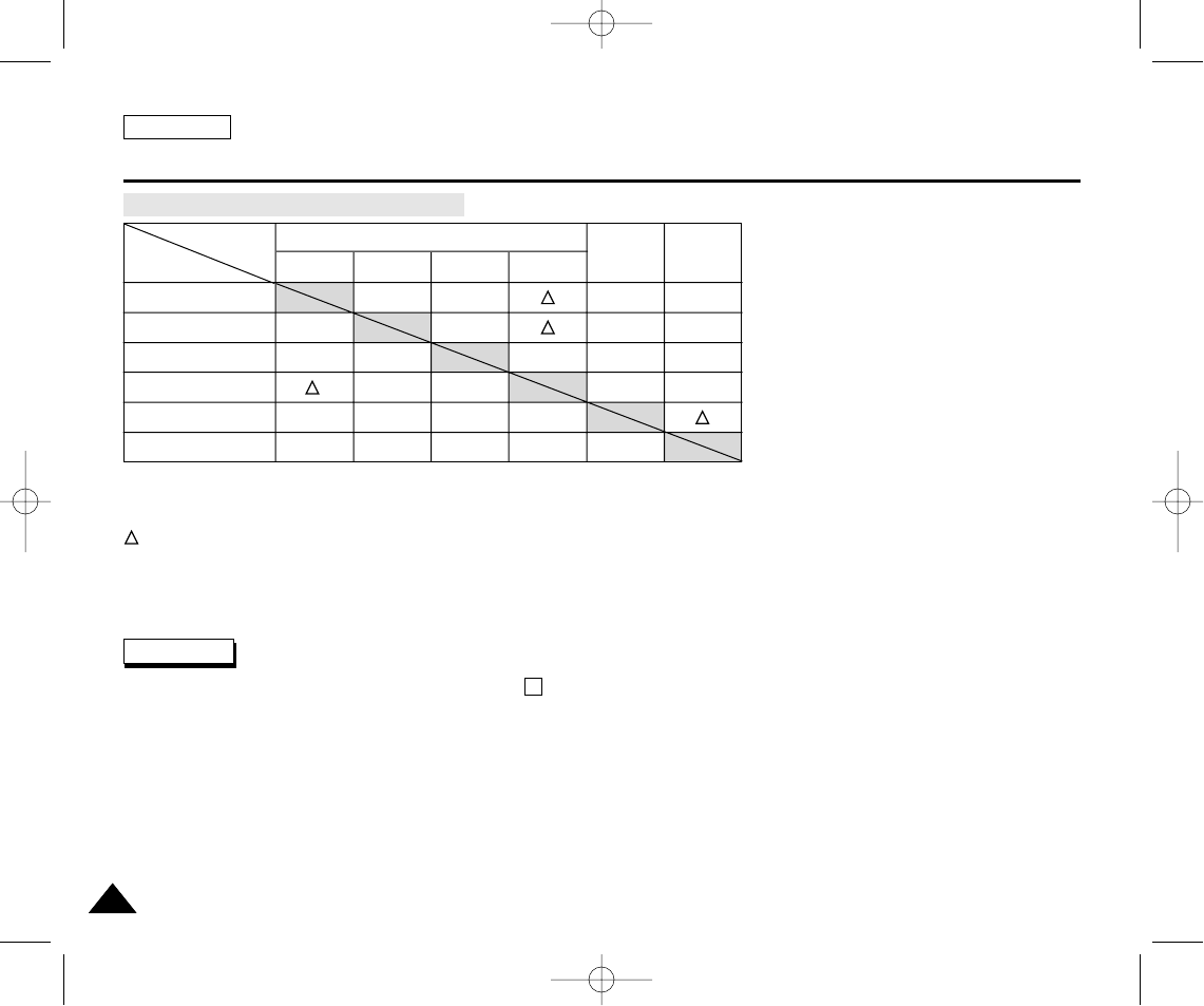
Availability of functions in each mode ................................................................................................................................................................................. 36
CLOCK SET ....................................................................................................................................................................................................................... 37
WL. REMOTE ..................................................................................................................................................................................................................... 38
BEEP SOUND .................................................................................................................................................................................................................... 39
SHUTTER SOUND............................................................................................................................................................................................................... 40
DEMONSTRATION ............................................................................................................................................................................................................ 41
PROGRAM AE .................................................................................................................................................................................................................... 42
Setting the PROGRAM AE .................................................................................................................................................................................................. 43
WHT. BALANCE (WHITE BALANCE) ................................................................................................................................................................................. 44
Zooming In and Out with DIGITAL ZOOM .......................................................................................................................................................................... 45
Zooming In and Out ............................................................................................................................................................................................................. 45
Digital Zoom ........................................................................................................................................................................................................................ 46
DIS (Digital Image Stabilizer) .............................................................................................................................................................................................. 47
DSE (Digital Special Effects) SELECT ................................................................................................................................................................................ 48
Selecting an effect ............................................................................................................................................................................................................... 49
REC MODE ........................................................................................................................................................................................................................ 50
AUDIO MODE ..................................................................................................................................................................................................................... 51
WIND CUT .......................................................................................................................................................................................................................... 52
DATE/TIME ......................................................................................................................................................................................................................... 53
TV DISPLAY ....................................................................................................................................................................................................................... 54
Using Quick Menu .................................................................................................................................................................................................................... 55
Setting the Quick menu ....................................................................................................................................................................................................... 56
SHUTTER SPEED & EXPOSURE .................................................................................................................................................................................... 57
SLOW SHUTTER(Low Shutter Speed) ................................................................................................................................................................................... 58
EASY Mode (for Beginners) ...................................................................................................................................................................................................... 59
MF/AF (Manual Focus/Auto Focus) .......................................................................................................................................................................................... 60
Auto Focusing ...................................................................................................................................................................................................................... 60
Manual Focusing ................................................................................................................................................................................................................. 60
BLC (Back Light Compensation) ............................................................................................................................................................................................... 61
Fade In and Out ......................................................................................................................................................................................................................... 62
To Start Recording ............................................................................................................................................................................................................... 62
To Stop Recording (use FADE IN / FADE OUT) ................................................................................................................................................................. 62
Audio dubbing ........................................................................................................................................................................................................................... 63
Dubbing sound...................................................................................................................................................................................................................... 63
Dubbed Audio Playback ...................................................................................................................................................................................................... 64
PHOTO Image Recording ......................................................................................................................................................................................................... 65
Advanced Recording 35
00654B SCD30-SEA (01~27) 4/5/03 10:47 AM Page 3

ENGLISH
44
Searching for a PHOTO picture .......................................................................................................................................................................................... 65
NITE PIX (0 lux recording)........................................................................................................................................................................................................... 66
POWER NITE PIX ....................................................................................................................................................................................................................... 67
Various Recording Techniques .................................................................................................................................................................................................. 68
Tape Playback ............................................................................................................................................................................................................................ 69
Playback on the LCD ........................................................................................................................................................................................................... 69
Playback on a TV monitor ................................................................................................................................................................................................... 69
Connecting to a TV which has Audio/Video input jacks ..................................................................................................................................................... 69
Connecting to a TV which has no Audio and Video input jacks .......................................................................................................................................................... 70
Playback ............................................................................................................................................................................................................................... 70
Various Functions while in PLAYER mode ............................................................................................................................................................................... 71
Playback pause .................................................................................................................................................................................................................... 71
Picture search (Forward/Reverse) ...................................................................................................................................................................................... 71
Slow playback (Forward/Reverse) ...................................................................................................................................................................................... 71
Frame advance (To play back frame by frame) .................................................................................................................................................................. 72
X2 Playback (Forward/Reverse ) ........................................................................................................................................................................................ 72
ZERO MEMORY ....................................................................................................................................................................................................................... 73
PB DSE (Playback Digital Special Effects) .............................................................................................................................................................................. 74
PB ZOOM ................................................................................................................................................................................................................................. 75
Transferring IEEE1394 (i.LINK)-DV standard data connections .............................................................................................................................................. 77
Connecting to a DV device .................................................................................................................................................................................................. 77
Connecting to a PC ............................................................................................................................................................................................................. 77
System requirements ........................................................................................................................................................................................................... 78
Recording with a DV connection cable ................................................................................................................................................................................ 78
Transferring a Digital Image through a USB Connection ......................................................................................................................................................... 79
System Requirements ............................................................................................................................................................................................................... 79
Installing DVC Media 5.0 Program............................................................................................................................................................................................. 80
Connecting to a PC ................................................................................................................................................................................................................... 81
MEMORY STICK ........................................................................................................................................................................................................................ 82
Memory Stick Functions ....................................................................................................................................................................................................... 82
Inserting and ejecting the Memory Stick ............................................................................................................................................................................. 83
Structure of folders and files on the Memory Stick ............................................................................................................................................................. 84
Contents
Playback 69
Recording in PLAYER mode (SCD34/D39 only) 76
IEEE 1394 Data Transfer 77
USB interface 79
Digital Still Camera mode 82
00654B SCD30-SEA (01~27) 4/5/03 10:47 AM Page 4

Image Format ....................................................................................................................................................................................................................... 84
Selecting the CAMCORDER mode ........................................................................................................................................................................................... 84
Selecting the image quality ........................................................................................................................................................................................................ 85
Select the image quality ..................................................................................................................................................................................................... 85
Number of images on the Memory Stick ............................................................................................................................................................................. 85
Recording Still images to a Memory Stick in M.REC Mode ..................................................................................................................................................... 86
Recording images to a Memory Stick ..................................................................................................................................................................................86
Recording an image from a cassette as a still image ........................................................................................................................................................ 87
Viewing Still images ................................................................................................................................................................................................................... 88
To view a Single image......................................................................................................................................................................................................... 88
To view a slide show............................................................................................................................................................................................................. 88
To view the Multi Display ...................................................................................................................................................................................................... 89
Copying still images from a cassette to Memory Stick .............................................................................................................................................................. 90
Marking images for printing ....................................................................................................................................................................................................... 91
Protection from accidental erasure............................................................................................................................................................................................. 92
Deleting Still images .................................................................................................................................................................................................................. 93
Formatting the Memory Stick .................................................................................................................................................................................................... 94
Attention ............................................................................................................................................................................................................................... 94
MPEG RECORDING ................................................................................................................................................................................................................. 95
Selecting the moving picture sizes ............................................................................................................................................................................................ 97
MPEG Playback ......................................................................................................................................................................................................................... 98
After finishing a recording .......................................................................................................................................................................................................... 99
Cleaning and Maintaining the Camcorder................................................................................................................................................................................ 100
Cleaning the Video Heads ................................................................................................................................................................................................. 100
Using Your Camcorder Abroad ................................................................................................................................................................................................ 101
Power sources ................................................................................................................................................................................................................... 101
Color system ...................................................................................................................................................................................................................... 101
Troubleshooting ....................................................................................................................................................................................................................... 102
Self Diagnosis Display ....................................................................................................................................................................................................... 102
Moisture Condensation ...................................................................................................................................................................................................... 102
Self Diagnosis Display in M.REC, M.PLAY mode ............................................................................................................................................................. 103
ENGLISH
Contents
55
Maintenance 99
Troubleshooting 102
Specifications 105
INDEX 106
Warranty 107
00654B SCD30-SEA (01~27) 4/5/03 10:47 AM Page 5

ENGLISH
Notes and Safety Instructions
66
Notes regarding the rotation of the LCD screen
Please rotate the LCD screen carefully as illustrated.
Over rotation may cause damage to the inside of the hinge that connects the LCD screen to the Camcorder.
1. LCD screen closed.
2. Standard recording using the LCD screen.
■A LCD Monitor is opened applying a finger to LCD open knob.
3. Recording when looking at the LCD screen from the top.
4. Recording when looking at the LCD screen from the front.
5. Recording with the LCD screen closed.
1
2
3
4
5
LCD
open knob
00654B SCD30-SEA (01~27) 4/5/03 10:48 AM Page 6

Television programs, video tapes, DVD titles, films, and other program materials may be copyrighted.
Unauthorized copying of copyrighted material may be against the law.
1. A sudden rise in atmospheric temperature may cause condensation to form inside the camcorder.
for example:
- When you move the camcorder from a cold location to a warm location (e.g. from outside to inside during winter.)
- When you move the camcorder from a cool location to a hot location (e.g. from inside to outside during the summer.)
2. If the (DEW) protection feature is activated, leave the camcorder for at least two hours in a dry, warm room with the
cassette compartment opened and the battery pack removed.
1. Do not leave the camcorder exposed to high temperature (above 60°C or 140°F).
For example, in a parked car in the sun or exposed to direct sunlight.
2. Do not let the camcorder get wet.
Keep the camcorder away from rain, sea water, and any other form of moisture. If the camcorder gets wet, it may get
damaged.
Sometimes a malfunction due to exposure to liquids cannot be repaired.
ENGLISH
Notes and Safety Instructions
77
Notes regarding CAMCORDER
Notices regarding COPYRIGHT
Notes regarding moisture condensation
00654B SCD30-SEA (01~27) 4/5/03 10:48 AM Page 7

ENGLISH
Notes and Safety Instructions
88
Notes regarding the battery pack
Notes regarding the Video Head Cleaning
- Make sure that the battery pack is fully charged before starting to record.
- To preserve battery power, keep your camcorder turned off when you are not
operating it.
- If your camcorder is in CAM mode, and it is left in STBY mode without
being operated for more than 5 minutes with a tape installed, it will
automatically turn itself off to protect against unnecessary battery discharge.
- Make sure that the battery pack is fitted firmly into place.
Dropping the battery pack may damage it.
- A brand new battery pack is not charged.
Before using the battery pack, you need to charge it completely.
- It is a good idea to use the viewfinder rather than the LCD when making a long
recordings, because the LCD uses up more battery power.
- To ensure normal recording and a clear picture, clean the video heads regularly. If a square block-shape distorts playback,
or only a blue screen is displayed, the video heads may be dirty. If this happens, clean the video heads with a dry type
cleaning cassette.
- Do not use a wet-type cleaning cassette. It may damage the video heads.
* When the battery reaches the end of its life, please contact your local dealer.
The batteries have to be dealt with as chemical waste.
00654B SCD30-SEA (01~27) 4/5/03 10:48 AM Page 8

ENGLISH
Notes and Safety Instructions
99
- Do not film with the camera lens pointing directly at the sun.
Direct sunlight can damage the CCD(Charge Coupled Device).
1. Do not position the camcorder such that the viewfinder is pointing towards the sun.
Direct sunlight can damage the inside of the viewfinder. Be careful when placing the camcorder under sunlight or near a
window exposed to sunlight.
2. Do not pick up the camcorder from the viewfinder.
3. Over pulling of the viewfinder may damage it.
1. The LCD display has been manufactured using high precision tech-
nology. However, there may be tiny dots (red, blue or green in color)
that appear on the LCD display.
These dots are normal and do not affect the recorded picture in any
way.
2. When you use the LCD display under direct sunlight or outdoors,
it maybe difficult to see the picture clearly.
If this occurs, we recommend using the viewfinder.
3. Direct sunlight can damage the LCD monitor.
- To ensure a steady picture during filming, check that the hand strap is properly adjusted.
- Do not force your hand into the hand strap as you could damage it.
Note regarding the LENS
Notes regarding electronic viewfinder
Notes regarding ‘Record’ or ‘Playback’ using the LCD
Notes regarding the hand strap
00654B SCD30-SEA (01~27) 4/5/03 10:48 AM Page 9

ENGLISH
Notes and Safety Instructions
1010
Precautions regarding the Lithium battery
1. The lithium battery maintains the clock function and user settings; even if the battery pack or AC adapter is removed.
2. The lithium battery for the camcorder lasts about 6 months under normal operation from time of installation.
3. When the lithium battery becomes weak or dead, the date/time indicator will display “---” when
you set the DATE/TIME to ON.
In this case, replace the lithium battery with a new one(type CR2025).
4. Danger of explosion if battery is incorrectly replaced.
Replace only with the same or equivalent type.
Warning
■
Keep the LITHIUM BATTERY out of reach of children. Should a battery be swallowed,
consult a doctor immediately.
■
Danger of explosion if battery is incorrectly replaced.
Replace only with the same or equivalent type.
00654B SCD30-SEA (01~27) 4/5/03 10:48 AM Page 10

ENGLISH
Getting to Know Your Camcorder
1111
Features
•Digital data transfer function with IEEE1394
By incorporating the IEEE 1394 (i.LINK™ : i.LINK is a serial data transfer protocol and interconnectivity system, used to
transmit DV data) high speed data transport port, both moving and still images can be transferred to a PC, making
it possible to produce or edit various images.
•USB interface for digital image data transfer
You can transfer still images to a PC using the USB interface without an add-on card.
•PHOTO
The PHOTO function lets you capture an object as a still along with sound, while in Camera mode.
•800x Digital zoom
Allows you to magnify an image up to 800 times its original size.
•Color TFT LCD
A high-resolution color TFT LCD gives you clean, sharp images as well as the ability to review your recordings immediately.
•Digital Image Stabilizer (DIS)
The DIS compensates for any handshake, reducing unstable images particularly at high magnification.
•Various digital effects
The DSE (Digital Special Effects) allows you to give your films a special look by adding various special effects.
•Back Light Compensation (BLC)
The BLC function compensates for the bright background behind a subject you're recording.
•Program AE
The Program AE enables you to alter the shutter speed and aperture to suit the type of scene/action to be filmed.
•NITE PIX
The NITE PIX function enables you to record a subject in a dark place.
•Digital Still Camera function
■
Using Memory Stick, you can easily record and playback standard still images.
■
You can transfer standard still images on the Memory Stick to your PC using the USB interface.
•MPEG Recording
MPEG recording makes it possible to record video onto a Memory Stick.
00654B SCD30-SEA (01~27) 4/5/03 10:48 AM Page 11

Make sure that the following basic accessories are supplied with your digital video camera.
Basic Accessories
1. Lithium Ion Battery pack
2. AC Power Adapter
3. AC Cord
4. Multi-AV Cable (AUDIO/VIDEO/S-VIDEO)
5. Instruction Book
6. Lithium batteries for Remote Control and Clock.
(TYPE: CR2025, 2 EA)
7. Remote Control
8. Shoulder strap
9. USB cable
10.Software CD
11.Memory Stick (SCD34/D39 only)
ENGLISH
Getting to Know Your Camcorder
1212
Accessories Supplied with camcorder
1. Lithium Ion Battery pack
(AD43-00070A)
4. Multi-AV Cable
(AUDIO/VIDEO/S-VIDEO)
7. Remote Control
(AD59-00085A)
10. Software CD
3. AC cord
(AD39-00076A)
6. Lithium batteries (2EA)
(CR2025, 2 EA)
(AD43-10130H)
5. Instruction Book
9. USB cable
(AD39-00073A)
2. AC Power Adapter
(AD44-00065A)
8. Shoulder strap
(AD63-00202B)
11. Memory Stick
(SCD34/D39 only)
(1109-001221)
00654B SCD30-SEA (01~27) 4/5/03 10:48 AM Page 12

ENGLISH
Getting to Know Your Camcorder
1313
Front & Left View
1. Lens
2. Remote Sensor
3. Infrared Light (see page 66)
4. External MIC in
5. Multi-AV Jack (see page 69)
6. Internal MIC
7. View Finder (see page 32)
8. TFT LCD Monitor (see page 31)
1. Lens
2. Remote Sensor
3. Infrared Light
4. External MIC in
5. Multi-AV Jack
6. Internal MIC
7. View Finder
8. TFT LCD Monitor
00654B SCD30-SEA (01~27) 4/5/03 10:48 AM Page 13

ENGLISH
Getting to Know Your Camcorder
1414
Left Side View
2. EASY.Q Button (CAM) / Multi (M.PLAY)
3. PB ZOOM
4. DISPLAY
5. Speaker
6. Mode Switch (TAPE/MEMORY STICK)
1. Function buttons
PLAYER CAMERA M.PLAY
: (PLAY/STILL) FADE (see page 62) SLIDE SHOW (see page 88)
: (STOP) BLC (see page 61) -
: (REW) REC SEARCH – REV (see page 88)
: (FF) REC SEARCH + FWD (see page 88)
3. PB ZOOM (see page 75)
2. EASY.Q (see page 59)/MULTI (see page 89)
1. Function buttons
4. DISPLAY (see page 19)
5. Speaker
6. Mode Switch (see page 23)
(TAPE/MEMORY STICK)
00654B SCD30-SEA (01~27) 4/5/03 10:48 AM Page 14

ENGLISH
Getting to Know Your Camcorder
1515
Right & Top View
1. Zoom lever (see page 45)
2. PHOTO Button (see page 65)
3. VIDEO Light holder
4. FOCUS Adjustment knob (see page 32)
5. MENU Button (see page 35)
6. MENU Selector (MENU/VOLUME/MF)
(see page 35)
7. Lithium Battery Cover (see page 21)
8. Slow Shutter Button (see page 58)
9. NITE PIX Switch (see page 66)
10. TAPE OPEN/EJECT
11. Hook for hand strap
12. USB Jack (see page 79)
13. DV Jack (see page 77)
14. EARPHONE Jack
5. MENU Button
3. VIDEO Light holder
4. FOCUS Adjustment knob
2. PHOTO Button
1. Zoom lever 8. Slow Shutter Button
9. NITE PIX Switch
10. TAPE OPEN/EJECT
11. Hook for hand strap
12. USB Jack
13. DV Jack
14. EARPHONE Jack
6. MENU Selector
(MENU/VOLUME/MF)
7. Lithium Battery Cover
00654B SCD30-SEA (01~27) 4/5/03 10:48 AM Page 15

ENGLISH
Getting to Know Your Camcorder
1616
Rear & Bottom View
1. MENU Button
2. Hook for shoulder strap
3. CAM indicator
4. PLAYER indicator
5. START/STOP button
6. Power Switch (see page 28)
7. Charging indicator
8. DC Jack (see page 23)
9. Memory Stick Slot
10.Tripod receptacle
11.Battery Release
3. CAM indicator
1. MENU Button
10. Tripod receptacle
11. Battery Release
2. Hook for shoulder strap
4. PLAYER indicator
5. START/STOP button
6. Power Switch
7. Charging indicator
8. DC Jack
9. Memory Stick Slot
00654B SCD30-SEA (01~27) 4/5/03 10:48 AM Page 16

ENGLISH
Getting to Know Your Camcorder
1717
1. PHOTO
2. START/STOP
3. SELF TIMER (see page 20)
4. ZERO MEMORY (see page 73)
5. PHOTO Search
6. A.DUB (see page 63)
7. (FF)
8. (REW)
9. (PLAY)
10. Direction ( , ) (see page 71)
11. F. ADV (see page 72)
12. (STOP)
13. (STILL)
14. (SLOW)
15. DATE/TIME
16. X2 (see page 72)
17. Zoom
18. Display
Remote control
1. PHOTO
2. START/STOP
3. SELF TIMER
4. ZERO MEMORY
5. PHOTO SEARCH
6. A.DUB
7. (FF)
8. (REW)
9. (PLAY)
10. Direction
18. DISPLAY
17. Zoom
16. X2
15. DATE/TIME
14. (SLOW)
13. (STILL)
11. F. ADV
12. (STOP)
00654B SCD30-SEA (01~27) 4/5/03 10:48 AM Page 17

ENGLISH
Getting to Know Your Camcorder
1818
OSD (On Screen Display in CAM and PLAYER modes)
1. Battery level (see page 26)
2. Easy mode (see pages 59)
3. DSE (Digital Special Effects) mode (see page 48)
4. Program AE (see page 42)
5. White Balance mode (see page 44)
6. BLC (Back Light Compensation) (see page 61)
7. Manual focus (see page 60)
8. Shutter speed and EXPOSURE (see page 57)
9. Zoom position (see page 45)
10. NITE PIX (see page 66)
11. DATE/TIME (see page 53)
12. USB
13. WL. REMOTE
14. WIND CUT (see page 52)
15. Audio recording mode (see page 51)
16. Zero memory indicator (see page 73)
17. Remaining Tape (measured in minutes)
18. Tape Counter
19. Operating mode
20. Record speed mode
21. PHOTO mode
22. Self recording and waiting timer (see page 20)
23. DIS (see page 47)
24. Volume control (see page 34)
25. Audio playback channel
26. DV IN(DV data transfer mode) (see page 78)
27. DEW (see page 7)
28. Message Line
29. PB DSE (see page 74)
30. PB ZOOM/ENTER (see page 75)
31. POWER NITE PIX (see page 67)
OSD in CAM mode
TAPE !
NITE PIXMF
MIRROR
SHUTTER P
ZOOM
SHUTTER
EXPOSURE
EASY M - 0 : 0 0 : 0 0
5 5 min
1 6 bit
1 2 : 0 0 A M
J A N . 1 0 , 2 0 0 3
REC
EXPOSURE
BLC
1
2
3
6
4
5
7
31
9
8
23 22 21 20 19
18
17
16
15
14
13
12
11
10
28
OSD in PLAYER mode
. . . C
SOUND [ 2 ]
MIRROR
ENTER :
PB ZOOM
1.2x
M - 0 : 0 0 : 0 0
5 5 min
1 6 bit
VOL. [ 1 1 ]
DV
1 2 : 0 0 A M
J A N . 1 0 , 2 0 0 3
25
30
29
30
28
27
21 20 19
26
24 11
00654B SCD30-SEA (01~27) 4/5/03 10:48 AM Page 18

ENGLISH
Getting to Know Your Camcorder
1919
A. Folder number-file number (see page 84)
B. Image counter
- Current still image/Total number of recordable still images.
C. CARD (MEMORY STICK) indicator
D. Image recording and loading indicator
E. Quality
F. ERASE PROTECTION indicator (see page 92)
G. Print Mark (see page 91)
H. SLIDE SHOW
I. MPEG4 SCREEN SIZE
Turning the OSD on/off (On Screen Display)
●Turning OSD on/off
Press the DISPLAY button on the left side panel.
- Each press of the button toggles the OSD function on and off.
- When you turn the OSD off,
In CAM mode: The STBY, REC, EASY.Q modes are always displayed on the OSD,
even when the OSD is turned OFF and the key input is displayed for 3 seconds then
turned off.
In PLAYER mode: When you press any Function button, the function is displayed
on the OSD for 3 seconds before it turns off.
●Turning the DATE/TIME on/off
- The DATE/TIME is not affected when the OSD function is switched ON or OFF.
- To turn the DATE/TIME on or off, access the menu and change the DATE/TIME mode. (see page 53)
- You may also use the Quick Menu to turn the DATE/TIME ON or OFF. (see page 55)
(only in CAM/M.REC mode)
OSD in M.REC mode
2 2 / 2 4 0
SF
1 2 : 0 0 A M
J A N . 1 0 , 2 0 0 3
3 2 0 2 min
OSD in M.PLAY mode
MEMORY STICK !
SLIDE
1 0 0 - 0 0 0 1
2 2 / 2 4 0
0 0 1
1 2 : 0 0 A M
J A N . 1 0 , 2 0 0 3
E
B
D C
F
H
A
I
G
OSD (On Screen Display in M.REC/M.PLAY modes)
00654B SCD30-SEA (01~27) 4/5/03 10:48 AM Page 19

Battery Installation for the Remote Control
✤You need to insert or replace the lithium battery when :
- You purchase the camcorder.
- The remote control doesn’t work.
✤Ensure that you insert the lithium cell correctly, following the + and - markings.
✤Be careful not to reverse the polarity of the battery.
Self Record using the Remote Control
When you use the Self Timer function on the remote control, the recording begins
automatically in 10 seconds.
1. Set the camcorder to CAM mode.
2. Press the SELF TIMER button until the appropriate indicator is displayed in the viewfinder.
3. Press the START/STOP button to start the timer.
- Self Timer starts counting down from 10 with a beep sound.
- In the last one second of the countdown, the beep sound gets faster, then recording starts automatically.
- If you want to cancel the Self Timer function before recording, press the SELF TIMER button.
4. Press START/STOP again when you wish to stop recording.
START/
STOP
SELF
TIMER
A.DUB
ZERO
MEMORY
PHOTO DISPLAY
X2
SLOW
F.ADV
PHOTO
SEARCH
DATE/
TIME
Self
Timer
ENGLISH
Preparation
2020
How to use the Remote Control
00654B SCD30-SEA (01~27) 4/5/03 10:48 AM Page 20

ENGLISH
Preparation
2121
✤The lithium battery maintains the clock function and preset contents of the memory; even if the battery pack or AC power
adapter is removed.
✤The lithium battery for the camcorder lasts about 6 months under normal operation from the time of installation.
✤When the lithium battery becomes weak or dead, the date/time indicator will display “---” when you set the DATE/TIME to
ON.
When this occurs, replace the lithium battery with CR2025 type.
1. Remove the screw from the Lithium battery cover.
2. Open the Lithium battery cover from the camcorder.
3. Position the Lithium cell in the holder,
with the positive ( ) terminal face outward.
4. Close the lithium battery cover.
5. Put the screw into the Lithium battery cover.
Note The lithium battery must be inserted in the correct direction.
Warning: Keep the LITHIUM BATTERY out of the reach of the children.
Should any battery be swallowed, consult a doctor immediately.
Lithium Battery Installation
00654B SCD30-SEA (01~27) 4/5/03 10:48 AM Page 21

ENGLISH
Preparation
2222
Adjusting the Hand Strap
It is very important to ensure that the Hand strap has been correctly adjusted before you begin your recording.
The hand strap enables you to :
- Hold the camcorder in a stable, comfortable position.
- Press the Zoom and START/STOP button without having to change the position of your hand.
Hand strap
a. Pull open the Hand Strap cover and release the Hand Strap.
b. Adjust its length and stick it back onto the Hand Strap cover.
c. Close the Hand Strap cover again.
Shoulder Strap
The Shoulder Strap enables you to carry your camcorder around in complete
safety.
1. Insert the end of strap into the Shoulder Strap hook on the camcorder.
Insert the other end of strap into ring inside hand strap.
2. Thread each end into the buckle, adjust the length of the strap and then
pull it tight in the buckle.
12
00654B SCD30-SEA (01~27) 4/5/03 10:48 AM Page 22

ENGLISH
Preparation
2323
Connecting a Power Source
There are two types of power source that can be connected to your camcorder.
- The AC Power Adapter and AC cord : used for indoor recording.
- The Battery Pack : used for outdoor recording.
To use the AC Power adapter and DC Cable
1. Connect the AC Power adapter to the AC cord.
2. Connect the AC cord to a wall socket.
Note
■
The plug and wall socket type may differ according to
your resident country.
3. Connect the DC cable to the DC jack socket of the
camcorder.
(When the battery is attached on the set, you should keep
outside the projection of the DC cable.)
4. Set the camcorder to each mode by holding down the tab
on the power switch and turning it to the CAM or PLAYER mode.
To select the CAMCORDER mode
✤If you want to use this unit as a camcorder, set the mode switch to TAPE position.
✤If you want to use this unit as a DSC (Digital Still Camera), set the mode switch to
MEMORY position.
00654B SCD30-SEA (01~27) 4/5/03 10:48 AM Page 23

ENGLISH
Preparation
2424
Using the Lithium Ion Battery Pack
✤
The amount of continuous recording time available depends on :
- The type and capacity of the battery pack you are using.
- How often the Zoom function is used.
It is recommended that you have several batteries available.
Charging the Lithium Ion Battery Pack
1. Attach the battery pack to the camcorder.
2. Connect the AC Power adapter to an AC cord and connect the AC
cord to a wall socket.
3. Connect the DC cable to the DC jack socket on the camcorder.
4. Turn the Camera power switch to off, and the charging indicator will
start to flash, showing that the battery is charging.
5. When the battery is fully charged, disconnect the battery pack and the AC Power adapter from the camcorder.
■
Even with the power switched off, the battery pack will still discharge if it is left connected to the camcorder.
Notes
■
The battery pack may be charged a little at the time of purchase.
■
To prevent reduction in the life and capacity of the battery pack, always remove it from the camcorder after
it is fully charged.
Blinking time Charging rate
Once per second Less than 50%
Twice per second 50% ~ 75%
Three times per second 75% ~ 90%
Blinking stops and stays on 90 ~ 100%
On for a second and Error - Reset the battery pack and
off for a second the DC cable
5
00654B SCD30-SEA (01~27) 4/5/03 10:48 AM Page 24

ENGLISH
Preparation
2525
Using the Lithium Ion Battery Pack
Table of continuous recording time based on model and battery type.
✤If you close the LCD screen, it switches off and the viewfinder switches on automatically.
✤The continuous recording times given in the table above are approximations.
Actual recording time depends on usage.
Notes
■
The battery pack should be recharged in an environment of between 32°F (0°C) and 104°F (40°C).
■
The battery pack should never be charged in a room temperature that is below 32°F (0°C).
■
The life and capacity of the battery pack will be reduced if it is used in temperatures below 32°F (0°C) or left in temperatures
above 104°F (40°C) for a long period, even when it is fully recharged.
■
Do not put the battery pack near any heat source (fire or flames, for example).
■
Do not disassemble, process, pressure, or heat the Battery Pack.
■
Do not allow the + and - terminals of the battery pack to be short-circuited.
It may cause leakage, heat generation, induce fire and overheating.
■
When using SB-L220 Battery, use of Viewfinder is inconvenience. use of LCD Monitor is encouraged.
Battery
SB-L110
SB-L220
Charging
time
Approx.
1hr 40min
Approx.
3hr 30min
LCD ON VIEWFINDER ON
Continuous recording time
Time
Approx.
1hr 30min
Approx.
3hr 10min
Approx.
2hr
Approx.
4hr 10min
00654B SCD30-SEA (01~27) 4/5/03 10:48 AM Page 25

ENGLISH
Preparation
2626
Battery level display
•The battery level display indicates the amount of power remaining
in the battery pack.
a. Fully charged
b. 20~40% used
c. 40~80% used
d. 80~95% used
e. Completely used (flickers)
(The camcorder will turn off soon, change the battery as soon as possible)
✤Please refer to the table on page 25 for approximate continuous recording times.
✤The recording time is affected by environmental temperature and conditions.
The recording time becomes very short in a cold environment. The continuous recording
times in the operating instructions are measured using a fully charged battery pack at
77°F(25°C). As the environmental temperature and conditions may differ when you
actually use the camcorder, the remaining battery time may not be the same as the
approximate continuous recording times given in these instructions.
Tips for Battery Identification
A charge mark is provided on the battery pack to help you remember whether it has been
charged or not.
Two colors are provided (red and grey)-you may choose which one indicates charged and
which indicates discharged.
a
b
c
d
e
00654B SCD30-SEA (01~27) 4/5/03 10:48 AM Page 26

ENGLISH
Preparation
2727
Inserting and Ejecting a Cassette
✤When inserting a tape or closing a cassette holder, do not apply excessive force.
This may cause a malfunction.
✤Do not use any tapes other than Mini DV cassettes.
1. Connect a power source and slide the TAPE OPEN/EJECT switch and open
the cassette door.
- The cassette holding mechanism rises automatically.
2. Insert a tape into the cassette holder with the tape window facing outward and
the protection tab toward the top.
3. Press the area labelled PUSH on the cassette holding mechanism until
it clicks into place.
- The cassette is loaded automatically.
4. Close the cassette door.
- Close the door completely until you can hear a “click”.
Notes
When you have recorded something that you wish to keep, you can protect it so
that it will not be accidentally erased.
a. Protecting a tape :
Push the safety tab on the cassette so that the hole is uncovered.
b. Removing the tape protection :
If you no longer wish to keep the recording on the cassette, push the write-protect tab
back so that it covers the hole.
•How to store a tape
a. Avoid places with magnets or magnetic interference.
b. Avoid humidity and dust prone places.
c. Keep the tape in an upright position and avoid storing it in direct sunlight.
d. Avoid dropping or knocking your tapes.
a. SAVE
b. REC
1
3
2
4
push
00654B SCD30-SEA (01~27) 4/5/03 10:48 AM Page 27

ENGLISH
Basic Recording
2828
Making your First Recording
1. Connect a Power source to the camcorder.
(see page 23)
(A battery pack or a AC power adapter)
■
Insert a cassette. (see page 27)
2. Remove the LENS CAP.
3. Set the power switch to the CAM position.
■
Open the LCD monitor.
■
Set the mode switch to the TAPE position.
Make sure that STBY is displayed.
■
If the protection tab of the cassette is open,
STOP and PROTECTION! will be displayed.
■
Make sure the image you want to record
appears in the LCD monitor or viewfinder.
■
Make sure the battery level indicates that there
is enough remaining power for your expected
recording time.
4. To start recording, press the START/STOP button.
■
REC is displayed in the LCD.
To stop recording, press the START/STOP
button again.
■
STBY is displayed in the LCD.
4 3
2
1
00654B SCD30-SEA (28~59) 4/5/03 10:37 AM Page 28

ENGLISH
Basic Recording
2929
When a cassette is loaded and the camcorder is left in the STBY mode for more than 5 minutes without being used,
it will switch off automatically.
To use it again, push the START/STOP button or set the Power switch to OFF and then back to CAM.
This Auto Power off feature is designed to save battery power.
Record Search (REC SEARCH)
✤You can view a recording using the REC SEARCH +, -- function in STBY mode.
REC SEARCH -- enables you to play the recording backwards and
REC SEARCH + enables you to play it forwards, for as long as you keep each
button pressed down.
✤If you press the REC SEARCH -- button in STBY mode, your camcorder will play
in reverse for 3 seconds and return to the original position automatically.
Note
Mosaic shaped distortion may appear on the screen while in Record Search mode.
00654B SCD30-SEA (28~59) 4/5/03 10:37 AM Page 29

ENGLISH
Basic Recording
3030
■
While recording, it is very important to hold the camcorder correctly.
■
Fix the LENS cap firmly by clipping it to the hand strap. (refer to the figure)
Recording with the LCD monitor
1. Hold the camcorder firmly using the hand strap.
2. Place your right elbow against your side.
3. Place your left hand under or beside the LCD to support and adjust it.
Do not touch the built-in microphone.
4. Choose a comfortable, stable position for the shots that you are taking.
You can lean against a wall or on a table for greater stability.
Do not forget to breathe gently.
5. Use the LCD frame as a guide to determine the horizontal plane.
6. Whenever possible, use a tripod.
Recording with the Viewfinder
1. Hold the camcorder firmly using the hand strap.
2. Place your right elbow against your side.
3. Place your left hand under the camcorder to support it.
Be sure not to touch the built-in microphone.
4. Choose a comfortable, stable position for the shots that you are taking.
You can lean against a wall or on a table for greater stability.
Do not forget to breathe gently.
5. To view an object through the viewfinder, pull it out until you hear the ‘click’ sound.
Excessive force may cause damage to the viewfinder.
6. Place your eye firmly against the viewfinder eyecup.
7. Use the viewfinder frame as a guide to determine the horizontal plane.
8. Whenever possible, use a tripod.
Hints for Stable Image Recording
00654B SCD30-SEA (28~59) 4/5/03 10:37 AM Page 30

ENGLISH
Basic Recording
3131
✤Your camcorder is equipped with a 2.5 inch color Liquid Crystal Display(LCD) screen, which enables you
to view what you are recording or playing back directly.
✤Depending on the conditions under which you are using the camcorder (indoors or outdoors for example),
you can adjust ;
■
BRIGHT SELECT
■
BRIGHT ADJUST
■
COLOR ADJUST
1. Set the POWER switch to CAM position.
■
In the PLAYER mode, you may only setup the LCD while the tape is playing.
2. Open the LCD screen, and the LCD switches on.
3. Press the MENU button.
4. Move the MENU SELECTOR so that VIEWER is highlighted and
then push the MENU SELECTOR.
5. Move the MENU SELECTOR so that LCD ADJUST is highlighted.
6. Push the MENU SELECTOR to enter the sub-menu.
7. Move the MENU SELECTOR so that it highlights the menu item you
want to adjust (BRIGHT SELECT, BRIGHT ADJUST, COLOR
ADJUST).
CAM MODE
VIEWER SET
LCD ADJUST
DATE / TIME
TV DISPLAY
CAM MODE
INITIAL
LCD ADJUST
DATE/TIME
TV DISPLAY
CAMERA
A/V
MEMORY
VIEWER
CAM MODE
LCD ADJUST
VIEWER SET
BRIGHT SELECT . . . . NORMAL
BRIGHT ADJUST . . . . . . [ 1 8 ]
COLOR ADJUST . . . . . . . [ 1 8 ]
CAM MODE
BRIGHT SELECT
NORMAL
SUPER
BACK LIGHT
LCD ADJUST
Adjusting the LCD
*SCD39 only
00654B SCD30-SEA (28~59) 4/5/03 10:37 AM Page 31

ENGLISH
Basic Recording
3232
8. Push the MENU SELECTOR button again.
■
You may select NORMAL, SUPER or BACK LIGHT (SCD39 only) in the BRIGHT SELECT feature and push
the MENU SELECTOR to save the setting.
- When you use the LCD BACK LIGHT mode in a dark location or indoor s, viewing the image may be difficult.
(SCD39 only)
■
Use the MENU SELECTOR to adjust the value of BRIGHT ADJUST and COLOR ADJUST.
■
You can set values for BRIGHT ADJUST between 00 ~ 35 and COLOR ADJUST between 00 ~ 35.
9. Press the MENU button to finish the setting.
✤The VIEWFINDER will not work when the LCD is open.
✤In order to bring it into focus, pull the viewfinder forward until you here a click.
Adjusting the Focus
Use the focus adjustment knob of the VIEWFINDER to focus the picture.
(refer to figure )
Using the VIEWFINDER
00654B SCD30-SEA (28~59) 4/5/03 10:37 AM Page 32

ENGLISH
Basic Recording
3333
✤You can monitor the playback picture on the LCD monitor.
✤Make sure that the battery pack is in place.
1. Hold down the power switch tab and turn it to the PLAYER position.
■
The confirmation sound beeps.
2. Insert the tape you wish to view. (see page 27)
3. Open the LCD screen.
Adjust the angle of the LCD screen and set the brightness or color if necessary.
4. Press the (REW) button to rewind the tape to the starting point.
■
To stop rewinding, press the (STOP) button.
■
The camcorder stops automatically after rewinding is complete.
5. Press the (PLAY/STILL) button to start playback.
■
You can view the picture you recorded on the LCD.
■
To stop the PLAY operation, press the (STOP) button.
Notes
■
You can also view the picture on a TV screen, after connecting the camcorder to a TV or VCR. (see page 69)
■
Various functions are available in playback mode. (see page 71)
Playing back a tape you have recorded on the LCD
1
2
4
00654B SCD30-SEA (28~59) 4/5/03 10:37 AM Page 33

Adjusting the LCD during PLAY
✤ You can adjust the LCD during playback.
✤ The adjustment method is the same procedure as used in CAM mode. (see page 31)
The Speaker works in PLAYER mode only.
■
When you use the LCD screen for playback, you can hear recorded sound from
the built-in Speaker.
- Follow the instructions below to decrease or mute speaker volume in the PLAYER mode.
- Take the following steps to lower the volume or mute the sound while playing a tape
on the camcorder.
1. Set the power switch to PLAYER mode.
2. Press (PLAY/STILL) to play the tape.
3. When you hear sounds once the tape is in play, use the MENU SELECTOR to adjust the
volume.
■
A volume level display will appear on the LCD.
Levels may be adjusted from anywhere between 00 to 19 and you will not hear
any sound when the volume is set on 00.
■
If you close the LCD while playing, you will not hear sound from the speaker.
Notes
■
When the cable is connected to the Multi AV jack, you cannot hear sound from the speaker
and cannot adjust the volume.
■
If a cable is connected to the Multi AV jack, you can hear sound from the speaker when AV
IN/OUT MODE on MENU is set to AV IN or S-VIDEO IN. (SCD34/D39 only)
■
You can hear sound from speaker by removing the connected cable from the Multi AV jack.
■
The speaker turns off when you use headphones.
ENGLISH
Basic Recording
3434
Controlling Sound from the Speaker
0 : 2 3 : 4 7
5 5 min
1 2 : 0 0 A M
J A N . 1 0 , 2 0 0 3
VOL. [ 1 1 ]
<3-2>
VOL/MF
2
3-1
00654B SCD30-SEA (28~59) 4/5/03 10:37 AM Page 34

ENGLISH
Advanced Recording
3535
●
Setting menu items
●
Set the camcorder to CAM or PLAYER mode and M.REC or M.PLAY mode
1. Press the MENU button.
The MENU OSD is displayed. The cursor ( HIGHLIGHT ) indicates the feature you are currently adjusting.
2. Use the MENU SELECTOR and push the MENU SELECTOR on the left side panel to select and activate the item.
3. You can exit the menu mode by pressing the MENU button.
Use of various Functions
SUB MENU Available mode
MENU
CLOCK SET
WL.REMOTE
BEEP SOUND
SHUTTER SOUND
DEMONSTRATION
PROGRAM AE
WHT. BALANCE
D. ZOOM
DIS
DSE SELECT
REC MODE
PHOTO SEARCH
PHOTO COPY
AUDIO MODE
AUDIO SELECT
WIND CUT
PB DSE
AV IN/OUT (SCD34/D39 only)
M.PLAY SELECT
PHOTO QUALITY
MPEG4 SIZE
PRINT MARK
PROTECT
FILE NO.
DELETE
FORMAT
LCD ADJUST
DATE/TIME
TV DISPLAY
INITIAL
CAMERA
A/V
MEMORY
VIEWER
✔
✔
✔
✔
✔
✔
✔
✔
✔
✔
✔
✔
✔
✔
✔
✔
✔
✔
✔
✔
✔
✔
✔
✔
✔
✔
✔
✔
✔
✔
✔
✔
✔
✔
✔
✔
✔
✔
✔
✔
✔
✔
✔
✔
✔
✔
✔
✔
✔
✔
✔
✔
✔
✔
✔
CAMERA PLAYER
Memory REC. Memory PLAY
00654B SCD30-SEA (28~59) 4/5/03 10:37 AM Page 35

ENGLISH
Advanced Recording
3636
O : The requested mode will work in this operating mode.
✕: You can not change the requested mode.
: The operating mode will be released and the requested mode will work.
* : The operating mode will be released and the requested mode will work.
(the data during the operating mode will be backed up)
Notes
■
When a menu item on the LCD is marked with an , that item cannot be activated.
■
When you select an item that cannot be changed, an error message will be displayed.
●
Availability of functions in each mode
DIS
D.ZOOM
PHOTO
SLOW SHUTTER
Digital Special Effects
NITE PIX
Digital functions
Requested
Mode
Operating
Mode
DIS
OO
OO
✕✕
✕O
D.ZOOM PHOTO
(TAPE) SLOW
SHUTTER
Digital
special
effects
NITE
PIX
O
O
O
O
O
OO✕
OO
O
O
O
✕O
O
O
✕
*
X
00654B SCD30-SEA (28~59) 4/5/03 10:37 AM Page 36

ENGLISH
Advanced Recording
3737
●
CLOCK SET
✤CLOCK setup works in CAM, PLAYER, M.REC and M.PLAY modes.
✤The DATE/TIME is automatically recorded onto a tape.
Before recording, please set the DATE/TIME.
1. Press the MENU button.
■
The menu list will appear.
2. Move the MENU SELECTOR to highlight INITIAL and push the MENU SELECTOR.
3. Use the MENU SELECTOR to select CLOCK SET from the submenu.
4. Push the MENU SELECTOR to enter SETTING mode.
■
A blinking item indicates the item to be changed. The year will blink first.
5. Using the MENU SELECTOR, change the year setting.
6. Push the MENU SELECTOR.
■
The month will blink.
7. Using the MENU SELECTOR, change the month setting.
8. Push the MENU SELECTOR.
■
The day will blink.
9. You can set the day, hour and minute following the same procedure for setting the year and
month.
10.Push the MENU SELECTOR after setting the minutes.
■
The word COMPLETE! will appear, and a few seconds later, the menu screen will
automatically return to the sub menu.
11.To exit, push the MENU button.
CAM MODE
INITIAL CLOCK SET
WL. REMOTE
BEEP SOUND
SHUT. SOUND
DEMO
CAMERA
A/V
MEMORY
VIEWER
CAM MODE
INITIAL SET
CLOCK SET
WL.REMOTE
DEMONSTRATION
SET TIME!
BEEP SOUND
SHUTTER SOUND
CAM MODE
INITIAL SET
CLOCK SET
1 2 : 0 0 A M
J A N . 10 , 2 0 0 3
00654B SCD30-SEA (28~59) 4/5/03 10:37 AM Page 37

ENGLISH
Advanced Recording
3838
●
WL. REMOTE
✤The WL.REMOTE function works in CAM, PLAYER, M.REC, M.PLAY modes.
✤The WL.REMOTE option allows you to enable or disable the remote control for use with the camcorder.
1. Press the MENU button.
■
The menu list will appear.
2. Move the MENU SELECTOR to highlight INITIAL and push the MENU SELECTOR.
3. Use the MENU SELECTOR to select WL.REMOTE from the submenu.
4. Push the MENU SELECTOR to enable or disable the remote control.
The setting switches between ON/OFF each time you push the MENU SELECTOR.
5. To exit, press the MENU button.
■
If you set the remote to OFF in the menu and try to use it, the remote icon will the remote
control icon will blink for 3 seconds and disappear on the LCD.
CAM MODE
INITIAL CLOCK SET
WL. REMOTE
BEEP SOUND
SHUT. SOUND
DEMO
CAMERA
A/V
MEMORY
VIEWER
CAM MODE
INITIAL SET
CLOCK SET
WL.REMOTE
DEMONSTRATION
BEEP SOUND
SHUTTER SOUND
00654B SCD30-SEA (28~59) 4/5/03 10:37 AM Page 38

ENGLISH
Advanced Recording
3939
●
BEEP SOUND
✤The BEEP SOUND function works in CAM, PLAYER, M.REC, M.PLAY modes.
✤Use the MENU to setup the BEEP SOUND function.
Select whether or not you want to hear a beep sound whenever you change a setup value.
1. Press the MENU button.
■
The menu list will appear.
2. Move the MENU SELECTOR to highlight INITIAL and push the MENU SELECTOR.
3. Use the MENU SELECTOR to select BEEP SOUND from the submenu.
4. Push the MENU SELECTOR to enable or disable the BEEP SOUND.
The setting switches between ON/OFF each time you push the MENU SELECTOR.
■
You will hear a Beep Sound when you select the ON setup.
■
When you press the START/STOP button to start recording, the BEEP SOUND is
automatically set to OFF so you can’t hear it any longer.
5. To exit, press the MENU button.
CAM MODE
INITIAL CLOCK SET
WL.REMOTE
BEEP SOUND
SHUT SOUND
DEMO
CAMERA
A/V
MEMORY
VIEWER
CAM MODE
INITIAL SET
CLOCK SET
BEEP SOUND
SHUTTER SOUND
DEMONSTRATION
WL.REMOTE
00654B SCD30-SEA (28~59) 4/5/03 10:37 AM Page 39

ENGLISH
Advanced Recording
4040
●
SHUTTER SOUND
✤You can hear SHUTTER SOUND only when the PHOTO function is working.
✤Determines whether or not you wish to hear a SHUTTER SOUND when using the DSC feature.
1. Set the mode switch to MEMORY STICK.
2. Set the power switch to CAM mode.
3. Press the MENU button.
■
The menu list will appear.
4. Move the MENU SELECTOR to highlight INITIAL and push the MENU SELECTOR.
5. Use the MENU SELECTOR to select SHUTTER SOUND from the submenu.
6. Push MENU SELECTOR to switch between ON and OFF.
7. To exit, press the MENU button.
M.REC MODE
INITIAL CLOCK SET
WL.REMOTE
BEEP SOUND
SHUT.SOUND
DEMO
CAMERA
A/V
MEMORY
VIEWER
M.REC MODE
INITIAL SET
CLOCK SET
WL.REMOTE
BEEP SOUND
SHUTTER SOUND
DEMONSTRATION
00654B SCD30-SEA (28~59) 4/5/03 10:37 AM Page 40

ENGLISH
Advanced Recording
4141
●
DEMONSTRATION
✤Demonstration automatically shows you the major functions that are included with your camcorder so that you may use
them more easily.
✤The DEMONSTRATION function may only be used in the CAM mode without a tape inserted in the camcorder.
✤The demonstration operates repeatedly until the DEMONSTRATION mode switched OFF.
1. Set the camcorder to CAM mode.
2. Press the MENU button.
■
The menu list will appear.
3. Move the MENU SELECTOR to highlight INITIAL.
4. Select DEMONSTRATION from the submenu and push the MENU SELECTOR.
5. To activate the DEMONSTRATION, set DEMONSTRATION ON.
■
Press the menu button to quit the menu.
■
The demonstration will begin.
6. To end the DEMONSTRATION, set the DEMONSTRATION to OFF.
Notes
■
The DEMONSTRATION function only works without a TAPE installed.
■
The DEMONSTRATION mode is automatically activated when the camcorder is left idle for more than 10 minutes after
switching to the CAM mode (no tape is inserted in the camcorder).
■
If you press other buttons (FADE, BLC, PHOTO, EASY) during the DEMONSTRATION mode,
the DEMONSTRATION stops temporarily and resumes 10 minutes later if you do not operate any other functions.
■
While setting the NITE PIX to ON, the DEMONSTRATION function does not work.
CAM MODE
INITIAL CLOCK SET
WL. REMOTE
BEEP SOUND
SHUT. SOUND
DEMO
CAMERA
A/V
MEMORY
VIEWER
CAM MODE
INITIAL SET
CLOCK SET
WL.REMOTE
DEMONSTRATION
BEEP SOUND
SHUTTER SOUND
00654B SCD30-SEA (28~59) 4/5/03 10:37 AM Page 41

ENGLISH
Advanced Recording
4242
●
PROGRAM AE
✤The PROGRAM AE function works in CAM mode only.
✤The PROGRAM AE mode allows you to adjust shutter speeds and apertures to suit different recording conditions.
✤They give you creative control over the depth of field.
■
AUTO mode
- Auto balance between the subject and the background.
- To be used in normal conditions.
- The shutter speed automatically varies from 1/60 to 1/250 per second, depending on the scene.
■
SPORTS mode ( )
- For recording people or objects moving quickly.
■
PORTRAIT mode ( )
- For focusing on the background of the subject, when the background is out of focus.
- The PORTRAIT mode is most effective when used outdoors.
- The shutter speed automatically varies from 1/60 to 1/1000 per second.
■
SPOTLIGHT mode ( )
- For recording correctly when there is only light on the subject and not the rest of the picture.
■
SAND/SNOW mode ( )
- For recording when people or objects are darker than the background because of reflected light from sand or snow.
■
High S. SPEED(High Shutter Speed) mode ( )
- For recording fast-moving subjects such as players in golf or tennis games.
00654B SCD30-SEA (28~59) 4/5/03 10:37 AM Page 42

ENGLISH
Advanced Recording
4343
Setting the PROGRAM AE
1. Press the MENU button.
■
The menu list will appear.
2. Move the MENU SELECTOR to highlight CAMERA and push
the MENU SELECTOR.
3. Select PROGRAM AE from the submenu.
4. Push the MENU SELECTOR to enter the sub-menu.
5. Using the MENU SELECTOR, select the PROGRAM AE mode.
■
Push the MENU SELECTOR to confirm the PROGRAM AE
mode.
6. To exit, press the MENU button.
Notes
■
While setting the NITE PIX to ON, the PROGRAM AE function does not work.
■
The P.AE function will not operate in EASY mode.
CAM MODE
PROGRAM AE
AUTO
SPORTS
PORTRAIT
SPOTLIGHT
SAND / SNOW
HIGH S. SPEED
CAMERA SET
CAM MODE
PROGRAM AE
WHT. BALANCE
D.ZOOM
DIS
DSE SELECT
CAMERA SET
CAM MODE
INITIAL PROGRAM AE
WHT. BALANCE
D.ZOOM
DIS
DSE SELECT
CAMERA
A/V
MEMORY
VIEWER
00654B SCD30-SEA (28~59) 4/5/03 10:37 AM Page 43

ENGLISH
Advanced Recording
4444
●
WHT. BALANCE (WHITE BALANCE)
✤The WHITE BALANCE function works in CAM or M.REC mode only.
✤The WHITE BALANCE is a recording function that preserves the unique color of the object in any recording condition.
✤You may select the appropriate WHITE BALANCE mode to obtain good quality image color.
■
AUTO ( ) : This mode is generally used to control the WHITE BALANCE automatically.
■
HOLD ( ) :This fixes the current WHITE BALANCE value.
■
INDOOR ( ) : This controls the WHITE BALANCE according to the indoor ambience.
- Under halogen or studio/video lighting
- Subject is of one dominant color
- Close ups
■
OUTDOOR ( ) : This controls the WHITE BALANCE according to the outdoor
ambience.
- In daylight, especially for close ups and where the subject is of one dominant color.
1. Set the camcorder to CAM mode.
2. Press the MENU button.
■
The menu list will appear.
3. Move the MENU SELECTOR to highlight CAMERA and push the MENU SELECTOR.
4. Select WHT.BALANCE from the submenu.
5. Push the MENU SELECTOR to enter the sub-menu.
6. Using the MENU SELECTOR, select the WHITE BALANCE mode.
■
Push the MENU SELECTOR to confirm the WHITE BALANCE mode.
7. To exit, press the MENU button.
Notes
■
When NITE PIX is set to ON, the WHT.BALANCE function does not work.
■
The WHT.BALANCE function will not operate in EASY mode.
■
Turn the digital zoom off (if necessary) to set a more accurate white balance.
■
Reset the white balance if lighting conditions change.
■
During normal outdoor recording, setting to AUTO may provide better results.
CAM MODE
PROGRAM AE
WHT. BALANCE
D.ZOOM
DIS
DSE SELECT
CAMERA SET
CAM MODE
INITIAL PROGRAM AE
WHT. BALANCE
D.ZOOM
DIS
DSE SELECT
CAMERA
A/V
MEMORY
VIEWER
CAM MODE
AUTO
HOLD
WHT. BALANCE
INDOOR
OUTDOOR
CAMERA SET
00654B SCD30-SEA (28~59) 4/5/03 10:37 AM Page 44

ENGLISH
Advanced Recording
4545
Zooming In and Out with DIGITAL ZOOM
✤Digital Zoom works in CAM mode only.
Zooming In and Out
✤Zooming is a recording technique that lets you change the size of the subject in a scene.
For more professional looking recordings, do not use the zoom function too often.
✤You can zoom using variable zoom speeds.
✤Use these features for different shots. Please note that over-use
of the zoom feature can lead to unprofessional looking results and a reduction of battery usage time.
1. Move the zoom lever slightly for
a gradual zoom, move it further for
a high-speed zoom.
Your zooming is monitored on the OSD.
2. T(Telephoto) side: Subject appears closer.
3. W(Wide angle) side: Subject appears
farther away.
Notes
You can record a subject that is a minimum of 1 m (about 3.2 feet) away from the lens surface in the TELE position,
or about 10 mm (about 0.5 inch) away in the WIDE position.
TELE
WIDE
1-1 1-2
00654B SCD30-SEA (28~59) 4/5/03 10:37 AM Page 45

ENGLISH
Advanced Recording
4646
Digital Zoom
✤Zooming more than 10x is achieved digitally.
✤The picture quality may deteriorate depending on how
much you zoom in on the subject.
✤We recommend that you use the DIS feature with DIGITAL ZOOM for picture stability. (see page 47)
1. Set the camcorder to CAM mode.
2. Press the MENU button.
■
The menu list will appear.
3. Move the MENU SELECTOR to CAMERA and push the MENU SELECTOR.
4. Select D.ZOOM from the submenu.
5. Push the MENU SELECTOR to setup the 100x, 200x, 400x, 800x digital zoom function or
to turn the feature OFF.
6. To exit, press the MENU button.
CAM MODE
PROGRAM AE
WHT. BALANCE
D.ZOOM
DIS
DSE SELECT
CAMERA SET
CAM MODE
D . ZOOM
OFF
100x
200x
400x
800x
CAMERA SET
CAM MODE
INITIAL PROGRAM AE
WHT. BALANCE
D.ZOOM
DIS
DSE SELECT
CAMERA
A/V
MEMORY
VIEWER
00654B SCD30-SEA (28~59) 4/5/03 10:37 AM Page 46

ENGLISH
Advanced Recording
4747
●
DIS (Digital Image Stabilizer)
✤The DIS function works in CAM mode only.
✤DIS (Digital Image Stabilizer) is a function that compensates for any shaking or hand movement while holding the
camcorder (within reasonable limits).
✤It provides more stable pictures when:
■
Recording with the zoom
■
Recording a small object close-up
■
Recording and walking at the same time
■
Recording through the window of a vehicle
1. Set the camcorder to CAM mode.
2. Press the MENU button.
■
The menu list will appear.
3. Move the MENU SELECTOR highlight to CAMERA and push the MENU SELECTOR.
■
The sub menu list will appear.
4. Move the MENU SELECTOR to activate the DIS function, push the MENU SELECTOR.
■
The DIS menu is changed to ON.
■
If you do not want to use the DIS function, set the DIS menu to OFF.
5. To exit, press the MENU button.
Notes
■
It is recommended that you deactivate the shake compensation function when using a tripod.
■
If you use the DIS function, the picture quality may deteriorate
CAM MODE
INITIAL PROGRAM AE
WHT. BALANCE
D.ZOOM
DIS
DSE SELECT
CAMERA
A/V
MEMORY
VIEWER
CAM MODE
PROGRAM AE
WHT. BALANCE
D.ZOOM
DIS
DSE SELECT
CAMERA SET
00654B SCD30-SEA (28~59) 4/5/03 10:37 AM Page 47

ENGLISH
Advanced Recording
4848
●
DSE(Digital Special Effects) SELECT
✤The DSE function works in CAM mode only.
✤The digital effects enable you to give a creative look to your recording by adding various special effects.
✤Select the appropriate digital effect for the type of picture that you wish to record and the effect you wish to create.
✤There are 9 DSE modes.
a. ART mode
This mode gives the images a coarse effect.
b. MOSAIC mode
This mode gives the images a mosaic effect.
c. SEPIA mode
This mode gives the images a reddish-brown pigment.
d. NEGA mode
This mode reverses the colors of the images, creating a negative image.
e. MIRROR mode
This mode cuts the picture in half, using a mirror effect.
f. BLK & WHT mode
This mode changes the images to black and white.
g. EMBOSS mode
This mode creates a 3D effect (embossing).
h. CINEMA mode
This mode covers the upper/lower portions of the screen to give a cinematic effect.
i. MAKE - UP mode
This mode allows the images to be selected in red, green, blue or yellow colors.
b
dc
e f
h
g
i
a
00654B SCD30-SEA (28~59) 4/5/03 10:37 AM Page 48

ENGLISH
Advanced Recording
4949
Selecting an effect
1. Set the camcorder to CAM mode.
2. Press the MENU button.
■
The menu list will appear.
3. Move the MENU SELECTOR to highlight CAMERA and push the MENU SELECTOR.
4. Select DSE SELECT from the submenu.
5. Push the MENU SELECTOR to enter the sub-menu.
6. Using MENU SELECTOR, select the DSE mode.
■
Push the MENU SELECTOR to confirm the DSE mode.
7. To exit, press the MENU button.
Notes
■
While setting the NITE PIX to ON, the DSE function does not work.
■
The DSE function will not operate in EASY mode.
CAM MODE
PROGRAM AE
WHT. BALANCE
D.ZOOM
DIS
DSE SELECT
CAMERA SET
CAM MODE
INITIAL PROGRAM AE
WHT. BALANCE
D.ZOOM
DIS
DSE SELECT
CAMERA
A/V
MEMORY
VIEWER
CAM MODE
DSE SELECT
OFF
ART
MOSAIC
SEPIA
CAMERA SET
NEGA
MIRROR
BLK&WHT
00654B SCD30-SEA (28~59) 4/5/03 10:37 AM Page 49

ENGLISH
5050
Advanced Recording
●
REC MODE
✤The REC MODE function works in both CAM and PLAYER (SCD34/D39 only) modes.
✤This camcorder records and plays back in SP (standard play) mode and in LP (long play) mode.
■
SP (standard play): This mode permits 60 minutes of recording time with a DVM60 tape.
■
LP (long play): This mode permits 90 minutes of recording time with a DVM60 tape.
■
See AV IN/OUT select on page 76.
1. Set the camcorder to CAM or PLAYER mode.
2. Press the MENU button.
■
The menu list will appear.
3. Move the MENU SELECTOR to highlight A/V and push the MENU SELECTOR.
4. Select REC MODE from the submenu and push the MENU SELECTOR.
■
The REC MODE toggles between SP and LP with each press.
5. To exit, press the MENU button.
Notes
■
We recommend that you use this camcorder to play back any tapes recorded on this camcorder.
Playing back a tape recorded in other equipment may produce mosaic shaped distortion.
■
When you record a tape in SP and LP modes, or LP mode only, the playback picture may be distorted or the time code
may not be written properly between scenes.
■
Record using SP mode for best picture and sound quality.
CAM MODE
INITIAL
WIND CUT
PB DSE
AV IN/OUT
REC MODE
PHOTO SEARCH
COPY
AUDIO MODE 12
AUDIO SELECT
CAMERA
A/V
MEMORY
VIEWER
OUT
CAM MODE
REC MODE
PHOTO SEARCH
PHOTO COPY
AUDIO MODE 12
SOUND1
AUDIO SELECT
WIND CUT
A / V SET
PB DSE OUT
AV IN/OUT
00654B SCD30-SEA (28~59) 4/5/03 10:37 AM Page 50

ENGLISH
5151
Advanced Recording
●
AUDIO MODE
✤The AUDIO MODE function works in CAM and PLAYER (SCD34/D39 only) modes.
✤This camcorder records sound in two ways. (12bit, 16bit)
■
12bit : You can record two 12bit stereo sound tracks.
The original stereo sound can be recorded onto the MAIN (SOUND1) track.
Additional stereo sound can be dubbed onto the SUB (SOUND2) track.
■
16bit : You can record one high quality stereo sound using the 16bit recording mode.
Audio dubbing is not possible when using this mode.
1. Set the camcorder to CAM mode.
2. Press the MENU button.
■
The menu list will appear.
3. Move the MENU SELECTOR to highlight A/V and push the MENU SELECTOR.
4. Select the AUDIO MODE from the menu and push the MENU SELECTOR.
■
The AUDIO MODE toggles between 12bit-16bit with each push.
5. To exit, press the MENU button.
CAM MODE
REC MODE
PHOTO SEARCH
PHOTO COPY
AUDIO MODE 12
SOUND1
AUDIO SELECT
WIND CUT
A / V SET
PB DSE OUT
AV IN/OUT
CAM MODE
INITIAL
WIND CUT
PB DSE
REC MODE
PHOTO SEARCH
COPY
AUDIO MODE 12
AV IN/OUT OUT
AUDIO SELECT
CAMERA
A/V
MEMORY
VIEWER
00654B SCD30-SEA (28~59) 4/5/03 10:37 AM Page 51

ENGLISH
5252
Advanced Recording
●
WIND CUT
✤The WIND CUT function works in CAM and PLAYER (SCD34/D39 only) modes.
✤The WIND CUT function minimizes wind noise or other noise while recording.
- When the wind cut is on, some low sounds are eliminated along with the sound of the wind.
1. Set the camcorder to CAM mode.
2. Press the MENU button.
■
The menu list will appear.
3. Move the MENU SELECTOR to highlight A/V and push the MENU SELECTOR.
4. Select WIND CUT from submenu.
5. This feature toggles ON/OFF each time you push the MENU SELECTOR.
■
is shown in the display when you turn the WIND CUT on.
6. To exit, press the MENU button.
Notes
■
Make sure WIND CUT is set to off when you want the microphone to be as sensitive as possible.
■
Use the WIND CUT when recording in windy places such as the beach or near buildings.
CAM MODE
REC MODE
PHOTO SEARCH
PHOTO COPY
AUDIO MODE 12
SOUND1
AUDIO SELECT
WIND CUT
A / V SET
PB DSE OUT
AV IN/OUT
CAM MODE
INITIAL
WIND CUT
PB DSE
REC MODE
PHOTO SEARCH
COPY
AUDIO MODE 12
AV IN/OUT OUT
AUDIO SELECT
CAMERA
A/V
MEMORY
VIEWER
00654B SCD30-SEA (28~59) 4/5/03 10:37 AM Page 52

ENGLISH
5353
Advanced Recording
●
DATE/TIME
✤The DATE/TIME function works in CAM, PLAYER, M.REC and M.PLAY modes.
✤The date and time are automatically recorded on a special data area of the tape.
1. Press the MENU button.
■
The menu list will appear.
2. Move the MENU SELECTOR to highlight VIEWER and push the MENU SELECTOR.
3. Move the MENU SELECTOR to highlight DATE/TIME.
4. Push the MENU SELECTOR to select the sub-menu.
5. Using the MENU SELECTOR, select the DATE/TIME mode.
■
You can choose to display - the OFF, DATE, TIME, DATE/TIME
- OFF
- DATE only
- TIME only
- DATE & TIME
■
To return to the previous menu, highlight the DATE/TIME in the middle of the and
push the MENU SELECTOR.
6. To exit, press the MENU button.
Notes
■
The DATE/TIME is not affected by the OSD ON/OFF (DISPLAY) button.
■
The DATE/TIME will read “- - -” in the following conditions.
- During playback of a blank section of a tape.
- If the tape was recorded before setting the DATE/TIME in the Camera’s memory.
- When the lithium battery becomes weak or dead.
■
Before you can use the DATE/TIME function, you must set the Clock.
See CLOCK SET on page 37.
CAM MODE
VIEWER SET
LCD ADJUST
DATE / TIME
TV DISPLAY
CAM MODE
INITIAL
LCD ADJUST
DATE / TIME
TV DISPLAY
CAMERA
A/V
MEMORY
VIEWER
CAM MODE
DATE / TIME
VIEWER SET
DATE
TIME
DATE&TIME
00654B SCD30-SEA (28~59) 4/5/03 10:37 AM Page 53

ENGLISH
5454
Advanced Recording
●
TV DISPLAY
✤The TV DISPLAY function works in CAM, PLAYER, M.REC and M.PLAY modes.
✤You can select the output path of the OSD (On Screen Display).
■
OFF: The OSD appears in the LCD screen only.
■
ON: The OSD appears in the LCD screen, View Finder and TV.
■
Use the DISPLAY button located at the left side of the camcorder to turn ON/OFF all of the OSD displayed on the
LCD/View Finder/TV.
1. Set the camcorder to CAM, PLAYER, M.REC and M.PLAY mode.
2. Press the MENU button.
■
The menu list will appear.
3. Move the MENU SELECTOR to highlight VIEWER and push the MENU SELECTOR.
4. Select the TV DISPLAY mode in list, push the MENU SELECTOR.
■
The DISPLAY mode switches between ON/OFF with each push.
5. To exit, press the MENU button.
CAM MODE
VIEWER SET
LCD ADJUST
DATE / TIME
TV DISPLAY
CAM MODE
INITIAL
LCD ADJUST
DATE / TIME
TV DISPLAY
CAMERA
A/V
MEMORY
VIEWER
00654B SCD30-SEA (28~59) 4/5/03 10:37 AM Page 54

ENGLISH
5555
Advanced Recording
✤Quick menu is available only in CAM and M.REC mode.
✤Quick menu is used to adjust camera functions by simply using the MENU SELECTOR button.
This feature is useful for when you want to make simple adjustments without having to access the menus and submenus.
■
DATE/TIME
- Each time you select DATE/TIME and push the MENU SELECTOR, it will be displayed in the
order of DATE - TIME - DATE/TIME - OFF. (see page 53)
■
WL.REMOTE( )
- Each time you select WL.REMOTE and push the MENU SELECTOR, the WL.REMOTE is
switched to either enabled ( )or disabled ( ).
■
DIS( )
- Each time you select DIS and push the MENU SELECTOR, the DIS icon is displayed or set to OFF.
■
DSE(Digital Special Effect) (see page 48)
- Each time you select DSE and push the MENU SELECTOR, the DSE preset values are applied or set to OFF.
DSE values will not switch between On and Off if they have not been preset in the menu.
■
PROGRAM AE (see page 42)
- Each time you select PROGRAM AE and push the MENU SELECTOR, you can choose between the preset PROGRAM
AE values and AUTO. You can’t choose between Auto and the PROGRAM AE values if the values have not been preset
in the regular menu.
Using Quick Menu(Navigation Menu)
MIRROR
1 2 : 0 0 A M
J A N . 1 0 , 2 0 0 3
00654B SCD30-SEA (28~59) 4/5/03 10:37 AM Page 55

ENGLISH
Advanced Recording
5656
■WHT. BALANCE (see page 44)
- Each time you select WHT. BALANCE and push the MENU SELECTOR, you can choose between
preset WHT.BALANCE values and AUTO. As in PROGRAM AE, you can't choose between
Auto and WHT.BALANCE values it they have not been preset.
■FOCUS (Manual Focus/Auto Focus) (see page 60)
- Each time you select FOCUS and push the MENU SELECTOR, the FOCUS is switched to either Manual Focus (MF) or
Auto Focus ( ).
■SHUTTER SPEED & EXPOSURE
- You can set values for SHUTTER SPEED and EXPOSURE by selecting ( ) icon and pushing the MENU SELECTOR.
For more information, see the next chapter.
Setting the Quick menu
1. Set the camcorder to CAM mode.
2. Move the MENU SELECTOR to select a function you want and then push
the MENU SELECTOR to change the values.
Notes
■
Quick menu function will not operate in EASY mode.
■
If you are using the M.FOCUS(MF) function,
you cannot use the Quick menu.
If you want to use the Quick menu function,
release the M.FOCUS(MF) mode.
SHUTTER
EXPOSURE
0 : 0 0 : 0 0
1 2 : 0 0 A M
J A N . 1 0 , 2 0 0 3
STBY
MIRROR
WL.REMOTE
DSE
PROGRAM AE
WHT. BALANCE
FOCUS
SHUTTTER
EXPOSURE
DIS
DATE/TIME
00654B SCD30-SEA (28~59) 4/5/03 10:37 AM Page 56

ENGLISH
5757
Advanced Recording
SHUTTER SPEED & EXPOSURE
✤You can set SHUTTER SPEED and EXPOSURE only in CAM mode.
✤SHUTTER SPEED and EXPOSURE values can only be set in the Quick Menu.
✤SHUTTER SPEED and EXPOSURE are automatically switched and/or deactivated.
1. Set the power switch to CAM mode.
2. Move the MENU SELECTOR until you see icon( ) on, and then push the MENU SELECTOR.
■
You see a screen on which you can select SHUTTER SPEED and EXPOSURE.
■
Move the MENU SELECTOR to select the item you want and then push the MENU SELECTOR.
■
SHUTTER SPEED can be set to 1/60, 1/100, 1/250, 1/500, 1/1000, 1/2000, 1/4000 or 1/10000.
■
EXPOSURE can be set between 00 and 29.
3. To exit from the setting screen, select the icon( ) and push the MENU SELECTOR.
Recommended Shutter speeds when recording
✤Outdoor sports such as golf or tennis : 1/2000 or 1/4000.
✤Moving cars or trains or other rapidly moving vehicles such as roller coasters : 1/1000, 1/500 or 1/250
✤Indoor sports such as basketball : 1/100
Notes
■
If you want to use the selected shutter speed and exposure value, you should begin the recording with
the shutter speed and the exposure adjustment screens displayed on the LCD.
■
If you manually change the shutter speed and the exposure value when Auto-exposure option is selected,
manual changes are applied first.
■
The image may not seem as smooth when a high shutter speed is set.
■
The camcorder returns to the auto shutter setting and auto exposure setting when you set the NITE PIX to ON,
or change to the EASY, SLOW SHUTTER modes.
■
When recording with a SHUTTER SPEED of 1/1000 or higher, make sure the sun is not shining into the lens.
00654B SCD30-SEA (28~59) 4/5/03 10:37 AM Page 57

ENGLISH
5858
Advanced Recording
✤The SLOW SHUTTER function works in CAM mode only.
✤The shutter speed can be controlled, allowing you to record slow moving objects.
1. Set the power switch to CAM mode.
2. Press the SLOW SHUTTER button.
3. Each time you press the SLOW SHUTTER button, SHUTTER SPEED is changed to
1/30, 1/15, 1/8, off.
4. To exit, press the SLOW SHUTTER button.
Notes
■
When using "SLOW SHUTTER" the image takes on a slow motion like effect.
■
The SLOW SHUTTER function will not operate with EASY mode.
SLOW SHUTTER (Low Shutter Speed)
00654B SCD30-SEA (28~59) 4/5/03 10:37 AM Page 58

ENGLISH
Advanced Recording
5959
✤The EASY mode allows a beginner to easily make good recordings.
■
The EASY mode only operates in CAM mode.
1. Set the power switch to CAM mode.
2. By pressing the EASY button, all functions on the camera will be set to off and
the recording settings will be set to the following basic modes:
■
Battery level, recording mode, counter, DATE/TIME, and DIS ( ) will be displayed.
■
The word “EASY.Q” will appear on the LCD at the same time.
However, the DATE/TIME will only be seen if it has been previously set. (see page 53)
3. Press START/STOP to start recording.
■
Recording will begin using the basic automatic settings.
4. Pressing the EASY button again in the STBY mode and then turns the EASY mode off.
■
The EASY function will not turn off when you have recording.
■
The camera will return to the settings that were set prior to activating EASY mode.
Notes
■
In EASY mode, certain functions are not available, such as MENU, BLC, MF/AF.
- If you want to use these functions, you must first switch the EASY mode off.
■
The EASY mode settings are deleted when the battery pack is uninstalled from the camcorder and
therefore, they must be reset when a battery pack has been replaced.
EASY Mode (for Beginners)
0 : 0 0 : 0 0
1 2 : 0 0 A M
J A N . 1 0 , 2 0 0 3
STBY
EASY
5 5 min
00654B SCD30-SEA (28~59) 4/5/03 10:37 AM Page 59

✤The MF/AF function works in CAM, M.REC mode only.
✤In most situations, it is better to use the automatic focus
feature, as it enables you to concentrate on the creative side of your recording.
✤Manual focusing may be necessary under certain conditions that make automatic focusing difficult
and/or unreliable.
Auto Focusing
✤If you are inexperienced in the use of camcorders, we recommend that you make
use of Auto Focus.
Manual Focusing
✤In the following cases you may obtain better results by adjusting the focus manually.
a. A picture containing several objects, some close to the camcorder,
others further away.
b. A person enveloped in fog or surrounded by snow.
c. Very shiny or glossy surfaces like a car.
d. People or objects moving constantly or quickly like an athlete or a crowd.
1. Set the power switch to CAM mode.
2. Move the MENU SELECTOR up or down until the FOCUS is highlighted and then
push the MENU SELECTOR.
■
M. FOCUS(MF) will display.
3. Move the MENU SELECTOR up or down until the object is in focus.
■
Zoom out a little if focusing is difficult.
4. To return to AF(Auto Focus: ), push the MENU SELECTOR again.
ENGLISH
Advanced Recording
6060
MF/AF (Manual Focus/Auto Focus)
VOL/MF
1
a
c
b
d
2
MF
0 : 0 0 : 0 0
5 3 min
1 2 : 0 0 A M
J A N . 1 0 , 2 0 0 3
STBY
3
M. FOCUS
00654B SCD30-SEA (60~107) 4/5/03 10:34 AM Page 60

ENGLISH
Advanced Recording
6161
✤BLC works in CAM/M.REC mode.
✤Back lighting exists when the subject is darker than the background:
■
The subject is in front of a window.
■
The person to be recorded is wearing white or shiny clothes and
is placed against a bright background; the person’s face is too dark to
distinguish his/her features.
■
The subject is outdoors and the background is overcast.
■
The light sources are too bright.
■
The subject is against a snowy background.
1. Set the power switch to CAM mode.
2. Press the BLC button.
■
Normal - BLC - Normal
■
BLC enhances the subject.
Notes
■
While setting the NITE PIX to ON, the BLC function does not work.
■
The BLC function will not operate in EASY mode.
* BLC on* BLC off
BLC (Back Light Compensation)
BLC
00654B SCD30-SEA (60~107) 4/5/03 10:34 AM Page 61

ENGLISH
Advanced Recording
6262
✤The FADE function works in CAM mode only.
✤You can give your recordings a professional look by using
special effects such as fading in at the beginning of a
sequence or fading out at the end of a sequence.
To Start Recording
1. Before recording, hold down the FADE button.
The picture and sound gradually disappear (fade out).
2. Press the START/STOP button and at the same time release
the FADE button. Recording starts and the picture and
sound gradually appear (fade in).
To Stop Recording (use FADE IN / FADE OUT)
3. When you wish to stop recording, hold down the
FADE button. The picture and sound gradually
disappear (fade out).
4. When the picture has disappeared,
press the START/STOP button to stop recording.
a. FADE OUT (Approx. 4 seconds)
b. FADE IN (Approx. 4 seconds)
Fade In and Out
Gradual appearance b. FADE IN Release the FADE button
FADE
FADE
➔
➔
REC
0:00:15
REC
0:00:15
STBY
0:00:20
➔
➔
➔
➔
STBY
0:00:00
➔
➔
Press the FADE button a. FADE OUT Gradual disappearance
00654B SCD30-SEA (60~107) 4/5/03 10:34 AM Page 62

ENGLISH
Advanced Recording
6363
✤The AUDIO DUBBING function only works in PLAYER Mode.
✤You can add sound to the original sound on a pre-recorded tape, recorded in SP mode with 12bit sound.
✤Use the internal and external microphones or other audio equipment.
✤The original sound will not be erased.
Dubbing sound
1. Set the camcorder to PLAYER mode.
■
If you want to use an external microphone, connect the microphone to
the external MIC input jack on the camcorder.
■
When you wish to dub using the External A/V input, connect the
Multi-AV cable to the camcorder by inserting the Multi-AV cable into the
Multi-AV Jack at the front side of the camcorder.
(SCD34/D39 only)
- Press the MENU button, move the MENU SELECTOR to highlight A/V
and push the MENU SELECTOR.
- Move the MENU SELECTOR to highlight AV IN/OUT and
push the MENU SELECTOR to select AV IN/OUT.
- Move the MENU SELECTOR to highlight AV IN(or S-VIDEO IN) and push
the MENU SELECTOR to select AV IN(or S-VIDEO IN).
2. Press the (PLAY/STILL) button and find the timeframe of the scene to
be dubbed.
3. Press the (PLAY/STILL) button to pause the scene.
4. Press the A.DUB button on the Remote Control.
■
A.DUB will be displayed on the LCD.
■
The camcorder is in a ready-to-dub state for dubbing.
5. Press the (PLAY/STILL) button to start dubbing.
■
Press the (STOP) button to stop the dubbing.
Notes (SCD34/D39 only)
■
You can not use the audio dubbing function while playing a write protected video tape.
■
When you wish to dub using the External A/V input, you must connect the Multi-AV cable to the audio system from which you
wish to record.
■
You can not dub sound on a pre-recorded tape in LP mode or 16 bit mode.
Audio dubbing
AV IN
Audio (R)
Audio (L)
(SCD34/D39 only)
00654B SCD30-SEA (60~107) 4/5/03 10:34 AM Page 63

ENGLISH
Advanced Recording
6464
Dubbed audio Playback
1. Insert the dubbed tape and press MENU button.
2. Move the MENU SELECTOR to highlight A/V.
3. Push the MENU SELECTOR to enter the sub-menu.
4. Use the MENU SELECTOR to select AUDIO SELECT from the submenu.
5. Push the MENU SELECTOR to enter the sub-menu.
6. Using the MENU SELECTOR, select the AUDIO playback channel.
■
Push the MENU SELECTOR to confirm the audio playback channel.
- SOUND1 : play the original sound.
- SOUND2 : play the dubbed sound.
- MIX(1+2) : play back SOUND1 and 2 equally mixed.
7. To exit, press the MENU button.
8. Press the (PLAY/STILL) button to playback the dubbed tape.
Note
When you playback added sound (SOUND2 or MIX mode), you may experience loss of sound quality.
PLAYER MODE
A / V SET
AUDIO SELECT
SOUND [ 1 ]
SOUND [ 2 ]
MIX [ 1 + 2 ]
PLAYER MODE
REC MODE
PHOTO SEARCH
PHOTO COPY
AUDIO MODE 12
SOUND1
AUDIO SELECT
WIND CUT
A / V SET
PB DSE OUT
AV IN/OUT
00654B SCD30-SEA (60~107) 4/5/03 10:34 AM Page 64

ENGLISH
Advanced Recording
6565
1. Press the PHOTO button lightly (about halfway down) and hold it.
■
The still picture appears on the LCD monitor.
■
If you do not wish to record, release the button.
2. Press the PHOTO button fully down.
■
The still picture is recorded for about 6~7 seconds.
3. After the PHOTO has been recorded, the camcorder returns to STBY mode.
Searching for a PHOTO picture
✤The PHOTO SEARCH works in PLAYER mode only.
1.
■
Press the MENU button. (or press the PHOTO SEARCH button on the remote control.)
■
The MENU list will appear.
2. Move the MENU SELECTOR to highlight A/V.
3. Push the MENU SELECTOR to enter the sub-menu.
4. Select PHOTO SEARCH from the sub-menu and push the MENU SELECTOR.
5. Search the PHOTO using the (FF) and (REW) buttons.
■
The PHOTO search process appears on the LCD while you are searching.
■
After completing the search, the camcorder displays the still image.
6. To exit, press the (STOP) button.
PLAYER MODE
INITIAL
WIND CUT
PB DSE
REC MODE
PHOTO SEARCH
COPY
AUDIO MODE 12
AUDIO SELECT
CAMERA
A/V
MEMORY
VIEWER
AV IN/OUT OUT
PLAYER MODE
REC MODE
PHOTO SEARCH
PHOTO COPY
AUDIO MODE 12
SOUND[1]
AUDIO SELECT
WIND CUT
A / V SET
PB DSE OUT
AV IN/OUT
PHOTO Image Recording
PHOTO
00654B SCD30-SEA (60~107) 4/5/03 10:34 AM Page 65

ENGLISH
Advanced Recording
6666
✤The NITE PIX function works in CAM/M.REC mode.
✤The NITE PIX function enables you to record a subject in darkness.
1. Set the camcorder to CAM mode.
2. Slide the NITE PIX switch to ON.
■
(NITE PIX indicator) appears on the LCD monitor.
■
The infrared(invisible rays) light is turned on automatically.
3. To cancel the NITE PIX function, slide the NITE PIX switch to OFF.
Notes
■
The maximum recording distance using the infrared light is about 3 m (about 10 feet).
■
If you use the NITE PIX function in normal recording situations (ex. outdoors by day),
the recorded picture may be tinted green.
■
In the NITE PIX mode, certain functions are not available, such as White Balance, Program AE, DSE, BLC.
■
If focusing is difficult with the auto focus mode when using the NITE PIX function, focus manually.
NITE PIX (0 lux recording)
NITE
PIX
NITE PIX
0 : 0 0 : 0 0
6 0 min
STBY
00654B SCD30-SEA (60~107) 4/5/03 10:34 AM Page 66

ENGLISH
Advanced Recording
6767
✤The POWER NITE PIX function works in CAM mode.
✤The POWER NITE PIX function can record a subject more brightly in darkness than the NITE PIX function.
✤A POWER NITE PIX is displayed for three seconds by LCD if you press a SLOW SHUTTER button in state that
a NITE PIX switch is turned on.
✤When you work in POWER NITE PIX mode, POWER NITE PIX icon appears on the LCD continuously.
1. Set the camcorder to CAM mode.
2. Turn on the NITE PIX switch, and then press the SLOW SHUTTER button.
3. Press the SLOW SHUTTER button to set shutter speed. The SLOW SHUTTER function
enables you to record a subject more brightly.
4. When using POWER NITE PIX the image takes on a slow motion like effect.
5. To cancel the POWER NITE PIX function, press the SLOW SHUTTER button
to set to “off ” and then turn off the NITE PIX switch.
Notes
■
The maximum recording distance using the infrared light is about 3 m (about 10 feet).
■
If you use the POWER NITE PIX function in normal recording situations (ex. outdoors by day),
the recorded picture may contain unnatural colors.
■
In the POWER NITE PIX mode, certain functions are not available, such as White Balance, Program AE, DSE, BLC.
■
When the subject is too bright, press the SLOW SHUTTER button (1/8 ➝1/30) to obtain better quality recordings.
POWER NITE PIX
POWER NITE PIX
1 2 : 0 0 A M
J A N . 1 0 , 2 0 0 3
NITE
PIX
00654B SCD30-SEA (60~107) 4/5/03 10:34 AM Page 67

ENGLISH
6868
Advanced Recording
✤In some situations different recording techniques may be required for more dramatic results.
Notes
Please rotate the LCD screen carefully as excessive rotation may cause damage to the inside of the hinge that connects the
LCD screen to the Camcorder.
1. General recording.
2. Downward recording.
Making a recording with a top view of the LCD screen.
3. Upward recording.
Making a recording viewing the LCD screen from below.
4. Self recording.
Making a recording viewing the LCD screen from the front.
5. Recording with the Viewfinder.
■
In circumstances where it is difficult to use the LCD monitor,
the viewfinder can be used as a convenient alternative.
1 2
3
5
4
Various Recording Techniques
00654B SCD30-SEA (60~107) 4/5/03 10:34 AM Page 68

ENGLISH
6969
Playback
✤ The playback function works in PLAYER mode only.
Playback on the LCD
✤ It is practical to view a tape using the LCD when in a car or outdoors.
Playback on a TV monitor
✤ To play back a tape, the television must have a compatible color system.
✤ We recommend that you use the AC Power Adapter as the power source for the camcorder.
Connecting to a TV which has Audio/Video input jacks
1. Connect the camcorder and TV with the Multi-AV cable.
■
The yellow plug : Video
■
The white plug : Audio(L) - Mono
■
The red plug : Audio(R)
- If you connect to a monaural TV or VCR, connect the yellow plug (Video) to
the video input of the TV or VCR and the white plug (Audio L) to the audio
input of the TV or VCR.
✤ You may use the SCART adapter (optional).
2. Set the power switch on the camcorder to PLAYER mode.
3. Turn on the TV and set the TV/VIDEO selector on the TV to VIDEO.
■
Refer to the TV or VCR user’s manual.
4. Play the tape back.
Notes
■
You may use the S-VIDEO plug to obtain better quality pictures if you have a S-VIDEO connector on your TV.
■
Even if you use a S-VIDEO plug, you need to connect an audio cable.
■
If you connect the cable to the Multi-AV Jack, you will not hear sound from the speakers.
Tape Playback
Camcorder
A/V OUT
Video input-
Yellow
Audio input
(left)-White Audio input
(right)-Red
TV
S-VIDEO input
00654B SCD30-SEA (60~107) 4/5/03 10:34 AM Page 69

ENGLISH
7070
Playback
Connecting to a TV which has no Audio and Video input jacks
✤You can connect your camcorder to a TV through a VCR.
1. Connect the camcorder and VCR with the Multi-AV cable.
■
The yellow plug : Video
■
The white plug : Audio(L)
■
The red plug : Audio(R) - STEREO only
2. Connect a TV to the VCR.
3. Set the power switch on the camcorder to PLAYER mode.
4. Turn on both the TV and VCR.
■
Set the input selector on the VCR to LINE.
■
Select the channel reserved for your VCR on the TV set.
5. Play the tape back.
Playback
✤You can play the recorded tape in PLAYER mode.
1. Connect a power source and set the power switch to PLAYER mode.
2. Insert the tape you wish to play back.
3. Using the (FF) and (REW) buttons, find the first position
you wish to play back.
4. Press the (PLAY/STILL) button.
■
The images you recorded will appear on the TV after a few seconds.
■
If a tape reaches its end while being played back, the tape will rewind automatically.
Note
■
The playback mode (SP/LP) is selected automatically.
ANTENNA
S-VIDEO
A/V OUT
TV
VCR
CAMCORDER
VIDEO
AUDIO(L)
AUDIO(R)
00654B SCD30-SEA (60~107) 4/5/03 10:34 AM Page 70

ENGLISH
7171
Playback
✤The PLAY/STILL, STOP, FF, REW buttons are located on the camcorder and the Remote Control.
✤The F.ADV(Frame advance), X2, SLOW buttons are located on the Remote Control only.
✤To prevent tape and head-drum wear, your camcorder will automatically stop if it is left in STILL or SLOW modes for more
than 5 minutes.
Playback pause
✤Press the (PLAY/STILL) button during Playback.
✤To resume playback, press the (PLAY/STILL) button.
Picture search (Forward/Reverse)
✤Press the (FF) or (REW) buttons once during Playback or Still mode.
To resume normal playback, press the (PLAY/STILL) button.
✤Keep pressing (FF) or (REW) buttons during Playback or Still mode.
To resume normal playback, release the button.
Slow playback (Forward/Reverse)
✤Forward Slow Playback
■
Press the SLOW button on the remote control during Playback.
■
To resume normal playback, press the (PLAY/STILL) button.
✤Reverse Slow Playback
■
Press the (_) button during Forward Slow Play back.
■
To resume forward slow playback, press the (+) button.
■
To resume normal playback, press the (PLAY/STILL) button.
Various Functions while in PLAYER mode
00654B SCD30-SEA (60~107) 4/5/03 10:34 AM Page 71

ENGLISH
7272
Playback
Frame advance (To play back frame by frame)
●
Press the F.ADV button on the Remote Control while in Still mode.
The F.ADV function works in still mode only.
●
To resume normal playback, press the (PLAY/STILL) button.
✤Forward frame advance
■
Press the F.ADV button on the remote control in Still mode.
✤Reverse frame advance
■
Press (_) the button on the remote control to change the direction in
F.ADV mode.
■
Press the F.ADV button on the remote control.
X2 Playback (Forward/Reverse )
✤Forward X2 Playback
■
Press the X2 button on the Remote Control during Playback.
■
To resume normal playback, press the (PLAY/STILL) button.
✤Reverse X2 Playback
■
Press (_) the button during during Forward X2 Playback
■
To resume normal playback, press the (PLAY/STILL) button.
Reverse playback
✤To playback in reverse at normal speed, press the (_) button during normal forward playback.
✤Press the (PLAY/STILL) or (+) button to return to normal forward playback.
Notes
■
Mosaic shaped distortion may appear on the screen while in some of the various playback modes.
- Mosaic shaped distortion or noise may be experienced when you play back tapes recorded in LP which
contain various playback functions.
■
Sound will only be heard during normal SP or LP playback.
00654B SCD30-SEA (60~107) 4/5/03 10:34 AM Page 72

ENGLISH
7373
Playback
✤The MEMORY function works in both CAM and PLAYER modes.
✤You can mark a point on a tape that you want to return to following playback.
1. Press the ZERO MEMORY button on the remote control during playback or recording at the point you wish to return to.
■
The time code is changed to a tape counter that is set to zero memory with the 0:00:00(Zero memory indicator)
■
If you want to cancel the zero memory function, press the ZERO MEMORY button again.
2. Finding the zero position.
■
When you have finished playback, fast forward or rewind the tape.
- The tape stops automatically when it reaches the zero position.
■
When you have finished recording, press the power switch on the PLAYER and press the (REW) button.
- The tape stops automatically when it reaches the zero position.
3. The tape counter with the (Zero memory indicator) disappears from the display and the tape counter is
changed to the time code.
Notes
■
In the following situations, ZERO MEMORY mode may be canceled automatically:
- At the end of the section marked with the ZERO MEMORY function.
- When the tape is ejected.
- When you remove the battery pack or power supply.
■
The zero memory may not function correctly where there is a break between recordings on the tape.
M
M
ZERO MEMORY
00654B SCD30-SEA (60~107) 4/5/03 10:34 AM Page 73

ENGLISH
7474
Playback
✤The PB DSE function works in PLAYER mode.
✤The PB DSE function enables you to apply Digital Special Effect (DSE) to tape playback or still images.
1. Set the camcorder to the PLAYER mode and then Playback a tape.
2. Press the MENU button and move the MENU SELECTOR to highlight A/V.
3. Push the MENU SELECTOR to enter the sub-menu.
4. Select PB DSE from the sub-menu and push the MENU SELECTOR.
5. Push the MENU SELECTOR to enter the sub-menu.
6. Select PB DSE item (off, mirror, mosaic) from the sub-menu and push the MENU SELECTOR.
7. To exit, press the MENU button.
8. To cancel the PB DSE function, set the PB DSE to off or press the STOP button.
Notes
■
You cannot apply the PB DSE function to the pictures which are being input from the external.
■
Once you modify an image using the PB DSE function, it cannot be imported to your PC from the camcorder’s DV jack.
PB DSE (Playback Digital Special Effects)
PLAYER MODE
INITIAL
WIND CUT
PB DSE
REC MODE
PHOTO SEARCH
COPY
AUDIO MODE 12
AUDIO SELECT
CAMERA
A/V
MEMORY
VIEWER
AV IN/OUT OUT
PLAYER MODE
REC MODE
PHOTO SEARCH
PHOTO COPY
AUDIO MODE 12
SOUND1
AUDIO SELECT
WIND CUT
A / V SET
PB DSE OUT
AV IN/OUT
00654B SCD30-SEA (60~107) 4/5/03 10:34 AM Page 74

ENGLISH
7575
Playback
✤The PB ZOOM function works in PLAYER mode.
✤The PB ZOOM function enables you to magnify playback or still image.
1. Press the PB ZOOM button in playback mode or in playback still mode
2. The image is magnified starting from the center of image and the four arrows which
allows you to move the image in the four directions appear.
3. You can zoom in from 1.2x to 8.0x by moving the zoom lever.
4. You can move the image in the arrow directions using the MENU SELECTOR.
5. You can change the arrow direction(vertical, horizontal) to move the image by pushing the
MENU SELECTOR.
6. To cancel the PB ZOOM function, press the PB ZOOM or STOP button.
Notes
■
You cannot apply the PB ZOOM function to the pictures which are being input
from an external video source.
■
The PB ZOOM image cannot be imported to your PC from the camcorder’s DV jack.
PB ZOOM
VOL/MF
00654B SCD30-SEA (60~107) 4/5/03 10:34 AM Page 75

ENGLISH
7676
Recording in PLAYER mode
✤You can use this camcorder as a recorder.
✤You can record a tape from VCR or TV.
1. Connect the camcorder and VCR or TV with the Multi-AV cable.
2. Set the power switch of the camcorder to PLAYER mode.
3. Turn on the VCR or TV.
4. Insert the blank tape with protection tab closed into the camcorder.
■
If you want to record from a connected VCR,
insert a recorded VHS tape into the VCR.
5. Push the MENU button, move the MENU SELECTOR to highlight A/V and push
the MENU SELECTOR.
6. Move the MENU SELECTOR to highlight AV IN/OUT and push the MENU
SELECTOR to select AV IN/OUT.
7. Move the MENU SELECTOR to highlight AV IN or S-VIDEO IN and push the
MENU SELECTOR.
■
“AV IN” and picture appear on the LCD monitor.
■
OUT: Releases the INPUTmode
■
AV IN : When signals are received from the Audio/Video input jacks
■
S-VIDEO IN : When signals are received from the the S-video (S-Jack plug) and Audio inputs
8. Press the START/STOP button to set the camcorder to REC PAUSE mode.
■
“PAUSE” on the LCD monitor.
9. Select the TV program or playback the VHS tape.
10.Press START/STOP button to start recording.
■
If you want to pause recording for a while, press the START/STOP button again.
11.To stop recording, press the (STOP) button.
Notes
■
When you record the images being played back on analog VCR, if they are not being played
back in normal speed, (for example, more than double speed or slow playback), only gray image
appears on the camcorder.
■
If you want to see the camcorder picture with a TV set AV IN/OUT menu to OUT.
Recording in PLAYER mode (SCD34/D39 only)
PLAYER MODE
REC MODE
PHOTO SEARCH
PHOTO COPY
AUDIO MODE 12
SOUND1
AUDIO SELECT
WIND CUT
A / V SET
PB DSE
AV IN/OUT
OUT
PLAYER MODE
A / V SET
S-VIDEO IN
AV IN/OUT
OUT
AV IN
ANTENNA
S-VIDEO
A/V OUT
TV
VCR
CAMCORDER
VIDEO
AUDIO(L)
AUDIO(R)
00654B SCD30-SEA (60~107) 4/5/03 10:34 AM Page 76

ENGLISH
7777
IEEE 1394 Data Transfer
Connecting to a DV device
✤ Connecting with other DV standard products.
■
A standard DV connection is quite simple.
If a product has a DV port, you can transfer data by connecting to the DV port using the correct cable.
!!! Please be careful since there are two types of DV ports, (4pin, 6pin). This camcorder has a 4pin terminal.
✤ With a digital connection, video and audio signals are transmitted in digital format, allowing high quality images
to be transferred.
Connecting to a PC
✤ If you want to transmit data to a PC, you must install a IEEE 1394 add-on card onto the PC. (not supplied)
✤ The frame rate recorded for video capturing is dependent on the capacity of the PC.
Notes
■
When you transmit data from the camcorder to another DV device, some functions may not work.
If this occurs, please reconnect the DV cable or turn the power OFF and ON again.
■
When you transmit data from the camcorder to PC, PC function button is not available in M.PLAY mode.
■
Do not use the camcorder and IEEE1394 together as this will cause IEEE1394 to shut off.
Transferring IEEE1394 (i.LINK)-DV standard data connections
00654B SCD30-SEA (60~107) 4/5/03 10:34 AM Page 77

ENGLISH
7878
IEEE 1394 Data Transfer
●
System requirements
■
CPU : faster Intel®Pentium III™450Mhz compatible.
■
Operating system : Windows®98SE, ME, XP, Mac OS (9.1~10.2)
■
Main memory : more than 64 MB RAM
■
IEEE1394 add-on card or built in IEEE1394 card
Recording with a DV connection cable
1. Set the power switch to PLAYER mode.
2. Connect the DV cable (not supplied) from the DV IN/OUT port of
the camcorder to the DV IN/OUT port of the other DV device.
■
Make sure that DV IN appears on the screen.
3. Press the START/STOP button to begin REC PAUSE mode.
■
PAUSE is displayed on the OSD.
4. Start playback on the other DV device while you monitor the picture.
5. Press the START/STOP button to start recording.
■
If you want to pause recording momentarily, press the START/STOP button again.
6. To stop recording, press the (STOP) button.
Notes
■
When using this camcorder as a recorder, the pictures that appear on a monitor may seem uneven,
however recorded pictures will not be affected.
■
Operation are not guaranteed for all the recommanded computer environments mentioned above.
00654B SCD30-SEA (60~107) 4/5/03 10:34 AM Page 78

ENGLISH
7979
USB interface
●Transferring a Digital Image through a USB Connection
✤ You can easily transfer a still image from a MEMORY STICK to a PC without additional add-on cards via a USB
connection.
✤ You can transfer an image to a PC via a USB connection.
✤ If you transfer data to a PC, you need to install the software (Driver, Editing software) supplied with the camcorder.
System Requirements
■
CPU : Intel®Pentium II™400 processor compatible or better
■
Operating system : Windows®98SE/ME/2000/XP
■
RAM : 64 MB or more
■
CD-ROM: 4x CD-ROM drive
■
VIDEO : 65,000-color or better video display card
■
Available USB port
■
Hard Disc : 4GB (8GB recommended)
Notes
■
Intel®Pentium II™is a trademark of the Intel Corporation.
■
Windows®is a registered trademark of the Microsoft®Corporation.
■
All other brands and names are property of their respective owners.
■
Operations are not guaranteed for all of the recommended computer environments mentioned above.
00654B SCD30-SEA (60~107) 4/5/03 10:34 AM Page 79

ENGLISH
8080
USB interface
✤Do not connect the camcorder to PC before installing the program.
✤If another camera or scanner is connected, please disconnect it in advance.
✤This explanation is based on Windows®98SE OS.
Program installation
1. Insert the software CD into CD-ROM drive.
-
Installation selection screen appears in the monitor.
2. If the installation selection screen does not appear after inserting the CD
click “Run” on the Windows “Start” menu and execute SETUP.EXE file to begin installation.
-
When CD-ROM drive is set to “D:drive”, type “D:\setup.exe” and press Enter.
3. Click one of the icons listed below to install the selected software.
■
The program automatically checks and installs the driver.
■
DVC Driver : USB removable Disk Driver (Windows 98SE only)
USB PC Camera Driver
■
Editing Software
Using the “Removable Disk” function
■
You can easily transfer data from a Memory Stick to a PC without additional add-on cards via a USB connection.
1. Set the mode switch to memory, set the power switch to CAMERA or PLAYER.
2. Connect one end of the USB cable to the USB jack on the camcorder and the other end to the USB connector on your
computer.
Using the “PC camera” function
■
You can use this camcorder as a PC CAMERA.
■
When you connect to a Web site that can provide video chatting functions, you can use your camcorder for such functions.
■
Using the camcorder with PC installed Net-meeting program, you can conduct video conference.
■
The PC CAMERA's screen size is 160x120 pixels.
■
If PC is connected with the USB to the camcoder, the buttons which excepts the POWER SWITCH, MODE SWITCH,
ZOOM SWITCH and NITE PIX SWITCH are not operated.
1. Set the mode switch to Tape, set the power switch to CAMERA.
2. Connect one end of the USB cable to the USB jack on the camcorder and the other end to the USB connector on your
computer.
Installing DVC Media 5.0 Program
3.
00654B SCD30-SEA (60~107) 4/5/03 10:34 AM Page 80

ENGLISH
8181
USB interface
Connecting to a PC
1. Connect a USB cable to the USB port on the PC.
2. Connect the other end of the USB cable into the proper terminal on the camcorder. (USB jack)
- If a PC is connected to the camcorder with a USB cable only the Power Switch, Zoom Switch, mode switch
and NITE PIX operate.
Disconnecting the USB cable
✤After completing the data transmission, you must disconnect the cable in the following way:
1. Select the removable disc icon and click the right mouse button to select [Eject].
2. Select [Confirm] and disconnect the USB cable when the Windows Splash screen appears.
Notes
■
If you disconnect the USB cable from the PC or the camcorder while transferring, the data transmission will stop and the
data may be damaged.
■
If you connect the USB cable to a PC via a USB HUB or simultaneously connect the USB cable along with other USB
devices, the camcorder may not work properly.
- If this occurs, remove all USB devices from the PC and reconnect the camcorder.
USB Cable
00654B SCD30-SEA (60~107) 4/5/03 10:34 AM Page 81

ENGLISH
8282
Digital Still Camera mode
✤The Memory Stick stores and manages still images recorded by the camera.
Memory Stick Functions
✤Recording still images and MPEG4 movie
✤Viewing still images and MPEG4 movie
■
Single
■
Slide show (still images only)
✤Multi display
✤Protecting images against accidental erasure
✤Deleting images recorded on a Memory Stick
✤Print marking still images
✤Formatting a Memory Stick
Notes
■
You can use most of the camera’s functions when recording to the Memory Stick.
■
“” appears on the screen while recording to the Memory Stick.
■
While recording or loading an image, do not eject or insert the Memory Stick.
- Inserting or ejecting a Memory Stick while recording or loading an image can cause data damage.
■
If you want to save all images on the Memory Stick, set the write protect tab on the Memory Stick to LOCK.
●
“Memory Stick” and are trademarks of Sony Corporation.
●
All other product names mentioned herein may be the trademarks or registered trademarks of their respective companies.
Furthermore, “™”and “®” are not mentioned in each case in this manual.
●
“Memory Stick PRO” can not be used with this unit.
MEMORY STICK
TM
TM
Terminal
Protection
tab
00654B SCD30-SEA (60~107) 4/5/03 10:35 AM Page 82

ENGLISH
8383
Digital Still Camera mode
Inserting and ejecting the Memory Stick
●Inserting the Memory Stick
1. Turn the Power switch to OFF.
2. Insert the Memory Stick into the Memory Stick slot located beneath the camcorder, in the
direction of the arrow.
●Ejecting the Memory Stick
1. Turn the Power switch to OFF.
2. Push the Memory Stick, then it comes out of the camcorder automatically.
3. Pull out the Memory Stick.
✤Do not attempt to pull the Memory Stick out without first pushing it in.
Notes
■
If you set the camcorder to M.PLAY mode, the last recorded still image appears.
- If there are no recorded images on the Memory Stick, NO STORED PHOTO!
or NO STORED MPEG4! and will display on the screen.
■
Do not turn the power off while recording, loading, erasing or formatting.
■
Please turn the power off before you insert or eject the Memory Stick.
You could lose data on the Memory Stick.
■
Do not allow metal substances to come in contact with the terminals of the Memory Stick.
■
Do not bend, drop or apply strong shock to Memory Stick.
■
After pulling the Memory Stick out from the camcorder, please keep the Memory Stick in a soft case to prevent static shock.
■
The stored contents may be changed or lost as a result of misuse, static electricity, electric noise or repair.
Save important images separately.
■
Samsung is not responsible for data loss due to misuse.
■
If the USB cable is connected to the camcorder, the , (S.SHOW), (FWD), (REV) buttons are not available
in M.PLAY mode.
00654B SCD30-SEA (60~107) 4/5/03 10:35 AM Page 83

ENGLISH
8484
Digital Still Camera mode
Structure of folders and files on the Memory Stick
✤The still images that you recorded are saved in JPEG file format on the Memory Stick.
✤The moving images that you recorded are saved in MPEG4 file format on the Memory
Stick.
✤Each file has a file number and all files are assigned to a folder.
■
A file number from DCAM0001 to DCAM9999 is sequentially assigned to each
recorded image.
■
Each folder is numbered from 100SSDVC to 999SSDVC and recorded on the Memory
Stick.
Image Format
✤Still image
■
Images are compressed in JPEG (Joint Photographic Experts Group) format.
■
The number of pixels are 640
✕
480 (VGA) in each mode.
■
Amount of still images must be under 1.4MB.
✤Moving Image
■
Images are compressed in MPEG (Moving Picture Experts Group) format.
■
The number of pixels are 320
✕
240, 160
✕
120 in each mode.
✤You can use this camcorder as a Digital Still Camera (DSC).
✤You have to set the mode switch to MEMORY STICK position to use this camcorder as Digital Still Camera.
■
M.REC mode (Memory RECORD mode)
1. Set the mode switch to MEMORY STICK.
2. Set the power switch to CAM.
■
M.PLAY mode (Memory PLAYBACK mode)
1. Set the mode switch to MEMORY STICK.
2. Set the power switch to PLAYER.
DCIM
100 SSDVC
DCAM 0001
DCAM 0002
101SSDVC
.
.
.
.
File number
Folder number
000-0000
*M. PLAY
Selecting the CAMCORDER mode
00654B SCD30-SEA (60~107) 4/5/03 10:35 AM Page 84

ENGLISH
8585
Digital Still Camera mode
✤You can select the quality of a still images to be recorded.
Select the image quality
1. Set the mode switch to MEMORY STICK.
2. Set the power switch to the CAM mode.
3. Press the MENU button.
■
The menu list will appear.
4. Move the MENU SELECTOR to highlight MEMORY.
5. Push the MENU SELECTOR to enter the sub-menu.
6. Move the MENU SELECTOR to highlight PHOTO QUALITY in the
submenu.
7. Push the MENU SELECTOR.
8. Using the MENU SELECTOR, select the image quality.
■
Push the MENU SELECTOR to confirm the image quality.
■
If you exit the sub-menu without pushing the
MENU SELECTOR, the quality mode is not changed.
9. To exit, press the MENU button.
●Number of images on the Memory Stick
- The actual number that you can record varies depending on the image size.
QUALITY 8MB 16MB
SUPER FINE Approx.45 Approx.90
FINE Approx.85 Approx.170
NORMAL Approx.155 Approx.310
M.REC MODE
INITIAL
PRINT MARK
PROTECT
M.PLAY SELECT
FILE NO.
DELETE
FORMAT
PHOTO QUALITY
MPEG4 SIZE
CAMERA
A/V
MEMORY
VIEWER
M.REC MODE
MEMORY SET
PRINT MARK
PROTECT
M.PLAY SELECT
FILE NO.
DELETE
FORMAT
PHOTO QUALITY
MPEG4 SIZE
PHOTO
SF
320X240
000
SERIES
M.REC MODE
NORMAL
SUPER FINE SF
F
N
FINE
MEMORY SET
PHOTO QUALITY
Selecting the image quality
00654B SCD30-SEA (60~107) 4/5/03 10:35 AM Page 85

ENGLISH
8686
Digital Still Camera mode
✤Audio cannot be recorded with still images onto the Memory Stick.
Recording images to a Memory Stick
1. Set the mode switch to MEMORY STICK.
2. Set the power switch to CAM.
3. Press the PHOTO button lightly (about halfway down) and hold it.
■
The still picture appears on the LCD monitor.
■
If you do not wish to record, release the pressure from the button.
4. Press the PHOTO button fully down.
■
The still image is recorded to the Memory Stick.
■
While the camcorder is recording the still image, “” appears on the screen.
2 2 / 2 4 0
F
Recording Still images to a Memory Stick in M.REC Mode.
PHOTO
00654B SCD30-SEA (60~107) 4/5/03 10:35 AM Page 86

ENGLISH
8787
Digital Still Camera mode
Recording an image from a cassette as a still image.
✤You can record a still image from a cassette onto a Memory Stick.
✤If you want to recorded multiple still images from a cassette to a Memory Stick, use the COPY function.
1. Set the mode switch to TAPE.
2. Set the power switch to PLAYER mode.
3. Play back the cassette.
4. Press the PHOTO button lightly (about halfway down), when the image you want to record appears.
■
The camcorder is set to playback pause(STILL) mode.
■
If you do not wish to record, release the PHOTO button, select the image again.
5. Press the PHOTO button fully down.
■
The still image is recorded to the Memory Stick.
■
While the camcorder is recording the still image, “” appears on the screen.
00654B SCD30-SEA (60~107) 4/5/03 10:35 AM Page 87

ENGLISH
8888
Digital Still Camera mode
✤You can playback and view still images recorded on the Memory Stick.
✤There are 3 ways to view recorded images.
■
Single : To view an image frame by frame.
■
Slide show : To view all images automatically and in consecutive order.
■
Multi display : To view 6 images at once.
To view a Single image
1. Set the mode switch to MEMORY STICK.
2. Set the power switch to PLAYER mode.
■
The last recorded image appears.
- If there are no recorded images on the Memory Stick, NO STORED PHOTO!
or NO STORED MPEG4! and will display on the screen.
3. Using the (FWD) and (REV) buttons, search for the desired still image.
■
To view the next image : press the (FWD) button.
■
To view the previous image : press the (REV) button.
■
Pressing (FWD) when you are on the last image will take you to the first image and
pressing (REV) when you are on the first image will take you
to the last image.
■
Keep pressing (FWD) or (REV) to search for an image quickly.
To view a slide show
1. Set the mode switch to MEMORY STICK.
2. Set the power switch to PLAYER mode.
■
The last recorded image appears
3. Press the (S.SHOW) button.
■
All images will be played back consecutively for 3~4 seconds each.
4. To stop the slide show, press the (S.SHOW) button again.
Viewing Still images
00654B SCD30-SEA (60~107) 4/5/03 10:35 AM Page 88

ENGLISH
8989
Digital Still Camera mode
To view the Multi Display
1. Set the mode switch to MEMORY STICK.
2. Set the power switch to PLAYER mode.
■
The last recorded image appears.
3. To view six stored images on single screen, press the MULTI button.
■
A selection mark ( ) appears under the image.
■
Move the MENU SELECTOR to select a image.
4. To return to single playback mode, press the MULTI button again.
Notes
■
To display the previous six images, press the (REV).
■
To display the next six images, press the (FWD).
19 20 21
22 23 24
[24/24]100-0025
00654B SCD30-SEA (60~107) 4/5/03 10:35 AM Page 89

ENGLISH
9090
Digital Still Camera mode
✤You can copy still images recorded with PHOTO function on a cassette onto a Memory Stick.
1. Set the power switch to the PLAYER mode.
2. Press the MENU button.
3. Move the MENU SELECTOR to highlight A/V and push the MENU SELECTOR.
■
The submenu will appear.
4. Move the MENU SELECTOR to highlight PHOTO COPY and push the MENU SELECTOR.
■
All still images that recorded on a cassette will be copied to a Memory Stick.
5. The camcorder automatically performs the photo search to find still images and copying starts.
6. Press (STOP) button to stop copying.
■
Copying stops when the cassette is finished or Memory Stick is full.
PLAYER MODE
REC MODE
PHOTO SEARCH
PHOTO COPY
AUDIO MODE 12
SOUND1
AUDIO SELECT
WIND CUT
A / V SET
PB DSE OUT
AV IN/OUT
PLAYER MODE
INITIAL
WIND CUT
PB DSE
REC MODE
PHOTO SEARCH
COPY
AUDIO MODE 12
AUDIO SELECT
CAMERA
A/V
MEMORY
VIEWER
AV IN/OUT OUT
Copying still images from a cassette to Memory Stick
00654B SCD30-SEA (60~107) 4/5/03 10:35 AM Page 90

ENGLISH
9191
Digital Still Camera mode
✤This camcorder supports the DPOF (Digital Print Order Format) print format.
✤You can automatically print images recorded on a Memory Stick with a printer supporting DPOF.
✤There are 2 ways to make a PRINT MARK.
■
THIS FILE : You can set a print mark on the photo image displayed on the LCD.
■
ALL FILES : To print 1 copy each of all of the stored images.
1. Set the mode switch to MEMORY STICK.
2. Set the power switch to PLAYER.
■
The last recorded image appears.
3. Using the (FWD) and (REV) buttons, search for the still image that you want to mark.
4. Press the MENU button.
5. Move the MENU SELECTOR to highlight MEMORY and push the MENU SELECTOR.
■
The MEMORY SET submenu will appear.
6. Move the MENU SELECTOR to highlight PRINT MARK, push the MENU SELECTOR.
7. Use the MENU SELECTOR to select either THIS FILE or ALL FILES and push the MENU
SELECTOR.
8. Use the MENU SELECTOR to select the quantity and push the MENU SELECTOR.
Notes
■
When you setup the PRINT MARK option to ALL FILES, 999 files from the current file are set to 1 or 0.
■
The ALL FILES option may require extended operation time depending on the number of stored images.
Marking images for printing
M.PLAY MODE
MEMORY SET
PRINT MARK
PROTECT
M.PLAY SELECT
FILE NO.
DELETE
FORMAT
PHOTO QUALITY
MPEG4 SIZE
PHOTO
SF
320X240
000
SERIES
INITIAL
CAMERA
A/V
MEMORY
VIEWER
M.PLAY MODE
PRINT MARK
PROTECT
M.PLAY SELECT
FILE NO.
DELETE
FORMAT
PHOTO QUALITY
MPEG4 SIZE
00654B SCD30-SEA (60~107) 4/5/03 10:35 AM Page 91

ENGLISH
9292
Digital Still Camera mode
✤You can protect important images from accidental erasure.
■
If you execute FORMAT, all images including protected images will be erased.
1. Set the mode switch to MEMORY STICK.
2. Set the power switch to PLAYER.
■
The last recorded image appears.
■
If there are no recorded images on the Memory Stick, NO STORED PHOTO! or
NO STORED MPEG4! and will display on the screen.
3. Using the (FWD) and (REV) buttons, search for the still image that you want to protect.
4. Press the MENU button.
5. Move the MENU SELECTOR to highlight MEMORY and push the MENU SELECTOR.
■
The submenu of MEMORY SET will appear.
6. Move the MENU SELECTOR to highlight PROTECT and push the MENU SELECTOR.
7. Push the MENU SELECTOR to set PROTECT to ON or OFF.
■
THIS FILE : protects the currently selected file from erasure.
8. Using the (FWD) and (REV) buttons, search for the still image that you wish to protect.
9. To exit the menu, press the MENU button.
Protection from accidental erasure
M.PLAY MODE
MEMORY SET
PRINT MARK
PROTECT
M.PLAY SELECT
FILE NO.
DELETE
FORMAT
PHOTO QUALITY
MPEG4 SIZE
PHOTO
SF
320X240
000
SERIES
INITIAL
CAMERA
A/V
MEMORY
VIEWER
M.PLAY MODE
PRINT MARK
PROTECT
M.PLAY SELECT
FILE NO.
DELETE
FORMAT
PHOTO QUALITY
MPEG4 SIZE
00654B SCD30-SEA (60~107) 4/5/03 10:35 AM Page 92

ENGLISH
9393
Digital Still Camera mode
✤You can erase the still images recorded on the Memory Stick.
✤If you want to delete protected images, you must first deactivate the image protection.
✤An image which has been deleted cannot be recovered.
1. Set the mode switch to MEMORY STICK.
2. Set the power switch to PLAYER.
3. Using the (FWD) and (REV) buttons, search for the still image that you want to delete.
4. Press the MENU button.
5. Move the MENU SELECTOR to highlight MEMORY and push the MENU SELECTOR.
■
The MEMORY SET submenu will appear.
6. Move the MENU SELECTOR to highlight DELETE and push the MENU SELECTOR.
■
Using the MENU SELECTOR, select either THIS FILE or ALL FILES and push the MENU
SELECTOR.
■
THIS FILE : deletes only the file currently selected.
■
ALL FILES : deletes all files stored in the Memory Stick.
7. A box will appear to verify whether you wish to delete the image(s).
■
Using the MENU SELECTOR, select the item.
■
EXECUTE : deletes the selected image(s).
■
CANCEL : does not delete the selected image(s) and returns to the previous menu.
Notes
■
If you try to delete a protected image, “PROTECT!” appears on the screen.
Deleting Still images
M.PLAY MODE
MEMORY SET
PRINT MARK
PROTECT
M.PLAY SELECT
FILE NO.
DELETE
FORMAT
PHOTO QUALITY
MPEG4 SIZE
PHOTO
SF
320X240
000
SERIES
M.PLAY MODE
THIS FILE CANCLE
ALL FILES
MEMORY SET
DELETE
INITIAL
CAMERA
A/V
MEMORY
VIEWER
M.PLAY MODE
PRINT MARK
PROTECT
M.PLAY SELECT
FILE NO.
DELETE
FORMAT
PHOTO QUALITY
MPEG4 SIZE
00654B SCD30-SEA (60~107) 4/5/03 10:35 AM Page 93

ENGLISH
9494
Digital Still Camera mode
✤You can use the MEMORY FORMAT functions to completely delete all images and options on the Memory Stick,
including protected images.
✤The format function restores the Memory Stick to its initial state.
✤The Memory Stick supplied with this camcorder has been formatted already.
Attention
✤ If you execute the MEMORY FORMAT function, all images will be erased completely
and erased images cannot be recovered.
1. Set the mode switch to MEMORY STICK.
2. Set the power switch to PLAYER mode.
3. Press the MENU button.
4. Move the MENU SELECTOR to highlight MEMORY and push the MENU SELECTOR.
■
The sub menu will appear.
5. Select FORMAT from the list and push the MENU SELECTOR.
6. “ALL FILES ARE DELETED! FORMAT REALLY?” appears on the screen.
7. Using the MENU SELECTOR, select the item.
■
NO : To return to previous menu
■
YES : To start formatting.
8. Push the MENU SELECTOR.
9. To exit the menu, push the MENU button.
Note
■
If you want to format the Memory Stick on your PC, use only the “Memory Stick formatter” supplied with the software CD.
Formatting the Memory Stick
M.PLAY MODE
MEMORY SET
PRINT MARK
PROTECT
M.PLAY SELECT
FILE NO.
DELETE
FORMAT
PHOTO QUALITY
MPEG4 SIZE
PHOTO
SF
320X240
000
SERIES
INITIAL
CAMERA
A/V
MEMORY
VIEWER
M.PLAY MODE
PRINT MARK
PROTECT
M.PLAY SELECT
FILE NO.
DELETE
FORMAT
PHOTO QUALITY
MPEG4 SIZE
00654B SCD30-SEA (60~107) 4/5/03 10:35 AM Page 94

ENGLISH
9595
Digital Still Camera mode
✤You can record moving picture images with audio onto the Memory Stick.
Saving the pictures captured by a camera as a moving picture file onto MEMORY STICK
1. Check whether MEMORY STICK is inserted into the camcorder. If it is not in the camcorder,
insert it into the slot.
2. Set the mode switch to MEMORY STICK position.
3. Set the power switch to CAM mode.
4. Press the START/STOP button, the images are recorded onto the MEMORY STICK
in MPEG4.
■
You can record 10 ~ 20 seconds continuously in once by the recording object.
■
You can record a camera still image onto the memory stick by pressing the
Photo button instead of the START/STOP button.
5. Press the START/STOP button to stop the recording.
Notes
■
The moving picture images that you recorded are saved in *.asf file format on the Memory Stick.
■
You can record the moving picture images as 320 x 240 pixel or 160 x 120 pixel.
■
The file that you recorded are saved in a following folder.
DCIM
MISC
SSMOV
100SMDVC
MPEG RECORDING
00654B SCD30-SEA (60~107) 4/5/03 10:35 AM Page 95

ENGLISH
Digital Still Camera mode
9696
■
The moving picture images on a Memory Stick are smaller size and lower definition than one on Tape.
■
There could be any broken or mosaic pictures while playing the MPEG-4 moving picture images, but it is not malfunction.
■
You need Microsoft Windows Media Player Version 9 or higher version and Sharp G.726 Audio Codec in order to play
MPEG-4 file on the Memory Stick on your PC.
(Microsoft Windows Media Player Version 9(Eng) is included in the CD that is supplied.
■
You can download the Microsoft Windows Media Player applied each languages on Microsoft Website,
“http://www. microsoft.com/windows/windowsmedia/download/default.asp”.
■
Sharp G.726 Audio Codec is automatically installed through Internet when you play the MPEG-4 file.
■
If Sharp G.726 Audio Codec is not properly installed on your PC, it could not play Audio in the MPEG-4 file.
■
The sound is recorded in Mono type.
■
The following functions are not allowed in M.REC Mode.
- DIS (Digital Image Stabilizer), Digital Zoom, Fade, Program AE, Digital Effect, Slow Shutter
■
While you record in Memory Stick, don’t insert or eject the tape.
Or it could be recorded the noise.
■
While you record in Memory Stick, don’t eject it.
Or it might break the data on the Memory Stick or Memory Stick itself.
■
Moving images recorded on the Memory Stick may not play on other manufacturer's camcorders.
■
The MPEG-4 file recorded by another camcorder might not be allowed to play by this camcorder.
00654B SCD30-SEA (60~107) 4/5/03 10:35 AM Page 96

ENGLISH
9797
Digital Still Camera mode
Selecting the moving picture sizes
1. Set the mode switch to MEMORY STICK position.
2. Set the power switch to CAM mode.
3. Press the MENU button.
4. Move the MENU SELECTOR to highlight MEMORY.
5. Push the MENU SELECTOR to enter the sub-menu.
6. Move the MENU SELECTOR to highlight MPEG4 SIZE.
7. Push the MENU SELECTOR button.
■
The MPEG4 SIZE toggles between 320X240 - 160X120 with each push.
M.REC MODE
INITIAL
PRINT MARK
PROTECT
M.PLAY SELECT
FILE NO.
DELETE
FORMAT
PHOTO QUALITY
MPEG4 SIZE
CAMERA
A/V
MEMORY
VIEWER
M.REC MODE
MEMORY SET
PRINT MARK
PROTECT
M.PLAY SELECT
FILE NO.
DELETE
FORMAT
PHOTO QUALITY
MPEG4 SIZE
PHOTO
SF
320X240
000
SERIES
00654B SCD30-SEA (60~107) 4/5/03 10:35 AM Page 97

ENGLISH
9898
Digital Still Camera mode
✤The MPEG Playback function works in M.PLAY mode only.
✤You can play the moving picture images on the Memory Stick.
✤During the MPEG4 playback, you can hear sound at the PC speaker only.
(You cannot hear it from the speaker onto a camcorder and TV.)
1. Set the mode switch to MEMORY STICK position.
2. Set the power switch to PLAYER mode.
3. Press the MENU button and move the MENU SELECTOR to highlight MEMORY.
4. Push the MENU SELECTOR to enter sub-menu.
5. Use the MENU SELECTOR to select MPEG4 from the sub-menu. (M. PLAY SELECT)
6. To exit the menu, push the MENU button.
7. Using the (FWD) and (REV) buttons, search for the moving picture that you want to
playback.
8. Press the PLAY/STILL button.
■
The moving pictures recorded onto the MEMORY STICK are played back.
Notes
■
There could be any broken or mosaic pictures while playing the MPEG4 moving picture images, but it is not malfunction.
■
Sharp G.726 Audio Codec is automatically installed through Internet when you play the MPEG4 file.
■
If sharp G.726 Audio Codec is not properly installed on your PC, it could not play Audio in the MPEG4 file.
■
The moving picture images that you recorded in the Memory Stick might not be allowed to play by the camcorder
of another brands.
■
The MPEG4 file recorded by another camcorder might not be allowed to play by this camcorder.
- You need Microsoft Windows Media Player Version 9 or higher version and Sharp G726 Audio Codec in order to play
MPEG4 file on the Memory Stick on your PC. (Microsoft Windows Media Player Version 9 (Eng) is included in the CD
that is supplied.)
- You can download the Microsoft Windows Media Player applied each languages on Microsoft Website,
“http://www.microsoft.com/windows/windowsmedia/download/ default.asp”.
MPEG Playback
M.PLAY MODE
MPEG4
320X240
MEMORY SET
M.PLAY SELECT SF
000
SERIES
FILE NO
DELETE
PHOTO QUALITY
MPEG4 SIZE
FORMAT
PRINT MARK
PROJECT
M.PLAY MODE
INITIAL
PHOTO QUALITY
M.PLAY SELECT
MPEG4 SIZE
CAMERA
A/V
MEMORY
VIEWER
FILE NO
DELETE
FORMAT
PRINT MARK
PROJECT
00654B SCD30-SEA (60~107) 4/5/03 10:35 AM Page 98

ENGLISH
9999
Maintenance
✤At the end of a recording you must remove the power source.
✤When recording with a Lithium Ion Battery Pack, leaving the pack on the camcorder can reduce the life span of the battery.
Hence, it should be removed from the camcorder.
1. Slide the TAPE OPEN/EJECT switch in the direction of the arrow.
■
Opening the cassette door ejects the tape automatically.
■
Please wait while the tape is completely ejected.
2. After removing the tape, close the door and store the camcorder in a dust free
environment.
■
Dust and other foreign materials can cause square-shaped noise or jerky images.
3. Set the power switch to the OFF mode.
4. Disconnect the power source or remove the Lithium Ion Battery Pack.
■
Hold down the BATTERY RELEASE button and slide the battery pack
in the direction of the arrow.
After finishing a recording
12
3
00654B SCD30-SEA (60~107) 4/5/03 10:35 AM Page 99

ENGLISH
100100
Maintenance
Cleaning the Video Heads
To ensure normal recording and clear pictures, clean the video heads
when the playback pictures display square block-shaped noise or distortion, or a blue screen appears.
1. Set the power switch to PLAYER mode.
2. Insert the cleaning tape.
3. Press the (PLAY/STILL) button.
4. Press the (STOP) button after 10 seconds.
Notes
■
Check the quality of the picture using a videocassette.
If the picture quality has not improved, repeat the operation.
If the problem continues, contact your local authorized service center.
■
Clean the video heads with a dry type cassette cleaner.
Cleaning and Maintaining the Camcorder
00654B SCD30-SEA (60~107) 4/5/03 10:35 AM Page 100

ENGLISH
101101
Maintenance
✤Each country or region has its own electric and color systems.
✤Before using your camcorder abroad, check the following items.
Power sources
■
You can use your camcorder in any country or area with the supplied AC Power Adapter within 100V to 240V, 50/60 Hz.
■
Use a commercially available AC plug Adapter, if necessary, depending on the design of the local wall outlet.
Color system
■
You can view your recording in the viewfinder.
However, to view it on a television or copy it to a videocassette recorder, the television or VCR must be
NTSC-compatible and have the appropriate audio/video jacks.
Otherwise, you may need to use a transcoder.
●PAL-compatible Countries/Regions
Australia, Austria, Belgium, Bulgaria, China, CIS, Czech Republic, Denmark, Egypt, Finland, France, Germany, Greece,
Great Britain, Holland, Hong Kong, Hungary, India, Iran, Iraq, Kuwait, Libya, Malaysia, Mauritius, Norway, Romania,
Saudi Arabia, Singapore, Slovak Republic, Spain, Sweden, Switzerland, Syria, Thailand, Tunisia, etc.
●NTSC-compatible Countries/Regions
Bahamas, Canada, Central America, Japan, Korea, Mexico, Philippines, Taiwan, United States of America, etc.
Note
You can make recordings with your camcorder and view pictures on the LCD from anywhere in the world.
Using Your Camcorder Abroad
00654B SCD30-SEA (60~107) 4/5/03 10:35 AM Page 101

ENGLISH
102102
Troubleshooting
✤Before contacting a Samsung authorized service center, perform the following simple checks.
They may save you the time and expense of an unnecessary call.
Self Diagnosis Display
Moisture Condensation
✤If the camcorder is brought directly from a cold place to a warm place, moisture may condense inside the camcorder,
on the surface of the tape, or on the lens. In this condition, the tape may stick to the head drum and be damaged or the
unit may not operate correctly.
To prevent possible damage under these circumstances, the camcorder is fitted with a moisture sensor.
✤If there is moisture inside the camcorder, (DEW) is displayed. If this happens, none of the functions except cassette
ejection will work.
Open the cassette compartment and remove the battery.
Leave the camcorder for at least two hours in a dry warm room.
slow
slow
no
slow
slow
slow
slow
the battery pack is almost discharged. Change to a charged one.
When the remaining time on the tape
is about 2 minutes Prepare a new one.
the tape reached its end. Change to a new one.
there is no tape in camcorder. Insert a tape.
the tape is record protected. If you want to record, release
the protection.
moisture condensation has formed in
the camcorder. see below.
the camcorder has some mechanical
fault. 1. Eject the tape.
2. Set to OFF.
3. Detach the battery.
4. Reattach the battery.
* If unresolved contact your
local service representative.
TAPE END!
TAPE END!
TAPE!
PROTECTION!
....D
L
C
R
Display Blinking Informs that... Action
Troubleshooting
00654B SCD30-SEA (60~107) 4/5/03 10:35 AM Page 102

ENGLISH
103103
Troubleshooting
Self Diagnosis Display in M.REC/M.PLAY mode
slow There no Memory stick in the
camcorder. Insert a Memory Stick.
MEMORY STICK!
slow There is not enough memory
to record. Change to a new Memory
Stick. Erase recorded image.
MEMORY FULL!
slow There are no images recorded
on the Memory Stick. Record new images.
NO STORED
IMAGE!
slow The Memory Stick is record
protected. Release the write protect tab
on the Memory Stick.
WRITE
PROTECT!
slow When you try to delete to
protected image. Cancel the protect of image.
PROTECT!
slow The camera can not playback. Format a Memory Stick or
insert Memory Stick recorded
on this camcorder.
READ ERROR!
slow The camera can not record. Format a Memory Stick or
change to a new Memory Stick.
WRITE ERROR!
slow The Memory Stick needs to
format. Format a Memory Stick.
NOT
FORMATTED!
slow When progressing FILE
DELETE. Wait until Delete has
finished.
NOW DELETE...
slow When progressing MEMORY
FORMAT. Wait until formatting has
finished.
NOW FORMAT...
slow When progressing FILE COPY. Wait until copying has
finished.
NOW COPY...
Display Blinking Informs that... Action
00654B SCD30-SEA (60~107) 4/5/03 10:35 AM Page 103

ENGLISH
104104
Troubleshooting
✤If these instructions do not solve your problem, contact your nearest Samsung authorized service center.
You cannot switch the
camcorder on.
START/STOP button
does not operate
while recording.
The camcorder goes
off automatically.
The battery pack is
quickly exhausted.
When you see a blue
screen during
playback.
A vertical strip appears
on the screen when
recording a dark
background.
Auto focus does not
work.
Play, FF or REW
button does not work.
Check the battery pack or the AC Power Adapter.
Check the POWER switch is set to CAM.
You have reached the end of the cassette.
Check the record protection tab on the cassette.
You have left the camcorder set to STBY for more
than 5 minutes without using it.
The battery pack is fully exhausted.
The atmospheric temperature is too low.
The battery pack has not been charged fully.
The battery pack is completely dead, and cannot be
recharged, Use another battery pack.
The video heads may be dirty.
Clean the head with a cleaning tape.
The contrast between the subject and the background
is too great for the camcorder to operate normally.
Make the background bright to reduce the contrast or
use the BLC function while you are recording brighter.
The image in the
viewfinder is blurred.
The Viewfinder lens has not been adjusted.
Adjust the viewfinder control lever until the indicators
displayed on the viewfinder come into sharp focus.
Check the M.FOCUS menu.
Auto focus does not work in the Manual Focus mode.
Check the POWER switch. Set the power switch to PLAYER.
You have reached the beginning or end of the cassette.
When you see a
broken block image
during the RECORD
SEARCH.
This is normal operation and it is not a failure or
defect.
Explanation/Solution
Symptom
00654B SCD30-SEA (60~107) 4/5/03 10:35 AM Page 104

ENGLISH
105105
Specifications
•These technical specifications and design may be changed without notice.
System
Video signal
Video recording system
Audio recording system
Usable cassette
Tape speed
Tape recording time
FF/REW time
Image device
Lens
Filter diameter
LCD monitor/Viewfinder
Size/dot number
LCD monitor Method
Viewfinder
Connectors
Video output
S-video output
Audio output
DV input/output
USB output
External mic
Earphone
NTSC
2 rotary heads, Helical scanning system
Rotary heads, PCM system
Digital video tape (6.35mm width): Mini DV cassette
SP: approx. 18.81mm/s LP: approx. 12.56mm/s
SP: 60 minutes (when using DVM 60), LP: 90 minutes (when using DVM 60)
Approx. 180 sec. (using DVM60 tape)
CCD (Charge Coupled Device)
F1.4 10x(Optical), 800x(Digital) Electronic zoom lens
Ø30
2.5inchs 123k (SCD33/D34 only), 211k (SD39 only)
TFT LCD
0.24" B/W LCD (SCD33/D34 only), Color LCD (SCD39 only)
1Vp-p (75Ωterminated)
Y: 1Vp-p, 75Ω, C: 0. 286Vp-p, 75Ω
-7.5dBs (600Ωterminated)
4pin special in/out connector
Mini-B type connector
Ø3.5 stereo
Ø3.5 stereo
General
Power source
Power source type
Power consumption
(Recording)
Operating temperature
Storage temperature
External dimension
Weight
Built-in MIC
Remote control
DC 8.4V, Lithium Ion Battery Pack 7.4V
Lithium Ion Battery Pack, Power supply (100V~240V) 50/60Hz
5.0W (LCD), 3.9W (VIEWFINDER)
0˚~40˚C (32˚F~104˚F)
-20˚C ~ 60˚C (-4˚F ~ 140˚F)
Length 4.37inches(111mm), Height 3.5inches(89mm), Width 2.68inches(68mm)
0.99lbs(450g) (Except for Lithium Ion Battery Pack and tape)
Omni-directional stereo condenser microphone
Indoors: greater than 49ft(15m) (straight line), Outdoors: about 16.4ft(5m) (straight line)
Model name: SCD33/D34/D39
00654B SCD30-SEA (60~107) 4/5/03 10:35 AM Page 105

ENGLISH
106106
INDEX
Accessories ............................................................................................... 12
Audio dubbing ............................................................................................ 63
AUDIO MODE ........................................................................................... 51
AV IN/OUT ................................................................................................. 76
Battery Pack .............................................................................................. 24
BEEP ......................................................................................................... 39
BLC ............................................................................................................ 61
Cassette ..................................................................................................... 27
Cleaning ................................................................................................... 100
CLOCK SET .............................................................................................. 37
Connecting ................................................................................................. 71
DATE/TIME ................................................................................................ 53
DC Cable ................................................................................................... 23
Deleting ...................................................................................................... 93
DEMONSTRATION ................................................................................... 41
DIS ............................................................................................................ 47
DSE ............................................................................................................ 48
DV ...................................................................................................... 77, 78
EASY Mode ............................................................................................... 59
EXPOSURE ............................................................................................... 57
Fade ........................................................................................................... 62
Formatting .................................................................................................. 94
Frame advance .......................................................................................... 72
Functions buttons ...................................................................................... 14
Hand Strap ................................................................................................. 22
IEEE1394 ................................................................................................... 77
LCD ...................................................................................................... 30, 31
Memory Stick ....................................................................................... 82, 86
MF/AF ........................................................................................................ 60
MPEG RECORDING.................................................................................. 95
MPEG SIZE ................................................................................................ 97
OSD ..................................................................................................... 18, 19
PB DSE ...................................................................................................... 73
PHOTO copy ............................................................................................. 90
PHOTO quality .......................................................................................... 85
PHOTO SEARCH ...................................................................................... 65
PROGRAM AE .......................................................................................... 42
Protection ................................................................................................... 92
Quick Menu ................................................................................................ 55
REC MODE ............................................................................................... 50
REC Search ............................................................................................... 29
REMOCON ................................................................................................ 38
Remote control .................................................................................... 17, 20
SHUTTER SPEED .................................................................................... 56
Sound ......................................................................................................... 34
Speaker ...................................................................................................... 34
Still images ................................................................................................ 88
TV DISPLAY .............................................................................................. 54
USB ............................................................................................................ 79
Viewfinder ............................................................................................ 30, 32
WHT. BALANCE ........................................................................................ 44
WIND CUT ................................................................................................. 52
ZERO MEMORY ....................................................................................... 73
Zoom .................................................................................................... 45, 46
- A - - M -
- O -
- P -
- Q -
- R -
- S -
- T -
- U -
- V -
- W -
- Z -
- B -
- C -
- D -
- E -
- F -
- H -
- I -
- L -
00654B SCD30-SEA (60~107) 4/5/03 10:35 AM Page 106

ENGLISH
107107
Warranty
SAMSUNG
LIMITED WARRANTY
SAMSUNG Electronics America Inc. (SEA), warrants that this product is free from defective material and workmanship.
SEA further warrants that if product fails to operate properly within the specified warranty period and the failure is due
to improper workmanship or defective material, SEA will repair or replace the product at it’s option.
All warranty repairs must be performed by a SEA authorized service center. The name and address of the location
nearest you can be obtained by calling toll free: 1-800 SAMSUNG (1-800-726-7864).
Labor
90 days carry-in
Parts
1 year
On carry-in models, transportation to and from the service center is the customer’s responsibility.
The original dated sales receipt must be retained by the customer and is the only acceptable proof of purchase.
It must be presented to the authorized service center.
EXCLUSIONS (WHAT IS NOT COVERED)
This warranty does not cover damage due to accident, fire, flood and/or other acts of God; misuse, incorrect line
voltage, improper installation, improper or unauthorized repairs, commercial use, or damage that occurs in shipping.
Exterior and interior finish, lamps, and glass are not covered under this warranty.
Customer adjustments which are explained in the instruction manual are not covered under the terms of this warranty.
This warranty will automatically be voided for any unit found with a missing or altered serial number. This warranty is
valid only on products purchased in the United States and Puerto Rico.
Some States do not allow the exclusions or limitations of incidental or consequential damages, or allow limitations on
how long an implied warranty lasts, so the above limitations or exclusions may not apply to you.
This warranty gives you specific legal rights, and you may also have other rights which vary from State to State.
00654B SCD30-SEA (60~107) 4/5/03 10:35 AM Page 107