Samsung Car Video System Es15U Users Manual
LTM1555(B) to the manual 6b45bd56-dd2c-4b11-8aff-705010fb9430
2015-01-23
: Samsung Samsung-Samsung-Car-Video-System-Es15U-Users-Manual-275890 samsung-samsung-car-video-system-es15u-users-manual-275890 samsung pdf
Open the PDF directly: View PDF
.
Page Count: 81

TFT-LCD MONITOR
Chassis Model
ES15U* LTM1555(B)
ES17U* LTM1755(B)
Manual
SERVICE
TFT-LCD MONITOR CONTENTS
1. Precautions
2. Product Specifications
3. Disassembly & Reassembly
4. Alignment & Adjustments
5. Troubleshooting
6. Exploded View & Parts List
7. Electrical Parts List
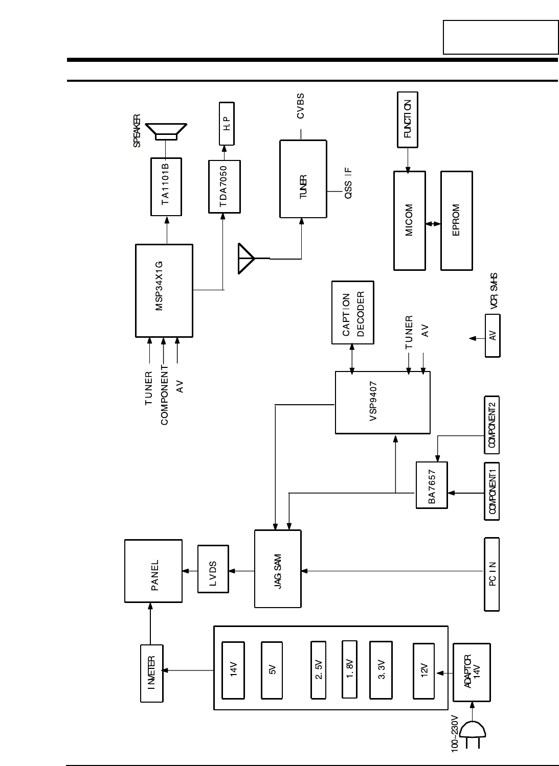
8. Block Diagram
9. Wiring Diagram
10. Schematic Diagrams
11. Panel Description
CONFIDENTIAL

Samsung Electronics Co.,Ltd.
416, Maetan-3Dong, Paldal-Gu, Suwon City, Kyungki-Do, Korea.
Printed in Korea
P/N : BN82-00071A-00
http://www.samsungmonitor.com (SyncMaster Worldwide)
http://www.samsung-monitor.com (SyncMaster USA)
http://www.sec.co.kr/monitor (Korea)

1-1-1 Warnings
1. For continued safety, do not attempt to modify the
circuit board.
2. Disconnect the AC power and DC Power Jack
before servicing.
1-1-2 Servicing the LCD Monitor
1. When servicing the LCD Monitor disconnect the
AC line cord from the AC outlet.
2. It is essential that service technicians have an
accurate voltage meter available at all times. Check
the calibration of this meter periodically.
1-1-3 Fire and Shock Hazard
Before returning the monitor to the user, perform the
following safety checks:
1. Inspect each lead dress to make certain that the
leads are not pinched or that hardware is not
lodged between the chassis and other metal parts in
the monitor.
2. Inspect all protective devices such as nonmetallic
control knobs, insulating materials, cabinet backs,
adjustment and compartment covers or shields,
isolation resistor-capacitor networks, mechanical
insulators, etc.
3. Leakage Current Hot Check (Figure 1-1):
WARNING: Do not use an isolation transformer during
this test.
Use a leakage current tester or a metering system
that complies with American National Standards
Institute (ANSI C101.1, Leakage Current for
Appliances), and Underwriters Laboratories (UL
Publication UL1410, 59.7).
Figure 1-1. Leakage Current Test Circuit
4. With the unit completely reassembled, plug the AC
line cord directly into a 120V AC outlet. With the
unit’s AC switch first in the ON position and then
OFF, measure the current between a known earth
ground (metal water pipe, conduit, etc.) and all
exposed metal parts, including: metal cabinets,
screwheads and control shafts. The current
measured should not exceed 0.5 milliamp. Reverse
the power-plug prongs in the AC outlet and repeat
the test.
1-1-4 Product Safety Notices
Some electrical and mechanical parts have special
safety-related characteristics which are often not
evident from visual inspection. The protection they give
may not be obtained by replacing them with
components rated for higher voltage, wattage, etc. Parts
that have special safety characteristics are identified by
on schematics and parts lists. A substitute
replacement that does not have the same safety
characteristics as the recommended replacement part
might create shock, fire and/or other hazards. Product
safety is under review continuously and new
instructions are issued whenever appropriate.
LTM1555(B)/LTM1755(B) 1-1
CONFIDENTIAL
1 Precautions
Follow these safety, servicing and ESD precautions to prevent damage and to protect against potential hazards such as
electrical shock.
1-1 Safety Precautions
DEVICE
UNDER
TEST
TEST ALL
EXPOSED METAL
SURFACES
(READING SHOULD
NOT BE ABOVE 0.5mA)
LEAKAGE
CURRENT
TESTER
2-WIRE CORD
ALSO TEST WITH
PLUG REVERSED
(USING AC ADAPTER
PLUG AS REQUIRED) EARTH
GROUND
!

1-2-1 General Servicing Precautions
1. Always unplug the unit’s AC power cord from the
AC power source and disconnect the DC Power
Jack before attempting to:
(a) remove or reinstall any component or assembly,
(b) disconnect PCB plugs or connectors, (c) connect
a test component in parallel with an electrolytic
capacitor.
2. Some components are raised above the printed
circuit board for safety. An insulation tube or tape
is sometimes used. The internal wiring is
sometimes clamped to prevent contact with
thermally hot components. Reinstall all such
elements to their original position.
3. After servicing, always check that the screws,
components and wiring have been correctly
reinstalled. Make sure that the area around the
serviced part has not been damaged.
1. Immediately before handling any semiconductor
components or assemblies, drain the electrostatic
charge from your body by touching a known earth
ground. Alternatively, wear a discharging wrist-
strap device. To avoid a shock hazard, be sure to
remove the wrist strap before applying power to
the monitor.
2. After removing an ESD-equipped assembly, place it
on a conductive surface such as aluminum foil to
prevent accumulation of an electrostatic charge.
3. Do not use freon-propelled chemicals. These can
generate electrical charges sufficient to damage
ESDs.
4. Use only a grounded-tip soldering iron to solder or
desolder ESDs.
5. Use only an anti-static solder removal device. Some
solder removal devices not classified as “anti-static”
can generate electrical charges sufficient to damage
ESDs.
4. Check the insulation between the blades of the AC
plug and accessible conductive parts (examples:
metal panels, input terminals and earphone jacks).
5. Insulation Checking Procedure: Disconnect the
power cord from the AC source and turn the power
switch ON. Connect an insulation resistance meter
(500 V) to the blades of the AC plug.
The insulation resistance between each blade of the
AC plug and accessible conductive parts (see
above) should be greater than 1 megohm.
6. Always connect a test instrument’s ground lead to
the instrument chassis ground before connecting
the positive lead; always remove the instrument’s
ground lead last.
6. Do not remove a replacement ESD from its
protective package until you are ready to install it.
Most replacement ESDs are packaged with leads
that are electrically shorted together by conductive
foam, aluminum foil or other conductive materials.
7. Immediately before removing the protective
material from the leads of a replacement ESD,
touch the protective material to the chassis or
circuit assembly into which the device will be
installed.
Caution: Be sure no power is applied to the
chassis or circuit and observe all
other safety precautions.
8. Minimize body motions when handling
unpackaged replacement ESDs. Motions such as
brushing clothes together, or lifting your foot from
a carpeted floor can generate enough static
electricity to damage an ESD.
1 Precautions
1-2 LTM1555(B)/LTM1755(B)
CONFIDENTIAL
1-3 Electrostatically Sensitive Devices (ESD) Precautions
Some semiconductor (solid state) devices can be easily damaged by static electricity. Such components are commonly
called Electrostatically Sensitive Devices (ESD). Examples of typical ESD are integrated circuits and some field-effect
transistors. The following techniques will reduce the incidence of component damage caused by static electricity.
1-2 Servicing Precautions
WARNING: An electrolytic capacitor installed with the wrong polarity might explode.
Caution: Before servicing units covered by this service manual, read and follow the Safety Precautions
section of this manual.
Note: If unforeseen circumstances create conflict between the following servicing precautions and any of the
safety precautions, always follow the safety precautions.

CONFIDENTIAL
2 Product Specifications
2-1 Specifications
LCD Panel TFT-LCD panel, RGB vertical stripe, normaly TFT-LCD panel, RGB vertical stripe, normaly
white, 15-Inch viewable, 0.297 mm pixel pitch white, 17-Inch viewable, 0.264 mm pixel pitch
Scanning Frequency Horizontal : 30 KHz ~ 69 KHz (Automatic) 30 KHz ~ 81 KHz (Automatic)
Vertical : 56 Hz ~ 75 Hz (Automatic) 56 Hz ~ 75 Hz (Automatic)
Display Colors 16.7 Million colors
Maximum Resolution Horizontal : 1024 Pixels 1280 Pixels
Vertical : 768 Pixels 1024 Pixels
Input Video Signal Analog 0.7 Vp-p ± 5% positive at 75 Ω, internally terminated
Input Sync Signal Type : Seperate H/V
automatic synchronization without external switch of sync type
Level : TTL level
Maximum Pixel Clock rate 95 MHz 135 MHz
Active Display
Horizontal/Vertical
AC power voltage & Frequency
AC 90 ~ 264 Volts, 60 / 50 Hz ± 3 Hz
Power Consumption 48 W (Max), (2W Power surge) 58 W (Max), (2W Power surge)
Dimensions
Unit (W x D x H) 18.6 x 12.4 x 2.0 Inches (474 x 317 x 51 mm)
20.8 x 14.4 x 2.2 Inches (530 x 367 x 57 mm)
With stand (W x D x H)
18.6 x 15.6 x 8.0 Inches (474 x 397 x 204 mm)
20.8 x 17.6 x 8.0 Inches (530 x 447 x 204 mm)
Weight 3.97 Kg (8.75 Ibs) 4.95 Kg (10.9 Ibs)
Environmental Considerations Operating Temperature : 50 °F ~ 104 °F (10 °C ~ 40 °C)
Humidity : 10 % ~ 80 %
Storage Temperature : -13 °F ~ 113 °F (-25 °C ~ 45 °C)
Humidity : 5 % ~ 95 %
TV System
Autenna Input 75Ω, Coaxial Cable
– MAX internal speaker Out : Right => 3W Right => 5W
Left => 3W Left => 5W
Sound Characteristic – BASS Control Range : -12dB~ + 12dB
– TREBLE Control Range : -12dB~ + 12dB
– Headphone Out: RF => 5mW max (400m Vrms)
A/V => 10mW max (580 Vrms), Max input sound: -9dBm
– Output Frequency (TBD) : RF => 80 Hz ~ 15 KHz
A/V => 80 Hz ~ 20 KHz
LTM1555(B)/LTM1755(B) 2-1
Item Description
LTM1555(B) LTM1755(B)
304.1 mm / 228.1 mm 338.1 mm / 270.1 mm
Tuning Frequency Synthesize
Color NTSC
Sound BTSC, ECJ, KOREA

CONFIDENTIAL
2 Product Specifications
2-2 LTM1555(B)/LTM1755(B)
2-2 Pin Assignments
Sync
Type
Pin No. Separate H/V Composite H/V Sync-on-green
1
2
3
4
5
6
7
8
9
10
11
12
13
14
15
Red
Green
Blue
GND
GND (DDC Return)
GND-Red
GND-Green
GND-Blue
No Connection
GND-Sync./Self Test
GND
DDC Data
Horizontal sync.
Vertical sync.
DDC Clock
Red
Green
Blue
GND
GND (DDC Return)
GND-Red
GND-Green
GND-Blue
No Connection
GND-Sync./Self Test
GND
DDC Data
H/V-Sync.
Not Used
DDC Clock
Red
Green + H/V Sync.
Blue
GND
GND (DDC Return)
GND-Red
GND-Green
GND-Blue
Not Used
GND-Sync./Self Test
GND
DDC Data
Not Used
Not Used
DDC Clock
Sync
Type
Pin No. DTV 15pin connector
1
2
3
4
5
6
7
8
9
10
11
12
13
14
15
Red , Y
Green , Pb
Blue , Pr
GND
GND
GND-Red
GND-Green
GND-Blue
GND
No Connection
GND
No Connection
Horizontal sync.
Vertical sync.
No Connection

CONFIDENTIAL
2 Product Specifications
LTM1555(B)/LTM1755(B) 2-3
QRS
P
O
Video
Sync Sync
Horizontal Vertical
CDE
P
O
B
A
Video
Sync Sync
Separate Sync
2-3 Timing Chart
This section of the service manual describes the timing that the computer industry recognizes as standard
for computer-generated video signals.
C D
AO
E
BP
Video
Sync Sync
Video
Q R S
A : Line time total B : Horizontal sync width O : Frame time total P : Vertical sync width
C : Back porch D : Active time Q : Back porch R : Active time
E : Front porch S : Front porch
VIDEO
A
BO
P
QRS
Horizontal Vertical
B
Green Vertical
PQRS
O
Horizontal
H/V Composite Sync
Sync-on-Green
79.976
12.504
1.067
1.837
9.481
0.119
75.025
13.329
0.038
0.475
12.804
0.013
135.000
Positive
Positive
Separate
81.129
16.640
6.400
2.880
3.200
76.106
10.660
0.080
3.200
0.020
135.000
Negative
Negative
Com.
68.677
14.561
1.016
2.201
10.836
0.508
84.997
11.765
0.044
0.524
11.183
0.015
94.500
Positive
Positive
Separate
1024/85Hz
1024x768 1280/76Hz
1280x1024 1280/75Hz
1280x1024
1024/75Hz
1024 x 768
60.023
16.660
1.219
2.235
13.003
0.203
75.029
13.328
0.050
0.466
12.795
0.017
78.750
Positive
Positive
Separate
31.469
31.777
3.813
1.589
26.058
0.318
70.087
14.268
0.064
0.858
13.155
0.191
28.322
Negative
Positive
Separate
fH (KHz)
A µsec
B µsec
C µsec
D µsec
E µsec
fV (Hz)
O msec
P msec
Q msec
R msec
S msec
Clock
Freq.
(MHz)
Polarity
H.Sync
V.Sync
Remark
IBM
640/75 Hz
640 x 480 640/85 Hz
640 x 480 800/75 Hz
800 x 600 800/85 Hz
800 x 600 1024/60Hz
1024 x 768
VGA2/
70 Hz
720 x 400
VGA3/
60 Hz
640 x 480
Table 2-1 Timing Chart
31.469
31.778
3.813
1.589
26.058
0.318
59.940
16.683
0.064
0.794
15.761
0.064
25.175
Negative
Negative
Separate
37.500
26.667
2.032
3.810
20.317
0.508
75.000
13.333
0.080
0.427
12.800
0.027
31.500
Negative
Negative
Separate
43.269
23.111
1.556
2.222
17.778
1.556
85.008
11.764
0.671
0.578
11.093
0.023
49.500
Negative
Negative
Separate
46.875
21.333
1.616
3.232
16.162
0.323
75.000
13.333
0.064
0.448
12.800
0.021
49.500
Positive
Positive
Separate
53.674
18.631
1.138
2.702
14.222
0.569
85.061
11.756
0.056
0.503
11.179
0.019
56.250
Positive
Positive
Separate
48.363
20.677
2.092
2.462
15.754
0.369
60.004
16.666
0.124
0.600
15.880
0.062
75.000
Negative
Negative
Separate
Mode VESA
Timing (17” Only) (17” Only)

Memo
2 Product Specifications
2-4 LTM1555(B)/LTM1755(B)
CONFIDENTIAL

LTM1555(B)/LTM1755(B) 3-1
CONFIDENTIAL
3 Disassembly and Reassembly
This section of the service manual describes the disassembly and reassembly procedures for the
LTM1555(B)/LTM1755(B) monitor.
WARNING: This monitor contains electrostatically sensitive devices. Use caution when handling
these components.
3-1 Disassembly
Cautions:1. Disconnect the monitor from the power source before disassembly.
2. Follow these directions carefully; never use metal instruments to pry apart the cabinet.
1. Remove the 4 screws (Rear Cover + Stand) on
the rear cover.
2. Remove the Assy Stand from rear cover.
3. Remove the 3 screws (Rear Cover + Cover
Front) on the rear.

CONFIDENTIAL
3 Disassembly and Reassembly
3-2 LTM1555(B)/LTM1755(B)
3-2 Reassembly
Reassembly procedures are in the reverse order of dissasembly procedures.
4. Lift up the rear cover until it opens
completely.

CONFIDENTIAL
LTM1555(B)/LTM1755(B) 4-1
4 Alignments and Adjustments
4-1 General Alignment Instruction
1. Usually, a color TV-VCR needs only slight touch-up adjustment upon installation.
Check the basic characteristics such as height, horizontal and vertical sync.
2. Use the specified test equipment or its equivalent.
3. Correct impedance matching is essential.
4. Avoid overload. Excessive signal from a sweep generator might overload the front-end
of the TV. When inserting signal markers, do not allow the marker generator to distort
test results.
5. Connect the TV only to an DC power source with voltage and frequency as specified on
the backcover nameplate.
6. Do not attempt to connect or disconnect any wire while the TV is turned on. Make sure
that the power cord is disconnected before replacing any parts.
7. To protect aganist shock hazard, use an isolation transformer.

4-2 Adjustment Instruction
4-2-1 Service Mode Screen
1. Auto Color
2. Options
3. Reset
4-2-2 Service function
1. EEPROM Clear : Initially executed when replacing OTP.
2. TV Auto Color : Used to adjust TV image color.
3. Reset : Used after all adjustments.
4. Other functions shown are not service related.
4-2-3 Adjustment Sequence for ROM change only
4 Alignments and Adjustments
4-2 LTM1555(B)/LTM1755(B)
CONFIDENTIAL
PC white balance
TV auto color
Add AFN : No
Bus stop : No
EEPROM clear
EEPROM Clear TV auto color PC auto color RESET
(For ROM
change only)

CONFIDENTIAL
LTM1555(B)/LTM1755(B) 5-1
5 Troubleshooting
5-1 No Power
Does proper DC 14 V appear at
DC jack connected to CN12? Check SMPS PCB and Adapter.
Yes
No
Does proper DC 5 V appear at
Pin 2 of IC11? Check IC11.
Check IC23.
Yes
No
Does proper DC 14V appear at
Pin 1 of IC11? Check IC11.
Yes
No
Does proper DC 3.3 V appear at
Pin 3 of IC14? Check IC14.
Yes
Yes
No
Does proper DC 2.5 V appear at
Pin 4 of IC109 and IC17? Check IC109 and IC17.
No

CONFIDENTIAL
5 Troubleshooting
5-2 LTM1555(B)/LTM1755(B)
5-2 No Video (PC Signal)
Power indicator is green.
Does the signal appear
at IC134, IC135, IC136
of R, G, B input? Check CN11.
Yes
Yes
No
Does the clock pulse
appear at X21? Check X21 and related circuit of X21.
Yes
No
Does the clock pulse appear at
output of <RA35~RA39, RA310>15”
<RA35~RA39, RA310, RA313~318>17”. Check related circuit of IC32.
Yes
No
Does the clock pulse appear at
output of <R611~R620>15”
<R611~R620, R61~R69, R610>17”. Replace <R611~R620>15”
<R611~R620, R61~R69, R610>17”.
Yes
No
Replace LCD Panel.

CONFIDENTIAL
5 Troubleshooting
LTM1555(B)/LTM1755(B) 5-3
Does signal appear at
<RA35~RA39, RA310>15”
<RA35~RA39, RA310, RA313~RA318>17”
of related IC32. Check IC32 and related circuit .
Yes
No
Check IC61, 62 and
<R611, 612, ~R620>15”
<R611, 612, ~R620, R61~R69, R610>17”.
5-3 No Picture (TV, Video, S-Video)
Check Pin 55, 56 (S-Video)
and Pin 52 (VCR) and Pin 74
and Pin 53 (RF-CVBS)
of IC401 (VSP9407).
Check CN41 (Tuner) and
CN26 (VCR connector).
Yes
No
Does the signal appear at
RA33, RA34, RA311, RA312? Check IC401 (VSP9407)
and related circuit.
Yes
No

CONFIDENTIAL
5 Troubleshooting
5-4 LTM1555(B)/LTM1755(B)
Does the signal appear at
Pin 67 (Tuner sound signal) and
Pin 57, 56 (PC sound) and Pin 51, 50
(VCR sound) of IC53 (MSP3421G)?
Check CN11 (PC conector)
and CN26(VCR connector).
Yes
No
Does the signal appear at Pin 27,
28 of IC53 (MSP3421G)? Check IC32 and related circuit.
Yes
No
Does the signal appear
at L53~L56? Check IC55 (Audio amp) and related circuit.
Yes
No
Replace the speaker.
5-4 No Sound

CONFIDENTIAL
LTM1555(B)/LTM1755(B) 6-1
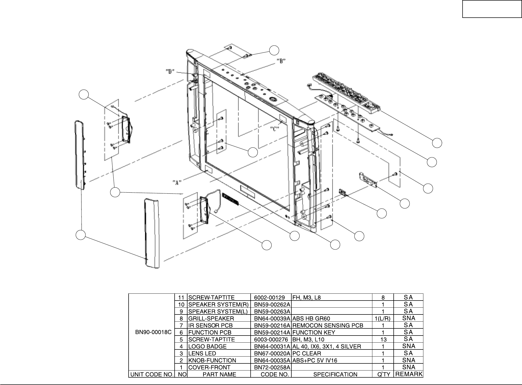
6 Exploded View and Parts List
6-1-1 LTM1555(B)

6 Exploded View & Parts List
6-2 LTM1555(B)/LTM1755(B)
CONFIDENTIAL
6-1-2 LTM1555(B) Front
10
10
8
9
915
3
7
5
6
2
5
5

LTM1555(B)/LTM1755(B) 6-3
6 Schematic Diagrams
CONFIDENTIAL
6-1-3 LTM1555(B) Rear

6 Exploded View & Parts List
6-4 LTM1555(B)/LTM1755(B)
CONFIDENTIAL
6-1-3 LTM1555(B) Stand
4
3
2
5
6
7
1

LTM1555(B)/LTM1755(B) 6-5
6 Schematic Diagrams
CONFIDENTIAL
6-2-1 LTM1755(B)

6 Exploded View & Parts List
6-6 LTM1555(B)/LTM1755(B)
CONFIDENTIAL
6-2-2 LTM1755(B) Front
10
10
8
9
915
3
7
5
6
2
5
5

LTM1555(B)/LTM1755(B) 6-7
6 Schematic Diagrams
CONFIDENTIAL
6-2-3 LTM1755(B) Rear

6 Exploded View & Parts List
6-8 LTM1555(B)/LTM1755(B)
CONFIDENTIAL
6-2-3 LTM1755(B) Stand

CONFIDENTIAL
CIS BN94-00308A ASSY PCB MAIN ES15UO SNA
C1 BN83-00081A CKD-BN44-00056A BN44-00056A,2203-000206 SNA
C10 BN83-00086A CKD-BN44-00056A BN44-00056A,2203-002793 SNA
C11 BN83-00086A CKD-BN44-00056A BN44-00056A,2203-002793 SNA
C115 2409-001044 C-ORGANIC 100UF,+-20%,16V,WT,TP,8X10.5,5
C116 2409-001044 C-ORGANIC 100UF,+-20%,16V,WT,TP,8X10.5,5
C12 BN83-00082A CKD-BN44-00056A BN44-00056A,2203-001458 SNA
C13 BN83-00083A CKD-BN44-00056A BN44-00056A,2203-000455 SNA
C14 BN83-00079A CKD-BN44-00056A BN44-00056A,2301-001336 SNA
C15 BN83-00080A CKD-BN44-00056A BN44-00056A,2201-002122 SNA
C16 BN83-00080A CKD-BN44-00056A BN44-00056A,2201-002122 SNA
C17 BN83-00081A CKD-BN44-00056A BN44-00056A,2203-000206 SNA
C18 BN83-00081A CKD-BN44-00056A BN44-00056A,2203-000206 SNA
C19 BN83-00086A CKD-BN44-00056A BN44-00056A,2203-002793 SNA
C2 BN83-00085A CKD-BN44-00056A BN44-00056A,2203-001130 SNA
C20 BN83-00086A CKD-BN44-00056A BN44-00056A,2203-002793 SNA
C21 BN83-00082A CKD-BN44-00056A BN44-00056A,2203-001458 SNA
C22 BN83-00083A CKD-BN44-00056A BN44-00056A,2203-000455 SNA
C23 BN83-00081A CKD-BN44-00056A BN44-00056A,2203-000206 SNA
C3 BN83-00078A CKD-BN44-00056A BN44-00056A,2401-003400 SNA
C30 BN83-00084A CKD-BN44-00056A BN44-00056A,2203-000590 SNA
C31 BN83-00084A CKD-BN44-00056A BN44-00056A,2203-000590 SNA
C5 BN83-00079A CKD-BN44-00056A BN44-00056A,2301-001336 SNA
C50 BN83-00081A CKD-BN44-00056A BN44-00056A,2203-000206 SNA
C6 BN83-00080A CKD-BN44-00056A BN44-00056A,2201-002122 SNA
C7 BN83-00080A CKD-BN44-00056A BN44-00056A,2201-002122 SNA
C8 BN83-00081A CKD-BN44-00056A BN44-00056A,2203-000206 SNA
C9 BN83-00081A CKD-BN44-00056A BN44-00056A,2203-000206 SNA
CIS 0202-001044 SOLDER-WIRE. S63S-W3.0,S63S,D3,63Sn/37Pb,- SNA
CIS 0202-001162 SOLDER-CREAM RMA-20-21L,S63,-,SN63/PB36.6/AG0.4,FLUX9.5% SNA
CIS 0202-001222 SOLDER-WIRE FLUX RS-107,RS60-1.2AA,D1.2,SN60/PB40,- SNA
CIS 0204-001095 THINNER #4520,-,-,- SNA
CIS 0204-001527 FLUX DF-201TVS,MIX,0.820,FLUX 13%, 14KG
CIS BN39-00047A CBF-HARNESS
100MM,100MM,BLU/WHT/GRY,UL1061,AWG28,51021-1200
CIS BN39-00201A LEAD CONNECTOR-ASSY
ES15AS,UL2835#28,UL/CSA,6P,-,-,#28,12505HS-06,12505HS-06,BK,-,-,170MM,2835#28,SJ
CIS BN39-00286A LEAD CONNECTOR-ASSY
ES15UO,UL2835#28,UL/CSA,20P,#28,12507HS-20,12507HS-20,BK,180MM,2835#28,SJ02-01-1
CIS BN44-00056A INVERTER
GOGH,SIC1542,48KHZ,12VDC,1.5MARMS,5.6MARMS,48KHZ,37*140*16.0,4LAMP,40~56KV,-,SIC
CIS BN83-00137A CKD-BN44-00056A BN44-00056A,2007-000091 SNA
CIS BN63-00003A GASKET-SHIELD LSA700,POLYURETHANE SPONGE,-,-,35MM,-,-,- SNA
CIS BN63-00059A GASKET
GH17MS,CONDUCTIVE FABRIC,5MM,160MM,17MM,-,-,EMI-GASKET
SNA
CIS BN63-00066B SHIELD-D SUB ES15NS,SPTE ,T0.5,-,-,-,- SNA
CIS BN63-00133A GASKET
EOS,CONDUTIVE FABRIC,17MM,5MM,260MM,GRAY,71TSK17-5-260-13,71TSK17-5-260-13
SNA
CN1 BN83-00110A CKD-BN44-00056A BN44-00056A,3711-000556 SNA
CN11 3701-001219 CONNECTOR-DSUB 15P,3R,FEMALE,ANGLE,AUF
CN12 3722-000117 JACK-DC POWER 3P,3.5mm,AG,BLK,NO SNA
CN2 BN83-00111A CKD-BN44-00056A BN44-00056A,3711-004702 SNA
CN24 3722-001547 JACK-PIN 3P,3.5mm,AU,GRN/BLU/RED,-
CN25 3722-001756 JACK-PIN 2P,-,AU,WHT/RED,-
CN3 BN83-00111A CKD-BN44-00056A BN44-00056A,3711-004702 SNA
CN4 BN83-00111A CKD-BN44-00056A BN44-00056A,3711-004702 SNA
CN41 BN40-00012A TUNER
TCLN9081PA27K,TCLN9081PA27K,181,45.75MHZ,75 OHM,75 OHM,F-CON,5V,TR
CN5 BN83-00111A CKD-BN44-00056A BN44-00056A,3711-004702 SNA
CN51 3722-001055 JACK-PHONE 5P/2C,3.6PI,AG,BLK,#16-22 SNA
CN52 3711-004386 CONNECTOR-HEADER BOX,3P,1R,2mm,ANGLE,SN SNA
CN53 3711-004270 CONNECTOR-HEADER BOX,2P,1R,2MM,ANGLE,SN SNA
D10 BN83-00074A CKD-BN44-00056A BN44-00056A,0407-000114 SNA
LTM1555(B)/LTM1755(B) 7-1
Loc. No. Code No. Description Specification Remarks
7 Electrical Parts List
7-1-1 LTM1555(B) Main PCB Parts

D12 BN83-00074A CKD-BN44-00056A BN44-00056A,0407-000114 SNA
D13 BN83-00075A CKD-BN44-00056A BN44-00056A,0402-001110 SNA
D14 BN83-00076A CKD-BN44-00056A BN44-00056A,0407-000122 SNA
D15 BN83-00077A CKD-BN44-00056A BN44-00056A,0407-000116 SNA
D16 BN83-00077A CKD-BN44-00056A BN44-00056A,0407-000116 SNA
D19 BN83-00074A CKD-BN44-00056A BN44-00056A,0407-000114 SNA
D2 BN83-00074A CKD-BN44-00056A BN44-00056A,0407-000114 SNA
D20 BN83-00074A CKD-BN44-00056A BN44-00056A,0407-000114 SNA
D3 BN83-00075A CKD-BN44-00056A BN44-00056A,0402-001110 SNA
D4 BN83-00076A CKD-BN44-00056A BN44-00056A,0407-000122 SNA
D5 BN83-00077A CKD-BN44-00056A BN44-00056A,0407-000116 SNA
D6 BN83-00077A CKD-BN44-00056A BN44-00056A,0407-000116 SNA
D7 BN83-00074A CKD-BN44-00056A BN44-00056A,0407-000114 SNA
F1 BN83-00108A CKD-BN44-00056A BN44-00056A,3601-001038 SNA
INSULATOR BN83-00113A CKD-BN44-00056A BN44-00056A,LH72-00170A SNA
L1 BN83-00107A CKD-BN44-00056A BN44-00056A,LH27-00145A SNA
L2 BN83-00107A CKD-BN44-00056A BN44-00056A,LH27-00145A SNA
L43 2701-000157 INDUCTOR-AXIAL 220uH,5%,2.5x3.4mm
L44 2701-000210 INDUCTOR-AXIAL 680uH,10%,3x7mm
L45 2701-000177 INDUCTOR-AXIAL 33uH,10%,2.5x3.4mm
L46 2701-000177 INDUCTOR-AXIAL 33uH,10%,2.5x3.4mm
L47 2701-000146 INDUCTOR-AXIAL 2.2uH,10%,2.5x3.4mm
M/PCB+SH/PCB 6003-000117 SCREW-TAPTITE BH,+,B,M3,L6,ZPC(YEL),SWRCH18A SNA
PCB BN83-00112A CKD-BN44-00056A BN44-00056A,LH41-00214A SNA
Q1 BN83-00070A CKD-BN44-00056A BN44-00056A,0504-000129 SNA
Q10 BN83-00070A CKD-BN44-00056A BN44-00056A,0504-000129 SNA
Q11 BN83-00070A CKD-BN44-00056A BN44-00056A,0504-000129 SNA
Q12 BN83-00069A CKD-BN44-00056A BN44-00056A,0501-000457 SNA
Q13 BN83-00072A CKD-BN44-00056A BN44-00056A,0505-001160 SNA
Q14 BN83-00073A CKD-BN44-00056A BN44-00056A,0501-002186 SNA
Q15 BN83-00073A CKD-BN44-00056A BN44-00056A,0501-002186 SNA
Q16 BN83-00070A CKD-BN44-00056A BN44-00056A,0504-000129 SNA
Q17 BN83-00070A CKD-BN44-00056A BN44-00056A,0504-000129 SNA
Q18 BN83-00070A CKD-BN44-00056A BN44-00056A,0504-000129 SNA
Q2 BN83-00068A CKD-BN44-00056A BN44-00056A,0504-000158 SNA
Q23 BN83-00071A CKD-BN44-00056A BN44-00056A,0501-000462 SNA
Q24 BN83-00071A CKD-BN44-00056A BN44-00056A,0501-000462 SNA
Q3 BN83-00070A CKD-BN44-00056A BN44-00056A,0504-000129 SNA
Q4 BN83-00070A CKD-BN44-00056A BN44-00056A,0504-000129 SNA
Q5 BN83-00069A CKD-BN44-00056A BN44-00056A,0501-000457 SNA
Q6 BN83-00072A CKD-BN44-00056A BN44-00056A,0505-001160 SNA
Q7 BN83-00073A CKD-BN44-00056A BN44-00056A,0501-002186 SNA
Q8 BN83-00073A CKD-BN44-00056A BN44-00056A,0501-002186 SNA
Q9 BN83-00070A CKD-BN44-00056A BN44-00056A,0504-000129 SNA
R1 BN83-00090A CKD-BN44-00056A BN44-00056A,2007-000098 SNA
R10 BN83-00101A CKD-BN44-00056A BN44-00056A,2007-000090 SNA
R100 BN83-00106A CKD-BN44-00056A BN44-00056A,2104-000224 SNA
R11 BN83-00102A CKD-BN44-00056A BN44-00056A,2007-000934 SNA
R12 BN83-00102A CKD-BN44-00056A BN44-00056A,2007-000934 SNA
R13 BN83-00102A CKD-BN44-00056A BN44-00056A,2007-000934 SNA
R14 BN83-00102A CKD-BN44-00056A BN44-00056A,2007-000934 SNA
R19 BN83-00087A CKD-BN44-00056A BN44-00056A,2007-000671 SNA
R2 BN83-00088A CKD-BN44-00056A BN44-00056A,2007-001010 SNA
R20 BN83-00087A CKD-BN44-00056A BN44-00056A,2007-000671 SNA
R21 BN83-00089A CKD-BN44-00056A BN44-00056A,2007-000794 SNA
R22 BN83-00089A CKD-BN44-00056A BN44-00056A,2007-000794 SNA
R23 BN83-00090A CKD-BN44-00056A BN44-00056A,2007-000098 SNA
R24 BN83-00090A CKD-BN44-00056A BN44-00056A,2007-000098 SNA
R25 BN83-00091A CKD-BN44-00056A BN44-00056A,2007-000096 SNA
7 Electrical Parts List
7-2 LTM1555(B)/LTM1755(B)
Loc. No. Code No. Description Specification Remarks
CONFIDENTIAL

R27 BN83-00093A CKD-BN44-00056A BN44-00056A,2007-000092 SNA
R28 BN83-00094A CKD-BN44-00056A BN44-00056A,2007-000102 SNA
R29 BN83-00090A CKD-BN44-00056A BN44-00056A,2007-000098 SNA
R3 BN83-00090A CKD-BN44-00056A BN44-00056A,2007-000098 SNA
R30 BN83-00101A CKD-BN44-00056A BN44-00056A,2007-000090 SNA
R31 BN83-00092A CKD-BN44-00056A BN44-00056A,2007-000872 SNA
R34 BN83-00092A CKD-BN44-00056A BN44-00056A,2007-000872 SNA
R35 BN83-00100A CKD-BN44-00056A BN44-00056A,2007-000130 SNA
R36 BN83-00101A CKD-BN44-00056A BN44-00056A,2007-000090 SNA
R37 BN83-00102A CKD-BN44-00056A BN44-00056A,2007-000934 SNA
R38 BN83-00102A CKD-BN44-00056A BN44-00056A,2007-000934 SNA
R39 BN83-00102A CKD-BN44-00056A BN44-00056A,2007-000934 SNA
R4 BN83-00100A CKD-BN44-00056A BN44-00056A,2007-000130 SNA
R40 BN83-00102A CKD-BN44-00056A BN44-00056A,2007-000934 SNA
R45 BN83-00087A CKD-BN44-00056A BN44-00056A,2007-000671 SNA
R46 BN83-00087A CKD-BN44-00056A BN44-00056A,2007-000671 SNA
R47 BN83-00089A CKD-BN44-00056A BN44-00056A,2007-000794 SNA
R48 BN83-00089A CKD-BN44-00056A BN44-00056A,2007-000794 SNA
R49 BN83-00090A CKD-BN44-00056A BN44-00056A,2007-000098 SNA
R5 BN83-00096A CKD-BN44-00056A BN44-00056A,2007-000129 SNA
R50 BN83-00090A CKD-BN44-00056A BN44-00056A,2007-000098 SNA
R52 BN83-00091A CKD-BN44-00056A BN44-00056A,2007-000096 SNA
R54 BN83-00093A CKD-BN44-00056A BN44-00056A,2007-000092 SNA
R55 BN83-00090A CKD-BN44-00056A BN44-00056A,2007-000098 SNA
R56 BN83-00101A CKD-BN44-00056A BN44-00056A,2007-000090 SNA
R57 BN83-00092A CKD-BN44-00056A BN44-00056A,2007-000872 SNA
R6 BN83-00097A CKD-BN44-00056A BN44-00056A,2007-001114 SNA
R61 BN83-00101A CKD-BN44-00056A BN44-00056A,2007-000090 SNA
R62 BN83-00093A CKD-BN44-00056A BN44-00056A,2007-000092 SNA
R63 BN83-00089A CKD-BN44-00056A BN44-00056A,2007-000794 SNA
R64 BN83-00101A CKD-BN44-00056A BN44-00056A,2007-000090 SNA
R65 BN83-00093A CKD-BN44-00056A BN44-00056A,2007-000092 SNA
R66 BN83-00089A CKD-BN44-00056A BN44-00056A,2007-000794 SNA
R69 BN83-00098A CKD-BN44-00056A BN44-00056A,2007-000269 SNA
R70 BN83-00094A CKD-BN44-00056A BN44-00056A,2007-000102 SNA
R71 BN83-00099A CKD-BN44-00056A BN44-00056A,2007-000093 SNA
R72 BN83-00099A CKD-BN44-00056A BN44-00056A,2007-000093 SNA
R73 BN83-00095A CKD-BN44-00056A BN44-00056A,2007-000122 SNA
R74 BN83-00095A CKD-BN44-00056A BN44-00056A,2007-000122 SNA
R75 BN83-00095A CKD-BN44-00056A BN44-00056A,2007-000122 SNA
R76 BN83-00095A CKD-BN44-00056A BN44-00056A,2007-000122 SNA
R77 BN83-00094A CKD-BN44-00056A BN44-00056A,2007-000102 SNA
R78 BN83-00094A CKD-BN44-00056A BN44-00056A,2007-000102 SNA
R79 BN83-00097A CKD-BN44-00056A BN44-00056A,2007-001114 SNA
R8 BN83-00092A CKD-BN44-00056A BN44-00056A,2007-000872 SNA
R80 BN83-00103A CKD-BN44-00056A BN44-00056A,2007-000070 SNA
R81 BN83-00104A CKD-BN44-00056A BN44-00056A,2007-002422 SNA
R82 BN83-00104A CKD-BN44-00056A BN44-00056A,2007-002422 SNA
R83 BN83-00103A CKD-BN44-00056A BN44-00056A,2007-000070 SNA
R84 BN83-00094A CKD-BN44-00056A BN44-00056A,2007-000102 SNA
R85 BN83-00094A CKD-BN44-00056A BN44-00056A,2007-000102 SNA
R86 BN83-00105A CKD-BN44-00056A BN44-00056A,2007-000691 SNA
R87 BN83-00105A CKD-BN44-00056A BN44-00056A,2007-000691 SNA
R9 BN83-00100A CKD-BN44-00056A BN44-00056A,2007-000130 SNA
R91 BN83-00094A CKD-BN44-00056A BN44-00056A,2007-000102 SNA
R92 BN83-00094A CKD-BN44-00056A BN44-00056A,2007-000102 SNA
R93 BN83-00103A CKD-BN44-00056A BN44-00056A,2007-000070 SNA
R94 BN83-00093A CKD-BN44-00056A BN44-00056A,2007-000092 SNA
R95 BN83-00101A CKD-BN44-00056A BN44-00056A,2007-000090 SNA
7 Electrical Parts List
LTM1555(B)/LTM1755(B) 7-3
Loc. No. Code No. Description Specification Remarks
CONFIDENTIAL

SH/PCB+SH/D_SUB
6003-000117 SCREW-TAPTITE BH,+,B,M3,L6,ZPC(YEL),SWRCH18A SNA
T1 BN83-00109A CKD-BN44-00056A BN44-00056A,LH26-00144A SNA
T2 BN83-00109A CKD-BN44-00056A BN44-00056A,LH26-00144A SNA
U1 BN83-00066A CKD-BN44-00056A BN44-00056A,1201-000471 SNA
U2 BN83-00067A CKD-BN44-00056A BN44-00056A,1202-000104 SNA
U3 BN83-00067A CKD-BN44-00056A BN44-00056A,1202-000104 SNA
U4 BN83-00065A CKD-BN44-00056A BN44-00056A,1203-000560 SNA
U5 BN83-00067A CKD-BN44-00056A BN44-00056A,1202-000104 SNA
U501 2401-002286 C-AL 470uF,20%,16V,WT,TP,10x12.5,5
CIS BN90-00031A ASSY SHIELD-PCB ES15NS,-,-,SECC T0.8,-,-,-,- SNA
CIS BN97-00096L ASSY MICOM ES15UO
IC22 1102-001108 IC-EPROM
27C020,256Kx8Bit,PLCC,32P,495MIL,70nS,5V,10%,PLASTIC,0to+70C,100uA,CMOS,TR
CIS BN46-00012M S/W MICOM ES15UO SNA
CIS BN97-00099A ASSY SMD ES15UO SNA
BD109 3301-001163 CORE-FERRITE BEAD AB,80ohm,2x1.25x1mm,300mA,TP,FERRITE,0.08ohm
BD11 3301-001236 CORE-FERRITE BEAD AB,60ohm,1.6x0.8x0.8mm,200mA,TP,H,0.7ohm
BD12 3301-001236 CORE-FERRITE BEAD AB,60ohm,1.6x0.8x0.8mm,200mA,TP,H,0.7ohm
BD13 3301-001236 CORE-FERRITE BEAD AB,60ohm,1.6x0.8x0.8mm,200mA,TP,H,0.7ohm
BD14 3301-001163 CORE-FERRITE BEAD AB,80ohm,2x1.25x1mm,300mA,TP,FERRITE,0.08ohm
BD21 3301-001163 CORE-FERRITE BEAD AB,80ohm,2x1.25x1mm,300mA,TP,FERRITE,0.08ohm
BD210 3301-001163 CORE-FERRITE BEAD AB,80ohm,2x1.25x1mm,300mA,TP,FERRITE,0.08ohm
BD211 3301-001163 CORE-FERRITE BEAD AB,80ohm,2x1.25x1mm,300mA,TP,FERRITE,0.08ohm
BD212 3301-001163 CORE-FERRITE BEAD AB,80ohm,2x1.25x1mm,300mA,TP,FERRITE,0.08ohm
BD213 3301-001163 CORE-FERRITE BEAD AB,80ohm,2x1.25x1mm,300mA,TP,FERRITE,0.08ohm
BD214 3301-001163 CORE-FERRITE BEAD AB,80ohm,2x1.25x1mm,300mA,TP,FERRITE,0.08ohm
BD215 3301-001163 CORE-FERRITE BEAD AB,80ohm,2x1.25x1mm,300mA,TP,FERRITE,0.08ohm
BD216 3301-001163 CORE-FERRITE BEAD AB,80ohm,2x1.25x1mm,300mA,TP,FERRITE,0.08ohm
BD217 3301-001163 CORE-FERRITE BEAD AB,80ohm,2x1.25x1mm,300mA,TP,FERRITE,0.08ohm
BD218 3301-001163 CORE-FERRITE BEAD AB,80ohm,2x1.25x1mm,300mA,TP,FERRITE,0.08ohm
BD219 3301-001163 CORE-FERRITE BEAD AB,80ohm,2x1.25x1mm,300mA,TP,FERRITE,0.08ohm
BD22 3301-001163 CORE-FERRITE BEAD AB,80ohm,2x1.25x1mm,300mA,TP,FERRITE,0.08ohm
BD220 3301-001163 CORE-FERRITE BEAD AB,80ohm,2x1.25x1mm,300mA,TP,FERRITE,0.08ohm
BD221 3301-001163 CORE-FERRITE BEAD AB,80ohm,2x1.25x1mm,300mA,TP,FERRITE,0.08ohm
BD222 3301-001163 CORE-FERRITE BEAD AB,80ohm,2x1.25x1mm,300mA,TP,FERRITE,0.08ohm
BD223 3301-001163 CORE-FERRITE BEAD AB,80ohm,2x1.25x1mm,300mA,TP,FERRITE,0.08ohm
BD224 3301-001163 CORE-FERRITE BEAD AB,80ohm,2x1.25x1mm,300mA,TP,FERRITE,0.08ohm
BD225 3301-001163 CORE-FERRITE BEAD AB,80ohm,2x1.25x1mm,300mA,TP,FERRITE,0.08ohm
BD226 3301-001163 CORE-FERRITE BEAD AB,80ohm,2x1.25x1mm,300mA,TP,FERRITE,0.08ohm
BD227 3301-001163 CORE-FERRITE BEAD AB,80ohm,2x1.25x1mm,300mA,TP,FERRITE,0.08ohm
BD23 3301-001163 CORE-FERRITE BEAD AB,80ohm,2x1.25x1mm,300mA,TP,FERRITE,0.08ohm
BD24 3301-001163 CORE-FERRITE BEAD AB,80ohm,2x1.25x1mm,300mA,TP,FERRITE,0.08ohm
BD25 3301-001163 CORE-FERRITE BEAD AB,80ohm,2x1.25x1mm,300mA,TP,FERRITE,0.08ohm
BD26 3301-001163 CORE-FERRITE BEAD AB,80ohm,2x1.25x1mm,300mA,TP,FERRITE,0.08ohm
BD27 3301-001163 CORE-FERRITE BEAD AB,80ohm,2x1.25x1mm,300mA,TP,FERRITE,0.08ohm
BD28 3301-001163 CORE-FERRITE BEAD AB,80ohm,2x1.25x1mm,300mA,TP,FERRITE,0.08ohm
BD29 3301-001163 CORE-FERRITE BEAD AB,80ohm,2x1.25x1mm,300mA,TP,FERRITE,0.08ohm
BD41 3301-001163 CORE-FERRITE BEAD AB,80ohm,2x1.25x1mm,300mA,TP,FERRITE,0.08ohm
BD42 3301-001163 CORE-FERRITE BEAD AB,80ohm,2x1.25x1mm,300mA,TP,FERRITE,0.08ohm
BD43 3301-001163 CORE-FERRITE BEAD AB,80ohm,2x1.25x1mm,300mA,TP,FERRITE,0.08ohm
BD44 3301-001163 CORE-FERRITE BEAD AB,80ohm,2x1.25x1mm,300mA,TP,FERRITE,0.08ohm
BD51 3301-001145 CORE-FERRITE BEAD AB,4.5x1.6x1.6mm,-,- SNA
BD52 3301-001163 CORE-FERRITE BEAD AB,80ohm,2x1.25x1mm,300mA,TP,FERRITE,0.08ohm
C11 2402-001081 C-AL,SMD 100uF,20%,25V,WT,TP,8.3x8.3x10
C110 2402-001042 C-AL,SMD 100uF,20%,16V,GP,TP,6.6x6.6x5.4mm
C112 2402-001042 C-AL,SMD 100uF,20%,16V,GP,TP,6.6x6.6x5.4mm
C113 2402-001042 C-AL,SMD 100uF,20%,16V,GP,TP,6.6x6.6x5.4mm
7 Electrical Parts List
7-4 LTM1555(B)/LTM1755(B)
Loc. No. Code No. Description Specification Remarks
CONFIDENTIAL

C114 2402-001042 C-AL,SMD 100uF,20%,16V,GP,TP,6.6x6.6x5.4mm
C119 2402-000176 C-AL,SMD 10uF,20%,16V,GP,TP,4.3x4.3x5.4
C12 2402-001081 C-AL,SMD 100uF,20%,25V,WT,TP,8.3x8.3x10
C120 2402-000176 C-AL,SMD 10uF,20%,16V,GP,TP,4.3x4.3x5.4
C121 2402-000176 C-AL,SMD 10uF,20%,16V,GP,TP,4.3x4.3x5.4
C122 2402-000176 C-AL,SMD 10uF,20%,16V,GP,TP,4.3x4.3x5.4
C123 2402-000176 C-AL,SMD 10uF,20%,16V,GP,TP,4.3x4.3x5.4
C125 2203-000903 C-CERAMIC,CHIP 0.0047nF,0.25pF,50V,NP0,TP,1608
C126 2203-000903 C-CERAMIC,CHIP 0.0047nF,0.25pF,50V,NP0,TP,1608
C127 2203-000903 C-CERAMIC,CHIP 0.0047nF,0.25pF,50V,NP0,TP,1608
C13 2402-001044 C-AL,SMD 100uF,20%,25V,-,TP,8.3x8.3x6.3
C131 2203-005065 C-CERAMIC,CHIP 1000nF,+80-20%,10V,Y5V,TP,1608
C132 2203-005065 C-CERAMIC,CHIP 1000nF,+80-20%,10V,Y5V,TP,1608
C133 2203-005065 C-CERAMIC,CHIP 1000nF,+80-20%,10V,Y5V,TP,1608
C134 2203-005065 C-CERAMIC,CHIP 1000nF,+80-20%,10V,Y5V,TP,1608
C135 2203-005065 C-CERAMIC,CHIP 1000nF,+80-20%,10V,Y5V,TP,1608
C136 2203-005065 C-CERAMIC,CHIP 1000nF,+80-20%,10V,Y5V,TP,1608
C137 2203-005065 C-CERAMIC,CHIP 1000nF,+80-20%,10V,Y5V,TP,1608
C138 2203-005065 C-CERAMIC,CHIP 1000nF,+80-20%,10V,Y5V,TP,1608
C139 2203-005065 C-CERAMIC,CHIP 1000nF,+80-20%,10V,Y5V,TP,1608
C14 2402-001044 C-AL,SMD 100uF,20%,25V,-,TP,8.3x8.3x6.3
C140 2203-005065 C-CERAMIC,CHIP 1000nF,+80-20%,10V,Y5V,TP,1608
C141 2203-005065 C-CERAMIC,CHIP 1000nF,+80-20%,10V,Y5V,TP,1608
C142 2203-000189 C-CERAMIC,CHIP 100nF,+80-20%,25V,Y5V,TP,1608,
C143 2203-000189 C-CERAMIC,CHIP 100nF,+80-20%,25V,Y5V,TP,1608,
C144 2203-000189 C-CERAMIC,CHIP 100nF,+80-20%,25V,Y5V,TP,1608,
C145 2203-000189 C-CERAMIC,CHIP 100nF,+80-20%,25V,Y5V,TP,1608,
C146 2203-000189 C-CERAMIC,CHIP 100nF,+80-20%,25V,Y5V,TP,1608,
C147 2203-000189 C-CERAMIC,CHIP 100nF,+80-20%,25V,Y5V,TP,1608,
C148 2203-000189 C-CERAMIC,CHIP 100nF,+80-20%,25V,Y5V,TP,1608,
C15 2402-001044 C-AL,SMD 100uF,20%,25V,-,TP,8.3x8.3x6.3
C150 2203-000189 C-CERAMIC,CHIP 100nF,+80-20%,25V,Y5V,TP,1608,
C154 2203-000257 C-CERAMIC,CHIP 10nF,10%,50V,X7R,TP,1608
C155 2203-000257 C-CERAMIC,CHIP 10nF,10%,50V,X7R,TP,1608
C156 2203-000257 C-CERAMIC,CHIP 10nF,10%,50V,X7R,TP,1608
C157 2203-000257 C-CERAMIC,CHIP 10nF,10%,50V,X7R,TP,1608
C158 2203-000257 C-CERAMIC,CHIP 10nF,10%,50V,X7R,TP,1608
C159 2203-000257 C-CERAMIC,CHIP 10nF,10%,50V,X7R,TP,1608
C160 2203-000257 C-CERAMIC,CHIP 10nF,10%,50V,X7R,TP,1608
C162 2203-001155 C-CERAMIC,CHIP 0.068nF,5%,50V,NP0,TP,1608
C163 2203-000236 C-CERAMIC,CHIP 0.1nF,5%,50V,NP0,TP,1608
C17 2402-001042 C-AL,SMD 100uF,20%,16V,GP,TP,6.6x6.6x5.4mm
C18 2402-001042 C-AL,SMD 100uF,20%,16V,GP,TP,6.6x6.6x5.4mm
C19 2402-001042 C-AL,SMD 100uF,20%,16V,GP,TP,6.6x6.6x5.4mm
C21 2402-000176 C-AL,SMD 10uF,20%,16V,GP,TP,4.3x4.3x5.4
C210 2203-001417 C-CERAMIC,CHIP 0.036nF,5%,50V,NP0,TP,1608
C211 2203-005065 C-CERAMIC,CHIP 1000nF,+80-20%,10V,Y5V,TP,1608
C212 2203-005065 C-CERAMIC,CHIP 1000nF,+80-20%,10V,Y5V,TP,1608
C213 2203-005065 C-CERAMIC,CHIP 1000nF,+80-20%,10V,Y5V,TP,1608
C214 2203-005065 C-CERAMIC,CHIP 1000nF,+80-20%,10V,Y5V,TP,1608
C215 2203-000189 C-CERAMIC,CHIP 100nF,+80-20%,25V,Y5V,TP,1608,
C216 2203-000189 C-CERAMIC,CHIP 100nF,+80-20%,25V,Y5V,TP,1608,
C217 2203-000189 C-CERAMIC,CHIP 100nF,+80-20%,25V,Y5V,TP,1608,
C22 2402-000176 C-AL,SMD 10uF,20%,16V,GP,TP,4.3x4.3x5.4
C220 2203-000189 C-CERAMIC,CHIP 100nF,+80-20%,25V,Y5V,TP,1608,
C221 2203-000189 C-CERAMIC,CHIP 100nF,+80-20%,25V,Y5V,TP,1608,
C222 2203-000189 C-CERAMIC,CHIP 100nF,+80-20%,25V,Y5V,TP,1608,
C223 2203-000784 C-CERAMIC,CHIP 0.33nF,5%,50V,NP0,TP,2012
C224 2203-000784 C-CERAMIC,CHIP 0.33nF,5%,50V,NP0,TP,2012
7 Electrical Parts List
LTM1555(B)/LTM1755(B) 7-5
Loc. No. Code No. Description Specification Remarks
CONFIDENTIAL

C225 2203-000257 C-CERAMIC,CHIP 10nF,10%,50V,X7R,TP,1608
C226 2203-000236 C-CERAMIC,CHIP 0.1nF,5%,50V,NP0,TP,1608
C227 2203-000236 C-CERAMIC,CHIP 0.1nF,5%,50V,NP0,TP,1608
C228 2203-000236 C-CERAMIC,CHIP 0.1nF,5%,50V,NP0,TP,1608
C229 2203-000236 C-CERAMIC,CHIP 0.1nF,5%,50V,NP0,TP,1608
C23 2402-000176 C-AL,SMD 10uF,20%,16V,GP,TP,4.3x4.3x5.4
C230 2203-000236 C-CERAMIC,CHIP 0.1nF,5%,50V,NP0,TP,1608
C231 2203-000236 C-CERAMIC,CHIP 0.1nF,5%,50V,NP0,TP,1608
C232 2203-000236 C-CERAMIC,CHIP 0.1nF,5%,50V,NP0,TP,1608
C233 2203-000236 C-CERAMIC,CHIP 0.1nF,5%,50V,NP0,TP,1608
C234 2203-000236 C-CERAMIC,CHIP 0.1nF,5%,50V,NP0,TP,1608
C24 2402-001042 C-AL,SMD 100uF,20%,16V,GP,TP,6.6x6.6x5.4mm
C25 2402-001006 C-AL,SMD 4.7uF,20%,25V,GP,TP,3.6x6.3x3.
C26 2402-001006 C-AL,SMD 4.7uF,20%,25V,GP,TP,3.6x6.3x3.
C27 2203-001077 C-CERAMIC,CHIP 0.056nF,5%,50V,NP0,TP,2012
C28 2203-001077 C-CERAMIC,CHIP 0.056nF,5%,50V,NP0,TP,2012
C29 2203-001417 C-CERAMIC,CHIP 0.036nF,5%,50V,NP0,TP,1608
C31 2402-000176 C-AL,SMD 10uF,20%,16V,GP,TP,4.3x4.3x5.4
C310 2402-000176 C-AL,SMD 10uF,20%,16V,GP,TP,4.3x4.3x5.4
C3103 2402-000176 C-AL,SMD 10uF,20%,16V,GP,TP,4.3x4.3x5.4
C311 2402-000176 C-AL,SMD 10uF,20%,16V,GP,TP,4.3x4.3x5.4
C312 2402-000176 C-AL,SMD 10uF,20%,16V,GP,TP,4.3x4.3x5.4
C313 2402-000176 C-AL,SMD 10uF,20%,16V,GP,TP,4.3x4.3x5.4
C314 2402-001006 C-AL,SMD 4.7uF,20%,25V,GP,TP,3.6x6.3x3.
C315 2402-001006 C-AL,SMD 4.7uF,20%,25V,GP,TP,3.6x6.3x3.
C316 2409-001035 C-ORGANIC 10uF,20%,10V,LZ,TP,5.4x4.3x4.3mm,1
C317 2402-000108 C-AL,SMD 10uF,20%,16V,WT,TP,4.3x4.3x5.4
C318 2402-000179 C-AL,SMD 47uF,20%,16V,GP,TP,6.6x6.6x5.4
C319 2402-000179 C-AL,SMD 47uF,20%,16V,GP,TP,6.6x6.6x5.4
C32 2203-000697 C-CERAMIC,CHIP 0.002nF,0.25pF,50V,NP0,TP,1608
C321 2203-005065 C-CERAMIC,CHIP 1000nF,+80-20%,10V,Y5V,TP,1608
C3246 2402-000176 C-AL,SMD 10uF,20%,16V,GP,TP,4.3x4.3x5.4
C3285 2402-000176 C-AL,SMD 10uF,20%,16V,GP,TP,4.3x4.3x5.4
C329 2203-000189 C-CERAMIC,CHIP 100nF,+80-20%,25V,Y5V,TP,1608,
C33 2203-000697 C-CERAMIC,CHIP 0.002nF,0.25pF,50V,NP0,TP,1608
C330 2203-000189 C-CERAMIC,CHIP 100nF,+80-20%,25V,Y5V,TP,1608,
C3300 2402-000176 C-AL,SMD 10uF,20%,16V,GP,TP,4.3x4.3x5.4
C331 2203-000189 C-CERAMIC,CHIP 100nF,+80-20%,25V,Y5V,TP,1608,
C332 2203-000189 C-CERAMIC,CHIP 100nF,+80-20%,25V,Y5V,TP,1608,
C333 2203-000189 C-CERAMIC,CHIP 100nF,+80-20%,25V,Y5V,TP,1608,
C334 2203-000189 C-CERAMIC,CHIP 100nF,+80-20%,25V,Y5V,TP,1608,
C335 2203-000189 C-CERAMIC,CHIP 100nF,+80-20%,25V,Y5V,TP,1608,
C336 2203-000189 C-CERAMIC,CHIP 100nF,+80-20%,25V,Y5V,TP,1608,
C337 2203-000189 C-CERAMIC,CHIP 100nF,+80-20%,25V,Y5V,TP,1608,
C338 2203-000189 C-CERAMIC,CHIP 100nF,+80-20%,25V,Y5V,TP,1608,
C339 2203-000189 C-CERAMIC,CHIP 100nF,+80-20%,25V,Y5V,TP,1608,
C3390 2402-000176 C-AL,SMD 10uF,20%,16V,GP,TP,4.3x4.3x5.4
C34 2203-000697 C-CERAMIC,CHIP 0.002nF,0.25pF,50V,NP0,TP,1608
C340 2203-000189 C-CERAMIC,CHIP 100nF,+80-20%,25V,Y5V,TP,1608,
C341 2203-000189 C-CERAMIC,CHIP 100nF,+80-20%,25V,Y5V,TP,1608,
C342 2203-000189 C-CERAMIC,CHIP 100nF,+80-20%,25V,Y5V,TP,1608,
C343 2203-000189 C-CERAMIC,CHIP 100nF,+80-20%,25V,Y5V,TP,1608,
C344 2203-000189 C-CERAMIC,CHIP 100nF,+80-20%,25V,Y5V,TP,1608,
C345 2203-000189 C-CERAMIC,CHIP 100nF,+80-20%,25V,Y5V,TP,1608,
C346 2203-000189 C-CERAMIC,CHIP 100nF,+80-20%,25V,Y5V,TP,1608,
C347 2203-000189 C-CERAMIC,CHIP 100nF,+80-20%,25V,Y5V,TP,1608,
C348 2203-000189 C-CERAMIC,CHIP 100nF,+80-20%,25V,Y5V,TP,1608,
C349 2203-000189 C-CERAMIC,CHIP 100nF,+80-20%,25V,Y5V,TP,1608,
C35 2203-005065 C-CERAMIC,CHIP 1000nF,+80-20%,10V,Y5V,TP,1608
7 Electrical Parts List
7-6 LTM1555(B)/LTM1755(B)
Loc. No. Code No. Description Specification Remarks
CONFIDENTIAL

C350 2203-000189 C-CERAMIC,CHIP 100nF,+80-20%,25V,Y5V,TP,1608,
C351 2203-000189 C-CERAMIC,CHIP 100nF,+80-20%,25V,Y5V,TP,1608,
C352 2203-000189 C-CERAMIC,CHIP 100nF,+80-20%,25V,Y5V,TP,1608,
C353 2203-000189 C-CERAMIC,CHIP 100nF,+80-20%,25V,Y5V,TP,1608,
C354 2203-000189 C-CERAMIC,CHIP 100nF,+80-20%,25V,Y5V,TP,1608,
C355 2203-000189 C-CERAMIC,CHIP 100nF,+80-20%,25V,Y5V,TP,1608,
C3552 2402-000176 C-AL,SMD 10uF,20%,16V,GP,TP,4.3x4.3x5.4
C356 2203-000189 C-CERAMIC,CHIP 100nF,+80-20%,25V,Y5V,TP,1608,
C357 2203-000189 C-CERAMIC,CHIP 100nF,+80-20%,25V,Y5V,TP,1608,
C358 2203-000189 C-CERAMIC,CHIP 100nF,+80-20%,25V,Y5V,TP,1608,
C359 2203-000189 C-CERAMIC,CHIP 100nF,+80-20%,25V,Y5V,TP,1608,
C36 2203-005065 C-CERAMIC,CHIP 1000nF,+80-20%,10V,Y5V,TP,1608
C360 2203-000189 C-CERAMIC,CHIP 100nF,+80-20%,25V,Y5V,TP,1608,
C361 2203-000189 C-CERAMIC,CHIP 100nF,+80-20%,25V,Y5V,TP,1608,
C362 2203-000189 C-CERAMIC,CHIP 100nF,+80-20%,25V,Y5V,TP,1608,
C363 2203-000189 C-CERAMIC,CHIP 100nF,+80-20%,25V,Y5V,TP,1608,
C365 2203-000440 C-CERAMIC,CHIP 1nF,10%,50V,X7R,TP,1608,-
C366 2203-000440 C-CERAMIC,CHIP 1nF,10%,50V,X7R,TP,1608,-
C367 2203-000440 C-CERAMIC,CHIP 1nF,10%,50V,X7R,TP,1608,-
C368 2203-000440 C-CERAMIC,CHIP 1nF,10%,50V,X7R,TP,1608,-
C3688 2402-000176 C-AL,SMD 10uF,20%,16V,GP,TP,4.3x4.3x5.4
C369 2203-000440 C-CERAMIC,CHIP 1nF,10%,50V,X7R,TP,1608,-
C37 2203-005065 C-CERAMIC,CHIP 1000nF,+80-20%,10V,Y5V,TP,1608
C370 2203-000440 C-CERAMIC,CHIP 1nF,10%,50V,X7R,TP,1608,-
C371 2203-000440 C-CERAMIC,CHIP 1nF,10%,50V,X7R,TP,1608,-
C372 2203-005005 C-CERAMIC,CHIP 100nF,10%,16V,X7R,TP,1608
C373 2203-000257 C-CERAMIC,CHIP 10nF,10%,50V,X7R,TP,1608
C374 2203-000257 C-CERAMIC,CHIP 10nF,10%,50V,X7R,TP,1608
C375 2203-000257 C-CERAMIC,CHIP 10nF,10%,50V,X7R,TP,1608
C376 2203-000257 C-CERAMIC,CHIP 10nF,10%,50V,X7R,TP,1608
C377 2203-000257 C-CERAMIC,CHIP 10nF,10%,50V,X7R,TP,1608
C378 2203-000257 C-CERAMIC,CHIP 10nF,10%,50V,X7R,TP,1608
C3782 2402-000176 C-AL,SMD 10uF,20%,16V,GP,TP,4.3x4.3x5.4
C379 2203-000257 C-CERAMIC,CHIP 10nF,10%,50V,X7R,TP,1608
C380 2203-000257 C-CERAMIC,CHIP 10nF,10%,50V,X7R,TP,1608
C381 2203-000257 C-CERAMIC,CHIP 10nF,10%,50V,X7R,TP,1608
C382 2203-000257 C-CERAMIC,CHIP 10nF,10%,50V,X7R,TP,1608
C383 2203-000257 C-CERAMIC,CHIP 10nF,10%,50V,X7R,TP,1608
C384 2203-000384 C-CERAMIC,CHIP 0.015nF,5%,50V,NP0,TP,1608
C3890 2402-000144 C-AL,SMD 3.3uF,20%,50V,GP,TP,4.3x4.3x5.
C39 2203-000189 C-CERAMIC,CHIP 100nF,+80-20%,25V,Y5V,TP,1608,
C410 2203-005065 C-CERAMIC,CHIP 1000nF,+80-20%,10V,Y5V,TP,1608
C411 2203-005065 C-CERAMIC,CHIP 1000nF,+80-20%,10V,Y5V,TP,1608
C412 2203-005065 C-CERAMIC,CHIP 1000nF,+80-20%,10V,Y5V,TP,1608
C4128 2402-001042 C-AL,SMD 100uF,20%,16V,GP,TP,6.6x6.6x5.4mm
C413 2203-005065 C-CERAMIC,CHIP 1000nF,+80-20%,10V,Y5V,TP,1608
C414 2203-005065 C-CERAMIC,CHIP 1000nF,+80-20%,10V,Y5V,TP,1608
C415 2203-005065 C-CERAMIC,CHIP 1000nF,+80-20%,10V,Y5V,TP,1608
C416 2203-005065 C-CERAMIC,CHIP 1000nF,+80-20%,10V,Y5V,TP,1608
C417 2203-005065 C-CERAMIC,CHIP 1000nF,+80-20%,10V,Y5V,TP,1608
C418 2203-005065 C-CERAMIC,CHIP 1000nF,+80-20%,10V,Y5V,TP,1608
C4186 2402-001042 C-AL,SMD 100uF,20%,16V,GP,TP,6.6x6.6x5.4mm
C419 2203-005065 C-CERAMIC,CHIP 1000nF,+80-20%,10V,Y5V,TP,1608
C420 2203-005065 C-CERAMIC,CHIP 1000nF,+80-20%,10V,Y5V,TP,1608
C421 2203-000189 C-CERAMIC,CHIP 100nF,+80-20%,25V,Y5V,TP,1608,
C422 2203-000189 C-CERAMIC,CHIP 100nF,+80-20%,25V,Y5V,TP,1608,
C423 2203-000189 C-CERAMIC,CHIP 100nF,+80-20%,25V,Y5V,TP,1608,
C424 2203-000440 C-CERAMIC,CHIP 1nF,10%,50V,X7R,TP,1608,-
C4276 2402-000176 C-AL,SMD 10uF,20%,16V,GP,TP,4.3x4.3x5.4
7 Electrical Parts List
LTM1555(B)/LTM1755(B) 7-7
Loc. No. Code No. Description Specification Remarks
CONFIDENTIAL

C43 2203-000972 C-CERAMIC,CHIP 47nF,10%,16V,X7R,TP,1608
C430 2203-000280 C-CERAMIC,CHIP 0.01nF,0.5pF,50V,NP0,TP,1608
C431 2203-000998 C-CERAMIC,CHIP 0.047nF,5%,50V,NP0,TP,1608
C432 2203-000189 C-CERAMIC,CHIP 100nF,+80-20%,25V,Y5V,TP,1608,
C433 2203-000189 C-CERAMIC,CHIP 100nF,+80-20%,25V,Y5V,TP,1608,
C434 2203-000189 C-CERAMIC,CHIP 100nF,+80-20%,25V,Y5V,TP,1608,
C437 2203-000189 C-CERAMIC,CHIP 100nF,+80-20%,25V,Y5V,TP,1608,
C438 2203-000189 C-CERAMIC,CHIP 100nF,+80-20%,25V,Y5V,TP,1608,
C439 2203-000257 C-CERAMIC,CHIP 10nF,10%,50V,X7R,TP,1608
C44 2203-000972 C-CERAMIC,CHIP 47nF,10%,16V,X7R,TP,1608
C440 2203-000257 C-CERAMIC,CHIP 10nF,10%,50V,X7R,TP,1608
C441 2203-000257 C-CERAMIC,CHIP 10nF,10%,50V,X7R,TP,1608
C442 2203-000257 C-CERAMIC,CHIP 10nF,10%,50V,X7R,TP,1608
C443 2203-000552 C-CERAMIC,CHIP 0.02nF,5%,50V,NP0,TP,1608
C444 2203-000552 C-CERAMIC,CHIP 0.02nF,5%,50V,NP0,TP,1608
C445 2203-000626 C-CERAMIC,CHIP 0.022nF,5%,50V,NP0,TP,1608
C446 2203-000626 C-CERAMIC,CHIP 0.022nF,5%,50V,NP0,TP,1608
C447 2203-000491 C-CERAMIC,CHIP 2.2nF,10%,50V,X7R,TP,1608,-
C448 2203-000140 C-CERAMIC,CHIP 1.5nF,10%,50V,X7R,TP,1608,-
C449 2203-001656 C-CERAMIC,CHIP 0.47nF,5%,50V,NP0,TP,1608
C45 2402-001042 C-AL,SMD 100uF,20%,16V,GP,TP,6.6x6.6x5.4mm
C450 2203-000972 C-CERAMIC,CHIP 47nF,10%,16V,X7R,TP,1608
C451 2203-000972 C-CERAMIC,CHIP 47nF,10%,16V,X7R,TP,1608
C452 2203-000972 C-CERAMIC,CHIP 47nF,10%,16V,X7R,TP,1608
C46 2402-000135 C-AL,SMD 22uF,20%,16V,GP,TP,5.3x5.3x5.4
C47 2203-005065 C-CERAMIC,CHIP 1000nF,+80-20%,10V,Y5V,TP,1608
C4728 2402-000176 C-AL,SMD 10uF,20%,16V,GP,TP,4.3x4.3x5.4
C48 2203-005065 C-CERAMIC,CHIP 1000nF,+80-20%,10V,Y5V,TP,1608
C4845 2203-000972 C-CERAMIC,CHIP 47nF,10%,16V,X7R,TP,1608
C49 2203-005065 C-CERAMIC,CHIP 1000nF,+80-20%,10V,Y5V,TP,1608
C51 2203-000140 C-CERAMIC,CHIP 1.5nF,10%,50V,X7R,TP,1608,-
C510 2402-001042 C-AL,SMD 100uF,20%,16V,GP,TP,6.6x6.6x5.4mm
C511 2402-001042 C-AL,SMD 100uF,20%,16V,GP,TP,6.6x6.6x5.4mm
C512 2402-001042 C-AL,SMD 100uF,20%,16V,GP,TP,6.6x6.6x5.4mm
C513 2402-001042 C-AL,SMD 100uF,20%,16V,GP,TP,6.6x6.6x5.4mm
C514 2402-001042 C-AL,SMD 100uF,20%,16V,GP,TP,6.6x6.6x5.4mm
C515 2402-001157 C-AL,SMD 0.33UF,20%,50V,GP,TP,4X5.2MM
C516 2402-001157 C-AL,SMD 0.33UF,20%,50V,GP,TP,4X5.2MM
C517 2402-001006 C-AL,SMD 4.7uF,20%,25V,GP,TP,3.6x6.3x3.
C518 2402-001006 C-AL,SMD 4.7uF,20%,25V,GP,TP,3.6x6.3x3.
C519 2402-001006 C-AL,SMD 4.7uF,20%,25V,GP,TP,3.6x6.3x3.
C52 2203-000140 C-CERAMIC,CHIP 1.5nF,10%,50V,X7R,TP,1608,-
C520 2402-001006 C-AL,SMD 4.7uF,20%,25V,GP,TP,3.6x6.3x3.
C521 2402-000170 C-AL,SMD 1uF,20%,50V,GP,TP,4.3x4.3x5.4,
C522 2203-001077 C-CERAMIC,CHIP 0.056nF,5%,50V,NP0,TP,2012
C523 2203-001077 C-CERAMIC,CHIP 0.056nF,5%,50V,NP0,TP,2012
C5239 2402-000176 C-AL,SMD 10uF,20%,16V,GP,TP,4.3x4.3x5.4
C524 2203-001077 C-CERAMIC,CHIP 0.056nF,5%,50V,NP0,TP,2012
C5244 2402-000144 C-AL,SMD 3.3uF,20%,50V,GP,TP,4.3x4.3x5.
C5247 2402-001042 C-AL,SMD 100uF,20%,16V,GP,TP,6.6x6.6x5.4mm
C525 2203-000903 C-CERAMIC,CHIP 0.0047nF,0.25pF,50V,NP0,TP,1608
C526 2203-000903 C-CERAMIC,CHIP 0.0047nF,0.25pF,50V,NP0,TP,1608
C527 2203-000189 C-CERAMIC,CHIP 100nF,+80-20%,25V,Y5V,TP,1608,
C528 2203-000189 C-CERAMIC,CHIP 100nF,+80-20%,25V,Y5V,TP,1608,
C529 2203-000189 C-CERAMIC,CHIP 100nF,+80-20%,25V,Y5V,TP,1608,
C53 2402-000176 C-AL,SMD 10uF,20%,16V,GP,TP,4.3x4.3x5.4
C530 2203-000189 C-CERAMIC,CHIP 100nF,+80-20%,25V,Y5V,TP,1608,
C531 2203-000189 C-CERAMIC,CHIP 100nF,+80-20%,25V,Y5V,TP,1608,
C532 2203-000189 C-CERAMIC,CHIP 100nF,+80-20%,25V,Y5V,TP,1608,
7 Electrical Parts List
7-8 LTM1555(B)/LTM1755(B)
Loc. No. Code No. Description Specification Remarks
CONFIDENTIAL

C533 2203-000189 C-CERAMIC,CHIP 100nF,+80-20%,25V,Y5V,TP,1608,
C534 2203-000189 C-CERAMIC,CHIP 100nF,+80-20%,25V,Y5V,TP,1608,
C535 2203-000189 C-CERAMIC,CHIP 100nF,+80-20%,25V,Y5V,TP,1608,
C536 2203-000189 C-CERAMIC,CHIP 100nF,+80-20%,25V,Y5V,TP,1608,
C537 2203-000189 C-CERAMIC,CHIP 100nF,+80-20%,25V,Y5V,TP,1608,
C538 2203-000189 C-CERAMIC,CHIP 100nF,+80-20%,25V,Y5V,TP,1608,
C539 2203-000189 C-CERAMIC,CHIP 100nF,+80-20%,25V,Y5V,TP,1608,
C54 2402-000176 C-AL,SMD 10uF,20%,16V,GP,TP,4.3x4.3x5.4
C540 2203-000440 C-CERAMIC,CHIP 1nF,10%,50V,X7R,TP,1608,-
C541 2203-000440 C-CERAMIC,CHIP 1nF,10%,50V,X7R,TP,1608,-
C542 2203-000140 C-CERAMIC,CHIP 1.5nF,10%,50V,X7R,TP,1608,-
C543 2203-000140 C-CERAMIC,CHIP 1.5nF,10%,50V,X7R,TP,1608,-
C544 2203-000140 C-CERAMIC,CHIP 1.5nF,10%,50V,X7R,TP,1608,-
C545 2203-000236 C-CERAMIC,CHIP 0.1nF,5%,50V,NP0,TP,1608
C546 2203-000236 C-CERAMIC,CHIP 0.1nF,5%,50V,NP0,TP,1608
C547 2203-000236 C-CERAMIC,CHIP 0.1nF,5%,50V,NP0,TP,1608
C548 2203-000236 C-CERAMIC,CHIP 0.1nF,5%,50V,NP0,TP,1608
C549 2203-000236 C-CERAMIC,CHIP 0.1nF,5%,50V,NP0,TP,1608
C55 2402-000176 C-AL,SMD 10uF,20%,16V,GP,TP,4.3x4.3x5.4
C550 2203-000236 C-CERAMIC,CHIP 0.1nF,5%,50V,NP0,TP,1608
C551 2402-001157 C-AL,SMD 0.33UF,20%,50V,GP,TP,4X5.2MM
C552 2402-001157 C-AL,SMD 0.33UF,20%,50V,GP,TP,4X5.2MM
C553 2203-001656 C-CERAMIC,CHIP 0.47nF,5%,50V,NP0,TP,1608
C554 2203-001656 C-CERAMIC,CHIP 0.47nF,5%,50V,NP0,TP,1608
C555 2203-001656 C-CERAMIC,CHIP 0.47nF,5%,50V,NP0,TP,1608
C556 2203-001391 C-CERAMIC,CHIP 150nF,10%,25V,X7R,TP,2012,-
C557 2203-001391 C-CERAMIC,CHIP 150nF,10%,25V,X7R,TP,2012,-
C558 2203-001391 C-CERAMIC,CHIP 150nF,10%,25V,X7R,TP,2012,-
C559 2203-001391 C-CERAMIC,CHIP 150nF,10%,25V,X7R,TP,2012,-
C56 2402-000176 C-AL,SMD 10uF,20%,16V,GP,TP,4.3x4.3x5.4
C560 2203-001391 C-CERAMIC,CHIP 150nF,10%,25V,X7R,TP,2012,-
C561 2203-001391 C-CERAMIC,CHIP 150nF,10%,25V,X7R,TP,2012,-
C562 2203-001391 C-CERAMIC,CHIP 150nF,10%,25V,X7R,TP,2012,-
C563 2203-001391 C-CERAMIC,CHIP 150nF,10%,25V,X7R,TP,2012,-
C564 2203-001391 C-CERAMIC,CHIP 150nF,10%,25V,X7R,TP,2012,-
C565 2203-001391 C-CERAMIC,CHIP 150nF,10%,25V,X7R,TP,2012,-
C566 2203-001391 C-CERAMIC,CHIP 150nF,10%,25V,X7R,TP,2012,-
C567 2203-001391 C-CERAMIC,CHIP 150nF,10%,25V,X7R,TP,2012,-
C568 2203-001391 C-CERAMIC,CHIP 150nF,10%,25V,X7R,TP,2012,-
C569 2203-001391 C-CERAMIC,CHIP 150nF,10%,25V,X7R,TP,2012,-
C57 2402-000176 C-AL,SMD 10uF,20%,16V,GP,TP,4.3x4.3x5.4
C570 2203-001607 C-CERAMIC,CHIP 0.22nF,5%,50V,NP0,TP,1608
C571 2203-000701 C-CERAMIC,CHIP 0.002nF,0.25pF,50V,NP0,TP,2012
C572 2203-000701 C-CERAMIC,CHIP 0.002nF,0.25pF,50V,NP0,TP,2012
C573 2203-000972 C-CERAMIC,CHIP 47nF,10%,16V,X7R,TP,1608
C574 2203-000716 C-CERAMIC,CHIP 3.3nF,10%,50V,X7R,TP,2012,-
C575 2203-000716 C-CERAMIC,CHIP 3.3nF,10%,50V,X7R,TP,2012,-
C576 2203-002793 C-CERAMIC,CHIP 1000nF,+80-20%,25V,Y5V,TP,2012
C58 2402-001042 C-AL,SMD 100uF,20%,16V,GP,TP,6.6x6.6x5.4mm
C59 2402-001042 C-AL,SMD 100uF,20%,16V,GP,TP,6.6x6.6x5.4mm
C61 2402-000176 C-AL,SMD 10uF,20%,16V,GP,TP,4.3x4.3x5.4
C611 2203-000189 C-CERAMIC,CHIP 100nF,+80-20%,25V,Y5V,TP,1608,
C612 2203-000189 C-CERAMIC,CHIP 100nF,+80-20%,25V,Y5V,TP,1608,
C613 2203-000189 C-CERAMIC,CHIP 100nF,+80-20%,25V,Y5V,TP,1608,
C614 2203-000189 C-CERAMIC,CHIP 100nF,+80-20%,25V,Y5V,TP,1608,
C615 2203-000189 C-CERAMIC,CHIP 100nF,+80-20%,25V,Y5V,TP,1608,
C616 2203-000189 C-CERAMIC,CHIP 100nF,+80-20%,25V,Y5V,TP,1608,
C617 2203-000189 C-CERAMIC,CHIP 100nF,+80-20%,25V,Y5V,TP,1608,
C618 2203-000189 C-CERAMIC,CHIP 100nF,+80-20%,25V,Y5V,TP,1608,
7 Electrical Parts List
LTM1555(B)/LTM1755(B) 7-9
Loc. No. Code No. Description Specification Remarks
CONFIDENTIAL

C619 2203-000189 C-CERAMIC,CHIP 100nF,+80-20%,25V,Y5V,TP,1608,
C62 2402-000176 C-AL,SMD 10uF,20%,16V,GP,TP,4.3x4.3x5.4
C620 2203-000189 C-CERAMIC,CHIP 100nF,+80-20%,25V,Y5V,TP,1608,
C621 2203-000189 C-CERAMIC,CHIP 100nF,+80-20%,25V,Y5V,TP,1608,
C622 2203-000189 C-CERAMIC,CHIP 100nF,+80-20%,25V,Y5V,TP,1608,
C63 2402-000176 C-AL,SMD 10uF,20%,16V,GP,TP,4.3x4.3x5.4
C635 2203-000440 C-CERAMIC,CHIP 1nF,10%,50V,X7R,TP,1608,-
C637 2203-000440 C-CERAMIC,CHIP 1nF,10%,50V,X7R,TP,1608,-
C638 2203-000440 C-CERAMIC,CHIP 1nF,10%,50V,X7R,TP,1608,-
C639 2203-000440 C-CERAMIC,CHIP 1nF,10%,50V,X7R,TP,1608,-
C640 2203-000440 C-CERAMIC,CHIP 1nF,10%,50V,X7R,TP,1608,-
C65 2402-000135 C-AL,SMD 22uF,20%,16V,GP,TP,5.3x5.3x5.4
C67 2203-000189 C-CERAMIC,CHIP 100nF,+80-20%,25V,Y5V,TP,1608,
C68 2203-000189 C-CERAMIC,CHIP 100nF,+80-20%,25V,Y5V,TP,1608,
C777 2402-001006 C-AL,SMD 4.7uF,20%,25V,GP,TP,3.6x6.3x3.
C782 2402-001006 C-AL,SMD 4.7uF,20%,25V,GP,TP,3.6x6.3x3.
CA311 2503-001018 C-NETWORK 15PFX4,10%,50V,-
CA312 2503-001018 C-NETWORK 15PFX4,10%,50V,-
CA313 2503-001018 C-NETWORK 15PFX4,10%,50V,-
CA314 2503-001018 C-NETWORK 15PFX4,10%,50V,-
CA315 2503-001018 C-NETWORK 15PFX4,10%,50V,-
CA330 2503-001018 C-NETWORK 15PFX4,10%,50V,-
CN13 3711-002046 CONNECTOR-HEADER 3WALL,12P,1R,1.25mm,SMD-S,SN SNA
CN21 3711-002127 CONNECTOR-HEADER BOX,8P,1R,1.25mm,SMD-A,SN SNA
CN22 3711-002049 CONNECTOR-HEADER BOX,6P,1R,1.25mm,SMD-A,SN SNA
CN23 3711-002049 CONNECTOR-HEADER BOX,6P,1R,1.25mm,SMD-A,SN SNA
CN26 3711-000556 CONNECTOR-HEADER BOX,12P,1R,1.25mm,SMD-A,SN SNA
CN27 3711-000556 CONNECTOR-HEADER BOX,12P,1R,1.25mm,SMD-A,SN SNA
CN61 3711-003161 CONNECTOR-HEADER BOX,20P,1R,1.25mm,ANGLE,SN SNA
D11 0402-000553 DIODE-RECTIFIER SS24,40V,2.0A,DO-214AA
D12 0402-000553 DIODE-RECTIFIER SS24,40V,2.0A,DO-214AA
D14 0403-000579 DIODE-ZENER BZX84C5V1,5.1V,5%,200mW,SOT-23
D15 0401-001056 DIODE-SWITCHING MMBD4148SE,75V,200MA,SOT-23,TP
D16 0401-001056 DIODE-SWITCHING MMBD4148SE,75V,200MA,SOT-23,TP
D17 0401-001056 DIODE-SWITCHING MMBD4148SE,75V,200MA,SOT-23,TP
D18 0403-001435 DIODE-ZENER QZX363C5V6,5.32-5.88,200MW,SOT-363,TP
D21 0403-001052 DIODE-ZENER RD8.2MB,8.2V,7.7-8.64V,200mW,S
D210 0403-000579 DIODE-ZENER BZX84C5V1,5.1V,5%,200mW,SOT-23
D211 0403-000579 DIODE-ZENER BZX84C5V1,5.1V,5%,200mW,SOT-23
D22 0403-001052 DIODE-ZENER RD8.2MB,8.2V,7.7-8.64V,200mW,S
D220 0403-001052 DIODE-ZENER RD8.2MB,8.2V,7.7-8.64V,200mW,S
D23 0403-001052 DIODE-ZENER RD8.2MB,8.2V,7.7-8.64V,200mW,S
D237 0403-001052 DIODE-ZENER RD8.2MB,8.2V,7.7-8.64V,200mW,S
D238 0403-001435 DIODE-ZENER QZX363C5V6,5.32-5.88,200MW,SOT-363,TP
D239 0403-001052 DIODE-ZENER RD8.2MB,8.2V,7.7-8.64V,200mW,S
D24 0403-001435 DIODE-ZENER QZX363C5V6,5.32-5.88,200MW,SOT-363,TP
D240 0403-001052 DIODE-ZENER RD8.2MB,8.2V,7.7-8.64V,200mW,S
D25 0403-001052 DIODE-ZENER RD8.2MB,8.2V,7.7-8.64V,200mW,S
D26 0403-001052 DIODE-ZENER RD8.2MB,8.2V,7.7-8.64V,200mW,S
D27 0403-001052 DIODE-ZENER RD8.2MB,8.2V,7.7-8.64V,200mW,S
D29 0403-000579 DIODE-ZENER BZX84C5V1,5.1V,5%,200mW,SOT-23
D41 0401-001056 DIODE-SWITCHING MMBD4148SE,75V,200MA,SOT-23,TP
D43 0403-001382 DIODE-ZENER UDZ33B,32.15-33.79V,200mW,SOD-323,TP
D51 0403-001435 DIODE-ZENER QZX363C5V6,5.32-5.88,200MW,SOT-363,TP
D55 0403-001052 DIODE-ZENER RD8.2MB,8.2V,7.7-8.64V,200mW,S
DB21 3301-001163 CORE-FERRITE BEAD AB,80ohm,2x1.25x1mm,300mA,TP,FERRITE,0.08ohm
FT11 3301-001145 CORE-FERRITE BEAD AB,4.5x1.6x1.6mm,-,- SNA
FT12 3301-001145 CORE-FERRITE BEAD AB,4.5x1.6x1.6mm,-,- SNA
FT13 3301-001145 CORE-FERRITE BEAD AB,4.5x1.6x1.6mm,-,- SNA
7 Electrical Parts List
7-10 LTM1555(B)/LTM1755(B)
Loc. No. Code No. Description Specification Remarks
CONFIDENTIAL

FT14 3301-001145 CORE-FERRITE BEAD AB,4.5x1.6x1.6mm,-,- SNA
FT31 2901-001133 FILTER-EMI SMD 25V,0.15A,-,33pF,2x1.25x0.8mm,TP
FT32 3301-001145 CORE-FERRITE BEAD AB,4.5x1.6x1.6mm,-,- SNA
FT51 3301-001145 CORE-FERRITE BEAD AB,4.5x1.6x1.6mm,-,- SNA
FT52 3301-001145 CORE-FERRITE BEAD AB,4.5x1.6x1.6mm,-,- SNA
FT61 3301-001145 CORE-FERRITE BEAD AB,4.5x1.6x1.6mm,-,- SNA
FT62 3301-001145 CORE-FERRITE BEAD AB,4.5x1.6x1.6mm,-,- SNA
FT63 3301-001145 CORE-FERRITE BEAD AB,4.5x1.6x1.6mm,-,- SNA
FT64 3301-001145 CORE-FERRITE BEAD AB,4.5x1.6x1.6mm,-,- SNA
IC109 1203-002410 IC-POSI.ADJUST REG.
KA317MR,D-PAK,3P,240MIL,PLASTIC,40V,-,0TO+125C,0.5A,1.2/1.3V,TP
IC11 1203-001448 IC-SWITCH VOL. REG. 2596,TO-263,5P,-,PLASTIC,4.750
IC110 0803-000117 IC-TTL 74F14,INVERTER,SOP,14P,150MIL,
IC111 0505-001170 FET-SILICON SI9933ADY-T1,P,-20V,3.4A,0.06ohm,2W,SO-8
IC112 0505-001170 FET-SILICON SI9933ADY-T1,P,-20V,3.4A,0.06ohm,2W,SO-8
IC13 1203-002454 IC-VOLTAGE REGULATOR
FAN1117A,TO-252,3P,257MIL,PLASTIC,1.764V/1.836V,-,0TO+125C,1A,1.225/1.275V,TP
IC14 1203-001293 IC-POSI.FIXED REG. 033,T0-252,3P,6.5MIL,PLASTIC,3
IC16 1203-001447 IC-POSI.FIXED REG. 2596,TO-263,5P,-,PLASTIC,3.135
IC17 1203-001465 IC-POSI.ADJUST REG. 317,TO-263,3P,-,PLASTIC,1.2/37
IC18 1103-000138 IC-EEPROM 24C16,2Kx8BIT,SOP,8P,150MIL,10
IC19 1103-001164 IC-EEPROM
24LC21A,128X8BIT,SOP,8P,150MIL,-,5V,10%,PLASTIC,0 TO +70C,100UA,CMOS,TP
IC21 1203-001109 IC-VOL. DETECTOR 7045,SOT-89,3P,-,PLASTIC,4.3/4
IC22_SOCK 3704-000249 SOCKET-IC 32P,PLCC,SN,1.27mm
IC23 0903-001202 IC-MICROCONTROLLER
80251G2,8Bit,PLCC,44P,653MIL,24MHz,TR,CMOS,PLASTIC,5V,1.5W,0to+70C,1KBYTE,-,24Bi
SNA
IC24 0803-000117 IC-TTL 74F14,INVERTER,SOP,14P,150MIL,
IC25 0801-002268 IC-CMOS LOGIC 74VHC139,DECODER,SOP,16P,150MI
IC26 0801-000411 IC-CMOS LOGIC 74HC32,OR GATE,SOP,14P,150MIL,
IC27 0801-000411 IC-CMOS LOGIC 74HC32,OR GATE,SOP,14P,150MIL,
IC28 0802-001108 IC-BICMOS LOGIC
74ABT573,LATCH,TSSOP,20P,173MIL,8,TR,PLASTIC,3-STATE,-,0.55V,-65TO+150C,-,0.8V,5
IC31 1204-001551 IC-VIDEO SYSTEM
GS1881,SOIC,8P,150MIL,PLASTIC,13.2V,-,0TO+70C,TP,VIDEO SYNC SEPARATOR
IC32 1205-002028 IC-LCD CONTROLLER
JAGASM,BGA,388P,208MIL,PALATIC,3.45V,2.5W,-40TO+125C,TR,DIGITAL DISPLAY PRO.
IC33 1001-001082 IC-VIDEO SWITCH BA7657F,-,SOP,24P,300MIL,SINGL
IC401 1204-001997 IC-DECODER
VSP9415B-B11,MQFP,80P,14X14MM,PLASTIC,3.47V,1.1W,0TO+70C,TR,OPTIMUS
IC45 1204-001388 IC-DECODER Z86129,SOP,18P,-,PLASTIC,6.0V,
IC51 1201-001495 IC-AUDIO AMP
7050,SOP,8P,150MIL,DUAL,26DB,PLASTIC,6V,0.25W,-,40DB,-,-,20NA,-
IC52 1203-001816 IC-POSI.FIXED REG.
78M08,TO-252,3P,-,PLASTIC,7.7/8.3V,1.0W,-40TO+85C,0.5A,-,TP
IC53 1204-001852 IC-SOUND PROCESSOR
MSP3421G-B8,PQFP,80P,-,PLASTIC,9V,1000MW,0TO70C,TR,-
IC54 1203-001779 IC-POSI.FIXED REG.
7812,D2PAK,3P,-,PLASTIC,11.5/12.5V,-,-40TO+125CC,1A,-,TP
IC55 1201-001681 IC-AUDIO AMP
1101,SOP,30P,433MIL,-,-,PLASTIC,13.2V,-,0to+70C,-,-,-,-,-,TP
IC62 1205-001740 IC-TRANSMITTER
DS90C385,TSSOP,56P,240MIL,PLASTIC,4V,1.63W,-10 TO +70C,ST,FPD LINK-85MHZ(LVDS)
IC64 1105-001391 IC-DRAM
EM638325,2MX32BIT,TSOP(II),86P,400MIL,60NS,3.3V,10%,PLASTIC,0TO+70C,3MA,-,TR
L11 3301-001145 CORE-FERRITE BEAD AB,4.5x1.6x1.6mm,-,- SNA
L110 3301-001145 CORE-FERRITE BEAD AB,4.5x1.6x1.6mm,-,- SNA
L111 BN27-00002A COIL-CHOKE(SMD)
47uH,47uH,20%,12*12*8mm,22.5Ts,SMD,-,-,0.75ohm,-,-,-,TP
L113 2703-001334 INDUCTOR-SMD 1.5uH,10%,2x1.25x0.85mm
L114 2703-001334 INDUCTOR-SMD 1.5uH,10%,2x1.25x0.85mm
L115 2703-001334 INDUCTOR-SMD 1.5uH,10%,2x1.25x0.85mm
L116 BN27-20001A COIL-CHOKE -,53.0UH,20%,DR10*5,-,-,-,-,0.18ohm,-,-,-,TRAY
L117 2703-001778 INDUCTOR-SMD 3.3UH,20%,3.2X2.5X2.2MM
L118 2703-001778 INDUCTOR-SMD 3.3UH,20%,3.2X2.5X2.2MM
L12 3301-001145 CORE-FERRITE BEAD AB,4.5x1.6x1.6mm,-,- SNA
L13 3301-001145 CORE-FERRITE BEAD AB,4.5x1.6x1.6mm,-,- SNA
L14 3301-001145 CORE-FERRITE BEAD AB,4.5x1.6x1.6mm,-,- SNA
L15 3301-001145 CORE-FERRITE BEAD AB,4.5x1.6x1.6mm,-,- SNA
L19 3301-001145 CORE-FERRITE BEAD AB,4.5x1.6x1.6mm,-,- SNA
L31 2703-001778 INDUCTOR-SMD 3.3UH,20%,3.2X2.5X2.2MM
L32 2703-001778 INDUCTOR-SMD 3.3UH,20%,3.2X2.5X2.2MM
L41 2703-001778 INDUCTOR-SMD 3.3UH,20%,3.2X2.5X2.2MM
L42 2703-001778 INDUCTOR-SMD 3.3UH,20%,3.2X2.5X2.2MM
L51 2703-001778 INDUCTOR-SMD 3.3UH,20%,3.2X2.5X2.2MM
7 Electrical Parts List
LTM1555(B)/LTM1755(B) 7-11
Loc. No. Code No. Description Specification Remarks
CONFIDENTIAL

L52 2703-001778 INDUCTOR-SMD 3.3UH,20%,3.2X2.5X2.2MM
L53 BN27-00007A COIL CHOKE-SMD
DHB0504-100,RB15/17NS,10UH,°æ10%,-,0.08OHM,1.5A,DR5.8X4.5,20.5TS,6.0X5.2X4.5MM,-
L54 BN27-00007A COIL CHOKE-SMD
DHB0504-100,RB15/17NS,10UH,°æ10%,-,0.08OHM,1.5A,DR5.8X4.5,20.5TS,6.0X5.2X4.5MM,-
L55 BN27-00007A COIL CHOKE-SMD
DHB0504-100,RB15/17NS,10UH,°æ10%,-,0.08OHM,1.5A,DR5.8X4.5,20.5TS,6.0X5.2X4.5MM,-
L56 BN27-00007A COIL CHOKE-SMD
DHB0504-100,RB15/17NS,10UH,°æ10%,-,0.08OHM,1.5A,DR5.8X4.5,20.5TS,6.0X5.2X4.5MM,-
MP1.0 BN41-00184A PCB MAIN ES15UO,FR4,6,228X157X1.6,ES15UO
Q11 0501-002080 TR-SMALL SIGNAL 2SC2412K,NPN,200mW,SC-59,TP,120-270
Q13 0501-002080 TR-SMALL SIGNAL 2SC2412K,NPN,200mW,SC-59,TP,120-270
Q14 0501-002080 TR-SMALL SIGNAL 2SC2412K,NPN,200mW,SC-59,TP,120-270
Q15 0501-002080 TR-SMALL SIGNAL 2SC2412K,NPN,200mW,SC-59,TP,120-270
Q16 0501-002080 TR-SMALL SIGNAL 2SC2412K,NPN,200mW,SC-59,TP,120-270
Q21 0501-002080 TR-SMALL SIGNAL 2SC2412K,NPN,200mW,SC-59,TP,120-270
Q22 0501-002080 TR-SMALL SIGNAL 2SC2412K,NPN,200mW,SC-59,TP,120-270
Q23 0501-002080 TR-SMALL SIGNAL 2SC2412K,NPN,200mW,SC-59,TP,120-270
Q24 0501-002080 TR-SMALL SIGNAL 2SC2412K,NPN,200mW,SC-59,TP,120-270
Q403 0501-002080 TR-SMALL SIGNAL 2SC2412K,NPN,200mW,SC-59,TP,120-270
Q41 0501-002080 TR-SMALL SIGNAL 2SC2412K,NPN,200mW,SC-59,TP,120-270
Q42 0501-002080 TR-SMALL SIGNAL 2SC2412K,NPN,200mW,SC-59,TP,120-270
Q43 0501-002080 TR-SMALL SIGNAL 2SC2412K,NPN,200mW,SC-59,TP,120-270
Q44 0501-002080 TR-SMALL SIGNAL 2SC2412K,NPN,200mW,SC-59,TP,120-270
R1005 2007-000078 R-CHIP 1Kohm,5%,1/16W,DA,TP,1608
R1006 2007-000074 R-CHIP 100ohm,5%,1/16W,DA,TP,1608
R1007 2007-000070 R-CHIP 0ohm,5%,1/16W,DA,TP,1608
R1008 2007-000074 R-CHIP 100ohm,5%,1/16W,DA,TP,1608
R1009 2007-000070 R-CHIP 0ohm,5%,1/16W,DA,TP,1608
R1010 2007-000070 R-CHIP 0ohm,5%,1/16W,DA,TP,1608
R1011 2007-000070 R-CHIP 0ohm,5%,1/16W,DA,TP,1608
R1012 2007-000070 R-CHIP 0ohm,5%,1/16W,DA,TP,1608
R1013 2007-000070 R-CHIP 0ohm,5%,1/16W,DA,TP,1608
R1014 2007-000074 R-CHIP 100ohm,5%,1/16W,DA,TP,1608
R1015 2007-000074 R-CHIP 100ohm,5%,1/16W,DA,TP,1608
R1016 2007-000074 R-CHIP 100ohm,5%,1/16W,DA,TP,1608
R1017 2007-000132 R-CHIP 180Kohm,5%,1/16W,DA,TP,1608
R1018 2007-000132 R-CHIP 180Kohm,5%,1/16W,DA,TP,1608
R1019 2007-000132 R-CHIP 180Kohm,5%,1/16W,DA,TP,1608
R1020 2007-000402 R-CHIP 150ohm,5%,1/16W,DA,TP,1608
R1021 2007-000402 R-CHIP 150ohm,5%,1/16W,DA,TP,1608
R1022 2007-000402 R-CHIP 150ohm,5%,1/16W,DA,TP,1608
R1023 2007-000125 R-CHIP 3.9Kohm,5%,1/16W,DA,TP,1608
R11 2007-000078 R-CHIP 1Kohm,5%,1/16W,DA,TP,1608
R110 2007-000072 R-CHIP 47ohm,5%,1/16W,DA,TP,1608
R111 2007-000072 R-CHIP 47ohm,5%,1/16W,DA,TP,1608
R112 2007-000072 R-CHIP 47ohm,5%,1/16W,DA,TP,1608
R113 2007-000132 R-CHIP 180Kohm,5%,1/16W,DA,TP,1608
R114 2007-000132 R-CHIP 180Kohm,5%,1/16W,DA,TP,1608
R115 2007-000132 R-CHIP 180Kohm,5%,1/16W,DA,TP,1608
R116 2007-000092 R-CHIP 15Kohm,5%,1/16W,DA,TP,1608
R117 2007-000092 R-CHIP 15Kohm,5%,1/16W,DA,TP,1608
R118 2007-000070 R-CHIP 0ohm,5%,1/16W,DA,TP,1608
R119 2007-000070 R-CHIP 0ohm,5%,1/16W,DA,TP,1608
R12 2007-000078 R-CHIP 1Kohm,5%,1/16W,DA,TP,1608
R120 2007-000070 R-CHIP 0ohm,5%,1/16W,DA,TP,1608
R121 2007-000074 R-CHIP 100ohm,5%,1/16W,DA,TP,1608
R122 2007-000074 R-CHIP 100ohm,5%,1/16W,DA,TP,1608
R123 2007-000074 R-CHIP 100ohm,5%,1/16W,DA,TP,1608
R124 2007-000074 R-CHIP 100ohm,5%,1/16W,DA,TP,1608
R125 2007-000074 R-CHIP 100ohm,5%,1/16W,DA,TP,1608
R126 2007-000074 R-CHIP 100ohm,5%,1/16W,DA,TP,1608
R127 2007-000074 R-CHIP 100ohm,5%,1/16W,DA,TP,1608
7 Electrical Parts List
7-12 LTM1555(B)/LTM1755(B)
Loc. No. Code No. Description Specification Remarks
CONFIDENTIAL

R128 2007-000074 R-CHIP 100ohm,5%,1/16W,DA,TP,1608
R13 2007-000124 R-CHIP 2.2Kohm,5%,1/16W,DA,TP,1608
R130 2007-000074 R-CHIP 100ohm,5%,1/16W,DA,TP,1608
R131 2007-000074 R-CHIP 100ohm,5%,1/16W,DA,TP,1608
R132 2007-000084 R-CHIP 4.7Kohm,5%,1/16W,DA,TP,1608
R133 2007-000084 R-CHIP 4.7Kohm,5%,1/16W,DA,TP,1608
R135 2007-000084 R-CHIP 4.7Kohm,5%,1/16W,DA,TP,1608
R137 2007-000084 R-CHIP 4.7Kohm,5%,1/16W,DA,TP,1608
R138 2007-000084 R-CHIP 4.7Kohm,5%,1/16W,DA,TP,1608
R139 2007-000090 R-CHIP 10KOHM,5%,1/16W,DA,TP,1608
R140 2007-000090 R-CHIP 10KOHM,5%,1/16W,DA,TP,1608
R141 2007-000090 R-CHIP 10KOHM,5%,1/16W,DA,TP,1608
R142 2007-000090 R-CHIP 10KOHM,5%,1/16W,DA,TP,1608
R143 2007-000071 R-CHIP 22ohm,5%,1/16W,DA,TP,1608
R1431 2007-000070 R-CHIP 0ohm,5%,1/16W,DA,TP,1608
R144 2007-001167 R-CHIP 75ohm,5%,1/16W,DA,TP,1608
R145 2007-001167 R-CHIP 75ohm,5%,1/16W,DA,TP,1608
R146 2007-001167 R-CHIP 75ohm,5%,1/16W,DA,TP,1608
R147 2007-001167 R-CHIP 75ohm,5%,1/16W,DA,TP,1608
R148 2007-000102 R-CHIP 100Kohm,5%,1/16W,DA,TP,1608
R149 2007-000102 R-CHIP 100Kohm,5%,1/16W,DA,TP,1608
R15 2007-000077 R-CHIP 470ohm,5%,1/16W,DA,TP,1608
R150 2007-000102 R-CHIP 100Kohm,5%,1/16W,DA,TP,1608
R151 2007-000102 R-CHIP 100Kohm,5%,1/16W,DA,TP,1608
R16 2007-000077 R-CHIP 470ohm,5%,1/16W,DA,TP,1608
R17 2007-000077 R-CHIP 470ohm,5%,1/16W,DA,TP,1608
R18 2007-000077 R-CHIP 470ohm,5%,1/16W,DA,TP,1608
R19 2007-000070 R-CHIP 0ohm,5%,1/16W,DA,TP,1608
R21 2007-000078 R-CHIP 1Kohm,5%,1/16W,DA,TP,1608
R210 2007-000077 R-CHIP 470ohm,5%,1/16W,DA,TP,1608
R211 2007-000077 R-CHIP 470ohm,5%,1/16W,DA,TP,1608
R212 2007-000077 R-CHIP 470ohm,5%,1/16W,DA,TP,1608
R213 2007-000098 R-CHIP 56Kohm,5%,1/16W,DA,TP,1608
R214 2007-000098 R-CHIP 56Kohm,5%,1/16W,DA,TP,1608
R215 2007-000070 R-CHIP 0ohm,5%,1/16W,DA,TP,1608
R216 2007-000070 R-CHIP 0ohm,5%,1/16W,DA,TP,1608
R217 2007-000070 R-CHIP 0ohm,5%,1/16W,DA,TP,1608
R218 2007-000070 R-CHIP 0ohm,5%,1/16W,DA,TP,1608
R219 2007-000075 R-CHIP 220ohm,5%,1/16W,DA,TP,1608
R22 2007-000078 R-CHIP 1Kohm,5%,1/16W,DA,TP,1608
R220 2007-000074 R-CHIP 100ohm,5%,1/16W,DA,TP,1608
R221 2007-000074 R-CHIP 100ohm,5%,1/16W,DA,TP,1608
R222 2007-000074 R-CHIP 100ohm,5%,1/16W,DA,TP,1608
R223 2007-000074 R-CHIP 100ohm,5%,1/16W,DA,TP,1608
R224 2007-000074 R-CHIP 100ohm,5%,1/16W,DA,TP,1608
R225 2007-000074 R-CHIP 100ohm,5%,1/16W,DA,TP,1608
R226 2007-000074 R-CHIP 100ohm,5%,1/16W,DA,TP,1608
R227 2007-000074 R-CHIP 100ohm,5%,1/16W,DA,TP,1608
R228 2007-000074 R-CHIP 100ohm,5%,1/16W,DA,TP,1608
R229 2007-000074 R-CHIP 100ohm,5%,1/16W,DA,TP,1608
R23 2007-000078 R-CHIP 1Kohm,5%,1/16W,DA,TP,1608
R230 2007-000074 R-CHIP 100ohm,5%,1/16W,DA,TP,1608
R234 2007-000074 R-CHIP 100ohm,5%,1/16W,DA,TP,1608
R235 2007-000074 R-CHIP 100ohm,5%,1/16W,DA,TP,1608
R236 2007-000074 R-CHIP 100ohm,5%,1/16W,DA,TP,1608
R237 2007-000071 R-CHIP 22ohm,5%,1/16W,DA,TP,1608
R238 2007-000071 R-CHIP 22ohm,5%,1/16W,DA,TP,1608
R239 2007-000084 R-CHIP 4.7Kohm,5%,1/16W,DA,TP,1608
R24 2007-000078 R-CHIP 1Kohm,5%,1/16W,DA,TP,1608
7 Electrical Parts List
LTM1555(B)/LTM1755(B) 7-13
Loc. No. Code No. Description Specification Remarks
CONFIDENTIAL

R240 2007-000084 R-CHIP 4.7Kohm,5%,1/16W,DA,TP,1608
R241 2007-000084 R-CHIP 4.7Kohm,5%,1/16W,DA,TP,1608
R242 2007-000084 R-CHIP 4.7Kohm,5%,1/16W,DA,TP,1608
R243 2007-000084 R-CHIP 4.7Kohm,5%,1/16W,DA,TP,1608
R244 2007-000084 R-CHIP 4.7Kohm,5%,1/16W,DA,TP,1608
R245 2007-000084 R-CHIP 4.7Kohm,5%,1/16W,DA,TP,1608
R246 2007-000084 R-CHIP 4.7Kohm,5%,1/16W,DA,TP,1608
R247 2007-000084 R-CHIP 4.7Kohm,5%,1/16W,DA,TP,1608
R248 2007-000084 R-CHIP 4.7Kohm,5%,1/16W,DA,TP,1608
R249 2007-000084 R-CHIP 4.7Kohm,5%,1/16W,DA,TP,1608
R25 2007-000078 R-CHIP 1Kohm,5%,1/16W,DA,TP,1608
R250 2007-000084 R-CHIP 4.7Kohm,5%,1/16W,DA,TP,1608
R251 2007-000084 R-CHIP 4.7Kohm,5%,1/16W,DA,TP,1608
R252 2007-000084 R-CHIP 4.7Kohm,5%,1/16W,DA,TP,1608
R253 2007-000084 R-CHIP 4.7Kohm,5%,1/16W,DA,TP,1608
R254 2007-000084 R-CHIP 4.7Kohm,5%,1/16W,DA,TP,1608
R255 2007-000090 R-CHIP 10KOHM,5%,1/16W,DA,TP,1608
R2550 2007-000074 R-CHIP 100ohm,5%,1/16W,DA,TP,1608
R2551 2007-000074 R-CHIP 100ohm,5%,1/16W,DA,TP,1608
R2552 2007-000075 R-CHIP 220ohm,5%,1/16W,DA,TP,1608
R2553 2007-000075 R-CHIP 220ohm,5%,1/16W,DA,TP,1608
R2554 2007-000075 R-CHIP 220ohm,5%,1/16W,DA,TP,1608
R2555 2007-000075 R-CHIP 220ohm,5%,1/16W,DA,TP,1608
R2556 2007-000070 R-CHIP 0ohm,5%,1/16W,DA,TP,1608
R2557 2007-000070 R-CHIP 0ohm,5%,1/16W,DA,TP,1608
R2558 2007-000070 R-CHIP 0ohm,5%,1/16W,DA,TP,1608
R256 2007-000090 R-CHIP 10KOHM,5%,1/16W,DA,TP,1608
R257 2007-000090 R-CHIP 10KOHM,5%,1/16W,DA,TP,1608
R2570 2007-000070 R-CHIP 0ohm,5%,1/16W,DA,TP,1608
R258 2007-000090 R-CHIP 10KOHM,5%,1/16W,DA,TP,1608
R2584 2007-000070 R-CHIP 0ohm,5%,1/16W,DA,TP,1608
R26 2007-000078 R-CHIP 1Kohm,5%,1/16W,DA,TP,1608
R2635 2007-000084 R-CHIP 4.7Kohm,5%,1/16W,DA,TP,1608
R27 2007-000078 R-CHIP 1Kohm,5%,1/16W,DA,TP,1608
R28 2007-000078 R-CHIP 1Kohm,5%,1/16W,DA,TP,1608
R29 2007-000077 R-CHIP 470ohm,5%,1/16W,DA,TP,1608
R31 2007-000078 R-CHIP 1Kohm,5%,1/16W,DA,TP,1608
R310 2007-000070 R-CHIP 0ohm,5%,1/16W,DA,TP,1608
R311 2007-000070 R-CHIP 0ohm,5%,1/16W,DA,TP,1608
R312 2007-000070 R-CHIP 0ohm,5%,1/16W,DA,TP,1608
R313 2007-000070 R-CHIP 0ohm,5%,1/16W,DA,TP,1608
R314 2007-000070 R-CHIP 0ohm,5%,1/16W,DA,TP,1608
R315 2007-000070 R-CHIP 0ohm,5%,1/16W,DA,TP,1608
R316 2007-000113 R-CHIP 33ohm,5%,1/16W,DA,TP,1608
R317 2007-000113 R-CHIP 33ohm,5%,1/16W,DA,TP,1608
R318 2007-000113 R-CHIP 33ohm,5%,1/16W,DA,TP,1608
R319 2007-000113 R-CHIP 33ohm,5%,1/16W,DA,TP,1608
R32 2007-000078 R-CHIP 1Kohm,5%,1/16W,DA,TP,1608
R320 2007-001026 R-CHIP 560Kohm,5%,1/16W,DA,TP,1608
R321 2007-000309 R-CHIP 10ohm,5%,1/16W,DA,TP,1608
R322 2007-000309 R-CHIP 10ohm,5%,1/16W,DA,TP,1608
R323 2007-000309 R-CHIP 10ohm,5%,1/16W,DA,TP,1608
R324 2007-000309 R-CHIP 10ohm,5%,1/16W,DA,TP,1608
R325 2007-000309 R-CHIP 10ohm,5%,1/16W,DA,TP,1608
R326 2007-000309 R-CHIP 10ohm,5%,1/16W,DA,TP,1608
R327 2007-000074 R-CHIP 100ohm,5%,1/16W,DA,TP,1608
R328 2007-000074 R-CHIP 100ohm,5%,1/16W,DA,TP,1608
R329 2007-000074 R-CHIP 100ohm,5%,1/16W,DA,TP,1608
R33 2007-000070 R-CHIP 0ohm,5%,1/16W,DA,TP,1608
7 Electrical Parts List
7-14 LTM1555(B)/LTM1755(B)
Loc. No. Code No. Description Specification Remarks
CONFIDENTIAL

R330 2007-000074 R-CHIP 100ohm,5%,1/16W,DA,TP,1608
R331 2007-000074 R-CHIP 100ohm,5%,1/16W,DA,TP,1608
R332 2007-000074 R-CHIP 100ohm,5%,1/16W,DA,TP,1608
R333 2007-000074 R-CHIP 100ohm,5%,1/16W,DA,TP,1608
R334 2007-000074 R-CHIP 100ohm,5%,1/16W,DA,TP,1608
R3345 2007-000113 R-CHIP 33ohm,5%,1/16W,DA,TP,1608
R335 2007-000074 R-CHIP 100ohm,5%,1/16W,DA,TP,1608
R336 2007-000074 R-CHIP 100ohm,5%,1/16W,DA,TP,1608
R337 2007-000074 R-CHIP 100ohm,5%,1/16W,DA,TP,1608
R338 2007-000074 R-CHIP 100ohm,5%,1/16W,DA,TP,1608
R339 2007-000074 R-CHIP 100ohm,5%,1/16W,DA,TP,1608
R34 2007-000070 R-CHIP 0ohm,5%,1/16W,DA,TP,1608
R340 2007-000074 R-CHIP 100ohm,5%,1/16W,DA,TP,1608
R341 2007-000074 R-CHIP 100ohm,5%,1/16W,DA,TP,1608
R342 2007-000074 R-CHIP 100ohm,5%,1/16W,DA,TP,1608
R343 2007-000074 R-CHIP 100ohm,5%,1/16W,DA,TP,1608
R344 2007-000074 R-CHIP 100ohm,5%,1/16W,DA,TP,1608
R345 2007-000074 R-CHIP 100ohm,5%,1/16W,DA,TP,1608
R346 2007-000074 R-CHIP 100ohm,5%,1/16W,DA,TP,1608
R347 2007-000074 R-CHIP 100ohm,5%,1/16W,DA,TP,1608
R348 2007-000074 R-CHIP 100ohm,5%,1/16W,DA,TP,1608
R349 2007-000074 R-CHIP 100ohm,5%,1/16W,DA,TP,1608
R35 2007-000070 R-CHIP 0ohm,5%,1/16W,DA,TP,1608
R350 2007-000074 R-CHIP 100ohm,5%,1/16W,DA,TP,1608
R351 2007-000074 R-CHIP 100ohm,5%,1/16W,DA,TP,1608
R352 2007-000074 R-CHIP 100ohm,5%,1/16W,DA,TP,1608
R353 2007-000071 R-CHIP 22ohm,5%,1/16W,DA,TP,1608
R354 2007-000071 R-CHIP 22ohm,5%,1/16W,DA,TP,1608
R355 2007-000071 R-CHIP 22ohm,5%,1/16W,DA,TP,1608
R356 2007-000071 R-CHIP 22ohm,5%,1/16W,DA,TP,1608
R357 2007-000071 R-CHIP 22ohm,5%,1/16W,DA,TP,1608
R358 2007-000071 R-CHIP 22ohm,5%,1/16W,DA,TP,1608
R359 2007-000071 R-CHIP 22ohm,5%,1/16W,DA,TP,1608
R36 2007-000070 R-CHIP 0ohm,5%,1/16W,DA,TP,1608
R360 2007-000071 R-CHIP 22ohm,5%,1/16W,DA,TP,1608
R361 2007-000071 R-CHIP 22ohm,5%,1/16W,DA,TP,1608
R362 2007-000071 R-CHIP 22ohm,5%,1/16W,DA,TP,1608
R363 2007-000071 R-CHIP 22ohm,5%,1/16W,DA,TP,1608
R364 2007-000071 R-CHIP 22ohm,5%,1/16W,DA,TP,1608
R365 2007-000071 R-CHIP 22ohm,5%,1/16W,DA,TP,1608
R366 2007-000071 R-CHIP 22ohm,5%,1/16W,DA,TP,1608
R367 2007-000071 R-CHIP 22ohm,5%,1/16W,DA,TP,1608
R368 2007-000071 R-CHIP 22ohm,5%,1/16W,DA,TP,1608
R369 2007-000071 R-CHIP 22ohm,5%,1/16W,DA,TP,1608
R37 2007-000070 R-CHIP 0ohm,5%,1/16W,DA,TP,1608
R371 2007-000084 R-CHIP 4.7Kohm,5%,1/16W,DA,TP,1608
R372 2007-000090 R-CHIP 10KOHM,5%,1/16W,DA,TP,1608
R373 2007-000090 R-CHIP 10KOHM,5%,1/16W,DA,TP,1608
R374 2007-000090 R-CHIP 10KOHM,5%,1/16W,DA,TP,1608
R3745 2007-000113 R-CHIP 33ohm,5%,1/16W,DA,TP,1608
R375 2007-001167 R-CHIP 75ohm,5%,1/16W,DA,TP,1608
R376 2007-001167 R-CHIP 75ohm,5%,1/16W,DA,TP,1608
R377 2007-001167 R-CHIP 75ohm,5%,1/16W,DA,TP,1608
R378 2007-001167 R-CHIP 75ohm,5%,1/16W,DA,TP,1608
R379 2007-001167 R-CHIP 75ohm,5%,1/16W,DA,TP,1608
R38 2007-000070 R-CHIP 0ohm,5%,1/16W,DA,TP,1608
R380 2007-001167 R-CHIP 75ohm,5%,1/16W,DA,TP,1608
R381 2007-001167 R-CHIP 75ohm,5%,1/16W,DA,TP,1608
R382 2007-001167 R-CHIP 75ohm,5%,1/16W,DA,TP,1608
7 Electrical Parts List
LTM1555(B)/LTM1755(B) 7-15
Loc. No. Code No. Description Specification Remarks
CONFIDENTIAL

R383 2007-001167 R-CHIP 75ohm,5%,1/16W,DA,TP,1608
R384 2007-000072 R-CHIP 47ohm,5%,1/16W,DA,TP,1608
R39 2007-000070 R-CHIP 0ohm,5%,1/16W,DA,TP,1608
R41 2007-000092 R-CHIP 15Kohm,5%,1/16W,DA,TP,1608
R410 2007-000070 R-CHIP 0ohm,5%,1/16W,DA,TP,1608
R411 2007-000070 R-CHIP 0ohm,5%,1/16W,DA,TP,1608
R412 2007-000070 R-CHIP 0ohm,5%,1/16W,DA,TP,1608
R413 2007-000070 R-CHIP 0ohm,5%,1/16W,DA,TP,1608
R414 2007-000070 R-CHIP 0ohm,5%,1/16W,DA,TP,1608
R415 2007-000070 R-CHIP 0ohm,5%,1/16W,DA,TP,1608
R416 2007-000070 R-CHIP 0ohm,5%,1/16W,DA,TP,1608
R417 2007-000070 R-CHIP 0ohm,5%,1/16W,DA,TP,1608
R418 2007-000070 R-CHIP 0ohm,5%,1/16W,DA,TP,1608
R419 2007-000070 R-CHIP 0ohm,5%,1/16W,DA,TP,1608
R42 2007-000084 R-CHIP 4.7Kohm,5%,1/16W,DA,TP,1608
R420 2007-000070 R-CHIP 0ohm,5%,1/16W,DA,TP,1608
R421 2007-000070 R-CHIP 0ohm,5%,1/16W,DA,TP,1608
R43 2007-000077 R-CHIP 470ohm,5%,1/16W,DA,TP,1608
R432 2007-000070 R-CHIP 0ohm,5%,1/16W,DA,TP,1608
R433 2007-000070 R-CHIP 0ohm,5%,1/16W,DA,TP,1608
R434 2007-000070 R-CHIP 0ohm,5%,1/16W,DA,TP,1608
R436 2007-000074 R-CHIP 100ohm,5%,1/16W,DA,TP,1608
R437 2007-000074 R-CHIP 100ohm,5%,1/16W,DA,TP,1608
R438 2007-000074 R-CHIP 100ohm,5%,1/16W,DA,TP,1608
R439 2007-000074 R-CHIP 100ohm,5%,1/16W,DA,TP,1608
R44 2007-000077 R-CHIP 470ohm,5%,1/16W,DA,TP,1608
R440 2007-000074 R-CHIP 100ohm,5%,1/16W,DA,TP,1608
R441 2007-000074 R-CHIP 100ohm,5%,1/16W,DA,TP,1608
R442 2007-000074 R-CHIP 100ohm,5%,1/16W,DA,TP,1608
R443 2007-000074 R-CHIP 100ohm,5%,1/16W,DA,TP,1608
R444 2007-000074 R-CHIP 100ohm,5%,1/16W,DA,TP,1608
R445 2007-000094 R-CHIP 22Kohm,5%,1/16W,DA,TP,1608
R446 2007-000094 R-CHIP 22Kohm,5%,1/16W,DA,TP,1608
R447 2007-000094 R-CHIP 22Kohm,5%,1/16W,DA,TP,1608
R448 2007-000094 R-CHIP 22Kohm,5%,1/16W,DA,TP,1608
R449 2007-000094 R-CHIP 22Kohm,5%,1/16W,DA,TP,1608
R45 2007-000077 R-CHIP 470ohm,5%,1/16W,DA,TP,1608
R450 2007-000094 R-CHIP 22Kohm,5%,1/16W,DA,TP,1608
R451 2007-000094 R-CHIP 22Kohm,5%,1/16W,DA,TP,1608
R452 2007-000094 R-CHIP 22Kohm,5%,1/16W,DA,TP,1608
R453 2007-000084 R-CHIP 4.7Kohm,5%,1/16W,DA,TP,1608
R4532 2007-000102 R-CHIP 100Kohm,5%,1/16W,DA,TP,1608
R4535 2007-001167 R-CHIP 75ohm,5%,1/16W,DA,TP,1608
R4536 2007-001167 R-CHIP 75ohm,5%,1/16W,DA,TP,1608
R4537 2007-001167 R-CHIP 75ohm,5%,1/16W,DA,TP,1608
R4538 2007-001167 R-CHIP 75ohm,5%,1/16W,DA,TP,1608
R4539 2007-000070 R-CHIP 0ohm,5%,1/16W,DA,TP,1608
R454 2007-000084 R-CHIP 4.7Kohm,5%,1/16W,DA,TP,1608
R4540 2007-000070 R-CHIP 0ohm,5%,1/16W,DA,TP,1608
R4541 2007-000070 R-CHIP 0ohm,5%,1/16W,DA,TP,1608
R4542 2007-000070 R-CHIP 0ohm,5%,1/16W,DA,TP,1608
R4543 2007-000070 R-CHIP 0ohm,5%,1/16W,DA,TP,1608
R4544 2007-000070 R-CHIP 0ohm,5%,1/16W,DA,TP,1608
R4545 2007-000070 R-CHIP 0ohm,5%,1/16W,DA,TP,1608
R4546 2007-000070 R-CHIP 0ohm,5%,1/16W,DA,TP,1608
R455 2007-000084 R-CHIP 4.7Kohm,5%,1/16W,DA,TP,1608
R456 2007-000084 R-CHIP 4.7Kohm,5%,1/16W,DA,TP,1608
R459 2007-000084 R-CHIP 4.7Kohm,5%,1/16W,DA,TP,1608
R46 2007-000070 R-CHIP 0ohm,5%,1/16W,DA,TP,1608
7 Electrical Parts List
7-16 LTM1555(B)/LTM1755(B)
Loc. No. Code No. Description Specification Remarks
CONFIDENTIAL

CONFIDENTIAL
R461 2007-000090 R-CHIP 10KOHM,5%,1/16W,DA,TP,1608
R462 2007-000090 R-CHIP 10KOHM,5%,1/16W,DA,TP,1608
R464 2007-001167 R-CHIP 75ohm,5%,1/16W,DA,TP,1608
R465 2007-001167 R-CHIP 75ohm,5%,1/16W,DA,TP,1608
R467 2007-001167 R-CHIP 75ohm,5%,1/16W,DA,TP,1608
R468 2007-000078 R-CHIP 1Kohm,5%,1/16W,DA,TP,1608
R469 2007-000078 R-CHIP 1Kohm,5%,1/16W,DA,TP,1608
R47 2007-000070 R-CHIP 0ohm,5%,1/16W,DA,TP,1608
R470 2007-001167 R-CHIP 75ohm,5%,1/16W,DA,TP,1608
R471 2007-000078 R-CHIP 1Kohm,5%,1/16W,DA,TP,1608
R472 2007-001167 R-CHIP 75ohm,5%,1/16W,DA,TP,1608
R473 2007-000078 R-CHIP 1Kohm,5%,1/16W,DA,TP,1608
R474 2007-001167 R-CHIP 75ohm,5%,1/16W,DA,TP,1608
R475 2007-000072 R-CHIP 47ohm,5%,1/16W,DA,TP,1608
R476 2007-000102 R-CHIP 100Kohm,5%,1/16W,DA,TP,1608
R48 2007-000070 R-CHIP 0ohm,5%,1/16W,DA,TP,1608
R49 2007-000070 R-CHIP 0ohm,5%,1/16W,DA,TP,1608
R51 2007-000078 R-CHIP 1Kohm,5%,1/16W,DA,TP,1608
R510 2007-000098 R-CHIP 56Kohm,5%,1/16W,DA,TP,1608
R511 2007-000098 R-CHIP 56Kohm,5%,1/16W,DA,TP,1608
R512 2007-000070 R-CHIP 0ohm,5%,1/16W,DA,TP,1608
R513 2007-000070 R-CHIP 0ohm,5%,1/16W,DA,TP,1608
R514 2007-000070 R-CHIP 0ohm,5%,1/16W,DA,TP,1608
R516 2007-000074 R-CHIP 100ohm,5%,1/16W,DA,TP,1608
R517 2007-000074 R-CHIP 100ohm,5%,1/16W,DA,TP,1608
R518 2007-000074 R-CHIP 100ohm,5%,1/16W,DA,TP,1608
R519 2007-000074 R-CHIP 100ohm,5%,1/16W,DA,TP,1608
R52 2007-000097 R-CHIP 47Kohm,5%,1/16W,DA,TP,1608
R520 2007-000074 R-CHIP 100ohm,5%,1/16W,DA,TP,1608
R521 2007-000074 R-CHIP 100ohm,5%,1/16W,DA,TP,1608
R522 2007-000074 R-CHIP 100ohm,5%,1/16W,DA,TP,1608
R523 2007-000074 R-CHIP 100ohm,5%,1/16W,DA,TP,1608
R524 2007-000074 R-CHIP 100ohm,5%,1/16W,DA,TP,1608
R525 2007-000074 R-CHIP 100ohm,5%,1/16W,DA,TP,1608
R526 2007-000074 R-CHIP 100ohm,5%,1/16W,DA,TP,1608
R527 2007-000084 R-CHIP 4.7Kohm,5%,1/16W,DA,TP,1608
R528 2007-000074 R-CHIP 100ohm,5%,1/16W,DA,TP,1608
R529 2007-000074 R-CHIP 100ohm,5%,1/16W,DA,TP,1608
R53 2007-000097 R-CHIP 47Kohm,5%,1/16W,DA,TP,1608
R530 2007-000074 R-CHIP 100ohm,5%,1/16W,DA,TP,1608
R531 2007-000074 R-CHIP 100ohm,5%,1/16W,DA,TP,1608
R532 2007-000074 R-CHIP 100ohm,5%,1/16W,DA,TP,1608
R533 2007-000074 R-CHIP 100ohm,5%,1/16W,DA,TP,1608
R534 2007-000074 R-CHIP 100ohm,5%,1/16W,DA,TP,1608
R535 2007-000074 R-CHIP 100ohm,5%,1/16W,DA,TP,1608
R536 2007-000074 R-CHIP 100ohm,5%,1/16W,DA,TP,1608
R537 2007-000074 R-CHIP 100ohm,5%,1/16W,DA,TP,1608
R538 2007-000074 R-CHIP 100ohm,5%,1/16W,DA,TP,1608
R539 2007-000084 R-CHIP 4.7Kohm,5%,1/16W,DA,TP,1608
R54 2007-000090 R-CHIP 10KOHM,5%,1/16W,DA,TP,1608
R540 2007-000090 R-CHIP 10KOHM,5%,1/16W,DA,TP,1608
R541 2007-000090 R-CHIP 10KOHM,5%,1/16W,DA,TP,1608
R542 2007-000102 R-CHIP 100Kohm,5%,1/16W,DA,TP,1608
R543 2007-000308 R-CHIP 10OHM,5%,1/10W,DA,TP,2012
R544 2007-000308 R-CHIP 10OHM,5%,1/10W,DA,TP,2012
R545 2007-000076 R-CHIP 330ohm,5%,1/16W,DA,TP,1608
R546 2007-000076 R-CHIP 330ohm,5%,1/16W,DA,TP,1608
R547 2007-000109 R-CHIP 1Mohm,5%,1/16W,DA,TP,1608
R548 2007-000981 R-CHIP 5.6KOHM,5%,1/10W,DA,TP,2012
7 Electrical Parts List
LTM1555(B)/LTM1755(B) 7-17
Loc. No. Code No. Description Specification Remarks

R549 2007-000518 R-CHIP 2.7KOHM,5%,1/10W,DA,TP,2012
R55 2007-000090 R-CHIP 10KOHM,5%,1/16W,DA,TP,1608
R550 2007-000087 R-CHIP 6.8Kohm,5%,1/16W,DA,TP,1608
R551 2007-000087 R-CHIP 6.8Kohm,5%,1/16W,DA,TP,1608
R552 2007-000093 R-CHIP 20Kohm,5%,1/16W,DA,TP,1608
R553 2007-000093 R-CHIP 20Kohm,5%,1/16W,DA,TP,1608
R56 2007-000090 R-CHIP 10KOHM,5%,1/16W,DA,TP,1608
R57 2007-000090 R-CHIP 10KOHM,5%,1/16W,DA,TP,1608
R58 2007-000098 R-CHIP 56Kohm,5%,1/16W,DA,TP,1608
R59 2007-000098 R-CHIP 56Kohm,5%,1/16W,DA,TP,1608
R611 2007-000072 R-CHIP 47ohm,5%,1/16W,DA,TP,1608
R612 2007-000072 R-CHIP 47ohm,5%,1/16W,DA,TP,1608
R613 2007-000072 R-CHIP 47ohm,5%,1/16W,DA,TP,1608
R614 2007-000072 R-CHIP 47ohm,5%,1/16W,DA,TP,1608
R615 2007-000072 R-CHIP 47ohm,5%,1/16W,DA,TP,1608
R616 2007-000072 R-CHIP 47ohm,5%,1/16W,DA,TP,1608
R617 2007-000072 R-CHIP 47ohm,5%,1/16W,DA,TP,1608
R618 2007-000072 R-CHIP 47ohm,5%,1/16W,DA,TP,1608
R619 2007-000072 R-CHIP 47ohm,5%,1/16W,DA,TP,1608
R620 2007-000072 R-CHIP 47ohm,5%,1/16W,DA,TP,1608
R622 2007-000070 R-CHIP 0ohm,5%,1/16W,DA,TP,1608
R623 2007-000070 R-CHIP 0ohm,5%,1/16W,DA,TP,1608
R624 2007-000070 R-CHIP 0ohm,5%,1/16W,DA,TP,1608
R625 2007-000070 R-CHIP 0ohm,5%,1/16W,DA,TP,1608
R626 2007-000070 R-CHIP 0ohm,5%,1/16W,DA,TP,1608
R632 2007-000070 R-CHIP 0ohm,5%,1/16W,DA,TP,1608
R640 2007-000070 R-CHIP 0ohm,5%,1/16W,DA,TP,1608
R643 2007-000090 R-CHIP 10KOHM,5%,1/16W,DA,TP,1608
R837 2007-000102 R-CHIP 100Kohm,5%,1/16W,DA,TP,1608
R982 2007-000074 R-CHIP 100ohm,5%,1/16W,DA,TP,1608
R987 2007-001167 R-CHIP 75ohm,5%,1/16W,DA,TP,1608
R988 2007-001167 R-CHIP 75ohm,5%,1/16W,DA,TP,1608
R992 2007-001167 R-CHIP 75ohm,5%,1/16W,DA,TP,1608
RA31 2011-000002 R-NETWORK 22ohm,5%,63mW,L,CHIP,8P,TP
RA310 2011-000002 R-NETWORK 22ohm,5%,63mW,L,CHIP,8P,TP
RA311 2011-000002 R-NETWORK 22ohm,5%,63mW,L,CHIP,8P,TP
RA312 2011-000002 R-NETWORK 22ohm,5%,63mW,L,CHIP,8P,TP
RA32 2011-000002 R-NETWORK 22ohm,5%,63mW,L,CHIP,8P,TP
RA33 2011-000002 R-NETWORK 22ohm,5%,63mW,L,CHIP,8P,TP
RA34 2011-000002 R-NETWORK 22ohm,5%,63mW,L,CHIP,8P,TP
RA35 2011-000002 R-NETWORK 22ohm,5%,63mW,L,CHIP,8P,TP
RA36 2011-000002 R-NETWORK 22ohm,5%,63mW,L,CHIP,8P,TP
RA37 2011-000002 R-NETWORK 22ohm,5%,63mW,L,CHIP,8P,TP
RA38 2011-000002 R-NETWORK 22ohm,5%,63mW,L,CHIP,8P,TP
RA39 2011-000002 R-NETWORK 22ohm,5%,63mW,L,CHIP,8P,TP
U502 2402-000176 C-AL,SMD 10uF,20%,16V,GP,TP,4.3x4.3x5.4
U503 2402-000176 C-AL,SMD 10uF,20%,16V,GP,TP,4.3x4.3x5.4
U504 3301-001145 CORE-FERRITE BEAD AB,4.5x1.6x1.6mm,-,- SNA
U505 2703-001778 INDUCTOR-SMD 3.3UH,20%,3.2X2.5X2.2MM
U506 0403-001435 DIODE-ZENER QZX363C5V6,5.32-5.88,200MW,SOT-363,TP
U507 0403-001435 DIODE-ZENER QZX363C5V6,5.32-5.88,200MW,SOT-363,TP
U508 0403-001435 DIODE-ZENER QZX363C5V6,5.32-5.88,200MW,SOT-363,TP
U509 0403-001435 DIODE-ZENER QZX363C5V6,5.32-5.88,200MW,SOT-363,TP
X21 2801-003667 CRYSTAL-SMD 14.3182MHZ,50PPM,28-AAN,16,50OHM,TP
X41 2801-004004 CRYSTAL-SMD 20.25MHz,20ppm,28-AAN,13pF,25ohm,TP
X51 2801-003843 CRYSTAL-SMD 18.432MHz,30ppm,28-AAN,20pF,50ohm,TP
ZD21 0403-000579 DIODE-ZENER BZX84C5V1,5.1V,5%,200mW,SOT-23
7 Electrical Parts List
7-18 LTM1555(B)/LTM1755(B)
Loc. No. Code No. Description Specification Remarks
CONFIDENTIAL

- BN90-00195E ASSY STAND GH17LS SNA
STD+C/R 6001-000154 SCREW-MACHINE BH,+,M4,L8,NI PLT,SM20C,-
CIS BN75-00242A UNIT-STAND EOS 15AS/NS,-,ABS,-,SV-012P,-,SPRAY,-
CIS 6003-000009 SCREW-TAPTITE BH,+,B,M4,L16,ZPC(YEL),SWRCH18 SNA
CIS 6003-001010 SCREW-TAPTITE FH,+,B,M3,L6,ZPC(YEL),SWRCH18A
CIS 6003-001315 SCREW-TAPTITE BH,+,B,M4,L20,ZPC(YEL),SWRCH18A SNA
CIS BH73-60339A RUBBER-LEG SLC1400,EVA,GRAY,65HB,DIA13*H2 SNA
CIS BN61-00159A FRAME-STAND BASE EOS/NIKE,EGI,T1.2 SNA
CIS BN61-00184A STAND-BASE ES15AS,ABS PC,GR40,SV-012P SNA
CIS BN72-00254A STAND COVER-REAR EOS 15,ABS,IV16,-,-,HB,-,-,SPRAY SNA
CIS BN72-00257A STAND FRONT EOS 15,ABS,16,-,-,HB,-,-,SPRAY SNA
CIS BN75-00211A UNIT-HINGE EOS15,-,SECC T2.0,-,-,-,-,- SNA
- BN90-00322M ASSY COVER REAR ES15UO SNA
CIS BN90-00032B ASSY REAR-COVER ES15NS,-,-,-,ABS VO IV16,-,-,SPRAY SNA
CIS BN70-00176A BRACKET VESA RB15AS,SECC,-,1.0,-,-,-,-,- SNA
CIS BN72-00259B COVER-REAR ES15NS,ABS,IV16,-,-,HB,-,-,SPRAY
- BN90-00395A ASSY COVER FRONT ES15UO SNA
C/F+C/R 6003-001319 SCREW-TAPTITE BH,+,B,M3,L10,NI PLT,SWRCH18A,- SNA
CIS BN90-00018C ASSY COVER FRONT ES15NO,ABS V0,GR806P,SPRAY,HDTV SNA
CIS 6002-000129 SCREW-TAPPING FH,+,2S,M3,L8,ZPC(BLK),SM20C SNA
CIS 6003-000276 SCREW-TAPTITE BH,+,B,M3,L10,ZPC(YEL),SWCH10 SNA
CIS BN59-00214A BOARD CN17VS,FUNCTION KEY,-,-,-,-,- SNA
CIS BN59-00216A PBA SUB CN17VS,IR PBA SUB,-,-,-,-,- SNA
CIS BN59-00262A SPEAKER SYSTEM EOS/NIKE15,EOS/NIKE15-R,100X42,WIRE:530MM SNA
CIS BN59-00263A SPEAKER SYSTEM EOS/NIKE17,EOS/NIKE17-L,100X42,WIRE:240MM SNA
CIS BN64-00031A BADGE-BRAND RB15AS,AL,T1.4,6.3,40.1,-,SILIVER,- SNA
CIS BN64-00035A KNOB-FUNCTION EOS15,ABS,IV16,-,-,HB,SPRAY,-,- SNA
CIS BN64-00039B GRILLE-SPEAKER EOS15,ABS ,-,-,-,V0,GR60,SPRAY SNA
CIS BN67-00020A LENS-LED EOS15,ACRYL,CLEAR,-,-,-,-
CIS BN72-00258A COVER FRONT EOS15,ABS,IV16,-,-,HB,-,-,SPRAY SNA
- BN91-00305A ASSY MISC-ADAPTOR CS15MOA SNA
CIS BN44-00058A ADAPTOR
PSCV420106A(AD-4214N,GH17PS ,100 TO 240 VAC,47 - 63 HZ,+14VDC,3A,-,42W,AC-DC,0 T
- BN91-00338A ASSY LCD ES15UO SNA
CIS BN07-00043A LCD
LTM15C458,GH15LS,6BIT_FRC,331.6*254.7*12.5,16.1M,60,0.297*0.297,0~40,3.3,TOSHIBA
- BN91-00417A ASSY CHASSIS ES15UO
- BN91-00419A ASSY SHIELD ES15UO SNA
CIS 0203-001160 TAPE-FILAMENT SCOTCH#8915,T0.16,W48,L55M,TRP SNA
CIS 0203-001244 TAPE-AL FOIL DK100-30-50,T40uM,W30,L50,SIL SNA
IN/PCB+SH/PCB
6003-000117 SCREW-TAPTITE BH,+,B,M3,L6,ZPC(YEL),SWRCH18A SNA
SH/PCB+FU/HAR
6003-000117 SCREW-TAPTITE BH,+,B,M3,L6,ZPC(YEL),SWRCH18A SNA
C/F+AUD/PCB 6003-000276 SCREW-TAPTITE BH,+,B,M3,L10,ZPC(YEL),SWCH10 SNA
C/F+B/GUIDE 6003-000276 SCREW-TAPTITE BH,+,B,M3,L10,ZPC(YEL),SWCH10 SNA
C/F+COM/PCB 6003-000276 SCREW-TAPTITE BH,+,B,M3,L10,ZPC(YEL),SWCH10 SNA
C/F+SH/PCB 6003-000276 SCREW-TAPTITE BH,+,B,M3,L10,ZPC(YEL),SWCH10 SNA
CIS BN39-00202A LEAD CONNECTOR-ASSY
EOS,UL2835#28,UL/CSA,12P,-,-,#28,SMH200-12,12505HS-12,BK,-,-,200MM,2835#28,SJ01-
CIS BN39-00202D LEAD CONNECTOR-ASSY
ES15NS,UL2835#28,UL/CSA,12P,-,-,#28,SMH200-12,12505HS-12,BK,-,-,660MM,2835#28,-,
CIS BN59-00215A PBA SUB CN17VS,AV PBA FUNCTION,-,-,-,-,-
CIS BN59-00238A BOARD-NT JACK ES15NS,CT1000-0090,-,NT-JACK BOARD,-,-,- SNA
CIS BN68-00195H LABEL-MARK
TOSHIBA(TE) PANEL,ART-PAPER 100G,-,30,10,-,BLK,WHT,-,-
SNA
CIS BN70-00192A BRACKET SUPPORT RB15AS,SECC,-,0.8,-,-,-,-,- SNA
- BN92-00267A ASSY P/MATERIAL ES15AS SNA
CIS 0203-001100 TAPE-OPP MASKING OPP/W75/CLR,T0.05,W75,L800000,CLR SNA
7 Electrical Parts List
LTM1555(B)/LTM1755(B) 7-19
Loc. No. Code No. Description Specification Remarks
CONFIDENTIAL
7-1-2 LTM1555(B) Others

CIS BH69-00457B PACKING-PAD GH15,FOAM,T3.0,930,1000 SNA
CIS BH69-30355E BAG-PE/N NK15,PE FOAM,0.5,650,650,NTR SNA
CIS BH69-40321C PACKING-EDGE SW4/YEL,2030*140,-,CGC5637(HP) SNA
CIS BH69-40378A PACKING-PALLET WOOD,1300*1120*120,13500,CGE71 SNA
CIS BH69-40379A PACKING-WRAP LDPE,W500*T0.02,-,- SNA
CIS BN68-00129A LABEL SHIPPING -,LABEL SHIPPING,ART-PAPER,100G,-,WHT,BLACK,-,-,- SNA
CIS BN69-00140T PAD-PALLET COVER SUN(LSA810),SW,900,3760,-,-,-,-,- SNA
CIS BN69-00230A CUSHION-L/R EOS15,EPS 50,-,-,-,-,-,-,- SNA
- BN92-00305A ASSY LABEL LTM1555X1/XAA,SEA,UNITED STATES SNA
CIS BN68-00233A LABEL RATING ES15NS,ADC,PE,T0.05,90,45,SYNC,-,PE NATURE,-,- SNA
- BN92-00464A ASSY BOX ES15UO SNA
CIS BH75-10529A UNIT-HANDLE PACKING LXA410TLMU,PE,-,WHITE,- SNA
CIS BN72-60001A LEVER TOP LSD210TL,PE-LD,-,WHITE,-,TFT_LCD SNA
CIS BN72-60002A LEVER BOTTOM LSD210TL,PE-LD,-,WHITE,-,TFT-LCD SNA
CIS BN68-00135A LABEL BAR CODE -,ALL,MPRII,DOM,ART-PAPER 90G,-,WHT,BLACK,-,-,- SNA
CIS BN69-00254C BOX
LW15E23C,N/A,CB-SW4,YEL,A-1,-,-,-,L545*W453*H235,-
SNA
- BN92-00578K ASSY ACCESSORY LTM1555BX/XAA,SEA,UNITED STATES SNA
CIS BN96-00145K ASSY ACCESSORY LTM1555BX/XAA,SEA,UNITED STATES
CIS 0203-000214 TAPE-OPP MASKING OPP/W50/CLR,T0.05,W50,L400000, SNA
CIS 4301-000121 BATTERY-MN 1.5V,-,AAA,10.5x44.5m,HOLDER SNA
CIS AA68-00371C CARD WARRANTY ,SEA,W/P100(G),1 YEAR SNA
CIS BH39-10339X CBF POWER CORD DET,SVT,125V/7A,BLK,1830,WALL(ST),MSP-33,MSC-30
CIS BH68-00261P MANUAL
SEAREGISTRATION CARD,SEA,E,USA,MOJO120G,173,234
CIS BN39-00043A CBF SIGNAL DETACHABLE,-,15P/15P,-,-,-
CIS BN59-00302A REMOCON ,TM71,EOS,37,GR20,SS,DO
CIS BN68-00266A MANUAL-S/D
LTM1555,LTM1755,SAMSUNG,E/F/S/P,ADC,W/P(100G), ,A4
7 Electrical Parts List
7-20 LTM1555(B)/LTM1755(B)
Loc. No. Code No. Description Specification Remarks
CONFIDENTIAL

CIS BN94-00320A ASSY PCB MAIN ES17UO SNA
C115 2409-001044 C-ORGANIC 100UF,+-20%,16V,WT,TP,8X10.5,5
C116 2409-001044 C-ORGANIC 100UF,+-20%,16V,WT,TP,8X10.5,5
CIS 0201-001223 ADHESIVE-TS HT-130S,RED,700+/- 50,- SNA
CIS 0202-001044 SOLDER-WIRE. S63S-W3.0,S63S,D3,63Sn/37Pb,- SNA
CIS 0202-001162 SOLDER-CREAM RMA-20-21L,S63,-,SN63/PB36.6/AG0.4,FLUX9.5% SNA
CIS 0202-001222 SOLDER-WIRE FLUX RS-107,RS60-1.2AA,D1.2,SN60/PB40,- SNA
CIS 0204-001095 THINNER #4520,-,-,- SNA
CIS 0204-001527 FLUX DF-201TVS,MIX,0.820,FLUX 13%, 14KG
CIS BN39-00047A CBF-HARNESS
100MM,100MM,BLU/WHT/GRY,UL1061,AWG28,51021-1200
CIS BN39-00134A CBF HARNESS
RB17AS,UL1571#30,UL/CSA,30P/30P,240MM,BLUE/WHITE,#30,FI-X30X,DF14-30S-1.25C,1250
CIS BN39-00217A LEAD CONNECTOR-ASSY
ES17AS,UL2835#28,UL/CSA,6P,-,-,#28,12505HS-06,51021-0600,BK,-,-,180MM,2835#28,SJ
CIS BN44-00041A INVERTER
ML17,SIC1803,48KHz,14VDC,1.5mArms,7.2mArms,48Khz,160*45*17,4LAMP,48Khz,-,-
CIS BN63-00059A GASKET
GH17MS,CONDUCTIVE FABRIC,5MM,160MM,17MM,-,-,EMI-GASKET
SNA
CIS BN63-00121A GASKET
EOS,CONDUCTIVE FABRIC,4MM,30MM,80MM,GRAY,71TSSK 30-4-80-13,71TSSK 30-4-80-13
SNA
CN11 3701-001219 CONNECTOR-DSUB 15P,3R,FEMALE,ANGLE,AUF
CN12 3722-000117 JACK-DC POWER 3P,3.5mm,AG,BLK,NO SNA
CN24 3722-001547 JACK-PIN 3P,3.5mm,AU,GRN/BLU/RED,-
CN25 3722-001756 JACK-PIN 2P,-,AU,WHT/RED,-
CN41 BN40-00012A TUNER
TCLN9081PA27K,TCLN9081PA27K,181,45.75MHZ,75 OHM,75 OHM,F-CON,5V,TR
CN51 3722-001055 JACK-PHONE 5P/2C,3.6PI,AG,BLK,#16-22 SNA
CN52 3711-004386 CONNECTOR-HEADER BOX,3P,1R,2mm,ANGLE,SN SNA
CN53 3711-004270 CONNECTOR-HEADER BOX,2P,1R,2MM,ANGLE,SN SNA
L43 2701-000157 INDUCTOR-AXIAL 220uH,5%,2.5x3.4mm
L44 2701-000210 INDUCTOR-AXIAL 680uH,10%,3x7mm
L45 2701-000177 INDUCTOR-AXIAL 33uH,10%,2.5x3.4mm
L46 2701-000177 INDUCTOR-AXIAL 33uH,10%,2.5x3.4mm
L47 2701-000146 INDUCTOR-AXIAL 2.2uH,10%,2.5x3.4mm
M/PCB+SH/PCB 6003-000117 SCREW-TAPTITE BH,+,B,M3,L6,ZPC(YEL),SWRCH18A SNA
SH/PCB+SH/D_SUB
6003-000117 SCREW-TAPTITE BH,+,B,M3,L6,ZPC(YEL),SWRCH18A SNA
U501 2401-002286 C-AL 470uF,20%,16V,WT,TP,10x12.5,5
CIS BN90-00030C ASSY SHIELD-D-SUB ES17NS,NTSC,SPTE,T0.5,-,-,-,- SNA
CIS BN90-00033A ASSY SHIELD-PCB ES17AS,PAL,SECC,T0.8,-,-,-,- SNA
CIS BN97-00096T ASSY MICOM ES17UO
IC22 1102-001108 IC-EPROM
27C020,256Kx8Bit,PLCC,32P,495MIL,70nS,5V,10%,PLASTIC,0to+70C,100uA,CMOS,TR
CIS BN46-00012T S/W MICOM ES17UO SNA
CIS BN97-00110A ASSY SMD ES17UO SNA
BD109 3301-001163 CORE-FERRITE BEAD AB,80ohm,2x1.25x1mm,300mA,TP,FERRITE,0.08ohm
BD11 3301-001236 CORE-FERRITE BEAD AB,60ohm,1.6x0.8x0.8mm,200mA,TP,H,0.7ohm
BD12 3301-001236 CORE-FERRITE BEAD AB,60ohm,1.6x0.8x0.8mm,200mA,TP,H,0.7ohm
BD13 3301-001236 CORE-FERRITE BEAD AB,60ohm,1.6x0.8x0.8mm,200mA,TP,H,0.7ohm
BD14 3301-001163 CORE-FERRITE BEAD AB,80ohm,2x1.25x1mm,300mA,TP,FERRITE,0.08ohm
BD21 3301-001163 CORE-FERRITE BEAD AB,80ohm,2x1.25x1mm,300mA,TP,FERRITE,0.08ohm
BD210 3301-001163 CORE-FERRITE BEAD AB,80ohm,2x1.25x1mm,300mA,TP,FERRITE,0.08ohm
BD211 3301-001163 CORE-FERRITE BEAD AB,80ohm,2x1.25x1mm,300mA,TP,FERRITE,0.08ohm
BD212 3301-001163 CORE-FERRITE BEAD AB,80ohm,2x1.25x1mm,300mA,TP,FERRITE,0.08ohm
BD213 3301-001163 CORE-FERRITE BEAD AB,80ohm,2x1.25x1mm,300mA,TP,FERRITE,0.08ohm
BD214 3301-001163 CORE-FERRITE BEAD AB,80ohm,2x1.25x1mm,300mA,TP,FERRITE,0.08ohm
BD215 3301-001163 CORE-FERRITE BEAD AB,80ohm,2x1.25x1mm,300mA,TP,FERRITE,0.08ohm
BD216 3301-001163 CORE-FERRITE BEAD AB,80ohm,2x1.25x1mm,300mA,TP,FERRITE,0.08ohm
BD217 3301-001163 CORE-FERRITE BEAD AB,80ohm,2x1.25x1mm,300mA,TP,FERRITE,0.08ohm
BD218 3301-001163 CORE-FERRITE BEAD AB,80ohm,2x1.25x1mm,300mA,TP,FERRITE,0.08ohm
BD219 3301-001163 CORE-FERRITE BEAD AB,80ohm,2x1.25x1mm,300mA,TP,FERRITE,0.08ohm
BD22 3301-001163 CORE-FERRITE BEAD AB,80ohm,2x1.25x1mm,300mA,TP,FERRITE,0.08ohm
BD220 3301-001163 CORE-FERRITE BEAD AB,80ohm,2x1.25x1mm,300mA,TP,FERRITE,0.08ohm
7 Electrical Parts List
LTM1555(B)/LTM1755(B) 7-21
Loc. No. Code No. Description Specification Remarks
CONFIDENTIAL
7-2-1 LTM1755(B) Main PCB Parts

BD221 3301-001163 CORE-FERRITE BEAD AB,80ohm,2x1.25x1mm,300mA,TP,FERRITE,0.08ohm
BD222 3301-001163 CORE-FERRITE BEAD AB,80ohm,2x1.25x1mm,300mA,TP,FERRITE,0.08ohm
BD223 3301-001163 CORE-FERRITE BEAD AB,80ohm,2x1.25x1mm,300mA,TP,FERRITE,0.08ohm
BD224 3301-001163 CORE-FERRITE BEAD AB,80ohm,2x1.25x1mm,300mA,TP,FERRITE,0.08ohm
BD225 3301-001163 CORE-FERRITE BEAD AB,80ohm,2x1.25x1mm,300mA,TP,FERRITE,0.08ohm
BD226 3301-001163 CORE-FERRITE BEAD AB,80ohm,2x1.25x1mm,300mA,TP,FERRITE,0.08ohm
BD227 3301-001163 CORE-FERRITE BEAD AB,80ohm,2x1.25x1mm,300mA,TP,FERRITE,0.08ohm
BD23 3301-001163 CORE-FERRITE BEAD AB,80ohm,2x1.25x1mm,300mA,TP,FERRITE,0.08ohm
BD24 3301-001163 CORE-FERRITE BEAD AB,80ohm,2x1.25x1mm,300mA,TP,FERRITE,0.08ohm
BD25 3301-001163 CORE-FERRITE BEAD AB,80ohm,2x1.25x1mm,300mA,TP,FERRITE,0.08ohm
BD26 3301-001163 CORE-FERRITE BEAD AB,80ohm,2x1.25x1mm,300mA,TP,FERRITE,0.08ohm
BD27 3301-001163 CORE-FERRITE BEAD AB,80ohm,2x1.25x1mm,300mA,TP,FERRITE,0.08ohm
BD28 3301-001163 CORE-FERRITE BEAD AB,80ohm,2x1.25x1mm,300mA,TP,FERRITE,0.08ohm
BD29 3301-001163 CORE-FERRITE BEAD AB,80ohm,2x1.25x1mm,300mA,TP,FERRITE,0.08ohm
BD41 3301-001163 CORE-FERRITE BEAD AB,80ohm,2x1.25x1mm,300mA,TP,FERRITE,0.08ohm
BD42 3301-001163 CORE-FERRITE BEAD AB,80ohm,2x1.25x1mm,300mA,TP,FERRITE,0.08ohm
BD43 3301-001163 CORE-FERRITE BEAD AB,80ohm,2x1.25x1mm,300mA,TP,FERRITE,0.08ohm
BD44 3301-001163 CORE-FERRITE BEAD AB,80ohm,2x1.25x1mm,300mA,TP,FERRITE,0.08ohm
BD51 3301-001145 CORE-FERRITE BEAD AB,4.5x1.6x1.6mm,-,- SNA
BD52 3301-001163 CORE-FERRITE BEAD AB,80ohm,2x1.25x1mm,300mA,TP,FERRITE,0.08ohm
C11 2402-001081 C-AL,SMD 100uF,20%,25V,WT,TP,8.3x8.3x10
C110 2402-001042 C-AL,SMD 100uF,20%,16V,GP,TP,6.6x6.6x5.4mm
C111 2402-001042 C-AL,SMD 100uF,20%,16V,GP,TP,6.6x6.6x5.4mm
C112 2402-001042 C-AL,SMD 100uF,20%,16V,GP,TP,6.6x6.6x5.4mm
C113 2402-001042 C-AL,SMD 100uF,20%,16V,GP,TP,6.6x6.6x5.4mm
C114 2402-001042 C-AL,SMD 100uF,20%,16V,GP,TP,6.6x6.6x5.4mm
C119 2402-000176 C-AL,SMD 10uF,20%,16V,GP,TP,4.3x4.3x5.4
C12 2402-001081 C-AL,SMD 100uF,20%,25V,WT,TP,8.3x8.3x10
C120 2402-000176 C-AL,SMD 10uF,20%,16V,GP,TP,4.3x4.3x5.4
C121 2402-000176 C-AL,SMD 10uF,20%,16V,GP,TP,4.3x4.3x5.4
C122 2402-000176 C-AL,SMD 10uF,20%,16V,GP,TP,4.3x4.3x5.4
C123 2402-000176 C-AL,SMD 10uF,20%,16V,GP,TP,4.3x4.3x5.4
C124 2402-000176 C-AL,SMD 10uF,20%,16V,GP,TP,4.3x4.3x5.4
C125 2203-000903 C-CERAMIC,CHIP 0.0047nF,0.25pF,50V,NP0,TP,1608
C126 2203-000903 C-CERAMIC,CHIP 0.0047nF,0.25pF,50V,NP0,TP,1608
C127 2203-000903 C-CERAMIC,CHIP 0.0047nF,0.25pF,50V,NP0,TP,1608
C13 2402-001044 C-AL,SMD 100uF,20%,25V,-,TP,8.3x8.3x6.3
C131 2203-005065 C-CERAMIC,CHIP 1000nF,+80-20%,10V,Y5V,TP,1608
C132 2203-005065 C-CERAMIC,CHIP 1000nF,+80-20%,10V,Y5V,TP,1608
C133 2203-005065 C-CERAMIC,CHIP 1000nF,+80-20%,10V,Y5V,TP,1608
C134 2203-005065 C-CERAMIC,CHIP 1000nF,+80-20%,10V,Y5V,TP,1608
C135 2203-005065 C-CERAMIC,CHIP 1000nF,+80-20%,10V,Y5V,TP,1608
C136 2203-005065 C-CERAMIC,CHIP 1000nF,+80-20%,10V,Y5V,TP,1608
C137 2203-005065 C-CERAMIC,CHIP 1000nF,+80-20%,10V,Y5V,TP,1608
C138 2203-005065 C-CERAMIC,CHIP 1000nF,+80-20%,10V,Y5V,TP,1608
C139 2203-005065 C-CERAMIC,CHIP 1000nF,+80-20%,10V,Y5V,TP,1608
C14 2402-001044 C-AL,SMD 100uF,20%,25V,-,TP,8.3x8.3x6.3
C140 2203-005065 C-CERAMIC,CHIP 1000nF,+80-20%,10V,Y5V,TP,1608
C141 2203-005065 C-CERAMIC,CHIP 1000nF,+80-20%,10V,Y5V,TP,1608
C142 2203-000189 C-CERAMIC,CHIP 100nF,+80-20%,25V,Y5V,TP,1608,
C143 2203-000189 C-CERAMIC,CHIP 100nF,+80-20%,25V,Y5V,TP,1608,
C144 2203-000189 C-CERAMIC,CHIP 100nF,+80-20%,25V,Y5V,TP,1608,
C145 2203-000189 C-CERAMIC,CHIP 100nF,+80-20%,25V,Y5V,TP,1608,
C146 2203-000189 C-CERAMIC,CHIP 100nF,+80-20%,25V,Y5V,TP,1608,
C147 2203-000189 C-CERAMIC,CHIP 100nF,+80-20%,25V,Y5V,TP,1608,
C148 2203-000189 C-CERAMIC,CHIP 100nF,+80-20%,25V,Y5V,TP,1608,
C15 2402-001044 C-AL,SMD 100uF,20%,25V,-,TP,8.3x8.3x6.3
C150 2203-000189 C-CERAMIC,CHIP 100nF,+80-20%,25V,Y5V,TP,1608,
C152 2203-000189 C-CERAMIC,CHIP 100nF,+80-20%,25V,Y5V,TP,1608,
7 Electrical Parts List
7-22 LTM1555(B)/LTM1755(B)
Loc. No. Code No. Description Specification Remarks
CONFIDENTIAL

C153 2203-000189 C-CERAMIC,CHIP 100nF,+80-20%,25V,Y5V,TP,1608,
C154 2203-000257 C-CERAMIC,CHIP 10nF,10%,50V,X7R,TP,1608
C155 2203-000257 C-CERAMIC,CHIP 10nF,10%,50V,X7R,TP,1608
C156 2203-000257 C-CERAMIC,CHIP 10nF,10%,50V,X7R,TP,1608
C157 2203-000257 C-CERAMIC,CHIP 10nF,10%,50V,X7R,TP,1608
C158 2203-000257 C-CERAMIC,CHIP 10nF,10%,50V,X7R,TP,1608
C159 2203-000257 C-CERAMIC,CHIP 10nF,10%,50V,X7R,TP,1608
C160 2203-000257 C-CERAMIC,CHIP 10nF,10%,50V,X7R,TP,1608
C162 2203-001155 C-CERAMIC,CHIP 0.068nF,5%,50V,NP0,TP,1608
C163 2203-000236 C-CERAMIC,CHIP 0.1nF,5%,50V,NP0,TP,1608
C17 2402-001042 C-AL,SMD 100uF,20%,16V,GP,TP,6.6x6.6x5.4mm
C18 2402-001042 C-AL,SMD 100uF,20%,16V,GP,TP,6.6x6.6x5.4mm
C19 2402-001042 C-AL,SMD 100uF,20%,16V,GP,TP,6.6x6.6x5.4mm
C21 2402-000176 C-AL,SMD 10uF,20%,16V,GP,TP,4.3x4.3x5.4
C210 2203-001417 C-CERAMIC,CHIP 0.036nF,5%,50V,NP0,TP,1608
C211 2203-005065 C-CERAMIC,CHIP 1000nF,+80-20%,10V,Y5V,TP,1608
C212 2203-005065 C-CERAMIC,CHIP 1000nF,+80-20%,10V,Y5V,TP,1608
C213 2203-005065 C-CERAMIC,CHIP 1000nF,+80-20%,10V,Y5V,TP,1608
C214 2203-005065 C-CERAMIC,CHIP 1000nF,+80-20%,10V,Y5V,TP,1608
C215 2203-000189 C-CERAMIC,CHIP 100nF,+80-20%,25V,Y5V,TP,1608,
C216 2203-000189 C-CERAMIC,CHIP 100nF,+80-20%,25V,Y5V,TP,1608,
C217 2203-000189 C-CERAMIC,CHIP 100nF,+80-20%,25V,Y5V,TP,1608,
C22 2402-000176 C-AL,SMD 10uF,20%,16V,GP,TP,4.3x4.3x5.4
C220 2203-000189 C-CERAMIC,CHIP 100nF,+80-20%,25V,Y5V,TP,1608,
C221 2203-000189 C-CERAMIC,CHIP 100nF,+80-20%,25V,Y5V,TP,1608,
C222 2203-000189 C-CERAMIC,CHIP 100nF,+80-20%,25V,Y5V,TP,1608,
C223 2203-000784 C-CERAMIC,CHIP 0.33nF,5%,50V,NP0,TP,2012
C224 2203-000784 C-CERAMIC,CHIP 0.33nF,5%,50V,NP0,TP,2012
C225 2203-000257 C-CERAMIC,CHIP 10nF,10%,50V,X7R,TP,1608
C226 2203-000236 C-CERAMIC,CHIP 0.1nF,5%,50V,NP0,TP,1608
C227 2203-000236 C-CERAMIC,CHIP 0.1nF,5%,50V,NP0,TP,1608
C228 2203-000236 C-CERAMIC,CHIP 0.1nF,5%,50V,NP0,TP,1608
C229 2203-000236 C-CERAMIC,CHIP 0.1nF,5%,50V,NP0,TP,1608
C23 2402-000176 C-AL,SMD 10uF,20%,16V,GP,TP,4.3x4.3x5.4
C230 2203-000236 C-CERAMIC,CHIP 0.1nF,5%,50V,NP0,TP,1608
C231 2203-000236 C-CERAMIC,CHIP 0.1nF,5%,50V,NP0,TP,1608
C232 2203-000236 C-CERAMIC,CHIP 0.1nF,5%,50V,NP0,TP,1608
C233 2203-000236 C-CERAMIC,CHIP 0.1nF,5%,50V,NP0,TP,1608
C234 2203-000236 C-CERAMIC,CHIP 0.1nF,5%,50V,NP0,TP,1608
C24 2402-001042 C-AL,SMD 100uF,20%,16V,GP,TP,6.6x6.6x5.4mm
C25 2402-001006 C-AL,SMD 4.7uF,20%,25V,GP,TP,3.6x6.3x3.
C26 2402-001006 C-AL,SMD 4.7uF,20%,25V,GP,TP,3.6x6.3x3.
C27 2203-001077 C-CERAMIC,CHIP 0.056nF,5%,50V,NP0,TP,2012
C28 2203-001077 C-CERAMIC,CHIP 0.056nF,5%,50V,NP0,TP,2012
C29 2203-001417 C-CERAMIC,CHIP 0.036nF,5%,50V,NP0,TP,1608
C31 2402-000176 C-AL,SMD 10uF,20%,16V,GP,TP,4.3x4.3x5.4
C310 2402-000176 C-AL,SMD 10uF,20%,16V,GP,TP,4.3x4.3x5.4
C3103 2402-000176 C-AL,SMD 10uF,20%,16V,GP,TP,4.3x4.3x5.4
C311 2402-000176 C-AL,SMD 10uF,20%,16V,GP,TP,4.3x4.3x5.4
C312 2402-000176 C-AL,SMD 10uF,20%,16V,GP,TP,4.3x4.3x5.4
C313 2402-000176 C-AL,SMD 10uF,20%,16V,GP,TP,4.3x4.3x5.4
C314 2402-001006 C-AL,SMD 4.7uF,20%,25V,GP,TP,3.6x6.3x3.
C315 2402-001006 C-AL,SMD 4.7uF,20%,25V,GP,TP,3.6x6.3x3.
C316 2409-001035 C-ORGANIC 10uF,20%,10V,LZ,TP,5.4x4.3x4.3mm,1
C317 2402-000108 C-AL,SMD 10uF,20%,16V,WT,TP,4.3x4.3x5.4
C318 2402-000179 C-AL,SMD 47uF,20%,16V,GP,TP,6.6x6.6x5.4
C319 2402-000179 C-AL,SMD 47uF,20%,16V,GP,TP,6.6x6.6x5.4
C32 2203-000697 C-CERAMIC,CHIP 0.002nF,0.25pF,50V,NP0,TP,1608
C321 2203-005065 C-CERAMIC,CHIP 1000nF,+80-20%,10V,Y5V,TP,1608
7 Electrical Parts List
LTM1555(B)/LTM1755(B) 7-23
Loc. No. Code No. Description Specification Remarks
CONFIDENTIAL

C3246 2402-000176 C-AL,SMD 10uF,20%,16V,GP,TP,4.3x4.3x5.4
C3285 2402-000176 C-AL,SMD 10uF,20%,16V,GP,TP,4.3x4.3x5.4
C329 2203-000189 C-CERAMIC,CHIP 100nF,+80-20%,25V,Y5V,TP,1608,
C33 2203-000697 C-CERAMIC,CHIP 0.002nF,0.25pF,50V,NP0,TP,1608
C330 2203-000189 C-CERAMIC,CHIP 100nF,+80-20%,25V,Y5V,TP,1608,
C3300 2402-000176 C-AL,SMD 10uF,20%,16V,GP,TP,4.3x4.3x5.4
C331 2203-000189 C-CERAMIC,CHIP 100nF,+80-20%,25V,Y5V,TP,1608,
C332 2203-000189 C-CERAMIC,CHIP 100nF,+80-20%,25V,Y5V,TP,1608,
C333 2203-000189 C-CERAMIC,CHIP 100nF,+80-20%,25V,Y5V,TP,1608,
C334 2203-000189 C-CERAMIC,CHIP 100nF,+80-20%,25V,Y5V,TP,1608,
C335 2203-000189 C-CERAMIC,CHIP 100nF,+80-20%,25V,Y5V,TP,1608,
C336 2203-000189 C-CERAMIC,CHIP 100nF,+80-20%,25V,Y5V,TP,1608,
C337 2203-000189 C-CERAMIC,CHIP 100nF,+80-20%,25V,Y5V,TP,1608,
C338 2203-000189 C-CERAMIC,CHIP 100nF,+80-20%,25V,Y5V,TP,1608,
C339 2203-000189 C-CERAMIC,CHIP 100nF,+80-20%,25V,Y5V,TP,1608,
C3390 2402-000176 C-AL,SMD 10uF,20%,16V,GP,TP,4.3x4.3x5.4
C34 2203-000697 C-CERAMIC,CHIP 0.002nF,0.25pF,50V,NP0,TP,1608
C340 2203-000189 C-CERAMIC,CHIP 100nF,+80-20%,25V,Y5V,TP,1608,
C341 2203-000189 C-CERAMIC,CHIP 100nF,+80-20%,25V,Y5V,TP,1608,
C342 2203-000189 C-CERAMIC,CHIP 100nF,+80-20%,25V,Y5V,TP,1608,
C343 2203-000189 C-CERAMIC,CHIP 100nF,+80-20%,25V,Y5V,TP,1608,
C344 2203-000189 C-CERAMIC,CHIP 100nF,+80-20%,25V,Y5V,TP,1608,
C345 2203-000189 C-CERAMIC,CHIP 100nF,+80-20%,25V,Y5V,TP,1608,
C346 2203-000189 C-CERAMIC,CHIP 100nF,+80-20%,25V,Y5V,TP,1608,
C347 2203-000189 C-CERAMIC,CHIP 100nF,+80-20%,25V,Y5V,TP,1608,
C348 2203-000189 C-CERAMIC,CHIP 100nF,+80-20%,25V,Y5V,TP,1608,
C349 2203-000189 C-CERAMIC,CHIP 100nF,+80-20%,25V,Y5V,TP,1608,
C35 2203-005065 C-CERAMIC,CHIP 1000nF,+80-20%,10V,Y5V,TP,1608
C350 2203-000189 C-CERAMIC,CHIP 100nF,+80-20%,25V,Y5V,TP,1608,
C351 2203-000189 C-CERAMIC,CHIP 100nF,+80-20%,25V,Y5V,TP,1608,
C352 2203-000189 C-CERAMIC,CHIP 100nF,+80-20%,25V,Y5V,TP,1608,
C353 2203-000189 C-CERAMIC,CHIP 100nF,+80-20%,25V,Y5V,TP,1608,
C354 2203-000189 C-CERAMIC,CHIP 100nF,+80-20%,25V,Y5V,TP,1608,
C355 2203-000189 C-CERAMIC,CHIP 100nF,+80-20%,25V,Y5V,TP,1608,
C3552 2402-000176 C-AL,SMD 10uF,20%,16V,GP,TP,4.3x4.3x5.4
C356 2203-000189 C-CERAMIC,CHIP 100nF,+80-20%,25V,Y5V,TP,1608,
C357 2203-000189 C-CERAMIC,CHIP 100nF,+80-20%,25V,Y5V,TP,1608,
C358 2203-000189 C-CERAMIC,CHIP 100nF,+80-20%,25V,Y5V,TP,1608,
C359 2203-000189 C-CERAMIC,CHIP 100nF,+80-20%,25V,Y5V,TP,1608,
C36 2203-005065 C-CERAMIC,CHIP 1000nF,+80-20%,10V,Y5V,TP,1608
C360 2203-000189 C-CERAMIC,CHIP 100nF,+80-20%,25V,Y5V,TP,1608,
C361 2203-000189 C-CERAMIC,CHIP 100nF,+80-20%,25V,Y5V,TP,1608,
C362 2203-000189 C-CERAMIC,CHIP 100nF,+80-20%,25V,Y5V,TP,1608,
C363 2203-000189 C-CERAMIC,CHIP 100nF,+80-20%,25V,Y5V,TP,1608,
C365 2203-000440 C-CERAMIC,CHIP 1nF,10%,50V,X7R,TP,1608,-
C366 2203-000440 C-CERAMIC,CHIP 1nF,10%,50V,X7R,TP,1608,-
C367 2203-000440 C-CERAMIC,CHIP 1nF,10%,50V,X7R,TP,1608,-
C368 2203-000440 C-CERAMIC,CHIP 1nF,10%,50V,X7R,TP,1608,-
C3688 2402-000176 C-AL,SMD 10uF,20%,16V,GP,TP,4.3x4.3x5.4
C369 2203-000440 C-CERAMIC,CHIP 1nF,10%,50V,X7R,TP,1608,-
C37 2203-005065 C-CERAMIC,CHIP 1000nF,+80-20%,10V,Y5V,TP,1608
C370 2203-000440 C-CERAMIC,CHIP 1nF,10%,50V,X7R,TP,1608,-
C371 2203-000440 C-CERAMIC,CHIP 1nF,10%,50V,X7R,TP,1608,-
C372 2203-005005 C-CERAMIC,CHIP 100nF,10%,16V,X7R,TP,1608
C373 2203-000257 C-CERAMIC,CHIP 10nF,10%,50V,X7R,TP,1608
C374 2203-000257 C-CERAMIC,CHIP 10nF,10%,50V,X7R,TP,1608
C375 2203-000257 C-CERAMIC,CHIP 10nF,10%,50V,X7R,TP,1608
C376 2203-000257 C-CERAMIC,CHIP 10nF,10%,50V,X7R,TP,1608
C377 2203-000257 C-CERAMIC,CHIP 10nF,10%,50V,X7R,TP,1608
7 Electrical Parts List
7-24 LTM1555(B)/LTM1755(B)
Loc. No. Code No. Description Specification Remarks
CONFIDENTIAL

C378 2203-000257 C-CERAMIC,CHIP 10nF,10%,50V,X7R,TP,1608
C3782 2402-000176 C-AL,SMD 10uF,20%,16V,GP,TP,4.3x4.3x5.4
C379 2203-000257 C-CERAMIC,CHIP 10nF,10%,50V,X7R,TP,1608
C380 2203-000257 C-CERAMIC,CHIP 10nF,10%,50V,X7R,TP,1608
C381 2203-000257 C-CERAMIC,CHIP 10nF,10%,50V,X7R,TP,1608
C382 2203-000257 C-CERAMIC,CHIP 10nF,10%,50V,X7R,TP,1608
C383 2203-000257 C-CERAMIC,CHIP 10nF,10%,50V,X7R,TP,1608
C384 2203-000384 C-CERAMIC,CHIP 0.015nF,5%,50V,NP0,TP,1608
C3890 2402-000144 C-AL,SMD 3.3uF,20%,50V,GP,TP,4.3x4.3x5.
C39 2203-000189 C-CERAMIC,CHIP 100nF,+80-20%,25V,Y5V,TP,1608,
C410 2203-005065 C-CERAMIC,CHIP 1000nF,+80-20%,10V,Y5V,TP,1608
C411 2203-005065 C-CERAMIC,CHIP 1000nF,+80-20%,10V,Y5V,TP,1608
C412 2203-005065 C-CERAMIC,CHIP 1000nF,+80-20%,10V,Y5V,TP,1608
C4128 2402-001042 C-AL,SMD 100uF,20%,16V,GP,TP,6.6x6.6x5.4mm
C413 2203-005065 C-CERAMIC,CHIP 1000nF,+80-20%,10V,Y5V,TP,1608
C414 2203-005065 C-CERAMIC,CHIP 1000nF,+80-20%,10V,Y5V,TP,1608
C415 2203-005065 C-CERAMIC,CHIP 1000nF,+80-20%,10V,Y5V,TP,1608
C416 2203-005065 C-CERAMIC,CHIP 1000nF,+80-20%,10V,Y5V,TP,1608
C417 2203-005065 C-CERAMIC,CHIP 1000nF,+80-20%,10V,Y5V,TP,1608
C418 2203-005065 C-CERAMIC,CHIP 1000nF,+80-20%,10V,Y5V,TP,1608
C4186 2402-001042 C-AL,SMD 100uF,20%,16V,GP,TP,6.6x6.6x5.4mm
C419 2203-005065 C-CERAMIC,CHIP 1000nF,+80-20%,10V,Y5V,TP,1608
C420 2203-005065 C-CERAMIC,CHIP 1000nF,+80-20%,10V,Y5V,TP,1608
C421 2203-000189 C-CERAMIC,CHIP 100nF,+80-20%,25V,Y5V,TP,1608,
C422 2203-000189 C-CERAMIC,CHIP 100nF,+80-20%,25V,Y5V,TP,1608,
C423 2203-000189 C-CERAMIC,CHIP 100nF,+80-20%,25V,Y5V,TP,1608,
C424 2203-000440 C-CERAMIC,CHIP 1nF,10%,50V,X7R,TP,1608,-
C4276 2402-000176 C-AL,SMD 10uF,20%,16V,GP,TP,4.3x4.3x5.4
C43 2203-000972 C-CERAMIC,CHIP 47nF,10%,16V,X7R,TP,1608
C430 2203-000280 C-CERAMIC,CHIP 0.01nF,0.5pF,50V,NP0,TP,1608
C431 2203-000998 C-CERAMIC,CHIP 0.047nF,5%,50V,NP0,TP,1608
C432 2203-000189 C-CERAMIC,CHIP 100nF,+80-20%,25V,Y5V,TP,1608,
C433 2203-000189 C-CERAMIC,CHIP 100nF,+80-20%,25V,Y5V,TP,1608,
C434 2203-000189 C-CERAMIC,CHIP 100nF,+80-20%,25V,Y5V,TP,1608,
C437 2203-000189 C-CERAMIC,CHIP 100nF,+80-20%,25V,Y5V,TP,1608,
C438 2203-000189 C-CERAMIC,CHIP 100nF,+80-20%,25V,Y5V,TP,1608,
C439 2203-000257 C-CERAMIC,CHIP 10nF,10%,50V,X7R,TP,1608
C44 2203-000972 C-CERAMIC,CHIP 47nF,10%,16V,X7R,TP,1608
C440 2203-000257 C-CERAMIC,CHIP 10nF,10%,50V,X7R,TP,1608
C441 2203-000257 C-CERAMIC,CHIP 10nF,10%,50V,X7R,TP,1608
C442 2203-000257 C-CERAMIC,CHIP 10nF,10%,50V,X7R,TP,1608
C443 2203-000552 C-CERAMIC,CHIP 0.02nF,5%,50V,NP0,TP,1608
C444 2203-000552 C-CERAMIC,CHIP 0.02nF,5%,50V,NP0,TP,1608
C445 2203-000626 C-CERAMIC,CHIP 0.022nF,5%,50V,NP0,TP,1608
C446 2203-000626 C-CERAMIC,CHIP 0.022nF,5%,50V,NP0,TP,1608
C447 2203-000491 C-CERAMIC,CHIP 2.2nF,10%,50V,X7R,TP,1608,-
C448 2203-000140 C-CERAMIC,CHIP 1.5nF,10%,50V,X7R,TP,1608,-
C449 2203-001656 C-CERAMIC,CHIP 0.47nF,5%,50V,NP0,TP,1608
C45 2402-001042 C-AL,SMD 100uF,20%,16V,GP,TP,6.6x6.6x5.4mm
C450 2203-000972 C-CERAMIC,CHIP 47nF,10%,16V,X7R,TP,1608
C451 2203-000972 C-CERAMIC,CHIP 47nF,10%,16V,X7R,TP,1608
C452 2203-000972 C-CERAMIC,CHIP 47nF,10%,16V,X7R,TP,1608
C46 2402-000135 C-AL,SMD 22uF,20%,16V,GP,TP,5.3x5.3x5.4
C47 2203-005065 C-CERAMIC,CHIP 1000nF,+80-20%,10V,Y5V,TP,1608
C4728 2402-000176 C-AL,SMD 10uF,20%,16V,GP,TP,4.3x4.3x5.4
C48 2203-005065 C-CERAMIC,CHIP 1000nF,+80-20%,10V,Y5V,TP,1608
C4845 2203-000972 C-CERAMIC,CHIP 47nF,10%,16V,X7R,TP,1608
C49 2203-005065 C-CERAMIC,CHIP 1000nF,+80-20%,10V,Y5V,TP,1608
C51 2203-000140 C-CERAMIC,CHIP 1.5nF,10%,50V,X7R,TP,1608,-
7 Electrical Parts List
LTM1555(B)/LTM1755(B) 7-25
Loc. No. Code No. Description Specification Remarks
CONFIDENTIAL

C510 2402-001042 C-AL,SMD 100uF,20%,16V,GP,TP,6.6x6.6x5.4mm
C511 2402-001042 C-AL,SMD 100uF,20%,16V,GP,TP,6.6x6.6x5.4mm
C512 2402-001042 C-AL,SMD 100uF,20%,16V,GP,TP,6.6x6.6x5.4mm
C513 2402-001042 C-AL,SMD 100uF,20%,16V,GP,TP,6.6x6.6x5.4mm
C514 2402-001042 C-AL,SMD 100uF,20%,16V,GP,TP,6.6x6.6x5.4mm
C515 2402-001157 C-AL,SMD 0.33UF,20%,50V,GP,TP,4X5.2MM
C516 2402-001157 C-AL,SMD 0.33UF,20%,50V,GP,TP,4X5.2MM
C517 2402-001006 C-AL,SMD 4.7uF,20%,25V,GP,TP,3.6x6.3x3.
C518 2402-001006 C-AL,SMD 4.7uF,20%,25V,GP,TP,3.6x6.3x3.
C519 2402-001006 C-AL,SMD 4.7uF,20%,25V,GP,TP,3.6x6.3x3.
C52 2203-000140 C-CERAMIC,CHIP 1.5nF,10%,50V,X7R,TP,1608,-
C520 2402-001006 C-AL,SMD 4.7uF,20%,25V,GP,TP,3.6x6.3x3.
C521 2402-000170 C-AL,SMD 1uF,20%,50V,GP,TP,4.3x4.3x5.4,
C522 2203-001077 C-CERAMIC,CHIP 0.056nF,5%,50V,NP0,TP,2012
C523 2203-001077 C-CERAMIC,CHIP 0.056nF,5%,50V,NP0,TP,2012
C5239 2402-000176 C-AL,SMD 10uF,20%,16V,GP,TP,4.3x4.3x5.4
C524 2203-001077 C-CERAMIC,CHIP 0.056nF,5%,50V,NP0,TP,2012
C5244 2402-000144 C-AL,SMD 3.3uF,20%,50V,GP,TP,4.3x4.3x5.
C5247 2402-001042 C-AL,SMD 100uF,20%,16V,GP,TP,6.6x6.6x5.4mm
C525 2203-000903 C-CERAMIC,CHIP 0.0047nF,0.25pF,50V,NP0,TP,1608
C526 2203-000903 C-CERAMIC,CHIP 0.0047nF,0.25pF,50V,NP0,TP,1608
C527 2203-000189 C-CERAMIC,CHIP 100nF,+80-20%,25V,Y5V,TP,1608,
C528 2203-000189 C-CERAMIC,CHIP 100nF,+80-20%,25V,Y5V,TP,1608,
C529 2203-000189 C-CERAMIC,CHIP 100nF,+80-20%,25V,Y5V,TP,1608,
C53 2402-000176 C-AL,SMD 10uF,20%,16V,GP,TP,4.3x4.3x5.4
C530 2203-000189 C-CERAMIC,CHIP 100nF,+80-20%,25V,Y5V,TP,1608,
C531 2203-000189 C-CERAMIC,CHIP 100nF,+80-20%,25V,Y5V,TP,1608,
C532 2203-000189 C-CERAMIC,CHIP 100nF,+80-20%,25V,Y5V,TP,1608,
C533 2203-000189 C-CERAMIC,CHIP 100nF,+80-20%,25V,Y5V,TP,1608,
C534 2203-000189 C-CERAMIC,CHIP 100nF,+80-20%,25V,Y5V,TP,1608,
C535 2203-000189 C-CERAMIC,CHIP 100nF,+80-20%,25V,Y5V,TP,1608,
C536 2203-000189 C-CERAMIC,CHIP 100nF,+80-20%,25V,Y5V,TP,1608,
C537 2203-000189 C-CERAMIC,CHIP 100nF,+80-20%,25V,Y5V,TP,1608,
C538 2203-000189 C-CERAMIC,CHIP 100nF,+80-20%,25V,Y5V,TP,1608,
C539 2203-000189 C-CERAMIC,CHIP 100nF,+80-20%,25V,Y5V,TP,1608,
C54 2402-000176 C-AL,SMD 10uF,20%,16V,GP,TP,4.3x4.3x5.4
C540 2203-000440 C-CERAMIC,CHIP 1nF,10%,50V,X7R,TP,1608,-
C541 2203-000440 C-CERAMIC,CHIP 1nF,10%,50V,X7R,TP,1608,-
C542 2203-000140 C-CERAMIC,CHIP 1.5nF,10%,50V,X7R,TP,1608,-
C543 2203-000140 C-CERAMIC,CHIP 1.5nF,10%,50V,X7R,TP,1608,-
C544 2203-000140 C-CERAMIC,CHIP 1.5nF,10%,50V,X7R,TP,1608,-
C545 2203-000236 C-CERAMIC,CHIP 0.1nF,5%,50V,NP0,TP,1608
C546 2203-000236 C-CERAMIC,CHIP 0.1nF,5%,50V,NP0,TP,1608
C547 2203-000236 C-CERAMIC,CHIP 0.1nF,5%,50V,NP0,TP,1608
C548 2203-000236 C-CERAMIC,CHIP 0.1nF,5%,50V,NP0,TP,1608
C549 2203-000236 C-CERAMIC,CHIP 0.1nF,5%,50V,NP0,TP,1608
C55 2402-000176 C-AL,SMD 10uF,20%,16V,GP,TP,4.3x4.3x5.4
C550 2203-000236 C-CERAMIC,CHIP 0.1nF,5%,50V,NP0,TP,1608
C551 2402-001157 C-AL,SMD 0.33UF,20%,50V,GP,TP,4X5.2MM
C552 2402-001157 C-AL,SMD 0.33UF,20%,50V,GP,TP,4X5.2MM
C553 2203-001656 C-CERAMIC,CHIP 0.47nF,5%,50V,NP0,TP,1608
C554 2203-001656 C-CERAMIC,CHIP 0.47nF,5%,50V,NP0,TP,1608
C555 2203-001656 C-CERAMIC,CHIP 0.47nF,5%,50V,NP0,TP,1608
C556 2203-001391 C-CERAMIC,CHIP 150nF,10%,25V,X7R,TP,2012,-
C557 2203-001391 C-CERAMIC,CHIP 150nF,10%,25V,X7R,TP,2012,-
C558 2203-001391 C-CERAMIC,CHIP 150nF,10%,25V,X7R,TP,2012,-
C559 2203-001391 C-CERAMIC,CHIP 150nF,10%,25V,X7R,TP,2012,-
C56 2402-000176 C-AL,SMD 10uF,20%,16V,GP,TP,4.3x4.3x5.4
C560 2203-001391 C-CERAMIC,CHIP 150nF,10%,25V,X7R,TP,2012,-
7 Electrical Parts List
7-26 LTM1555(B)/LTM1755(B)
Loc. No. Code No. Description Specification Remarks
CONFIDENTIAL

C561 2203-001391 C-CERAMIC,CHIP 150nF,10%,25V,X7R,TP,2012,-
C562 2203-001391 C-CERAMIC,CHIP 150nF,10%,25V,X7R,TP,2012,-
C563 2203-001391 C-CERAMIC,CHIP 150nF,10%,25V,X7R,TP,2012,-
C564 2203-001391 C-CERAMIC,CHIP 150nF,10%,25V,X7R,TP,2012,-
C565 2203-001391 C-CERAMIC,CHIP 150nF,10%,25V,X7R,TP,2012,-
C566 2203-001391 C-CERAMIC,CHIP 150nF,10%,25V,X7R,TP,2012,-
C567 2203-001391 C-CERAMIC,CHIP 150nF,10%,25V,X7R,TP,2012,-
C568 2203-001391 C-CERAMIC,CHIP 150nF,10%,25V,X7R,TP,2012,-
C569 2203-001391 C-CERAMIC,CHIP 150nF,10%,25V,X7R,TP,2012,-
C57 2402-000176 C-AL,SMD 10uF,20%,16V,GP,TP,4.3x4.3x5.4
C570 2203-001607 C-CERAMIC,CHIP 0.22nF,5%,50V,NP0,TP,1608
C571 2203-000701 C-CERAMIC,CHIP 0.002nF,0.25pF,50V,NP0,TP,2012
C572 2203-000701 C-CERAMIC,CHIP 0.002nF,0.25pF,50V,NP0,TP,2012
C573 2203-000972 C-CERAMIC,CHIP 47nF,10%,16V,X7R,TP,1608
C574 2203-000716 C-CERAMIC,CHIP 3.3nF,10%,50V,X7R,TP,2012,-
C575 2203-000716 C-CERAMIC,CHIP 3.3nF,10%,50V,X7R,TP,2012,-
C576 2203-002793 C-CERAMIC,CHIP 1000nF,+80-20%,25V,Y5V,TP,2012
C58 2402-001042 C-AL,SMD 100uF,20%,16V,GP,TP,6.6x6.6x5.4mm
C59 2402-001042 C-AL,SMD 100uF,20%,16V,GP,TP,6.6x6.6x5.4mm
C61 2402-000176 C-AL,SMD 10uF,20%,16V,GP,TP,4.3x4.3x5.4
C610 2203-000189 C-CERAMIC,CHIP 100nF,+80-20%,25V,Y5V,TP,1608,
C611 2203-000189 C-CERAMIC,CHIP 100nF,+80-20%,25V,Y5V,TP,1608,
C612 2203-000189 C-CERAMIC,CHIP 100nF,+80-20%,25V,Y5V,TP,1608,
C613 2203-000189 C-CERAMIC,CHIP 100nF,+80-20%,25V,Y5V,TP,1608,
C614 2203-000189 C-CERAMIC,CHIP 100nF,+80-20%,25V,Y5V,TP,1608,
C615 2203-000189 C-CERAMIC,CHIP 100nF,+80-20%,25V,Y5V,TP,1608,
C616 2203-000189 C-CERAMIC,CHIP 100nF,+80-20%,25V,Y5V,TP,1608,
C617 2203-000189 C-CERAMIC,CHIP 100nF,+80-20%,25V,Y5V,TP,1608,
C618 2203-000189 C-CERAMIC,CHIP 100nF,+80-20%,25V,Y5V,TP,1608,
C619 2203-000189 C-CERAMIC,CHIP 100nF,+80-20%,25V,Y5V,TP,1608,
C62 2402-000176 C-AL,SMD 10uF,20%,16V,GP,TP,4.3x4.3x5.4
C620 2203-000189 C-CERAMIC,CHIP 100nF,+80-20%,25V,Y5V,TP,1608,
C621 2203-000189 C-CERAMIC,CHIP 100nF,+80-20%,25V,Y5V,TP,1608,
C622 2203-000189 C-CERAMIC,CHIP 100nF,+80-20%,25V,Y5V,TP,1608,
C63 2402-000176 C-AL,SMD 10uF,20%,16V,GP,TP,4.3x4.3x5.4
C635 2203-000440 C-CERAMIC,CHIP 1nF,10%,50V,X7R,TP,1608,-
C637 2203-000440 C-CERAMIC,CHIP 1nF,10%,50V,X7R,TP,1608,-
C638 2203-000440 C-CERAMIC,CHIP 1nF,10%,50V,X7R,TP,1608,-
C639 2203-000440 C-CERAMIC,CHIP 1nF,10%,50V,X7R,TP,1608,-
C64 2402-000176 C-AL,SMD 10uF,20%,16V,GP,TP,4.3x4.3x5.4
C640 2203-000440 C-CERAMIC,CHIP 1nF,10%,50V,X7R,TP,1608,-
C65 2402-000135 C-AL,SMD 22uF,20%,16V,GP,TP,5.3x5.3x5.4
C67 2203-000189 C-CERAMIC,CHIP 100nF,+80-20%,25V,Y5V,TP,1608,
C68 2203-000189 C-CERAMIC,CHIP 100nF,+80-20%,25V,Y5V,TP,1608,
C777 2402-001006 C-AL,SMD 4.7uF,20%,25V,GP,TP,3.6x6.3x3.
C782 2402-001006 C-AL,SMD 4.7uF,20%,25V,GP,TP,3.6x6.3x3.
CA31 2503-001018 C-NETWORK 15PFX4,10%,50V,-
CA311 2503-001018 C-NETWORK 15PFX4,10%,50V,-
CA312 2503-001018 C-NETWORK 15PFX4,10%,50V,-
CA313 2503-001018 C-NETWORK 15PFX4,10%,50V,-
CA314 2503-001018 C-NETWORK 15PFX4,10%,50V,-
CA315 2503-001018 C-NETWORK 15PFX4,10%,50V,-
CA32 2503-001018 C-NETWORK 15PFX4,10%,50V,-
CA33 2503-001018 C-NETWORK 15PFX4,10%,50V,-
CA330 2503-001018 C-NETWORK 15PFX4,10%,50V,-
CA34 2503-001018 C-NETWORK 15PFX4,10%,50V,-
CA35 2503-001018 C-NETWORK 15PFX4,10%,50V,-
CA36 2503-001018 C-NETWORK 15PFX4,10%,50V,-
CN13 3711-002046 CONNECTOR-HEADER 3WALL,12P,1R,1.25mm,SMD-S,SN SNA
7 Electrical Parts List
LTM1555(B)/LTM1755(B) 7-27
Loc. No. Code No. Description Specification Remarks
CONFIDENTIAL

CN21 3711-002127 CONNECTOR-HEADER BOX,8P,1R,1.25mm,SMD-A,SN SNA
CN22 3711-002049 CONNECTOR-HEADER BOX,6P,1R,1.25mm,SMD-A,SN SNA
CN23 3711-002049 CONNECTOR-HEADER BOX,6P,1R,1.25mm,SMD-A,SN SNA
CN26 3711-000556 CONNECTOR-HEADER BOX,12P,1R,1.25mm,SMD-A,SN SNA
CN27 3711-000556 CONNECTOR-HEADER BOX,12P,1R,1.25mm,SMD-A,SN SNA
CN62 3711-004070 CONNECTOR-HEADER BOX,30P,1R,1.25mm,SMD-A,SN SNA
D11 0402-000553 DIODE-RECTIFIER SS24,40V,2.0A,DO-214AA
D12 0402-000553 DIODE-RECTIFIER SS24,40V,2.0A,DO-214AA
D14 0403-000579 DIODE-ZENER BZX84C5V1,5.1V,5%,200mW,SOT-23
D15 0401-001056 DIODE-SWITCHING MMBD4148SE,75V,200MA,SOT-23,TP
D16 0401-001056 DIODE-SWITCHING MMBD4148SE,75V,200MA,SOT-23,TP
D17 0401-001056 DIODE-SWITCHING MMBD4148SE,75V,200MA,SOT-23,TP
D18 0403-001435 DIODE-ZENER QZX363C5V6,5.32-5.88,200MW,SOT-363,TP
D21 0403-001052 DIODE-ZENER RD8.2MB,8.2V,7.7-8.64V,200mW,S
D210 0403-000579 DIODE-ZENER BZX84C5V1,5.1V,5%,200mW,SOT-23
D211 0403-000579 DIODE-ZENER BZX84C5V1,5.1V,5%,200mW,SOT-23
D22 0403-001052 DIODE-ZENER RD8.2MB,8.2V,7.7-8.64V,200mW,S
D220 0403-001052 DIODE-ZENER RD8.2MB,8.2V,7.7-8.64V,200mW,S
D23 0403-001052 DIODE-ZENER RD8.2MB,8.2V,7.7-8.64V,200mW,S
D237 0403-001052 DIODE-ZENER RD8.2MB,8.2V,7.7-8.64V,200mW,S
D238 0403-001435 DIODE-ZENER QZX363C5V6,5.32-5.88,200MW,SOT-363,TP
D239 0403-001052 DIODE-ZENER RD8.2MB,8.2V,7.7-8.64V,200mW,S
D24 0403-001435 DIODE-ZENER QZX363C5V6,5.32-5.88,200MW,SOT-363,TP
D240 0403-001052 DIODE-ZENER RD8.2MB,8.2V,7.7-8.64V,200mW,S
D25 0403-001052 DIODE-ZENER RD8.2MB,8.2V,7.7-8.64V,200mW,S
D26 0403-001052 DIODE-ZENER RD8.2MB,8.2V,7.7-8.64V,200mW,S
D27 0403-001052 DIODE-ZENER RD8.2MB,8.2V,7.7-8.64V,200mW,S
D29 0403-000579 DIODE-ZENER BZX84C5V1,5.1V,5%,200mW,SOT-23
D41 0401-001056 DIODE-SWITCHING MMBD4148SE,75V,200MA,SOT-23,TP
D43 0403-001382 DIODE-ZENER UDZ33B,32.15-33.79V,200mW,SOD-323,TP
D51 0403-001435 DIODE-ZENER QZX363C5V6,5.32-5.88,200MW,SOT-363,TP
D55 0403-001052 DIODE-ZENER RD8.2MB,8.2V,7.7-8.64V,200mW,S
DB21 3301-001163 CORE-FERRITE BEAD AB,80ohm,2x1.25x1mm,300mA,TP,FERRITE,0.08ohm
FT11 3301-001145 CORE-FERRITE BEAD AB,4.5x1.6x1.6mm,-,- SNA
FT12 3301-001145 CORE-FERRITE BEAD AB,4.5x1.6x1.6mm,-,- SNA
FT13 3301-001145 CORE-FERRITE BEAD AB,4.5x1.6x1.6mm,-,- SNA
FT14 3301-001145 CORE-FERRITE BEAD AB,4.5x1.6x1.6mm,-,- SNA
FT31 2901-001133 FILTER-EMI SMD 25V,0.15A,-,33pF,2x1.25x0.8mm,TP
FT32 3301-001145 CORE-FERRITE BEAD AB,4.5x1.6x1.6mm,-,- SNA
FT51 3301-001145 CORE-FERRITE BEAD AB,4.5x1.6x1.6mm,-,- SNA
FT52 3301-001145 CORE-FERRITE BEAD AB,4.5x1.6x1.6mm,-,- SNA
FT61 3301-001145 CORE-FERRITE BEAD AB,4.5x1.6x1.6mm,-,- SNA
FT62 3301-001145 CORE-FERRITE BEAD AB,4.5x1.6x1.6mm,-,- SNA
FT63 3301-001145 CORE-FERRITE BEAD AB,4.5x1.6x1.6mm,-,- SNA
FT66 3301-001145 CORE-FERRITE BEAD AB,4.5x1.6x1.6mm,-,- SNA
IC109 1203-002410 IC-POSI.ADJUST REG.
KA317MR,D-PAK,3P,240MIL,PLASTIC,40V,-,0TO+125C,0.5A,1.2/1.3V,TP
IC11 1203-001448 IC-SWITCH VOL. REG. 2596,TO-263,5P,-,PLASTIC,4.750
IC110 0803-000117 IC-TTL 74F14,INVERTER,SOP,14P,150MIL,
IC111 0505-001170 FET-SILICON SI9933ADY-T1,P,-20V,3.4A,0.06ohm,2W,SO-8
IC112 0505-001170 FET-SILICON SI9933ADY-T1,P,-20V,3.4A,0.06ohm,2W,SO-8
IC13 1203-002454 IC-VOLTAGE REGULATOR
FAN1117A,TO-252,3P,257MIL,PLASTIC,1.764V/1.836V,-,0TO+125C,1A,1.225/1.275V,TP
IC14 1203-001293 IC-POSI.FIXED REG. 033,T0-252,3P,6.5MIL,PLASTIC,3
IC15 1203-001293 IC-POSI.FIXED REG. 033,T0-252,3P,6.5MIL,PLASTIC,3
IC16 1203-001448 IC-SWITCH VOL. REG. 2596,TO-263,5P,-,PLASTIC,4.750
IC17 1203-001465 IC-POSI.ADJUST REG. 317,TO-263,3P,-,PLASTIC,1.2/37
IC18 1103-000138 IC-EEPROM 24C16,2Kx8BIT,SOP,8P,150MIL,10
IC19 1103-001164 IC-EEPROM
24LC21A,128X8BIT,SOP,8P,150MIL,-,5V,10%,PLASTIC,0 TO +70C,100UA,CMOS,TP
IC21 1203-001109 IC-VOL. DETECTOR 7045,SOT-89,3P,-,PLASTIC,4.3/4
IC22_SOCK 3704-000249 SOCKET-IC 32P,PLCC,SN,1.27mm
7 Electrical Parts List
7-28 LTM1555(B)/LTM1755(B)
Loc. No. Code No. Description Specification Remarks
CONFIDENTIAL

IC23 0903-001202 IC-MICROCONTROLLER
80251G2,8Bit,PLCC,44P,653MIL,24MHz,TR,CMOS,PLASTIC,5V,1.5W,0to+70C,1KBYTE,-,24Bi
SNA
IC24 0803-000117 IC-TTL 74F14,INVERTER,SOP,14P,150MIL,
IC25 0801-002268 IC-CMOS LOGIC 74VHC139,DECODER,SOP,16P,150MI
IC26 0801-000411 IC-CMOS LOGIC 74HC32,OR GATE,SOP,14P,150MIL,
IC27 0801-000411 IC-CMOS LOGIC 74HC32,OR GATE,SOP,14P,150MIL,
IC28 0802-001108 IC-BICMOS LOGIC
74ABT573,LATCH,TSSOP,20P,173MIL,8,TR,PLASTIC,3-STATE,-,0.55V,-65TO+150C,-,0.8V,5
IC31 1204-001551 IC-VIDEO SYSTEM
GS1881,SOIC,8P,150MIL,PLASTIC,13.2V,-,0TO+70C,TP,VIDEO SYNC SEPARATOR
IC32 1205-002028 IC-LCD CONTROLLER
JAGASM,BGA,388P,208MIL,PALATIC,3.45V,2.5W,-40TO+125C,TR,DIGITAL DISPLAY PRO.
IC33 1001-001082 IC-VIDEO SWITCH BA7657F,-,SOP,24P,300MIL,SINGL
IC401 1204-001997 IC-DECODER
VSP9415B-B11,MQFP,80P,14X14MM,PLASTIC,3.47V,1.1W,0TO+70C,TR,OPTIMUS
IC45 1204-001388 IC-DECODER Z86129,SOP,18P,-,PLASTIC,6.0V,
IC51 1201-001495 IC-AUDIO AMP
7050,SOP,8P,150MIL,DUAL,26DB,PLASTIC,6V,0.25W,-,40DB,-,-,20NA,-
IC52 1203-001816 IC-POSI.FIXED REG.
78M08,TO-252,3P,-,PLASTIC,7.7/8.3V,1.0W,-40TO+85C,0.5A,-,TP
IC53 1204-001852 IC-SOUND PROCESSOR
MSP3421G-B8,PQFP,80P,-,PLASTIC,9V,1000MW,0TO70C,TR,-
IC54 1203-001779 IC-POSI.FIXED REG.
7812,D2PAK,3P,-,PLASTIC,11.5/12.5V,-,-40TO+125CC,1A,-,TP
IC55 1201-001681 IC-AUDIO AMP
1101,SOP,30P,433MIL,-,-,PLASTIC,13.2V,-,0to+70C,-,-,-,-,-,TP
IC61 1205-001740 IC-TRANSMITTER
DS90C385,TSSOP,56P,240MIL,PLASTIC,4V,1.63W,-10 TO +70C,ST,FPD LINK-85MHZ(LVDS)
IC62 1205-001740 IC-TRANSMITTER
DS90C385,TSSOP,56P,240MIL,PLASTIC,4V,1.63W,-10 TO +70C,ST,FPD LINK-85MHZ(LVDS)
IC64 1105-001391 IC-DRAM
EM638325,2MX32BIT,TSOP(II),86P,400MIL,60NS,3.3V,10%,PLASTIC,0TO+70C,3MA,-,TR
L110 3301-001145 CORE-FERRITE BEAD AB,4.5x1.6x1.6mm,-,- SNA
L111 BN27-00002A COIL-CHOKE(SMD)
47uH,47uH,20%,12*12*8mm,22.5Ts,SMD,-,-,0.75ohm,-,-,-,TP
L113 2703-001334 INDUCTOR-SMD 1.5uH,10%,2x1.25x0.85mm
L114 2703-001334 INDUCTOR-SMD 1.5uH,10%,2x1.25x0.85mm
L115 2703-001334 INDUCTOR-SMD 1.5uH,10%,2x1.25x0.85mm
L116 BN27-20001A COIL-CHOKE -,53.0UH,20%,DR10*5,-,-,-,-,0.18ohm,-,-,-,TRAY
L117 2703-001778 INDUCTOR-SMD 3.3UH,20%,3.2X2.5X2.2MM
L118 2703-001778 INDUCTOR-SMD 3.3UH,20%,3.2X2.5X2.2MM
L12 3301-001145 CORE-FERRITE BEAD AB,4.5x1.6x1.6mm,-,- SNA
L13 3301-001145 CORE-FERRITE BEAD AB,4.5x1.6x1.6mm,-,- SNA
L14 3301-001145 CORE-FERRITE BEAD AB,4.5x1.6x1.6mm,-,- SNA
L16 3301-001145 CORE-FERRITE BEAD AB,4.5x1.6x1.6mm,-,- SNA
L17 3301-001145 CORE-FERRITE BEAD AB,4.5x1.6x1.6mm,-,- SNA
L18 3301-001145 CORE-FERRITE BEAD AB,4.5x1.6x1.6mm,-,- SNA
L31 2703-001778 INDUCTOR-SMD 3.3UH,20%,3.2X2.5X2.2MM
L32 2703-001778 INDUCTOR-SMD 3.3UH,20%,3.2X2.5X2.2MM
L41 2703-001778 INDUCTOR-SMD 3.3UH,20%,3.2X2.5X2.2MM
L42 2703-001778 INDUCTOR-SMD 3.3UH,20%,3.2X2.5X2.2MM
L51 2703-001778 INDUCTOR-SMD 3.3UH,20%,3.2X2.5X2.2MM
L52 2703-001778 INDUCTOR-SMD 3.3UH,20%,3.2X2.5X2.2MM
L53 BN27-00007A COIL CHOKE-SMD
DHB0504-100,RB15/17NS,10UH,°æ10%,-,0.08OHM,1.5A,DR5.8X4.5,20.5TS,6.0X5.2X4.5MM,-
L54 BN27-00007A COIL CHOKE-SMD
DHB0504-100,RB15/17NS,10UH,°æ10%,-,0.08OHM,1.5A,DR5.8X4.5,20.5TS,6.0X5.2X4.5MM,-
L55 BN27-00007A COIL CHOKE-SMD
DHB0504-100,RB15/17NS,10UH,°æ10%,-,0.08OHM,1.5A,DR5.8X4.5,20.5TS,6.0X5.2X4.5MM,-
L56 BN27-00007A COIL CHOKE-SMD
DHB0504-100,RB15/17NS,10UH,°æ10%,-,0.08OHM,1.5A,DR5.8X4.5,20.5TS,6.0X5.2X4.5MM,-
MP1.0 BN41-00184A PCB MAIN ES15UO,FR4,6,228X157X1.6,ES15UO
Q11 0501-002080 TR-SMALL SIGNAL 2SC2412K,NPN,200mW,SC-59,TP,120-270
Q13 0501-002080 TR-SMALL SIGNAL 2SC2412K,NPN,200mW,SC-59,TP,120-270
Q14 0501-002080 TR-SMALL SIGNAL 2SC2412K,NPN,200mW,SC-59,TP,120-270
Q15 0501-002080 TR-SMALL SIGNAL 2SC2412K,NPN,200mW,SC-59,TP,120-270
Q16 0501-002080 TR-SMALL SIGNAL 2SC2412K,NPN,200mW,SC-59,TP,120-270
Q21 0501-002080 TR-SMALL SIGNAL 2SC2412K,NPN,200mW,SC-59,TP,120-270
Q22 0501-002080 TR-SMALL SIGNAL 2SC2412K,NPN,200mW,SC-59,TP,120-270
Q23 0501-002080 TR-SMALL SIGNAL 2SC2412K,NPN,200mW,SC-59,TP,120-270
Q24 0501-002080 TR-SMALL SIGNAL 2SC2412K,NPN,200mW,SC-59,TP,120-270
Q403 0501-002080 TR-SMALL SIGNAL 2SC2412K,NPN,200mW,SC-59,TP,120-270
Q41 0501-002080 TR-SMALL SIGNAL 2SC2412K,NPN,200mW,SC-59,TP,120-270
Q42 0501-002080 TR-SMALL SIGNAL 2SC2412K,NPN,200mW,SC-59,TP,120-270
Q43 0501-002080 TR-SMALL SIGNAL 2SC2412K,NPN,200mW,SC-59,TP,120-270
Q44 0501-002080 TR-SMALL SIGNAL 2SC2412K,NPN,200mW,SC-59,TP,120-270
R1005 2007-000078 R-CHIP 1Kohm,5%,1/16W,DA,TP,1608
7 Electrical Parts List
LTM1555(B)/LTM1755(B) 7-29
Loc. No. Code No. Description Specification Remarks
CONFIDENTIAL

R1006 2007-000074 R-CHIP 100ohm,5%,1/16W,DA,TP,1608
R1007 2007-000070 R-CHIP 0ohm,5%,1/16W,DA,TP,1608
R1008 2007-000074 R-CHIP 100ohm,5%,1/16W,DA,TP,1608
R1009 2007-000070 R-CHIP 0ohm,5%,1/16W,DA,TP,1608
R1010 2007-000070 R-CHIP 0ohm,5%,1/16W,DA,TP,1608
R1011 2007-000070 R-CHIP 0ohm,5%,1/16W,DA,TP,1608
R1012 2007-000070 R-CHIP 0ohm,5%,1/16W,DA,TP,1608
R1013 2007-000070 R-CHIP 0ohm,5%,1/16W,DA,TP,1608
R1014 2007-000074 R-CHIP 100ohm,5%,1/16W,DA,TP,1608
R1015 2007-000074 R-CHIP 100ohm,5%,1/16W,DA,TP,1608
R1016 2007-000074 R-CHIP 100ohm,5%,1/16W,DA,TP,1608
R1017 2007-000132 R-CHIP 180Kohm,5%,1/16W,DA,TP,1608
R1018 2007-000132 R-CHIP 180Kohm,5%,1/16W,DA,TP,1608
R1019 2007-000132 R-CHIP 180Kohm,5%,1/16W,DA,TP,1608
R1020 2007-000402 R-CHIP 150ohm,5%,1/16W,DA,TP,1608
R1021 2007-000402 R-CHIP 150ohm,5%,1/16W,DA,TP,1608
R1022 2007-000402 R-CHIP 150ohm,5%,1/16W,DA,TP,1608
R1023 2007-000125 R-CHIP 3.9Kohm,5%,1/16W,DA,TP,1608
R11 2007-000078 R-CHIP 1Kohm,5%,1/16W,DA,TP,1608
R110 2007-000071 R-CHIP 22ohm,5%,1/16W,DA,TP,1608
R111 2007-000071 R-CHIP 22ohm,5%,1/16W,DA,TP,1608
R112 2007-000071 R-CHIP 22ohm,5%,1/16W,DA,TP,1608
R113 2007-000132 R-CHIP 180Kohm,5%,1/16W,DA,TP,1608
R114 2007-000132 R-CHIP 180Kohm,5%,1/16W,DA,TP,1608
R115 2007-000132 R-CHIP 180Kohm,5%,1/16W,DA,TP,1608
R116 2007-000092 R-CHIP 15Kohm,5%,1/16W,DA,TP,1608
R117 2007-000092 R-CHIP 15Kohm,5%,1/16W,DA,TP,1608
R118 2007-000070 R-CHIP 0ohm,5%,1/16W,DA,TP,1608
R119 2007-000070 R-CHIP 0ohm,5%,1/16W,DA,TP,1608
R12 2007-000078 R-CHIP 1Kohm,5%,1/16W,DA,TP,1608
R120 2007-000070 R-CHIP 0ohm,5%,1/16W,DA,TP,1608
R121 2007-000074 R-CHIP 100ohm,5%,1/16W,DA,TP,1608
R122 2007-000074 R-CHIP 100ohm,5%,1/16W,DA,TP,1608
R123 2007-000074 R-CHIP 100ohm,5%,1/16W,DA,TP,1608
R124 2007-000074 R-CHIP 100ohm,5%,1/16W,DA,TP,1608
R125 2007-000074 R-CHIP 100ohm,5%,1/16W,DA,TP,1608
R126 2007-000074 R-CHIP 100ohm,5%,1/16W,DA,TP,1608
R127 2007-000074 R-CHIP 100ohm,5%,1/16W,DA,TP,1608
R128 2007-000074 R-CHIP 100ohm,5%,1/16W,DA,TP,1608
R13 2007-000124 R-CHIP 2.2Kohm,5%,1/16W,DA,TP,1608
R130 2007-000074 R-CHIP 100ohm,5%,1/16W,DA,TP,1608
R131 2007-000074 R-CHIP 100ohm,5%,1/16W,DA,TP,1608
R132 2007-000084 R-CHIP 4.7Kohm,5%,1/16W,DA,TP,1608
R133 2007-000084 R-CHIP 4.7Kohm,5%,1/16W,DA,TP,1608
R135 2007-000084 R-CHIP 4.7Kohm,5%,1/16W,DA,TP,1608
R137 2007-000084 R-CHIP 4.7Kohm,5%,1/16W,DA,TP,1608
R138 2007-000084 R-CHIP 4.7Kohm,5%,1/16W,DA,TP,1608
R139 2007-000090 R-CHIP 10KOHM,5%,1/16W,DA,TP,1608
R140 2007-000090 R-CHIP 10KOHM,5%,1/16W,DA,TP,1608
R141 2007-000090 R-CHIP 10KOHM,5%,1/16W,DA,TP,1608
R142 2007-000090 R-CHIP 10KOHM,5%,1/16W,DA,TP,1608
R143 2007-000071 R-CHIP 22ohm,5%,1/16W,DA,TP,1608
R1431 2007-000070 R-CHIP 0ohm,5%,1/16W,DA,TP,1608
R144 2007-001167 R-CHIP 75ohm,5%,1/16W,DA,TP,1608
R145 2007-001167 R-CHIP 75ohm,5%,1/16W,DA,TP,1608
R146 2007-001167 R-CHIP 75ohm,5%,1/16W,DA,TP,1608
R147 2007-001167 R-CHIP 75ohm,5%,1/16W,DA,TP,1608
R148 2007-000102 R-CHIP 100Kohm,5%,1/16W,DA,TP,1608
R149 2007-000102 R-CHIP 100Kohm,5%,1/16W,DA,TP,1608
7 Electrical Parts List
7-30 LTM1555(B)/LTM1755(B)
Loc. No. Code No. Description Specification Remarks
CONFIDENTIAL

R15 2007-000077 R-CHIP 470ohm,5%,1/16W,DA,TP,1608
R150 2007-000102 R-CHIP 100Kohm,5%,1/16W,DA,TP,1608
R151 2007-000102 R-CHIP 100Kohm,5%,1/16W,DA,TP,1608
R16 2007-000077 R-CHIP 470ohm,5%,1/16W,DA,TP,1608
R17 2007-000077 R-CHIP 470ohm,5%,1/16W,DA,TP,1608
R18 2007-000077 R-CHIP 470ohm,5%,1/16W,DA,TP,1608
R19 2007-000070 R-CHIP 0ohm,5%,1/16W,DA,TP,1608
R21 2007-000078 R-CHIP 1Kohm,5%,1/16W,DA,TP,1608
R210 2007-000077 R-CHIP 470ohm,5%,1/16W,DA,TP,1608
R211 2007-000077 R-CHIP 470ohm,5%,1/16W,DA,TP,1608
R212 2007-000077 R-CHIP 470ohm,5%,1/16W,DA,TP,1608
R213 2007-000098 R-CHIP 56Kohm,5%,1/16W,DA,TP,1608
R214 2007-000098 R-CHIP 56Kohm,5%,1/16W,DA,TP,1608
R215 2007-000070 R-CHIP 0ohm,5%,1/16W,DA,TP,1608
R216 2007-000070 R-CHIP 0ohm,5%,1/16W,DA,TP,1608
R217 2007-000070 R-CHIP 0ohm,5%,1/16W,DA,TP,1608
R218 2007-000070 R-CHIP 0ohm,5%,1/16W,DA,TP,1608
R219 2007-000075 R-CHIP 220ohm,5%,1/16W,DA,TP,1608
R22 2007-000078 R-CHIP 1Kohm,5%,1/16W,DA,TP,1608
R220 2007-000074 R-CHIP 100ohm,5%,1/16W,DA,TP,1608
R221 2007-000074 R-CHIP 100ohm,5%,1/16W,DA,TP,1608
R222 2007-000074 R-CHIP 100ohm,5%,1/16W,DA,TP,1608
R223 2007-000074 R-CHIP 100ohm,5%,1/16W,DA,TP,1608
R224 2007-000074 R-CHIP 100ohm,5%,1/16W,DA,TP,1608
R225 2007-000074 R-CHIP 100ohm,5%,1/16W,DA,TP,1608
R226 2007-000074 R-CHIP 100ohm,5%,1/16W,DA,TP,1608
R227 2007-000074 R-CHIP 100ohm,5%,1/16W,DA,TP,1608
R228 2007-000074 R-CHIP 100ohm,5%,1/16W,DA,TP,1608
R229 2007-000074 R-CHIP 100ohm,5%,1/16W,DA,TP,1608
R23 2007-000078 R-CHIP 1Kohm,5%,1/16W,DA,TP,1608
R230 2007-000074 R-CHIP 100ohm,5%,1/16W,DA,TP,1608
R234 2007-000074 R-CHIP 100ohm,5%,1/16W,DA,TP,1608
R235 2007-000074 R-CHIP 100ohm,5%,1/16W,DA,TP,1608
R236 2007-000074 R-CHIP 100ohm,5%,1/16W,DA,TP,1608
R237 2007-000071 R-CHIP 22ohm,5%,1/16W,DA,TP,1608
R238 2007-000071 R-CHIP 22ohm,5%,1/16W,DA,TP,1608
R239 2007-000084 R-CHIP 4.7Kohm,5%,1/16W,DA,TP,1608
R24 2007-000078 R-CHIP 1Kohm,5%,1/16W,DA,TP,1608
R240 2007-000084 R-CHIP 4.7Kohm,5%,1/16W,DA,TP,1608
R241 2007-000084 R-CHIP 4.7Kohm,5%,1/16W,DA,TP,1608
R242 2007-000084 R-CHIP 4.7Kohm,5%,1/16W,DA,TP,1608
R243 2007-000084 R-CHIP 4.7Kohm,5%,1/16W,DA,TP,1608
R244 2007-000084 R-CHIP 4.7Kohm,5%,1/16W,DA,TP,1608
R245 2007-000084 R-CHIP 4.7Kohm,5%,1/16W,DA,TP,1608
R246 2007-000084 R-CHIP 4.7Kohm,5%,1/16W,DA,TP,1608
R247 2007-000084 R-CHIP 4.7Kohm,5%,1/16W,DA,TP,1608
R248 2007-000084 R-CHIP 4.7Kohm,5%,1/16W,DA,TP,1608
R249 2007-000084 R-CHIP 4.7Kohm,5%,1/16W,DA,TP,1608
R25 2007-000078 R-CHIP 1Kohm,5%,1/16W,DA,TP,1608
R250 2007-000084 R-CHIP 4.7Kohm,5%,1/16W,DA,TP,1608
R251 2007-000084 R-CHIP 4.7Kohm,5%,1/16W,DA,TP,1608
R252 2007-000084 R-CHIP 4.7Kohm,5%,1/16W,DA,TP,1608
R253 2007-000084 R-CHIP 4.7Kohm,5%,1/16W,DA,TP,1608
R254 2007-000084 R-CHIP 4.7Kohm,5%,1/16W,DA,TP,1608
R255 2007-000090 R-CHIP 10KOHM,5%,1/16W,DA,TP,1608
R2550 2007-000074 R-CHIP 100ohm,5%,1/16W,DA,TP,1608
R2551 2007-000074 R-CHIP 100ohm,5%,1/16W,DA,TP,1608
R2552 2007-000075 R-CHIP 220ohm,5%,1/16W,DA,TP,1608
R2553 2007-000075 R-CHIP 220ohm,5%,1/16W,DA,TP,1608
7 Electrical Parts List
LTM1555(B)/LTM1755(B) 7-31
Loc. No. Code No. Description Specification Remarks
CONFIDENTIAL

R2554 2007-000075 R-CHIP 220ohm,5%,1/16W,DA,TP,1608
R2555 2007-000075 R-CHIP 220ohm,5%,1/16W,DA,TP,1608
R2556 2007-000070 R-CHIP 0ohm,5%,1/16W,DA,TP,1608
R2557 2007-000070 R-CHIP 0ohm,5%,1/16W,DA,TP,1608
R2558 2007-000070 R-CHIP 0ohm,5%,1/16W,DA,TP,1608
R256 2007-000090 R-CHIP 10KOHM,5%,1/16W,DA,TP,1608
R257 2007-000090 R-CHIP 10KOHM,5%,1/16W,DA,TP,1608
R2570 2007-000070 R-CHIP 0ohm,5%,1/16W,DA,TP,1608
R258 2007-000090 R-CHIP 10KOHM,5%,1/16W,DA,TP,1608
R2584 2007-000070 R-CHIP 0ohm,5%,1/16W,DA,TP,1608
R26 2007-000078 R-CHIP 1Kohm,5%,1/16W,DA,TP,1608
R2635 2007-000084 R-CHIP 4.7Kohm,5%,1/16W,DA,TP,1608
R27 2007-000078 R-CHIP 1Kohm,5%,1/16W,DA,TP,1608
R28 2007-000078 R-CHIP 1Kohm,5%,1/16W,DA,TP,1608
R29 2007-000077 R-CHIP 470ohm,5%,1/16W,DA,TP,1608
R31 2007-000078 R-CHIP 1Kohm,5%,1/16W,DA,TP,1608
R310 2007-000070 R-CHIP 0ohm,5%,1/16W,DA,TP,1608
R311 2007-000070 R-CHIP 0ohm,5%,1/16W,DA,TP,1608
R312 2007-000070 R-CHIP 0ohm,5%,1/16W,DA,TP,1608
R313 2007-000070 R-CHIP 0ohm,5%,1/16W,DA,TP,1608
R314 2007-000070 R-CHIP 0ohm,5%,1/16W,DA,TP,1608
R315 2007-000070 R-CHIP 0ohm,5%,1/16W,DA,TP,1608
R316 2007-000113 R-CHIP 33ohm,5%,1/16W,DA,TP,1608
R317 2007-000113 R-CHIP 33ohm,5%,1/16W,DA,TP,1608
R318 2007-000113 R-CHIP 33ohm,5%,1/16W,DA,TP,1608
R319 2007-000113 R-CHIP 33ohm,5%,1/16W,DA,TP,1608
R32 2007-000078 R-CHIP 1Kohm,5%,1/16W,DA,TP,1608
R320 2007-001026 R-CHIP 560Kohm,5%,1/16W,DA,TP,1608
R321 2007-000309 R-CHIP 10ohm,5%,1/16W,DA,TP,1608
R322 2007-000309 R-CHIP 10ohm,5%,1/16W,DA,TP,1608
R323 2007-000309 R-CHIP 10ohm,5%,1/16W,DA,TP,1608
R324 2007-000309 R-CHIP 10ohm,5%,1/16W,DA,TP,1608
R325 2007-000309 R-CHIP 10ohm,5%,1/16W,DA,TP,1608
R326 2007-000309 R-CHIP 10ohm,5%,1/16W,DA,TP,1608
R327 2007-000074 R-CHIP 100ohm,5%,1/16W,DA,TP,1608
R328 2007-000074 R-CHIP 100ohm,5%,1/16W,DA,TP,1608
R329 2007-000074 R-CHIP 100ohm,5%,1/16W,DA,TP,1608
R33 2007-000070 R-CHIP 0ohm,5%,1/16W,DA,TP,1608
R330 2007-000074 R-CHIP 100ohm,5%,1/16W,DA,TP,1608
R331 2007-000074 R-CHIP 100ohm,5%,1/16W,DA,TP,1608
R332 2007-000074 R-CHIP 100ohm,5%,1/16W,DA,TP,1608
R333 2007-000074 R-CHIP 100ohm,5%,1/16W,DA,TP,1608
R334 2007-000074 R-CHIP 100ohm,5%,1/16W,DA,TP,1608
R3345 2007-000113 R-CHIP 33ohm,5%,1/16W,DA,TP,1608
R335 2007-000074 R-CHIP 100ohm,5%,1/16W,DA,TP,1608
R336 2007-000074 R-CHIP 100ohm,5%,1/16W,DA,TP,1608
R337 2007-000074 R-CHIP 100ohm,5%,1/16W,DA,TP,1608
R338 2007-000074 R-CHIP 100ohm,5%,1/16W,DA,TP,1608
R339 2007-000074 R-CHIP 100ohm,5%,1/16W,DA,TP,1608
R34 2007-000070 R-CHIP 0ohm,5%,1/16W,DA,TP,1608
R340 2007-000074 R-CHIP 100ohm,5%,1/16W,DA,TP,1608
R341 2007-000074 R-CHIP 100ohm,5%,1/16W,DA,TP,1608
R342 2007-000074 R-CHIP 100ohm,5%,1/16W,DA,TP,1608
R343 2007-000074 R-CHIP 100ohm,5%,1/16W,DA,TP,1608
R344 2007-000074 R-CHIP 100ohm,5%,1/16W,DA,TP,1608
R345 2007-000074 R-CHIP 100ohm,5%,1/16W,DA,TP,1608
R346 2007-000074 R-CHIP 100ohm,5%,1/16W,DA,TP,1608
R347 2007-000074 R-CHIP 100ohm,5%,1/16W,DA,TP,1608
R348 2007-000074 R-CHIP 100ohm,5%,1/16W,DA,TP,1608
7 Electrical Parts List
7-32 LTM1555(B)/LTM1755(B)
Loc. No. Code No. Description Specification Remarks
CONFIDENTIAL

R349 2007-000074 R-CHIP 100ohm,5%,1/16W,DA,TP,1608
R35 2007-000070 R-CHIP 0ohm,5%,1/16W,DA,TP,1608
R350 2007-000074 R-CHIP 100ohm,5%,1/16W,DA,TP,1608
R351 2007-000074 R-CHIP 100ohm,5%,1/16W,DA,TP,1608
R352 2007-000074 R-CHIP 100ohm,5%,1/16W,DA,TP,1608
R353 2007-000071 R-CHIP 22ohm,5%,1/16W,DA,TP,1608
R354 2007-000071 R-CHIP 22ohm,5%,1/16W,DA,TP,1608
R355 2007-000071 R-CHIP 22ohm,5%,1/16W,DA,TP,1608
R356 2007-000071 R-CHIP 22ohm,5%,1/16W,DA,TP,1608
R357 2007-000071 R-CHIP 22ohm,5%,1/16W,DA,TP,1608
R358 2007-000071 R-CHIP 22ohm,5%,1/16W,DA,TP,1608
R359 2007-000071 R-CHIP 22ohm,5%,1/16W,DA,TP,1608
R36 2007-000070 R-CHIP 0ohm,5%,1/16W,DA,TP,1608
R360 2007-000071 R-CHIP 22ohm,5%,1/16W,DA,TP,1608
R361 2007-000071 R-CHIP 22ohm,5%,1/16W,DA,TP,1608
R362 2007-000071 R-CHIP 22ohm,5%,1/16W,DA,TP,1608
R363 2007-000071 R-CHIP 22ohm,5%,1/16W,DA,TP,1608
R364 2007-000071 R-CHIP 22ohm,5%,1/16W,DA,TP,1608
R365 2007-000071 R-CHIP 22ohm,5%,1/16W,DA,TP,1608
R366 2007-000071 R-CHIP 22ohm,5%,1/16W,DA,TP,1608
R367 2007-000071 R-CHIP 22ohm,5%,1/16W,DA,TP,1608
R368 2007-000071 R-CHIP 22ohm,5%,1/16W,DA,TP,1608
R369 2007-000071 R-CHIP 22ohm,5%,1/16W,DA,TP,1608
R37 2007-000070 R-CHIP 0ohm,5%,1/16W,DA,TP,1608
R371 2007-000084 R-CHIP 4.7Kohm,5%,1/16W,DA,TP,1608
R372 2007-000090 R-CHIP 10KOHM,5%,1/16W,DA,TP,1608
R373 2007-000090 R-CHIP 10KOHM,5%,1/16W,DA,TP,1608
R374 2007-000090 R-CHIP 10KOHM,5%,1/16W,DA,TP,1608
R3745 2007-000113 R-CHIP 33ohm,5%,1/16W,DA,TP,1608
R375 2007-001167 R-CHIP 75ohm,5%,1/16W,DA,TP,1608
R376 2007-001167 R-CHIP 75ohm,5%,1/16W,DA,TP,1608
R377 2007-001167 R-CHIP 75ohm,5%,1/16W,DA,TP,1608
R378 2007-001167 R-CHIP 75ohm,5%,1/16W,DA,TP,1608
R379 2007-001167 R-CHIP 75ohm,5%,1/16W,DA,TP,1608
R38 2007-000070 R-CHIP 0ohm,5%,1/16W,DA,TP,1608
R380 2007-001167 R-CHIP 75ohm,5%,1/16W,DA,TP,1608
R381 2007-001167 R-CHIP 75ohm,5%,1/16W,DA,TP,1608
R382 2007-001167 R-CHIP 75ohm,5%,1/16W,DA,TP,1608
R383 2007-001167 R-CHIP 75ohm,5%,1/16W,DA,TP,1608
R384 2007-000072 R-CHIP 47ohm,5%,1/16W,DA,TP,1608
R39 2007-000070 R-CHIP 0ohm,5%,1/16W,DA,TP,1608
R41 2007-000092 R-CHIP 15Kohm,5%,1/16W,DA,TP,1608
R410 2007-000070 R-CHIP 0ohm,5%,1/16W,DA,TP,1608
R411 2007-000070 R-CHIP 0ohm,5%,1/16W,DA,TP,1608
R412 2007-000070 R-CHIP 0ohm,5%,1/16W,DA,TP,1608
R413 2007-000070 R-CHIP 0ohm,5%,1/16W,DA,TP,1608
R414 2007-000070 R-CHIP 0ohm,5%,1/16W,DA,TP,1608
R415 2007-000070 R-CHIP 0ohm,5%,1/16W,DA,TP,1608
R416 2007-000070 R-CHIP 0ohm,5%,1/16W,DA,TP,1608
R417 2007-000070 R-CHIP 0ohm,5%,1/16W,DA,TP,1608
R418 2007-000070 R-CHIP 0ohm,5%,1/16W,DA,TP,1608
R419 2007-000070 R-CHIP 0ohm,5%,1/16W,DA,TP,1608
R42 2007-000084 R-CHIP 4.7Kohm,5%,1/16W,DA,TP,1608
R420 2007-000070 R-CHIP 0ohm,5%,1/16W,DA,TP,1608
R421 2007-000070 R-CHIP 0ohm,5%,1/16W,DA,TP,1608
R43 2007-000077 R-CHIP 470ohm,5%,1/16W,DA,TP,1608
R432 2007-000070 R-CHIP 0ohm,5%,1/16W,DA,TP,1608
R433 2007-000070 R-CHIP 0ohm,5%,1/16W,DA,TP,1608
R434 2007-000070 R-CHIP 0ohm,5%,1/16W,DA,TP,1608
7 Electrical Parts List
LTM1555(B)/LTM1755(B) 7-33
Loc. No. Code No. Description Specification Remarks
CONFIDENTIAL

R436 2007-000074 R-CHIP 100ohm,5%,1/16W,DA,TP,1608
R437 2007-000074 R-CHIP 100ohm,5%,1/16W,DA,TP,1608
R438 2007-000074 R-CHIP 100ohm,5%,1/16W,DA,TP,1608
R439 2007-000074 R-CHIP 100ohm,5%,1/16W,DA,TP,1608
R44 2007-000077 R-CHIP 470ohm,5%,1/16W,DA,TP,1608
R440 2007-000074 R-CHIP 100ohm,5%,1/16W,DA,TP,1608
R441 2007-000074 R-CHIP 100ohm,5%,1/16W,DA,TP,1608
R442 2007-000074 R-CHIP 100ohm,5%,1/16W,DA,TP,1608
R443 2007-000074 R-CHIP 100ohm,5%,1/16W,DA,TP,1608
R444 2007-000074 R-CHIP 100ohm,5%,1/16W,DA,TP,1608
R445 2007-000094 R-CHIP 22Kohm,5%,1/16W,DA,TP,1608
R446 2007-000094 R-CHIP 22Kohm,5%,1/16W,DA,TP,1608
R447 2007-000094 R-CHIP 22Kohm,5%,1/16W,DA,TP,1608
R448 2007-000094 R-CHIP 22Kohm,5%,1/16W,DA,TP,1608
R449 2007-000094 R-CHIP 22Kohm,5%,1/16W,DA,TP,1608
R45 2007-000077 R-CHIP 470ohm,5%,1/16W,DA,TP,1608
R450 2007-000094 R-CHIP 22Kohm,5%,1/16W,DA,TP,1608
R451 2007-000094 R-CHIP 22Kohm,5%,1/16W,DA,TP,1608
R452 2007-000094 R-CHIP 22Kohm,5%,1/16W,DA,TP,1608
R453 2007-000084 R-CHIP 4.7Kohm,5%,1/16W,DA,TP,1608
R4532 2007-000102 R-CHIP 100Kohm,5%,1/16W,DA,TP,1608
R4535 2007-001167 R-CHIP 75ohm,5%,1/16W,DA,TP,1608
R4536 2007-001167 R-CHIP 75ohm,5%,1/16W,DA,TP,1608
R4537 2007-001167 R-CHIP 75ohm,5%,1/16W,DA,TP,1608
R4538 2007-001167 R-CHIP 75ohm,5%,1/16W,DA,TP,1608
R4539 2007-000070 R-CHIP 0ohm,5%,1/16W,DA,TP,1608
R454 2007-000084 R-CHIP 4.7Kohm,5%,1/16W,DA,TP,1608
R4540 2007-000070 R-CHIP 0ohm,5%,1/16W,DA,TP,1608
R4541 2007-000070 R-CHIP 0ohm,5%,1/16W,DA,TP,1608
R4542 2007-000070 R-CHIP 0ohm,5%,1/16W,DA,TP,1608
R4543 2007-000070 R-CHIP 0ohm,5%,1/16W,DA,TP,1608
R4544 2007-000070 R-CHIP 0ohm,5%,1/16W,DA,TP,1608
R4545 2007-000070 R-CHIP 0ohm,5%,1/16W,DA,TP,1608
R4546 2007-000070 R-CHIP 0ohm,5%,1/16W,DA,TP,1608
R455 2007-000084 R-CHIP 4.7Kohm,5%,1/16W,DA,TP,1608
R456 2007-000084 R-CHIP 4.7Kohm,5%,1/16W,DA,TP,1608
R459 2007-000084 R-CHIP 4.7Kohm,5%,1/16W,DA,TP,1608
R46 2007-000070 R-CHIP 0ohm,5%,1/16W,DA,TP,1608
R461 2007-000090 R-CHIP 10KOHM,5%,1/16W,DA,TP,1608
R462 2007-000090 R-CHIP 10KOHM,5%,1/16W,DA,TP,1608
R464 2007-001167 R-CHIP 75ohm,5%,1/16W,DA,TP,1608
R465 2007-001167 R-CHIP 75ohm,5%,1/16W,DA,TP,1608
R467 2007-001167 R-CHIP 75ohm,5%,1/16W,DA,TP,1608
R468 2007-000078 R-CHIP 1Kohm,5%,1/16W,DA,TP,1608
R469 2007-000078 R-CHIP 1Kohm,5%,1/16W,DA,TP,1608
R47 2007-000070 R-CHIP 0ohm,5%,1/16W,DA,TP,1608
R470 2007-001167 R-CHIP 75ohm,5%,1/16W,DA,TP,1608
R471 2007-000078 R-CHIP 1Kohm,5%,1/16W,DA,TP,1608
R472 2007-001167 R-CHIP 75ohm,5%,1/16W,DA,TP,1608
R473 2007-000078 R-CHIP 1Kohm,5%,1/16W,DA,TP,1608
R474 2007-001167 R-CHIP 75ohm,5%,1/16W,DA,TP,1608
R475 2007-000072 R-CHIP 47ohm,5%,1/16W,DA,TP,1608
R476 2007-000102 R-CHIP 100Kohm,5%,1/16W,DA,TP,1608
R48 2007-000070 R-CHIP 0ohm,5%,1/16W,DA,TP,1608
R49 2007-000070 R-CHIP 0ohm,5%,1/16W,DA,TP,1608
R51 2007-000078 R-CHIP 1Kohm,5%,1/16W,DA,TP,1608
R510 2007-000098 R-CHIP 56Kohm,5%,1/16W,DA,TP,1608
R511 2007-000098 R-CHIP 56Kohm,5%,1/16W,DA,TP,1608
R512 2007-000070 R-CHIP 0ohm,5%,1/16W,DA,TP,1608
7 Electrical Parts List
7-34 LTM1555(B)/LTM1755(B)
Loc. No. Code No. Description Specification Remarks
CONFIDENTIAL

R513 2007-000070 R-CHIP 0ohm,5%,1/16W,DA,TP,1608
R514 2007-000070 R-CHIP 0ohm,5%,1/16W,DA,TP,1608
R516 2007-000074 R-CHIP 100ohm,5%,1/16W,DA,TP,1608
R517 2007-000074 R-CHIP 100ohm,5%,1/16W,DA,TP,1608
R518 2007-000074 R-CHIP 100ohm,5%,1/16W,DA,TP,1608
R519 2007-000074 R-CHIP 100ohm,5%,1/16W,DA,TP,1608
R52 2007-000097 R-CHIP 47Kohm,5%,1/16W,DA,TP,1608
R520 2007-000074 R-CHIP 100ohm,5%,1/16W,DA,TP,1608
R521 2007-000074 R-CHIP 100ohm,5%,1/16W,DA,TP,1608
R522 2007-000074 R-CHIP 100ohm,5%,1/16W,DA,TP,1608
R523 2007-000074 R-CHIP 100ohm,5%,1/16W,DA,TP,1608
R524 2007-000074 R-CHIP 100ohm,5%,1/16W,DA,TP,1608
R525 2007-000074 R-CHIP 100ohm,5%,1/16W,DA,TP,1608
R526 2007-000074 R-CHIP 100ohm,5%,1/16W,DA,TP,1608
R527 2007-000084 R-CHIP 4.7Kohm,5%,1/16W,DA,TP,1608
R528 2007-000074 R-CHIP 100ohm,5%,1/16W,DA,TP,1608
R529 2007-000074 R-CHIP 100ohm,5%,1/16W,DA,TP,1608
R53 2007-000097 R-CHIP 47Kohm,5%,1/16W,DA,TP,1608
R530 2007-000074 R-CHIP 100ohm,5%,1/16W,DA,TP,1608
R531 2007-000074 R-CHIP 100ohm,5%,1/16W,DA,TP,1608
R532 2007-000074 R-CHIP 100ohm,5%,1/16W,DA,TP,1608
R533 2007-000074 R-CHIP 100ohm,5%,1/16W,DA,TP,1608
R534 2007-000074 R-CHIP 100ohm,5%,1/16W,DA,TP,1608
R535 2007-000074 R-CHIP 100ohm,5%,1/16W,DA,TP,1608
R536 2007-000074 R-CHIP 100ohm,5%,1/16W,DA,TP,1608
R537 2007-000074 R-CHIP 100ohm,5%,1/16W,DA,TP,1608
R538 2007-000074 R-CHIP 100ohm,5%,1/16W,DA,TP,1608
R539 2007-000084 R-CHIP 4.7Kohm,5%,1/16W,DA,TP,1608
R54 2007-000090 R-CHIP 10KOHM,5%,1/16W,DA,TP,1608
R540 2007-000090 R-CHIP 10KOHM,5%,1/16W,DA,TP,1608
R541 2007-000090 R-CHIP 10KOHM,5%,1/16W,DA,TP,1608
R542 2007-000102 R-CHIP 100Kohm,5%,1/16W,DA,TP,1608
R543 2007-000308 R-CHIP 10OHM,5%,1/10W,DA,TP,2012
R544 2007-000308 R-CHIP 10OHM,5%,1/10W,DA,TP,2012
R545 2007-000076 R-CHIP 330ohm,5%,1/16W,DA,TP,1608
R546 2007-000076 R-CHIP 330ohm,5%,1/16W,DA,TP,1608
R547 2007-000109 R-CHIP 1Mohm,5%,1/16W,DA,TP,1608
R548 2007-000981 R-CHIP 5.6KOHM,5%,1/10W,DA,TP,2012
R549 2007-000518 R-CHIP 2.7KOHM,5%,1/10W,DA,TP,2012
R55 2007-000090 R-CHIP 10KOHM,5%,1/16W,DA,TP,1608
R550 2007-000979 R-CHIP 5.6Kohm,1%,1/16W,DA,TP,1608
R551 2007-000979 R-CHIP 5.6Kohm,1%,1/16W,DA,TP,1608
R552 2007-000093 R-CHIP 20Kohm,5%,1/16W,DA,TP,1608
R553 2007-000093 R-CHIP 20Kohm,5%,1/16W,DA,TP,1608
R56 2007-000090 R-CHIP 10KOHM,5%,1/16W,DA,TP,1608
R57 2007-000090 R-CHIP 10KOHM,5%,1/16W,DA,TP,1608
R58 2007-000098 R-CHIP 56Kohm,5%,1/16W,DA,TP,1608
R59 2007-000098 R-CHIP 56Kohm,5%,1/16W,DA,TP,1608
R61 2007-000072 R-CHIP 47ohm,5%,1/16W,DA,TP,1608
R610 2007-000072 R-CHIP 47ohm,5%,1/16W,DA,TP,1608
R611 2007-000072 R-CHIP 47ohm,5%,1/16W,DA,TP,1608
R612 2007-000072 R-CHIP 47ohm,5%,1/16W,DA,TP,1608
R613 2007-000072 R-CHIP 47ohm,5%,1/16W,DA,TP,1608
R614 2007-000072 R-CHIP 47ohm,5%,1/16W,DA,TP,1608
R615 2007-000072 R-CHIP 47ohm,5%,1/16W,DA,TP,1608
R616 2007-000072 R-CHIP 47ohm,5%,1/16W,DA,TP,1608
R617 2007-000072 R-CHIP 47ohm,5%,1/16W,DA,TP,1608
R618 2007-000072 R-CHIP 47ohm,5%,1/16W,DA,TP,1608
R619 2007-000072 R-CHIP 47ohm,5%,1/16W,DA,TP,1608
7 Electrical Parts List
LTM1555(B)/LTM1755(B) 7-35
Loc. No. Code No. Description Specification Remarks
CONFIDENTIAL

R62 2007-000072 R-CHIP 47ohm,5%,1/16W,DA,TP,1608
R620 2007-000072 R-CHIP 47ohm,5%,1/16W,DA,TP,1608
R621 2007-000070 R-CHIP 0ohm,5%,1/16W,DA,TP,1608
R622 2007-000070 R-CHIP 0ohm,5%,1/16W,DA,TP,1608
R623 2007-000070 R-CHIP 0ohm,5%,1/16W,DA,TP,1608
R624 2007-000070 R-CHIP 0ohm,5%,1/16W,DA,TP,1608
R625 2007-000070 R-CHIP 0ohm,5%,1/16W,DA,TP,1608
R626 2007-000070 R-CHIP 0ohm,5%,1/16W,DA,TP,1608
R627 2007-000070 R-CHIP 0ohm,5%,1/16W,DA,TP,1608
R628 2007-000070 R-CHIP 0ohm,5%,1/16W,DA,TP,1608
R629 2007-000070 R-CHIP 0ohm,5%,1/16W,DA,TP,1608
R63 2007-000072 R-CHIP 47ohm,5%,1/16W,DA,TP,1608
R630 2007-000070 R-CHIP 0ohm,5%,1/16W,DA,TP,1608
R631 2007-000070 R-CHIP 0ohm,5%,1/16W,DA,TP,1608
R632 2007-000070 R-CHIP 0ohm,5%,1/16W,DA,TP,1608
R64 2007-000072 R-CHIP 47ohm,5%,1/16W,DA,TP,1608
R640 2007-000070 R-CHIP 0ohm,5%,1/16W,DA,TP,1608
R643 2007-000090 R-CHIP 10KOHM,5%,1/16W,DA,TP,1608
R65 2007-000072 R-CHIP 47ohm,5%,1/16W,DA,TP,1608
R66 2007-000072 R-CHIP 47ohm,5%,1/16W,DA,TP,1608
R67 2007-000072 R-CHIP 47ohm,5%,1/16W,DA,TP,1608
R68 2007-000072 R-CHIP 47ohm,5%,1/16W,DA,TP,1608
R69 2007-000072 R-CHIP 47ohm,5%,1/16W,DA,TP,1608
R837 2007-000102 R-CHIP 100Kohm,5%,1/16W,DA,TP,1608
R982 2007-000074 R-CHIP 100ohm,5%,1/16W,DA,TP,1608
R987 2007-001167 R-CHIP 75ohm,5%,1/16W,DA,TP,1608
R988 2007-001167 R-CHIP 75ohm,5%,1/16W,DA,TP,1608
R992 2007-001167 R-CHIP 75ohm,5%,1/16W,DA,TP,1608
RA31 2011-000002 R-NETWORK 22ohm,5%,63mW,L,CHIP,8P,TP
RA310 2011-000002 R-NETWORK 22ohm,5%,63mW,L,CHIP,8P,TP
RA311 2011-000002 R-NETWORK 22ohm,5%,63mW,L,CHIP,8P,TP
RA312 2011-000002 R-NETWORK 22ohm,5%,63mW,L,CHIP,8P,TP
RA313 2011-000002 R-NETWORK 22ohm,5%,63mW,L,CHIP,8P,TP
RA314 2011-000002 R-NETWORK 22ohm,5%,63mW,L,CHIP,8P,TP
RA315 2011-000002 R-NETWORK 22ohm,5%,63mW,L,CHIP,8P,TP
RA316 2011-000002 R-NETWORK 22ohm,5%,63mW,L,CHIP,8P,TP
RA317 2011-000002 R-NETWORK 22ohm,5%,63mW,L,CHIP,8P,TP
RA318 2011-000002 R-NETWORK 22ohm,5%,63mW,L,CHIP,8P,TP
RA32 2011-000002 R-NETWORK 22ohm,5%,63mW,L,CHIP,8P,TP
RA33 2011-000002 R-NETWORK 22ohm,5%,63mW,L,CHIP,8P,TP
RA34 2011-000002 R-NETWORK 22ohm,5%,63mW,L,CHIP,8P,TP
RA35 2011-000002 R-NETWORK 22ohm,5%,63mW,L,CHIP,8P,TP
RA36 2011-000002 R-NETWORK 22ohm,5%,63mW,L,CHIP,8P,TP
RA37 2011-000002 R-NETWORK 22ohm,5%,63mW,L,CHIP,8P,TP
RA38 2011-000002 R-NETWORK 22ohm,5%,63mW,L,CHIP,8P,TP
RA39 2011-000002 R-NETWORK 22ohm,5%,63mW,L,CHIP,8P,TP
U502 2402-000176 C-AL,SMD 10uF,20%,16V,GP,TP,4.3x4.3x5.4
U503 2402-000176 C-AL,SMD 10uF,20%,16V,GP,TP,4.3x4.3x5.4
U504 3301-001145 CORE-FERRITE BEAD AB,4.5x1.6x1.6mm,-,- SNA
U505 2703-001778 INDUCTOR-SMD 3.3UH,20%,3.2X2.5X2.2MM
U506 0403-001435 DIODE-ZENER QZX363C5V6,5.32-5.88,200MW,SOT-363,TP
U507 0403-001435 DIODE-ZENER QZX363C5V6,5.32-5.88,200MW,SOT-363,TP
U508 0403-001435 DIODE-ZENER QZX363C5V6,5.32-5.88,200MW,SOT-363,TP
U509 0403-001435 DIODE-ZENER QZX363C5V6,5.32-5.88,200MW,SOT-363,TP
X21 2801-003667 CRYSTAL-SMD 14.3182MHZ,50PPM,28-AAN,16,50OHM,TP
X41 2801-004004 CRYSTAL-SMD 20.25MHz,20ppm,28-AAN,13pF,25ohm,TP
X51 2801-003843 CRYSTAL-SMD 18.432MHz,30ppm,28-AAN,20pF,50ohm,TP
ZD21 0403-000579 DIODE-ZENER BZX84C5V1,5.1V,5%,200mW,SOT-23
7 Electrical Parts List
7-36 LTM1555(B)/LTM1755(B)
Loc. No. Code No. Description Specification Remarks
CONFIDENTIAL

- BN90-00195E ASSY STAND GH17LS SNA
STD+C/R 6001-000154 SCREW-MACHINE BH,+,M4,L8,NI PLT,SM20C,-
CIS BN75-00242A UNIT-STAND EOS 15AS/NS,-,ABS,-,SV-012P,-,SPRAY,-
CIS 6003-000009 SCREW-TAPTITE BH,+,B,M4,L16,ZPC(YEL),SWRCH18 SNA
CIS 6003-001010 SCREW-TAPTITE FH,+,B,M3,L6,ZPC(YEL),SWRCH18A
CIS 6003-001315 SCREW-TAPTITE BH,+,B,M4,L20,ZPC(YEL),SWRCH18A SNA
CIS BH73-60339A RUBBER-LEG SLC1400,EVA,GRAY,65HB,DIA13*H2 SNA
CIS BN61-00159A FRAME-STAND BASE EOS/NIKE,EGI,T1.2 SNA
CIS BN61-00184A STAND-BASE ES15AS,ABS PC,GR40,SV-012P SNA
CIS BN72-00254A STAND COVER-REAR EOS 15,ABS,IV16,-,-,HB,-,-,SPRAY SNA
CIS BN72-00257A STAND FRONT EOS 15,ABS,16,-,-,HB,-,-,SPRAY SNA
CIS BN75-00211A UNIT-HINGE EOS15,-,SECC T2.0,-,-,-,-,- SNA
- BN90-00322N ASSY COVER REAR ES17UO SNA
CIS BN90-00034B ASSY REAR-COVER ES17NS,-,ABS V0,-,SV-012P,-,-,NTSC SNA
CIS BN63-00091B COVER-REAR ES17NS,ABS ,-,-,-,HB,NTSC,IV16,NONE,1.5 SNA
CIS BN70-00176A BRACKET VESA RB15AS,SECC,-,1.0,-,-,-,-,- SNA
- BN90-00395B ASSY COVER FRONT ES17UO SNA
C/F+C/R 6003-001319 SCREW-TAPTITE BH,+,B,M3,L10,NI PLT,SWRCH18A,- SNA
CIS BN90-00019C ASSY COVER FRONT VIRTUAL,HDTV,ABS V0,GR806P
CIS 6002-000129 SCREW-TAPPING FH,+,2S,M3,L8,ZPC(BLK),SM20C SNA
CIS 6003-000276 SCREW-TAPTITE BH,+,B,M3,L10,ZPC(YEL),SWCH10 SNA
CIS BN59-00214A BOARD CN17VS,FUNCTION KEY,-,-,-,-,- SNA
CIS BN59-00216A PBA SUB CN17VS,IR PBA SUB,-,-,-,-,- SNA
CIS BN59-00263A SPEAKER SYSTEM EOS/NIKE17,EOS/NIKE17-L,100X42,WIRE:240MM SNA
CIS BN59-00264A SPEAKER SYSTEM EOS/NIKE17,EOS/NIKE17-R,100X42,WIRE:590MM SNA
CIS BN63-00090A COVER-FRONT ES17AS,ABS ,-,-,-,HB,-,IV16,NONE,1.5 SNA
CIS BN63-00092B COVER-GRILL ES17NS,ABS ,-,-,-,V0,-,GR60,- SNA
CIS BN64-00031A BADGE-BRAND RB15AS,AL,T1.4,6.3,40.1,-,SILIVER,- SNA
CIS BN64-00035A KNOB-FUNCTION EOS15,ABS,IV16,-,-,HB,SPRAY,-,- SNA
CIS BN67-00020A LENS-LED EOS15,ACRYL,CLEAR,-,-,-,-
- BN91-00305C ASSY MISC-ADAPTOR ES17AS SNA
CIS BN44-00063A ADAPTOR
AD-4914N,EOS17,100-240VAC,47 - 63 HZ,+14VDC,3.5A,-,49W,-,0 TO +40 C,120*63*31,SA
- BN91-00314A ASSY SHIELD ES17NS,-,-,- SNA
CIS 0203-001160 TAPE-FILAMENT SCOTCH#8915,T0.16,W48,L55M,TRP SNA
CIS 0203-001244 TAPE-AL FOIL DK100-30-50,T40uM,W30,L50,SIL SNA
IN/PCB+SH/PCB 6003-000117 SCREW-TAPTITE BH,+,B,M3,L6,ZPC(YEL),SWRCH18A SNA
SH/PCB+FU/HAR
6003-000117 SCREW-TAPTITE BH,+,B,M3,L6,ZPC(YEL),SWRCH18A SNA
C/F+AUD/PCB 6003-000276 SCREW-TAPTITE BH,+,B,M3,L10,ZPC(YEL),SWCH10 SNA
C/F+B/GUIDE 6003-000276 SCREW-TAPTITE BH,+,B,M3,L10,ZPC(YEL),SWCH10 SNA
C/F+SH/PCB 6003-000276 SCREW-TAPTITE BH,+,B,M3,L10,ZPC(YEL),SWCH10 SNA
COM/PCB+C/F 6003-000276 SCREW-TAPTITE BH,+,B,M3,L10,ZPC(YEL),SWCH10 SNA
CIS 6502-001019 CABLE CLAMP DAMC-10,ID9.9,T7.1,NYLON6.6,GRAY SNA
CIS BN39-00202B LEAD CONNECTOR-ASSY
ES17AS,UL2835#28,UL/CSA,12P,-,-,#28,SMH200-12,12505HS-12,BK,-,-,250MM,2835#28,SJ
CIS BN39-00202C LEAD CONNECTOR-ASSY
ES17NS,UL2835#28,UL/CSA,12P,#28,SMH200-12,12505HS-12,BK,700MM,2835#28,CORE,RING
CIS BN59-00215A PBA SUB CN17VS,AV PBA FUNCTION,-,-,-,-,-
CIS BN59-00238A BOARD-NT JACK ES15NS,CT1000-0090,-,NT-JACK BOARD,-,-,- SNA
CIS BN68-00195X LABEL-MARK
SEC(EC) PANNEL,ART-PAPER 100G,-,30,10,-,BLK,WHT,-,-
SNA
CIS BN70-00192A BRACKET SUPPORT RB15AS,SECC,-,0.8,-,-,-,-,- SNA
- BN91-00345A ASSY LCD ES17UO SNA
CIS BN07-00055A LCD
LTM170EH-L05,ES17AS,1280*1024,383.5*298*15,16.19M,56,0.264*0.264,0~55,5.0,TN,-
- BN91-00418A ASSY CHASSIS ES17UO
- BN92-00285A ASSY P/MATERIAL ES17AS SNA
7 Electrical Parts List
LTM1555(B)/LTM1755(B) 7-37
Loc. No. Code No. Description Specification Remarks
CONFIDENTIAL
7-2-2 LTM1755(B) Others

CIS 0203-001100 TAPE-OPP MASKING OPP/W75/CLR,T0.05,W75,L800000,CLR SNA
CIS BH69-00376D PACKING-PALLET ES17AS,WOODEN,-,-,1232,1032,120,-,-,- SNA
CIS BH69-00457A PACKING-PAD GH17,FOAM,T3.0,1180,1130 SNA
CIS BH69-30355E BAG-PE/N NK15,PE FOAM,0.5,650,650,NTR SNA
CIS BH69-40321J PACKING-PAD EDGE PN15VT,B400,-,-,W140,L1154,-,-,-,SKD SNA
CIS BH69-40379A PACKING-WRAP LDPE,W500*T0.02,-,- SNA
CIS BN68-00129A LABEL SHIPPING -,LABEL SHIPPING,ART-PAPER,100G,-,WHT,BLACK,-,-,- SNA
CIS BN69-00140T PAD-PALLET COVER SUN(LSA810),SW,900,3760,-,-,-,-,- SNA
CIS BN69-00242A CUSHION-R/L ES17AS,EPS,-,-,-,-,-,-,M50 SNA
- BN92-00340A ASSY LABEL LTM1755X1/XAA,SEA,UNITED STATES SNA
CIS BN68-00234A LABEL RATING ES17NS,ADC,PE,T0.05,90,45,SYNC,-,PE NATURE,-,- SNA
- BN92-00465A ASSY BOX ES17UO SNA
CIS BH75-10529C UNIT-HANDLE/PACKING S/M170MP,PE-LD,PE-HD,-,WHITE,- SNA
CIS BN72-60001A LEVER TOP LSD210TL,PE-LD,-,WHITE,-,TFT_LCD SNA
CIS BN72-60002C LEVER BOTTOM S/M170MP,PE-HD,-,BLUE,-,- SNA
CIS BN68-00135A LABEL BAR CODE -,ALL,MPRII,DOM,ART-PAPER 90G,-,WHT,BLACK,-,-,- SNA
CIS BN69-00267C BOX LT17E24C,N/A,CB-SW4,YEL,A-1,-,-,-,L599*W499*H234,- SNA
- BN92-00578K ASSY ACCESSORY LTM1555BX/XAA,SEA,UNITED STATES SNA
CIS BN96-00145K ASSY ACCESSORY LTM1555BX/XAA,SEA,UNITED STATES
CIS 0203-000214 TAPE-OPP MASKING OPP/W50/CLR,T0.05,W50,L400000, SNA
CIS 4301-000121 BATTERY-MN 1.5V,-,AAA,10.5x44.5m,HOLDER SNA
CIS AA68-00371C CARD WARRANTY ,SEA,W/P100(G),1 YEAR SNA
CIS BH39-10339X CBF POWER CORD DET,SVT,125V/7A,BLK,1830,WALL(ST),MSP-33,MSC-30
CIS BH68-00261P MANUAL
SEAREGISTRATION CARD,SEA,E,USA,MOJO120G,173,234
CIS BN39-00043A CBF SIGNAL DETACHABLE,-,15P/15P,-,-,-
CIS BN59-00302A REMOCON ,TM71,EOS,37,GR20,SS,DO
CIS BN68-00266A MANUAL-S/D
LTM1555,LTM1755,SAMSUNG,E/F/S/P,ADC,W/P(100G), ,A4
7 Electrical Parts List
7-38 LTM1555(B)/LTM1755(B)
Loc. No. Code No. Description Specification Remarks
CONFIDENTIAL

8 Block Diagram
LTM1555(B)/LTM1755(B) 8-1
CONFIDENTIAL

CONFIDENTIAL
Memo
8 Block Diagrams
8-2 LTM1555(B)/LTM1755(B)

CONFIDENTIAL
LTM1555(B)/LTM1755(B) 9-1

Memo
9 Schematic Diagrams
9-2 LTM1555(B)/LTM1755(B)
CONFIDENTIAL

CONFIDENTIAL
LTM1555(B)/LTM1755(B) 10-1
5
I2
3
I1
7
GND
I3
14
VCC
2
O_O
12
O_5
10
O_4
8
O_3
O_2
6
4
+5V_CPU
O_1
1
IO
13
I5
11
I4
9
IC110
MC74F14D
+5V_CPU IS ALWAYS ACTIVE +3.3V_JAG IS ALWAYS ACTIVE
2402-001044
2402-001081
WHEN 17", CHANGE TO 75 OHM
DELETE
2402-001081
2402-001044
OS_Con(DIP)
OS_Con(DIP)
SKIP
25V, 105C
OS_Con(DIP)
25V, 105C
+2.5V_A_JAG & +2.5V_D_JAG IS ALWAYS ACTIVE
15":3.3V REG
17":5V REG
15" ONLY
17"ONLY
FAN1117AD18
2402-001044
2402-001081
25V, 105C
100
R131
R130
100
100uF
C114
+5V_SUP
+5V_SUP
C113
100uF
0.002nF
C128
C130
C129
0.002nF
TP147
1
0.002nF
+5V_TUNER
BLM41P600S
FT12
1A
B
2
R141
10K
+5V_CPU
Q15
2SC2412K-Q
B
C
E
100uF
C19
Q14
2SC2412K-Q
BC
E
C139
1uF
R142
10K
FT11
BLM41P600S
A
1
2B
+3.3V_D
SI9933ADY-T1
IC112
8
D1
D1_1
7
6
D2
D2_1
5
2
G1
4
G2
S1
1
S2
3
10uF
C124
3.3uF
C118
1
+5V_DEC
1
+3.3V_PANEL
+3.3V_P
1
1
+5V_PANEL
+14V_IN
FT14
BLM41P600S
A
1
2B
TP114
L110
1A
B
2
+5V_CPU
C112
100uF
+5V_CPU
100K
R151
BA033FP
IC15
GND
2
IN
1OUT3
1A
B
2
MO
1uF
C141
L18
A
1
2B
L19
NC_1
2
NC_2
NC_3
3
SCL
6
SDA
5
VCC
8
4
VSS
7
WC_
IC19
24LC21AT-/SN
1
100K
R150
MO
C120
10uF
R125
1uF
C140
+3.3V_P
100
+3.3V_A
R116
15K
R126
100
R123
+14V_INVERTER
100
L13
A1
B2
R137
4.7K
TP115
1
10K
R140
470
R16
1uF
C134
1
R149
100K
L16
A
1
2B
100uF
C111
100nF
C153
1
A
2
B
1
L14
1
C159
10nF
R127 100
1
0
180KR114
TP151
1
R118
HB-1M2012-800JT
BD14
B
C137
1uF
0
0R119
R11
1K
R120
B
C
E
2SC2412K-Q
Q11
4.7K
R138
C17
100uF
+2.5V_A_JAG
L11
A
1
2B
2SC2412K-Q
Q16
B
C
E
+2.5V_D_JAG
QZX363C5V6
D18
A
2
C1
6
C2
4
C3
3
C4
1
NC
5
0.002nF
C127
B
2
C126
0.002nF
BLM41P600S
FT13
1A
+5V_CPU
100
R128
1
C135 1uF
15K
1
R117
1
100
R124
10nF
C157C133
1uF
100nF
C148
MO
1uF
C132
470
10uF
C121
R18
+5V_CPU
R17
470
7
8
9
10
11
12
13
14
+3.3V_A
slcon14p_1
1
2
3
4
5
6
2
C158
10nF
CN13
L17
1A
B
1
2
3
C13
100uF
TP148
1
+14V_INVERTER
dcjhp_7
CN12
2B
3C
4D5
E
6
F
7
G
8
H
NM24C17FM8X
IC18
1A
100uF
+5V_CPU
KA317MR
IC109
3
ADJ
VIN
1VOUT 4
+5V_CPU
C14
C144
100nF
180KR113
C143
100nF
R115 180K
R111
R110 150
150
150
14
15
1
R112
3
4
5
6
7
8
9
10
11
12
13 +5V_CPU
d_sub15p
CN11
1
2
R13
2.2K
100nF
10nF
C154
D11
C142
4.7K
SS24
10nF
C160
R135
D17
1
2
3
D16
1
2
3
100nF
C152
B
75R147
0.002nF
ACB1608H-060-T BD12
C125
2
G2
4
1
S1
3
S2
470
R15
IC111
SI9933ADY-T1
D1
8
7
D1_1
D2
6
5
D2_1
G1
C119
10uF
10K
R139
+3.3V_JAG
+14V_IN
IC14
BA033FP
2
GND
1IN 3
OUT
OUT
Vin
1C115
100uF
IC11
LM2596S-5.0
F_B 4
GND
3
6
GND1
5
ON_OFF
2
L111
+5V_CPU
4.7K
R132
1
100uF
C11
R1431
TP152
100nF
0
L112
C145
100pF
C163
+1.8V_D +1.8V_A
C161
10nF
R145
75
C150
100nF
D13
SS24
1
D14
TP149
1
TP150
+14V_IN
U492
1
1.5uHL114
+5V_CPU
L113 1.5uH
10nF
C156 R122
MO
1uF
C131
100
100
100uF
C117
+14V_IN
R121
100uF
C18
TP139
1
C136 1uF
C15
100uF
100K
+5V_CPU
C122
10uF
C138
1uF
R148
2SC2412K-Q
Q13
BC
E
MO
R129
100
R14
+5V_CPU
1K
R12
2.2K
Q12
2SC2412K-Q
B
C
E
3.3UH
L118
C123
L117
3.3UH
10uF
ADJ
3
1VIN 4
VOUT
+3.3V_D
C110
100uF
21
Vin
+5V_DEC
+14V_IN
+14V_OUT
IC13
KA317MR
LM2596S-5.0
IC12
4
F_B
3
GND
GND1 6
ON_OFF
5
OUT
L15
1A
B
2
R136
4.7K
4.7K
R133
1
2
3
C16
100uF
ACB1608H-060-T BD11
B
D15
100pF
C162
100nF
C151
1
R143 75
1
1
1
L116
75
R146
C12
100uF10nF
C155 C147
100nF
C146
+5V_CPU
SS24
D12
100nF
4
F_B
3
GND
6
GND1
ON_OFF
5
OUT
21
Vin
100uF
C116
+3.3V_D
LM2596S-3.3
IC16
2.5VJA1
3.9KR19
4.7K
100nF
C149
R4532
R134
1
A
2
B
+5V_SUP
100K
BD13
B
L12
75
R144
ACB1608H-060-T
LM317SX
ADJ
3
VIN
1VOUT_1 2
VOUT_2
4
L115 1.5uH
IC17
PANEL_EN
SW_REG_EN
SW_REG_EN
BLUE1N BLUE1N
GREEN1N GREEN1N
RED1N RED1N
BL_EN
INVERTER_GND
SW_REG_EN
BL_IN
INVERTER_GND
BL_CNT
RED1N
GREEN1N
BLUE1N
BL_CNT
RED1N
GREEN1N
GREEN1N
BLUE1N
BLUE1N
PC_VSYNC_IN
PC_HSYNC_IN
V_SYNC
H*V_SYNC
DDC_SDA
DDC_SCL
PC_VSYNC_IN
DDC_SDA
DDC_SCL
SELF_RASTER_PC
PC_VSYNC_IN
PC_HSYNC_IN
RED1P
GREEN1P
BLUE1P
RED1N
SDA
SCL
1
2
3
10 Schematic Diagrams
10-1 Power EOS_VE_NTSC Part Schematic Diagram

CONFIDENTIAL
10 Schematic Diagrams
10-2 LTM1555(B)/LTM1755(B)
12 3

CONFIDENTIAL
LTM1555(B)/LTM1755(B) 10-3
10 Schematic Diagrams
10-2 Micom / Jack Part Schematic Diagram
R2556
IC25
MC74VHC139DR2
0
1
C
3
B
2
A
1
J10
1
2
MM74HC32MX
IC27
I9
1K
H
8
G
7
F
6
E
5
D
4
R218 0
P16
O15
N14
M13
L12
K11
PB
CHANGE INTO 36PF
PR
delete
Y
CHANGE TO 32.768
CHANGE TO PCF8563P
B
B
HB-1M2012-800JT
DB21
BD215 B
BD224
HB-1M2012-800JT
R4533100
D236
12
3
+5V_CPU
C
3
D
4E5
F6
G7
H8
IC402
NM24C17FM8X
A
1
B
2
R212
1
U457
1
0
1
U456
1
BD211 B
100
100
R2550
R214
1/16W
56K
R222
56K
1/16W
R213
6
7
8
9
10
11
12
13
14
slcon14p_1
CN27
1
2
3
4
5
C229
100pF
13
14
C228
100pF
2
3
4
5
6
7
8
9
10
11
12
B
CN26
slcon14p_1
1
U472
1
BD220
HB-1M2012-800JT
Q23
2SC2412K-Q
B
C
E
B
C227
100pF
50V
MO
B
BD22
HB-1M2012-800JT
1
+5V_CPU
BD21
HB-1M2012-800JT
1
R22
1K
U450
1
U452
1
0
R211
+5V_CPU
1
1
Q0 Q1
C5245
470uF
16V
R4534
HC-49/S-SMD(14.31818MHZ)
X52
1
A
B
23
C
100
D233
R259 75
R29
470
R223 100
Q22
2SC2412K-Q
B
C
E
1
U455
1
U465
1
U453
BD216 B
U461
1
R221
B
100
2021
U
22
VW
2423
XY
25
Z
26
BD27
9
J
10
K
11
L
12
M
13
N
14
O
15
P
16
Q
17
R
18
S
19
T
1Q
4344
1R
A
1
B
2
C
34
DE
56
F
G
7
H
8
I
1F
1G 33
1H 34
1I 35
1J 36
1K 37
1L 38
1M 39
40
1N
1O
4142
1P
TSC80251G2D-24CB
IC23
27
1A
28
1B
29
1C
30
1D
31
1E
32
C230
100pF
25
A11
26
A9
27
A8
28
A13
29
A14
30
NC/A17
31
*WE
32
VCC
17
DQ3
18
DQ4
19
DQ5
20
DQ6
21
DQ7
22
*CE
23
A10
24
*OE
A3
10 A2
11 A1
12 A0
13 DQ0
14
DQ1
15
DQ2
16
VSS
VPP
2
A16
3
A15
4
A12
5A7
6A6
7A5
8A4
9
1
AT27C010-90JC
IC22
1
1
0
1
R217
4.7K
R249
R2555
C226
100pF
50V
MO
220
220
100 R2551
R2554
100R229
1
100 R236
U469
1
U470
14
HB-1M2012-800JT
BD227
B
3
4
5
6
78
9
10
11
12
13
HB-1M2012-800JT
BD225
B
1
2
3
4
5
6
7
8
CN23
slcon8p
C21
10uF
C5246
20pF
R2552 220
HB-1M2012-800JT
BD23
B
22
R234
100
R254
R238
A
1
2B3
C
4.7K
D29
1
A
B
2
C
3
D210
R233
R232100
100
R231100
3
D235
A
1B
2
3
C
D234
A
1
2B
C
100R227
R235
R226 100
R258
100
BD28 B
10K
R219
+5V_CPU
220
GND_1
GND_2
IN OUT
100nF
C215
4.7K
KIA7045RTF
IC21
R241
R242
HB-1M2012-800JT
BD24
B
4.7K
4.7KR253
4.7K
1
1
5
R250
B
U506
2
6
43
BD26
R246
4.7KR247
TP129
1
4.7K
R255
10K
100R220
0
R2584
BD226
HB-1M2012-800JT
B
C214
1uF
1K
R28
C26
4.7uF
1
10K
R257
+5V_CPU
U463
1
C221
100nF
O_1
O_2
6
8
O_3
10
O_4
12
O_5
2
O_O
14
VCC
IC24
MC74F14D
7
GND
3
I1
I2
5
9
I3
11
I4
13
I5
1
IO
4
22
+5V_CPU
100R224
R237
1
2
3
4
5
6
7
8
B
CN22
slcon8p
R27
+5V_CPU
+5V_CPU
BD25
HB-1M2012-800JT
1
1K
R26
1K
R2553
C223
330PF
B
220
RLZ8.2
D220
1
A
B
2
C
3
BD219
HB-1M2012-800JT
2
6
43
1
5
HC-49/S-SMD(14.31818MHZ)
Q0 Q1
D24
100nF
X21
1
C216
R230 100
0R216
+5V_CPU
R215 0
C222
100nF
R244
4.7K
R245 4.7K
1
U468
1
4.7K
R243
R21
U467
4.7K
1K
R251
4.7K
R252
1
1
1
2
3
T157
+5V_CPU
+5V_CPU
D21
1
16V
470uF
U501
3
1
5
U473
1
U508
2
6
4
R261 75
+5V_CPU
75R260
100
U458
1
R982
TP132
1
3
1
5
100nF
C220
U509
2
6
4
1uF
1
R18
19
S
20
T
+5V_CPU
C212
I
10 J11
K
12
L
13
M
14
N
O15
P16
Q17
A
2B
3C
4D
5E
6F
G
7
8H
9
56PF
C27
74ABT573CMTC
IC28
1
1
2
3
D26
1
2
3
D27
HB-1M2012-800JT
BD223
B
B
+5V_CPU
HB-1M2012-800JT
BD221
2SC2412K-Q
Q21
B
C
E
C224
330PF
6
43
1
5
U507
2
1
4.7uF
C25
R239
TP131
R2570
4.7K
0
+5V_CPU
C28
56PF
MO
50V
100pF
C233
1K
1K
R24
BD212 B
R23
2
3
4
5
6
7
8
9
10
CN21
slcon10p
1
B
C23
10uF
1
BD222
HB-1M2012-800JT
2
3
4
5
6
12
3
CN25
jack6p_2
1
1
D23
+5V_CPU
R248 4.7K
T149
1
C213
1uF
3
TP222
1
ZD21
1
A
B
2
C
C225
10nF
10uF
1uF
C211
C22
C219
100nF
33pF
C210
+5V_CPU
33pF
R240
C29
TP221
1
4.7K
100
2
3
4
5
6
7
8
9
R228
1
CN24
jack9p_4
1
B
BD218 B
U466
B
C
E
BD217
1
2SC2412K-Q
Q24
T156
1
U471
470
R210
R2635
R225
4.7K
TP130
1
100
16V
100uF
C24
U459
1
0R2558
12
3
R2557 0
B
D22
BD213 B
BD214
R25
C218
R1005
1K
100nF
D25
12
3
100nF
C217
1
A
B
2
C
3
100pF
C231
BD210 B
D211
BD29 B
C232
100pF
50V
MO
C234
100pF
50V
MO
1
1/16W
10K
R256
78
9
10
11
12
13
14
MM74HC32MX
1
2
3
4
5
6
SDA
SCL
COM2_PB
COM2_PR
COM2_Y
IC26
EEPROM_CS*
PAGE00
EEPROM_CS*
COM2_R
COM2_L
COM1_R
COM1_L
RXD
TXD
MCU_RST
*PSEN
AUDIO_MUTE
MCWRn
SELF_RASTER_PC
COM1_PR
COM1_Y
COM1_PB
MCA(0:17)
J1WRn
J2WRn
J1RDn
J2RDn
IRRCVR
IRRCVR
JAG_INT
SDA
SCL
POWER_KEY
IORDn
MCA(10)
MCA(11)
MCA(11)
MCA(10)
IOWRn
MCA(12)
MCA(13)
MCA(14)
A141312 A171615
MCA(15)
MCA(16)
MCA(17)
MCA(0:17)
MCA(0:17)
MCAD(3)
MCAD(0:7)
*PSEN
MCA(16)
MCA(17)
MCA(17)
MCA(16)
MCA(8:17)
PAGE00
IORDn IOWRn
MCWRn
A171615
A141312
VCR
CIN
YIN
SCR3
SCL3
MCA(13)
MCA(14)
MCA(15)
SCALER_ALE
MCAD(0)
MCAD(1)
MCAD(2)
KEY1
KEY4
KEY5
KEY6
DTV_AGND
MODE
HPDL
HPDR
LEDRED
LEDGRN
LEDRED
KEY0
KEY2
KEY3
AUDIO_STANDBY
POWER_KEY
LEDGRN
MCA(11)
MCA(12)
TXD
RXD
VSP_RST
V_INT
JAG_RST
SW_REG_EN
CREF
MCU_RST
MSP_RESET
MCA(2)
MCA(3)
MCA(3)
MCA(4)
MCA(4)
MCA(5)
MCA(5)
MCA(6)
MCA(6)
MCA(7)
MCA(7)
*PSEN
SCALER_ALE
MCAD(4)
MCAD(5)
MCAD(6)
MCAD(7)
MCA(8:17)
MCA(8)
MCA(9)
MCA(10)
MCAD(0:7)
MCAD(7)
MCAD(6)
MCAD(5)
MCAD(4)
MCAD(3)
MCAD(2)
MCAD(1)
MCAD(0)
MCAD(0:7)
MCAD(4)
MCAD(5)
MCAD(6)
MCAD(7)
MCAD(3)
MCAD(2)
MCAD(1)
MCAD(0)
MCA(15)
MCA(12)
MCA(14)
MCA(13)
MCA(8)
MCA(9)
MCA(11)
MCA(10)
MCA(0:7)
MCA(0) MCA(0)
MCA(1)
MCA(1)
MCA(2)
4

CONFIDENTIAL
10 Schematic Diagrams
10-4 LTM1555(B)/LTM1755(B)
4

CONFIDENTIAL
LTM1555(B)/LTM1755(B) 10-5
10 Schematic Diagrams
10-3 Scalar EOS_VE_NTSC Part Schematic Diagram

CONFIDENTIAL
10 Schematic Diagrams
10-6 LTM1555(B)/LTM1755(B)
56 7 8

CONFIDENTIAL
LTM1555(B)/LTM1755(B) 10-7
10 Schematic Diagrams
10-4 Video EOS_VE_NTSC Part Schematic Diagram
I656I0 76
VSP9415B
IC401
656O3
22 I656I2 78
CVBS1 52
VSSP3
26
I656I1 77
VSSAC1 51
VDDP3
25
VSS33RGB 45
VDDAC1 50
RESET
24
I656ICLK 75
NC 49
VOUT
23
HIN/CLKF2 74
BIN2 48
VDDAPPL 68
VSSP1 73
GIN2 47
656O4
21
VDDP1 72
RIN2 46
V50
20
TCLK 71
V
14
ADR/TDI
19
XIN 70
VDD33RGB 44
H50
18
XOUT 69
VSSARGB 43
HOUT
17
FBL1
37
VDDARGB 42
656O5
16
VSSD1 67
BIN1 41
656O6
15
VDDD1 66
GIN1
40
VSS33C 60
VSSAC2 65
RIN1
39
SCL
13
VDDAC2 64
FBL2
38
VDDP2
12
CVBSO1 63
32
SDA
VSSP2
11
CVBSO2 62
VSSAFBL
36
656O7
10
CVBSO3 61
VDDAFBL
35
656CLK
9
CVBS4 55
VSSD3
VDDD4
34
656VIN
8
VDD33C 59
VSSD4
33
TMS
7
CVBS7 58
656O0
27
I656I5
1
CVBS2
29
I656I7
3
I656I4 80
CVBS3 54
VDDD3
28
I656I6
2
I656I3 79
53
CLKOUT
6
CVBS6 57
656O1
31
VDDD2
DELETE
DELETE
680uH
5CVBS5 56
656O2
30
VSSD2
4
2701-000157
2701-000210
DELETE
220uH
BD44
HB-1M2012-800JT
B
C415
1uF
+1.8V_A
C4482
330PF
C450
47nF
1K
R4130
R473
330PF
R444
100
C451
47nF
C428
C443
15pF
0R412
75
R466
R464
L47 2.2uH
75
0R411
R410 0
R430
R431 0
0
0
R428
R429
220
R435
0
R462
10K
C436470nF
470nF C437
470
22K
R448
R43
R447
22K
100nF
C425 12
3
10K
R463
11
K
12
L
13
M
14
N
MMBD4148SE
D42
1IN
A
2IN
B
IN
C
3
4IN
D
5IN
E
6IN
F
7IN
G8
H
9
I
10
J
FST3125MX
IC42
R458
4.7K
HB-1M2012-800JT
B
330PF
C41
0
1/16W
+1.8V_D
BD41
R47 0
R432
R424.7K
10uF
C4276
47nF
C4845
NC_8
NC_9
14
6SCL
SDA
7
15S_O
4VT
V_O
16
C4728
10uF
16V
GND1
GND220
21
GND3
GND422
NC_1
1
NC_2
2
NC_3
3
NC_4
9
10 NC_5
11NC_6
NC_7
12
13
CN41
SUPLVAL
5V_1
5
175V_2
8AS
A_O
18
19
100 R1014
22K
R449
B
C
E
470nF C432
2SC2412K-Q
Q43Q42
2SC2412K-Q
B
C
E
+5V_DEC
C446
22pF 22pF
C445
R1006100
R4140
C452
47nF
47nF 47nF
C44C43
R433
R434 0
1.5nF
C448
0
R4422K
470
10K
R461
R450
C447
2.2nF
Vss_1
11
Vss_2
100 R437
9
18
RED
RREF
10 15
SCK
SDA
14 16
SDO
4
SEN
6
SMS
VDD
12
7
VIDEO
Vin
13
1
Z8612912SSC
IC45
3
BLUE
BOX
17
8
CSYNC
GREEN
25
HIN
LPF
R10070
R1016100
100nF
C422
4.7K
R454
C423
100nF
HB-1M2012-800JT
B
100 R1015
+3.3V_D
BD42
56R475
0R415
10uHL46
10uF
U502
C4128
2SC2412K-Q
B
C
E
+5V_DEC
100uF
R4210
Q403
0R420
R451
22K
B
C
E
C435470nF
R418
Q44
2SC2412K-Q
0
0
R416
R417
R442100
0
C431
47pF
Q41
2SC2412K-Q B
C
E
C430
0.01nF
1
470pF
C449
TP417
1
TP418
HC-49/SM5H(20.25MHz)
X41
Q0 Q1
100uF
C4186
R472
100R441
R49
75
R456
0
R4554.7K
4.7K
1K
R469 R468
1K
75
R467
10nF
C440
4.7KR459
0
100
R436
4.7K
L49
C444
R4531
R4190
15pF
R1013 0
0
R1012
R1011 0
3.3UHL42
C45
100uF
C427
470nF C434
330PF
C433470nF
L41 3.3UH
UDZ33B
0R48
470nF
D43
C438
12
3
1uF
C416
D41
HB-1M2012-800JT
BD43
B
1uF
C414
L45 10uH
+3.3V_A
R471
+5V_DEC
+5V_DEC
75
1K
R470
R45
470
330PF
22K
R452
C413
1uF
C426
1nF
1uF
C412
C417
1uF
C424
R474
+5V_TUNER
75
C442
22K
R445
R4368
10nF
0
0
0
R4530
0R422
R423
100KR476
100uH
L44
10nF
L43
100uH
C441
R41
15K
330PF
330PF
C429
+8V_AUDIO
+5V_DEC +5V_DEC
C42
1uF
C420 C418
1uF1uF
C419C411
1uF
C439 10nF
1uF
C410
100 R1008
C49
1uF
+5V_DEC
R1010
0
0 R1009
R460
4.7K R453
R465
75
C421
100nF
C47
1uF1uF
C48
R457
22K
4.7K
100
R446
R443
+5V_DEC
+3.3V_D
C46
22uF
0
0R426
R427
R425 0
0R424
100 R440
R439100
SCL_3.3
SDA_3.3
SCL
SDA
FB_CAP
R438100
Tuner_Gnd
PB_9883
DTV_PB
Y_9883
DTV_Y
PR_9883
DTV_PR
VCR
DTV_Y
DTV_PB
DTV_PR
RF_CVBS
HS_CAPTION_5
LLC1
CVBS_CAP
SCL
SDA
SDA_3.3
SCL_3.3
MONO_IN
R_CAP
G_CAP
B_CAP
YIN
CIN
DTV_Y
B_CAP
R_CAP
SCL
SDA
RF_CVBS
QSS_IF
Tuner_Gnd
SCL_3.3
VHS1
VVS1
FB_CAP
HS_CAPTION_5
V_INT
SDA
SCL
G_CAP
CVBS_CAP
VYO(2)
VYO(1)
VYO(0)
VYO(7)
VYO(6)
VYO(5)
VYO(4)
VYO(3)
SDA_3.3
LLC1
VYO(0:7)
9

CONFIDENTIAL
10 Schematic Diagrams
10-8 LTM1555(B)/LTM1755(B)
9

CONFIDENTIAL
LTM1555(B)/LTM1755(B) 10-9
10 Schematic Diagrams
10-5 Audio Part Schematic Diagram
change into 330NF
17" 5.6k
change into 330NF
10uF
3.3UH
L52
C55
3.3UH
L51
C527
100nF
E
7
F
GND5
Vcc 8
100
R537
TDA7050T/N3
IC51
A
1
B
2
C
3
D
4
6
1
R529
100
R528
100
slcon3p
1
2
3
150nF
C567
100K
CN52
R513
0
R542
BD51
A1
B2
C568
150nF
C553
470pF
+14V_OUT
220pF
C570
1uF
C576
10uF
U503
1M
100nF
C534
B
R547
1
A
B
2
C
3
BD52
HB-1M2012-800JT
100
RLZ8.2
D55
100
R535
R536
4.7K
R527
A
B2
C558
150nF
FT51 1
2pF
C571
X51
HC-49/SM5H(18.432MHz)
10uF
C56
100nF
C533
C5239
10uF
R543
10
C517
4.7uF
+5V_DEC
100uF
C512
R56
1K
C550
100pF
100uF
C514
C513
100uF
+12V_AUDIO
4.7uF
C551
100nF
C537
150nF
C569
R538
100
2.7K
100nF
C531
R548 R549
T115
1
5.6K
0
R514
GND
IN OUT
100
R532
IC52
BA178M08FP
C54
10uF
10uF
C541
1nF
R510
56K
C53
dcjhp_4_1
1
2
3
4
5
6
1
CN51
C536
100nF100nF
C535
+12V_AUDIO
C560
150nF
C561
C559
150nF
150nF
R526
100100
R525
100
R524
C572
2pF
1K
R51
R511
1.5nF
C542
C543
1.5nF
56K
16V
C565
150nF
100uF
C59
+14V_OUT
C557
150nF
150nF
C556
10K
C532
100nF
R540
R541
1
T112
1
10K
T116
100
R533
100pF
100pF
C546
100pF
C549
C545
4.7K
C782
R539
10uF
C57
4.7uF
100nF
C538
C554
470pF
C540
1nF
+8V_AUDIO
L53
C52
1.5nF 1.5nF
C51
C562
150nF
10
R544
L56
L55
L54
4.7uF
C520
C519
4.7uF
C530
100nF
V
23
W
24
X
25
Y
26
Z
R550
6.8K
N
15 OP
16
Q17
R18
S19
T20
U21
22
F
7G
8H
9I
10 J
11 K
12 L
13 M
14
A1
2B28
B1
3C
29
C1
4D
30
D1
5E
6
1
IC55
TA1101B
1A
27
2
6
43
1
5
T111
D51
C566
150nF slcon2p
CN53
1
2
100
R518
4.7uF
C516
4.7uF
C515
R531
100
C548
100pF
C552
100pF
C547
4.7uF
100
R523
100
100
R522
100
R521
+5V_DEC
R534
26
VREF2
58
VREFTOP
71 XTAL_IN
XTAL_OUT
72
100
R516
34
33
SC2_OUT_R
50
SC3_IN_L
SC3_IN_R
51
SC4_IN_L
47
SC4_IN_R
48
SO_IN_R
57
STANDBYQ
80
TESTEN
70
TP
73
35
VREF1
23
NC_6
NC_7 29
31
NC_8
NC_9 32
21
RESETQ
56
SC1_IN_L
37
SC1_OUT_L
SC1_OUT_R 36
53
SC2_IN_L
54
SC2_IN_R
SC2_OUT_L
NC_11
46
NC_12
NC_13
59
NC_14
63
NC_15
64
75 NC_16
NC_17
76
18
NC_2
NC_3
19 20
NC_4
22
NC_5
30
14
DVSS_1
15
DVSS_2
16
DVSS_3
11
DVSUP_1
DVSUP_2
12 13
DVSUP_3
77 D_CTR_I_O_1
60
MONO_IN
1
NC_1
41
NC_10
42
AVSS_2
62
65 AVSUP_1
AVSUP_2
66
CAPI_M 40
CAPL_A 38
78 C_CTR_I_O_0
25
DACA_L
24
DACA_R
DACM_L 28
27
DACM_R
DACM_SUB
43
AHVSS_2
44
39
AHVSUP
ANA_IN
68
67 ANA_IN1
69 ANA_IN2
55
ASG1
52
ASG2
ASG4
49
AUD_CL_OUT
74
61
AVSS_1
12S_CL
47
12S_DA_IN1
17
12S_DA_IN2
6
12S_DA_OUT
5
12S_WS
10
ADR_CL
8
ADR_DA
79 ADR_SEL
9
ADR_WS
AGNDC
45
AHVSS_1
IC53
MSP3421G-B8
2
12C_CL
3
12C_DA
R517
100
C563
150nF
C526
4.7pF
1uF
C521
R512
0
C524
56PF
47KR52
C522
56PF
C523
56PF
R55
1K
R54
1K
16V
100uF
C511C510
100uF
16V
150nF
C564
100K
R837
R59
56K
R58
56K
1K
R57
330
R546
330
C555
R545
R53 47K
470pF
C529
100nF
4.7uF
C518
C544
1.5nF
C58
100uF
R520
100
100
R519
3.3uF
C5244
3.3nF
C574
C575
3.3nF
47nF
C573
C539
100nF
4.7pF
C525
20K
R553
6.8K
R551
1
20K
R552
T114
1
T113
R530
100
100nF
C528
2
GND
1IN OUT 3
4.7uF
C777
MONO_IN
+8V_AUDIO
IC54
MC7812CD2T
COM2_R
SCL2
SCR2
COM1_L
COM1_R
SCR1
SCL1
PC_AGND
AUDIO_MUTE
SDA
SCL
QSS_IF
PC_AGND
DTV_AGND
SCOL1
SCOR1
SCL4
SCR4
COM2_L
SLIN
SRIN
MODE
HPDR
HPDL
HLIN
HRIN
SCL1
SCR3
SCL3
SCR2
SCL2
SLIN
SRIN
HLIN
HRIN
SCR4
SCL4
SCR1
10

CONFIDENTIAL
10 Schematic Diagrams
10-10 LTM1555(B)/LTM1755(B)
10

LTM1555(B)/LTM1755(B) 10-11
10 Schematic Diagrams
CONFIDENTIAL
10-6 LVDS & RAM EOS_VE_NTSC Part Schematic Diagram
DELETE
10uF
C61
+3.3V_D
TXOUT0- 48
TXOUT1+ 45
46
TXOUT1-
TXOUT2+ 41
42
TXOUT2-
37
TXOUT3+
38
TXOUT3-
1VCC
VCC1
9
26 VCC2
TXIN25
TXIN26 30
50
TXIN27
TXIN3 55
56
TXIN4
TXIN5
2
3TXIN6
4TXIN7
TXIN8
6
TXIN9
7
TXOUT0+ 47
TXIN15
TXIN16
16
TXIN17
18
TXIN18
19
TXIN19
20
TXIN2 54
22 TXIN20
23 TXIN21
24 TXIN22
25 TXIN23
27 TXIN24
28
31
TXCLKIN
TXCLKOUT+ 39
40
TXCLKOUT-
51
TXIN0
TXIN1 52
8TXIN10
TXIN11
10
11 TXIN12
12 TXIN13
TXIN14
14
15
GND4
GND5 53
LVDSGND 49
LVDSGND1 43
36
LVDSGND2
LVDSVCC 44
PLLGND 35
33
PLLGND1
34
PLLVCC
32
PWRDWN
17 R_FB
1
DS90C385MTD
IC61
5GND1
GND2
13
GND3
21
29
TP621
1
TP619
TP617
1
TP616
1
VSSQ4
38
46
VSSQ5
VSSQ6 52
78
VSSQ7
84
VSSQ8
17 WE_
C623
100nF
49
VDDQ5
VDDQ6 55
VDDQ7 75
81
VDDQ8
44
VSS1
VSS2 58
VSS3 72
86
VSS4
VSSQ1
6
12 VSSQ2
32 VSSQ3
70
N_C7 73
RAS_
19
VDD1
1
15 VDD2
29 VDD3
VDD4
43
VDDQ1
3
VDDQ2
9
35 VDDQ3
VDDQ4
41
DQ9 76
DQM1 71
28 DQM2 DQM3 59
16 DQMO
14 N_C1
N_C2
21
30 N_C3 N_C4 57
N_C5 69
N_C6
50
DQ27
DQ28 51
DQ29 53
DQ3
7
DQ30 54
DQ31 56
DQ4
8
10 DQ5
11 DQ6
13 DQ7 DQ8 74
DQ17
34 DQ18
36 DQ19
DQ2
5
DQ20
37
DQ21
39
DQ22
40
DQ23
42 45
DQ24
47
DQ25
48
DQ26
CS_
20
DQ0
2
DQ1
4
DQ10 77
79
DQ11
80
DQ12
82
DQ13
83
DQ14
85
DQ15
31 DQ16
33
61
A4
62
A5
63
A6
64
A7
65
A8
66
A9
BA0
22
BA1
23
18 CAS_
67
CKE
68
CLK
EM638325TS-6
IC63
A0
25
A1
26
A10
24
A2
27 60
A3
R633
0
0
R643
R632
C64
10K
10uF
1
100nF
C618
1
U495
1
TP615
47
TP614
R610
C62
10uF
47R66
47R65
47R64
R645
10K
1
22uF
C66
1
TP609
TP606
1
TP605
1
TP607
C637
R69
1nF
47
47
47R67
R68
100nF
C610
47
47R62
R63
R61 47
BLM41P600S
FT63
C612
100nF
VSSQ6
VSSQ7 78
VSSQ8 84
WE_
17
100nF
C615
VDDQ8 81
44
VSS1
58
VSS2
72
VSS3
VSS4 86
6VSSQ1
VSSQ2
12
VSSQ3
32
38 VSSQ4
VSSQ5 46
52
1VDD1
VDD2
15
VDD3
29
43 VDD4
3VDDQ1
9VDDQ2
VDDQ3
35
41 VDDQ4
VDDQ5 49
55
VDDQ6
75
VDDQ7
28 59
DQM3
DQMO
16
N_C1
14
21 N_C2
N_C3
30 57
N_C4
69
N_C5
70
N_C6
73
N_C7
19 RAS_
7DQ3
DQ30 54
56
DQ31
8DQ4
DQ5
10
DQ6
11
DQ7
13 74
DQ8
76
DQ9
71
DQM1
DQM2
5DQ2
37 DQ20
39 DQ21
40 DQ22
42 DQ23 DQ24 45
DQ25 47
DQ26 48
DQ27 50
51
DQ28
53
DQ29
DQ1
77
DQ10
DQ11 79
DQ12 80
DQ13 82
DQ14 83
DQ15 85
DQ16
31
DQ17
33
DQ18
34
DQ19
36
A7 64
65
A8
A9 66
22 BA0
23 BA1
CAS_
18
CKE 67
CLK 68
20 CS_
2DQ0
4
25 A0
26 A1
24 A10
27 A2 A3 60
A4 61
A5 62
A6 63
IC64
K4S643232C-TC70
C634
100nF
100nF
C611
100nF
C633C632
100nF
C636
1nF 1nF
0
C635
R624
R623
0R622
0
BLM41P600S
FT64
FT65
BLM41P600S
BLM41P600S
FT62
1
BLM41P600S
FT61
TP604
1
TP603
TP613
1
C614
100nF
+3.3V_PANEL
100nF
C613
C638
1nF
46
TXOUT1-
41
TXOUT2+
TXOUT2- 42
37
TXOUT3+
TXOUT3- 38
VCC
1
9VCC1
VCC2
26
50
55
TXIN3
TXIN4 56
TXIN5
2
TXIN6
3
TXIN7
4
6TXIN8
7TXIN9
TXOUT0+ 47
48
TXOUT0-
45
TXOUT1+
TXIN18
19
20 TXIN19
54
TXIN2
TXIN20
22
TXIN21
23
TXIN22
24
TXIN23
25
TXIN24
27
28 TXIN25
30
TXIN26
TXIN27
40
TXCLKOUT-
TXIN0 51
52
TXIN1
8TXIN10
10 TXIN11
TXIN12
11
TXIN13
12
14 TXIN14
15 TXIN15
16 TXIN16
18 TXIN17
LVDSGND
43
LVDSGND1
LVDSGND2 36
LVDSVCC 44
35
PLLGND
PLLGND1 33
PLLVCC 34
PWRDWN 32
17 R_FB
TXCLKIN 31
39
TXCLKOUT+
DS90C385MTD
IC62
GND1
5
13 GND2
21 GND3
29
GND4
53
GND5
49
47R620
R619 47
0R631
R630 0
0
R629 0
R628
C65
22uF
16V
R640
0
U498
1
0
R621
U499
1
1nF
C639
1
TP620
1
1
TP618
1
TP601
17
18
19
20
21
22
TP189
7
8
9
10
11
12
13
14
15
16
CN61
slcon22p_1
1
2
3
4
5
6
U500
1
TP188
1
C617
100nF
C616
100nF
+3.3V_JAG
11
TP612
1
TP611
1
TP610
100nF
C622
TP608
C621
100nF100nF
C620C619
100nF
10K
R644
+3.3V_JAG
C63
+3.3V_D
R625 0
10uF
R646
R641
0
10K
TP190
1
C640
1nF
47
TP191
1
R613
R614
R611
47
0
47
R642
C627
100nF
C625
100nF 100nF
C626
1
100nF
C624
47
TP602
R612
1
FT67
BLM41P600S
U494
47R618 47R617
R615
47R616
23
24
25
26
+3.3V_D
47
13
14
15
16
17
18
19
20
21
22
2
3
4
5
6
7
8
9
10
11
12
slcon30p
CN62
27
28
29
30
1
R627 0
0R626
C630
100nF 100nF
C631
100nF
C629
BLM41P600S
FT66
100nF
C628
C69
C68
100nF 100nF100nF
C67
J2TSCASn
J2TSRASn
J2TSBA0
J2TSDQM
J2TSCSn
+5V_PANEL
J2SD(54)
J2SD(53)
J2SD(52)
J2SD(51)
J2SD(50)
J2SD(49)
J2SD(48)
J2SD(56)
J2SD(57)
J2SD(58)
J2SD(59)
J2SD(60)
J2SD(0:63)
J2SD(61)
J2SD(62)
J2SD(63)
J2TSA(10)
J2TSA(0)
J2TSA(1)
J2TSA(2)
J2TSA(4)
J2TSA(3)
J2TSA(5)
J2TSA(6)
J2TSA(7)
J2TSA(8)
J2TSA(0:10)
J2TSA(9)
J2TSCKEn
J2TSCLK
J2TSDQM
J2TSWEn
DARED(13)
DARED(12)
DARED(11)
DARED(10)
DARED(9)
DARED(8)
DARED(8:15)
J2SD(32)
J2SD(33)
J2SD(34)
J2SD(35)
J2SD(36)
J2SD(37)
J2SD(38)
J2SD(39)
J2SD(47)
J2SD(40)
J2SD(41)
J2SD(42)
J2SD(43)
J2SD(44)
J2SD(45)
J2SD(46)
J2SD(55)
DAGRN(1)
DAGRN(0)
DAGRN(0:7)
DARED(7)
DARED(6)
DARED(5)
DARED(4)
DARED(3)
DARED(2)
DARED(1)
DARED(0)
DARED(0:7)
DABLU(15)
DABLU(14)
DABLU(13)
DABLU(12)
DABLU(11)
DABLU(10)
DABLU(9)
DABLU(8)
DABLU(8:15)
DAGRN(15)
DAGRN(14)
DAGRN(13)
DAGRN(12)
DAGRN(11)
DAGRN(10)
DAGRN(9)
DAGRN(8)
DAGRN(8:15)
DARED(15)
DARED(14)
DABLU(7)
DABLU(6)
DABLU(5)
DABLU(4)
DABLU(3)
DABLU(2)
DABLU(1)
DABLU(0)
DABLU(0:7)
DAGRN(7)
DAGRN(6)
DAGRN(5)
DAGRN(4)
DAGRN(3)
DAGRN(2)
DVS
DHS
DCLK
LVDS_EN
DEN
DVS
DHS
DCLK
LVDS_EN
Tx0+
Tx1-
Tx1+
Tx2-
Tx2+
TxCLK-
TxCLK+
Tx3-
Tx3+
DEN
J2SD(24)
J2SD(25)
J2SD(26)
J2SD(27)
J2SD(28)
J2SD(29)
J2SD(3)
J2SD(30)
J2SD(31)
J2SD(4)
J2SD(5)
J2SD(6)
J2SD(7) J2SD(8)
J2SD(9)
J2TSDQMJ2TSDQM
J2TSRASn
J2TSWEn
J2TSA(0:10)
J2SD(0:63)
J2TSCSn
Tx0-
J2TSA(0)
J2TSA(1)
J2TSA(10)
J2TSA(2) J2TSA(3)
J2TSA(4)
J2TSA(5)
J2TSA(6)
J2TSA(7)
J2TSA(8)
J2TSA(9)
J2TSBA0
J2TSCASn
J2TSCKEn
J2TSCLK
J2SD(0)
J2SD(1)
J2SD(10)
J2SD(11)
J2SD(12)
J2SD(13)
J2SD(14)
J2SD(15)
J2SD(16)
J2SD(17)
J2SD(18)
J2SD(19)
J2SD(2)
J2SD(20)
J2SD(21)
J2SD(22)
J2SD(23)

10 Schematic Diagrams
10-12 LTM1555(B)/LTM1755(B)
CONFIDENTIAL
Memo

SEC LT140X1-002 BN07-00004A SA BN68-00187A
SEC LT150XS-L01 BN07-00009A SB BN68-00187B
SEC LT150XS-L01-B BN07-00022A SC BN68-00187C
SEC LTM150XS-L02 BN07-00005A SD BN68-00187D
SEC LT181E2-132 BN07-00001A SE BN68-00187E
SEC LT150XS-T01 BN07-00010A SF BN68-00187F
SEC LTM181E3-132 BN07-00019A SG BN68-00187G
SEC LT170E2-131 BN07-10001D SH BN68-00187H
SEC LT181E2-131 BN07-10001E SJ BN68-00187J
SEC LTM170E4-L01 BN07-00018A SK BN68-00187K
SEC LTM240W1-L01 BN07-00015A SL BN68-00187L
SEC LTM213U3-L01 BN07-00016A SM BN68-00187M
SEC LTM150XH-L01 BN07-00026A SN BN68-00187W
SEC LTM150XH-L03 BN07-00027A SP BN68-00187X
SEC LTM150XS-L01 BN07-00032A SQ BN68-00195B DELL(ZPD)
SEC LTM181E4-L01 BN07-00034A SR BN68-00195C PVA
SEC LTM170EH-L01 BN07-00036A SS BN68-00195D TN
SEC LTM170E5-L01 BN07-00037A SU BN68-00195E PVA
SEC LTM150XH-L11 BN07-00041A SV BN68-00195G
SEC LTM213U4-L01 BN07-00039A SW BN68-00195L PVA
SEC LTM150XH-L01(ZPD) BN07-00045A SX BN68-00195M ZPD
SEC LTM150XH-L04 BN07-00046A SY BN68-00195N PANEL
SEC LTM170W1-L01 BN07-00047A SZ BN68-00195P TV PANEL
SEC LTM150XH-L06 BN07-00053A EA BN68-00195V
TV PANEL/450cd _ Sony& EOS TV panel
SEC LTM153W1-L01 BN07-00054A EB BN68-00195W NIKE MODEL
SEC LTM170EH-L05 BN07-00055A EC BN68-00195X 17”EH-L05 panel EOS proj.
SEC LTM170E5-L03 BN07-00056A ED BN68-00195Y Dell 1702FP pro. E4. EH Compatible
SEC LTM190E1-L01 BN07-00057A EE BN68-00195Z DELL 1900 FP
SEC LTM181E5-L01 BN07-00061A EF BN68-00239C 18” narrow bezel GH18PS
SEC LTM150XP-L01 BN07-00065A EG BN68-00239F AMLCD PVA PANEL
SEC LTM240W1-L02 BN07-00062A EH BN68-00239G 15”Wide tv panel
SEC LTM170EU-L01 BN07-00071A EJ Slim design, TN
SEC LTM170E5-L04 BN07-00072A EK E5-L04 6 bits FRC... for IBM
TOSHIBA LTM15C419(A) BN07-00002A TA BN68-00187N
TOSHIBA LTM15C423(B) BN07-00006A TB BN68-00187P
TOSHIBA LTM18C161 BN07-00008A TC BN68-00187U
TOSHIBA LTM15C443 BN07-00031A TD BN68-00195A
TOSHIBA LTM15C458 BN07-00043A TE BN68-00195H
HANNSTAR HSD150MX41A(A) BN07-00020A NA BN68-00187Q TTL
HANNSTAR HSD150MX12 BN07-00030A NB BN68-00187Y LVDS
TORISAN TM150XG-22L03(A) BN07-00021A RA BN68-00187R
TORISAN TM150XG-26L06 BN07-00042A RB BN68-00195J
TORISAN TM181SX-76N01 BN07-00048A RC BN68-00195Q
TORISAN TM150XG-22L06 BN07-00059A RD BN68-00239A 15” XGA TN MODE(ZPD)
TORISAN TM290WX-71N31 BN07-00063A RE BN68-00239D RS24NS (TORISAN 29” PANEL)
TORISAN TM396WX-71N31 BN07-00064A RF BN68-00239E RS24NS (TORISAN 40” PANEL)
SHARP LQ181E1DG11(A) BN07-10001C PA BN68-00187S
SHARP LQ150X1LW71 BN07-00067A PB SHARP 15” PVA PANEL
HITACHI TX38D12VC0CAA(A) BN07-00003A HA BN68-00187T
HITACHI TX43DVCOCAB BN07-00060A HB BN68-00239B 17” SXGA PVA MODE”
IBMITSX94S BN07-00017A IA BN68-00187V
UNIPAC UM170E0 BN07-00028A UA BN68-00187Z
HYUNDAI HT15X13 BN07-00035A DA BN68-00195F
HYUNDAI HT17E11-200 BN07-00049A DB BN68-00195R TN MODE
ACERL170E3 BN07-00044A AA BN68-00195K TN(ADT)
CHIMEI M170E3-LO1 BN07-00050A CA BN68-00195S TN PANEL
CHIMEI M150X3-L01 BN07-00051A CB BN68-00195T COMPATIBLE
CHIMEI M170E4-L01 BN07-00052A CC BN68-00195U MVA PANEL
CHIMEI M150X2-L01 BN07-00066A CD CHIME 15”I PVA PANEL
LTM1555(B)/LTM1755(B) 11-1
CONFIDENTIAL
Maker VENDOR P/N PANEL_CODE PANEL_ABB STICKER_CODE Remarks
11 Panel Description

11 Panel Description
11-2 LTM1555(B)/LTM1755(B)
CONFIDENTIAL
Memo

Copyright
© 2002 by Samsung Electronics Co., Ltd.
All rights reserved.
This manual may not, in whole or in part, be
copied, photocopied, reproduced, translated, or
converted to any electronic or machine readable
form without prior written permission of
Samsung Electronics Co., Ltd.
LTM1555(B)/LTM1755(B) Service Manual
First edition May 2002.
Printed in Korea.
Trademarks
Samsung is the registered trademark of Samsung
Electronics Co., Ltd.
LTM1555(B)/LTM1755(B) and Macmaster Cable
Adapter are trademarks of Sansung Electronics
Co., Ltd.
Macintosh, Centris, Quadra, Duo Dock, and
Power Macintosh are trademarks of Apple
Computer, Inc.
All other trademarks are the property of their
respective owners.
ii LTM1555(B)/LTM1755(B)
CONFIDENTIAL