Saswell Technology and Development SAS6000UTK Room Thermostat User Manual

Shenzhen Saswell Technology&Development; Co., Ltd Room Thermostat

User Manual

1SAS6000UTK-7-WIFIOPERATINGINSTRUCTION
1This manual apply for SAS6000UTK-7-WIFI,used with Single Stage,Multi-Stage,Heat pumpand has mobile control function .SPECIFICATIONPower Supply ……………………… Dual Power 24VAC (18-30VAC,50/60Hz) or Battery PoweredTerminal Load…………………………1.0 A per terminal, 2.0A maximum total loadSet point Temperature Range………….41℉to 95℉(5℃to 35℃)Operating Ambient…………………….32℉to 122℉(0℃to 50℃)Operating Humidity…………………...90% non-condensing maxShipping Temperature Range…………. 14℉to +140℉(-10℃to 60℃)Dimensions……………………………. 5.9 inch×4.5 inch×1.2inch(150mm×115mm ×32mm)Color……………………………………WhiteFEATUREApply with various kind of heating and cooling system. Including Single stage, Multi-stageAnd Heat Pump (Up to 3-stage heat, 2-stage cool, with Aux. Or Emergency heat)Large LCD display with backlight, continuous backlight optionMenu Driven Programming
2The screen displays the set temperature, the room temperature and current time simultaneouslyFan switch with on and autoAuto change overPermanent user setting retention during power loss, no batteries are required,Optional 7 day programming and non-programmableOptional temperature display of Celsius or Fahrenheit scaleBoth Vacation mold and hold duration mode available for comfort and energy savingAir filter change indicatorUV light change indicatorIMPORTANT SAFETY INFORMATIONAlways turn off power at the main power source by unscrewing fuse or switching circuit breaker to the offposition before installing, removing, cleaning, or servicing this thermostat.Read all of the information in this manual before installing this thermostat.Only a professional contractor should install this thermostat.All wiring must conform to local and national building and electrical codes and ordinances.Use this thermostat only as described in this manual.
3KEYBOARD, DISPLAY AND SWITCH DESCRIOPTIONTouch Screen ThermostatFigure 1
4Home Screen DescriptionFigure 2Time of the daySystem SwitchFan SwtichMenu key for entering different modesDate of Week Set TemperatureRoomTemperatureTemperature Up/Down used for modifyingset pointLow Battery IndicationKeypad lockout Indication
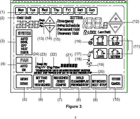
5Figure 3(1)(2)(14)(13) (15) (16)(17)(18)(19)(20)(24) (23) (22) (21)(5) (6) (7) (8) (9) (10)(11)(3)(4)(12)
6(1) Press day(s) to set program schedule(2) “Hold Until” indicates the time when a temporary hold period will end(3) Press to select system type(4) Press to select fan operation(5) Press “MENU” to display first function menu of button (6) (7) (8) (9) (10)Press “DONE” to confirm current setting(6) Press “SET TIME” to set current time clockPress “INFO” to check outside temperature or inquiry for count back time for changing filter or inquiry for UVlight duration hours.(7) Press “RUN SCHED” to resume program operationPress “RESET” to current program setting or current configuration setting to factory default valuePress “CONFIG” to set configuration menu item(8) Press “HOLD” to permanent hold current set pointPress “CLEAN DISPLAY” for entering 30 second count back time for cleaning the displayPress “PREVIOUS STEP” for going back to last configuration menu item(9) Press “SET SCHED” for setting schedule for each days of the weekPress “NEXT STEP” for going forward to next configuration menu item or next day of week when settingschedule.(10) Press “OTHER” for entering the second function menu of (5) (7) (8) (10)Press “CANCEL” to disregard current setting and go back to last operation(11) Press “WAKE” “LEAVE” “RETURN” “SLEEP” to choose the 4 setting period of each day when setting program
7schedule(12) Press UP and DOWN for modifying set point(13) “Days” displays during steps in setting vacation duration days or count back days of vacation duration days“Am” indicate current time clock is in the morning. “Pm” indicates current time clock is in the afternoon(14) Press UP and DOWN for setting current time clock or setting time in programming or changingselections in configuration menu or setting the time when a temporary hold period will end(15) “Emergency” flashes when system mode is set “EMER”“Using Schedule” displays when thermostat is operating under presetting schedule“Permanent Hold” displays when thermostat is in permanent hold setting temperature period“Temporary Hold” displays when thermostat is in temporary hole setting temperature period(16) displays when first stage cooling activatedisplays when both first stage cooling and second stage cooling activate(17) displays when first stage heating activatedisplays when both first stage heating and second heating activate(18) displays when Auxiliary heating or Emergency heating activate(19) displays when circulating fan activate
8(20) “TECHNICIAN SET UP: USE UP AND DOWN FOR SURRENT SELECTION AND NEXT STEP PREVIOUSSTEP KEY TO THE NEXT PREVIOUS STEP” displays to help technician how to operate in configuration mode(21) Indicate current status of the thermostat(22) “Chg Filter” displays indicate changing filter count back has expired(23) “Comp Dly” displays when compressor delay lock out activate(24) “Chg UV” displays when changing UV duration days has expiredDirect switch AP mode: Long Press System Switch from direct connect to AP mode, from WIFI switch to AP display.When the battery power alone, WIFI function failure, When the external power supply, WIFI Function effectively.INSTALLATION1. Pull the thermostat body off the thermostat base. Forcing or prying on the thermostat will cause damage to theunit.2. Place base over hole in wall and mark mounting hole locations on wall using base as a template3. Move base out of the way. Drill mounting holes. If you are using existing mounting holes and the holes drilledare too large and do not allow you to tighten base snugly, use plastic screw anchors to secure the base.4. Fasten base snugly to wall using mounting holes shown in Figure 3 and two mounting screws. Leveling is forappearance only and will not affect thermostat operation.5. Connect wires to terminal block on base using appropriate wiring schematic (See Figure 5、Figure 6)6. Carefully line the thermostat up with the base and snap into place.
9Battery LocationBatteries are optional (to provide backup power) if your thermostat was wired to run on AC power when installed.Battery replacementInstall fresh batteries immediately when the Low Batt warning begins flashing. The warning flashes about 60 daysbefore batteries are depleted. Even if the warning does not appear, you should replace batteries once a year, or beforeleaving home for more than 1 monthTo replace batteries, set system to OFF, remove thermostat from wall and install the batteries in the rear along thetop of the thermostat. (See figure 4)Figure 4Front Panel 2 AA BatteriesBase
10WIRING DIAGRAMFigure 5Wiring guide
111H/1C System(1 transformer)1H/1C System(2 transformer)2H/2C System (1 transformer) 2H/2C System (2 transformer)RCPower 【1】RH(RH+RC joined by jumper)WHeat RelayYCompressor contactorGFan relayC24VAC commonS1/S2Remote sensorRCPower (cooling transformer) 【1,2】RHPower (heating transformer) 【1,2】WHeat relayYCompressor contactorGFan relayC24VAC commonS1/S2Remote sensorRCPower 【1,2】RH(RH+RC joined by jumper) 【1,2】WHeat relay 1YCool relay 1W2Heat relay 2Y2Cool relay 2GFan relayC24VAC commonS1/S2Remote sensorRCPower 【1】RH(RH+RC joined by jumper)WHeat relay 1YCool relay 1W2Heat relay 2Y2Cool relay 2GFan relayC24VAC commonS1/S2Remote sensor
121H/1C Heat Pump (no auxiliary heat) 2H/2C Heat Pump (no auxiliary heat)RCPower 【1】RH(RH+RC joined by jumper)YCompressor relayO/B,O:Changeover valve energized in heatingB:Changeover valve energized in coolingGFan relayC24VAC commonS1/S2Remote sensorRCPower 【1,2】RH(RH+RC joined by jumper) 【1,2】YCompressor relayO/B,O:Changeover valve energized in heatingB:Changeover valve energized in coolingY2Compressor 2 relayGFan relayC24VAC commonS1/S2Remote sensor
132H/1C Heat Pump (with auxiliary heat) 3H/2C Heat Pump (with auxiliary heat)【1】Power supply【2】Remove jumper for 2-transformer system【3】Optional 24VAC common connection【4】Common connection must come from cooling transformer【5】If L terminal is used, 24VAC common (terminal C) must be connected【6】Install field jumper between Aux and E terminals if there is no emergency heat relayLEquipment monitor 【5】RCPower 【1】RH(RH+RC joined by jumper)YCompressor relayEEmergency heat relay 【6】AuxAuxiliary heat relay (Heat 2) 【6】O/B,O:Changeover valve energized in heatingB:Changeover valve energized in coolingGFan relayC24VAC commonS1/S2Remote sensorLEquipment monitor 【5】RCPower 【1】RH(RH+RC joined by jumper)YCompressor relayEEmergency heat relay 【6】AuxAuxiliary heat relay (Heat 2) 【6】O/B,O:Changeover valve energized in heatingB:Changeover valve energized in coolingY2Compressor relay 2GFan relayC24VAC commonS1/S2Remote sensor
14CONFIGURATION MENUThe configuration menu allows you to set certain thermostat operating characteristics to your system or personalrequirements.To enter the configuration menu, switch off the thermostatPress system  until OFF blinkPress DONEto save changes
151) Press MENU for displaying main menu button, Press OTHER for display other menu button2) Press CONFIG for entering configuration menu, change setting according to following figure.For resume factory default setting, press RESET and then confirm by pressing DONE.Press  MENUfor displaying mainmenu buttonPress OTHERfor displaying othermenu buttonPress DOWNto confirm and exit Press CONFIGfor entering configuration menuPress CANCELto exit to main home screen
16Press NEXT STEP changing to next menu itemDisplay menu itemPress UP and DOWNfor change setting Press DOWNto confirm and exit Press RESETfor resume tofactory default settingPress PREVIOUS STEP changing to previous menu itemPress CANCELto exit to main home screen
171 H2HHP1HP2PressDisplayfactorydefaultPress Up andDOWNTo selectComments1NEXTSTEPSYSTEM(2H)1H,2H,HP1,HP2Select control system2NEXTSTEPBLowER(HA)HA,HEHA: Gas heating, Furnancecontrols blowerHE: Electric heating.Thermostat controls blowerNANA3NEXTSTEPAxMOdEHA,HEHA: Fossil fuel backup heatHE: Electric backup heat4NEXTSTEPCHANGE(0)0,10: Manual changeover1: Auto changeover5NEXTSTEPDbaNd(3)2,3,4,5,6,7,8,9Auto changeover dead band6NEXTSTEPRECVRY(OFF)OFF/ONIntelligent Recovery operation7NEXTSTEPHCYCLE(FA)FA, SLFirst heating cycle rate
188NEXTSTEPCCYCLE(FA)FA, SLFirst cooling cycle rateNANA9NEXTSTEPEMER(FA)FA, SLEmergency heating rate10NEXTSTEPDELAy(5)0,5Select compressor lockoutdelay11NEXTSTEPLIGHT(2)1,2, 3Select backlight display12NEXTSTEPCALIbR(0)+4 TO -4Select TemperatureCalibration13NEXTSTEPF OR C(F)F or CSelect ºF or ºC Readout14NEXTSTEPPRGM(7)0,77: 7-day program0: non-programNA15NEXTSTEPH2SP(FA)FA, SLSelect second stage heatingrateNANA16NEXTSTEPC2SP(FA)FA,SLSelect second stage coolingrate
1917NEXTSTEPFILTER(00)00 – 12Select filter replacement runtime18NEXTSTEPUVLAMP(UF)UO or UFSelect UV lamp replacementrun time19NEXTSTEPCLOCK(24)24,12Selection of time scale20NEXTSTEPSENSOR(0)0,1,2,3Remote sensor optionNANA21NEXTSTEPHPLOCK(0)0,15,20,25,30,35,40℉Heat pump compressorlockout optionNANA22NEXTSTEPAxLOCK(0)0,40,45,50,55,60℉Heat pump auxiliary lockoutoption23NEXTSTEPVOICE(yES)YES,NoSelect audible beeper On/off24NEXTSTEPLOCK(unL)PAL,unL,FULSelect keypad lockout option25NEXTSTEPo/b(o)o,bSelect Changeover valveoutput
201.System type option1H: 1 heat/1 cool conventional2H: 2 heat/2 cool conventionalHP1: 1 compressor heat pumpHP2: 2 compressors or 2 speed compressor heat pump2.Fan control optionHA: Gas heating. Furnace controls blowerHE: Electric heating. Thermostat controls blower3. Auxiliary heat type optionThis option apply only to HP1 or HP2 setting in system type optionHA: Fossil fuel backup heatHE: Electric backup heat4. Manual/Auto changeover option0: Manual changeover1: Auto changeover5. Auto changeover dead ban optionOption: 2~9℉, factory default setting is 3℉, which means cooling set temperature must be 3℉higher above heatingset temperature if Manual/Auto changeover option is selected at 1and SYSTEM button is set at AUTO.6. Intelligent Recovery operationThe thermostat has an intelligent recovery function that brings your room temperature to the set temperature atexactly the pre-set time by turning on the heating earlier. Select ON to activate the intelligent recovery function,
21Select OF to deactivate the intelligent recovery function. Intelligent recovery function doesn’t activate when programsetting to non-programmable.7.First heating cycle rateFA: Fast rate, heating will activate 0.6℉below set pointSL: Slow rate, heating will activate 1.2℉below set point8.First cooling cycle rateFA: Fast rate, cooling will activate 1.2℉above set pointSL: Slow rate, cooling will activate 1.7℉above set point9. Emergency heat cycle rateThis option apply only to HP1or HP2 setting in heating type optionFA: Fast rate, Emergency will activate 1.2 ℉below set pointSL: Slow rate, Emergency heat will activate 1.7℉below set point10.Select compressor lockout delayTo protect the compressor from short cycling, you can select compressor off-time cycle between 0 or 5 minutes.When the thermostat compressor time delay occurs, “Comp Dly” display during compressor lockout.11.Select display backlightThe display backlight improves display contrast in low lighting conditions.Select 1 for NO backlight display. Select 2 for the backlight to come on for approximately 30 seconds when any buttonof the thermostat is touched. Select 3 for the backlight to remain on continuously.NOTE: When operated from batteries (No “C” terminal connection, or if AC power goes off), the LCDcontinuously display of backlight will be disabled.)
2212. Select temperature recalibrationThis feature allows you to adjust the displayed room temperature up to 4º higher or lower. Your thermostat can beaccurately calibrated to match your previous thermostat. The current or adjusted room temperature will bedisplayed on the display.13. Select ºF or ºC readoutChanges the display readout to Centigrade or Fahrenheit as required.14. Program options7: Select 7-day program function for the thermostat0: Select non-program function for the thermostat15. Select second stage heating rateThis option apply only to HP1, HP2, 2H setting in system type optionFA: Fast second stage heating rate. Second stage heating will activate 1.5℉below first stage heatingSL: Slow second stage heating rate. Second stage heating will activate 2.5℉below first stage heating16.Select second stage cooling rateThis option apply only to HP2, 2H setting in system type optionFA: Fast second stage cooling rate. Second stage cooling will activate 1.5℉above first stage coolingSL: Slow second stage cooling rate. Second stage heating will activate 2.5℉above first stage cooling17. Select filter replacement run timeThe thermostat will display the “Chg Filter” after a set time of operation. This is a reminder to change or cleanyour air filter. This time can be set from 0 to 12 months in 1 month increments. Selection of 00 WILL CANCEL THISFEATURE. You can check the count back time and clear it by following step
231.Press MENU button for displaying main button2.Press OTHER button for displaying other button3.Press INFO to inquiry for the count back change filter time4.When “Chg Filter” is displayed, RESET button will be shown when inquiry for count back time. PressRESET and then press DOWN to reset the timer. This resets the timer and starts counting the hours until thenext filter change.18. Select UV lamp replacement run timeThis is the reminder to change UV lamp. Select UF means you have canceled the feature. Select UO starts tocounting for 0 day to 400 day. The thermostat will display “Chg UV” when UV time (400 days) has expired. You cancheck the duration run time and clear it by following step1.Press MENU button for displaying main button2.Press OTHER button for displaying other button3.Press INFO to inquiry for the UV duration time. If displays shows the counter back time of filter changereplacement. Press INFO again, UV duration time will appear.4.When “Chg UV” is displayed, RESET button will be shown when inquiry for UV lamp duration time. PressRESET and then press DOWN to reset the timer. This resets the timer and starts counting the duration days19. Selection of time scaleSelect 12 for 12 hours display for time clock and select 24 for 24 hours display for time clock20. Remote sensor option0: No remote sensor1: Outdoor sensor (display only). Assuming 1 is selected, if an optional outdoor sensor is installed, INFO will display
24in Home screen. Press INFO for inquiry for the outside temperature.2: Outdoor control sensor (See Menu item 21 Heat pump temperature lockout)3: Indoor sensor. If 3 is selected and the thermostat is installed with an indoor remote sensor, display will show theread temperature from the indoor sensor.21. Heat pump compressor lockout temperatureThis option apply only to HP1 HP2 setting in system type option and only works when remote sensor option (menuitem 20) is set 2.0: No heat pump compressor lockout15,20,25,30,35,40℉: heat pump compressor lockout temperatureWith fossil-fuel backup (See menu item 3. Auxiliary heat type option). If the thermostat is installed with an optionaloutdoor sensor, you can select the compressor lockout temperature. When the outdoor temperature is below thecompressor lockout temperature, only the auxiliary heat operates. When the outdoor temperature is above thecompressor lockout temperature, only the compressor operates.With electric heat back up (See menu item 3. Auxiliary heat type option). If the thermostat is installed with anoptional outdoor sensor, you can select the compressor lockout temperature and /or an auxiliary heat lockouttemperature. (See menu item 22) When the outdoor temperature is below the compressor lockout temperature, onlythe auxiliary heat operates. When the outdoor temperature is above the auxiliary lockout temperature, only thecompressor operates. If the outdoor temperature is between the compressor and auxiliary lockout temperatures, boththe compressor and auxiliary heat can operate.22. Heat pump auxiliary heating temperature lockout optionThis option apply only to HP1 HP2 setting in system type option and only works when remote sensor option (menu
25item 20) is set 2.0: No auxiliary heating temperature lockout40,45,50,55,60℉: heat pump auxiliary heating temperature lockout. ( See menu item 22 explains how it work)23. Select audible beeper On/offSelect YES, thermostat will beep when any button touchedSelect NO, thermostat will turn off the voice24. Select keypad lockout on or offUnL-unlock. All keys are available. Screen is unlockedPAL-partially locked. All key functions are locked except SYSTEM key; temperature UP and DOWN keys and theCANCEL key. Enter Configuration setup to unlock the screenFUL-fully locked. Screen is fully locked except SYSTEM key. Enter Configuration setup to unlock the screen25. O: Said in heating mode, O/B relay will be output, Heating is effective.B: Said in Cooling mode, O/B relay will be output, Cooling is effective.
26OPERATING YOUR THERMOSTATChoose the Fan Setting (Auto or On)Fan Auto is the most commonly selected setting and runs the fan only when the heating or cooling system is on.Fan On selection runs the fan continuously for increased air circulation or to allow additional air cleaningChoose the System Setting (Cool, Off, Heat, Emer, Auto)Press the SYSTEM button to select:Heat: Thermostat controls only the heating systemCool: Thermostat controls only the cooling systemPress SYSTEM optionto your requirementPress FAN optionto your requirementPress DONE to save and exitPress CANCEL to disregard current setting and exit
27Auto: Auto Changeover is used in areas where both heating and cooling may be required on the same day. WhenSYSTEM button set to AUTO, the thermostat automatically select heating or cooling depending on the indoortemperature if AUTO changeover option is set to 1. (See configuration menu item 4). Heat and cool settings must beover the dead ban value which is set at Auto changeover dead ban (configuration menu item 5). If heat and cool settingis lower than the dead ban, thermostat will auto change to heat or cool according to the current set temperature and thedead ban setting.Emer: Emergency heat is available only when the thermostat is configured in HP1 or HP2 mode.Manual Operation for Non-programmable ThermostatsPress the SYSTEM button to select Heat or Cool and Use the △or▽buttons to adjust the temperature to your desiredsetting. After selecting your desired settings you can also press the SYSTEM button to select AUTO to allow thethermostat to automatically change between Heat and Cool if AUTO changeover option is set to 1. (See configurationmenu item 4)Manual Operation for programmable thermostatsThis operation applies only when Program option (See configuration menu item 14) is set to programmable.
28Permanent Hold OverridePress HOLD to permanently adjust the temperature. Thiswill turn off the program schedule.Whatever temperature you set will be maintained 24 hoursa day, until you manually change it, or press RUN SCHEDto cancel “Hold’ and resume the program schedule.Press HOLDPress RUN SCHEDto resume program scheduleAdjust temperature
29Vacation Hold OverrideThis feature can suspend the program schedule forextended period of days.Press HOLD for 5 seconds.Press △or ▽to set the temperature you want, then press△or ▽to set time of day you want to schedule to resumewhen you return.Whatever temperature you set will be maintained 24 hours aday for the number of days you select. After these numbersof days have elapsed, the previously programmed schedulewill resume at the time you set.If you return earlier thanexpected, pressRUN SCHED to resume the program schedule.Press HOLD for 5 secondsPress RUN SCHEDto resume program schedulePress RUN SCHEDto resume program scheduleAdjust temperaturePress to select number of days
30Temporary Hold OverrideInquiry for outside temperaturePress △or▽to immediately adjust the temperature. This willtemporarily override the temperature setting for the current timeperiod.The new temperature will be maintained until the time you set.When the timer expires, the program schedule will resume andsetthe temperature to the level you’ve programmed for the currenttime period.To cancel the temporary setting at any time, press RUNSCHED. The program schedule will resume.Inquiry for outside temperatureWhen remote sensor option is set to 1or 2, INFO will display inhome screen. Press INFO for inquiring outside temperature.Thermostat will display outside temperature.Press RUN SCHEDto resume program scheduleAdjust temperaturePress to set timePress INFO for inquiry the outsidetemperature
31Inquiry for filter count back timeThis operation is only available when filter replacement time is set. Configuration menu item 17 explains the way forinquiry for the count back time.Inquiry for UV lamp duration timePress DONE to resume indoor temperatur displayPress DONE to resume indoor temperatur displayShows when there outside sensoris either not installed or damaged
32This operation is only available when UV lamp duration time is set. Configuration menu item 18 explains the way forinquiry for the UV lamp duration time.Screen cleaningPress CLEAN DISPLAY to lock the screen for cleaning.The screen will remain locked for 30 seconds so youcan clean the screen without changing any setting.After 30 seconds, press DONE to resume normaloperation, or press CLEAN DISPLAY again if yourequire more time for cleaning.Note: Do not spray any liquid directly on the thermostat.Spray liquids onto a cloth, then use the damp cloth toclean the screen. Use water or household glass cleaner.Avoid abrasive cleansersPress CLEAN DISPLAYScreen lock timer(count back 30 seconds)
33Screen lockTo prevent tampering, the screen can be partially or fully locked. Configuration menu item 24 explain the way to partiallyor fully locked the screenSpecial featureIntelligent Recovery: See configuration menu item 6- Intelligent Recovery operation.Compressor protection: See configuration menu item 10- Select compressor lockout delayHeat Pump Temperature Lockout: See configuration menu item 21-Heat pump compressor lockout temperaturePROGRAMMINGSet Current Time clock and Day of the weekPress MENU for displaying main menu button.Press SET TIME button to enter to the clock-settingmode.Press the day to set current day of the week. Press △or▽to adjust the minutes or hours. Press NEXT STEPto shift between setting minutes and setting hours.Press DONE to save & exit (or press CANCEL to exitwithout changing the time).Set current day of the weekSet current minutesor hoursPress NEXT STEP  to shift from setting minuts to setting hoursPress DONE to confirm and exitPress CANCEL to cancel current setting and exit
34Adjust program schedulesPress MENU button to display main menu button. PressSET SCHED to enter set program mode.Select days to set program schedule. It can be a single dayof the week or a group of days of the weekSelect HEAT or COOL for program setting by pressingsystem button.To view preset schedule, press VIEW SCHED button.Press SET SCHEDto set programSelect HEAT or COOL for program setPress VIEW SCHED to view preset programPress RESET to resume factorydifault program settingPress CANCELto cancel settingand exitPress DONE to confirm and exitSelect day(s) to set program schedule
35Select 4 different time period for setting program schedule.WAKE, LEAVE, RETURN, SLEEP. When viewing theprogram, you can view the preset program schedule by selecting the day and the time period.Press CANCELto cancel settingand exitPress RESET to resume factorydifault program settingSelect HEAT or COOL for program setSelect day(s) to set program schedulePress NEXT STEPfor setting the programfor the rest day(s) of the weekPress time periodfor setting programschedulePress DONE to confirm and exit
36Adjust time and set temperature for selected time period by pressing △or▽Press DONE to save and exit (or press CANCEL to exit without saving changes)Press RESET and confirm by DONE to resume to factory default program schedule setting.Adjust set temperature for the time periodAdjust time forprogram periodstartPress DONE to confirm and exitPress time periodfor setting programschedulePress NEXT STEPfor setting the programfor the rest day(s) of the weekSelect day(s) to set program scheduleSelect HEAT or COOL for program setPress RESET to resume factorydifault program settingPress CANCELto cancel settingand exit
37Factory Default Pre-programThe thermostat is programmed with the energy saving settings shown in the table below for all days of the week. If thisprogram suits your needs, simply set the thermostat clock and press the RUN button. The table below shows thefactory set heating and cooling schedule for all days of the weekWake Up(Morning)Leave For Work(Day)Return Home(Evening)Go To Bed(Night)Heating Program6:0070℉8:0062℉17:0070℉22:0062℉Cooling Program6:0075℉8:0082℉17:0075℉22:0078℉Planning Your ProgramThe Heating and Cooling Program schedules below allow you to pencil in your own program times and temperatures.Keep the following guidelines in mind when planning your programIn Heating, lower temperatures will save energyIn Cooling, higher temperatures will save energyIf you plan on using Auto Changeover, set the heating temperature below the cooling set temperature for morethan the value of pre-set dead ban (See configuration menu item 5).
38Worksheet for Re-programming 7 day programHeatingProgramWake Up(Morning)Leave For Work(Day)Return Home(Evening)Go To Bed(Night)Mon6:0070℉8:0062℉17:0070℉22:0062℉TueWedThuFriSat6:0070℉8:0062℉17:0070℉22:0062℉Sun6:0070℉8:0062℉17:0070℉22:0062℉
39CUSTOMER ASSISTANCEAfter reading this guide, if you have any question about the operation of your thermostat,please contactyour installer or Energy Utility company or service provider.
 FCC Radiation Exposure Statement:      The transmitter must not be co-located or operated in conjunction with any other antenna or transmitter.   This equipment complies with the FCC RF radiation exposure limits set forth for an uncontrolled environment. This equipment should be installed and operated with a minimum distance of 20cm between the radiator and any part of your body.  FCC Warning  This device complies with Part 15 of the FCC Rules. Operation is subject to the following two conditions: (1) This device may not cause harmful interference, and (2) this device must accept any interference received, including interference that may cause undesired operation.  NOTE : Any changes or modifications to this unit not expressly approved by the party responsible for compliance could void the user's authority to operate the equipment.

Navigation menu