Se Jin Electron SKR-3406 Keyboard User Manual 1
Se Jin Electron Inc Keyboard 1
users manual
User’s Manual 
(M/N:SKR-3406) 
Sejin Electron Inc. 

FCC NOTICE 
THIS DEVICE COMPLIES WITH PART 15 OF THE FCC FULES. 
OPERATION IS SUBJECT TO THE FOLLOWING TWO CONDITION: 
(1) THIS DEVICE MAY NOT CAUSE HARMFUL INTERFERENCE, AND 
(2) THIS DEVICE MUST ACCEPT ANY INTERFERENCE RECEIVED,   
INCLUDING INTERFERENCE THAT MAY CAUSE UNDERSIRED   
OPERATION.  
This equipment has been tested and found to comply with the limits for a Class B digital device, 
pursuant to part 15 of the FCC Rules. These limits are designed to provide reasonable protection 
against harmful interference in a residential installation. This equipment generates, uses and can 
radiate radio frequency energy and, if not installed and used in accordance with the instructions, 
may cause harmful interference to radio communication. However, there is no guarantee that 
interference will not   
occur in a particular installation. If this equipment does cause harmful interference to   
radio or television reception, which can be determined by turning the equipment off and on, the 
user is encouraged to try to correct the interference by one or more of the following measures :   
- Reorient or relocate the receiving antenna.   
- Increase the separation between the equipment and receiver.   
- Connect the equipment into an outlet on a circuit difference from that to which   
    the receiver is connected.   
- Consult the dealer of an experienced radio/TV technician for help.   
NOTE : The manufacturer is not responsible for any radio or TV interference caused by   
unauthorized modifications to this equipment. Such modifications could void the user’s   
authority to operate the equipment.   

1. SCOPE 
This document provides a specification for the SEJIN standard USB keyboard. 
2. MECHANICAL PERFORMANCE 
2.1 Key switch Operation 
2.1.1 Operating system 
Non - lock rubber tactile feeling. 
2.1.2 Stroke 
3.5±0.5mm with measuring load 200gf applied. 
2.1.3 Operating Region 
ON/OFF
Swithing
region
0.7mm
0.8mm
Total traval
3.5±0.5mm
Bottom end
To
p
 end
ON re
g
ion
OFF re
g
ion
2.1.4 Operating force 
The operating curve is defined to the following drawing and the relationship 
between the operating force and travel is provided. The operating force has a 
tolerance of 60±25gf 
2.2 Operating feeling   
No definite stickiness or other abnormality shall be allowed when force is 
applied with a finger to keytop center at the rate of 3 times on a second. 
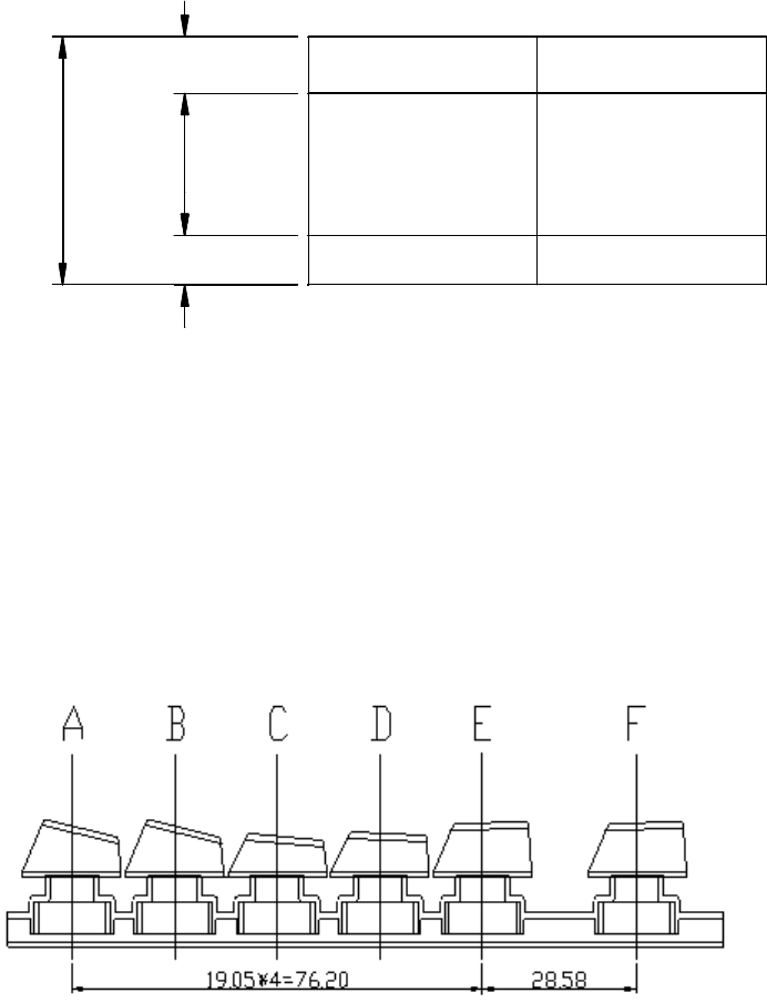
   2.3 Construction and dimensions  
Note: The applied keycap for “F” row is “E” row keycap. 
2.0mm 

    2.4 Key top Height Variation 
The key top height variation must not greater than 0.5mm when measured 
between the center to center of keys next to each other. The measurement will be 
performed with keys in the home positions. 
2.5 Keytop Alignment 
The key top alignment tolerances must not exceed 0.5mm when keytop 
measured between the center to center of keys next to each other. The 
measurement will be performed with keys in the home positions. 
2.6 Rotational Alignment 
The maximum rotation of key shall be less than 0.5mm as shown below. 
Rotational Alignment Alignment
Height variation
2.7 End stroke strength   
End stroke should withstand a static load of 500gf applied on the tip of the key 
stem in the perpendicular direction for 1minute. 
2.8 Keytop pulling strength 
The keytop pull out force shall be 0.5Kg or more at normal temperature during 
initial conditions.   
The keytop shall be not pulled out by an ordinary typing operations. 
2.09 Back Label 
The label will be squarely aligned and securely adhered with no voids or air 
bubbles.    The materials used and the way of manufacture and installation 
will be such as to render the label "tamper-proof," that is, the label material 
and adhesive combination will be such that a label will be damaged, 
delaminated, or destroyed upon removal or attempted removal.    The back 
label will contain MIC agency symbols, model number, part number, serial 
number and product of origin.     
     ※  Serial Number Information 
        1 K A B 000001 
                   Produced Quantity 
                   Production Line 
                   Internal LOT Number 
                   Produced Month (A=Jan, B=Feb, C=Mar, D=Apr, E=May, F=Jun,  
                         G=Jul, H= Aug, I=Sep, J=Oct, K=Nov, L=Dec) 
                   Last digit of Year 

3. WORKMANSHIP STANDARDS 
3.1 Electrical Criteria 
Electrical assemblies and components shall meet the requirements of IPC-A-
610 and J-STD-001, Class-1. 
3.2 Keycap Cosmetics 
The legend of keycap has to be printed with LASER    MARKING methodology 
by SEJIN standard and will have to pass the Sejin abrasion test. 
4. ELECTRICAL REQUIREMENTS 
4.1 Operating voltage range   
DC 5V±0.25 
4.2 Operating current 
Max 100mA 
4.3 Insulation resistance 
More than 100M ohm at 250V DC 
4.4 Contact resistance 
        2KΩor less 
4.5 Chattering and bounce 
Operation force shall be applied according to the normal operating method at 5V 
DC, 5mA.There shall be no bounce and chattering within 10msec when it is 
measured using a specially prepared tester or a synchroscope. 
        ※  Chattering and bounce are defined in the following diagram : 
5. ENVIRONMENTAL REQUIREMENTS 
        The following specifications pertain to the keyboard assembly. 
5.1 Operational ambient temperature and humidity 
Temperature :    0 ~ 50℃ 
Humidity   :  85%RH 
5.2 Storage ambient temperature and humidity 
Temperature :    -20 ~ 60℃ 
Humidity   :  95%RH 
5.3 Shock 
There shall be no abnormally in operation and appearance of the keyboard 

when an impact of 10G has been applied to the package keyboard. The 
testing method shall be in accordance with 213B of MIL-STD-202E 
5.4 Vibration 
The keyboard shall not be damaged electrically and mechanically when the 
following vibration has been applied to the packaged keyboard. The testing 
method shall be in accordance with 201A of MIL-STD-202E. 
Frequency: 10~55Hz 
Amplitude: 0.5mm   
Direction of vibration: Direction X, Y and Z individually 
Time of vibration: 2 hours 
5.5 Drop Test (Non-Operating) 
Purpose of test: To verify the keyboard’s ability to withstand being dropped 
from lap and desk heights. 
Test Parameters/Conditions: 25°C @ 50% R.H. 
Standard: After test, If the keyboard is recoverable(able to be   
           re- assembled),  it is acceptable. 
Packing 
Condition  Drop surface  Height  Test Description 
Hard wood  70Cm  2 drops for each corner   Non-
packing  Carpet  70Cm  1drop for 6 surfaces 
Inner box  Concrete  90Cm  1drop for 6 surfaces and 4 
corners. (Totally 10drop) 
Out box  Concrete  60Cm  1drop for 6 surfaces and 4 
corners. (Totally 10drop) 
5.6 Key life Test 
Standard: a. key-switch life: 10,000,000 cycles   
                b. Test equipment : Plunger Type. 
                  Actuation speed : 4 times/sec 
                  Press pressure : 200±50gf 
5.7 Low Temperature Test 
       Check Method: Leave for 96 hours under –25℃.     
       Standard:     The keyboard operates normally after the test. 
5.8 High Temperature Test 
       Check Method: Leave for 96hours under +65℃. 
       Standard:     The keyboard operates normally after the test. 
6.  CONFIGURATION 
The keyboard comprises the key switch section and signal processing circuit.   

The keyboard cable connects to the system with a USB connector. 
        The following table shows the pin configuration and signal assignments. 
Contact Number  Signal Name 
1 VBUS 
2 D- 
3 D+ 
4 GND 
Shell  Shield