Sharp HRO00029 1900MHz GSM/GPRS Cellular Phone User Manual
Sharp Corporation 1900MHz GSM/GPRS Cellular Phone
Sharp >
User Manual

7 Your Phone
Your Phone
Please check the following carefully. Your phone
should come complete with:
• GSM 900/1800/1900 GPRS phone
• Rechargeable Li-ion battery
• AC charger
• Hands free
•CD-ROM
• User guide
Accessories
• Li-ion spare battery (XN-1BT11)
• Cigarette lighter charger (XN-1CL10)
• Car holder (XN-1CH11)
• Data cable (RS232C cable: XN-1DC10)
Some of the above accessories may not be offered by
region.
For details, please contact your dealer.
(option)

Getting Started 8
Getting Started

9 Getting Started
1. Earpiece
2. Navigation Keys (Arrow Keys):
Move the cursor to select
menu items, adjust the
earpiece volume, etc.
Up/Down arrow keys:
Search the Phonebook
entries in stand-by mode.
Left arrow key: Adjusts the earpiece
volume in stand-by mode.
Right arrow key: Displays the Phonebook
menu in stand-by mode.
3. Centre Key: Displays the Main Menu
and executes the functions.
in this manual indicates
this key.
4. Left Soft Key: Executes the function at the
bottom left on the screen.
5. Send Key: Makes or accepts calls,
views the call in stand-by
mode.
6. Voice Mail Key:Used to connect to Voice
mail centre. (Depends on
the SIM card.)
7. * /Shift Key: Used to enter * or switch
the text mode.
8. Main-Screen Display
9. Hands free Connector
10. Right Soft Key: Executes the function at the
bottom right on the screen.
11. End/Power Key: Ends a call, turns power on/
off.
12. Keypad
13. Microphone
14.
External Connector
: Used to connect either the
charger or data cable.
15. Aerial
16.
Sub-Screen Display
17. Camera
18. Mirror: For self portraits.
19. LED Indicator
20. Infrared Port: Sends and receives data via
infrared.
21. Speaker
22. Side Keys
Up/Down keys: Move the cursor to select
menu items, etc.
23. Battery Cover

Getting Started 10
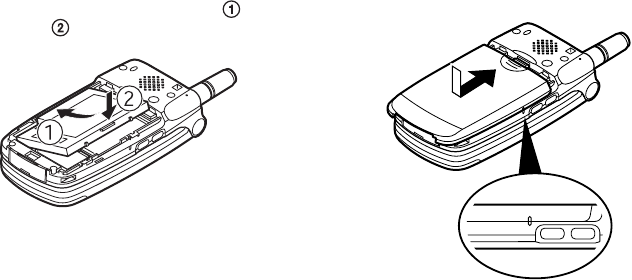
Inserting the SIM Card and the
Battery
1. Slide off the battery cover.
2. Slide the SIM card into the SIM holder.
SIM card

11 Getting Started
3. Hold the battery so that the metal contacts of the
battery are facing down, slide the guides on the top
of the battery into the battery slots , and then
insert it .
4. Replace the battery cover so that the marks are
aligned and slide it as shown.
Note
• Make sure that only 3V SIM cards are used.
• Use only the approved battery (XN-1BT11).

Getting Started 12
Removing the SIM Card and the Battery
1. Make sure to turn off your phone and disconnect
charger and other accessories. Slide off the battery
cover.
2. Pick up the battery using the protruding edge and
remove the battery from the phone.
3. Slide the SIM card by pushing the back of the card
and remove it from the SIM holder.

13 Getting Started
Battery Disposal
The device is supported by a battery. In order to protect
the environment, please read the following points
concerning battery disposal:
• Take the used battery to your local waste depot,
dealer or customer service centre for recycling.
• Do not expose the used battery to an open flame, into
water or dispose with the household waste.
Charging the Battery
You must charge the battery for at least 2 hours before
using your phone for the first time.
To Charge Using the Charger
1. Connect the charger to the external socket located at
the bottom of the phone with the charger’s “PUSH
TOP” mark facing towards you, and to an AC
outlet.
The LED indicator lights in red.
Standard charging time: Approx. 2 hours.
Note
• Charging time may be longer than above depending
on the state of a battery and a surrounding situation.
(See “Battery” on page 125.)
LED indicator

Getting Started 14
To disconnect the charger
Push and hold the side buttons of the charger, then
disconnect the charger from the external socket of the
phone.
2. When charging is complete, the LED indicator turns
off. Unplug the charger from the AC outlet, then
unplug the charger connector from the phone.
Note
• Do not use any non approved charger, this may
damage your phone and invalidate any warranty,
please see “Battery” on page 125 for details.
• When the phone is charging, the animated battery
status icon ( ) will be displayed in the upper right
of the screen.
To Charge Using the Cigarette Lighter Charger
The cigarette lighter charger (option) supplies power
for charging from the cigarette lighter socket of a car.
Battery Level Indicator
The current battery level is displayed in the upper right
hand side of the screen and the Sub-screen.
Low Battery During Use
When the battery is running low, an alarm will sound
and the “ ” will appear on the screen and the Sub-
screen.
If you are using your phone and you hear the “low
battery” alarm, attach your charger as soon as possible.
The phone may not be able to continue normal
operation if you continue to use it. The battery may only
last five minutes before the phone itself powers down
during a call.
Charge Level Indicators
Full level (greater than 60%)
Partial level (less than 60%)
Partial level (less than 30%)
Low level (less than 10%)
Charging the battery is
recommended.
Empty Charge the battery.

15 Getting Started
Turning Your Phone On and Off
To turn the power on, press and hold for
approximately 2 seconds.
The stand-by screen appears.
To turn the power off, press and hold for
approximately 2 seconds.
Entering the PIN Code
If activated you will be asked to enter a PIN (Personal
Identification Number) code after turning on your
phone.
1. Enter your PIN code.
2. Press .
Note
• If your PIN code is entered incorrectly three times in
a row, the SIM card is locked. See “Enabling/
Disabling the PIN Code” on page 100.
Display Indicators
Status
Indicators
Right softkey
Left
softkey

Getting Started 16
1. / : Indicates the strength of received
signal/the service is out of range.
2. : Appears when in call.
3. ///:
Indicates the input mode (Upper case
only the first letter of the word mode/
Upper case mode/Lower case mode/
Numeric mode).
4. : Appears when the T9 text input mode
is activated.
5. / / : Appears when a new SMS, MMS
Alert or WAP Alert has arrived.
6. / : Appears when viewing secured WAP
browser.
7. / : Appears when a picture or image/
sound is attached to MMS.
8. : Indicates a Phonebook entry stored in
the phone memory.
9. : Indicates a Phonebook entry stored on
the SIM card.
10. : Indicates the battery level.
11. : Appears when your phone is roaming
outside of your network.
12. : Appears when your phone is in data
communication mode.
13. : Appears when your phone is in fax
communication mode.
14. : Appears when your phone is GPRS
enabled and within range.
Flashes during GPRS transmission.
15. : Appears when Alarm is set.
16. : Appears when “Diverts” (p. 82) is set
to “All Calls”.
17. : Appears when the data cable is
connected to your phone.
18. : Appears when “Ringer Volume”
(p. 64) is set to “Silent”.
19. : Appears when Vibration alert is set.

17 Getting Started
20. (No display)/ / / / :
Indicates the phone’s mode (Normal
mode/Meeting mode/Activity mode/
Car mode/Silent mode).
21. : Appears when a voicemail message is
stored.
22. : Appears when up, down, right or left
navigation is available.
23. / : Appears when “Infrared” is on/during
connection.
24. / : Appears when the JavaTM application
is executed/suspended.
Softkey Indicators
To execute the operation indicated, press each
corresponding key.
25. Area at the lower left of a screen:
Displays the operation executed by
left softkey.
26. Area at the lower right of a screen:
Displays the operation executed by
right softkey.
Sub-Screen
Status Indicators
1. : Indicates the received signal strength.
2. : Appears when GPRS is within range
and can be used.
Flashes during in GPRS
communication mode.
3. : Appears when a new SMS, MMS
Alert or WAP Alert has arrived.
4. : Appears when Alarm is set.
5. : Indicates the battery level.
6./ : Appears when “Infrared” is on/during
connection.
7. : Appears when “Diverts” (p. 82) is set
to “All Calls”.
Status
Indicators

19 Call Functions
Call Functions
Making a Call
1. Enter the area code and the phone number you wish
to dial.
If you enter the wrong number, press [Clear] to
delete the number to the left of the cursor.
2. Press to dial.
Emergency Calls
1. Enter 112 (international emergency number) using
the keypad.
2. Press to dial.
Note
• Emergency calls may not be available on all mobile
phone networks when certain network services and/
or phone features are in use. Contact your network
operator for more information.
• This Emergency number can normally be used to
make an emergency call in any country, with or
without a SIM card inserted, if a GSM network is
within range.
International Calls
1. Press and hold until a “+” (international
dialling prefix) sign appears.
2. Enter the country code, followed by the area code
and the number.
3. Press to dial.
Note
• Enter the area code omitting the first 0 when making
international calls, in most cases. (It differs for some
countries.)
Speed Dialling
In the Speed Dial List, up to 9 phone numbers out of the
Phonebook can be set. You can call the numbers using
the digit keys ( to and ).
For details on setting the Speed Dial List, see “Speed
Dial List” on page 30.
1. Press and hold any of the digit keys ( to
and ).
The phone number stored in the Speed Dial List is
displayed, then dialled.

Call Functions 20
Redialling
You can redial the numbers in the call log list that you
may have missed, received or dialled. Each list can
contain up to 10 numbers.
1. Press during stand-by.
2. Press or to select a category between
“Dialled Numbers”, “Missed Calls” and “Received
Calls”.
3. Select the number you wish to call by pressing
or .
4. Press to redial the call.
Automatic Redialling
This setting allows you to automatically redial the
number if the first attempt was unsuccessful.
If you wish to stop redialling, press or [End].
To Set the Auto Redial Function
1. Press to display the Main Menu.
2.
Press or to select “Settings”, then press .
3. Press or to select “Call Settings”, then press
.
4. Press or to select “Auto Redial”, then press
.
5. Select “On” to enable the Auto Redial function or
“Off” to disable it, then press .
Note
• When you receive an incoming call, the Auto Redial
function will be interrupted.
• Automatic redialling is not available for fax and data
calls.
Ending a Call
1. Press to end the call.
Answering a Call
When an incoming call is detected, the phone rings and
the LED indicator flashes green.
1. Open your phone.
2. Press to answer the call.
or
Press any key except , [Reject], and
when the “Any Key Answer” function is enabled.
Set the Any Key Answer function in the profile in
each mode. (p. 68)

21 Call Functions
Tip
• When the hands free kit is connected to the phone,
you can answer calls by pressing the Side keys (up or
down).
• If you have subscribed to the Calling Line
Identification (CLI) service and the caller’s network
sends the number, the caller’s number will appear on
the screen. If the caller’s name and number are
stored in the Phonebook, the caller’s name will
appear on the screen.
• If the number is a restricted number, the display
shows “Withheld”.
• When receiving a call from the person whose picture
is registered in the Phonebook, receiving display and
the picture are displayed alternately.
Rejecting an Incoming Call
You can reject a call you do not wish to answer.
1. Press or [Reject] or press and hold the Side
keys (up or down) whilst the phone is ringing.
Incall Menus
Your phone has additional functions available whilst a
call is in progress.
Adjusting the Earpiece Volume
You can adjust the earpiece volume during a call.
1. During a call, press .
2. Press to increase the earpiece volume or press
to decrease the earpiece volume.
Each press of or adjusts the earpiece volume
by one of 5 levels.
3. Press [OK].
Tip
• You can also adjust the earpiece volume using the
Side keys (Volume up key or Volume down key)
during a call.
Putting a Call on Hold
This function allows you to manage two calls at the
same time. If you wish to make another call whilst you
are talking to someone, you can put the current call on
hold to call someone else.
To make another call during a call
1. During a call, press [Options] to display the
Options Menu.
2. Select “Hold”, then press .
The current call is put on hold.
To retrieve a call, press [Options] and
select “Retrieve”, then press .

Call Functions 22
3. Enter the phone number you wish to make another
call to, then press .
Tip
• You can also make another call by entering the phone
number during a call instead of steps 1 and 2. The
current call is automatically put on hold.
Call Waiting
This service notifies you of another incoming call
whilst you have a call in progress.
1. During a call, press [Answer] to answer the
second call.
The first call is put on hold and you can now talk to
the second caller.
2. Press [Options] and select “Swap” to switch
between the two calls.
3. Press [Options] and select “End Call”,
then press to end the current call and return to
the held call.
Note
• You need to set “Call Waiting” to “On” if you use
Call Waiting service (p. 89).
• Call Waiting service may not be available on all
networks. Contact your network operator for more
information.
• If you do not wish to answer the second call, press
[Reject] in step 1. The call log of the second call
will be saved as a missed call.
Conference Call
Conference call is a call with more than 2 participants.
You may include up to 5 participants in a conference
call.
Making a Conference Call
To make a conference call, you must have one active
call and one held call.
1. Press [Options] to display the Options Menu.
2. Press or to select “Multiparty”, then press
.
3. Press or to select “Join All”, then press
to join the conference call.
4. Press to end the conference call.
Note
• Conference call service may not be available on all
networks. Contact your network operator for more
information.

23 Call Functions
Adding New Participants to the Conference Call
1. Press [Options] to display the Options Menu.
2. Press or to select “Dial”, then press .
3. Enter the number you wish to include in the
conference call.
4. Press to dial.
5. Press [Options] to display the Options Menu.
6. Press or to select “Multiparty”, then press
.
7. Press or to select “Join All”, then press
to join the conference call.
If you wish to add other participants, repeat steps 1
to 7.
To End the Call with a Conference Call Participant
1. During a conference call, select the person who you
wish to disconnect the call by pressing or .
2. Press [Options] to display the Options Menu.
3. Press or to select “End Call”, then press
.
To Have a Private Conversation with one of the
participants
If you wish to have a private conversation with one of
the participants, you may select the participant from the
conference list and put the other participants on hold.
1. During the conference call, select the person that
you wish to talk to by pressing or .
2. Press [Options] to display the Options Menu.
3. Press or to select “Multiparty”, then press
.
4. Press or to select “Private”, then press .
5. Once you have finished the private conversation,
press [Options] and select “Multiparty”,
then press .
6. Press or to select “Join All”, then press
to return to the conference call.
Muting the Microphone
1. During a call, press [Mute] to mute the
microphone.
To unmute the microphone, press [Unmute].

Phonebook 24
Phonebook
You can store the phone numbers and E-mail addresses
of your friends, family and colleagues in the
Phonebook.
Group name (p. 26)
You can classify the phone numbers and names stored in
the Phonebook, such as “Family” and “Business”.
Entering Characters
When entering characters to create Phonebook entries,
SMS or MMS, etc., press the corresponding keys.
Table of Characters
Pressing each key scrolls characters in the following order.
Note
• Depending on the type of the data entry screen,
usable characters are limited.
Normal Mode
- : Press and hold to enter 0 - 9 numbers.
: Press and hold to shift to Sentence mode,
Capital letter, Small letter, Numeric.
: Press and hold to shift between Normal
and T9 mode.
Note
• When you send an SMS with Optimisation set “On
”
in
SMS Settings, characters with an accent will be sent
as characters with no accent.
For details, see “Optimisation” on page 115.
Key
Upper Case Characters
Lower Case
Characters
Numeric
.
(full-stop)
,
(comma)
-
(hyphen)
? !
’
(apostrophe)
@ _ ( ) / ” :1 1
ABC2ÃÁÀÂÄÅÆÇ abc2ãáàâäåæç 2
DEF3ÉÊÈË def3éêèë 3
GHI4Í Î Ì Ï ghi4í î ì ï4
JKL5 jkl5 5
6
PQRS7 pqrs7ß 7
8
WXYZ9ÝÞ wxyz9ýþ 9
(space)+ = < > £ $ ¥ % &0 0
*+P?
Key
Upper Case Characters
Lower Case
Characters
Numeric
(space)
,

25 Phonebook
Changing the Input Mode
To change the input mode, press for
approximately 2 seconds.
T9 Text Input
T9 text input method is a shortcut to enter text easily
and quickly.
1. Press and hold until “
”
is displayed.
2. Press each key once for any letter you require on
that key.
To enter the word “How”, press .
3. Press or until the correct word is shown if
the character combination, that was initially
displayed, is not correct.
4. Press to select the word.
Note
• If the correct word is not shown in step 3, enter the
correct word again after switching to the normal
input mode.
Tip
• If you press instead of step 4, a space is
inserted next to the selected word.
Symbols and Punctuation
To enter symbols or punctuation, press .
Using Text Template
You can use the sentences registered in My Text
Templates when entering characters.
For details on creating the text template, see “Adding
Phrases to My Text Templates” on page 46.
1. Press [Options] to display the Options Menu.
2. Press or to select “Insert Template”, then
press .
3. Select a desired text template by pressing or
, then press .
The selected text template will be inserted.
Creating a New Entry
You can choose either the phone (up to 500) or SIM
card memory locations to store the new entry.
The amount of phone numbers that you can store to the
SIM card is dependant on its capacity. Contact your
network operator for SIM details.
Phonebook Memories
Select the location for storing the Phonebook memory
before storing a new entry.
1. Press to display the Phonebook menu.
2. Press or to select “Settings”, then press .

Phonebook 26
3. Press or to select “Save Nos. to”, then press
.
4. Select “SIM Card” to store the entry on the SIM
memory or “Phone Memory” by pressing or
, then press .
When selecting “Choice”, you can choose SIM card
or phone memory every time you store a new
Phonebook entry.
Storing Names and Numbers
1. Press to display the Phonebook menu.
2. Press or to select “Add New Name”, then
press .
3. If you select “Choice” in step 4 in “Phonebook
Memories”;
Select “SIM Card” or “Phone Memory” by pressing
or , then press .
The name entry prompt appears.
4. Enter a name, then press .
For details on entering characters, see “Entering
Characters” on page 24.
The phone number prompt appears.
5. Enter the phone number, then press .
Up to 40 digits can be entered.
6. Select a desired number type by pressing or ,
then press .
7. Press [Save].
You can divide the phone numbers of the
Phonebook into groups. You can also register E-
mail address, personal data, and picture/image data.
(See “Storing Optional Data” for details.)
Storing Optional Data
You can store optional data after entering a phone
number. (See “Storing Names and Numbers” for
details.)
Note
• E-mail address, personal data, and picture/image
data cannot be stored on the SIM card.
Selecting Group Name
1. Press or to highlight the right side of
“ ”, then press .
2. Select a desired group name by pressing or ,
then press .
You can set to display the available group names
when you store/edit the Phonebook, see “View
Groups” on page 29.

27 Phonebook
Entering E-mail Address
3. Press or to highlight the right side of
“ ”, then press .
4. Enter the E-mail address, then press .
Up to 60 characters can be entered.
Entering Personal Data
5. Press or to highlight the right side of
“ ”, then press .
6. Enter the personal data, then .
Up to 60 characters can be entered.
Storing Picture/Image Data
You may store a picture/image for use with the
Phonebook.
When you receive a call from a person with a
Phonebook entry which also has a linked picture/image,
when the person calls, the linked picture/image will be
displayed.
7. Press or to highlight the right side of
“ ”, then press .
8. Select the desired picture/image, then press .
The selected picture/image will appear on the
screen.
9. Specify the range for displaying the picture/image
by pressing , , or , then press .
10.Press [Save].
Note
• The stored picture/image is automatically saved
under the “in Phonebook” section of the Saved
Pictures.
• The picture/image cannot be deleted in the Saved
Pictures. Remove the picture/image data from the
Phonebook.
Adding the Phone Number from the Call Log
Entries
1. Display the call log entry you wish to store (p. 77).
2. Press .
3. Press or to select “Save to Phonebook”, then
press .
4. Follow the procedure from step 3 in “Storing Names
and Numbers” on page 26.
Storing after Inputting a Phone Number
1. Enter the phone number, then press [Save].
2. Follow the procedure from steps 3 to 7 in “Storing
Names and Numbers” on page 26.

Phonebook 28
Finding a Name and Number
Two methods of searching through the Phonebook are
available:
Search by Name
1. Press to display the Phonebook menu.
2. Select “View Names”, then press .
3. Enter a name or the first character(s) of the name.
Matched results will be displayed alphabetically.
If there is no entry in the Phonebook that satisfies
the exact search criteria, the name that is nearest
alphabetically matching will be displayed.
4. Scroll through list by pressing or to select
the desired name, then press [Select].
The detailed screen of the Phonebook appears.
5. Press .
6. Press or to select the desired phone number,
then press to dial.
Tip
• If you press and select “Search” after step 2, you
can also search the name and number.
• You can also dial the desired phone number by
pressing the digit key corresponding to the list
number instead of step 6.
Search in Alphabetical Order
1. Press or whilst in stand-by to open the
Phonebook.
2. Scroll the list by pressing or to find the
desired name.
3. If you wish to do a name search, perform steps 3 and
4 in “Search by Name”.
Editing Phonebook Entries
You can edit Phonebook entries.
1. Search for the desired Phonebook entry.
For details on searching through Phonebook entries,
see “Finding a Name and Number” .
2. Press .
3. Press or to select “Edit”, then press .
4. Select an entry you wish to change by pressing
or , then press [Edit].

29 Phonebook
5. Edit entry as required.
6. Press .
If you wish to edit another item, repeat steps 4 to 6.
7. Press [Save] to save the change(s).
Deleting Phonebook Entries
1. Search for the desired Phonebook entries.
For details on searching through Phonebook entries,
see “Finding a Name and Number” on page 28.
2. Press .
3. Press or to select “Delete”, then press .
4. Select “Yes”, then press .
The selected entry will be deleted.
To cancel deletion, select “No” at step 4, then press
.
Checking Your Own Numbers
You can check and edit your own voice, data and fax
phone numbers in the Phonebook.
1. Press to display the Phonebook menu.
2. Press or to select “Own Numbers”,
then press .
3. Press or to select the phone number you
wish to check from either “Voice”, “Data” or “Fax”,
then press .
Note
• “Data” or “Fax” may not be displayed depending on
SIM card.
Editing Your Phone Numbers
1. Perform steps 1 to 3 in “Checking Your Own
Numbers”.
2. Press .
3. Press [Clear] to erase the phone number and
enter a new phone number.
4. Press to save the phone number.
View Groups
You can set the available group names when you store/
edit the Phonebook.
1. Press to display the Phonebook menu.
2. Press or to select “Settings”, then press .
3. Select “View Groups”, then press .

Phonebook 30
4. Select a desired group name by pressing .
“ ” indicates that the group has been selected.
To cancel the selected group, press again.
The checkbox becomes blank again.
Memory Status
This function helps you to check the number of entries
stored in the Phonebook.
1. Press to display the Phonebook menu.
2. Press or to select “Settings”, then press .
3. Press or to select “Memory Status”, then
press .
You can check the following memory status.
“SIM Card : xxx/xxx”
“Speed Dial : xx/xx”
“Phone : xxx/500”
Note
• The number of locations available on the SIM is
dependant on its capacity.
Speed Dial List
You can set a maximum of 9 phone numbers to the
Speed Dial List.
Use the phonebook entries on the SIM card.
Adding Phonebook entries to the Speed Dial
List
1. Search for the desired Phonebook entries.
For details on searching through Phonebook entries,
see steps 1 to 4 in “Search by Name” on page 28.
2. Press or to select the phone number.
3. Press .
4. Press or to select “Add to Speed”, then press
.
5. Select the number you wish to add by pressing
or , then press .
Viewing the Speed Dial List
1. Press to display the Phonebook menu.
2. Press or to select “Settings”, then press .
3. Press or to select “Speed Dial List”, then
press .
The stored names and phone numbers in the
selected entry are displayed in order.

31 Phonebook
Sending Messages
1. Search for the desired Phonebook entries.
For details on searching through Phonebook entries,
see steps 1 to 4 in “Search by Name” on page 28.
2. Press or to highlight the right side of
“”, “” or “”, then press
or
Press or to highlight the right side of
“ ”, then press .
3. Press or to select “Send Message”, then
press .
If you highlight the right side of “ ”, “ ” or
“ ” in step 2:
4. Press or to select “MMS” or “SMS”, then
press .
5. Enter your message.
For details on creating a message, see “Creating a
New MMS” on page 107 or “Creating a New SMS”
on page 115.

Using the Menu 32
Using the Menu
Using the Main Menu
1. Press during stand-by mode.
2. Press or to navigate to required location.
3. Press or to access function.
To Select Another Item within the Main Menu
To return to the previous screen after selecting a
function from the Main Menu or Sub Menu, press .
Every time you press , the screen goes back one by
one.
Operation Guidance
Your phone uses softkeys to help you to navigate the
phone ( and ). These keys change usage
depending on the situation. The function of each
softkey at any given time is highlighted at the bottom
left and bottom right of the screen.
Shortcut Keys
When pressing several key combinations during stand-
by mode, you can shortcut to the specified menus.
To access the desired menu directly, press and digit
keys for the menu’s corresponding number during
stand-by mode. See the following table as reference.
Example: To access “Language” Sub Menu using
shortcut keys
Press .
Note
• The shortcut keys work for the first three menu levels
only.
Side Keys
The Side keys (up or down) function the same as
pressing or .

33 Using the Menu
List of Menu Functions
* Depends on the contents of SIM card.
Menu No./
Main Menu
Menu No./
Sub Menu1
1Camera
2My Phone 1 My JavaTM Games
2 My Pictures
3 My Sounds
4 My Bookmarks
5 My Text Templates
6 Memory Status
3Fun & Games 1 Java
TM
Games
2 Other Games
3 Melody Editor
4 Tone Editor
4Profiles 1 Normal
2 Meeting
3 Activity
4 Car
5 Silent
5Organiser 1 Calculator
2 Calendar
3 Clock & Alarm
4 Voice Memo
5 Help List
6Call Manager 1 Phonebook
2 Call Register
3 Diverts
7Settings 1 Phone Settings
2 Call Settings
3
Network Settings
4 Internet Settings
5 Infrared
6 Security
7 Master Reset
8Vodafone live! 1 Vodafone live!
2 New
3
Chat
4 Games
5 Find & Seek
6 News
7 Sport
8 Shopping
9 Search
9Info-Service*
0Messages 1 MMS
2 SMS
3 Cell Broadcast
4 Cell Info
5 Vodafone Messenger
6 Vodafone Mail
Menu No./
Main Menu
Menu No./
Sub Menu1

Camera 34
Camera
Your phone incorporates an integrated digital camera.
This allows you to take and send pictures wherever you
are.
Taking Pictures
Put the phone into the camera mode to take a picture.
You can send the pictures registered in the Saved
Pictures with your message.
1. Press and hold for approximately 2 seconds
whilst stand-by.
The phone switches to the camera mode.
The camera view can be seen through the “on
screen” viewer.
2. Press or the Side keys (up or down) to take the
picture.
The shutter sound occurs and the static image of the
taken picture is displayed.
3. Press [Save].
“Save to My Phone” is displayed, then the picture is
registered.
If you send a picture by MMS after taking the
picture, press in step 3.
The camera returns to step 1 repeat process as
desired.
4. Press to return to stand-by.
Tip
• To leave Camera Mode without registering the taken
picture after step 2 in “Taking Pictures”:
Press and select “Yes”, then press .
• To take a picture of yourself, press or the Side
keys (up or down) whilst checking the image reflected
on the mirror on the back of the phone. Place/Hold
the phone at least 40 cm away from yourself.
Using the Zoom Function
Press [Zoom] to magnify the photographic subject.
Press [Wide] to restore the original magnification.
Note
• When “Select Picture Size” is set to “Large”, you
cannot use the zoom function.
To select the picture size
1. Press [Options] before step 2 in “Taking
Pictures” to display the Options Menu.
2. Press or to select “Select Picture Size”, then
press .
3. Select the picture size by pressing or , then
press .
(M 1)

35 Camera
To select the mode
1. Press [Options] before step 2 in “Taking
Pictures” on page 34 to display the Options Menu.
2. Press or to select “Select Mode”, then press
.
3. Select the mode by pressing or , then press
.
Note
• Vertical stripes may be reflected to a picture by light
source. Change the mode in this case.
Retaking Pictures
After steps 1 and 2 in “Taking Pictures” on page 34,
press [Back].
Further shooting is available.
Note
• The Digital Camera Uses a C-MOS Sensor. Although
this camera has been manufactured to the highest
specification, some pictures may still appear too
bright or too dark.
• If the phone has been left in a warm place for a long
time before taking or registering a picture, the
picture quality may be poor.
In the Case of No Available Memory
When the number of pictures that can be taken becomes
5 or less, or when the remaining capacity becomes 27.5
Kbytes (when “Medium” is selected as the picture size)
or less, “ ” will appear on screen. The screen returns
to step 2 in “Taking Pictures” on page 34. The number
of pictures that can be taken is displayed in the upper
left of the screen. (The number of pictures that can be
taken is approximate.)
When the number of pictures that can be taken becomes
0, and when you try to take a picture again, “Can not
take a picture. Maximum Capacity” is displayed.
Meanings of Indicators in Camera Mode
Delay timer indicator (p. 36)
: Whilst the timer setting is on.
Picture brightness indicators (p. 36)
:Bright
:
:Normal
:
:Dark
Picture size indicators (p. 34)
Large: 288 × 352 dots
Medium (default): 120 × 160 dots
Small: 60 × 80 dots

Camera 36
Mode indicator (p. 35)
: Mode 1
: Mode 2
Making Adjustments According to Lighting
Conditions
Adjusting the Brightness of the Picture
Adjust the brightness of the picture by pressing or
.
Once the phone has returned to the stand-by screen the
brightness settings return to default.
Viewing the Taken Pictures
The taken pictures can be viewed in the Saved Pictures.
1. In camera mode, press [Options].
The Options Menu is displayed.
2. Select “Existing Pictures”, then press .
The list of Saved Pictures is displayed.
3. Select the file name you wish to view by pressing
or , then press .
The selected picture is displayed.
4. Once you have finished, press [Back] to return
to the list.
Tip
• Your pictures are given file names which show the
time and date when the picture was taken.
Example:
The file name “13-05-03_12-34-56” is displayed for
the picture taken at 12:34:56 of 13th May 2003. The
file names of your pictures can be changed (p. 41).
Using the Timer
Taking a Picture with the Timer
1. In camera mode, press [Options].
The Options Menu is displayed.
2. Press or to select “Delay Timer”, then press
.
3. Press or to select “On”, then press .
“ ” appears on the screen and the phone returns
to camera mode.
4. Press to take the picture.
Delay timer begins.
10 seconds after the timer sound occurs, the camera
takes a picture, and sounds a tone.

37 Camera
Note
• Whilst the delay timer is operating, the LED
indicator and the icon flash.
• If is pressed whilst the delay timer is operating,
the picture is taken instantly.
• If there is an incoming call or alarm functioning,
or is pressed, whilst the delay timer is
operating, the camera operation is cancelled. In this
case, the timer setting is cancelled.
• The zooming function with [Zoom] / [Wide], or
the adjustment of brightness of the picture with or
, is unavailable whilst the delay timer is
operating.
Cancelling the Delay Timer
1. Press [Options] whilst the delay timer setting is
on.
The Options Menu is displayed.
2. Press or to select “Delay Timer”, then press
.
3. Press or to select “Off”, then press .
“ ” goes off.
Sending Pictures
See “Sending Messages” on page 42 for instructions.
Deleting Pictures
See “Deleting Pictures/Images” on page 42 for
instructions.

My Phone 38
My Phone
My Phone contains several types of picture/image and
sound data along with JavaTM applications which can
be controlled collectively. Also included in My Phone
are frequently used text message phrases and accessed
WAP pages (addresses) which you can use and edit.
Java™
Using JavaTM Applications
Various kinds of Vodafone specific JavaTM
applications can be used in this phone.
To use JavaTM applications, download the JavaTM
applications via the mobile Internet.
Some JavaTM applications offer the ability to connect to
a network either within a game or network based
application.
Note
•Java
TM applications may be both localised (no
connectivity) and network based (using the mobile
Internet to update information/play games). The
network may charge you more for using network-
based applications. Please contact your service
provider for more information.
Downloading JavaTM Applications
Confirmation screen
Before downloading the JavaTM application you will be
asked to confirm what you are about to receive.
After checking the information on the confirmation
screen, the JavaTM application can be downloaded.
Note
• User authentication might be required before
downloading the application on some information
screens.
Download
1. Press to display the Main Menu.
2. Press or to select “My Phone”, then press
.
3. Select “My JavaTM Games”, then press .
4. Press or to select “Download More”, then
press .
The JavaTM application download site is displayed.
5. Select the JavaTM application you wish to
download.
After a WAP browser is displayed variously, the
confirmation screen will appear after a whilst.

39 My Phone
6. Press [Get].
Downloading starts.
7. Press [OK] even if it carries out complete.
My Java™ Games
Along with the preloaded JavaTM application,
downloaded applications are stored in the Saved
Games.
Your phone has one preloaded JavaTM application.
Note
• The phone can store approximately 700Kbytes of
information across the Saved Games, Saved Pictures
and Saved Sounds. The Saved Games can store up to
50 applications.
Executing JavaTM Applications
1. Press to display the Main Menu.
2. Press or to select “My Phone”, then press
.
3. Select “My JavaTM Games”, then press .
4. Select “Saved Games”, then press .
The list of Saved Games is displayed.
The downloaded JavaTM applications are
sequentially displayed from the latest one.
5. Select the title of the JavaTM application you wish to
execute by pressing or , then press .
The selected JavaTM application is executed.
When using network connection type JavaTM
applications, connection to the network can be
selected.
To end the JavaTM application
1. Press .
2. Press or to select “End”, then press .
The screen returns to stand-by screen.
To suspend the JavaTM application
1. Press .
2. Press or to select “Suspend”, then press .
To resume the JavaTM application, press during
stand-by screen and select “Resume”, then press
.
Checking the Information of the JavaTM
Application
1. Perform steps 1 to 4 in “Executing JavaTM
Applications”.
2. Select the JavaTM application you wish to check,
then press [Options].
The Options Menu is displayed.
(M 2-1)

My Phone 40
3. Select “File Information”, then press .
The detailed information screen is displayed.
4. Press or to scroll through the screen.
5. When you have finished, press [Back] twice.
The screen returns to the Saved Games.
Deleting JavaTM Applications
1. Perform steps 1 to 4 in “Executing JavaTM
Applications” on page 39.
2. Select the JavaTM application you wish to delete,
then press [Options].
The Options Menu is displayed.
3. Press or to select “Delete”, then press .
4. Select “Yes”, then press .
The selected application is deleted.
To cancel deletion, select “No” at step 4, then press
.
Note
• You cannot delete preloaded JavaTM applications.
My Pictures
Pictures that are taken by a digital camera or images
that are downloaded from mobile Internet sites can be
managed.
: This is the folder where the pictures/images
registered in the Phonebook are saved.
: Images in PNG format
: Pictures/Images in JPEG format
: e-Animation file (NEVA)
: Images in GIF format
:Images in BMP format
: Images in WBMP format
: Images in WPNG format
The date and time when the photo was taken is
displayed as a file name for the picture.
Downloading Picture/Image File
1. Press to display the Main Menu.
2. Press or to select “My Phone”, then press
.
3. Select “My Pictures”, then press .
4. Select “Download More”, then press .
The picture/image file download site is displayed.
(M 2-2)

41 My Phone
Viewing Pictures/Images
1. Press to display the Main Menu.
2. Press or to select “My Phone”, then press
.
3. Select “My Pictures”, then press .
4. Select “Saved Pictures”, then press .
The list of Saved Pictures is displayed.
5. Select the file name you wish to view by pressing
or , then press .
The selected picture/image is displayed.
6. Once you have confirmed the picture/image, press
[Back] to return to the Saved Pictures.
Checking the Picture/Image Data
Select the desired data in step 5 in “Viewing Pictures/
Images”, then select “File Information” after pressing
[Options] to display the Options Menu.
The file type and size of the selected picture/image are
displayed. Whether the picture/image can be copied,
forwarded, or saved is also displayed.
To return to the Saved Pictures, press [Back] twice.
Changing the File Name
1. Perform steps 1 to 4 in “Viewing Pictures/Images”.
2. Select the file name you wish to change by pressing
or , then press [Options].
The Options Menu is displayed.
3. Select “Rename”, then press .
4. Enter a new file name.
To correct the last character, press [Clear]
briefly.
Press and hold [Clear] to clear all characters.
5. Press .
Note
• Following characters cannot be used for a file name:
/, \, :, *, ?, ", <, > and . (full-stop).
Adjusting the Size of the Picture/Image
The pictures/images that are registered in the Saved
Pictures can be adjusted for use as a wallpaper during
stand-by or as an incoming call display.
When the picture/image size is modified, the data size
is updated.
1. Perform steps 1 to 4 in “Viewing Pictures/Images”.

My Phone 42
2. Select the file name you wish to adjust by pressing
or , then press [Options].
The Options Menu is displayed.
3.
Press or to select “Adjust Size”, then press .
4. Select the picture/image size you wish to change by
pressing or , then press .
5. Specify the range for displaying the picture/image
by pressing , , or then press .
6. Press .
To cancel registration, press [Back] at any time
before step 6.
Note
• “Adjust Size” may not be available depending on the
picture/image original and copyright issued.
Sending Messages
1. Perform steps 1 to 4 in “Viewing Pictures/Images”
on page 41.
2. Select the file name you wish to send by pressing
or , then press [Options].
The Options Menu is displayed.
3. Press or to select “Send Message”, then
press .
4. Enter your message.
For details on creating a message, see “Creating a
New MMS” on page 107.
Note
• Pictures/images with a red icon cannot be sent
attached to a message.
Deleting Pictures/Images
1. Perform steps 1 to 4 in “Viewing Pictures/Images”
on page 41.
2. Select the file name you wish to delete by pressing
or , then press [Options].
The Options Menu is displayed.
3. Press or to select “Delete”, then press .
4. Select “Yes”, then press .
The selected picture/image is deleted.
To cancel deletion, select “No” at step 4, then press
.

43 My Phone
My Sounds
The ring tones instead created by Melody Editor and the
WAVE data recorded by Voice Memo are managed in
the Saved Sounds. Default ring tones are not contained.
: Sound file in SMAF format
: Original ringing tone (composed in Melody
Editor)
: Sound file in Standard MIDI format
: Sound file in i Melody format
: Sound file in WAVE format
Note
• SMAF (Synthetic music Mobile Application Format)
is a format of music data for mobile phones.
Downloading Sound Files
1. Press to display the Main Menu.
2. Press or to select “My Phone”, then press
.
3. Select “My Sounds”, then press .
4. Select “Download More”, then press .
The sound file downloaded site is displayed.
Playing Back Sounds
1. Press to display the Main Menu.
2. Press or to select “My Phone”, then press
.
3. Select “My Sounds”, then press .
4. Select “Saved Sounds”, then press .
The Saved Sounds is displayed.
5. Select the sound you wish to play back by pressing
or , then press .
The selected sound is played.
To stop playing, press [Stop].
Checking the Sound Data
Select the desired sound as in step 5 in “Playing Back
Sounds”, then select “File Information” after pressing
[Options].
The file type and size of the selected sound are
displayed. Whether the sound can be copied, forwarded
or saved is also displayed.
To return to the Saved Sounds, press [Back] twice.
(M 2-3)

My Phone 44
Changing the File Name
1. Perform steps 1 to 4 in “Playing Back Sounds” on
page 43.
2. Select the file name you wish to change by pressing
or , then press [Options].
The Options Menu is displayed.
3. Select “Rename”, then press .
4. Enter a new file name.
To delete the last character, press [Clear]
briefly.
Press and hold [Clear] to clear all characters.
5. Press .
Note
• Following characters cannot be used for a file name:
/, \, :, *, ?, ", <, > and . (full-stop).
Tip
• When “Data Edit” is displayed in the menu in step 2,
you are able to edit the sound (p. 57). Once you have
completed editing the newly saved file overwrites the
old file. This new file then becomes the original ring
tone.
Setting the Tone and Strength
1. Perform steps 1 to 4 in “Playing Back Sounds” on
page 43.
2. Select the file name you wish to edit by pressing
or , then press [Options].
The Options Menu is displayed.
3. Press or to select “Tone Set” or “Strength
Set”, then press .
For full details, see pages 55 to 57.
Note
• If “Tone Set” and “Strength Set” are not displayed
in the menu in step 2, you cannot change the settings.
Sending Messages
1. Perform steps 1 to 4 in “Playing Back Sounds” on
page 43.
2. Select the file name you wish to send by pressing
or , then press [Options].
The Options Menu is displayed.
3. Press or to select “Send Message”, then
press .
If you select your original ringing tone in step 2;
4. Press or to select the file format “SMAF”,
“MIDI” or “i Melody”, then press .

45 My Phone
5. Enter your message.
For details on creating a message, see “Creating a
New MMS” on page 107.
Note
• Sounds with a red icon cannot be sent attached to a
message.
• Only the first part of the data will be converted if you
select “i Melody” in step 4.
Deleting Sounds
1. Perform steps 1 to 4 in “Playing Back Sounds” on
page 43.
2. Select the file name you wish to delete by pressing
or , then press [Options].
The Options Menu is displayed.
3. Press or to select “Delete”, then press .
4. Select “Yes”, then press .
The selected sound has been deleted.
To cancel deletion, select “No” at step 4, then press
.
My Bookmarks
You can store desired (or frequently used) pages
(addresses) in My Bookmarks. It can save your time in
accessing WAP pages sites.
Adding a Bookmark
1. Press to display the Main Menu.
2. Press or to select “My Phone”, then press
.
3. Press or to select “My Bookmarks”, then
press .
The list of My Bookmarks is displayed.
4. Press [Options] to display the Options Menu.
When you add a bookmark for the first time, press
[Add] instead, then skip to step 6.
5. Press or to select “Add”, then press .
6. Enter the bookmark title, then press .
7. Enter the URL address, then press .
Accessing Bookmarked Pages
1. Perform steps 1 to 3 in “Adding a Bookmark”.
2. Select a bookmarked page you wish to access by
pressing or , then press .
(M 2-4)

My Phone 46
Editing Bookmarks
1. Perform steps 1 to 3 in “Adding a Bookmark” on
page 45.
2. Select the desired bookmark to edit by pressing
or , then press [Options].
The Options Menu is displayed.
3. Press or to select “Edit”, then press .
4. Edit the bookmark title.
For details on entering characters, see “Entering
Characters” on page 24.
5. Press .
6. Edit the URL address.
7. Press .
Deleting Bookmarks
1. Perform steps 1 to 3 in “Adding a Bookmark” on
page 45.
2. Select the desired bookmark to delete by pressing
or , then press [Options].
The Options Menu is displayed.
3. Press or to select “Delete”, then press .
4. Press or to select “Yes”, then press .
The selected bookmark has been deleted. To cancel
deletion, select “No” at step 4, then press .
My Text Templates
You can register up to 20 text templates for use in SMS
and MMS.
You can input messages or others more easily by
registering frequently used text.
128 characters may be registered in any text template.
Adding Phrases to My Text Templates
1. Press to display the Main Menu.
2. Press or to select “My Phone”, then press
.
3. Press or to select “My Text Templates”,
then press .
The list of My Text Templates is displayed.
4. Select the number you wish to register by pressing
or , then press
5. Enter the text, then press .
For details on entering characters, see “Entering
Characters” on page 24.
Editing Text Templates
1. Perform steps 1 to 3 in “Adding Phrases to My Text
Templates”.
(M 2-5)

47 My Phone
2. Select the number you wish to edit by pressing
or , then press .
3. Press or to select “Edit”, then press .
4. Enter new text.
To correct the last character, press [Clear]
briefly.
Press and hold [Clear] to clear all characters.
5. Press .
Viewing Text Templates
1. Perform steps 1 to 3 in “Adding Phrases to My Text
Templates” on page 46.
2. Select the number you wish to view by pressing
or , then press .
3. Press or to select “Confirm”, then press .
The selected text template is displayed.
4. After confirmation, press [Back] to return to
template list.
Deleting Text Templates
1. Perform steps 1 to 3 in “Adding Phrases to My Text
Templates” on page 46.
2. Select the text template you wish to delete by
pressing or , then press .
3. Press or to select “Delete”, then press .
4. Select “Yes”, then press .
The selected text template is deleted.
To cancel deletion, select “No” at step 4, then press
.
Memory Status
This function helps you to check the memory status of
the Galleries.
1. Press to display the Main Menu.
2. Press or to select “My Phone”, then press
.
3. Press or to select “Memory Status”, then
press .
(M 2-6)

Fun & Games 48
Fun & Games
Java™ Games
Settings (M 3-1-2)
Operation Priority
You can set the method of incoming phone calls and
alarm whilst a JavaTM application is operated.
1. Press to display the Main Menu.
2. Press or to select “Fun & Games”, then
press .
3. Select “JavaTM Games”, then press .
4. Press or to select “Settings”, then press .
5. Select “Operation Priority”, then press .
6. Select the option you wish to set by pressing or
, then press .
The options available are:
• “Incoming Call”
•“Alarm”
7. Press or to select methods, then press .
• “Priority”:
The JavaTM application is suspended automatically,
and you can receive the call or alarm will sound.
After finishing the call or alarm, the suspend icon
( ) is displayed and you will know there is a
suspended JavaTM application.
• “Notice”:
The marquee (character scrolls) is displayed on the
first line on the screen whilst the JavaTM application
continues. If you press , the JavaTM application is
suspended, and you can receive the call. After
finishing the call, the suspend icon ( ) is displayed
and you will know there is a suspended JavaTM
application.
Volume
You can set the sound volume of the JavaTM application
such as sound effect to one of the five levels or silent.
When “Ringer Volume” (p. 64) is set to “Silent”, the set
up has a priority.
1. Perform steps 1 to 4 in “Operation Priority”.
2. Press or to select “Sound Volume”,
then press .
The current volume level is displayed.
3. Press to increase the volume or press to
decrease the volume and then press .

49 Fun & Games
Backlight
You can select the method of backlight during the
operation of the JavaTM application from the following
three types:
• “On”: Lit whilst the JavaTM
application is operated.
• “Off”: Unlit whilst the JavaTM
application is operated
even if a key is pressed.
• “Normal Settings”:Works with the main backlight
setting. (p. 85)
1. Perform steps 1 to 4 in “Operation Priority” on
page 48.
2. Press or to select “Backlight”, then press
.
3. Select “On/Off”, then press .
4. Select “On”, “Off” or “Normal Settings” by
pressing or , then press .
To Set the Blinking Operation
You can set whether the blinking operation, which is
embedded in JavaTM application, is enabled.
1. Perform steps 1 and 2 in “Backlight”.
2. Press or to select “Blink”, then press .
3. Select “On” or “Off” by pressing or , then
press .
Vibration
When vibrator is set in the JavaTM application, you can
choose whether the operation is enabled or disabled.
When a SMAF file is specified in the JavaTM
application, you can operate the vibrator set in the
SMAF file.
Note
• SMAF (Synthetic music Mobile Application Format)
is a format of music data for mobile phones.
1. Perform steps 1 to 4 in “Operation Priority” on
page 48.
2. Press or to select “Vibration”, then press
.
3. Press or to select “Enable”, “Disable” or
“Link to Sound”, then press .
When you set “Link to Sound”, the JavaTM
application is syncronised with the vibrator.

Fun & Games 50
Online Services
You can adjust the display settings of the confirmation
screen when a JavaTM application attempts to connect
to the network.
1. Perform steps 1 to 4 in “Operation Priority” on
page 48.
2. Press or to select “Online Services”, then
press .
3. Press or to select “Yes”, then press .
To cancel confirmation, select “No”, then press
.
JavaTM Reset
To reset all settings in a JavaTM application
1. Perform steps 1 to 4 in “Operation Priority” on
page 48.
2. Press or to select “JavaTM Reset”, then press
.
3. Enter your handset code, then press .
If you enter a wrong handset code, the screen will
return to step 4 in “Operation Priority” on page 48.
4. Select “Settings Reset”, then press .
5. Press or to select “Yes”, then press .
All settings in a JavaTM application will be reset.
To cancel resetting, select “No”, then press .
To clear all JavaTM applications
All JavaTM applications stored in Saved Games are
cleared. The preloaded JavaTM application cannot be
deleted.
1. Perform steps 1 to 4 in “Operation Priority” on
page 48.
2. Press or to select “JavaTM Reset”, then press
.
3. Enter your handset code, then press .
If you enter a wrong handset code, the screen will
return to step 4 in “Operation Priority” on page 48.
4. Press or to select “All Clear”, then press
.
5. Press or to select “Yes”, then press .
All JavaTM applications are cleared.
To cancel clearing, select “No”, then press .

51 Fun & Games
JavaTM Information (M 3-1-3)
The information about the license of JavaTM can be
displayed.
Download More (M 3-1-4)
See “Download” on page 38 for instructions.
Other Games
Your phone comes complete with 3 games (PK Game,
Collection Hunter, Air Hockey).
You can enjoy these 3 games soon after purchase. You
can also enjoy various games by downloading JavaTM
application games provided in the Internet sites. (p. 38)
Starting Games
1. Press to display the Main Menu.
2. Press or to select “Fun & Games”, then
press .
3. Press or to select “Other Games”, then press
.
The game list is displayed.
4. Press or to select the desired game, then
press .
5. Select “New Game”, then press .
6. When you have finished playing, press .
Note
• If an incoming call is detected during gameplay, the
game will be stopped.
Game Guide
1.
Perform steps 1 to 4 in “Starting Games”.
2. Press or to select “Guide”, then press .
Game instructions are displayed.
Collection Hunter (M 3-2-2)
Check of a collection and reset of a game can be
performed in “Collection Hunter”.
To Check Collection
1. Perform steps 1 to 3 in “Starting Games”.
2. Press or to select “Collection Hunter”,
then press .
3. Press or to select “Collection View”,
then press .
To Reset the Game
1. Perform steps 1 to 3 in “Starting Games”.
2. Press or to select “Collection Hunter”,
then press .
3. Select “Reset Game”, then press .
4. Press or to select “Yes”, then press .
(M 3-2)

Fun & Games 52
Air Hockey (M 3-2-3)
The level of the game can be chosen for “Air Hockey”.
To Select a Game Level
1. Perform steps 1 to 3 in “Starting Games” on
page 51.
2. Press or to select “Air Hockey”, then press
.
3. Press or to select “Level”, then press .
4. Press or to select the level, then press .
Setting up Game Options (M 3-2-4)
1. Perform steps 1 to 3 in “Starting Games” on
page 51.
2. Press or to select “Game Settings”, then
press .
3. Press or to select “Backlight” or “Enable
Vibrate” to change the settings, then press .
4. Press or to select “On” or “Off”, then press
.
5. Press or to select “Sound Volume” to adjust
the sound volume, then press .
6. Press to increase the sound volume or press
to decrease the sound volume and then press .
Note
• If you wish to mute the sound during gameplay, press
. Press again to return the volume.
Melody Editor
You can create an original ringing tone by yourself, or
you can send a melody attached to an MMS.
You can input up to 190 tones × 16 chords, or 380 tones
× 8 chords per melody.
The original ringing tone is registered in the Saved
Sounds.
Creating Your Original Ringing Tone
1. Press to display the Main Menu.
2. Press or to select “Fun & Games”,
then press .
3. Press or to select “Melody Editor”,
then press .
4. Select “Create New”, then press .
5. Enter the title.
Up to 24 characters can be entered.
For details on entering characters, see “Entering
Characters” on page 24.
6. Press .
(M 3-3)
(M 3-3-1)

53 Fun & Games
7. Press or to select a tempo, then press .
The music tempo is described below.
• “Allegro (Fast)”: 150
• “Moderato (Normal)”: 125
• “Andante (Slow)”: 107
• “Adagio (Very Slow)”: 94
Tempo is defined by the number of crotchets ( )
played per minute.
8. Select “8 Chords” or “16 Chords” by pressing
or , then press .
9. Specify the musical scale and rest using the digit
keys.
For details on specifying the sound level and rest,
see “Specify the Musical Scale and Rest” on
page 54.
10.Specify the types of musical notes or rest using
or keys.
For details on specifying the musical notes and rest,
“Specifying the Types of Notes and Rests” on
page 54.
11.Press key after inputting one note.
Input the next note after the cursor moves to the
right.
12.Repeat steps 9 to 11 to input notes.
When you press during input, the melody that
you have entered is played back.
When you press [Options] and select “Play
before Cursor” whilst entering notes, the melody,
that is displayed on the screen, is played back up to
the cursor position.
When you press [Options] and select “Select
Chord”, you can select another chord. Repeat steps
9 to 11 to input notes for the new chord.
13.When you finish inputting, press [Options] to
display the Options Menu.
14.Select “Save”, then press .
15.Press or to select “Save to My Phone”, then
press .
Your original ringing tone is registered in the Saved
Sounds.
Note
• If the capacity or memory in the Saved Sounds
becomes insufficient, the message of “Maximum
Capacity : 80 Not registered” or “Not registered.
Memory Full” is displayed respectively. At that time,
the display returns to the screen of step 15. Try again
after deleting unnecessary data (p. 45).

Fun & Games 54
Specify the Musical Scale and Rest
Using the key shown below, specify the musical scale
and rest.
When you press the key shown above once, a crotchet
is specified in the middle scale (no mark).
When you press the same key repeatedly, the note will
shift cycle through the available octave ranges.
When you press or whilst a note is selected, the
note will raise one semitone higher or lower.
When entering rest: Crotchet rest is entered.
Specifying the Types of Notes and Rests
Specify notes and rests by pressing or
repeatedly.
When you make a dotted note or triplet, press
after selecting the target note.
Do Re Mi Fa Sol La Ti Rest
( )
( )
( )
( )
( )
Crotchet (Crotchet rest)
Quaver (Quaver rest)
Semiquaver (Semiquaver rest)
Semibreve (Semibreve rest)
Minim (Minim rest)

55 Fun & Games
Note
• You cannot make a dotted semiquaver (semiquaver
rest) or a dotted semibreve (semibreve rest).
• Three continuous notes are required for triplet.
To specify a tie, press after selecting the target
notes.
An underscore (_) is displayed next to the note, and the
note is tied with the next one.
To enter the next note, press and move the cursor to
the right. Then, repeat the operation on the previous
page.
If the cursor is positioned next to a note, you can repeat
the note immediately left of the cursor when or
is pressed.
Set the Tone
The phone can play notes using different instruments.
1. Perform steps 1 to 13 in “Creating Your Original
Ringing Tone” on page 52.
2. Press or to select “Tone Set”, then press
.
3. Select a category of the tone by pressing or .
4. Select a tone by pressing or , then press .
When “Play Current Chord” is selected, the melody
entered is played back in the selected tone.
When “Confirm Tones” is selected, the syllable
names are played back in the selected tone.
5. Select “OK”, then press .
Now you can create a melody.
You can select from the following 128 tones.
Category Tone Category Tone
Pianos
Piano
Bright Piano
E. Grand Piano
Honky-Tonk
Electric Piano 1
Electric Piano 2
Harpsichord
Clavi
Chimes
Celesta
Glockenspiel
Music Box
Vibraphone
Marimba
Xylophone
Tubular Bells
Dulcimer

Fun & Games 56
Organs
Drawbar Organ
Perc. Organ
Rock Organ
Church Organ
Reed Organ
Accordion
Harmonica
Tango Accordion
Guitars
Nylon Guitar
Steel Guitar
Jazz Guitar
Clean Guitar
Muted Guitar
Overdriven Gtr.
Distortion Gtr.
Gtr. Harmonics
Basses
Acoustic Bass
Finger Bass
Pick Bass
Fretless Bass
Slap Bass 1
Slap Bass 2
Synth Bass 1
Synth Bass 2
Strings 1
Violin
Viola
Cello
Contrabass
Tremolo Strings
Pizz. Strings
Harp
Timpani
Strings 2
Str. Ensemble 1
Str. Ensemble 2
Synth Strings 1
Synth Strings 2
Choir Aahs
Voice Oohs
Synth Voice
Orchestra Hit
Brasses
Trumpet
Trombone
Tuba
Muted Trumpet
French Horn
Brass Section
Synth Brass 1
Synth Brass 2
Category Tone Category Tone
Reeds
Soprano Sax
Alto Sax
Tenor Sax
Baritone Sax
Oboe
English Horn
Bassoon
Clarinet
Flutes/
Pipes
Piccolo
Flute
Recorder
Pan Flute
Blown Bottle
Shakuhachi
Whistle
Ocarina
Synth
Leads
Square Lead
Sawtooth Lead
Calliope Lead
Chiff Lead
Charang Lead
Voice Lead
Fifth Lead
Bass & Lead
Synth
Pads
New Age Pad
Warm Pad
Polysynth Pad
Choir Pad
Bowed Pad
Metallic Pad
Halo Pad
Sweep Pad
Synth
Effects
Rain
Soundtrack
Crystal
Atmosphere
Brightness
Goblins
Echoes
Science Fiction
Ethnics
Sitar
Banjo
Shamisen
Koto
Kalimba
Bagpipe
Fiddle
Shanai
Category Tone Category Tone

57 Fun & Games
* The default setting tone.
To create your original tone, see “Creating Your Original
Tone” on page 61.
Setting the Strength of the Original Ringing Tone
The strength of the original ringing tone can be set in 3
levels for each melody.
When you purchase this phone, the strength of the
original ringing tone is set to “forte (Loud)”.
1. Perform steps 1 to 13 in “Creating Your Original
Ringing Tone” on page 52.
2. Press or to select “Strength Set”, then press
.
3. Select a strength of the tone by pressing or ,
then press .
When “Play Current Chord” is selected, the original
ringing tone entered is played back in the selected
strength of the tone.
4. Select “OK”, then press .
Now you can create an original ringing tone.
Deleting an Original Ringing Tone
Perform steps 1 to 4 in “Deleting Sounds” on page 45.
Editing Original Ringing Tones
1. Perform steps 1 to 3 in “Creating Your Original
Ringing Tone” on page 52.
2. Press or to select “Existing Melodies”, then
press .
Percus-
sions
Tinkle Bell
Agogo
Steel Drums
Woodblock
Taiko Drums
Melodic Tom
Synth Drum
Reverse Cymbal
Effects
Gtr. Fret Noise
Breath Noise
Seashore
Bird Tweet
Telephone Ring
Helicopter
Applause
Gunshot
Original
Original 1 (Piano)*
Original 2 (Glockenspiel)*
Original 3 (Reed Organ)*
Original 4 (Nylon Guitar)*
Original 5 (Violin)*
Category Tone Category Tone

Fun & Games 58
3. Press or to select an original ringing tone
you wish to edit, then press [Options].
The Options Menu is displayed.
4. Press or to select “Data Edit”, then press
.
5. Edit the title and press .
6. Press or to select a tempo, then press .
7. Press or to select the number of chords, then
press .
8. Select a note you wish to change by pressing or
, then edit notes.
For details on editing tones, see “Tone Editor” on
page 59.
When you add notes, enter the note correctly on the
cursor.
To delete a note, press [Clear] briefly.
Press and hold [Clear] to clear all tones.
9. When you finish editing, press [Options] to
display the Options Menu.
10.Select “Save”, then press .
11.Select “Save to My Phone”, then press .
12.Press or to select “Over Write”, then press
.
The original ringing tone is changed.
If you select “New”, the melody before the
correction is not modified. The original ringing tone
is registered as a new original ringing tone.
Note
• When the number of chords is modified in step 7, the
confirmation screen may be displayed. When you
select “Yes”, a section of the melody may be deleted.
• When you are going to add notes in step 8, you cannot
add any notes if you have already entered 380 notes
(for 8 chords melodies) or 190 notes (for 16 chords
melodies).
Tip
• To delete the continuous melody, press [Options]
and then press after selecting “DEL after
Cursor” or “DEL before Cursor.” You can delete the
melody after the cursor or before the Cursor.

59 Fun & Games
Copying and Pasting Notes
You can copy and move a part of a melody to another
position.
Only original ringing tones or editable melodies can be
copied or moved.
1. Perform steps 1 to 7 in “Editing Original Ringing
Tones” on page 57.
2. Press [Options] to display the Options Menu.
3. Press or to select “Copy” or “Cut”, then
press .
4. Move the cursor to the first note to be copied or to
be cut and press .
5. Move the cursor to the last note to highlight the area
and press .
The highlighted area will be saved temporarily in
the memory. If you select “Cut” in step 3, the
highlighted area will be cut.
6. Press [Options] to display the Options Menu.
7. Press or to select “Paste”, then press .
8. Move the cursor to the point you wish to paste the
notes, then press .
Saved notes are pasted.
Tone Editor
You can make a tone and use it for the original ringing
tone.
Up to five types of tones can be registered respectively
for 8 chords and 16 chords.
FM Sound Source
Various types of tones can be composed by combining
the functions that generate one sine wave called an
“Operator”. The combination of the operator is called
an algorithm.
The operator acts as the modulator (modulating part) or
the carrier (modulated part) depending on the
algorithm.
• In each operator, various parameters such as multiple
or envelope can be set.
• By setting the feedback to the specified operator,
wider tone ranges can be created.
(M 3-4)

Fun & Games 60
Setting an Algorithm
Set the combination of the operator.
Select from 4 types of combinations in 8 chords, and 2
types in 16 chords.
(Green number): The modulator (modulating part)
(White number): The carrier (modulated part)
Setting the Operator
The meaning and content of the parameter that can be
set to the operator is described below.
8 Chords
16 Chords
Algorithm3 Algorithm4 Algorithm5 Algorithm6
Algorithm1 Algorithm2
Parameter Meaning
Multiple
(13 levels)
When the value of the carrier is large, the
sound becomes high. You can set various
types of notes by changing the values of the
modulator.
Envelope
(Continu-
ous/Decay)
This sets continuous same note or fade-out.
Sustain
(On/Off)
This sets a note to be sustained after com-
pleting the note. If you want to have a note
with reverberation, set this function on.
Key Scale
Rate
(2 levels)
Set the function to “2” if you want to a short
note.
Key Scale
Level
(4 levels)
This function sets the rate of reducing the
volume as a note becomes higher.
Total Level
(64 levels)
In the carrier, the volume becomes large as
this level becomes higher.
In the modulator, the melody becomes
brighter as this level becomes higher. The
melody becomes softer as this level
becomes smaller.
Attack Rate
(15 levels)
This sets the time from the beginning of the
sound to the maximum volume.

61 Fun & Games
Set the Effect Frequency
Define the frequency of the vibrato or tremolo.
The frequency becomes faster as the figure increases.
Creating Your Original Tone
1. Press to display the Main Menu.
2. Press or to select “Fun & Games”, then
press .
3. Press or to select “Tone Editor”, then press
.
4. Select “For 8 Chords” or “For 16 Chords” by
pressing or , then press .
5. Select the number you wish to register and press
.
6. Press or to select “Rename”, then press .
7. Enter the title.
Up to 16 characters can be entered.
For details on entering characters, see “Entering
Characters” on page 24.
8. Press .
9. Press or to select “Base Tone Set”, then
press .
10.Select a category of the tone by pressing or .
Decay Rate
(16 levels)
This sets the time from the maximum volume
to the volume of the sustain level.
Sustain
Level
(16 levels)
In sustaining note, this displays the volume
of the sound that continues to produce. In
fading-out note, this displays the volume
when the note starts fading-out.
Release
Rate
(16 levels)
In sustaining note, this displays the sustain-
ing time from note completion to no sound.
In fading-out note, this displays the time from
starting fade-out to no sound.
Wave
Shape
(8 types)
Select the basic wave type from eight types.
Vibrato
(4 levels/
Off)
Set the vibrato. If the vibrato is used, select
from 4 levels.
Tremolo
(4 levels/
Off)
Set the tremolo. If the tremolo is used, select
from 4 levels.
Feedback
(8 levels)
Set the level of modulation in the modulator
feedback for Operator 1.
Parameter Meaning
Type 1 Type 2 Type 3 Type 4
Type 5 Type 6 Type 7 Type 8

Fun & Games 62
11.Select a base tone by pressing or , then press
.
When “Confirm Tones” is selected, the syllable
names are played back in the selected tone.
12.Select “OK”, then press .
13.Press or to select “Details Editor”, then
press .
14.Press or to select “Algorithm x”, then press
.
15.Select an algorithm you wish to set by pressing
or , then press .
If you do not wish to change the operator, skip to
step 20.
16.Select an operator you wish to change by pressing
or , then press .
The basic note parameter is set in advance.
17.Select a parameter you wish to change by pressing
or .
18.Press or to change the content of the
parameter.
For details of parameter, see pages 60 to 61.
When you press , the syllable names are played
back in the selected content of the parameter.
Repeat steps 17 and 18 to change another content of
the parameter.
19.Press or to select “Setup End”, then press
.
If you do not wish to change the effect frequency,
skip to step 22.
20.Press or to select “Effect Frequency”, then
press .
21.Select the effect frequency you wish to set by
pressing or , then press .
22.Press or to select “Details End”, then press
.
23.Press or to select “Save”, then press .
Your original tone is registered.

63 Profiles
Profiles
You can easily alter the phone tone (e.g. the ringer
volume, keypad tones, etc.) according to your
environment.
Tone sound and vibration set can be customized for
each profile.
There are 5 profiles including one user definable
profile:
•Normal
• Meeting
• Activity
•Car
• Silent
Activating a Profile
1. Press to display the Main Menu.
2. Press or to select “Profiles”, then press .
3. Select the profile you wish to activate by pressing
or , then press .
4. Press or to select “Activate”, then press .
The profile will now be activated.
Note
• When a profile is set, the icon which corresponds to
the profile name appears in the stand-by screen:
Normal: Is the default setup. (not displayed
in the stand-by screen)
Meeting: For use when discretion is needed.
Activity: For use in busy environments.
Car: For use in the car. (connected to a
hands free kit)
Silent: For use when silence is needed.
All sounds are muted and you are
alerted to calls with the vibrator.
Tip
• You can also activate a profile by pressing and
holding for approximately 2 seconds instead of
steps 1and 2.
Customising Profiles
1. Perform steps 1 and 2 in “Activating a Profile”.
2. Select the profile you wish to customise by pressing
or , then press .
3. Press or to select “Edit”, then press .
4. Select the setting you wish to customise by pressing
or , then press .
(M 4)

Profiles 64
5. Change the setting you want.
For details about settings, see pages 64 to 68.
Resetting Profile Settings
1. Perform steps 1 and 2 in “Activating a Profile” on
page 63.
2. Select the profile you wish to reset by pressing
or , then press .
3. Press or to select “Edit”, then press .
4. Press or to select “Set to Default”, then
press .
5. Enter your handset code, then press .
6. Press or to select “Yes”, then press .
To cancel the resetting, select “No”, then press .
Note
• If you enter a wrong handset code in step 5, the
screen returns to step 4.
Ringer Volume
You can adjust the ringer volume to one of 5 levels.
When it is set to “Silent”, the volume of games and
JavaTM applications is muted.
1. Perform steps 1 to 3 in “Customising Profiles” on
page 63.
2. Press or to select “Ringer Volume”, then
press .
The current volume level is displayed.
3. Press to increase the ringer volume or press
to decrease the ringer volume and then press .
To select “Step Tone”, press at level 5.
To select “Silent”, press at level 1.
Ringer Type
You can select the ringing tone from 30 tones including
5 patterns, 15 sound effects and 10 melodies. You can
also select a sound in the Saved Sounds as the default
ringing tone excluding the WAVE format.
1. Perform steps 1 to 3 in “Customising Profiles” on
page 63.
2. Press or to select “Assign Melody”, then
press .

65 Profiles
3. Press or to select “Preset Melody” or “My
Sounds”, followed by .
4. Select the ringing tone you wish to use by pressing
or .
If you wish to hear the demo, press [Play].
To stop playing, press [Stop].
5. When selection is complete, press .
Vibration
When the vibrator option is set to on, the phone will
vibrate for incoming calls regardless of the ringer
volume and tone settings.
1. Perform steps 1 to 3 in “Customising Profiles” on
page 63.
2. Press or to select “Vibration”, then press
.
3. Press or to select “Enable”, “Disable” or
“Link to Sound”, then press .
Tip
• When “Link to Sound” is selected in step 3, melodies
are synchronised with the vibrator for the ringing
tone. However, this function may not work depending
on data.
• When you select “Enable” or “Link to Sound” in step
3, “ ” appears on the stand-by screen.
Keypad Tones
When the keypad tone is set to on, you will hear a
confirmation tone each time you press a numerical key.
1. Perform steps 1 to 3 in “Customising Profiles” on
page 63.
2. Press or to select “Keypad Tones”, then
press .
3. Press or to select “On” or “Off”, then press
.
If you select “Off”, the screen returns to step 1.
4. Set “Volume”, then press .
5. Press to increase the volume or press to
decrease the volume, then press .
6. Press or to select “Melody”, then press .
7. Press or to select either “Preset Melody”,
“My Sounds” or “Default Tone”, then press .

Profiles 66
When you select “Preset Melody” or “My Sounds” in
step 7:
8. Select the keypad tone.
For details on selecting a ringing tone, see “Ringer
Type” on page 64.
9. Press or to select “Duration”, then press
.
10.Set the duration by pressing or , then press
.
Warning Tone
This function enables your phone to emit the warning
tone when an error occurs.
1. Perform steps 1 to 3 in “Customising Profiles” on
page 63.
2. Press or to select “Warning Tone”, then
press .
3. Press or to select “On” or “Off”, then press
.
If you select “Off”, the screen returns to step 1.
4. Select “Volume”, then press .
5. Press to increase the volume or press to
decrease the volume, then press .
6. Press or to select “Melody”, then press .
7. Press or to select “Preset Melody” or “My
Sounds”, then press .
8. Select the warning tone.
For details on selecting a ringing tone, see “Ringer
Type” on page 64.
9. Press or to select “Duration”, then press
.
10.Select the duration by pressing or , then
press .
Power On/Off Sound
You can set up to emit a sound and select the melody,
volume and duration when the phone is turned on or off.
1. Perform steps 1 to 3 in “Customising Profiles” on
page 63.
2. Press or to select “Power On Sound” or
“Power Off Sound”, then press .

67 Profiles
3. Press or to select “On” or “Off”, then press
.
If you select “Off”, the screen returns to step 1.
4. Select “Volume”, then press .
5. Press to increase the volume or press to
decrease the volume and then press .
6. Press or to select “Melody”, then press .
7. Press or to select “Preset Melody” or “My
Sounds”, then press .
8. Select the ringing tone.
For details on selecting a ringing tone, see “Ringer
Type” on page 64.
9. Press or to select “Duration”, then press
.
10.Enter the duration of ringing tone in 2 digits (01 to
10 seconds) using the digit keys, then press .
Message Alert
When receiving messages, special ring tones can be set.
1. Perform steps 1 to 3 in “Customising Profiles” on
page 63.
2. Press or to select “Message Alert”, then
press .
3. Press or to select “MMS”, “SMS” or
“WAP”, then press .
4. Select “Volume”, then press .
5. Press to increase the volume or press to
decrease the volume and then press .
6. Press or to select “Melody”, then press .
7. Press or to select “Preset Melody” or “My
Sounds”, then press .
8. Select the ringing tone.
For details on selecting a ringing tone, see “Ringer
Type” on page 64.
9. Press or to select “Vibration”, then press
.
10.Press or to select “Enable”, “Disable” or
“Link to Sound”, then press .

Profiles 68
11.Press or to select “Duration”, then press
.
12.Enter the duration of ring tone in 2 digits (01 to 99
seconds) using the digit keys, then press .
Low Battery Alert
Adjust the volume of the alarm when the battery
becomes low.
1. Perform steps 1 to 3 in “Customising Profiles” on
page 63.
2. Press or to select “Low Battery Alert”, then
press .
3. Press to increase the volume or press to
decrease the volume and then press .
Any Key Answer
1. Perform steps 1 to 3 in “Customising Profiles” on
page 63.
2. Select “Any Key Answer”, then press .
3. Select “On” or “Off” by pressing or , then
press .

69 Organiser
Organiser
Calculator
The calculator function performs the 4 arithmetic
calculations using up to 12 digits.
1. Press to display the Main Menu.
2. Press or to select “Organiser”, then press
.
3. Select “Calculator”, then press .
4. Select “Calculator”, then press .
The calculator appears on the display.
5. Key operations for calculation are as follows.
To enter a decimal point, press .
To clear the entered number or operand, press
[C].
To do the calculations, press .
6. If you wish to start a new calculation, press [C].
When calculation is complete, press .
Rate Conversion
You can also use the calculator as a currency calculator
to convert from/to a home currency using a conversion
rate that you enter.
To Set a Currency Conversion Rate (M 5-1-2)
1. Perform steps 1 to 3 in “Calculator”.
2. Press or to select “Exchange Rate”, then
press .
3. Press or to select “Foreign Domestic” or
“Domestic Foreign”, then press .
To delete all digits, press [Clear].
4. Enter the currency conversion rate, then press .
To Convert a Value
1. Perform steps 1 to 4 in “Calculator”.
2. Enter the value to be converted, then press .
(M 5-1-1)

Organiser 70
3. Press or to select “In Domestic” or “In
Foreign”, then press .
The result is displayed.
If you select “Exchange Rate” in step 3, you can set
a currency conversion rate.
4. When calculation is complete, press .
Note
• You cannot perform step 2 when a sign of the four
fundamental processes of arithmetic is displayed.
Calendar
The Calendar function helps you organise and manage
your busy schedule. You can view the stored schedule
on a monthly basis.
1. Press to display the Main Menu.
2. Press or to select “Organiser”, then press
.
3. Press or to select “Calendar”, then press
.
The current month will be displayed and current
date will be highlighted.
4. Select the day for the schedule by pressing , ,
or , then press .
5. Press or and select the note number, then
press .
6. Enter the schedule content, press .
Up to 3 schedule items can be stored.
For details on entering characters, see “Entering
Characters” on page 24.
If you wish to add another item, repeat steps 5 and 6.
7. When you have finished entering, press [Back].
The screen returns to the calendar. Dates with
scheduled tasks/meetings are underlined.
Note
• The calendar can be displayed for dates from
January 2000 through to December 2099.
Find a Particular Date
You can move the view to a specified date in the
calendar.
1. Press [Options] to display the Option Menu.
2. Select “Go to Date”, then press .
3. Enter the date of the calendar to be displayed, then
press .
The specified date is displayed.
(M 5-2)

71 Organiser
Deleting Schedules
To Delete Schedule Items
1. Perform steps 1 to 3 in “Calendar” on page 70.
2. Select the day by pressing , , or , then
press .
3. Select the item you wish to delete by pressing or
, then press [Options].
The Options Menu is displayed.
4. Press or to select “Delete”, then press .
5. Select “1 Data”, then press .
6. Select “Yes”, then press .
To cancel deleting, select “No” at step 6, then press
.
To Delete All Scheduled Tasks/Meetings for a
Specific Day
1. Perform steps 1 to 3 in “Calendar” on page 70.
2. Select the day you wish to delete by pressing ,
, or , then press [Options].
The Options Menu is displayed.
3. Press or to select “Delete”, then press .
4. Select “1 Day” to delete all contents for a day, then
press .
5. Select “Yes”, then press .
To cancel deleting, select “No” at step 5, then press
.
To Delete All Scheduled Entries
1. Perform steps 1 to 3 in “Calendar” on page 70.
2. Press [Options] to display the Options Menu.
3. Press or to select “Delete” to delete all
scheduled entries, then press .
4. Press or to select “All Data” to delete all
scheduled entries, then press .
5. Select “Yes”, then press .
To cancel deleting, select “No” at step 3, then press
.
Clock & Alarm
You need to set the correct time and date in order for
your phone’s various time-based functions to work
correctly.
Setting the Date and Time
1. Press to display the Main Menu.
2. Press or to select “Organiser”, then press
.
3. Press or to select “Clock & Alarm”, then
press .
(M 5-3-4)

Organiser 72
4. Press or to select “Set Date/Time”, then
press .
5. Enter the day, month, year and time using the digit
keys, then press .
When you enter the time in a 12-hour clock format,
press and change am/pm.
The order in which the date and time appears is
based on the format setting. See “To Select the Date
Format”.
To Select the Time System
1. Perform steps 1 to 3 in “Setting the Date and Time”
on page 71.
2. Press or to select “Clock Settings”, then
press .
3. Select “Time Format”, then press .
4. Press or to select “12 hour” or “24 hour”,
then press .
To Select the Date Format
The date format can be switched between “Day-Month-
Year”, “Month-Day-Year” or “Year-Month-Day”.
1. Perform steps 1 to 3 in “Setting the Date and Time”
on page 71.
2. Press or to select “Clock Settings”, then
press .
3. Press or to select “Date Format”, then press
.
4. Press or to select “D-M-Y”, “M-D-Y” or
“Y-M-D”, then press .
To Set the Clock Display
1. Perform steps 1 to 3 in “Setting the Date and Time”
on page 71.
2. Press or to select “Clock Settings”, then
press .
3. Press or to select “Display Format”, then
press .
4. Press or to select “Time Only”, “Date Only”
or “Date & Time”, then press .
To set hide clock, select “Off” at step 4, then press
.
When “Wallpaper” is set to “On”, the date is not
displayed in the main screen.
To Set Daylight Saving Time
You can switch to daylight saving time without having
to change the clock time itself.
1. Perform steps 1 to 3 in “Setting the Date and Time”
on page 71.

73 Organiser
2. Press or to select “Clock Settings”, then
press .
3. Press or to select “Daylight Saving”, then
press .
4. Press or to select “On”, then press .
Setting the Time Zone (M 5-3-3)
1. Perform steps 1 to 3 in “Setting the Date and Time”
on page 71.
2. Press or to select “Set Time Zone”,
then press .
3. Select “Change Zone”, then press .
4. Press or to set the home city, then press .
To Customise the Time Zone
1. Perform steps 1 to 3 in “Setting the Date and Time”
on page 71.
2. Press or to select “Set Time Zone”, then
press .
3. Press or to select “Set Custom Zone”, then
press .
4. Enter the time using the digit keys, then press .
Each press of switches - and +.
Setting Alarm
Alarm function allows you to be alerted at a specified
time.
Note that the alarm may not function correctly if the
clock has not been set.
1. Press to display the Main Menu.
2. Press or to select “Organiser”, then press
.
3. Press or to select “Clock & Alarm”, then
press .
4. Select “Set Alarm”, then press .
5. Select “List Alarm”, then press .
6. Press or to select the desired alarm number,
then press .
Up to 5 alarm times can be specified.
7. Select “Set Time”, then press .
8. Enter the alarm time using the digit keys, then press
.
When you enter the alarm time in a 12-hour clock
format, press and change am/pm.
9. Press or to select “Repeat Daily”, then press
.
(M 5-3-1)

Organiser 74
10.Press or to select “On” or “Off”, then press
.
11.Press or to select “Alarm Status”, then press
.
12.Press or to select “On”, then press .
13.Press [Save].
To Change the Type of Alarm Tone
1. Perform steps 1 to 6 in “Setting Alarm” on page 73.
2. Press or to select “Alarm Tone”, then press
.
3. Select “Melody”, then press .
4. Press or to select “Preset Melody” or “My
Sounds”, then press .
5. Select the alarm tone.
If you wish to hear the demo play, press [Play].
To stop playing, press [Stop].
6. When selection is complete, press .
To Change the Vibration of Alarm
1. Perform steps 1 to 6 in “Setting Alarm” on page 73.
2. Press or to select “Alarm Tone”, then press
.
3. Press or to select “Vibration”, then press
.
4. Press or to select “Enable”, “Disable” or
“Link to Sound”, then press .
To Change the Duration of Alarm
1. Perform steps 1 to 10 in “Setting Alarm” on
page 73.
2. Press or to select “Alarm Tone”, then press
.
3. Press or to select “Duration”, then press
.
The current duration is displayed.
4. Enter the length of the duration in 2 digits (02 to 59
seconds) using the digit keys, then press .

75 Organiser
Changing Alarm Settings
1. Perform steps 1 to 5 in “Setting Alarm” on page 73.
2. Select the number you wish to change by pressing
or , then press .
3. Change Alarm settings.
For details on changing Alarm settings, see “To
Change the Type of Alarm Tone” on page 74.
Disabling Alarm Function
1. Perform steps 1 and 2 in “Changing Alarm
Settings”.
2. Press or to select “Alarm Status”, then press
.
3. Press or to select “Off”, then press .
4. Press [Save].
“ ” disappears from the screen.
Resetting an Alarm Setting
1. Perform steps 1 to 5 in “Setting Alarm” on page 73.
2. Select the number you wish to reset by pressing
or , then press .
3. Press or to select “Reset Alarm”, then press
.
4. Press or to select “Yes”, then press .
Resetting All Alarm Settings
1. Perform steps 1 to 4 in “Setting Alarm” on page 73.
2. Press or to select “Clear All”, then press
.
3.
Press or to select “Yes”, then press .
Voice Memo
This allows you to record a voice message of up to 10
seconds, which can be used to remind you of schedule
entries or be sent within an MMS. The recorded voice
memo is registered in the My Sounds.
Recording a Voice Memo
1. Press to display the Main Menu.
2.
Press or to select “Organiser”, then press .
3. Press or to select “Voice Memo”, then press
.
4.
Press to start recording.
To stop recording before the recording time is over,
press [Stop]
.
(M 5-4)

Organiser 76
5. Select “Save” to save the voice memo, then press
.
If you wish to exit the voice memo, press [Exit],
then select “Yes”.
Tip
• You can also record a voice memo by pressing
and instead of steps 1 to 3.
• If you wish to record a voice memo again, select
“Record Again” in step 5. The screen will return to
step 4.
To Play Back the Saved Voice Memo
1. Perform steps 1 to 4 in “Recording a Voice Memo”
on page 75.
2.
Press or to select “Playback”, then press .
3.
Press .
The recorded voice memo is played back.
To stop playback, press [Stop].
Help List
You can view the help list and use it to guide you in the
phone’s functions.
1. Press to display the Main Menu.
2.
Press or to select “Organiser”, then press .
3. Press or to select “Help List”, then press
.
The help list is displayed.
4. Check the key operation by pressing and .
5. When you have finished, press [Back].
(M 5-5)

77 Call Manager
Call Manager
Call Log
The phone will record the last 10 missed calls, received
calls and dialled numbers.
Viewing Call Log
1. Press to display the Main Menu.
2.
Press or to select “Call Manager”, then press
.
3. Press or to select “Call Register”, then press
.
4. Press or to select “Missed Calls”, “Received
Calls” or “Dialled Numbers”, then press .
The selected call log list is displayed.
5. Select the number you wish to view by pressing
or .
6. Press [View].
Call record “1” is the most recent.
When you press , call record “2” will be
displayed.
If you wish to dial the number, press .
7. When you have finished, press [Back] to return
to step 4.
Tip
• You can also confirm call records by pressing in
stand-by mode.
• You can switch between histories by pressing or
in step 5 only when you enter by in stand-by
mode.
Sending Messages
1. Perform steps 1 to 5 in “Viewing Call Log”.
2. Select the file name you wish to send by pressing
or , then press .
3. Press or to select “Send Message”, then
press .
4. Press or to select “MMS” or “SMS”, then
press .
5. Enter your message.
For details on creating a message, see “Creating a
New MMS” on page 107 or “Creating a New SMS”
on page 115.
Deleting Call Log
Deleting Single Call Record
1. Perform steps 1 to 5 in “Viewing Call Log”.
2. Press .
3.
Press or to select “Delete”, then press .

Call Manager 78
4. Press or to select “Yes”, then press .
The selected call record will be deleted.
To cancel deletion, select “No” in step 4, then press
.
To Delete All Call Log (M 6-2-4)
1. Perform steps 1 to 3 in “Viewing Call Log” on
page 77.
2. Press or to select “Clear Logs”, then press
.
3. Select “All Calls”, then press .
4. Press or to select “Yes”, then press .
All call log records will be deleted.
To cancel deleting, select “No” in step 4, then press
.
Tip
• If you select “Missed Calls”, “Received Calls” or
“Dialled Numbers” in step 3, the call log in the
selected category will be deleted.
Call Timers
This function lets you check the duration of your calls.
Checking the Duration of the Last Call
1. Press to display the Main Menu.
2.
Press or to select “Call Manager”, then press
.
3. Press or to select “Call Register”, then press
.
4. Press or to select “Call Timers”, then press
.
5. Select “Last Call”, then press .
The duration of the last call is now displayed.
6. When you have finished, press [Back] to return
to call timers menu.
Checking the Total Call Time
1. Press or to select “All Calls”, then press
in step 5 in “Checking the Duration of the Last
Call”.
2. When you have finished, press [Back].
Resetting All Call Timers
1. Perform steps 1 to 4 in “Checking the Duration of
the Last Call”.
(M 6-2-5)

79 Call Manager
2. Press or to select “Clear Timers”, then press
.
3. Press
or
to select
“
Yes
”
, then press .
To cancel resetting, select
“
No
”
, then press .
4. Enter your handset code, then press .
The Call Timers are reset to zero.
Call Costs
This function lets you check the charges for your calls.
Charging Advice is not supported on all networks.
Please check with your service provider for availability.
Checking the Cost of the Last Call
1. Press to display the Main Menu.
2.
Press or to select “Call Manager”, then press
.
3. Press or to select “Call Register”, then press
.
4. Press or to select “Call Costs”, then press
.
5. Select “Last Call”, then press .
The cost of the last call is now displayed.
6. When you have finished, press [Back] to return
to call costs menu.
Checking the Total Call Cost
1. Press or to select “All Calls”, then press
in step 5 in “Checking the Cost of the Last Call”.
2. When you have finished, press [Back].
(M 6-2-6)

Call Manager 80
Setting the Charge Rate
Set the charge rate to calculate the call cost and set the
maximum limit for call cost.
1. Perform steps 1 to 4 in “Checking the Cost of the
Last Call” on page 79.
2. Press or to select “Cost Units”, then press
.
3. Press or to select “Set Units”, then press
.
4. Enter your PIN2 code, then press .
5. Enter a cost per unit, then press .
To enter a decimal point, press .
6. Enter a currency unit (up to 3 characters), then press
.
Checking the Charge Rate
1. Select “Read Units”, then press at step 3 in
“Setting the Charge Rate”.
The charge rate is now displayed.
2. When you have finished, press [Back].
Setting the Charge Limit
This function is useful if you wish to make sure you do
not exceed a certain charge limit.
1. Perform steps 1 to 4 in “Checking the Cost of the
Last Call” on page 79.
2. Press or to select “Max Cost”, then press
.
3. Press or to select “Set Limit”, then press
.
4. Enter your PIN2 code, then press .
5. Enter a value, then press .
To enter a decimal point, press .
Checking the Charge Limit
1. Select “Read Limit”, then press at step 3 in
“Setting the Charge Limit”.
The value of the charge limit is now displayed.
2. When you have finished, press [Back].

81 Call Manager
Resetting All Call Costs
1. Perform steps 1 to 4 in “Checking the Cost of the
Last Call” on page 79.
2.
Press or to select
“Clear Costs”, then press
.
3. Press or to select “Yes”, then press .
To cancel resetting, select “No”, then press .
4. Enter your PIN2 code, then press .
The Call Costs are reset to zero.
Checking the Residual Credit
1. Perform steps 1 to 4 in “Checking the Cost of the
Last Call” on page 79.
2. Press or to select “Residual Credit”, then
press .
3. When you have finished, press [Back].
Data Counter
You can confirm the amount of bytes which you used
in the GPRS transmission.
1. Press to display the Main Menu.
2.
Press or to select “Call Manager”, then press
.
3.
Press or to select “Call Register”, then press
.
4.
Press or to select “Data Counter”, then press
.
5.
Press or to select “Last Data” or “All Data”,
then press .
You can now check the amount of bytes.
6. When you have finished, press [Back].
Resetting All Data Counter
1. Perform steps 1 to 4 in
“Data Counter”
.
2.
Press or to select “Clear Counter”, then press
.
3.
Press or to select “Yes”, then press .
The Data Counter is reset to zero. To cancel
resetting,
select “No” at step 3, then press .
(M 6-2-7)

Call Manager 82
Diverts
This service is used to divert incoming calls to your
voice mail system or to another number depending on
certain conditions in which you cannot answer a call.
Divert Calls
1. Press to display the Main Menu.
2. Press or to select “Call Manager”,
then press .
3. Press or to select “Diverts”, then press
.
4. Select one of the divert options by pressing or
, then press .
The divert options available are:
• “All Calls”: Diverts all voice calls without
ringing.
• “When Busy”:
Diverts incoming calls when you are
on a call.
•
“No Answer”
: Diverts incoming calls if you do
not answer a call within a
certain period of time.
• “Not Reachable”: Diverts incoming calls when your
phone is out of network service or
switched off.
5. Select “On”, then press .
6. If you wish to divert calls to a number which is
located in the Phonebook, search for the desired
Phonebook entry.
Press or [Search] to search the number
by name or press or to search in alphabetical
order, then press . For details on searching the
Phonebook entries, see “Finding a Name and
Number” on page 28.
7. If you wish to divert calls to a number which you
can enter manually, enter the phone number.
8. Press .
If you select “No Answer” in step 4:
9. Enter the period of time using the digit keys (05 to
30 seconds), then press .
Note
• When a divert is set to “All Calls”, “ ” appears
on the stand-by screen.
Tip
• If you select “By Service” in step 5, you can select the
divert option further in the selected option in step 4.
(M 6-3)

83 Call Manager
Checking the Divert Status
1. Perform steps 1 to 3 in “Divert Calls” on page 82.
2. Select the divert option you wish to check by
pressing or , then press .
3. Press or to select “Status”, then press .
You can now check the status of the selected divert
option.
4. When you have finished, press [Back].
Cancelling All Divert Settings
1. Perform steps 1 to 3 in “Divert Calls” on page 82.
2. Press or to select “Cancel All”, then press
.
3. Press or to select “Yes”, then press .
To cancel the resetting, select “No” in step 3, then
press .
4. Press [OK].
All divert settings are cancelled.
To cancel the Divert Settings Individually
1. Perform steps 1 to 3 in “Divert Calls” on page 82.
2. Select the divert option you wish to cancel by
pressing or , then press .
3. Press or to select “Off”, then press .
4. Press [OK].
The selected divert has been cancelled.

Settings 84
Settings
Phone Settings
Changing the Language
You can change the display language that the phone
uses for the display messages and text entry.
1. Press to display the Main Menu.
2. Press or to select “Settings”, then press .
3. Select “Phone Settings”, then press .
4. Select “Language”, then press .
5. Press or to select the desired language, then
press .
Wallpaper for the Stand-by Screen (M 7-1-2)
For the stand-by screen, an animation and 3 illustrations
are provided.
Pictures taken with the digital camera or images
downloaded from a WAP site can be used for
wallpapers.
To Set Built-in Animations or Illustrations
1. Perform steps 1 to 3 in “Changing the Language”.
2. Press or to select “Wallpaper”, then press
.
3. Press or to select “On”, then press .
4. Select “Animation” or “Illustration 1” to
“Illustration 3” by pressing or , then press
.
5. Press again to set.
The selected animation or illustration is displayed
on the stand-by screen.
Note
• Even if an animation is selected, the stand-by screen
displays a static picture/image when you do not
operate the phone for about 30 seconds (It is different
according to the selected data).
Tip
• To cancel the Wallpaper setting, select “Off” in step
3.
(M 7-1-1)

85 Settings
To Set My Pictures for the Stand-by Screen
1. Perform steps 1 to 3 in “To Set Built-in Animations
or Illustrations” on page 84.
2. Press or to select “My Pictures”, then press
.
The file names of the pictures/images that are
registered in the Saved Pictures is displayed.
3. Select the picture/image by pressing or ,
then press .
The selected picture/image is displayed.
4. Specify the range for displaying the picture/image
by pressing , , or , then press .
The selected picture/image is displayed on the
stand-by screen.
Note
• Some pictures/images cannot be used because of
their picture/image and data types.
Backlight (M 7-1-3)
You can turn the backlight of the main screen display
on or off when you press the keypad or the optional
cigarette lighter charger is connected to the phone.
You can change or specify the amount of time the
backlight is ON for, which will help conserve battery life.
To Turn On/Off the Backlight
1. Perform steps 1 to 3 in “Changing the Language” on
page 84.
2. Press or to select “Backlight”, then press
.
3. Press or to select “On/Off”, then press .
4. Select “On” to set backlight on or “Off” to set
backlight off by pressing or , then press .
When you select “On” in step 4:
5. Enter the duration of the backlight using 2 digits,
then press .
To Turn On/Off the Backlight whilst Charging with
the Cigarette Lighter Charger
1. Perform steps 1 and 2 in “To Turn On/Off the
Backlight”.
2. Press or to select “In Car”, then press .
3. Select “On” to set backlight on or “Off” to set
backlight off by pressing or , then press .

Settings 86
Adjust the Brightness of the Backlight
(M 7-1-4)
You can adjust the brightness of the backlight of the
main screen display at four levels.
1. Perform steps 1 to 3 in “Changing the Language” on
page 84.
2. Press or to select “Brightness”, then press
.
3. Press (Light) or (Dark) to adjust the
brightness for maximum clarity.
4. Press .
Note
• The brightness of the backlight does not affect the
brightness of the Sub-Screen.
Display Saving (M 7-1-5)
This phone’s screen will automatically turn off after a
given amount of time if the phone is left open. This is
in order to conserve battery life.
You can change the time the Display Saving will go
into effect works between 2 and 20 minutes.
Tip
• When you purchase this phone, the Display Saving is
set to work 10 minutes later.
1. Perform steps 1 to 3 in “Changing the Language” on
page 84.
2. Press or to select “Display Saving”, then
press .
3. Enter the time until the Display Saving works in two
digits (02 to 20 minutes) using the digit keys, then
press .
Note
• The Display Saving does not work whilst you are
calling, using WAP, or using a JavaTM application.
To Cancel the Display Saving Function
The display saving continues until either a key is
pressed or there is an incoming alert. The first key press
will only cancel the display saver. You must press
another key in order to input any numerical or text
value.

87 Settings
Setting the Greeting Message (M 7-1-6)
You can set the message which will appear when the
phone is turned on.
1. Perform steps 1 to 3 in “Changing the Language” on
page 84.
2. Press or to select “Greeting Message”, then
press .
3. Press or to select “On”, then press .
4. Enter the message, then press .
Up to 16 characters can be stored as a message.
For details on entering characters, see “Entering
Characters” on page 24.
Tip
• To cancel the Greeting Message setting, select “Off”
in step 3.
Assign Pictures (M 7-1-7)
Pictures/images can be displayed when turning the
power on or off, when receiving an incoming call, or
when operating the alarm.
Pictures taken by a digital camera or images
downloaded from a WAP site can be used.
To Set Built-in Pictures/Images
1. Perform steps 1 to 3 in “Changing the Language” on
page 84.
2. Press or to select “Assign Pictures”, then
press .
3. Select the screen to set the picture/image by
pressing or , then press .
4. Select “Animation 1” or “Animation 2” by pressing
or , then press .
or
Select “Illustration 1” or “Illustration 2” by pressing
or , then press when you select “Alarm”
in step 3.
The selected picture/image is displayed.
5. Press .
Tip
• To cancel the picture/image setting, select “Off” in
step 4.
To Set My Pictures
1. Perform steps 1 to 3 in “To Set Built-in Pictures/
Images”.
2. Press or to select “My Pictures”, then press
.
The file name of the pictures/images that are
registered in the Saved Pictures is displayed.

Settings 88
3. Select the picture/image by pressing or ,
then press .
The selected picture/image is displayed.
4. Specify the range for displaying the picture/image
by pressing , , or , then press .
Note
• Some pictures/images cannot be used because of
their picture/image and data types.
External Display (M7-1-8)
You can change the settings of the Sub-Screen Display.
To Turn On/Off the Sub-Screen Display
You can turn the Sub-Screen Display on or off when the
phone is closed.
1. Perform steps 1 to 3 in “Changing the Language” on
page 84.
2. Press or to select “External Display”,
then press .
3. Press or to select “LCD On/Off”, then press
.
4. Select “On” to set Sub-Screen Display on or “Off”
to set Sub-Screen Display off by pressing or
, then press .
To Turn On/Off the Backlight of the Sub-Screen
Display
You can turn the backlight of the Sub-Screen Display
on or off when the phone is closed.
You can also change or specify the duration of the Sub-
Screen Display backlight.
1. Perform steps 1 to 3 in “Changing the Language” on
page 84.
2. Press or to select “External Display”,
then press .
3. Press or to select “Backlight”, then press
.
4. Select “On” to set backlight on or “Off” to set
backlight off by pressing or , then press .
When you select “On” in step 4:
5. Enter the duration of the backlight using 2 digits,
then press .
To Adjust the LCD Contrast of the Sub-Screen
You may sometimes need to adjust the LCD contrast of
the Sub-Screen to suit certain lighting conditions.
1. Perform steps 1 to 3 in “Changing the Language” on
page 84.

89 Settings
2. Press or to select “External Display”,
then press .
3. Press or to select “LCD Contrast”,
then press .
4. Press (Dark) or (Light) to adjust the contrast
for maximum clarity.
LCD contrast can be adjusted in 9 levels.
5. Press .
Phone Setting Reset (M 7-1-9)
The phone settings can be reset to their default settings.
1. Perform steps 1 to 3 in “Changing the Language” on
page 84.
2. Press or to select “Set to Default”, then
press .
3. Enter your handset code, then press .
4. Press or to select “Yes”, then press .
To cancel resetting, select “No” in step 4, then press
.
All phone settings are reset.
Note
• If you enter a wrong handset code in step 3, operation
is cancelled.
Call Settings
Set various types of functions and services.
Call Waiting
If you wish to be able to receive another incoming call
whilst you have a call in progress, you must activate the
Call Waiting service.
1. Press to display the Main Menu.
2. Press or to select “Settings”, then press .
3. Press or to select “Call Settings”, then press
.
4. Select “Call Waiting”, then press .
5. Select “On” to activate the Call Waiting service or
“Off” to deactivate it by pressing or , then
press .
6. Press [OK].
Note
• Call Waiting service may not be available on all
mobile phone networks. Contact your network
operator for more information.
(M 7-2-1)

Settings 90
To Check the Call Waiting Service Status
1. Perform steps 1 to 4 in “Call Waiting” on page 89.
2. Press or to select “Status”, then press .
Now you can check the status of the Call Waiting
service.
3. Press [Back].
Display Call Timers (M 7-2-2)
1. Perform steps 1 to 3 in “Call Waiting” on page 89.
2. Press or to select “Display Call Timers”,
then press .
3. Select “On” or “Off” by pressing or , then
press .
Caller No. Status
This lets you control whether to show your phone
number or caller’s phone number when calling another
party.
Caller No. Status is not supported on all networks.
Please check with your service provider for availability.
1. Perform steps 1 to 3 in “Call Waiting” on page 89.
2. Press or to select “Caller No. Status”, then
press .
3. Select the option you wish to set by pressing or
, then press .
The options available are:
• “Show Callers No.”: Displays whether caller
numbers are displayed or not.
• “Show Your No.”: Displays whether your phone
number is notified to your caller or not. This
function can be turned On/Off with this
option.
Select “On” to activate the option you wish to set or
“Off” to deactivate it by pressing or , then
press .
• “Show Called No.”: Displays whether the phone
number of the phone you are connected to is
displayed or not, even if your call is diverted
to another phone number.
• “Hide if Called”: Displays whether your phone
number is hidden or not from any callers.
To Check the Caller No. Status
1. Perform steps 1 to 3 in “Caller No. Status”.
2. Press or to select “Status”, then press .
Now you can check the status of the Caller No.
Status.
3. Press [OK].
(M 7-2-3)

91 Settings
Personal Call (M 7-2-4)
A specified ringing tone or vibrator setting can be
associated to a pre-registered phone number.
Up to 20 phone numbers can be registered.
1. Perform steps 1 to 3 in “Call Waiting” on page 89.
2. Press or to select “Personal Call”, then press
.
3. Select the number you wish to set by pressing or
, then press .
4. Enter the phone number, then press .
If you wish to select the phone number in the
Phonebook, search for the desired Phonebook entry.
Press or [Search] to search the number
by name or press or to search in alphabetical
order, then press . For details on searching the
Phonebook entries, see “Finding a Name and
Number” on page 28.
5. Press or to select “Assign Melody”, then
press .
6. Select a ringing tone.
For details on selecting a ringing tone, see “Ringer
Type” on page 64.
7. Press or to select “Vibration”, then press
.
8. Press or to select “Enable”, “Disable” or
“Link to Sound”, then press .
For details on setting the vibrator, see “Vibration”
on page 65.
9. When setting is complete, select “Setup End”, then
press .
Group Call (M 7-2-5)
Phone numbers can be registered or updated in groups.
To Set Group Ringing Tone
Different ringing tones can be set for each group.
When you purchase this phone, groups are set to off.
If you do not set a group ringing tone the default ringing
tone will be used.
1. Perform steps 1 to 3 in “Call Waiting” on page 89.
2. Press or to select “Group Call”, then press
.
3. Select the group you want to set by pressing
or , then press .
4. Press or to select “On”, then press .
5. Press or to select “Assign Melody”, then
press .

Settings 92
6. Select a ringing tone.
For details on selecting a ringing tone, see “Ringer
Type” on page 64.
7. Press or to select “Vibration”, then press
.
8. Press or to select “Enable”, “Disable” or
“Link to Sound”, then press .
For details on setting the vibration, see “Vibration”
on page 65.
9. When setting is complete, select “Setup End”, then
press .
Tip
• To cancel the ringing tone setting, select “Off” in
step 4.
Auto Redial (M 7-2-6)
See “Automatic Redialling” on page 20 about this
function.
Minute Minder (M 7-2-7)
Minute Minder function informs you of your talk time
by sounding a tone after every minute.
1. Perform steps 1 to 3 in “Call Waiting” on page 89.
2. Press or to select “Minute Minder”, then
press .
3. Press or to select “On” or “Off”, then press
.
Call Setting Reset (M 7-2-8)
The call settings can be reset to their default settings.
1. Perform steps 1 to 3 in “Call Waiting” on page 89.
2. Press or to select “Set to Default”, then
press .
3. Enter your handset code, then press .
4. Press or to select “Yes”, then press .
To cancel resetting, select “No” at step 4, then press
.
All call settings are reset.
Note
• If you enter the wrong handset code in step 3, the
operation is cancelled and the screen returns to step
3 in “Call Waiting” on page 89.

93 Settings
Network Settings
Selecting a Network Automatically
Each time the power is turned on, your phone will
always try to connect first to the most recently available
network, then to the subscribed network, and lastly to
the preferred network.
If none of these are found, it will then search for any
other available GSM networks.
1. Press to display the Main Menu.
2. Press or to select “Settings”, then press .
3. Press or to select “Network Settings”, then
press .
4. Select “Select Network”, then press .
5. Select “Automatic”, then press .
To Set the Network Manually
1. As in step 5 in “Selecting a Network
Automatically”, press or to select
“Manual”, then press .
2. Select the network from the list by pressing or
, then press .
Adding a New Network
1. Perform steps 1 to 4 in “Selecting a Network
Automatically”.
2. Press or to select “Add New Network”, then
press .
3. Press or to select “Add”, then press .
4. Enter the country code.
5. Press .
6. Enter the network code.
7. Press .
8. Enter a new network name.
9. Press [OK].
Editing the Preferred List
To Change the Position of a Network in the
Preferred List
1. Perform steps 1 to 4 in “Selecting a Network
Automatically”.
2. Press or to select “Set Preferred”, then press
.
3. Select the name of the network to change the
position from the list by pressing or , then
press .
(M 7-3-1)

Settings 94
4. Press or to select “Insert” or “Add to End”,
then press .
To Delete a Network from the Preferred List
1. Perform steps 1 to 3 in “To Change the Position of
a Network in the Preferred List” on page 93.
2. Press or to select “Delete”, then press .
Changing the Network Password
1. Perform steps 1 to 3 “Selecting a Network
Automatically” on page 93.
2. Press or to select “Change Password”, then
press .
3. Enter the old password, then press .
4. Enter a new password, then press .
5. Enter a new password again, then press .
If you enter the incorrect password in step 5, the
screen will return to step 4 and you will be asked to
enter the password again.
6. Press .
Selecting an Applicable Zone
You need to select the applicable zone when using your
phone in different area.
For America:
1. Perform steps 1 to 3 in “Selecting a Network
Automatically” on page 93.
2. Press or to select “Zone Selection”, then
press .
3. Press or to select “America”, then press
.
For other countries, select “Europe, Asia, etc.”, then
press .
(M 7-3-2)
(M 7-3-3)

95 Settings
Internet Settings
WAP/MMS Settings
WAP Settings and MMS Settings can perform
following various setups, respectively.
WAP Settings
Item Description Operation
Profile Name*
WAP Profile
Name (Unique
Name)
Select “Profile Name” and
press .
Enter the strings you like
and press .
IP Address* IP address
Select “IP Address” and
press .
Enter IP address for WAP
and press .
Homepage Homepage
Select “Homepage” and
press .
Enter Homepage URL, if
needed, and press .
Port Number* Security
Option
Select “Port Number” and
press .
Enter Port Number (1024-
65535) and press .
(M 7-4)
Circuit Prompt Circuit Prompt
Select “Circuit Prompt” and
press .
Select “Enable” or “Disa-
ble” and press .
Connection
Type
Bearer Con-
nection Type
Select “Connection Type”
and press .
Select “GPRS Then CSD”,
“GPRS” or “CSD” and press
.
GPRS Settings (If “GPRS Then CSD” or “GPRS” will be
selected as connection type, they should be set)
APN* Access Point
Name
Select “APN” and press
.
Enter Access Point Name
and press .
UserName User Name
Select “UserName” and
press .
Enter User Name and press
.
Item Description Operation

Settings 96
*: Item to be set as mandatory.
MMS Settings
Password Password
Select “Password” and
press .
Enter Password and press
.
Linger Time Linger Time
Select “Linger Time” and
press .
Enter second time (0-
99999) and press .
CSD Settings (If “GPRS Then CSD” or “CSD” will be
selected as connection type, they should be set)
Phone No.* Access Point
Number
Select “Phone No.” and
press .
Enter Access Point Number
and press .
Line Type ISDN or Ana-
logue
Select “Line Type” and
press .
Select “ISDN” or “Analogue”
and press .
UserName User Name
Select “UserName” and
press .
Enter User Name and press
.
Item Description Operation
Password Password
Select “Password” and
press .
Enter Password and press
.
Linger Time Linger Time
Select “Linger Time” and
press .
Enter second time (0-
99999) and press .
Item Description Operation
Profile Name*
MMS Profile
Name (Unique
Name)
Select “Profile Name” and
press .
Enter the strings you like
and press .
IP Address* IP address
Select “IP Address” and
press .
Enter IP address for MMS
and press .
Item Description Operation

97 Settings
Relay Server
URL*
MMS Relay
Server
Select “Relay Server URL”
and press .
Enter URL of the Relay
Server and press .
Port Number* Security
Option
Select “Port Number” and
press .
Enter Port Number (1024-
65535) and press .
Connection
Type
Bearer Con-
nection Type
Select “Connection Type”
and press .
Select “GPRS Then CSD”,
“GPRS” or “CSD” and press
.
GPRS Settings (If “GPRS Then CSD” or “GPRS” will be
selected as connection type, they should be set)
APN* Access Point
Name
Select “APN” and press
.
Enter Access Point Name
and press .
Item Description Operation
UserName User Name
Select “UserName” and
press .
Enter User Name and press
.
Password Password
Select “Password” and
press .
Enter Password and press
.
Linger Time Linger Time
Select “Linger Time” and
press .
Enter second time (0-
99999) and press .
CSD Settings (If “GPRS Then CSD” or “CSD” will be
selected as connection type, they should be set)
Phone No.* Access Point
Number
Select “Phone No.” and
press .
Enter Access Point Number
and press .
Line Type ISDN or Ana-
logue
Select “Line Type” and
press .
Select “ISDN” or “Analogue”
and press .
Item Description Operation

Settings 98
*: Item to be set as mandatory.
To Set up your Account Information
This information should be supplied by your Internet
service provider.
1. Press to display the Main Menu.
2. Press or to select “Settings”, then press .
3. Press or to select “Internet Settings”, then
press .
4. Press or to select “WAP Settings” or
“MMS Settings”, then press .
5. Select the profile name you wish to edit by pressing
or , then press .
6. Press or to select “Edit”, then press .
7. Select the item you wish to edit, then press .
8. Edit each item.
9. When you have finished editing, select “Setup
End”, then press .
To Select Network Connection Profile
1. Perform steps 1 to 4 in “To Set up your Account
Information”.
2. Select the profile name to use by pressing or
, then press .
3. Press or to select “Activate”, then press .
UserName User Name
Select “UserName” and
press .
Enter User Name and press
.
Password Password
Select “Password” and
press .
Enter Password and press
.
Linger Time Linger Time
Select “Linger Time” and
press .
Enter second time (0-
99999) and press .
Item Description Operation

99 Settings
WAP Push Setting
You can select whether to accept the information
supplied by your Internet service provider or not.
1. Press to display the Main Menu.
2. Press or to select “Settings”, then press .
3. Press or to select “Internet Settings”, then
press .
4. Press or to select “WAP Push Setting”, then
press .
5. Press or to select “Allow” or “Reject”, then
press .
Tip
• To cancel the information supply, select “Reject”,
then press .
Infrared
You can use the built-in infrared modem to establish
contact between your phone and a PC equipped with an
infrared port.
1. Press to display the Main Menu.
2. Press or to select “Settings”, then press .
3. Press or to select “Infrared”, then press .
4. Press or to select “On”, then press .
“ ” will appear on the screen.
The infrared setting will return to off when no data
is transmitted/received via infrared communication.
(M 7-4-3) (M 7-5)

Settings 100
Security
Enabling/Disabling the PIN Code
If the PIN code is enabled you will be asked in enter the
PIN code each time the phone is switched on. Your PIN
code is stored on the SIM and you should have been
made aware of the code when you purchased the SIM.
Contact your service provider for further details.
1. Press to display the Main Menu.
2. Press or to select “Settings”, then press .
3. Press or to select “Security”, then press .
4. Press or to select “PIN Entry”, then press
.
5. Press or to select “On” or “Off”, then press
.
6. Enter your PIN code, then press .
Note
• If you enter the wrong PIN code three times in step 6,
the SIM will lock. To remove the lock, contact your
service provider/SIM vendor.
Changing PIN Code
This allows you to change the PIN code stored on the
SIM.
1. Perform steps 1 to 3 in “Enabling/Disabling the PIN
Code”.
2. Press or to select “PIN Entry”, then press
.
3. Press or to select “Change PIN”, then press
.
4. Enter the existing PIN code, then press .
5. Enter a new PIN code, then press .
6. Enter a new PIN code again, then press .
If you enter a code different from the code which
you entered in step 6, the screen returns to step 5.
Enter the correct code again.
Handset Lock
The Handset Lock is an additional security feature
which prevents unauthorised use of the phone or certain
features. The default Handset Lock code is “0000”.
1. Perform steps 1 to 3 in “Enabling/Disabling the PIN
Code”.
2. Press or to select “Handset Lock”, then
press .
(M 7-6)
(M 7-6-1)
(M 7-6-2)

101 Settings
3. Press or to select “On” or “Off”, then press
.
4. Enter your handset code, then press .
If you enter an incorrect handset code, the screen
will clear and you will be prompted to enter the code
again.
Changing Handset Code
The default handset code is “0000”.
1. Perform steps 1 to 2 in “Handset Lock” on
page 100.
2. Press or to select “Change Code”, then press
.
3. Enter the old handset code, then press .
4. Enter a new handset code, then press .
5. Enter a new handset code again, then press .
If you enter a code different from the code which
you entered in step 5, the screen returns to step 4.
Enter the correct code again.
Changing PIN2 Code (M 7-6-3)
PIN2 code is used to protect certain functions in the
phone such as Fixed Dialling No. and call cost limits.
The following shows you how to change PIN2 code.
1. Perform steps 1 to 3 in “Enabling/Disabling the PIN
Code” on page 100.
2. Press or to select “Change PIN2”, then press
.
3. Enter the existing PIN2 code, then press .
4. Enter a new PIN2 code, then press .
5. Enter a new PIN2 code again, then press .
If you enter a code different from the code which
you entered in step 5, the screen returns to step 4.
Enter the correct code.
Call Barring
This function lets you place restrictions on incoming
and outgoing calls. To activate Call Barring you will
need the call barring password, which will be available
from your service provider.
1. Perform steps 1 to 3 in “Enabling/Disabling the PIN
Code” on page 100.
2. Press or to select “Call Barring”, then press
.
3. Press or to select call barring option, then
press .
(M 7-6-4)

Settings 102
The call barring functions available are:
• “Bar Foreign Calls”: Restricts all outgoing
international calls.
•
“Only Local & Home”
: Restricts all outgoing
international calls except to
your home country.
• “Bar Incoming Calls”: Restricts all incoming calls.
•
“
Bar
Inc. if Abroad”
: Restricts all incoming calls
when you are outside of the
coverage from your
registered network operator.
• “Bar Outgoing Calls”: Restricts all outgoing calls
except emergency calls.
4. Select one of the call barring options by pressing
or , then press .
The call barring options available are:
• “All Services”: Restricts all services.
• “Voice Calls”: Restricts all voice calls.
• “Data”: Restricts all data calls.
• “Fax”: Restricts all fax calls.
• “Messages”: Restricts all messages.
• “All except Msgs.”: Restricts all services except
messages.
5. Select “On”, then press .
If you select “Off”, the selected call barring setting
is cancelled.
6. Enter the network password, then press .
To change the network password, see “Changing
the Network Password” on page 94.
7. Press [OK].
The selected call barring function is activated.
If you enter a wrong network password, the entered
password is cleared. Enter the correct the password.
Checking Call Barring Status
1. Perform steps 1 to 4 in “Call Barring” on page 101.
2. Press or to select “Status”, then press .
Now you can check the status of the selected call
barring option.
3. When you finish the confirmation, press
[Back].
Cancel All Call Barring Settings
1. Perform steps 1 to 2 in “Call Barring” on page 101.
2. Press or to select “Cancel All”, then press
.
3. Enter the network password, then press .
4. Press [OK].
All call barring settings are cancelled.

103 Settings
To Cancel the Call Barring Setting Individually
1. Perform steps 1 to 3 in “Call Barring” on page 101.
2. Select the call barring option you wish to cancel by
pressing or , then press .
3. Press or to select “Off”, then press .
4. Enter the Barring password, then press .
The selected call barring setting is cancelled.
Fixed Dialling No. (M 7-6-5)
When the Fixed Dialling No. is enabled, you can call to
only predefined numbers.
Enabling Fixed Dialling No.
1. Perform steps 1 to 3 in “Enabling/Disabling the PIN
Code” on page 100.
2. Press or to select “Fixed Dialling No.”, then
press .
3. Enter a PIN2 code, then press .
4. Select “Settings”, then press .
5. Select “On”, then press .
If you select “Off”, Fixed Dialling No. is disabled.
Adding a New Name
1. Perform steps 1 to 3 in “Enabling Fixed Dialling
No.”
2. Press or to select “Edit Dial List”, then press
.
3. Press .
4. Press or to select “Add New Name”, then
press .
5. Add a name and a phone number.
For details on adding a name and a phone number,
see “Storing Names and Numbers” on page 26.
Searching a Registered Name
1. Perform steps 1 to 3 in “Adding a New Name”.
2. Press or to select “Search”, then press .
3. Search for the desired name.
For details on searching a name, see “Finding a
Name and Number” on page 28.

Settings 104
Editing a Registered Name
1. Perform steps 1 and 2 in “Adding a New Name” on
page 103.
2. Select a name you wish to edit, then press .
3. Press or to select “Edit”, then press .
4. Edit the selected name.
For details on editting a name, see “Editing
Phonebook Entries” on page 28.
Deleting a Registered Name
1. Perform steps 1 and 2 in “Adding a New Name” on
page 103.
2. Select a name you wish to delete, then press .
3. Press or to select “Delete”, then press .
4. Select “Yes”, then press .
The selected name will be deleted.
To cancel deletion, select “No” at step 4, then press
.
Master Reset
The settings can be reset to their default settings.
1. Press to display the Main Menu.
2. Press or to select “Settings”, then press .
3. Press or to select “Master Reset”, then press
.
4. Enter your handset code, then press .
5. Press or to select “Yes”, then press .
To cancel resetting, select “No” at step 5, then press
.
All settings are reset.
Note
• If you enter a wrong handset code in step 4, operation
is cancelled.
(M 7-7)

105 Vodafone live!
Vodafone live!
Your phone contains a WAP browser used for surfing
on the Mobile Internet, where you can get a lot of useful
information. Normally, pages are designed for a mobile
phone.
Your phone is already setup to Vodafone site for WAP/
MMS Settings.
Viewing the WAP Browser
1. Press [ ] during stand-by.
2. Select the menu you wish to view by pressing or
, then press .
To Exit the WAP Browser
1. Press to exit the browser.
Navigating a WAP Page
• :
Move the highlights around in the screen.
• / : Used to select an action displayed in the
lower left corner of the screen.
• : Used to select an action displayed in the
lower right corner of the screen.
• (press and hold):
Used to start the Go to URL.
• to (press and hold):
Used to start the Bookmark (WAP).
• : Exit (short press)
Turn off the phone. (press and hold)
• : Launch browser option menu.

Vodafone live! 106
Browser Menu
When you have started browsing, you can reach
browsing options by pressing .
The Browser Menu contains the following:
Back: Go to the previous screen.
Home: Go to the homepage you set in the WAP
Settings.
Bookmarks: Add the site you are currently browsing to
your list of bookmarks, or see the list of
bookmarks.
Go to URL: Input the URL of the site you wish to go,
and go to the site.
Show URL: Display the URL you are currently
browsing.
SnapShots: Save the page you are currently browsing
to your list of Snap Shots, or see the list of
Snap Shots.
Save Items: Save images or sounds to the My Pictures
or My Sounds.
Alert Inbox: See the list of WAP push messages. You
can receive push messages via WAP
Services. This means that a service
provider sends WAP content to your
phone, without any set up.
Reload: Refresh the contents of the WAP page.
Settings: Includes “Restart Browser”, some settings,
etc.

107 Messages
Messages
Your phone allows you to send and receive short
messages, MMS and WAP mails.
MMS (Multimedia Messaging Service)
About MMS
MMS allows you to further personalise your messages
with pictures, sounds and animations.
Note
• Some MMS functions may not always be available
depending on your network. Contact your network
operator for more information.
Setting up MMS (M 0-1-5)
1. Press [ ] during stand-by.
2. Select “MMS”, then press .
3. Press or to select “Settings”, then press .
4. Select the desired item to set, then press .
The items available are:
• “Roam. Download”
• “Delivery Report”
• “Delivery Rep. Allow”
•“Expiry Time”
• “Sender Visibility”
• “Anonymous Reject”
• “Slide Interval”
5. Edit the each item.
6. When you finish setting, press [Back].
Creating a New MMS
1. Press [ ] during stand-by.
2. Select “MMS”, then press .
3. Select “Compose”, then press .
4. Enter your message, then press .
5. Enter phone number or E-mail address of the
recipient, then press .
If you wish to select the phone number or E-mail
address in the Phonebook, search for the desired
Phonebook entry.
Press or [Search] to search the number
by name or press or to search in alphabetical
(M 0-1-1)

Messages 108
order, then press . For details on searching the
Phonebook entries, see “Finding a Name and
Number” on page 28.
6. Select “Send”, then press .
The confirmation screen of file size is displayed.
7. Select “Yes”, then press .
After the message has been sent, the message is
added to the Sent box.
Note
• This phone allows you to enter up to 256 characters
as a subject, and enter up to 10 addresses of the
recipients for sending MMS.
However, these may be limited depending on your
network. In this case, you may be failed to send MMS.
Contact your network operator for more information.
To Enter the Subject of the Message
1. Perform steps 1 to 3 in “Creating a New MMS” on
page 107.
2. Press [Options] to display the Options Menu.
3. Select “Subject”, then press .
4. Enter the subject of your message, then press .
To Add Recipients
1. Perform steps 1 to 5 in “Creating a New MMS” on
page 107.
2. Press or to select “Add address”, then press
.
3. Select “To” to add recipients or “Cc” to send a copy
of this MMS to other recipients by pressing or
, then press .
4. Select a desired number from the list by pressing
or , then press .
5. Enter the phone number or E-mail address of the
other recipients, then press .
6. Press [Back] twice.
To Use the Text Template
1. Perform steps 1 to 3 in “Creating a New MMS” on
page 107.
2. Press [Options] to display the Options Menu.
3. Press or to select “Insert Template”, then
press .
4. Select the desired template from the list by pressing
or , then press .

109 Messages
To Save a Message in the Drafts Box
You can save a message in the Drafts box temporarily
and send it later, without sending it immediately.
1. Perform steps 1 to 5 in “Creating a New MMS” on
page 107.
2. Press or to select “Save”, then press to
save the message in the Drafts box.
Note
• You can send it later following the instructions in
“Sending a Message in the Drafts Box”.
Turning the Slide Show Setting On or Off
1. Perform steps 1 to 3 in “Creating a New MMS” on
page 107.
2. Press [Options] to display the Options Menu.
3. Press or to select “Slide Show”, then press
.
4. Press or to select “On” or “Off”, then press
.
If You Select “On”
• You can create messages which have up to 3 slides.
Each slide can contain one picture/image, one sound
file and up to 512 characters of text (up to the
message total 30kb limit).
• The slide options available are:
Add Slide: To add a new slide.
Delete Slide: To delete the active slide.
Previous Slide: To navigate to the previous slide.
Next Slide: To navigate to the next slide.
• EVA data cannot be attached as a slide data to a
message.
If You Select “Off”
• You can attach a maximum of 6 pictures/images or
sounds in all.
• EVA data cannot be attached as a slide data to a
message.
Inserting Attached Data
You can send pictures/images and sounds saved in the
Saved Pictures or Saved Sounds attached to MMS.
1. Perform steps 1 to 3 in “Creating a New MMS” on
page 107.
2. Press [Options] to display the Options Menu.
3. Press or to select “Picture” or “Sound”, then
press .
4. Select the file name you wish to attach by pressing
or , then press .
The selected picture/sound is attached.
5. Press .

Messages 110
To Add Attached Data
1. Perform step 1 to 3 in “Inserting Attached Data” on
page 109.
The list of attached data is displayed.
2. Select the file name you wish to add by pressing
or , then press [Options].
3. Press or to select “Add Picture” or “Add
Sound”, then press .
4. Perform steps 4 and 5 in “Inserting Attached Data”
on page 109.
To Delete Attached Data
1. Perform steps 1 to 3 in “Inserting Attached Data” on
page 109.
The list of attached data is displayed.
2. Select the file name you wish to delete by pressing
or , then press [Options].
3. Press or to select “Remove”, then press .
4. Press or to select “Yes”, then press .
Sending a Message in the Drafts Box
1. Perform steps 1 and 2 in “Creating a New MMS” on
page 107.
2. Press or to select “Drafts”, then press .
3. Select the desired message to send in the Drafts box
by pressing or , then press [Options].
The Options Menu is displayed.
4. Press or to select “Send”, then press .
The confirmation screen of file size is displayed.
5. Select “Yes”, then press .
The phone begins the sending process and the MMS
is sent.
Reading MMS (M 0-1-2)
Messages you receive are stored in the Inbox, and
outgoing messages are stored in the Drafts box until
you send them, after which they move to the Sent box.
Incoming Messages
The MMS indicator ( ) will appear when you are
receiving an incoming message.
1. Perform steps 1 and 2 in “Creating a New MMS” on
page 107.
2. Press or to select “Inbox”, then press .
Messages are marked with “ ” denote mails with
attachments.

111 Messages
3. Press or to select the desired message, then
press .
The message is displayed.
4. Scroll the screen by pressing or to read the
message.
5. When you finish viewing, press [Done].
To Check the Sender and Receiver Phone
Number or E-mail Address
1. Perform steps 1 to 3 in “Incoming Messages” on
page 110.
2. Press [Options] to display the Options Menu.
3. Press or to select “Details”, then press .
The sender’s phone number or E-mail address, time
and date stamp, subject, attachment and size are
displayed.
Replying to a Message to the Sender from Inbox
1. Perform steps 1 and 2 in “Creating a New MMS” on
page 107.
2. Press or to select “Inbox”, then press .
3. Press [Options] to display the Options Menu.
4. Press or to select “Reply”, then press .
5. Enter your message.
For details on entering characters, see “Entering
Characters” on page 24.
6. Press .
The phone number or E-mail address of the
recipient is automatically filled in the sender’s
phone number or E-mail address.
7. Press .
The subject field is automatically filled in with the
original subject preceded by “Re:”.
8. Select “Send”, then press .
The confirmation screen of file size is displayed.
9. Select “Yes”, then press .
Tip
• You can reply to a message to all addresses of
selected messages by selecting “Reply All” in step 5.

Messages 112
Forwarding a Message
1. Perform steps 1 to 3 in “Replying to a Message to
the Sender from Inbox” on page 111.
2. Press or to select “Forward”, then press .
3. Enter phone number or E-mail address of the
recipient, then press .
If you wish to select the phone number or E-mail
address in the Phonebook, search for the desired
Phonebook entry.
Press or [Search] to search the number
by name or press or to search in alphabetical
order, then press . For details on searching the
Phonebook entries, see “Finding a Name and
Number” on page 28.
4. Select “Send”, then press .
The confirmation screen of the file size is displayed.
5. Select “Yes”, then press .
Note
• When the message with attached data is forwarded
the data is also sent. However, if there is any material
which the phone recognises as having copyright, it
will not be sent.
• “Subject” field is automatically filled in with the
original subject preceded by “Fw:”.
The original message and subject cannot be changed.
Modifying a Message
1. Perform steps 1 to 3 in “Replying to a Message to
the Sender from Inbox” on page 111.
2. Select “Edit”, then press .
3. Modify the message.
4. Press .
5. Select “Send”, then press .
The confirmation screen of the file size is displayed.
6. Select “Yes”, then press .
Note
• Messages cannot be edited if they contain particular
data such as Slide Show, XHTML, copyrights or
unknown format.
Storing the Phone Number or E-mail Address
of a Sender in the Phonebook
1. Perform steps 1 to 3 in “Replying to a Message to
the Sender from Inbox” on page 111.
2. Press or to select “Save to Phonebook”, then
press .
For details on entering a name, see “Storing Names
and Numbers” on page 26.

113 Messages
Retrieving MMS
When “ ” is in the Inbox, the following can be done.
1. Perform steps 1 and 2 in “Creating a New MMS” on
page 107.
2. Press or to select “Inbox”, then press .
3. Press or to select a desired alert to
download.
4. Press to display the Alert Menu.
5. Press or to select “Download”, then press
.
Deleting Messages
1. Perform steps 1 and 2 in “Creating a New MMS” on
page 107.
2. Press or to select “Inbox”, “Drafts” or
“Sent”, then press .
3. Select the message you wish to delete by pressing
or , then press [Options].
The Options Menu is displayed.
4. Press or to select “Delete Message”, then
press .
5. Press or to select “One Message” or “All
Messages”, then press .
6. Select “Yes”, then press .
To cancel deletion, select “No”, then press .
Note
• You cannot delete locked messages.
To Lock Message
1. Perform steps 1 and 2 in “Creating a New MMS” on
page 107.
2. Press or to select “Inbox” or “Sent”, then
press .
3. Select the message you wish to lock by pressing
or , then press [Options].
The Options Menu is displayed.
4. Press or to select “Lock/Unlock”, then press
.
Making a Call to the Sender of a Message
You can make a call to the sender of a message in Inbox
whose address (From) is the phone number.
1. Perform steps 1 and 2 in “Replying to a Message to
the Sender from Inbox” on page 111.
2. Press [Options] to display the Options Menu.
3. Press or to select “Call”, then press .

Messages 114
SMS (Short Message Service)
About SMS
The Short Message Service (SMS) allows you to send
text messages of up to 1024 characters to other GSM
users.
Using SMS with Your Phone
Messages longer than 160 characters may be
composed. During sending, the messages will be split.
If the receiver has a suitable phone the messages will
recombine during reception, if not your message will
appear as a number of separate 152 characters
messages.
You can send or receive SMS even if you are talking on
the phone.
You can also use My Text Templates to help you
compose SMS.
Setting up SMS
Before you can use SMS to send and receive messages,
you have to set up some personal and system
information.
To set up the Service Centre Address
1. Press [ ] during stand-by to display the
Message menu.
2. Press or to select “SMS”, then press .
3. Press or to select “Settings”, then press .
4. Select “Message Centre”, then press .
5. Enter the centre number.
If you wish to enter a country code for a message to
an international number, press and hold until
a “+” sign appears.
6. Press .
Validity Period
This indicates the number of days and hours for which
a message you send may remain undelivered to the
message recipient.
During this period, the message service centre will
continually try to deliver the message to the recipient.
1. Perform steps 1 to 3 in “Setting up SMS”.
2. Press or to select “Message Lifetime”, then
press .
3. Select the validity period by pressing or ,
then press .
Message Format
1. Perform steps 1 to 3 in “Setting up SMS”.
2. Press or to select “Message Format”, then
press .
(M 0-2-4)

115 Messages
3. Select the message format by pressing or ,
then press .
Connection Type
1.
Perform steps 1 to 3 in “Setting up SMS” on page 114.
2. Press or to select “Connection Type”, then
press .
3. Select the connection type by pressing or ,
then press .
Optimisation
When set “On” (default), double-byte characters such
as European characters with an accent will be converted
into single-byte characters and sent.
When “Off”, double-byte characters will be sent as
displayed.
Please note that you may be charged double for double-
byte characters sent in an SMS when Optimisation is set
“Off”.
1.
Perform steps 1 to 3 in “Setting up SMS” on page 114.
2. Press or to select “Optimisation”, then press
.
3. Press or to select “On” or “Off”, then press
.
Creating a New SMS
1. Press [ ] during stand-by.
2. Press or to select “SMS”, then press .
3. Select “Compose”, then press .
4. Enter your message.
For details on entering characters, see “Entering
Characters” on page 24.
5. Press .
To Use the Text Template
1. Perform steps 1 to 3 in “Creating a New SMS”.
2. Press [Options] to display the Options Menu.
3. Press or to select “Insert Template”, then
press .
4. Select the desired template from the list by pressing
or , then press .
To Save the Message in the Outbox
1. Perform steps 1 to 5 in “Creating a New SMS”.
2. Enter the SMS phone number of the recipient, then
press .
3. Press or to select “Save”, then press .
(M 0-2-1)

Messages 116
Sending a Message
1. Perform steps 1 to 5 in “Creating a New SMS” on
page 115.
2. Enter the SMS phone number of the recipient, then
press .
3. If you wish to select the SMS phone number in the
Phonebook, search for the desired Phonebook entry.
Press or [Search] to search the number
by name or press or to search in alphabetical
order, then press . For details on searching the
Phonebook entries, see “Finding a Name and
Number” on page 28.
4. Press or to select “Send”, then press .
The phone begins the sending process and the SMS
is sent.
Reading SMS
Incoming Messages
The SMS indicator ( ) will appear when an incoming
message arrives.
1. When you receive a SMS, press during stand-
by.
2. Press or to select the desired message.
The sender’s phone number and a part of the
message are displayed. When the sender’s phone
number is stored in the Phonebook, the sender’s
name is displayed instead of the phone number.
Messages are marked with “ ” denote unread
messages. If the Inbox or Outbox is full, “ ”
flashes. Delete unnecessary messages.
3. Press .
4. Scroll the screen by pressing or to read the
message.
5. When you have finished viewing, press .
Replying to the Sender
1. Perform steps 1 to 3 in “Reading SMS”.
2. Press [Options] to display the Options Menu.
3. Press or to select “Reply”, then press .

117 Messages
4. Enter your message.
For details on entering characters, see “Entering
Characters” on page 24.
5. Press .
Follow the procedure from step 2 in “Sending a
Message” on page 116.
Calling the Message Sender
1. Perform steps 1 to 3 “Reading SMS” on page 116.
2. Press [Options] to display the Options Menu.
3. Press or to select “Call Sender”, then press
.
Forwarding a Message
1.
Perform steps 1 to 3 in “Reading SMS” on page 116.
2. Press [Options] to display the Options Menu.
3. Press or to select “Forward”, then press .
4. Enter the SMS phone number of the recipient, then
press .
For details on searching the Phonebook entries, see
“Finding a Name and Number” on page 28.
5. Press or to select “Send”, then press .
The phone begins the sending process and the SMS
is sent.
Modifying a Message
1. Perform steps 1 and 2 in “Creating a New SMS” on
page 115.
2. Press or to select “Outbox”, then press .
3. Select the desired message to modify in the Outbox
by pressing or , then press .
4. Press [Options] to display the Options Menu.
5. Select “Edit”, then press .
6. Modify the message, then press .
Follow the procedure from step 2 in “Sending a
Message” on page 116.
Deleting Messages
1. Perform steps 1 and 2 in “Creating a New SMS” on
page 115.
2. Press or to select “Inbox” or “Outbox”, then
press .
3. Select the message you wish to delete by pressing
or , then press .
4. Press [Options] to display the Options Menu.
5. Press or to select “Delete”, then press .
6. Press or to select “Yes”, then press .
The selected message is deleted.

Messages 118
Extracting Phone Numbers from the Received
Messages and making a call
you can make a call using a telephone number
embedded in the received SMS message.
1. Perform steps 1 and 2 in “Reading SMS” on page
116.
2. Press [Options] to display the Options Menu.
3. Press or to select “Extract Numbers”, then
press .
Any kinds of numbers are listed.
4. Press or to select the telephone number,
then press .
5. To make a call, press .
To save this telephone number in the phonebook,
press [Save].
For details on entering a name, see “Storing Names
and Numbers” on page 26.
Tip
• Selecting “Save to phonebook” in step 3 instead
allows you to go to the phone number entry prompt
with the sender’s number entered.
For details on entering a name, see“Storing Names
and Numbers” on page 26.
Cell Broadcast
You can receive Cell Broadcast messages or general
messages like weather reports, traffic reports, etc.
broadcast to all subscribers in a certain network area.
This function may not be available on all mobile phone
networks. Contact your network operator for more
information.
Enabling/Disabling Cell Broadcast (M 0-3-1)
1. Press [ ] during stand-by.
2. Press or to select “Cell Broadcast”, then
press .
3. Press or to select “On/Off”, then press .
4. Select “On” to set Cell Broadcast on or “Off” to set
it off by pressing or , then press .
Reading Cell Broadcast Messages (M 0-3-2)
1. When you receive a Cell Broadcast message, press
.
2. Scroll the screen by pressing or to read the
message.
3. When you finish viewing, press .
(M 0-3)

119 Messages
Subscribing to Cell Broadcasts
Select the page of the cell broadcast message that you
want.
1. Press [ ] during stand-by.
2. Press or to select “Cell Broadcast”, then
press .
3. Press or to select “Settings”, then press .
4. Press or to select “Set Info Subjects”, then
press .
5. Press or to select “Create Subject”, then
press .
6. Press to add the channel.
7. Enter the appropriate channel code obtained from
your service provider, and a title for the channel.
Setting Languages
Allows you to select your preferred language for the
cell broadcast message display.
Cell Information
The Cell Information is the message information that
operators sent to subscribers in certain areas.
When you receive Cell Information, the message will
be displayed on the stand-by screen.
Note
• This function may not be available on all mobile
phone networks. Contact your network operator for
more information.
Enabling/Disabling Cell Information
1. Press [ ] during stand-by.
2. Press or to select “Cell Info”, then press
.
3. Press or to select “On” or “Off”, then press
.
Note
• If Cell Information is set to “On”, the Stand-by Time
will decrease.
(M 0-4)

Data Transmission 120
Data Transmission
Your PC can be set up to use the GX10i as a modem.
You can either use Infrared (IrDA) or a data cable “XN-
1DC10” (option) to connect to the PC.
Refer to XN-1DC10 attached manual for the
connection method of a data cable.
System Requirements
OS: Windows®98*, Windows®Me,
Windows®2000, Windows®XP
* Windows®98 Second Edition, or Windows®98 +
Internet Explorer 5.01 or later
Interface: Infrared (IrDA) or Serial port (D-sub 9-pin
connector)
CD-ROM drive
Software Installation and Setup
1. Install Modem setup software from the included
CD-ROM.
• Insert the CD-ROM and double-click [setup.exe]
to start installation.
• Follow the instructions on the screen to complete
installation.
When installation has completed, “SHARP GSM
GPRS” icon appears in the control panel.
When you perform the following operations (step 2
to 4), refer to GSM/GPRS Modem Option Help
after executing [SHARP GSM GPRS] in the control
panel.
2. Install Modem driver.
3. Make the Dial-up connection.
4. Set GSM/GPRS Modem Option which is stored in
the control panel.
If you wish to use GSM, fill the GSM connection
column.
If you wish to use GPRS, fill the GPRS connection
column.
Note
• Modem setup software may not run on certain PCs.
Using the Modem Setup
The software in the CD-ROM supplied is provided
based on the END USER LICENSE AGREEMENT,
and can be used and duplicated only in compliance
with the conditions of the pertinent END USER
LICENSE AGREEMENT.
The software installer displays the END USER
LICENSE AGREEMENT upon startup.

121 Data Transmission
• When using the infrared modem function for
executing data transmission, align the infrared port
with each other.
Note
• The distance between the infrared ports which can
communicate is a maximum of 20 cm within a 30°
angle.
• When transmitting data via infrared communication,
you need to set the infrared setting to “On”. (p. 99)
• It is not recommended that you make or answer a call
during data transmission. The operation may be
interrupted.
Transmitting Picture/Image Files
By installing software for data transmission into your
PC, you can transmit picture/image files between your
phone and a PC.
The data cable (RS232C) “XN-1DC10” (option) is
necessary for connection to a PC.
Download software for data transmission from the
download page in the following site.
http://www.sharp-mobile.com
Note
• Some large picture/image files may not be able to be
transmitted from the PC to the phone.

Troubleshooting 122
Troubleshooting
Problem Solution
The phone does not
turn on.
• Make sure the battery is
properly inserted and
charged.
PIN code or PIN2
code is rejected.
• Make sure you have entered
the correct code (4 to 8
digits).
• Your SIM card/protected
functions will become locked
after 3 unsuccessful
attempts.
• Contact your SIM provider if
you do not have the correct
PIN code.
SIM card becomes
locked.
• Enter PUK code (8 digits)
provided by your service
provider (if supported).
• If the attempt is successful,
enter the new PIN code and
confirm your phone is
operational again. Otherwise
contact your dealer.
The display is diffi-
cult to read. • Adjust the LCD contrast.
Phone functions do
not work after the
phone is turned on.
• Check the radio signal
strength indicator as you may
be outside the service area.
• Check to see if any error
message is displayed when
you turn your phone on. If so,
contact your dealer.
• Make sure the SIM card is
correctly inserted.
Calls cannot be
made or received.
• If the message “SIM Card
Error” is displayed at start-up,
you cannot use your SIM card
or SIM card is damaged.
Contact your dealer or
network service provider.
• Check your call barring, fixed
dialling setting, remaining
battery and call forwarding
settings.
• Check if your phone is
currently performing data
communication using Infrared
(IrDA) or a data cable.
• Check the remaining balance
if you are using a pre-paid
SIM card.
Problem Solution

123 Troubleshooting
Call quality is poor.
• Your current location may not
provide good call quality (i.e.,
in a car or train). Move to a
location where radio signal
strength is greater.
Cannot access net-
work service.
• Check where your account
has been registered and
where the service is
available.
Cannot send or
receive SMS.
• Make sure you are correctly
subscribed for the Short
Message Service, that the
network supports this service,
and that the centre number is
set up correctly. If not, contact
your network service
provider.
Cannot connect to
MMS service pro-
vider.
• MMS settings and
configuration may be missing
or incorrect or network does
not support it. Check your
service provider’s access
point number.
Contact your service provider
to confirm the correct
settings.
Problem Solution
Limited memory
available. • Delete any unnecessary data.
Problem Solution

Safety Precautions and Conditions of Use 124
Safety Precautions and Condi-
tions of Use
FCC Declaration of Conformity
Dual-band phone: GX10i with PC/Data interface cable
XN-1DC10
This device complies with part 15 of the FCC Rules.
Operation is subject to the following two conditions:
(1) This device may not cause harmful interference, and
(2) this device must accept any interference received,
including interference that may cause undesired
operation.
Responsible Party:
SHARP ELECTRONICS CORPORATION
Sharp Plaza, Mahwah, New Jersey 07430
TEL: 1-800-BE-SHARP
Tested To Comply With FCC Standards
FOR HOME OR OFFICE USE
FCC Notice
The phone may cause TV or radio interference if used
in close proximity to receiving equipment. The FCC
can require you to stop using the phone if such
interference cannot be eliminated.
Information To User
This equipment has been tested and found to comply
with the limits of a Class B digital device, pursuant to
Part 15 of the FCC Rules. These limits are designed to
provide reasonable protection against harmful
interference in a residential installation. This
equipment generates, uses and can radiate radio
frequency energy and, if not installed and used in
accordance with the instructions, may cause harmful
interference to radio communications.
However, there is no guarantee that interference will
not occur in a particular installation; if this equipment
does cause harmful interference to radio or television
reception, which can be determined by turning the
equipment off and on, the user is encouraged to try to
correct the interference by one or more of the following
measures:
1. Reorient/Relocate the receiving antenna.
2. Increase the separation between the equipment and
receiver.
3. Connect the equipment into an outlet on a circuit
different from that to which the receiver is
connected.
4. Consult the dealer or an experienced radio/TV
technician for help.
125 Safety Precautions and Conditions of Use
CAUTION: Changes or modifications not expressly
approved by the manufacturer responsible for
compliance could void the user’s authority to operate
the equipment.

Exposure to Radio Waves 126
Exposure to Radio Waves
THIS MODEL PHONE MEETS THE
GOVERNMENT’S REQUIREMENTS
FOR EXPOSURE TO RADIO WAVES.
Your wireless phone is a radio transmitter and receiver.
It is designed and manufactured not to exceed the
emission limits for exposure to radio frequency (RF)
energy set by the Federal Communications
Commission of the U.S. Government. These limits are
part of comprehensive guidelines and establish
permitted levels of RF energy for the general
population. The guidelines are based on standards that
were developed by independent scientific organizations
through periodic and thorough evaluation of scientific
studies. The standards include a substantial safety
margin designed to assure the safety of all persons,
regardless of age and health.
The exposure standard for wireless mobile phones
employs a unit of measurement known as the Specific
Absorption Rate, or SAR. The SAR limit set by the
FCC is 1.6W/kg.* Tests for SAR are conducted using
standard operating positions specified by the FCC with
the phone transmitting at its highest certified power
level in all tested frequency bands. Although the SAR
is determined at the highest certified power level, the
actual SAR level of the phone while operating can be
well below the maximum value. This is because the
phone is designed to operate at multiple power levels so
as to use only the power required to reach the network.
In general, the closer you are to a wireless base station
antenna, the lower the power output.
Before a phone model is available for sale to the public,
it must be tested and certified to the FCC that it does not
exceed the limit established by the government-adopted
requirement for safe exposure. The tests are performed
in positions and locations (e.g., at the ear and worn on
the body) as required by the FCC for each model. The
highest SAR value for this model phone when tested for
use at the ear is 0.52 W/kg and when worn on the body,
as described in this user guide, is 0.43 W/kg. Body-
worn Operation; This device was tested for typical
body-worn operations with the back of the phone kept
1.5 cm from the body. To maintain compliance with
FCC RF exposure requirements, use accessories that
maintain a 1.5 cm separation distance between the
user's body and the back of the phone. The use of belt-
clips, holsters and similar accessories should not
contain metallic components in its assembly.
The use of accessories that do not satisfy these
requirements may not comply with FCC RF exposure
requirements, and should be avoided.
127 Exposure to Radio Waves
While there may be differences between the SAR levels
of various phones and at various positions, they all meet
the government requirement for safe exposure.
The FCC has granted an Equipment Authorization for
this model phone with all reported SAR levels
evaluated as in compliance with the FCC RF emission
guidelines. SAR information on this model phone is on
file with the FCC and can be found under the Display
Grant section of http://www.fcc.gov/oet/fccid after
searching on FCC ID APYHRO00029.
Additional information on Specific Absorption Rates
(SAR) can be found on the Cellular
Telecommunications Industry Association (CTIA)
web-site at http://www.wow-com.com.
* In the United States and Canada, the SAR limit for
mobile phones used by the public is 1.6 watts/kg (W/
kg) averaged over one gram of tissue. The standard
incorporates a substantial margin of safety to give
additional protection for the public and to account for
any variations in measurements.
