Sharper Image 204050 Sound Soother Manual3
User Manual: Sharper Image Sound Soother White Noise Machine @ Sharper Image
Open the PDF directly: View PDF
.
Page Count: 4

Sharper Image Sound Soother White Noise Machine
Item No. 204050
INSTRUCTION MANUAL
Note: Please read and follow these instructions before using your unit.
Customer Service: 1 (877) 210-3449
SAFETY INSTRUCTION
WARNING:
TO REDUCE THE RISK OF FIRE OR ELECTRIC SHOCK, DO NOT EXPOSE THIS APPARATUS
TO RAIN OR MOISTURE.
CAUTION:
USE OF CONTROLS OR ADJUSTMENTS OR PERFORMANCE OF PROCEDURES OTHER THAN
THOSE SPECIFIED MAY RESULT IN HAZARDOUS RADIATION EXPOSURE.
* Caution Marking and rating plate was located at bottom enclosure of the apparatus
Les marquages sont inscrits en bas de l appareil.
Les precautions d emploi sont inscrites en bas de l appareil.
The apparatus shall not be exposed to dripping or splashing and that no objects filled with liquids,
such as vases, shall be placed on apparatus.
Lappareil ne doit pas être expos aux coulements ou aux claboussures et aucun objet ne
contenant de liquid, tel qu un vase, ne doit être plac sur l objet.
Mains plug is used as disconnect device and it should remain readily operable during intended
use. In order to disconnect the apparatus from the mains completely. The mains plug should be
disconnected form the mains socket outlet completely.
La prise du secteur ne doit pas être obstru e ou doit être facilement accessible pendant son
utilization. Pour être completement d connect de l alimentation d , la prise doit être
dbranch e du secteur.
Battery shall not be exposed to excessive heat such as sunshine, fire or the like.
Les piles ne doivent pas etre expos es de forte chaleur, tel qu la lumière du soleil, au feu ou
autres choses de semblable.
Location of label on the apparatus if that label was affixed under a lid or on the bottom of the
apparatus with a mass not exceeding 7 kg.
CAUTION
RISK OF ELECTRIC SHOCK
DO NOT OPEN
The lightning flash with arrowhead symbol, within an
equilateral triangle, is intended to alert the user to the
presence of uninsulated dangerous voltage within
the product s enclosure that maybe of sufficient
magnitude to constitute a risk of electric shock to
persons.
The exclamation point within an equilateral triangle is
intended to alert the user to the presence of important
operating and maintenance (servicing) instructions in
the literature accompanying the appliance.
- 1 -

IMPORTANT SAFETY INSTRUCTIONS
1. Read these instructions.
2. Keep these instructions.
3. Heed all warnings.
4. Follow all instructions.
5. Do not use this apparatus near water.
6. Clean only with dry cloth.
7. Do no
instructions.
8. Do not install near any heat sources such as radiators, heat registers, stoves, or other
apparatus (including amplifiers) that produce heat.
9. Do not defeat the safety purpose of the polarized or grounding-type plug. A polarized
plug has two blades with one wider than the other. A grounding type plug has two
blades and a third grounding prong. The wide blade or the third prong are provided for
your safety. If the provided plug does not fit into your outlet, consult an electrician for
replacement of the obsolete outlet.
10. Protect the power cord from being walked on or pinched particularly at plugs,
convenience receptacles, and the point where they exit from the apparatus.
11. Only use attachments/accessories specified by the manufacturer.
12. Use only with the cart, stand, tripod, bracket, or table specified by the manufacturer,
or sold with the apparatus. When a cart is used, use caution when moving the
cart/apparatus combination to avoid injury from tip-over.
- 3 - - 2 -
13. Unplug this apparatus during lightning storms or when unused for long periods of
time.
14. Refer all servicing to qualified service personnel. Servicing is required when the
apparatus has been damaged in any way, such as power-supply cord or plug is
damaged, liquid has been spilled or objects have fallen into the apparatus, the
apparatus has been exposed to rain or moisture, does not operate normally, or has
been dropped.
FCC NOTICE
This equipment has been tested and found to comply with the limits for a Class B digital
device, pursuant to Part 15 of the FCC Rules. These limits are designed to provide
reasonable protection against harmful interference in a residential installation. This
equipment generates, uses and can radiate radio frequency energy and, if not installed
and used in accordance with the instructions, may cause harmful interference to radio
communications.
However, there is no guarantee that interference will not occur in a particular installation. If
this equipment does cause harmful interference to radio or television reception, which can
be determined by turning the equipment off and on, the user is encouraged to try to correct
the interference by one or more of the following measures:
Reorient or relocate the receiving antenna.
Increase the separation between the equipment and receiver.
Connect the equipment into an outlet on a circuit different from that to which the receiver
is needed.
Consult the dealer or an experienced radio/TV technician for help.
WARNING:
Changes or modifications to this unit not expressly approved by the party responsible for
compliance could void the user's authority to operate the equipment.

QUICK REFERENCE
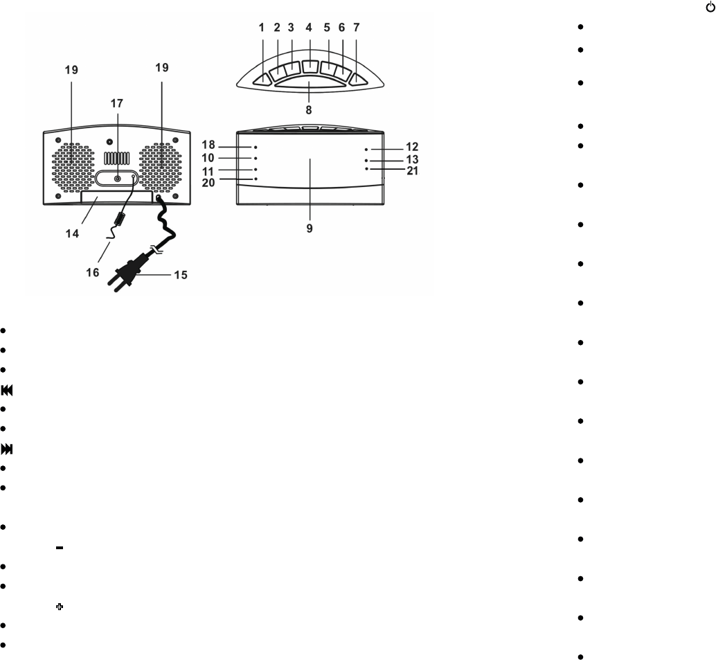
1 CLK/MEM/ NATURE SOUND SELECT Button
In CLOCK mode, use this button to set the clock
In RADIO mode, use this button to store radio stations in the memory.
Use this button to select different nature sound
2 /
MIN
In CLOCK mode, use this button to adjust the hour in CLOCK or ALARM time.
In RADIO mode, use this button to search the radio station in backward direction.
3 /
HR Button
Button
In CLOCK mode, use this button to adjust the minute in CLOCK or ALARM time.
4 DIMMER Button
Use this button to change the brightness of the display.
5 ALM2/VOL Button
In CLOCK mode, use this button to set the alarm time in ALARM2
In RADIO mode, use this button to decrease the volume
6 ALM1/VOL+ Button
In CLOCK mode, use this button to set the alarm time in ALARM1
In RADIO mode, use this button to increase the volume
7 ALARM OFF/SOURCE “ ” Button
Use this button to turn the ALARM off after Alarm activates.
8 SNOOZE/SLEEP Button
Use to button to temporarily suspend the ALARM for a short period
In RADIO mode, use this set the SLEEP time.
9 LED Display
Display Information, e.g. time, radio frequency, nature sound.
10 ALARM1 BUZZER Indicator
This indicator shows that the unit is set in ALARM 1 buzzer mode.
11 ALARM1 RADIO Indicator
This indicator shows that the unit is set in ALARM1 radio mode.
12 ALARM2 BUZZER Indicator
This indicator shows that the unit is set in ALARM2 buzzer mode.
13 ALARM2 RADIO Indicator
This indicator shows that the unit is set in ALARM2 radio mode.
14 BATTERY Compartment
Compartment for the back-up battery.
15 AC Power Cord
Connect the unit to the wall outlet.
16 FM Wire Antenna
Extent this wire antenna to obtain better FM broadcasting.
17 AUX-IN Jack
Connect the unit to the external audio device.
18 PM Indicator
This indicator shows that the time display is PM
19 SPEAKER
Sound output
20 ALARM 1 NATURE SOUND Indicator
This indicator shows that the unit is set in ALARM1 Nature Sound mode.
21 ALARM 2 NATURE SOUND Indicator
This indicator shows that the unit is set in ALARM2 Nature Sound mode.
- 4 - - 5 -
In RADIO mode, use this button to search the radio station in forward direction.
Hold this button until the display shows “OFF” to stop the function mode.
Use this button to select different mode e.g. AM RADIO or FM RADIO
or AUX or NATURE SOUND mode.

CONNECTING THE UNIT TO POWER
Plug AC power cord to the AC wall outlet. Before switching on the unit, make sure that the voltage of
your electricity supply is the same as that indicated on the rating plate.
BATTERY BACKUP
Insert two pieces UM-4 batteries into the battery compartment. Be sure to observe the proper polarity
(the "+" and "-" signs) as indicated inside the battery compartment.
In case of power failure or interrupted AC power, the current time and alarm time settings, the stored
radio stations are preserved in the memory of the unit by means of battery back-up function.
SETTING THE CLOCK
1. With the unit in CLOCK mode, press and hold the CLK/MEM button for about 1 second, the time
will begin to flash on the LED display.
2. Press the /
HR
button to adjust the
hour.3. Press the /
MIN
HR
MIN
button to adjust the
minute.
hour.
minute.
4. When the correct time is selected, press the CLK/MEM button again to confirm.
SETTING THE ALARMS
1. With the unit in CLOCK mode, press the ALM1/VOL+ or ALM2/VOL button. The ALARM time
will begin to flash on the LED display.
2. Press the / button to adjust the alarm
3. Press the / button to adjust the alarm
4. When the correct time is selected, press the ALM1/VOL+ or ALM2/VOL button to confirm.
5. Press the ALM1/VOL+ or ALM2/VOL button to select the ALARM sound mode - Buzzer Mode,
currently set radio station or Nature Sound Mode. The alarm Buzzer or Radio or Nature Sound
indicator will light up accordingly.
Note: You can select the Nature Sound for the alarm sound. Hold NATURE SOUND SELECT
Button until the display shows . Press the button repeatedly to select 20 different
Nature
SNOOZE FUNCTION
1. Whenever the alarm (buzzer or radio or nature sound) activates, it can be temporarily suspended
for a short period of 9 minutes by pressing the SNOOZE/SLEEP button once.
2. The buzzer or radio will then automatically activate again after the 9 minutes SNOOZE period has
ended.
3. This procedure can be repeated for up to approximately one hour.
TURN OFF THE ALARM
When the Alarm activate, press the ALM OFF/SOURCE button to turn off the Alarm.
LISTENING TO THE NATURE SOUND
1. Press the ALM OFF/SOURCE button to select the Nature Sound mode ( ).
2. Press NATURE SOUND SELECT Button repeatedly to select 20 different Nature Sounds. For
example, means the first Nature Sound, means the twentieth Sound and
means all the nature sound.
- 6 -
LISTENING TO THE AM/FM RADIO
1. Press the ALM OFF/SOURCE button to select the FM or AM mode.
2. Press the / button or / button step by step to tune to the desired radio stations.
3. Press and hold the / button or / buttons for approx. 1 second, it will start to search
the next radio station in the direction of the search. The search operation simply finds stations
with strong signals. Stations with weak reception can only be tuned in manually.
ANTENNA
For best reception, fully extend the FM wire antenna to receive FM stations. For AM reception, the
unit has a built-in antenna, turn the whole unit for best reception.
SAVING A RADIO STATION TO THE MEMORY
1. Tune the radio to the desired station.
2. Press and hold the CLK/MEM button for approx. 1 second, the LED display will show P01 and
flash, the radio station will stored in the memory..
3. Up to 10 AM and 10 FM radio stations can be stored in the memory.
TO LISTEN TO A SAVED RADIO STATION
1. Press the ALM OFF/SOURCE button to select FM or AM model
2. Press the CLK/MEM button to select the stored radio station.
SLEEP TO MUSIC FUNCTION
1. This function allows you to listen to the radio while you fall asleep.
2. Press the SNOOZE/SLEEP button, the display will show the default sleep time of 90 minutes
3. Press the SLEEP button again to adjust the desired sleep time.
4. The options are 90-80-70-60-50-40-30-20-10-min. or OFF
5. Now you can enjoy listening to the radio for the pre-set period of sleep time.
6. After this pre-set time has elapsed, the unit will switch off automatically.
AUX IN CONNECTION
1. Insert one side of the audio cable (requires 3.5mm stereo plug, not supplied) into the line-out
jack or phones jack on your MP3 player or audio device and the other side to the aux-in jack on
the unit.
2. Press the ALM OFF/SOURCE button to select AUX mode, AUX will display in the LED display
for a few seconds.
3. Turn on your MP3 player and follow the playback instruction.
4. To stop this function, simply turned off your MP3 player.
SPECIFICATIONS
Frequency Range: AM 520 - 1710 KHz
FM 87.5
108 MHz
Power Supply: AC 120V ~ 60 Hz
Back-Up Battery: 2 pc. UM4 AAA size (Not included)
Specifications are subject to change without prior notice.
- 7 -
Sounds. For example, 01 means the first Nature Sound, 20 means the
twentieth Sound and means all the nature sound.
MIN
MIN HR
HR