Sierra Wireless ULC AR7558 Cellular/PCS GSM/EDGE/CDMA/WCDMA/LTE Modem User Manual Hardware Integration Guide
Sierra Wireless Inc. Cellular/PCS GSM/EDGE/CDMA/WCDMA/LTE Modem Hardware Integration Guide
User Manual

4116922
1.1
March 9, 2015
AirPrime AR7558
Hardware Integration Guide

4116922 Rev 1.1 January 21, 2015 2
Hardware Integration Guide
Important Notice
Due to the nature of wireless communications, transmission and reception of data can never be
guaranteed. Data may be delayed, corrupted (i.e., have errors) or be totally lost. Although significant
delays or losses of data are rare when wireless devices such as the Sierra Wireless modem are used
in a normal manner with a well-constructed network, the Sierra Wireless modem should not be used
in situations where failure to transmit or receive data could result in damage of any kind to the user or
any other party, including but not limited to personal injury, death, or loss of property. Sierra Wireless
accepts no responsibility for damages of any kind resulting from delays or errors in data transmitted or
received using the Sierra Wireless modem, or for failure of the Sierra Wireless modem to transmit or
receive such data.
Safety and Hazards
Do not operate the Sierra Wireless modem in areas where cellular modems are not advised without
proper device certifications. These areas include environments where cellular radio can interfere such
as explosive atmospheres, medical equipment, or any other equipment which may be susceptible to
any form of radio interference. The Sierra Wireless modem can transmit signals that could interfere
with this equipment. Do not operate the Sierra Wireless modem in any aircraft, whether the aircraft is
on the ground or in flight. In aircraft, the Sierra Wireless modem MUST BE POWERED OFF. When
operating, the Sierra Wireless modem can transmit signals that could interfere with various onboard
systems.
Note: Some airlines may permit the use of cellular phones while the aircraft is on the ground and the door
is open. Sierra Wireless modems may be used at this time.
The driver or operator of any vehicle should not operate the Sierra Wireless modem while in control of
a vehicle. Doing so will detract from the driver or operator’s control and operation of that vehicle. In
some states and provinces, operating such communications devices while in control of a vehicle is an
offence.
Limitations of Liability
This manual is provided “as is”. Sierra Wireless makes no warranties of any kind, either expressed or
implied, including any implied warranties of merchantability, fitness for a particular purpose, or
noninfringement. The recipient of the manual shall endorse all risks arising from its use.
The information in this manual is subject to change without notice and does not represent a
commitment on the part of Sierra Wireless. SIERRA WIRELESS AND ITS AFFILIATES
SPECIFICALLY DISCLAIM LIABILITY FOR ANY AND ALL DIRECT, INDIRECT, SPECIAL,
GENERAL, INCIDENTAL, CONSEQUENTIAL, PUNITIVE OR EXEMPLARY DAMAGES INCLUDING,
BUT NOT LIMITED TO, LOSS OF PROFITS OR REVENUE OR ANTICIPATED PROFITS OR
REVENUE ARISING OUT OF THE USE OR INABILITY TO USE ANY SIERRA WIRELESS
PRODUCT, EVEN IF SIERRA WIRELESS AND/OR ITS AFFILIATES HAS BEEN ADVISED OF THE
POSSIBILITY OF SUCH DAMAGES OR THEY ARE FORESEEABLE OR FOR CLAIMS BY ANY
THIRD PARTY.
Notwithstanding the foregoing, in no event shall Sierra Wireless and/or its affiliates aggregate liability
arising under or in connection with the Sierra Wireless product, regardless of the number of events,
occurrences, or claims giving rise to liability, be in excess of the price paid by the purchaser for the
Sierra Wireless product.
Customer understands that Sierra Wireless is not providing cellular or GPS (including A-GPS)
services. These services are provided by a third party and should be purchased directly by the
Customer.

4116922 Rev 1.1 January 21, 2015 3
Hardware Integration Guide
SPECIFIC DISCLAIMERS OF LIABILITY: CUSTOMER RECOGNIZES AND ACKNOWLEDGES
SIERRA WIRELESS IS NOT RESPONSIBLE FOR AND SHALL NOT BE HELD LIABLE FOR ANY
DEFECT OR DEFICIENCY OF ANY KIND OF CELLULAR OR GPS (INCLUDING A-GPS)
SERVICES.
Patents
This product may contain technology developed by or for Sierra Wireless Inc.
This product includes technology licensed from QUALCOMM®.
This product is manufactured or sold by Sierra Wireless Inc. or its affiliates under one or more patents
licensed from InterDigital Group and MMP Portfolio Licensing.
Copyright
© 2015 Sierra Wireless. All rights reserved.
Trademarks
Sierra Wireless®, AirPrime®, AirLink®, AirVantage®, WISMO® and the Sierra Wireless and Open AT
logos are registered trademarks of Sierra Wireless, Inc. or one of its subsidiaries.
Watcher® is a registered trademark of Netgear, Inc., used under license.
Windows® and Windows Vista® are registered trademarks of Microsoft Corporation.
Macintosh® and Mac OS X® are registered trademarks of Apple Inc., registered in the U.S. and other
countries.
QUALCOMM® is a registered trademark of QUALCOMM Incorporated. Used under license.
Other trademarks are the property of their respective owners.
Contact Information
Sales Desk:
Phone:
1-604-232-1488
Hours:
8:00 AM to 5:00 PM Pacific Time
Contact:
http://www.sierrawireless.com/sales
Post:
Sierra Wireless
13811 Wireless Way
Richmond, BC
Canada V6V 3A4
Technical Support:
support@sierrawireless.com
RMA Support:
repairs@sierrawireless.com
Fax:
1-604-231-1109
Web:
http://www.sierrawireless.com/
Consult our website for up-to-date product descriptions, documentation, application notes, firmware
upgrades, troubleshooting tips, and press releases: www.sierrawireless.com

4116922 Rev 1.1 January 21, 2015 4
Hardware Integration Guide
Document History
Version
Date
Updates
1.0
January 21, 2015
Creation based on document 4114188: AirPrime - AR7558 - Hardware
Integration Guide - Rev1.0.
1.1
March 9, 2015
Some correction for power tolerance – Rev1.1

4116922 Rev 1.0 January 21, 2015 5
Contents
1. INTRODUCTION ................................................................................................ 11
1.1. General Features ............................................................................................................. 11
2. FUNCTIONAL SPECIFICATIONS ...................................................................... 12
2.1. Modes of Operation ......................................................................................................... 12
2.2. Communications Functions ............................................................................................. 12
2.3. Block Diagram ................................................................................................................. 13
3. HARDWARE SPECIFICATIONS ........................................................................ 14
3.1. Environmental Specifications .......................................................................................... 14
3.2. Electrical Specifications ................................................................................................... 14
3.2.1. Absolute Maximum and ESD Ratings ...................................................................... 14
3.3. Mechanical Specifications ............................................................................................... 15
3.3.1. Physical Dimensions and Connection Interface ....................................................... 15
3.3.2. Mechanical Drawing ................................................................................................. 16
3.3.3. Footprint ................................................................................................................... 17
3.3.4. Thermal Consideration ............................................................................................. 18
4. RF SPECIFICATION .......................................................................................... 19
4.1. LTE RF Interface ............................................................................................................. 19
4.1.1. LTE Max TX Output Power ...................................................................................... 19
4.1.2. LTE RX Sensitivity ................................................................................................... 19
4.2. CDMA RF Interface ......................................................................................................... 19
4.2.1. CDMA Max TX Output Power .................................................................................. 20
4.2.2. CDMA RX Sensitivity ............................................................................................... 20
4.3. WCDMA RF Interface ...................................................................................................... 20
4.3.1. WCDMA Max TX Output Power ............................................................................... 20
4.3.2. WCDMA RX Sensitivity ............................................................................................ 20
4.4. WWAN Antenna Interface ............................................................................................... 21
4.4.1. WWAN Antenna Recommendations ........................................................................ 21
4.5. Primary Antenna Diagnostics .......................................................................................... 22
4.6. RX2 Antenna Diagnostics ............................................................................................... 22
5. GNSS SPECIFICATION ..................................................................................... 24
5.1. GNSS............................................................................................................................... 24
5.2. GNSS Antenna Interface ................................................................................................. 24
5.2.1. GNSS Antenna Recommendations ......................................................................... 25
5.3. GNSS Antenna Diagnostics ............................................................................................ 25
5.4. Current Consumption ...................................................................................................... 27
5.5. Digital IO Characteristics ................................................................................................. 28
5.6. Internal Device Frequencies ............................................................................................ 29

4116922 Rev 1.1 January 21, 2015 6
Hardware Integration Guide
6. BASEBAND SPECIFICATION ........................................................................... 30
6.1. Power Supply .................................................................................................................. 30
6.1.1. Under-Voltage Lockout (UVLO) ............................................................................... 30
6.2. VCOIN ............................................................................................................................. 31
6.3. ON/OFF Control .............................................................................................................. 32
6.3.1. ON/OFF Timing ........................................................................................................ 32
6.3.2. Software-Initiated Power Down ................................................................................ 34
6.3.3. Deep Sleep............................................................................................................... 34
6.3.3.1. Sequence to Enter Deep Sleep Mode ............................................................. 35
6.4. USB ................................................................................................................................. 35
6.5. UART ............................................................................................................................... 36
6.6. Ring Indicator .................................................................................................................. 36
6.7. UIM Interface ................................................................................................................... 37
6.7.1. Internal UIM .............................................................................................................. 37
6.8. General Purpose IO ......................................................................................................... 38
6.8.1. AT Port Switch ......................................................................................................... 38
6.9. Secure Digital IO ............................................................................................................. 38
6.10. I2C .................................................................................................................................... 39
6.11. Voltage Reference ........................................................................................................... 39
6.12. RESET ............................................................................................................................. 39
6.13. ADC ................................................................................................................................. 40
6.14. LED .................................................................................................................................. 41
6.15. Audio................................................................................................................................ 41
6.15.1. Analog Audio ............................................................................................................ 41
6.15.2. Digital Audio ............................................................................................................. 42
6.15.2.1. PCM ............................................................................................................... 42
6.15.2.2. I2S ................................................................................................................. 45
6.16. SPI Bus ............................................................................................................................ 47
6.16.1. Characteristics ......................................................................................................... 47
6.16.2. SPI Configuration ..................................................................................................... 47
6.16.3. SPI Waveforms ........................................................................................................ 47
6.16.4. SPI Pin Description .................................................................................................. 48
6.16.5. Application ................................................................................................................ 48
6.17. HSIC Bus ......................................................................................................................... 49
6.17.1. HSIC Pin Description ............................................................................................... 49
6.17.2. HSIC Waveforms ..................................................................................................... 49
6.17.3. Application ................................................................................................................ 50
6.18. Temperature Monitoring .................................................................................................. 51
7. ROUTING CONSTRAINTS AND RECOMMENDATIONS ................................. 52
7.1. RF Routing Recommendations ....................................................................................... 52
7.2. Power and Ground Recommendations ........................................................................... 54
7.3. Antenna Recommendations ............................................................................................ 54

4116922 Rev 1.1 January 21, 2015 7
Hardware Integration Guide
7.4. Interface Circuit Recommendations ................................................................................ 55
8. REGULATORY INFORMATION ......................................................................... 56
8.1. Important Notice .............................................................................................................. 56
8.2. Safety and Hazards ......................................................................................................... 56
8.3. Important Compliance Information for USA OEM Integrators ......................................... 56
9. REFERENCES ................................................................................................... 59
10. ABBREVIATIONS .............................................................................................. 60

4116922 Rev 1.0 January 21, 2015 8
List of Figures
Figure 1. AirPrime AR7558 Block Diagram .................................................................................... 13
Figure 2. AR55x Assembly Drawing ............................................................................................... 16
Figure 3. AirPrime AR7558 Mechanical Dimensions Drawing ....................................................... 16
Figure 4. AirPrime AR7558 Footprint ............................................................................................. 17
Figure 5. AirPrime AR7558 Recommended Application Land Pattern ........................................... 17
Figure 6. AirPrime AR7558 Heatsink Contact Area ....................................................................... 18
Figure 7. VGNSS_ANT vs. ADC Readings Relationship ............................................................... 26
Figure 8. GNSS Power Supply and Antenna Diagnostics Block Diagram ..................................... 27
Figure 9. Under-Voltage Lockout (UVLO) Diagram ........................................................................ 30
Figure 10. Recommended ON/OFF Control ..................................................................................... 32
Figure 11. Alternate ON/OFF Control ............................................................................................... 33
Figure 12. Power Mode Diagram ...................................................................................................... 34
Figure 13. Recommended UIM Holder Implementation ................................................................... 37
Figure 14. Illustration of Reset Timing When RESIN_N < Trdel ...................................................... 40
Figure 15. Illustration of Reset Timing When RESIN_N Held Low > Trdet+Trdel ............................ 40
Figure 16. LED Reference Circuit ..................................................................................................... 41
Figure 17. Audio Block Diagram ....................................................................................................... 41
Figure 18. PCM_FS Timing Diagram (2048 kHz Clock) ................................................................... 43
Figure 19. PCM Codec to AR Device Timing Diagram (Primary PCM) ........................................... 44
Figure 20. AR Device to PCM Codec Timing Diagram (Primary PCM) ........................................... 44
Figure 21. PCM_FS Timing Diagram (128 kHz Clock) ..................................................................... 45
Figure 22. PCM Codec to AR Device Timing Diagram (Auxiliary PCM) .......................................... 45
Figure 23. AR Device to PCM Codec Timing Diagram (Auxiliary PCM) .......................................... 45
Figure 24. I2S Signals Timing Diagram ............................................................................................ 46
Figure 25. 4-Wire Configuration SPI Transfer .................................................................................. 47
Figure 26. Example of 4-wire SPI Bus Application ........................................................................... 48
Figure 27. HSIC Signal Sample Waveforms .................................................................................... 49
Figure 28. Example of HSIC Bus Application ................................................................................... 50
Figure 29. Temperature Monitoring State Machine .......................................................................... 51
Figure 30. AppCAD Screenshot for Microstrip Design Power Mode Diagram ................................. 52
Figure 31. RF Routing Examples ..................................................................................................... 53
Figure 32. Coplanar Clearance Example ......................................................................................... 53
Figure 33. Antenna Microstrip Routing Example .............................................................................. 54
Figure 34. AirPrime AR7558 Input Reference Circuit ....................................................................... 55
Figure 35. AirPrime AR7558 Output Reference Circuit .................................................................... 55

4116922 Rev 1.0 January 21, 2015 9
List of Tables
Table 1. AirPrime AR7558 Embedded Module ............................................................................. 11
Table 2. AirPrime AR7558 Modes of Operation ............................................................................ 12
Table 3. Communications Functions ............................................................................................. 12
Table 4. AirPrime AR7558 Environmental Specifications ............................................................. 14
Table 5. AirPrime AR7558 Absolute Maximum Ratings ................................................................ 14
Table 6. AirPrime AR7558 Embedded Module Dimensions ......................................................... 15
Table 7. AirPrime AR7558 Maximum LTE Transmitter Output Power .......................................... 19
Table 8. AirPrime AR7558 Minimum LTE Receiver Sensitivity ..................................................... 19
Table 9. AirPrime AR7558 Maximum CDMA Transmitter Output Power ...................................... 20
Table 10. AirPrime AR7558 Minimum CDMA Receiver Sensitivity ................................................. 20
Table 11. AirPrime AR7558 Maximum WCDMA Transmitter Output Power .................................. 20
Table 12. AirPrime AR7558 Minimum WCDMA Receiver Sensitivity ............................................. 21
Table 13. AirPrime AR7558 WWAN Antenna Characteristics ........................................................ 21
Table 14. WWAN Antenna Interface Pads ...................................................................................... 21
Table 15. AirPrime AR7558 WWAN Antenna Recommendations ................................................. 21
Table 16. Primary Antenna ADC Characteristics ............................................................................ 22
Table 17. Primary Antenna Diagnostics Ranges ............................................................................ 22
Table 18. RX2 Antenna ADC Characteristics.................................................................................. 23
Table 19. RX2 Antenna Diagnostics Ranges .................................................................................. 23
Table 20. GNSS Characteristics ..................................................................................................... 24
Table 21. GNSS Antenna Interface Characteristics ........................................................................ 24
Table 22. GNSS Antenna Interface Pads ........................................................................................ 25
Table 23. GNSS Recommended Antenna Characteristics ............................................................. 25
Table 24. GNSS Antenna Diagnostics Ranges ............................................................................... 25
Table 25. VGNSS_ANT Current Draw ............................................................................................ 26
Table 26. AirPrime AR7558 Current Consumption Values ............................................................. 27
Table 27. Digital IO Characteristics ................................................................................................. 28
Table 28. Internal Device Frequencies ............................................................................................ 29
Table 29. Power Supply Requirements ........................................................................................... 30
Table 30. Power Supply Pads ......................................................................................................... 30
Table 31. UVLO Thresholds ............................................................................................................ 31
Table 32. VCOIN Pad ...................................................................................................................... 31
Table 33. VCOIN Interface Specification ......................................................................................... 31
Table 34. VCOIN Charging Specifications ...................................................................................... 31
Table 35. ON/OFF Control Pads ..................................................................................................... 32
Table 36. ON/OFF Internal Pull-Up ................................................................................................. 32
Table 37. Power-ON Sequence Symbol Definitions ....................................................................... 33

4116922 Rev 1.1 January 21, 2015 10
Hardware Integration Guide
Table 38. Period of Wake Intervals ................................................................................................. 34
Table 39. Deep Sleep Function Availability ..................................................................................... 34
Table 40. USB Pad Details .............................................................................................................. 35
Table 41. USB Characteristics ........................................................................................................ 36
Table 42. UART Pads ...................................................................................................................... 36
Table 43. Ring Indicator Pad ........................................................................................................... 36
Table 44. UIM Pads ......................................................................................................................... 37
Table 45. GPIO Interface Pads ....................................................................................................... 38
Table 46. AT Port Switch States ..................................................................................................... 38
Table 47. SDIO Interface Pads ....................................................................................................... 38
Table 48. I2C Interface Pads ........................................................................................................... 39
Table 49. Voltage Reference Pad ................................................................................................... 39
Table 50. Voltage Reference Characteristics .................................................................................. 39
Table 51. Reset Interface Pads ....................................................................................................... 39
Table 52. Reset Timing ................................................................................................................... 40
Table 53. ADC Interface Pads ......................................................................................................... 40
Table 54. ADC Interface Characteristics ......................................................................................... 41
Table 55. LED Interface Pad ........................................................................................................... 41
Table 56. Analog Audio Interface Pads ........................................................................................... 41
Table 57. Analog Audio Interface Characteristics ........................................................................... 42
Table 58. Digital Audio Interface Pads ............................................................................................ 42
Table 59. PCM Interface Configurations ......................................................................................... 42
Table 60. Primary PCM Timing ....................................................................................................... 43
Table 61. Auxiliary PCM Timing ...................................................................................................... 44
Table 62. SPI Configuration ............................................................................................................ 47
Table 63. SPI Master Timing Characteristics .................................................................................. 48
Table 64. SPI Pin Description ......................................................................................................... 48
Table 65. HSIC Pin Description ....................................................................................................... 49
Table 66. Temperature Monitoring States ....................................................................................... 51
Table 67. Reference Specifications ................................................................................................. 59
Table 68. Abbreviations ................................................................................................................... 60

4116922 Rev 1.0 January 21, 2015 11
1. Introduction
1.1. General Features
The AirPrime AR7558 embedded modules are designed for the automotive industry. They support
LTE, CDMA, WCDMA air interface standards and shares hardware and firmware interfaces with the
AirPrime AR5550 and AR855x. They also have Global Navigation Satellite System (GNSS)
capabilities including GPS and GLONASS.
The AirPrime AR7558 embedded modules are based on the Qualcomm MDM9615 wireless chipset
and support the following bands.
Table 1. AirPrime AR7558 Embedded Module
Product
Description
Band Support
AirPrime
AR7558
LTE/CDMA2000/WCDMA/GSM embedded
module
LTE: B4, B25, B26,B41
CDMA: BC0, BC1,BC10
WCDMA: B2, B5
GSM/GPRS/EDGE: 850/1900

4116922 Rev 1.0 January 21, 2015 12
2. Functional Specifications
This chapter highlights the features of the AirPrime AR7558 series of embedded modules.
2.1. Modes of Operation
The AirPrime AR7558 supports 2G/3G/4G operations and also supports GNSS operation. For
complete details, refer to the table below.
Table 2. AirPrime AR7558 Modes of Operation
Mode
Band
Frequency (MHz)
Downlink (DL) UE Receive
Uplink (UL) UE Transmit
LTE
Band 4
2110 MHz to 2155 MHz
1710 MHz to 1755 MHz
Band 25
1930 to 1995
1850 to 1915
Band 26
859 to 894
814 to 849
Band 41
2496 to 2690
2496 to 2690
CDMA2000 –
1xRTT & 1xEVDO
Band Class 0
869 to 894
824 to 849
Band Class 1
1930 to 1990
1850 to 1910
Band Class 10
861 to 868.975
816 to 823.975
WCDMA/HSPA
II (1900/PCS)
1930 MHz to 1990 MHz
1850 MHz to 1910 MHz
V (850/CELL)
869 MHz to 894 MHz
824 MHz to 849 MHz
GSM/GPRS
/EDGE
GSM 850
869 to 894
824 to 849
PCS 1900
1930 to 1990
1850 to 1910
2.2. Communications Functions
The AirPrime AR7558 provides the following communications functions via the LTE, CDMA and
UMTS networks.
Table 3. Communications Functions
Communications
Function
LTE
CDMA
WCDMA
TDSCDMA
GSM/GPRS/EDGE
Voice
Circuit
Switched
EVRC,
EVRC-B
AMR,
AMR-WB
AMR
FR, EFR, HR
VoLTE
Packet Data
Short Message Service
(SMS)
OTA
OTAPA
OTASP
DTMF
(TBD)

4116922 Rev 1.1 January 21, 2015 13
Hardware Integration Guide
Functional Specifications
2.3. Block Diagram
Figure 1. AirPrime AR7558 Block Diagram

4116922 Rev 1.0 January 21, 2015 14
3. Hardware Specifications
3.1. Environmental Specifications
The environmental specification for both operating and storage of the AirPrime AR7558 embedded
modules are defined in the table below.
Table 4. AirPrime AR7558 Environmental Specifications
Parameter
Temperature Range
Operating Class
Ambient Operating Temperature
-30°C to +75°C
Class A
-40°C to -30°C
+75°C to +85°C
Class B
Ambient Storage Temperature
-40°C to +90°C
---
Ambient Humidity
95% or less
---
Class A is defined as the operating temperature range that the device:
Shall exhibit normal function during and after environmental exposure.
Shall meet the minimum requirements of 3GPP, 3GPP2 or appropriate wireless standards.
Class B is defined as the operating temperature range that the device:
Shall remain fully functional during and after environmental exposure
Shall exhibit the ability to establish a voice, SMS or DATA call (emergency call) at all times
even when one or more environmental constraint exceeds the specified tolerance.
Unless otherwise stated, full performance should return to normal after the excessive
constraint(s) have been removed.
3.2. Electrical Specifications
This section provides details for some of the key electrical specifications of the AirPrime AR7558
embedded modules.
3.2.1. Absolute Maximum and ESD Ratings
This section defines the Absolute Maximum and Electrostatic Discharge (ESD) Ratings of the
AirPrime AR7558 embedded modules.
Warning: If these parameters are exceeded, even momentarily, damage may occur to the device.
Table 5. AirPrime AR7558 Absolute Maximum Ratings
Parameter
Min
Max
Units
VBATT
Power Supply Input
-
5.0
V
VIN
Voltage on any digital input or output pin
-
VCC_1v8+0.5
V
IIN
Latch-up current
-100
100
mA

4116922 Rev 1.1 January 21, 2015 15
Hardware Integration Guide
Hardware Specifications
Parameter
Min
Max
Units
Maximum Voltage applied to antenna interface pins
VANT
Primary Antenna
-
36
V
RX2 Antenna
-
36
V
GNSS Antenna
-
36
V
ESD Ratings
ESD1
Primary, RX2 and GNSS antenna pads - Contact
-
± 8
kV
All other signal pads - Contact
-
± 1.5
kV
1 The ESD Simulator configured with 330pF, 1000Ω.
Caution: The AirPrime AR7558 embedded modules are sensitive to Electrostatic Discharge. ESD
countermeasures and handling methods must be used when handling the AirPrime AR7558
devices.
3.3. Mechanical Specifications
3.3.1. Physical Dimensions and Connection Interface
The AirPrime AR7558 embedded modules are a Land Grid Array (LGA) form factor device. The
device does not have a System or RF connectors. All electrical and mechanical connections are made
via the 303 pad LGA on the underside of the PCB.
Table 6. AirPrime AR7558 Embedded Module Dimensions
Parameter
Nominal
Max
Units
Overall Dimension
32 x 37
32.25 x 37.25
mm
Overall Module Height
3.64
3.89
mm
PCB Thickness
1.6
1.76
mm
Flatness Specification
-
0.1
mm
Weight
tbd
-
g
Note: The dimensions in this document’s figures are accurate as of the release date of this document.

4116922 Rev 1.1 January 21, 2015 16
Hardware Integration Guide
Hardware Specifications
3.3.2. Mechanical Drawing
Figure 2. AR55x Assembly Drawing
Figure 3. AirPrime AR7558 Mechanical Dimensions Drawing
Note: The dimensions in this document’s figures are preliminary and subject to change.

4116922 Rev 1.1 January 21, 2015 17
Hardware Integration Guide
Hardware Specifications
3.3.3. Footprint
The AirPrime AR7558 device LGA footprint is a 303 pad array of 0.9mm, 1.45mm, and 1.90mm pads.
The following drawing illustrates the device footprint. The application footprint is recommended to
mirror the device footprint as illustrated in the following drawing (subject to change).
Figure 4. AirPrime AR7558 Footprint
Figure 5. AirPrime AR7558 Recommended Application Land Pattern

4116922 Rev 1.1 January 21, 2015 18
Hardware Integration Guide
Hardware Specifications
3.3.4. Thermal Consideration
The AirPrime AR7558 device is designed to work over an extended temperature range. In order to do
this efficiently a method of sinking heat from the product is recommended.
Refer to application notes (TBD) for details.
Figure 6. AirPrime AR7558 Heatsink Contact Area

4116922 Rev 1.0 January 21, 2015 19
4. RF Specification
This section presents the WWAN RF interface of the AirPrime AR7558 series of embedded modules.
The specifications for the LTE, CDMA and WCDMA interfaces are defined.
4.1. LTE RF Interface
This section presents the LTE RF Specification for the AirPrime AR7558.
4.1.1. LTE Max TX Output Power
The Maximum Transmitter Output Power of the AirPrime AR7558 embedded modules are specified in
the following table.
Table 7. AirPrime AR7558 Maximum LTE Transmitter Output Power
Band
Frequency Band (MHz)
Nominal Max TX Output Power
Tolerance
Band 4
2110 MHz to 2155 MHz
+23 dB
+2/-2 dB
Band 25
1930 to 1995
Band 26
859 to 894
Band 41
2496 to 2690
+22.5 dB
+3.2/-1.7
4.1.2. LTE RX Sensitivity
The Minimum Receiver Sensitivity of the AirPrime AR7558 embedded modules are specified in the
following table.
Table 8. AirPrime AR7558 Minimum LTE Receiver Sensitivity
Band
Frequency Band (MHz)
Minimum RX Downlink
Criteria
Band 4
1710 MHz to 1755 MHz
tbd
tbd
Band 25
1850 to 1915
tbd
tbd
Band 26
814 to 849
tbd
tbd
Band 41
2496 to 2690
tbd
tbd
4.2. CDMA RF Interface
This section presents the CDMA RF Specification for the AirPrime AR7558 embedded modules.
AirPrime AR7558 devices are designed to be compliant with 3GPP2 C.S0011 Rev A and 3GPP2
C.S0033 Rev A v1.0. Parameters specified differently for the reference standard are identified below.

4116922 Rev 1.1 January 21, 2015 20
Hardware Integration Guide
RF Specification
4.2.1. CDMA Max TX Output Power
The Maximum Transmitter Output Power of the AirPrime AR7558 embedded module is specified in
the following table.
Table 9. AirPrime AR7558 Maximum CDMA Transmitter Output Power
Band Class
Frequency Band
Nominal Max TX Output Power
Tolerance
BC0
800 MHz
+24 dBm
±1 dB
BC1
1900 MHz
BC10
800 MHz
4.2.2. CDMA RX Sensitivity
The Minimum Receiver Sensitivity of the AirPrime AR7558 embedded module is specified in the
following table.
Table 10. AirPrime AR7558 Minimum CDMA Receiver Sensitivity
Band Class
Frequency Band
Minimum RX downlink
Criteria
BC0
800 MHz
-106 dBm (Class A)
-104 dBm (Class B)
Less than 0.5% FER
BC1
1900 MHz
4.3. WCDMA RF Interface
This section presents the WCDMA RF Specification for the AirPrime AirPrime AR7558 embedded
modules.
4.3.1. WCDMA Max TX Output Power
The Maximum Transmitter Output Power of the AirPrime AR7558 embedded module are specified in
the following table.
Table 11. AirPrime AR7558 Maximum WCDMA Transmitter Output Power
Band
Frequency Band
Nominal Max TX Output
Power
Tolerance
II (1900/PCS)
1850 MHz to 1910 MHz
+23.5 dBm
+2.2/-2.7 dB
V (850/CELL)
824 MHz to 849 MHz
4.3.2. WCDMA RX Sensitivity
The Minimum Receiver Sensitivity of the AirPrime AR7558 embedded module are specified in the
following table.

4116922 Rev 1.1 January 21, 2015 21
Hardware Integration Guide
RF Specification
Table 12. AirPrime AR7558 Minimum WCDMA Receiver Sensitivity
Band
Frequency Band
Minimum RX Downlink
Criteria
II (1900/PCS)
1930 MHz to 1990 MHz
-106 dBm (Class A)
-105 dBm (Class B)
BER < 0.001
V (850/CELL)
869 MHz to 894 MHz
-107 dBm (Class A)
-106 dBm (Class B)
4.4. WWAN Antenna Interface
The specification for the WWAN Antenna Interface of the AirPrime AR7558 embedded modules are
defined in the table below.
Table 13. AirPrime AR7558 WWAN Antenna Characteristics
Characteristics
CDMA BC0,
BC10,WCDMA
B5
CDMA BC1,
WCDMA B2
LTE B4
LTE B25
LTE B26
LTE B41
Frequency (MHz)
TX
824-849
1850-1910
1710 – 1755
1850 – 1915
814-849
2496-2690
RX
869-894
1930-1990
2110 – 2155
1930 –1995
859-894
2496-2690
Impedance
RF
50 Ω
VSWR max
RX
2:1
TX
2:1
Maximum Voltage
Primary Antenna – 36 Volts
RX2 Antenna – 36 Volts (LTE MIMO: tbd)
Note: RX2 Antenna port is RX only, RX parameters in the above tables are also applicable.
Table 14. WWAN Antenna Interface Pads
Pad
Name
Direction
Function
BA11
GND
Primary Antenna Ground
BA12
PRIMARY_ANT
Input/Output
Primary Antenna Interface
BA13
GND
Primary Antenna Ground
BA7
GND
Diversity Antenna Ground
BA8
DIVERSITY_ANT
Input
Diversity Antenna Interface
BA9
GND
Diversity Antenna Ground
4.4.1. WWAN Antenna Recommendations
The table below defines the key characteristics to consider for antenna selection.
Table 15. AirPrime AR7558 WWAN Antenna Recommendations
Characteristics
CDMA BC0,
WCDMA B5
CDMA BC1,
WCDMA B2
LTE B4
LTE B13
Frequency (MHz)
TX
824-849
1850-1910
1710 – 1755
777 – 787

4116922 Rev 1.1 January 21, 2015 22
Hardware Integration Guide
RF Specification
Characteristics
CDMA BC0,
WCDMA B5
CDMA BC1,
WCDMA B2
LTE B4
LTE B13
RX
869-894
1930-1990
2110 – 2155
746 – 756
Impedance
RF
50 Ω
DC
10 kΩ ±1k
VSWR max
RX
1.5: 1
TX
1.5: 1
Polarization
Linear, vertical
Typical radiated gain
0 dBi in one direction at least
4.5. Primary Antenna Diagnostics
The primary antenna diagnostic feature allows the AirPrime AR7558 embedded module to determine
if the primary antenna connected to the module is: open, shorted or normal. The antenna connected
to this interface needs to have a DC resistance to ground of 10 kΩ ± 1k embedded inside.
The ARx55x FW accepts two limits which are used to evaluate the status of the antenna, representing
the short and open thresholds. Refer to document [7] for the syntax of AT+ANTLIMT.
Table 16. Primary Antenna ADC Characteristics
Min
Nom
Max
Units
ADC Voltage Range
0
0.9
1.8
Volts
Resolution
-
15
Bit
ADC Values
0
16383
Voltage/ADC step
~0.0011
Volts
1 Assumes 10kΩ Nominal DC resistance in the attached antenna and internal to AirPrime AR7558 device
The following example illustrates the Antenna states and resistance values for a typical limit setting.
AT+ANTLIMT=1,839,1088
Table 17. Primary Antenna Diagnostics Ranges
Antenna State
Min ADC
Max ADC
Antenna Resistance Range
Short
0
839
~ ≤ 7 kΩ
Normal
841
1086
7 kΩ < x < 13 kΩ
Open
1088
1900
≥ 13 kΩ
Note: Highlighted numbers in the table above are programmed as shortLim and openLim using the
+ANTLIMT command.
4.6. RX2 Antenna Diagnostics
The RX2 antenna diagnostic feature allows the AirPrime AR75580 to determine if the RX2 antenna
connected to the module is: open, shorted or normal. The antenna connected to this interface needs
to have a DC resistance to ground of 10 kΩ ± 1k embedded inside.

4116922 Rev 1.1 January 21, 2015 23
Hardware Integration Guide
RF Specification
The AirPrime AR7558 FW accepts two limits which are used to evaluate the status of the antenna,
representing the short and open thresholds. Refer to document [7] for the syntax of AT+ANTLIMT.
Table 18. RX2 Antenna ADC Characteristics
Min
Nom
Max
Units
ADC Voltage Range
0
0.9
1.8
Volts
Resolution
-
15
Bit
ADC Values
0
16383
Voltage/ADC step
~0.0011
Volts
1 Assumes 10kΩ Nominal DC resistance in the attached antenna and internal to AirPrime AR7558 device
The following example illustrates the Antenna states and resistance values for a typical limit setting.
AT+ANTLIMT=2,839,1088
Table 19. RX2 Antenna Diagnostics Ranges
Antenna State
Min ADC
Max ADC
Antenna Resistance Range
Short
0
839
~ ≤ 7 kΩ
Normal
841
1086
7 kΩ < x < 13 kΩ
Open
1088
1900
≥ 13 kΩ
Note: Highlighted numbers in the table above are programmed as shortLim and openLim using the
+ANTLIMT command.

4116922 Rev 1.0 January 21, 2015 24
5. GNSS Specification
The AirPrime AR7558 embedded module includes optional Global Navigation Satellite System
(GNSS) capabilities via the Qualcomm gpsOne Gen8 Engine, capable of operation in assisted and
stand-alone GPS modes as well as GPS+GLONASS mode.
5.1. GNSS
The GNSS implementation supports GPS L1 operation and GLONASS L1 FDMA operation.
Table 20. GNSS Characteristics
Parameter
Value
Sensitivity
Standalone or MS Based Tracking Sensitivity
tbd
Cold Start Sensitivity
tbd
MS Assisted Synchronous A-GNSS Acquisition Sensitivity
tbd
Accuracy in Open Sky (1 Hz tracking)
< 2m CEP-50
Total number of SV available
~30 SVs
Support for Predicted Orbits
Yes
Predicted Orbit CEP-50 Accuracy
5 m
Standalone Time To First Fix (TTFF)
Super Hot
1 s
Warm
29 s
Cold
32 s
Number of channels
tbd
GNSS Message Protocols
NMEA
Note: Acquisition/Tracking Sensitivity performance figures assume open sky w/ active patch GNSS
antenna and a 2.5 dB Noise Figure.
5.2. GNSS Antenna Interface
The specification for GNSS Antenna Interface is defined in the table below. The AirPrime AR7558
provides biasing for an active antenna as well as onboard circuitry for diagnostics of this antenna
interface.
Table 21. GNSS Antenna Interface Characteristics
Characteristics
GNSS
Frequency
GPS L1 (Wideband)
1575.42 ± 20 MHz
Glonass L1 FDMA
1597.5 – 1605.8 MHz
RF Impedance
50 Ω
VSWR max
RX
2:1
LNA Bias Voltage
4.4 – 4.9V, 5.25V (No Load)
LNA Current Consumption
50 mA Max
Maximum Voltage applied to antenna
36 Volts

4116922 Rev 1.1 January 21, 2015 25
Hardware Integration Guide
GNSS Specification
Minimum isolation between the GNSS and WWAN Antenna must be 10 dB for the AirPrime AR7558.
Table 22. GNSS Antenna Interface Pads
Pad
Name
Direction
Function
BA4
GND
GNSS Antenna Ground
BA5
GNSS_ANT
Input
GNSS Antenna Interface
BA6
GND
GNSS Antenna Ground
5.2.1. GNSS Antenna Recommendations
The table below defines the key characteristics to consider for antenna selection.
Table 23. GNSS Recommended Antenna Characteristics
Characteristics
GNSS
Frequency
GPS L1 (Wideband)
1575.42 ± 20 MHz
Glonass L1 FDMA
1597.5 – 1605.8 MHz
RF Impedance
50 Ω
VSWR max
RX
1.5: 1
LNA Bias Voltage
4.4 – 4.9V
LNA Noise Figure
2.0 dB Max
LNA Current Consumption
50 mA Max
Antenna System Gain (Antenna + LNA - Cable)
20 – 24 dB
Polarization
Right Hand Circular Polarization
5.3. GNSS Antenna Diagnostics
The GNSS Antenna Diagnostic feature measures the current drawn by an active GNSS antenna to
determine the state of this antenna interface. Based on the current draw an assessment of open,
short, normal or over-current is made. If an over-current is detected, the bias for the active antenna is
removed to eliminate the fault for drawing excess current which could potentially damage the antenna.
The limits between open/normal and normal/short can be set by the application through an AT
Command.
ADC Value
<
openLim
< >
shortLim
>
GNSS Antenna State
Open
Normal
Short
The Over Current limit is set by hardware and cannot be altered.
Table 24. GNSS Antenna Diagnostics Ranges
Control
State
Min
Max
Units
HW
Over Current
78
100
mA
The GNSS antenna supply is powered from VBATT through a boost regulator.

4116922 Rev 1.1 January 21, 2015 26
Hardware Integration Guide
GNSS Specification
The following table identifies some key VGNSS_ANT current draw values and the associated ADC
values.
Table 25. VGNSS_ANT Current Draw
I (mA)
Nominal
0
337
5
612
10
936
15
1242
20
1558
25
1877
30
2194
35
2494
40
2821
45
3188
50
3444
55
3747
60
4065
65
4292
70
4319
The graph below illustrates the relationship between current drawn on VGNSS_ANT vs the ADC
readings used to monitor the GNSS Antenna status.
Figure 7. VGNSS_ANT vs. ADC Readings Relationship

4116922 Rev 1.1 January 21, 2015 27
Hardware Integration Guide
GNSS Specification
PM8018
150K
BOOST REG
VIN VOUT
FB
BOOST_CTRL
200V/V
Converter
S+ S-
Vout
PMIC
MPP_02
MDM9X15
GPIO_09
GPIO_69
LGA
VBATT 330m
I Lim
VIN VOUT
FLAGB
ON
GPIO_59
10K
GNSSPWR_EN
ILIM_EN
ILIM_OC_N
VGNSS
5V
Current Limit=75mA
0~4.35V
GNSS_ANT_ADC
5V
Figure 8. GNSS Power Supply and Antenna Diagnostics Block Diagram
5.4. Current Consumption
The table below summarizes some key current consumption values for various modes of the AirPrime
AR7558 devices.
Table 26. AirPrime AR7558 Current Consumption Values
Mode
Parameter
Typical
Max
Units
On Call – CDMA
Maximum TX Output – 1xRTT/1xEVDO
-
tbd
mA
+0dBm TX Output – 1xRTT
tbd
-
mA
+0dBm TX Output – 1xEVDO
tbd
-
mA
On Call – WCDMA
Maximum TX Output – WCDMA/HSPA
-
tbd
mA
+0dBm TX Output – WCDMA
tbd
-
mA
+0dBm TX Output – HSPA
tbd
-
mA
On Call – LTE
Maximum TX Output
-
tbd
mA
+0dBm TX Output
tbd
-
mA
Idle – CDMA
Registered
USB Enumerated
tbd
-
mA
USB Not Enumerated
tbd
-
mA
Searching for network – CDMA
tbd
-
mA
Idle – WCDMA
Registered
USB Enumerated
tbd
-
mA
USB Not Enumerated
tbd
-
mA
Searching for network – WCDMA
tbd
-
mA

4116922 Rev 1.1 January 21, 2015 28
Hardware Integration Guide
GNSS Specification
Mode
Parameter
Typical
Max
Units
Idle – LTE
Registered
USB Enumerated
tbd
-
mA
USB Not Enumerated
tbd
-
mA
Searching for network – LTE
tbd
-
mA
Sleep Mode
Average current, QPCH, SCI=2
-
tbd
mA
Average current, WCDMA, DRX=8
-
tbd
mA
Average current, LTE
-
tbd
mA
Off
Power OFF Current
tbd
tbd
μA
GNSS
Acquisition (Airplane mode, cold start)
tbd
mA
Tracking (Registered)
tbd
mA
Powering an Active Antenna from VGNSS_ANT
tbd
mA
1 This is the additional current draw on VBATT for 10mA consumption by Active LNA from VGNSS_ANT. Higher current
consumption by the antenna will result in higher consumption on VBATT.
5.5. Digital IO Characteristics
The Digital IO characteristics are defined in the table below. These apply to GPIOs, UART, LED,
SDIO and PCM/I2S.
Table 27. Digital IO Characteristics
Parameter
Comments
Min
Typ
Max
Units
VIH
High level input
voltage
CMOS/Schmitt
0.65* VCC_1V8
–
VCC_1V8+0.3
V
VIL
Low level input
voltage
CMOS/Schmitt
-0.3
–
0.35* VCC_1V8
V
VOH
High level
output voltage
CMOS, at pin rated drive
strength
VCC_1V8 - 0.45
–
VCC_1V8
V
VOL
Low-level output
voltage
CMOS, at pin rated drive
strength
0
–
0.45
V
IOH
High level
output current
VOH = VCC_1V8 – 0.45
V
–
–
6
mA
IOL
Low Level
output current
VOL = 0.45 V
-6
–
–
mA
IOH-LED
High level
output current
LED signal only
–
–
–
mA
IOL-LED
Low Level
output current
LED signal only
-3
–
20
mA
IIHPD
Input high
leakage current
With pull-down
5
30
µA
IILPU
Input low
leakage current
With pull-up
-30
-5
µA
IL
Input leakage
current
VIO = max,
VIN = 0 V to VIO
LED signal only
-0.3
–
+0.35
µA
CIN
Input
capacitance
–
–
7
pF

4116922 Rev 1.1 January 21, 2015 29
Hardware Integration Guide
GNSS Specification
Parameter
Comments
Min
Typ
Max
Units
CIN-LED
Input
capacitance
LED signal only
–
–
5
pF
Caution: Digital IOs shall not be pulled-up to an external voltage as this may cause VCC_1V8 to not go low
when the AirPrime AR7558 device is powered down. Also, this would partially bias the AirPrime
AR7558 device which could potentially damage the device or result in GPIOs being set to
undetermined levels.
5.6. Internal Device Frequencies
The table below summarizes the frequencies generated within the AirPrime AR7558. This table is
provided for reference only to the device integrator.
Table 28. Internal Device Frequencies
Subsystem/Feature
Frequency
Units
Real Time Clock
32.768
kHz
PCM Audio interface (Primary PCM Master Mode) [TBD]
8,
128,
2048
kHz
I2C Interface
400
kHz
PMIC switching power supplies
tbd
MHz
GNSS Antenna bias switching supply
3.5
MHz
Fundamental clock, codec, TCXO_OUT
19.2
MHz
PLL
tbd
MHz
USB
12,
480
Mb/s

4116922 Rev 1.0 January 21, 2015 30
6. Baseband Specification
6.1. Power Supply
The AirPrime AR7558 embedded module is powered via a single regulated DC power supply, 3.7V
nominal. The power supply requirements can be found in the following table.
Table 29. Power Supply Requirements
Power Supply
Min
Typ
Max
Units
Main DC Power Input Range
3.4
3.7
4.2
V
Power Supply Ripple
0 to 1kHz
-
-
200
mVpp
>1kHz
-
-
50
mVpp
Maximum Current draw
AR7558
-
-
tbd
mA
AirPrime AR7558 does not support USB bus-powered operation. DC power must be supplied via the
VBATT input.
Table 30. Power Supply Pads
Pad
Name
Direction
Function
If Unused
EA2
VBATT
Input
Power Supply Input
Must Be Used
EB2
VBATT
Input
Power Supply Input
Must Be Used
EC2
VBATT
Input
Power Supply Input
Must Be Used
6.1.1. Under-Voltage Lockout (UVLO)
The power management section of the AirPrime AR7558 includes an under-voltage lockout circuit that
monitors supply and shuts down when VBATT falls below the threshold.
Figure 9. Under-Voltage Lockout (UVLO) Diagram
The AirPrime AR7558 will power down and remain off until the level of VBATT returns to the valid
range and the ON/OFF signal is active.

4116922 Rev 1.1 January 21, 2015 31
Hardware Integration Guide
Baseband Specification
Note: If the AirPrime AR7558 device has 6 UVLO events without a valid power down or reset sequence, it
enters a mode in which only the DM port enumerates on the USB.
Table 31. UVLO Thresholds
Description
Value
Units
UVLO
Rising threshold
2.725
V
Falling threshold
2.55
V
Minimum Duration below Falling threshold
1.0
uS
6.2. VCOIN
The AirPrime AR7558 provides an interface for a coin cell to maintain the internal RTC when VBATT
is removed from the AirPrime AR7558 device. Whenever VBATT is applied the RTC is powered from
the VBATT supply. The AirPrime AR7558 also supports charging of a coin cell if connected to this
interface.
Table 32. VCOIN Pad
Pad
Name
Direction
Function
If Unused
AC11
VCOIN
Input /Output
Voltage Input/Charging output
Leave Open
The table below defines the specifications of this interface.
Table 33. VCOIN Interface Specification
VCOIN
Min
Typ
Max
Units
DC Power Input Range
TBD
TBD
TBD
V
Current Draw
1.1
2.0
μA
The table below defines the VCOIN charging specifications.
Table 34. VCOIN Charging Specifications
VCOIN Charging Specs
Comments
Min
Typ
Max
Units
Target regulator voltage1
VIN > 2.5 V, ICHG = 100 μA
TBD
TBD
TBD
V
Target series resistance2
800
–
2100
Ω
Coin cell charger voltage error
ICHG = 0 μA
-5
–
+5
%
Coin cell charger resistor error
-20
–
+20
%
Dropout voltage3
ICHG = 2 mA
–
–
200
mV
Ground current, charger enabled
VBAT = 3.6 V, T = 27 ºC
VBAT = 3.2 to 4.2 V
IC = off; VCOIN = open
–
–
4.5
–
–
8
μA
μA
1. Valid regulator voltage settings are 2.5, 3.0, 3.1, and 3.2 V.
2. Valid series resistor settings are 800, 1200, 1700, and 2100 Ω.
3. Set the input voltage (VBAT) to 3.5 V. Note the charger output voltage; call this value V0. Decrease the input voltage
until the regulated output voltage drops 100 mV (until the charger output voltage = V0 - 0.1 V). The voltage drop across
the regulator under this condition is the dropout voltage (Vdropout = VBAT - the charger output voltage).

4116922 Rev 1.1 January 21, 2015 32
Hardware Integration Guide
Baseband Specification
6.3. ON/OFF Control
The AirPrime AR7558 provides an interface for controlling the device ON/OFF state.
Table 35. ON/OFF Control Pads
Pad
Name
Direction
Function
If Unused
BB1
ON/OFF
Input
ON/OFF Control
Must Be Used
The ON/OFF signal is internally pulled up to an internal 1.8V reference voltage. An open drain
transistor should be connected to this pin to generate a low pulse. This pin should not be driven high
external to the AirPrime AR7558 embedded module.
Table 36. ON/OFF Internal Pull-Up
Signal
Parameter
Min
Typ
Max
Units
ON/OFF
Internal Pull-up
-
200
-
kΩ
6.3.1. ON/OFF Timing
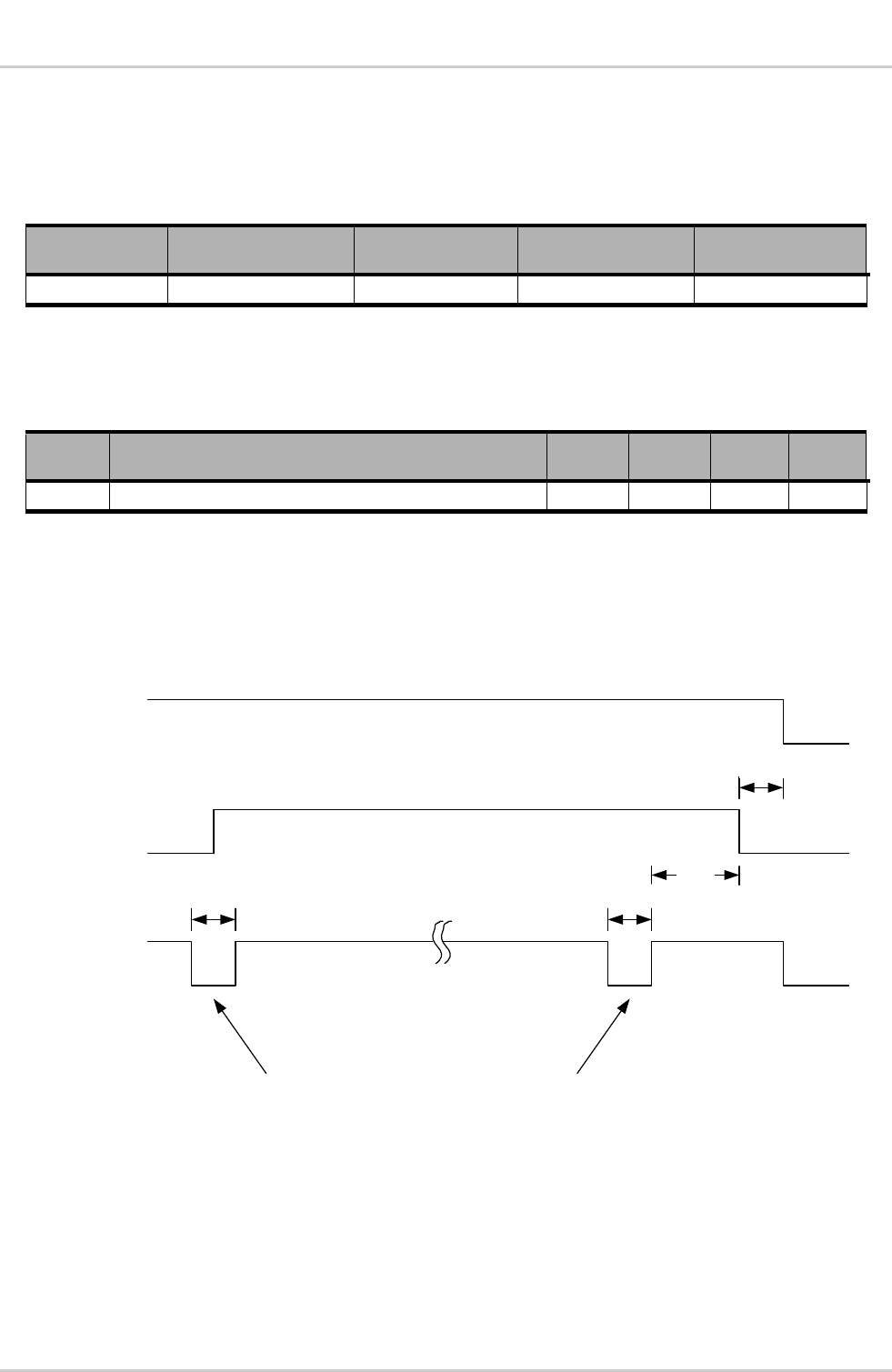
The ON/OFF pin is a low pulse toggle control. The first pulse powers the AirPrime AR7558 ON, a
second pulse instructs the AirPrime AR7558 to begin the Shutdown process.
The diagram below illustrates the recommended application implementation for ON/OFF control.
VCC_1V8
ON/OFF
Power ON
Pulse
tON
Power OFF
Pulse
tpwrrmv
VBATT
tOFF
tpwroff
Figure 10. Recommended ON/OFF Control
The diagram below illustrates an alternate application implementation that holds ON/OFF low during
operation.

4116922 Rev 1.1 January 21, 2015 33
Hardware Integration Guide
Baseband Specification
ON/OFF
Power ON
Transition
VCC_1V8
tpwrrmv
VBATT
tpwroff
Power OFF
Pulse
tHI tOFF
Figure 11. Alternate ON/OFF Control
Table 37. Power-ON Sequence Symbol Definitions
Symbol
Parameter
Boot
Min
Typ
Max
tON
Turn ON Pulse duration
50 ms
100 ms
∞
tOFF
Turn OFF Pulse duration
50 ms
100 ms
500 ms
tpwroff
Time to Power OFF
-
5 s
-
tpwrrmv
Time VBATT must be maintained after VCC_1V8
goes inactive
0 s
-
-
tHI
Time required for ON/OFF to be high prior to OFF
pulse.
In process
10 s
-
Complete
50 ms
Tpwroff is the time between when a power OFF pulse is complete and when shutdown is completed by
the AirPrime AR7558 devices. This duration is network and device dependent, i.e. in a CDMA network
a power down registration is initiated by the AirPrime AR7558 device, when the acknowledgement is
received from the network power OFF completes.
Detection of power down can be accomplished by monitoring for one of the following:
+WIND: 10 output on the AT Command interface
USB ports are de-enumerated
The application must wait for a power down to be detected prior to removing power from the AirPrime
AR7558 device. If a timeout is required, it is recommended to be in excess of 30s prior to removing
power from the AirPrime AR7558 device.
Note: Refer to document [7] for details on enabling the +WIND message for power down and
+USLGRPMSK and +USLEVTMSK for unsolicited message output.

4116922 Rev 1.1 January 21, 2015 34
Hardware Integration Guide
Baseband Specification
6.3.2. Software-Initiated Power Down
The host application may choose to use the AT Command AT!POWERDOWN to initiate a power
down of the AirPrime AR7558 device instead of using an OFF pulse. In this scenario the ON/OFF
signal should be left open by the application. The AirPrime AR7558 device will initiate a power up
after completion of the power down if ON/OFF is low.
6.3.3. Deep Sleep
The AirPrime AR7558 embedded modules support a low power mode in which the device is
registered on the LTE/CDMA/GSM/WCDMA network and sleeps in between wake intervals where it
listens for pages.
Figure 12. Power Mode Diagram
The following table lists the parameter that defines the wake interval period for the various devices.
Table 38. Period of Wake Intervals
AR Series Device
Network Standard
Parameter
AR7558
CDMA
SCI
WCDMA
DRX
LTE
DRX
The average current consumption of the AirPrime AR7558 while in this mode is defined in the Sleep
Mode portion of the current consumption tables in section 5.4 Current Consumption.
The Slot Cycle Index is the lower of the values stored in the AirPrime AR7558 or the value being
broadcast by the wireless network that the AirPrime AR7558 is registered on.
The MFRM and DRX cycle index values are broadcast by the wireless network on which the AirPrime
AR7558 embedded module is registered.
While in Deep Sleep mode the functions of the AirPrime AR7558 are limited as defined in the
following table.
Table 39. Deep Sleep Function Availability
Function
Availability
Conditions
Paging

4116922 Rev 1.1 January 21, 2015 35
Hardware Integration Guide
Baseband Specification
Function
Availability
Conditions
GNSS
-
GNSS is powered down
Time measurement
USB
-
USB_VBUS is not applied
UART
-
Digital IO
-
Digital IO pins maintained last state
Events that cause the AirPrime AR7558 to wake-up from Deep Sleep mode include:
Incoming call
Expiration of an internal timer in the AirPrime AR7558
USB_VBUS is applied to the AirPrime AR7558
WAKE_N is asserted (low)
UART1 DTR is asserted (high) if UART1 DTR has been enabled as a sleep control
(AT+W32K=1,1) and AT Command Service is mapped to UART1
GNSS location fix request is initiated from an Embedded Application
See the Ring Indicator section for more information about configuring the RI signal to notify an
external application of a wake-up event while the AR device is in sleep mode.
6.3.3.1. Sequence to Enter Deep Sleep Mode
The following list defines the sequence needed by the application to allow the AirPrime AR7558 to
enter Deep Sleep mode:
1. AR7558 has registered on the WWAN network (or callbox), and is not in a call.
2. End GNSS Tracking session.
3. Turn off GNSS Antenna bias.
4. Confirm WAKE_N is not held low (pulled-up in AirPrime AR7558).
5. Issue AT command to request AR device to enter deep sleep (AT+W32K=1,x).
6. If AT+W32K=1,1 is used, DTR must also be de-asserted to allow sleep.
7. Ensure UARTs are in the inactive state.
8. Remove VBUS from being applied to the AR device.
6.4. USB
The AirPrime AR7558 has a High Speed USB2.0 compliant, peripheral only interface.
Table 40. USB Pad Details
Pad
Name
Direction
Function
DA7
USB_VBUS
Input
USB Power Supply
DB6
USB_D_P
In/Out
Differential data interface positive
DA6
USB_D_M
In/Out
Differential data interface negative
DD5
USB_ID
In/Out
USB ID
The AR7558 will not be damaged if a valid USB_VBUS is supplied while the main DC power is not
supplied.

4116922 Rev 1.1 January 21, 2015 36
Hardware Integration Guide
Baseband Specification
Table 41. USB Characteristics
USB
Value
Units
USB_VBUS
Voltage range
2.0 – 5.25
V
Maximum Current draw1
1
mA
Maximum Input Capacitance (Min ESR = 50 mΩ)
10
μF
1 With the AirPrime AR7558 device powered ON.
6.5. UART
The AirPrime AR7558 has two UART interfaces. The primary UART is an 8-wire
1
electrical interface
and the secondary UART is a 2-wire electrical interface.
Table 42. UART Pads
Pad
Name
Direction
Function
Interface
If Unused
AD9
RXD1
Output
Receive Data (UART1)
UART1
Leave Open
AE6
RTS1
Input
Ready To Send (UART1)
UART1
Leave Open1
AD8
TXD1
Input
Transmit Data (UART1)
UART1
Leave Open
AE7
CTS1
Output
Clear To Send (UART1)
UART1
Leave Open
AF6
DCD1
Output
Data Carrier Detect (UART1)
UART1
Leave Open
AE5
DTR1
Input
Data Terminal Ready (UART1)
UART1
Leave Open
AF5
DSR1
Output
Data Set Ready (UART1)
UART1
Leave Open
DB2
RXD2
Output
UART2 Receive Data
UART2
Leave Open
DA2
TXD2
Input
UART2 Transmit Data
UART2
Leave Open
1 If UART1 is implemented as a 2-wire interface, RTS1 should be pulled low to disable flow control.
6.6. Ring Indicator
The Ring Indicator (RI) may be used to notify an external application of several events such as an
incoming call, timer expiration or incoming SMS.
Table 43. Ring Indicator Pad
Pad
Name
Direction
Function
If Unused
AD7
RI1
Output
Ring Indicator
Leave Open
The events which toggle the RI signal can be configured using the AT+WWAKESET command. The
duration of the RI pulse can be configured using the AT+WRID command.
The reason for the RI signal being activated can be queried using the AT+WWAKE command. Refer
to document [7] for details of these AT Commands.
The RI signal is independent of the UART.
1
Includes Ring Indicator which may also be used independently of UART1.

4116922 Rev 1.1 January 21, 2015 37
Hardware Integration Guide
Baseband Specification
6.7. UIM Interface
The UIM interface of the AirPrime AR7558 supports a USIM/CSIM for LTE, WCDMA, GSM and
CDMA. The UIM can be embedded internally in AR7558 and can be external to AR7558.
Table 44. UIM Pads
Pad
Name
Direction
Function
If Unused
DA5
UIM_DETECT
Input
Detection of an external UIM card
Leave Open
DB4
UIM_VCC
Output
Supply output for an external UIM card
Leave Open
DC3
UIM_RST
Output
Reset output to an external UIM card
Leave Open
DA4
UIM_DAT
Input /Output
Data connection with an external UIM card
Leave Open
DE1
UIM_CLK
Output
Clock output to an external UIM card
Leave Open
The diagram below illustrates the recommended implementation of a UIM holder on the application.
Figure 13. Recommended UIM Holder Implementation
UIM_DETECT is used to detect the physical presence of a SIM/UIM card in the holder. It has a 3.0uA
to 30µA pull-up to 1.8V inside the AirPrime AR7558. It should be set to GND if a SIM/UIM is present.
All signals must be ESD-protected near the UIM holder.
The capacitor and two resistors should be added as placeholders to compensate for potential layout
issues. UIM_DAT trace should be routed away from the UIM_CLK trace. Keep distance from AirPrime
AR7558 to UIM-Holder as short as possible.
An ESD device specifically designed for SIM/UIM cards is recommended for UIM_VCC, UIM_RST,
UIM_CLK and UIM_DAT. i.e. SEMTECH EClamp2455K, Infineon BGF106C or NXP IP4264CZ8-20-
TTL. For UIM_DETECT a low leakage ESD suppressor should be selected.
6.7.1. Internal UIM
Alternatively, a hardware option is available that includes a UIM device mounted on the AirPrime
AR7558 PCB thus eliminating the need for an external UIM holder

4116922 Rev 1.1 January 21, 2015 38
Hardware Integration Guide
Baseband Specification
6.8. General Purpose IO
The AirPrime AR7558 defines 10 GPIOs for customer use.
Table 45. GPIO Interface Pads
Pad
Name
Pull State
Function
If Unused
Multiplexed
Function
CA10
GPIO1
Pull-Down
Available-GPIO
Leave Open
CA11
GPIO2
Pull-Down
Available-GPIO
Leave Open
CB10
GPIO3
Pull-Down
Available-GPIO
Leave Open
CB11
GPIO4
Pull-Down
Available-GPIO
Leave Open
CC7
GPIO5
Pull-Down
Available-GPIO
Leave Open
CC8
GPIO6
Pull-Down
Available-GPIO
Leave Open
CC9
GPIO7
Pull-Down
Available-GPIO
Leave Open
CD7
GPIO8
Pull-Down
Available-GPIO
Leave Open
Band indicator1
CE5
GPIO9
Pull-Down
Available-GPIO
Leave Open
Band indicator2
CF5
GPIO10
Pull-Down
Available-GPIO
Leave Open
Band indicator3
Refer to the Digital IO Characteristics section for electrical characteristics of these signals.
6.8.1. AT Port Switch
The AirPrime AR7558 supports switching the active AT command port between USB and UART.
Table 46. AT Port Switch States
Pad
Name
State
AT Port
AB5
AT_PORT_SW
Low (default)
Available on USB
High
Available on UART1
6.9. Secure Digital IO
The AirPrime AR7558 defines a 1.8V SDIO interface for future use.
Table 47. SDIO Interface Pads
Pad
Name
Direction
Function
If Unused
AA11
SDIO_DATA0
Input/Output
SDIO Data bit 0
Leave Open
AA10
SDIO_DATA1
Input/Output
SDIO Data bit 1
Leave Open
AB9
SDIO_DATA2
Input/Output
SDIO Data bit 2
Leave Open
AB10
SDIO_DATA3
Input/Output
SDIO Data bit 3
Leave Open
AB8
SDIO_CMD
Output
SDIO Command
Leave Open
AA9
SDIO_CLK
Output
SDIO Clock
Leave Open

4116922 Rev 1.1 January 21, 2015 39
Hardware Integration Guide
Baseband Specification
6.10. I2C
The AirPrime AR7558 provides an I2C interface.
Table 48. I2C Interface Pads
Pad
Name
Direction
Function
If Unused
CD6
I2C_CLK
Output
I2C Clock output
Leave Open
CC6
I2C_SDA
Input/Output
I2C Data
Leave Open
The I2C signals are open drain outputs with 2.2 kΩ pull-up resistors to VCC_1V8 internal to the
AirPrime AR7558.
6.11. Voltage Reference
The AirPrime AR7558 utilizes 1.8V logic. A voltage reference output for this rail is provided below.
Table 49. Voltage Reference Pad
Pad
Name
Direction
Function
If Unused
AA12
VCC_1V8
Output
Voltage Reference Output
Leave Open
AB12
VCC_1V8
Output
Voltage Reference Output
Leave Open
Table 50. Voltage Reference Characteristics
Parameter
Min
Typ
Max
Units
VCC_1V8
Voltage Level
1.746
1.8
1.854
V
Output Current
25
mA
The VCC_1V8 signal can be used to power external circuitry and/or detect the power state of the
AirPrime AR7558 device.
Using VCC_1V8 to determine the power state is recommended when the user application wants to
disable VBATT. VBATT should not be disabled before VCC_1V8 goes inactive. To be able to detect
the power state on VCC_1V8, all logic input signals to the AirPrime AR7558device must be set low
(see Digital IO Characteristics for affected signal groups).
The VCC_1V8 signal is High-Z when the AirPrime AR7558 embedded module is powered down.
6.12. RESET
The AirPrime AR7558 provides an interface to allow an external application to RESET the module as
well as an output to indicate the current RESET state or control an external device.
Table 51. Reset Interface Pads
Pad
Name
Direction
Function
If Unused
AH2
RESIN_N
Input
External Reset Input
Leave Open
AG4
RESOUT_N
Output
Reset Output
Leave Open

4116922 Rev 1.1 January 21, 2015 40
Hardware Integration Guide
Baseband Specification
The RESIN_N signal is pulled-up internal to the AirPrime AR7558. An open collector transistor or
equivalent should be used to Ground the signal when necessary to RESET the module.
Note: Use of the RESIN_N signal to RESET the AirPrime AR7558 could result in memory corruption if
used inappropriately. This signal should only be used if the AirPrime AR7558 has become
unresponsive and it is not possible to perform a power cycle.
Table 52. Reset Timing
Symbol
Parameter
Min
Typ
Max
Trdet
Duration of RESIN_N signal before firmware detects it
(debounce timer)
-
32 ms
-
Trlen
Duration reset asserted
40 ms
-
∞
Trdel
Delay between minimum Reset duration and Internal Reset
generated
-
500 ms
-
RESIN_N
RESOUT_N
Trlen
Trdel
Trdet
Figure 14. Illustration of Reset Timing When RESIN_N < Trdel
RESIN_N
RESOUT_N
Trdet + Trdel
Figure 15. Illustration of Reset Timing When RESIN_N Held Low > Trdet+Trdel
6.13. ADC
The AirPrime AR7558 provides two ADC inputs. The interface information is provided in the tables
below.
Table 53. ADC Interface Pads
Pad
Name
Direction
Function
If Unused
DE3
ADC0
Input
Analog to Digital Converter Input
Leave Open or Ground
DF2
ADC1
Input
Analog to Digital Converter Input
Leave Open or Ground

4116922 Rev 1.1 January 21, 2015 41
Hardware Integration Guide
Baseband Specification
Table 54. ADC Interface Characteristics
ADC
Value
Units
ADCx
Full-Scale Voltage Level
1.8
V
Resolution
15
bit
Input Impedance
>4
MΩ
6.14. LED
The AirPrime AR7558 provides an LED control output signal pad. This signal is an open drain input.
Table 55. LED Interface Pad
Pad
Name
Direction
Function
If Unused
AA6
LED
Output
LED driver control
Leave Open
Figure 16. LED Reference Circuit
The behavior of the LED signal can be modified using the AT command AT!LEDCTRL.
6.15. Audio
The AirPrime AR7558 supports both Analog and Digital audio interfaces. The following diagram
illustrates the Audio subsystem and identifies where various AT commands affect the audio
subsystem. Refer to document [7] for details of the AT commands.
[Diagram tbd]
Figure 17. Audio Block Diagram
6.15.1. Analog Audio
The AirPrime AR7558 provides a mono differential analog audio interface.
Table 56. Analog Audio Interface Pads
Pad
Name
Direction
Function
Interface
CD9
AUDIO1_IN_P
Input
Microphone 1 input positive
Primary
CC10
AUDIO1_IN_M
Microphone 1 input negative
CE6
AUDIO1_OUT_P
Output
Speaker 1 output positive
CE8
AUDIO1_OUT_M
Speaker 1 output negative

4116922 Rev 1.1 January 21, 2015 42
Hardware Integration Guide
Baseband Specification
Table 57. Analog Audio Interface Characteristics
Analog Audio
Min.
Typ.
Max.
Units
Audio IN
Input Impedance
16
20
24
kΩ
Signal Level – Differential
-0.3
-
2.9
dBV
Signal Level – Single-ended
(the unused audio signal must be tied to
GND or analog reference)
-0.3
-
2.9
dBV
Audio OUT
Signal Level – Differential
-
-
dBV
Signal Level – Single-ended
-0.3
-
2.9
dBV
Output Impedance
-0.3
-
2.9
Ω
Signal Drive Strength – Application Load
-
600
1M
kΩ
6.15.2. Digital Audio
The AirPrime AR7558 provides a 4-wire digital audio interface. This interface can be configured as
either a PCM or an I2S.
Table 58. Digital Audio Interface Pads
Pad
Name
Direction1
PCM
Function
Direction
I2S Function
If Unused
DB3
PCM_FS
Output
PCM Frame
Sync
Input/Output
I2S_WS
Leave Open
DA3
PCM_CLK
Output
PCM Clock
Input/Output
I2S_SCLK
Leave Open
DC2
PCM_DOUT
Output
PCM Data Out
Output
I2S_DOUT
Leave Open
DD2
PCM_DIN
Input
PCM Data In
Input
I2S_DIN
Leave Open
1 Direction when defined in Master mode.
6.15.2.1. PCM
The AirPrime AR7558 PCM interface can be configured in one of two modes: primary PCM or
auxiliary PCM mode. The table below defines the configurations for each of these two modes.
Table 59. PCM Interface Configurations
Element
Primary PCM
Auxiliary PCM
Slot Configuration
Slot-based
Single
Sync type
Short
Long
Frequency
8 kHz
Duty Cycle
50%
Clock (Master)
2.048 MHz
128 kHz
Data formats
16-bit linear, 8-bit A-law, 8-bit m-law
AirPrime AR7558 Master/Slave
Master or Slave
Master

4116922 Rev 1.1 January 21, 2015 43
Hardware Integration Guide
Baseband Specification
6.15.2.1.1. PCM Data format
The PCM data is 8 kHz and 16 bits with the following PDM bit format:
PCM_DIN – SDDD DDDD DDDD DDVV
PCM_DOUT – SDDD DDDD DDDD DDVV
Where:
S – Signed bit
D – Data
V – Volume padding
6.15.2.1.2. Primary PCM Timing
The table and drawings below illustrate the PCM signals timing when the AirPrime AR7558 module is
operating in Primary PCM mode.
Table 60. Primary PCM Timing
Parameter
Description
Min
Typ
Max
unit
T(sync)
PCM_FS cycle time
-
125
-
µs
T(synch)
PCM_FS high time
-
488
-
ns
T(syncl)
PCM_FS low time
-
124.5
-
µs
T(clk)
PCM_CLK cycle time
-
488
-
ns
T(clkh)
PCM_CLK high time
-
244
-
ns
T(clkl)
PCM_CLK low time
-
244
-
ns
T(susync)
PCM_FS setup time high before falling edge of PCM_CLK
-
122
-
ns
T(hsync)
PCM_FS Hold time after falling edge of PCM_CLK
-
-
366
ns
T(sudin)
PCM_DIN setup time before falling edge of PCM_CLK
60
-
-
ns
T(hdin)
PCM_DIN hold time after falling edge of PCM_CLK
60
-
-
ns
T(pdout)
Delay from PCM_CLK rising to PCM_DOUT valid
-
-
60
ns
T(zdout)
Delay from PCM_CLK falling to PCM_DOUT HIGH-Z
-
-
60
ns
Figure 18. PCM_FS Timing Diagram (2048 kHz Clock)

4116922 Rev 1.1 January 21, 2015 44
Hardware Integration Guide
Baseband Specification
Figure 19. PCM Codec to AR Device Timing Diagram (Primary PCM)
Figure 20. AR Device to PCM Codec Timing Diagram (Primary PCM)
6.15.2.1.3. Auxiliary PCM Timing
The table and drawings below illustrate the timing of the PCM signals when the AirPrime AR7558
module is operating in Auxiliary PCM mode.
Table 61. Auxiliary PCM Timing
Parameter
Description
Min
Typ
Max
unit
T(auxsync)
PCM_FS cycle time
-
125
-
µs
T(auxsynch)
PCM_FS high time
62.4
62.5
-
µs
T(auxsyncl)
PCM_FS low time
62.4
62.5
-
µs
T(auxclk)
PCM_CLK cycle time
-
7.8
-
µs
T(auxclkh)
PCM_CLK high time
3.8
3.9
-
µs
T(auxclkl)
PCM_CLK low time
3.8
3.9
-
µs
T(suauxsync)
PCM_FS setup time high before falling edge of PCM_CLK
1.95
-
-
ns
T(hauxsync)
PCM_FS Hold time after falling edge of PCM_CLK
1.95
-
-
ns
T(sudin)
PCM_DIN setup time before falling edge of PCM_CLK
70
-
-
ns
T(hauxdin)
PCM_DIN hold time after falling edge of PCM_CLK
20
-
-
ns
T(pauxdout)
Delay from PCM_CLK rising to PCM_DOUT valid
-
-
50
ns

4116922 Rev 1.1 January 21, 2015 45
Hardware Integration Guide
Baseband Specification
Figure 21. PCM_FS Timing Diagram (128 kHz Clock)
Figure 22. PCM Codec to AR Device Timing Diagram (Auxiliary PCM)
Figure 23. AR Device to PCM Codec Timing Diagram (Auxiliary PCM)
6.15.2.2. I2S
The AirPrime AR7558 I2S interface can be used to transfer serial digital audio to/from an external
stereo DAC/ADC. The I2S interface is a 4-wire interface: serial clock (I2S_SCLK), word select
(I2S_WS), serial uplink data (I2S_DIN), and serial downlink data (I2S_DOUT).
The AirPrime AR7558 I2S interface can be configured as a master or slave and either transmitter or
receiver.
A high-level timing diagram of the I2S signals is presented below.

4116922 Rev 1.1 January 21, 2015 46
Hardware Integration Guide
Baseband Specification
Figure 24. I2S Signals Timing Diagram
6.15.2.2.1. I2S_DIN and I2S_DOUT
The serial PCM stereo-data stream for both channels are output from the AirPrime AR7558 on the
I2S_DOUT signal pin and input on the I2S_DIN signal pin. Serial data is transmitted in two’s
complement, with the MSB first. The transmitter and receiver are not required to have the same word
length:
When the transmitted word length is greater than the receiver word length, the bits after the
receiver’s LSB are ignored; the rest of the transmitter’s LSBs are ignored.
When the transmitted word length is less than the receiver word length, the receiver’s missing
LSB will be set to zero initially, so they will remain at zero.
The MSB has a fixed position, whereas the LSB position depends upon word length.
The transmitter always sends the MSB of the next word one clock period after WS changes.
Serial data sent by the transmitter may be synchronized with either the trailing (H-to-L) or
leading (L-to-H) edge of the clock signal.
Serial data must be latched into the receiver on the leading edge of the serial clock signal.
6.15.2.2.2. I2S_WS
The word-select line indicates the channel being transmitted / received:
0 specifies the left channel
1 specifies the right channel
The WS signal changes one clock period before the MSB is transmitted.
6.15.2.2.3. I2S_SCLK
This is the serial bit clock whose rate is a function of the data width and sample rate:
I2S_SCLK rate = (2 x bit_width) x FS
Where bit_width = 16 bits per channel and FS is the sample rate, therefore:
I2S_SCLK rate = 32 x FS
Sample rates of 8, 16, 24, 32, 44.1, and 48 kHz are supported. An example clock rate is:
I2S_SCLK rate = (2 x 16) x 48 kHz = 1.536 MHz
Where bit_width = 16 and FS = 48 kHz.

4116922 Rev 1.1 January 21, 2015 47
Hardware Integration Guide
Baseband Specification
6.16. SPI Bus
The AirPrime AR7558 embedded module provides one SPI bus (4-wire interface).
SPI bus interface includes:
A CLK signal
An O signal
An I signal
A CS (Chip Select) signal
6.16.1. Characteristics
The following features are available on the SPI bus:
Master-only mode operation
SPI speed is from 128 kbit/s to 26 Mbit/s in master mode operation
4-wire interface
4 to 32 (TBD) bits data length.
6.16.2. SPI Configuration
Table 62. SPI Configuration
Operation
Maximum Speed
SPI-Mode
Duplex
4-wire Type
Master
26Mb/s
0,1,2,3
full
SPIx-CLK;
SPIx-IO;
SPIx-I;
SPIx_CS
For the 4-wire configuration, SPIx-I/O is used as output only, SPIx-I is used as input only (TBC by
firmware).
6.16.3. SPI Waveforms
The following figure shows waveforms for SPI transfer with 4-wire configuration.
Figure 25. 4-Wire Configuration SPI Transfer

4116922 Rev 1.1 January 21, 2015 48
Hardware Integration Guide
Baseband Specification
Table 63. SPI Master Timing Characteristics
Parameter
Min
Typ
Max
Unit
SPI clock frequency
-
-
26
MHz
T
SPI clock period
38
-
-
ns
t(ch)
Clock high
17
-
-
ns
t(cl)
Clock low
17
-
-
ns
t(mov)
Master output valid
-5
-
5
ns
t(mis)
Master input setup
0
-
3
ns
t(moh)
Master output hold
0
-
3
ns
t(tse)
Tri-state enable
-5
-
5
ns
t(tsd)
Tri-state disable
-5
-
5
ns
6.16.4. SPI Pin Description
Refer to the following table for the SPI interface pin description.
Table 64. SPI Pin Description
Signal
Pin #
I/O
I/O Type
Reset State
Description
SPI-CLK
CE4
O
1V8
Z
SPI Serial Clock
SPI-MISO
CE3
I
1V8
Z
SPI Serial input
SPI-MOSI
CD4
O
1V8
Z
SPI Serial output
SPI_CS
CD5
O
1V8
Z
SPI Chip Select
6.16.5. Application
A 4-wire SPI configuration has the input and output data lines disassociated.
Figure 26. Example of 4-wire SPI Bus Application

4116922 Rev 1.1 January 21, 2015 49
Hardware Integration Guide
Baseband Specification
6.17. HSIC Bus
The AirPrime AR7558 embedded module provides one HSIC bus (2-wire interface).
HSIC bus interface includes:
HSIC strobe signal
HSIC data signal
Calibration pad for HSIC port signal
6.17.1. HSIC Pin Description
Refer to the following table for the HSIC interface pin description.
Table 65. HSIC Pin Description
Signal
Pin #
I/O
I/O Type
Reset State
Description
HSIC_STB
AA2
B
1V2
Z
HSIC strobe signal
HSIC_DATA
AA3
B
1V2
Z
HSIC data
HSIC_CAL
AA4
B
1V2
Z
HSIC calibration pad
6.17.2. HSIC Waveforms
The following figure shows waveforms for HSIC signal sample.
Figure 27. HSIC Signal Sample Waveforms

4116922 Rev 1.1 January 21, 2015 50
Hardware Integration Guide
Baseband Specification
6.17.3. Application
A 4-wire SPI configuration has the input and output data lines disassociated.
AirPrime AR755X
Customer
Application
HSIC_Ready
HSIC_STB
HSIC_DATA
HSIC_CAL
240ohm
Figure 28. Example of HSIC Bus Application
Note: Trace length to 10cm maximum
Skew between data and strobe signals < 15ps, and
Connect HSIC_Ready to HSIC_RST_N of the HSIC device.

4116922 Rev 1.1 January 21, 2015 51
Hardware Integration Guide
Baseband Specification
6.18. Temperature Monitoring
The AirPrime AR7558 has internal temperature monitoring of both the PMIC device and the Power
Amplifier devices.
Normal High Temperature
Warning
Power off.
Handled by
Power State
state machine.
High Temperature
Critical
(Low power mode)
Low Temperature
Critical
(Low power mode)
current_temp < TEMP_HI_WARN
current_temp < TEMP_LO_CRIT
current_temp > TEMP_NORM_LO
current_temp > TEMP_HI_CRIT
Application asserts ON/OFF
Or
Issues AT!POWERDOWN
Application asserts ON/OFF
Or
Issues AT!POWERDOWN
current_temp > TEMP_HI_WARN
current_temp < TEMP_HI_NORM
Figure 29. Temperature Monitoring State Machine
Table 66. Temperature Monitoring States
State
Description
Threshold1
Default Temp
value (°C)
Functionality
Normal
Both PMIC and PA
Thermistors are
between
TEMP_HI_NORM
+85
All
TEMP_LO_NORM
-40
High
Temperature
Warning
Either PMIC or PA
Thermistor has
exceeded
TEMP_HI_WARN
+95
All –
Warning message output
on AT Command port
High
Temperature
Critical
Either PMIC or PA
Thermistor has
exceeded
TEMP_HI_CRIT
140
Low Power Mode – Device
will only make Emergency
calls
Low
Temperature
Critical
Either PMIC or PA
Thermistor has
descended past
TEMP_HI_CRIT
-45
Low Power Mode – Device
will only make Emergency
calls
1 There are two sets of thresholds: PATEMP for PA Thermistor, and PCTEMP for PMIC Thermistor.
To restore full operation, temperature readings for both the PA and PMIC Thermistors must be within
the Normal or High Temperature Warning state thresholds.

4116922 Rev 1.0 January 21, 2015 52
7. Routing Constraints and
Recommendations
Layout and routing of the AirPrime AR7558 device in the application is critical to maintaining the
performance of the radio. The following sections provide guidance to the developer when designing
their application to include an AirPrime AR7558 device and achieve optimal system performance.
7.1. RF Routing Recommendations
To route the RF antenna signals, the following recommendations must be observed for PCB layout:
The RF signals must be routed using traces with a 50 characteristic impedance.
Basically, the characteristic impedance depends on the dielectric constant (εr) of the material used,
trace width (W), trace thickness (T), and height (H) between the trace and the reference ground plane.
In order to respect this constraint, Sierra Wireless recommends that a MicroStrip structure be used
and trace width be computed with a simulation tool (such as AppCAD, shown in the figure below and
available free of charge at http://www.avagotech.com).
Figure 30. AppCAD Screenshot for Microstrip Design Power Mode Diagram
The trace width should be wide enough to maintain reasonable insertion loss and manufacturing
reliability. Cutting out inner layers of ground under the trace will increase the effective substrate height;
therefore, increasing the width of the RF trace.
Caution: It is critical that no other signals (digital, analog, or supply) cross under the RF path. The figure
below shows a generic example of good and poor routing techniques.

4116922 Rev 1.1 January 21, 2015 53
Hardware Integration Guide
Routing Constraints and
Recommendations
Poor routing
Correct routing
The yellow traces cross the RF trace.
There is no signal around the RF path.
Figure 31. RF Routing Examples
Fill the area around the RF traces with ground and ground vias to connect inner ground layers
for isolation.
Cut out ground fill under RF signal pads to reduce stray capacitance losses.
Avoid routing RF traces with sharp corners. A smooth radius is recommended.
E.g. Use of 45° angles instead of 90°.
The ground reference plane should be a solid continuous plane under the trace.
The coplanar clearance (G, below) from the trace to the ground should be at least the trace
width (W) and at least twice the height (H). This reduces the parasitic capacitance, which
potentially alters the trace impedance and increases the losses.
E.g. If W = 100 microns then G = 200 microns in an ideal setup. G = 150 microns would also
be acceptable is space is limited.
Figure 32. Coplanar Clearance Example
Note: The figure above shows several internal ground layers cut out, which may not be necessary for
every application.

4116922 Rev 1.1 January 21, 2015 54
Hardware Integration Guide
Routing Constraints and
Recommendations
Figure 33. Antenna Microstrip Routing Example
7.2. Power and Ground Recommendations
Power and ground routing is critical to achieving optimal performance of the AirPrime AR7558 devices
when integrated into an application.
Recommendations:
Do not use a separate GND for the Antennas
Connections to GND from the AirPrime AR7558 should be flooded plane using thermal reliefs
to ensure reliable solder joints.
VBATT is recommended to be routed as a wide trace(s) directly from the 4V supply to the
LGA pad.
7.3. Antenna Recommendations
TBD.

4116922 Rev 1.1 January 21, 2015 55
Hardware Integration Guide
Routing Constraints and
Recommendations
7.4. Interface Circuit Recommendations
The recommended interface implementation is to use open-drain non-inverting buffers with pull-ups to
the appropriate voltage reference. This allows a host processor operating at a different voltage to
communicate with the AirPrime AR7558 using the appropriate voltage levels.
The figure below is a reference circuit for a digital input signal to the AirPrime AR7558 device.
OVT
VCC
Output from
App
Input to AirPrime AR module
VCC_1V8
Vref of APP
Figure 34. AirPrime AR7558 Input Reference Circuit
The figure below is a reference circuit for a digital output signal from the AirPrime AR7558 device.
OVT
VCC Output from
AirPrime AR moduleInput to App
Vref of APP
VCC_1V8
Figure 35. AirPrime AR7558 Output Reference Circuit
The open-drain non-inverting buffer used in the reference circuits above is the OnSemi NL17SZ07.
Tip: The NL17SZ07 is over-voltage tolerant on the inputs. It may be possible to power all the buffers
from the 1.8V reference voltage output. Review the digital output characteristics of the applications
drivers and the Input characteristics of the buffer selected to determine if this would work in your
application.
If a Digital IO signal is used bidirectional in the application then a bidirectional buffer or bidirectional
level translator is needed.

4116922 Rev 1.0 January 21, 2015 56
8. Regulatory Information
8.1. Important Notice
Because of the nature of wireless communications, transmission and reception of data can never be
guaranteed. Data may be delayed, corrupted (i.e., have errors) or be totally lost.
Although significant delays or losses of data are rare when wireless devices such as the Sierra
Wireless modem are used in a normal manner with a well-constructed network, the Sierra Wireless
modem should not be used in situations where failure to transmit or receive data could result in
damage of any kind to the user or any other party, including but not limited to personal injury, death,
or loss of property. Sierra Wireless and its affiliates accept no responsibility for damages of any kind
resulting from delays or errors in data transmitted or received using Sierra Wireless modem, or for
failure of the Sierra Wireless modem to transmit or receive such data.
8.2. Safety and Hazards
Do not operate the AR7558 modem:
In areas where blasting is in progress
Where explosive atmospheres may be present including refueling points, fuel depots, and
chemical plants
Near medical equipment, life support equipment, or any equipment which may be susceptible
to any form of radio interference. In such areas, the AR Series device MUST BE POWERED
OFF. Otherwise, the AR Series device can transmit signals that could interfere with this
equipment
In an aircraft, the AR Series device MUST BE POWERED OFF. Otherwise, the AR Series
device can transmit signals that could interfere with various onboard systems and may be
dangerous to the operation of the aircraft or disrupt the cellular network. Use of cellular phone
in aircraft is illegal in some jurisdictions. Failure to observe this instruction may lead to
suspension or denial of cellular telephone services to the offender, or legal action or both.
Some airlines may permit the use of cellular phones while the aircraft is on the ground and
the door is open. The AR Series device may be used normally at this time.
8.3. Important Compliance Information for USA
OEM Integrators
The AR Series device is granted with a modular approval for mobile applications. Integrators may use
the AR Series device in their final products without additional FCC/IC (Industry Canada) certification if
they meet the following conditions. Otherwise, additional FCC/IC approvals must be obtained.
1. At least 20cm separation distance between the antenna and the user’s body must be
maintained at all times.
2. To comply with FCC/IC regulations limiting both maximum RF output power and human
exposure to RF radiation, the maximum antenna gain including cable loss in a mobile-only
exposure condition must not exceed the gain values presented in the table below:
4.5 dBi in Cellular band
1.0 dBi in PCS band
5.0 dBi in LTE Band 4
1.0 dBi in LTE Band 25
4.5 dBi in LTE Band 26

4116922 Rev 1.1 January 21, 2015 57
Hardware Integration Guide
Regulatory Information
7.0 dBi in LTE Band 41
3. The AR7558 modem may transmit simultaneously with other collocated radio transmitters
within a host device, provided the following conditions are met:
Each collocated radio transmitter has been certfied by FCC / IC for mobile application.
At least 20 cm separation distance between the antennas of the collocated transmitters
and the user’s body must be maintained at all times.
The output power and antenna gain must not exceed the limits and configurations
stipulated in the following table.
Device
Technology
Frequency
(MHz)
Maximum
conducted
power
Maximum
antenna
gain
Collocated
antenna
gain
AR7558
Module
CDMA
824-849
25.0
4.5
2.0
1850-1910
25.0
1.0
1.0
817-824
25.0
4.5
2.0
GPRS
824-849
35.0
4.5
2.0
1850-1910
32.0
1.0
1.0
EDGE
824-849
27.0
4.5
2.0
1850-1910
26.0
1.0
1.0
UMTS
824-849
25.7
4.5
2.0
1850-1910
25.7
1.0
1.0
LTE
1710 -1755
25.0
5.0
5.0
1850 -1915
25.0
1.0
1.0
814 -849
25.0
4.5
2.0
2496 -2690
25.7
7.0
7.0
Collocated
transmitters1
WLAN
2400-2500
29
5
5150-580
29
5
WiMAX
2300-2400
29
5
2500-2700
29
5
3300-3800
29
5
BT
2400-2500
15
5
1. Valid collocated Transmitter combinations: WLAN+BT; WiMAX+BT. (WLAN+WiMAX+BT is not permitted.)
4. A label must be affixed to the outside of the end product into which the AirPrime AR7558
device is incorporated, with a statement similar to the following:
This device contains FCC ID: N7NAR7558
This equipment contains equipment certified under IC: 2417C-AR7558
5. A user manual with the end product must clearly indicate the operating requirements and
conditions that must be observed to ensure compliance with current FCC/IC RF exposure
guidelines.
The end product with an embedded AirPrime AR7558 device may also need to pass the FCC Part 15
unintentional emission testing requirements and be properly authorized.

4116922 Rev 1.1 January 21, 2015 58
Hardware Integration Guide
Regulatory Information
Note: If this module is intended for use in a portable device, you are responsible for separate approval to
satisfy the SAR requirements of FCC Part 2.1093 and IC RSS-102.

4116922 Rev 1.0 January 21, 2015 59
9. References
The table below lists the reference specifications for this product.
Table 67. Reference Specifications
Ref
Title
Issuer
[1]
Recommended Minimum Performance Standards for
cdma2000 High Rate Packet Data Access Terminal – C.S0033
3GPP2
[2]
Recommended Minimum Performance Standards for
cdma2000 Spread Spectrum Mobile Stations – C.S0011 (IS-98D)
3GPP2
[3]
Universal Serial Bus Specification
USB Implementers Forum
[4]
Universal Serial Bus CDC Subclass Specification for Wireless Mobile
Communication Devices
USB Implementers Forum
[5]
Universal Serial Bus Class Definitions for Communication Devices
USB Implementers Forum
[6]
AirPrime AR Series Customer Process Guidelines
Sierra Wireless
[7]
AirPrime AR7 Series AT Command Interface Specification
Sierra Wireless
[8]
AirPrime AR7 Series Firmware Download Guide
Sierra Wireless

4116922 Rev 1.0 January 21, 2015 60
10. Abbreviations
The table below lists several abbreviations used in this document.
Table 68. Abbreviations
Abbreviation
Description
CDMA
Code Division Multiple Access
DRX
Discontinuous Receive
GNSS
Global Navigation Satellite System
GSM
Global System for Mobile Communications
HSPA
High Speed Packet Access
LTE
Long Term Evolution
SCI
Slot Cycle Index
USB
Universal Serial Bus
WCDMA
Wideband Code Division Multiple Access
WWAN
Wireless Wide Area Network