Simoco Australasia SRM9000TU UHF MOBILE TRANSCEIVER User Manual SERVICE MANUAL

Simoco Australasia Pty Ltd UHF MOBILE TRANSCEIVER SERVICE MANUAL

Contents

SERVICE MANUAL

    SRM 9000 Series FM VHF/UHF Mobile Radio Transceiver  Revision 9 Hardware  SERVICE MANUAL   TNM-M-E-0002 ISSUE  1.0    May 2006 ISO9001 Lic.QEC20848SAI Global
     SRM9000 Series Mobile Radio Transceiver Rev 9  Hardware TNM-M-E-0002 ~ Iss 1.0
SRM9000 SERIES SERVICE MANUAL © TMC Radio 2006 page i   TNM-U-E-0002 Issue 1  TABLE OF CONTENTS APPENDICES........................................................................................................................................ III DECLARATION.....................................................................................................................................IV COPYRIGHT .........................................................................................................................................IV ERRORS AND OMISSIONS..................................................................................................................IV DOCUMENT HISTORY ..........................................................................................................................V LIST OF ASSOCIATED PUBLICATIONS ..............................................................................................V WARNINGS AND CAUTIONS...............................................................................................................VI 1. INTRODUCTION .......................................................................................................................... 1 1.1 GENERAL................................................................................................................................... 1 1.2 SCOPE ...................................................................................................................................... 1 1.3 DESCRIPTION ............................................................................................................................. 1 1.4 PRODUCT VARIANTS AND FACILITIES ............................................................................................ 2 1.5 SOFTWARE VERSIONS AND NAMING .............................................................................................. 5 1.5.1 Filename Structure........................................................................................................... 5 1.5.2 Application Code.............................................................................................................. 5 1.5.3 Software Type Code......................................................................................................... 5 1.5.4 Version Number............................................................................................................... 7 1.5.5 Exclusions........................................................................................................................ 7 1.5.6 Displaying Software Versions........................................................................................... 7 1.5.7 Automatic Version Upgrade Prompting............................................................................. 8 1.5.8 Transceiver SW Description, Start-up and Backup-Software............................................ 9 1.5.9 Wailing Siren (Boot-up Software Corrupted)..................................................................... 9 1.6 ADJUSTMENT AND ALIGNMENT ..................................................................................................... 9 1.7 CHASSIS ASSEMBLY ................................................................................................................. 10 1.7.1 Torque Settings.............................................................................................................. 10 1.7.2 Thermal Compound Application ..................................................................................... 10 1.7.3 Assembly ....................................................................................................................... 10 1.8 SPECIFICATION......................................................................................................................... 10 1.8.1 General.......................................................................................................................... 10 1.8.2 Transmitter..................................................................................................................... 12 1.8.3 Receiver ........................................................................................................................ 13 1.8.4 Signalling....................................................................................................................... 14 1.8.4.1 CTCSS............................................................................................................... 14 1.8.4.2 FFSK.................................................................................................................. 15 1.8.4.3 Selcall ................................................................................................................ 15 1.8.4.4 DTMF................................................................................................................. 17 1.8.4.5 DCS ................................................................................................................... 18 1.8.4.6 C4FM ................................................................................................................. 18 1.8.5 Environmental................................................................................................................ 19 2. SERVICE PHILOSOPHY ............................................................................................................ 20 2.1 SERVICE CONCEPT ................................................................................................................... 20 2.2 WARRANTY.............................................................................................................................. 20 2.2.1 Service Within and Out Of Warranty.............................................................................. 20 2.2.2 Ancillary Items ............................................................................................................... 20 2.3 SOFTWARE POLICY................................................................................................................... 20
SRM9000 SERIES SERVICE MANUAL © TMC Radio 2006 page ii   TNM-U-E-0002 Issue 1  3. TECHNICAL DESCRIPTION...................................................................................................... 22 3.1 RECEIVER................................................................................................................................ 22 3.1.1 Front End Filters and RF Amplifier................................................................................. 22 3.1.2 First Mixer and IF Section .............................................................................................. 22 3.1.3 Quadrature Demodulator................................................................................................ 22 3.1.4 Receiver Audio Processing ............................................................................................ 24 3.2 TRANSMITTER .......................................................................................................................... 25 3.2.1 Drivers and PA Stages................................................................................................... 25 3.2.2 Power Control ................................................................................................................ 25 3.2.3 Antenna Changeover and Harmonic Filter...................................................................... 25 3.2.4 Transmitter Audio Processing......................................................................................... 25 3.3 FREQUENCY SYNTHESISER ........................................................................................................ 26 3.3.1 General.......................................................................................................................... 26 3.3.2 PLL ................................................................................................................................ 27 3.3.3 VCO’s ............................................................................................................................ 27 3.3.4 Negative Bias Generator and Loop Filter........................................................................ 27 3.3.5 Phase Modulator............................................................................................................ 27 3.3.6 Reference Oscillator....................................................................................................... 28 3.4 CONTROL ................................................................................................................................ 28 3.4.1 DSP and PLA................................................................................................................. 28 3.4.2 DSP Clock Oscillator...................................................................................................... 29 3.4.3 PLA PWM...................................................................................................................... 29 3.5 MEMORY ................................................................................................................................. 29 3.6 POWER SUPPLIES ..................................................................................................................... 31 3.6.1 Power On Function ........................................................................................................ 31 3.6.2 Power Supplies.............................................................................................................. 31 3.6.2.1 8V Regulator U900 ............................................................................................. 31 3.6.2.2 5V Regulator U901 ............................................................................................. 31 3.6.2.3 3.3V Regulator U912 .......................................................................................... 32 3.6.2.4 2.5V Regulator U903 .......................................................................................... 32 3.6.2.5 Negative Power Supply U904E/F........................................................................ 32 3.6.2.6 Unswitched Battery (13V8_UNSW_F)................................................................. 32 4. ALIGNMENT (LEVEL 3 SERVICE ONLY).................................................................................. 33 4.1 TEST EQUIPMENT ..................................................................................................................... 33 4.2 TEST SET-UP ........................................................................................................................... 35 4.2.1 COMMS Set up.............................................................................................................. 36 4.2.2 Radio Preparation .......................................................................................................... 37 4.2.3 Alignment Procedure...................................................................................................... 38 4.2.3.1 VCO DAC Alignment .......................................................................................... 38 4.2.3.2 TCXO (Radio Netting Adjustment)...................................................................... 39 4.2.3.3 Rx Front End...................................................................................................... 40 4.2.3.4 Mute Adjustment................................................................................................. 41 4.2.3.5 RSSI................................................................................................................... 42 4.2.3.6 Tx Power............................................................................................................ 43 4.2.3.7 Modulation.......................................................................................................... 44 4.2.3.8 Programming...................................................................................................... 45 4.2.3.9 Customers Radio Personality Data ..................................................................... 45 5. REPLACEABLE PARTS............................................................................................................. 46 5.1 COMMON PARTS ...................................................................................................................... 46 5.2 BAND-SPECIFIC PARTS ............................................................................................................. 47 6. CIRCUIT DIAGRAMS ................................................................................................................. 47
SRM9000 SERIES SERVICE MANUAL © TMC Radio 2006 page iii   TNM-U-E-0002 Issue 1  6.1 ISSUE 9 CIRCUIT DIAGRAMS ...................................................................................................... 47 APPENDICES APPENDIX A ~ GLOSSARY APPENDIX B ~ TRANSCEIVER CONNECTIONS APPENDIX C ~ SRM9010 MICROPHONE APPENDIX D ~ SRM9020 MICROPHONE  APPENDIX E ~ SRM9022 MICROPHONE APPENDIX F ~ SRM9030 CONTROL HEAD APPENDIX G ~ ANCILLARIES
SRM9000 SERIES SERVICE MANUAL © TMC Radio 2006 page iv   TNM-U-E-0002 Issue 1  Declaration The performance figures quoted are subject to normal manufacturing and service tolerances. The right is reserved to alter the equipment described in this manual in the light of future technical development.  Copyright All rights reserved. No part of this publication may be reproduced in any form or by any means without the prior permission of TMC Radio.  Errors and Omissions The usefulness of this publication depends upon the accuracy and completeness of the information contained within it. Whilst every endeavour has been made to eliminate any errors, some may still exist. It is requested that any errors or omissions noted should be reported to:  TMC Radio Pty Ltd. 1270 Ferntree Gully Road Scoresby Vic 3179 Australia  Ph: +61 3-9730-3800 (Direct: -3914) Fax: +61 3-9730-3968 Mob: +61 408-160-661  E-mail: jkuhrt@tmcradio.com www.tmcradio.com/
SRM9000 SERIES SERVICE MANUAL © TMC Radio 2006 page v   TNM-U-E-0002 Issue 1  Document History Issue Date Comments 1 January 2006 Initial issue                           List of Associated Publications Document No. Description Issue TNM-I-E-0005 SRM9000 Series Installation Instructions 5 TNM-P-E-004 Selcall Product Manual 2.56 TNM-U-E-0012 SRM9020 Trunk Operating Instructions 2 TNM-U-E-0013 SRM9020 PMR Operating Instructions 2 TNM-U-E-0063 SRM9022 PMR Operating Instructions 1 TNM-U-E-0014 SRM9025 PMR Operating Instructions 2 TNM-U-E-0015 SRM9025 Trunk Operating Instructions 2 TNM-U-E-0003 SRM9030 PMR Operating Instructions 2 TNM-U-E-0004 SRM9030 Trunk Operating Instructions 2 TNM-U-E-0020 SRM9030 Brief User Guide 2 TNM-U-E-0042 SRM9010 Brief User Guide 2 TNM-U-E-0043 SRM9020 Brief User Guide 2 TNM-U-E-0044 SRM9025 Brief User Guide 2
SRM9000 SERIES SERVICE MANUAL © TMC Radio 2006 page vi   TNM-U-E-0002 Issue 1  Caution During disassembly and assembly, refer to Torque Settings in Section 1.7 Caution Customer configuration files should be saved prior to any alignment adjustments. Preparing the radio for alignment will erase from the radio all customer PMR and Trunking configuration data (channel, signalling information etc).  The only data retained by the Alignment Tool is the factory alignment data for the radio (DAC settings for Tx power, front-end tuning etc). WARNING SRM9000 radio equipment is to be connected only to 12-volt negative earth systems. In vehicles with a 24-volt supply, an approved 24V/12V converter must be used.  The supply must not be taken from a 12V tap on the battery. WARNING To avoid RF injury, do not touch the Antenna when the Transmitter is in use. WARNING Double-fused 12V Supply Leads, Antenna cables and Speaker wiring is to be routed as far away as possible from gas or fuel lines or any electronic control device.  The radio transceiver and antenna are to be mounted as far away as possible from these devices and their cabling. Equipment is to be installed, by a competent person, in accordance with the requirements of local radio communications authorities and/or Health and Safety regulations. Post installation checks should be performed to ensure that there is no effect on the operation of the vehicle’s electronics. WARNING Do not operate your radio, without a handsfree kit, whilst driving a vehicle. WARNING Do not operate your radio in an explosive atmosphere. Obey the “Turn Off Two-way Radios” signs where these are posted, e.g. on a petrol station forecourt. WARNING Compliance with RF Energy Exposure Standards: To minimise exposure to RF fields during equipment service and repair, the antenna terminal of the SRM9000 radio should be connected to a suitable non-radiating RF load when the transmitter is in use.  Warnings and Cautions
SRM9000 SERIES SERVICE MANUAL © TMC Radio 2006 page 1   TNM-U-E-0002 Issue 1  1. INTRODUCTION 1.1 GENERAL The SRM9000 series of FM mobile radio transceivers is designed for PMR and Trunked operation in VHF and UHF radio systems. The system is available in a number of functional variants.  Each variant uses the standard SRM9000 mobile transceiver, which is software configured for different control ancillaries.  The software configuration together with the type of controller (Basic or Enhanced microphone, Handset, or Alphanumeric Control Head) determines the radio features for the different variants as follows.  PMR/Trunked Basic Telemetry Transceiver No Display or Control Head. SRM9005 Low Range Version with Basic Fist Microphone. SRM9010 Mid Range Version with Enhanced Alphanumeric Fist Microphone. SRM9020 High-end Version with Graphics Display Handset. SRM9022 High-end Version with Alpha Display Handset. SRM9025 System Level Remote Control Head with Alpha capability and Handset / Fist Microphone / Desk Microphone options. SRM9030 1.2 SCOPE This manual provides technical specifications, description and servicing details for the SRM9000 series of mobile radio transceivers together with the related microphones and control heads. Unless specifically stated otherwise, the text and illustrations refer to all versions in the series. 1.3 DESCRIPTION The design concept utilises wide band analogue techniques for RF transmit and receive circuitry with digital signal processing of analogue or digital modulation and demodulation.  Electronic tuning is used throughout the mobile to eliminate manual tuning and level adjustment. A Digital Signal Processor (DSP) and a Programmable Gate Array (PLA) are used with other dedicated devices in the SRM9000 to perform the following functions under software control: • Frequency Synthesis of all operating frequencies. • Modulation and demodulation of 10/12.5/20/25kHz FM signals on a per channel basis. • Modem functionality for specified data modulation schemes. • Filtering, pre-emphasis, de-emphasis, limiting, compression, muting, CTCSS, Selcall or any other frequency or level dependent signal modification. • Serial communications with the Control Ancillaries and Alignment Tool. • Tuning Control data for Tx and Rx. The SRM9000 Transceiver comprises a rugged extruded aluminium sleeve, which houses a single printed circuit board assembly and provides all heatsink requirements.  The sleeve housing is closed at each end by high-impact plastic end caps; all cable ports and mechanical interfaces are sealed against moisture and dust ingress.   The PCB assembly comprises a single, multi-layer PCB containing all the RF and control circuitry.  The PCB seats on an extruded aluminium tray that slides into the outer aluminium sleeve where it is secured with screws accessed from the outside of the case.  Provision is made under the main PCB tray assembly for additional hardware options as well as optional accessories plugged directly into the main PCB. There are two installation methods available for the SRM9000.  The outer aluminium extrusion has side flanges that allow the mobile to be bolted directly to any flat surface in the vehicle. A quick release cradle is also available.
SRM9000 SERIES SERVICE MANUAL © TMC Radio 2006 page 2   TNM-U-E-0002 Issue 1  1.4 PRODUCT VARIANTS AND FACILITIES Product variants and facilities are detailed in Table 1-1, Table 1-2 and Table 1-3.  Table 0-1 Common Features for All Variants Feature: Model: 9005 9010 9020 9022 9025 9030 Control None or Serial or Parallel if Option Board Display Microphone  Display Microphone  Controller Microphone Display Handset Control Unit with Microphone Display - 1 digit LED 6 char LCD 8x14 char LCD Graphics 102x64 pixels 2x12 char LCD 8x14 char LCD Graphics 102x64 pixels Adjustable Display Illumination - - Yes Yes Yes Yes  Buttons and Keys - Vol Up/Down Select 1 Function Vol Up/Down 4 Function Scroll Up/Down Vol Up/Down 6 Function 12 Keypad  Send/End Menu + Scroll Vol Up/Down 6 Function 12 Keypad  Send/End Menu + Scroll 6 Function 12 Keypad  Send/End Menu + Scroll  Speaker - Yes Yes Yes* Yes* Yes Frequency Bands 66-88MHz, 136-174MHz, 174-208MHz, 208-245MHz, 335-375MHz, 400-480MHz, 440-520MHz Channel Spacing 10/12.5/20/25kHz   Menu driven - - Yes Yes Yes Yes Customisable Menus - - Yes Yes Yes Yes * Note: Handsets have a built-in earpiece, therefore an external speaker is optional.
SRM9000 SERIES SERVICE MANUAL © TMC Radio 2006 page 3   TNM-U-E-0002 Issue 1   Table 0-2 Conventional-PMR Variants Feature: Model: 9005 9010 9020 9022 9025 9030 Channels 1000 10 100 + 1000 1000 1000 Signalling CTCSS/DCS CTCSS/DCS ANI CTCSS/DCS Selcall CTCSS/DCS Selcall  CTCSS/DCS Selcall  CTCSS/DCS Selcall  Attack Operation - Yes Yes Yes Yes Yes DTMF Encode - 2 Fixed Seq 2 Fixed Seq Yes Yes Yes MPT1327 Trunking  Yes Program-mable User selectable User selectable User selectable User selectable PTT Limit Timer with warning beeps Yes Busy Channel Lockout Yes PTT Inhibit on Busy Yes Scanning Yes 10 groups of up to 16 channels per group. 10 groups of up to 16 channels per group, 4 user defined scan groups. 124 groups of up to 16 channels per group, 4 user defined scan groups. Voting Yes 10 fixed groups consisting of up to 16 channels per group. Up to 200 groups consisting of up to 16 channels per group. Priority Scanning Yes Nuisance Delete - - Yes Yes Yes Yes Phonebook - - 250 entries 250 entries 250 entries 250 entries Multiax Yes Mod/Demod Function Option - - - - - Ignition Sense Input Yes VOX Handsfree Option Option Option Option Yes Option 600 Ohm Interface Option SIB  DMAP Option ASI Standard  Option ASI with GPS Option Direct GPS Option RSM with GPS Option P25 Option Audio Discriminator Option
SRM9000 SERIES SERVICE MANUAL © TMC Radio 2006 page 4   TNM-U-E-0002 Issue 1  Table 0-3 Trunked Variants Feature: Model: 9005 9010 9020 9022 9025 9030 Channels 1024 channels in 50 sub-bands Frequency Bands Specifically:  136-174MHz,   400-450MHz  (and possible in all other bands) Background Hunt and Vote-Now Yes Yes Yes Yes Yes Yes MPT1343 dial strings Yes Yes Yes Yes Yes Yes ANN Numbering - - - Yes Yes Yes Phonebook Memories 250 10 100+ 250 250 250 User Phonebook Recall entries configured by FPP only Recall entries configured by FPP only. Recall entries configured by FPP only Recall and edit. Recall and edit. Recall and edit. Alpha Status List - - Yes Yes Yes Yes SDM/EDMs Yes - - Yes Yes Yes NPDs Yes - - TBA TBA TBA Mod/Demod Function Option - - - - - Attack Operation Yes Yes Yes Yes Yes Yes Ignition Sense Input Yes Yes Yes Yes Yes Yes VOX Handsfree Option Option Option Yes* Yes* Yes* General External IO Option Option Option Option Option Option 600 Ohm Interface Option Option Option Option Option Option * Note: Requires external microphone for optimum performance.
SRM9000 SERIES SERVICE MANUAL © TMC Radio 2006 page 5   TNM-U-E-0002 Issue 1  1.5 SOFTWARE VERSIONS AND NAMING There are various associated items of Software (SW) required for the SRM9000 radio and programmer to operate.  This section simply defines the naming rules of the SW files to allow identification and conformity.   This allows different versions of SW to be distributed and co-exist without confusion. The SRM9000 Transceiver has three items of SW for digital and analogue PMR, Trunking and Alignment.    The 9022/9025 Controller Mic/Handsets have one SW file for their PIC’s and 9030 Control Head has two SW files for its Flash and EEPROM. 1.5.1 Filename Structure Basically the Filename Structure is defined as follows: • 2 character Application code • 2 or 3 character SW Type code • 3 character version number • File Extension as required. eg.   99tm533.bin    99p_533.bin    99s_533.bin    99cf101.hex    99ce101.hex    1.5.2 Application Code This identifies the application the SW was initially designed for:  9k    Standard SRM9000 Pre-Rev 9 Software  99    Standard SRM9000 Rev 9 Software  ak SRM9000 Pre-Rev 9 Software applicable for SRP9022  a9 SRM9000 Rev 9 Software applicable for SRP9022  rw  Specific SW for Raywood Taxi Applications  1.5.3 Software Type Code This identifies different types of SW within an application. s_ Startup p_ Standard PMR. DMAP or No option board p_s PMR with Scrambler/Discriminator option board p_g PMR with Direct GPS p_a PMR with ASI Map27option board p_u PMR with ASI SUP option board p_q PMR with ASI-G Map27option board a__ 9022 Standard PMR. DMAP or No option board a_s 9022 PMR with Scrambler/Discriminator option board a_g 9022 PMR with Direct GPS
SRM9000 SERIES SERVICE MANUAL © TMC Radio 2006 page 6   TNM-U-E-0002 Issue 1  a_a 9022 PMR with ASI Map27option board a_u 9022 PMR with ASI SUP option board a_q 9022 PMR with ASI-G Map27option board tm Standard MPT1343 Trunking. DMAP or No option board ta Standard ANN Trunking. DMAP or No option board tb Basic (9010/9020) MPT1343 Trunking. DMAP or No option board tmg Standard MPT1343 Trunking. Direct GPS option board tag Standard ANN Trunking. Direct GPS option board tbg Basic (9010/9020) MPT1343 Trunking. Direct GPS option board tma Standard MPT1343 Trunking. ASI Map27 option board taa Standard ANN Trunking. ASI Map27 option board tba Basic (9010/9020) MPT1343 Trunking. ASI Map27 option board tmu Standard MPT1343 Trunking. ASI SUP option board tau Standard ANN Trunking. ASI SUP option board tbu Basic (9010/9020) MPT1343 Trunking. ASI SUP option board tmq Standard MPT1343 Trunking. ASI-G option board taq Standard ANN Trunking. ASI-G option board tbq Basic (9010/9020) MPT1343 Trunking. ASI-G option board TBD 9022 Trunking bo  Transceiver Boot-code bc  Transceiver Boot-Backup-code bf  Transceiver PLA-code ba  Transceiver PLA-Backup-code  Note. The above file names are not stored within the code. As a consequence, when the radio is read by the FPP, the FPP will display version numbers and release dates for the Backup, Startup, PMR, TMR and DMAP codes. The Bootloader, PLA Backup and PLA codes show release dates only.
SRM9000 SERIES SERVICE MANUAL © TMC Radio 2006 page 7   TNM-U-E-0002 Issue 1  1.5.4 Version Number This is a 3-digit number allocated by Engineering to identify the SW version. e.g.  103  =  Version 1.03  1.5.5 Exclusions The Programmer SW does not follow the above rules as it is a PC based Program and its version number can be easily identified by starting the SW.  Later releases of SW will be backward compatible, unless deliberately not so, in which case a different directory structure/path may be implemented.  1.5.6 Displaying Software Versions Each Transceiver SW code file (e.g. 99tm533.bin, etc.) contains version information about itself and possibly compatible Programming SW.      For Radio SW saved on Disk, this information can be displayed via the Programmer function:   Options : Upgrade_Software : Get_File    For Software loaded in the radio, information can be read from the Transceiver and displayed via the Programmer function:   Options : Radio_Information
SRM9000 SERIES SERVICE MANUAL © TMC Radio 2006 page 8   TNM-U-E-0002 Issue 1    SRM9030 Control Head SW can be displayed on the Control Head by holding the ‘3’ button down when the radio is switched on.  This is only implemented in CH V1.06 SW (Oct/2000) and later. SRM9025 Handset SW has a similar method of Version identification.  SRM9020 Microphone SW has a similar method of Version identification.  SRM9022 Handset SW can be displayed by pressing the top side button when the radio is switched on. SRM9010 Microphone does not have any method of determining loaded SW.  There is only one version of this SW in the field. 1.5.7 Automatic Version Upgrade Prompting When a configuration is downloaded to the Transceiver, the Programmer performs a brief check on the SW currently installed in the radio. If a later version of SW exists (on PC hard-disk) then the Programmer will prompt the user with the following message: NOTE. As early versions of FPP cannot recognise a more recent revision of the radio, it is important that the latest FPP version is downloaded from http://www.tmcradio.com. If YES is selected, the Transceiver Radio code is updated before the new configuration is downloaded. If NO is selected, only the configuration is downloaded. This process also updates the Startup code to ensure it is compatible with the loaded PMR or Trunk code. Note : If the …\SRM9000\FPP\RadioSW folder contains no files, then the above check will not be performed.
SRM9000 SERIES SERVICE MANUAL © TMC Radio 2006 page 9   TNM-U-E-0002 Issue 1  1.5.8 Transceiver SW Description, Start-up and Backup-Software The SRM9000 Transceiver software is split into the following separate modules: • Bootloader and Backup Software • Start-Up Software • PLA and PLA-Backup Software • Mainline PMR Software • Mainline Trunk Software When the Transceiver starts, it basically performs the following steps: • Initial execution starts with the Bootloader code, which attempts to load the Start-Up Software (if Start-Up checksum is bad, then the Backup Software is loaded.) • Start-Up Software then downloads the PLA code (or PLA-Backup code if PLA checksum is bad) to the PLA device. If both PLA and PLA-Backup checksums are bad then the radio is not operational and serial communication is not possible. • Start-Up Software then reads the On/Off switch plus Ignition-Sense lines and compares these with saved parameters to determine if the radio should be continue to power-up or switch itself off again. • Start-Up software then attempts to load either PMR or Trunk Mainline Software (dependent on saved parameter) and switches execution to complete the power-up process and start normal operation. If the Mainline Software cannot be loaded, or a Job file configuration has not been loaded (e.g. non-existent or checksum fail) then execution switches to Backup Software until the error is corrected (e.g. by FPPing the radio).   There are three states that the radio can configure after switch-on: • Mainline Trunk Software or Mainline PMR Software (normal power-up) If the radio does not have a valid Job file configuration loaded, then it will display a “No PMR Cfg” or “No TMR Cfg” message. • Start-Up Software (characterised by “Alignment Mode” shown on the display).  This is also the code that is running when the radio is being aligned using the Alignment Tool. • Backup Software (via various paths from above.) 1.5.9 Wailing Siren (Boot-up Software Corrupted) A “WAILING SIREN” sound is emitted from the Loudspeaker while the radio is running in Boot Backup Software.  In this mode the FPP can be used to re-load a Jobfile, or re-load Start-Up or Mainline Operating Software. Simply writing a Jobfile to the radio should allow the FPP to determine and update the offending software – however there may be instances where the FPP cannot determine this and the Start-Up and Mainline Software should be updated manually.  This can be done using the FPP : Upgrade_Software : Get_File … then Download.  Both Start-Up Software (filename = 99s_xxx.bin) and Mainline PMR (99p_xxx.bin) or Trunk (99txxxx.bin) should be loaded if the FPP cannot automatically fix the problem.  The wailing siren should stop once the problem is fixed.  Note: Should these steps fail to restore the set and the Wailing Siren cease, the radio will need to be returned to a Level 3 Service Centre for FLASH replacement.  1.6  ADJUSTMENT AND ALIGNMENT There are no manual internal adjustments in the SRM9000.  Re-programming and alignment is done using software tools with the PCB installed in its chassis.  For servicing, the radio PCB can be operated as a stand alone unit provided a temporary heatsink is fitted under the transmitter PA module for transmitter
SRM9000 SERIES SERVICE MANUAL © TMC Radio 2006 page 10   TNM-U-E-0002 Issue 1  servicing and that the receiver audio output be kept below 100mW for receiver servicing. Radio performance is not adversely affected by operating without the outer sleeve but there will be some change to performance when the metal cans are removed from the RF sections of the board. On re-assembly, the PA module should be checked for a thin layer of heat-conducting paste. If this is missing or dried-out, it should be replaced prior to re-assembly.  1.7 CHASSIS ASSEMBLY Important - Take Note! 1.7.1 Torque Settings Assembly of 'Chassis' (Inner Extrusion) to 'Outer Extrusion'  1.4 Nm (PA x 2), 1.25Nm (Others x 3) Assembly of 'Front' and 'Rear' end-caps to 'Outer Extrusion'  1.4 Nm.  1.7.2 Thermal Compound Application For radios using a PA tray without full bottom surface with no cut-out, no thermal compound is necessary. However, on later radios that have a tray containing a cut-out section in the bottom, just enough thermal compound should be applied to provide good thermal contact with the chassis.  Note. If thermal compound is old and difficult to spread, it should be discarded. 1.7.3 Assembly  The Inner extrusion should initially be fitted to the PCB and the assembly then slid into place within the chassis. Then by holding the inner extrusion upwards by hand, it is then important to insert all screws by hand and ensure they have been fully inserted through the PCB, thereby locating the assembly correctly. Still holding the inner extrusion upwards to ensure the assembly does not twist, lightly torque up the centre screw of the row of three followed by the PA module mounting screw towards the middle of the chassis. The remaining screws can then be screwed up to full torque followed by re-torque of the first two screws again.    1.8 SPECIFICATION 1.8.1 General Operation Single or two frequency simplex (half-duplex). Modulation Frequency modulation (phase) F3E, F1D, F1E. Operational Temperature Range -30°C to 60°C Supply Voltage Requirements 10.8V to 16.3V DC negative earth  (13.8V nom.) Current Consumption  Mobile With Control Mic Mobile With Alpha Mic Mobile With Alpha Head Radio off ≤ 5mA ≤ 5mA ≤ 5mA Standby (squelched): ≤ 200mA ≤ 210mA ≤ 210mA*
SRM9000 SERIES SERVICE MANUAL © TMC Radio 2006 page 11   TNM-U-E-0002 Issue 1         Rx Audio O/P:       300mW (not bridged) ≤ 450mA ≤ 470mA ≤ 500mA * 4.0W ≤ 1200mA ≤ 1220mA ≤ 1250mA* Transmit: VHF UHF  25W ≤ 6.5A ≤ 6.5A  1W ≤ 1.5A ≤ 1.5A  *Add 250mA to current consumption for Control Head with backlight on. Frequency Bands Frequency Range Band Frequency Range E0 66 - 88 MHz R1 335 - 375MHz AC 136 - 174MHz  TU 400 - 480MHz  K1 174 - 208MHz UW 440 - 520MHz KM 208 -245MHz     Switching Bandwidth Radio covers the complete band without retuning Channel Spacing 10/ 12.5 / 20 / 25kHz      Frequency Stability (-30°C to 60°C) Less than ±2.0ppm      Dimensions (mm) Height Width Depth Transceiver 9010/30 Microphone 9020 Alpha Display Microphone 9022 Graphics Display Controller Mic 9025 Alpha Display Handset 9030 Graphics Display Control Head 9030 Desk Microphone 9030 Handset 56 91* 96* 145* 165* 65 300 200 170 62 70 68 52 188 120 50 165 38 42 30 30 46 130 40  * Does not include cable or strain relief Weight Transceiver 1.8kg      Conformance Approvals  * Pending in some cases ETS     EN 300 086 *      EN 300 113 *      EN 300 489 *      EN 300 219 * Australia AS4295 * USA      FCC (AC, UW)
SRM9000 SERIES SERVICE MANUAL © TMC Radio 2006 page 12   TNM-U-E-0002 Issue 1   1.8.2 Transmitter Power Output     Any two levels programmable from High Power: 25W Adjustable down to 1W Low Power:  1W Adjustable up to 25W  Transmitter Rise Time  Less than 40 ms Duty Cycle  1 minute transmit: 4 minutes receive Spurious Emissions  < 0.25uW  (9kHz to 1GHz) < 1.0uW   (1GHz to 4GHz) Residual Noise  60% deviation. CCITT Weighted 25kHz Channel Spacing   >45dB   12.5kHz Channel Spacing >40dB  Audio Frequency Distortion ≤ 3%  (at 60% deviation) Audio Frequency Response  300 to 3000Hz* +1dB -3dB Figures apply for a flat audio response or a 6dB/octave pre-emphasis curve (*2550Hz for 12.5kHz channel spacing) Audio Sensitivity (1kHz) (User programmable via FPP) RJ8 Connector: 40mV±2dB Option Audio: 40mV±2dB
SRM9000 SERIES SERVICE MANUAL © TMC Radio 2006 page 13   TNM-U-E-0002 Issue 1   1.8.3 Receiver  ETS  AS4295 Sensitivity  ≤0.5µV PD (-113dBm) for 20dB SINAD  ≤0.3µV PD (-117.5dBm) for 12dB SINAD ≤0.5µV PD (-113dBm) for 20 dB Quieting. Adjacent Channel Selectivity 25kHz Channel Spacing: >73dB  12.5kHz Channel Spacing: >60dB  25kHz Channel Spacing: >73dB 12.5kHz Channel Spacing: >65dB Intermodulation Rejection >65dB                 >70dB  Spurious Response Rejection >70dB  >73dB Blocking >95dB  >95dB  Conducted Spurious Emissions <2nW (-57dBm) - 9kHz to 1GHz <20nW (-47dBm) - 1GHz to 4GHz <20nW (-47dBm) - 9kHz to 4GHz       GENERAL FM Residual Noise  (CCITT weighted) 25kHz Channel Spacing: >45dB 12.5kHz Channel Spacing: >40dB Mute Range  Typically 6dB to 25dB SINAD Typical setting 10dB to 12dB SINAD Mute Response Time  <30mS (no CTCSS) Add 200mS for CTCSS Voting Response Time Searches at 50ms/channel Audio Distortion 4W into 4Ω at <5% distortion Audio Frequency Response  300 to 3000Hz*: +1dB to -3dB Figures apply for a flat audio response or a 6dB/octave de-emphasis curve (*2550Hz for 12.5kHz channel spacing) Deviation Sensitivity (for rated audio at 1kHz) Speaker: 20% MSD±3dB Option Audio Output at 60% MSD (P1-23) Standard build: Flat Unsquelched Audio: 200mV±1dB RMS-O/C (R871=NF, R872=0R, R82=NF on Rev 9C or 0R/1k on Rev 9B), Flat Squelched Audio: 450mV±2dB RMS-O/C at Rated Speaker Audio  (R871=1k or 0R, R872=NF, R82=NF). Option Audio Output at 60% MSD (P2-15) Standard build: Flat Unsquelched Audio: 160mV±1dB RMS (600 ohms) R871=1k, R82=1k, C857=NF: Flat Squelched Audio: 88mV±2dB RMS (600 ohms) at Rated Speaker Audio. Handset Audio  (S1-6) 230mV±2dB RMS (600 ohms) at Rated Speaker Audio.
SRM9000 SERIES SERVICE MANUAL © TMC Radio 2006 page 14   TNM-U-E-0002 Issue 1   1.8.4 Signalling 1.8.4.1 CTCSS All 38 standard CTCSS Tones are supported as per the table below.  Identifier Frequency Identifier Frequency Identifier Frequency Q 67.0 C 107.2 0 167.9 R 71.9 L 110.9 1 173.8 S 74.4 D 114.8 2 179.9 T 77.0 M 118.8 3 186.2 U 79.7 E 123.0 4 192.8 I 82.5 N 127.3 5 203.5 V 85.4 F 131.8 6 210.7 A 88.5 O 136.5 7 218.1 W 91.5 G 141.3 8 885.7 J 94.8 P 146.2 9 223.6 = 97.4 H 151.4 * 241.8 B 100 X 156.7 # 250.3 K 103.5 Y 162.2 ‘ ‘ NONE  Encoder Tone Deviation:   25kHz channel spacing 500 to 750Hz   20kHz channel spacing 400 to 600Hz 12.5kHz channel spacing 250 to 375Hz Tone Distortion   Less than 5.0%  Frequency Error   Less than ±0.5%
SRM9000 SERIES SERVICE MANUAL © TMC Radio 2006 page 15   TNM-U-E-0002 Issue 1  Decoder Bandwidth   Not greater than ±3.0%  Deviation Sensitivity    Less than 6.0% of system deviation (for decode with full RF quieting) Noise Immunity   Less than 500ms dropout per minute at 10dB SINAD  (CTCSS tone deviation 10% of system deviation. RF deviation 60% at 1000Hz). False Decode Rate   Less than 5 false decodes per minute (no carrier input)  Talk-off    For no dropouts in one minute, interfering tone at 90% of system deviation (CTCSS tone at 10% of system deviation).     Full quieting signal:    310Hz to 3000Hz      20dB SINAD RF signal:   320Hz to 3000Hz    12dB SINAD RF signal:   350Hz to 3000Hz Response Time   Less than 250ms (full quieting/tone >100Hz)      Less than 350ms (full quieting/tone <100Hz) De-Response Time    Less than 250ms Reverse Tone Burst    none  1.8.4.2 FFSK 1200 Baud : 1200 / 1800 Hz MPT1317 based 2400 Baud : 1200 / 2400 Hz MPT1317 based  1.8.4.3 Selcall The following tone sets are supported as per tables below: • ST-500:    CCIR,  EEA,  ZVEI,  DZVEI,  EIA • ST500/CML:    ZVEI_3,  DZVEI • CML:    CCIR,  EEA,  ZVEI • SIGTEC:    CCIR,  CCIRH,  EEA,  ZVEI_1,  XVEI_2,  ZVEI_3,  NATEL,  EIA •  SEPAC:    CCIR,  EEA,  ZVEI_1,  ZVEI_2,  ZVEI_3,  EIA
SRM9000 SERIES SERVICE MANUAL © TMC Radio 2006 page 16   TNM-U-E-0002 Issue 1  Selcall Tone Frequency Table  Tone CML ST500 SIGTEC SIGTEC SEPAC CML ST500 SIGTEC  CCIR CCIR  CCIR  CCIRH  CCIR  EEA  EEA  EEA 0 1981 1981 1981 1981 1981 1981 1981 1981 1 1124 1124 1124 1124 1124 1124 1124 1124 2 1197 1197 1197 1197 1197 1197 1197 1197 3 1275 1275 1275 1275 1275 1275 1275 1275 4 1358 1358 1358 1358 1358 1358 1358 1358 5 1446 1446 1446 1446 1446 1446 1446 1446 6 1540 1540 1540 1540 1540 1540 1540 1540 7 1640 1640 1640 1640 1640 1640 1640 1640 8 1747 1747 1747 1747 1747 1747 1747 1747 9 1860 1860 1860 1860 1860 1860 1860 1860 A 2400 1055 2110 2400 2400 1055 1055 2110 B   930    .... 2400   930 1055   930    .... 1055 C 2247 2400 1055 2247 2247 2247 2400 2400 D   991  .... 2247   991   991   991   .... 2247 E 2110 2110   930 2110 2110 2110 2110   930 F   ....   ....   991 1055   ....   ....   ....   991  Tone SEPAC CML ST500 SIGTEC SEPAC SIGTEC SEPAC SIGTEC  EEA ZVEI ZVEI  ZVEI-1  ZVEI-1  ZVEI-2  ZVEI-2 ZVEI-3 0 1981 2400 2400 2400 2400 2400 2400 2200 1 1124 1060 1060 1060 1060 1060 1060   970 2 1197 1160 1160 1160 1160 1160 1160 1060 3 1275 1270 1270 1270 1270 1270 1270 1160 4 1358 1400 1400 1400 1400 1400 1400 1270 5 1446 1530 1446 1446 1446 1446 1446 1400 6 1540 1670 1670 1670 1670 1670 1670 1530 7 1640 1830 1830 1830 1830 1830 1830 1670 8 1747 2000 2000 2000 2000 2000 2000 1830 9 1860 2200 2200 2200 2200 2200 2200 2000 A 1055 2800   970 2600 2800   970   885 2400 B   970   810 .... 2800   970   885   741   885 C 2247   970 2800   741   885   741 2600   741 D 2400   886 ....   970   .... 2600    .... 2600 E 2110 2600 2600   810 2600 2800   970 2800 F   ....   .... ....   886   ....   600    ....   600
SRM9000 SERIES SERVICE MANUAL © TMC Radio 2006 page 17   TNM-U-E-0002 Issue 1  Tone SEPAC     ST500/CML ST500 SIGTEC SIGTEC SEPAC ST500  ZVEI-3 ZVEI-3 DZVEI  DZVEI  NATEL    EIA    EIA   EIA 0 2200 2400 2200 2200 1633  600  600  600 1  970 1060  970  970  631  741  741  741 2 1060 1160 1060 1060  697  882   882  882 3 1160 1270 1160 1160  770 1023 1023 1023 4 1270 1400 1270 1270  852 1164 1164 1164 5 1400 1530 1400 1400  941 1305 1305 1305 6 1530 1670 1530 1530 1040 1446 1446 1446 7 1670 1830 1670 1670 1209 1587 1587 1587 8 1830 2000 1830 1830 1336 1728 1728 1728 9 2000 2200 2000 2000 1477 1869 1869 1869 A  885   885 2600   825 1805   459 2151 2151 B   741 ....  ....    .... 1995 2151 1091 .... C 2600   810   886  2600  1300 2600 2400 2010 D ....     ....   810     ....  1700 2010    .... .... E 2400   970  2400  2400  2175 2433   459  459 F   ....    ....   ....    ....  2937 2292    .... ....  Selcall Tone Periods  The Selcall tone period: 4 preset lengths selectable: 20ms and 30 seconds in 1ms increments.   1.8.4.4 DTMF DTMF Encode supported via keypad:  TONES 1209Hz 1336Hz 1477Hz 697Hz 1 2 3 770Hz 4 5 6 852Hz 7 8 9 941Hz * 0 #  Tone Period, programmable: 0 – 2.55s in 10ms steps. Inter-Tone Period, programmable: 0 – 2.55s in 10ms steps. Link Establishment Time, programmable: 0 - 10s in 10ms steps. Tx Hang Time, programmable: 0 – 9.99s in 10ms steps. Side-Tone in Loudspeaker: selectable via programmer
SRM9000 SERIES SERVICE MANUAL © TMC Radio 2006 page 18   TNM-U-E-0002 Issue 1  1.8.4.5 DCS  Data rate 134 bits per second, frequency modulated 7.46ms/bit 171.6ms per codeword continuously repeating Deviation 0.5kHz for 12.5kHz systems 1kHz for 25kHz systems Codeword size 23 bits comprising: 8 bits - DCS code (3 octal digits 000-777) 3 bits - Fixed octal code 4 11 bits - CRC (error detection) code Available Codes 104 codes from 512 theoretically possible codes – see below Turn off code 200ms 134Hz tone at PTT release  DCS Codes can be Transmitted “Normal” or “Inverted” (programmable).  The radio can Receive DCS codes in either Transmitted “Normal” or “Inverted” or both (selectable via programmer).  Valid DCS Codes 023 132 255 413 612 025 134 261 423 624 026 143 263 431 627 031 145 265 432 631 032 152 266 445 632 036 155 271 446 654 043 156 274 452 662 047 162 306 454 664 051 165 311 455 703 053 172 315 462 712 054 174 325 464 723 065 205 331 465 731 071 212 332 466 732 072 223 343 503 734 073 225 346 506 743 074 226 351 516 754 114 243 356 523   115 244 364 526   116 245 365 532   122 246 371 546   125 251 411 565   131 252 412 606    1.8.4.6 C4FM Digital speech format in accordance with TIA/EIA 102 requirements.
SRM9000 SERIES SERVICE MANUAL © TMC Radio 2006 page 19   TNM-U-E-0002 Issue 1   1.8.5 Environmental  Note: Operation of the equipment is possible beyond the limits stated but is not guaranteed. Operational Temperature -30°C to +60°C         Storage Temperature -40°C to +80°C        Vibration Specification IEC 68-2-6 with additional frequency acceleration from 60 – 150Hz Check      Cold IEC 68-2-1 Test 5 hours at -10°C –30°C        Dry Heat IEC 68-2-2 Test 5 hours at +55°C +60°C        Damp Heat Cycle IEC 68-2-30 Test 2 cycles at +40°C        Product Sealing Main Radio Unit: IEC529 rating IP54 Microphones:    IEC529 rating IP54 Remote Control Head IEC529 rating IP54  MIL STD810 Low Pressure 500.4 Procedure II High Temperature Storage 501.4 Procedure I High Temperature Operation 501.4 Procedure II Low Temperature Storage 502.4 Procedure I Low Temperature Operation 502.4 Procedure II Temperature Shock 503.4 Procedure I Humidity 507.4 Figure 507.4-1 Sand and Dust 510.4 Procedure I – Blowing Dust Random Vibration 514.5 Figure 514.5C-1 Transit Drop 516.5 Table 516.5-V1 Functional Shock of severity 25g   Acceleration, 6ms pulse duration, 500 shocks in 6 directions.
SRM9000 SERIES SERVICE MANUAL © TMC Radio 2006 page 20   TNM-U-E-0002 Issue 1  2. SERVICE PHILOSOPHY  2.1 SERVICE CONCEPT The SRM9000 series has been designed to provide low cost trunked, non-trunked analogue and digital speech mobile transceivers, using common core electronics, software and interfacing. It is a requirement that once the customer has purchased equipment, TMC Radio can follow this by providing an ongoing, high level of customer support together with a competitive and professional servicing activity. There are three levels of service available:  Level Activity Recommended Spares Recommended Test Equipment 1 Replacement of complete transceiver/antenna/fuses Reprogramming Antennas, Fuses Ancillaries Multimeter P.C.  Radio software Programmer 2 Replacement of PCB or mechanical  component replacement, Cosmetic repair Listed in Level 2 Spares Schedule As above + service aids and test equipment 3 Repair by PCB or mechanical component replacement, Cosmetic repair. Repair of Radio PCB to component level in CRU. Listed in Level 2 Spares Schedule  Radio PCB components only available to CRU. As above + service aids and test equipment  2.2 WARRANTY Initially, the normal 12-month warranty will apply to all radios and ancillaries. 2.2.1 Service Within and Out Of Warranty The field Service Level for the SRM9000 mobile is LEVEL 2, PCB replacement. LEVEL 2 Service, PCB (only) and case part replacement, will be carried out in field repair workshops, or the Central Repair Unit (CRU) if required. LEVEL 3 Service (Radio PCB component level repair) will ONLY be carried out in the Central Repair Unit.  For this, the complete radio must be returned to the CRU.  A PCB replacement program may be offered by the CRU in some countries. 2.2.2 Ancillary Items All ancillary items  (except remote alphanumeric control head) are Level 1 service. These items should be replaced if faulty; they are non-repairable, and non-returnable to the CRU. 2.3 SOFTWARE POLICY Software provided by TMC Radio shall remain the Company's property, or that of its licensors and the customer recognises the confidential nature of the rights owned by the Company. The customer is granted a personal, non-exclusive, non-transferable limited right of use of such software in machine-readable form in direct connection with the equipment for which it was supplied only.  In certain circumstances the customer may be required to enter into a separate licence agreement and pay a licence fee, which will be negotiated at the time of the contract.
SRM9000 SERIES SERVICE MANUAL © TMC Radio 2006 page 21   TNM-U-E-0002 Issue 1  The customer undertakes not to disclose any part of the software to third parties without the Company's written consent, nor to copy or modify any software. The Company may, at its discretion, carry out minor modifications to software. Major modifications may be undertaken under a separate agreement, and will be charged separately. All software is covered by a warranty of 3 months from delivery, and within this warranty period the Company will correct errors or defects, or at its option, arrange free-of-charge replacement against return of defective material. Other than in the clause above, the Company makes no representations or warranties, expressed or implied such, by way of example, but not of limitation regarding merchantable quality or fitness for any particular purpose, or that the software is error free, the Company does not accept liability with respect to any claims for loss of profits or of contracts, or of any other loss of any kind whatsoever on account of use of software and copies thereof.
SRM9000 SERIES SERVICE MANUAL © TMC Radio 2006 page 22   TNM-U-E-0002 Issue 1  3. TECHNICAL DESCRIPTION 3.1 RECEIVER Refer to Figure 3-1. 3.1.1 Front End Filters and RF Amplifier The receiver input signal from the antenna passes through the harmonic filter and antenna switch. With the mobile in receive mode, diodes D580, D540a and D541a in the antenna switch are reverse biased allowing the receiver input signal to be coupled through to the receiver front-end with minimal loss. The overall insertion loss of the harmonic filter and switch is approximately 0.8dB.  A noise blanker is also fitted to E0 band radios.  The noise blanker samples the received signal and gates the 45MHz signal in the IF stage in the event that high level noise transients are received. Due to inherent time delays in the bandpass filters prior to the blanking gate, gating synchronisation occurs before the transients can adversely affect the following stages. Varactor-tuned bandpass filters at the input and output of the RF amplifier provide receiver front-end selectivity. Varactor tuning voltages are derived from the alignment data stored in the radio. The DSP processes this data to optimise front end tuning relative to the programmed channel frequencies, which may be changed at any time without re-aligning the radio.  To achieve the required varactor tuning range an arrangement of positive and negative bias power supplies is used to provide a total bias across the varactors of up to 14.0VDC. A fixed 2.5V positive bias derived from the 5.0V supply and voltage divider R425/R426 is applied to the cathodes of the varactor diodes. The negative bias supply originates at the DSP/PLA as a PWM signal (FE TUNE) for the four front-end tuning voltages TUNE1 to 4, for the particular channel frequency selected.  The PWM signal is dependent on channel frequency and tuning and passes through level shifting transistors Q404 to Q411 where it is converted to a negative voltage in the range -0.5V to -11.5V. The -12.0V rail of the level translators is generated by U904E/F with D903 to D906 providing the required voltage multiplication.  The RF amplifier stage comprises a low noise transistor amplifier Q400 that is compensated to maintain good linearity and low noise matching. This provides excellent intermodulation and blocking performance across the full operating range. The overall gain of the front-end is typically 14dB for all bands. 3.1.2 First Mixer and IF Section The output of the last front-end bandpass filter is coupled into single balanced mixer T400/D413 which converts the RF signal to an IF frequency of 45MHz. The local oscillator injection level is typically +8dBm at T400 pin 1 with low side injection used for UHF bands and high side for VHF bands. Following the mixer is IF amplifier Q401 that provides approximately 15dB of gain and in association with its output circuitry, presents the required load conditions to the 4 pole 45MHz crystal filters Z401A/Z401B.  The crystal filters provide part the required selectivity for adjacent channel operation with the remaining selectivity provided by a DSP bandpass filter algorithm. 3.1.3 Quadrature Demodulator Additional IF gain of approximately 44dB occurs in U401, which is a dedicated IF AGC amplifier/Quadrature Demodulator. The AGC voltage for U401 is derived from the RSSI function of the DSP. The onset of AGC operation occurs when RF input signal level at the antenna connector exceeds -90dBm and can reduce the gain by approximately 100dB for strong signals.  Conversion of the 45MHz IF signal to I and Q baseband signals is carried out by the demodulator section of U401. The 90MHz local oscillator signal is generated by VCO Q402 which is phase locked by the auxiliary PLL output of U701 via feedback signal AUX_LO2.
SRM9000 SERIES SERVICE MANUAL © TMC Radio 2006 page 23   TNM-U-E-0002 Issue 1  Antenna SwitchD580/D540/D541BandpassFilterRF AmpQ400 BandpassFilterMixerT400 IF AmpQ4014-Pole45 MHz FiltersZ401A/BAntenna FilterL582, L584 & L585IQ DemodulatorU401TX/RX SwitchD610/D611RX VCOQ600RX VCOSwitchQ601VCO BufferQ604/Q605SynthesiserBufferQ60790 MHzVCOQ402TX/TX AFSwitchU801CCODECU800Tx/Disc AF Switch U801BSpeaker SwitchQ810/Q811/Q813SpeakerAmpU805AF AmpU803B VCO Control VoltsRX_PSUTo TX BufferAUX_CPto U701QIFrom PLA/DSPTX Mod Out To TX VCOSPKR_ONSPKR_OUT 1SPKR_OUT 2From PLATUNE_1, 2, 3 & 4To TX PATx Audiofrom PLAU30090 MHz VCO SWITCH Q412TX_PSUfrom U701ACK_LO2Noise Blanker E0 band onlyAux Gain Switch U806A(Rev9C+only)AF AmpU803ARx AudioMode 2U302CRx Audio Mode1U806C(Rev9C+ only)GAINDe-emphasis NetworkRx Audio Gate U302BRx Audio Mode3U806B(Rev9C+ only)AUDIO_OUT 3(Option Audio)AUDIO_OUT 1(Option Audio)AUDIO_OUT 2( H/S Audio)EN 1EN 2..EN 3DifferentialAmp U402QI..SynthesiserU701RX_PSUEN 4AF AmpU802ACPPTX_MODAGCTX_MODEfrom PLAU300DATA_EN  Figure 3-1 VHF/UHF Receiver Block Diagram
SRM9000 SERIES SERVICE MANUAL © TMC Radio 2006 page 24   TNM-U-E-0002 Issue 1  3.1.4 Receiver Audio Processing The base band audio from the IQ Demodulator is applied to a differential amplifier that cancels out DC offsets and converts the balanced demodulator I/Q output signals to unbalanced inputs for the CODEC U800. All receiver audio processing and filtering functions are performed by the CODEC under the control of the DSP.  The receiver I and Q analogue baseband signals are converted to digital signals by the CODEC ADC before being applied to a series of digital filters which provide the final stage of adjacent channel filtering, high pass and low pass filtering, mute noise processing and volume control for narrow and wideband operation. The fully processed signal is then converted to an analogue audio signal by the CODEC DAC and then applied to conventional audio amplifiers U803A/B and the speaker amplifier U805.  In addition, Discriminator Audio is derived from the other CODEC output channel and then amplified by U802A after which it is applied to one of the radio I/O connectors for option purposes. Discriminator Audio is a preset level set by the FPP and is independent of squelch operation. There are two speaker options available.  A half bridged configuration using a speaker across balanced output SPKR OUT1 and 2, which provides an audio output level of up to 4 watts into 4 ohms.  The other option is a full bridge configuration using a high power speaker across SPKR OUT1 and 2 and providing an audio output level of up to 10 watts into 8 ohms.  The carrier and signalling mute functions are performed by Q810/811/813 under DSP control. De-emphasis to the audio PA U805 is performed by R861 and capacitors C866 to C871. Flat audio is provided to S1-6 via amplifier U803A.
SRM9000 SERIES SERVICE MANUAL © TMC Radio 2006 page 25   TNM-U-E-0002 Issue 1  3.2 TRANSMITTER  Refer to Figure 3-2. 3.2.1 Drivers and PA Stages The RF output level from the VCO T/R switch D611a is typically +5dBm (UHF) and +8dBm (VHF). Tx buffers Q606/Q612 increase this level to provide approximately 10dBm of drive power to the Tx driver Q571. The Tx driver stage provides a maximum of 17dBm of drive to the PA module and provides part of the power control function in conjunction with the first stage of the PA module. The buffer/driver circuits in conjunction with their attenuator circuits also provide a high degree of VCO isolation from the Tx output.  The gains of PA driver Q571 and PA module are controlled by the power control loop to ensure that transmitter output power remains within defined limits.  PA module U500 utilises three MOSFET stages (UHF) and two MOSFET stages (VHF) to achieve the required maximum RF output power level of +44dBm (25 watts).  Note. Care should be taken during servicing since if for any reason the drive power is lost, while the power control voltage is high, the current into the PA may exceed its specification. Therefore, the power supply current should be monitored at all times and preset to as low as required. The radio has additional inbuilt safeguards, but these should not be relied on.  Power output settings are derived from alignment data stored in flash memory during the initial factory alignment. The DSP processes this data to optimise the power output level relative to the programmed channel frequencies that may be changed at any time without retuning the radio. PA current is monitored via comparator U520B, the output of which is passed via a temperature compensation network R541 to R543 to ADC U301C. U301C samples the applied voltage after which it is passed to the PLA and then processed by the DSP. 3.2.2 Power Control Output power is stabilised by a power control feedback loop. A printed circuit transmission line, L580, R580, D510 and associated components comprise the power detector. Comparator U520A and associated components provide the power setting and control functions. Forward and reverse power is sampled by the power detector and applied as a DC voltage to the inverting input of the comparator. The TX_PWR set voltage is a DC voltage proportional to the programmed Tx power setting and is applied to the non-inverting input of the comparator.  The TX_PWR voltage originates from the PLA as a PWM signal and is integrated for application to the comparator.   PA module output level changes due to supply voltage, load or temperature variations are detected and applied to the comparator that proportionally adjusts the PA module bias supply and the PA driver (Q571) supply, and therefore the PA drive level. High temperature protection is provided by thermistor R552 that progressively reduces the power level if the PA module temperature becomes excessive.  3.2.3 Antenna Changeover and Harmonic Filter The antenna changeover circuit consisting of pin diodes D580/D540a/D541a, is switched by Q541/Q542/Q543 and associated circuitry allowing the transmitter output to be coupled to the antenna while providing isolation for the receiver input. With the transmitter switched on, the diodes are forward biased allowing power to be coupled through to the antenna and isolating the receiver by grounding its input at C588. The short circuit at the receiver input is transformed to an effective open circuit at D580 by L583, which minimises transmitter loading. With the transmitter switched off the diodes are reverse biased allowing the receiver input signal to reach the receiver front end with minimal loss. The harmonic rejection low pass filter comprises L582/L584/L585 and associated capacitors.   3.2.4 Transmitter Audio Processing The microphone audio input signal is applied to the microphone input (AUDIO_IN1) and is derived from an external microphone unit with an applied nominal level of 40mV RMS. U801A is a control gate that switches between AUDIO_IN1 and OPTION_AUDIO1 to provide external audio options and data input.
SRM9000 SERIES SERVICE MANUAL © TMC Radio 2006 page 26   TNM-U-E-0002 Issue 1  U801C provides CODEC input switching which selects either the receiver I signal or transmitter audio/data signals depending on the Tx/Rx mode.  All pre-emphasis, filtering, compression and limiting processes for narrow and wideband operation are carried out in the DSP after A-D conversion by CODEC U800. The processed transmitter audio/data from the CODEC output at VOUTR is applied to the VCO as a modulation signal with a level of approximately 200mV P/P via AF Switch U801B.  Directional CouplerTX VCOQ602VCO Buffer Q604/Q605TX/RX Switch D610/Q611TX Driver Q571 TX PA U500Antenna Switch D580/D540/D541Power ControlComparator U520AAntenna Filter L582/L584/L585TX VCO Switch Q603To RX Mixer LO1_RXADC/DAC/CODEC U800TX_MODFrom PLA/DSPRX/TX AF Switch U801CQISwitch U801AStandard MicrophoneExternal Accessory AudioCurrent Sense U520BTX Current Sense to PLA13V8_UNSW From L8AudioGateU801BDATA_ENTX Buffer Amp Q606/Q612TX/RX AF ControlFrom PLATX_MODEInternal MIC/ External Audio Control  From PLAMOD_SWTX_CURRENTAntenna SwitchControl Q541/Q542Power Control Detector D510IntegratorR308/C307PWM TX Power  Set from PLAPA_ONfrom PLAThermalShut BackR552TX_PWR   Figure 3-2 VHF/UHF Transmitter Block Diagram 3.3 FREQUENCY SYNTHESISER 3.3.1 General Refer to Figure 3-3.
SRM9000 SERIES SERVICE MANUAL © TMC Radio 2006 page 27   TNM-U-E-0002 Issue 1  The frequency synthesiser consists of one transmitter and two receiver voltage controlled oscillators, loop filters, varactor negative bias generator, reference oscillator and an integrated dual phase locked loop device U701.  3.3.2 PLL The PLL device contains two prescalers, programmable dividers and phase comparators to provide a main and auxiliary PLL. The main PLL of U701 controls the frequency of the Tx/Rx VCOs via Control Voltage outputs at pins 2 and 3 and VCO feedback to pin 6. The auxiliary PLL is used to control the receiver 90MHz second local oscillator via the Control Voltage output at pin 17 and VCO feedback to pin 15. The PLL operation involves the division of the 14.4MHz reference oscillator frequency to 225kHz (VHF) or 450kHz (UHF) by divider U710. It is then divided by the internal divider of U701 down to a low frequency that corresponds to a sub-multiple of the radio channel spacing, ie. 6.25kHz for 12.5/25kHz channel spacing, 5kHz for 10/20kHz channel spacing or 7.5kHz if required. The VCO frequency is sampled and divided down to the same frequency after which it is phase compared to the reference. Any error produces an offset to the Control Voltage output that is used to correct the VCO frequency. A valid lock detect output is derived from pin 20 and is sampled by the PLA. During transmit, if an unlocked signal is detected the radio will switch back to receive mode. An unlocked signal in receive mode will cause the radio to beep. 3.3.3 VCO’s The transmitter and receiver VCO’s use low noise JFET transistors Q600 (Rx), Q602 (Tx) and associated parts to generate the signals for the required band coverage. Electronic tuning is provided by varactor diodes D600 to D608 with their control voltages derived from the Loop Filter, PLL and Negative Bias Generator. VCO selection and timing is controlled by the DSP/PLA via the Rx and Tx power supplies and applied through switches Q601 (Rx) and Q603 (Tx). VCO buffer Q604/Q605 isolates the VCO from load variations in following circuits and active power supply filter Q615 minimises supply related noise. A PLL feedback signal is sampled from the VCO buffer output via buffer Q607. The 90MHz receiver VCO comprises Q402 and associated parts. Automatic tuning is achieved by applying a control voltage to D414/D415 via Loop Filter R445, R446, R701, C486, C701 and C702. 3.3.4 Negative Bias Generator and Loop Filter A positive and negative varactor bias supply similar to the front-end varactor arrangement has been used to achieve the required broadband tuning range of the VCO’s. PLL device U701 is programmed to deliver a nominal +2.5V output from phase detector/charge pump CPPF or CPP regardless of the channel frequency selected. This voltage is filtered to remove synthesiser noise and reference products by the Loop Filter comprising C671 to C681 and R653/R654/R655. The resulting low noise voltage is applied to the cathode side of the VCO varactor tuning diodes as a positive bias voltage. The negative bias supply originates as a positive DC voltage (0.1V to 3.0V) at the DAC output of U701 (DOUT) with a level relative to the programmed state of the radio (eg. channel frequency and Tx/Rx state). The voltage is translated to a negative voltage between 0V and –16V by the circuit comprising Q700 to Q703. The -16V rail of this supply is generated by U904E/F with D903 to D906 providing the voltage multiplying effect needed to achieve -16V. The output of the negative supply is applied directly to the VCO varactor anodes as the negative tuning voltage VCAP BIAS.  3.3.5 Phase Modulator The modulation path for audio, data and higher frequency CTCSS signals is via varactor D609 and its associated components in the Tx VCO.  The reference input to the PLL (REF) provides the low frequency modulation path via the Phase Modulator.  The phase modulator comprises the following sections: - Integrator U711A is a low pass filter providing 6dB per octave attenuation to frequencies above approximately 10Hz. - Divider U710 divides the 14.4MHz reference frequency down to 225kHz (VHF) or 450kHz (UHF). - Ramp generator Q711/Q712 provides a saw tooth output, the slope of which is adjustable via the MOD_BAL line. This adjustment is set via a DAC output controlled from the Alignment Tool. Adjustment of the ramp slope effectively changes the Phase Modulator gain by modification of the Schmitt Trigger switching points after modulation from the Integrator is combined to the saw tooth ramp.
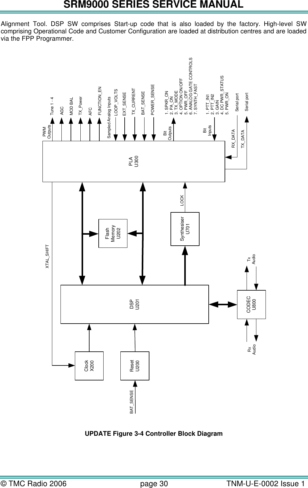
SRM9000 SERIES SERVICE MANUAL © TMC Radio 2006 page 28   TNM-U-E-0002 Issue 1  The divided reference signal is differentiated and discharges C744 via Q711 after which Q711 is turned off allowing C744 to recharge via constant current source Q712/Q713. - Schmitt Trigger comprising Q714 to Q716 converts the modulation combined with the saw tooth ramp to a square wave output, the duty cycle of which is controlled by the ramp slope and modulation.  Modulation balance adjustment is carried out using a CODEC generated 100Hz square wave applied to the TX_MOD input and set to give an optimum demodulated square wave output.   3.3.6 Reference Oscillator TCXO U700 determines the overall frequency stability and frequency setting of the radio. The frequency setting is achieved by adjusting its ADJ voltage with the Alignment Tool. In addition, the ADJ input is used in a frequency control loop with the receiver I and Q signals to provide receiver AFC. U700 operates at 14.4MHz and is specified at ±2.0ppm frequency stability over the temperature range -30° to +75°C.    90MHz VCO Q402SynthesiserU701 RX/TX VCO Q600/ Q602TX/RX Switch D601/D611VCO Buffer Q604/Q605Data From DSPPhase ModulatorQ714-Q716Ramp Generator Q711-Q713IntegratorU711ATX_MODMOD_BAL Prog. Divider U710 Buffer Q71014.4MHzReference Oscillator U700To TX BufferREFPLL Loop FilterVCO Neg Bias Supply Q700-Q703CPPCPPFDOUT VCAP_BIASAUX_LO2AUX_CPDivide 32 (UHF)Divide 64 (VHF)Synth Buffer Q607SYNTHLO1_RXTX_MODTo IQ Demodulator U400LO2AFC  from PLATo RX MixerBufferU711BRX_PSURX_PSU TX_PSU Figure 3-3 VHF/UHF Synthesiser, Block Diagram 3.4 CONTROL Refer to Figure 3-4.  3.4.1 DSP and PLA The SRM9000 transceiver operates under the control of a DSP (U201) and PLA (U300) combination that together with a number of other dedicated devices perform all the operational and processing functions required by the radio. The PLA is configured by the DSP under software control to provide the following functions: • Channel set-up of all operating frequencies  • Modulation processing and filtering  • De-modulation processing and filtering  • Tx power output reference
SRM9000 SERIES SERVICE MANUAL © TMC Radio 2006 page 29   TNM-U-E-0002 Issue 1  • Modulation Balance adjustment  • Receiver front-end tuning  • Serial communications with alignment tool, microphone and control head • Modem functionality for data modulation • All signalling / CTCSS generation and decoding • DSP Crystal Oscillator control • Receiver muting control • RSSI / AGC control • AFC • Tx / Rx switching and PTT control • PLL lock detect • Audio switching • Power On/Off control • Interface functionality with Option Boards and External Devices • Battery voltage and Tx current monitor  3.4.2 DSP Clock Oscillator The DSP is clocked by a 15.360MHz oscillator that consists of crystal X200 and an internal DSP oscillator. Q200 forms a crystal switching circuit with C205 which, when activated by a command from the PLA, steers the oscillator away from potential interfering frequencies.  3.4.3 PLA PWM The PLA must supply several analogue signals to control radio tuning.  It does this with several Pulse Width Modulated (PWM) outputs. The front-end tune signals (TUNE1-TUNE4) originate from the PLA in the form of PWM signals.  The values for these signals are stored in flash memory from radio alignment and selected depending on the channel that the radio is currently tuned to. These signals are integrated by RC networks to provide the analogue tuning voltages that are then applied to the tuning varicap diodes. Other analogue PWM derived signals used are transmitter power (TX_PWR), receiver AGC voltage (AGC), LED’s (RED/GREEN) and modulation balance (MOD_BAL). Analogue inputs are monitored by four comparators comprising U301A-D and a ramp generator, the ramp being derived from a PWM signal from the PLA.  Analogue voltages to be monitored such as PLL Loop Voltage (LOOP_VOLTS), key detect (KEY_DET), battery voltage (BAT SENSE), transmitter current (TX_CURRENT), volume level (VOLUME) and external sense (EXT_SENSE) are connected to the inverting inputs.  The analogue voltages are compared with the ramp voltage as they increase and the comparator switches at the point where the input voltage exceeds the ramp.  The PLA compares the time that this occurs with the PWM signal and converts it to a binary value.  3.5 MEMORY Memory consists of the internal DSP memory and an external 8MB non-volatile Flash Memory U202. When power is off, all program SW and data are retained in Flash Memory. At power-on, a boot program downloads the DSP and PLA SW from Flash Memory to their internal RAM’s for faster program execution and access to data. PLA SW is loaded by the factory into the Flash Memory and can be updated via the
SRM9000 SERIES SERVICE MANUAL © TMC Radio 2006 page 30   TNM-U-E-0002 Issue 1  Alignment Tool. DSP SW comprises Start-up code that is also loaded by the factory. High-level SW comprising Operational Code and Customer Configuration are loaded at distribution centres and are loaded via the FPP Programmer.   DSP U201SynthesiserU701PLAU300ResetU200ClockX200Flash MemoryU202CODECU800Serial portSerial portTX_DATARX_DATAXTAL_SHIFTAGCTX_Power 1. SPKR_ON2. PA_ON3. TX_MODE4. OPTION ON/OFF5. PWR_OFF6. ANALOG GATE CONTROLS7. SYNTH_FAST Tune 1 - 4BAT_SENSERxAudioTxAudioAFCFUNCTION_ENLOOP_VOLTSEXT_SENSE1. PTT_IN12. PTT_IN23. GAIN4. DC PWR_STATUS5. PWR_ONBit OutputsTX_CURRENTBAT_SENSEPOWER_SENSEMOD BALBit InputsLOCKPWMOutputsSampled Analog Inputs  UPDATE Figure 3-4 Controller Block Diagram
SRM9000 SERIES SERVICE MANUAL © TMC Radio 2006 page 31   TNM-U-E-0002 Issue 1  3.6 POWER SUPPLIES 3.6.1 Power On Function The unregulated 13.8V DC input (13V8_UNSW_F) is routed directly to all high current devices and is then switched via FET Q900 to provide BAT_SW supply for all other circuits. The output from Q900 feeds three low dropout series regulators and switched battery voltage These regulated supplies power auxiliary supplies as well as the negative voltage generator. The radio ON/OFF function is achieved through Q902, Q908 and Q909. A low voltage pulse from the control unit or microphone handset PWR ON or PWR OFF momentarily turns on Q900/Q908 for approximately 1 sec. In this time, the radio DSP samples the PWR_SENSE line and determines the state of the on-off switch.  If the on-off switch is on, the DSP raises the PWR_OFF line and latches the main FET on, which then maintains power to the radio circuitry. The Power-off operation requires the On-Off switch to be turned off for more than 2 seconds.  If the On-Off switch is sensed going low by the DSP via the PWR_SENSE line, the DSP will save radio settings and then lower the PWR_OFF line, thereby turning Q900 off. 3.6.2 Power Supplies The following is a list of the SRM9000 power supplies and some of the devices and circuits they supply. 3.6.2.1 8V Regulator U900 Regulated 8.0V supply (8V0 and +8V) • Tx buffers Q571, Q612 • VCO’s and VCO buffers via active filter Q615 • Rx second local oscillator via Q403 Regulated 8.0V switched supply (Rx PSU) • Rx front end • IF Amplifier • Various switching functions 3.6.2.2 5V Regulator U901 Regulated 5.0V supply (5V0 and +5V) • Rx front end varactor positive bias • Synthesizer buffer Q607 • VCO varactor negative supply Q700 to Q703 • TCXO U700 • TCXO divider U710 • Rx audio amplifiers U802/U803 • Rx mute switch Q810 to Q813  • FE TUNE level translators, Q404 to Q411 • Analogue supply for U701 Regulated 5.0V switched supply (Tx PSU and Tx PSU+) • Tx power control U520 • Tx buffer Q606 • Various switching functions
SRM9000 SERIES SERVICE MANUAL © TMC Radio 2006 page 32   TNM-U-E-0002 Issue 1  3.6.2.3 3.3V Regulator U912 Regulated 3.3V supply (3V3) • Reset U200 • PLA U300 • DSP U201 • Flash U202 • Digital supply for CODEC U800 Regulated 3.3V supply (3C3) • Analogue supply for CODEC U800 Regulated 3.3V supply (3Q3) • I/Q demodulator U401 Regulated 3.3V supply (3P3) • Digital supply for PLL U701 Unregulated 13.8V (13V8_UNSW_F) • Tx PA module U500 • Antenna changeover switch Q541/542/543 • Rx mute switch Q811 • Rx audio power amplifier U805 3.6.2.4 2.5V Regulator U903 Regulated 2.5V supply (2V5) • DSP core U201 • PLA core U300 3.6.2.5 Negative Power Supply U904E/F • -16V output (-16V) for VCO Varicap tuning drivers • -12V Output (-12V) for Front end Varicap tuning drivers 3.6.2.6 Unswitched Battery (13V8_UNSW_F) • Transmit Power Amplifier • Speaker Amplifier
SRM9000 SERIES SERVICE MANUAL © TMC Radio 2006 page 33   TNM-U-E-0002 Issue 1  4. ALIGNMENT (LEVEL 3 SERVICE ONLY) This procedure is applicable to all versions of SRM9000 mobile transceivers.         If the radio contains customer configuration data that must be retained, you must first use the SRM/SRP Personality Programmer (FPP) software to read all radio configuration files and save them on to alternative media before commencing the alignment procedure. When the Alignment is completed, use the FPP software to retrieve this stored data and write it back to the radio. It is preferred that the radio remain installed in its aluminium extruded case throughout this alignment procedure.  If the radio is to be aligned when removed from the case, a temporary heat sink must be fitted under the Transmitter PA module and the receiver output must be kept below 100mW.  Note. Final Tx power adjustments must be performed with the radio board installed in the chassis.  4.1 TEST EQUIPMENT 1. Radio transceiver test set CMT, 52/82 or similar. Note. For alternative equipment, the Mod Balance test requires internal DC coupling between the demodulated signal and demodulation output connector. 2. Variable DC power supply 10.8V to 16.3V current limited to 7 amps 3. Oscilloscope  20 MHz bandwidth minimum 4. SRM9000 Programming & Alignment Breakout Box As detailed in Figure 4-1 5. SRM9000 Speaker O/P Breakout Box As detailed in Figure 4-2 6. Personal Computer  486 DX 66 or better. Operating system Windows 95 or later. Minimum RAM - 16MB. 5MB free hard disk space. Floppy drive - 1.44MB. Mouse and serial port required 7. SRM/SRP Alignment Tool Computer Software file 8. SRM/SRP Field Personality Programmer (FPP) Computer Software file  Caution Preparing the radio for alignment will erase from the radio all customer PMR and Trunking configuration data (channel, signalling information etc).  The only data retained by the Alignment Tool is the factory alignment data for the radio (DAC settings for Tx power, front-end tuning, etc). Using the Alignment Tool will allow changes to the original factory alignment and will invalidate all warranties and guarantees unless performed by an authorised level 3 service centre.
SRM9000 SERIES SERVICE MANUAL © TMC Radio 2006 page 34   TNM-U-E-0002 Issue 1  BlackRedYellowBlueBrownOrangeGreen(4)White (8)(Not Used)+470EWhiteGreenMic Audio inMic GroundGroundHandset AF Output13.8V SwitchedOn/OffRx DataTx Data84765321RJ45PRM80Programming CableP/N 9525-001-00016BNC (F)Connector22uF to 47uFTant. or ElectDB25Access and modify cable as shown9000_49/225-9 WayAdaptorPCToSRM9000S1AF GeneratorR     Figure 4-1 SRM9000 Programming & Alignment Breakout Box   ...ToSRM9000 P2Pins 6 & 13R = Audio power Load (set as appropriate)           or                Resistor 4R  4W for ½ Bridge Speaker option                    Resistor 8R  12W for full Bridge Speaker option600R 1:1Line MatchingTransformerToNoise & Distortion Meter&Oscilloscope9000_49/3bRT1  Figure 4-2 SRM9000 Speaker Output Breakout Box
SRM9000 SERIES SERVICE MANUAL © TMC Radio 2006 page 35   TNM-U-E-0002 Issue 1   4.2 TEST SET-UP                         Figure 4-3 Test Set-up  1. Connect the radio to the test equipment as shown in  2.   3.    4. Figure 4-3. 5. Switch on the DC Power Supply. 765432181514131211109SRM9000P2(DB15M)PCSRM9000ProgrammingandAlignmentBreakoutBoxS5Antenna SktS1RJ45AFGenerator13.8V DCPower SupplyCRO9000_49+-RadioTransceiverTestSetNoise &DistortionMeterSRM9000Speaker O/PBreakoutBoxCoax(<200 mm)
SRM9000 SERIES SERVICE MANUAL © TMC Radio 2006 page 36   TNM-U-E-0002 Issue 1   4.2.1 COMMS Set up 1. Copy the SRM9000 Alignment Tool Computer Software file to the PC hard drive and run the program The Alignment Tool Opening Menu is displayed.   2. Go to the Options menu and choose Comms Setup.   3. The Comms Setup dialogue box is displayed. Select the Comms Port setting appropriate to the configuration of your PC and choose üOK. (Usually COM1)
SRM9000 SERIES SERVICE MANUAL © TMC Radio 2006 page 37   TNM-U-E-0002 Issue 1  4.2.2 Radio Preparation Radio parameters are to be aligned sequentially as detailed in this procedure. 1. At the Opening Menu, select the Align Menu and choose Prepare/Read Radio.   2. The WARNING is displayed. Choose No if you want to save the configuration and use the FPP software to read and save the data to a file. Choose Yes if you want to proceed and go to step 3.    3. The radio alignment data is read (indicated by percentage bar) and stored. The test alignment data is downloaded into the radio.    Note:  In test alignment mode the radio is configured only for 12.5 kHz channel spacing, therefore all alignment is carried out at 12.5 kHz settings unless otherwise specified.  When the radio is configured with the FPP for other channel spacings, the deviation related levels are calculated on a per channel basis by the radio software.
SRM9000 SERIES SERVICE MANUAL © TMC Radio 2006 page 38   TNM-U-E-0002 Issue 1  4.2.3 Alignment Procedure Radio alignment must be done in the sequence detailed in the following paragraphs.  This alignment assumes that the radio is functioning normally. 4.2.3.1 VCO DAC Alignment     1. Select the VCO DAC page. 2. Select Auto Align. The Synth DAC Rx slider will automatically adjust its value for each receiver  alignment frequency to set the VCO loop filter value between 140 and 150. 3. Select PTT and then select Auto Align. The Synth DAC Tx slider will automatically adjust its value for each transmitter alignment frequency to set the VCO loop filter value between 140 and 150.
SRM9000 SERIES SERVICE MANUAL © TMC Radio 2006 page 39   TNM-U-E-0002 Issue 1  4.2.3.2 TCXO (Radio Netting Adjustment)     1. Select the Mute/TCXO page. 2. Select PTT. 3. Adjust the TCXO slider to ensure that the transmit frequency error is within 50Hz for the selected channel (to be measured on the RF Test Set frequency counter).
SRM9000 SERIES SERVICE MANUAL © TMC Radio 2006 page 40   TNM-U-E-0002 Issue 1  4.2.3.3 Rx Front End      1. Ensure that the TCX0 Alignment has been done before proceeding with this section. 2. Select the Rx Front End Page. 3. Select Open Mute. 4. Set the Volume slider to 15.  Speaker audio should now be visible on the Scope. If required readjust the Volume slider to a suitable level. 5. Set the Signal Generator to the Channel 0 carrier frequency, with a 1000Hz modulation signal, a deviation of ±2 kHz and an RF level of -90dBm. 6. Select Channel 0. 7. Select Auto Align. The front end will be tuned automatically and finish with an RSSI reading of  typically around 150. 8. Repeat Steps 7 to 8 for the remaining 3 Channels (1, 2, & 3). 9. Change deviation to 1.5kHz. 10. Verify that the receiver sensitivity is better than -117.5dBm for 12dB sinad on all channels.  (Sensitivity is typically -120dBm).
SRM9000 SERIES SERVICE MANUAL © TMC Radio 2006 page 41   TNM-U-E-0002 Issue 1  4.2.3.4 Mute Adjustment Note. This adjustment has default setting of 1000/2600 and should not need changing except for specific requirements.      1. Select the Mute/TCXO page and select Open Mute. 2. Set the RF signal generator to the receiver alignment frequency, and adjust the RF level such that the desired mute opening SINAD (typically 10dB SINAD) is achieved. 3. Select Close Mute and remove the RF input from the radio. 4. Set the Squelch Open and Squelch Close sliders to the fully left position. This ensures the receiver will be muted. 5. Set the Squelch Close slider to the fully right position. 6. Reconnect the RF input to the radio. 7. Adjust the Squelch Open slider to the right until the mute opens. 8. Reduce the Signal Generator output level by approximately 2dB (or by an amount equal to the desired mute hysteresis level). 9. Adjust the Squelch Close slider to the left until the mute closes. 10. The mute should now open and close at the desired RF levels. 15. Note. On revision 9 radios and higher, an additional Tx Audio Balance DAC is also provided. For these radios, the Tx Audio Balance DAC is defaulted to zero for normal setting. However, for a more accurate setting, the DC voltage at TP745 needs to be noted during Rx and adjusted by the Tx Audio Balance DAC to give the same reading (to within 10mV).
SRM9000 SERIES SERVICE MANUAL © TMC Radio 2006 page 42   TNM-U-E-0002 Issue 1  4.2.3.5 RSSI       1. Select the RSSI Cal page. 2. Set the Signal Generator for a RF output level of -90dBm and 2kHz deviation at the specified frequency. 3. Activate the Store RSSI button. The receiver RSSI threshold setting is calibrated.
SRM9000 SERIES SERVICE MANUAL © TMC Radio 2006 page 43   TNM-U-E-0002 Issue 1  4.2.3.6 Tx Power    1. Select Tx Power/Mod page. 2. Select Channel 0. 3. Select the 1W power level. 4. Press the PTT button. 5. Adjust the Tx Final Value slider for a power output of 1W. 6. Repeat step 5 for the remaining 3 Channels (1, 2, & 3). 7. Select the 5W power level. 8. Adjust the Tx Final Value slider for a power output of 5W. 9. Repeat step 8 for the remaining 3 Channels (2, 1& 0). 10. Select the 25W power level. 11. Adjust the Tx Final Value slider for a power output of 25W. Note that the supply current is less than 6.5A. 12. Repeat step 11 for the remaining 3 Channels (1, 2, & 3). 13 Rev 9C+ only, press “Calibrate TX PA Current” button to automatically set the maximum current limit. Note: This feature is not available on earlier radios and therefore will not be displayed. 14 Release the PTT button.
SRM9000 SERIES SERVICE MANUAL © TMC Radio 2006 page 44   TNM-U-E-0002 Issue 1  4.2.3.7 Modulation     1. Select Tx Power/Mod page. 2. Select Channel 0. 3. Select the 1W power level. 4. Set the microphone input signal from the Audio Generator to 1000Hz at 400 mV RMS. 5. Adjust the VCO Modulation Limit slider for a maximum peak deviation of ±2.3kHz  6. Reduce the microphone input level to 40mV RMS and check that the deviation is within the range ±1.25 kHz to ±1.75 kHz. 7. Repeat steps 2 to 7 inclusive for the remaining 3 Channels (1, 2, & 3). 8. Remove the microphone audio input signal. 9. Select the Generate Square Wave function. 10. Select PTT and, while viewing the de-modulated signal on the transceiver test set oscilloscope, adjust the Modulation Balance slider for the best square wave symmetry. Note. DC coupling is required on the scope for optimum setting accuracy. 11. Repeat steps 8 to 11 inclusive for the remaining 3 Channels (1, 2, & 3).
SRM9000 SERIES SERVICE MANUAL © TMC Radio 2006 page 45   TNM-U-E-0002 Issue 1  4.2.3.8 Programming When all channels have been aligned the radio is programmed with the new alignment data: 1. Select Align and choose Write Alignment.   2. A warning message is displayed.   3. Choose Yes. New alignment data is written to the radio.       4.2.3.9 Customers Radio Personality Data  If the Customers Radio Personality Data was saved as a separate file, use the FPP Programmer to write this data to the radio.
SRM9000 SERIES SERVICE MANUAL © TMC Radio 2006 page 46   TNM-U-E-0002 Issue 1  5. REPLACEABLE PARTS 1297345681011111149000_51b Figure 5-1 Replaceable Parts 5.1 COMMON PARTS Ident Description Quantity per Assembly Part Number 2 Case 1 3513 901 70071 3 End Cap, Rear 1 6102 310 00212 4 Screw End Cap 12 3513 993 85009 5 Screw Tray Retention M3 x 16 3 3513 993 57117 6 Screw Tray Retention M3 x 12 2 3513 993 57116 7 Label Transceiver Top 1 6102 303 00101-0 8 End Cap, Front 1 3513 903 91072 9 Label Front End Cap 1 6102 303 00041-0 10 Inner Tray 1 3513 901 70083 11 Washer Fibre 17 3513 907 30241  Washer Seal BNC 1 3513 907 3255A  Gasket D Connector 1 3513 902 1082A  Gasket BNC 1 3513 902 10651  DC power installation kit 1 MA-DCPOWER  Tx PA Shield cover 1 3502 310 63223  RJ45 Connector S1 1 6102 621 00121-0  DB15 Connector P2 1 3513 993 02063  Antenna BNC connector S500 1 3513 505 05991  Audio PA Module U805 1 3513 999 52036  Voltage Regulator U900, U901, U912  1 6102 822 00121-0  Voltage Regulator U903 1 6102 822 00011  Temperature Controlled Crystal Oscillator U700 1 6102 982 00011-0
SRM9000 SERIES SERVICE MANUAL © TMC Radio 2006 page 47   TNM-U-E-0002 Issue 1  Ident Description Quantity per Assembly Part Number  Transient Suppressor Diode D900 1 6102 012 00031-0  Transmit Receive Switch Q541 1 3513 999 00006  ON/OFF FET Q7, Q900 1 6102 062 00051-0  5.2 BAND-SPECIFIC PARTS  Ident Description Quantity per Assembly Part Number  Tx PA Module U500 (E0 Band) 1 6102 861 00112-0  Tx PA Module U500 (AC Band) 1 6102 861 00012-1  Tx PA Module U500 (TU Band) 1 6102 861 00052-0  Tx PA Module U500 (R1 & R2 Band) 1 6102 861 00022-0  Tx PA Module U500 (UW Band) 1 6102 861 00042-0  Tx PA Module U500 (K1 Band) 1 6102 861 00122-0  Tx PA Module U500 (KM Band) 1 6102 861 00132-0         6. CIRCUIT DIAGRAMS Issue 9 Circuit Diagrams are contained in this Section. Previous releases of circuit diagrams are contained in separate Service Manual Supplements. See the table below for details:  Supplement Number Description TNM-S-E-0001 Issue 9 Circuit Diagrams  6.1 ISSUE 9 CIRCUIT DIAGRAMS  Figure Description    Figure Description 6.1 Top Overlay of PCB    6.20 E0 Band Synthesizer 6.2 Bottom Overlay of PCB    6.21 AC Band Receiver 6.3 DSP/Flash    6.22 AC Band Transmitter 6.4 PLA    6.23 AC Band VCO’s 6.5 Tx/Rx Audio    6.24 AC Band Synthesizer 6.6 Power Supply    6.25 K1 Band Receiver 6.7 I/O Connections    6.26 K1 Band Transmitter 6.8 E0 Band Receiver    6.27 K1 Band VCO’s 6.9 E0 Band Transmitter    6.28 K1 Band Synthesizer 6.10 E0 Band VCO’s    6.29 KM Band Receiver
SRM9000 SERIES SERVICE MANUAL © TMC Radio 2006 page 48   TNM-U-E-0002 Issue 1  6.11 KM Band Transmitter    6.30 R2 Band VCO’s 6.12 KM Band VCO’s    6.31 R2 Band Synthesizer 6.13 KM Band Synthesizer    6.32 TU Band Receiver 6.14 R1 Band Receiver    6.33 TU Band Transmitter 6.15 R1 Band Transmitter    6.34 TU Band VCO’s 6.16 R1 Band VCO’s    6.35 TU Band Synthesizer 6.17 R1 Band Synthesizer    6.36 UW Band Receiver 6.18 R2 Band Receiver    6.37 UW Band Transmitter 6.19 R2 Band Transmitter    6.38 UW Band VCO’s     6.39 UW Band Synthesizer
SRM9000 SERIES SERVICE MANUAL © TMC Radio 2006 page 49   TNM-U-E-0002 Issue 1  APPENDIX A -  GLOSSARY OF TERMS A summary of common radio terms and some other terms used in this document, and their meanings, are given below.  3RP Trunking Signalling Specification relating to trunked networks for shared use. Used primarily for networks in France. ADC Analogue to Digital Converter. AFC Automatic Frequency Control. AGC Automatic Gain Control. Alarm A Selcall sequence sent from subscriber equipment to indicate an Emergency situation.  When activated the radio will enter a repeating sequence consisting of an Alarm Live Transmit Time and an Alarm Dead Receive Time. Certain special conditions for the radio may also occur during the alarm. A dedicated SFM (trunked system) that is sent by pressing the Alarm Key. ANN Abbreviation for Algorithmic Network Numbering. This is the numbering system where the numbers presented to the radio user can be mapped directly to the MPT1327 PFIX/IDENTs and vice versa by use of a fixed algorithm in combination with some other customisation parameters.  See also FPP and MEP. ANI Automatic Number Identification. Auto Interrogate An Acknowledge identity sent as a response to an individual reset call. Automatic Power Feature whereby the transmit power is automatically set to a level determined by the level of the received signal. This is used to extend the battery life and/or reduce radiated emissions. Automatic Volume Feature whereby the background audio level is monitored and if this is found to be noisy then the volume level is increased to compensate, allowing the user to hear better. Background Hunting The searching for an alternative and 'better' control channel whilst already on a valid control channel. BCAST MPT1327 broadcast message. Used to transmit information about the trunked radio system to radio units. Busy The state of a channel such that: • For a non-signalling channel - if Busy this means that the carrier is above squelch. • For a channel with CTCSS/DCS - if Busy this means a signal is being received with either no CTCSS tone / DCS code or the correct CTCSS tone /DCS code. • For a channel with Selcall - if Busy this means a closed channel where the signal is above squelch.  A feature that equates to 'Do Not Disturb' such that the radio will reject all non-emergency calls. This feature can be activated using the Busy key (if assigned) or from a menu; it is reset to disabled at switch on. C4FM Compatible 4-Level Frequency Modulation.
SRM9000 SERIES SERVICE MANUAL © TMC Radio 2006 page 50   TNM-U-E-0002 Issue 1  Call Back A request, sent by the dispatcher, to a unit requesting that the unit calls the dispatcher back. CCSC    Control Channel System Codeword.   Channel Spacing The distance (in Hz) between the defined frequency channels.  CHEKKER System Interface Specification for Trunked Networks in Germany. CLIM Call Limit Time; time limit on calls made. Normally this is defined by the Call Time Limit parameter but can by overridden by the TSC depending upon the setting of TSCLIM. CLIME Emergency Call Limit Timer. Clipboard A temporary storage area in Windows used to store data in cut, copy and paste operations. Closed A state where transmit and receive are not allowed until a Selcall message to open the channel has been received. A Closed Channel is one which defaults (when selected or after timed reset) to its closed state. Contrast with Open. Normally a Closed channel would have Selcall Mute and PTT Inhibit would be enabled. CODEC COde (Analogue to Digital Converter) / DECode (Digital to Analogue Converter). Community Repeater A communications set-up whereby different groups of radios can operate by using only one base station. This is achieved by the use of CTCSS tone signalling such that each group has a different CTCSS tone (encode and decode) and radios can only communicate with other radios in their group. Only one group of radios can use the base station at any one time. Continuous A continuous control channel is one that is only used by one site. There are no breaks in the transmission of signalling. Emergency Call Time Limit Control Channel  A channel used for the transmission of messages that enables the TSC to control radios. Control channels may either Continuous or Timed Shared. Control Channel Burst A feature that enables control channel burst transmissions on systems using time-shared control channels. It is unavailable if the control channel acquisition type is not 'Time Shared'. To make available: go to Control Channel Acquisition Type and set to Time-shared. CRU    Central Repair Unit CTCSS CTCSS stands for Continuous Tone Controlled Signalling System. A continuous tone (lower than the audio range of the receiver) is modulated onto the carrier as well as other signalling or voice traffic. Compare with DCS. Only receivers that have been instructed to recognise the same CTCSS tone are able to receive the transmissions, since the squelch of receivers looking for different CTCSS tones prevents the audio from being heard. This provides a simple method of sending messages to selected receivers only and allows several different networks to use the same frequencies. CTCSS is also known as Tone Lock or Tone Squelch. DAC Digital to Analogue Converter. Dash (-) digits Digits known as 'No Tone' digits used in Selcall Identities. DCS Digital Coded Squelch system is based on sending a continuous stream of binary code words using, low deviation, direct frequency shift keying. Only receivers which have been instructed to recognise the same DCS sequence are able to open their squelch and receive the associated speech transmissions. This
SRM9000 SERIES SERVICE MANUAL © TMC Radio 2006 page 51   TNM-U-E-0002 Issue 1  provides a simple method of sending messages to selected receivers only and allows several different networks to use the same frequencies. Decode Reception of signalling. Either Selcall where encoded tone frequencies are decoded and identified as specific tones digits or CTCSS/DCS where tones are analysed to see if the channel should be opened. Demanded Demanded Registration; a procedure in which the TSC forces a single radio unit to attempt registration immediately (providing the radio is not already attempting to register). Disabled The 'False' state of a parameter. That indicates this parameter is not active. Typically this state is represented by an unmarked check box. Compare with Enabled. DSP Digital Signal Processor. DTMF Abbreviation of Dual Tone Multi-Frequency signalling. Used to dial into Telephone networks using tone dialling. Dual Watch A facility that enables the Radio to periodically monitor another channel for a signal above squelch. Typically applications are checking an emergency channel whilst on another channel. Dynamic User Groups These groups use a temporary user Ident to group a number of units together who would not normally make up a group. These groups are formed by the TSC (contrast with User Defined Groups) sending a special message to units instructing them to add a new group Ident to their list of groups. Up to 8 groups can be defined. These temporary groups are lost at switch off unless 'Save Groups at Switch Off' is enabled. Economiser A process by which the Receiver is powered down whilst there is no received signal. Periodically the receiver is powered up to check for such a signal. This is used to extend the battery life. Enabled The 'True' state of a parameter. That indicates this parameter is active. Typically this state is represented by a mark (either a tick or a cross) in a check box. Compare with Disabled. Encode Transmission of signalling. Either Selcall where Selcall tone digits are encoded into tone frequencies or CTCSS/DCS where tones modulated onto the channel's carrier. ETS European Technical Standard. External Alert A facility for switching on various ancillary devices to meet customer's individual requirements (e.g. car horn, flashing lamp etc.) when 'called'. Only available on a mobile radio. To make available: go to Hardware Components, Terminal Settings and set Product Type to a Mobile type. Fallback A mode of operation that may be entered when the Network is suffering a malfunction. During this mode certain facilities (e.g. PSTN) may not be available. FFSK Fast Frequency Shift Keying. This is a signalling system for the transfer of digital information. It works by using one of two audio tones to represent transmit data.. Fleet A group of units formed such that only a shortened form of dialling (2 or 3 digits) is required between them. These groups are normally assigned contiguous ident's. FOACSU Full Off Air Call Set Up. A method of call set-up where the calling party has to manually answer the incoming call before the trunking system will allocate a traffic channel to the call. This reduces the loading on traffic channels as it prevents
SRM9000 SERIES SERVICE MANUAL © TMC Radio 2006 page 52   TNM-U-E-0002 Issue 1  them being allocated to calls when the called party is not present to deal with the call. PLA Programmable Logic Array. FPP Field Personality Programmer.
SRM9000 SERIES SERVICE MANUAL © TMC Radio 2006 page 53   TNM-U-E-0002 Issue 1   Hash (#) digits These digits are used for two purposes:  • For Selcall identities (encode and decode) - known as User Id digits. These digits are replaced by the user id entered at switch on (if enabled) • Use in DTMF dialled strings - their use is network dependent to access special services. IDENT A 13 bit number used for Identification purposes. Associated with a Prefix (PFIX) this forms a 20 bit address which is used for identification purposes in signalling between the radio and the trunking system. Identity Name given to a sequence of tones which is used in sequential tone signalling. See Valid Selcall Digits. Idle State The state of the radio when it is not in a call. Inaccessible A state of a channel such that it is unavailable to the user through normal methods of channel selection. Therefore inaccessible channels will not appear on the channel menu. Include Calls these types of calls are used to allow a 3rd party to join into an existing call. Link Establishment  A delay incorporated into the start of every selective call or DTMF transmission  Time   which allows for the finite delay of the radio equipment in responding to any radio signal. This includes both the commencement time of the originating transmitter and the response time of the receiver.  Locked A state of a channel whereby it is not possible to change channels using the normal up/down keys on the channel menu until the OK key is pressed. See Auto Channel Selection Lock. MEP Miniaturisation Extent Parameter. Used in systems that use ANN numbering. Modifier Part of a dialled string that modifies the nature of the call made to a number (e.g. dialling "*9" before the number that is to be dialled will modify the call to be an emergency call). MPT1327 A signalling standard for Trunked Private Land Mobile Radio Systems. Defined for systems in the UK but also used outside the UK. Issued January 1988. MPT1343 A System Interface Specification for commercial Trunking networks. Defined for systems in the UK but also used outside the UK. Issued January 1988. Noise Blanker A circuit designed to reduce automotive ignition interference. NDD Network Dependent Data. This is a field within the CCSC codeword that is used by the trunking system to identify information about the trunking network and, in particular, information specific to the site that is radiating the control channel. It is used by the radio when it is acquiring a control channel to identify valid channels.  Null Id A Selcall identity that is not defined and whose tones' field is displayed as a blank. Open A state where transmit and receive are allowed. The channel is no longer open when reset. Contrast with Closed. Normally an Open channel would not have Selcall Mute and PTT Inhibit would be disabled. OPID Network Operator Identity used in Regional Systems. See Roaming. PABX Private Automatic Branch Exchange.
SRM9000 SERIES SERVICE MANUAL © TMC Radio 2006 page 54   TNM-U-E-0002 Issue 1  Password An optional password system available on the radio. This feature is only available if the radio does has a display and a keypad. To make available: go to Hardware Components, Terminal Settings and set Product Type to one which has a display and a keypad. PFIX The 7 most significant bits of an MPT1327 address number. Normally same fleet units have same prefix. Relates to individual and group address numbers. PLL Phased Locked Loop. PMR Private Mobile Radio (not normally trunked). Priority Channel A channel in a search group that is scanned between every other channel. PSD Peak System Deviation. PSTN Public Switched Telephone Network. PTT Press To Talk. This is the term given to the operator’s key normally used to commence transmitting a message. PTT Inhibit A state whereby transmission using the PTT is not allowed. Also know as Tx Lockout. PWM    Pulse Width Modulation. Queuing The storing of an Selcall Identity for later transmission. If inhibited from transmitting a selcall sequence because the channel is busy then the radio can queue the Send 1 / Send 2 sequence for later transmission. When a radio unit is in Queuing mode all incoming calls are stored automatically in a queue for later examination. The caller is given an indication that the call has been queued by the called party. The queue will contain the identity of the caller and the status value received (if a status call). Up to 20 calls may be queued. The Queuing mode may be selected using the Modes Menu. Note: Connecting a MAP27 device to a radio that is in queuing mode will disable queuing.  All incoming calls will then be routed both to the radio user interface and to the MAP27 device connected to the radio. Also known as Logging Mode Reference Frequency Normally this is generated from a high stability crystal oscillator reference and is divided digitally in a frequency synthesiser for comparison with other frequency sources, e.g. a VCO. Registration Registration is a technique used to ensure that the trunking system knows the location of radio units that are using the system. This allows the system to setup calls quickly without having to search the whole system for the called radio. Repeat Tone A selcall tone that is used to replace repeated tones. Fixed at tone E. Example: An identity entered as '12333' would be sent by the radio as '123E3'. Reset Resetting is caused by Three Tone Reset, a Remote Reset, an Individual reset or a Group reset (Call Types in Decode Identity). When a radio is reset the effect on the radio will be as follows: • Any Call Alerts will be stopped • The Call LED flashing will stop • If the channel is in Open mode then the channel is closed • The PTT is optionally inhibited see PTT Inhibit After Reset Sequence. • In searching - if paused on a selcall channel then searching resumes
SRM9000 SERIES SERVICE MANUAL © TMC Radio 2006 page 55   TNM-U-E-0002 Issue 1  • If the Acknowledge property of a Decode Identity is set to 'Auto Interrogate' or 'Transpond & Auto Interrogate' then the Auto Interrogate encode identity is transmitted. Roaming This is a process that allows changing between regional trunking systems which have different Operator Identities (OPID 's). Not allowed on MPT1343 Systems. RSSI Received Signal Strength Indicator. Scanning Process of switching between the channels in the nominated search group in cyclic sequence, stopping when the search condition (which may be to look for either a free or a busy channel) is satisfied. SDM Short Data Message. Search Group A group of channels that are either scanned for a signal above the search threshold or are compared and voted for the strongest signal Selcall Selective Calling - a system of signalling which allows 'dialling up' of specific mobiles, portables and controllers. Such a system may be used to pass messages as a data message to a specific user or group of users. It can be used to provide remote switching facilities and to provide access control into community repeaters or similar devices. Selcall Mute A state of the audio gate whereby the loudspeaker is muted (closed). Selcall System Selective Calling, uses a tone sequence at the start, and end, of a call to control which members of a fleet react to the transmission. SFM Short Form Memory. Sidetone Sidetone is the audio which can be (optionally) heard when Selcall, DTMF and toneburst transmissions are made. Simplex Mode of operation whereby the radio operates as a conventional fixed channel radio outside the Trunking network. Squelch System used to prevent weak, unintelligible signals and random noise from being heard by a radio operator while still allowing intelligible signals to be received normally. This is accomplished by the use of a threshold below which any received signals are ignored. Only signals whose signal-to-noise ratio is above the squelch level cause the audio circuits of the radio to be enabled, with the result that only satisfactory signals are received. The squelch level is specified in SINAD. Star (*) digits Digits known as Status or Message digits. These digits are used for three purposes:  • Status Digits for Selcall Identities • Wildcard digits in Status strings • Use in DTMF dialled strings - their use is network dependent to access special services. Status A feature whereby a radio's status (or usually the status of the radio's user) can be transmitted and a status message from other radios can be displayed. This operates through status digits in Selcall identities. Either in Encode Identities or Decode Identities as follows: Encode Identities: Status digits within the identity are used to transmit the current situation of the radio's user (e.g. "Out To Lunch"). Decode Identities: Status digits are looked up in a table (Status Menu) for possible messages to display.
SRM9000 SERIES SERVICE MANUAL © TMC Radio 2006 page 56   TNM-U-E-0002 Issue 1  SW Software. SYS System Identity Code part of the CCSC. TCXO Temperature Compensated Crystal Oscillator. Temporary Temporary Registration; a process carried out by the Dispatcher due to some system failure that prevents it from carrying out normal registration. The radios will recognise this temporary registration mode but will otherwise use the network in the same way as if they were registered. They may be required to re-register when normal registration mode is resumed. Three Tone Reset This is a system whereby a call to a user automatically reset all other users in a group. Example: a call to user '12345' would call 12345 and reset all other users on this channel with an identity 123nn where n can be any digit 0-9, A-F. Timed Reset Facility that causes the Radio, after a certain period of time, to restore current channel to it's initial condition e.g. if it was previously searching it will resume searching. Time Shared A time-shared control channel is one that is used by more than one site. This allows a wide coverage area to be obtained using only one frequency.   The forward channel from the TSC to the radio is divided into timeslots. Each site using the channel is allocated one timeslot in which to transmit and send signalling.  Therefore, when on a timeshared channel. the radio may be able to receive bursts of signalling from different sites at different signal strengths and may receive periods when no signalling is received.  Depending on the type of system, the radio may be able to perform transactions with any site it can receive from or only with a specific site. TMR Trunked Mobile Radio. Tone Burst An audio tone is transmitted at the start of transmission to inform a relay (repeater) station to switch itself on to relay the transmission. Transpond An Acknowledge identity sent as a response to an individual call. TRAXYS Air Interface for the PTT Telecom Trunked Radio Network, used in the Netherlands. TSC Trunking Site Controller. Central control required for the Trunking System to function. Controls base stations. Tx Inhibit A facility which prevents the user from transmitting,(other than alarms), while the channel is Busy. UMP User Memory Plug. A special device that contains the customisation data for the radio. If this is removed then this can cause the radio to behave in a number of ways. User Defined Groups These groups are set up by the user (contrast with Dynamic User Groups) when the user desires to be included, temporarily, in an existing group. Up to 8 groups may be defined (in addition to the Network group Idents defined by Network Group Numbers). This feature is only available if User Defined Groups parameter is enabled. These temporary groups are lost at switch off unless 'Save Groups at Switch Off' is enabled.
SRM9000 SERIES SERVICE MANUAL © TMC Radio 2006 page 57   TNM-U-E-0002 Issue 1  User Identity This is a sequence of up to four digits entered by the user when the Radio is switched on, if this option is programmed. These digits are then substituted into any transmitted Selcall identity which includes # digits. VCO Voltage Controlled Oscillator. Vote Method used to compare the signal strength on a current channel with another specified channel and then to choose the channel having the stronger signal. Voting Feature used during searching when there is more than one channel that satisfies the required conditions. It involves examining all the channels that satisfy the required conditions, and then selecting the channel with the highest signal strength. VOX Voice Operated Transmit.

Navigation menu