Simplicity Broadmoor 1600 Series Parts Manual / 2600
1600 Series to the manual daaa0b6c-e9c5-42d0-a429-32134baa47aa
2014-12-13
: Simplicity Simplicity-Broadmoor-1600-Series-Parts-Manual-127197 simplicity-broadmoor-1600-series-parts-manual-127197 simplicity pdf
Open the PDF directly: View PDF
.
Page Count: 88

Parts Manual
Rev. 10/2005
Broadmoor / 1600 / 2600
Series Lawn Tractors & Mower Decks
TP 400-4205-01-BM-SMA
Mf
g
. No. Descri
p
tion
1
8
HP Models
1694629 Broadmoor, 18HP Hydro RMO
1694630 Broadmoor, 18HP Hydro RMO
1694631 Broadmoor, 18HP Hydro RMO (CE)
1694683 Broadmoor, 18HP Hydro RMO (CE)
1694807 2618, 18HP Hydro RMO (CE)
1694844 2618H, 18HP Hydro RMO (CE)
2690273 Broadmoor, 18HP Hydro RMO and 44" Mower Deck
2690274 Broadmoor, 18HP Hydro RMO and 38" Mower Deck
2690276 Broadmoor, 18HP Hydro RMO and 44" Mower Deck (CE)
2690277 Broadmoor, 18HP Hydro RMO and 40" Mower Deck (CE)
2690399 2618, 18HP Hydro RMO and 40" Mower Deck (CE)
2690400 2618, 18HP Hydro RMO and 44" Mower Deck (CE)
2690407 Broadmoor, 18HP Hydro RMO TRACTOR ONLY
2690430 2618H, 18HP Hydro RMO and 40" Mower Deck (CE)
Mf
g
. No. Descri
p
tion
20HP Models
1694632 Broadmoor, 20HP Hydro RMO
1694633 1620H, 20HP Hydro RMO
1694634 1620H, 20HP Hydro RMO
1694635 2620H, 20HP Hydro RMO (CE)
1694636 2620H, 20HP Hydro RMO
1694682 Broadmoor, 20HP Hydro RMO
2690275 Broadmoor, 20HP Hydro RMO and 44" Mower Deck
2690278 Broadmoor, 20HP Hydro RMO and 50" Mower Deck
2690279 1620H, 20HP Hydro RMO and 44" Mower Deck
2690280 1620H, 20HP Hydro RMO and 50" Mower Deck
2690281 2620H, 20HP Hydro RMO and 44" Mower Deck
2690282 2620H, 20HP Hydro RMO and 50" Mower Deck
2690408 Broadmoor, 20HP Hydro RMO TRACTOR ONLY
2690424 2620H, 20HP Hydro RMO and 44" Mower Deck
Mf
g
. No. Descri
p
tion
Mower Decks
1694036 38" Mower Deck
1694042 38" Mower Deck
1694339 40" Mower Deck
1694340 40" Mower Deck
1694341 40" Mower Deck (CE)
1694821 40" Mower Deck (CE)
1694037 44" Mower Deck
1694043 44" Mower Deck
1694178 44" Mower Deck (CE)
1694822 44" Mower Deck (CE)
1694174 50" Mower Deck (CE)
1694473 50" Mower Deck
1694474 50" Mower Deck
1731173
Part No.:

Table Of Content
s
Torque Specification Chart ..................................................................... Inside Back Cover
PRODUCT COMPONENTS PAGES
Frame & Front Axle Group ................................................................................................................................... 4
Steering Group - Manual Steering ....................................................................................................................... 6
Engine & Electric Clutch Group - 16HP & 18HP Briggs & Stratton, Vanguard ................................................... 8
Engine & Electric Clutch Group - 18HP & 20HP Briggs & Stratton, Vanguard ................................................... 10
Engine Group - 18HP Kohler ............................................................................................................................... 12
Transmission Group - Tuff Torq K-57 .................................................................................................................. 14
Transmission SERVICE PARTS - Tuff Torq K-57A ............................................................................................. 16
Controls Group ..................................................................................................................................................... 20
Cruise Control Group ........................................................................................................................................... 22
Electrical Group .................................................................................................................................................... 24
Hood, Grille & Dash Group .................................................................................................................................. 26
Seat & Seat Deck Group ...................................................................................................................................... 28
Lift Group - Manual Lift ........................................................................................................................................ 30
Lift Group - Manual Lift ........................................................................................................................................ 32
Wheels & Tires Group .......................................................................................................................................... 34
Decals - Brand & Model ....................................................................................................................................... 36
Decals - Safety & Common .................................................................................................................................. 38
38" Mower Deck - Belt, Idler Arm & Hitch ............................................................................................................ 40
38" Mower Deck - Height Adjustment & Roller Bar ............................................................................................. 42
38" Mower Deck - Housing, Arbors & Blades ...................................................................................................... 46
40" Mower Deck - Belt, Idler Arm & Hitch ............................................................................................................ 48
40" Mower Deck - Height Adjustment & Roller Bar ............................................................................................. 50
40" Mower Deck - Housing, Arbors & Blades ...................................................................................................... 54
44" Mower Deck - Belt, Idler Arm & Hitch ............................................................................................................ 58
44" Mower Deck - Height Adjustment & Roller Bar ............................................................................................. 60
44" Mower Deck - Housing, Arbors & Blades ...................................................................................................... 64
44" Mower Deck - Housing, Arbors & Blades CE ................................................................................................ 66
50" Mower Deck - Clutch & Support .................................................................................................................... 70
50" Mower Deck - Height Adjustment & Roller Bar ............................................................................................. 72
50" Mower Deck - Height Adjustment & Roller Bar ............................................................................................. 76
50" Mower Deck - Housing, Arbors & Blades ...................................................................................................... 80
50" Mower Deck - Housing, Arbors & Blades ...................................................................................................... 82

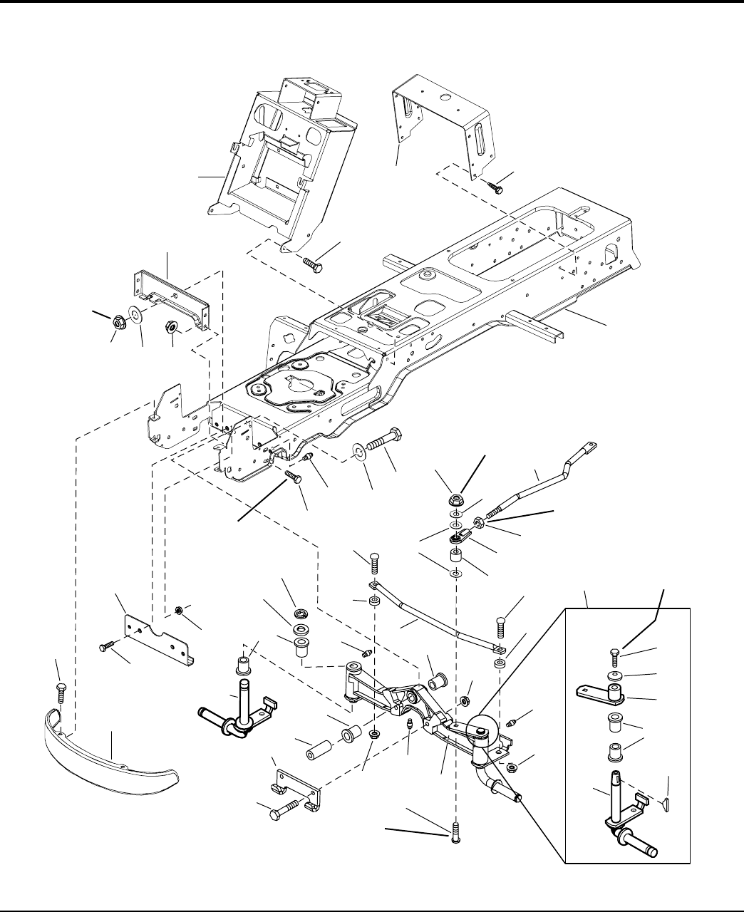
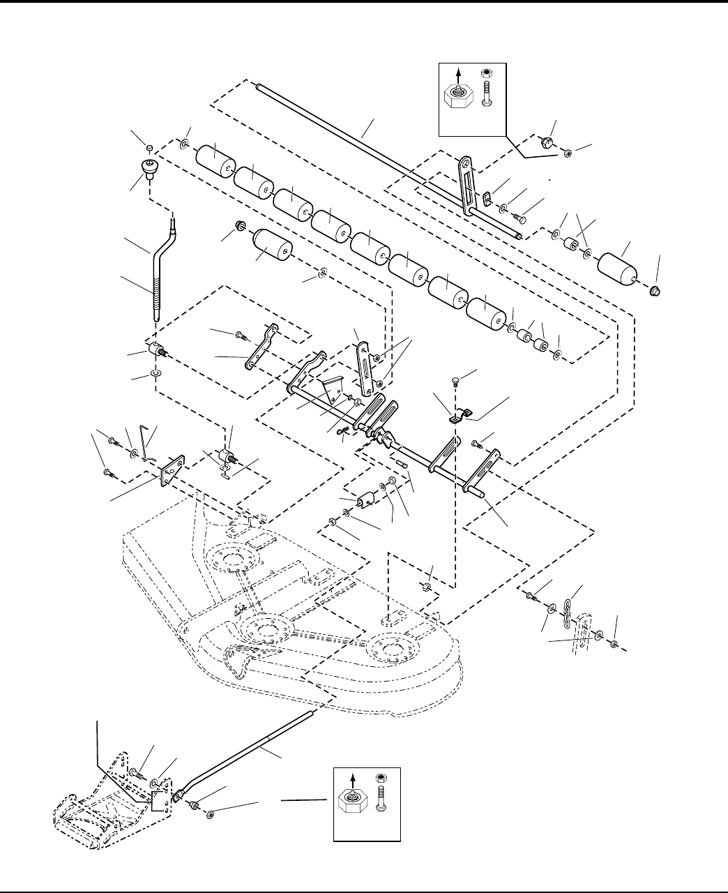
Frame & Front Axle Group
NOTE: Unless noted otherwise,
use the standard hardware torque
specification chart.
Torque to
150 ft. lbs.
(202 Nm)
Torque to
22-40 ft. lbs.
(30-54 Nm)
Torque to
13 ft. lbs.
Service Kit
1686985
Torque to
50-57 ft. lbs.
(48-56 Nm)
Torque to
22-40 ft. lbs.
(30-54 Nm)
Torque to
55-60 ft. lbs.
(74-81 Nm)
12
18
21
13
18
14
17
16
20
31
36
33
23
22
34
37
32
1
7
5
9
2
8
46
3
10
2
1515
19
20
42
1
1
1
35
22
22
22
43
41
24
33
24
26
27
28
30
29
25
11
40
38
39
986681
The above parts group applies to the following Mfg. Nos.:
2005 4
© Copyright Simplicity Manufacturing, Inc. All Rights Reserved.
1694629 - Broadmoor
1694630 - Broadmoor
1694631 - Broadmoor
1694632 - Broadmoor
1694633 - 1620H
1694634 - 1620H
1694635 - 2620H
1694682 - Broadmoor
1694683 - Broadmoor
1694807 - 2618
1694844 - 2618H
TP 400-4205-01-BM-SMA

PART NO. DESCRIPTIONREF NO QTY.
Frame & Front Axle Group
Footnotes
1 1930645 7 NUT, Hex Flange Lock, 3/8-16
2 1960035 2 WASHER
3 2860646 1 NUT, Hex Flange, 5/8-11
4 1722212A 1 PLATE, Axle
5 1724081A 1 TOWER & SUPPORT ASSEMBLY
6 1923683 4 CAPSCREW, Hex Head Taptite, 3/8-16 x 3/4
7 1723528A 1 SUPPORT
8 1664847 4 CAPSCREW, Hex Head Taptite, 5/16-18 x 3/4
9 1726989A 1 FRAME ASSEMBLY
10 2860645 1 CAPSCREW, 5/8-11 x 3-1/2
11 1704314 2 FITTING, Grease for Wear Plate, 1/4-20, with Ball
12 1933260 4 CAPSCREW, Hex Head, Flange Lock, 3/8-16 x 3/4
13 1722541 1 LINK, Drag
14 1922755 1 WASHER
15 1960103 2 WASHER
16 1919262 1 NUT, Hex Jam, 1/2-20
17 1702779A 1 JOINT, Ball
18 1708236 1 SPACER
19 1931350 2 CARRIAGE BOLT, 3/8-16 x 1
20 1611705 2 SPACER
21 1722626A 1 ROD, Tie
22 1721682 6 BUSHING
23 1930650 2 NUT, Hex Flange Lock, 7/16-14
24 1704314 3 FITTING, Lube
25 1686985 1 SPINDLE REPLACEMENT KIT, LH (Includes Ref. Nos. 22, 26, 27, 28, 29 & 30)
26 2823485 1 CAPSCREW, 3/8-16 x 7/8, GR8
27 1663151 1 WASHER, Spring, 3/8
28 1725112 1 HUB & ARM ASSEMBLY
29 2830671 1 KEY, Woodruff
30 1724264 1 SPINDLE, LH
31 1722200A 1 AXLE ASSEMBLY, w/ LH Spindle, Complete (Includes Ref. Nos. 22, 24, 41, 42 & 43)
32 1931352 1 CARRIAGE BOLT, 3/8-16 x 1-1/2
33 1927531 2 CAPSCREW, Hex Head, 7/16-14 x 2, GR8
34 1721918A 1 HOOK, "J"
35 1721752 1 SPACER
36 1960086 4 SCREW, Torx Head, 5/16-18 x 7/8
37 1721805A 1 BUMPER, Black, Steel, Standard
37 1723502 1 BUMPER, Chrome, Optional
38 1930591 2 CAPSCREW, Hex Whiz Lock, 5/16-18 x 3/4
39 1724801A 1 PLATE, Axle Wear
40 1931277 2 NUT, Hex Falnge Whiz Lock, 5/16-18
41 1722199 1 SPINDLE, RH
42 1919394 1 WASHER
43 2832577 1 RETAINING RING
The above parts group applies to the following Mfg. Nos.:
2005 5
© Copyright Simplicity Manufacturing, Inc. All Rights Reserved.
1694629 - Broadmoor
1694630 - Broadmoor
1694631 - Broadmoor
1694632 - Broadmoor
1694633 - 1620H
1694634 - 1620H
1694635 - 2620H
1694682 - Broadmoor
1694683 - Broadmoor
1694807 - 2618
1694844 - 2618H
TP 400-4205-01-BM-SMA

Steering Group - Manual Steering
NOTE: Unless noted otherwise,
use the standard hardware torque
specification chart.
Torque to
36-44 ft. lbs.
or 48-60 Nm
Steering cap snaps
over steering wheel.
Use washers
as required.
Torque to
36-44 ft. lbs.
or 48-60 Nm
Bearing mounts below
frame. Slide pinion into
gear before tightening nuts.
18
21
14
7
11
10
13
15
12
1
6
19
2
20
4
8
3
17
5
6
5
9
16
5
15
985890
The above parts group applies to the following Mfg. Nos.:
2005 6
© Copyright Simplicity Manufacturing, Inc. All Rights Reserved.
1694629 - Broadmoor
1694630 - Broadmoor
1694631 - Broadmoor
1694632 - Broadmoor
1694633 - 1620H
1694634 - 1620H
1694635 - 2620H
1694636 - 2620H
1694682 - Broadmoor
1694683 - Broadmoor
1694807 - 2618
1694844 - 2618H
TP 400-4205-01-BM-SMA

PART NO. DESCRIPTIONREF NO QTY.
Steering Group - Manual Steering
Footnotes
1 1722318 1 STEERING WHEEL, Straight, Shaft
2 1722319 1 CAP, Steering Wheel, SMI Logo
2 1725024 1 CAP, Steering Wheel, Plain
3 1960540 1 PIN, Spring, 5/16 x 2-1/2
4 1722749 1 COVER, Rubber, Upper Steering Shaft
5 1960114 5 WASHER, 3/4
6 2176440 2 BUSHING, 15/32 x 7/8 x 7/8, Nylon
7 1960636 2 NUT, Hex KEPS 5/6-18
8 1721736A 1 PLATE, Mounting Steering
9 1933988 2 NUT, Push
10 1960655 2 CARRIAGE BOLT, 5/16-18 x 1-1/4
11 1724470A 1 GEAR & SHAFT ASSEMBLY, Steering
12 1960032 1 CAPSCREW, Hex Head, 3/8-16 x 1-1/4, Black
13 1930645 1 NUT, Hex Flange Two-Way Lock, 3/8-16
14 1664847 2 CAPSCREW, Hex Washer Head Taptite, 5/16-18 x 3/4
15 1721626 1 SHAFT & PINION ASSEMBLY, Steering Manual
16 1611710 1 RING, Clipring Extension
17 1722459 1 BEARING, 3/4 x 1-11/16 x 13/16, 3" Long Housing
18 1722461 1 SPACER, 3/4 x 1-1/16 x 3/8, Powder Metal
19 1931211 2 NUT, Hex Flange Whiz Lock, 3/8-16, Small
20 1933260 2 CAPSCREW, Hex Whiz Lock Flange, 3/8-16 x 3/4, Black
21 1919314 1 PIN, Cotter, 1-1/4, Black
The above parts group applies to the following Mfg. Nos.:
2005 7
© Copyright Simplicity Manufacturing, Inc. All Rights Reserved.
1694629 - Broadmoor
1694630 - Broadmoor
1694631 - Broadmoor
1694632 - Broadmoor
1694633 - 1620H
1694634 - 1620H
1694635 - 2620H
1694636 - 2620H
1694682 - Broadmoor
1694683 - Broadmoor
1694807 - 2618
1694844 - 2618H
TP 400-4205-01-BM-SMA

Engine & Electric Clutch Group - 16HP & 18HP Briggs & Stratton, Vanguard
NOTE: Unless noted otherwise,
use the standard hardware torque
specification chart.
Engine Manufacturer
Gasket & Hardware,
Torque to 18 ft. lbs.
(25 Nm)
Tie clutch wire
to keep away
from pulley.
Torque to
45-50 ft. lbs.
(61-68 Nm)
Torque to
24-36 ft. lbs.
(31-48 Nm)
Note:
Orientation
of All Keys
Tie cables to Left
Hand side of shield.
Position pulley
chamfer side up.
Install between Frame &
Ground cable on RH
rear engine capscrew.
15
12
17
10
16
14
11
13
18
24
23
19
25
21
20
1
5
9
2
4
6
3
7
8
22
11
23
27
30
29
31
10
28
22
26
32
26
7
19
986252
The above parts group applies to the following Mfg. Nos.:
2005 8
© Copyright Simplicity Manufacturing, Inc. All Rights Reserved.
1694630 - Broadmoor
1694683 - Broadmoor
1694807 - 2618
TP 400-4205-01-BM-SMA

PART NO. DESCRIPTIONREF NO QTY.
Engine & Electric Clutch Group - 16HP & 18HP Briggs & Stratton, Vanguard
Footnotes
1 1723165 1 HOSE, Oil Drain, 10-1/2" Long, 3/8-18 Fittings
2 * 1 ENGINE, 16HP Briggs & Stratton Vanguard Twin, Model 303777, Type 1114-E1
2 * 1 ENGINE, 18HP Briggs & Stratton Vanguard Twin, Model 356777, Type 0113-E1
3 1722950 1 SEAL, Circle, 16HP Only
3 1722949 1 SEAL, Circle, 18HP Only
4 1722388A 1 BULKHEAD
5 1925003 2 CAPSCREW, Hex Washer Head Taptite, 1/2-20 x 1/2, Black
6 1727223 1 CONTROL, Throttle Double 39" Long w/Knobs
7 1701011 2 TIE, Wire, 7-5/16" Long
8 2860112 2 CLAMP, Hose Type E
9 1718678 1 HOSE, Fuel, 59" Long
10 1722392A 2 SHIELD, Side
11 1929000 8 CAPSCREW, Hex Washer Head Taptite, 1/4-20 x 3/8
12 1722288 1 PULLEY & HUB ASSEMBLY
13 2832747 1 TIE, Self Locking, 3-5/8 Long
14 1708264 1 WASHER, Hex, 7/16, Black
15 1918199 1 LOCKWASHER, 7/16
16 1960648 1 CAPSCREW, Hex Head, 7/16-20 x 3-3/4
17 1686880 1 CLUTCH, Electric
18 1720463 1 KEY, HI PRO, 1/4 x 2 1/2
19 2830598 4 CAPSCREW, Hex Washer Head Taptite, 3/8-16 x 1-1/2
20 2820427 1 LOCKWASHER, External Tooth, 3/8
21 1722414A 1 SHIELD, Muffler Bottom
22 1960368 8 NUT, Speed, 1/4-20, Lug
23 1960295 4 CAPSCREW, Hex Flange Whiz Lock, 1/4-20 x 5/8
24 1935255 2 NUT, Speed, 5/16-18, Lug, Black
25 1722389A 1 DUCT, Muffler Top
26 2834683 2 CLIP, Wire 1/8
27 1722390A 1 DUCT, Muffler Extension
28 1924856 2 CAPSCREW, Hex Washer Head Taptite, 5/16-18 x 1/2, Black
29 1722625 1 MUFFLER, Briggs & Stratton, Vanguard Twin
30 * 1 GASKET, Briggs & Stratton, Vanguard Twin
31 1917356 4 LOCKWASHER, 5/16
32 2860660 4 CAPSCREW, Hex Flange Whiz Lock, 5/16-18 x 7/8
* See your local Briggs & Stratton distributor for parts and service.
The above parts group applies to the following Mfg. Nos.:
2005 9
© Copyright Simplicity Manufacturing, Inc. All Rights Reserved.
1694630 - Broadmoor
1694683 - Broadmoor
1694807 - 2618
TP 400-4205-01-BM-SMA

Engine & Electric Clutch Group - 18HP & 20HP Briggs & Stratton, Vanguard
NOTE: Unless noted otherwise,
use the standard hardware torque
specification chart.
Engine Manufacturer
Gasket & Hardware,
Torque to 18 ft. lbs.
(25 Nm)
Tie clutch wire
to keep away
from pulley.
Torque to
45-50 ft. lbs.
(61-68 Nm)
Torque to
24-36 ft. lbs.
(31-48 Nm)
Note:
Orientation
of All Keys
Tie cables to Left
Hand side of shield.
Position pulley
chamfer side up.
Install between Frame &
Ground cable on RH
rear engine capscrew.
Hand Tighten with
2 additional revolutions
with a wrench.
15
12
17
10
16
14
11
13
18
24
23
19
25
21
20
1
5
9
2
4
6
3
7
8
22
11
23
27
30
29
31
10
28
22
26
32
26
7
19
986773
The above parts group applies to the following Mfg. Nos.:
2005 10
© Copyright Simplicity Manufacturing, Inc. All Rights Reserved.
1694631 - Broadmoor
1694632 - Broadmoor
1694633 - 1620H
1694634 - 1620H
1694635 - 2620H
1694636 - 2620H
1694682 - Broadmoor
1694844 - 2618H
TP 400-4205-01-BM-SMA

PART NO. DESCRIPTIONREF NO QTY.
Engine & Electric Clutch Group - 18HP & 20HP Briggs & Stratton, Vanguard
Footnotes
1 1723165 1 HOSE, Oil Drain, 10-1/2" Long, 3/8-18 Fittings
2 * 1 ENGINE, 18HP Briggs & Stratton Vanguard Twin, Model 356777, Type 0113-E1
2 * 1 ENGINE, 20HP Briggs & Stratton Vanguard Twin, Model 358777, Type 0110-E1
3 1722949 1 SEAL, Circle, 18HP & 20HP
4 1722388A 1 BULKHEAD
5 1925003 2 CAPSCREW, Hex Washer Head Taptite, 1/2-20 x 1/2, Black
6 1727223 1 CONTROL, Throttle Double 39" Long w/Knobs
7 1701011 2 TIE, Wire, 7-5/16" Long
8 2860112 2 CLAMP, Hose Type E
9 1718678 1 HOSE, Fuel, 59" Long
10 1722392A 2 SHIELD, Side
11 1929000 8 CAPSCREW, Hex Washer Head Taptite, 1/4-20 x 3/8
12 1722288 1 PULLEY & HUB ASSEMBLY
13 2832747 1 TIE, Self Locking, 3-5/8 Long
14 1708264 1 WASHER, Hex, 7/16, Black
15 1918199 1 LOCKWASHER, 7/16
16 1960649 1 CAPSCREW, Hex Head, 7/16-20 x 3-1/2, 20HP
16 1960648 1 CAPSCREW, Hex Head, 7/16-20 x 2-3/4, 20HP
17 1686883 1 CLUTCH, Electric, 18HP
17 1686880 1 CLUTCH, Electric, 20HP
18 1720463 1 KEY, HI PRO, 1/4 x 2 1/2
19 2830598 4 CAPSCREW, Hex Washer Head Taptite, 3/8-16 x 1-1/2
20 2820427 1 LOCKWASHER, External Tooth, 3/8
21 1722414A 1 SHIELD, Muffler Bottom
22 1960368 8 NUT, Speed, 1/4-20, Lug
23 1960295 4 CAPSCREW, Hex Flange Whiz Lock, 1/4-20 x 5/8
24 1935255 2 NUT, Speed, 5/16-18, Lug, Black
25 1722389A 1 DUCT, Muffler Top
26 2834683 2 CLIP, Wire 1/8
27 1722390A 1 DUCT, Muffler Extension
28 1924856 2 CAPSCREW, Hex Washer Head Taptite, 5/16-18 x 1/2, Black
29 1722625 1 MUFFLER, Briggs & Stratton, Vanguard Twin
30 * 1 GASKET, Briggs & Stratton, Vanguard Twin
31 1917356 4 LOCKWASHER, 5/16
32 2860660 4 CAPSCREW, Hex Flange Whiz Lock, 5/16-18 x 7/8
* See your local Briggs & Stratton distributor for parts and service.
The above parts group applies to the following Mfg. Nos.:
2005 11
© Copyright Simplicity Manufacturing, Inc. All Rights Reserved.
1694631 - Broadmoor
1694632 - Broadmoor
1694633 - 1620H
1694634 - 1620H
1694635 - 2620H
1694636 - 2620H
1694682 - Broadmoor
1694844 - 2618H
TP 400-4205-01-BM-SMA

Engine Group - 18HP Kohler
NOTE: Unless noted otherwise,
use the standard hardware torque
specification chart.
Engine Manufacturer
Gasket & Hardware,
Torque to 18 ft. lbs.
(25 Nm)
Tie clutch wire
to keep away
from pulley. Torque to
45-50 ft. lbs.
(61 - 68 Nm)
Torque to
19-23 ft. lbs.
(26 - 31 Nm)
Note:
Orientation
of All Keys
Install between Frame &
Ground cable on RH
rear engine capscrew.
Tie cables to Left
Hand side fo shield.
20
18
22
15
21
19
16
23
17
30
27
24
31
26 25
5
9
13
6
8
10
7
12
29
18
2
1
4
15
28
14
11
29
3
14
986682
The above parts group applies to the following Mfg. Nos.:
2005 12
© Copyright Simplicity Manufacturing, Inc. All Rights Reserved.
1694629 - Broadmoor
TP 400-4205-01-BM-SMA

PART NO. DESCRIPTIONREF NO QTY.
Engine Group - 18HP Kohler
Footnotes
1 1721704 1 MUFFLER
2 * 1 GASKET
3 * 2 LOCKWASHER, 5/16
4 * 2 CAPSCREW, Socket Head, 5/16-18 x 7/8, G8
5 1723165 1 HOSE, Oil Drain
6 * 1 ENGINE, 18HP Kohler Single, Model CV492S, Type PS-27534
7 1722950 1 SEAL, Circle
8 1722388A 1 BULKHEAD
9 1925003 2 CAPSCREW, Hex Head Taptite, 1/4-20 x 1/2
10 1727223 1 CONTROL, Throttle Double 39" Long w/Knobs
11 2825094 1 TIE, Self Locking
12 2860112 2 CLAMP, Hose Type E
13 1723174 1 HOSE, 59" Long
14 2834683 2 CLIP, Wire
15 1722392A 2 SHIELD
16 1929000 4 SCREW, Hex Head Taptite, 1/4-20 x 3/8
17 1720463 1 KEY
18 1722288 1 PULLEY & HUB ASSEMBLY, 4-1/2 OD
19 1708264 1 WASHER, Hex
20 1918199 1 LOCKWASHER, 7/16
21 1960648 1 CAPSCREW, Hex Head, 7/16-20 x 2-3/4
22 1727664 1 CLUTCH, Electric, OGURA
23 2832747 1 TIE
24 2827187 4 CAPSCREW, Hex Head Taptite, 3/8-16 x 1-1/2
25 2820426 1 LOCKWASHER, External Tooth, 3/8
26 1722414A 1 SHIELD, Muffler Bottom
27 1960295 8 CAPSCREW, Hex Head Flange Lock, 1/4-20 x 5/8
28 1924856 2 CAPSCREW, Hex Head Taptite, 5/16-18 x 1/2
29 1960368 8 NUT, Speed, 1/4-20
30 1935255 2 NUT, Speed, 5/16-18
31 1722389A 1 DUCT, Muffler Top
32 1722487A 1 DUCT, Muffler Extension
* See your local Kohler distributor for parts and service.
The above parts group applies to the following Mfg. Nos.:
2005 13
© Copyright Simplicity Manufacturing, Inc. All Rights Reserved.
1694629 - Broadmoor
TP 400-4205-01-BM-SMA

Transmission Group - Tuff Torq K-57
NOTE: Unless noted otherwise,
use the standard hardware torque
specification chart.
Spring to be
compressed to
2-1/2 inches with
brake locked.
Torque nut to
28 - 33 ft. lbs.
(35 - 44 Nm)
9
46
17
35
2
8
24
29
28
31
25
27
26
29
19
8
19
17
16
37
34
14
15
10
35
11 12
12
36 18
19
23
21
22
30
32
33
20
13
38
39
986603
The above parts group applies to the following Mfg. Nos.:
2005 14
© Copyright Simplicity Manufacturing, Inc. All Rights Reserved.
1694629 - Broadmoor
1694630 - Broadmoor
1694631 - Broadmoor
1694632 - Broadmoor
1694633 - 1620H
1694634 - 1620H
1694635 - 2620H
1694636 - 2620H
1694682 - Broadmoor
1694683 - Broadmoor
1694807 - 2618
1694844 - 2618H
TP 400-4205-01-BM-SMA

PART NO. DESCRIPTIONREF NO QTY.
Transmission Group - Tuff Torq K-57
Footnotes
1 1960676 2 SCREW, Pan Head Torx Taptite, 1/4-20 x 1-1/4, Black
2 1722345 1 PAD, Footrest, LH, without Differential Lock
3 1722173 1 PAD, Footrest, RH
4 1960636 1 NUT, Hex KEPS, 5/16-18, Black
5 1704351 15 FASTENER, Panel
6 1960637 6 NUT, Hex KEPS, 3/8-16, Black
7 1931350 6 CARRIAGE BOLT, 3/8-16 x 1, Black
8 1960686 5 NUT, Hex Flange ESNA, 5/16-18, Black
9 1721728A 2 SUPPORT, Transmission
10 1724316 1 RING, Snap, Transmission
11 1724312 1 COLLOR, Spline, Transmission
12 1724315 2 LOCK WASHER, Transmission
13 1724314 1 FAN, 10 Blade, Transmission
14 1718076 1 RING, E Transmission
15 1960027 2 WASHER, 1/2
16 1721666 1 PULLEY & HUB ASSEMBLY
17 1726841 1 V-BELT, Drive
18 1726806 1 ROD, Transmission Release
19 1722460 3 PIN, Quick
20 1921332 1 CAPSCREW, Hex Head, 5/16-18 x 2
21 1919326 4 WASHER, 5/16, Black
22 1923141 4 CAPSCREW, Hex Head, 5/16-18 x 2-3/4, Black
23 1918267 1 WASHER, 15/32 x 15/16, Black
24 1918447 1 PIN, Cotter, Black
25 1726871 1 ROD, Brake
26 1722684 1 SPRING, Compression, 3-1/4" Long, Black
27 1729277 1 SPRING, Compression, 3-5/8" Long, Black
28 1960687 1 NUT, Hex FlangeESNA, 3/8-16, Black
29 1924940 3 WASHER, 3/8, Black
30 1722668 1 TRANSMISSION ASSEMBLY, K57, without Pulley
31 1726803 1 CONTROL ARM ASSEMBLY
32 1724423A 1 ARM, Control
33 1960636 2 NUT, KEPS Lock, 5/16-18
34 1721592A 1 STRAP, Torque
35 1931335 1 CARRIAGE BOLT, 5/16-18 x 1, Black
36 1960141 1 WASHER, 5/16, Black
37 1921978 1 CAPSCREW, Hex Head, 5/16-18 x 2, Black
38 1727215A 1 ACTUATOR, Switch
39 1924856 2 CAPSCREW, Hex Head Taptite, 5/16-18 x 1/2
The above parts group applies to the following Mfg. Nos.:
2005 15
© Copyright Simplicity Manufacturing, Inc. All Rights Reserved.
1694629 - Broadmoor
1694630 - Broadmoor
1694631 - Broadmoor
1694632 - Broadmoor
1694633 - 1620H
1694634 - 1620H
1694635 - 2620H
1694636 - 2620H
1694682 - Broadmoor
1694683 - Broadmoor
1694807 - 2618
1694844 - 2618H
TP 400-4205-01-BM-SMA

Transmission SERVICE PARTS - Tuff Torq K-57A
NOTE: Unless noted otherwise,
use the standard hardware torque
specification chart.
SEAL KIT (Includes Ref.)
#19
#20
#26
#59
#72
#81
#91
Sealant
Washer Seal
8
78
82
72
9
80
76
7
75
2
37
79
77
27 40
43
42
41
38
36
39
63
70
65
97
65
71
67
68
66
61
69
3
30 29
21
28
48
31 32
47
70
14
46
60
11
45
87
20
34
16
33
85
15
35 634
23
81
27
27
64
73
71
70
21
22
97
50
13
12
90
95
30 29
28
54
91
52
51
53
58
49
57 56
55
82
25
24
102
100
99
101
26
73
62
5744
59
72
7219 96
98
86
5783
8
200
1722668
The above parts group applies to the following Mfg. Nos.:
2005 16
© Copyright Simplicity Manufacturing, Inc. All Rights Reserved.
1694629 - Broadmoor
1694630 - Broadmoor
1694631 - Broadmoor
1694632 - Broadmoor
1694633 - 1620H
1694634 - 1620H
1694635 - 2620H
1694636 - 2620H
1694682 - Broadmoor
1694683 - Broadmoor
1694807 - 2618
1694844 - 2618H
TP 400-4205-01-BM-SMA

PART NO. DESCRIPTIONREF NO QTY.
Transmission SERVICE PARTS - Tuff Torq K-57A
Footnotes
2 1724951 1 HOUSING ASSEMBLY, UPPER
3 1724938 1 HOUSING, LOWER
7 1718052 1 VENT VALVE 15
8 1724279 2 MAGNET, K50
9 1724280 1 HOLDER, MAGNET
11 1708684 1 SPRING
12 1724281 1 SHAFT, BYPASS
13 1720418 1 LEVER, BYPASS
14 1718061 1 RING
15 1724282 1 SEALING CAP
16 1708650 1 RING 35
19 1708691 2 PACKING
20 1724283 1 SEAL TC
21 1707789 14 SCREW, TAPPING
22 1724284 2 SCREW, TAPPING
24 1724939 1 CASE, CENTER
25 1718070 1 PIN 3 x 9.8
26 1724954 1 FILTER
27 1720805 3 BOLT 10 x 75
28 1724286 2 VALVE, IDS 1.0
29 1724287 2 SPRING, IDS
30 1724288 2 BALL, 3/16
31 1724940 1 CYLINDER BLOCK ASSEMBLY
32 1724290 1 SPRING, PUMP
33 1724941 1 SHAFT, PUMP
34 1718076 3 RING E15
35 1708673 1 BEARING
36 1718077 1 HOUSING
37 1724942 1 BEARING, THRUST
38 1724289 1 BLOCK, CYLINDER
39 1718084 1 WASHER 12 x 24 x 1
40 1724943 1 SHAFT, MOTOR
41 1708672 1 RING 15
42 1724944 1 GEAR, MOTOR
43 1718083 1 BEARING 6202UC3
44 1718089 2 THRUST METAL
45 1720426 1 SWASH PLATE ASSEMBLY
46 1718088 1 THRUST PLATE B
47 1718086 1 BEARING K81105
48 1718087 1 THRUST PLATE A
49 1724343 1 SHAFT, CONTROL
50 1724344 1 FULCRUM, ECCENTRIC
51 1724345 1 SPRING, TORSION
52 1724346 1 LEVER, CONTROL
53 1724347 1 ARM, CONTROL
The above parts group applies to the following Mfg. Nos.:
2005 17
© Copyright Simplicity Manufacturing, Inc. All Rights Reserved.
1694629 - Broadmoor
1694630 - Broadmoor
1694631 - Broadmoor
1694632 - Broadmoor
1694633 - 1620H
1694634 - 1620H
1694635 - 2620H
1694636 - 2620H
1694682 - Broadmoor
1694683 - Broadmoor
1694807 - 2618
1694844 - 2618H
TP 400-4205-01-BM-SMA

Transmission SERVICE PARTS - Tuff Torq K-57A
NOTE: Unless noted otherwise,
use the standard hardware torque
specification chart.
SEAL KIT (Includes Ref.)
#19
#20
#26
#59
#72
#81
#91
Sealant
Washer Seal
8
78
82
72
9
80
76
7
75
2
37
79
77
27 40
43
42
41
38
36
39
63
70
65
97
65
71
67
68
66
61
69
3
30 29
21
28
48
31 32
47
70
14
46
60
11
45
87
20
34
16
33
85
15
35 634
23
81
27
27
64
73
71
70
21
22
97
50
13
12
90
95
30 29
28
54
91
52
51
53
58
49
57 56
55
82
25
24
102
100
99
101
26
73
62
5744
59
72
7219 96
98
86
5783
8
200
1722668
The above parts group applies to the following Mfg. Nos.:
2005 18
© Copyright Simplicity Manufacturing, Inc. All Rights Reserved.
1694629 - Broadmoor
1694630 - Broadmoor
1694631 - Broadmoor
1694632 - Broadmoor
1694633 - 1620H
1694634 - 1620H
1694635 - 2620H
1694636 - 2620H
1694682 - Broadmoor
1694683 - Broadmoor
1694807 - 2618
1694844 - 2618H
TP 400-4205-01-BM-SMA

PART NO. DESCRIPTIONREF NO QTY.
Transmission SERVICE PARTS - Tuff Torq K-57A
Footnotes
54 1724348 1 PLATE, JERK
55 1708689 1 WASHER
56 1724349 1 PIN, COTTER
57 1724296 1 PIN, SPRING
59 1707879 2 PACKING
58 1718100 1 PIN 6.0A x 4.0
60 1708692 1 NUT 12
61 1724955 1 GEAR & PINION ASSEMBLY
62 1724945 1 GEAR, FINAL CONTR TRAC
63 1724946 2 COLLAR, PINION
64 1724947 1 SHAFT, REDUCTION
65 1724948 2 WASHER, 12 x 32 x 3.2
66 1724949 1 GEAR, REDUCTION
67 1724950 1 PINION, FINAL
68 1724304 1 SHAFT, AXLE RH
69 1724303 1 SHAFT, AXLE LH
70 1718112 2 WASHER, THRUST
71 1718113 2 RING 17
72 1718111 2 SEAL 19 x 32 x 8
73 1718110 2 BUSHING 19 x 21
75 1724305 1 SHOE, BRAKE
76 1724306 1 ARM, BRAKE
77 1724307 1 SHAFT, BRAKE
78 1724308 1 SPRING, RETURN B
79 1724309 1 BRAKE, ACTUATOR
80 1724310 1 PIN
81 1708690 2 PACKING
82 1724311 2 PIN, SPRING
83 1724312 2 COLLAR, SPLINE
85 1724314 1 FAN
86 1724315 1 LOCKWASHER
87 1724316 1 RING, SNAP
90 1720421 1 PIN 3.0A x 20
91 1724318 1 OIL SEAL
95 1707839 1 PIN, ROLL
97 1724956 2 WASHER, THRUST DIFF
98 1724958 2 PIN, 3.0A x 18
99 1724957 1 SPRING, CHARGE
100 1724953 1 CHARGE PUMP CASE ASSEMBLY
200 1727542 1 K57 SMP SEAL KIT
The above parts group applies to the following Mfg. Nos.:
2005 19
© Copyright Simplicity Manufacturing, Inc. All Rights Reserved.
1694629 - Broadmoor
1694630 - Broadmoor
1694631 - Broadmoor
1694632 - Broadmoor
1694633 - 1620H
1694634 - 1620H
1694635 - 2620H
1694636 - 2620H
1694682 - Broadmoor
1694683 - Broadmoor
1694807 - 2618
1694844 - 2618H
TP 400-4205-01-BM-SMA

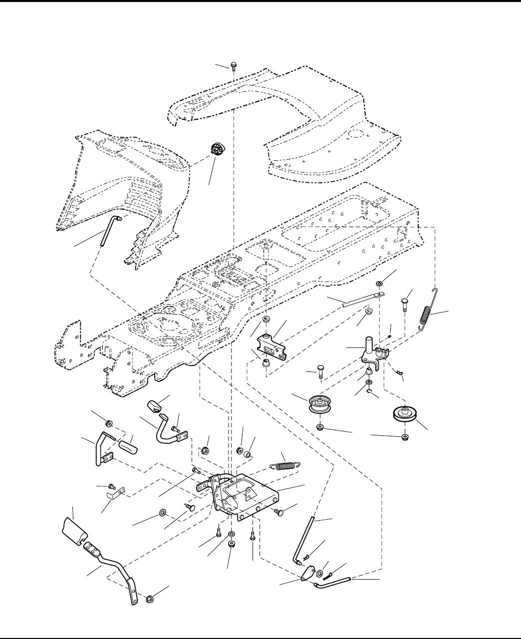
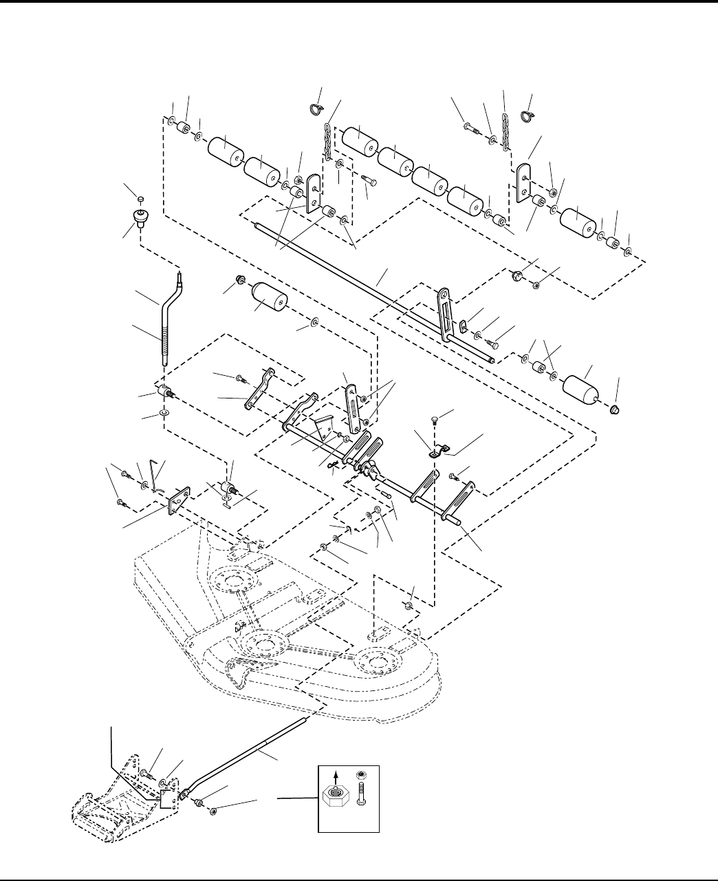
Controls Group
NOTE: Unless noted otherwise,
use the standard hardware torque
specification chart.
11
17
19
12
18
14
13
20
21
27
29
22
28 23
25
4
30
31
37
35 30
32
38
34 36
33
1
5
9
2
8
4
6
3
10
1
6
10
16
24
24
26
15
35
41
40
39
18
7
8
5
986599
The above parts group applies to the following Mfg. Nos.:
2005 20
© Copyright Simplicity Manufacturing, Inc. All Rights Reserved.
1694629 - Broadmoor
1694630 - Broadmoor
1694631 - Broadmoor
1694632 - Broadmoor
1694633 - 1620H
1694634 - 1620H
1694635 - 2620H
1694636 - 2620H
1694682 - Broadmoor
1694683 - Broadmoor
1694807 - 2618
1694844 - 2618H
TP 400-4205-01-BM-SMA

PART NO. DESCRIPTIONREF NO QTY.
Controls Group
Footnotes
1 1721353 1 ROD, Brake Lock
2 1721891 1 KNOB, Push On, Red Plastic "P"
3 1930591 1 CAPSCREW, Hex Flange Whiz Lock, 5/16-18 x 3/4
4 1919326 2 WASHER, 5/16, Black
5 1721476 1 ROD, Brake
6 1931353 2 CARRIAGE BOLT, 3/8-16 x 1 3/4
7 1663114 2 BUSHING, 5/8 x 3/4 x 3/4, Nylon
8 2821133 1 FITTING, Lube, 1/4
9 1725250 1 SPRING, Extension
10 1722460 3 PIN, Quick
11 1724917 1 ARM & HUB ASSEMBLY, Idler
12 1960020 1 WASHER, 5/8
13 1704420 1 RING, Clipring Extension
14 1721134 1 PULLEY, w/Bearing
15 1924940 1 WASHER, 3/8
16 1960687 2 NUT, Hex Flange ESNA, 3/8-16
17 1721133 1 PULLEY, Idler
18 1723237 2 BUSHING, 1 x 1-1/8 x 5/8, Nylon
19 1722513 1 ARM, Brake
20 1726763 1 PEDAL ASSEMBLY, Foot
21 1931320 1 CARRIAGE BOLT, 1/4-20 x 1-1/4
22 1918447 1 PIN, Cotter, Black
23 1721354A 1 LATCH, Brake
24 1664847 3 CAPSCREW, Hex Washer Head Taptite, 5/16-18 x 3/4
25 1919438 1 NUT, Hex Lock ESNA Light, 5/16-18
26 1919381 1 WASHER, 5/16, Black
27 1927557 2 NUT, Hex Flange Whiz Lock Large, 5/16-18
28 1722535A 1 PEDAL, Brake
29 1721577 1 PAD, Brake Pedal
30 1931334 4 CARRIAGE BOLT, 5/16-18 x 7/8
31 1921333 2 CAPSCREW, 5/16-18 x 1
32 1722083A 1 ACTUATOR, Switch 2.53" Long
33 1923683 1 CAPSCREW, Hex Washer Head Taptite, 3/8-16 x 3/4
34 1722070A 1 PEDAL, Forward
35 1960636 4 NUT, Hex KEPS, 5/16-18
36 1721675 1 PAD, Foot Pedal Forward
37 1722071A 1 PEDAL, Reverse
38 1721674 1 PAD, Foot Pedal Reverse
39 1920397 1 NUT, Hex Lock ESNA Light, 1/4-20
40 1686612 1 CAM, Roller
41 1721995 1 SPRING, Extension
The above parts group applies to the following Mfg. Nos.:
2005 21
© Copyright Simplicity Manufacturing, Inc. All Rights Reserved.
1694629 - Broadmoor
1694630 - Broadmoor
1694631 - Broadmoor
1694632 - Broadmoor
1694633 - 1620H
1694634 - 1620H
1694635 - 2620H
1694636 - 2620H
1694682 - Broadmoor
1694683 - Broadmoor
1694807 - 2618
1694844 - 2618H
TP 400-4205-01-BM-SMA

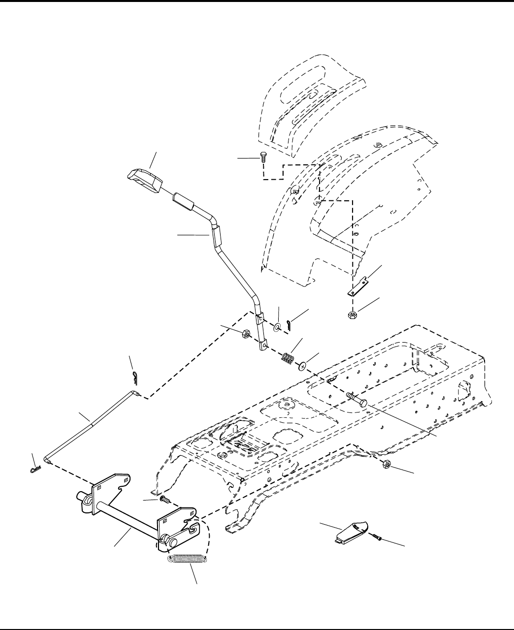
Cruise Control Group
NOTE: Unless noted otherwise,
use the standard hardware torque
specification chart.
Control Arm
from transmission
group.
Brake arm
at idler pivot.
Hole "A"
Hook into
hole "A"
of frame.
Install rounded edge
of washer toward lever
& bracket assembly.
Lubricate both sides
of slot with grease.
Install rounded edge
of washer toward lever
& bracket assembly.
11
17
6
19
24
18
14
13
20
21
22 23
1
7
5
9
2
8
4
6
3
10
16
12
12
8
15
25
986190
The above parts group applies to the following Mfg. Nos.:
2005 22
© Copyright Simplicity Manufacturing, Inc. All Rights Reserved.
1694630 - Broadmoor
1694632 - Broadmoor
1694633 - 1620H
1694634 - 1620H
1694635 - 2620H
1694636 - 2620H
1694682 - Broadmoor
TP 400-4205-01-BM-SMA

PART NO. DESCRIPTIONREF NO QTY.
Cruise Control Group
Footnotes
1 1723713 1 DECAL, Cruise & Lift
2 1960666 1 SCREW, Torque Head Plus Socket Head, 1/4-20 x 7/8
3 1722303 1 KNOB, Cruise
4 1920397 1 NUT, Hex Lock ESNA Light, 1/4-20
5 1722003 1 LEVER & BRACKET ASSEMBLY, Cruise
6 1960103 2 WASHER, 3/8, Black
7 1931333 1 CARRIAGE BOLT, 5/16-18 x 3/4
8 2826192 2 WASHER, 9/16 x 1-1/4 x 1/8
9 1709043 1 SPACER, w/Flange, 11/32 x 15/32 x 3/4
10 1931342 1 CARRIAGE BOLT, 5/16-18 x 2 3/4
11 1960273 1 CARRIAGE BOLT, 5/16-18 x 2-1/4
12 1722460 2 PIN, Quick
13 1722117 1 ROD, Cruise
14 1722481 1 ROD, Return
15 2159106 1 SPRING, Cruise Return to Frame
16 1960636 2 NUT, Hex KEPS, 5/16-18
17 1960001 2 CAPSCREW, Hex Washer Head Plastite, 10-14 x 5/8
18 1717050 1 SWITCH, Push, Neutral Start, Gray
19 1722080 1 SPACER, 11/32 x 5/8 x 1-13/32
20 1919326 1 WASHER, 5/16, Black
21 1919381 1 WASHER, 5/16, Black
22 1919438 1 NUT, Hex Lock ESNA Light, 5/16-18
23 1677746 1 SPRING, Compression
24 1918447 1 PIN, Cotter
25 1705928 1 DISC, Fricion
The above parts group applies to the following Mfg. Nos.:
2005 23
© Copyright Simplicity Manufacturing, Inc. All Rights Reserved.
1694630 - Broadmoor
1694632 - Broadmoor
1694633 - 1620H
1694634 - 1620H
1694635 - 2620H
1694636 - 2620H
1694682 - Broadmoor
TP 400-4205-01-BM-SMA

Electrical Group
NOTE: Unless noted otherwise,
use the standard hardware torque
specification chart.
To Engine
Starter
Headlight
Switch
DASH MOUNTED
HOOD MOUNTED
UNDER HOOD
UNDER HOOD
UNDER SEAT
Pedal
Switch
Seat
Switch
(NC)
To Electric
Clutch
To Charge Circuit
To Fuel
Shut-Off
To Engine
Magneto
To Engine
Ground
To Oil
Pressure
Sensor
Tie main harness
and starter wire
up. Wires should
not hang below
side panel with
hood closed.
Tie upper
harness
to tower.
Tie solenoid
wires to
harness.
Instrument
Panel clip
Cruise
Switch
(see controls
group for mtg.
hardware)
UNDER FRAME
Reverse
Pedal
Switch
4
21 20
3818
2115
25
12
26
27
28
30
34 32
33
35
43
17
23
1
24
22
19
42
31 29
8
36
24
24
2
3
16
13
41
40
44
14
37
38
39
5
8910
11
6
7
986604
The above parts group applies to the following Mfg. Nos.:
2005 24
© Copyright Simplicity Manufacturing, Inc. All Rights Reserved.
1694629 - Broadmoor
1694630 - Broadmoor
1694631 - Broadmoor
1694632 - Broadmoor
1694633 - 1620H
1694634 - 1620H
1694635 - 2620H
1694636 - 2620H
1694682 - Broadmoor
1694683 - Broadmoor
1694807 - 2618
1694844 - 2618H
TP 400-4205-01-BM-SMA

PART NO. DESCRIPTIONREF NO QTY.
Electrical Group
Footnotes
1 1721810 1 HEADLIGHT ASSEMBLY, 4 Bulb, (Includes Ref. Nos. 2 & 3)
2 1677371 4 BULB, Headlight, 12.8V
3 1723451 4 SOCKET ASSEMBLY, Headlight, Sealed
4 1722669 1 HARNESS, Headlight
5 1722887 1 SWITCH, PTO Push/Pull Symbols
6 1726556 1 MODULE, RMO (Includes Ref. No. 7)
7 1726557 1 KEY, RMO Module Plastic
8 1925003 2 CAPSCREW, Hex Washer Head Taptite, 1/4-20 x 1/2, Black
9 1665238 1 BREAKER, Circuit, 12 Volt 20 Amps
10 1665237 1 WIRE, 12GA 5-15/16 Long, Red
11 1722611 1 PLUG, Hole, Square
12 1725523 1 HOUR METER, (Includes Ref. Nos. 12)
13 1725524 1 PLUG, Dash
14 1725835 1 CLIP, Hour Meter (Service Only)
15 1920263 2 NUT, Hex, 5/16-24
16 2820426 3 LOCKWASHER, External Tooth, 5/16
17 1722739 1 SOLENOID
18 1686734 1 SWITCH ASSEMBLY, Ignition, 6 Pin, (Includes Ref. Nos. 17, 18, 19, 20 & 21)
19 1717163 1 KEYS, Set of 2
20 1717550 1 COVER, For Ignition Switch, Plastic
21 1717549 1 NUT, Hex Flange, 5/8-32, Ignition Switch
22 1960547 1 LOCKWASHER, Internal Tooth, 5/8, Thin
23 2101025 1 WASHER, Shim
24 1701011 3 TIE, Strap, 7-5/16 Long
25 1716951 1 SWITCH, Headlights , 2 Terminal
26 1713535 1 BOOT, Insulator Cable Terminal, 1-15/16 Long, Red
27 1721830 1 CABLE, #6 x 25" Long, Ring Terminals
28 1603618 1 CABLE, #6 x 8" Long, Ring Terminals
29 1677296 1 BOOT, Insulator Battery Terminal
30 2816622 3 NUT, Hex, 1/4-20
31 2816964 2 LOCKWASHER, 1/4
32 2821319 2 WASHER, 1/4
33 2823341 2 CAPSCREW, Hex Head, 1/4-20 x 3/4
34 1713163 1 CABLE, #6 x 26 Long, Ring Terminal
35 1685215 1 BATTERY, 12 Volt
36 1722009 1 STRAP, Battery, 14 Long, Rubber
37 1929000 2 CAPSCREW, Hex Head Taptite, 1/4-20 x 3/8
38 1726810A 1 BRACKET, Switch Mount
39 1704379 1 SWITCH, Reverse Pedal
40 1723249 1 SWITCH, Push Button, Foot Pedal
41 1717050 1 SWITCH, Cruise Control, Grey, NO
42 1960536 2 CAPSCREW, Hex Washer Head Plastite, 1/4 x 1/2
43 1716368 1 SWITCH, Seat, Grey, NC
44 1726604 1 HARNESS, Wiring
The above parts group applies to the following Mfg. Nos.:
2005 25
© Copyright Simplicity Manufacturing, Inc. All Rights Reserved.
1694629 - Broadmoor
1694630 - Broadmoor
1694631 - Broadmoor
1694632 - Broadmoor
1694633 - 1620H
1694634 - 1620H
1694635 - 2620H
1694636 - 2620H
1694682 - Broadmoor
1694683 - Broadmoor
1694807 - 2618
1694844 - 2618H
TP 400-4205-01-BM-SMA

Hood, Grille & Dash Group
NOTE: Unless noted otherwise,
use the standard hardware torque
specification chart.
10
12
11
13
17
9
15
7
8
4
6
3
9
4
4
2
15
16
14
986608
The above parts group applies to the following Mfg. Nos.:
2005 26
© Copyright Simplicity Manufacturing, Inc. All Rights Reserved.
1694629 - Broadmoor
1694630 - Broadmoor
1694631 - Broadmoor
1694632 - Broadmoor
1694633 - 1620H
1694634 - 1620H
1694635 - 2620H
1694636 - 2620H
1694682 - Broadmoor
1694683 - Broadmoor
1694807 - 2618
1694844 - 2618H
TP 400-4205-01-BM-SMA

PART NO. DESCRIPTIONREF NO QTY.
Hood, Grille & Dash Group
Footnotes
1 1721804C 1 PANEL, RH Side
1 1721804D 1 PANEL, RH Side, Red
2 1721801C 1 HOOD, no Louvers
2 1721801D 1 HOOD, no Louvers, Red
3 1722110C 1 HOOD, with Louvers
3 1722110D 1 HOOD, with Louvers, Red
4 1960295 12 CAPSCREW, Hex Head Flange Lock,1/4-20 x 5/8
5 1960392 1 SCREW, Phillips Head, #10-24 x 1/2
6 1687054 1 DASHBOARD, RMO, Black
6 1687055 1 DASHBOARD, RMO with Hydra Lift Slot, Black
7 1933896 1 NUT, Hex Nylock,#10-24
8 1723123 1 ROD, Dash Support
9 1930641 12 NUT, Hex Flange Lock, 1/4-20
10 1721803C 1 PANEL, LH Side
10 1721803D 1 PANEL, LH Side, Red
11 1721808A 1 HINGE, LH
12 1722391A 1 DUCT, Air Inlet
13 1721802C 1 GRILLE
13 1721802D 1 GRILLE, Red
14 1721810 1 HEADLIGHT ASSEMBLY, (Includes Ref. Nos. 15 & 16)
15 1677371 4 BULB, Headligh
16 1723451 4 SOCKET, Headlight
17 1721809A 1 HINGE, RH
The above parts group applies to the following Mfg. Nos.:
2005 27
© Copyright Simplicity Manufacturing, Inc. All Rights Reserved.
1694629 - Broadmoor
1694630 - Broadmoor
1694631 - Broadmoor
1694632 - Broadmoor
1694633 - 1620H
1694634 - 1620H
1694635 - 2620H
1694636 - 2620H
1694682 - Broadmoor
1694683 - Broadmoor
1694807 - 2618
1694844 - 2618H
TP 400-4205-01-BM-SMA

Seat & Seat Deck Group
NOTE: Unless noted otherwise,
use the standard hardware torque
specification chart.
Torque to
14-19 in. lbs.
(19 - 25.8 Nm)
Torque to
25-30 in. lbs.
(2.8 - 3.3 Nm)
11
15
19
14
16
13
1
7
5
9
2
8
4
6
3
10
32
12
20
21
22
28
26
14
23
29
25
27
24
5
9
30
31
17
18
See Electrical
Group
985908
The above parts group applies to the following Mfg. Nos.:
2005 28
© Copyright Simplicity Manufacturing, Inc. All Rights Reserved.
1694629 - Broadmoor
1694630 - Broadmoor
1694631 - Broadmoor
1694632 - Broadmoor
1694633 - 1620H
1694634 - 1620H
1694635 - 2620H
1694636 - 2620H
1694682 - Broadmoor
1694683 - Broadmoor
1694807 - 2618
1694844 - 2618H
TP 400-4205-01-BM-SMA

PART NO. DESCRIPTIONREF NO QTY.
Seat & Seat Deck Group
Footnotes
1 1722129A 1 BRACKET, 1-5/8 x 1-3/4
2 1722307 1 * SEAT, 18" Back, Optional
2 1722306 1 * SEAT, 15" Back, Standard
3 1722128A 1 SUPPORT, Seat
4 2172434 1 CLIP, Wire
5 1709256A 2 WASHER, Spring, 5/16 x 1-1/4, Black
6 1714263 2 SPRING, Compression
7 1919438 10 NUT, Hex Lock, ESNA Light 5/16-18
8 1717051 2 SPRING, Compression
9 1930591 8 CAPSCREW, Hex Flange Whiz Lock, 5/16-18 x 3/4
10 1931339 2 CARRIAGE BOLT, 5/16-18 x 2
11 1931350 2 CARRIAGE BOLT, 3/8-16 x 1
12 1722356 1 SLIDE, Seat
13 1935255 4 NUT, Speed, 5/16-18, Lug
14 1930601 4 CAPSCREW, Hex Washer Head Taptite, 5/16-18 x 5/8
15 1722309 2 PLUG, Plastic
16 1722109 1 POD, with Cup Holder, LH
17 1722300 1 FUEL GAUGE
18 1722337 1 GROMMET
19 2860664 8 CAPSCREW, Hex Head Dog Point, 1/4-20 x 7/8
20 1931277 4 NUT, Hex Flange Whiz Lock, 5/16-18
21 1715917 1 CAP, Gas
22 1722340 1 TUBE & ELBOW ASSEMBLY
23 1654930 1 BUSHING, 3/8 x 9/16 x 5/8, Rubber
24 1722432 1 TANK, Fuel
25 1960636 8 NUT, Hex KEPS, 5/16-18
26 1722106C 1 DECK, Seat, Orange
26 1722106D 1 DECK, Seat, Red
27 1722108 1 POD, RH with 2 Slots
28 1722105C 1 TUNNEL, Orange
28 1722105D 1 TUNNEL, Red
29 1663752 2 SPACER, 25/64 x 5/8 x 3/16, Hardened
30 1930645 2 NUT, Hex Flange Two-Way Lock, 3/8-16
31 1924940 2 WASHER, 3/8
32 1960667 4 CAPSCREW, Hex Flange Whiz Lock Dog Point, 5/16-18 x 1
* Arm Rest Kit - 1686907
The above parts group applies to the following Mfg. Nos.:
2005 29
© Copyright Simplicity Manufacturing, Inc. All Rights Reserved.
1694629 - Broadmoor
1694630 - Broadmoor
1694631 - Broadmoor
1694632 - Broadmoor
1694633 - 1620H
1694634 - 1620H
1694635 - 2620H
1694636 - 2620H
1694682 - Broadmoor
1694683 - Broadmoor
1694807 - 2618
1694844 - 2618H
TP 400-4205-01-BM-SMA

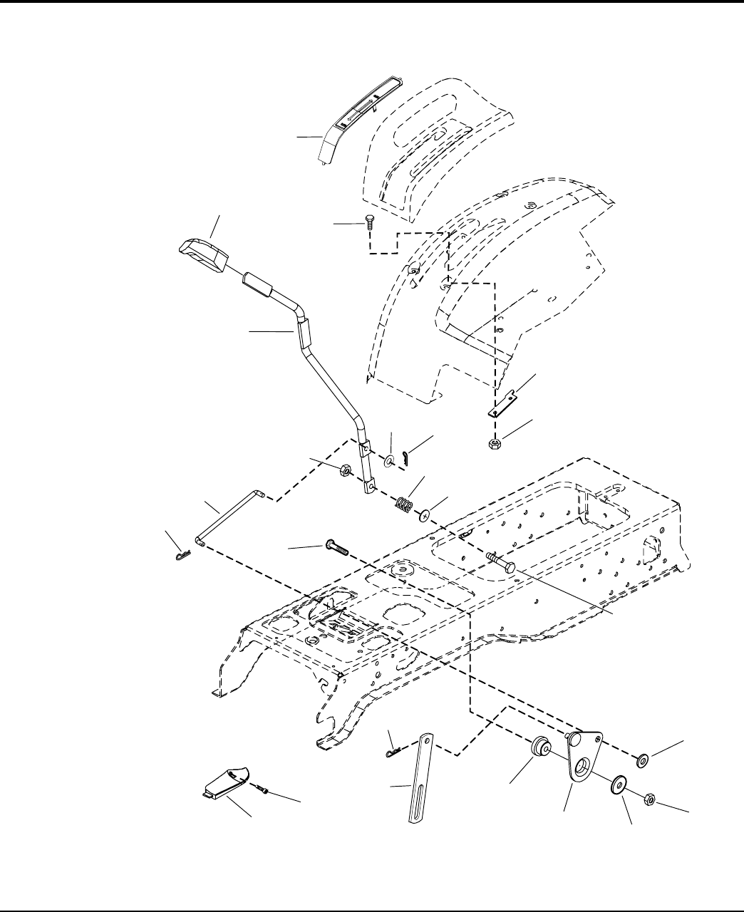
Lift Group - Manual Lift
NOTE: Unless noted otherwise,
use the standard hardware torque
specification chart.
Install into left hand
side of lower dash.
45
36
1
9
2
8
10
13
14
11
18
17
16
5
12
57
15
986412
The above parts group applies to the following Mfg. Nos.:
2005 30
© Copyright Simplicity Manufacturing, Inc. All Rights Reserved.
1694632 - Broadmoor
1694634 - 1620H
1694636 - 2620H
TP 400-4205-01-BM-SMA

PART NO. DESCRIPTIONREF NO QTY.
Lift Group - Manual Lift
Footnotes
1 1722302 1 GRIP, Black Vinyl
2 1722024A 1 ROD, Lift Lever with Flats
3 1930645 1 NUT, Hex Flange Lock, 3/8-16
4 1924940 1 WASHER
5 1722460 2 PIN, Quick
6 2162085 1 SPRING, Compression
7 1723866 1 NUT, Push, 3/8
8 1923341 2 CAPSCREW, Hex Head, 1/4-20 x 3/4
9 1722284A 1 QUADRANT
10 1920397 2 NUT, Hex Lock ESNA, 1/4-20
11 1923701 1 CAPSCREW, Hex Head, 3/8-16 x 2
12 1960636 4 NUT, KEPS Lock, 5/16-18
13 1722607 1 SCREW, Torx Head, # 8-16 x 1/2
14 1722285 1 COVER, Dash
15 2156302 1 SPRING, Extension, 4-1/8
16 1725639 1 LIFT SHAFT ASSEMBLY,
17 1931333 4 CARIAGE BOLT, 5/16-18 x 3/4
18 1725638 1 ROD, Lift
The above parts group applies to the following Mfg. Nos.:
2005 31
© Copyright Simplicity Manufacturing, Inc. All Rights Reserved.
1694632 - Broadmoor
1694634 - 1620H
1694636 - 2620H
TP 400-4205-01-BM-SMA

Lift Group - Manual Lift
NOTE: Unless noted otherwise,
use the standard hardware torque
specification chart.
Install into left hand
side of lower dash.
Note: Models
with out Cruise
45
36
1
10
2
8
11
18
19
12
21
17 16
5
13
7
14
9
15
4
5
20
986780
The above parts group applies to the following Mfg. Nos.:
2005 32
© Copyright Simplicity Manufacturing, Inc. All Rights Reserved.
1694629 - Broadmoor
1694630 - Broadmoor
1694631 - Broadmoor
1694633 - 1620H
1694635 - 2620H
1694682 - Broadmoor
1694683 - Broadmoor
1694807 - 2618
1694844 - 2618H
TP 400-4205-01-BM-SMA

PART NO. DESCRIPTIONREF NO QTY.
Lift Group - Manual Lift
Footnotes
1 1722302 1 GRIP, Black Vinyl
2 1722024A 1 ROD, Lift Lever with Flats
3 1930645 1 NUT, Hex Flange Lock, 3/8-16
4 1924940 1 WASHER
5 1722460 2 PIN, Quick
6 2162085 1 SPRING, Compression
7 1723866 1 NUT, Push, 3/8
8 1923341 2 CAPSCREW, Hex Head, 1/4-20 x 3/4
9 1722313 1 PLUG, Lift Cover (Models without Cruise Control)
10 1722284A 1 QUADRANT
11 1920397 2 NUT, Hex Lock ESNA, 1/4-20
12 1923701 1 CAPSCREW, Hex Head, 3/8-16 x 2
13 1919438 4 NUT, ESNA Lock, 5/16-18
14 1960044 1 WASHER, Flat, 5/16 x 1-1/4
15 1722491 1 CAM ASSEMBLY, Lift
16 1704629 1 SPACER
17 1727083A 1 LINK, Lift Upper
18 1722607 1 SCREW, Torx Head, # 8-16 x 1/2
19 1722285 1 COVER, Dash
20 1921977 4 CAPSCREW, Hex Head, 5/16-18 x 1-1/4
21 1721789 1 ROD, Lift
The above parts group applies to the following Mfg. Nos.:
2005 33
© Copyright Simplicity Manufacturing, Inc. All Rights Reserved.
1694629 - Broadmoor
1694630 - Broadmoor
1694631 - Broadmoor
1694633 - 1620H
1694635 - 2620H
1694682 - Broadmoor
1694683 - Broadmoor
1694807 - 2618
1694844 - 2618H
TP 400-4205-01-BM-SMA

Wheels & Tires Group
NOTE: Unless noted otherwise,
use the standard hardware torque
specification chart.
Front Wheels
Rear Wheels
Use as required.
Use as
required.
11
4
4
9
2
10
3
5
8
12
10
7
1
14
15
16
17 6
13
18
819
6
12
W986614
The above parts group applies to the following Mfg. Nos.:
2005 34
© Copyright Simplicity Manufacturing, Inc. All Rights Reserved.
1694629 - Broadmoor
1694630 - Broadmoor
1694631 - Broadmoor
1694632 - Broadmoor
1694633 - 1620H
1694634 - 1620H
1694635 - 2620H
1694636 - 2620H
1694682 - Broadmoor
1694683 - Broadmoor
1694807 - 2618
TP 400-4205-01-BM-SMA

PART NO. DESCRIPTIONREF NO QTY.
Wheels & Tires Group
Footnotes
1 1722065 2 WHEEL & TIRE ASSEMBLY, Front, (Includes Ref. Nos. 2, 3, 4, 5, & 6)
2 1722838 1 TIRE, 15 x 6, Super Turf
3 1664090 1 TUBE, Tire, Front, 4.10/3.50
4 1717056 2 BEARING, Ball
5 1722837 1 WHEEL, 4-1/2" x 6"
6 2172353 4 VALVE STEM & CAP ASSEMBLY
7 1722726A 2 WASHER, Flat 1 (Double D)
8 1919394 4 WASHER, 1, (As Required for All Front)
9 2832577 2 RING, Retaining, External #98
10 1722676 4 CAP, Hub, Gray
11 1729279 2 KEY, Parellel, 3/16 x 3/16 x 1-1/2
12 2860202 4 WASHER, 3/4
13 1960114 2 WASHER
14 1726491 2 WHEEL & TIRE ASSEMBLY, (Includes Ref. Nos. 6, 15, 16 & 17)
15 1727136 1 TIRE, 22 x 10, 10 Super Turf
16 2173477 1 TUBE, Tire, 20 x 8, Rear
17 1726492 1 WHEEL, 7 x 9.97, W/ 3/4 OD Shaft
18 1722717A 2 WASHER, Special
19 2827794 2 RING, "E" External
The above parts group applies to the following Mfg. Nos.:
2005 35
© Copyright Simplicity Manufacturing, Inc. All Rights Reserved.
1694629 - Broadmoor
1694630 - Broadmoor
1694631 - Broadmoor
1694632 - Broadmoor
1694633 - 1620H
1694634 - 1620H
1694635 - 2620H
1694636 - 2620H
1694682 - Broadmoor
1694683 - Broadmoor
1694807 - 2618
TP 400-4205-01-BM-SMA

Decals - Brand & Model
NOTE: Unless noted otherwise,
use the standard hardware torque
specification chart.
6
1
2
2
3
4
5
7
8
10
9
B986614
The above parts group applies to the following Mfg. Nos.:
2005 36
© Copyright Simplicity Manufacturing, Inc. All Rights Reserved.
1694629 - Broadmoor
1694630 - Broadmoor
1694631 - Broadmoor
1694632 - Broadmoor
1694633 - 1620H
1694634 - 1620H
1694635 - 2620H
1694636 - 2620H
1694682 - Broadmoor
1694683 - Broadmoor
1694807 - 2618
TP 400-4205-01-BM-SMA

PART NO. DESCRIPTIONREF NO QTY.
Decals - Brand & Model
Footnotes
1 1717692 1 DECAL, ICON Simplicity, Orange
2 1722551 3 DECAL, Simplicity, Silver & Blue w/Icon
3 1722776 1 DECAL, Broadmoor, Silver & Blue
4 1722773 1 DECAL, Hood Stripe, RH, Simplicity, Blue & Silver
4 1722774 1 DECAL, Hood Stripe, LH, Simplicity, Blue & Silver
5 1708926 1 DECAL, AGCO, Logo Black, Chrome, Orange
6 1727069 1 DECAL, 1620, White, AGCO
7 1722818 1 DECAL, Hood Stripe, RH, AGCO
7 1722817 1 DECAL, Hood Stripe, LH, AGCO
8 1714363 1 DECAL, Massey Ferguson Logo, 3 Triangles
9 1725646 1 DECAL, 2618, Black, Massey Ferguson
9 1727070 2 DECAL, 2620, Black, Massey Ferguson
10 1727783 1 DECAL, Hood Stripe, LH, Massey Ferguson
10 1727784 1 DECAL, Hood Stripe, RH, Massey Ferguson
The above parts group applies to the following Mfg. Nos.:
2005 37
© Copyright Simplicity Manufacturing, Inc. All Rights Reserved.
1694629 - Broadmoor
1694630 - Broadmoor
1694631 - Broadmoor
1694632 - Broadmoor
1694633 - 1620H
1694634 - 1620H
1694635 - 2620H
1694636 - 2620H
1694682 - Broadmoor
1694683 - Broadmoor
1694807 - 2618
TP 400-4205-01-BM-SMA

Decals - Safety & Common
NOTE: Unless noted otherwise,
use the standard hardware torque
specification chart.
DANGER
OPERATING ON SLOPES
CAN BE DANGEROUS
SEE OPERATOR'S MANUAL. IF YOU
CANNOT BACK-UP A HILL,DO NOT
DRIVE ON IT.
ROTATING BLADES CUT
OFF ARMS AND LEGS
RMO™ System:
STOP MOWER WHE N CHILDREN
ARE NEAR.
NO RIDERS — THEY FALL OFF.
This product is equipped with
the RMO system. Refer to the
operator's manual for a full
explanation of the RMO
system and for important
safety messages.
DANGER
AVOID SERIOUS INJURY OR DEATH
• READ OPERATOR'S MANUAL(S).
• KNOW LOCA TION AND FUNCTION OF ALL CONTROLS.
• KEEP SAFETY DEVICES (GUARDS, SHIELDS, SWITCHES, ETC.)
IN PLA CE AND WORKING.
• REMOVE OBJECTS THAT COULD BE THROWN BY THE BLADE.
• DO NOT MOW WHEN CHILDREN OR OTHERS A RE AR OUND.
• NEVER CARRY CHILDREN EVEN WITH BLADES OFF.
• LOOK DOWN A ND BEHIND BEFOR E AND WHILE B ACKING.
• AVOID SUDDEN TURNS.
• IF YOU CA NNOT BACK UP A HILL, DO NOT OP ERATE ON IT.
• GO UP AND DOWN S LOPES, NOT A CROSS .
• IF MACHINE S TOPS GOING UP HILL, STOP BLADE A ND
BACK DOWN SLOWLY.
• BE SURE BLADE(S) AND ENGINE ARE STOPPED BEFORE
PLACING HANDS OR FEET NEAR BLADE(S).
• WHEN LEA VING MACHINE, SHUT OF F ENGINE, REMOVE KEY,
AND SET PARKING BRAKE.
WARN ING
1726923
DO NOT TOW TRACTOR! DAMAGE MAY RESULT TO TRANSMISSION.
38", 44" and 50"
mower decks
40" mower deck
16
17
8
15
5
19
18
13
1
2
3
11
12
4
5
6
8
18
14
1
4
11
12
10
16
17
8
15
20
18
14
74
14
13
13
13
13
9
C986614
The above parts group applies to the following Mfg. Nos.:
2005 38
© Copyright Simplicity Manufacturing, Inc. All Rights Reserved.
1694629 - Broadmoor
1694630 - Broadmoor
1694631 - Broadmoor
1694632 - Broadmoor
1694633 - 1620H
1694634 - 1620H
1694635 - 2620H
1694636 - 2620H
1694682 - Broadmoor
1694683 - Broadmoor
1694807 - 2618
TP 400-4205-01-BM-SMA

PART NO. DESCRIPTIONREF NO QTY.
Decals - Safety & Common
Footnotes
1 1722806 1 DECAL, Ignition Switch Symbols, White/Black
2 1718025 1 DECAL, Automatic Control Traction
3 1722779 DECAL, 18HP
3 1722780 1 DECAL, 20HP
4 1726923 1 DECAL, Tunnel Cover, Danger Slopes/Blades
4 1723175 1 DECAL, Tunnel Cover, Danger Slopes/Blades, (Export)
5 1727014 1 DECAL, Drive Belts, Mower Blades
6 1723296 2 DECAL, Protective Sticker
7 * 1 LABEL, Decibel, Power Mass (Export)
8 * 1 DECAL, I.D. Plate
9 1720454 1 DECAL, Touch Up Paint (Orange)
9 1725072 1 DECAL, Touch Up Paint (Red)
10 * 1 DECAL, Patent
11 1708927 1 DECAL, USA Logo Stars & Stripe
12 1723160 1 DECAL, Transmission Release Valve
13 1720389 2 DECAL, Danger Rotating Blades (Export)
14 1704276 1 DECAL, Danger Do Not Put Hands/Feet in Mower
15 1722771 1 DECAL, Free Floating Mower, Silver
16 * 1 DECAL, OPEI Certified
17 1722787 1 DECAL, 38", Silver on Black with Stripe
17 1722788 1 DECAL, 40", Silver on Black with Stripe
17 1722789 1 DECAL, 44", Silver on Black with Stripe
17 1722790 1 DECAL, 50", Silver on Black with Stripe
18 1704277 1 DECAL, Danger Do Not Operate Without Deflector
19 1721197 1 DECAL, Height of Cut, 38", 44" & 50"
20 1720919 1 DECAL, Height of Cut, 40"
The above parts group applies to the following Mfg. Nos.:
2005 39
© Copyright Simplicity Manufacturing, Inc. All Rights Reserved.
1694629 - Broadmoor
1694630 - Broadmoor
1694631 - Broadmoor
1694632 - Broadmoor
1694633 - 1620H
1694634 - 1620H
1694635 - 2620H
1694636 - 2620H
1694682 - Broadmoor
1694683 - Broadmoor
1694807 - 2618
TP 400-4205-01-BM-SMA

38" Mower Deck - Belt, Idler Arm & Hitch
NOTE: Unless noted otherwise,
use the standard hardware torque
specification chart.
Insert Must
Face Out
Mount Hitch Assembly and
Leveling Adjustment Rod
using upper set of holes
Hook Spring
to Belt Guide
Hook Spring {Ref 22}
here when
assembled.
1
2
3
4
5
6
7
910
11
12
13
14
15
16
17
18
19
20
21
22
23
2
17
16
4
4
4
88
13
986056
The above parts group applies to the following Mfg. Nos.:
2005 40
© Copyright Simplicity Manufacturing, Inc. All Rights Reserved.
1694036 - 38" Mower
1694042 - 38" Mower
TP 400-4205-01-BM-SMA

PART NO. DESCRIPTIONREF NO QTY.
38" Mower Deck - Belt, Idler Arm & Hitch
Footnotes
1 1723025 1 V-BELT
2 1928957 2 CAPSCREW, Hex Head, 3/8-16 x 2-3/4
3 1677135A 1 GUARD, Belt
4 1922755 4 WASHER, Plain, 3/8
5 1716553 1 SPACER
6 1685150 1 PULLEY (Includes Ref. No. 5)
7 1665835 1 GRIP, Lever
8 1704520 1 CLUTCH LEVER ASSEMBLY (Includes Ref. Nos. 9 & 16)
9 2812808 1 FITTING, Grease
10 1916965 1 LOCKWASHER, 3/8
11 1916950 1 NUT, Hex, 3/8-16
12 1715435 1 SPRING
13 2860641 2 NUT, Hex Aluminum Insert, 3/8-16
14 1960339 1 NUT, Hex Flange, 3/8-16
15 1657242 1 SPACER
16 1663114 2 BUSHING
17 1924356 2 WASHER, 3/8
18 1924940 2 WASHER, Plain, 13/32
19 2157081 2 SPACER
20 1715759 1 ROD, Latch
21 1707432A 1 HITCH ASSEMBLY
22 2156302 1 SPRING
23 1921969 2 CAPSCREW, Hex Head, 3/8-16 x 1-1/2
The above parts group applies to the following Mfg. Nos.:
2005 41
© Copyright Simplicity Manufacturing, Inc. All Rights Reserved.
1694036 - 38" Mower
1694042 - 38" Mower
TP 400-4205-01-BM-SMA

38" Mower Deck - Height Adjustment & Roller Bar
NOTE: Unless noted otherwise,
use the standard hardware torque
specification chart.
GREASE
Insert Must
Face Out
Insert Must
Face Out
GREASE
Insert Must
Face Out
Mount Hitch Assembly and
Leveling Adjustment Rod
using upper set of holes
1
1
2
3
47
3
3
5
5
4
4
33
3
6
7
8
9
10
11
12
14
13
3
4
4
15
16
17
18
19
20
21
23
25
27
26
40
28
29
30
31
32
33
34
35
36
39
37
32
38
32
37
9
8
22
24
17
41
42
23
23
24
24
43
27
44 18 45
46
9
18
47
986019
The above parts group applies to the following Mfg. Nos.:
2005 42
© Copyright Simplicity Manufacturing, Inc. All Rights Reserved.
1694036 - 38" Mower
1694042 - 38" Mower
TP 400-4205-01-BM-SMA

PART NO. DESCRIPTIONREF NO QTY.
38" Mower Deck - Height Adjustment & Roller Bar
Footnotes
1 1930644 2 NUT, Hex Flange Lock, 1/2-13
2 1686686 1 SHAFT & BAR ASSEMBLY (Includes Ref. No. 13)
3 1924366 8 WASHER, Plain, 1-1/4
4 1668513 6 ROLLER
5 1602946 2 SPACER
6 1704073A 1 BAR, Roller
7 1704082 2 NUT, Adjuster
8 2816965 2 LOCKWASHER, 3/8
9 2860641 2 NUT, Hex Aluminum Insert, 3/8-16
10 1677507 1 SLIDE
11 1924361 1 WASHER, Plain, 1/2
12 2172622 1 BOLT, Shoulder, 3/8-16
13 1960520 1 NUT, Push
14 1960020 1 WASHER, 5/8
15 1931352 1 CARRIAGE BOLT, 3/8-16 x 1-1/2
16 1665374A 2 STRAP, Mower Arm ASSEMBLY
17 1931202 1 CAPSCREW, Hex Head Taptite, 5/16-18 x 1-1/4
18 1924940 5 WASHER, Plain, 13/32
19 2176012 1 CLIP, Pin, Safety
20 1705049 1 LINK ASSEMBLY, Lift
21 1918448 1 COTTER PIN
22 1918452 1 COTTER PIN
23 1917372 4 NUT, Hex, 5/16-18
24 1917356 4 LOCKWASHER, 5/16
25 1704116A 1 BRACKET, Height of Cut
26 1704083A 1 ARM, Rear, Mower, RH
27 1921977 4 CAPSCREW, Hex Head, 5/16-18 x 1-1/4
28 1719901 1 CRANK, Height of Cut
29 1714084 1 KNOB
30 1960093 1 PAL NUT
31 1704087 1 TRUNNION, Threaded
32 1960170 3 WASHER, 5/8
33 1704086 1 TRUNNION
34 2816001 1 PIN, Roll, 1
35 1704097 1 WASHER, Detent
36 1704077A 1 STRAP, Trunnion Retainer
37 1913744 2 NUT, Hex Jam, 1/2-13
38 1704081A 1 TRUNNION
39 2118053 1 PIN, Clevis
40 1723388A 1 SHAFT ASSEMBLY
41 1704114 1 INDICATOR, Height of Cut
42 1919381 1 WASHER, Flat, 5/16
43 1704115A 1 PLATE, Support
44 1922606 1 CAPSCREW, Hex Head, 3/8-16 x 1-3/4
The above parts group applies to the following Mfg. Nos.:
2005 43
© Copyright Simplicity Manufacturing, Inc. All Rights Reserved.
1694036 - 38" Mower
1694042 - 38" Mower
TP 400-4205-01-BM-SMA

38" Mower Deck - Height Adjustment & Roller Bar
NOTE: Unless noted otherwise,
use the standard hardware torque
specification chart.
GREASE
Insert Must
Face Out
Insert Must
Face Out
GREASE
Insert Must
Face Out
Mount Hitch Assembly and
Leveling Adjustment Rod
using upper set of holes
1
1
2
3
47
3
3
5
5
4
4
33
3
6
7
8
9
10
11
12
14
13
3
4
4
15
16
17
18
19
20
21
23
25
27
26
40
28
29
30
31
32
33
34
35
36
39
37
32
38
32
37
9
8
22
24
17
41
42
23
23
24
24
43
27
44 18 45
46
9
18
47
986019
The above parts group applies to the following Mfg. Nos.:
2005 44
© Copyright Simplicity Manufacturing, Inc. All Rights Reserved.
1694036 - 38" Mower
1694042 - 38" Mower
TP 400-4205-01-BM-SMA

PART NO. DESCRIPTIONREF NO QTY.
38" Mower Deck - Height Adjustment & Roller Bar
Footnotes
45 1704093 1 ROD, Adjustment
46 1706644 1 SPACER
47 1722036 2 ROLLER
The above parts group applies to the following Mfg. Nos.:
2005 45
© Copyright Simplicity Manufacturing, Inc. All Rights Reserved.
1694036 - 38" Mower
1694042 - 38" Mower
TP 400-4205-01-BM-SMA

38" Mower Deck - Housing, Arbors & Blades
NOTE: Unless noted otherwise,
use the standard hardware torque
specification chart.
Viewed From Bottom
Torque to 50-70 ft. lbs.
Torque to
45-55 ft. lbs.
Apply gasket
former to this
surface if
foam gasket
is not used.
13
2
14
10
19
20
21
22
23
24
16
17
18
11
25
34
33
32
31
30
29
28
25
35
27
28
37
2
3
4
7
8
5
6
1
9
13 12
2
12
10
36
6
5
3
26
27
27
25
27
27
27
27
272726
27
26
26
20
15
986017
The above parts group applies to the following Mfg. Nos.:
2005 46
© Copyright Simplicity Manufacturing, Inc. All Rights Reserved.
1694036 - 38" Mower
1694042 - 38" Mower
TP 400-4205-01-BM-SMA

PART NO. DESCRIPTIONREF NO QTY.
38" Mower Deck - Housing, Arbors & Blades
Footnotes
1 1705449 1 DEFLECTOR, Plastic
2 1960518 1 NUT, Push
3 1960353 2 WASHER, Plain
4 1704873 1 CLAMP
5 1916964 2 LOCKWASHER, 1/4
6 1916622 2 NUT, Hex, 1/4-20
7 1919326 1 WASHER, 5/16, Black
8 1723938 1 SPRING, Torsion
9 1706709A 1 ROD, Deflector, Front
10 1713616 2 HUB ADAPTER, Pulley
11 1720388 1 PULLEY, 1-1/4" O.D.
12 1713675 4 WASHER, Belleville
13 1714419 2 NUT, Hex Flange, 9/16-8
14 1720387 1 PULLEY, 4" O.D.
15 1927557 4 NUT, Hex Whiz Lock, 5/16-18
16 1919381 4 WASHER, Flat, 5/16
17 1723210 2 GUIDE, Belt
18 1924356 4 WASHER, 3/8
19 1713199A 2 COVER, Arbor Housing
20 1705897 4 BEARING
21 1713204 2 SPACER
22 1707335 2 GASKET, Foam
23 1713338 2 ARBOR HOUSING ASSEMBLY (Includes Ref. No. 24)
24 1704314 2 FITTING, Lube
25 1686815 1 HOUSING ASEMBLY, 38"
26 2860678 4 CAPSCREW, Taptite R, 5/16-18 x 1-3/4
27 1664847 8 CAPSCREW, Taptite, 5/16-18 x 3/4
28 2823471 2 CAPSCREW, Hex, Head, 7/16-14 x 1-1/4
29 1656916 2 WASHER, Spring
30 1713089 2 WASHER, Hex
31 1704856A 1 BLADE, Mower, 16-1/8", LH
32 1713196 2 SHIELD, Grass, Lower
33 1713612 2 SHAFT, Arbor
34 1713619 2 WASHER
35 1704101A 1 BLADE, Mower, 22-1/4", RH
36 1931318 2 CARRIAGE BOLT, 1/4-20 x 7/8
37 1705115 2 PLUG, Hole
The above parts group applies to the following Mfg. Nos.:
2005 47
© Copyright Simplicity Manufacturing, Inc. All Rights Reserved.
1694036 - 38" Mower
1694042 - 38" Mower
TP 400-4205-01-BM-SMA

40" Mower Deck - Belt, Idler Arm & Hitch
NOTE: Unless noted otherwise,
use the standard hardware torque
specification chart.
To Slot "A"
To Slot "B"
Slot "B"
Slot "A"
Insert Must
Face Out
2
2
16
16
10
29
28
10
35
30
32
31
30
10 29
28
27
26
25
23
22
21 20
19
18
17
16
15
14
13
12
11
10
9
8
7
6
4
3
2
1
5
33
24
2
986250
The above parts group applies to the following Mfg. Nos.:
2005 48
© Copyright Simplicity Manufacturing, Inc. All Rights Reserved.
1694339 - 40" Mower
1694340 - 40" Mower
1694341 - 40" Mower
1694821 - 40" Mower
TP 400-4205-01-BM-SMA

PART NO. DESCRIPTIONREF NO QTY.
40" Mower Deck - Belt, Idler Arm & Hitch
Footnotes
1 1919439 1 NUT, Hex Lock Esna Light, 3/8-16
2 1924940 6 WASHER, 3/8
3 1725408 1 PULLEY, Idler
4 1723391 1 V-BELT, Arbor Drive
5 1722175A 1 BELT GUIDE
6 1960534 2 WASHER, 3/8
7 1724835 1 ARM ASSEMBLY, Idler with Bushings & Fitting, 38 Tooth
8 1931355 1 CARRIAGE BOLT, 3/8-16 x 2
9 1928957 1 CAPSCREW, Hex Head, 3/8-16 x 2-3/4 G8
10 1922755 6 WASHER, 3/8
11 1715435 1 SPRING, Extension, Idler Arm
12 1657242 1 SPACER, Hardened
13 1922130 1 CAPSCREW, Hex Head, 3/8-16 x 2-1/4
14 1723952 1 PULLEY
15 1667812 1 SPACER
16 1928352 4 NUT, Hex Flange Whiz Lock, Large, 3/8-16
17 1921968 2 CAPSCREW, Hex Head, 3/8-16 x 1-3/8
18 2172329 2 SPACER
19 1713578 1 ROD, Mower Hitch
20 2156302 1 SPRING, Extension, Hitch Release
21 1715759 1 ROD, Latch
22 1720044A 1 HITCH, Mower
23 1960519 1 NUT, Push
24 2860681 2 NUT, Hex Toplock Sprial Flange, 3/8-16
25 1721425 1 WASHER & NUT ASSEMBLY, 3/8 x 1-1/2
26 1674671 1 SPRING, Extension
27 1719923 1 ARM, Idler
28 1719221 2 HUB
29 1724802 2 PULLEY, Idler
30 1960315 2 CARRIAGE BOLT, 3/8-16 x 2
31 1930601 1 CAPSCREW, Taptite Hex Washer Head, 5/16-18 x 1/2
32 1666697 1 SPACER
33 1722182A 1 BELT GUIDE
34 1724625 1 BELT, Timing, 38 Tooth
The above parts group applies to the following Mfg. Nos.:
2005 49
© Copyright Simplicity Manufacturing, Inc. All Rights Reserved.
1694339 - 40" Mower
1694340 - 40" Mower
1694341 - 40" Mower
1694821 - 40" Mower
TP 400-4205-01-BM-SMA

40" Mower Deck - Height Adjustment & Roller Bar
NOTE: Unless noted otherwise,
use the standard hardware torque
specification chart.
Apply Locktite
380 in hole prior
to assembly.
From
"A"
To "A"
Insert Must
Face Out
Insert Must
Face Out
11
17
15
19
12
18
14
16
13
20
21
27
25
29
22
28
24
23
30
31
37
35
39
32
38
34
36
33
40
41
47
45
49
42
48
44
46
43
51
57
55
59
52
58
54
56
53
60
1
7
5
9
2
8
4
6
3
10
2
626
14
15
626
626
24
24
36
2
15
14
23
41
42 43
2
40
644
50
24
24
25
51
51
2
61
38
986049
The above parts group applies to the following Mfg. Nos.:
2005 50
© Copyright Simplicity Manufacturing, Inc. All Rights Reserved.
1694339 - 40" Mower
1694340 - 40" Mower
1694341 - 40" Mower
1694821 - 40" Mower
TP 400-4205-01-BM-SMA

PART NO. DESCRIPTIONREF NO QTY.
40" Mower Deck - Height Adjustment & Roller Bar
Footnotes
1 1722661 1 ROD
2 1924940 8 WASHER, 3/8
3 1922606 1 CAPSCREW, Hex Head, 3/8-16 x 1 3/4
4 1917421 1 NUT, Hex Jam, 3/8-16
5 1960601 1 NUT, Hex Flange, 3/8-16 Black
6 1720704 1 ROD & WASHER ASSEMBLY, Adjust Handle
7 1651820 1 GRIP, Black Vinyl For Rod
8 1721257 1 ROD, Latch
9 1720599 1 LATCH, 5/16 WIRE
10 1920397 1 NUT, Hex Lock Esna Light, 1/4-20
11 1921159 1 CAPSCREW, Hex Head, 1/4-20 x 2 1/4
12 1723409A 1 BRACKET, Adjusting
13 1666697 1 SPACER
14 1960044 5 WASHER, 5/16
15 1921977 2 CAPSCREW, Hex Head, 5/16-18 x 1 1/4
16 1917372 3 NUT, Hex 5/16-18
17 1917356 3 LOCKWASHER, Spring 5/16
18 1720695A 1 HANDLE ASSEMBLY, Lift, 40" Munching
19 1723321 1 SPRING, Compression 3-7/8" Long
20 1960674 1 PUSH NUT, 1/4
21 1713995 1 GRIP, Black Soft for Rod
22 1723124 1 BUTTON, Red
23 1960236 4 SPACER
24 1924366 7 WASHER, 5/8
25 1722036 2 ROLLER
26 1668513 6 ROLLER
27 1717675 2 ROLLER
28 1602946 1 SPACER
29 1723305A 1 SHAFT & BAR ASSEMBLY
30 1723303A 1 SHAFT ASSEMBLY
31 2860643 2 NUT, Hex, 5/16-18
32 1920161 1 NUT, Hex Jam, 5/16-18
33 7028200 1 TRUNNION
34 1724959 1 ROD, Height Adjustment
35 1931352 1 CARRIAGE BOLT, 3/8-16 x 1-1/2
36 1915726 2 NUT, Hex, 5/8-11
37 2118053 1 PIN
38 1960074 2 CLIP, Hair Pin
39 1706645A 1 TRUNNION, Rod
40 1720659 2 UPSTOP
41 1931202 4 CAPSCREW, Hex Head Taptite, 5/16-18 x 1-1/4
42 1919381 6 WASHER, 5/16
43 1933988 4 NUT, Push, 5/16
44 1665374A 3 STRAP, Roller Support
The above parts group applies to the following Mfg. Nos.:
2005 51
© Copyright Simplicity Manufacturing, Inc. All Rights Reserved.
1694339 - 40" Mower
1694340 - 40" Mower
1694341 - 40" Mower
1694821 - 40" Mower
TP 400-4205-01-BM-SMA

40" Mower Deck - Height Adjustment & Roller Bar
NOTE: Unless noted otherwise,
use the standard hardware torque
specification chart.
Apply Locktite
380 in hole prior
to assembly.
From
"A"
To "A"
Insert Must
Face Out
Insert Must
Face Out
11
17
15
19
12
18
14
16
13
20
21
27
25
29
22
28
24
23
30
31
37
35
39
32
38
34
36
33
40
41
47
45
49
42
48
44
46
43
51
57
55
59
52
58
54
56
53
60
1
7
5
9
2
8
4
6
3
10
2
626
14
15
626
626
24
24
36
2
15
14
23
41
42 43
2
40
644
50
24
24
25
51
51
2
61
38
986049
The above parts group applies to the following Mfg. Nos.:
2005 52
© Copyright Simplicity Manufacturing, Inc. All Rights Reserved.
1694339 - 40" Mower
1694340 - 40" Mower
1694341 - 40" Mower
1694821 - 40" Mower
TP 400-4205-01-BM-SMA

PART NO. DESCRIPTIONREF NO QTY.
40" Mower Deck - Height Adjustment & Roller Bar
Footnotes
45 1720919 1 DECAL, Height of Cut
46 1720931A 1 BRACKET, Height of Cut
47 1930651 1 NUT, Hex Centerlock 3/8-16
48 1935048 1 NUT, Hex Flange Lock, 5/16-18
49 1664847 8 CAPSCREW, Taptite Hex Washer Head, 5/16-18 x 3/4
50 1704082 1 NUT, Hex Adjusting
51 2860681 3 NUT, Toplock Spiral Flange, 3/8-16
52 1704073A 1 BAR
53 1677507 1 SLIDE
54 1924361 1 WASHER, 1/2
55 2172622 1 BOLT, Shoulder, 3/8-16 x 1-11/32
56 1960520 1 NUT, Push 5/8
57 1706644 1 SPACER
58 1918447 1 PIN, Cotter
59 2108512 1 PIVOT, 3/4 Hex
60 1931335 2 CARRIAGE BOLT, 5/16-18 x 1
61 2108241 1 GUIDE ASSEMBLY, Rod
The above parts group applies to the following Mfg. Nos.:
2005 53
© Copyright Simplicity Manufacturing, Inc. All Rights Reserved.
1694339 - 40" Mower
1694340 - 40" Mower
1694341 - 40" Mower
1694821 - 40" Mower
TP 400-4205-01-BM-SMA

40" Mower Deck - Housing, Arbors & Blades
NOTE: Unless noted otherwise,
use the standard hardware torque
specification chart.
Torque to 45-55 ft.lbs. (61-75 Nm)
Torque to
50-70 ft/lbs
(68-95.2 Nm)
Torque to 14-18 ft.lbs.
(19-25 Nm)
11
17
15
19
18
14
16
13
20
21
27
25
29
22
28
24
26
23
3030
31
37
35
39
32
38
34
36
33 40
41
45
42
44
46
43
1
5
2
4
3
647
67
68
69
610
612
18
3
3
20
19
17
22
24
23
45
48
6
986248
The above parts group applies to the following Mfg. Nos.:
2005 54
© Copyright Simplicity Manufacturing, Inc. All Rights Reserved.
1694339 - 40" Mower
1694340 - 40" Mower
1694341 - 40" Mower
1694821 - 40" Mower
TP 400-4205-01-BM-SMA

PART NO. DESCRIPTIONREF NO QTY.
40" Mower Deck - Housing, Arbors & Blades
Footnotes
1 1930584 1 CAPSCREW, Hex Head, 7/16-14 x 2-3/4 G8
2 1933263 1 WASHER, 7/16
3 1656916 3 WASHER, Spring
4 1714419 1 NUT, Hex Flange, 9/16-18
5 1713091 1 PULLEY
6 1719870 1 HUB
7 1724453 2 SPROCKET & FLANGE ASSEMBLY, Riveted, 38 Tooth
8 1657969A 2 SHIELD, Arbor Bearing, Upper
9 1655729A 2 HOUSING, Arbor Top
10 1707335 2 GASKET, Foam Poly
11 1722396 1 ARBOR SHAFT & BEARINGS ASSEMBLY
12 1703273A 2 HOUSING, Arbor Bottom with Lube Fitting
13 1664847 6 CAPSCREW, Taptite Hex Washer Head, 5/16-18 x 3/4
14 1724601 1 COVER, Arbor, LH
15 1686978 1 HOUSING ASSEMBLY, 40", Orange
15 1687175 1 HOUSING ASSEMBLY, 40", Red
16 1719624A 1 BLADE, Mower, LH
17 1722258 2 PIN, Blade
18 1677274A 2 ADAPTOR, Arbor
19 1722257 2 WASHER, Spline
20 2827120 2 CAPSCREW, Hex Head, 7/16-14 x 2-1/4 G8
21 1960373 12 CAPSCREW, Taptite Hex Washer Head, 5/16-18 x 1
22 1700230 2 WASHER, Shim
23 1700229A 2 SHIELD, Arbor Bearing, Lower
24 1655777 2 ADAPTER, Blade
25 1723453 1 DEFLECTOR, Discharge
26 1719623A 1 BLADE, Mower, RH
27 1931335 1 CARRIAGE BOLT, 5/16-18 x 1
28 1931318 1 CARRIAGE BOLT, 1/4-20 x 7/8
29 1960518 1 NUT, Push
30 1960353 2 WASHER, 1/4
31 1704873 1 CLAMP
32 1916964 1 LOCKWASHER, Spring 1/4
33 1916622 1 NUT, Hex 1/4-20
34 1719597 1 DOOR, Mulching, Black Plastic
35 1723938 1 SPRING, Torsion
36 1719617 1 ROD, Pivot
37 1917372 1 NUT, Hex 5/16-18
38 1917356 1 LOCKWASHER, Spring 5/16
39 1919381 1 WASHER, 5/16
40 1933988 1 NUT, Push
41 1721155 1 COVER ASSEMBLY, Arbor, RH (Includes Ref. Nos. 42 thru 46)
42 1724600 1 COVER, Arbor RH
43 1721259A 1 GUARD ASSEMBLY, RH
The above parts group applies to the following Mfg. Nos.:
2005 55
© Copyright Simplicity Manufacturing, Inc. All Rights Reserved.
1694339 - 40" Mower
1694340 - 40" Mower
1694341 - 40" Mower
1694821 - 40" Mower
TP 400-4205-01-BM-SMA

40" Mower Deck - Housing, Arbors & Blades
NOTE: Unless noted otherwise,
use the standard hardware torque
specification chart.
Torque to 45-55 ft.lbs. (61-75 Nm)
Torque to
50-70 ft/lbs
(68-95.2 Nm)
Torque to 14-18 ft.lbs.
(19-25 Nm)
11
17
15
19
18
14
16
13
20
21
27
25
29
22
28
24
26
23
3030
31
37
35
39
32
38
34
36
33 40
41
45
42
44
46
43
1
5
2
4
3
647
67
68
69
610
612
18
3
3
20
19
17
22
24
23
45
48
6
986248
The above parts group applies to the following Mfg. Nos.:
2005 56
© Copyright Simplicity Manufacturing, Inc. All Rights Reserved.
1694339 - 40" Mower
1694340 - 40" Mower
1694341 - 40" Mower
1694821 - 40" Mower
TP 400-4205-01-BM-SMA

PART NO. DESCRIPTIONREF NO QTY.
40" Mower Deck - Housing, Arbors & Blades
Footnotes
44 1721132A 1 GUARD, Extension
45 1675044 4 RIVIT, Pop
46 1960096 4 WASHER, 3/16 x 3/4 x 1/16
47 1713675 2 WASHER, Bellville
48 1726825 1 ARBOR SHAFT & BEARING ASSEMBLY
The above parts group applies to the following Mfg. Nos.:
2005 57
© Copyright Simplicity Manufacturing, Inc. All Rights Reserved.
1694339 - 40" Mower
1694340 - 40" Mower
1694341 - 40" Mower
1694821 - 40" Mower
TP 400-4205-01-BM-SMA

44" Mower Deck - Belt, Idler Arm & Hitch
NOTE: Unless noted otherwise,
use the standard hardware torque
specification chart.
Engine
Pulley
Movable Idler
Pulley
Arbor Drive
Pulley
Arbor Drive
Pulley
Arbor Drive
Pulley
Arbor Drive
Pulley
Movable
Idler Pulley
Grease
Mount Hitch Assembly and
Leveling Adjustment Rod
using upper set of holes for 15" front tires
using lower set of holes for 16" front tires
34
56
8
9
77
77
4
5
7
8
9
10
11
11
12
13
15
14 16
7777
13
11
17
14
11
18
19
20
18
21
22
7
23
24
25
26
27
1
2
7777
A
A
A
986945
The above parts group applies to the following Mfg. Nos.:
2005 58
© Copyright Simplicity Manufacturing, Inc. All Rights Reserved.
1694037 - 44" Mower
1694043 - 44" Mower
1694178 - 44" Mower
1694822 - 44" Mower
TP 400-4205-01-BM-SMA

PART NO. DESCRIPTIONREF NO QTY.
44" Mower Deck - Belt, Idler Arm & Hitch
Footnotes
1 1601672 1 V-BELT, Mower Drive
2 1721532 1 V-BELT, Arbor Drive
3 1665835 1 GRIP, Lever
4 1916950 2 NUT, Hex, 3/8-16
5 1916965 2 WASHER, Lock, 3/8
6 1677135A 1 BELT STOP, Idler
7 1924940 14 WASHER, 3/8
8 1666294 2 SPACER, 25/64 x 21/32 x 7/16, Powder Metal
9 1685150 2 PULLEY, Idler, (Includes Ref. No. 8)
10 1960339 1 NUT, Hex Flange, 3/8-16, MAC Lock Large, Black
11 1676148 4 BUSHING, 5/8 x 3/4 x 13/32, Powder Metal
12 1715435 1 SPRING
13 1674669A 2 SPACER, 25/64 x 5/8 x 1-1/8, Case Hardened
14 2812808 2 GREASE FITTING
15 1704658 1 LEVER ASSEMBLY, Idler, (Includes Ref. Nos. 3, 11 & 14)
16 1960315 1 CARRIAGE BOLT, 3/8-16 x 2
17 1718561 1 LEVER ASSEMBLY, Idler Arm, (Includes Ref. Nos. 11 & 14)
18 1924356 2 WASHER, 3/8, Black
19 1931352 1 CARRIAGE BOLT, 3/8-16 x 1-1/2
20 1656936 1 SPRING
21 1923938 1 CAPSCREW, Hex Head, 3/8-16 x 3-1/2
22 1921968 2 CAPSCREW, Hex Head, 3/8-16 x 1-3/8
23 2157081 2 SPACER, 3/8 x 3/4 x 1/2
24 2860681 2 NUT, Hex Toplock Spiralock Flange, 3/8-16
25 2156302 1 SPRING
26 1707432A 1 HITCH ASSEMBLY
27 1715759 1 ROD, Latch
The above parts group applies to the following Mfg. Nos.:
2005 59
© Copyright Simplicity Manufacturing, Inc. All Rights Reserved.
1694037 - 44" Mower
1694043 - 44" Mower
1694178 - 44" Mower
1694822 - 44" Mower
TP 400-4205-01-BM-SMA

44" Mower Deck - Height Adjustment & Roller Bar
NOTE: Unless noted otherwise,
use the standard hardware torque
specification chart.
Insert Must
Face Out
Insert Must
Face Out
GREASE
Feet
towards
discharge
Mount Hitch Assembly and
Leveling Adjustment Rod
using upper set of holes for 15" front tires
using lower set of holes for 16" front tires
10
GREASE
3
21
456
8
9
10
11
11
11
11
11
11
11
12
8
9
46
47
48
45
36
4329 30 31
28
33
32
34
44
43
42 41
40
39
12 1713
21
22
20
14
37
35
38
12
36
35
3
25 13
24
3
23
9
7
10
10
10
10
10
10
10
15
19
26
27
1715
17
16
18
985973
The above parts group applies to the following Mfg. Nos.:
2005 60
© Copyright Simplicity Manufacturing, Inc. All Rights Reserved.
1694037 - 44" Mower
1694043 - 44" Mower
1694178 - 44" Mower
1694822 - 44" Mower
TP 400-4205-01-BM-SMA

PART NO. DESCRIPTIONREF NO QTY.
44" Mower Deck - Height Adjustment & Roller Bar
Footnotes
1 1685443 1 SHAFT & BAR ASSEMBLY, 44" (Includes Ref. No. 9)
2 1704082 1 NUT, Adjuster
3 2860681 3 NUT, Toplock Spiral Flange, 3/8-16
4 1677507 1 SLIDE
5 1924361 1 WASHER, Plain, 1/2
6 2172622 1 BOLT, Shoulder, 3/8-16
7 1602946 2 SPACER, 25/64 x 13/16 x 13/16, Steel, Black
8 1722036 2 ROLLER, Rounded, 2-1/2 Long
9 1960520 2 NUT, Push
10 1924366 10 WASHER, Plain, 1-1/4
11 1668513 7 ROLLER
12 1704074A 1 BAR, Roller
13 1930644 2 NUT, Hex, Flange, Lock, 1/2-13
14 1664847 5 CAPSCREW, Hex Head Taptite, 5/16 -18 x 3/4
15 1924940 3 WASHER, 3/8
16 1918448 1 PIN, Cotter
17 2176012 1 RETAINER, Pin, Spring
18 1705049 1 BRACKET & PIN ASSEMBLY
19 1720659 1 UPSTOP
20 1665374A 3 STRAP, Mower Arm Assembly
21 1931352 1 CARRIAGE BOLT, 3/8-16 x 1-1/2
22 1723407A 1 ARM ASSEMBLY, Mower
23 1704093 1 ROD, Adjustment
24 1706644 1 SPACER, 3/8 x 3/4 x 15/16
25 1922606 1 CAPSCREW, Hex Head, 3/8-16 x 1-3/4
26 1722750 1 BRACKET, Upstop
27 1960373 2 CAPSCREW, Hex Washer Head Taptite, 5/16-18 x 1, Black
28 1704080A 1 PLATE, Mower Support
29 1931202 2 CAPSCREW, Hex Head Taptite, 5/16-18 x 1-1/4
30 1919381 1 WASHER, 5/16, Black
31 1704114 1 INDICATOR, Height of Cut
32 1704097 1 WASHER, Detent
33 1704086 1 TRUNNION
34 2816001 1 PIN, Roll, 1
35 1913744 2 NUT, Hex, Jam, 1/2-13
36 1960170 3 WASHER, 33/64
37 2118053 1 PIN, Clevis
38 1704081A 1 TRUNNION
39 1960074 2 CLIP, Hair Pin
40 1917372 2 NUT, Hex, 5/16-18
41 1917356 2 WASHER, Lock, 5/16
42 1704116A 1 BRACKET, Height of Cut
43 1704083A 1 ARM, Rear, Mower, RH
44 1921977 2 CAPSCREW, Hex Head, 5/16-18 x 1-1/4
The above parts group applies to the following Mfg. Nos.:
2005 61
© Copyright Simplicity Manufacturing, Inc. All Rights Reserved.
1694037 - 44" Mower
1694043 - 44" Mower
1694178 - 44" Mower
1694822 - 44" Mower
TP 400-4205-01-BM-SMA

44" Mower Deck - Height Adjustment & Roller Bar
NOTE: Unless noted otherwise,
use the standard hardware torque
specification chart.
Insert Must
Face Out
Insert Must
Face Out
GREASE
Feet
towards
discharge
Mount Hitch Assembly and
Leveling Adjustment Rod
using upper set of holes for 15" front tires
using lower set of holes for 16" front tires
10
GREASE
3
21
456
8
9
10
11
11
11
11
11
11
11
12
8
9
46
47
48
45
36
4329 30 31
28
33
32
34
44
43
42 41
40
39
12 1713
21
22
20
14
37
35
38
12
36
35
3
25 13
24
3
23
9
7
10
10
10
10
10
10
10
15
19
26
27
1715
17
16
18
985973
The above parts group applies to the following Mfg. Nos.:
2005 62
© Copyright Simplicity Manufacturing, Inc. All Rights Reserved.
1694037 - 44" Mower
1694043 - 44" Mower
1694178 - 44" Mower
1694822 - 44" Mower
TP 400-4205-01-BM-SMA

PART NO. DESCRIPTIONREF NO QTY.
44" Mower Deck - Height Adjustment & Roller Bar
Footnotes
45 1704087 1 TRUNNION, Threaded
46 1719901 1 CRANK, Height of Cut
47 1714084 1 KNOB, Height Crank
48 1960093 1 PAL NUT
The above parts group applies to the following Mfg. Nos.:
2005 63
© Copyright Simplicity Manufacturing, Inc. All Rights Reserved.
1694037 - 44" Mower
1694043 - 44" Mower
1694178 - 44" Mower
1694822 - 44" Mower
TP 400-4205-01-BM-SMA

44" Mower Deck - Housing, Arbors & Blades
NOTE: Unless noted otherwise,
use the standard hardware torque
specification chart.
Torque nuts
to 50-70 ft. lbs.
(67-95 Nm.)
Torque screws
to 45-55 ft. lbs.
(61-75 Nm)
Apply gasket former to this surface
if foam gasket is not used.
Fill arbors with multipurpose grease
after gasket former has cured.
Note: Plug holes
outside footrest with
Ref. Nos. 17 & 18
as required.
Torque arbor
capscrews to
14-18 ft. lbs.
(19-24 Nm)
11
16
20
12
19
14
15
21
22
28
30
23
28
25
27
24
31
32
38
36
17
33
39
35
37
34
40
1
7
5
9
2
8
4
6
3
10
5
5
2
25
26
36
37
31
32
40
29
16
16
18
13
43
42
41
985971
The above parts group applies to the following Mfg. Nos.:
2005 64
© Copyright Simplicity Manufacturing, Inc. All Rights Reserved.
1694037 - 44" Mower
1694043 - 44" Mower
TP 400-4205-01-BM-SMA

PART NO. DESCRIPTIONREF NO QTY.
44" Mower Deck - Housing, Arbors & Blades
Footnotes
1 1714419 3 NUT, Hex Flange, 9/16-18
2 1713675 6 WASHER, Bellevilled, 9/16
3 1713161 1 PULLEY, 4-1/2 O.D.
4 1713158 1 HUB, Double Pulley
5 1713098 3 PULLEY, 4-1/4 O.D.
6 1713533 1 HUB, Double Pulley
7 1655729A 3 COVER, Arbor Housing
8 2108202 3 BEARING, Ball, 3/4 x 1-3/4 x 5/8
9 1715724 3 SPACER, 21/32 x 3/4 x 5/8
10 1715723 3 SPACER, 11/16 x 5/32 x 2-11/16
11 1705897 3 BEARING, Ball, 11/16 x 1-9/16 x 15/32
12 1707335 3 GASKET, Foam
13 1713338 3 ARBOR HOUSING ASSEMBLY, (Includes Ref. No. 14)
14 1704314 3 FITTING, Grease
15 1720560A 1 COVER, Arbor
16 1664847 26 CAPSCREW, Hex Head Taptite, 5/16-18 x 3/4
17 1924856 1 CAPSCREW, Hex Washer Head, 5/16-18 x 1/2, Black
18 1931277 1 NUT, Hex Flange, 5/16,
19 1713619 3 WASHER, Bellevilled, 9/16, Black
20 1713612 1 SHAFT, Arbor (LH)
21 1713196 3 SHIELD, Grass, Lower
22 1704100A 3 BLADE, Mower, 16-1/8 (for 44" Decks)
23 1713089 3 WASHER, Hex, 11/16 x 2
24 1656916 3 WASHER, Spring 15/32, Black
25 2823471 3 CAPSCREW, Hex Head, 7/16-14 x 1
26 1713195 2 SHAFT, Arbor (Center & RH)
27 1685411 1 MOWER HOUSING ASSEMBLY, 44" Mower (Orange)
27 1687154 1 MOWER HOUSING ASSEMBLY, 44" Mower (Red)
28 1703601 1 COVER, Arbor
29 1931318 2 CARRIAGE BOLT, 1/4-20 x 7/8
30 1705115 1 PLUG, Hole
31 1960518 2 NUT, Push
32 1960353 2 WASHER, 1/4, Black
33 1704873 1 CLAMP
34 1919326 1 WASHER, 5/16, Black
35 1723938 1 SPRING
36 1916964 2 WASHER, Lock, 1/4
37 1916622 2 NUT, Hex, 1/4-20
38 1706709A 1 ROD, Deflector, Front
39 1705449 1 DEFLECTOR, Plastic
40 1713197 2 HUB, Pulley, Center & RH
41 1931333 2 CARRIAGE BOLT, 5/16-18 x 3/4
42 1927557 2 NUT, Hex Flagne Whiz Lock, 5/16-18
43 1724538A 1 BAFFLE, Blowout, 44" & 50"
The above parts group applies to the following Mfg. Nos.:
2005 65
© Copyright Simplicity Manufacturing, Inc. All Rights Reserved.
1694037 - 44" Mower
1694043 - 44" Mower
TP 400-4205-01-BM-SMA

44" Mower Deck - Housing, Arbors & Blades CE
NOTE: Unless noted otherwise,
use the standard hardware torque
specification chart.
Torque nuts
to 50-70 ft. lbs.
(67-95 Nm.)
Torque screws
to 45-55 ft. lbs.
(61-75 Nm)
Apply gasket former to this surface
if foam gasket is not used.
Fill arbors with multipurpose grease
after gasket former has cured.
Note: Plug holes
outside footrest with
Ref. Nos. 17 & 18
as required.
Torque arbor capscrews
to 14-18 ft. lbs.
(19-24 Nm)
11
16
20
12
19
14
15
21
22
28
30
23
28
25
27
24
31
32
38
36
17
33
39
35
37
34
40
1
7
5
9
2
8
4
6
3
10
5
5
2
25
26
36
37
31
32
40
29
16
16
18
13
44
43
42
41
986089
The above parts group applies to the following Mfg. Nos.:
2005 66
© Copyright Simplicity Manufacturing, Inc. All Rights Reserved.
1694178 - 44" Mower
1694822 - 44" Mower
TP 400-4205-01-BM-SMA

PART NO. DESCRIPTIONREF NO QTY.
44" Mower Deck - Housing, Arbors & Blades CE
Footnotes
1 1714419 3 NUT, Hex Flange, 9/16-18
2 1713675 6 WASHER, Bellevilled, 9/16
3 1713161 1 PULLEY
4 1713158 1 HUB, Double Pulley
5 1713098 3 PULLEY
6 1713533 1 HUB, Double Pulley
7 1655729A 3 COVER, Arbor Housing
8 2108202 3 BEARING, Ball, 3/4 x 1-3/4 x 5/8
9 1715724 3 SPACER, 21/32 x 3/4 x 5/8
10 1715723 3 SPACER, 11/16 x 5/32 x 2-11/16
11 1705897 3 BEARING, Ball, 11/16 x 1-9/16 x 15/32
12 1707335 3 GASKET, Foam
13 1713338 3 ARBOR HOUSING ASSEMBLY, (Includes Ref. No. 14)
14 1704314 3 FITTING, Grease
15 1720560A 1 COVER, Arbor
16 1664847 26 CAPSCREW, Hex Head Taptite, 5/16-18 x 3/4
17 1924856 1 CAPSCREW, Hex Washer Head, 5/16-18 x 1/2, Black
18 1931277 1 NUT, Hex Flange, 5/16,
19 1713619 3 WASHER, Bellevilled, 9/16, Black
20 1713612 1 SHAFT, Arbor (LH)
21 1713196 3 SHIELD, Grass, Lower
22 1704100A 3 BLADE, Mower, 16-1/8 (for 44" Decks)
23 1713089 3 WASHER, Hex, 11/16 x 2
24 1656916 3 WASHER, Spring 15/32, Black
25 2823471 3 CAPSCREW, Hex Head, 7/16-14 x 1
26 1713195 2 SHAFT, Arbor (Center & RH)
27 1685411 1 MOWER HOUSING ASSEMBLY, 44" Mower (Orange)
27 1687154 1 MOWER HOUSING ASSEMBLY, 44" Mower (Red)
28 1703601 1 COVER, Arbor
29 1931318 2 CARRIAGE BOLT, 1/4-20 x 7/8
30 1705115 1 PLUG, Hole
31 1960518 2 NUT, Push
32 1960353 2 WASHER, 1/4, Black
33 1704873 1 CLAMP
34 1919326 1 WASHER, 5/16, Black
35 1723938 1 SPRING
36 1916964 2 WASHER, Lock, 1/4
37 1916622 2 NUT, Hex, 1/4-20
38 1706709A 1 ROD, Deflector, Front
39 1705449 1 DEFLECTOR, Plastic
40 1713197 2 HUB, Pulley, Center & RH
41 1716879A 1 BAFFLE, Anti-Blowout, LH (CE Only)
42 1931333 8 CARRIAGE BOLT, 5/16-18 x 3/4, Black (CE Only)
43 1927557 8 NUT, Hex Flange Whiz Lock, 5/16-18, Black (CE Only)
The above parts group applies to the following Mfg. Nos.:
2005 67
© Copyright Simplicity Manufacturing, Inc. All Rights Reserved.
1694178 - 44" Mower
1694822 - 44" Mower
TP 400-4205-01-BM-SMA

44" Mower Deck - Housing, Arbors & Blades CE
NOTE: Unless noted otherwise,
use the standard hardware torque
specification chart.
Torque nuts
to 50-70 ft. lbs.
(67-95 Nm.)
Torque screws
to 45-55 ft. lbs.
(61-75 Nm)
Apply gasket former to this surface
if foam gasket is not used.
Fill arbors with multipurpose grease
after gasket former has cured.
Note: Plug holes
outside footrest with
Ref. Nos. 17 & 18
as required.
Torque arbor capscrews
to 14-18 ft. lbs.
(19-24 Nm)
11
16
20
12
19
14
15
21
22
28
30
23
28
25
27
24
31
32
38
36
17
33
39
35
37
34
40
1
7
5
9
2
8
4
6
3
10
5
5
2
25
26
36
37
31
32
40
29
16
16
18
13
44
43
42
41
986089
The above parts group applies to the following Mfg. Nos.:
2005 68
© Copyright Simplicity Manufacturing, Inc. All Rights Reserved.
1694178 - 44" Mower
1694822 - 44" Mower
TP 400-4205-01-BM-SMA

PART NO. DESCRIPTIONREF NO QTY.
44" Mower Deck - Housing, Arbors & Blades CE
Footnotes
44 1716878A 1 BAFFLE, Anti-Blowout, RH (CE Only)
The above parts group applies to the following Mfg. Nos.:
2005 69
© Copyright Simplicity Manufacturing, Inc. All Rights Reserved.
1694178 - 44" Mower
1694822 - 44" Mower
TP 400-4205-01-BM-SMA

50" Mower Deck - Clutch & Support
NOTE: Unless noted otherwise,
use the standard hardware torque
specification chart.
Engine
Pulley
Movable Idler
Pulley
Arbor Drive
Pulley
Arbor Drive
Pulley
Arbor Drive
Pulley
Arbor Drive
Pulley
Movable
Idler Pulley
Grease
Mount Hitch Assembly and •
Leveling Adjustment Rod
using lower set of holes
Insert Must
Face Out
34
56
8
9
77
77
4
5
7
8
9
10
11
11
12
13
15
14 16
7777
13
11
17
14
11
18
19
20
18
21
22
7
23
24
25
26
27
1
2
7777
A
A
A
984271C
The above parts group applies to the following Mfg. Nos.:
2005 70
© Copyright Simplicity Manufacturing, Inc. All Rights Reserved.
1694174 - 50" Mower
1694473 - 50" Mower
1694474 - 50" Mower
TP 400-4205-01-BM-SMA

PART NO. DESCRIPTIONREF NO QTY.
50" Mower Deck - Clutch & Support
Footnotes
1 1707740 1 V-BELT, Mower Drive
2 1703836 1 V-BELT, Arbor Drive
3 1665835 1 GRIP, Lever
4 1916950 2 NUT, Hex, 3/8-16
5 1916965 2 WASHER, Lock, 3/8
6 1677135A 1 BELT STOP, Idler
7 1924940 14 WASHER, 3/8
8 1716553 1 HUB, 25/64 x 3/4 x 63/64, Powder Metal
9 1685150 2 PULLEY, Idler, (Includes Ref. No. 8)
10 1960339 1 NUT, Hex Flange, 3/8-16, MAC Lock Large, Black
11 1676148 4 BUSHING, 5/8 x 3/4 x 13/32, Powder Metal
12 1715435 1 SPRING
13 1674669A 2 SPACER, 25/64 x 5/8 x 1-1/8, Case Hardened
14 2812808 2 GREASE FITTING
15 1704658 1 LEVER ASSEMBLY, Idler, (Includes Ref. Nos. 11 & 14)
16 1960315 1 CARRIAGE BOLT, 3/8-16 x 2
17 1718561 1 LEVER ASSEMBLY, Idler Arm, (Includes Ref. Nos. 11 & 14)
18 1924356 2 WASHER, 3/8, Black
19 1931352 1 CARRIAGE BOLT, 3/8-16 x 1-1/2
20 1656936 1 SPRING
21 1923938 1 CAPSCREW, Hex Head, 3/8-16 x 3-1/2
22 1921968 2 CAPSCREW, Hex Head, 3/8-16 x 1-3/8
23 2157081 2 SPACER, 3/8 x 3/4 x 1/2
24 2860641 2 NUT, Hex Aluminum Insert Lock, 3/8-16
25 2156302 1 SPRING
26 1707432A 1 HITCH ASSEMBLY
27 1715759 1 ROD, Latch
The above parts group applies to the following Mfg. Nos.:
2005 71
© Copyright Simplicity Manufacturing, Inc. All Rights Reserved.
1694174 - 50" Mower
1694473 - 50" Mower
1694474 - 50" Mower
TP 400-4205-01-BM-SMA

50" Mower Deck - Height Adjustment & Roller Bar
NOTE: Unless noted otherwise,
use the standard hardware torque
specification chart.
Insert Must
Face Out
Insert Must
Face Out
Mount Hitch Assembly and •
Leveling Adjustment Rod
using lower set of holes
7
GREASE
GREASE
3
21
456
9
10
11
9
10
43
44
45
42
34
4327 19 28
26
30
29 31
41
40
39 38
37
36
12
1713
16
17
14
15
35
33
32
12
34
33 3
25
24
23
3
22
8
20
18
9
19
21
7
7
11
11
11
11
11
11
11
9
8
7
107
986020
The above parts group applies to the following Mfg. Nos.:
2005 72
© Copyright Simplicity Manufacturing, Inc. All Rights Reserved.
1694174 - 50" Mower
TP 400-4205-01-BM-SMA

PART NO. DESCRIPTIONREF NO QTY.
50" Mower Deck - Height Adjustment & Roller Bar
Footnotes
1 1686687 1 SHAFT ASSEMBLY, Roller, 50", (Includes Ref. No. 10)
2 1704082 1 NUT, Adjuster
3 2860641 3 NUT, Hex Aluminum Insert Lock, 3/8-16
4 1677507 1 SLIDE
5 1924361 1 WASHER, Plain, 1/2
6 2172622 1 BOLT, Shoulder, 3/8-16
7 1924366 8 WASHER, Plain, 1 1/4
8 1709195 3 SPACER, 21/32 x 5/32 x 5/8
9 1722036 2 ROLLER, Rounded End
10 1960520 2 NUT, Push
11 1668513 8 ROLLER
12 1704074A 1 BAR, Roller
13 1930644 2 NUT, Hex Flange, 2 Way Lock, 1/2-13
14 1665374A 3 STRAP, Mower Arm Assembly
15 1664847 6 CAPSCREW, Hex Head Taptite, 5/16 -18 x 3/4
16 1931352 1 CARRIAGE BOLT, 3/8-16 x 1-1/2
17 1718828A 1 ARM ASSEMBLY, Mower
18 1930570 2 CAPSCREW, Hex Head, 5/16-18 x 1-1/4, G8, 1/2 Thread
19 1919381 5 WASHER, 5/16, Black
20 1708088A 2 CHAIN, 4 Link, 6 3/32 Long
21 1919438 2 NUT, Hex Lock ESNA Light, 5/16-18, Black
22 1722995 1 ROD, Adjustment
23 1706644 1 SPACER, 3/8 x 3/4 x 15/16
24 1924940 1 WASHER, 3/8
25 1922606 1 CAPSCREW, Hex Head, 3/8-16 x 1-3/4
26 1704080A 1 PLATE, Mower Support
27 1931202 2 CAPSCREW, Hex Head Taptite, 5/16-18 x 1-1/4
28 1704114 1 INDICATOR, Cutting Height
29 1704097 1 WASHER, Detent
30 1704086 1 TRUNNION
31 2816001 1 PIN, Roll, 1
32 1706645A 1 TRUNNION
33 1915726 2 NUT, Hex, Jam, 1/2-13
34 1960170 1 WASHER, 11/32
35 2118053 1 PIN, Clevis
36 1960074 1 CLIP, Hair Pin
37 1917372 2 NUT, Hex, 5/16-18
38 1917356 2 WASHER, Lock, 5/16
39 1704116A 1 BRACKET, Cutting Height
40 1704083A 1 ARM, Rear, Mower, RH
41 1921977 2 CAPSCREW, Hex Head, 5/16-18 x 1-1/4
42 1704087 1 TRUNNION, Threaded
43 1719901 1 CRANK, Cutting Height
44 1714084 1 KNOB, Height Crank
The above parts group applies to the following Mfg. Nos.:
2005 73
© Copyright Simplicity Manufacturing, Inc. All Rights Reserved.
1694174 - 50" Mower
TP 400-4205-01-BM-SMA

50" Mower Deck - Height Adjustment & Roller Bar
NOTE: Unless noted otherwise,
use the standard hardware torque
specification chart.
Insert Must
Face Out
Insert Must
Face Out
Mount Hitch Assembly and •
Leveling Adjustment Rod
using lower set of holes
7
GREASE
GREASE
3
21
456
9
10
11
9
10
43
44
45
42
34
4327 19 28
26
30
29 31
41
40
39 38
37
36
12
1713
16
17
14
15
35
33
32
12
34
33 3
25
24
23
3
22
8
20
18
9
19
21
7
7
11
11
11
11
11
11
11
9
8
7
107
986020
The above parts group applies to the following Mfg. Nos.:
2005 74
© Copyright Simplicity Manufacturing, Inc. All Rights Reserved.
1694174 - 50" Mower
TP 400-4205-01-BM-SMA

PART NO. DESCRIPTIONREF NO QTY.
50" Mower Deck - Height Adjustment & Roller Bar
Footnotes
45 1960093 1 PAL NUT
The above parts group applies to the following Mfg. Nos.:
2005 75
© Copyright Simplicity Manufacturing, Inc. All Rights Reserved.
1694174 - 50" Mower
TP 400-4205-01-BM-SMA

50" Mower Deck - Height Adjustment & Roller Bar
NOTE: Unless noted otherwise,
use the standard hardware torque
specification chart.
Insert Must
Face Out
Mount Hitch Assembly and •
Leveling Adjustment Rod
using lower set of holes
4
GREASE
GREASE
16
15
14
17 18 19
20
21
6
20
21
1
2
3
48
34
4337 10 38
36
40
39 41
47
46
45 44
43
42
22
1723
26
27
24
25
28
29
31
12
30
29 16
35
34
33
16
32
5
4
6
6
6
6
6
6
11
4
104
4
410
87
9
11
10
8
7
9
213
4
4
4
712 4
5
5
12
12
986421
The above parts group applies to the following Mfg. Nos.:
2005 76
© Copyright Simplicity Manufacturing, Inc. All Rights Reserved.
1694473 - 50" Mower
1694474 - 50" Mower
TP 400-4205-01-BM-SMA

PART NO. DESCRIPTIONREF NO QTY.
50" Mower Deck - Height Adjustment & Roller Bar
Footnotes
1 1719901 1 CRANK, Cutting Height
2 1714084 1 KNOB, Height Crank
3 1960093 1 PAL NUT
4 1924366 8 WASHER, Plain, 1 1/4
5 1709195 3 SPACER, 21/32 x 5/32 x 5/8
6 1668513 8 ROLLER
7 2825094 2 TIE, Self Locking
8 1708266A 2 CHAIN, 6 Link, 8 13/32 Long
9 1919438 2 NUT, Hex Lock ESNA Light, 5/16-18, Black
10 1919381 5 WASHER, 5/16, Black
11 1930570 2 CAPSCREW, Hex Head, 5/16-18 x 1-1/4, G8, 1/2 Thread
12 1725640A 2 LINK, Lift, Roller Shaft
13 1602946 2 SPACER
14 1686687 1 SHAFT ASSEMBLY, Roller, 50", (Includes Ref. No. 10)
15 1704082 1 NUT, Adjuster
16 2860641 3 NUT, Hex Aluminum Insert Lock, 3/8-16
17 1677507 1 SLIDE
18 1924361 1 WASHER, Plain, 1/2
19 2172622 1 BOLT, Shoulder, 3/8-16
20 1722036 2 ROLLER, Rounded End
21 1960520 2 NUT, Push
22 1704074A 1 BAR, Roller
23 1930644 2 NUT, Hex Flange, 2 Way Lock, 1/2-13
24 1665374A 3 STRAP, Mower Arm Assembly
25 1664847 6 CAPSCREW, Hex Head Taptite, 5/16 -18 x 3/4
26 1931352 1 CARRIAGE BOLT, 3/8-16 x 1-1/2
27 1718828A 1 ARM ASSEMBLY, Mower
28 2118053 1 PIN, Clevis
29 1915726 2 NUT, Hex, Jam, 1/2-13
30 1960170 1 WASHER, 11/32
31 1706645A 1 TRUNNION
32 1722995 1 ROD, Adjustment
33 1706644 1 SPACER, 3/8 x 3/4 x 15/16
34 1924940 1 WASHER, 3/8
35 1922606 1 CAPSCREW, Hex Head, 3/8-16 x 1-3/4
36 1704080A 1 PLATE, Mower Support
37 1931202 2 CAPSCREW, Hex Head Taptite, 5/16-18 x 1-1/4
38 1704114 1 INDICATOR, Cutting Height
39 1704097 1 WASHER, Detent
40 1704086 1 TRUNNION
41 2816001 1 PIN, Roll, 1
42 1960074 1 CLIP, Hair Pin
43 1917372 2 NUT, Hex, 5/16-18
44 1917356 2 WASHER, Lock, 5/16
The above parts group applies to the following Mfg. Nos.:
2005 77
© Copyright Simplicity Manufacturing, Inc. All Rights Reserved.
1694473 - 50" Mower
1694474 - 50" Mower
TP 400-4205-01-BM-SMA

50" Mower Deck - Height Adjustment & Roller Bar
NOTE: Unless noted otherwise,
use the standard hardware torque
specification chart.
Insert Must
Face Out
Mount Hitch Assembly and •
Leveling Adjustment Rod
using lower set of holes
4
GREASE
GREASE
16
15
14
17 18 19
20
21
6
20
21
1
2
3
48
34
4337 10 38
36
40
39 41
47
46
45 44
43
42
22
1723
26
27
24
25
28
29
31
12
30
29 16
35
34
33
16
32
5
4
6
6
6
6
6
6
11
4
104
4
410
87
9
11
10
8
7
9
213
4
4
4
712 4
5
5
12
12
986421
The above parts group applies to the following Mfg. Nos.:
2005 78
© Copyright Simplicity Manufacturing, Inc. All Rights Reserved.
1694473 - 50" Mower
1694474 - 50" Mower
TP 400-4205-01-BM-SMA

PART NO. DESCRIPTIONREF NO QTY.
50" Mower Deck - Height Adjustment & Roller Bar
Footnotes
45 1704116A 1 BRACKET, Cutting Height
46 1704083A 1 ARM, Rear, Mower, RH
47 1921977 2 CAPSCREW, Hex Head, 5/16-18 x 1-1/4
48 1704087 1 TRUNNION, Threaded
The above parts group applies to the following Mfg. Nos.:
2005 79
© Copyright Simplicity Manufacturing, Inc. All Rights Reserved.
1694473 - 50" Mower
1694474 - 50" Mower
TP 400-4205-01-BM-SMA

50" Mower Deck - Housing, Arbors & Blades
NOTE: Unless noted otherwise,
use the standard hardware torque
specification chart.
Torque nuts
to 50-70 ft. lbs.
(67-95 Nm.)
Torque screws
to 45-55 ft. lbs.
(61-75 Nm)
Apply gasket former to this surface
if foam gasket is not used.
Fill arbors with multipurpose grease
after gasket former has cured.
Torque arbor capscrews
to 14-18 ft. lbs.
(19-24 Nm)
11
16
18
12
17
15
19
20
26
28
21
28
23
25
22
29
30
37
35
31
38
33
36
32
40
1
7
5
9
2
8
4
6
3
10
5
5
2
25
24
35
36
29
30
39
27
16
16
14
13
34
40
41
42
985972
The above parts group applies to the following Mfg. Nos.:
2005 80
© Copyright Simplicity Manufacturing, Inc. All Rights Reserved.
1694174 - 50" Mower
TP 400-4205-01-BM-SMA

PART NO. DESCRIPTIONREF NO QTY.
50" Mower Deck - Housing, Arbors & Blades
Footnotes
1 1714419 3 NUT, Hex Flange, 9/16-18
2 1713675 6 WASHER, Bellevilled, 9/16
3 1713161 1 PULLEY
4 1713158 1 HUB, Double Pulley
5 1713098 3 PULLEY
6 1713533 1 HUB, Double Pulley
7 1655729A 3 COVER, Arbor Housing
8 2108202 3 BEARING, Ball, 3/4 x 1-3/4 x 5/8
9 1715724 3 SPACER, 21/32 x 3/4 x 5/8
10 1715723 3 SPACER, 11/16 x 5/32 x 2-11/16
11 1705897 3 BEARING, Ball, 11/16 x 1-9/16 x 15/32
12 1707335 3 GASKET, Foam
13 1713338 3 ARBOR HOUSING ASSEMBLY, (Includes Ref. No. 14)
14 1704314 3 FITTING, Grease
15 1720560A 1 COVER, Arbor
16 1664847 26 CAPSCREW, Hex Head Taptite, 5/16-18 x 3/4
17 1713619 3 WASHER, Bellevilled, 9/16, Black
18 1713612 1 SHAFT, Arbor (LH)
19 1713196 3 SHIELD, Grass, Lower
20 1708229A 3 BLADE, Mower, 18-1/8
21 1713089 3 WASHER, Hex, 11/16 x 2
22 1656916 3 WASHER, Spring 15/32, Black
23 2823471 3 CAPSCREW, Hex Head, 7/16-14 x 1
24 1713195 2 SHAFT, Arbor (Center & RH)
25 1685495 1 MOWER HOUSING ASSEMBLY, 50" Mower (Orange)
25 1687156 1 MOWER HOUSING ASSEMBLY, 50" Mower (Red)
26 1703601 1 COVER, Arbor
27 1931318 2 CARRIAGE BOLT, 1/4-20 x 7/8
28 1705115 1 PLUG, Hole
29 1960518 2 NUT, Push
30 1960353 2 WASHER, 1/4, Black
31 1704873 1 CLAMP
32 1919326 1 WASHER, 5/16, Black
33 1723938 1 SPRING
34 1723323 1 CAP, Spring End
35 1916964 2 WASHER, Lock, 1/4
36 1916622 2 NUT, Hex, 1/4-20
37 1706709A 1 ROD, Deflector, Front
38 1705449 1 DEFLECTOR, Plastic
39 1713197 2 HUB, Pulley, Center & RH
40 1724538A 1 BAFFLE, Anti-Blowout
41 1927557 2 NUT, Hex, Whizlock, 5/16-18
42 1931333 2 CARRIAGE BOLT, 5/16-18 x 3/4
The above parts group applies to the following Mfg. Nos.:
2005 81
© Copyright Simplicity Manufacturing, Inc. All Rights Reserved.
1694174 - 50" Mower
TP 400-4205-01-BM-SMA

50" Mower Deck - Housing, Arbors & Blades
NOTE: Unless noted otherwise,
use the standard hardware torque
specification chart.
Torque nuts
to 50-70 ft. lbs.
(67-95 Nm.)
Torque screws
to 45-55 ft. lbs.
(61-75 Nm)
Apply gasket former to this surface
if foam gasket is not used.
Fill arbors with multipurpose grease
after gasket former has cured.
Torque arbor capscrews
to 14-18 ft. lbs.
(19-24 Nm)
Top of Upstop
angles rearward.
11
16
18
12
17
15
19
20
26
28
21
28
23
25
22
32
33
40
38
34
41
36
39
35
40
1
7
5
9
2
8
4
6
3
10
5
5
2
25
24
38
39
32
33
42
27
16
16
14
13
37
40
41
42
31
29
30
986429
The above parts group applies to the following Mfg. Nos.:
2005 82
© Copyright Simplicity Manufacturing, Inc. All Rights Reserved.
1694473 - 50" Mower
1694474 - 50" Mower
TP 400-4205-01-BM-SMA

PART NO. DESCRIPTIONREF NO QTY.
50" Mower Deck - Housing, Arbors & Blades
Footnotes
1 1714419 3 NUT, Hex Flange, 9/16-18
2 1713675 6 WASHER, Bellevilled, 9/16
3 1713161 1 PULLEY
4 1713158 1 HUB, Double Pulley
5 1713098 3 PULLEY
6 1713533 1 HUB, Double Pulley
7 1655729A 3 COVER, Arbor Housing
8 2108202 3 BEARING, Ball, 3/4 x 1-3/4 x 5/8
9 1715724 3 SPACER, 21/32 x 3/4 x 5/8
10 1715723 3 SPACER, 11/16 x 5/32 x 2-11/16
11 1705897 3 BEARING, Ball, 11/16 x 1-9/16 x 15/32
12 1707335 3 GASKET, Foam
13 1713338 3 ARBOR HOUSING ASSEMBLY, (Includes Ref. No. 14)
14 1704314 3 FITTING, Grease
15 1720560A 1 COVER, Arbor
16 1664847 26 CAPSCREW, Hex Head Taptite, 5/16-18 x 3/4
17 1713619 3 WASHER, Bellevilled, 9/16, Black
18 1713612 1 SHAFT, Arbor (LH)
19 1713196 3 SHIELD, Grass, Lower
20 1708229A 3 BLADE, Mower, 18-1/8
21 1713089 3 WASHER, Hex, 11/16 x 2
22 1656916 3 WASHER, Spring 15/32, Black
23 2823471 3 CAPSCREW, Hex Head, 7/16-14 x 1
24 1713195 2 SHAFT, Arbor (Center & RH)
25 1685495 1 MOWER HOUSING ASSEMBLY, 50" Mower (Orange)
25 1687156 1 MOWER HOUSING ASSEMBLY, 50" Mower (Red)
26 1703601 1 COVER, Arbor
27 1931318 2 CARRIAGE BOLT, 1/4-20 x 7/8
28 1705115 1 PLUG, Hole
29 1704098 1 UPSTOP
30 1611705 2 SPACER, W x 5/8 x L
31 1931202 2 CAPSCREW, Hex Washer Head Taptite, 5/16-18 x 1-1/4
32 1960518 2 NUT, Push
33 1960353 2 WASHER, 1/4, Black
34 1704873 1 CLAMP
35 1919326 1 WASHER, 5/16, Black
36 1723738 1 SPRING
37 1723323 1 CAP, Spring End
38 1916964 2 WASHER, Lock, 1/4
39 1916622 2 NUT, Hex, 1/4-20
40 1706709A 1 ROD, Deflector, Front
41 1705449 1 DEFLECTOR, Plastic
42 1713197 2 HUB, Pulley, Center & RH
43 1724538A 1 BAFFLE, Anti-Blowout
The above parts group applies to the following Mfg. Nos.:
2005 83
© Copyright Simplicity Manufacturing, Inc. All Rights Reserved.
1694473 - 50" Mower
1694474 - 50" Mower
TP 400-4205-01-BM-SMA

50" Mower Deck - Housing, Arbors & Blades
NOTE: Unless noted otherwise,
use the standard hardware torque
specification chart.
Torque nuts
to 50-70 ft. lbs.
(67-95 Nm.)
Torque screws
to 45-55 ft. lbs.
(61-75 Nm)
Apply gasket former to this surface
if foam gasket is not used.
Fill arbors with multipurpose grease
after gasket former has cured.
Torque arbor capscrews
to 14-18 ft. lbs.
(19-24 Nm)
Top of Upstop
angles rearward.
11
16
18
12
17
15
19
20
26
28
21
28
23
25
22
32
33
40
38
34
41
36
39
35
40
1
7
5
9
2
8
4
6
3
10
5
5
2
25
24
38
39
32
33
42
27
16
16
14
13
37
40
41
42
31
29
30
986429
The above parts group applies to the following Mfg. Nos.:
2005 84
© Copyright Simplicity Manufacturing, Inc. All Rights Reserved.
1694473 - 50" Mower
1694474 - 50" Mower
TP 400-4205-01-BM-SMA

PART NO. DESCRIPTIONREF NO QTY.
50" Mower Deck - Housing, Arbors & Blades
Footnotes
44 1927557 2 NUT, Hex, Whizlock, 5/16-18
45 1931333 2 CARRIAGE BOLT, 5/16-18 x 3/4
The above parts group applies to the following Mfg. Nos.:
2005 85
© Copyright Simplicity Manufacturing, Inc. All Rights Reserved.
1694473 - 50" Mower
1694474 - 50" Mower
TP 400-4205-01-BM-SMA

Torque Specification Chart
FOR STANDARD MACHINE HARDWARE (Tolerance ± 20%)
Hardware
Grade
SAE Grade 2 SAE Grade 5 SAE Grade 8
Size Of
in/lbs in/lbs
in/lbs
Hardware ft/lbs Nm. ft/lbs Nm. ft/lbs Nm.
8-32
19
2.1
30
3.4
41
4.6
8-36
20
2.3
31
3.5
43
4.9
10-24
27
3.1
43
4.9
60
6.8
10-32
31
3.5
49
5.5
68
7.7
1/4-20
66
7.6 810.9 12 16.3
1/4-28
76
8.6 10 13.6 14 19.0
5/16-18 11 15.0 17 23.1 25 34.0
5/16-24 12 16.3 19 25.8 27 34.0
3/8-16 20 27.2 30 40.8 45 61.2
3/8-24 23 31.3 35 47.6 50 68.0
7/16-14 30 40.8 50 68.0 70 95.2
7/16-20 35 47.6 55 74.8 80 108.8
1/2-13 50 68.0 75 102.0 110 149.6
1/2-20 55 74.8 90 122.4 120 163.2
9/16-12 65 88.4 110 149.6 150 204.0
9/16-18 75 102.0 120 163.2 170 231.2
5/8-11 90 122.4 150 204.0 220 299.2
5/8-18 100 136 180 244.8 240 326.4
3/4-10 160 217.6 260 353.6 386 525.0
3/4-16 180 244.8 300 408.0 420 571.2
7/8-9 140 190.4 400 544.0 600 816.0
7/8-14 155 210.8 440 598.4 660 897.6
1-8 220 299.2 580 788.8 900 1,244.0
1-12 240 326.4 640 870.4 1,000 1,360.0
Hex Head Capscrew
Hex Nut
Lockwasher
Washer
Carriage Bolt
NOTES
1. These torque values are to be used for all hardware
excluding: locknuts, self-tapping screws, thread forming
screws, sheet metal screws and socket head setscrews.
2. Recommended seating torque values for locknuts:
a. for prevailing torque locknuts - use 65% of grade 5
torques.
b. for flange whizlock nuts and screws - use 135% of
grade 5 torques.
3. Unless otherwise noted on assembly drawings, all torque
values must meet this specification.
Hardware Identification & Torque Specifications
Common Hardware Types
Screw, 1/2 x 2
Body
Diameter
Body
Length
Inside
Diameter
Nut, 1/2”
No
Marks
3/8” Bolt or Nut
Wrench—9/16”
3/8
5/16” Bolt or Nut
Wrench—1/2”
5/16
1/4” Bolt or Nut
Wrench—7/16”
1/4
1/2” Bolt or Nut
Wrench—3/4”
1/2
DIA.
7/16
DIA.
7/16” Bolt or Nut
Wrench (Bolt)—5/8”
Wrench (Nut)—11/16”
Wrench & Fastener Size Guide
Standard Hardware Sizing
When a washer or nut is identified as 1/2”, this is the
Nominal size
, meaning the
inside diameter
is 1/2 inch; if a
second number is present it represent the
threads per inch
When bolt or capscrew is identified as 1/2 - 16 x 2”, this
means the
Nominal size
, or
body diameter
is 1/2 inch; the
second number represents the
threads per inch
(16 in this
example, and the final number is the
body length
of the
bolt or screw (in this example 2 inches long).
The guides and ruler furnished below are designed to
help you select the appropriate hardware and tools.
0
1/4 3/4
1/2
1
1/4 3/4
1/2
2
1/4 3/4
1/2
3
1/4 3/4
1/2
4

500 N. Spring Street / PO Box 997
Port Washington, WI 53074-0997 USA
www.simplicitymfg.com
MANUFACTURING, INC.
© Copyright Simplicity Manufacturing, Inc.
All Rights Reserved. Printed In USA.
2005