Simplicity Lancer 4400 Parts Manual PartsManual
Lancer 4400 to the manual 6f373edd-dfd2-4c87-9bbf-c892a5a8eb73
2014-12-13
: Simplicity Simplicity-Lancer-4400-Parts-Manual-126590 simplicity-lancer-4400-parts-manual-126590 simplicity pdf
Open the PDF directly: View PDF
.
Page Count: 64

Parts Manual
Rev. 12/2007
Lancer / 4400
Series Riding Mower & Mower Decks
TP 400-2584-02-LN-SM
Mf
g
. No. Descri
p
tion
15HP Product
1694106 Lancer, 15HP Hydro (CE/Export)
1694255 4416, 15HP Hydro (CE/Export)
Mf
g
. No. Descri
p
tion
17HP Product
1694292 Lancer, 17HP Hydro
1694294 4417, 17HP Hydro
1694317 Lancer, 17HP Hydro (CE/Export)
1694319 4416, 17HP Hydro (CE/Export)
1694320 4417, 17HP Hydro (CE/Export)
1694348 4416, 17HP Hydro
2690020 Lancer, 17HP Hydro and 44" Mower Deck
2690021 4417, 17HP Hydro and 44" Mower Deck
2690023 4416, 17HP Hydro and 40" Mower Deck
2690050 Lancer, 17HP Hydro and 44" Mower Deck
2690051 4417, 17HP Hydro and 44" Mower Deck
Mf
g
. No. Descri
p
tion
Mower Decks
1694109 40" Mower Deck (CE/Export)
1694257 40" Mower Deck (CE/Export)
1694297 40" Mower Deck
1694298 40" Mower Deck
1694344 40" Mower Deck (CE/Export)
1694345 40" Mower Deck (CE/Export)
1694110 44" Mower Deck (CE/Export)
1694258 44" Mower Deck (CE/Export)
1694291 44" Mower Deck
1694293 44" Mower Deck
1730242
Part No.:

Table Of Content
s
Torque Specification Chart ..................................................................... Inside Back Cover
PRODUCT COMPONENTS PAGES
Frame Group ........................................................................................................................................................ 4
Steering Group ..................................................................................................................................................... 6
Engine & Electric Clutch - 15HP & 17HP Briggs & Stratton ................................................................................ 10
Transmission Group ............................................................................................................................................. 12
Transmission SERVICE PARTS - Tuff Torq K-46Q ............................................................................................ 14
Controls Group ..................................................................................................................................................... 18
Electrical Group .................................................................................................................................................... 20
Seat Deck & Fuel Tank Group ............................................................................................................................. 22
Lift Group .............................................................................................................................................................. 24
Wheels & Tires Group .......................................................................................................................................... 26
Decals - Brand & Model ....................................................................................................................................... 28
Decals - Safety & Common .................................................................................................................................. 30
1694363 - Weight, Wheel .................................................................................................................................... 32
Mower Frame Group - with Height Adjustment ................................................................................................... 34
Mower Frame Group - without Height Adjustment .............................................................................................. 36
40" Mower Deck - Belt, Idler Arm & Hitch ............................................................................................................ 38
40" Mower Deck - Belt, Idler Arm & Hitch ............................................................................................................ 40
40" Mower Deck - Height Adjustment & Roller Bar ............................................................................................. 42
40" Mower Deck - Height Adjustment & Roller Bar (Later) ................................................................................. 46
40" Mower Deck - Housing, Arbors & Blades ...................................................................................................... 48
40" Mower Deck - Housing, Arbors & Blades ...................................................................................................... 50
44" Mower Deck - Belt, Idler Arm & Hitch ............................................................................................................ 54
44" Mower Deck - Height Adjustment & Roller Bar ............................................................................................. 56
44" Mower Deck - Height Adjustment & Roller Bar (Later) ................................................................................. 58
44" Mower Deck - Housing, Arbors & Blades ...................................................................................................... 60

Frame Group
NOTE: Unless noted otherwise,
use the standard hardware torque
specification chart.
985955
The above parts group applies to the following Mfg. Nos.:
2007 4
© Copyright Simplicity Manufacturing, Inc. All Rights Reserved.
1694106 - Lancer
1694255 - 4416
1694292 - Lancer
1694294 - 4417
1694317 - Lancer
1694319 - 4416
1694320 - 4417
1694348 - 4416
2690020 - Lancer
2690021 - 4417
2690023 - 4416
2690050 - Lancer
2690051 - 4417
TP 400-2584-02-LN-SM

PART NO. DESCRIPTIONREF NO QTY.
Frame Group
Footnotes
PLATE, Pivot 1 1722359ASM 2
CAPSCREW, Hex Head, 3/8-16 x 1-1/4, Black 2 1920415SM 8
WASHER, 3/8, Black 3 1960071SM 2
NUT, Hex Flange Lock, Black 4 1928352SM 6
SPACER 5 2154177SM 4
CAPSCREW, Hex Head, Flange Lock, 5/16-18 x 1/2, Black 6 1931648SM 6
SHROUD, Wheel, RH 7 1723144SM 1
SKIRT, Side, RH 8 1723290ASM 1
CAPSCREW, Hex Washer Head, Plastite, # 10-14 x 5/8, Black 9 1960001SM 2
CLIP, Shroud 10 1723691SM 2
PLUG, Hole 11 1715015SM 1
FASTENER, Panel 12 1704351SM 14
PAD, Footrest, RH 13 1714418SM 1
PAD, Footrest, LH 14 1714417SM 1
CAPSCREW, Hex Head Whiz Lock, 5/16-18 x 3/4, Black 15 1930591SM 4
WRAPPER, Rear Frame 16 1722453ASM 1
NUT, Speed, Lug, 5/16-18 17 1935255SM 4
FRAME ASSEMBLY, Rear 18 1722514ASM 1
NUT, Hex, Flange, 1/4-20, Black 19 1960294SM 1
SKIRT, Side, LH 20 1723289ASM 1
CAPSCREW, Hex Head, 1/4-20 x 7/8, Black 21 1924009SM 1
SHROUD, Wheel, LH 22 1723145SM 1
FRAME ASEMBLY, Transmission 23 1722494ASM 1
NUT, Hex Lock Aluminum Insert, 3/8-16 24 2860681SM 2
WEIGHT & TAB ASSEMBLY, 75 lbs. 25 1723873ASM 1
CARRIAGE BOLT, 5/16-18 x 1 26 1931335SM 2
NUT, Hex, Flange Whiz Lock, 5/16-18 27 1927557SM 2
The above parts group applies to the following Mfg. Nos.:
2007 5
© Copyright Simplicity Manufacturing, Inc. All Rights Reserved.
1694106 - Lancer
1694255 - 4416
1694292 - Lancer
1694294 - 4417
1694317 - Lancer
1694319 - 4416
1694320 - 4417
1694348 - 4416
2690020 - Lancer
2690021 - 4417
2690023 - 4416
2690050 - Lancer
2690051 - 4417
TP 400-2584-02-LN-SM

Steering Group
NOTE: Unless noted otherwise,
use the standard hardware torque
specification chart.
985951
The above parts group applies to the following Mfg. Nos.:
2007 6
© Copyright Simplicity Manufacturing, Inc. All Rights Reserved.
1694106 - Lancer
1694255 - 4416
1694292 - Lancer
1694294 - 4417
1694317 - Lancer
1694319 - 4416
1694320 - 4417
1694348 - 4416
2690020 - Lancer
2690021 - 4417
2690023 - 4416
2690050 - Lancer
2690051 - 4417
TP 400-2584-02-LN-SM

PART NO. DESCRIPTIONREF NO QTY.
Steering Group
Footnotes
BUSHING, Nylon 1 2176440SM 6
PLATE, Mounting 2 1703508ASM 1
NUT, Hex Flange Whiz Lock, 3/8-16, Black 3 1928352SM 4
SHAFT & PINION ASSEMBLY 4 1722495SM 1
PIN, Cotter, Black 5 1919314SM 1
PIN, Spring, 5/16 x 2-1/2, Black 6 1960540SM 1
WASHER, 3/4 7 2860202SM 1
BUSHING, Metal 8 1666001SM 1
CARRIAGE BOLT, 1/4-20 x 3/4 9 1931317SM 2
SUPPORT ASSEMBLY 10 1722497ASM 1
NUT, Push, 1/4, Black 11 1960518SM 2
PLATE, Mounting 12 1721736ASM 1
NUT, Hex KEPS, 1/4-20, Black 13 2828732 2
COVER, Black Rubber 14 1722749SM 1
STEERING WHEEL 15 1722738SM 1
CAP, Steering Wheel 16 1722319SM 1
DASHBOARD 17 1723111SM 1
CAPSCREW, Hex Head, 1/2-13 x 1-3/4, Black 18 1921525SM 1
SPACER 19 2105386SM 1
SPACER 20 1723129SM 1
CAPSCREW, Hex Head, 1/2-13 x 3, Black 21 1960245SM 1
RING, Klip, External 3/4, Black 22 1611710SM 2
AXLE ASSEMBLY,w/Bushings & Lube Fitting 23 1724616SM 1
NUT, Hex Lock ESNA Heavy, 1/2-13, Black 24 1960355SM 2
WASHER, 1/2, Black 25 1918431SM 2
FITTING, Lube 26 2821133SM 3
CAPSCREW, Hex Head, 3/8-16 x 1, Black 27 1921210SM 2
SPACER, Powder Metal 28 1611705SM 2
ROD, Tie 29 1722387SM 1
SPINDLE & LEVER ASSEMBLY, RH (Lancer LH) 30 1677131ASM 1
CAPSCREW, Hex Head, 3/8-16 1-1/2 31 1921969SM 1
NUT, Hex Flange Lock, 3/8-16, Black 32 1960339SM 2
SPACER 33 1708236SM 1
SPINDLE & LEVER ASSEMBLY, LH (Lancer RH) 34 1677133ASM 1
BALL JOINT 35 1702779SM 2
NUT, Hex Flange Lock, 3/8-16, Black 36 1930645SM 1
NUT, Hex Head, 1/2-20, Black 37 1919262SM 2
DRAG LINK 38 1722504SM 1
NUT, Hex Flange Two Way Lock, 1/2-13, Black 39 1930644SM 1
SHAFT & GEAR ASSEMBLY 40 1724793ASM 1
CAPSCREW, Hex Head, 1/2-13 x 1-1/2, Black 41 1920328SM 1
CAPSCREW, Hex Head, 5/16-18 x 3/4 42 1930591SM 2
CARRIAGE BOLT, 3/8-16 x 1 , Black 43 1931350SM 4
NUT, Speed, 5/16-18 44 1935255SM 6
The above parts group applies to the following Mfg. Nos.:
2007 7
© Copyright Simplicity Manufacturing, Inc. All Rights Reserved.
1694106 - Lancer
1694255 - 4416
1694292 - Lancer
1694294 - 4417
1694317 - Lancer
1694319 - 4416
1694320 - 4417
1694348 - 4416
2690020 - Lancer
2690021 - 4417
2690023 - 4416
2690050 - Lancer
2690051 - 4417
TP 400-2584-02-LN-SM

Steering Group
NOTE: Unless noted otherwise,
use the standard hardware torque
specification chart.
985951
The above parts group applies to the following Mfg. Nos.:
2007 8
© Copyright Simplicity Manufacturing, Inc. All Rights Reserved.
1694106 - Lancer
1694255 - 4416
1694292 - Lancer
1694294 - 4417
1694317 - Lancer
1694319 - 4416
1694320 - 4417
1694348 - 4416
2690020 - Lancer
2690021 - 4417
2690023 - 4416
2690050 - Lancer
2690051 - 4417
TP 400-2584-02-LN-SM

PART NO. DESCRIPTIONREF NO QTY.
Steering Group
Footnotes
SHROUD, Steering 45 1715998CSM 1
CAPSCREW, Hex Head, 1/4-20 x 5/8, Black 46 1927429SM 3
WASHER, 3/4, Black 47 1960114SM 4
NUT, Hex Flange Lock, 5/16-18, Black 48 1927557SM 2
The above parts group applies to the following Mfg. Nos.:
2007 9
© Copyright Simplicity Manufacturing, Inc. All Rights Reserved.
1694106 - Lancer
1694255 - 4416
1694292 - Lancer
1694294 - 4417
1694317 - Lancer
1694319 - 4416
1694320 - 4417
1694348 - 4416
2690020 - Lancer
2690021 - 4417
2690023 - 4416
2690050 - Lancer
2690051 - 4417
TP 400-2584-02-LN-SM

Engine & Electric Clutch - 15HP & 17HP Briggs & Stratton
NOTE: Unless noted otherwise,
use the standard hardware torque
specification chart.
985948
The above parts group applies to the following Mfg. Nos.:
2007 10
© Copyright Simplicity Manufacturing, Inc. All Rights Reserved.
1694106 - Lancer
1694255 - 4416
1694292 - Lancer
1694294 - 4417
1694317 - Lancer
1694319 - 4416
1694320 - 4417
1694348 - 4416
2690020 - Lancer
2690021 - 4417
2690023 - 4416
2690050 - Lancer
2690051 - 4417
TP 400-2584-02-LN-SM

PART NO. DESCRIPTIONREF NO QTY.
Engine & Electric Clutch - 15HP & 17HP Briggs & Stratton
Footnotes
GASKET, Ehaust 1* 2
ADAPTER, Muffler 2 1723468SM 1
LOCKWASHER, 5/16 3 1917356SM 2
CAPSCREW, Hex Socket Head, 5/16-18 x 3/4 4 1936228SM 2
CAPSCREW, Hex Washer Head, Taptite, 1/4-20 x 5/8 5 1927429SM 1
MUFFLER 6 1723469SM 1
LOCK, Screw 7* 1
CAPSCREW 8* 2
VALVE, Shut Off 9 1708405SM 1
BRACKET, Engine Cover 10 1723298A 1
NUT, Speed, 1/4-20 11 1926018SM 2
CAPSCREW, Hex Head, Whiz Lock, 1/4-20 x 3/4 * Export / Domestic 12 1930594SM 3 / 1
COVER, Engine 13 1723113SM 1
SCOOP, Hood 14 1722111SM 1
KNOB, 3 Sided Soft Plastic 15 1713855SM 1
CAPSCREW, Hex Washer Head, Taptite, 5/16-18 x 5/8 16 1930601SM 1
PUSH NUT, 1/4 17 1960518SM 1
BRACKET 18 1668500A 1
PUSH NUT, 5/16 19 1933988SM 4
CONTROL, Throttle, Dual, W/Knob 20 1724012SM 1
CONTROL, Throttle, Single, W/Knob 20 1722955SM 1
CLAMP, Hose 21 2860112SM 2
HOSE, Fuel 22 1718678SM 1
SPACER 23 1723390SM 1
PULLEY & HUB ASSEMBLY 24 1713187SM 1
KEY, Hi Pro, 1/4 x 2 25 2105337SM 1
CLUTCH, Electric 26 1686883SM 1
WASHER, Hex 27 1708264SM 1
LOCKWASHER, 7/16 28 1918199SM 1
CAPSCREW, Hex Head, 7/16-20 x 3-1/2 29 1960649SM 1
CAPSCREW, Hex Washer Head, Taptite, 3/8-16 x 1-1/2 30 2830598SM 4
HEAT SHIELD, Muffler 31 1723476A 1
CAPSCREW, Hex Washer Head, Taptite, 5/16-18 x 3/4 32 1664847SM 2
ENGINE, 15HP Briggs & Stratton Intek, Model 31F777, Type 0111 33 * 1
ENGINE, 17HP Briggs & Stratton Intek, Model 31F770, Type 0110 33 * 1
TIE, Self Locking, 3-5/8" Long 34 2832747SM 1
SCREW, Flat Head, #6 x 5/8, (Export Only) 35 2860661SM 1
PAD, Rubber, (Export Only) 36 1723949SM 1
STOP, Throttle, (Export Only) 37 1708442SM 1
TIE, Self Locking, 7-5/16" Long 38 1701011SM 1
SCREW, Double Wing 1/4-20 x 5/8 * Export / Domestic 41 1935023SM 0 / 2
Note* See your local Briggs & Stratton distributor for parts and service.
The above parts group applies to the following Mfg. Nos.:
2007 11
© Copyright Simplicity Manufacturing, Inc. All Rights Reserved.
1694106 - Lancer
1694255 - 4416
1694292 - Lancer
1694294 - 4417
1694317 - Lancer
1694319 - 4416
1694320 - 4417
1694348 - 4416
2690020 - Lancer
2690021 - 4417
2690023 - 4416
2690050 - Lancer
2690051 - 4417
TP 400-2584-02-LN-SM

Transmission Group
NOTE: Unless noted otherwise,
use the standard hardware torque
specification chart.
985949
The above parts group applies to the following Mfg. Nos.:
2007 12
© Copyright Simplicity Manufacturing, Inc. All Rights Reserved.
1694106 - Lancer
1694255 - 4416
1694292 - Lancer
1694294 - 4417
1694317 - Lancer
1694319 - 4416
1694320 - 4417
1694348 - 4416
2690020 - Lancer
2690021 - 4417
2690023 - 4416
2690050 - Lancer
2690051 - 4417
TP 400-2584-02-LN-SM

PART NO. DESCRIPTIONREF NO QTY.
Transmission Group
Footnotes
CAPSCREW, Hex Head, 3/8-16 x 2, Black 1 1923701SM 1
SPACER 2 1674669SM 1
WASHER, 3/8, Black 3 1924940SM 7
BUSHING 4 1676148SM 2
SPRING, Extension, 7-3/4" Long 5 1725250SM 1
ARM ASSEMBLY 6 1722969ASM 1
FITTING, Lube 7 2812808SM 1
CAPSCREW, Hex Head, 3/8-16 x 1-1/2, Black 8 1921969SM 1
PULLEY, Idler, 3-1/4 9 1724387SM 1
NUT, Hex Flange Lock, 3/8-16, Black 10 1960339SM 2
NUT, Hex Flange Lock, 5/16-18, Black 11 1927557SM 2
CAPSCREW, Hex Head 5/16-18 x 2 G5 12 1921978SM 1
CAPSCREW, Hex Head, 5/16-18 x 2-1/2, Black 13 1921719SM 6
SNAP RING 14 1724316SM 2
SPLINE COLAR 15 1724312SM 2
LOCKWASHER 16 1723415SM 1
V-BELT 17 1715128SM 1
PULLEY 18 1724313SM 1
FAN 19 1724314SM 1
"E" RING 20 1718076SM 1
ROD, Hydro Bypass 21 1723161SM 1
PIN, Cotter 22 1923360SM 1
TRANSMISSION ASSEMBLY, Foot Control, K46Q 23 1721022SM 1
KEY, Parallel 24 1717749SM 2
WASHER, 3/4 25 2860202SM 4
SPACER 26 1723820SM 2
NUT, Hex Flange Lock, 5/16-18 27 1935048SM 7
SPACER 28 1666294SM 1
CAPSCREW, Hex Head, 5/16-18 x 1-3/4 29 1960585SM 1
The above parts group applies to the following Mfg. Nos.:
2007 13
© Copyright Simplicity Manufacturing, Inc. All Rights Reserved.
1694106 - Lancer
1694255 - 4416
1694292 - Lancer
1694294 - 4417
1694317 - Lancer
1694319 - 4416
1694320 - 4417
1694348 - 4416
2690020 - Lancer
2690021 - 4417
2690023 - 4416
2690050 - Lancer
2690051 - 4417
TP 400-2584-02-LN-SM

Transmission SERVICE PARTS - Tuff Torq K-46Q
NOTE: Unless noted otherwise,
use the standard hardware torque
specification chart.
1721022
The above parts group applies to the following Mfg. Nos.:
2007 14
© Copyright Simplicity Manufacturing, Inc. All Rights Reserved.
1694106 - Lancer
1694255 - 4416
1694292 - Lancer
1694294 - 4417
1694317 - Lancer
1694319 - 4416
1694320 - 4417
1694348 - 4416
2690020 - Lancer
2690021 - 4417
2690023 - 4416
2690050 - Lancer
2690051 - 4417
TP 400-2584-02-LN-SM

PART NO. DESCRIPTIONREF NO QTY.
Transmission SERVICE PARTS - Tuff Torq K-46Q
Footnotes
LOWER HOUSING 3 1724278SM 1
RESERVOIR TANK 4 1731981SM 1
TUBE 5 1724335SM 1
MINIATURE CLAMP 6 1724336SM 2
VENT VALVE 7 1718052SM 1
MAGNET 8 1724279SM 2
HOLDER, MAGNET 9 1724337SM 1
SPRING 11 1725730SM 1
SHAFT, Bypass 12 1724338SM 1
LEVER, Bypass 13 1720418SM 1
RING 14 1718061SM 1
SEALING CAP 15 1724282SM 1
RING, Snap 16 1708650SM 1
"O" RING 19 1708691SM 2
SEAL 20 1708651SM 1
SCREW, Tapping 21 1707789SM 14
TAPPING SCREW 22 1724284SM 2
SUPPORT 23 1724339SM 1
CENTER CASE, Complete 24 1724340SM 1
PIN 25 1718070SM 1
FILTER K55 26 1724341SM 1
BOLT 27 1720805SM 3
IDS VALVE 28 1724286SM 2
IDS SPRING 29 1724287SM 2
BALL, 3/16 30 1724288SM 2
CYLINDER BLOCK 31 1718079SM 1
SPRING, Pump 32 1724290SM 1
PUMP SHAFT 33 1724291SM 1
RING, "E" 34 1718076SM 3
BEARING 35 1718083SM 1
HOUSING 36 1718077SM 1
BEARING 37 1718078SM 1
CYLINDER BLOCK 38 1725831SM 1
WASHER 39 1718084SM 1
SHAFT MOTOR 40 1724293SM 1
RING, Snap 41 1708672SM 1
MOTOR GEAR 42 1724294SM 1
BEARING 43 1718083SM 1
THRUST METAL 44 1724342SM 2
SWASH PLATE COMPLETE 45 1720426SM 1
BEARING 46 1718086SM 1
THRUST PLATE 47 1718087SM 1
THRUST PLATE 48 1718088SM 1
CONTROL SHAFT 49 1724343SM 1
The above parts group applies to the following Mfg. Nos.:
2007 15
© Copyright Simplicity Manufacturing, Inc. All Rights Reserved.
1694106 - Lancer
1694255 - 4416
1694292 - Lancer
1694294 - 4417
1694317 - Lancer
1694319 - 4416
1694320 - 4417
1694348 - 4416
2690020 - Lancer
2690021 - 4417
2690023 - 4416
2690050 - Lancer
2690051 - 4417
TP 400-2584-02-LN-SM

Transmission SERVICE PARTS - Tuff Torq K-46Q
NOTE: Unless noted otherwise,
use the standard hardware torque
specification chart.
1721022
The above parts group applies to the following Mfg. Nos.:
2007 16
© Copyright Simplicity Manufacturing, Inc. All Rights Reserved.
1694106 - Lancer
1694255 - 4416
1694292 - Lancer
1694294 - 4417
1694317 - Lancer
1694319 - 4416
1694320 - 4417
1694348 - 4416
2690020 - Lancer
2690021 - 4417
2690023 - 4416
2690050 - Lancer
2690051 - 4417
TP 400-2584-02-LN-SM

PART NO. DESCRIPTIONREF NO QTY.
Transmission SERVICE PARTS - Tuff Torq K-46Q
Footnotes
FULCRUM, Eccentric 50 1724344SM 1
SPRING, Torsion 51 1724345SM 1
CONTROL ARM 52 1724346SM 1
CONTROL LEVER 53 1724347SM 1
JERKY PLATE 54 1724348SM 1
WASHER 55 1708689SM 1
COTTER PIN 56 1724349SM 1
PIN, SPRING 57 1724311SM 2
PIN, Roll 58 1718100SM 1
"O" RING 59 1707879SM 2
NUT 60 1708692SM 1
DIFF PINION, Kit 61 1724297SM 2
FINAL GEAR 62 1724298SM 1
COLLAR, Final 63 1724299SM 1
REDUCTION SHAFT 64 1724300SM 1
WASHER 65 1720439SM 2
REDUCTION GEAR 66 1724301SM 1
FINAL PINION 67 1724302SM 1
AXLE SHAFT, LH 68 1724303SM 1
AXLE SHAFT, RH 69 1724304SM 1
THRUST WASHER 70 1718112SM 2
RING 71 1718113SM 2
SEAL 72 1718111SM 2
BUSHING 73 1718110SM 2
SHOE, BRAKE 75 1724305SM 1
ARM, Brake 76 1724306SM 1
SHAFT, BRAKE 77 1724307SM 1
RETURN SPRING 78 1724308SM 1
ACTUATOR, Brake 79 1724309SM 1
PIN 80 1724310SM 1
"O" RING 81 1708690SM 2
PIN 82 1707839SM 2
SPLINE COLLAR 83 1724312SM 2
PULLEY 84 1724313SM 1
FAN 85 1724314SM 1
LOCK WASHER 86 1724315SM 1
SNAP RING 87 1724316SM 2
UPPER HOUSING, (Includes Ref. No. 89A) 89 1729860SM 1
BUSHING 89A 1720814SM 2
ROLL PIN 90 1707839SM 1
OIL SEAL 91 1724318SM 1
WASHER, Seal 99 1708649SM 2
SCREW, Cap 100 1724324SM 2
BEARING, Thrust (Includes Ref. Nos. 46, 47 & 48) 199 1724942SM 1
SEAL KIT, K46 (Includes Ref. Nos. 8, 19, 20, 26, 59, 72, 81, 91, 99 & Sealant) 200 1727541 1
The above parts group applies to the following Mfg. Nos.:
2007 17
© Copyright Simplicity Manufacturing, Inc. All Rights Reserved.
1694106 - Lancer
1694255 - 4416
1694292 - Lancer
1694294 - 4417
1694317 - Lancer
1694319 - 4416
1694320 - 4417
1694348 - 4416
2690020 - Lancer
2690021 - 4417
2690023 - 4416
2690050 - Lancer
2690051 - 4417
TP 400-2584-02-LN-SM

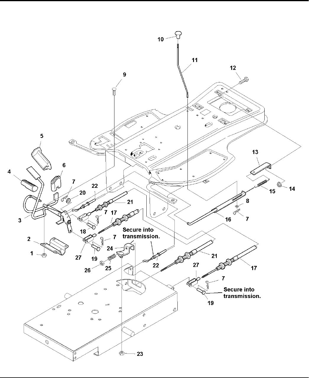
Controls Group
NOTE: Unless noted otherwise,
use the standard hardware torque
specification chart.
985950
The above parts group applies to the following Mfg. Nos.:
2007 18
© Copyright Simplicity Manufacturing, Inc. All Rights Reserved.
1694106 - Lancer
1694255 - 4416
1694292 - Lancer
1694294 - 4417
1694317 - Lancer
1694319 - 4416
1694320 - 4417
1694348 - 4416
2690020 - Lancer
2690021 - 4417
2690023 - 4416
2690050 - Lancer
2690051 - 4417
TP 400-2584-02-LN-SM

PART NO. DESCRIPTIONREF NO QTY.
Controls Group
Footnotes
NUT, Hex Lock ESNA, 5/16-18, Black 1 1919438SM 4
CLAMP 2 1713784SM 1
FOOT PEDAL & BRAKE ARM ASSEMBLY 3 1722524ASM 1
PEDAL, Foot, Forward 4 1715834SM 1
PAD, Brake Pedal 5 1721577SM 1
PEDAL, Foot, Reverse 6 1715835SM 1
CLIP, Hair Pin, Black 7 1960221SM 5
WASHER, 1/4, Black 8 1921319SM 1
CARRIAGE BOLT, 5/16-18 x 3/4, Black 9 1931333SM 4
KNOB, 1/4-20 Thread 10 1713855SM 1
ROD, Parking Brake, Yellow 11 1714385SM 1
CAPSCREW, Hex Head, Whiz Lock 5/16-18 x 3/4, Black 12 1930591SM 1
BRACKET 13 1723794A 1
NUT, Hex, 5/16, Black 14 1931277SM 1
SPRING, Extension, 6-1/2" Long 15 2165068SM 1
LEVER & ROD ASSEMBLY 16 1722529SM 1
CABLE, Forward/Reverse 17 1722974SM 1
PIN, Yoke, Drilled, 1/4 x 3/4, Black 18 1960261SM 1
PIN, Clevis, 11/32 x 1-1/4 19 1711115 2
WASHER, 5/16, Black 20 1919326SM 1
CABLE, Brake Control 21 1722616SM 1
CABLE, Clutch Control 22 1722617SM 1
NUT, Hex Flange Lock, 5/16-18, Black 23 1935048SM 1
GUIDE BELT & STUD ASSEMBLY 24 1717728SM 1
SPRING, Compression 25 1725508SM 1
NUT, Hex Center Lock, 1/4-20 26 1960608SM 1
CLEVIS 27 1722975SM 2
The above parts group applies to the following Mfg. Nos.:
2007 19
© Copyright Simplicity Manufacturing, Inc. All Rights Reserved.
1694106 - Lancer
1694255 - 4416
1694292 - Lancer
1694294 - 4417
1694317 - Lancer
1694319 - 4416
1694320 - 4417
1694348 - 4416
2690020 - Lancer
2690021 - 4417
2690023 - 4416
2690050 - Lancer
2690051 - 4417
TP 400-2584-02-LN-SM

Electrical Group
NOTE: Unless noted otherwise,
use the standard hardware torque
specification chart.
985954
The above parts group applies to the following Mfg. Nos.:
2007 20
© Copyright Simplicity Manufacturing, Inc. All Rights Reserved.
1694106 - Lancer
1694255 - 4416
1694292 - Lancer
1694294 - 4417
1694317 - Lancer
1694319 - 4416
1694320 - 4417
1694348 - 4416
2690020 - Lancer
2690021 - 4417
2690023 - 4416
2690050 - Lancer
2690051 - 4417
TP 400-2584-02-LN-SM

PART NO. DESCRIPTIONREF NO QTY.
Electrical Group
Footnotes
BEZEL, Headlight 1 1719227SM 1
HEADLIGHT HOUSING 2 1719230SM 1
HEADLIGHT ASSEMBLY (Includes Ref. Nos. 1 & 2) 3 1719230SM 1
SWITCH, Rocker, Headlight 4 1703799SM 1
TIE, Self Locking, 3-5/8, Black 5 2832747SM 1
SWITCH, PTO, Push/Pull, w/Symbols 6 1722887SM 1
PLUG 7 1709188SM 1
KEYS, Ignition 8 1717163SM 2
COVER, Ignition Switch 9 1717550SM 1
NUT, Hex, 5/8-32 10 1717549SM 1
LOCKWASHER, Intrnal Tooth, 5/8, Thin, Black 11 1960547SM 1
WASHER, 5/8, Thin, Black 12 2101025SM 1
SWITCH ASSEMBLY, Ignition (Includes Ref. Nos. 8, 9, 10, 11, & 13) 13 1686734SM 1
SWITCH, Seat, NC 14 1718981SM 1
CAPSCREW, Hex Head Plastite, 1/4-20 x 1/2 15 1960536SM 2
BOOT, Insulator 16 1677296SM 1
CAPSCREW, Hex Head, 1/4-20 x 3/4 17 2823341SM 2
WASHER, 1/4 18 2821319SM 2
BATTERY, 12 Volt 19 1685215SM 1
SWITCH, Push,Grey, Pedal Switch, (Domestic Only) 20 1720401SM 1
LOCKWASHER, 1/4 21 2816964SM 2
NUT, Hex, 1/4-20 22 2816622SM 3
CABLE, # 6 x 42-1/2" Long, 2 Ring Terminals 23 1703484SM 2
CABLE, # 6 x 10" Long, 2 Ring Terminals 24 1716549SM 1
NUT, Hex, 5/16-24 25 2820263SM 2
LOCKWASHER, External Tooth, 5/16 26 2820426SM 2
WIRE, 12GA, 6" Long Red 27 1665237SM 1
BREAKER, Circuit, 12Volt, 20Amps 28 1665238SM 1
SOLENOID, 4 Pole 12Volt 29 1686981SM 1
CAPSCREW, Hex Head Taptite, 14-20 x 5/8 30 1927429SM 2
TIE, Self Locking, 7-5/16 Long, Black 31 1701011SM 2
STRAP, Black Rubber 32 1665872SM 1
BRACE, Battery 33 1667805SM 1
NUT, Hex, 3/8-16 34 2816950SM 1
LOCKWASHER, External Tooth, 3/8 35 2820427SM 1
COVER, Terminal, Red 36 2122023SM 1
SWITCH, Push, Black, Pedal Switch 37 1720411SM 1
HARNESS, Wiring 38 1724903SM 1
SHRINK TUBE 39 1715014SM 1
WIRE ASSEMBLY, 16GA, 16" Long, Black/Tan 40 1715010SM 1
The above parts group applies to the following Mfg. Nos.:
2007 21
© Copyright Simplicity Manufacturing, Inc. All Rights Reserved.
1694106 - Lancer
1694255 - 4416
1694292 - Lancer
1694294 - 4417
1694317 - Lancer
1694319 - 4416
1694320 - 4417
1694348 - 4416
2690020 - Lancer
2690021 - 4417
2690023 - 4416
2690050 - Lancer
2690051 - 4417
TP 400-2584-02-LN-SM

Seat Deck & Fuel Tank Group
NOTE: Unless noted otherwise,
use the standard hardware torque
specification chart.
985953
The above parts group applies to the following Mfg. Nos.:
2007 22
© Copyright Simplicity Manufacturing, Inc. All Rights Reserved.
1694106 - Lancer
1694255 - 4416
1694292 - Lancer
1694294 - 4417
1694317 - Lancer
1694319 - 4416
1694320 - 4417
1694348 - 4416
2690020 - Lancer
2690021 - 4417
2690023 - 4416
2690050 - Lancer
2690051 - 4417
TP 400-2584-02-LN-SM

PART NO. DESCRIPTIONREF NO QTY.
Seat Deck & Fuel Tank Group
Footnotes
POD, Control 1 1714542SM 1
SCREW, Torx Truss Head, 5/16-18 x 7/8, Black 2 1960086SM 3
CLAMP, Wire 3 1708008SM 1
WASHER, Curved, Special 4 1668681SM 3
SPACER 5 1666697SM 3
LEVER, Seat Latch, Black 6 1713597SM 1
CAP, Black 7 1715047SM 1
SPRING, Extension, 4-1/4 Long 8 2159106SM 1
PANEL, Side 9 1714318SM 2
SLIDE, Seat 10 1713595SM 1
CAPSCREW, Hex Head Whiz Lock, 5/16-18 x 1/2, Black 11 1931648SM 11
SEAT SWITCH, NC 12 1718981SM 1
SEAT W/Cushion & Sensitivity 13 1687020SM 1
PLATE, Spring 14 1715768A 1
NUT, Hex Lock ESNA, 5/16-18, Black 15 1919438SM 2
WASHER, Spring 16 1709256SM 2
SPRING 17 1717051SM 2
CARRIAGE BOLT, 5/16-18 x 1, Black 18 1931335SM 2
NUT, Hex Whiz Lock, 5/16-18, Black 19 1931277SM 6
PAN & ROD ASEMBLY 20 1718985SM 1
CAPSCREW, Hex Head, Whiz Lock, 5/16-18 x 3/4, Black 21 1930591SM 12
STOP, Seat 22 1713794SM 2
BAR 23 1713758SM 2
SEAT DECK 24 1722918CSM 1
MOLDING, PCV, 12-3/8" Long 25 1719104SM 6
FUEL TANK 26 1722904SM 1
CAP, Fuel 27 1722905SM 1
NUT, Speed, 5/16-18 28 1935255SM 6
WASHER, 5/16 29 1919326SM 3
The above parts group applies to the following Mfg. Nos.:
2007 23
© Copyright Simplicity Manufacturing, Inc. All Rights Reserved.
1694106 - Lancer
1694255 - 4416
1694292 - Lancer
1694294 - 4417
1694317 - Lancer
1694319 - 4416
1694320 - 4417
1694348 - 4416
2690020 - Lancer
2690021 - 4417
2690023 - 4416
2690050 - Lancer
2690051 - 4417
TP 400-2584-02-LN-SM

Lift Group
NOTE: Unless noted otherwise,
use the standard hardware torque
specification chart.
986041
The above parts group applies to the following Mfg. Nos.:
2007 24
© Copyright Simplicity Manufacturing, Inc. All Rights Reserved.
1694106 - Lancer
1694255 - 4416
1694292 - Lancer
1694294 - 4417
1694317 - Lancer
1694319 - 4416
1694320 - 4417
1694348 - 4416
2690020 - Lancer
2690021 - 4417
2690023 - 4416
2690050 - Lancer
2690051 - 4417
TP 400-2584-02-LN-SM

PART NO. DESCRIPTIONREF NO QTY.
Lift Group
Footnotes
WASHER, 3/8, Black 1 1960071SM 2
LINK, Lift 2 1723194ASM 2
SPACER 3 2154177SM 4
WASHER,3/8, Black 4 1922755SM 4
CAPSCREW, Hex Head, 3/8-16 x 1-3/4, Black 5 1921971SM 2
CAPSCREW, Hex Washer Head, 5/16-18 x 4-1/2, Black 6 1722357SM 1
NUT, Hex, 5/16-18, Black 7 1917372SM 2
ANCHOR, Spring 8 1723202ASM 1
CAPSCREW, Hex Head, 5/16-18 x 2-1/2 9 1921719SM 2
RETAINER, Spring 10 1723499SM 1
NUT, Speed, 5/16-18 11 1935255SM 1
SPRING, Extension, 9" Long 12 1675232SM 1
NUT, Hex Flange Lock, 3/8-16, Black 13 1930645SM 4
BAR & HUB ASSEMBLY 14 1723203ASM 1
PIN, Spring, 5/16 x 1-1/2 15 2815523SM 1
CAPSCREW, Hex Head, 3/8-16 x 1-1/4, Black 16 1920415SM 4
NUT, Hex Flange Whiz Lock, 5/16-18, Black 17 1931277SM 2
GRIP, Lift Lever 18 1722291SM 1
BUTTON, Red 19 1723124SM 1
NUT, Push, 1/4, Black 20 1960674SM 1
SPRING, Compression, 3.85" Long 21 1723321SM 1
HANDLE ASSEMBLY, Lift 22 1723200ASM 1
ROD 23 1723224SM 1
QUADRANT, Lift 24 1723285ASM 1
NUT, Hex Lock ESNA, 1/4-20, Black 25 1920397SM 1
LATCH "U" Wire 26 1720599SM 1
CAPSCREW, Hex Head, Whiz Lock, 5/16-18 x 3/4, Black 27 1930591SM 4
CAPSCREW, Hex Head, 1/4-20 x 2-1/4, Black 28 1921159SM 1
STRAP 29 1665374SM 1
BRACE, Support 30 1723529ASM 1
NUT, Hex Lock Aluminum Insert, 3/8-16 31 2860681SM 2
NUT, Hex Whiz Lock , 3/8-16 32 1928352SM 2
The above parts group applies to the following Mfg. Nos.:
2007 25
© Copyright Simplicity Manufacturing, Inc. All Rights Reserved.
1694106 - Lancer
1694255 - 4416
1694292 - Lancer
1694294 - 4417
1694317 - Lancer
1694319 - 4416
1694320 - 4417
1694348 - 4416
2690020 - Lancer
2690021 - 4417
2690023 - 4416
2690050 - Lancer
2690051 - 4417
TP 400-2584-02-LN-SM

Wheels & Tires Group
NOTE: Unless noted otherwise,
use the standard hardware torque
specification chart.
W985956
The above parts group applies to the following Mfg. Nos.:
2007 26
© Copyright Simplicity Manufacturing, Inc. All Rights Reserved.
1694106 - Lancer
1694255 - 4416
1694292 - Lancer
1694294 - 4417
1694317 - Lancer
1694319 - 4416
1694320 - 4417
1694348 - 4416
2690020 - Lancer
2690021 - 4417
2690023 - 4416
2690050 - Lancer
2690051 - 4417
TP 400-2584-02-LN-SM

PART NO. DESCRIPTIONREF NO QTY.
Wheels & Tires Group
Footnotes
WHEEL & TIRE ASEMBLY, Rear, (Includes Ref. Nos. 2, 3, 4, 5, & 6) 1 1723227SM 2
BEARING, Ball 2 1713167SM 2
WHEEL & BUSHINGS ASSEMBLY, (Includes Ref. No. 2) 3 1726301SM 1
VALVE STEM & CAP ASSEMBLY 4 2172353SM 4
TIRE, 15 X 6.00, 6 SUPER TURF TL 5 1723777SM 1
TUBE, Tire, 4.10/3.50, Rear 6 1664090SM 1
WASHER 7 2860202SM 8
RING, "E", External 8 2827794SM 4
CAP, Hub 9 1722675SM 4
WHEEL & TIRE ASSEMBLY, Front, (Includes Ref. Nos. 4, 11, 12, & 13) 10 1723228SM 2
WHEEL, 7.00 x 8.00 11 1716132SM 1
TUBE, Tire, 16 x 6.50 12 2164247SM 1
TIRE, 18 x 9.50, 8 SUPER TURF TL 13 1723778SM 1
SPACER 14 1723820SM 2
KEY, Parellel 15 1717749SM 2
The above parts group applies to the following Mfg. Nos.:
2007 27
© Copyright Simplicity Manufacturing, Inc. All Rights Reserved.
1694106 - Lancer
1694255 - 4416
1694292 - Lancer
1694294 - 4417
1694317 - Lancer
1694319 - 4416
1694320 - 4417
1694348 - 4416
2690020 - Lancer
2690021 - 4417
2690023 - 4416
2690050 - Lancer
2690051 - 4417
TP 400-2584-02-LN-SM

Decals - Brand & Model
NOTE: Unless noted otherwise,
use the standard hardware torque
specification chart.
B985956
The above parts group applies to the following Mfg. Nos.:
2007 28
© Copyright Simplicity Manufacturing, Inc. All Rights Reserved.
1694106 - Lancer
1694255 - 4416
1694292 - Lancer
1694294 - 4417
1694317 - Lancer
1694319 - 4416
1694320 - 4417
1694348 - 4416
2690020 - Lancer
2690021 - 4417
2690023 - 4416
2690050 - Lancer
2690051 - 4417
TP 400-2584-02-LN-SM

PART NO. DESCRIPTIONREF NO QTY.
Decals - Brand & Model
Footnotes
DECAL, Icon, Simplicity 1 1731418SM 1
DECAL, Touch-up Paint, Deep Orange and Black 2 1720454SM 1
DECAL, Simplicity, Silver & Blue, w/Icon 3 1722551SM 2
DECAL, Lancer, Silver & Blue 4 1722832SM 1
DECAL, 15HP 5 1722548SM 1
DECAL, 17HP 5 1722550SM 1
DECAL, Stripe, Blue & Silver 6 1723785SM 1
DECAL, Touch-up Paint, Red and Black 7 1725072SM 1
DECAL, Massey Ferguson, 3 Triangle Logo 8 1714363SM 2
DECAL, Model 4416 9 1723920SM 1
DECAL, Model 4417 9 1724254SM 1
DECAL, Stripe, Massey Ferguson 10 1723919SM 1
The above parts group applies to the following Mfg. Nos.:
2007 29
© Copyright Simplicity Manufacturing, Inc. All Rights Reserved.
1694106 - Lancer
1694255 - 4416
1694292 - Lancer
1694294 - 4417
1694317 - Lancer
1694319 - 4416
1694320 - 4417
1694348 - 4416
2690020 - Lancer
2690021 - 4417
2690023 - 4416
2690050 - Lancer
2690051 - 4417
TP 400-2584-02-LN-SM

Decals - Safety & Common
NOTE: Unless noted otherwise,
use the standard hardware torque
specification chart.
C985956
The above parts group applies to the following Mfg. Nos.:
2007 30
© Copyright Simplicity Manufacturing, Inc. All Rights Reserved.
1694106 - Lancer
1694255 - 4416
1694292 - Lancer
1694294 - 4417
1694317 - Lancer
1694319 - 4416
1694320 - 4417
1694348 - 4416
2690020 - Lancer
2690021 - 4417
2690023 - 4416
2690050 - Lancer
2690051 - 4417
TP 400-2584-02-LN-SM

PART NO. DESCRIPTIONREF NO QTY.
Decals - Safety & Common
Footnotes
DECAL, USA Logo 1 1708927 1
LABEL, CE & Serial Number, Export (Not Serviced) 2* 2
DECAL, Serial Number (Not Serviced) 2* 1
DECAL, Cutting Height Icons 3 1723825SM 1
DECAL, Belt Removal 4 1723786SM 1
DECAL, Warning Shear Point (Export Only) 5 1723823SM 2
DECAL, Patent (Not Serviced) 6* 1
DECAL, Transmission Release Valve 7 1723160SM 1
DECAL, Lift Lever Symbols 8 1723143SM 1
DECAL, Ignition Switch 9 1723826SM 1
DECAL, Operating Instructions, Icons (Export Only) 10 1723175SM 1
DECAL, Operating Instructions, 10 1722814SM 1
DECAL, Caution, Read Manual 11 1723824SM 1
DECAL, Danger Rotating Blades 12 1720389SM 2
DECAL, Height of Cut 13 1723470SM 1
DECAL, Height of Cut, 40" (Export) 13 1720919SM 1
DECAL, Free Floating 14 1722771SM 1
DECAL, Danger, Do Not Operate W/O Deflector 15 1704277SM 1
DECAL, Danger Rotating Blades 16 1704276SM 1
DECAL, 44" 17 1722789SM 1
DECAL, OPEI, (Not Serviced) 18 * 1
DECAL, Belt & Blade, 56 Tooth 19 1724379SM 1
DECAL, Belt & Blade, 38 Tooth 19 1727574SM 1
DECAL, 17 HP Intek, Briggs & Stratton 20 1723071SM 1
Note* Not a service Part.
The above parts group applies to the following Mfg. Nos.:
2007 31
© Copyright Simplicity Manufacturing, Inc. All Rights Reserved.
1694106 - Lancer
1694255 - 4416
1694292 - Lancer
1694294 - 4417
1694317 - Lancer
1694319 - 4416
1694320 - 4417
1694348 - 4416
2690020 - Lancer
2690021 - 4417
2690023 - 4416
2690050 - Lancer
2690051 - 4417
TP 400-2584-02-LN-SM

1694363 - Weight, Wheel
NOTE: Unless noted otherwise,
use the standard hardware torque
specification chart.
1694363
The above parts group applies to the following Mfg. Nos.:
2007 32
© Copyright Simplicity Manufacturing, Inc. All Rights Reserved.
1694106 - Lancer
1694255 - 4416
1694317 - Lancer
1694319 - 4416
1694320 - 4417
TP 400-2584-02-LN-SM

PART NO. DESCRIPTIONREF NO QTY.
1694363 - Weight, Wheel
Footnotes
NUT, Hex, 3/8-16 1 1916950SM 4
LOCKWASHER, 3/8 2 1916965SM 4
WEIGHT, Wheel (Includes Ref. Nos. 1, 2, 4, 5 & 6) 3 1724450SM 2
CAP, Wheel Weight 4N/A 2
WASHER, 3/8 5 1924940SM 4
CAPSCREW, Hex, 3/8-16 x 8 6 1960513SM 4
The above parts group applies to the following Mfg. Nos.:
2007 33
© Copyright Simplicity Manufacturing, Inc. All Rights Reserved.
1694106 - Lancer
1694255 - 4416
1694317 - Lancer
1694319 - 4416
1694320 - 4417
TP 400-2584-02-LN-SM

Mower Frame Group - with Height Adjustment
NOTE: Unless noted otherwise,
use the standard hardware torque
specification chart.
SL985961
The above parts group applies to the following Mfg. Nos.:
2007 34
© Copyright Simplicity Manufacturing, Inc. All Rights Reserved.
1694106 - Lancer
1694255 - 4416
1694292 - Lancer
1694294 - 4417
1694317 - Lancer
1694319 - 4416
1694320 - 4417
1694348 - 4416
2690020 - Lancer
2690021 - 4417
2690023 - 4416
2690050 - Lancer
2690051 - 4417
TP 400-2584-02-LN-SM

PART NO. DESCRIPTIONREF NO QTY.
Mower Frame Group - with Height Adjustment
Footnotes
SPACER 1 1722952SM 2
CAPSCREW, Hex Head, 1/2-13 x 4-1/2, Black 2 1923161SM 2
BRACKET & SHAFT ASSEMBLY 3 1726385ASM 2
WASHER, 3/4, Black 4 2860202SM *4
BUSHING 5 1666001SM 4
FITTING, Lube 6 1704314SM 2
FRAME ASSEMBLY 7 1724960C 1
FRAME ASSEMBLY 7 1724960D 1
CAPSCREW, Hex Head, 3/8-16 x 1-1/4, Black 8 1920415SM 2
SPACER 9 2154177SM 2
NUT, Hex Flange Lock, 3/8-16, Black 10 1928352SM 2
PIN, Round Head, Drilled, 3/8 x 2, Black 11 2118053SM 2
CLIP, Hair Pin, Black 12 1960074SM 4
WHEEL, Caster 13 1722951SM 2
PIN, Clevis, Black 14 1724107SM 2
PIN, Cotter, 1/4 x 2, Black 15 1918452SM 2
NUT, Hex Lock Light, 1/2-13, Black 16 1960379SM 2
ROD, Height Adjuster 17 1724959SM 2
WASHER 18 1919326SM 2
NUT, Hex Lock, 5/16-18 19 1919438SM 2
SPACER 20 1725762SM 2
Note* For S/N 2100 & Above use P/N 1725760C, 1725760D
Note* Only for S/N 2100 & Above
The above parts group applies to the following Mfg. Nos.:
2007 35
© Copyright Simplicity Manufacturing, Inc. All Rights Reserved.
1694106 - Lancer
1694255 - 4416
1694292 - Lancer
1694294 - 4417
1694317 - Lancer
1694319 - 4416
1694320 - 4417
1694348 - 4416
2690020 - Lancer
2690021 - 4417
2690023 - 4416
2690050 - Lancer
2690051 - 4417
TP 400-2584-02-LN-SM

Mower Frame Group - without Height Adjustment
NOTE: Unless noted otherwise,
use the standard hardware torque
specification chart.
985961
The above parts group applies to the following Mfg. Nos.:
2007 36
© Copyright Simplicity Manufacturing, Inc. All Rights Reserved.
1694106 - Lancer
1694255 - 4416
1694292 - Lancer
1694294 - 4417
1694317 - Lancer
1694319 - 4416
1694320 - 4417
1694348 - 4416
2690020 - Lancer
2690021 - 4417
2690023 - 4416
2690050 - Lancer
2690051 - 4417
TP 400-2584-02-LN-SM

PART NO. DESCRIPTIONREF NO QTY.
Mower Frame Group - without Height Adjustment
Footnotes
SPACER 1 1722952SM 2
CAPSCREW, Hex Head, 1/2-13 x 4-1/2, Black 2 1923161SM 2
BRACKET & SHAFT ASSEMBLY 3 1721878SM 2
WASHER, 3/4, Black 4 2860202SM 2
BUSHING 5 1666001SM 4
FITTING, Lube 6 1704314SM 2
FRAME ASSEMBLY 7 1686984SM 1
CAPSCREW, Hex Head, 3/8-16 x 1-1/4, Black 8 1920415SM 2
SPACER 9 2154177SM 2
NUT, Hex Flange Lock, 3/8-16, Black 10 1928352SM 2
PIN, Round Head, Drilled, 3/8 x 2, Black 11 2118053SM 2
CLIP, Hair Pin, Black 12 1960074SM 4
WHEEL, Caster 13 1722951SM 2
PIN, Clevis, Black 14 1724107SM 2
PIN, Cotter,1/4 x 2, Black 15 1918452SM 2
NUT, Hex Lock Light, 1/2-13, Black 16 1960379SM 2
The above parts group applies to the following Mfg. Nos.:
2007 37
© Copyright Simplicity Manufacturing, Inc. All Rights Reserved.
1694106 - Lancer
1694255 - 4416
1694292 - Lancer
1694294 - 4417
1694317 - Lancer
1694319 - 4416
1694320 - 4417
1694348 - 4416
2690020 - Lancer
2690021 - 4417
2690023 - 4416
2690050 - Lancer
2690051 - 4417
TP 400-2584-02-LN-SM

40" Mower Deck - Belt, Idler Arm & Hitch
NOTE: Unless noted otherwise,
use the standard hardware torque
specification chart.
985959
The above parts group applies to the following Mfg. Nos.:
2007 38
© Copyright Simplicity Manufacturing, Inc. All Rights Reserved.
1694109 - 40" Mower
1694257 - 40" Mower
1694297 - 40" Mower
1694298 - 40" Mower
2690023 - 4416
TP 400-2584-02-LN-SM

PART NO. DESCRIPTIONREF NO QTY.
40" Mower Deck - Belt, Idler Arm & Hitch
Footnotes
WASHER & LOCK NUT ASSEMBLY 1 1721425SM 1
SPRING, Extension, 3/4 2 1674671SM 1
ARM, Idler 3 1726387 1
WASHER, 3/8, Black 4 1922755SM 7
HUB 5 1719221SM 2
PULLEY, Idler, 56 Tooth 6 1719562SM 2
CAPSCREW, Hex Head, 3/8-16 x 2 7 1923701SM 2
CAPSCREW, Hex Head, 5/16-18 x 5/8, Black 8 1930601SM 1
SPACER 9 1666697SM 1
NUT, Hex Flange Whiz Lock, 3/8-16, Black 10 1928352SM 2
BELT, Timming, 56 Tooth 11 1721118SM 1
CARRIAGE BOLT, 3/8-16 x 2, Black 12 1960315SM 1
WASHER, 3/8, Black 13 1924940SM 6
PULLEY, Idler 14 1725408SM 1
BELT, Arbor Drive 15 1719746SM 1
SPACER 16 1667812SM 1
PLATE & ROD ASSEMBLY 17 1722960SM 1
NUT, Hex Lock Aluminum Insert, 3/8-16 18 2860681SM 3
PULLEY, Idler 19 1723952SM 1
CAPSCREW, Hex Head, 3/8-16 x 2-3/4, Black 20 1928957SM 1
CAPSCREW, Hex Head, 3/8-16 x 3-3/4, Black 21 1960653SM 1
ARM ASSEMBLY, w/Bushungs & Lube Fitting 22 1724646SM 1
SPACER 23 1667811SM 1
SPACER 24 1657242SM 1
CAPSCREW, Hex Head, 3/8-16 x 1-3/4, GR 8, Black 25 1922606SM 1
SPRING, Extension, 6" Long, Black 26 1715435SM 1
CAPSCREW, Hex Head, 3/8-16 x 1-1/2, Black 27 1921969SM 2
SPACER 28 2157081SM 2
HITCH ASSEMBLY, 40" Front Cut 29 1722040ASM 1
WASHER, Balck 30 1924940SM 1
SPACER 31 1724151SM 1
WASHER, Special, Black 32 1724152SM 1
NUT, Hex Flange Two Way Lock, 3/8-16, Black 33 1930645SM 1
NUT, Hex Flange Lock, 3/8-16, Black 34 1919439SM 1
The above parts group applies to the following Mfg. Nos.:
2007 39
© Copyright Simplicity Manufacturing, Inc. All Rights Reserved.
1694109 - 40" Mower
1694257 - 40" Mower
1694297 - 40" Mower
1694298 - 40" Mower
2690023 - 4416
TP 400-2584-02-LN-SM

40" Mower Deck - Belt, Idler Arm & Hitch
NOTE: Unless noted otherwise,
use the standard hardware torque
specification chart.
986260
The above parts group applies to the following Mfg. Nos.:
2007 40
© Copyright Simplicity Manufacturing, Inc. All Rights Reserved.
1694344 - 40" Mower
1694345 - 40" Mower
TP 400-2584-02-LN-SM

PART NO. DESCRIPTIONREF NO QTY.
40" Mower Deck - Belt, Idler Arm & Hitch
Footnotes
WASHER & LOCK NUT ASSEMBLY 1 1721425SM 1
SPRING, Extension, 3/4 2 1674671SM 1
ARM, Idler 3 1726387 1
WASHER, 3/8, Black 4 1922755SM 7
HUB 5 1719221SM 2
PULLEY, Idler, 38 Tooth 6 1731892SM 2
SCREW, Hex Flange Head, 3/8-16 x 2 7 1960746SM 2
CAPSCREW, Hex Head, 5/16-18 x 5/8, Black 8 1930601SM 1
SPACER 9 1666697SM 1
NUT, Hex Flange Whiz Lock, 3/8-16, Black 10 1928352SM 2
BELT, Timming, 38 Tooth 11 1724625SM 1
CARRIAGE BOLT, 3/8-16 x 2, Black 12 1960315SM 1
WASHER, 3/8, Black 13 1924940SM 6
PULLEY, Idler 14 1725408SM 1
BELT, Arbor Drive 15 1719746SM 1
SPACER 16 1667812SM 1
PLATE & ROD ASSEMBLY 17 1724650A 1
NUT, Hex Lock Aluminum Insert, 3/8-16 18 2860681SM 3
PULLEY, Idler 19 1723952SM 1
CAPSCREW, Hex Head, 3/8-16 x 2-3/4, Black 20 1928957SM 1
BUSHING 21 1663114SM 2
ARM ASSEMBLY, w/Bushungs & Lube Fitting 22 1724646SM 1
SPACER 23 1667811SM 1
SPACER 24 1657242SM 1
CAPSCREW, Hex Head, 3/8-16 x 1-3/4, GR 8, Black 25 1922606SM 1
SPRING, Extension, 6" Long, Black 26 1715435SM 1
CAPSCREW, Hex Head, 3/8-16 x 1-3/8, Black 27 1921968SM 2
SPACER 28 1732443SM 2
HITCH ASSEMBLY, 40" Front Cut 29 1722040ASM 1
NUT, Hex Flange Lock, 3/8-16, Black 30 1919439SM 1
The above parts group applies to the following Mfg. Nos.:
2007 41
© Copyright Simplicity Manufacturing, Inc. All Rights Reserved.
1694344 - 40" Mower
1694345 - 40" Mower
TP 400-2584-02-LN-SM

40" Mower Deck - Height Adjustment & Roller Bar
NOTE: Unless noted otherwise,
use the standard hardware torque
specification chart.
985960
The above parts group applies to the following Mfg. Nos.:
2007 42
© Copyright Simplicity Manufacturing, Inc. All Rights Reserved.
1694109 - 40" Mower
1694257 - 40" Mower
1694297 - 40" Mower
1694298 - 40" Mower
1694344 - 40" Mower
1694345 - 40" Mower
2690023 - 4416
TP 400-2584-02-LN-SM

PART NO. DESCRIPTIONREF NO QTY.
40" Mower Deck - Height Adjustment & Roller Bar
Footnotes
CAPSCREW, Hex Head, 3/8-16 x 1-3/4, GR 8, Black 1 1922606SM 1
ROD & STRAP ASSEMBLY 2 1723900SM 1
NUT, Hex, 5/8-11, Black 3 1915726SM 2
WASHER 4 1924366SM 2
PIN, Round Head, Drilled, 3/8 x 2, Black 5 2118053SM 1
PIN, Spring 6 2816001SM 3
TRUNNION 7 1706645ASM 1
STRAP 8 1665374SM 3
CAPSCREW, Hex Washer Head, Tap Tite, 5/16-18 x 3/4, Black 9 1664847SM 9
NUT, Hex Flange Lock, 3/8-16, Black 10 1960339SM 5
BAR, Roller 11 1723150ASM 1
SPACER 12 1960236SM 2
WASHER, 5/16, Black 13 1960044SM 2
CAPSCREW, Hex Head, 3/8-16 x 1-1/2, Black 14 1921969SM 4
CAPSCREW, Hex Head, 5/16-18 x 1-1/4, Black 15 1921977SM 2
CHAIN, Link, 5-5/8 Long, 4 Links 16 1669241SM 2
ROLLER, 5/8 ID x 2-1/2 OD x 4 Long 17 1668513SM 3
SHAFT & BAR ASSEMBLY 18 1722078A 1
ROLLER, 5/8 ID x 2-1/2 OD x 2 Long 19 1717675SM 2
WASHER, 5/8, Black 20 1924366SM 12
PLATE, Indicator 21 1723148A 1
WASHER, 5/16, Black 22 1924874SM 1
CAM, Eccentric 23 1714879SM 1
ARM 24 1722056SM 1
CARRIAGE BOLT, 1/2-13 x 2-1/2, Black 25 1960489SM 1
SHAFT ASSEMBLY, Rocker 26 1722077SM 1
ARM 27 1722978ASM 1
FITTING, Lube 28 1704314SM 1
TRUNNION 29 1715892SM 1
COVER, Rod 30 1716424SM 1
SPACER 31 1679166SM 1
POINTER, Height of Cut 32 1723147A 1
LOCKWASHER, 1/2, Black 33 1916966SM 1
NUT, Hex, 1/2-13, Black 34 1916951SM 1
WASHER, Special, Nylon 35 2860171SM 1
BEARING, Thrust 36 1715891SM 1
SPACER 37 1706644SM 1
WASHER, 5/8, Black 38 1960035SM 1
CRANK, Height of Cut 39 1723153SM 1
KNOB, Spinner 40 1714084SM 1
NUT, Push, 3/8 41 1960093SM 1
WASHER, 3/8, Black 42 1924940SM 1
WASHER, 3/8 43 1922755SM 2
PIN, Cotter 44 1918452SM 1
The above parts group applies to the following Mfg. Nos.:
2007 43
© Copyright Simplicity Manufacturing, Inc. All Rights Reserved.
1694109 - 40" Mower
1694257 - 40" Mower
1694297 - 40" Mower
1694298 - 40" Mower
1694344 - 40" Mower
1694345 - 40" Mower
2690023 - 4416
TP 400-2584-02-LN-SM

40" Mower Deck - Height Adjustment & Roller Bar
NOTE: Unless noted otherwise,
use the standard hardware torque
specification chart.
985960
The above parts group applies to the following Mfg. Nos.:
2007 44
© Copyright Simplicity Manufacturing, Inc. All Rights Reserved.
1694109 - 40" Mower
1694257 - 40" Mower
1694297 - 40" Mower
1694298 - 40" Mower
1694344 - 40" Mower
1694345 - 40" Mower
2690023 - 4416
TP 400-2584-02-LN-SM

PART NO. DESCRIPTIONREF NO QTY.
40" Mower Deck - Height Adjustment & Roller Bar
Footnotes
CARRIAGE BOLT, 5/16-18 x 1-1/4 45 1960655SM 1
NUT, Hex Lock, 3/8-16 46 2860643SM 3
NUT, Hex Lock, Aluminum Insert, 3/8-16 47 2860681SM 1
The above parts group applies to the following Mfg. Nos.:
2007 45
© Copyright Simplicity Manufacturing, Inc. All Rights Reserved.
1694109 - 40" Mower
1694257 - 40" Mower
1694297 - 40" Mower
1694298 - 40" Mower
1694344 - 40" Mower
1694345 - 40" Mower
2690023 - 4416
TP 400-2584-02-LN-SM

40" Mower Deck - Height Adjustment & Roller Bar (Later)
NOTE: Unless noted otherwise,
use the standard hardware torque
specification chart.
SL985960
The above parts group applies to the following Mfg. Nos.:
2007 46
© Copyright Simplicity Manufacturing, Inc. All Rights Reserved.
1694298 - 40" Mower
1694344 - 40" Mower
1694345 - 40" Mower
2690023 - 4416
TP 400-2584-02-LN-SM

PART NO. DESCRIPTIONREF NO QTY.
40" Mower Deck - Height Adjustment & Roller Bar (Later)
Footnotes
CAPSCREW, Hex Head, 3/8-16 x 2, GR 8, Black 1 1923701SM 1
ROD & STRAP ASSEMBLY 2 1723900SM 1
NUT, Hex, 5/8-11, Black 3 1915726SM 2
WASHER 4 1924366SM 2
PIN, Round Head, Drilled, 3/8 x 2, Black 5 2118053SM 1
PIN, Spring 6 2816001SM 3
TRUNNION 7 1706645ASM 1
STRAP 8 1665374SM 3
CAPSCREW, Hex Washer Head, Tap Tite, 5/16-18 x 3/4, Black 9 1664847SM 9
NUT, Hex Flange Lock, 3/8-16, Black 10 1960339SM 3
BAR, Roller 11 1723150ASM 1
SPACER 12 1960236SM 2
WASHER, 5/16, Black 13 1960044SM 2
CAPSCREW, Hex Head, 3/8-16 x 1-1/2, Black 14 1921969SM 2
CAPSCREW, Hex Head, 5/16-18 x 1-1/4, Black 15 1921977SM 2
CHAIN, Link, 3 Links 16 1656835A 2
ROLLER, 5/8 ID x 2-1/2 OD x 4 Long 17 1668513SM 3
SHAFT & BAR ASSEMBLY 18 1722078A 1
ROLLER, 5/8 ID x 2-1/2 OD x 2 Long 19 1717675SM 2
WASHER, 5/8, Black 20 1924366SM 12
PLATE, Indicator 21 1723148A 1
NUT, Hex Lock, Aluminum Insert, 3/8-16 22 2860681SM 1
NUT, Hex Lock, 3/8-16 23 2860643SM 3
PIN, Hair 24 1960074SM 1
CARRIAGE BOLT, 1/2-13 x 2-1/2, Black 25 1960489SM 1
SHAFT ASSEMBLY, Rocker 26 1724970A 1
ARM 27 1722978ASM 1
FITTING, Lube 28 1704314SM 1
TRUNNION 29 1715892SM 1
COVER, Rod 30 1716424SM 1
SPACER 31 1679166SM 1
POINTER, Height of Cut 32 1723147A 1
LOCKWASHER, 1/2, Black 33 1916966SM 1
NUT, Hex, 1/2-13, Black 34 1916951SM 1
WASHER, Special, Nylon 35 2860171SM 1
BEARING, Thrust 36 1715891SM 1
SPACER 37 1706644SM 1
WASHER, 5/8, Black 38 1960035SM 1
CRANK, Height of Cut 39 1723153SM 1
KNOB, Spinner 40 1714084SM 1
NUT, Push, 3/8 41 1960093SM 1
WASHER, 3/8, Black 42 1924940SM 1
The above parts group applies to the following Mfg. Nos.:
2007 47
© Copyright Simplicity Manufacturing, Inc. All Rights Reserved.
1694298 - 40" Mower
1694344 - 40" Mower
1694345 - 40" Mower
2690023 - 4416
TP 400-2584-02-LN-SM

40" Mower Deck - Housing, Arbors & Blades
NOTE: Unless noted otherwise,
use the standard hardware torque
specification chart.
985958
The above parts group applies to the following Mfg. Nos.:
2007 48
© Copyright Simplicity Manufacturing, Inc. All Rights Reserved.
1694109 - 40" Mower
1694257 - 40" Mower
1694297 - 40" Mower
TP 400-2584-02-LN-SM

PART NO. DESCRIPTIONREF NO QTY.
40" Mower Deck - Housing, Arbors & Blades
Footnotes
CARRIAGE BOLT,1/4-20 x 7/8, Black 1 1931318SM 1
NUT, Push, 1/4, Black 2 1960518SM 1
WASHER, 1/4, Black 3 1960353SM 2
CLAMP, Wire, Black 4 1704873SM 1
LOCKWASHER, 1/4, Black 5 1916964SM 1
NUT, Hex, 1/4-10, Black 6 1916622SM 1
SPRING, Torsion, Black 7 1723938SM 1
CARRIAGE BOLT, 5/16-18 x 1, Black 8 1931335SM 1
NUT, Push, 5/16, Black 9 1933988SM 1
WASHER, 5/16, Black 10 1919381SM 1
LOCKWASHER, 5/16, Black 11 1917356SM 1
NUT, Hex, 5/16, Black 12 1917372SM 1
ROD 13 1719617SM 1
DOOR, Mulching 14 1719597SM 1
COVER ASSEMBLY, RH 15 1721155SM 1
DEFLECTOR, Discharge 16 1720600SM 1
CAPSCREW, Hex Head, 7/16-14 x 4-1/2, GR8, Black 17 2860644SM 1
WASHER, Spring, 7/16, Black 18 1656916SM 4
PULLEY, 5" OD x 1" ID 19 1713091SM 1
HUB 20 1719870SM 1
SPROCKET & FLANGE ASSEMBLY 21 1719766SM 2
HOUSING, Arbor, Top 22 1655729ASM 2
GASKET, Foam 23 1707335SM 2
ARBOR SHAFT & BEARINGS ASSEMBLY 24 1722396SM 2
HOUSING, Arbor, Bottom, w/Lube Fitting 25 1703273ASM 2
CAPSCREW, Hex Head, 7/16-14 x 2-3/4, GR 8, Black 26 1930584SM 1
WASHER, 7/16, Black 27 1933263SM 1
COVER, Arbor, LH, Black 28 1724601SM 1
CAPSCREW, Hex Washer Head, Tap Tite, 5/16-18 x 1/2, Black 29 1924856SM 3
HOUSING ASSEMBLY 30 1686977SM 1
BLADE, Mower, 20-3/8, LH 31 1719624ASM 1
PIN, Blade 32 1722258SM 2
WASHER, Spline 33 1722257SM 2
CAPSCREW, Hex Head, 7/16-14 x 1-1/4, GR 8 34 2827120SM 2
ADAPTER, Blade 35 1655777SM 2
SHIELD, Bearing 36 1700229SM 2
WASHER, Shim, Black 37 1700230SM 2
ADAPTER, Arbor 38 1677274ASM 2
CAPSCREW, Hex Head, 5/16-18 x 1, Black 39 1960373SM 12
BLADE, Mower, 20-3/8, RH 40 1719623ASM 1
SHIELD, Bearing Upper, Arbor 41 1657969SM 2
The above parts group applies to the following Mfg. Nos.:
2007 49
© Copyright Simplicity Manufacturing, Inc. All Rights Reserved.
1694109 - 40" Mower
1694257 - 40" Mower
1694297 - 40" Mower
TP 400-2584-02-LN-SM

40" Mower Deck - Housing, Arbors & Blades
NOTE: Unless noted otherwise,
use the standard hardware torque
specification chart.
986259
The above parts group applies to the following Mfg. Nos.:
2007 50
© Copyright Simplicity Manufacturing, Inc. All Rights Reserved.
1694298 - 40" Mower
1694344 - 40" Mower
1694345 - 40" Mower
2690023 - 4416
TP 400-2584-02-LN-SM

PART NO. DESCRIPTIONREF NO QTY.
40" Mower Deck - Housing, Arbors & Blades
Footnotes
CARRIAGE BOLT,1/4-20 x 7/8, Black 1 1931318SM 1
NUT, Push, 1/4, Black 2 1960518SM 1
WASHER, 1/4, Black 3 1960353SM 2
CLAMP, Wire, Black 4 1704873SM 1
LOCKWASHER, 1/4, Black 5 1916964SM 1
NUT, Hex, 1/4-10, Black 6 1916622SM 1
SPRING, Torsion, Black 7 1723938SM 1
CARRIAGE BOLT, 5/16-18 x 1, Black 8 1931335SM 1
NUT, Push, 5/16, Black 9 1933988SM 1
WASHER, 5/16, Black 10 1919381SM 1
LOCKWASHER, 5/16, Black 11 1917356SM 1
NUT, Hex, 5/16, Black 12 1917372SM 1
ROD 13 1719617SM 1
DOOR, Mulching 14 1719597SM 1
ARBOR SHAFT & BEARING ASSEMBLY 15 1726825SM 1
DEFLECTOR, Discharge 16 1720600SM 1
NUT, Hex Flange, 9/16-18 17 1714419SM 1
WASHER, Spring, 7/16, Black 18 1656916SM 3
PULLEY, 5" OD x 1" ID 19 1713091SM 1
HUB 20 1719870SM 1
SPROCKET & FLANGE ASSEMBLY, 38 Tooth, w/Screws 21 1687229SM 2
HOUSING, Arbor, Top 22 1655729ASM 2
GASKET, Foam 23 1707335SM 2
ARBOR SHAFT & BEARINGS ASSEMBLY 24 1722396SM 1
HOUSING, Arbor, Bottom, w/Lube Fitting 25 1703273ASM 2
CAPSCREW, Hex Head, 7/16-14 x 2-3/4, GR 8, Black 26 1930584SM 1
WASHER, 7/16, Black 27 1933263SM 1
COVER, Arbor, LH, Black 28 1724601SM 1
CAPSCREW, Hex Washer Head, Tap Tite, 5/16-18 x 3/4, Black 29 1664847SM 6
HOUSING ASSEMBLY (Orange) 30 1686977SM 1
HOUSING ASSEMBLY (Red) 30 1687315SM 1
BLADE, Mower, 20-3/8, LH 31 1719624ASM 1
PIN, Blade 32 1722258SM 2
WASHER, Spline 33 1722257SM 2
CAPSCREW, Hex Head, 7/16-14 x 1-1/4, GR 8 34 2827120SM 2
ADAPTER, Blade 35 1655777SM 2
SHIELD, Bearing 36 1700229SM 2
WASHER, Shim, Black 37 1700230SM 2
ADAPTER, Arbor 38 1677274ASM 2
CAPSCREW, Hex Head, 5/16-18 x 1, Black 39 1960373SM 12
BLADE, Mower, 20-3/8, RH 40 1719623ASM 1
SHIELD, Bearing Upper, Arbor 41 1657969SM 2
WASHER, Bellville 42 1713675SM 2
COVER ASSEMBLY, Arbor, RH (Includes Ref. Nos. 43 thru 48) 43 1721155SM 1
The above parts group applies to the following Mfg. Nos.:
2007 51
© Copyright Simplicity Manufacturing, Inc. All Rights Reserved.
1694298 - 40" Mower
1694344 - 40" Mower
1694345 - 40" Mower
2690023 - 4416
TP 400-2584-02-LN-SM

40" Mower Deck - Housing, Arbors & Blades
NOTE: Unless noted otherwise,
use the standard hardware torque
specification chart.
986259
The above parts group applies to the following Mfg. Nos.:
2007 52
© Copyright Simplicity Manufacturing, Inc. All Rights Reserved.
1694298 - 40" Mower
1694344 - 40" Mower
1694345 - 40" Mower
2690023 - 4416
TP 400-2584-02-LN-SM

PART NO. DESCRIPTIONREF NO QTY.
40" Mower Deck - Housing, Arbors & Blades
Footnotes
COVER, Arbor RH 44 1724600SM 1
GUARD ASSEMBLY, RH 45 1721259ASM 1
GUARD, Extension 46 1721132ASM 1
RIVIT, Pop 47 1675044SM 1
WASHER, 3/16 x 3/4 x 1/16 48 1960096SM 4
SHIM-Cover LH 7GA 40" Mowers 49 1732964SM 1
SHIM-Cover RH 7GA 2.8 LG 40" Mowers 50 1732963SM 1
SHIM-Cover RH 7GA 6.5 LG 40" Mowers 51 1732961SM 1
The above parts group applies to the following Mfg. Nos.:
2007 53
© Copyright Simplicity Manufacturing, Inc. All Rights Reserved.
1694298 - 40" Mower
1694344 - 40" Mower
1694345 - 40" Mower
2690023 - 4416
TP 400-2584-02-LN-SM

44" Mower Deck - Belt, Idler Arm & Hitch
NOTE: Unless noted otherwise,
use the standard hardware torque
specification chart.
986160
The above parts group applies to the following Mfg. Nos.:
2007 54
© Copyright Simplicity Manufacturing, Inc. All Rights Reserved.
1694110 - 44" Mower
1694258 - 44" Mower
1694291 - 44" Mower
1694293 - 44" Mower
2690020 - Lancer
2690021 - 4417
2690050 - Lancer
2690051 - 4417
TP 400-2584-02-LN-SM

PART NO. DESCRIPTIONREF NO QTY.
44" Mower Deck - Belt, Idler Arm & Hitch
Footnotes
V-BELT, Arbor Drive 1 1713549SM 1
V-BELT, Arbor Drive 2 1721532SM 1
NUT, Hex Flange Lock, 3/8-16 3 1960339SM 4
PULLEY, Idler 4 1724387SM 1
WASHER, 3/8 5 1924940SM 5
LEVER ASEMBLY, Idler, w/Bushings 6 1718561SM 1
CARRIAGE BOLT, 3/8-16 x 1-1/4, Black 7 1960268SM 1
HITCH ASSEMBLY 9 1722040ASM 1
SPRING, Extension, 8" Long 10 1714062SM 1
LEVER & HANDLE ASSEMBLY, w/Bushings 11 1724005SM 1
SPACER 12 1667812SM 2
PULLEY, Idler 13 2171247SM 1
CAPSCREW, Hex Head, 3/8-16 x 3, Black 14 1923903SM 1
PLATE, Upstop 15 1724178ASM 1
CAPSCREW, Hex Head, 3/8-16 x 3-1/2, Black 16 1923938SM 1
PULLEY, Idler 17 1706510SM 1
BUSHING 18 1676148SM 3
FITTING, Lube 19 2812808SM 2
SPACER 20 1657242SM 1
SPACER 21 1667811SM 2
SPACER 22 1674669SM 1
SPRING, Extension, 5-13/16" Long 23 1703801SM 1
WASHER, 3/8, Black 24 1924356SM 3
CAPSCREW, Hex Head, 3/8-16 x 2-1/2, Black 25 1921972SM 1
CAPSCREW, Hex Head, 3/8-16 x 1-3/8, Black 26 1921968SM 2
BRACKET, "L" 27 1723794A 1
SPACER 28 1732443SM 2
NUT, Hex Lock, Aluminum Insert, 3/8-16 29 2860681SM 2
The above parts group applies to the following Mfg. Nos.:
2007 55
© Copyright Simplicity Manufacturing, Inc. All Rights Reserved.
1694110 - 44" Mower
1694258 - 44" Mower
1694291 - 44" Mower
1694293 - 44" Mower
2690020 - Lancer
2690021 - 4417
2690050 - Lancer
2690051 - 4417
TP 400-2584-02-LN-SM

44" Mower Deck - Height Adjustment & Roller Bar
NOTE: Unless noted otherwise,
use the standard hardware torque
specification chart.
986161
The above parts group applies to the following Mfg. Nos.:
2007 56
© Copyright Simplicity Manufacturing, Inc. All Rights Reserved.
1694110 - 44" Mower
1694258 - 44" Mower
1694291 - 44" Mower
1694293 - 44" Mower
2690020 - Lancer
2690021 - 4417
2690050 - Lancer
2690051 - 4417
TP 400-2584-02-LN-SM

PART NO. DESCRIPTIONREF NO QTY.
44" Mower Deck - Height Adjustment & Roller Bar
Footnotes
ARM,Pitch 1 1724833ASM 1
CARRIAGE BOLT,3/8-16 x 1-1/2, Black 2 1931352SM 1
CAPSCREW, Hex Washer Head, Tap Tite, 5/16-18 x 1-1/4, Black 3 1931202SM 2
WASHER, 5/16, Black 4 1919381SM 1
ROD, Height of Cut 5 1704114SM 1
PLATE 6 1704080ASM 1
WASHER, Detent, Black 7 1704097SM 1
TRUNNION 8 1724009SM 1
ARM 9 1704083ASM 1
CAPSCREW, Hex Head, 5/16-18 x 1-1/4, Black 10 1921977SM 2
WASHER, 1/2, Black 11 1960170SM 1
TRUNNION 12 1704087SM 1
FITTING, Lube 13 1704314SM 1
PIN, Spring 14 2816001SM 1
CRANK, Height Adjustment, Black 15 1704094SM 1
KNOB, Spinner 16 1714084SM 1
NUT, Push, 3/8, Black 17 1960093SM 1
CAPSCREW, Hex Head, 3/8-16 x 1-1/2, Black 18 1921969SM 4
WASHER, 3/8, Black 19 1924940SM 2
NUT, Hex Flange Lock, 3/8-16, Black 20 1930645SM 6
CHAIN, Link, 5-5/8 Long, 4 Links 21 1669241SM 2
BAR, Roller 22 1723150ASM 1
CAPSCREW, Hex Head, 5/16-18 x 1-1/4, Black 23 1921977SM 2
WASHER, 5/16, Black 24 1960044SM 2
SPACER 25 1960236SM 2
ROLLER, Rounded, 5/8 ID x 2-1/2 OD x 2" Long 26 1717675SM 2
ROLLER, 5/8 ID x 2-1/2 OD x 4" Long 27 1668513SM 3
SHAFT & BAR ASSEMBLY 28 1722078A 1
CAPSCREW, Hex Washer Head, Tap Tite, 5/16-18 x 3/4, Black 29 1664847SM 7
STRAP 30 1665374SM 3
BRACKET, Height of Cut 31 1704116ASM 1
NUT, Hex, 5/16-18, Black, Whiz Lock Flange 33 1931277SM 2
CARRIGE BOLT, 5/16-18 x 1-1/4 34 1960655SM 1
ARM 35 1722056SM 1
SHAFT ASSEMBLY 36 1724010SM 1
CAM, Eccentric 37 1714879SM 1
NUT, Hex Adjusting 38 1704082SM 1
CAPSCREW, Hex Head, 3/8-16 x 1-3/4 41 1923701SM 1
WASHER 42 1924940SM 1
SPACER 43 1611705SM 1
SPACER 44 1667812SM 1
NUT, Hex, 3/8-16 45 2860681SM 1
The above parts group applies to the following Mfg. Nos.:
2007 57
© Copyright Simplicity Manufacturing, Inc. All Rights Reserved.
1694110 - 44" Mower
1694258 - 44" Mower
1694291 - 44" Mower
1694293 - 44" Mower
2690020 - Lancer
2690021 - 4417
2690050 - Lancer
2690051 - 4417
TP 400-2584-02-LN-SM

44" Mower Deck - Height Adjustment & Roller Bar (Later)
NOTE: Unless noted otherwise,
use the standard hardware torque
specification chart.
SL986161
The above parts group applies to the following Mfg. Nos.:
2007 58
© Copyright Simplicity Manufacturing, Inc. All Rights Reserved.
1694110 - 44" Mower
1694258 - 44" Mower
1694291 - 44" Mower
1694293 - 44" Mower
2690020 - Lancer
2690021 - 4417
2690050 - Lancer
2690051 - 4417
TP 400-2584-02-LN-SM

PART NO. DESCRIPTIONREF NO QTY.
44" Mower Deck - Height Adjustment & Roller Bar (Later)
Footnotes
ARM,Pitch 1 1724833ASM 1
CARRIAGE BOLT,3/8-16 x 1-1/2, Black 2 1931352SM 1
CAPSCREW, Hex Washer Head, Tap Tite, 5/16-18 x 1-1/4, Black 3 1931202SM 2
WASHER, 5/16, Black 4 1919381SM 1
ROD, Height of Cut 5 1704114SM 1
PLATE 6 1704080ASM 1
WASHER, Detent, Black 7 1704097SM 1
TRUNNION 8 1724009SM 1
ARM 9 1704083ASM 1
CAPSCREW, Hex Head, 5/16-18 x 1-1/4, Black 10 1921977SM 2
WASHER, 1/2, Black 11 1960170SM 1
TRUNNION 12 1704087SM 1
FITTING, Lube 13 1704314SM 1
PIN, Spring 14 2816001SM 1
CRANK, Height Adjustment, Black 15 1727681SM 1
KNOB, Spinner 16 1714084SM 1
NUT, Push, 3/8, Black 17 1960093SM 1
CAPSCREW, Hex Head, 3/8-16 x 1-1/2, Black 18 1921969SM 2
NUT, Hex Adjusting 19 1704082SM 1
NUT, Hex Flange Lock, 3/8-16, Black 20 1930645SM 6
CHAIN, Link, 3 Links 21 1656835A 2
BAR, Roller 22 1723150ASM 1
CAPSCREW, Hex Head, 5/16-18 x 1-1/4, Black 23 1921977SM 2
WASHER, 5/16, Black 24 1960044SM 2
SPACER 25 1960236SM 2
ROLLER, Rounded, 5/8 ID x 2-1/2 OD x 2" Long 26 1717675SM 2
ROLLER, 5/8 ID x 2-1/2 OD x 4" Long 27 1668513SM 3
SHAFT & BAR ASSEMBLY 28 1722078A 1
CAPSCREW, Hex Washer Head, Tap Tite, 5/16-18 x 3/4, Black 29 1664847SM 7
STRAP 30 1665374SM 3
BRACKET, Height of Cut 31 1704116ASM 1
NUT, Hex, 5/16-18, Whiz Lock Flange 33 1931277SM 2
SHAFT ASSEMBLY 34 1724968ASM 1
CAPSCREW, Hex Head, 3/8-16 x 1-3/4 36 1923701SM 1
WASHER 37 1924940SM 1
SPACER 38 1611705SM 1
SPACER 39 1667812SM 1
NUT, Hex, 3/8-16 40 2860681SM 2
The above parts group applies to the following Mfg. Nos.:
2007 59
© Copyright Simplicity Manufacturing, Inc. All Rights Reserved.
1694110 - 44" Mower
1694258 - 44" Mower
1694291 - 44" Mower
1694293 - 44" Mower
2690020 - Lancer
2690021 - 4417
2690050 - Lancer
2690051 - 4417
TP 400-2584-02-LN-SM

44" Mower Deck - Housing, Arbors & Blades
NOTE: Unless noted otherwise,
use the standard hardware torque
specification chart.
986159
The above parts group applies to the following Mfg. Nos.:
2007 60
© Copyright Simplicity Manufacturing, Inc. All Rights Reserved.
1694110 - 44" Mower
1694258 - 44" Mower
1694291 - 44" Mower
1694293 - 44" Mower
2690020 - Lancer
2690021 - 4417
2690050 - Lancer
2690051 - 4417
TP 400-2584-02-LN-SM

PART NO. DESCRIPTIONREF NO QTY.
44" Mower Deck - Housing, Arbors & Blades
Footnotes
NUT, Hex Flange, 9/16-18 1 1714419SM 3
WASHER, Bellville 2 1713675SM 6
PULLEY 3 1713161SM 1
HUB 4 1713158SM 1
PULLEY 5 1713098SM 3
HUB 6 1713533SM 1
HUB 7 1713197SM 2
COVER, Arbor Housing 8 1655729ASM 3
BEARING 9 2108202SM 3
SPACER 10 1715724SM 3
SPACER 11 1732544SM 3
BEARING 12 1705897SM 3
GASKET, Foam 13 1707335SM 3
HOUSING ASSEMBLY, Arbor Bottom, w/Lube Fitting (Includes Ref. No. 15) 14 1713338ASM 3
FITTING, Lube 15 1704314SM 3
COVER, Arbor 16 1729666SM 1
CAPSCREW, Hex Washer Head, Taptite, 5/16-18 x 3/4, Black 17 1664847SM 28
HOUSING ASSEMBLY, 44" Front Cut (Orange) 18 1686937SM 1
HOUSING ASSEMBLY, 44" Front Cut (Red) 18 1687189SM 1
WASHER, Cup 19 1713619SM 3
SHAFT 20 1713195SM 2
SHIELD, Grass 21 1713196SM 3
BLADE, Mower, 16-1/8 (For 44" Deck) 22 1704100ASM 3
WASHER, Hex, Special 23 1713089SM 3
WASHER, Black 24 1656916SM 3
CAPSCREW, Hex Head, 7/16-14 x 1-1/4, Black 25 2823471SM 3
SHAFT, Arbor 26 1713612SM 1
BAFFLE, Anti-Blowout, LH (CE Only) 27 1716879ASM 1
BAFFLE, Anti-Blowout, RH (CE Only) 28 1716878ASM 1
CARRIAGE BOLT, 5/16-18 x 3/4, Black (qty. 2 for Domestic) 29 1931333SM 8
NUT, Hex Flange Whiz Lock, 5/16-18, Black (qty. 2 for Domestic) 30 1927557SM 8
COVER, Arbor 31 1703601SM 1
CARRIAGE BOLT, 1/4-20 x 7/8, Black 32 1931318SM 2
NUT, Push, 1/4, Black 33 1960518SM 2
WASHER, 1/4, Black 34 1960353SM 3
CLAMP 35 1704873SM 1
WASHER, 5/16, Black 36 1919326SM 1
SPRING, Torsion 37 7101082SM 1
NUT, Hex, 1/4-20, Black, ESNA 39 1920397SM 2
ROD, Deflector, Front 40 1706709SM 1
PLUG, Hole 41 1705115SM 1
DEFLECTOR, Plastic 42 1705449SM 1
BAFFLE, Anti Blowout, LH 43 1724538ASM 1
NUT, Hex Whiz Lock, 5/16-18 44 1931277SM 1
The above parts group applies to the following Mfg. Nos.:
2007 61
© Copyright Simplicity Manufacturing, Inc. All Rights Reserved.
1694110 - 44" Mower
1694258 - 44" Mower
1694291 - 44" Mower
1694293 - 44" Mower
2690020 - Lancer
2690021 - 4417
2690050 - Lancer
2690051 - 4417
TP 400-2584-02-LN-SM

Torque Specification Chart
FOR STANDARD MACHINE HARDWARE (Tolerance ± 20%)
Hardware
Grade
SAE Grade 2 SAE Grade 5 SAE Grade 8
Size Of
in/lbs in/lbs
in/lbs
Hardware ft/lbs Nm. ft/lbs Nm. ft/lbs Nm.
8-32
19
2.1
30
3.4
41
4.6
8-36
20
2.3
31
3.5
43
4.9
10-24
27
3.1
43
4.9
60
6.8
10-32
31
3.5
49
5.5
68
7.7
1/4-20
66
7.6 810.9 12 16.3
1/4-28
76
8.6 10 13.6 14 19.0
5/16-18 11 15.0 17 23.1 25 34.0
5/16-24 12 16.3 19 25.8 27 34.0
3/8-16 20 27.2 30 40.8 45 61.2
3/8-24 23 31.3 35 47.6 50 68.0
7/16-14 30 40.8 50 68.0 70 95.2
7/16-20 35 47.6 55 74.8 80 108.8
1/2-13 50 68.0 75 102.0 110 149.6
1/2-20 55 74.8 90 122.4 120 163.2
9/16-12 65 88.4 110 149.6 150 204.0
9/16-18 75 102.0 120 163.2 170 231.2
5/8-11 90 122.4 150 204.0 220 299.2
5/8-18 100 136 180 244.8 240 326.4
3/4-10 160 217.6 260 353.6 386 525.0
3/4-16 180 244.8 300 408.0 420 571.2
7/8-9 140 190.4 400 544.0 600 816.0
7/8-14 155 210.8 440 598.4 660 897.6
1-8 220 299.2 580 788.8 900 1,244.0
1-12 240 326.4 640 870.4 1,000 1,360.0
Hex Head Capscrew
Hex Nut
Lockwasher
Washer
Carriage Bolt
NOTES
1. These torque values are to be used for all hardware
excluding: locknuts, self-tapping screws, thread forming
screws, sheet metal screws and socket head setscrews.
2. Recommended seating torque values for locknuts:
a. for prevailing torque locknuts - use 65% of grade 5
torques.
b. for flange whizlock nuts and screws - use 135% of
grade 5 torques.
3. Unless otherwise noted on assembly drawings, all torque
values must meet this specification.
Hardware Identification & Torque Specifications
Common Hardware Types
Screw, 1/2 x 2
Body
Diameter
Body
Length
Inside
Diameter
Nut, 1/2”
No
Marks
3/8” Bolt or Nut
Wrench—9/16”
3/8
5/16” Bolt or Nut
Wrench—1/2”
5/16
1/4” Bolt or Nut
Wrench—7/16”
1/4
1/2” Bolt or Nut
Wrench—3/4”
1/2
DIA.
7/16
DIA.
7/16” Bolt or Nut
Wrench (Bolt)—5/8”
Wrench (Nut)—11/16”
Wrench & Fastener Size Guide
Standard Hardware Sizing
When a washer or nut is identified as 1/2”, this is the
Nominal size
, meaning the
inside diameter
is 1/2 inch; if a
second number is present it represent the
threads per inch
When bolt or capscrew is identified as 1/2 - 16 x 2”, this
means the
Nominal size
, or
body diameter
is 1/2 inch; the
second number represents the
threads per inch
(16 in this
example, and the final number is the
body length
of the
bolt or screw (in this example 2 inches long).
The guides and ruler furnished below are designed to
help you select the appropriate hardware and tools.
0
1/4 3/4
1/2
1
1/4 3/4
1/2
2
1/4 3/4
1/2
3
1/4 3/4
1/2
4

500 N. Spring Street / PO Box 997
Port Washington, WI 53074-0997 USA
www.simplicitymfg.com
MANUFACTURING, INC.
2007Copyright © by Briggs and Stratton Corporation
Briggs and Stratton Yard Power Products Group
Milwaukee, WI, USA. All rights reserved