Simplicity Legacy 2000 Users Manual TP_400_2156_00_AT_SMA
1692939 jgEDGP_drM6tG5Exj7mRgtLvBCd6
2014-12-13
: Simplicity Simplicity-Legacy-2000-Users-Manual-126065 simplicity-legacy-2000-users-manual-126065 simplicity pdf
Open the PDF directly: View PDF
.
Page Count: 109 [warning: Documents this large are best viewed by clicking the View PDF Link!]

Mfg. No. Description
1690095 Tire Chains (23” Tires)
1691311 48” Bucket
1691319 33# Suitcase weights
1691620 Cart Side Extension & Cover
1692125 10 Cu. Ft. Dump Cart
1692562 Tire Chains (26” Tires)
1692891 2000 RPM Rear PTO
1692923 Ballast Box
1692924 60” Manual Angling Dozer Blade
1692925 60” Hydraulic Angling Dozer Blade
1692926 Soft Side Snow Cab
1692927 ROPS (Roll-Over Protective
Structure)
1692928 3-Point Hitch
1692929 60” Hose, Hitch & Tube
1692930 48” Hose, Hitch & Tube
1692931 Hydraulic Angling Kit
1692932 Front End Loader
Mfg. No. Description
1692933 Hard Side Snow Cab
1692934 46” Single Stage Snowthrower
1692935 50” Tiller
1692936 48” Turbo
1692937 60” Turbo
1692938 Wide Body Collector Cart
1692939 50# Suitcase Weights
1692940 Front Weight Carrier
1692941 Rear Weight Carrier
1692942 47” Two Stage Snowthrower
1693160 Rear Wheel Weight
1693175 Ladder Sub-Frame Hitch
1693204 Triple Bag Grass Catcher
1693206 Rear Light Kit
1693238 Hydraulic Lift & Angling Kit
1693239 Auxiliary Hydraulic Lift Kit
1693245 Sweepster Rotary Broom Hitch
1693246 Sweepster Rotary Broom
Rev. 10/1998
TP 400-2156-00-AT-SMA
Parts Manual
LEGACY / 2000 / 2900
SERIES GARDEN TRACTOR
ATTACHMENTS
& ACCESSORIES

1
TP-400-2156-00-AT-SMA
Table of Contents
©Copyright 1998 Simplicity Manufacturing, Inc. All Rights Reserved.
SNOWTHROWERS
Mfg No Description Page
1692934 46” SINGLE STAGE SNOWTHROWER
Body & Auger Group . . . . . . . . . . . . . . . . . .2
Spout Group . . . . . . . . . . . . . . . . . . . . . . . .4
Drive Group . . . . . . . . . . . . . . . . . . . . . . . . .6
Hitch Group . . . . . . . . . . . . . . . . . . . . . . . . .8
1692942 47” TWO STAGE SNOWTHROWER
Gearbox Mounting Group . . . . . . . . . . . . .10
Skid Shoe & Hitch Lock Group . . . . . . . . .12
Auger Group . . . . . . . . . . . . . . . . . . . . . . .14
Discharge Chute &Spout Rotator . . . . . . .16
Hitch Group . . . . . . . . . . . . . . . . . . . . . . . .18
Decal Group . . . . . . . . . . . . . . . . . . . . . . .20
DOZER BLADES & LOADERS
Mfg No Description Page
1692924 60” MANUAL ANGLING DOZER BLADE
60” Dozer Blade Assembly . . . . . . . . . . . .22
Hitch Assembly - Manual Angling . . . . . . .24
1692925 60” HYDRAULIC ANGLING DOZER BLADE
60” Dozer Blade Assembly . . . . . . . . . . . .22
Hitch Assembly - Hydraulic Angling . . . . .28
Hydraulic System Diagram . . . . . . . . . . . .30
Control Tower Group . . . . . . . . . . . . . . . . .32
Cylinder Mounting Group . . . . . . . . . . . . .34
1692932 FRONT END LOADER
Mid-Hitch . . . . . . . . . . . . . . . . . . . . . . . . .36
Loader Main Frame & Bucket . . . . . . . . . .38
Main Hydraulics . . . . . . . . . . . . . . . . . . . .40
Boom Hydraulics . . . . . . . . . . . . . . . . . . . .44
1691311 48” BUCKET . . . . . . . . . . . . . . . . . . . . . . .38
GRASS COLLECTIONS SYSTEMS
Mfg No Description Page
1692936 48” TURBO
Turbo Blower Assembly . . . . . . . . . . .46
Mounting Group . . . . . . . . . . . . . . . . .48
1692937 60” TURBO
Tubro Blower Assembly . . . . . . . . . . .50
Mounting Group . . . . . . . . . . . . . . . . .52
1692938 WIDE BODY COLLECTOR CART
Cart Assembly . . . . . . . . . . . . . . . . . . .54
Hitch & Hose Assembly . . . . . . . . . . .56
1693204 TRIPLE BAG GRASS CATCHER . . . . . . . . .58
1692929 60” HOSE, HITCH & TUBE . . . . . . . . . . . .60
1692930 48” HOSE, HITCH & TUBE . . . . . . . . . . . . .60
ATTACHMENTHITCHES, WEIGHTS&KITS
Mfg No Description Page
1691319 33# SUITCASE WEIGHTS . . . . . . . . . . . . .70
1692939 50# SUITCASE WEIGHTS . . . . . . . . . . . . .70
1692891 2000 RPM REAR PTO . . . . . . . . . . . . . . . .62
1692923 BALLAST BOX . . . . . . . . . . . . . . . . . . . . . .66
1692928 3-POINT HITCH . . . . . . . . . . . . . . . . . . . . .68
1692931 HYDRAULIC ANGLING KIT
Hydraulic System Diagram . . . . . . . . . . . .30
Control Tower Group . . . . . . . . . . . . . . . . .32
Cylinder Group . . . . . . . . . . . . . . . . . . . . .34
1692940 FRONT WEIGHT CARRIER . . . . . . . . . . . . .70
1692941 REAR WEIGHT CARRIER . . . . . . . . . . . . . .70
1693160 REAR WHEEL WEIGHT . . . . . . . . . . . . . . .72
1693175 LADDER SUB-FRAME HITCH . . . . . . . . . . .74
1693238 HYDRAULIC LIFT & ANGLING KIT
Hydraulic System Diagram . . . . . . . . . . . .76
Control Tower . . . . . . . . . . . . . . . . . . . . . .78
Cylinder Group . . . . . . . . . . . . . . . . . . . . .80
1693239 AUXILIARY HYDRAULIC LIFT KIT . . . . . . .82
1693206 REAR LIGHT KIT . . . . . . . . . . . . . . . . . . . .84
1693245 SWEEPSTER ROTARY BROOM HITCH
Hitch Assembly - Hydraulic Angling . . . . .24
COMPONENTSERVICEPARTS
Part No Description Page
1700493 SERVICEPARTS - Hydraulic Gear Pump . . . . .86
1700502 SERVICEPARTS - Hydraulic Valve Assembly . .88
1709625 SERVICEPARTS - Snowthrower Gearbox . . . .90
1709662 SERVICEPARTS - Snowthrower Auger
Gearbox & Shaft . . . . . . . . . . . . . . . . . . . .92
1717484 SERVICEPARTS - Snowthrower
Drive Shaft . . . . . . . . . . . . . . . . . . . . . . . .94
1717547 SERVICEPARTS - Snowthrower
Right Angle Gearbox . . . . . . . . . . . . . . . . .96
1718166 SERVICEPARTS - Lift Cylinder . . . . . . . . . . . . .98
1718169 SERVICEPARTS - Bucket Cylinder . . . . . . . . .100
REFERENCE INFORMATION
Mfg No Description . . . . . . . . . . . . . . . . . . . . . . . . .Page
1690095 TIRE CHAINS (23” Tires) . . . . . . . . . . . . .102
1691620 CART SIDE EXTENSION & COVER . . . . . .102
1692125 10 CU. FT. DUMP CART . . . . . . . . . . . . . .102
1692562 TIRE CHAINS (26” Tires) . . . . . . . . . . . . .102
1692926 SOFT SIDE SNOW CAB . . . . . . . . . . . . . .102
1692927 ROPS (Roll-Over Protective Structure) . .102
1692933 HARD SIDE SNOW CAB . . . . . . . . . . . . . .102
1692935 50” TILLER . . . . . . . . . . . . . . . . . . . . . . .102
1693246 SWEEPSTER ROTARY BROOM . . . . . . . .102

2
TP-400-2156-00-AT-SMA
© Copyright 1997 Simplicity Manufacturing, Inc. All Rights Reserved.
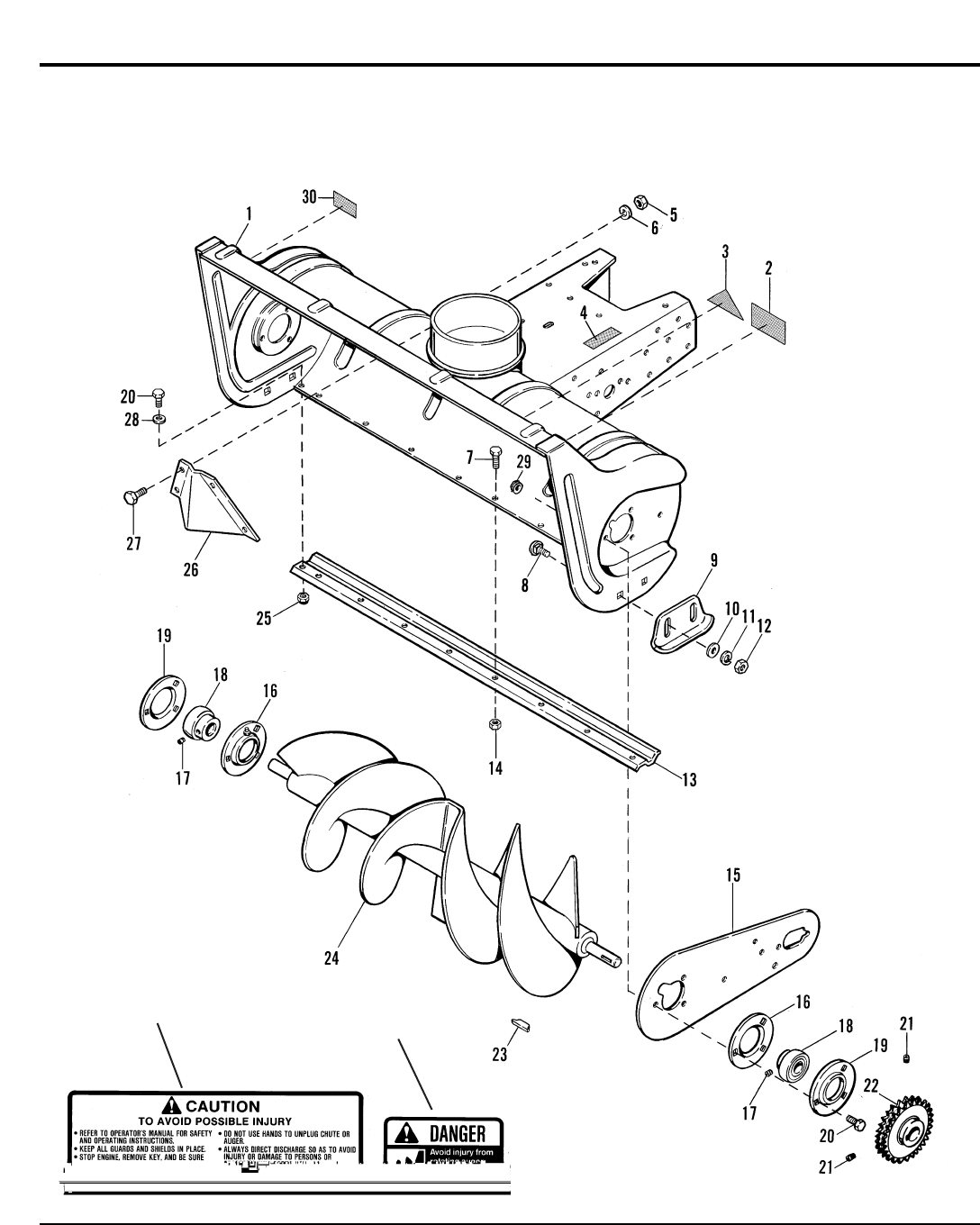
46” Single Stage Snowthrower - Body & Auger Group
NOTE: Unless noted otherwise,
use the standard hardware torque
specification chart.
A-AT43101A
The above parts group applies to the following Mfg. Nos.:
1692934 46” Single Stage Snowthrower
30 2

3
TP-400-2156-00-AT-SMA
46” Single Stage Snowthrower - Body & Auger Group
1 1717479 1 BODY & FRAME ASSEMBLY
2 1716532 1 DECAL, Danger, Auger
3 * DECAL, OPEI (Not Serviced)
4 * DECAL, I.D. Plate (Not Serviced)
5 1917372 4 NUT, Hex, 5/16-18
6 1917356 4 WASHER, Lock, 5/16
7 1921959 9 CAPSCREW, Hex Hd,1/4-20 x 5/8
8 922110 4 CARRIAGE BOLT, 3/8-16 x 3/4
9 177434 2 SKID SHOE
10 1924940 4 WASHER, 3/8
11 1916965 4 WASHER, Lock, 3/8
12 1916950 4 NUT, Hex, 3/8-16
13 1717472 1 SCRAPER BAR
14 1923358 9 NUT, Hex Lock,1/4-20
15 1676632 1 PLATE, Side
16 172279 2 BEARING, Flange
17 1960110 2 SETSCREW, Sqr Hd, Cup Point, 1/4-28 x 1/2
18 173934 2 CARTRIDGE, Auger Bearing
19 172278 2 BEARING, Flange
20 1921332 8 CAPSCREW, Hex Hd, 5/16-18 X 3/4
21 1677029 2 SET SCREW, 5/16 -18 x 3/8
22 1676721 1 DOUBLE SPROCKET ASSEMBLY, 29 Teeth
23 151040 1 KEY, 1/4
24 1717465 1 ROTOR ASSEMBLY
25 1923362 2 NUT, Hex Lock, 5/16-18
26 106774 1 DEFLECTOR
27 1925205 4 CAPSCREW, Hex Hd, 5/16-18 x 5/8
28 1919326 2 WASHER, 5/16
29 1935048 6 NUT, Hex Flange Hd, Whiz Lock, 5/16-18
30 1716531 1 DECAL, Caution
REF NO. PART NO. QTY. DESCRIPTION
Footnotes:
* Not a Servicable Part.
The above parts group applies to the following Mfg. Nos.:
1692934 46” Single Stage Snowthrower

4
TP-400-2156-00-AT-SMA
© Copyright 1997 Simplicity Manufacturing, Inc. All Rights Reserved.
46” Single Stage Snowthrower - Spout Group
NOTE: Unless noted otherwise,
use the standard hardware torque
specification chart.
A-AT43102A
The above parts group applies to the following Mfg. Nos.:
1692934 46” Single Stage Snowthrower
22
23
24
25 26
27
28
29
30
31
32
33
34
35
36
37
21
18
17
18
14
21
14
1
345
6
7
10
11
8
9
12
13
11
15
16 17
18
20
19
21
2
38

5
TP-400-2156-00-AT-SMA
46” Single Stage Snowthrower - Spout Group
1 1717476 1 CHUTE ASSEMBLY
2 1931333 1 CARRIAGE BOLT, 5/16-18 x 3/4
3 960210 1 WASHER, Nylon Special, 3/8
4 1919326 1 WASHER, 5/16
5 1919438 1 NUT, Hex Nylon Lock, 5/16-18
6 1718426 2 SEAL, Hinge
7 1702219 3 SPACER
8 1611945 1 ROD, Spring, 5/16
9 1611939 1 SPRING, Compression
10 1921319 2 WASHER, 1/4
11 1960126 4 NUT, Push, 1/4
12 1717482 1 CABLE ASSEMBLY
13 1612455 1 GUARD, Chute
14 1921319 4 WASHER, 1/4
15 1666613 3 HOLD DOWN, Chute
16 1960001 3 CAPSCREW, Hex Washer Hd, Plastite, #10-14 x 5/8
17 1916622 3 NUT, Hex, 1/4-20
18 1916964 4 WASHER, Lock, 1/4
19 1960151 2 WASHER, 1/4
20 1705920 1 BRACKET, Cable Mounting
21 1924009 6 CAPSCREW, Hex Hd, 1/4-20 x 7/8
22 1717591 1 GUIDE ASSEMBLY, Cable
23 1701011 1 TIE, Self-Locking
24 1921333 1 CAPSCREW, Hex Hd, 5/16-18 X 1
25 1917356 1 WASHER, Lock, 5/16
26 1917372 1 NUT, Hex, 5/16-18
27 1715885 1 MOTOR, Electric
28 1717483 1 WIRE HARNESS
29 1916950 2 NUT, Hex, 3/8-16
30 1916965 2 WASHER, Lock, 3/8
31 1931348 2 CARRIAGE BOLT, 3/8-16 x 3/4
32 1717049 1 SUPPORT, Motor
33 1717481 1 COVER, Pinion
34 1925003 3 CAPSCREW, Hex Washer Hd, Taptite, 1/4-20 x 1/2
35 1923358 1 NUT, Hex Lock,1/4-20
36 1921319 1 WASHER, 1/4
37 1717480 1 GEAR, Pinion
38 1716533 1 DECAL, Danger, Blower
REF NO. PART NO. QTY. DESCRIPTION
Footnotes:
The above parts group applies to the following Mfg. Nos.:
1692934 46” Single Stage Snowthrower

6
TP-400-2156-00-AT-SMA
© Copyright 1997 Simplicity Manufacturing, Inc. All Rights Reserved.
46” Single Stage Snowthrower - Drive Group
NOTE: Unless noted otherwise,
use the standard hardware torque
specification chart.
A-AT43103A
The above parts group applies to the following Mfg. Nos.:
1692934 46” Single Stage Snowthrower

7
TP-400-2156-00-AT-SMA
46” Single Stage Snowthrower - Drive Group
1 106774 1 DEFLECTOR
2 1925205 4 CAPSCREW, Hex Hd, 5/16-18 x 5/8
3 1917356 4 WASHER, Lock, 5/16
4 1917372 4 NUT, Hex, 5/16-18
5 1717484 1 DRIVE SHAFT ASSEMBLY (See SERVICE PARTS - Snowthrower Drive Shaft)
6 1925688 1 CAPSCREW, Hex Hd, 1/4-20 x 3
7 1930540 2 SETSCREW, Sqr Hd, 5/16-18 x 5/8
8 922138 2 KEY, Hi-Pro #HP708, 1/4
9 1923358 2 NUT, Hex, Lock,1/4-20
10 1716790 1 PLUG, Socket Head
11 1717547 1 GEAR BOX ASSEMBLY, Right Angle (Incl. Ref. No. 10) (See SERVICE PARTS
- Snowthrower Right Angle Gearbox)
12 1928352 10 NUT, Hex Flange Whiz Lock, 3/8-16
13 1676053 1 BRACKET, Mounting (for Drive ASSEMBLY)
14 1916965 16 WASHER, Lock, 3/8
15 1921966 4 CAPSCREW, Hex Hd, 3/8-16 x 7/8
16 1920415 8 CAPSCREW, Hex Hd, 3/8-16 x 1-1/4
17 1676561 1 COUPLER ASSEMBLY, Drive
18 1921965 4 CAPSCREW, Hex Hd, 3/8-16 x 3/4
19 1916950 6 NUT, Hex, 3/8-16
20 157424 16 WASHER, Special, 3/8
21 173026 2 COUPLING
22 1717097 1 SHAFT ASSEMBLY, Drive
23 1960475 1 SETSCREW, Hex Socket, 3/8-24 x 3/8
24 154198 1 FLANGE, Drive Shaft
25 1717100 1 COVER ASSEMBLY, Drive Shaft
26 1919326 4 WASHER, 5/16
27 1924856 4 CAPSCREW, Hex Washer Hd, Taptite, 5/16-18 x 1/2
28 1676554 1 SUPPORT ASSEMBLY, w/Bearings (Incl. Ref. No. 32)
29 1960244 2 CAPSCREW, Hex Flange Hd, Whiz Lock, 3/8-16 x 2-3/4
30 168111 5 WASHER, Hardened, Thrust
31 921133 1 FITTING, Grease, 1/4
32 1679211 2 BEARING, Needle
33 1934654 2 CAPSCREW, Hex Flanghe Hd, Whiz Lock, 3/8-16 x 1
34 1669105 2 SPACER
35 905123 1 KEY, Woodruff #9
36 1676722 1 SHAFT ASSEMBLY, (Drive, Chain)
37 1676739 1 CHAIN, Roller
38 1676738 1 GUARD, Chain
REF NO. PART NO. QTY. DESCRIPTION
Footnotes:
The above parts group applies to the following Mfg. Nos.:
1692934 46” Single Stage Snowthrower

8
TP-400-2156-00-AT-SMA
© Copyright 1997 Simplicity Manufacturing, Inc. All Rights Reserved.
46” Single Stage Snowthrower - Hitch Group
NOTE: Unless noted otherwise,
use the standard hardware torque
specification chart.
A-AT43104A
The above parts group applies to the following Mfg. Nos.:
1692934 46” Single Stage Snowthrower
1
2
345
6
7
9
10 11 12
13
14
15
16
17
18
20
21
19
22
23
24
8
88

9
TP-400-2156-00-AT-SMA
46” Single Stage Snowthrower - Hitch Group
1 1675523 2 EYEBOLT, 3/8-16
2 1716492 1 SPACER
3 1916951 2 NUT, Hex, 1/2-13
4 1916966 2 WASHER, Lock, 1/2
5 1716926 1 BAR, Lift, Front
6 1716920 1 LIFT BAR ASSEMBLY
7 1921525 2 CAPSCREW, Hex Hd, 1/2-13 x 1-3/4
8 1716357 2 ANCHOR, Front
9 8031007 2 SET COLLAR
10 1928721 2 SETSCREW, Sqr Hd, Cup Point, 5/16-18 x 1/2
11 1675502 1 PIVOT ASSEMBLY, Hitch
12 176012 2 CLIP, Safety
13 1960038 2 PIN, Clevis, 5/8 x 2-1/4
14 175647 1 SPACER
15 1716460 1 SHAFT, 5/8 Dia.
16 1708999 1 SHAFT, Inner
17 1703635 1 HITCH ASSEMBLY
18 1675524 2 SPRING, Compression
19 1917421 2 NUT, Hex Jam, 3/8-16
20 1960071 2 WASHER, 3/8
21 1916950 2 NUT, Hex, 3/8-16
22 1676959 2 STUD, 3/4-10 UNC-2A
23 1913160 2 NUT, Hex, 3/4-10
24 1919332 2 WASHER, Lock, 3/4
REF NO. PART NO. QTY. DESCRIPTION
Footnotes:
The above parts group applies to the following Mfg. Nos.:
1692934 46” Single Stage Snowthrower

10
TP-400-2156-00-AT-SMA
© Copyright 1997 Simplicity Manufacturing, Inc. All Rights Reserved.
47” Two Stage Snowthrower - Gearbox Mounting Group
NOTE: Unless noted otherwise,
use the standard hardware torque
specification chart.
A-AT43105A
The above parts group applies to the following Mfg. Nos.:
1692942 47” Two Stage Snowthrower

11
TP-400-2156-00-AT-SMA
47” Two Stage Snowthrower - Gearbox Mounting Group
1 1709620 1 BRACKET, Torque
2 1709621 4 CARRIAGE BOLT, 3/8-16 x 1
3 1916965 4 WASHER, Lock, 3/8
4 1916950 4 NUT, Hex, 3/8-16
5 1709623 2 FLANGE, Bearing 3-hole
6 1709624 1 BEARING
7 1917356 3 WASHER, Lock, 5/16
8 1917372 3 NUT, Hex, 5/16-18
9 1931332 3 CARRIAGE BOLT, 5/16-18 x 5/8
10 1709625 1 GEARBOX ASSEMBLY (See SERVICE PARTS - Snowthrower Gearbox)
11 1709639 1 NUT, Slotted Hex, 3/4 -16, L.H.
12 1918456 1 PIN, Cotter, 5/32 x 1-3/4
13 154096 1 KEY, 1/4 x 1/4 x 29/32
14 1960506 1 CAPSCREW, Hex Hd, 1/4-20 x 1-7/8
15 1923358 1 NUT, Hex Lock,1/4-20
16 1677029 1 SET SCREW, 5/16 -18 x 3/8
17 1717484 1 DRIVESHAFT, PTO (See SERVICE PARTS - Snowthrower Drive Shaft)
18 1709640 1 BRACKET, Wire
REF NO. PART NO. QTY. DESCRIPTION
Footnotes:
The above parts group applies to the following Mfg. Nos.:
1692942 47” Two Stage Snowthrower

12
TP-400-2156-00-AT-SMA
© Copyright 1997 Simplicity Manufacturing, Inc. All Rights Reserved.
47” Two Stage Snowthrower - Skid Shoe & Hitch Lock Group
NOTE: Unless noted otherwise,
use the standard hardware torque
specification chart.
A-AT43106A
The above parts group applies to the following Mfg. Nos.:
1692942 47” Two Stage Snowthrower

13
TP-400-2156-00-AT-SMA
47” Two Stage Snowthrower - Skid Shoe & Hitch Lock Group
1 1931320 4 CARRIAGE BOLT, 5/16-18 x 1-1/4
2 1709656 2 SKID SHOE, Snowthrower
3 1924874 10 WASHER, 5/16
4 1917356 4 WASHER, Lock, 5/16
5 1917372 4 NUT, Hex, 5/16-18
6 1921332 6 CAPSCREW, Hex Hd, 5/16-18 X 3/4
7 1709658 2 SKID SHOE, Snowthrower
8 1924874 6 WASHER, Flat, 5/16 SAE
9 1923362 6 NUT, Hex Lock, 5/16-18
10 1709659 2 PIN, Shot
11 1709660 2 SPRING, Shot Pin
12 916171 2 PIN, Roll, 1/4 x 1-1/2
13 1709661 2 WASHER, Shot Pin
REF NO. PART NO. QTY. DESCRIPTION
Footnotes:
The above parts group applies to the following Mfg. Nos.:
1692942 47” Two Stage Snowthrower

14
TP-400-2156-00-AT-SMA
© Copyright 1997 Simplicity Manufacturing, Inc. All Rights Reserved.
47” Two Stage Snowthrower - Auger Group
NOTE: Unless noted otherwise,
use the standard hardware torque
specification chart.
A-AT43107A
The above parts group applies to the following Mfg. Nos.:
1692942 47” Two Stage Snowthrower

15
TP-400-2156-00-AT-SMA
47” Two Stage Snowthrower - Auger Group
1 1709662 1 GEARBOX & SHAFT ASSEMBLY (See SERVICE PARTS - Snowthrower Auger
Gearbox & Shaft)
2 1709678 1 AUGER, LH
3 1709679 1 AUGER, RH
4 1921160 2 CAPSCREW, Hex Hd, 5/16-18 x 2-1/4
5 1917356 17 LOCKWASHER, 5/16 regular
6 1917372 17 NUT, Hex, 5/16-18
7 1709623 2 FLANGE, Bearing, 3-hole
8 1709680 2 BEARING, 1.00” ID
9 1709681 1 BLADE, Blower
10 1709682 1 COLLAR, Shear
11 1921960 1 CAPSCREW, Hex Hd,1/4-20 x 1
12 1916964 1 WASHER, Lock, 1/4
13 1916622 1 NUT, Hex, 1/4-20
14 1918265 2 WASHER, Flat, 5/16 SAE
15 1925205 2 CAPSCREW, Hex Hd, 5/16-18 x 5/8
16 1709683 1 BRACKET, Auger Support
17 1922127 1 CAPSCREW, Hex Hd, 5/16-18 x 1-3/4
18 1921319 6 WASHER, 1/4
19 912808 2 FITTING, Grease,1/4-28
20 1709684 1 EDGE, Cutting
21 1931335 6 CARRIAGE BOLT, 5/16-18 x 1
REF NO. PART NO. QTY. DESCRIPTION
Footnotes:
The above parts group applies to the following Mfg. Nos.:
1692942 47” Two Stage Snowthrower

16
TP-400-2156-00-AT-SMA
© Copyright 1997 Simplicity Manufacturing, Inc. All Rights Reserved.
47” Two Stage Snowthrower - Discharge Chute & Spout Rotator Group
NOTE: Unless noted otherwise,
use the standard hardware torque
specification chart.
A-AT43108A
The above parts group applies to the following Mfg. Nos.:
1692942 47” Two Stage Snowthrower
13 14 15
16
17
18
19
20
21
22
23
15
15
14
13
Snowthrower
Body
32
31
31
32
33
34 35
36
37
38
39
40
41
42
38
43
44 45 38 44
46 47 44
46
49
50
48

17
TP-400-2156-00-AT-SMA
47” Two Stage Snowthrower - Discharge Chute & Spout Rotator Group
1 1717490 1 CHUTE ASSEMBLY (w/ Deflector)
2 1709642 4 RETAINER, Chute
3 1921958 6 CAPSCREW, Hex Hd, 1/4-20 x 1/2
4 1916964 10 WASHER, Lock, 1/4
5 1916622 10 NUT, Hex, 1/4-20
6 1931333 2 CARRIAGE BOLT, 5/16-18 x 3/4
7 1924874 4 WASHER, 5/16
8 1919438 2 NUT, Hex Nylon Lock, 5/16-18
9 1923341 2 CAPSCREW, Hex Hd, 1/4-20 x 3/4
10 1921319 2 WASHER, 1/4
11 1709644 1 GUARD, Chute
12 1709645 1 GASKET, Chute
13 1960126 2 NUT, Push, 1/4
14 1921319 2 WASHER, 1/4
15 1702219 3 SPACER
16 1611945 1 ROD, Spring, 5/16
17 1611939 1 SPRING, Compression
18 1717482 1 CABLE ASSEMBLY
19 1924009 2 CAPSCREW, Hex Hd, 1/4-20 x 7/8
20 1960151 2 WASHER, 1/4
21 1916964 2 WASHER, Lock, 1/4
22 1916622 2 NUT, Hex, 1/4-20
23 1705920 1 BRACKET, Cable Mounting
31 1709648 2 BUSHING, Turn Collar
32 1960528 2 WASHER, 3/4
33 1709647 1 WORM GEAR ASSEMBLY
34 1960010 1 WASHER, 3/4
35 1709642 4 RETAINER, Chute
36 1923341 2 CAPSCREW, Hex Hd, 1/4-20 x 3/4
37 1709649 1 BRACKET, Support
38 1923358 3 NUT, Hex Lock,1/4-20
39 1921319 1 WASHER, 1/4
40 1960579 1 SCREW, Truss Head, Phillips, 1/4-20 x 1-5/8
41 1715886 1 ADAPTER, Motor
42 1933896 1 NUT, Hex Nylon Lock, #10-24
43 1708008 1 CLAMP, Cable, 1/4
44 1924009 5 CAPSCREW, Hex Hd, 1/4-20 x 7/8
45 1668500 1 BRACKET
46 1916964 5 WASHER, Lock, 1/4
47 1717086 1 SUPPORT ASSEMBLY
48 1717483 1 WIRE HARNESS
49 1916622 2 NUT, Hex, 1/4-20
50 1715885 1 MOTOR, Electric
REF NO. PART NO. QTY. DESCRIPTION
Footnotes:
The above parts group applies to the following Mfg. Nos.:
1692942 47” Two Stage Snowthrower

18
TP-400-2156-00-AT-SMA
© Copyright 1997 Simplicity Manufacturing, Inc. All Rights Reserved.
47” Two Stage Snowthrower - Hitch Group
NOTE: Unless noted otherwise,
use the standard hardware torque
specification chart.
A-AT43109A
The above parts group applies to the following Mfg. Nos.:
1692942 47” Two Stage Snowthrower
1
2
34
5
6
7
8
9
10 11 12
13
14
15
16
17
20
18
21
19
22
23
24
1
8

19
TP-400-2156-00-AT-SMA
47” Two Stage Snowthrower - Hitch Group
1 1675523 2 EYEBOLT, 3/8-16
2 1716492 1 SPACER
3 1916951 2 NUT, Hex, 1/2-13
4 1916966 2 WASHER, Lock, 1/2
5 1716926 1 BAR, Lift, Front
6 1716920 1 LIFT BAR ASSEMBLY
7 1921525 2 CAPSCREW, Hex Hd, 1/2-13 x 1-3/4
8 1716357 2 ANCHOR, Front
9 8031007 2 SET COLLAR
10 1928721 2 SETSCREW, Sqr Hd, Cup Point, 5/16-18 x 1/2
11 1675502 1 PIVOT ASSEMBLY, Hitch
12 176012 2 CLIP, Safety
13 1960038 2 PIN, Clevis, 5/8 x 2-1/4
14 175647 1 SPACER
15 1716460 1 SHAFT, 5/8 Dia.
16 1708999 1 SHAFT, Inner
17 1717089 1 HITCH ASSEMBLY
18 1675524 2 SPRING, Compression
19 1917421 2 NUT, Hex Jam, 3/8-16
20 1960071 2 WASHER, 3/8
21 1916950 2 NUT, Hex, 3/8-16
22 1676959 2 STUD, 3/4-10 UNC-2A
23 1913160 2 NUT, Hex, 3/4-10
24 1919332 2 WASHER, Lock, 3/4
REF NO. PART NO. QTY. DESCRIPTION
Footnotes:
The above parts group applies to the following Mfg. Nos.:
1692942 47” Two Stage Snowthrower

20
TP-400-2156-00-AT-SMA
© Copyright 1997 Simplicity Manufacturing, Inc. All Rights Reserved.
47” Two Stage Snowthrower - Decal Group
NOTE: Unless noted otherwise,
use the standard hardware torque
specification chart.
A-AT43110A
The above parts group applies to the following Mfg. Nos.:
1692942 47” Two Stage Snowthrower

21
TP-400-2156-00-AT-SMA
47” Two Stage Snowthrower - Decal Group
1 * 1 DECAL, OPEI
2 1716533 1 DECAL, Danger, Blower
3 1716531 1 DECAL, Caution
4 1716532 1 DECAL, Danger, Auger
5 1709688 2 DECAL, Danger, Shot-Pins
6 1709689 1 DECAL, Danger, Rotating Driveline
7 1709690 1 DECAL, Important, Shear Bolt
8 1716540 1 DECAL, Caution, Rear Wheel Weights
REF NO. PART NO. QTY. DESCRIPTION
Footnotes:
* Not a Servicable Part.
The above parts group applies to the following Mfg. Nos.:
1692942 47” Two Stage Snowthrower

22
TP-400-2156-00-AT-SMA
© Copyright 1997 Simplicity Manufacturing, Inc. All Rights Reserved.
60” Dozer Blade Assembly
NOTE: Unless noted otherwise,
use the standard hardware torque
specification chart.
A-AT43111A
The above parts group applies to the following Mfg. Nos.:
1692924 60” Manual Anglng Dozer Blade
1692925 60” Hudraulic Angling Dozer Blade

23
TP-400-2156-00-AT-SMA
60” Dozer Blade Assembly
1 1717537 1 BLADE ASSEMBLY, 60”
2 107106 2 SHOE ASSEMBLY
3 1924940 4 WASHER, 3/8
4 916965 13 WASHER, Lock, 3/8
5 1921965 4 CAPSCREW, Hex Hd, 3/8-16 x 3/4
6 916950 9 NUT, Hex, 3/8-16
7 1931350 9 CARRIAGE BOLT, 3/8-16 x 1
8 1717542 1 PLATE, Wear
REF NO. PART NO. QTY. DESCRIPTION
Footnotes:
The above parts group applies to the following Mfg. Nos.:
1692924 60” Manual Anglng Dozer Blade
1692925 60” Hudraulic Angling Dozer Blade

24
TP-400-2156-00-AT-SMA
© Copyright 1997 Simplicity Manufacturing, Inc. All Rights Reserved.
Hitch Assembly - Manual Angling Attachments
NOTE: Unless noted otherwise,
use the standard hardware torque
specification chart.
A-AT43112A
The above parts group applies to the following Mfg. Nos.:
1692924 60” Manual Anglng Dozer Blade
1693245 Sweepster Rotary Broom Hitch
1
2
345
6
7
8
9
10
11 12
13
14
15
16
17
18
20
21
19
22
23
25
26
27
28
29
30
31
32
33
34
36
37
35
35
12
12
8
910
36
24
38
39
40
41
42
44
46
47
48
49
50
51
52
53
45
43
48

25
TP-400-2156-00-AT-SMA
Hitch Assembly - Manual Angling Attachments
1 1679055 2 EYEBOLT, 3/8-16
2 1716492 1 SPACER
3 1916951 2 NUT, Hex, 1/2-13
4 1916966 2 WASHER, Lock, 1/2
5 1716926 1 BAR, Lift, Front
6 1716920 1 LIFT BAR ASSEMBLY
7 1921525 2 CAPSCREW, Hex Hd, 1/2-13 x 1-3/4
8 1716357 2 ANCHOR, Front
9 8031007 2 SET COLLAR
10 1928721 2 SETSCREW, Sqr Hd, Cup Point, 5/16-18 x 1/2
11 1675502 1 PIVOT ASSEMBLY, Hitch
12 1960033 4 CLIP, Hairpin
13 1960038 2 PIN, Clevis, 5/8 x 2-1/4
14 175647 1 SPACER
15 1716460 1 SHAFT, 5/8 Dia.
16 1708999 1 SHAFT, Inner
17 1717557 1 HITCH ASSEMBLY
18 1675524 2 SPRING, Compression
19 1917421 2 NUT, Hex Jam, 3/8-16
20 1960071 2 WASHER, 3/8
21 916950 2 NUT, Hex, 3/8-16
22 1676959 2 STUD, 3/4-10 UNC-2A
23 1913160 2 NUT, Hex, 3/4-10
24 1919332 2 WASHER, Lock, 3/4
25 1717557 1 HITCH ASSEMBLY
26 1717562 1 LATCH
27 921469 2 PIN, Spring, 7/32 x 1
28 107135 1 SPRING, Extension
29 1717544 1 FRAME ASSEMBLY
30 1920328 2 CAPSCREW, Hex Hd, 1/2-13 x 1-1/2
31 105051 2 SPACER
32 1922134 2 NUT, Lock, 1/2-13
33 101126 4 SPRING, Extension
34 107121 4 EYEBOLT, 5/16-18
35 1917372 8 NUT, Hex, 5/16-18
36 1919314 2 PIN, Cotter, 3/16 x 1-1/4
37 174066 1 PIN, Pivot
38 1960033 1 CLIP, Hairpin
39 * 1 ROD (1693245 Only)
39 1717561 1 ROD (Used on 1692924 Only)
40 1717556 1 PLATE, Control
41 1960221 3 CLIP, Hairpin
42 1673574 1 PIN, 5/16 x 1-1/8
43 1717565 1 SUPPORT ARM ASSEMBLY
44 1717536 1 CONTROL CABLE ASSEMBLY
45 172162 1 EYEBOLT, 1/4-20
46 1925003 1 CAPSCREW, Hex Washer Hd, Taptite, 1/4-20 x 1/2
47 1706144 1 CAPSCREW, Hex Hd, 1/4-20 x 1-1/2
48 1923358 2 NUT, Hex Lock,1/4-20
49 916001 1 PIN, Roll, 3/16
50 1717560 1 LEVER, Latch Control
REF NO. PART NO. QTY. DESCRIPTION
Footnotes:
NOTE: reference Nos. 51-53 on following page.
* Part Sold by Sweepster Inc.
2800 N. Zeeb Rd
Dexter, MI 48130
(800) 456-7100 or (313) 996-9116
The above parts group applies to the following Mfg. Nos.:
1692924 60” Manual Anglng Dozer Blade
1693245 Sweepster Rotary Broom Hitch

26
TP-400-2156-00-AT-SMA
© Copyright 1997 Simplicity Manufacturing, Inc. All Rights Reserved.
Hitch Assembly - Manual Angling Attachments — Continued
NOTE: Unless noted otherwise,
use the standard hardware torque
specification chart.
A-AT43112A
The above parts group applies to the following Mfg. Nos.:
1692924 60” Manual Anglng Dozer Blade
1693245 Sweepster Rotary Broom Hitch
1
2
345
6
7
8
9
10
11 12
13
14
15
16
17
18
20
21
19
22
23
25
26
27
28
29
30
31
32
33
34
36
37
35
35
12
12
8
910
36
24
38
39
40
41
42
44
46
47
48
49
50
51
52
53
45
43
48

27
TP-400-2156-00-AT-SMA
Hitch Assembly - Manual Angling Attachments — Continued
51 1717569 1 GRIP, Black Plastic
52 1028100 GRIP, Black Vinyl
53 1717559 1 HANDLE, Upper
REF NO. PART NO. QTY. DESCRIPTION
Footnotes:
NOTE: reference Nos.51-50 on previous page.
* Part Sold by Sweepster Inc.
2800 N. Zeeb Rd
Dexter, MI 48130
(800) 456-7100 or (313) 996-9116
The above parts group applies to the following Mfg. Nos.:
1692924 60” Manual Anglng Dozer Blade
1693245 Sweepster Rotary Broom Hitch

28
TP-400-2156-00-AT-SMA
© Copyright 1997 Simplicity Manufacturing, Inc. All Rights Reserved.
Hitch Assembly - Hydraulic Angling Attachments
NOTE: Unless noted otherwise,
use the standard hardware torque
specification chart.
A-AT43113A
The above parts group applies to the following Mfg. Nos.:
1692925 60” Hudraulic Angling Dozer Blade
1
2
345
6
7
9
10
8
11
12
13
14
15
16
17
18
20
21
19
22
23
24
25
26
27
28
29
30
31
32
32
33
34
33
8
1

29
TP-400-2156-00-AT-SMA
Hitch Assembly - Hydraulic Angling Attachments
1 1679055 2 EYEBOLT, 3/8-16
2 1716492 1 SPACER
3 1916951 2 NUT, Hex, 1/2-13
4 1916966 2 WASHER, Lock, 1/2
5 1716926 1 BAR, Lift, Front
6 1716920 1 LIFT BAR ASSEMBLY
7 1921525 2 CAPSCREW, Hex Hd, 1/2-13 x 1-3/4
8 1716357 2 ANCHOR, Front
9 8031007 2 SET COLLAR
10 1928721 2 SETSCREW, Sqr Hd, Cup Point, 5/16-18 x 1/2
11 1675502 1 PIVOT ASSEMBLY, Hitch
12 1960033 4 CLIP, Hairpin
13 1960038 2 PIN, Clevis, 5/8 x 2-1/4
14 175647 1 SPACER
15 1716460 1 SHAFT, 5/8 Dia.
16 1708999 1 SHAFT, Inner
17 1717557 1 HITCH ASSEMBLY
18 1675524 2 SPRING, Compression
19 1917421 2 NUT, Hex Jam, 3/8-16
20 1960071 2 WASHER, 3/8
21 916950 2 NUT, Hex, 3/8-16
22 1676959 2 STUD, 3/4-10 UNC-2A
23 1913160 2 NUT, Hex, 3/4-10
24 1919332 2 WASHER, Lock, 3/4
25 1717557 1 HITCH ASSEMBLY
26 1717544 1 FRAME ASSEMBLY
27 1920328 2 CAPSCREW, Hex Hd, 1/2-13 x 1-1/2
28 105051 2 SPACER
29 1922134 2 NUT, Lock, 1/2-13
30 101126 4 SPRING, Extension
31 107121 4 EYEBOLT, 5/16-18
32 1917372 8 NUT, Hex, 5/16-18
33 1919314 2 PIN, Cotter 3/16 x 1-1/4
34 174066 1 PIN, Pivot
REF NO. PART NO. QTY. DESCRIPTION
Footnotes:
The above parts group applies to the following Mfg. Nos.:
1692925 60” Hudraulic Angling Dozer Blade

Male
Male
Female
Female
Male
Male
Female
Hose
1718416
1/2 x 75"
Female
Single Spool
Control Valve
(From Tractor)
1717558
Angling
Cylinder
1677214
Single Spool
Power Beyond Valve
1718418
IN
OUT
BYD
Tractor
Front
Threads
Hose
Clamp
960266
Hose Clamp
960266
Hex Fitting
“T” Connector
1674768
Beaded
End
BA
Dozer
Hose
1718415
23/32 x 40"
Hose
1718413
5/8 x 9"
Hose
1718411
23/32 x 17"
Hose
1718590
1/2 x 28"
IN
OUT
From Power
Steering
To Power
Steering
To Hydro Pump
Metal Crossover
Tube (Return)
1718414
Metal Crossover
Tube (Pressure)
1718412
30
TP-400-2156-00-AT-SMA
© Copyright 1997 Simplicity Manufacturing, Inc. All Rights Reserved.
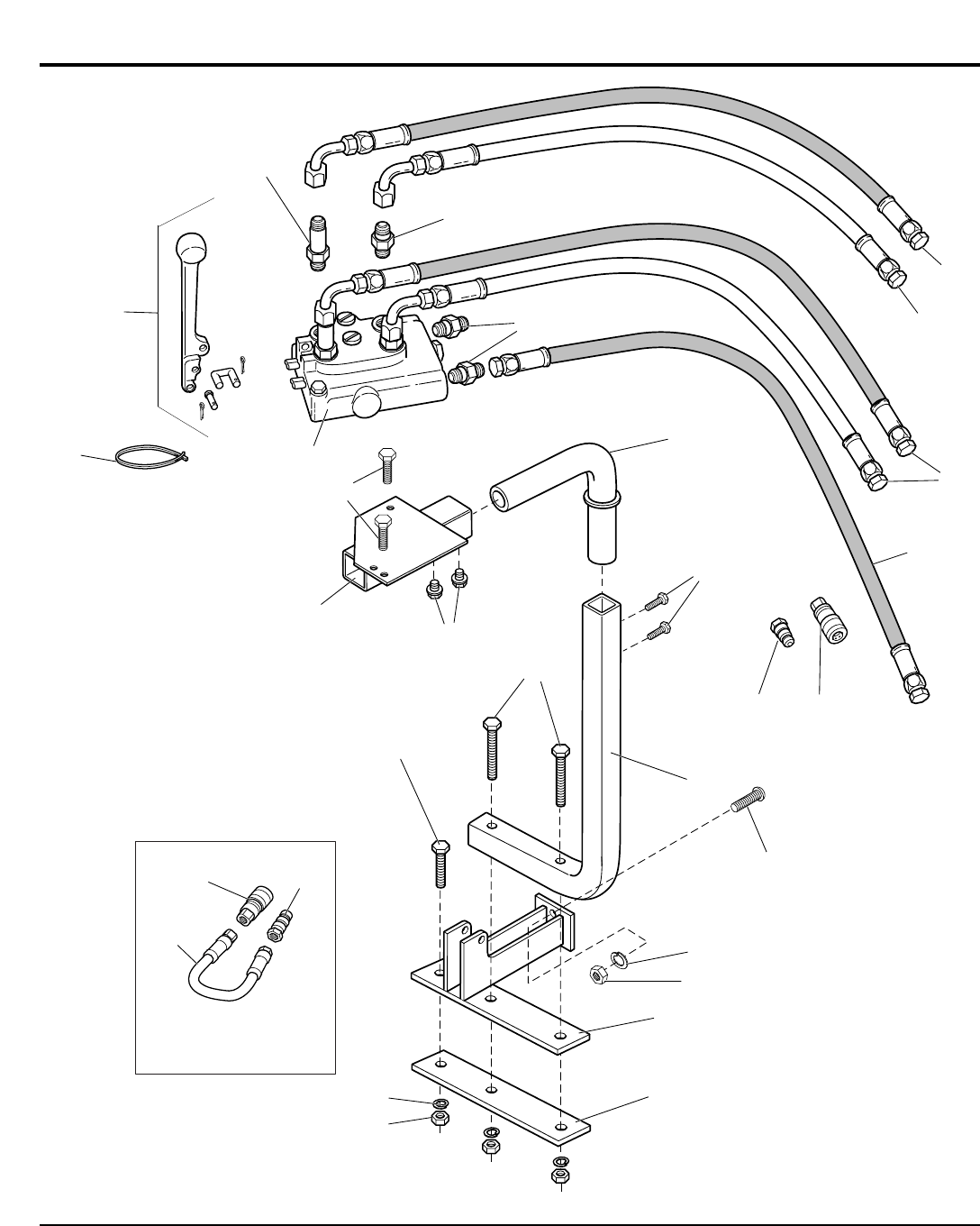
Hydraulic System Diagram - Hydraulic Angling Attachments
NOTE: Unless noted otherwise,
use the standard hardware torque
specification chart.
A-AT43114A
The above parts group applies to the following Mfg. Nos.:
1692925 60” Hudraulic Angling Dozer Blade
1692931 Hydraulic Anglng Kit
1
2
3
4
5
7
8
9
12
6
10
11

31
TP-400-2156-00-AT-SMA
Hydraulic System Diagram - Hydraulic Angling Attachments
1 960266 4 CLAMP, Hose, Worm
2 1674768 1 FITTING, Hose, Tee
3 1677214 1 CYLINDER, Angling
4 1718411 1 HOSE ASSEMBLY, 23/32” x 17”
5 1718412 1 TUBE, Metal Cross-Over (Pressure)
6 1718413 1 HOSE, Hydraulic 3/8” ID x 9”
7 1718414 1 TUBE, Metal Cross-Over (Return)
8 1718415 2 HOSE, Hydraulic, 23/32” x 40”
9 1718416 2 HOSE, Hydraulic, 1/2” x 75”
10 1718418 1 CONTROL VALVE, Single Spool, Power Beyond
11 1718590 2 HOSE, Hydraulic, 1/2” x 28”
12 1717558 1 CONTROL VALVE, Single Spool (From Tractor)
REF NO. PART NO. QTY. DESCRIPTION
Footnotes:
Refer to Hydraulic System Diagram, Control Tower Group and Cylinder Mounting Group for Additional
Part Numbers and Locations.
The above parts group applies to the following Mfg. Nos.:
1692925 60” Hudraulic Angling Dozer Blade
1692931 Hydraulic Anglng Kit


33
TP-400-2156-00-AT-SMA
Control Tower Group - Hydraulic Anging Attachments
1 173358 5 QUICK CONNECTOR, Female Nose Piece Assembly
2 1960571 2 CAPSCREW, Hex Washer Hd, Taptite, 1/4-20 X 1-3/4
3 173359 5 QUICK CONNECTOR, Male Nose Piece Assembly
4 1718578 1 HOSE, Hydraulic, 1/2” x 11”
5 1701011 5 TIE, Self-Locking
6 1960286 1 CAPSCREW, Hex Hd, 1/2-13 X 3-1/2
7 1926159 2 CAPSCREW, Hex Hd, 1/2-13 x 5, Gr 8
8 1717642 2 PLATE, Clamp, 5/16
9 1921332 4 CAPSCREW, Hex Hd, 5/16-18 X 3/4
10 1717648 1 TOWER ASSEMBLY
11 1718415 2 HOSE, Hydraulic, 23/32” x 40”
12 1718416 2 HOSE, Hydraulic, 1/2” x 75”
13 1717558 1 CONTROL VALVE, Single Spool (From Tractor)
14 1718429 1 PLATE ASSEMBLY, Control Valve Mounting
15 1718431 1 TUBE ASSEMBLY, Control Tower Pivot
16 922522 2 FITTING, Tube, Male, Short
17 931230 1 FITTING, Tube, Male, Tall
18 1718434 1 KIT, Control Lever & Pin
19 1718435 2 FITTING, Tube, Male
20 1916951 3 NUT, Hex, 1/2-13
21 1916966 3 WASHER, Lock, 1/2
REF NO. PART NO. QTY. DESCRIPTION
Footnotes:
Refer to Hydraulic System Diagram, Control Tower Group and Cylinder Mounting Group for Additional
Part Numbers and Locations.
The above parts group applies to the following Mfg. Nos.:
1692925 60” Hudraulic Angling Dozer Blade
1692931 Hydraulic Anglng Kit

Cross-Over Tube
Mounting Hardware
OUT
OUT
OUT
IN
IN
IN
BYD
BYD
BYD
O
O
O
8
8
6
7
12
9
5
15
16
13
3
1
2
14
14
10
10
10
11
4
34
TP-400-2156-00-AT-SMA
© Copyright 1997 Simplicity Manufacturing, Inc. All Rights Reserved.
Cylinder Mounting Group - Hydraulic Anging Attachments
NOTE: Unless noted otherwise,
use the standard hardware torque
specification chart.
A-AT43116A
The above parts group applies to the following Mfg. Nos.:
1692925 60” Hudraulic Angling Dozer Blade
1692931 Hydraulic Anglng Kit

35
TP-400-2156-00-AT-SMA
Cylinder Mounting Group - Hydraulic Anging Attachments
1 173358 5 QUICK CONNECTOR, Female Nose Piece Assembly
2 173359 5 QUICK CONNECTOR, Male Nose Piece Assembly
3 1960373 2 CAPSCREW, Hex Washer Hd, Taptite, 5/16-18 X 1
4 919171 2 FITTING, Cylinder, Male
5 922523 1 FITTING, Elbow
6 1677214 1 CYLINDER, Angling
7 1700394 1 PIN, Cylinder, 5/8
8 1718590 2 HOSE, Hydraulic, 1/2” x 28”
9 1717647 1 FITTING, Pressure Beyond Port
10 1918452 3 PIN, Cotter
11 1960277 1 PIN, Yoke
12 1718418 1 CONTROL VALVE, Single Spool, Power Beyond
13 1718420 2 CLAMP, Metal Cross Over Tube Retaining
14 1718436 2 FITTING, Tube, Male
15 1920283 2 WASHER, 5/16
16 1917356 2 WASHER, Lock, 5/16
REF NO. PART NO. QTY. DESCRIPTION
Footnotes:
Refer to Hydraulic System Diagram, Control Tower Group and Cylinder Mounting Group for Additional
Part Numbers and Locations.
The above parts group applies to the following Mfg. Nos.:
1692925 60” Hudraulic Angling Dozer Blade
1692931 Hydraulic Anglng Kit

Exhaust Elbow
36
TP-400-2156-00-AT-SMA
© Copyright 1997 Simplicity Manufacturing, Inc. All Rights Reserved.
Front End Loader - Mid Hitch Group
NOTE: Unless noted otherwise,
use the standard hardware torque
specification chart.
A-AT43117A
The above parts group applies to the following Mfg. Nos.:
1692932 Front End Loader

37
TP-400-2156-00-AT-SMA
Front End Loader - Mid Hitch Group
1 1718154 1 BRACKET, Front Mounting
2 1718155 1 BRACKET, Mid Mounting
3 1960489 4 CARRIAGE BOLT, 1/2-13 x 1-1/2
4 1922134 4 NUT, Lock, 1/2-13
5 1933260 8 CAPSCREW, Hex Flange Hd, Whiz Lock, 3/8-16 x 3/4
6 1718158 1 BUMPER
7 1718159 1 PIN, Locking, 3/8-16 x 4
8 1922648 1 CAPSCREW, Hex Hd, 3/8-16 x 4
9 1930651 1 NUT, Hex Lock, 3/8-16
10 1708761 1 ELBOW, Exhaust
11 1712286 1 CLAMP, Exhaust
REF NO. PART NO. QTY. DESCRIPTION
Footnotes:
The above parts group applies to the following Mfg. Nos.:
1692932 Front End Loader

38
TP-400-2156-00-AT-SMA
© Copyright 1997 Simplicity Manufacturing, Inc. All Rights Reserved.
Front End Loader - Main Frame & Buckets
NOTE: Unless noted otherwise,
use the standard hardware torque
specification chart.
A-AT43118A
The above parts group applies to the following Mfg. Nos.:
1692932 Front End Loader
1691311 48” Bucket
Bucket Components
31
32
33
34

39
TP-400-2156-00-AT-SMA
Front End Loader - Main Frame & Buckets
1 1718163 1 BOOM
2 1700531 1 ROD, Indicator
3 1700525 1 GUIDE TUBE, Indicator Rod
4 1718161 1 SIDE FRAME, Left
5 1718162 1 SIDE FRAME, Right
6 1918454 1 PIN, Cotter, 5/32 x 1-1/2
7 1700559 1 DECAL, Warning
8 1700557 1 DECAL, Warning
9 1700558 1 DECAL, Caution
10 1718166 2 CYLINDER, Lift (See SERVICE PARTS - Lift Cylinder)
11 915019 2 FITTING, Grease
12 1700524 4 PIN, Cylinder Base, 3/4 x 2-1/2
13 1718169 2 CYLINDER, Bucket (See SERVICE PARTS - Bucket Cylinder)
14 1718170 2 PIN, 3/4 x 4
15 1921024 2 CAPSCREW, Hex Hd, 1/2-13 x 2
16 1922134 2 NUT, Lock, 1/2-13
17 1960170 2 WASHER, 1/2
18 1718174 2 HINGE
19 1921961 2 CAPSCREW, Hex Hd,1/4-20 x 1-1/4
20 1923358 2 NUT, Hex Lock,1/4-20
21 1923353 2 NUT, Hex Lock, 5/8-11
22 1700532 1 PIN, 3/4 x 3-1/4
23 1700533 2 PIN, 3/4 x 3-1/4
24 1700534 1 PIN, 3/4 x 3-1/4
25 1921024 2 CAPSCREW, Hex Hd, 1/2-13 x 2
26 912808 10 FITTING, Grease, 1/4-28
27 960300 2 CARRIAGE BOLT, 5/8-11 x 3-1/2
28 960323 10 SHOULDER BOLT, 3/8-16 x 1
29 1930651 12 NUT, Hex Lock, 3/8-16
30 1700549 1 DECAL, Caution
31 * 1 BUCKET ASSEMBLY, 48”
32 1700546 2 CUTTING EDGE, Side (Weld on part)
33 1700548 1 CUTTING EDGE, Bottom, 48” (Weld on part)
34 1700549 1 DECAL, Caution
REF NO. PART NO. QTY. DESCRIPTION
Footnotes:
* Order Bucket (Ref 31) as whole goods item (1691311).
The above parts group applies to the following Mfg. Nos.:
1692932 Front End Loader
1691311 48” Bucket

40
TP-400-2156-00-AT-SMA
© Copyright 1997 Simplicity Manufacturing, Inc. All Rights Reserved.
Front End Loader - Main Hydraulics
NOTE: Unless noted otherwise,
use the standard hardware torque
specification chart.
A-AT43119A
The above parts group applies to the following Mfg. Nos.:
1692932 Front End Loader
Pump Mounting Bracket
- Later Models
55

41
TP-400-2156-00-AT-SMA
Front End Loader - Main Hydraulics
1 1709189 1 PIN, Klik, 3/16 x 1-5/8
2 1700484 1 SPROCKET, w/ Spline Hub
3 1700485 1 CHAIN, Roller, #40-2 x 12 Pitches
4 1700486 1 SPROCKET, w/ Keyway Hub
5 1930651 2 NUT, Hex Lock, 3/8-16
6 1700490 1 Y-STRAINER
7 1673452 1 PLUG, Pipe, 3/8 NPT
8 1700493 1 PUMP, (See SERVICE PARTS - Hydraulic Gear Pump)
9 1930545 1 SETSCREW, Socket Head, 1/4-20 x 1/4
10 1718180 1 BRACKET, Pin Assembly
11 1920415 2 CAPSCREW, Hex Hd, 3/8-16 x 1-1/4
12 1701011 2 TIE, Self-Locking
13 1718450 1 TUBE, Oil Line, (BCB), 1/2 x 28, Suction
14 1700500 1 FILTER ASSEMBLY
15 1700499 1 FITTING, Adapter, 3/8 x 3/8
16 1916622 2 NUT, Hex, 1/4-20
17 1916964 2 WASHER, Lock, 1/4
18 1700502 1 VALVE, (See SERVICE PARTS - Hydraulic Valve Assembly)
19 1960503 3 CAPSCREW, Hex Socket Hd, 1/4-28 x 3/4
20 1718461 1 HANDLE
21 1921963 2 CAPSCREW, Hex Hd,1/4-20 x 2
22 1718458 1 BALL
23 1718459 1 BALL JOINT, Female
24 1718460 2 BALL JOINT, Male
25 1700509 1 CAP, Breather
26 1919326 5 WASHER, 5/16
27 1718185 1 BRACKET, Valve Mounting
28 1718462 1 BOOT
29 1960262 1 NUT, Hex, 1/4-28
30 1718187 1 BRACKET, Pump Mounting
31 1718463 1 HOSE, Hydraulic, 3/8 x 11 (valve to filter)
32 1718464 1 HOSE, Hydraulic, 3/8 x 63 (pressure)
33 1718465 1 STUD, Ball Joint
34 1718466 1 FITTING, 7/8 O-Ring x 7/8 JIC, 45 Degree (outlet port on pump)
35 1923341 2 CAPSCREW, Hex Hd, 1/4-20 x 3/4
36 1718467 1 DECAL, Single Handle
37 1718194 1 FITTING, 3/4 O-Ring x 9/16 JIC
38 1718195 7 FITTING, 9/16 JIC x 91/6 JIC, 90 Degree (between outlet fitting pump & hose)
39 1718468 1 HOSE, Hydraulic, 1/2 x 16
40 922522 6 FITTING, 9/16 O-Ring x 9/16 JCI
41 1718470 1 FITTING 3/4 JIC x 1/2 NPTF, 90 Degree
42 * 1 WOODRUFF KEY, 1/8 x 5/8 (comes with pump)
43 1931335 2 CARRIAGE BOLT, 5/16-18 x 1
44 1923362 5 NUT, Hex Lock, 5/16-18
45 1701011 3 TIE, Self Locking
46 1921977 2 CAPSCREW, Hex Hd, 5/16-18 x 1-1/4
47 1921333 2 CAPSCREW, Hex Hd, 5/16-18 X 1
48 1718471 4 HOSE, Hydraulic, 3/8 x 24
49 1960262 2 NUT, Hex, 1/4-28
50 1718472 2 ADAPTER PLATE
51 1923358 4 NUT, Hex Lock,1/4-20
REF NO. PART NO. QTY. DESCRIPTION
Footnotes:
NOTE: Ref. Nos. 52-55 on the following page.
* Not available for order as a Service Part.
The above parts group applies to the following Mfg. Nos.:
1692932 Front End Loader

42
TP-400-2156-00-AT-SMA
© Copyright 1997 Simplicity Manufacturing, Inc. All Rights Reserved.
Front End Loader - Main Hydraulics — Continued
NOTE: Unless noted otherwise,
use the standard hardware torque
specification chart.
A-AT43119A
The above parts group applies to the following Mfg. Nos.:
1692932 Front End Loader
Pump Mounting Bracket
- Later Models
55

43
TP-400-2156-00-AT-SMA
Front End Loader - Main Hydraulics — Continued
52 1718873 1 SPEEDNUT
53 1718474 1 COVER
54 1917356 1 WASHER, Lock, 5/16
55 1719120 1 BRACKET, Pump Mounting (Replaces Ref. Nos. 1, 10, 26, 30, 43, & 44) in
Later Models
REF NO. PART NO. QTY. DESCRIPTION
Footnotes:
NOTE: Ref. Nos. 1-51 on the previous page.
* Not available for order as a Service Part.
The above parts group applies to the following Mfg. Nos.:
1692932 Front End Loader

44
TP-400-2156-00-AT-SMA
© Copyright 1997 Simplicity Manufacturing, Inc. All Rights Reserved.
Front End Loader - Boom Hydraulics
NOTE: Unless noted otherwise,
use the standard hardware torque
specification chart.
A-AT43120A
The above parts group applies to the following Mfg. Nos.:
1692932 Front End Loader

45
TP-400-2156-00-AT-SMA
Front End Loader - Boom Hydraulics
1 1718450 1 TUBE, Oil Line, (BCB)
2 1718451 1 TUBE, Oil Line, (BCR)
3 1718452 1 TUBE, Oil Line, (LCB)
4 1718453 1 TUBE, Oil Line, (LCB)
5 1700518 2 HOSE, 1/4 x 10-1/2
6 1700519 2 HOSE, 1/4 x 15
7 922523 8 FITTING, Elbow, 9/16 x 9/16, 90 Degree
8 1700508 2 HOSE, 1/4 x 20
9 1718455 2 HOSE, 1/4 x 34
REF NO. PART NO. QTY. DESCRIPTION
Footnotes:
The above parts group applies to the following Mfg. Nos.:
1692932 Front End Loader

Upstop Capscrew
Slide Under Wing Nut
Place Over Nut Bracket Capscrews
Mounting Plate - 48” Models
39
38
40
46
TP-400-2156-00-AT-SMA
© Copyright 1997 Simplicity Manufacturing, Inc. All Rights Reserved.
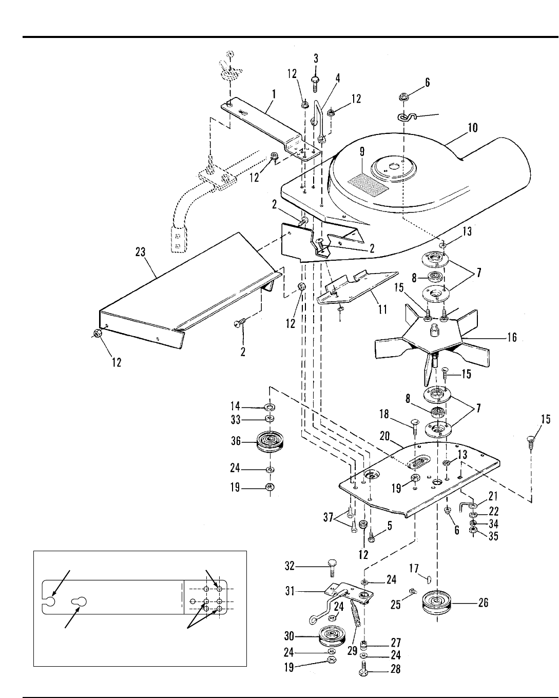
48” Turbo - Turbo Blower Assembly
NOTE: Unless noted otherwise,
use the standard hardware torque
specification chart.
A-AT43121A
The above parts group applies to the following Mfg. Nos.:
1692936 48” Turbo

47
TP-400-2156-00-AT-SMA
48” Turbo - Turbo Blower Assembly
1 1679897 1 PLATE, Mounting
2 1921959 9 CAPSCREW, Hex Hd,1/4-20 x 5/8
3 1960346 1 CAPSCREW, Hex Hd,1/4-20 x 2-1/4
4 1700936 1 STOP, Deflector
5 1924009 1 CAPSCREW, Hex Hd, 1/4-20 x 7/8
6 1927557 6 NUT, Hex Flange Whiz Lock, 5/16-18
7 1665982 4 RETAINER, Bearing
8 108202 2 BEARING
9 1700259 1 DECAL, Danger
10 1706654 1 HOUSING, Blower (Incl. Ref. No. 9)
11 1679900 1 HOOK, Stone Guard
12 1930641 13 NUT, Hex Flange Whiz Lock, 1/4-20
13 1933988 6 NUT, Push, 5/16
14 1676435 1 WASHER, Plain,1/2
15 1931333 6 CARRIAGE BOLT, 5/16-18 x 3/4
16 1706631 1 FAN ASSEMBLY (5 Blade)
17 960403 1 KEY, Woodruff, 3/16
18 1960268 1 CARRIAGE BOLT, 3/8-16 x 1-1/4
19 1928731 3 NUT, Hex Jam Lock, 3/8-16
20 1706652 1 PLATE, Shroud
21 170397 1 STOP, Belt
22 1919326 1 WASHER, 5/16
23 1702553 1 COVER, Top
24 1924940 5 WASHER, 3/8
25 1928691 1 SETSCREW, Sqr Hd, 5/16-18 x 3/8
26 1706634 1 PULLEY, Driven
27 1666114 1 SPACER
28 1921969 1 CAPSCREW, Hex Hd, 3/8-16 x 1-1/2
29 1679554 1 SPRING, Extension
30 174561 1 PULLEY, Idler, Adjustable
31 1701827 1 IDLER ARM ASSEMBLY
32 1921210 1 CAPSCREW, Hex Hd, 3/8-16 x 1
33 157424 1 WASHER, Special, 3/8
34 1917356 1 WASHER, Lock, 5/16
35 1917372 1 NUT, Hex, 5/16-18
36 1708030 1 PULLEY, Idler, Fixed
37 1923341 2 CAPSCREW, Hex Hd, 1/4-20 x 3/4
38 1931334 1 CARRIAGE BOLT, 5/16-18 x 7/8
39 1672689 1 S-HOOK
40 1920397 4 NUT, Hex Nylon Lock, 1/4-20
REF NO. PART NO. QTY. DESCRIPTION
Footnotes:
The above parts group applies to the following Mfg. Nos.:
1692936 48” Turbo

48
TP-400-2156-00-AT-SMA
© Copyright 1997 Simplicity Manufacturing, Inc. All Rights Reserved.
48” Turbo - Mounting Group
NOTE: Unless noted otherwise,
use the standard hardware torque
specification chart.
A-AT43122A
The above parts group applies to the following Mfg. Nos.:
1692936 48” Turbo
Capscrew Ref. No. 4
Belt Routing
20

1 1923362 1 NUT, Hex Lock, 5/16-18
2 1679163 1 NUT & CUP ASSEMBLY
3 1679897 1 PLATE, Mounting
4 1960346 1 CAPSCREW, Hex Hd,1/4-20 x 2-1/4
5 1700936 1 STOP, Deflector
6 1930641 13 NUT, Hex Flange Whiz Lock, 1/4-20
7 * 1 TURBO ASSEMBLY
8 1923341 2 CAPSCREW, Hex Hd, 1/4-20 x 3/4
9 1924009 1 CAPSCREW, Hex Hd, 1/4-20 x 7/8
10 1700851 1 SPRING, Torsion
11 1926110 2 CAPSCREW, Hex Hd, 7/16-14 x 2-3/4
12 ** 1 DEFLECTOR ASSEMBLY (From Mower).
13 1918199 2 WASHER, Lock, 7/16
14 1918213 2 NUT, Hex, 7/16-14
15 1917372 4 NUT, Hex, 5/16-18
16 1917356 4 WASHER, Lock, 5/16
17 1923325 2 CAPSCREW, Hex Hd, 5/16-18 x 7/8
18 1916950 5 NUT, Hex, 3/8-16
19 1916965 5 WASHER, Lock, 3/8
20 1679914 1 V-BELT
21 1931350 2 CARRIAGE BOLT, 3/8-16 x 1
22 1960373 5 CAPSCREW, Hex Washer Hd, Taptite, 5/16-18 X 1
23 1700800 1 ROD, Hinge
24 1924940 1 WASHER, 3/8
25 1921977 1 CAPSCREW, Hex Hd, 5/16-18 x 1-1/4
26 1709327 1 BRACKET, Support
27 1960486 1 SCREW, Flat Hd, Hex Socket, 5/16-18 x 1-1/4
28 1921210 2 CAPSCREW, Hex Hd, 3/8-16 x 1
29 1925205 1 CAPSCREW, Hex Hd, 5/16-18 x 5/8
30 1960318 1 CAPSCREW, Hex Hd, 5/16-18 x 2-1/2
31 1679898 1 CLAMP, Lower
32 1677651 1 BRACE, Bracket Support
33 1700638 1 CLAMP, Upper
34 1917372 3 NUT, Hex, 5/16-18
35 1917356 3 WASHER, Lock, 5/16
36 1935255 1 NUT, Speed, 5/16-18
37 1700797 1 PIVOT ASSEMBLY, Deflector
38 1679903 1 PULLEY ASSEMBLY
39 1927120 1 CAPSCREW, Hex Hd, 7/16-14 x 2-1/4
40 1700013 1 COVER, LH Mower
41 1708511 3 SPACER
42 922121 2 SCREW, Rd Hd Machine, #10-32 x 3/8
43 1928919 2 NUT, Hex Flange, #10-32
44 1674020 1 PLUG, Mower Cover
45 1933988 1 NUT, Push, 5/16
46 1700649 1 HINGE
47 1700728 1 COVER, Belt (Includes Ref. No. 46 & 51)
48 1700669 1 KNOB, Plastic
49 1700802 1 BRACKET, RH Pivot
50 1700801 1 BRACKET, LH Pivot
51 928707 2 POP-RIVET, 3/16 x 5/16
49
TP-400-2156-00-AT-SMA
48” Turbo - Mounting Group
REF NO. PART NO. QTY. DESCRIPTION
Footnotes:
* Not Sold Separately
** Original Mower Deck Part
The above parts group applies to the following Mfg. Nos.:
1692936 48” Turbo

50
TP-400-2156-00-AT-SMA
© Copyright 1997 Simplicity Manufacturing, Inc. All Rights Reserved.
60” Turbo - Turbo Blower Assembly
NOTE: Unless noted otherwise,
use the standard hardware torque
specification chart.
A-AT43123A
The above parts group applies to the following Mfg. Nos.:
1692937 60” Turbo
Upstop Capscrew
Slide Under Wing Nut
Place Over Nut Bracket Capscrews
Mounting Plate - 60” Models
39
38
40

51
TP-400-2156-00-AT-SMA
60” Turbo - Turbo Blower Assembly
1 1679912 1 PLATE, Mounting
2 1921959 5 CAPSCREW, Hex Hd,1/4-20 x 5/8
3 1960346 1 CAPSCREW, Hex Hd,1/4-20 x 2-1/4
4 1700936 1 STOP, Deflector
5 1924009 1 CAPSCREW, Hex Hd, 1/4-20 x 7/8
6 1927557 6 NUT, Hex Flange Whiz Lock, 5/16-18
7 1665982 4 RETAINER, Bearing
8 108202 2 BEARING
9 1700259 1 DECAL, Danger
10 1706718 1 HOUSING, Blower (Incl. Ref. No. 9)
11 1679900 1 HOOK, Stone Guard
12 1930641 13 NUT, Hex Flange Whiz Lock, 1/4-20
13 1933988 6 NUT, Push, 5/16
14 1676435 1 WASHER, Plain,1/2
15 1931333 6 CARRIAGE BOLT, 5/16-18 x 3/4
16 1706631 1 FAN ASSEMBLY (5 Blade)
17 960403 1 KEY, Woodruff, 3/16
18 1960268 1 CARRIAGE BOLT, 3/8-16 x 1-1/4
19 1928731 3 NUT, Hex Jam Lock, 3/8-16
20 1706652 1 PLATE, Shroud
21 170397 1 STOP, Belt
22 1919326 1 WASHER, 5/16
23 1702589 1 COVER, Top
24 1924940 5 WASHER, 3/8
25 1928691 1 SETSCREW, Sqr Hd, 5/16-18 x 3/8
26 1706634 1 PULLEY, Driven
27 1666114 1 SPACER
28 1921969 1 CAPSCREW, Hex Hd, 3/8-16 x 1-1/2
29 1679554 1 SPRING, Extension
30 174561 1 PULLEY, Idler, Adjustable
31 1701827 1 IDLER ARM ASSEMBLY
32 1921210 1 CAPSCREW, Hex Hd, 3/8-16 x 1
33 157424 1 WASHER, Special, 3/8
34 1917356 1 WASHER, Lock, 5/16
35 1917372 1 NUT, Hex, 5/16-18
36 1708030 1 PULLEY, Idler, Fixed
37 1923341 2 CAPSCREW, Hex Hd, 1/4-20 x 3/4
38 1931334 1 CARRIAGE BOLT, 5/16-18 x 7/8
39 1672689 1 S-HOOK
40 1920397 4 NUT, Hex Nylon Lock, 1/4-20
REF NO. PART NO. QTY. DESCRIPTION
Footnotes:
The above parts group applies to the following Mfg. Nos.:
1692937 60” Turbo

52
TP-400-2156-00-AT-SMA
© Copyright 1997 Simplicity Manufacturing, Inc. All Rights Reserved.
60” Turbo - Mounting Group
NOTE: Unless noted otherwise,
use the standard hardware torque
specification chart.
A-AT43124A
The above parts group applies to the following Mfg. Nos.:
1692937 60” Turbo
Capscrew Ref No. 3,
Page 26
Belt Routing 14

53
TP-400-2156-00-AT-SMA
60” Turbo - Mounting Group
1 1717618 1 COVER, LH Mower
2 1700669 1 KNOB, Plastic
3 1700668 1 COVER ASSEMBLY, (Incl. Ref. Nos. 4 & 5)
4 1700649 1 HINGE
5 928707 2 POP-RIVET, 3/16 x 5/16
6 1928919 2 NUT, Hex Flange, #10-32
7 1933988 1 NUT, Push, 5/16
8 1935255 1 NUT, Speed, 5/16-18
9 1700654 1 BRACKET, Belt Cover
10 1916622 2 NUT, Hex, 1/4-20
11 1916964 2 WASHER, Lock, 1/4
12 922121 2 SCREW, Rd Hd Machine, #10-32 x 3/8
13 1921958 2 CAPSCREW, Hex Hd, 1/4-20 x 1/2
14 1679915 1 V-BELT
15 1922918 1 CAPSCREW, Hex Hd, 3/8-16 x 3-1/4
16 157424 1 WASHER, Special, 3/8
17 1705897 2 BEARING
18 1700651 1 SPACER, Pulley
19 1700650 1 PULLEY
20 1700652 1 SPACER
21 1916965 3 WASHER, Lock, 3/8
22 1916950 3 NUT, Hex, 3/8-16
23 1700852 1 SPRING, Torsion
24 1918447 2 PIN, Cotter, 3/32 x 3/4
25 1700832 1 HINGE ASSEMBLY, Rear
26 1921210 2 CAPSCREW, Hex Hd, 3/8-16 x 1
27 1926110 2 CAPSCREW, Hex Hd, 7/16-14 x 2-3/4
28 1700801 1 BRACKET, LH Pivot
29 1918199 2 WASHER, Lock, 7/16
30 1918213 2 NUT, Hex, 7/16-14
31 1917372 7 NUT, Hex, 5/16-18
32 1917356 7 WASHER, Lock, 5/16
33 1923325 2 CAPSCREW, Hex Hd, 5/16-18 x 7/8
34 1700802 1 BRACKET, RH Pivot
35 1700828 1 HINGE ASSEMBLY, Front
36 1700853 1 ROD, Pivot
37 1960318 1 CAPSCREW, Hex Hd, 5/16-18 x 2-1/2
38 1925205 1 CAPSCREW, Hex Hd, 5/16-18 x 5/8
39 1679898 1 CLAMP, Lower
40 1679899 1 CLAMP, Upper
41 1679163 1 NUT & CUP ASSEMBLY
42 1923362 1 NUT, Hex Lock, 5/16-18
43 1677652 1 BRACE, Bracket Support
44 1931350 4 CARRIAGE BOLT, 3/8-16 x 1
45 1717580 1 BRACKET, Support
46 1921977 1 CAPSCREW, Hex Hd, 5/16-18 x 1-1/4
47 1924940 1 WASHER, 3/8
48 1960486 1 SCREW, Flat Hd, Hex Socket, 5/16-18 x 1-1/4
REF NO. PART NO. QTY. DESCRIPTION
Footnotes:
The above parts group applies to the following Mfg. Nos.:
1692937 60” Turbo

54
TP-400-2156-00-AT-SMA
© Copyright 1997 Simplicity Manufacturing, Inc. All Rights Reserved.
Wide Body Cart Collector - Cart Assembly
NOTE: Unless noted otherwise,
use the standard hardware torque
specification chart.
A-AT43125A
The above parts group applies to the following Mfg. Nos.:
1692938 Wide Body Collector Cart

55
TP-400-2156-00-AT-SMA
Wide Body Cart Collector - Cart Assembly
1 1700760 1 COVER
2 1700763 1 ROD, Straight
3 176012 4 CLIP, Hairpin Safety
4 1700866 1 SLEEVE, Plastic Connecting
5 1708099 1 CLAMP, Sleeve
6 1700758 1 TUBE, Support
7 1700768 2 HANDLE, Lift
8 1916964 4 WASHER, Lock, 1/4
9 1916622 4 NUT, Hex, 1/4-20
10 1923362 4 NUT, Hex Lock, 5/16-18
11 1919326 6 WASHER, 5/16 (1691526 only)
12 1700765 1 HANDLE, Latch
13 177649 2 WASHER, Spring, 5/16
14 1917372 1 NUT, Hex, 5/16-18
15 1920161 1 NUT, Hex Jam, 5/16-18
16 1700267 2 SPACER, Plastic, 5/16
17 1921677 4 CAPSCREW, Hex Hd, 5/16-18 x 1-1/2
18 1700762 1 ROD, Frame
19 1921977 1 CAPSCREW, Hex Hd, 5/16-18 x 1-1/4
20 1700761 1 ROD, Support
21 1921210 8 CAPSCREW, Hex Hd, 3/8-16 x 1
22 102004 2 PIN, 1/2 x 1-1/4
23 1700769 1 FRAME
24 1924940 8 WASHER, 3/8
25 1930651 8 NUT, Hex Lock, 3/8-16
26 1676892 2 WHEEL, Swivel, 410/350-4
27 1922134 2 NUT, Lock, 1/2-13
28 1921176 2 CAPSCREW, Hex Hd, 1/2-13 x 1-1/4
29 1700767 1 “U” BRACKET
30 1917372 3 NUT, Hex, 5/16-18
31 1917356 3 WASHER, Lock, 5/16
32 1918249 3 BOLT, Slotted Truss Hd, 5/16-18 x 3/4
33 1921958 4 CAPSCREW, Hex Hd, 1/4-20 x 1/2
34 1700757 1 BOX
35 1700266 1 STRAP, Rubber, 6”
36* 1708120 1 DECAL, Max. Cap.
37 1920397 1 NUT, Hex Nylon Lock, 1/4-20
38 1917642 2 WASHER, 5/16
REF NO. PART NO. QTY. DESCRIPTION
Footnotes:
The above parts group applies to the following Mfg. Nos.:
1692938 Wide Body Collector Cart

56
TP-400-2156-00-AT-SMA
© Copyright 1997 Simplicity Manufacturing, Inc. All Rights Reserved.
Wide Body Cart Collector - Hitch & Hose Assembly
NOTE: Unless noted otherwise,
use the standard hardware torque
specification chart.
A-AT43126A
The above parts group applies to the following Mfg. Nos.:
1692938 Wide Body Collector Cart
1
2
2
6
6
7
7
8
5
5
3
3
7
8
6
4
4
9
10
11
12
13
14
15

57
TP-400-2156-00-AT-SMA
Wide Body Cart Collector - Hitch & Hose Assembly
1 1717606 1 HITCH ASSEMBLY
2 1923151 4 CAPSCREW, Hex Hd, 5/8-11 x 1-1/4
3 1917373 4 WASHER, Lock, 5/8
4 1915726 4 NUT, Hex, 5/8-11
5 1718028 2 BRACKET
6 1921176 6 CAPSCREW, Hex Hd, 1/2-13 x 1-1/4
7 1916966 6 WASHER, Lock, 1/2
8 1916951 6 NUT, Hex, 1/2-13
9 1679896 1 CLAMP, Hose, 6”
10 1679895 1 HOSE, 6” Dia.
11 1930531 4 CAPSCREW, Truss Hd, #10-32 x 1/2
12 1910531 4 WASHER, Plain, 3/16
13 1930627 4 NUT, Hex Lock, #10-32
14 1700773 1 TUBE & DECAL ASSEMBLY
15 1675766 1 DECAL, Cleaning
REF NO. PART NO. QTY. DESCRIPTION
Footnotes:
The above parts group applies to the following Mfg. Nos.:
1692938 Wide Body Collector Cart

58
TP-400-2156-00-AT-SMA
© Copyright 1997 Simplicity Manufacturing, Inc. All Rights Reserved.
Triple Bag Grass Catcher
NOTE: Unless noted otherwise,
use the standard hardware torque
specification chart.
A-AT43127A
The above parts group applies to the following Mfg. Nos.:
1693204 Triple Bag Grass Catcher
1
3
2
20
16
20
4
13
11
14
15
16
8
10
9
25
18
19
17
21
22, 23
24
5
7
12
6
• Do not open cover with engine running.
• Do not operate mower without the
complete catcher in place
• When operating on slopes, refer to
operator's manual for counterweights.
WARNING
1704405

59
TP-400-2156-00-AT-SMA
Triple Bag Grass Catcher
1 1717027 1 SUPPORT ASSEMBLY
2 1717085 1 ROD, Hitch
3 1960033 2 CLIP, Hairpin
4 1717033 1 HITCH ASSEMBLY
5 1716966 1 PLATE, Front
6 1717082 1 SEAL
7 1716973 1 CHANNEL ASSEMBLY
8 1717025 1 COVER ASSEMBLY
9 1672344 2 PIN
10 1960074 2 CLIP, Hairpin
11 1717038 1 JOINT, Inlet
12 1717037 1 COVER, Inlet
13 1717039 1 DEFLECTOR
14 1717071 1 TUBE, Upper
15 1717072 1 TUBE, Lower
16 172744 2 STRAP, Rubber
17 1703855 3 HOOP, Basket Frame
18 1703807 3 HANGER
19 1672023 3 CLAMP
20 1672689 3 S-HOOK
21 1703764 3 BAG, Grass
22 1704405 1 DECAL, Safety
23 1667248 6 CLIP, Canoe (Required to Fasten Decal, Ref. 22, to Cover)
24 1686722 * CONTAINER KIT, Hard Side
25 1717041 1 SCREEN
REF NO. PART NO. QTY. DESCRIPTION
Footnotes:
* Optional component.
The above parts group applies to the following Mfg. Nos.:
1693204 Triple Bag Grass Catcher

60
TP-400-2156-00-AT-SMA
© Copyright 1997 Simplicity Manufacturing, Inc. All Rights Reserved.
48” & 60” Hose Hitch & Tube Assembly
NOTE: Unless noted otherwise,
use the standard hardware torque
specification chart.
A-AT43128A
The above parts group applies to the following Mfg. Nos.:
1692939 60” Hose, Hitch & Tube
1692930 48” Hose, Hitch & Tube
19
25
26 27
16
28

61
TP-400-2156-00-AT-SMA
48” & 60” Hose Hitch & Tube Assembly
1 1703147 1 CONNECTOR, Cart
2 1702762 1 TUBE
3 1679895 1 HOSE, 6” Dia.
4 1665872 1 STRAP, Black Rubber
5 1930531 12 CAPSCREW, Truss Hd, #10-32 x 1/2
6 1910531 24 WASHER, Plain, 3/16
7 1928919 12 NUT, Hex Flange, #10-32
8 1702517 1 SUPPORT, Tube
9 1930644 1 NUT, Hex Flange, 1/2-13
10 1926192 1 WASHER, 1/2
11 1702791 1 TUBE & DECAL ASSEMBLY, 48” Models
11 1702792 1 TUBE & DECAL ASSEMBLY, 60” Models
12 1702516 1 ELBOW, 6” Dia.
13 1925205 1 CAPSCREW, Hex Hd, 5/16-18 x 5/8
14 1702765 2 HOOK, J
15 1919326 2 WASHER, 5/16
16 1935048 1 NUT, Hex Flange Hd, Whiz Lock, 5/16-18
17 172744 1 STRAP, Rubber
18 1921024 1 CAPSCREW, Hex Hd, 1/2-13 x 2
19 1717606 1 HITCH ASSEMBLY
20 1702575 1 DRAWBAR ASSEMBLY
21 1702578 1 SUPPORT ASSEMBLY
22 155037 1 PIN, Round Head
23 1960116 2 PIN, Clevis
24 1960033 2 CLIP, Hairpin
25 1921176 6 CAPSCREW, Hex Hd, 1/2-13 x 1-1/4
26 1916966 6 WASHER, Lock, 1/2
27 1916951 6 NUT, Hex, 1/2-13
28 * 1 TURBO ASSEMBLY (Shown for Reference Only)
REF NO. PART NO. QTY. DESCRIPTION
Footnotes:
* Order Turbo Assemblt as Whole Goods Item.
The above parts group applies to the following Mfg. Nos.:
1692939 60” Hose, Hitch & Tube
1692930 48” Hose, Hitch & Tube

1
2
1
432
5
4
3
8
9
12 10
13
13 10
12
14
17
12
11
1516 13
12
18
12
35
28
32
31
33
30 29
27
28
36
20
19
22
23 24 25
26
27
29 30 33
45
46
47 21
11
34
38
37
41
42
44
39
38
40
43
6
7
49
48
50
51
13
52
54
55
55
53
53
53
53
62
TP-400-2156-00-AT-SMA
© Copyright 1997 Simplicity Manufacturing, Inc. All Rights Reserved.
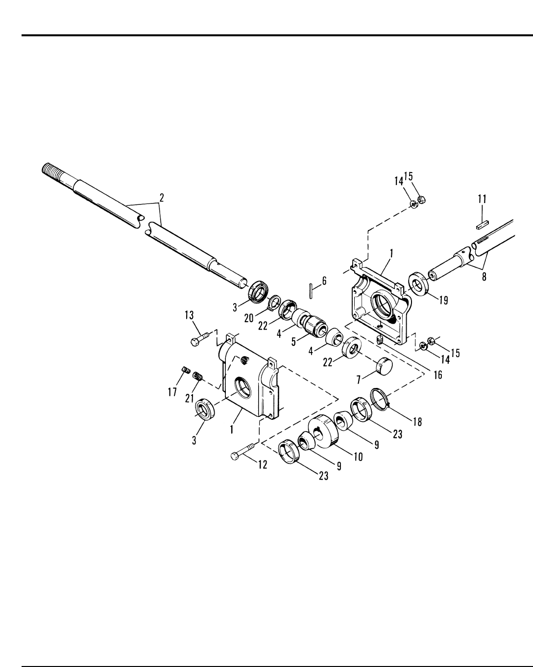
2000RPM Rear PTO
NOTE: Unless noted otherwise,
use the standard hardware torque
specification chart.
A-AT43129A
The above parts group applies to the following Mfg. Nos.:
1692891 2000 RPM Rear PTO
Switch Mounting Template
& Hardware
56
57
58
59

63
TP-400-2156-00-AT-SMA
2000RPM Rear PTO
1 1716434 2 BEARING, Flange
2 1960373 6 CAPSCREW, Hex Washer Hd, Taptite, 5/16-18 X 1
3 1717639 2 O-RING, 1.610 ID
4 1717638 2 O-RING, .989 ID
5 1716950 1 SPACER
6 1716392 1 SPROCKET ASSEMBLY, 19 Tooth
7 1717599 1 CHAIN, Roller, #40-2 x 46 Pitches
8 1718986 1 KEY
9 1716401 1 SHAFT & BAR ASSEMBLY
10 1676829 2 COUPLING, Flex
11 1923362 8 NUT, Hex Lock, 5/16-18
12 1919326 14 WASHER, 5/16
13 156150 8 SPACER
14 1921977 2 CAPSCREW, Hex Hd, 5/16-18 x 1-1/4
15 1921978 2 CAPSCREW, Hex Hd, 5/16-18 x 2
16 1933468 2 WASHER, 5/16
17 1676998 1 BUSHING
18 1676999 1 HUB ASSEMBLY
19 1921968 1 CAPSCREW, Hex Hd, 3/8-16 x 1-3/8
20 1960534 1 Washer, 3/8
21 1709199 1 CLUTCH ASSEMBLY, Electric (Includes Ref. Nos. 53, 54, & 55)
22 1718585 1 SPACER
23 1716383 1 SHAFT ASSEMBLY
24 1704314 1 FITTING, Grease, 1/4
25 1716387 1 FAN
26 1929477 3 CAPSCREW, Hex Washer Hd, Taptite, #10-24 x 1/2
27 1927187 6 CAPSCREW, Hex Washer Hd, Taptite, 3/8-16 x 1
28 1716431 2 BEARING, Flange
29 1717641 2 O-RING, 2.238
30 1717640 2 O-RING, 1.372 ID
31 1716403 1 SHAFT
32 905856 1 Key, 1/4 x 1/4 x 1-1/2
33 1716427 2 SPACER
34 1716393 1 SPROCKET ASSEMBLY, 34 Tooth
35 1718475 1 KIT, Spring Lock
36 1716955 1 PLATE ASSEMBLY
37 1916951 2 NUT, Hex, 1/2-13
38 1916966 3 WASHER, Lock, 1/2
39 1921176 2 CAPSCREW, Hex Hd, 1/2-13 x 1-1/4
40 1921525 1 CAPSCREW, Hex Hd, 1/2-13 x 1-3/4
41 1960597 2 CAPSCREW, Hex Socket, 1/2-13 x 1-3/4
42 176111 2 O-Ring
43 1673452 1 PLUG, Pipe, 3/8 NPT
44 1673453 1 FITTING, Elbow, 3/8 NPT
45 901652 1 PLUG, Pipe Square Hd, 1/4 NPT
46 1716402 1 CASE ASSEMBLY
47 1718839 2 MOULDING
48 1924856 2 CAPSCREW, Hex Washer Hd, Taptite, 5/16-18 x 1/2
49 1717078 1 COVER ASSEMBLY
50 1654930 1 BUSHING, Rubber
51 1709905 1 BREATHER ASSEMBLY
REF NO. PART NO. QTY. DESCRIPTION
Footnotes:
Reference Nos. 52-59 on following page.
The above parts group applies to the following Mfg. Nos.:
1692891 2000 RPM Rear PTO

64
TP-400-2156-00-AT-SMA
© Copyright 1997 Simplicity Manufacturing, Inc. All Rights Reserved.
2000RPM Rear PTO — Continued
NOTE: Unless noted otherwise,
use the standard hardware torque
specification chart.
A-AT43129A
The above parts group applies to the following Mfg. Nos.:
1692891 2000 RPM Rear PTO
1
2
1
432
5
4
3
8
9
12 10
13
13 10
12
14
17
12
11
1516 13
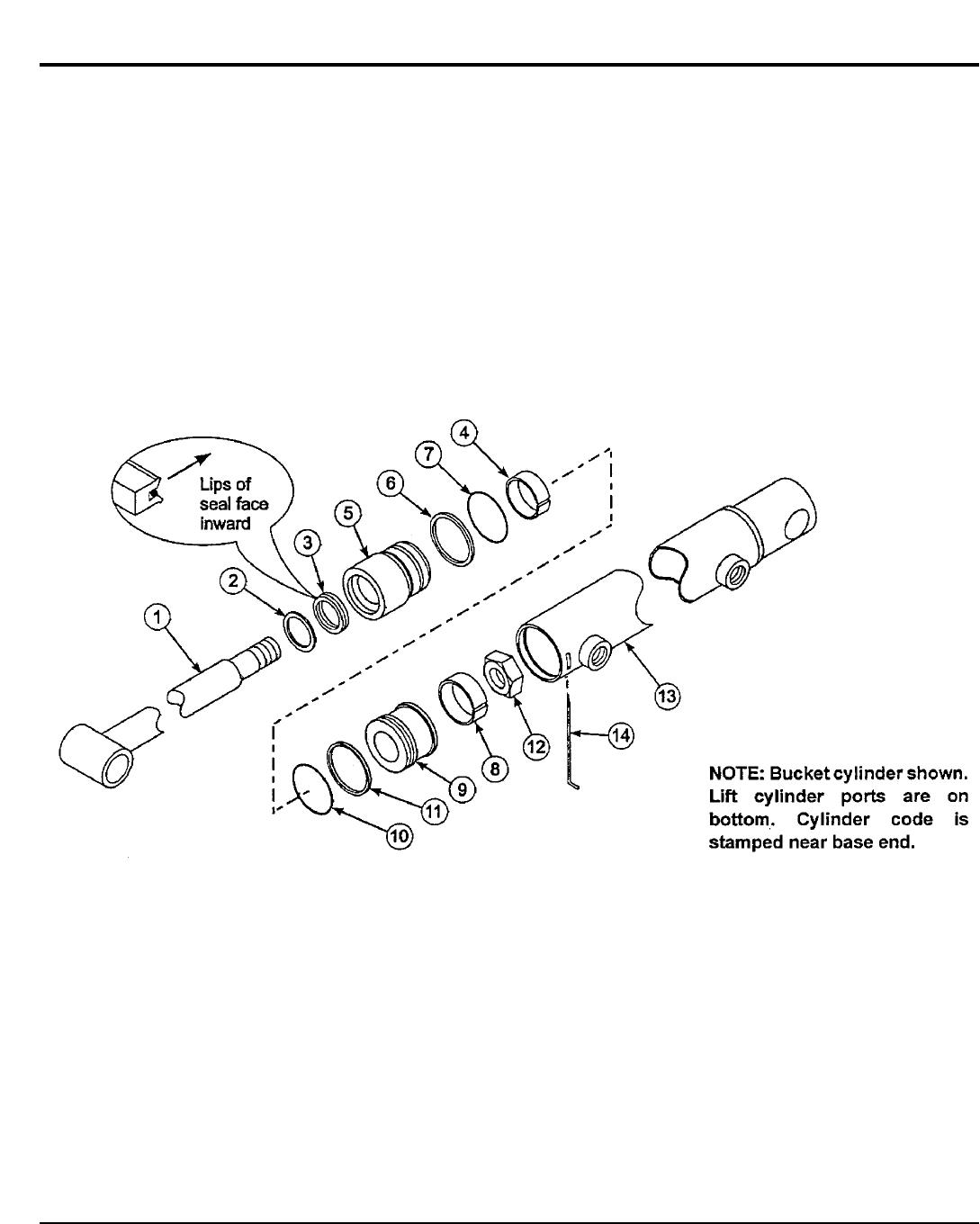
12
18
12
35
28
32
31
33
30 29
27
28
36
20
19
22
23 24 25
26
27
29 30 33
45
46
47 21
11
34
38
37
41
42
44
39
38
40
43
6
7
49
48
50
51
13
52
54
55
55
53
53
53
53
Switch Mounting Template
& Hardware
56
57
58
59

65
TP-400-2156-00-AT-SMA
2000RPM Rear PTO — Continued
52 1718938 1 RETAINING RING
53 1709292 1 KIT, Rotor and Armature
54 1709294 1 FIELD ASSEMBLY, Electric Clutch
55 1709293 1 KIT, Spring and Nut
56 1930531 2 CAPSCREW, Truss Hd, #10-32 x 1/2
57 1718803 1 TEMPLATE, Switch Mounting
58 1960096 2 WASHER, 3/16
59 1930627 2 NUT, Hex Lock, #10-32
REF NO. PART NO. QTY. DESCRIPTION
Footnotes:
Reference Nos. 1-51 on previous page.
The above parts group applies to the following Mfg. Nos.:
1692891 2000 RPM Rear PTO

66
TP-400-2156-00-AT-SMA
© Copyright 1997 Simplicity Manufacturing, Inc. All Rights Reserved.
Ballast Box
NOTE: Unless noted otherwise,
use the standard hardware torque
specification chart.
A-AT43130A
The above parts group applies to the following Mfg. Nos.:
1692923 Ballast Box
1
4
5
6
2
3
3
2

67
TP-400-2156-00-AT-SMA
Ballast Box
1 1700550 1 BALLAST BOX
2 1921176 10 CAPSCREW, Hex Hd, 1/2-13 x 1-1/4
3 1922134 10 NUT, Lock, 1/2-13
4 1960033 2 CLIP, Hairpin
5 1960116 2 PIN, Clevis
6 1718202 1 BRACKET, Mounting
REF NO. PART NO. QTY. DESCRIPTION
Footnotes:
The above parts group applies to the following Mfg. Nos.:
1692923 Ballast Box

68
TP-400-2156-00-AT-SMA
© Copyright 1997 Simplicity Manufacturing, Inc. All Rights Reserved.
3-Point Hitch
NOTE: Unless noted otherwise,
use the standard hardware torque
specification chart.
A-AT43131A
The above parts group applies to the following Mfg. Nos.:
1692928 3-Point Hitch
19
2
10
22
15
9
2
18
15 24
3
8
7
17
20
21
2
12
13
14
11
22
2
9
1
2
16
23 4
6
5
16
1
2

69
TP-400-2156-00-AT-SMA
3-Point Hitch
1 171695 2 PIN, Pivot
2 1679697 8 QUICK PIN
3 1700312 2 CHAIN, Sway
4 1700418 1 STUD, Eyelet, LH Thread
5 1700419 1 STUD, Eyelet, RH Thread
6 1700479 1 TUBE ASSEMBLY
7 1716411 1 HITCH ASSEMBLY
8 1716413 1 LIFT ROD ASSEMBLY
9 1716415 2 ARM, Sway
10 1716417 1 CLEVIS ASSEMBLY, LH
11 1716420 1 CLEVIS ASSEMBLY, RH
12 1716422 1 BALL JOINT ASSEMBLY, Upper RH
13 1716425 1 TURNBUCKLE
14 1922014 1 NUT, Hex Jam, 5/8-18
15 1918452 2 PIN, Cotter, 1/4 x 1
16 1918461 2 PIN, Cotter, 1/4 x 1-1/2
17 1920415 2 CAPSCREW, Hex Hd, 3/8-16 x 1-1/4
18 1921176 6 CAPSCREW, Hex Hd, 1/2-13 x 1-1/4
19 1922134 1 NUT, Lock, 1/2-13
20 1924940 2 WASHER, 3/8
21 1930651 2 NUT, Hex Lock, 3/8-16
22 1960038 2 PIN, Clevis, 5/8 x 2-1/4
23 1960297 1 NUT, Hex Jam, 3/4-10
24 1960355 6 NUT, Hex Lock, 1/2-13
REF NO. PART NO. QTY. DESCRIPTION
Footnotes:
The above parts group applies to the following Mfg. Nos.:
1692928 3-Point Hitch

50 Lbs.
33 Lbs.
Front Weight Carrier
Rear Weight Carrier
70
TP-400-2156-00-AT-SMA
© Copyright 1997 Simplicity Manufacturing, Inc. All Rights Reserved.
Front & Rear Weight Carriers, & Suitcase Weights
NOTE: Unless noted otherwise,
use the standard hardware torque
specification chart.
NOTE: Unless noted otherwise,
use the standard hardware torque
specification chart.
A-AT43132A
The above parts group applies to the following Mfg. Nos.:
1691319 33# Suitcase Weights
1692939 50# Suitcase Weights
1692940 Front Weight Carrier
1692941 Rear Weight Carrier
50 Lbs.
33 Lbs.
111
4
4
2
3
12
11
12
9
10
8
5
7
6
Suitcase Weights
Note: Suitcase weights are NOT included
with Weight Carrier, and must be purchased
separately.
Suitcase Weights
Note: Suitcase weights are NOT included
with Weight Carrier, and must be purchased
separately.

71
TP-400-2156-00-AT-SMA
Front & Rear Weight Carriers, & Suitcase Weights
1 1717630 1 HITCH (Front)
2 1700004 1 ROD, Locking (Front )
3 1960038 2 PIN, Clevis, 5/8 x 2-1/4
4 176012 4 CLIPS, Safety (Front)
5 1717631 1 HITCH (Rear)
6 1916966 4 WASHER, Lock, 1/2 (Rear)
7 1920328 4 CAPSCREW, Hex Hd, 1/2-13 x 1-1/2 (Rear)
8 1916951 4 NUT, Hex, 1/2-13 (Rear)
9 176012 2 CLIP, Safety (Rear)
10 1717628 1 ROD, Locking (Rear)
11* 1691319 A/R WEIGHT, Suitcase, 33 Lbs.
12* 1692939 A/R WEIGHT, Suitcase, 50 Lbs.
REF NO. PART NO. QTY. DESCRIPTION
Footnotes:
* Suitcase weights are NOT included with weight acriers, and have no servicable parts.
Order Suitcase Weights as a complete unit from Whole Goods (Part No. 33 Lbs - 1691319; 50 Lbs - 1692939).
The above parts group applies to the following Mfg. Nos.:
1691319 33# Suitcase Weights
1692939 50# Suitcase Weights
1692940 Front Weight Carrier
1692941 Rear Weight Carrier

72
TP-400-2156-00-AT-SMA
© Copyright 1997 Simplicity Manufacturing, Inc. All Rights Reserved.
Rear Wheel Weight
NOTE: Unless noted otherwise,
use the standard hardware torque
specification chart.
A-AT43133A
The above parts group applies to the following Mfg. Nos.:
1693160 Rear Wheel Weight
12
3
1
4
521

73
TP-400-2156-00-AT-SMA
Rear Wheel Weight
1 * 3 NUT, Hex
2 * 2 WASHER, Lock
3 * 2 ROD, Threaded
4 * 1 WEIGHT
5 * 1 WASHER
REF NO. PART NO. QTY. DESCRIPTION
Footnotes:
* Not a Servicable Part.
The above parts group applies to the following Mfg. Nos.:
1693160 Rear Wheel Weight

74
TP-400-2156-00-AT-SMA
© Copyright 1997 Simplicity Manufacturing, Inc. All Rights Reserved.
Ladder Sub-Frame Hitch
NOTE: Unless noted otherwise,
use the standard hardware torque
specification chart.
A-AT43134A
The above parts group applies to the following Mfg. Nos.:
1693175 Ladder Sub-Frame Hitch
9
8
17
19
20
21
22
23
24
24
24
24
24
25
26
11
11
12
13
14
18
15
16
10
10
2
2
2
2
2
2
2
1
1
3
4
4
7
5
6
Reuse
Original
Lockwashers
Mount to Left
Attachment
Lift Arm

75
TP-400-2156-00-AT-SMA
Ladder Sub-Frame Hitch
1 102004 2 PIN, Round Hd Clevis, 1/2 x 1-1/2
2 176012 9 CLIP, Safety
3 1670728 2 BEARING, Lift Shaft
4 1711773 2 PIN, Flat Hd Clevis,1/2 x 2
5 1716359 1 ARM, Lift
6 1716394 1 LIFT ROD ASSEMBLY
7 1716490 1 SHAFT & LIFT ARM ASSEMBLY
8 1716491 1 HITCH ASSEMBLY
9 1716493 1 ANCHOR ASSEMBLY, LH
10 1716922 2 BRACKET, Front
11 1716925 2 BRACKET, Hanger
12 1717462 1 ANCHOR ASSEMBLY, RH
13 1916950 2 NUT, Hex, 3/8-16
14 1916965 2 WASHER, Lock, 3/8
15 1917356 4 WASHER, Lock, 5/16
16 1917372 4 NUT, Hex, 5/16-18
17 1919439 2 NUT, Hex Nylon Lock, 3/8-16
18 1921210 2 CAPSCREW, Hex Hd, 3/8-16 x 1
19 1921977 4 CAPSCREW, Hex Hd, 5/16-18 x 1-1/4
20 1922664 4 CAPSCREW, Hex Hd, 5/8-11 x 2
21 1924366 4 WASHER, 5/8
22 1931202 2 CAPSCREW, Hex Washer Hd, Taptite, 5/16-18 x 1-1/4
23 1931350 2 CARRIAGE BOLT, 3/8-16 x 1
24 1960038 5 PIN, Clevis, 5/8 x 2-1/4
25 1960201 2 Washer, 1.0
26 1960338 2 RING, Retaining, #10
REF NO. PART NO. QTY. DESCRIPTION
Footnotes:
The above parts group applies to the following Mfg. Nos.:
1693175 Ladder Sub-Frame Hitch

Male
Male
Female
Female
Male
Male
Female
Hose
1718416
1/2 x 75"
Female
Two Spool
Power Beyond
Control Valve
1718419
Lift Cylinder
1702034
Angling
Cylinder
1677214
Single Spool
Power Beyond Valve
1718418
IN
OUT
BYD
Tractor
Front
Threads
Hose
Clamp
960266
Hose Clamp
960266
Hex Fitting
“T” Connector
1674768
Beaded
End
BA
Dozer
Hose
1718415
23/32 x 40"
Hose
1718413
5/8 x 9"
Hose
1718411
23/32 x 17"
Hose
1718590
1/2 x 28"
Hose
1718417
1/2 x 67"
Hose
1718442
1/2 x 69"
IN
OUT
From Power
Steering
To Power
Steering
To Hydro Pump
Metal Crossover
Tube (Return)
1718414
Metal Crossover
Tube (Pressure)
1718412
76
TP-400-2156-00-AT-SMA
© Copyright 1997 Simplicity Manufacturing, Inc. All Rights Reserved.
Hydraulic Lift & Angling Kit - Hydraulic System Diagram
NOTE: Unless noted otherwise,
use the standard hardware torque
specification chart.
A-AT43135A
The above parts group applies to the following Mfg. Nos.:
1693238 Hydraulic Lift & Angliing Kit
1
2
3
5
6
8
9
10
13
7
12
15
4
11
14
Lift Cylinder
1685347

77
TP-400-2156-00-AT-SMA
Hydraulic Lift & Angling Kit - Hydraulic System Diagram
1 960266 4 CLAMP, Hose, Worm
2 1674768 1 FITTING, Hose, Tee
3 1677214 1 CYLINDER, Angling
4 1685347 1 CYLINDER, Lift
5 1718411 1 HOSE ASSEMBLY, 23/32” x 17”
6 1718412 1 PRESSURE TUBE ASSEMBLY
7 1718413 1 HOSE, Hydraulic 3/8” ID x 9”
8 1718414 1 RETURN TUBE ASSEMBLY
9 1718415 2 HOSE, Hydraulic, 23/32” x 40”
10 1718416 2 HOSE, Hydraulic, 1/2” x 75”
11 1718417 1 HOSE, Hydraulic, 1/2” x 67”
12 1718418 1 CONTROL VALVE, Single Spool, Power Beyond
13 1718419 1 CONTROL VALVE, Two Spool, Power Beyond
14 1718442 1 HOSE, Hydraulic, 1/2 x 69”
15 1718590 2 HOSE, Hydraulic, 1/2” x 28”
REF NO. PART NO. QTY. DESCRIPTION
Footnotes:
Refer to Hydraulic System Diagram, Control Tower Group and Cylinder Mounting Group for Additional
Part Numbers and Locations.
The above parts group applies to the following Mfg. Nos.:
1693238 Hydraulic Lift & Angliing Kit

Bypass Hose &
Quick Connectors
1
3
8
9
9
10
18
14
15
16
411
2
2
12
23
23
2323
2424
21
7
6
5
13
25
20
19
22
20
19
13
1717
78
TP-400-2156-00-AT-SMA
© Copyright 1997 Simplicity Manufacturing, Inc. All Rights Reserved.
Hydraulic Lift & Angling Kit - Control Tower Group
NOTE: Unless noted otherwise,
use the standard hardware torque
specification chart.
A-AT43136A
The above parts group applies to the following Mfg. Nos.:
1693238 Hydraulic Lift & Angliing Kit

79
TP-400-2156-00-AT-SMA
Hydraulic Lift & Angling Kit - Control Tower Group
1 173358 5 QUICK CONNECTOR, Female Nose Piece Assembly
2 1960571 2 CAPSCREW, Hex Washer Hd, Taptite, 1/4-20 X 1-3/4
3 173359 5 QUICK CONNECTOR, Male Nose Piece Assembly
4 1701011 6 TIE, Self-Locking
5 1717642 1 PLATE, Clamp, 5/16
6 1717645 1 SUPPORT ASSEMBLY
7 1717648 1 TOWER ASSEMBLY
8 1718415 2 HOSE, Hydraulic, 23/32” x 40”
9 1718416 2 HOSE, Hydraulic, 1/2” x 75”
10 1718417 1 HOSE, Hydraulic, 1/2” x 67”
11 1718419 1 CONTROL VALVE, Two Spool, Power Beyond
12 1718429 1 PLATE ASSEMBLY, Control Valve Mounting
13 1718431 1 TUBE ASSEMBLY, Control Tower Pivot
14 922522 2 FITTING, Tube, Male, Short
15 931230 2 FITTING, Tube, Male, Tall
16 1718434 1 KIT, Control Lever & Pin
17 1718435 2 FITTING, Tube, Male
18 1718442 1 HOSE, Hydraulic, 1/2 x 69”
19 1916951 5 NUT, Hex, 1/2-13
20 1916966 5 WASHER, Lock, 1/2
21 1960286 1 CAPSCREW, Hex Hd, 1/2-13 X 3-1/2
22 1920328 2 CAPSCREW, Hex Hd, 1/2-13 x 1-1/2
23 1921332 4 CAPSCREW, Hex Hd, 5/16-18 X 3/4
24 1926159 2 CAPSCREW, Hex Hd, 1/2-13 x 5, Gr 8
25 1718578 1 HOSE, Hydraulic, 1/2” x 11”
REF NO. PART NO. QTY. DESCRIPTION
Footnotes:
Refer to Hydraulic System Diagram, Control Tower Group and Cylinder Mounting Group for Additional
Part Numbers and Locations.
The above parts group applies to the following Mfg. Nos.:
1693238 Hydraulic Lift & Angliing Kit

Cross-Over Tube
Mounting Hardware
OUT
OUT
OUT
IN
IN
IN
BYD
BYD
BYD
O
O
O
11
11
7
8
14
12
6
19
17
15
3
4
4
9
5 5
10
10
1
216
16
18
18
18 13
5
80
TP-400-2156-00-AT-SMA
© Copyright 1997 Simplicity Manufacturing, Inc. All Rights Reserved.
Hydraulic Lift & Angling Kit - Cylinder Mounting Group
NOTE: Unless noted otherwise,
use the standard hardware torque
specification chart.
A-AT43137A
The above parts group applies to the following Mfg. Nos.:
1693238 Hydraulic Lift & Angliing Kit

81
TP-400-2156-00-AT-SMA
Hydraulic Lift & Angling Kit - Cylinder Mounting Group
1 1718434 1 LEVER ASSEMBLY
2 1701011 3 TIE, Self-Locking
3 919171 2 FITTING, Cylinder, Male
4 1685347 1 CYLINDER, Lift
5 176012 2 CLIP, Safety
6 1711773 2 PIN, Clevis
7 1717645 1 SUPPORT ASSEMBLY
8 1718417 1 HOSE, Hydraulic, 1/2” x 67”
9 1718442 1 HOSE, Hydraulic, 1/2 x 69”
10 931230 1 FITTING, Tube, Male, Tall
11 922522 1 FITTING, Tube, Male, Short
12 1718419 1 VALVE ASSEMBLY, Two-Spool
13 1920328 2 CAPSCREW, Hex Hd, 1/2-13 x 1-1/2
14 1916966 2 WASHER, Lock, 1/2
15 1916951 2 NUT, Hex, 1/2-13
REF NO. PART NO. QTY. DESCRIPTION
Footnotes:
Refer to Hydraulic System Diagram, Control Tower Group and Cylinder Mounting Group for Additional
Part Numbers and Locations.
The above parts group applies to the following Mfg. Nos.:
1693238 Hydraulic Lift & Angliing Kit

82
TP-400-2156-00-AT-SMA
© Copyright 1997 Simplicity Manufacturing, Inc. All Rights Reserved.
Auxilliary Hydraulic Lift Kit
NOTE: Unless noted otherwise,
use the standard hardware torque
specification chart.
A-AT43138A
The above parts group applies to the following Mfg. Nos.:
1693239 Auxilliary Hydraulic Lift Kit
1
4
12
11
10
9
8
7
2
3
5
6
13
14 15

83
TP-400-2156-00-AT-SMA
Auxilliary Hydraulic Lift Kit
1 173358 5 QUICK CONNECTOR, Female Nose Piece Assembly
2 173359 5 QUICK CONNECTOR, Male Nose Piece Assembly
3 1960373 2 CAPSCREW, Hex Washer Hd, Taptite, 5/16-18 X 1
4 176012 2 CLIP, Safety
5 919171 4 FITTING, Cylinder, Male
6 922523 1 FITTING, Elbow
7 1677214 1 CYLINDER, Angling
8 1700394 1 PIN, Cylinder, 5/8
9 1685347 1 CYLINDER, Lift
10 1711773 2 PIN, Clevis, 1/2 x 2
11 1718590 2 HOSE, Hydraulic, 1/2” x 28”
12 1717647 1 FITTING, Pressure Beyond Port
13 1960277 1 PIN, Yoke
14 1718418 1 CONTROL VALVE, Single Spool, Power Beyond
15 1718420 2 CLAMP, Metal Cross Over Tube Retaining
16 1718436 2 FITTING, Tube, Male
17 1917356 2 WASHER, Lock, 5/16
18 1918452 3 PIN, Cotter
19 1920283 2 WASHER, 5/16
REF NO. PART NO. QTY. DESCRIPTION
Footnotes:
The above parts group applies to the following Mfg. Nos.:
1693239 Auxilliary Hydraulic Lift Kit

84
TP-400-2156-00-AT-SMA
© Copyright 1997 Simplicity Manufacturing, Inc. All Rights Reserved.
Rear Light Kit
NOTE: Unless noted otherwise,
use the standard hardware torque
specification chart.
A-AT43139A
The above parts group applies to the following Mfg. Nos.:
1693206 Rear Light Kit
1
2
3

85
TP-400-2156-00-AT-SMA
Rear Light Kit
1 1717636 1 LIGHT ASSEMBLY
2 1717635 1 CLAMP
3 * 2 CONNECTORS, Splice
REF NO. PART NO. QTY. DESCRIPTION
Footnotes:
* Not a Servicable Part.
The above parts group applies to the following Mfg. Nos.:
1693206 Rear Light Kit

86
TP-400-2156-00-AT-SMA
© Copyright 1997 Simplicity Manufacturing, Inc. All Rights Reserved.
SERVICE PARTS - Hydraulic Gear Pump (1700493)
NOTE: Unless noted otherwise,
use the standard hardware torque
specification chart.
A-AT43140A
The above parts group applies to the following Mfg. Nos.:
1692932 Front End Loader
17

87
TP-400-2156-00-AT-SMA
SERVICE PARTS - Hydraulic Gear Pump (1700493)
1 * 8 CAPSCREW
2 * 8 LOCKWASHER
3 * 1 COVER, Rear
4 * 1 GEAR, Drive
5 * 1 WOODRUFF KEY
6 ** 1 WEAR PLATE
7 ** 1 PAPER GASKET
8 * 2 ROD, Alignment
9 * 1 COVER, Front
10 ** 1 SEAL, Rotary
11 ** 1 SEAL, Rubber V
12 ** 1 HEAT SHIELD, Phenolic
13 ** 2 O-RING
14 * 1 CENTER SECTION
15 * 1 GEAR, Driven
16 1700544 1 SEAL KIT (Contains items 6, 7, 10, 11, 12, & 13)
17 1700493 1 GEAR PUMP ASSEMBLY - COMPLETE (Contains items 1-16)
REF NO. PART NO. QTY. DESCRIPTION
Footnotes:
* Not Serviced Separately.
** Contained in Seal Kit 1700544 (Ref. No. 16)
The above parts group applies to the following Mfg. Nos.:
1692932 Front End Loader

88
TP-400-2156-00-AT-SMA
© Copyright 1997 Simplicity Manufacturing, Inc. All Rights Reserved.
SERVICE PARTS - Hydraulic Valve Assembly (1700502)
NOTE: Unless noted otherwise,
use the standard hardware torque
specification chart.
A-AT43141A
The above parts group applies to the following Mfg. Nos.:
1692932 Front End Loader

89
TP-400-2156-00-AT-SMA
SERVICE PARTS - Hydraulic Valve Assembly (1700502)
1 1700495 1 KIT, Seal Repair (Contains items 9, 27, 31, 33, & 36)
2 1704148 1 KIT, Pilot Relief Valve (Contains items 29, 30, 31, 32, & 33)
3 1700545 1 KIT, Load Check (Contains items 25, 26, & 28)
4 1700642 1 KIT, Spring Centering (Contains items 11, 12, 13, 14, & 15)
5 1700641 1 KIT, Detent Spring Centering (Contains items 17, 18, 19, 20, 21, 22, 23, & 24)
6 1700837 1 RESTRICTOR PLATE, One-Way, .109
7 1700838 1 RESTRICTOR PLATE, Two-Way, .062
REF NO. PART NO. QTY. DESCRIPTION
Footnotes:
The above parts group applies to the following Mfg. Nos.:
1692932 Front End Loader

SERVICE PARTS - Snowthrower Gearbox (1709625)
90
TP-400-2156-00-AT-SMA
© Copyright 1997 Simplicity Manufacturing, Inc. All Rights Reserved.
NOTE: Unless noted otherwise,
use the standard hardware torque
specification chart.
A-AT43142A
The above parts group applies to the following Mfg. Nos.:
1692942 47” Two Stage Snowthrower
Note: Use S.A.E. 30 weight motor oil.

91
TP-400-2156-00-AT-SMA
SERVICE PARTS - Snowthrower Gearbox (1709625)
1 1917356 7 LOCKWASHER, 5/16 regular
2 1917372 7 NUT, Hex, 5/16-18
3 1921977 7 CAPSCREW, Hex Hd, 5/16-18 x 1-1/4
4 917554 2 PIN, Dowel, 1/4 x 1/2
5 1709626 2 BEARING, 1-1/2 x 1-7/8 x 3/4
6 1709627 2 THRUST RACE, Bearing, .090 thick
7 1709628 1 GEAR, Output
8 1709629 2 BEARING, 7/8 x BG-1/8 x 3/4
9 1709630 2 THRUST RACE, Bearing .060 thick
10 1709631 1 GEAR, Idler
11 1709632 1 GEAR, Input
12 1709633 1 GEARBOX, Snowthrower-Front
13 1709634 1 GEARBOX, Snowthrower-Rear
14 1709635 1 VENT, Relief
15 901825 1 FITTING, Reducer, 1/4 Male x 1/8 Female
16 901652 1 PLUG, Pipe Square Hd, 1/4 NPT
17 1709636 2 SEAL, Oil
18 1709637 1 BEARING, Ball, 1.00 bore w/o collar
19 1709638 1 BEARING, Ball, 1.00 bore w/collar
REF NO. PART NO. QTY. DESCRIPTION
Footnotes:
Note: Use S.A.E. 30 weight motor oil.
The above parts group applies to the following Mfg. Nos.:
1692942 47” Two Stage Snowthrower

92
TP-400-2156-00-AT-SMA
© Copyright 1997 Simplicity Manufacturing, Inc. All Rights Reserved.
SERVICE PARTS - Snowthrower Auger Gearbox & Shaft (1709662)
NOTE: Unless noted otherwise,
use the standard hardware torque
specification chart.
A-AT43143A
The above parts group applies to the following Mfg. Nos.:
1692942 47” Two Stage Snowthrower

93
TP-400-2156-00-AT-SMA
SERVICE PARTS - Snowthrower Auger Gearbox & Shaft (1709662)
1 1709663 1 CASE, Gearbox (2-halves)
2 1709664 1 SHAFT, Input
3 1709665 2 SEAL, Oil
4 1709666 2 BEARING, Roller
5 1709667 1 WORM
6 917557 1 PIN, Dowel, 1/4 x 1-1/8
7 1709668 1 PLUG, 2” Dia. x 11/32
8 1709669 1 SHAFT, Output
9 1709670 2 BEARING, Roller
10 1709671 1 GEAR, Worm
11 928712 1 KEY, 1/4 x 1/4 x 5/8
12 1921719 4 CAPSCREW, Hex Hd, 5/16-18 x 2-1/2
13 1921977 2 CAPSCREW, Hex Hd, 5/16-18 x 1-1/4
14 1917356 6 LOCKWASHER, 5/16 Regular
15 1917372 6 NUT, Hex, 5/16-18
16 1709635 1 VENT, Relief
17 901652 1 PLUG, Pipe Square Hd, 1/4 NPT
18 1709672 1 RING, Retaining
19 1709673 1 SEAL, Oil, 1.0 ID x 2.0 OD
20 1709674 1 RING, Retaining
21 901825 1 FITTING, Reducer, 1/4 Male x 1/8 Female
22 1709675 2 RACE, Bearing
23 1709676 2 RACE, Bearing, 1-31/32 OD x 3/8 W
REF NO. PART NO. QTY. DESCRIPTION
Footnotes:
The above parts group applies to the following Mfg. Nos.:
1692942 47” Two Stage Snowthrower

94
TP-400-2156-00-AT-SMA
© Copyright 1997 Simplicity Manufacturing, Inc. All Rights Reserved.
SERVICE PARTS - Snowthrower Drive Shaft (1717484)
NOTE: Unless noted otherwise,
use the standard hardware torque
specification chart.
A-AT43144A
The above parts group applies to the following Mfg. Nos.:
1692934 46” Single Stage Snowthrower
1692942 47” Two Stage Snowthrower
12

95
TP-400-2156-00-AT-SMA
SERVICE PARTS - Snowthrower Drive Shaft (1717484)
1 1709346 1 JOINT & SHAFT ASSEMBLY, w/guard (Incl Ref. Nos. 2-9; Qty.1 ea. of Ref. nos.
5 & 7)
2 1709356 1 DECAL, Warning
3 1685480 1 REPAIR KIT, Spring Lock
4 1709350 1 YOKE ASSEMBLY, Spring-Lock
5 1679003 1 CROSS & BEARING KIT
6 1709351 1 YOKE & SHAFT ASSEMBLY
7 1709352 1 REPAIR KIT, Nylon
8 1709353 1 DECAL, Warning
9 1709354 1 GUARD, Outer
10 1709348 1 JOINT & TUBE ASSEMBLY, w/guard (lncl.Ref.nos.5-Qty.1; 7-Qty.1; & 11-15)
11 1709358 1 YOKE
12 1717484 1 DRIVE SHAFT ASSEMBLY (Complete)
REF NO. PART NO. QTY. DESCRIPTION
Footnotes:
The above parts group applies to the following Mfg. Nos.:
1692934 46” Single Stage Snowthrower
1692942 47” Two Stage Snowthrower


97
TP-400-2156-00-AT-SMA
SERVICE PARTS - Snowthrower Right Angle Gearbox (1717547)
1 1930591 12 CAPSCREW, Hex Flange Hd, Whiz Lock, 5/16-18 x 3/4
2 1700894 2 CAP, Thru
3 1700895 A/R GASKET, 0.015
3 1700896 A/R GASKET, 0.005
3 1700897 A/R GASKET, 0.003
4 118118 2 SEAL, Shaft, 1 x 1-1/2 x 5/16
5 170836 3 BEARING, Cup
6 170835 3 BEARING, Cone
7 1718550 1 SHAFT, Gearbox
8 1719203 1 GEAR
9 1700902 1 BEARING, Cone
10 1700903 1 BEARING, Cup
11 1716790 3 PLUG, Pipe, Hex Socket Hd
12 1700889 1 HOUSING, Gearbox
13 1718557 1 GEAR (Used with Rev. 1 & 2 Only) *
13 1719204 1 GEAR (Used with Rev. 3 Only) *
14 1716790 1 PLUG, Pipe, Sqr Hd (Used with Rev. 3 Only)
15 1700904 1 CAP, Blank
16 1718554 1 SPACER, Gearbox (Used with Rev. 1 & 2 Only) *
17 1718552 1 SHAFT (Used with Rev. 1 & 2 Only) *
17 1719205 1 SHAFT (Used with Rev. 3 ) *
REF NO. PART NO. QTY. DESCRIPTION
Footnotes:
* “Rev. #” refers to the configuration of the gear box. The Rev. Number is located on the ID tag on the side of the
gear box. On Rev. 3 gear boxes the spacer (item 16) was eliminated and gear (item 13) was lengthened to com-
pensate.
The above parts group applies to the following Mfg. Nos.:
1692934 46” Single Stage Snowthrower

98
TP-400-2156-00-AT-SMA
© Copyright 1997 Simplicity Manufacturing, Inc. All Rights Reserved.
SERVICE PARTS - Lift Cylinder (1718166)
NOTE: Unless noted otherwise,
use the standard hardware torque
specification chart.
A-AT43146A
The above parts group applies to the following Mfg. Nos.:
1692932 Front End Loader

99
TP-400-2156-00-AT-SMA
SERVICE PARTS - Lift Cylinder (1718166)
1 1718167 1 ROD, Cylinder, 1”
2 * 1 SEAL, Wiper
3 * 1 SEAL, U-Cup
4 * 1 WEAR RING
5 1718165 1 HEAD, Cylinder
6 * 1 BACKUP WASHER
7 * 1 O-RING
8 * 1 WEAR RING
9 1718203 1 PISTON
10 * 1 O-RING
11 * 1 SEAL, Piston
12 1926666 1 NUT, Hex Lock, 3/4-10
13 1718168 1 TUBE, Cylinder
14 * 1 WIRE, Retaining
15 1718205 1 REPAIR KIT (Contains all * items)
REF NO. PART NO. QTY. DESCRIPTION
Footnotes:
* Contained in Repair Kit (Ref No 15)
The above parts group applies to the following Mfg. Nos.:
1692932 Front End Loader

100
TP-400-2156-00-AT-SMA
© Copyright 1997 Simplicity Manufacturing, Inc. All Rights Reserved.
SERVICE PARTS - Bucket Cylinder (1718169)
NOTE: Unless noted otherwise,
use the standard hardware torque
specification chart.
A-AT43147A
The above parts group applies to the following Mfg. Nos.:
1692932 Front End Loader

101
TP-400-2156-00-AT-SMA
SERVICE PARTS - Bucket Cylinder (1718169)
1 1718164 1 ROD, Cylinder, 1”
2 * 1 SEAL, Wiper
3 * 1 SEAL, U-Cup
4 * 1 WEAR RING
5 1718165 1 HEAD, Cylinder
6 * 1 BACKUP WASHER
7 * 1 O-RING
8 * 1 WEAR RING
9 1718203 1 PISTON
10 * 1 O-RING
11 * 1 SEAL, Piston
12 1926662 1 NUT, Hex Lock, 3/4-10
13 1718204 1 TUBE, Cylinder
14 * 1 WIRE, Retaining
15 1718205 1 REPAIR KIT (Contains all * items)
REF NO. PART NO. QTY. DESCRIPTION
Footnotes:
* Contained in Repair Kit (Ref No 15)
The above parts group applies to the following Mfg. Nos.:
1692932 Front End Loader

1690095 - Tire Chains (23" Tires)
No service parts are available for this
attachment. Order as a complete unit from
Whole Goods.
1692562 - Tire Chains (26" Tires)
No service parts are available for this
attachment. Order as a complete unit from
Whole Goods.
1692125 - 10 Cu. Ft. Dump Cart
This attachment is not serviced by Simplicity. Please
contact the following attachment manufacturer for service
parts, service information, and technical literature.
Precision Products, Inc.
4515 S. Grand East
P.O. Box 2546
Springfield, IL 62708
Phone: (217) 528-1311
Fax: (217) 523-6701
1692926 - Soft Side Snow Cab
This attachment is not serviced by Simplicity. Please
contact the following attachment manufacturer for service
parts, service information, and technical literature.
Original Tractor Cab
P.O. Box 97
Arlington, IN 46104
(765) 663-2214
1692933 - Hard Side Snow Cab
This attachment is not serviced by Simplicity. Please
contact the following attachment manufacturer for service
parts, service information, and technical literature.
FEMCO, Inc.
500 North 81 By-Pass
P.O. Box 1186
McPherson, KS 67460
(316) 241-3513
(800) 677-0898
Fax: (316) 241-3532
1693246 - Sweepster Rotary Broom
This attachment is not serviced by Simplicity. Please
contact the following attachment manufacturer for service
parts, service information, and technical literature.
Sweepster Inc.
2800 N. Zeeb Rd
Dexter, Michigan 48130
(800) 456-7100
(313) 996-9116
Fax (313) 996-9014
1692927 - ROPS
(Roll-Over Protection System)
This attachment is not serviced by Simplicity. Please
contact the following attachment manufacturer for service
parts, service information, and technical literature.
FEMCO, Inc.
500 North 81 By-Pass
P.O. Box 1186
McPherson, KS 67460
(316) 241-3513
(800) 677-0898
Fax: (316) 241-3532
1692935 - 50” Tiller (2000 RPM)
This attachment is not serviced by Simplicity. Please
contact the following attachment manufacturer for service
parts, service information, and technical literature.
BEFCO, Inc.
Hwy. 301 S
P.O. Box 6036
Rocky Mount, NC 27802
(919) 977-9921
(800) 334-6617
1691620 - Cart Side Extension & Cover
This attachment is not serviced by Simplicity. Please
contact the following attachment manufacturer for service
parts, service information, and technical literature.
Plamer Products
RR #2 Serum Plant Rd
Throntown, IN 46071
(317) 436-2496
102
TP-400-2156-00-AT-SMA
© Copyright 1997 Simplicity Manufacturing, Inc. All Rights Reserved.
REFERENCE INFORMATION - Miscellaneous Attachments
A-AT43148A
The above parts group applies to the following Mfg. Nos.:
1690095 Tire Chains (26" TIRES)
1691620 Cart Side Extension & Cover
1692125 10 Cu. Ft. Dump Cart
1692562 Tire Chains
1692926 Soft Side Snow Cab
1692927 ROPS (Roll-Over Protective
Structure)
1692933 Hard Side Snow Cab
1692935 50” Tiller
1693246 Sweepster Rotary Broom

103
TP-400-2156-00-AT-SMA
Part Number Index
*23
*24
*201
*2439
*3831
*4042
*487
** 48 12
*6028
*721
*722
*723
*724
*725
*843
*861
*862
*863
*864
*865
** 86 6
** 86 7
*868
*869
** 86 10
** 86 11
** 86 12
** 86 13
*8614
*8615
*982
*983
*984
*986
*987
*988
*9810
*9811
*9814
* 100 2
* 100 3
* 100 4
* 100 6
* 100 7
* 100 8
* 100 10
* 100 11
* 100 14
101126 24 33
101126 28 30
102004 54 22
102004 74 1
105051 24 31
105051 28 28
106774 2 26
106774 6 1
107106 22 2
107121 24 34
107121 28 31
107135 24 28
108202 46 8
108202 50 8
118118 96 4
151040 2 23
154096 10 13
154198 6 24
155037 60 22
156150 62 13
157424 6 20
157424 46 33
157424 50 33
157424 52 16
168111 6 30
170397 46 21
170397 50 21
170835 96 6
170836 96 5
171695 68 1
172162 24 45
172278 2 19
172279 2 16
172744 58 16
172744 60 17
173026 6 21
173358 32 1
173358 34 1
173358 78 1
173358 80 1
173359 32 3
173359 34 2
173359 78 3
173359 80 2
173934 2 18
174066 24 37
174066 28 34
174561 46 30
174561 50 30
175647 8 14
175647 18 14
175647 24 14
175647 28 14
176012 8 12
176012 18 12
176012 54 3
176012 70 4
176012 70 9
176012 74 2
176012 80 4
176012 80 5
176111 62 42
177434 2 9
177649 54 13
901652 62 45
901652 90 16
901652 92 17
901825 90 15
901825 92 21
905123 6 35
905856 62 32
912808 14 19
912808 38 26
915019 38 11
916001 24 49
916171 12 12
916950 22 6
916950 24 21
916950 28 21
916965 22 4
917554 90 4
917557 92 6
919171 34 4
919171 80 3
919171 80 5
921133 6 31
921469 24 27
922110 2 8
922121 48 42
922121 52 12
922138 6 8
922522 32 16
922522 40 40
922522 78 14
922522 80 11
922523 34 5
922523 44 7
922523 80 6
928707 48 51
928707 52 5
928712 92 11
931230 32 17
931230 78 15
931230 80 10
960210 4 3
960266 30 1
960266 76 1
960300 38 27
960323 38 28
960403 46 17
960403 50 17
1028100 24 52
1611939 4 9
1611939 16 17
1611945 4 8
1611945 16 16
1612455 4 13
1654930 62 50
1665872 60 4
1665982 46 7
1665982 50 7
1666114 46 27
1666114 50 27
1666613 4 15
1667248 58 23
1668500 16 45
1669105 6 34
1670728 74 3
1672023 58 19
1672344 58 9
1672689 46 39
1672689 50 39
1672689 58 20
1673452 40 7
1673452 62 43
1673453 62 44
1673574 24 42
1674020 48 44
1674768 30 2
1674768 76 2
1675502 8 11
1675502 18 11
1675502 24 11
1675502 28 11
1675523 8 1
1675523 18 1
1675524 8 18
1675524 18 18
1675524 24 18
1675524 28 18
1675766 56 15
1676053 6 13
1676435 46 14
1676435 50 14
1676554 6 28
1676561 6 17
1676632 2 15
1676721 2 22
1676722 6 36
1676738 6 38
1676739 6 37
1676829 62 10
1676892 54 26
1676959 8 22
1676959 18 22
1676959 24 22
1676959 28 22
1676998 62 17
1676999 62 18
1677029 2 21
1677029 10 16
1677214 30 3
1677214 34 6
1677214 76 3
1677214 80 7
1677651 48 32
1677652 52 43
1679003 94 5
1679055 24 1
1679055 28 1
1679163 48 2
1679163 52 41
1679211 6 32
1679554 46 29
1679554 50 29
1679697 68 2
1679895 56 10
1679895 60 3
1679896 56 9
1679897 46 1
1679897 48 3
1679898 48 31
1679898 52 39
1679899 52 40
1679900 46 11
1679900 50 11
1679903 48 38
1679912 50 1
1679914 48 20
1679915 52 14
1685347 76 4
1685347 80 4
1685347 80 9
1685480 94 3
1686722 58 24
1691319 70 11*
1692939 70 12*
1700004 70 2
1700013 48 40
1700259 46 9
1700259 50 9
1700266 54 35
1700267 54 16
1700312 68 3
1700394 34 7
1700394 80 8
1700418 68 4
1700419 68 5
1700479 68 6
1700484 40 2
1700485 40 3
1700486 40 4
1700490 40 6
1700493 40 8
1700493 86 17
1700495 88 1
1700499 40 15
1700500 40 14
1700502 40 18
1700508 44 8
1700509 40 25
1700518 44 5
1700519 44 6
1700524 38 12
1700525 38 3
1700531 38 2
1700532 38 22
1700533 38 23
1700534 38 24
1700544 86 16
1700545 88 3
1700546 38 32
Part No. Page No Ref No. Part No. Page No Ref No. Part No. Page No Ref No. Part No. Page No Ref No. Part No. Page No Ref No.

104
TP-400-2156-00-AT-SMA
© Copyright 1997 Simplicity Manufacturing, Inc. All Rights Reserved.
Part Number Index
1700548 38 33
1700549 38 30
1700549 38 34
1700550 66 1
1700557 38 8
1700558 38 9
1700559 38 7
1700638 48 33
1700641 88 5
1700642 88 4
1700649 48 46
1700649 52 4
1700650 52 19
1700651 52 18
1700652 52 20
1700654 52 9
1700668 52 3
1700669 48 48
1700669 52 2
1700728 48 47
1700757 54 34
1700758 54 6
1700760 54 1
1700761 54 20
1700762 54 18
1700763 54 2
1700765 54 12
1700767 54 29
1700768 54 7
1700769 54 23
1700773 56 14
1700797 48 37
1700800 48 23
1700801 48 50
1700801 52 28
1700802 48 49
1700802 52 34
1700828 52 35
1700832 52 25
1700837 88 6
1700838 88 7
1700851 48 10
1700852 52 23
1700853 52 36
1700866 54 4
1700889 96 12
1700894 96 2
1700895 96 3
1700896 96 3
1700897 96 3
1700902 96 9
1700903 96 10
1700904 96 15
1700936 46 4
1700936 48 5
1700936 50 4
1701011 4 23
1701011 32 5
1701011 40 12
1701011 40 45
1701011 78 4
1701011 80 2
1701827 46 31
1701827 50 31
1702219 4 7
1702219 16 15
1702516 60 12
1702517 60 8
1702553 46 23
1702575 60 20
1702578 60 21
1702589 50 23
1702762 60 2
1702765 60 14
1702791 60 11
1702792 60 11
1703147 60 1
1703635 8 17
1703764 58 21
1703807 58 18
1703855 58 17
1704148 88 2
1704314 62 24
1704405 58 22
1705897 52 17
1705920 4 20
1705920 16 23
1706144 24 47
1706631 46 16
1706631 50 16
1706634 46 26
1706634 50 26
1706652 46 20
1706652 50 20
1706654 46 10
1706718 50 10
1708008 16 43
1708030 46 36
1708030 50 36
1708099 54 5
1708120 54 36*
1708511 48 41
1708761 36 10
1708999 8 16
1708999 18 16
1708999 24 16
1708999 28 16
1709189 40 1
1709199 62 21
1709292 62 53
1709293 62 55
1709294 62 54
1709327 48 26
1709346 94 1
1709348 94 10
1709350 94 4
1709351 94 6
1709352 94 7
1709353 94 8
1709354 94 9
1709356 94 2
1709358 94 11
1709620 10 1
1709621 10 2
1709623 10 5
1709623 14 7
1709624 10 6
1709625 10 10
1709626 90 5
1709627 90 6
1709628 90 7
1709629 90 8
1709630 90 9
1709631 90 10
1709632 90 11
1709633 90 12
1709634 90 13
1709635 90 14
1709635 92 16
1709636 90 17
1709637 90 18
1709638 90 19
1709639 10 11
1709640 10 18
1709642 16 2
1709642 16 35
1709644 16 11
1709645 16 12
1709647 16 33
1709648 16 31
1709649 16 37
1709656 12 2
1709658 12 7
1709659 12 10
1709660 12 11
1709661 12 13
1709662 14 1
1709663 92 1
1709664 92 2
1709665 92 3
1709666 92 4
1709667 92 5
1709668 92 7
1709669 92 8
1709670 92 9
1709671 92 10
1709672 92 18
1709673 92 19
1709674 92 20
1709675 92 22
1709676 92 23
1709678 14 2
1709679 14 3
1709680 14 8
1709681 14 9
1709682 14 10
1709683 14 16
1709684 14 20
1709688 20 5
1709689 20 6
1709690 20 7
1709905 62 51
1711773 74 4
1711773 80 6
1711773 80 10
1712286 36 11
1715885 4 27
1715885 16 50
1715886 16 41
1716357 8 8
1716357 18 8
1716357 24 8
1716357 28 8
1716359 74 5
1716383 62 23
1716387 62 25
1716392 62 6
1716393 62 34
1716394 74 6
1716401 62 9
1716402 62 46
1716403 62 31
1716411 68 7
1716413 68 8
1716415 68 9
1716417 68 10
1716420 68 11
1716422 68 12
1716425 68 13
1716427 62 33
1716431 62 28
1716434 62 1
1716460 8 15
1716460 18 15
1716460 24 15
1716460 28 15
1716490 74 7
1716491 74 8
1716492 8 2
1716492 18 2
1716492 24 2
1716492 28 2
1716493 74 9
1716531 2 30
1716531 20 3
1716532 2 2
1716532 20 4
1716533 4 38
1716533 20 2
1716540 20 8
1716790 6 10
1716790 96 11
1716790 96 14
1716920 8 6
1716920 18 6
1716920 24 6
1716920 28 6
1716922 74 10
1716925 74 11
1716926 8 5
1716926 18 5
1716926 24 5
1716926 28 5
1716950 62 5
1716955 62 36
1716966 58 5
1716973 58 7
1717025 58 8
1717027 58 1
1717033 58 4
1717037 58 12
1717038 58 11
1717039 58 13
1717041 58 25
1717049 4 32
1717071 58 14
1717072 58 15
1717078 62 49
1717082 58 6
1717085 58 2
1717086 16 47
1717089 18 17
1717097 6 22
1717100 6 25
1717462 74 12
1717465 2 24
1717472 2 13
1717476 4 1
1717479 2 1
1717480 4 37
1717481 4 33
1717482 4 12
1717482 16 18
1717483 4 28
1717483 16 48
1717484 6 5
1717484 10 17
1717484 94 12
1717490 16 1
1717536 24 44
1717537 22 1
1717542 22 8
1717544 24 29
1717544 28 26
1717547 6 11
1717556 24 40
1717557 24 17
1717557 24 25
1717557 28 17
1717557 28 25
Part No. Page No Ref No. Part No. Page No Ref No. Part No. Page No Ref No. Part No. Page No Ref No. Part No. Page No Ref No.

105
TP-400-2156-00-AT-SMA
Part Number Index
1717558 30 12
1717558 32 13
1717559 24 53
1717560 24 50
1717561 24 39
1717562 24 26
1717565 24 43
1717569 24 51
1717580 52 45
1717591 4 22
1717599 62 7
1717606 56 1
1717606 60 19
1717618 52 1
1717628 70 10
1717630 70 1
1717631 70 5
1717635 84 2
1717636 84 1
1717638 62 4
1717639 62 3
1717640 62 30
1717641 62 29
1717642 32 8
1717642 78 5
1717645 78 6
1717645 80 7
1717647 34 9
1717647 80 12
1717648 32 10
1717648 78 7
1718028 56 5
1718154 36 1
1718155 36 2
1718158 36 6
1718159 36 7
1718161 38 4
1718162 38 5
1718163 38 1
1718164 100 1
1718165 98 5
1718165 100 5
1718166 38 10
1718167 98 1
1718168 98 13
1718169 38 13
1718170 38 14
1718174 38 18
1718180 40 10
1718185 40 27
1718187 40 30
1718194 40 37
1718195 40 38
1718202 66 6
1718203 98 9
1718203 100 9
1718204 100 13
1718205 98 15
1718205 100 15
1718411 30 4
1718411 76 5
1718412 30 5
1718412 76 6
1718413 30 6
1718413 76 7
1718414 30 7
1718414 76 8
1718415 30 8
1718415 32 11
1718415 76 9
1718415 78 8
1718416 30 9
1718416 32 12
1718416 76 10
1718416 78 9
1718417 76 11
1718417 78 10
1718417 80 8
1718418 30 10
1718418 34 12
1718418 76 12
1718418 80 14
1718419 76 13
1718419 78 11
1718419 80 12
1718420 34 13
1718420 80 15
1718426 4 6
1718429 32 14
1718429 78 12
1718431 32 15
1718431 78 13
1718434 32 18
1718434 78 16
1718434 80 1
1718435 32 19
1718435 78 17
1718436 34 14
1718436 80 16
1718442 76 14
1718442 78 18
1718442 80 9
1718450 40 13
1718450 44 1
1718451 44 2
1718452 44 3
1718453 44 4
1718455 44 9
1718458 40 22
1718459 40 23
1718460 40 24
1718461 40 20
1718462 40 28
1718463 40 31
1718464 40 32
1718465 40 33
1718466 40 34
1718467 40 36
1718468 40 39
1718470 40 41
1718471 40 48
1718472 40 50
1718474 40 53
1718475 62 35
1718550 96 7
1718552 96 17
1718554 96 16
1718557 96 13
1718578 32 4
1718578 78 25
1718585 62 22
1718590 30 11
1718590 34 8
1718590 76 15
1718590 80 11
1718803 62 57
1718839 62 47
1718873 40 52
1718938 62 52
1718986 62 8
1719120 40 55
1719203 96 8
1719204 96 13
1719205 96 17
1910531 56 12
1910531 60 6
1913160 8 23
1913160 18 23
1913160 24 23
1913160 28 23
1915726 56 4
1916622 4 17
1916622 14 13
1916622 16 5
1916622 16 22
1916622 16 49
1916622 40 16
1916622 52 10
1916622 54 9
1916950 2 12
1916950 4 29
1916950 6 19
1916950 8 21
1916950 10 4
1916950 18 21
1916950 48 18
1916950 52 22
1916950 74 13
1916951 8 3
1916951 18 3
1916951 24 3
1916951 28 3
1916951 32 20
1916951 56 8
1916951 60 27
1916951 62 37
1916951 70 8
1916951 78 19
1916951 80 15
1916964 4 18
1916964 14 12
1916964 16 4
1916964 16 21
1916964 16 46
1916964 40 17
1916964 52 11
1916964 54 8
1916965 2 11
1916965 4 30
1916965 6 14
1916965 10 3
1916965 48 19
1916965 52 21
1916965 74 14
1916966 8 4
1916966 18 4
1916966 24 4
1916966 28 4
1916966 32 21
1916966 56 7
1916966 60 26
1916966 62 38
1916966 70 6
1916966 78 20
1916966 80 14
1917356 2 6
1917356 4 25
1917356 6 3
1917356 10 7
1917356 12 4
1917356 14 5
1917356 34 16
1917356 40 54
1917356 46 34
1917356 48 16
1917356 48 35
1917356 50 34
1917356 52 32
1917356 54 31
1917356 74 15
1917356 80 17
1917356 90 1
1917356 92 14
1917372 2 5
1917372 4 26
1917372 6 4
1917372 10 8
1917372 12 5
1917372 14 6
1917372 24 35
1917372 28 32
1917372 46 35
1917372 48 15
1917372 48 34
1917372 50 35
1917372 52 31
1917372 54 14
1917372 54 30
1917372 74 16
1917372 90 2
1917372 92 15
1917373 56 3
1917421 8 19
1917421 18 19
1917421 24 19
1917421 28 19
1917642 54 38
1918199 48 13
1918199 52 29
1918213 48 14
1918213 52 30
1918249 54 32
1918265 14 14
1918447 52 24
1918452 34 10
1918452 68 15
1918452 80 18
1918454 38 6
1918456 10 12
1918461 68 16
1919314 24 36
1919314 28 33
1919326 2 28
1919326 4 4
1919326 6 26
1919326 40 26
1919326 46 22
1919326 50 22
1919326 54 11
1919326 60 15
1919326 62 12
1919332 8 24
1919332 18 24
1919332 24 24
1919332 28 24
1919438 4 5
1919438 16 8
1919439 74 17
1920161 54 15
1920283 34 15
1920283 80 19
1920328 24 30
1920328 28 27
1920328 70 7
1920328 78 22
1920328 80 13
1920397 46 40
1920397 50 40
1920397 54 37
1920415 6 16
Part No. Page No Ref No. Part No. Page No Ref No. Part No. Page No Ref No. Part No. Page No Ref No. Part No. Page No Ref No.

106
TP-400-2156-00-AT-SMA
© Copyright 1997 Simplicity Manufacturing, Inc. All Rights Reserved.
Part Number Index
1920415 40 11
1920415 68 17
1921024 38 15
1921024 38 25
1921024 60 18
1921160 14 4
1921176 54 28
1921176 56 6
1921176 60 25
1921176 62 39
1921176 66 2
1921176 68 18
1921210 46 32
1921210 48 28
1921210 50 32
1921210 52 26
1921210 54 21
1921210 74 18
1921319 4 10
1921319 4 14
1921319 4 36
1921319 14 18
1921319 16 10
1921319 16 14
1921319 16 39
1921332 2 20
1921332 12 6
1921332 32 9
1921332 78 23
1921333 4 24
1921333 40 47
1921525 8 7
1921525 18 7
1921525 24 7
1921525 28 7
1921525 62 40
1921677 54 17
1921719 92 12
1921958 16 3
1921958 52 13
1921958 54 33
1921959 2 7
1921959 46 2
1921959 50 2
1921960 14 11
1921961 38 19
1921963 40 21
1921965 6 18
1921965 22 5
1921966 6 15
1921968 62 19
1921969 46 28
1921969 50 28
1921977 40 46
1921977 48 25
1921977 52 46
1921977 54 19
1921977 62 14
1921977 74 19
1921977 90 3
1921977 92 13
1921978 62 15
1922014 68 14
1922127 14 17
1922134 24 32
1922134 28 29
1922134 36 4
1922134 38 16
1922134 54 27
1922134 66 3
1922134 68 19
1922648 36 8
1922664 74 20
1922918 52 15
1923151 56 2
1923325 48 17
1923325 52 33
1923341 16 9
1923341 16 36
1923341 40 35
1923341 46 37
1923341 48 8
1923341 50 37
1923353 38 21
1923358 2 14
1923358 4 35
1923358 6 9
1923358 10 15
1923358 16 38
1923358 24 48
1923358 38 20
1923358 40 51
1923362 2 25
1923362 12 9
1923362 40 44
1923362 48 1
1923362 52 42
1923362 54 10
1923362 62 11
1924009 4 21
1924009 16 19
1924009 16 44
1924009 46 5
1924009 48 9
1924009 50 5
1924366 74 21
1924856 6 27
1924856 62 48
1924874 12 3
1924874 12 8
1924874 16 7
1924940 2 10
1924940 22 3
1924940 46 24
1924940 48 24
1924940 50 24
1924940 52 47
1924940 54 24
1924940 68 20
1925003 4 34
1925003 24 46
1925205 2 27
1925205 6 2
1925205 14 15
1925205 48 29
1925205 52 38
1925205 60 13
1925688 6 6
1926110 48 11
1926110 52 27
1926159 32 7
1926159 78 24
1926192 60 10
1926662 100 12
1926666 98 12
1927120 48 39
1927187 62 27
1927557 46 6
1927557 50 6
1928352 6 12
1928691 46 25
1928691 50 25
1928721 8 10
1928721 18 10
1928721 24 10
1928721 28 10
1928731 46 19
1928731 50 19
1928919 48 43
1928919 52 6
1928919 60 7
1929477 62 26
1930531 56 11
1930531 60 5
1930531 62 56
1930540 6 7
1930545 40 9
1930591 96 1
1930627 56 13
1930627 62 59
1930641 46 12
1930641 48 6
1930641 50 12
1930644 60 9
1930651 36 9
1930651 38 29
1930651 40 5
1930651 54 25
1930651 68 21
1931202 74 22
1931320 12 1
1931332 10 9
1931333 4 2
1931333 16 6
1931333 46 15
1931333 50 15
1931334 46 38
1931334 50 38
1931335 14 21
1931335 40 43
1931348 4 31
1931350 22 7
1931350 48 21
1931350 52 44
1931350 74 23
1933260 36 5
1933468 62 16
1933896 16 42
1933988 46 13
1933988 48 45
1933988 50 13
1933988 52 7
1934654 6 33
1935048 2 29
1935048 60 16
1935255 48 36
1935255 52 8
1960001 4 16
1960010 16 34
1960033 24 12
1960033 24 38
1960033 28 12
1960033 58 3
1960033 60 24
1960033 66 4
1960038 8 13
1960038 18 13
1960038 24 13
1960038 28 13
1960038 68 22
1960038 70 3
1960038 74 24
1960071 8 20
1960071 18 20
1960071 24 20
1960071 28 20
1960074 58 10
1960096 62 58
1960110 2 17
1960116 60 23
1960116 66 5
1960126 4 11
1960126 16 13
1960151 4 19
1960151 16 20
1960170 38 17
1960201 74 25
1960221 24 41
1960244 6 29
1960262 40 29
1960262 40 49
1960268 46 18
1960268 50 18
1960277 34 11
1960277 80 13
1960286 32 6
1960286 78 21
1960297 68 23
1960318 48 30
1960318 52 37
1960338 74 26
1960346 46 3
1960346 48 4
1960346 50 3
1960355 68 24
1960373 34 3
1960373 48 22
1960373 62 2
1960373 80 3
1960475 6 23
1960486 48 27
1960486 52 48
1960489 36 3
1960503 40 19
1960506 10 14
1960528 16 32
1960534 62 20
1960571 32 2
1960571 78 2
1960579 16 40
1960597 62 41
8031007 8 9
8031007 18 9
8031007 24 9
8031007 28 9
Part No. Page No Ref No. Part No. Page No Ref No. Part No. Page No Ref No. Part No. Page No Ref No. Part No. Page No Ref No.

Torque Specification Chart
FOR STANDARD MACHINE HARDWARE (Tolerance ± 20%)
Hardware
Grade
SAE Grade 2 SAE Grade 5 SAE Grade 8
Size Of
in/lbs in/lbs
in/lbs
Hardware ft/lbs Nm. ft/lbs Nm. ft/lbs Nm.
8-32
19
2.1
30
3.4
41
4.6
8-36
20
2.3
31
3.5
43
4.9
10-24
27
3.1
43
4.9
60
6.8
10-32
31
3.5
49
5.5
68
7.7
1/4-20
66
7.6 810.9 12 16.3
1/4-28
76
8.6 10 13.6 14 19.0
5/16-18 11 15.0 17 23.1 25 34.0
5/16-24 12 16.3 19 25.8 27 34.0
3/8-16 20 27.2 30 40.8 45 61.2
3/8-24 23 31.3 35 47.6 50 68.0
7/16-14 30 40.8 50 68.0 70 95.2
7/16-20 35 47.6 55 74.8 80 108.8
1/2-13 50 68.0 75 102.0 110 149.6
1/2-20 55 74.8 90 122.4 120 163.2
9/16-12 65 88.4 110 149.6 150 204.0
9/16-18 75 102.0 120 163.2 170 231.2
5/8-11 90 122.4 150 204.0 220 299.2
5/8-18 100 136 180 244.8 240 326.4
3/4-10 160 217.6 260 353.6 386 525.0
3/4-16 180 244.8 300 408.0 420 571.2
7/8-9 140 190.4 400 544.0 600 816.0
7/8-14 155 210.8 440 598.4 660 897.6
1-8 220 299.2 580 788.8 900 1,244.0
1-12 240 326.4 640 870.4 1,000 1,360.0
Hex Head Capscrew
Hex Nut
Lockwasher
Washer
Carriage Bolt
NOTES
1. These torque values are to be used for all hardware
excluding: locknuts, self-tapping screws, thread forming
screws, sheet metal screws and socket head setscrews.
2. Recommended seating torque values for locknuts:
a. for prevailing torque locknuts - use 65% of grade 5
torques.
b. for flange whizlock nuts and screws - use 135% of
grade 5 torques.
3. Unless otherwise noted on assembly drawings, all torque
values must meet this specification.
Hardware Identification & Torque Specifications
Common Hardware Types
Screw, 1/2 x 2
Body
Diameter
Body
Length
Inside
Diameter
Nut, 1/2”
No
Marks
3/8” Bolt or Nut
Wrench—9/16”
3/8
5/16” Bolt or Nut
Wrench—1/2”
5/16
1/4” Bolt or Nut
Wrench—7/16”
1/4
1/2” Bolt or Nut
Wrench—3/4”
1/2
DIA.
7/16
DIA.
7/16” Bolt or Nut
Wrench (Bolt)—5/8”
Wrench (Nut)—11/16”
Wrench & Fastener Size Guide
Standard Hardware Sizing
When a washer or nut is identified as 1/2”, this is the
Nominal size
, meaning the
inside diameter
is 1/2 inch; if a
second number is present it represent the
threads per inch
When bolt or capscrew is identified as 1/2 - 16 x 2”, this
means the
Nominal size
, or
body diameter
is 1/2 inch; the
second number represents the
threads per inch
(16 in this
example, and the final number is the
body length
of the
bolt or screw (in this example 2 inches long).
The guides and ruler furnished below are designed to
help you select the appropriate hardware and tools.
01/4 3/4
1/2 11/4 3/4
1/2 21/4 3/4
1/2 31/4 3/4
1/2 4

© Copyright 1998 Simplicity Manufacturing, Inc.
All Rights Reserved. Printed In USA.
MANUFACTURING, INC.
500 N Spring Street / PO Box 997
Port Washington, WI 53074-0997 USA