Singer 9985 Quantum Stylist Touch Instruction Manual 34729 04
Singer-9985-Users-Manual-211650 singer-9985-users-manual-211650
Singer Sewing Machine 9985 9985-manual
9985 to the manual cfa4022d-2747-4d79-ac81-88027df84c30
2015-03-30
: Singer Singer-9985-Quantum-Stylist-Touch-Instruction-Manual-679192 singer-9985-quantum-stylist-touch-instruction-manual-679192 singer pdf
Open the PDF directly: View PDF
.
Page Count: 108 [warning: Documents this large are best viewed by clicking the View PDF Link!]

INSTRUCTION MANUAL
MANUEL D’INSTRUCTIONS
MANUAL DE INSTRUCCIONES
9985

INSTRUCTION MANUAL
This sewing machine is intended for household use.
This sewing machine is not intended for use by young children or infi rmed persons without
supervision.
IMPORTANT SAFETY INSTRUCTIONS
When using a sewing machine, basic safety precautions should always be followed,
including the following.
Read all instructions before using.
DANGER - To reduce the risk of electric shock:
Never leave unattended when plugged in. Always unplug this machine from the electric
outlet immediately after using and before cleaning.
- To reduce the risk of burns, fi re, electric shock,
or injury to persons:
WARNING
1. Do not allow to be used as a toy. Close attention is necessary when this sewing machine
is used by or near children.
2. Use this sewing machine only for its intended use as described in this manual. Use only
attachments recommended by the manufacturer as contained in this manual.
3. Never operate this sewing machine if it has a damaged cord or plug, if it is not working
properly, if it has been dropped or damaged, or dropped into water. Return the sewing
machine to the nearest authorized dealer or service center for examination, repair,
electrical or mechanical adjustment.
4. Never operate the sewing machine with any air openings blocked. Keep ventilation
openings of the sewing machine and foot controller free from the accumulation of lint,
dust, and loose cloth.
5. Never drop or insert any object into any opening.
6. Do not use outdoors.
7. Do not operate where aerosol (spray) products are being used or where oxygen is being
administered.
8. To disconnect, turn the power switch to the off position (symbol “O”), then remove plug
from outlet.
9. Do not unplug by pulling on cord. To unplug, grasp the plug, not the cord.
10. Keep fi ngers away from all moving parts. Special care is required around the sewing
machine needle.
11. Always use the proper needle plate. The wrong plate can cause the needle to break.
12. Do not use bent needles.
13. Do not pull or push fabric while stitching. It may defl ect the needle causing it to break.
14. Switch the sewing machine off (symbol “O”) when making any adjustments in the needle area,
such as threading needle, changing needle, threading bobbin, or changing presser foot.
15. Always unplug sewing machine from the electrical outlet when removing covers,
lubricating, or when making any other user servicing adjustments mentioned in the
instruction manual.
16. Handle the foot controller with care and avoid dropping it on the fl oor. Be sure not to
place anything on top of it.
17. Use only the handle to lift and move the machine.
18. Do not expose the machine or machine case to sunlight directly. Also, do not keep it in a
very warm or damp place.
SAVE THESE INSTRUCTIONS
Servicing should be performed by an authorized service representative.
SINGER is the exclusive trademark of The Singer Company Limited S.à.r.l. or its Affi liates.
©2013 The Singer Company Limited S.à.r.l. or its Affi liates. All rights reserved.

3
CONTENTS
IMPORTANT SAFETY
INSTRUCTIONS .....................2
MODEL 9985 ..............................8
FOR EUROPEAN AND SIMILAR
TERRITORIES: .............................8
MAIN PARTS ............................10
ACCESSORIES........................12
DUST COVER ..........................12
REMOVABLE EXTENSION
TABLE ...................................14
A. REMOVING THE EXTENSION TABLE ..14
B. OPENING THE ACCESSORY CASE.....14
CHANGING THE PRESSER
FOOT ....................................14
A. CHANGING THE PRESSER FOOT .......14
B. REMOVING THE PRESSER FOOT
HOLDER ................................................14
INSERTING THE NEEDLE ......16
FABRIC, THREAD AND NEEDLE
TABLE ...................................16
CONNECTING THE MACHINE 18
FOOT CONTROLLER ..............18
MACHINE CONTROL FUNCTIONS...... 20
A. START/STOP BUTTON .........................20
B. REVERSE STITCH BUTTON ................20
C. NEEDLE UP-DOWN / SLOW BUTTON 20
D. SPEED CONTROL LEVER ....................20
E. PRESSER FOOT LIFTER ......................20
F. THREAD CUTTER BUTTON .................22
G. DROP FEED LEVER ..............................22
H. THREAD CUTTER .................................22
I. PRESSURE REGULATOR ....................22
J. TOP COVER ..........................................22
K. HAND WHEEL .......................................22
TOUCH PANEL LCD ................24
A. HOME SCREEN.....................................24
B. PATTERN CHART ..................................24
TURNING OFF AUDIBLE
BEEP .....................................26
HELP BUTTON ........................26
BOBBIN SETTING ...................28
A. REMOVING THE BOBBIN .....................28
B. SETTING SPOOL OF THREAD ON
SPOOL PIN ............................................28
C. WINDING THE BOBBIN .........................28
D. INSERTING THE BOBBIN .....................30
THREADING THE MACHINE ...32
A. PREPARING TO THREAD MACHINE ...32
B. SETTING SPOOL OF THREAD ON
SPOOL PIN ............................................32
C. THREADING THE UPPER THREAD .....32
D. THREADING THE NEEDLE EYE ..........34
DRAWING UP THE BOBBIN THREAD ......34
SELECTING UTILITY STITCH
PATTERN ..............................36
STITCH INFORMATION ........................36
THREAD TENSION ..................40
WHERE TO USE EACH
STITCH .................................42
STARTING TO SEW .................44
A. START AND END OF SEAM ..................44
B. REVERSE STITCHING ..........................46
C. AUTO TACK STITCH .............................46
D. TURNING CORNERS ............................48
E. SEWING HEAVY FABRIC ......................48
F. SEWING OVER OVERLAPPED
AREAS ..................................................48
G. WIDTH OF SEAM ALLOWANCE ...........48
STRAIGHT STITCH SEWING ..50
A. Straight Stitch .........................................50
B. Straight Stitch With Auto-lock Stitch (Pattern
No. 3, 4)..................................................50
BASTING .................................. 52
A. ATTACHING THE DARING/
EMBROIDERY FOOT ............................52
B. BASTING................................................52
ELASTIC STITCH SEWING .....54
QUILTING ................................. 54
A. JOINING THE PIECES OF FABRIC ......54
B. QUILTING ...............................................54
C. HAND LOOK QUILTING
STITCH (NO. 8)......................................54
ZIGZAG STITCH SEWING .......56
MULTI-STITCH ZIGZAG ..........56
FREE ARM SEWING ................56
OVERCASTING-
OVERLOCKING ....................58
A. USING THE OVERCASTING FOOT ......58
B. USING THE GENERAL PURPOSE
FOOT .....................................................58
BLIND HEM STITCHING ..........60
CRAZY PATCH .........................62
APPLIQUE................................62
INSERTING ZIPPERS
CENTERED INSERTION .........64
LAPPED INSERTION ...............66
BUTTONHOLE SEWING .........68
BOUND BUTTONHOLE ...........72
EYELET ....................................74
AUTOMATIC BAR-TACK AND
DARNING .............................. 76
SEWING ON BUTTONS ..........78
A. THREAD SHANK ...................................78
NARROW HEMMING ...............80
CORDING .................................80
A. SINGLE CORDING ................................80
B. TRIPLE CORDING .................................80
CONTINUOUS DECORATIVE
PATTERN ..............................82
A. SEWING LIGHTWEIGHT FABRICS ......82
USING THE EVEN-FEED
FOOT ....................................82
A. ATTACHING THE EVEN-FEED FOOT ..82
B. SEWING .................................................82
DARNING/FREE-HAND
EMBROIDERY ......................84
A. ATTACHING THE DARING/ EMBROIDERY
FOOT .....................................................84
B. DARNING ...............................................84
C. FREE-HAND EMBROIDERY .................84
D. After darning or free-hand embroidery ...84
TWIN NEEDLE SEWING .........86
DECORATIVE & LETTER
STITCH SEWING ..................88
A. SELECTING DECORATIVE & LETTER
STITCH (selecting mode) .......................88
B. SHIFTING THE CURSOR ......................88
C. CHECKING SELECTED PATTERNS .....90
D. INSERTING PATTERN...........................90
E. DELETING PATTERNS ..........................90
F. EDITING OF EACH PATTERN ..............90
G. SETTING THE THREAD TENSION .......94
H. SAVING SELECTED PATTERNS .........94
I. SEWING THE SELECTED PATTERNS .96
J. SEWING PATTERN FROM
BEGINNING ...........................................96
K. RECALLING SELECTED PATTERNS ...96
DECORATIVE AND LETTER
STITCH CHART ....................98
ADJUSTING THE BALANCE OF THE
STITCHES
................................98
MAINTENANCE .....................100
CLEANING ...............................................100
MESSAGES ON LCD .............102
HELPFUL HINTS ....................104
CAUTION: To prevent
accidents.
Do not pull out the front
cover from the machine.

4
MANUEL D’INSTRUCTIONS
La machine à coudre est exclusivement destinée à l’usage domestique.
Cette machine à coudre n’a pas été conçue pour être utilisée par de jeunes enfants ni des personnes
handicapées sans supervision.
CONSIGNES DE SÉCURITÉ IMPORTANTES
Il est important d’observer des précautions de sécurité élémentaires lors de l’utilisation de la
machine à coudre et notamment celles qui suivent.
Veuillez lire l’ensemble de la notice avant l’utilisation.
DANGER – Pour réduire les risques de décharge électrique :
Ne laissez jamais la machine branchée sans surveillance. Débranchez toujours la
machine immédiatement après l’usage et avant le nettoyage.
ATTENTION! – Pour réduire les risques de brûlure,
d’incendie, de décharge électrique et de blessures corporelles :
1.
Ne permettez pas que la machine à coudre soit utilisée comme un jouet. La surveillance d’un adulte est
nécessaire quand la machine est utilisée par des enfants ou en présence d’enfants.
2. N’utilisez la machine à coudre que pour l’usage prescrit dans la présente notice. N’utilisez que les
pièces conseillées par le constructeur et indiquées dans la présente notice.
3. N’utilisez jamais la machine à coudre si une fi che ou un fi l électrique est défectueux, si la machine
ne fonctionne pas correctement, si la machine est tombée ou endommagée, ni si elle a été
immergée. Retournez la machine au distributeur agréé ou au centre de service après-vente le
plus proche pour tout examen, réparation, réglage électrique et mécanique.
4. N’utilisez jamais la machine si une aire d’aération est obstruée. Veillez à ce que les ouvertures
destinées à la ventilation de la machine ainsi que la pédale restent dégagées de pelotons, de
poussière et de tissus.
5. Veillez à ne rien laisser tomber ni insérer dans les ouvertures d’aération.
6. N’utilisez pas la machine en plein air.
7. N’utilisez pas la machine dans les lieux où des aérosols sont utilisés ou de l’oxygène administré.
8. Pour déconnecter la machine, tournez le bouton d’alimentation en position d’arrêt (O), puis
débranchez la fi che électrique.
9. Ne débranchez pas la machine en tirant sur le câble d’alimentation. Pour débrancher, saisissez la
fi che et non pas le câble.
10. Ne placez pas vos doigts près des parties en mouvement. Il est nécessaire de faire
particulièrement attention dans la zone de l’aiguille de la machine à coudre.
11. N’utilisez que la plaque à aiguille correcte. Une autre plaque à aiguille pourrait casser l’aiguille.
12. N’utilisez pas d’aiguilles tordues.
13.
Ne tirez pas et ne poussez pas le tissu pendant la couture. Ceci pourrait tordre l’aiguille et la casser.
14. Arrêtez la machine avant d’effectuer tout ajustement et réglage dans la zone de l’aiguille, par
exemple pour enfi ler l’aiguille, changer d’aiguille, enfi ler la canette ou changer de pied presseur.
15. Veillez à toujours débrancher la machine avant de retirer des couvercles, de lubrifi er la machine et
d’effectuer toute opération d’entretien mentionnée dans la notice d’utilisation.
16. Maniez la pédale avec soin et évitez de la faire tomber. Veillez à ne rien poser dessus.
17. Pour soulever ou déplacer la machine, utilisez toujours la poignée.
18. N’exposez pas la machine ni la housse de protection à la lumière directe du soleil. De même,
n’entreposez pas la machine dans un endroit très chaud ni très humide.
CONSERVEZ CETTE NOTICE D’UTILISATION
La maintenance de la machine doit être assurée exclusivement par un professionnel agréé.
Singer est la marque déposées exclusivement de The Singer Company Limited S.à.r.l ou ses affi liés.
2013 The Singer Company Limited S.à.r.l ou ses affi liés. Tous droits réservés.

5
TABLE DES MATIÈRES
CONSIGNES DE SÉCURITÉ
IMPORTANTES ......................4
MODÈLE 9985 ...........................9
POUR LES TERRITOIRES EUROPÉENS
ET ASSIMILÉS : .................................. 9
PIÈCES PRINCIPALES ............11
ACCESSOIRES........................13
HOUSSE DE PROTECTION
SOUPLE ................................ 13
TABLE DE RALLONGE
AMOVIBLE ............................15
A. DÉGAGER LE TABLE
DE RALLONGE ......................................15
B. OUVRIR LE COMPARTIMENT DES
ACCESSOIRES .....................................15
REMPLACER LE PIED
PRESSEUR ...........................15
A. REMPLACER LE PIED PRESSEUR .....15
B. RETIRER LE SUPPORT DU PIED
PRESSEUR ...........................................15
MISE EN PLACE DE
L’AIGUILLE ............................17
TABLEAU DES TISSUS, FILS ET
AIGUILLES ............................ 17
BRANCHEMENT DE LA
MACHINE .............................. 19
PEDALE DE CONTRÔLE ........19
FONCTIONS DES TOUCHES DE LA
MACHINE .......................................... 21
A. TOUCHE MARCHE / ARRÊT .................21
B. TOUCHE COUTURE EN MARCHE
ARRIERE ...............................................21
C.
TOUCHE D’ARRÊT DE L’AIGUILLE POSITION
HAUTE - BASSE /
TOUCHE DE COUTURE BASSE VITESSE
.21
D.
LEVIER DE CONTRÔLE DE LA VITESSE
... 21
E. RELEVEUR DU PIED PRESSEUR........21
F. TOUCHE COUPE-FIL ............................23
G.
LEVIER D’ABAISSEMENT DES GRIFFES ..23
H. COUPE-FIL ............................................23
I. RÉGULATEUR DE PRESSION .............21
J. COUVERCLE SUPERIEUR ...................23
K. VOLANT .................................................23
ÉCRAN D’AFFICHAGE LCD ....25
A. L’ÉCRAN PRINCIPAL.............................25
B. TABLEAU DES POINTS ........................25
DÉSACTIVER LE SIGNAL
SONORE ............................... 27
TOUCHE D’AIDE ......................27
LA CANETTE............................29
A. RETIREZ LA CANETTE .........................29
B. MISE EN PLACE DE LA BOBINE SUR LE
SUPPORT DE LA BOBINE ........................29
C. BOBINAGE DE LA CANETTE ...............29
D. MISE EN PLACE DE LA CANETTE ......31
ENFILAGE DE LA MACHINE ...33
A. PRÉPARATION POUR L’ENFILAGE .....33
B. MISE EN PLACE DE LA BOBINE SUR LE
SUPPORT DE À BOBINE ..........................33
C. ENFILAGE DU FIL SUPÉRIEUR ...........33
D. ENFILAGE DU CHAS DE
L’AIGUILLE ................................................. 35
POUR REMONTER LE FIL DE LA CANETTE ..
35
SÉLECTION DES POINTS
UTILITAIRES ......................... 37
INFORMATION DU POINT ....................37
TENSION DU FIL .....................41
DESCRIPTION DES POINTS ET
LEURS UTILITÉS ..................43
DÉBUTEZ LA COUTURE .........45
A. DÉBUT ET FIN DE LA COUTURE .........45
B. COUTURE EN MARCHE ARRIERE ......47
C. POINT D’ARRÊT AUTOMATIQUE .........47
D. COUTURE DES COINS ........................49
E. COUTURE DE TISSUS ÉPAIS ..............49
F. COUTURE DES SURÉPAISSEURS .....49
G. LARGEUR DES RABATS ......................49
COUTURE AU POINT DROIT ..51
A. POINT DROIT ........................................51
B. POINT DROIT AVEC POINT D’ARRÊT
AUTOMATIQUE (MOTIFS NO. 3, 4) ......51
FAUFILAGE .............................. 53
A. MISE EN PLACE DU PIED BRODERIE
ET REPRISAGE .....................................53
B. FAUFILAGE............................................53
COUTURE DE POINTS
EXTENSIBLES ...................... 55
MATELASSAGE .......................55
A. ASSEMBLAGE DES MORCEAUX DE
TISSU ..................................................... 55
B. QUILTING ..............................................55
C. POINT DE QUILTING, APPARENCE FAIT
MAIN (N°8) .............................................55
COUTURE AU POINT ZIGZAG 57
POINT ZIGZAG MULTIPLE ......57
COUTURE AVEC BRAS
LIBRE ....................................57
SURJET - SURFILAGE ............59
A. AVEC LE PIED DE SURJET ..................59
B. AVEC LE PIED UNIVERSEL ..................59
COUTURE D’OURLETS
INVISIBLES ........................... 61
PATCHWORK FOLLI ................63
APPLIQUE................................63
FERMETURE À GLISSIÈRE
- POSE BORD À BORD ...........65
- POSE SOUS PATTE ..............67
COUTURE DE
BOUTONNIÈRES ..................69
BOUTONNIERE
PASSEPOILEE ......................73
OEILLET ...................................75
ARRÊT ET REPRISAGE
AUTOMATIQUES ..................77
COUTURE DE BOUTONS .......79
A. TIGE DE FIL ...........................................79
OURLET ROULOTTÉ ..............81
CORDONNETS ........................81
A. CORDONNETS SIMPLES .....................81
B. CORDONNETS TRIPLES .....................81
SÉQUENCE DE MOTIFS
DÉCORATIFS .......................83
A. COUTURE DE TISSU LEGER .............83
UTILISATION DU PIED
POUR ENTRAÎNEMENT
SYNCHRONISÉ ....................83
A.
MISE EN PLACE DU PIED POUR ENTRAÎNEMENT
SYNCHRONISÉ
..........................................83
B. COUTURE .............................................83
REPRISAGE / BRODERIE .......85
A. MISE EN PLACE DU PIED BRODERIE
ET REPRISAGE .....................................85
B. REPRISAGE ..........................................85
C. BRODERIE ............................................85
D. APRÈS LE REPRISAGE ET LA
BRODERIE.............................................85
COUTURE AVEC AIGUILLE
JUMELÉE .............................. 87
COUTURE DE POINTS DECORATIFS
ET LETTRAGE
..........................89
A. Sélectionner les points décoratifs et
lettrage (Sélection se mode) ..................89
B. CHANGEMENT DU CURSEUR .............89
C. VERIFICATION DE MOTIFS
SELECTIONER ...................................... 91
D. INSERTION DE MOTIF .........................91
E. SUPPRIMER UN MOTIF........................91
F. EDITER CHAQUE MOTIFS ...................91
G. REGLER LA TENSION DU FIL ..............95
H.
SAUVEGARDER LES MOTIFS
CHOISIS
................................................ 95
I.
COUDRE LES MOTIFS CHOISIS
............97
J. COUTURE DU DEBUT DU MOTIF ........97
K. RAPPELER LES MOTIFS CHOISIS ......97
TABLEAU DES LETTRES ET POINTS
DÉCORATIFS
...........................99
L’ÉQUILIBRATION DES POINTS
..99
ENTRETIEN ...........................101
NETTOYAGE ............................................101
MESSAGES SUR ÉCRAN
LCD .....................................103
SOLUTION AUX PROBLÈMES
COURANTS ........................105
ATTENTION! Pour éviter
les incidents :
N’ouvrez pas le panneau
frontal.

MANUAL DE INSTRUCCIONES
Esta máquina de coser está diseñada sólo para uso doméstico.
Esta máquina de coser no está diseñada para ser utilizada por niños pequeños o personas enfermas
sin la debida supervisión
NORMAS DE SEGURIDAD IMPORTANTES
Cuando utilice la máquina de coser, debe seguir siempre unas normas básicas de
seguridad, incluyendo las siguientes.
Lea todas las instrucciones antes de utilizar su máquina.
PELIGRO - Para reducir el riesgo de descarga eléctrica:
La máquina nunca debe dejarse sola y encendida. Desenchufe siempre la máquina de
la red inmediatamente después de usarla y antes de limpiarla.
PRECAUCIONES - Para reducir el riesgo de
quemaduras, fuego, cortocircuito o daños personales:
1. No permita que se emplee como un juguete. Tenga un cuidado especial cuando la máquina sea
usada por niños o si éstos se encuentran cerca de ella.
2. Utilice esta máquina de coser correctamente, tal como se describe en este manual. Use solo los
accesorios recomendados por el fabricante que aparecen el manual.
3. Nunca trabaje con esta máquina de coser si tiene el cable o el enchufe dañados, si no funciona
adecuadamente, si ha sido golpeada o dañada o si se ha caído al agua. Lleve la máquina al
centro de reparaciones autorizado más próximo para que la examinen, la reparen o realicen su
ajuste eléctrico o mecánico.
4. Nunca trabaje con la máquina con alguna de las salidas de aire bloqueadas. Mantenga las
ventilaciones de la máquina abiertas y el regulador de velocidad libre de acumulación de hilachas,
polvo y trozos de tela.
5. Nunca deje caer ni inserte ningún objeto en las aberturas.
6. No la utilice en el exterior.
7. No trabaje donde se hayan utilizado aerosoles o donde se esté administrando oxígeno.
8. Para desconectar, gire el botón de encendido a la posición de apagado (
O
) y después
desenchufe de la red.
9. No desenchufe la máquina tirando del cable. Para desenchufarla, tire del enchufe, no del cable.
10. Mantenga los dedos alejados de todas las partes giratorias. Es necesario que tenga especial
cuidado con la aguja de la máquina de coser.
11. Utilice siempre la placa de aguja apropiada. Una placa incorrecta puede causar la rotura de la
aguja.
12. No utilice agujas dobladas.
13. No tire o empuje el tejido mientras cose. Puede deformar la aguja y romperla.
14. Desconecte la máquina de coser cuando esté haciendo ajustes en el área de la aguja, como
enhebrando la aguja, cambiándola, enhebrando la canilla o cambiando el prensatelas.
15. Desenchufe siempre la máquina de la red eléctrica cuando retire las cubiertas, la lubrique, o
realice cualquier otro servicio de ajuste mencionado en el manual de instrucciones.
16. Maneje el pedal con cuidado y evite que golpee el suelo. Asegúrese de no situar nada sobre
él.
17. Utilice el asa solamente para levantar y mover la máquina.
18. No exponga la máquina o la cubierta de la máquina directamente a la luz del sol. Tampoco la
guarde en un lugar muy caliente o húmedo.
CONSERVE ESTAS INSTRUCCIONES
Las reparaciones deben ser realizadas únicamente por un servicio representativo autorizado.
SINGER es la marca exclusiva de The Singer Company Limited S.à.r.l. o sus Afi liadas.
©2013 The Singer Company Limited S.à.r.l. o sus Afi liadas. Todos los derechos reservados.

7
ÍNDICE
NORMAS DE SEGURIDAD
IMPORTANTES ....................... 6
MODELO 9985 ...........................9
PARA EUROPA Y TERRITORIOS
EQUIPARABLES:
....................... 9
PARTES PRINCIPALES ...........11
ACCESORIOS..........................13
CUBIERTA ................................13
MESA DE EXTENSIÓN
REMOVIBLE .........................15
A. RETIRANDO LA EXTENSION ...............15
B. APERTURA DEL COMPARTIMENTO DE
ACCESORIOS .......................................15
CÓMO CAMBIAR EL
PRENSATELAS ....................15
A. CÓMO CAMBIAR EL PRENSATELAS ..15
B. CÓMO RETIRAR EL
PORTAPRENSATELAS .........................15
INSERCION DE LA AGUJA ......17
TABLA DE TEJIDOS, HILOS Y
AGUJAS ................................17
CONEXIÓN DE LA MAQUINA..19
PEDAL DE CONTROL .............19
FUNCIONES DE CONTROL DE LA
MÁQUINA .......................................... 21
A. BOTÓN INICIO / PARO .........................21
B. BOTÓN DE PUNTADA REVERSA .........21
C. BOTÓN AGUJA ARRIBA / ABAJO .........21
D. SELECTOR DE VELOCIDAD ................21
E. PALANCA DEL PRENSATELAS ............21
F. BOTÓN CORTADOR DE HILO ..............23
G. PALANCA DE ARRASTRE ....................23
H. CORTADOR DE HILO ...........................23
I. REGULADOR DE PRESIÓN .................23
J. CUBIERTA SUPERIOR ..........................23
K. VOLANTE MANUAL ..............................23
PANEL TOUCH LCD ................25
A. PANTALLA DE INICIO ............................25
B. TABLA DE PUNTADAS ..........................25
APAGANDO LOS SONIDOS ....27
BOTÓN DE AYUDA ..................27
AJUSTE DE LA CANILLA .........29
A. CÓMO SACAR LA CANILLA..................29
B.
COLOCACIÓN DEL CARRETE DE HILO EN EL
PORTACARRETES
....................................29
C. DEVANADO DE LA CANILLA ................29
D. COLOCACIÓN DE LA CANILLA ............31
ENHEBRADO DE LA
MÁQUINA ..............................33
A. PREPARACIÓN PARA ENHEBRAR LA
MÁQUINA ............................................... 33
B.
COLOCACIÓN DEL CARRETE DE HILO EN EL
PORTACARRETES
....................................33
C. ENHEBRADO DEL HILO SUPERIOR ...33
D. ENHEBRADO DEL OJO DE LA AGUJA 35
EXTRACCIÓN DEL HILO DE LA CANILLA 35
SELECCIÓN DE PUNTADAS
UTILITARIAS ......................... 37
INFORMACIÓN DE PUNTADAS ...........37
TENSIÓN DEL HILO ................41
DÓNDE UTILIZAR CADA TIPO
DE PUNTADA ........................43
COMENZAR A COSER ............45
A. PRINCIPIO Y FINAL DE UNA
COSTURA ..............................................45
B. PUNTADA REVERSA ............................47
C.
PUNTADA DE REFUERZO AUTOMATICA
..47
D. CÓMO GIRAR EN LAS ESQUINAS ......49
E. CÓMO COSER TEJIDOS FUERTES ....49
F. CÓMO COSER SOBRE ÁREAS
SOLAPADAS .........................................49
G. ANCHO DEL MARGEN DE COSTURA .49
PUNTADA RECTA ....................51
A. PUNTADA RECTA ..................................51
B. PUNTADA RECTA CON PUNTADA AUTO
LOCK (PATRÓN NO. 3, 4) .....................51
HILVANADO .............................53
A.
CÓMO COLOCAR EL PRENSATELAS PARA
ZURCIDO Y BORDADO
..............................53
B. HILVANADO ...........................................53
PUNTADA ELÁSTICA ...............55
ACOLCHADO ........................... 55
A. CÓMO UNIR LAS PIEZAS DE TEJIDO .55
B. CÓMO COSER ACOLCHADOS ............55
C. PUNTADA DE ACOLCHADO CON
ASPECTO ARTESANAL (Nº 8) ..............55
PUNTADA DE ZIG-ZAG ...........57
PUNTADA MÚLTIPLE DE ZIG-
ZAG .......................................57
COSTURA CON BRAZO
LIBRE ....................................57
SOBREHILADO-REMALLADO 59
A. CON EL PRENSATELAS PARA
SOBREHILADO .....................................59
B. CON EL PRENSATELAS UNIVERSAL ..59
DOBLADILLO DE PUNTADA
INVISIBLE .............................61
CRAZY PATCH .........................63
APLICACIONES .......................63
INSERCIÓN DE CREMALLERAS
INSERCIÓN CENTRADA .........65
INSERCIÓN SOLAPADA ..........67
CÓMO COSER OJALES ..........69
OJAL REFORZADO .................73
OJAL BORDADO .....................75
PRESILLAS Y ZURCIDOS
AUTOMÁTICOS ....................77
CÓMO COSER BOTONES ......79
A. ZANCO HILO .........................................79
DOBLADILLOS
ARROLLADOS ......................81
CORDONCILLO .......................81
A. CORDONCILLO SIMPLE.......................81
B. CORDONCILLO TRIPLE .......................81
PUNTADAS DECORATIVAS
CONTINUAS .........................83
A. COSIENDO TELAS LIGERAS ...............83
USO DEL PRENSATELAS DE
TRANSPORTE UNIFORME
...........83
A.
CÓMO COLOCAR EL PRENSATELAS DE
TRANSPORTE UNIFORME
............................83
B. CÓMO COSER ......................................83
ZURCIDO Y BORDADO A MANO
LIBRE ....................................85
A.
CÓMO COLOCAR EL PRENSATELAS PARA
ZURCIDO Y BORDADO
..............................85
B. ZURCIDO ...............................................85
C. BORDADO A MANO LIBRE...................85
D. DESPUÉS DEL ZURCIDO O BORDADO
A MANO LIBRE ......................................85
CÓMO COSER CON AGUJA
DOBLE ..................................87
PUNTADAS DECORATIVAS Y
LETRAS ................................89
A. SELECCIONANDO LA PUNTADA
DECORATIVA Y DE LETRAS (MODO DE
SELECCIÓN) .........................................89
B. CAMBIANDO EL CURSOR ...................89
C. VERIFICANDO PATRONES
SELECCIONADOS ................................91
D. INSERTANDO UN PATRÓN ..................91
E. BORRANDO PUNTADAS ......................91
F. EDITANDO CADA PATRÓN ...................91
G. AJUSTANDO LA TENSIÓN DEL HILO ..95
H. GUARDANDO PATRONES
SELECCIONADOS ................................95
I. COSIENDO CON LOS PATRONES
SELECCIONADOS ................................97
J. COSIENDO PATRONES DESDE EL
INICIO ....................................................97
K. REGRABANDO PATRONES
SELECCIONADOS ................................97
TABLA DE PUNTADAS
DECORATIVAS Y LETRAS
.......99
AJUSTANDO EL BALANCE DE LAS
PUNTADAS ...........................99
MANTENIMIENTO .................101
LIMPIEZA .................................................101
MENSAJES EN PANTALLA
LCD .....................................103
RECOMENDACIONES
ÚTILES ................................106
PRECAUCIÓN: Para prevenir
accidentes
No abra la tapa delantera
de la máquina.

8
MODEL 9985
PREFACE
Thank you for your purchase of this sewing
machine.
This machine intended for household use will
provide you with excellent performance in sewing
from light to heavy material.
Please refer to this booklet for proper use and
optimum service. To get the most out of your
sewing machine, read the entire instruction manual
before attempting to operate the machine. Then
familiarize yourself with the machine by following
the instruction manual page by page.
To ensure that you are always provided with the
most modern sewing capabilities, the manufacturer
reserves the right to change the appearance,
design or accessories of this sewing machine
when considered necessary without notifi cation or
obligation.
FOR EUROPEAN AND
SIMILAR TERRITORIES:
This product is suppressed for radio and television
interference with the International Electrotechnical
Commission requirements of the CISPR.
The wires in this mains lead are colored in
accordance with the following code.
Blue: neutral (N) Brown: live (L)
As the colors of the wires in the mains lead of this
appliance may not correspond with the colored
markings identifying the terminals in your plug,
proceed as follows:
The wire which is colored blue must be connected
to the terminal which is marked with the letter N
or colored black. The wire which is colored brown
must be connected to the terminal which is marked
with letter L or colored red. If a 13 Amp. (BS 1363)
plug is used, a 3 Amp. Fuse must be fi tted, or if
any other type of plug is used, a 5 Amp. fuse must
be fi tted either in the plug or adaptor or at the
distribution board.
1. This appliance can be used by children
aged from 8 years and above and
persons with reduced physical, sensory or
mental capabilities or lack of experience
and knowledge if they have been given
supervision or instruction concerning
use of the appliance in a safe way and
understand the hazards involved.
2. Children shall not play with the appliance.
3. Cleaning and user maintenance shall not
be made by children without supervision.
4. Switch off or unplug the machine when
leaving it unattended.
5. Unplug the appliance before carrying out
maintenance.
1. Cet appareil peut être utilisé par des enfants âgés de
8 ans ou plus, ainsi que des personnes aux faculté
physique, sensoriel ou mental réduite, ou avec peu ou
sans expérience, à la condition qu’ils soient supervisés et
qu’ils aient reçus les instructions nécessaire concernant
l’utilisation sécuritaire de cette machine.
2. Cet appareil ne doit pas être utiliser comme un jouet par
les enfants.
3. Les enfants ne doivent pas nettoyer ou entretenir cet
appareil sans être supervisés.
4. Toujours éteindre et débrancher l’appareil après chaque
utilisation.
5. Toujours débrancher l’appareil avant d’en faire l’entretient.
1. Este producto puede ser utilizado por
niños de 8 años en adelante y personas
con capacidades físicas, sensoriales o
mentales reducidas o diferentes, o con
falta de experiencia y conocimiento si han
sido provistas de supervisión o instrucción
en relación al uso del producto en forma
segura y entendiendo los riesgos que
implica.
2. Los niños no deberán jugar con este
producto.
3. El mantenimiento y limpieza por parte del
usuario no deberá llevarse a cabo por un
niño sin supervisión.
4. Apague o desconecte la máquina cuando
se deje sin atención.
5. Desconecte el aparato antes de dar
cualquier mantenimiento.
Neither cord is to
be connected to the
earth terminal of a
three-pin plug.
EU only
EU seulement
Sólo para Estados Unidos

9
MODÈLE 9985
PRÉFACE
Merci d’avoir acheté cette machine à coudre.
Cette machine est destinée à un usage
domestique normal et vous procureras d’excellents
résultats lors de la couture de tissu léger aussi
bien que dans les tissus lourd (de la batiste au
jean). Référez-vous à ce manuel pour faire
une bonne utilisation et un bon entretien de la
machine. Afi n de profi ter pleinement de votre
machine, il est conseillé de lire l’ensemble de ce
manuel d’instruction avant de l’utiliser. Ensuite,
familiarisez-vous avec la machine en suivant les
instructions page par page.
Afi n de vous garantir que les fonctions de
couture de votre machine soient à la fi ne pointe,
le manufacturier se réserve le droit de modifi er
l’apparence, son esthétique ou les accessoires de
ce produit lorsqu’il en jugera la nécessité, et ceci
sans obligation ni avertissement préalable.
POUR LES TERRITOIRES
EUROPÉENS ET
COMPARABLES:
Les interférences radio et télévision sont
supprimées conformément aux normes de la
Commission internationale électrotechnique du
CISPR.
Les fi ls électriques du câble d’alimentation sont
colorés suivant le code suivant :
Bleu : neutre (N) Marron : phase (L)
Si la couleur des fi ls dans le câble ne correspond
pas aux couleurs des marquages identifi ant les
bornes de votre prise, veuillez procéder comme
suit :
Le fi l bleu doit être connecté à la borne marquée N
ou colorée en noir. Le fi l marron doit être connecté
à la borne marquée L ou colorée en rouge. Si vous
utilisez une prise de 13 ampères (BS 1363), il est
nécessaire de placer un fusible de 3 ampères.
Si vous utilisez tout autre type de prise, il est
nécessaire de placer un fusible de 5 ampères.
Le fusible peut être soit intégré à la prise, soit
placé dans l’adaptateur ou dans le tableau de
distribution.
Aucun fi l ne doit être raccordé à une prise à la
terre à trois broches.
MODELO 9985
PRÓLOGO
Gracias por la adquisición de esta máquina de
coser.
Esta máquina ideada para uso doméstico le
proporcionará un excelente resultado cuando
cosa tejidos ligeros y pesados (desde linón a
tela vaquera). Consulte este manual para su uso
apropiado y servicio óptimo. Para conseguir el
máximo rendimiento de su máquina de coser, lea
por completo el manual de instrucciones antes
de intentar trabajar con la máquina. Después
familiarícese con la máquina siguiendo el manual
de instrucciones página por página.
Para asegurarle que siempre pueda disponer de
los más modernos adelantos para la costura, el
fabricante se reserva los derechos de cambiar
la apariencia, el diseño o los accesorios de su
máquina de coser cuando lo considere necesario,
sin obligación ni notifi cación previa.
PARA EUROPA Y TERRITORIOS
EQUIPARABLES:
Este producto está protegido contra las
interferencias de radio y televisión de acuerdo
con las normativas de CISPR de la Comisión
Electrotécnica Internacional.
Los cables de esta conducción principal están
coloreados de acuerdo al siguiente código:
Azul: neutral (N), Marrón: positivo (L).
Como los colores de los cables en la conducción
principal de este producto pueden no
corresponderse con las marcas coloreadas que
identifi can los terminales en su enchufe, proceda
de la siguiente manera:
El cable que está coloreado de azul debe ser
conectado al terminal que está marcado con
la letra N o coloreado de negro. El cable que
está coloreado de marrón debe ser conectado
al terminal que está marcado con la letra L o
coloreado de rojo. Si se utiliza un enchufe de 13
Amp. (BS 1363), debe incorporarse un fusible de 3
Amp, o si se utiliza cualquier otro tipo de enchufe,
debe incorporarse un fusible de 5 Amp en el
enchufe o adaptador o en la tabla de distribución.
No se debe conectar ningún cable a la terminal de
tierra de un enchufe de tres clavijas.

10
MAIN PARTS
1. Face Plate
2. Thread Take-Up Lever (Inside)
3. Pressure Regulator
4. Removable Extension Table (Accessories)
5. Handle
6. Hand Wheel
7. Presser Foot Lifter
8. Stitch Balance Adjusting Screw (underneath
machine)
9. Thread Cutter
10. Buttonhole Lever
11. Needle Threader
12. Needle Threader Lever
13. Presser Foot Release Lever
14. Presser Foot Screw
15. Presser Foot Holder
16. Presser Foot
17. Feed Dogs
18. Needle Clamp Screw
19. Needle Thread Guide
20. Needle
21. Needle Plate
22. Bobbin Cover
23. Bobbin Cover Latch
24. Top Cover
25. Pattern Chart
26. Thread Guides
27. Spool Pin
28. Bobbin Winder Thread Guide
29. Felt Washer
30. Extra Spool Holder
31. Bobbin Winder Shaft
32. Bobbin Winder Stop
33. Speed Control Lever
34. Reverse Stitch Button
35. Start/Stop Button
36. Needle Up-Down / Slow Button
37. Thread Cutter Button
38. Touch Panel LCD
39. Drop Feed Lever
40. Power Switch
41. Terminal Box
42. Controller Jack
43. Foot Controller
44. Power Line Cord
1
2
7
5
6
4
3
9
10
12
11
18
20
19
13
14
15
16
21
22
23
24 25 26 27 28 29 30 31 32
35 36 37 38
39
40
41
42
43 44
8
33
34
17

11
PIÈCES PRINCIPALES
1. Plaque frontale
2.Releveur de fi l (se trouve à l’intérieur)
3. Régulateur de pression
4. Table de Rallonge Amovible (Contient les
Accessoires)
5. Poignée de Transport
6. Volant
7. Releveur du pied presseur
8. Vis pour équilibrer le point (sous la
machine)
9. Coupe-fi l
10. Levier de la boutonnière
11. Enfi leur-d’aiguille
12. Levier de l’enfi leur-d’aiguille
13. Bouton de dégagement du pied presseur
14. Vis de Retenu du Pied Presseur
15. Support du pied presseur
16. Pied presseur
17. Les Griffes
18. Vis du pince-aiguille
19. Guide-fi l de l’aiguille
20. Aiguille
21. Plaque d’aiguille
22. Couvercle de la canette
23. Loquet d’ouverture du couvercle de la
canette
24. Couvercle supérieur
25. Tableau des points
26. Guide-fi l
27. Support à bobine
28. Guide-fi l du bobineur
29. Rondelle de feutre
30. Trou pour fi xer le porte-bobine auxiliaire
31. Bobineur de la canette
32. Butée d’arrêt du bobineur
33. Levier de Contrôle de la Vitesse
34. Touche de marche arrière
35. Touche marche / arrêt
36. Touche position d’aiguille Haute-Basse /
Touche de Vitesse lente
37. Touche du coupe-fi l
38. Écran Tactile LCD
39. Levier d’abaissement des griffes
40. Interrupteur marche/arrêt
41. Prise du câble d’alimentation
42. Prise de la pédale
43. Pédale
44. Câble d’alimentation
PARTES PRINCIPALES
1. Placa frontal
2. Palanca tirahilos (interior)
3. Regulador de presión
4. Mesa de Extensión Removible (Accesorios)
5. Asa
6. Volante manual
7. Palanca del prensatelas
8. Tornillo de Ajuste de Balance de Puntada
(debajo de la máquina)
9. Cortador de hilos
10. Palanca para ojales
11. Enhebrador de la aguja
12. Palanca del enhebrador de la aguja
13. Palanca de Liberación del Prensatelas
14. Tornillo del prensatelas
15. Sujetador del prensatelas
16. Prensatelas
17. Dientes Impelentes
18. Tornillo de fi jación de la aguja
19. Guía del hilo de la aguja
20. Aguja
21. Placa de aguja
22. Cubierta de la canilla
23. Seguro de la cubierta de canillas
24. Cubierta superior
25. Tabla de puntadas
26. Guíahilos
27. Porta Carrete
28. Guía del hilo del devanador
29. Fieltros
30. Portacarretes auxiliares
31. Eje del devanador
32. Parada del devanador
33. Selector de velocidad
34. Botón de puntada en retroceso
35. Botón Paro / Inicio
36. Botón aguja arriba/abajo
37. Botón Cortador de Hilo
38. Panel touch LCD
39. Palanca de arrastre
40. Interruptor de encendido
41. Terminal
42. Toma del pedal
43. Pedal
44. Cable de toma de corriente

12
ACCESSORIES
Accessories are provided in the accessory case.
(See next page, [REMOVABLE EXTENSION
TABLE])
1. Needle Pack
2. 4 SINGER Class 15 bobbins ( 1 is in the
machine)
3. Seam Ripper
4. Brush
5. Auxiliary Spool Pin with Felt Washer
6. Screw Driver
7. Screwdriver for Needle Plate
8. Thread Cap (on the machine when delivered)
9. Small Thread Cap
10. Seam Guide and Screw
11. Overcasting Foot (C)
12. Blind Hem Foot (D)
13. Zipper Foot (E)
14. Rolled Hem Foot
15. Button Sewing Foot
16. Satin Foot (B)
17. Quilting Bar
18. Open Toe Foot
19. Cording Foot
20. Straight Stitch / Patchwork Foot
21. Darning Embroidery Foot
22. Even-feed Foot
23. Buttonhole Foot (F) and Under Plate
24. General Purpose Foot (A) (on the machine
when delivered)
DUST COVER
Cover the machine with dust cover when it is not
being used.
123456
78 9
10 11 12
13 14 15
16 17
18 19 20
21 22 23 24

13
ACCESSOIRES
Les accessoires sont disposés dans le
compartiment pour accessoires.
Voir les pages 14 et 15, (TABLE DE RALONGE
AMOVIBLE)
1.Assortiment d’aiguilles
2.Quatre (4) bobines SINGER de classe 15 (dont
une est déjà dans la machine)
3.Découseur
4.Brosse à charpie
5.Tige auxiliaire de bobine avec rondelle de feutre
6.Tournevis
7.Tournevis pour plaque à aiguille
8.Grand capuchon de bobine (déjà installé sur la
machine)
9.Petit capuchon de bobine
10.Guide de couture avec vis
11.Pied de surjet (C)
12.Pied ourlet invisible (D)
13.Pied fermeture à glissière (E)
14.Pied ourlet roulotté
15.Pied pour boutons
16.Pied satin (B)
17.Guide pour matelassage
18.Pied pour appliqués ouvert
19.Pied à cordonnet
20.Pied point droit/patchwork
21.Pied broderie et reprisage
22.Pied entraînement synchronisé
23.Pied boutonnière (F) et sous-plaque pour
boutonnières
24.Pied universel (A) (déjà installé sur la machine
lors de la livraison)
HOUSSE DE PROTECTION
SOUPLE
Couvrez la machine avec la housse de protection
quand elle n’est pas utilisée.
ACCESORIOS
Los accesorios se encuentran en el compartimento
de accesorios.
(Ver tabla en sig. página, [MESA DE EXTENSIÓN
REMOVIBLE])
1. Paquete de agujas
2. 4 bobinas SINGER Clase 15 (1 en la máquina)
3. Descosedor
4. Cepillo
5. Portacarrete auxiliar con fi eltro
6. Destornillador
7. Destornillador para Placa Aguja
8. Sujetador del hilo (en la máquina cuando se
entrega)
9. Sujetador pequeño del hilo
10. Guía de costura y tornillo
11. Prensatelas para sobrehilado (C)
12. Prensatelas para puntada invisible (D)
13. Prensatelas para cremalleras (E)
14. Prensatelas para dobladillos arrollados
15. Prensatelas para coser botones
16. Prensatelas para realce (B)
17. Guía de acolchados
18. Prensatelas de punta abierta
19. Prensatelas para cordoncillo
20. Pie para Parches / Puntada Recta
21. Prensatelas para zurcido y bordado
22. Prensatelas de transporte uniforme
23. Prensatelas para ojales (F), con placa inferior
24. Prensatelas universal (A)(en la máquina
cuando se entrega)
CUBIERTA
Cubra la máquina con la cubierta cuando no la
utilice.

14
REMOVABLE EXTENSION
TABLE
A. REMOVING THE EXTENSION TABLE
Hook your fi nger under the left bottom side of
the removable extension table and slide it to the
left. To attach, push the table to the right.
B. OPENING THE ACCESSORY CASE
Hook your fi nger under the left side of the
accessory drawer cover and pull toward you.
Note:
Your machine’s accessories are stored inside this drawer.
CHANGING THE PRESSER
FOOT
The presser foot must be changed according to
the stitch or technique you sew.
A. CHANGING THE PRESSER FOOT
1. Turn the hand wheel toward you until the needle
is at its highest point.
2. Raise the presser foot lifter.
3. Remove the presser foot by pushing the presser
foot release lever toward you.
4. Place desired foot with its pin directly under the
slot in presser foot holder.
5. Lower the presser foot lifting lever and the
presser foot will snap into place.
CAUTION: To prevent accidents.
Turn off the power switch before you change
the presser foot.
B. REMOVING THE PRESSER FOOT
HOLDER
When attaching presser feet that have their
own shank, or when cleaning the machine, you
should remove the presser foot holder.
1. Remove the presser foot.
2. Loosen the presser foot screw and remove the
presser foot holder.
3. To replace the holder, pull up the holder as far
as it will go from bottom of presser bar.
4. Tighten the presser foot screw securely using
the screwdriver.

15
TABLE DE RALONGE AMOVIBLE
A. DÉGAGEZ LA TABLE DE RALONGE
Insérez l’un de vos doigts en dessous du côté
gauche du bas de la table et tirez la vers la
gauche. Pour la remettre en place, pousser la
table vers la droite.
B. OUVRIR LE COMPARTIMENT DES
ACCESSOIRES
Insérez l’un de vos doigts en dessous du côté
gauche du couvercle d’accessoires et tirer vers
le haut au tout début et ensuite vers vous.
Remarque:
Vos accessoires sont rangés dans ce
compartiment à l’usine.
MESA DE EXTENSIÓN
REMOVIBLE
A. RETIRANDO LA EXTENSION
Inserte los dedos debajo del lado inferior de la
mesa de extensión removible y deslícela hacia
la izquierda. Para colocarla, empuje la mesa a
la derecha.
B. APERTURA DEL COMPARTIMENTO DE
ACCESORIOS
Coloque los dedos debajo del lado izquierdo del
cajón de accesorios y jale hacia usted.
Nota:
Los accesorios de su máquina están guardados
dentro de este cajón.
REMPLACER LE PIED
PRESSEUR
Le pied presseur doit être remplacé
dépendamment du point ou de la technique de
couture employée.
CÓMO CAMBIAR EL
PRENSATELAS
El prensatelas debe cambiarse de acuerdo a la
puntada o técnica que coserá
ATTENTION! Pour diminuer les risques
d’accidents :
Assurez-vous d’avoir éteint et débrancher
la machine avant de remplacer un pied
presseur.
A. Remplacer le pied presseur
1. Tournez le volant vers vous jusqu’à ce que
l’aiguille atteigne sa position la plus haute.
2. Soulevez le releveur du pied presseur.
3. Enlevez le pied presseur en poussant le levier
de dégagement du pied presseur vers vous.
4. Placez le pied désiré avec la tige horizontale
directement sous le cran du support du pied
presseur.
5. Abaissez le levier du releveur du pied presseur
et le pied presseur s’enclenchera ainsi dans la
bonne position.
B.
RETIREZ LE SUPPORT DU PIED PRESSEUR
Vous devriez enlever le support du pied
presseur, lorsqu’il est nécessaire d’installer un
pied presseur qui comporte déjà son support ou
lorsque vous nettoyé votre machine.
1. Enlevez le pied presseur
2. Desserrez la vis qui retient le support du pied
presseur et retirez le support.
3. Pour le replacer, en partant du bas de la barre
du pied, poussez le support vers le haut, le plus
loin possible.
4. Serrez la vis qui retient le support du pied
presseur en utilisant un tournevis.
PRECAUCIÓN: Para prevenir
accidentes
Apague el interruptor de corriente antes de
cambiar el prensatelas.
A. Cómo cambiar el prensatelas
1. Gire el volante manual hacia usted hasta que la
aguja se sitúe en su posición más alta.
2. Levante la palanca del prensatelas.
3. Retire el prensatelas presionando la palanca
liberadora del prensatelas hacia usted.
4. Coloque el prensatelas deseado con su perno
justo bajo la ranura del portaprensatelas.
5. Baje la palanca del prensatelas, éste se
ajustará en su sitio.
B. Cómo retirar el sujetador del
prensatelas
Cuando coloque el prensatelas que tiene su
propio zanco o cuando limpie la máquina, debe
remover el sujetador del prensatelas.
1. Desmonte el prensatelas.
2. Afl oje el tornillo del prensatelas y libere el
sujetador del prensatelas.
3. Para volver a colocar el portaprensatelas, tire
de éste hacia arriba tanto como pueda desde la
parte inferior de la barra del prensatelas.
4. Apriete el tornillo del prensatelas para
asegurarlo usando el desarmador.

16
INSERTING THE NEEDLE
Select a needle of the right type and size for the
fabric to be sewn.
FABRIC, THREAD AND NEEDLE TABLE
Select size of thread and needle in accordance with fabric to be sewn.
SINGER brand needles are recommended for this machine.
Type of Fabric
Light Weight -
thin georgette,
organdy, voile,
taffeta, silk, etc.
Medium Weight -
gingham, pique,
linen, cotton, satin,
thin corduroy,
velvet
Heavy Weight -
gabardine, tweed,
denim, corduroy
Stretch - double
knit, tricot,
spandex, jersey
Sweatshirt, Swim-
wear, Double Knit,
Sweater Knit
Leather
Thread Size
All-purpose polyester,
fi ne cotton, silk
All-purpose polyester,
fi ne cotton, machine
quilting
All-purpose
polyester, heavy duty,
topstitching thread
All-purpose polyester
All-purpose polyester
All-purpose
polyester, heavy duty,
topstitching thread
Needle Size
9/70-11/80
11/80-14/90
14/90-16/100
11/80-14/90
Needle for knit or
stretch fabrics
14/90
Needle for knit or
stretch fabrics
Needle
Type
SINGER
Style 2000 or
2020
SINGER
Style 2000 or
2020
SINGER
Style 2000 or
2020
SINGER
Style 2001 or
2045
SINGER
Style 2001 or
2045
SINGER
2032 Leather
CAUTION: To prevent accidents.
Turn off the power before removing the
needle.
1. Turn the hand wheel toward you until the needle
is at its highest point.
2. Loosen the needle clamp screw.
3. Remove the needle.
4. Insert new needle into needle clamp with the
fl at side to the back and push it up as far as it
will go.
5. Tighten the needle clamp screw.
a. Do not use a bent or blunt needle. Place
needle on a fl at surface to check its
straightness.

17
MISE EN PLACE DE L’AIGUILLE
Choisissez une aiguille de la grosseur et de
la catégorie appropriée pour le tissu que vous
souhaitez coudre.
INSERCION DE LA AGUJA
Seleccione la aguja del tipo y tamaño correctos
para el tejido que vaya a coser.
Tissu
Léger - crêpe fi n,
organdi, voile,
taffetas, soie
Moyennement
léger - Vichy,
pique, lin, coton,
satin, velours
à fi nes côtes,
velours
Épais -
gabardine,
tweed, jean,
velours côtelé
Tissus
extensibles -
laine épaisse,
tricot, fi bre
synthétique
élastique, jersey
Sweat-shirt,
maillots de bain,
laine épaisse,
tricot
Cuir
Fil
Polyester tout
usage, coton fi n,
soie
Polyester tout
usage, coton fi n,
matelassage à la
machine
Polyester tout
usage, fi l surpiqûre
et lourd
Polyester tout usage
Polyester tout usage
Polyester tout usage, fi l
surpiqûre et lourd
Grosseur
d’aiguille
9/70-11/80
11/80-
14/90
14/90-
16/100
11/80-
14/90
Aiguilles
pour tricots
ou tissus
extensibles
14/90
Aiguilles
pour tricots
ou tissus
extensibles
Catégorie
d’aiguille
Style
Singer
2000 ou
2020
Style
Singer
2000 ou
2020
Style
Singer
2000 ou
2020
Style
Singer
2001 ou
2045
Style
Singer
2001 ou
2045
Singer
2032 cuir
Tipo de
tejido
Peso ligero - tela
de seda delgada,
organdí,voile,
seda, etc.
Peso medio -
guinga, piqué,
lino, algodón,
satén, cordura
delgada,
terciopelo
Peso fuerte
- gabardina,
mezclilla, tela
vaquera, cordura
Elástico - doble
punto, tricot,
spandex, jersey
Sudaderas, ropa
de baño, doble
punto, jersey de
punto
Cuero
Tamaño del
hilo
Todo propósito
poliéster,
algodón fi no,
seda
Todo propósito
poliéster,
algodón fi no,
acolchado a
máquina
Todo propósito
poliéster,
trabajo pesado,
hilo de refuerzo
Todo propósito
poliéster
Todo propósito
poliéster
Todo propósito poli-
éster, trabajo pesado
hilo de refuerzo
Tamaño de
la aguja
9/70-11/80
11/80-14/90
14/90-16/100
11/80-14/90
Aguja para tejido
o telas elásticas
14/90
Aguja para tejido
o telas elásticas
Tipo de
aguja
Estilo
SINGER
2000 o
2020
Estilo
SINGER
2000 o
2020
Estilo
SINGER
2000 o
2020
Estilo
SINGER
2001 o
2045
Estilo
SINGER
2001 o
2045
Singer
2032
cuero
TABLA DE TEJIDOS, HILOS
Y AGUJAS
Seleccione el tamaño del hilo y de la aguja según
el tipo de tejido que vaya a coser.
Se recomiendan para esta máquina agujas de la
marca SINGER.
TABLEAU DES TISSUS, FILS
ET AIGUILLES
Sélectionnez un fi l et une aiguille dont la grosseur
est appropriée au tissu que vous souhaitez coudre.
LES AIGUILLES DE MARQUE SINGER SONT
FORTEMENT RECOMMANDER POUR CETTE MACHINE.
ATTENTION! Pour éviter les incidents :
Assurez-vous d’avoir éteint et débrancher la
machine avant de retirer l’aiguille.
1. Tournez le volant vers vous jusqu’à ce que
l’aiguille atteigne sa position la plus haute.
2. Desserrez la vis du pince-aiguille.
3. Retirez l’aiguille.
4. Insérez une nouvelle aiguille dans le pince-
aiguille en s’assurant que le côté plat de l’aiguille
soit vers l’arrière de la machine et inséré l’aiguille
en poussant vers le haut le plus loin possible.
5. Resserrez la vis du pince-aiguille.
a. N’utilisez pas une aiguille tordue ou épointer.
Placez l’aiguille sur une surface plane pour
vérifi er qu’elle soit bien droite.
PRECAUCION: Para prevenir
accidentes
Apague el interruptor de corriente antes de
retirar la aguja.
1. Gire el volante manual hacia usted hasta que la
aguja se sitúe en su posición más alta.
2. Afl oje el tornillo de fi jación de la aguja.
3. Saque la aguja.
4. Inserte la nueva aguja en la abrazadera de la
aguja por el lado plano y empújela hacia arriba
tanto como pueda.
5. Apriete el tornillo de la aguja.
a. No use una aguja doblada o chata. Coloque
la aguja en una superfi cie plana para revisar
que esté pareja.
17

18
CONNECTING THE
MACHINE
DANGER: To reduce the risk of
electric shock.
Never leave unattended when plugged in. Always
unplug this machine from the electric outlet
immediately after using and before maintenance.
WARNING: To reduce the risk of
burns, fi re, electric shock, or injury
to persons.
Do not unplug by pulling on cord. To unplug, grasp
the plug, not the cord.
1. Place machine on stable table.
2. Connect the power line cord to the machine by
inserting the 2-hole plug into the terminal box.
3. Connect the power line plug to the electric outlet.
4. Turn on the power switch.
5. A lamp will light up when switch is turned on.
6. To disconnect, turn the power switch to the off
position (symbol O), then remove plug from
outlet.
FOOT CONTROLLER
Use of foot controller will permit control of start,
stop and speed with your foot.
When the foot controller is connected, start/stop
button will be deactivated. (See page 20)
1. Turn off the power switch. (symbol O)
2. Push foot controller plug into the jack on
machine.
3. Place foot controller at your feet.
4. Turn on the power switch.
5. A lamp will light up when switch is turned on.
6. The harder you press the foot controller, the
faster the machine will sew. The machine will
stop when foot controller is released.
WARNING: To reduce the risk of
burns, fi re, electric shock, or injury
to persons.
1. Turn off the power when connecting the foot
controller to the machine.
2. Handle the foot controller with care and avoid
dropping it on the fl oor. Be sure not to place
anything on top of it.
3. Use only foot controller provided with this
machine. (Type 4C-337B)
FOR UNITED STATES AND CANADA USERS:
POLARIZED PLUG INFORMATION
This appliance has a polarized plug (one blade wider than the other). To reduce the risk of electric
shock, this plug is intended to fi t in a polarized outlet only one way. If the plug does not fi t fully in the
outlet, reverse the plug. If it still does not fi t, contact a qualifi ed electrician to install the proper outlet. Do
not modify the plug in any way.

19
DANGER - Pour réduire les risques
de décharge électrique :
Ne laissez jamais la machine branchée sans
surveillance. Débranchez toujours la machine
immédiatement après l’usage et avant l’entretien.
ATTENTION! - Pour réduire les risques
de brûlure, d’incendie, de décharge
électrique et de blessures corporelles :
Ne débranchez pas la machine en tirant sur le câble. Pour
débrancher, saisissez la fi che et non pas le câble. Placez
la machine sur un support stable.
1. Placez la machine sur un support stable.
2. Connectez le câble d’alimentation à la machine
en insérant la fi che à deux broches dans la prise
d’alimentation.
3. Connectez le câble d’alimentation à la prise électrique.
4. Mettez la machine en marche en appuyant sur
l’interrupteur marche/arrêt.
5. La lampe s’allume lorsque la machine est en marche.
6. Pour débrancher la machine, appuyez sur l’interrupteur
marche/arrêt (le symbole O) puis retirez la fi che de la
prise électrique.
POUR LES UTILISATEURS DES ÉTATS-UNIS ET
DU CANADA:
INFORMATIONS CONCERNANT LES FICHES
POLARISÉES
Cet appareil est équipé d’une fi che polarisée (une lame est plus
large que l’autre). Pour réduire les risques de décharge électrique,
cette fi che ne peut être branchée dans la prise que dans une seule
direction. Si la fi che ne peut pas être insérée entièrement dans la
prise, tournez la prise. Si la fi che ne peut toujours pas entrer dans la
prise, veuillez contacter un électricien qualifi é afi n qu’il vous installe
la prise murale appropriée. Ne modifi ez la fi che en aucun cas.
BRANCHEMENT DE LA MACHINE
PÉDALE DE CONTRÔLE
L’utilisation de la pédale permet le départ, l’arrêt et le
contrôle de la vitesse de la couture, avec le pied.
Lorsque la pédale est connectée, la touche marche/arrêt
est désactivée. (Voir page 21)
1. Mettre la machine hors tension (symbole O)
2. Connecter la pédale à la machine à l’aide de la prise
prévue à cet effet.
3. Placer la pédale à vos pieds.
4. Mettre la machine en marche ( I ).
5. La lampe s’allume lorsque la machine est en marche.
6. Plus vous appuyez sur la pédale, plus la vitesse de
couture est rapide. La machine s’arrête lorsque vous
arrêtez de presser la pédale.
ATTENTION! - Pour réduire les risques
de brûlure, d’incendie, de décharge
électrique et de blessures corporelles :
1. Eteignez la machine quand vous connectez la pédale
à la machine.
2. Maniez la pédale avec soin et évitez de la faire
tomber. Veillez à ne rien poser dessus.
3. N’utilisez que la pédale fournie avec la machine
(type 4C-337B).
CONEXIÓN DE LA MAQUINA
PELIGRO: Para reducir el riesgo de
descarga eléctrica.
Nunca deje la máquina sola cuando esté
encendida. Desenchufe siempre la máquina de la
red inmediatamente después de usarla y antes de
su mantenimiento.
PRECAUCION: Para reducir el riesgo
de quemaduras, fuego, cortocircuito
o daños personales.
No desenchufe la máquina tirando del cable. Para
desenchufarla, tire del enchufe, no del cable.
1. Sitúe la máquina sobre una mesa estable.
2. Conecte el cable de toma de corriente a la máquina
insertando la clavija de 2 agujeros en el terminal.
3. Conecte el enchufe a la toma de corriente.
4. Encienda el interruptor.
5.
Cuando el interruptor esté conectado, se encenderá una luz.
6. Para desconectar, gire el interruptor de corriente
a la posición de apagado (O), luego extraiga el
enchufe de la toma de la pared.
INFORMACIÓN REFERENTE AL ENCHUFE
POLARIZADO, PARA LOS TERRITORIOS
DE AMÉRICA DEL NORTE Y CANADÁ
Este electrodoméstico está equipado con un enchufe
polarizado (note que una patita es más ancha que la otra).
Para reducir el riesgo de choques eléctricos, este enchufe
solamente puede ser usado en una toma de corriente
polarizada. Si no puede insertar el enchufe completamente
en la toma de corriente, déle la vuelta e inténtelo de nuevo.
Si el enchufe no entra todavía correctamente, contrate a un
electricista califi cado para que le instale la toma de corriente
adecuada. No intente modifi car el enchufe.
PEDAL DE CONTROL
El uso del pedal de control permitirá controlar el arranque,
paro y velocidad con el pie. Cuando el pedal está conectado,
se desactivará el botón inicio / paro (ver página 21)
1. Apague el interruptor (símbolo O)
2. Coloque el conector del pedal en el receptáculo
en la máquina.
3. Coloque el pedal en sus pies.
4. Encienda el interruptor.
5. Se ilumina una lámpara cuando el interruptor
está encendido.
6. Entre más presión aplique al pedal, más rápido
coserá la máquina. La máquina se detiene
cuando libera el pedal.
PRECAUCION: Para reducir el riesgo
de quemaduras, fuego, cortocircuito
o daños personales.
1.
Apague la máquina cuando conecte el pedal a la misma.
2. Maneje el pedal con cuidado y evite que golpee contra
el suelo. Asegúrese de no situar nada sobre él.
3. Use el pedal suministrado con esta máquina. (Tipo
4C-337B)

20
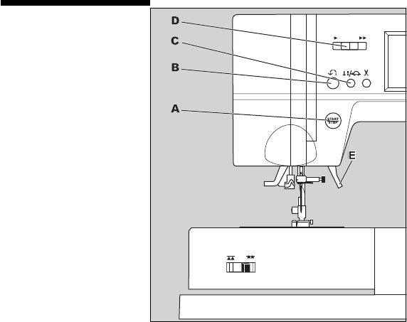
MACHINE CONTROL
FUNCTIONS
A. START/STOP BUTTON
The machine will start running when start/stop
button is pressed and will stop when pressed
the second time. The machine will rotate slowly
at start of sewing.
Note:
When the foot controller is connected, start/stop
button will be deactivated.
MONITOR LAMP
Green Light “ON”
Ready to sew or wind a bobbin.
Red Light “ON”
Presser foot is not in down position or buttonhole
lever is not lowered. If the red light is on, the
machine will not start even when start/stop button
is pressed.
If the upper thread is not threaded, the machine
will stop. (Upper thread sensor)
B. REVERSE STITCH BUTTON
The machine will continue to sew in reverse at
low speed while this button is pressed and stop
when this button is released.
Note:
When the foot controller is connected, machine will
sew in reverse while this button is pressed. When
released, machine will sew forward.
C. NEEDLE UP-DOWN / SLOW BUTTON
Pressing this button when the machine is
stopped, will change the needle position from
down to up or from up to down.
While sewing, by pressing this button, machine
will sew in slow speed. Pressing this button
again, the speed will return.
D. SPEED CONTROL LEVER
The machine will sew faster when the lever is
slid to the right, and sew slower when the lever
is slid to the left.
Note:
When the foot controller is connected, this button
limits the maximum speed.
E. PRESSER FOOT LIFTER
The presser foot is raised or lowered by this
lever.
Note:
Machine will not start when the presser foot is
raised. (Except or bobbin winding)

21
FONCTIONS DES TOUCHES
DE LA MACHINE
A. TOUCHE MARCHE / ARRÊT
La machine commence à coudre lorsque vous
appuyez sur la touche marche/arrêt et s’arrête
lorsque vous appuyiez une seconde fois. La
machine tourne lentement au début de la couture.
Remarque:
Lorsque la pédale est branchée, la touche marche /
arrêt est désactivée.
INDICATEURS LUMINEUX
Lumière verte
Prêts à coudre ou remplissage de la canette.
Lumière rouge
Le pied presseur n’est pas en position basse ou le
levier de boutonnière n’est pas baissé. Si la lumière
est au rouge, la machine ne peut se mettre en marche,
même si vous appuyez sur la touche marche / arrêt.
S’il n’y a pas de fi l dans la tension supérieur, la
machine ne fonctionnera pas. (Détecteur du fi l
supérieur)
B.
TOUCHE DE COUTURE EN MARCHE ARRIÈRE
La machine continuera à coudre en marche arrière et à
petite vitesse tant que vous maintiendrez cette touche
enfoncée et s’arrêtera lorsque vous la relâcherez.
Remarque:
Lorsque la pédale est branchée, la machine coud en
marche arrière tant que vous maintenez la touche
enfoncée. Lorsque vous la relâchez, la machine se
met à coudre vers avant.
C. TOUCHE D’ARRÊT DE L’AIGUILLE EN
POSITION HAUTE - BASSE / TOUCHE DE
COUTURE BASSE VITESSE
Chaque fois que vous appuierez sur cette touche
lorsque la machine est à l’arrêt, vous pourrez
modifi er la position d’arrêt de l’aiguille soit de la
position basse à haute ou l’inverse.
Lorsque la machine fonctionne, vous pouvez
diminuer la vitesse de couture en appuyant sur
cette touche. En appuyant de nouveau sur cette
touche, la vitesse revient à celle d’origine.
D. LEVIER DE CONTRÔLE DE LA VITESSE
Vous pouvez augmenter la vitesse de couture de
la machine en déplaçant ce levier vers la droite,
et plus lentement en le déplaçant vers la gauche.
Remarque:
Lorsque la pédale est branchée, cette touche limite
la vitesse maximale.
E. RELEVEUR DU PIED PRESSEUR
Le pied presseur peut être relevé ou abaissé à
l’aide de ce levier.
Remarque:
La machine ne démarrera pas si le pied presseur
est en position relevé (Haute). (Exceptez en mode
de bobinage de la canette)
FUNCIONES DE CONTROL
DE LA MÁQUINA
A. BOTÓN INICIO / PARO
La máquina comenzará a funcionar cuando se
presione el botón inicio / paro y se detendrá
cuando se presione por segunda vez. La máquina
funcionará lentamente al inicio de la costura.
Nota:
Cuando está conectado el pedal, se desactivará el
botón inicio / paro.
LÁMPARA DE MONITOREO
Luz Verde ENCENDIDA
Lista para coser o devanar una bobina.
Luz Roja ENCENDIDA
El pie prensatelas no está abajo o la palanca para ojales
no está abajo. Si la luz roja está encendida, la maquina
no iniciará cuando se presione el botón inicio / paro.
Si el hilo superior no está ensartado, la máquina
se detendrá. (Sensor de hilo superior)
B. BOTÓN DE PUNTADA REVERSA
La máquina continuará cosiendo en reversa a
baja velocidad mientras se presiona este botón
y se detiene cuando se libera.
Nota:
Cuando el pedal está conectado, la máquina
coserá en reversa mientras se presione el botón.
Cuando se libera la máquina cose hacia adelante.
C. BOTÓN AGUJA ARRIBA / LENTO
Mientras no está cosiendo la posición de la aguja
puede cambiarse arriba o abajo con este botón.
Mientras cose, al presionar este botón la
máquina cose en baja velocidad, al presionarlo
nuevamente, la velocidad se restablece.
D. SELECTOR DE VELOCIDAD
La máquina coserá más rápido cuando el
selector se deslice hacia la derecha y coserá
mas lento cuando el selector se deslice a la
izquierda.
Nota:
Cuando el pedal está conectado, este botón limita
la velocidad máxima.
E. PALANCA DEL PRENSATELAS
El prensatelas se eleva y deciende por esta
palanca.
Nota:
La máquina no comenzará a coser si el
prensatelas está elevado (Excepto por el
devanado de bobina).

22
F. THREAD CUTTER BUTTON
Press this button after sewing to cut the upper and
bobbin threads. The machine will cut both threads
automatically.
CAUTION:
1.
Do not press this button when there is no fabric
under the presser foot or no need to cut the threads.
The thread may tangle, resulting in damage.
2. Do not use this button when cutting thread thicker
than #30, nylon thread or other speciality threads.
In this case, use the thread cutter (H).
3.
Do not use the thread cutter button when sewing with
a twin needle or a hemstitching (wing) needle.
G. DROP FEED LEVER
The feed dogs project up through the needle plate,
directly below the presser foot. Their function is to
move the fabric while it is being sewn. The drop
feed lever controls the feed dogs.
For ordinary sewing, move the lever to the right.
This raises feed dogs to their highest position. For
most sewing, the lever should be in this position.
For darning or free motion embroidery or
whenever fabric is to be moved by hand, move the
lever to the left to lower the feed dogs.
Note:
After sewing with the feed dogs lowered, push the
Drop Feed Lever back to the right to resume sewing
with feed dogs engaged. Push the lever to the right
and then turn the handwheel toward you one full
revolution. This will re-engage the feed dogs.
H. THREAD CUTTER
Use this cutter if the thread cutter button is not used.
1. Raise the presser foot and bring fabric and
threads backward after sewing.
2. Hook the threads to the thread cutter from back to
front.
3. Pull fabric and cut threads.
I. PRESSURE REGULATOR
The correct pressure allows fabrics to feed
properly while sewing. The setting of the presser
foot pressure is determined mainly by the weight
of the fabric being sewn. For lightweight fabrics
such as sheers, batiste, voile, etc, the pressure is
decreased. For heavyweight fabrics like denim or
canvas, the pressure in increased.
To increase the pressure, turn dial to 3.
To decrease the pressure, turn dial to 1.
For most fabrics, turn dial to 2.
J. TOP COVER
To open the top cover, lift up the left side of the
cover.
K. HAND WHEEL
By turning the hand wheel, the needle will raise or
lower. You should always turn hand wheel toward you.
23
F. TOUCHE DU COUPE-FIL
Appuyez sur la touche (F) lorsque votre couture
est terminée, pour couper le fi l du haut ainsi que
celui de la canette. La machine coupera les deux
(2) fi ls automatiquement.
ATTENTION:
1. N’appuyez pas sur cette touche s’il n’y a pas de
tissu en dessous du pied presseur ou si vous ne
voulez pas couper les fi ls. Le fi l pourrait se mêler,
et causer des dommages.
2. Ne pas utiliser la touche pour couper un fi l d’une
grosseur supérieure au fi l # 30, du fi l nylon ou
tout autre fi ls spéciaux. Utilisez le coupe-fi l (H)
pour couper ces types de fi ls.
3. N’utilisez pas le coupe fi l (F) lorsque vous utiliser
une aiguille jumelée ou sabre.
G.LEVIER D’ABAISSEMENT DES GRIFFES
Les griffes remontent au travers de la plaque
aiguille, directement en dessous du pied
presseur. Leur fonction est de déplacer le tissu
lors de la couture. Le levier d’abaissement des
griffes contrôle la position des griffes.
Pour couture normale, déplacez le levier vers
la droite, ceci remonte les griffes au maximum.
Le levier doit être dans cette position pour la
majorité de votre couture.
Pour la broderie, le reprisage ou si vous désirez
déplacer le tissu manuellement, déplacer le levier
vers la gauche cela aura pour effet d’abaisser les
griffes.
Remarque:
Lorsque vous voulez retourner à la couture normale,
déplacez le levier d’abaissement des griffes vers la
droite, cela réengagera les griffes. Déplacez le levier
vers la droite et tournez le volant vers vous pour faire
une révolution complète. Cela réengagera les griffes.
H. COUPE-FIL
Utilisez le coupe-fi l (H) lorsque la touche coupe-
fi l n’est pas utilisée.
1. Relevez le pied presseur et retirez le tissu et le
fi l, vers l’arrière de la machine, après la couture.
2. Insérez les fi ls dans le coupe-fi l (H) et effectuez
un mouvement de l’arrière vers l’avant.
3. Tirez sur le tissu et coupez les fi ls.
I. RÉGULATEUR DE PRESSION
Une pression adéquate est requise pour que le tissu
ce déplace facilement en cousant. Le réglage de la
pression du pied presseur est déterminé principalement
par le poids du tissu à coudre. La pression devrait être
diminuée lorsque vous cousez dans un tissu léger
tel des tissus transparents, la batiste, la voile, etc. La
pression devrait être augmentée lorsque vous cousez
dans un tissu lourd tel le denim ou le canevas.
Pour augmenter la pression, tournez le cadran à 3.
Pour diminuer la pression, tournez le cadran à 1.
Pour la plupart des tissus tournez le cadran à 2.
J. COUVERCLE SUPERIEUR
Pour ouvrir le couvercle, soulever la partie (J) sur
le côté gauche du couvercle.
K. VOLANT
Tournez le volant, fera monter ou descendre
l’aiguille. Tournez toujours le volant vers vous.
F. BOTÓN CORTADOR DE HILO
Presione este botón después de coser para
cortar los hilos superior y de la bobina. La
máquina cortará automáticamente ambos hilos.
PRECAUCIÓN:
1. No presione este botón cuando no tenga tela debajo
del prensatelas o no necesite cortar los hilos. El hilo
puede enredarse, resultando en daños.
2. No use este botón cuando corte hilos más gruesos
del #30, hilos de nylon u otros hilos especiales.
En tales casos use el cortador de hilo (H).
3. No use el botón del cortador de hilo cuando cosa
con una aguja doble o una aguja de dobladillado (ala).
G. PALANCA DE ARRASTRE
Los dientes retráctiles se proyectan a través de la
placa aguja, directamente debajo del prensatelas. Su
función es mover la tela mientras cose. La palanca
de alimentación controla los dientes retráctiles.
Para costura normal, mueva la palanca a la dere-
cha. Esto levanta los impelentes a su posición más
alta. Para muchas costuras, la palanca debe estar
en esta posición.
Para zurcido, o bordado libre o cualquier tela que se
deba mover a mano, mueva la palanca a la izquierda
para bajar los impelentes.
Nota:
Después de coser con los dientes retráctiles abajo,
presione la palanca para regresar a la costura con los
dientes retráctiles activados. Presione la palanca hacia
la derecha y luego gire el volante hacia usted una vuelta
completa. Esto reajustará los dientes de alimentación.
H. CORTADOR DE HILO
Use este cortador si no se utiliza el botón cortador
de hilo.
1. Levante el prensatelas y jale la tela e hilos hacia
atrás después de coser.
2. Enganche los hilos en el cortador de atrás para
adelante.
3. Jale la tela y corte los hilos.
I. REGULADOR DE PRESIÓN
La presión correcta permite que la tela se alimente
apropiadamente al coser. El ajuste de la presión del
prensatelas está determinado principalmente por
el peso de la tela a coser. Para telas ligeras como
gasa, batista, etc, la presión disminuye. Para telas
pesadas como mezclilla o lona, la presión aumentará.
Para incrementar la presión, gire el disco a 3.
Para reducir la presión, gire el disco a 1.
Para otras telas, gire el disco a 2.
J. CUBIERTA SUPERIOR
Para abrir la cubierta superior, levante el lado iz-
quierdo de la cubierta.
K. VOLANTE MANUAL
Girando el volante, la aguja se elevará o bajará.
Debe siempre girar el volante hacia usted.

24
TOUCH PANEL LCD
When you turn on the power, the touch panel
LCD will indicate start up screen. To operate the
machine, touch this panel or press any control
button fi rst. The display will change to the Home
Screen.
CAUTION:
Do not press the screen too hard and do not use
sharp objects to touch it. Doing so can damage the
screen. Touch the screen with your fi nger only.
A. HOME SCREEN
When you touch the start up screen, machine will
display the Home Screen. Home screen indicator
buttons are below:
a. Utility Stitch Button
By touching this button, you may select a utility
stitch pattern.
FOR SELECTING AND SETTING OF UTILITY
STITCHES, SEE PAGE 36.
b-h. Decorative and Letter Stitch Button
By pressing these buttons, you can select
decorative & letter stitch patterns.
These patterns and letters are combined easily
by selecting each pattern.
FOR SELECTING AND SETTING OF
DECORATIVE & LETTER STITCH, SEE PAGE
88.
i. Setting Button
You can change the setting of audible beep and
twin needle mode from this button.
FOR AUDIBLE BEEP, SEE SEE PAGE 26.
FOR TWIN NEEDLE MODE, SEE PAGE 86.
j. Help Button
You can know basic operation by touching this
button. FOR DETAIL, SEE SEE PAGE 26.
B. PATTERN CHART
Pattern chart is located inside of the top cover.
Patterns and letters of this machine are indicated
on this chart. They are separated: Utility stitches
and Decorative & Letter stitches.
a
b
c
d
e
f
g
h
i
j

25
ÉCRAN D’AFFICHAGE LCD
Lorsque vous mettez la machine en marche, l’écran
d’affi chage LCD affi chera l’écran de départ. Pour
faire fonctionner la machine, touchez sur l’écran
ou appuyer en premier sur une des touches de
fonctions. L’écran affi chera la page principale.
ATTENTION:
Ne poussez pas trop fort sur l’écran et n’utilisé pas
d’objets pointues pour lui toucher. Cela pourrait
endommager l’écran. Touchez l’écran seulement
avec vos doigts.
A. L’ÉCRAN PRINCIPAL
Lorsque vous touchez à l’écran de démarrage,
l’écran principal apparaîtra. La description des
touches qui apparaissent sur l’écran est décrite
plus bas:
a. Touche des Points Utilitaires
En touchant ce bouton, vous pouvez sélectionnez
un point utilitaire.
POUR SÉLECTINONNER ET RÉGLER UN
POINT UTILITAIRE, VOIR PAGE 37.
b-h. Touche des Points Décoratifs et des
Lettres.
En appuyant sur l’une de ces touches, vous
pouvez sélectionner des modèles de points
décoratifs et des lettres.
Ces motifs et ces lettres peuvent être combinés
en les sélectionnant un à la fois.
POUR SÉLECTINONNER ET RÉGLER UN
POINT DÉCORATIF ET UNE LETTRE, VOIR
PAGE 89.
i. Touche de Réglage
Vous pouvez changer le réglage de l’indicateur
sonore et celui du mode d’aiguille jumelée en
utilisant cette touche.
POUR L’INDICATEUR SONORE, VOIR PAGE
27. POUR LE MODE D’AIGUILLE JUMELÉE,
VOIR PAGE 87.
J. Touche d’Aide
Vous pouvez obtenir de l’aide sur les opérations
de base en appuyant sur cette touche.
POUR PLUS DE DÉTAIL, VOIR PAGE 27.
B. TABLEAUX DES POINTS
Le tableau des points est situé à l’intérieure
du couvercle du haut. Les motifs et les lettres
de cette machine y sont indiqués. Elles sont
divisées en blocs : Points utilitaires, Décoratif et
Lettres
PANEL TOUCH LCD
Cuando encienda el aparato, el panel touch
LCD indicará la pantalla de inicio. Para operar la
máquina, toca el panel o presiona cualquier botón.
El panel cambiará a la pantalla de inicio.
PRECAUCIÓN:
No presione la pantalla tan fuerte y no use objetos
fi losos para tocarla. Si hace esto puede dañar la
pantalla. Toque la pantalla solo con su dedo.
A. PANTALLA DE INICIO
Al tocar la pantalla, la máquina mostrará la
pantalla de inicio. Los botones indicadores en la
pantalla son los siguientes:
a. Botones de Puntadas Utilitarias
Tocando este botón, puede seleccionar puntadas
utilitarias.
PARA SELECCIÓN Y AJUSTE DE PUNTADAS
UTILITARIAS. VER PÁGINA 37.
b-h. Botón de costuras decorativas y
letras
Presionando estos botones, puede seleccionar
puntadas decorativas y alfabetos.
Estas puntadas y letras se combinan fácilmente
seleccionando cada patrón.
PARA SELECCIÓN Y AJUSTE DE PUNTADAS
DECORATIVAS Y ALFABETOS. VER PÁGINA
89.
i. Botón de Ajuste.
Con este botón puede cambiar la confi guración
del sonido y modo de aguja doble.
PARA ALERTA AUDITIVA, VER PÁGINA 27.
PARA MODO DE AGUJA DOBLE, VER PÁGINA
87.
j. Botón de Ayuda.
Al tocar este botón podrá conocer la operación
básica. PARA DETALLES, VER PÁGINA 27.
B. TABLA DE PATRONES
La tabla de patrones se localiza dentro de la
cubierta frontal.
Los patrones y letras de esta máquina están
indicados en esta tabla. Están separados por:
Puntadas utilitarias, decorativas y alfabetos.

26
TURNING OFF AUDIBLE
BEEP
You can turn off the audible beep.
1. Touch the setting button at home screen.
2. To turn off the beep, touch the left side of button
(a).
To turn on the beep, touch the right side of
button (b).
3. Touch home (c) or return (d) button to return the
home screen.
This setting is kept until you change it.
HELP BUTTON
By touching the Help button on the home screen,
you will fi nd instructions for bobbin winding, bobbin
setting, threading the upper thread and changing
the presser foot.
1. Touch the Help button.
Help menu will appear.
2. Touch the desired button for more information
on the following topics:
a. Bobbin winding
b. Bobbin setting
c. Threading the upper thread
d. Changing the presser foot
3. First instruction of selected menu will start.
By touching the next button (e), next instruction
will start.
4. By touching the repeat button (f), instruction
will repeat. By touching the back (g) button,
previous instruction will start.
5. Touch the home button (h) to go home screen.
Touch the return button (i) to go help menu.
ab
cd
h
i
c
d
ab
e
f
g

27
DÉSACTIVER LE SIGNAL
SONORE
Vous pouvez désactiver le signal sonore en
suivant les étapes suivantes:
1. Appuyez sur la touche de réglage sur l’écran
principale.
2. Pour désactiver le signal sonore, appuyez sur la
touché du côté gauche (a).
Pour réactiver le signal sonore, appuyez sur la
touché du côté droit (b).
3. Appuyer sur la touche maison (c) ou retour (d)
pour retourner à l’écran principal.
Ce réglage sera conservé jusqu’au moment où
vous le changerez de nouveau.
TOUCHE D’AIDE
En appuyant sur la touche Aide sur l’écran
principal, vous y retrouver les instructions pour le
bobinage de la canette, les réglages de la canette,
l’enfi lage du fi l supérieure ainsi que la façon de
remplacer le pied presseur.
1. Appuyez sur la touche d’Aide. Le menu d’aide
apparaîtra.
2. Appuyez sur le bouton désiré pour obtenir plus
d’information sur les sujets suivants:
a.Bobinage de la canette
b.Réglage de la Canette
c.Enfi lage du fi l supérieur
d.Remplacez le pied presseur
3. En premier lieu l’instruction sélectionnée du
menu débutera.
En appuyant sur la touche suivante (e),
l’instruction suivante débutera.
4. En appuyant sur la touche répéter (f), l’instruction
recommencera. En appuyant sur la touche
reculez (g), l’instruction précédente débutera.
5. Appuyez sur la maison (h) pour aller à l’écran
principal. Appuyez sur la touche retour (i) pour
aller au menu d’aide.
APAGANDO ALERTAS
AUDITIVAS
Puedes apagar las alertas auditivas.
1. Toca el botón de ajustes en la pantalla de inicio.
2. Para apagar el sonido, toca el lado izquierdo
del botón (a).
Para encender el sonido, toca el lado derecho
del botón(b).
3. Toca inicio(c) o botón regresar(d) para regresar
a la pantalla de inicio.
Este ajuste se mantendrá hasta que lo cambie.
BOTÓN DE AYUDA
Al tocar el botón de ayuda en la pantalla de
inicio, encontrará instrucciones para devanado de
bobina, colocación de bobina, enhebrado de hilo
superior y cambio de prensatelas.
1. Pulse el botón de ayuda.
El menú de ayuda aparecerá.
2. Toque el botón que desee para más información
de los siguientes temas:
a. Devanado de bobina
b. Colocación de bobina
c. Enhebrar el hilo superior
d. Cambiar el prensatelas
3. La primera instrucción del menú seleccionado
comenzará.
Al tocar el botón siguiente (e), la siguiente
instrucción comenzará.
4. Al tocar el botón de repetición (f), la instrucción
se repetirá. Al tocar el botón regresar (g) la
instrucción anterior comenzará.
5. Pulse el botón de inicio (h) para ir a la pantalla
de inicio.
Toque el botón regresar (i) para ir al menú de
ayuda.

28
BOBBIN SETTING
Be sure to use only SINGER Class 15 bobbins in
this machine.
A. REMOVING THE BOBBIN
1. Pull the bobbin cover latch to the right and
remove the bobbin cover.
2. Lift up the bobbin from the machine.
B. SETTING SPOOL OF THREAD ON
SPOOL PIN
1. Pull up the left end of spool pin and set the spool
of thread on spool pin so that the thread unrolls
from the front of the spool.
2. Set the spool cap on spool pin as far as it will go.
a. Reverse spool cap direction according to the
size of spool.
b. Use the small spool cap when you use cross
wound thread. Leave small opening between cap
and spool as illustrated.
C. WINDING THE BOBBIN
1. Hold thread in both hands and hook thread to the
guide from front opening.
2. Bring thread towards the rear of the machine and
pass through the thread guide from left to right.
3. Bring thread to the right and pass thread through
the thread guide from rear side. Pass thread
under tension disc in counter clockwise direction.
4. Insert thread through hole in bobbin and place
the bobbin on bobbin winder spindle. Push
bobbin to the right to engage bobbin winder. LCD
will indicate the bobbin winding mode.
5. Hold the end of the thread and start the machine
by pressing the start/stop button or pressing the
foot controller pedal.
6. After the bobbin winds a few turns, stop the
machine by pressing the start/stop button or
releasing the foot controller pedal. Cut the thread
near hole.
7. Start the machine again.
8. The bobbin winding will stop automatically when
bobbin is full. Release the foot controller pedal.
9. Push the bobbin and spindle to the left.
10.
Remove the bobbin from the spindle and cut the
thread.

29
LA CANETTE
Utilisez uniquement des cannettes de classe 15
dans cette machine.
A. RETIREZ LA CANETTE
1. Déplacez le loquet d’ouverture du couvercle de
la canette vers la droite et retirez le couvercle
de la canette.
2. Sortez la canette de son compartiment en la
soulevant.
B. MISE EN PLACE DE LA BOBINE SUR
LE SUPPORT DE LA BOBINE
1. Soulevez le côté gauche du support de la
bobine et placez la bobine de fi l sur le support
de la bobine pour que le fi l se déroule sur le
devant de la bobine.
2. Placez le capuchon de la bobine sur la tige à
bobine et poussez-le le plus loin possible.
a. Utilisez le côté approprié du capuchon en
fonction de la taille de la bobine.
b. Utilisez le petit capuchon quand vous utiliser
une bobine de fi l croisé. Laissez un petit espace
entre la bobine et le capuchon comme indiquer.
C. BOBINAGE DE LA CANETTE
1. Tenez le fi l à deux mains et insérez-le sous le
guide dans l’ouverture avant.
2. Tirez le fi l vers l’arrière de la machine et
insérez-le dans le guide-fi l de la gauche vers la
droite.
3. Tirez le fi l vers la droite puis autour du guide-
fi l à l’arrière. Passez le fi l sous le disque de
tension dans le sens inverse des aiguilles d’une
montre.
4. Insérez le fi l dans le petit trou de la canette
puis placez la canette sur la tige du bobineur.
Poussez la canette vers la droite pour engager
le bobinage. Le mode de bobinage de la canette
s’affi che sur l’écran LCD.
5. Retenez le bout du fi l et faite démarrer la
machine en appuyant sur la touche marche/
arrêt ou en appuyant sur la pédale.
6. Une fois que la canette aura fait plusieurs
révolutions, arrêtez la machine en appuyant
sur la touche marche/arrêt ou en relâchant la
pédale. Coupez le fi l près du trou.
7. Mettre la machine de nouveau en marche.
8. L’enroulement du fi l de cannette s’arrêtera
automatiquement quand la canette est pleine.
Relâcher la pédale.
9. Poussez la bobine et la tige vers la gauche.
10.Retirez la canette de la tige et coupez le fi l.
AJUSTE DE LA CANILLA
Asegúrese de usar sólo bobinas de SINGER
clase 15 en esta máquina.
A. CÓMO SACAR LA CANILLA
1. Mueva el seguro de la cubierta de la canilla
hacia la derecha y quite la cubierta.
2. Saque la canilla de la máquina tirando hacia
arriba.
B. COLOCACIÓN DEL CARRETE DE HILO
EN EL PORTACARRETES
1. Jale el extremo del carrete y colóquelo en
el poste del carrete de modo que el hilo se
desenrolle desde el frente del carrete.
2. Coloque el tope del carrete sobre el
portacarretes hasta el máximo.
a. Invierta la dirección del tope del carrete
según el tamaño del carrete.
b. Use la pequeña tapa bobina cuando use hilo
trenzado. Deje una pequeña abertura entre la
tapa y la bobina como se ilustra.
C. DEVANADO DE LA CANILLA
1. Sujete el hilo con las dos manos y engánchelo
por debajo de la guía desde la parte delantera.
2. Traiga el hilo hacia la parte trasera de la
máquina y páselo por la guía del hilo de
izquierda a derecha.
3. Traiga el hilo hacia la derecha y páselo a través
de la guía del hilo desde la parte trasera. Pase
el hilo bajo el disco de tensión en dirección
contraria a las agujas del reloj.
4. Inserte el hilo a través del agujero de la canilla
y coloque la canilla en el eje del devanador de
ésta. Presiónela hacia la derecha para anclar
el devanador de la canilla. La pantalla LCD
indicará que se encuentra en el modo para
devanar la canilla.
5. Sostenga el extremo del hilo y ponga en
marcha la máquina presionando el botón paro /
inicio o presionando el pedal.
6. Después de que la bobina devana unas vueltas,
pare la máquina presionando el botón paro /
inicio o liberando el pedal. Corte el hilo cerca
del orifi cio.
7. Ponga de nuevo la máquina en marcha.
8. El devanado de la bobina se detendrá
automáticamente cuando la bobina esté llena.
Libere el pedal controlador.
9. Presione la canilla y el eje hacia la izquierda.
10.
Saque la canilla del eje y corte el hilo.

30
D. INSERTING THE BOBBIN
1. Place bobbin into bobbin holder, making
sure the bobbin turns in a counter clockwise
direction.
2. Draw thread into notch (a) while holding the
bobbin.
3. Pull thread along the groove up and then down.
Pull thread to the right to cut the thread.
4. Replace the bobbin cover. Set the left tabs into
the holes in needle plate and push the right side
of bobbin cover down until it clicks into place.
NOTE:
This machine can start to sew without drawing up
the bobbin thread.
If you want to draw up the bobbin thread, see page
34.
NOTE:
Be sure to use only SINGER Class 15 bobbins in
this machine.
a
31
D. MISE EN PLACE DE LA CANETTE
1. Insérez la canette dans le porte canette, en
vous assurant que la canette tourne dans
le sens contraire des aiguilles d’une montre
lorsque vous tirez sur le fi l.
2. Insérez le fi l dans l’encoche (a) tout en retenant
la canette.
3. Tirez le fi l le long de la rainure vers le haut
ensuite vers le bas.
Tirez le fi l du côté droit pour le couper.
4. Remettre le couvre canette. Positionnez les
tiges sous la plaque d’aiguille du côté gauche et
ensuite appuyez sur le côté droit jusqu’à ce qu’il
s’enclenche.
REMARQUE:
Vous pouvez démarrer la couture, sur cette
machine sans avoir à faire remonter le fi l de
cannette. Si vous voulez faire remonter le fi l de la
canette, voir la page 35.
REMARQUE:
Assurez-vous d’utiliser uniquement des cannettes
de classe 15 dans cette machine.
D. COLOCACIÓN DE LA CANILLA
1. Coloque la bobina en la caja bobina, asegúrese
de que la bobina gire en el sentido de las
manecillas del reloj.
2. Indroduzca el hilo por la muesca (a) mientras
sostiene la bobina.
3. Jale el hilo por la ranura de arriba hacia abajo.
Jale el hilo a la derecha para cortar la hebra.
4. Coloque la cubierta de la bobina. Coloque las
pestañas en los orifi cios en la placa aguja y em-
puje el lado derecho del cubre bobina hasta que
enganche en su sitio.
NOTA:
Esta máquina puede comenzar a coser sin jalar el
hilo bobina.
Si desea jalar el hilo bobina, vea la página 35.
NOTA:
Asegúrese de usar sólo bobinas de SINGER clase
15 en esta máquina.

32
THREADING THE MACHINE
A. PREPARING TO THREAD MACHINE
1. RAISE THE PRESSER FOOT LIFTER. It is
very important to raise the presser foot lifter
before you proceed to thread the machine.
2. Press the needle up/down button to set the
needle in up position.
(Keep this position for threading the eye of the
needle.)
B. SETTING SPOOL OF THREAD ON
SPOOL PIN
1. Pull up the left end of spool pin and set the
spool of thread on spool pin so that the thread
unrolls from the front of the spool.
2. Set the spool cap on spool pin as far as it will
go.
a. Reverse spool cap direction according to the
size of spool.
b. Use the small spool cap when you use cross
wound thread. Leave small opening between
cap and spool as illustrated.
Note:
It is very important to raise the presser foot lifter
before you thread the machine. Not doing so will
likely result in poor stitch quality, or excessive
thread loops on the underside of the fabric.
Always raise the presser foot lifter before you
begin threading the machine.
C. THREADING THE UPPER THREAD
1. Hold thread in both hands and pass thread into
the guide from front opening.
2. Bring thread backward and pass through the slit
from right to left.
3. Bring thread to the left and pull thread down
toward you along the slit.
4. Pull the thread around the U-turn, then bring it
back up.
5. To thread the take-up lever, draw thread up and
bring thread back down again from right to left
along the slit.
6. Pull thread downward along the slit.
7. Draw thread through thread guide from right
side opening.
8. Pass through needle eye from front to back.
Refer to next page for instructions on how to
use needle threader.

33
ENFILAGE DE LA MACHINE
A. PRÉPARATION POUR L’ENFILAGE
1. Relevez le pied presseur. Il est très important
de lever le pied presseur avant d’enfi ler la
machine.
2. Appuyez sur la touche d’arrêt de la position
d’aiguille Haute-Basse pour que l’aiguille soit à
la position Haute.
(Gardez l’aiguille dans cette position pour enfi ler
le chas de l’aiguille.)
B. MISE EN PLACE DE LA BOBINE SUR
LE SUPPORT DE LA BOBINE
1. Soulevez le côté gauche du support de la
bobine et placez la bobine de fi l sur le support
de la bobine pour que le fi l se déroule sur le
devant de la bobine.
2. Placez le capuchon de la bobine sur la tige à
bobine et poussez-le le plus loin possible.
a.Utilisez le côté approprié du capuchon en
fonction de la taille de la bobine.
b.Utilisez le petit capuchon quand vous utiliser
une bobine de fi l croisé. Laissez un petit espace
entre la bobine et le capuchon comme indiquer.
REMARQUE:
Il est très important de lever le pied presseur avant
d’enfi ler la machine. Dans le cas contraire vous
pourriez obtenir des résultats de couture de piètre
qualité ou cela pourrait provoquer de grandes
boucles sur l’envers du tissu. Lever toujours le
pied presseur avant d’enfi ler la machine.
C. ENFILAGE DU FIL SUPÉRIEUR
1. Tenez le fi l à deux mains et insérez-le sous le
guide dans l’ouverture avant.
2. Amenez le fi l vers l’arrière et faites-le passer
par la fente de la droite vers la gauche.
3. Amenez le fi l vers la gauche et tirez-le vers le
bas et vers vous le long de la rainure.
4. En bas de la rainure, faites tourner le fi l autour
du garde (#4) et ensuite remontez-le dans la
rainure à gauche du garde.
5. Pour enfi ler le releveur de fi l, tirez le fi l vers le
haut puis ramenez-le vers le bas de la droite
vers la gauche en suivant la rainure.
6. Tirez le fi l vers le bas le long de la rainure.
7. Faites passer le fi l dans le guide-fi l par le côté
droit de l’ouverture.
8. Faites passer le fi l dans le chas de l’aiguille de
l’avant vers l’arrière. Consultez la page suivante
pour obtenir les informations nécessaires sur
l’utilisation de l’enfi leur d’aiguille.
ENHEBRADO DE LA
MÁQUINA
A. PREPARACIÓN PARA ENHEBRAR LA
MÁQUINA
1. LEVANTE LA PALANCA DEL PRENSATELAS,
Es muy importante levantar la palanca del
prensatelas antes de proceder a ensartar la
máquina.
2. Pulse el botón de aguja arriba/abajo para
colocar la aguja en la posición más alta.
(Mantenga esta posición para ensartar el ojo
del la aguja).
B. COLOCACIÓN DEL CARRETE DE HILO
EN EL PORTACARRETES
1. Jale el extremo izquierdo del poste del carrete
y colóquelo en el poste de modo que el hilo se
desenrolle desde el frente del carrete.
2. Coloque el sujetador del carrete sobre el
portacarretes hasta el máximo.
a. Invierta la dirección del sujetador del carrete
según el tamaño del carrete.
b. Use el sujetador pequeño cuando use hilo
trenzado. Deje una pequeña abertura entre la
tapa y el carrete como se ilustra.
Nota:
Es muy importante levantar la palanca del
prensatelas antes de ensartar la máquina. El
no hacerlo resulta-rá en costuras pobres o hilos
excesivos debajo de la tela. Siempre levante la
palanca del prensatelas antes de comenzar a
ensartar la máquina.
C. ENHEBRADO DEL HILO SUPERIOR
1. Sujete el hilo con las dos manos y páselo por la
guía desde la parte delantera.
2. Traiga el hilo hacia atrás y páselo a través de la
hendidura de derecha a izquierda.
3. Lleve el hilo hacia la izquierda y tire para abajo
hacia usted por la hendidura.
4. Jale el hilo en una vuelta en U, luego tráigalo
de regreso.
5. Para enhebrar la palanca tirahilos, lleve el hilo
hacia arriba y luego de nuevo hacia abajo de
derecha a izquierda por la hendidura.
6. Tire del hilo para abajo por la hendidura.
7. Enhebre el hilo a través de la guía del hilo
desde la apertura de la derecha.
8. Páselo a través del ojo de la aguja de delante
hacia atrás. Vaya a la página siguiente para
consultar las instrucciones sobre cómo usar el
enhebrador de la aguja.

34
D. THREADING THE NEEDLE EYE
DRAWING UP THE BOBBIN THREAD
This machine can start to sew without drawing up
the bobbin thread If you want to start sewing with
longer bobbin thread, draw up the bobbin thread
as follows.
1. Insert the bobbin into the bobbin holder as
shown on page 30, but do not cut thread.
2. Raise the presser foot.
3. Hold thread loosely and press needle up-down
button twice from up position. The hand wheel
will turn one complete revolution.
4. Pull upper thread lightly. Bobbin thread will
come up in a loop.
5. Pull both upper and bobbin threads about 10
cm toward the back of presser foot.
6. Replace the bobbin cover. (See page 30)
CAUTION: To prevent accidents.
1. Keep fi ngers away from all moving parts.
Special care is required around the needle.
2. Do not lower the threader lever while machine
is operating.
Note:
The needle threader is used for needle sizes
11/80, 14/90, and 16/100.
1. Lower the presser foot.
2. Check that the needle is raised to its highest
position. If it is not, raise needle by pressing
needle up/down button.
3. Lower the threader slowly and draw thread
through thread guide (a) and pull toward the
right.
4. Lower the lever as far as it will go. The threader
will turn and the hook pin will go through the
needle eye.
5. Draw thread into the guide.
6. Hold thread loosely and release the lever.
Hook will turn and pass thread through needle
eye while making a loop.
7. Pull thread out about 10 cm (4 inches) through
the needle eye.

35
D. ENFILAGE DU CHAS DE L’AIGUILLE D. ENHEBRADO DEL OJO DE LA AGUJA
EXTRACCIÓN DEL HILO DE LA CANILLA
Esta máquina puede comenzar a coser sin jalar
el hilo bobina. Si desea comenzar a coser sin hilo
bobina, jale el hilo bobina como sigue.
1. Inserte la bobina en la caja bobina como se
muestra en la página 31, pero no corte el hilo.
2. Levante el prensatelas.
3. Sostenga con holgura y presione el botón subir-
bajar aguja dos veces desde la posición arriba.
Gire el volante una vuelta completa.
4. Jale el hilo superior ligeramente. El hilo bobina
aparecerá en un bucle.
5. Jale el hilo bobina y superior cerca de 10 cm
hacia atrás del prensatelas.
6. Coloque de nuevo la cubierta de la bobina.
(Ver página 31)
ATTENTION! Pour éviter les
incidents :
1. Veillez garder vos doigts éloignés des pièces en
mouvement. Une attention spéciale est requise
autour de l’aiguille.
2. N’abaissez pas l’enfi leur d’aiguille pendant que
la machine fonctionne.
Remarque :
L’enfi leur d’aiguille peut être utilisé pour les
aiguilles de grosseurs 11/80, 14/90 et 16/100.
1. Abaissez le pied presseur.
2. Assurez-vous que l’aiguille est dans sa position
la plus haute. Si ce n’est pas le cas, remontez-
la en appuyant sur la touche d’arrêt de la
position d’aiguille Haute-Basse.
3. Abaissez lentement l’enfi leur d’aiguille. Faites
passer le fi l par le guide (a) puis tirez-le vers la
droite.
4. Abaissez l’enfi leur d’aiguille le plus possible.
L’enfi leur d’aiguille tournera et le crochet
passera dans le chas de l’aiguille.
5. Faites passer le fi l dans le guide.
6. Tenez le fi l sans le tendre et relâchez l’enfi leur
d’aiguille. Le crochet tournera et fera passer la
boucle de fi l dans le chas de l’aiguille.
7. Tirez environ 10 cm de fi l à travers le chas de
l’aiguille.
POUR REMONTER LE FIL DE LA CANETTE
Vous pouvez démarrer la couture, sur cette
machine sans avoir à faire remonter le fi l de
cannette. Si vous voulez démarrer la couture avec
une plus grande longueur de fi l de la canette, faire
remonter le fi l de la canette de la façon suivante:
1. Insérez la canette dans le porte canette tel que
décrit à la page 31, mais ne coupez pas le fi l.
2. Lever le pied presseur.
3. Tenez le fi ls légèrement vers l’arrière de la
machine et appuyer ensuite, deux fois, sur la
touche d’arrêt de la position d’aiguille Haute-
Basse en partant de la position haute. Le volant
fera une révolution complète et s’arrêtera.
4. Tirez le fi l supérieur légèrement. Le fi l de
canette remontera et formera une boucle.
5. Tirez le fi l supérieur et le fi l de la canette,
environ 10 cm vers l’arrière du pied presseur.
6. Replacer le couvre canette. (Voire la page 31).
PRECAUCIÓN: Para prevenir
accidentes
1. Mantenga los dedos lejos de todas las partes
móviles. Ponga especial cuidado en el área
cerca de la aguja.
2. No baje la palanca del enhebrador mientras la
máquina está en funcionamiento.
Nota:
Este enhebrador de aguja es apropiado para
tamaños de aguja de 11/80, 14/90 y 16/100.
1. Baje el prensatelas.
2. Compruebe que la aguja esté en su posición
más alta. Si no lo está eleve la aguja
presionando el botón aguja arriba/abajo.
3. Baje el enhebrador lentamente y lleve el hilo a
través de la guía del hilo (a) tirando de él hacia
la derecha.
4. Baje la palanca tanto como pueda. El
enhebrador girará y el garfi o saliente pasará
por el ojo de la aguja.
5. Pase el hilo a través de la guía.
6. Sujete el hilo suavemente y suelte la palanca.
El garfi o girará y el hilo pasará a través del ojo
de la aguja formando un lazo.
7. Jale el hilo cerca de 10 cm (4 pulgadas) por el
ojo de la aguja.

36
SELECTING UTILITY
STITCH PATTERN
Utility stitches are indicated in the pattern chart
located inside of the top cover. Select utility stitch
pattern as follows:
1. On the Home screen, touch the Utility button.
First 18 patterns will be indicated on the LCD.
(Stitch selection mode)
2. Touch the scroll down button, next 18 patterns
will appear.
By touching the scroll up or down button, you
can scroll up or down in increments of 18
patterns.
3. Touch the desired pattern directly.
4. When pattern is selected, LCD will indicate the
information of selected pattern.
(Stitch information mode)
STITCH INFORMATION
a. Stitch Pattern
The shape of stitch pattern will change
according to the setting of stitch length, width,
mirror/reverse and elongation.
b. Pattern Number
c. Thread Tension Button (See page 40)
d. Recommended Presser Foot
Indicated presser foot is one of suggested
foot for normal sewing. You can use other
presser foot according to the purpose of sewing
described in this booklet.
e. Tack Button (See page 46)
f. Mirror/reverse Button
When this button appears, you can select mirror
stitch, reverse stitch or mirror/reverse stitch.
Touching this button, stitch will fl ip from left
to right or from front to back. The icon on the
button indicates the selected stitch as follows:
i. Regular stitch (normal stitch)
ii. Mirror stitch (reverse left and right)
iii. Reverse stitch (reverse front and back)
iv. Mirror and Reverse stitch
i ii iii iv
ab
defc
f

37
SÉLECTION DES POINTS
UTILITAIRES
La liste des points utilitaires est indiquée dans un
tableau qui se trouve à l’intérieure du couvercle
supérieure. Ils peuvent être sélectionnés de la
façon suivante:
1. Sur l’écran principal, appuyez sur la touche
(indiqué par la fl èche), des points Utilitaires. Et
18 points apparaîtrons sur l’écran LCD. (Mode
sélection de point)
2. Appuyez sur la fl èche du défi lement vers le bas
(image 2), pour faire apparaitre une nouvelle
série de 18 points. (Image 3)
En appuyant sur la fl èche du défi lement vers le
haut ou la fl èche vers le bas, vous ferez ainsi
défi lez des séries de tableau par intervalle de
18 points.
3. Appuyez, directement, sur le point désiré.
4. Lorsqu’un point est sélectionné, l’écran LCD
affi chera les informations relié à ce point.
(Mode d’information du point)
INFORMATION DU POINT
a. Modèle de Points
La forme du point changera dépendant du
réglage de sa longueur, sa largeur, ou la
sélection du point miroir/inverse et de son
allongement.
b. Numéro du Point
c. Touche de la Tension du Fil (Voir page 41)
d. Pied Presseur recommandé
Vous suggère le pied presseur à utiliser pour
la couture normale. Vous pouvez utiliser un
autre pied presseur dépendamment du type de
couture décrit dans ce livre.
e. Touche du Point d’Arrêt (Voir page 47)
f. Touche du Point Miroir/inversé
Lorsque cette touche apparait, vous pouvez
sélectionner le point miroir, le point inversé ou
le point miroir et inversé. En appuyant sur cette
touche, le point se retournera de la gauche vers
la droite ou du devant vers l’arrière. L’icône sur
la touche indique la sélection du point comme
suit:
i. Point régulier (le point normal)
ii. Point miroir (tourne de gauche à droite)
iii.
Point inversé (tourne le point du devant vers l’arrière)
iv. Point Miroir et Inversé.
SELECCIONANDO
PUNTADAS UTILITARIAS
Las puntadas utilitarias, están indicadas en la
tabla de patrones localizada dentro de la cubierta
superior. Seleccione un patrón de puntada utilitaria
de la siguiente manera:
1. En la pantalla de inicio, toque le botón de
utilidad.
Los primeros 18 patrones se mostrarán en la
pantalla LCD. (Modo de selección de puntada).
2. Toque el botón de desplazamiento, los
siguientes 18 patrones aparecerán.
Al pulsar el desplazamiento hacia arriba o
hacia abajo, podrá subir y bajar en orden de 18
patrones.
3. Toque directamente el patrón deseado.
4. Cuando se selecciona la puntada, la pantalla
LCD mostrará la información del patrón
seleccionado.
(Modo de información de puntada)
INFORMACIÓN DE PUNTADA
a. Patrón de puntada
La forma del patrón de puntada cambiará de
acuerdo al ajuste de largo, ancho, espejo/
reversa y elongación de puntada.
b. Número de Patrón
c. Botón de Tensión de Hilo (Ver página 41)
d. Prensatelas Recomendado
El prensatelas indicado es un pie sugerido para
la costura normal. Puede usar otros prensatelas
de acuerdo con el objetivo de la costura que se
describe en este manual.
e. Botón Tack (Ver página 47)
f. Botón de Espejo/Inverso.
Cuando este botón aparece, puede seleccionar
puntada en espejo, puntada de reversa o
puntada espejo/inverso.
Al tocar este botón, la puntada dará vuelta de
izquierda a derecha o del frente hacia atrás. El
ícono del botón indica la puntada seleccionada
como sigue:
i. Puntada regular (puntada normal)
ii.
Puntada en espejo (reversa izquierda y derecha)
iii. Puntada inversa (reversa frente y vuelta)
iv. Puntada en espejo inversa

38
iii
g. Elongation Button
Some patterns may be elongated up to 2 times
the original length. You may elongate the
pattern by touching elongation button.
i. Regular length
ii. Elongated
If the mirror/reverse or elongation button does
not appear in this area, the pattern cannot be
changed.
h. Stitch Width
Machine will set the stitch width suitable for the
pattern. You can make changes as follows.
For narrower width, touch the [-] button.
For wider width, touch the [+] button.
Pre-set stitch width will be indicated as a
highlighted number.
For straight stitch patterns (No. 1, 2, 3, 4, 6,
8), Stitch width buttons will change the needle
position.
To shift the needle to the left, touch the [-]
button.
To shift the needle to the right, touch the [+]
button.
i. Stitch Length
Machine will set the stitch length suitable for the
pattern. You can make changes as follows.
For shorter length, touch the [-] button.
For longer length, touch the [+] button.
Pre-set stitch length will be indicated as a
highlighted number.
Note:
When further width or length adjustments are not
possible, machine will emit multiple audible beeps.
If the width, length or number icons are not
indicated, the pattern cannot be changed.
Adjustments to the patterns may be made while
sewing.
j. Home Button
Whenever you touch this button, LCD will
display the Home screen.
k. Return Button
When you touch the return button, LCD will
indicate previous mode (Stitch selection mode).
g
g
hi
h i
j
k
39
g. Touche d’Allongement
Certain points peuvent être allongés jusqu’à 2 fois
leur longueur original. Vous pouvez allonger un point
en appuyant sur la touche d’allongement du point.
i. Longueur normal
ii. Allongez
Si les touches miroir/inversé ou d’allongement
n’apparaissent pas à l’écran, cela signifi e que
ce point ne peut être modifi é.
h. Largeur du Point
La machine règlera la largeur du point approprié
au modèle sélectionné. Vous pouvez changer
ce réglage comme suit.
Pour une largeur plus petite, appuyez sur la touche [-].
Pour une largeur plus grande, appuyez sur la touche [+].
La valeur de la largeur préréglée sera indiquée
en surbrillance.
Pour les points droit (No. 1, 2, 3, 4, 6, 8), la
touche de largeur du point changera la position
d’aiguille dans la plaque.
Pour déplacez l’aiguille vers la gauche, appuyez
sur la touche [-].
Pour déplacez l’aiguille vers la droite, appuyez
sur la touche [+].
i. Longueur du Point
La machine règlera la longueur du point
approprié au modèle sélectionné. Vous pouvez
changer ce réglage comme suit.
Pour une longueur plus petite, appuyez sur la
touche [-].
Pour une longueur plus grande, appuyez sur la
touche [+].
La valeur de la longueur préréglée sera
indiquée en surbrillance.
Remarque:
S’il vous est impossible d’augmenter la largeur ou
la longueur du point, la machine émettra plusieurs
signaux sonores. Si la largeur, la longueur ou qu’il n’y
a aucune valeur d’indiqué dans les icones, cela signifi e
que ce point ne peut être modifi é. Les ajustements du
point peuvent être faits pendant que vous cousez.
j. Touche de l’Écran Principal
En tout temps, si vous appuyez sur cette
touche, l’écran LCD fera apparaitre l’écran
principal.
k. Touche de Retour
Lorsque vous appuyez sur cette touche, l’écran
LCD reviendra au mode précédent (Mode de
Sélection du Point).
g. Botón de elongación
Algunos patrones pueden alargarse hasta 2
veces de su largo original. Puede alargar el
patrón tocando el botón de elongación.
i. Largo regular
ii. Alargada
Si el botón espejo/inversa o elongación no
aparece en el área, el patrón no puede cambiarse.
h. Ancho de puntada
La máquina ajustará el ancho de puntada adecuado
para el patrón. Puede hacer cambios como sigue:
Para anchos más estrechos toque el botón [-]
Para anchos mayores toque el botón [+]
El ancho de puntada preestablecido estará
indicado con números resaltados.
Para puntadas rectas (No. 1, 2, 3, 4, 6, 8),
Las teclas de ancho de puntada cambiarán la
posición de la aguja.
Para desplazar la aguja hacia la izquierda,
toque el botón[-].
Para desplazar la aguja hacia la derecha, toque
el botón [+].
i. Largo de puntada
La máquina ajustará el largo de puntada adecuado
para el patrón. Puede hacer cambios como sigue:
Para menor longitud, pulse el botón [-]
Para mayor longitud, pulse el botón [+]
El largo de puntada preestablecido estará
indicado en un número resaltado.
Nota:
Cuando los ajustes de largo o ancho de puntada
no se pueden realizar, la máquina emitirá múltiples
pitidos.
Si los íconos de ancho y largo no están indicados,
el patrón no puede ser cambiado.
Los ajustes de los patrones pueden realizarse
mientras cose.
j. Botón de Inicio
Cuando toque este botón, la pantalla de inicio
aparecerá en el LCD.
k. Botón de Regresar
Cuando toque el botón de regresar, la pantalla
LCD indicará el modo previo (Modo de
selección de puntada).

40
THREAD TENSION
This machine sets the thread tension automatically
when pattern is selected. However you can change
the thread tension as follows.
1. Touch the tension button.
LCD changes to the thread tension mode.
2. To increase the upper thread tension, touch the [+]
button.
To decrease the upper thread tension, touch the [–]
button.
Pre-set tension number is highlighted.
• By touching the center button (a), thread tension
will return to pre-set.
• By touching the button (b), LCD return to width/
length mode.
• By touchng the return button (c), LCD return to
the selecting mode.
When another stitch pattern is selected, thread
tension will return to pre-set. You can start sewing
while in this mode and change tension while sewing.
A. Preset Thread Tension
Upper and bobbin thread will lock approximately
in the middle of fabric.
B. Increasing Thread Tension
Bobbin thread will appear on the top side of the
fabric.
C. Decreasing Thread Tension
Upper thread will appear on the bottom side of the
fabric.
D. Thread tension for decorative stitching
Thread tension should be set to a slightly looser
tension than that for straight stitch.
The upper thread should appear slightly on the
bottom side of your fabric, for example, when
doing decorative sewing.
E. Helpful Hints
1. If your sewing appears as shown in the illustration
(stitches on the top side of the fabric are good, but
the bottom side looks very loopy), it could be that
the upper thread is not threaded correctly. Refer
to page 32 for correct threading.
2. If after checking the top thread and the bobbin
thread is still showing on the top side, check the
bobbin to see if it is set correctly. Refer to page 30
for the correct setting.
ac
b

41
TENSION DU FIL
Cette machine fera les réglages de la tension de fi l
automatiquement, lorsqu’un point sera sélectionné.
Cependant vous pouvez modifi er la tension comme
démontré ci-dessous
1. Appuyez sur la touche de réglage de la tension
du fi l. (Indiquer par la fl èche)
L’écran LCD affi chera le mode de réglage de la
tension du fi l.
2. Pour augmenter la tension du fi l supérieur,
appuyez sur la touche [+].
Pour diminuer la tension du fi l supérieur,
appuyez sur la touche [–].
La valeur de la tension préréglée est en
surbrillance.
• En appuyant sur la touche au centre (a), la
tension du fi l retournera à sa valeur préréglée.
• En appuyant sur la touche (b), l’écran LCD
retournera au mode de contrôle de la largeur et
la longueur du point.
• En appuyant sur la touche de retour (c), l’écran
LCD retournera au mode de sélection.
Lorsqu’un autre motif de point est sélectionné,
la tension du fi l revient au mode préréglé. Vous
pouvez débuter la couture dans ce mode et
changer la tension tout en cousant.
A. Tension du Fil Préréglé
Le fi l supérieur et le fi l de la canette se croisent
environ au centre du tissu.
B. Augmentation de la Tension du Fil
Le fi l de la canette apparaitra sur le dessus du
tissu.
C. Diminution de la Tension du Fil
Le fi l supérieur apparaitra en dessous du tissu.
D. Tension du fi l pour la couture décorative
La tension du fi l devra être régler légèrement
plus basse que celle utilisée pour la couture
droite.
Lorsque vous faite de la couture décorative, le
fi l supérieur devrait apparaitre légèrement en
dessous de votre tissu.
E. Conseils Utiles
1. Si votre couture apparait comme dans l’illustration
(les points sur le dessus du tissu sont beaux,
mais les points en dessous du tissu forment
des ballons.), ceci pourrait être causé par un
mauvais enfi lage du fi l du haut. Référez-vous à
la page 33 pour enfi ler la machine correctement.
2. Si après avoir vérifi é le fi l supérieur et que le
fi l de la canette apparait toujours sur le dessus
du tissu, vérifi ez si la canette a été insérée
correctement. Voir page 31 pour la mise en
place de la canette.
TENSIÓN DEL HILO
Esta máquina ajusta la tensión del hilo de manera
automática cuando el patrón es seleccionado. Sin
embargo puede cambiar la tensión del hilo como
sigue.
1. Toque el botón de tensión.
La pantalla LCD cambia a modo de tensión de
hilo.
2. Para aumentar la tensión del hilo superior,
toque el botón [+].
Para reducir la tensión del hilo superior, toque
el botón [-].
El número preestablecido de tensión está
resaltado.
• Al tocar el botón central (a), la tensión del hilo
regresara al preestablecido.
• Al pulsar el botón (b), La pantalla LCD
regresará al modo de ancho/largo.
• Al tocar el botón de regresar (c), la pantalla
LCD regresará al modo de selección.
Cuando se selecciona otro patrón de puntada,
la tensión de hilo regresará al valor preajustado.
Puede comenzar a coser en este modo y cambiar
la tensión mientras cose.
A. Tensión del hilo predeterminada.
El hilo bobina y superior se aseguran
aproximadamente en la mitad de la tela.
B. Aumentando la tensión del hilo
El hilo de la bobina aparecerá en la parte
superior de la tela.
C. Reduciendo la Tensión del Hilo
El hilo superior aparecerá en la parte inferior de la
tela.
D.
Tensión del hilo para puntadas
decorativas
La tensión del hilo debe ajustarse a una tensión
ligeramente más holgada que la puntada recta.
El hilo superior debe aparecer ligeramente en
el lado inferior de la tela, por ejemplo, cuando
realiza una puntada decorativa.
E. Consejos Útiles
1. Si su costura aparece como se muestra en la
ilustración (las puntadas en la parte superior
de la tela son buenas, pero en la parte inferior
se ven despeinadas), podría ser que el hilo
superior no está enhebrado correctamente.
Consulte la página 33 para enhebrado correcto.
2. Aunque esté preajustada la tensión del hilo, el
hilo bobina aparece en el lado superior de la
tela, puede ser que el ajuste de la bobina no
sea correcto. Refi érase a la página 31 para el
ajuste correcto.

42
WHERE TO USE EACH
STITCH
1. Straight stitch center needle positon
• For top stitching, for basic sewing, zipper
sewing, etc.
2. Straight stitch left needle position
• For top stitching, for basic sewing, etc.
3. Straight stitch with auto-reverse stitch center
needle position
4. Straight stitch with auto-reverse stitch left
needle position
5. Basting
6. Straight stretch stitch
• Reinforcement straight stitch
7. Stem stitch for stretch fabrics
8. Hand-look quilting stitch
9. Zigzag stitch
• For overcasting, applique, etc.
10. Elastic blind hem
11. Blind Hem
12. Multiple stitch zigzag
• For overcasting knit fabrics, elastic sewing,
mending
13. Button sewing
14. Decorative stitch
15. Overcasting
16. Overcasting of stretch fabric, decorative stitch
17. Ric Rac stitch
18. Double Ric Rac stitch
19. Feather stitch
20. Thorn stitch
21-116. Decorative and Functional stitches
117. Eyelet
118. Bar-tack
119. Darning
120. Bar-tack Buttonhole (Narrow)
121. Bar-tack Buttonhole (Wide)
122. Keyhole Buttonhole
123. Keyhole Buttonhole with cross bar
124. Tapered Keyhole Buttonhole
125. Round Ended Buttonhole (Narrow)
126. Round Ended Buttonhole (Wide)
127. Round Ended Buttonhole with cross bar
128. Both Round Ended Buttonhole
129. Decorative Buttonhole
130. Stretch Buttonhole
131. Heirloom Buttonhole
132. Bound Buttonhole
Description of Chart Symbols:
Mirror Stitch possible
Reverse Stitch possible
Mirror and Reverse stitches possible
X2 Elongation possible

43
DESCRIPTION DES
POINTS
1. Point droit position d’aiguille centrée.
•Pour la surpiqûre, la couture de base,
fermeture à glissière etc.
2. Point droit position d’aiguille à gauche.
•Pour la surpiqûre, pour la couture de base.
3. Point droit avec point d’arrêt automatique,
l’aiguille au centre.
4. Point droit avec point d’arrêt automatique,
l’aiguille à gauche.
5. Fil de bâti
6. Point droit élastique
•Pour renforcer le point droit
7. Point de tige pour tissus extensibles
8. Point de Matelassage comme fait à la main
9. Point Zigzag
•Pour surjetez, appliqué etc
10. Ourlet élastique invisible
11. Ourlet invisible
12. Point zigzag multiple
•Pour surjetez un tricot, couture sur tissu
extensible, le reprisage
13. Couture de boutons
14. Point décoratif
15. Point Surjet
16. Point Surjet pour tissus extensibles, point
décoratif
17. Point ric rac
18. Point ric rac double
19. Point Plume
20. Point Épine
21-116. Points décoratifs et fonctionnels
117.Œillet
118.D’Arrêt
119.Reprisage
120.Boutonnière avec arrêt (étroite)
121.Boutonnière avec arrêt (large)
122.Boutonnière à œillet
123.Boutonnière à œillet à point croisé renforcé
124.Boutonnière à œillet et pointe
125.Boutonnière arrondie (étroite)
126.Boutonnière arrondie (large)
127.Boutonnière arrondie et point croisé
128.Boutonnière aux deux extrémités arrondies
129.Boutonnière décorative
130.Boutonnière extensible
131.Boutonnière au point de croix
132.Boutonnière passepoilée
Signifi cation des symboles du tableau:
Point miroir activé
Point inversé activé
Point miroir et inversé activés
X2 Allongement activé
DÓNDE UTILIZAR CADA
TIPO DE PUNTADA
1. Puntada recta aguja al centro
• Para puntada superior, costura básica, pegar
cierres etc.
2. Puntada recta aguja a la izquierda
• Para puntada superior, para costura básica
etc.
3. Puntada recta con posición de aguja al centro
en puntada auto-reversa
4. Puntada recta con posición de aguja izquierda
en puntada auto-reversa
5. Hilvanado
6. Puntada recta elástica:
Refuerzo de puntada recta
7. Puntada de tallo para tejidos elásticos
8. Puntada de apariencia de acolchado manual.
9.
Puntada Zigzag
• Para sobreorillado, aplicación
10. Dobladillo de puntada invisible elástica
11. Dobladillo de puntada invisible
12. Puntada zigzag múltiple
• Sobreorillado telas de punto, costura
elásticos, remiendos
13. Cosido de botones
14. Puntada decorativa
15. Sobrehilado
16. Sobrehilado de tejidos elásticos, puntadas
decorativas
17. Puntada ric-rac
18. Puntada doble ric-rac
19. Puntada pluma
20. Puntada espina
21-116. Puntadas decorativas y funcionales
117. Ojete
118. Presilla
119. Zurcido
120. Ojal con presilla (estrecho)
121. Ojal con presilla (ancho)
122. Ojal tipo sastre
123. Ojal tipo sastre con presilla transversal
124. Ojal tipo sastre con presilla cuneiforme
125. Ojal redondo (estrecho)
126. Ojal redondo (ancho)
127. Ojal redondo con presilla transversal
128. Ojal con ambos acabados en redondo
129. Ojal decorativo
130. Ojal elástico
131. Ojal de puntilla
132. Ojal reforzado
Las marcas de la tabla signifi can:
Puntada invertida posible
Puntada reversible posible
Puntadas invertidas y reversible posibles
X2 Alargamiento posible

44
STARTING TO SEW
Select the straight stitch center needle positon. (No.
1)
CAUTION: To prevent accidents.
While sewing, special care is required around the
needle.
Machine automatically feeds the fabric, do not pull
or push the fabric.
A. START AND END OF SEAM
1. Check the presser foot (General Purpose
Presser Foot). Refer to page 14 for changing
the presser foot.
2. Place the fabric under the presser foot and
lower the presser foot.
3. Hold back upper thread and press the start/stop
button or press the foot controller pedal.
Keep holding thread after sewing a few stitches.
Lightly guide the fabric while sewing.
You can regulate the sewing speed by sliding
the speed control lever. Also, you can reduce
the sewing speed by pressing the slow button.
4. When you reach end of seam, press the start/
stop button to stop sewing or release the foot
controller pedal.
5. Press the thread cutter button.
6. Raise the presser foot lifter and remove the
fabric.
Upper Thread Sensor
If upper thread is broken or missing, machine will
stop automatically.
Rethread the upper thread and resume sewing.
CAUTION
1. Do not press the thread cutter button when
there is no fabric under the presser foot or no
need to cut the threads. The thread may tangle,
resulting in damage.
2. Do not use the thread cutter button when cutting
thread thicker than #30, nylon thread or other
specialty threads. In this case, use the thread
cutter located on the left side of the machine. (See
page 22)
3. Do not use the thread cutter button when
sewing with a twin needle or a hemstitching (wing)
needle.

45
DÉBUTEZ LA COUTURE
Sélectionnez le point droit position d’aiguille
centrée. (No. 1)
COMENZAR A COSER
Seleccione la puntada recta con la posición de
aguja en el centro. (No. 1)
ATTENTION! Pour éviter des
accidents:
Pendant la couture, il est important d’être très
prudent dans la zone autour de l’aiguille.
La machine entraîne elle-même le tissu, ne tirer ou
ne pousser donc pas le tissu.
A. DÉBUT ET FIN DE LA COUTURE
1. Vérifi ez le pied presseur (utilisez le pied
universel). Pour changer le pied presseur
consultez la page 15.
2. Placez le tissu sous le pied presseur et
abaissez le pied presseur.
3. Tenir le fi l supérieur en dessous et vers l’arrière
du pied presseur et appuyer sur le bouton
Marche/Arrêt ou sur la pédale. Tenir les fi ls et
cousez quelques points.
Guidez légèrement le tissu pendant la couture.
Vous pouvez contrôler la vitesse de couture en
faisant glisser le levier de contrôle de la vitesse.
Vous pouvez également réduire la vitesse de
couture en appuyant sur le bouton de couture
lente.
4. En fi n de couture, appuyez sur le bouton
marche/arrêt ou relâchez la pédale.
5. Appuyez sur la touche du coupe-fi l.
6. Relevez le pied presseur et retirer le tissu.
Senseur du fi l supérieur
Si pendant la couture le fi l de l’aiguille se casse ou
qu’il ne reste plus de fi l dans la bobine, la machine
s’arrêtera automatiquement.
Réenfi lez le fi l de l’aiguille et reprenez la couture.
ATTENTION
1. N’appuyez pas sur le bouton du coupe-fi l
lorsqu’il n’y a pas de tissu en dessous du pied
presseur ou que les fi ls ne doivent pas être
coupés. Les fi ls pourraient s’entremêler, ce qui
pourrait causer des dommages à la machine.
2. N’utilisez pas le coupe-fi l, si le fi l est plus gros
qu’un fi l # 30, ou si vous utilisez un fi l de nylon
ou tout autres fi ls spéciaux. Utilisez plutôt le
coupe-fi l situé sur le côté gauche de la machine.
(voir page 23)
3. N’utilisez pas le coupe-fi l lorsque vous utilisez
une aiguille jumelée ou sabre.
PRECAUCIÓN: Para prevenir
accidentes
Mientras cosa, es necesario que preste una
atención especial a la aguja.
No tire o empuje el tejido; la máquina tira
automáticamente de él.
A. PRINCIPIO Y FINAL DE UNA COSTURA
1. Compruebe el prensatelas (Prensatelas
universal). Consulte la página 15 para cambiar
el prensatelas.
2. Coloque el tejido debajo del prensatelas y
bájelo.
3. Sostenga el hilo superior y presione el botón
inicio/paro o presione el pedal de control.
Siga sosteniendo los hilos después de coser
unas cuantas puntadas.
Guíe ligeramente la tela mientras cose.
Puede regular la velocidad de costura
deslizando el selector de velocidad. Puede
aminorar la velocidad de costura presionando el
botón “slow”.
4. Cuando llegue al fi nal de la costura, presione
el botón inicio / paro para detener la costura o
libere el pedal.
5. Presione el botón del cortador de hilo
6. Levante el prensatelas y quite la tela.
Sensor del hilo superior
Si el hilo superior se rompe o se pierde, la
máquina se detendrá automáticamente.
Vuelva a enhebrar el hilo superior y continúe
cosiendo.
PRECAUCIÓN
1. No presione el botón de corta hilo cuando no
tenga tela debajo del prensatelas o no necesite
cortar los hilos. La hebra puede enredarse,
provocando daños.
2. No use el botón del cortador de hilo cuando
éste sea de un calibre mayor a #30, sea de
nylon o de otro tipo especial. En este caso, use
el cortador localizado en el lado izquierdo de la
máquina. (Ver página 23)
3.
No use el cortador de hilo cuando esté cosiendo
con una aguja doble o una aguja para dobladi-
llos (de mariposa).

46
B. REVERSE STITCHING
Reverse stitching is used for reinforcing the
ends of the seams.
1. Place the fabric in position where back stitching
is to be made and lower the presser foot.
2. Press and hold the reverse button.
Sew 4-5 reverse stitch.
3. Release the reverse button and press the start/
stop button (or press the pedal). Machine will
change to forward sewing.
4. When you reach the end of seam, press and
hold reverse button and sew 4-5 reverse
stitches.
Note:
Stitch patterns No. 3 and No. 4 have a built-in
reverse stitch. See page 50 for information on how
to sew these stitches.
C. AUTO TACK STITCH
You may sew tack stitches at the beginning and
end of the stitch.
This function can be used with all utility
patterns.
1. Touch the tack button.
Button will be highlighted.
2. Start to sew.
Machine will sew tacking stitches automatically
and then start to sew the selected pattern.
3. When you reach the end of seam, press the
reverse button once.
Machine will sew tacking stitches and stop
automatically.
4. If you want to cancel this function, touch the
tack button again. Highlight will turn off.
b
47
B. COUTURE EN MARCHE ARRIÈRE
La couture en marche arrière est utilisée pour
renforcer une fi n de couture.
1. Placez le tissu en position pour être en mesure
d’effectuer une couture en marche arrière et
abaissez le pied presseur.
2. Appuyez et maintenez la touche de couture en
marche arrière enfoncée. Cousez 4 à 5 points
en marche arrière.
3. Relâchez la touche de couture en marche
arrière et appuyez ensuite sur la touche marche/
arrêt (ou appuyez sur la pédale). La machine se
remettra à coudre vers l’avant.
4. En fi n de couture, appuyez et maintenez la
touche de couture en marche arrière enfoncée.
Cousez 4 à 5 points en marche arrière.
Remarque:
Le point de marche arrière est déjà incorporé
sur les points No. 3 et No. 4. Voir la page 51
pour obtenir les informations nécessaire lors de
l’utilisation de ces points.
B. PUNTADA REVERSA
La puntada reversa se usa para reforzar los
fi nales de las costuras.
1. Coloque la tela en posición donde desea el
refuerzo y baje el prensatelas.
2. Presione y mantenga el botón reversa. Cosa de
4-5 puntadas en reversa.
3. Libere el botón de reversa y presione el botón
inicio / paro (o presione el pedal). La máquina
coserá ahora hacia adelante.
4. Cuando alcance el fi nal de la costura, presione
y sostenga el botón de reversa y cosa 4-5
puntadas.
Nota:
Patrones de puntada No. 3 y No. 4 tienen una
puntada de reversa incorporada. Ver página
51 para información de cómo coser con estas
puntadas.
C. POINT D’ARRÊT AUTOMATIQUE
Vous pouvez utiliser le point d’arrêt automatique
au début et à la fi n d’une couture.
Cette fonction peut être utilisée sur tous les
points utilitaires.
1. Appuyez sur la touche du point d’arrêt
automatique. La touche s’illuminera.
2. Débutez la couture.
La machine débutera par coudre le point d’arrêt
automatiquement et ensuite débutera la couture
du point utilitaire sélectionné.
3. À la fi n de la couture, appuyez une fois sur
la touche de marche arrière. La machine
effectuera l’opération du point d’arrêt et s’arrêtera
automatiquement.
4. Si vous voulez désactiver cette fonction,
appuyez de nouveau sur la touche du point d’arrêt.
La touche ne sera plus en surbrillance.
C. PUNTADA DE REFUERZO AUTOMATICA
Puede coser una puntada de refuerzo al
comienzo y fi nal de la puntada.
Esta función puede usarse con todos los
patrones utilitarios.
1. Toque el botón Tack.
El botón estará resaltado.
2. Comience a coser.
La máquina hará el refuerzo de forma
automática e iniciará cosiendo el patrón
seleccionado.
3. Cuando alcance el fi nal de la costura, presione
el botón reversa una vez.
La máquina coserá el refuerzo y se detendrá de
forma automática.
4. Si quiere cancelar esta función, toque el botón
tack de nuevo. El resaltado se apagará.

48
D. TURNING CORNERS
1. Stop the machine when you reach a corner. The
machine will stop the needle into the fabric.
2. Raise the presser foot.
3. Use the needle as a pivot and turn fabric.
4. Lower the presser foot and resume sewing.
G. WIDTH OF SEAM ALLOWANCE
Guide lines on the needle plate indicate the
distance from the center needle positon. To
keep a consistent seam allowance, guide the
fabric along the desired guide line on the needle
plate.
Seam Guide
Use the seam guide to guide the fabric.
Attach the seam guide and screw to the needle
plate.
E. SEWING HEAVY FABRIC
When sewing heavy or thick fabrics, the toe
end of the presser foot tends to lift up, making
it diffi cult to start sewing. To sew heavy or thick
fabrics:
1. Raise the presser foot.
2. Push the lock button located on the right side of
general purpose foot and lower the foot.
3. Lower the needle into the fabric and start
sewing. Because the hinge is locked into the
presser foot holder, the fabric can now feed
smoothly.
a. The presser bar lifter can be raised one step
higher for placing heavy materials under the
presser foot easily.
F. SEWING OVER OVERLAPPED AREAS
Guide the fabric with your hand when sewing
over overlapped areas.
49
D. COUTURE DES COINS
1. Arrêtez la machine lorsque vous atteignez un
coin. L’aiguille restera enfoncée dans le tissu.
2. Relevez le pied presseur.
3. Servez-vous de l’aiguille comme pivot et
tournez le tissu.
4. Abaissez le pied presseur et reprenez la
couture.
D. CÓMO GIRAR EN LAS ESQUINAS
1. Detenga la máquina cuando llegue a una
esquina. La máquina detendrá la aguja
insertada en la tela.
2. Levante el prensatelas.
3. Utilice la aguja como pivote y gire el tejido.
4. Baje el prensatelas y reanude la costura.
E. COUTURE DE TISSUS ÉPAIS
Il est parfois diffi cile de partir la couture dans
un tissu épais. Le bout du pied presseur a
tendance de vouloir se lever. Pour coudre les
tissus.
1. Relevez le pied presseur.
2. Poussez le bouton de verrouillage situé sur le
côté droit du pied et abaissez le pied.
3. Abaisser l’aiguille dans le tissu et démarrer la
couture. Parce que la tige est positionner dans
le support du pied, le tissu peut maintenant
entrainer librement.
a. Le releveur du pied presseur peut être placé un
cran plus haut. Ceci facilite le positionnement
des tissus épais sous le pied presseur.
F. COUTURE DES SURÉPAISSEURS
Guidez le tissu à la main quand vous cousez
des surépaisseurs de tissu.
G. LARGEUR DES RABATS
Des lignes de guidage sont tracées sur la
plaque à aiguille pour indiquer la distance entre
la position centrale de l’aiguille et le bord du
tissu.Pour une couture égale, guider le tissu le
long de la ligne sur la plaque aiguille.
Guide de couture
Utilisez le guide de couture pour guider le tissu.
Mettez le guide de couture en place et vissez-le à
la plaque à aiguille.
E. CÓMO COSER TEJIDOS FUERTES
Cuando se cosen telas gruesas, el extremo
del dedo del prensatelas tiende a levantarse,
difi cultando el comenzar a coser. Para coser
telas gruesas:
1. Levante el prensatelas.
2. Presione el botón Lock (seguro) localizado en
el lado derecho del pie y baje el prensatelas.
3. Baje la aguja en la tela y comience a coser.
Ya que la bisagra está asegurada en el porta-
prensatelas, la tela puede alimentarse de forma
suave.
a. La palanca del prensatelas puede levantarse
hasta un punto superior para colocar mejor
tejidos fuertes bajo el prensatelas.
F. CÓMO COSER SOBRE ÁREAS
SOLAPADAS
Guíe el tejido con la mano cuando cosa áreas
solapadas.
G. ANCHO DEL MARGEN DE COSTURA
Las líneas de guía de la placa de la aguja
indican la distancia desde la posición centrada
de la aguja. Para mantener una unión
consistente, guíe la tela por la línea de la placa
aguja deseada.
Guía de costura
Utilice la guía de costura para guiar el tejido.
Acople la guía de costura y atorníllela a la placa
de la aguja.

50
STRAIGHT STITCH SEWING
Straight stitch patterns should be selected to suit
the type of fabric being sewn. Left needle position
(No.2) is most suited for sewing light weight
fabrics.
No. 1. Center needle position
No. 2. Left needle position
No. 3. Center needle with built-in reverse stitch
No. 4. Left needle with built-in reverse stitch
General Purpose Foot (A)
A. Straight Stitch
1. Position the fabric under the presser foot and
lower it.
2. Hold the upper thread loosely and start sewing.
Place hand lightly on the fabric while sewing.
3. When you reach the end of seam, stop sewing.
4. Press the thread cutter button.
B. Straight Stitch With Auto-lock Stitch
(Pattern No. 3, 4)
1. Position the fabric under the presser foot and
lower it.
2. Hold the upper thread loosely and start sewing.
Machine will sew 4-5 stitches forward and sew
4-5 stitches backward and continue sewing
forward.
3. When you reach the end of seam, press the
reverse button.
Machine will sew a few stitches backward
and sew a few stitches forward and stop
automatically.
4. Press the thread cutter button.

51
COUTURE AU POINT DROIT
Les motifs au point droit doivent être sélectionnés
en fonction du type de tissu à coudre. La position
de l’aiguille à gauche (n°2) est la meilleur adaptée
pour la couture des tissus légers.
N°1 : Point droit (Position centrale de l’aiguille)
N°2 : Point droit (Position de l’aiguille à gauche)
N°3 : Point droit avec point d’arrêt automatique
(Position centrale de l’aiguille)
N°4 : Point droit avec point d’arrêt automatique
(Position de l’aiguille à gauche)
Pied presseur universel (A)
A. Point droit
1. Placer le tissu sous le pied presseur and
abaissez le pied.
2. Tenir le fi l supérieur légèrement et commencer
à coudre.
Placez votre main doucement sur le tissu
pendant la couture.
3. Lorsque vous arrivez au bout, arrêtez la
couture.
4. Appuyez sur la touche Coupe-Fil automatique.
B. Point droit avec point d’arrêt
automatique (Motifs No. 3, 4)
1. Placer le tissu sous le pied presseur and
abaissez le pied.
2. Tenir le fi l supérieur légèrement et commencer
à coudre.
La machine commence à coudre 4 à 5 points
en avant puis 4 à 5 points en arrière et
recommence à coudre en avant.
3. En fi n de couture, appuyez sur la touche arrière.
La machine coud quelques points en arrière
puis quelques points en avant et s’arrête
automatiquement.
4. Appuyez sur la touche Coupe-Fil automatique.
PUNTADA RECTA
Los diseños de puntada recta deben seleccionarse
en función del tipo de tejido que se vaya a coser.
La posición izquierda de la aguja (nº 2) es la más
adecuada para la costura en tejidos ligeros.
nº 1 Posición centrada de la aguja
nº 2 Posición izquierda de la aguja
nº 3 Posición centrada de la aguja con puntada
en retroceso automática
nº 4 Aguja izquierda con puntada reversa
integrada
Prensatelas universal (A)
A. Puntada Recta
1. Coloque la tela debajo del prensatelas y bájelo.
2. Sostenga el hilo superior de forma holgada y
comience a coser.
Coloque la mano de forma ligera mientras cose.
3. Cuando llegue al fi nal de la costura, deje de
coser.
4. Presione el botón del cortador de hilo.
B. Puntada Recta con Puntada Auto Lock
(Patrón No. 3, 4)
1. Coloque la tela debajo del prensatelas y bájelo.
2. Sostenga de forma holgada el hilo superior y
comience a coser.
La máquina coserá 4-5 puntadas hacia adelante
y 4-5 puntadas hacia atrás y continuará
cosiendo hacia adelante
3. Cuando llegue al fi nal de la costura, presione el
botón reversa.
La máquina coserá unas cuantas puntadas
hacia atrás y coserá unas cuantas puntadas
hacia adelante y se detiene de forma
automática.
4. Presione el botón del cortador de hilo.

52
BASTING
Basting is temporary stitching, used for fi tting
garments, and for gathering and marking fabric.
No. 5 Basting Stitch
Darning/Embroidery Foot
A. ATTACHING THE DARNING/
EMBROIDERY FOOT
1. Lower the feed dogs by moving the drop feed
lever to the left.
2. Remove the presser foot and holder.
(See page 14)
3. The arm of darning/embroidery foot should ride
above the shaft of the needle clamp screw.
4. Slide the plastic attaching head from your left to
right so that it is fi tted into the presser bar.
5. Tighten the presser foot screw.
B. BASTING
When this pattern is selected, thread tension
will be reduced automatically.
1. Place the fabric under the presser foot and then
lower the presser foot lifter.
2. Hold the upper thread loosely and start to sew.
Machine will make one stitch only.
3. Pull the required amount of fabric to the rear
and sew one stitch.
4. Repeat this as many times as you need to fi nish
the row of stitching.
5. Raise the fabric feed dogs, then replace the
presser foot and presser foot holder to resume
regular sewing.
Note:
To prevent the fabric layers from shifting, insert
dress pins crosswise to the basting position.
Pull the bobbin thread to remove the stitching.
CAUTION:
To prevent accidents,be sure the needle does not
hit pins while sewing.

53
FAUFILAGE
Le faufi lage est un point temporaire pour vérifi er la
taille d’un vêtement, le fronçage et pour marquer
le tissu.
N°5 Fil de bâti
Pied broderie et reprisage
A.MISE EN PLACE DU PIED BRODERIE ET
REPRISAGE
1. Abaissez les griffes en déplaçant le levier des
griffes sur la gauche.
2. Retirez le pied presseur et le support du pied
presseur (voire page 15).
3. Le bras du pied broderie et reprisage doit
s’enclencher sur le tube de la vis du pince-
aiguille.
4. Faites glisser l’attache en plastique de gauche
à droite de façon à ce qu’elle s’enclenche dans
la barre du pied presseur.
5. Serez la vis du pied presseur.
B. FAUFILAGE
Lorsque ce point est sélectionné, la tension du
fi l est automatiquement réduite.
1. Placer le tissu sous le pied presseur et ensuite
abaisser le pied presseur.
2. Tenez légèrement le fi l supérieur et commencez
à coudre.
La machine effectue un point seulement.
3. Tirez la quantité souhaitée de tissu vers l’arrière
et cousez un point.
4. Répétez autant qu’il est nécessaire jusqu’à la
fi nition de la couture.
5. Lever les griffes, remettre le pied presseur avec
le support pour la couture réguliere.
Remarque :
Pour éviter que les épaisseurs de tissus ne
se décalent, posez des épingles en travers du
faufi lage à effectuer.
Tirez le fi l de canette pour retirez le fi l.
AVERTISSEMENT:
Pour éviter les accidents, porter attention que
l’aiguille ne touche pas les épingles en cousant.
HILVANADO
El hilvanado es una puntada temporal, usada para
sujetar prendas y para sostener y marcar las telas.
nº 5 Puntada de hilvanado
Prensatelas para zurcidos/bordados
A. CÓMO COLOCAR EL PRENSATELAS
PARA ZURCIDO Y BORDADO
1. Baje los transportadores moviendo la palanca
de arrastre a la izquierda.
2. Retire el prensatelas y el sujetador del
prensatelas. (Consulte la página 15)
3. El brazo del prensatelas para zurcido y bordado
debe montarse sobre el eje del tornillo de
fi jación de la aguja.
4. Deslice la cabeza de fi jación de plástico desde
su izquierda hacia su derecha de forma que se
ajuste a la barra del prensatelas.
5. Apriete el tornillo del prensatelas.
B. HILVANADO
Cuando se selecciona este patrón, la tensión
de hilo se reduce de forma automática.
1. Coloque la tela bajo el prensatelas y luego baje
la palanca del prensatelas.
2. Sostenga holgadamente el hilo superior y cosa.
La máquina hará solo una puntada.
3. Jale la cantidad de tela requerida hacia atrás y
cosa una puntada.
4. Repita esto las veces necesarias hasta terminar
la hilera de costura.
5. Levante los impelentes, luego coloque el pren-
satelas y el sujeta prensatelas para restablecer
la costura normal.
Nota:
Para prevenir que se desajusten las capas
del tejido, coloque unos cuantos alfi leres
transversalmente hasta la posición de hilvanado.
Jale el hilo bobina para remover la costura.
PRECAUCIÓN:
Para prevenir accidentes, asegúrese de que la
aguja no golpee mientras cose.

54
QUILTING
A quilt consists of three layers:
The topper, batting, and backing fabric. The top
layer is formed by shaped pieces of fabrics joined
together, creating the quilt topper.
No. 1 Straight Stitch (Center Needle Position)
No. 8 Hand Look Quilting Stitch
Straight Stitch / Patchwork Quilting Foot
Quilting Bar
CAUTION:
To prevent accidents, do not change the needle
position. Changing needle position could cause the
needle to hit the presser foot, which could break the
needle or damage the machine.
A. JOINING THE PIECES OF FABRIC
Join the pieces of fabric using Pattern No. 1 with
a seam allowance of 1/4 inch (6.3 mm)
B. QUILTING
Sew three layers of material (topper, batting,
backing). Use quilting bar to sew successive
rows. Insert quilting bar into the hole of presser
foot holder and set the space as you desire.
C. HAND LOOK QUILTING STITCH (NO. 8)
Use invisible nylon sewing thread or very
lightweight thread that matches the fabric on
top. Place thread that contrasts to the color of
the fabric on the bobbin. Set the upper tension
to maximum or near maximum. When you sew,
bobbin thread will pull to the top and give the
appearance of a traditional hand quilting stitch.
ELASTIC STITCH SEWING
Elastic stitches are strong and fl exible and will
give with the fabric without breaking. Good for knit
fabrics as well as durable fabrics like denim or
twill.
No. 6 Straight Stretch Stitch
No. 7 Stem Stitch for Stretch fabrics
No.17 Ric-rac Stitch
General Purpose Foot (A)
We recommend that you use a needle for knit and
synthetic fabrics to prevent skipping stitches and
thread breakages.
a. Jacket b. Trousers
c. Bag d. Pocket

55
COUTURE DE POINTS
EXTENSIBLES
Les points extensibles sont plus fort et permet une
couture qui donne avec le tissu. Recommander pour
les tissus extensibles ainsi que le denim et les toiles.
N°6 Point droit élastique
N°7 Point de tige pour tissus extensibles
N°17 Point ric rac
Pied universel (A)
Il est conseillé d’utiliser une aiguille pour mailles et
tissus synthétiques pour éviter que les points ne
se décalent ou que le fi l ne se casse.
a. Veste b. Pantalon
c. Sac d. Pochpe
PUNTADA ELÁSTICA
Las puntadas elásticas son fuertes y fl exibles y se
estiran con la tela sin romperse. Buena para telas
tejidas así como para telas más durables como
mezclilla o sarga.
nº 6 Puntada recta elástica
nº 7 Puntada de tallo para tejidos elásticos
nº 17 Puntada ric-rac
Prensatelas universal (A)
Le recomendamos que utilice una aguja para
tejidos de punto y sintéticos con el fi n de evitar
que salten las puntadas y se rompa el hilo.
a. Chaqueta b. Pantalones
c. Bolso d. Bolsillo
MATELASSAGE
Une courtepointe consiste de trois épaisseurs.
Le haut, nappe de ouatinage et la doublure. Le haut
est compris de motifs de base qui sont assemblé
pour former le dessus de la courtepointe.
N°1 : Point droit (position centrale de l’aiguille).
N°8 : Point de quilting, apparence fait main
Point droit/ Pied Patchwork
Guide de Matelassage
AVERTISSEMENT:
Pour éviter les accidents, ne changer pas la position
de l’aiguille. Ceci peut occasionner l’aiguille à
frapper le pied presseur, qui peut casser l’aiguille ou
endommager la machine.
A. Assemblage des morceaux de tissu
Assemblez les morceaux de tissu à l’aide du
motif n°1 en laissant un relarge de 6,3 mm.
B. Matelassage
Cousez 3 épaisseurs de tissus (le dessus,
ouatinage, doublure). Pour coudre les lignes
successives, utilisez le guide pour quilting. Insérez
le guide pour quilting dans le trou du support du
pied presseur et programmez la distance que vous
souhaitez laisser entre les lignes.
C. Point de matelassage, apparence fait
main (n°8)
Utilisez un fi l de couture en nylon invisible ou un
fi l très fi n de la couleur de l’épaisseur supérieure.
Placez un fi l d’une couleur contrastant avec le tissu
dans la canette. Régler la tension supérieure au
maximum ou presque maximum. Ainsi quand vous
cousez, le fi l de canette est tiré vers la surface,
ce qui confère à l’ouvrage l’apparence du point
traditionnel de quilting à la main.
ACOLCHADO
Un quilt consiste en tres capas:
La tela cubierta, de relleno y de revés. La capa
superior se forma de piezas de telas unidas juntas,
creando una apariencia acolchada.
nº 1 Puntada recta (posición centrada de la aguja)
nº 8 Puntada de acolchado como hecha a mano
Puntada Recta / Pie de Acolchado y Parches Barra
de Acolchado
PRECAUCIÓN:
Para prevenir accidentes, no cambie la posición
de la aguja. Cambiar la posición de la aguja podría
causar que la aguja golpee el prensatelas, lo cual
podría romper la aguja o dañar la máquina.
A. Cómo unir las piezas de tejido
Una las piezas de tejido utilizando el diseño nº
1 con un margen de costura de 6,3 mm.
B. Cómo coser acolchados
Cosa tres capas de material (cubierta, relleno y
revés). Utilice la guía de acolchado para coser
fi las sucesivas. Inserte la guía de acolchado en
el agujero del sujetador del prensatelas y ajuste
el espacio que desee.
C. Puntada de acolchado con aspecto
artesanal (nº 8)
Utilice un hilo de coser de nylon invisible o
un hilo muy ligero que ajuste el tejido a la
parte superior. Coloque en la canilla un hilo
que contraste con el color del tejido. Ajuste la
tensión superior al máximo o casi en él. Cuando
cosa, el hilo de la canilla tirará hacia el derecho
y proporcionará la apariencia de una puntada
de acolchado tradicional hecha a mano.

56
ZIGZAG STITCH SEWING
Your machine can sew zigzag stitches of various
widths and lengths by changing the settings of the
stitch width and stitch length.
No. 9 Zigzag Stitch
General Purpose Foot or Satin Foot (A, B)
Zigzag stitches are very good for applique and
decorative sewing.
SATIN STITCHING
To sew a satin stitch, shorten the stitch length and
attach the Satin Foot. (B)
Refer to next page for using the zig-zag to
overcast.
FREE ARM SEWING
By simply removing the extension table, you can
access the free arm, making it easier to stitch
hard-to-reach areas like pant hems, sleeve cuffs
and children’s clothing.
Note:
Refer to page 14 for Removing the Extension
Table.
MULTI-STITCH ZIGZAG
Used for sewing on elastic and overcast stitching.
No. 12 Multi-Stitch Zigzag
General Purpose Foot (A)
A. Elastic Sewing
Pull elastic in front and back of needle while
sewing.
B. Overcast Stitching
Used for easy to ravel and knit fabrics.
Needle should fall on extreme edge of fabric.
Refer to next page for overcasting.

57
COUTURE AU POINT
ZIGZAG
La machine peut effectuer des points zigzag de
différentes largeurs et longueurs quand vous
changez les réglages de la largeur et de la
longueur du point.
N°9 : Point zigzag
Pied Universel ou Pied Satin (A,B)
Le point zigzag est très effi cace pour les appliques
et la couture décoratif.
COUTURE SATIN
Quand vous cousez un point satin dont la longueur
du point est inférieure à la longueur ordinaire,
mettez en place le pied pour satin (B).
Referez à la page suivante pour utiliser le point
zigzag pour le surjet.
POINT ZIGZAG MULTIPLE
Pour couture d’élastiques et le surjet.
N°12 : Point zigzag multiple
Pied universel (A)
A. Couture Elastique
Tirez l’élastique devant et derrière l’aiguille
pendant la couture.
B. Point de surjet
Ce point est utilisé pour les tissus qui s’effi lochent
facilement et les matières tricotées.
L’aiguille doit piquer tout au bord du tissu.
Consultez la page suivante pour obtenir des
informations sur le surjet.
COUTURE AVEC BRAS
LIBRE
Pour plus de faciliter pour coudre les bords de
pantalons, les poignets et les vêtements d’enfant,
enlever le plateau d’extension.
Remarque :
Consultez la page 15 pour retirer le plateau
d’extension.
PUNTADA DE ZIG-ZAG
Su máquina puede coser puntadas de zig-zag de
varios anchos y largos cambiando los ajustes del
ancho y largo de puntada.
nº 9 Puntada de zig-zag
Pie de Uso General o de Satinado (A, B)
Puntadas Zigzag son muy buenas para
aplicaciones y costura decorativa.
PUNTADA DE REALCE
Cuando cosa con puntada de realce acortando el
largo de la puntada, coloque el prensatelas para
realce (B).
Refi érase a la siguiente página para usar el zig-
zag en refuerzos.
PUNTADA MÚLTIPLE DE
ZIG-ZAG
Usada para coser sobre puntadas de refuerzo o
elásticas.
nº 12 Puntada múltiple de zig-zag
Prensatelas universal (A)
A. Costura de elástico
Tire de la banda elástica por delante y por
detrás de la aguja mientras cosa.
B. Puntada de sobrehilado
Utilizada para tejidos de fácil deshilachado y de
punto.
La aguja debe caer en el borde extremo del tejido.
Consulte la página siguiente para más
información acerca del sobrehilado.
COSTURA CON BRAZO
LIBRE
Simplemente quitando la base extensible,
puede acceder al brazo libre, facilitando coser
áreas dífi ciles de alcanzar como dobladillos de
pantalones, puños de mangas y ropa de niños.
Nota:
Consulte la página 15 para más información sobre
cómo retirar la base extensible.

58
OVERCASTING-
OVERLOCKING
A. USING THE OVERCASTING FOOT
No. 9 (Stitch Width 5.0)
No. 15, 16, 30 (Stitch Width 5.0 - 7.0)
Overcasting Foot (C)
Line up the fabric against the guide plate of the
overcasting foot so that the needle falls near the
edge of the fabric.
a. No. 9 (Width=5.0) is used for preventing
raveling of fabrics.
b-d. No. 15, 16, 30 are designed to sew the seam
and seam fi nish at the same time.
CAUTION:
To prevent accidents, the Overcasting Foot should
be used for sewing patterns 9, 15, 16, 30 only.
Do not change the stitch mode or elongation. It is
possible that the needle could hit the presser foot
and break when sewing other patterns and widths.
B. USING THE GENERAL PURPOSE FOOT
No. 9, 12
General Purpose Foot (A)
Place fabric so that the needle falls near the edge
of the fabric when using the General Purpose
Foot.
e. For narrower zigzag width (Width=2.0-4.5).
f. Use No. 12 when sewing easy to ravel or
stretch fabrics.
Note:
g. If desired, trim the excess fabric after stitching
is complete. Be careful not to cut the threads
while trimming.

59
SURJET - SURFILAGE
A. AVEC LE PIED DE SURJET
N° 9 (réglage de la largeur du point : 5,0)
N° 15, 16, 30 (réglage de la largeur du point : 5,0 - 7,0)
Pied de surjet (C)
Enligner le tissue au bord du guide du pied surjet
ainsi que l’aiguille tombe près du bord du tissu.
a. Le point n°9 (largeur : 5,0) est utilisé pour
empêcher les tissus de s’effi locher.
b - d. No. 15, 16, 30 ont été créer pour faire la
couture et la fi nition en même temps.
AVERTISSEMENT:
Pour éviter les accidents, le pied de surjet est
recommandé pour les points 9, 15, 16, et 30
seulement. Ne changer pas le mode de point,
ni l’élongation. Il est possible que l’aiguille peut
frapper le pied presseur et casser si vous l’utiliser
avec autres motifs et largeurs.
B. AVEC LE PIED UNIVERSEL
N° 9, 12
Pied universel (A)
Placer le tissu ainsi que l’aiguille tombe près du
bord de la lisière du tissue en utilisant le pied
universel.
e. Pour un point zigzag étroit (largeur = 2,0-4,5).
f. Utilisez le motif n°11 pour la couture de tissus
qui s’effi lochent facilement et les matières
extensibles.
Note:
g. Si désirer, tailler l’excès de tissu après que
la couture est terminée. Attention de ne pas
couper les fi ls en taillant.
SOBREHILADO-
REMALLADO
A. CON EL PRENSATELAS PARA
SOBREHILADO
nº 9 (ancho de puntada 5,0)
n° 15, 16, 30 (ancho de puntada 5,0 - 7,0)
Prensatelas para sobrehilado (C)
Alinee la tela contra la placa guía del pie de sobre-
hilado de modo que la aguja caiga cerca del borde
de la tela.
a. nº 9 (ancho de puntada = 5,0): se utiliza para
prevenir el deshilachado de los tejidos.
b-d. No. 15, 16, 30 están diseñados para coser y
terminar al mismo tiempo.
PRECAUCIÓN:
Para prevenir accidentes el prensatelas de
sobrehilado debe ser usado solo para coser
puntadas 9, 15, 16, 30 . No cambie la puntada en
el modo de elongación. Es posible que la aguja
pueda golpear el prensatelas y romperse cuando
cosa patrones con otros anchos.
B. CON EL PRENSATELAS UNIVERSAL
nº 9, 12
Prensatelas universal (A)
Coloque la tela de modo que la aguja caiga cerca
del borde de la tela cuando use el Pie de Uso
General.
e. Para puntadas zig-zag más estrechas (ancho
de puntada =2,0-4,5).
f. Use n° 11 cuando cosa tejidos fáciles de
deshilacharse o elásticos.
Nota:
g. Si lo desea, corte el exceso de tela después
que la puntada esté completa. Tenga cuidado
de no cortar los hilos mientras corta.

60
5mm
1cm
5mm
BLIND HEM STITCHING
The hem is sewn without stitches showing on right
side of fabric.
No. 10 Blind hemming for stretch fabric
No. 11 Blind hem for non-stretch fabric
Blind Hem Foot (D)
1. Fold the fabric as shown in the illustration.
a. Medium, Heavy weight fabric
b. Light weight fabric
c. Wrong side of fabric
d. Overcasting
2. The guide (e) on the Blind Hem Foot ensures
even feeding of the fabric when blind hem
stitching. The guide (e) is adjusted by turning
the adjusting screw (f).
3. Place fabric so that the straight stitches (or
small zigzag stitches) are on the protruding hem
edge and the large zigzag stitches just catch
one thread of the folded edge (g). If necessary,
turn the screw (f) to adjust the foot so that the
needle barely touches the folded edge of the
fabric.
4. Lower the presser foot and sew hem, guiding
fabric evenly along the guide.
5. Turn the fabric over when you have completed
sewing.
c. Wrong side of fabric
h. Right side of fabric
Note:
Test on a scrap piece of fabric similar to your
project so you can determine the best placement
of the foot’s guide.

61
COUTURE D’OURLETS
INVISIBLES
L’ourlet est cousu sans points apparaissant sur
l’endroit du tissu.
N°10 : Ourlet invisible pour tissus extensibles
N°11 Ourlet invisible pour tissus non-extensibles
Pied ourlet invisible (D)
1. Pliez le tissu comme indique au schéma.
a. Tissu d’épaisseur moyenne ou tissu épais
b. Tissu léger
c. Envers du tissu
d. Surjet
DOBLADILLO DE PUNTADA
INVISIBLE
El dobladillo se cose sin que se vean las puntadas
en el anverso de la tela.
nº 10 Dobladillo de puntada invisible para tejidos
elásticos
nº 11 Dobladillo de puntada invisible para tejidos
no elásticos
Prensatelas para puntada invisible (D)
1. Doble la tela como se muestra en la ilustración.
a. Tejidos de peso medio o fuerte
b. Tejidos ligeros
c. Lado revés del tejido
d. Sobrehilado
2. Le guide (e) sur le pied ourlet invisible garantit
un entraînement régulier du tissu pendant la
couture d’ourlets invisibles.
Ajustez le guide (e) en tournant la vis de
réglage (f).
3. Positionnez le tissu de façon à ce que les points
droits (ou les petits points zigzag) soient cousus
sur la partie de l’ourlet qui dépasse et que les
grands points zigzag ne piquent qu’un fi l du
côté plié du tissu (g). Si nécessaire tournez la
vis (F) pour ajuster le pied pour que l’aiguille ne
pique que sur le bord du tissu.
4. Abaissez le pied presseur et cousez l’ourlet en
guidant le tissu de façon régulière le long du
guide.
5. Quand vous avez terminé la couture, retournez
le tissu.
c. Envers du tissu
h. Endroit du tissu
Note:
Pratiquez sur une retaille de tissu pour déterminer
le meilleur placement du guide du pied.
2. La guía (e) del prensatelas para puntada
invisible le asegura el transporte uniforme
de tela cuando cosa dobladillos de puntada
invisible. La guía (e) se ajusta girando el tornillo
de ajuste (f).
3. Coloque la tela de manera que las puntadas
rectas (o puntadas pequeñas de zig-zag)
queden al borde del dobladillo abultado y que
las puntadas grandes de zig-zag solamente
cojan un hilo del borde del dobladillo (g). Si es
necesario, gire el tornillo (f) para ajustar el pie
de modo que la aguja apenas toque el borde
doblado de la tela.
4. Baje el prensatelas y cosa el dobladillo, guiando
el tejido uniformemente a lo largo de la guía.
5. Déle la vuelta al tejido cuando termine de coser.
c. Lado revés del tejido
h. Lado derecho del tejido
Nota:
Pruebe en un pedazo de tela similar al de su
proyecto de modo que pueda determinar la mejor
colocación de la guía del pie.

62
CRAZY PATCH
Create interesting surface embellishment by
sewing decorative stitches over the seams. Try
mixing several types of fabrics for even more
variety.
No. 1
General Purpose or Satin Foot (A, B)
1. Place two pieces of fabric right sides together
and sew a long straight stitch.
2. Press the seam open.
No. 19, 20
3. With the right side of the fabric facing up, sew
the decorative stitch, making sure the stitches
fall on both sides of the seam.
APPLIQUE
No. 23, 24
Open Toe Foot
CAUTION:
To prevent accidents, do not change the stitch
width to wider than 5.0. Otherwise, needle could
hit the presser foot and break.
1. Set the applique in place on the base fabric with
temporary fabric spray adhesive or by using
fusible web.
2. Sew with the right side of the stitch following
the right edge of the applique as closely as
possible.
When sewing sharp angles or curves
Bring needle to lowest position and raise the
presser foot.
Use needle as pivot and turn fabric.
Note:
Applique can also be done with a satin stitch using
the Satin Foot (p. 56). It may be helpful to place a
fabric stabilizer underneath your work, which may
help prevent any fabric puckering.

63
PATCHWORK FOLLI
Créer des surfaces intéressantes en cousant avec
des points décoratifs sur les coutures. Combiner
des variétés de tissue pour plus d’intérêt.
N° 1
Pied universel ou pied satin (A, B)
1. Placez deux morceaux de tissus l’un contre
l’autre, endroit sur endroit et assemblez-les à
l’aide d’un point droit long.
2. Ouvrez la couture et pressez-la.
N° 19, 20.
3. Avec l’endroit du tissu vers le haut, cousez le
point décoratif en vous assurant que le point
tombe de chaque coté de la couture.
CRAZY PATCH
Puede crear interesantes diseños mediante punta-
das decorativas sobre las costuras. Intente mezclar
varios tipo de telas para darle más variedad.
nº 1
Prensatelas para realce o universal (A, B)
1. Coloque dos piezas de tejido con los lados
derechos juntos y cosa una puntada recta larga.
2. Presione la costura abierta.
nº 19, 20
3.
Con el lado derecho de la tela hacia arriba, cosa
la puntada decorativa, asegurándose que las
puntadas caigan en ambos lados de la costura.
APPLIQUE
N° 23, 24
Pied pour appliques ouvert
AVERTISSEMENT:
Pour éviter les accidents, ne régler pas la largeur
des points plus hauts que 5.0. Il y a possibilité que
l’aiguille peut frapper le pied et casser.
1. Placez l’applique sur le tissu de base en
utilisant un entoilage autocollante.
2. Cousez avec le coté droit du point suivant le
bord de l’applique.
Pour coudre les coins et les courbes
Abaisser l’aiguille dans le tissu et lever le pied
presseur.
Tourner et positionner le tissu.
Note:
Une appliqué se fait aussi avec le point et le pied
satin (P.57). Il est utile de placer un entoilage sous
votre travail, cela prévient le tissu de froncer.
APLICACIONES
nº 23, 24
Prensatelas de punta abierta
PRECAUCIÓN:
Para prevenir accidentes, no cambie el ancho de
puntada a más de 5.0. De otro modo, la aguja
podría golpear el prensatelas y romperse.
1. Coloque la aplicación en su sitio con adhesivo
de montaje en aerosol temporal o usando tela
termofusible.
2. Cosa con el lado derecho de la puntada
siguiendo el borde derecho de la apliación lo
más cerca posible.
Cuando cosa ángulos o curvas cerradas
Coloque la aguja en la posición más baja y levante
el prensatelas.
Use la aguja como eje y gire la tela.
Nota:
Las aplicaciones pueden también hacerse con
puntada de satín usando el Pie de Satinado (p. 57).
Puede ser útil colocar entretela debajo de su trabajo
lo que ayuda a evitar las arrugas.

64
INSERTING ZIPPERS
CENTERED INSERTION
No. 1 Straight Stitch (Center Needle Position)
Zipper Foot (E)
CAUTION:
To prevent accidents,the zipper foot should be
used for sewing center needle position straight
stitch No. 1 only. It is possible that needle could
hit the presser foot and break when sewing other
patterns.
1. Baste the zipper opening to the seam line.
a: Straight stitch
b: End of opening
c: Basting
d: Wrong side of fabric
2. Press open the seam allowance.
Place the open zipper face down on the seam
allowance with the teeth against the seam line.
Baste the zipper tape.
3. Attach the Zipper Foot.
Attach the left side of the presser foot pin to the
presser foot holder when sewing the right side
of the zipper, and right side of the presser foot
pin to the holder when sewing the left side of
the zipper.
4. Sewing on the right side of the fabric, stitch the
left side of the zipper from bottom to top.
5. Stitch across the lower end and right side of
zipper.
Remove the basting and press.
5 mm
7-10 mm
7-10
mm

65
FERMETURE À GLISSIÈRE -
POSE BORD À BORD
N°1 Point droit (position centrale de l’aiguille)
Pied fermeture à glissière (E)
INSERCIÓN DE
CREMALLERAS
INSERCIÓN CENTRADA
nº 1 Puntada recta (posición centrada de la aguja)
Prensatelas para cremalleras (E)
AVERTISSEMENT:
Pour éviter les accidents, le pied fermeture éclair
doit être utilisé avec le point droit No. 1, à la
position du centre seulement. Il y a possibilité que
l’aiguille peut frapper le pied et casser quand vous
utiliser autres motifs.
1. Faufi lez la pièce sur laquelle vous souhaitez
poser la fermeture à glissière de façon à fermer
l’ouverture.
a. Points de couture de la pièce
b. Fin de l’ouverture
c. Points de bâti
d. Envers du tissu
2. Ouvrez les réserves de la couture.
Pour cela, placez l’extrémité ouverte de la
fermeture vers le bas de la réserve de couture
en positionnant les dents le long de la ligne de
couture.
Faufi lez les deux côtés de la fermeture à
glissière sur les réserves de coutures.
3. Mettez le pied fermeture à glissières en place.
Fixez le côté gauche de l’attache du pied
presseur au support du pied presseur pour
coudre le côté droit de la fermeture. Fixez le
côté droit de l’attache du pied au support pour
coudre le côté gauche de la fermeture.
4. Cousant sur l’endroit du tissu, cousez en partant
du bas du coté gauche de la fermeture.
5. Cousez le bas de la fermeture puis le côté droit.
Retirez le fi l de bâti et repassez.
PRECAUCIÓN:
Para prevenir accidentes, el prensatelas de cierre,
debe ser usado solo para coser con la aguja en
posición central con puntada recta. No. 1 Es
posible que la aguja pueda golpear el prensatelas
y romperse mientras se cosen otras puntadas.
1. Hilvane la abertura para la cremallera.
a: Pespunte
b: Final de la apertura
c: Hilván
d. Lado revés del tejido
2. Presione el margen de costura abierto.
Coloque la cara de la cremallera abierta hacia
abajo sobre el margen de costura con los
dientes sobre la línea de costura.
Hilvane la cinta de la cremallera.
3. Coloque el prensatelas para cremalleras.
Coloque el lado izquierdo del pivote del
prensatelas en el portaprensatelas cuando
cosa el lado derecho de la cremallera, y el
lado derecho del pivote del prensatelas en el
portaprensatelas cuando cosa el lado izquierdo
de la cremallera.
4. Cosa en el lado derecho de la tela, cosa el lado
izquierdo de la cremallera de abajo hacia arriba.
5. Cosa a lo largo del extremo inferior y el lado
derecho de la cremallera.
Retire el hilván y presione.

66
INSERTING ZIPPERS
LAPPED INSERTION
No. 1 Straight Stitch (Center Needle Position)
Zipper Foot (E)
CAUTION:
To prevent accidents,the zipper foot should be
used for sewing center needle position straight
stitch No. 1 only. It is possible that needle could
hit the presser foot and break when sewing other
patterns.
1. Baste the zipper opening to the seam line.
a: Straight stitch
b: End of opening
c: Basting
d: Wrong side of fabric
2. Fold back to the left seam allowance.
Turn under the right seam allowance to form 3
mm (1/8”) fold.
3. Attach the Zipper Foot.
Attach the left side of the presser foot pin to the
presser foot holder when sewing the right side
of the zipper, and right side of the presser foot
pin to the holder when sewing the left side of
the zipper.
4. Stitch the left side of zipper from bottom to top.
5. Turn the fabric right side out stitch across the
lower end and right side of zipper.
6. Stop stitching with the needle down in the fabric
when the zipper foot reaches the zipper tab,
about 5 cm (2”) from the top of the zipper.
To stitch around the zipper tab:
(Diagram A)
1. Stop stitching before you reach the zipper tab.
2. Lower the needle into fabric.
3. Raise the presser foot and slide the zipper tab
backwards to clear the zipper foot.
4. Lower the presser foot and continue stitching.
5. Remove the basting stitches.
a. Zipper tab
5 mm
7-10 mm

67
FERMETURE À GLISSIÈRE -
POSE SOUS PATTE
N°1 Point droit (position centrale de l’aiguille)
Pied fermeture à glissière (E)
INSERCIÓN DE
CREMALLERAS
INSERCIÓN SOLAPADA
nº 1 Puntada recta (posición centrada de la aguja)
Prensatelas para cremalleras (E)
AVERTISSEMENT:
Pour éviter les accidents, le pied fermeture éclair
doit être utilisé avec le point droit No. 1, à la
position du centre seulement. Il y a possibilité que
l’aiguille peut frapper le pied et casser quand vous
utiliser autres motifs.
1. Faufi lez la pièce sur laquelle vous souhaitez
poser la fermeture à glissière de façon à fermer
l’ouverture.
a. Points de couture de la pièce
b. Fin de l’ouverture
c. Points de bâti
d. Envers du tissu
2. Repliez la réserve de couture vers le coté
gauche.
Retournez la réserve de l’endroit de façon à
former un pli de 3 mm.
3. Mettez le pied fermeture à glissières en place.
Fixez le côté gauche de l’attache du pied
presseur au support du pied presseur pour
coudre le côté droit de la fermeture. Fixez le
côté droit de l’attache du pied au support pour
coudre le côté gauche de la fermeture.
4. Piquez le côté gauche de la fermeture de bas
en haut.
5. Tournez le tissu sur l’endroit et cousez le bas de
la fermeture puis le côté droit.
6. Arrêtez la couture environ 5 cm avant d’atteindre
le haut de la fermeture. Retirez le fi l de bâti et
ouvrez la fermeture. Piquez jusqu’au bout.
A. OUVRIR LA FERMETURE À GLISSIÈRE
PENDANT LA COUTURE
1. Arrêtez de coudre avant d’atteindre la glissière.
2. Piquez l’aiguille dans le tissu.
3. Relevez le pied presseur et ouvrez la fermeture.
4. Abaissez le pied presseur et continuez la
couture.
a. Glissière
PRECAUCIÓN:
Para prevenir accidentes, el prensatelas para
cremalleras debe ser usado para coser sólo con
posición centrada de la aguja y puntada recta No.
1 Es posible que la aguja golpee el prensatelas y
romperse cuando se cosen otras puntadas.
1. Hilvane la abertura para la cremallera.
a: Pespunte
b: Final de la apertura
c: Hilván
d: Lado revés del tejido
2. Doble hacia atrás el margen de costura
izquierdo.
Gire por debajo del margen de costura derecho
para formar un doblez de 3 mm.
3. Coloque el prensatelas para cremalleras.
Coloque el lado izquierdo del pivote del
prensatelas en el portaprensatelas cuando
cosa el lado derecho de la cremallera, y el
lado derecho del pivote del prensatelas en el
portaprensatelas cuando cosa el lado izquierdo
de la cremallera.
4. Cosa el lado izquierdo de la cremallera de
abajo hacia arriba.
5. Gire el lado derecho del tejido hacia fuera
y cosa a lo largo del extremo inferior y lado
derecho de la cremallera.
6. Pare a unos 5 cm del lado superior de la
cremallera. Retire el hilván y abra la cremallera.
Cosa el resto de la costura.
A. PARA ABRIR LA CREMALLERA
MIENTRAS SE COSE
1. Pare las puntadas antes de alcanzar el
deslizador de la cremallera
2. Baje la aguja dentro del tejido
3. Levante el prensatelas y abra la cremallera
4. Baje el prensatelas y continúe cosiendo
a. Deslizador

68
BUTTONHOLE SEWING
Select the buttonhole style you want to sew.
This machine can sew 13 types of buttonholes.
120. Bar-tack Buttonhole (Narrow) for light to
medium weight fabrics
121. Bar-tack Buttonhole (Wide) for large buttons
122. Keyhole Buttonhole for heavy weight fabrics
123. Keyhole Buttonhole with reinforced bar tack
124. Tapered Keyhole Buttonhole
125. Round Ended Buttonhole (Narrow) for light to
medium weight fabrics
126. Round Ended Buttonhole (Wide) for large
buttons
127. Round Ended Buttonhole with cross bar
128. Both Round Ended Buttonhole
129. Decorative Buttonhole
130. Stretch Buttonhole
131. Heirloom Buttonhole
132. Bound Buttonhole (See page 72)
Buttonhole Foot (F)
Note:
Density of the sides of the buttonhole may be
adjusted with stitch length control.
1. Mark position and length of buttonhole on fabric.
2. Set button on the base.
If the button does not fi t securely on the base,
adjust the slide on the base to the diameter of
the button, plus the thickness of the button.
a = Length of button + thickness
3. Pass upper thread through the hole of
buttonhole foot and bring upper thread to the
left.
4. Position fabric under presser foot so that
the center line mark is in the center of the
buttonhole foot.
Lower the foot while pulling the frame of the
buttonhole foot towards you.
Note:
When sewing stretch fabrics, it is suggested that
you use interfacing on the backside of the fabric.
5. Lower the buttonhole lever completely.
Note:
Machine will not start to sew if buttonhole lever is
not lowered properly or frame of buttonhole foot is
not positioned all the way forward.
6. Hold upper thread lightly and start the machine.

69
COUTURE DE BOUTONNIÈRES
Sélectionnez le style de boutonnière que vous
désirez. .
La machine est en mesure de coudre des
boutonnières de 13 formes différentes.
120. Boutonnière avec arrêt (étroite) pour les
tissus légers ou d’épaisseur moyenne
121. Boutonnière avec arrêt (large) pour les
grands boutons
122. Boutonnière à œillet pour les tissus épais
123. Boutonnière à œillet à point croisé renforcé
124. Boutonnière à œillet et pointe
125. Boutonnière arrondie (étroite) pour les tissus
légers ou d’épaisseur moyenne
126. Boutonnière arrondie (large) pour les grands
boutons
127. Boutonnière arrondie et point croisé
128. Boutonnière aux deux extrémités arrondies
129. Boutonnière décorative
130. Boutonnière extensible
131. Boutonnière au point de croix
132. Boutonnière passepoilée (voir page 73)
Pied à boutonnière (F)
Remarque :
La densité de la boutonnière peut être changée
avec l’ajustement de la longueur du point.
1. Marquez la position et la longueur de la
boutonnière sur le tissu.
2. Placez le bouton sur la base.
Si le bouton ne fait pas sur la base du pied
boutonnière, ajustez la glissière à la longueur et
l’épaisseur du bouton.
a = Longueur du bouton + épaisseur
3. Passez le fi l supérieur à travers le trou du pied
boutonnière et tirez le vers la gauche.
4. Placez le tissu sous le pied presseur de
manière à positionner la ligne centrale dans le
centre du pied boutonnière.
Abaissez le pied en ramenant vers vous le
cadre du pied boutonnière.
Remarque :
Pour coudre des tissus extensibles, il est conseillé
d’utiliser un entoilage sur l’envers du tissu.
5. Descendez complètement le levier du pied
boutonnière.
Note :
La machine ne peut pas coudre tant que le levier
du pied n’est pas descendu correctement ni tant
que le pied boutonnière n’est pas dans la bonne
position.
6. Tenez le fi l d’aiguille sans le tendre et démarrez
la machine.
CÓMO COSER OJALES
Seleccione el estilo de ojal que desee.
Esta máquina puede coser 13 tipos de ojales.
120. Ojal con presilla (estrecho) para tejidos
ligeros y medios
121. Ojal con presilla (ancho) para botones más
grandes
122. Ojal tipo sastre para tejidos fuertes
123. Ojal tipo sastre con presilla transversal
124. Ojal tipo sastre con presilla cuneiforme
125. Ojal redondo (estrecho) para tejidos ligeros y
medios
126. Ojal redondo (ancho) para botones más
grandes
127. Ojal redondo con presilla transversal
128. Ojal con ambos acabados en redondo
129. Ojal decorativo
130. Ojal elástico
131. Ojal de puntilla
132. Ojal reforzado (ver página 73)
Prensatelas para ojal (F)
Nota:
La densidad de los lados del ojal puede ajustarse
con el control de largo de puntada.
1. Marque la posición y longitud del ojal sobre el
tejido.
2. Coloque el botón en la base.
Si el botón no se fi ja bien en la base, ajuste el
deslizamiento en la base al diámetro del botón,
más el espesor del botón.
a = Longitud del botón + grueso
3. Pase el hilo superior por el orifi cio del ojal y jale
el hilo superior a la izquierda.
4. Coloque la tela debajo del prensatelas de modo
que la marca de la línea de centro este en el
centro del pie ojalador.
Baje el pie jalando el bastidor del pie ojalador
hacia usted.
Nota:
Cuando cosa tejidos elásticos, se recomienda que
utilice una entretela en el lado de atrás del tejido.
5. Baje completamente la palanca del ojal.
Nota:
La máquina no comenzará a coser si la palanca
del ojal no está bajada adecuadamente o el
bastidor del pie ojalador no está colocado hacia
adelante.
6. Sostenga el hilo superior suavemente y
arranque la máquina.

70
7. Machine will sew the buttonhole in the order as
shown and stop automatically after sewing.
8. Press the thread cutter button and raise the
presser foot to remove the fabric.
To sew over same buttonhole, raise presser foot
to return to original position.
9. Cut center of buttonhole being careful not to cut
stitches on either side. Use a pin as a stopper.
CAUTION: To prevent accidents.
When using seam ripper, do not put your fi nger in
the path of ripper.
Note:
A. For sewing buttonholes on hard-to-sew fabrics
or along the edge of multi-layered garments,
install the underplate. Place the fabric between
the underplate and buttonhole foot.
1 2 3 4 5 6 1 2 3 4 5
1 2 3 4
1 2 3 4 5 1 2 3 4
1 2 3 4 5
1 2 3 4
1 2 3 4
1 2 3
1 2 3 4 5

71
7. La machine coud la boutonnière comme indiqué
sur l’illustration et s’arrête automatiquement
après la couture.
8. Appuyez sur la touche Coupe-Fil automatique
pour enlever le tissu.
Pour repasser sur la même boutonnière, relevez
le pied presseur pour vous remettre en position
initiale.
9. Coupez le tissu à l’intérieur de la boutonnière
en prenant soin de ne pas couper les points
de chaque côté. Utilisez une épingle comme
marque d’arrêt.
ATTENTION! Pour éviter les
incidents :
Si vous utilisez un découseur, veillez à ne pas
mettre vos doigts sur son trajet.
Remarque :
A. Pour tissus diffi ciles ou pour boutonnières au
bord d’un tissu, installer le sous plaque. Placer
le tissu entre le pied boutonnière et le sous
plaque.
7. La máquina coserá el ojal en el orden que
se muestra y se detendrá automáticamente
después de coser.
8. Presione el botón del cortador de hilo y levante
el prensatelas para quitar la tela.
Para coser sobre el mismo ojal, levante el
prensatelas para volver a la posición original.
9. Corte el centro del ojal con cuidado de no cortar
las puntadas que hay a cada lado. Utilice un
alfi ler como tope.
PRECAUCIÓN: Para prevenir
accidentes
Cuando utilice un descosedor para la costura, no
coloque su dedo en medio del descosedor.
NOTA:
A. Para coser ojales en telas de difícil costura o a
lo largo del borde de telas de muchas capas,
coloque la placa inferior. Coloque la tela entre
la placa y el pie ojalador.

72
BOUND BUTTONHOLE
A bound buttonhole provides a professional touch
to tailored garments like suits, coats and jackets.
132. Bound Buttonhole
Buttonhole Foot (F)
1. Cut a patch of fabric 2.5 cm (1”) wide, 1 cm
(1/3”) longer than the fi nished buttonhole.
Baste a patch so that the center line of patch
will align with the center line mark of buttonhole.
a. Right side of fabric
b. Wrong side of patch
2. Lower the buttonhole lever and sew buttonhole.
(See previous page)
Machine will sew the buttonhole in the order as
shown and stop automatically after sewing.
3. Press the thread cutter button and raise the
presser foot to remove the fabric.
4. Carefully cut through the center of buttonhole to
within 3 mm of each end. Cut diagonally to each
corner as shown.
Remove the basting.
5. Draw the patch through the opening to the
underside.
6. Turn the fabric and pull the patch through the
buttonhole rectangle.
Press the patch.
c. Wrong side of fabric
d. Right side of patch
7. Turn the patch and press the side seam
allowance.
8. Fold each side of the patch to form pleats that
meet at the center of the buttonhole and cover
the opening. Press the patch.
9. Turn the fabric to right side and baste along the
center of each fold.
a. Right side of fabric
1 2 3 4

73
BOUTONNIERE
PASSEPOILEE
Une boutonnière passepoilée fournie une touche
professionnelle aux vêtements comme les
manteaux et les tailleurs.
132. Boutonnière passepoilée
Pied à boutonnière (F)
1. Coupez un morceau de tissu de 2,5cm de
largeur et d’1cm plus long que votre boutonnière
fi nie.
a. Endroit du tissu
b. Envers du tissu
2. Abaissez le pied boutonnière et cousez la
boutonnière. (voir page précédente)
La machine coud la boutonnière dans l’ordre
indiqué et s’arrête automatiquement.
3. Appuyez sur la touche coupe fi l automatique
et remontez le pied boutonnière pour libérer le
tissu.
4. Coupez précisément le centre de la boutonnière
jusqu’à 3mm du bord. Coupez en diagonale
jusqu’à chaque coin comme indiqué.
Enlevez le faufi lage.
5. Retourner l’empiècement à travers l’ouverture
vers le côté opposé.
6. Tourner le tissu et tirer l’empiècement afi n que
le bord de la boutonnière présente une forme
rectangulaire.
Repasser l’empiècement
c. Mauvais côté du tissu
d. Bon côté de l’empiècement
7. Retourner l’empiècement et repasser la couture
du côté.
8. Plier chaque côté de l’empiècement pour former
des plis qui se rencontrent au centre de la
boutonnière et couvrent l’ouverture. Repasser
l’empiècement.
9. Tourner le tissu du côté droit et faufi ler le long
du centre de chaque pli.
a. Côté droit du tissu
OJAL REFORZADO
Un ojal reforzado proporciona un toque profesional
en la prendas de sastre como trajes, abrigos y
sacos.
132. Ojal reforzado
Pie Ojalador (F)
1. Corte un parche de tela de 2.5 cm de ancho,
1 cm más largo que el ojal terminado.
Hilvane un parche de modo que la línea de
centro del parche se alineará con la marca de
la línea de centro del ojal.
a. Lado derecho de la tela
b. lado contrario del parche
2. Baje la palanca del ojal y cosa el ojal. (Consulte
la página anterior)
La máquina coserá el ojal en el orden como
se muestra y se detiene de forma automática
después de coser.
3. Presione el botón del cortador de hilo y levante
el prensatelas para quite la tela.
4. Corte con cuidado por el centro del ojal a 3 mm
de cada extremo.
Corte diagonalmente en cada esquina como se
muestra.
Retire el hilvanado.
5. Jale el parche por la apertura hacia el lado de
abajo.
6. Gire la tela y jale el parche de modo que el ojal
tenga forma rectangular.
Presione el parche.
c. Lado contrario de la tela
d. Lado derecho del parche
7. Gire el parche y presione la tolerancia del lado
de la costura.
8. Doble cada lado del parche para formar
pliegues que coincidan en el centro del ojal y
cubra la apertura. Presione el parche.
9. Gire la tela al lado derecho e hilvane a lo largo
del centro de cada pliegue o doblez.
a. Lado derecho de la tela.

74
10.Fold the fabric and stitch along the seams on
each side, just a needle width from the original
stitching line. Remove the basting.
c. Wrong side of fabric
11. Fold the fabric along the buttonhole
end and stitch triangular ends on the original
stitching line.
12. Press and trim the patch to within 5 mm
(3/16”) of the stitching.
a. Right side of fabric
c. Wrong side of fabric
NOTE:
When sewing lighter weight fabric, reinforce
buttonhole area. Cut a patch of fusible interfacing
3 cm (1 1/4”) wider and 2 cm (3/4”) longer than
the buttonhole. Fuse to wrong side over each
buttonhole marking.
EYELET
This stitch pattern is used for making belt holes
and other similar applications.
117 Eyelet
Satin Foot (B)
You can choose 3 sizes of eyelets by changing the
stitch length.
1. Place the fabric under the presser foot and
lower the presser foot. Start the machine.
Machine will sew the eyelet and stop
automatically.
2. Press the thread cutter button and raise the
presser foot.
3. Make a hole in the center of the eyelet.
Note:
Eyelet punch is not provided with this machine.

75
10. Pliez le tissu et coudre le long de la couture
sur chaque côté, juste à une largeur d’aiguille
de la ligne de piquage originale. Retirez le
faufi lage.
c. Envers du tissu
11. Pliez le tissu dans l’autre direction et coudre
le bord triangulaire sur la ligne de piquage
originale.
12. Repasser et fi nir le bord de l’empiècement
jusqu’à 5 mm du bord de la couture.
a. Côté droit du tissu
c. Côté opposé du tissu
NOTE:
Quand vous travailler avec un tissu léger, renforcer
l’endroit des boutonnières. Tailler un morceau
d’entoilage autocollant 3 cm plus large et 2 cm
plus long que la boutonnière. Fixer le morceau
d’entoilage au coté inverse du tissu ou vous avez
marqué les boutonnières.
OEILLET
Ce programme de points est utilisé pour faire les
contours de trou de ceinture ou autres applications
similaires.
117 Œillet
Pied ZIGZAG (B)
Vous pouvez choisir 3 dimensions d’œillets en
changeant la longueur de point.
1. Placez le tissu sous le pied presseur et
abaissez-le. Démarrez la machine.
La machine va coudre l’œillet et s’arrêtera
automatiquement.
2. Appuyer sur le bouton du coupe-fi l et relever le
pied presseur.
10. Doble la tela y cosa a lo largo de las
costuras en cada lado, solo el ancho de la
aguja a partir de la linea original de costura.
Quite el hilvanado.
c. Lado contrario de la tela
11. Doble la tela en otra dirección y cosa los
extremos triangulares en la línea de costura
original.
12. Presione y corte el parche dentro de un
espacio de 5 mm de la costura.
a. Lado derecho de la tela
b. Lado contrario de la tela.
NOTA:
Cuando cose tejidos más livianos, refuerce el área
del ojal. Corte un trozo de entretela adhesiva de 3
cm (1 1/4”) de ancho y 2 cm (3/4”) más largos que
el ojal. Fija del lado contrario a la vista en cada
marca del ojal.
OJAL BORDADO
Este patrón de puntada se utiliza para hacer
orifi cios para cinturones y otras aplicaciones
similares
117 Ojal bordado (ojetillo)
Pie para satinados (B)
Puede escoger los 3 tamaños de ojetillo
cambiando el largo de la puntada.
1. Coloque la tela debajo del prensatelas y
bájelo. Ponga en marcha la máquina. La
máquina coserá el ojetillo y se detiene de forma
automática.
2. Presione el botón cortador de hilo y levante el
prensatelas.
3. Faites un trou au centre de l’œillet.
Note:
La perforeuse d’œillet n’est pas fourni avec cette
machine.
3. Haga un corte en el centro del ojetillo.
Nota:
El corte para ojetillo no se integra con esta
máquina.

76
AUTOMATIC BAR-TACK
AND DARNING
You can sew automatic bar-tack and darning using
the buttonhole foot.
No. 118 Bar-tack, to reinforce areas that will be
subject to strain, such as pocket corners.
No. 119 Darning, mending and other applications.
Buttonhole Foot (F)
1. Adjust slide on base of buttonhole foot
according to the length of the bar-tack or
darning to be sewn.
a= Length of bar-tack or darning
2. Pass upper thread through the hole of
buttonhole foot and bring upper thread to the
left.
3. Position fabric under presser foot so that the
starting point is on the thick area.
Lower the foot.
b. When sewing the bar-tack on the edge of thick
fabric, such as a pocket, place a cardboard or
fabric piece of the same thickness beside the
fabric to help keep the foot level as you sew.
4. Lower the buttonhole lever completely.
Note:
Machine will not start to sew if buttonhole lever
is not lowered properly or buttonhole foot is not
positioned correctly.
5. Hold upper thread lightly and start the machine.
6. Machine will sew bar-tack or darning stitch as
shown. Machine will stop automatically when
the pattern is fi nished.
7. Press the thread cutter button and raise the
presser foot lifter to remove the fabric.
1 2 3 4
1 2

77
ARRÊT ET REPRISAGE
AUTOMATIQUES
Le pied boutonnière permet d’effectuer un arrêt ou
un reprisage automatiquement.
N° 118 : Arrêt pour renforcer les zones fragiles,
telles que les coins de poche.
N° 119 : Reprisage, réparation et opérations
similaires.
Pied boutonnière (F)
1. Ajuster la glissière du pied boutonnière selon la
longueur de l’arrêt ou le reprisage.
a = Longueur de l’arrêt ou du reprisage.
2. Passer le fi l supérieur à travers le trou du pied
boutonnière et tirez le fi ls vers la gauche.
3. Positionner le tissu sous le pied ainsi que le
départ du point est sur la parti épaisse.
Abaissez le pied presseur.
b. Pour coudre un arrêt au bord d’un tissu épais,
comme une poche, placer un carton ou un
tissue de la même épaisseur au long du tissu
pour aider garder le pied au même niveau.
4. Abaissez complètement le levier de
boutonnière.
Remarque :
La machine ne peut pas coudre tant que le levier
boutonnière n’est pas descendu correctement
ni tant que le pied boutonnière n’est pas dans la
bonne position.
5. Tenez le fi l d’aiguille sans le tendre et démarrez
la machine.
6. La machine coud alors l’arrêt ou le reprisage
comme indiqué sur l’illustration. Puis la machine
s’arrête après avoir cousu la fi n de l’arrêt.
7. Appuyer le bouton du coupe-fi l et relever le pied
presseur pour enlever le tissu.
PRESILLAS Y ZURCIDOS
AUTOMÁTICOS
Puede realizar presillas y zurcidos automáticos
usando el prensatelas para ojales.
nº 118 Presilla, para reforzar las áreas sujetas a
tensión, como las bocas de los bolsillos.
nº 119 Zurcido, remiendos y otras aplicaciones.
Prensatelas para ojales (F)
1. Ajuste el deslizamiento en la base del pie
ojalador según el largo de la presilla o zurcido a
coser.
a=largo de la presilla o zurcido.
2. Pase el hilo superior por el orifi cio del pie
ojalador y lleve el hilo superior a la izquierda.
3. Coloque la tela debajo del prensatelas de modo
que el punto de inicio sea el área gruesa.
Baje el prensatelas.
b. Cuando cosa la presilla en el borde de una tela
gruesa, como un bolsillo, coloque un cartón o
pedazo de tela del mismo espesor frente a la
tela para ayudar a mantenerla al nivel del pie
mientras se cose.
4. Baje completamente la palanca del prensatelas.
Nota:
La máquina no empezará a coser si la palanca
del ojal no está bajada apropiadamente o si el
prensatelas para ojales no está posicionado
correctamente.
5. Sujete suavemente el hilo superior y ponga en
marcha la máquina.
6. La máquina coserá la presilla o zurcido como
se muestra y se detendrá después de coser el
fi nal de la presilla.
7. Presione el botón del cortador de hilo y levante
la palanca del prensatelas para poder quitar la
tela.

78
SEWING ON BUTTONS
No. 13
Button Sewing Foot
1. Lower the feed dogs by moving the drop feed
lever to the left.
2. Attach the button sewing foot. Align two holes
of the button with slot of presser foot and lower
foot to hold the button securely.
3. Adjust the stitch width so that the needle enters
the left hole of button.
4. Turn hand wheel by hand slowly so needle
enters the second hole. You may need to adjust
the stitch width again to make sure the swing of
the needle clears the holes of the button.
CAUTION: To prevent accidents.
Make sure that the needle does not hit the button
during sewing. Otherwise needle may break.
5. Sew approximately 10 stitches at slow speed.
6. Raise the foot and cut the threads remaining
about 10 cm (4”) long.
7. Pull the thread ends to the wrong side of the
fabric with a hand sewing needle. Tie the
threads together to secure.
8. After sewing, move the drop feed lever to the
right.
Note:
To sew a 4-hole button, follow the procedure above
for the fi rst two holes. Then lift presser foot slightly
and move fabric to permit stitching the other two
holes, either parallel, or criss-cross over the fi rst
two holes.
A. THREAD SHANK
Buttons on coats and jackets should have a
thread shank to make them stand away from the
fabric. Insert a straight pin or sewing machine
needle under the center slit of the foot from the
front. Sew over the pin or needle. To create a
thread shank, pull thread to the back side of the
button and wind the thread around the stitches.
Tie the thread ends securely.

79
COUTURE DE BOUTONS
N°13
Pied pour boutons
1. Abaissez les griffes en poussant le levier des
griffes vers la gauche.
2. Mettez en place le pied pour boutons et alignez
deux trous du bouton avec la barre centrale
du pied pour boutons. Ensuite, abaissez le
pied presseur de façon à ce que le bouton soit
fermement maintenu.
3. Réglez la largeur du point de façon à ce que
l’aiguille pénètre dans le trou gauche du bouton.
4. Tournez le volant lentement ainsi que l’aiguille
descend dans le trou droit. Il est possible qu’il
faudra ajustez la largeur du point pour éviter
que l’aiguille touche le bouton.
ATTENTION! Pour éviter les
incidents :
Veillez à ce que l’aiguille ne pique pas dans le
bouton pendant la couture. Sinon, l’aiguille pourrait
se casser.
5. Cousez lentement une dizaine de points.
6. Lever le pied presseur et couper le fi l, laissant
10 cm de longueur.
7. Tirez les fi ls vers l’envers du tissu avec une
aiguille à main et nouée.
8. Après la couture, amenez le levier des griffes
sur la droite.
Remarque :
Pour coudre un bouton à 4 trous, suivez l’indication
ci haute. Ensuite, lever le pied et déplacer le tissu
pour coudre les deux autres trous.
A. TIGE DE FIL
Vous devez réaliser une tige de fi l entre le
bouton et le tissu pour que le bouton soit placé
suffi samment écarté du tissu pour passer la
boutonnière facilement. Insérez une épingle ou
une aiguille de machine à coudre dans la fente
centrale du pied presseur par devant. Coudre
au-dessus de l’épingle ou de l’aiguille. Pour
créer un support de fi l pour le bouton, passer le
bout du fi l au dos du bouton, ensuite enrouler le
fi l autour des points. Nouées les bouts du fi l.
CÓMO COSER BOTONES
nº 13
Prensatelas para coser botones
1. Baje los transportadores moviendo la palanca
de arrastre hacia la izquierda.
2. Coloque el prensatelas para costura de
botones, alinee dos agujeros del botón con la
ranura del prensatelas y baje el prensatelas
para mantener el botón fi rmemente.
3. Ajuste el ancho de la puntada de modo que la
aguja se introduzca en el agujero izquierdo del
botón.
4. Gire el volante a mano lentamente de modo
que la aguja entre en el segundo orifi cio. Puede
necesitar ajustar el ancho de puntada de nuevo
para asegurar que el movimiento de la aguja
libre los orifi cios del botón.
PRECAUCIÓN: Para prevenir
accidentes
Asegúrese de que la aguja no choca con el botón
durante la costura, ya que podría romperse.
5. Cosa aproximadamente 10 puntadas a baja
velocidad.
6. Levante el pie y corte los hilos restantes cerca
de 10 cm. (4”) de largo.
7.
Jale los extremos de los hilos a el lado contrario
de la tela con una aguja de costura a mano.
Amarre los hilos juntos para asegurar.
8. Después de coser, mueva la palanca de
arrastre a la derecha.
Nota:
Para pegar un botón de 4 orifi cios, siga el procedi-
miento anterior. Entonces levante el prensatelas
ligeramente y mueva la tela para permitir coser
los otros dos orifi cios, ya sea paralelos o en cruce
sobre los dos primeros orifi cios.
A. Zanco Hilo
Para pegar botones en abrigos y chaquetas
debe usarse un zanco hilo para hacer que
permanezcan alejados de la tela. Inserte un
alfi ler o una aguja en la ranura del centro del
pie desde el frente. Cosa sobre el alfi ler o la
aguja. Para crear un zanco de hilo, jale el hilo
hacia atrás del botón y enrolle el hilo alderedor
de las puntadas. Amarre bien los extremos de
hilo.

80
NARROW HEMMING
No. 1 Straight Stitch (Center Needle Position)
Rolled Hem Foot
CORDING
No. 9 Zigzag Stitch for Single Cording
No. 12 Multi Zigzag for Triple Cording
Cording Foot
3 mm
5 cm
A. SINGLE CORDING
1. Set stitch pattern to No. 9. Insert the cord in the
center groove of cording foot from the right side
opening. Pull cord about 5 cm (2 inches) behind
the foot.
2. Adjust the stitch width so that the stitches are
just cover the cord. Lower the foot and sew
slowly, guiding the cord.
B. TRIPLE CORDING
Set the stitch pattern to No. 12 and set the stitch
width to 6.0-7.0. Insert three cords into the slots
of Cording Foot.
1. Fold edge of fabric over about 3 mm (1/8 inch),
then fold it over again 3 mm for about 5 cm
(2 inches) along edge of fabric.
2. Insert needle into the fold by turning the hand
wheel toward you, and lower the presser foot.
Sew several stitches and raise the presser foot.
Insert fabric fold into spiral of Rolled Hem Foot.
Move fabric back and forth until the fold forms a
scrolled shape.
3. Lower the presser foot and start sewing slowly,
while guiding raw edge of fabric scroll evenly
into front of Rolled Hem Foot.

81
OURLET ROULOTTÉ
N° 1 Point droit (position centrale de l’aiguille)
Pied ourlet roulotté
DOBLADILLOS
ARROLLADOS
nº 1 Puntada recta (posición centrada de la aguja)
Prensatelas para dobladillos arrollados
1. Pliez le bord du tissu à environ 3mm, puis
repliez 3 mm sur à peu près 5 cm le long du
bord du tissu.
2. Piquez l’aiguille dans le pli en tournant le volant
vers vous et abaissez le pied presseur. Cousez
plusieurs points puis relevez le pied presseur.
Insérez le pli du tissu dans l’ouverture en spirale
du pied ourlet. Déplacez le tissu vers l’avant et
l’arrière jusqu’à ce que le pli forme un rouleau.
3. Abaissez le pied presseur et commencez
lentement la couture. Pendant la couture,
guidez le tissu à coudre formé en un rouleau
bien régulier devant l’ourleur.
1. Doble el borde del tejido unos 3 mm y, a
continuación, dóblelo de nuevo otros 3 mm para
una longitud de unos 5 cm a lo largo del borde
del tejido.
2. Inserte la aguja en el borde girando el volante
manual hacia usted, y baje el prensatelas. Cosa
varias puntadas y suba el prensatelas. Inserte
el dobladillo del tejido en la apertura espiral
del prensatelas para dobladillos. Mueva el
tejido hacia atrás y hacia adelante hasta que el
dobladillo quede en forma de rollo.
3. Baje el prensatelas y comience a coser
despacio guiando uniformemente el borde
de la tela en el dobladillador, para enrollar el
dobladillo.
CORDONNETS
N°9 : Point zigzag pour cordonnets simples
N°12 Point zigzag multiple pour cordonnets triples
Pied à cordonnet
CORDONCILLO
nº 9 Puntada de zig-zag sencilla para cordoncillo
nº 12 Zig-zag múltiple para cordoncillo triple
Prensatelas para cordoncillo
A. CORDONNETS SIMPLES
1. Programmez le motif n°9. Insérez la cordelette
dans la rainure centrale du pied à cordonnet par
le côté droit de l’ouverture. Tirez la cordelette
d’environ 5 cm derrière le pied.
2. Ajustez la largeur du point pour que la couture
couvre juste la cordelette. Abaissez le pied
presseur et cousez lentement en guidant la
cordelette.
B. CORDONNETS TRIPLES
Programmez le point n°12 et la largeur du point
sur 6,0-7,0. Insérez trois cordelettes dans les
rainures du pied à cordonnet.
A. CORDONCILLO SIMPLE
1. Ajuste la puntada a nº9. Inserte el cordoncillo
en la guía central del prensatelas para
cordoncillo desde la apertura del lado derecho.
Tire del cordoncillo unos 5 cm por detrás del
prensatelas.
2. Ajuste el ancho de la puntada de manera que
las puntadas cubran justo el cordoncillo. Baje
el prensatelas y cosa lentamente, guiando el
cordoncillo.
B. CORDONCILLO TRIPLE
Ajuste la puntada nº12 y ajuste el ancho de la
puntada a 6,0-7,0. Inserte tres cordoncillos en
las ranuras del prensatelas para cordoncillo.

82
USING THE EVEN-FEED
FOOT
The Even-feed Foot equalizes the feeding of the
upper and lower layers of fabric and improves the
matching of plaids, stripes, and patterns. This foot
helps to prevent uneven feeding of very diffi cult
fabrics. Use this foot also for sewing quilts.
No. 1, 2, or 9
Even-feed Foot
A. ATTACHING THE EVEN-FEED FOOT
1. Remove the presser foot and holder. (See page
14)
2. The arm of even-feed foot should rest on the
shaft of the needle clamp screw.
3. Slide the attaching head from your left to right
so that it is fi tted into the presser bar.
4. Tighten the presser foot screw.
B. SEWING
Hold upper thread lightly as you start to sew.
CONTINUOUS DECORATIVE
PATTERN
Use the Satin Foot for continuous decorative stitch
patterns. This foot has a groove on the underside
to allow satin stitches (or other closely spaced
stitches) to feed freely under the foot.
No. 19-116
Satin Foot (B)
To customize the continuous decorative stitch
pattern, you may adjust the length and width of
pattern. Experiment with fabric scraps until you
achieve the desired length and width.
A. SEWING LIGHTWEIGHT FABRICS
When sewing lightweight fabrics, it is suggested
that you use stabilizer on the backside of the
fabric. This can help prevent stitches from
puckering the fabric.

83
SÉQUENCE DE MOTIFS
DÉCORATIFS
Pour les séquences de motifs décoratifs, utilisez le
pied satin.Il y a une rainure sous ce pied qui
permet les points satin et autres points fourni
d’avancer facilement sous le pied.
N°19-116
Pied satin (B)
Pour effectuer une séquence de motifs décoratifs,
vous pouvez régler la longueur et la largeur du
motif. Expérimenter avec des retailles de tissu
pour atteindre la longueur et la largeur désirée.
A. COUTURE DE TISSU LEGER
Il est conseiller d’utiliser un entoilage au dos du
tissu pour tissu léger. Ceci peut aider à éviter
que les points ne fronce pas le tissu.
UTILISATION DU PIED
POUR ENTRAÎNEMENT
SYNCHRONISÉ
Le pied d’entraînement égalise le mouvement des
tissus supérieur et inferieur. Il sert à coudre les
carottés, les velours, et les rayures. Il est aussi
recommander pour le matelassage.
N°1, 2 ou 9
Pied pour entraînement synchronisé
A.MISE EN PLACE DU PIED POUR
ENTRAÎNEMENT SYNCHRONISÉ
1. Retirez le pied presseur et le support du pied
presseur (voire page 15).
2. Le bras du pied pour entraînement synchronisé
doit s’enclencher sur le tube de la vis du pince-
aiguille.
3. Faites glisser l’attache de gauche à droite de
façon à ce qu’elle s’enclenche dans la barre du
pied presseur.
4. Serez la vis du pied presseur.
B. COUTURE
Tenir le fi l supérieur légèrement au début de la
couture.
PUNTADAS DECORATIVAS
CONTINUAS
Utilice el prensatelas para realce para las
puntadas decorativas continuas. Este prensatelas
tiene una ranura en la parte inferior que permite
usar puntadas de satín. (o puntadas con espacios
cerrados) para alimentar libremente bajo el pie.
nº 19-116
Prensatelas para realce (B)
Para confeccionar la puntada decorativa continua,
debe ajustar el largo y ancho del diseño.
Experimente con retazos de tela hasta que logre
el largo y ancho deseados.
A.COSIENDO TELAS LIGERAS
Cuando cose telas ligeras, se sugiere que use
entretela en la parte posterior de la tela. Esto
puede ayudar a evitar que la tela se frunza.
USO DEL PRENSATELAS DE
TRANSPORTE UNIFORME
El pie de transporte uniforme equilibra el avance
de las capas superior e inferior de tela y mejora
la concordancia de tablones, tiras y patrones.
Este pie ayuda a evitar la alimentación dispareja
de telas difíciles. Use este pie también para
acolchados.
nº 1, 2 u 9
Prensatelas de transporte uniforme
A. CÓMO COLOCAR EL PRENSATELAS DE
TRANSPORTE UNIFORME
1. Retire el prensatelas y el sujetador del
prensatelas. (Consulte la página 15).
2. El brazo del prensatelas de transporte uniforme
debe montarse sobre el eje del tornillo de
fi jación de la aguja.
3. Deslice la cabeza de fi jación desde su izquierda
hacia su derecha de forma que se ajuste a la
barra del prensatelas.
4. Apriete el tornillo del prensatelas.
B. CÓMO COSER
Sostenga ligeramente el hilo superior conforme
comience a coser.

84
DARNING/FREE-HAND
EMBROIDERY
No. 1.Center needle position
Darning/Embroidery Foot
A. ATTACHING THE DARNING/
EMBROIDERY FOOT
1. Lower the feed dogs by moving the drop feed
lever to the left.
2. Remove the presser foot and holder. (See page
14)
3. The arm of darning/embroidery foot should rest
on the shaft of the needle clamp screw.
4. Slide the plastic attaching head from your left to
right so that it is fi tted into the presser bar.
5. Tighten the presser foot screw.
B. DARNING
1. Place fabric under foot and lower the presser
foot lifter.
2. Grasp fabric fi rmly in front and back of area to
be stitched. Start sewing, moving fabric by hand
forward and backward with an even motion,
stitching in closely spaced rows over the hole or
worn area.
3. When the area is fi lled with new stitches, move
fabric from side to side in a similar manner to
weave or reinforce the stitching.
Note:
a. Reinforce open areas with an underlay; baste
underlay in place before darning.
C. FREE-HAND EMBROIDERY
1. Outline the design for embroidery on the surface
of the fabric.
2. Place design to be embroidered between the
two sections of embroidery hoop.
Note:
Embroidery hoop is not included with this machine.
3. Set embroidery hoop under needle and lower
the foot.
4. Start the machine at medium speed, guiding
hoop carefully so needle moves along line of
the pattern.
D. After darning or free-hand embroidery
Raise the feed degs by moving the drop feed
lever to the right. Then, turn the hand wheel
toward you one complete revolution.

85
REPRISAGE / BRODERIE
N°1 : Point droit (Position centrale de l’aiguille)
Pied broderie et reprisage
A. MISE EN PLACE DU PIED BRODERIE
ET REPRISAGE
1. Abaissez les griffes en déplaçant le levier des
griffes sur la gauche.
2. Retirez le pied presseur et le support du pied
presseur (voire page 15).
3. Le bras du pied broderie et reprisage doit
s’enclencher sur le tube de la vis du pince-
aiguille.
4. Faites glisser l’attache en plastique de gauche
à droite de façon à ce qu’elle s’enclenche dans
la barre du pied presseur.
5. Serez la vis du pied presseur.
B. REPRISAGE
1. Placer le tissu sous le pied et abaisser le pied
presseur.
2. Tenez fermement le tissu au devant et au dos
de l’endroit ou vous allez piquez. Commencez à
coudre, en guidant le tissu vers l’avant et l’arrière
par dessus le trou du vêtement.
3. Une fois que cette zone est emplie de points,
déplacez le tissu d’un quart de tour de façon à
tisser ou renforcer la couture.
Remarque :
a. Renforcez les zones ouvertes en posant une
pièce de tissu sous la zone abîmée. Bâtissez
cette pièce avant le reprisage.
C. BRODERIE
1. Dessinez le motif à broder sur la surface du
tissu.
2. Disposez le dessin à broder entre les deux
parties du cerceau à broder.
Remarque :
Le cerceau à broder n’est pas fourni avec la
machine.
3. Positionnez le cerceau à broder sous l’aiguille
et abaissez le pied.
4. Démarrez la machine à vitesse moyenne en
guidant le cercle avec soin de façon à ce que
l’aiguille pique bien le long du dessin.
D. APRÈS LE REPRISAGE ET LA
BRODERIE
Remontez les griffes en déplaçant le levier des
griffes vers la droite. Ensuite, tourner le volant
vers vous une révolution au complet.
ZURCIDO Y BORDADO A
MANO LIBRE
nº 1 Posición centrada de la aguja
Prensatelas para zurcidos/bordados
A. CÓMO COLOCAR EL PRENSATELAS
PARA ZURCIDO Y BORDADO
1. Baje los transportadores moviendo la palanca
de arrastre a la izquierda.
2. Retire el prensatelas y el portaprensatelas.
(Consulte la página 15)
3. El brazo del prensatelas para zurcido y bordado
debe montarse sobre el eje del tornillo de
fi jación de la aguja.
4. Deslice la cabeza de fi jación de plástico desde
su izquierda hacia su derecha de forma que se
ajuste a la barra del prensatelas.
5. Apriete el tornillo del prensatelas.
B. ZURCIDO
1. Coloque la tela bajo el pie y baje la palanca del
prensatelas.
2. Tome la tela con fi rmeza frente y detrás del área
a coser. Comience a coser, moviendo la tela a
mano hacia adelante y atrás con un movimiento
parejo, cosiendo en hileras casí juntas sobre el
orifi cio o área rasgada.
3. Cuando el área se llene con nuevas puntadas,
mueva el tejido de lado a lado de manera
similar a cuando teje o refuerza la puntada.
Nota:
a. Refuerce las áreas descosidas con un fi eltro,
hilvánelo en lugar adecuado antes de zurcir.
C. BORDADO A MANO LIBRE
1. Trace el diseño para el bordado en la superfi cie
del tejido.
2. Coloque el diseño que va a bordarse entre las
dos secciones del bastidor.
Nota:
El bastidor no se incluye con esta máquina.
3. Ajuste el bastidor debajo de la aguja y baje el
prensatelas.
4. Arranque la máquina a velocidad media,
guiando el bastidor cuidadosamente de modo
que la aguja se desplace a lo largo de la línea
del diseño.
D.
Después del zurcido o bordado a mano libre
Levante los transportadores moviendo la
palanca de arrastre a la derecha. Luego, gire el
volante hacia usted una vuelta completa.

86
TWIN NEEDLE SEWING
Interesting effects can be produced by sewing
decorative stitches using a twin needle. Try using
two different colors of thread for even more variety.
Always make a test sample fi rst to help you
determine the best settings for the stitch you are
sewing.
All patterns except No. 117-132 may be sewn with a
twin needle.
General Purpose Foot or Satin Foot (A, B)
Note:
A twin needle is not provided with this machine.
Contact your authorized SINGER retailer for
information on purchasing twin needles.
CAUTION: To prevent accidents.
a. Use only SINGER branded twin needles for this
machine. Other needles may break.
b. The needle threader cannot be used. Thread
each needle eye manually.
1. Remove the single needle and insert twin needle.
2. Thread the fi rst thread as usual, following
threading route.
3.
Thread the left needle eye by hand from front to back.
4. Push the Auxiliary Spool Pin with felt washer into
the hole.
5. Place second spool of thread and thread second
thread the same as fi rst.
6. For better sewing results, do not place the thread
into the needle bar thread guide.
Thread right needle eye by hand from front to back.
7. Touch home button. Home screen will appear.
8. Touch the setting button.
9. Touch the twin needle button.
Machine is setted to twin needle mode.
CAUTION: To prevent accidents.
If you did not switch to twin needle mode, needle
may hit the needle plate and break.
10
. Touch the home button or return button and select
the pattern you desire.
Twin needle mark will appear on screen and the
stitch width will be reduced automatically.
11.
Always test sew selected stitch.
12.
Sew the stitches.
Twin needle mode will remain until you change to
the single needle mode or turn off the machine.
Note:
Twin needle sewing may be also used with
decorative & letter stitch patterns by setting to twin
needle mode.

87
COUTURE AVEC AIGUILLE
JUMELÉE
Des effets très intéressants sont possibles avec une
aiguille jumelée. Vous pouvez utilisez des points
décoratifs, et des fi l contrastants. Il est toujours
recommander de pratiquer sur des retailles de
tissus avant d’effectuer votre projet.
Tous les points sauf n°117-132
Pied universel ou pied satin (A, B)
Remarque :
L’aiguille jumelée n’est pas fournie avec la machine.
Contacter votre détaillant Singer pour procurer des
aiguilles jumelées.
ATTENTION! Pour éviter les incidents
:
a.
N’utilisez que les aiguilles conçues spécialement pour
votre machine (
SINGER
Style 2025). Les autres
aiguilles pourraient se casser.
b. L’enfi le-aiguille ne peut pas être utilisé. Enfi lez
chaque chas d’aiguille à la main.
1 Retirez l’aiguille ordinaire et insérez l’aiguille jumelée.
2. Enfi lez le premier fi l comme à l’accoutumée.
3. Enfi lez le chas de l’aiguille de gauche à la main de l’avant
vers l’arrière.
4. Mettez en place le porte-bobine auxiliaire dans le trou
destiné à cet effet et placez la rondelle de feutre.
5. Placez une 2ème bobine de fi l et enfi ler le 2eme fi l
comme le premier.
6. Pour de meilleurs résultats de couture, ne pas placer
le fi l dans le guide fi l de la barre d’aiguille
Enfi lez le chas d’aiguille à la main en partant du
devant vers l’arrière.
7. Toucher le bouton d’accueil. L’écran d’accueil sera
affi ché.
8. Toucher le bouton de réglage.
9. Toucher le bouton aiguille jumelée. La machine sera
régler pour couture aiguille jumelée.
ATTENTION! Pour éviter les
incidents :
Si vous n’avez pas réglé la machine en mode de
couture à l’aiguille jumelée, l’aiguille pique dans la
plaque à aiguille et se casse.
10. Toucher le bouton d’accueil ou le bouton de retour et
sélectionner le motif que vous désirez. Le symbole aiguille
jumelée paraitra sur l’écran et la largeur de point sera réduit
automatiquement.
11. Il faut toujours faire un essai du point sélectionné.
12. Coudre les points.
La sélection aiguille jumelée sera affi cher jusqu’a temps que
vous sélectionner aiguille simple ou la machine est éteindre.
Note:
Vous pouvez utiliser la sélection aiguille jumelée pour les lettres
et les points décoratifs.
CÓMO COSER CON AGUJA
DOBLE
Pueden producirse efectos interesantes cosiendo
puntadas decorativas usando aguja doble. Trate
usando hilos de color distinto para mayor variedad.
Siempre realice una muestra de prueba para
ayudar a determinar los mejores ajustes para la
puntada que está realizado.
Todas las puntadas excepto el nº 117-132
Prensatelas universal o de realce (A, B)
Nota:
La aguja doble no se suministra con esta máquina.
Contacte a su detallista autorizado SINGER para
información sobre la adquisición de agujas dobles.
PRECAUCIÓN: Para prevenir
accidentes
a. Utilice únicamente la aguja diseñada para esta
máquina (SINGER Style 2025). Otras agujas
pueden romperse.
b. No utilice el enhebrador de agujas. Enhebre el
ojo de cada aguja a mano.
1. Retire la aguja sencilla e inserte la aguja doble.
2. Enhebre el primer hilo como de costumbre.
3. Enhebre el ojo de la aguja izquierda a mano
desde delante hacia atrás.
4. Coloque el portacarretes auxiliar en el agujero y
ajuste la arandela de fi eltro.
5. Coloque el segundo carrete de hilo y enhebre el
segundo hilo al igual que el primero.
6. Para mejores resultados de costura, no coloque
el hilo en la guía hilo de la barra aguja.
Pase el hilo por el ojo de la aguja derecha
desde adelante hacia atrás.
7. Toque el botón de inicio. La pantalla de inicio
aparecerá.
8. Toque el botón de ajuste.
9. Toque el botón de aguja doble.
La máquina está ajustada en modo de aguja doble.
PRECAUCIÓN: Para prevenir
accidentes
Si no cambia a modo de aguja doble, la aguja
golpeará la placa de la aguja y se romperá.
10
.
Toque el botón de inicio o el botón de regresar y
seleccione el patrón que desee.
La marca de aguja doble aparecerá en la pantalla y
el ancho de la puntada se reducirá automáticamente.
11.
Siempre realice una prueba de la puntada
seleccionada.
12. Cosa las puntadas.
El modo de aguja doble permanecerá hasta que cambie
al modo de aguja sencilla o apague la máquina.
Nota:
La costura con aguja doble puede ser utilizada en
puntadas decorativas y alfabetos, ajustando en
modo de aguja doble.

88
DECORATIVE & LETTER
STITCH SEWING
You can combine decorative & letter stitches into a
sequence by selecting each pattern.
A. SELECTING DECORATIVE & LETTER
STITCH (selecting mode)
1. At the home screen, touch the decorative or
letter button you desire.
LCD wil change to selecting mode.
2. You can also change decorative or letter by
touching the tab button. By touching the letter
tab, font will change as below.
a. Block style font
b. Italic style font
c. Outline style font
d. Script style font
e. Comic Sans font
f. Cyrillic style font
3. Touch the scroll down button, next patterns
will appear. By pressing the scroll up or down
button, you can scroll up or down incrementaly.
4. Touch the desired pattern directly.
Selected pattern will be indicated on the top left
side of LCD.
5. Using this same procedure, select the next
patterns. Patterns will appear at the left side of
the LCD in the order selected.
6. As selected patterns over the indicating area,
disappear from the screen, you can check them
by touching the cursor buttons. (See next page)
NOTE:
Machine can memorize a maximum of 60 patterns.
You can combine the tack stitch by touching
the tack button. This is used for sewing a single
combination of patterns. (See next page 96)
B. SHIFTING THE CURSOR
Additional patterns may be added to the end of
a string of combined patterns. Press the cursor
button until you have reached the end of the
stitch sequence, then select the additional new
patterns.
By touching the cursor buttons, cursor will
shift up or down. The cursor position will be
highlighted.
a. Touch the cursor up button and cursor will shift
to upward.
b. By touching the cursor down button, cursor will
shift to downward.
a
b

89
COUTURE DE POINTS
DECORATIFS ET LETTRAGE
Vous pouvez combiner les points décoratifs avec
les lettres en succession.
A. Sélectionner les points décoratifs et
lettrage (Sélection de mode)
1. A l’écran d’accueil, touchez le bouton décoratif
ou lettrage. L’ECL changera à la mode de
sélection.
2. Vous pouvez changer le point en touchant le
bouton tabulation. En touchant la tabulation
des lettres, les caractères changeront comme
indiquer.
a. Caractère Block
b. Caractère Italique
c. Caractère Contour
d. Caractère Script
e. Caractère Comique
f. Caractère Cyrillique
3. Toucher le bouton pour défi ler vers le bas, le
prochain motif sera affi ché. En touchant le
bouton pour défi ler vers le haut ou le bas, vous
pouvez défi ler vers la direction désirez.
4. Toucher le motif désiré. Le motif sera affi ché sur
l’écran ECL en haut vers la gauche.
5 Utilisant cette procédure, sélectionner les motifs
suivant. Les motifs seront affi chés sur l’écran à
la gauche dans l’ordre sélectionné.
6. Pour vérifi er les points qui ont disparu de
l’écran, toucher le bouton curseur. (Voir la page
suivante)
NOTE:
La machine peut emmagasiner jusqu’à 60 motifs.
Vous pouvez incorporez le point d’arrêt en
touchant le bouton d’arrêt. Ceci est utilisé pour
coudre une séquence des motifs emmagasinés
seulement. (Voir page 97)
B. CHANGEMENT DU CURSEUR
Des motifs additionnels peuvent être ajoutés a
la fi n d’une séquence de motifs emmagasinés.
Appuyer le bouton curseur jusqu’à temps que
vous acheminer la fi n des séquences des
points, maintenant, choisissez les nouveaux
motifs.
En touchant les boutons curseurs, les curseurs
changeront de positions vers le haut ou le bas.
La position de curseur sera soulignée.
a. Toucher le curseur haut et le curseur se
déplacera vers le haut.
b. En touchant le curseur du bas, le curseur se
déplacera vers le bas.
PUNTADAS DECORATIVAS
Y ALFABETOS
Puede combinar puntadas decorativas y alfabetos
en una misma secuencia seleccionado cada patrón.
A.
SELECCIONANDO PUNTADAS DECORATIVAS
Y ALFABETOS. (Modo de selección)
1. En la pantalla de inicio, toque el botón de
puntada decorativa o alfabeto que desee. La
pantalla LCD cambiará a modo de selección.
2.
También puede cambiar decoración o alfabeto
tocando el botón de tabulación. Tocando la letra,
la fuente cambiará como se muestra abajo.
a. Block style font
b. Italic style font
c. Outline style font
d. Script style font
e. Comic Sans font
f. Cyrillic style font
3.
Tocando el botón de desplazamiento, los siguientes
patrones aparecerán. Presionando el botón de
desplazamiento, puede desplazar arriba o abajo.
4. Toque directamente el patrón deseado.
El patrón seleccionado estará indicado en la
parte superior izquierda de la pantalla LCD.
5. Usando este mismo procedimiento, seleccione
los siguientes patrones. Lo patrones aparecerán
en el lado superior izquierdo de la Pantalla LCD
en orden de selección.
6.
Los patrones seleccionados sobre el área indicada,
desaparecerán de la pantalla, puedes verifi carlos
tocando los cursores. (Ver siguiente página)
NOTA:
La máquina puede memorizar hasta 60 patrones.
Puedes combinar la puntada tack usando el botón
tack. Este es usado para coser una combinación
simple de patones.
(Ver página 97)
B. MOVIENDO EL CURSOR
Los patrones adicionales pueden ser añadidos
al fi nal de la combinación. Presione el cursor
hasta que haya llegado al fi nal de la secuencia
de puntadas, entonces selecciones un nuevo
patrón adicional.
Tocando los cursores, hacia arriba o abajo. La
posición del cursor será resaltada.
a. Toque el botón de cursor arriba y el cursor se
desplazará hacia arriba.
b. Al tocar el botón de cursor abajo el cursor se
desplazará hacia abajo.

90
D
C
E
F
The cursor is used to check selected patterns,
insert patterns, delete patterns or edit each pattern
as described below.
C. CHECKING SELECTED PATTERNS
As the length of the string increases, patterns
will disappear from view on screen.
You can check patterns by moving the cursor
upward using the cursor buttons.
D. INSERTING PATTERN
1. Machine will insert a pattern to the above of the
highlighted letter or pattern.
2. Using the cursor buttons, move the cursor to
highlight the pattern just before the desired
position for the new pattern. Select the pattern.
E. DELETING PATTERN
1. Shift the cursor to the pattern you want to
delete.
2. Touch the delete button quickly (less than 0.5
sec.). Machine will delete the pattern and cursor
will shift to next pattern.
a. When the cursor is at furthest bottom side,
machine will delete just before pattern.
3. If you want to delete all patterns, touch and hold
the delete button (over 0.5 sec.).
Machine will delete all selected patterns.
F. EDITING OF EACH PATTERN
You can change the settings (mirror/reverse,
elongation and stitch width/length) of each stitch
pattern.
1. Touch the Edit button.
LCD will change to the editing mode.
2. As you shift the cursor, the settings of each
pattern will be indicated.
You can edit as below a-d. (Next page)
3. You can return to selecting mode by touching
the return button.
Note:
Letter stitches cannot change settings (mirror/
reverse, elongation and stitch width/length).
91
Le curseur est utilisé pour vérifi er les motifs
choisis, ajouter un motif, supprimer un motif ou
éditer comme indique ci-dessous.
C. VERIFICATION DE MOTIFS SELECTIONER
Lorsque le nombre de motifs augmente, les
motifs vont disparaitre de l’écran. Vous pouvez
vérifi er les motifs en défi lant le curseur vers le
haut avec le bouton curseur du haut.
D. INSERTION DE MOTIF
1. Un motif sera ajouté devant le motif qui est
souligné.
2. Utilisant le bouton curseur, déplacer le curseur
pour le positionner devant l’endroit ou vous
voulez ajouter le point.
E. SUPPRIMER UN MOTIF
1. Déplacer le curseur au motif que vous voulez
supprimer.
2. Appuyer le bouton supprimer très vite (moins
que 0.5 sec). Le motif sera supprimer et le
curseur avancera au prochain motif.
a. Quand le curseur est tous à fait vers le bas, la
machine supprimera juste avant le motif.
3. Si vous voulez supprimer tous les motifs,
toucher le bouton supprimer longtemps
(Plus que 0.5 secondes) Tous les motifs seront
supprimés.
F. EDITER CHAQUE MOTIFS
Vous pouvez changer les réglages (miroir/
inverse/élongation et longueur et largeur) de
chaque point.
1. Toucher le bouton éditer.
L’ECL changera à la mode édité.
2. En déplaçant le curseur, le réglage de chaque
motif sera indiqué. Vous pouvez éditer comme
indique de a-d (Page suivante)
3. Vous pouvez retourner à la mode de sélection
en touchant le bouton de retour.
Note:
Les lettres ne peuvent pas être éditées (miroir/
inverse/élongation et longueur et largeur)
El cursor se utiliza para verifi car los patrones
seleccionados, insertar patrones, borrar patrones
y editar patrones como se describe abajo.
C. VERIFICANDO PATRONES
SELECCIONADOS
En medida en que la secuencia de patrones
aumenta, los patrones desaparecerán de la pantalla.
Puede verifi car los patrones moviendo los
cursores hacia arriba.
D. INSERTANDO PATRONES
1. La máquina insertará un patrón arriba de la
letra o patrón resaltado.
2. Utilizando los botones del cursor, mueva el
cursor hasta resaltar el patrón justo antes de
la posición deseada para el nuevo patrón.
Seleccione el patrón.
E. BORRANDO PATRONES
1. Deslice el cursor al patrón que desee eliminar.
2. Presione el botón de borrar rápidamente (menos
de 0.5 seg.). La máquina borrará el patrón y el
cursor se moverá al siguiente patrón.
a. Cuando el cursor se encuentra en la parte baja,
la máquina borrará el último patrón.
3. Si quiere borrar todos los patrones, toque y
sostenga el botón de borrar. (durante 0.5 seg.).
La máquina borrará todos los patrones
seleccionados.
F. EDICIÓN DE CADA PATRÓN
Puede cambiar los ajustes (espejo/inverso,
elongación y ancho de puntada/largo) de cada
puntada del patrón.
1. Presione el botón Editar.
La pantalla LCD cambiará al modo de edición.
2.
Al desplazar el cursor, los ajustes de cada
patrón estarán indicados.
Puede editar como sigue a-d. (Siguiente página)
3. Puede regresar al modo de selección tocando
el botón de regresar.
Nota:
Los alfabetos no pueden cambiar sus ajustes
(espejo/inverso, elongación y ancho/largo de
puntada.).

92
ii iii ivi
ii iii iviv
ii
i
c
a. Mirror / Reverse stitch
If this button appears, you can change the
mirror stitch, or reverse stitch or mirror/reverse
stitch. Touching this button, stitch will fl ip from
left to right or from bottom to top. The icon
on the button indicates the selected stitch as
follows.
i. Regular stitch (normal stitch)
ii. Mirror stitch (fl ips from left to right)
iii. Reverse stitch (reverse bottom to top)
iv. Mirror and Reverse stitch.
The pattern on the left side of LCD will
change accrording to this setting.
If button is not indicated, its pattern cannot
change (mirror/reverse stitch).
b. Elongation
If this button appears, you can elongate the
pattern. By touching this button, stitch will
elongate fi ve different sizes. (i-v) If elongation
setting is over x2, the pattern on the left side of
LCD will indicate the number of elongation.
If button is not indicated, its pattern cannot
elongate.
c. Setting the stitch width and length
Machine will pre-set the stitch width and length
suitable for the pattern.
You can make changes by touching the each [+]
or [-] button.
i. For narrower width, touch the width [-]
button.
For wider width, touch the width [+] button.
ii. For shorter length, touch the length [-]
button.
For longer length, touch the length [+]
button.
Pre-set stitch width and length will be indicated
as a highlighted number.
You can change the width and length of other
patterns by shifting the position of the cursor.
If the width, length or number icons are not
indicated, the pattern cannot be changed.
By touching the return button, machine will
return to selecting mode.
iii
93
a. Miroir/Point inverse
Si ce bouton parait, vous pouvez changer le
point miroir, le point inverse ou le point miroir/
inverse. En touchant ce bouton, le point
changera de gauche à droite ou vers le haut ou
le bas. Le icone sure le bouton indique le point
selon les donner suivant.
i. Point régulier (point normal)
ii. Point miroir (Change de gauche à droite)
iii.
Point inverse (Change direction du haut au bas)
iv. Point miroir et inverse.
Le motif du coté gauche de l’écran changera
selon ce réglage.
Si le bouton n’est pas indiquer, il est impossible
de changer le motif (point miroir/inverse)
b. Allongement
Si ce bouton parait, vous pouvez allonger le
motif. En touchant ce bouton, le point s’allongera
5 longueur différentes. (i-v). Si le point est
plus long que 2x la longueur, le motif du coté
gauche de l’écran indiquera le nombre de
longueur.
Si le bouton n’est pas indiquer, il est impossible
d’allonger le point.
c. Régler la largeur et la longueur du
point
La machine réglera automatiquement la largeur
et la longueur du point. Vous pouvez incorporer
des changements en touchant le bouton (+) ou (-).
i. Pour un point plus étroit, toucher le bouton
de largeur (-).
Pour un point plus large, toucher le bouton
de largeur (+).
ii. Pour un point plus court, toucher le bouton
de longueur (-).
Pour un point plus long, toucher le bouton de
longueur (+).
Le numéro de la longueur et la largeur de point
présélectionner sera surligné.
Vous pouvez améliorer la largeur et la longueur
d’autres motifs en déplacent la position du
curseur.
Si l’icone largeur, longueur ou numéro ne sont
pas indique, vous ne pouvez pas changer le
motif.
En touchant le bouton de retour, la machine
retournera à la mode sélection.
a. Puntada de Espejo/Inverso
Si este botón aparece, puede cambiar la
puntada en espejo o puntada de espejo/
inverso. Tocando este botón, la puntada girará
de izquierda a derecha o de abajo hacia
arriba. El ícono en el botón indica las puntadas
seleccionadas como sigue.
i. Puntada regular (puntada normal)
ii. Puntada en espejo (gira de izquierda a
derecha)
iii. Puntada inversa (inversa de abajo hacia
arriba)
iv. Puntada en espejo e inversa
El patrón en el lado izquierdo de la pantalla,
cambiará de acuerdo a esta confi guración.
Si el botón no está indicado, el patrón no podrá
cambiarse. (puntada espejo/inverso).
b. Elongación
Si este botón aparece, puede alargar el patrón.
Tocando este botón, la puntada se alargará
en cinco diferentes tamaños. (i-v) Si el ajuste
de elongación es mayor de x2, el número de
elongación del patrón estará indicado en el lado
izquierdo de la pantalla LCD.
Si el botón no está indicado, este patrón no
puede alargarse.
c. Ajuste de ancho y largo de puntada
La máquina tiene el ancho y largo de puntada
preestablecido adecuado.
Puede hacer cambios presionando [+] o [-] .
i. Para anchos menores, pulsar el botón [-] .
Para anchos mayores, presionar el botón [+] .
ii. Para largos más cortos, presionar el botón [-].
Para largos más grandes presionar el botón [+].
El ancho y largo de puntada preestablecido, se
indicará con un número resaltado.
Puede cambiar el ancho y largo de puntada
de otros patrones desplazando la posición del
cursor.
Si los íconos de ancho y largo no están
indicados, el patrón no puede ser cambiado.
Al tocar el botón de regresar, la máquina
regresará al modo de selección.

94
G. SETTING THE THREAD TENSION
1. By touching the tension button, LCD will indicate
the tension mode.
2. This setting will change the thread tension of all
combined patterns.
To increase the upper thread tension, touch the [+]
button.
To decrease the upper thread tension, touch the
[-] button.
Pre-set tension number is highlighted.
• By touching the center button (a), thread
tension will return to pre-set.
• By touching the button (b), LCD return to
width/length mode.
• By touching the return button (c), LCD return
to the selecting mode.
H
a-1 a-2
a-3 a-4
b-1 b-2
b-3 b-4
b-5 c
H. SAVING SELECTED PATTERNS
You can save selected stitch sequences into
memory. There are two separate memory
folders for saving stitch sequences. Memorized
patterns remain in the memory if you turn off the
machine.
a. To memorize
1. Touch the folder button after you have selected
patterns.
2. Select one of two fi les by touching the fi le
directly. Selected fi le will be highlighted.
3. Touch the memory save button.
File will indicate memorized patterns.
4. Touch the return button to resume sewing.
b. To call memorized patterns
1. Touch the decorative or letter stitch button at
home screen.
2. Touch the folder button.
3. Memorized patterns are indicated in fi le icon.
Touch the desired fi le button.
Selected fi le will be highlighted.
4. Touch the memory read button.
Recalled patterns are indicated on the left side
of LCD.
5. Touch the return button.
You can sew the recalled patterns
c. To delete the memorized patterns
Touch delete button after selected the fi le to
delete.
ac
b

95
G. REGLER LA TENSION DU FIL
1. En touchant le bouton tension, l’ECL indiquera
la mode tension.
2. Ce réglage changera la tension du fi l de tous
motifs combiner.
Pour augmenter la tension supérieur, toucher le
bouton (+).
Pour diminuer la tension supérieur, toucher le
bouton (-).
Le numéro de la tension présélectionner est
surligné.
• En touchant le bouton du centre (a), la tension
retournera au réglage présélectionner.
• En touchant le bouton (b), l’écran ECL
retournera à la mode largeur/longueur.
• En touchant le bouton (c), l’écran ECL
retournera à la mode sélection.
H. SAUVEGARDER LES MOTIFS CHOISIS
Vous pouvez sauvegarder les motifs que
vous avez choisis en séquences. Il y a deux
chemises de mémoires pour sauvegarder ces
séquences de points. Les motifs sauvegardés
seront disponible si vous fermer ou débrancher
la machine.
a. Sauvegarder
1. Toucher le bouton chemise âpres que vous avez
choisie le motif.
2. Sélectionner une des deux chemises en
touchant la chemise directement. La chemise
sélectionner sera surligné.
3. Toucher le bouton mémoriser.
La chemise indiquera le motif sauvegardé.
4. Toucher le bouton de retour pour continuer la
couture.
b. Pour rappeler les motifs sauvegarder.
1. Toucher le bouton des points décoratifs ou de
lettrage sur l’écran d’accueil.
2. Toucher le bouton chemise.
3. Les motifs sauvegarder sont indiquer dans l’icone
chemise.
Toucher le bouton de chemise désirer.
La chemise sélectionner sera surligné
4. Toucher le bouton lire la mémoire.
Les motifs rappeler son indiquer au coté gauche
de l’écran.
5. Toucher le bouton de retour.
Vous pouvez coudre le motif rappelé.
c.
Pour supprimer les motifs sauvegarder
Toucher le bouton supprimé âpres que vous
avez choisi la chemise que vous voulez
supprimer.
G. AJUSTANDO LA TENSIÓN DEL HILO
1. Al tocar el botón de tensión la pantalla LCD
indicará el modo de tensión.
2. Este ajuste cambiará la tensión del hilo de
patrones combinados.
Para incrementar la tensión del hilo superior,
toque el botón. [+].
Para reducir la tensión del hilo superior toque el
botón [-].
La tensión preestablecida esta resaltada.
• Al tocar el botón central (a), la tensión del hilo
regresará al ajuste preestablecido.
• Al tocar el botón (b), La pantalla LCD
regresará al modo ancho/largo.
• Al tocar el botón de regresar (c), la pantalla
LCD regresará al modo de selección.
H.
GUARDANDO PATRONES SELECCIONADOS
Puede guardar secuencias de puntadas
seleccionadas en la memoria. Tiene dos
memorias separadas para guardar secuencias
de puntadas. Los patrones guardados
permanecen en la memoria si se apagua la
máquina.
a. Para guardar
1. Presione el botón de la carpeta después de
haber seleccionado los patrones.
2. Seleccione uno de los dos archivos tocando el
archivo directamente. El archivo seleccionado
se resaltará.
3. Toque el botón de salvar en memoria.
El archivo indicará los patrones memorizados.
4. Toque el botón de regresar para continuar
cosiendo.
b. Para recuperar patrones grabados
1. Toque el botón de puntada decorativa o alfabeto
en la pantalla de inicio.
2. Toque el botón de archivo.
3. Los patrones memorizados se encuentran
indicados en el ícono de archivo.
Toque el botón de archivo deseado.
El archivo seleccionado se resaltará.
4. Toque el botón de memoria de lectura.
Los patrones grabados estarán indicados en el
lado izquierdo de la pantalla LCD.
5. Toque el botón regresar.
Podrá coser los patrones grabados.
c. Para borrar patrones grabados.
Toque el botón borrar después de haber
seleccionado el archivo que va a eliminar.

96
I.SEWING THE SELECTED PATTERNS
a. Single sequence sewing
After selecting stitches for a sequence, you can
add the tack stitch at the end of the sequence.
By doing so, the stitch sequence will sew one
time and then stop at the end of the sequence.
Note:
As letter stitch has buit-in tack stitch, you need not
add tack stitch at the end of sequence.
b. Repeat sequence sewing
After selecting stitches for a sequence, the
sequence will sew repeatedly if the tack stitch
is not added to the end of the sequence.
SEWING
1. Attach the Satin Foot when sewing decorative &
letter stitches.
2. Machine will start sewing from highlighted
pattern. You must shift the cursor to the pattern
where you wish to start sewing.
(When the “—” mark cursor is indicated on the
bottom of selected patterns, machine will start
from fi rst pattern.)
3. Lower the presser foot and start sewing.
Machine will indicate the sewing pattern on the
top left side of LCD.
I
J
K
K. RECALLING SELECTED PATTERNS
If you change the pattern to utility stitch,
machine will retain the combination of patterns
until the machine is turned off.
(To remain patterns if you turn off machine, see
previous page, “ To save selected patterns.)
To recall these patterns, touch the decorative
or letter stitch button. Machine will recall the
selected patterns.
(Thread tension will return to pre-set.)
J. SEWING PATTERN FROM BEGINNING
a. When you stop sewing at the middle of
selected patterns, LCD will indicate arrow
mark “ ” on the left side.
This mark means that sewing is interrupted.
You can continue sewing by starting the
machine again.
b. When you have stopped sewing at the
middle of selected patterns, and if you have
raised the presser foot lifter, the arrow mark
will change to “ ”,
At this time, when you start sewing again,
machine will sew from the beginning of
interrupted pattern.
c. If you want to sew from the beginning of all
patterns, shift the cursor by using the cursor
buttons. (Arrow icon will disappear)

97
I. COUDRE LES MOTIFS CHOISIS
a. Coudre une seule séquence.
En faisant cela, la séquence de point va être
cousu une fois et s’arrêtera à la fi n de celle-ci.
Remarque:
Vous n’aurez pas besoin d’ajouter un point d’arrêt à la fi n
d’une séquence, si la dernière lettre inclus déjà ce point.
b. Coudre une séquence en répétition
Après avoir sélectionné les points pour une
séquence, cette séquence sera cousu à
répétition si vous n’avez pas ajouter un point
d’arrêt à la fi n de cette séquence.
COUTURE
1. Installer le pied satin quand vous cousez les
points décoratifs ou les points lettrages.
2. La machine démarrera à partir des points
soulignés. Il est nécessaire de déplacer le
curseur à la position ou vous voulez débuter
la couture. (Quand la marque “_” est indiqué
sous les points choisis, la machine débutera du
premier point
3. Abaisser le pied presseur et débuter la couture.
La machine indiquera les motifs que vous
cousez du coté gauche de l’écran ECL.
K. RAPPELER LES MOTIFS CHOISIS
Si vous changer le motif pour un point utilitaire,
la machine retiendra la combinaison de motifs
jusqu’à temps que vous fermer la machine.
(Pour retenir ces motifs si vous fermer la machine,
voir la page précédente “Sauvegarder les motifs”)
Pour rappeler ces motifs, toucher le bouton
points décoratifs ou lettrages. Les points seront
rappelés.
(La tension du fi l retournera à la sélection
présélectionner).
J. COUTURE DU DEBUT DU MOTIF
a. Quand vous cousez jusqu’au milieu du motif,
l’écran ECL indiquera la marque “ “ du coté
gauche. Cette marque indique que la couture
a été interrompue. Continuez à coudre en
appuyant sur le contrôleur.
b. Quand vous êtes arrêtez au milieu de la
couture, et vous levez le pied presseur, la
marque de la fl èche changera à “ “.
Quand vous allez reprendre la couture, la
machine va recommencer au début du point
interrompu.
c. Si vous voulez coudre du début de tous les
point, déplacer le curseur avec le bouton
curseur. (L’icone fl èche va disparaitre)
I.
COSTURA DE PATRONES SELECCIONADOS
a. Secuencia de costura sencilla
Después de seleccionar las puntadas para una
secuencia, puede agregar la puntada tack al
fi nal de la secuencia.
Haciendo esto la secuencia de puntadas se
coserá una sola vez y se detendrá al fi nal de la
secuencia.
Nota:
Con alfabetos el botón tack está incluído, no es
necesario añadirlo al fi nal de la secuencia.
b. Repetir secuencia de costura
Después de seleccionar las puntadas o
letras para una secuencia, la secuencia se
coserá repetidamente si el botón tack no
está agregado al fi nal de la secuencia.
COSTURA
1. Coloque el pie de satín cuando cosa puntadas
decorativas o letras.
2. La máquina comenzará a coser el patrón
resaltado. Debe mover el cursor al patrón que
quiera que empiece a coser.
(Cuando la marca cursor “—” esté indicada en
la parte baja de los patrones seleccionados, la
máquina comenzará desde el primer patrón.)
3. Baje el prensatelas y comience a coser.
La máquina indicará el patrón de costura en la
parte superior izquierda de la pantalla LCD.
K.
REGRABANDO PATRONES SELECCIONADOS
Si cambia el patrón a puntadas utilitarias, la
máquina guardará la combinación de patrones
hasta que la apague.
(Para conservar los patrones si apaga la
máquina, vea la página anterior, “Para guardar
patrones seleccionados”)
Para recuperar estos patrones, toque el botón
de puntada decorativa o letra. La máquina
recuperará los patrones seleccionados.
(Le tensión del hilo volverá a la preestablecida.)
J. COSTURA DE PATRÓN DE INICIO
a. Cuando deje de coser a la mitad de los
patrones seleccionados, la marca de fl echa
aparecerá en el lado izquierdo de la pantalla
LCD. “ ” .
Esta marca signifi ca que la costura se interrumpió.
Puede continuar cosiendo iniciando la
máquina nuevamente.
b.
Cuando detenga la costura a la mitad de los
patrones seleccionados, si ha levantado la palanca
del prensatelas, la marca de fl echa cambiará a
“ ”,
En ese momento, cuando comience a coser
de nuevo, la máquina comenzará a coser
desde el principio del patrón interrumpido.
c. Si quiere coser desde el principio de todos
los patrones, mueva el cursor usando los
botones. (El ícono de fl echa desaparecerá)

98
DECORATIVE AND LETTER
STITCH CHART
The stitch chart inside the top lid of the machine
displays patterns available. The highlighted
section indicates one unit of the pattern that is
programmable into a stitch sequence.
Description of Chart Symbols:
Mirror Stitch included
Reverse Stitch included
Mirror and Reverse stitch included
X5 Elongation included
ADJUSTING THE BALANCE
OF THE STITCHES
Depending on the type of fabric you sew, it may be
necessary to adjust the balance of the stitches.
The adjustment is needed if the decorative or letter
stitch is distorted. Turn screw which is located
bottom of the machine in either direction as may
be required.
DECORATIVE STITCH PATTERN
1. If patterns are distorted as shown in illustration (a),
turn screw in direction of symbol (+).
2. If patterns are distorted as shown in illustration (b),
turn screw in direction of symbol (–).
LETTER STITCH PATTERN
1. If patterns are distorted as shown in illustration (c),
turn screw in direction of symbol (+).
2. If patterns are distorted as shown in illustration (d),
turn screw in direction of symbol (–).

99
TABLEAU DES LETTRES ET
POINTS DÉCORATIFS
Le tableau à l’intérieur du haut de la machine
indique les points incorporé de la machine. La
section souligner indique une unité du motif qui peut
être emmagasiné dans une séquence de points.
Les symboles du tableau ont les signifi cations
suivantes :
Point miroir possible
Point inversé possible
Point inversé et miroir possible
X5 Élongation possible
TABLA DE PUNTADAS
DECORATIVAS Y LETRAS
La tabla de puntadas que se encuentra dentro de
la tapa superior, muestra las puntadas disponibles.
La sección resaltada indica que puntadas pueden
ser programables dentro de una secuencia.
Las marcas de la tabla tienen los siguientes
signifi cados:
Puntada invertida incluida
Puntada reversible incluida
Puntada invertida y reversible incluida
X5 Alargamiento incluido
L’ÉQUILIBRATION DES
POINTS
Dépendant du tissu, il sera peut être nécessaire
d’équilibré le point si le motif parait déformer.
L’ajustement est nécessaire si les points décoratifs
ou les lettres sont déformés. Tournez la vis située
sous la machine dans la direction requise.
MOTIFS POINTS DECORATIFS
1. Si le motif est déformé comme illustration (a),
tournée la vis vers le symbole (+)
2. Si le motif est déformé comme illustration (b)
tournée la vis vers le symbole (-)
MOTIF POINT LETTRE
1. Si le motif est déformé comme illustration (c),
tournée la vis vers le symbole (+)
2. Si le motif est déformé comme illustration (d)
tournée la vis vers le symbole (-)
AJUSTANDO EL BALANCE
DE LAS PUNTADAS
Dependiendo del tipo de tela que cosa, puede ser
necesario ajustar el balance de las puntadas.
El ajuste es necesario si la letra o decorado están
distorsionados. Gire el tornillo que está localizado
debajo de la maquina en la dirección que sea necesario.
PATRÓN DE PUNTADA DECORATIVA
1. Si la puntada está distorsionada como se
muestra en la ilustración (a), gire el tornillo en
dirección del símbolo (+).
2. Si la puntada está distorsionada como se
muestra en la ilustración (b), gire el tornillo en
dirección del símbolo (–).
PATRÓN DE PUNTADA DE LETRAS
1. Si la puntada está distorsionada como se
muestra en la ilustración (c), gire el tornillo en
dirección del símbolo (+).
2. Si la puntada está distorsionada como se
muestra en la ilustración (d), gire el tornillo en
dirección del símbolo (–).

100
bc
a
MAINTENANCE
DANGER:
To reduce the risk of electric shock, disconnect
the power line plug from the electric outlet before
carrying out any maintenance.
CLEANING
If lint and bits of thread accumulate in the hook,
this will interfere with the smooth operation of the
machine. Check regularly and clean the stitching
mechanism as needed.
A. Bobbin Holder
Remove the bobbin cover and bobbin.
Clean the bobbin holder with a brush.
B. Hook Race and Feed Dog
1. Remove the needle, presser foot and holder.
Remove the bobbin cover and bobbin. Remove
the screws holding the needle plate.
2. Remove the needle plate by lifting up the right
side of the plate.
3. Lift up the bobbin holder and remove it.
CAUTION:
To prevent accidents, do not touch the thread
cutter unit (a).
4. Clean the hook race, feed dogs and bobbin
holder with a brush. Also clean them, using a
soft, dry cloth.
5. Replace the bobbin holder into the hook race so
that the tip (b) fi ts to the stopper (c) as shown.
6. Replace the needle plate inserting the hook into
the machine. Replace the screws and tighten.
Note:
* An LED lamp is used to illuminate the stitching
area. It does not require replacement. In
the unlikely event it does not light, call your
authorized SINGER retailer for service.
* There is no need to lubricate this machine.

101
ENTRETIEN
DANGER:
Pour éviter le risque de décharge électrique,
débrancher la fi che d’alimentation de la prise
murale avant l’entretien de cette machine.
NETTOYAGE
L’accumulation de peluches et de fi bres de tissu
dans le crochet perturbe le fonctionnement régulier
de la machine. Vérifi er régulièrement et nettoyer
quand nécessaire.
A. Boîtier de canette
Retirez le couvercle de la canette et la canette.
Nettoyez le boîtier de canette à l’aide d’une
brosse.
B. Entretien du crochet et des griffes
d’entraînement
1. Retirez l’aiguille, le pied presseur et son
support. Retirez le couvercle de la canette et
la canette. Retirez les vis retenant la plaque à
aiguille.
2. Retirez la plaque à aiguille en soulevant le côté
droit de la plaque.
3. Soulevez le boîtier de canette et retirez-le.
AVERTISSEMENT:
Pour eviter les accidents, ne toucher pas l’acessoire
coupe-fi ls.
4. Nettoyez le crochet, les griffes et le boîtier de
canette à l’aide d’une brosse. Vous pouvez
aussi les entretenir en utilisant un chiffon doux
et sec.
5. Remettez le boîtier de canette en place dans
le crochet de façon à ce que le taquet (a)
s’enclenche dans l’arrêtoir (b) comme illustré.
6. Replacez la plaque à aiguille en insérant le
crochet dans la machine. Resserrez les vis.
Remarque :
* Une lumière LED est utilisée pour éclairer l’endroit
de couture. Elle n’exige pas d’être remplacer.
Si la lumière ne fonctionne pas, contacter votre
détaillant Singer.
* Il n’est pas nécessaire de lubrifi er la machine.
MANTENIMIENTO
PELIGRO:
Para reducir el riesgo de choque eléctrico,
desconecte la clavija de la toma de corriente,
antes de realizar algún mantenimiento.
LIMPIEZA
La acumulación de polvo o hilachas en el garfi o
puede interferir en el funcionamiento suave de
la máquina. Revise regularmente y limpie el
mecanismo de costura si es necesario.
A. Cápsula de la canilla
Retire la cubierta de la canilla y la canilla.
Limpie la cápsula de la canilla con un cepillo.
B. Recorrido del garfi o y arrastre
1. Retire la aguja, el prensatelas y el
portaprensatelas. Retire la cubierta de la canilla
y la canilla. Retire los dos tornillos sujetando la
placa de la aguja.
2. Retire la placa de la aguja levantando el lado
derecho de la placa.
3. Levante la cápsula de la canilla y quítela.
PRECAUCIÓN:
Para prevenir accidentes, no toque la unidad de
corta hilo (a).
4. Limpie el recorrido del garfi o, los
transportadores y la cápsula de la canilla con
un cepillo. También puede usar un trapo suave
y seco.
5. Vuelva a colocar la cápsula de la canilla en el
recorrido del garfi o de forma que el saliente (a)
encaje en el tope (b) como se muestra en el
dibujo.
6. Vuelva a colocar la placa de la aguja insertando
el garfi o en la máquina. Vuelva a apretar los
tornillos.
Notas:
* Se usa una lámpara LED para iluminar el área
de costura. No requiere remplazo. En el remoto
caso que no ilumine, contacte a su centro de
servicio SINGER para solicitar servicio.
* No es necesario lubricar esta máquina.

102
1. Winding the bobbin.
MESSAGES ON LCD
2. Lower the buttonhole lever.
1
2
3. After sewing buttonhole, raise the presser foot
lifter and set the frame of buttonhole foot to
starting position.
4. Release the foot controller pedal.
5. Lower the presser foot.
6. Machine memory is full.
7. Select a pattern.
8. Release the reverse button.
9. Release the start/stop button.
10.Rethread the upper thread.
11.Foot controller is connected.
12.Release the needle up-down / slow button.
13.Release the thread cutter button.
14.Turn off the power switch.
3
4
5
6
7
8
9
10
11
12
13
14

103
1. Remplissage de la bobine
MESSAGES SUR ÉCRAN
LCD
2. Abaisser le levier boutonnière
3. Après couture de la boutonnière, relever le pied
et mettre le pied boutonnière en position de
départ.
4. Relâcher la pédale de contrôle
5. Abaisser le pied presseur
6. Mémoire pleine
7. Sélectionner un modèle
8. Relâcher la touche couture arrière
9. Relâcher la touche marche/arrêt
10. Renfi ler the fi l supérieur
11. La pédale de contrôle est connectée
12. Relâcher la touche aiguille haute-basse / lente
13. Relâcher la touche coupe-fi l automatique
14. Appuyer sur la touche Arrêt
1. Devanando la bobina.
MENSAJES EN PANTALLA
LCD
2. Baje la palanca del ojalador.
3. Después de coser el ojal, levante la palanca del
prensatelas y coloque el marco del pie ojalador
en la posición inicial.
4. Suelte el controlador de pedal.
5. Baje el prensatelas.
6. Máquina no puede guardar más memoria.
7. Seleccione un patrón de puntada.
8. Libere el botón de reversa.
9. Libere el botón de inicio/parada.
10. Enhebre el hilo superior.
11. El control de pedal está conectado.
12. Libere el botón de arriba-abajo / lento de la
aguja.
13. Libere el botón del corta-hilo.
14. Apague el interruptor.

104
PROBLEM
Upper thread
breaks
Lower thread
breaks
Machine skips
stitches
Fabric puckers
Machine makes
loose stitches or
loops
Stitch pattern is
distorted
Threader does
not thread
needle eye
Machine does
not feed properly
Needle breaks
Machine runs
with diffi culty
Machine will not
run
HELPFUL HINTS
CORRECTION
Re-thread machine.
Remove entwined thread.
Re-insert needle.
Readjust thread tension.
Choose correct thread.
Re-thread the bobbin.
Rewind the bobbin.
Clean the holder.
Re-insert needle.
Insert new needle.
Choose correct size needle for
fabric.
(use stretch needle)
Re-thread machine.
Re-thread the bobbin.
Insert new needle.
Readjust thread tension.
Re-thread the bobbin.
Re-thread machine.
Readjust thread tension.
Attach correct foot.
Adjust the thread tension.
Adjust the balance of the stitches.
Raise the needle.
Re-insert needle.
Insert new needle.
Raise the feed dogs
Regulate stitch length.
Clean the feed dog area.
Do not pull fabric.
Select correct foot and pattern.
Re-insert needle.
Choose correct size needle and
thread.
Remove the needle plate and
bobbin holder and clean the
hook race and feed dog.
Insert plug fully into outlet.
Turn on the switch.
Push spindle to the left.
Lower the foot.
Lower the buttonhole lever.
Attach the buttonhole foot.
CAUSE
Machine not properly threaded.
Thread entwined around bobbin.
Needle inserted incorrectly.
Thread tension too tight.
Thread of incorrect size or poor quality.
Bobbin threaded incorrectly.
Bobbin wound unevenly or too full.
Dirt or lint on the bobbin holder.
Needle inserted incorrectly.
Bent or blunt needle.
Incorrect size of needle.
(on stretch fabric)
Machine not properly threaded.
Bobbin threaded incorrectly.
Blunt needle.
Thread tension too tight.
Bobbin threaded incorrectly.
Machine not properly threaded.
Tension not adjusted properly.
Presser foot is not suited for the pattern.
Thread tension is not balanced.
Stitch is not balanced.
Needle is not raised.
Needle inserted incorrectly.
Bent needle.
Feed dogs are lowered.
Stitch length not suitable for fabric.
Lint and dust accumulated around feed dog.
Fabric pulled while sewing.
Needle is hitting the presser foot.
Needle inserted incorrectly.
Incorrect size needle or thread for fabric
being sewn.
Dirt or lint accumulated in the hook race and
feed dog.
Cord not plugged into electrical outlet.
Power switch is not turned on.
Bobbin winder spindle is pushed to the right.
Presser foot is not lowered.
Buttonhole Sewing Mode;
* Buttonhole lever is not lowered completely.
* Buttonhole foot is not attached.
Page
32
30
16
40
16
30
28
100
16
16
16
32
30
16
40
30
32
40
50-
40
98
20
16
16
22
38
100
44
50-
16
16
100
18
18
28
20
68
68
104

105
Anomalie
Le fi l d’aiguille
casse
Le fi l de canette
casse
La machine
saute des points
Le tissu grigne
La machine fait
des points lâches
ou des boucles
Les points des
motifs sont
déformés
L’enfi le-aiguille
n’enfi le pas le fi l
d’aiguille
La machine
n’entraîne pas
correctement
L’aiguille casse
La machine
avance avec
diffi culté
La machine ne
démarre pas
SOLUTION AUX PROBLÈMES COURANTS
Solution
Enfi lez à nouveau la machine.
Retirez les fi ls emmêlés.
Insérez à nouveau l’aiguille.
Réajustez la tension du fi l.
Remplacez le fi l par un fi l
approprié.
Enfi lez à nouveau la canette.
Refaites la canette.
Nettoyez le boîtier de canette.
Insérez à nouveau l’aiguille.
Insérez une nouvelle aiguille.
Choisissez une aiguille de grosseur
appropriée pour ce tissu.
(Utilisez une aiguille pour tissus extensibles)
Enfi lez à nouveau la machine.
Enfi lez à nouveau la canette.
Insérez une nouvelle aiguille.
Réajustez la tension du fi l.
Enfi lez à nouveau la canette.
Enfi lez à nouveau la machine.
Réajustez la tension du fi l.
Mettez en place le pied presseur
approprié.
Ajustez la tension du fi l.
Ajuster l’équilibrage du point.
Relevez l’aiguille.
Insérez à nouveau l’aiguille.
Insérez une nouvelle aiguille.
Relevez les griffes.
Réglez la longueur du point.
Nettoyez la zone des griffes.
Ne tirez pas sur le tissu.
Sélectionnez un pied adapté à
votre motif.
Insérez à nouveau l’aiguille.
Choisissez une aiguille et un fi l
de grosseur appropriée.
Retirez la plaque à aiguille et le
boîtier de canette puis nettoyez
le crochet et les griffes.
Insérez la fi che dans la prise.
Mettez l’interrupteur sur « on ».
Poussez l’axe vers la gauche.
Abaissez le pied presseur.
Abaissez le levier boutonnière.
Mettez le pied boutonnière en place.
Cause
La machine n’est pas enfi lée correctement.
Le fi l s’est pris dans la canette.
L’aiguille n’est pas insérée correctement.
La tension du fi l est trop élevée.
Le fi l est d’une grosseur inappropriée ou de
mauvaise qualité.
La canette n’est pas enfi lée correctement.
La canette se déroule de façon irrégulière ou est trop pleine.
Il y a de la poussière dans le boîtier de canette.
L’aiguille n’est pas insérée correctement.
L’aiguille est tordue ou émoussée.
L’aiguille est de grosseur inappropriée.
(sur tissus extensibles)
La machine n’est pas bien enfi lée.
La canette n’est pas bien enfi lée.
L’aiguille est émoussée.
La tension du fi l est trop élevée.
La canette n’est pas bien enfi lée.
La machine n’est pas bien enfi lée.
La tension du fi l n’est pas appropriée.
Le pied presseur n’est pas adapté au motif.
La tension du fi l n’est pas appropriée.
Le point n’est pas équilibrer.
L’aiguille n’est pas en position haute.
L’aiguille n’est pas insérée correctement.
L’aiguille est tordue.
Les griffes sont abaissées.
La longueur du point n’est pas adaptée au tissu.
Des peluches ou de la poussière sont
accumulées autour des griffes.
Le tissu a été tiré pendant la couture.
L’aiguille pique dans le pied presseur.
L’aiguille n’est pas insérée correctement.
La grosseur de l’aiguille ou du fi l n’est pas
adaptée au tissu.
Des peluches ou de la poussière sont
accumulées autour des griffes.
La machine n’est pas branchée.
La machine n’est pas allumée.
La broche du bobinoir est poussée vers la droite.
Le pied presseur n’est pas abaissé.
En mode boutonnière : le levier boutonnière
n’est pas abaissé complètement.
Le pied boutonnière n’est pas mis en place.
Page
33
31
17
41
17
31
29
101
17
17
17
33
31
17
41
31
33
41
51-
41
99
21
17
17
23
39
101
45
51-
17
17
101
19
19
29
21
69
69

106
PROBLEMA
El hilo superior
se rompe
El hilo de la
canilla se rompe
La máquina salta
puntadas
El tejido se
arruga
La máquina
hace puntadas
fl ojas o lazos
La puntada está
deformada
El enhebrador
no enhebra el
ojo de la aguja
La máquina
no transporta
apropiadamente
La aguja se
rompe
La máquina
funciona con
difi cultad
La máquina no
funciona
RECOMENDACIONES ÚTILES
CORRECCIÓN
Vuelva a enhebrar la máquina.
Retire el hilo enrollado.
Vuelva a insertar la aguja.
Vuelva a ajustar la tensión del hilo.
Elija el hilo correcto.
Vuelva a enhebrar la canilla.
Vuelva a devanar la canilla.
Limpie la cápsula.
Vuelva a insertar la aguja.
Inserte una nueva aguja.
Elija el tamaño correcto de la
aguja para el tejido.
(Use aguja para elásticos)
Vuelva a enhebrar la máquina.
Vuelva a enhebrar la canilla.
Inserte una nueva aguja.
Vuelva a ajustar la tensión del hilo.
Vuelva a enhebrar la canilla.
Vuelva a enhebrar la máquina.
Vuelva a ajustar la tensión del hilo.
Coloque el prensatelas adecuado.
Ajuste la tensión de los hilos.
Ajuste el balance de las puntadas.
Levante la aguja.
Vuelva a insertar la aguja.
Inserte una nueva aguja.
Levante los transportadores.
Regule el largo de puntada.
Limpie el área de transporte.
No tire del tejido.
Seleccione el prensatelas y el
diseño correcto.
Vuelva a insertar la aguja.
Elija el tamaño correcto de la
aguja y el hilo.
Retire la placa de la aguja y la
cápsula de la canilla y limpie el
recorrido del garfi o y el transporte.
Inserte el enchufe en la toma.
Gire el interruptor.
Empuje el eje hacia la izquierda.
Baje el prensatelas.
Baje la palanca de ojales.
Coloque el prensatelas para ojales.
CAUSA
La máquina está enhebrada incorrectamente.
Hilo enrollado alrededor de la canilla.
La aguja está insertada incorrectamente.
El hilo está demasiado teso.
El hilo es de tamaño incorrecto o de baja calidad.
La canilla está enhebrada incorrectamente.
La canilla está devanada desigualmente o
está demasiado llena.
Hay suciedad en la cápsula de la canilla.
La aguja está insertada incorrectamente.
La aguja está doblada o despuntada.
La aguja es de tamaño incorrecto.
(En tejidos elásticos)
La máquina está enhebrada incorrectamente.
La canilla está enhebrada incorrectamente.
La aguja está despuntada.
El hilo está demasiado tenso.
La canilla está enhebrada incorrectamente.
La máquina está enhebrada incorrectamente.
La tensión está ajustada incorrectamente.
El prensatelas no es el adecuado para el diseño.
La tensión de los hilos no está equilibrada.
La puntada no está balanceada.
La aguja no está levantada.
La aguja está insertada incorrectamente.
La aguja está doblada.
Los transportadores están bajados.
El largo de la puntada no es el apropiado para el tejido.
Se ha acumulado polvo e hilachas alrededor
del transporte.
Se tira del tejido mientras se cose.
La aguja está golpeando el prensatelas.
La aguja está insertada incorrectamente.
El tamaño de la aguja es incorrecto o lo es el
hilo para el tejido que se está cosiendo.
Se ha acumulado polvo o hilachas en el
recorrido del garfi o o en el transporte.
El cable está desenchufado de la toma de corriente.
El interruptor de encendido no se ha girado
a la posición ON.
El eje del devanador de la canilla está
desplazado a la derecha.
El prensatelas no está abajo.
Modo de costura de ojales:
La palanca de ojales no está completamente abajo.
El prensatelas para ojales no está colocado.
Página
33
31
17
41
17
31
29
101
17
17
17
33
31
17
41
31
33
41
51-
41
99
21
17
17
23
39
101
45
51-
17
17
101
19
19
29
21
69
69
107
9985 English/Français/Español 34729-04 C3