Singer Cg500 Users Manual Lista De Peças HD CG
cg500 to the manual 1d693fdc-f370-469a-8df0-496f960724dd
2015-01-21
: Singer Singer-Cg500-Users-Manual-212424 singer-cg500-users-manual-212424 singer pdf
Open the PDF directly: View PDF
.
Page Count: 48


REVISIONS
REV. DESCRIPTION APPROVAL DATE
ADOPT AUG, 2004
1ADDED CG-500 AND CG-550 FEB,2005

PAGES REF. DESCRIPTION
01 - 02 ATTACHMENT SET
03 - 04 ARM, BED, THROAT PLATE & BED SLIDE
05 - 06 ARM TOP COVER
07 - 08 COVERS & ADD-ONS
09 - 15 NEEDLE BAR, PRESSER BAR, AUTOMATIC NEEDLE THREADER & THREAD TAKE-UP
16 - 17 ARM SHAFT DRIVE
18 - 19 HAND WHEEL
20 - 21 TENSION MECHANISM
22 - 23 HOOK SYSTEM
24 - 25 BIGHT AMPLITUDE
26 - 29 NEEDLE POSITION
30 - 31 DISC SELECTOR ASSEMBLY
32 - 33 CAM STACK
34 - 35 FEED REGULATOR CAM
36 - 37 BUTTONHOLER & FEED REGULATOR CAM
38 - 39 CAM CONTROLLED FEED
40 - 41 FEED SYSTEM
42- 43 OPTIONS
44-45 ELECTRICAL EQUIPMENT
SUB-ASSEMBLY


Page 02
H H H C C
D D D G G
1 1 1 5 5
0 0 1 0 5
REF. PART NUMBER DESCRIPTION 2 5 0 0 0
1358393-006 ATTACHMENT SET COMPLETE X X
1358386-001 ATTACHMENT SET COMPLETE X- -
1358393-001 ATTACHMENT SET COMPLETE -X-
1358393-002 ATTACHMENT SET COMPLETE X
2179967464 SPOOL PIN HOLDER (SMALL) - CINZA X X
2179967-463 SPOOL PIN HOLDER (SMALL) - CINZA X X X
3507664-470 ARM TOP COVER SPOOL PIN THREAD LEAD-OFF LARGE (PLASTIC) CINZA X X
3507664-469
ARM TOP COVER SPOOL PIN THREAD LEAD-OFF LARGE (PLASTIC) CINZA
X X X
4172336-000BUY BOBBIN (PLASTIC) X X X X X
5353364-000 NEEDLE PACK (N2020 SIZE 11/14/16 & N2045 SIZE 11/14) -X X X X
6313117-000BUY FEED COVER PLATE (PLASTIC) X X X X X
7446492-000 SPECIAL PURPOSE PRESSER FOOT PLATE (SNAP-ON) -X X X X
8358286-451 ACESSORY STORAGE X X X X X
9161927-000 BUTTONHOLE PRESSER FOOT X X
9161927-451BUY BUTTONHOLE PRESSER FOOT -X X
10 507836-000BUY ZIPPER FOOT -X X X X
11 356630-000BUY BLINDSTITCH HEM PRESSER FOOT -X X X X
12 8879-656 FELT - - X
13 356942-455 SPOOL PIN - - X
14 531868-000 TWIN NEEDLE - - X
15 358183-000 1/4 INCH FOOT - - X
16 358174-000 INVISIBLE ZIPPER FOOT - - X
ATTACHMENT SET


Page 04
H H H C C
D D D G G
1 1 1 5 5
0 0 1 0 5
REF. PART NUMBER DESCRIPTION 2 5 0 0 0
1179926-000 THROAT PLATE CLAMP SPRING RETAINING RING X X X X X
2357611-000 THROAT PLATE CLAMP SPRING X X X X X
3353597-000 THROAT PLATE CLAMP X X X X X
4356713-000 THROAT PLATE FOR ZIG-ZAG SEWING X X X -X
5446482-000 BED SLIDE SPRING X X X -X
6356715-000 BED SLIDE PLATE X X X X X
7357020-451 ARM SHAFT (REAR) HOUSING MOUNTING SCREW X X X X X
8357017-002 ARM SHAFT (REAR) HOUSING ASSEMBLY X X X X X
9113455-006 ARM SHAFT (REAR) HOUSING MOUNTING SCREW X X X X X
10 357019-000 ARM TOP COVER MOUNTING STUD X X X X X
11 446375-000 THREAD TAKE-UP LEVER LINK HINGE STUD X X X X X
12 357438-001 TENSION RELEASING LEVER HINGE PIN X X X X X
13 353624-000 THROAT PLATE POSITION PIN (PLASTIC) X X X X X
14 359190-900 BED CUSHION X X X X -
15 514608-000 BED (BOTTOM) COVER & CABINET BOLT NUT X X X X X
16 179978-470 ARM & BED GRAY X- - X-
17 356070-465 ARM & BED GRAY -X X X X
18 353375-451 BED (BOTTOM) COVER & CABINET BOLT WASHER X X X -X
19 355250-451 BED (BOTTOM) COVER & CABINET BOLT X X X X X
20 353360-452 ARM INSERT (MOTOR VENT GRILL) X X X -X
21 357464-002 TENSION RELEASING LEVER HINGE PIN WASHER X X X X X
22 359172-451 BED EXTENSIBLE THROAT PLATE X X X -X
ARM, BED, THROAT PLATE & BED SLIDE


Page 6
H H H C C
D D D G G
1 1 1 5 5
0 0 1 0 5
REF. PART NUMBER DESCRIPTION 2 5 0 0 0
- ----
1358390-002 ARM TOP COVER COMPLETE - - - X
1358391002 ARM TOP COVER COMPLETE - - - - X
1358389-001 ARM TOP COVER COMPLETE X----
1358390-001 ARM TOP COVER COMPLETE -X---
1358391-001 ARM TOP COVER COMPLETE - - X- -
2507664-470 ARM TOP COVER SPOOL PIN THREAD LEAD-OFF - - - X X
2507664-469 ARM TOP COVER SPOOL PIN THREAD LEAD-OFF X X X X X
3357600-001 ARM TOP COVER PLUGGED HOLE RESIN X X X X X
4357325-900 ARM TOP COVER MACHINE HANDLE HINGE PIN X X X X X
5446138-000 ARM TOP COVER THREAD GUIDE SCREW WASHER X X X X X
6354975-451 ARM TOP COVER SCREW X X X X X
8356047-000 BOBBIN WINDER TENSION COMPLETE X X X X X
9354826-451 ARM TOP COVER MOUNTING BRACKET SCREW X X X X X
11 531765-000 ARM TOP COVER BRACKET (LEFT) X X X X X
12 356116-451 ARM TOP COVER THREAD GUIDE SCREW X X X X X
13 141936-833 BOBBIN WINDER TENSION BRACKET ADJUSTING SCREW X X X X X
14 44794-000
BOBBIN WINDER TENSION BRACKET ADJUSTING SCREW RETAINING CLIP
X X X X X
15 357329-902 ARM TOP COVER MACHINE HANDLE - - - X X
15 357329-901 ARM TOP COVER MACHINE HANDLE X X X
16 357084-453 ARM TOP COVER THREAD GUIDE - - - X X
16 357084-452 ARM TOP COVER THREAD GUIDE X XX- -
17 356843-454 ARM TOP COVER SHROUDER X X X X X
18 141920-455 BOBBIN WINDER STOP SCREW X X X X X
19 445924-000 BOBBIN WINDER STOP X X X X X
20 53640-819 BOBBIN WINDER STOP SCREW NUT X X X X X
21 531766-000 BOBBIN WINDER SPRING X X X X X
22 445486-000 BOBBIN WINDER RETAINING RING X X X X X
23 531767- 458 BOBBIN WINDER ASSEMBLY - - - X X
23 531767-457 BOBBIN WINDER ASSEMBLY X XX- -
24 356913-000 BOBBIN WINDER SPINDLE COMPLETE X X X X X
25 354633-453 ARM TOP COVER HANDLE BRACKET X X X X X
26 531770-452 BOBBIN WINDER FRAME X X X X X
27 15287-701 BOBBIN WINDER FRICTION RING X X X X X
ARM TOP COVER


Page 08
HHHCC
DDDG G
11155
00105
REF. PART NUMBER DESCRIPTION 25000
1113455-001 BED (BOTTOM) COVER FASTENING SCREW X- - X-
2514608-000 BED (BOTTOM) COVER FASTENING NUT X- - X-
3357356-452 BED (BOTTOM) COVER (PLASTIC) X- - X-
3353587-454 BED (BOTTOM) COVER (PLASTIC) -X X -X
4446493-456 BED (TUBULAR) BOTTOM COVER (PLASTIC) ----X
4446493-455 BED (TUBULAR) BOTTOM COVER (PLASTIC) -X X - -
5354895-453 BED (TUBULAR) BOTTOM COVER FASTENING SCREW -X X -X
6364063-451 ARM END COVER SCREW XXXXX
7358387-103 ARM END COVER ----X
7358387-102 ARM END COVER ---X-
7358387-005 ARM END COVER X- -
7358387-002 ARM END COVER -X---
8358387-003 ARM END COVER X
8356027-002 BED EXTENSION PLATE (PLASTIC) - - X
8356027-001 BED EXTENSION PLATE (PLASTIC) -X X - -
9354133-453 FACE PLATE SCREW XXXXX
10 358388-005 FACE PLATE COMPLETE ---X X
10 358388-001 FACE PLATE COMPLETE XXX- -
11 354826-451 BED (BOTTOM) COVER FASTENING SCREW -X X -X
COVERS AND ADD-ONS


Page 10
H
H
H
C
C
D
D
D
G
G
1
1
1
5
5
0
0
1
0
5
REF. PART NUMBER DESCRIPTION 2 5 0 0 0
1
357360-000
NEEDLE BAR, PRESSER BAR & VIBRATING BRACKET HOUSING COMPL.
X
X
X
X
X
2
44450-000
NEEDLE BAR BALL BUSHING (LOWER) SOCKET (UPPER)
X
X
X
X
X
3
204514-100
NEEDLE (SIZE No. 14)
X
X
X
X
X
4
141920-455
NEEDLE CLAMP BODY, NEEDLE CLAMP THREAD GUIDE & N. STOP SCREW
X
X
X
X
X
5
357421-000
NEEDLE CLAMP THREAD GUIDE
X
X
X
X
X
6
357429-000
NEEDLE CLAMP BODY
X
X
X
X
X
7
355248-451
NEEDLE THUMB SCREW
X
X
X
X
X
8
446361-001
NEEDLE BAR BALL BUSHING (LOWER) ADJUSTING COLLAR
X
X
X
X
X
9
507379-000
NEEDLE BAR BALL BUSHING (LOWER) SOCKET
X
X
X
X
X
10
446355-001
NEEDLE BAR BALL BUSHING (LOWER)
X
X
X
X
X
11
37943-000
NEEDLE BAR GIB
X
X
X
X
X
12
445793-000
NEEDLE BAR
X
X
X
X
X
13
353549-940
NEEDLE BAR CONNECTING STUD WITH HINGE PIN
X
X
X
X
X
14
353549-000
NEEDLE BAR CONNECTING STUD
X
X
X
X
X
15
37931-000
NEEDLE BAR CONNECTING STUD HINGE PIN
X
X
X
X
X
16
141916-833
NEEDLE BAR CLAMP SCREW
X
X
X
X
X
17
357093-451
NEEDLE BAR VIBRATING BRACKET HINGE PIN NUT
X
X
X
X
X
18
445721-000
NEEDLE BAR VIBRATING BRACKET HINGE PIN RETAINING RING
X
X
X
X
X
19
446359-000
NEEDLE BAR VIBRATING BRACKET HINGE PIN
X
X
X
X
X
20
353520-001
NEEDLE BAR VIBRATING BRACKET COMPLETE
X
X
X
X
X
21
37935-000
NEEDLE BAR DRIVING ARM HINGE BRACKET HINGE PIN
X
X
X
X
X
22
354826-451
NEEDLE BAR DRIVING ARM HINGE BRACKET SCREW
X
X
X
X
X
23
446190-000
NEEDLE BAR DRIVING ARM HINGE BRACKET
X
X
X
X
X
24
353522-001
NEEDLE BAR BALL BUSHING (UPPER) RETAINING RING
X
X
X
X
X
25
357616-000
NEEDLE BAR BUSHING (UPPER) SOCKET SPRING
X
X
X
X
X
26
357615-000
NEEDLE BAR BALL BUSHING (UPPER) SOCKET
X
X
X
X
X
27
446355-001
NEEDLE BAR BALL BUSHING (UPPER)
X
X
X
X
X
28
353521-000
NEEDLE BAR VIBRATING BRACKET
X
X
X
X
X
29
446260-000
THREAD TAKE-UP STUD
X
X
X
X
X
30
445486-000
THREAD TAKE-UP STUD RETAINING RING
X
X
X
X
X
31
543531-000
THREAD TAKE-UP STUD THRUST WASHER
X
X
X
X
X
32
445672-940
THREAD TAKE-UP LEVER ASSEMBLY
X
X
X
X
X
33
445357-950
NEEDLE BAR CONNECTING LINK
X
X
X
X
X
34
446261-000
THREAD TAKE-UP STUD WITH RETAINING RING
X
X
X
X
X
35 357430-001 NEEDLE CLAMP BODY WITH SCREW XXXXX
36
113480-451
NEEDLE B. PRESSER B. & VIBRAT. BRAC.HOUSING PL. MOUNT. SCREW
X
X
X
X
X
PRESSER BAR AND THREAD TAKE-UP


Page 12
H H H C C
D D D G G
1 1 1 5 5
0 0 1 0 5
REF. PART NUMBER DESCRIPTION 2 5 0 0 0
1445672-000 THREAD TAKE-UP LEVER COMPLETE X X X X X
2357788-000 THREAD TAKE-UP STUD X X X X X
3446357-000 NEEDLE BAR CONNECTING LINK X X X X X
4445486-000 THREAD TAKE-UP STUD RETAINING RING X X X X X
5543531-000 THREAD TAKE-UP STUD THRUST WASHER X X X X X
6358049-001 NEEDLE BAR VIBRATING BRACKET COMPLETE X X X X X
7354826-451 NEEDLE BAR DRIVING ARM HINGE BRACKET SCREW X X X X X
8358050-000 NEEDLE LIMITER STOP SUPPORT ASSEMBLY X X X X X
9357925-900 VIBRATING BRACKET COVER SCREW X X X X X
10 357871-900 VIBRATING BRACKET COVER X X X X X
11 357911-900 VIBRATING BRACKET COVER SPRING X X X X X
12 179926-451
NEEDLE BAR DRIVING ARM HINGE BRACKET HINGE SPRING RETAINING RING
X X X X X
13 357504-000 NEEDLE BAR DRIVING ARM HINGE BRACKET HINGE PIN SPRING X X X X X
14 446138-000 NEEDLE BAR DRIVING ARM HINGE BRACKET HINGE SPRING WASHER X X X X X
15 357503-000 NEEDLE BAR DRIVING ARM HINGE BRACKET X X X X X
16 357502-001 NEEDLE BAR DRIVING ARM HINGE BRACKET HINGE PIN X X X X X
17 355272-451 NEEDLE BAR DRIVING ARM HINGE BRACKET SCREW X X X X X
18 353521-000 NEEDLE BAR DRIVING ARM HINGE BRACKET X X X X X
19 357615-000 NEEDLE BAR BALL BUSHING UPPER SOCKET X X X X X
20 357897-900 NEEDLE BAR BALL BUSHING UPPER X X X X X
21 353549-940 NEEDLE BAR CONNECTING STUD X X X X X
22 353549-000 NEEDLE BAR CONNECTING STUD WITH HINGE PIN X X X X X
23 37931-000 NEEDLE BAR CONNECTING STUD HINGE PIN ASSEMBLY X X X X X
24 141916-833 NEEDLE BAR CLAMPING SCREW X X X X X
25 204514-100 NEEDLE 2045 –SIZE NBR.14 X X X X X
26 357430-001 NEEDLE CLAMP BODY WITH SCREW X X X X X
27 355248-451 NEEDLE THUMB SCREW X X X X X
28 357429-001 NEEDLE CLAMP BODY X X X X X
29 37943-000 NEEDLE BAR GIB X X X X X
30 357421-001 NEEDLE CLAMP THREAD GUIDE X X X X X
NEEDLE BAR , PRESSER BAR & AUTOMATIC NEEDLE THREADER HOUSING

Page 13
HHHCC
DDDG G
11155
00105
REF. PART NUMBER DESCRIPTION 25000
31 141920-455 NEEDLE CLAMP BODY, N.C.T. GUIDE & N. STOP SCREW XXXXX
32 357866-900 NEEDLE BAR -----
33 446361-001 NEEDLE BAR BALL BUSHING (LOWER) ADJUSTING COLLAR -----
34 357981-900 NEEDLE BAR BALL BUSHING SOCKET -----
35 357899-901 NEEDLE BAR BALL BUHING (LOWER) MACHINED -----
36 357898-901 NEEDLE BAR BUSHING LOWER SOCKET -----
37 357870-900 NEEDLE THREADER MECHANISM SUPPORT -----
38 357921-900 NEEDLE THREADER STOP SCREW -----
39 358053-000 NEEDLE THREADER STOP ASSEMBLY -----
40 357913-900 NEEDLE THREADER ACTUATING SUPPORT SPRING -----
41 357912-900 NEEDLE THREADER ACTUATING CAM SPRING -----
42 357869-900 NEEDLE THREADER ACTUATING SPRING -----
43 357872-900 NEEDLE THREADER ACTUATING SUPPORT -----
44 357920-900 RUBBER RING -----
45 357865-900 NEEDLE THREADER SHAFT XXXXX
46 358047-000 NEEDLE THREADER SHAFT ASSEMBLY -----
47 358071-000 NEEDLE THREADER ASSEMBLY SUPPORT COMPLETE -----
48 357873-900 NEEDLE THREADER ASSEMBLY SUPPORT COMPLETE -----
49 357923-900 NEEDLE THREADER SET SCREW NUT -----
50 358070-000 NEEDLE THREADER HOOK ASSEMBLY -----
51 357922-900 NEEDLE THREADER SET SCREW -----
52 358043-000 NEEDLE BAR & PRESSER BAR HOUSING COMPLETE -----
53 354592-451 NEEDLE BAR BALL BUSHING (LOWER) COLLAR SET SCREW -----
54 113480-451 NEEDLE BAR & PRESSER BAR HOUSING PLATE MOUNTING SCREW -----
55 354592-451 NEEDLE THREADER SUPPORT GUIDE PLATE -----
56 358162-000 NEEDLE THREADER S. GUIDE PLATE SCREW WASHER -----
57 3357093-451 NEEDLE BAR VIBRATING BRACKET HINGE PIN NUT -----
58 446359-000 NEEDLE BAR VIBRATING BRACKET HINGE PIN XXXXX
59 445721-000 NEEDLE BAR VIBRATING BRACKET HINGE PIN RETAINING RING XXXXX
NEEDLE BAR , PRESSER BAR & AUTOMATIC NEEDLE THREADER HOUSING


Page 15
HHHCC
DDDG G
11155
00105
REF. PART NUMBER DESCRIPTION 25000
1355279-451 PRESSER BAR BALL BUSHING SET SCREW XXXXX
2353367-451 PRESSER BAR GUIDE BRACKET SET SCREW NUT XXXXX
3357363-000 PRESSER BAR GUIDE BRACKET ASSEMBLY XXXXX
4353215-000 PRESSER BAR SPRING RETAINING RING XXXXX
5357362-000 PRESSER BAR SPRING XXXXX
6445947-001 PRESSER BAR BUSHING XXXXX
7357604-000 PRESSER BAR BUSHING LOCATOR RING XXXXX
8357602-000 PRESSER BAR XXXXX
9446371-000 PRESSER FOOT PLATE (SNAP-ON) FOR ZIG-ZAG XXXXX
10 155964-000 PRESSER FOOT SHANK (SNAP-ON) XXXXX
11 446372-000 PRESSER FOOT (SNAP-ON) COMPLETE FOR ZIG-ZAG SEWING XXXXX
12 354135-452 PRESSER FOOT THUMB SCREW XXXXX
13 113434-451 NEEDLE BAR, PRESSER BAR & VIBRATING BRACKET HOUSING XXXXX
MOUNTING SCREW (LOWER)
14 353375-451 NEEDLE BAR, PRESSER BAR & VIBRATING BRACKET HOUSING XXXXX
MOUNTING SCREW (LOWER) WASHER
15 356170-454 PRESSER BAR LIFTER XXXXX
15 356170-451 PRESSER BAR LIFTER XXXXX
16 445486-000 TENSION RELEASING LEVER RETAINING RING XXXXX
17 445925-000 TENSION RELEASING LEVER XXXXX
18 531627-000 NEEDLE BAR, PRES. BAR & VIBRATING BRAC. HOUSING MOUNT. BUSHING XXXXX
19 113455-009
NEEDLE BAR & PRESSER BAR VIBRATING BRACKET HOUSING MOUNTING SCREW
XXXXX
PRESSER BAR & THREAD TAKE-UP


Page 17
HHHCC
DDDG G
11155
00105
REF. PART NUMBER DESCRIPTION 25000
1531684-000 ARM SHAFT (HORIZONTAL) COMPLETE XXXXX
2354105-833 NEEDLE BAR CRANK POSITION SET SCREW XXXXX
3141916-833 NEEDLE BAR CRANK STUD MOUNTING SCREW XXXXX
4319764-000 ARM SHAFT (HORIZONTAL) RETAINING COLLAR WASHER XXXXX
5353580-000 ARM SHAFT (HORIZONTAL) RETAINING COLLAR WITH SCREW XXXXX
6353272-000 ARM SHAFT (HORIZONTAL) BEVEL GEAR & FEED LIFTING ECC. XXXXX
7354813-451
ARM SHAFT (HORIZONTAL) BEVEL GEAR & FEED LIFTING ECCENTRIC SET SCREW
XXXXX
8353413-000 ARM SHAFT (HORIZONTAL) BEVEL GEAR & FEED LIFTING XXXXX
ECCENTRIC WASHER (PLASTIC )
9446384-000 ARM SHAFT BUSHING (FRONT) XXXXX
10 446385-000 ARM SHAFT BUSHING (FRONT) RETAINING PLATE XXXXX
11 113455-001 ARM SHAFT BUSHING (FRONT) RETAINING BRACKET SCREW XXXXX
12 353273-002 ARM SHAFT BEVEL GEAR (UPRIGHT) SET SCREW XXXXX
13 354105-833 ARM SHAFT (UPRIGHT) BEVEL GEAR SET SCREW XXXXX
14 356819-000 ARM SHAFT (UPRIGHT) BELT WASHER XXXXX
15 179952-002 ARM SHAFT (UPRIGHT) ASSEMBLY XXXXX
16 353215-000 ARM SHAFT (UPRIGHT) RETAINING RING XXXXX
17 353394-000 ARM SHAFT (UPRIGHT) RETAINING RING WASHER XXXXX
18 319826-000 ARM SHAFT (UPRIGHT) BELT DRIVE PULLEY WASHER XXXXX
19 446228-000 FEED LIFTING CAM COMPLETE XXXXX
20 353438-001 ARM SHAFT (UPRIGHT) BELT DRIVE PULLEY ASSEMBLY COMPLETE XXXXX
21 354906-451
ARM SHAFT (UPRIGHT) BELT DRIVE PULLEY RETAINING COLLAR SET SCREW
XXXXX
22 446237-000 BELT (ROTATING HOOK DRIVE) XXXXX
23 113453-003 ROTATING HOOK DRIVE BELT TENSIONER SCREW XXXXX
24 357461-000 ROTATING HOOK DRIVE BELT TENSION ADJUSTER XXXXX
ARM SHAFT DRIVE


Page 19
HHHCC
DDDG G
11155
00105
REF. PART NUMBER DESCRIPTION 25000
1357009-453 HAND WHEEL (PLASTIC) COMPLETE ---X X
1357009-452 HAND WHEEL (PLASTIC) COMPLETE XXX - -
2357367-902 HAND WHEEL DISENGAGING CLUTCH ENGAGING PLATE COVER XXXXX
3357364-000 HAND WHEEL DISENGAGING CLUTCH ENGAGING PLATE HINGE PIN XXXXX
4357365-000 HAND WHEEL DISENGAGING CLUTCH ACTUATING SPRING XXXXX
5357359-000 HAND WHEEL DISENGAGING CLUTCH BUSHING XXXXX
6357368-452 HAND WHEEL DISENGAGING CLUTCH BUSHING COMPLETE XXXXX
7354813-451 HAND WHEEL DISENGAGING CLUTCH BUSHING SCREW XXXXX
8446387-000 HAND WHEEL RETAINING RING (TREADLE / ELECTRIC) XXXXX
9356958-453 HAND WHEEL (PLASTIC) ---X X
9356958-452 HAND WHEEL (PLASTIC) XXX - -
HAND WHEEL


Page 21
H H H C C
DDDG G
1 1 1 5 5
0 0 1 0 5
REF. PART NUMBER DESCRIPTION 2 5 0 0 0
1356040-455 TENSION MECHANISM SHROUDER ASSEMBLY - - - X X
1356040-453 TENSION MECHANISM SHROUDER ASSEMBLY X X X - -
2514698-451 TENSION MECHANISM SHROUDER SCREW NUT X X X X X
3141808-457 TENSION THREAD GUIDE SCREW X X X X X
4356443-000 TENSION THREAD GUIDE SCREW WASHER X X X X X
5356088-485 TENSION MECHANISM ASSEMBLY - - - X X
5356088-457 TENSION MECHANISM ASSEMBLY X X X - -
6356095-000 TENSION STUD NUT X X X X X
7356096-000 TENSION SPRING X X X X X
8356245-000 TENSION MECHANISM SUPPORT ASSEMBLY X X X X X
9356089-000 TENSION MECHANISM SUPPORT X X X X X
10 356097-000 THREAD TAKE-UP SPRING X X X X X
11 356091-000 THREAD TAKE-UP SPRING THREAD GUARD X X X X X
12 356094-000 TENSION DISC X X X X X
13 358123-900 TENSION DISC PRESSURE PLATE SPRING X X X X X
14 358124-900 TENSION DISC PRESSURE PLATE X X X X X
15 356092-451 TENSION INDICATOR WITH STUD X X X X X
16 356090-485 TENSION INDICATOR DIAL - - - X X
16 356090-457 TENSION INDICATOR DIAL X X X - -
17 445784-000 THREAD GUIDE (LOWER) X X X X X
18 356246-900 TENSION MECHANISM SUPPORT PIN X X X X X
TENSION MECHANISM


Page 23
H H H C C
DDDG G
1 1 1 5 5
0 0 1 0 5
REF. PART NUMBER DESCRIPTION 2 5 0 0 0
1172336-000 ROTATING HOOK BOBBIN (PLASTIC) X X X X X
2356490-451 ROTATING HOOK BOBBIN CASE TENSION SPRING SEGMENT X X X X X
3314715-000 ROTATING HOOK BOBBIN CASE TENSION SPRING X X X X X
4355254-451 ROTATING HOOK BOBBIN CASE TENSION X X X X X
5139975-452 REGULATING SCREW SEGMENT SCREW X X X X X
6421325-001 ROTATING HOOK BOBBIN CASE TENSION SPRING X X X X X
7358021-000 ROTATING HOOK BOBBIN CASE X X X X X
8358018-900 ROTATING HOOK BOBBIN CASE RETAINING PLATE ASSEMBLY X X X X X
9358019-900 ROT. HOOK BOBBIN CASE RET. PLATE STUD SPRING X X X X X
10 446235-000 ROT. HOOK BOBBIN CASE RET. PLATE RETAINING RING X X X X X
11 141803-451 ROTATING HOOK BELT DRIVE PULLEY X X X X X
12 382861-906 ROTATING HOOK BELT DRIVE PULLEY SCREW X X X X X
13 353453-000 ROTATING HOOK BELT DRIVE PULLEY WASHER X X X X X
15 353366-000 ROTATING HOOK WEAR WASHER X X X X X
16 354917-451 ROTATING HOOK COMPLETE X X X X X
17 357349-451 ROTATING HOOK BOBBIN CASE POSITION PLATE SCREW X X X X X
44873-001 ROTATING HOOK BOBBIN CASE RETAINING PLATE
18 353410-900 (ADJUSTABLE & POSITION PLATE) STUD X X X X X
19 141938-833 ROTATING HOOK BOBBIN CASE POSITION PLATE X X X X X
20 353367-451 ROTATING HOOK BUSHING X X X X X
21 141844-451 ROTATING HOOK BUSHING SET SCREW X X X X X
22 618638-005 ROTATING HOOK BUSHING SET SCREW NUT X X X X X
X X X X X
HOOK SYSTEM


Page 25
HHHCC
D D D G G
11155
00105
REF. PART NUMBER DESCRIPTION 25000
1356057-000 BIGHT AMPLITUDE CONTROL LEVER MOUNTING BRACKET COMPLETE - - - -
1356113-000 BIGHT AMPLITUDE CONTROL LEVER MOUNTING BRACKET COMPLETE - - X-X
2356058-000 BIGHT AMPLITUDE CONTROL LEVER SUB-ASSEMBLY - - X-X
2356114-000 BIGHT AMPLITUDE CONTROL LEVER SUB-ASSEMBLY - - X-X
3141913-451 BIGHT AMPLITUDE CONTROL LEVER SCREW - - X-X
3139866-451 BIGHT AMPLITUDE CONTROL LEVER SCREW - - X-X
444556-000 BUTTONHOLER BIGHT CONTROL CAM FOLLOWER LEVER LINK (LEFT) - - X-X
5356061-000 BIGHT AMPLITUDE CONTROL LEVER - - X-X
637246-000 BIGHT AMPLITUDE CONTROL LEVER LINK XXXXX
7354825-451 BIGHT AMPLITUDE CONTROL LEVER LINK HINGE SCREW XXXXX
849204-000
BIGHT AMPLITUDE CONTROL LEVER LINK HINGE SCREW FRICTION WASHER
XXXXX
9141913-451 BIGHT AMPLITUDE CONTROL LEVER LINK STOP SCREW XXXXX
10 446904-000 BIGHT AMPLITUDE CONTROL LEVER LINK STOP XXXXX
11 531793-000 BIGHT AMPLITUDE CONTROL LEVER MOUNTING BRACKET XXXXX
12 54591-451 BIGHT AMPLITUDE CONTROL LEVER LINK HINGE SCREW NUT XXXXX
13 113455-001 BIGHT AMPLITUDE CONTROL LEVER MOUNTING BRACKET SCREW XXXXX
14 37933-002 NEEDLE BAR DRIVING ARM XXXXX
15 37942-000 NEEDLE BAR DRIVING ARM TENSION SPRING XXXXX
16 445780-000
LIGHT LEAD SHIELD & N. BAR DRIV. ARM TENSION SPRING MOUNT. PLATE
XXXXX
17 113455-001 LIGHT LEAD SHIELD & NEEDLE BAR DRIVING ARM TENSION SPRING XXXXX
MOUNTING PLATE SCREW
18 357699-905 CONTROL LEVER KNOB ---X X
18 357699-904 CONTROL LEVER KNOB X X X - -
BIGHT AMPLITUDE


Page 27
HHHCC
DDDG G
11155
00105
REF. PART NUMBER DESCRIPTION 25000
1356228-000 NEEDLE POSITION SELECTOR LEVER BRACKET POSITIONING PIN XXXXX
2444800-000
NEEDLE POSITION SELECTOR LEVER BRACKET POSITIONING PIN SPRING
XXXXX
3356636-000 NEEDLE BAR DRIVING ARM SLIDE BRACKET ASSEMBLY XXXXX
4531736-000
NEEDLE POSITION SELECTOR LEVER BRACKET FOLLOWER STUD ARM ASY
XXXXX
5141913-451 NEEDLE POSITION LEVER BRACKET STUD ARM SET SCREW XXXXX
6445721-000 NEEDLE BAR VIBRATING BRACKET HINGE PIN RETAINING RING XXXXX
744371-000 DISC FOLLOWER STUD RETAINING RING (UPPER & LOWER) XXXXX
8446023-000 DISC FOLLOWER STUD XXXXX
9445646-000 DISC FOLLOWER XXXXX
10 353585-000 DISC FOLLOWER STUD COLLAR - - XXX
11 353548-000 DISC FOLLOWER STUD WASHER - - XXX
12 353584-000 DISC FOLLOWER STUD - - XXX
13 179897-000 DISC FOLLOWER SPRING - - XXX
14 446404-000 DISC FOLLOWER - - XXX
15 357699-905 NEEDLE POSITION SELECTOR LEVER KNOB - - - X X
15 357699-904 NEEDLE POSITION SELECTOR LEVER KNOB XXX- -
16 356065-000 NEEDLE POSITION SELECTOR LEVER XXXXX
17 141913-451 NEEDLE POSITION SELECTOR LEVER SCREW XXXXX
18 353547-000 NEEDLE POSITION SELECTOR LEVER BRACKET XXXXX
19 356063-000 NEEDLE POSITION SELECTOR LEVER ASSEMBLY XXXXX
20 44628-000 NEEDLE POSITION SELECTOR LEVER BRACKET X X XXX
21 356062-000 NEEDLE POSITION SELECTOR LEVER BRACKET COMPLETE XXXXX
22 113455-001 NEEDLE POSITION SELECTOR LEVER MOUNTING PLATE SCREW XXXXX
23 446401-000 NEEDLE POSITION SELECTOR LEVER MOUNTING PLATE XXXXX
24 54591-451 DISC FOLLOWER STUD NUT XXXXX
NEEDLE POSITION


Page 29
HHHCC
DDDG G
11155
1 5
REF. PART NUMBER DESCRIPTION 2 5
1446401-000 NEEDLE POSITION SELECTOR LEVER ADJUSTING PLATE XXXXX
2531736-000
NEEDLE POSITION SELECTOR LEVER BRACKET FOLLOWER STUD ARM ASY
XXXXX
3445721-000 NEEDLE BAR DRIVING ARM SLIDE BRACKET RETAINING RING XXXXX
4356735-001 NEEDLE BAR DRIVING ARM SLIDE BRACKET COMPLETE ---X-
5141913-451 NEEDLE POSITION LEVER BRACKET STUD ARM SET SCREW XXXXX
6113455-001 NEEDLE POSITION SELECTOR LEVER ADJUSTING PLATE SCREW XXXXX
7356774-900 DISC FOLLOWER STUD - - - - X
854591-451 NEEDLE POSITION SELECTOR LEVER ADJUSTING PLATE SCREW NUT XXXXX
9445486-000 NEEDLE POSITION SELECTOR LEVER RETAINING RING ---X X
10 141913-451 NEEDLE POSITION SELECTOR LEVER SCREW XXXXX
11 44628-000 NEEDLE POSITION SELECTOR LEVER BRACKET ASSEMBLY XXXXX
12 356812-000 NEEDLE POSITION SELECTOR LEVER COMPLETE ---X X
13 356228-000 NEEDLE POSITION SELECTORLEVER BRACKET POSITIONING PIN XXXXX
14 444800-000
NEEDLE POSITION SELECTOR LEVER BRACKET POSITIONING PIN SPRING
XXXXX
15 357699-905 NEEDLE POSITION SELECTOR LEVER KNOB ---X X
15 357699-904 NEEDLE POSITION SELECTOR LEVER KNOB XXX- -
NEEDLE POSITION


Page 31
HHHCC
DDDG G
11155
00105
REF. PART NUMBER DESCRIPTION 25000
149204-000 PATTERN SELECTOR LEVER HINGE STUD WASHER - - X X X
2445486-000 PATTERN SELECTOR LEVER RETAINING RING - - X X X
3356069-000 PATTERN SELECTOR LEVER COMPLETE - - X X X
4446138-000 PATTERN SELECTOR DRIVE STUD WASHER - - X X X
5357699-905 NEEDLE POSITION SELECTOR LEVER KNOB ---X X
5357699-904 NEEDLE POSITION SELECTOR LEVER KNOB - - X X X
6446406-000 PATTERN SELECTOR CAM SLIDE - - X X X
7113455-001 PATTERN SELECTOR MOUNTING PLATE SCREW - - X X X
8446405-000 PATTERN SELECTOR MOUNTING PLATE COMPLETE - - X X X
9408030-000 PATTERN SELECTOR LEVER RETAINING RING - - X X X
10 54591-451 DISC FOLLOWER STUD NUT - - X X X
11 446415-000 DISC FOLLOWER DISENGAGING LEVER SPRING - - X X X
12 446412-000 DISC FOLLOWER DISENGAGING LEVER - - X X X
13 446411-000 DISC FOLLOWER DISENGAGING LEVER PLATE ASSEMBLY - - X X X
14 445808-452 DISC FOLLOWER DISENGAGING LEVER PLATE ADJ. SCREW WASHER - - X X X
15 141913-451 DISC FOLLOWER DISENGAGING LEVER PLATE ADJUSTING SCREW - - X X X
18 446410-000 DISC FOLLOWER DISENGAGING LEVER PLATE COMPLETE - - X X X
19 446417-000 PATTERN SELECTOR CAM SLIDE CONNECTING LINK RETAINING RING - - X X X
20 353488-000 PATTERN SELECTOR MOUNTING PLATE SPACER - - X X X
DISC SELECTOR ASSEMBLY


Page 33
HHHCC
DDDG G
11155
00105
REF. PART NUMBER DESCRIPTION 25000
1446421-930 DISC DRIVING GEAR COMPLETE X- - - -
1353288-930 DISC DRIVING GEAR COMPLETE -X- - -
1353288-931 DISC DRIVING GEAR COMPLETE - - XXX
2444921-000 DISC DRIVING GEAR RETAINING RING XXXXX
3444923-453 DISC DRIVING GEAR SHAFT FRICTION WASHER XXXXX
4113375-451 DISC STACK POSITIONING SCREW XX- - -
4141920-451 DISC STACK POSITIONING SCREW - - XXX
5446138-000 DISC STACK POSITIONING SCREW WASHER XXXXX
6445762-000 DISC STACK (PLASTIC) X- - - -
7353287-000 DISC STACK -XXXX
8179958-000 DISC DRIVING GEAR XX- - -
8445754-930 DISC DRIVING GEAR - - XXX
9353424-000 DISC DRIVING GEAR SHAFT SPACER XXXXX
10 446420-000 DISC DRIVING GEAR SHAFT MOUNTING PLATE ASSEMBLY XXXXX
11 446418-000 DISC DRIVING GEAR SHAFT XX- - -
11 446418-001 DISC DRIVING GEAR SHAFT - - XXX
12 353575-000 DISC DRIVING GEAR SHAFT MOUNTING PLATE XXXXX
13 353488-000 DISC DRIVING GEAR SHAFT WASHER XXXXX
14 53648-451 DISC DRIVING GEAR SHAFT NUT XXXXX
15 353375-451 DISC DRIVING GEAR SHAFT MOUNTING PLATE SCREW WASHER XXXXX
16 113435-451 DISC DRIVING GEAR SHAFT MOUNTING PLATE SCREW XXXXX
17 113455-001 DISC DRIVING GEAR SHAFT MOUNTING PLATE SCREW XXXXX
18 354654-451 DISC DRIVING GEAR (COMPLETE) SUPPORT MOUNTING SCREW - - - - -
CAM STACK


Page 35
HHHCC
DDDG G
1 1 1 5 5
0 0 1 0 5
REF. PART NUMBER DESCRIPTION 2 5 0 0 0
1353304-000 FEED REGULATOR CONTROL ARM ASSEMBLY X- - - -
2113455-001 FEED REGULATOR CONTROL ARM MOUNTING BRACKET SCREW X- - - -
3353478-000 FEED REGULATOR CAM COMPLETE X- - - -
4356397-000 FEED REGULATOR CAM FOLLOWER X- - - -
5618638-005 FEED REGULATOR CAM FOLLOWER POSITIONING SPRING NUT X- - - -
644892-000 FEED REGULATOR CAM FOLLOWER POSITIONING SPRING X- - - -
7354975-451 FEED REGULATOR CAM FOLLOWER POSITIONG SCREW X- - - -
8531806-451 FEED REGULATOR MOUNTING PLATE SCREW (RIGHT) X- - - -
9531807-451 FEED REGULATOR MOUNTING PLATE SCREW (LEFT) X- - - -
10 356998-459 FEED REGULATOR CONTROL DIAL ASSEMBLY X- - - -
11 445461-000 FEED REGULATOR CONTROL DIAL RETAINING RING X- - - -
12 356997-931 FEED REGULATOR CONTROL DIAL X- - - -
13 356115-464 FEED REGULATOR POSITIONING PIN KNOB X- - - -
14 446284-000 FEED REGULATOR MOUNTING PLATE X- - - -
15 446282-000 FEED REGULATOR FRICTION WASHER X- - - -
16 353477-000 FEED REGULATOR CAM X- - - -
17 446283-000 FEED REGULATOR MECHANISM MOUNTING PLATE X- - - -
FEED REGULATOR CAM


Page 37
H H H C C
DDDG G
1 1 1 5 5
0 0 1 0 5
REF. PART NUMBER DESCRIPTION 2 5 0 0 0
1
353536-000
BH.NEEDLE POSITION CAM FOLLOWER LEVER LINK (RIGHT)
-
X
X
X
X
2
141913-451
BH.ND.POS.CAM FOLLOWER LEVER LINK (LEFT & RIGHT) SCREW
-
X
X
X
X
3
408030-000
BH.& FEED REGULATOR MECHANISM MTG.PLATE STUD RET.RING
-
X
X
X
X
4
445808-000
BH.& FEED REG.MECH.MTG.PLATE STUD SPRING WASHER
-
X
X
X
X
5
179949-000
BUTTONHOLER & FEED REG.MECH.MTG.PLATE STUD SPRING
-
X
X
X
X
6
445486-000
BH.BIGHT CONTROL CAM FOL.LEVER LINK (RIGHT) RET.RING
-
X
X
X
X
7
356230-000
BUTTONHOLER & FEED REGULATOR MECH.MTG.PLATE STUD
-
X
X
X
X
8
357012-938
BUTTONHOLER & FEED REGULATOR CAM COMPLETE
-
-
-
X
-
8
357010-947
BUTTONHOLER & FEED REGULATOR CAM COMPLETE
-
-
-
-
X
8
357012-937
BUTTONHOLER & FEED REGULATOR CAM COMPLETE
-
X
-
-
-
8
357010-945
BUTTONHOLER & FEED REGULATOR CAM COMPLETE
-
-
X
-
-
9
357013-458
BUTTONHOLER & FEED REGULATOR CAM ASSEMBLY
-
-
-
-
-
9
356959921
BUTTONHOLER & FEED REGULATOR CAM ASSEMBLY
-
-
-
-
-
9357011-470 BUTTONHOLER & FEED REGULATOR CAM ASSEMBLY - - - - -
10
353304-000
FEED REGULATOR CONTROL ARM ASSEMBLY
-
X
X
X
X
11
141913-451
BUT. BIGHT CONT. CAM FOL. LEVER LINK(LEFT & RIGHT)SCREW
-
X
X
X
X
12
356748-000
BH.BIGHT CONTROL CAM FOLLOWER LEVER LINK (RIGHT)
-
X
X
X
X
13
356653481
FEED REGULATOR POSITIONING PIN KNOB
-
-
-
X
X
13
356653-480
FEED REGULATOR POSITIONING PIN KNOB
-
X
X
X
X
14
113513-451
BUTTONHOLER & FEED REGULATOR MECH.MTG.PLATE SCREW
-
X
X
X
X
15
445486-000
BH.RIGHT CONTROL CAM FOL.LEVER LINK (RIGHT) RET.RING
-
X
X
X
X
16
53640-819
BUTTONHOLER & FEED REG.MECH.MTG.PLATE SCREW NUT
-
X
X
X
X
17
353215-000
BUTTONHOLER NEEDLE POS.CAM FOLLOWER LEVER RET.RING
-
X
X
X
X
18
353495-000
BUTTONHOLER & FEED REG.CONTROL DIAL PAWL SPRING
-
X
X
X
X
19
353319-000
CAM CONTROL FEED ENG.CAM FOLLOWER & LEVER BUSHING
-
X
X
X
X
20
353321-000
CAM CONTROL FEED ENGAGING CAM FOLLOWER LEVER
-
X
X
X
X
21
353495-000
CAM CONTROL FEED ENG.CAM FOLLOWER & LEVER SPRING
-
X
X
X
X
22
353320-000
CAM CONTROL FEED ENGAGING CAM FOLLOWER
-
X
X
X
X
23
445539-000
CAM CONTROL FEED ENG.CAM FOLLOWER & LEVER WASHER
-
X
X
X
X
24
113372-451
CAM CONTROL FD.ENG.CAM FOLLOWER & LEVER MTG.SCREW
-
X
X
X
X
25
618638-005
FEED REGULATOR POSITIONING PIN CARRIER INSERT NUT
-
X
X
X
X
26
356650-000
FEED REGULATOR POSITIONING PIN
-
X
X
X
X
27
44892-000
FEED REGULATOR POSITIONING PIN FRICTION SPRING
-
X
X
X
X
28
357094-000
FEED REGULATOR POSITIONING PIN CARRIER
-
X
X
X
X
29
113455-001
FEED REGULATOR CONTROL ARM SCREW
-
X
X
X
X
30
356830-001
FEED REGULATOR POSITIONING PIN WASHER
-
X
X
X
X
BUTTONHOLER & FEED REGULATOR CAM


Page 39
H H H C C
D D D G G
1 1 1 5 5
0 0 1 0 5
REF. PART NUMBER DESCRIPTION 2 5 0 0 0
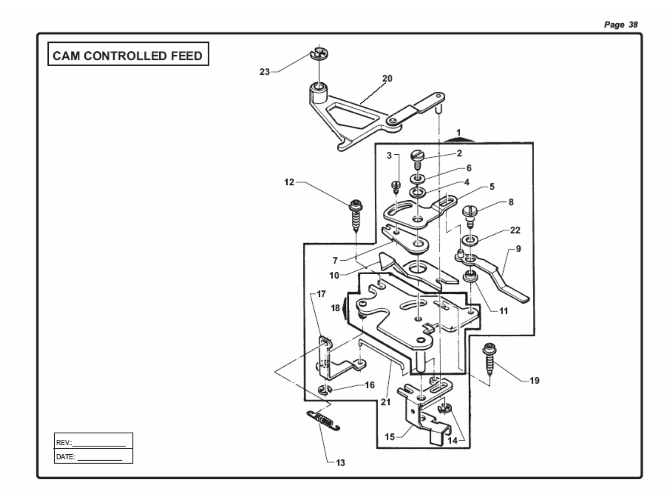
1531749-001 CAM CONTROLLED FEED MOUNTING BRACKET COMPLETE - - X-X
2113423-451 CAM CONTROLLED FEED BALANCE ADJUSTING PLATE HINGE SCREW - - X-X
3141913-451 CAM CONTROLLED FEED BALANCE ADJUSTING SCREW - - X-X
4353492-000 CAM CONTROLLED FEED BALANCE ADJUSTING SCREW SPRING WASHER - - X-X
5531754-000 CAM CONTROLLED FEED BALANCE ADJUSTING PLATE - - X-X
6543531-000 CAM CONTROLLED FEED BALANCE ADJUSTING SCREW WASHER - - X-X
7353331-000 CAM CONTROLLED FEED DRIVING ARM ECCENTRIC - - X-X
8113424-451 CAM CONTROLLED FEED BALANCE ADJUSTING LEVER HINGE SCREW - - X-X
9531752-453 CAM CONTROLLED FEED BALANCE ADJUSTING LEVER ASSEMBLY - - X-X
10 353330-001 CAM CONTROLLED FEED DRIVING ARM - - X-X
11 353334-000 CAM CONTROLLED FEED BALANCE ADJUSTING LEVER MOUNTING BUSHING - - X-X
12 355243-451 CAM CONTROLLED FEED MOUNTING BRACKET SCREW - - X-X
13 356605-000 FEED REGULATOR CONTROL ARM BIAS LINK SPRING - - X-X
14 445721-000 CAM CONTROLLED FEED ENGAGING CRANK RETAINING RING - - X-X
15 353329-000 CAM CONTROLLED FEED ENGAGING CRANK - - X-X
16 445486-000 CAM CONTROLLED FEED FOLLOWER & LINK RETAINING RING - - X-X
17 356166-000 CAM CONTROLLED FEED ENGAGING CRANK LEVER - - X-X
18 531750-000 CAM CONTROLLED FEED MOUNTING BRACKET ASSEMBLY - - X-X
19 113455-003 CAM CONTROLLED FEED MOUNTING BRACKET SCREW (RIGHT - - X-X
20 356839-000 CAM CONTROLLED FEED FOLLOWER & LINK ASSEMBLY - - X-X
21 353473-000 CAM CONTROLLED FEED ENGAGING CRANK LINK - - X-X
22 179898-001 CAM CONTROLLED FEED BALANCE ADJUSTING LEVER WASHER - - X-X
23 445486-000 CAM CONTROLLED FEED FOLLOWER & LINK ASSEMBLY X X
RETAINING RING - - X-X
CAM CONTROLLED FEED


Page 41
H H H C C
D D D G G
1 1 1 5 5
0 0 1 0 5
REF. PART NUMBER DESCRIPTION 2 5 0 0 0
1179955-0000 FEED LIFTING LEVER HINGE STUD (ECCENTRIC) SPACER X X X X X
2446485-000 FEED LIFTING LEVER HINGE STUD (ECCENTRIC) CLAMP X X X X X
3113455-001 FEED LIFTING LEVER HINGE STUD (ECCENTRIC) CLAMP SCREW X X X X X
4446249-000 FEED LIFTING LEVER SPRING X X X X X
5356222-001 FEED LIFTING LEVER ASSEMBLY X X X X X
8353448-000 FEED LIFTING LEVER HING STUD (ECCENTRIC) X X X X X
9446228-000 FEED LIFTING CAM X X X X X
10 544118-000 FEED LIFTING CAM SCREW X X X X X
11 355235-451 FEED DOG SCREW X X X X X
12 179891-000 FEED DOG X X X X X
13 446216-000 FEED ROCK SHAFT COMPLETE X X X X X
14 446205-000 FEED BAR ASSEMBLY X X X X X
15 354939-451 FEED BAR HINGE SCREW X X X X X
16 53648-451 FEED FORKED CONNECTING SCREW STUD NUT X X X X X
17 353397-000 FEED ROCK SHAFT CENTER (LEFT) NOISE DAMPENING WASHER X X X X X
18 446487-001 FEED ROCK SHAFT CENTER X X X X X
19 446484-000 FEED ROCK SHAFT CENTER CLAMP (LEFT & RIGHT) X X X X X
20 113455-001 FEED ROCK SHAFT CENTER SUPPORTING BRACKET SCREW X X X X X
21 531926-000 FEED FORKED CONNECTING X X X X X
22 531623-451 FEED FORKED CONNECTING HINGE SCREW (ECCENTRIC) X X X X X
23 44437-000 FEED FORKED CONNECTING SLIDE BLOCK X X X X X
24 446244-000 FEED REGULATOR ASSEMBLY X X X X X
25 141925-833 FEED REGULATOR SET SCREW X X X X X
26 446483-000 FEED REGULATOR HINGE STUD X X X X X
27 445768-000 FEED REGULATOR RETURN SPRING BUSHING (PLASTIC) X X X X X
28 179890-000 FEED REGULATOR RETURN SPRING X X X X X
29 531927-000 FEED FORKED CONNECTION WITH SLIDE BLOCK X X X X X
30 353600-000 FEED REGULATOR HINGE STUD ASSEMBLY X X X X X
31 353357-451 FEED ROCK SHAFT CENTER SUPPORTING BRACKET SCREW WASHER X X X X X
FEED SYSTEM


Page 43
H H H C C
DDDG G
1 1 1 5 5
0 0 1 0 5
REF. PART NUMBER DESCRIPTION 2 5 0 0 0
1356392-452 SOFT VINIL COVER (TUBULAR BED) X X X X X
2116863-000 FINGER GUARD X X X X X
OPTIONS


Page 45
H H H C C
D D D G G
1 1 1 5 5
0 0 1 0 5
REF. PART NUMBER DESCRIPTION 2 5 0 0 0
1605488-025 LIGHT LEAD COMPLETE CAT L9 (IEC CONSTRUCTION) X X X X X
2179908-000 LIGHT LEAD GROMMET X X X X X
3358207-120 LAMP (120V) X X X X X
3358207-220 LAMP (220/250V) X X X X X
4354592-451 LIGHT SOCKET MOUNTING SCREW X X X X X
5362307-003 SWITCH COMPLETE X X X X X
6362095-050 CONTROLLER X X X X X
7988764-003 LIGHT CONNECTOR HARNESS X X X X X
8362160-002 LIGHT COMPLETE X X X X X
9179901-000 HEAT SHIELD (WITHOUT GRAPHICS) X X X X X
9179910-451 LIGHT SHIELD (WITH GRAPHICS) (FOR US/CANADA) X X X X X
10 362264-901 MOTOR MOUNTING PLATE CLAMP SCREW X X X X X
11 113370-451 MOTOR MOUNTING PLATE SCREW (LOWER) X X X X X
12 356803-901 MOTOR MOUNTING PLATE X X X X X
13 353518-001 MOTOR BELT (V) X X X X X
14 362180-027 MOTOR COMPLETE (USA) X X X X X
14 362180-028 MOTOR COMPLETE (NON REG.) X X X X X
14 362180-029 MOTOR COMPLETE (EUROPA) X X X X X
15 988752-010 SERIES MOTOR MODULE X X X X X
16 313470-452 MOTOR MOUNTING PLATE SCREW NUT X X X X X
17 988761-001 MOTOR PULLEY X X X X X
18 362239-001 COMMUTATOR END X X X X X
19 605600-004 TYE RAP X X X X X
20 362237-901 MOTOR MOUNTING PLATE SPACER X X X X X
21 362263-901 COMUTATOR END CLAMP SCREW X X X X X
22 113372-451 MOTOR MOUNTING PLATE SCREW (UPPER) X X X X X
ELECTRICAL EQUIPMENT